Movatterモバイル変換


[0]ホーム

URL:


JP7441950B2 - Main unit of aerosol generation device, aerosol generation device, and non-combustion type suction device - Google Patents

Main unit of aerosol generation device, aerosol generation device, and non-combustion type suction device
Download PDF

Info

Publication number
JP7441950B2
JP7441950B2JP2022534577AJP2022534577AJP7441950B2JP 7441950 B2JP7441950 B2JP 7441950B2JP 2022534577 AJP2022534577 AJP 2022534577AJP 2022534577 AJP2022534577 AJP 2022534577AJP 7441950 B2JP7441950 B2JP 7441950B2
Authority
JP
Japan
Prior art keywords
cartridge
main
cartridge accommodating
plate
holder
Prior art date
Legal status (The legal status is an assumption and is not a legal conclusion. Google has not performed a legal analysis and makes no representation as to the accuracy of the status listed.)
Active
Application number
JP2022534577A
Other languages
Japanese (ja)
Other versions
JPWO2022009362A1 (en
Inventor
俊司 春山
猛 横溝
Current Assignee (The listed assignees may be inaccurate. Google has not performed a legal analysis and makes no representation or warranty as to the accuracy of the list.)
Japan Tobacco Inc
Original Assignee
Japan Tobacco Inc
Priority date (The priority date is an assumption and is not a legal conclusion. Google has not performed a legal analysis and makes no representation as to the accuracy of the date listed.)
Filing date
Publication date
Application filed by Japan Tobacco IncfiledCriticalJapan Tobacco Inc
Publication of JPWO2022009362A1publicationCriticalpatent/JPWO2022009362A1/ja
Application grantedgrantedCritical
Publication of JP7441950B2publicationCriticalpatent/JP7441950B2/en
Activelegal-statusCriticalCurrent
Anticipated expirationlegal-statusCritical

Links

Images

Classifications

Description

Translated fromJapanese

本発明は、エアロゾル生成装置の本体ユニット、エアロゾル生成装置、及び、非燃焼式吸引器に関する。 The present invention relates to a main body unit of an aerosol generation device, an aerosol generation device, and a non-combustion type inhaler.

従来から、エアロゾルを吸引し、香味を味わう非燃焼式吸引器が知られている。この種の非燃焼式吸引器としては、例えば、エアロゾル源を収容するカートリッジと、カートリッジを挿抜可能に収容するエアロゾル生成装置の本体ユニットと、本体ユニットで霧化させたエアロゾルに香味を付与する香味源容器と、を備えたものがある。 BACKGROUND ART Non-combustion inhalers that suck in aerosol and enjoy its flavor have been known for some time. This type of non-combustion inhaler includes, for example, a cartridge that accommodates an aerosol source, a main unit of an aerosol generating device that accommodates the cartridge in a removable manner, and a flavoring device that imparts flavor to the aerosol atomized by the main unit. There are some that are equipped with a source container.

例えば、下記特許文献1には、本体ユニット(パワーコンポーネント)の外装ケース(フレーム)に、カートリッジ(タンク)を収容するカートリッジ収容部(スロット)を備えるものが開示されている。 For example,Patent Document 1 listed below discloses a device in which an exterior case (frame) of a main unit (power component) is provided with a cartridge accommodating portion (slot) for accommodating a cartridge (tank).

米国特許第10251425号明細書US Patent No. 10251425

上述した従来技術では、カートリッジ収容部のカートリッジ挿抜口が、外装ケースの外表面と面一に形成されていた(特許文献1の図4参照)。そのため、カートリッジを挿抜する場所が直感的に把握し難いなど、ユーザビリティに改善の余地があった。 In the above-mentioned conventional technology, the cartridge insertion/extraction opening of the cartridge accommodating portion is formed flush with the outer surface of the outer case (see FIG. 4 of Patent Document 1). Therefore, there was room for improvement in usability, such as it being difficult to intuitively understand where to insert and remove the cartridge.

本発明は、ユーザビリティの向上を目的とする。 The present invention aims to improve usability.

上記目的を達成するために、本発明の一態様に係るエアロゾル生成装置の本体ユニットは、カートリッジを収容するカートリッジ収容部を備え、前記カートリッジ収容部は、本体ユニットの外装ケースから突出したカートリッジ挿抜口を有する。
本態様によれば、カートリッジを挿抜する場所が視認し易いため、上下が分かりやすく、カートリッジの挿抜が容易になる。
In order to achieve the above object, a main body unit of an aerosol generation device according to an aspect of the present invention includes a cartridge accommodating portion that accommodates a cartridge, and the cartridge accommodating portion has a cartridge insertion/extraction opening protruding from an exterior case of the main unit. has.
According to this aspect, since the location where the cartridge is inserted and removed is easily visible, it is easy to understand which is the top and bottom, and the cartridge can be inserted and removed easily.

上記エアロゾル生成装置の本体ユニットにおいては、前記カートリッジ収容部は、前記カートリッジ挿抜口に吸口部を接続するための接続部を有し、前記接続部の少なくとも一部が、前記外装ケースから突出していてもよい。
本態様によれば、吸口部を接続する場所が視認し易いため、カートリッジ収容部に対する吸口部の接続が容易になる。
In the main body unit of the aerosol generating device, the cartridge accommodating portion has a connection portion for connecting a suction port to the cartridge insertion/extraction port, and at least a portion of the connection portion protrudes from the outer case. Good too.
According to this aspect, since the location where the mouthpiece is connected is easily visible, the mouthpiece can be easily connected to the cartridge accommodating part.

上記エアロゾル生成装置の本体ユニットにおいては、前記外装ケースは、隆起部を有し、前記カートリッジ収容部は、前記隆起部の変形過渡部分から突出していてもよい。
本態様によれば、カートリッジ収容部に、外装ケースから大きく露出する部分と、小さく露出する部分が形成される。カートリッジ収容部の大きく露出する部分において視認性を確保しつつ、小さく露出する部分でカートリッジ収容部を保護する面積を確保することができる。また、外装ケースの縁と、カートリッジ収容部の周面との接触長が長くなるため、両者を接着する際には、接続強度を確保し易くなる。
In the main body unit of the aerosol generating device, the outer case may have a raised portion, and the cartridge accommodating portion may protrude from a deformation transition portion of the raised portion.
According to this aspect, the cartridge accommodating portion is formed with a large portion exposed from the outer case and a small exposed portion. While ensuring visibility in the large exposed portion of the cartridge accommodating portion, it is possible to secure an area for protecting the cartridge accommodating portion in the small exposed portion. Furthermore, since the contact length between the edge of the outer case and the circumferential surface of the cartridge accommodating portion becomes longer, it becomes easier to ensure connection strength when bonding the two.

上記エアロゾル生成装置の本体ユニットにおいては、前記カートリッジ挿抜口は、前記カートリッジ収容部が延びる主軸方向において、前記隆起部の頂部以下の位置に配置されていてもよい。
本態様によれば、落下や衝突などの際に、外装ケースの隆起部がカートリッジ挿抜口よりも先に外部と接触し、カートリッジ挿抜口の変形を防止することができる。
In the main body unit of the aerosol generating device, the cartridge insertion/extraction port may be disposed at a position below the top of the protrusion in the main axis direction in which the cartridge accommodating portion extends.
According to this aspect, in the event of a fall or collision, the raised portion of the outer case comes into contact with the outside before the cartridge insertion/extraction port, thereby preventing deformation of the cartridge insertion/extraction port.

上記エアロゾル生成装置の本体ユニットにおいては、前記カートリッジ収容部が突出した前記隆起部の前記変形過渡部分と逆側の変形過渡部分に、入力デバイスが配置され、前記入力デバイスは、前記カートリッジ収容部が延びる主軸方向において、前記隆起部の頂部以下の位置に配置されていてもよい。
本態様によれば、落下や衝突などの際に、外装ケースの隆起部が入力デバイスよりも先に外部と接触し、入力デバイスの誤作動を防止することができる。
In the main body unit of the aerosol generating device, an input device is disposed at a deformation transition portion of the raised portion opposite to the deformation transition portion from which the cartridge accommodating portion protrudes; In the extending main axis direction, it may be arranged at a position below the top of the raised part.
According to this aspect, in the event of a fall or collision, the raised portion of the exterior case comes into contact with the outside before the input device, and malfunction of the input device can be prevented.

上記エアロゾル生成装置の本体ユニットにおいては、前記入力デバイスは、前記カートリッジ挿抜口の中心を通る前記カートリッジ収容部の主軸に対し、鋭角方向を向いて配置されていてもよい。
本態様によれば、使用者が吸口部を咥えたままで、入力デバイスを操作し易くなる。
In the main body unit of the aerosol generating apparatus, the input device may be arranged at an acute angle with respect to a main axis of the cartridge accommodating section passing through the center of the cartridge insertion/extraction opening.
According to this aspect, it becomes easier for the user to operate the input device while holding the mouthpiece in his/her mouth.

上記エアロゾル生成装置の本体ユニットにおいては、前記外装ケースに収容されたホルダーを備え、前記ホルダーは、前記外装ケースの内部に設けられた部品の少なくとも一つを保持するメインプレートと、前記メインプレートと一体で形成され、前記カートリッジ収容部の端部を受ける受け部と、を有してもよい。
本態様によれば、ホルダーに外装ケースの内部の部品とカートリッジ収容部の両方が組み付けられるので、組み込みが容易になる。
The main body unit of the aerosol generation device includes a holder housed in the exterior case, and the holder includes a main plate that holds at least one of the components provided inside the exterior case, and a main plate that holds at least one of the components provided inside the exterior case. It may also include a receiving part that is integrally formed and receives an end of the cartridge accommodating part.
According to this aspect, since both the internal parts of the outer case and the cartridge accommodating portion are assembled into the holder, assembly becomes easy.

上記エアロゾル生成装置の本体ユニットにおいては、前記受け部には、前記カートリッジ収容部の内部に突電極を挿入するための挿入孔が形成されていてもよい。
本態様によれば、カートリッジ収容部の内部に、容易に突電極を配置できる。
In the main body unit of the aerosol generating device, the receiving portion may have an insertion hole for inserting the protruding electrode into the cartridge accommodating portion.
According to this aspect, the protruding electrode can be easily arranged inside the cartridge accommodating section.

上記エアロゾル生成装置の本体ユニットにおいては、前記受け部は、前記メインプレートの短手方向の端部において、前記メインプレートの長手方向に沿って平行に延びる有底筒状に形成されていてもよい。
本態様によれば、メインプレートとカートリッジ収容部が長手方向に平行に配置されるので、本体ユニットの全長を短くできる。
In the main body unit of the aerosol generating device, the receiving portion may be formed in a bottomed cylindrical shape extending in parallel along the longitudinal direction of the main plate at an end in the lateral direction of the main plate. .
According to this aspect, since the main plate and the cartridge accommodating portion are arranged in parallel in the longitudinal direction, the overall length of the main body unit can be shortened.

上記エアロゾル生成装置の本体ユニットにおいては、前記ホルダーは、前記メインプレートの端部から前記メインプレートの板面に交差する方向に延びると共に、前記外装ケースの外面に沿って設けられた部品の少なくとも一つを保持するサブプレートを有してもよい。
本態様によれば、ホルダーの剛性を高め、省スペース化できる。
In the main body unit of the aerosol generating device, the holder extends from an end of the main plate in a direction intersecting the plate surface of the main plate, and is one of at least one of the parts provided along the outer surface of the outer case. It may also have a sub-plate that holds one.
According to this aspect, the rigidity of the holder can be increased and space can be saved.

本発明の一態様に係るエアロゾル生成装置は、先に記載の本体ユニットと、エアロゾル源を収容すると共に、前記本体ユニットの前記カートリッジ収容部に対し挿抜可能に挿入されたカートリッジと、を備える。
本態様によれば、カートリッジを挿抜する場所が視認し易い本体ユニットを備えるため、使いやすい。
An aerosol generation device according to one aspect of the present invention includes the main unit described above and a cartridge that accommodates an aerosol source and is removably inserted into the cartridge accommodating portion of the main unit.
According to this aspect, the main body unit is provided in which the place where the cartridge is inserted and removed is easily visible, so it is easy to use.

本発明の一態様に係る非燃焼式吸引器は、先に記載のエアロゾル生成装置と、前記エアロゾル生成装置の吸口部に装着された香味源容器と、を備える。
本態様によれば、エアロゾルに香味を添加することができる。
A non-combustion type inhaler according to one aspect of the present invention includes the aerosol generating device described above and a flavor source container attached to the mouthpiece of the aerosol generating device.
According to this aspect, flavor can be added to the aerosol.

本発明の一態様によれば、ユーザビリティの向上を図れる。 According to one aspect of the present invention, usability can be improved.

一実施形態に係る吸引器の左側斜視図である。FIG. 2 is a left perspective view of an aspirator according to one embodiment.一実施形態に係る吸引器の右側斜視図である。FIG. 2 is a right perspective view of an aspirator according to one embodiment.一実施形態に係る吸引器の正面図である。It is a front view of the suction device concerning one embodiment.一実施形態に係る吸引器の平面図である。FIG. 2 is a plan view of an aspirator according to one embodiment.一実施形態に係る吸引器を底面側から視た分解斜視図である。FIG. 2 is an exploded perspective view of the suction device according to one embodiment, viewed from the bottom side.図4に示す矢視A-A断面図である。FIG. 5 is a sectional view taken along the line AA shown in FIG. 4. FIG.一実施形態に係る本体ユニットの分解斜視図である。FIG. 2 is an exploded perspective view of a main body unit according to an embodiment.一実施形態に係る本体ユニットから第1ケースを取り外した状態を示す正面図である。FIG. 3 is a front view showing a state in which the first case is removed from the main body unit according to one embodiment.一実施形態に係る本体ユニットから第2ケースを取り外した状態を示す背面図である。FIG. 3 is a rear view showing a state in which the second case is removed from the main unit according to one embodiment.一実施形態に係るホルダーの第1板面側の斜視図である。It is a perspective view of the 1st board side of the holder concerning one embodiment.一実施形態に係るホルダーの第2板面側の斜視図である。FIG. 3 is a perspective view of the second plate surface side of the holder according to one embodiment.図3に示す矢視B-B断面図である。FIG. 4 is a sectional view taken along the line BB shown in FIG. 3;一実施形態に係るバイブレータの取付構造を示す斜視図である。FIG. 2 is a perspective view showing a vibrator mounting structure according to an embodiment.一実施形態に係るディスプレイカバーの取付構造を示す斜視図である。FIG. 2 is a perspective view showing a display cover mounting structure according to an embodiment.一実施形態に係るホルダーの平面図である。FIG. 2 is a plan view of a holder according to one embodiment.図15に示す矢視C-C断面図である。16 is a sectional view taken along the line CC shown in FIG. 15. FIG.一実施形態に係るカートリッジ収容部の正面図である。FIG. 3 is a front view of a cartridge accommodating section according to an embodiment.一実施形態に係るカートリッジ収容部の右側面図である。FIG. 3 is a right side view of a cartridge accommodating section according to an embodiment.一実施形態に係るカートリッジ収容部の左側面図である。FIG. 3 is a left side view of a cartridge accommodating section according to one embodiment.図18に示す矢視D-D断面図である。19 is a cross-sectional view taken along the line DD shown in FIG. 18. FIG.一実施形態に係る吸口部の右側面図である。It is a right view of the mouthpiece part concerning one embodiment.図21に示す矢視E-E断面図である。22 is a sectional view taken along arrow EE shown in FIG. 21. FIG.一実施形態に係るメイン基板の斜視図である。FIG. 2 is a perspective view of a main board according to an embodiment.一実施形態に係るメイン基板の突電極から突電極カバーを取り外した状態を示す斜視図である。FIG. 2 is a perspective view showing a state in which a salient electrode cover is removed from a salient electrode of a main board according to an embodiment.図9に示す矢視F-F断面図である。10 is a sectional view taken along arrow FF shown in FIG. 9. FIG.一実施形態に係るカバー部材を径方向外側から視た図である。FIG. 3 is a view of the cover member according to one embodiment viewed from the outside in the radial direction.一実施形態に係るカバー部材を径方向内側から視た図である。FIG. 3 is a view of the cover member according to one embodiment viewed from the inside in the radial direction.一実施形態に係るカバー部材の斜視図である。FIG. 3 is a perspective view of a cover member according to one embodiment.図3に示す矢視G-G断面図である。4 is a sectional view taken along line GG shown in FIG. 3. FIG.一実施形態に係るセンサホルダーを径方向外側から視た図である。FIG. 3 is a view of the sensor holder according to one embodiment viewed from the outside in the radial direction.一実施形態に係るセンサホルダーを径方向内側から視た図である。FIG. 3 is a view of the sensor holder according to one embodiment viewed from the inside in the radial direction.一実施形態に係るセンサホルダーの斜視図である。FIG. 2 is a perspective view of a sensor holder according to one embodiment.一実施形態に係る本体ユニットの組立方法を示す斜視図である。FIG. 3 is a perspective view showing a method of assembling the main body unit according to one embodiment.一実施形態に係る第1ケースの内側の構成を示す背面図である。FIG. 3 is a rear view showing the inner configuration of the first case according to one embodiment.一実施形態に係る第2ケースの内側の構成を示す正面図である。FIG. 3 is a front view showing the inner configuration of a second case according to an embodiment.一実施形態に係る吸口部を取り外した状態の本体ユニットの正面図である。FIG. 3 is a front view of the main body unit with the mouthpiece removed according to the embodiment.一実施形態に係るカートリッジ収容部にカートリッジを収容する様子を示す説明図である。FIG. 3 is an explanatory diagram showing how a cartridge is accommodated in a cartridge accommodating section according to an embodiment.一実施形態に係るカートリッジ収容部に吸口部を装着する様子を示す説明図である。FIG. 3 is an explanatory diagram showing how the mouthpiece is attached to the cartridge accommodating part according to one embodiment.一実施形態に係る吸口接続部の変形例を示す斜視図である。It is a perspective view showing a modification of the mouthpiece connection part concerning one embodiment.一実施形態に係るカートリッジ収容部の変形例を示す斜視図である。FIG. 7 is a perspective view showing a modification of the cartridge accommodating section according to one embodiment.図39に示す矢視H-H断面図である。40 is a sectional view taken along the line HH shown in FIG. 39. FIG.

以下、本発明の一実施形態に係る非燃焼式吸引器(以下、単に吸引器という。)を図面に基づいて説明する。 EMBODIMENT OF THE INVENTION Hereinafter, a non-combustion type suction device (hereinafter simply referred to as a suction device) according to an embodiment of the present invention will be described based on the drawings.

[吸引器]
図1は、一実施形態に係る吸引器1の左側斜視図である。図2は、一実施形態に係る吸引器1の右側斜視図である。図3は、一実施形態に係る吸引器1の正面図である。図4は、一実施形態に係る吸引器1の平面図である。図5は、一実施形態に係る吸引器1を底面側から視た分解斜視図である。
吸引器1は、いわゆる非燃焼式吸引器であり、加熱により霧化されたエアロゾルを、香味源を通して吸引することで、香味を得るものである。
[Suction device]
FIG. 1 is a left perspective view of anaspirator 1 according to one embodiment. FIG. 2 is a right perspective view of thesuction device 1 according to one embodiment. FIG. 3 is a front view of thesuction device 1 according to one embodiment. FIG. 4 is a plan view of thesuction device 1 according to one embodiment. FIG. 5 is an exploded perspective view of thesuction device 1 according to one embodiment, viewed from the bottom side.
Theinhaler 1 is a so-called non-combustion inhaler, and obtains flavor by inhaling aerosol atomized by heating through a flavor source.

図5に示すように、吸引器1は、本体ユニット2と、カートリッジ3(霧化ユニットとも言う)と、香味源容器4と、を備えている。カートリッジ3は、本体ユニット2のカートリッジ収容部10に挿抜可能に収容されている。香味源容器4は、本体ユニット2の吸口部11(マウスピースとも言う)に、着脱可能に装着されている。 As shown in FIG. 5, theinhaler 1 includes amain body unit 2, a cartridge 3 (also referred to as an atomization unit), and aflavor source container 4. Thecartridge 3 is removably housed in acartridge accommodating portion 10 of themain unit 2 . Theflavor source container 4 is detachably attached to the mouthpiece 11 (also referred to as a mouthpiece) of themain unit 2.

本体ユニット2は、外装ケース12を備えている。外装ケース12は、全体的に丸みを帯びた扁平の箱状に形成されている。外装ケース12は、一対の主面部12Aと、周壁部12Bと、を有する。ここで、「一対の」主面部12Aとは、一方の主面部(第1主面部12A1)と他方の主面部(第2主面部12A2)とが対向して配置されているという意味であり、第1主面部12A1と第2主面部12A2が細部の形状まで一致している意味に限定されない。 Themain unit 2 includes anexterior case 12. Theexterior case 12 is formed into a flat, rounded box shape as a whole. Theexterior case 12 has a pair ofmain surface portions 12A and aperipheral wall portion 12B. Here, "a pair" ofmain surface parts 12A means that one main surface part (first main surface part 12A1) and the other main surface part (second main surface part 12A2) are arranged facing each other, It is not limited to the meaning that the first main surface portion 12A1 and the second main surface portion 12A2 match even the detailed shapes.

一対の主面部12Aは、外装ケース12を6つの四角形で囲まれた六面体と擬制したときに、当該六面体のうち対向する一組の面(本実施形態では最も面積の広い面)を形成する部分を言う。また、周壁部12Bは、当該一対の主面部12Aを除く六面体の残りの4面を形成する部分を言う。周壁部12Bは、対向して配置された一対の主面部12Aの周縁同士を接続している部分とも言う。 When theexterior case 12 is assumed to be a hexahedron surrounded by six squares, the pair ofmain surface portions 12A are portions that form a pair of opposing surfaces (in this embodiment, the surfaces with the widest area) of the hexahedron. say. Further, theperipheral wall portion 12B refers to a portion forming the remaining four sides of the hexahedron excluding the pair ofmain surface portions 12A. Theperipheral wall portion 12B is also referred to as a portion that connects the peripheral edges of the pair ofmain surface portions 12A that are arranged to face each other.

外装ケース12は、図1に示すように、本体ケース13と、ディスプレイカバー14と、を備えている。本体ケース13は、第1ケース13Aと、第2ケース13Bとを組み合わせて形成されている。第1ケース13Aは、第1主面部12A1と、第1主面部12A1の周縁に設けられた第1周壁部12B1と、を有する。また、第2ケース13Bは、第2主面部12A2と、第2主面部12A2の周縁に設けられた第2周壁部12B2と、を有する。 As shown in FIG. 1, theexterior case 12 includes amain body case 13 and adisplay cover 14. Themain body case 13 is formed by combining afirst case 13A and asecond case 13B. Thefirst case 13A includes a first main surface portion 12A1 and a first peripheral wall portion 12B1 provided at the periphery of the first main surface portion 12A1. Further, thesecond case 13B includes a second main surface portion 12A2 and a second peripheral wall portion 12B2 provided at the periphery of the second main surface portion 12A2.

第1ケース13Aの第1周壁部12B1と、第2ケース13Bの第2周壁部12B2と、ディスプレイカバー14は、周壁部12Bを形成している。周壁部12Bには、第1ケース13Aの第1周壁部12B1と第2ケース13Bの第2周壁部12B2の合わせ面が形成されている。この周壁部12Bには、4つのコーナー部12C(角部)が形成されている。 The first peripheral wall 12B1 of thefirst case 13A, the second peripheral wall 12B2 of thesecond case 13B, and thedisplay cover 14 form aperipheral wall 12B. A mating surface of the first peripheral wall part 12B1 of thefirst case 13A and the second peripheral wall part 12B2 of thesecond case 13B is formed in theperipheral wall part 12B. Fourcorner portions 12C (corner portions) are formed in thisperipheral wall portion 12B.

4つのコーナー部12Cは、入力デバイス15(押しボタン)が配置された第1コーナー部12C1と、カートリッジ収容部10が配置された第2コーナー部12C2と、第1コーナー部12C1の対角線上に配置された第3コーナー部12C3と、第2コーナー部12C2の対角線上に配置された第4コーナー部12C4と、を有する。 The fourcorner portions 12C are arranged on the diagonal line of the first corner portion 12C1 where the input device 15 (push button) is placed, the second corner portion 12C2 where thecartridge accommodating portion 10 is placed, and the first corner portion 12C1. The fourth corner portion 12C4 is arranged diagonally from the second corner portion 12C2.

図3に示すように、周壁部12Bには、第1コーナー部12C1と第2コーナー部12C2との間に、後述する隆起部12Dが形成されている。一方、周壁部12Bの第3コーナー部12C3と第4コーナー部12C4との間には、平坦面が形成されている。つまり、隆起部12Dと反対側の周壁部12Bは、フラットになっている。なお、隆起部12Dは、図1及び図2に示すように、ディスプレイカバー14に対して相対的に高くなった本体ケース13の表面部分を言う。 As shown in FIG. 3, a raisedportion 12D, which will be described later, is formed on theperipheral wall portion 12B between the first corner portion 12C1 and the second corner portion 12C2. On the other hand, a flat surface is formed between the third corner part 12C3 and the fourth corner part 12C4 of theperipheral wall part 12B. In other words, theperipheral wall portion 12B on the opposite side to the raisedportion 12D is flat. Note that the raisedportion 12D refers to a surface portion of themain body case 13 that is relatively high with respect to thedisplay cover 14, as shown in FIGS. 1 and 2.

周壁部12Bは、一対の主面部12Aに連続する外表面12b1と、外表面12b1に対し窪んだ凹部12b2と、を有する。外表面12b1の一部は、隆起部12Dを形成している。凹部12b2は、ディスプレイカバー14によって形成されている。ディスプレイカバー14には、入力デバイス15を配置する貫通孔14aが形成されている。つまり、入力デバイス15は、凹部12b2に配置されている。入力デバイス15は、外表面12b1以下の位置に配置されていても構わない。つまり、入力デバイス15の少なくとも一部が、外表面12b1以下の位置に配置されていればよい。好ましくは、入力デバイス15の全部が、外表面12b1以下の位置に配置されているとよい。言い換えると、入力デバイス15の接触検知部分(ボタン表面)が、外表面12b1に届かない位置に配置されているとよい。 Theperipheral wall portion 12B has an outer surface 12b1 that is continuous with the pair ofmain surface portions 12A, and a recessed portion 12b2 that is depressed relative to the outer surface 12b1. A portion of the outer surface 12b1 forms a raisedportion 12D. The recessed portion 12b2 is formed by thedisplay cover 14. Thedisplay cover 14 is formed with a throughhole 14a in which theinput device 15 is placed. In other words, theinput device 15 is placed in the recess 12b2. Theinput device 15 may be placed at a position below the outer surface 12b1. In other words, at least a portion of theinput device 15 may be disposed at a position below the outer surface 12b1. Preferably, all of theinput devices 15 are arranged below the outer surface 12b1. In other words, the contact sensing portion (button surface) of theinput device 15 is preferably placed at a position that does not reach the outer surface 12b1.

図2に示すように、周壁部12Bの第2コーナー部12C2と第3コーナー部12C3との間には、窓部16が設けられている。窓部16からは、カートリッジ収容部10の内部に収容されたカートリッジ3のエアロゾル源の液残量を確認できる。窓部16は、本体ケース13に設けられた開口部13aと、開口部13aを覆うカバー部材17と、で形成されている。 As shown in FIG. 2, awindow portion 16 is provided between the second corner portion 12C2 and the third corner portion 12C3 of theperipheral wall portion 12B. Through thewindow 16, the remaining amount of liquid in the aerosol source of thecartridge 3 housed inside thecartridge accommodating section 10 can be confirmed. Thewindow portion 16 is formed of anopening 13a provided in themain body case 13 and acover member 17 that covers theopening 13a.

カバー部材17と開口部13aとの間隙には、外気を外装ケース12の内部に取り入れる空気インレット18が形成されている。また、本体ケース13の内側には、空気インレット18とカートリッジ収容部10の内部とを流体連通させる空気孔19がカバー部材17に形成されている(後述する図29参照)。 Anair inlet 18 for introducing outside air into theexterior case 12 is formed in the gap between thecover member 17 and theopening 13a. Further, on the inside of themain body case 13, anair hole 19 is formed in thecover member 17 to allow fluid communication between theair inlet 18 and the inside of the cartridge accommodating portion 10 (see FIG. 29 described later).

図5に示すように、周壁部12Bの第3コーナー部12C3と第4コーナー部12C4との間には、充電端子20が設けられている。本体ケース13には、充電端子20を露出させる開口部13bが形成されている。開口部13bは、本体ケース13のうち、第1ケース13A側に形成されている。 As shown in FIG. 5, a chargingterminal 20 is provided between the third corner portion 12C3 and the fourth corner portion 12C4 of theperipheral wall portion 12B. Themain body case 13 has anopening 13b that exposes the chargingterminal 20. Theopening 13b is formed on thefirst case 13A side of themain body case 13.

なお、以下の説明において、上述した一対の主面部12A(第1主面部12A1,第2主面部12A2)のうち、第1主面部12A1が配置される側を前側、第2主面部12A2が配置される側を後側と言う。また、図4に示す平面視で、入力デバイス15が配置される側を左側、カートリッジ収容部10及び窓部16が配置される側を右側と言う。 In the following description, of the pair ofmain surface parts 12A (first main surface part 12A1, second main surface part 12A2) described above, the side where the first main surface part 12A1 is arranged is the front side, and the side where the second main surface part 12A2 is arranged. The side that is exposed is called the rear side. Further, in a plan view shown in FIG. 4, the side where theinput device 15 is arranged is called the left side, and the side where thecartridge accommodating part 10 and thewindow part 16 are arranged is called the right side.

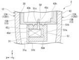
カートリッジ収容部10は、図3に示すように、外装ケース12から突出したカートリッジ挿抜口10aを有している。つまり、カートリッジ挿抜口10aを含むカートリッジ収容部10の一部が、外装ケース12から突出している。カートリッジ収容部10が突出する側を上側、カートリッジ収容部10が突出する側と反対側を下側と言う。 Thecartridge accommodating portion 10 has a cartridge insertion/extraction opening 10a that protrudes from theouter case 12, as shown in FIG. That is, a portion of thecartridge accommodating portion 10 including the cartridge insertion/extraction opening 10 a protrudes from theouter case 12 . The side from which thecartridge accommodating part 10 protrudes is called the upper side, and the side opposite to the side from which thecartridge accommodating part 10 protrudes is called the lower side.

また、図面において、XYZ直交座標系を設定し、このXYZ直交座標系を参照しつつ各部材の位置関係について説明することがある。X軸方向は、吸引器1の前後方向(厚み方向とも言う)であり、Y軸方向は、吸引器1の左右方向(幅方向とも言う)であり、Z軸方向は、吸引器1の上下方向(高さ方向とも言う)である。 Further, in the drawings, an XYZ orthogonal coordinate system is set, and the positional relationship of each member may be explained with reference to this XYZ orthogonal coordinate system. The X-axis direction is the front-back direction (also called the thickness direction) of thesuction device 1, the Y-axis direction is the left-right direction (also called the width direction) of thesuction device 1, and the Z-axis direction is the top and bottom direction of thesuction device 1. direction (also called height direction).

さらに、カートリッジ収容部10の主軸Oを基準に各部材の位置関係について説明することがある。主軸Oは、カートリッジ挿抜口10aの中心を通るカートリッジ収容部10の中心軸である。主軸Oが延びる方向を主軸方向(上述したZ軸方向)と言い、主軸Oと直交する方向を径方向と言い、主軸Oを周回する方向を周方向と言う。 Furthermore, the positional relationship of each member may be explained based on the main axis O of thecartridge accommodating portion 10. The main axis O is a central axis of thecartridge accommodating portion 10 passing through the center of the cartridge insertion/extraction opening 10a. The direction in which the main axis O extends is called the main axis direction (the above-mentioned Z-axis direction), the direction perpendicular to the main axis O is called the radial direction, and the direction in which the main axis O goes around the main axis O is called the circumferential direction.

<カートリッジ>
カートリッジ3は、液体のエアロゾル源を貯留するとともに、この液体のエアロゾル源を霧化する。カートリッジ3は、図5に示すように、円柱状に形成され、上述したカートリッジ挿抜口10aからカートリッジ収容部10の内部に収容される。
<Cartridge>
Thecartridge 3 stores a liquid aerosol source and atomizes the liquid aerosol source. As shown in FIG. 5, thecartridge 3 is formed in a cylindrical shape and is accommodated inside thecartridge accommodating portion 10 through the cartridge insertion/extraction port 10a described above.

図6は、図4に示す矢視A-A断面図である。
図6に示すように、カートリッジ3は、タンク21と、ガスケット22と、メッシュ体23と、霧化容器24と、加熱部25と、ヒーターホルダー26と、を備えている。タンク21は、エアロゾル源を貯留している。タンク21は、透光性を有し、エアロゾル源の液残量を確認することができる。
FIG. 6 is a cross-sectional view taken along arrow AA shown in FIG.
As shown in FIG. 6, thecartridge 3 includes atank 21, agasket 22, amesh body 23, anatomization container 24, aheating section 25, and aheater holder 26.Tank 21 stores an aerosol source. Thetank 21 has translucency and allows the remaining amount of liquid in the aerosol source to be confirmed.

ここで「透光性」とは、光が通過する物質の性質において、透過率が極めて高く、物質を通してその向こう側が透けて見える「透明」、及び、「透明」と同様に光が透過する性質を有しているが、透過する光が拡散されるため、または透過率が低いために、「透明」と違ってその材質を通して向こう側の形状等を明確には認識できない状態を含む。つまり、磨りガラスや乳白色プラスティック等であっても、透光性を有する。 Here, "translucent" refers to the property of a material that allows light to pass through, and refers to the property of a material that has an extremely high transmittance, allowing the other side to be seen through the material, and the property of allowing light to pass through, similar to "transparent". However, because the transmitted light is diffused or the transmittance is low, unlike "transparent", it includes a state in which the shape on the other side cannot be clearly recognized through the material. In other words, even frosted glass, milky white plastic, and the like have translucency.

タンク21は、有頂筒状に形成されている。タンク21の頂壁21aには、貫通孔21bが形成されている。頂壁21aには、貫通孔21bに接続された流路管21c(内周壁とも言う)が垂設されている。流路管21cは、霧化されたエアロゾルの流路となる。流路管21cは、タンク21の外周壁21dと複数のリブ21eを介して接続されている。リブ21eは、主軸方向からみて放射状となるように、周方向に等間隔で配置されている(後述する図29参照)。 Thetank 21 is formed into a capped cylinder shape. A throughhole 21b is formed in thetop wall 21a of thetank 21. Aflow pipe 21c (also referred to as an inner peripheral wall) connected to the throughhole 21b is vertically provided on thetop wall 21a. Theflow path pipe 21c becomes a flow path for atomized aerosol. Theflow pipe 21c is connected to the outerperipheral wall 21d of thetank 21 via a plurality ofribs 21e. Theribs 21e are arranged at equal intervals in the circumferential direction so as to be radial when viewed from the main axis direction (see FIG. 29 described later).

図6に示すように、タンク21の外周壁21dは、流路管21cの下端よりも下側(-Z側)に延在している。外周壁21dの下端部近傍には、係合孔21fが2つ形成されている。2つの係合孔21fは、タンク21にヒーターホルダー26を固定するためのものである。2つの係合孔21fは、主軸Oを挟んで、外周壁21dの両側に対向配置されている。なお、カートリッジ3がカートリッジ収容部10に収容された状態において、カートリッジ3の中心軸は、カートリッジ収容部10の主軸Oと一致している。 As shown in FIG. 6, the outerperipheral wall 21d of thetank 21 extends below the lower end (-Z side) of theflow pipe 21c. Twoengagement holes 21f are formed near the lower end of the outerperipheral wall 21d. The twoengagement holes 21f are for fixing theheater holder 26 to thetank 21. The twoengagement holes 21f are arranged opposite to each other on both sides of the outerperipheral wall 21d with the main axis O in between. Note that when thecartridge 3 is housed in thecartridge accommodating part 10, the central axis of thecartridge 3 coincides with the main axis O of thecartridge accommodating part 10.

ガスケット22は、タンク21の外周壁21dと流路管21cとの間に形成された環状空間(液体収容室21g)の底部を覆う環状の板部材である。ガスケット22は、メッシュ体23の位置決めを行うとともに、メッシュ体23の姿勢を保持する。ガスケット22には、開口部22aが複数形成されている。開口部22aは、周方向に等間隔で配置されている。メッシュ体23は、このガスケット22の開口部22aを介して液体収容室21gに接し、湿潤している。 Thegasket 22 is an annular plate member that covers the bottom of an annular space (liquid storage chamber 21g) formed between the outerperipheral wall 21d of thetank 21 and theflow path pipe 21c. Thegasket 22 positions themesh body 23 and maintains the posture of themesh body 23. A plurality ofopenings 22a are formed in thegasket 22. Theopenings 22a are arranged at equal intervals in the circumferential direction. Themesh body 23 is in contact with theliquid storage chamber 21g through theopening 22a of thegasket 22, and is wetted therewith.

メッシュ体23は、多孔状で吸液性を有する部材である。メッシュ体23は、例えばコットン系繊維材やガラス系繊維などにより形成されている。メッシュ体23もガスケット22とほぼ同一の環状に形成されている。すなわち、メッシュ体23の径方向中央には、流路管21cが挿入可能とされている。メッシュ体23によって、ガスケット22の開口部22aが閉塞され、タンク21の内部に液体収容室21gが形成される。液体収容室21gには、液体のエアロゾル源が貯留されている。 Themesh body 23 is a porous member having liquid absorbing properties. Themesh body 23 is made of, for example, cotton fiber material, glass fiber, or the like. Themesh body 23 is also formed in substantially the same annular shape as thegasket 22. That is, thechannel pipe 21c can be inserted into the radial center of themesh body 23. Theopening 22a of thegasket 22 is closed by themesh body 23, and aliquid storage chamber 21g is formed inside thetank 21. A liquid aerosol source is stored in theliquid storage chamber 21g.

霧化容器24は、弾性を有する部材、例えばシリコーン樹脂等の樹脂材料により形成されている。霧化容器24は、有底筒状に形成されている。霧化容器24の周壁24aの上端開口縁は、主軸方向でメッシュ体23の外周縁に接している。つまり、メッシュ体23は、ガスケット22と霧化容器24との間に挟まれている。霧化容器24の周壁24aの外面には、タンク21の外周壁21dの内面に嵌合する嵌合部24bが形成されている。 Theatomization container 24 is made of an elastic member, such as a resin material such as silicone resin. Theatomization container 24 is formed into a cylindrical shape with a bottom. The upper opening edge of theperipheral wall 24a of theatomization container 24 is in contact with the outer peripheral edge of themesh body 23 in the main axis direction. That is, themesh body 23 is sandwiched between thegasket 22 and theatomization container 24. Afitting portion 24b that fits into the inner surface of the outercircumferential wall 21d of thetank 21 is formed on the outer surface of thecircumferential wall 24a of theatomization container 24.

霧化容器24の周壁24aの内側には、霧化室24cが形成されている。霧化室24cは、タンク21の流路管21cに連通している。霧化容器24の底壁24dには、開口部24eが形成されている。霧化室24cには、加熱部25が配置されている。
加熱部25は、液体のエアロゾル源を霧化するためのものである。加熱部25は、メッシュ体23に接続されたウィック25aと、ウィック25aを加熱する電熱線25bと、を備えている。
Anatomization chamber 24c is formed inside theperipheral wall 24a of theatomization container 24. Theatomization chamber 24c communicates with theflow pipe 21c of thetank 21. Anopening 24e is formed in thebottom wall 24d of theatomization container 24. Aheating section 25 is arranged in theatomization chamber 24c.
Theheating unit 25 is for atomizing the liquid aerosol source. Theheating section 25 includes awick 25a connected to themesh body 23 and aheating wire 25b that heats thewick 25a.

ウィック25aは、多孔状で吸液性を有する略円柱状の部材である。ウィック25aは、略U字状に湾曲変形している。より詳しくは、ウィック25aは、主軸方向に延びる2つの主軸方向延出部と、2つの主軸方向延出部同士を接続する径方向延出部と、を有する。2つの主軸方向延出部は、X軸方向(図6において前後方向)に重なって配置され、それぞれがメッシュ体23に接続されている。これにより、メッシュ体23に吸収されたエアロゾル源がウィック25aに吸い上げられる。 Thewick 25a is a porous, liquid-absorbing, substantially cylindrical member. Thewick 25a is curved and deformed into a substantially U-shape. More specifically, thewick 25a has two main axis extending parts extending in the main axis direction and a radial extending part connecting the two main axis extending parts. The two main axis direction extension parts are arranged to overlap in the X-axis direction (front-back direction in FIG. 6), and are each connected to themesh body 23. Thereby, the aerosol source absorbed by themesh body 23 is sucked up into thewick 25a.

電熱線25bは、ウィック25aの径方向延出部の周囲に螺旋状に巻かれている。電熱線25bの両端部は、主軸方向に沿ってヒーターホルダー26側に向かって延出されている。電熱線25bの両端部は、ヒーターホルダー26の底壁26dの下面に設けられた2つの平面電極26hとそれぞれ電気的に接続されている。2つの平面電極26hを介して電熱線25bが通電すると、ウィック25aが加熱される。ウィック25aが加熱されると、ウィック25aに吸収されたエアロゾル源が霧化される。 Theheating wire 25b is spirally wound around the radially extending portion of thewick 25a. Both ends of theheating wire 25b extend toward theheater holder 26 along the main axis direction. Both ends of theheating wire 25b are electrically connected to twoflat electrodes 26h provided on the lower surface of thebottom wall 26d of theheater holder 26, respectively. When theheating wire 25b is energized via the twoplanar electrodes 26h, thewick 25a is heated. When thewick 25a is heated, the aerosol source absorbed by thewick 25a is atomized.

ヒーターホルダー26は、有底筒状に形成されている。ヒーターホルダー26の周壁26aは、霧化容器24の周壁24aの外側且つタンク21の外周壁21dの内側に挿入される。周壁26aの上端開口縁は、霧化容器24の嵌合部24bに主軸方向で当接する。周壁26aの上端には、タンク21の外周壁21dの2つの係合孔21fに係合する、2つの係合片26bが形成されている。タンク21とヒーターホルダー26との間には、主軸方向において、ガスケット22、メッシュ体23、及び、霧化容器24の順に組み込まれている。 Theheater holder 26 is formed into a cylindrical shape with a bottom. Theperipheral wall 26a of theheater holder 26 is inserted outside theperipheral wall 24a of theatomization container 24 and inside the outerperipheral wall 21d of thetank 21. The upper opening edge of theperipheral wall 26a abuts thefitting portion 24b of theatomization container 24 in the main axis direction. Twoengaging pieces 26b that engage with twoengaging holes 21f in the outerperipheral wall 21d of thetank 21 are formed at the upper end of theperipheral wall 26a. Agasket 22, amesh body 23, and anatomization container 24 are installed in this order between thetank 21 and theheater holder 26 in the main axis direction.

ヒーターホルダー26の周壁26aの下側は、タンク21から露出している。この周壁26aの下側は、タンク21の外周壁21dとほぼ同じ外径を有する。また、この周壁26aの下側には、径方向に貫通する2つの吸気孔26cが形成されている。2つの吸気孔26cは、主軸Oを挟んで、周壁26aの両側に対向配置されている。2つの吸気孔26cは、カートリッジ3の外部(カートリッジ収容部10の内部)と霧化室24cとを連通させる。なお、ヒーターホルダー26の底壁26dにも、主軸方向に貫通する吸気孔26eが形成されているが無くても構わない。吸気孔26eも、カートリッジ3の外部(カートリッジ収容部10の内部)と霧化室24cとを連通させる。 The lower side of theperipheral wall 26a of theheater holder 26 is exposed from thetank 21. The lower side of thisperipheral wall 26a has approximately the same outer diameter as the outerperipheral wall 21d of thetank 21. Furthermore, twointake holes 26c that penetrate in the radial direction are formed on the lower side of theperipheral wall 26a. The twointake holes 26c are arranged to face each other on both sides of theperipheral wall 26a with the main axis O in between. The twointake holes 26c communicate the outside of the cartridge 3 (the inside of the cartridge accommodating section 10) with theatomization chamber 24c. Although thebottom wall 26d of theheater holder 26 is also formed with anintake hole 26e penetrating in the direction of the main axis, it may be omitted. Theintake hole 26e also allows communication between the outside of the cartridge 3 (the inside of the cartridge accommodating section 10) and theatomization chamber 24c.

ヒーターホルダー26の底壁26dには、板状の隔離壁26fが主軸方向に立設している。また、隔離壁26fは、径方向に延在しており、その両端部は周壁26aの内面に接続されている。底壁26dには、主軸方向に貫通する2つのスリット26gが形成されている。2つのスリット26gは、隔離壁26fを挟んで配置されている。2つのスリット26gには、2つの平面電極26hの折り曲げ部分が挿し込まれている。隔離壁26fは、2つの平面電極26h及び2つの平面電極26hに接続された電熱線25bの両端部の短絡を防止する。 A plate-shapedseparation wall 26f stands on thebottom wall 26d of theheater holder 26 in the main axis direction. Further, theseparation wall 26f extends in the radial direction, and both ends thereof are connected to the inner surface of theperipheral wall 26a. Twoslits 26g penetrating in the main axis direction are formed in thebottom wall 26d. The twoslits 26g are arranged with aseparation wall 26f in between. The bent portions of the twoflat electrodes 26h are inserted into the twoslits 26g. The separatingwall 26f prevents a short circuit between the twoplanar electrodes 26h and both ends of theheating wire 25b connected to the twoplanar electrodes 26h.

図5に戻り、ヒーターホルダー26の底壁26dには、3つの係合溝部26iが形成されている。3つの係合溝部26iは、周方向に等間隔(周方向に120°間隔)で配置されている。係合溝部26iは、径方向外側と主軸方向下側が開口するように形成されている。係合溝部26iは、径方向から視て等脚台形状に形成され、主軸方向下側に向かうに従って周方向の幅が漸次広がるテーパ状の脚(斜面)を有する。なお、係合溝部25iの数は、2以上であればよく、3つに限定されない。例えば、係合溝部25iは、6つであっても構わない。 Returning to FIG. 5, threeengagement grooves 26i are formed in thebottom wall 26d of theheater holder 26. The threeengagement grooves 26i are arranged at equal intervals in the circumferential direction (120° intervals in the circumferential direction). Theengagement groove portion 26i is formed so as to be open on the outside in the radial direction and the lower side in the main axis direction. Theengagement groove portion 26i is formed in an isosceles trapezoid shape when viewed from the radial direction, and has tapered legs (slopes) whose width in the circumferential direction gradually increases toward the lower side in the main axis direction. Note that the number of engagement grooves 25i may be two or more and is not limited to three. For example, there may be six engaging grooves 25i.

<香味源容器>
香味源容器4は、香味源を収容しており、カートリッジ3で霧化したエアロゾルに香味を添加する。香味源を構成する原料片としては、刻みたばこ、たばこ原料を粒状に形成した成形体を用いることができる。また、香味源は、たばこ以外の植物(例えば、ミント、漢方、ハーブ等)によって構成されてもよい。また、香味源には、メントールなどの香料が付与されていてもよい。さらに、香味源は、植物由来の担持体(セルロース等)やその他の担持体(無機物の担持体を含む)に、香料を担持させたものであっても構わない。香味源容器4は、本体ユニット2の吸口部11に装着される。
<Flavor source container>
Theflavor source container 4 contains a flavor source and adds flavor to the aerosol atomized by thecartridge 3. As the raw material pieces constituting the flavor source, it is possible to use shredded tobacco or a molded article formed from tobacco raw material into granules. Further, the flavor source may be composed of plants other than tobacco (eg, mint, Chinese herbal medicine, herbs, etc.). Further, the flavor source may be provided with a flavoring agent such as menthol. Furthermore, the flavor source may be a plant-derived carrier (such as cellulose) or another carrier (including an inorganic carrier) carrying a flavoring agent. Theflavor source container 4 is attached to themouthpiece 11 of themain unit 2.

図6に示すように、香味源容器4は、有底筒状の容器本体27と、容器本体27の開口部を覆うフィルター28と、を備えている。容器本体27の周壁27aは、吸口部11の周壁11a1の内側に挿入される。容器本体27の周壁27aの上側は、吸口部11の周壁11a1から露出している。この周壁27aの上側は、吸口部11の周壁11a1とほぼ同じ外径を有する。周壁27aの外面には、吸口部11の周壁11a1の上端開口縁に当接する段差27bが形成されている。 As shown in FIG. 6, theflavor source container 4 includes a bottomedcylindrical container body 27 and afilter 28 that covers the opening of thecontainer body 27. Theperipheral wall 27a of thecontainer body 27 is inserted inside the peripheral wall 11a1 of themouthpiece 11. The upper side of theperipheral wall 27a of thecontainer body 27 is exposed from the peripheral wall 11a1 of themouthpiece 11. The upper side of thisperipheral wall 27a has approximately the same outer diameter as the peripheral wall 11a1 of thesuction port 11. Astep 27b is formed on the outer surface of theperipheral wall 27a. Thestep 27b comes into contact with the upper opening edge of the peripheral wall 11a1 of thesuction port 11.

容器本体27の周壁27aの内側には、香味源収容室27cが形成されている。容器本体27の底壁27dには、主軸方向に貫通する微細孔27eが複数形成されている。
フィルター28は、例えば不織布から形成されている。フィルター28は、容器本体27の周壁27aの内側に配置されている。フィルター28によって、容器本体27の開口部が閉塞され、香味源容器4の内部に香味源収容室27cが形成される。香味源収容室27cには、上述した香味源が収容されている。
A flavorsource storage chamber 27c is formed inside theperipheral wall 27a of thecontainer body 27. A plurality offine holes 27e are formed in thebottom wall 27d of thecontainer body 27, penetrating in the main axis direction.
Filter 28 is made of, for example, nonwoven fabric. Thefilter 28 is arranged inside theperipheral wall 27a of thecontainer body 27. The opening of thecontainer body 27 is closed by thefilter 28, and a flavorsource storage chamber 27c is formed inside theflavor source container 4. The flavorsource storage chamber 27c accommodates the flavor source described above.

<本体ユニット>
図7は、一実施形態に係る本体ユニット2の分解斜視図である。図8は、一実施形態に係る本体ユニット2から第1ケース13Aを取り外した状態を示す正面図である。図9は、一実施形態に係る本体ユニット2から第2ケース13Bを取り外した状態を示す背面図である。
図7に示すように、本体ユニット2は、上述したカートリッジ収容部10と、吸口部11と、外装ケース12と、入力デバイス15の他に、ホルダー30と、メイン基板31と、サブ基板32と、表示デバイス33と、センサ34と、センサホルダー35と、バイブレータ36と、電源37と、を備えている。
<Main unit>
FIG. 7 is an exploded perspective view of themain unit 2 according to one embodiment. FIG. 8 is a front view showing a state in which thefirst case 13A is removed from themain unit 2 according to one embodiment. FIG. 9 is a rear view showing a state in which thesecond case 13B is removed from themain unit 2 according to one embodiment.
As shown in FIG. 7, themain unit 2 includes aholder 30, amain board 31, and asub board 32, in addition to thecartridge accommodating part 10, thesuction part 11, theouter case 12, and theinput device 15 described above. , adisplay device 33, asensor 34, asensor holder 35, avibrator 36, and apower source 37.

電源37は、Z軸方向を長手方向とする略直方体状に形成されている。電源37は、配線を介して充電端子20が設けられたメイン基板31と電気的に接続されている。電源37は、蓄電池(二次電池)であり、充電端子20を介して充電可能である。なお、電源37は、充放電可能な二次電池に限らず、スーパーキャパシタなどであってもよい。また、電源37は、一次電池であっても構わない。なお、電源37が一次電池である場合は、充電端子20は不要である。 Thepower source 37 is formed into a substantially rectangular parallelepiped shape whose longitudinal direction is the Z-axis direction. Thepower source 37 is electrically connected to themain board 31 on which the chargingterminal 20 is provided via wiring. Thepower source 37 is a storage battery (secondary battery) and can be charged via the chargingterminal 20. Note that thepower source 37 is not limited to a rechargeable and dischargeable secondary battery, but may be a super capacitor or the like. Further, thepower source 37 may be a primary battery. Note that if thepower source 37 is a primary battery, the chargingterminal 20 is not necessary.

ホルダー30は、メインプレート41と、サブプレート42と、を有する。メインプレート41は、+X側を向く第1板面41aと、その反対側(-X側)を向く第2板面41bと、を有する。メインプレート41は、Z軸方向を長手方向、Y軸方向を短手方向、X軸方向を厚み方向とする略長板状に形成されている。サブプレート42は、メインプレート41の端部から、メインプレート41の板面(第1板面41a,第2板面41b)に交差する方向(本実施形態ではメインプレート41の厚み方向(X軸方向))に延びている。 Theholder 30 has amain plate 41 and a sub-plate 42. Themain plate 41 has afirst plate surface 41a facing the +X side and asecond plate surface 41b facing the opposite side (-X side). Themain plate 41 is formed into a substantially elongated plate shape whose longitudinal direction is in the Z-axis direction, its width direction is in the Y-axis direction, and its thickness direction is in the X-axis direction. The sub-plate 42 extends from the end of themain plate 41 in a direction intersecting the plate surfaces (first plate surface 41a,second plate surface 41b) of the main plate 41 (in this embodiment, in the thickness direction of the main plate 41 (X-axis direction)).

メインプレート41の第1板面41a側には、メイン基板31と、サブ基板32が保持されている。メインプレート41の長手方向上側(+Z側)には、開口部41cが形成されている。開口部41cには、トレイ44が係合する。サブ基板32は、接着シート32aを介してトレイ44に接着され、トレイ44を介してメインプレート41に保持されている。一方、メインプレート41の第2板面41b側(-X側)には、電源37が保持されている。電源37は、接着シート46を介してメインプレート41に保持されている。 Amain board 31 and a sub-board 32 are held on thefirst plate surface 41a side of themain plate 41. Anopening 41c is formed on the upper side (+Z side) of themain plate 41 in the longitudinal direction. Thetray 44 engages with theopening 41c. The sub-board 32 is bonded to atray 44 via anadhesive sheet 32a, and is held by themain plate 41 via thetray 44. On the other hand, apower source 37 is held on thesecond plate surface 41b side (-X side) of themain plate 41. Thepower source 37 is held on themain plate 41 via anadhesive sheet 46.

サブプレート42は、表示デバイス33を保持する第1サブプレート42Aと、入力デバイス15を保持する第2サブプレート42Bと、を有する。表示デバイス33は、有機ELディスプレイまたは液晶ディスプレイなどである。表示デバイス33は、ディスプレイカバー14の下側(-Z側)に配置されている。ディスプレイカバー14は、透光性を有し、表示デバイス33の表示面を確認することができる。表示デバイス33は、表示デバイス本体33aと、表示デバイスホルダー33bと、クッション材33cと、を有する。 The sub-plate 42 includes a first sub-plate 42A that holds thedisplay device 33 and a second sub-plate 42B that holds theinput device 15. Thedisplay device 33 is an organic EL display, a liquid crystal display, or the like. Thedisplay device 33 is arranged below the display cover 14 (-Z side). Thedisplay cover 14 has translucency and allows the display surface of thedisplay device 33 to be confirmed. Thedisplay device 33 includes a display devicemain body 33a, adisplay device holder 33b, and acushion material 33c.

表示デバイスホルダー33bは、表示デバイス本体33aを支持すると共に、第1サブプレート42Aを前後方向(X軸方向)で抱え込むように把持している。また、表示デバイスホルダー33bは、表示デバイス本体33aと接着シート45を介して接着されている。クッション材33cは、表示デバイス本体33aの表示面を囲う枠状のスポンジ体であり、ディスプレイカバー14と表示デバイス本体33aとの間に配置されている。 Thedisplay device holder 33b supports the display devicemain body 33a and holds the first sub-plate 42A in a longitudinal direction (X-axis direction). Furthermore, thedisplay device holder 33b is bonded to the display devicemain body 33a via anadhesive sheet 45. Thecushioning material 33c is a frame-shaped sponge body surrounding the display surface of the display devicemain body 33a, and is arranged between thedisplay cover 14 and the display devicemain body 33a.

入力デバイス15は、押しボタンである。入力デバイス15は、スイッチボタン15aと、スイッチ基板15bと、スイッチホルダー15cと、を有する。スイッチ基板15bは、第2サブプレート42Bに保持されている。スイッチボタン15aは、スイッチ基板15b上に配置されている。スイッチボタン15aは、スイッチホルダー15cを介してディスプレイカバー14側に組み付けられている(後述する図14参照)。なお、入力デバイスは、タッチパネルであっても構わない。つまり、入力デバイス15は、接触検知部であればよい。Input device 15 is a push button. Theinput device 15 includes a switch button 15a, aswitch board 15b, and aswitch holder 15c. Theswitch board 15b is held by the second sub-plate 42B. The switch button 15a is arranged on theswitch board 15b. The switch button 15a is assembled to thedisplay cover 14 side via aswitch holder 15c (see FIG. 14, which will be described later). Note that the input device may be a touch panel. In other words, theinput device 15 may be any contact detection unit.

また、ホルダー30は、カートリッジ収容部10の端部を受ける受け部43を有する。受け部43は、メインプレート41の短手方向(Y軸方向)の端部において、メインプレート41の長手方向(Z軸方向)に沿って平行に延びる有底筒状に形成されている。
カートリッジ収容部10の周面には、接着シート47を介してカバー部材17が接着されている。また、カートリッジ収容部10の周面には、接着シート48を介してセンサホルダー35が接着されている。
Furthermore, theholder 30 has a receivingportion 43 that receives the end of thecartridge accommodating portion 10 . The receivingportion 43 is formed in a bottomed cylindrical shape extending parallel to the longitudinal direction (Z-axis direction) of themain plate 41 at the end of themain plate 41 in the lateral direction (Y-axis direction).
Acover member 17 is adhered to the circumferential surface of thecartridge accommodating portion 10 via anadhesive sheet 47. Furthermore, asensor holder 35 is bonded to the circumferential surface of thecartridge accommodating portion 10 via anadhesive sheet 48.

センサホルダー35は、センサ34を保持している。センサ34は、ユーザの吸引を検知する所謂パフセンサである。センサ34としては、例えば、圧力を検出する圧力センサ、空気の流れを検知する気流センサ、温度を検知する温度センサなどを例示できる。
メイン基板31には、上述した充電端子20と、受け部43を介してカートリッジ収容部10の内部(詳しくは、カートリッジ収容部10と受け部43によって形成される内部空間)に挿入される突電極50が設けられている。なお、バイブレータ36は、メイン基板31やサブ基板32には保持されておらず、第1ケース13A側に保持されている(後述する図13参照)。
Thesensor holder 35 holds thesensor 34. Thesensor 34 is a so-called puff sensor that detects the user's suction. Examples of thesensor 34 include a pressure sensor that detects pressure, an airflow sensor that detects air flow, and a temperature sensor that detects temperature.
Themain board 31 includes the above-mentionedcharging terminal 20 and a protruding electrode that is inserted into the inside of the cartridge accommodating part 10 (more specifically, the internal space formed by thecartridge accommodating part 10 and the receiving part 43) via the receivingpart 43. 50 are provided. Note that thevibrator 36 is not held on themain board 31 or the sub-board 32, but is held on thefirst case 13A side (see FIG. 13, which will be described later).

第1ケース13A、第2ケース13B、及びバイブレータ36を除く本体ユニット2の構成部品は、ホルダー30を中心に組み付けられている。ホルダー30は、前後方向(X軸方向)に貫通する2つの貫通孔30aを有している。2つの貫通孔30aには、2つのねじ40が挿通する。2つのねじ40は、ホルダー30を第1ケース13Aに固定する。つまり、ホルダー30は、第1ケース13A側にねじ止めされている(図9参照)。 The components of themain body unit 2 except thefirst case 13A, thesecond case 13B, and thevibrator 36 are assembled around theholder 30. Theholder 30 has two throughholes 30a that penetrate in the front-rear direction (X-axis direction). Twoscrews 40 are inserted into the two throughholes 30a. Twoscrews 40 fix theholder 30 to thefirst case 13A. That is, theholder 30 is screwed to thefirst case 13A side (see FIG. 9).

<ホルダー>
図10は、一実施形態に係るホルダー30の第1板面41a側の斜視図である。図11は、一実施形態に係るホルダー30の第2板面41b側の斜視図である。
図10及び図11に示すように、ホルダー30は、上述したメインプレート41と、サブプレート42と、受け部43の他に、第1リブ42Cと、第2リブ42Dと、ケース嵌合部42Eと、を備えている。
<Holder>
FIG. 10 is a perspective view of thefirst plate surface 41a side of theholder 30 according to one embodiment. FIG. 11 is a perspective view of thesecond plate surface 41b side of theholder 30 according to one embodiment.
As shown in FIGS. 10 and 11, theholder 30 includes, in addition to the above-mentionedmain plate 41, sub-plate 42, and receivingpart 43, afirst rib 42C, asecond rib 42D, and a casefitting part 42E. It is equipped with.

第1リブ42C及び第2リブ42Dは、サブプレート42と同様に、メインプレート41の端部からメインプレート41の板面(第1板面41a,第2板面41b)に交差する方向(本実施形態ではメインプレート41の厚み方向(X軸方向))に延びている。第1リブ42C及び第2リブ42Dは、メインプレート41の長手方向(Z軸方向)に平行に延びると共に、メインプレート41の短手方向(Y軸方向)で対向配置されている。なお、サブプレート42は、メインプレート41の端部からメインプレート41の板面に交差する方向に延びる「メインプレート交差部」という意味では、第1リブ42C及び第2リブ42Dと共通しているが、入力デバイス15や表示デバイス33などの部品を保持している点で、第1リブ42C及び第2リブ42Dと相違している。 Like the sub-plate 42, thefirst rib 42C and thesecond rib 42D are arranged in a direction (main direction) intersecting from the end of themain plate 41 to the plate surface (first plate surface 41a,second plate surface 41b) of themain plate 41. In the embodiment, it extends in the thickness direction (X-axis direction) of themain plate 41. Thefirst rib 42C and thesecond rib 42D extend parallel to the longitudinal direction (Z-axis direction) of themain plate 41 and are arranged to face each other in the lateral direction (Y-axis direction) of themain plate 41. Note that the sub-plate 42 is common to thefirst rib 42C and thesecond rib 42D in the sense of a "main plate intersection" extending from the end of themain plate 41 in a direction intersecting the plate surface of themain plate 41. However, it is different from thefirst rib 42C and thesecond rib 42D in that it holds parts such as theinput device 15 and thedisplay device 33.

図10に示すように、メインプレート41には、第1板面41aの周縁に沿って複数の基板支持片41dが形成されている。基板支持片41dは、メイン基板31(図7参照)の周縁を支持し、第1板面41aとの間に空間を形成する。これにより、ホルダー30は、両面に電子部品が取り付けられたメイン基板31を保持することができる。 As shown in FIG. 10, a plurality ofsubstrate support pieces 41d are formed on themain plate 41 along the periphery of thefirst plate surface 41a. Theboard support piece 41d supports the periphery of the main board 31 (see FIG. 7) and forms a space between it and thefirst plate surface 41a. Thereby, theholder 30 can hold themain board 31 with electronic components attached to both sides.

第1板面41aを取り囲む第1リブ42C(図示しないが第2リブ42Dも同様)には、基板支持片41dに支持されたメイン基板31を厚み方向(X軸方向)で挟み込む挟持片42aが形成されている。また、第2リブ42Dの近傍にも、第1リブ42Cと同様の配置で、基板支持片41dが形成されている。なお、受け部43の底壁43bにも、メイン基板31を支持する基板支持片43eと、メイン基板31を厚み方向(X軸方向)で挟み込む挟持片43fと、が形成されている。 Afirst rib 42C (not shown, but the same applies to thesecond rib 42D) surrounding thefirst plate surface 41a has aclamping piece 42a that clamps themain board 31 supported by theboard support piece 41d in the thickness direction (X-axis direction). It is formed. Also, asubstrate support piece 41d is formed near thesecond rib 42D in the same arrangement as thefirst rib 42C. Note that thebottom wall 43b of the receivingportion 43 is also formed with aboard support piece 43e that supports themain board 31 and aclamping piece 43f that sandwiches themain board 31 in the thickness direction (X-axis direction).

第1板面41aの長手方向上側(+Z側)には、上述したトレイ44をメインプレート41の開口部41c(図7参照)に係合させる2つの係合爪41fが形成されている。2つの係合爪41fは、開口部41cの周縁部においてメインプレート41の長手方向(Z軸方向)に対向配置されている。なお、トレイ44は、X軸方向から視ると、Z軸方向に延びる矩形状に形成されている。 Twoengaging claws 41f that engage thetray 44 described above with theopening 41c (see FIG. 7) of themain plate 41 are formed on the upper side in the longitudinal direction (+Z side) of thefirst plate surface 41a. The twoengaging claws 41f are arranged to face each other in the longitudinal direction (Z-axis direction) of themain plate 41 at the peripheral edge of theopening 41c. Note that thetray 44 is formed in a rectangular shape extending in the Z-axis direction when viewed from the X-axis direction.

図12は、図3に示す矢視B-B断面図である。図12は、2つの係合爪41f及びトレイ44を通る断面を示している。
図12に示すように、2つの係合爪41fは、トレイ44の長手方向上側(+Z側)と下側(-Z側)の周縁部に係合している。なお、2つの係合爪41fに係合していないトレイ44の短手方向右側(+Y側)と左側(-Y側)の周縁部は、第1板面41a上に載っている。
FIG. 12 is a sectional view taken along the line BB shown in FIG. 3. FIG. 12 shows a cross section passing through the twoengaging claws 41f and thetray 44.
As shown in FIG. 12, the twoengaging claws 41f engage with the upper (+Z side) and lower (−Z side) peripheral edges of thetray 44 in the longitudinal direction. Note that the right (+Y side) and left (-Y side) peripheral edges of thetray 44 in the transverse direction that are not engaged with the twoengaging claws 41f rest on thefirst plate surface 41a.

トレイ44は、バイブレータ36の厚みからX軸方向に逃げるため、メインプレート41の第1板面41aに対して-X側に窪んでいる。トレイ44の窪んだ部分には、サブ基板32が配置されている。サブ基板32は、バイブレータ36の図示しない接続端子と電気的に接続されている。また、サブ基板32には、バイブレータ36の偏心錘36aとの干渉を避ける開口部32bが形成されている。なお、図12に示すように、サブ基板32とバイブレータ36とを接触させる必要はなく、バイブレータ36の図示しない接続端子のみがサブ基板32に電気的に接続されていればよい。 Thetray 44 is recessed toward the -X side with respect to thefirst plate surface 41a of themain plate 41 in order to escape from the thickness of thevibrator 36 in the X-axis direction. The sub-board 32 is placed in the recessed portion of thetray 44 . The sub-board 32 is electrically connected to a connection terminal (not shown) of thevibrator 36. Furthermore, anopening 32b is formed in the sub-board 32 to avoid interference with theeccentric weight 36a of thevibrator 36. Note that, as shown in FIG. 12, there is no need for the sub-board 32 and thevibrator 36 to be in contact with each other, and it is sufficient that only the connection terminal (not shown) of thevibrator 36 is electrically connected to the sub-board 32.

メイン基板31は、サブ基板32(トレイ44)の一部とX軸方向で重なるようにZ軸方向に延びている。つまり、メイン基板31の一部は、サブ基板32の一部とZ軸方向においてオーバーラップして配置されている。メイン基板31とサブ基板32との重なる部分には、接続端子32cが設けられている。接続端子32cは、メイン基板31とサブ基板32とを電気的に接続している。 Themain board 31 extends in the Z-axis direction so as to overlap a part of the sub-board 32 (tray 44) in the X-axis direction. That is, a part of themain board 31 is arranged to overlap a part of the sub-board 32 in the Z-axis direction. Aconnection terminal 32c is provided at the overlapping portion of themain board 31 and the sub-board 32. Theconnection terminal 32c electrically connects themain board 31 and thesub board 32.

図13は、一実施形態に係るバイブレータ36の取付構造を示す斜視図である。
図13に示すように、第1ケース13Aには、バイブレータ36を取り付けるための取付部13Dが形成されている。取付部13Dは、第1ケース13Aにおける第1主面部12A1において、第2主面部12A2と対向する対向面13a1に形成されている。対向面13a1は、外装ケース12の内側(-X側)を向く内壁面である。
FIG. 13 is a perspective view showing the mounting structure of thevibrator 36 according to one embodiment.
As shown in FIG. 13, a mountingportion 13D for mounting thevibrator 36 is formed in thefirst case 13A. Theattachment portion 13D is formed on a facing surface 13a1 of the first main surface portion 12A1 of thefirst case 13A, which faces the second main surface portion 12A2. The opposing surface 13a1 is an inner wall surface facing inside (-X side) of theouter case 12.

取付部13Dは、バイブレータ36の本体部(モータ部)を囲う取付壁13d1と、取付壁13d1の一部を切り欠き、バイブレータ36の回転軸を通す切欠部13d2と、を有する。取付壁13d1は、バイブレータ36の本体部のY軸方向両側及びZ軸方向両側の四方を囲っている。切欠部13d2は、取付壁13d1の-Z側の壁部に形成されている。偏心錘36aは、取付壁13d1の外側に配置されている。 The mountingportion 13D includes a mounting wall 13d1 surrounding the main body portion (motor portion) of thevibrator 36, and a cutout portion 13d2, which is a part of the mounting wall 13d1 and through which the rotation shaft of thevibrator 36 passes. The mounting wall 13d1 surrounds the main body of thevibrator 36 on both sides in the Y-axis direction and on both sides in the Z-axis direction. The notch 13d2 is formed in the -Z side wall of the mounting wall 13d1. Theeccentric weight 36a is arranged outside the mounting wall 13d1.

バイブレータ36の本体部は、取付壁13d1の内側に嵌合している。なお、バイブレータ36の本体部と第1ケース13Aとの間には、接着シートや接着剤を介在させても構わない。なお、バイブレータ36の振動を第1ケース13Aに伝え易くするため、バイブレータ36の本体部の一部または全部を直に第1ケース13Aに接触させても構わない。 The main body of thevibrator 36 fits inside the mounting wall 13d1. Note that an adhesive sheet or adhesive may be interposed between the main body of thevibrator 36 and thefirst case 13A. Note that in order to easily transmit the vibrations of thevibrator 36 to thefirst case 13A, part or all of the main body of thevibrator 36 may be brought into direct contact with thefirst case 13A.

図10に戻り、サブプレート42は、メインプレート41の板面(第1板面41a,第2板面41b)に直交する方向(X軸方向)に延びている。本実施形態のサブプレート42は、メインプレート41の板面に直交する方向において両側(+X側及び-X側)に延びている(図12参照)。これにより、ホルダー30の断面がT字状になり、ホルダー30の剛性を高めることができる。 Returning to FIG. 10, the sub-plate 42 extends in a direction (X-axis direction) perpendicular to the plate surfaces (first plate surface 41a,second plate surface 41b) of themain plate 41. The sub-plate 42 of this embodiment extends on both sides (+X side and −X side) in a direction perpendicular to the plate surface of the main plate 41 (see FIG. 12). Thereby, the cross section of theholder 30 becomes T-shaped, and the rigidity of theholder 30 can be increased.

図10に示すように、サブプレート42は、メインプレート41の端部の第1端辺41h1に設けられた第1サブプレート42Aと、メインプレート41の端部の第1端辺41h1に隣接する第2端辺41h2に設けられた第2サブプレート42Bと、を有する。第1端辺41h1は、メインプレート41の長手方向上側(+Z側)の端部において、X-Y平面に対し平行に延びている。 As shown in FIG. 10, the sub-plate 42 is adjacent to the first sub-plate 42A provided on the first end side 41h1 of the end of themain plate 41, and the first sub-plate 42A provided on the first end side 41h1 of the end of themain plate 41. It has a second sub-plate 42B provided on the second end side 41h2. The first end side 41h1 extends parallel to the XY plane at the upper (+Z side) end of themain plate 41 in the longitudinal direction.

第2端辺41h2は、第1端辺41h1の左側(-Y側)の端部から、X-Y平面に対し、Z軸回りに略45°傾いている。第2端辺41h2の左側(-Y側)の端部は、第2端辺41h2の右側(+Y側)の端部よりも、メインプレート41の長手方向下側(-Z側)に位置している。第2端辺41h2は、図1に示す丸みを帯びた第1コーナー部12C1に干渉しないように斜めに延びた切欠部とも言える。 The second end side 41h2 is inclined at approximately 45° around the Z axis with respect to the XY plane from the left end (-Y side) of the first end side 41h1. The left end (-Y side) of the second end side 41h2 is located lower in the longitudinal direction (-Z side) of themain plate 41 than the right (+Y side) end of the second end side 41h2. ing. The second end side 41h2 can also be said to be a notch that extends diagonally so as not to interfere with the rounded first corner portion 12C1 shown in FIG.

第1端辺41h1に設けられた第1サブプレート42Aと、第2端辺41h2に設けられた第2サブプレート42Bは、図11に示すように、互いに接続されている。断面がT字状の第1サブプレート42Aと第2サブプレート42Bとが互いに接続されることで、ホルダー30の剛性をより高めることができる。第1サブプレート42Aと第2サブプレート42Bは、鈍角で接続されている。これにより、丸みを帯びた第1コーナー部12C1に対向するように第2サブプレート42Bを斜めにし、入力デバイス15を保持できる。 The first sub-plate 42A provided on the first end side 41h1 and the second sub-plate 42B provided on the second end side 41h2 are connected to each other, as shown in FIG. 11. By connecting the first sub-plate 42A and the second sub-plate 42B, each having a T-shaped cross section, the rigidity of theholder 30 can be further increased. The first sub-plate 42A and the second sub-plate 42B are connected at an obtuse angle. Thereby, theinput device 15 can be held by making the second sub-plate 42B oblique so as to face the rounded first corner portion 12C1.

なお、第1サブプレート42Aと第2サブプレート42Bがなす角度は、メインプレート41における第1端辺41h1と第2端辺41h2とがなす角度である。つまり、第1サブプレート42Aと第2サブプレート42Bは、略135°の鈍角で接続されている。なお、第1サブプレート42Aと第2サブプレート42Bは、90°より大きく180°より小さい範囲内で接続されていれば、略135°で接続される構成に限られない。 Note that the angle formed by the first sub-plate 42A and the second sub-plate 42B is the angle formed by the first end side 41h1 and the second end side 41h2 of themain plate 41. That is, the first sub-plate 42A and the second sub-plate 42B are connected at an obtuse angle of approximately 135°. Note that the first sub-plate 42A and the second sub-plate 42B are not limited to a configuration in which they are connected at approximately 135 degrees, as long as they are connected within a range greater than 90 degrees and less than 180 degrees.

図11に示すように、第1サブプレート42Aには、位置決め凸部42a1が形成されている。位置決め凸部42a1は、上述した枠状の表示デバイスホルダー33b(図7参照)を位置決めする突起部である。図12に示すように、位置決め凸部42a1は、表示デバイスホルダー33bと同一平面(X-Y平面)を形成している。これにより、表示デバイス本体33aを接着する接着シート45が貼り易くなる。 As shown in FIG. 11, a positioning convex portion 42a1 is formed on the first sub-plate 42A. The positioning convex portion 42a1 is a protrusion that positions the above-mentioned frame-shapeddisplay device holder 33b (see FIG. 7). As shown in FIG. 12, the positioning convex portion 42a1 forms the same plane (XY plane) as thedisplay device holder 33b. This makes it easier to attach theadhesive sheet 45 to which the display devicemain body 33a is attached.

また、図11に示すように、第1サブプレート42Aには、サブプレート延出部42a2が形成されている。サブプレート延出部42a2は、第1サブプレート42Aの、第2サブプレート42Bと接続される側の端部と反対側の端部に配置されている。サブプレート延出部42a2は、第2リブ42Dよりも+Y側に延出している。このサブプレート延出部42a2には、図8に示すように、ディスプレイカバー14の係合爪14b1が係合する。 Moreover, as shown in FIG. 11, a sub-plate extension part 42a2 is formed in the first sub-plate 42A. The sub-plate extension part 42a2 is arranged at the end of the first sub-plate 42A opposite to the end connected to the second sub-plate 42B. The sub-plate extending portion 42a2 extends further to the +Y side than thesecond rib 42D. As shown in FIG. 8, the engagement claw 14b1 of thedisplay cover 14 engages with the sub-plate extension 42a2.

図11に示すように、第2サブプレート42Bには、配線溝42b1と、基板保持片42b2と、が形成されている。基板保持片42b2は、上述したスイッチ基板15b(図7参照)の4つの角部を保持する4つのL字状の突起部である。配線溝42b1は、スイッチ基板15bとメイン基板31とを接続する配線を通す溝である。配線溝42b1は、4つの基板保持片42b2で囲まれた領域を横断するように形成されている。 As shown in FIG. 11, a wiring groove 42b1 and a substrate holding piece 42b2 are formed in the second sub-plate 42B. The board holding pieces 42b2 are four L-shaped protrusions that hold the four corners of the above-mentionedswitch board 15b (see FIG. 7). The wiring groove 42b1 is a groove through which the wiring connecting theswitch board 15b and themain board 31 is passed. The wiring groove 42b1 is formed to cross the area surrounded by the four substrate holding pieces 42b2.

また、第2サブプレート42Bにも、サブプレート延出部42b3が形成されている。サブプレート延出部42b3は、第2サブプレート42Bの、第1サブプレート42Aと接続される側の端部と反対側の端部に配置されている。サブプレート延出部42b3は、第1リブ42Cよりも-Y側に延出している。このサブプレート延出部42b3には、図8に示すように、ディスプレイカバー14のもう一つの係合爪14b2が係合する。 Further, a sub-plate extension portion 42b3 is also formed on the second sub-plate 42B. The sub-plate extension 42b3 is arranged at the end of the second sub-plate 42B opposite to the end connected to the first sub-plate 42A. The sub-plate extending portion 42b3 extends further toward the −Y side than thefirst rib 42C. As shown in FIG. 8, another engaging claw 14b2 of thedisplay cover 14 engages with this sub-plate extending portion 42b3.

図14は、一実施形態に係るディスプレイカバー14の取付構造を示す斜視図である。
図14に示すように、ディスプレイカバー14は、上側(+Z側)に凸状の湾曲形状を有している。ディスプレイカバー14の右側(+Y側)の端部には、上述した係合爪14b1が配置されている。係合爪14b1と反対側の、ディスプレイカバー14の左側(-Y側)の端部には、上述した係合爪14b2が配置されている。
FIG. 14 is a perspective view showing the mounting structure of thedisplay cover 14 according to one embodiment.
As shown in FIG. 14, thedisplay cover 14 has a curved shape that is convex on the upper side (+Z side). At the right (+Y side) end of thedisplay cover 14, the above-mentioned engagement claw 14b1 is arranged. The above-mentioned engaging claw 14b2 is arranged at the left (-Y side) end of thedisplay cover 14, which is opposite to the engaging claw 14b1.

係合爪14b1は、第1サブプレート42Aのサブプレート延出部42a2に係合する。また、係合爪14b2は、第2サブプレート42Bのサブプレート延出部42b3に係合する。組み付け状態のディスプレイカバー14は、図8に示すように、第1サブプレート42A及び第2サブプレート42Bの端から端まで跨るような状態で、ホルダー30に係合している。 The engagement claw 14b1 engages with the sub-plate extension 42a2 of the first sub-plate 42A. Further, the engaging claw 14b2 engages with the sub-plate extension portion 42b3 of the second sub-plate 42B. As shown in FIG. 8, the assembleddisplay cover 14 is engaged with theholder 30 so as to span the first sub-plate 42A and the second sub-plate 42B from end to end.

図14に示すように、ディスプレイカバー14には、入力デバイス15のスイッチボタン15aが配置される貫通孔14aが形成されている。スイッチボタン15aは、スイッチ基板15bに当接するベース部15a1と、ベース部15a1から突出した円柱状のボタン部15a2と、を有する。ボタン部15a2は、貫通孔14aを挿通して配置される。 As shown in FIG. 14, thedisplay cover 14 is formed with a throughhole 14a in which a switch button 15a of theinput device 15 is arranged. The switch button 15a has a base portion 15a1 that comes into contact with theswitch board 15b, and a cylindrical button portion 15a2 that protrudes from the base portion 15a1. The button portion 15a2 is placed through the throughhole 14a.

ボタン部15a2は、例えば、硬質の樹脂素材などから形成されている。ボタン部15a2の内部には、図示しない弾性体(バネ等)が備えられており、ボタン部15a2を離すと元の位置に戻るようになっている。なお、ボタン部15a2は、押圧により弾性変形可能な弾性体であっても構わない。その場合、弾性体の内部に、押圧により変位可能な剛体(スイッチ基板15bの押し込みを補助する柱体など)が含まれていてもよい。ボタン部15a2の周面には、挿入孔15a3が形成されている。挿入孔15a3は、ボタン部15a2の根本部分(ボタン部15a2のベース部15a1との接続部近傍)に形成されている。 The button portion 15a2 is made of, for example, a hard resin material. An elastic body (such as a spring) (not shown) is provided inside the button part 15a2, and when the button part 15a2 is released, it returns to its original position. Note that the button portion 15a2 may be an elastic body that can be elastically deformed by pressing. In that case, a rigid body (such as a column that assists in pushing theswitch board 15b) that can be displaced by pressure may be included inside the elastic body. An insertion hole 15a3 is formed in the circumferential surface of the button portion 15a2. The insertion hole 15a3 is formed at the base portion of the button portion 15a2 (near the connection portion of the button portion 15a2 with the base portion 15a1).

スイッチホルダー15cは、ボタン部15a2に外嵌可能な環状に形成されている。スイッチホルダー15cは、ボタン部15a2の押し込みに応じて変形可能な柔軟性のある材料から形成されている。なお、スイッチホルダー15cが、弾性変形可能な材料から形成されていても構わない。スイッチホルダー15cの内径側には、ボタン部15a2の挿入孔15a3に挿入可能な内径側突起片15c1が形成されている。また、スイッチホルダー15cの外径側には、X軸方向両側に突出する2つの外径側突起片15c2が形成されている。内径側突起片15c1と2つの外径側突起片15c2は、スイッチホルダー15cの中心軸回りにおいて位相が90°ずれている。スイッチホルダー15cは、スイッチボタン15aのベース部15a1を覆っている。このため、ディスプレイカバー14側からベース部15a1が見えないようにすることができる。 Theswitch holder 15c is formed in an annular shape that can be fitted onto the button portion 15a2. Theswitch holder 15c is made of a flexible material that can be deformed in response to pressing the button portion 15a2. Note that theswitch holder 15c may be made of an elastically deformable material. An inner projection piece 15c1 that can be inserted into the insertion hole 15a3 of the button portion 15a2 is formed on the inner diameter side of theswitch holder 15c. Furthermore, two outer diameter protrusions 15c2 that protrude on both sides in the X-axis direction are formed on the outer diameter side of theswitch holder 15c. The inner diameter protrusion piece 15c1 and the two outer diameter protrusion pieces 15c2 are out of phase by 90 degrees around the central axis of theswitch holder 15c. Theswitch holder 15c covers the base portion 15a1 of the switch button 15a. Therefore, the base portion 15a1 can be made invisible from thedisplay cover 14 side.

ディスプレイカバー14の貫通孔14aの近傍のX軸方向両側には、側壁14cが垂設されている。側壁14cには、スイッチホルダー15cの2つの外径側突起片15c2が挿入可能な2つの挿入孔14c1が形成されている。スイッチホルダー15c及びスイッチボタン15a、つまり入力デバイス15のスイッチ基板15bを除く構成部品は、ディスプレイカバー14側に組み付けられている。スイッチホルダー15c及びスイッチボタン15aが組み付けられたディスプレイカバー14が、ホルダー30に係合すると、スイッチボタン15aがスイッチ基板15b上に載置され、入力デバイス15が組み上がる。Side walls 14c are vertically provided on both sides of thedisplay cover 14 in the X-axis direction near the throughhole 14a. Theside wall 14c is formed with two insertion holes 14c1 into which the two outer diameter protrusions 15c2 of theswitch holder 15c can be inserted. Theswitch holder 15c and the switch button 15a, that is, the components other than theswitch board 15b of theinput device 15 are assembled on thedisplay cover 14 side. When thedisplay cover 14 with theswitch holder 15c and the switch button 15a assembled thereon engages with theholder 30, the switch button 15a is placed on theswitch board 15b, and theinput device 15 is assembled.

図11に戻り、ホルダー30の第1リブ42Cは、メインプレート41の-Y側の端部に沿って長手方向(Z軸方向)に延びている。第1リブ42Cの長手方向上側(+Z側)の端部は、第2サブプレート42Bと接続されている。メインプレート41と合わせて断面がT字状になる第1リブ42Cが第2サブプレート42Bに接続されることで、ホルダー30の剛性をより高めることができる。第1リブ42Cのメインプレート41と反対側(-Y側)を向く側面には、ケース嵌合部42Eが突設されている。 Returning to FIG. 11, thefirst rib 42C of theholder 30 extends in the longitudinal direction (Z-axis direction) along the -Y side end of themain plate 41. The upper end (+Z side) of thefirst rib 42C in the longitudinal direction is connected to the second sub-plate 42B. By connecting thefirst rib 42C, which has a T-shaped cross section together with themain plate 41, to the second sub-plate 42B, the rigidity of theholder 30 can be further increased. A casefitting portion 42E is provided in a protruding manner on the side surface of thefirst rib 42C facing away from the main plate 41 (-Y side).

ケース嵌合部42Eには、第1嵌合孔42e1と、第2嵌合孔42e2と、が形成されている。第1嵌合孔42e1及び第2嵌合孔42e2は、-Y側に開口している。第1嵌合孔42e1は、ケース嵌合部42Eの+X側に配置されている。第1嵌合孔42e1には、上述した第1ケース13Aが爪嵌合する。第2嵌合孔42e2は、ケース嵌合部42Eの-X側に配置されている。第2嵌合孔42e2には、上述した第2ケース13Bが爪嵌合する。 A first fitting hole 42e1 and a second fitting hole 42e2 are formed in the casefitting portion 42E. The first fitting hole 42e1 and the second fitting hole 42e2 are open on the −Y side. The first fitting hole 42e1 is arranged on the +X side of the casefitting part 42E. Thefirst case 13A described above is fitted into the first fitting hole 42e1. The second fitting hole 42e2 is arranged on the −X side of the casefitting portion 42E. Thesecond case 13B described above is fitted into the second fitting hole 42e2.

ケース嵌合部42Eは、第1リブ42Cの長手方向に離間して2つ形成されている。第1リブ42Cの長手方向下側(-Z側)に配置されたケース嵌合部42Eには、第1嵌合孔42e1及び第2嵌合孔42e2が1組形成されている。第1リブ42Cの長手方向上側(+Z側)に配置されたケース嵌合部42Eには、第1嵌合孔42e1及び第2嵌合孔42e2が長手方向に離間して複数組形成されている。なお、+Z側に配置されたケース嵌合部42Eには、ホルダー30をねじ止めするための貫通孔30aが形成されている。 Two casefitting parts 42E are formed spaced apart in the longitudinal direction of thefirst rib 42C. One set of a first fitting hole 42e1 and a second fitting hole 42e2 are formed in the casefitting portion 42E disposed on the lower side (-Z side) of thefirst rib 42C in the longitudinal direction. A casefitting portion 42E disposed on the upper side (+Z side) of thefirst rib 42C in the longitudinal direction has a plurality of sets of first fitting holes 42e1 and second fitting holes 42e2 spaced apart in the longitudinal direction. . Note that a throughhole 30a for screwing theholder 30 is formed in the casefitting portion 42E disposed on the +Z side.

+Z側に配置されたケース嵌合部42Eには、第1嵌合孔42e1と第2嵌合孔42e2との間を直線状に仕切る被挟持片42e3が突設されている。被挟持片42e3は、第1ケース13Aの第1周壁部12B1と、第2ケース13Bの第2周壁部12B2との間に挟み込まれる。なお、被挟持片42e3は、図1に示すように、外装ケース12の周壁部12Bの外表面12b1には露出しない。つまり、第1周壁部12B1と第2周壁部12B2の内側には、被挟持片42e3を挟み込む段差が形成されている。 A sandwiched piece 42e3 that linearly partitions the first fitting hole 42e1 and the second fitting hole 42e2 is provided in a protruding manner on the casefitting portion 42E disposed on the +Z side. The pinched piece 42e3 is sandwiched between the first circumferential wall portion 12B1 of thefirst case 13A and the second circumferential wall portion 12B2 of thesecond case 13B. Note that the held piece 42e3 is not exposed on the outer surface 12b1 of theperipheral wall portion 12B of theouter case 12, as shown in FIG. That is, a step is formed inside the first peripheral wall part 12B1 and the second peripheral wall part 12B2 to sandwich the clamped piece 42e3.

図11に示すように、ホルダー30の第2リブ42Dは、メインプレート41の+Y側の端部に沿って長手方向(Z軸方向)に延びている。第2リブ42Dの長手方向上側(+Z側)の端部は、第1サブプレート42Aと接続されている。メインプレート41と合わせて断面がT字状になる第2リブ42Dが第1サブプレート42Aに接続されることで、ホルダー30の剛性をより高めることができる。 As shown in FIG. 11, thesecond rib 42D of theholder 30 extends in the longitudinal direction (Z-axis direction) along the +Y side end of themain plate 41. As shown in FIG. The upper end (+Z side) of thesecond rib 42D in the longitudinal direction is connected to the first sub-plate 42A. By connecting thesecond rib 42D, which has a T-shaped cross section together with themain plate 41, to the first sub-plate 42A, the rigidity of theholder 30 can be further increased.

第2リブ42Dは、メインプレート41と反対側(+Y側)に向かってL字状に屈曲した分岐部42D1を有する。分岐部42D1は、受け部43の周壁43aと接続されている。これにより、メインプレート41と受け部43との接続部分の剛性を高めることができる。なお、メインプレート41と受け部43との接続部分には、図10に示すように、ホルダー30をねじ止めするための貫通孔30aが形成されている。 Thesecond rib 42D has a branch portion 42D1 bent in an L-shape toward the side opposite to the main plate 41 (+Y side). The branch portion 42D1 is connected to theperipheral wall 43a of the receivingportion 43. Thereby, the rigidity of the connecting portion between themain plate 41 and the receivingportion 43 can be increased. Note that, as shown in FIG. 10, a throughhole 30a for screwing theholder 30 is formed in the connecting portion between themain plate 41 and the receivingportion 43. As shown in FIG.

第2リブ42Dには、階段状の切欠部42dが形成されている。切欠部42dは、第1切欠部42d1と、第2切欠部42d2と、を有する。第1切欠部42d1は、第2リブ42Dの+X側の端部から-X側の端部に向かって、メインプレート41の手前まで形成されている。第2切欠部42d2は、第1切欠部42d1の-Z側に配置されている。第2切欠部42d2は、第2リブ42Dの+X側の端部から-X側の端部に向かって、メインプレート41の背面側(第2板面41bを超える位置)まで形成されている(図11参照)。 A steppednotch 42d is formed in thesecond rib 42D. Thenotch 42d includes a first notch 42d1 and a second notch 42d2. The first notch 42d1 is formed from the +X side end of thesecond rib 42D to the -X side end to the front of themain plate 41. The second notch 42d2 is arranged on the -Z side of the first notch 42d1. The second notch 42d2 is formed from the +X side end of thesecond rib 42D to the -X side end to the back side of the main plate 41 (a position beyond thesecond plate surface 41b). (See Figure 11).

第1切欠部42d1は、メイン基板31に設けられた後述する光源52(後述する図29参照)の光路との干渉を避けるために形成されている。光源52は、例えばLEDライトなどである。第2切欠部42d2は、図29に示すように、カートリッジ収容部10に取り付けられたセンサホルダー35及びセンサホルダー35に保持されたセンサ34との干渉を避けるために形成されている。 The first notch 42d1 is formed to avoid interference with the optical path of a light source 52 (see FIG. 29, described later) provided on themain board 31, which will be described later. Thelight source 52 is, for example, an LED light. As shown in FIG. 29, the second notch 42d2 is formed to avoid interference with thesensor holder 35 attached to thecartridge accommodating section 10 and thesensor 34 held by thesensor holder 35.

図15は、一実施形態に係るホルダー30の平面図である。図16は、図15に示す矢視C-C断面図である。
図15に示すように、ホルダー30の受け部43は、有底筒状に形成されている。受け部43の底壁43bには、カートリッジ収容部10の内部に2つの突電極50(図7参照)を配置するための2つの挿入孔43cが形成されている。
FIG. 15 is a plan view of theholder 30 according to one embodiment. FIG. 16 is a sectional view taken along the line CC shown in FIG. 15.
As shown in FIG. 15, the receivingportion 43 of theholder 30 is formed into a cylindrical shape with a bottom. Twoinsertion holes 43c are formed in thebottom wall 43b of the receivingpart 43 for arranging two protruding electrodes 50 (see FIG. 7) inside thecartridge accommodating part 10.

2つの挿入孔43cは、主軸Oを挟んでY軸方向に離間して配置されている。2つの挿入孔43cは、底壁43bを主軸方向(Z軸方向)に貫通している。図10に示すように、底壁43bの下面側(-Z側)には、環状壁43dが突設されている。環状壁43dは、2つの挿入孔43cの周囲を取り囲んでいる。環状壁43dは、底面視で、Y軸方向に延びる2本の平行線の両端を円弧で繋いだ長孔状に形成されている。 The twoinsertion holes 43c are spaced apart from each other in the Y-axis direction with the main axis O in between. The twoinsertion holes 43c penetrate thebottom wall 43b in the main axis direction (Z-axis direction). As shown in FIG. 10, anannular wall 43d is provided protruding from the lower surface side (-Z side) of thebottom wall 43b. Theannular wall 43d surrounds the twoinsertion holes 43c. Theannular wall 43d is formed in the shape of a long hole, in which both ends of two parallel lines extending in the Y-axis direction are connected by an arc when viewed from the bottom.

図16に示すように、受け部43の周壁43aの内側には、カートリッジ収容部10と主軸方向(Z軸方向)で当接する段差43g(環状の受け面)が形成されている。段差43gより下側(-Z側)の周壁43aは、段差43gの上側(+Z側)よりも縮径している。図15に示すように、段差43gより下側の周壁43aは、内径D1を有する。内径D1は、カートリッジ収容部10の内径に対応する。 As shown in FIG. 16, astep 43g (an annular receiving surface) is formed on the inner side of theperipheral wall 43a of the receivingportion 43. Thestep 43g contacts thecartridge accommodating portion 10 in the main axis direction (Z-axis direction). Thecircumferential wall 43a below thestep 43g (-Z side) is smaller in diameter than above thestep 43g (+Z side). As shown in FIG. 15, theperipheral wall 43a below thestep 43g has an inner diameter D1. The inner diameter D1 corresponds to the inner diameter of thecartridge accommodating portion 10.

受け部43の底壁43bの上面側(+Z側)には、上述したカートリッジ3の係合溝部26i(図5参照)に係合する係合突部43hが形成されている。係合溝部26iと係合突部43hは、カートリッジ3を周方向及び径方向において位置決めする位置決め機構90を構成している。係合突部43hは、周方向に等間隔(周方向に120°間隔)で3つ形成されている。なお、係合突部43hの数は、係合溝部26iの同数に限られない。係合突部43hの数は、係合溝部26iと同数以下であっても構わない。 Anengagement protrusion 43h that engages with theengagement groove 26i (see FIG. 5) of thecartridge 3 described above is formed on the upper surface side (+Z side) of thebottom wall 43b of the receivingportion 43. Theengagement groove 26i and theengagement protrusion 43h constitute apositioning mechanism 90 that positions thecartridge 3 in the circumferential direction and the radial direction. Threeengagement protrusions 43h are formed at equal intervals in the circumferential direction (120° intervals in the circumferential direction). Note that the number ofengagement protrusions 43h is not limited to the same number ofengagement grooves 26i. The number ofengagement protrusions 43h may be equal to or less than the number ofengagement grooves 26i.

図16に示すように、係合突部43hは、主軸方向上側(+Z側)に突出した曲面形状を有する。つまり、係合突部43hは、周方向における幅が、主軸方向上側に向かうに従って小さくなっている。なお、係合突部43hは、周方向における幅が、主軸方向上側に向かうに従って小さくなっていれば、係合溝部26iと同様の等脚台形状、あるいは二等辺三角形などであっても構わない。また、係合突部43hは、直角三角形のような非対称形状であっても構わない。例えば、係合突部43hが直角三角形である場合、吸口部11をカートリッジ収容部10に接続する際に、吸口部11の回転方向に対向する側が、直角側であるとよい。これにより、吸口部11をカートリッジ収容部10に接続する際に、カートリッジ収容部10が係合突部43hを乗り越え難くなる。 As shown in FIG. 16, theengagement protrusion 43h has a curved shape that protrudes upward in the main axis direction (+Z side). That is, the width of the engagingprotrusion 43h in the circumferential direction becomes smaller toward the upper side in the main axis direction. Note that theengagement protrusion 43h may have an isosceles trapezoid shape similar to theengagement groove 26i, or an isosceles triangle, as long as the width in the circumferential direction becomes smaller toward the upper side in the main axis direction. . Further, the engagingprotrusion 43h may have an asymmetrical shape such as a right triangle. For example, when the engagingprotrusion 43h is a right triangle, the side facing the rotation direction of themouthpiece 11 when connecting themouthpiece 11 to thecartridge accommodating part 10 is preferably the right-angled side. This makes it difficult for thecartridge accommodating part 10 to get over theengagement protrusion 43h when connecting themouthpiece 11 to thecartridge accommodating part 10.

図15に示すように、カートリッジ収容部10の内部に収容されるカートリッジ3の外径D2は、カートリッジ収容部10の内径D1よりも小さい。カートリッジ収容部10の内径D1(つまり受け部43の段差43gから下側の内径D1)とカートリッジ3の外径D2との間で生じる隙間は、カートリッジ収容部10の内径D1の2.6%より大きいとよい。これにより、カートリッジ収容部10とカートリッジ3とのクリアランスが大きくなり、後述するカートリッジ3のセット時に係合突部43hを係合溝部26iに誘い込みやすくなる。ここで言うカートリッジ収容部10とカートリッジ3との間で生じる隙間は、カートリッジ収容部10の内径D1とカートリッジ3の外径D2の差分により算出される。例えば、内径D1が11.8mm、外径D2が11.5mmの場合、隙間は0.3mmである。この隙間は、内径D1の2.54%に相当し、この場合は上記条件から除外される。 As shown in FIG. 15, the outer diameter D2 of thecartridge 3 accommodated inside thecartridge accommodating portion 10 is smaller than the inner diameter D1 of thecartridge accommodating portion 10. As shown in FIG. The gap created between the inner diameter D1 of the cartridge accommodating part 10 (that is, the inner diameter D1 below thestep 43g of the receiving part 43) and the outer diameter D2 of thecartridge 3 is 2.6% of the inner diameter D1 of thecartridge accommodating part 10. The bigger the better. This increases the clearance between thecartridge accommodating portion 10 and thecartridge 3, making it easier to guide theengagement protrusion 43h into theengagement groove 26i when setting thecartridge 3, which will be described later. The gap created between thecartridge accommodating part 10 and thecartridge 3 here is calculated from the difference between the inner diameter D1 of thecartridge accommodating part 10 and the outer diameter D2 of thecartridge 3. For example, when the inner diameter D1 is 11.8 mm and the outer diameter D2 is 11.5 mm, the gap is 0.3 mm. This gap corresponds to 2.54% of the inner diameter D1, and in this case is excluded from the above conditions.

より好ましくは、カートリッジ収容部10の内径D1とカートリッジ3の外径D2との間で生じる隙間は、カートリッジ収容部10の内径D1の7.0%より大きいとよい。これにより、カートリッジ収容部10とカートリッジ3とのクリアランスがより大きくなり、後述するカートリッジ3のセット時に係合突部43hを係合溝部26iにより誘い込みやすくなる。例えば、内径D1が12.4mm、外径D2が11.5mmの場合、隙間は0.9mmである。この隙間は、内径D1の7.26%に相当し、この場合は上記条件に該当する。 More preferably, the gap created between the inner diameter D1 of thecartridge accommodating part 10 and the outer diameter D2 of thecartridge 3 is larger than 7.0% of the inner diameter D1 of thecartridge accommodating part 10. Thereby, the clearance between thecartridge accommodating portion 10 and thecartridge 3 becomes larger, and it becomes easier to guide theengagement protrusion 43h into theengagement groove 26i when setting thecartridge 3, which will be described later. For example, when the inner diameter D1 is 12.4 mm and the outer diameter D2 is 11.5 mm, the gap is 0.9 mm. This gap corresponds to 7.26% of the inner diameter D1, and in this case, the above conditions are met.

係合突部43hの径方向の寸法D3は、カートリッジ収容部10とカートリッジ3との間で生じる隙間よりも大きい方が好ましい。なお、上記2つの条件を、係合突部43hの径方向の寸法D3で定義すると、次のようになる。係合突部43hは、径方向において、カートリッジ収容部10の内周壁(つまり段差43gより下側の周壁43aの内周壁)からカートリッジ収容部10の内側に向かって、カートリッジ収容部10の内径D1の2.6%より大きい寸法D3で延在しているとよい。より好ましくは、係合突部43hは、径方向において、カートリッジ収容部10の内周壁からカートリッジ収容部10の内側に向かって、カートリッジ収容部10の内径D1の7.0%より大きい寸法D3で延在しているとよい。 The radial dimension D3 of the engagingprotrusion 43h is preferably larger than the gap generated between thecartridge accommodating portion 10 and thecartridge 3. In addition, when the above two conditions are defined by the radial dimension D3 of theengagement protrusion 43h, it becomes as follows. Theengagement protrusion 43h extends from the inner circumferential wall of the cartridge accommodating section 10 (that is, the inner circumferential wall of thecircumferential wall 43a below thestep 43g) toward the inside of thecartridge accommodating section 10 in the radial direction. It is preferable that the length D3 extends by more than 2.6% of the length D3. More preferably, the engagingprotrusion 43h has a dimension D3 larger than 7.0% of the inner diameter D1 of thecartridge accommodating part 10 from the inner circumferential wall of thecartridge accommodating part 10 toward the inside of thecartridge accommodating part 10 in the radial direction. It would be good if it extended.

図15に示すように、受け部43の段差43g上には、カートリッジ収容部10の周方向の位置決めをする係合突部43iが形成されている。係合突部43iは、受け部43の周壁43aの前側(+X側)の内壁面に1つ形成されている。係合突部43iは、受け部43の段差43gよりも径方向内側には突出しておらず、段差43gより下側の周壁43aと同じ程度の突出度合いで形成されている。図16に示すように、係合突部43iは、係合突部43hと同様に、主軸方向上側(+Z側)に突出した曲面形状を有する。つまり、係合突部43iは、周方向における幅が、主軸方向上側に向かうに従って小さくなっている。 As shown in FIG. 15, an engaging protrusion 43i is formed on thestep 43g of the receivingportion 43 to position thecartridge accommodating portion 10 in the circumferential direction. One engagement protrusion 43i is formed on the inner wall surface on the front side (+X side) of theperipheral wall 43a of the receivingpart 43. The engagement protrusion 43i does not protrude inward in the radial direction than thestep 43g of the receivingportion 43, and is formed to have the same degree of protrusion as theperipheral wall 43a below thestep 43g. As shown in FIG. 16, the engagement protrusion 43i, like theengagement protrusion 43h, has a curved shape that protrudes upward in the main axis direction (+Z side). That is, the width of the engaging protrusion 43i in the circumferential direction becomes smaller toward the upper side in the main axis direction.

<カートリッジ収容部>
図17は、一実施形態に係るカートリッジ収容部10の正面図である。図18は、一実施形態に係るカートリッジ収容部10の右側面図である。図19は、一実施形態に係るカートリッジ収容部10の左側面図である。図20は、図18に示す矢視D-D断面図である。
図17に示すように、カートリッジ収容部10は、円筒状の筒状部材であり、主軸方向(Z軸方向)に延在している。カートリッジ収容部10は、外装ケース12やホルダー30などが樹脂製なのに対し、金属製の筒状部材から形成されている。
<Cartridge housing section>
FIG. 17 is a front view of thecartridge accommodating section 10 according to one embodiment. FIG. 18 is a right side view of thecartridge accommodating section 10 according to one embodiment. FIG. 19 is a left side view of thecartridge accommodating section 10 according to one embodiment. FIG. 20 is a sectional view taken along the line DD shown in FIG. 18.
As shown in FIG. 17, thecartridge accommodating portion 10 is a cylindrical member and extends in the main axis direction (Z-axis direction). Thecartridge accommodating portion 10 is formed from a cylindrical member made of metal, whereas theouter case 12,holder 30, and the like are made of resin.

カートリッジ収容部10の主軸方向上側(+Z側)の端部には、カートリッジ挿抜口10aが形成されている。一方、カートリッジ収容部10の主軸方向下側(-Z側)の端部には、上述した係合突部43iに係合する係合溝部10bが形成されている。係合溝部10bは、カートリッジ収容部10の下端部の前側(+X側)に1つ形成されている。 A cartridge insertion/extraction opening 10a is formed at the upper (+Z side) end of thecartridge accommodating portion 10 in the main axis direction. On the other hand, anengagement groove 10b that engages with the above-mentioned engagement protrusion 43i is formed at the lower (-Z side) end of thecartridge accommodating portion 10 in the main axis direction. Oneengagement groove portion 10b is formed on the front side (+X side) of the lower end portion of thecartridge accommodating portion 10.

図18に示すように、カートリッジ収容部10の周面の右側(+Y側)には、貫通孔10cと、2つの空気連通孔10eが形成されている。貫通孔10cには、カバー部材17(図7参照)に設けられた後述するカートリッジ収容部側突起17Cが挿入される(後述する図29参照)。2つの空気連通孔10eは、カバー部材17に設けられた2つの空気孔19に連通する(後述する図29参照)。 As shown in FIG. 18, a throughhole 10c and twoair communication holes 10e are formed on the right side (+Y side) of the circumferential surface of thecartridge accommodating portion 10. A cartridge accommodatingsection side projection 17C, which will be described later, provided on the cover member 17 (see FIG. 7) is inserted into the throughhole 10c (see FIG. 29, which will be described later). The twoair communication holes 10e communicate with twoair holes 19 provided in the cover member 17 (see FIG. 29 described later).

貫通孔10cは、図18に示すように、主軸方向(Z軸方向)に延びる長孔である。貫通孔10cの-X側の端縁には、矩形溝10c1が形成されている。矩形溝10c1は、カートリッジ収容部10に対するカバー部材17の組み付けの間違いを防止するため、貫通孔10cの形状をX軸方向において非対称にする。2つの空気連通孔10eは、貫通孔10cをX軸方向で挟んで配置されている。空気連通孔10eは、後述する図29に示すように、空気孔19よりも大きく形成されている。これにより、空気孔19と空気連通孔10eとの非連通や、流路面積が狭くなるような位置ずれを防止することができる。つまり、本体ユニット2の組立時に、空気孔19が塞がれ難くなる。 As shown in FIG. 18, the throughhole 10c is a long hole extending in the main axis direction (Z-axis direction). A rectangular groove 10c1 is formed at the -X side edge of the throughhole 10c. The rectangular groove 10c1 makes the shape of the throughhole 10c asymmetrical in the X-axis direction in order to prevent incorrect assembly of thecover member 17 to thecartridge accommodating portion 10. The twoair communication holes 10e are arranged to sandwich the throughhole 10c in the X-axis direction. Theair communication hole 10e is formed larger than theair hole 19, as shown in FIG. 29, which will be described later. Thereby, it is possible to prevent theair hole 19 and theair communication hole 10e from communicating with each other and to prevent a positional shift that would result in a narrowing of the flow path area. In other words, the air holes 19 are less likely to be blocked when themain body unit 2 is assembled.

図19に示すように、カートリッジ収容部10の周面の左側(-Y側)にも、もう一つの貫通孔10dが形成されている。貫通孔10dには、センサホルダー35(図7参照)に設けられた後述するカートリッジ収容部側突起35Dが挿入される(後述する図29参照)。貫通孔10dは、主軸方向(Z軸方向)に延びる長孔である。貫通孔10dは、カートリッジ収容部10の左斜め前側(+X側)に配置されており、後述する図29に示すように、右側(+Y側)の貫通孔10cに対しては、主軸Oを中心とする点対称の位置関係に無い。 As shown in FIG. 19, another throughhole 10d is formed on the left side (−Y side) of the circumferential surface of thecartridge accommodating portion 10. A cartridge accommodatingsection side protrusion 35D, which will be described later, provided on the sensor holder 35 (see FIG. 7) is inserted into the throughhole 10d (see FIG. 29, which will be described later). The throughhole 10d is a long hole extending in the main axis direction (Z-axis direction). The throughhole 10d is arranged on the diagonally left front side (+X side) of thecartridge accommodating part 10, and as shown in FIG. There is no point-symmetric positional relationship.

図20に示すように、カートリッジ収容部10において、貫通孔10c及び貫通孔10dよりも主軸方向上側(+Z側)には、インサートリング10Aが圧入により内嵌している。インサートリング10Aは、樹脂製の筒状部材である。インサートリング10Aには、カートリッジ挿抜口10aに吸口部11(図5参照)を接続するための吸口接続部10Bが形成されている。なお、カートリッジ収容部10の主軸方向上側(+Z側)の内壁面には、インサートリング10Aの内嵌によって内径が小さくならないように、窪み10fが形成されている。 As shown in FIG. 20, in thecartridge accommodating portion 10, aninsert ring 10A is press-fitted above the through-holes 10c and 10d in the main axis direction (+Z side). Theinsert ring 10A is a cylindrical member made of resin. Theinsert ring 10A is formed with a suctionport connecting portion 10B for connecting the suction port 11 (see FIG. 5) to the cartridge insertion/extraction port 10a. Note that arecess 10f is formed on the inner wall surface of thecartridge accommodating portion 10 on the upper side in the main axis direction (+Z side) so that the inner diameter does not become smaller due to the internal fitting of theinsert ring 10A.

吸口接続部10Bは、インサートリング10Aの周方向に等間隔(180°)で2つ形成されている。吸口接続部10Bは、インサートリング10Aに形成された溝(切り欠き)である。吸口接続部10Bは、第1溝部10b1と、第2溝部10b2と、第3溝部10b3と、を有する。第1溝部10b1は、主軸方向上側(+Z側)に向かうに従って、周方向における幅が大きくなっている。第2溝部10b2は、第1溝部10b1の下端から一定の幅で主軸方向下側(-Z側)に延びている。第3溝部10b3は、第2溝部10b2の下端から周方向に90°屈曲し、一定の幅でインサートリング10Aを略1/4周回している。 Twosuction ports 10B are formed at equal intervals (180°) in the circumferential direction of theinsert ring 10A. The suctionport connection portion 10B is a groove (notch) formed in theinsert ring 10A. Themouthpiece connection part 10B has a first groove part 10b1, a second groove part 10b2, and a third groove part 10b3. The width of the first groove portion 10b1 in the circumferential direction increases toward the upper side (+Z side) in the main axis direction. The second groove portion 10b2 extends downward in the main axis direction (-Z side) with a constant width from the lower end of the first groove portion 10b1. The third groove portion 10b3 is bent at 90° in the circumferential direction from the lower end of the second groove portion 10b2, and extends approximately 1/4 around theinsert ring 10A with a constant width.

<吸口部>
図21は、一実施形態に係る吸口部11の右側面図である。図22は、図21に示す矢視E-E断面図である。
図21に示すように、吸口部11は、上述したカートリッジ収容部10の吸口接続部10Bに係合する突起部11b1を有している。吸口部11は、樹脂製の吸口部本体11Aと、図22に示すように、突起部11b1が2つ形成された金属製の筒体11Bと、を備えている。
<Suction part>
FIG. 21 is a right side view of themouthpiece 11 according to one embodiment. FIG. 22 is a sectional view taken along the line EE shown in FIG. 21.
As shown in FIG. 21, thesuction port 11 has a protrusion 11b1 that engages with the suctionport connection portion 10B of thecartridge accommodating portion 10 described above. Themouthpiece 11 includes a mouthpiecemain body 11A made of resin, and ametal cylinder 11B in which two protrusions 11b1 are formed, as shown in FIG.

吸口部本体11Aは、図22に示すように、有底筒状に形成されている。吸口部本体11Aの周壁11a1の内側には、上述した香味源容器4(図6参照)が挿入される。周壁11a1の外面には、径方向外側に延出したフランジ部11a2が環状に設けられている。フランジ部11a2は、図6に示すように、カートリッジ収容部10の上端開口縁(カートリッジ挿抜口10aの開口縁)に主軸方向(Z軸方向)で当接する。 The mouthpiecemain body 11A is formed into a cylindrical shape with a bottom, as shown in FIG. The flavor source container 4 (see FIG. 6) described above is inserted inside the peripheral wall 11a1 of the mouthpiecemain body 11A. An annular flange portion 11a2 extending radially outward is provided on the outer surface of the peripheral wall 11a1. As shown in FIG. 6, the flange portion 11a2 contacts the upper opening edge of the cartridge accommodating portion 10 (the opening edge of the cartridge insertion/extraction port 10a) in the main axis direction (Z-axis direction).

吸口部本体11Aの底壁11a3には、主軸方向に貫通する貫通孔11a4が形成されている。貫通孔11a4には、カートリッジ当接部60が内嵌している(図6参照)。カートリッジ当接部60は、例えば、シリコーン樹脂等の樹脂材料により形成された弾性体である。カートリッジ当接部60は、第1リング部60aと、円筒部60bと、第2リング部60cと、を備えている。 A through hole 11a4 penetrating in the main axis direction is formed in the bottom wall 11a3 of the mouthpiecemain body 11A. Acartridge contact portion 60 is fitted into the through hole 11a4 (see FIG. 6). Thecartridge contact portion 60 is, for example, an elastic body made of a resin material such as silicone resin. Thecartridge contact portion 60 includes afirst ring portion 60a, a cylindrical portion 60b, and asecond ring portion 60c.

第1リング部60aは、吸口部本体11Aの底壁11a3より主軸方向上側(+Z側)に配置されている。第1リング部60aは、貫通孔11a4よりも外径が大きく、吸口部本体11Aの周壁11a1の内壁面まで延びている。第1リング部60aは、周壁11a1の内側で、香味源容器4の底壁27dと当接する。第1リング部60aの香味源容器4の底壁27dとの対向面側は、平坦面であってもよいし、底壁27dの脚部形状に合わせて溝が形成されていてもよい。第1リング部60aは、香味源容器4の周方向の滑り止めや香味源容器4の微細孔27eのシールチャンバーとなる。なお、第1リング部60aは、香味源容器4の底壁27dと当接しなくても構わない。その場合、段差27bにおける香味源容器4と吸口部11との接触部分で、外気導入を阻止するシール部を形成することができる。円筒部60bは、底壁11a3の貫通孔11a4を挿通して配置されている。円筒部60bは、第1リング部60aの内径側と第2リング部60cの内径側とを主軸方向において接続している。 Thefirst ring portion 60a is arranged above the bottom wall 11a3 of the mouthpiecemain body 11A in the main axis direction (+Z side). Thefirst ring portion 60a has a larger outer diameter than the through hole 11a4, and extends to the inner wall surface of the peripheral wall 11a1 of the mouthpiecemain body 11A. Thefirst ring portion 60a contacts thebottom wall 27d of theflavor source container 4 inside the peripheral wall 11a1. The surface of thefirst ring portion 60a facing thebottom wall 27d of theflavor source container 4 may be a flat surface, or a groove may be formed in accordance with the shape of the legs of thebottom wall 27d. Thefirst ring portion 60a serves as a circumferential slip prevention member for theflavor source container 4 and a sealing chamber for thefine hole 27e of theflavor source container 4. Note that thefirst ring portion 60a does not have to come into contact with thebottom wall 27d of theflavor source container 4. In that case, a seal portion that prevents introduction of outside air can be formed at the contact portion between theflavor source container 4 and themouthpiece 11 at thestep 27b. The cylindrical portion 60b is inserted through the through hole 11a4 of the bottom wall 11a3. The cylindrical portion 60b connects the inner diameter side of thefirst ring portion 60a and the inner diameter side of thesecond ring portion 60c in the main axis direction.

第2リング部60cは、吸口部本体11Aの底壁11a3より主軸方向下側(-Z側)に配置されている。第2リング部60cは、貫通孔11a4よりも外径が大きく、筒体11Bの内壁面まで延びている。第2リング部60cには、カートリッジ3に向かって主軸方向下側に突出する環状突起61が形成されている。環状突起61によって、カートリッジ3に対する第2リング部60cの接触が平面接触でなくなり、カートリッジ3に対する接触圧が増え、後述する周方向における摩擦力及び主軸方向における押圧力が発現し易くなる。 Thesecond ring portion 60c is arranged below the bottom wall 11a3 of the mouthpiecemain body 11A in the main axis direction (−Z side). Thesecond ring portion 60c has a larger outer diameter than the through hole 11a4 and extends to the inner wall surface of thecylindrical body 11B. Anannular protrusion 61 that protrudes downward in the main axis direction toward thecartridge 3 is formed on thesecond ring portion 60c. Due to theannular protrusion 61, the contact of thesecond ring portion 60c with thecartridge 3 is no longer a planar contact, and the contact pressure with respect to thecartridge 3 increases, making it easier to generate a frictional force in the circumferential direction and a pressing force in the main axis direction, which will be described later.

第1リング部60a、円筒部60b、及び、第2リング部60cの中心には、連通孔62が形成されている。連通孔62は、上述したカートリッジ3のタンク21の貫通孔21bと、香味源容器4の微細孔27eとを連通させている。第2リング部60cの環状突起61は、二重環状に形成されている。この環状突起61が、カートリッジ3の貫通孔21bの周囲のタンク21の頂壁21aに当接することで、気密性の高い二重シールを形成することができる。 Acommunication hole 62 is formed at the center of thefirst ring part 60a, the cylindrical part 60b, and thesecond ring part 60c. Thecommunication hole 62 allows the throughhole 21b of thetank 21 of thecartridge 3 described above to communicate with thefine hole 27e of theflavor source container 4. Theannular projection 61 of thesecond ring portion 60c is formed in a double annular shape. Thisannular protrusion 61 comes into contact with thetop wall 21a of thetank 21 around the throughhole 21b of thecartridge 3, thereby forming a highly airtight double seal.

図22に戻り、筒体11Bは、吸口部本体11Aのフランジ部11a2よりも下側の周壁11a1に、圧入により外嵌している。筒体11Bの周面には、2つの突起部11b1が周方向に等間隔(180°)で配置されている。筒体11Bは、吸口部本体11Aの周壁11a1よりも主軸方向下側(-Z側)に延びている。筒体11Bによって囲まれた底壁11a3より下側の空間には、上述した第2リング部60c配置がされる。なお、図6に示すように、筒体11Bの内径は、カートリッジ3の外径よりも大きい。これにより、後述する図37に示すような状態で、吸口部11がカートリッジ3に向かって強く押し込まれ、第2リング部60cが主軸方向に潰れるように弾性変形しても、筒体11Bがカートリッジ3に干渉しないようになっている。 Returning to FIG. 22, thecylindrical body 11B is press-fitted onto the peripheral wall 11a1 below the flange portion 11a2 of the mouthpiecemain body 11A. Two protrusions 11b1 are arranged at equal intervals (180°) in the circumferential direction on the circumferential surface of thecylindrical body 11B. Thecylinder 11B extends lower in the main axis direction (-Z side) than the peripheral wall 11a1 of the mouthpiecemain body 11A. The above-mentionedsecond ring portion 60c is arranged in the space below the bottom wall 11a3 surrounded by thecylinder 11B. Note that, as shown in FIG. 6, the inner diameter of thecylindrical body 11B is larger than the outer diameter of thecartridge 3. As a result, even if thesuction part 11 is strongly pushed toward thecartridge 3 and thesecond ring part 60c is elastically deformed so as to be crushed in the direction of the main axis in a state as shown in FIG. It is designed not to interfere with 3.

<メイン基板>
図23は、一実施形態に係るメイン基板31の斜視図である。図24は、一実施形態に係るメイン基板31の突電極50から突電極カバー51を取り外した状態を示す斜視図である。
図23に示すように、メイン基板31は、Y-Z平面に沿って延びる板形状を有し、前側(+X側)を向く第1板面31aと、後側(-X側)を向く第2板面31bと、を有する。メイン基板31の第2板面31bには、上述したカートリッジ収容部10と受け部43によって形成される内部空間であるカートリッジ収容室に挿入される突電極50と、カートリッジ収容部10の内部を照らす光源52と、が配置されている。なお、突電極50は、カートリッジ収容室において、カートリッジ収容部10の内部まで到達してもよいし、受け部43の内部までしか到達していなくても構わない。また、受け部43がフラットな板形状である場合には、突電極50は、カートリッジ収容部10の内部まで容易に到達できる。
<Main board>
FIG. 23 is a perspective view of themain board 31 according to one embodiment. FIG. 24 is a perspective view showing a state in which thesalient electrode cover 51 is removed from thesalient electrode 50 of themain board 31 according to one embodiment.
As shown in FIG. 23, themain board 31 has a plate shape extending along the YZ plane, and has afirst plate surface 31a facing the front side (+X side) and afirst plate surface 31a facing the rear side (-X side). It has twoplate surfaces 31b. Thesecond plate surface 31b of themain board 31 includes a protrudingelectrode 50 that is inserted into the cartridge housing chamber, which is the internal space formed by thecartridge housing section 10 and the receivingsection 43, and a projectingelectrode 50 that illuminates the inside of thecartridge housing section 10. Alight source 52 is arranged. Note that the protrudingelectrode 50 may reach the inside of thecartridge accommodating section 10 in the cartridge accommodating chamber, or may only reach the inside of the receivingsection 43. Further, when the receivingportion 43 has a flat plate shape, the protrudingelectrode 50 can easily reach the inside of thecartridge accommodating portion 10.

ここで「メイン基板」とは、外装ケース12の内部に収容された基板のなかで最も大きな基板を言う。メイン基板31は、上述したサブ基板32や入力デバイス15のスイッチ基板15bなどに比べて大きい。なお、外装ケース12の内部に基板が1枚しか収容されていない場合は、その基板は「メイン基板」である。また、外装ケース12の内部に同じ大きさの基板が2枚収容されている場合は、CPUやマイコンなどの電子制御の演算部が設けられた基板を「メイン基板」とする。 Here, the "main board" refers to the largest board among the boards housed inside theexterior case 12. Themain board 31 is larger than the sub-board 32 described above, theswitch board 15b of theinput device 15, and the like. Note that if only one board is housed inside theexterior case 12, that board is the "main board." Furthermore, when two boards of the same size are housed inside theexterior case 12, the board provided with an electronically controlled calculation section such as a CPU or a microcomputer is defined as the "main board".

メイン基板31は、主軸方向(Z軸方向)に延びる第1部分31Aと、第1部分31Aと交差する方向に延びる第2部分31Bと、を有する。第2部分31Bは、第1部分31Aが延びる方向と直交するY軸方向に延びている。つまり、メイン基板31は、X軸方向から視てL字状に形成されている。なお、第2部分31Bは、図10に示す受け部43の下側(-Z側)まで延出できれば、第1部分31Aに対して必ずしも直角に曲がっている必要は無い。つまり、メイン基板31の形状は、L字状に限られない。 Themain board 31 has afirst portion 31A extending in the main axis direction (Z-axis direction) and asecond portion 31B extending in a direction intersecting thefirst portion 31A. Thesecond portion 31B extends in the Y-axis direction orthogonal to the direction in which thefirst portion 31A extends. That is, themain board 31 is formed in an L-shape when viewed from the X-axis direction. Note that thesecond portion 31B does not necessarily need to be bent at right angles to thefirst portion 31A as long as it can extend to the lower side (−Z side) of the receivingportion 43 shown in FIG. That is, the shape of themain board 31 is not limited to the L-shape.

第1部分31Aは、図10に示すホルダー30のメインプレート41に重なる部分である。第1部分31Aは、メインプレート41上において基板支持片41d及び挟持片42aに保持される。第1部分31Aは、メインプレート41に沿って主軸方向に延びている。つまり、第1部分31Aは、カートリッジ収容部10と平行に延びている。光源52は、第1部分31Aのカートリッジ収容部10側(+Y側)に配置されている(図23参照)。 Thefirst portion 31A is a portion that overlaps themain plate 41 of theholder 30 shown in FIG. Thefirst portion 31A is held on themain plate 41 by asubstrate support piece 41d and aclamping piece 42a. Thefirst portion 31A extends along themain plate 41 in the main axis direction. That is, thefirst portion 31A extends parallel to thecartridge accommodating portion 10. Thelight source 52 is arranged on thecartridge accommodating portion 10 side (+Y side) of thefirst portion 31A (see FIG. 23).

第2部分31Bは、図10に示すホルダー30のメインプレート41上から受け部43側(+Y側)に延出した部分である。第2部分31Bは、受け部43の底壁43bの基板支持片43e及び挟持片43fに保持される。第2部分31Bは、受け部43(つまり、カートリッジ収容部10の端部)と主軸方向(Z軸方向)で対向して配置される。言い換えると、第2部分31Bは、受け部43と主軸方向で並んで配置される。突電極50は、第2部分31Bの受け部43と対向する側(+Z側)に配置されている(図23参照)。 Thesecond portion 31B is a portion extending from above themain plate 41 of theholder 30 shown in FIG. 10 toward the receivingportion 43 side (+Y side). Thesecond portion 31B is held by thesubstrate support piece 43e and theclamping piece 43f of thebottom wall 43b of the receivingportion 43. Thesecond portion 31B is arranged to face the receiving portion 43 (that is, the end of the cartridge accommodating portion 10) in the main axis direction (Z-axis direction). In other words, thesecond portion 31B is arranged side by side with the receivingportion 43 in the main axis direction. The protrudingelectrode 50 is arranged on the side (+Z side) of thesecond portion 31B that faces the receiving portion 43 (see FIG. 23).

図24に示すように、突電極50は、メイン基板31の第2板面31bに設けられた台座部50Aに支持されている。台座部50Aは、突電極50をメイン基板31の板面(第1板面31a、第2板面31b、つまりY-Z平面)と平行になるように支持している。すなわち、台座部50Aに支持された突電極50の+と-の2つの端子は、Y-Z平面に沿って平行に延びている。 As shown in FIG. 24, the protrudingelectrode 50 is supported by apedestal portion 50A provided on thesecond plate surface 31b of themain board 31. As shown in FIG. Thepedestal portion 50A supports the protrudingelectrode 50 so as to be parallel to the plate surface (thefirst plate surface 31a, thesecond plate surface 31b, that is, the YZ plane) of themain board 31. That is, the two terminals, + and -, of the protrudingelectrode 50 supported by thepedestal portion 50A extend in parallel along the YZ plane.

メイン基板31には、突電極50が設けられる部分を覆う突電極カバー51が設けられている。突電極50が設けられる部分は、台座部50Aを含む。詳しくは、突電極50が設けられる部分は、台座部50A、突電極50の根本部分、及び、第2板面31bにおける台座部50Aの周辺領域が含まれる。突電極カバー51は、第2板面31bと対向する側が開口した略箱状に形成されている。突電極カバー51は、台座部50Aの-X側に配置されたカバー端壁51aと、台座部50AのY軸方向両側及びZ軸方向両側の四方を囲うカバー周壁51bと、を有している。 Themain board 31 is provided with a protrudingelectrode cover 51 that covers a portion where the protrudingelectrode 50 is provided. The portion where the protrudingelectrode 50 is provided includes apedestal portion 50A. Specifically, the portion where the protrudingelectrode 50 is provided includes thepedestal portion 50A, the root portion of the protrudingelectrode 50, and the peripheral area of thepedestal portion 50A on thesecond plate surface 31b. The protrudingelectrode cover 51 is formed into a substantially box shape with an open side facing thesecond plate surface 31b. The protrudingelectrode cover 51 has acover end wall 51a disposed on the −X side of thepedestal portion 50A, and a coverperipheral wall 51b surrounding the four sides of thepedestal portion 50A on both sides in the Y-axis direction and both sides in the Z-axis direction. .

カバー周壁51bの+Z側の壁部には、突電極50が貫通して配置される貫通孔51cが2つ形成されている。なお、突電極50の先端部分は、突電極50の根本部分に収容された図示しないバネ部材によって、+Z側に付勢されており、Z軸方向に変位自在とされている。つまり、突電極50は、カートリッジ3に向かって延びており、カートリッジ3が挿入された際には-Z方向に変位する。その状態においても突電極50は、+Z方向に付勢されているのでカートリッジ3との接触を確実とすることができる。貫通孔51cの内壁面は、突電極50の先端部分の変位を拘束しない部分、本実施形態では、例えば突電極50の根本部分の外周に密着している。 Two throughholes 51c through which the protrudingelectrodes 50 are disposed are formed in the +Z side wall portion of the coverperipheral wall 51b. Note that the tip portion of the protrudingelectrode 50 is biased toward the +Z side by a spring member (not shown) housed in the base portion of the protrudingelectrode 50, and is freely displaceable in the Z-axis direction. That is, the protrudingelectrode 50 extends toward thecartridge 3, and is displaced in the -Z direction when thecartridge 3 is inserted. Even in this state, the protrudingelectrode 50 is biased in the +Z direction, so that contact with thecartridge 3 can be ensured. The inner wall surface of the throughhole 51c is in close contact with a portion that does not restrict the displacement of the tip portion of the protrudingelectrode 50, for example, the outer periphery of the root portion of the protrudingelectrode 50 in this embodiment.

図25は、図9に示す矢視F-F断面図である。
図25に示すように、突電極カバー51は、挿入孔43cが形成されたホルダー30の受け部43に当接している。挿入孔43cには、突電極50が挿入される。突電極カバー51のカバー周壁51bの+Z側の壁部は、受け部43の底壁43bの環状壁43dに主軸方向で当接している。突電極カバー51は、シリコーン樹脂から形成されている。カバー周壁51bの+Z側の壁部は、環状壁43dとの当接により弾性変形している。
FIG. 25 is a sectional view taken along arrow FF shown in FIG.
As shown in FIG. 25, the protrudingelectrode cover 51 is in contact with the receivingpart 43 of theholder 30 in which theinsertion hole 43c is formed. The protrudingelectrode 50 is inserted into theinsertion hole 43c. The +Z side wall portion of the coverperipheral wall 51b of the protrudingelectrode cover 51 is in contact with theannular wall 43d of thebottom wall 43b of the receivingportion 43 in the main axis direction. The protrudingelectrode cover 51 is made of silicone resin. The +Z side wall portion of the coverperipheral wall 51b is elastically deformed due to contact with theannular wall 43d.

受け部43の底壁43bには、基板当接部43jが設けられている。基板当接部43jは、環状壁43dの+X側に配置されている。基板当接部43jは、受け部43の底壁43bから-Z側に突出して設けられ、メイン基板31と主軸方向で当接している。基板当接部43jは、図10に示すように、底壁43bに設けられた基板支持片43e及び挟持片43fとの間に配置され、Y軸方向に直線状に延びている。 Asubstrate contact portion 43j is provided on thebottom wall 43b of the receivingportion 43. Thesubstrate contact portion 43j is arranged on the +X side of theannular wall 43d. Theboard contacting part 43j is provided to protrude from thebottom wall 43b of the receivingpart 43 toward the −Z side, and is in contact with themain board 31 in the main axis direction. As shown in FIG. 10, thesubstrate contact portion 43j is arranged between asubstrate support piece 43e and aclamping piece 43f provided on thebottom wall 43b, and extends linearly in the Y-axis direction.

図25に示すように、環状壁43dは、基板当接部43jよりも-Z側に延びている。環状壁43dによる突電極カバー51の弾性変形は、基板当接部43jとメイン基板31との当接によって一定量に制限される。つまり、基板当接部43jによって、環状壁43dと突電極カバー51との接触圧を管理することができる。したがって、環状壁43dに突電極カバー51を過度に押し付けることなく、環状壁43dと突電極カバー51との間のシール性を確保できる。 As shown in FIG. 25, theannular wall 43d extends toward the −Z side from thesubstrate contact portion 43j. The elastic deformation of the protrudingelectrode cover 51 by theannular wall 43d is limited to a certain amount by the contact between theboard contact portion 43j and themain board 31. In other words, the contact pressure between theannular wall 43d and the protrudingelectrode cover 51 can be controlled by thesubstrate contact portion 43j. Therefore, the sealing performance between theannular wall 43d and the ejectedelectrode cover 51 can be ensured without excessively pressing the ejectedelectrode cover 51 against theannular wall 43d.

突電極カバー51は、突電極50と共に、メイン基板31に設けられている。つまり、突電極カバー51は、メイン基板31以外の構造体(例えば、外装ケース12など)に保持されていない。また、図25に示すように、突電極カバー51は、外装ケース12に対し非接触状態で組み込まれている。これにより、突電極カバー51が外装ケース12に接触して変形したり、位置ずれして、シース性が損なわれないようにすることができる。 The protrudingelectrode cover 51 is provided on themain board 31 together with the protrudingelectrode 50. That is, the protrudingelectrode cover 51 is not held by any structure other than the main board 31 (for example, theexterior case 12, etc.). Furthermore, as shown in FIG. 25, the protrudingelectrode cover 51 is assembled into theexterior case 12 in a non-contact manner. Thereby, it is possible to prevent the protrudingelectrode cover 51 from coming into contact with theexterior case 12 and being deformed or displaced, thereby preventing the sheath properties from being impaired.

<カバー部材>
図26は、一実施形態に係るカバー部材17を径方向外側から視た図である。図27は、一実施形態に係るカバー部材17を径方向内側から視た図である。図28は、一実施形態に係るカバー部材17の斜視図である。
図26に示すように、カバー部材17は、径方向外側、つまり本体ケース13を向く右側(+Y側)に、本体ケース側突起17Aを備えている。本体ケース側突起17Aは、図2に示すように、本体ケース13の開口部13aに挿入される。カバー部材17は、透光性を有しており、本体ケース側突起17Aを通して、カートリッジ収容部10に収容されたカートリッジ3のエアロゾル源の液残量を確認することができる。
<Cover member>
FIG. 26 is a diagram of thecover member 17 according to one embodiment viewed from the outside in the radial direction. FIG. 27 is a diagram of thecover member 17 according to one embodiment viewed from the inside in the radial direction. FIG. 28 is a perspective view of thecover member 17 according to one embodiment.
As shown in FIG. 26, thecover member 17 includes a main bodycase side protrusion 17A on the radially outer side, that is, on the right side (+Y side) facing themain body case 13. The maincase side protrusion 17A is inserted into theopening 13a of themain case 13, as shown in FIG. Thecover member 17 is translucent, and the remaining amount of liquid in the aerosol source of thecartridge 3 accommodated in thecartridge accommodating portion 10 can be confirmed through the main bodycase side protrusion 17A.

本体ケース側突起17Aは、本体ケース13の開口部13aと同じく、主軸方向(Z軸方向)に延びる長孔状に形成されている。本体ケース側突起17Aは、開口部13aよりも僅かに小さい。本体ケース側突起17Aと開口部13aとの間隙には、空気インレット18が形成されている。なお、本体ケース側突起17Aの一部は、開口部13aの内壁面と接触していても構わない。空気インレット18は、ユーザの吸引により、外装ケース12の内部に外気を取り込む吸気流路の入口である。 Like theopening 13a of themain body case 13, the main bodycase side protrusion 17A is formed in the shape of a long hole extending in the main axis direction (Z-axis direction). The main bodycase side protrusion 17A is slightly smaller than theopening 13a. Anair inlet 18 is formed in the gap between the main bodycase side protrusion 17A and theopening 13a. Note that a portion of the maincase side protrusion 17A may be in contact with the inner wall surface of theopening 13a. Theair inlet 18 is an entrance of an intake flow path that takes outside air into theexterior case 12 by suction from the user.

空気インレット18は、本体ケース13の開口部13aの開口縁(本体ケース側突起17Aの周縁とも言う)に沿って環状に形成されている。空気インレット18の大きさは、ユーザの指で完全には塞がれない大きさであるとよい。例えば、空気インレット18の主軸方向(Z軸方向)における寸法は、一般成人の平均の親指の第1指間接幅以上(例えば2.0cm以上)あるとよい。また、空気インレット18の主軸方向に平行に延びる2本のスリットのX軸方向の間隔が、一般成人の平均の親指の第1指間接幅以上あってもよい。
なお、空気インレット18は、ユーザの指で塞がれない大きさであれば、主軸方向に平行に延びる1本ないし2本のスリットだけであっても構わない。つまり、空気インレット18は、本体ケース13の開口部13aの開口縁に沿ってスリット状に形成されていても構わない。
Theair inlet 18 is formed in an annular shape along the opening edge of theopening 13a of the main body case 13 (also referred to as the periphery of the main bodycase side protrusion 17A). The size of theair inlet 18 is preferably such that it cannot be completely blocked by the user's finger. For example, the dimension of theair inlet 18 in the main axis direction (Z-axis direction) may be greater than or equal to the width between the first fingers of an average adult's thumb (for example, 2.0 cm or more). Further, the distance in the X-axis direction between the two slits extending parallel to the main axis direction of theair inlet 18 may be greater than or equal to the width between the first fingers of the average adult's thumb.
Note that theair inlet 18 may have only one or two slits extending parallel to the main axis direction, as long as theair inlet 18 is large enough not to be blocked by the user's fingers. That is, theair inlet 18 may be formed in the shape of a slit along the opening edge of theopening 13a of themain body case 13.

図28に示すように、カバー部材17は、本体ケース側突起17Aを支持する板部17Bを有する。板部17Bは、本体ケース13の内側に重なるように配置される。板部17Bは、本体ケース13とカートリッジ収容部10との間に介在する。板部17Bのカートリッジ収容部10側(-Y側)は、カートリッジ収容部10の周面に沿って湾曲している。また、板部17Bの本体ケース13側(+Y側)は、周壁部12B(図2参照)の内壁面に沿って湾曲している。板部17Bのカートリッジ収容部10側(-Y側)と本体ケース13側(+Y側)は、湾曲形状(曲率など)が異なっている。 As shown in FIG. 28, thecover member 17 has aplate portion 17B that supports the maincase side protrusion 17A. Theplate portion 17B is arranged so as to overlap the inside of themain body case 13. Theplate portion 17B is interposed between themain body case 13 and thecartridge accommodating portion 10. Thecartridge accommodating part 10 side (-Y side) of theplate part 17B is curved along the circumferential surface of thecartridge accommodating part 10. Further, themain body case 13 side (+Y side) of theplate portion 17B is curved along the inner wall surface of theperipheral wall portion 12B (see FIG. 2). Thecartridge accommodating portion 10 side (−Y side) and themain body case 13 side (+Y side) of theplate portion 17B have different curved shapes (curvatures, etc.).

さらに、板部17Bの本体ケース13側の主軸方向上側(+Z)は、周壁部12Bの第2コーナー部12C2の内壁面に沿って湾曲している。つまり、板部17Bは、主軸方向上側(+Z)に向かうに従って、厚みが減少している。板部17Bには、上述した空気孔19と、空気溝70と、ケース嵌合孔17b1と、が形成されている。空気孔19は、本体ケース側突起17AをX軸方向で挟んで2つ形成されている。 Further, the upper side (+Z) of theplate portion 17B in the main axis direction on themain body case 13 side is curved along the inner wall surface of the second corner portion 12C2 of theperipheral wall portion 12B. In other words, the thickness of theplate portion 17B decreases toward the upper side (+Z) in the main axis direction. The above-describedair hole 19,air groove 70, and case fitting hole 17b1 are formed in theplate portion 17B. Twoair holes 19 are formed sandwiching the main bodycase side protrusion 17A in the X-axis direction.

図29は、図3に示す矢視G-G断面図である。
図29に示すように、空気孔19は、カバー部材17と本体ケース13とが重なる箇所に配置されている。つまり、空気孔19は、本体ケース13の内側に配置され、且つ、本体ケース13に覆われている。したがって、空気孔19は、本体ケース13の外側から視認することはできない。また、空気孔19は、本体ケース13を取り除かない限り、指で直接塞ぐこともできない。
FIG. 29 is a sectional view taken along the line GG shown in FIG. 3.
As shown in FIG. 29, theair hole 19 is arranged at a location where thecover member 17 and themain body case 13 overlap. That is, theair hole 19 is arranged inside themain body case 13 and is covered by themain body case 13. Therefore, the air holes 19 cannot be visually recognized from the outside of themain body case 13. Further, theair hole 19 cannot be directly blocked with a finger unless themain body case 13 is removed.

空気孔19は、空気インレット18とカートリッジ収容部10の内部とを流体連通させる。空気孔19は、外装ケース12の内部に外気を取り込む吸気流路の主流路である。本実施形態の空気孔19は、カートリッジ収容部10に形成された空気連通孔10eに連通し、空気インレット18とカートリッジ収容部10の内部とを短距離で流体連通させる。なお、空気連通孔10eが形成されていない場合、空気孔19から外装ケース12の内部に取り込まれた空気は、カートリッジ収容部10のあらゆる隙間を通って、カートリッジ収容部10の内部に流入する。Air hole 19 provides fluid communication betweenair inlet 18 and the interior ofcartridge housing 10 . Theair hole 19 is a main flow path of an intake flow path that takes outside air into the interior of theexterior case 12 . Theair hole 19 of this embodiment communicates with theair communication hole 10e formed in thecartridge accommodating part 10, and provides fluid communication between theair inlet 18 and the inside of thecartridge accommodating part 10 over a short distance. Note that when theair communication hole 10e is not formed, the air taken into theexterior case 12 from theair hole 19 flows into the inside of thecartridge accommodating part 10 through every gap in thecartridge accommodating part 10.

図26に戻り、ケース嵌合孔17b1は、板部17Bにおいて空気孔19の上側と下側に2つずつ、本体ケース側突起17AをX軸方向で挟んで2組形成されている。計4つのケース嵌合孔17b1には、本体ケース13が爪嵌合する。具体的に、本体ケース側突起17Aの+X側に配置された2つのケース嵌合孔17b1には、第1ケース13Aの嵌合爪13E(後述する図34参照)が爪嵌合する。また、本体ケース側突起17Aの-X側に配置された2つのケース嵌合孔17b1には、第2ケース13Bの嵌合爪13I(後述する図35参照)が爪嵌合する。 Returning to FIG. 26, two sets of case fitting holes 17b1 are formed in theplate portion 17B, two above and below theair hole 19, sandwiching the maincase side protrusion 17A in the X-axis direction. Themain body case 13 is fitted into a total of four case fitting holes 17b1. Specifically,fitting claws 13E (see FIG. 34 described later) of thefirst case 13A are fitted into two case fitting holes 17b1 arranged on the +X side of the maincase side protrusion 17A. Further,fitting claws 13I (see FIG. 35 described later) of thesecond case 13B are fitted into two case fitting holes 17b1 arranged on the −X side of the maincase side protrusion 17A.

空気溝70は、空気インレット18と空気孔19との間を接続する空間を形成する。図28に示すように、空気溝70は、環状溝部71と、2つの段差溝部72と、を有する。環状溝部71は、板部17Bにおける本体ケース側突起17Aの周囲に環状に形成されている。環状溝部71は、板部17Bの本体ケース13側(+Y)の外面よりも-Y側に窪んでいる。環状溝部71の幅は、図29に示すように、空気インレット18の幅(内周縁から外周縁までの距離)よりも大きいとよい。 Theair groove 70 forms a space connecting theair inlet 18 and theair hole 19. As shown in FIG. 28, theair groove 70 has anannular groove portion 71 and two steppedgroove portions 72. Theannular groove portion 71 is formed in an annular shape around the main bodycase side protrusion 17A on theplate portion 17B. Theannular groove portion 71 is recessed toward the −Y side from the outer surface of theplate portion 17B on themain body case 13 side (+Y). The width of theannular groove 71 is preferably larger than the width of the air inlet 18 (distance from the inner circumferential edge to the outer circumferential edge), as shown in FIG.

2つの段差溝部72は、環状溝部71の+X側の端縁と、-X側の端縁に形成されている。段差溝部72は、環状溝部71よりも低い底面を有する。つまり、段差溝部72は、環状溝部71よりも-Y側に窪んでいる。この段差溝部72の底面には、空気孔19が形成されている。段差溝部72の底面は、空気孔19の開口面積よりも広く形成されている。 The two steppedgrooves 72 are formed at the +X side edge and the -X side edge of theannular groove 71. The steppedgroove portion 72 has a lower bottom surface than theannular groove portion 71. In other words, thestep groove portion 72 is recessed toward the −Y side with respect to theannular groove portion 71. Air holes 19 are formed in the bottom surface of this steppedgroove portion 72 . The bottom surface of the steppedgroove portion 72 is formed to be wider than the opening area of theair hole 19.

図27に示すように、カバー部材17は、板部17Bのカートリッジ収容部10側(-Y側)に、カートリッジ収容部側突起17Cを有する。カートリッジ収容部側突起17Cは、カートリッジ収容部10の周面に形成された貫通孔10c(図18参照)に挿入される。カートリッジ収容部側突起17Cは、カートリッジ収容部10の貫通孔10cと同じく、主軸方向(Z軸方向)に延びる長孔状に形成されている。 As shown in FIG. 27, thecover member 17 has a cartridge accommodatingpart side protrusion 17C on thecartridge accommodating part 10 side (-Y side) of theplate part 17B. The cartridge accommodatingpart side protrusion 17C is inserted into a throughhole 10c (see FIG. 18) formed in the circumferential surface of thecartridge accommodating part 10. Like the throughhole 10c of thecartridge accommodating part 10, the cartridge accommodatingpart side protrusion 17C is formed in the shape of a long hole extending in the main axis direction (Z-axis direction).

また、図27に示すように、カバー部材17は、板部17Bのカートリッジ収容部10側(-Y側)に、カバー位置決め突起17Dを有する。カバー位置決め突起17Dは、カートリッジ収容部側突起17Cの-X側に配置されている。カバー位置決め突起17Dは、X軸方向に延びる矩形状の突起である。カバー位置決め突起17Dは、図18に示すカートリッジ収容部10の矩形溝10c1に挿入される。これにより、カートリッジ収容部10に対するカバー部材17の組み付けの間違いを防止できる。 Further, as shown in FIG. 27, thecover member 17 has acover positioning protrusion 17D on thecartridge accommodating section 10 side (-Y side) of theplate section 17B. Thecover positioning projection 17D is arranged on the -X side of the cartridge accommodatingsection side projection 17C. Thecover positioning projection 17D is a rectangular projection extending in the X-axis direction. Thecover positioning protrusion 17D is inserted into the rectangular groove 10c1 of thecartridge accommodating portion 10 shown in FIG. Thereby, it is possible to prevent mistakes in assembling thecover member 17 to thecartridge accommodating portion 10.

<センサホルダー>
図30は、一実施形態に係るセンサホルダー35を径方向外側から視た図である。図31は、一実施形態に係るセンサホルダー35を径方向内側から視た図である。図32は、一実施形態に係るセンサホルダー35の斜視図である。
図32に示すように、センサホルダー35は、カートリッジ収容部10の周面に沿った形状の湾曲板部35Aを有する。湾曲板部35Aは、図29に示すように、カートリッジ収容部10の周面に、接着シート48を介して気密に接している。湾曲板部35Aは、カートリッジ収容部10とホルダー30との間の狭い隙間に配置されている。
<Sensor holder>
FIG. 30 is a diagram of thesensor holder 35 according to one embodiment viewed from the outside in the radial direction. FIG. 31 is a diagram of thesensor holder 35 according to one embodiment viewed from the inside in the radial direction. FIG. 32 is a perspective view of thesensor holder 35 according to one embodiment.
As shown in FIG. 32, thesensor holder 35 has acurved plate portion 35A shaped along the circumferential surface of thecartridge accommodating portion 10. As shown in FIG. As shown in FIG. 29, thecurved plate portion 35A is in airtight contact with the circumferential surface of thecartridge accommodating portion 10 via theadhesive sheet 48. Thecurved plate portion 35A is arranged in a narrow gap between thecartridge accommodating portion 10 and theholder 30.

センサホルダー35には、湾曲板部35Aのカートリッジ収容部10と反対側の外面に、図29に示すように、ホルダー30側に突出するホルダー側突起35Bが設けられている。ホルダー側突起35Bは、筒状に形成されている。ホルダー側突起35Bの内側には、センサ34が保持されている。ホルダー側突起35B(及びセンサ34)は、ホルダー30の第2リブ42Dの第2切欠部42d2に挿入されるように配置されている。 Thesensor holder 35 is provided with a holder-side protrusion 35B that protrudes toward theholder 30, as shown in FIG. 29, on the outer surface of thecurved plate portion 35A on the side opposite to thecartridge accommodating portion 10. The holder-side protrusion 35B is formed into a cylindrical shape. Asensor 34 is held inside the holder-side protrusion 35B. The holder-side protrusion 35B (and the sensor 34) is arranged to be inserted into the second notch 42d2 of thesecond rib 42D of theholder 30.

ホルダー側突起35Bには、カートリッジ収容部10の内部とセンサ34との間を接続する空気流路80が形成されている。空気流路80は、センサ34から湾曲板部35Aの内壁面まで径方向に延びている。空気流路80のカートリッジ収容部10側には、センサ34を保持する保持部35Cが設けられている。保持部35Cは、センサ34よりも径方向内側において、図31に示すように、空気流路80の内壁面に一対で対向配置されている。保持部35Cにセンサ34が当接することで、センサ34のカートリッジ収容部10内部への落下が防止される。 Anair flow path 80 that connects the inside of thecartridge accommodating portion 10 and thesensor 34 is formed in theholder side protrusion 35B. Theair flow path 80 extends in the radial direction from thesensor 34 to the inner wall surface of thecurved plate portion 35A. A holdingportion 35C that holds thesensor 34 is provided on thecartridge accommodating portion 10 side of theair flow path 80. As shown in FIG. 31, the holdingportions 35C are arranged as a pair on the inner wall surface of theair flow path 80 to face each other in the radial inner side than thesensor 34. As shown in FIG. Since thesensor 34 comes into contact with the holdingportion 35C, thesensor 34 is prevented from falling into thecartridge accommodating portion 10.

センサ34は、カートリッジ収容部10側が、検出部となっている。検出部は、例えば、圧力変動に応じて変形するダイアフラムの挙動を、静電容量の変化として検出する。検出部は、防水通気性部材81で覆われている。防水通気性部材81は、防水性と、通気性を併せ持つ素材から形成されている。防水通気性部材81の素材には、水滴は通さないが、空気であれば通れる大きさの無数の微細孔が形成されている。この防水通気性部材81は、カートリッジ収容部10の内部とセンサ34との間の空間を仕切る。つまり、防水通気性部材81は、カートリッジ収容部10の内部からセンサ34へは液体を通さず、空気だけを通す。 Thesensor 34 has a detecting section on thecartridge accommodating section 10 side. The detection unit detects, for example, the behavior of the diaphragm that deforms in response to pressure fluctuations as a change in capacitance. The detection section is covered with a waterproof andbreathable member 81. The waterproof andbreathable member 81 is made of a material that is both waterproof and breathable. The material of the waterproof andbreathable member 81 is formed with numerous micropores that are large enough to prevent water droplets from passing through but allow air to pass through. This waterproof andbreathable member 81 partitions a space between the inside of thecartridge accommodating section 10 and thesensor 34. In other words, the waterproofbreathable member 81 does not allow liquid to pass from the inside of thecartridge accommodating portion 10 to thesensor 34, but only allows air to pass therethrough.

図32に示すように、湾曲板部35Aのカートリッジ収容部10側の内壁面には、カートリッジ収容部10側に突出したカートリッジ収容部側突起35Dが設けられている。カートリッジ収容部側突起35Dは、図31に示すように、径方向内側から視て略C字状に形成されている。カートリッジ収容部側突起35Dは、カートリッジ収容部10の周面に形成された貫通孔10d(図19参照)に挿入される。 As shown in FIG. 32, a cartridge accommodatingpart side protrusion 35D that protrudes toward thecartridge accommodating part 10 side is provided on the inner wall surface of thecurved plate part 35A on thecartridge accommodating part 10 side. As shown in FIG. 31, the cartridge accommodatingportion side protrusion 35D is formed into a substantially C-shape when viewed from the inside in the radial direction. The cartridge accommodatingpart side protrusion 35D is inserted into a throughhole 10d (see FIG. 19) formed in the circumferential surface of thecartridge accommodating part 10.

センサホルダー35は、透光性を有し、図6に示す光源52の光をカートリッジ収容部10の内部に導く導光部材を兼ねている。このセンサホルダー35は、例えば、ポリカーボネート樹脂から形成されている。ポリカーボネート樹脂は、センサ34を保持するセンサホルダー35に、適当な硬さと、導光部材を兼ねるための良好な透光性を付加する。センサホルダー35の透光性としては、透過する光が拡散されるような、透明よりも透過率が低いものが好ましい。 Thesensor holder 35 is translucent and also serves as a light guiding member that guides the light from thelight source 52 shown in FIG. 6 into thecartridge accommodating portion 10. Thissensor holder 35 is made of polycarbonate resin, for example. The polycarbonate resin provides thesensor holder 35 that holds thesensor 34 with appropriate hardness and good translucency so that it can also serve as a light guide member. The light transmittance of thesensor holder 35 is preferably one having a lower transmittance than transparent so that the transmitted light is diffused.

センサホルダー35は、図6に示すように、光源52とカートリッジ収容部10との間に介在している。光源52は、センサ34と重ならないように、カートリッジ収容部10の主軸方向(Z軸方向)においてセンサ34よりも上側(+Z側)に配置されている。光源52は、カートリッジ収容部10の主軸方向において、カートリッジ挿抜口10aと反対側に配置されている。なお、「カートリッジ挿抜口と反対側」とは、カートリッジ収容部10の主軸方向における寸法をLとしたときに、カートリッジ挿抜口10aと反対側の端部からL/2の範囲内の領域を言う。 Thesensor holder 35 is interposed between thelight source 52 and thecartridge accommodating portion 10, as shown in FIG. Thelight source 52 is arranged above the sensor 34 (+Z side) in the main axis direction (Z-axis direction) of thecartridge accommodating section 10 so as not to overlap thesensor 34. Thelight source 52 is arranged on the side opposite to the cartridge insertion/extraction opening 10a in the main axis direction of thecartridge accommodating portion 10. Note that "the side opposite to the cartridge insertion/extraction opening" refers to an area within a range of L/2 from the end opposite to the cartridge insertion/extraction opening 10a, where L is the dimension of thecartridge accommodating portion 10 in the main axis direction. .

光源52は、窓部16と少なくとも一部と重なって配置されている。つまり、Y軸方向から視て、窓部16と光源52とが重なって配置されている。なお、窓部16と光源52との間には、カートリッジ3のタンク21が配置されている。光源52は、タンク21の内部の液体収容室21gの少なくとも下半分を照らしている。なお、窓部16と光源52との間には、カバー部材17、カートリッジ収容部10の貫通孔10c、タンク21、カートリッジ収容部10の貫通孔10d、センサホルダー35、ホルダー30の第2リブ42Dの第1切欠部42d1が配置されている。 Thelight source 52 is arranged to at least partially overlap thewindow section 16. That is, thewindow portion 16 and thelight source 52 are arranged to overlap when viewed from the Y-axis direction. Note that atank 21 for thecartridge 3 is arranged between thewindow portion 16 and thelight source 52. Thelight source 52 illuminates at least the lower half of theliquid storage chamber 21g inside thetank 21. In addition, between thewindow part 16 and thelight source 52, there are acover member 17, a throughhole 10c of thecartridge accommodating part 10, atank 21, a throughhole 10d of thecartridge accommodating part 10, asensor holder 35, and asecond rib 42D of theholder 30. A first notch 42d1 is arranged.

<本体ユニットの組立方法>
図33は、一実施形態に係る本体ユニット2の組立方法を示す斜視図である。図34は、一実施形態に係る第1ケース13Aの内側の構成を示す背面図である。図35は、一実施形態に係る第2ケース13Bの内側の構成を示す正面図である。
図33に示すように、本体ユニット2は、ホルダー30を中心に各種構成部品を組み込んだホルダーユニット100を、バイブレータ36を取り付けた第1ケース13Aにねじ止めし、次に、第1ケース13Aと第2ケース13Bと組み合わせ、最後に溶着処理を施すことで組み立てられる。この溶着には、超音波溶着が好適である。
<How to assemble the main unit>
FIG. 33 is a perspective view showing a method of assembling themain body unit 2 according to one embodiment. FIG. 34 is a rear view showing the inner configuration of thefirst case 13A according to one embodiment. FIG. 35 is a front view showing the inner configuration of thesecond case 13B according to one embodiment.
As shown in FIG. 33, in themain unit 2, theholder unit 100, in which various components are assembled around theholder 30, is screwed to thefirst case 13A to which thevibrator 36 is attached. It is assembled by combining it with thesecond case 13B and finally performing a welding process. Ultrasonic welding is suitable for this welding.

ホルダーユニット100には、第1ケース13A、第2ケース13B、及びバイブレータ36を除く本体ユニット2の構成部品が含まれる。具体的に、ホルダーユニット100は、ホルダー30と、カートリッジ収容部10と、吸口部11と、ディスプレイカバー14と、入力デバイス15と、メイン基板31と、サブ基板32と、表示デバイス33と、センサ34と、センサホルダー35と、電源37と、を含む。なお、吸口部11は、本体ユニット2の組立時には、カートリッジ収容部10から取り外していても構わない。 Theholder unit 100 includes thefirst case 13A, thesecond case 13B, and the components of themain body unit 2 except thevibrator 36. Specifically, theholder unit 100 includes aholder 30, acartridge accommodating section 10, amouthpiece 11, adisplay cover 14, aninput device 15, amain board 31, a sub-board 32, adisplay device 33, and a sensor. 34, asensor holder 35, and apower source 37. Note that themouthpiece 11 may be removed from thecartridge accommodating section 10 when themain body unit 2 is assembled.

図34に示すように、第1ケース13Aの第1主面部12A1には、第2ケース13Bと対向する対向面13a1に、上述したバイブレータ36の取付部13Dと、ホルダー30をねじ止めする2つのボス部13Cと、ホルダー30の第1リブ42Cと第2リブ42Dに当接する複数のケース側突起部13Gと、ホルダー30の受け部43に当接する溝部13Hと、が形成されている。 As shown in FIG. 34, the first main surface portion 12A1 of thefirst case 13A has a mountingportion 13D for thevibrator 36 described above and two screws to which theholder 30 is screwed, on the opposing surface 13a1 facing thesecond case 13B. Aboss portion 13C, a plurality ofcase side protrusions 13G that come into contact with thefirst rib 42C and thesecond rib 42D of theholder 30, and agroove portion 13H that comes into contact with the receivingportion 43 of theholder 30 are formed.

2つのボス部13Cには、ねじ孔が形成されている。2つのボス部13Cには、ホルダー30の2つの貫通孔30aを通った2本のねじ40(図33参照)が螺合する。ケース側突起部13Gは、第1リブ42Cに当接するものであり、図34に示すように、対向面13a1において取付部13Dよりも-Y側に配置され、主軸方向(Z軸方向)に点在している。 Screw holes are formed in the twoboss portions 13C. Two screws 40 (see FIG. 33) passing through two throughholes 30a of theholder 30 are screwed into the twoboss portions 13C. The case-side protrusion 13G is in contact with thefirst rib 42C, and as shown in FIG. 34, it is arranged on the −Y side of the mountingportion 13D on the opposing surface 13a1, and points in the main axis direction (Z-axis direction). There is.

第2リブ42Dに当接するケース側突起部13Gは、対向面13b1において取付部13Dよりも+Y側に配置され、主軸方向(Z軸方向)に点在している。なお、主軸方向下側(-Z側)の端に配置されたケース側突起部13G1は、第2リブ42Dの分岐部42D1に対応して、L字状に屈曲している。溝部13Hは、受け部43の周面に沿って+X側に窪んでいる。 The case-side protrusions 13G that come into contact with thesecond rib 42D are arranged on the +Y side of the mountingportion 13D on the opposing surface 13b1, and are scattered in the main axis direction (Z-axis direction). Note that the case-side protrusion 13G1 disposed at the lower (−Z side) end in the main axis direction is bent in an L-shape in correspondence with the branch portion 42D1 of thesecond rib 42D. Thegroove portion 13H is recessed along the circumferential surface of the receivingportion 43 toward the +X side.

第1ケース13Aの第1周壁部12B1の内壁面には、左右両側に設けられた嵌合爪13Eと、下側に設けられた嵌合爪13Fと、が設けられている。第1周壁部12B1の+Y側に設けられた2つの嵌合爪13Eは、上述したカバー部材17のケース嵌合孔17b1(図26、図28参照)に爪嵌合する。 The inner wall surface of the first circumferential wall portion 12B1 of thefirst case 13A is provided withfitting claws 13E provided on both left and right sides and afitting claw 13F provided on the lower side. The twofitting claws 13E provided on the +Y side of the first peripheral wall portion 12B1 are fitted into the case fitting holes 17b1 (see FIGS. 26 and 28) of thecover member 17 described above.

また、第1周壁部12B1の-Y側に設けられた3つの嵌合爪13Eは、上述したホルダー30の第1嵌合孔42e1(図11、図29参照)に爪嵌合する。また、第1周壁部12B1の-Z側に設けられた2つの嵌合爪13Fは、後述する第2ケース13Bの爪受け部13K(図35参照)に爪嵌合する。 Furthermore, the threefitting claws 13E provided on the −Y side of the first peripheral wall portion 12B1 fit into the first fitting holes 42e1 (see FIGS. 11 and 29) of theholder 30 described above. Furthermore, the twofitting claws 13F provided on the −Z side of the first peripheral wall portion 12B1 are fitted into aclaw receiving portion 13K (see FIG. 35) of thesecond case 13B, which will be described later.

図35に示すように、第2ケース13Bの第2主面部12A2には、第1ケース13Aと対向する対向面13b1に、ホルダー30の第1リブ42Cと第2リブ42Dに当接する複数のケース側突起部13Jと、ホルダー30の受け部43に当接する溝部13Lと、が形成されている。 As shown in FIG. 35, the second main surface 12A2 of thesecond case 13B has a plurality of cases on the opposing surface 13b1 facing thefirst case 13A, which abuts thefirst rib 42C and thesecond rib 42D of theholder 30. Aside protrusion 13J and agroove 13L that abuts on the receivingportion 43 of theholder 30 are formed.

第1リブ42Cに当接するケース側突起部13Jは、対向面13b1の-Y側において、主軸方向(Z軸方向)に点在している。第2リブ42Dに当接するケース側突起部13Jは、対向面13b1のY軸方向略中央部において、主軸方向(Z軸方向)に直線状に延在している。溝部13Lは、受け部43の周面に沿って-X側に窪んでいる。 The case-side protrusions 13J that come into contact with thefirst ribs 42C are scattered in the main axis direction (Z-axis direction) on the -Y side of the opposing surface 13b1. The case-side protrusion 13J that abuts thesecond rib 42D extends linearly in the main axis direction (Z-axis direction) at approximately the center of the opposing surface 13b1 in the Y-axis direction. Thegroove portion 13L is recessed along the circumferential surface of the receivingportion 43 toward the −X side.

第2ケース13Bの第2周壁部12B2の内壁面には、左右両側に設けられた嵌合爪13Iと、下側に設けられた爪受け部13Kと、が設けられている。第2周壁部12B2の+Y側に設けられた2つの嵌合爪13Iは、上述したカバー部材17のケース嵌合孔17b1(図26、図28参照)に爪嵌合する。 The inner wall surface of the second peripheral wall portion 12B2 of thesecond case 13B is provided withfitting claws 13I provided on both left and right sides and aclaw receiving portion 13K provided on the lower side. The twofitting claws 13I provided on the +Y side of the second peripheral wall portion 12B2 are fitted into the case fitting holes 17b1 (see FIGS. 26 and 28) of thecover member 17 described above.

また、第2周壁部12B2の-Y側に設けられた3つの嵌合爪13Iは、上述したホルダー30の第2嵌合孔42e2(図11、図29参照)に爪嵌合する。また、第2周壁部12B2の-Z側に設けられた2つの爪受け部13Kは、上述した第1ケース13Aの嵌合爪13F(図34参照)が爪嵌合する。 Further, the threefitting claws 13I provided on the −Y side of the second peripheral wall portion 12B2 are fitted into the second fitting holes 42e2 (see FIGS. 11 and 29) of theholder 30 described above. Further, the above-describedfitting claws 13F (see FIG. 34) of thefirst case 13A are fitted into the twoclaw receiving portions 13K provided on the −Z side of the second peripheral wall portion 12B2.

本体ユニット2は、第1ケース13Aの第1周壁部12B1と第2ケース13Bの第2周壁部12B2とを接続する第1接続部91と、第1主面部12A1と第2主面部12A2のいずれか一方の対向面13a1,13b1に、ホルダー30を接続する第2接続部92と、第1主面部12A1と第2主面部12A2の他方の対向面13a1,13b1に、ホルダー30を接続する第3接続部93と、を有する。 Themain body unit 2 includes a first connectingportion 91 that connects the first peripheral wall portion 12B1 of thefirst case 13A and the second peripheral wall portion 12B2 of thesecond case 13B, and one of the first main surface portion 12A1 and the second main surface portion 12A2. A second connectingportion 92 connects theholder 30 to one of the opposing surfaces 13a1 and 13b1, and a third connectingportion 92 connects theholder 30 to the other opposing surface 13a1 and 13b1 of the first main surface portion 12A1 and the second main surface portion 12A2. It has a connectingpart 93.

第1接続部91は、上述した第1ケース13Aの嵌合爪13F(図34参照)と、第2ケース13Bの爪受け部13K(図35参照)との爪嵌合を含む。このように、第1接続部91の接続方式は、爪嵌合を含んでいる。 The first connectingportion 91 includes a claw fitting between the above-describedfitting claw 13F of thefirst case 13A (see FIG. 34) and theclaw receiving portion 13K of thesecond case 13B (see FIG. 35). In this way, the connection method of thefirst connection portion 91 includes claw fitting.

第2接続部92は、上述した第1ケース13Aの第1主面部12A1の対向面13a1(一方の対向面)に設けられたボス部13C(図34参照)に対するホルダー30のねじ止め(図33参照)を含む。このように、第2接続部92の接続方式は、ねじ止めを含んでいる。 The second connectingportion 92 is screwed to theboss portion 13C (see FIG. 34) provided on the opposing surface 13a1 (one opposing surface) of the first main surface portion 12A1 of thefirst case 13A (see FIG. 34). ). In this way, the connection method of thesecond connection portion 92 includes screwing.

第3接続部93は、上述した第2ケース13Bの第2主面部12A2の対向面13b1(他方の対向面)に設けられたケース側突起部13J(図35参照)と、ホルダー30に設けられた第1リブ42C,第2リブ42Dとの溶着(図29参照)を含む。このように、第3接続部93の接続方式は、溶着を含んでいる。なお、受け部43の周面も、第2ケース13Bの溝部13L(図35参照)に溶着されている。 The third connectingportion 93 is connected to thecase side protrusion 13J (see FIG. 35) provided on the opposing surface 13b1 (the other opposing surface) of the second main surface portion 12A2 of thesecond case 13B described above, and theholder 30. This includes welding to thefirst rib 42C and thesecond rib 42D (see FIG. 29). In this way, the connection method of thethird connection portion 93 includes welding. Note that the peripheral surface of the receivingportion 43 is also welded to thegroove portion 13L (see FIG. 35) of thesecond case 13B.

さらに、本実施形態では、第1リブ42C,第2リブ42Dが、第1ケース13Aの第1主面部12A1の対向面13a1(一方の対向面)に設けられたケース側突起部13Gとも溶着(図29参照)されている。このように、第2接続部92の接続方式は、溶着も含んでいる。なお、受け部43の周面も、第1ケース13Aの溝部13H(図34参照)に溶着されている。 Furthermore, in this embodiment, thefirst rib 42C and thesecond rib 42D are also welded ( (see Figure 29). In this way, the connection method of thesecond connection portion 92 also includes welding. Note that the peripheral surface of the receivingportion 43 is also welded to thegroove portion 13H (see FIG. 34) of thefirst case 13A.

また、本実施形態では、第1ケース13Aの第1周壁部12B1の-Y側に設けられた嵌合爪13E(図34参照)が、ホルダー30に設けられた第1嵌合孔42e1(図11参照)に爪嵌合する。このように、第2接続部92の接続方式は、爪嵌合も含んでいる。 Furthermore, in this embodiment, thefitting claw 13E (see FIG. 34) provided on the −Y side of the first peripheral wall portion 12B1 of thefirst case 13A is connected to the first fitting hole 42e1 (see FIG. 34) provided in theholder 30. 11)). In this way, the connection method of thesecond connection portion 92 also includes claw fitting.

また、本実施形態では、第2ケース13Bの第2周壁部12B2の-Y側に設けられた嵌合爪13E(図35参照)が、ホルダー30に設けられた第2嵌合孔42e2(図11参照)に爪嵌合する。このように、第3接続部93の接続方式は、爪嵌合も含んでいる。 Furthermore, in this embodiment, thefitting claw 13E (see FIG. 35) provided on the −Y side of the second peripheral wall portion 12B2 of thesecond case 13B is connected to the second fitting hole 42e2 (see FIG. 35) provided in theholder 30. 11)). In this way, the connection method of thethird connection portion 93 also includes claw fitting.

つまり、第1接続部91の接続方式は、爪嵌合の1種類である。第2接続部92の接続方式は、爪嵌合、ねじ止め、溶着の3種類である。第3接続部93の接続方式は、爪嵌合、溶着の2種類である。したがって、第1接続部91、第2接続部92、第3接続部93は、接続方式の数が異なっている。 That is, the connection method of thefirst connection portion 91 is one type of claw fitting. There are three types of connection methods for the second connection portion 92: claw fitting, screwing, and welding. There are two types of connection methods for the third connection portion 93: claw fitting and welding. Therefore, thefirst connection part 91, thesecond connection part 92, and thethird connection part 93 have different numbers of connection methods.

このように、本体ユニット2の3つの接続部(第1接続部91、第2接続部92、第3接続部93)の接続方式の数が同一でないようにすることで、ユーザによる分解が困難になる。なお、3つの接続部の接続方式の数が同一であっても、接続方式の種類が異なっていれば、ユーザによる分解を困難にすることができる。例えば、第1接続部91の接続方式は爪嵌合の1種類のみ、第2接続部92の接続方式はねじ止めの1種類のみ、第3接続部93の接続方式は溶着の1種類のみであっても構わない。 In this way, by making sure that the number of connection methods for the three connection parts (first connection part 91,second connection part 92, third connection part 93) of themain unit 2 is not the same, disassembly by the user is made difficult. become. Note that even if the number of connection methods of the three connection parts is the same, if the types of connection methods are different, disassembly by the user can be made difficult. For example, thefirst connection part 91 has only one type of connection method: claw fitting, thesecond connection part 92 has only one type of connection method: screw fastening, and thethird connection part 93 has only one type of connection method: welding. It doesn't matter if there is.

また、3つの接続部のうち2つの接続部の接続方式の数、種類が同一であっても、残り1つの接続部の接続方式の数若しくは種類が異なっていれば、ユーザによる分解を困難にすることができる。つまり、3つの接続部のうちの少なくとも一つが、接続方式の数が異なっていればよい。また、3つの接続部のうちの少なくとも一つが、接続方式の種類が異なるものを含んでいても構わない。 Furthermore, even if the number and type of connection methods for two of the three connections are the same, if the number or type of connection methods for the remaining connection is different, it will be difficult for the user to disassemble the connection. can do. In other words, it is sufficient that at least one of the three connection parts has a different number of connection methods. Moreover, at least one of the three connection parts may include a connection method of a different type.

さらに、本実施形態の本体ユニット2は、カバー部材17を介して、第1ケース13Aの第1周壁部12B1と、第2ケース13Bの第2周壁部12B2とを接続する第4接続部94を有する。第4接続部94は、上述したカバー部材17に設けられたケース嵌合孔17b1(図26参照)と、第1ケース13Aの第1周壁部12B1の+Y側に設けられた嵌合爪13E(図34参照)及び第2ケース13Bの第2周壁部12B2の+Y側に設けられた嵌合爪13E(図35参照)と、の爪嵌合を含む。このように、第4接続部94の接続方式は、爪嵌合を含んでいる。 Furthermore, themain body unit 2 of the present embodiment includes a fourth connectingportion 94 that connects the first peripheral wall portion 12B1 of thefirst case 13A and the second peripheral wall portion 12B2 of thesecond case 13B via thecover member 17. have The fourth connectingportion 94 includes a case fitting hole 17b1 (see FIG. 26) provided in thecover member 17 described above, and afitting claw 13E ( (see FIG. 34) and afitting claw 13E (see FIG. 35) provided on the +Y side of the second peripheral wall portion 12B2 of thesecond case 13B. In this way, the connection method of thefourth connection portion 94 includes claw fitting.

<本体ユニットの外観>
図36は、一実施形態に係る吸口部11を取り外した状態の本体ユニット2の正面図である。
図36に示すように、本体ユニット2は、外装ケース12から突出したカートリッジ挿抜口10aを有するカートリッジ収容部10を備えている。つまり、カートリッジ挿抜口10aを含むカートリッジ収容部10の一部が、外装ケース12から突出しており、カートリッジ3を挿抜する場所が視認し易くなっている。
<Exterior of main unit>
FIG. 36 is a front view of themain body unit 2 with themouthpiece 11 removed according to one embodiment.
As shown in FIG. 36, themain unit 2 includes acartridge accommodating portion 10 having a cartridge insertion/extraction opening 10a protruding from theouter case 12. As shown in FIG. That is, a portion of thecartridge accommodating portion 10 including the cartridge insertion/extraction opening 10a protrudes from theouter case 12, making it easy to visually recognize the location where thecartridge 3 is inserted/extracted.

外装ケース12から突出したカートリッジ収容部10の一部には、カートリッジ挿抜口10aに吸口部11を接続するための吸口接続部10B(図6、図20参照)が含まれる。つまり、吸口接続部10Bの少なくとも一部が、外装ケース12から突出している。これにより、吸口接続部10Bの第1溝部10b1などが、カートリッジ挿抜口10aから視認し易くなる。 A portion of thecartridge accommodating portion 10 protruding from theexterior case 12 includes a suctionport connection portion 10B (see FIGS. 6 and 20) for connecting thesuction port 11 to the cartridge insertion/extraction port 10a. That is, at least a portion of themouthpiece connection portion 10B protrudes from theexterior case 12. This makes it easier to visually recognize the first groove portion 10b1 of the suctionport connection portion 10B from the cartridge insertion/extraction port 10a.

外装ケース12には、主軸方向上側(+Z側)に、隆起部12Dが設けられている。カートリッジ収容部10は、隆起部12Dの変形過渡部分12D1から主軸方向上側に突出している。変形過渡部分12D1とは、第2コーナー部12C2から隆起部12Dの頂部Pに至るまでの部分である。変形過渡部分12D1は、第2コーナー部12C2から隆起部12Dの頂部Pに至るまで、外装ケース12のZ軸方向の寸法が増加している部分とも言える。また、変形過渡部分12D1は、主軸方向に対して斜めになった部分とも言える。なお、変形過渡部分12D1は、図36に示すような曲面に限らず、斜面であっても構わない。 Theexterior case 12 is provided with a raisedportion 12D on the upper side (+Z side) in the main axis direction. Thecartridge accommodating portion 10 projects upward in the main axis direction from the deformation transition portion 12D1 of the raisedportion 12D. The deformation transition portion 12D1 is a portion from the second corner portion 12C2 to the top P of the raisedportion 12D. The deformation transition portion 12D1 can also be said to be a portion where the dimension of theexterior case 12 in the Z-axis direction increases from the second corner portion 12C2 to the top P of the raisedportion 12D. Further, the deformation transition portion 12D1 can also be said to be a portion oblique to the main axis direction. Note that the deformation transition portion 12D1 is not limited to a curved surface as shown in FIG. 36, but may be a sloped surface.

変形過渡部分12D1によって、カートリッジ収容部10に、外装ケース12から大きく露出する部分(+Y側)と、小さく露出する部分(-Y側)が形成される。カートリッジ収容部10の大きく露出する部分においては、カートリッジ収容部10の視認性を確保することができる。カートリッジ収容部10の小さく露出する部分においては、外装ケース12によりカートリッジ収容部10を保護する面積を確保することができる。また、外装ケース12の縁と、カートリッジ収容部10の周面との接触長が長くなるため、仮に両者を接着する際には、接続強度を確保し易くなる。 The deformation transition portion 12D1 forms a portion of thecartridge accommodating portion 10 that is largely exposed from the outer case 12 (+Y side) and a portion that is slightly exposed (−Y side). Visibility of thecartridge accommodating part 10 can be ensured in the largely exposed portion of thecartridge accommodating part 10. In the small exposed portion of thecartridge accommodating portion 10, an area for protecting thecartridge accommodating portion 10 can be secured by theouter case 12. Further, since the contact length between the edge of theouter case 12 and the circumferential surface of thecartridge accommodating portion 10 becomes longer, it becomes easier to ensure connection strength when the two are bonded together.

図36に示すように、カートリッジ挿抜口10aは、カートリッジ収容部10が延びる主軸方向(Z軸方向)において、隆起部12Dの頂部P以下の位置に配置されている。つまり、カートリッジ挿抜口10aは、隆起部12Dの頂部Pに対して主軸方向下側(-Z側)に下がっている。隆起部12Dは、例えば、本体ユニット2が上下逆さまになって落下などした際に、カートリッジ挿抜口10aよりも先に地面などと接触し、カートリッジ挿抜口10aを保護する。 As shown in FIG. 36, the cartridge insertion/extraction opening 10a is disposed at a position below the top P of the raisedportion 12D in the main axis direction (Z-axis direction) in which thecartridge accommodating portion 10 extends. That is, the cartridge insertion/extraction opening 10a is lowered in the main axis direction (-Z side) with respect to the top P of the raisedportion 12D. For example, when themain body unit 2 is turned upside down and falls, the raisedportion 12D comes into contact with the ground or the like before the cartridge insertion/extraction opening 10a, and protects the cartridge insertion/extraction opening 10a.

隆起部12Dは、変形過渡部分12D1と頂部Pを挟んだ逆側(-Y側)に、入力デバイス15が配置された変形過渡部分12D2を有している。入力デバイス15は、カートリッジ収容部10が延びる主軸方向(Z軸方向)において、隆起部12Dの頂部P以下の位置に配置されている。隆起部12Dは、例えば、本体ユニット2が上下逆さまになって落下などした際に、入力デバイス15よりも先に地面などと接触し、入力デバイス15の誤作動を防止する。 The raisedportion 12D has a deformed transitional portion 12D2 on the opposite side (-Y side) across the top P from the deformed transitional portion 12D1, in which theinput device 15 is disposed. Theinput device 15 is disposed at a position below the top P of the raisedportion 12D in the main axis direction (Z-axis direction) in which thecartridge accommodating portion 10 extends. For example, when themain body unit 2 is turned upside down and falls, the raisedportion 12D comes into contact with the ground or the like before theinput device 15, and prevents theinput device 15 from malfunctioning.

入力デバイス15は、カートリッジ挿抜口10aの中心を通るカートリッジ収容部10の主軸Oに対し、鋭角方向を向いて配置されている。詳しくは、主軸Oと、第1コーナー部12C1(入力デバイス15)と第3コーナー部12C3を結ぶ対角線O1とが交わる角度θが90°未満である。この構成によれば、ユーザが、カートリッジ挿抜口10aに装着された吸口部11を咥えたままで、入力デバイス15に指をかけ易くなる。 Theinput device 15 is arranged at an acute angle with respect to the main axis O of thecartridge accommodating portion 10 passing through the center of the cartridge insertion/extraction opening 10a. Specifically, the angle θ at which the main axis O intersects with the diagonal line O1 connecting the first corner portion 12C1 (input device 15) and the third corner portion 12C3 is less than 90°. According to this configuration, the user can easily place a finger on theinput device 15 while holding themouthpiece 11 attached to the cartridge insertion/extraction port 10a in his/her mouth.

本体ユニット2は、外装ケース12から一部突出したカートリッジ収容部10の引き抜き対策として、カートリッジ収容部10の移動を制限する移動制限部材(カバー部材17、センサホルダー35)を備えている。移動制限部材は、少なくとも外装ケース12から抜出する抜出方向のカートリッジ収容部10の移動を制限する。ここで、「抜出方向」とは、主軸方向(Z軸方向)のうち、上側(+Z側)に向かう一方向を意味する。 Themain body unit 2 includes a movement restriction member (covermember 17, sensor holder 35) that restricts the movement of thecartridge accommodating part 10, as a measure against pulling out of thecartridge accommodating part 10 that partially protrudes from theouter case 12. The movement restriction member restricts movement of thecartridge accommodating portion 10 at least in the direction of extraction from theouter case 12 . Here, the "extracting direction" means one direction toward the upper side (+Z side) among the main axis directions (Z-axis directions).

図6に示すように、外装ケース12は、開口部13aが形成された本体ケース13を有する。カバー部材17(移動制限部材)は、開口部13aに挿入された本体ケース側突起17Aを有する。本体ケース側突起17Aは、少なくとも抜出方向において、外装ケース12に係止し、カートリッジ収容部10の移動を制限する。 As shown in FIG. 6, theexterior case 12 includes amain case 13 in which anopening 13a is formed. The cover member 17 (movement limiting member) has a maincase side protrusion 17A inserted into theopening 13a. The main bodycase side protrusion 17A locks onto theouter case 12 at least in the extraction direction and limits movement of thecartridge accommodating portion 10.

また、カバー部材17は、カートリッジ収容部10の貫通孔10cに挿入されるカートリッジ収容部側突起17Cを有する。カートリッジ収容部側突起17Cは、ユーザの引き抜きより、仮にカートリッジ収容部10の周面に対するカバー部材17の接着が剥がれた場合であっても、カートリッジ収容部10に引っ掛かり、外装ケース12からのカートリッジ収容部10の抜出を防止する。 Further, thecover member 17 has a cartridge accommodatingpart side protrusion 17C that is inserted into the throughhole 10c of thecartridge accommodating part 10. Even if the adhesion of thecover member 17 to the circumferential surface of thecartridge accommodating part 10 is peeled off by the user pulling it out, the cartridge accommodatingpart side protrusion 17C will be caught in thecartridge accommodating part 10 and will not be able to accommodate the cartridge from theouter case 12. This prevents thepart 10 from being pulled out.

また、カバー部材17は、カートリッジ収容部10と外装ケース12との間に介在する板部17Bを有する。板部17Bは、カートリッジ収容部10の抜出方向に向かうに従って、厚みが減少している(図28参照)。板部17Bは、カートリッジ収容部10と外装ケース12との間の楔空間(詳しくは、外装ケース12の第2コーナー部12C2の丸みを帯びた内壁面が、カートリッジ収容部10の周面に徐々に近接する空間)に挿入される。つまり、板部17Bが楔となって、外装ケース12からのカートリッジ収容部10の抜出を防止する。 Further, thecover member 17 has aplate portion 17B interposed between thecartridge accommodating portion 10 and theouter case 12. The thickness of theplate portion 17B decreases toward the direction in which thecartridge accommodating portion 10 is removed (see FIG. 28). Theplate portion 17B is formed in a wedge space between thecartridge accommodating portion 10 and the outer case 12 (more specifically, the rounded inner wall surface of the second corner portion 12C2 of theouter case 12 gradually approaches the circumferential surface of the cartridge accommodating portion 10). (space adjacent to). In other words, theplate portion 17B acts as a wedge and prevents thecartridge accommodating portion 10 from being pulled out from theouter case 12.

図29に示すように、外装ケース12に固定されたホルダー30には、第2リブ42Dには第2切欠部42d2が形成されている。センサホルダー35(移動制限部材)は、第2切欠部42d2に挿入されたホルダー側突起35Bを有する。ホルダー側突起35Bは、少なくとも抜出方向において、ホルダー30に係止し、カートリッジ収容部10の移動を制限する。 As shown in FIG. 29, in theholder 30 fixed to theexterior case 12, a second notch 42d2 is formed in thesecond rib 42D. The sensor holder 35 (movement limiting member) has a holder-side protrusion 35B inserted into the second notch 42d2. The holder-side protrusion 35B locks onto theholder 30 at least in the extraction direction and limits movement of thecartridge accommodating portion 10.

また、センサホルダー35は、カートリッジ収容部10の貫通孔10dに挿入されるカートリッジ収容部側突起35Dを有する。カートリッジ収容部側突起35Dは、ユーザの引き抜きより、仮にカートリッジ収容部10の周面に対するセンサホルダー35の接着が剥がれた場合であっても、カートリッジ収容部10に引っ掛かり、外装ケース12からのカートリッジ収容部10の抜出を防止する。 Further, thesensor holder 35 has a cartridge accommodatingpart side protrusion 35D that is inserted into the throughhole 10d of thecartridge accommodating part 10. Even if the adhesion of thesensor holder 35 to the circumferential surface of thecartridge accommodating part 10 is peeled off by the user pulling it out, the cartridge accommodatingpart side protrusion 35D will be caught in thecartridge accommodating part 10 and will not be able to accommodate the cartridge from theouter case 12. This prevents thepart 10 from being pulled out.

<吸引器の組立方法>
図37は、一実施形態に係るカートリッジ収容部10にカートリッジ3を収容する様子を示す説明図である。図38は、一実施形態に係るカートリッジ収容部10に吸口部11を装着する様子を示す説明図である。
図37に示すように、吸引器1を組み立てるにあたっては、本体ユニット2のカートリッジ収容部10にカートリッジ3を収容する。カートリッジ3は、図5に示すように、平面電極26hを本体ユニット2側に向けた状態で、外装ケース12から突出したカートリッジ収容部10のカートリッジ挿抜口10aから挿入する。
<How to assemble the suction device>
FIG. 37 is an explanatory diagram showing how thecartridge 3 is accommodated in thecartridge accommodating section 10 according to an embodiment. FIG. 38 is an explanatory diagram showing how themouthpiece 11 is attached to thecartridge accommodating section 10 according to an embodiment.
As shown in FIG. 37, when assembling thesuction device 1, thecartridge 3 is accommodated in thecartridge accommodating portion 10 of themain unit 2. As shown in FIG. As shown in FIG. 5, thecartridge 3 is inserted through the cartridge insertion/extraction opening 10a of thecartridge accommodating portion 10 protruding from theouter case 12 with theflat electrode 26h facing themain body unit 2 side.

カートリッジ3は、カートリッジ収容部10よりも短いため、挿入時に自由落下する。このとき、カートリッジ3の周囲には、カートリッジ3の回転方向の運動を阻害するものがなく、且つ、カートリッジ3もそれなりの勢いで落下しているため、位置決め機構90の係合突部43hと、カートリッジ3の係合溝部26iとの周方向位置が一致しない場合であっても、係合突部43hとの衝突によりカートリッジ3がバウンドして回転したり、また、係合突部43hの曲面に沿ってカートリッジ3が滑り落ちたりすることで、係合突部43hが係合溝部26i内に進入する。 Since thecartridge 3 is shorter than thecartridge accommodating portion 10, it falls freely when inserted. At this time, there is nothing around thecartridge 3 that obstructs the movement of thecartridge 3 in the rotational direction, and thecartridge 3 is also falling with a certain force, so that theengagement protrusion 43h of thepositioning mechanism 90 and Even if the circumferential position of thecartridge 3 and theengagement groove 26i does not match, thecartridge 3 may bounce and rotate due to collision with theengagement protrusion 43h, or thecartridge 3 may bounce and rotate due to the collision with theengagement protrusion 43h. As thecartridge 3 slides down along theengagement protrusion 43h, theengagement protrusion 43h enters theengagement groove 26i.

ここで、本実施形態では、カートリッジ収容部10の内径D1とカートリッジ3の外径D2との間で生じる隙間は、カートリッジ収容部10の内径の2.6%より大きくなっている。このため、カートリッジ収容部10とカートリッジ3とのクリアランスが大きく、係合突部43hを係合溝部26iに誘い込みやすい。すなわち、カートリッジ3の挿入時に、係合突部43hと係合溝部26iの周方向位置が一致しなくても、カートリッジ3が正規の位置に組み付けられる。これにより、カートリッジ3の平面電極26hが突電極50に接触する。 Here, in this embodiment, the gap created between the inner diameter D1 of thecartridge accommodating part 10 and the outer diameter D2 of thecartridge 3 is larger than 2.6% of the inner diameter of thecartridge accommodating part 10. Therefore, the clearance between thecartridge accommodating portion 10 and thecartridge 3 is large, and theengagement protrusion 43h can be easily guided into theengagement groove 26i. That is, when thecartridge 3 is inserted, even if the circumferential positions of theengagement protrusion 43h and theengagement groove 26i do not match, thecartridge 3 can be assembled in the correct position. As a result, theflat electrode 26h of thecartridge 3 comes into contact with the protrudingelectrode 50.

なお、上述したカートリッジ3の挿入時において、カートリッジ3が正規の位置に組み付けられない場合もある。この場合には、カートリッジ3が係合突部43hに乗り上げた状態(以下、単に「乗り上げ状態」という。)となる。カートリッジ3の乗り上げ状態では、カートリッジ3の主軸方向下側(-Z側)の移動が規制される。そのため、平面電極26hと突電極50とが主軸方向で離間し、カートリッジ3と本体ユニット2との導通が確保されない。 Note that when inserting thecartridge 3 described above, thecartridge 3 may not be assembled in the correct position. In this case, thecartridge 3 is in a state where it rides on theengagement protrusion 43h (hereinafter simply referred to as a "ride-on state"). When thecartridge 3 is in the riding state, movement of thecartridge 3 downward in the main axis direction (-Z side) is restricted. Therefore, theflat electrode 26h and the protrudingelectrode 50 are spaced apart in the main axis direction, and electrical continuity between thecartridge 3 and themain unit 2 is not ensured.

カートリッジ3が乗り上げ状態のままで、カートリッジ収容部10に吸口部11を装着すると、吸口部11の装着が完了する前に、カートリッジ当接部60がカートリッジ3に当接する。具体的には、吸口部11の突起部11b1が、吸口接続部10Bの第1溝部10b1または第2溝部10b2を通過している間に、カートリッジ当接部60がカートリッジ3に当接する。そうすると、カートリッジ当接部60が主軸方向に圧縮され、カートリッジ3が係合突部43hに押し付けられる。係合突部43hは、曲面形状を有しているため、係合突部43hの中心と係合溝部26iの中心の周方向位置が一致しなくても、係合突部43hの先端に係合溝部26iがかかれば、係合突部43hの曲面に沿ってカートリッジ3が斜めに滑り落ち、カートリッジ3が正規の位置に組み付けられる。 If themouthpiece 11 is attached to thecartridge accommodating portion 10 while thecartridge 3 remains in the mounted state, thecartridge abutting portion 60 comes into contact with thecartridge 3 before the attachment of themouthpiece 11 is completed. Specifically, while the protruding portion 11b1 of thesuction port 11 passes through the first groove portion 10b1 or the second groove portion 10b2 of the suctionport connection portion 10B, thecartridge contact portion 60 contacts thecartridge 3. Then, thecartridge contact portion 60 is compressed in the main axis direction, and thecartridge 3 is pressed against theengagement protrusion 43h. Since theengagement protrusion 43h has a curved shape, it can be engaged with the tip of theengagement protrusion 43h even if the center of theengagement protrusion 43h and the center of theengagement groove 26i do not coincide with each other in the circumferential direction. When the engaginggroove portion 26i is engaged, thecartridge 3 slides obliquely along the curved surface of the engagingprotrusion 43h, and thecartridge 3 is assembled in the proper position.

さらに、上記カートリッジ3が押し付けによっても、まだカートリッジ3が乗り上げ状態である場合は、、図38に示すように、カートリッジ当接部60がカートリッジ3に当接した状態で、吸口部11を回転させる。そうすると、突起部11b1が吸口接続部10Bの第3溝部10b3を通過している間に、カートリッジ3が共回りする。カートリッジ3は、カートリッジ当接部60との間で発生する摩擦力によって回転する。カートリッジ3の回転によって、係合突部43hの先端(頂点)が係合溝部26iに対向すると、係合突部43hの曲面に沿ってカートリッジ3が滑り落ち、係合突部43hが係合溝部26i内に進入する。以上のように、本実施形態では、カートリッジ3の自由落下、カートリッジ3の押し付け、カートリッジ3の回転の3段階でカートリッジ3を正規の位置に組み付けることができる。 Furthermore, if thecartridge 3 is still in a riding state even after thecartridge 3 is pressed, as shown in FIG. . Then, while the projection 11b1 passes through the third groove 10b3 of the suctionport connection part 10B, thecartridge 3 rotates together. Thecartridge 3 is rotated by the frictional force generated between thecartridge 3 and thecartridge abutting portion 60 . As thecartridge 3 rotates, when the tip (apex) of theengagement protrusion 43h faces theengagement groove 26i, thecartridge 3 slides down along the curved surface of theengagement protrusion 43h, and theengagement protrusion 43h moves into the engagement groove. 26i. As described above, in this embodiment, thecartridge 3 can be assembled in the correct position in three stages: free fall of thecartridge 3, pressing of thecartridge 3, and rotation of thecartridge 3.

吸口部11を最後まで回転させ、吸口部11をカートリッジ収容部10に装着すると、カートリッジ当接部60が主軸方向に圧縮された状態となり、平面電極26hが突電極50に押さえ付けられると共に、カートリッジ3が位置決めされる。このように、吸口部11の装着により、カートリッジ3の位置決め、さらにはカートリッジ3と本体ユニット2との電気的導通が行なわれる。加えて、カートリッジ当接部60の環状突起61が主軸方向に圧縮されることで、カートリッジ3と吸口部11との隙間がシールされる。
以上により、吸引器1の組み立てが完了する。なお、図37及び図38に示すように、吸口部11に予め香味源容器4を挿入していてもよいが、そうでない場合、吸口部11をカートリッジ収容部10に装着した後、吸口部11に香味源容器4を挿入することで、吸引器1の組み立てが完了する。
When themouthpiece 11 is rotated to the end and themouthpiece 11 is attached to thecartridge accommodating part 10, thecartridge abutment part 60 is compressed in the main axis direction, theflat electrode 26h is pressed against the protrudingelectrode 50, and thecartridge 3 is positioned. In this manner, by attaching thesuction port 11, thecartridge 3 is positioned, and furthermore, thecartridge 3 and themain body unit 2 are electrically connected. In addition, theannular protrusion 61 of thecartridge contact portion 60 is compressed in the main axis direction, thereby sealing the gap between thecartridge 3 and thesuction port 11.
Through the above steps, the assembly of thesuction device 1 is completed. Note that as shown in FIGS. 37 and 38, theflavor source container 4 may be inserted into themouthpiece 11 in advance, but if this is not the case, after themouthpiece 11 is attached to thecartridge accommodating part 10, theflavor source container 4 may be inserted into themouthpiece 11. By inserting theflavor source container 4 into theinhaler 1, assembly of theinhaler 1 is completed.

<吸引器の使用方法>
上述した吸引器1を使用する際、ユーザは、先ず、図1に示す入力デバイス15を押下する。この際、例えば、入力デバイス15を複数回押下することで、本体ユニット2が起動するようにプログラムされていても構わない。
<How to use the suction device>
When using the above-describedsuction device 1, the user first presses down theinput device 15 shown in FIG. At this time, for example, themain unit 2 may be programmed to be activated by pressing theinput device 15 multiple times.

続いて、ユーザは、吸口部11または香味源容器4を咥えた状態で吸引する。すると、カートリッジ収容部10の内部の空気が流動し、図29に示すセンサ34がパフを検知する。センサ34がパフを検知すると、図6に示すカートリッジ3の電熱線25bに対する通電が行われ、電熱線25bが発熱する。電熱線25bが発熱すると、ウィック25aに含浸された液体のエアロゾル源が加熱されて霧化する。霧化したエアロゾルは、吸引により取り込まれた空気(外気)と共に吸い上げられる。 Next, the user sucks themouthpiece 11 or theflavor source container 4 while holding it in his/her mouth. Then, the air inside thecartridge accommodating section 10 flows, and thesensor 34 shown in FIG. 29 detects the puff. When thesensor 34 detects the puff, theheating wire 25b of thecartridge 3 shown in FIG. 6 is energized, and theheating wire 25b generates heat. When theheating wire 25b generates heat, the liquid aerosol source impregnated in thewick 25a is heated and atomized. The atomized aerosol is sucked up together with the air (outside air) taken in by suction.

空気(外気)は、図29に示すように、本体ケース13とカバー部材17との隙間の空気インレット18から取り込まれる。空気インレット18から取り込まれた空気は、空気溝70の環状溝部71、段差溝部72、空気孔19、空気連通孔10eを介してカートリッジ収容部10の内部に流入する。カートリッジ収容部10の内部に流入した空気は、図6に示すように、カートリッジ3の吸気孔26c、開口部24eを介して霧化室24cに流入する。 Air (outside air) is taken in from theair inlet 18 in the gap between themain body case 13 and thecover member 17, as shown in FIG. Air taken in from theair inlet 18 flows into thecartridge accommodating portion 10 through theannular groove portion 71 of theair groove 70, the steppedgroove portion 72, theair hole 19, and theair communication hole 10e. The air that has flowed into thecartridge accommodating portion 10 flows into theatomization chamber 24c through theintake hole 26c and theopening 24e of thecartridge 3, as shown in FIG.

霧化されたエアロゾルは、霧化室24cに充満しており、霧化室24cに流入した空気と共に、流路管21c、貫通孔21b、カートリッジ当接部60の連通孔62を介して、吸口部11側に吸い上げられる。その後、霧化されたエアロゾルと空気との混合気体は、吸口部11に装着された香味源容器4を通じてユーザの口内に進入する。これにより、ユーザは、香味を味わうことができる。 The atomized aerosol fills theatomization chamber 24c, and along with the air that has flowed into theatomization chamber 24c, passes through theflow path pipe 21c, the throughhole 21b, and thecommunication hole 62 of thecartridge contact portion 60 to the suction port. It is sucked up to thepart 11 side. Thereafter, the atomized gas mixture of aerosol and air enters the user's mouth through theflavor source container 4 attached to themouthpiece 11. This allows the user to enjoy the flavor.

<変形例>
本実施形態では、以下のような変形例を採用し得る。なお、以下の説明において、上述の実施形態と同一又は同等の構成については同一の符号を付し、その説明を簡略若しくは省略する。
<Modified example>
In this embodiment, the following modifications may be adopted. In addition, in the following description, the same code|symbol is attached|subjected about the same or equivalent structure as the above-mentioned embodiment, and the description is simplified or abbreviate|omitted.

図39は、一実施形態に係る吸口接続部10Bの変形例を示す斜視図である。図40は、一実施形態に係るカートリッジ収容部10の変形例を示す斜視図である。図41は、図39に示す矢視H-H断面図である。
図39に示す吸口接続部10Bは、上述した第1溝部10b1、第2溝部10b2、第3溝部10b3に加え、嵌合孔10b4を有している。
FIG. 39 is a perspective view showing a modification of themouthpiece connection part 10B according to one embodiment. FIG. 40 is a perspective view showing a modification of thecartridge accommodating section 10 according to one embodiment. FIG. 41 is a sectional view taken along the line HH shown in FIG. 39.
Themouthpiece connection portion 10B shown in FIG. 39 has a fitting hole 10b4 in addition to the first groove portion 10b1, second groove portion 10b2, and third groove portion 10b3 described above.

嵌合孔10b4は、第3溝部10b3の延長線上に配置されている。嵌合孔10b4と第3溝部10b3は、離間して形成されている。つまり、嵌合孔10b4と第3溝部10b3との間には、インサートリング10Aの一部10A1が介在している。吸口部11の突起部11b1は、吸口接続部10Bへの装着の際、第3溝部10b3の終端からインサートリング10Aの一部10A1を乗り越えて、嵌合孔10b4に嵌合する。これにより、吸口部11が吸口接続部10Bにホールドされる。 The fitting hole 10b4 is arranged on an extension line of the third groove portion 10b3. The fitting hole 10b4 and the third groove portion 10b3 are formed apart from each other. That is, a portion 10A1 of theinsert ring 10A is interposed between the fitting hole 10b4 and the third groove portion 10b3. When attached to themouthpiece connection part 10B, the protruding part 11b1 of themouthpiece 11 passes over the part 10A1 of theinsert ring 10A from the end of the third groove part 10b3 and fits into the fitting hole 10b4. Thereby, themouthpiece 11 is held by themouthpiece connection part 10B.

図40に示すように、カートリッジ収容部10には、突起部11b1がインサートリング10Aの一部10A1を乗り越える際に、インサートリング10Aが弾性変形により径方向外側に逃げるための逃げ溝10gが形成されている。逃げ溝10gは、インサートリング10Aを配置する窪み10fよりも径方向外側に窪んでいる。逃げ溝10gは、インサートリング10Aに設けられた2つの吸口接続部10Bに対応して2つ設けられている。2つの逃げ溝10gは、カートリッジ収容部10の内壁面の径方向両側に対向配置されている。 As shown in FIG. 40, thecartridge accommodating portion 10 is formed with anescape groove 10g for allowing theinsert ring 10A to escape radially outward due to elastic deformation when the protrusion 11b1 climbs over the part 10A1 of theinsert ring 10A. ing. Therelief groove 10g is recessed radially outward from therecess 10f in which theinsert ring 10A is arranged. Twoescape grooves 10g are provided corresponding to the twosuction port connections 10B provided on theinsert ring 10A. The tworelief grooves 10g are arranged opposite to each other on both sides of the inner wall surface of thecartridge accommodating portion 10 in the radial direction.

逃げ溝10gには、位置決め突起10hが形成されている。位置決め突起10hには、図39に示すインサートリング10Aの位置決め溝部10Cが係合する。位置決め溝部10Cは、主軸方向下側(-Z側)に向かうに従って周方向の幅が漸次広がるテーパ状の斜面10C1を有する。この位置決め溝部10Cが、図40に示す位置決め突起10hと係合することで、インサートリング10Aの嵌合孔10b4を、逃げ溝10gに位置合わせすることができる。 Apositioning protrusion 10h is formed in therelief groove 10g. Apositioning groove 10C of aninsert ring 10A shown in FIG. 39 engages with thepositioning protrusion 10h. Thepositioning groove portion 10C has a tapered slope 10C1 whose width in the circumferential direction gradually increases toward the lower side (−Z side) in the main axis direction. By engaging thepositioning groove 10C with thepositioning protrusion 10h shown in FIG. 40, the fitting hole 10b4 of theinsert ring 10A can be aligned with therelief groove 10g.

図41に示すように、吸口部11の突起部11b1は、インサートリング10Aを径方向外側に撓ませた状態で、嵌合孔10b4に嵌合している。これにより、吸口部11を吸口接続部10Bにガタつくことなくホールドすることができる。逃げ溝10gによるインサートリング10Aとカートリッジ収容部10との隙間S1は、吸口部11の突起部11b1が、インサートリング10Aの一部10A1を乗り越えることができるだけの寸法があればよい。また、吸口部11を吸口接続部10Bにガタつくことなくホールドするために、図41において二点鎖線で示す、撓んでいない状態のインサートリング10Aと、吸口部11の筒体11Bとの隙間S2は、筒体11Bに対する突起部11b1の突出量T1より小さいとよい。
なお、隙間S1は、突出量T1と隙間S2との差分T2よりも大きい。また、隙間S1は、突起部11b1をホールドした状態のインサートリング10Aのたわみ量T3よりも大きい。
As shown in FIG. 41, the protrusion 11b1 of thesuction port 11 is fitted into the fitting hole 10b4 with theinsert ring 10A bent radially outward. Thereby, themouthpiece 11 can be held on themouthpiece connection part 10B without wobbling. The gap S1 between theinsert ring 10A and thecartridge accommodating portion 10 due to theescape groove 10g should be large enough to allow the projection 11b1 of themouthpiece 11 to get over the part 10A1 of theinsert ring 10A. In order to hold thesuction part 11 in thesuction connection part 10B without wobbling, a gap S2 is provided between theinsert ring 10A in an unflexed state and thecylindrical body 11B of thesuction part 11, as shown by the two-dot chain line in FIG. is preferably smaller than the protrusion amount T1 of the protrusion portion 11b1 with respect to thecylindrical body 11B.
Note that the gap S1 is larger than the difference T2 between the protrusion amount T1 and the gap S2. Moreover, the gap S1 is larger than the deflection amount T3 of theinsert ring 10A in a state where the protrusion 11b1 is held.

[作用効果]
上述した本実施形態の本体ユニット2は、外装ケース12と、外装ケース12の内部に設けられたホルダー30と、を備え、ホルダー30は、外装ケース12の内部に設けられた部品の少なくとも一部を保持するメインプレート41と、メインプレート41の端部からメインプレート41の板面(第1板面41a,第2板面41b)に交差する方向に延びると共に、外装ケース12の外面に沿って設けられた部品(入力デバイス15、表示デバイス33)の少なくとも一つを保持するサブプレート42と、を有する。
この構成によれば、外装ケース12の内部に設けられた部品と、外装ケース12の外面に沿って設けられた部品が、一つのホルダー30に保持される。また、ホルダー30は、メインプレート41と、メインプレート41に交差する方向に延びるサブプレート42と、を備えており、ホルダー30の剛性を高めつつ、装置内部の省スペース化を実現できる。
[Effect]
Themain body unit 2 of the present embodiment described above includes anexterior case 12 and aholder 30 provided inside theexterior case 12, and theholder 30 includes at least some of the components provided inside theexterior case 12. amain plate 41 that holds a It has a sub-plate 42 that holds at least one of the provided components (input device 15, display device 33).
According to this configuration, the components provided inside theexterior case 12 and the components provided along the outer surface of theexterior case 12 are held in oneholder 30. Further, theholder 30 includes amain plate 41 and a sub-plate 42 extending in a direction intersecting themain plate 41, which makes it possible to increase the rigidity of theholder 30 and save space inside the device.

また、本実施形態においては、サブプレート42は、メインプレート41の板面に直交する方向の少なくとも一方側に延びている。
この構成によれば、ホルダー30の断面が少なくともL字になり、ホルダー30の剛性を高めることができる。
Further, in this embodiment, the sub-plate 42 extends in at least one side of themain plate 41 in a direction perpendicular to the plate surface.
According to this configuration, the cross section of theholder 30 becomes at least L-shaped, and the rigidity of theholder 30 can be increased.

また、本実施形態においては、サブプレート42は、メインプレート41の板面に直交する方向において両側に延びている。
この構成によれば、ホルダー30の断面がT字になり、ホルダー30の剛性を高めることができる。
Furthermore, in this embodiment, the sub-plates 42 extend on both sides in a direction perpendicular to the plate surface of themain plate 41.
According to this configuration, the cross section of theholder 30 becomes T-shaped, and the rigidity of theholder 30 can be increased.

また、本実施形態においては、ホルダー30は、サブプレート42として、メインプレート41の端部の第1端辺41h1に設けられた第1サブプレート42Aと、メインプレート41の端部の第1端辺41h1に隣接する第2端辺41h2に設けられた第2サブプレート42Bと、を有し、第1サブプレート42Aと第2サブプレート42Bとが、互いに接続されている。
この構成によれば、第1サブプレート42Aと第2サブプレート42Bとが接続されているので、ホルダー30の剛性を高めることができる。
In the present embodiment, theholder 30 includes a first sub-plate 42A provided at the first end side 41h1 of the end of themain plate 41 as the sub-plate 42, and a first sub-plate 42A provided at the first end of the end of themain plate 41. The first sub-plate 42A and the second sub-plate 42B are connected to each other.
According to this configuration, since the first sub-plate 42A and the second sub-plate 42B are connected, the rigidity of theholder 30 can be increased.

また、本実施形態においては、第1サブプレート42Aと第2サブプレート42Bとが、鈍角で接続されている。
この構成によれば、外装ケース12が丸みを帯びたコーナー部12Cや斜めになったコーナー部12Cを有する場合であっても、そのコーナー部12Cに部品を配置し易くなる。
Further, in this embodiment, the first sub-plate 42A and the second sub-plate 42B are connected at an obtuse angle.
According to this configuration, even if theexterior case 12 has a roundedcorner portion 12C or anoblique corner portion 12C, parts can be easily placed in thecorner portion 12C.

また、本実施形態においては、サブプレート42には、表示デバイス33が保持されている。
この構成によれば、サブプレート42に表示デバイス33を保持させることで、省スペース化できる。
Further, in this embodiment, thedisplay device 33 is held on the sub-plate 42.
According to this configuration, space can be saved by holding thedisplay device 33 on the sub-plate 42.

また、本実施形態においては、表示デバイス33は、有機ELディスプレイまたは液晶ディスプレイである。
この構成によれば、有機ELディスプレイまたは液晶ディスプレイを省スペースで設置できる。
Furthermore, in this embodiment, thedisplay device 33 is an organic EL display or a liquid crystal display.
According to this configuration, an organic EL display or a liquid crystal display can be installed in a small space.

また、本実施形態においては、サブプレート42には、入力デバイス15が保持されている。
この構成によれば、サブプレート42に入力デバイス15を保持させることで、省スペース化できる。
Further, in this embodiment, theinput device 15 is held on the sub-plate 42.
According to this configuration, space can be saved by holding theinput device 15 on the sub-plate 42.

また、本実施形態においては、入力デバイス15は、押しボタンである。
この構成によれば、押しボタンを省スペースで設置できる。また、ホルダー30は剛性が高いため、押しボタンにかかる負荷をホルダー30が受けることができる。
Further, in this embodiment, theinput device 15 is a push button.
According to this configuration, the push button can be installed in a space-saving manner. Further, since theholder 30 has high rigidity, theholder 30 can bear the load applied to the push button.

また、本実施形態においては、メインプレート41は、第1部品(メイン基板31、サブ基板32)を保持する第1板面41aと、第1板面41aと反対側で、第1部品と異なる第2部品(電源37)を保持する第2板面41bと、を有する。
この構成によれば、メインプレート41の表と裏に部品が保持されるので、省スペース化できる。
In addition, in the present embodiment, themain plate 41 has afirst plate surface 41a that holds the first components (main board 31, sub-board 32), and a side opposite to thefirst board surface 41a, which is different from the first component. It has asecond plate surface 41b that holds a second component (power supply 37).
According to this configuration, parts are held on the front and back sides of themain plate 41, so space can be saved.

また、本実施形態においては、第1部品及び第2部品のいずれか一方(第2部品)は、電源37であり、第1部品及び第2部品の他方(第1部品)は、電源37と電気的に接続された電子部品第1部品(メイン基板31、サブ基板32)である。
この構成によれば、メインプレート41の表と裏に電源37と電子部品を別々に保持することで、電源37の大容量化と、電子部品の設置スペースの確保を両立できる。
Further, in the present embodiment, one of the first component and the second component (second component) is thepower source 37, and the other of the first component and the second component (first component) is thepower source 37. These are first electronic components (main board 31, sub board 32) that are electrically connected.
According to this configuration, by holding thepower source 37 and electronic components separately on the front and back sides of themain plate 41, it is possible to increase the capacity of thepower source 37 and secure installation space for the electronic components.

また、本実施形態においては、外装ケース12に少なくとも一部が覆われたカートリッジ収容部10を備える。
この構成によれば、カートリッジ収容部10を外装ケース12で保護することができる。
Further, in this embodiment, thecartridge accommodating portion 10 is provided, which is at least partially covered by theouter case 12.
According to this configuration, thecartridge accommodating section 10 can be protected by theouter case 12.

また、本実施形態においては、ホルダー30は、メインプレート41と一体で形成され、カートリッジ収容部10の端部を受ける受け部43を有する。
この構成によれば、さらにカートリッジ収容部10がホルダー30に組み付けられるので、組み込みが容易になる。
Further, in this embodiment, theholder 30 is formed integrally with themain plate 41 and has a receivingportion 43 for receiving the end portion of thecartridge accommodating portion 10 .
According to this configuration, thecartridge accommodating portion 10 is further assembled to theholder 30, so that the assembly becomes easy.

また、本実施形態においては、受け部43には、カートリッジ収容部10の内部に突電極50を挿入するための挿入孔43cが形成されている。
この構成によれば、カートリッジ収容部10の内部に、容易に突電極50を配置できる。
Further, in this embodiment, the receivingportion 43 is formed with aninsertion hole 43c for inserting the protrudingelectrode 50 into the inside of thecartridge accommodating portion 10.
According to this configuration, the protrudingelectrode 50 can be easily arranged inside thecartridge accommodating section 10.

本実施形態のエアロゾル生成装置は、先に記載の本体ユニット2と、エアロゾル源を収容すると共に、本体ユニット2のカートリッジ収容部10に対し挿抜可能に挿入されたカートリッジ3と、を備える。
この構成によれば、部品を省スペースで組み込んだ本体ユニット2を備えるため、装置全体として小型化を図ることができる。
The aerosol generating device of this embodiment includes themain unit 2 described above, and acartridge 3 that accommodates an aerosol source and is inserted into and removably into thecartridge accommodating portion 10 of themain unit 2.
According to this configuration, since themain body unit 2 is provided in which parts are assembled in a space-saving manner, the device as a whole can be downsized.

本実施形態の吸引器1は、先に記載のエアロゾル生成装置と、エアロゾル生成装置の吸口部11に装着された香味源容器4と、を備える。
この構成によれば、エアロゾルに香味を添加することができる。
Theinhaler 1 of this embodiment includes the aerosol generating device described above and theflavor source container 4 attached to themouthpiece 11 of the aerosol generating device.
According to this configuration, flavor can be added to the aerosol.

また、本実施形態では、次のような作用効果も得られる。 Further, in this embodiment, the following effects can also be obtained.

上述した本実施形態の本体ユニット2は、一対の主面部12Aの間を接続する周壁部12Bを有する外装ケース12と、周壁部12Bに配置された入力デバイス15と、を備え、周壁部12Bは、一対の主面部12Aに連続する外表面12b1と、外表面12b1に対し窪んだ凹部12b2と、を有し、入力デバイス15は、凹部12b2に配置されている。
この構成によれば、周壁部12Bの凹部12b2に入力デバイス15が配置されているため、入力デバイス15に意図せずに触れ難くなり、入力デバイス15の誤作動を防止できる。
Themain body unit 2 of the present embodiment described above includes anexterior case 12 having aperipheral wall 12B that connects a pair ofmain surface parts 12A, and aninput device 15 disposed on theperipheral wall 12B. , has an outer surface 12b1 continuous to the pair ofmain surface portions 12A, and a recess 12b2 depressed with respect to the outer surface 12b1, and theinput device 15 is disposed in the recess 12b2.
According to this configuration, since theinput device 15 is disposed in the recess 12b2 of theperipheral wall portion 12B, it becomes difficult to unintentionally touch theinput device 15, and malfunction of theinput device 15 can be prevented.

また、本実施形態においては、入力デバイス15は、周壁部12Bのうち、外装ケース12のコーナー部12Cに配置されている。
この構成によれば、入力デバイス15を操作し易くなる。
Further, in this embodiment, theinput device 15 is disposed at acorner portion 12C of theouter case 12 in theperipheral wall portion 12B.
According to this configuration, it becomes easier to operate theinput device 15.

また、本実施形態においては、外装ケース12の内部に設けられたホルダー30を備え、ホルダー30は、コーナー部12Cに対向するサブプレート42(第2サブプレート42B)を有し、サブプレート42に、入力デバイス15が保持されている。
この構成によれば、入力デバイス15をコーナー部12Cに配置し易くなる。
Further, in this embodiment, theholder 30 is provided inside theexterior case 12, and theholder 30 has a sub-plate 42 (second sub-plate 42B) facing thecorner portion 12C. , aninput device 15 is held.
According to this configuration, it becomes easy to arrange theinput device 15 at thecorner portion 12C.

また、本実施形態においては、ホルダー30は、外装ケース12の内部に設けられた部品の少なくとも一部を保持するメインプレート41を備え、サブプレート42は、メインプレート41の端部からメインプレート41の板面に交差する方向に延びている。
この構成によれば、メインプレート41とサブプレート42が交差して接続されるため、ホルダー30の剛性を高めることができる。
Further, in this embodiment, theholder 30 includes amain plate 41 that holds at least a part of the components provided inside theexterior case 12, and the sub-plate 42 extends from the end of themain plate 41 to themain plate 41. It extends in a direction that intersects the plate surface.
According to this configuration, since themain plate 41 and the sub-plate 42 are connected in a crossing manner, the rigidity of theholder 30 can be increased.

また、本実施形態においては、サブプレート42は、メインプレート41の板面に直交する方向の少なくとも一方側に延びている。
この構成によれば、ホルダー30の断面が少なくともL字になり、ホルダー30の剛性を高めることができる。
Further, in this embodiment, the sub-plate 42 extends in at least one side of themain plate 41 in a direction perpendicular to the plate surface.
According to this configuration, the cross section of theholder 30 becomes at least L-shaped, and the rigidity of theholder 30 can be increased.

また、本実施形態においては、サブプレート42は、メインプレート41の板面に直交する方向において両側に延びている。
この構成によれば、ホルダー30の断面がT字になり、ホルダー30の剛性を高めることができる。
Furthermore, in this embodiment, the sub-plates 42 extend on both sides in a direction perpendicular to the plate surface of themain plate 41.
According to this configuration, the cross section of theholder 30 becomes T-shaped, and the rigidity of theholder 30 can be increased.

また、本実施形態においては、ホルダー30は、サブプレート42として、メインプレート41の端部の第1端辺41h1に設けられた第1サブプレート42Aと、メインプレート41の端部の第1端辺41h1に隣接する第2端辺41h2に設けられた第2サブプレート42Bと、を有し、第1サブプレート42Aと第2サブプレート42Bとが、互いに接続されている。
この構成によれば、第1サブプレート42Aと第2サブプレート42Bとが接続されているので、ホルダー30の剛性を高めることができる。
In the present embodiment, theholder 30 includes a first sub-plate 42A provided at the first end side 41h1 of the end of themain plate 41 as the sub-plate 42, and a first sub-plate 42A provided at the first end of the end of themain plate 41. The first sub-plate 42A and the second sub-plate 42B are connected to each other.
According to this configuration, since the first sub-plate 42A and the second sub-plate 42B are connected, the rigidity of theholder 30 can be increased.

また、本実施形態においては、第1サブプレート42Aと第2サブプレート42Bとが、鈍角で接続されている。
この構成によれば、外装ケース12が丸みを帯びたコーナー部12Cや斜めになったコーナー部12Cを有する場合であっても、そのコーナー部12Cに入力デバイス15を配置し易くなる。
Further, in this embodiment, the first sub-plate 42A and the second sub-plate 42B are connected at an obtuse angle.
According to this configuration, even if theexterior case 12 has a roundedcorner portion 12C or anoblique corner portion 12C, theinput device 15 can be easily placed in thecorner portion 12C.

また、本実施形態においては、入力デバイス15は、押しボタンである。
この構成によれば、押しボタンの誤作動を防止できる。
Further, in this embodiment, theinput device 15 is a push button.
According to this configuration, erroneous operation of the push button can be prevented.

また、本実施形態においては、外装ケース12に少なくとも一部が覆われたカートリッジ収容部10を備える。
この構成によれば、カートリッジ収容部10を外装ケース12で保護することができる。
Further, in this embodiment, thecartridge accommodating portion 10 is provided, which is at least partially covered by theouter case 12.
According to this configuration, thecartridge accommodating section 10 can be protected by theouter case 12.

また、本実施形態においては、カートリッジ収容部10は、周壁部12Bのうち、入力デバイス15が配置された外装ケース12の第1コーナー部12C1に対し、最も近い第2コーナー部12C2に配置されている。
この構成によれば、カートリッジ収容部10と入力デバイス15が近くに配置されるため、操作性の向上を図れる。
Further, in the present embodiment, thecartridge accommodating portion 10 is disposed at a second corner portion 12C2 of theperipheral wall portion 12B that is closest to the first corner portion 12C1 of theouter case 12 where theinput device 15 is disposed. There is.
According to this configuration, since thecartridge accommodating portion 10 and theinput device 15 are arranged close to each other, operability can be improved.

また、本実施形態においては、カートリッジ収容部10は、吸口部11を取り付け可能なカートリッジ挿抜口10aを有し、入力デバイス15は、カートリッジ挿抜口10aの中心を通るカートリッジ収容部10の主軸Oに対し、鋭角方向を向いて配置されている。
この構成によれば、ユーザが吸口部11を咥えたままで、入力デバイス15を操作し易くなる。
Further, in this embodiment, thecartridge accommodating part 10 has a cartridge insertion/extraction port 10a to which themouthpiece 11 can be attached, and theinput device 15 is connected to the main axis O of thecartridge accommodating part 10 passing through the center of the cartridge insertion/extraction port 10a. On the other hand, they are arranged facing at an acute angle.
According to this configuration, the user can easily operate theinput device 15 while holding themouthpiece 11 in his/her mouth.

本実施形態のエアロゾル生成装置は、先に記載の本体ユニット2と、エアロゾル源を収容すると共に、本体ユニット2のカートリッジ収容部10に対し挿抜可能に挿入されたカートリッジ3と、を備える。
この構成によれば、入力デバイス15の誤作動を防止できる本体ユニット2を備えるため、装置の安全性を高めることができる。
The aerosol generating device of this embodiment includes themain unit 2 described above, and acartridge 3 that accommodates an aerosol source and is inserted into and removably into thecartridge accommodating portion 10 of themain unit 2.
According to this configuration, since themain body unit 2 that can prevent malfunction of theinput device 15 is provided, the safety of the apparatus can be improved.

本実施形態の吸引器1は、先に記載のエアロゾル生成装置と、エアロゾル生成装置の吸口部11に装着された香味源容器4と、を備える。
この構成によれば、エアロゾルに香味を添加することができる。
Theinhaler 1 of this embodiment includes the aerosol generating device described above and theflavor source container 4 attached to themouthpiece 11 of the aerosol generating device.
According to this configuration, flavor can be added to the aerosol.

また、本実施形態では、次のような作用効果も得られる。 Further, in this embodiment, the following effects can also be obtained.

上述した本実施形態の本体ユニット2は、カートリッジ3を収容するカートリッジ収容部10と、カートリッジ収容部10の外側の少なくとも一部を囲う外装ケース12と、外装ケース12に収容されたホルダー30と、を備え、ホルダー30は、外装ケース12の内部に設けられた部品の少なくとも一つを保持するメインプレート41と、メインプレート41と一体で形成され、カートリッジ収容部10の端部を受ける受け部43と、を有する。
この構成によれば、ホルダー30に外装ケース12の内部の部品とカートリッジ収容部10の両方が組み付けられるので、組み込みが容易になる。
Themain body unit 2 of the present embodiment described above includes acartridge accommodating section 10 that accommodates thecartridge 3, anexterior case 12 that surrounds at least a portion of the outside of thecartridge accommodating section 10, and aholder 30 that is accommodated in theexterior case 12. Theholder 30 includes amain plate 41 that holds at least one of the components provided inside theouter case 12, and a receivingpart 43 that is integrally formed with themain plate 41 and receives the end of thecartridge accommodating part 10. and has.
According to this configuration, both the internal parts of theouter case 12 and thecartridge accommodating portion 10 are assembled into theholder 30, so that the assembly becomes easy.

また、本実施形態においては、受け部43には、カートリッジ収容部10の内部に突電極50を挿入するための挿入孔43cが形成されている。
この構成によれば、カートリッジ収容部10の内部に、容易に突電極50を配置できる。
Further, in this embodiment, the receivingportion 43 is formed with aninsertion hole 43c for inserting the protrudingelectrode 50 into the inside of thecartridge accommodating portion 10.
According to this configuration, the protrudingelectrode 50 can be easily arranged inside thecartridge accommodating section 10.

また、本実施形態においては、受け部43は、メインプレート41の短手方向(Y軸方向)の端部において、メインプレート41の長手方向(Z軸方向)に沿って平行に延びる有底筒状に形成されている。
この構成によれば、メインプレート41とカートリッジ収容部10が長手方向に平行に配置されるので、本体ユニット2の全長を短くできる。
In the present embodiment, the receivingportion 43 is a bottomed cylinder extending in parallel along the longitudinal direction (Z-axis direction) of themain plate 41 at the end of themain plate 41 in the transverse direction (Y-axis direction). It is formed in the shape of
According to this configuration, themain plate 41 and thecartridge accommodating portion 10 are arranged parallel to each other in the longitudinal direction, so that the overall length of themain body unit 2 can be shortened.

また、本実施形態においては、ホルダー30は、メインプレート41の端部からメインプレート41の板面に交差する方向に延びると共に、外装ケース12の外面に沿って設けられた部品の少なくとも一つを保持するサブプレート42を有する。
この構成によれば、ホルダー30の剛性を高めることができる。
Furthermore, in the present embodiment, theholder 30 extends from the end of themain plate 41 in a direction intersecting the plate surface of themain plate 41 and supports at least one of the components provided along the outer surface of theexterior case 12. It has a sub-plate 42 for holding.
According to this configuration, the rigidity of theholder 30 can be increased.

また、本実施形態においては、サブプレート42は、メインプレート41の板面に直交する方向の少なくとも一方側に延びている。
この構成によれば、ホルダー30の断面が少なくともL字になり、ホルダー30の剛性を高めることができる。
Further, in this embodiment, the sub-plate 42 extends in at least one side of themain plate 41 in a direction perpendicular to the plate surface.
According to this configuration, the cross section of theholder 30 becomes at least L-shaped, and the rigidity of theholder 30 can be increased.

また、本実施形態においては、サブプレート42は、メインプレート41の板面に直交する方向において両側に延びている。
この構成によれば、ホルダー30の断面がT字になり、ホルダー30の剛性を高めることができる。
Furthermore, in this embodiment, the sub-plates 42 extend on both sides in a direction perpendicular to the plate surface of themain plate 41.
According to this configuration, the cross section of theholder 30 becomes T-shaped, and the rigidity of theholder 30 can be increased.

また、本実施形態においては、ホルダー30は、サブプレート42として、メインプレート41の端部の第1端辺41h1に設けられた第1サブプレート42Aと、メインプレート41の端部の第1端辺41h1に隣接する第2端辺41h2に設けられた第2サブプレート42Bと、を有し、第1サブプレート42Aと第2サブプレート42Bとが、互いに接続されている。
この構成によれば、第1サブプレート42Aと第2サブプレート42Bとが接続されているので、ホルダー30の剛性を高めることができる。
In the present embodiment, theholder 30 includes a first sub-plate 42A provided at the first end side 41h1 of the end of themain plate 41 as the sub-plate 42, and a first sub-plate 42A provided at the first end of the end of themain plate 41. The first sub-plate 42A and the second sub-plate 42B are connected to each other.
According to this configuration, since the first sub-plate 42A and the second sub-plate 42B are connected, the rigidity of theholder 30 can be increased.

また、本実施形態においては、第1サブプレート42Aと第2サブプレート42Bとが、鈍角で接続されている。
この構成によれば、外装ケース12が丸みを帯びたコーナー部12Cや斜めになったコーナー部12Cを有する場合であっても、そのコーナー部12Cに部品を配置し易くなる。
Further, in this embodiment, the first sub-plate 42A and the second sub-plate 42B are connected at an obtuse angle.
According to this configuration, even if theexterior case 12 has a roundedcorner portion 12C or anoblique corner portion 12C, parts can be easily placed in thecorner portion 12C.

また、本実施形態においては、サブプレート42には、表示デバイス33が保持されている。
この構成によれば、サブプレート42に表示デバイス33を保持させることで、省スペース化できる。
Further, in this embodiment, thedisplay device 33 is held on the sub-plate 42.
According to this configuration, space can be saved by holding thedisplay device 33 on the sub-plate 42.

また、本実施形態においては、サブプレート42には、入力デバイス15が保持されている。
この構成によれば、サブプレート42に入力デバイス15を保持させることで、省スペース化できる。
Further, in this embodiment, theinput device 15 is held on the sub-plate 42.
According to this configuration, space can be saved by holding theinput device 15 on the sub-plate 42.

また、本実施形態においては、メインプレート41は、第1部品を保持する第1板面41aと、第1板面41aと反対側で、第1部品と異なる第2部品を保持する第2板面41bと、を有する。
この構成によれば、メインプレート41の表と裏に部品が保持されるので、省スペース化できる。
In the present embodiment, themain plate 41 includes afirst plate surface 41a that holds a first component, and a second plate that holds a second component different from the first component on the opposite side of thefirst plate surface 41a. It has asurface 41b.
According to this configuration, parts are held on the front and back sides of themain plate 41, so space can be saved.

また、本実施形態においては、第1部品及び第2部品のいずれか一方は、電源37であり、第1部品及び第2部品の他方は、電源37と電気的に接続された電子部品である。
この構成によれば、メインプレート41の表と裏に電源37と電子部品を別々に保持することで、電源37の大容量化と、電子部品の設置スペースの確保を両立できる。
Further, in the present embodiment, one of the first component and the second component is thepower source 37, and the other of the first component and the second component is an electronic component electrically connected to thepower source 37. .
According to this configuration, by holding thepower source 37 and electronic components separately on the front and back sides of themain plate 41, it is possible to increase the capacity of thepower source 37 and secure installation space for the electronic components.

本実施形態のエアロゾル生成装置は、先に記載の本体ユニット2と、エアロゾル源を収容すると共に、本体ユニット2のカートリッジ収容部10に対し挿抜可能に挿入されたカートリッジ3と、を備える。
この構成によれば、ホルダー30に様々な部品が組み込まれた本体ユニット2を備えるため、装置の生産性を高めることができる。
The aerosol generating device of this embodiment includes themain unit 2 described above, and acartridge 3 that accommodates an aerosol source and is inserted into and removably into thecartridge accommodating portion 10 of themain unit 2.
According to this configuration, since theholder 30 includes themain body unit 2 in which various parts are assembled, the productivity of the apparatus can be improved.

本実施形態の吸引器1は、先に記載のエアロゾル生成装置と、エアロゾル生成装置の吸口部11に装着された香味源容器4と、を備える。
この構成によれば、エアロゾルに香味を添加することができる。
Theinhaler 1 of this embodiment includes the aerosol generating device described above and theflavor source container 4 attached to themouthpiece 11 of the aerosol generating device.
According to this configuration, flavor can be added to the aerosol.

また、本実施形態では、次のような作用効果も得られる。 Further, in this embodiment, the following effects can also be obtained.

上述した本実施形態の本体ユニット2は、カートリッジ3を収容するカートリッジ収容部10と、カートリッジ収容部10の外側の少なくとも一部を囲う外装ケース12と、を備え、外装ケース12は、窓部16が設けられた本体ケース13を含み、窓部16以外の場所からカートリッジ収容部10の内部を照らす光源52を備える。
この構成によれば、外光を取り入れる貫通窓が無くても液残量が確認できる。
なお、「窓部」には、カバー部材17がない単なる開口部13aが含まれる。
Themain unit 2 of the present embodiment described above includes acartridge accommodating section 10 that accommodates thecartridge 3 and anexterior case 12 that encloses at least a portion of the outside of thecartridge accommodating section 10. Theexterior case 12 has awindow section 16. Themain body case 13 is provided with alight source 52 that illuminates the inside of thecartridge accommodating part 10 from a place other than thewindow part 16.
According to this configuration, the remaining amount of liquid can be confirmed even without a through window that takes in outside light.
Note that the "window" includes amere opening 13a without thecover member 17.

また、本実施形態においては、光源52とカートリッジ収容部10との間に、導光部材を備える。
この構成によれば、カートリッジ収容部10の内部を明るく照らすことができる。
Further, in this embodiment, a light guide member is provided between thelight source 52 and thecartridge accommodating section 10.
According to this configuration, the inside of thecartridge accommodating section 10 can be brightly illuminated.

また、本実施形態においては、ユーザの吸引を検知するセンサ34と、センサ34を保持するセンサホルダー35と、を備え、センサホルダー35が、導光部材を兼ねる。
この構成によれば、センサホルダー35が導光部材も兼ねているため、部品点数を減らし、省スペース化を図れる。
Further, in this embodiment, asensor 34 that detects the user's suction and asensor holder 35 that holds thesensor 34 are provided, and thesensor holder 35 also serves as a light guide member.
According to this configuration, since thesensor holder 35 also serves as a light guide member, the number of parts can be reduced and space can be saved.

また、本実施形態においては、カートリッジ収容部10は、カートリッジ挿抜口10aを有し、光源52は、カートリッジ挿抜口10aの中心を通るカートリッジ収容部10の主軸方向において、カートリッジ挿抜口10aと反対側に配置されている。
この構成によれば、カートリッジ収容部10の底部(反カートリッジ挿抜口側)を照らすことができ、液残量を確認し易くなる。
Further, in the present embodiment, thecartridge accommodating portion 10 has the cartridge insertion/extraction port 10a, and thelight source 52 is located on the side opposite to the cartridge insertion/extraction port 10a in the main axis direction of thecartridge accommodating portion 10 passing through the center of the cartridge insertion/extraction port 10a. It is located in
According to this configuration, the bottom of the cartridge accommodating portion 10 (the side opposite to the cartridge insertion/extraction port) can be illuminated, making it easier to check the remaining amount of liquid.

また、本実施形態においては、光源52は、窓部16と少なくとも一部と重なって配置されている。
この構成によれば、光源52と窓部16が少なくとも一部重なっているので、液残量を確認し易くなる。
Further, in the present embodiment, thelight source 52 is arranged to overlap at least a portion of thewindow portion 16.
According to this configuration, since thelight source 52 and thewindow portion 16 at least partially overlap, it becomes easier to check the remaining amount of liquid.

また、本実施形態においては、窓部16は、本体ケース13に設けられた開口部13aと、開口部13aを覆うカバー部材17と、で形成されている。
この構成によれば、カバー部材17によって、カートリッジ収容部10の内部に異物が侵入しないようにすることができる。
Further, in this embodiment, thewindow portion 16 is formed of anopening 13a provided in themain body case 13 and acover member 17 that covers theopening 13a.
According to this configuration, thecover member 17 can prevent foreign matter from entering the inside of thecartridge accommodating section 10.

また、本実施形態においては、カートリッジ収容部10は、周面に貫通孔10cが形成された筒状部材であり、カバー部材17は、貫通孔10cに挿入されるカートリッジ収容部側突起17Cを有する。
この構成によれば、カートリッジ収容部10とカバー部材17(窓部16)との位置ずれを防止することができる。
Further, in the present embodiment, thecartridge accommodating portion 10 is a cylindrical member having a throughhole 10c formed on the circumferential surface, and thecover member 17 has a cartridge accommodatingportion side protrusion 17C that is inserted into the throughhole 10c. .
According to this configuration, misalignment between thecartridge accommodating portion 10 and the cover member 17 (window portion 16) can be prevented.

また、本実施形態においては、カバー部材17は、本体ケース13の開口部13aに挿入される本体ケース側突起17Aを有する。
この構成によれば、カバー部材17が、本体ケース13に対するカートリッジ収容部10の抜け止めとなる。
Further, in this embodiment, thecover member 17 has a maincase side protrusion 17A that is inserted into theopening 13a of themain case 13.
According to this configuration, thecover member 17 serves to prevent thecartridge accommodating portion 10 from coming off from themain body case 13.

本実施形態のエアロゾル生成装置は、先に記載の本体ユニット2と、エアロゾル源を収容すると共に、本体ユニット2のカートリッジ収容部10に対し挿抜可能に挿入されたカートリッジ3と、を備える。
この構成によれば、カートリッジ収容部10の内部を照らすことができる本体ユニット2を備えるため、液残量が容易に確認できる。
The aerosol generating device of this embodiment includes themain unit 2 described above, and acartridge 3 that accommodates an aerosol source and is inserted into and removably into thecartridge accommodating portion 10 of themain unit 2.
According to this configuration, since themain body unit 2 that can illuminate the inside of thecartridge accommodating section 10 is provided, the remaining amount of liquid can be easily confirmed.

本実施形態の吸引器1は、先に記載のエアロゾル生成装置と、エアロゾル生成装置の吸口部11に装着された香味源容器4と、を備える。
この構成によれば、エアロゾルに香味を添加することができる。
Theinhaler 1 of this embodiment includes the aerosol generating device described above and theflavor source container 4 attached to themouthpiece 11 of the aerosol generating device.
According to this configuration, flavor can be added to the aerosol.

また、本実施形態では、次のような作用効果も得られる。 Further, in this embodiment, the following effects can also be obtained.

上述した本実施形態の本体ユニット2は、カートリッジ3を収容するカートリッジ収容部10と、カートリッジ収容部10の外側の少なくとも一部を囲う外装ケース12と、を備え、外装ケース12は、開口部13aが形成された本体ケース13と、開口部13aに設けられたカバー部材17と、を備え、カバー部材17と開口部13aとの間隙に空気インレット18が形成され、カバー部材17と本体ケース13とが重なる箇所に、空気インレット18とカートリッジ収容部10の内部とを流体連通させる空気孔19が形成されている。
この構成によれば、空気孔19が指で塞がれ、パフ(吸引)が困難になることを防止できる。
なお、カバー部材17、が本体ケース13の外側に配置されて重なっていても構わない。この場合、本体ケース13側に空気孔19が形成される。
Themain body unit 2 of the present embodiment described above includes acartridge accommodating section 10 that accommodates thecartridge 3, and anexterior case 12 that surrounds at least a portion of the outside of thecartridge accommodating section 10, and theexterior case 12 has anopening 13a. Anair inlet 18 is formed in the gap between thecover member 17 and theopening 13a, and thecover member 17 and themain case 13 are provided with a Anair hole 19 is formed where theair inlet 18 and the inside of thecartridge accommodating portion 10 are in fluid communication with each other.
According to this configuration, it is possible to prevent the air holes 19 from being blocked by fingers and making puffing (suction) difficult.
Note that thecover member 17 may be arranged on the outside of themain body case 13 and may overlap. In this case, air holes 19 are formed on themain body case 13 side.

また、本実施形態においては、空気インレット18は、本体ケース13の開口部13aの開口縁に沿って環状に形成されている。
この構成によれば、空気インレット18の全部が指で塞がれ難くなり、例え空気インレット18の一部が指で塞がれてもパフが可能となる。
Further, in this embodiment, theair inlet 18 is formed in an annular shape along the opening edge of theopening 13a of themain body case 13.
According to this configuration, theentire air inlet 18 is difficult to be blocked by a finger, and even if a part of theair inlet 18 is blocked by a finger, puffing is possible.

また、本実施形態においては、空気インレット18は、本体ケース13の開口部13aの開口縁に沿ってスリット状に形成されている。
この構成によれば、空気インレット18の全部が指で塞がれ難くなり、例え空気インレット18の一部が指で塞がれてもパフが可能となる。
Further, in this embodiment, theair inlet 18 is formed in a slit shape along the opening edge of theopening 13a of themain body case 13.
According to this configuration, theentire air inlet 18 is difficult to be blocked by a finger, and even if a part of theair inlet 18 is blocked by a finger, puffing is possible.

また、本実施形態においては、本体ケース13及びカバー部材17の少なくともいずれか一方に、空気インレット18と空気孔19との間を接続する空気溝70が形成されている。
この構成によれば、空気インレット18と空気孔19との間の流体抵抗を低くし、パフを容易にすることができる。
Further, in this embodiment, anair groove 70 is formed in at least one of themain body case 13 and thecover member 17 to connect between theair inlet 18 and theair hole 19.
According to this configuration, the fluid resistance between theair inlet 18 and theair hole 19 can be lowered, and puffing can be facilitated.

また、本実施形態においては、カバー部材17は、本体ケース13の開口部13aに挿入される本体ケース側突起17Aと、本体ケース側突起17Aを支持すると共に、本体ケース13の内側に重なる板部17Bと、を有し、空気溝70は、板部17Bにおける本体ケース側突起17Aの周囲に環状に形成された環状溝部71を有する。
この構成によれば、本体ケース側突起17Aの全周から空気を空気孔19に導くことができる。また、本体ケース側突起17Aによって、本体ケース13とカバー部材17との位置ずれを防止することができる。
In the present embodiment, thecover member 17 supports the maincase side protrusion 17A inserted into theopening 13a of themain case 13 and the maincase side protrusion 17A, and also has a plate portion that overlaps inside themain case 13. 17B, and theair groove 70 has anannular groove portion 71 formed in an annular shape around the main bodycase side protrusion 17A in theplate portion 17B.
According to this configuration, air can be guided to theair hole 19 from the entire circumference of the main bodycase side protrusion 17A. Further, the main bodycase side protrusion 17A can prevent misalignment between themain body case 13 and thecover member 17.

また、本実施形態においては、空気溝70は、環状溝部71と接続され、環状溝部71よりも低い底面を有する段差溝部72を有し、空気孔19は、段差溝部72に形成されている。
この構成によれば、空気孔19が段差溝部72に形成されているため、環状溝部71よりも本体ケース13に対する空間を広くあけることができ、空気孔19に空気が入り易くすることができる。
Further, in this embodiment, theair groove 70 is connected to theannular groove 71 and has astep groove 72 having a lower bottom surface than theannular groove 71, and theair hole 19 is formed in thestep groove 72.
According to this configuration, since theair hole 19 is formed in the steppedgroove portion 72, the space relative to themain body case 13 can be made wider than theannular groove portion 71, and air can easily enter theair hole 19.

また、本実施形態においては、カートリッジ収容部10は、筒状部材であり、筒状部材の周面を貫通し、空気孔19と連通する空気連通孔10eが形成されている。
この構成によれば、空気孔19から空気連通孔10eを介し、カートリッジ収容部10の内部に直接的に空気を取り込むことができ、吸気流路を短くし、パフを容易にすることができる。
Further, in this embodiment, thecartridge accommodating portion 10 is a cylindrical member, and anair communication hole 10e that penetrates the circumferential surface of the cylindrical member and communicates with theair hole 19 is formed.
According to this configuration, air can be taken directly into thecartridge accommodating portion 10 from theair hole 19 through theair communication hole 10e, making it possible to shorten the intake flow path and facilitate puffing.

また、本実施形態においては、カートリッジ収容部10の周面には、空気連通孔10eと異なる位置に、貫通孔10cが形成され、カバー部材17は、貫通孔10cに挿入されるカートリッジ収容部側突起17Cを有する。
この構成によれば、カートリッジ収容部10とカバー部材17との位置ずれを防止することができる。
Further, in the present embodiment, a throughhole 10c is formed on the circumferential surface of thecartridge accommodating portion 10 at a position different from theair communication hole 10e, and thecover member 17 is provided on the side of the cartridge accommodating portion inserted into the throughhole 10c. It has aprotrusion 17C.
According to this configuration, misalignment between thecartridge accommodating portion 10 and thecover member 17 can be prevented.

また、本実施形態においては、カバー部材17は、透光性を有する。
この構成によれば、カバー部材17(窓部16)を介して、カートリッジ収容部10の内部の液残量等を確認できる。
Further, in this embodiment, thecover member 17 has translucency.
According to this configuration, it is possible to check the amount of liquid remaining inside thecartridge accommodating section 10 through the cover member 17 (window section 16).

本実施形態のエアロゾル生成装置は、先に記載の本体ユニット2と、エアロゾル源を収容すると共に、本体ユニット2のカートリッジ収容部10に対し挿抜可能に挿入されたカートリッジ3と、を備える。
この構成によれば、空気孔19が指で塞がれることを防止できる本体ユニット2を備えるため、パフ(吸引)が困難になることを防止できる。
The aerosol generating device of this embodiment includes themain unit 2 described above, and acartridge 3 that accommodates an aerosol source and is inserted into and removably into thecartridge accommodating portion 10 of themain unit 2.
According to this configuration, since themain body unit 2 is provided that can prevent the air holes 19 from being blocked by fingers, it is possible to prevent puffing (suction) from becoming difficult.

本実施形態の吸引器1は、先に記載のエアロゾル生成装置と、エアロゾル生成装置の吸口部11に装着された香味源容器4と、を備える。
この構成によれば、エアロゾルに香味を添加することができる。
Theinhaler 1 of this embodiment includes the aerosol generating device described above and theflavor source container 4 attached to themouthpiece 11 of the aerosol generating device.
According to this configuration, flavor can be added to the aerosol.

また、本実施形態では、次のような作用効果も得られる。 Further, in this embodiment, the following effects can also be obtained.

上述した本実施形態の本体ユニット2は、カートリッジ3を収容するカートリッジ収容部10と、カートリッジ収容部10の外側の少なくとも一部を囲う外装ケース12と、カートリッジ収容部10の周辺に配置され、外装ケース12に係止し、少なくとも外装ケース12から抜出する抜出方向のカートリッジ収容部10の移動を制限する移動制限部材(カバー部材17、センサホルダー35)と、を備える。
この構成によれば、カートリッジ収容部10の周辺に配置された部材を利用して、外装ケース12からのカートリッジ収容部10の抜出を防止できる。カートリッジ収容部10にねじなどの固定具を要しないので小型化できる。
Themain body unit 2 of the present embodiment described above includes acartridge accommodating section 10 that accommodates thecartridge 3, anexterior case 12 that surrounds at least a portion of the outside of thecartridge accommodating section 10, and an exterior case that is arranged around thecartridge accommodating section 10. A movement restricting member (covermember 17, sensor holder 35) that locks onto thecase 12 and restricts the movement of thecartridge accommodating portion 10 at least in the extraction direction from theouter case 12 is provided.
According to this configuration, thecartridge accommodating part 10 can be prevented from being pulled out from theouter case 12 by using the members arranged around thecartridge accommodating part 10. Since thecartridge accommodating portion 10 does not require a fixing device such as a screw, it can be miniaturized.

また、本実施形態においては、外装ケース12は、開口部13aが形成された本体ケース13を有し、移動制限部材は、開口部13aに挿入された本体ケース側突起17Aを有する。
この構成によれば、本体ケース13に形成された開口部13aに、移動制限部材の本体ケース側突起17Aが挿入されることで、外装ケース12からのカートリッジ収容部10の抜出を防止できる。
Further, in this embodiment, theexterior case 12 includes themain case 13 in which anopening 13a is formed, and the movement limiting member has a maincase side protrusion 17A inserted into theopening 13a.
According to this configuration, the maincase side protrusion 17A of the movement limiting member is inserted into theopening 13a formed in themain case 13, thereby preventing thecartridge accommodating portion 10 from being pulled out from theouter case 12.

また、本実施形態においては、移動制限部材として、透光性を有し、開口部13aを覆うカバー部材17を備える。
この構成によれば、移動制限部材が液残量等を確認するカバー部材17(窓部16)も兼ねているため、部品点数を減らし、省スペース化を図れる。
Further, in this embodiment, acover member 17 that has translucency and covers theopening 13a is provided as a movement restricting member.
According to this configuration, since the movement restricting member also serves as the cover member 17 (window portion 16) for checking the remaining amount of liquid, etc., the number of parts can be reduced and space can be saved.

また、本実施形態においては、カートリッジ収容部10は、周面に貫通孔10cが形成された筒状部材であり、移動制限部材は、貫通孔10cに挿入されるカートリッジ収容部側突起17Cを有する。
この構成によれば、カートリッジ収容部10に形成された貫通孔10cに、移動制限部材のカートリッジ収容部側突起17Cが挿入されることで、外装ケース12からのカートリッジ収容部10の抜出を防止できる。
Further, in the present embodiment, thecartridge accommodating portion 10 is a cylindrical member having a throughhole 10c formed on the circumferential surface, and the movement limiting member has a cartridge accommodatingportion side protrusion 17C that is inserted into the throughhole 10c. .
According to this configuration, the cartridge accommodatingpart side protrusion 17C of the movement restricting member is inserted into the throughhole 10c formed in thecartridge accommodating part 10, thereby preventing thecartridge accommodating part 10 from being pulled out from theouter case 12. can.

また、本実施形態においては、外装ケース12に固定されたホルダー30を備え、ホルダー30には、切欠部42dが形成されており、移動制限部材は、切欠部42dに係止されるホルダー側突起35Bを有する。
この構成によれば、ホルダー30に形成された切欠部42dに、移動制限部材のホルダー側突起35Bが挿入されることで、外装ケース12からのカートリッジ収容部10の抜出を防止できる。
Further, in this embodiment, theholder 30 is fixed to theexterior case 12, and theholder 30 is formed with anotch 42d, and the movement limiting member is a holder-side protrusion that is engaged with thenotch 42d. It has 35B.
According to this configuration, the holder-side protrusion 35B of the movement limiting member is inserted into thenotch 42d formed in theholder 30, thereby preventing thecartridge accommodating portion 10 from being pulled out from theexterior case 12.

また、本実施形態においては、ユーザの吸引を検知するセンサ34と、センサ34を保持するセンサホルダー35と、を備え、移動制限部材として、センサホルダー35を備える。
この構成によれば、移動制限部材がユーザの吸引を検知するセンサ34を保持するセンサホルダー35も兼ねているため、部品点数を減らし、省スペース化を図れる。
Moreover, in this embodiment, thesensor 34 that detects the user's suction and thesensor holder 35 that holds thesensor 34 are provided, and thesensor holder 35 is provided as a movement restricting member.
According to this configuration, the movement limiting member also serves as thesensor holder 35 that holds thesensor 34 that detects the user's suction, so the number of parts can be reduced and space can be saved.

また、本実施形態においては、移動制限部材は、カートリッジ収容部10と外装ケース12との間に介在する板部17Bを有し、板部17Bは、カートリッジ収容部10の抜出方向に向かうに従って、厚みが減少している。
この構成によれば、移動制限部材の板部17Bが楔となって、外装ケース12からのカートリッジ収容部10の抜出を防止できる。
Further, in the present embodiment, the movement restricting member has aplate portion 17B interposed between thecartridge accommodating portion 10 and theouter case 12, and theplate portion 17B increases as thecartridge accommodating portion 10 is removed. , the thickness is decreasing.
According to this configuration, theplate portion 17B of the movement restricting member acts as a wedge, and can prevent thecartridge accommodating portion 10 from being pulled out from theouter case 12.

また、本実施形態においては、外装ケース12側には、カートリッジ収容部10の反抜出方向側の端部を受ける受け部43が設けられ、カートリッジ収容部10の端部及び受け部43のいずれか一方に設けられ、他方に向かって突出した係合突部43iと、カートリッジ収容部10の端部及び受け部43の他方に設けられ、係合突部43iが挿入されることでカートリッジ収容部10の回転を規制する係合溝部10bと、を備える。
この構成によれば、外装ケース12に対するカートリッジ収容部10の周方向の位置決めが容易になる。
Further, in this embodiment, theouter case 12 side is provided with a receivingpart 43 that receives the end of thecartridge accommodating part 10 on the side opposite to the extraction direction. An engaging protrusion 43i is provided on one side and protrudes toward the other, and an engaging protrusion 43i is provided on the other end of thecartridge accommodating portion 10 and the receivingportion 43, and when the engaging protrusion 43i is inserted, thecartridge accommodating portion 10, and anengagement groove 10b that restricts the rotation of 10.
According to this configuration, positioning of thecartridge accommodating portion 10 in the circumferential direction with respect to theouter case 12 is facilitated.

本実施形態のエアロゾル生成装置は、先に記載の本体ユニット2と、エアロゾル源を収容すると共に、本体ユニット2のカートリッジ収容部10に対し挿抜可能に挿入されたカートリッジ3と、を備える。
この構成によれば、ねじなどの固定具を要しないで外装ケース12からのカートリッジ収容部10の抜出を防止できる本体ユニット2を備えるため、装置全体を小型化できる。
The aerosol generating device of this embodiment includes themain unit 2 described above, and acartridge 3 that accommodates an aerosol source and is inserted into and removably into thecartridge accommodating portion 10 of themain unit 2.
According to this configuration, since themain body unit 2 is provided that can prevent thecartridge accommodating portion 10 from being removed from theouter case 12 without requiring a fixing device such as a screw, the entire device can be downsized.

本実施形態の吸引器1は、先に記載のエアロゾル生成装置と、エアロゾル生成装置の吸口部11に装着された香味源容器4と、を備える。
この構成によれば、エアロゾルに香味を添加することができる。
Theinhaler 1 of this embodiment includes the aerosol generating device described above and theflavor source container 4 attached to themouthpiece 11 of the aerosol generating device.
According to this configuration, flavor can be added to the aerosol.

また、本実施形態では、次のような作用効果も得られる。 Further, in this embodiment, the following effects can also be obtained.

上述した本実施形態の本体ユニット2は、カートリッジを収容するカートリッジ収容部10と、カートリッジ収容部10の外側の少なくとも一部を囲う外装ケース12と、外装ケース12に収容され、ユーザの吸引を検知するセンサ34と、外装ケース12に収容され、センサ34を保持するセンサホルダー35と、を備え、センサホルダー35は、カートリッジ収容部10の周面に沿った形状を有し、カートリッジ収容部10の周面に気密に接している。
この構成によれば、センサホルダー35がカートリッジ収容部10の周面に沿って配置できるため、省スペースで、センサ34及びセンサホルダー35を組み込むことができる。これにより、センサホルダー35以外にセンサ34の空気流路80を別途設けなくて済み、また空気流路80自体も短くて済む。
Themain unit 2 of the present embodiment described above is housed in acartridge accommodating section 10 that accommodates a cartridge, anexterior case 12 that surrounds at least a portion of the outside of thecartridge accommodating section 10, and is housed in theexterior case 12, and detects suction by a user. Thesensor holder 35 is housed in theouter case 12 and holds thesensor 34. It is in airtight contact with the surrounding surface.
According to this configuration, since thesensor holder 35 can be arranged along the circumferential surface of thecartridge accommodating section 10, thesensor 34 and thesensor holder 35 can be incorporated in a space-saving manner. This eliminates the need to separately provide theair flow path 80 of thesensor 34 other than thesensor holder 35, and theair flow path 80 itself can be short.

また、本実施形態においては、カートリッジ収容部10は、周面に貫通孔10dが形成された筒状部材であり、センサホルダー35は、貫通孔10dに挿入されるカートリッジ収容部側突起35Dを有する。
この構成によれば、カートリッジ収容部10とセンサホルダー35との位置ずれを防止することができる。
Further, in the present embodiment, thecartridge accommodating portion 10 is a cylindrical member having a throughhole 10d formed on its circumferential surface, and thesensor holder 35 has a cartridge accommodatingportion side protrusion 35D that is inserted into the throughhole 10d. .
According to this configuration, misalignment between thecartridge accommodating portion 10 and thesensor holder 35 can be prevented.

また、本実施形態においては、センサホルダー35は、カートリッジ収容部10と反対側にホルダー側突起35B(反カートリッジ収容部側突起)を有し、ホルダー側突起35Bに、カートリッジ収容部10の内部とセンサ34との間を接続する空気流路80が形成されている。
この構成によれば、センサ34までの空気流路80を短くすることができる。
Further, in the present embodiment, thesensor holder 35 has a holder-side protrusion 35B (a protrusion on the side opposite to the cartridge accommodating part) on the side opposite to thecartridge accommodating part 10, and the holder-side protrusion 35B has a connection between the inside of thecartridge accommodating part 10 and the holder-side protrusion 35B. Anair flow path 80 is formed to connect with thesensor 34.
According to this configuration, theair flow path 80 up to thesensor 34 can be shortened.

また、本実施形態においては、センサホルダー35は、空気流路80にセンサ34を保持する保持部35Cを有する。
この構成によれば、センサ34を空気流路80に保持して、空気流路80を短くすることができる。
Further, in this embodiment, thesensor holder 35 has a holdingportion 35C that holds thesensor 34 in theair flow path 80.
According to this configuration, thesensor 34 can be held in theair flow path 80 and theair flow path 80 can be shortened.

また、本実施形態においては、センサホルダー35は、接着部材(接着シート48)を介して、カートリッジ収容部10の周面に気密に接着されている。
この構成によれば、センサホルダー35とカートリッジ収容部10との密着性が高まる。
Further, in this embodiment, thesensor holder 35 is airtightly adhered to the circumferential surface of thecartridge accommodating portion 10 via an adhesive member (adhesive sheet 48).
According to this configuration, the close contact between thesensor holder 35 and thecartridge accommodating portion 10 is enhanced.

また、本実施形態においては、センサホルダー35は、カートリッジ収容部10の周面に沿って湾曲した湾曲板部35Aを有する。
この構成によれば、センサホルダー35をカートリッジ収容部10の周辺の狭小な隙間に配置し易くなる。
Further, in this embodiment, thesensor holder 35 has acurved plate portion 35A that is curved along the circumferential surface of thecartridge accommodating portion 10.
According to this configuration, thesensor holder 35 can be easily placed in a narrow gap around thecartridge accommodating section 10.

また、本実施形態においては、カートリッジ収容部10の内部を照らす光源52を備え、センサホルダー35が、光源52の光をカートリッジ収容部10の内部に導く導光部材を兼ねる。
この構成によれば、センサホルダー35が導光部材も兼ねているため、部品点数を減らし、省スペース化を図れる。
Further, in this embodiment, alight source 52 that illuminates the inside of thecartridge accommodating section 10 is provided, and thesensor holder 35 also serves as a light guide member that guides the light from thelight source 52 into the inside of thecartridge accommodating section 10 .
According to this configuration, since thesensor holder 35 also serves as a light guide member, the number of parts can be reduced and space can be saved.

また、本実施形態においては、センサホルダー35は、ポリカーボネート樹脂から形成されている。
この構成によれば、導光部材を兼ねるセンサホルダー35に適当な硬さと良好な導光性を付加することができる。
Furthermore, in this embodiment, thesensor holder 35 is made of polycarbonate resin.
According to this configuration, appropriate hardness and good light guiding performance can be added to thesensor holder 35 which also serves as a light guiding member.

また、本実施形態においては、カートリッジ収容部10の内部とセンサ34との間の空間を仕切る防水通気性部材81を備える。
この構成によれば、センサ34への液漏れ対策ができる。
Further, in this embodiment, a waterproof andbreathable member 81 is provided that partitions a space between the inside of thecartridge accommodating portion 10 and thesensor 34 .
According to this configuration, it is possible to take measures against liquid leakage to thesensor 34.

本実施形態のエアロゾル生成装置は、先に記載の本体ユニット2と、エアロゾル源を収容すると共に、本体ユニット2のカートリッジ収容部10に対し挿抜可能に挿入されたカートリッジ3と、を備える。
この構成によれば、省スペースで、センサ34及びセンサホルダー35を組み込むことができる本体ユニット2を備えるため、装置を小型化できる。
The aerosol generating device of this embodiment includes themain unit 2 described above, and acartridge 3 that accommodates an aerosol source and is inserted into and removably into thecartridge accommodating portion 10 of themain unit 2.
According to this configuration, since themain body unit 2 is provided in which thesensor 34 and thesensor holder 35 can be incorporated in a space-saving manner, the device can be downsized.

本実施形態の吸引器1は、先に記載のエアロゾル生成装置と、エアロゾル生成装置の吸口部11に装着された香味源容器4と、を備える。
この構成によれば、エアロゾルに香味を添加することができる。
Theinhaler 1 of this embodiment includes the aerosol generating device described above and theflavor source container 4 attached to themouthpiece 11 of the aerosol generating device.
According to this configuration, flavor can be added to the aerosol.

また、本実施形態では、次のような作用効果も得られる。 Further, in this embodiment, the following effects can also be obtained.

上述した本実施形態の本体ユニット2は、カートリッジを収容するカートリッジ収容部10と、カートリッジ収容部10の外側の少なくとも一部を囲う外装ケース12と、外装ケース12に収容されたメイン基板31と、を備え、メイン基板31に、カートリッジ収容部10の内部に形成されたカートリッジ収容室に挿入される突電極50が設けられている。
この構成によれば、突電極50がメイン基板31に直付けされるので、突電極50のためにサブ基板を別途用意する必要がなくなり、外装ケース12内部の省スペース化を図れる。
Themain body unit 2 of the present embodiment described above includes acartridge accommodating section 10 that accommodates a cartridge, anexterior case 12 that surrounds at least a portion of the outside of thecartridge accommodating section 10, and amain board 31 that is accommodated in theexterior case 12. A protrudingelectrode 50 is provided on themain board 31 to be inserted into a cartridge accommodating chamber formed inside thecartridge accommodating section 10.
According to this configuration, since the protrudingelectrode 50 is directly attached to themain board 31, there is no need to separately prepare a sub-board for the protrudingelectrode 50, and space inside theexterior case 12 can be saved.

また、本実施形態においては、メイン基板31に、突電極50が設けられている部分を覆う突電極カバー51を有する。
この構成によれば、メイン基板31と突電極50との接続部分を保護できる。
Further, in this embodiment, themain board 31 includes a protrudingelectrode cover 51 that covers a portion where the protrudingelectrode 50 is provided.
According to this configuration, the connection portion between themain board 31 and the protrudingelectrode 50 can be protected.

また、本実施形態においては、突電極50が設けられている部分には、メイン基板31上に配置され、突電極50を支持する台座部50Aが含まれる。
この構成によれば、突電極カバー51が突電極50を支持する台座部50Aを含めて保護できる。
Further, in this embodiment, the portion where the protrudingelectrode 50 is provided includes apedestal portion 50A that is disposed on themain board 31 and supports the protrudingelectrode 50.
According to this configuration, the protrudingelectrode cover 51 can protect the protrudingelectrode 50 including thepedestal portion 50A.

また、本実施形態においては、突電極カバー51は、カートリッジ収容部10を保持して突電極50が挿入される挿入孔43cが形成されたホルダー30に当接している。
この構成によれば、突電極カバー51とホルダー30が当接することで、カートリッジ収容部10からの予期せぬ液漏れを阻止することができる。
Furthermore, in this embodiment, the protrudingelectrode cover 51 is in contact with theholder 30 that holds thecartridge accommodating portion 10 and has aninsertion hole 43c into which the protrudingelectrode 50 is inserted.
According to this configuration, unexpected liquid leakage from thecartridge accommodating portion 10 can be prevented by the protrudingelectrode cover 51 and theholder 30 coming into contact with each other.

また、本実施形態においては、突電極カバー51に、突電極50が貫通して配置される貫通孔51cが形成されている。
この構成によれば、突電極50を通す必要がある場所以外は突電極カバー51によって覆われるので、カートリッジ収容部10からの予期せぬ液漏れを阻止することができる。
Further, in this embodiment, the protrudingelectrode cover 51 is formed with a throughhole 51c through which the protrudingelectrode 50 is disposed.
According to this configuration, the parts other than the places where the protrudingelectrode 50 needs to pass are covered by the protrudingelectrode cover 51, so that unexpected liquid leakage from thecartridge accommodating part 10 can be prevented.

また、本実施形態においては、突電極カバー51は、突電極50と共に、メイン基板31に設けられている。
この構成によれば、突電極50と突電極カバー51がメイン基板31に組み付けられているので、本体ユニット2の組み立てが容易になる。
Further, in this embodiment, the protrudingelectrode cover 51 is provided on themain board 31 together with the protrudingelectrode 50.
According to this configuration, since the protrudingelectrode 50 and the protrudingelectrode cover 51 are assembled to themain board 31, assembly of themain body unit 2 is facilitated.

また、本実施形態においては、突電極カバー51は、外装ケース12に対し非接触状態で組み込まれている。
この構成によれば、外装ケース12の装着時などに、突電極カバー51が外装ケース12に接触して変形したり、位置ずれしてしまうことを防止できる。
Furthermore, in this embodiment, the protrudingelectrode cover 51 is incorporated into theexterior case 12 in a non-contact manner.
According to this configuration, when theexterior case 12 is attached, the protrudingelectrode cover 51 can be prevented from coming into contact with theexterior case 12 and being deformed or displaced.

また、本実施形態においては、突電極カバー51は、シリコーン樹脂から形成されている。
この構成によれば、突電極カバー51の密着性を高め、液漏れをより確実に阻止できる。
Further, in this embodiment, the protrudingelectrode cover 51 is made of silicone resin.
According to this configuration, the adhesion of the protrudingelectrode cover 51 can be improved, and liquid leakage can be more reliably prevented.

また、本実施形態においては、突電極50は、メイン基板31の板面と平行に延びている。
この構成によれば、メイン基板31の板面に対して垂直に突電極50が延びている形態よりも、本体ユニット2の厚みを薄くでき、省スペース化を図れる。
Further, in this embodiment, the protrudingelectrode 50 extends parallel to the plate surface of themain board 31.
According to this configuration, the thickness of themain body unit 2 can be made thinner than the configuration in which the protrudingelectrodes 50 extend perpendicularly to the plate surface of themain board 31, and space can be saved.

また、本実施形態においては、メイン基板31は、カートリッジ収容部10に沿って延びる第1部分31Aと、第1部分31Aと交差する方向に延び、カートリッジ収容部10の端部と対向する第2部分31Bと、を有し、第2部分31Bに、突電極50が設けられている。
この構成によれば、カートリッジ収容部10に沿ってメイン基板31の第1部分31Aが配置されるので、本体ユニット2の全長を短くでき、また、第1部分31Aから第2部分31Bを延ばし突電極50を直付けすることで、カートリッジ収容部10の端部に突電極50を配置し易くなる。
Further, in the present embodiment, themain board 31 includes afirst portion 31A extending along thecartridge accommodating portion 10, and asecond portion 31A extending in a direction intersecting thefirst portion 31A and facing the end of thecartridge accommodating portion 10. Aportion 31B, and a protrudingelectrode 50 is provided in thesecond portion 31B.
According to this configuration, since thefirst portion 31A of themain board 31 is arranged along thecartridge accommodating portion 10, the overall length of themain body unit 2 can be shortened, and thesecond portion 31B is extended from thefirst portion 31A. By directly attaching theelectrode 50, it becomes easier to arrange the protrudingelectrode 50 at the end of thecartridge accommodating portion 10.

本実施形態のエアロゾル生成装置は、先に記載の本体ユニット2と、エアロゾル源を収容すると共に、本体ユニット2のカートリッジ収容部10に対し挿抜可能に挿入されたカートリッジ3と、を備える。
この構成によれば、部品を省スペースで組み込んだ本体ユニット2を備えるため、装置全体として小型化を図ることができる。
The aerosol generating device of this embodiment includes themain unit 2 described above, and acartridge 3 that accommodates an aerosol source and is inserted into and removably into thecartridge accommodating portion 10 of themain unit 2.
According to this configuration, since themain body unit 2 is provided in which parts are assembled in a space-saving manner, the device as a whole can be downsized.

本実施形態の吸引器1は、先に記載のエアロゾル生成装置と、エアロゾル生成装置の吸口部11に装着された香味源容器4と、を備える。
この構成によれば、エアロゾルに香味を添加することができる。
Theinhaler 1 of this embodiment includes the aerosol generating device described above and theflavor source container 4 attached to themouthpiece 11 of the aerosol generating device.
According to this configuration, flavor can be added to the aerosol.

また、本実施形態では、次のような作用効果も得られる。 Further, in this embodiment, the following effects can also be obtained.

上述した本実施形態の本体ユニット2は、第1主面部12A1と、第1主面部12A1に対向する第2主面部12A2と、を有する外装ケース12と、外装ケース12に収容された収容部品(ホルダー30)と、を備え、外装ケース12は、第1主面部12A1と、第1主面部12A1の周縁に設けられた第1周壁部12B1と、を有する第1ケース13Aと、第2主面部12A2と、第2主面部12A2の周縁に設けられた第2周壁部12B2と、を有する第2ケース13Bと、を備え、第1周壁部12B1と第2周壁部12B2とを接続する第1接続部91と、第1主面部12A1と第2主面部12A2のいずれか一方の対向面13a1に、収容部品を接続する第2接続部92と、第1主面部12A1と第2主面部12A2の他方の対向面13b1に、同一の収容部品を接続する第3接続部93と、を有する。
この構成によれば、外装ケース12の内側で第1主面部12A1と第2主面部12A2とが接続されているため、ユーザによる分解を防ぐことができる。また、外装ケース12の内側で第1主面部12A1と第2主面部12A2とが接続されているため、外装ケース12の外側の第1周壁部12B1及び第2周壁部12B2における強接続が不要となり、第1周壁部12B1及び第2周壁部12B2における厚みを小さくすることができる。
なお、「収容部品」は、ホルダー30に限らず、少なくとも一部が外装ケース12に収容されている部品であればよい。
Themain body unit 2 of the present embodiment described above includes anexterior case 12 having a first main surface portion 12A1 and a second main surface portion 12A2 opposite to the first main surface portion 12A1, and housing components ( holder 30), and theexterior case 12 includes afirst case 13A having a first main surface portion 12A1 and a first peripheral wall portion 12B1 provided at the periphery of the first main surface portion 12A1, and a second main surface portion. 12A2 and a second peripheral wall part 12B2 provided at the periphery of the second main surface part 12A2, and a first connection connecting the first peripheral wall part 12B1 and the second peripheral wall part 12B2. 91, a second connectingportion 92 that connects the accommodated component to the opposing surface 13a1 of either the first main surface portion 12A1 or the second main surface portion 12A2, and the other of the first main surface portion 12A1 or the second main surface portion 12A2. It has athird connection part 93 that connects the same housing component to the opposing surface 13b1.
According to this configuration, since the first main surface portion 12A1 and the second main surface portion 12A2 are connected inside theexterior case 12, disassembly by the user can be prevented. Furthermore, since the first main surface portion 12A1 and the second main surface portion 12A2 are connected inside theexterior case 12, strong connection between the first peripheral wall portion 12B1 and the second peripheral wall portion 12B2 outside theexterior case 12 is not required. , the thicknesses of the first peripheral wall portion 12B1 and the second peripheral wall portion 12B2 can be reduced.
Note that the "accommodated component" is not limited to theholder 30, and may be any component that is at least partially accommodated in theexterior case 12.

また、本実施形態においては、第1接続部91の接続方式は、爪嵌合を含む。
この構成によれば、外装ケース12の外側が爪嵌合で接続されるため、外装ケース12の仮止め等が可能となり、その後の組み立て工程が容易になる。また、爪嵌合であれば、道具を用いず反復的(可逆的)且つ容易に外装ケース12を組み立てることができる。
Furthermore, in the present embodiment, the connection method of thefirst connection portion 91 includes claw fitting.
According to this configuration, since the outside of theouter case 12 is connected by claw fitting, theouter case 12 can be temporarily fastened, etc., and the subsequent assembly process is facilitated. Further, if the claw fitting is used, theexterior case 12 can be assembled easily and repeatedly (reversibly) without using any tools.

また、本実施形態においては、第2接続部92及び第3接続部93の少なくともいずれか一方の接続方式は、溶着を含む。
この構成によれば、外装ケース12の内側が溶着によって永続的(非可逆的)に接続されるため、ユーザによる分解を防ぐことができる。仮に、外装ケース12を分解しても、非可逆的接続であるため、ユーザによる再組み立ては困難になる。
Further, in the present embodiment, the connection method for at least one of thesecond connection portion 92 and thethird connection portion 93 includes welding.
According to this configuration, since the inside of theexterior case 12 is permanently (irreversibly) connected by welding, disassembly by the user can be prevented. Even if theouter case 12 is disassembled, it will be difficult for the user to reassemble it because the connection is irreversible.

また、本実施形態においては、第2接続部92及び第3接続部93の他方の接続方式は、ねじ止めを含む。
この構成によれば、収容部品がねじ止めで反復的(可逆的)に外装ケース12に取り付けられるため、組み立てが容易になる。
Moreover, in this embodiment, the other connection method of thesecond connection part 92 and thethird connection part 93 includes screwing.
According to this configuration, the housing components are repeatedly (reversibly) attached to theexterior case 12 with screws, so assembly is facilitated.

また、本実施形態においては、第1接続部91、第2接続部92、第3接続部93の少なくとも一つは、接続方式の数が異なっている。
この構成によれば、外装ケース12の3つの接続部の接続方式が同一でないため、ユーザによる分解が困難になる。また、仮に外装ケース12を分解しても、外装ケース12の3つの接続部の接続方式が同一でないため、ユーザによる再組み立ては困難になる。
Further, in the present embodiment, at least one of the first connectingportion 91, the second connectingportion 92, and the third connectingportion 93 has a different number of connection methods.
According to this configuration, since the connection methods of the three connection parts of theexterior case 12 are not the same, it becomes difficult for the user to disassemble the case. Further, even if theouter case 12 is disassembled, the connection methods of the three connecting parts of theouter case 12 are not the same, making it difficult for the user to reassemble it.

また、本実施形態においては、収容部品は、外装ケース12の内部に設けられた部品の少なくとも一部を保持するホルダー30を含む。
この構成によれば、ホルダー30を利用して、外装ケース12の内側で第1主面部12A1と第2主面部12A2とを接続できるため、外装ケース12内部の省スペース化を図れる。
Furthermore, in this embodiment, the housing components include aholder 30 that holds at least a portion of the components provided inside theexterior case 12.
According to this configuration, the first main surface portion 12A1 and the second main surface portion 12A2 can be connected inside theouter case 12 using theholder 30, so that space inside theouter case 12 can be saved.

また、本実施形態においては、ホルダー30は、メインプレート41と、メインプレート41の板面に交差する方向に延びるメインプレート交差部(第1リブ42C、第2リブ42D、受け部43)と、を有する。
この構成によれば、ホルダー30の部品保持機能を阻害せずに、ホルダー30の剛性を高めつつ、メインプレート交差部を介して第1主面部12A1と第2主面部12A2とを接続できる。
Further, in the present embodiment, theholder 30 includes amain plate 41, a main plate intersection portion (first rib 42C,second rib 42D, receiving portion 43) extending in a direction intersecting the plate surface of themain plate 41, has.
According to this configuration, the first main surface portion 12A1 and the second main surface portion 12A2 can be connected via the main plate intersection portion while increasing the rigidity of theholder 30 without impairing the component holding function of theholder 30.

また、本実施形態においては、メインプレート交差部は、メインプレート41の板面に直交する方向の少なくとも一方側に延びていてもよい。
この構成によれば、ホルダー30の断面が少なくともL字になり、ホルダー30の剛性を高めることができる。
Further, in the present embodiment, the main plate intersection portion may extend to at least one side of themain plate 41 in a direction perpendicular to the plate surface.
According to this configuration, the cross section of theholder 30 becomes at least L-shaped, and the rigidity of theholder 30 can be increased.

また、本実施形態においては、第1主面部12A1と第2主面部12A2の少なくともいずれか一方の対向面13a1,13b1には、メインプレート交差部が接続されるケース側突起部13G,13Jが形成されている。
この構成によれば、メインプレート交差部を第1主面部12A1と第2主面部12A2のいずれか一方の対向面13a1,13b1まで長く延ばさなくても良くなるため、メインプレート交差部の変形を抑制することができる。
Further, in the present embodiment,case side protrusions 13G and 13J to which the main plate intersection portion is connected are formed on the opposing surfaces 13a1 and 13b1 of at least one of the first main surface portion 12A1 and the second main surface portion 12A2. has been done.
According to this configuration, the main plate intersection does not have to extend long to the opposing surfaces 13a1 and 13b1 of either the first main surface 12A1 or the second main surface 12A2, so deformation of the main plate intersection is suppressed. can do.

本実施形態のエアロゾル生成装置は、先に記載の本体ユニット2と、エアロゾル源を収容すると共に、本体ユニット2のカートリッジ収容部10に対し挿抜可能に挿入されたカートリッジ3と、を備える。
この構成によれば、ユーザによる分解を防ぐことができる本体ユニット2を備えるため、装置全体として安全性を向上できる。
The aerosol generating device of this embodiment includes themain unit 2 described above, and acartridge 3 that accommodates an aerosol source and is inserted into and removably into thecartridge accommodating portion 10 of themain unit 2.
According to this configuration, themain body unit 2 that can be prevented from being disassembled by the user is provided, so that the safety of the device as a whole can be improved.

本実施形態の吸引器1は、先に記載のエアロゾル生成装置と、エアロゾル生成装置の吸口部11に装着された香味源容器4と、を備える。
この構成によれば、エアロゾルに香味を添加することができる。
Theinhaler 1 of this embodiment includes the aerosol generating device described above and theflavor source container 4 attached to themouthpiece 11 of the aerosol generating device.
According to this configuration, flavor can be added to the aerosol.

また、本実施形態では、次のような作用効果も得られる。 Further, in this embodiment, the following effects can also be obtained.

上述した本実施形態の本体ユニット2は、カートリッジ3を収容するカートリッジ収容部10を備え、カートリッジ収容部10は、本体ユニット2の外装ケース12から突出したカートリッジ挿抜口10aを有する。
この構成によれば、カートリッジを挿抜する場所が視認し易いため、上下が分かりやすく、カートリッジの挿抜が容易になる。
Themain body unit 2 of the present embodiment described above includes acartridge accommodating portion 10 that accommodates thecartridge 3, and thecartridge accommodating portion 10 has a cartridge insertion/extraction opening 10a protruding from theouter case 12 of themain body unit 2.
According to this configuration, it is easy to visually confirm the place where the cartridge is inserted and removed, so it is easy to understand the top and bottom, and it becomes easy to insert and remove the cartridge.

また、本実施形態においては、カートリッジ収容部10は、カートリッジ挿抜口10aに吸口部11を接続するための吸口接続部10Bを有し、吸口接続部10Bの少なくとも一部が、外装ケース12から突出している。
この構成によれば、吸口部11を接続する場所が視認し易いため、カートリッジ収容部10に対する吸口部11の接続が容易になる。
Further, in the present embodiment, thecartridge accommodating portion 10 has a suctionport connection portion 10B for connecting thesuction port portion 11 to the cartridge insertion/extraction port 10a, and at least a portion of the suctionport connection portion 10B protrudes from theouter case 12. ing.
According to this configuration, since the location where themouthpiece 11 is connected is easily visible, themouthpiece 11 can be easily connected to thecartridge accommodating part 10.

また、本実施形態においては、外装ケース12は、隆起部12Dを有し、カートリッジ収容部10は、隆起部12Dの変形過渡部分12D1から突出している。
この構成によれば、カートリッジ収容部10に、外装ケース12から大きく露出する部分と、小さく露出する部分が形成される。カートリッジ収容部10の大きく露出する部分において視認性を確保しつつ、小さく露出する部分でカートリッジ収容部10を保護する面積を確保することができる。また、外装ケース12の縁と、カートリッジ収容部10の周面との接触長が長くなるため、両者を接着する際には、接続強度を確保し易くなる。
Further, in the present embodiment, theouter case 12 has a raisedportion 12D, and thecartridge accommodating portion 10 protrudes from the deformation transition portion 12D1 of the raisedportion 12D.
According to this configuration, thecartridge accommodating portion 10 is formed with a large portion exposed from theouter case 12 and a small exposed portion. While ensuring visibility in the largely exposed portion of thecartridge accommodating portion 10, an area for protecting thecartridge accommodating portion 10 can be secured in the small exposed portion. Furthermore, since the contact length between the edge of theouter case 12 and the circumferential surface of thecartridge accommodating portion 10 becomes longer, it becomes easier to ensure connection strength when bonding the two.

また、本実施形態においては、カートリッジ挿抜口10aは、カートリッジ収容部10が延びる主軸方向において、隆起部12Dの頂部P以下の位置に配置されている。
この構成によれば、落下や衝突などの際に、外装ケース12の隆起部12Dがカートリッジ挿抜口10aよりも先に外部と接触し、カートリッジ挿抜口10aの変形を防止することができる。
Further, in the present embodiment, the cartridge insertion/extraction opening 10a is arranged at a position below the top P of the raisedportion 12D in the main axis direction in which thecartridge accommodating portion 10 extends.
According to this configuration, in the event of a fall or collision, the protrudingportion 12D of theouter case 12 comes into contact with the outside before the cartridge insertion/extraction port 10a, thereby preventing deformation of the cartridge insertion/extraction port 10a.

また、本実施形態においては、カートリッジ収容部10が突出した隆起部12Dの変形過渡部分12D1と逆側の変形過渡部分12D2に、入力デバイス15が配置され、入力デバイス15は、カートリッジ収容部10が延びる主軸方向において、隆起部12Dの頂部P以下の位置に配置されている。
この構成によれば、落下や衝突などの際に、外装ケース12の隆起部12Dが入力デバイス15よりも先に外部と接触し、入力デバイス15の誤作動を防止することができる。
Further, in the present embodiment, theinput device 15 is disposed at the deformation transition portion 12D2 on the opposite side to the deformation transition portion 12D1 of the raisedportion 12D from which thecartridge accommodating portion 10 protrudes. It is disposed at a position below the top P of the raisedportion 12D in the extending main axis direction.
According to this configuration, in the event of a fall, collision, etc., the raisedportion 12D of theexterior case 12 comes into contact with the outside before theinput device 15, and malfunction of theinput device 15 can be prevented.

また、本実施形態においては、入力デバイス15は、カートリッジ挿抜口10aの中心を通るカートリッジ収容部10の主軸Oに対し、鋭角方向を向いて配置されている。
この構成によれば、ユーザが吸口部11を咥えたままで、入力デバイス15を操作し易くなる。
Further, in the present embodiment, theinput device 15 is arranged at an acute angle with respect to the main axis O of thecartridge accommodating portion 10 passing through the center of the cartridge insertion/extraction opening 10a.
According to this configuration, the user can easily operate theinput device 15 while holding themouthpiece 11 in his/her mouth.

また、本実施形態においては、外装ケース12に収容されたホルダー30を備え、ホルダー30は、外装ケース12の内部に設けられた部品の少なくとも一つを保持するメインプレート41と、メインプレート41と一体で形成され、カートリッジ収容部10の端部を受ける受け部43と、を有する。
この構成によれば、ホルダー30に外装ケース12の内部の部品とカートリッジ収容部10の両方が組み付けられるので、組み込みが容易になる。
The present embodiment also includes aholder 30 housed in theexterior case 12, and theholder 30 includes amain plate 41 that holds at least one of the components provided inside theexterior case 12; It has a receivingpart 43 which is integrally formed and receives the end of thecartridge accommodating part 10.
According to this configuration, both the internal parts of theouter case 12 and thecartridge accommodating portion 10 are assembled into theholder 30, so that the assembly becomes easy.

また、本実施形態においては、受け部43には、カートリッジ収容部10の内部に突電極50を挿入するための挿入孔43cが形成されている。
この構成によれば、カートリッジ収容部10の内部に、容易に突電極50を配置できる。
Further, in this embodiment, the receivingportion 43 is formed with aninsertion hole 43c for inserting the protrudingelectrode 50 into the inside of thecartridge accommodating portion 10.
According to this configuration, the protrudingelectrode 50 can be easily arranged inside thecartridge accommodating section 10.

また、本実施形態においては、受け部43は、メインプレート41の短手方向の端部において、メインプレート41の長手方向に沿って平行に延びる有底筒状に形成されている。
この構成によれば、メインプレート41とカートリッジ収容部10が長手方向に平行に配置されるので、本体ユニット2の全長を短くできる。
Further, in this embodiment, the receivingportion 43 is formed in a bottomed cylindrical shape extending parallel to the longitudinal direction of themain plate 41 at the end of themain plate 41 in the lateral direction.
According to this configuration, themain plate 41 and thecartridge accommodating portion 10 are arranged parallel to each other in the longitudinal direction, so that the overall length of themain body unit 2 can be shortened.

また、本実施形態においては、ホルダー30は、メインプレート41の端部からメインプレート41の板面に交差する方向に延びると共に、外装ケース12の外面に沿って設けられた部品の少なくとも一つを保持するサブプレート42を有する。
この構成によれば、ホルダー30の剛性を高め、省スペース化できる。
Furthermore, in the present embodiment, theholder 30 extends from the end of themain plate 41 in a direction intersecting the plate surface of themain plate 41 and supports at least one of the components provided along the outer surface of theexterior case 12. It has a sub-plate 42 for holding.
According to this configuration, the rigidity of theholder 30 can be increased and space can be saved.

本実施形態のエアロゾル生成装置は、先に記載の本体ユニット2と、エアロゾル源を収容すると共に、本体ユニット2のカートリッジ収容部10に対し挿抜可能に挿入されたカートリッジ3と、を備える。
この構成によれば、カートリッジを挿抜する場所が視認し易い本体ユニット2を備えるため、使いやすい。
The aerosol generating device of this embodiment includes themain unit 2 described above, and acartridge 3 that accommodates an aerosol source and is inserted into and removably into thecartridge accommodating portion 10 of themain unit 2.
According to this configuration, since themain body unit 2 is provided in which the place where the cartridge is inserted and removed is easily recognized, it is easy to use.

本実施形態の吸引器1は、先に記載のエアロゾル生成装置と、エアロゾル生成装置の吸口部11に装着された香味源容器4と、を備える。
この構成によれば、エアロゾルに香味を添加することができる。
Theinhaler 1 of this embodiment includes the aerosol generating device described above and theflavor source container 4 attached to themouthpiece 11 of the aerosol generating device.
According to this configuration, flavor can be added to the aerosol.

また、本実施形態では、次のような作用効果も得られる。 Further, in this embodiment, the following effects can also be obtained.

上述した本実施形態のエアロゾル生成装置は、エアロゾル源を収容する筒状のカートリッジ3と、カートリッジ3を収容する筒状のカートリッジ収容部10と、カートリッジ3をカートリッジ収容部10に対して位置決めする位置決め機構90と、を有し、位置決め機構90は、カートリッジ3及びカートリッジ収容部10のいずれか一方(カートリッジ収容部10)に設けられ、他方(カートリッジ3)に向かってカートリッジ収容部10の主軸Oが延びる主軸方向に突出すると共に、主軸O回りの周方向における幅が、他方に向かうに従って小さくなる係合突部43hと、カートリッジ3及びカートリッジ収容部10の他方に設けられ、係合突部43hが主軸方向に挿入可能な係合溝部26iと、を備える。
この構成によれば、カートリッジ3の位置が決まる感じか滑らかになる。
なお、係合突部43hが、カートリッジ3側に設けられ、係合溝部26iが、カートリッジ収容部10側に設けられていても構わない。
The aerosol generation device of the present embodiment described above includes acylindrical cartridge 3 that accommodates an aerosol source, a cylindricalcartridge accommodating section 10 that accommodates thecartridge 3, and a positioning device that positions thecartridge 3 with respect to thecartridge accommodating section 10. Thepositioning mechanism 90 is provided in either thecartridge 3 or the cartridge accommodating part 10 (cartridge accommodating part 10), and the main axis O of thecartridge accommodating part 10 is directed toward the other (cartridge 3). Anengagement protrusion 43h that protrudes in the extending main axis direction and whose width in the circumferential direction around the main axis O becomes smaller toward the other side is provided on the other of thecartridge 3 and thecartridge accommodating part 10, and theengagement protrusion 43h It includes anengagement groove portion 26i that can be inserted in the main axis direction.
With this configuration, the position of thecartridge 3 can be determined smoothly.
Note that theengagement protrusion 43h may be provided on thecartridge 3 side, and theengagement groove 26i may be provided on thecartridge accommodating portion 10 side.

また、本実施形態においては、カートリッジ収容部10の内径とカートリッジ3の外径との間で生じる隙間は、カートリッジ収容部10の内径の2.6%より大きい。
この構成によれば、カートリッジ収容部10とカートリッジ3とのクリアランスが大きくなり、係合突部43hを係合溝部26iに誘い込みやすくなる。
Furthermore, in this embodiment, the gap created between the inner diameter of thecartridge accommodating portion 10 and the outer diameter of thecartridge 3 is larger than 2.6% of the inner diameter of thecartridge accommodating portion 10 .
According to this configuration, the clearance between thecartridge accommodating portion 10 and thecartridge 3 is increased, and theengagement protrusion 43h can be easily guided into theengagement groove 26i.

また、本実施形態においては、カートリッジ収容部10の内径とカートリッジの外径との間で生じる隙間は、カートリッジ収容部10の内径の7.0%より大きい。
この構成によれば、カートリッジ収容部10とカートリッジ3とのクリアランスがより大きくなり、係合突部43hを係合溝部26iにより誘い込みやすくなる。
Furthermore, in the present embodiment, the gap created between the inner diameter of thecartridge accommodating portion 10 and the outer diameter of the cartridge is larger than 7.0% of the inner diameter of thecartridge accommodating portion 10 .
According to this configuration, the clearance between thecartridge accommodating portion 10 and thecartridge 3 becomes larger, making it easier to guide theengagement protrusion 43h into theengagement groove 26i.

また、本実施形態においては、係合突部43h及び係合溝部26iは、主軸Oを中心とする同一半径上に複数形成されている。
この構成によれば、係合突部43hと係合溝部26iとの主軸O回りの相対回転により、係合突部43hが係合溝部26iに挿入される。
Furthermore, in this embodiment, a plurality ofengagement protrusions 43h andengagement grooves 26i are formed on the same radius around the main axis O.
According to this configuration, theengagement protrusion 43h is inserted into theengagement groove 26i by relative rotation about the main axis O between theengagement protrusion 43h and theengagement groove 26i.

また、本実施形態においては、カートリッジ収容部10に係合し、エアロゾル源が霧化したエアロゾルを吸引する吸引口が形成された吸口部11を備える。
この構成によれば、カートリッジ3が収容されたカートリッジ収容部10からエアロゾルを吸引することができる。
The present embodiment also includes asuction port 11 that engages with thecartridge accommodating portion 10 and is formed with a suction port that sucks aerosol atomized by the aerosol source.
According to this configuration, aerosol can be sucked from thecartridge accommodating portion 10 in which thecartridge 3 is accommodated.

また、本実施形態においては、吸口部11は、カートリッジ収容部10に係合する途中で、カートリッジ3に当接するカートリッジ当接部60を有する。
この構成によれば、吸口部11がカートリッジ収容部10に対して係合する途中で、カートリッジ3の位置ずれを抑制することができる。
Further, in the present embodiment, thesuction mouth portion 11 has acartridge contact portion 60 that comes into contact with thecartridge 3 while engaging thecartridge accommodating portion 10 .
According to this configuration, it is possible to suppress displacement of thecartridge 3 while themouthpiece 11 is engaged with thecartridge accommodating part 10.

また、本実施形態においては、カートリッジ当接部60は、吸口部11がカートリッジ収容部10に係合した状態で、カートリッジ3を主軸方向に押圧している。
この構成によれば、カートリッジ当接部60による押圧により、カートリッジ3の主軸方向における位置決めを行うことができる。
Further, in the present embodiment, thecartridge abutting section 60 presses thecartridge 3 in the main axis direction with themouthpiece 11 engaged with thecartridge accommodating section 10 .
According to this configuration, thecartridge 3 can be positioned in the main axis direction by pressing thecartridge abutting portion 60.

また、本実施形態においては、カートリッジ当接部60は、弾性樹脂材料から形成されている。
この構成によれば、カートリッジ当接部60の弾性変形によって、周方向においてカートリッジ3を連れ回す摩擦力を発現させやすく、また、主軸方向においてカートリッジ3を押圧する押圧力を発現させやすくなる。
Further, in this embodiment, thecartridge contact portion 60 is made of an elastic resin material.
According to this configuration, the elastic deformation of thecartridge contact portion 60 makes it easy to generate a frictional force that rotates thecartridge 3 in the circumferential direction, and also makes it easy to generate a pressing force that presses thecartridge 3 in the main axis direction.

また、本実施形態においては、カートリッジ当接部60のカートリッジ3に対向する対向面には、環状突起61が形成されている。
この構成によれば、環状突起61によって、カートリッジ3に対するカートリッジ当接部60の接触が平面接触でなくなるため、接触圧が増え、周方向における摩擦力及び主軸方向における押圧力がより発現し易くなる。
Further, in this embodiment, anannular protrusion 61 is formed on the opposing surface of thecartridge abutting portion 60 that faces thecartridge 3 .
According to this configuration, the contact of thecartridge contact portion 60 with thecartridge 3 is no longer a planar contact due to theannular protrusion 61, so that the contact pressure increases, and the frictional force in the circumferential direction and the pressing force in the main axis direction are more likely to occur. .

また、本実施形態においては、カートリッジ収容部10の端部を着脱可能に受ける受け部43を有するホルダー30を備えている。
この構成によれば、カートリッジ収容部10が受け部43に対し着脱可能となり、組み立てやメンテナンスなどが容易になる。
The present embodiment also includes aholder 30 having a receivingportion 43 that removably receives an end portion of thecartridge accommodating portion 10.
According to this configuration, thecartridge accommodating section 10 can be attached to and detached from the receivingsection 43, making assembly and maintenance easier.

本実施形態の吸引器1は、先に記載のエアロゾル生成装置と、エアロゾル生成装置の吸口部11に装着された香味源容器4と、を備える。
この構成によれば、エアロゾルに香味を添加することができる。
Theinhaler 1 of this embodiment includes the aerosol generating device described above and theflavor source container 4 attached to themouthpiece 11 of the aerosol generating device.
According to this configuration, flavor can be added to the aerosol.

<その他の変形例>
以上、本発明の好ましい実施形態を説明したが、本発明はこれら実施形態に限定されることはない。本発明の趣旨を逸脱しない範囲で、構成の付加、省略、置換、及びその他の変更が可能である。本発明は上述した説明によって限定されることはなく、添付の請求の範囲によってのみ限定される。
<Other variations>
Although preferred embodiments of the present invention have been described above, the present invention is not limited to these embodiments. Additions, omissions, substitutions, and other changes to the configuration are possible without departing from the spirit of the present invention. The invention is not limited by the above description, but only by the claims appended hereto.

例えば、上述した実施形態では、燃焼を伴わずにエアロゾルを生成するエアロゾル生成装置の一例として、香味源容器4が着脱可能に構成された吸引器1を例に挙げて説明したが、この構成のみに限られない。エアロゾル生成装置の他の例として、電子たばこのように香味源容器4を有さない構成(香味源を収容しないマウスピースのみの構成)としてもよい。この場合には、香味が含まれたエアロゾル源をカートリッジ3内に収容し、エアロゾル生成装置によって香味が含まれたエアロゾルを生成する。
すなわち、上述した実施形態において、香味源容器4を備えず、本体ユニット2と、カートリッジ3と、を備えるものを、エアロゾル生成装置といってもよい。また、香味源容器4及びカートリッジ3を備えず、本体ユニット2のみを備えるものを、エアロゾル生成装置の本体ユニットといってもよい。
なお、エアロゾル源は、液体に限らず、固体であっても構わない。つまり、エアロゾル生成装置の本体ユニットは、固体エアロゾル源を収容する固体エアロゾル源収容部と、前記固体エアロゾル源収容部の外側の少なくとも一部を囲う外装ケースと、前記外装ケースに収容されたホルダーと、を備え、前記ホルダーは、前記外装ケースの内部に設けられた部品の少なくとも一つを保持するメインプレートと、前記メインプレートと一体で形成され、前記固体エアロゾル源収容部の端部を受ける受け部と、を有しても構わない。
For example, in the embodiment described above, as an example of an aerosol generating device that generates aerosol without combustion, theinhaler 1 in which theflavor source container 4 is configured to be detachable has been described as an example, but only this configuration can be used. Not limited to. As another example of the aerosol generation device, it may have a configuration that does not include theflavor source container 4 like an electronic cigarette (a configuration that includes only a mouthpiece that does not contain a flavor source). In this case, a flavor-containing aerosol source is housed in thecartridge 3, and the flavor-containing aerosol is generated by the aerosol generating device.
That is, in the embodiment described above, an apparatus that does not include theflavor source container 4 but includes themain body unit 2 and thecartridge 3 may be referred to as an aerosol generating apparatus. Furthermore, a device that does not include theflavor source container 4 and thecartridge 3 but includes only themain unit 2 may be referred to as the main unit of the aerosol generation device.
Note that the aerosol source is not limited to liquid, and may be solid. In other words, the main unit of the aerosol generation device includes a solid aerosol source housing section that houses a solid aerosol source, an exterior case that surrounds at least a portion of the outside of the solid aerosol source housing section, and a holder that is housed in the exterior case. , the holder includes a main plate that holds at least one of the components provided inside the outer case, and a receiver that is integrally formed with the main plate and that receives an end of the solid aerosol source housing section. It is also possible to have a part and a part.

上述した実施形態では、本体ユニット2が吸口部11と分離可能である場合について説明したが、この構成のみに限られない。例えば、電源37などがユニット化され、本体ユニット2に対して分離可能であっても構わない。また、吸口部11と香味源容器4が一体としてユニット化されていても構わない。 In the embodiment described above, a case has been described in which themain body unit 2 is separable from themouthpiece 11, but the structure is not limited to this. For example, thepower source 37 and the like may be unitized and separable from themain unit 2. Further, themouthpiece 11 and theflavor source container 4 may be integrated into a unit.

上述した実施形態では、カートリッジ収容部10がカートリッジ3の周囲を取り囲む筒状に形成されている構成について説明したが、この構成のみに限られない。カートリッジ収容部10は、カートリッジ3を保持可能な構成であればよい。つまり、カートリッジ収容部10は、円筒状に限らず、三角筒状、四角筒状、その他の多角筒状、多角筒状以外の異形状であっても構わない。 In the embodiment described above, thecartridge accommodating portion 10 is formed in a cylindrical shape surrounding thecartridge 3, but the present invention is not limited to this configuration. Thecartridge accommodating section 10 may have any configuration as long as it can hold thecartridge 3. In other words, thecartridge accommodating portion 10 is not limited to a cylindrical shape, and may have a triangular cylindrical shape, a square cylindrical shape, another polygonal cylindrical shape, or an irregular shape other than a polygonal cylindrical shape.

上述した実施形態では、外装ケース12が全体的に丸みを帯びた扁平の箱状に形成された構成について説明したが、この構成のみに限られない。外装ケース12の形状は、直方体やその他の多面体、多面体以外の立体であっても構わない。 In the above-described embodiment, the configuration in which theexterior case 12 is formed into a rounded flat box shape as a whole is described, but the present invention is not limited to this configuration. The shape of theexterior case 12 may be a rectangular parallelepiped, another polyhedron, or a solid other than a polyhedron.

上述した実施形態では、入力デバイス15の押下により本体ユニット2が起動する構成について説明したが、入力デバイス15を有さないで、センサ34のパフ検知のみで(本体ユニット2が起動する構成であってもよい。 In the above-described embodiment, a configuration in which themain unit 2 is activated by pressing theinput device 15 has been described. You can.

上述した実施形態の一部又は全部は、以下の付記のようにも記載され得るが、以下には限られない。 Part or all of the embodiments described above may be described as in the following supplementary notes, but the embodiments are not limited to the following.

(付記1)
外装ケースと、
前記外装ケースの内部に設けられたホルダーと、を備え、
前記ホルダーは、
第1部品を保持する第1板面と、
前記第1板面と反対側で、前記第1部品と異なる第2部品を保持する第2板面と、を有する、エアロゾル生成装置の本体ユニット。
(Additional note 1)
exterior case,
A holder provided inside the exterior case,
The holder is
a first plate surface that holds the first component;
A main body unit of an aerosol generation device, comprising: a second plate surface that holds a second component different from the first component on a side opposite to the first plate surface.

(付記2)
一対の主壁部の間を接続する周壁部を有する外装ケースと、
前記周壁部に配置された入力デバイスと、を備え、
前記周壁部は、
前記一対の主壁部の外表面と面一な外表面部と、
前記外表面部に対して窪んだ凹部と、を有し、
前記入力デバイスが、前記凹部に配置されている、エアロゾル生成装置の本体ユニット。
(Additional note 2)
an exterior case having a peripheral wall connecting between the pair of main walls;
an input device disposed on the peripheral wall,
The peripheral wall portion is
an outer surface portion that is flush with the outer surface of the pair of main wall portions;
a recessed portion recessed relative to the outer surface portion;
A main unit of an aerosol generation device, wherein the input device is arranged in the recess.

(付記3)
カートリッジを収容するカートリッジ収容部と、
前記カートリッジ収容部の少なくとも一部に設けられた窓部と、
前記窓部の少なくとも一部が露出し、前記カートリッジ収容部の少なくとも一部を囲うように設けられた外装ケースと、
前記外装ケースの内部に設けられ、前記カートリッジを照らす光源と、
を備えるエアロゾル生成装置の本体ユニット。
(Additional note 3)
a cartridge accommodating section that accommodates the cartridge;
a window provided in at least a portion of the cartridge accommodating portion;
an exterior case in which at least a portion of the window portion is exposed and is provided so as to surround at least a portion of the cartridge accommodating portion;
a light source provided inside the outer case and illuminating the cartridge;
A main unit of an aerosol generation device comprising:

(付記4)
カートリッジを収容するカートリッジ収容部と、
前記カートリッジ収容部の外側の少なくとも一部を囲う外装ケースと、を備え、
前記外装ケースの外面には、スリット状の空気インレットが形成され、
前記空気インレットは、前記カートリッジ収容部の内部と、蛇行した空気流路を介して連通している、エアロゾル生成装置の本体ユニット。
(Additional note 4)
a cartridge accommodating section that accommodates the cartridge;
an outer case surrounding at least a portion of the outside of the cartridge accommodating section;
A slit-shaped air inlet is formed on the outer surface of the exterior case,
The air inlet is a main body unit of an aerosol generating device, and the air inlet communicates with the inside of the cartridge accommodating portion via a meandering air flow path.

(付記5)
カートリッジを収容するカートリッジ収容部と、
前記カートリッジ収容部の外側の少なくとも一部を囲うと共に、開口部が形成された外装ケースと、
前記開口部に嵌め込まれた嵌め込み部材と、を備え、
前記嵌め込み部材と前記開口部との間隙に空気インレットが形成され、
前記嵌め込み部材と前記外装ケースとが重なる箇所に、前記空気インレットと前記カートリッジ収容部の内部とを連通させる空気孔が形成されている、エアロゾル生成装置の本体ユニット。
(Appendix 5)
a cartridge accommodating section that accommodates the cartridge;
an exterior case that surrounds at least a portion of the outside of the cartridge accommodating portion and has an opening formed therein;
a fitting member fitted into the opening;
an air inlet is formed in a gap between the fitting member and the opening;
A main body unit of an aerosol generating device, wherein an air hole is formed at a location where the fitting member and the outer case overlap to communicate the air inlet with the inside of the cartridge accommodating portion.

(付記6)
カートリッジを収容するカートリッジ収容部と、
前記カートリッジ収容部の外側の少なくとも一部を囲う外装ケースと、
前記外装ケースに嵌め込まれた嵌め込み部材と、を備え、
前記嵌め込み部材は、前記カートリッジ収容部に向かって突出した突起部を有し、
前記カートリッジ収容部は、前記突起部と係合する係合部を有する、エアロゾル生成装置の本体ユニット。
(Appendix 6)
a cartridge accommodating section that accommodates the cartridge;
an exterior case that surrounds at least a portion of the outside of the cartridge accommodating section;
a fitting member fitted into the exterior case,
The fitting member has a protrusion projecting toward the cartridge accommodating portion,
The cartridge accommodating section is a main unit of an aerosol generating device, and the cartridge accommodating section has an engaging section that engages with the protruding section.

(付記7)
外装ケースと、
前記外装ケースに少なくとも一部が囲まれたカートリッジ収容部と、
前記外装ケースの内部に収容されたホルダーと、
前記ホルダーに係止し、少なくとも前記外装ケースから抜出する抜出方向の前記カートリッジ収容部の移動を制限する移動制限部材と、を備える、エアロゾル生成装置の本体ユニット。
(Appendix 7)
exterior case,
a cartridge accommodating portion at least partially surrounded by the outer case;
a holder housed inside the outer case;
A main body unit of an aerosol generating device, comprising: a movement limiting member that locks onto the holder and limits movement of the cartridge accommodating portion at least in a direction of extraction from the outer case.

(付記8)
カートリッジを収容するカートリッジ収容部と、
前記カートリッジ収容部の外側の少なくとも一部を囲う外装ケースと、
前記外装ケースに収容され、ユーザの吸引を検知するセンサと、
前記外装ケースに収容され、前記センサを保持するセンサホルダーと、を備え、
前記センサホルダーは、前記カートリッジ収容部の周面に沿って湾曲し、前記カートリッジ収容部の周面に密着している、エアロゾル生成装置の本体ユニット。
(Appendix 8)
a cartridge accommodating section that accommodates the cartridge;
an exterior case that surrounds at least a portion of the outside of the cartridge accommodating section;
a sensor that is housed in the outer case and detects a user's suction;
a sensor holder housed in the exterior case and holding the sensor;
The sensor holder is a main unit of an aerosol generating device, wherein the sensor holder is curved along the circumferential surface of the cartridge accommodating section and is in close contact with the circumferential surface of the cartridge accommodating section.

(付記9)
カートリッジを挿抜するカートリッジ挿抜口が形成され、前記カートリッジを収容するカートリッジ収容部と、
部品を収容する外装ケースと、を備え、
前記カートリッジ挿抜口を含む前記カートリッジ収容部の一部が前記外装ケースから突出している、エアロゾル生成装置の本体ユニット。
(Appendix 9)
a cartridge accommodating portion for accommodating the cartridge and having a cartridge insertion/extraction opening for inserting and extracting the cartridge;
An exterior case that accommodates the parts;
A main body unit of an aerosol generating device, wherein a part of the cartridge accommodating portion including the cartridge insertion/extraction port protrudes from the outer case.

(付記10)
カートリッジを収容する筒状のカートリッジ収容部と、
前記カートリッジを前記カートリッジ収容部に対して位置決めする係合突部と、を有し、
前記係合突部は、前記カートリッジ収容部の径方向において、前記カートリッジ収容部の内周壁から前記カートリッジ収容部の内側に向かって、前記カートリッジ収容部の内径の2.6%より大きい寸法で延在している、エアロゾル生成装置の本体ユニット。
(Appendix 10)
a cylindrical cartridge accommodating portion for accommodating the cartridge;
an engaging protrusion that positions the cartridge with respect to the cartridge accommodating portion,
The engaging protrusion extends in a radial direction of the cartridge accommodating portion from an inner circumferential wall of the cartridge accommodating portion toward the inside of the cartridge accommodating portion with a dimension larger than 2.6% of the inner diameter of the cartridge accommodating portion. The main unit of the aerosol generation device.

(付記11)
カートリッジを収容する筒状のカートリッジ収容部と、
前記カートリッジを前記カートリッジ収容部に対して位置決めする係合突部と、を有し、
前記係合突部は、前記カートリッジ収容部の径方向において、前記カートリッジ収容部の内周壁から前記カートリッジ収容部の内側に向かって、前記カートリッジ収容部の内径の7.0%より大きい寸法で延在している、エアロゾル生成装置の本体ユニット。
(Appendix 11)
a cylindrical cartridge accommodating portion for accommodating the cartridge;
an engaging protrusion that positions the cartridge with respect to the cartridge accommodating portion,
The engaging protrusion extends in a radial direction of the cartridge accommodating portion from an inner circumferential wall of the cartridge accommodating portion toward the inside of the cartridge accommodating portion with a dimension larger than 7.0% of the inner diameter of the cartridge accommodating portion. The main unit of the aerosol generation device.

その他、本発明の趣旨を逸脱しない範囲で、上述した実施形態における構成要素を周知の構成要素に置き換えることは適宜可能であり、また、上述した各変形例を適宜組み合わせてもよい。 In addition, the components in the embodiments described above can be replaced with known components as appropriate without departing from the spirit of the present invention, and the modifications described above may be combined as appropriate.

本発明は、エアロゾル生成装置の本体ユニット、エアロゾル生成装置、及び、非燃焼式吸引器に関し、ユーザビリティの向上を図れる。 The present invention relates to a main body unit of an aerosol generation device, an aerosol generation device, and a non-combustion type inhaler, and can improve usability.

1…吸引器、2…本体ユニット、3…カートリッジ、4…香味源容器、10…カートリッジ収容部、10a…カートリッジ挿抜口、10A…インサートリング、10A1…一部、10b…係合溝部、10B…吸口接続部、10b1…第1溝部、10b2…第2溝部、10b3…第3溝部、10b4…嵌合孔、10c…貫通孔、10C…溝部、10c1…矩形溝、10C1…斜面、10d…貫通孔、10e…空気連通孔、10g…溝、10h…突起、11…吸口部、11A…吸口部本体、11a1…周壁、11a2…フランジ部、11a3…底壁、11a4…貫通孔、11B…筒体、11b1…突起部、12…外装ケース、12A…主面部、12A1…第1主面部、12A2…第2主面部、12B…周壁部、12b1…外表面、12B1…第1周壁部、12b2…凹部、12B2…第2周壁部、12C…コーナー部、12C1…第1コーナー部、12C2…第2コーナー部、12C3…第3コーナー部、12C4…第4コーナー部、12D…隆起部、12D1…変形過渡部分、12D2…変形過渡部分、13…本体ケース、13a…開口部、13A…第1ケース、13a1…対向面、13b…開口部、13B…第2ケース、13b1…対向面、13C…ボス部、13D…取付部、13d1…取付壁、13d2…切欠部、13E…嵌合爪、13F…嵌合爪、13G…ケース側突起部、13G1…ケース側突起部、13H…溝部、13I…嵌合爪、13J…ケース側突起部、13K…爪受け部、13L…溝部、14…ディスプレイカバー、14a…貫通孔、14b1…係合爪、14b2…係合爪、14c…側壁、14c1…挿入孔、15…入力デバイス、15a…スイッチボタン、15a1…ベース部、15a2…ボタン部、15a3…挿入孔、15b…スイッチ基板、15c…スイッチホルダー、15c1…内径側突起片、15c2…外径側突起片、16…窓部、17…カバー部材、17A…本体ケース側突起、17B…板部、17b1…ケース嵌合孔、17C…カートリッジ収容部側突起、17D…突起、18…空気インレット、19…空気孔、20…充電端子、21…タンク、21a…頂壁、21b…貫通孔、21c…流路管、21d…外周壁、21e…リブ、21f…係合孔、21g…液体収容室、22…ガスケット、22a…開口部、23…メッシュ体、24…霧化容器、24a…周壁、24b…嵌合部、24c…霧化室、24d…底壁、24e…開口部、25…加熱部、25a…ウィック、25b…電熱線、25i…係合溝部、26…ヒーターホルダー、26a…周壁、26b…係合片、26c…吸気孔、26d…底壁、26e…吸気孔、26f…隔離壁、26g…スリット、26h…平面電極、26i…係合溝部、27…容器本体、27a…周壁、27b…段差、27c…香味源収容室、27d…底壁、27e…微細孔、28…フィルター、30…ホルダー、30a…貫通孔、31…メイン基板、31a…第1板面、31A…第1部分、31b…第2板面、31B…第2部分、32…サブ基板、32a…接着シート、32b…開口部、32c…接続端子、33…表示デバイス、33a…表示デバイス本体、33b…表示デバイスホルダー、33c…クッション材、34…センサ、35…センサホルダー、35A…湾曲板部、35B…ホルダー側突起、35C…保持部、35D…カートリッジ収容部側突起、36…バイブレータ、36a…偏心錘、37…電源、41…メインプレート、41a…第1板面、41b…第2板面、41c…開口部、41d…基板支持片、41f…係合爪、41h1…第1端辺、41h2…第2端辺、42…サブプレート、42a…挟持片、42A…第1サブプレート、42a1…凸部、42a2…サブプレート延出部、42B…第2サブプレート、42b1…配線溝、42b2…基板保持片、42b3…サブプレート延出部、42C…第1リブ、42d…切欠部、42D…第2リブ、42d1…第1切欠部、42D1…分岐部、42d2…第2切欠部、42E…ケース嵌合部、42e1…第1嵌合孔、42e2…第2嵌合孔、42e3…被挟持片、43…受け部、43a…周壁、43b…底壁、43c…挿入孔、43d…環状壁、43e…基板支持片、43f…挟持片、43g…段差、43h…係合突部、43i…係合突部、43j…基板当接部、44…トレイ、45…略、45…接着シート、46…接着シート、47…接着シート、48…接着シート、50…突電極、50A…台座部、51…突電極カバー、51a…カバー端壁、51b…カバー周壁、51c…貫通孔、52…光源、60…カートリッジ当接部、60a…第1リング部、60b…円筒部、60c…第2リング部、61…環状突起、62…連通孔、70…空気溝、71…環状溝部、72…段差溝部、80…空気流路、81…防水通気性部材、90…機構、91…第1接続部、92…第2接続部、93…第3接続部、94…第4接続部、100…ホルダーユニット、D1…内径、D2…外径、D3…寸法、D-D…矢視、O…主軸、O1…対角線、P…頂部、S1…隙間、S2…隙間、T1…突出量、T2…差分、T3…たわみ量、θ…角度 DESCRIPTION OFSYMBOLS 1... Suction device, 2... Main unit, 3... Cartridge, 4... Flavor source container, 10... Cartridge accommodating part, 10a... Cartridge insertion/extraction port, 10A... Insert ring, 10A1... Part, 10b... Engagement groove part, 10B... Suction mouth connection part, 10b1...First groove, 10b2...Second groove, 10b3...Third groove, 10b4...Fitting hole, 10c...Through hole, 10C...Groove, 10c1...Rectangular groove, 10C1...Slope, 10d...Through hole , 10e...Air communication hole, 10g...Groove, 10h...Protrusion, 11...Sucking part, 11A...Sucking part main body, 11a1...Surrounding wall, 11a2...Flange part, 11a3...Bottom wall, 11a4...Through hole, 11B...Cylinder body, 11b1...Protrusion, 12...Exterior case, 12A...Main surface part, 12A1...First main surface part, 12A2...Second main surface part, 12B...Peripheral wall part, 12b1...Outer surface, 12B1...First peripheral wall part, 12b2...Recessed part, 12B2...Second peripheral wall part, 12C...Corner part, 12C1...First corner part, 12C2...Second corner part, 12C3...Third corner part, 12C4...Fourth corner part, 12D...Elevated part, 12D1...Deformation transition part , 12D2...Deformation transition portion, 13...Main case, 13a...Opening, 13A...First case, 13a1...Opposing surface, 13b...Opening, 13B...Second case, 13b1...Opposing surface, 13C...Boss portion, 13D ... Mounting part, 13d1... Mounting wall, 13d2... Notch, 13E... Fitting claw, 13F... Fitting claw, 13G... Case side protrusion, 13G1... Case side protrusion, 13H... Groove, 13I... Fitting claw, 13J...Case side protrusion, 13K...Claw receiver, 13L...Groove, 14...Display cover, 14a...Through hole, 14b1...Engagement claw, 14b2...Engagement claw, 14c...Side wall, 14c1...Insertion hole, 15... Input device, 15a...Switch button, 15a1...Base part, 15a2...Button part, 15a3...Insertion hole, 15b...Switch board, 15c...Switch holder, 15c1...Inner diameter side protrusion piece, 15c2...Outer diameter side protrusion piece, 16... Window section, 17...Cover member, 17A...Main case side protrusion, 17B...Plate part, 17b1...Case fitting hole, 17C...Cartridge accommodating part side protrusion, 17D...Protrusion, 18...Air inlet, 19...Air hole, 20 ...Charging terminal, 21...Tank, 21a...Top wall, 21b...Through hole, 21c...Flow path pipe, 21d...Outer peripheral wall, 21e...Rib, 21f...Engagement hole, 21g...Liquid storage chamber, 22...Gasket, 22a ... opening, 23... mesh body, 24... atomization container, 24a... peripheral wall, 24b... fitting part, 24c... atomization chamber, 24d... bottom wall, 24e... opening, 25... heating section, 25a... wick, 25b...Heating wire, 25i...Engaging groove, 26...Heater holder, 26a...Peripheral wall, 26b...Engaging piece, 26c...Intake hole, 26d...Bottom wall, 26e...Intake hole, 26f...Isolation wall, 26g...Slit, 26h... Planar electrode, 26i... Engagement groove, 27... Container body, 27a... Peripheral wall, 27b... Step, 27c... Flavor source storage chamber, 27d... Bottom wall, 27e... Fine hole, 28... Filter, 30... Holder, 30a ...Through hole, 31... Main board, 31a... First plate surface, 31A... First part, 31b... Second plate surface, 31B... Second part, 32... Sub board, 32a... Adhesive sheet, 32b... Opening, 32c...Connection terminal, 33...Display device, 33a...Display device main body, 33b...Display device holder, 33c...Cushion material, 34...Sensor, 35...Sensor holder, 35A...Curved plate portion, 35B...Holder side protrusion, 35C... Holding portion, 35D... Cartridge accommodating part side projection, 36... Vibrator, 36a... Eccentric weight, 37... Power source, 41... Main plate, 41a... First plate surface, 41b... Second plate surface, 41c... Opening, 41d... Board support piece, 41f... engaging claw, 41h1... first edge, 41h2... second edge, 42... sub-plate, 42a... clamping piece, 42A... first sub-plate, 42a1... convex part, 42a2... sub-plate Extension part, 42B...Second sub-plate, 42b1...Wiring groove, 42b2...Substrate holding piece, 42b3...Sub-plate extension part, 42C...First rib, 42d...Notch part, 42D...Second rib, 42d1...First 1 notch, 42D1... branching part, 42d2... second notch, 42E... case fitting part, 42e1... first fitting hole, 42e2... second fitting hole, 42e3... clamped piece, 43... receiving part, 43a... Peripheral wall, 43b... Bottom wall, 43c... Insertion hole, 43d... Annular wall, 43e... Board support piece, 43f... Clamping piece, 43g... Step, 43h... Engaging protrusion, 43i... Engaging protrusion, 43j... Substrate contact part, 44...Tray, 45...Abbreviation, 45...Adhesive sheet, 46...Adhesive sheet, 47...Adhesive sheet, 48...Adhesive sheet, 50...Protruding electrode, 50A...Pedestal part, 51...Protruding electrode cover, 51a ...Cover end wall, 51b...Cover circumferential wall, 51c...Through hole, 52...Light source, 60...Cartridge contact part, 60a...First ring part, 60b...Cylindrical part, 60c...Second ring part, 61...Annular projection, 62...Communication hole, 70...Air groove, 71...Annular groove, 72...Step groove, 80...Air flow path, 81...Waterproof and breathable member, 90...Mechanism, 91...First connection part, 92...Second connection part , 93...Third connection part, 94...Fourth connection part, 100...Holder unit, D1...Inner diameter, D2...Outer diameter, D3...Dimensions, DD...Arrow view, O...Main axis, O1...Diagonal line, P... Top, S1...Gap, S2...Gap, T1...Protrusion amount, T2...Difference, T3...Deflection amount, θ...Angle

Claims (11)

Translated fromJapanese
液体のエアロゾル源を貯留するカートリッジを収容するカートリッジ収容部を備え、
前記カートリッジ収容部は、
本体ユニットの外装ケースから突出したカートリッジ挿抜口と、
前記カートリッジ挿抜口に吸口部を接続するための接続部と、を有し、
前記カートリッジ挿抜口及び前記接続部の少なくとも一部は、前記カートリッジ挿抜口の中心を通る前記カートリッジ収容部の主軸方向において前記外装ケースから突出している、エアロゾル生成装置の本体ユニット。
a cartridge accommodating portion for accommodating a cartridge for storing a liquid aerosol source;
The cartridge accommodating section is
A cartridge insertion/extraction port protrudes from the exterior case of the main unit,
a connection part for connecting a suction part to the cartridge insertion/extraction port,
The main unit of the aerosol generating device, wherein at least a portion of the cartridge insertion/extraction port and the connecting portion protrude from the outer case in a main axis direction of the cartridge accommodating portion passing through the center of the cartridge insertion/extraction port.
前記外装ケースは、隆起部を有し、
前記カートリッジ収容部は、前記隆起部の変形過渡部分から突出している、請求項1に記載のエアロゾル生成装置の本体ユニット。
The exterior case has a raised part,
The main unit of the aerosol generation device according toclaim 1 , wherein the cartridge accommodating portion protrudes from a deformation transition portion of the raised portion.
前記カートリッジ挿抜口は、前記カートリッジ収容部が延びる主軸方向において、前記隆起部の頂部以下の位置に配置されている、請求項2に記載のエアロゾル生成装置の本体ユニット。 3. The main body unit of the aerosol generating device according toclaim 2 , wherein the cartridge insertion/extraction opening is disposed at a position below the top of the protrusion in the main axis direction in which the cartridge accommodating section extends. 前記カートリッジ収容部が突出した前記隆起部の前記変形過渡部分と逆側の変形過渡部分に、入力デバイスが配置され、
前記入力デバイスは、前記カートリッジ収容部が延びる主軸方向において、前記隆起部の頂部以下の位置に配置されている、請求項2または3に記載のエアロゾル生成装置の本体ユニット。
an input device is disposed at a deformation transitional portion on the opposite side of the deformation transitional portion of the protrusion from which the cartridge accommodating portion protrudes;
The main unit of the aerosol generation device according toclaim 2 or 3 , wherein the input device is disposed at a position below the top of the protrusion in the main axis direction in which the cartridge accommodating portion extends.
前記入力デバイスは、前記カートリッジ挿抜口の中心を通る前記カートリッジ収容部の主軸に対し、鋭角方向を向いて配置されている、請求項4に記載のエアロゾル生成装置の本体ユニット。 5. The main unit of the aerosol generating apparatus according toclaim 4 , wherein the input device is arranged at an acute angle to a main axis of the cartridge accommodating section passing through the center of the cartridge insertion/extraction opening. 前記外装ケースに収容されたホルダーを備え、
前記ホルダーは、
前記外装ケースの内部に設けられた部品の少なくとも一つを保持するメインプレートと、
前記メインプレートと一体で形成され、前記カートリッジ収容部の端部を受ける受け部と、を有する、請求項1~5のいずれか一項に記載のエアロゾル生成装置の本体ユニット。
a holder housed in the outer case;
The holder is
a main plate that holds at least one of the components provided inside the exterior case;
The main body unit of the aerosol generating device according to any one ofclaims 1 to 5 , further comprising a receiving part that is formed integrally with the main plate and receives an end of the cartridge accommodating part.
前記受け部には、前記カートリッジ収容部の内部に突電極を挿入するための挿入孔が形成されている、請求項6に記載のエアロゾル生成装置の本体ユニット。 7. The main unit of the aerosol generation device according toclaim 6 , wherein the receiving portion has an insertion hole for inserting a protruding electrode into the cartridge accommodating portion. 前記受け部は、前記メインプレートの短手方向の端部において、前記メインプレートの長手方向に沿って平行に延びる有底筒状に形成されている、請求項6または7に記載のエアロゾル生成装置の本体ユニット。 The aerosol generation device according toclaim 6 or 7, wherein the receiving portion is formed in a cylindrical shape with a bottom extending in parallel along the longitudinal direction of the main plate at an end in the lateral direction of the main plate. main unit. 前記ホルダーは、前記メインプレートの端部から前記メインプレートの板面に交差する方向に延びると共に、前記外装ケースの外面に沿って設けられた部品の少なくとも一つを保持するサブプレートを有する、請求項6~8のいずれか一項に記載のエアロゾル生成装置の本体ユニット。 The holder has a sub-plate extending from an end of the main plate in a direction intersecting a plate surface of the main plate and holding at least one of the parts provided along the outer surface of the outer case. A main unit of the aerosol generation device according to any one ofitems 6 to 8 .請求項1~9のいずれか一項に記載の本体ユニットと、
エアロゾル源を収容すると共に、前記本体ユニットの前記カートリッジ収容部に対し挿抜可能に挿入されたカートリッジと、を備える、エアロゾル生成装置。
The main unit according to any one ofclaims 1 to 9 ,
An aerosol generation device, comprising: a cartridge that accommodates an aerosol source and is removably inserted into the cartridge accommodating portion of the main unit.
請求項10に記載のエアロゾル生成装置と、
前記エアロゾル生成装置の吸口部に装着された香味源容器と、を備える、非燃焼式吸引器。
The aerosol generation device according toclaim 10 ,
A non-combustion type inhaler, comprising: a flavor source container attached to the mouthpiece of the aerosol generating device.
JP2022534577A2020-07-092020-07-09 Main unit of aerosol generation device, aerosol generation device, and non-combustion type suction deviceActiveJP7441950B2 (en)

Applications Claiming Priority (1)

Application NumberPriority DateFiling DateTitle
PCT/JP2020/026789WO2022009362A1 (en)2020-07-092020-07-09Main body unit for aerosol generation device, aerosol generation device, and non-combustion-type inhaler

Publications (2)

Publication NumberPublication Date
JPWO2022009362A1 JPWO2022009362A1 (en)2022-01-13
JP7441950B2true JP7441950B2 (en)2024-03-01

Family

ID=79552419

Family Applications (1)

Application NumberTitlePriority DateFiling Date
JP2022534577AActiveJP7441950B2 (en)2020-07-092020-07-09 Main unit of aerosol generation device, aerosol generation device, and non-combustion type suction device

Country Status (4)

CountryLink
EP (1)EP4179886A4 (en)
JP (1)JP7441950B2 (en)
CN (1)CN115666290A (en)
WO (1)WO2022009362A1 (en)

Citations (6)

* Cited by examiner, † Cited by third party
Publication numberPriority datePublication dateAssigneeTitle
JP2014500017A (en)2010-11-192014-01-09フィリップ・モーリス・プロダクツ・ソシエテ・アノニム Electric heating smoking system with at least two units
US20160233705A1 (en)2013-09-252016-08-11Kimree Hi-Tech Inc.Electronic cigarette charging apparatus
JP2017532064A (en)2014-10-022017-11-02ディジレッツ, インコーポレイテッド Disposable tank type electronic cigarette, manufacturing method and method of use
US20180177230A1 (en)2016-12-272018-06-28Altria Client Services LlcE-vaping device including e-vaping case with sliding mechanism for initiating vapor generation
JP2019506894A (en)2015-12-282019-03-14アール・エイ・アイ・ストラテジック・ホールディングス・インコーポレイテッド Aerosol delivery device including housing and coupler
JP2019533558A (en)2016-10-032019-11-21ジョルジ ネヴァル モル ネト, Devices, systems and methods for coffee-derived volatiles

Family Cites Families (7)

* Cited by examiner, † Cited by third party
Publication numberPriority datePublication dateAssigneeTitle
US10251425B2 (en)2015-07-062019-04-09Njoy, LlcVaporizing device with power component
RU2750465C2 (en)*2016-12-162021-06-28Кей Ти Энд Джи КорпорейшнAerosol-generating apparatus
WO2019175961A1 (en)*2018-03-132019-09-19日本たばこ産業株式会社Inhaler and method and program for controlling inhaler
CN208708745U (en)*2018-08-012019-04-09深圳市新宜康科技股份有限公司Changeable type low temperature tobacco heats not burner
CN111096484A (en)*2018-10-262020-05-05日本烟草产业株式会社Aerosol generating device and non-combustion type suction device
PL4212039T3 (en)*2018-10-262025-09-01Japan Tobacco Inc.Aerosol generation device, method for heating a smoking article, and aerosol generation system
CN111096489A (en)*2018-10-262020-05-05日本烟草产业株式会社Aerosol generating device, main unit thereof, and non-combustion type suction device

Patent Citations (6)

* Cited by examiner, † Cited by third party
Publication numberPriority datePublication dateAssigneeTitle
JP2014500017A (en)2010-11-192014-01-09フィリップ・モーリス・プロダクツ・ソシエテ・アノニム Electric heating smoking system with at least two units
US20160233705A1 (en)2013-09-252016-08-11Kimree Hi-Tech Inc.Electronic cigarette charging apparatus
JP2017532064A (en)2014-10-022017-11-02ディジレッツ, インコーポレイテッド Disposable tank type electronic cigarette, manufacturing method and method of use
JP2019506894A (en)2015-12-282019-03-14アール・エイ・アイ・ストラテジック・ホールディングス・インコーポレイテッド Aerosol delivery device including housing and coupler
JP2019533558A (en)2016-10-032019-11-21ジョルジ ネヴァル モル ネト, Devices, systems and methods for coffee-derived volatiles
US20180177230A1 (en)2016-12-272018-06-28Altria Client Services LlcE-vaping device including e-vaping case with sliding mechanism for initiating vapor generation

Also Published As

Publication numberPublication date
EP4179886A4 (en)2024-05-01
JPWO2022009362A1 (en)2022-01-13
WO2022009362A1 (en)2022-01-13
EP4179886A1 (en)2023-05-17
CN115666290A (en)2023-01-31

Similar Documents

PublicationPublication DateTitle
JP7681139B2 (en) Main unit of aerosol generating device, aerosol generating device, and non-combustion type inhaler
JP7374326B2 (en) Main unit of aerosol generation device, aerosol generation device, and non-combustion type suction device
JP7432727B2 (en) Main unit of aerosol generation device, aerosol generation device, and non-combustion type suction device
JP7413538B2 (en) Main unit of aerosol generation device, aerosol generation device, and non-combustion type suction device
JP7441950B2 (en) Main unit of aerosol generation device, aerosol generation device, and non-combustion type suction device
JP7413537B2 (en) Main unit of aerosol generation device, aerosol generation device, and non-combustion type suction device
JP7432728B2 (en) Main unit of aerosol generation device, aerosol generation device, and non-combustion type suction device
JP7413536B2 (en) Main unit of aerosol generation device, aerosol generation device, and non-combustion type suction device
JP7530976B2 (en) Aerosol generating device and non-combustion type inhaler
JP7473651B2 (en) Main unit of aerosol generating device, aerosol generating device, and non-combustion type inhaler
WO2022009379A1 (en)Body unit for aerosol generation device, aerosol generation device, and non-combustion-type inhaler
JP7675851B2 (en) Cartridge storage lid, main unit of aerosol generating device, aerosol generating device, and non-combustion type inhaler
WO2023105735A1 (en)Body unit for aerosol generation device, aerosol generation device, and non-combustion-type inhalation apparatus

Legal Events

DateCodeTitleDescription
A621Written request for application examination

Free format text:JAPANESE INTERMEDIATE CODE: A621

Effective date:20220909

A131Notification of reasons for refusal

Free format text:JAPANESE INTERMEDIATE CODE: A131

Effective date:20230725

A521Request for written amendment filed

Free format text:JAPANESE INTERMEDIATE CODE: A523

Effective date:20230925

A131Notification of reasons for refusal

Free format text:JAPANESE INTERMEDIATE CODE: A131

Effective date:20231114

A521Request for written amendment filed

Free format text:JAPANESE INTERMEDIATE CODE: A523

Effective date:20231218

TRDDDecision of grant or rejection written
A01Written decision to grant a patent or to grant a registration (utility model)

Free format text:JAPANESE INTERMEDIATE CODE: A01

Effective date:20240123

A61First payment of annual fees (during grant procedure)

Free format text:JAPANESE INTERMEDIATE CODE: A61

Effective date:20240219

R150Certificate of patent or registration of utility model

Ref document number:7441950

Country of ref document:JP

Free format text:JAPANESE INTERMEDIATE CODE: R150


[8]ページ先頭

©2009-2025 Movatter.jp