














本発明は、例えば発光ダイオードなどの発光素子を含む発光装置に関する。 The present invention relates to a light-emitting device including light-emitting elements such as light-emitting diodes.
  発光装置は、例えば、端子や配線などが設けられた基板と、当該基板上に実装された少なくとも1つの発光素子とを含む。例えば、特許文献1には、発光素子と、当該発光素子から出射された光を透過させつつ外部に放出する透光性部材と、を有する発光装置が開示されている。  A light-emitting device includes, for example, a substrate provided with terminals, wiring, and the like, and at least one light-emitting element mounted on the substrate. For example,
発光装置に要求される特性としては、例えば、高輝度であること、波長特性や配光特性などの光学特性が安定していること、及び高品質であることなどが挙げられる。また、発光装置に要求される光学特性としては、例えば、所望の波長(発光色)の光が取り出されること、またその取り出される光の波長にムラがないこと、及び取り出される光が所望の強度特性を有すること(例えば配光領域内で所望の強度分布を有すること)などが挙げられる。 Characteristics required for a light-emitting device include, for example, high luminance, stable optical characteristics such as wavelength characteristics and light distribution characteristics, and high quality. Further, the optical characteristics required for the light-emitting device are, for example, that light of a desired wavelength (emission color) is extracted, that the wavelength of the emitted light is uniform, and that the emitted light has a desired intensity. To have a characteristic (for example, to have a desired intensity distribution within a light distribution area).
例えば、所定の波長の光を放出する発光素子及び当該発光素子から放出された光の波長を変換する波長変換体を組み合わせて発光装置を構成し、当該波長変換体から光を出射させることで、当該発光装置から所望の波長の光を取り出すことができる。 For example, a light-emitting device that emits light of a predetermined wavelength and a wavelength converter that converts the wavelength of light emitted from the light-emitting device are combined to form a light-emitting device, and light is emitted from the wavelength converter. Light of a desired wavelength can be extracted from the light emitting device.
また、当該波長変換体の表面の一部を光反射体で覆うことで、当該波長変換体から光が出射される領域、すなわち発光装置から光が取り出される領域を制限することができる。これによって、例えば、当該波長変換体内の光が当該光取り出し領域から集中して取り出されるため、高輝度な光を所望の領域に配向させて出射することができる。 In addition, by covering part of the surface of the wavelength converter with the light reflector, it is possible to limit the area from which light is emitted from the wavelength converter, that is, the area from which light is extracted from the light emitting device. As a result, for example, the light in the wavelength converter is concentrated and extracted from the light extraction region, so that high-brightness light can be directed to a desired region and emitted.
ここで、波長変換体及び光反射体は、一般には、互いに異なる材料からなる。また、波長変換体は、例えば蛍光体を含む。また、波長変換体は、駆動中に容易に発熱するなど、その温度特性が駆動中に変化しやすい。また、発光装置が搭載される環境の変化によっても、波長変換体の温度特性は変化する。従って、当該波長変換体を覆う光反射体の内部には、応力が生じやすい。 Here, the wavelength converter and the light reflector are generally made of different materials. Also, the wavelength converter includes, for example, a phosphor. In addition, the temperature characteristics of the wavelength converter are likely to change during operation, such as heat generation during operation. Moreover, the temperature characteristic of the wavelength converter also changes due to changes in the environment in which the light emitting device is mounted. Therefore, stress is likely to occur inside the light reflector that covers the wavelength converter.
特に、例えば、光反射体は、樹脂材料などの膨張及び収縮しやすい材料によって構成される場合が多い。従って、例えば、発光装置を長時間駆動し又は大電流で駆動すると、光反射体にクラックが生ずる場合や、光反射体が波長変換体から剥離する場合がある。この場合、発光装置の光学特性が変化するなど、品質が低下する場合がある。 In particular, for example, the light reflector is often made of a material that easily expands and contracts, such as a resin material. Therefore, for example, if the light emitting device is driven for a long time or driven with a large current, cracks may occur in the light reflector, or the light reflector may separate from the wavelength converter. In this case, the optical characteristics of the light-emitting device may change, and the quality may deteriorate.
本発明は上記した点に鑑みてなされたものであり、光反射体の早期の劣化を防止し、高品質かつ高輝度な発光装置を提供することを目的としている。 SUMMARY OF THE INVENTION It is an object of the present invention to provide a high-quality, high-luminance light-emitting device that prevents early deterioration of a light reflector.
本発明による発光装置は、基板と、基板の上面上に配置された発光素子と、発光素子上に配置されて発光素子から放出された光に対して波長変換を行う波長変換体であって、基板の前記上面に沿って延びる底面を有しかつ錐台形状を有する第1の部分と、第1の部分の上面上に配置された底面及び底面とは反対側の上面を有し、上面の縁から延びかつ上面に平行な方向において外側に凸となる曲面形状の側面を有する第2の部分と、を有する波長変換体と、第1の部分の側面及び第2の部分の側面を覆うように形成されかつ発光素子及び波長変換体によって生成された光に対して反射性を有する光反射体と、を有することを特徴としている。 A light-emitting device according to the present invention comprises a substrate, a light-emitting element arranged on an upper surface of the substrate, and a wavelength conversion body arranged on the light-emitting element and configured to convert the wavelength of light emitted from the light-emitting element, a first portion having a bottom surface extending along the top surface of the substrate and having a frustum shape; a bottom surface disposed on the top surface of the first portion; a second portion extending from the edge and having a curved side surface convex outward in a direction parallel to the top surface; and a light reflector formed on the light emitting device and reflecting light generated by the light emitting element and the wavelength converter.
また、本発明による発光装置は、基板と、基板の上面上に配置された発光素子と、発光素子上に配置されて発光素子から放出された光に対して波長変換を行う波長変換体であって、基板の上面に沿って延びる底面を有しかつ錐台形状を有する第1の部分と、第1の部分の上面上に底面が配置されかつ第1の部分の側面の底面に対する傾斜角とは異なる傾斜角で底面から傾斜する側面を有する第2の部分と、を有する波長変換体と、第1の部分の側面及び第2の部分の側面を覆うように基板上に形成されかつ発光素子及び波長変換体によって生成された光に対して反射性を有する光反射体と、を有することを特徴としている。 A light-emitting device according to the present invention includes a substrate, a light-emitting element arranged on an upper surface of the substrate, and a wavelength converter arranged on the light-emitting element and configured to convert the wavelength of light emitted from the light-emitting element. a first portion having a bottom surface extending along the top surface of the substrate and having a truncated cone shape; a second portion having a side surface inclined from the bottom surface at a different angle of inclination; and a light reflector that reflects light generated by the wavelength converter.
以下、本発明の実施例について詳細に説明する。 Examples of the present invention will be described in detail below.
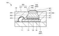
  図1は、実施例1に係る発光装置10の模式的な斜視図である。図1を用いて、発光装置10の概略的な構成について説明する。発光装置10は、実装用基板(第1の基板、以下、単に基板と称する)11と、基板11上に実装された発光素子20と、を有する。本実施例においては、発光装置10は、基板11上に並置された2つの発光素子20を有する。  FIG. 1 is a schematic perspective view of a
  基板11は、例えば、絶縁性を有する基材11A及び基材11A上に形成された配線電極11Bを有する。基板11は、発光素子20の各々を実装する実装面を有する。本実施例においては、基材11Aは、平板形状を有し、その主面の一方である上面を当該実装面として有する。例えば、基材11Aは、高い熱伝導性を有する材料、例えばAlNからなる。配線電極11Bは、例えばパターニングされて基材11A上に形成された銅膜からなる。  The
  発光素子20は、例えば、発光ダイオードなどの半導体発光素子である。発光素子20は、例えば、支持基板(第2の基板、以下、単に基板と称する)21と、基板21に支持された半導体発光層(以下、単に半導体層と称する)22と、を含む。例えば、基板21は、平板形状を有し、Siからなる。また、半導体層22は、例えば、窒化物半導体からなる。  The
  また、発光素子20は、基板21上における半導体層22の側方に設けられたパッド電極23と、基板21における半導体層22とは反対側(基板11側)の面上に設けられた裏面電極24と、を有する。例えば、半導体層22は、n型半導体層(図示せず)及びp型半導体層(図示せず)を有する。例えば、パッド電極23は、半導体層22のp型半導体層に接続されている。また、裏面電極24は、半導体層22のn型半導体層に接続されている。  In addition, the
  また、本実施例においては、パッド電極23は、ボンディングワイヤを介して基板11の配線電極11Bに接続されている。また、基板11の基材11Aは、その主面間を貫通するビア(図示せず)を有する。裏面電極24は、当該ビアを介して、基材11Aの配線電極11Bとは反対側の面上に設けられた配線電極(図示せず)に接続されている。  Moreover, in this embodiment, the
  本実施例においては、発光素子20は、矩形の上面形状を有する。具体的には、本実施例においては、基板21及び半導体層22の各々は、矩形の上面形状を有する。例えば、半導体層22の上面は、一辺が約1mmの正方形の形状を有する。また、発光素子20の各々は、基板11上においてそれぞれの基板21の1つの側面が互いに対向するように、全体として整列して配置されている。  In this embodiment, the
  なお、本実施例においては、発光装置10が2つの発光素子20を有する場合について説明するが、発光素子20の構成はこれに限定されない。例えば、発光装置10が1つの発光素子20のみを有していてもよいし、3つ以上の発光素子20を有していてもよい。また、発光装置20が複数の発光素子20を有する場合でも、その配置構成は上記した場合に限定されない。また、発光素子20の上面形状は、矩形に限定されず、例えば多角形状又は円形状を有していてもよい。  In this embodiment, the case where the
  発光装置10は、発光素子20上に形成され、接着層30を介して発光素子20に接着された波長変換体40を有する。接着層30は、例えば発光素子20の基板21上において半導体層22を埋設するように層状に形成されている。また、接着層30は、発光層20から放出される光及び波長変換体40から出射される光に対して透光性を有する。例えば、接着層30は、透明な樹脂層からなる。  The light-
  本実施例においては、波長変換体40は、2つの発光素子20間に跨って形成されている。例えば、本実施例においては、波長変換体40は、発光素子20の各々における半導体層22の上面全体を覆い、基板11における隣接する半導体層22の間に跨って一体的に形成されている。波長変換体40は、例えば、YAG蛍光体及びアルミナを焼結して形成された蛍光体プレートからなる。  In this embodiment, the
  発光装置10は、基板11上に形成され、発光素子20の各々を封止し、かつ波長変換体40の側面を覆う光反射体50を有する。図1においては、発光装置10の光反射体50の内側の構造を図示するため、光反射体50の外縁のみを破線で示し、その図示を省略している。  The
  光反射体50は、発光素子20から放出される光及び波長変換体40から出射される光に対して反射性を有する。例えば、光反射体50は、光散乱性の粒子(例えば酸化チタン粒子)を含有する樹脂体からなる。光反射体50は、波長変換体40の上面を露出させるように、基板11上に形成されている。本実施例においては、波長変換体40における光反射体50から露出した表面は、発光装置10における光取り出し面を形成する。  The
  図2は、発光装置10の上面図である。また、図3は、発光装置10の断面図であり、図2における3-3線に沿った断面図である。図2及び図3を用いて、発光装置10における波長変換体40及び光反射体50の詳細な構造について説明する。  FIG. 2 is a top view of the
  まず、波長変換体40は、接着層30を介して発光素子20(半導体層22)に対向し、基板11に沿って延びる面を発光素子20から放出された光が入射する光入射面40Pとして有し、光入射面40Pから入射した光に対して波長変換を行う。また、波長変換体40は、光反射体50に覆われていない面を波長変換体40内の光が出射する光出射面40Qとして有する。本実施例においては、光出射面40Qは、発光装置10における光取り出し面である。  First, the
  また、本実施例においては、波長変換体40の光出射面40Qは、光入射面40Pよりも小さな平面サイズを有する。また、波長変換体40は、全体として、光入射面40Pから光出射面40Qに向かって(発光素子20から離れるに従って)徐々に側面間の距離が小さくなるような先細り形状を有する。  Further, in this embodiment, the
  本実施例においては、波長変換体40は、基板11から垂直に延びる側面41Aと、光入射面40Pとして機能する底面41Bと、を有し、柱形状を有する柱状部(第5の部分)41を有する。  In this embodiment, the
  本実施例においては、柱状部41の底面41Bは、その全体が接着層30に接しており、かつ半導体層22(基板11)に沿って延びている。また、本実施例においては、柱状部41の底面41B及び底面41Bとは反対側の上面の各々は、矩形の平面形状を有する。すなわち、本実施例においては、柱状部41は、四角柱の形状を有する。  In this embodiment, the
  また、波長変換体40は、柱状部41の上面が底面となるように柱状部41上において柱状部41に一体的に形成され、かつ錐台形状を有する錐台状部(第1の部分)42を有する。本実施例においては、錐台状部42は、底面に対して内側に傾斜する側面42Aを有する。  The
  本実施例においては、錐台状部42は、四角錐台の形状を有する。また、本実施例においては、錐台状部42の4つの全ての側面は、側面42Aとして構成されている。従って、本実施例においては、錐台状部42は、上面を頂面とし、頂面に向かって全ての側面が傾斜する先細り形状を有する。  In this embodiment, the frustum-shaped
  また、本実施例においては、波長変換体40は、錐台状部42の上面が底面となるように錐台状部42上において錐台状部42に一体的に形成され、かつ柱形状を有する柱状部(第4の部分)43を有する。柱状部43は、底面に対して垂直に延びる側面43Aを有する。本実施例においては、柱状部43は、柱状部41の底面よりも小さな底面及び上面を有する四角柱の形状を有する。  Further, in this embodiment, the
  また、本実施例においては、波長変換体40は、柱状部43の上面が底面となるように柱状部43上において柱状部43に一体的に形成され、かつ外側に凸となる曲面形状の側面44Aを有するラウンド形状部(第2の部分)44を有する。本実施例においては、ラウンド形状部44の側面44Aは、ラウンド形状部44の底面から垂直に延び、かつ外側に凸となる曲面形状をなして内側に屈曲している。  In this embodiment, the
  また、本実施例においては、ラウンド形状部44は、平坦な上面44Bを有する。また、ラウンド形状部44の上面44Bは、光反射体50から露出している。本実施例においては、ラウンド形状部44の上面44Bは、波長変換体40の光出射面40Qとして機能する。  Also, in this embodiment, the
  本実施例においては、波長変換体40は、一方の主面を光入射面40Pとし、他方の主面を光出射面40Qとする全体として板状の形状を有する。また、柱状部41の側面41A、錐台状部42の側面42A、柱状部43の側面43A及びラウンド形状部44の側面44Aの全体は、波長変換体40の側面を構成する。  In this embodiment, the
  例えば、波長変換体40の光入射面40Pは、約1mmの短辺及び約2mmの長辺を有する長方形の形状を有する。波長変換体40の光出射面40Qは、約0.6~0.9mmの短辺及び約1.2~1.8mmの長辺を有する長方形の形状を有する。また、波長変換体40における光入射面40Pから光出射面40Qまでの距離、すなわち波長変換体40の厚さは、約50~500μmである。  For example, the
  また、本実施例においては、柱状部41の側面41A、錐台状部42の側面42A、柱状部43の側面43A及びラウンド形状部44の側面44Aは、連続して一体的に形成されている。すなわち、各部分の側面は、その端部において隣接する他の部分の側面に接している。  Further, in this embodiment, the
  波長変換体40は、例えば、柱状部41の底面41B及びラウンド形状部44の上面44Bとなる主面を有する蛍光体プレートを以下の2つのステップで切削することによって形成することができる。  The
  例えば、第1のステップにおいては、ラウンド形状部44の側面44Aと同一形状の曲面部、柱状部43の側面43Aと同一形状の平坦部、及び錐台状部42の側面42Aと同一形状の傾斜部を有するブレード面のダイシングブレード(第1のブレード)を用いて、蛍光体プレートを切削して当該蛍光体プレートの主面に溝を形成する。これによって、蛍光体プレートには、側面44A、43A及び42Aとなる部分が形成される。  For example, in the first step, a curved surface portion having the same shape as the
  次に、第2のステップにおいては、当該蛍光体プレートの当該主面に垂直なブレード面を有するブレード(第2のブレード)を用いて、当該蛍光体プレートにおける第1のステップで形成した溝の底部に凹部又は貫通孔を形成する。これによって、蛍光体プレートには、側面41Aとなる部分が形成される。なお、例えば、この他の当該蛍光体プレートの主面を研削することで、柱状部41の底面41B及びラウンド形状部44の上面44Bの面形状及び面品質を安定させることができる。  Next, in the second step, a blade (second blade) having a blade surface perpendicular to the main surface of the phosphor plate is used to form the grooves formed in the phosphor plate in the first step. A recess or a through hole is formed in the bottom. As a result, the phosphor plate is formed with a portion that will become the
  例えばこのようにして、波長変換体40を作製することができる。なお、波長変換体40の形成方法はこれに限定されない。例えば、波長変換体40は、成型加工によって形成されることもできる。  For example, the
  次に、光反射体50は、基板11上において、発光素子20(基板21、半導体層22、パッド電極23及び裏面電極24)及び基板11上の各配線電極を封止する。これによって、発光素子20を電気的に保護する。また、光反射体50は、波長変換体40の側面を覆う。これによって、波長変換体40から出射される光の方向が制限される。  Next, the
  本実施例においては、光反射体50は、波長変換体40から離れた領域では波長変換体40の光出射面40Qよりも基板11に近い位置(低い位置)を有するような上面50Aを有する。一方、光反射体50の上面50Aは、波長変換体40の近傍では波長変換体40の光出射面40Qと同程度の高さ位置を有するように湾曲している。そして、本実施例においては、光反射体50は、波長変換体40の側面全体を覆っている。  In this embodiment, the
  より具体的には、光反射体50の上面50Aは、ラウンド形状部44の上面44B(波長変換体40の光出射面40Q)よりも基板11側に位置しかつ基板11に沿って延びる平面部S11を有する。また、光反射体50の上面50Aは、平面部S11よりも波長変換体40側において平面部S11よりもラウンド形状部44の上面44Bに近い位置に形成され、かつ基板11に向かって凹となるように屈曲する曲面部S12を有する。  More specifically, the
  本実施例においては、光反射体50の上面50Aにおける曲面部S12は、波長変換体40に近づくに従って徐々に基板11から離れるように平面部S11から湾曲して形成された部分である。また、曲面部S12は、ラウンド形状部44の側面44Bに接している。本実施例においては、曲面部S12は、ラウンド形状部44の側面44Aの上端部に接している。  In this embodiment, the curved surface portion S12 on the
  換言すれば、本実施例においては、光反射体50の上面50Aの曲面部S12は、凹状に湾曲しつつ平面部S11から延びてラウンド形状部44の側面44Aに接する部分である。  In other words, in this embodiment, the curved surface portion S12 of the
  光反射体50は、例えば、光反射体50となる光反射性の粒子を含む熱硬化性樹脂を基板11上に塗布する際に、当該熱硬化性樹脂の塗布量を調節し(例えば、ラウンド形状部44の上面44Bの高さに達する量よりも少なくし)、その後当該熱硬化性樹脂を硬化させることで、形成することができる。  For the
  より具体的には、熱硬化性樹脂は、硬化前においては、一定の濡れ性を有する。従って、熱硬化性樹脂は、ラウンド形状部44の上面44Bよりも低い高さ位置に達する量で塗布した場合でも、側面44A上を上昇して側面44A上に濡れ広がる。また、ラウンド形状部44の側面44Aは、曲面形状を有している。従って、熱硬化性樹脂は、容易に側面44A上に濡れ広がることとなる。光反射体50は、この状態で熱硬化性樹脂を加熱することで、形成することができる。  More specifically, thermosetting resins have certain wettability before curing. Therefore, even when the thermosetting resin is applied in an amount reaching a height position lower than the
  本実施例においては、波長変換体40は、発光素子20上に配置され、柱状部41、錐台状部42、柱状部43及びラウンド形状部44がそれぞれの上面及び底面を共有するように順に積層された構造を有する。また、光反射体50は、波長変換体40の側面を覆うように形成されている。これによって、高い光取出し効率及び配光特性を有し、また高品質な発光装置10を提供することができる。  In this embodiment, the
  より具体的には、波長変換体40が最も発光素子20側に柱状部41(第5の部分)を有することで、発光素子20から放出された光が高効率で波長変換体40内に入射することとなる。従って、発光素子20から放出された光に対する高い波長変換効率を維持することができる。  More specifically, since the
  また、一様な厚みの柱状部41に光が入射することで、柱状部41の面内での波長変換ムラが抑制される。従って、柱状部41から錐台状部42に向かう光における柱状部41の面内での強度ムラ、及び色ムラを抑制することができる。  In addition, since the light is incident on the
  また、波長変換体40が錐台状部42(第1の部分)を有することで、錐台状部42から光出射面40Qに向かう光を集光することができる。従って、例えば、十分な光量の光が放出されるようなサイズの発光素子20(半導体層22)を構成した上で、この発光素子20からの放出光を発光領域よりも小さな領域に集めることができる。これによって、例えば、波長変換体40の光出射面40Qからは、高輝度な光を出射させることができる。  Further, since the
  また、波長変換体40が錐台状部42(第1の部分)とラウンド形状部44(第2の部分)との間に柱状部43(第4の部分)を有することで、錐台状部42によって集光された光の光量を柱状部43の面内で均一化することができる。従って、柱状部43からラウンド形状部44に向かう光における柱状部43の面内での強度ムラ、及び色ムラを抑制することができる。  Further, since the
  また、波長変換体40が光出射面40Qを形成する上面44Bを有するラウンド形状部44を有することで、ラウンド形状部44の側面44Aを光反射体50によって確実にかつ強固に覆うことができる。従って、光出射面40Qの近傍における光反射体50の波長変換体40からの剥離を抑制することができる。これによって、波長変換体40から出射される光の品質、例えば配光特性、強度特性及び波長特性が長期に亘って安定する。  Further, since the
  より具体的には、本実施例においては、波長変換体40内に存在する光は、光出射面40Qとなるラウンド形状部44の上面44B以外の外部に露出する表面を光反射体50によって覆うことで、ほぼ当該上面44Bのみから出射されることとなる。すなわち、本実施例においては、光反射体50は、発光装置10の配光特性を定める機能を有する。  More specifically, in this embodiment, the light existing in the
  従って、光反射体50は、確実に波長変換体40における所望の領域を覆っていることが好ましい。また、光反射体50は、例えば、発光装置10を大電流又は長時間駆動した場合でも、当該波長変換体40を覆っている状態を維持することが好ましい。特に、光出射面40Qの近傍においては、確実にかつ安定して光反射体50が波長変換体40を覆っていることが好ましい。  Therefore, it is preferable that the
  仮に、波長変換体40がラウンド形状部44を有さず、柱状部43の上面を波長変換体40の光出射面40Qとして構成する場合を考える。この場合、光反射体50は、柱状部43の上面を露出させつつ柱状部43の側面43Aを覆うように形成される。この場合、駆動中などにおいて、光反射体50が柱状部43の側面43Aから剥離しやすい。  Consider a case where the
  これは、光反射体50と側面43Aとが接触している面積が小さく、例えば波長変換体40からの熱を受けることによって光反射体50に生ずる応力が側面44Bに集中しやすいからである。また、光反射体50となる熱硬化性樹脂を基板11上に塗布した場合、柱状部43の側面43A、すなわち基板11に垂直に延びる波長変換体40の側面に対して、熱硬化性樹脂が十分に接していない状態で硬化される場合があるからである。  This is because the contact area between the
  これに対し、本実施例においては、上面44Bから外側に凸となるような曲面状に延びる側面44Aを有するラウンド形状部44を設けることで、大きな面積の側面44Aに接するように光反射体50が形成される。従って、光反射体50に生ずる応力の集中が抑制される。  On the other hand, in the present embodiment, by providing the
  また、光反射体50は、例えば、側面44A上に乗り上げるように熱硬化性樹脂が塗布され、この状態で熱硬化性樹脂が硬化されることで、形成される。従って、光反射体50が側面44Aに密着する。従って、光反射体50が光出射面40Qの近傍において波長変換体40から剥離することが確実に抑制される。  Further, the
  また、本実施例においては、波長変換体40は、矩形の上面形状を有する。これによって、種々の用途に容易に適用可能な形状の配光特性を得ることができる。例えば、発光装置10は、照明用途、例えば車両用灯具として用いる場合に好適な構成を有する。例えば、波長変換体40が矩形の上面形状を有することで、ヘッドランプに求められる特性、例えば中央領域が高輝度であり、周辺領域が低輝度であるような配光特性の光を容易に形成することができるからである。  Moreover, in the present embodiment, the
  また、本実施例においては、光反射体50の上面50Aは、ラウンド形状部44の上面44Bよりも低い位置の平面部S11と、平面部S11からラウンド形状部44の側面44Aに向かって高くなるように湾曲した曲面部S12と、を有する。これによって、光反射体50における波長変換体40の近傍に生ずる応力が分散しやすくなる。従って、光反射体50の剥離がさらに抑制される。  Further, in this embodiment, the
  また、例えば光反射体50の形成には熱硬化性樹脂の塗布量を少なくする以外に追加する工程などが不要となり、容易に光反射体50を形成することができる。光反射体50の上面50Aの形状は、この形成方法によって形成した結果といえる。また、熱硬化性樹脂の塗布量が少なく済むのみならず、ラウンド形状部44の上面44Bにまで熱硬化性樹脂が塗布又は濡れ広がることが抑制される。これによって、光出射面40Qの形状バラつき、またこれによる配光形状のバラつきが抑制される。  In addition, for example, the formation of the
  なお、本実施例においては、発光装置10の光取り出し面が波長変換体40におけるラウンド形状部44の上面44Bによって画定される場合について説明した。しかし、光反射体50におけるラウンド形状部44の側面44A上の領域の厚さは、他の領域の厚さに比べて小さい。従って、ラウンド形状部44の側面形状などによっては、側面44Aからも光が外部に取り出される場合がある。従って、発光装置10の光取り出し面は、ラウンド形状部44の側面44A及び上面44Bの両方によって画定されてもよい。  In this embodiment, the case where the light extraction surface of the
  なお、上記した波長変換体40の構成は、一例に過ぎない。例えば、本実施例においては、波長変換体40は、一体的に形成された柱状部41、錐台状部42、柱状部43及びラウンド形状部44を有する場合について説明した。また、上下に隣接する各部分の上面及び底面の形状が一致する場合について説明した。しかし、波長変換体40は、例えば互いに分離可能なように形成された柱状部41、錐台状部42、柱状部43及びラウンド形状部44を有していてもよい。また、上下に隣接する各部分の上面及び底面は互いに光学的に結合していればよく、その形状は一致しなくてもよく、また、互いに離間していてもよい。  Note that the configuration of the
  また、本実施例においては、ラウンド形状部44の全ての側面(本実施例においては4つの側面)が曲面形状を有する側面44Aである場合について説明した。しかし、ラウンド形状部44の側面形状はこれに限定されない。ラウンド形状部44は、側面の少なくとも一部に曲面形状の側面44Aとなる部分を有していればよい。例えば、ラウンド形状部44の4つの側面のうち、1つのみの側面が曲面形状を有していてもよい。  Further, in this embodiment, the case where all the side surfaces (four side surfaces in this embodiment) of the
  また、本実施例においては、ラウンド形状部44の側面44Aは、底面の近傍において当該底面に垂直に延び、湾曲しつつ上面44Bに至り、上面44Bにおいては上面44Bに平行に延びるように構成されている場合について説明した。しかし、ラウンド形状部44の側面44Aの形状は、これに限定されない。  In this embodiment, the
  例えば、ラウンド形状部44の側面44Aは、少なくとも上面44Bの縁から延びており、上面44Bに平行な方向において外側に凸となる曲面形状を有していればよい。例えば、側面44Aは、上面44Bから底面に至る間に、例えば底面の近傍において内側に延びる部分を有していてもよい。  For example, the
  また、本実施例においては、光反射体50が上面50Aに曲面部S12を有する場合について説明した。しかし、光反射体50の上面形状は、これに限定されない。光反射体50は、波長変換体40の側面を覆っていればよい。  Moreover, in the present embodiment, the case where the
  また、本実施例においては、波長変換体40は、一体的に形成された蛍光体プレートからなり、その全体において波長変換機能を有する場合について説明した。しかし、波長変換体40の構成はこれに限定されない。  Moreover, in the present embodiment, the case where the
  例えば、波長変換体40は、柱状部41の一部をなす蛍光体プレートと、当該蛍光体プレート上に形成され、波長変換体40の他の部分をなす透光プレートと、からなっていてもよい。すなわち、波長変換体40は、複数の部材を組み合わせた構造を有していてもよいし、またその一部のみに波長変換機能をなす部材を有していてもよい。  For example, the
  また、発光素子20の構成や、発光装置10の用途によっては、波長変換体40の全体が波長変換機能を有していなくてもよい。例えば、単色(単一波長)の光のみを用いて通信や分析などを行う用途に用いられる場合、発光素子20から放出された光がその波長特性を維持したまま取り出されればよい場合がある。この場合、波長変換体40は、波長変換機能を有する必要はなく、例えば、単純な透光体として機能すればよい。この場合でも、当該透光体が例えば上記したような構成を有することで、光反射体50の当該透光体からの剥離を防止でき、高品質かつ高輝度な発光装置10を提供することができる。  Further, depending on the configuration of the
  このように、本実施例においては、発光装置10は、基板11と、基板11上に形成された発光素子20と、発光素子20上に形成された波長変換体40と、波長変換体40の側面を覆う光反射体50と、を有する。  Thus, in this embodiment, the light-emitting
  また、本実施例においては、波長変換体40は、発光素子20から放出された光が入射する光入射面40Pをなす底面41Bを有する柱状部41と、柱状部41上に形成されかつ柱状部41の上面に一体的に形成された底面を有する錐台状部42と、錐台状部42上に形成されかつ錐台状部42の上面に一体的に形成された底面を有する柱状部43と、柱状部43上に形成され、柱状部43の上面に一体的に形成された底面及び当該底面とは反対の上面44Bを有し、上面44Bの縁から延びかつ上面44Bに平行な方向において外側に凸となる曲面形状の側面44Aを有するラウンド形状部44と、を有する。従って、光反射体50の劣化を防止し、高品質かつ高輝度な発光装置10を提供することができる。  In this embodiment, the
  図4は、実施例2に係る発光装置10Aの断面図である。発光装置10Aは、波長変換体40Aの構成を除いては、発光装置10と同様の構成を有する。また、波長変換体40Aは、ラウンド形状部44上に形成された柱状部45(第3の部分)を有する点を除いては、波長変換体40と同様の構成を有する。  FIG. 4 is a cross-sectional view of a
  より具体的には、波長変換体40Aは、ラウンド形状部44の上面(図3における上面44Bに対応する表面部分)が底面となるようにラウンド形状部44上においてラウンド形状部44に一体的に形成され、かつ柱形状を有する柱状部45を有する。柱状部45は、底面に対して垂直に延びる側面45Aを有する。本実施例においては、柱状部45は、柱状部43の底面よりも小さな底面及び上面を有する四角柱の形状を有する。  More specifically, the
  本実施例においては、柱状部45は、平坦な上面45Bを有する。また、柱状部45の上面45Bは、光反射体50から露出している。本実施例においては、柱状部45の側面45A及び上面45Bの両方が光反射体50から露出している。本実施例においては、柱状部45の上面45Bは、波長変換体40Aの光出射面40Qとして機能する。  In this embodiment, the
  なお、本実施例においては、波長変換体40Aの全体が平板状の形状を有する。また、本実施例においては、柱状部41の側面41A、錐台状部42の側面42A、柱状部43の側面43A、ラウンド形状部44の側面44A及び柱状部45の側面45Aの全体は、波長変換体40Aの側面を構成する。  In addition, in the present embodiment, the entire
  本実施例においては、波長変換体40Aは、ラウンド形状部44の側面44Aである曲面形状の側面部分の上端から、柱状部45の側面45Aである垂直に延びる側面部分を有する。これによって、波長変換体40Aの光出射面40Q上に光反射体50となる熱硬化性樹脂が付着することが抑制される。  In this embodiment, the
  より具体的には、本実施例においても、光反射体50は、波長変換体40Aを発光素子20に接着した後に、波長変換体40Aの側面を覆うような量で熱硬化性樹脂を塗布し、当該熱硬化性樹脂を硬化させることで、形成されることができる。この熱硬化性樹脂の塗布時においては、例えば熱硬化性樹脂の塗布量によって、熱硬化性樹脂の一部が波長変換体40Aの側面を越えて波長変換体40Aの上面に乗り上げることが想定される。  More specifically, also in this embodiment, the
  特に、ラウンド形状部44の側面44Aは曲面形状を有するため、側面44Aを越えて上面44B上に熱硬化性樹脂が濡れ広がる可能性がある。従って、熱硬化性樹脂の塗布量を厳密に調節することが必要となる場合や、また、ラウンド形状部44の上面44B上に乗り上げた熱硬化性樹脂を除去する工程が発生する場合がある。  In particular, since the
  これに対し、例えばわずかな厚さの柱状部45をラウンド形状部44上に設けることで、柱状部45の側面45Aが熱硬化性樹脂の上面45B上への乗り上げを防止する壁として機能する。従って、製造工程を厳格化し又は追加することなく、容易に波長変換体40Aの側面のみに光反射体50を形成することができる。従って、例えば実施例1において説明した種々の効果を安定して得ることができる。  On the other hand, for example, by providing a slightly
  このように、本実施例においては、波長変換体40Aは、ラウンド形状部44の上面が底面となるようにラウンド形状部44上に形成され、かつ柱形状の柱状部45を有する。従って、光反射体50の劣化を防止し、高品質かつ高輝度な発光装置10Aを提供することができる。  Thus, in this embodiment, the
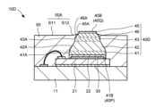
  図5は、実施例3に係る発光装置10Bの断面図である。発光装置10Bは、波長変換体40Bの構成を除いては、発光装置10と同様の構成を有する。また、波長変換体40Bは、錐台状部42及びラウンド形状部44のみからなる点を除いては、波長変換体40と同様の構成を有する。  FIG. 5 is a cross-sectional view of a
  本実施例においては、波長変換体40Bは、波長変換体40から柱状部41及び43を除いた場合に相当する構成を有する。本実施例においては、錐台状部42の底面42Bは、接着層30に接している。また、錐台状部42の底面42Bは、波長変換体40Bにおける光入射面40Pとして機能する。また、錐台状部42の上面がラウンド形状部44の底面となるように、ラウンド形状部44が錐台状部42上において錐台状部42に一体的に形成されている。  In this embodiment, the
  また、本実施例においては、波長変換体40Bは、錐台状部42の側面42A及びラウンド形状部44の側面44Aの全体を側面として有する平板形状を有する。また、光反射体50は、錐台状部42の側面42A及びラウンド形状部44の側面44Aを覆うように基板11上に形成されている。  Further, in this embodiment, the
  本実施例のように、波長変換体40Bは、柱状の部分を有していなくてもよい。この場合でも、錐台状部42によって高輝度化を図ることができ、またラウンド形状部44によって光反射体50の剥離を抑制することができる。すなわち、例えば、波長変換体40Bは、少なくとも錐台状部42及びラウンド形状部44を有していればよい。  As in this embodiment, the
  このように、本実施例においては、発光装置10Bは、基板11と、基板11の上面上に配置された発光素子20と、発光素子20上に配置されて発光素子20から放出された光に対して波長変換を行う波長変換体40Bであって、基板11の上面に沿って延びる底面42Bを有しかつ錐台形状を有する錐台状部42(第1の部分)と、錐台状部42の上面上に配置された底面及び底面とは反対の上面44Bを有し、上面44Bの縁から延びかつ上面44Bに平行な方向において外側に凸となる曲面形状の側面44Aを有するラウンド形状部44(第2の部分)と、を有する波長変換体40Bと、錐台状部42の側面42A及びラウンド形状部44の側面44Aを覆うように形成されかつ発光素子20及び波長変換体40Bによって生成された光に対して反射性を有する光反射体50と、を有する。従って、光反射体50の劣化を防止し、高品質かつ高輝度な発光装置10Bを提供することができる。  Thus, in this embodiment, the light-emitting
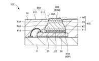
  図6は、実施例4に係る発光装置10Cの断面図である。発光装置10Cは、波長変換体40Cの構成を除いては、発光装置10と同様の構成を有する。また、波長変換体40Cは、ラウンド形状部44に代えて錐台状部(第2の錐台状部又は第2の部分)46を有する点を除いては、波長変換体40と同様の構成を有する。  FIG. 6 is a cross-sectional view of a
  本実施例においては、波長変換体40Cは、柱状部43の上面が底面となるように柱状部43上において柱状部43に一体的に形成され、かつ錐台形状を有する錐台状部46を有する。錐台状部46は、光反射体50に覆われた側面46Aと、光反射体50から露出した上面46Bとを有する。本実施例においては、錐台状部46の上面46Bは、波長変換体40Cにおける光出射面40Qとして機能する。  In this embodiment, the
  本実施例においては、光反射体50は、実施例1と同様に、錐台状部46の上面46Bよりも基板11に近い高さ位置の平面部S11と、平面部S11よりも波長変換体40C側において平面部S11よりも錐台状部46の上面46Bに近い位置に形成され、かつ基板11に向かって凹となるように屈曲する曲面部S12を有する。  In this embodiment, as in the first embodiment, the
  本実施例においては、光反射体50の上面50Aにおける曲面部S12は、平面部S11から湾曲して形成された部分である。また、曲面部S12は、錐台状部46の側面46Aに接している。本実施例においては、曲面部S12は、錐台状部46の側面46Aの上端部に接している。  In this embodiment, the curved surface portion S12 of the
  図7は、波長変換体40Cの側面近傍を拡大して示す図である。図7は、図6における2点鎖線で囲まれた部分を拡大して示す拡大断面図である。図7を用いて、波長変換体40Cの詳細な構成について説明する。  FIG. 7 is an enlarged view showing the vicinity of the side surface of the
  図7に示すように、波長変換体40Cにおいて、錐台状部42の側面42Aは、錐台状部42の底面に対して角度θ1だけ傾斜している。また、本実施例においては、錐台状部46の側面46Aは、錐台状部46の底面に対して、角度θ1よりも小さな角度θ2だけ傾斜している。  As shown in FIG. 7, in the
  波長変換体40Cにおいて錐台状部42の側面42A及び錐台状部46の側面46Aがこのような傾斜角の関係を有することで、高輝度化及び剥離防止の両立を図ることができる。  In the
  具体的には、まず、波長変換体40C内において、錐台状部42は、主に、光を集光し、高輝度化を図る目的で設けられている。従って、傾斜角θ1が小さすぎると、集光機能は果たせるものの、錐台状部42から光出射面40Qに向かう光が少なくなる。従って、錐台状部42の側面42Aは、傾斜角θ1がある程度大きくなるように構成されていることが好ましい。  Specifically, first, in the
  一方、錐台状部46は、主に、その側面46Aに光反射体50を強く密着させ、光反射体50の波長変換体40Cからの剥離を防止する目的で設けられている。従って、傾斜角θ2が大きすぎると、光反射体50の側面46Aへの密着力が低下し、剥離防止効果が小さくなる。従って、錐台状部46の側面46Aは、傾斜角θ2がある程度小さくなるように構成されていることが好ましい。  On the other hand, the frustum-shaped
  これに対し、本実施例においては、錐台状部42及び46は、傾斜角θ1及びθ2がθ1>θ2の関係を満たすように構成されている。従って、高輝度化を図りつつ、高い剥離防止効果を得ることができる。  In contrast, in this embodiment, the frustum-shaped
  なお、傾斜角θ1及びθ2の関係は、これに限定されない。波長変換体40Cは、錐台状部46を有していれば一定の剥離防止効果を得ることができる。すなわち、波長変換体40Cは、錐台状部42の側面42Aの傾斜角θ1とは異なる傾斜角θ2で傾斜する側面46Aを有する錐台状部46を有していればよい。  Note that the relationship between the tilt angles θ1 and θ2 is not limited to this. If the
  また、発光装置10と同様に、光反射体50の上面50Aは平面部S11及び曲面部S12を有する場合に限定されない。光反射体50は、波長変換体40Cの側面を覆っていればよい。  Further, like the light-emitting
  このように、本実施例においては、発光装置10Cは、柱状部41、錐台状部42、柱状部43及び錐台状部46を有する波長変換体40Cを有する。従って、この波長変換体40Cの側面を覆うように形成することで、光反射体50の劣化を防止し、高品質かつ高輝度な発光装置10Cを提供することができる。  Thus, in this embodiment, the
  図8は、実施例5に係る発光装置10Dの断面図である。発光装置10Dは、波長変換体40Dの構成を除いては、発光装置10Cと同様の構成を有する。また波長変換体40Dは、錐台状部46上に柱状部45を有する点を除いては、波長変換体40Cと同様の構成を有する。  FIG. 8 is a cross-sectional view of a
  本実施例は、実施例4に実施例2を組み合わせた場合に相当する。具体的には、本実施例においては、波長変換体10Dは、錐台状部46の上面(図6における上面46Bに対応する表面部分)が底面となるように錐台状部46上において錐台状部46に一体的に形成され、かつ柱形状を有する柱状部(第3の柱状部)45を有する。  This embodiment corresponds to the case where the fourth embodiment is combined with the second embodiment. Specifically, in this embodiment, the
  柱状部45は、底面に対して垂直に延びる側面45Aと、平坦な上面45Bと、を有する。また、柱状部45の上面45Bは、光反射体50から露出している。本実施例においては、柱状部45の側面45A及び上面45Bの両方が光反射体50から露出している。本実施例においては、柱状部45の上面44Bは、波長変換体40Dの光出射面40Qとして機能する。  The
  柱状部45を錐台状部46上に設けた場合でも、柱状部45の側面45Aが熱硬化性樹脂の上面45B上への乗り上げを防止する壁として機能する。従って、製造工程を厳格化し又は追加することなく、容易に波長変換体40Dの側面のみに光反射体50を形成することができる。従って、例えば実施例1及び4において説明した種々の効果を安定して得ることができる。  Even when the
  本実施例においては、波長変換体40Dは、錐台状部46の上面が底面となるように錐台状部46上に形成され、かつ柱形状の柱状部45を有する。従って、光反射体50の劣化を防止し、高品質かつ高輝度な発光装置10Dを提供することができる。  In this embodiment, the
  図9は、実施例6に係る発光装置10Eの断面図である。発光装置10Eは、波長変換体40Eの構成を除いては、発光装置10Cと同様の構成を有する。また、波長変換体40Eは、錐台状部42及び46のみからなる点を除いては、波長変換体40Cと同様の構成を有する。  FIG. 9 is a cross-sectional view of a
  本実施例においては、波長変換体40Eは、波長変換体40Cから柱状部41及び43を除いた場合に相当する構成を有する。本実施例においては、錐台状部42の底面42Bは、接着層30に接している。また、錐台状部42の底面42Bは、波長変換体40Eにおける光入射面40Pとして機能する。また、錐台状部42の上面が錐台状部46の底面となるように、錐台状部46が錐台状部42上において錐台状部42に一体的に形成されている。  In this embodiment, the
  本実施例のように、波長変換体40Eは、少なくとも錐台状部42及び46を有していればよい。これによって、発光装置10Eの高輝度化及び剥離防止の効果を得ることができる。  As in this embodiment, the
  このように、本実施例においては、発光装置10Eは、基板11と、基板11の上面上に配置された発光素子20と、発光素子20上に配置されて発光素子20から放出された光に対して波長変換を行う波長変換体40Eであって、発光素子20上に形成され、基板11の上面に沿って延びる底面を有する錐台形状の錐台状部42(第1の部分)と、錐台状部42の上面上に底面が配置され、錐台形状を有しかつ錐台状部42における側面42Aの底面に対する傾斜角θ1とは異なる傾斜角θ2で底面から傾斜した側面46Aを有する錐台状部46(第2の部分)と、を有する波長変換体40Eと、錐台状部42の側面42A及び錐台状部46の側面46Aを覆うように基板11上に形成されかつ発光素子20及び波長変換体40Bによって生成された光に対して反射性を有する光反射体50と、を有する。従って、光反射体50の劣化を防止し、高品質かつ高輝度な発光装置10Eを提供することができる。  Thus, in this embodiment, the light-emitting
  図10は、実施例7に係る発光装置60の模式的な斜視図である。また、図11及び12は、それぞれ発光装置60の上面図及び断面図である。図12は、図11における12-12線に沿った断面図である。図10乃至図12を用いて、発光装置60の構成について説明する。  FIG. 10 is a schematic perspective view of a
  本実施例においては、発光装置60は、波長変換体70及び光反射体80の構成を除いては、発光装置10と同様の構成を有する。本実施例においては、波長変換体70は、ラウンド形状の上面を有する点を除いては、波長変換体40と同様の構成を有する。また、光反射体80は、一様に平坦な上面80Aを有する点を除いては、光反射体50と同様の構成を有する。  In this embodiment, the light-emitting
  まず、波長変換体70は、波長変換体40における柱状部41及び錐台状部42と同様の柱状部(第3の部分)71及び錐台状部(第1の部分)72と、を有する。柱状部71は、基板11に対して垂直に延びる側面71Aと、接着層30を介して発光素子20の半導体層22に対向する底面71Bと、を有する。柱状部71の底面71Bは、波長変換体70における光入射面70Pとして機能する。本実施例においては、柱状部71は、四角柱の形状を有する。  First, the
  また、錐台状部72は、柱状部71の上面が底面となるように柱状部71上において柱状部71に一体的に形成され、傾斜した側面72Aを有する。本実施例においては、錐台状部72は、四角錐台の形状を有する。  The frustum-shaped
  また、本実施例においては、波長変換体70は、錐台状部72上において錐台状部72に一体的に形成され、かつ柱形状の柱状部(第2の部分)73を有する。本実施例においては、柱状部73は、基板11に垂直に延びかつ光反射体80に覆われた側面73Aと、矩形の角が丸まった形状を有しかつ光反射体80から露出した上面73Bと、を有する。  In this embodiment, the
  本実施例においては、柱状部73の上面73Bは、波長変換体70における光出射面70Qとして機能する。本実施例においては、発光装置60は、略矩形であり角が丸まった形状の光取り出し面を有する。  In this embodiment, the
  このように、本実施例においては、波長変換体70は、矩形の角が円形状に面取りされた形状の上面73Bを有する柱状部73を有する。これによって、光反射体80の上面80Aにおける波長変換体70の近傍のクラックの発生を防止することができる。  As described above, in this embodiment, the
  より具体的には、波長変換体70の上面には、矩形の角をなすように鋭角で屈曲する部分が存在しない。仮に、波長変換体の上面に例えば90°以下の角度で屈曲する部分が設けられ、この上面を覆うように光反射体を形成した場合、光反射体における当該屈曲部分を覆う部分は、応力が集中しやすい部分となる。この場合に発光素子20を例えば大電流又は長時間駆動した場合、当該屈曲部分を起点として光反射体にクラックが生ずる場合がある。従って、性能及び品質が早期に劣化する場合がある。  More specifically, the upper surface of the
  これに対し、本実施例においては、波長変換体70は、矩形の角が面取りされた形状の上面73を有する柱状部73を有する。従って、光反射体80に応力が生じた場合でも、その応力が分散されやすい。従って、光反射体80にクラックが発生することが抑制される。従って、長期に安定した品質及び性能の発光装置60を提供することができる。また、波長変換体70が柱状部71を有することで、波長変換体70内における波長変換ムラを抑制することができる。  On the other hand, in the present embodiment, the
  また、本実施例においては、波長変換体70の上面、すなわち柱状部73の上面73Bは、ほぼ矩形の形状を有する。これによって、例えば実施例1において説明したように、発光装置60は、車両用灯具に用いられる場合に好適な構成となる。  Further, in this embodiment, the upper surface of the
  なお、波長変換体70の上面は矩形形状を有する場合に限定されない。例えば、柱状部73の上面73Bは、多角形状(例えば三角形や五角形など)の角が面取りされた形状を有していればよい。  Note that the upper surface of the
  なお、本実施例においては、錐台状部72に接するように柱状部73Bが形成される場合について説明した。しかし、柱状部73と錐台状部72との間には、別の形状の部分が設けられていてもよい。  In this embodiment, the case where the
  また、本実施例においては、柱状部73が柱状の形状を有する場合、すなわち基板11に垂直な側面73Aを有する場合について説明した。しかし、柱状部73の側面形状はこれに限定されない。少なくとも、矩形の角が面取りされた形状の上面73Bを有する種々の立体形状を有する部分が錐台状部72上に形成されていればよい。なお、光取り出し面内における光の強度ムラ及び色ムラを抑制することを考慮すると、錐台状部72よりも発光素子20側に柱形状を有する柱状部71が設けられていることが好ましい。  Moreover, in the present embodiment, the case where the
  このように、本実施例においては、発光装置60は、発光素子20上に形成され、基板11の上面に沿って延びる底面71Bを有しかつ柱形状を有する柱状部71と、柱状部71上に形成されかつ錐台形状を有する錐台状部72(第1の部分)と、錐台状部72上に形成され、柱形状を有しかつ矩形の角が円形状に面取りされた形状の上面73Bを有する柱状部(第2の部分)73と、を有する波長変換体70と、柱状部71の側面71A、錐台状部72の側面72A及び柱状部73の側面73Aを覆うように基板11上に形成されかつ発光素子20及び波長変換体70によって生成された光に対して反射性を有する光反射体80と、を有する。従って、光反射体80の早期劣化を防止し、高品質かつ高輝度な発光装置60を提供することができる。  Thus, in this embodiment, the light-emitting
  図13は、実施例8に係る発光装置60Aの上面図である。図14は、発光装置60Aの断面図である。図14は、図13の14-14線に沿った断面図である。図13及び図14を用いて、発光装置60Aの構成について説明する。  FIG. 13 is a top view of a
  発光装置60Aは、波長変換体70Aの構成を除いては、発光装置60と同様の構成を有する。また、波長変換体70Aは、柱状部73に代えて柱状部(第2の部分)74を有する点を除いては、波長変換体70と同様の構成を有する。  60 A of light-emitting devices have the same structure as the light-emitting
  本実施例においては、波長変換体70Aは、錐台状部72上に形成され、基板11から垂直に延びる側面74Aと、角が直線状に面取りされた形状の上面74Bと、を有する柱状部74を有する。本実施例においては、柱状部74の上面74Bは、波長変換体70Aの光出射面70Qとして機能する。  In this embodiment, the
  本実施例においては、柱状部74の上面74Bは、矩形の角が直線状に面取りされた(C面取りされた)形状を有する。このような上面形状の上面74Bを有している場合でも、光反射体80内で応力が集中しにくくなり、上面80Aにクラックが生じにくくなる。従って、安定した品質及び高輝度な発光装置60Aを提供することができる。  In this embodiment, the
  図15は、実施例9に係る発光装置60Bの断面図である。発光装置60Bは、波長変換体70Bの構成を除いては、発光装置60と同様の構成を有する。また、波長変換体70Bは、錐台状部72及び柱状部73のみからなる点を除いては、波長変換体70と同様の構成を有する。  FIG. 15 is a cross-sectional view of a
  本実施例においては、波長変換体70Bは、波長変換体70から柱状部71を除いた場合に相当する構成を有する。従って、錐台状部72の底面72Bが光入射面70Pとして発光素子20の半導体層22に対向して配置される。  In this embodiment, the
  このように、波長変換体70Bは、柱状部71を有していなくてもよい。すなわち、波長変換体70Bは、少なくとも錐台状部72及び柱状部73を有していればよい。また、実施例7及び8において説明したように、波長変換体73は、例えば柱状部73又は74のように、矩形の角が面取りされた形状の上面73B又は74Bを有する種々の立体形状の部分を有していればよい。これによって、最もクラックの生じやすい部分である光反射体80の上面80Aの近傍での応力が分散される。従って、光反射体80の早期劣化を抑制することができる。  Thus, the
  このように、本実施例においては、発光装置60Bは、基板11と、基板11の上面上に形成された発光素子20と、発光素子20上に形成されて発光素子20から放出された光に対して波長変換を行う波長変換体70Bであって、基板11の上面に沿って延びる底面72Bを有しかつ錐台形状を有する錐台状部72(第1の部分)と、錐台状部72の上面上に底面が配置されかつ矩形の角が面取りされた形状の上面73Bを有する柱状部(第2の部分)73と、を有する波長変換体70Bと、錐台状部72の側面72A及び柱状部73の側面73Aを覆うように基板11上に形成されかつ発光素子20及び波長変換体70Bによって生成された光に対して反射性を有する光反射体80と、を有する。従って、光反射体80の早期劣化を防止し、高品質かつ高輝度な発光装置60Bを提供することができる。  Thus, in this embodiment, the light-emitting
10、10A~10E、60、60A、60B  発光装置
11  基板
20  発光素子
40、40A~40E、70、70A、70B  波長変換体
50、80  光反射体10, 10A to 10E, 60, 60A, 60B
| Application Number | Priority Date | Filing Date | Title | 
|---|---|---|---|
| JP2019092659AJP7257247B2 (en) | 2019-05-16 | 2019-05-16 | light emitting device | 
| Application Number | Priority Date | Filing Date | Title | 
|---|---|---|---|
| JP2019092659AJP7257247B2 (en) | 2019-05-16 | 2019-05-16 | light emitting device | 
| Publication Number | Publication Date | 
|---|---|
| JP2020188178A JP2020188178A (en) | 2020-11-19 | 
| JP7257247B2true JP7257247B2 (en) | 2023-04-13 | 
| Application Number | Title | Priority Date | Filing Date | 
|---|---|---|---|
| JP2019092659AActiveJP7257247B2 (en) | 2019-05-16 | 2019-05-16 | light emitting device | 
| Country | Link | 
|---|---|
| JP (1) | JP7257247B2 (en) | 
| Publication number | Priority date | Publication date | Assignee | Title | 
|---|---|---|---|---|
| JP7288343B2 (en)* | 2019-05-16 | 2023-06-07 | スタンレー電気株式会社 | light emitting device | 
| Publication number | Priority date | Publication date | Assignee | Title | 
|---|---|---|---|---|
| JP2010219324A (en) | 2009-03-17 | 2010-09-30 | Nichia Corp | Light-emitting device | 
| JP2010238846A (en) | 2009-03-31 | 2010-10-21 | Nichia Corp | Light emitting device | 
| JP2010272847A (en) | 2009-04-20 | 2010-12-02 | Nichia Corp | Light emitting device | 
| JP2010283281A (en) | 2009-06-08 | 2010-12-16 | Nichia Corp | Light emitting device | 
| US20110133220A1 (en) | 2009-12-09 | 2011-06-09 | Jin Ha Kim | Light emitting diode, method for fabricating phosphor layer, and lighting apparatus | 
| JP2011228703A (en) | 2010-04-15 | 2011-11-10 | Samsung Led Co Ltd | Light emitting diode package, lighting apparatus having the same, and method for manufacturing light emitting diode package | 
| JP2013247269A (en) | 2012-05-28 | 2013-12-09 | Toshiba Corp | Semiconductor light-emitting device and light-emitting module | 
| JP2014068010A (en) | 2012-09-24 | 2014-04-17 | Lg Innotek Co Ltd | Ultraviolet light emitting device | 
| JP2015506591A (en) | 2012-01-24 | 2015-03-02 | クーレッジ ライティング インコーポレイテッド | Light emitting die incorporating wavelength converting material and associated method | 
| JP2015050468A (en) | 2013-09-04 | 2015-03-16 | エルジー イノテック カンパニー リミテッド | Light emitting element package | 
| JP2015079805A (en) | 2013-10-16 | 2015-04-23 | 豊田合成株式会社 | Light-emitting device | 
| JP2015195294A (en) | 2014-03-31 | 2015-11-05 | 日亜化学工業株式会社 | Method for manufacturing light emitting device | 
| US20160204314A1 (en) | 2015-01-12 | 2016-07-14 | Samsung Electronics Co., Ltd. | Light emitting diode package | 
| JP2016533030A (en) | 2013-07-24 | 2016-10-20 | クーレッジ ライティング インコーポレイテッド | Light emitting die incorporating wavelength converting material and related methods | 
| CN106098903A (en) | 2016-08-03 | 2016-11-09 | 深圳市兆驰节能照明股份有限公司 | Multiaspect goes out light CSP light source and manufacture method thereof | 
| JP2017050359A (en) | 2015-08-31 | 2017-03-09 | 日亜化学工業株式会社 | Light emitting device | 
| JP2017108091A (en) | 2015-11-30 | 2017-06-15 | 日亜化学工業株式会社 | Light emitting device | 
| JP2017183427A (en) | 2016-03-29 | 2017-10-05 | 豊田合成株式会社 | Light-emitting device | 
| US20170365746A1 (en) | 2014-12-08 | 2017-12-21 | Koninklijke Philips N.V. | Wavelength converted semiconductor light emitting device | 
| JP2018006490A (en) | 2016-06-30 | 2018-01-11 | 日亜化学工業株式会社 | Manufacturing method of sheet molding, and manufacturing method of light-emitting device using the same | 
| WO2018105374A1 (en) | 2016-12-09 | 2018-06-14 | 日本電気硝子株式会社 | Method for manufacturing wavelength conversion member, wavelength conversion member, and light-emitting device | 
| JP2019016763A (en) | 2016-11-01 | 2019-01-31 | 日亜化学工業株式会社 | Light emitting device and manufacturing method thereof | 
| JP2019096675A (en) | 2017-11-20 | 2019-06-20 | 日亜化学工業株式会社 | Light-emitting device and manufacturing method thereof | 
| JP2020077676A (en) | 2018-11-05 | 2020-05-21 | 日亜化学工業株式会社 | Light emitting device and manufacturing method thereof | 
| Publication number | Priority date | Publication date | Assignee | Title | 
|---|---|---|---|---|
| JP2010219324A (en) | 2009-03-17 | 2010-09-30 | Nichia Corp | Light-emitting device | 
| JP2010238846A (en) | 2009-03-31 | 2010-10-21 | Nichia Corp | Light emitting device | 
| JP2010272847A (en) | 2009-04-20 | 2010-12-02 | Nichia Corp | Light emitting device | 
| JP2010283281A (en) | 2009-06-08 | 2010-12-16 | Nichia Corp | Light emitting device | 
| US20110133220A1 (en) | 2009-12-09 | 2011-06-09 | Jin Ha Kim | Light emitting diode, method for fabricating phosphor layer, and lighting apparatus | 
| JP2011228703A (en) | 2010-04-15 | 2011-11-10 | Samsung Led Co Ltd | Light emitting diode package, lighting apparatus having the same, and method for manufacturing light emitting diode package | 
| JP2015506591A (en) | 2012-01-24 | 2015-03-02 | クーレッジ ライティング インコーポレイテッド | Light emitting die incorporating wavelength converting material and associated method | 
| JP2013247269A (en) | 2012-05-28 | 2013-12-09 | Toshiba Corp | Semiconductor light-emitting device and light-emitting module | 
| JP2014068010A (en) | 2012-09-24 | 2014-04-17 | Lg Innotek Co Ltd | Ultraviolet light emitting device | 
| JP2016533030A (en) | 2013-07-24 | 2016-10-20 | クーレッジ ライティング インコーポレイテッド | Light emitting die incorporating wavelength converting material and related methods | 
| JP2015050468A (en) | 2013-09-04 | 2015-03-16 | エルジー イノテック カンパニー リミテッド | Light emitting element package | 
| JP2015079805A (en) | 2013-10-16 | 2015-04-23 | 豊田合成株式会社 | Light-emitting device | 
| JP2015195294A (en) | 2014-03-31 | 2015-11-05 | 日亜化学工業株式会社 | Method for manufacturing light emitting device | 
| US20170365746A1 (en) | 2014-12-08 | 2017-12-21 | Koninklijke Philips N.V. | Wavelength converted semiconductor light emitting device | 
| US20160204314A1 (en) | 2015-01-12 | 2016-07-14 | Samsung Electronics Co., Ltd. | Light emitting diode package | 
| JP2017050359A (en) | 2015-08-31 | 2017-03-09 | 日亜化学工業株式会社 | Light emitting device | 
| JP2017108091A (en) | 2015-11-30 | 2017-06-15 | 日亜化学工業株式会社 | Light emitting device | 
| JP2017183427A (en) | 2016-03-29 | 2017-10-05 | 豊田合成株式会社 | Light-emitting device | 
| JP2018006490A (en) | 2016-06-30 | 2018-01-11 | 日亜化学工業株式会社 | Manufacturing method of sheet molding, and manufacturing method of light-emitting device using the same | 
| CN106098903A (en) | 2016-08-03 | 2016-11-09 | 深圳市兆驰节能照明股份有限公司 | Multiaspect goes out light CSP light source and manufacture method thereof | 
| JP2019016763A (en) | 2016-11-01 | 2019-01-31 | 日亜化学工業株式会社 | Light emitting device and manufacturing method thereof | 
| WO2018105374A1 (en) | 2016-12-09 | 2018-06-14 | 日本電気硝子株式会社 | Method for manufacturing wavelength conversion member, wavelength conversion member, and light-emitting device | 
| JP2019096675A (en) | 2017-11-20 | 2019-06-20 | 日亜化学工業株式会社 | Light-emitting device and manufacturing method thereof | 
| JP2020077676A (en) | 2018-11-05 | 2020-05-21 | 日亜化学工業株式会社 | Light emitting device and manufacturing method thereof | 
| Publication number | Publication date | 
|---|---|
| JP2020188178A (en) | 2020-11-19 | 
| Publication | Publication Date | Title | 
|---|---|---|
| TWI550910B (en) | Semiconductor light emitting device | |
| JP5526232B2 (en) | Light emitting diode with molded reflective sidewall coating | |
| US8283691B2 (en) | Light emitting device package and a lighting device | |
| JP5634657B2 (en) | Method for fabricating optoelectronic elements | |
| US8030762B2 (en) | Light emitting diode package having anodized insulation layer and fabrication method therefor | |
| JP4675906B2 (en) | Light-emitting element mounting substrate, light-emitting element storage package, light-emitting device, and lighting device | |
| US10937770B2 (en) | Light-emitting device | |
| US20110025190A1 (en) | Luminous device | |
| US8178895B2 (en) | Semiconductor light-emiting device and method | |
| JP4182784B2 (en) | Light emitting device and manufacturing method thereof | |
| JP2012064962A (en) | High powered solid light emitter packages with compact optics | |
| JP2007265964A (en) | Lighting device | |
| CN204792904U (en) | Emitting diode chip and illuminator | |
| JP7257247B2 (en) | light emitting device | |
| WO2012011528A1 (en) | Light-emitting device and lighting device | |
| JP2000277812A (en) | Line light source device and its manufacture | |
| KR20190134941A (en) | Light emitting device | |
| JP7267836B2 (en) | light emitting device | |
| JP7330755B2 (en) | light emitting device | |
| JP7269792B2 (en) | light emitting device | |
| KR102453026B1 (en) | Light emitting device | |
| JP2020188185A (en) | Light-emitting device | |
| JP7658812B2 (en) | Light-emitting device | |
| JP7695828B2 (en) | Light-emitting device | |
| JP2021507527A (en) | Method of manufacturing conversion element and conversion element | 
| Date | Code | Title | Description | 
|---|---|---|---|
| A621 | Written request for application examination | Free format text:JAPANESE INTERMEDIATE CODE: A621 Effective date:20220405 | |
| A977 | Report on retrieval | Free format text:JAPANESE INTERMEDIATE CODE: A971007 Effective date:20221122 | |
| A131 | Notification of reasons for refusal | Free format text:JAPANESE INTERMEDIATE CODE: A131 Effective date:20221213 | |
| A521 | Request for written amendment filed | Free format text:JAPANESE INTERMEDIATE CODE: A523 Effective date:20230210 | |
| TRDD | Decision of grant or rejection written | ||
| A01 | Written decision to grant a patent or to grant a registration (utility model) | Free format text:JAPANESE INTERMEDIATE CODE: A01 Effective date:20230307 | |
| A61 | First payment of annual fees (during grant procedure) | Free format text:JAPANESE INTERMEDIATE CODE: A61 Effective date:20230403 | |
| R150 | Certificate of patent or registration of utility model | Ref document number:7257247 Country of ref document:JP Free format text:JAPANESE INTERMEDIATE CODE: R150 |