







本願は、自車位置信頼度演算装置、自車位置信頼度演算方法、車両制御装置、及び車両制御方法に関するものである。 The present application relates to a vehicle position reliability calculation device, a vehicle position reliability calculation method, a vehicle control device, and a vehicle control method.
衛星測位システムによって得られる測位結果から車両の位置を求める場合において、衛星から伝搬する搬送波位相による測位演算で高精度測位解であるFix解を求め、車両の位置を高精度に把握することができる。しかし、地上で受信する衛星信号には様々な誤差要因が含まれる。衛星信号を受信して、その受信した場所の位置情報を高精度に求める手法があるが、その際にミスFixと呼ばれる課題がある。ミスFixとは、誤り測位解のことであり、搬送波位相による航路差の疑似距離のアンビギュイティ(Ambiguity)解の誤りであり、衛星信号による位置の誤差が大きくても信頼度が高いと判定してしまうことである。 When determining the position of a vehicle from the positioning results obtained by a satellite positioning system, it is possible to determine the position of the vehicle with high accuracy by obtaining a fix solution, which is a high-precision positioning solution, through positioning calculations based on the carrier wave phase propagated from the satellite. . However, satellite signals received on the ground contain various error factors. There is a method of receiving a satellite signal and obtaining position information of the location where the signal is received with high accuracy. Miss Fix is an erroneous positioning solution, which is an error in the ambiguity solution of the pseudorange of the route difference due to the carrier wave phase, and it is determined that the reliability is high even if the position error due to the satellite signal is large. It is to do.
特許文献1には、標高の変化、方位角の変化又は緯度経度の変化に基づいて、ミスFixを検出するようにした誤り測位解を検出する方法が開示されている。特許文献1に開示された方法は、移動体の標高と、移動体の方位角と、移動体の緯度経度と、の何れかを時刻毎に示す参照データを用いて、移動体の測位解を時刻毎に示す測位解データから、ミスFixを検出するようにしたものである。 Patent Literature 1 discloses a method of detecting an erroneous positioning solution in which a miss Fix is detected based on a change in altitude, a change in azimuth, or a change in latitude and longitude. The method disclosed in Patent Document 1 uses reference data indicating any one of the altitude of the mobile object, the azimuth angle of the mobile object, and the latitude and longitude of the mobile object for each time to obtain a positioning solution of the mobile object. A mistake Fix is detected from the positioning solution data shown for each time.
特許文献1に開示された従来の手法は、船舶、鉄道を対象としており、船舶、鉄道の移動による標高の変化が小さいことを前提とし、標高閾値の設定は、あらかじめ決められた値と、船舶、鉄道車両の移動速度、時間とを用いて、ミスFixを求めるようにしている。しかしながら、道路を移動する車両の場合、船舶、鉄道車両の場合に比べて標高の変化が大きく、前述の方法では必ずしも自車位置の信頼度を高めることができない、という課題があった。 The conventional method disclosed in Patent Document 1 is intended for ships and railways, and is based on the premise that changes in altitude due to movement of ships and railways are small. , the moving speed of the railway vehicle, and the time are used to obtain the error Fix. However, in the case of vehicles moving on roads, the change in altitude is greater than in the case of ships and railroad vehicles, and there is a problem that the reliability of the vehicle position cannot necessarily be improved by the above-described method.
本願は、前述のような課題を解決するための技術を開示するものであり、従来の装置より高い信頼度を実現する自車位置信頼度演算装置を提供することを目的とする。 The present application discloses a technique for solving the above-described problems, and an object of the present application is to provide a vehicle position reliability calculation device that achieves higher reliability than conventional devices.
また、本願は、従来の方法より高い信頼度を実現する自車位置信頼度演算方法を提供することを目的とする。 Another object of the present application is to provide a vehicle position reliability calculation method that achieves higher reliability than conventional methods.
さらに、本願は、従来の装置より高い信頼度を実現する車両制御装置を提供することを目的とする。 A further object of the present application is to provide a vehicle control system that achieves higher reliability than conventional systems.
また、本願は、従来の方法より高い信頼度を実現する車両制御方法を提供することを目的とする。 Another object of the present application is to provide a vehicle control method that achieves higher reliability than conventional methods.
本願に開示される自車位置信頼度演算装置は、
車両の自車位置を推定する自車位置推定データに基づいて、前記自車位置を含む自車周辺の標高推定値を算出し、前記算出した標高推定値に基づいて標高閾値を設定する標高推定部と、
前記標高推定部により設定された前記標高閾値と、前記自車位置推定データから得た標高データとを比較して、前記自車位置推定データの信頼度を判定する信頼度判定部と、
を備え、
前記標高推定部は、
前記自車位置推定データから抽出した、過去の一定期間分の自車位置を含む自車周辺の標高データの平均値と分散値とを演算し、
前記分散値があらかじめ定められた範囲内にあるときの前記平均値を、前記自車位置を含む前記自車周辺の標高推定値として算出し、
前記算出した標高推定値としての前記平均値を、前記標高閾値として設定する、
ように構成され、
前記信頼度判定部は、
前記自車位置推定データに含まれる前記車両の車速データに基づいて、前記信頼度が良好であるとする判定の範囲を変更するように構成されている、
ものである。The own vehicle position reliability calculation device disclosed in the present application includes:
Elevation estimation for calculating an estimated altitude value around the vehicle including the vehicle position based on vehicle position estimation data for estimating the vehicle position of the vehicle, and setting an altitude threshold based on the calculated estimated altitude value Department and
a reliability determination unit that compares the altitude threshold set by the altitude estimation unit and altitude data obtained from the vehicle position estimation data to determine the reliability of the vehicle position estimation data;
with
The altitude estimation unit
calculating the average value and the variance value of the altitude data around the vehicle including the vehicle position for a certain period of time extracted from the vehicle position estimation data;
calculating the average value when the variance value is within a predetermined range as an estimated altitude value around the vehicle including the vehicle position;
setting the average value as the calculated estimated altitude value as the altitude threshold;
configuredas
The reliability determination unit
It is configured to change the range of determination that the reliability is good based on the vehicle speed data of the vehicle included in the vehicle position estimation data.
It is.
また、本願に開示される自車位置信頼度演算装置は、
地図データ記憶部と、
前記地図データ記憶部に記憶された地図データに基づいて自車位置を含む自車周辺の標高推定値を算出し、前記算出した標高推定値に基づいて標高閾値を設定する標高推定部と、
前記標高推定部により設定された前記標高閾値と、自車位置推定データに基づく標高データとを比較して、前記自車位置推定データの信頼度を判定する信頼度判定部と、
を備え、
前記地図データ記憶部は、
前記標高推定部から自車位置データを取得し、
地図データ記憶部が記憶している地図データベースと前記取得した自車位置データとに基づいて、自車位置を含む自車周辺の標高値を取得し、
前記取得した標高値を前記標高推定部に送信する、
ように構成され、
前記標高推定部は、
前記地図データ記憶部から受信した前記標高値を、前記標高閾値として設定する、
ように構成され、
前記信頼度判定部は、
前記地図データベースから取得した自車が走行している車線幅情報に基づいて、前記信頼度が良好であるとする判定の範囲を変更するように構成されている、
ものである。Further, the vehicle position reliability calculation device disclosed in the present application is
a map data storage unit;
an altitude estimation unit that calculates an estimated altitude value around the vehicle including the vehicle position based on the map data stored in the map data storage unit, and sets an altitude threshold value based on the calculated estimated altitude value;
a reliability determination unit that compares the altitude threshold set by the altitude estimation unit and altitude data based on the vehicle position estimation data and determines the reliability of the vehicle position estimation data;
with
The map data storage unit
Acquiring own vehicle position data from the altitude estimation unit,
acquiring an altitude value around the vehicle including the vehicle position based on the map database stored in the map data storage unit and the acquired vehicle position data;
transmitting the obtained altitude value to the altitude estimation unit;
configured as
The altitude estimation unit
setting the altitude value received from the map data storage unit as the altitude threshold;
configuredas
The reliability determination unit
It is configured to change the range of determination that the reliability is good based on the lane width information in which the vehicle is traveling, which is acquired from the map database.
It is.
さらに、本願に開示されるす車両制御装置は、
上記何れかの自車位置信頼度演算装置により判定された前記自車位置推定データの信頼度に基づいて、車両の制御の可否を判定する車両制御判定部、を備えるようにしたものである。Furthermore, the vehicle control device disclosed in the present application
A vehicle control determination unit that determines whether or not the vehicle can be controlled based on the reliability of the vehicle position estimation data determined by any one of the vehicle position reliability calculation devices.
また、本願に開示される自車位置信頼度演算方法は、
自車位置推定データから抽出した、過去の一定期間分の自車位置を含む自車周辺の標高データの平均値と分散値とを演算し、
前記分散値があらかじめ定められた範囲内にあるときの前記平均値を、前記自車位置を含む前記自車周辺の標高推定値として算出し、
前記算出した標高推定値としての前記平均値を、標高閾値として設定し、
前記設定した前記標高閾値と、前記自車位置推定データから得た標高データとを比較して、前記自車位置推定データの信頼度を判定し、
前記信頼度が良好であるとする判定の範囲は、前記自車位置の情報に含まれる前記車両の車速データに基づいて変更される、
ようにした方法である。Further, the vehicle position reliability calculation method disclosed in the present application includes:
calculating the mean value and the variance value of elevation data around the vehicle, including the vehicle position for a certain period of time, extracted from the vehicle position estimation data;
calculating the average value when the variance value is within a predetermined range as an estimated altitude value around the vehicle including the vehicle position;
setting the average value as the calculated estimated altitude value as an altitude threshold,
comparing the set altitude threshold with the altitude data obtained from the vehicle position estimation data to determine the reliability of the vehicle position estimation data;
The range for determining that the reliability is good is changed based on the vehicle speed data of the vehicle included in the vehicle position information.
This is the method.
また、本願に開示される自車位置信頼度演算方法は、
地図データ記憶部が記憶している地図データベースと、自車位置推定データとに基づいて、自車位置を含む自車周辺の標高値を取得し、
前記取得した標高値を標高閾値として設定し、
前記設定した前記標高閾値と、前記自車位置推定データから得た標高データとを比較して、前記自車位置推定データの信頼度を判定し、
前記信頼度が良好であるとする判定の範囲は、前記地図データベースから取得した自車が走行している車線幅情報に基づいて変更される、
ようにした方法である。
Further, the vehicle position reliability calculation method disclosed in the present application includes:
Obtaining an altitude value around the vehicle including the vehicle position based on the map database stored in the map data storage unit and the vehicle position estimation data,
setting the obtained altitude value as an altitude threshold,
comparing the set altitude threshold with the altitude data obtained from the vehicle position estimation data to determine the reliability of the vehicle position estimation data;
The range for determining that the reliability is good is changed based on the lane width information in which the vehicle is traveling, which is obtained from the map database.
This is the method.
また、本願に開示される車両制御方法は、
上記何れか一つに記載の自車位置信頼度演算方法により算出された自車位置推定データの信頼度に基づいて、車両の制御の可否を判定するようにした方法である。Further, the vehicle control method disclosed in the present application includes:
This method determines whether or not the vehicle can be controlled based on the reliability of the vehicle position estimation data calculated by any one of the vehicle position reliability calculation methods described above.
本願に開示される自車位置信頼度演算装置によれば、従来の装置より高い信頼度を実現する自車位置信頼度演算装置が得られる。 According to the vehicle position reliability calculation device disclosed in the present application, it is possible to obtain a vehicle position reliability calculation device that achieves higher reliability than conventional devices.
また、本願に開示される車両制御装置によれば、従来の装置より高い信頼度を実現する車両制御装置が得られる。 Further, according to the vehicle control device disclosed in the present application, a vehicle control device that achieves higher reliability than the conventional device can be obtained.
さらに、本願に開示される自車位置信頼度演算方法によれば、従来の方法より高い信頼度を実現する自車位置信頼度演算方法が得られる。 Furthermore, according to the vehicle position reliability calculation method disclosed in the present application, a vehicle position reliability calculation method that achieves higher reliability than the conventional method is obtained.
また、本願に開示される車両制御方法によれば、従来の方法より高い信頼度を実現する車両制御方法が得られる。 Further, according to the vehicle control method disclosed in the present application, a vehicle control method that achieves higher reliability than the conventional method is obtained.
実施の形態1.
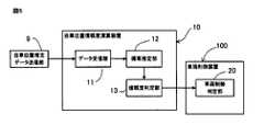
本願の実施の形態1による自車位置信頼度演算装置、自車位置信頼度演算方法、車両制御装置、及び車両制御方法について、図面を参照して説明する。図1は、実施の形態1による自車位置信頼度演算装置、および車両制御装置のブロック図である。図1において、車両制御装置100は、自車位置信頼度演算装置10と、車両制御判定部20と、を備えている。情報処理装置を構成する自車位置信頼度演算装置10は、データ受信部11と、標高推定部12と、信頼度判定部13と、を備えている。Embodiment 1.
A vehicle position reliability calculation device, a vehicle position reliability calculation method, a vehicle control device, and a vehicle control method according to Embodiment 1 of the present application will be described with reference to the drawings. FIG. 1 is a block diagram of a vehicle position reliability calculation device and a vehicle control device according to Embodiment 1. FIG. In FIG. 1 , the
自車位置信頼度演算装置10における情報を処理する処理部としての、データ受信部11と、標高推定部12と、信頼度判定部13とは、それぞれ、自車位置信頼度演算装置10に設けられる処理回路により実現される。図3は、実施の形態1による自車位置信頼度演算装置における、処理回路のハードウェア構成を示すブロック図である。図3に示すように、たとえば、自車位置信頼度演算装置10は、処理回路として、CPU(Central Processing Unit)などのコンピュータである演算処理装置90と、演算処理装置90とデータのやり取りをする記憶装置91と、入出力回路92と、を備えている。 A
演算処理装置90は、たとえば、DSP(Digital Signal Processor)、ニューロチップ(Neuro Chip)、ASIC(Application Specific Integrated Circuit)、IC(Integrated Circuit)、FPGA(Field Programmable Gate Array)、各種の論理回路、および各種の信号処理回路などにより構成されている。また、演算処理装置90は、同じ種類の処理装置、又は異なる種類の処理装置、が複数備えられ、複数の処理が分担して実行されるように構成されていてもよい。
記憶装置91は、たとえば、RAM(Random Access Memory)、ROM(Read Only Memory)、EPROM(Erasable Programmable Read Only Memory)、EEPROM(Electrically Erasable Programmable Read Only Memory)などの不揮発性又は揮発性の半導体メモリにより構成されている。なお、記憶装置91は、磁気ディスク、DVD(Digital Versatile Disc)などの記憶媒体を用いた装置により構成されていてもよい。 The
入出力回路92は、通信回路、A/D変換器、駆動回路などを備えており、演算処理装置90と、外部装置としての自車位置推定データ送信部9との間、および演算処理装置90と車両制御判定部20との間、で信号の入力および出力を行うように構成されている。 The input/
自車位置信頼度演算装置10が備える処理部としての、データ受信部11と、標高推定部12と、信頼度判定部13と、のそれぞれの機能は、演算処理装置90が、ROMなどの記憶装置91に記憶されたソフトウェアプログラムを実行し、記憶装置91と、入出力回路92と、外部装置としての自車位置推定データ送信部9および車両制御判定部20などの他のハードウェアと、の協働により実現される。なお、データ受信部11と、標高推定部12と、信頼度判定部13と、が用いる距離の許容範囲、方位差の許容範囲、などの設定データは、ソフトウェアプログラムの一部として、ROMなどの記憶装置91に記憶されている。 The functions of the
図4は、実施の形態1による自車位置信頼度演算装置における、処理回路の変形例を示すブロック図である。前述の自車位置信頼度演算装置10は、処理回路として、図4に示すように、専用のハードウェアにより構成された処理回路93、たとえば、単一の回路、複合の回路、プログラム化されたプロセッサ、並列プログラム化されたプロセッサ、ニューロチップ、ASIC、FPGA、又はこれらを組み合わせた回路など、を備える。 FIG. 4 is a block diagram showing a modification of the processing circuit in the vehicle position reliability calculation device according to the first embodiment. As shown in FIG. 4, the vehicle position
図2は、実施の形態1による自車位置信頼度演算装置における処理を示すフローチャートであって、図1における自車位置信頼度演算装置10の動作を示している。図2において、ステップS110では、標高推定部12により、車両の自車位置を推定する自車位置推定データ送信部9から受信した自車位置推定データに基づいて自車周辺の標高推定値を算出し、この算出した標高推定値に基づいて、標高閾値の設定を行なう。つぎに、ステップS120において、標高推定部12により設定された標高閾値と、自車位置情報である自車位置推定データとの比較を行なう。つぎに、ステップS130において、信頼度判定部13により、テップS120での比較結果に基づいて自車位置情報である自車位置推定データの信頼度を判定する。
FIG. 2 is a flowchart showing processing in the vehicle position reliability calculation device according to Embodiment 1, and shows the operation of the vehicle position
図5は、実施の形態1による車両制御装置の変形例を示すブロック図である。図5に示すように、前述の自車位置信頼度演算装置10は、車両制御装置100の外部に独立して設けられてもよい。この場合、信頼度判定部13の処理結果としての判定結果は、車両制御装置100の車両制御判定部20に送信される。 5 is a block diagram showing a modification of the vehicle control device according to Embodiment 1. FIG. As shown in FIG. 5 , the vehicle position
図1および図5に示す自車位置推定データ送信部9は、自車位置を推定して自車位置信頼度演算装置10に送信する演算部により構成されている。自車位置には、少なくとも衛星測位情報に基づいて推定された走行位置が含まれる。自車位置推定データ送信部9は、たとえば、GNSS(Global Navigation Satellite System)などの人工衛星から出力される信号を受信機としてのアンテナで受信し、自車の位置を演算する衛星測位装置を含む。自車位置には、緯度、経度、および高度などが含まれる。また、自車位置推定データ送信部9は、衛星測位演算による自車位置の精度情報も含む。受信した衛星信号には時刻情報も含まれ、衛星測位装置は、自車位置を演算した時刻情報も取得する。 The vehicle position estimation
自車位置推定データ送信部9に含まれる衛星測位装置は、たとえば、RTK(Real Time Kinematic)測位により、自車位置を高精度に検出する。RTK測位では、人工衛星と衛星測位装置の受信機であるアンテナとの間の距離を、人工衛星から送られる電波である搬送波の波数と、位相差と、を用いて演算することで、衛星測位装置自身の位置を求める。また、RTK測位では、位置が確定している基準局と、移動局としての自車の衛星測位装置と、で同時に測位演算を行い、基準局で観測したデータを無線通信などにより、車両の衛星測位装置に送信して、衛星測位装置の位置を検知する。RTK測位は、数[cm]以下の測位精度を実現する。 A satellite positioning device included in the vehicle position estimation
なお、自車位置推定データ送信部9に含まれる衛星測位装置は、単独測位方式、相対測位方式などの各種の測位方式により車両の位置を検知するように構成されていてもよい。また、自車位置推定データ送信部9に、車両速度センサ、加速度センサ、方位センサが含まれていてもよい。 The satellite positioning device included in the vehicle position estimation
自車位置推定データ送信部9には、前方カメラなどの車両周辺を撮影する周辺撮像装置が含まれていてもよい。そして、自車位置推定データ送信部9は、周辺撮像装置の検知情報に基づいて、自車位置を追加的に検知するように構成されていてもよい。たとえば、自車位置推定データ送信部9は、前方カメラの撮像データから道路標識、路面標示、および道路案内情報などを検知した場合に、地図データを参照し、該当する道路標識、路面標示、および道路案内情報が位置する位置情報に基づいて、車両の位置を追加的に検知するように構成されていてもよい。道路標識には、道路位置を直接示す標識が含まれていてもよい。また、自車位置推定データ送信部9には、レーザスキャナであるLiDAR(Light Detection and Ranging)などの装置が含まれていてもよく、この場合、LiDARによる自車周辺の検知情報から自車位置を追加的に検知することができる。 The vehicle position estimation
データ受信部11は、自車位置推定データ送信部9から受信した自車の位置情報から標高データ、および衛星測位の信頼度を含む車両制御に用いる情報を抽出し、標高推定部12に送信する。 The
標高推定部12は、自車位置推定データ送信部9から受信した自車位置推定データに基づいて自車周辺の標高閾値を設定し、信頼度判定部13に送信する。図6は、実施の形態1による自車位置信頼度演算装置における、標高閾値の設定を示すフローチャートであって、前述の図2におけるステップS110の詳細を示している。図6において、ステップS111では、自車位置推定データの中から、過去の一定期間分の、衛星測位装置による自車位置の信頼度と自車位置の標高のデータとを抽出する。つぎに、ステップS112において、ステップS111で抽出した過去の一定期間分の衛星測位装置による自車位置の信頼度が、良好であるか否かの判定を行う。 The
ステップS112での判定の結果、抽出した過去の一定期間分の衛星測位装置による自車位置の信頼度が良好であると判定すれば(Yes)、ステップS113に進んで、衛星測位装置による過去の一定期間分の自車の標高のデータの平均値と分散値を演算する。ステップS112での判定の結果、ステップS111で抽出した過去の一定期間分の衛星測位装置による自車位置の信頼度が、良好でない場合(No)は、ステップS116に進み、以前設定した標高閾値を継続して今回の標高閾値とし、処理を終了する。 As a result of the determination in step S112, if it is determined that the reliability of the vehicle position by the satellite positioning device for the extracted past fixed period is good (Yes), the process proceeds to step S113, and the past by the satellite positioning device Calculate the average and variance of the altitude data of your vehicle for a certain period of time. As a result of the determination in step S112, if the reliability of the vehicle position by the satellite positioning device for the past fixed period extracted in step S111 is not good (No), the process proceeds to step S116, and the previously set altitude threshold is set. Continue to use the current altitude threshold, and terminate the process.
ステップS113からステップS114に進むと、演算した分散があらかじめ定められた範囲内にあるか否かの判定を行ない、分散があらかじめ定められた範囲内にあれば(Yes)、ステップS115に進む。ステップS115では、ステップS113で演算した、衛星測位装置による過去の一定期間分の自車の標高のデータの平均値を、信頼度の高い自車周辺の標高値であると推定し、その平均値を標高閾値として設定する。ステップS114での判定の結果、最新の期間における標高の分散値が予め定められた範囲の外にあると判定した場合(No)は、ステップS116に進み、それ以前に確定している標高閾値を今回の標高閾値として継続させ、処理を終了する。 When the process proceeds from step S113 to step S114, it is determined whether or not the calculated variance is within a predetermined range. If the variance is within the predetermined range (Yes), the process proceeds to step S115. In step S115, the average value of the altitude data of the vehicle over a certain past period obtained by the satellite positioning device calculated in step S113 is estimated to be the altitude value around the vehicle with high reliability. is set as the altitude threshold. As a result of the determination in step S114, if it is determined that the variance value of the altitude in the latest period is outside the predetermined range (No), the process proceeds to step S116, and the altitude threshold determined before that is set. Continue as the current altitude threshold, and terminate the process.
以上述べた構成によれば、自車周辺の標高の比較的変化が小さい平坦なエリアを走行している場合に、自車位置推定データの標高値を用いて自車の走行エリアにおける信頼度の高い標高閾値を算出することができる。 According to the configuration described above, when the vehicle is traveling in a flat area with relatively small changes in altitude around the vehicle, the altitude value of the vehicle position estimation data is used to estimate the reliability of the vehicle's driving area. A high altitude threshold can be calculated.
自車位置信頼度演算装置10における信頼度判定部13は、図2におけるステップS120で述べたように、標高推定部12が設定した標高閾値と、自車の位置情報による標高データとを比較し、つぎに、図2のステップS130において、衛星測位の信頼度が良好でかつ、自車の位置情報による標高データと標高閾値の差分があらかじめ定められた範囲内であるときに、自車の位置情報を信頼度の良好なデータとして判定する。 The
信頼度判定部13は、標高データと標高閾値の差分があらかじめ定められた範囲から外れた状態が、あらかじめ定められた一定の時間続いた場合、標高閾値に設けた信頼度を良好と判定する範囲を縮小する。このことにより、衛星信号が良好ではなくなって標高閾値を満たさない状況から、衛星信号が良好に戻ったときの信頼度の判定をより正確に行うことができる。これにより、より信頼度の高い自車の位置情報を車両制御判定部20に送ることができ、車両制御の正確さを確保することができる。 If the difference between the altitude data and the altitude threshold is out of a predetermined range for a predetermined period of time, the
信頼度判定部13は、自車の位置情報に含まれる車速データを用いて、標高閾値に設けた信頼度を良好と判定する範囲を拡大、縮小するように動作することができる。たとえば、車速が高いときには、標高閾値に設けた信頼度を良好と判定する範囲を小さくする。これにより、信頼度を良好と判断する精度を厳しく設定し、車速が高く時間あたりの移動距離が大きい場合に、自車の位置情報が良好でなくなったことを速やかに判定することができる。 The
車両制御判定部20は、信頼度判定部13から自車の位置情報および信頼度を受け取り、信頼度が良好なときの自車の位置情報を用いることで、道路に対する自車位置を把握する。道路と自車の位置関係については、車載の前方カメラ、レーダなどの各種計測センサ、地図データを用いる。求めた道路と自車の位置関係に基づいて車両挙動を制御するために、ハンドル、アクセルなどの操作量を反映させるかどうかを判定する。 The vehicle
以上述べた実施の形態1による自車位置信頼度演算装置10は、車両の自車位置を推定する自車位置推定データに基づいて自車周辺の標高推定値を算出し、算出した標高推定値に基づいて標高閾値を設定する標高推定部12と、標高推定部12により設定された標高閾値と、自車位置推定データから得た標高データとを比較して、自車位置推定データの信頼度を判定する信頼度判定部13と、を備えている。 The vehicle position
標高推定部12は、車両の一定時間の移動による標高データの推移に基づいて、標高推定値を算出するように構成されている。前述の自車位置推定データは、衛星測位により得られるデータであってもよい。また、前述の自車位置推定データは、レーザスキャナとしてのLiDAR、又はミリ波レーダにより得られたデータであってもよい。 The
さらに、実施の形態1による車両制御装置は、前述のように構成された自車位置信頼度演算装置により判定された自車位置推定データの信頼度に基づいて、車両の制御の可否を判定する車両制御判定部を備えている。 Further, the vehicle control device according to the first embodiment determines whether or not to control the vehicle based on the reliability of the vehicle position estimation data determined by the vehicle position reliability calculation device configured as described above. A vehicle control determination unit is provided.
また、実施の形態1による自車位置信頼度演算方法は、車両の自車位置推定データから算出した自車周辺の標高推定値と、自車位置推定データから得た標高データと、を比較して、自車位置推定データの信頼度を算出する。 In addition, the vehicle position reliability calculation method according to the first embodiment compares the estimated altitude value around the vehicle calculated from the vehicle position estimation data and the altitude data obtained from the vehicle position estimation data. Then, the reliability of the vehicle position estimation data is calculated.
前述の自車位置信頼度演算方法において、標高推定値は、たとえば、車両の一定時間の移動による前記標高データの推移に基づいて算出される。なお、前述の自車位置推定データは、衛星測位により取得されてもよい。あるいは、自車位置推定データは、レーザスキャナとしてのLiDAR、又はミリ波レーダにより取得されるようにしてもよい。 In the vehicle position reliability calculation method described above, the estimated altitude value is calculated, for example, based on the transition of the altitude data due to the movement of the vehicle for a certain period of time. The vehicle position estimation data described above may be acquired by satellite positioning. Alternatively, the vehicle position estimation data may be acquired by LiDAR as a laser scanner or millimeter wave radar.
また、実施の形態1による車両制御方法は、車両の自車位置推定データから算出した自車周辺の標高推定値と、自車位置推定データから得た標高データとの比較により、自車位置推定データの信頼度を算出する第1のステップと、車両の自車位置推定データの信頼度に基づいて、車両の制御の可否を判定する第2のステップと、を備えている。 Further, the vehicle control method according to Embodiment 1 estimates the position of the vehicle by comparing the estimated altitude value around the vehicle calculated from the vehicle position estimation data and the altitude data obtained from the vehicle position estimation data. It comprises a first step of calculating the reliability of the data and a second step of determining whether the vehicle can be controlled based on the reliability of the vehicle position estimation data.
また、実施の形態1による車両制御方法は、前述の実施の形態1による自車位置信頼度演算方法により算出された自車位置推定データの信頼度に基づいて、車両の制御の可否を判定する。 Further, the vehicle control method according to the first embodiment determines whether or not the vehicle can be controlled based on the reliability of the vehicle position estimation data calculated by the vehicle position reliability calculation method according to the first embodiment. .
以上述べた実施の形態1による自車位置信頼度演算装置、自車位置信頼度演算方法、車両制御装置、及び車両制御方法によれば、信頼度の高いときの自車の位置情報の平均値を演算することで、走行エリアに応じた標高閾値を逐次求めることができる。また、標高の分散値を求めることで、その時間と走行エリアにおける衛星測位による標高値の変動が把握できるので、一時的な衛星信号の乱れによる標高値の変化を捉えることができる。道路を走行する車両において、逐次変化する道路環境における衛星測位の乱れを把握することで、衛星測位による位置情報を用いた車両制御の実行に有効である。 According to the vehicle position reliability calculation device, the vehicle position reliability calculation method, the vehicle control device, and the vehicle control method according to Embodiment 1 described above, the average value of the position information of the vehicle when the reliability is high By calculating, the altitude threshold corresponding to the travel area can be obtained sequentially. In addition, by obtaining the variance of the altitude, it is possible to grasp the variation of the altitude value by satellite positioning in that time and driving area, so it is possible to capture the change in the altitude value due to the temporary disturbance of the satellite signal. In a vehicle traveling on a road, it is effective in executing vehicle control using position information obtained by satellite positioning by grasping the disturbance of satellite positioning in the continuously changing road environment.
実施の形態2.
つぎに、本願の実施の形態2による自車位置信頼度演算装置、自車位置信頼度演算方法、車両制御装置、及び車両制御方法について、図面を参照して説明する。図7は、実施の形態2による、自車位置信頼度演算装置および車両制御装置を示すブロック図である。図7において、車両制御装置100は、自車位置信頼度演算装置10と、車両制御判定部20と、を備えている。情報処理装置を構成する自車位置信頼度演算装置10は、データ受信部11、標高推定部12、信頼度判定部13、に加え、地図データ記憶部14を備えている。Embodiment 2.
Next, a vehicle position reliability calculation device, a vehicle position reliability calculation method, a vehicle control device, and a vehicle control method according to Embodiment 2 of the present application will be described with reference to the drawings. FIG. 7 is a block diagram showing a vehicle position reliability calculation device and a vehicle control device according to the second embodiment. In FIG. 7 , the
地図データ記憶部14は、標高推定部12から取得した自車位置データに基づいて、地図データ記憶部14が記憶している地図データベースと自車位置データを参照して自車周辺の標高値を取得し、取得した標高値を標高推定部12に送信する。標高推定部12は、受信したデータを標高閾値として設定する。 Based on the vehicle position data acquired from the
信頼度判定部13は、地図データ記憶部14から得られた地図データベースから走行している道路の車線幅情報を取得し、車線幅に応じて標高閾値に設けた信頼度を良好と判定する範囲を拡大、又は縮小する。たとえば、道路幅が狭い所では、信頼度を良好と判定する範囲を縮小することで信頼度を良好と判断する精度を厳しく設定する。これにより、車線内を走行しているときに自車の位置情報が悪くなったことを速やかに判定することができる。この構成によれば、自車周辺の道路に勾配変化があり、標高が一定の変化率で上昇もしくは降下する場所においても、標高閾値を精度よく設定することができる。なお、その他の構成および動作は、実施の形態1の場合と同様である。 The
なお、図示していないが、自車位置信頼度演算装置10は、車両制御装置100の外部に独立して設けられてもよい。この場合、信頼度判定部13の処理結果としての判定結果は、車両制御装置100の車両制御判定部20に送信される。 Although not shown, the vehicle position
図8は、実施の形態2による、自車位置信頼度演算装置および車両制御装置の変形例を示すブロック図である。この変形例では、図8に示すように、地図データ記憶部14は、自車位置信頼度演算装置10の外部に設けられている。自車位置信頼度演算装置10は、地図データ送信部(図示せず)から送信される地図データ記憶部14の地図データを取得するように構成されている。 FIG. 8 is a block diagram showing a modification of the vehicle position reliability calculation device and the vehicle control device according to the second embodiment. In this modification, as shown in FIG. 8, the map
以上述べたように、実施の形態2による自車位置信頼度演算装置10は、地図データ記憶部14に記憶された地図データに基づいて自車周辺の標高推定値を算出し、算出した標高推定値に基づいて標高閾値を設定する標高推定部12と、標高推定部12により設定された標高閾値と、自車位置推定データに基づく標高データとを比較して、自車位置推定データの信頼度を判定する信頼度判定部13と、を備えている。 As described above, the vehicle position
また、実施の形態2による自車位置信頼度演算装置10の変形例によれば、地図データ記憶部14は、自車位置信頼度演算装置10の外部に設けられ、地図データ記憶部14に記憶され前記地図データは、標高推定部12に送信され、標高推定部12は、送信された地図データに基づいて自車周辺の標高推定値を算出し、算出した標高推定値に基づいて標高閾値を設定するように構成されている。 Further, according to the modification of the vehicle position
さらに、実施の形態2による自車位置信頼度演算方法は、地図データ記憶部14に記憶された地図データに基づいて算出した自車周辺の標高推定値と、自車位置推定データから得た標高データとを比較して、自車位置推定データの信頼度を算出する。 Furthermore, the vehicle position reliability calculation method according to Embodiment 2 includes an estimated altitude value around the vehicle calculated based on the map data stored in the map
また、実施の形態2による車両制御方法は、地図データ記憶部14に記憶された地図データに基づいて算出した自車周辺の標高推定値と、自車位置推定データから得た標高データとの比較により、自車位置推定データの信頼度を算出する第1のステップと、車両の自車位置推定データの信頼度に基づいて、車両の制御の可否を判定する第2のステップと、を備えている。 Further, the vehicle control method according to the second embodiment compares the estimated altitude value around the vehicle calculated based on the map data stored in the map
さらに、実施の形態2による車両制御方法は、前述の実施の形態2による自車位置信頼度演算方法により算出された自車位置推定データの信頼度に基づいて、車両の制御の可否を判定する。 Furthermore, the vehicle control method according to the second embodiment determines whether or not the vehicle can be controlled based on the reliability of the vehicle position estimation data calculated by the vehicle position reliability calculation method according to the second embodiment. .
本願は、様々な例示的な実施の形態および変形例が記載されているが、複数の実施の形態、およびその変形例に記載された様々な特徴、態様、および機能は、特定の実施の形態の適用に限られるのではなく、単独で、または様々な組み合わせで実施の形態に適用可能である。したがって、例示されていない無数の変形例が、本願に開示される技術の範囲内において想定される。たとえば、少なくとも1つの構成要素を変形する場合、追加する場合または省略する場合、さらには、少なくとも1つの構成要素を抽出し、他の実施の形態の構成要素と組み合わせる場合が含まれるものとする。 While this application has described various exemplary embodiments and variations thereof, the various features, aspects, and functions described in the embodiments and variations thereof may be found in particular embodiments. The embodiments can be applied singly or in various combinations. Therefore, countless modifications not illustrated are envisioned within the scope of the technology disclosed in the present application. For example, modification, addition or omission of at least one component, extraction of at least one component, and combination with components of other embodiments shall be included.
9 自車位置推定データ送信部、10 自車位置信頼度演算装置、11 データ受信部、12 標高推定部、13 信頼度判定部、14 地図データ記憶部、20 車両制御判定部、90 CPU、91 記憶装置、92 入出力回路、93 処理回路、100 車両制御装置9 vehicle position estimation
| Application Number | Priority Date | Filing Date | Title |
|---|---|---|---|
| JP2020212138AJP7123117B2 (en) | 2020-12-22 | 2020-12-22 | Vehicle Position Reliability Calculation Device, Vehicle Position Reliability Calculation Method, Vehicle Control Device, and Vehicle Control Method |
| Application Number | Priority Date | Filing Date | Title |
|---|---|---|---|
| JP2020212138AJP7123117B2 (en) | 2020-12-22 | 2020-12-22 | Vehicle Position Reliability Calculation Device, Vehicle Position Reliability Calculation Method, Vehicle Control Device, and Vehicle Control Method |
| Publication Number | Publication Date |
|---|---|
| JP2022098635A JP2022098635A (en) | 2022-07-04 |
| JP7123117B2true JP7123117B2 (en) | 2022-08-22 |
| Application Number | Title | Priority Date | Filing Date |
|---|---|---|---|
| JP2020212138AActiveJP7123117B2 (en) | 2020-12-22 | 2020-12-22 | Vehicle Position Reliability Calculation Device, Vehicle Position Reliability Calculation Method, Vehicle Control Device, and Vehicle Control Method |
| Country | Link |
|---|---|
| JP (1) | JP7123117B2 (en) |
| Publication number | Priority date | Publication date | Assignee | Title |
|---|---|---|---|---|
| KR20220074304A (en)* | 2020-11-27 | 2022-06-03 | 주식회사 일레븐전자 | cleaning apparatus for wafer cassette |
| Publication number | Priority date | Publication date | Assignee | Title |
|---|---|---|---|---|
| JP2008139247A (en) | 2006-12-05 | 2008-06-19 | Alpine Electronics Inc | Gps positioning device |
| JP2008175716A (en) | 2007-01-19 | 2008-07-31 | Xanavi Informatics Corp | Navigation system for specifying one's own vehicle position based on altitude variation, and its method |
| JP2010217004A (en) | 2009-03-17 | 2010-09-30 | Seiko Epson Corp | Electronic device, and method of controlling the same |
| JP2011095184A (en) | 2009-10-30 | 2011-05-12 | Toyota Central R&D Labs Inc | Positioning device and program |
| JP2013124880A (en) | 2011-12-13 | 2013-06-24 | Aisin Aw Co Ltd | Altitude reliability determination system data maintenance system, travel support system, altitude reliability determination program and method |
| JP2020122790A (en) | 2017-03-28 | 2020-08-13 | カシオ計算機株式会社 | Electronic apparatus, position identification system, position identification method and program |
| CN111830544A (en) | 2020-07-02 | 2020-10-27 | 合肥移顺信息技术有限公司 | Vehicle positioning method, device, system and storage medium |
| Publication number | Priority date | Publication date | Assignee | Title |
|---|---|---|---|---|
| JP3278911B2 (en)* | 1992-07-29 | 2002-04-30 | 株式会社デンソー | GPS navigation system for vehicles |
| JP2938804B2 (en)* | 1996-05-16 | 1999-08-25 | 三菱電機株式会社 | Car navigation system |
| Publication number | Priority date | Publication date | Assignee | Title |
|---|---|---|---|---|
| JP2008139247A (en) | 2006-12-05 | 2008-06-19 | Alpine Electronics Inc | Gps positioning device |
| JP2008175716A (en) | 2007-01-19 | 2008-07-31 | Xanavi Informatics Corp | Navigation system for specifying one's own vehicle position based on altitude variation, and its method |
| JP2010217004A (en) | 2009-03-17 | 2010-09-30 | Seiko Epson Corp | Electronic device, and method of controlling the same |
| JP2011095184A (en) | 2009-10-30 | 2011-05-12 | Toyota Central R&D Labs Inc | Positioning device and program |
| JP2013124880A (en) | 2011-12-13 | 2013-06-24 | Aisin Aw Co Ltd | Altitude reliability determination system data maintenance system, travel support system, altitude reliability determination program and method |
| JP2020122790A (en) | 2017-03-28 | 2020-08-13 | カシオ計算機株式会社 | Electronic apparatus, position identification system, position identification method and program |
| CN111830544A (en) | 2020-07-02 | 2020-10-27 | 合肥移顺信息技术有限公司 | Vehicle positioning method, device, system and storage medium |
| Publication number | Priority date | Publication date | Assignee | Title |
|---|---|---|---|---|
| KR20220074304A (en)* | 2020-11-27 | 2022-06-03 | 주식회사 일레븐전자 | cleaning apparatus for wafer cassette |
| Publication number | Publication date |
|---|---|
| JP2022098635A (en) | 2022-07-04 |
| Publication | Publication Date | Title |
|---|---|---|
| US11555705B2 (en) | Localization using dynamic landmarks | |
| CN104854639B (en) | Vehicle position estimation device and vehicle position estimation method | |
| Bijjahalli et al. | A high-integrity and low-cost navigation system for autonomous vehicles | |
| JP4752669B2 (en) | Vehicle identification device, position calculation device | |
| US9162682B2 (en) | Method and device for determining the speed and/or position of a vehicle | |
| US11686582B2 (en) | Sensor plausibility using GPS road information | |
| US11125575B2 (en) | Method and apparatus for estimating a location of a vehicle | |
| US12359921B2 (en) | Vehicle control device and host vehicle position estimation method | |
| CN111492267A (en) | Method for determining the position of a vehicle on the basis of satellites | |
| CN110869864A (en) | Method for locating a vehicle with a high degree of automation, and corresponding driver assistance system and computer program | |
| JP7123117B2 (en) | Vehicle Position Reliability Calculation Device, Vehicle Position Reliability Calculation Method, Vehicle Control Device, and Vehicle Control Method | |
| CN120009928A (en) | Method for determining vehicle position, control system and vehicle | |
| JP6946660B2 (en) | Positioning device | |
| JP7254664B2 (en) | Arithmetic unit | |
| CN112534209B (en) | Self-position estimation method and self-position estimation device | |
| JP6899263B2 (en) | Information processing equipment and programs | |
| EP3709057B1 (en) | Radar enhanced v2x communications | |
| US12215979B2 (en) | Vehicle position estimation device | |
| JP7725973B2 (en) | Vehicle position estimation device | |
| US20250138549A1 (en) | Mobile object control device, mobile object control system, automated transportation system, and mobile object control method | |
| US20240200977A1 (en) | Map data generation device, map data generation system, and storage medium | |
| JP7607470B2 (en) | MOBILE OBJECT MONITORING DEVICE, MOBILE OBJECT MONITORING METHOD, AND PROGRAM | |
| WO2024196627A1 (en) | Localization using position coordination of road signs | |
| EP3623834A1 (en) | Method for precise localization | |
| Venkatraman et al. | Sensor-Based Dead Rockening for land vehicle navigation system |
| Date | Code | Title | Description |
|---|---|---|---|
| A621 | Written request for application examination | Free format text:JAPANESE INTERMEDIATE CODE: A621 Effective date:20201222 | |
| A131 | Notification of reasons for refusal | Free format text:JAPANESE INTERMEDIATE CODE: A131 Effective date:20220201 | |
| A521 | Request for written amendment filed | Free format text:JAPANESE INTERMEDIATE CODE: A523 Effective date:20220304 | |
| A131 | Notification of reasons for refusal | Free format text:JAPANESE INTERMEDIATE CODE: A131 Effective date:20220531 | |
| A521 | Request for written amendment filed | Free format text:JAPANESE INTERMEDIATE CODE: A523 Effective date:20220627 | |
| TRDD | Decision of grant or rejection written | ||
| A01 | Written decision to grant a patent or to grant a registration (utility model) | Free format text:JAPANESE INTERMEDIATE CODE: A01 Effective date:20220712 | |
| A61 | First payment of annual fees (during grant procedure) | Free format text:JAPANESE INTERMEDIATE CODE: A61 Effective date:20220809 | |
| R151 | Written notification of patent or utility model registration | Ref document number:7123117 Country of ref document:JP Free format text:JAPANESE INTERMEDIATE CODE: R151 |