



















































本開示は、二輪の車両に用いて好適な無線通信システム及び無線通信装置に関する。 The present disclosure relates to a wireless communication system and a wireless communication device suitable for use in two-wheeled vehicles.
  従来、車両の盗難を防止する技術として、例えば特許文献1に記載されたシステムがある。このシステムは、車両に位置測位センサと、データの送受信を行う通信手段を有する車載通信端末とを備え、車両のエンジン始動を検出した際、車載通信端末の位置情報を取得するとともに、車両ユーザが所持する移動体通信端末(例えばスマホ)の位置情報を取得する。そして、車載通信端末の位置と移動体通信端末の位置とから両者の距離を求め、該距離が所定値以上である場合に、車両が盗難されていると判断し、盗難信号を車両ユーザが所持する移動体通信端末に通知する。  Conventionally, there is a system described in
  しかしながら、上述した特許文献1に記載されたシステムにおいては、車両に、位置測位センサと、基地局との間でデータの送受信を行う通信手段を設ける必要があるため、低価格な車両(例えば、スクータなどの二輪の車両)に適用するのは難しい。また、テレマティックスセンターとの通信を経て盗難を検出するため、盗難確定までの検出時間が長くなり、迅速な通知ができない。  However, in the system described in the above-mentioned
本開示は、テレマティックスサービスを利用することなく、低コスト、低消費電力を実現でき、しかも車両の異常を迅速にユーザに通知することができる無線通信システム及び無線通信装置を提供することを目的とする。 The present disclosure aims to provide a wireless communication system and a wireless communication device that can achieve low cost and low power consumption without using telematics services and can quickly notify a user of an abnormality in a vehicle. aim.
本開示の無線通信システムは、不正使用検出回路と第1無線通信回路とを有する車両と、前記第1無線通信回路と無線通信が可能な第2無線通信回路を有する無線通信端末と、を備える無線通信システムであって、前記車両の前記不正使用検出回路が不正使用を検出した場合で、かつ前記車両と前記無線通信端末が所定の距離にある場合、前記第1無線通信回路は前記第2無線通信回路へ、緊急情報を送信し、前記車両の前記不正使用検出回路が前記不正使用を検出した場合で、かつ前記車両と前記無線通信端末が前記所定の距離にない場合、前記第1無線通信回路は、緊急情報を含むBluetooth(登録商標)のAdvertisingパケットを送信する。 A radio communication system of the present disclosure includes a vehicle having an unauthorized use detection circuit and a first radio communication circuit, and a radio communication terminal having a second radio communication circuit capable of radio communication with the first radio communication circuit. In the wireless communication system, when the unauthorized use detection circuit of the vehicle detects unauthorized use and the vehicle and the wireless communication terminal are within a predetermined distance, the first wireless communication circuit detects the second When the emergency information is transmitted to the wireless communication circuit, and the unauthorized use detection circuit of the vehicle detects the unauthorized use, and when the vehicle and the wireless communication terminal are not within the predetermined distance, the first wireless The communication circuit transmits a Bluetooth (registered trademark) advertising packet containing emergency information.
本開示によれば、車両の不正使用を検出した場合で、かつ無線通信端末が車両から所定の距離にある場合、車両から無線通信端末へ緊急情報を送信し、車両の不正使用を検出した場合で、かつ無線通信端末が車両から所定の距離にない場合、車両から緊急情報を含むBluetoothのAdvertisingパケットを送信するので、無線通信端末は、車両から所定の距離にある場合、車両から直接緊急情報を受信することができ、車両から所定の距離にない場合、車両からのBluetoothのAdvertisingパケットを他の無線通信端末経由でセルラー通信やWiFi(登録商標)等で間接的に受信することができる。したがって、車両の異常をシームレスにユーザに通知することができる。また、テレマティックスサービスを利用することがないため、低コスト、低消費電力を実現できる。 According to the present disclosure, when unauthorized use of the vehicle is detected and the wireless communication terminal is within a predetermined distance from the vehicle, emergency information is transmitted from the vehicle to the wireless communication terminal, and when unauthorized use of the vehicle is detected and when the wireless communication terminal is not at a predetermined distance from the vehicle, the vehicle transmits a Bluetooth advertising packet containing the emergency information. , and if it is not within a predetermined distance from the vehicle, it can indirectly receive Bluetooth advertising packets from the vehicle via another wireless communication terminal via cellular communication, WiFi (registered trademark), or the like. Therefore, it is possible to seamlessly notify the user of the abnormality of the vehicle. In addition, since telematics services are not used, low cost and low power consumption can be achieved.
本開示の無線通信システムは、上記構成において、前記所定の距離を第1の距離とし、前記車両は操作部を備え、前記車両と前記無線通信端末が、前記第1の距離より小さい第2の距離にない場合で、かつ前記操作部に所定の操作が成された場合、前記不正使用検出回路は不正使用を検出したとする。In the wireless communication system of the present disclosure, in the configuration described above, the predetermined distance is a first distance, the vehicle includes an operation unit, and the vehicle and the wireless communication terminal are separated from each other by a second distancesmaller than the first distance. Assume that the unauthorized use detection circuit detects unauthorized use when the operation unit is not within the distance and a predetermined operation is performed on the operation unit.
本開示によれば、無線通信端末が車両から第2の距離にない場合で、車両の操作部にて所定の操作が成された場合、不正使用検出回路が不正使用を検出するので、車両の不正使用を検出することができる。 According to the present disclosure, when the wireless communication terminal is not at the second distance from the vehicle and a predetermined operation is performed on the operation unit of the vehicle, the unauthorized use detection circuit detects unauthorized use. Abuse can be detected.
本開示の無線通信システムは、上記構成において、前記第1の距離は、前記第2の距離より大きい。 In the wireless communication system of the present disclosure, in the configuration described above, the first distance is greater than the second distance.
本開示によれば、無線通信端末が第1の距離より小さい第2の距離にない場合、車両の異常を検出することができ、車両の異常の迅速な通知が可能となる。 According to the present disclosure, when the wireless communication terminal is not at the second distance that is smaller than the first distance, it is possible to detect an abnormality in the vehicle, and it is possible to promptly notify the abnormality of the vehicle.
本開示の無線通信システムは、上記構成において、前記車両の前記第1無線通信回路と前記無線通信端末の前記第2無線通信回路は、Bluetooth規格に準拠する。 In the wireless communication system of the present disclosure, in the configuration described above, the first wireless communication circuit of the vehicle and the second wireless communication circuit of the wireless communication terminal comply with the Bluetooth standard.
本開示によれば、車両と無線通信端末との間の通信を安価に行うことができる。 According to the present disclosure, it is possible to inexpensively perform communication between a vehicle and a wireless communication terminal.
本開示の無線通信システムは、上記構成において、前記車両と前記無線通信端末との距離を、Bluetooth通信及び、またはUWBの測距技術により測距して求める。 In the above configuration, the radio communication system of the present disclosure obtains the distance between the vehicle and the radio communication terminal by distance measurement using Bluetooth communication and/or UWB distance measurement technology.
本開示によれば、車両と無線通信端末との間の距離を容易に且つ安価に測距することができる。 According to the present disclosure, it is possible to easily and inexpensively measure the distance between a vehicle and a wireless communication terminal.
本開示の無線通信システムは、上記構成において、前記車両の前記第1無線通信回路と前記無線通信端末の前記第2無線通信回路とが所定の通信状態にある場合を、前記車両と前記無線通信端末が所定の距離にある場合とし、前記車両の前記第1無線通信回路と前記無線通信端末の前記第2無線通信回路とが前記所定の通信状態にない場合を、前記車両と前記無線通信端末が前記所定の距離にない場合とする。 In the radio communication system of the present disclosure, in the above configuration, when the first radio communication circuit of the vehicle and the second radio communication circuit of the radio communication terminal are in a predetermined communication state, the radio communication between the vehicle and the radio communication terminal is performed. It is assumed that the terminal is at a predetermined distance, and the vehicle and the wireless communication terminal are not in the predetermined communication state between the first wireless communication circuit of the vehicle and the second wireless communication circuit of the wireless communication terminal. is not at the predetermined distance.
本開示によれば、車両と無線通信端末が所定の距離にある場合、車両と無線通信端末との間で所定の通信を行うことができる。 According to the present disclosure, predetermined communication can be performed between the vehicle and the wireless communication terminal when the vehicle and the wireless communication terminal are at a predetermined distance.
本開示の無線通信システムは、上記構成において、前記車両の前記不正使用検出回路が前記不正使用を検出しない場合、前記第1無線通信回路は、前記緊急情報を送信しない。 In the wireless communication system of the present disclosure, in the configuration described above, when the unauthorized use detection circuit of the vehicle does not detect the unauthorized use, the first wireless communication circuit does not transmit the emergency information.
本開示によれば、車両の不正使用を検出した場合にのみ緊急情報を送信するので、誤報を防止できる。 According to the present disclosure, emergency information is transmitted only when unauthorized use of a vehicle is detected, so false alarms can be prevented.
本開示の無線通信システムは、上記構成において、前記車両の前記不正使用検出回路が前記不正使用を検出した場合で、かつ前記車両の前記第1無線通信回路と前記無線通信端末の前記第2無線通信回路とが前記所定の通信状態に無い場合、前記第1無線通信回路は、前記車両の識別情報と前記緊急情報を含むBluetoothのAdvertisingパケットを送信する。 In the wireless communication system of the present disclosure, in the above configuration, when the unauthorized use detection circuit of the vehicle detects the unauthorized use, and the first wireless communication circuit of the vehicle and the second wireless communication terminal of the wireless communication terminal When the communication circuit is not in the predetermined communication state, the first wireless communication circuit transmits a Bluetooth advertising packet containing the identification information of the vehicle and the emergency information.
本開示によれば、車両の不正使用を検出し、かつ車両と無線通信端末とが所定の通信状態に無い場合にのみ車両の識別情報と緊急情報を含むBluetoothのAdvertisingパケットを送信するので、不必要時の緊急情報を含むBluetoothのAdvertisingパケット送信を防ぐことができる。 According to the present disclosure, unauthorized use of a vehicle is detected, and a Bluetooth advertising packet containing vehicle identification information and emergency information is transmitted only when the vehicle and the wireless communication terminal are not in a predetermined communication state. It is possible to prevent the transmission of Bluetooth advertising packets containing emergency information when necessary.
本開示の無線通信システムは、上記構成において、前記車両の前記不正使用検出回路は、加速度センサを備え、前記加速度センサが所定の加速度を検出した場合、不正使用を検出したとする。 In the wireless communication system of the present disclosure, in the configuration described above, the unauthorized use detection circuit of the vehicle includes an acceleration sensor, and the unauthorized use is detected when the acceleration sensor detects a predetermined acceleration.
本開示によれば、車両に与えられた衝撃を加速度センサにて高感度で検出することができる。 According to the present disclosure, the impact applied to the vehicle can be detected with high sensitivity by the acceleration sensor.
本開示の無線通信システムは、上記構成において、前記無線通信端末は、少なくとも表示回路を備え、前記表示回路は前記緊急情報に対応する情報を表示可能である。 In the wireless communication system of the present disclosure, in the configuration described above, the wireless communication terminal includes at least a display circuit, and the display circuit can display information corresponding to the emergency information.
本開示によれば、無線通信端末のユーザは、緊急情報に対応する情報を視覚で確認することができる。 According to the present disclosure, a user of a wireless communication terminal can visually confirm information corresponding to emergency information.
本開示の無線通信装置は、不正使用検出回路と第1無線通信回路とを有し、車両に搭載可能であり、前記第1無線通信回路と無線通信が可能な第2無線通信回路を有する無線通信端末と通信可能な無線通信装置であって、前記不正使用検出回路が不正使用を検出した場合で、かつ前記車両と前記無線通信端末が所定の距離にある場合、前記第1無線通信回路は前記第2無線通信回路へ、緊急情報を送信し、前記不正使用検出回路が前記不正使用を検出した場合で、かつ前記車両と前記無線通信端末が前記所定の距離にない場合、前記第1無線通信回路は、緊急情報を含むBluetooth(登録商標)のAdvertisingパケットを送信する。 A radio communication device of the present disclosure has an unauthorized use detection circuit and a first radio communication circuit, can be mounted on a vehicle, and has a second radio communication circuit capable of radio communication with the first radio communication circuit. In a wireless communication device capable of communicating with a communication terminal, when the unauthorized use detection circuit detects unauthorized use and when the vehicle and the wireless communication terminal are within a predetermined distance, the first wireless communication circuit When emergency information is transmitted to the second wireless communication circuit, and the unauthorized use detection circuit detects the unauthorized use, and when the vehicle and the wireless communication terminal are not within the predetermined distance, the first wireless communication The communication circuit transmits a Bluetooth (registered trademark) advertising packet containing emergency information.
本開示によれば、車両の不正使用を検出した場合で、かつ無線通信端末が車両から所定の距離にある場合、車両から無線通信端末へ緊急情報を送信し、車両の不正使用を検出した場合で、かつ無線通信端末が車両から所定の距離にない場合、車両から緊急情報を含むBluetoothのAdvertisingパケットを送信するので、無線通信端末は、車両から所定の距離にある場合、車両から直接緊急情報を受信することができ、車両から所定の距離にない場合、車両からのBluetoothのAdvertisingパケットをセルラー通信やWiFi等で間接的に受信することができる。したがって、車両の異常をシームレスにユーザに通知することができる。また、テレマティックスサービスを利用することがないため、低コスト、低消費電力を実現できる。 According to the present disclosure, when unauthorized use of the vehicle is detected and the wireless communication terminal is within a predetermined distance from the vehicle, emergency information is transmitted from the vehicle to the wireless communication terminal, and when unauthorized use of the vehicle is detected and when the wireless communication terminal is not at a predetermined distance from the vehicle, the vehicle transmits a Bluetooth advertising packet containing the emergency information. , and if it is not at a predetermined distance from the vehicle, it can indirectly receive a Bluetooth advertising packet from the vehicle via cellular communication, WiFi, or the like. Therefore, it is possible to seamlessly notify the user of the abnormality of the vehicle. In addition, since telematics services are not used, low cost and low power consumption can be achieved.
本開示の無線通信装置は、上記構成において、前記所定の距離を第1の距離とし、前記車両は操作部を備え、前記車両と前記無線通信端末が、前記第1の距離より小さい第2の距離にない場合で、かつ前記操作部に所定の操作が成された場合、前記不正使用検出回路は不正使用を検出したとする。In the wireless communication device of the present disclosure, in the configuration described above, the predetermined distance is a first distance, the vehicle includes an operation unit, and the vehicle and the wireless communication terminal are separated from each other by a second distancesmaller than the first distance. Assume that the unauthorized use detection circuit detects unauthorized use when the operation unit is not within the distance and a predetermined operation is performed on the operation unit.
本開示によれば、無線通信端末が車両から第2の距離にない場合で、車両の操作部にて所定の操作が成された場合、不正使用検出回路が不正使用を検出するので、車両の不正使用を検出することができる。 According to the present disclosure, when the wireless communication terminal is not at the second distance from the vehicle and a predetermined operation is performed on the operation unit of the vehicle, the unauthorized use detection circuit detects unauthorized use. Abuse can be detected.
本開示の無線通信装置は、上記構成において、前記第1の距離は、前記第2の距離より大きい。 In the wireless communication device of the present disclosure, in the configuration described above, the first distance is greater than the second distance.
本開示によれば、無線通信端末が第1の距離より小さい第2の距離にない場合、車両の異常を検出することができ、車両の異常の迅速な通知が可能となる。 According to the present disclosure, when the wireless communication terminal is not at the second distance that is smaller than the first distance, it is possible to detect an abnormality in the vehicle, and it is possible to promptly notify the abnormality of the vehicle.
本開示の無線通信装置は、上記構成において、前記第1無線通信回路と前記無線通信端末の前記第2無線通信回路は、Bluetooth規格に準拠する。 In the wireless communication device of the present disclosure, in the configuration described above, the first wireless communication circuit and the second wireless communication circuit of the wireless communication terminal comply with the Bluetooth standard.
本開示によれば、車両と無線通信端末との間の通信を安価に行うことができる。 According to the present disclosure, it is possible to inexpensively perform communication between a vehicle and a wireless communication terminal.
本開示の無線通信装置は、上記構成において、前記車両と前記無線通信端末との距離を、Bluetooth通信及び、またはUWBの測距技術により測距して求める。 In the above configuration, the wireless communication device of the present disclosure measures the distance between the vehicle and the wireless communication terminal using Bluetooth communication and/or UWB ranging technology.
本開示によれば、車両と無線通信端末との間の距離を容易に且つ安価に測距することができる。 According to the present disclosure, it is possible to easily and inexpensively measure the distance between a vehicle and a wireless communication terminal.
本開示の無線通信装置は、上記構成において、前記第1無線通信回路と前記無線通信端末の前記第2無線通信回路とが所定の通信状態にある場合を、前記車両と前記無線通信端末が所定の距離にある場合とし、前記第1無線通信回路と前記無線通信端末の前記第2無線通信回路とが前記所定の通信状態にない場合、前記車両と前記無線通信端末が前記所定の距離にない場合とする。 In the wireless communication device of the present disclosure, in the configuration described above, when the first wireless communication circuit and the second wireless communication circuit of the wireless communication terminal are in a predetermined communication state, the vehicle and the wireless communication terminal are in a predetermined state. and when the first wireless communication circuit and the second wireless communication circuit of the wireless communication terminal are not in the predetermined communication state, the vehicle and the wireless communication terminal are not at the predetermined distance case.
本開示によれば、車両と無線通信端末が所定の距離にある場合、車両と無線通信端末との間で所定の通信を行うことができる。 According to the present disclosure, predetermined communication can be performed between the vehicle and the wireless communication terminal when the vehicle and the wireless communication terminal are at a predetermined distance.
本開示の無線通信装置は、上記構成において、前記不正使用検出回路が前記不正使用を検出しない場合、前記第1無線通信回路は、前記緊急情報を送信しない。 In the wireless communication device of the present disclosure, in the configuration described above, when the unauthorized use detection circuit does not detect the unauthorized use, the first wireless communication circuit does not transmit the emergency information.
本開示によれば、車両の不正使用を検出した場合にのみ緊急情報を送信するので、不必要時の緊急情報を含むBluetoothのAdvertisingパケット送信を防ぐことができる。 According to the present disclosure, since emergency information is transmitted only when unauthorized use of a vehicle is detected, it is possible to prevent transmission of Bluetooth advertising packets including emergency information when unnecessary.
本開示の無線通信装置は、上記構成において、前記不正使用検出回路が前記不正使用を検出した場合で、かつ前記第1無線通信回路と前記無線通信端末の前記第2無線通信回路とが前記所定の通信状態に無い場合、前記第1無線通信回路は、前記車両の識別情報と前記緊急情報を含むBluetoothのAdvertisingパケットを送信する。 In the wireless communication device of the present disclosure, in the configuration described above, when the unauthorized use detection circuit detects the unauthorized use, and the first wireless communication circuit and the second wireless communication circuit of the wireless communication terminal communication state, the first wireless communication circuit transmits a Bluetooth advertising packet containing the identification information of the vehicle and the emergency information.
本開示によれば、車両の不正使用を検出し、かつ車両と無線通信端末とが所定の通信状態に無い場合にのみ車両の識別情報と緊急情報を含むBluetoothのAdvertisingパケットを送信するので、不必要時の緊急情報を含むBluetoothのAdvertisingパケット送信を防ぐことができる。 According to the present disclosure, unauthorized use of a vehicle is detected, and a Bluetooth advertising packet containing vehicle identification information and emergency information is transmitted only when the vehicle and the wireless communication terminal are not in a predetermined communication state. It is possible to prevent the transmission of Bluetooth advertising packets containing emergency information when necessary.
本開示の無線通信装置は、上記構成において、前記不正使用検出回路は、加速度センサを備え、前記加速度センサが所定の加速度を検出した場合、不正使用を検出したとする。 In the wireless communication device of the present disclosure, in the configuration described above, the unauthorized use detection circuit includes an acceleration sensor, and the unauthorized use is detected when the acceleration sensor detects a predetermined acceleration.
本開示によれば、車両に与えられた衝撃を加速度センサにて高感度で検出することができる。 According to the present disclosure, the impact applied to the vehicle can be detected with high sensitivity by the acceleration sensor.
本開示の無線通信装置は、上記構成において、前記無線通信端末は、少なくとも表示回路を備え、前記表示回路は前記緊急情報に対応する情報を表示可能である。 In the wireless communication device of the present disclosure, in the configuration described above, the wireless communication terminal includes at least a display circuit, and the display circuit can display information corresponding to the emergency information.
本開示によれば、無線通信端末のユーザは、緊急情報に対応する情報を視覚で確認することができる。 According to the present disclosure, a user of a wireless communication terminal can visually confirm information corresponding to emergency information.
本開示によれば、テレマティックスサービスを利用することなく、低コスト、低消費電力を実現でき、しかも車両の異常を迅速にユーザに通知することができる。 According to the present disclosure, it is possible to achieve low cost and low power consumption without using telematics services, and to quickly notify the user of an abnormality in the vehicle.
以下、適宜図面を参照しながら、本開示に係る無線通信システム及び無線通信装置を具体的に開示した実施形態を詳細に説明する。但し、必要以上に詳細な説明は省略する場合がある。例えば、既によく知られた事項の詳細説明や実質的に同一の構成に対する重複説明を省略する場合がある。これは、以下の説明が不必要に冗長になるのを避け、当業者の理解を容易にするためである。なお、添付図面および以下の説明は、当業者が本開示を十分に理解するために提供されるのであって、これらにより特許請求の範囲に記載の主題を限定することは意図されていない。 Hereinafter, embodiments specifically disclosing a wireless communication system and a wireless communication device according to the present disclosure will be described in detail with reference to the drawings as appropriate. However, more detailed description than necessary may be omitted. For example, detailed descriptions of well-known matters and redundant descriptions of substantially the same configurations may be omitted. This is to avoid unnecessary verbosity in the following description and to facilitate understanding by those skilled in the art. It should be noted that the accompanying drawings and the following description are provided for a thorough understanding of the present disclosure by those skilled in the art and are not intended to limit the claimed subject matter.
以下、本開示を実施するための好適な実施形態について、図面を参照して詳細に説明する。 Preferred embodiments for carrying out the present disclosure will be described in detail below with reference to the drawings.
  (第1実施形態)
  以下、図1~図17を参照して、第1実施形態の無線通信システムについて説明する。図1は、第1実施形態の無線通信システム1の使用形態を示す図である。同図に示すように、第1実施形態の無線通信システム1は、車両50に搭載される車両ECU(Electronic Control Unit、無線通信装置)10と、車両50のユーザ51が所持する車両ユーザ端末(無線通信端末)11と、車両50のユーザ51と情報を共有するユーザ52が所持する情報共有ユーザ端末(無線通信端末)12と、駐輪場に設置され、クラウド53に有線接続された駐輪場Bluetooth(登録商標)ユニット(固定基地局)13と、クラウド53に有線接続されたサーバ14と、クラウド53に有線接続されたテレマ基地局(移動体基地局)15と、を備える。なお、情報共有ユーザ端末12と駐輪場Bluetoothユニット13は、それぞれ通知デバイスである。また、車両ECU10には、識別情報が付与されている。この識別情報は、車両50の識別情報と捉えることも可能である。また、この識別情報は、車両ECUに依って一意に決まる情報であり、例えばMACアドレスでもよい。(First embodiment)
 A wireless communication system according to the first embodiment will be described below with reference to FIGS. 1 to 17. FIG. FIG. 1 is a diagram showing a usage pattern of a
  車両ECU10、情報共有ユーザ端末12及び駐輪場Bluetoothユニット13は、それぞれBluetooth通信機能を有しており、車両ECU10と情報共有ユーザ端末12との間及び車両ECU10と駐輪場Bluetoothユニット13との間でBluetooth通信が行われる。情報共有ユーザ端末12は、Bluetooth通信機能の他に、セルラー通信機能又はWiFi(登録商標)通信機能を有している。車両ユーザ端末11も、Bluetooth通信機能の他に、セルラー通信機能又はWiFi通信機能を有している。  The
  なお、第1実施形態の無線通信システム1の車両ユーザ端末11と情報共有ユーザ端末12にはスマホが好適である。また、第1実施形態の無線通信システム1は、二輪の車両(自動二輪車)50に適用したものであるが、四輪の車両にも勿論適用できる。  A smart phone is suitable for the
  次に、第1実施形態の無線通信システム1の車両ECU10、車両ユーザ端末11、情報共有ユーザ端末12、駐輪場Bluetoothユニット13及びサーバ14それぞれの構成について説明する。  Next, configurations of the
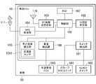
  図2は、車両50の一部分の概略構成と車両ECU10の概略構成を示すブロック図である。同図において、車両ECU10は、スイッチ検出部101、IG認証判定部102、BT無線送受信部103、GPS受信部104、不正使用検出部(不正使用検出回路)105、車速検出部106、時計107、制御部108及びアンテナ110,111を備える。スイッチ検出部101は、少なくともグローブBOXスイッチ501のオン/オフとIGKEYスイッチ502のオン/オフを検出する。グローブBOXスイッチ501は、車両50に搭載されたグローブBOX(図示略)の開閉を検出するスイッチであり、グローブBOX(図示略)が開けられることでオンとなり、閉じられることでオフとなる。IGKEYスイッチ502は、車両50のエンジンの始動/停止や、電気系統のオン/オフするためのスイッチである。  FIG. 2 is a block diagram showing a schematic configuration of part of the
  IG認証判定部102は、IGKEYスイッチ502に挿入されたキー(図示略)に対するIG認証判定を行う。IG認証判定部102のIG認証判定結果は、制御部108に取り込まれる。BT無線送受信部103は、Bluetooth規格に準拠した無線通信を行う。BT無線送受信部103には、Bluetooth通信用のアンテナ110が接続される。BT無線送受信部103は、制御部108によって制御される。なお、BT無線送受信部103とアンテナ110は、第1アンテナに対応する。また、車両ECU10は、アンテナ110を1本備えているが、複数本備えていてもよい。  IG
  GPS受信部104は、GPS(Global Positioning System)衛星から送信される測位信号を受信して第2緯度経度を出力する。GPS受信部104には、GPS受信用のアンテナ111が接続される。GPS受信部104から出力された第2緯度経度は制御部108に取り込まれる。  The
  不正使用検出部105は、加速度センサ1051を有し、車両50の盗難を含む異常を検出する。即ち、不正使用検出部105は、加速度センサ1051にて車両50における異常な振動を検出した場合、盗難を含む異常を検出する。不正使用検出部105は、検出を繰り返し行う。不正使用検出部105の検出結果は制御部108に取り込まれる。車速検出部106は、車両50に搭載された車速管理ECU503が管理している車速情報から車速を検出する。車速検出部106の検出結果は制御部108に取り込まれる。時計107は、現在の日時を示す第2時刻を出力する。時計107から出力された第2時刻は制御部108に取り込まれる。  Unauthorized
  制御部108は、装置各部を制御するものであり、図示せぬCPU(Central Processing Unit)と、CPUを動作させるためのプログラムを記憶したROM(Read Only Memory)と、CPUの動作において使用されるRAM(Random Access Memory)とを有する。IG認証判定部102、BT無線送受信部103、GPS受信部104、不正使用検出部105、車速検出部106及び時計107は、制御部108の制御の下で動作する。制御部108は、車両50に盗難を含む異常が発生した場合、車両ユーザ51の車両ユーザ端末11に向けて緊急通知を行う。  The
  BT無線送受信部103は、不正使用検出部105が不正使用を検出した場合(即ち、車両50に盗難を含む異常が発生した場合)、車両50の識別情報、緊急情報、第2時刻及び第2緯度経度を含むBluetoothのAdvertisingパケットをアンテナ110から送信する。この場合、第2時刻は、不正使用検出部105が不正使用を最後に検出した時刻になる。車両50の識別情報、緊急情報、第2時刻及び第2緯度経度を含むBluetoothのAdvertisingパケットは、情報共有ユーザ端末12及び駐輪場Bluetoothユニット13にて受信される。なお、車両50の識別情報、緊急情報、第2時刻及び第2緯度経度を含むBluetoothのAdvertisingパケットのことを第1のAdvertisingパケット又は緊急アドバタイズと呼ぶこととする。  When the unauthorized
  なお、車両ECU10から送信される第1のAdvertisingパケットには、少なくとも車両50の識別情報及び緊急情報が含まれる。即ち、必ずしも第2時刻及び第2緯度経度が含まれる必要はなく、車両50の識別情報及び緊急情報があればよい。また、第1のAdvertisingパケットの送信は1回だけで終わるのではなく、2回以上行うのが望ましい。  The first advertising packet transmitted from the
  BT無線送受信部103は、不正使用検出部105が不正使用を検出しない場合、緊急情報を含む第1のAdvertisingパケットは送信せず、緊急情報を含まないAdvertisingパケットを送信する。なお、この緊急情報を含まないAdvertisingパケットのことを第2のAdvertisingパケット又は通常アドバタイズと呼ぶこととする。また、第2のAdvertisingパケットの送信は、1回だけで終わるのではなく、2回以上行うようにしてもよい。  If the unauthorized
また、第1のAdvertisingパケット及び第2のAdvertisingパケットそれぞれの送信回数を2回以上とした場合、第1のAdvertisingパケットの送信間隔(第1送信間隔)を第2のAdvertisingパケットの送信間隔(第2送信間隔)より短くするのが望ましい。 Further, when the number of transmissions of each of the first advertising packet and the second advertising packet is two or more, the transmission interval of the first advertising packet (first transmission interval) is changed to the transmission interval of the second advertising packet (second 2 transmission intervals).
  また、車両50に搭載された電池(図示略)の電圧が所定値より小さくなった場合、第1のAdvertisingパケットの第1送信間隔を、第2のAdvertisingパケットの第2送信間隔より短くするのが望ましい。即ち、第1のAdvertisingパケットの第1送信間隔を、電池の電圧が低下する以前よりも短くする。緊急を通知する第1のAdvertisingパケットの第1送信間隔を短くすることで、通知漏れを低減できる。また、電池電圧が所定値より小さくなった場合、第2のAdvertisingパケットの送信を停止するようにしてもよいし、同時に第2のAdvertisingパケットを間引くようにしてもよい。なお、第2のAdvertisingパケットの送信を停止することは、送信間隔を無限大にすることでもある。また、電池は、車両50に搭載されている車両駆動用電池でも良いし、車両ECU10内のボタン電池でもよい。  Further, when the voltage of a battery (not shown) mounted on the
また、電池電圧が所定値より小さくなった場合、最初は第2のAdvertisingパケットのみの間引きを行い、その後更に電池電圧が低下した場合、第1のAdvertisingパケットを間引き、またその後更に電池電圧が低下した場合、第2のAdvertisingパケットの送信を停止する、という順で対処するようにしてもよい。 Also, when the battery voltage becomes lower than a predetermined value, first, only the second advertising packet is thinned out, and when the battery voltage further drops after that, the first advertising packet is thinned out, and after that, the battery voltage further drops. If so, the transmission of the second advertising packet may be stopped in this order.
また、第1のAdvertisingパケットの送信において、該パケットを送信する電波の電界強度を、第2のAdvertisingパケットを送信する電波の電界強度より大きくするのが望ましい。 Also, in transmitting the first advertising packet, it is desirable to make the electric field intensity of the radio wave for transmitting the packet greater than the electric field intensity of the radio wave for transmitting the second advertising packet.
このように、第1のAdvertisingパケットの送信回数を多くしたり、送信間隔を短くしたり、電波の電界強度を大きくしたりすることで、緊急時における通知をより確実なものとすることができる。また、第2のAdvertisingパケットを間引いたり、送信を停止したりすることで、省電力化が図れる。 In this way, by increasing the number of transmissions of the first advertising packet, shortening the transmission interval, or increasing the electric field strength of the radio wave, it is possible to make the notification more reliable in an emergency. . Also, by thinning out the second advertising packets or stopping transmission, power can be saved.
  図3及び図4は、第1のAdvertisingパケットと第2のAdvertisingパケットの出力波形を示す図である。図3において、車両ECU10と車両ユーザ端末11とがBluetoothによる通信確立中に通信が切断すると、車両ECU10から第2のAdvertisingパケット(通常アドバタイズ)の送信を開始する。通常アドバタイズは、所定の間隔で送信され、接続待ち状態となる。この状態で車両50に盗難等の異常が発生すると、その時点から第1のAdvertisingパケット(緊急アドバタイズ)の送信を開始する。緊急アドバタイズの送信間隔は、通常アドバタイズの送信間隔より短く、通常アドバタイズの送信間隔内で行われる。  3 and 4 are diagrams showing output waveforms of the first advertising packet and the second advertising packet. In FIG. 3 , when the communication between the
  次に、図4において、異常発生中に車両50の電池(図示略)の電池電圧の低下が検出されると、通常アドバタイズが間引かれる。その後、さらに電池電圧が低下すると、通常アドバタイズは送信停止状態となり、緊急アドバタイズが間引かれる。  Next, in FIG. 4, when a drop in the battery voltage of the battery (not shown) of the
  図5は、情報共有ユーザ端末12の概略構成を示すブロック図である。同図において、情報共有ユーザ端末12は、車両50に盗難を含む異常が発生して、車両ECU10から送信された緊急通知を車両ユーザ端末11に伝えるための仲介を行う。情報共有ユーザ端末12は、GPS受信部(第1位置情報検出回路)121、アンテナ122、時計(第1時計)123、BT無線送受信部124、テレマ送受信部125、アンテナ126,129、アドバタイズ判定部127及び制御部128を備える。  FIG. 5 is a block diagram showing a schematic configuration of the information sharing
  GPS受信部121は、GPS衛星から送信される測位信号を受信して第1緯度経度を出力する。GPS受信部121には、GPS受信用のアンテナ122が接続される。時計123は、現在の日時を示す第1時刻を出力する。BT無線送受信部124は、Bluetooth規格に準拠した無線通信を行う。BT無線送受信部124には、Bluetooth通信用のアンテナ126が接続される。  The
  BT無線送受信部124は、アンテナ126を介してBluetoothのAdvertisingパケットを受信する。BT無線送受信部124は、受信したAdvertisingパケットを制御部128に出力する。テレマ送受信部125は、セルラー方式の無線通信を行う。テレマ送受信部125には、セルラー通信用のアンテナ129が接続される。アドバタイズ判定部127は、BT無線送受信部124で受信されたBluetoothのAdvertisingパケットが通常アドバタイズか緊急アドタイズかを判定し、その結果を制御部128に出力する。  The BT radio transmission/
  制御部128は、装置各部を制御するものであり、図示せぬCPUと、CPUを動作させるためのプログラムを記憶したROMと、CPUの動作において使用されるRAMと、を有する。ROMには、車両情報を共有するためのアプリケーションも記憶されている。GPS受信部121、時計123、BT無線送受信部124、テレマ送受信部125及びアドバタイズ判定部127は、制御部128の制御の下で動作する。なお、BT無線送受信部124とアンテナ126は、第2アンテナに対応する。また、テレマ送受信部125とアンテナ129は、第3アンテナに対応する。また、情報共有ユーザ端末12は、アンテナ126,129をそれぞれ1本備えているが、それぞれ複数本備えていてもよい。  The
  制御部128は、BT無線送受信部124で受信されたAdvertisingパケットに第1緯度経度と第1時刻を付加し、テレマ送受信部125からアンテナ129を介してテレマ基地局15に送信する。BT無線送受信部124が受信したBluetoothのAdvertisingパケットが、第1のAdvertisingパケットであれば、該パケットには緊急情報が含まれており、第2のAdvertisingパケットであれば、緊急情報が含まれていない。なお、BT無線送受信部124で受信されたAdvertisingパケットに第2緯度経度と第2時刻が含まれていれば、これらの情報も含めてテレマ基地局15に送信される。  The
  図6は、駐輪場Bluetoothユニット13の概略構成を示すブロック図である。同図において、駐輪場Bluetoothユニット13は、BT無線送受信部131、アンテナ132、ネットワーク通信部133、アドバタイズ判定部134及び制御部135を備える。BT無線送受信部131は、Bluetooth規格に準拠した無線通信を行う。BT無線送受信部131には、Bluetooth通信用のアンテナ132が接続される。  FIG. 6 is a block diagram showing a schematic configuration of the bicycle parking
  ネットワーク通信部133は、クラウド53に接続してサーバ14との間で通信を行う。アドバタイズ判定部134は、BT無線送受信部131で受信されたBluetoothのAdvertisingパケットが通常アドバタイズか緊急アドタイズかを判定し、その結果を出力する。この場合、BT無線送受信部131が受信したBluetoothのAdvertisingパケットが、第1のAdvertisingパケットであれば、緊急アドタイズであり、第2のAdvertisingパケットであれば、通常アドバタイズである。  The
  制御部135は、装置各部を制御するものであり、図示せぬCPUと、CPUを動作させるためのプログラムを記憶したROMと、CPUの動作において使用されるRAMと、を有する。BT無線送受信部131、ネットワーク通信部133及びアドバタイズ判定部134は、制御部135の制御の下で動作する。制御部135は、アドバタイズ判定部134の判定結果から、BT無線送受信部131にて受信されたAdvertisingパケットが第1のAdvertisingパケットである場合、車両50の識別情報及び緊急情報をネットワーク通信部133からクラウド53を介してサーバ14に送信し、第2のAdvertisingパケットである場合、車両50の識別情報をネットワーク通信部133からクラウド53を介してサーバ14に送信する。なお、Advertisingパケットに第2緯度経度と第2時刻が含まれていれば、これらの情報も含めてサーバ14に送信する。また、駐輪場Bluetoothユニット13は、アンテナ132を1本備えているが、複数本備えていてもよい。  The
  図7は、サーバ14の概略構成を示すブロック図である。同図において、サーバ14は、ネットワーク通信部141、通知情報判定部142及び制御部143を備える。ネットワーク通信部141は、クラウド53に接続して車両ユーザ端末11との間で通信を行う。通知情報判定部142は、ネットワーク通信部141で受信された情報より通常通知か緊急通知かを判別する。ネットワーク通信部141で受信された情報が車両50の識別情報及び緊急情報であれば、緊急を判別し、車両50の緊急情報がなければ通常通知を判別する。  FIG. 7 is a block diagram showing a schematic configuration of the
  制御部143は、装置各部を制御するものであり、図示せぬCPUと、CPUを動作させるためのプログラムを記憶したROMと、CPUの動作において使用されるRAMと、データを保存するためのハードディスク等の大容量の記憶装置(図示略)とを有する。ネットワーク通信部141と通知情報判定部142は、制御部143の制御の下で動作する。  The
  制御部143は、ネットワーク通信部141にて車両50の情報が受信されると、該情報を通知情報判定部142に出力するとともに、記憶装置(図示略)に記憶する。ここで、ネットワーク通信部141にて受信された情報が情報共有ユーザ端末12からのものであれば、識別情報、緊急情報の他に、第1,第2緯度経度、第1,第2時刻が記憶される。また、ネットワーク通信部141にて受信された情報が駐輪場Bluetoothユニット13からのものであれば、識別情報、緊急情報の他に、第2緯度経度、第2時刻が記憶される。通知情報判定部142は、制御部143から出力された情報を取得すると、該情報より通常通知か緊急通知かを判別し、その結果を制御部143へ出力する。制御部143は、車両50の識別情報及び緊急情報の場合、緊急を要するものであると判定し、車両ユーザ端末11に緊急通知を行い、車両50の識別情報の場合、車両ユーザ端末11に通常通知を行う。なお、サーバ14から車両ユーザ端末11への通知には、WiFi通信を用いるが、セルラー通信を用いてもよい。  When the information of the
  次に、BluetoothのAdvertisingパケットについて説明する。
  緊急Advertisingの送信情報は、Bluetooth  SIGで定義されたアドバタイズデータのAD  Type:0xFFのManufacture  Specificパラメータを使用する。Next, the advertising packet of Bluetooth will be described.
 The transmission information of emergency advertising uses AD Type: 0xFF Manufacturer Specific parameter of advertisement data defined by Bluetooth SIG.
図8は、LE Uncoded PHYsのパケット構造を示す図である。同図において、緊急Advertisingの送信情報に、パケット構造におけるPDU PaylodeのAD TypeとAD Dataを使用する。即ち、Bluetooth SIGで定義されたアドバタイズデータのAD Type:0xFFのManufacture Specificパラメータを使用する。 FIG. 8 is a diagram showing the packet structure of LE Uncoded PHYs. In the figure, the AD Type and AD Data of the PDU Payload in the packet structure are used for the urgent advertising transmission information. That is, a Manufacturer Specific parameter of AD Type: 0xFF of advertisement data defined by Bluetooth SIG is used.
  図9は、AD  Type:0xFFのデータ構造を示す図である。同図に示すAD  Type:0xFFは、2ByteのCompany  Identifire  Codeが定義されており、その後に続くデータをベンダー独自に定義することができる。本実施形態の無線通信システム1では、「緊急種別」と「発生日時」で構成される緊急Advertising情報を定義する。「緊急種別」には、例えば、0x00:異常なし、0x01:車両に単発の衝撃を検出した、0x02:車両に複数回の衝撃を検出した、0x03:車両の傾きを検出した、0x04:グローブBOXが開けられた、0x05:車両に加速度を検出した(輸送されている恐れあり)、0x06:認証せずにIG=ONされた、0x07:認証せずにスタータ始動された、0x08:認証せずに車輪速を検出した、を定義する。  FIG. 9 is a diagram showing the data structure of AD Type: 0xFF. A 2-byte Company Identifier Code is defined for AD Type: 0xFF shown in the figure, and the following data can be defined uniquely by the vendor. In the
  車両ECU10の不正使用検出部105は、車両50に異常が生じたことを検出すると、異常のレベルに応じて、緊急種別と発生日時を設定した緊急Advertising情報を送信する。Advertising情報には、緊急通知装置用に予め定義したベンダー固有UUIDも組み合わされ、通知デバイスである情報共有ユーザ端末12及び駐輪場Bluetoothユニット13は、UUIDを元に緊急通知に対応したデバイス(車両ECU10)であるかを判別する。  When the unauthorized
  緊急Advertising情報を受け取った情報共有ユーザ端末12もしくは駐輪場Bluetoothユニット13は、受信日時と位置情報、車両50を特定するID(例えば、Bluetooth  MACアドレス)を付与してサーバ14に送信する。  The information sharing
  図10は、サーバ通知情報の一例を示す図である。同図に示すように、サーバ通知情報は、「種別」と「内容」からなる。「種別」は、「通知デバイスID」、「受信日時」、「車両ID」、「位置情報」、「緊急種別」、及び「発生日時」である。「通知デバイスID」は、情報共有ユーザ端末12のID、駐輪場Bluetoothユニット13のIDとなる。「受信日時」は、通知デバイス(情報共有ユーザ端末12、駐輪場Bluetoothユニット13)が緊急Advertising情報を受信した日時である。「車両ID」は、車両50(車両ECU10)が通知したときに使用されたBluetooth  MACアドレスである。「位置情報」は、通知デバイスが持っているGPS位置情報である。「緊急種別」と「発生日時」は、車両ECU10から送信されたものである。  FIG. 10 is a diagram showing an example of server notification information. As shown in the figure, the server notification information consists of "type" and "content". The "type" is "notification device ID", "receipt date and time", "vehicle ID", "location information", "emergency type", and "occurrence date and time". The “notification device ID” is the ID of the information sharing
  サーバ14は、受信したサーバ通知情報の「通知デバイスID」と「車両ID」が、予め登録されたIDであることを確認し、ユーザ通知を行う。  The
  図11は、ユーザ通知情報の一例を示す図である。同図に示すように、ユーザ通知情報は、「種別」と「内容」からなる。「種別」は、「受信日時」、「位置情報」、「緊急種別」、及び「発生日時」である。「受信日時」は、通知デバイス(情報共有ユーザ端末12、駐輪場Bluetoothユニット13)が緊急Advertising情報を受信した日時である。「位置情報」は、通知デバイスが持っているGPS位置情報である。「緊急種別」と「発生日時」は、車両ECU10から送信されたものである。  FIG. 11 is a diagram showing an example of user notification information. As shown in the figure, the user notification information consists of "type" and "content". The "type" is "receipt date and time", "location information", "emergency type", and "occurrence date and time". The “receipt date and time” is the date and time when the notification device (the information sharing
  図12は、車両ECU10の動作の概要を示す図である。同図において、車両ECU10は、IGKEYスイッチ502のオン/オフに応じて未認証状態と認証済状態に遷移する。即ち、IGKEYスイッチ502がオンからオフになると未認証状態(セキュリティON)に遷移し、オフからオンになると認証済状態(セキュリティOFF)に遷移する。車両ECU10は、未認証状態(セキュリティON)で、車両ユーザ端末11とBluetoothでの接続ができなくなると、異常監視中となる。即ち、車両ユーザ端末11が車両ECU10のBluetooth通信圏内から圏外に出ると、車両ECU10と車両ユーザ端末11との間のBluetooth通信による接続が切れる。車両ECU10は、異常監視中は通常アドバタイズを送信する。  FIG. 12 is a diagram showing an outline of the operation of the
  車両ECU10は、異常監視中に異常発生を検出すると、緊急通知を行う。異常検出中は緊急アドバタイズを送信する。車両ECU10は、緊急通知を行った後、再び異常発生を検出すると、緊急通知を行い、緊急アドバタイズを送信する。このとき、異常の内容が前回と異なる場合、緊急種別を更新する。例えば、前回が「車両への単発衝撃」で、今回が「グローブBOXが開けられた」になると、緊急種別が変わるので、更新する。  When the
  図13は、車両ECU10、車両ユーザ端末11、情報共有ユーザ端末12及び駐輪場Bluetoothユニット13における通常時と緊急時の動作を説明するためのシーケンス図である。同図において、車両ユーザ端末11が車両ECU10のBluetooth通信圏内にいるときは、これらの間がBluetooth接続されている。この状態で、車両ユーザ51が車両50から離れて行き、車両ユーザ端末11が車両ECU10のBluetooth通信圏内から外れると、これらの間のBluetooth接続が切断される。  FIG. 13 is a sequence diagram for explaining the operations of the
  車両ECU10は、車両ユーザ端末11とのBluetooth接続が切断されたことで、第2のAdvertisingパケット(通常アドバタイズ)の送信を開始する。第2のAdvertisingパケットが送信されている間は、通知デバイスである情報共有ユーザ端末12及び駐輪場Bluetoothユニット13は、その情報を無視する。この状態で、車両50に異常が発生した場合、車両ECU10は、第1のAdvertisingパケット(緊急アドバタイズ)の送信を開始する。第1のAdvertisingパケットを情報共有ユーザ端末12及び駐輪場Bluetoothユニット13が受信すると、車両ECU10に対して受信応答し、さらにサーバ14にサーバ通知を行う。サーバ通知を受けたサーバ14は、ユーザ通知を実行し、車両ユーザ端末11に車両50に異常が発生したことを通知する。  When the Bluetooth connection with the
  図14は、車両50の車両ECU10の緊急通知に関する動作を説明するためのフローチャートである。なお、車両50の動作は、車両ECU10の動作であるため、主語を車両50とせず、車両ECU10とする。同図において、車両ECU10は、まずIGKEYスイッチ502がオンしたかどうか判定し(ステップS10)、IGKEYスイッチ502がオンしたと判定した場合(ステップS10で「YES」と判定した場合)、セキュリティOFF状態へ遷移する(ステップS11)。即ち、車両50のユーザ51が車両50の利用を開始したことから、セキュリティを解除する。セキュリティOFFの状態は、IGKEYスイッチ502がオフになるまで継続する。車両ECU10は、IGKEYスイッチ502がオンしていないと判定した場合(ステップS10で「NO」と判定した場合)、セキュリティON状態へ遷移する(ステップS12)。即ち、車両50のユーザ51が車両50の利用を止めたことから、セキュリティを開始する。  FIG. 14 is a flowchart for explaining the operation of
  車両ECU10は、セキュリティON状態へ遷移すると、まず車両ユーザ端末11とBluetooth接続したかどうか判定し(ステップS13)、Bluetooth接続したと判定した場合(ステップS13で「YES」と判定した場合)、Bluetooth接続状態へ遷移する(ステップS14)。車両ECU10は、車両ユーザ端末11とBluetooth接続状態へ遷移した後、異常発生を検出したかどうか判定する(ステップS15)。車両ECU10は、異常発生を検出していないと判定した場合(ステップS15で「NO」と判定した場合)、IGKEYスイッチ502がオンしたかどうか判定する(ステップS16)。車両ECU10は、IGKEYスイッチ502がオンしていないと判定した場合(ステップS16で「NO」と判定した場合)、ステップS13の処理に戻り、車両ユーザ端末11とBluetooth接続したかどうか判定する。これに対し、IGKEYスイッチ502がオンしたと判定した場合(ステップS16で「YES」と判定した場合)、ステップS11の処理に戻り、セキュリティOFF状態へ遷移する。  After transitioning to the security ON state, the
  車両ECU10は、ステップS15の判定で、異常発生を検出したと判定した場合(ステップS15で「YES」と判定した場合)、接続中端末(即ち、車両ユーザ端末11)に異常検出を通知する(ステップS17)。接続中端末に異常検出を通知した後、通知完了を受信したかどうか判定し(ステップS18)、通知完了を受信しないと判定した場合(ステップS18で「NO」と判定した場合)、ステップS17の処理に戻り、異常検出を通知する。これに対し、通知完了を受信したと判定した場合(ステップS18で「YES」と判定した場合)、ステップS16の処理に戻り、IGKEYスイッチ502がオンしたかどうか判定する。  When the
  車両ECU10は、ステップS13の判定で、車両ユーザ端末11とBluetooth接続していないと判定した場合(ステップS13で「NO」と判定した場合)、Bluetooth切断状態へ遷移する(ステップS19)。車両ECU10は、車両ユーザ端末11とBluetooth切断状態へ遷移した後、異常発生を検出したかどうか判定する(ステップS20)。  When the
  車両ECU10は、異常発生を検出していないと判定した場合(ステップS20で「NO」と判定した場合)、通常アドバタイズ(第2のAdvertisingパケット)を送信する(ステップS21)。このとき、送信間隔を長く、送信出力を低くする。車両ECU10は、通常アドバタイズの送信を開始することで、緊急アドバタイズ(第1のAdvertisingパケット)の送信を停止する(ステップS22)。ここで、ステップS20の判定が1回目のときは、ステップS22の処理が行われても、それ以前に緊急アドバタイズの送信が行われていないので意味をなさないが、ステップS20の判定が2回目以降のときは、それ以前に緊急アドバタイズの送信が行われている場合があるので、ステップS20の判定が「NO」となると、通常アドバタイズ送信の開始後、緊急アドバタイズの送信が停止する。  When the
  車両ECU10は、ステップS22の処理を行った後、ステップS16に戻り、IGKEYスイッチ502がオンしたかどうか判定する。車両ECU10は、ステップS20の判定で、異常発生を検出したと判定した場合(ステップS20で「YES」と判定した場合)、緊急アドバタイズを送信する(ステップS23)。このとき、送信間隔を短く、送信出力を高くする。  After performing the processing of step S22, the
  車両ECU10は、緊急アドバタイズの送信を開始した後、通知完了を受信したかどうか判定する(ステップS24)。車両ECU10は、通知完了を受信したと判定した場合(ステップS24で「YES」と判定した場合)、ステップS16の処理に戻り、IGKEYスイッチ502がオンしたかどうか判定する。これに対し、車両ECU10は、通知完了を受信していないと判定した場合(ステップS24で「NO」と判定した場合)、新たな異常発生を検出したかどうか判定する(ステップS25)。車両ECU10は、新たな異常発生を検出していないと判定した場合(ステップS25で「NO」と判定した場合)、ステップS23の処理に戻り、緊急アドバタイズを送信する。これに対し、車両ECU10は、新たな異常発生を検出していたと判定した場合(ステップS25で「YES」と判定した場合)、緊急種別を更新する(ステップS26)。そして、ステップS23の処理に戻り、更新した緊急種別で緊急アドバタイズを送信する。  After starting transmission of the emergency advertisement, the
  図15は、情報共有ユーザ端末12の緊急通知時における動作を説明するためのフローチャートである。なお、情報共有ユーザ端末12の動作は、制御部128の動作であるが、主語を制御部128とせず、情報共有ユーザ端末12とする。同図において、情報共有ユーザ端末12は、まずAdvertisingパケット(アドバタイズパケット)を受信したかどうか判定し(ステップS30)、Advertisingパケットを受信していないと判定した場合(ステップS30で「NO」と判定した場合)、Advertisingパケットを受信するまでこの判定を繰り返す。情報共有ユーザ端末12は、Advertisingパケットを受信したと判定した場合(ステップS30で「YES」と判定した場合)、受信したAdvertisingパケットが第1のAdvertisingパケット(緊急アドバタイズ)かどうか判定する(ステップS31)。情報共有ユーザ端末12は、受信したAdvertisingパケットが第1のAdvertisingパケットでないと判定した場合(ステップS31で「NO」と判定した場合)、第1のAdvertisingパケットを受信するまでこの判定を繰り返す。  FIG. 15 is a flowchart for explaining the operation of the information sharing
  これに対し、情報共有ユーザ端末12は、受信したAdvertisingパケットが第1のAdvertisingパケットであると判定した場合(ステップS31で「YES」と判定した場合)、緊急アドバタイズ種別が設定されているかどうか判定する(ステップS32)。情報共有ユーザ端末12は、緊急アドバタイズ種別が設定されていないと判定した場合(ステップS32で「NO」と判定した場合)、緊急アドバタイズ種別が設定されるまでこの判定を繰り返す。これに対し、情報共有ユーザ端末12は、緊急アドバタイズ種別が設定されていると判定した場合(ステップS32で「YES」と判定した場合)、緊急アドバタイズをサーバ14に通知する(ステップS33)。  On the other hand, when the information sharing
  図16は、サーバ14の緊急通知時における動作を説明するためのフローチャートである。なお、サーバ14の動作は、制御部143の動作であるが、主語を制御部143とせず、サーバ14とする。同図において、サーバ14は、まずサーバ通知を受信したかどうか判定し(ステップS40)、サーバ通知を受信していないと判定した場合(ステップS40で「NO」と判定した場合)、サーバ通知を受信するまでこの判定を繰り返す。サーバ14は、サーバ通知を受信したと判定した場合(ステップS40で「YES」と判定した場合)、通知デバイスIDは登録済みかどうか判定する(ステップS41)。  FIG. 16 is a flow chart for explaining the operation of the
  サーバ14は、通知デバイスIDが登録済みでないと判定した場合(ステップS41で「NO」と判定した場合)、ステップS40の処理に戻る。これに対して、サーバ14は、通知デバイスIDが登録済みであると判定した場合(ステップS41で「YES」と判定した場合)、車両IDは登録済みかどうか判定する(ステップS42)。サーバ14は、車両IDが登録済みでないと判定した場合(ステップS42で「NO」と判定した場合)、ステップS40の処理に戻る。これに対して、サーバ14は、車両IDが登録済みであると判定した場合(ステップS42で「YES」と判定した場合)、ユーザ通知を行い(ステップS43)、ステップS40の処理に戻る。  When the
  図17は、車両50が盗まれたときの追跡の様子を示す図である。同図において、符号298は、車両50の車両ECU10から送信される通常アドバタイズの通信範囲を示し、符号299は、車両50の車両ECU10から送信される緊急アドバタイズの通信範囲を示している。車両50に異常が発生すると、緊急アドバタイズ(第1のAdvertisingパケット)が送信される。盗難発生時は、緊急アドバタイズの通信範囲299内に駐輪場Bluetoothユニット13があるので、駐輪場Bluetoothユニット13にて第1のAdvertisingパケットが受信されて、有線回線を介してサーバ14に送信される。  FIG. 17 is a diagram showing how the
  駐輪場Bluetoothユニット13の設置位置が分かっているので、盗難にあった位置を取得できる。トラック等で車両50の輸送が開始されて、輸送途中に情報共有ユーザ端末12があると、その情報共有ユーザ端末12にて第1のAdvertisingパケットが受信されて、セルラー通信又はWiFi通信でサーバ14に送信される。以後同様にして、情報共有ユーザ端末12に受信される毎に第1のAdvertisingパケットがセルラー通信又はWiFi通信でサーバ14に送信される。サーバ14にて受信された第1のAdvertisingパケットは、車両ユーザ端末11にセルラー通信又はWiFi通信で送信される。  Since the installation position of the bicycle parking
  以上のように、第1実施形態の無線通信システム1は、車両50に設けた不正使用検出部105にて車両50に異常が発生したことを検出した場合、車両50から緊急情報を付加した第1のAdvertisingパケットを情報共有ユーザ端末12に送信し、情報共有ユーザ端末12からサーバ14経由で車両ユーザ端末11に車両50の異常を通知するようにしたので、車両50においてテレマティックスサービスを利用することなく、車両50の異常を車両ユーザ端末11に通知することができる。また、テレマティックスサービスを利用するための通信回線やGPSの機能を持つ必要がないため、低コスト化を図れることができる。即ち、低コスト、低消費電力で、盗難を含む車両50の異常を通知することができ、スクータ等の二輪の車両に好適である。  As described above, in the
  なお、第1実施形態の無線通信システム1では、車両50の識別情報及び緊急情報等の送信にBluetoothのAdvertisingパケットを使用したが、他の種類のパケットを用いてもよい。
  また、車両50の識別情報及び緊急情報等の送信にBluetooth以外を用いてもよい。In the
 Also, the identification information of the
  (第2実施形態)
  次に、第2実施形態の無線通信システムについて説明する。
  第2実施形態の無線通信システム2は、車両に異常が発生した場合、該車両から緊急情報を付加した第1のAdvertisingパケットを送信することで、周囲に存在する他の車両(異常検出が可能な車両ECUを搭載)に通知し、該他の車両ECUとペアリングされている情報共有ユーザ端末(スマホ)からサーバ経由で車両ユーザ端末に車両の異常と現在地を通知するものである。車両ECUから情報共有ユーザ端末に直接通知する方式では、車両ECUの近くに情報共有ユーザ端末がいないと異常を通知できず、他の情報共有ユーザ端末が近づいたタイミングで通知が可能となるため、通知が遅れてしまう。(Second embodiment)
 Next, a wireless communication system according to the second embodiment will be described.
 When an abnormality occurs in a vehicle, the
  第2実施形態の無線通信システム2は、車両の異常を通知できる機会を増やせるので、車両ユーザへの通知遅れを極力低く抑えることができる。また、車両ECUと同じ異常検出可能な他の車両ECUが増えることによって盗難を検出できるエリアが拡大し、周囲に情報共有ユーザ端末がない駐輪場などから持ち去られたときでも、早期に盗難を把握することができる。サーバへの接続は、情報共有ユーザ端末を使用することで、車両ECUにテレマティックスサービスを利用する機能を持たせることがないため、安価に且つ低消費電力で盗難等の車両の異常を通知することができ、スクータ等の二輪の車両に好適である。  The
  以下、図18~図28を参照して、第2実施形態の無線通信システムについて説明する。図18は、第2実施形態の無線通信システム2の使用形態を示す図である。同図において、上述した第1実施形態の無線通信システム1の各構成要素と共通する要素には同一の符号を付けている。同図において、第2実施形態の無線通信システム2は、第1車両50Aに搭載される第1車両ECU10Aと、第2車両50Bに搭載される第2車両ECU(無線通信装置)10Bと、第1車両50Aのユーザ51が所持する車両ユーザ端末(無線通信端末、スマホ)11と、第1車両50Aのユーザ51と情報を共有するユーザ52が所持する情報共有ユーザ端末(無線通信端末、スマホ)12Bと、クラウド53に有線接続されたサーバ14Bと、クラウド53に有線接続されたテレマ基地局(移動体基地局)15と、を備える。第1車両ECU10A,第2車両ECU10Bのそれぞれには、識別情報が付与されている。これらの識別情報は、第1車両50Aの識別情報、第2車両50Bの識別情報と捉えることも可能である。また、これらの識別情報は、第1車両ECU10A、第2車両ECU10Bそれぞれに依って一意に決まる情報であり、例えばMACアドレスでもよい。なお、図18では、第1車両50A以外の他の車両として第2車両50Bを示しているが、第2車両50Bと同様の第2車両ECU10Bを搭載している車両が少なくとも1台あるものとする。  A wireless communication system according to the second embodiment will be described below with reference to FIGS. 18 to 28. FIG. FIG. 18 is a diagram showing a usage pattern of the
  第1車両ECU10A、第2車両ECU10B、車両ユーザ端末11及び情報共有ユーザ端末12Bは、それぞれBluetooth(登録商標)通信機能を有しており、第1車両ECU10Aと情報共有ユーザ端末12Bとの間、第1車両ECU10Aと第2車両ECU10Bとの間、第2車両ECU10Bと情報共有ユーザ端末12Bとの間、第1車両ECU10Aと車両ユーザ端末11との間、第2車両ECU10Bと車両ユーザ端末11との間のそれぞれにおいてBluetooth通信が可能となっている。車両ユーザ端末11及び情報共有ユーザ端末12Bは、Bluetooth通信機能の他に、セルラー通信機能又はWiFi(登録商標)通信機能を有している。なお、第2実施形態の無線通信システム2は、二輪の車両(自動二輪車)50Aに適用したものであるが、四輪の車両にも勿論適用できる。  The
  次に、第2実施形態の無線通信システム2の第1,第2車両ECU10A,10B、車両ユーザ端末11、情報共有ユーザ端末12B及びサーバ14Bそれぞれの構成について説明する。  Next, configurations of the first and
  図19は、第1車両50Aの一部分の概略構成と第1車両ECU10Aの概略構成を示すブロック図である。なお、同図において、図2に示す車両ECU10の各構成要素と共通する要素には同一の符号を付けている。第1車両ECU10Aは、スイッチ検出部101、IG認証判定部102、BT無線送受信部103、不正使用検出部(不正使用検出回路)105、車速検出部106、制御部108A及びアンテナ110を備える。なお、BT無線送受信部103とアンテナ110は、第1アンテナに対応する。  FIG. 19 is a block diagram showing a schematic configuration of part of the
  制御部108Aは、装置各部を制御するものであり、図示せぬCPUと、CPUを動作させるためのプログラムを記憶したROMと、CPUの動作において使用されるRAMとを有する。IG認証判定部102、BT無線送受信部103、不正使用検出部105及び車速検出部106は、制御部108Aの制御の下で動作する。  The
  制御部108Aは、第1車両50Aに盗難を含む異常が発生した場合、車両ユーザ51の車両ユーザ端末11に緊急通知処理を行う。即ち、制御部108Aは、不正使用検出部105が不正使用を検出した場合(即ち、第1車両50Aに盗難を含む異常が発生した場合)、BT無線送受信部103からアンテナ110を介して、車両50Aの識別情報、緊急情報を含むBluetoothのAdvertisingパケットを送信する。Advertisingパケットの送信回数、送信間隔、送信電波の電界強度等の送信に関する各種制御は、図2に示す車両ECU10における制御と同様であり、図3及び図4を用いて説明した通りである。  The
  図20は、第2車両50Bの一部分の概略構成と第2車両ECU10Bの概略構成を示すブロック図である。なお、同図において、図2に示す車両ECU10の各構成要素と共通する要素には同一の符号を付けている。第2車両ECU10Bは、スイッチ検出部101、IG認証判定部102、BT無線送受信部103、GPS受信部104、不正使用検出部105、車速検出部106、時計(第2時計)107、制御部108B、メモリ(メモリ回路)109及びアンテナ110を備える。GPS受信部104は、第2緯度経度を取得する。時計107は、第2時刻を取得する。メモリ109は、少なくとも第1車両50Aの識別情報を記憶する。  FIG. 20 is a block diagram showing a schematic configuration of part of the
  制御部108Bは、装置各部を制御するものであり、図示せぬCPUと、CPUを動作させるためのプログラムを記憶したROMと、CPUの動作において使用されるRAMとを有する。IG認証判定部102、BT無線送受信部103、GPS受信部104、不正使用検出部105、車速検出部106、時計107及びメモリ109は、制御部108Bの制御の下で動作する。  The
  制御部108Bは、不正使用検出部105が不正使用を検出した場合(即ち、第2車両50Bに盗難を含む異常が発生した場合)、BT無線送受信部103からアンテナ110を介して、第2車両50Bの識別情報、緊急情報を含むBluetoothのAdvertisingパケットを送信する。なお、緊急情報を含むBluetoothのAdvertisingパケットは、第1のAdvertisingパケットである。制御部108BによるAdvertisingパケットの送信制御は、図2に示す車両ECU10による送信制御と同様であり、図3及び図4を用いて説明した通りである。  When the unauthorized
  また、制御部108Bは、BT無線送受信部103が、アンテナ110を介して第1車両50Aの識別情報及び緊急情報を含むBluetoothのAdvertisingパケットを受信した場合、第1車両50Aの識別情報、緊急情報、第2時刻、及び第2緯度経度を含むBluetoothの所定のパケットをアンテナ110を介して送信する。なお、所定のパケットには、少なくとも第1車両50Aの識別情報及び緊急情報が含まれていればよい。また、所定のパケットは、通信相手を特定せずに送信するパケットである。所定のパケットを第3のAdvertisingパケット(通常アドバタイズ、第2のAdvertisingパケットに対応)とする。第3のAdvertisingパケットは、2回以上送信される。  Further, when the BT radio transmission/
  図21は、情報共有ユーザ端末12Bの概略構成を示すブロック図である。なお、同図において、図5に示す情報共有ユーザ端末12の各構成要素と共通する要素には同一の符号を付けている。情報共有ユーザ端末12Bは、GPS受信部(第1位置情報検出回路)121、BT無線送受信部124、テレマ送受信部125、アドバタイズ判定部127、時計(第1時計)123及びアンテナ122,126,129を備える。GPS受信部121は、第1緯度経度を検出する。時計123は、第1時刻を取得する。BT無線送受信部124は、第2車両50BとBluetooth規格に準拠した無線通信が可能なものである。アンテナ129は、セルラー通信に利用可能なものである。BT無線送受信部124とアンテナ126は、第3アンテナに対応する。また、テレマ送受信部125とアンテナ129は、第4アンテナに対応する。  FIG. 21 is a block diagram showing a schematic configuration of the information sharing
  制御部128Bは、装置各部を制御するものであり、図示せぬCPUと、CPUを動作させるためのプログラムを記憶したROMと、CPUの動作において使用されるRAMとを有する。GPS受信部121、時計123、BT無線送受信部124、テレマ送受信部125及びアドバタイズ判定部127は、制御部128Bの制御の下で動作する。  The
  制御部128Bは、BT無線送受信部124が、アンテナ126を介して第1車両50Aの識別情報、緊急情報、第2時刻及び第2緯度経度を含むBluetoothの所定のパケットを受信した場合、テレマ送受信部125から、アンテナ129を介して第1車両50Aの識別情報、緊急情報、第2時刻、及び第2緯度経度を送信する。この送信は、少なくとも第1車両50Aの識別情報及び緊急情報が含まれていればよい。  When the BT radio transmitting/receiving
  図22は、情報共有ユーザ端末12Bのテレマ送受信部125からサーバ14Bに送信されるサーバ通知情報を示す図である。同図に示すように、テレマ送受信部125で生成されるサーバ通知情報は、前述した第1実施形態の無線通信システム1のテレマ送受信部125で生成されるサーバ通知情報に「位置情報の信頼度」が追加される。この位置情報の信頼度は、最初にデータを取得してからの制御(エンジンラン)の回数と時間である。「エンジンラン」は、エンジンを始動させるための制御である。「時間」は、エンジン始動から接続中端末に異常検出を通知するまでの所要時間である。  FIG. 22 is a diagram showing server notification information transmitted from the telematics transmitting/receiving
  図23は、サーバ14Bの概略構成を示すブロック図である。なお、同図において、図7に示すサーバ14の各構成要素と共通する要素には同一の符号を付けている。サーバ14Bは、ネットワーク通信部141、通知情報判定部142及び制御部143Bを有している。図24は、サーバ14Bのネットワーク通信部141から車両ユーザ端末11に送信されるユーザ通知情報を示す図である。同図に示すように、ユーザ通知情報は、前述した第1実施形態の無線通信システム1のユーザ通知情報に「位置情報の信頼度」が追加されたものである。この位置情報の信頼度は、最初にデータを取得してからの制御(エンジンを始動させるための制御、エンジンラン)の回数と時間である。  FIG. 23 is a block diagram showing a schematic configuration of the
  図25は、第1車両ECU10A、第2車両ECU10B、車両ユーザ端末11、情報共有ユーザ端末12B及びサーバ14Bにおける通常時と緊急時の動作を説明するためのシーケンス図である。同図において、車両ユーザ端末11が第1車両ECU10AのBluetooth通信圏内にいるときは、これらの間がBluetooth接続されている。この状態で、車両ユーザ51が第1車両50Aから離れて行き、車両ユーザ端末11が第1車両ECU10AのBluetooth通信圏内から外れると、これらの間のBluetooth接続が切断される。  FIG. 25 is a sequence diagram for explaining the operations of the
  第1車両ECU10Aは、車両ユーザ端末11とのBluetooth接続が切断されたことで、第3のAdvertisingパケットの送信を開始する。第2車両ECU10Bは、第3のAdvertisingパケットが送信されている間、その情報を無視する。この状態で第1車両50Aに異常が発生した場合、第1車両ECU10Aは、第1のAdvertisingパケット(緊急アドバタイズ)の送信を開始する。  When the Bluetooth connection with the
  第1のAdvertisingパケットを第2車両ECU10Bが受信すると、第2車両ECU10Bは、第1車両ECU10Aに対して受信応答し、さらに情報共有ユーザ端末12BとBluetooth接続される。第2車両ECU10BとBluetooth接続した情報共有ユーザ端末12Bは、サーバ14Bにサーバ通知を行う。サーバ通知を受けたサーバ14Bは、ユーザ通知を実行し、車両ユーザ端末11に第1車両50Aに異常が発生したことを通知する。  When the
  次に、第1車両ECU10A及び第2車両ECU10Bの緊急通知に関する動作を説明する。但し、第1車両ECU10Aの緊急通知に関する動作は、前述した第1実施形態の無線通信システム1の車両ECU10の緊急通知に関する動作と同様であるので、ここでの説明は省略し、第2車両ECU10Bの動作のみ説明する。  Next, operations related to emergency notification of the
  図26は、第2車両ECU10Bの緊急通知に関する動作を説明するためのフローチャートである。本処理には、図22に示すサーバ通知情報と図24に示すユーザ通知情報それぞれに、位置情報の信頼度を追加するための処理が含まれている。制御部108Bには、エンジン始動回数を計数するためのカウンタ(図示略)及びエンジン始動後の時間を計時するカウンタ(図示略)が設けられている。なお、第2車両50Bの動作は、制御部108Bの動作であるが、主語を制御部108Bとせず、第2車両ECU10Bとする。  FIG. 26 is a flowchart for explaining the operation of the
  図26において、第2車両ECU10Bは、まず緊急アドバタイズを受信したかどうか判定し(ステップS50)、緊急アドバタイズを受信していないと判定した場合(ステップS50で「NO」と判定した場合)、緊急アドバタイズを受信したと判定するまで本処理を繰り返す。第2車両ECU10Bは、緊急アドバタイズを受信したと判定した場合(ステップS50で「YES」と判定した場合)、緊急情報を保持する(ステップS51)。  In FIG. 26 , the
  第2車両ECU10Bは、緊急情報を保持した後、車両50Bのエンジンが始動中かどうか判定する(ステップS52)。第2車両ECU10Bは、エンジンが始動中であると判定した場合(ステップS52で「YES」と判定した場合)、通知デバイス即ち情報共有ユーザ端末12BとBluetooth接続したかどうか判定する(ステップS53)。第2車両ECU10Bは、情報共有ユーザ端末12BとBluetooth接続していないと判定した場合(ステップS53で「NO」と判定した場合)、ステップS52に戻り、情報共有ユーザ端末12BとBluetooth接続したと判定した場合(ステップS53で「YES」と判定した場合)、Bluetooth接続中端末即ち情報共有ユーザ端末12Bに異常検出を通知する(ステップS54)。このとき、エンジン始動回数「0」、エンジン始動後の時間「0」とする。即ち、エンジン始動中にあるので、エンジン始動回数は「0」である。第2車両ECU10Bは、情報共有ユーザ端末12Bに異常検出を通知した後、ステップS50の処理に戻る。  After holding the emergency information, the
  第2車両ECU10Bは、上記ステップS52の判定で、エンジン振動中でないと判定した場合(ステップS52で「NO」と判定した場合)、通知デバイス即ち情報共有ユーザ端末12BとBluetooth接続したかどうか判定する(ステップS55)。第2車両ECU10Bは、情報共有ユーザ端末12BとBluetooth接続したと判定した場合(ステップS55で「YES」と判定した場合)、車両50Bのエンジン始動制御したかどうか判定し(ステップS56)、エンジン始動制御していないと判定した場合(ステップS56で「NO」と判定した場合)、エンジン始動制御するまで、本処理を繰り返す。  When the
  第2車両ECU10Bは、エンジン始動制御したと判定した場合(ステップS56で「YES」と判定した場合)、エンジン始動回数を「1」加算する(ステップS57)。即ち、エンジン停止中からエンジンが始動されると、エンジン始動回数が「1」加算された値となる。次いで、第2車両ECU10Bは、Bluetooth接続中端末即ち情報共有ユーザ端末12Bに異常検出を通知する(ステップS58)。このとき、エンジン始動回数を「n」、エンジン始動後の時間を「0」とする。第2車両ECU10Bは、情報共有ユーザ端末12Bに異常検出を通知した後、ステップS50の処理に戻る。  When the
  第2車両ECU10Bは、上記ステップS55の判定で、通知デバイス即ち情報共有ユーザ端末12BとBluetooth接続していないと判定した場合(ステップS55で「NO」と判定した場合)、エンジン始動制御したかどうか判定し(ステップS59)、エンジン始動制御していなと判定した場合(ステップS59で「NO」と判定した場合)、ステップS55に戻る。第2車両ECU10Bは、ステップS59の判定で、エンジン始動制御したと判定した場合(ステップS59で「YES」と判定した場合)、エンジン始動回数を「1」加算し、エンジン始動時間カウンタを「ON」にする(ステップS60)。  If the
  第2車両ECU10Bは、上記ステップS60で、エンジン始動時間カウンタを「ON」にした後、通知デバイス即ち情報共有ユーザ端末12BとBluetooth接続したかどうか判定し(ステップS61)、情報共有ユーザ端末12BとBluetooth接続したと判定した場合(ステップS61で「YES」と判定した場合)、Bluetooth接続中端末即ち情報共有ユーザ端末12Bに異常検出を通知する(ステップS64)。このとき、エンジン始動回数が「n」、エンジン始動後の時間が「n」である。第2車両ECU10Bは、情報共有ユーザ端末12Bに異常検出を通知した後、ステップS50の処理に戻る。  After turning the engine start time counter to "ON" in step S60, the
  第2車両ECU10Bは、上記ステップS61で、通知デバイス即ち情報共有ユーザ端末12BとBluetooth接続していないと判定した場合(ステップS61で「NO」と判定した場合)、エンジンOFFしたかどうか判定する(ステップS62)。第2車両ECU10Bは、エンジンOFFしていないと判定した場合(ステップS62で「NO」と判定した場合)、ステップS61に戻り、エンジンOFFしたと判定した場合(ステップS62で「YES」と判定した場合)、エンジン始動時間カウンタをクリアし(ステップS63)、ステップS55に戻る。  When the
  次に、情報共有ユーザ端末12Bの動作を説明する。なお、サーバ14Bの動作は、前述した第1実施形態の無線通信システム1のサーバ14の動作と同様であるので、説明を省略する。  Next, the operation of the information sharing
  図27は、情報共有ユーザ端末12Bの動作を説明するためのフローチャートである。なお、情報共有ユーザ端末12Bの動作は、制御部128Bの動作であるが、主語を制御部128Bとせず、情報共有ユーザ端末12Bとする。同図において、情報共有ユーザ端末12Bは、まず第2車両ECU10BとBluetooth接続したかどうか判定し(ステップS70)、第2車両ECU10BとBluetooth接続していないと判定した場合(ステップS70で「NO」と判定した場合)、第2車両ECU10BとBluetooth接続するまで本処理を繰り返す。  FIG. 27 is a flow chart for explaining the operation of the information sharing
  情報共有ユーザ端末12Bは、第2車両ECU10BとBluetooth接続したと判定した場合(ステップS70で「YES」と判定した場合)、第2車両ECU10Bが緊急アドバタイズ情報を保持しているかどうか判定する(ステップS71)。情報共有ユーザ端末12Bは、第2車両ECU10Bが緊急アドバタイズ情報を保持していないと判定した場合(ステップS71で「NO」と判定した場合)、ステップS70に戻り、緊急アドバタイズ情報を保持していると判定した場合(ステップS71で「YES」と判定した場合)、該緊急アドバタイズ情報をサーバ14Bに通知する(ステップS72)。緊急アドバタイズ情報をサーバ14Bに通知した後、ステップS70に戻る。  When the information sharing
  図28は、第1車両50Aが盗まれたときの追跡の様子を示す図である。同図において、符号298は、第1車両50Aの第1車両ECU10Aから送信される通常アドバタイズの通信範囲を示し、符号299は、第1車両50Aの車両ECU10Aから送信される緊急アドバタイズの通信範囲を示している。第1車両50Aに異常が発生すると、車両ECU10Aから緊急アドバタイズ(第1のAdvertisingパケット)が送信される。盗難発生時、緊急アドバタイズの通信範囲内に他の車両例えば第2車両50B-1、第3車両50B-2が存在したとすると、これらの車両50B-1,50B-2にて緊急アドバタイズが受信されて、Bluetoothにて送信される。第2車両50B-1、第3車両50B-2から送信された緊急アドバタイズが、情報共有ユーザ端末12B-1,12B-2にて受信されると、これらの端末12B-1,12B-2から、緊急アドバタイズに含まれる第1車両50Aの識別情報、緊急情報等がセルラー通信にて送信される。第2車両50B-1及び第3車両50B-2それぞれにて現在位置が取得されるので、盗難にあった位置を取得できる。  FIG. 28 is a diagram showing how the
  トラック等で第1車両50Aの輸送が開始されて、輸送途中に新たな車両(これを第4車両50B-3とする)が存在すると、この第4車両50B-3にて緊急アドバタイズが受信され、Bluetoothにて送信される。第4車両50B-3から送信された緊急アドバタイズが、新たな情報共有ユーザ端末(これを情報共有ユーザ端末12B-3とする)にて受信されると、それから緊急アドバタイズに含まれる第1車両50Aの識別情報、緊急情報等がセルラー通信にて送信される。第4車両50B-3にて現在位置が取得されるので、輸送中の位置を取得できる。  When transportation of the
  その後、同様にして、第1車両50Aの輸送途中に新たな車両(これを第5車両50B-4とする)が存在すると、この第5車両50B-4にて緊急アドバタイズが受信され、それからBluetoothにて送信される。第5車両50B-4から送信された緊急アドバタイズが、新たな情報共有ユーザ端末(これを情報共有ユーザ端末12B-4とする)にて受信されると、それから緊急アドバタイズに含まれる第1車両50Aの識別情報、緊急情報等がセルラー通信にて送信される。第5車両50B-4にて現在位置が取得されるので、輸送中の位置を取得できる。  After that, similarly, when a new vehicle (this will be referred to as a
  情報共有ユーザ端末12B-1~情報共有ユーザ端末12B-4それぞれからセルラー通信で送信された第1車両50Aの識別情報、緊急情報等は有線回線を介してサーバ14Bに送信され、サーバ14Bから車両50Aの車両ユーザ端末11に送信される。  The identification information, emergency information, and the like of the
  以上のように、第2実施形態の無線通信システム2は、第1車両50Aに設けた不正使用検出部105にて第1車両50Aに異常が発生したことを検出した場合、第1車両50Aから緊急情報を付加した第1のAdvertisingパケットを送信して、周囲に存在する第2車両50Bに通知し、第2車両50Bとペアリングされている情報共有ユーザ端末12Bからサーバ14B経由で車両ユーザ端末11に第1車両50Aの異常を通知するようにしたので、テレマティックスサービスを利用することなく、第1車両50Aの異常を車両ユーザ端末11に通知することができる。また、テレマティックスサービスを利用するための通信回線やGPSの機能を持つ必要がないため、コストアップを最小限に抑えることができる。また、第1車両50Aの異常を通知できる機会を増やせるので、車両ユーザへの通知遅れを極力低く抑えることができる。また、第2車両50B以外にも、第1車両50Aと同じ異常検出可能な他の車両を増やすことによって盗難を検出できるエリアを拡大でき、周囲に情報共有ユーザ端末12Bがない駐輪場などから持ち去られたときでも、早期に盗難を把握することができる。即ち、低コスト、低消費電力で、盗難を含む第1車両50Aの異常を通知することができ、スクータ等の二輪の車両に好適である。  As described above, in the
  (第3実施形態)
  次に、第3実施形態の無線通信システムについて説明する。
  近年、自動車や自動二輪車を運転するドライバー層では、スマホが各1台所有されており、オーナー個人を特定する用途に適している。スマホは、移動体通信(4G(第4世代移動通信規格)/LTE(Long Term Evolution)/5G(第5世代移動通信規格)など)を通じてクラウドサーバと通信が可能であるため、定期的にパスワードで認証を行ったり、クラウドサーバから強制的に使用不可にするなどができるなど、車両のキーの機能を持たせることが可能である。このような機能を持つスマホが盗難に遭っても、正規のオーナー以外が永続的に車両のキーの機能を使えないようにできるシステムの構築が可能である。即ち、正規のオーナーのスマホを正規オーナー認証手段として優先した盗難検出手段が有用となる。(Third embodiment)
 Next, a wireless communication system according to the third embodiment will be described.
 In recent years, each driver who drives a car or motorcycle owns one smartphone, which is suitable for identifying the individual owner. Smartphones can communicate with the cloud server through mobile communication (4G (4th generation mobile communication standard) / LTE (Long Term Evolution) / 5G (5th generation mobile communication standard), etc.), so you need to enter your password periodically. It is possible to have the function of a vehicle key, such as performing authentication with the cloud server and forcibly disabling it from the cloud server. Even if a smartphone with such a function is stolen, it is possible to build a system that can permanently prevent anyone other than the authorized owner from using the vehicle key function. In other words, a theft detection means that prioritizes the authorized owner's smartphone as the authorized owner authentication means is useful.
  以下、図29~図43を参照して、第3実施形態の無線通信システム3について説明する。第3実施形態の無線通信システム3は、図29に示す車両50C及び車両ECU(無線通信装置)10Cと、図30に示すスマホ(第2無線通信端末)11Cと、図31に示す電子キー(第1無線通信端末)16を基本構成とするものである。スマホ11C及び電子キー16は、共に車両ECU10Cを搭載した車両50Cのキーとして使用することができる。車両ECU10C、スマホ11C及び電子キー16は、それぞれBluetooth(登録商標)通信機能を有しており、スマホ11Cと車両ECU10Cとの間、電子キー16と車両ECU10Cとの間のそれぞれにおいてBluetooth通信が可能となっている。また、スマホ11Cは、Bluetooth通信機能の他に、セルラー通信機能又はWiFi(登録商標)通信機能も有している。なお、車両ECU10Cには、識別情報が付与されている。この識別情報は、車両50Cの識別情報と捉えることも可能である。また、この識別情報は、車両ECUに依って一意に決まる情報であり、例えばMACアドレスでもよい。また、電子キーは、Key FOB(または単にFOB)とも呼ばれる。  The
  車両ECU10Cは、スマホ11Cが車両50Cに一定期間(例えば1週間)近接せずに(即ち、離れた状態で)車両操作された場合、車両盗難を検出し、車両盗難モードに遷移する機能を有している。なお、第3実施形態の無線通信システム3は、二輪の車両(自動二輪車)50Cに適用したものであるが、四輪の車両にも勿論適用できる。以下、第3実施形態の無線通信システム3の車両ECU10C、スマホ11C及び電子キー16の構成について順次説明する。  The
  図29は、車両50Cの一部分の概略構成と車両ECU10Cの概略構成を示すブロック図である。なお、同図において、上述した第1実施形態の無線通信システム1の車両ECU10(図2参照)の各構成要素と共通する要素には同一の符号を付けている。図29において、第3実施形態の無線通信システム3の車両ECU10Cは、スイッチ検出部101C、IG認証判定部102、BT無線送受信部(第1無線通信回路)103、不正使用検出部105、車速検出部106、制御部108C及びアンテナ110を備える。なお、車両ECU10Cは、アンテナ110を1本備えているが、複数本備えていてもよい。  FIG. 29 is a block diagram showing a schematic configuration of part of the
  スイッチ検出部101Cは、グローブBOXスイッチ501及びIGKEYスイッチ502それぞれのオン/オフを検出する以外に、車両50Cに設けられたメインスイッチ(操作部)504のオン/オフを検出する。メインスイッチ504は、車両50Cのエンジンを始動させるためのスイッチである。BT無線送受信部(第1無線通信回路)103は、前述したように、Bluetooth規格(第1無線方式)に準拠した無線通信を行う。  The
  制御部108Cは、装置各部を制御するものであり、図示せぬCPUと、CPUを動作させるためのプログラムを記憶したROMと、CPUの動作において使用されるRAMとを有する。IG認証判定部102、BT無線送受信部103、不正使用検出部105及び車速検出部106は、制御部108Cの制御の下で動作する。制御部108Cは、車両50Cに盗難を含む異常が発生した場合、車両ユーザ51のスマホ11Cに緊急通知を行う。なお、制御部108Cは、スマホ11Cと通信を行った場合、スマホ11Cの登録を行う。制御部108Cの動作の詳細については後述する。  The
  図30は、スマホ11Cの概略構成を示すブロック図である。なお、同図において、上述した第1実施形態の無線通信システム1の情報共有ユーザ端末(スマホ)12(図5参照)の各構成要素と共通する要素には同一の符号を付けている。図30に示すように、スマホ11Cは、GPS受信部121、BT無線送受信部124、テレマ送受信部125、アドバタイズ判定部127、認証部137、アンテナ122,126,129及び制御部128Cを備える。なお、スマホ11Cは、アンテナ126,129をそれぞれ1本備えているが、それぞれ複数本備えていてもよい。  FIG. 30 is a block diagram showing a schematic configuration of the
BT無線送受信部(第3無線通信回路)124は、Bluetooth規格(第1無線方式)に準拠した無線通信を行う。テレマ送受信部(第4無線通信回路)125は、Bluetooth規格の通信方式(第1無線方式)と異なるセルラー通信方式(第2無線方式)に準拠した無線通信を行う。 The BT radio transmission/reception unit (third radio communication circuit) 124 performs radio communication conforming to the Bluetooth standard (first radio system). Telematics transmission/reception unit (fourth wireless communication circuit) 125 performs wireless communication based on a cellular communication method (second wireless method) different from the Bluetooth standard communication method (first wireless method).
  認証部137は、スマホ11Cの使用者(ユーザ)の認証をとる。認証部137は、パスワード認証、指紋認証及び顔認証のうち、少なくとも1つの認証機能を有し、認証結果を制御部128Cに出力する。制御部128Cは、装置各部を制御するものであり、図示せぬCPUと、CPUを動作させるためのプログラムを記憶したROMと、CPUの動作において使用されるRAMと、を有する。GPS受信部121、BT無線送受信部124、テレマ送受信部125、アドバタイズ判定部127及び認証部137は、制御部128Cの制御の下で動作する。なお、制御部128Cは、車両ECU10Cと通信を行った場合、自身を車両ECU10Cに登録するための情報を送信する。  The
  図31は、車両50Cの電子キー16の概略構成を示すブロック図である。同図において、電子キー16は、BT無線送受信部161、キースイッチ162、LED(Light Emitting Diode)163、制御部164及びアンテナ165を備える。BT無線送受信部(第2無線通信回路)161は、Bluetooth規格(第1無線方式)に準拠した無線通信を行う。BT無線送受信部161には、Bluetooth通信用のアンテナ165が接続される。BT無線送受信部161は、制御部164によって制御される。キースイッチ162は、車両50Cを操作可能とするスイッチである。キースイッチ162のスイッチ信号は、制御部164に取り込まれる。  FIG. 31 is a block diagram showing a schematic configuration of the
  LED163は、キースイッチ162の操作状態を示す表示器である。制御部164は、装置各部を制御するものであり、図示せぬCPUと、CPUを動作させるためのプログラムを記憶したROMと、CPUの動作において使用されるRAMと、を有する。BT無線送受信部161及びLED163は制御部164の制御の下で動作する。制御部164は、キースイッチ162から車両50Cを操作可能とするスイッチ信号を取り込むことで、BT無線送受信部161から車両50Cを操作可能とするBluetoothの信号を送信する。また、制御部164は、キースイッチ162から車両50Cを操作可能とするスイッチ信号を取り込むことで、LED163を点灯制御する。  An
  なお、電子キー16は、アンテナ165を1本備えているが、複数本備えていてもよい。  Although the
  次に、車両ECU10Cとスマホ11Cの動作について説明する。
  車両ECU10Cは、BT無線送受信部(第1無線通信回路)103と電子キー16のBT無線送受信部(第2無線通信回路)161とが第1通信状態の場合、動作可能となる。また、車両ECU10Cは、BT無線送受信部(第1無線通信回路)103とスマホ11CのBT無線送受信部(第3無線通信回路)124とが第2通信状態の場合、動作可能となる。Next, operations of the
  また、車両ECU10Cは、車両50CのBT無線送受信部(第1無線通信回路)103とスマホ11CのBT無線送受信部(第3無線通信回路)124とが第2通信状態になった後、所定の時間(例えば1週間)以上、BT無線送受信部(第1無線通信回路)103とBT無線送受信部(第3無線通信回路)124が第2通信状態にならない場合で、かつ車両50Cのメインスイッチ(操作部)504が所定の操作を検出した場合、車両50CのBT無線送受信部(第1無線通信回路)103から、緊急アドバタイズ(緊急情報を含むパケット)を送信する。なお、緊急アドバタイズを送信する処理は、第1実施形態の無線通信システム1で説明した通りである。  Further, the
  緊急アドバタイズを送信する処理は、BT無線送受信部(第1無線通信回路)103と電子キー(第1無線通信端末)16のBT無線送受信部(第2無線通信回路)161とが、第1通信状態であっても行われる。即ち、車両ECU10Cは、BT無線送受信部(第1無線通信回路)103と電子キー(第1無線通信端末)16のBT無線送受信部(第2無線通信回路)161とが第1通信状態であっても、BT無線送受信部(第1無線通信回路)103とスマホ(第2無線通信端末)11CのBT無線送受信部(第3無線通信回路)124とが第2通信状態になった後、所定の時間(例えば1週間)以上、BT無線送受信部(第1無線通信回路)103とBT無線送受信部(第3無線通信回路)124が第2通信状態にならない場合で、かつ車両50Cのメインスイッチ(操作部)504が所定の操作を検出した場合、BT無線送受信部(第1無線通信回路)103から、緊急アドバタイズを送信する。  In the process of transmitting the emergency advertisement, the BT wireless transmission/reception unit (first wireless communication circuit) 103 and the BT wireless transmission/reception unit (second wireless communication circuit) 161 of the electronic key (first wireless communication terminal) 16 perform the first communication. It is done regardless of the state. That is, the
  スマホ11Cの制御部128Cは、テレマ送受信部125にて、第2通信状態を停止する信号を受信した場合、少なくともBT無線送受信部124が第2通信状態になることを停止する。また、制御部128Cは、スマホ11Cが使用される毎に認証部137を動作させて認証を行い、認証が成功する場合、少なくともBT無線送受信部124が第2通信状態になることを継続し、認証が失敗した場合、少なくともBT無線送受信部124が第2通信状態になることを停止する。なお、通信状態を、第1の通信状態と第2の通信状態に分けたが、同一の状態であってもよい。  When the telematics transmission/
  図32は、第3実施形態の無線通信システム3の使用形態を示す図である。同図において、第3実施形態の無線通信システム3は、上述した車両50C、車両ECU10C、スマホ11C及び電子キー16で構成される。車両50Cは、正規オーナーである車両ユーザ51のものであり、車両ECU10Cが搭載されている。スマホ11C及び電子キー16は、車両ユーザ51のものである。車両ユーザ51のスマホ11C及び電子キー16以外には、車両ユーザ51以外のスマホ11E、電子キー16Eが存在しているものとしている。なお、車両ECU10CのBluetooth通信可能エリア(BLE通信可能エリア)を符号300で示しており、近接検出エリアを符号301で示している。  FIG. 32 is a diagram showing a usage pattern of the
  図33~図35は、車両ECU10Cを主とする動作を示すシーケンス図である。図33において、車両ECU10Cは、スマホ11C又は電子キー16と非接続状態にあるとき、周期的に接続認証とエリア検出を行う。そして、所定の時間以上、車両ユーザ51のスマホ11Cの近接が確認されない状態で、車両50Cのメインスイッチ504から車両操作要求が出力されると、車両ECU10Cは、盗難を検出し、車両操作を禁止にする。さらに、緊急アドバタイズの送信を開始する。  33 to 35 are sequence diagrams mainly showing the operation of the
  図34において、車両ECU10Cは、接続認証とエリア検出を行っているときに、車両ユーザ51以外のスマホ11E又は電子キー16Eの近接を検出し、その状態にあるときに、車両50Cのメインスイッチ504から車両操作要求が出力されると、車両ECU10Cは、車両操作を継続して禁止し、また緊急アドバタイズの送信を継続する。  In FIG. 34, the
  図35において、車両ECU10Cは、接続認証とエリア検出を行っているときに、車両ユーザ51のスマホ11Cの近接を検出すると、盗難検出を解除するとともに、車両操作禁止を解除する。さらに、緊急アドバタイズの送信を停止する。その後、車両50Cのメインスイッチ504から車両操作要求が出力されると、車両ECU10Cは、車両50Cの電源をオンする。  In FIG. 35, when the
  図36~図38は、認証機能を有するサーバ14Cを設けて高いセキュリティ性を持たせた場合の動作を示すシーケンス図である。サーバ14Cは、図7に示すサーバ14と同機能を有する以外に、認証機能を有している。図36において、車両ECU10Cは、周期的に接続認証とエリア検出を行い、所定の時間以上、車両ユーザ51のスマホ11Cの近接を確認していない状態にあるときに、車両50Cのメインスイッチ504から車両操作要求が出力された場合、盗難を検出し、車両操作を禁止にする。さらに、緊急アドバタイズの送信を開始する。  36 to 38 are sequence diagrams showing operations when the server 14C having an authentication function is provided to provide high security. The server 14C has an authentication function in addition to having the same functions as the
  図37において、車両ユーザ51のスマホ11Cがサーバ14Cとの間でサーバ認証を行い、サーバ認証NGであった場合、サーバ14Cからスマホ11Cにサーバ認証NGが通知される。スマホ11Cは、サーバ認証NG通知を受けると、車両ECU10Cにサーバ認証NGを通知する。車両ECU10Cは、サーバ認証NG通知を受けた後、サーバ認証NGのオーナーのスマホ11Cの近接を検出し、この状態で車両50Cのメインスイッチ504から車両操作要求が出力された場合、車両ECU10Cは、車両操作の禁止を継続し、さらに緊急アドバタイズの送信を継続する。  In FIG. 37, the
  図38において、車両ユーザ51のスマホ11Cがサーバ14Cとの間でサーバ認証を行い、サーバ認証OKであった場合、サーバ14Cからスマホ11Cにサーバ認証OKが通知される。スマホ11Cがサーバ認証OK通知を受けた状態で、車両ECU10Cが接続認証とエリア検出にてスマホ11Cと接続状態になると、車両ECU10Cは、スマホ11Cにサーバ認証OKを通知する。車両ECU10Cは、スマホ11Cからサーバ認証OK通知を受けた状態で、サーバ認証OKのオーナーのスマホ11Cの近接を検出すると、盗難検出を解除するとともに、車両操作禁止を解除する。さらに、緊急アドバタイズの送信を停止する。その後、車両50Cのメインスイッチ504から車両操作要求が出力された場合、車両ECU10Cは、車両50Cの電源をオンする。  In FIG. 38,
  次に、車両ECU10C及びスマホ11Cの動作を説明する。
  図39は、車両ECU10Cの動作を説明するためのフローチャートである。同図において、車両ECU10Cは、まず所定の時間(例えば1週間)以上車両ユーザ51のスマホ11Cが近接したかどうか判定し(ステップS80)、所定の時間以上車両ユーザ51のスマホ11Cが近接していないと判定した場合(即ち近接が確認されていない場合、ステップS80で「NO」と判定した場合)、車両操作要求があるかどうか判定する(ステップS81)。車両ECU10Cは、所定の時間以上車両ユーザ51のスマホ11Cが近接したと判定した場合(即ち近接を確認した場合、ステップS80で「YES」と判定した場合)、所定の時間以上車両ユーザ51のスマホ11Cが近接していないと判定するまで、本処理を繰り返す。Next, the operation of the
 FIG. 39 is a flow chart for explaining the operation of the
  車両ECU10Cは、ステップS81で、車両操作要求がないと判定した場合(ステップS81で「NO」と判定した場合)、車両操作要求があると判定するまで、本処理を繰り返す。車両ECU10Cは、車両操作要求があると判定した場合(ステップS81で「YES」と判定した場合)、盗難を検出し(ステップS82)、次いで車両操作を禁止する(ステップS83)。さらに、緊急アドバタイズを送信する(ステップS84)。  If the
  車両ECU10Cは、緊急アドバタイズを送信した後、車両ユーザ51のスマホ11Cが近接したかどうか判定し(ステップS85)、近接していないと判定した場合(ステップS85で「NO」と判定した場合)、ステップS84に戻り、緊急アドバタイズを継続して送信する。車両ECU10Cは、車両ユーザ51のスマホ11Cが近接したと判定すると(ステップS85で「YES」と判定した場合)、盗難検出を解除し(ステップS86)、次いで車両操作禁止を解除し(ステップS87)、さらに緊急アドバタイズの送信を停止する(ステップS88)。車両ECU10Cは、緊急アドバタイズの送信を停止した後、ステップS80の処理に戻る。  After transmitting the emergency advertisement, the
  図40は、スマホ11Cの動作を説明するためのフローチャートである。なお、スマホ11Cの動作は、制御部128Cの動作であるが、主語を制御部128Cとせず、スマホ11Cとする。同図において、スマホ11Cは、車両ECU10Cと非接触状態にし(ステップS90)、その後、BLE通信可能エリア300にスマホ11Cが存在するかどうか判定する(ステップS91)。スマホ11Cは、BLE通信可能エリア300にスマホ11Cが存在しないと判定した場合(ステップS91で「NO」と判定した場合)、ステップS90の処理に戻り、BLE通信可能エリア300にスマホ11Cが存在すると判定した場合(ステップS91で「YES」と判定した場合)、車両ECU10Cとの間で接続認証を実施し(ステップS92)、車両ECU10Cと接続状態にする(ステップS93)。次いで、スマホ11Cは、BLE通信可能エリア300に自身(スマホ11C)が存在するかどうか判定し(ステップS94)、存在すると判定した場合(ステップS94で「YES」と判定した場合)、ステップS93の処理に戻る。スマホ11Cは、BLE通信可能エリア300に自身(スマホ11C)が存在しないと判定した場合(ステップS94で「NO」と判定した場合)、ステップS90の処理に戻る。  FIG. 40 is a flowchart for explaining the operation of the
  次に、認証機能を有するサーバ14Cを設けて高いセキュリティ性を持たせた場合の車両ECU10C、スマホ11C及びサーバ14Cの動作を説明する。
  図41は、認証機能を有するサーバ14Cが設けられた場合の車両ECU10Cの動作を説明するためのフローチャートである。なお、車両ECU10Cの動作は、制御部108Cの動作であるが、主語を制御部108Cとせず、車両ECU10Cとする。同図において、車両ECU10Cは、まず所定の時間以上車両ユーザ51のスマホ11Cが近接したかどうか判定し(ステップS100)、所定の時間以上車両ユーザ51のスマホ11Cが近接していないと判定した場合(即ち近接が確認されていない場合、ステップS100で「NO」と判定した場合)、車両操作要求があるかどうか判定する(ステップS101)。車両ECU10Cは、所定の時間以上車両ユーザ51のスマホ11Cが近接したと判定した場合(即ち近接を確認した場合、ステップS100で「YES」と判定した場合)、所定の時間以上車両ユーザ51のスマホ11Cが近接していないと判定するまで、本処理を繰り返す。Next, operations of the
 FIG. 41 is a flowchart for explaining the operation of
  車両ECU10Cは、ステップS101で、車両操作要求がないと判定した場合(ステップS101で「NO」と判定した場合)、車両操作要求があると判定するまで、本処理を繰り返す。車両ECU10Cは、車両操作要求があると判定した場合(ステップS101で「YES」と判定した場合)、盗難を検出し(ステップS102)、次いで車両操作を禁止する(ステップS103)。さらに、緊急アドバタイズを送信する(ステップS104)。  If the
  車両ECU10Cは、緊急アドバタイズを送信した後、車両ユーザ51のスマホ11Cが近接したかどうか判定し(ステップS105)、近接していないと判定した場合(ステップS105で「NO」と判定した場合)、ステップS104に戻り、緊急アドバタイズを継続して送信する。車両ECU10Cは、車両ユーザ51のスマホ11Cが近接したと判定すると(ステップS105で「YES」と判定した場合)、サーバ認証情報を受信し(ステップS106)、サーバ認証OKかどうか判定する(ステップS107)。  After transmitting the emergency advertisement, the
  車両ECU10Cは、サーバ認証OKでない(即ちサーバ認証NG)と判定した場合(ステップS107で「NO」と判定した場合)、ステップS104の処理に戻る。車両ECU10Cは、サーバ認証OKと判定した場合(ステップS107で「YES」と判定した場合)、盗難検出を解除し(ステップS108)、次いで車両操作禁止を解除する(ステップS109)。さらに、緊急アドバタイズ送信を停止する(ステップS110)。車両ECU10Cは、緊急アドバタイズ送信を停止した後、ステップS100の処理に戻る。  When the
  図42は、認証機能を有するサーバ14Cが設けられた場合のスマホ11Cの動作を説明するためのフローチャートである。なお、スマホ11Cの動作は、制御部128Cの動作であるが、主語を制御部128Cとせず、スマホ11Cとする。同図において、スマホ11Cは、車両ECU10Cと非接触状態にし(ステップS120)、次いで所定の時間経過したかどうか判定する(ステップS121)。スマホ11Cは、所定の時間を経過していないと判定した場合(ステップS121で「NO」と判定した場合)、BLE通信可能エリア300に自身(スマホ11C)が存在するかどうか判定する(ステップS122)。スマホ11Cは、自身がBLE通信可能エリア300に存在しないと判定した場合(ステップS122で「NO」と判定した場合)、ステップS120の処理に戻り、自身がBLE通信可能エリア300に存在すると判定した場合(ステップS122で「YES」と判定した場合)、車両ECU10Cと接続認証を実施する(ステップS127)。  FIG. 42 is a flowchart for explaining the operation of the
  一方、スマホ11Cは、ステップS121の判定で、所定の時間を経過したと判定した場合(ステップS121で「YES」と判定した場合)、サーバ認証を行い(ステップS123)、サーバ認証OKかどうか判定する(ステップS124)。スマホ11Cは、サーバ認証OKと判定した場合(ステップS124で「YES」と判定した場合)、サーバ認証情報をOKに設定し(ステップS125)、サーバ認証OKと判定しなかった場合(ステップS124で「NO」と判定した場合)、サーバ認証情報をNGに設定する(ステップS126)。スマホ11Cは、ステップS125の処理又はステップS126の処理を行った後、ステップS122の処理を行う。  On the other hand, if the
  スマホ11Cは、ステップS127で車両ECU10Cと接続認証を実施した後、車両ECU10Cと接続状態にする(ステップS128)。次いで、スマホ11Cは、所定の時間を経過したかどうか判定し(ステップS129)、所定の時間を経過していないと判定した場合(ステップS129で「NO」と判定した場合)、自身がBLE通信可能エリア300に存在するかどうか判定する(ステップS130)。スマホ11Cは、自身がBLE通信可能エリア300に存在しないと判定した場合(ステップS130で「NO」と判定した場合)、ステップS120の処理に戻り、BLE通信可能エリア300に存在すると判定した場合(ステップS130で「YES」と判定した場合)、ステップS128の処理を行う。  After carrying out connection authentication with the
  一方、スマホ11Cは、ステップS129の判定で、所定の時間を経過したと判定した場合(ステップS129で「YES」と判定した場合)、サーバ認証を行い(ステップS131)、サーバ認証OKかどうか判定する(ステップS132)。スマホ11Cは、サーバ認証OKと判定した場合(ステップS132で「YES」と判定した場合)、サーバ認証情報をOKに設定し(ステップS133)、サーバ認証OKと判定しなかった場合(ステップS132で「NO」と判定した場合)、サーバ認証情報をNGに設定する(ステップS134)。スマホ11Cは、ステップS133の処理又はステップS134の処理を行った後、ステップS130の処理を行う。  On the other hand, if the
  図43は、認証機能を有するサーバ14Cが設けられた場合のサーバ14Cの動作を説明するためのフローチャートである。なお、サーバ14Cについては、その構成図を示していないので、主語をそのままサーバ14Cとする。但し、認証機能を有する以外は、図7に示すサーバ14と同様の構成である。図43において、サーバ14Cは、認証要求を受信したかどうか判定し(ステップS140)、認証要求を受信していないと判定した場合(ステップS140で「NO」と判定した場合)、認証要求を受信したと判定するまで本処理を繰り返す。サーバ14Cは、認証要求を受信したと判定した場合(ステップS140で「YES」と判定した場合)、正規のオーナーであることが確認できたかどうか判定し(ステップS141)、正規のオーナーであることが確認できたと判定した場合(ステップS141で「YES」と判定した場合)、認証OKを通知し(ステップS142)、正規のオーナーであることが確認できなかった判定した場合(ステップS141で「NO」と判定した場合)、認証NGを通知する(ステップS143)。サーバ14Cは、ステップS142又はステップS143の処理を行った後、ステップS140の処理に戻る。  FIG. 43 is a flow chart for explaining the operation of the server 14C when the server 14C having an authentication function is provided. Since the configuration diagram of the server 14C is not shown, the subject is assumed to be the server 14C as it is. However, it has the same configuration as the
  以上のように、第3実施形態の無線通信システム3は、車両50Cとスマホ11Cとが第2通信状態の場合、車両50Cを動作可能にし、その後、所定の時間以上、車両50Cとスマホ11Cとが第2通信状態にならない場合で、かつ車両50Cのメインスイッチ504が所定の操作を検出した場合、車両50Cから緊急アドバタイズを送信するので、スマホ11Cを、車両50Cからの緊急情報を受信可能なキーとして使用することができる。また、車両50Cのキーとしてスマホ11Cを使用できるようにすることで、車両50Cのキーとしての使用が可能なスマホの普及を図ることができる。  As described above, the
  (第4実施形態)
  次に、第4実施形態の無線通信システムについて説明する。
  第4実施形態の無線通信システムは、正規オーナーのスマホが車両ECUの近傍に存在している状態で、車両の電源をオフした際に、車両を警戒モードに設定し、警戒モードでは、スマホと車両ECUとの間の距離をBluetooth(登録商標)通信を用いた測距技術により測距して、車両の近傍にスマホが存在しない状態で車両が操作された場合に、車両ECUを警戒モードから車両盗難モードに遷移させる。(Fourth embodiment)
 Next, a radio communication system according to the fourth embodiment will be described.
 In the wireless communication system of the fourth embodiment, when the power of the vehicle is turned off while the regular owner's smartphone is in the vicinity of the vehicle ECU, the vehicle is set to alert mode. The distance to the vehicle ECU is measured by distance measurement technology using Bluetooth (registered trademark) communication, and when the vehicle is operated without a smartphone in the vicinity of the vehicle, the vehicle ECU is put out of alert mode. Transition to vehicle theft mode.
  以下、図44~図52を参照して、第4実施形態の無線通信システムについて説明する。
  図44は、第4実施形態の無線通信システム4の使用形態を示す図である。同図に示す第4実施形態の無線通信システム4は、車両50Dと、車両ECU(無線通信装置)10Dと、スマホ(無線通信端末)11Dとを基本構成とする。車両50D及びスマホ11Dは、正規オーナーである車両ユーザ51のものである。車両50Dに車両ECU10Dが搭載される。なお、車両ECU10Dには、識別情報が付与されている。この識別情報は、車両50Dの識別情報と捉えることも可能である。また、この識別情報は、車両ECUに依って一意に決まる情報であり、例えばMACアドレスでもよい。The wireless communication system of the fourth embodiment will be described below with reference to FIGS. 44 to 52. FIG.
 FIG. 44 is a diagram showing a usage pattern of the
  車両ECU10D及びスマホ11Dは、それぞれBluetooth通信機能を有しており、車両ECU10Dとスマホ11Dとの間においてBluetooth通信が可能となっている。また、スマホ11Dは、Bluetooth通信機能の他に、セルラー通信機能又はWiFi(登録商標)通信機能も有している。Bluetooth通信可能エリア(BLE通信可能エリア)300は、Bluetoothによる通信可能なエリアである。Bluetooth通信可能エリア300内の近接検出エリア301は、上述した車両50Dの近傍のエリアである。なお、Bluetooth通信可能エリア300は、直径で1km位であり、近接検出エリア301は、直径で2m位である。  The
  上述したように、車両ECU10Dは、車両50Dの車両ユーザ51のスマホ11Dが車両ECU10Dの近傍に存在している状態で、車両50Dの電源をオフした際に、車両50Dを警戒モードに設定する。そして、警戒モードでは、スマホ11Dと車両ECU10Dとの間の距離をBluetooth通信及び、またはUWB(Ultra Wide Band)を用いた測距技術により測距して、車両50Dの近傍にスマホ11Dが存在しない状態で車両50Dが操作された場合に、車両ECU10Dを警戒モードから車両盗難モードに遷移させる。  As described above, the
  図45は、車両ユーザ51のスマホ11Dが車両ECU10DのBluetooth通信可能エリア300外に存在している場合を示す図である。図46は、車両ユーザ51のスマホ11Dが車両ECU10DのBluetooth通信可能エリア300内に存在している場合を示す図である。  FIG. 45 is a diagram showing a case where the
  なお、第4実施形態の無線通信システム4は、二輪の車両(自動二輪車)50Dに適用したものであるが、四輪の車両にも勿論適用できる。以下、第4実施形態の無線通信システム4の車両ECU10D及びスマホ11Dの構成について順次説明する。  Although the
  図47は、車両50Dの一部分の概略構成と車両ECU10Dの概略構成を示すブロック図である。なお、同図において、上述した第1実施形態の無線通信システム1の車両ECU10(図2参照)と第3実施形態の無線通信システム3の車両ECU10C(図29参照)の各構成要素と共通する要素には同一の符号を付けている。第4実施形態の無線通信システム4の車両ECU10Dは、スイッチ検出部101C、IG認証判定部102、BT無線送受信部(第1無線通信回路)103、不正使用検出部(不正使用検出回路)105、車速検出部106、距離検出部138、制御部108D及びアンテナ110を備える。なお、車両ECU10Dは、アンテナ110を1本備えているが、複数本備えていてもよい。  FIG. 47 is a block diagram showing a schematic configuration of part of the
  BT無線送受信部(第1無線通信回路)103は、前述したように、Bluetooth規格(第1無線方式)に準拠した無線通信を行う。距離検出部138は、車両50Dとスマホ11Dとの距離を、Bluetooth通信及び、またはUWBの測距技術により測距し、その結果を制御部108Dに出力する。なお、車両50D(又は車両ECU10D)にGPS受信部(図示略)を搭載して、スマホ11DのGPS受信部121(図48参照)との間で距離を求めるようにしてもよい。  The BT radio transmission/reception unit (first radio communication circuit) 103 performs radio communication conforming to the Bluetooth standard (first radio system), as described above. The
  制御部108Dは、装置各部を制御するものであり、図示せぬCPUと、CPUを動作させるためのプログラムを記憶したROMと、CPUの動作において使用されるRAMとを有する。IG認証判定部102、BT無線送受信部103、不正使用検出部105、車速検出部106及び距離検出部138は、制御部108Dの制御の下で動作する。不正使用検出部105は、加速度センサ1051が所定の加速度を検出した場合、不正使用を検出する。  The
  制御部108Dは、不正使用検出部105が不正使用を検出した場合で、かつ車両50Dとスマホ11Dが所定の距離にある場合(スマホ11DがBluetooth通信可能エリア300にある場合)、スマホ11Dへ緊急情報を送信する。なお、緊急情報は、車両ECU10DのBT無線送受信部103から送信される。BT無線送受信部103から送信された緊急情報は、スマホ11DのBT無線送受信部124(図48参照)にて受信される。  When the unauthorized
  また、制御部108Dは、不正使用検出部105が不正使用を検出した場合で、かつ車両50Dとスマホ11Dが所定の距離にない場合(スマホ11DがBluetooth通信可能エリア300にない場合)、緊急情報を含むBluetoothのAdvertisingパケットを送信する。なお、緊急情報を含むBluetoothのAdvertisingパケットは、車両ECU10DのBT無線送受信部103から送信される。  In addition, when the unauthorized
  また、制御部108Dは、不正使用検出部105が不正使用を検出しない場合、緊急情報を送信しない。即ち、BT無線送受信部103から緊急情報は送信されない。
  ここで、上述した所定の距離とは、Bluetooth通信可能エリア300の距離(直径で1km位)であり、第1の距離とする。また、近接検出エリア301の距離(直径で2m位)を第2の距離(<第1の距離)とする。不正使用検出部105は、車両50Dとスマホ11Dが第2の距離にない場合で、かつメインスイッチ504にて所定の操作が成された場合、不正使用を検出する。  Here, the predetermined distance mentioned above is the distance of the Bluetooth communicable area 300 (approximately 1 km in diameter), which is the first distance. The distance of the proximity detection area 301 (approximately 2 m in diameter) is defined as a second distance (<first distance). The unauthorized
  なお、車両50DのBT無線送受信部103(実際は車両ECU10DのBT無線送受信部103)とスマホ11DのBT無線送受信部124(図48参照)が所定の通信状態にある場合を、車両50Dとスマホ11Dが所定の距離にある場合とし、車両50DのBT無線送受信部103(実際は車両ECU10DのBT無線送受信部103)とスマホ11DのBT無線送受信部124が所定の通信状態にない場合を、車両50Dとスマホ11Dが所定の距離にない場合とする。  Note that the BT radio transmission/
  車両50Dの不正使用検出部105(実際は車両ECU10Dの不正使用検出部105)が不正使用を検出した場合で、かつ車両50DのBT無線送受信部103(実際は車両ECU10DのBT無線送受信部103)とスマホ11DのBT無線送受信部124とが所定の通信状態にない場合、BT無線送受信部103は、車両50Dの識別情報と緊急情報を含むBluetoothのAdvertisingパケットを送信する。  When the unauthorized
  図48は、スマホ11Dの概略構成を示すブロック図である。なお、同図において、上述した第1実施形態の無線通信システム1の情報共有ユーザ端末(スマホ)12(図5参照)の各構成要素と共通する要素には同一の符号を付けている。スマホ11Dは、GPS受信部121、BT無線送受信部124、テレマ送受信部125、アドバタイズ判定部127、表示部136、アンテナ122,126,129及び制御部128Dを備える。なお、スマホ11Dは、アンテナ126,129をそれぞれ1本備えているが、それぞれ複数本備えていてもよい。  FIG. 48 is a block diagram showing a schematic configuration of the
  BT無線送受信部(第2無線通信回路)124は、Bluetooth規格(第1無線方式)に準拠した無線通信を行う。テレマ送受信部125は、Bluetooth規格の通信方式(第1無線方式)と異なるセルラー通信方式(第2無線方式)に準拠した無線通信を行う。表示部136は、緊急情報に対応する情報を表示する。制御部128Dは、装置各部を制御するものであり、図示せぬCPUと、CPUを動作させるためのプログラムを記憶したROMと、CPUの動作において使用されるRAMと、を有する。GPS受信部121、BT無線送受信部124、テレマ送受信部125、アドバタイズ判定部127及び表示部136は、制御部128Dの制御の下で動作する。なお、制御部128Dは、車両ECU10Dと通信を行った場合、自身を車両ECU10Dに登録するための情報を送信する。  The BT radio transmission/reception unit (second radio communication circuit) 124 performs radio communication conforming to the Bluetooth standard (first radio system). The telematics transmitting/receiving
  なお、車両ECU10Dとスマホ11Dとの間の通信にBluetoothを用いる以外に、WiFiやセルラーを用いてもよい。  In addition to using Bluetooth for communication between the
  次に、車両ECU10Dとスマホ11Dの動作について説明する。
  図49,50は、車両ECU10Dを主とする動作を示すシーケンス図である。図49において、車両ECU10Dは、車両50Dのメインスイッチ504からの車両操作要求を受けると、車両50Dの車両電源をOFFし、警戒モードに遷移する。車両ECU10Dは、警戒モードに遷移すると、車両ユーザ51のスマホ11Dと接続するため、接続認証とエリア検出を行う。この場合、スマホ11Dと接続しているが、車両50Dに近接していない状態にあるとする(即ち、スマホ11Dが近接検出エリア301内に存在していない状態にあるとする)。車両ECU10Dは、この状態で車両50Dのメインスイッチ504からの車両操作要求を受けると、盗難を検出し、車両ユーザ51のスマホ11Dに盗難を通知する。Next, operations of the
 49 and 50 are sequence diagrams mainly showing the operation of the
  図50において、車両ECU10Dは、車両50Dのメインスイッチ504からの車両操作要求を受けると、車両50Dの車両電源をOFFし、警戒モードに遷移する。車両ECU10Dは、警戒モードに遷移すると、車両ユーザ51のスマホ11Dと接続するため、接続認証とエリア検出を行う。この場合、スマホ11Dと接続できない状態にあるとする(即ち、スマホ11DがBLE通信可能エリア300内に存在していない状態にあるとする)。車両ECU10Dは、この状態で車両50Dのメインスイッチ504からの車両操作要求を受けると、盗難を検出し、緊急アドバタイズの送信を開始する。  In FIG. 50,
  図51は、車両ECU10Dの動作を説明するためのフローチャートである。なお、車両ECU10Dの動作は、制御部108Dの動作であるが、主語を制御部108Dとせず、車両ECU10Dとする。同図において、車両ECU10Dは、まず車両操作要求を受信したかどうか判定し(ステップS150)、車両操作要求を受信していないと判定した場合(ステップS150で「NO」と判定した場合)、車両操作要求を受信したと判定するまで本処理を繰り返す。車両ECU10Dは、車両操作要求を受信したと判定した場合(ステップS150で「YES」と判定した場合)、オーナー(車両ユーザ51)のスマホ11Dと接続しているかどうか判定する(ステップS151)。車両ECU10Dは、オーナーのスマホ11Dと接続していると判定した場合(ステップS151で「YES」と判定した場合)、近接検出エリア301にオーナーのスマホ11Dが存在するかどうか判定する(ステップS152)。車両ECU10Dは、近接検出エリア301にオーナーのスマホ11Dが存在すると判定した場合(ステップS152で「YES」と判定した場合)、盗難検出を解除し(ステップS153)、次いで車両操作禁止を解除する(ステップS154)。さらに、緊急アドバタイズの送信を停止する(ステップS155)。その後、ステップS150の処理に戻る。  FIG. 51 is a flow chart for explaining the operation of the
  一方、車両ECU10Dは、ステップS151の判定において、オーナーのスマホ11Dと接続していないと判定した場合(ステップS151で「NO」と判定した場合)、盗難を検出し(ステップS156)、次いで車両操作を禁止する(ステップS157)。さらに、緊急アドバタイズの送信を開始する(ステップS158)。その後、ステップS150の処理に戻る。  On the other hand, when the
  また、車両ECU10Dは、ステップS152の判定において、近接検出エリア301にオーナーのスマホ11Dが存在していないと判定した場合(ステップS152で「NO」と判定した場合)、盗難を検出し(ステップS159)、次いで車両操作を禁止する(ステップS160)。さらに、オーナーのスマホ11Dに盗難を通知する(ステップS161)。その後、ステップS150の処理に戻る。  When the
  図52は、スマホ11Dの動作を説明するためのフローチャートである。なお、スマホ11Dの動作は、制御部128Dの動作であるが、主語を制御部128Dとせず、スマホ11Dとする。同図において、スマホ11Dは、まず車両ECU10Dと非接続状態にする(ステップS170)。次いで、スマホ11Dは、BLE通信可能エリア300に自身(スマホ11D)が存在するかどうか判定する(ステップS171)。スマホ11Dは、BLE通信可能エリア300に自身が存在していないと判定した場合(ステップS171で「NO」と判定した場合)、ステップS170の処理に戻り、BLE通信可能エリア300に自身が存在していると判定した場合(ステップS171で「YES」と判定した場合)、車両ECU10Dと接続認証を実施する(ステップS172)。スマホ11Dは、車両ECU10Dと接続認証を実施した後、車両ECU10Dと接続状態にする(ステップS173)。次いで、スマホ11Dは、BLE通信可能エリア300に自身が存在するかどうか判定し(ステップS174)、BLE通信可能エリア300に自身が存在すると判定した場合(ステップS174で「YES」と判定した場合)、ステップS173の処理を継続する。スマホ11Dは、BLE通信可能エリア300に自身が存在しないと判定した場合(ステップS174で「NO」と判定した場合)、ステップS170の処理に戻る。  FIG. 52 is a flow chart for explaining the operation of the
  以上のように、第4実施形態の無線通信システム4は、車両50Dの不正使用を検出した場合で、かつスマホ11Dが車両50Dから所定の距離にある場合(即ち、スマホ11DがBLE通信可能エリア300にある場合)、車両50Dの車両ECU10Dからスマホ11Dへ緊急情報を送信し、車両50Dの不正使用を検出した場合で、かつスマホ11Dが車両50Dから所定の距離にない場合(即ち、スマホ11DがBLE通信可能エリア300にない場合)、車両50Dの車両ECU10Dから緊急情報を含むBluetoothのAdvertisingパケットを送信するので、スマホ11Dは、車両50Dから所定の距離にある場合、車両50Dから直接緊急情報を受信することができ、車両50Dから所定の距離にない場合、車両50DからのBluetoothのAdvertisingパケットをセルラー通信やWiFi等で間接的に受信することができる。  As described above, the
  したがって、車両50Dにおいてテレマティックスサービスを利用することなく、車両50Dの異常をスマホ11Dのユーザ51に通知することができる。また、テレマティックスサービスを利用するための通信回線やGPSの機能を持つ必要がないため、低コスト化を図ることができる。特に、車両51Dとスマホ11Dとの間の通信にBluetooth規格に準拠する通信方式を用いることで、車両51Dとスマホ11Dとの間の通信を安価に行うことができる。このように、低コスト、低消費電力で、盗難を含む車両50Dの異常を通知することができる。  Therefore, it is possible to notify the
  また、車両50Dの不正使用検出部105が不正使用を検出しない場合、BT無線送受信部103は、緊急情報を送信しないので、誤報を防止できる。
  また、車両50Dの不正使用検出部105に加速度センサ1051を用いたことで、車両50Dに与えられた衝撃を高感度で検出することができる。
  また、スマホ11Dの表示部136に緊急情報に対応する情報を表示するので、スマホ11Dのユーザ51は、緊急情報に対応する情報を視覚で確認することができる。Further, when the unauthorized
 Further, by using the
 Further, since the information corresponding to the emergency information is displayed on the
本開示の無線通信システム及び無線通信装置は、スクータ等の低価格な車両に有用である。 A wireless communication system and a wireless communication device according to the present disclosure are useful for low-cost vehicles such as scooters.
  1~4  無線通信システム
  10,10C,10D  車両ECU
  10A  第1車両ECU
  10B  第2車両ECU
  11  車両ユーザ端末
  11C,11D,11E  スマホ
  12,12B  情報共有ユーザ端末
  13  駐輪場Bluetoothユニット
  14,14B,14C  サーバ
  15  テレマ基地局
  16,16E  電子キー
  50,50C,50D  車両
  50A  第1車両
  50B  第2車両
  51  車両ユーザ(正規のオーナー)
  52  情報共有ユーザ
  53  クラウド
  101,101C  スイッチ検出部
  102  IG認証判定部
  103,124,131,161  BT無線送受信部
  104,121  GPS受信部
  105  不正使用検出部
  106  車速検出部
  107,123  時計
  108,108A,108B,108C,108D,128,128B,128C,128D,135,143,143B,164  制御部
  109  メモリ
  110,111,122,126,129,132,165  アンテナ
  125  テレマ送受信部
  127,134  アドバタイズ判定部
  133,141  ネットワーク通信部
  136  表示部
  137  認証部
  138  距離検出部
  142  通知情報判定部
  162  キースイッチ
  163  LED
  298  通常アドバタイズの通信範囲
  299  緊急アドバタイズの通信範囲
  300  BLE通信可能エリア(Bluetooth通信可能エリア)
  301  近接検出エリア
  501  グローブBOXスイッチ
  502  IGKEYスイッチ
  503  車速管理ECU
  504  メインスイッチ
  1051  加速度センサ1 to 4
 10A First vehicle ECU
 10B Second vehicle ECU
 11
 52
 298 Normal
 301
 504
| Application Number | Priority Date | Filing Date | Title | 
|---|---|---|---|
| JP2020030897AJP7122563B2 (en) | 2020-02-26 | 2020-02-26 | Wireless communication system and wireless communication device | 
| Application Number | Priority Date | Filing Date | Title | 
|---|---|---|---|
| JP2020030897AJP7122563B2 (en) | 2020-02-26 | 2020-02-26 | Wireless communication system and wireless communication device | 
| Publication Number | Publication Date | 
|---|---|
| JP2021136557A JP2021136557A (en) | 2021-09-13 | 
| JP7122563B2true JP7122563B2 (en) | 2022-08-22 | 
| Application Number | Title | Priority Date | Filing Date | 
|---|---|---|---|
| JP2020030897AActiveJP7122563B2 (en) | 2020-02-26 | 2020-02-26 | Wireless communication system and wireless communication device | 
| Country | Link | 
|---|---|
| JP (1) | JP7122563B2 (en) | 
| Publication number | Priority date | Publication date | Assignee | Title | 
|---|---|---|---|---|
| JP7529822B1 (en) | 2023-02-06 | 2024-08-06 | Necプラットフォームズ株式会社 | Device movement detection device, device movement detection method, and program | 
| Publication number | Priority date | Publication date | Assignee | Title | 
|---|---|---|---|---|
| JP2016024688A (en) | 2014-07-22 | 2016-02-08 | 大日本印刷株式会社 | Theft occurrence alarm device and theft occurrence alarm system | 
| US20170105101A1 (en) | 2015-10-08 | 2017-04-13 | Voxx International Corporation | System and method for micro-locating and communicating with a portable vehicle control device | 
| US20170142543A1 (en) | 2015-11-18 | 2017-05-18 | Discovery Limited | Tracking and theft-recovery system for mobile assets | 
| JP2019156084A (en) | 2018-03-12 | 2019-09-19 | オムロンオートモーティブエレクトロニクス株式会社 | Vehicle control device and vehicle control method | 
| Publication number | Priority date | Publication date | Assignee | Title | 
|---|---|---|---|---|
| JP2016024688A (en) | 2014-07-22 | 2016-02-08 | 大日本印刷株式会社 | Theft occurrence alarm device and theft occurrence alarm system | 
| US20170105101A1 (en) | 2015-10-08 | 2017-04-13 | Voxx International Corporation | System and method for micro-locating and communicating with a portable vehicle control device | 
| US20170142543A1 (en) | 2015-11-18 | 2017-05-18 | Discovery Limited | Tracking and theft-recovery system for mobile assets | 
| JP2019156084A (en) | 2018-03-12 | 2019-09-19 | オムロンオートモーティブエレクトロニクス株式会社 | Vehicle control device and vehicle control method | 
| Publication number | Publication date | 
|---|---|
| JP2021136557A (en) | 2021-09-13 | 
| Publication | Publication Date | Title | 
|---|---|---|
| AU2021221470B2 (en) | A tracking and theft-recovery system for mobile assets | |
| RU2659120C1 (en) | Wireless tire state control system | |
| CN104870266B (en) | The robbed or burgled warning system of tire | |
| US9821766B2 (en) | System and method for anti-theft and tracking of an automobile and automobile wheels | |
| US9821767B2 (en) | Key module | |
| US8742908B2 (en) | Location-based tracking | |
| US20150130641A1 (en) | Low-cost and low-power smart parking system utilizing a wireless mesh network | |
| US20150177362A1 (en) | Proximity tags for vehicles | |
| EP3206917B1 (en) | System for anti-theft and tracking of automobile wheels | |
| US11856497B2 (en) | Tracking and theft-recovery system for mobile assets | |
| JP7122563B2 (en) | Wireless communication system and wireless communication device | |
| JP7117569B2 (en) | Wireless communication system and wireless communication device | |
| CN104670368A (en) | Electric vehicle anti-theft system and alarm method thereof | |
| JP7065373B2 (en) | Wireless communication system and vehicle emergency information transfer method | |
| WO2022259364A1 (en) | Wireless communication system | |
| JP2021135706A (en) | Wireless communication system and wireless communication device | |
| JP2021158428A (en) | Radio communication system | |
| JP2024047195A (en) | In-vehicle equipment | |
| CN118953269A (en) | Crowdsourced tracking of vehicles with disabled positioning or communication systems | 
| Date | Code | Title | Description | 
|---|---|---|---|
| A621 | Written request for application examination | Free format text:JAPANESE INTERMEDIATE CODE: A621 Effective date:20201130 | |
| A977 | Report on retrieval | Free format text:JAPANESE INTERMEDIATE CODE: A971007 Effective date:20211222 | |
| A131 | Notification of reasons for refusal | Free format text:JAPANESE INTERMEDIATE CODE: A131 Effective date:20220104 | |
| A521 | Request for written amendment filed | Free format text:JAPANESE INTERMEDIATE CODE: A523 Effective date:20220228 | |
| A131 | Notification of reasons for refusal | Free format text:JAPANESE INTERMEDIATE CODE: A131 Effective date:20220517 | |
| A521 | Request for written amendment filed | Free format text:JAPANESE INTERMEDIATE CODE: A523 Effective date:20220525 | |
| TRDD | Decision of grant or rejection written | ||
| A01 | Written decision to grant a patent or to grant a registration (utility model) | Free format text:JAPANESE INTERMEDIATE CODE: A01 Effective date:20220607 | |
| A61 | First payment of annual fees (during grant procedure) | Free format text:JAPANESE INTERMEDIATE CODE: A61 Effective date:20220707 | |
| R150 | Certificate of patent or registration of utility model | Ref document number:7122563 Country of ref document:JP Free format text:JAPANESE INTERMEDIATE CODE: R150 | |
| S111 | Request for change of ownership or part of ownership | Free format text:JAPANESE INTERMEDIATE CODE: R313113 | |
| S531 | Written request for registration of change of domicile | Free format text:JAPANESE INTERMEDIATE CODE: R313531 | |
| SZ03 | Written request for cancellation of trust registration | Free format text:JAPANESE INTERMEDIATE CODE: R313Z03 | |
| R350 | Written notification of registration of transfer | Free format text:JAPANESE INTERMEDIATE CODE: R350 | |
| R350 | Written notification of registration of transfer | Free format text:JAPANESE INTERMEDIATE CODE: R350 |