Movatterモバイル変換


[0]ホーム

URL:


JP7049417B2 - Account management equipment and programs - Google Patents

Account management equipment and programs
Download PDF

Info

Publication number
JP7049417B2
JP7049417B2JP2020148341AJP2020148341AJP7049417B2JP 7049417 B2JP7049417 B2JP 7049417B2JP 2020148341 AJP2020148341 AJP 2020148341AJP 2020148341 AJP2020148341 AJP 2020148341AJP 7049417 B2JP7049417 B2JP 7049417B2
Authority
JP
Japan
Prior art keywords
loan
data
information
business operator
future
Prior art date
Legal status (The legal status is an assumption and is not a legal conclusion. Google has not performed a legal analysis and makes no representation as to the accuracy of the status listed.)
Active
Application number
JP2020148341A
Other languages
Japanese (ja)
Other versions
JP2020205085A (en
Inventor
浩一郎 岡本
Original Assignee
アルトア株式会社
Priority date (The priority date is an assumption and is not a legal conclusion. Google has not performed a legal analysis and makes no representation as to the accuracy of the date listed.)
Filing date
Publication date
Application filed by アルトア株式会社filedCriticalアルトア株式会社
Priority to JP2020148341ApriorityCriticalpatent/JP7049417B2/en
Publication of JP2020205085ApublicationCriticalpatent/JP2020205085A/en
Application grantedgrantedCritical
Publication of JP7049417B2publicationCriticalpatent/JP7049417B2/en
Activelegal-statusCriticalCurrent
Anticipated expirationlegal-statusCritical

Links

Images

Landscapes

Description

Translated fromJapanese

本発明は、口座管理装置及びプログラムに関する。 The present invention relates to an account management device and a program.

事業者の財務会計作業を支援する会計管理システムが知られていた(例えば、特許文献1参照)。
[先行技術文献]
[特許文献]
[特許文献1]特開2012-146158号公報
An accounting management system that supports the financial accounting work of a business operator has been known (see, for example, Patent Document 1).
[Prior Art Document]
[Patent Document]
[Patent Document 1] Japanese Unexamined Patent Publication No. 2012-146158

会計管理システムによって管理されているデータを用いて事業者の支援を可能にする技術を提供することが望ましい。 It is desirable to provide technology that enables support for businesses using data managed by accounting management systems.

本発明の第1の態様によれば、口座管理装置が提供される。口座管理装置は、事業者の口座残高を管理する口座管理部を備えてよい。口座管理装置は、事業者の会計に関する会計データ及び事業者による取引に関する取引データの少なくともいずれかに基づいて、事業者への融資の可否を判定する融資可否判定部を備えてよい。口座管理部は、融資可否判定部によって融資可と判定された場合に、事業者の口座残高に融資金額を加算してよい。 According to the first aspect of the present invention, an account management device is provided. The account management device may include an account management unit that manages the account balance of the business operator. The account management device may include a loan admissibility determination unit that determines whether or not to lend to a business operator based on at least one of accounting data relating to the accounting of the business operator and transaction data relating to transactions by the business operator. The account management unit may add the loan amount to the account balance of the business operator when the loan availability determination unit determines that the loan is available.

上記融資可否判定部は、上記会計データ及び上記取引データの少なくともいずれかに基づいて、上記事業者への融資可能額を決定してよく、上記口座管理部は、上記融資可否判定部によって決定された上記融資可能額を上記事業者の口座残高に加算してよい。上記口座管理装置は、上記事業者による取引先への支払額を含む支払要求を取得する支払要求取得部をさらに備えてよく、上記融資可否判定部は、上記支払額が上記事業者の口座残高よりも多い場合に、上記支払額と上記口座残高との差分以上の金額を融資可能であるか否かを判定してよい。 The loan approval / disapproval determination unit may determine the loanable amount to the business operator based on at least one of the accounting data and the transaction data, and the account management unit is determined by the loan approval / disapproval determination unit. The above loanable amount may be added to the account balance of the above business operator. The account management device may further include a payment request acquisition unit for acquiring a payment request including a payment amount to a business partner by the business operator, and the loan approval / disapproval determination unit may have the payment amount as the account balance of the business operator. If it is larger than the above, it may be determined whether or not it is possible to lend an amount equal to or greater than the difference between the payment amount and the account balance.

上記口座管理部は、上記支払額と上記口座残高との差分以上の融資金額を上記口座残高に加算してよく、上記口座管理装置は、上記支払要求に応じて、上記口座残高から上記支払額を上記取引先に支払う支払処理を実行する支払処理実行部をさらに備えてよい。上記口座管理装置は、上記支払処理実行部によって上記支払処理が実行された後、上記事業者の口座残高が上記融資金額よりも多い場合に、上記口座残高から上記融資金額を減算する融資返済実行部をさらに備えてよい。上記融資返済実行部は、上記事業者の口座残高が上記融資金額よりも少ない場合に、上記口座残高から前記融資金額の一部を減算してよい。上記口座管理装置は、上記支払処理実行部によって上記支払処理が実行された後、予め定められた金利ルールに従って決定した金利額を上記口座残高から減算する金利支払実行部をさらに備えてよい。 The account management unit may add a loan amount equal to or greater than the difference between the payment amount and the account balance to the account balance, and the account management device responds to the payment request from the account balance to the payment amount. It may be further provided with a payment processing execution unit that executes payment processing for paying the above-mentioned business partner. The account management device executes loan repayment by subtracting the loan amount from the account balance when the account balance of the business operator is larger than the loan amount after the payment process is executed by the payment processing execution unit. You may have more parts. The loan repayment execution unit may subtract a part of the loan amount from the account balance when the account balance of the business operator is smaller than the loan amount. The account management device may further include an interest rate payment execution unit that subtracts an interest rate amount determined according to a predetermined interest rate rule from the account balance after the payment processing is executed by the payment processing execution unit.

上記口座管理装置は、上記会計データ及び上記取引データの少なくともいずれかに基づいて、上記事業者の将来のキャッシュフローを示す将来CF情報を生成する将来CF情報生成部を備えてよく、上記融資可否判定部は、上記将来CF情報に基づいて、上記事業者への融資の可否を判定してよい。上記将来CF情報生成部は、上記会計データ及び上記取引データに基づいて、上記将来CF情報を生成してよい。上記口座管理装置は、上記会計データに基づいて、上記事業者の過去のキャッシュフローを示す過去CF情報を生成する過去CF情報生成部をさらに備えてよく、上記将来CF情報生成部は、上記過去CF情報に基づいて上記将来CF情報を生成してよい。上記口座管理装置は、上記事業者の銀行口座に対する入出金の履歴を含む金融機関データを取得する金融機関データ取得部をさらに備えてよく、上記将来CF情報生成部は、上記過去CF情報と上記金融機関データとの差異を用いて、上記将来CF情報を生成してよい。上記口座管理装置は、上記取引データを用いて上記事業者の取引相手を特定し、上記取引相手による他事業者との取引に関する取引関係データを取得する取引関係データ取得部をさらに備えてよく、上記将来CF情報生成部は、上記取引関係データ取得部によって取得された上記取引関係データにさらに基づいて、上記将来CF情報を生成してよい。上記口座管理装置は、上記事業者に対応する事業者群を特定する事業者群特定部をさらに備えてよく、上記将来CF情報生成部は、上記事業者群特定部によって特定された事業者群のキャッシュフローの特徴を示す特徴データに基づいて、上記将来CF情報を生成してよい。上記口座管理部は、1又は複数の銀行口座内において、複数の事業者の口座残高を管理してよい。 The account management device may include a future CF information generation unit that generates future CF information indicating the future cash flow of the business operator based on at least one of the accounting data and the transaction data, and the loan availability may be provided. The determination unit may determine whether or not to lend to the business operator based on the future CF information. The future CF information generation unit may generate the future CF information based on the accounting data and the transaction data. The account management device may further include a past CF information generation unit that generates past CF information indicating the past cash flow of the business operator based on the accounting data, and the future CF information generation unit may further include the past CF information generation unit. The CF information may be generated in the future based on the CF information. The account management device may further include a financial institution data acquisition unit that acquires financial institution data including a history of deposits and withdrawals to the bank account of the business operator, and the future CF information generation unit may include the past CF information and the above. The above-mentioned future CF information may be generated by using the difference from the financial institution data. The account management device may further include a transaction relationship data acquisition unit that identifies a transaction partner of the business operator using the transaction data and acquires transaction relationship data related to a transaction with another business operator by the transaction partner. The future CF information generation unit may further generate the future CF information based on the transaction relationship data acquired by the transaction relationship data acquisition unit. The account management device may further include a business group specifying unit that specifies a business group corresponding to the business, and the future CF information generation unit may include a business group specified by the business group specifying unit. The above-mentioned future CF information may be generated based on the characteristic data indicating the characteristics of the cash flow of. The account management unit may manage the account balances of a plurality of businesses in one or a plurality of bank accounts.

本発明の第3の態様によれば、コンピュータを、上記情報処理装置として機能させるためのプログラムが提供される。 According to the third aspect of the present invention, a program for making a computer function as the information processing apparatus is provided.

なお、上記の発明の概要は、本発明の必要な特徴の全てを列挙したものではない。また、これらの特徴群のサブコンビネーションもまた、発明となりうる。 The outline of the above invention does not list all the necessary features of the present invention. A subcombination of these feature groups can also be an invention.

融資判定装置100の通信環境の一例を概略的に示す。An example of the communication environment of theloan determination device 100 is schematically shown.過去CF情報182及び将来CF情報184の一例を概略的に示す。An example ofpast CF information 182 andfuture CF information 184 is shown schematically.融資申込データのデータ項目22の一例を概略的に示す。An example of thedata item 22 of the loan application data is shown schematically.仕訳データのデータ項目212の一例を概略的に示す。An example of thedata item 212 of the journal data is shown schematically.残高データのデータ項目214の一例を概略的に示す。An example of thedata item 214 of the balance data is shown schematically.請求データのデータ項目222の一例を概略的に示す。An example of thedata item 222 of the billing data is shown schematically.見積データのデータ項目224の一例を概略的に示す。An example of thedata item 224 of the estimation data is shown schematically.金融機関データのデータ項目232の一例を概略的に示す。An example ofdata item 232 of financial institution data is shown schematically.信用情報データのデータ項目242の一例を概略的に示す。An example of thedata item 242 of the credit information data is shown schematically.過去履歴データのデータ項目170の一例を概略的に示す。An example of thedata item 170 of the past history data is shown schematically.事業者群データのデータ項目252の一例を概略的に示す。An example of thedata item 252 of the business group data is shown schematically.取引関係データのデータ項目262の一例を概略的に示す。An example of thedata item 262 of the transaction relation data is shown schematically.融資判定装置100による処理の流れの一例を概略的に示す。An example of the processing flow by theloan determination device 100 is schematically shown.融資判定装置100による処理の流れの他の一例を概略的に示す。Another example of the processing flow by theloan determination device 100 is schematically shown.融資判定装置100の機能構成の一例を概略的に示す。An example of the functional configuration of theloan determination device 100 is schematically shown.口座管理装置300の機能構成の一例を概略的に示す。An example of the functional configuration of theaccount management device 300 is schematically shown.融資判定装置100又は口座管理装置300として機能するコンピュータ1000のハードウエア構成の一例を概略的に示す。An example of the hardware configuration of thecomputer 1000 functioning as theloan determination device 100 or theaccount management device 300 is schematically shown.

以下、発明の実施の形態を通じて本発明を説明するが、以下の実施形態は特許請求の範囲にかかる発明を限定するものではない。また、実施形態の中で説明されている特徴の組み合わせの全てが発明の解決手段に必須であるとは限らない。 Hereinafter, the present invention will be described through embodiments of the invention, but the following embodiments do not limit the invention within the scope of the claims. Also, not all combinations of features described in the embodiments are essential to the means of solving the invention.

図1は、融資判定装置100の通信環境の一例を概略的に示す。融資判定装置100は情報処理装置の一例である。 FIG. 1 schematically shows an example of the communication environment of theloan determination device 100. Theloan determination device 100 is an example of an information processing device.

本実施形態に係る融資判定装置100は、事業者に対する融資の可否を判定する。融資判定装置100は、例えば、事業者の通信端末20から、融資申込金額、融資希望日、及び融資期間等を含む融資申込データを受信して、当該事業者に対する融資の可否を判定する。融資判定装置100が融資の可否を判定する対象となる事業者を対象事業者と記載する場合がある。 Theloan determination device 100 according to the present embodiment determines whether or not a loan to a business operator is possible. Theloan determination device 100 receives, for example, loan application data including a loan application amount, a desired loan date, a loan period, and the like from acommunication terminal 20 of a business operator, and determines whether or not a loan can be made to the business operator. A business operator for which theloan determination device 100 determines whether or not a loan can be made may be described as a target business operator.

通信端末20は、通信機能を有していればどのような端末であってもよく、例えば、PC(Personal Computer)、タブレット端末、及びスマートフォン等の携帯電話等である。融資判定装置100は、ネットワーク10を介して通信端末20と通信する。ネットワーク10は、インターネットを含んでよい。ネットワーク10は、電話網を含んでよい。ネットワーク10は、専用網を含んでよい。 Thecommunication terminal 20 may be any terminal as long as it has a communication function, and is, for example, a PC (Personal Computer), a tablet terminal, a mobile phone such as a smartphone, and the like. Theloan determination device 100 communicates with thecommunication terminal 20 via thenetwork 10. Thenetwork 10 may include the Internet. Thenetwork 10 may include a telephone network. Thenetwork 10 may include a dedicated network.

融資判定装置100は、事業者の融資返済の蓋然性を示す蓋然性情報を生成して、当該蓋然性情報に基づいて事業者に対する融資の可否を判定してよい。蓋然性情報は、例えば、事業者の将来のキャッシュフロー(CFと記載する場合がある。)を示す将来CF情報である。また、蓋然性情報は、例えば、事業者の融資返済の蓋然性を示すスコアである。スコアは、事業者の融資返済の蓋然性の度合いを示すものであればどのようなものであってもよい。 Theloan determination device 100 may generate probability information indicating the probability of loan repayment of the business operator, and determine whether or not to lend to the business operator based on the probability information. The probability information is, for example, future CF information indicating the future cash flow of the business operator (may be referred to as CF). Further, the probability information is, for example, a score indicating the probability of loan repayment of the business operator. The score may be anything as long as it indicates the degree of probability of the loan repayment of the business operator.

融資判定装置100は、例えば、対象事業者の会計に関する会計データを用いて蓋然性情報を生成する。融資判定装置100は、複数の事業者の会計データを管理する会計データ管理装置210から、ネットワーク10を介して対象事業者の会計データを受信してよい。 Theloan determination device 100 generates probability information using, for example, accounting data related to the accounting of the target business operator. Theloan determination device 100 may receive the accounting data of the target business operator from the accountingdata management device 210 that manages the accounting data of a plurality of business operators via thenetwork 10.

会計データ管理装置210は、いわゆる会計ソフトウエア及びいわゆるクラウド型会計ソフトウエア並びにその関連ソフトウエアを用いて、事業者及び会計事務所等によって入力された会計データを管理してよい。会計データ管理装置210は、会計ソフトウエア、クラウド型会計ソフトウエア及びその関連ソフトウエアを介さずに、事業者及び会計事務所等から提供された会計データを管理してもよい。 The accountingdata management device 210 may manage accounting data input by a business operator, an accounting office, or the like by using so-called accounting software, so-called cloud-type accounting software, and related software thereof. The accountingdata management device 210 may manage accounting data provided by a business operator, an accounting office, or the like without going through accounting software, cloud-type accounting software, or related software thereof.

融資判定装置100は、自らが複数の事業者の会計データを管理してもよい。すなわち、融資判定装置100は、会計データ管理装置210の機能を有してもよい。 Theloan determination device 100 may manage the accounting data of a plurality of businesses by itself. That is, theloan determination device 100 may have the function of the accountingdata management device 210.

融資判定装置100は、例えば、対象事業者による取引に関する取引データを用いて蓋然性情報を生成する。融資判定装置100は、複数の事業者の取引データを管理する取引データ管理装置220から、ネットワーク10を介して対象事業者の取引データを受信してよい。 Theloan determination device 100 generates probability information using, for example, transaction data related to a transaction by a target business operator. Theloan determination device 100 may receive transaction data of a target business operator from a transactiondata management device 220 that manages transaction data of a plurality of business operators via anetwork 10.

取引データ管理装置220は、いわゆる販売管理ソフトウエア及びいわゆるクラウド型販売管理ソフトウエア、並びにその関連ソフトウエアを用いて事業者及び会計事務所等によって入力された取引データを管理してよい。取引データ管理装置220は、会計ソフトウエア及びクラウド型会計ソフトウエア、並びにその関連ソフトウエアを用いて事業者及び会計事務所等によって入力された取引データを管理してもよい。取引データ管理装置220は、販売管理ソフトウエア、クラウド型販売管理ソフトウエア、会計ソフトウエア、クラウド型会計ソフトウエア及びその関連ソフトウエアを介さずに、事業者及び会計事務所等から提供された取引データを管理してもよい。 The transactiondata management device 220 may manage transaction data input by a business operator, an accounting firm, or the like using so-called sales management software, so-called cloud-type sales management software, and related software thereof. The transactiondata management device 220 may manage transaction data input by a business operator, an accounting office, or the like using accounting software, cloud-based accounting software, and related software thereof. The transactiondata management device 220 is a transaction provided by a business operator, an accounting office, or the like without going through sales management software, cloud-type sales management software, accounting software, cloud-type accounting software, and related software. You may manage the data.

融資判定装置100は、自らが複数の事業者の取引データを管理してもよい。すなわち融資判定装置100は、取引データ管理装置220の機能を有してもよい。 Theloan determination device 100 may manage transaction data of a plurality of businesses by itself. That is, theloan determination device 100 may have the function of the transactiondata management device 220.

融資判定装置100は、例えば、対象事業者の金融機関口座に対する入出金の履歴を含む金融機関データを用いて蓋然性情報を生成する。金融機関口座とは、銀行及び信用金庫等の金融機関において管理される口座であってよい。融資判定装置100は、複数の事業者の金融機関データを管理する金融機関データ管理装置230から、ネットワーク10を介して対象事業者の金融機関データを受信してよい。 Theloan determination device 100 generates probability information using, for example, financial institution data including a history of deposits and withdrawals to and from the financial institution account of the target business operator. The financial institution account may be an account managed by a financial institution such as a bank or a credit union. Theloan determination device 100 may receive financial institution data of a target business operator from a financial institutiondata management device 230 that manages financial institution data of a plurality of business operators via anetwork 10.

金融機関データ管理装置230は、複数の金融機関から、複数の事業者の金融機関データを受信して管理してよい。金融機関データ管理装置230は、複数の事業者のそれぞれから、金融機関による証明を受けている金融機関データを受信して管理してもよい。 The financial institutiondata management device 230 may receive and manage financial institution data of a plurality of businesses from a plurality of financial institutions. The financial institutiondata management device 230 may receive and manage financial institution data certified by a financial institution from each of a plurality of businesses.

融資判定装置100は、自らが複数の事業者の金融機関データを管理してもよい。すなわち融資判定装置100は、金融機関データ管理装置230の機能を有してもよい。 Theloan determination device 100 may manage the financial institution data of a plurality of businesses by itself. That is, theloan determination device 100 may have the function of the financial institutiondata management device 230.

融資判定装置100は、例えば、第三者機関によって生成された対象事業者の信用情報データを用いて蓋然性情報を生成する。融資判定装置100は、複数の事業者の信用情報データを管理する信用情報管理装置240から、ネットワーク10を介して対象事業者の信用情報データを受信してよい。 Theloan determination device 100 generates probability information using, for example, the credit information data of the target business operator generated by a third party. Theloan determination device 100 may receive the credit information data of the target business operator from the creditinformation management device 240 that manages the credit information data of a plurality of business operators via thenetwork 10.

信用情報管理装置240は、例えば、複数の事業者の信用情報データを生成して提供するサービスを実施する業者によって管理される。当該業者による信用情報データの生成法は任意の方法であってよい。 The creditinformation management device 240 is managed by, for example, a company that implements a service that generates and provides credit information data of a plurality of businesses. The method of generating the credit information data by the trader may be any method.

融資判定装置100は、自らが複数の事業者の信用情報データを管理してもよい。すなわち融資判定装置100は、信用情報管理装置240の機能を有してもよい。 Theloan determination device 100 may manage the credit information data of a plurality of businesses by itself. That is, theloan determination device 100 may have the function of the creditinformation management device 240.

融資判定装置100は、例えば、対象事業者に対応する事業者群のCFの特徴を示す特徴データを用いて蓋然性情報を生成する。融資判定装置100は、複数の事業者群の特徴データを管理する事業者群データ管理装置250から、ネットワーク10を介して対象事業者に対応する事業者群の特徴データを受信してよい。 Theloan determination device 100 generates probability information using, for example, characteristic data indicating the characteristics of the CF of the business group corresponding to the target business. Theloan determination device 100 may receive the characteristic data of the business group corresponding to the target business from the business groupdata management device 250 that manages the characteristic data of the plurality of business groups via thenetwork 10.

事業者群とは、例えば、業種別の事業者のグループを示す。例えば、対象事業者が建築会社である場合、対象事業者に対応する事業者群は建築業であってよい。事業者群のCFの特徴は、例えば、建築業は3月に売り上げが向上する傾向にある等の業種毎のCFの変動の特徴であってよい。特徴データは、例えば、建築業の3月の売上を20%増にする等の、変動の内容を具体化したデータであってよい。 The business group means, for example, a group of business operators by industry. For example, when the target business operator is a construction company, the business group corresponding to the target business operator may be the construction industry. The characteristics of the CF of the business group may be the characteristics of the CF fluctuation for each industry, for example, the construction industry tends to improve sales in March. The feature data may be data that embodies the content of fluctuations, such as increasing sales in March of the construction industry by 20%.

なお、事業者群は、業種別の事業者のグループに限らず、他のグループを示してもよい。例えば、事業者群は、系列毎の事業者のグループであってもよい。また、事業者群は、事業者のグループ分けを担う担当者によって決定された事業者のグループであってもよい。 The business group is not limited to the group of business operators by industry, and may indicate other groups. For example, the business group may be a group of business operators for each series. Further, the business group may be a group of business operators determined by the person in charge of grouping the business operators.

事業者群データ管理装置250は、例えば、複数の事業者のそれぞれについて、各種データを分析することによって、特徴データを生成する。事業者群データ管理装置250は、例えば、複数の事業者の会計データを分析して、事業者群毎の特徴データを生成する。事業者群データ管理装置250は、独自に複数の事業者の会計データを収集してもよく、また、会計データ管理装置210から複数の事業者の会計データを受信してもよい。また、事業者群データ管理装置250は、特徴データの生成を担う担当者によって生成された特徴データを管理してもよい。 The business operator groupdata management device 250 generates characteristic data by analyzing various data for each of a plurality of business operators, for example. The business groupdata management device 250 analyzes, for example, the accounting data of a plurality of business operators and generates characteristic data for each business group. The business groupdata management device 250 may independently collect accounting data of a plurality of businesses, or may receive accounting data of a plurality of businesses from the accountingdata management device 210. Further, the business groupdata management device 250 may manage the feature data generated by the person in charge of generating the feature data.

融資判定装置100は、自らが複数の事業者群の特徴データを管理してもよい。すなわち融資判定装置100は、事業者群データ管理装置250の機能を有してもよい。 Theloan determination device 100 may manage the characteristic data of a plurality of business operators by itself. That is, theloan determination device 100 may have the function of the business groupdata management device 250.

融資判定装置100は、例えば、対象事業者の取引先による他事業者との取引に関する取引関係データを用いて蓋然性情報を生成する。取引関係データは、例えば、事業者間の回収実績及び支払実績等を含む。融資判定装置100は、複数の事業者間の取引関係データを管理する取引関係管理装置260から、ネットワーク10を介して、対象事業者の取引先の取引関係データを受信してよい。 Theloan determination device 100 generates probability information using, for example, transaction relationship data regarding transactions with other businesses by the business partners of the target business. The transaction-related data includes, for example, collection records and payment records between business operators. Theloan determination device 100 may receive the business relationship data of the business partner of the target business operator from the businessrelationship management device 260 that manages the business relationship data between a plurality of business operators via thenetwork 10.

取引関係管理装置260は、複数の事業者間の取引関係を管理する。そして、取引関係管理装置260は、複数の事業者のそれぞれについて、事業者とその取引先との取引に関する取引関係データを管理する。 The transactionrelationship management device 260 manages a transaction relationship between a plurality of businesses. Then, the transactionrelationship management device 260 manages the transaction relationship data regarding the transaction between the business operator and the business partner for each of the plurality of business operators.

複数の事業者間の取引関係は、例えば、ある事業者と、その事業者と取引関係にある事業者との対応付けを含む。取引関係管理装置260が管理する取引関係によれば、ある事業者と取引関係にある事業者を特定可能であり、また、さらにその取引関係にある事業者と取引関係にある事業者を特定可能である。このように、取引関係管理装置260が管理する取引関係によれば、ある事業者に対して、連鎖的に取引関係にある事業者を特定することができる。 A business relationship between a plurality of businesses includes, for example, a correspondence between a certain business and a business having a business relationship with the business. According to the business relationship managed by the businessrelationship management device 260, it is possible to identify a business operator having a business relationship with a certain business operator, and further to identify a business operator having a business relationship with the business operator having the business relationship. Is. As described above, according to the business relationship managed by the businessrelationship management device 260, it is possible to identify a business operator having a business relationship in a chain reaction with respect to a certain business operator.

融資判定装置100は、自らが複数の事業者間の取引関係及び取引関係データを管理してもよい。すなわち融資判定装置100は、取引関係管理装置260の機能を有してもよい。 Theloan determination device 100 may manage the transaction relationship and the transaction relationship data between a plurality of businesses by itself. That is, theloan determination device 100 may have the function of the transactionrelationship management device 260.

融資判定装置100は、上述した複数種類のデータを用いて蓋然性情報を生成してよい。融資判定装置100は、生成した蓋然性情報を用いて、対象事業者への融資の可否を判定してよい。このように、本実施形態に係る融資判定装置100によれば、複数種類のデータを用いて生成された蓋然性情報を用いて対象事業者への融資の可否が判定されるので、融資をしたものの回収できないような事態の発生確率を低減することができる。また、融資するか否かについて過度に厳しい基準を設ける必要をなくすことができ、本来であれば融資を受けられる事業者がなかなか融資を受けられないような事態の発生確率を低減することができる。 Theloan determination device 100 may generate probability information using the above-mentioned plurality of types of data. Theloan determination device 100 may determine whether or not to lend to the target business operator by using the generated probability information. As described above, according to theloan determination device 100 according to the present embodiment, it is determined whether or not the loan can be made to the target business operator by using the probability information generated by using a plurality of types of data. It is possible to reduce the probability of occurrence of a situation that cannot be collected. In addition, it is possible to eliminate the need to set excessively strict standards regarding whether or not to make a loan, and it is possible to reduce the probability of a situation in which a business operator who would otherwise be able to receive a loan cannot easily receive a loan. ..

口座管理装置300は、複数の事業者の口座を管理する。口座管理装置300は、事業者からの要求に応じて、当該事業者用の口座を開設してよい。口座管理装置300は、例えば、1又は複数の銀行口座内において、複数の事業者の口座残高を管理する。具体例として、口座管理装置300は、N個の銀行口座内において、N事業者又はNより多い数の事業者の口座残高を管理する。口座管理装置300は、口座管理装置300の管理者名義の銀行口座内において、複数の事業者の口座残高を管理してよい。 Theaccount management device 300 manages the accounts of a plurality of businesses. Theaccount management device 300 may open an account for the business operator in response to a request from the business operator. Theaccount management device 300 manages the account balances of a plurality of businesses in, for example, one or a plurality of bank accounts. As a specific example, theaccount management device 300 manages the account balances of N business operators or a larger number of business operators in N bank accounts. Theaccount management device 300 may manage the account balances of a plurality of businesses in a bank account in the name of the administrator of theaccount management device 300.

事業者は、口座管理装置300によって管理されている口座に対して銀行口座から入金したり、口座管理装置300によって管理されている口座から銀行口座に出金したりすることができる。また、事業者は、他の事業者との取引における決済口座として、口座管理装置300が管理している口座を指定できる。すなわち、事業者は、口座管理装置300によって管理されている口座を通じて、取引の対価として支払いを受けることができ、また、支払いをすることができる。 The business operator can deposit money from a bank account to an account managed by theaccount management device 300, or withdraw money from an account managed by theaccount management device 300 to a bank account. Further, the business operator can specify an account managed by theaccount management device 300 as a settlement account in a transaction with another business operator. That is, the business operator can receive payment as consideration for the transaction through the account managed by theaccount management device 300, and can also make payment.

口座管理装置300は、任意の取引プラットフォームと連携可能であってよく、口座管理装置300と任意の取引プラットフォームとの間では、取引内容を一意に特定することができる。口座管理装置300と任意の取引プラットフォームが連携する代わりに、口座管理装置300が取引プラットフォームを兼ねてもよい。 Theaccount management device 300 may be linked with any transaction platform, and the transaction content can be uniquely specified between theaccount management device 300 and any transaction platform. Instead of linking theaccount management device 300 with any trading platform, theaccount management device 300 may also serve as a trading platform.

口座管理装置300は、例えば、口座を管理している事業者から、他の事業者への支払要求を受け付けた場合に、口座残高が不足していなければ支払処理を実行する。口座管理装置300は、口座残高が不足している場合、事業者への融資可否を判定して、融資可と判定した場合、融資金額を口座残高に加算してよい。 Theaccount management device 300, for example, receives a payment request from a business operator that manages an account to another business operator, and executes payment processing if the account balance is not insufficient. When the account balance is insufficient, theaccount management device 300 determines whether or not to lend to the business operator, and when it is determined that the loan is possible, the loan amount may be added to the account balance.

口座管理装置300は、融資判定装置100と同様の手法を用いて、事業者の融資返済の蓋然性を示す蓋然性情報を生成し、当該蓋然性情報に基づいて事業者への融資の可否を判定してよい。例えば、口座管理装置300は、事業者から、不足分の金額に相当する融資申込金額を含む融資申込データを受信したときと同様に、当該事業者への融資の可否を判定する。 Theaccount management device 300 uses the same method as theloan determination device 100 to generate probability information indicating the probability of loan repayment of the business operator, and determines whether or not to lend to the business operator based on the probability information. good. For example, theaccount management device 300 determines whether or not to lend to the business operator in the same manner as when the loan application data including the loan application amount corresponding to the shortfall amount is received from the business operator.

口座管理装置300は、不足分以上の融資金額を口座残高に加算した後、支払処理を実行してよい。また、口座管理装置300は、支払処理実行後、予め定められた返済ルールに従って、融資返済処理を実行してよい。例えば、口座管理装置300は、事業者の口座残高が融資金額よりも多い場合に、融資金額の全額を返済する融資返済処理を実行する。また、例えば、口座管理装置300は、事業者の口座残高が融資金額よりも少ない場合に、融資金額の一部を返済する融資返済処理を実行する。また、口座管理装置300は、支払処理実行後、事業者の口座残高が融資金額よりも少ない場合に、予め定められた金利ルールに従って、金利支払処理を実行してよい。 Theaccount management device 300 may execute the payment process after adding the loan amount equal to or more than the shortage to the account balance. Further, theaccount management device 300 may execute the loan repayment process according to a predetermined repayment rule after the payment process is executed. For example, theaccount management device 300 executes a loan repayment process for repayment of the entire loan amount when the account balance of the business operator is larger than the loan amount. Further, for example, theaccount management device 300 executes a loan repayment process for repayment of a part of the loan amount when the account balance of the business operator is smaller than the loan amount. Further, theaccount management device 300 may execute the interest payment processing according to a predetermined interest rate rule when the account balance of the business operator is smaller than the loan amount after the payment processing is executed.

このように、口座管理装置300は複数の事業者の口座を管理し、事業者から他の事業者への支払要求を受け付けたときに、口座残高が不足している場合には、当該事業者への融資の可否を自動的に判定して、融資処理を実行する。これにより、従来よりも少ない手順で、事業者が融資を受けて取引を行うことができる仕組みを提供できる。 In this way, theaccount management device 300 manages the accounts of a plurality of businesses, and when the business receives a payment request from another business, if the account balance is insufficient, the business concerned. It automatically determines whether or not to lend to the loan and executes the loan processing. This makes it possible to provide a mechanism that allows a business operator to obtain a loan and conduct a transaction with fewer procedures than before.

図2は、過去CF情報182及び将来CF情報184の一例を概略的に示す。ここでは、融資判定装置100による過去CF情報182及び将来CF情報184の生成処理の流れの一例を説明する。 FIG. 2 schematically shows an example ofpast CF information 182 andfuture CF information 184. Here, an example of the flow of the generation processing of thepast CF information 182 and thefuture CF information 184 by theloan determination device 100 will be described.

融資判定装置100は、対象事業者の会計データに含まれる預貯金に関連する勘定科目のデータを用いて、対象事業者の過去のキャッシュフローを示す過去CF情報182を生成する。融資判定装置100は、過去CF情報182と対象事業者の金融機関データとを比較して、不整合がある場合には、金融機関データに合わせて過去CF情報を補正してよい。 Theloan determination device 100 generatespast CF information 182 indicating the past cash flow of the target business operator by using the data of the account items related to the deposits and savings included in the accounting data of the target business operator. Theloan determination device 100 may compare thepast CF information 182 with the financial institution data of the target business operator, and if there is an inconsistency, correct the past CF information according to the financial institution data.

融資判定装置100は、過去CF情報182に基づいて将来CF情報184を生成する。融資判定装置100は、例えば、複数年分の過去CF情報182から1年分の将来CF情報184を生成する。融資判定装置100は、複数年分の過去CF情報182を平均化したり、複数年分の過去CF情報182から予測したりすることによって、将来CF情報184を生成してよい。融資判定装置100は、例えば、過去CF情報182における売上高の発生パターン、仕入れの発生パターン、及び経費の発生パターン等を導出して、これらを用いて将来CF情報184を生成してよい。 Theloan determination device 100 generatesfuture CF information 184 based on thepast CF information 182. Theloan determination device 100 generates, for example, thepast CF information 182 for a plurality of years to thefuture CF information 184 for one year. Theloan determination device 100 may generatefuture CF information 184 by averaging thepast CF information 182 for a plurality of years or predicting from thepast CF information 182 for a plurality of years. Theloan determination device 100 may derive, for example, a sales generation pattern, a purchase generation pattern, an expense generation pattern, and the like in thepast CF information 182, and generatefuture CF information 184 using these.

融資判定装置100は、会計データに含まれる勘定科目のうち、将来の預貯金残高の増減に関する勘定科目のデータをさらに用いて将来CF情報184を生成してよい。融資判定装置100は、例えば、売上債権に関する勘定科目及び仕入債務に関する勘定科目を用いて、将来CF情報184を生成する。 Theloan determination device 100 may generatefuture CF information 184 by further using the data of the account items related to the increase / decrease of the deposit / savings balance in the future among the accounts items included in the accounting data. Theloan determination device 100 generatesCF information 184 in the future by using, for example, an account item related to trade receivables and an account item related to trade payables.

融資判定装置100は、対象事業者の取引データを用いて将来CF情報184を補正してよい。融資判定装置100は、例えば、取引データに含まれる見積データ及び受注データを用いて将来CF情報184を補正する。融資判定装置100は、見積データ及び受注データから、対象事業者の、見積りに対する受注の確率を示す受注率を算出し、当該受注率を用いて将来CF情報184を補正してよい。また、融資判定装置100は、例えば、取引データに含まれる請求データ及び見積データを用いて将来CF情報184を補正する。融資判定装置100は、請求データ及び見積データから、対象事業者の、見積りに対する受注の確率を示す受注率を算出し、当該受注率を用いて将来CF情報184を補正してよい。また、融資判定装置100は、請求データに基づいて、対象事業者の、請求に対する入金の確率を示す請求入金率を算出し、当該請求入金率を用いて将来CF情報184を補正してよい。 Theloan determination device 100 may correct theCF information 184 in the future by using the transaction data of the target business operator. Theloan determination device 100 corrects thefuture CF information 184 by using, for example, the estimation data and the order data included in the transaction data. Theloan determination device 100 may calculate the order rate indicating the probability of receiving an order for the estimate of the target business operator from the estimate data and the order data, and may correct thefuture CF information 184 using the order rate. Further, theloan determination device 100 corrects thefuture CF information 184 by using, for example, the billing data and the estimation data included in the transaction data. Theloan determination device 100 may calculate the order rate indicating the probability of receiving an order for the estimate of the target business operator from the billing data and the estimate data, and may correct thefuture CF information 184 using the order rate. Further, theloan determination device 100 may calculate a billing payment rate indicating the probability of payment for the bill of the target business operator based on the billing data, and may correct theCF information 184 in the future using the billing payment rate.

融資判定装置100は、対象事業者の取引相手を特定し、取引相手による他事業者との取引に関する取引関係データを用いて、将来CF情報184を補正してよい。融資判定装置100は、例えば、取引相手による他事業者への入金状況を用いて将来CF情報184を補正する。また、融資判定装置100は、例えば、取引相手の取引相手の属性情報を用いて将来CF情報184を補正する。属性情報とは、事業者の規模及び事業者の信用度等である。 Theloan determination device 100 may specify a trading partner of the target business operator and correct theCF information 184 in the future by using the transaction relationship data regarding the transaction with the other business partner by the trading partner. Theloan determination device 100 corrects theCF information 184 in the future by using, for example, the payment status to another business operator by the trading partner. Further, theloan determination device 100 corrects theCF information 184 in the future by using, for example, the attribute information of the trading partner of the trading partner. The attribute information is the scale of the business operator, the creditworthiness of the business operator, and the like.

融資判定装置100は、対象事業者に対応する事業者群の特徴データを用いて将来CF情報184を補正してよい。融資判定装置100は、例えば、特徴データが示す売上高の発生パターン、仕入れの発生パターン、及び経費の発生パターン等を用いて将来CF情報184を補正する。 Theloan determination device 100 may correct theCF information 184 in the future by using the characteristic data of the business group corresponding to the target business. Theloan determination device 100 corrects thefuture CF information 184 by using, for example, the sales generation pattern, the purchase generation pattern, the expense generation pattern, and the like indicated by the feature data.

上述したように、融資判定装置100は、複数種類のデータを用いて将来CF情報184を生成する。なお、複数種類のデータを用いて将来CF情報184を生成するとは、上述したように、複数種類のデータの一部を用いて将来CF情報184を生成し、生成した将来CF情報184を複数種類のデータの他のデータを用いて補正することによって、最終的な将来CF情報184を生成することを含む。 As described above, theloan determination device 100 will generateCF information 184 in the future using a plurality of types of data. In addition, to generatefuture CF information 184 using a plurality of types of data, as described above,future CF information 184 is generated using a part of a plurality of types of data, and a plurality of types of generatedfuture CF information 184 are generated. Includes generating finalfuture CF information 184 by correcting with other data of the data in.

融資判定装置100は、例えば、対象事業者から受信した融資申込データから融資の返済予定を作成し、将来CF情報184によって当該返済予定が実現可能か否かを判定することによって、融資の可否を判定してよい。融資判定装置100は、信用情報データをさらに用いて融資の可否を判定してもよい。また、融資判定装置100は、対象事業者に対する融資の履歴をさらに用いて融資の可否を判定してもよい。 Theloan determination device 100, for example, creates a loan repayment schedule from the loan application data received from the target business operator, and determines whether or not the repayment schedule is feasible based on theCF information 184 in the future, thereby determining whether or not the loan is possible. You may judge. Theloan determination device 100 may further use the credit information data to determine whether or not the loan is possible. Further, theloan determination device 100 may determine whether or not the loan is possible by further using the history of the loan to the target business operator.

図3は、融資申込データのデータ項目22の一例を概略的に示す。図3では、各データ項目22のデータ値の例もともに示す。 FIG. 3 schematically shows an example ofdata item 22 of the loan application data. FIG. 3 also shows an example of the data value of eachdata item 22.

融資申込データは、対象者を識別するための対象者IDを含んでよい。融資申込データは、対象者の名称を含む対象者情報を含んでよい。融資申込データは、融資申込額を含んでよい。融資申込データは、融資希望日を含んでよい。融資申込データは、融資期間を含んでよい。融資申込データは、これら以外のデータ項目を含んでもよい。 The loan application data may include a target person ID for identifying the target person. The loan application data may include target person information including the name of the target person. The loan application data may include the loan application amount. The loan application data may include the desired loan date. The loan application data may include the loan period. The loan application data may include data items other than these.

図4は、会計データに含まれる仕訳データのデータ項目212の一例を概略的に示す。図4では、各データ項目212のデータ値の例もともに示す。 FIG. 4 schematically shows an example ofdata item 212 of journal data included in accounting data. FIG. 4 also shows an example of the data value of eachdata item 212.

仕訳データは、仕訳データを識別するためのデータIDを含んでよい。仕訳データは、取引日付を含んでよい。仕訳データは、借方/貸方区分を含んでよい。仕訳データは、勘定科目を含んでよい。仕訳データは、金額を含んでよい。仕訳データは、これら以外のデータ項目を含んでもよい。 The journal data may include a data ID for identifying the journal data. The journal data may include the transaction date. Journal data may include debit / credit classifications. Journal data may include accounts. The journal data may include monetary amounts. The journal data may include data items other than these.

図5は、会計データに含まれる残高データのデータ項目214一例を概略的に示す。図5では、各データ項目214のデータ値の例もともに示す。 FIG. 5 schematically shows an example ofdata item 214 of balance data included in accounting data. FIG. 5 also shows an example of the data value of eachdata item 214.

残高データは、残高データを識別するためのデータIDを含んでよい。残高データは、残高日付を含んでよい。残高データは、借方/貸方区分を含んでよい。残高データは、勘定科目を含んでよい。残高データは、金額を含んでよい。残高データは、これら以外のデータ項目を含んでもよい。 The balance data may include a data ID for identifying the balance data. The balance data may include the balance date. Balance data may include debit / credit categories. Balanced data may include accounts. The balance data may include an amount. The balance data may include data items other than these.

図6は、取引データに含まれる請求データのデータ項目222の一例を概略的に示す。図6では、各データ項目222のデータ値の例もともに示す。 FIG. 6 schematically shows an example ofdata item 222 of billing data included in transaction data. FIG. 6 also shows an example of the data value of eachdata item 222.

請求データは、請求データを識別するためのデータIDを含んでよい。請求データは、取引日付を含んでよい。請求データは、請求先の名称を含む請求先情報を含んでよい。請求データは、請求内容を含んでよい。請求データは、金額を含んでよい。請求データは、これら以外のデータ項目を含んでもよい。 The billing data may include a data ID for identifying the billing data. The billing data may include the transaction date. The billing data may include billing information including the name of the billing party. The billing data may include billing content. Billing data may include monetary amounts. The billing data may include data items other than these.

図7は、取引データに含まれる見積データのデータ項目224の一例を概略的に示す。図7では、各データ項目224のデータ値の一例もともに示す。 FIG. 7 schematically shows an example ofdata item 224 of the quotation data included in the transaction data. FIG. 7 also shows an example of the data value of eachdata item 224.

見積データは、見積データを識別するためのデータIDを含んでよい。見積データは、見積日付を含んでよい。見積データは、見積先の名称を含む見積先情報を含んでよい。見積データは、見積内容を含んでよい。見積データは、金額を含んでよい。見積データは、これら以外のデータ項目を含んでもよい。 The quotation data may include a data ID for identifying the quotation data. The estimate data may include an estimate date. The quotation data may include quotation information including the name of the quotation. The quotation data may include the content of the quotation. Estimated data may include monetary amounts. The estimation data may include data items other than these.

図8は、金融機関データのデータ項目232の一例を概略的に示す。図8は、各データ項目232のデータ値の一例もともに示す。 FIG. 8 schematically shows an example ofdata item 232 of financial institution data. FIG. 8 also shows an example of the data value of eachdata item 232.

金融機関データは、口座を識別する口座IDを含んでよい。金融機関データは、残高日付を含んでよい。金融機関データは、入金/出金区分を含んでよい。金融機関データは、金額を含んでよい。金融機関データは、これら以外のデータ項目を含んでもよい。 The financial institution data may include an account ID that identifies the account. Financial institution data may include balance dates. Financial institution data may include deposit / withdrawal categories. Financial institution data may include monetary amounts. Financial institution data may include data items other than these.

図9は、信用情報データのデータ項目242の一例を概略的に示す。図9は、各データ項目242のデータ値の例もともに示す。 FIG. 9 schematically shows an example ofdata item 242 of credit information data. FIG. 9 also shows an example of the data value of eachdata item 242.

信用情報データは、信用情報データを識別するためのデータIDを含んでよい。信用情報データは、対象者の名称を含む対象者情報を含んでよい。信用情報データは、対象者の信用度を示す評点を含んでよい。信用情報データは、これら以外のデータ項目を含んでもよい。 The credit information data may include a data ID for identifying the credit information data. The credit information data may include subject information including the subject's name. The credit information data may include a score indicating the creditworthiness of the subject. The credit information data may include data items other than these.

図10は、過去履歴データのデータ項目170の一例を概略的に示す。図10は、各データ項目170のデータ値の例もともに示す。 FIG. 10 schematically shows an example ofdata item 170 of past history data. FIG. 10 also shows an example of the data value of eachdata item 170.

過去履歴データは、対象者を識別するための対象者IDを含んでよい。過去履歴データは、対象者の名称を含む対象者情報を含んでよい。過去履歴データは、融資金額を含んでよい。過去履歴データは、融資日を含んでよい。過去履歴データは、返済履歴を含んでよい。過去履歴データは、これら以外のデータ項目を含んでもよい。 The past history data may include a target person ID for identifying the target person. The past history data may include subject information including the name of the subject. The historical data may include the loan amount. The historical data may include the loan date. The past history data may include a repayment history. The past history data may include data items other than these.

図11は、事業者群の特徴データのデータ項目252の一例を概略的に示す。図11は、各データ項目252のデータ値の例もともに示す。 FIG. 11 schematically shows an example ofdata item 252 of the characteristic data of the business group. FIG. 11 also shows an example of the data value of eachdata item 252.

特徴データは、事業者群の業種を識別する業種IDを含んでよい。特徴データは、補正する対象の期間を示す補正期間を含んでよい。特徴データは、補正する対象の項目を示す補正対象を含んでよい。特徴データは、補正の内容を示す補正情報を含んでよい。図11に示すデータ値は、業種IDが00001の事業者群について、3月の売上高を20%増加させる例を示す。特徴データは、これら以外のデータ項目を含んでもよい。 The feature data may include an industry ID that identifies the industry of the business group. The feature data may include a correction period indicating a period to be corrected. The feature data may include a correction target indicating an item to be corrected. The feature data may include correction information indicating the content of the correction. The data values shown in FIG. 11 show an example of increasing the sales in March by 20% for the business group having the industry ID of 00001. The feature data may include data items other than these.

図12は、取引関係データのデータ項目262の一例を概略的に示す。図12は、各データ項目262のデータ値の一例もともに示す。 FIG. 12 schematically shows an example ofdata item 262 of transaction-related data. FIG. 12 also shows an example of the data value of eachdata item 262.

取引関係データは、事業者を識別する事業者IDを含んでよい。取引関係データは、事業者名を含んでよい。取引関係データは、事業者IDによって識別される事業者の取引先の事業者IDである取引先事業者IDを含んでよい。取引関係データは、取引先事業者名を含んでよい。取引関係データは、事業者IDによって識別される事業者による取引先事業者IDによって識別される事業者に対する回収履歴を含んでよい。回収履歴は、例えば、事業者IDによって識別される事業者による、取引先事業者IDによって識別される事業者に対する請求回数と、請求金額の回収数との割合である。取引関係データは、これら以外のデータ項目を含んでもよい。 The business relationship data may include a business ID that identifies the business. The business relationship data may include the name of the business operator. The business relationship data may include a business partner ID, which is a business ID of a business partner of a business identified by a business ID. The business relationship data may include the name of the business partner. The business relationship data may include a collection history for the business operator identified by the business partner business ID by the business operator identified by the business ID. The collection history is, for example, the ratio of the number of claims made by the business operator identified by the business operator ID to the business operator identified by the business partner business ID and the number of collections of the billed amount. The business relationship data may include data items other than these.

図13は、融資判定装置100による処理の流れの一例を概略的に示す。ここでは、融資判定装置100が、通信端末20から融資申込データを取得して、当該融資申込データに対する結果を通信端末20に通知するまでの流れの一例を説明する。図13に示す各処理は、融資判定装置100が備える制御部が主体となって実行される。 FIG. 13 schematically shows an example of the processing flow by theloan determination device 100. Here, an example of the flow from theloan determination device 100 to acquiring the loan application data from thecommunication terminal 20 and notifying thecommunication terminal 20 of the result for the loan application data will be described. Each process shown in FIG. 13 is mainly executed by the control unit included in theloan determination device 100.

ステップ(ステップをSと省略して記載する場合がある。)1302では、融資を希望する事業者が通信端末20によって送信した融資申込データを取得する。S1304では、対象事業者の会計データを取得する。S1306では、会計データに基づいて過去CF情報を生成する。 In the step (the step may be abbreviated as S) 1302, the loan application data transmitted by the business operator wishing to make a loan is acquired by thecommunication terminal 20. In S1304, the accounting data of the target business operator is acquired. In S1306, past CF information is generated based on the accounting data.

S1308では、各種データを取得する。融資判定装置100は、対象事業者の取引データ、金融機関データ、信用情報データ、及び過去履歴データと、対象事業者に対応する事業者群の特徴データと、対象事業者の取引先の取引関係データとのうちの少なくともいずれかを取得する。S1310では、S1306において生成した過去CF情報と、S1308において取得した各種データとを用いて将来CF情報を生成する。 In S1308, various data are acquired. Theloan determination device 100 includes transaction data, financial institution data, credit information data, and past history data of the target business operator, characteristic data of the business operator group corresponding to the target business operator, and a business relationship of the business partner of the target business operator. Get at least one of the data. In S1310, future CF information is generated by using the past CF information generated in S1306 and various data acquired in S1308.

S1312では、S1310において生成した将来CF情報に基づいて、対象事業者に対する融資可否を判定する。融資可と判定した場合、S1314に進み、融資否と判定した場合、S1316に進む。 In S1312, whether or not to lend to the target business operator is determined based on the future CF information generated in S1310. If it is determined that the loan is possible, the process proceeds to S1314, and if it is determined that the loan is not possible, the process proceeds to S1316.

S1314では、融資判定装置100が、対象事業者に対して融資手続を開始する。融資判定装置100は、例えば、S1302において取得した融資申込データに対して、融資可であることを通知する内容と、融資に必要となる情報を要求する内容とを含む融資手続データを通信端末20に送信する。融資手続データに含まれる融資に必要となる情報は、通常の融資申込に必要な情報よりも少ない情報であってよい。 In S1314, theloan determination device 100 starts the loan procedure for the target business operator. Theloan determination device 100 receives, for example, loan procedure data including the content of notifying that the loan is possible and the content of requesting the information necessary for the loan for the loan application data acquired in S1302. Send to. The information required for a loan included in the loan procedure data may be less than the information required for a normal loan application.

S1316では、対象事業者に対して融資否である旨を通知する。融資判定装置100は、例えば、S1302において取得した融資申込データに対して、融資否であること通知する通知データを通信端末20に送信する。 In S1316, the target business operator is notified that the loan is rejected. Theloan determination device 100 transmits, for example, notification data notifying that the loan is rejected to thecommunication terminal 20 with respect to the loan application data acquired in S1302.

図14は、融資判定装置100による処理の流れの他の一例を概略的に示す。ここでは、図13に示す例に対して、融資判定装置100が会計データを用いずに処理を実行する場合の流れを説明する。ここでは、図13に示す処理の流れと異なる点を主に説明する。 FIG. 14 schematically shows another example of the processing flow by theloan determination device 100. Here, the flow when theloan determination device 100 executes the process without using the accounting data will be described with respect to the example shown in FIG. Here, the points different from the processing flow shown in FIG. 13 will be mainly described.

S1402では、通信端末20によって送信された融資申込データを取得する。S1404では、対象事業者の取引データを取得する。S1406では、対象事業者の金融機関データを取得する。 In S1402, the loan application data transmitted by thecommunication terminal 20 is acquired. In S1404, the transaction data of the target business operator is acquired. In S1406, the financial institution data of the target business operator is acquired.

S1408では、S1406において取得した金融機関データを用いて、過去CF情報を生成する。S1410では、各種データを取得する。融資判定装置100は、対象事業者の信用情報データ及び過去履歴データと、対象事業者に対応する事業者群の特徴データと、対象事業者の取引先の取引関係データとのうちの少なくともいずれかを取得する。S1412では、S1408において生成した過去CF情報と、S1410において取得した各種データとを用いて将来CF情報を生成する。 In S1408, past CF information is generated using the financial institution data acquired in S1406. In S1410, various data are acquired. Theloan determination device 100 is at least one of the credit information data and past history data of the target business operator, the characteristic data of the business operator group corresponding to the target business operator, and the business relationship data of the business partner of the target business operator. To get. In S1412, future CF information is generated by using the past CF information generated in S1408 and various data acquired in S1410.

S1414では、S1412において生成した将来CF情報に基づいて、対象事業者に対する融資可否を判定する。融資可と判定した場合、S1416に進み、融資否と判定した場合、S1418に進む。S1416では、対象事業者に対して融資手続を開始する。S1418では、対象事業者に対して融資否である旨を通知する。 In S1414, whether or not to lend to the target business operator is determined based on the future CF information generated in S1412. If it is determined that the loan is possible, the process proceeds to S1416, and if it is determined that the loan is not possible, the process proceeds to S1418. In S1416, the loan procedure is started for the target business operator. In S1418, the target business operator is notified that the loan is rejected.

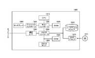
図15は、融資判定装置100の機能構成の一例を概略的に示す。融資判定装置100は、申込データ取得部102、会計データ取得部104、金融機関データ取得部106、取引データ取得部108、受注率算出部110、請求入金率算出部112、取引関係データ取得部114、事業者群特定部116、特徴データ取得部118、過去CF情報生成部120、蓋然性情報生成部130、要求データ送信部142、融資可否判定部144、信用度取得部146、融資処理実行部148、融資後管理部150、返済情報生成部152、及び返済情報送信部154を備える。なお、融資判定装置100がこれらのすべての構成を備えることは必須とは限らない。 FIG. 15 schematically shows an example of the functional configuration of theloan determination device 100. Theloan determination device 100 includes an applicationdata acquisition unit 102, an accountingdata acquisition unit 104, a financial institutiondata acquisition unit 106, a transactiondata acquisition unit 108, an orderrate calculation unit 110, a billing paymentrate calculation unit 112, and a transaction-relateddata acquisition unit 114. , Businessgroup identification unit 116, featuredata acquisition unit 118, past CFinformation generation unit 120, probabilityinformation generation unit 130, requestdata transmission unit 142, loanavailability determination unit 144, creditrating acquisition unit 146, loanprocessing execution unit 148, It includes apost-loan management unit 150, a repaymentinformation generation unit 152, and a repaymentinformation transmission unit 154. It is not always essential that theloan determination device 100 has all of these configurations.

申込データ取得部102は、融資申込データを取得する。申込データ取得部102は、通信端末20から融資申込データを受信してよい。申込データ取得部102は、通信端末20から受信して格納していた融資申込データを読み出してもよい。 The applicationdata acquisition unit 102 acquires loan application data. The applicationdata acquisition unit 102 may receive loan application data from thecommunication terminal 20. The applicationdata acquisition unit 102 may read out the loan application data received and stored from thecommunication terminal 20.

会計データ取得部104は、対象事業者の会計データを取得する。会計データ取得部104は、例えば、申込データ取得部102が取得した融資申込データによって対象事業者を特定し、当該対象事業者の会計データを会計データ管理装置210に要求して、会計データ管理装置210から会計データを受信する。また、融資判定装置100が複数の事業者の会計データを管理している場合、会計データ取得部104は、管理下の会計データから対象事業者の会計データを読み出してよい。また、会計データ取得部104は、融資申込データを送信した通信端末20から会計データを受信してもよい。 The accountingdata acquisition unit 104 acquires the accounting data of the target business operator. The accountingdata acquisition unit 104 specifies, for example, the target business operator by the loan application data acquired by the applicationdata acquisition unit 102, requests the accounting data of the target business operator from the accountingdata management device 210, and requests the accountingdata management device 210 to perform the accounting data management device. Receive accounting data from 210. Further, when theloan determination device 100 manages the accounting data of a plurality of business operators, the accountingdata acquisition unit 104 may read the accounting data of the target business operator from the accounting data under the control. Further, the accountingdata acquisition unit 104 may receive accounting data from thecommunication terminal 20 that has transmitted the loan application data.

金融機関データ取得部106は、対象事業者の金融機関データを取得する。金融機関データ取得部106は、例えば、申込データ取得部102が取得した融資申込データによって対象事業者を特定し、当該対象事業者の金融機関データを金融機関データ管理装置230に要求して、金融機関データ管理装置230から金融機関データを受信する。また、融資判定装置100が複数の事業者の金融機関データを管理している場合、金融機関データ取得部106は、管理下の金融機関データから対象事業者の金融機関データを読み出してよい。また、金融機関データ取得部106は、融資申込データを送信した通信端末20から、金融機関による証明を受けている金融機関データを受信してもよい。 The financial institutiondata acquisition unit 106 acquires the financial institution data of the target business operator. The financial institutiondata acquisition unit 106 specifies, for example, a target business operator by the loan application data acquired by the applicationdata acquisition unit 102, requests the financial institution data of the target business operator from the financial institutiondata management device 230, and finances. Receives financial institution data from the institutionaldata management device 230. Further, when theloan determination device 100 manages the financial institution data of a plurality of businesses, the financial institutiondata acquisition unit 106 may read the financial institution data of the target business from the managed financial institution data. Further, the financial institutiondata acquisition unit 106 may receive the financial institution data certified by the financial institution from thecommunication terminal 20 that has transmitted the loan application data.

取引データ取得部108は、対象事業者の取引データを取得する。取引データ取得部108は、例えば、申込データ取得部102が取得した融資申込データによって対象事業者を特定し、当該対象事業者の取引データを取引データ管理装置220に要求して、取引データ管理装置220から取引データを受信する。また、融資判定装置100が複数の事業者の取引データを管理している場合、取引データ取得部108は、管理下の取引データから対象事業者の取引データを読み出してよい。また、取引データ取得部108は、融資申込データを送信した通信端末20から、取引データを受信してもよい。取引データ取得部108は、取引データとして、見積データを取得してよい。また、取引データ取得部108は、取引データとして、請求データを取得してよい。また、取引データ取得部108は、取引データとして、受注データを取得してもよい。受注データは、他の事業者等から受注したことを示すデータであってよい。例えば、受注データは、見積データが示す見積りに対して受注したことを示す。受注データは、受注データを識別するためのデータIDを含んでよい。受注データは、受注日付を含んでよい。受注データは、発注元の名称を含む発注元情報を含んでよい。受注データは、受注内容を含んでよい。受注データは、金額を含んでよい。受注データは、これら以外のデータ項目を含んでもよい。 The transactiondata acquisition unit 108 acquires the transaction data of the target business operator. The transactiondata acquisition unit 108 identifies the target business operator based on the loan application data acquired by the applicationdata acquisition unit 102, requests the transaction data of the target business operator from the transactiondata management device 220, and requests the transactiondata management device 220. Receive transaction data from 220. Further, when theloan determination device 100 manages the transaction data of a plurality of businesses, the transactiondata acquisition unit 108 may read the transaction data of the target business from the managed transaction data. Further, the transactiondata acquisition unit 108 may receive transaction data from thecommunication terminal 20 that has transmitted the loan application data. The transactiondata acquisition unit 108 may acquire estimation data as transaction data. Further, the transactiondata acquisition unit 108 may acquire billing data as transaction data. Further, the transactiondata acquisition unit 108 may acquire order data as transaction data. The order data may be data indicating that an order has been received from another business operator or the like. For example, the order data indicates that the order has been received for the quotation indicated by the quotation data. The order data may include a data ID for identifying the order data. The order data may include the order date. The order data may include ordering party information including the name of the ordering party. The order data may include the contents of the order. The order data may include the amount. The order data may include data items other than these.

受注率算出部110は、取引データ取得部108が取得した取引データに基づいて、対象事業者の受注率を算出する。受注率算出部110は、取引データに含まれる見積データ及び受注データを用いて受注率を算出してよい。例えば、受注率算出部110は、見積りの回数を、見積りに対応する受注の回数で除算することによって受注率を算出する。受注率算出部110は、取引データに含まれる見積データ及び請求データを用いて受注率を算出してもよい。例えば、受注率算出部110は、見積りの回数を、見積りに対応する請求の回数で除算することによって受注率を算出する。受注率算出部110は、例えば、見積データに対応する受注データがない場合に、見積データ及び請求データを用いて受注率を算出してよい。 The orderrate calculation unit 110 calculates the order rate of the target business operator based on the transaction data acquired by the transactiondata acquisition unit 108. The orderrate calculation unit 110 may calculate the order rate using the estimate data and the order data included in the transaction data. For example, the orderrate calculation unit 110 calculates the order rate by dividing the number of quotations by the number of orders corresponding to the quotations. The orderrate calculation unit 110 may calculate the order rate using the estimation data and the billing data included in the transaction data. For example, the orderrate calculation unit 110 calculates the order rate by dividing the number of quotations by the number of invoices corresponding to the quotations. The orderrate calculation unit 110 may calculate the order rate using the estimate data and the billing data, for example, when there is no order data corresponding to the estimate data.

取引データは、見積りと受注の対応関係を含んでよく、受注率算出部110は、当該対応関係を参照することによって、見積りに対応する受注の回数を特定してよい。取引データが見積りと受注の対応関係を含まない場合、受注率算出部110は、見積データ中の見積日付と受注データ中の受注日付との関係と、見積データ中の見積先、見積内容、及び金額と、受注データ中の発注元、受注内容、及び金額との一致とを確認することによって、見積りに対応する受注を特定してよい。取引データは、見積りと請求の対応関係を含んでよく、受注率算出部110は、当該対応関係を参照することによって、見積りに対応する請求の回数を特定してよい。取引データが見積りと請求の対応関係を含まない場合、受注率算出部110は、見積データ中の見積日付と請求データ中の請求日付との関係と、見積データ中の見積先、見積内容、及び金額と、請求データ中の請求先、請求内容、及び金額との一致とを確認することによって、見積りに対応する請求を特定してよい。 The transaction data may include a correspondence between the quotation and the order, and the orderrate calculation unit 110 may specify the number of orders corresponding to the quotation by referring to the correspondence. When the transaction data does not include the correspondence between the quotation and the order, the orderrate calculation unit 110 determines the relationship between the quotation date in the quotation data and the order date in the order data, and the quotation destination, the quotation content, and the quotation content in the quotation data. By confirming the match between the amount and the ordering source, order details, and amount in the order data, the order corresponding to the quotation may be specified. The transaction data may include a correspondence between the quotation and the bill, and the orderrate calculation unit 110 may specify the number of bills corresponding to the quotation by referring to the correspondence. When the transaction data does not include the correspondence between the quotation and the billing, the orderrate calculation unit 110 determines the relationship between the quotation date in the quotation data and the billing date in the billing data, and the quotation destination, the quotation content, and the quotation content in the quotation data. By confirming the match between the amount and the billing address, billing content, and amount in the billing data, the billing corresponding to the estimate may be specified.

請求入金率算出部112は、取引データ取得部108が取得した取引データに基づいて、対象事業者の請求入金率を算出する。請求入金率算出部112は、取引データに含まれる請求データを用いて請求入金率を算出してよい。例えば、請求入金率算出部112は、請求の回数を、入金が行われた請求の回数で除算することによって請求入金率を算出する。 The billing paymentrate calculation unit 112 calculates the billing payment rate of the target business operator based on the transaction data acquired by the transactiondata acquisition unit 108. The billing depositrate calculation unit 112 may calculate the billing deposit rate using the billing data included in the transaction data. For example, the billing depositrate calculation unit 112 calculates the billing deposit rate by dividing the number of billing by the number of billing made.

請求データは、入金が行われたか否かの情報を含んでよく、請求入金率算出部112は、当該情報を参照することによって入金が行われた請求の回数を特定してよい。請求データが当該情報を含まない場合、請求入金率算出部112は、例えば、金融機関データ取得部106が取得した金融機関データを参照することによって、請求に対して入金が行われたか否かを特定してよい。 The billing data may include information on whether or not a deposit has been made, and the billing depositrate calculation unit 112 may specify the number of bills for which a deposit has been made by referring to the information. When the billing data does not include the information, the billing paymentrate calculation unit 112 determines whether or not the billing has been made by referring to the financial institution data acquired by the financial institutiondata acquisition unit 106, for example. May be specified.

取引関係データ取得部114は、対象事業者の取引相手の取引関係データを取得する。取引関係データ取得部114は、取引データ取得部108が取得した取引データを用いて対象事業者の取引相手を特定し、特定した取引相手の取引関係データを取引関係管理装置260に要求して、取引関係管理装置260から取引関係データを受信してよい。また、融資判定装置100が複数の事業者間の取引関係及び取引関係データを管理している場合、取引関係データ取得部114は、管理下の取引関係データから、対象事業者の取引相手の取引関係データを読み出してよい。 The transaction relationshipdata acquisition unit 114 acquires the transaction relationship data of the transaction partner of the target business operator. The transaction relationshipdata acquisition unit 114 identifies the transaction partner of the target business operator using the transaction data acquired by the transactiondata acquisition unit 108, and requests the transaction relationship data of the specified transaction partner from the transactionrelationship management device 260. Transaction relationship data may be received from the transactionrelationship management device 260. Further, when theloan determination device 100 manages the transaction relationship and the transaction relationship data between a plurality of businesses, the transaction relationshipdata acquisition unit 114 uses the managed transaction relationship data to determine the transaction of the transaction partner of the target business operator. The related data may be read out.

事業者群特定部116は、対象事業者に対応する事業者群を特定する。事業者群特定部116は、例えば、複数の事業者群が登録されているリストを参照して、当該リストに含まれる事業者群のうち、対象事業者に対応する事業者群を選択する。また、事業者群特定部116は、複数の事業者群のそれぞれに対応する事業者が登録されているリストを参照して、対象事業者に対応する事業者群を特定してもよい。 The businessgroup identification unit 116 identifies the business group corresponding to the target business. For example, the businessgroup identification unit 116 refers to a list in which a plurality of business groups are registered, and selects a business group corresponding to the target business from the business groups included in the list. Further, the businessgroup specifying unit 116 may specify the business group corresponding to the target business by referring to the list in which the business corresponding to each of the plurality of business groups is registered.

事業者群特定部116は、対象事業者の業種情報及び規模情報等を用いて、対象事業者に対応する事業者群を特定してもよい。事業者群特定部116は、対象事業者の業種情報及び規模情報を、通信端末20から受信してよい。また、事業者群特定部116は、複数の事業者の業種情報及び規模情報を含む事業者情報を予め格納しておき、当該事業者情報から、対象事業者の業種情報及び規模情報を取得してもよい。 The businessgroup identification unit 116 may specify the business group corresponding to the target business by using the industry information, the scale information, and the like of the target business. The businessgroup identification unit 116 may receive the industry information and the scale information of the target business from thecommunication terminal 20. In addition, the businessgroup identification unit 116 stores business information including business information and scale information of a plurality of business in advance, and acquires business information and scale information of the target business from the business information. You may.

特徴データ取得部118は、事業者群特定部116によって特定された事業者群の特徴データを取得する。特徴データ取得部118は、例えば、事業者群特定部116によって特定された事業者群の特徴データを事業者群データ管理装置250に要求して、事業者群データ管理装置250から特徴データを受信する。また、融資判定装置100が複数の事業者群の特徴データを管理している場合、特徴データ取得部118は、管理下の特徴データから、事業者群特定部116によって特定された事業者群の特徴データを読み出してよい。 The featuredata acquisition unit 118 acquires the feature data of the business group specified by the businessgroup identification unit 116. The featuredata acquisition unit 118 requests, for example, the feature data of the business group specified by the businessgroup identification unit 116 from the business groupdata management device 250, and receives the feature data from the business groupdata management device 250. do. Further, when theloan determination device 100 manages the characteristic data of a plurality of business operators, the characteristicdata acquisition unit 118 is the business operator group specified by the business operatorgroup identification unit 116 from the managed characteristic data. The feature data may be read out.

過去CF情報生成部120は、対象事業者の過去CF情報を生成する。過去CF情報生成部120は、例えば、会計データ取得部104によって取得された会計データに基づいて、過去CF情報を生成する。過去CF情報生成部120は、会計データに含まれる預貯金に関連する勘定科目のデータを用いて、基準日の現預金残高を起点として異動明細を加減算していくことによって、予め定められた期間毎の現預金残高を示す過去CF情報を生成してよい。例えば、過去CF情報生成部120は、年頭の現預金残高を起点として、移動明細を加減算していくことによって、日毎、週毎又は月毎の現預金残高を示す過去CF情報を生成する。なお、ここでいう現預金残高は、現金と預貯金の合計を示すが、現金が0の場合も含んでよい。すなわち、現預金残高は、預貯金残高のみを示してもよい。 The past CFinformation generation unit 120 generates past CF information of the target business operator. The past CFinformation generation unit 120 generates past CF information, for example, based on the accounting data acquired by the accountingdata acquisition unit 104. The past CFinformation generation unit 120 uses the data of the account items related to deposits and savings included in the accounting data, and adds or subtracts the transfer details starting from the cash and deposit balance on the record date, for each predetermined period. You may generate past CF information indicating the cash and deposit balance of. For example, the past CFinformation generation unit 120 generates past CF information indicating the daily, weekly, or monthly cash and deposit balances by adding and subtracting movement details starting from the cash and deposit balance at the beginning of the year. The cash and deposit balance referred to here indicates the total of cash and deposits and savings, but may include the case where cash is 0. That is, the cash and deposit balance may indicate only the deposit and savings balance.

過去CF情報生成部120は、金融機関データ取得部106によって取得された金融機関データに基づいて過去CF情報を生成してもよい。過去CF情報生成部120は、例えば、会計データ取得部104が会計データを取得できなかった場合に、金融機関データ取得部106が取得した金融機関データを用いて過去CF情報を生成する。過去CF情報生成部120は、例えば、基準日の現預金残高を起点として、金融機関データに含まれる入金及び出勤に基づいて異動明細を加減算していくことによって、予め定められた期間毎の現預金残高を示す過去CF情報を生成する。 The past CFinformation generation unit 120 may generate past CF information based on the financial institution data acquired by the financial institutiondata acquisition unit 106. The past CFinformation generation unit 120 generates past CF information using the financial institution data acquired by the financial institutiondata acquisition unit 106, for example, when the accountingdata acquisition unit 104 cannot acquire the accounting data. The past CFinformation generation unit 120, for example, starts from the cash and deposit balance on the record date, and adds or subtracts the transfer details based on the deposit and attendance included in the financial institution data, so that the current cash and deposits are present for each predetermined period. Generates past CF information indicating the deposit balance.

蓋然性情報生成部130は、対象事業者の融資返済の蓋然性を示す蓋然性情報を生成する。蓋然性情報生成部130は、将来CF情報生成部132、スコア生成部134、及び整合性確認部136を有する。なお、蓋然性情報生成部130がこれらのすべての構成を有することは必須とは限らない。 The probabilityinformation generation unit 130 generates probability information indicating the probability of loan repayment of the target business operator. The probabilityinformation generation unit 130 has a future CFinformation generation unit 132, ascore generation unit 134, and aconsistency confirmation unit 136. It is not always essential that the probabilityinformation generation unit 130 has all of these configurations.

将来CF情報生成部132は、対象事業者の将来CF情報を生成する。将来CF情報生成部132は、会計データ、金融機関データ、取引データ、特徴データ、取引関係データ、過去CF情報、受注率、及び請求入金率を用いて将来CF情報を生成してよい。将来CF情報生成部132は、これらのすべてを用いて将来CF情報を生成してもよく、これらの一部を用いて将来CF情報を生成してもよい。 The future CFinformation generation unit 132 generates future CF information of the target business operator. The future CFinformation generation unit 132 may generate future CF information using accounting data, financial institution data, transaction data, feature data, transaction relationship data, past CF information, order rate, and billing / payment rate. The future CFinformation generation unit 132 may generate future CF information by using all of them, or may generate future CF information by using a part of them.

将来CF情報生成部132は、例えば、過去CF情報に基づいて将来CF情報を生成する。将来CF情報生成部132は、複数年分の将来CF情報を平均化したり、複数年分の過去CF情報から予測したりすることによって、将来CF情報を生成してよい。将来CF情報生成部132は、例えば、過去CF情報における売上高の発生パターン、仕入れの発生パターン、及び経費の発生パターン等を導出して、これらの少なくとも1つを用いて将来CF情報を生成する。 The future CFinformation generation unit 132 generates future CF information based on, for example, past CF information. The future CFinformation generation unit 132 may generate future CF information by averaging the future CF information for a plurality of years or predicting from the past CF information for a plurality of years. The future CFinformation generation unit 132 derives, for example, a sales generation pattern, a purchase generation pattern, an expense generation pattern, etc. in the past CF information, and generates future CF information using at least one of these. ..

将来CF情報生成部132は、会計データに含まれる勘定科目のうち、将来の預貯金残高の増減に関する勘定科目のデータを用いて将来CF情報を生成してよい。例えば、融資判定装置100は、売上債権に関する勘定科目及び仕入債務に関する勘定科目を用いて、将来CF情報を生成する。 The future CFinformation generation unit 132 may generate future CF information by using the data of the account items related to the increase / decrease in the future deposit / savings balance among the accounts included in the accounting data. For example, theloan determination device 100 generates CF information in the future by using an account item related to trade receivables and an account item related to trade payables.

具体例として、将来CF情報生成部132は、売掛金のデータを用いて将来CF情報を生成する。将来CF情報生成部132は、例えば、売掛金の回収予定日に現預金が増加するものとして、将来CF情報を生成する。 As a specific example, the future CFinformation generation unit 132 generates future CF information using the data of accounts receivable. The future CFinformation generation unit 132 generates future CF information, for example, assuming that cash and deposits will increase on the scheduled collection date of accounts receivable.

また、将来CF情報生成部132は、買掛金のデータを用いて将来CF情報を生成してよい。将来CF情報生成部132は、例えば、買掛金の支払い予定日に現預金が減少するものとして、将来CF情報を生成する。 Further, the future CFinformation generation unit 132 may generate future CF information using the accounts payable data. The future CFinformation generation unit 132 generates future CF information, for example, assuming that cash and deposits decrease on the scheduled payment date of accounts payable.

また、将来CF情報生成部132は、未払金のデータを用いて将来CF情報を生成してよい。将来CF情報生成部132は、例えば、未払金の支払い予定日に現預金が減少するものとして、将来CF情報を生成する。 Further, the future CFinformation generation unit 132 may generate future CF information using the data of accounts payable. The future CFinformation generation unit 132 generates future CF information, for example, assuming that cash and deposits decrease on the scheduled payment date of accounts payable.

また、将来CF情報生成部132は、前払金のデータを用いて将来CF情報を生成してよい。将来CF情報生成部132は、例えば、前払金のデータによって前払金があることが示されている場合、料金の支払い予定日に現預金が減少しないものとして、将来CF情報を生成する。具体例として、将来CF情報生成部132は、料金よりも前払金の方が多い場合、現預金が減少しないものとして将来CF情報を生成してよい。また、将来CF情報生成部132は、料金よりも前払金の方が少ない場合、現預金から、料金と前払金との差分が減少するものとして、将来CF情報を生成してよい。 Further, the future CFinformation generation unit 132 may generate future CF information using the data of the advance payment. The future CFinformation generation unit 132 generates future CF information, assuming that cash and deposits do not decrease on the scheduled payment date of the fee, for example, when the advance payment data indicates that there is an advance payment. As a specific example, the future CFinformation generation unit 132 may generate future CF information assuming that the cash and deposits do not decrease when the advance payment is larger than the charge. Further, when the advance payment is smaller than the charge, the future CFinformation generation unit 132 may generate the future CF information from the cash and deposit, assuming that the difference between the charge and the advance payment is reduced.

将来CF情報生成部132は、見積データ及び受注率を用いて将来CF情報を生成してよい。例えば、将来CF情報生成部132は、複数の見積データのうち、受注率に見合う見積データについて、受注して入金されるものとして将来CF情報を生成する。例えば、見積りデータの数が5個であり、受注率が80%である場合、5個の見積データのうち4個について、受注して入金されるものとして将来CF情報を生成する。 The future CFinformation generation unit 132 may generate future CF information using the estimated data and the order rate. For example, the future CFinformation generation unit 132 generates future CF information on the assumption that the quotation data corresponding to the order rate is received and received from the plurality of quotation data. For example, when the number of quotation data is 5, and the order rate is 80%, CF information is generated in the future assuming that 4 of the 5 quotation data are ordered and deposited.

将来CF情報生成部132は、請求データ及び請求入金率を用いて将来CF情報を生成してよい。例えば、将来CF情報生成部132は、複数の請求データのうち、請求入金率に見合う請求データについて、入金されるものとして将来CF情報を生成する。例えば、請求データの数が20個であり、請求入金率が95%である場合、20個の見積データのうち19個について、入金されるものとして将来CF情報を生成する。 The future CFinformation generation unit 132 may generate future CF information using the billing data and the billing payment rate. For example, the future CFinformation generation unit 132 generates future CF information as the billing data corresponding to the billing payment rate among the plurality of billing data to be deposited. For example, when the number of billing data is 20 and the billing payment rate is 95%, CF information will be generated in the future for 19 of the 20 estimated data as being deposited.

将来CF情報生成部132は、見積データ、請求データ、受注率、及び請求入金率を用いて将来CF情報を生成してよい。例えば、将来CF情報生成部132は、複数の見積データのうち、受注率に見合う見積データについて、受注して請求するものとし、請求するものとした見積データのうち、請求入金率に見合う見積データについて、入金されるものとして将来CF情報を生成する。 The future CFinformation generation unit 132 may generate future CF information using the estimation data, the billing data, the order rate, and the billing deposit rate. For example, in the future, the CFinformation generation unit 132 shall receive an order for the quotation data that matches the order rate among a plurality of quotation data, and shall request the quotation data that matches the billing payment rate. CF information will be generated in the future as if it were to be deposited.

将来CF情報生成部132は、対象事業者の取引相手の取引関係データを用いて、将来CF情報を生成してよい。例えば、将来CF情報生成部132は、取引関係データを用いて、対象事業者の取引相手による他事業者への入金状況を特定し、当該入金状況を用いて将来CF情報を生成する。具体例として、将来CF情報生成部132は、対象事業者の請求データの請求先となっている取引相手の取引関係データを参照し、当該取引相手の他事業者への入金状況を特定し、特定した入金状況に応じて、請求データに対する入金がなされるか否かを判定する。例えば、当該取引相手の他事業者への入金率が予め定められた閾値より低い場合、請求データに対する入金がなされないものとして、将来CF情報を生成する。これにより、対象事業者の取引相手が、対象事業者に対して入金を行わない可能性を考慮して、将来CF情報を生成することができる。なお、将来CF情報生成部132は、取引相手の他事業者への入金率に加えて、入金の対象となる金額をさらに考慮して将来CF情報を生成してもよい。 The future CFinformation generation unit 132 may generate future CF information by using the business relationship data of the trading partner of the target business operator. For example, the future CFinformation generation unit 132 identifies the payment status of the target business operator to another business operator by using the transaction relationship data, and generates future CF information using the payment status. As a specific example, the future CFinformation generation unit 132 refers to the transaction relationship data of the trading partner who is the billing destination of the billing data of the target business partner, identifies the payment status of the trading partner to another business partner, and determines the payment status to the other business partner. It is determined whether or not the billing data is paid according to the specified payment status. For example, if the payment rate to another business operator of the transaction partner is lower than a predetermined threshold value, CF information will be generated in the future assuming that payment is not made for the billing data. As a result, CF information can be generated in the future in consideration of the possibility that the trading partner of the target business does not make a payment to the target business. The future CFinformation generation unit 132 may generate future CF information in consideration of the amount of money to be paid in addition to the payment rate to other businesses of the trading partner.

また、例えば、将来CF情報生成部132は、取引関係データを用いて、対象事業者の取引相手の取引相手を特定し、特定した取引相手の属性情報を用いて将来CF情報を生成する。具体例として、将来CF情報生成部132は、対象事業者の請求データの請求先となっている取引相手の取引関係データを参照し、当該取引相手の取引相手を特定し、特定した取引相手の属性情報に応じて、請求データに対する入金がなされるか否かを判定する。例えば、特定した取引相手の事業者規模及び信用度の少なくともいずれかと閾値とを比較し、閾値より低い場合、請求データに対する入金がなされないものとして将来CF情報を生成する。これにより、対象事業者の取引相手が、当該取引相手の取引相手から回収できない可能性を考慮して、将来CF情報を生成することができる。 Further, for example, the future CFinformation generation unit 132 identifies the trading partner of the trading partner of the target business operator using the transaction relationship data, and generates future CF information using the attribute information of the specified trading partner. As a specific example, the future CFinformation generation unit 132 refers to the transaction relationship data of the transaction partner who is the billing destination of the billing data of the target business operator, identifies the transaction partner of the transaction partner, and identifies the transaction partner of the specified transaction partner. It is determined whether or not the billing data is paid according to the attribute information. For example, at least one of the business size and creditworthiness of the specified trading partner is compared with the threshold value, and if it is lower than the threshold value, CF information is generated in the future assuming that the billing data is not paid. As a result, CF information can be generated in the future in consideration of the possibility that the trading partner of the target business cannot collect from the trading partner of the trading partner.

また、例えば、将来CF情報生成部132は、過去CF情報と金融機関データとの差異を用いて、将来CF情報を生成する。例えば、将来CF情報生成部132は、過去CF情報と金融機関データとの差異に基づいて過去CF情報を補正し、補正後の過去CF情報を用いて将来CF情報を生成する。将来CF情報生成部132は、例えば、過去CF情報と金融機関データとの差異について、金融機関データに近づけるように過去CF情報を補正してよい。 Further, for example, the future CFinformation generation unit 132 generates future CF information by using the difference between the past CF information and the financial institution data. For example, the future CFinformation generation unit 132 corrects the past CF information based on the difference between the past CF information and the financial institution data, and generates the future CF information using the corrected past CF information. The future CFinformation generation unit 132 may correct the past CF information so that the difference between the past CF information and the financial institution data is closer to the financial institution data, for example.

スコア生成部134は、対象事業者の融資返済の蓋然性を示すスコアを生成する。スコア生成部134は、会計データ、金融機関データ、取引データ、特徴データ、取引関係データ、過去CF情報、受注率、及び請求入金率を用いてスコアを生成してよい。スコア生成部134は、これらのすべてを用いてスコアを生成してもよく、これらの一部を用いてスコアを生成してもよい。スコア生成部134は、任意の手法を用いてスコアを生成してよい。 Thescore generation unit 134 generates a score indicating the probability of loan repayment of the target business operator. Thescore generation unit 134 may generate a score using accounting data, financial institution data, transaction data, feature data, transaction relationship data, past CF information, order rate, and billing / payment rate. Thescore generation unit 134 may generate a score by using all of them, or may generate a score by using a part of them. Thescore generation unit 134 may generate a score by using an arbitrary method.

整合性確認部136は、通信端末20から受信した融資申込データに対して、対象事業者への融資の可否を判定するにあたり、収集した各種データの整合性を確認する。例えば、整合性確認部136は、会計データ取得部104が取得した残高データと、金融機関データ取得部106が取得した金融機関データとの整合性を確認する。また、例えば、整合性確認部136は、取引データ取得部108が取得した請求データと、金融機関データ取得部106が取得した金融機関データ中の入金データとの整合性をチェックする。 Theconsistency confirmation unit 136 confirms the consistency of various collected data in determining whether or not to lend to the target business operator with respect to the loan application data received from thecommunication terminal 20. For example, theconsistency confirmation unit 136 confirms the consistency between the balance data acquired by the accountingdata acquisition unit 104 and the financial institution data acquired by the financial institutiondata acquisition unit 106. Further, for example, theconsistency confirmation unit 136 checks the consistency between the billing data acquired by the transactiondata acquisition unit 108 and the deposit data in the financial institution data acquired by the financial institutiondata acquisition unit 106.

整合性確認部136は、例えば、整合性を確認した結果、データの不整合を検出した場合、当該データを不正データと判定する。整合性確認部136は、整合の度合いに基づいて、各データについて、データの正当性の評点を生成してもよい。 For example, when theconsistency confirmation unit 136 detects inconsistency of data as a result of confirming the consistency, theconsistency confirmation unit 136 determines that the data is invalid data. Theconsistency check unit 136 may generate a data validity score for each data based on the degree of consistency.

整合性確認部136は、不正データと判定したデータを、要求データ送信部142に通知してよい。要求データ送信部142は、整合性確認部136によって不正データと判定されたデータについて、データの補正及びデータの追加提出依頼の少なくともいずれかを含む要求データを通信端末20に対して送信してよい。整合性確認部136は、要求データに対して、データの補正内容及び追加データを受け付けた場合、これらを用いてデータを補正してよい。 Theconsistency confirmation unit 136 may notify the requestdata transmission unit 142 of the data determined to be invalid data. The requestdata transmission unit 142 may transmit the request data including at least one of data correction and additional data submission request to thecommunication terminal 20 for the data determined to be invalid data by theconsistency confirmation unit 136. .. When theconsistency confirmation unit 136 receives the correction content of the data and the additional data for the requested data, theconsistency confirmation unit 136 may correct the data by using these.

整合性確認部136は、データの正当性の評点が予め定められた閾値より低いデータを、要求データ送信部142に通知してよい。要求データ送信部142は、整合性確認部136によって、データの正当性の評点が予め定められた閾値より低いと判定されたデータについて、データの補正及びデータの追加提出依頼の少なくともいずれかを含む要求データを通信端末20に対して送信してよい。整合性確認部136は、要求データに対して、データの補正内容及び追加データを受け付けた場合、これらを用いてデータを補正してよい。 Theconsistency confirmation unit 136 may notify the requestdata transmission unit 142 of data having a data validity score lower than a predetermined threshold value. The requestdata transmission unit 142 includes at least one of data correction and additional data submission request for data for which theconsistency confirmation unit 136 determines that the data validity score is lower than a predetermined threshold value. The request data may be transmitted to thecommunication terminal 20. When theconsistency confirmation unit 136 receives the correction content of the data and the additional data for the requested data, theconsistency confirmation unit 136 may correct the data by using these.

上述したように、整合性確認部136によって、対象事業者への融資可否を判定するにあたって収集したデータの整合性が確認されるので、例えば、不正申し込みを検知することができる。また、誤ったデータに基づいて、融資の可否を判定してしまうことを防止することができる。 As described above, theconsistency confirmation unit 136 confirms the consistency of the data collected when determining whether or not to lend to the target business operator, so that, for example, an unauthorized application can be detected. In addition, it is possible to prevent the determination of whether or not the loan is possible based on erroneous data.

融資可否判定部144は、蓋然性情報生成部130によって生成された蓋然性情報を用いて、申込データ取得部102が取得した融資申込データに対する、対象事業者への融資可否を判定する。例えば、融資可否判定部144は、まず、融資申込データ中の融資申込金額、融資希望日、及び融資期間を用いて融資の返済予定を作成する。具体例としては、月毎の返済額を示す返済予定を作成する。 The loanavailability determination unit 144 determines whether or not the loan application data acquired by the applicationdata acquisition unit 102 can be financed to the target business operator by using the probability information generated by the probabilityinformation generation unit 130. For example, the loan approval /disapproval determination unit 144 first creates a loan repayment schedule using the loan application amount, desired loan date, and loan period in the loan application data. As a specific example, a repayment schedule showing the monthly repayment amount is created.

そして、融資可否判定部144は、将来CF情報生成部132によって生成された将来CF情報によって、当該返済予定が実現可能か否かを判定することによって、融資可否を判定する。例えば、融資可否判定部144は、将来CF情報が示す各月の現預金に対して、返済予定の月毎の返済額を減算していった場合に、現預金が不足しないかを判定する。 Then, the loanavailability determination unit 144 determines whether or not the loan is possible by determining whether or not the repayment schedule is feasible based on the future CF information generated by the future CFinformation generation unit 132. For example, the loanavailability determination unit 144 determines whether or not the cash and deposits are insufficient when the monthly repayment amount scheduled to be repaid is subtracted from the cash and deposits of each month indicated by the CF information in the future.

信用度取得部146は、対象事業者の信用度を取得する。信用度取得部146は、例えば、対象事業者の信用情報データ中の評点を対象事業者の信用度として取得する。信用度取得部146は、対象事業者の信用情報データを信用情報管理装置240に要求して、信用情報管理装置240から信用情報データを受信してよい。また、融資判定装置100が複数の事業者の信用情報データを管理している場合、信用度取得部146は、管理下の信用情報データから対象事業者の信用情報データを読み出してよい。また、信用度取得部146は、金融機関による対象事業者の信用格付けを示す信用格付情報を、対象事業者の信用度として取得してもよい。信用度取得部146は、対象事業者の信用格付情報を金融機関に要求して、金融機関から信用格付情報を受信してよい。また、信用度取得部146は、複数の事業者の信用格付情報を金融機関から受信して格納しておき、格納している信用格付情報から対象事業者の信用格付情報を読み出してもよい。 The creditrating acquisition unit 146 acquires the credit rating of the target business operator. The creditrating acquisition unit 146 acquires, for example, the score in the credit information data of the target business as the credit rating of the target business. The creditrating acquisition unit 146 may request the creditinformation management device 240 for the credit information data of the target business operator and receive the credit information data from the creditinformation management device 240. Further, when theloan determination device 100 manages the credit information data of a plurality of businesses, the creditrating acquisition unit 146 may read the credit information data of the target business from the credit information data under the control. Further, the creditrating acquisition unit 146 may acquire credit rating information indicating the credit rating of the target business operator by the financial institution as the credit rating of the target business operator. The creditrating acquisition unit 146 may request the financial institution for the credit rating information of the target business operator and receive the credit rating information from the financial institution. Further, the creditrating acquisition unit 146 may receive and store credit rating information of a plurality of businesses from a financial institution, and may read out the credit rating information of the target business from the stored credit rating information.

信用度取得部146は、対象事業者の取引先の信用情報データを用いて、対象事業者の信用度を生成してもよい。例えば、信用度取得部146は、対象事業者の取引先の評点が予め定められた閾値より低い場合、対象事業者の評点を減点する。また、例えば、信用度取得部146は、対象事業者の取引先の評点が予め定められた閾値より高い場合、対象事業者の評点に加点する。また、信用度取得部146は、対象事業者の取引先の評点に応じた点数を対象事業者の評点に加算する。また、信用度取得部146は、対象事業者の取引先の信用格付情報を用いて、対象事業者の信用度を生成してもよい。例えば、信用度取得部146は、対象事業者の取引先の信用格付情報が予め定められた閾値より低い場合、対象事業者の信用度を減点する。また、例えば、信用度取得部146は、対象事業者の取引先の信用格付情報が予め定められた閾値より高い場合、対象事業者の信用度に加点する。また、信用度取得部146は、対象事業者の取引先の信用格付情報に応じた点数を対象事業者の信用度に加算する。 The creditrating acquisition unit 146 may generate the credit rating of the target business operator by using the credit information data of the business partner of the target business operator. For example, the creditrating acquisition unit 146 deducts the score of the target business operator when the score of the business partner of the target business operator is lower than a predetermined threshold value. Further, for example, when the creditrating acquisition unit 146 has a score higher than a predetermined threshold value of the business partner of the target business, the creditrating acquisition unit 146 adds points to the score of the target business. In addition, the creditrating acquisition unit 146 adds points according to the scores of the business partners of the target business to the scores of the target business. Further, the creditrating acquisition unit 146 may generate the credit rating of the target business operator by using the credit rating information of the business partner of the target business operator. For example, the creditrating acquisition unit 146 deducts the credit rating of the target business operator when the credit rating information of the business partner of the target business operator is lower than a predetermined threshold value. Further, for example, when the credit rating information of the business partner of the target business operator is higher than a predetermined threshold value, the creditrating acquisition unit 146 adds points to the credit rating of the target business operator. In addition, the creditrating acquisition unit 146 adds points according to the credit rating information of the business partner of the target business operator to the credit rating of the target business operator.

信用度取得部146は、対象事業者に対して、連鎖的に取引関係にある事業者の信用情報データを用いて、対象事業者の信用度を生成してもよい。例えば、信用度取得部146は、対象事業者の評点に対して、対象事業者に対して連鎖的に取引関係にある事業者の評点に重み付けをして加算する。重み付けとして、例えば、連鎖関係がより対象事業者から遠い事業者の評点の重みを低くしてよい。また、信用度取得部146は、対象事業者に対して、連鎖的に取引関係にある事業者の信用格付情報を用いて、対象事業者の信用度を生成してもよい。例えば、信用度取得部146は、対象事業者の信用度に対して、対象事業者に対して連鎖的に取引関係にある事業者の信用格付情報に対応する値に重み付けをして加算する。重み付けとして、例えば、連鎖関係がより対象事業者から遠い事業者の評点の重みを低くしてよい。 The creditrating acquisition unit 146 may generate the credit rating of the target business operator by using the credit information data of the business operators having a chained business relationship with the target business operator. For example, the creditrating acquisition unit 146 weights and adds the score of the target business operator to the score of the business operator having a chain-like business relationship with the target business operator. As the weighting, for example, the weight of the score of the business operator whose chain relationship is farther from the target business operator may be lowered. Further, the creditrating acquisition unit 146 may generate the credit rating of the target business operator by using the credit rating information of the business operators having a chained business relationship with the target business operator. For example, the creditrating acquisition unit 146 weights and adds the credit rating of the target business operator to the value corresponding to the credit rating information of the business operators having a chain-like business relationship with the target business operator. As the weighting, for example, the weight of the score of the business operator whose chain relationship is farther from the target business operator may be lowered.

信用度取得部146は、インターネット上に存在する複数のデータを組み合わせることによって、対象事業者の信用度を生成してもよい。信用度取得部146は、例えば、対象事業者が運営するウェブサイトの更新頻度及びサイト訪問者数等の情報を用いて対象事業者の信用度を生成する。また、信用度取得部146は、第三者が運営するウェブサイト上の対象事業者が営む事業に関する評価を示す評価情報を用いて対象事業者の信用度を生成してよい。また、信用度取得部146は、対象事業者の代表者等、対象事業者に関連する者に関する情報を用いて対象事業者の信用度を生成してよい。例えば、信用度取得部146は、対象事業者の代表者のSNS(Social Networking Service)の情報を用いて対象事業者の信用度を生成する。 The creditrating acquisition unit 146 may generate the credit rating of the target business operator by combining a plurality of data existing on the Internet. The creditrating acquisition unit 146 generates the credit rating of the target business operator by using information such as the update frequency of the website operated by the target business operator and the number of site visitors. In addition, the creditrating acquisition unit 146 may generate the credit rating of the target business operator by using the evaluation information indicating the evaluation of the business run by the target business operator on the website operated by a third party. Further, the creditrating acquisition unit 146 may generate the credit rating of the target business operator by using the information about the person related to the target business operator such as the representative of the target business operator. For example, the creditrating acquisition unit 146 generates the credit rating of the target business operator by using the information of the SNS (Social Networking Service) of the representative of the target business operator.

融資可否判定部144は、信用度取得部146によって生成された対象事業者の信用度を用いて、対象事業者に対する融資可否を判定してもよい。例えば、融資可否判定部144は、返済予定に対して、将来CF情報が示す現預金が多い場合であっても、対象事業者の信用度が低い場合には融資否と判定する。例えば、融資可否判定部144は、返済予定と将来CF情報が示す現預金との差額毎に、融資否と判定する信用度を対応付けて登録しておき、信用度取得部146によって生成された信用度が、差額に対応する信用度よりも低い場合には、融資否と判定する。 The loan approval /disapproval determination unit 144 may determine whether or not to lend to the target business operator using the creditworthiness of the target business operator generated by thecreditworthiness acquisition unit 146. For example, the loan approval /disapproval determination unit 144 determines whether or not the loan is possible if the creditworthiness of the target business operator is low even if there are many cash and deposits indicated by CF information in the future with respect to the repayment schedule. For example, the loan approval /disapproval determination unit 144 registers the credit rating for determining the loan rejection for each difference between the repayment schedule and the cash and deposit indicated by the future CF information, and the credit rating generated by the creditrating acquisition unit 146 is calculated. If the credit rating is lower than the credit rating corresponding to the difference, the loan is judged to be rejected.

また、例えば、融資可否判定部144は、返済予定に対して、将来CF情報が示す現預金が少ない場合であっても、対象事業者の信用度が高い場合には融資可と判定する。例えば、融資可否判定部144は、返済予定と将来CF情報が示す現預金との差額毎に、融資可と判定する信用度を対応付けて登録しておき、信用度取得部146によって生成された信用度が、差額に対応する信用度よりも高い場合には、融資可と判定する。 Further, for example, the loan approval /disapproval determination unit 144 determines that the loan is possible if the creditworthiness of the target business operator is high, even if the cash and deposits indicated by the CF information in the future are small with respect to the repayment schedule. For example, the loanavailability determination unit 144 registers the credit rating for determining that the loan is acceptable for each difference between the repayment schedule and the cash and deposit indicated by the future CF information, and the credit rating generated by the creditrating acquisition unit 146 is , If the credit rating is higher than the credit rating corresponding to the difference, it is judged that the loan is possible.

融資処理実行部148は、融資可否判定部144による判定結果に従って、融資処理を実行する。例えば、融資可否判定部144によって融資可と判定された場合、融資処理実行部148は、融資手続を開始する。融資処理実行部148は、対象事業者の通信端末20に対して、融資可である旨を通知する内容と、融資に必要となる情報を要求する内容とを含む融資手続データを通信端末20に送信してよい。また、例えば、融資可否判定部144によって融資可と判定された場合、融資処理実行部148は、対象事業者に対して融資オファーを行う。融資処理実行部148は、対象事業者の通信端末20に対して、融資可である旨を通知する内容と、融資に必要となる情報を要求する内容とを含む融資オファーデータを通信端末20に送信してよい。 The loanprocessing execution unit 148 executes the loan processing according to the determination result by the loan approval /disapproval determination unit 144. For example, when the loan approval /disapproval determination unit 144 determines that the loan is possible, the loanprocessing execution unit 148 starts the loan procedure. The loanprocessing execution unit 148 provides thecommunication terminal 20 with loan procedure data including the content of notifying thecommunication terminal 20 of the target business that the loan is possible and the content of requesting the information necessary for the loan. You may send it. Further, for example, when the loan approval /disapproval determination unit 144 determines that the loan is possible, the loanprocessing execution unit 148 makes a loan offer to the target business operator. The loanprocessing execution unit 148 provides thecommunication terminal 20 with loan offer data including the content of notifying thecommunication terminal 20 of the target business that the loan is possible and the content of requesting the information necessary for the loan. You may send it.

融資処理実行部148は、融資可否判定部144によって融資否と判定された場合、対象事業者に対して融資否である旨を通知してよい。融資処理実行部148は、例えば、対象事業者の通信端末20に対して、融資否であることを通知する通知データを送信する。 When the loanprocessing execution unit 148 determines that the loan is not possible by the loan approval /disapproval determination unit 144, the loanprocessing execution unit 148 may notify the target business operator that the loan is not possible. The loanprocessing execution unit 148 transmits, for example, notification data notifying thecommunication terminal 20 of the target business operator that the loan has been rejected.

融資後管理部150は、融資が行われた後に、対象事業者を管理する。融資後管理部150は、例えば、融資が行われた後、将来CF情報生成部132に対して、継続的に対象事業者の将来CF情報を生成させる。そして、融資後管理部150は、将来CF情報に基づいて、融資返済に支障が出る可能性があることが検知された場合、融資の回収を担当する担当者等にその旨を通知する。融資後管理部150は、例えば、新たに生成された将来CF情報の各月の現預金が、月毎の返済額より少ない場合に、融資返済に支障が出る可能性があると判定する。 Thepost-loan management unit 150 manages the target business operator after the loan is made. After the loan is made, thepost-loan management unit 150 causes the future CFinformation generation unit 132 to continuously generate future CF information of the target business operator, for example. Then, when it is detected that the loan repayment may be hindered based on the CF information in the future, thepost-loan management unit 150 notifies the person in charge of collecting the loan to that effect. Thepost-loan management unit 150 determines that the loan repayment may be hindered, for example, if the cash and deposits of the newly generated future CF information in each month are less than the monthly repayment amount.

融資後管理部150は、融資返済に支障が出る可能性があることが検知された場合に、対象事業者に送信するリマインドの時期を早める等の処理を実行してもよい。融資後管理部150は、貸金業法の趣旨を逸脱しない方法で、各種処理を実行する。 When it is detected that the loan repayment may be hindered, thepost-loan management unit 150 may execute a process such as accelerating the timing of reminding to send to the target business operator. Thepost-loan management unit 150 executes various processes in a manner that does not deviate from the purpose of the Money Lending Business Act.

返済情報生成部152は、返済情報を生成する。返済情報は、例えば、融資の返済スケジュールである。返済情報生成部152は、将来CF情報を用いて、目的に応じた返済スケジュールを生成してよい。例えば、返済情報生成部152は、利益で返済する場合の返済スケジュール及び資金繰りで返済する場合の返済スケジュール等を生成する。 The repaymentinformation generation unit 152 generates repayment information. The repayment information is, for example, a loan repayment schedule. The repaymentinformation generation unit 152 may generate a repayment schedule according to the purpose by using the CF information in the future. For example, the repaymentinformation generation unit 152 generates a repayment schedule when repayment is made by profit, a repayment schedule when repayment is made by cash flow, and the like.

返済情報生成部152は、融資可否判定部144によって融資可と判定された場合に、将来CF情報を用いて、融資の返済スケジュールを生成してよい。例えば、返済情報生成部152は、将来CF情報を参照して、現預金の額が他の月よりも多い月を特定し、当該月の返済額を他の月よりも多くした返済スケジュールを生成する。 The repaymentinformation generation unit 152 may generate a loan repayment schedule using the CF information in the future when the loanavailability determination unit 144 determines that the loan is possible. For example, the repaymentinformation generation unit 152 refers to future CF information, identifies a month in which the amount of cash and deposits is larger than in other months, and generates a repayment schedule in which the repayment amount in that month is larger than in other months. do.

返済情報送信部154は、返済情報生成部152によって生成された返済情報を、対象事業者の通信端末20に送信してよい。これにより、対象事業者に対して、フレキシブルに返済スケジュールを提案することができる。 The repaymentinformation transmission unit 154 may transmit the repayment information generated by the repaymentinformation generation unit 152 to thecommunication terminal 20 of the target business operator. This makes it possible to flexibly propose a repayment schedule to the target business operator.

返済情報生成部152は、融資可否判定部144によって融資否と判定された場合に、将来CF情報を用いて、融資可能な返済スケジュールを生成してよい。例えば、返済情報生成部152は、融資申込データの少なくとも一部を変更した返済スケジュールを生成する。 The repaymentinformation generation unit 152 may generate a repayment schedule that can be financed by using the CF information in the future when the loan approval /disapproval determination unit 144 determines that the loan is not possible. For example, the repaymentinformation generation unit 152 generates a repayment schedule in which at least a part of the loan application data is changed.

例えば、返済情報生成部152は、将来CF情報を用いて、融資申込データに含まれる融資希望日を変更することによって融資可と判定できる場合には、融資日を変更した場合の返済スケジュールを生成する。具体例として、融資申込データに含まれる融資希望日が2017年4月であり、そのままでは融資否だが、融資日を2017年7月に変更することによって融資可となる場合、2017年7月を融資日とする返済スケジュールを生成する。 For example, the repaymentinformation generation unit 152 generates a repayment schedule when the loan date is changed when it can be determined that the loan is possible by changing the desired loan date included in the loan application data using the CF information in the future. do. As a specific example, if the desired loan date included in the loan application data is April 2017, and the loan is rejected as it is, but the loan can be made by changing the loan date to July 2017, July 2017 is set. Generate a repayment schedule for the loan date.

また、返済情報生成部152は、将来CF情報を用いて、融資申込データに含まれる融資期間を変更することによって融資可と判定できる場合には、融資期間を変更した返済スケジュールを生成する。具体例として、融資申込データに含まれる融資期間が6月であり、そのままでは融資否だが、融資期間を10月に変更することによって融資可となる場合、融資期間を10月とする返済スケジュールを生成する。 Further, the repaymentinformation generation unit 152 generates a repayment schedule with a changed loan period when it can be determined that the loan is possible by changing the loan period included in the loan application data using the CF information in the future. As a specific example, if the loan period included in the loan application data is June and the loan is rejected as it is, but the loan can be made by changing the loan period to October, the repayment schedule will be set to October. Generate.

返済情報送信部154が返済情報を対象事業者の通信端末20に送信することによって、対象事業者に、融資申込データの条件を変更することによって融資が可能になることを伝えることができる。例えば、対象事業者の事業が農業の場合、融資金額を各月に均等に分配して返済していくことは難しいが、収穫期にまとめて返済することはできる場合がある等、対象事業者の事業によって、返済能力の特性が異なる。本実施形態に係る返済情報生成部152によれば、対象事業者の将来CF情報が示すキャッシュフローに適した返済スケジュールを生成できるので、対象事業者の状況に合わせてフレキシブルに返済スケジュールを提供することができる。 By transmitting the repayment information to thecommunication terminal 20 of the target business operator, the repaymentinformation transmission unit 154 can inform the target business operator that the loan can be made by changing the conditions of the loan application data. For example, if the business of the target business is agriculture, it is difficult to distribute the loan amount evenly to repay each month, but it may be possible to repay all at once during the harvest season. The characteristics of repayment ability differ depending on the business. According to the repaymentinformation generation unit 152 according to the present embodiment, a repayment schedule suitable for the cash flow indicated by the future CF information of the target business operator can be generated, so that the repayment schedule can be flexibly provided according to the situation of the target business operator. be able to.

図16は、口座管理装置300の機能構成の一例を概略的に示す。口座管理装置300は、口座管理部302、データ取得部304、将来CF情報生成部306、支払要求取得部308、支払処理実行部310、融資可否判定部312、融資返済実行部314、金利処理実行部316、及び指示受信部318を備える。なお、口座管理装置300がこれらのすべての構成を備えることは必須とは限らない。 FIG. 16 schematically shows an example of the functional configuration of theaccount management device 300. Theaccount management device 300 includes anaccount management unit 302, adata acquisition unit 304, a future CFinformation generation unit 306, a paymentrequest acquisition unit 308, a paymentprocessing execution unit 310, a loanavailability determination unit 312, a loanrepayment execution unit 314, and interest rate processing execution. Aunit 316 and aninstruction receiving unit 318 are provided. It is not always essential that theaccount management device 300 has all of these configurations.

口座管理部302は、複数の事業者の口座残高を管理する。口座管理部302は、事業者からの要求に応じて、当該事業者用の口座を開設してよい。口座管理部302は、例えば、1又は複数の銀行口座内において、複数の事業者の口座を管理する。具体例として、口座管理部302は、N個の銀行口座内において、N事業者又はNより多い数の事業者の口座残高を管理する。口座管理部302は、例えば、口座管理装置300の管理者名義の銀行口座内において、複数の事業者の口座を管理する。 Theaccount management unit 302 manages the account balances of a plurality of businesses. Theaccount management unit 302 may open an account for the business operator in response to a request from the business operator. Theaccount management unit 302 manages the accounts of a plurality of businesses in, for example, one or a plurality of bank accounts. As a specific example, theaccount management unit 302 manages the account balances of N business operators or a larger number of business operators in N bank accounts. Theaccount management unit 302 manages the accounts of a plurality of businesses in a bank account in the name of the administrator of theaccount management device 300, for example.

データ取得部304は、各種データを取得する。データ取得部304は、会計データ、金融機関データ、取引データ、特徴データ、取引関係データ、過去CF情報、受注率、及び請求入金率を取得してよい。データ取得部304は、これらの全てを取得してよく、これらの一部を取得してもよい。 Thedata acquisition unit 304 acquires various data. Thedata acquisition unit 304 may acquire accounting data, financial institution data, transaction data, feature data, transaction-related data, past CF information, order rate, and billing / payment rate. Thedata acquisition unit 304 may acquire all of them, or may acquire a part of them.

将来CF情報生成部306は、データ取得部304が取得したデータを用いて、口座を管理している事業者の将来CF情報を生成する。将来CF情報生成部306は、会計データ及び取引データの少なくともいずれかに基づいて、当該事業者の将来CF情報を生成してよい。将来CF情報生成部306は、将来CF情報生成部132と同様の処理を実行することによって将来CF情報を生成してよい。 The future CFinformation generation unit 306 uses the data acquired by thedata acquisition unit 304 to generate future CF information of the business operator who manages the account. The future CFinformation generation unit 306 may generate future CF information of the business operator based on at least one of accounting data and transaction data. The future CFinformation generation unit 306 may generate future CF information by executing the same processing as the future CFinformation generation unit 132.

支払要求取得部308は、口座を管理している事業者から、取引先への支払要求を取得する。支払要求は、例えば、支払先の口座番号及び支払額を含む。支払要求取得部308は、例えば、通信端末20によって送信された支払要求を受信する。支払要求を行った事業者を対象事業者と記載する場合がある。 The paymentrequest acquisition unit 308 acquires a payment request to a business partner from a business operator that manages an account. The payment request includes, for example, the payee's account number and the payment amount. The paymentrequest acquisition unit 308 receives, for example, the payment request transmitted by thecommunication terminal 20. The business operator who made the payment request may be described as the target business operator.

支払処理実行部310は、支払要求取得部308が取得した支払要求に応じて支払処理を実行する。支払処理実行部310は、支払要求の支払額よりも、対象事業者の口座残高が多い場合、支払処理を実行してよい。支払処理実行部310は、例えば、支払要求の支払先の口座番号に対して支払額を送金する。支払処理実行部310は、支払要求の支払先の口座番号に対して支払額を送金する指示を、口座管理装置300のオペレータ等に提示してもよい。支払処理実行部310は、支払に伴って支払額を口座残高から減算する。支払処理実行部310は、支払要求の支払額よりも、対象事業者の口座残高が少ない場合、対象事業者への融資の可否を融資可否判定部312に判定させる。 The paymentprocessing execution unit 310 executes payment processing in response to the payment request acquired by the paymentrequest acquisition unit 308. The paymentprocessing execution unit 310 may execute payment processing when the account balance of the target business operator is larger than the payment amount of the payment request. The paymentprocessing execution unit 310 remits the payment amount to, for example, the account number of the payment destination of the payment request. The paymentprocessing execution unit 310 may present an instruction to remit the payment amount to the payment destination account number of the payment request to the operator or the like of theaccount management device 300. The paymentprocessing execution unit 310 subtracts the payment amount from the account balance in connection with the payment. When the account balance of the target business operator is smaller than the payment amount of the payment request, the paymentprocessing execution unit 310 causes the loan approval /disapproval determination unit 312 to determine whether or not to lend to the target business operator.

融資可否判定部312は、対象事業者への融資の可否を判定する。融資可否判定部312は、将来CF情報生成部306によって生成された対象事業者の将来CF情報に基づいて、対象事業者への融資の可否を判定してよい。融資可否判定部312は、融資可否判定部144と同様の処理を実行することによって融資可否を判定してよい。 The loanavailability determination unit 312 determines whether or not to lend to the target business operator. The loan approval /disapproval determination unit 312 may determine whether or not to lend to the target business operator based on the future CF information of the target business operator generated by the future CFinformation generation unit 306. The loan approval /disapproval determination unit 312 may determine whether or not a loan is possible by executing the same processing as the loan approval /disapproval determination unit 144.

融資可否判定部312は、支払処理実行部310からの要求に応じて、対象事業者への融資の可否を判定してよい。例えば、融資可否判定部312は、支払要求の支払額と、対象事業者の口座残高との差分以上の融資金額を融資することの可否を判定する。 The loan approval /disapproval determination unit 312 may determine whether or not to lend to the target business operator in response to a request from the paymentprocessing execution unit 310. For example, the loan approval /disapproval determination unit 312 determines whether or not to lend a loan amount equal to or greater than the difference between the payment amount of the payment request and the account balance of the target business operator.

融資可否判定部312は、例えば、支払要求の支払額と、対象事業者の口座残高との差額を融資することの可否を判定する。また、融資可否判定部312は、支払要求の支払額と、対象事業者の口座残高との差額に予め定められた金額を加算した額を融資することの可否を判定してもよい。予め定められた金額は、対象事業者の口座残高として最低限必要な金額として、口座管理装置300の管理者及び対象事業者等によって定められてよい。 The loanavailability determination unit 312 determines, for example, whether or not to finance the difference between the payment amount of the payment request and the account balance of the target business operator. In addition, the loan approval /disapproval determination unit 312 may determine whether or not to lend an amount obtained by adding a predetermined amount to the difference between the payment amount of the payment request and the account balance of the target business operator. The predetermined amount may be determined by the administrator of theaccount management device 300, the target business operator, or the like as the minimum necessary amount for the account balance of the target business operator.

口座管理部302は、融資可否判定部312によって融資可と判定された場合、対象事業者の口座残高に融資金額を加算してよい。口座管理部302は、例えば、支払要求の支払額と対象事業者の口座残高との差額を、対象事業者の口座残高に加算する。また、口座管理部302は、例えば、支払要求の支払額と対象事業者の口座残高との差額に予め定められた金額を加算した額を対象事業者の口座残高に加算する。 When the loanavailability determination unit 312 determines that the loan is possible, theaccount management unit 302 may add the loan amount to the account balance of the target business operator. Theaccount management unit 302 adds, for example, the difference between the payment amount of the payment request and the account balance of the target business operator to the account balance of the target business operator. Further, theaccount management unit 302 adds, for example, an amount obtained by adding a predetermined amount to the difference between the payment amount of the payment request and the account balance of the target business operator to the account balance of the target business operator.

融資可否判定部312は、口座を管理している事業者への融資の可否を定期的に判定してもよい。融資可否判定部312は、例えば、口座を管理している事業者への融資可能枠を定期的に判定する。融資可否判定部312は、融資可能額を口座管理部302に通知してよい。口座管理部302は、口座を管理している事業者に対して、融資可否判定部312によって判定された融資可能枠を提示してよい。これにより、事業者は、現時点において、どの程度の融資を受けることができるかを把握することができる。 The loan approval /disapproval determination unit 312 may periodically determine whether or not to lend to the business operator that manages the account. The loanavailability determination unit 312 periodically determines, for example, the loanable limit to the business operator that manages the account. The loanavailability determination unit 312 may notify theaccount management unit 302 of the loanable amount. Theaccount management unit 302 may present the loanable limit determined by the loanavailability determination unit 312 to the business operator who manages the account. As a result, the business operator can grasp how much loan can be obtained at the present time.

融資返済実行部314は、口座管理部302によって融資金額が口座残高に加算され、支払処理実行部310によって支払処理が実行された後、対象事業者の口座残高を監視する。そして、融資返済実行部314は、予め定められた条件に従って、口座残高からの返済処理を実行する。例えば、融資返済実行部314は、対象事業者の口座残高が融資金額よりも多い場合に、口座残高から融資金額を減算する。減算された融資金額は、融資の返済に充てられる。また、融資返済実行部314は、融資金額を段階的に返済すべく返済処理を実行してよい。例えば、融資返済実行部314は、対象事業者の口座残高が融資金額よりも少ない場合に、口座残高と予め定められた閾値との差分を口座残高から減算する。具体例として、融資金額が1,000であり、口座残高が500であり、予め定められた閾値が300である場合、融資返済実行部314は、口座残高と閾値との差分である200を口座残高から減算する。減算された金額は、融資の返済に充てられる。 The loanrepayment execution unit 314 monitors the account balance of the target business operator after the loan amount is added to the account balance by theaccount management unit 302 and the payment processing is executed by the paymentprocessing execution unit 310. Then, the loanrepayment execution unit 314 executes the repayment process from the account balance according to the predetermined conditions. For example, the loanrepayment execution unit 314 subtracts the loan amount from the account balance when the account balance of the target business operator is larger than the loan amount. The deducted loan amount will be used to repay the loan. Further, the loanrepayment execution unit 314 may execute a repayment process in order to repay the loan amount in stages. For example, the loanrepayment execution unit 314 subtracts the difference between the account balance and the predetermined threshold value from the account balance when the account balance of the target business operator is smaller than the loan amount. As a specific example, when the loan amount is 1,000, the account balance is 500, and the predetermined threshold value is 300, the loanrepayment execution unit 314 accounts 200, which is the difference between the account balance and the threshold value. Subtract from the balance. The deducted amount will be used to repay the loan.

金利処理実行部316は、口座管理部302によって融資金額が口座残高に加算され、支払処理実行部310によって支払処理が実行された後、対象事業者の口座残高を監視する。そして、金利処理実行部316は、対象事業者の口座残高が融資金額よりも少ない場合に、予め定められた金利ルールに従って決定した金利額を口座残高から減算してよい。減算された金利額は、融資金額に対する金利の支払いに充てられる。金利処理実行部316は、対象事業者の口座残高の多寡を問わず、予め定められたタイミングに従って、口座残高から金利額を減算する。例えば、金利額が50であり、対象事業者の口座残高が、300の貸出残があって-300の状態であっても、タイミングがきた場合、316は、50を減算して、口座残高を-350とする。なお、与信枠の範囲に収まっている限り、実際に返済されるのは、口座残高が予め定められた閾値を超えたときであってよい。 The interest rateprocessing execution unit 316 monitors the account balance of the target business operator after the loan amount is added to the account balance by theaccount management unit 302 and the payment processing is executed by the paymentprocessing execution unit 310. Then, the interest rateprocessing execution unit 316 may subtract the interest rate amount determined according to the predetermined interest rate rule from the account balance when the account balance of the target business operator is smaller than the loan amount. The deducted interest rate will be used to pay interest on the loan amount. The interest rateprocessing execution unit 316 subtracts the interest rate amount from the account balance according to a predetermined timing regardless of the amount of the account balance of the target business operator. For example, even if the interest rate is 50 and the account balance of the target business operator is -300 with a loan balance of 300, when the timing comes, 316 subtracts 50 to obtain the account balance. -350. As long as it is within the credit line, the actual repayment may be made when the account balance exceeds a predetermined threshold.

指示受信部318は、管理している口座に対する指示を事業者の通信端末20から受信する。指示受信部318は、例えば、管理している口座から、事業者によって指定された口座への出金を行う。 Theinstruction receiving unit 318 receives an instruction for the managed account from thecommunication terminal 20 of the business operator. Theinstruction receiving unit 318, for example, withdraws money from the managed account to the account designated by the business operator.

図17は、融資判定装置100又は口座管理装置300として機能するコンピュータ1000のハードウエア構成の一例を概略的に示す。本実施形態に係るコンピュータ1000は、ホストコントローラ1092により相互に接続されるCPU1010、RAM1030、及びグラフィックコントローラ1085を有するCPU周辺部と、入出力コントローラ1094によりホストコントローラ1092に接続されるROM1020、通信I/F1040、ハードディスクドライブ1050、DVDドライブ1070及び入出力チップ1080を有する入出力部を備える。 FIG. 17 schematically shows an example of the hardware configuration of thecomputer 1000 that functions as theloan determination device 100 or theaccount management device 300. Thecomputer 1000 according to the present embodiment includes a CPU peripheral portion having aCPU 1010, aRAM 1030, and agraphic controller 1085 connected to each other by ahost controller 1092, aROM 1020 connected to thehost controller 1092 by an input /output controller 1094, and a communication I /. It includes an input / output unit having an F1040, ahard disk drive 1050, aDVD drive 1070, and an input /output chip 1080.

CPU1010は、ROM1020及びRAM1030に格納されたプログラムに基づいて動作し、各部の制御を行う。グラフィックコントローラ1085は、CPU1010などがRAM1030内に設けたフレーム・バッファ上に生成する画像データを取得し、ディスプレイ1090上に表示させる。これに代えて、グラフィックコントローラ1085は、CPU1010などが生成する画像データを格納するフレーム・バッファを、内部に含んでもよい。 TheCPU 1010 operates based on the programs stored in theROM 1020 and theRAM 1030, and controls each part. Thegraphic controller 1085 acquires image data generated on a frame buffer provided in theRAM 1030 by theCPU 1010 or the like, and displays the image data on thedisplay 1090. Alternatively, thegraphic controller 1085 may include a frame buffer internally for storing image data generated by theCPU 1010 or the like.

通信I/F1040は、有線又は無線によりネットワークを介して他の装置と通信する。また、通信I/F1040は、通信を行うハードウエアとして機能する。ハードディスクドライブ1050は、CPU1010が使用するプログラム及びデータを格納する。DVDドライブ1070は、DVD-ROM1072からプログラム又はデータを読み取り、RAM1030を介してハードディスクドライブ1050に提供する。 The communication I /F 1040 communicates with other devices via a network by wire or wirelessly. Further, the communication I /F 1040 functions as hardware for communication. Thehard disk drive 1050 stores programs and data used by theCPU 1010. TheDVD drive 1070 reads a program or data from the DVD-ROM 1072 and provides it to thehard disk drive 1050 via theRAM 1030.

ROM1020は、コンピュータ1000が起動時に実行するブート・プログラム及びコンピュータ1000のハードウエアに依存するプログラムなどを格納する。入出力チップ1080は、例えばパラレル・ポート、シリアル・ポート、キーボード・ポート、マウス・ポートなどを介して各種の入出力装置を入出力コントローラ1094へと接続する。 TheROM 1020 stores a boot program executed by thecomputer 1000 at startup, a program depending on the hardware of thecomputer 1000, and the like. The input /output chip 1080 connects various input / output devices to the input /output controller 1094 via, for example, a parallel port, a serial port, a keyboard port, a mouse port, and the like.

RAM1030を介してハードディスクドライブ1050に提供されるプログラムは、DVD-ROM1072、又はICカードなどの記録媒体に格納されて利用者によって提供される。プログラムは、記録媒体から読み出され、RAM1030を介してハードディスクドライブ1050にインストールされ、CPU1010において実行される。 The program provided to thehard disk drive 1050 via theRAM 1030 is stored in a recording medium such as a DVD-ROM 1072 or an IC card and provided by the user. The program is read from the recording medium, installed in thehard disk drive 1050 via theRAM 1030, and executed in theCPU 1010.

コンピュータ1000にインストールされ、コンピュータ1000を融資判定装置100又は口座管理装置300として機能させるプログラムは、CPU1010などに働きかけて、コンピュータ1000を、融資判定装置100又は口座管理装置300の各部としてそれぞれ機能させてよい。これらのプログラムに記述された情報処理は、コンピュータ1000に読込まれることにより、ソフトウエアと上述した各種のハードウエア資源とが協働した具体的手段である申込データ取得部102、会計データ取得部104、金融機関データ取得部106、取引データ取得部108、受注率算出部110、請求入金率算出部112、取引関係データ取得部114、事業者群特定部116、特徴データ取得部118、過去CF情報生成部120、蓋然性情報生成部130、要求データ送信部142、融資可否判定部144、信用度取得部146、融資処理実行部148、融資後管理部150、返済情報生成部152、及び返済情報送信部154として機能する。また、これらのプログラムに記述された情報処理は、コンピュータ1000に読込まれることにより、ソフトウエアと上述した各種のハードウエア資源とが協働した具体的手段である口座管理部302、データ取得部304、将来CF情報生成部306、支払要求取得部308、支払処理実行部310、融資可否判定部312、融資返済実行部314、金利処理実行部316、及び指示受信部318として機能する。そして、これらの具体的手段によって、本実施形態におけるコンピュータ1000の使用目的に応じた情報の演算又は加工を実現することにより、使用目的に応じた特有の融資判定装置100又は口座管理装置300が構築される。 A program installed in thecomputer 1000 that causes thecomputer 1000 to function as theloan determination device 100 or theaccount management device 300 works on theCPU 1010 or the like to cause thecomputer 1000 to function as each part of theloan determination device 100 or theaccount management device 300, respectively. good. The information processing described in these programs is read into thecomputer 1000, and the applicationdata acquisition unit 102 and the accounting data acquisition unit, which are specific means in which the software and the various hardware resources described above cooperate with each other, are used. 104, financial institutiondata acquisition unit 106, transactiondata acquisition unit 108, orderrate calculation unit 110, billing paymentrate calculation unit 112, transaction-relateddata acquisition unit 114, businessgroup identification unit 116, featuredata acquisition unit 118, past CFInformation generation unit 120, probabilityinformation generation unit 130, requestdata transmission unit 142, loanavailability determination unit 144, creditrating acquisition unit 146, loanprocessing execution unit 148,post-loan management unit 150, repaymentinformation generation unit 152, and repayment information transmission. It functions as aunit 154. Further, the information processing described in these programs is read into thecomputer 1000, and is a specific means in which the software and the various hardware resources described above cooperate with each other. Theaccount management unit 302 and the data acquisition unit. It functions as 304, future CFinformation generation unit 306, paymentrequest acquisition unit 308, paymentprocessing execution unit 310, loanavailability determination unit 312, loanrepayment execution unit 314, interest rateprocessing execution unit 316, andinstruction receiving unit 318. Then, by realizing the calculation or processing of information according to the purpose of use of thecomputer 1000 in the present embodiment by these specific means, aloan determination device 100 or anaccount management device 300 peculiar to the purpose of use is constructed. Will be done.

以上、本発明を実施の形態を用いて説明したが、本発明の技術的範囲は上記実施の形態に記載の範囲には限定されない。上記実施の形態に、多様な変更または改良を加えることが可能であることが当業者に明らかである。その様な変更または改良を加えた形態も本発明の技術的範囲に含まれ得ることが、特許請求の範囲の記載から明らかである。 Although the present invention has been described above using the embodiments, the technical scope of the present invention is not limited to the scope described in the above embodiments. It will be apparent to those skilled in the art that various changes or improvements can be made to the above embodiments. It is clear from the description of the claims that the form with such changes or improvements may be included in the technical scope of the present invention.

特許請求の範囲、明細書、および図面中において示した装置、システム、プログラム、および方法における動作、手順、ステップ、および段階などの各処理の実行順序は、特段「より前に」、「先立って」などと明示しておらず、また、前の処理の出力を後の処理で用いるのでない限り、任意の順序で実現しうることに留意すべきである。特許請求の範囲、明細書、および図面中の動作フローに関して、便宜上「まず、」、「次に、」などを用いて説明したとしても、この順で実施することが必須であることを意味するものではない。 The order of execution of each process, such as operation, procedure, step, and step in the apparatus, system, program, and method shown in the claims, specification, and drawings, is particularly "before" and "prior to". It should be noted that it can be realized in any order unless the output of the previous process is used in the subsequent process. Even if the scope of claims, the specification, and the operation flow in the drawings are explained using "first", "next", etc. for convenience, it means that it is essential to carry out in this order. It's not a thing.

10 ネットワーク、20 通信端末、22 データ項目、100 融資判定装置、102 申込データ取得部、104 会計データ取得部、106 金融機関データ取得部、108 取引データ取得部、110 受注率算出部、112 請求入金率算出部、114 取引関係データ取得部、116 事業者群特定部、118 特徴データ取得部、120 過去CF情報生成部、130 蓋然性情報生成部、132 将来CF情報生成部、134 スコア生成部、136 整合性確認部、142 要求データ送信部、144 融資可否判定部、146 信用度取得部、148 融資処理実行部、150 融資後管理部、152 返済情報生成部、154 返済情報送信部、170 データ項目、182 過去CF情報、184 将来CF情報、210 会計データ管理装置、212 データ項目、214 データ項目、220 取引データ管理装置、222 データ項目、224 データ項目、230 金融機関データ管理装置、232 データ項目、240 信用情報管理装置、242 データ項目、250 事業者群データ管理装置、252 データ項目、260 取引関係管理装置、262 データ項目、300 口座管理装置、302 口座管理部、304 データ取得部、306 将来CF情報生成部、308 支払要求取得部、310 支払処理実行部、312 融資可否判定部、314 融資返済実行部、316 金利処理実行部、318 指示受信部、1000 コンピュータ、1010 CPU、1020 ROM、1030 RAM、1040 通信I/F、1050 ハードディスクドライブ、1070 DVDドライブ、1072 DVD-ROM、1080 入出力チップ、1085 グラフィックコントローラ、1090 ディスプレイ、1092 ホストコントローラ、1094 入出力コントローラ10 network, 20 communication terminals, 22 data items, 100 loan judgment device, 102 application data acquisition department, 104 accounting data acquisition department, 106 financial institution data acquisition department, 108 transaction data acquisition department, 110 order rate calculation department, 112 billing payment Rate calculation unit, 114 Transaction-related data acquisition unit, 116 Business group identification unit, 118 Feature data acquisition unit, 120 Past CF information generation unit, 130 Probability information generation unit, 132 Future CF information generation unit, 134 Score generation unit, 136 Consistency confirmation unit, 142 request data transmission unit, 144 loan availability determination unit, 146 credit rating acquisition unit, 148 loan processing execution department, 150 post-finance management department, 152 repayment information generation unit, 154 repayment information transmission unit, 170 data items, 182 past CF information, 184 future CF information, 210 accounting data management device, 212 data item, 214 data item, 220 transaction data management device, 222 data item, 224 data item, 230 financial institution data management device, 232 data item, 240 Credit information management device, 242 data items, 250 business group data management device, 252 data items, 260 business relationship management device, 262 data items, 300 account management device, 302 account management department, 304 data acquisition department, 306 future CF information Generation unit, 308 payment request acquisition unit, 310 payment processing execution unit, 312 loan availability determination unit, 314 loan repayment execution unit, 316 interest rate processing execution unit, 318 instruction receiving unit, 1000 computer, 1010 CPU, 1020 ROM, 1030 RAM, 1040 communication I / F, 1050 hard disk drive, 1070 DVD drive, 1072 DVD-ROM, 1080 input / output chip, 1085 graphic controller, 1090 display, 1092 host controller, 1094 input / output controller

Claims (14)

Translated fromJapanese
事業者の口座残高を管理する口座管理部と、
前記事業者の会計に関する会計データを分析することによって、前記事業者の将来のキャッシュフローを示す将来CF情報を生成する将来CF情報生成部と、
前記事業者による取引先への支払額を含む支払要求を取得する支払要求取得部と、
前記支払要求の前記支払額よりも前記事業者の口座残高が多い場合に、前記支払要求に対する支払処理を実行する支払処理実行部と、
前記支払要求の前記支払額よりも前記事業者の前記口座残高が少ない場合に、前記支払額と前記口座残高との差分以上の融資金額を前記事業者に融資することの可否を自動的に判定する融資可否判定部であって、前記融資金額と、前記融資金額に対する融資を行う場合の融資日及び融資期間を用いて融資の返済予定を作成し、前記将来CF情報によって、当該返済予定が実現可能か否かを判定することによって、融資することの可否を判定する融資可否判定部
を備え、
前記口座管理部は、前記融資可否判定部によって融資可と判定された場合に、前記事業者の前記口座残高に前記融資金額を加算する、口座管理装置。
The account management department that manages the account balance of the business operator,
A future CF information generation unit that generates future CF information indicating the future cash flow of the business operator by analyzing accounting data related to the accounting of the business operator.
The payment request acquisition unit that acquires the payment request including the payment amount to the business partner by the business operator,
A payment processing execution unit that executes payment processing for the payment request when the account balance of the business operator is larger than the payment amount of the payment request.
When the account balance of the business operator is smaller than the payment amount of the payment request, it is automatically determined whether or not the loan amount equal to or larger than the difference between the payment amount and the account balance can be loaned to the business operator. The loan approval / disapproval determination unitcreates a loan repayment schedule using the loan amount, the loan date and the loan period when the loan is made for the loan amount, and the repayment schedule is realized by the future CF information. It is equipped witha loan availability determination unit that determines whether or not a loan can be made by determining whether or not it is possible .
The account management unit is an account management device that adds the loan amount to the account balance of the business operator when the loan availability determination unit determines that the loan is possible.
前記融資可否判定部は、前記支払要求の前記支払額と前記事業者の前記口座残高との差額を融資することの可否を判定する、請求項1に記載の口座管理装置。 The account management device according to claim 1, wherein the loan admissibility determination unit determines whether or not to lend the difference between the payment amount of the payment request and the account balance of the business operator. 前記融資可否判定部は、前記支払要求の前記支払額と前記事業者の前記口座残高との差額に予め定められた金額を加算した額を融資することの可否を判定する、請求項1に記載の口座管理装置。 The first aspect of claim 1, wherein the loan admissibility determination unit determines whether or not to lend an amount obtained by adding a predetermined amount to the difference between the payment amount of the payment request and the account balance of the business operator. Account management device. 前記融資可否判定部は、前記支払要求の前記支払額と前記事業者の前記口座残高との差額に、前記事業者の口座残高として最低限必要な金額として予め定められた金額を加算した額を融資することの可否を判定する、請求項3に記載の口座管理装置。 The loan approval / disapproval determination unit adds an amount predetermined as the minimum required amount for the account balance of the business operator to the difference between the payment amount of the payment request and the account balance of the business operator. The account management device according to claim 3, which determines whether or not to lend. 前記支払処理実行部は、前記口座管理部によって前記事業者の前記口座残高に前記融資金額が加算された後、前記口座残高から前記支払額を前記取引先に支払う支払処理を実行する、請求項1から4のいずれか一項に記載の口座管理装置。 The claim that the payment processing execution unit executes payment processing for paying the payment amount from the account balance to the business partner after the loan amount is added to the account balance of the business operator by the account management unit. The account management device according to any one of 1 to 4. 前記口座管理部によって前記事業者の前記口座残高に前記融資金額が加算された後、前記口座残高から前記支払額を前記取引先に支払う前記支払処理が前記支払処理実行部によって実行された後、前記事業者の口座残高を監視して、予め定められた条件に従って、前記口座残高からの返済処理を実行する融資返済実行部
をさらに備える、請求項5に記載の口座管理装置。
After the loan amount is added to the account balance of the business operator by the account management unit, and then the payment process of paying the payment amount from the account balance to the business partner is executed by the payment processing execution unit. The account management device according to claim 5, further comprising a loan repayment execution unit that monitors the account balance of the business operator and executes repayment processing from the account balance according to predetermined conditions.
前記融資返済実行部は、前記事業者の口座残高が前記融資金額よりも多い場合に、前記口座残高から前記融資金額を減算し、前記事業者の前記口座残高が前記融資金額よりも少ない場合に、前記口座残高と予め定められた閾値との差分を前記口座残高から減算する、請求項6に記載の口座管理装置。 The loan repayment execution unit subtracts the loan amount from the account balance when the account balance of the business operator is larger than the loan amount, and when the account balance of the business operator is smaller than the loan amount. The account management device according to claim 6, wherein the difference between the account balance and a predetermined threshold value is subtracted from the account balance. 前記口座管理部によって前記事業者の前記口座残高に前記融資金額が加算された後、前記口座残高から前記支払額を前記取引先に支払う前記支払処理が前記支払処理実行部によって実行された後、前記事業者の前記口座残高を監視し、前記事業者の口座残高が前記融資金額よりも少ない場合に、予め定められた金利ルールに従って決定した金利額を前記口座残高から減算する金利処理実行部
をさらに備える、請求項5に記載の口座管理装置。
After the loan amount is added to the account balance of the business operator by the account management unit, and then the payment process of paying the payment amount from the account balance to the business partner is executed by the payment processing execution unit. An interest rate processing execution unit that monitors the account balance of the business operator and subtracts the interest rate amount determined according to a predetermined interest rate rule from the account balance when the account balance of the business operator is less than the loan amount. The account management device according to claim 5, further comprising.
前記金利処理実行部は、前記事業者の前記口座残高の多寡を問わず、予め定められたタイミングに従って、前記口座残高から前記金利額を減算する、請求項8に記載の口座管理装置。 The account management device according to claim 8, wherein the interest rate processing execution unit subtracts the interest rate amount from the account balance according to a predetermined timing regardless of the amount of the account balance of the business operator. 前記融資可否判定部は、前記将来CF情報が示す各月の現預金に対して、前記返済予定の月毎の返済額を減算していった場合に、現預金が不足しないかを判定することによって、融資することの可否を判定する、請求項1から9のいずれか一項に記載の口座管理装置。The loan approval / disapproval determination unit determines whether or not the cash and deposits are insufficient when the monthly repayment amount scheduled to be repaid is subtracted from the cash and deposits of each month indicated by the future CF information. The account management device according toany one of claims 1 to 9 , which determines whether or not a loan can be made. 前記将来CF情報生成部は、前記会計データを分析することによって前記事業者の過去のキャッシュフローを示す過去CF情報を複数年分取得し、複数年分の前記過去CF情報から1年分の前記将来CF情報を生成する、請求項1から10のいずれか一項に記載の口座管理装置。The future CF information generation unit acquires past CF information indicating the past cash flow of the business operator for a plurality of years by analyzing the accounting data, and the past CF information for a plurality of years is used for one year. The account management device according toany one of claims 1 to 10, which will generate CF information in the future. 前記将来CF情報生成部は、前記複数年分の過去CF情報の平均化、及び前記複数年分の過去CF情報からの予測の少なくともいずれかによって、前記将来CF情報を生成する、請求項11に記載の口座管理装置。Theeleventh claim, wherein the future CF information generation unit generates the future CF information by at least one of the averaging of the past CF information for the plurality of years and the prediction from the past CF information for the plurality of years. The account management device described. 前記将来CF情報生成部は、前記複数年分の過去CF情報における売上高の発生パターン、仕入れの発生パターン、及び経費の発生パターンを導出して、前記売上高の発生パターン、前記仕入れの発生パターン、及び前記経費の発生パターンを用いて前記将来CF情報を生成する、請求項11に記載の口座管理装置。The future CF information generation unit derives the sales generation pattern, the purchase generation pattern, and the expense generation pattern in the past CF information for the plurality of years, and the sales generation pattern and the purchase generation pattern. The account management device according to claim11 , wherein the future CF information is generated using the expense generation pattern. コンピュータを、請求項1から13のいずれか一項に記載の口座管理装置として機能させるためのプログラム。A program for operating a computer as the account management device according to any one of claims 1 to13 .
JP2020148341A2020-09-032020-09-03 Account management equipment and programsActiveJP7049417B2 (en)

Priority Applications (1)

Application NumberPriority DateFiling DateTitle
JP2020148341AJP7049417B2 (en)2020-09-032020-09-03 Account management equipment and programs

Applications Claiming Priority (1)

Application NumberPriority DateFiling DateTitle
JP2020148341AJP7049417B2 (en)2020-09-032020-09-03 Account management equipment and programs

Related Parent Applications (1)

Application NumberTitlePriority DateFiling Date
JP2017060157ADivisionJP6760875B2 (en)2017-03-242017-03-24 Account management equipment and programs

Publications (2)

Publication NumberPublication Date
JP2020205085A JP2020205085A (en)2020-12-24
JP7049417B2true JP7049417B2 (en)2022-04-06

Family

ID=73837496

Family Applications (1)

Application NumberTitlePriority DateFiling Date
JP2020148341AActiveJP7049417B2 (en)2020-09-032020-09-03 Account management equipment and programs

Country Status (1)

CountryLink
JP (1)JP7049417B2 (en)

Citations (5)

* Cited by examiner, † Cited by third party
Publication numberPriority datePublication dateAssigneeTitle
JP2003168004A (en)2001-12-032003-06-13Ufj Holdings IncMethod for processing payment, method for processing financing certification and financial institution system
JP2004287933A (en)2003-03-242004-10-14Mitsubishi Electric Information Systems CorpSystem for warrantying banking transaction
JP2006277223A (en)2005-03-292006-10-12Mitsui Sumitomo Insurance Co Ltd Margin reserve management system and loan reserve management method for loan repayment
JP2007052610A (en)2005-08-172007-03-01Ufj Nicos Co LtdTransfer proxy management device, control method for transfer proxy management device, control program for transfer proxy management device and computer-readable recording medium recording control program for transfer proxy device
JP2009294884A (en)2008-06-042009-12-17Promise Co LtdFinancing system for settlement and computer program

Family Cites Families (1)

* Cited by examiner, † Cited by third party
Publication numberPriority datePublication dateAssigneeTitle
JP2962889B2 (en)*1991-08-201999-10-12沖電気工業株式会社 Transaction processing system

Patent Citations (5)

* Cited by examiner, † Cited by third party
Publication numberPriority datePublication dateAssigneeTitle
JP2003168004A (en)2001-12-032003-06-13Ufj Holdings IncMethod for processing payment, method for processing financing certification and financial institution system
JP2004287933A (en)2003-03-242004-10-14Mitsubishi Electric Information Systems CorpSystem for warrantying banking transaction
JP2006277223A (en)2005-03-292006-10-12Mitsui Sumitomo Insurance Co Ltd Margin reserve management system and loan reserve management method for loan repayment
JP2007052610A (en)2005-08-172007-03-01Ufj Nicos Co LtdTransfer proxy management device, control method for transfer proxy management device, control program for transfer proxy management device and computer-readable recording medium recording control program for transfer proxy device
JP2009294884A (en)2008-06-042009-12-17Promise Co LtdFinancing system for settlement and computer program

Also Published As

Publication numberPublication date
JP2020205085A (en)2020-12-24

Similar Documents

PublicationPublication DateTitle
US8458094B2 (en)Secured charge card
KR102129495B1 (en)System for unsecured funding to credit card member store via purchase of undetermined future credit obligation
US9947055B1 (en)System and method for monitoring merchant transactions using aggregated financial data
US20180268487A1 (en)Payment management system
JP6816062B2 (en) Information processing equipment, information processing methods and programs
KR20190009238A (en)Electronic bill mediation system and method thereof
JP7047009B2 (en) Remittance server, program, and information processing method
WO2021198764A1 (en)Transaction lifecycle monitoring
JP6903560B2 (en) Information processing equipment and programs
JP6760875B2 (en) Account management equipment and programs
JP6760874B2 (en) Information processing equipment and programs
JP6423031B2 (en) Information processing apparatus and program
JP6766023B2 (en) Information processing equipment and programs
US11276065B2 (en)Transaction lifecycle monitoring
JP2021047915A (en) Information processing methods, programs and information processing equipment
JP7049417B2 (en) Account management equipment and programs
JP7016394B2 (en) Information processing equipment and programs
JP2022060599A (en)Information processing method, program, and information processing device
JP6704973B2 (en) Information processing device and program
JP2021179884A (en)Payment assistance device, payment assistance method and payment assistance program
US20040249731A1 (en)Methods and systems for automatic evaluation of balance sheet objects
US20120054089A1 (en)Method and Apparatus for Providing Ongoing Cash Access
JP7434224B2 (en) Information processing device, program, and information processing method
JP2021082361A (en)Information processing device and program
JP5986168B2 (en) Automatic overdraft system and method using electronically recorded receivables

Legal Events

DateCodeTitleDescription
A621Written request for application examination

Free format text:JAPANESE INTERMEDIATE CODE: A621

Effective date:20201002

A131Notification of reasons for refusal

Free format text:JAPANESE INTERMEDIATE CODE: A131

Effective date:20220104

A521Request for written amendment filed

Free format text:JAPANESE INTERMEDIATE CODE: A523

Effective date:20220222

TRDDDecision of grant or rejection written
A01Written decision to grant a patent or to grant a registration (utility model)

Free format text:JAPANESE INTERMEDIATE CODE: A01

Effective date:20220315

A61First payment of annual fees (during grant procedure)

Free format text:JAPANESE INTERMEDIATE CODE: A61

Effective date:20220325

R150Certificate of patent or registration of utility model

Ref document number:7049417

Country of ref document:JP

Free format text:JAPANESE INTERMEDIATE CODE: R150

S111Request for change of ownership or part of ownership

Free format text:JAPANESE INTERMEDIATE CODE: R313111

R350Written notification of registration of transfer

Free format text:JAPANESE INTERMEDIATE CODE: R350

R250Receipt of annual fees

Free format text:JAPANESE INTERMEDIATE CODE: R250


[8]ページ先頭

©2009-2025 Movatter.jp