

















  薄膜トランジスタ(以下、TFTという)で構成された集積回路を有する半導体装置お
よびその作製方法に関する。例えば、半導体集積回路を部品として搭載した電子機器に関
する。The present invention relates to a semiconductor device having an integrated circuit composed of a thin film transistor (hereinafter referred to as a TFT) and a method for manufacturing the same. For example, the present invention relates to an electronic device equipped with a semiconductor integrated circuit as a component.
  なお、本明細書中において半導体装置とは、半導体特性を利用することで機能しうる装
置全般を指し、電気光学装置、半導体回路、電子部品、および電子機器は全て半導体装置
である。In the present specification, the semiconductor device refers to all devices that can function by utilizing the semiconductor characteristics, and the electro-optical device, the semiconductor circuit, the electronic component, and the electronic device are all semiconductor devices.
  近年、半導体装置の開発が進められ、LSIやCPUやメモリとして用いられている。
CPUは、半導体ウェハから切り離された半導体集積回路(少なくともトランジスタ及び
メモリ)を有し、接続端子である電極が形成された半導体素子の集合体である。In recent years, the development of semiconductor devices has been promoted, and they are used as LSIs, CPUs, and memories.
 A CPU is an aggregate of semiconductor elements having a semiconductor integrated circuit (at least a transistor and a memory) separated from a semiconductor wafer and having electrodes as connection terminals formed therein.
LSIやCPUやメモリなどの半導体回路(ICチップ)は、回路基板、例えばプリント
配線板に実装され、様々な電子機器の部品の一つとして用いられる。Semiconductor circuits (IC chips) such as LSIs, CPUs, and memories are mounted on circuit boards, for example, printed wiring boards, and are used as one of various electronic device components.
また、データの送受信が可能な半導体装置の開発が進められており、このような半導体装
置は、無線タグ、RFIDタグなどと呼ばれる。実用化されているものは、アンテナと半
導体基板を用いて形成された半導体回路(ICチップ)とを有しているものが多い。Further, the development of semiconductor devices capable of transmitting and receiving data is underway, and such semiconductor devices are called wireless tags, RFID tags, and the like. Many of those that have been put into practical use have a semiconductor circuit (IC chip) formed by using an antenna and a semiconductor substrate.
また、薄膜トランジスタに適用可能な半導体薄膜としてシリコン系半導体材料が公知であ
るが、その他の材料として酸化物半導体が注目されている。酸化物半導体の材料としては
、酸化亜鉛又は酸化亜鉛を成分とするものが知られている。そして、電子キャリア濃度が
1018/cm3未満である非晶質酸化物(酸化物半導体)なるもので形成された薄膜ト
ランジスタが開示されている(特許文献1乃至3)。Further, silicon-based semiconductor materials are known as semiconductor thin films applicable to thin film transistors, but oxide semiconductors are attracting attention as other materials. As a material for an oxide semiconductor, a material containing zinc oxide or zinc oxide as a component is known. Further, a thin film transistor formed of an amorphous oxide (oxide semiconductor) having an electron carrier concentration of less than 1018 / cm3 is disclosed (
電子機器は、動作時の消費電力だけでなく、スタンバイ時の消費電力も重要視されている
。特に携帯型の電気機器は、バッテリーを電源としており、限られた電力量での使用可能
時間が制限される。また、車載の電気機器は、スタンバイ時のリーク電流が大きいと、バ
ッテリーの寿命の低下を招く恐れがあり、また電気自動車においては、車載の電気機器の
リーク電流に起因して一定の充電量あたりの走行距離が短縮してしまう。In electronic devices, not only the power consumption during operation but also the power consumption during standby is regarded as important. In particular, portable electric devices are powered by a battery, and the usable time with a limited amount of electric power is limited. In addition, in an in-vehicle electric device, if the leakage current during standby is large, the battery life may be shortened, and in an electric vehicle, the leakage current of the in-vehicle electric device causes a certain amount of charge. The mileage will be shortened.
消費電力を低減するためには、動作時の消費電力だけでなくスタンバイ時のリーク電流を
低減することが効果的である。個々のトランジスタのリーク電流は大きなものではないが
、LSIは数百万のトランジスタが設けられており、それらのリーク電流を足しあわせる
と、決して小さなものにはならない。このようなリーク電流は待機時の半導体装置の消費
電力を増加させるもとになっている。リーク電流の要因は種々存在するが、スタンバイ時
のリーク電流を低減することができれば、電気機器で使用される駆動回路などの省電力化
を図ることができる。In order to reduce the power consumption, it is effective to reduce not only the power consumption during operation but also the leakage current during standby. The leakage current of each transistor is not large, but the LSI is provided with millions of transistors, and when these leakage currents are added together, the leakage current is never small. Such a leak current is a cause of increasing the power consumption of the semiconductor device during standby. There are various factors for the leak current, but if the leak current during standby can be reduced, it is possible to reduce the power consumption of the drive circuit used in the electric device.
そこで、LSIやCPUやメモリに用いるトランジスタのリーク電流を低減することを課
題の一とする。Therefore, one of the problems is to reduce the leakage current of the transistor used for the LSI, the CPU, and the memory.
また、寄生容量を小さくすることも動作時の消費電力を低減する上で有効であり、寄生容
量を小さくして消費電力の低減を図ることも課題の一とする。In addition, reducing the parasitic capacitance is also effective in reducing the power consumption during operation, and reducing the parasitic capacitance to reduce the power consumption is also an issue.
また、LSIやCPUやメモリなどの半導体集積回路に用いるトランジスタのチャネル長
Lを短くすることによって回路の動作速度を高速化し、さらには消費電力の低減を図るこ
とも課題の一とする。Another issue is to increase the operating speed of the circuit by shortening the channel length L of the transistor used in the semiconductor integrated circuit such as LSI, CPU, and memory, and to further reduce the power consumption.
酸化物半導体中で電子供与体(ドナー)となる不純物を除去することで、真性又は実質的
に真性な半導体であって、シリコン半導体よりもエネルギーギャップが大きい酸化物半導
体でチャネル領域が形成される薄膜トランジスタを用い、LSIやCPUやメモリなどの
半導体集積回路を作製する。By removing impurities that become electron donors in the oxide semiconductor, a channel region is formed in the oxide semiconductor which is a true or substantially genuine semiconductor and has a larger energy gap than the silicon semiconductor. Semiconductor integrated circuits such as LSIs, CPUs, and memories are manufactured using thin film transistors.
酸化物半導体に含まれる水素若しくはOH基などの不純物を除去し、具体的には酸化物半
導体に含まれる水素濃度が5×1019/cm3以下、好ましくは5×1018/cm3
以下、より好ましくは5×1017/cm3以下として、水素濃度が十分に低減されて高
純度化された酸化物半導体層を用いることにより薄膜トランジスタのオフ電流を下げる。
なお、酸化物半導体層中の水素濃度測定は、二次イオン質量分析法(SIMS:Seco
ndary  Ion  Mass  Spectroscopy)で行う。It removes impurities such as hydrogen or OH groups contained in the oxide semiconductor, and specifically, the hydrogen concentration contained in the oxide semiconductor is 5 × 1019 / cm3 or less, preferably 5 × 1018 / cm3 .
 Hereinafter, the off-current of the thin film transistor is reduced by using an oxide semiconductor layer having a sufficiently reduced hydrogen concentration and high purity, more preferably 5 × 1017 / cm3 or less.
 The hydrogen concentration in the oxide semiconductor layer is measured by secondary ion mass spectrometry (SIMS: Seco).
 ndary Ion Mass Spectroscopy).
ゲート電圧Vgが正の領域では、ドレイン電流Idが十分大きく、ゲート電圧Vgが0以
下では、ドレイン電流Idは0であることが望ましく、水素濃度が十分に低減されて高純
度化された酸化物半導体層を用いる薄膜トランジスタは、ドレイン電圧Vdが+1Vまた
は+10Vの場合、ゲート電圧Vgが-5Vから-20Vの範囲においてオフ電流値を1
×10-13[A]未満とすることができる。In the region where the gate voltage Vg is positive, the drain current Id is sufficiently large, and when the gate voltage Vg is 0 or less, the drain current Id is preferably 0. When the drain voltage Vd is + 1V or + 10V, the thin film using the semiconductor layer has an off-current value of 1 in the range of -5V to -20V for the gate voltage Vg.
 ×10-13 It can be less than [A].
水素濃度が十分に低減されて高純度化された酸化物半導体層を用いる薄膜トランジスタは
、リーク電流による消費電力の少ない半導体装置を実現できる。A thin film transistor using an oxide semiconductor layer whose hydrogen concentration is sufficiently reduced and purified can realize a semiconductor device having low power consumption due to leakage current.
また、水素濃度が十分に低減されて高純度化された酸化物半導体層を用いる薄膜トランジ
スタは、ガラス基板上に形成することができ、ガラス基板上にLSIやCPUやメモリを
形成することができる。大面積のガラス基板を用いることにより、製造コストを低減する
ことができる。また、ガラス基板に限定されず、シリコン基板上に水素濃度が十分に低減
された酸化物半導体層を用いる薄膜トランジスタを形成することもでき、熱伝導性の高い
シリコン基板を半導体回路の放熱のために用いると好適である。また、ガラス基板ではな
くフレキシブル基板、例えばプラスチックフィルム上にも水素濃度が十分に低減された酸
化物半導体層を用いる薄膜トランジスタを形成することができ、フレキシブルな無線タグ
を作製することができる。Further, a thin film transistor using an oxide semiconductor layer whose hydrogen concentration is sufficiently reduced and purified can be formed on a glass substrate, and an LSI, a CPU, or a memory can be formed on the glass substrate. By using a glass substrate having a large area, the manufacturing cost can be reduced. Further, the thin film transistor is not limited to the glass substrate, and a thin film transistor using an oxide semiconductor layer having a sufficiently reduced hydrogen concentration can be formed on the silicon substrate, and a silicon substrate having high thermal conductivity can be used for heat dissipation of the semiconductor circuit. It is suitable to use. Further, it is possible to form a thin film transistor using an oxide semiconductor layer having a sufficiently reduced hydrogen concentration on a flexible substrate, for example, a plastic film, instead of a glass substrate, and a flexible wireless tag can be produced.
本明細書で開示する発明の構成の一つは、絶縁表面上に二次イオン質量分析法で検出され
る水素濃度が5×1019/cm3以下であり、キャリア濃度が5×1014/cm3以
下である酸化物半導体層と、酸化物半導体層上にソース電極層及びドレイン電極層と、酸
化物半導体層、ソース電極層、及びドレイン電極層上にゲート絶縁層と、ゲート絶縁層上
にゲート電極層とを有する薄膜トランジスタを複数有する半導体集積回路を備えた半導体
装置である。One of the configurations of the invention disclosed herein is that the hydrogen concentration detected by the secondary ion mass analysis method on the insulating surface is 5 × 1019 / cm3 or less, and the carrier concentration is 5 × 1014 /. An oxide semiconductor layer having a cm of3 or less, a source electrode layer and a drain electrode layer on the oxide semiconductor layer, a gate insulating layer on the oxide semiconductor layer, a source electrode layer, and a drain electrode layer, and a gate insulating layer. It is a semiconductor device provided with a semiconductor integrated circuit having a plurality of thin films having a gate electrode layer.
上記構成は、上記課題の少なくとも一つを解決する。The above configuration solves at least one of the above problems.
また、酸化物半導体層の下方に導電層を形成してもよく、他の発明の構成の一つは、絶縁
表面上に導電層と、導電層上に絶縁層と、絶縁層上に二次イオン質量分析法で検出される
水素濃度が5×1019/cm3以下であり、キャリア濃度が5×1014/cm3以下
である酸化物半導体層と、酸化物半導体層上にソース電極層及びドレイン電極層と、酸化
物半導体層、ソース電極層、及びドレイン電極層上にゲート絶縁層と、ゲート絶縁層上に
ゲート電極層とを有する薄膜トランジスタを複数有し、導電層は、前記絶縁層を介して前
記酸化物半導体層と重なることを特徴とする半導体装置である。Further, a conductive layer may be formed below the oxide semiconductor layer, and one of the configurations of another invention is a conductive layer on the insulating surface, an insulating layer on the conductive layer, and a secondary layer on the insulating layer. An oxide semiconductor layer having a hydrogen concentration of 5 × 1019 / cm3 or less and a carrier concentration of 5 × 1014 / cm3 or less detected by the ion mass analysis method, and a source electrode layer on the oxide semiconductor layer. And a plurality of thin films having a drain electrode layer, an oxide semiconductor layer, a source electrode layer, a gate insulating layer on the drain electrode layer, and a gate electrode layer on the gate insulating layer, and the conductive layer is the insulating layer. It is a semiconductor device characterized in that it overlaps with the oxide semiconductor layer via the above.
また、上記各構成において、寄生容量を低減するため、さらにソース電極層またはドレイ
ン電極層上に接する絶縁層を有し、ソース電極層またはドレイン電極層は、ゲート絶縁層
及び絶縁層を介してゲート電極層の一部と重なる。ソース電極層またはドレイン電極層上
に接する絶縁層を設けることによってゲート電極層とソース電極層との間、またはゲート
電極層とドレイン電極層との間の寄生容量を小さくすることができる。Further, in each of the above configurations, in order to reduce the parasitic capacitance, an insulating layer is further provided in contact with the source electrode layer or the drain electrode layer, and the source electrode layer or the drain electrode layer is gated via the gate insulating layer and the insulating layer. It overlaps a part of the electrode layer. By providing an insulating layer in contact with the source electrode layer or the drain electrode layer, the parasitic capacitance between the gate electrode layer and the source electrode layer or between the gate electrode layer and the drain electrode layer can be reduced.
また、配線交差部において、寄生容量を低減するため、ゲート配線層とソース配線層との
間には、ゲート絶縁層及び絶縁層を積層する構成としている。ゲート配線層とソース配線
層との間の間隔を広くすることにより、寄生容量による消費電力を低減し、配線間の短絡
防止も可能となる。Further, in order to reduce the parasitic capacitance at the wiring intersection, a gate insulating layer and an insulating layer are laminated between the gate wiring layer and the source wiring layer. By widening the distance between the gate wiring layer and the source wiring layer, it is possible to reduce power consumption due to parasitic capacitance and prevent short circuits between wirings.
また、水素濃度が十分に低減された酸化物半導体層を用いた薄膜トランジスタを複数組み
合わせてEDMOS回路を形成することもでき、その構成は、絶縁表面上に第1の酸化物
半導体層を有する第1の薄膜トランジスタと、第2の酸化物半導体層を有する第2の薄膜
トランジスタとを有するEDMOS回路を有し、第1の酸化物半導体層及び第2の酸化物
半導体層は、二次イオン質量分析法で検出される水素濃度が5×1019/cm3以下で
あり、キャリア濃度が5×1014/cm3以下である。Further, an EDMOS circuit can be formed by combining a plurality of thin films using an oxide semiconductor layer having a sufficiently reduced hydrogen concentration, and the configuration thereof is a first having a first oxide semiconductor layer on an insulating surface. The EDMOS circuit having the thin film of the above and the second thin film having the second oxide semiconductor layer is provided, and the first oxide semiconductor layer and the second oxide semiconductor layer are subjected to the secondary ion mass analysis method. The detected hydrogen concentration is 5 × 1019 / cm3 or less, and the carrier concentration is 5 × 1014 / cm3 or less.
また、水素濃度が十分に低減された酸化物半導体層を用いて抵抗、コンデンサ、インダク
タなども同一基板上に形成することができる。例えば、抵抗は、水素濃度が十分に低減さ
れた酸化物半導体層を上下の電極層で挟むことで形成することができる。上記各構成にお
いて、さらに同一基板上に抵抗体である酸化物半導体層が、第1の導電層と、前記第1の
導電層と重なる第2の導電層との間に設けられる。Further, the resistance, the capacitor, the inductor and the like can be formed on the same substrate by using the oxide semiconductor layer in which the hydrogen concentration is sufficiently reduced. For example, the resistance can be formed by sandwiching an oxide semiconductor layer having a sufficiently reduced hydrogen concentration between upper and lower electrode layers. In each of the above configurations, an oxide semiconductor layer which is a resistor is further provided on the same substrate between the first conductive layer and the second conductive layer which overlaps with the first conductive layer.
また、LSIやCPUやメモリの他に、電源回路、送受信回路、又は音声処理回路のアン
プ、表示部の駆動回路、コントローラ、又は音声処理回路のコンバータなどを水素濃度が
十分に低減された酸化物半導体層を用いる薄膜トランジスタを用いて構成することもでき
る。Further, in addition to LSIs, CPUs and memories, oxides having a sufficiently reduced hydrogen concentration in power supply circuits, transmission / reception circuits, amplifiers of audio processing circuits, drive circuits of display units, controllers, converters of audio processing circuits, etc. It can also be configured by using a thin film using a semiconductor layer.
また、複数の半導体集積回路を一つのパッケージに搭載し半導体装置の集積を高めたもの
、所謂MCP(Multi  Chip  Package)としてもよい。Further, a so-called MCP (Multi Chip Package), in which a plurality of semiconductor integrated circuits are mounted in one package to enhance the integration of semiconductor devices, may be used.
また、回路基板に半導体集積回路を実装する場合には、フェイスアップ形態であってもよ
いし、フリップチップ形態(フェイスダウン形態)としてもよい。Further, when the semiconductor integrated circuit is mounted on the circuit board, it may be in a face-up form or a flip-chip form (face-down form).
水素濃度が十分に低減された酸化物半導体層を用いる薄膜トランジスタは、リーク電流を
極めて小さくすることができ、その薄膜トランジスタを半導体集積回路に用いることで消
費電力の少ない半導体装置を実現できる。A thin film transistor using an oxide semiconductor layer having a sufficiently reduced hydrogen concentration can have an extremely small leakage current, and by using the thin film transistor in a semiconductor integrated circuit, a semiconductor device with low power consumption can be realized.
以下では、本発明の実施の形態について図面を用いて詳細に説明する。ただし、本発明は
以下の説明に限定されず、その形態および詳細を様々に変更し得ることは、当業者であれ
ば容易に理解される。また、本発明は以下に示す実施の形態の記載内容に限定して解釈さ
れるものではない。Hereinafter, embodiments of the present invention will be described in detail with reference to the drawings. However, the present invention is not limited to the following description, and it is easily understood by those skilled in the art that the form and details thereof can be changed in various ways. Further, the present invention is not limited to the description of the embodiments shown below.
(実施の形態1)
本実施の形態では、半導体集積回路の断面構造の一例について説明する。(Embodiment 1)
 In this embodiment, an example of the cross-sectional structure of the semiconductor integrated circuit will be described.
本実施の形態では、半導体集積回路及び半導体集積回路の作製方法の一形態を、図1、図
2、図3、及び図4を用いて説明する。In this embodiment, one embodiment of a semiconductor integrated circuit and a method for manufacturing a semiconductor integrated circuit will be described with reference to FIGS. 1, 2, 3, and 4.
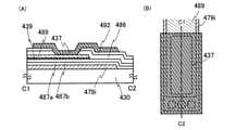
図1(A)、図1(B)に半導体集積回路の断面構造の一例を示す。図1(B)に示す薄
膜トランジスタ440は、トップゲート構造の薄膜トランジスタの一つである。1 (A) and 1 (B) show an example of a cross-sectional structure of a semiconductor integrated circuit. The
薄膜トランジスタ440は、絶縁表面を有する基板430上に、第1の絶縁層447a、
第2の絶縁層443、第3の絶縁層447b、酸化物半導体層442、第1のソース電極
層445a、第2のソース電極層448a、第1のドレイン電極層445b、第2のドレ
イン電極層448b、ゲート絶縁層444、及びゲート電極層441を含む。The
 Second insulating
ゲート電極層441と重なる酸化物半導体層442の一部がチャネル形成領域であり、酸
化物半導体層442上で隣り合う第1のソース電極層445aの下端部と第1のドレイン
電極層445bの下端部との間隔幅でチャネル長L1が決定される。A part of the
また、薄膜トランジスタ440はシングルゲート構造の薄膜トランジスタを用いて説明し
たが、必要に応じて、チャネル形成領域を複数有するマルチゲート構造の薄膜トランジス
タも形成することができる。Further, although the
また、薄膜トランジスタ440と同一基板上に寄生容量を低減した薄膜トランジスタ47
0も同一工程で形成することができる。Further, the thin film transistor 47 having a reduced parasitic capacitance on the same substrate as the
 0 can also be formed in the same process.
以下、図1(A)を用い、基板430上に薄膜トランジスタ440及び薄膜トランジスタ
470を作製する工程を説明する。Hereinafter, the process of manufacturing the
絶縁表面を有する基板430に使用することができる基板に大きな制限はないが、少なく
とも、後の加熱処理に耐えうる程度の耐熱性を有していることが必要となる。バリウムホ
ウケイ酸ガラスやアルミノホウケイ酸ガラスなどのガラス基板を用いることができる。There is no major limitation on the substrate that can be used for the
また、ガラス基板としては、後の加熱処理の温度が高い場合には、歪み点が730℃以上
のものを用いると良い。また、ガラス基板には、例えば、アルミノシリケートガラス、ア
ルミノホウケイ酸ガラス、バリウムホウケイ酸ガラスなどのガラス材料が用いられている
。なお、酸化ホウ素(B2O3)と比較して酸化バリウム(BaO)を多く含ませること
で、より実用的な耐熱ガラスが得られる。このため、B2O3よりBaOを多く含むガラ
ス基板を用いることが好ましいFurther, as the glass substrate, when the temperature of the subsequent heat treatment is high, it is preferable to use a glass substrate having a strain point of 730 ° C. or higher. Further, for the glass substrate, for example, a glass material such as aluminosilicate glass, aluminoborosilicate glass, and barium borosilicate glass is used. By containing a large amount of barium oxide (BaO) as compared with boron oxide (B2 O3 ), more practical heat-resistant glass can be obtained. Therefore, it is preferable to use a glass substrate containing more BaOthan B2O3.
なお、上記のガラス基板に代えて、セラミック基板、石英基板、サファイア基板などの絶
縁体でなる基板を用いても良い。他にも、結晶化ガラス基板などを用いることができる。
また、表面に絶縁層を有する半導体基板や、プラスチック基板等も適宜用いることができ
る。Instead of the above glass substrate, a substrate made of an insulator such as a ceramic substrate, a quartz substrate, or a sapphire substrate may be used. In addition, a crystallized glass substrate or the like can be used.
 Further, a semiconductor substrate having an insulating layer on the surface, a plastic substrate, or the like can be appropriately used.
まず、絶縁表面を有する基板430上に導電膜を形成した後、第1のフォトリソグラフィ
工程により電極層479a、479b、479cを形成する。電極層479a、479b
、479cは、の材料は、Al、Cr、Cu、Ta、Ti、Mo、Wから選ばれた元素、
または上述した元素を成分とする合金か、上述した元素を組み合わせた合金等を用いるこ
とができる。本実施の形態では、電極層479a、479b、479cは窒化タングステ
ン層と、タングステン層の積層構造とする。First, a conductive film is formed on a
 In 479c, the material is an element selected from Al, Cr, Cu, Ta, Ti, Mo, and W.
 Alternatively, an alloy containing the above-mentioned elements as a component, an alloy in which the above-mentioned elements are combined, or the like can be used. In the present embodiment, the
次いで、電極層479a、479b、479cを覆う第1の絶縁層447aを形成する。
第1の絶縁層447aは、プラズマCVD法又はスパッタ法等を用いて、酸化珪素層、窒
化珪素層、酸化窒化珪素層又は窒化酸化珪素層を単層で又は積層して形成する。Next, a first insulating
 The first insulating
次いで、第1の絶縁層447a上にスペーサ絶縁層を成膜した後、第2のフォトリソグラ
フィ工程により選択的に除去して第2の絶縁層443を形成する。スペーサ絶縁層は、プ
ラズマCVD法又はスパッタ法等を用いて、酸化珪素層、窒化珪素層、酸化窒化珪素層又
は窒化酸化珪素層を単層で又は積層して形成する。スペーサ絶縁層の膜厚は、500nm
以上2μm以下とする。また、同一工程で、スペーサ絶縁層となる第5の絶縁層473を
電極層479cと重なる位置に形成する。こうして、部分的に厚い積層領域と薄い単層領
域を形成する。寄生容量を低減するため、厚い膜厚とする領域にはスペーサ絶縁層である
第4の絶縁層と第1の絶縁層を積層する構成とし、保持容量などを形成するため、薄い膜
厚とする領域には、第1の絶縁層を設ける構成とする。Next, after forming a spacer insulating layer on the first insulating
 It should be 2 μm or less. Further, in the same step, a fifth insulating
次いで、第1の絶縁層447a、第2の絶縁層443、第5の絶縁層473を覆う第3の
絶縁層447bを形成する。酸化物半導体層と接する第3の絶縁層447bは、酸化シリ
コン層、酸化窒化シリコン層、酸化アルミニウム層、または酸化窒化アルミニウムなどの
酸化物絶縁層を用いると好ましい。第3の絶縁層447bの形成方法としては、プラズマ
CVD法又はスパッタリング法等を用いることができるが、第3の絶縁層447b中に水
素が多量に含まれないようにするためには、スパッタリング法で第3の絶縁層447bを
成膜することが好ましい。Next, a third
本実施の形態では、第3の絶縁層447bとして、スパッタリング法により酸化シリコン
層を形成する。基板430を処理室へ搬送し、水素及び水分が除去された高純度酸素を含
むスパッタガスを導入しシリコンのターゲットを用いて、基板430に第3の絶縁層44
7bとして、酸化シリコン層を成膜する。また基板430は室温でもよいし、加熱されて
いてもよい。In the present embodiment, a silicon oxide layer is formed as the third insulating
 As 7b, a silicon oxide layer is formed. Further, the
例えば、石英(好ましくは合成石英)を用い、基板温度108℃、基板とターゲットの間
との距離(T-S間距離)を60mm、圧力0.4Pa、高周波電源1.5kW、酸素及
びアルゴン(酸素流量25sccm、アルゴン流量25sccm)雰囲気下でRFスパッ
タリング法により酸化シリコン層を成膜する。膜厚は100nmとする。なお、石英(好
ましくは合成石英)に代えてシリコンターゲットを酸化シリコン層を成膜するためのター
ゲットとして用いることができる。なお、スパッタガスとして酸素又は、酸素及びアルゴ
ンの混合ガスを用いて行う。For example, using quartz (preferably synthetic quartz), the substrate temperature is 108 ° C., the distance between the substrate and the target (distance between TS) is 60 mm, the pressure is 0.4 Pa, the high frequency power supply is 1.5 kW, oxygen and argon (preferably synthetic quartz). An oxygen flow rate of 25 sccm and an argon flow rate of 25 sccm) are used to form a silicon oxide layer by the RF sputtering method. The film thickness is 100 nm. In addition, instead of quartz (preferably synthetic quartz), a silicon target can be used as a target for forming a silicon oxide layer. It should be noted that oxygen or a mixed gas of oxygen and argon is used as the sputter gas.
この場合において、処理室内の残留水分を除去しつつ第3の絶縁層447bを成膜するこ
とが好ましい。第3の絶縁層447bに水素、水酸基又は水分が含まれないようにするた
めである。In this case, it is preferable to form the third insulating
処理室内の残留水分を除去するためには、吸着型の真空ポンプを用いることが好ましい。
例えば、クライオポンプ、イオンポンプ、チタンサブリメーションポンプを用いることが
好ましい。また、排気手段としては、ターボポンプにコールドトラップを加えたものであ
ってもよい。クライオポンプを用いて排気した成膜室は、例えば、水素原子や、水(H2
O)など水素原子を含む化合物等が排気されるため、当該成膜室で成膜した第3の絶縁層
447bに含まれる不純物の濃度を低減できる。In order to remove the residual water in the treatment chamber, it is preferable to use an adsorption type vacuum pump.
 For example, it is preferable to use a cryopump, an ion pump, or a titanium sublimation pump. Further, the exhaust means may be a turbo pump to which a cold trap is added. The film forming chamber exhausted by using the cryopump is, for example, a hydrogen atom or water (H2 ).
 Since a compound containing a hydrogen atom such as O) is exhausted, the concentration of impurities contained in the third insulating
スパッタリング法にはスパッタ用電源に高周波電源を用いるRFスパッタリング法、直流
電源を用いるDCスパッタリング法、さらにパルス的にバイアスを与えるパルスDCスパ
ッタリング法がある。RFスパッタリング法は主に絶縁膜を成膜する場合に用いられ、D
Cスパッタリング法は主に金属膜を成膜する場合に用いられる。The sputtering method includes an RF sputtering method using a high frequency power supply as a power supply for sputtering, a DC sputtering method using a DC power supply, and a pulse DC sputtering method in which a bias is applied in a pulsed manner. The RF sputtering method is mainly used when forming an insulating film, and D.
 The C sputtering method is mainly used when forming a metal film.
また、材料の異なるターゲットを複数設置できる多元スパッタ装置もある。多元スパッタ
装置は、同一チャンバーで異なる材料膜を積層成膜することも、同一チャンバーで複数種
類の材料を同時に放電させて成膜することもできる。There is also a multi-dimensional sputtering device that can install multiple targets made of different materials. The multi-element sputtering device can form a laminated film of different material films in the same chamber, or can simultaneously discharge a plurality of types of materials in the same chamber to form a film.
また、チャンバー内部に磁石機構を備えたマグネトロンスパッタリング法を用いるスパッ
タ装置や、グロー放電を使わずマイクロ波を用いて発生させたプラズマを用いるECRス
パッタリング法を用いるスパッタ装置がある。Further, there are a sputtering apparatus using a magnetron sputtering method provided with a magnet mechanism inside the chamber and a sputtering apparatus using an ECR sputtering method using plasma generated by microwaves without using glow discharge.
また、スパッタリング法を用いる成膜方法として、成膜中にターゲット物質とスパッタガ
ス成分とを化学反応させてそれらの化合物薄膜を形成するリアクティブスパッタリング法
や、成膜中に基板にも電圧をかけるバイアススパッタリング法もある。Further, as a film forming method using a sputtering method, a reactive sputtering method in which a target substance and a sputter gas component are chemically reacted to form a thin film of the compound during film formation, or a voltage is applied to a substrate during film formation. There is also a bias sputtering method.
また、第3の絶縁層447bは積層構造でもよく、例えば、基板430側から窒化シリコ
ン層、窒化酸化シリコン層、又は窒化アルミニウム層などの窒化物絶縁層と、上記酸化物
絶縁層との積層構造としてもよい。Further, the third insulating
例えば、酸化シリコン層と基板との間に水素及び水分が除去された高純度窒素を含むスパ
ッタガスを導入しシリコンターゲットを用いて窒化シリコン層を成膜する。この場合にお
いても、酸化シリコン層と同様に、処理室内の残留水分を除去しつつ窒化シリコン層を成
膜することが好ましい。For example, a sputter gas containing high-purity nitrogen from which hydrogen and water have been removed is introduced between the silicon oxide layer and the substrate, and a silicon nitride layer is formed using a silicon target. In this case as well, it is preferable to form the silicon nitride layer while removing the residual water in the treatment chamber, as in the case of the silicon oxide layer.
窒化シリコン層を形成する場合も、成膜時に基板を加熱してもよい。When forming the silicon nitride layer, the substrate may be heated at the time of film formation.
第3の絶縁層447bとして窒化シリコン層と酸化シリコン層とを積層する場合、窒化シ
リコン層と酸化シリコン層を同じ処理室において、共通のシリコンターゲットを用いて成
膜することができる。先に窒素を含むスパッタガスを導入して、処理室内に装着されたシ
リコンターゲットを用いて窒化シリコン層を形成し、次にスパッタガスを酸素を含むスパ
ッタガスに切り替えて同じシリコンターゲットを用いて酸化シリコン層を成膜する。窒化
シリコン層と酸化シリコン層とを大気に曝露せずに連続して形成することができるため、
窒化シリコン層表面に水素や水分などの不純物が吸着することを防止することができる。When the silicon nitride layer and the silicon oxide layer are laminated as the third insulating
 It is possible to prevent impurities such as hydrogen and moisture from being adsorbed on the surface of the silicon nitride layer.
次いで、第3の絶縁層447b上に、膜厚2nm以上200nm以下の酸化物半導体膜を
形成する。Next, an oxide semiconductor film having a film thickness of 2 nm or more and 200 nm or less is formed on the third insulating
また、酸化物半導体膜に水素、水酸基及び水分がなるべく含まれないようにするために、
成膜の前処理として、スパッタリング装置の予備加熱室で第3の絶縁層447bが形成さ
れた基板430を予備加熱し、基板430に吸着した水素、水分などの不純物を脱離し排
気することが好ましい。なお、予備加熱室に設ける排気手段はクライオポンプが好ましい
。なお、この予備加熱の処理は省略することもできる。In addition, in order to prevent hydrogen, hydroxyl groups and water from being contained in the oxide semiconductor film as much as possible.
 As a pretreatment for film formation, it is preferable to preheat the
なお、酸化物半導体膜をスパッタリング法により成膜する前に、アルゴンガスを導入して
プラズマを発生させる逆スパッタを行い、第3の絶縁層447bの表面に付着しているゴ
ミを除去することが好ましい。逆スパッタとは、ターゲット側に電圧を印加せずに、アル
ゴン雰囲気下で基板側に高周波電源を用いて電圧を印加して基板近傍にプラズマを形成し
て表面を改質する方法である。なお、アルゴン雰囲気に代えて窒素、ヘリウム、酸素など
を用いてもよい。Before forming the oxide semiconductor film by the sputtering method, it is possible to introduce argon gas and perform reverse sputtering to generate plasma to remove dust adhering to the surface of the third insulating
酸化物半導体膜はスパッタリング法により成膜する。酸化物半導体膜は、In-Ga-Z
n-O系、In-Sn-Zn-O系、In-Al-Zn-O系、Sn-Ga-Zn-O系
、Al-Ga-Zn-O系、Sn-Al-Zn-O系、In-Zn-O系、Sn-Zn-
O系、Al-Zn-O系、In-O系、Sn-O系、Zn-O系の酸化物半導体膜を用い
る。本実施の形態では、酸化物半導体膜をIn-Ga-Zn-O系酸化物半導体成膜用タ
ーゲットを用いてスパッタリング法により成膜する。また、酸化物半導体膜は、希ガス(
代表的にはアルゴン)雰囲気下、酸素雰囲気下、又は希ガス(代表的にはアルゴン)及び
酸素混合雰囲気下においてスパッタリング法により形成することができる。また、スパッ
タリング法を用いる場合、SiO2を2重量%以上10重量%以下含むターゲットを用い
て成膜を行ってもよい。The oxide semiconductor film is formed by a sputtering method. The oxide semiconductor film is In-Ga-Z.
 n-O system, In-Sn-Zn-O system, In-Al-Zn-O system, Sn-Ga-Zn-O system, Al-Ga-Zn-O system, Sn-Al-Zn-O system, In-Zn-O system, Sn-Zn-
 O-based, Al—Zn—O-based, In—O-based, Sn—O-based, and Zn—O-based oxide semiconductor films are used. In the present embodiment, the oxide semiconductor film is formed by a sputtering method using an In—Ga—Zn—O oxide semiconductor film forming target. The oxide semiconductor film is a noble gas (
 It can be formed by a sputtering method under a typical argon atmosphere, an oxygen atmosphere, or a noble gas (typically argon) and oxygen mixed atmosphere. When the sputtering method is used, the film may be formed using a target containing 2% by weight or more and 10% by weight or less of SiO2 .
酸化物半導体膜をスパッタリング法で作製するためのターゲットとして、酸化亜鉛を主成
分とする金属酸化物のターゲットを用いることができる。また、金属酸化物のターゲット
の他の例としては、In、Ga、及びZnを含む酸化物半導体成膜用ターゲット(組成比
として、In2O3:Ga2O3:ZnO=1:1:1[mol数比])を用いることが
できる。また、In、Ga、及びZnを含む酸化物半導体成膜用ターゲットとして、In
2O3:Ga2O3:ZnO=1:1:2[mol数比]、又はIn2O3:Ga2O3
:ZnO=1:1:4[mol数比]の組成比を有するターゲットを用いることもできる
。酸化物半導体成膜用ターゲットの充填率は90%以上100%以下、好ましくは95%
以上99.9%以下である。充填率の高い酸化物半導体成膜用ターゲットを用いることに
より、成膜した酸化物半導体膜は緻密な膜となる。As a target for producing an oxide semiconductor film by a sputtering method, a target of a metal oxide containing zinc oxide as a main component can be used. As another example of the metal oxide target, a target for forming an oxide semiconductor containing In, Ga, and Zn (as a composition ratio, In2 O3 : Ga2 O3 : ZnO = 1: 1: 1 [mol number ratio]) can be used. In addition, as a target for forming an oxide semiconductor containing In, Ga, and Zn, In
2 O3 : Ga2 O3 : ZnO = 1: 1: 2 [mol number ratio], or In2 O3 : Ga2 O3
 : A target having a composition ratio of ZnO = 1: 1: 4 [mol number ratio] can also be used. The filling factor of the oxide semiconductor film forming target is 90% or more and 100% or less, preferably 95%.
 It is 99.9% or less. By using a target for forming an oxide semiconductor having a high filling rate, the formed oxide semiconductor film becomes a dense film.
酸化物半導体膜は、減圧状態に保持された処理室内に基板を保持し、処理室内の残留水分
を除去しつつ水素及び水分が除去されたスパッタガスを導入し、金属酸化物をターゲット
として基板430上に酸化物半導体膜を成膜する。処理室内の残留水分を除去するために
は、吸着型の真空ポンプを用いることが好ましい。例えば、クライオポンプ、イオンポン
プ、チタンサブリメーションポンプを用いることが好ましい。また、排気手段としては、
ターボポンプにコールドトラップを加えたものであってもよい。クライオポンプを用いて
排気した成膜室は、例えば、水素原子、水(H2O)など水素原子を含む化合物(より好
ましくは炭素原子を含む化合物も)等が排気されるため、当該成膜室で成膜した酸化物半
導体膜に含まれる不純物の濃度を低減できる。また、酸化物半導体膜成膜時に基板を加熱
してもよい。For the oxide semiconductor film, the substrate is held in a processing chamber kept under reduced pressure, and sputter gas from which hydrogen and moisture have been removed is introduced while removing residual moisture in the processing chamber, and the
 It may be a turbo pump with a cold trap added. In the film forming chamber exhausted by using the cryopump, for example, a compound containing a hydrogen atom such as a hydrogen atom and water (H2O ) (more preferably a compound containing a carbon atom) and the like are exhausted, so that the film forming is performed. The concentration of impurities contained in the oxide semiconductor film formed in the chamber can be reduced. Further, the substrate may be heated at the time of forming the oxide semiconductor film.
成膜条件の一例としては、基板温度室温、基板とターゲットの間との距離を60mm、圧
力0.4Pa、直流(DC)電源0.5kW、酸素及びアルゴン(酸素流量15sccm
、アルゴン流量30sccm)雰囲気下の条件が適用される。なお、パルス直流(DC)
電源を用いると、成膜時に発生する粉状物質(パーティクル、ゴミともいう)が軽減でき
、膜厚分布も均一となるために好ましい。酸化物半導体膜は好ましくは5nm以上30n
m以下とする。なお、適用する酸化物半導体材料により適切な厚みは異なり、材料に応じ
て適宜厚みを選択すればよい。As an example of the film forming conditions, the substrate temperature is room temperature, the distance between the substrate and the target is 60 mm, the pressure is 0.4 Pa, the direct current (DC) power supply is 0.5 kW, and oxygen and argon (oxygen flow rate 15 sccm).
 , Argon flow rate 30 sccm) Atmospheric conditions apply. In addition, pulse direct current (DC)
 It is preferable to use a power source because powdery substances (also referred to as particles and dust) generated during film formation can be reduced and the film thickness distribution becomes uniform. The oxide semiconductor film is preferably 5 nm or more and 30 n.
 It shall be m or less. The appropriate thickness differs depending on the oxide semiconductor material to be applied, and the thickness may be appropriately selected according to the material.
次いで、酸化物半導体膜を第3のフォトリソグラフィ工程により島状の酸化物半導体層4
42、472に加工する(図1(A)参照。)。また、島状の酸化物半導体層442、4
72を形成するためのレジストマスクをインクジェット法で形成してもよい。レジストマ
スクをインクジェット法で形成するとフォトマスクを使用しないため、製造コストを低減
できる。Next, the oxide semiconductor film is subjected to a third photolithography step to form an island-shaped oxide semiconductor layer 4.
 It is processed into 42 and 472 (see FIG. 1 (A)). In addition, island-shaped oxide semiconductor layers 442, 4
 The resist mask for forming 72 may be formed by an inkjet method. When the resist mask is formed by the inkjet method, the manufacturing cost can be reduced because the photomask is not used.
なお、ここでの酸化物半導体膜のエッチングは、ドライエッチングでもウェットエッチン
グでもよく、両方を用いてもよい。The etching of the oxide semiconductor film here may be dry etching or wet etching, or both may be used.
ドライエッチングに用いるエッチングガスとしては、塩素を含むガス(塩素系ガス、例え
ば塩素(Cl2)、塩化硼素(BCl3)、塩化珪素(SiCl4)、四塩化炭素(CC
l4)など)が好ましい。The etching gas used for dry etching includes chlorine-containing gas (chlorine-based gas, for example, chlorine (Cl2 ), boron chloride (BCl3 ), silicon chloride (SiCl4 ), carbon tetrachloride (CC).
 l4 ) etc.) is preferable.
また、フッ素を含むガス(フッ素系ガス、例えば四弗化炭素(CF4)、弗化硫黄(SF
6)、弗化窒素(NF3)、トリフルオロメタン(CHF3)など)、臭化水素(HBr
)、酸素(O2)、これらのガスにヘリウム(He)やアルゴン(Ar)などの希ガスを
添加したガス、などを用いることができる。In addition, a gas containing fluorine (fluorine-based gas, for example, carbon tetrafluoride (CF4 ), sulfur fluoride (SF).
6 ), nitrogen fluoride (NF3 ), trifluoromethane (CHF3 ), etc.), hydrogen bromide (HBr)
 ), Oxygen (O2 ), a gas obtained by adding a rare gas such as helium (He) or argon (Ar) to these gases, or the like can be used.
ドライエッチング法としては、平行平板型RIE(Reactive  Ion  Etch
ing)法や、ICP(Inductively  Coupled  Plasma:誘導
結合型プラズマ)エッチング法を用いることができる。所望の加工形状にエッチングでき
るように、エッチング条件(コイル型の電極に印加される電力量、基板側の電極に印加さ
れる電力量、基板側の電極温度等)を適宜調節する。As a dry etching method, a parallel plate type RIE (Reactive Ion Etch) is used.
 The ing) method and the ICP (Inductively Coupled Plasma) etching method can be used. Etching conditions (the amount of power applied to the coil-type electrode, the amount of power applied to the electrode on the substrate side, the electrode temperature on the substrate side, etc.) are appropriately adjusted so that the etching can be performed in a desired processing shape.
ウェットエッチングに用いるエッチング液としては、燐酸と酢酸と硝酸を混ぜた溶液、ア
ンモニア過水(31重量%過酸化水素水:28重量%アンモニア水:水=5:2:2)な
どを用いることができる。また、ITO07N(関東化学社製)を用いてもよい。As the etching solution used for wet etching, a solution in which phosphoric acid, acetic acid and nitric acid are mixed, ammonia superwater (31% by weight hydrogen peroxide solution: 28% by weight ammonia water: water = 5: 2: 2), etc. may be used. can. Further, ITO07N (manufactured by Kanto Chemical Co., Inc.) may be used.
また、ウェットエッチング後のエッチング液はエッチングされた材料とともに洗浄によっ
て除去される。その除去された材料を含むエッチング液の廃液を精製し、含まれる材料を
再利用してもよい。当該エッチング後の廃液から酸化物半導体層に含まれるインジウム等
の材料を回収して再利用することにより、資源を有効活用し低コスト化することができる
。Further, the etching solution after wet etching is removed by washing together with the etched material. The waste liquid of the etching solution containing the removed material may be purified and the contained material may be reused. By recovering and reusing materials such as indium contained in the oxide semiconductor layer from the waste liquid after etching, resources can be effectively utilized and the cost can be reduced.
所望の加工形状にエッチングできるように、材料に合わせてエッチング条件(エッチング
液、エッチング時間、温度等)を適宜調節する。Etching conditions (etching liquid, etching time, temperature, etc.) are appropriately adjusted according to the material so that etching can be performed in a desired processing shape.
本実施の形態では、エッチング液として燐酸と酢酸と硝酸を混ぜた溶液を用いたウェット
エッチング法により、酸化物半導体膜を島状の酸化物半導体層442、472に加工する
。In the present embodiment, the oxide semiconductor film is processed into island-shaped oxide semiconductor layers 442 and 472 by a wet etching method using a solution in which phosphoric acid, acetic acid and nitric acid are mixed as an etching solution.
本実施の形態では、酸化物半導体層442、472に、第1の加熱処理を行う。第1の加
熱処理の温度は、400℃以上750℃以下、好ましくは400℃以上基板の歪み点未満
とする。ここでは、加熱処理装置の一つである電気炉に基板を導入し、酸化物半導体層に
対して窒素雰囲気下450℃において1時間の加熱処理を行った後、大気に触れることな
く、酸化物半導体層への水や水素の再混入を防ぎ、酸化物半導体層を得る。この第1の加
熱処理によって酸化物半導体層442、472の脱水化または脱水素化を行うことができ
る。In the present embodiment, the oxide semiconductor layers 442 and 472 are subjected to the first heat treatment. The temperature of the first heat treatment is 400 ° C. or higher and 750 ° C. or lower, preferably 400 ° C. or higher and lower than the strain point of the substrate. Here, the substrate is introduced into an electric furnace, which is one of the heat treatment devices, and the oxide semiconductor layer is heat-treated at 450 ° C. for 1 hour in a nitrogen atmosphere, and then the oxide is not exposed to the atmosphere. Prevents remixing of water and hydrogen into the semiconductor layer and obtains an oxide semiconductor layer. The oxide semiconductor layers 442 and 472 can be dehydrated or dehydrogenated by this first heat treatment.
なお、加熱処理装置は電気炉に限られず、抵抗発熱体などの発熱体からの熱伝導または熱
輻射によって、被処理物を加熱する装置を備えていてもよい。例えば、GRTA(Gas
  Rapid  Thermal  Anneal)装置、LRTA(Lamp  Rapid
  Thermal  Anneal)装置等のRTA(Rapid  Thermal  An
neal)装置を用いることができる。LRTA装置は、ハロゲンランプ、メタルハライ
ドランプ、キセノンアークランプ、カーボンアークランプ、高圧ナトリウムランプ、高圧
水銀ランプなどのランプから発する光(電磁波)の輻射により、被処理物を加熱する装置
である。GRTA装置は、高温のガスを用いて加熱処理を行う装置である。気体には、ア
ルゴンなどの希ガス、または窒素のような、加熱処理によって被処理物と反応しない不活
性気体が用いられる。The heat treatment device is not limited to the electric furnace, and may include a device that heats the object to be treated by heat conduction or heat radiation from a heating element such as a resistance heating element. For example, GRTA (Gas)
 Rapid Thermal Anneal) device, LRTA (Lamp Rapid)
 RTA (Rapid Thermal An) such as Thermal Anneal) equipment
 nail) A device can be used. The LRTA device is a device that heats an object to be processed by radiation of light (electromagnetic waves) emitted from lamps such as halogen lamps, metal halide lamps, xenon arc lamps, carbon arc lamps, high-pressure sodium lamps, and high-pressure mercury lamps. The GRTA device is a device that performs heat treatment using a high-temperature gas. As the gas, a rare gas such as argon or an inert gas such as nitrogen that does not react with the object to be treated by heat treatment is used.
例えば、第1の加熱処理として、650℃~700℃の高温に加熱した不活性ガス中に基
板を移動させて入れ、数分間加熱した後、基板を移動させて高温に加熱した不活性ガス中
から出すGRTAを行ってもよい。GRTAを用いると短時間での高温加熱処理が可能と
なる。For example, as the first heat treatment, the substrate is moved into an inert gas heated to a high temperature of 650 ° C to 700 ° C, heated for several minutes, and then the substrate is moved into the inert gas heated to a high temperature. You may perform GRTA from. GRTA enables high temperature heat treatment in a short time.
なお、第1の加熱処理においては、窒素、またはヘリウム、ネオン、アルゴン等の希ガス
に、水、水素などが含まれないことが好ましい。または、加熱処理装置に導入する窒素、
またはヘリウム、ネオン、アルゴン等の希ガスの純度を、6N(99.9999%)以上
、好ましくは7N(99.99999%)以上、(即ち不純物濃度を1ppm以下、好ま
しくは0.1ppm以下)とすることが好ましい。In the first heat treatment, it is preferable that nitrogen, a rare gas such as helium, neon, or argon does not contain water, hydrogen, or the like. Alternatively, nitrogen to be introduced into the heat treatment equipment,
 Alternatively, the purity of the rare gas such as helium, neon, and argon should be 6N (99.99999%) or more, preferably 7N (99.99999%) or more (that is, the impurity concentration should be 1 ppm or less, preferably 0.1 ppm or less). It is preferable to do so.
また、第1の加熱処理の条件、または酸化物半導体層の材料によっては、酸化物半導体層
が結晶化し、微結晶膜または多結晶膜となる場合もある。例えば、結晶化率が90%以上
、または80%以上の微結晶の酸化物半導体膜となる場合もある。また、第1の加熱処理
の条件、または酸化物半導体層の材料によっては、結晶成分を含まない非晶質の酸化物半
導体膜となる場合もある。また、非晶質の酸化物半導体の中に微結晶部(粒径1nm以上
20nm以下(代表的には2nm以上4nm以下))が混在する酸化物半導体膜となる場
合もある。Further, depending on the conditions of the first heat treatment or the material of the oxide semiconductor layer, the oxide semiconductor layer may be crystallized to become a microcrystalline film or a polycrystalline film. For example, it may be a microcrystalline oxide semiconductor film having a crystallization rate of 90% or more, or 80% or more. Further, depending on the conditions of the first heat treatment or the material of the oxide semiconductor layer, an amorphous oxide semiconductor film containing no crystal component may be obtained. Further, the amorphous oxide semiconductor may be an oxide semiconductor film in which microcrystalline portions (particle size of 1 nm or more and 20 nm or less (typically 2 nm or more and 4 nm or less)) are mixed.
また、酸化物半導体層の第1の加熱処理は、島状の酸化物半導体層に加工する前の酸化物
半導体膜に行うこともできる。その場合には、第1の加熱処理後に、加熱装置から基板を
取り出し、フォトリソグラフィ工程を行う。Further, the first heat treatment of the oxide semiconductor layer can also be performed on the oxide semiconductor film before being processed into the island-shaped oxide semiconductor layer. In that case, after the first heat treatment, the substrate is taken out from the heating device and a photolithography step is performed.
酸化物半導体層に対する脱水化、脱水素化の効果を奏する加熱処理は、酸化物半導体層成
膜後、酸化物半導体層上にソース電極及びドレイン電極を積層させた後、ソース電極及び
ドレイン電極上にゲート絶縁層を形成した後、のいずれで行っても良い。The heat treatment that exerts the effects of dehydration and dehydrogenation on the oxide semiconductor layer is performed after the oxide semiconductor layer is formed, the source electrode and the drain electrode are laminated on the oxide semiconductor layer, and then the source electrode and the drain electrode are subjected to the heat treatment. After forming the gate insulating layer in the above, either method may be used.
ただし、成膜時に水素や水分が十分低減され、高純度化された酸化物半導体層を得ること
ができれば、第1の加熱処理は特に行わなくともよい。成膜時に水素や水分が十分低減さ
れ、高純度化された酸化物半導体層を得る場合は、減圧状態に保持された処理室内に基板
を保持し、基板を室温以上400℃未満の温度に加熱する。そして、処理室内の残留水分
を除去しつつ水素及び水分が除去されたスパッタガスを導入し、金属酸化物をターゲット
に用いて基板上に酸化物半導体層を成膜する。クライオポンプを用いて排気した成膜室は
、例えば、水素原子、水(H2O)など水素原子を含む化合物(より好ましくは炭素原子
を含む化合物も)等が排気されるため、当該成膜室で成膜した酸化物半導体層に含まれる
不純物の濃度を低減できる。クライオポンプにより処理室内に残留する水分を除去しなが
らスパッタ成膜を行うことで、酸化物半導体層を成膜する際の基板温度は室温から400
℃未満とすることができる。However, if hydrogen and water are sufficiently reduced during film formation and a highly purified oxide semiconductor layer can be obtained, the first heat treatment may not be particularly performed. When hydrogen and water are sufficiently reduced during film formation to obtain a highly purified oxide semiconductor layer, the substrate is held in a processing chamber kept under reduced pressure, and the substrate is heated to a temperature of room temperature or higher and lower than 400 ° C. do. Then, a sputter gas from which hydrogen and water have been removed is introduced while removing residual water in the treatment chamber, and an oxide semiconductor layer is formed on the substrate using a metal oxide as a target. In the film forming chamber exhausted by using the cryopump, for example, a compound containing a hydrogen atom such as a hydrogen atom and water (H2O ) (more preferably a compound containing a carbon atom) and the like are exhausted, so that the film forming is performed. The concentration of impurities contained in the oxide semiconductor layer formed in the chamber can be reduced. By performing sputter film formation while removing the water remaining in the processing chamber with a cryopump, the substrate temperature when forming the oxide semiconductor layer is from room temperature to 400.
 It can be less than ° C.
次いで、第4のフォトリソグラフィ工程により第3の絶縁層447b上にレジストマスク
を形成し、選択的にエッチングを行って電極層479aに達する開口を形成する。Next, a resist mask is formed on the third insulating
次いで、第3の絶縁層447b及び酸化物半導体層442、472上に、導電膜を形成す
る。導電膜をスパッタリング法や真空蒸着法で形成すればよい。導電膜の材料としては、
Al、Cr、Cu、Ta、Ti、Mo、Wから選ばれた元素、または上述した元素を成分
とする合金か、上述した元素を組み合わせた合金膜等が挙げられる。また、マンガン、マ
グネシウム、ジルコニウム、ベリリウム、トリウムのいずれか一または複数から選択され
た材料を用いてもよい。また、金属導電膜は、単層構造でも、2層以上の積層構造として
もよい。例えば、シリコンを含むアルミニウム膜の単層構造、アルミニウム膜上にチタン
膜を積層する2層構造、Ti膜と、そのTi膜上に重ねてアルミニウム膜を積層し、さら
にその上にTi膜を成膜する3層構造などが挙げられる。また、Alに、チタン(Ti)
、タンタル(Ta)、タングステン(W)、モリブデン(Mo)、クロム(Cr)、ネオ
ジム(Nd)、Sc(スカンジウム)から選ばれた元素を単数、又は複数組み合わせた膜
、合金膜、もしくは窒化膜を用いてもよい。本実施の形態では、導電膜としてチタン膜(
膜厚10nm以上100nm以下)とアルミニウム膜(膜厚20nm以上500nm以下
)の積層膜を形成する。Next, a conductive film is formed on the third insulating
 Examples thereof include an element selected from Al, Cr, Cu, Ta, Ti, Mo, and W, an alloy containing the above-mentioned elements as a component, an alloy film in which the above-mentioned elements are combined, and the like. Further, a material selected from any one or more of manganese, magnesium, zirconium, beryllium, and thorium may be used. Further, the metal conductive film may have a single-layer structure or a laminated structure of two or more layers. For example, a single-layer structure of an aluminum film containing silicon, a two-layer structure in which a titanium film is laminated on an aluminum film, a Ti film and an aluminum film laminated on the Ti film, and a Ti film is further formed on the Ti film. Examples thereof include a three-layer structure with a film. In addition, titanium (Ti) is added to Al.
 , Tantalum (Ta), Tungsten (W), Molybdenum (Mo), Chromium (Cr), Neodymium (Nd), Sc (Scandium). May be used. In the present embodiment, the titanium film (titanium film) is used as the conductive film.
 A laminated film of a film thickness of 10 nm or more and 100 nm or less) and an aluminum film (film thickness of 20 nm or more and 500 nm or less) is formed.
次いで、プラズマCVD法又はスパッタリング法等を用いて、酸化シリコン層、窒化シリ
コン層、酸化窒化シリコン層、または窒化酸化シリコン層を単層又は積層して導電膜上に
膜厚200nm以上2000nm以下の絶縁膜を形成する。Then, using a plasma CVD method, a sputtering method, or the like, a silicon oxide layer, a silicon nitride layer, a silicon oxide nitride layer, or a silicon nitride layer is laminated or laminated to insulate the conductive film with a film thickness of 200 nm or more and 2000 nm or less. Form a film.
次いで、第5のフォトリソグラフィ工程により絶縁膜上にレジストマスクを形成し、選択
的にエッチングを行って第4の絶縁層446、第1のソース電極層445a、第2のソー
ス電極層448a、第1のドレイン電極層445b、第2のドレイン電極層448bを形
成した後、レジストマスクを除去する。また、第4の絶縁層446は、後に形成されるゲ
ート電極層との寄生容量を低減するために設けられている。なお、形成されたソース電極
層、ドレイン電極層の端部はテーパ形状であると、上に積層するゲート絶縁層の被覆性が
向上するため好ましい。Next, a resist mask is formed on the insulating film by the fifth photolithography step, and etching is selectively performed to obtain a fourth insulating
なお、導電膜のエッチングの際に、酸化物半導体層442、472が除去されて、その下
の第3の絶縁層447bが露出しないようにそれぞれの材料及びエッチング条件を適宜調
節する。The respective materials and etching conditions are appropriately adjusted so that the oxide semiconductor layers 442 and 472 are removed during the etching of the conductive film and the third insulating
本実施の形態では、第1のソース電極層445a及び第1のドレイン電極層445bとし
てTi膜を用いて、第2のソース電極層448a及び第2のドレイン電極層448bには
アルミニウム膜を用いて、酸化物半導体層442にはIn-Ga-Zn-O系酸化物を用
いて、エッチャントとしてアンモニア過水(アンモニア水、水、過酸化水素水の混合液)
を用いる。In the present embodiment, a Ti film is used as the first
 Is used.
なお、第5のフォトリソグラフィ工程では、酸化物半導体層442は一部のみがエッチン
グされ、溝部(凹部)を有する酸化物半導体層となることもある。また、第1のソース電
極層445a及び第1のドレイン電極層445bを形成するためのレジストマスクをイン
クジェット法で形成してもよい。レジストマスクをインクジェット法で形成するとフォト
マスクを使用しないため、製造コストを低減できる。In the fifth photolithography step, only a part of the
第5のフォトリソグラフィ工程でのレジストマスク形成時の露光には、紫外線やKrFレ
ーザ光やArFレーザ光を用いる。酸化物半導体層442上で隣り合うソース電極層の下
端部とドレイン電極層の下端部との間隔幅によって後に形成される薄膜トランジスタ44
0のチャネル長L1が決定される。なお、チャネル長L1=25nm未満の露光を行う場
合には、数nm~数10nmと極めて波長が短い超紫外線(Extreme  Ultra
violet)を用いて第5のフォトリソグラフィ工程でのレジストマスク形成時の露光
を行う。超紫外線による露光は、解像度が高く焦点深度も大きい。従って、後に形成され
る薄膜トランジスタ440のチャネル長L1を10nm以上1000nm以下とすること
も可能であり、回路の動作速度を高速化でき、さらにオフ電流値が極めて小さいため、低
消費電力化も図ることができる。Ultraviolet rays, KrF laser light, and ArF laser light are used for the exposure at the time of forming the resist mask in the fifth photolithography step. The thin film transistor 44 formed later by the distance between the lower end of the source electrode layer adjacent to each other on the
 The channel length L1 of 0 is determined. When exposure is performed with a channel length of less than L1 = 25 nm, ultra-ultraviolet rays (Extreme Ultra) having an extremely short wavelength of several nm to several tens of nm are used.
 Violet) is used to perform the exposure at the time of forming the resist mask in the fifth photolithography step. Exposure with ultra-ultraviolet rays has a high resolution and a large depth of focus. Therefore, it is possible to set the channel length L1 of the
次いで、第4の絶縁層446、酸化物半導体層442、472、第1のソース電極層44
5a、第2のソース電極層448a、第1のドレイン電極層445b、及び第2のドレイ
ン電極層448b上にゲート絶縁層444を形成する。Next, a fourth insulating
 A
ゲート絶縁層444は、プラズマCVD法又はスパッタリング法等を用いて、酸化シリコ
ン層、窒化シリコン層、酸化窒化シリコン層、窒化酸化シリコン層、又は酸化アルミニウ
ム層を単層で又は積層して形成することができる。なお、ゲート絶縁層444中に水素が
多量に含まれないようにするためには、スパッタリング法でゲート絶縁層444を成膜す
ることが好ましい。スパッタリング法により酸化シリコン膜を成膜する場合には、ターゲ
ットとしてシリコンターゲット又は石英ターゲットを用い、スパッタガスとして酸素又は
、酸素及びアルゴンの混合ガスを用いて行う。The
ゲート絶縁層444は、第2のソース電極層448a及び第2のドレイン電極層448b
側から酸化シリコン層と窒化シリコン層を積層した構造とすることもできる。例えば、第
1のゲート絶縁層として膜厚5nm以上300nm以下の酸化シリコン層(SiOx(x
>0))を形成し、第1のゲート絶縁層上に第2のゲート絶縁層としてスパッタリング法
により膜厚50nm以上200nm以下の窒化シリコン層(SiNy(y>0))を積層
して、膜厚100nmのゲート絶縁層としてもよい。本実施の形態では、圧力0.4Pa
、高周波電源1.5kW、酸素及びアルゴン(酸素流量25sccm、アルゴン流量25
sccm)雰囲気下でRFスパッタリング法により膜厚100nmの酸化シリコン層を形
成する。The
 It is also possible to have a structure in which a silicon oxide layer and a silicon nitride layer are laminated from the side. For example, as the first gate insulating layer, a silicon oxide layer having a film thickness of 5 nm or more and 300 nm or less (SiOx (x).
 > 0)) is formed, and a silicon nitride layer (SiNy (y> 0)) having a film thickness of 50 nm or more and 200 nm or less is laminated as a second gate insulating layer on the first gate insulating layer by a sputtering method. It may be a gate insulating layer having a film thickness of 100 nm. In this embodiment, the pressure is 0.4 Pa.
 , High frequency power supply 1.5kW, oxygen and argon (oxygen flow rate 25sccm, argon flow rate 25)
 sccm) A silicon oxide layer having a film thickness of 100 nm is formed by the RF sputtering method in an atmosphere.
次いで、第6のフォトリソグラフィ工程によりレジストマスクを形成し、選択的にエッチ
ングを行ってゲート絶縁層444及び第4の絶縁層446の一部を除去して、薄膜トラン
ジスタ470のソース電極層又はドレイン電極層に達する開口を形成する。Next, a resist mask is formed by a sixth photolithography step, and etching is selectively performed to remove a part of the
次に、ゲート絶縁層444、及び開口上に導電膜を成膜した後、第7のフォトリソグラフ
ィ工程によりゲート電極層441、471、配線層474a、474bを形成する。なお
、レジストマスクをインクジェット法で形成してもよい。レジストマスクをインクジェッ
ト法で形成するとフォトマスクを使用しないため、製造コストを低減できる。Next, after forming a conductive film on the
また、ゲート電極層441、471、配線層474a、474bの材料は、モリブデン、
チタン、クロム、タンタル、タングステン、アルミニウム、銅、ネオジム、スカンジウム
等の金属材料又はこれらを主成分とする合金材料を用いて、単層で又は積層して形成する
ことができる。The materials of the gate electrode layers 441 and 471 and the
 It can be formed in a single layer or laminated using a metal material such as titanium, chromium, tantalum, tungsten, aluminum, copper, neodymium, scandium, or an alloy material containing these as a main component.
例えば、ゲート電極層441、471、配線層474a、474bの2層の積層構造とし
ては、アルミニウム層上にモリブデン層が積層された2層の積層構造、または銅層上にモ
リブデン層を積層した2層構造、または銅層上に窒化チタン層若しくは窒化タンタルを積
層した2層構造、窒化チタン層とモリブデン層とを積層した2層構造とすることが好まし
い。3層の積層構造としては、タングステン層または窒化タングステンと、アルミニウム
とシリコンの合金またはアルミニウムとチタンの合金と、窒化チタンまたはチタン層とを
積層した積層とすることが好ましい。なお、透光性を有する導電膜を用いてゲート電極層
を形成することもできる。透光性を有する導電膜としては、透光性導電性酸化物等をその
例に挙げることができる。For example, as the two-layer laminated structure of the gate electrode layers 441 and 471 and the
本実施の形態ではゲート電極層441、471、配線層474a、474bとしてスパッ
タリング法により膜厚150nmのタングステン膜を形成する。In the present embodiment, a tungsten film having a film thickness of 150 nm is formed as the gate electrode layers 441 and 471 and the
次いで、不活性ガス雰囲気下、または酸素ガス雰囲気下で第2の加熱処理(好ましくは2
00℃以上400℃以下、例えば250℃以上350℃以下)を行う。本実施の形態では
、窒素雰囲気下で250℃、1時間の第2の加熱処理を行う。また、第2の加熱処理は、
薄膜トランジスタ440、470上に保護絶縁層や平坦化絶縁層を形成してから行っても
よい。Then, a second heat treatment (preferably 2) under an inert gas atmosphere or an oxygen gas atmosphere.
 00 ° C. or higher and 400 ° C. or lower, for example, 250 ° C. or higher and 350 ° C. or lower). In the present embodiment, the second heat treatment is performed at 250 ° C. for 1 hour in a nitrogen atmosphere. In addition, the second heat treatment is
 It may be performed after forming a protective insulating layer or a flattening insulating layer on the
さらに大気中、100℃以上200℃以下、1時間以上30時間以下での加熱処理を行っ
てもよい。この加熱処理は一定の加熱温度を保持して加熱してもよいし、室温から、10
0℃以上200℃以下の加熱温度への昇温と、加熱温度から室温までの降温を複数回くり
かえして行ってもよい。また、この加熱処理を、酸化物絶縁層の形成前に、減圧下で行っ
てもよい。減圧下で加熱処理を行うと、加熱時間を短縮することができる。Further, heat treatment may be performed in the atmosphere at 100 ° C. or higher and 200 ° C. or lower for 1 hour or longer and 30 hours or lower. This heat treatment may be carried out while maintaining a constant heating temperature, or from room temperature to 10
 The temperature may be raised to a heating temperature of 0 ° C. or higher and 200 ° C. or lower, and the temperature may be lowered from the heating temperature to room temperature a plurality of times. Further, this heat treatment may be performed under reduced pressure before the formation of the oxide insulating layer. When the heat treatment is performed under reduced pressure, the heating time can be shortened.
以上の工程で、水素、水分、水素化物、水酸化物の濃度が低減された酸化物半導体層44
2、472を有する薄膜トランジスタ440、470を形成することができる(図1(B
)参照。)。The oxide semiconductor layer 44 in which the concentrations of hydrogen, water, hydride, and hydroxide are reduced by the above steps.
 )reference. ).
第5の絶縁層473により電極層479cとの寄生容量が低減された薄膜トランジスタ4
70は、第3のソース電極層475a、第4のソース電極層478a、第3のドレイン電
極層475b、及び第4のドレイン電極層478bを有している。なお、第5の絶縁層4
73と重なる電極層479cは、ゲート信号線であり、第4のドレイン電極層478bと
の配線交差部の構成を示している。また、第3のソース電極層475aは、電極層479
aと電気的に接続している。また、第4のソース電極層478aは、配線層474aと電
気的に接続している。また、薄膜トランジスタ470のチャネル長L2は、薄膜トランジ
スタ440のチャネル長L1よりも長く、オフ電流値が小さい薄膜トランジスタである。Thin film transistor 4 in which the parasitic capacitance with the
 70 has a third
 The
 It is electrically connected to a. Further, the fourth
また、薄膜トランジスタ440、470上に保護絶縁層や、平坦化のための平坦化絶縁層
を設けてもよい。例えば、保護絶縁層として酸化シリコン層、窒化シリコン層、酸化窒化
シリコン層、窒化酸化シリコン層、又は酸化アルミニウム層を単層で又は積層して形成す
ることができる。Further, a protective insulating layer or a flattening insulating layer for flattening may be provided on the
また、平坦化絶縁層としては、ポリイミド、アクリル、ベンゾシクロブテン、ポリアミド
、エポキシ等の、耐熱性を有する有機材料を用いることができる。また上記有機材料の他
に、低誘電率材料(low-k材料)、シロキサン系樹脂、PSG(リンガラス)、BP
SG(リンボロンガラス)等を用いることができる。なお、これらの材料で形成される絶
縁膜を複数積層させることで、平坦化絶縁層を形成してもよい。Further, as the flattening insulating layer, an organic material having heat resistance such as polyimide, acrylic, benzocyclobutene, polyamide, and epoxy can be used. In addition to the above organic materials, low dielectric constant materials (low-k materials), siloxane-based resins, PSG (phosphorus glass), and BP.
 SG (Limbolon glass) or the like can be used. A flattening insulating layer may be formed by laminating a plurality of insulating films formed of these materials.
なおシロキサン系樹脂とは、シロキサン系材料を出発材料として形成されたSi-O-S
i結合を含む樹脂に相当する。シロキサン系樹脂は置換基としては有機基(例えばアルキ
ル基やアリール基)やフルオロ基を用いても良い。また、有機基はフルオロ基を有してい
ても良い。The siloxane-based resin is Si—O—S formed from a siloxane-based material as a starting material.
 It corresponds to a resin containing i-bond. As the substituent of the siloxane-based resin, an organic group (for example, an alkyl group or an aryl group) or a fluoro group may be used. Further, the organic group may have a fluoro group.
平坦化絶縁層の形成法は、特に限定されず、その材料に応じて、スパッタ法、SOG法、
スピンコート、ディップ、スプレー塗布、液滴吐出法(インクジェット法、スクリーン印
刷、オフセット印刷等)、ドクターナイフ、ロールコーター、カーテンコーター、ナイフ
コーター等を用いることができる。The method for forming the flattening insulating layer is not particularly limited, and depending on the material, a sputtering method, an SOG method, etc.
 Spin coating, dip, spray coating, droplet ejection method (inkjet method, screen printing, offset printing, etc.), doctor knife, roll coater, curtain coater, knife coater and the like can be used.
また、薄膜トランジスタ470の酸化物半導体層472の下方に設けられている電極層4
79bはバックゲートとして機能させることができる。バックゲートの電位は、固定電位
、例えば0Vや、接地電位とすることができ、実施者が適宜決定すればよい。また、酸化
物半導体層の上下にゲート電極を設けることによって、薄膜トランジスタの信頼性を調べ
るためのバイアス-熱ストレス試験(以下、BT試験という)において、BT試験前後に
おける薄膜トランジスタのしきい値電圧の変化量を低減することができる。即ち、酸化物
半導体層の上下にゲート電極を設けることによって、信頼性を向上することができる。Further, the electrode layer 4 provided below the
 79b can function as a back gate. The potential of the back gate can be a fixed potential, for example, 0 V or a ground potential, and may be appropriately determined by the practitioner. Further, by providing gate electrodes above and below the oxide semiconductor layer, the change in the threshold voltage of the thin film transistor before and after the BT test in the bias-heat stress test (hereinafter referred to as BT test) for examining the reliability of the thin film transistor. The amount can be reduced. That is, reliability can be improved by providing gate electrodes above and below the oxide semiconductor layer.
また、電極層479bに加えるゲート電圧を制御することによって、しきい値電圧を制御
することができる。また、しきい値電圧を正としてエンハンスメント型トランジスタとし
て機能させることができる。また、しきい値電圧を負としてデプレッション型トランジス
タとして機能させることもできる。Further, the threshold voltage can be controlled by controlling the gate voltage applied to the
例えば、エンハンスメント型トランジスタとデプレッション型トランジスタを組み合わせ
てインバータ回路(以下、EDMOS回路という)を構成し、駆動回路に用いることがで
きる。駆動回路は、論理回路部と、スイッチ部またはバッファ部を少なくとも有する。論
理回路部は上記EDMOS回路を含む回路構成とする。また、スイッチ部またはバッファ
部は、オン電流を多く流すことができる薄膜トランジスタを用いることが好ましく、デプ
レッション型トランジスタ、または酸化物半導体層の上下にゲート電極を有する薄膜トラ
ンジスタを用いる。For example, an inverter circuit (hereinafter referred to as an EDMOS circuit) can be configured by combining an enhancement type transistor and a depletion type transistor and used in a drive circuit. The drive circuit has at least a logic circuit unit and a switch unit or a buffer unit. The logic circuit unit has a circuit configuration including the above EDMOS circuit. Further, for the switch unit or the buffer unit, it is preferable to use a thin film transistor capable of passing a large amount of on-current, and a depletion type transistor or a thin film transistor having gate electrodes above and below the oxide semiconductor layer is used.
大幅に工程数を増やすことなく、同一基板上に異なる構造の薄膜トランジスタを作製する
こともできる。例えば、高速駆動させる集積回路には、酸化物半導体層の上下にゲート電
極を有する薄膜トランジスタを用いてEDMOS回路を構成し、酸化物半導体層の上にゲ
ート電極を有する薄膜トランジスタを他の領域に形成することもできる。It is also possible to fabricate thin film transistors having different structures on the same substrate without significantly increasing the number of steps. For example, in an integrated circuit to be driven at high speed, an EDMOS circuit is configured by using thin film transistors having gate electrodes above and below the oxide semiconductor layer, and a thin film transistor having gate electrodes is formed in another region on the oxide semiconductor layer. You can also do it.
なお、nチャネル型TFTのしきい値電圧が正の場合は、エンハンスメント型トランジス
タと定義し、nチャネル型TFTのしきい値電圧が負の場合は、デプレッション型トラン
ジスタと定義し、本明細書を通してこの定義に従うものとする。If the threshold voltage of the n-channel TFT is positive, it is defined as an enhancement type transistor, and if the threshold voltage of the n-channel TFT is negative, it is defined as a depletion type transistor. This definition shall be followed.
また、薄膜トランジスタ470及び薄膜トランジスタ440は、ゲート絶縁層444と第
1の絶縁層447aとの両方に窒化シリコン膜を用いると、酸化物半導体層442、47
2の上下を窒化シリコン膜で挟むことができ、水素や水分が侵入することを効果的にブロ
ックすることができる。このような構成とすることで、酸化物半導体層442、472に
含まれる水や水素を究極にまで濃度を低くし、再び侵入しないようにすることができる。Further, in the
 The upper and lower parts of No. 2 can be sandwiched between silicon nitride films, and the invasion of hydrogen and moisture can be effectively blocked. With such a configuration, the concentration of water and hydrogen contained in the oxide semiconductor layers 442 and 472 can be reduced to the utmost to prevent them from invading again.
(実施の形態2)
実施の形態1では、配線交差部を有する薄膜トランジスタ470と、酸化物半導体層44
2の上方にのみゲート電極層441を有する薄膜トランジスタ440とを説明したが、以
下に2つのnチャネル型の薄膜トランジスタを用いて集積回路のインバータ回路を構成す
る例を説明する。なお、実施の形態1と薄膜トランジスタの作製工程はほとんど同一であ
るため、異なる点のみを詳細に説明することとする。(Embodiment 2)
 In the first embodiment, the
 The
また、集積回路は、インバータ回路、容量、抵抗などを用いて構成するため、インバータ
回路に加えて、同一基板上に容量と、2種類の抵抗を形成する工程も説明する。Further, since the integrated circuit is configured by using an inverter circuit, a capacitance, a resistor, and the like, a process of forming a capacitance and two types of resistors on the same substrate in addition to the inverter circuit will be described.
また、2つのnチャネル型TFTを組み合わせてインバータ回路を形成する場合、エンハ
ンスメント型トランジスタとデプレッション型トランジスタとを組み合わせて形成するE
DMOS回路と、エンハンスメント型TFT同士で形成する場合(以下、EEMOS回路
という)がある。When forming an inverter circuit by combining two n-channel TFTs, E is formed by combining an enhancement type transistor and a depletion type transistor.
 There is a case where a DMOS circuit and an enhancement type TFT are formed (hereinafter referred to as an EEMOS circuit).
本実施の形態では、EDMOS回路の例を示す。EDMOS回路の等価回路を図2に示す
。また、インバータ回路の断面構造を図3に示す。In this embodiment, an example of an EDMOS circuit is shown. The equivalent circuit of the EDMOS circuit is shown in FIG. Further, the cross-sectional structure of the inverter circuit is shown in FIG.
図3に示す回路接続は、図2に相当し、第1の薄膜トランジスタ480をエンハンスメン
ト型のnチャネル型トランジスタとし、第2の薄膜トランジスタ490をデプレッション
型のnチャネル型トランジスタとする例である。The circuit connection shown in FIG. 3 corresponds to FIG. 2, and is an example in which the first
図3において、基板430上には電極層479d、479e、479f、479g、47
9hを有する。電極層479d、479e、479f、479g、479hは実施の形態
1の電極層479a、479b、479cと同じ工程、同じ材料で形成することができる
。In FIG. 3, the
 Has 9 hours. The electrode layers 479d, 479e, 479f, 479g, and 479h can be formed of the same process and the same material as the
電極層479dに電圧を印加し、しきい値電圧を正としてエンハンスメント型トランジス
タとして機能させる。また、電極層479eにも電圧を印加し、しきい値電圧を負として
デプレッション型のトランジスタとして機能させる。A voltage is applied to the
また、電極層479fは容量を形成する一方の電極である。また、電極層479gは第1
の抵抗と接続する一方の電極である。また、電極層479hは第2の抵抗と接続する一方
の電極である。Further, the
 One of the electrodes connected to the resistance of. Further, the
また、電極層479d、479e、479f、479g、479hを覆う第1の絶縁層4
87a、第3の絶縁層487bが形成される。なお、図示しないが、寄生容量を小さくし
たい領域には実施の形態1に示すようにスペーサ絶縁層となる第2の絶縁層を設ける。ま
た、容量部においては、電極層479fと重なる第1の絶縁層487a、及び電極層47
9fと重なる第3の絶縁層487bが誘電体となる。Further, the first insulating layer 4 covering the
 87a, a third
 The third
本実施の形態では、実施の形態1と異なり、第2の酸化物半導体層482bの膜厚が第1
の酸化物半導体層482aよりも厚い構成となっている。厚くするために2回の成膜と2
回のパターニングを行う。また、膜厚を厚くすることでデプレッション型のトランジスタ
として機能させることができ、特に電極層479eにしきい値電圧を負とするための電圧
を印加しなくともよいため、電極層479eを省略することもできる。In the present embodiment, unlike the first embodiment, the film thickness of the second
 It has a thicker structure than the
 Perform patterning times. Further, by increasing the film thickness, it can function as a depletion type transistor, and in particular, it is not necessary to apply a voltage for making the threshold voltage negative to the
また、第1の酸化物半導体層482aと同じ膜厚で形成される第3の酸化物半導体層43
2bは、第1の抵抗体として機能する。電極層479hと重なる第1の絶縁層487a、
及び第3の絶縁層487bには開口が形成され、その開口を介して第3の酸化物半導体層
432bと電極層479hとは電気的に接続される。また、第2の酸化物半導体層482
bと同じ膜厚で形成される第4の酸化物半導体層432aは、第2の抵抗体として機能し
、第1の抵抗体とは抵抗値が異なる。また、電極層479gと重なる第1の絶縁層487
a、及び第3の絶縁層487bには開口が形成され、その開口を介して第4の酸化物半導
体層432aと電極層479gとは電気的に接続される。Further, the third oxide semiconductor layer 43 formed with the same film thickness as the first
 2b functions as a first resistor. First insulating
 An opening is formed in the third insulating
 The fourth
 An opening is formed in a and the third insulating
薄膜トランジスタ480は、第1のゲート電極層481と、ゲート絶縁層492を介して
第1のゲート電極層481と重なる酸化物半導体層482aとを有し、酸化物半導体層4
82aの一部と接する第1のソース電極層485bは、第1配線484bと電気的に接続
する。第1配線484bは、負の電圧VDLが印加される電源線(負電源線)である。こ
の電源線は、接地電位の電源線(接地電源線)としてもよい。The
 The first
また、実施の形態1の第1のソース電極層445aと同じ材料で第1のソース電極層48
5bが形成され、その上に接して形成される第2のソース電極層488bも実施の形態1
の第2のソース電極層448aと同じ材料で形成される。実施の形態1では絶縁層を形成
した後、絶縁膜と同じマスクでパターニングする例を示したが、本実施の形態では、導電
層をパターニングした後、絶縁膜を成膜する工程としている。そして選択的に絶縁膜を除
去して絶縁層486を形成し、絶縁層486をマスクとして導電層を選択的にエッチング
して、第1のソース電極層485b、第2のソース電極層488b、第1のドレイン電極
層485a、第2のドレイン電極層488aを形成する。絶縁層486は、後に形成され
る第2のゲート電極層491と第4のドレイン電極層498bとの間に形成される寄生容
量を低減するために設けられている。Further, the first source electrode layer 48 made of the same material as the first
 The second
 It is made of the same material as the second
また、容量部においては、第1のソース電極層485bと同じ工程であり同じ材料で第1
の容量電極層433が形成され、第2のソース電極層488bと同じ工程であり同じ材料
で第2の容量電極層434が形成される。第1の容量電極層433及び第2の容量電極層
434は、電極層479fと重なる。Further, in the capacitive portion, the same process as that of the first
 The
また、第1のソース電極層485bと同じ工程であり同じ材料で第1の電極層477が第
1の抵抗体である第3の酸化物半導体層432b上に接して形成される。また、第2のソ
ース電極層488bと同じ工程であり同じ材料で第2の電極層438が第1の電極層47
7上に接して形成される。Further, the
 7 Formed in contact with the top.
また、第2の薄膜トランジスタ490は、第2配線として機能する第2のゲート電極層4
91と、ゲート絶縁層492を介して第2のゲート電極層491と重なる第2の酸化物半
導体層482bとを有し、第3配線484aは、正の電圧VDHが印加される電源線(正
電源線)である。Further, the second
 A power line (positive) having a 91 and a second
また、第2の酸化物半導体層482bに一部接して重なる第3のソース電極層495a、
第4のソース電極層498aを有する。また、第2の酸化物半導体層482bに一部接し
て重なる第3のドレイン電極層495b、第4のドレイン電極層498bを有する。なお
、第1のソース電極層485bと同じ工程であり同じ材料で第3のソース電極層495a
、及び第3のドレイン電極層495bが形成される。また、第2のソース電極層488b
と同じ工程であり同じ材料で第4のソース電極層498a、及び第4のドレイン電極層4
98bが形成される。Further, a third source electrode layer 495a, which partially touches and overlaps the second
 It has a fourth
 , And a third
 4th
 98b is formed.
また、絶縁層486には第2のドレイン電極層488aに達する開口が設けられ、第2の
ドレイン電極層488aは、第2配線として機能する第2のゲート電極層491と電気的
に接続して、第1の薄膜トランジスタ480と第2の薄膜トランジスタ490を接続し、
EDMOS回路を構成する。Further, the insulating
 It constitutes an EDMOS circuit.
また、電極層479fと重なる領域のゲート絶縁層492に開口を有し、第2の容量電極
層434と接続する第4配線431は容量配線として機能する。Further, the
また、第5配線435は、電極層479gと重なる領域のゲート絶縁層492に開口を有
し、第2の抵抗体として機能する第4の酸化物半導体層432aと接する。Further, the
本実施の形態では、同一基板上に、EDMOS回路と、容量部と、第1の抵抗体と、第2
の抵抗体とを形成する例を示したが特に限定されず、実施の形態1の薄膜トランジスタも
同一基板上に形成することができる。In the present embodiment, the EDMOS circuit, the capacitance section, the first resistor, and the second resistor are on the same substrate.
 Although an example of forming the resistor of the above is shown, the thin film transistor of the first embodiment can also be formed on the same substrate without particular limitation.
また、本実施の形態で同一基板上に形成することのできる配線の端子部の断面構造を図4
に示す。図4(A)は図4(B)中のC1-C2線に沿った断面図に相当する。Further, FIG. 4 shows a cross-sectional structure of a terminal portion of wiring that can be formed on the same substrate in the present embodiment.
 Shown in. FIG. 4A corresponds to a cross-sectional view taken along line C1-C2 in FIG. 4B.
図4(A)において、絶縁層486とゲート絶縁層492の積層上に形成される導電層4
37は、入力端子として機能する接続用の端子電極である。また、図4(A)において、
端子部では、電極層479d、479e、479f、479g、479hと同じ材料で形
成される電極層479iが、第1のソース電極層485bと電気的に接続される第1の端
子電極層439の下方に第1の絶縁層487a、及び第3の絶縁層487bを介して重な
る。電極層479iは第1の端子電極層439とは電気的に接続しておらず、電極層47
9iを第1の端子電極層439と異なる電位、例えばフローティング、GND、0Vなど
に設定すれば、ノイズ対策のための容量または静電気対策のための容量を形成することが
できる。また、第1の端子電極層439は、その上に第2の端子電極層489が設けられ
、さらに絶縁層486及びゲート絶縁層492を介して導電層437と電気的に接続して
いる。In FIG. 4A, the conductive layer 4 formed on the laminate of the insulating
 Reference numeral 37 is a terminal electrode for connection that functions as an input terminal. Further, in FIG. 4 (A),
 In the terminal portion, the
 If 9i is set to a potential different from that of the first
また、第1の端子電極層439は、第1のソース電極層485bと同じ材料、同じ工程で
形成することができる。第2の端子電極層489は、第2のソース電極層488bと同じ
材料、同じ工程で形成することができる。また、導電層437は、第1のゲート電極層4
81と同じ材料、同じ工程で形成することができる。Further, the first
 It can be formed by the same material and the same process as 81.
本実施の形態は実施の形態1と自由に組み合わせることができる。This embodiment can be freely combined with the first embodiment.
(実施の形態3)
本実施の形態では、実施の形態2に示すEDMOS回路を用いてCPU(中央演算処理回
路)を作製する例を示す。(Embodiment 3)
 In this embodiment, an example of manufacturing a CPU (Central Processing Unit) using the EDMOS circuit shown in the second embodiment is shown.
CPUのブロック図の一例を図5に示す。図5に示されるCPU1001は、タイミング
コントロール回路1002、命令解析デコーダー1003、レジスタアレイ1004、ア
ドレスロジックバッファ回路1005、データバスインターフェイス1006、ALU1
007、命令レジスタ1008などより構成されている。An example of the block diagram of the CPU is shown in FIG. The
 It is composed of 007, an
これらの回路は、実施の形態1または実施の形態2に示した薄膜トランジスタ、インバー
タ回路、抵抗、容量などを用いて作製する。実施の形態1または実施の形態2に示す薄膜
トランジスタは、水素濃度が十分に低減された酸化物半導体層を用いており、薄膜トラン
ジスタのオフ電流を極めて小さい値とすることができ、CPU1001の少なくとも一部
を水素濃度が十分に低減された酸化物半導体層を有する薄膜トランジスタで構成すること
によって低消費電力を実現できる。These circuits are manufactured by using the thin film transistor, the inverter circuit, the resistance, the capacitance, etc. shown in the first embodiment or the second embodiment. The thin film transistor shown in the first embodiment or the second embodiment uses an oxide semiconductor layer in which the hydrogen concentration is sufficiently reduced, and the off current of the thin film transistor can be set to an extremely small value, and at least a part of the
ここで、それぞれの回路について簡単に説明する。タイミングコントロール回路1002
は外部からの命令を受け取り、それを内部用の情報に変換し、他のブロックに送り出す。
また、内部の動作に応じて、メモリデータの読み込み、書き込みなどの指示を外部に与え
る。命令解析デコーダー1003は外部の命令を内部用の命令に変換する役割を持つ。レ
ジスタアレイ1004はデータを一時的に保管する揮発性メモリである。アドレスロジッ
クバッファ回路1005は外部メモリのアドレスを指定する回路である。データバスイン
ターフェイス1006は、外部のメモリまたはプリンタなどの機器にデータを出し入れす
る回路である。ALU1007は演算を行う回路である。命令レジスタ1008は命令を
一時的に記憶しておく回路である。このような回路の組み合わせによってCPUは構成さ
れている。Here, each circuit will be briefly described.
 Receives an external command, converts it into internal information, and sends it to another block.
 In addition, instructions such as reading and writing memory data are given to the outside according to the internal operation. The
CPU1001の少なくとも一部に実施の形態1または実施の形態2に示した薄膜トラン
ジスタを用いてスタンバイ時のリーク電流を低減し、電気機器で使用される駆動回路など
の省電力化を図ることができる。By using the thin film transistor shown in the first embodiment or the second embodiment in at least a part of the
本実施の形態は実施の形態1または実施の形態2と自由に組み合わせることができる。The present embodiment can be freely combined with the first embodiment or the second embodiment.
(実施の形態4)
本実施の形態では、上記実施の形態で示した半導体装置の使用形態の一例について説明す
る。具体的には、非接触でデータの入出力が可能である半導体装置の適用例に関して、図
面を用いて以下に説明する。非接触でデータの入出力が可能である半導体装置は利用の形
態によって、RFIDタグ、IDタグ、ICタグ、RFタグ、無線タグ、電子タグまたは
無線チップとも呼ばれる。(Embodiment 4)
 In this embodiment, an example of the usage mode of the semiconductor device shown in the above embodiment will be described. Specifically, an application example of a semiconductor device capable of inputting / outputting data in a non-contact manner will be described below with reference to the drawings. A semiconductor device capable of input / output of data in a non-contact manner is also called an RFID tag, an ID tag, an IC tag, an RF tag, a wireless tag, an electronic tag, or a wireless chip, depending on the form of use.
本実施の形態で示す半導体装置の上面構造の一例について、図8(A)を参照して説明す
る。図8(A)に示す半導体装置は、アンテナ(オンチップアンテナとも記す)が設けら
れた半導体集積回路チップ400と、アンテナ405(ブースターアンテナとも記す)が
設けられた支持基板406とを含んでいる。半導体集積回路チップ400は、支持基板4
06及びアンテナ405上に形成された絶縁層410(図8(C))上に設けられている
。絶縁層410により支持基板406及びアンテナ405上に半導体集積回路チップ40
0を固定することができる。An example of the upper surface structure of the semiconductor device shown in the present embodiment will be described with reference to FIG. 8 (A). The semiconductor device shown in FIG. 8A includes a semiconductor integrated
 It is provided on the insulating layer 410 (FIG. 8 (C)) formed on 06 and the
 0 can be fixed.
なお、半導体集積回路チップ400表面には、静電気放電による静電気破壊(回路の誤動
作や半導体素子の損傷)を防止するために導電性遮蔽体が設けられており、導電性遮蔽体
の抵抗が高く、アンテナ405のパターン間を導通させない場合には、アンテナ405と
半導体集積回路チップ400表面に設けられる導電性遮蔽体とは接して設けられてもよい
。A conductive shield is provided on the surface of the semiconductor integrated
半導体集積回路チップ400内に設けられる半導体集積回路にはメモリ部やロジック部を
構成する複数の薄膜トランジスタ等の素子が設けられる。メモリ部やロジック部を構成す
る薄膜トランジスタとして、水素濃度が十分に低減されて高純度化された酸化物半導体層
を用いる薄膜トランジスタを用いる。本実施の形態に係る半導体装置は、半導体素子とし
て電界効果トランジスタはもちろん、半導体層を用いる記憶素子なども適用することがで
き、多用途に渡って要求される機能を満たす半導体装置を作製し、提供することができる
。The semiconductor integrated circuit provided in the semiconductor integrated
図7(A)に、図8(A)に示した半導体集積回路チップ400に含まれるアンテナと半
導体集積回路の拡大図を示す。図7(A)において、アンテナ101は巻き数が1である
矩形のループアンテナであるが、この構成に限定されない。ループアンテナの形状は矩形
を有することに限定されず、曲線を有する形状、例えば円形を有していても良い。そして
巻き数は1に限定されず、複数であっても良い。ただしアンテナ101の巻き数が1の場
合、半導体集積回路100とアンテナ101の間に生じる寄生容量を低減することができ
る。FIG. 7A shows an enlarged view of the antenna and the semiconductor integrated circuit included in the semiconductor integrated
また、図8(A)、図7(A)において、アンテナ101は、半導体集積回路100の周
囲を取り囲むように配置されており、破線で示す給電点408に相当する部分以外は、ア
ンテナ101は半導体集積回路100とは異なる領域に配置されている。また、この構成
に限定されず、図7(B)に示すように、破線で示す給電点408に相当する部分以外に
おいて、アンテナ101が半導体集積回路100と少なくとも一部重なるように配置され
ていても良い。ただし、図8(A)、図7(A)に示すように、アンテナ101が半導体
集積回路100とは異なる領域に配置されていることで、半導体集積回路100とアンテ
ナ101の間に生じる寄生容量を低減することができる。Further, in FIGS. 8 (A) and 7 (A), the
図8(A)において、アンテナ405は、主に破線407で囲まれたループ状の部分にお
いて、アンテナ101と電磁誘導により信号の授受または電力の供給を行うことができる
。またアンテナ405は、主に、破線407で囲まれた部分以外の領域において、電波に
より質問器と信号の授受または電力の供給を行うことができる。質問器と半導体装置との
間において、キャリア(搬送波)として用いられる電波の周波数は、30MHz以上5G
Hz以下程度が望ましく、例えば950MHz、2.45GHzなどの周波数帯を用いれ
ばよい。In FIG. 8A, the
 It is preferably about Hz or less, and a frequency band such as 950 MHz or 2.45 GHz may be used.
また、アンテナ405は、破線407で囲まれた部分において巻き数1の矩形のループ状
になっているが、この構成に限定されない。ループ状の部分は矩形を有することに限定さ
れず、曲線を有する形状、例えば円形を有していても良い。そして巻き数は1に限定され
ず、複数であっても良い。Further, the
本実施の形態に示す半導体装置は、電磁誘導方式、電磁結合方式、マイクロ波方式を適用
することも可能である。マイクロ波方式の場合は、用いる電磁波の波長によりアンテナ1
01、アンテナ405の形状を適宜決めればよい。The semiconductor device shown in the present embodiment can also be applied with an electromagnetic induction method, an electromagnetic coupling method, and a microwave method. In the case of the microwave method, the
 01, the shape of the
例えば、半導体装置における信号の伝送方式として、マイクロ波方式(例えば、UHF帯
(860MHz帯乃至960MHz帯)、2.45GHz帯等)を適用する場合には、信
号の伝送に用いる電磁波の波長を考慮してアンテナの長さや形状等を適宜設定すればよい
。例えば、アンテナを線状(例えば、ダイポールアンテナ)、平坦な形状(例えば、パッ
チアンテナまたはリボン型の形状)等に形成することができる。また、アンテナの形状は
直線状に限られず、電磁波の波長を考慮して曲線状や蛇行形状またはこれらを組み合わせ
た形状で設けてもよい。For example, when a microwave method (for example, UHF band (860 MHz band to 960 MHz band), 2.45 GHz band, etc.) is applied as a signal transmission method in a semiconductor device, the wavelength of the electromagnetic wave used for signal transmission is taken into consideration. Then, the length and shape of the antenna may be set as appropriate. For example, the antenna can be formed into a linear shape (for example, a dipole antenna), a flat shape (for example, a patch antenna or a ribbon shape), or the like. Further, the shape of the antenna is not limited to a linear shape, and may be provided in a curved shape, a meandering shape, or a combination thereof in consideration of the wavelength of the electromagnetic wave.
図9にアンテナ101、アンテナ405をコイル状に設け、電磁誘導方式または電磁結合
方式を適用する例を示す。FIG. 9 shows an example in which the
図9においては、ブースターアンテナとしてコイル状のアンテナ405が設けられた支持
基板406上に、コイル状のアンテナ101が設けられた半導体集積回路チップ400が
設けられている。なお、ブースターアンテナであるアンテナ405は支持基板406を挟
んで、容量を形成している。In FIG. 9, a semiconductor integrated
次に、半導体集積回路チップ400とブースターアンテナの構造及びその配置について説
明する。図8(B)は、図8(A)に示した半導体集積回路チップ400と支持基板40
6に形成されたアンテナ405が積層された半導体装置の斜視図に相当する。そして、図
8(C)は、図8(B)の破線X-Yにおける断面図に相当する。Next, the structure of the semiconductor integrated
 It corresponds to a perspective view of a semiconductor device in which
図8(C)に示す半導体集積回路チップ400は、実施の形態1または実施の形態2で示
した半導体装置を用いることができ、ここでは、個々に分断しチップ状にしたものを半導
体集積回路チップという。なお、図8(C)に示す半導体集積回路チップは、実施の形態
1を用いる例であるが、本実施の形態は、他の実施の形態にも適用することができ、この
構造に限定されない。As the semiconductor integrated
図8(C)に示す半導体集積回路100は、第1の絶縁体112、第2の絶縁体102で
挟持され、その側面も封止されている。本実施の形態では、複数の半導体集積回路を挟持
して第1の絶縁体、第2の絶縁体を貼り合わせた後、個々の半導体集積回路ごとの積層体
に分断する。分断した積層体に導電性遮蔽体を形成し半導体集積回路チップ400を作製
する。分断手段としては物理的に分断することができれば特に限定しないが、本実施の形
態ではレーザ光を照射することによって分断する。The semiconductor integrated
図8(C)では、半導体集積回路100が、アンテナ101よりも、よりアンテナ405
に近い位置に配置されているが、この構成に限定されない。アンテナ101が半導体集積
回路100よりも、よりアンテナ405に近い位置に配置されていてもよい。また、半導
体集積回路100とアンテナ101は、第1の絶縁体112、第2の絶縁体102に直接
固着していても良いし、接着剤として機能する接着層によって固着されていても良い。In FIG. 8C, the semiconductor integrated
 It is located close to, but is not limited to this configuration. The
次に、本実施の形態に係る半導体装置の動作について説明する。図6は、本実施の形態に
係る半導体装置の構成を示すブロック図の一例である。図6に示す半導体装置420は、
ブースターアンテナとしてアンテナ422と、半導体集積回路423と、オンチップアン
テナとしてアンテナ424とを有している。質問器421から電磁波が送信されると、ア
ンテナ422が該電磁波を受信することで、アンテナ422内に交流の電流が生じ、アン
テナ422の周囲に磁界が発生する。そして、アンテナ422が有するループ状の部分と
、ループ状の形状を有するアンテナ424とが電磁結合することで、アンテナ424に誘
導起電力が生じる。半導体集積回路423は上記誘導起電力を用いることで、信号または
電力を質問器421から受け取る。逆に半導体集積回路423において生成された信号に
従って、アンテナ424に電流を流してアンテナ422に誘導起電力を生じさせることで
、質問器421から送られてくる電波の反射波にのせて、質問器421に信号を送信する
ことができる。Next, the operation of the semiconductor device according to the present embodiment will be described. FIG. 6 is an example of a block diagram showing the configuration of the semiconductor device according to the present embodiment. The semiconductor device 420 shown in FIG. 6 is
 It has an
なお、アンテナ422は、主にアンテナ424との間において電磁結合するループ状の部
分と、主に質問器421からの電波を受信する部分とに分けられる。質問器421からの
電波を主に受信する部分における、アンテナ422の形状は、電波を受信できる形であれ
ばよい。例えば、ダイポールアンテナ、折り返しダイポールアンテナ、スロットアンテナ
、メアンダラインアンテナ、マイクロストリップアンテナ等の形状を用いればよい。The
また、図8では、アンテナを1つだけ有する半導体集積回路の構成について説明したが、
この構成に限定されない。電力を受信するためのアンテナと、信号を受信するためのアン
テナとの、2つのアンテナを有していても良い。アンテナが2つあると、電力を供給する
電波の周波数と、信号を送るための電波の周波数とを使い分けることができる。Further, in FIG. 8, the configuration of a semiconductor integrated circuit having only one antenna has been described.
 Not limited to this configuration. It may have two antennas, an antenna for receiving electric power and an antenna for receiving signals. If there are two antennas, the frequency of the radio wave that supplies power and the frequency of the radio wave that sends the signal can be used properly.
本実施の形態に係る半導体装置では、オンチップアンテナを用いており、なおかつ、ブー
スターアンテナとオンチップアンテナの間における信号または電力の授受を非接触で行う
ことができるので、外付けのアンテナを半導体集積回路に接続する場合とは異なり、外力
によって半導体集積回路とアンテナとの接続が分断されにくく、該接続における初期不良
の発生も抑えることができる。また本実施の形態ではブースターアンテナを用いているの
で、オンチップアンテナのみの場合とは異なり、オンチップアンテナの寸法または形状が
半導体集積回路の面積の制約を受けにくく、受信可能な電波の周波数帯が限定されず、通
信距離を伸ばすことができる、という外付けのアンテナが有するメリットを享受すること
ができる。In the semiconductor device according to the present embodiment, an on-chip antenna is used, and signals or power can be exchanged between the booster antenna and the on-chip antenna in a non-contact manner. Therefore, the external antenna is a semiconductor. Unlike the case of connecting to an integrated circuit, the connection between the semiconductor integrated circuit and the antenna is not easily broken by an external force, and the occurrence of initial failure in the connection can be suppressed. Further, since the booster antenna is used in this embodiment, the size or shape of the on-chip antenna is not easily restricted by the area of the semiconductor integrated circuit, and the frequency band of the receivable radio wave is different from the case of only the on-chip antenna. You can enjoy the merit of the external antenna that the communication distance can be extended without limitation.
半導体集積回路は、直接可撓性基板に形成することもできる。また、作製基板(例えばガ
ラス基板)より半導体集積回路を他の基板(例えばプラスチック基板)へ転置してもよい
。The semiconductor integrated circuit can also be formed directly on the flexible substrate. Further, the semiconductor integrated circuit may be transposed from the manufactured substrate (for example, a glass substrate) to another substrate (for example, a plastic substrate).
また、作製基板より半導体集積回路を他の基板へ転置する場合は、特に限定されず種々の
方法を用いることができる。例えば作製基板と半導体集積回路との間に剥離層を形成すれ
ばよい。Further, when the semiconductor integrated circuit is transferred from the manufactured substrate to another substrate, various methods can be used without particular limitation. For example, a release layer may be formed between the fabrication substrate and the semiconductor integrated circuit.
例えば剥離層として、金属酸化膜を形成した場合には、当該金属酸化膜を結晶化により脆
弱化して、被剥離層である半導体集積回路を含む素子層を作製基板から剥離することがで
きる。また、当該金属酸化膜を結晶化により脆弱化した後、さらに剥離層の一部を溶液や
NF3、BrF3、ClF3等のフッ化ハロゲンガスによりエッチングして除去し、脆弱
化した金属酸化膜において剥離してもよい。For example, when a metal oxide film is formed as a peeling layer, the metal oxide film can be fragile by crystallization, and the element layer including the semiconductor integrated circuit which is the peeling layer can be peeled from the manufactured substrate. Further, after the metal oxide film is fragile by crystallization, a part of the release layer is further etched and removed with a solution or a halogen gas such as NF3 , BrF3 , ClF3 , etc. to remove the fragile metal oxidation. It may be peeled off at the film.
また剥離層として、窒素、酸素や水素等を含む膜(例えば、水素を含む非晶質珪素膜、水
素含有合金膜、酸素含有合金膜など)を用い、作製基板として透光性を有する基板を用い
た場合には、作製基板から剥離層にレーザ光を照射して、剥離層内に含有する窒素、酸素
や水素を気化させて、作製基板と剥離層との間で剥離する方法を用いることができる。Further, a film containing nitrogen, oxygen, hydrogen, etc. (for example, an amorphous silicon film containing hydrogen, a hydrogen-containing alloy film, an oxygen-containing alloy film, etc.) is used as the release layer, and a transparent substrate is used as the fabrication substrate. When used, a method is used in which the release layer is irradiated with laser light from the production substrate to vaporize nitrogen, oxygen, and hydrogen contained in the release layer, and the release layer is separated between the production substrate and the release layer. Can be done.
また剥離層をエッチングにより除去することで、被剥離層を作製基板から剥離しても良い
。Further, the peeled layer may be peeled from the manufactured substrate by removing the peeled layer by etching.
また、作製基板を機械的に研磨し除去する方法や、作製基板をNF3、BrF3、ClF
3等のフッ化ハロゲンガスまたはHFによるエッチングで除去する方法等を用いることが
できる。この場合、剥離層を用いなくともよい。In addition, a method of mechanically polishing and removing the manufacturing substrate, and NF3 , BrF3 , ClF for the manufacturing substrate.
 A method of removing by etching with a fluorinated halogen gas such as3 or HF or HF can be used. In this case, it is not necessary to use the release layer.
また、レーザ光の照射、ガスや溶液などによるエッチング、又は、鋭いナイフやメスなど
を用いて、剥離層を露出させる溝を形成し、溝をきっかけとして剥離層から被剥離層を作
製基板から剥離することもできる。In addition, a groove is formed to expose the peeling layer by irradiating a laser beam, etching with a gas or solution, or using a sharp knife or scalpel, and the groove is used as a trigger to peel the peeled layer from the peeled layer from the substrate. You can also do it.
剥離方法としては、例えば、機械的な力を加えること(人間の手や把治具で引き剥がす処
理や、ローラーを回転させながら分離する処理等)を用いて行えばよい。また、溝に液体
を滴下し、剥離層との界面に液体を浸透させて剥離層から被剥離層を剥離してもよい。ま
た、溝にNF3、BrF3、ClF3等のフッ化ガスを導入し、剥離層をフッ化ガスでエ
ッチングし除去して、作製基板から被剥離層を剥離する方法を用いてもよい。また、剥離
を行う際に水などの液体をかけながら剥離してもよい。As a peeling method, for example, a mechanical force may be applied (a process of peeling with a human hand or a gripping jig, a process of separating while rotating a roller, or the like). Further, the liquid may be dropped into the groove and the liquid may be permeated into the interface with the peeling layer to peel the peeled layer from the peeling layer. Further, a method may be used in which a fluorogas such as NF3 , BrF3 , ClF3 or the like is introduced into the groove, the exfoliated layer is etched and removed with the fluorogas, and the exfoliated layer is exfoliated from the manufactured substrate. Further, when the peeling is performed, the peeling may be performed while sprinkling a liquid such as water.
その他の剥離方法としては、剥離層をタングステンで形成した場合は、アンモニア水と過
酸化水素水の混合溶液により剥離層をエッチングしながら剥離を行うことができる。As another peeling method, when the peeling layer is formed of tungsten, peeling can be performed while etching the peeling layer with a mixed solution of aqueous ammonia and hydrogen peroxide.
水素濃度が十分に低減されて高純度化された酸化物半導体層を用いる薄膜トランジスタは
オフ電流が小さく、低消費電力を実現できる。また、半導体集積回路を覆う導電性遮蔽体
により、半導体集積回路の静電気放電による静電気破壊(回路の誤動作や半導体素子の損
傷)を防止することができる。また半導体集積回路を挟持する一対の絶縁体によって、薄
型化及び小型化を達成しながら耐性を有する信頼性の高い半導体装置を提供することがで
きる。A thin film transistor using an oxide semiconductor layer in which the hydrogen concentration is sufficiently reduced and purified is capable of achieving low off-current and low power consumption. Further, the conductive shield covering the semiconductor integrated circuit can prevent electrostatic destruction (circuit malfunction or damage to the semiconductor element) due to electrostatic discharge of the semiconductor integrated circuit. Further, by using a pair of insulators sandwiching a semiconductor integrated circuit, it is possible to provide a highly reliable semiconductor device having durability while achieving thinness and miniaturization.
(実施の形態5)
本実施の形態では、上述した実施の形態4のデバイスを用いて形成された非接触でデータ
の入出力が可能である半導体装置の適用例に関して図面を参照して以下に説明する。非接
触でデータの入出力が可能である半導体装置は利用の形態によっては、RFIDタグ、I
Dタグ、ICタグ、ICチップ、RFタグ、無線タグ、電子タグまたは無線チップともよ
ばれる。(Embodiment 5)
 In the present embodiment, an application example of a semiconductor device formed by using the device of the above-described fourth embodiment and capable of input / output of data in a non-contact manner will be described below with reference to the drawings. Semiconductor devices that can input and output data in a non-contact manner are RFID tags, I, depending on the form of use.
 It is also called a D tag, an IC tag, an IC chip, an RF tag, a wireless tag, an electronic tag or a wireless chip.
半導体装置800は、非接触でデータを交信する機能を有し、高周波回路810、電源回
路820、リセット回路830、クロック発生回路840、データ復調回路850、デー
タ変調回路860、他の回路の制御を行う制御回路870、記憶回路880およびアンテ
ナ890を有している(図10(A)参照。)。高周波回路810はアンテナ890より
信号を受信して、データ変調回路860より受信した信号をアンテナ890から出力する
回路であり、電源回路820は受信信号から電源電位を生成する回路であり、リセット回
路830はリセット信号を生成する回路であり、クロック発生回路840はアンテナ89
0から入力された受信信号を基に各種クロック信号を生成する回路であり、データ復調回
路850は受信信号を復調して制御回路870に出力する回路であり、データ変調回路8
60は制御回路870から受信した信号を変調する回路である。また、制御回路870と
しては、例えばコード抽出回路910、コード判定回路920、CRC判定回路930お
よび出力ユニット回路940が設けられている。なお、コード抽出回路910は制御回路
870に送られてきた命令に含まれる複数のコードをそれぞれ抽出する回路であり、コー
ド判定回路920は抽出されたコードとリファレンスに相当するコードとを比較して命令
の内容を判定する回路であり、CRC判定回路930は判定されたコードに基づいて送信
エラー等の有無を検出する回路である。The semiconductor device 800 has a function of communicating data in a non-contact manner, and controls a
 It is a circuit that generates various clock signals based on the received signal input from 0, and the data demodulation circuit 850 is a circuit that demodulates the received signal and outputs it to the control circuit 870, and is a data modulation circuit 8.
 Reference numeral 60 is a circuit that modulates the signal received from the control circuit 870. Further, as the control circuit 870, for example, a code extraction circuit 910, a code determination circuit 920, a CRC determination circuit 930, and an output unit circuit 940 are provided. The code extraction circuit 910 is a circuit for extracting a plurality of codes included in the instructions sent to the control circuit 870, and the code determination circuit 920 compares the extracted code with the code corresponding to the reference. It is a circuit for determining the content of an instruction, and the CRC determination circuit 930 is a circuit for detecting the presence or absence of a transmission error or the like based on the determined code.
次に、上述した半導体装置の動作の一例について説明する。まず、アンテナ890により
無線信号が受信される。無線信号は高周波回路810を介して電源回路820に送られ、
高電源電位(以下、VDDと記す)が生成される。VDDは半導体装置800が有する各
回路に供給される。また、高周波回路810を介してデータ復調回路850に送られた信
号は復調される(以下、復調信号)。さらに、高周波回路810を介してリセット回路8
30およびクロック発生回路840を通った信号及び復調信号は制御回路870に送られ
る。制御回路870に送られた信号は、コード抽出回路910、コード判定回路920お
よびCRC判定回路930等によって解析される。そして、解析された信号にしたがって
、記憶回路880内に記憶されている半導体装置の情報が出力される。出力された半導体
装置の情報は出力ユニット回路940を通って符号化される。さらに、符号化された半導
体装置800の情報はデータ変調回路860を通って、アンテナ890により無線信号に
載せて送信される。なお、半導体装置800を構成する複数の回路においては、低電源電
位(以下、VSS)は共通であり、VSSはGNDとすることができる。Next, an example of the operation of the above-mentioned semiconductor device will be described. First, the radio signal is received by the antenna 890. The radio signal is sent to the power supply circuit 820 via the
 A high power potential (hereinafter referred to as VDD) is generated. VDD is supplied to each circuit included in the semiconductor device 800. Further, the signal sent to the data demodulation circuit 850 via the
 The signal and the demodulated signal that have passed through the 30 and the clock generation circuit 840 are sent to the control circuit 870. The signal sent to the control circuit 870 is analyzed by the code extraction circuit 910, the code determination circuit 920, the CRC determination circuit 930, and the like. Then, according to the analyzed signal, the information of the semiconductor device stored in the
このように、通信装置から半導体装置800に信号を送り、当該半導体装置800から送
られてきた信号を通信装置で受信することによって、半導体装置のデータを読み取ること
が可能となる。In this way, by sending a signal from the communication device to the semiconductor device 800 and receiving the signal sent from the semiconductor device 800 in the communication device, it is possible to read the data of the semiconductor device.
また、半導体装置800は、各回路への電源電圧の供給を電源(バッテリー)を搭載せず
電磁波により行うタイプとしてもよいし、電源(バッテリー)を搭載して電磁波と電源(
バッテリー)により各回路に電源電圧を供給するタイプとしてもよい。Further, the semiconductor device 800 may be of a type in which the power supply voltage is supplied to each circuit by an electromagnetic wave without mounting a power supply (battery), or the semiconductor device 800 may be equipped with a power supply (battery) to supply the electromagnetic wave and the power supply (battery).
 It may be a type that supplies a power supply voltage to each circuit by means of a battery).
次に、非接触でデータの入出力が可能な半導体装置の使用形態の一例について説明する。
表示部3210を含む携帯端末の側面には、通信装置3200が設けられ、品物3220
の側面には半導体装置3230が設けられる(図10(B))。品物3220が含む半導
体装置3230に通信装置3200をかざすと、表示部3210に品物の原材料や原産地
、生産工程ごとの検査結果や流通過程の履歴等、更に商品の説明等の商品に関する情報が
表示される。また、商品3260をベルトコンベアにより搬送する際に、通信装置324
0と、商品3260に設けられた半導体装置3250を用いて、該商品3260の検品を
行うことができる(図10(C))。このように、システムに半導体装置を活用すること
で、情報の取得を簡単に行うことができ、高機能化と高付加価値化を実現する。Next, an example of a usage pattern of a semiconductor device capable of inputting / outputting data in a non-contact manner will be described.
 A
 A
 0 and the
以上の様に、半導体装置の適用範囲は極めて広く、広い分野の電子機器に用いることが可
能である。As described above, the range of application of semiconductor devices is extremely wide, and they can be used in electronic devices in a wide range of fields.
(実施の形態6)
実施の形態1または実施の形態2で得られる薄膜トランジスタは、高純度化された酸化物
半導体を用いた薄膜トランジスタであり、その薄膜トランジスタで回路を構成することで
、低消費電力を実現し、メモリ回路の動作を安定化させることができる。(Embodiment 6)
 The thin film transistor obtained in the first embodiment or the second embodiment is a thin film transistor using a highly purified oxide semiconductor, and by forming a circuit with the thin film transistor, low power consumption is realized and a memory circuit can be used. The operation can be stabilized.
本実施の形態では、実施の形態1の薄膜トランジスタを用いて構成することが可能なメモ
リ回路の一例を示す。In this embodiment, an example of a memory circuit that can be configured by using the thin film transistor of the first embodiment is shown.
  図11(A)は、メモリ回路の一例についての等価回路図を示す。図11(A)に示す
メモリ回路は、行デコーダと、書き込み回路およびリフレッシュ回路と、列デコーダと、
マトリクス状に配置された記憶素子1100を有し、マトリクス状に配置された記憶素子
1100に接続された信号線は、書き込み回路およびリフレッシュ回路を介して行デコー
ダに接続され、マトリクス状に配置された記憶素子1100に接続された走査線は、列デ
コーダに接続されている。行デコーダには、ビット信号が入力される。書き込み回路およ
びリフレッシュ回路には、リードイネーブル信号/ライトイネーブル信号(RE/WE)
と、データ信号(data)と、出力信号(OUT)が入力される。FIG. 11A shows an equivalent circuit diagram for an example of a memory circuit. The memory circuit shown in FIG. 11A includes a row decoder, a write circuit, a refresh circuit, a column decoder, and the like.
 The signal lines having the
 , A data signal (data) and an output signal (OUT) are input.
  各記憶素子1100は、容量素子と薄膜トランジスタを有し、該薄膜トランジスタのソ
ースおよびドレインの一方は信号線に接続され、該薄膜トランジスタのソースおよびドレ
インの他方は容量素子の一方の電極に接続され、該容量素子の他方の電極は低電位側(好
ましくは、基準電位Vss)に接続されている。Each
  図11(B)は、図11(A)に示す書き込み回路およびリフレッシュ回路に設けられ
たリフレッシュ回路の具体的な一構成例を示す。FIG. 11B shows a specific configuration example of the write circuit shown in FIG. 11A and the refresh circuit provided in the refresh circuit.
  図11(B)に示す書き込み回路およびリフレッシュ回路は、論理積回路(AND回路
)とセンスアンプを有する。第1の論理積回路1101、第2の論理積回路1102およ
び第3の論理積回路1103の一方の入力には、行デコーダからの信号が入力される。第
1の論理積回路1101の他方の入力にはPRC信号が入力され、第2の論理積回路11
02の他方の入力にはライトイネーブル信号(WE)が入力され、第3の論理積回路11
03の他方の入力にはリードイネーブル信号(RE)が入力される。第1の論理積回路1
101の出力は、第1のスイッチ1104のオン/オフを制御し、第2の論理積回路11
02の出力は、第2のスイッチ1105のオン/オフを制御し、第3の論理積回路110
3の出力は、第3のスイッチ1106のオン/オフを制御する。プリチャージ信号線Vp
rcは第1のスイッチ1104を介して信号線に接続され、データ信号線dataは第2
のスイッチ1105を介して信号線に接続されている。The write circuit and refresh circuit shown in FIG. 11B have a AND circuit and a sense amplifier. A signal from the row decoder is input to one of the inputs of the first AND
 A write enable signal (WE) is input to the other input of 02, and a third AND circuit 11
 A read enable signal (RE) is input to the other input of 03. First AND
 The output of 101 controls the on / off of the
 The output of 02 controls the on / off of the
 The output of 3 controls the on / off of the
 The rc is connected to the signal line via the
 It is connected to the signal line via the
第1のスイッチ1104および第2のスイッチ1105を介して接続された信号線は、第
3のスイッチ1106を介してセンスアンプに接続されている。該センスアンプからは出
力信号線(OUT)に信号が出力される。The signal line connected via the
  なお、上記した論理積回路は、一般的な構成のものを用いればよく、単純な構成とする
ことが好ましい。As the AND circuit described above, a circuit having a general configuration may be used, and a simple configuration is preferable.
なお、センスアンプとは、入力された信号を増幅する機能を有する回路をいう。 The sense amplifier refers to a circuit having a function of amplifying an input signal.
  なお、ここで信号としては、例えば電圧、電流、抵抗、又は周波数などを用いたアナロ
グ信号またはデジタル信号を用いることができる。例えば、電位を少なくとも第1の電位
と第2の電位で設定し、第1の電位としてハイレベル(高電位、VHとも表記する。)の
電位を用い、第2の電位としてローレベル(低電位、VLとも表記する。)の電位を用い
ることで、2値のデジタル信号を設定することができる。また、VHとVLは一定値であ
ることが好ましいが、ノイズの影響を考慮して、VHとVLに幅をもたせてもよい。Here, as the signal, for example, an analog signal or a digital signal using a voltage, current, resistance, frequency, or the like can be used. For example, the potential is set at least at the first potential and the second potential, the highlevel (high potential, also referred to as VT) potential is used as the first potential, and the low level (low) is used as the second potential. By using the potential (also referred to as electric potential andVL ), a binary digital signal can be set. Further, although it is preferable that VH andVL are constant values, VH andVL may be provided with a range in consideration of the influence of noise.
  なお、ここで、第1、第2などの序数を付した用語は、それぞれの要素の混同を避ける
ために便宜上付したものであり、数を限定するものではない。Here, the terms with ordinal numbers such as 1st and 2nd are added for convenience in order to avoid confusion of each element, and the number is not limited.
  以上、実施の形態1で説明した薄膜トランジスタを用い、実施の形態2で説明した容量
を用いてメモリ回路を作製することができる。As described above, the memory circuit can be manufactured by using the thin film transistor described in the first embodiment and using the capacitance described in the second embodiment.
メモリ回路のリフレッシュタイミングは、予め評価された記憶素子1100のリーク電流
に基づいて、ある固定された時間間隔に設計段階で決められる。即ちチップ完成後のリー
ク電流の温度依存性と作製プロセスの変動とを考慮して設定される。The refresh timing of the memory circuit is determined at a fixed time interval at the design stage based on the leak current of the
実施の形態1または実施の形態2に示す薄膜トランジスタは、水素濃度が十分に低減され
た酸化物半導体層を用いており、薄膜トランジスタのオフ電流を極めて小さい値とするこ
とができ、-30℃から120℃におけるオフ電流の温度特性もほとんど変化せず、極め
て小さい値を維持できる。The thin film transistor shown in the first embodiment or the second embodiment uses an oxide semiconductor layer in which the hydrogen concentration is sufficiently reduced, and the off current of the thin film transistor can be set to an extremely small value, from −30 ° C. to 120 ° C. The temperature characteristics of the off-current at ° C also hardly change, and an extremely small value can be maintained.
従って、実施の形態1または実施の形態2に示す薄膜トランジスタを用いれば、シリコン
を用いたトランジスタに比べてリフレッシュ間隔を長い時間間隔で設定することができ、
スタンバイ時の消費電力を削減できる。Therefore, if the thin film transistor shown in the first embodiment or the second embodiment is used, the refresh interval can be set at a longer time interval as compared with the transistor using silicon.
 Power consumption during standby can be reduced.
また、オフ電流の温度依存性がほとんどないため、車載の電子機器に本実施の形態のメモ
リ回路は適している。スタンバイ時のリーク電流が極めて小さく、電気自動車においては
、長時間のスタンバイ時においても一定の充電量あたりの走行距離がほとんど変化しない
。Further, since there is almost no temperature dependence of the off-current, the memory circuit of this embodiment is suitable for an in-vehicle electronic device. The leakage current during standby is extremely small, and in an electric vehicle, the mileage per constant charge amount hardly changes even during long-term standby.
  実施の形態1または実施の形態2に示すトランジスタは、酸化物半導体中でキャリアの
供与体(ドナー又はアクセプタ)となり得る不純物を極めて少ないレベルにまで除去し、
真性又は実質的に真性な半導体を用いている。The transistor shown in the first embodiment or the second embodiment removes impurities that can be carrier donors (donors or acceptors) in the oxide semiconductor to an extremely small level.
 A true or substantially true semiconductor is used.
  図12は、実施の形態1または実施の形態2に示すトランジスタのソース-ドレイン間
のバンド構造を示す図である。高純度化が図られた酸化物半導体のフェルミ準位は、理想
的な状態では禁制帯の中央に位置している。水素濃度を十分に減少させた酸化物半導体で
は少数キャリア(この場合は正孔)がゼロ又は限りなくゼロに近い状態になっている。FIG. 12 is a diagram showing a band structure between a source and a drain of the transistor shown in the first embodiment or the second embodiment. The Fermi level of the highly purified oxide semiconductor is ideally located in the center of the bandgap. In oxide semiconductors in which the hydrogen concentration is sufficiently reduced, minority carriers (holes in this case) are zero or as close to zero as possible.
仕事関数をφm、酸化物半導体の電子親和力をχとすると、仕事関数φmが電子親和力χ
より小さい場合に電子に対してオーミック接触となる。If the work function is φm and the electron affinity of the oxide semiconductor is χ, the work function φm is the electron affinity χ.
 If it is smaller, it becomes ohmic contact with the electron.
ここで、φm=χであれば、接合面において電極メタルのフェルミレベルと酸化物半導体
の伝導帯端のレベルが一致する。バンドギャップ3.05eV、電子親和力4.3eV、
真性状態(キャリア密度約1×10-7/cm3)であると仮定し、ソース電極及びドレ
イン電極として仕事関数4.3eVのチタン(Ti)を用いたときには、図12で示すよ
うに電子に対して障壁は形成されない。Here, if φm = χ, the Fermi level of the electrode metal and the level of the conduction band end of the oxide semiconductor coincide with each other on the junction surface. Bandgap 3.05eV, electron affinity 4.3eV,
 Assuming that it is in the intrinsic state (carrier density of about 1 × 10-7 / cm3 ), when titanium (Ti) having a work function of 4.3 eV is used as the source electrode and the drain electrode, it becomes an electron as shown in FIG. On the other hand, no barrier is formed.
  図13に、エネルギーバンド構造の模式図を示す。ドレインに正の電圧(VD>0)を
印加した上で、破線はゲートに電圧を印加しない場合(VG=0)、実線はゲートに正の
電圧(VG>0)を印加した場合を示す。ゲートに電圧を印加しない場合は高いポテンシ
ャル障壁のために電極から酸化物半導体側へキャリア(電子)が注入されず、電流を流さ
ないオフ状態を示す。一方、ゲートに正の電圧を印加するとポテンシャル障壁が低下し、
電流を流すオン状態を示す。FIG. 13 shows a schematic diagram of the energy band structure. When a positive voltage (VD > 0) is applied to the drain, the broken line shows the case where no voltage is applied to the gate (VG = 0), and the solid line shows the case where a positive voltage (VG > 0) is applied to the gate. Is shown. When no voltage is applied to the gate, carriers (electrons) are not injected from the electrode to the oxide semiconductor side due to a high potential barrier, indicating an off state in which no current flows. On the other hand, when a positive voltage is applied to the gate, the potential barrier is lowered and the potential barrier is lowered.
 Indicates an on state in which a current flows.
  ここで、キャリアの移動度に影響を与えるのはバリアの高さである。よって、ドレイン
電圧を高くしていくとバリアの高さ(hb)は小さくなり、移動度は大きくなる。仮にソ
ース電極の仕事関数φmが酸化物半導体の電子親和力と同程度であればhbはさらに小さ
くなり、より高い移動度が期待できる。但し、そのような電極材料と酸化物半導体とが接
触して絶縁物を作らないことが必要である。Here, it is the height of the barrier that affects the mobility of the carrier. Therefore, as the drain voltage is increased, the height of the barrier (hb ) becomes smaller and the mobility becomes larger. If the work function φm of the source electrode is about the same as the electron affinity of the oxide semiconductor, hb becomes smaller and higher mobility can be expected. However, it is necessary that such an electrode material and an oxide semiconductor do not come into contact with each other to form an insulator.
  このような場合、ボトムゲート型(逆スタガ型)のトランジスタでは、ソース-ドレイ
ン間の障壁が小さくなり、寄生チャネルが出来やすくなる。よって、より高い移動度を目
指す場合にはトップゲート型のトランジスタが適していると考えられる。In such a case, in the bottom gate type (reverse stagger type) transistor, the barrier between the source and the drain becomes small, and a parasitic channel is easily formed. Therefore, it is considered that the top gate type transistor is suitable when aiming at higher mobility.
  図14(A)はゲート電圧を正にしたときのMOS構造のエネルギーバンド図であり、
酸化物半導体を用いたトランジスタにおけるものを示している。この場合、高純度化され
た酸化物半導体には熱励起キャリアがほとんど存在せず、更に正のゲート電圧を加えても
ゲート絶縁膜近傍にもキャリアは蓄積されない。しかし、図13で示すように、ソース側
から注入されたキャリアが伝搬することはできる。FIG. 14A is an energy band diagram of the MOS structure when the gate voltage is positive.
 The one in a transistor using an oxide semiconductor is shown. In this case, the heat-excited carriers are hardly present in the highly purified oxide semiconductor, and even if a positive gate voltage is applied, the carriers are not accumulated in the vicinity of the gate insulating film. However, as shown in FIG. 13, carriers injected from the source side can propagate.
  図14(B)は、ゲート電圧を負にしたときのMOS構造のエネルギーバンド図であり
、酸化物半導体を用いたトランジスタにおけるものを示している。酸化物半導体中に少数
キャリア(正孔)はほとんど存在しないので、ゲート絶縁膜近傍にもキャリアは蓄積され
ない。このことは、オフ電流が小さいことを意味している。FIG. 14B is an energy band diagram of the MOS structure when the gate voltage is negative, and shows a transistor using an oxide semiconductor. Since there are almost no minority carriers (holes) in the oxide semiconductor, carriers are not accumulated in the vicinity of the gate insulating film. This means that the off-current is small.
  なお、図15にシリコン半導体を用いた場合のトランジスタのバンド図を示す。シリコ
ン半導体の真性キャリア密度は1.45×1010/cm3(300K)程度であり、室
温においてもキャリアが存在している。実用的にはリン又はボロンなどの不純物が添加さ
れたシリコンウエハーが使用されるので、実際には1×1014/cm3以上のキャリア
がシリコン半導体内に存在し、これがソース-ドレイン間の伝導に寄与する。さらに、シ
リコン半導体のバンドギャップは1.12eVであるので、シリコン半導体を用いたトラ
ンジスタは温度に依存してオフ電流が大きく変動することとなる。Note that FIG. 15 shows a band diagram of a transistor when a silicon semiconductor is used. The intrinsic carrier density of the silicon semiconductor is about 1.45 × 1010 / cm3 (300K), and carriers are present even at room temperature. Since a silicon wafer to which impurities such as phosphorus or boron are added is practically used, carriers of 1 × 1014 / cm3 or more actually exist in the silicon semiconductor, and this is the conduction between the source and the drain. Contribute to. Further, since the band gap of the silicon semiconductor is 1.12 eV, the off-current of the transistor using the silicon semiconductor fluctuates greatly depending on the temperature.
  このように、単に、バンドギャップの広い酸化物半導体をトランジスタに適用するので
はなく、ドナーを形成する水素等の不純物を極力低減し、キャリア濃度を1×1014/
cm3以下、好ましくは1×1012/cm3以下となるようにすることで、実用的な動
作温度で熱的に励起されるキャリアを排除して、ソース側から注入されるキャリアのみに
よってトランジスタを動作させることができる。それにより、オフ電流を1×10-13
A未満にまで下げると共に、温度変化によってオフ電流がほとんど変化しない極めて安定
に動作するトランジスタを得ることができる。In this way, instead of simply applying an oxide semiconductor with a wide bandgap to the transistor, impurities such as hydrogen forming a donor are reduced as much as possible, and the carrier concentration is 1 × 1014 /.
 By setting it to cm3 or less, preferably 1 × 1012 / cm3 or less, carriers that are thermally excited at a practical operating temperature are eliminated, and a transistor is used only by the carriers injected from the source side. Can be operated. As a result, the off current is reduced to 1 ×10-13 .
 It is possible to obtain a transistor that operates extremely stably with the off current hardly changing due to a temperature change while lowering it to less than A.
(実施の形態7)
  本実施の形態は、実施の形態1または実施の形態2の薄膜トランジスタを用いて構成す
ることが可能なシフトレジスタの一例を示す。(Embodiment 7)
 This embodiment shows an example of a shift register that can be configured by using the thin film transistor of the first embodiment or the second embodiment.
  図16(A)は、シフトレジスタの一例についての等価回路図を示す。図16(A)に
示すシフトレジスタは、二本のクロック信号線と、これらのクロック信号線のいずれかに
電気的に接続された二段のフリップフロップを有する。なお、クロック信号線は更に設け
られていてもよいし、フリップフロップがより多段に設けられていてもよい。FIG. 16A shows an equivalent circuit diagram for an example of a shift register. The shift register shown in FIG. 16A has two clock signal lines and a two-stage flip-flop electrically connected to any of these clock signal lines. The clock signal line may be further provided, or the flip-flop may be provided in more stages.
  二本のクロック信号線において、入力されるクロック信号のそれぞれは、一方のクロッ
ク信号線がハイレベル(VH)に切り替わるときに、他方をローレベル(VL)に切り替
えて動作させる。In the two clock signal lines, each of the input clock signals is operated by switching the other to the low level (VL ) when one of the clock signal lines is switched to the high level (VH ).
  図16(A)に示すシフトレジスタでは、第1のクロック信号線CLKに電気的に接続
された第1段目のフリップフロップから順に、第2のクロック信号線CLKBに電気的に
接続された第2段目のフリップフロップと続き、第n-1段目のフリップフロップ、及び
第n段目のフリップフロップを有する例について説明する。ただし、これに限定されず、
少なくとも、第1のフリップフロップおよび第2のフリップフロップを有していればよい
。In the shift register shown in FIG. 16A, the first flip-flop electrically connected to the first clock signal line CLK is electrically connected to the second clock signal line CLKB in order from the first-stage flip-flop. An example having a second-stage flip-flop, an n-1th-stage flip-flop, and an nth-stage flip-flop will be described. However, it is not limited to this.
 It suffices to have at least a first flip-flop and a second flip-flop.
クロック信号線CLKは、クロック信号CKが入力される配線である。 The clock signal line CLK is a wiring to which the clock signal CK is input.
クロック信号線CLKBは、クロック信号CKBが入力される配線である。 The clock signal line CLKB is a wiring to which the clock signal CKB is input.
  クロック信号CKとクロック信号CKBのそれぞれは、例えばNOT回路(インバータ
回路)を用いて生成させることができる。Each of the clock signal CK and the clock signal CKB can be generated by using, for example, a NOT circuit (inverter circuit).
  第1のフリップフロップには、スタート信号SPとスタート信号SPBが入力され、ク
ロック信号としてクロック信号CKが入力され、入力された信号SPおよび信号SPBの
信号の状態とクロック信号CKの信号の状態に応じて出力信号OUTを出力する。なお、
ここで、信号の状態とは、例えば信号の電位、電流、又は周波数などをいう。A start signal SP and a start signal SPB are input to the first flip flop, a clock signal CK is input as a clock signal, and the input signal SP and signal SPB signal states and the clock signal CK signal states are used. The output signal OUT is output accordingly. note that,
 Here, the state of the signal means, for example, the potential, current, frequency, or the like of the signal.
  スタート信号SPとスタート信号SPBのそれぞれは、例えばNOT回路(インバータ
回路)を用いて生成させることができる。Each of the start signal SP and the start signal SPB can be generated by using, for example, a NOT circuit (inverter circuit).
  また、ここで信号としては、例えば電圧、電流、抵抗、又は周波数などを用いたアナロ
グ信号またはデジタル信号を用いることができる。例えば、電位を少なくとも第1の電位
と第2の電位で設定し、第1の電位としてハイレベル(高電位、VHとも表記する。)の
電位を用い、第2の電位としてローレベル(低電位、VLとも表記する。)の電位を用い
ることで、2値のデジタル信号を設定することができる。また、VHとVLは一定値であ
ることが好ましいが、ノイズの影響を考慮して、VHとVLに幅をもたせてもよい。Further, as the signal here, for example, an analog signal or a digital signal using a voltage, current, resistance, frequency or the like can be used. For example, the potential is set at least at the first potential and the second potential, the highlevel (high potential, also referred to as VT) potential is used as the first potential, and the low level (low) is used as the second potential. By using the potential (also referred to as electric potential andVL ), a binary digital signal can be set. Further, although it is preferable that VH andVL are constant values, VH andVL may be provided with a range in consideration of the influence of noise.
  なお、ここで、第1、第2などの序数を付した用語は、それぞれの要素の混同を避ける
ために便宜上付したものであり、数を限定するものではない。Here, the terms with ordinal numbers such as 1st and 2nd are added for convenience in order to avoid confusion of each element, and the number is not limited.
  第2のフリップフロップは、スタート信号SPとして第1のフリップフロップの出力信
号OUTが入力され、クロック信号としてクロック信号CK2が入力され、入力された出
力信号FF1out及びクロック信号CK2に応じて状態が設定された信号FF2out
を出力信号として出力する機能を有する。In the second flip-flop, the output signal OUT of the first flip-flop is input as the start signal SP, the clock signal CK2 is input as the clock signal, and the state is set according to the input output signal FF1out and the clock signal CK2. Signal FF2out
 Has a function to output as an output signal.
  第2のフリップフロップには、スタート信号SPとスタート信号SPBが入力され、ク
ロック信号としてクロック信号CK2が入力され、入力された信号SPおよび信号SPB
の信号の状態とクロック信号CK2の信号の状態に応じて出力信号OUTBを出力する。A start signal SP and a start signal SPB are input to the second flip-flop, a clock signal CK2 is input as a clock signal, and the input signal SP and signal SPB are input.
 The output signal OUTB is output according to the signal state of the clock signal CK2 and the signal state of the clock signal CK2.
  図16(B)は、図16(A)に示す第1のフリップフロップの具体的な一構成例を示
す。FIG. 16B shows a specific configuration example of the first flip-flop shown in FIG. 16A.
  スタート信号SPは、第1の薄膜トランジスタ1111のソースおよびドレインの一方
と、第4の薄膜トランジスタ1114のソースおよびドレインの一方に入力される。The start signal SP is input to one of the source and drain of the first
  スタート信号SPBは、第2の薄膜トランジスタ1112のソースおよびドレインの一
方と、第3の薄膜トランジスタ1113のソースおよびドレインの一方に入力される。The start signal SPB is input to one of the source and drain of the second
  クロック信号CLKは、第1の薄膜トランジスタ1111、第2の薄膜トランジスタ1
112、第3の薄膜トランジスタ1113および第4の薄膜トランジスタ1114のゲー
トに入力される。The clock signal CLK is the first
 It is input to the gates of 112, the third
  第1の薄膜トランジスタ1111のソースおよびドレインの他方は、第5の薄膜トラン
ジスタ1115のゲートと、第1の容量素子1119の一方の電極に接続されている。The other of the source and drain of the first
  第2の薄膜トランジスタ1112のソースおよびドレインの他方は、第6の薄膜トラン
ジスタ1116のゲートと、第2の容量素子1120の一方の電極に接続されている。The other of the source and drain of the second
  第3の薄膜トランジスタ1113のソースおよびドレインの他方は、第7の薄膜トラン
ジスタ1117のゲートと、第3の容量素子1121の一方の電極に接続されている。The other of the source and drain of the third
  第4の薄膜トランジスタ1114のソースおよびドレインの他方は、第8の薄膜トラン
ジスタ1118のゲートと、第4の容量素子1122の一方の電極に接続されている。The other of the source and drain of the fourth
  第5の薄膜トランジスタ1115のドレインは高電位側(好ましくは電源電位Vdd)
に接続されている。第5の薄膜トランジスタ1115のソースは、第1の容量素子111
9の他方の電極と、第6の薄膜トランジスタ1116のドレインに接続され、出力信号O
UTを出力する。第2の容量素子1120の他方の電極と、第6の薄膜トランジスタ11
16のソースは、低電位側(好ましくは、基準電位Vss)に接続されている。The drain of the fifth
 It is connected to the. The source of the fifth
 The other electrode of 9 is connected to the drain of the 6th
 Output UT. The other electrode of the
 The source of 16 is connected to the low potential side (preferably the reference potential Vss).
  第7の薄膜トランジスタ1117のドレインは高電位側(好ましくは電源電位Vdd)
に接続されている。第7の薄膜トランジスタ1117のソースは、第3の容量素子112
1の他方の電極と、第8の薄膜トランジスタ1118のドレインに接続され、出力信号O
UTBを出力する。第4の容量素子1122の他方の電極と、第8の薄膜トランジスタ1
118のソースは、低電位側(好ましくは、基準電位Vss)に接続されている。The drain of the seventh
 It is connected to the. The source of the seventh
 The other electrode of 1 is connected to the drain of the 8th
 Output UTB. The other electrode of the
 The source of 118 is connected to the low potential side (preferably the reference potential Vss).
第1の容量素子1119、第2の容量素子1120、第3の容量素子1121、及び第4
の容量素子1122は、実施の形態2で説明した容量を用いて薄膜トランジスタと同一基
板上に作製することができる。First
 The
  以上、実施の形態1または実施の形態2で説明した高純度化された酸化物半導体層を用
いる薄膜トランジスタと、実施の形態2で説明した容量を用いてフリップフロップ回路を
作製することができる。As described above, the flip-flop circuit can be manufactured by using the thin film transistor using the highly purified oxide semiconductor layer described in the first embodiment or the second embodiment and the capacitance described in the second embodiment.
(実施の形態8)
本実施の形態は、実施の形態1または実施の形態2の薄膜トランジスタを用いて構成する
ことが可能な昇圧回路(チャージポンプ回路)の一例を示す。(Embodiment 8)
 This embodiment shows an example of a booster circuit (charge pump circuit) that can be configured by using the thin film transistor of the first embodiment or the second embodiment.
  図17は、昇圧回路の具体的な構成の一例を示す。図17に示す昇圧回路は、二本のク
ロック信号線と、順方向にダイオード接続された複数のトランジスタ1123と、これら
複数のトランジスタのソースとドレインの間に一方の電極が接続された複数の容量素子1
124と、これら複数のトランジスタの最後尾に一方の電極が接続され、他方の電極が一
定の電位に保持された保持容量素子と、を有する。これら複数の容量素子の他方の電極は
、二本のクロック信号線のいずれかに電気的に接続されている。FIG. 17 shows an example of a specific configuration of the booster circuit. The booster circuit shown in FIG. 17 has two clock signal lines, a plurality of
 It has 124 and a holding capacitance element in which one electrode is connected to the tail end of these plurality of transistors and the other electrode is held at a constant potential. The other electrode of these plurality of capacitive elements is electrically connected to one of the two clock signal lines.
なお、クロック信号線は更に設けられていてもよい。 The clock signal line may be further provided.
  トランジスタと容量素子は、出力したい電位に応じて更に多くのものが設けられていて
もよい。More transistors and capacitive elements may be provided depending on the potential to be output.
  二本のクロック信号線において、入力されるクロック信号のそれぞれは、一方のクロッ
ク信号線がハイレベル(VH)に切り替わるときに、他方をローレベル(VL)に切り替
えて動作させる。In the two clock signal lines, each of the input clock signals is operated by switching the other to the low level (VL ) when one of the clock signal lines is switched to the high level (VH ).
  クロック信号CLKとクロック信号CLKBのそれぞれは、例えばNOT回路(インバ
ータ回路)を用いて生成させることができる。NOT回路は実施の形態2に示したEDM
OS回路を用いて作製することができる。Each of the clock signal CLK and the clock signal CLKB can be generated by using, for example, a NOT circuit (inverter circuit). The NOT circuit is the EDM shown in the second embodiment.
 It can be manufactured using an OS circuit.
  図17に示す昇圧回路を用いることで、Vinから入力された電位をVoutまで上昇
させることができる。例えば、Vinから電源電位Vddを入力すると、Voutからは
Vddよりも大きい電位を出力することができ、所望の電位まで昇圧させることができる
。このように所望の電位まで昇圧させた電位の信号は、例えば電源線に入力され、昇圧回
路と同一基板に実装されている各回路に利用される。By using the booster circuit shown in FIG. 17, the potential input from Vin can be raised to Vout. For example, when the power supply potential Vdd is input from Vin, a potential larger than Vdd can be output from Vout, and the potential can be boosted to a desired potential. The potential signal boosted to a desired potential in this way is input to, for example, a power supply line, and is used in each circuit mounted on the same substrate as the booster circuit.
  なお、ここで保持容量素子の他方の電極に保持された一定の電位は、例えば電源電位V
ddまたは基準電位Vssとすればよい。Here, the constant potential held by the other electrode of the holding capacity element is, for example, the power supply potential V.
 It may be dd or the reference potential Vss.
  また、ここで信号としては、例えば電圧、電流、抵抗、又は周波数などを用いたアナロ
グ信号またはデジタル信号を用いることができる。例えば、電位を少なくとも第1の電位
と第2の電位で設定し、第1の電位としてハイレベル(高電位、VHとも表記する。)の
電位を用い、第2の電位としてローレベル(低電位、VLとも表記する。)の電位を用い
ることで、2値のデジタル信号を設定することができる。また、VHとVLは一定値であ
ることが好ましいが、ノイズの影響を考慮して、VHとVLに幅をもたせてもよい。Further, as the signal here, for example, an analog signal or a digital signal using a voltage, current, resistance, frequency or the like can be used. For example, the potential is set at least at the first potential and the second potential, the highlevel (high potential, also referred to as VT) potential is used as the first potential, and the low level (low) is used as the second potential. By using the potential (also referred to as electric potential andVL ), a binary digital signal can be set. Further, although it is preferable that VH andVL are constant values, VH andVL may be provided with a range in consideration of the influence of noise.
  なお、ここで、第1、第2などの序数を付した用語は、それぞれの要素の混同を避ける
ために便宜上付したものであり、数を限定するものではない。Here, the terms with ordinal numbers such as 1st and 2nd are added for convenience in order to avoid confusion of each element, and the number is not limited.
  以上、実施の形態1で説明した薄膜トランジスタと、実施の形態2に示した容量を用い
て昇圧回路を作製することができる。As described above, the step-up circuit can be manufactured by using the thin film transistor described in the first embodiment and the capacitance shown in the second embodiment.
(実施の形態9)
  本実施の形態では、実施の形態1乃至8のいずれか一で得られる半導体集積回路を搭載
した電子機器の例について図18を用いて説明する。実施の形態4に示した方法即ち、作
製基板より半導体集積回路を他の基板へ転置する方法を用いて半導体集積回路をプラスチ
ックフィルムなどに搭載することにより薄型化またはフレキシブル化した電子機器も作製
できる。なお半導体集積回路は回路基板などに実装され、各電子機器の本体内部に搭載さ
れている。(Embodiment 9)
 In this embodiment, an example of an electronic device equipped with a semiconductor integrated circuit obtained in any one of the first to eighth embodiments will be described with reference to FIG. A thin or flexible electronic device can also be manufactured by mounting the semiconductor integrated circuit on a plastic film or the like by using the method shown in the fourth embodiment, that is, the method of transposing the semiconductor integrated circuit from the manufactured substrate to another substrate. .. The semiconductor integrated circuit is mounted on a circuit board or the like and is mounted inside the main body of each electronic device.
  マザーボードには、実施の形態1または実施の形態2の薄膜トランジスタを含む半導体
集積回路が実装されている。半導体集積回路は、Logic回路、Flash    Mem
ory回路、SRAM回路、実施の形態6に示したDRAM回路などを実装して作製され
たものである。また、実施の形態3に示したCPUも実装可能である。なお、半導体集積
回路は、ワイヤボンディング法により実装しても構わない。この場合においても、様々な
形状の集積回路フィルムを実装できる。A semiconductor integrated circuit including the thin film transistor of the first embodiment or the second embodiment is mounted on the motherboard. Semiconductor integrated circuits are Logic circuits and Flash Mem.
 It is manufactured by mounting an ory circuit, an SRAM circuit, a DRAM circuit shown in the sixth embodiment, and the like. Further, the CPU shown in the third embodiment can also be mounted. The semiconductor integrated circuit may be mounted by a wire bonding method. Even in this case, integrated circuit films having various shapes can be mounted.
  また、回路基板にはFPCを装着されており、FPCを介して、例えば表示装置などに
接続される。表示部のドライバーおよびコントローラを構成することができる。表示部の
ドライバーとしては、実施の形態7に示したシフトレジスタや、実施の形態2に示したE
DMOS回路を有している。Further, an FPC is mounted on the circuit board, and is connected to, for example, a display device via the FPC. The driver and controller of the display unit can be configured. As the driver of the display unit, the shift register shown in the seventh embodiment and the E shown in the second embodiment can be used as the driver.
 It has a DMOS circuit.
  図18(A)は、少なくとも半導体集積回路を一部品として実装して作製したノート型
のパーソナルコンピュータであり、本体3001、筐体3002、表示部3003、キー
ボード3004などによって構成されている。なお、実施の形態3に示すCPUや実施の
形態6に示したDRAM回路などをノート型のパーソナルコンピュータは有している。FIG. 18A is a notebook-type personal computer manufactured by mounting at least a semiconductor integrated circuit as one component, and is composed of a
  図18(B)は、少なくとも半導体集積回路を一部品として実装して作製した携帯情報
端末(PDA)であり、本体3021には表示部3023と、外部インターフェイス30
25と、操作ボタン3024等が設けられている。また操作用の付属品としてスタイラス
3022がある。FIG. 18B is a portable information terminal (PDA) manufactured by mounting at least a semiconductor integrated circuit as one component, and the
 25, an
  図18(C)は少なくとも半導体集積回路を一部品として実装して作製した電子ペーパ
ーである。電子ペーパーは、情報を表示するものであればあらゆる分野の電子機器に用い
ることが可能である。例えば、電子ペーパーを用いて、電子書籍(電子ブック)、ポスタ
ー、電車などの乗り物の車内広告、クレジットカード等の各種カードにおける表示等に適
用することができる。図18(C)は、電子書籍2700の一例を示している。例えば、
電子書籍2700は、筐体2701および筐体2703の2つの筐体で構成されている。
筐体2701および筐体2703は、軸部2711により一体とされており、該軸部27
11を軸として開閉動作を行うことができる。このような構成により、紙の書籍のような
動作を行うことが可能となる。FIG. 18C is an electronic paper produced by mounting at least a semiconductor integrated circuit as one component. Electronic paper can be used for electronic devices in all fields as long as it displays information. For example, electronic paper can be used for electronic books (electronic books), posters, in-car advertisements for vehicles such as trains, and display on various cards such as credit cards. FIG. 18C shows an example of the
 The
 The
 The opening / closing operation can be performed with 11 as an axis. With such a configuration, it becomes possible to perform an operation like a paper book.
筐体2701には表示部2705が組み込まれ、筐体2703には表示部2707が組み
込まれている。表示部2705および表示部2707は、続き画面を表示する構成として
もよいし、異なる画面を表示する構成としてもよい。異なる画面を表示する構成とするこ
とで、例えば右側の表示部(図18(C)では表示部2705)に文章を表示し、左側の
表示部(図18(C)では表示部2707)に画像を表示することができる。A
また、図18(C)では、筐体2701に操作部などを備えた例を示している。例えば、
筐体2701において、電源2721、操作キー2723、スピーカ2725などを備え
ている。操作キー2723により、頁を送ることができる。なお、筐体の表示部と同一面
にキーボードやポインティングデバイスなどを備える構成としてもよい。また、筐体の裏
面や側面に、外部接続用端子(イヤホン端子、USB端子、またはACアダプタおよびU
SBケーブルなどの各種ケーブルと接続可能な端子など)、記録媒体挿入部などを備える
構成としてもよい。さらに、電子書籍2700は、電子辞書としての機能を持たせた構成
としてもよい。Further, FIG. 18C shows an example in which the
 The
 It may be configured to include a terminal that can be connected to various cables such as an SB cable), a recording medium insertion unit, and the like. Further, the
また、電子書籍2700は、無線で情報を送受信できる構成としてもよい。無線により、
電子書籍サーバから、所望の書籍データなどを購入し、ダウンロードする構成とすること
も可能である。Further, the
 It is also possible to purchase desired book data or the like from an electronic book server and download it.
  図18(D)は、少なくとも半導体集積回路を一部品として実装して作製した携帯電話
であり、筐体2800及び筐体2801の二つの筐体で構成されている。筐体2801に
は、表示パネル2802、スピーカー2803、マイクロフォン2804、ポインティン
グデバイス2806、カメラ用レンズ2807、外部接続端子2808などを備えている
。また、筐体2800には、携帯型情報端末の充電を行う太陽電池セル2810、外部メ
モリスロット2811などを備えている。また、アンテナは筐体2801内部に内蔵され
ている。FIG. 18D is a mobile phone manufactured by mounting at least a semiconductor integrated circuit as one component, and is composed of two housings, a
また、表示パネル2802はタッチパネルを備えており、図18(D)には映像表示され
ている複数の操作キー2805を点線で示している。なお、太陽電池セル2810で出力
される電圧を各回路に必要な電圧に昇圧するための昇圧回路(実施の形態8に示した昇圧
回路)を実装している。Further, the
  また、上記構成に加えて、実施の形態4または実施の形態5に示した非接触ICチップ
、小型記録装置などを内蔵していてもよい。Further, in addition to the above configuration, the non-contact IC chip, the small recording device, and the like shown in the fourth or fifth embodiment may be built in.
  表示パネル2802は、使用形態に応じて表示の方向が適宜変化する。また、表示パネ
ル2802と同一面上にカメラ用レンズ2807を備えているため、テレビ電話が可能で
ある。スピーカー2803及びマイクロフォン2804は音声通話に限らず、テレビ電話
、録音、再生などが可能である。さらに、筐体2800と筐体2801は、スライドし、
図18(D)のように展開している状態から重なり合った状態とすることができ、携帯に
適した小型化が可能である。The display direction of the
 As shown in FIG. 18D, it is possible to change from the expanded state to the overlapping state, and it is possible to reduce the size suitable for carrying.
外部接続端子2808はACアダプタ及びUSBケーブルなどの各種ケーブルと接続可能
であり、充電及びパーソナルコンピュータなどとのデータ通信が可能である。また、外部
メモリスロット2811に記録媒体を挿入し、より大量のデータ保存及び移動に対応でき
る。The
  また、上記機能に加えて、赤外線通信機能、テレビ受信機能などを備えたものであって
もよい。Further, in addition to the above functions, an infrared communication function, a television reception function, and the like may be provided.
  図18(E)は少なくとも半導体集積回路を一部品として実装して作製したデジタルカ
メラであり、本体3051、表示部(A)3057、接眼部3053、操作スイッチ30
54、表示部(B)3055、バッテリー3056などによって構成されている。FIG. 18E is a digital camera manufactured by mounting at least a semiconductor integrated circuit as one component, and has a
 It is composed of 54, a display unit (B) 3055, a
本実施の形態は、実施の形態1乃至8のいずれか一と自由に組み合わせることができる。The present embodiment can be freely combined with any one of the first to eighth embodiments.
100    半導体集積回路
101    アンテナ
102    第2の絶縁体
112    第1の絶縁体
400    半導体集積回路チップ
405    アンテナ
406    支持基板
407    破線
408    給電点
410    絶縁層
420    半導体装置
421    質問器
422    アンテナ
423    半導体集積回路
424    アンテナ
430    基板
431    配線
432a    酸化物半導体層
432b    酸化物半導体層
433    第1の容量電極層
434    第2の容量電極層
435    第5配線
437    導電層
438    第2の電極層
439    第1の端子電極層
440    薄膜トランジスタ
441    ゲート電極層
442    酸化物半導体層
443    第2の絶縁層
444    ゲート絶縁層
445a    ソース電極層
445b    ドレイン電極層
446    第4の絶縁層
447a    絶縁層
447b    絶縁層
448a    ソース電極層
448b    ドレイン電極層
470    薄膜トランジスタ
471    第1のゲート電極層
472    酸化物半導体層
473    第5の絶縁層
474a    配線層
474b    配線層
475a    ソース電極層
475b    ドレイン電極層
477    第1の電極層
478a    ソース電極層
478b    ドレイン電極層
479a~479i    電極層
480    第1の薄膜トランジスタ
481    第1のゲート電極層
482a    酸化物半導体層
482b    酸化物半導体層
484a    配線
484b    配線
485a    ドレイン電極層
485b    ソース電極層
486    絶縁層
487a    絶縁層
487b    絶縁層
488a    ドレイン電極層
488b    ソース電極層
489    端子電極層
490    第2の薄膜トランジスタ
491    第2のゲート電極層
492    ゲート絶縁層
495a    ソース電極層
495b    ドレイン電極層
498a    ソース電極層
498b    ドレイン電極層
800    半導体装置
810    高周波回路
820    電源回路
830    リセット回路
840    クロック発生回路
850    データ復調回路
860    データ変調回路
870    制御回路
880    記憶回路
890    アンテナ
910    コード抽出回路
920    コード判定回路
930    CRC判定回路
940    出力ユニット回路
1001    CPU
1002    タイミングコントロール回路
1003    命令解析デコーダー
1004    レジスタアレイ
1005    アドレスロジックバッファ回路
1006    データバスインターフェイス
1007    ALU
1008    命令レジスタ
1100    記憶素子
1101    第1の論理積回路
1102    第2の論理積回路
1103    第3の論理積回路
1104    スイッチ
1105    スイッチ
1106    スイッチ
1111    薄膜トランジスタ
1112    薄膜トランジスタ
1113    薄膜トランジスタ
1114    薄膜トランジスタ
1115    薄膜トランジスタ
1116    薄膜トランジスタ
1117    薄膜トランジスタ
1118    薄膜トランジスタ
1119    容量素子
1120    容量素子
1121    容量素子
1122    容量素子
1123    トランジスタ
1124    容量素子
3200    通信装置
3210    表示部
3220    品物
3230    半導体装置
3240    通信装置
3250    半導体装置
3260    商品100 Semiconductor integrated circuit 101 Antenna 102 Second insulator 112 First insulator 400 Semiconductor integrated circuit chip 405 Antenna 406 Support board 407 Broken line 408 Feeding point 410 Insulation layer 420 Semiconductor device 421 Questioner 422 Antenna 423 Semiconductor integrated circuit 424 Antenna 430 Substrate 431 Wiring 432a Oxide semiconductor layer 432b Oxide semiconductor layer 433 First capacitive electrode layer 434 Second capacitive electrode layer 435 Fifth wiring 437 Conductive layer 438 Second electrode layer 439 First terminal electrode layer 440 Thin film 441 Gate electrode layer 442 Oxide semiconductor layer 443 Second insulation layer 444 Gate insulation layer 445a Source electrode layer 445b Drain electrode layer 446 Fourth insulation layer 447a Insulation layer 447b Insulation layer 448a Source electrode layer 448b Drain electrode layer 470 Thin film 471 First gate electrode layer 472 Oxide semiconductor layer 473 Fifth insulating layer 474a Wiring layer 474b Wiring layer 475a Source electrode layer 475b Drain electrode layer 477 First electrode layer 478a Source electrode layer 478b Drain electrode layers 479a to 479i 480 First thin film 481 First gate electrode layer 482a Oxide semiconductor layer 482b Oxide semiconductor layer 484a Wiring 484b Wiring 485a Drain electrode layer 485b Source electrode layer 486 Insulation layer 487a Insulation layer 487b Insulation layer 488a Drain electrode layer 488b Source electrode Layer 489 Terminal electrode layer 490 Second thin film 491 Second gate electrode layer 492 Gate insulation layer 495a Source electrode layer 495b Drain electrode layer 498a Source electrode layer 498b Drain electrode layer 800 Semiconductor device 810 High frequency circuit 820 Power supply circuit 830 Reset circuit 840 Clock generation circuit 850 Data demodulation circuit 860 Data modulation circuit 870 Control circuit 880 Storage circuit 890 Antenna 910 Code extraction circuit 920 Code judgment circuit 930 CRC judgment circuit 940 Output unit circuit 1001 CPU
 1002
 1008
| Application Number | Priority Date | Filing Date | Title | 
|---|---|---|---|
| JP2022005649AJP7383739B2 (en) | 2009-10-16 | 2022-01-18 | semiconductor equipment | 
| JP2023190630AJP7482310B2 (en) | 2009-10-16 | 2023-11-08 | Semiconductor Device | 
| JP2024072481AJP2024096251A (en) | 2009-10-16 | 2024-04-26 | Semiconductor Device | 
| Application Number | Priority Date | Filing Date | Title | 
|---|---|---|---|
| JP2009238885 | 2009-10-16 | ||
| JP2009238885 | 2009-10-16 | 
| Application Number | Title | Priority Date | Filing Date | 
|---|---|---|---|
| JP2019174911ADivisionJP6810225B2 (en) | 2009-10-16 | 2019-09-26 | Semiconductor device | 
| Application Number | Title | Priority Date | Filing Date | 
|---|---|---|---|
| JP2022005649ADivisionJP7383739B2 (en) | 2009-10-16 | 2022-01-18 | semiconductor equipment | 
| Publication Number | Publication Date | 
|---|---|
| JP2021044584A JP2021044584A (en) | 2021-03-18 | 
| JP7012810B2true JP7012810B2 (en) | 2022-01-28 | 
| Application Number | Title | Priority Date | Filing Date | 
|---|---|---|---|
| JP2010231716AWithdrawnJP2011103458A (en) | 2009-10-16 | 2010-10-14 | Semiconductor device and method for manufacturing the same | 
| JP2013261083AWithdrawnJP2014082515A (en) | 2009-10-16 | 2013-12-18 | Semiconductor device | 
| JP2015029475AActiveJP6023236B2 (en) | 2009-10-16 | 2015-02-18 | Semiconductor device | 
| JP2016197757AActiveJP6199465B2 (en) | 2009-10-16 | 2016-10-06 | Semiconductor device | 
| JP2017160006AExpired - Fee RelatedJP6462798B2 (en) | 2009-10-16 | 2017-08-23 | Semiconductor device | 
| JP2018244884AActiveJP6513875B2 (en) | 2009-10-16 | 2018-12-27 | Semiconductor device | 
| JP2019050248AActiveJP6557437B2 (en) | 2009-10-16 | 2019-03-18 | Semiconductor device | 
| JP2019129044AActiveJP6595741B2 (en) | 2009-10-16 | 2019-07-11 | Semiconductor device | 
| JP2019174911AActiveJP6810225B2 (en) | 2009-10-16 | 2019-09-26 | Semiconductor device | 
| JP2020204971AActiveJP7012810B2 (en) | 2009-10-16 | 2020-12-10 | Semiconductor device | 
| JP2022005649AActiveJP7383739B2 (en) | 2009-10-16 | 2022-01-18 | semiconductor equipment | 
| JP2023190630AActiveJP7482310B2 (en) | 2009-10-16 | 2023-11-08 | Semiconductor Device | 
| JP2024072481APendingJP2024096251A (en) | 2009-10-16 | 2024-04-26 | Semiconductor Device | 
| Application Number | Title | Priority Date | Filing Date | 
|---|---|---|---|
| JP2010231716AWithdrawnJP2011103458A (en) | 2009-10-16 | 2010-10-14 | Semiconductor device and method for manufacturing the same | 
| JP2013261083AWithdrawnJP2014082515A (en) | 2009-10-16 | 2013-12-18 | Semiconductor device | 
| JP2015029475AActiveJP6023236B2 (en) | 2009-10-16 | 2015-02-18 | Semiconductor device | 
| JP2016197757AActiveJP6199465B2 (en) | 2009-10-16 | 2016-10-06 | Semiconductor device | 
| JP2017160006AExpired - Fee RelatedJP6462798B2 (en) | 2009-10-16 | 2017-08-23 | Semiconductor device | 
| JP2018244884AActiveJP6513875B2 (en) | 2009-10-16 | 2018-12-27 | Semiconductor device | 
| JP2019050248AActiveJP6557437B2 (en) | 2009-10-16 | 2019-03-18 | Semiconductor device | 
| JP2019129044AActiveJP6595741B2 (en) | 2009-10-16 | 2019-07-11 | Semiconductor device | 
| JP2019174911AActiveJP6810225B2 (en) | 2009-10-16 | 2019-09-26 | Semiconductor device | 
| Application Number | Title | Priority Date | Filing Date | 
|---|---|---|---|
| JP2022005649AActiveJP7383739B2 (en) | 2009-10-16 | 2022-01-18 | semiconductor equipment | 
| JP2023190630AActiveJP7482310B2 (en) | 2009-10-16 | 2023-11-08 | Semiconductor Device | 
| JP2024072481APendingJP2024096251A (en) | 2009-10-16 | 2024-04-26 | Semiconductor Device | 
| Country | Link | 
|---|---|
| US (6) | US8421068B2 (en) | 
| JP (13) | JP2011103458A (en) | 
| KR (2) | KR101772639B1 (en) | 
| TW (7) | TWI821895B (en) | 
| WO (1) | WO2011046048A1 (en) | 
| Publication number | Priority date | Publication date | Assignee | Title | 
|---|---|---|---|---|
| JP5663214B2 (en)* | 2009-07-03 | 2015-02-04 | 株式会社半導体エネルギー研究所 | Method for manufacturing semiconductor device | 
| KR102097932B1 (en) | 2009-07-31 | 2020-04-06 | 가부시키가이샤 한도오따이 에네루기 켄큐쇼 | Semiconductor device and manufacturing method thereof | 
| KR101745747B1 (en) | 2009-10-16 | 2017-06-27 | 가부시키가이샤 한도오따이 에네루기 켄큐쇼 | Logic circuit and semiconductor device | 
| KR101772639B1 (en) | 2009-10-16 | 2017-08-29 | 가부시키가이샤 한도오따이 에네루기 켄큐쇼 | Semiconductor device | 
| KR102019239B1 (en) | 2009-10-30 | 2019-09-06 | 가부시키가이샤 한도오따이 에네루기 켄큐쇼 | Semiconductor device | 
| KR101849321B1 (en) | 2009-11-06 | 2018-04-16 | 가부시키가이샤 한도오따이 에네루기 켄큐쇼 | Semiconductor device and manufacturing method thereof | 
| JP5762723B2 (en) | 2009-11-20 | 2015-08-12 | 株式会社半導体エネルギー研究所 | Modulation circuit and semiconductor device having the same | 
| KR20170091760A (en) | 2009-11-27 | 2017-08-09 | 가부시키가이샤 한도오따이 에네루기 켄큐쇼 | Semiconductor device | 
| KR102257564B1 (en) | 2009-12-18 | 2021-05-31 | 가부시키가이샤 한도오따이 에네루기 켄큐쇼 | Driving method of display device and display device | 
| KR102352590B1 (en)* | 2009-12-18 | 2022-01-17 | 가부시키가이샤 한도오따이 에네루기 켄큐쇼 | Liquid crystal display device and electronic device | 
| WO2011081041A1 (en) | 2009-12-28 | 2011-07-07 | Semiconductor Energy Laboratory Co., Ltd. | Semiconductor device and method for manufacturing the semiconductor device | 
| KR101891065B1 (en)* | 2010-03-19 | 2018-08-24 | 가부시키가이샤 한도오따이 에네루기 켄큐쇼 | Semiconductor device and driving method of semiconductor device | 
| JP5923248B2 (en)* | 2010-05-20 | 2016-05-24 | 株式会社半導体エネルギー研究所 | Semiconductor device | 
| KR20250021395A (en) | 2010-07-02 | 2025-02-12 | 가부시키가이샤 한도오따이 에네루기 켄큐쇼 | Semiconductor device and manufacturing method thereof | 
| WO2012002186A1 (en) | 2010-07-02 | 2012-01-05 | Semiconductor Energy Laboratory Co., Ltd. | Semiconductor device | 
| JP5824266B2 (en) | 2010-07-29 | 2015-11-25 | 株式会社半導体エネルギー研究所 | Semiconductor device | 
| WO2012014786A1 (en) | 2010-07-30 | 2012-02-02 | Semiconductor Energy Laboratory Co., Ltd. | Semicondcutor device and manufacturing method thereof | 
| JP2012142562A (en) | 2010-12-17 | 2012-07-26 | Semiconductor Energy Lab Co Ltd | Semiconductor memory device | 
| US8854867B2 (en) | 2011-04-13 | 2014-10-07 | Semiconductor Energy Laboratory Co., Ltd. | Memory device and driving method of the memory device | 
| US8729545B2 (en)* | 2011-04-28 | 2014-05-20 | Semiconductor Energy Laboratory Co., Ltd. | Semiconductor memory device | 
| US9443844B2 (en) | 2011-05-10 | 2016-09-13 | Semiconductor Energy Laboratory Co., Ltd. | Gain cell semiconductor memory device and driving method thereof | 
| TWI534956B (en)* | 2011-05-27 | 2016-05-21 | 半導體能源研究所股份有限公司 | Method for adjusting circuit and driving adjustment circuit | 
| JP5890251B2 (en)* | 2011-06-08 | 2016-03-22 | 株式会社半導体エネルギー研究所 | Communication method | 
| US8891285B2 (en)* | 2011-06-10 | 2014-11-18 | Semiconductor Energy Laboratory Co., Ltd. | Semiconductor memory device | 
| US8804405B2 (en)* | 2011-06-16 | 2014-08-12 | Semiconductor Energy Laboratory Co., Ltd. | Memory device and semiconductor device | 
| JP6116149B2 (en)* | 2011-08-24 | 2017-04-19 | 株式会社半導体エネルギー研究所 | Semiconductor device | 
| JP6022880B2 (en) | 2011-10-07 | 2016-11-09 | 株式会社半導体エネルギー研究所 | Semiconductor device and manufacturing method of semiconductor device | 
| US9117916B2 (en) | 2011-10-13 | 2015-08-25 | Semiconductor Energy Laboratory Co., Ltd. | Semiconductor device comprising oxide semiconductor film | 
| US9018629B2 (en) | 2011-10-13 | 2015-04-28 | Semiconductor Energy Laboratory Co., Ltd. | Semiconductor device and method for manufacturing semiconductor device | 
| JP6026839B2 (en) | 2011-10-13 | 2016-11-16 | 株式会社半導体エネルギー研究所 | Semiconductor device | 
| US9287405B2 (en) | 2011-10-13 | 2016-03-15 | Semiconductor Energy Laboratory Co., Ltd. | Semiconductor device comprising oxide semiconductor | 
| JP2013115111A (en)* | 2011-11-25 | 2013-06-10 | Hitachi Ltd | Oxide semiconductor device and manufacturing method of the same | 
| JP6050662B2 (en) | 2011-12-02 | 2016-12-21 | 株式会社半導体エネルギー研究所 | Semiconductor device and manufacturing method of semiconductor device | 
| KR20230004930A (en) | 2012-04-13 | 2023-01-06 | 가부시키가이샤 한도오따이 에네루기 켄큐쇼 | Semiconductor device | 
| US9219164B2 (en) | 2012-04-20 | 2015-12-22 | Semiconductor Energy Laboratory Co., Ltd. | Semiconductor device with oxide semiconductor channel | 
| CN202549848U (en)* | 2012-04-28 | 2012-11-21 | 京东方科技集团股份有限公司 | Display device, array substrate and thin film transistor | 
| US9048323B2 (en) | 2012-04-30 | 2015-06-02 | Semiconductor Energy Laboratory Co., Ltd. | Semiconductor device | 
| US8975918B2 (en)* | 2012-05-01 | 2015-03-10 | Semiconductor Energy Laboratory Co., Ltd. | Lookup table and programmable logic device including lookup table | 
| WO2013176199A1 (en)* | 2012-05-25 | 2013-11-28 | Semiconductor Energy Laboratory Co., Ltd. | Programmable logic device and semiconductor device | 
| US9059219B2 (en) | 2012-06-27 | 2015-06-16 | Semiconductor Energy Laboratory Co., Ltd. | Semiconductor device and method for manufacturing semiconductor device | 
| JP6006558B2 (en) | 2012-07-17 | 2016-10-12 | 株式会社半導体エネルギー研究所 | Semiconductor device and manufacturing method thereof | 
| TWI611566B (en) | 2013-02-25 | 2018-01-11 | 半導體能源研究所股份有限公司 | Display device and electronic device | 
| US9007092B2 (en) | 2013-03-22 | 2015-04-14 | Semiconductor Energy Laboratory Co., Ltd. | Semiconductor device | 
| TWI692108B (en)* | 2013-04-10 | 2020-04-21 | 日商半導體能源研究所股份有限公司 | Semiconductor device and manufacturing method thereof | 
| US9882058B2 (en) | 2013-05-03 | 2018-01-30 | Semiconductor Energy Laboratory Co., Ltd. | Semiconductor device | 
| US8994430B2 (en) | 2013-05-17 | 2015-03-31 | Semiconductor Energy Laboratory Co., Ltd. | Semiconductor device | 
| JP6368155B2 (en)* | 2013-06-18 | 2018-08-01 | 株式会社半導体エネルギー研究所 | Programmable logic device | 
| US9455349B2 (en)* | 2013-10-22 | 2016-09-27 | Semiconductor Energy Laboratory Co., Ltd. | Oxide semiconductor thin film transistor with reduced impurity diffusion | 
| KR102264987B1 (en)* | 2013-12-02 | 2021-06-16 | 가부시키가이샤 한도오따이 에네루기 켄큐쇼 | Display device | 
| JP6615490B2 (en)* | 2014-05-29 | 2019-12-04 | 株式会社半導体エネルギー研究所 | Semiconductor device and electronic equipment | 
| US9633710B2 (en) | 2015-01-23 | 2017-04-25 | Semiconductor Energy Laboratory Co., Ltd. | Method for operating semiconductor device | 
| JP6857447B2 (en)* | 2015-01-26 | 2021-04-14 | 株式会社半導体エネルギー研究所 | Semiconductor device | 
| JP2016154225A (en) | 2015-02-12 | 2016-08-25 | 株式会社半導体エネルギー研究所 | Semiconductor device and manufacturing method of the same | 
| US10403646B2 (en) | 2015-02-20 | 2019-09-03 | Semiconductor Energy Laboratory Co., Ltd. | Semiconductor device and method for manufacturing the same | 
| US9991394B2 (en) | 2015-02-20 | 2018-06-05 | Semiconductor Energy Laboratory Co., Ltd. | Semiconductor device and fabrication method thereof | 
| JPWO2016139828A1 (en)* | 2015-03-03 | 2017-04-27 | 株式会社東芝 | Semiconductor device | 
| TWI718125B (en) | 2015-03-03 | 2021-02-11 | 日商半導體能源研究所股份有限公司 | Semiconductor device and manufacturing method thereof | 
| JP6705663B2 (en) | 2015-03-06 | 2020-06-03 | 株式会社半導体エネルギー研究所 | Semiconductor device and manufacturing method thereof | 
| JP2016225602A (en) | 2015-03-17 | 2016-12-28 | 株式会社半導体エネルギー研究所 | Semiconductor device and manufacturing method thereof | 
| US10147823B2 (en) | 2015-03-19 | 2018-12-04 | Semiconductor Energy Laboratory Co., Ltd. | Semiconductor device | 
| JP6736321B2 (en) | 2015-03-27 | 2020-08-05 | 株式会社半導体エネルギー研究所 | Method of manufacturing semiconductor device | 
| TW202316486A (en) | 2015-03-30 | 2023-04-16 | 日商半導體能源研究所股份有限公司 | Method for manufacturing semiconductor device | 
| KR102593883B1 (en)* | 2015-06-19 | 2023-10-24 | 가부시키가이샤 한도오따이 에네루기 켄큐쇼 | Semiconductor device, manufacturing method thereof, and electronic device | 
| JP2017017208A (en)* | 2015-07-02 | 2017-01-19 | 株式会社ジャパンディスプレイ | Semiconductor device | 
| WO2017006207A1 (en) | 2015-07-08 | 2017-01-12 | Semiconductor Energy Laboratory Co., Ltd. | Semiconductor device and manufacturing method thereof | 
| TWI667570B (en)* | 2015-07-15 | 2019-08-01 | 聯華電子股份有限公司 | Semiconductor device and operating method thereof | 
| US11189736B2 (en)* | 2015-07-24 | 2021-11-30 | Semiconductor Energy Laboratory Co., Ltd. | Semiconductor device and manufacturing method thereof | 
| US9825177B2 (en) | 2015-07-30 | 2017-11-21 | Semiconductor Energy Laboratory Co., Ltd. | Manufacturing method of a semiconductor device using multiple etching mask | 
| CN106409919A (en) | 2015-07-30 | 2017-02-15 | 株式会社半导体能源研究所 | Semiconductor device and display device including the semiconductor device | 
| JP7023114B2 (en) | 2015-11-20 | 2022-02-21 | 株式会社半導体エネルギー研究所 | Semiconductor devices, display devices, display modules, electronic devices | 
| WO2017103731A1 (en) | 2015-12-18 | 2017-06-22 | Semiconductor Energy Laboratory Co., Ltd. | Semiconductor device and display device including the same | 
| US10096718B2 (en) | 2016-06-17 | 2018-10-09 | Semiconductor Energy Laboratory Co., Ltd. | Transistor, electronic device, manufacturing method of transistor | 
| DE112018001400T5 (en) | 2017-04-11 | 2019-12-05 | Borgwarner Inc. | TURBOLADER, VIBRATION ARRANGEMENT ARRANGEMENT AND METHOD OF USE THEREOF | 
| JP6844845B2 (en) | 2017-05-31 | 2021-03-17 | 三国電子有限会社 | Display device | 
| US11114470B2 (en) | 2017-06-02 | 2021-09-07 | Semiconductor Energy Laboratory Co., Ltd. | Semiconductor device, electronic component, and electronic device | 
| US10665604B2 (en) | 2017-07-21 | 2020-05-26 | Semiconductor Energy Laboratory Co., Ltd. | Semiconductor device, semiconductor wafer, memory device, and electronic device | 
| FR3079616B1 (en)* | 2018-03-30 | 2021-02-12 | Soitec Silicon On Insulator | MICRO-SENSOR FOR DETECTING CHEMICAL SPECIES AND ASSOCIATED MANUFACTURING PROCESS | 
| JP7190729B2 (en) | 2018-08-31 | 2022-12-16 | 三国電子有限会社 | ORGANIC ELECTROLUMINESCENT DEVICE HAVING CARRIER INJECTION CONTROL ELECTRODE | 
| JP7246681B2 (en) | 2018-09-26 | 2023-03-28 | 三国電子有限会社 | TRANSISTOR, TRANSISTOR MANUFACTURING METHOD, AND DISPLAY DEVICE INCLUDING TRANSISTOR | 
| JP7597581B2 (en) | 2018-12-27 | 2024-12-10 | 株式会社半導体エネルギー研究所 | Semiconductor Device | 
| JP7190740B2 (en) | 2019-02-22 | 2022-12-16 | 三国電子有限会社 | Display device having an electroluminescence element | 
| US11379231B2 (en) | 2019-10-25 | 2022-07-05 | Semiconductor Energy Laboratory Co., Ltd. | Data processing system and operation method of data processing system | 
| JP7444436B2 (en) | 2020-02-05 | 2024-03-06 | 三国電子有限会社 | liquid crystal display device | 
| CN111244115B (en)* | 2020-03-09 | 2022-12-02 | 合肥鑫晟光电科技有限公司 | Substrate for display, preparation method thereof and display device | 
| CN113785350B (en) | 2020-04-10 | 2023-06-16 | 京东方科技集团股份有限公司 | Display substrate, manufacturing method thereof and display device | 
| CN112234091B (en)* | 2020-10-23 | 2025-03-18 | 厦门天马微电子有限公司 | Display panel and display device | 
| TWI813217B (en)* | 2021-12-09 | 2023-08-21 | 友達光電股份有限公司 | Semiconductor device and manufacturing method thereof | 
| CN115101542B (en)* | 2021-12-09 | 2025-03-28 | 友达光电股份有限公司 | Semiconductor device and method for manufacturing the same | 
| Publication number | Priority date | Publication date | Assignee | Title | 
|---|---|---|---|---|
| JP2000183356A (en) | 1998-12-18 | 2000-06-30 | Semiconductor Energy Lab Co Ltd | Semiconductor device and manufacturing method thereof | 
| JP2003243657A (en) | 2002-02-12 | 2003-08-29 | Seiko Epson Corp | Semiconductor device, electro-optical device, electronic device, method of manufacturing semiconductor device, method of manufacturing electro-optical device | 
| JP2005277323A (en) | 2004-03-26 | 2005-10-06 | Semiconductor Energy Lab Co Ltd | Thin-film transistor, display device, and manufacturing method for them, and television set | 
| JP2007043113A (en) | 2005-06-30 | 2007-02-15 | Semiconductor Energy Lab Co Ltd | Semiconductor device and manufacturing method of semiconductor device | 
| JP2007096055A (en) | 2005-09-29 | 2007-04-12 | Semiconductor Energy Lab Co Ltd | Semiconductor device and manufacturing method of semiconductor device | 
| JP2007318061A (en) | 2006-05-26 | 2007-12-06 | Korea Electronics Telecommun | Inverter using dual gate organic transistor | 
| JP2009004733A (en) | 2007-05-18 | 2009-01-08 | Canon Inc | Inverter manufacturing method and inverter | 
| Publication number | Priority date | Publication date | Assignee | Title | 
|---|---|---|---|---|
| JPH0620136B2 (en) | 1984-02-23 | 1994-03-16 | 日本電気株式会社 | Thin film transistor element and manufacturing method thereof | 
| JPS60198861A (en) | 1984-03-23 | 1985-10-08 | Fujitsu Ltd | Thin film transistor | 
| JPH0244256B2 (en) | 1987-01-28 | 1990-10-03 | Kagaku Gijutsucho Mukizaishitsu Kenkyushocho | INGAZN2O5DESHIMESARERUROTSUHOSHOKEINOSOJOKOZOOJUSURUKAGOBUTSUOYOBISONOSEIZOHO | 
| JPH0244258B2 (en) | 1987-02-24 | 1990-10-03 | Kagaku Gijutsucho Mukizaishitsu Kenkyushocho | INGAZN3O6DESHIMESARERUROTSUHOSHOKEINOSOJOKOZOOJUSURUKAGOBUTSUOYOBISONOSEIZOHO | 
| JPS63210023A (en) | 1987-02-24 | 1988-08-31 | Natl Inst For Res In Inorg Mater | Compound having a hexagonal layered structure represented by InGaZn↓4O↓7 and its manufacturing method | 
| JPH0244260B2 (en) | 1987-02-24 | 1990-10-03 | Kagaku Gijutsucho Mukizaishitsu Kenkyushocho | INGAZN5O8DESHIMESARERUROTSUHOSHOKEINOSOJOKOZOOJUSURUKAGOBUTSUOYOBISONOSEIZOHO | 
| JPH0244262B2 (en) | 1987-02-27 | 1990-10-03 | Kagaku Gijutsucho Mukizaishitsu Kenkyushocho | INGAZN6O9DESHIMESARERUROTSUHOSHOKEINOSOJOKOZOOJUSURUKAGOBUTSUOYOBISONOSEIZOHO | 
| JPS63221677A (en)* | 1987-03-10 | 1988-09-14 | Matsushita Electric Ind Co Ltd | Manufacturing method of thin film transistor | 
| JPH0244263B2 (en) | 1987-04-22 | 1990-10-03 | Kagaku Gijutsucho Mukizaishitsu Kenkyushocho | INGAZN7O10DESHIMESARERUROTSUHOSHOKEINOSOJOKOZOOJUSURUKAGOBUTSUOYOBISONOSEIZOHO | 
| JP2759154B2 (en)* | 1989-01-26 | 1998-05-28 | カシオ計算機株式会社 | Thin film memory device | 
| US5079606A (en) | 1989-01-26 | 1992-01-07 | Casio Computer Co., Ltd. | Thin-film memory element | 
| JPH03171775A (en) | 1989-11-30 | 1991-07-25 | Casio Comput Co Ltd | Thin film transistor and manufacture thereof | 
| JPH05251705A (en) | 1992-03-04 | 1993-09-28 | Fuji Xerox Co Ltd | Thin-film transistor | 
| JP3479375B2 (en) | 1995-03-27 | 2003-12-15 | 科学技術振興事業団 | Metal oxide semiconductor device in which a pn junction is formed with a thin film transistor made of a metal oxide semiconductor such as cuprous oxide, and methods for manufacturing the same | 
| KR100394896B1 (en) | 1995-08-03 | 2003-11-28 | 코닌클리케 필립스 일렉트로닉스 엔.브이. | A semiconductor device including a transparent switching element | 
| JP3625598B2 (en) | 1995-12-30 | 2005-03-02 | 三星電子株式会社 | Manufacturing method of liquid crystal display device | 
| JPH10319869A (en) | 1997-05-16 | 1998-12-04 | Matsushita Electric Ind Co Ltd | Liquid crystal image display device and method of manufacturing semiconductor device for image display device | 
| JP4170454B2 (en) | 1998-07-24 | 2008-10-22 | Hoya株式会社 | Article having transparent conductive oxide thin film and method for producing the same | 
| JP2000150861A (en) | 1998-11-16 | 2000-05-30 | Tdk Corp | Oxide thin film | 
| JP3276930B2 (en) | 1998-11-17 | 2002-04-22 | 科学技術振興事業団 | Transistor and semiconductor device | 
| JP4202502B2 (en)* | 1998-12-28 | 2008-12-24 | 株式会社半導体エネルギー研究所 | Semiconductor device | 
| US8158980B2 (en) | 2001-04-19 | 2012-04-17 | Semiconductor Energy Laboratory Co., Ltd. | Semiconductor device having a pixel matrix circuit that includes a pixel TFT and a storage capacitor | 
| TW460731B (en) | 1999-09-03 | 2001-10-21 | Ind Tech Res Inst | Electrode structure and production method of wide viewing angle LCD | 
| JP2002083974A (en) | 2000-06-19 | 2002-03-22 | Semiconductor Energy Lab Co Ltd | Semiconductor device | 
| JP4089858B2 (en) | 2000-09-01 | 2008-05-28 | 国立大学法人東北大学 | Semiconductor device | 
| US6509616B2 (en) | 2000-09-29 | 2003-01-21 | Semiconductor Energy Laboratory Co., Ltd. | Semiconductor device and its manufacturing method | 
| JP4974427B2 (en)* | 2000-09-29 | 2012-07-11 | 株式会社半導体エネルギー研究所 | Semiconductor device and electronic device | 
| JP2002111008A (en)* | 2000-10-04 | 2002-04-12 | Canon Inc | Thin film transistor array | 
| KR20020038482A (en) | 2000-11-15 | 2002-05-23 | 모리시타 요이찌 | Thin film transistor array, method for producing the same, and display panel using the same | 
| US6394021B1 (en)* | 2000-12-13 | 2002-05-28 | Sram Corporation | Floating bicycle gear indicator | 
| JP3997731B2 (en) | 2001-03-19 | 2007-10-24 | 富士ゼロックス株式会社 | Method for forming a crystalline semiconductor thin film on a substrate | 
| JP2002289859A (en) | 2001-03-23 | 2002-10-04 | Minolta Co Ltd | Thin film transistor | 
| JP4090716B2 (en) | 2001-09-10 | 2008-05-28 | 雅司 川崎 | Thin film transistor and matrix display device | 
| JP3925839B2 (en) | 2001-09-10 | 2007-06-06 | シャープ株式会社 | Semiconductor memory device and test method thereof | 
| JP4164562B2 (en) | 2002-09-11 | 2008-10-15 | 独立行政法人科学技術振興機構 | Transparent thin film field effect transistor using homologous thin film as active layer | 
| WO2003040441A1 (en) | 2001-11-05 | 2003-05-15 | Japan Science And Technology Agency | Natural superlattice homologous single crystal thin film, method for preparation thereof, and device using said single crystal thin film | 
| JP4083486B2 (en) | 2002-02-21 | 2008-04-30 | 独立行政法人科学技術振興機構 | Method for producing LnCuO (S, Se, Te) single crystal thin film | 
| CN1445821A (en) | 2002-03-15 | 2003-10-01 | 三洋电机株式会社 | Forming method of ZnO film and ZnO semiconductor layer, semiconductor element and manufacturing method thereof | 
| JP3933591B2 (en) | 2002-03-26 | 2007-06-20 | 淳二 城戸 | Organic electroluminescent device | 
| US7339187B2 (en) | 2002-05-21 | 2008-03-04 | State Of Oregon Acting By And Through The Oregon State Board Of Higher Education On Behalf Of Oregon State University | Transistor structures | 
| US7189992B2 (en) | 2002-05-21 | 2007-03-13 | State Of Oregon Acting By And Through The Oregon State Board Of Higher Education On Behalf Of Oregon State University | Transistor structures having a transparent channel | 
| JP2004022625A (en) | 2002-06-13 | 2004-01-22 | Murata Mfg Co Ltd | Semiconductor device and method of manufacturing the semiconductor device | 
| US7105868B2 (en) | 2002-06-24 | 2006-09-12 | Cermet, Inc. | High-electron mobility transistor with zinc oxide | 
| US7067843B2 (en) | 2002-10-11 | 2006-06-27 | E. I. Du Pont De Nemours And Company | Transparent oxide semiconductor thin film transistors | 
| JP4984369B2 (en) | 2002-12-10 | 2012-07-25 | 株式会社ジャパンディスプレイイースト | Image display device and manufacturing method thereof | 
| JP4118706B2 (en) | 2003-02-25 | 2008-07-16 | 株式会社半導体エネルギー研究所 | Method for manufacturing liquid crystal display device | 
| JP4166105B2 (en) | 2003-03-06 | 2008-10-15 | シャープ株式会社 | Semiconductor device and manufacturing method thereof | 
| JP2004273732A (en) | 2003-03-07 | 2004-09-30 | Sharp Corp | Active matrix substrate and manufacturing method thereof | 
| US7541614B2 (en)* | 2003-03-11 | 2009-06-02 | Semiconductor Energy Laboratory Co., Ltd. | Integrated circuit, semiconductor device comprising the same, electronic device having the same, and driving method of the same | 
| JP4108633B2 (en) | 2003-06-20 | 2008-06-25 | シャープ株式会社 | THIN FILM TRANSISTOR, MANUFACTURING METHOD THEREOF, AND ELECTRONIC DEVICE | 
| JP3781740B2 (en) | 2003-07-07 | 2006-05-31 | 沖電気工業株式会社 | Semiconductor integrated circuit, semiconductor device, and manufacturing method of semiconductor device | 
| US7262463B2 (en) | 2003-07-25 | 2007-08-28 | Hewlett-Packard Development Company, L.P. | Transistor including a deposited channel region having a doped portion | 
| US7282782B2 (en) | 2004-03-12 | 2007-10-16 | Hewlett-Packard Development Company, L.P. | Combined binary oxide semiconductor device | 
| US7297977B2 (en) | 2004-03-12 | 2007-11-20 | Hewlett-Packard Development Company, L.P. | Semiconductor device | 
| CN1998087B (en) | 2004-03-12 | 2014-12-31 | 独立行政法人科学技术振兴机构 | Amorphous oxide and thin film transistor | 
| US7145174B2 (en) | 2004-03-12 | 2006-12-05 | Hewlett-Packard Development Company, Lp. | Semiconductor device | 
| GB0409439D0 (en) | 2004-04-28 | 2004-06-02 | Koninkl Philips Electronics Nv | Thin film transistor | 
| US7211825B2 (en) | 2004-06-14 | 2007-05-01 | Yi-Chi Shih | Indium oxide-based thin film transistors and circuits | 
| JP2006013028A (en)* | 2004-06-24 | 2006-01-12 | National Institute Of Advanced Industrial & Technology | Compound solar cell and method for producing the same | 
| JP2006100760A (en) | 2004-09-02 | 2006-04-13 | Casio Comput Co Ltd | Thin film transistor and manufacturing method thereof | 
| US7285501B2 (en) | 2004-09-17 | 2007-10-23 | Hewlett-Packard Development Company, L.P. | Method of forming a solution processed device | 
| JP4450719B2 (en) | 2004-10-22 | 2010-04-14 | 株式会社神戸製鋼所 | Manufacturing method of semiconductor device | 
| US7298084B2 (en) | 2004-11-02 | 2007-11-20 | 3M Innovative Properties Company | Methods and displays utilizing integrated zinc oxide row and column drivers in conjunction with organic light emitting diodes | 
| JP5126729B2 (en) | 2004-11-10 | 2013-01-23 | キヤノン株式会社 | Image display device | 
| KR100953596B1 (en) | 2004-11-10 | 2010-04-21 | 캐논 가부시끼가이샤 | Light emitting device | 
| US7863611B2 (en) | 2004-11-10 | 2011-01-04 | Canon Kabushiki Kaisha | Integrated circuits utilizing amorphous oxides | 
| EP2453481B1 (en) | 2004-11-10 | 2017-01-11 | Canon Kabushiki Kaisha | Field effect transistor with amorphous oxide | 
| US7829444B2 (en) | 2004-11-10 | 2010-11-09 | Canon Kabushiki Kaisha | Field effect transistor manufacturing method | 
| JP5118810B2 (en) | 2004-11-10 | 2013-01-16 | キヤノン株式会社 | Field effect transistor | 
| US7791072B2 (en) | 2004-11-10 | 2010-09-07 | Canon Kabushiki Kaisha | Display | 
| JP5138163B2 (en) | 2004-11-10 | 2013-02-06 | キヤノン株式会社 | Field effect transistor | 
| AU2005302964B2 (en) | 2004-11-10 | 2010-11-04 | Canon Kabushiki Kaisha | Field effect transistor employing an amorphous oxide | 
| JP5126730B2 (en) | 2004-11-10 | 2013-01-23 | キヤノン株式会社 | Method for manufacturing field effect transistor | 
| US7453065B2 (en) | 2004-11-10 | 2008-11-18 | Canon Kabushiki Kaisha | Sensor and image pickup device | 
| US7579224B2 (en) | 2005-01-21 | 2009-08-25 | Semiconductor Energy Laboratory Co., Ltd. | Method for manufacturing a thin film semiconductor device | 
| TWI505473B (en) | 2005-01-28 | 2015-10-21 | Semiconductor Energy Lab | Semiconductor device, electronic device, and method of manufacturing semiconductor device | 
| TWI445178B (en) | 2005-01-28 | 2014-07-11 | Semiconductor Energy Lab | Semiconductor device, electronic device, and method of manufacturing semiconductor device | 
| US7858451B2 (en) | 2005-02-03 | 2010-12-28 | Semiconductor Energy Laboratory Co., Ltd. | Electronic device, semiconductor device and manufacturing method thereof | 
| US7948171B2 (en) | 2005-02-18 | 2011-05-24 | Semiconductor Energy Laboratory Co., Ltd. | Light emitting device | 
| US20060197092A1 (en) | 2005-03-03 | 2006-09-07 | Randy Hoffman | System and method for forming conductive material on a substrate | 
| US8681077B2 (en) | 2005-03-18 | 2014-03-25 | Semiconductor Energy Laboratory Co., Ltd. | Semiconductor device, and display device, driving method and electronic apparatus thereof | 
| US7544967B2 (en) | 2005-03-28 | 2009-06-09 | Massachusetts Institute Of Technology | Low voltage flexible organic/transparent transistor for selective gas sensing, photodetecting and CMOS device applications | 
| US7645478B2 (en) | 2005-03-31 | 2010-01-12 | 3M Innovative Properties Company | Methods of making displays | 
| KR100614657B1 (en)* | 2005-04-04 | 2006-08-22 | 삼성전자주식회사 | Flash memory device and its formation method | 
| US8300031B2 (en) | 2005-04-20 | 2012-10-30 | Semiconductor Energy Laboratory Co., Ltd. | Semiconductor device comprising transistor having gate and drain connected through a current-voltage conversion element | 
| JP2006344849A (en) | 2005-06-10 | 2006-12-21 | Casio Comput Co Ltd | Thin film transistor | 
| US7691666B2 (en) | 2005-06-16 | 2010-04-06 | Eastman Kodak Company | Methods of making thin film transistors comprising zinc-oxide-based semiconductor materials and transistors made thereby | 
| US7402506B2 (en) | 2005-06-16 | 2008-07-22 | Eastman Kodak Company | Methods of making thin film transistors comprising zinc-oxide-based semiconductor materials and transistors made thereby | 
| US7507618B2 (en) | 2005-06-27 | 2009-03-24 | 3M Innovative Properties Company | Method for making electronic devices using metal oxide nanoparticles | 
| US7732330B2 (en) | 2005-06-30 | 2010-06-08 | Semiconductor Energy Laboratory Co., Ltd. | Semiconductor device and manufacturing method using an ink-jet method of the same | 
| KR100711890B1 (en) | 2005-07-28 | 2007-04-25 | 삼성에스디아이 주식회사 | OLED display and manufacturing method thereof | 
| TWI485681B (en)* | 2005-08-12 | 2015-05-21 | Semiconductor Energy Lab | Display device | 
| JP2007059128A (en) | 2005-08-23 | 2007-03-08 | Canon Inc | Organic EL display device and manufacturing method thereof | 
| JP4850457B2 (en) | 2005-09-06 | 2012-01-11 | キヤノン株式会社 | Thin film transistor and thin film diode | 
| JP2007073705A (en) | 2005-09-06 | 2007-03-22 | Canon Inc | Oxide semiconductor channel thin film transistor and method for manufacturing the same | 
| JP4560502B2 (en) | 2005-09-06 | 2010-10-13 | キヤノン株式会社 | Field effect transistor | 
| JP4280736B2 (en) | 2005-09-06 | 2009-06-17 | キヤノン株式会社 | Semiconductor element | 
| JP5116225B2 (en) | 2005-09-06 | 2013-01-09 | キヤノン株式会社 | Manufacturing method of oxide semiconductor device | 
| JP4981282B2 (en) | 2005-09-06 | 2012-07-18 | キヤノン株式会社 | Thin film transistor manufacturing method | 
| JP4907942B2 (en) | 2005-09-29 | 2012-04-04 | シャープ株式会社 | Transistors and electronic devices | 
| EP1770788A3 (en)* | 2005-09-29 | 2011-09-21 | Semiconductor Energy Laboratory Co., Ltd. | Semiconductor device having oxide semiconductor layer and manufacturing method thereof | 
| JP5037808B2 (en) | 2005-10-20 | 2012-10-03 | キヤノン株式会社 | Field effect transistor using amorphous oxide, and display device using the transistor | 
| CN101577231B (en)* | 2005-11-15 | 2013-01-02 | 株式会社半导体能源研究所 | Semiconductor device and method of manufacturing the same | 
| WO2007058248A1 (en) | 2005-11-18 | 2007-05-24 | Idemitsu Kosan Co., Ltd. | Semiconductor thin film, method for producing same, and thin film transistor | 
| TWI292281B (en) | 2005-12-29 | 2008-01-01 | Ind Tech Res Inst | Pixel structure of active organic light emitting diode and method of fabricating the same | 
| US7867636B2 (en) | 2006-01-11 | 2011-01-11 | Murata Manufacturing Co., Ltd. | Transparent conductive film and method for manufacturing the same | 
| JP4977478B2 (en) | 2006-01-21 | 2012-07-18 | 三星電子株式会社 | ZnO film and method of manufacturing TFT using the same | 
| US7576394B2 (en) | 2006-02-02 | 2009-08-18 | Kochi Industrial Promotion Center | Thin film transistor including low resistance conductive thin films and manufacturing method thereof | 
| KR20070081829A (en) | 2006-02-14 | 2007-08-20 | 삼성전자주식회사 | OLED display and manufacturing method thereof | 
| US7977169B2 (en) | 2006-02-15 | 2011-07-12 | Kochi Industrial Promotion Center | Semiconductor device including active layer made of zinc oxide with controlled orientations and manufacturing method thereof | 
| JP5110803B2 (en) | 2006-03-17 | 2012-12-26 | キヤノン株式会社 | FIELD EFFECT TRANSISTOR USING OXIDE FILM FOR CHANNEL AND METHOD FOR MANUFACTURING THE SAME | 
| TW200736786A (en)* | 2006-03-31 | 2007-10-01 | Prime View Int Co Ltd | Thin film transistor array substrate and electronic ink display device | 
| KR20070101595A (en) | 2006-04-11 | 2007-10-17 | 삼성전자주식회사 | ZnO TFT | 
| US20070252928A1 (en) | 2006-04-28 | 2007-11-01 | Toppan Printing Co., Ltd. | Structure, transmission type liquid crystal display, reflection type display and manufacturing method thereof | 
| JP5028033B2 (en) | 2006-06-13 | 2012-09-19 | キヤノン株式会社 | Oxide semiconductor film dry etching method | 
| JP4609797B2 (en) | 2006-08-09 | 2011-01-12 | Nec液晶テクノロジー株式会社 | Thin film device and manufacturing method thereof | 
| JP4999400B2 (en) | 2006-08-09 | 2012-08-15 | キヤノン株式会社 | Oxide semiconductor film dry etching method | 
| JP5128792B2 (en) | 2006-08-31 | 2013-01-23 | 財団法人高知県産業振興センター | Thin film transistor manufacturing method | 
| JP4332545B2 (en) | 2006-09-15 | 2009-09-16 | キヤノン株式会社 | Field effect transistor and manufacturing method thereof | 
| JP4274219B2 (en) | 2006-09-27 | 2009-06-03 | セイコーエプソン株式会社 | Electronic devices, organic electroluminescence devices, organic thin film semiconductor devices | 
| JP5164357B2 (en) | 2006-09-27 | 2013-03-21 | キヤノン株式会社 | Semiconductor device and manufacturing method of semiconductor device | 
| JP5116277B2 (en)* | 2006-09-29 | 2013-01-09 | 株式会社半導体エネルギー研究所 | Semiconductor device, display device, liquid crystal display device, display module, and electronic apparatus | 
| KR100790761B1 (en) | 2006-09-29 | 2008-01-03 | 한국전자통신연구원 | Inverter | 
| US7622371B2 (en) | 2006-10-10 | 2009-11-24 | Hewlett-Packard Development Company, L.P. | Fused nanocrystal thin film semiconductor and method | 
| US7772021B2 (en) | 2006-11-29 | 2010-08-10 | Samsung Electronics Co., Ltd. | Flat panel displays comprising a thin-film transistor having a semiconductive oxide in its channel and methods of fabricating the same for use in flat panel displays | 
| JP2008140684A (en) | 2006-12-04 | 2008-06-19 | Toppan Printing Co Ltd | Color EL display and manufacturing method thereof | 
| KR101303578B1 (en) | 2007-01-05 | 2013-09-09 | 삼성전자주식회사 | Etching method of thin film | 
| JP5365007B2 (en) | 2007-01-25 | 2013-12-11 | 凸版印刷株式会社 | Thin film transistor array and manufacturing method thereof | 
| US8207063B2 (en) | 2007-01-26 | 2012-06-26 | Eastman Kodak Company | Process for atomic layer deposition | 
| KR101312259B1 (en) | 2007-02-09 | 2013-09-25 | 삼성전자주식회사 | Thin film transistor and method for forming the same | 
| WO2008099528A1 (en)* | 2007-02-13 | 2008-08-21 | Sharp Kabushiki Kaisha | Display device and method for manufacturing display device | 
| KR100851215B1 (en) | 2007-03-14 | 2008-08-07 | 삼성에스디아이 주식회사 | Thin film transistor and organic light emitting display device using same | 
| JP5182603B2 (en) | 2007-03-27 | 2013-04-17 | セイコーエプソン株式会社 | Organic transistor and method for manufacturing organic transistor | 
| US7795613B2 (en) | 2007-04-17 | 2010-09-14 | Toppan Printing Co., Ltd. | Structure with transistor | 
| JP2008270313A (en) | 2007-04-17 | 2008-11-06 | Matsushita Electric Ind Co Ltd | Semiconductor memory device | 
| KR101325053B1 (en) | 2007-04-18 | 2013-11-05 | 삼성디스플레이 주식회사 | Thin film transistor substrate and manufacturing method thereof | 
| KR20080094300A (en) | 2007-04-19 | 2008-10-23 | 삼성전자주식회사 | Thin film transistors and methods of manufacturing the same and flat panel displays comprising thin film transistors | 
| KR101334181B1 (en) | 2007-04-20 | 2013-11-28 | 삼성전자주식회사 | Thin Film Transistor having selectively crystallized channel layer and method of manufacturing the same | 
| CN101663762B (en) | 2007-04-25 | 2011-09-21 | 佳能株式会社 | Oxynitride semiconductor | 
| KR101345376B1 (en) | 2007-05-29 | 2013-12-24 | 삼성전자주식회사 | Fabrication method of ZnO family Thin film transistor | 
| US8354674B2 (en)* | 2007-06-29 | 2013-01-15 | Semiconductor Energy Laboratory Co., Ltd. | Semiconductor device wherein a property of a first semiconductor layer is different from a property of a second semiconductor layer | 
| KR101404439B1 (en) | 2007-06-29 | 2014-06-10 | 가부시키가이샤 한도오따이 에네루기 켄큐쇼 | A memory device and electronic apparatus | 
| KR20090002841A (en) | 2007-07-04 | 2009-01-09 | 삼성전자주식회사 | Oxide semiconductor, thin film transistor comprising same, and method of manufacturing | 
| JP2009017686A (en)* | 2007-07-05 | 2009-01-22 | Yamaguchi Univ | Lithium-ion battery charger using solar cells | 
| US8101501B2 (en)* | 2007-10-10 | 2012-01-24 | Semiconductor Energy Laboratory Co., Ltd. | Method of manufacturing semiconductor device | 
| JP2009117717A (en)* | 2007-11-08 | 2009-05-28 | Sharp Corp | Semiconductor device and manufacturing method thereof | 
| US7768008B2 (en) | 2007-11-13 | 2010-08-03 | Toppan Printing Co., Ltd. | Thin film transistor, method for manufacturing the same and display using the same | 
| US20110052490A1 (en) | 2007-11-29 | 2011-03-03 | Plur0Med, Inc | Endoscopic mucosal resectioning using purified inverse thermosensitive polymers | 
| JP5213422B2 (en) | 2007-12-04 | 2013-06-19 | キヤノン株式会社 | Oxide semiconductor element having insulating layer and display device using the same | 
| US8202365B2 (en) | 2007-12-17 | 2012-06-19 | Fujifilm Corporation | Process for producing oriented inorganic crystalline film, and semiconductor device using the oriented inorganic crystalline film | 
| US8461583B2 (en) | 2007-12-25 | 2013-06-11 | Idemitsu Kosan Co., Ltd. | Oxide semiconductor field effect transistor and method for manufacturing the same | 
| JP5213458B2 (en) | 2008-01-08 | 2013-06-19 | キヤノン株式会社 | Amorphous oxide and field effect transistor | 
| JP5264197B2 (en)* | 2008-01-23 | 2013-08-14 | キヤノン株式会社 | Thin film transistor | 
| JP2009206508A (en) | 2008-01-31 | 2009-09-10 | Canon Inc | Thin film transistor and display | 
| US8586979B2 (en)* | 2008-02-01 | 2013-11-19 | Samsung Electronics Co., Ltd. | Oxide semiconductor transistor and method of manufacturing the same | 
| JP2009224595A (en)* | 2008-03-17 | 2009-10-01 | Fujifilm Corp | Organic electroluminescent display device and method of producing the same | 
| KR101490112B1 (en)* | 2008-03-28 | 2015-02-05 | 삼성전자주식회사 | Inverter and logic circuit comprising the same | 
| KR101458897B1 (en)* | 2008-05-02 | 2014-11-10 | 삼성디스플레이 주식회사 | Thin film transistor display panel and manufacturing method thereof | 
| KR101404551B1 (en)* | 2008-05-09 | 2014-06-09 | 삼성디스플레이 주식회사 | Thin film transistor array panel and manufacturing method of the same | 
| KR101496148B1 (en) | 2008-05-15 | 2015-02-27 | 삼성전자주식회사 | Semiconductor device and manufacturing method thereof | 
| JP4623179B2 (en) | 2008-09-18 | 2011-02-02 | ソニー株式会社 | Thin film transistor and manufacturing method thereof | 
| KR101435501B1 (en) | 2008-10-03 | 2014-08-29 | 가부시키가이샤 한도오따이 에네루기 켄큐쇼 | Display device | 
| JP5451280B2 (en) | 2008-10-09 | 2014-03-26 | キヤノン株式会社 | Wurtzite crystal growth substrate, manufacturing method thereof, and semiconductor device | 
| KR101540341B1 (en)* | 2008-10-17 | 2015-07-30 | 삼성전자주식회사 | PANEL STRUCTURE, DISPLAY DEVICE COMPRISING PANEL STRUCTURE AND METHOD FOR MANUFACTURING | 
| JP2009135520A (en)* | 2009-02-23 | 2009-06-18 | Panasonic Electric Works Co Ltd | Organic semiconductor circuit board | 
| TWI511288B (en)* | 2009-03-27 | 2015-12-01 | Semiconductor Energy Lab | Semiconductor device | 
| JP5240059B2 (en) | 2009-05-14 | 2013-07-17 | トヨタ自動車株式会社 | Abnormality detector for exhaust gas recirculation system | 
| KR101772639B1 (en) | 2009-10-16 | 2017-08-29 | 가부시키가이샤 한도오따이 에네루기 켄큐쇼 | Semiconductor device | 
| KR102019239B1 (en) | 2009-10-30 | 2019-09-06 | 가부시키가이샤 한도오따이 에네루기 켄큐쇼 | Semiconductor device | 
| JP6108103B2 (en) | 2013-06-06 | 2017-04-05 | トヨタ自動車株式会社 | Winding device and winding method | 
| JP6557891B2 (en) | 2017-07-06 | 2019-08-14 | 株式会社コナミデジタルエンタテインメント | GAME MANAGEMENT DEVICE AND PROGRAM | 
| JP7101049B2 (en) | 2018-06-06 | 2022-07-14 | 朋和産業株式会社 | Food packaging bag | 
| JP6594576B1 (en) | 2018-06-07 | 2019-10-23 | キヤノン株式会社 | Optical system, imaging apparatus and imaging system including the same | 
| JP7114059B2 (en) | 2018-06-07 | 2022-08-08 | 三甲株式会社 | tray | 
| JP6991930B2 (en) | 2018-06-07 | 2022-01-13 | 相互印刷株式会社 | Press-through pack packaging | 
| JP6788174B1 (en) | 2019-06-11 | 2020-11-25 | 馨 林谷 | A cutting blade with a weed adhesive liquid removal hole on the mother plate. | 
| JP7324556B1 (en) | 2023-06-11 | 2023-08-10 | 合同会社パブテックラボ | Program and evacuees support system | 
| Publication number | Priority date | Publication date | Assignee | Title | 
|---|---|---|---|---|
| JP2000183356A (en) | 1998-12-18 | 2000-06-30 | Semiconductor Energy Lab Co Ltd | Semiconductor device and manufacturing method thereof | 
| US20020175376A1 (en) | 1998-12-18 | 2002-11-28 | Hisashi Ohtani | Semiconductor device and manufacturing method thereof | 
| JP2003243657A (en) | 2002-02-12 | 2003-08-29 | Seiko Epson Corp | Semiconductor device, electro-optical device, electronic device, method of manufacturing semiconductor device, method of manufacturing electro-optical device | 
| JP2005277323A (en) | 2004-03-26 | 2005-10-06 | Semiconductor Energy Lab Co Ltd | Thin-film transistor, display device, and manufacturing method for them, and television set | 
| JP2007043113A (en) | 2005-06-30 | 2007-02-15 | Semiconductor Energy Lab Co Ltd | Semiconductor device and manufacturing method of semiconductor device | 
| JP2007096055A (en) | 2005-09-29 | 2007-04-12 | Semiconductor Energy Lab Co Ltd | Semiconductor device and manufacturing method of semiconductor device | 
| JP2007318061A (en) | 2006-05-26 | 2007-12-06 | Korea Electronics Telecommun | Inverter using dual gate organic transistor | 
| JP2009004733A (en) | 2007-05-18 | 2009-01-08 | Canon Inc | Inverter manufacturing method and inverter | 
| US20100085081A1 (en) | 2007-05-18 | 2010-04-08 | Canon Kabushiki Kaisha | Inverter manufacturing method and inverter | 
| Publication | Publication Date | Title | 
|---|---|---|
| JP7012810B2 (en) | Semiconductor device | |
| JP7564161B2 (en) | Semiconductor Device | |
| JP5702111B2 (en) | Semiconductor device | 
| Date | Code | Title | Description | 
|---|---|---|---|
| A521 | Request for written amendment filed | Free format text:JAPANESE INTERMEDIATE CODE: A523 Effective date:20210107 | |
| A621 | Written request for application examination | Free format text:JAPANESE INTERMEDIATE CODE: A621 Effective date:20210107 | |
| A977 | Report on retrieval | Free format text:JAPANESE INTERMEDIATE CODE: A971007 Effective date:20211210 | |
| TRDD | Decision of grant or rejection written | ||
| A01 | Written decision to grant a patent or to grant a registration (utility model) | Free format text:JAPANESE INTERMEDIATE CODE: A01 Effective date:20211221 | |
| A61 | First payment of annual fees (during grant procedure) | Free format text:JAPANESE INTERMEDIATE CODE: A61 Effective date:20220118 | |
| R150 | Certificate of patent or registration of utility model | Ref document number:7012810 Country of ref document:JP Free format text:JAPANESE INTERMEDIATE CODE: R150 | |
| R250 | Receipt of annual fees | Free format text:JAPANESE INTERMEDIATE CODE: R250 |