








本願発明は、プラネタリウムなどで用いられる恒星投映筒およびプラネタリウムの演出方法に関する。 The present invention relates to a stellar projection tube used in a planetarium or the like and a method for producing a planetarium.
プラネタリウムにおいては、全天の恒星を投映するのに、全天を複数の面に分割し、投映原板及び投映レンズからなる複数の恒星投映筒によりそれぞれの分割面を投映している。 In a planetarium, in order to project a star in the whole sky, the whole sky is divided into a plurality of surfaces, and each divided surface is projected by a plurality of star projection cylinders composed of a projection original plate and a projection lens.
  一方、光源から光ファイバー束により恒星投映筒に導光することが公知である(特許文献1、2)。  On the other hand, it is known that a light source is guided to a stellar projection tube by a bundle of optical fibers (
また、これまで、プラネタリウムなどで用いられる恒星原板を持つ恒星投映筒においては、すべての恒星投映筒に共通の単一の光源、あるいは複数に共通、あるいは個別の複数の光源からの光を用いて、スクリーン上に恒星を投映しており、一部の明るい恒星に対してのみ、別に用意された単一の恒星を投映する輝星投映筒によって映し出し、あらかじめ決められた正しい明るさで個々の恒星を投映していた。例えば、所定の等級以下の恒星は一般恒星投映でまとめて投映し,所定の等級以上の恒星は高輝星投映筒により個々に投映していた(特許文献3)。 In addition, in the case of a star projection tube with a star original plate used in planetariums, etc., light from a single light source common to all star projection tubes, or light from multiple common or individual light sources has been used. , Stars are projected on the screen, and only some bright stars are projected by a separately prepared bright star projector that projects a single star, and each star has a predetermined correct brightness. Was being projected. For example, stars of a predetermined magnitude or lower are collectively projected by general star projection, and stars of a predetermined magnitude or higher are individually projected by a high-firing star projector (Patent Document 3).
前記の恒星投映筒では、恒星原板に穿設した孔を通過した光を投映することにより恒星像を再現していたが、孔の大きさを変えることにより恒星の見かけの明るさを表現していた。すなわち、明るい恒星の場合は穴径を大きく、暗い恒星の場合は穴径を小さくしていた。 In the above-mentioned star projection tube, the star image was reproduced by projecting the light that passed through the hole drilled in the star original plate, but the apparent brightness of the star is expressed by changing the size of the hole. rice field. That is, in the case of a bright star, the hole diameter was large, and in the case of a dark star, the hole diameter was small.
前記したように、これまでのプラネタリウムにおいては、星の等級差を正確に表現することは非常に大切にされてきた。一方、近年のプラネタリウムでは、実際の星空よりも非常に明るく星空を再現するようになっている。このため、投映開始からしばらくして観客の視覚が明所視から暗所視に変化すると、正確な等級差に基づき投映されているにもかかわらず、暗さに慣れてしまった目には星の明るさの違いが認識しづらくなり夜空の星々が同じような明るさに見えてしまっていた。このため、正確な等級差を表現できるだけでなく、明るさの違いが十分に認識できることの両立が求められてきた。As mentioned above, in the planetariums so far, it has been very important to accurately express the magnitude difference of stars. On the other hand, in recent planetariums, the starry sky is reproduced much brighter than the actual starry sky. For this reason, when the audience's vision changes from photopic vision to scotopic vision shortly after the start of projection,the eyes are accustomed to the darkness even though the projection is based on the exact grade difference. It became difficult to recognize the difference in brightness, and the stars in the night sky looked similar in brightness. For this reason, it has been required not only to be able to express an accurate grade difference, but also to be able to sufficiently recognize the difference in brightness.
本願発明の前記の従来技術の問題点に鑑みて創作されたものであり、これまで固定されていた恒星の等級差を調整可能とし、物理的な観点から正確な等級差を表現するだけでなく、観客の視覚においても等級差を明確に認識させることを可能とする星空を再現できるようにする恒星投映筒を提供することを目的とする。 It was created in view of the problems of the above-mentioned prior art of the present invention, and it makes it possible to adjust the magnitude difference of the stars that have been fixed so far, and not only expresses the accurate magnitude difference from the physical point of view. It is an object of the present invention to provide a stellar projection tube that enables reproduction of a starry sky that enables the visual recognition of a difference in magnitude even in the eyes of an audience.
すなわち、本願発明の恒星投映筒は恒星原板に表された恒星をスクリーンに恒星像として投映するプラネタリウムの恒星投映筒において、恒星原板上の個々の恒星を同じ明るさの等級グループ毎に分類し、投映時にこれらの分類した等級グループ単位で任意の明るさを再現できるように、調光可能な光源からの光を導光手段によって対応する等級グループに属する個々の恒星に導くことを特徴とする。 That is, the star projector of the present invention is a planetarium star projector that projects a star represented on the star plate as a star image on the screen, and the individual stars on the star plate are classified into grade groups of the same brightness. It is characterized by directing light from a dimmable light source to individual stars belonging to the corresponding grade group by means of light guides so that arbitrary brightness can be reproduced in these classified grade group units at the time of projection.
  また、請求項2に記載の恒星投映筒は前記の恒星投映筒において、調光可能な複数の光源は、投映筒内に配されることを特徴とする。  Further, the stellar projector according to
  また、請求項3に記載の恒星投映筒は前記の恒星投映筒において、調光可能な複数の光源は、投映筒外に配されることを特徴とする。  Further, the stellar projector according to
また、請求項4に記載の恒星投映筒は前記の恒星投映筒において、導光手段として、光ファイバーを用いたことを特徴とする。 Further, the star projection tube according to claim 4 is characterized in that an optical fiber is used as a light guide means in the star projection tube.
  また、請求項5に記載の恒星投映筒は前記の恒星投映筒において、単一あるいは複数の光源と、光源からの光を所定の値で減衰させる透過型あるいは反射型液晶パネルを用い、上記パネルを制御することにより個々の恒星の明るさを調節可能としたことを特徴とする。  Further, the stellar projector according to
また、請求項6に記載の恒星投映筒は前記の恒星投映筒において、恒星原板上の恒星の穴径を、単一の穴径としたことを特徴とする。 Further, the star projection tube according to claim 6 is characterized in that, in the above-mentioned star projection tube, the hole diameter of the star on the star original plate is set to a single hole diameter.
また、請求項7に記載の恒星投映筒は前記の恒星投映筒において、恒星原板上の一部あるいはすべての恒星の穴径を、恒星の等級に合致する穴径とは異なる穴径としたことを特徴とする。 Further, in the star projection tube according to claim 7, in the above-mentioned star projection tube, the hole diameter of a part or all of the stars on the star original plate is set to a hole diameter different from the hole diameter matching the star grade. It is characterized by.
本願においては前記の恒星投映筒を用いたプラネタリウムの演出方法も開示する。すなわち、請求項8に記載のプラネタリウムの演出方法は恒星原板に表された恒星をスクリーンに恒星像として投映するプラネタリウムの恒星投映筒にして、恒星原板上の個々の恒星を同じ明るさの等級グループ毎に分類し、投映時にこれらの分類した等級グループ単位で任意の明るさを再現できるように、調光可能な光源からの光を導光手段によって対応する等級グループに属する個々の恒星に導く恒星投映筒を用い、観客が明るい環境から暗い環境のプラネタリウム施設内に入場した当初は、恒星の見かけの明るさを再現する標準設定では明るさが暗い等級グループの恒星の明るさを一時的に明るくすることを特徴とする。 The present application also discloses a method for producing a planetarium using the above-mentioned stellar projection tube. That is, the method for producing a planetarium according to claim 8 is to make a star projection tube of a planetarium that projects a star represented on a star original plate as a star image on a screen, and to make each star on the star original plate a grade group of the same brightness. Stars that are classified by each and guide light from a dimmable light source to individual stars belonging to the corresponding grade group by means of light guides so that arbitrary brightness can be reproduced in these classified grade group units at the time of projection. When the audience enters the planetarium facility from a bright environment to a dark environment using a projector, the standard setting that reproduces the apparent brightness of the star temporarily brightens the brightness of the star in the dark grade group. It is characterized by doing.
また、請求項9に記載のプラネタリウムの演出方法は恒星原板に表された恒星をスクリーンに恒星像として投映するプラネタリウムの恒星投映筒にして、恒星原板上の個々の恒星を同じ明るさの等級グループ毎に分類し、投映時にこれらの分類した等級グループ単位で任意の明るさを再現できるように、調光可能な光源からの光を導光手段によって対応する等級グループに属する個々の恒星に導く恒星投映筒を用い、恒星の見かけの明るさを再現する標準設定では明るさの差異が少ない等級グループ間において、グループ同士の明るさの差異を一時的に大きくすることを特徴とする。 Further, the method for producing a planetarium according to claim 9 is to make a star projection tube of a planetarium that projects a star displayed on a star original plate as a star image on a screen, and to make each star on the star original plate a magnitude group of the same brightness. Stars that are classified by each and guide the light from a dimmable light source to the individual stars belonging to the corresponding magnitude group by means of light guides so that any brightness can be reproduced in these classified grade group units at the time of projection. The standard setting that reproduces the apparent brightness of a star using a projector is characterized by temporarily increasing the difference in brightness between groups among grade groups that have little difference in brightness.
  また、請求項10に記載のプラネタリウムの演出方法は恒星原板に表された恒星をスクリーンに恒星像として投映するプラネタリウムの恒星投映筒にして、恒星原板上の個々の恒星を同じ明るさの等級グループ毎に分類し、投映時にこれらの分類した等級グループ単位で任意の明るさを再現できるように、調光可能な光源からの光を導光手段によって対応する等級グループに属する個々の恒星に導く恒星投映筒を用い、プラネタリウム施設内の明るさを徐々に暗くしていく夕暮れの星空の再現時に実際の星空で最初に見える等級グループに属する恒星のみを徐々に明るくすることを特徴とする。  Further, the method for producing a planetarium according to
以上の構成よりなる本願発明の恒星投映筒によれば、恒星原板上の個々の恒星を同じ明るさの等級グループ毎に分類し、投映時にこれらの分類した等級グループ単位で任意の明るさを再現できるように、光源からの光を導光手段によって対応する等級グループに属する個々の恒星に導いているので、導光手段によって等級グループ単位で投映される恒星像の明るさをコントロールすることが可能となる。 According to the star projection tube of the present invention having the above configuration, individual stars on the star original plate are classified into grade groups of the same brightness, and arbitrary brightness is reproduced in each of these classified grade groups at the time of projection. As a result, the light from the light source is guided to the individual stars belonging to the corresponding grade group by the light guide means, so that the brightness of the star image projected in the grade group unit can be controlled by the light guide means. Will be.
よって、正確な等級差に基づき投映して常に自然な等級差を感じる星空を再現することが可能となるほか、等級間の明るさの差異を誇張して投映することにより、視覚が暗い環境に慣れてしまった観客に等級差を感じさせる仮想的な星空を再現した演出が可能となる。Therefore, it is possible to reproduce a starry sky that always feels a natural grade difference by projecting based on an accurate grade difference, and by exaggerating the difference in brightness between grades, it is possible to create an environment with dark vision. It is possible to reproduce a virtual starry sky that makesthe spectators who have become accustomed to feel the difference in grade.
また、光源からの光を調光することにより恒星の見かけの明るさを表現するので、恒星原板に穿設した孔の大きさを変えることにより明るさを表現するこれまでの恒星投映筒とは異なり、恒星の明るさを決定する恒星原板上の恒星像の直径を実際の等級と一致させる必要がないため、全ての孔が単一の直径をもつ恒星原板を使用することができる。 Also, since the apparent brightness of the star is expressed by dimming the light from the light source, what is the conventional star projection tube that expresses the brightness by changing the size of the holes drilled in the star original plate? Unlike, it is not necessary to match the diameter of the star image on the star plate, which determines the brightness of the star, with the actual magnitude, so it is possible to use a star plate with all holes having a single diameter.
一方、以上の恒星投映筒を用いて、観客が明るい環境から暗い環境のプラネタリウム施設内に入場した当初は、恒星の見かけの明るさを再現する標準設定では明るさが暗い等級グループの恒星の明るさを一時的に明るくする請求項8記載のプラネタリウムの演出方法においては、投映開始からしばらくして観客の視覚が明所視から暗所視に変化すると、正確な等級差に基づき投映されているにもかかわらず、暗さに慣れてしまった目には星の明るさの違いが認識しづらくなり夜空の星々が同じような明るさに見えてしまっていた現象を解消することができる。On the other hand, when the audience enters the planetarium facility in a dark environment from a bright environment using the above star projector, the standard setting that reproduces the apparent brightness of the star is the brightness of the star in the dark grade group. In the method for producing a planetarium according to claim 8, when the visual sense of the audience changes from a bright view to a dark view shortly after the start of the projection, the image is projected based on an accurate grade difference. Nevertheless, it is difficult forthe eyes that have become accustomed to the darkness to recognize the difference in the brightness of the stars, and it is possible to eliminate the phenomenon that the stars in the night sky appear to have the same brightness.
すなわち、プラネタリウムの施設内に入ってきたとき、観客の視覚は暗順応ができていないため明るい星のみ見ることができるが、見え辛い暗い星を明るく投影することで、満天の星空を観客に見せることができる。逆に、しばらく施設内にいると視覚は暗順応ができるため、逆に近年の実際の星空よりも明るく星を投映しているプラネタリウムでは、星が明るすぎて視覚細胞が飽和してしまい、主要な星の等級にあまり違いがないように見えてしまう。しかしながら、本願発明による恒星投映筒を用いれば、それぞれの等級の明るさの差がより広がるように、明るい星はそのままの明るさで、暗い星をより暗く投影することで、明るさの違いを明確に提示できるので、観客が見て自然な星空を再現することができる。 In other words, when entering the planetarium facility, the audience's vision is not adaptable to darkness, so only bright stars can be seen, but by projecting the hard-to-see dark stars brightly, the starry sky is shown to the audience. be able to. On the other hand, if you stay in the facility for a while, your vision can adapt to darkness, so in a planetarium that projects stars brighter than the actual starry sky in recent years, the stars are too bright and the visual cells are saturated, which is the main cause. It seems that there is not much difference in the magnitude of the stars. However, if the stellar projector according to the present invention is used, the difference in brightness can be seen by projecting the dark star darker with the same brightness as the bright star so that the difference in brightness of each magnitude becomes wider. Since it can be clearly presented, it is possible to reproduce the natural starry sky as seen by the audience.
また、以上の恒星投映筒を用いて、恒星の見かけの明るさを再現する標準設定では明るさの差異が少ない等級グループ間において、グループ同士の明るさの差異を一時的に大きくする請求項9記載のプラネタリウムの演出方法においては、観客に恒星の等級の差を説明することが容易になる効果を得られる。 In addition, claim 9 for temporarily increasing the difference in brightness between groups among grade groups in which the difference in brightness is small in the standard setting for reproducing the apparent brightness of a star using the above-mentioned star projector. In the method of producing the planetarium described, it is possible to obtain an effect that makes it easy to explain the difference in the magnitude of the star to the audience.
すなわち、プラネタリウム施設においては、映し出された星空の中で、特徴的な星の並びなどを探させるなどして星座の説明を行ってきたが、近年のプラネタリウムでは7等星以下の星までも投影しているため星の数が多くなり、実際の星空に比べて極端に特徴的な星の並びなどが見つけ辛くなっていた。しかしながら、本願発明による恒星投映筒を用いれば、例えば星座の形を構成する主要な4等星程度までの星のみを投映し、それよりも暗い恒星は消灯あるいは等級をより暗く調整することによって、ドームスクリーン上に特徴的な星の並びなどを見つけやすく投影することができるから、星座の説明などを容易に進めることができる。 That is, in the planetarium facility, the constellations have been explained by searching for the characteristic arrangement of stars in the projected starry sky, but in recent planetariums, even stars of 7th magnitude or less are projected. Because of this, the number of stars increased, and it was difficult to find the extremely characteristic arrangement of stars compared to the actual starry sky. However, if the star projection tube according to the present invention is used, for example, only the stars up to the main 4th magnitude stars constituting the shape of the constellation are projected, and the darker stars are turned off or the grade is adjusted to be darker. Since it is possible to easily find and project a characteristic arrangement of stars on the dome screen, it is possible to easily explain the constellations.
また、以上の恒星投映筒を用いて、プラネタリウム施設内の明るさを徐々に暗くしていく夕暮れの星空の再現時に実際の星空で最初に見える等級グループに属する恒星のみを徐々に明るくすることを特徴とするプラネタリウムの演出方法においては、容易に夕暮れの空に輝く明るい星がキラキラと輝いている様子を再現することが可能となる。 Also, using the above star projectors, it is recommended to gradually brighten only the stars belonging to the grade group that can be seen first in the actual starry sky when reproducing the starry sky at dusk, which gradually darkens the brightness inside the planetarium facility. In the characteristic planetarium production method, it is possible to easily reproduce the appearance of bright stars shining in the dusk sky shining brilliantly.
すなわち、プラネタリウムでは、夕暮れの場面などで星が次々と見えてくる演出が多用されるが、これまでは、プラネタリウム施設内の照明を暗くしていきながら、恒星を徐々に明るくしていくことで実現していた。この方法では、夕暮れの空に輝く明るい星がキラキラと輝いている様子の再現が困難であった。なぜなら、キラキラと輝くような明るさにしてしまうと、より暗い星までがはっきりと映し出されてしまうからである。しかしながら、本願発明による恒星投映筒を用いれば、明るい星のみを最大の明るさで投映することができるので、容易に夕暮れの空に輝く明るい星がキラキラと輝いている様子を再現することが可能である。 In other words, in the planetarium, stars are often seen one after another in dusk scenes, but until now, by gradually brightening the stars while dimming the lighting inside the planetarium facility. It was realized. With this method, it was difficult to reproduce how bright stars shining in the dusk sky were shining. The reason is that if the brightness is set to shine, even darker stars will be clearly projected. However, by using the star projection tube according to the present invention, only bright stars can be projected with the maximum brightness, so that it is possible to easily reproduce the appearance of bright stars shining in the dusk sky. Is.
前記したように、本願発明の恒星投映筒においては等級グループ単位で投映される恒星像の明るさを一括してコントロールすることができる。よって、前記の3つのプラネタリウムの演出方法の実施にあたってはオペレーターは個々の恒星を意識せずに等級グループ単位での調光を行えばよいので操作が容易である。 As described above, in the star projection tube of the present invention, the brightness of the star image projected in units of magnitude groups can be collectively controlled. Therefore, in implementing the above-mentioned three planetarium production methods, the operator may perform dimming in units of grade groups without being aware of individual stars, which is easy to operate.
  以下、本願発明の恒星投映筒の具体的実施例を添付図面に基づいて説明する。図1は、本願発明の恒星投映筒の第1実施例を示す図である。本願発明の恒星投映筒は、恒星原板上の個々の恒星の明るさ毎に、異なる調光可能な光源からの光を導光手段によって対応する個々の恒星に導くことを特徴とするが、この実施例においては恒星の明るさに毎に異なる複数の光源5を用いている。  Hereinafter, specific examples of the stellar projection tube of the present invention will be described with reference to the accompanying drawings. FIG. 1 is a diagram showing a first embodiment of the stellar projection tube of the present invention. The star projector of the present invention is characterized in that light from a different dimmable light source is guided to the corresponding individual star by a light guide means for each brightness of each star on the star original plate. In the embodiment, a plurality of
  図中符号1は恒星原板2及び投映レンズ3を収容した投映筒であり、この実施例においては個別に調光可能な複数の光源5(ここではLEDランプ) を筒内に収容し、光ファイバ4を導光手段として用いて、それぞれの光源からの光を恒星原板2の対応する等級の個々の恒星に振り分けている。
図2は本願発明の恒星投映筒の第2実施例を示す図である。この実施例においては前記第1実施例においては投映筒内に収容していた光源を恒星投映筒から取り外し、離れた場所に置いている。 FIG. 2 is a diagram showing a second embodiment of the stellar projection tube of the present invention. In this embodiment, the light source housed in the projection tube in the first embodiment is removed from the stellar projection tube and placed in a remote place.
  図中符号10は投映筒、12は恒星原板、13は投映レンズである。恒星の等級ごとに異なる複数の光源16は収容ケース15内に収容され、投映筒に至る光ファイバ17、投映筒内の光ファイバ14を導光手段として用いていて、それぞれの光源からの光を恒星原板12の対応する等級の個々の恒星に振り分けている。  In the figure,
  この実施例においては光源を投映筒外に配しているので、一つの光源を複数の投映筒で共用することができる。図中符号17Aはこの場合に他の投映筒に至る光ファイバーを指す。  In this embodiment, since the light source is arranged outside the projection cylinder, one light source can be shared by a plurality of projection cylinders. In the figure,
  図3は本願発明の恒星投映筒の第3実施例を示す図である。この実施例においては複数の光源25は、単一の明るさとし、恒星原板に至る光ファイバ26の入射端と光源との間に調光機能を持つ素子26を介在させることによって、光ファイバ毎に調光可能としたものである。  FIG. 3 is a diagram showing a third embodiment of the stellar projection tube of the present invention. In this embodiment, the plurality of
  図4は本願発明の恒星投映筒の第4実施例を示す図である。この実施例においては恒星原板に至る光ファイバ34の入射端と光源との間に調光機能を持つ素子36を介在させることによって光ファイバ毎に異なる明るさの光束を生成しており、光源35は単一の面光源としている。  FIG. 4 is a diagram showing a fourth embodiment of the stellar projection tube of the present invention. In this embodiment, a luminous flux having a different brightness is generated for each optical fiber by interposing an
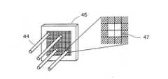
  図5から図6は本願発明の恒星投映筒の第5実施例を示す図である。この実施例においては恒星原板に至る光ファイバ44の入射端と光源45(ここでは面光源) との間に介在される調光素子として透過型液晶パネル46を使用している。この場合、液晶パネルの特定の領域の画素の透明度によって一つの光源としているので、個々の光ファイバ44の入射端は上記特定領域の画素の集合体47に向けて配される。  5 to 6 are views showing a fifth embodiment of the stellar projection tube of the present invention. In this embodiment, the transmissive
  図7は本願発明の恒星投映筒の第6実施例を示す図である。ここでは光ファイバ64の入射端と透過型液晶パネル56とのあいだに一つの集光レンズ55を配している。なお、図中符号57は光源を表す。  FIG. 7 is a diagram showing a sixth embodiment of the stellar projection tube of the present invention. Here, one
  図8は本願発明の恒星投映筒の第7実施例を示す図である。この実施例においては恒星原板64と透過型液晶パネル66とのあいだに配した集光レンズ65を導光手段として用い、透過型液晶パネル上で使用する画素の位置を適切に設定することにより、直接恒星原板に光を導いている。なお、図中符号67は光源、68は投映レンズを示す。  FIG. 8 is a diagram showing a seventh embodiment of the stellar projection tube of the present invention. In this embodiment, the
前記の第6および第7実施例では透過型液晶パネルを用いているが、光学系を変更することにより、容易に反射型液晶パネルを使用することもできることはいうまでもない。 Although the transmissive liquid crystal panel is used in the sixth and seventh embodiments, it is needless to say that the reflective liquid crystal panel can be easily used by changing the optical system.
  図9は本願発明のプラネタリウムの演出方法に使用する恒星投映筒の制御関係のブロック図を示す。図中符号102は各恒星投映筒の恒星原板を照明するための光源、同じく103は照明光を調光するための調光部である。前記の調光部は光源自体の明るさを調光する場合と光源自体の明るさは固定として、恒星原板に至る光ファイバの入射端と光源との間に調光機能を持つ素子を介在させる場合が想定される。  FIG. 9 shows a block diagram of a control-related stellar projection tube used in the planetarium production method of the present invention. In the figure,
  前記の光源102と調光部103は投映される恒星の明るさの等級グループ毎に容易され、制御部100を介して等級グループ毎に調光される。この場合、恒星の見かけの明るさを再現することをデフォルトとして、各等級グループの明るさは操作卓101の調光摘みをオペレーターが手動で操作して調光したり、あるいは予め定められたプラネタリウムの演出プログラム上で場面に応じて自動操作される。  The
  前記の等級グループ毎の調光により実現することが可能となるプラネタリウムの演出方法は次の通りである。
                                  (演出方法1)
  観客が明るい環境から暗い環境のプラネタリウム施設内に入場したことを検知(手順1)
  恒星の見かけの明るさを再現する標準設定では明るさが暗い等級グループの恒星の明るさを一時的に明るくする(手順2)
  予め設定した時間経過後に恒星の明るさを標準設定に戻す(手順3)The planetarium production method that can be realized by dimming for each grade group is as follows.
 (Direction method 1)
 Detects that the audience has entered the planetarium facility in a dark environment from a bright environment (Procedure 1)
 The standard setting that reproduces the apparent brightness of a star temporarily brightens the brightness of a star in the dark magnitude group (step 2).
 After the preset time has elapsed, the brightness of the star is returned to the standard setting (step 3).
                                  (演出方法2)
  星座の説明や恒星の等級の説明を開始(手順1)
  恒星の見かけの明るさを再現する標準設定では明るさの差異が少ない等級グループ間において、グループ同士の明るさの差異を一時的に大きくする(手順2)
リウムの演出方法。(Direction method 2)
 Start explaining constellations and stellar magnitudes (Procedure 1)
 In the standard setting that reproduces the apparent brightness of a star, the difference in brightness between the groups is temporarily increased among the magnitude groups where the difference in brightness is small (step 2).
 How to produce Rium.
                                  (演出方法3)
  夕暮れの星空の再現に際し、プラネタリウム施設内の明るさを徐々に暗くしていく(手順1)
  実際の星空で最初に見える等級グループに属する恒星のみを徐々に明るくする(手順2)(Direction method 3)
 When reproducing the starry sky at dusk, the brightness inside the planetarium facility is gradually dimmed (Procedure 1).
 Gradually brighten only the stars that belong to the first visible magnitude group in the actual starry sky (step 2).
    1      投映筒
    2      恒星原板
    3      投映レンズ
    4      光ファイバー
    5      光源1
| Application Number | Priority Date | Filing Date | Title | 
|---|---|---|---|
| JP2016142500AJP6999097B2 (en) | 2016-07-20 | 2016-07-20 | Star projection tube | 
| Application Number | Priority Date | Filing Date | Title | 
|---|---|---|---|
| JP2016142500AJP6999097B2 (en) | 2016-07-20 | 2016-07-20 | Star projection tube | 
| Publication Number | Publication Date | 
|---|---|
| JP2018013581A JP2018013581A (en) | 2018-01-25 | 
| JP6999097B2true JP6999097B2 (en) | 2022-01-18 | 
| Application Number | Title | Priority Date | Filing Date | 
|---|---|---|---|
| JP2016142500AActiveJP6999097B2 (en) | 2016-07-20 | 2016-07-20 | Star projection tube | 
| Country | Link | 
|---|---|
| JP (1) | JP6999097B2 (en) | 
| Publication number | Priority date | Publication date | Assignee | Title | 
|---|---|---|---|---|
| JP7104874B2 (en)* | 2018-02-20 | 2022-07-22 | 株式会社五藤光学研究所 | planetarium stellar projection tube | 
| JP2019144379A (en)* | 2018-02-20 | 2019-08-29 | 株式会社五藤光学研究所 | Planetarium performance method | 
| CN112859330B (en)* | 2021-02-18 | 2025-03-25 | 嘉兴驭光光电科技有限公司 | Diffractive optical element and design method, optical projection device and vehicle | 
| Publication number | Priority date | Publication date | Assignee | Title | 
|---|---|---|---|---|
| JP2001109063A (en) | 1999-10-05 | 2001-04-20 | Minoruta Puranetariumu Kk | Fixed star projector for planetarium | 
| JP2009210912A (en) | 2008-03-05 | 2009-09-17 | Ohira Giken:Kk | Planetarium apparatus | 
| JP2009237481A (en) | 2008-03-28 | 2009-10-15 | Ohira Giken:Kk | Planetarium fiber lighting device | 
| Publication number | Priority date | Publication date | Assignee | Title | 
|---|---|---|---|---|
| JP2001109063A (en) | 1999-10-05 | 2001-04-20 | Minoruta Puranetariumu Kk | Fixed star projector for planetarium | 
| JP2009210912A (en) | 2008-03-05 | 2009-09-17 | Ohira Giken:Kk | Planetarium apparatus | 
| JP2009237481A (en) | 2008-03-28 | 2009-10-15 | Ohira Giken:Kk | Planetarium fiber lighting device | 
| Publication number | Publication date | 
|---|---|
| JP2018013581A (en) | 2018-01-25 | 
| Publication | Publication Date | Title | 
|---|---|---|
| US6631995B2 (en) | Method of and device for generating an image having a desired brightness | |
| TWI248553B (en) | Adaptive image display | |
| CN104067334B (en) | The adaption brightness of head mounted display controls | |
| KR19990076596A (en) | Microscope Lighting | |
| JP6999097B2 (en) | Star projection tube | |
| JP2006184567A (en) | Projection image display device and brightness adjustment method thereof | |
| TWI395977B (en) | Stereoscopic disply apparatus and display method | |
| US7201483B2 (en) | Apparatus and method for providing both day and night vision simulations | |
| CN104501107A (en) | Device for automatically adjusting indoor lighting according to television screen brightness | |
| WO2021128406A1 (en) | Eyeball tracking system for near-eye display apparatus, and near-eye display apparatus | |
| JP2008234842A (en) | Light source device and projector | |
| US20110110090A1 (en) | An integrated multiple output luminaire | |
| DE202005008776U1 (en) | Flat television (TV) image-screen, has additional small background illumination image screen | |
| JP6501261B2 (en) | Display method of starry sky and starry sky display device used for the method | |
| JP5414193B2 (en) | Planetarium fiber illuminator | |
| JP2007322843A (en) | Sidereal projector of planetarium | |
| JP6201720B2 (en) | Image display device and control device | |
| WO2015079715A1 (en) | Fixed star projection barrel | |
| JP6853940B2 (en) | Lighting device for visual inspection | |
| US20100245673A1 (en) | Illumination device | |
| JP5879775B2 (en) | Digital camera with projector | |
| JP7104874B2 (en) | planetarium stellar projection tube | |
| JP2004279580A (en) | Projector | |
| CN206805990U (en) | Based on the patterned DLP backlight arrangements of DMD | |
| JP3267645B2 (en) | How to display holographic images | 
| Date | Code | Title | Description | 
|---|---|---|---|
| A521 | Request for written amendment filed | Free format text:JAPANESE INTERMEDIATE CODE: A523 Effective date:20160725 | |
| A621 | Written request for application examination | Free format text:JAPANESE INTERMEDIATE CODE: A621 Effective date:20190708 | |
| A977 | Report on retrieval | Free format text:JAPANESE INTERMEDIATE CODE: A971007 Effective date:20200423 | |
| A131 | Notification of reasons for refusal | Free format text:JAPANESE INTERMEDIATE CODE: A131 Effective date:20200518 | |
| A601 | Written request for extension of time | Free format text:JAPANESE INTERMEDIATE CODE: A601 Effective date:20200713 | |
| A521 | Request for written amendment filed | Free format text:JAPANESE INTERMEDIATE CODE: A523 Effective date:20200914 | |
| A131 | Notification of reasons for refusal | Free format text:JAPANESE INTERMEDIATE CODE: A131 Effective date:20210224 | |
| A601 | Written request for extension of time | Free format text:JAPANESE INTERMEDIATE CODE: A601 Effective date:20210420 | |
| A521 | Request for written amendment filed | Free format text:JAPANESE INTERMEDIATE CODE: A523 Effective date:20210621 | |
| A131 | Notification of reasons for refusal | Free format text:JAPANESE INTERMEDIATE CODE: A131 Effective date:20211115 | |
| A521 | Request for written amendment filed | Free format text:JAPANESE INTERMEDIATE CODE: A523 Effective date:20211118 | |
| TRDD | Decision of grant or rejection written | ||
| A01 | Written decision to grant a patent or to grant a registration (utility model) | Free format text:JAPANESE INTERMEDIATE CODE: A01 Effective date:20211202 | |
| A61 | First payment of annual fees (during grant procedure) | Free format text:JAPANESE INTERMEDIATE CODE: A61 Effective date:20211209 | |
| R150 | Certificate of patent or registration of utility model | Ref document number:6999097 Country of ref document:JP Free format text:JAPANESE INTERMEDIATE CODE: R150 | |
| R250 | Receipt of annual fees | Free format text:JAPANESE INTERMEDIATE CODE: R250 |