
























































































































本発明は、外科用器具に関し、また様々な構成における、組織をステープル留め及び切断するために設計された、外科用ステープル留め及び切断器具並びにそれらと共に使用するためのステープルカートリッジに関する。 The present invention relates to surgical instruments and, in various configurations, to surgical staples and cutting instruments designed for stapled and cutting tissue, and staple cartridges for use with them.
本明細書に記載する実施形態の様々な特徴は、それらの利点と共に、以下の添付図面と併せて以下の説明によって理解することができる。
複数の図面を通して、対応する参照符号は対応する部分を示す。本明細書に記載される例示は、本発明の様々な実施形態を1つの形態で例示するものであり、かかる例示は、いかなる方法によっても本発明の範囲を限定するものとして解釈されるべきではない。 Throughout the drawings, the corresponding reference numerals indicate the corresponding parts. The illustrations described herein illustrate various embodiments of the invention in one form, and such illustrations should be construed as limiting the scope of the invention in any way. do not have.
本願の出願人は、本願と同日に出願された以下の特許出願を所有しており、これらはそれぞれの全体内容が参照により本明細書に組み込まれる:
-米国特許出願第________号、発明の名称「METHOD FOR OPERATING A SURGICAL STAPLING SYSTEM」、代理人整理番号END7821USNP/150535号、
-米国特許出願第________号、発明の名称「SURGICAL STAPLING SYSTEM COMPRISING A DISPLAY INCLUDING A RE-ORIENTABLE DISPLAY FIELD」、代理人整理番号END7822USNP1/150536-1、
-米国特許出願第________号、発明の名称「SURGICAL STAPLING SYSTEM COMPRISING A DISPLAY INCLUDING A RE-ORIENTABLE DISPLAY FIELD」、代理人整理番号END7822USNP1/150536-1号、
-米国特許出願第________号、発明の名称「SURGICAL INSTRUMENT HANDLE ASSEMBLY WITH RECONFIGURABLE GRIP PORTION」、代理人整理番号END7823USNP/150537号、
-米国特許出願第________号、発明の名称「ROTARY POWERED SURGICAL INSTRUMENT WITH MANUALLY ACTUATABLE BAILOUT SYSTEM」、代理人整理番号END7824USNP/150538号、
-米国特許出願第________号、発明の名称「SURGICAL CUTTING AND STAPLING END EFFECTOR WITH ANVIL CONCENTRIC DRIVE MEMBER」、代理人整理番号END7825USNP/150539号、
-米国特許出願第________号、発明の名称「CLOSURE SYSTEM ARRANGEMENTS FOR SURGICAL CUTTING AND STAPLING DEVICES WITH SEPARATE AND DISTINCT FIRING SHAFTS」、代理人整理番号END7826USNP/150540号、
-米国特許出願第________号、名称「INTERCHANGEABLE SURGICAL TOOL ASSEMBLY WITH A SURGICAL END EFFECTOR THAT IS SELECTIVELY ABOUT A SHAFT AXIS」、代理人整理番号END7827USNP/150541号、
-米国特許出願第________号、発明の名称「SURGICAL STAPLING SYSTEM COMPRISING A SHIFTABLE TRANSMISSION」、代理人整理番号END7829USNP/150543号、
-米国特許出願第________号、発明の名称「SURGICAL STAPLING SYSTEM CONFIGURED TO PROVIDE SELECTIVE CUTTING OF TISSUE」、代理人整理番号END7830USNP/150544号、
-米国特許出願第________号、発明の名称「SURGICAL STAPLING SYSTEM COMPRISING A CONTOURABLE SHAFT」、代理人整理番号END7831USNP/150545号、
-米国特許出願第________号、発明の名称「SURGICAL STAPLING SYSTEM COMPRISING A TISSUE COMPRESSION LOCKOUT」、代理人整理番号END7832USNP/150546号、
-米国特許出願第________号、発明の名称「SURGICAL STAPLING SYSTEM COMPRISING AN UNCLAMPING LOCKOUT」、代理人整理番号END7833USNP/150547号、
-米国特許出願第________号、発明の名称「SURGICAL STAPLING SYSTEM COMPRISING A JAW CLOSURE LOCKOUT」、代理人整理番号END7834USNP/150548号、
-米国特許出願第________号、発明の名称「SURGICAL STAPLING SYSTEM COMPRISING A JAW ATTACHMENT LOCKOUT」、代理人整理番号END7835USNP/150549号、
-米国特許出願第________号、発明の名称「SURGICAL STAPLING SYSTEM COMPRISING A SPENT CARTRIDGE LOCKOUT」、代理人整理番号END7836USNP/150550号、
-米国特許出願第________号、発明の名称「SURGICAL INSTRUMENT COMPRISING A SHIFTING MECHANISM」、代理人整理番号END7837USNP/150551号、
-米国特許出願第________号、発明の名称「SURGICAL STAPLING INSTRUMENT COMPRISING MULTIPLE LOCKOUTS」、代理人整理番号END7838USNP/150552号、
-米国特許出願第________号、発明の名称「SURGICAL STAPLING INSTRUMENT」、代理人整理番号END7839USNP/150553号、
-米国特許出願第________号、発明の名称「SURGICAL STAPLING SYSTEM CONFIGURED TO APPLY ANNULAR ROWS OF STAPLES HAVING DIFFERENT HEIGHTS」、代理人整理番号END7840USNP/150554号、
-米国特許出願第________号、発明の名称「SURGICAL STAPLING SYSTEM COMPRISING A GROOVED FORMING POCKET」、代理人整理番号END7841USNP/150555号、
-米国特許出願第________号、発明の名称「ANVIL MODIFICATION MEMBERS FOR SURGICAL STAPLERS」、代理人整理番号END7842USNP/150556号、
-米国特許出願第________号、発明の名称「STAPLE CARTRIDGES WITH ATRAUMATIC FEATURES」、代理人整理番号END7843USNP/150557号、
-米国特許出願第________号、発明の名称「CIRCULAR STAPLING SYSTEM COMPRISING AN INCISABLE TISSUE SUPPORT」、代理人整理番号END7844USNP/150558号、
-米国特許出願第________号、発明の名称「CIRCULAR STAPLING SYSTEM COMPRISING ROTARY FIRING SYSTEM」、代理人整理番号END7845USNP/150559号、及び
-米国特許出願第________号、名称「CIRCULAR STAPLING SYSTEM COMPRISING LOAD CONTROL」、代理人整理番号END7845USNP1/150559-1号。The applicant of the present application owns the following patent applications filed on the same day as the present application, the entire contents of which are incorporated herein by reference:
-US Patent Application No. ________, title of invention "METHOD FOR OPERATING A SURGICAL STAPLING SYSTEM", agent reference number END7821USNP / 150535,
-US Patent Application No. ________, title of invention "SURGICAL STAPLING SYSTEM COMPRISING A DISPLAY INCLUDING A RE-ORIENTABLE DISPLAY FIELD", agent reference number END7822USNP1 / 15036
-US Pat.
-US Patent Application No. ________, title of invention "SURGICAL INSTRUMENT HANDLE ASSEMBLY WITH RECONFIGURABLE GRIP PORTION", agent reference number END7823USNP / 150537,
-US Pat.
-US Pat.
-US Patent Application No. ________, Title of Invention "CLOSES SYSTEM ARRANGEMENTS FOR SURGICAL CUTTING AND STAPLING DEVICES WITH SEPARATE AND DISTICT FIRING SAFTS"
-US Pat.
-US Pat.
-US Pat.
-US Patent Application No. ________, Invention Title "SURGICAL STAPLING SYSTEM COMPRISING A CONTOURABLE SHAFT", Agent Reference No. END7831USNP / 150545,
-US Pat.
-US Patent Application No. ________, Title of Invention "SURGICAL STAPLING SYSTEM COMPRISING AN UNCLAMPING LOCKOUT", Agent Reference No. END7833USNP / 150547,
-US Patent Application No. ________, Invention Title "SURGICAL STAPLING SYSTEM COMPRISING A JAW CLOSE LOCKOUT", Agent Reference Number END7384USNP / 150548
-US Pat.
-US Pat.
-US Pat.
-US Pat.
-US Patent Application No. ________, title of invention "SURGICAL STAPLING INSTRUMENT", agent reference number END7839USNP / 150553,
-US Pat.
-US Patent Application No. ________, Title of Invention "SURGICAL STAPLING SYSTEM COMPRISING A GROOVED FORMING POCKET", Agent Reference No. END7841USNP / 150555,
-US Patent Application No. ________, title of invention "ANVIL MODEFIRATION MEMBERS FOR SURGICAL STAPLERS", agent reference number END7842USNP / 150556,
-US Patent Application No. ________, title of invention "STAPLE CARTRIDGES WITH ATRAUMATIC FEATURES", agent reference number END7843USNP / 150557,
-US Patent Application No. ________, Invention Title "CIRCULAR STAPLING SYSTEM COMPRISING AN INCISABLE TISSUE SUPPORT", Agent Reference No. END7844USNP / 150558,
-US Patent Application No. ________, Invention Title "CIRCULAR STAPLING SYSTEM COMPRISING ROTARY FIRING SYSTEM", Agent Reference Number END7845USNP / 150559, and-US Patent Application No. ______ Person
本出願の出願人はまた、2015年12月31日付で出願され、それぞれ本明細書において各全体が参照として組み込まれる、以下に指定の米国特許出願を保持する。
-米国特許出願第14/984,488号、発明の名称「MECHANISMS FOR COMPENSATING FOR BATTERY PACK FAILURE IN POWERED SURGICAL INSTRUMENTS」、
-米国特許出願第14/984,525号、発明の名称「MECHANISMS FOR COMPENSATING FOR DRIVETRAIN FAILURE IN POWERED SURGICAL INSTRUMENTS」、及び
-米国特許出願第14/984,552号、発明の名称「SURGICAL INSTRUMENTS WITH SEPARABLE MOTORS AND MOTOR CONTROL CIRCUITS」。The applicant of this application also retains the designated US patent application, filed December 31, 2015, each of which is incorporated herein by reference in its entirety.
-US Patent Application No. 14 / 984,488, Invention Title "MECHANIMSS FOR COMPENSATING FOR BATTERY PACK FAIRURE IN POWERED SURGICAL INSTRUMENTS",
-US Patent Application No. 14 / 984,525, title of invention "MECHANIMSS FOR COMPENSATING FOR DRIVETRAIN FAIRURE IN POWERED SURGICAL INSTRUMENTS", and-US Patent Application No. 14 / 984,552, title of invention "SURGICAL" AND MOTOR CONTROL CIRCUITS ".
本出願の出願人はまた、2016年2月9日付で出願され、それぞれ本明細書において各全体が参照として組み込まれる、以下に指定の米国特許出願を保持する。
-米国特許出願第15/019,220号、発明の名称「SURGICAL INSTRUMENT WITH ARTICULATING AND AXIALLY TRANSLATABLE END EFFECTOR」、
-米国特許出願第15/019,228号、発明の名称「SURGICAL INSTRUMENTS WITH MULTIPLE LINK ARTICULATION ARRANGEMENTS」、
-米国特許出願第15/019,196号、発明の名称「SURGICAL INSTRUMENT ARTICULATION MECHANISM WITH SLOTTED SECONDARY CONSTRAINT」、
-米国特許出願第15/019,206号、発明の名称「SURGICAL INSTRUMENTS WITH AN END EFFECTOR THAT IS HIGHLY ARTICULATABLE RELATIVE TO AN ELONGATE SHAFT ASSEMBLY」、
-米国特許出願第15/019,215号、発明の名称「SURGICAL INSTRUMENTS WITH NON-SYMMETRICAL ARTICULATION ARRANGEMENTS」、
-米国特許出願第15/019,227号、発明の名称「ARTICULATABLE SURGICAL INSTRUMENTS WITH SINGLE ARTICULATION LINK ARRANGEMENTS」、
-米国特許出願第15/019,235号、発明の名称「SURGICAL INSTRUMENTS WITH TENSIONING ARRANGEMENTS FOR CABLE DRIVEN ARTICULATION SYSTEMS」、
-米国特許出願第15/019,230号、発明の名称「ARTICULATABLE SURGICAL INSTRUMENTS WITH OFF-AXIS FIRING BEAM ARRANGEMENTS」、及び
-米国特許出願第15/019,245号、発明の名称「SURGICAL INSTRUMENTS WITH CLOSURE STROKE REDUCTION ARRANGEMENTS」。The applicant of this application also retains the designated US patent application, filed February 9, 2016, each of which is incorporated herein by reference in its entirety.
-US Patent Application No. 15 / 019,220, Title of Invention "SURGICAL INSTRUMENT WITH ARTICULATING AND AXIALLY TRANSLATABLE END EFFECTOR",
-US Patent Application No. 15 / 019,228, Invention Title "SURGICAL INSTRUMENTS WITH MULTIPLE LINK ARTICULATION ARRANGEMENTS",
-US Patent Application No. 15 / 019,196, Invention Title "SURGICAL INSTRUMENT ARTICULATION MEMHANISM WITH SLOTTED SECONDARY CONSTRAINT",
-US Patent Application No. 15 / 019,206, title of invention "SURGICAL INSTRUMENTS WITH AN END EFFECTOR THAT IS HIGHLY ARTICULATABLE RELATIVE TO AN ELONGATE SHAFT ASSEMBLY",
-US Patent Application No. 15 / 019,215, Title of Invention "SURGICAL INSTRUMENTS WITH NON-SYMMETRICAL ARTICULATION ARRANGEMENTS",
-US Patent Application No. 15 / 019,227, title of invention "ARTICULATABLE SURGICAL INSTRUMENTS WITH SINGLE ARTICULATION LINK ARRANGEMENTS",
-US Patent Application No. 15 / 019,235, Invention Title "SURGICAL INSTRUMENTS WITH TENSIONING ARRANGEMENTS FOR CABLE DRIVEEN ARTICULATION SYSTEMS",
-US Patent Application No. 15 / 019,230, title of invention "ARTICULATABLE SURGICAL INSTRUMENTS WITH OFF-AXIS FIRING BEAM ARRANGEMENTS", and-US Patent Application No. 15 / 019,245, title of invention "SURGICAL" REDUCTION ARRANGEMENTS ".
本出願の出願人はまた、2016年2月12日付で出願され、それぞれ本明細書において各全体が参照として組み込まれる、以下に指定の米国特許出願を保持する。
-米国特許出願第15/043,254号、発明の名称「MECHANISMS FOR COMPENSATING FOR DRIVETRAIN FAILURE IN POWERED SURGICAL INSTRUMENTS」、
-米国特許出願第15/043,259号、発明の名称「MECHANISMS FOR COMPENSATING FOR DRIVETRAIN FAILURE IN POWERED SURGICAL INSTRUMENTS」、
-米国特許出願第15/043,275号、発明の名称「MECHANISMS FOR COMPENSATING FOR DRIVETRAIN FAILURE IN POWERED SURGICAL INSTRUMENTS」、及び
-米国特許出願第15/043,289号、発明の名称「MECHANISMS FOR COMPENSATING FOR DRIVETRAIN FAILURE IN POWERED SURGICAL INSTRUMENTS」。The applicant of this application also retains the designated US patent application, filed February 12, 2016, each of which is incorporated herein by reference in its entirety.
-US Patent Application No. 15 / 043,254, title of invention "MECHANIMSS FOR COMPENSATING FOR DRIVETRAIN FAIRURE IN POWERED SURGICAL INSTRUMENTS",
-US Patent Application No. 15 / 043,259, title of invention "MECHANIMSS FOR COMPENSATING FOR DRIVETRAIN FAIRURE IN POWERED SURGICAL INSTRUMENTS",
-US Patent Application No. 15 / 043,275, title of invention "MECHANIMSS FOR COMPENSATING FOR DRIVETRAIN FAIRURE IN POWERED SURGICAL INSTRUMENTS", and-US Patent Application No. 15 / 043,289, title of invention "MECHANMISS FOR FAIRURE IN POWERED SURGICAL INSTRUMENTS ".
本願の出願人は、2015年6月18日に出願された以下の特許出願を所有しており、これらはそれぞれの全体内容が参照により本明細書に組み込まれる:
-米国特許出願第14/742,925号、発明の名称「SURGICAL END EFFECTORS WITH POSITIVE JAW OPENING ARRANGEMENTS」、
-米国特許出願第14/742,941号、発明の名称「SURGICAL END EFFECTORS WITH DUAL CAM ACTUATED JAW CLOSING FEATURES」、
-米国特許出願第14/742,914号、発明の名称「MOVABLE FIRING BEAM SUPPORT ARRANGEMENTS FOR ARTICULATABLE SURGICAL INSTRUMENTS」、
-米国特許出願第14/742,900号、発明の名称「ARTICULATABLE SURGICAL INSTRUMENTS WITH COMPOSITE FIRING BEAM STRUCTURES WITH CENTER FIRING SUPPORT MEMBER FOR ARTICULATION SUPPORT」、
-米国特許出願第14/742,885号、発明の名称「DUAL ARTICULATION DRIVE SYSTEM ARRANGEMENTS FOR ARTICULATABLE SURGICAL INSTRUMENTS」、及び
-米国特許出願第14/742,876号、名称「PUSH/PULL ARTICULATION DRIVE SYSTEMS FOR ARTICULATABLE SURGICAL INSTRUMENTS」。The applicant of the present application owns the following patent applications filed on June 18, 2015, the entire contents of which are incorporated herein by reference:
-US Patent Application No. 14 / 742,925, Invention title "SURGICAL END EFFECTORS WITH POSITIVE JAW OPENING ARRANGEMENTS",
-US Patent Application No. 14 / 742,941, Title of Invention "SURGICAL END EFFECTORS WITH DUAL CAM ACTUATED JAW CLOSEING FEATURES",
-US Patent Application No. 14 / 742,914, Invention Title "MOVABLE FIRING BEAM SUPPORT ARRANGEMENTS FOR ARTICULATABLE SURGICAL INSTRUMENTS",
-US Patent Application No. 14 / 742,900, title of invention "ARTICULATABLE SURGICAL INSTRUMENTS WITH COMPOSITE FIRING BEAM STRUCTURES WITH CENTER FIRING SUPPORT MEMBER FORT PORT"
-US Patent Application No. 14 / 742,885, title of invention "DUAL ARTICULATION DRIVE SYSTEM ARRANGEMENTS FOR ARTICULATABLE SURGICAL INSTRUMENTS", and-US Patent Application No. 14 / 742, 876, name "PUSRATIONS" SURGICAL INSTRUMENTS ".
本願の出願人は、2015年3月6日に出願された以下の特許出願を所有しており、これらはそれぞれの全体内容が参照により本明細書に組み込まれる:
-米国特許出願第14/640,746号、発明の名称「POWERED SURGICAL INSTRUMENT」、
-米国特許出願第14/640,795号、発明の名称「MULTIPLE LEVEL THRESHOLDS TO MODIFY OPERATION OF POWERED SURGICAL INSTRUMENTS」、
-米国特許出願第14/640,832号、発明の名称「ADAPTIVE TISSUE COMPRESSION TECHNIQUES TO ADJUST CLOSURE RATES FOR MULTIPLE TISSUE TYPES」、代理人整理番号END7557USNP/140482号、
-米国特許出願第14/640,935号、発明の名称「OVERLAID MULTI SENSOR RADIO FREQUENCY(RF)ELECTRODE SYSTEM TO MEASURE TISSUE COMPRESSION」、
-米国特許出願第14/640,831号、発明の名称「MONITORING SPEED CONTROL AND PRECISION INCREMENTING OF MOTOR FOR POWERED SURGICAL INSTRUMENTS」、
-米国特許出願第14/640,859号、発明の名称「TIME DEPENDENT EVALUATION OF SENSOR DATA TO DETERMINE STABILITY,CREEP,AND VISCOELASTIC ELEMENTS OF MEASURES」、
-米国特許出願第14/640,817号、発明の名称「INTERACTIVE FEEDBACK SYSTEM FOR POWERED SURGICAL INSTRUMENTS」、
-米国特許出願第14/640,844号、発明の名称「CONTROL TECHNIQUES AND SUB-PROCESSOR CONTAINED WITHIN MODULAR SHAFT WITH SELECT CONTROL PROCESSING FROM HANDLE」、
-米国特許出願第14/640,837号、発明の名称「SMART SENSORS WITH LOCAL SIGNAL PROCESSING」、
-米国特許出願第14/640,765号、発明の名称「SYSTEM FOR DETECTING THE MIS-INSERTION OF A STAPLE CARTRIDGE INTO A SURGICAL STAPLER」、
-米国特許出願第14/640,799号、発明の名称「SIGNAL AND POWER COMMUNICATION SYSTEM POSITIONED ON A ROTATABLE SHAFT」、及び
-米国特許出願第14/640,780号、発明の名称「SURGICAL INSTRUMENT COMPRISING A LOCKABLE BATTERY HOUSING」。The applicant of the present application owns the following patent applications filed on March 6, 2015, the entire contents of which are incorporated herein by reference:
-US Patent Application No. 14 / 640,746, Invention Title "POWERED SURGICAL INSTRUMENT",
-US Pat.
-US Pat.
-US Patent Application No. 14 / 640,935, title of invention "OVERLAID MULTI SENSOR RADIO FREQUENCY (RF) ELECTRODE SYSTEM TO MEASURE TISSUE COMPRESSION",
-US Patent Application No. 14 / 640,831, Title of the Invention "MONITORING SPEED CONTROLL AND PRECISION INCREMENTING OF MOTOR FOR FOR POWERED SURGICAL INSTRUMENTS",
-US Patent Application No. 14 / 640,859, Title of Invention "TIME DEPENDENT EVALUATION OF SENSOR DATA TO DETERMINE STABILITY, CREEP, AND VISCOELASTIC ELEMENTS OF MEASURES",
-US Patent Application No. 14 / 640,817, Title of Invention "INTERACTIVE FEEDBACK SYSTEM FOR POWERED SURGICAL INSTRUMENTS",
-US Patent Application No. 14 / 640,844, title of invention "CONTROL TECHNIQUES AND SUB-PROCESSOR COUNTAINED WITHIN MODELAR SHAFT WITH SELECT CONTROLL PROCESSING FROM HANDLE",
-US Patent Application No. 14 / 640,837, Invention Title "SMART SENSORS WITH LOCAL SIGNAL PROCESSING",
-US Patent Application No. 14 / 640,765, title of invention "SYSTEM FOR DETECTING THE MIS-INSERTION OF A STAPLE CARTRIDGE INTO A SURGICAL STAPLER",
-US Pat. BATTERY HOUSING ".
本願の出願人は、2015年2月27日に出願された以下の特許出願を所有しており、これらはそれぞれの全体内容が参照により本明細書に組み込まれる:
-米国特許出願第14/633,576号、発明の名称「SURGICAL INSTRUMENT SYSTEM COMPRISING AN INSPECTION STATION」、
-米国特許出願第14/633,546号、発明の名称「SURGICAL APPARATUS CONFIGURED TO ASSESS WHETHER A PERFORMANCE PARAMETER OF THE SURGICAL APPARATUS IS WITHIN AN ACCEPTABLE PERFORMANCE BAND」、
-米国特許出願第14/633,576号、発明の名称「SURGICAL CHARGING SYSTEM THAT CHARGES AND/OR CONDITIONS ONE OR MORE BATTERIES」、
-米国特許出願第14/633,566号、発明の名称「CHARGING SYSTEM THAT ENABLES EMERGENCY RESOLUTIONS FOR CHARGING A BATTERY」、
-米国特許出願第14/633,555号、発明の名称「SYSTEM FOR MONITORING WHETHER A SURGICAL INSTRUMENT NEEDS TO BE SERVICED」、
-米国特許出願第14/633,542号、発明の名称「REINFORCED BATTERY FOR A SURGICAL INSTRUMENT」、
-米国特許出願第14/633,548号、発明の名称「POWER ADAPTER FOR A SURGICAL INSTRUMENT」、
-米国特許出願第14/633,526号、発明の名称「ADAPTABLE SURGICAL INSTRUMENT HANDLE」、
-米国特許出願第14/633,541号、発明の名称「MODULAR STAPLING ASSEMBLY」、及び
-米国特許出願第14/633,562号、発明の名称「SURGICAL APPARATUS CONFIGURED TO TRACK AN END-OF-LIFE PARAMETER」。The applicant of the present application owns the following patent applications filed on February 27, 2015, the entire contents of which are incorporated herein by reference:
-US Patent Application No. 14 / 633,576, title of invention "SURGICAL INSTRUMENT SYSTEM COMPRISING AN INSTECTION STATION",
-US Pat.
-US Patent Application No. 14 / 633,576, Invention Title "SURGICAL CHARGING SYSTEM THAT CHARGES AND / OR CONDITIONS ONE OR MORE BATTERIES",
-US Patent Application No. 14 / 633,566, Invention Title "CHARGING SYSTEM THAT ENABLES EMERGENCY RESOLUTIONS FOR CHARGING A BATTERY",
-US Patent Application No. 14 / 633,555, Invention Title "SYSTEM FOR MONITORING WHETHER A SURGICAL INSTRUMENT NEEDS TO BE SERVICED",
-US Patent Application No. 14 / 633,542, title of invention "REINFORCED BATTERY FOR A SURGICAL INSTRUMENT",
-US Patent Application No. 14 / 633,548, Title of Invention "POWER ADAPTER FOR A SURGICAL INSTRUMENT",
-US Patent Application No. 14 / 633,526, Invention Title "ADAPTABLE SURGICAL INSTRUMENT HANDLE",
-US Patent Application No. 14 / 633,541, Invention Name "MODULAR STAPLING ASSEMBLY", and-US Patent Application No. 14 / 633,562, Invention Name "SURGICAL APPARATUS CONFIGURED TO TRACK AN END-OF-LIFE PARAMETER"".
本願の出願人は、2014年12月18日に出願された以下の特許出願を所有しており、これらはそれぞれの全体内容が参照により本明細書に組み込まれる:
-米国特許出願第14/574,478号、発明の名称「SURGICAL INSTRUMENT SYSTEMS COMPRISING AN ARTICULATABLE END EFFECTOR AND MEANS FOR ADJUSTING THE FIRING STROKE OF A FIRING」、
-米国特許出願第14/574,483号、発明の名称「SURGICAL INSTRUMENT ASSEMBLY COMPRISING LOCKABLE SYSTEMS」、
-米国特許出願第14/575,139号、発明の名称「DRIVE ARRANGEMENTS FOR ARTICULATABLE SURGICAL INSTRUMENTS」、
-米国特許出願第14/575,148号、発明の名称「LOCKING ARRANGEMENTS FOR DETACHABLE SHAFT ASSEMBLIES WITH ARTICULATABLE SURGICAL END EFFECTORS」、
-米国特許出願第14/575,130号、発明の名称「SURGICAL INSTRUMENT WITH AN ANVIL THAT IS SELECTIVELY MOVABLE ABOUT A DISCRETE NON-MOVABLE AXIS RELATIVE TO A STAPLE CARTRIDGE」、
-米国特許出願第14/575,143号、発明の名称「SURGICAL INSTRUMENTS WITH IMPROVED CLOSURE ARRANGEMENTS」、
-米国特許出願第14/575,117号、発明の名称「SURGICAL INSTRUMENTS WITH ARTICULATABLE END EFFECTORS AND MOVABLE FIRING BEAM SUPPORT ARRANGEMENTS」、
-米国特許出願第14/575,154号、発明の名称「SURGICAL INSTRUMENTS WITH ARTICULATABLE END EFFECTORS AND IMPROVED FIRING BEAM SUPPORT ARRANGEMENTS」、
-米国特許出願第14/574,493号、発明の名称「SURGICAL INSTRUMENT ASSEMBLY COMPRISING A FLEXIBLE ARTICULATION SYSTEM」、及び
-米国特許出願第14/574,500号、発明の名称「SURGICAL INSTRUMENT ASSEMBLY COMPRISING A LOCKABLE ARTICULATION SYSTEM」。The applicant of the present application owns the following patent applications filed on December 18, 2014, the entire contents of which are incorporated herein by reference:
-US Pat.
-US Patent Application No. 14 / 574,483, Invention Title "SURGICAL INSTRUMENT ASSEMBLY COMPRISING LOCKABLE SYSTEMS",
-US Patent Application No. 14 / 575,139, Title of Invention "DRIVE ARRANGEMENTS FOR ARTICULATABLE SURGICAL INSTRUMENTS",
-US Patent Application No. 14 / 575,148, Title of Invention "LOCKING ARRANGEMENTS FOR DETACHABLE SHAFT ASSEMBLEES WITH ARTICULATABLE SURGICAL END EFFECTORS",
-US Pat.
-US Patent Application No. 14 / 575,143, Invention Title "SURGICAL INSTRUMENTS WITH IMPROVEED CLOSE ARRANGENTS",
-US Patent Application No. 14 / 575,117, title of invention "SURGICAL INSTRUMENTS WITH ARTICULATABLE END EFFECTORS AND MOVABLE FIRING BEAM SUPPORT ARRANGEMENTS",
-US Patent Application No. 14 / 575,154, title of invention "SURGICAL INSTRUMENTS WITH ARTICULATABLE END EFFECTORS AND IMPROVED FIRING BEAM SUPPORT ARRANGEMENTS",
-US Patent Application No. 14 / 574,493, title of invention "SURGICAL INSTRUMENT ASSIMBLY COMPRISING A FLEXIBLE ARTICULATION SYSTEM", and-US Patent Application No. 14 / 574,500, title of invention "SURGICAL SYSTEM ".
本願の出願人は、2013年3月1日に出願された以下の特許出願を所有しており、これらはそれぞれの全体内容が参照により本明細書に組み込まれる:
-米国特許出願第13/782,295号、発明の名称「Articulatable Surgical Instruments With Conductive Pathways For Signal Communication」、現在は米国特許出願公開第2014/0246471号、
-米国特許出願第13/782,323号、発明の名称「Rotary Powered Articulation Joints For Surgical Instruments」、現在は米国特許出願公開第2014/0246472号、
-米国特許出願第13/782,338号、発明の名称「Thumbwheel Switch Arrangements For Surgical Instruments」、現在は米国特許出願公開第2014/0249557号、
-米国特許出願第13/782,499号、発明の名称「Electromechanical Surgical Device with Signal Relay Arrangement」、現在は米国特許出願公開第2014/0246474号、
-米国特許出願第13/782,460号、発明の名称「Multiple Processor Motor Control for Modular Surgical Instruments」、現在は米国特許出願公開第2014/0246478号、
-米国特許出願第13/782,358号、発明の名称「Joystick Switch Assemblies For Surgical Instruments」、現在は米国特許出願公開第2014/0246477号、
-米国特許出願第13/782,481号、発明の名称「Sensor Straightened End Effector During Removal Through Trocar」、現在は米国特許出願公開第2014/0246479号、
-米国特許出願第13/782,518号、発明の名称「Control Methods for Surgical Instruments with Removable Implement Portions」、現在は米国特許出願公開第2014/0246475号、
-米国特許出願第13/782,375号、発明の名称「Rotary Powered Surgical Instruments With Multiple Degrees of Freedom」、現在は米国特許出願公開第2014/0246473号、及び、
-米国特許出願第13/782,536号、発明の名称「Surgical Instrument Soft Stop」、現在は米国特許出願公開第2014/0246476号。The applicant of the present application owns the following patent applications filed on March 1, 2013, the entire contents of which are incorporated herein by reference:
-US Pat.
-US Patent Application No. 13 / 782,323, Invention Title "Rotary Powered Articulation Joints For Surgical Instruments", now US Patent Application Publication No. 2014/0246472,
-US Patent Application No. 13 / 782,338, Invention Title "Thumbwhere Switch Arrangements For Surgical Instruments", now US Patent Application Publication No. 2014/0249557,
-US Patent Application No. 13 / 782,499, Invention Title "Electromechanical Surgical Device with Signal Relay Arrangement", now US Patent Application Publication No. 2014/0246474,
-US Patent Application No. 13 / 782,460, Invention Title "Multiple Procedure Motor Control for Modular Surgical Instruments", now US Patent Application Publication No. 2014/0246478,
-US Patent Application No. 13 / 782,358, Invention Title "Joystick Switch Associates For Surgical Instruments", now US Patent Application Publication No. 2014/0246477,
-US Patent Application No. 13 / 782,481, Invention Title "Sensor Straightened End Effector During Removal Through Trocar", now US Patent Application Publication No. 2014/0246479,
-US Patent Application No. 13 / 782,518, Invention Title "Control Methods for Surgical Instruments with Removable Implement Parts", now US Patent Application Publication No. 2014/0246475,
-US Patent Application No. 13 / 782,375, title of invention "Rotary Powered Surgical Instruments With Multiple Degrees of Freedom", now US Patent Application Publication No. 2014/0246473, and
-US Patent Application No. 13 / 782,536, title of invention "Surgical Instrument Soft Stop", now US Patent Application Publication No. 2014/0246476.
本願の出願人はまた、2013年3月14日に出願された以下の特許出願を所有しており、これらはそれぞれの全体内容が参照により本明細書に組み込まれる:
-米国特許出願第13/803,097号、発明の名称「ARTICULATABLE SURGICAL INSTRUMENT COMPRISING A FIRING DRIVE」、現在は米国特許出願公開第2014/0263542号、
-米国特許出願第13/803,193号、発明の名称「CONTROL ARRANGEMENTS FOR A DRIVE MEMBER OF A SURGICAL INSTRUMENT」、現在は米国特許出願公開第2014/0263537号、
-米国特許出願第13/803,053号、発明の名称「INTERCHANGEABLE SHAFT ASSEMBLIES FOR USE WITH A SURGICAL INSTRUMENT」、現在は米国特許出願公開第2014/0263564号、
-米国特許出願第13/803,086号、発明の名称「ARTICULATABLE SURGICAL INSTRUMENT COMPRISING AN ARTICULATION LOCK」、現在は米国特許出願公開第2014/0263541号、
-米国特許出願第13/803,210号、発明の名称「SENSOR ARRANGEMENTS FOR ABSOLUTE POSITIONING SYSTEM FOR SURGICAL INSTRUMENTS」、現在は米国特許出願公開第2014/0263538号、
-米国特許出願第13/803,148号、発明の名称「MULTI-FUNCTION MOTOR FOR A SURGICAL INSTRUMENT」、現在は米国特許出願公開第2014/0263554号、
-米国特許出願第13/803,066号、発明の名称「DRIVE SYSTEM LOCKOUT ARRANGEMENTS FOR MODULAR SURGICAL INSTRUMENTS」、現在は米国特許出願公開第2014/0263565号、
-米国特許出願第13/803,117号、発明の名称「ARTICULATION CONTROL SYSTEM FOR ARTICULATABLE SURGICAL INSTRUMENTS」、現在は米国特許出願公開第2014/0263553号、
-米国特許出願第13/803,130号、発明の名称「DRIVE TRAIN CONTROL ARRANGEMENTS FOR MODULAR SURGICAL INSTRUMENTS」、現在は米国特許出願公開第2014/0263543号、及び、
-米国特許出願第13/803,159号、発明の名称「METHOD AND SYSTEM FOR OPERATING A SURGICAL INSTRUMENT」、現在は米国特許出願公開第2014/0277017号。The applicant of the present application also owns the following patent applications filed on March 14, 2013, the entire contents of which are incorporated herein by reference:
-US Patent Application No. 13 / 803,097, Invention Title "ARTICULATABLE SURGICAL INSTRUMENT COMPRISING A FIRING DRIVE", now US Patent Application Publication No. 2014/0263542,
-US Patent Application No. 13 / 803,193, Invention Title "CONTROL ARRANGEMENTS FOR A DRIVE MEMBER OF A SURGICAL INSTRUMENT", now US Patent Application Publication No. 2014/0263537,
-US Pat.
-US Patent Application No. 13 / 803,086, Invention Title "ARTICULATABLE SURGICAL INSTRUMENT COMPRISING AN ARTICULATION LOCK", now US Patent Application Publication No. 2014/0263541,
-US Patent Application No. 13 / 803,210, Invention Title "SENSOR ARRANGEMENTS FOR ABSOLUTE POSTIONING SYSTEM FOR SURGICAL INSTRUMENTS", now US Patent Application Publication No. 2014/0263538,
-US Patent Application No. 13 / 803,148, Invention Title "MULTI-FUNCTION MOTOR FOR A SURGICAL INSTRUMENT", Currently US Patent Application Publication No. 2014/0263554,
-US Patent Application No. 13 / 803,066, Invention Title "DRIVE SYSTEM LOCKOUT ARRANGEMENTS FOR MODEDULAR SURGICAL INSTRUMENTS", now US Patent Application Publication No. 2014/0263565,
-US Patent Application No. 13 / 803,117, Invention Title "ARTICULATION CONTREM FOR ARTICULATABLE SURGICAL INSTRUMENTS", now US Patent Application Publication No. 2014/0263553,
-US Pat.
-US Patent Application No. 13 / 803,159, Invention Title "METHOD AND SYSTEM FOR OPERATING A SURGICAL INSTRUMENT", now US Patent Application Publication No. 2014/0277017.
本願の出願人はまた、2014年3月7日に出願された以下の特許出願を所有しており、その全体内容が参照により本明細書に組み込まれる:
-米国特許出願第14/200,111号、発明の名称「CONTROL SYSTEMS FOR SURGICAL INSTRUMENTS」、現在は米国特許出願公開第2014/0263539号。The applicant of the present application also owns the following patent application filed on March 7, 2014, the entire contents of which are incorporated herein by reference:
-US Patent Application No. 14 / 200,111, Invention Title "CONTROLL SYSTEMS FOR SURGICAL INSTRUMENTS", now US Patent Application Publication No. 2014/0263539.
本願の出願人はまた、2014年3月26日に出願された以下の特許出願を所有しており、これらはそれぞれの全体内容が参照により本明細書に組み込まれる:
-米国特許出願第14/226,106号、発明の名称「POWER MANAGEMENT CONTROL SYSTEMS FOR SURGICAL INSTRUMENTS」、現在は米国特許出願公開第2015/0272582号、
-米国特許出願第14/226,099号、発明の名称「STERILIZATION VERIFICATION CIRCUIT」、現在は米国特許出願公開第2015/0272581号、
-米国特許出願第14/226,094号、発明の名称「VERIFICATION OF NUMBER OF BATTERY EXCHANGES/PROCEDURE COUNT」、現在は米国特許出願公開第2015/0272580号、
-米国特許出願第14/226,117号、発明の名称「POWER MANAGEMENT THROUGH SLEEP OPTIONS OF SEGMENTED CIRCUIT AND WAKE UP CONTROL」、現在は米国特許出願公開第2015/0272574号、
-米国特許出願第14/226,075号、発明の名称「MODULAR POWERED SURGICAL INSTRUMENT WITH DETACHABLE SHAFT ASSEMBLIES」、現在は米国特許出願公開第2015/0272579号、
-米国特許出願第14/226,093号、発明の名称「FEEDBACK ALGORITHMS FOR MANUAL BAILOUT SYSTEMS FOR SURGICAL INSTRUMENTS」、現在は米国特許出願公開第2015/0272569号、
-米国特許出願第14/226,116号、発明の名称「SURGICAL INSTRUMENT UTILIZING SENSOR ADAPTATION」、現在は米国特許出願公開第2015/0272571号、
-米国特許出願第14/226,071号、発明の名称「SURGICAL INSTRUMENT CONTROL CIRCUIT HAVING A SAFETY PROCESSOR」、現在は米国特許出願公開第2015/0272578号、
-米国特許出願第14/226,097号、発明の名称「SURGICAL INSTRUMENT COMPRISING INTERACTIVE SYSTEMS」、現在は米国特許出願公開第2015/0272570号、
-米国特許出願第14/226,126号、発明の名称「INTERFACE SYSTEMS FOR USE WITH SURGICAL INSTRUMENTS」、現在は米国特許出願公開第2015/0272572号、
-米国特許出願第14/226,133号、発明の名称「MODULAR SURGICAL INSTRUMENT SYSTEM」、現在は米国特許出願公開第2015/0272557号、
-米国特許出願第14/226,081号、発明の名称「SYSTEMS AND METHODS FOR CONTROLLING A SEGMENTED CIRCUIT」、現在は米国特許出願公開第2015/0277471号、
-米国特許出願第14/226,076号、発明の名称「POWER MANAGEMENT THROUGH SEGMENTED CIRCUIT AND VARIABLE VOLTAGE PROTECTION」、現在は米国特許出願公開第2015/0280424号、
-米国特許出願第14/226,111号、発明の名称「SURGICAL STAPLING INSTRUMENT SYSTEM」、現在は米国特許出願公開第2015/0272583号、
-米国特許出願第14/226,125号、発明の名称「SURGICAL INSTRUMENT COMPRISING A ROTATABLE SHAFT」、現在は、米国特許出願公開第2015/0280384号。The applicant of the present application also owns the following patent applications filed on March 26, 2014, the entire contents of which are incorporated herein by reference:
-US Patent Application No. 14 / 226,106, Invention Title "POWER MANAGEMENT CONTOROL SYSTEMS FOR SURGICAL INSTRUMENTS", now US Patent Application Publication No. 2015/0272582,
-US Patent Application No. 14 / 226,099, Invention Title "STERILIZETION VERIFICATION CIRCUIT", now US Patent Application Publication No. 2015/0272581,
-US Patent Application No. 14 / 226,094, Invention Title "VERIFICATION OF NUMBER OF BATTERY EXCHANGE COUNT", now US Patent Application Publication No. 2015/0272580,
-US Pat.
-US Pat.
-US Patent Application No. 14 / 226,093, Invention Title "FEEDBACK ALGORITHMS FOR MANUAL BAILOUT SYSTEMS FOR SURGICAL INSTRUMENTS", now US Patent Application Publication No. 2015/0272569,
-US Patent Application No. 14 / 226,116, Invention Title "SURGICAL INSTRUMENT UTILIZING SENSOR ADAPPATION", Currently US Patent Application Publication No. 2015/0272571,
-US Pat.
-US Patent Application No. 14 / 226,097, Invention Title "SURGICAL INSTRUMENT COMPRISING INTERACTIVE SYSTEMS", now US Patent Application Publication No. 2015/0272570,
-US Patent Application No. 14 / 226,126, Invention Title "INTERFACE SYSTEMS FOR USE WITH SURGICAL INSTRUMENTS", now US Patent Application Publication No. 2015/0272572,
-US Patent Application No. 14 / 226,133, Invention Title "MODULAR SURGICAL INSTRUMENT SYSTEM", Currently US Patent Application Publication No. 2015/0272557,
-US Pat.
-US Pat.
-US Patent Application No. 14 / 226,111, Invention Title "SURGICAL STAPLING INSTRUMENT SYSTEM", Currently US Patent Application Publication No. 2015/0272583,
-US Patent Application No. 14 / 226,125, title of invention "SURGICAL INSTRUMENT COMPRISING A ROTATABLE SHAFT", currently US Patent Application Publication No. 2015/0280384.
本願の出願人はまた、2014年9月5日に出願された以下の特許出願を所有しており、これらはそれぞれの全体内容が参照により本明細書に組み込まれる:
-米国特許出願第14/479,103号、発明の名称「CIRCUITRY AND SENSORS FOR POWERED MEDICAL DEVICE」、現在は米国特許出願公開第2016/0066912号、
-米国特許出願第14/479,119号、発明の名称「ADJUNCT WITH INTEGRATED SENSOR TO QUANTIFY TISSUE COMPRESSION」、現在は米国特許出願公開第2016/0066914号、
-米国特許出願第14/478,908号、発明の名称「MONITORING DEVICE DEGRADATION BASED ON COMPONENT EVALUATION」、現在は米国特許出願公開第2016/0066910号、
-米国特許出願第14/478,895号、発明の名称「MULTIPLE SENSORS WITH ONE SENSOR AFFECTING A SECOND SENSOR’S OUTPUT OR INTERPRETATION」、現在は米国特許出願公開第2016/0066909号、
-米国特許出願第14/479,110号、発明の名称「USE OF POLARITY OF HALL MAGNET DETECTION TO DETECT MISLOADED CARTRIDGE」、現在は米国特許出願公開第2016/0066915号、
-米国特許出願第14/479,098号、発明の名称「SMART CARTRIDGE WAKE UP OPERATION AND DATA RETENTION」、現在は米国特許出願公開第2016/0066911号、
-米国特許出願第14/479,115号、発明の名称「MULTIPLE MOTOR CONTROL FOR POWERED MEDICAL DEVICE」、現在は米国特許出願公開第2016/0066916号、及び
-米国特許出願第14/479,108号、発明の名称「LOCAL DISPLAY OF TISSUE PARAMETER STABILIZATION」、現在は米国特許出願公開第2016/0066913号。The applicant of the present application also owns the following patent applications filed on September 5, 2014, the entire contents of which are incorporated herein by reference:
-US Patent Application No. 14 / 479,103, Invention Title "CIRCUITRY AND SENSORS FOR POWERED MEDICAL DEVICE", Currently US Patent Application Publication No. 2016/0066912,
-US Patent Application No. 14 / 479,119, Invention Title "ADJUNCT WITH INTERGRATED SENSOR TO QUANTIFY TISSUE COMPRESSION", now US Patent Application Publication No. 2016/0066914,
-US Patent Application No. 14 / 478,908, Invention Title "MONITORING DEVICE DEGRADATION BASED ON COMPONENT EVALUATION", now US Patent Application Publication No. 2016/0066910,
-US Pat.
-US Pat.
-US Pat.
-US Pat. The title of the invention, "LOCAL DISPLAY OF TISSUE PARAMETER STABILIZATION," is currently US Patent Application Publication No. 2016/0066913.
本願の出願人はまた、2014年4月9日に出願された以下の特許出願を所有しており、これらはそれぞれの全体内容が参照により本明細書に組み込まれる:
-米国特許出願第14/248,590号、発明の名称「MOTOR DRIVEN SURGICAL INSTRUMENTS WITH LOCKABLE DUAL DRIVE SHAFTS」、現在は米国特許出願公開第2014/0305987号、
-米国特許出願第14/248,581号、発明の名称「SURGICAL INSTRUMENT COMPRISING A CLOSING DRIVE AND A FIRING DRIVE OPERATED FROM THE SAME ROTATABLE OUTPUT」、現在は米国特許出願公開第2014/0305989号、
-米国特許出願第14/248,595号、発明の名称「SURGICAL INSTRUMENT SHAFT INCLUDING SWITCHES FOR CONTROLLING THE OPERATION OF THE SURGICAL INSTRUMENT」、現在は米国特許出願公開第2014/0305988号、
-米国特許出願第14/248,588号、発明の名称「POWERED LINEAR SURGICAL STAPLER」、現在は米国特許出願公開第2014/0309666号、
-米国特許出願第14/248,591号、発明の名称「TRANSMISSION ARRANGEMENT FOR A SURGICAL INSTRUMENT」、現在は米国特許出願公開第2014/0305991号、
-米国特許出願第14/248,584号、発明の名称「MODULAR MOTOR DRIVEN SURGICAL INSTRUMENTS WITH ALIGNMENT FEATURES FOR ALIGNING ROTARY DRIVE SHAFTS WITH SURGICAL END EFFECTOR SHAFTS」、現在は米国特許出願公開第2014/0305994号、
-米国特許出願第14/248,587号、発明の名称「POWERED SURGICAL STAPLER」、現在は米国特許出願公開第2014/0309665号、
-米国特許出願第14/248,586号、発明の名称「DRIVE SYSTEM DECOUPLING ARRANGEMENT FOR A SURGICAL INSTRUMENT」、現在は米国特許出願公開第2014/0305990号、及び、
-米国特許出願第14/248,607号、発明の名称「MODULAR MOTOR DRIVEN SURGICAL INSTRUMENTS WITH STATUS INDICATION ARRANGEMENTS」、現在は米国特許出願公開第2014/0305992号。The applicant of the present application also owns the following patent applications filed on 9 April 2014, the entire contents of which are incorporated herein by reference:
-US Pat.
-US Patent Application No. 14 / 248,581, Invention Title "SURGICAL INSTRUMENT COMPRISING A CLOSEING DRIVE AND A FIRING DRIVE OPERATED FROM THE SAME ROTATABLE OUTPUT", currently US Patent Application No. 3059/09
-US Patent Application No. 14 / 248,595, Invention Title "SURGICAL INSTRUMENT SHAFT INCLUDING SWITCHES FOR CONTROLLING THE OPERATION OF THE SURGICAL INSTRUMENT", currently published in US Patent No. 14/248, 595
-US Patent Application No. 14 / 248,588, Invention Title "POWERED LINEAR SURGICAL STAPLER", Currently US Patent Application Publication No. 2014/0309666,
-US Patent Application No. 14 / 248,591, Invention Title "TRANSMISSION ARRANGEMENT FOR A SURGICAL INSTRUMENT", Currently US Patent Application Publication No. 2014/03059191,
-US Patent Application No. 14 / 248,584, title of invention "MODULAR MOTOR DRIVERN SURGICAL INSTRUMENTS WITH ALIGNMENT FEATURES FOR ALIGNING ROTARY DRIVE SHOFTS WITH SURFTS U.S.A.
-US Patent Application No. 14 / 248,587, Invention Title "POWERED SURGICAL STAPLER", Currently US Patent Application Publication No. 2014/0309665,
-US Patent Application No. 14 / 248,586, Invention Title "DRIVE SYSTEM DECOUPLING ARRANGEMENT FOR A SURGICAL INSTRUMENT", now US Patent Application Publication No. 2014/03059090, and
-US Pat.
本願の出願人はまた、2013年4月16日に出願された以下の特許出願を所有しており、これらはそれぞれの全体内容が参照により本明細書に組み込まれる:
-米国仮特許出願第61/812,365号、発明の名称「SURGICAL INSTRUMENT WITH MULTIPLE FUNCTIONS PERFORMED BY A SINGLE MOTOR」、
-米国仮特許出願第61/812,376号、発明の名称「LINEAR CUTTER WITH POWER」、
-米国仮特許出願第61/812,382号、発明の名称「LINEAR CUTTER WITH MOTOR AND PISTOL GRIP」、
-米国仮特許出願第61/812,385号、発明の名称「SURGICAL INSTRUMENT HANDLE WITH MULTIPLE ACTUATION MOTORS AND MOTOR CONTROL」、及び、
-米国仮特許出願第61/812,372号、発明の名称「SURGICAL INSTRUMENT WITH MULTIPLE FUNCTIONS PERFORMED BY A SINGLE MOTOR」。The applicant of the present application also owns the following patent applications filed on April 16, 2013, the entire contents of which are incorporated herein by reference:
-US Provisional Patent Application No. 61 / 812,365, Title of Invention "SURGICAL INSTRUMENT WITH MULTIPLE FUNCTIONS PERFORMED BY A SINGLE MOTOR",
-US Provisional Patent Application No. 61 / 812,376, Invention Title "LINEAR CUTTER WITH POWER",
-US Provisional Patent Application No. 61 / 812,382, Title of Invention "LINEAR CUTTER WITH MOTOR AND PISTOL GRIP",
-US Provisional Patent Application No. 61 / 812,385, the title of the invention "SURGICAL INSTRUMENT HANDLE WITH MULTIPLE ACTION MOTORS AND MOTOR CONTROL", and
-US Provisional Patent Application No. 61 / 812,372, title of invention "SURGICAL INSTRUMENT WITH MULTIPLE FUNCTIONS PERFORMED BY A SINGLE MOTOR".
本明細書に記載され、添付の図面に示される実施形態の全体的な構造、機能、製造、及び使用の完全な理解をもたらすように、多くの具体的詳細が示される。周知の動作、構成要素、及び要素は、本明細書に記載される実施形態を不明瞭にしないようにするため詳細に記載されていない。本明細書に記載及び図示される実施形態は非限定例であることが読者には理解され、それ故、本明細書に開示される特定の構造的及び機能的詳細は、典型及び例示であり得ることが理解されるであろう。それらに対する変形及び変更が、特許請求の範囲から逸脱することなく行われ得る。 Many specific details are provided to provide a complete understanding of the overall structure, function, manufacture, and use of embodiments described herein and shown in the accompanying drawings. Well-known behaviors, components, and elements are not described in detail to avoid obscuring the embodiments described herein. It is understood by the reader that the embodiments described and illustrated herein are non-limiting examples, and therefore the particular structural and functional details disclosed herein are exemplary and exemplary. It will be understood to get. Modifications and changes to them can be made without departing from the claims.
用語「備える(comprise)」(「comprises」及び「comprising」など、compriseの任意の語形)、「有する(have)」(「has」及び「having」など、haveの任意の語形)、「含む(include)」(「includes」及び「including」など、includeの任意の語形)、及び「含有する(contain)」(「contains」及び「containing」など、containの任意の語形)は、開放型の連結動詞である。結果として、1つ若しくは2つ以上の要素を「備える」か、「有する」か、「含む」か、若しくは「含有する」外科用システム、デバイス、又は装置は、それら1つ又は2つ以上の要素を有しているが、それら1つ又は2つ以上の要素のみを有することに限定されない。同様に、1つ若しくは2つ以上の特徴を「備える」か、「有する」か、「含む」か、若しくは「含有する」、システム、デバイス、又は装置の要素は、それら1つ又は2つ以上の特徴を有しているが、それら1つ又は2つ以上の特徴のみを有することに限定されない。 The terms "comprise" (any form of comprise, such as "comprises" and "comprising"), "have" (any form of have, such as "has" and "having"), "include ( ”(Any form of include, such as“ includes ”and“ inclusion ”), and“ contain ”(any form of content, such as“ context ”and“ connecting ”) are open concatenations. It is a verb. As a result, a surgical system, device, or device that "equipped", "has", "contains", or "contains" one or more elements is one or more of them. It has elements, but is not limited to having only one or more of them. Similarly, a system, device, or device element that "includes", "has", "contains", or "contains" one or more features is one or more of them. However, it is not limited to having only one or more of these characteristics.
「近位」及び「遠位」という用語は、本明細書では、外科用器具のハンドル部分を操作する臨床医を基準として使用される。「近位」という用語は、臨床医に最も近い部分を指し、「遠位」という用語は、臨床医から離れた位置にある部分を指す。便宜上及び明確性のために、「垂直」、「水平」、「上」、及び「下」などの空間的用語が、本明細書において図面に対して使用され得ることが更に理解されるであろう。しかしながら、外科用器具は多くの向き及び位置で使用されるものであり、これらの用語は限定的及び/又は絶対的であることを意図したものではない。 The terms "proximal" and "distal" are used herein with reference to the clinician operating the handle portion of the surgical instrument. The term "proximal" refers to the part closest to the clinician and the term "distal" refers to the part located away from the clinician. For convenience and clarity, it is further understood that spatial terms such as "vertical", "horizontal", "top", and "bottom" can be used with respect to the drawings herein. Let's go. However, surgical instruments are used in many orientations and positions, and these terms are not intended to be limited and / or absolute.
腹腔鏡下及び低侵襲性の外科手技を行うための、様々な例示的なデバイス及び方法が提供される。しかしながら、本明細書に開示される様々な方法及びデバイスが、例えば開放型の外科手技と関連するものを含む、多くの外科手技及び用途で使用され得ることが、読者には容易に理解されるであろう。本明細書の「発明を実施するための形態」を読み進めることで、読者は、本明細書に開示される様々な器具が、例えば、天然の開口部を通じて、組織に形成された切開又は穿刺穴を通じてなど、任意の方法で体内に挿入され得ることを更に理解するであろう。これらの器具の作用部分すなわちエンドエフェクタ部分は、患者の体内に直接に挿入することもでき、又は、外科用器具のエンドエフェクタ及び細長シャフトを進めることが可能な作用通路を有するアクセスデバイスを通じて挿入することもできる。 Various exemplary devices and methods are provided for performing laparoscopic and minimally invasive surgical procedures. However, it is readily appreciated by the reader that the various methods and devices disclosed herein can be used in many surgical procedures and applications, including those associated with, for example, open surgical procedures. Will. By reading "forms for carrying out the invention" herein, the reader may read that the various instruments disclosed herein are incisions or punctures formed in the tissue, eg, through a natural opening. You will further understand that it can be inserted into the body in any way, such as through a hole. The working part or end effector part of these instruments can be inserted directly into the patient's body or through an access device with a passage of action capable of advancing the end effector and elongated shaft of the surgical instrument. You can also do it.
外科用ステープル留めシステムは、シャフトと、シャフトから伸びるエンドエフェクタとを備えることができる。エンドエフェクタは、第1ジョーと第2ジョーとを備える。第1のジョーは、ステープルカートリッジを備える。ステープルカートリッジは、第1のジョーに挿入可能であり、かつ第1のジョーから着脱可能であるが、ステープルカートリッジが第1のジョーから取換え可能でないか、又は少なくとも容易に交換可能でない、他の実施形態も想起される。第2のジョーは、ステープルカートリッジから射出されたステープルを変形させるように構成されたアンビルを備える。第2のジョーは、閉鎖軸線を中心にして第1のジョーに対して旋回可能であるが、第1のジョーが第2のジョーに対して旋回可能である、他の実施形態も想起される。外科用ステープル留めシステムは、エンドエフェクタをシャフトに対して回転させる、すなわち関節運動させることができるように構成された関節ジョイントを更に備える。エンドエフェクタは、関節ジョイントを通って伸びる関節運動軸線を中心にして回転可能である。関節ジョイントを含まない他の実施形態も想起される。 Surgical staple fastening systems can include a shaft and an end effector that extends from the shaft. The end effector includes a first jaw and a second jaw. The first jaw comprises a staple cartridge. The staple cartridge is insertable into and detachable from the first jaw, but the staple cartridge is not replaceable from the first jaw, or at least not easily replaceable. Embodiments are also recalled. The second jaw comprises an anvil configured to deform the staple ejected from the staple cartridge. The second jaw is swivel relative to the first jaw about the closed axis, but other embodiments are also recalled in which the first jaw is swivel relative to the second jaw. .. The surgical staple system further comprises a joint joint configured to allow the end effector to rotate, i.e., move with respect to the shaft. The end effector is rotatable about a range of motion that extends through the joint. Other embodiments that do not include joints are also recalled.
ステープルカートリッジは、カートリッジ本体を備える。カートリッジ本体は、近位端と、遠位端と、近位端と遠位端との間に伸びるデッキとを含む。使用中、ステープルカートリッジは、ステープル留めされる組織の第1の側に位置付けられ、アンビルは、組織の第2の側に位置付けられる。アンビルは、ステープルカートリッジに向かって移動させられて、デッキに対して組織を圧迫及びクランプする。続いて、カートリッジ本体内に取出し可能に格納されたステープルを、組織内に配備することができる。カートリッジ本体は、その内部に画定されたステープルキャビティを含み、ステープルは、ステープルキャビティ内に取出し可能に格納される。ステープルキャビティは、6つの長手方向列に配置される。3つの列のステープルキャビティは、長手方向スロットの第1の側に位置付けられ、3つの列のステープルキャビティは、長手方向スロットの第2の側に位置付けられる。ステープルキャビティ及びステープルの他の配置も可能であり得る。 The staple cartridge includes a cartridge body. The cartridge body includes a proximal end, a distal end, and a deck extending between the proximal and distal ends. During use, the staple cartridge is positioned on the first side of the tissue to be stapled and the anvil is positioned on the second side of the tissue. The anvil is moved towards the staple cartridge to compress and clamp the tissue against the deck. Subsequently, the staples that are retractably stored in the cartridge body can be deployed in the organization. The cartridge body includes a staple cavity defined therein, and the staples are retractably stored in the staple cavity. The staple cavities are arranged in six longitudinal rows. The three rows of staple cavities are located on the first side of the longitudinal slot and the three rows of staple cavities are located on the second side of the longitudinal slot. Staple cavities and other arrangements of staples are also possible.
ステープルは、カートリッジ本体内のステープルドライバによって支持される。ドライバは、第1の、すなわち未発射位置と、ステープルキャビティからステープルを射出する、第2の、すなわち発射位置との間で移動可能である。ドライバは、カートリッジ本体の底部周辺に伸びる保持具によってカートリッジ本体内に保持され、また、カートリッジ本体を把持し、保持具をカートリッジ本体に対して保持するように構成された、弾性部材を含む。ドライバは、スレッドによってそれらの未発射位置とそれらの発射位置との間で移動可能である。スレッドは、近位端に隣接した近位位置と、遠位端に隣接した遠位位置との間で移動可能である。スレッドは、ドライバの下を摺動し、ドライバを持ち上げるように構成された複数の傾斜面を備え、ステープルがその上に支持され、アンビルに向かう。 The staples are supported by a staple driver inside the cartridge body. The driver can move between the first, i.e., unlaunched position and the second, i.e., the firing position, where the staples are ejected from the staple cavity. The driver includes an elastic member that is held within the cartridge body by a retainer that extends around the bottom of the cartridge body and is configured to grip the cartridge body and hold the holder against the cartridge body. The driver can move between their unfired position and their fired position by a thread. The thread is mobile between the proximal position adjacent to the proximal end and the distal position adjacent to the distal end. The thread slides under the driver and has multiple ramps configured to lift the driver, on which the staples are supported and towards the anvil.
上記に加えて、スレッドは発射部材によって遠位側に移動される。発射部材は、スレッドに接触し、スレッドを遠位端に向かって押し出すように構成されている。カートリッジ本体内に画定された長手方向スロットは、発射部材を受容するように構成されている。アンビルは、発射部材を受容するように構成されたスロットも含む。発射部材は、第1のジョーに係合する第1のカムと、第2のジョーに係合する第2のカムとを更に備える。発射部材を遠位側に前進させる際、第1のカム及び第2のカムは、ステープルカートリッジのデッキとアンビルとの間の距離、すなわち組織隙間を制御することができる。発射部材はまた、ステープルカートリッジとアンビルとの中間に捕捉された組織を切開するように構成されたナイフも備える。ステープルがナイフよりも前方に射出されるように、ナイフが傾斜面に対して少なくとも部分的に近位側に位置付けられることが望ましい。 In addition to the above, the thread is moved distally by the launcher. The launcher is configured to contact the thread and push the thread towards the distal end. Longitudinal slots defined within the cartridge body are configured to receive launching members. The anvil also includes a slot configured to receive the launching member. The firing member further comprises a first cam that engages the first jaw and a second cam that engages the second jaw. As the launcher is advanced distally, the first and second cams can control the distance between the deck of the staple cartridge and the anvil, i.e. the tissue gap. The launcher also comprises a knife configured to incise the tissue trapped between the staple cartridge and the anvil. It is desirable that the knife be positioned at least partially proximal to the slope so that the staples are ejected forward of the knife.
図1に、各種の異なる外科手術を行うのに使用されてもよい、モータ駆動外科用システム10を示す。図示された実施形態では、モータ駆動外科用システム10は、交換式外科用ツールアセンブリ1000の一形態に取り付けられた、選択的に再構成可能なハウジング又はハンドルアセンブリ20を備える。例えば、図1に示されたシステム10は、エンドカッターと呼ぶことができる、外科用切断及び締結器具を備える、交換式外科用ツールアセンブリ1000を備える。以下で更に詳細に検討されるであろうように、交換式外科用ツールアセンブリは、種々のサイズ及び種類のステープルカートリッジを支持するように適合し、種々のシャフト長、サイズ、及び種類などを有するエンドエフェクタを備えてもよい。例えば、このような構成は、組織を締結するのに好適な任意の1つ又は複数の締結具を利用してもよい。例えば、複数の締結具が取出し可能に格納された締結具カートリッジは、外科用ツールアセンブリのエンドエフェクタに着脱可能に挿入及び/又は取り付けられ得る。他の外科用ツールアセンブリは、ハンドルアセンブリ20と交換式で利用されてもよい。例えば、交換式外科用ツールアセンブリ1000は、ハンドルアセンブリ20から取り外され、他の外科手術を行うように構成されている異なる外科用ツールアセンブリに置き換えられてもよい。他の構成において、外科用ツールアセンブリは、他の外科用ツールアセンブリと交換式でなくてもよく、例えば、ハンドルアセンブリ20に着脱不可能に固定又は連結された専用のシャフトを本質的に備えてもよい。外科用ツールアセンブリはまた、細長シャフトアセンブリと呼ぶこともできる。外科用ツールアセンブリは再利用可能であってもよく、又は、他の構成では、外科用ツールアセンブリは、1回の使用後に廃棄されるように設計されてもよい。 FIG. 1 shows a motor driven
本「発明を実施するための形態」を読み進めるに従って、本明細書に開示される様々な形態の交換式外科用ツールアセンブリはまた、ロボット制御式の外科用システムと関連させて効果的に用いられ得ることが理解されよう。したがって、「ハウジング」及び「ハウジングアセンブリ」という用語はまた、本明細書に開示される細長シャフトアセンブリ及びそれらそれぞれの等価物を作動させるのに使用することができる、少なくとも1つの制御モーションを生成し適用するように構成されている、少なくとも1つの駆動システムを収容するか又は別の方法で動作可能に支持する、ロボットシステムのハウジング又は類似の部分を包含してもよい。「フレーム」という用語は、手持ち式外科用器具の一部分を指してもよい。「フレーム」という用語はまた、ロボット制御式の外科用器具の一部分、及び/又は外科用器具を動作可能に制御するのに使用されてもよいロボットシステムの一部分を表してもよい。例えば、本明細書に開示される外科用ツールアセンブリは、様々なロボットシステム、器具、構成要素、及び方法、例えば、参照によって全体内容が本明細書に組み込まれる、米国特許出願第13/118,241号、発明の名称「SURGICAL STAPLING INSTRUMENTS WITH ROTATABLE STAPLE DEPLOYMENT ARRANGEMENTS」、現在は米国特許出願公開第2012/0298719号に開示されているもの(には限定されない)と共に用いられ得る。 As you read through this "Modes for Carrying Out the Invention", the various forms of interchangeable surgical tool assemblies disclosed herein are also effectively used in connection with robot-controlled surgical systems. It will be understood that it can be done. Accordingly, the terms "housing" and "housing assembly" also generate at least one control motion that can be used to actuate the elongated shaft assembly and their respective equivalents disclosed herein. It may include a housing or similar portion of a robotic system that is configured to apply and that accommodates or otherwise operably supports at least one drive system. The term "frame" may refer to a portion of a handheld surgical instrument. The term "frame" may also refer to a portion of a robot-controlled surgical instrument and / or a portion of a robotic system that may be used to operably control the surgical instrument. For example, the surgical tool assemblies disclosed herein are incorporated herein by reference in various robot systems, instruments, components, and methods, eg, US Patent Application No. 13/118. 241 may be used in conjunction with the title of the invention "SURGICAL STAPLING INSTRUMENTS WITH ROTATABLE STAPLE DEPLOYMENT ARRANGEMENTS", which is currently disclosed in US Patent Application Publication No. 2012/02987719.
ここから図1及び図2を参照して、ハウジングアセンブリ又はハンドルアセンブリ20は、プラスチック、ポリマー材料、金属などから形成されてもよく、かつ、適切な締結具構成、例えば、接着剤、ネジ、圧入機構、スナップフィット機構、ラッチなどにより互いに結合されてもよい、一対のハウジングセグメント40、70から形成されていてもよい主ハウジング部分30を備える。以下で更に詳細に検討されるであろうように、主ハウジング部分30は、内部の複数の駆動システムを動作可能に支持する。同駆動システムは、様々な制御モーションを生成し、動作可能に取り付けられている交換式外科用ツールアセンブリの対応する部分に適用するように構成されている。ハンドルアセンブリ20は、主ハウジング部分30に移動可能に連結され、主ハウジング部分30に対する様々な位置において、臨床医により把持され、操作されるように構成されているグリップ部分100を更に備える。グリップ部分100は、アセンブリ及び維持の目的で、プラスチック、ポリマー材料、金属などから形成されてもよく、かつ、適切な締結具構成、例えば、接着剤、ネジ、圧入機構、スナップフィット機構、ラッチなどにより互いに結合されている、一対のグリップセグメント110、120から形成されてもよい。 From here on, with reference to FIGS. 1 and 2, the housing assembly or handle
図2から分かるように、グリップ部分100は、以下で更に詳細に検討されるであろう駆動モータ及びギアボックスを動作可能に支持するように構成されている中空キャビティ132を画定するグリップハウジング130を備える。グリップハウジング130の上側部分134は、主ハウジング部分30にある開口80を通って伸びるように構成されており、旋回シャフト180上で旋回可能にジャーナルされるように構成されている。旋回シャフト180は、「PA」と指定された旋回軸線を画定する。図3を参照されたい。参照の目的で、ハンドルアセンブリ20は、「HA」と指定されたハンドル軸線を画定する。同ハンドル軸線は、ハンドルアセンブリ20に動作可能に取り付けられる交換式外科用ツールの細長シャフトアセンブリのシャフト軸線「SA」に対して平行でもよい。旋回軸線PAは、ハンドル軸線HAに対して横方向である。図1を参照されたい。このような構成により、グリップ部分100は、主ハウジング部分30に対して、旋回軸線PAを中心にして、ハンドルアセンブリ20に連結される交換式外科用ツールアセンブリの種類に最も適した位置に旋回可能である。グリップハウジング130は、一般的には、「GA」と指定されたグリップ軸線を画定する。図2を参照されたい。ハンドルアセンブリ20に連結される交換式外科用ツールアセンブリが、例えば、エンドカッターを備える場合、臨床医は、グリップ部分100を、主ハウジング部分30に対して、グリップ軸線GAがハンドル軸線HAに対して垂直又は略垂直(角度「H1」)であるように位置させるのを望む場合がある(本明細書において、「第1のグリップ位置」と称される)。図5を参照されたい。ただし、ハンドルアセンブリ20が、例えば、輪状ステープラを備える交換式外科用ツールアセンブリを制御するのに使用される場合、臨床医は、グリップ部分100を、主ハウジング部分30に対して、グリップ軸線GAがハンドル軸線HAに対して45度若しくは略45度又は適切な鋭角(角度「H2」)にある位置に旋回させるのを望む場合がある。この位置は、本明細書において、「第2のグリップ位置」と称される。図5に、第2のグリップ位置における、仮想線でのグリップ部分100を図示する。 As can be seen from FIG. 2, the
ここから図3~図5を参照して、ハンドルアセンブリ20はまた、主ハウジング部分30に対して所望の配向にあるグリップ部分100を選択的にロックするためのグリップロックシステム(一般的には、150と指定される)を備える。ある構成において、グリップロックシステム150は、先が尖った歯154の弓状シリーズ152を備える。歯154は、互いに離れており、それらの間にロック溝156を形成している。各ロック溝156は、グリップ部分100についての特定のロック角度位置に対応する。例えば、少なくとも1つの構成において、歯154及びロック溝又は「ロック位置」156は、グリップ部分100が第1のグリップ位置と第2のグリップ位置との間で10~15度間隔でロックされるのを可能にするように配置されている。この配置は、利用される器具の種類(シャフト配置)に応じて調整される2つの停止位置を利用してもよい。例えば、エンドカッターシャフト配置について、シャフトに対して略90度でもよく、輪状ステープラ配置について、角度は、シャフトに対して略45度であり、一方、外科医に向かって前進してもよい。グリップロックシステム150は、ロック溝156を係止するように構成されているロック部分を有するロックボタン160を更に備える。例えば、ロックボタン160は、主ハンドル部分30において、旋回ピン131上に旋回可能に取り付けられており、これにより、ロックボタン160が旋回して、対応するロック溝156と係合できるようになっている。ロックバネ164は、ロックボタン160を対応するロック溝156と係合し又はロック位置に付勢するのに機能する。ロック部分及び歯の構成は、臨床医がロックボタン160を押した際に、歯154がロック部分を超えて摺動するのを可能にするのに機能する。このため、主ハウジング部分30に対する、グリップ部分100の角度位置を調整するために、臨床医は、ロックボタン160を押し、ついで、グリップ部分100を所望の角度位置に旋回させる。グリップ部分100が所望の位置に移動すると、臨床医は、ロックボタン160を解放する。ついで、ロックバネ164は、ロックボタン160を一連の歯154に向かって、ロック部分が対応するロック溝156に入るように付勢して、グリップ部分100を使用中にその位置に保持するであろう。 From here with reference to FIGS. 3-5, the
ハンドルアセンブリ20は、第1の回転駆動システム300、第2の回転駆動システム320、及び第3の軸線方向駆動システム400を動作可能に支持する。回転駆動システム300、320はそれぞれ、グリップ部分100に動作可能に支持されたモータ200により動かされる。図2から分かるように、例えば、モータ200は、グリップ部分100におけるキャビティ132内に支持され、ギアボックスアセンブリ202を有する。ギアボックスアセンブリ202は、そこから突出するアウトプット駆動シャフト204を有する。様々な形態では、モータ200は、例えば、約25,000RPMの最大回転数を有するブラシ付きDC駆動モータであってもよい。他の構成では、モータとしては、ブラシレスモータ、コードレスモータ、同期モータ、ステッパモータ、又は他の任意の好適な電気モータを挙げることができる。モータ200は、1つの形態では着脱可能なパワーパック212を備えてもよい、電源210によって給電されてもよい。電源210は、例えば、開示全体が参照により本明細書に組み込まれる、米国特許出願公開第2015/0272575号、発明の名称「SURGICAL INSTRUMENT COMPRISING A SENSOR SYSTEM」に更に詳細に開示される、様々な電源構成のいずれか1つを備えてもよい。図示された構成において、例えば、パワーパック212は、遠位ハウジング部分216に取り付けられるように構成されている、近位ハウジング部分214を備えてもよい。近位ハウジング部分214及び遠位ハウジング部分216は、内部に複数の電池218を動作可能に支持するように構成されている。電池218はそれぞれ、例えば、リチウムイオン(「LI」)又は他の好適な電池を含んでよい。遠位ハウジング部分216は、モータ200にやはり動作可能に結合されている、ハンドル回路基板アセンブリ220に着脱可能かつ動作可能に取り付けられるように構成されている。ハンドル回路基板アセンブリ220は、本明細書において、一般的に「制御システム又はCPU224」と称することもできる。直列に接続され得る多数の電池218がハンドルアセンブリ20の電源として使用され得る。加えて、電源210は、取換え可能及び/又は再充電可能であってもよい。他の実施形態では、外科用器具10は、例えば、交流(AC)により給電されてもよい。モータ200は、グリップ部分100に取り付けられたロッカスイッチ206により制御されてもよい。 The
上記概説されたように、モータ200は、アウトプット駆動シャフト204を備えるギアボックスアセンブリ202に動作可能に接続される。アウトプット駆動シャフト204には、ドライバベベルギア230が取り付けられる。モータ200、ギアボックスアセンブリ202、アウトプット駆動シャフト204、及びドライバベベルギア230は、本明細書においてまとめて、「モータアセンブリ231」と称することもできる。ドライバベベルギア230は、システム駆動シャフト232に取り付けられた被駆動(driven)ベベルギア234及び旋回シャフト180にジャーナルされた旋回ベベルギア238とインターフェイスをとっている。被駆動ベベルギア234は、システム駆動シャフト232上を、被駆動ベベルギア234がドライバベベルギア230と噛み合う係合位置(図5)と被駆動ベベルギア234がドライバベベルギア230との噛み合いが解除される係合解除位置(図14)との間で、軸線方向に移動可能である。駆動システムバネ235は、被駆動ベベルギア234と、システム駆動シャフト232の近位部分に形成された近位端フランジ236との間でジャーナルされる。図4及び図14を参照されたい。以下で更に詳細に検討されるであろうように、駆動システムバネ235は、被駆動ベベルギア234を、ドライバベベルギア230との噛み合いが解除されるように付勢するのに機能する。旋回ベベルギア238は、主ハンドル部分30に対するグリップ部分100についての、アウトプット駆動シャフト204及びドライバベベルギア230の旋回移動を容易にする。 As outlined above, the
図示された例において、システム駆動シャフト232は、回転駆動セレクタシステム(一般的には、240と指定される)とインターフェイスをとっている。少なくとも1つの形態において、例えば、回転駆動セレクタシステム240は、第1の回転駆動システム300と第2の回転駆動システム320との間を選択的に移動可能なシフターギア250を備える。図6~図9から分かるように、例えば、駆動セレクタシステム240は、主ハンドル部分30内に移動不可能に取り付けられたシフター取付けプレート242を備える。例えば、シフター取付けプレート242は、ハウジングセグメント40、70に形成され、又は、そこに、ネジ、接着剤などにより何らかの方法で保持された取付けラグ(図示せず)間に摩擦的に保持されてもよい。図6~図9を更に参照して、システム駆動シャフト232は、孔を通ってシフター取付けプレート242に伸び、それに回転不能に取り付けられた中心又はシステム駆動ギア237を有する。例えば、中心駆動ギア237は、システム駆動シャフト232にキー溝構成233により取り付けられてもよい。図6~図9を参照されたい。他の構成において、システム駆動シャフト232は、シフター取付けプレート242に、それに取り付けられた対応するベアリング(図示せず)により回転可能に支持されてもよい。いずれにしても、システム駆動シャフト232の回転により、中心駆動ギア234の回転がもたらされるであろう。 In the illustrated example, the
図3から分かるように、第1の駆動システム300は、主ハンドル部分30に形成された遠位壁32において回転可能に支持された第1の駆動ソケット302を備える。第1の駆動ソケット302は、内部に形成されたスプラインソケットを有する第1の本体部分304を備えてもよい。第1の駆動ギア306は、第1の本体部分304上に形成され、又は、第1の本体部分304に移動不可能に取り付けられる。第1の本体部分304は、遠位壁32に設けられた対応する孔又は通路内に回転可能に支持されてもよいし、又は、遠位壁32に取り付けられた対応するベアリング(図示せず)に回転可能に支持されてもよい。同様に、第2の回転駆動システム320は、主ハンドル部分30の遠位壁32にも回転可能に支持された第2の駆動ソケット322を備える。第2の駆動ソケット322は、内部に形成されたスプラインソケットを有する第2の本体部分324を備えてもよい。第2の駆動ギア326は、第2の本体部分324上に形成され、又は、第2の本体部分324に回転不可能に取り付けられる。第2の本体部分324は、遠位壁32に設けられた対応する孔又は通路内に回転可能に支持されてもよいし、又は、遠位壁32に取り付けられた対応するベアリング(図示せず)に回転可能に支持されてもよい。第1及び第2の駆動ソケット302、322は、ハンドル軸線HAの各外側側面において、互いに離れている。例えば、図4を参照されたい。 As can be seen from FIG. 3, the
上記されたように、図示された例において、回転駆動セレクタシステム240は、シフターギア250を備える。図6~図9から分かるように、シフターギア250は、シフター取付けプレート242における弓状スロット244に移動可能に支持されるアイドラシャフト252に回転可能に取り付けられる。シフターギア250は、アイドラシャフト252上で自由に回転し、中心駆動ギア234との噛み合いを維持するように取り付けられる。アイドラシャフト252は、シフターソレノイド260のシャフト262の端部に連結される。シフターソレノイド260は、シフターソレノイド260が作動される際に、シフターギア250が第1の駆動ギア306又は第2の駆動ギア326の一方と噛み合うように移動するように、主ハンドルハウジング30にピン留めされ又は何らかの方法で取り付けられる。例えば、ある構成において、ソレノイドシャフト262が後退する際(図6及び図7)、モータ200の作動により第1の駆動ソケット302の回転がもたらされるであろうように、シフターギア250は、中心駆動ギア234及び第1の駆動ギア306と噛み合っている。図6及び図7から分かるように、シフターバネ266は、シフターギア250を第1の作動位置に付勢するのに利用されてもよい。このため、外科用器具10への電力が失われても、シフターバネ266が、シフターギア250を第1の位置に自動的に付勢するであろう。シフターギア250がその位置にある場合、モータ200の後続の作動により、第1の回転駆動システム300の第1の駆動ソケット302の回転がもたらされるであろう。シフターソレノイドが作動されると、シフターギア250は、第2の駆動ソケット322上で第2の駆動ギア326と噛み合うように動かされる。その後、モータ200の作動により、第2の回転駆動システム320の第2の駆動ソケット322の作動又は回転がもたらされるであろう。 As mentioned above, in the illustrated example, the rotary
以下で更に詳細に検討されるであろうように、第1及び第2の回転駆動システム300、320は、それらに連結される交換式外科用ツールアセンブリの様々なコンポーネント部分を動かすのに使用されてもよい。上記されたように、少なくとも1つの構成において、交換式外科用ツールアセンブリの作動中に、モータへの電力が失われても、シフターバネ266は、シフターギア250を第1の位置に付勢するであろう。交換式外科用ツールアセンブリのコンポーネント部分の動作に応じて、回転駆動モーションの第1の駆動システム300への適用を反転させて、交換式外科用ツールアセンブリが患者から取り出されるのを可能にする必要がある場合がある。図示された例のハンドルアセンブリ20は、例えば、上記されたシナリオにおいて、回転駆動モーションを第1の回転駆動システム300に手動で適用するための、手動で作動可能な「救済」システム(一般的に、330と指定される)を利用する。 As will be discussed in more detail below, the first and second
ここから図3、図10、及び図11を参照して、図示された救済システム330は、プラネタリギアアセンブリ334を備える救済駆動トレイン332を備える。少なくとも1つの形態において、プラネタリギアアセンブリ334は、プラネタリベベルギア338を備えるプラネタリギア構成(図示せず)を収容する、プラネタリギアハウジング336を備える。プラネタリギアアセンブリ334は、プラネタリギアハウジング336内のプラネタリギア構成に動作可能に連結する、救済駆動シャフト340を備える。プラネタリベベルギア338の回転により、救済駆動シャフト340を最終的に回転させる、プラネタリギア構成が回転する。救済駆動ギア342は、救済駆動ギア342が救済駆動シャフト340上を軸線方向に移動し、更に、それと共に回転し得るように、救済駆動シャフト340上でジャーナルされる。救済駆動ギア342は、救済駆動シャフト340に形成されたバネストップフランジ344と、救済駆動シャフト340の遠位端に形成されたシャフト端ストップ346との間を移動可能である。救済シャフトバネ348は、救済駆動ギア342とバネストップフランジ344との間を、救済駆動シャフト340上でジャーナルされる。救済シャフトバネ348は、救済駆動ギア342を、救済駆動シャフト340上で遠位に付勢する。救済駆動ギア342が、救済駆動シャフト340上の最遠位位置にある場合、システム駆動シャフト232に回転不可能に取り付けられた救済駆動ギア350と噛み合っている。図14を参照されたい。 From here, with reference to FIGS. 3, 10, and 11, the illustrated
ここから図12及び図13を参照して、救済システム330は、救済駆動モーションを救済駆動トレイン332に手動で適用するのを容易にする、救済アクチュエータアセンブリ又は救済ハンドルアセンブリ360を備える。それらの図から分かるように、救済ハンドルアセンブリ360は、救済ベベルギア364及びラチェットギア366を備える、救済ベベルギアアセンブリ362を備える。救済ハンドルアセンブリ360は、救済ベベルギアアセンブリ362に、ラチェットギア366に旋回可能に取り付けられた旋回ヨーク372により移動可能に連結された、救済ハンドル370を更に備える。格納位置「SP」と作動位置「AP」との間での選択的な旋回移動のために、救済ハンドル370は、旋回ヨーク372に、ピン374により旋回可能に連結されている。図12を参照されたい。ハンドルバネ376は、救済ハンドル370を作動位置APに付勢するのに利用される。少なくとも1つの構成において、格納位置を表わす軸線SPと作動位置を表わす軸線APとの間の角度は、例えば、略30度でもよい。図13を参照されたい。図13から分かるように、救済ハンドルアセンブリ360は、旋回ヨーク372におけるキャビティ又は孔377に回転可能に取り付けられた、ラチェットポール378を更に備える。ラチェットポール378は、作動方向「AD」に回転された場合に、ラチェットギア366と噛み合い、ついで、反対方向に回転された場合には、噛み合いが解除されるように回転するように構成されている。ラチェットバネ384及びボール部材386は、旋回ヨーク372におけるキャビティ379に移動可能に支持され、救済ハンドル370が作動される(ラチェットされる)と、ラチェットポール378におけるデテント380、382を係止するのに機能する。 With reference to FIGS. 12 and 13, the
ここから図3及び図10を参照して、救済システム330は、開位置と閉位置との間で操縦可能な救済アクセスパネル390を更に備える。図示された構成において、救済アクセスパネル390は、主ハウジング部分30のハウジングセグメント70に着脱可能に連結されるように構成されている。このため、少なくともその実施形態では、救済アクセスパネル390が主ハウジング部分30から外れ又は取り外された場合、「開」位置にあると言われ、救済アクセスパネル390が図示されたように主ハウジング部分30に取り付けられている場合、「閉」位置にあると言われる。ただし、アクセスパネルが主ハウジング部分に、アクセスパネルが開位置にある場合に、それに取り付けられたままであるように、移動可能に連結される他の実施形態が企図される。例えば、このような実施形態では、アクセスパネルは、主ハウジング部分に旋回可能に取り付けられてもよいし、又は、主ハウジング部分に摺動可能に取り付けられてもよく、開位置と閉位置との間を操縦可能でもよい。図示された例において、救済アクセスパネル390は、ハウジングセグメント70の対応する部分とスナップ係合し、それを「閉」位置に着脱可能に保持するように構成されている。機械的締結具の他の形態、例えば、ネジ、ピンなども使用され得る。 From here with reference to FIGS. 3 and 10, the
救済アクセスパネル390が主ハウジング部分30から取外し可能であるか又は主ハウジング部分30に移動可能に取り付けられたままであるか否かに関わらず、救済アクセスパネル390は、それぞれその裏側から突出し又は何らかの方法でその上に形成された、駆動システムロック部材又はヨーク392及び救済ロック部材又はヨーク396を備える。駆動システムロックヨーク392は、救済アクセスパネル390が主ハウジング部分30に取り付けられた(すなわち、救済アクセスパネルが「閉」位置にある)場合、システム駆動シャフト232の一部を内部に受容するように構成されている、駆動シャフトノッチ394を備える。救済アクセスパネル390が閉位置に位置し又は取付けられた場合、駆動システムロックヨーク392は、(駆動システムバネ235の付勢に対して)被駆動ベベルギア234をドライバベベルギア230と噛み合うように付勢するのに機能する。加えて、救済ロックヨーク396は、救済アクセスパネル390が閉位置に取り付けられ又は位置している場合、救済駆動シャフト340の一部を内部に受容するように構成されている、救済駆動シャフトノッチ397を備える。図5及び図10から分かるように、救済ロックヨーク396はまた、救済駆動ギア342を、(救済シャフトバネ348の付勢に対して)救済駆動ギア350との噛み合わせを解除するように付勢するのに機能する。このため、救済ロックヨーク396は、救済アクセスパネル390が閉位置に取り付けられ又は閉位置にある場合、救済駆動ギア342がシステム駆動シャフト232の回転と干渉するのを防ぐ。加えて、救済ロックヨーク396は、救済ハンドル370と係合し、それを格納位置SPに維持するための、ハンドルノッチ398を備える。 Regardless of whether the
図4、図5、及び図10に、救済アクセスパネル390が閉位置に取り付けられ又は閉位置にある場合の、駆動システムコンポーネント及び救済システムコンポーネントの構成を図示する。それらの図から分かるように、駆動システムロック部材392は、被駆動ベベルギア234を、ドライバベベルギア230と噛み合うように付勢する。このため、救済アクセスパネル390が閉位置に取り付けられ又は閉位置にある場合、モータ200の作動により、ドライバベベルギア230の回転、及び最終的に、システム駆動シャフト232の回転がもたらされるであろう。また、その位置にある場合、救済ロックヨーク396は、救済駆動ギア342を、システム駆動シャフト232上で、救済駆動ギア350との噛み合いを解除するように付勢するのに機能する。このため、救済アクセスパネル390が閉位置に取り付けられ又は閉位置にある場合、駆動システムは、モータ200により作動可能であり、救済システム330は、任意の作動モーションのシステム駆動シャフト232への適用から切断又は防止される。救済システム330をアクティブ化するために、臨床医は、まず、救済アクセスパネル390を取り外すか、又は、救済アクセスパネル390を何らかの方法で開位置に移動させる。この動作により、駆動システムロック部材392が、被駆動ベベルギア234との係合から解除され、それにより、駆動システムバネ235が、被駆動ベベルギア234をドライバベベルギア230との噛み合いを解除するように付勢することが可能となる。加えて、救済アクセスパネル390の取外し又は救済アクセスパネルの開位置への移動によっても、救済ロックヨーク396の救済駆動ギア342との係合解除がもたらされ、それにより、救済シャフトバネ348が、救済駆動ギア342をシステム駆動シャフト232上で救済駆動ギア350と噛み合うように付勢することが可能となる。このため、救済駆動ギア342の回転により、救済駆動ギア350及びシステム駆動シャフト232の回転がもたらされるであろう。救済アクセスパネル390の取外し又は救済アクセスパネル390の開位置への移動によっても、ハンドルバネ376が、救済ハンドル370を図11及び図14に示される作動位置に付勢することが可能となる。その位置にある場合、臨床医は、救済ハンドル370をラチェットベベルギア364の回転をもたらすラチェット方向RDに(例えば、図14における時計回り方向に)手動でラチェットさせることができ、このラチェットにより、最終的に、救済ドライブトレイン332を通したシステム駆動シャフト232への後退回転モーションの適用がもたらされる。臨床医は、救済ハンドル370を数多くの時点で、システム駆動シャフト232が数多くの時点で、ハンドルアセンブリ20に取り付けられる外科用ツールアセンブリの外科用エンドエフェクタ部分のコンポーネントを後退させるのに十分に回転されるまでラチェットしてもよい。救済システム330が手動で十分作動されると、ついで、臨床医は、救済アクセスパネル390を置き換える(すなわち、救済アクセスパネル390を閉位置に戻す)ことにより、駆動システムロック部材392に、被駆動ベベルギア234を、ドライバベベルギア230と噛み合うように付勢させ、かつ、救済ロックヨーク396に、救済駆動ギア342を、救済駆動ギア350との噛み合いを解除させるように付勢させる。上記検討されたように、電力が失われ又は中断されると、シフターバネ266は、シフターソレノイド260を第1の作動位置に付勢するであろう。また、救済システム330の作動により、反転又は後退モーションの第1の回転駆動システム300への適用がもたらされるであろう。 4, 5, and 10 illustrate the configuration of drive system components and rescue system components when the
上記検討されたように、外科用ステープル留め器具は、例えば、ステープル発射ドライブを後退させるように構成されている、手動作動救済システムを備え得る。多くの事例において、救済システムは、ステープル発射ドライブを完全に後退させるために、2回以上動作され、及び/又は、クランク状に曲げられる必要がある場合がある。このような事例において、ステープル留め器具のユーザは、ベールアウトを何回クランク状に曲げたかを忘れるおそれがあり、及び/又は、発射ドライブを更にどの程度後退させる必要があるかが何らかの方法で混乱してしまうおそれがある。ステープル留め器具が発射ドライブの発射部材の位置を検出し、発射部材を後退させる必要がある距離を決定し、外科用器具のユーザへのその距離を表示するように構成されているシステムを備える、様々な実施形態が想起される。 As discussed above, surgical staple fasteners may include, for example, a manually actuated rescue system configured to retract the staple firing drive. In many cases, the rescue system may need to be operated more than once and / or cranked in order to fully retract the staple firing drive. In such cases, users of staple fasteners may forget how many times the baleout is cranked, and / or somehow confuse how much the firing drive needs to be retracted further. There is a risk of doing so. A system is provided in which a stapler is configured to detect the location of the launching member of the launching drive, determine the distance at which the launching member needs to be retracted, and display that distance to the user of the surgical instrument. Various embodiments are recalled.
少なくとも1つの実施形態では、外科用ステープル留め器具は、発射部材の位置を検出するように構成されている、1つ又は2つ以上のセンサを備える。少なくとも1つの事例において、センサは、例えば、ホール効果センサを含み、ステープル留め器具のシャフト及び/又はエンドエフェクタに配置され得る。センサは、外科用ステープル留め器具のコントローラと信号通信しており、次に、同コントローラは、外科用ステープル留め器具におけるディスプレイと信号通信している。コントローラは、発射部材の実際の位置をデータ又は参照位置(発射部材の完全後退位置を含む)と比較し、発射部材の実際の位置と参照位置との間の距離、すなわち、残り距離を計算するように構成されているマイクロプロセッサを備える。 In at least one embodiment, the surgical staple fastening device comprises one or more sensors configured to detect the position of the launching member. In at least one case, the sensor may include, for example, a Hall effect sensor and may be placed on the shaft and / or end effector of the staple fastener. The sensor signals the controller of the surgical stapler, which in turn signals the display in the surgical stapler. The controller compares the actual position of the launcher with the data or reference position (including the fully retracted position of the launcher) and calculates the distance between the actual position of the launcher and the reference position, i.e., the remaining distance. It has a microprocessor configured to.
上記に加えて、ディスプレイは、例えば、電子ディスプレイを含み、コントローラは、残り距離を電子ディスプレイ上に任意の好適な様式で表示するように構成されている。少なくとも1つの事例において、コントローラは、ディスプレイ上にプログレスバーを表示する。このような事例において、例えば、空のプログレスバーは、発射部材がその発射ストロークの終端にあることを表わすことができ、満タンのプログレスバーは、発射部材が完全に後退したことを表わすことができる。少なくとも1つの事例において、例えば、0%は、発射部材がその発射ストロークの終端にあることを表わすことができ、100%は、発射部材が完全に後退したことを表わすことができる。特定の事例において、コントローラは、発射部材をその完全後退位置に後退させるのに、救済機構の作動をどの程度必要とするかを、ディスプレイ上に表示するように構成されている。 In addition to the above, the display includes, for example, an electronic display, and the controller is configured to display the remaining distance on the electronic display in any suitable fashion. In at least one case, the controller displays a progress bar on the display. In such cases, for example, an empty progress bar can indicate that the launching member is at the end of its firing stroke, and a full progress bar can indicate that the launching member has completely retracted. can. In at least one case, for example, 0% can indicate that the launching member is at the end of its firing stroke and 100% can represent that the launching member has completely retracted. In certain cases, the controller is configured to show on the display how much the rescue mechanism needs to be activated to retract the launcher to its fully retracted position.
上記に加えて、救済機構の作動により、外科用ステープル留め器具の電池又は電源が、発射ドライブの電気モータから動作可能に切断され得る。少なくとも1つの実施形態では、救済機構の作動により、電池を電気モータから電気的に切断するスイッチが押される。このようなシステムは、電気モータが発射部材の手動での後退に抵抗するのを防ぐであろう。 In addition to the above, the activation of the rescue mechanism can operably disconnect the battery or power supply of the surgical stapler from the electric motor of the launch drive. In at least one embodiment, the actuation of the rescue mechanism presses a switch that electrically disconnects the battery from the electric motor. Such a system would prevent the electric motor from resisting the manual retreat of the launcher.
図示されたハンドルアセンブリ20はまた、第3の軸線方向駆動システム(一般的に、400と指定される)を支持する。図3及び図4から分かるように、第3の軸線方向駆動システム400は、少なくとも1つの形態において、そこから突出している第3の駆動アクチュエータ部材又はロッド410を有するソレノイド402を備える。第3の駆動アクチュエータ部材410の遠位端412は、動作可能に取り付けられた交換式外科用ツールアセンブリの駆動システムコンポーネントの対応する部分を受容するために、内部に形成された第3の駆動クレイドル又はソケット414を有する。ソレノイド402は、ハンドル回路基板アセンブリ220及び制御システム又はCPU 224に有線で接続され、又は、何らかの方法で通信している。少なくとも1つの構成において、ソレノイド402は、ソレノイド402が未作動の場合、そのバネコンポーネントが第3の駆動アクチュエータ410を未作動開始位置に戻るように付勢するように、「バネ負荷」されている。 The illustrated
上記されたように、再構成可能なハンドルアセンブリ20は、各種の異なる交換式外科用ツールアセンブリを作動させるのに有利に利用されてもよい。そのために、ハンドルアセンブリ20は、それに交換式外科用ツールアセンブリを動作可能に連結させるためのツール取付け部分(一般的に、500と指定される)を備える。図示された例において、ツール取付け部分500は、交換式外科用ツールアセンブリのツール取付けモジュール部分の対応する部分と係合するように構成されている、2つの内向きに面したダブテール受容スロット502を備える。各ダブテール受容スロット502は、テーパ状であってもよく、又は換言すれば、多少V形であってもよい。ダブテール受容スロット502は、交換式外科用ツールアセンブリのツール取付けノズル部分の一部に形成された、対応するテーパ状取付け又はラグ部分を着脱可能に受容するように構成されている。各交換式外科用ツールアセンブリはまた、ハンドルアセンブリ20のツール取付け部分500に形成された、対応する保持ポケット504と着脱可能に係合するように構成されているラッチシステムを備えてもよい。 As mentioned above, the
様々な交換式外科用ツールアセンブリは、第1の回転駆動システム310に動作可能に連結又は整合するように構成されている「主」回転駆動システムと、第2の回転駆動システム320に動作可能に連結又はインターフェイスをとるように構成されている「二次」回転駆動システムとを有してもよい。一次及び二次回転駆動システムは、様々な回転モーションを、交換式外科用ツールアセンブリの一部を備える、特定の種類の外科用エンドエフェクタの部分に提供するように構成されてもよい。一次回転駆動システムの第1の回転駆動システムへの動作可能な連結及び二次駆動システムの第2の回転駆動システム320への動作可能な連結を容易にするために、ハンドルアセンブリ20のツール取付け部分500はまた、ハンドルアセンブリ20上での一次回転駆動システムの第1の回転駆動システム300への、及び、ハンドルアセンブリ20上での二次回転駆動システムの第2の回転駆動システム320への整列及び動作可能な連結を容易にするように、連結プロセス中に、交換式外科用ツールアセンブリの一次及び二次回転駆動システムの一部を遠位に付勢するように構成されている、一対の挿入ランプ506を備える。 Various interchangeable surgical tool assemblies are operational to the "main" rotary drive system and the second
交換式外科用ツールアセンブリはまた、軸線方向モーションを交換式外科用ツールアセンブリの外科用エンドエフェクタの対応する部分に適用するための「三次」軸線方向駆動システムを備えてもよい。ハンドルアセンブリ20上での三次軸線方向駆動システムの第3の軸線方向駆動システム400への動作可能な連結を容易にするために、第3の駆動アクチュエータ部材410は、内部に三次軸線方向駆動システムのラグ又は他の部分を動作可能に受容するように構成されている、ソケット414に設けられる。 The interchangeable surgical tool assembly may also be equipped with a "tertiary" axial drive system for applying axial motion to the corresponding portion of the surgical end effector of the interchangeable surgical tool assembly. In order to facilitate the operable connection of the tertiary axial drive system on the
交換式ツールアセンブリ2000が、図15に図示される。交換式ツールアセンブリ2000は、多くの観点において、交換式ツールアセンブリ1000に類似するが、交換式ツールアセンブリ1000とは、特定の他の観点において異なる。例えば、交換式アセンブリ2000は、輪状ステープル留めアセンブリである。主に図15及び図16を参照して、輪状ステープル留めアセンブリ2000は、シャフト部分2100と、エンドエフェクタ2200と、を備える。シャフト部分2100は、例えば、ハンドルアセンブリ20に着脱可能に取付け可能な近位部分を備える。エンドエフェクタ2200は、シャフト部分2100に、関節ジョイント2300の周りで回転可能に取り付けられた第1の部分2210を備える。エンドエフェクタ2200は、第1の部分2210に着脱可能に取り付けられた第2の部分2220を更に備える。第2の部分2220は、内部に画定されたステープルキャビティ2224の環状アレイと、各ステープルキャビティ2224に格納されたステープルと、を備える、カートリッジ部分2222を備える。第2の部分2220は、アンビル2230を更に備え、アンビル2230は、組織圧迫面2232と、ステープルキャビティ2224と位置合わせ(register)され、ステープルがステープルキャビティ2224から射出される際に、ステープルを変形するように構成されている、形成ポケットの環状アレイ又は形成ポケット2234(図27)と、を備える。 The
上記に加えて、再度図15及び図16を参照して、エンドエフェクタ2200の第2の部分2220は、エンドエフェクタ2200の第1の部分2210に選択的に取付け可能であり、かつ、同部分から選択的に取外し可能である。第2の部分2220は、第1の部分2210のハウジング2217に画定された開口又はチャンバ2218内に受容されるように構成されている近位コネクタ2229を備える、外側ハウジング2227を備える。ハウジング2227のコネクタ2229と第1の部分2210のハウジング2217との間の嵌合は密接している。コネクタ2229とハウジング2217との間の圧入は、第2の部分2220が第1の部分2210に対して長手方向及び/又は回転方向に偶発的に動くことを防ぎ得る。様々な事例において、デテント部材は、エンドエフェクタ2200の第2の部分2220を第1の部分2210に着脱可能に固定するのに利用され得る。 In addition to the above, again with reference to FIGS. 15 and 16, the
図15及び図35~図38を参照して、エンドエフェクタ2200の第2の部分2220は、他の第2の部分、例えば、第2の部分2220’、第2の部分2220’’、第2の部分2220’’’、及び/又は別の第2の部分2220などと交換可能である。第2の部分2220’、2220’’、及び2220’’’は、多くの観点において、第2の部分2220に類似する。例えば、各第2の部分2220、2220’、2220’’、及び2220’’’は、内部に画定された中心開口2226を備える。とはいえ、第2の部分2220’、2220’’、及び2220’’’は、他の観点において、第2の部分2220とは異なる。例えば、第2の部分2220’は、第2の部分2220より大きい直径を有する。更に、第2の部分2220’に画定されたステープルキャビティ2224の環状アレイは、第2の部分2220に画定されたステープルキャビティ2224の環状アレイより大きい周径を有する。同様に、第2の部分2220’’は、第2の部分2220’より大きい直径を有し、第2の部分2220’’に画定されたステープルキャビティ2224の環状アレイは、第2の部分2220’に画定されたステープルキャビティ2224の環状アレイより大きい周径を有する。また同様に、第2の部分2220’’’は、第2の部分2220’’より大きい直径を有し、第2の部分2220’’’に画定されたステープルキャビティ2224の環状アレイは、第2の部分2220’’に画定されたステープルキャビティ2224の環状アレイより大きい周径を有する。 With reference to FIGS. 15 and 35-38, the
上記に加えて、アンビル2230は、他のアンビル、例えば、アンビル2230’、アンビル2230’’、アンビル2230’’’、及び/又は別のアンビル2230などと交換可能である。アンビル2230’、2230’’、及び2230’’’は、多くの観点において、アンビル2230に類似する。例えば、各アンビル2230、2230’、2230’’、及び2230’’’は、連結フランジ2238を備える、長手方向シャフト2236を備える。とはいえ、アンビル2230’、2230’’、及び2230’’’は、他の観点において、アンビル2230とは異なる。例えば、アンビル2230’は、アンビル2230より大きい直径を有する。更に、アンビル2230’に画定された形成ポケット2234の環状アレイは、形成ポケット2234が第2の部分2220’に画定されたステープルキャビティ2224と位置合わせされたままであるように、アンビル2230に画定された形成ポケット2234の環状アレイより大きい周径を有する。同様に、アンビル2230’’は、アンビル2230’より大きい直径を有し、アンビル2230’’に画定された形成ポケット2234の環状アレイは、形成ポケット2234が第2の部分2220’’に画定されたステープルキャビティ2224と位置合わせされたままであるように、アンビル2230’に画定された形成ポケット2234の環状アレイより大きい周径を有する。また同様に、アンビル2230’’’は、アンビル2230’’より大きい直径を有し、第2の部分2220’’’に画定された形成ポケット2234の環状アレイは、形成ポケット2234が第2の部分2220’’’に画定されたステープルキャビティ2224と位置合わせされたままであるように、アンビル2230’’に画定された形成ポケット2234の環状アレイより大きい周径を有する。 In addition to the above, the
主に図17を参照して、シャフト部分2100は、近位コネクタ2120と、近位コネクタ2120から遠位に伸びる細長シャフト部分2110と、を備える。近位コネクタ2120は、第1のインプット2318及び第2のインプット2418を備える。第1のインプット2318は、エンドエフェクタ関節システムに動作可能に連結し、第2のインプット2418は、エンドエフェクタクランプ及びステープル発射システムに動作可能に連結している。第1のインプット2318及び第2のインプット2418は、任意の好適な順序で動作し得る。例えば、第1のインプット2318は、エンドエフェクタ2200を第1の方向に関節運動させるために、第1の方向に回転することができ、これに対応して、エンドエフェクタ2200を第2の方向に関節運動させるために、第2の方向に回転することができる。エンドエフェクタ2200が好適に関節運動させられると、ついで、第2のインプット2428は、アンビル2230を閉じるように回転し、エンドエフェクタ2200のカートリッジ部分2222に対して、組織をクランプし得る。以下で更により詳細に検討されるように、ついで、第2のインプット2428は、ステープルをステープルキャビティ2224から発射し、エンドエフェクタ2200内に捕捉された組織を切開するように動作し得る。様々な代替的な実施形態では、第1のインプット2318及び第2のインプット2328は、任意の好適な順序で及び/又は同時に動作し得る。 Primarily with reference to FIG. 17, the
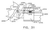
第1のインプット2318は、シャフト部分2010に回転可能に取り付けられた関節シャフト2310の近位端に取り付けられる。主に図20及び図21を参照して、回転式関節シャフト2310は、遠位端と、この遠位端に取り付けられたウォームギア2312と、を備える。ウォームギア2312は、関節スライド2320と螺合する。より具体的に、関節スライド2320は、内部に画定されたネジ付き開口2322を備え、ウォームギア2312は、ネジ付き開口2322と螺合する。関節シャフト2310が第1の方向に回転した場合、ウォームギア2312は、関節スライド2320を遠位に押す(図32)。関節シャフト2310が第2の又は反対方向に回転した場合、ウォームギア2312は、関節スライド2320を近位に引き寄せる(図31)。関節スライド2320は、細長シャフト部分2110の遠位端に固定された関節ブロック2112により摺動可能に支持される。関節スライド2320の移動は、関節ブロック2112に画定されたガイドスロット2315による関節ブロック2112により、近位移動及び遠位移動に制限される。関節スライド2320は、関節スライド2320と関節ブロック2112との間の相対移動を長手方向経路に制限するガイドスロット2315の底部に画定された長手方向キー溝2116にきっちり受容される、そこから伸びる長手方向キー2326を更に備える。 The
再度図20、図21、及び図24を参照して、関節スライド2320は、関節リンク2330に連結される。関節スライド2320は、関節リンク2330に画定された近位開口2334内に位置する、そこから伸びる駆動ピン2324を備える。駆動ピン2324は、駆動ピン2324及び開口2334の側壁が関節スライド2320と関節リンク2330との間の回転軸線を画定するように協働するように、開口2334内にきっちり受容される。関節リンク2330はまた、エンドエフェクタ2200のハウジング2217に連結される。より具体的に、関節リンク2330は、内部に画定された遠位開口2335を更に備え、ハウジング2217は、遠位開口2335に位置するピン2215を備える。ピン2215は、ピン2215及び開口2335の側壁が関節リンク2330とハウジング2217との間の回転軸線を画定するように協働するように、開口2335内にきっちり受容される。 With reference to FIGS. 20, 21, and 24 again, the
上記に加えて、図18~図21及び図24を参照して、エンドエフェクタ2200は、シャフト2100の関節ブロック2112に、関節ジョイント2300の周りで回転可能に連結している。エンドエフェクタ2200のハウジング2217は、その両側に画定された開口2213を備え、関節ブロック2112は、開口2213に配置された、その両側から伸びる突起2113を備える。突起2113は、突起2113及び開口2213の側壁が、エンドエフェクタ2200が関節運動させられ得る関節軸線を画定するように協働するように、開口2213にきっちり受容される。関節シャフト2310が関節スライド2320を遠位に駆動させるように回転した場合、関節スライド2320は、関節リンク2330の近位端を遠位に駆動させる。関節リンク2330の近位端の遠位移動に応じて、関節リンク2330は、関節ジョイント2300の周りでエンドエフェクタ2200を回転させる、駆動ピン2324を中心に回転する。関節インプット2310が関節スライド2320を近位に駆動させるように回転する場合、上記と同様に、関節スライド2320は、関節リンク2330の近位端を近位に引っ張る。関節リンク2330の近位端の近位移動に応じて、関節リンク2330は、関節ジョイント2300の周りでエンドエフェクタ2200を回転させる、駆動ピン2324を中心に回転する。関節リンク2330は、関節スライド2320とハウジング2217との間に、少なくとも1度の遊びを提供する。結果として、関節リンク2330は、エンドエフェクタ2200が広い範囲の関節運動角度で関節運動させられるのを可能にする。 In addition to the above, with reference to FIGS. 18-21 and 24, the
上記検討されたように、図17及び図25を参照して、交換式ツールアセンブリ2000の近位コネクタ2120は、第2のインプット2418を備える。第2のインプット2418は、駆動シャフト2410の近位端に取り付けられた駆動ギア2416と噛み合う駆動ギア2417を備える。図19に図示されたように、駆動シャフト2410は、シャフト部分2110及び関節ブロック2112に画定された開口2114を通って伸びる。開口2114は、ベアリングを備え、駆動シャフト2410を回転可能に支持する。代替的に、開口2114は、クリアランス開口を備え得る。いずれにしても、主に図22を参照して、駆動シャフト2410は、関節ジョイント2300を通って、エンドエフェクタハウジング2217に画定されたチャンバ2218内へ伸びる。駆動シャフト2410は、エンドエフェクタ2200のハウジング2217に画定された、リセス2214内に捕捉された駆動シャフト2410に取り付けられた、ベアリング2414により回転可能に支持される。駆動シャフト2410は、駆動シャフト2410の回転がアウトプットギア2412に伝達されるように、その遠位端に取り付けられたアウトプットギア2412を更に備える。 As discussed above, with reference to FIGS. 17 and 25, the
主に図18、図22、及び図23を参照して、駆動シャフト2410のアウトプットギア2412は、トランスミッション2420と動作可能に係合している。以下でより詳細に検討されるように、トランスミッション2420は、エンドエフェクタ2200を、駆動シャフト2410がアンビル2230をカートリッジ本体2222に対して移動させる第1の動作モードと、駆動シャフト2410がステープルをステープルキャビティ2224から発射し、アンビル2230とカートリッジ本体2222との間に捕捉された組織を切開する第2の動作モードとの間で切り替えるように構成されている。トランスミッション2420は、プラネタリプレート2421と、プラネタリプレート2421に回転可能に取り付けられた4つのプラネタリギア2424と、を備える、オービットドライブを備える。プラネタリプレート2421は、その中心を通って伸びるクリアランス開口を備え、駆動シャフト2410は、クリアランス開口を通って伸びる。プラネタリプレート2421及びプラネタリギア2424は、エンドエフェクタハウジング2217に画定されたチャンバ2219に配置される。各プラネタリギア2424は、プラネタリプレート2421から伸びるギアピン2423を中心に回転可能である。ギアピン2423は、クリアランス開口を囲む周径に沿って配置される。アウトプットギア2412は、プラネタリギア2424と噛み合い、以下でより詳細に記載されるように、駆動シャフト2410は、プラネタリギア2424を駆動させる。 Primarily with reference to FIGS. 18, 22, and 23, the
上記に加えて、駆動シャフト2410は、例えば関節ジョイント2300を通って伸びる。エンドエフェクタ2200が関節運動させられた場合、アウトプットギア2412が、プラネタリギア2424と適切に係合したままであるために、駆動シャフト2410は可撓性である。少なくとも1つの事例において、駆動シャフト2410は、例えば、プラスチックから構成される。 In addition to the above, the
上記検討されたように、トランスミッション2420は、第1の動作モード及び第2の動作モードを含む。主に図23及び図28を参照して、交換式ツールアセンブリ2000は、トランスミッション2420をその第1の動作モードとその第2の動作モードとの間で切り替えるために、第1の位置と第2の位置との間を移動可能なシフター2600を更に備える。図28~図30に図示されたように、シフター2600が第1の位置にある場合、シフター2600は、トランスミッション2420のプラネタリプレート2421とは係合しておらず、結果として、プラネタリプレート2421及びプラネタリギア2424は、駆動シャフト2410により回転される。より具体的に、以下で更により詳細に記載されたように、駆動シャフト2410は、プラネタリギア2424をそれらの各ギアピン2423を中心に回転させ、プラネタリギア2424は、プラネタリプレート2421を、プラネタリギア2424と、プラネタリギア2424周囲に伸びる歯2534の環状リングとの間の反作用力により回転させる。プラネタリプレート2421は、アウトプットカップリング2430と、プラネタリプレート2421の回転がアウトプットカップリング2430に伝達されるように、動作可能に連結される。主に図23を参照して、アウトプットカップリング2430は、その外側周囲に伸びる開口2433のアレイを備える。この場合、プラネタリプレート2421から伸びるギアピン2423は、アウトプットカップリング2430に画定された開口2433内に伸び、開口2433によりきっちり受容される。これにより、プラネタリプレート2421とアウトプットカップリング2430との間の相対移動が生じたとしてもほとんど存在しない。 As discussed above, the
主に図18及び図23を参照して、アウトプットカップリング2430は、駆動ソケット2432を備える。駆動ソケット2432は、例えば、実質的に六角形の開口を備える。ただし、任意の好適な構成が利用され得る。駆動ソケット2432は、エンドエフェクタ2200の第2の部分2220を通って伸びる閉鎖シャフト2440を受容するように構成されている。閉鎖シャフト2440は、駆動シャフト2410の回転が閉鎖シャフト2440に伝達可能であるように、駆動ソケット2432内にきっちり受容される実質的に六角形を有する近位駆動端2442を備える。閉鎖シャフト2440は、第2の部分2220のハウジング2227内に、ベアリング2444により回転可能に支持される。ベアリング2444は、例えば、スラストベアリングを備える。ただし、ベアリング2444は、任意の好適なベアリングを含んでもよい。 Primarily with reference to FIGS. 18 and 23, the
主に図23及び図28~図30を参照して、閉鎖シャフト2440は、トロカール2450に画定されたネジ付き開口2456と螺合するネジ付き部分2446を備える。以下で更により詳細に検討されるように、アンビル2230は、トロカール2450に取付け可能であり、トロカール2450は、アンビル2230をカートリッジ本体2222に向かって、かつ/又はカートリッジ本体2222から離れる方へ移動させるように、並進移動することができる。再度図18を参照して、トロカール2450は、駆動スリーブ2540の内側表面2546から伸びる少なくとも1つの長手方向キーと協働するように構成されている、内部に画定された少なくとも1つの長手方向キースロット2459を備える。駆動スリーブ2540は、以下で更に検討されるステープル発射システムの一部であり、読み手は、トロカール2450及び駆動スリーブ2540の一方が互いに対して摺動し、2つが協同して、それらの間の相対的な回転運動を妨げることを理解すべきである。閉鎖シャフト2440とトロカール2450との間の螺合により、閉鎖シャフト2440が第1の方向に回転した場合、閉鎖シャフト2440は、トロカール2450を遠位に変位させ、又は並進移動させることができ、それに対応して、閉鎖シャフト2440が第2又は反対方向に回転した場合、トロカール2450を近位に変位させ、又は並進移動させることができる。 Primarily with reference to FIGS. 23 and 28-30, the
上記検討されたように、アンビル2230は、トロカール2450に取付け可能である。アンビル2230は、トロカール2450と係合し、把持するように構成されている連結フランジ2238を備える。連結フランジ2238は、アンビル2230のシャフト部分2236に連結しているカンチレバービームを備える。主に図23を参照して、トロカール2450は、アンビル2230がトロカール2450に組み付けられた場合、連結フランジ2238を着脱可能に受容するように構成されている、保持ノッチ又はリセス2458を備える。保持ノッチ2458及び連結フランジ2238は、トロカール2450からのアンビル2230の偶発的な取外しに抵抗するように構成されている。連結フランジ2238は、長手方向スロット2237により分離されている。長手方向スロット2237は、アンビル2230がトロカール2450に組み付けられた場合、トロカール2450から伸びる長手方向リブ2457を受容するように構成されている。リブ2457は、スロット2237内にきっちり受容され、結果として、アンビル2230は、トロカール2450に対して回転するのを妨げられる。 As discussed above, the
上記検討されたように、アンビル2230がカートリッジ部分2222に対して好適に配置されると、ツールアセンブリ2000は、その第2の動作モードに切り替えられ得る。シフター2600は、例えば、エンドエフェクタ2200のトランスミッション2420を切り替えるのに利用される電気作動モータを備える。様々な他の実施形態では、シフター2600は、電気的及び/又は手動で作動される任意の好適なデバイスを備え得る。シフター2600は、外科用ステープル留め器具のプロセッサと信号通信しており、外科用ステープル留め器具の電池と通電している。様々な事例において、絶縁電気ワイヤは、例えば、プロセッサがシフター2600と通信することができ、電池がシフター2600に電力を供給することができるように、シフター2600と外科用器具のハンドルとの間に伸びる。様々な他の事例において、シフター2600は、無線信号レシーバを備えることができ、プロセッサは、シフター2600と無線通信することができる。特定の事例において、電力は、例えば、誘導回路を介するなどして、シフター2600に無線供給され得る。様々な事例において、シフター2600はそれ自体が、電源を備え得る。 As discussed above, once the
シフター2600は、エンドエフェクタ2200の近位端に画定されたチャンバ2218に取り付けられたハウジングを備える。シフター2600は、クラッチキー又はトグル2602と、シフターハウジングに対して第1の位置と第2の位置との間で移動可能なアウトプットシャフト2604と、を備える。クラッチキー2602は、第1のロック歯2608と第2のロック歯2609と、を備え、クラッチキー2602がその第1の位置にある場合、第1のロック歯2608は、ステープル発射システムの発射チューブ2530と係合し、同時に、第2のロック歯2609は、トランスミッション2420のプラネタリプレート2421から係合解除される。より具体的に、第1のロック歯2608は、開口2538に配置され、開口2538は、発射チューブ2530周囲に画定された開口2538の環状アレイの一部であり、第2のロック歯2609は、開口2429には配置されず、開口2429は、プラネタリプレート2421周囲に画定された開口2429の環状アレイの一部である。上記の結果として、シフター2600は、クラッチキー2602がその第1の位置にあるとき、発射チューブ2530が回転するのを妨げることにより、ステープル発射システムをロックアウトする。上記検討されたように、クラッチキー2602が第1の位置にある場合、ステープル発射システムは、シフター2600によりロックアウトされるが、駆動シャフト2410は、プラネタリプレート2421を回転させ、アンビル閉鎖システムを動作させ得る。 The
主に図23に図示されたように、発射チューブ2530は、その内側側壁2532に画定された歯2534からなる内側環状ラックを備える。プラネタリギア2424は、歯2534からなるラックと動作可能に噛み合う。図28に図示されたように、シフター2600が第1の位置にある場合、発射チューブ2530は、シフター2600により定位置に保持され、プラネタリギア2424は、発射チューブ2530及び歯2534からなるラックに対して、駆動シャフト2410により回転可能である。このような事例において、プラネタリギア2424は、駆動シャフト2410により画定された長手方向駆動軸線を中心に回転され、同時に、それらの各ギアピン2423により画定された軸線を中心に回転される。読み手は、プラネタリギア2424が駆動シャフト2410により直接駆動され、プラネタリギア2424と発射チューブ2530との間に生じた反作用力により、プラネタリギア2424が駆動し、プラネタリプレート2421を回転させることを理解すべきである。シフター2600がクラッチキー2602をその第2の位置に移動させるように作動された場合、第1のロック歯2608は、発射チューブ2530から係合解除され、同時に、第2のロック歯2609は、プラネタリプレート2421と係合する。プラネタリプレート2421は、クラッチキー2602が第2の位置にある場合、シフター2600により定位置に保持され、結果として、閉鎖ドライブはロックアウトされ、アンビル2230を移動させるのに動作し得ない。このような事例において、駆動シャフト2410が回転した場合、アウトプットギア2412が駆動し、プラネタリギア2424をプラネタリプレート2421に対して、それらの各ギアピン2423を中心に回転させる。プラネタリギア2424は、発射チューブ2530を、歯2534からなるラックを介して駆動させ、発射チューブ2530を、その長手方向軸線を中心に回転させる。 Primarily as illustrated in FIG. 23, the
上記に加えて、再度図23を参照して、発射チューブ2530は、ステープル発射システムの駆動スリーブ2540と動作可能に連結している。より具体的に、発射チューブ2530の内側側壁2532は、駆動スリーブ2540が発射チューブ2530と共に回転するように、駆動スリーブ2540上に画定された長手方向リブ2545をきっちり受容するように構成されている、内部に画定された長手方向スロット2535を備える。駆動スリーブ2540は、駆動カラー2550と螺合するネジ付き遠位端2542を更に備える。より具体的に、駆動カラー2550は、ネジ付き遠位端2542と螺合するネジ付き開口2552を備える。駆動カラー2550は、例えば、エンドエフェクタ2200のハウジングに画定された開口2228に配置され、長手方向リブ及び溝構成により、開口2228内での回転が妨げられる。上記の結果として、駆動スリーブ2540の回転により、駆動カラー2550は、長手方向に並進移動する。例えば、駆動カラー2550は、駆動スリーブ2540が第1の方向に回転した場合、遠位に前進し、駆動スリーブ2540が第2又は反対方向に回転した場合、近位に後退する。 In addition to the above, again with reference to FIG. 23, the
上記検討されたように、駆動カラー2550が遠位に押された場合、駆動カラー2550は、ステープルドライバブロック2560及び切断部材2570、例えば、ナイフなどを、ステープル発射システムの発射ストローク中に遠位に押す。より具体的に、駆動カラー2550は、ステープルドライバブロック2560及び切断部材2570を、ステープルがカートリッジ本体部分2222に画定されたステープルキャビティ2224に配置されており、切断部材2570がカートリッジ本体部分2222のデッキ面の下にしまわれている、近位の未発射位置と、ステープルがアンビル2230に対して変形されており、アンビル2230とカートリッジ本体部分2222との間に捕捉された組織が切断部材2570により切除される、遠位の発射済み位置との間で押す。駆動カラー2550は、駆動カラー2550が遠位に前進すると、ステープルドライバブロック2560及び切断部材2570に当接するように構成されている駆動リセス2554を備える。ステープルドライバブロック2560は、内部に画定された複数のステープルクレイドルを備える。この場合、各ステープルクレイドルは、ステープルの基部を支持するように構成されている。ステープルクレイドルは、カートリッジ本体部分2222に画定されたステープルキャビティ2224と整列され、少なくとも2つの同心列に配置される。 As discussed above, when the
ステープルドライバブロック2560及び切断部材2570は、駆動カラー2550がアンビル2230から離れるように近位に移動した場合、ステープルドライバブロック2560及び切断部材2570が駆動カラー2550により、近位に引っ張られるように、駆動カラー2550に取り付けられる。少なくとも1つの事例において、ステープルドライバブロック2560及び切断部材2570は、駆動カラー2550に画定された開口2557内に伸びる1つ又は2つ以上のフックを備える。様々な事例において、ステープルドライバブロック2560及び切断部材2570は、それらがカートリッジ本体部分2222のデッキ表面の下に完全に後退するように後退し得る。 The
上記に加えて、エンドエフェクタ2200は、シフター2600のクラッチキー2602がアンビル閉鎖システム及びステープル発射システムと同時に動作可能に係合する第3の動作モードで動作可能である。この動作モードにおいて、第1のロック歯2608は、ステープル発射システムの発射チューブ2530と係合し、第2のロック歯2609は、トランスミッション2420のプラネタリプレート2421と係合する。このような事例において、第1のロック歯2608は、発射チューブ2530に画定された開口2538に配置され、第2のロック歯2609は、プラネタリプレート2421に画定された開口2429に配置される。上記の結果として、駆動シャフト2410は、アンビル2230、ステープルドライバブロック2560、及び切断部材2570を、カートリッジ本体2222に対して同時に動かす。 In addition to the above, the
再度図15を参照して、交換式ツールアセンブリ2000のユーザは、第2の部分2220、2220’、2220’’、2220’’’及び/又は任意の他の好適な第2の部分のキットから選択し、選択された第2の部分を、エンドエフェクタ2200の第1の部分2210に組み付け得る。主に図18を参照して、各第2の部分は、第2の部分が第1の部分2210に組み付けられる際に、第1の部分2210のハウジング2217と係合するハウジングコネクタ2229を備える。加えて、各第2の部分は、第2の部分が第1の部分2210に組み付けられる際に、第1の部分2210の駆動ソケット2432と動作可能に係合する閉鎖シャフト2440を備える。更に、各第2の部分は、第2の部分が第1の部分2210に組み付けられる際に、第1の部分2210の発射チューブ2530と動作可能に係合する駆動スリーブ2540を備える。 With reference to FIG. 15 again, the user of the
上記に加えて、図35及び図36を参照して、ツールアセンブリ2000’は、ツールアセンブリ2000と交換可能である。ツールアセンブリ2000’は、多くの観点において、ツールアセンブリ2000に類似する。ただし、ツールアセンブリ2000’は、ツールアセンブリ2000により適用される輪状ステープルラインより大きい直径を有する輪状ステープルラインを適用するように構成されている。ツールアセンブリ2000’は、中でも、より広い第2の部分2220’、ステープルドライバ2560’、ナイフアセンブリ2570’、カートリッジ本体2222’、及びアンビル2230’を備える。図37を参照して、ツールアセンブリ2000’’は、ツールアセンブリ2000と交換可能である。ツールアセンブリ2000’’は、多くの観点において、ツールアセンブリ2000及び2000’に類似する。ただし、ツールアセンブリ2000’’は、ツールアセンブリ2000’により適用される輪状ステープルラインより大きい直径を有する輪状ステープルラインを適用するように構成されている。ツールアセンブリ2000’’は、中でも、より広い第2の部分2220’’、ステープルドライバ2560’’、ナイフアセンブリ2570’’、カートリッジ本体2222’’、及びアンビル2230’’を備える。図38を参照して、ツールアセンブリ2000’’’は、ツールアセンブリ2000と交換可能である。ツールアセンブリ2000’’’は、多くの観点において、ツールアセンブリ2000、2000’、及び2000’’に類似する。ただし、ツールアセンブリ2000’’’は、ツールアセンブリ2000’’により適用される輪状ステープルラインより大きい直径を有する輪状ステープルラインを適用するように構成されている。ツールアセンブリ2000’’’は、中でも、より広い第2の部分2220’’’、ステープルドライバ2560’’’、ナイフアセンブリ2570’’’、カートリッジ本体2222’’’、及びアンビル2230’’’を備える。 In addition to the above, with reference to FIGS. 35 and 36, the tool assembly 2000'is interchangeable with the
様々な実施形態では、上記に加えて、外科用器具は、任意の好適な数の動作モードを有し得る。少なくとも1つの実施形態では、外科用ステープル留め器具は、ステープルを発射する第1の動作モードと、切断部材を配備する第2の動作モードと、ステープルの発射及び切断部材の配備の両方を同時にする第3の動作モードと、を含む、トランスミッションを備える。第1の動作モードにおいて、切断部材は配備されない。更に、このような外科用器具のプロセッサは、この器具が最初に第1の動作モードを完了することなく、第2の動作モードになり得ないように、プログラムされ得る。上記の結果として、外科用器具のユーザは、ステープルが発射された後に組織を切断するか否かを決定し得る。 In various embodiments, in addition to the above, the surgical instrument may have any suitable number of modes of operation. In at least one embodiment, the surgical staple fastener has both a first mode of operation for firing staples, a second mode of operation for deploying cutting members, and simultaneous firing of staples and deployment of cutting members. It comprises a transmission, including a third mode of operation. In the first mode of operation, the cutting member is not deployed. Further, the processor of such a surgical instrument can be programmed so that the instrument cannot enter a second mode of operation without first completing the first mode of operation. As a result of the above, the user of the surgical instrument may decide whether to cut the tissue after the staple has been fired.
外科用ステープラと共に使用するためのステープルカートリッジ本体の代替的な実施形態が、図34に図示される。カートリッジ本体2222’は、ステープルキャビティ2224の環状の外側列及びステープルキャビティ2224’の環状の内側列を備える。ステープルキャビティ2224は、カートリッジ本体デッキの第1のステップに画定され、ステープルキャビティ2224’は、カートリッジ本体デッキの第2のステップに画定される。第2のステップは、第1のステップ上に伸びている。換言すれば、第1のステップは、第1のデッキ高さを有し、第2のステップは、第1のデッキ高さより高い第2のデッキ高さを有する。デッキ壁は、第1のステップと第2のステップとを分離する。様々な実施形態では、デッキ壁は傾斜している。特定の実施形態では、デッキ壁は、第1のステップ及び/又は第2のステップに対して直交している。 An alternative embodiment of a staple cartridge body for use with a surgical stapler is illustrated in FIG. The cartridge body 2222'includes an annular outer row of
カートリッジ本体2222’は、デッキの第1のステップから伸びるキャビティ延長部(cavity extension)2229’を更に備える。キャビティ延長部2229’は、ステープルキャビティ2224の端部を囲み、ステープルキャビティ2224を第1のステップ上に延長している。キャビティ延長部2229’は、ステープルがステープルキャビティ2224から射出されると、ステープルを第1のステップ上で少なくとも部分的に制御し得る。キャビティ延長部2229’はまた、捕捉された組織と接触し、同組織をカートリッジ本体2222’に対して圧迫するように構成されている。キャビティ延長部2229’はまた、カートリッジ本体2222’に対する組織の流れを制御し得る。例えば、キャビティ延長部2229’は、組織の径方向の流れを制限し得る。キャビティ延長部2229’は、任意の好適な構成を有することができ、第1のステップから任意の好適な高さで伸びていてよい。少なくとも1つの事例において、キャビティ延長部2229’の上面は、例えば、第2のステップと整列され、又は、第2のステップと同じ高さを有する。他の事例において、キャビティ延長部2229’は、第2のステップの上又は下に伸びていてよい。 The cartridge body 2222' further comprises a cavity extension 2229' extending from the first step of the deck. The cavity extension 2229'encloses the end of the
上記に加えて、ステープルキャビティ2224はそれぞれ、内部に配置された、第1の未形成高さを有する第1のステープルを備える。ステープルキャビティ2224’はそれぞれ、内部に配置された、第1の未形成高さとは異なる第2の未形成高さを有する第2のステープルを備える。例えば、第1の未形成高さは、第2の未形成高さより高い。ただし、第2の未形成高さは、第1の未形成高さより高い場合がある。代替的な実施形態では、第1の未形成ステープル高さと第2の未形成ステープル高さとは同じである。 In addition to the above, each
第1のステープルは、第1の変形済み高さに変形され、第2のステープルは、第1の変形済み高さとは異なる第2の変形済み高さに変形される。例えば、第1の変形済み高さは、第2の変形済み高さより高い。このような構成により、ステープル留めされた組織内の血流が改善され得る。代替的に、第2の変形済み高さは、第1の変形済み高さより高い場合がある。このような構成により、内側切除ラインに沿った組織の柔軟性(pliability)が改善され得る。特定の代替的な実施形態では、第1の変形済み高さと第2の変形済み高さとは同じである。 The first staple is transformed into a first deformed height and the second staple is transformed into a second deformed height that is different from the first deformed height. For example, the first deformed height is higher than the second deformed height. Such a configuration can improve blood flow in stapled tissue. Alternatively, the second deformed height may be higher than the first deformed height. Such a configuration can improve the pliability of the tissue along the medial resection line. In certain alternative embodiments, the first deformed height and the second deformed height are the same.
上記検討されたように、交換式ツールアセンブリは、中でも、シャフト、エンドエフェクタ、及び交換式ステープルカートリッジを備え得る。交換式ステープルカートリッジは、エンドエフェクタを開閉するように動かして、組織をエンドエフェクタ内に捕捉するように構成されている閉鎖ドライブと、エンドエフェクタ内に捕捉された組織をステープル留め及び切断するように構成されている発射ドライブと、を備える。エンドエフェクタの閉鎖ドライブ及び発射ドライブは、交換式ステープルカートリッジがシャフトに組み付けられる際に、シャフトの対応する閉鎖ドライブ及び発射ドライブと動作可能に連結される。交換式ステープルカートリッジがシャフトに適切に組み付けられない場合には、交換式ステープルカートリッジは、その意図した様式で動作しない場合がある。以下により詳細に記載されるように、交換式ステープルカートリッジ及び/又はシャフトは、交換式ステープルカートリッジがシャフトに適切に取り付けられない限り、交換式ステープルカートリッジが動作するのを妨げるロックアウトを備え得る。 As discussed above, interchangeable tool assemblies may include, among other things, shafts, end effectors, and interchangeable staple cartridges. The replaceable staple cartridge moves the end effector to open and close to staple and cut the tissue trapped in the end effector and the closed drive that is configured to trap the tissue in the end effector. It is equipped with a launch drive that is configured. The end effector closed and fire drives are operably coupled to the shaft's corresponding closed and fire drives when the replaceable staple cartridge is assembled to the shaft. If the replaceable staple cartridge is not properly assembled to the shaft, the replaceable staple cartridge may not operate in its intended manner. As described in more detail below, the replaceable staple cartridge and / or the shaft may be provided with a lockout that prevents the replaceable staple cartridge from operating unless the replaceable staple cartridge is properly attached to the shaft.
ここから図39に切り替えて、交換式ツールアセンブリ3000は、シャフト3010と、交換式ステープルカートリッジ3020と、を備える。上記と同様に、交換式ステープルカートリッジ3020は、ステープルカートリッジ3020がシャフト3010上に完全に固定される際に、閉鎖駆動アウトプット及び発射駆動アウトプットそれぞれと動作可能に連結する閉鎖駆動インプット及び発射駆動インプットを備える。このような閉鎖及び発射システムの動作は、簡潔さの目的で、本明細書では繰り返さない。 Switching from here to FIG. 39, the
交換式ツールアセンブリ3000は、ロックアウト回路3090を更に備える。ロックアウト回路3090は、伝導体3096及びコンタクト3092を備える。第1のコンタクト3092は、第1の伝導体3096に電気的に接続しており、第2のコンタクト3092は、第2の伝導体3096に電気的に接続している。第1のコンタクト3092は、ステープルカートリッジ3020がシャフト3010上に完全に固定される前には、第2のコンタクト3092に電気的に接続していない。ステープルカートリッジ3020は、ステープルカートリッジ3020がシャフト3010上に完全に固定される際に、コンタクト3092と係合し、電気的に接続されるコンタクトブリッジ3094を備える。コンタクト3092及びコンタクトブリッジ3094は、ステープルカートリッジ3020がシャフト3010上に部分的にのみ固定される際に、コンタクトブリッジ3094がコンタクト3092に電気的に接続されないように構成され、配置されている。 The
交換式ツールアセンブリ3000は、例えば、手動で動作可能なハンドル及び/又はロボットシステムを備える、外科用器具システムと共に使用可能である。様々な実施形態では、外科用器具システムは、ツールアセンブリ3000のステープル発射システムを駆動させるように構成されている電気モータと、加えて、電気モータを動作するように構成されているコントローラと、を備える。ツールアセンブリ3000のロックアウト回路は、コントローラと通信している。コンタクトブリッジ3094がコンタクト3092と係合していないこと、又は、ロックアウト回路が開状態にあることを、コントローラが検出した場合、コントローラは、電気モータがステープル発射システムを動作させるのを妨げる。様々な事例において、コントローラは、ロックアウト回路が開状態にある場合に、電力を電気モータに供給しないように構成されている。特定の他の事例において、コントローラは、ロックアウト回路が開状態にある場合、閉鎖システムを動作させることができるが、発射システムを動作させることができないように、電力を電気モータに供給するように構成されている。少なくとも1つのこのような事例において、コントローラは、電気モータのアウトプットが閉鎖システムのみに向けられるように、電気モータに接続されたトランスミッションを動作させる。コンタクトブリッジ3094がコンタクト3092と係合していること、又は、ロックアウト回路が閉状態にあることを、コントローラが検出した場合、コントローラは、電気モータがステープル発射システムを動作させるのを可能にする。 The
外科用器具システムがハンドルを備える場合、上記に加えて、コントローラは、ロックアウト回路が開構成にあるのをコントローラが検出した場合、ハンドルの発射トリガが作動するのを妨げるトリガロックを作動し得る。ステープルカートリッジ3020がシャフト3010上に完全に固定され、ロックアウト回路が閉じた場合、コントローラは、トリガロックを後退させることができ、発射トリガを作動させることができる。このようなシステムは、モータ型の、かつ/又は非モータ型の発射ドライブと共に利用され得る。非モータ型の発射ドライブは、例えば、ハンドクランクにより駆動され得る。 If the surgical instrument system is equipped with a handle, in addition to the above, the controller may activate a trigger lock that prevents the handle's firing trigger from activating if the controller detects that the lockout circuit is in the open configuration. .. When the
上記検討されたように、アンビル2230は、ツールアセンブリ2000における閉鎖ドライブのトロカールシャフト2450に組み付けられ得る。アンビル2230の連結フランジ2238は、トロカールシャフト2450に画定されたリセス2458と係合して、それにアンビル2230を連結するように構成されている。アンビル2230がトロカールシャフト2450に組み付けられると、トロカールシャフト2450及びアンビル2230は、ステープルカートリッジ2222に向かって、閉鎖ドライブにより後退され又は引っ張られて、組織をステープルカートリッジ2222に対して圧迫し得る。ただし、いくつかの事例において、アンビル2230は、トロカールシャフト2450に適切に組み付けられない場合がある。アンビル2230のトロカールシャフト2450への誤った組付けは、多くの場合、臨床医がアンビル2230をトロカールシャフト2450に組み付けようとした際に、トロカールシャフト2450がステープルカートリッジ2222のデッキ上に十分に伸ばされない場合に起こり得る。このような事例において、多くの場合、アンビル2230は、トロカールシャフト2450がアンビル2230をステープルカートリッジ2222に向かって移動させ得るように、トロカールシャフト2450に十分取り付けられるが、アンビル2230が組織をステープルカートリッジ2222に対して圧迫し始めている場合には、アンビル2230は、トロカールシャフト2450から取り外され得る。 As discussed above, the
ここから図39及び図40に切り替えて、上記検討された交換式ツールアセンブリ2000に多くの観点において類似する、交換式ツールアセンブリ3100が示される。ツールアセンブリ2000は、組織がカートリッジ本体3120に対してアンビル2130により圧迫された場合に、組織を支持するように構成されているデッキ3121を備える、カートリッジ本体3120を備える。ツールアセンブリ3100は、アンビル2130をカートリッジ本体3120に対して移動させるように構成されている閉鎖ドライブを更に備える。閉鎖ドライブは、上記と同様に内部に画定されたリセスを備える、トロカールシャフト3150を備える。リセスは、アンビル2130をトロカールシャフト3150に保持するように構成されている遠位ショルダー3158を備える。加えて、ツールアセンブリ3100は、ステープルをカートリッジ本体3120から射出するように構成されている発射ドライブを更に備える。発射ドライブは、回転式シャフト3162と、ステープルをカートリッジ本体3120から射出するように構成されており、回転式シャフト3162と螺合する並進移動式カラー3160と、を備える。回転式シャフト3162は、内部に画定された長手方向開口3164を備え、トロカールシャフト3150は、開口3164を通って伸びる。 Switching from here to FIGS. 39 and 40, the
上記に加えて、閉鎖ドライブは、トロカールシャフト3150に取り付けられたクリップ3190を更に備える。クリップ3190は、トロカールシャフト3150に画定されたスロット内に取り付けられた基部3192を備える。クリップ3190は、基部3192から伸びる柔軟なアーム又は付属物3198を更に備える。アーム3198は、拡大位置(図39)と偏向位置(図40)との間で移動可能である。図40に図示されたように、アーム3198がその偏向位置にある場合、アンビル2130は、トロカールシャフト3150にロックされ得る。図40に図示されたように、アーム3198は、トロカールシャフト3150がカートリッジ本体3120のデッキ3121上に十分に伸びた場合、その偏向位置に発射ドライブの並進移動式カラー3160により保持される。並進移動式カラー3160は、アーム3198がショルダー3168と接触した場合、アーム3198を内向きに弾性的に付勢するように構成されている環状ショルダー3168を備える。 In addition to the above, the closed drive further comprises a
トロカールシャフト3150がカートリッジデッキ3121上の十分な伸長位置にない場合、アーム3198は、ショルダー3168により内向きに付勢されない。このような事例において、図39に図示されたように、アーム3198は、その拡大位置にある。アーム3198がその拡大位置にある場合、アーム3198は、アンビル2130がトロカールシャフト3150に取り付けられるのを妨げる。より具体的に、アーム3198は、アンビル2130の連結フランジ2138がトロカールシャフト3150に画定されたショルダー3158の後ろに固定されるのを妨げる。このような事例において、アーム3198は、アンビル2130がトロカールシャフト3150に部分的に取り付けられるのを妨げ、結果として、臨床医が、アンビル2130をトロカールシャフト3150に組み付けようとしても、アンビル2130をトロカールシャフト3150に部分的に組み付けすることができず、上記された問題を避けることができる。読み手は、アンビル2130が多くの場合トロカールシャフト3150に現場又は患者の体内で組み付けられ、アンビル2130のトロカールシャフト3150への適切な組み付けは、使用される外科的技術の完了をはかどらせることを理解するべきである。上記検討されたシステムは、部分的に組み付けられたアンビルが組織に対して圧迫されるのを妨げるロックアウトを提供する。 If the
ここから図41~図43に切り替えて、以下でより詳細に検討されるように、交換式ツールアセンブリ3200は、アンビルが閉鎖ドライブに取り付けられることなく、閉鎖ドライブが後退するのを妨げるように構成されているロックアウトを備える。ツールアセンブリ3200は、シャフト3210と、エンドエフェクタ3220と、を備える。エンドエフェクタ3220は、外側ハウジング3227、カートリッジ本体3222、及び、それを通って画定された長手方向開口3226を備える。ツールアセンブリ3200は、トロカールシャフト3250とトロカールシャフト3250に取付け可能なアンビル3230と、を備える、閉鎖ドライブを更に備える。上記と同様に、閉鎖ドライブは、アンビル3230をカートリッジ本体3222に向かって及びカートリッジ本体3222から離れるように動かすように構成されている。トロカールシャフト3250は、伸長位置と後退位置との間で移動可能である。図42及び図43の両方に、その伸長位置にあるトロカールシャフト3250を図示する。 Switching from here to FIGS. 41-43, as discussed in more detail below, the
上記に加えて、ツールアセンブリ3200は、アンビル3230がトロカールシャフト3250に組み付けられない場合、トロカールシャフト3250がその伸長位置(図42及び図43)からその後退位置に向かって移動するのを妨げるように構成されている後退ロック3290を更に備える。後退ロック3290は、ハウジング3227に突起又はピン3294を中心に回転可能に取り付けられたロックアーム3292を備える。後退ロック3290は、ロックアーム3292をトロカールシャフト3250に向かって付勢するように構成されており、ロックアーム3292と係合しているバネ3296を更に備える。トロカールシャフト3250は、ロックショルダー3258を備え、図42に図示されたように、アンビル3230が、トロカールシャフト3250に組み付けられていない場合、ロックアーム3292は、ロックショルダー3258を捕まえ、トロカールシャフト3250が近位に移動するのを妨げるように構成されている。より具体的に、ロックアーム3292は、ロックショルダー3258の下を摺動させるように構成されているキャッチ3298を備える。図43に図示されたように、アンビル3230が、トロカールシャフト3250に組み付けられる際、アンビル3230は、ロックアーム3292と接触し、ロックアーム3292を、ロックショルダー3258から離れる方へ変位させる。このような時点で、トロカールシャフト3250はロック解除され、カートリッジ本体3222に向かって、その後退位置に移動し得る。 In addition to the above, the
ここから図44~図46に切り替えて、以下でより詳細に検討されるように、交換式ツールアセンブリ3300は、閉鎖ドライブと、ステープル発射ドライブと、閉鎖ドライブのアンビルが適切な組織ギャップに設定されるまでステープル発射ドライブが動作するのを妨げるように構成されたロックアウトと、を備える。ツールアセンブリ3300は、シャフト3310と、エンドエフェクタ3320と、を備える。エンドエフェクタ3320は、内側フレーム3329、外側ハウジング3327、及びカートリッジ本体3322を備える。上記と同様に、閉鎖ドライブは、トロカールシャフト3350と、トロカールシャフト3350に取付け可能なアンビル2230と、を備える。また、上記と同様に、トロカールシャフト3350は、アンビル2230をカートリッジ本体3322に向かって及びカートリッジ本体3322から離れるように移動させるために、伸長位置(図45)と後退位置(図46)との間で移動可能である。発射ドライブは、発射ドライブを遠位に変位させ、カートリッジ本体3322に格納されたステープルを射出するように構成されている回転式シャフト3360を備える。 Switching from here to FIGS. 44-46, the
上記に加えて、エンドエフェクタ3320は、内側フレーム3329に移動可能に取り付けられた発射駆動ロック3390を備える。発射駆動ロック3390は、ロックピン3394と、ロックピン3394の周囲に配置されたロックバネ3398と、を備える。ロックピン3394は、ヘッド3392及びストップ3396を備える。ロックバネ3398は、ストップ3396と内側フレーム3329に画定されたキャビティ3328の側壁との間に配置されている。図45に図示されたように、トロカールシャフト3350が伸長位置にある場合、ロックバネ3398は、ロックピン3394を、ステープル発射ドライブの回転式シャフト3360に画定されたロック開口3364内に付勢する。このような事例において、ロックピン3394とロック開口3364の側壁との間の相互作用により、シャフト3360が回転して、ステープルがカートリッジ本体3322から発射されるのが妨げられる。トロカールシャフト3350が十分に後退した場合、トロカールシャフト3350は、ロックピン3394のヘッド3392と係合する。ヘッド3392は、その上に画定され、トロカールシャフト3350により係合されて、発射駆動ロック3390をロック構成(図45)と非ロック構成(図46)との間で移動させるように構成されているカム表面を備える。ドライブロック3390がその非ロック構成にある場合、発射ドライブのシャフト3360は回転することができる。 In addition to the above, the
ツールアセンブリ3300の発射駆動ロックアウトは、ステープルが発射され得る前に、アンビル2230が所定の位置又は所定の位置範囲内に移動するのを必要とする。更に、ツールアセンブリ3300の発射駆動ロックアウトは、アンビル2230とカートリッジ本体3322との間の組織ギャップが、ステープルが発射され得る前に、特定の距離未満であることを必要とする。結果として、アンビル2230及び/又は閉鎖システムの位置により、ステープル発射ロックアウトが非アクティブ化される。このような構成は、中でも、ステープルの奇形及び/又は組織の圧迫不足を防ぐのを支援し得る。 The launch drive lockout of the
ここから図47~図49に切り替えて、交換式ツールアセンブリ3400は、組織をクランプするように構成されている閉鎖ドライブと、ステープル発射ドライブと、閉鎖ドライブが組織に十分なクランプ圧を加える前にステープル発射ドライブが動作するのを妨げるように構成されている発射駆動ロックアウト3490と、を備える。閉鎖ドライブは、トロカールシャフト3450と、アンビル、例えば、トロカールシャフト3450に取り付けられたアンビル2230などと、を備える。上記と同様に、トロカールシャフト3450は、組織をツールアセンブリ3400のカートリッジ本体に対して圧迫するために、伸長位置(図48)から後退位置(図49)に移動可能である。発射ドライブは、ステープルドライバを遠位に変位させ、ステープルをカートリッジ本体から射出するように構成されている回転式シャフト3460を備える。 Switching from here to FIGS. 47-49, the
発射駆動ロックアウト3490は、閉鎖ドライブのトロカールシャフト3450と発射ドライブの回転式シャフト3460との間に配置される。発射駆動ロックアウト3490は、遠位プレート3492、近位プレート3494、及び、遠位プレート3492と近位プレート3494との間に配置されたバネ3493を備える。発射駆動ロックアウト3490は、ロックピン3498を更に備え、ロックピン3498は、ロックピン3498がシャフト3460と係合するロック構成(図48)と、ロックピン3498がシャフト3460から係合解除される非ロック構成(図49)との間で移動可能である。ロックピン3498は、遠位プレート3492と近位プレート3494との間に画定されたピンチャンバ3496に配置される。より具体的に、ロックピン3498は、遠位プレート3492上に画定されたカム3495と近位プレート3494上に画定されたカム3495との間に配置された傾斜ヘッドを備える。トロカールシャフト3450が近位に後退した場合、トロカールシャフト3450は、遠位プレート3492を近位に押し、遠位プレート3492上に画定されたカム3495は、ロックピン3498のヘッドと係合する。このような事例において、図49に図示されたように、遠位プレート3492上に画定されたカム3495は、近位プレート3494上に画定されたカム3495と協働して、ロックピン3498を、その非ロック構成に変位させる。 The
上記検討されたように、発射駆動ロックアウト3490のカム3495は、遠位プレート3492が近位プレート3494に向かってトロカールシャフト3450により動かされると、ロックピン3498のヘッドを挟み付ける(squeeze)。より具体的に、カム3495は、ロックピン3498を内向きに駆動させ、回転式シャフト3460との係合を解除する。ロックピン3498は、ロックピン3498がそのロック構成にある場合、シャフト3460に画定されたロック開口3468に配置され、ロックピン3498とロック開口3468の側壁との間の相互作用により、ロックピン3498は、シャフト3460が回転するのを妨げる。結果として、ステープルは、カートリッジ本体から発射ドライブにより発射され得ない。上記検討されたように、ロックピン3498が非ロック構成に動かされた場合、ロックピン3498は、ロック開口の外に移動し、シャフト3460は、ステープルをカートリッジ本体から発射するために、発射ドライブにより回転され得る。様々な実施形態では、シャフト3460は、シャフト3460に画定されたロック開口3468の周方向アレイを備えることができ、ロック開口3468はそれぞれ、ロックピン3498を受容し、発射ドライブをロックアウトするように構成されている。再度図49~図51を参照して、発射駆動ロックアウト3490は、付勢部材、例えば、ロックピン3498をロック開口3468内に付勢するように構成されているバネ3499などを更に備える。 As discussed above, the
上記に加えて、発射駆動ロックアウト3490のバネ3493は、トロカールシャフト3450の近位移動に抵抗するように構成されている。バネ3493は、線状のコイルバネである。ただし、任意の好適なバネが使用され得る。更に、2つ以上のバネが使用され得る。いずれにしても、バネ3493又はバネシステムは、トロカールシャフト3450が後退されると、バネ力を発射駆動ロックアウト3490の遠位プレート3492に加える剛性を有する。換言すれば、遠位プレート3492にバネ3493により加えられる力は、トロカールシャフト3450が近位に変位させられた距離に比例して増大する。バネ3493により生成されたバネ力は、アンビル2230が組織に加えているクランプ力に対抗する。結果として、クランプ力は、遠位プレート3492を十分動かし、発射ドライブをロック解除するために、バネ3493により生成された特定又は所定のバネ力を克服しなければならない。このような事例において、組織をクランプする力は、発射駆動ロックアウト3490が非アクティブ化されることができ、ステープル発射ドライブが作動されることができる前に、所定の閾値に一致しなければならない。 In addition to the above, the
本明細書に開示される様々な実施形態に関して検討されたように、ステープル発射ドライブは、ステープルをアンビルに対して駆動させて、ステープルを所望の形成済み高さに変形させる。様々な事例において、ステープル発射ドライブはまた、カートリッジ本体とアンビルとの間に捕捉された組織を切断するための切断部材、例えば、ナイフなどを遠位に押すように構成されている。このような事例において、ナイフは、カートリッジ本体のデッキ上に露出する。とはいえ、アンビルがその閉位置又はクランプ位置にある場合、アンビルは、カートリッジ本体に近い関係に配置され、ナイフの大部分は、アンビルにより、ナイフがカートリッジ本体上に露出していても覆われる。ナイフがカートリッジ本体のデッキの下に後退する前に、アンビルがその開位置に動かされ、及び/又は、閉鎖ドライブから取り外された場合に、ナイフは、覆われず露出するであろう。図52~図54に、ナイフがカートリッジデッキ上に露出している間に、アンビルがその開位置に移動するのを妨げるように構成されているロックアウト3590を備えるツールアセンブリ3500が図示される。 As discussed for the various embodiments disclosed herein, the staple firing drive drives the staple against the anvil, transforming the staple to the desired formed height. In various cases, the staple firing drive is also configured to push distally a cutting member, such as a knife, for cutting the tissue trapped between the cartridge body and the anvil. In such cases, the knife is exposed on the deck of the cartridge body. However, when the anvil is in its closed or clamped position, the anvil is placed closer to the cartridge body and most of the knife is covered by the anvil even if the knife is exposed on the cartridge body. .. If the anvil is moved to its open position and / or removed from the closed drive before the knife retracts under the deck of the cartridge body, the knife will be uncovered and exposed. 52-54 show a
ツールアセンブリ3500は、閉鎖ドライブ及び発射ドライブを備える。閉鎖ドライブは、トロカールシャフト3550と、トロカールシャフト3550に着脱可能に取付け可能なアンビル3530と、を備える。上記と同様に、トロカールシャフト3550は、トロカールシャフト3550と螺合する回転式閉鎖シャフト2440により、近位及び遠位に並進移動可能である。発射ドライブは、回転式シャフト3562と、回転式シャフト3562と螺合する並進移動式カラー3560と、を備える。上記と同様に、カラー3560は、シャフト3562が第1及び第2の方向それぞれに回転した場合、近位及び遠位に並進移動可能である。また、上記と同様に、発射ドライブのカラー3560は、ステープルドライバのアレイ及びナイフアセンブリ2570を、アンビル3530に向かって及びアンビル3530から離れるように、前進及び後退させるように構成されている。
上記に加えて、ロックアウト3590は、発射ドライブのシャフト3562にピボット3594を中心に回転可能に取り付けられたロックアーム3592を備える。ロックアウト3590は、ロックアーム3592をアンビル3530と接触させるように付勢するように構成されている、ロックアーム3592と係合する付勢部材又はバネ3599を更に備える。使用中に、アンビル3530は、トロカールシャフト3550に組み付けられ、ついで、トロカールシャフト3550は、アンビル3530をカートリッジ本体に対してその閉位置又はクランプ位置に配置するように後退させられる。アンビル3530が後退すると、ロックアウト3590のロックアーム3592は、アンビル3530の外側表面に対して、ロックアーム3592がアンビル3530に画定されたロックリセス3532と整列されるまで摺動する。図53に図示されたように、このような時点で、バネ3599は、ロックアーム3592をロックリセス3532内に付勢する。より具体的に、ロックアーム3592は、ロックリセス3532を画定するロックショルダーの後ろに配置される。ついで、発射ドライブは、ステープルを発射し、組織を切断するように動作し得る。このような事例において、ナイフアセンブリ2570の切断縁は、カートリッジ本体上に露出し、ロックアウト3590により、ナイフアセンブリ2570の切断縁がもはや露出しなくなるまで、閉鎖ドライブはロックアウトされ、又は開くのを妨げられる。 In addition to the above, the
主に図52を参照して、ロックアーム3592は、そこから伸びるリセットタブ3593を更に備える。発射ドライブのカラー3560は、カラー3560及びナイフアセンブリ2570が発射ドライブにより近位に後退された場合、リセットタブ3593と係合するように構成されているカム3563を更に備える。カム3563は、ロックアーム3592を下向きに、ロックリセス3532に画定されたロックショルダーとの係合を解除するように回転し、閉鎖ドライブをロック解除するように構成されている。カム3563は、ナイフアセンブリ2570の切断縁がカートリッジデッキの下に後退した場合、閉鎖ドライブをロック解除するように構成されている。ただし、他の実施形態では、カム3563は、切断縁がカートリッジデッキと同じ高さ又は少なくとも実質的に同じ高さである場合、閉鎖ドライブをロック解除し得る。いくつかの実施形態では、閉鎖ドライブは、ナイフアセンブリ2570が完全に後退するまで、ロック解除されなくてもよい。閉鎖ドライブがロック解除されると、閉鎖ドライブは、アンビル3530を再度開位置又は未クランプ位置に移動させるのに動作し得る。 Primarily with reference to FIG. 52, the
交換式ツールアセンブリのステープルが発射されると、様々な実施形態によれば、ツールアセンブリは、再利用されなくてもよい。以下でより詳細に検討されるように、ツールアセンブリは、組織をステープル留めするのに使用された後に、ツールアセンブリが組織上で再度クランプされるのを妨げるように構成されているロックアウトを備え得る。 Once the staples of the interchangeable tool assembly are fired, the tool assembly does not have to be reused, according to various embodiments. As discussed in more detail below, the tool assembly features a lockout that is configured to prevent the tool assembly from being re-clamped on the tissue after it has been used to staple the tissue. obtain.
少なくとも1つの実施形態では、ここから図53~図56を参照して、交換式ツールアセンブリ3600は、アンビル、例えば、アンビル2230などをステープルカートリッジに対して配置するように構成されている閉鎖ドライブと、ステープルをステープルカートリッジから駆動させるように構成されている発射ドライブと、を備える。上記と同様に、アンビル2230は、閉鎖ドライブの並進移動式トロカールシャフト3650に取付け可能である。また、上記と同様に、発射ドライブは、回転式シャフト3660と、回転式シャフト3660と螺合する並進移動式カラー2550と、回転式シャフト3660により変位可能なステープル発射ドライバ2560と、を備える。使用中に、閉鎖ドライブは、アンビル2230をステープルカートリッジに対してクランプ位置に配置するように動作可能であり、ついで、発射ドライバは、ステープルをアンビル2230とステープルカートリッジとの間に捕捉された組織内に発射するように動作可能である。その後、閉鎖ドライブは、アンビル2230を開き、組織を解放するように動作する。 In at least one embodiment, with reference to FIGS. 53-56, the interchangeable tool assembly 3600 is configured to place an anvil, such as an
上記に加えて、ツールアセンブリ3600は、アンビル2230が組織上で再度クランプされるのを妨げるように構成されているロックアウト3690を備える。ロックアウト3690は、回転式シャフト3660に回転可能に取り付けられたロックアーム3692を備え、ロックアーム3692は、閉鎖ドライブがアンビル2230を開いた未クランプ位置(図53)と閉じたクランプ位置(図54)との間で移動させる際、発射ドライブにより非ロック構成で保持される。ロックアーム3692は、トロカールシャフト3650及びアンビル2230が発射ドライブに対して移動して、アンビル2230をステープルカートリッジに対して配置する際、回転式シャフト3660と並進移動式カラー2550との間でその非ロック構成に保持される。図55に図示されたように、アーム3692は、発射ドライブが動作するまで、その非ロック構成に保持される。シャフト3460が第1の方向に回転すると、カラー2550は遠位に動かされ、ロックアウト3690のバネ3699は、ロックアーム3692をトロカールシャフト3650に対して付勢し得る。トロカールシャフト3650は、カラー2550が遠位に変位させられ、ステープルを発射する際に、ロックアーム3692に対して回転し、ついで、近位に後退される。ついで、閉鎖ドライブは、アンビル2230を再度開き、組織をクランプ解除し、及び/又は、アンビル2230をトロカールシャフト3650から取り外すように動作し得る。アンビル2230が再度開かれるとき、バネ3699は、ロックアーム3692を、トロカールシャフト3650及び/又はアンビル2230に画定されたロックリセス3652内に付勢する。ロックアーム3692がロックリセス3652に配置されると、ロックアーム3692は、トロカールシャフト3650が近位に後退するのを妨げる。閉鎖ドライブがトロカールシャフト3650を後退させる試みにおいて動作する場合には、ロックアーム3692は、ロックリセス3652に画定されたロックショルダーに当接し、トロカールシャフト3650及びアンビル2230の後退を妨げるであろう。結果として、ロックアウト3690は、ツールアセンブリ3600が発射サイクルを受け又は少なくとも部分的に受けた後に、アンビル2230が組織上で再度クランプされるのを妨げ、ツールアセンブリ3600は、再度使用され得ない。更に、ロックアウト3690は、使用済みカートリッジロックアウトとして機能し得る。 In addition to the above, the tool assembly 3600 comprises a lockout 3690 configured to prevent the
ここから図59及び図60に切り替えて、ツールアセンブリ3700は、ステープルカートリッジ3720と、アンビル3730と、を備える。ツールアセンブリ3700は、アンビル3730をステープルカートリッジ3720に向かって移動させるように構成されている閉鎖システムと、加えて、ステープルカートリッジ3720に取出し可能に格納されたステープルを射出又は発射するように構成されている発射システムと、を更に備る。アンビル3730は、長手方向シャフト部分3736と、閉鎖システムの閉鎖アクチュエータ又はトロカール3734を弾性的に把持するように構成されているシャフト部分3736から伸びる取付けアーム3738と、を備える。閉鎖アクチュエータ3734は、トロカール3734を開いた未クランプ位置(図59)と閉じたクランプ位置(図60)との間で動かすために、閉鎖ドライブにより近位に後退可能である。図59に図示されたように、閉鎖システムがその開構成にある場合、ステープル発射システムは無効であり、以下でより詳細に記載されるように、ステープルカートリッジ3720に格納されたステープルを発射するのに作動し得ない。 Switching from here to FIGS. 59 and 60, the
上記に加えて、ステープル発射システムは、ネジ付き遠位端を備える回転式発射シャフト3750と、加えて、発射シャフト3750のネジ付き遠位端を受容するように構成されているネジ付き開口を備える並進移動式発射ナット2550と、を備える。特に図59を参照して、アンビル3730がその開位置にある場合、ギャップが、発射シャフト3750のネジ付き遠位端と発射ナット2550に画定されたネジ付き開口との間に存在する。結果として、発射シャフト3750は、発射シャフト3750が発射ナット2550と螺合するまで、発射ナット2550を遠位に変位させることができない。 In addition to the above, the staple launch system comprises a
図60に図示されたように、アンビル3730の取付けアーム3738は、アンビル3730がその閉位置に動かされた場合、発射シャフト3750と係合し、発射シャフト3750を外向きに偏向させるように構成されている。主に図59A及び図60Aを参照して、取付けアーム3738は、発射シャフト3750上に画定された、内向きに伸びる突起3758と係合し、突起3758及び発射シャフト3750の周縁を外向きに押すように構成されている。このような事例において、発射シャフト3750のネジ付き遠位端は、ネジ付き界面3790において、発射ナット2550のネジ付き開口と動作可能に係合した状態へと押され、このような時点で、発射シャフト3750は、発射シャフト3750が発射ドライブにより回転された場合、ステープルをステープルカートリッジ3720から射出するために、発射ナット2550を遠位に変位させ得る。アンビル3730が再度開かれると、発射シャフト3750は、その元の構成に戻り、発射ナット2550から動作可能に係合解除されることになるであろう。 As illustrated in FIG. 60, the mounting
上記の結果として、ツールアセンブリ3700は、アンビル3730が閉鎖システムに取り付けられなかった場合、アンビル3730が閉鎖システムに不適切に取り付けられた場合、及び/又は、アンビル3730が十分に閉じられなかった場合に、ステープルが発射されるのを妨げるロックアウトを備える。 As a result of the above, the
ここから図61及び図62に切り替えて、ツールアセンブリ3800は、取出し可能に格納されたステープルを含む交換式ステープルカートリッジと、ステープルを変形するように構成されているアンビルと、アンビルをステープルカートリッジに対して移動させるように構成されている閉鎖駆動システムと、ステープルをステープルカートリッジから射出するように構成されている発射システムと、を備える。以下で検討されるように、ツールアセンブリ3800は、ステープルカートリッジがツールアセンブリ3800上に完全に固定されない限り、発射システムが動作するのを妨げるように構成されているロックアウトを更に備える。 Switching from here to FIGS. 61 and 62, the
ステープルカートリッジは、ツールアセンブリ3800のシャフトフレーム3810と係合するように構成されているカートリッジフレーム3820を備える。ステープルカートリッジは、ステープルカートリッジがツールアセンブリ3800に組み付けられる際に、シャフトフレーム3810内に挿入される駆動シャフト3830を更に備える。とりわけ、主に図64を参照して、駆動シャフト3830は、ステープルカートリッジがツールアセンブリ3800に組み付けられる際に、発射システムのトランスミッション3860と係合し、トランスミッション3860を圧迫するように構成されている環状ギア部分3833を備える、近位端3832を備える。主に図62を参照して、トランスミッション3860は、第1の部分3862、第2の部分3864、及び第3の部分3868を備え、これらは、互いに動作可能に係合状態に押された場合、回転インプットモーションを駆動シャフト3830に伝達可能である。 The staple cartridge comprises a
主に図63及び図64を参照して、駆動シャフト3830の環状ギア部分3833は、第1のトランスミッション部分3862の遠位側面に画定された対応するギア部分3863と係合するように構成されており、第1のトランスミッション部分3862が駆動シャフト3830により近位に押された場合、第1のトランスミッション部分3862は、第2のトランスミッション部分3864と動作可能に係合し得る。より具体的に、第1のトランスミッション部分3862は、近位ギア部分3865を備え、近位ギア部分3865は、第1のトランスミッション部分3862が駆動シャフト3830により近位に押されたとき、第2のトランスミッション部分3864の遠位ギア部分3866と係合し、同時に、第2のトランスミッション部分3864を近位に押す。第2のトランスミッション部分3864が第1のトランスミッション部分3862により近位に押された場合、上記と同様に、第2のトランスミッション部分3864は、第3のトランスミッション部分3868と動作可能に係合し得る。より具体的に、第2のトランスミッション部分3862は、第1のトランスミッション部分3862及び第2のトランスミッション部分3864が駆動シャフト3830により近位に押された場合、第3のトランスミッション部分3864の遠位ギア部分3869と係合する近位ギア部分3867を備える。第3のトランスミッション部分3868は、インプットシャフトに動作可能に連結され、インプットシャフト及び/又はシャフトハウジング3810により、近位へ変位することに関して支持されている。 Primarily with reference to FIGS. 63 and 64, the
主に図61を参照して、トランスミッション3860は、第1のトランスミッション部分3862と第2のトランスミッション部分3864との間に配置された、少なくとも1つのバネ部材3870を更に備える。少なくとも1つの事例において、バネ部材3870は、例えば、1つ又は2つ以上の波形バネを含み得る。バネ部材3870は、第1のトランスミッション部分3862と第2のトランスミッション部分3864とが互いに離れるように付勢するように構成されている。上記に加えて、又は、上記に代えて、トランスミッション3860は、第2のトランスミッション部分3864と第3のトランスミッション部分3868との間に配置された、少なくとも1つのバネ部材3870を更に備え、バネ部材3870は、上記と同様に、第2のトランスミッション部分3864と第3のトランスミッション部分3868とが互いに離れるように付勢するように構成されている。主に図65を参照して、各バネ部材3870は、圧縮力が加えられると偏向するように構成されている2つのディスクバネ3872を含む。ただし、バネ部材3870は、任意の好適な構成を含み得る。 Primarily with reference to FIG. 61, the
上記に加えて、再度図61を参照して、ツールアセンブリ3800のインプットシャフトは、第3のトランスミッション部分3868を回転させ得る。しかしながら、第2のトランスミッション部分3864と第3のトランスミッション部分3868との間に配置されたバネ部材3870が、第2のトランスミッション部分3864の近位ギア部分3867を第3のトランスミッション部分3868の遠位ギア部分3869と連結させるのに十分圧迫されない限り、第3のトランスミッション部分3868の回転は、第2のトランスミッション部分3864には伝達され得ない。同様に、第1のトランスミッション部分3862と第2のトランスミッション部分3864との間に配置されたバネ部材3870が、第1のトランスミッション部分3862の近位ギア部分3865を第2のトランスミッション部分3864の遠位ギア部分3866と連結させるのに十分圧迫されない限り、第2のトランスミッション部分3864は、回転モーションを、第1のトランスミッション部分3862に伝達し得ない。上記検討されたように、駆動シャフト3830は、図62に図示されたように、ステープルカートリッジがシャフトフレーム3810上に完全に固定された場合、第1のトランスミッション部分3862を第2のトランスミッション部分3864と係合させ、第2のトランスミッション部分3864を第3のトランスミッション部分3868と係合させる。このような事例において、インプットシャフトの回転は、駆動シャフト3830に伝達され得る。しかしながら、ステープルカートリッジが、シャフトフレーム3810上に完全に固定されなかった場合、1つ又は2つ以上のトランスミッション部分3862、3864、及び3868は、互いに動作可能に係合することはなく、インプットシャフトの回転は、駆動シャフト3830に伝達され得ない。このため、ツールアセンブリ3800は、ステープルカートリッジがシャフトフレーム3810上に完全に固定されない限り、ステープルカートリッジ内に格納されたステープルがステープルカートリッジから射出され得ないことを確保する。 In addition to the above, again with reference to FIG. 61, the input shaft of the
ここから図66~図68に切り替えて、ツールアセンブリ3900は、シャフト3910と、交換式ステープルカートリッジ3920と、を備える。交換式ステープルカートリッジ3920は、アンビルをステープルカートリッジ3920に対して動かすように構成されている閉鎖ドライブと、加えて、ステープルカートリッジ3920に取出し可能に格納されたステープルを射出するように構成されている回転式発射シャフト3930を備える発射ドライブと、を備える。上記と同様に、ツールアセンブリ3900は、ステープルカートリッジ3920がシャフト3910上に完全又は十分に固定されない限り、発射ドライブがステープルをステープルカートリッジ3920から射出するのを妨げるように構成されているロックアウトを備える。より具体的に、ロックアウトは、ステープルカートリッジ3920がシャフト3910上に完全又は十分に固定されない限り、発射シャフト3930がステープルカートリッジ3920内で回転するのを妨げる。様々な事例において、図67を参照して、発射シャフト3930は、その外側周縁に画定されたロック開口3939の環状アレイを備え、ステープルカートリッジ3920は、シャフト3930に画定されたロック開口3939と着脱可能に係合するように構成されている少なくとも1つのロック3929を備える。ロック3929は、近位に伸びるカンチレバービームを備える。しかしながら、任意の好適な構成が利用され得る。ロック3929は、ロック開口3939内に伸び、発射シャフト3930がステープルカートリッジ3920の本体に対して回転する又は少なくとも実質的に回転するのを妨げる、ロック突起を更に備える。ロック3929は、図68に図示されたように、ステープルカートリッジ3920がシャフト3910に完全又は十分に組み付けられた場合、ロック3929がロック開口3939の外に持ち上げられるまで、発射シャフト3930に画定されたロック開口3939との係合状態に付勢されるように構成されている。図68を参照して、シャフト3910の外側ハウジングは、ロック3929を発射シャフト3930から離れるように持ち上げ、ロック3929をロック開口3939から係合解除するように構成されているウェッジ3919を備える。ウェッジ3919は、図68に図示されたように、ステープルカートリッジ3920がシャフト3910上に完全又は十分に固定されない限り、ロック3929を発射シャフト3930から係合解除しないように構成されている。図67に、ステープルカートリッジ3920がシャフト3910上に完全又は十分に固定されなかったシナリオを図示する。 Switching from here to FIGS. 66-68, the
ここから図69~図71に切り替えて、ツールアセンブリ4000は、シャフト4010と、交換式ステープルカートリッジ4020と、を備える。交換式ステープルカートリッジ4020は、アンビルをステープルカートリッジ4020に対して動かすように構成されている閉鎖ドライブと、加えて、ステープルカートリッジ4020に取出し可能に格納されたステープルを射出するように構成されている回転式発射シャフト3930を備える発射ドライブと、を備える。ステープルカートリッジ4020は、ステープルカートリッジ4020をシャフト4010に着脱可能に連結させるように構成されているロック4029を備える。ロック4029は、近位に伸びるカンチレバーと、そこから伸びるロックショルダー4028と、を備える。ロック4029は、ロック4029のロックショルダー4028がシャフト4010の外側ハウジングに画定されたウインドウ4019と整列されるようになる際に、ステープルカートリッジ4020がシャフト4010に組み付けられ、ついで、その歪んでいない状態に弾性的に戻る又は同状態に少なくとも向かうように、シャフト4010内で内向きに偏向するように構成されている。このような事例において、図70に図示されたように、ステープルカートリッジ4020がシャフト4010上に完全又は十分に固定された場合、ロックショルダー4028は、ウインドウ4019内に入る。ステープルカートリッジ4020をロック解除するために、臨床医は、例えば、ツール又は自身の指を、ウインドウ内に挿入し、ロック4029をウインドウ4019から離すように押し得る。このような時点で、ステープルカートリッジ4020は、シャフト4010から取り除かれ、臨床医がそのように望むのであれば、新たなステープルカートリッジをシャフト4010に取り付けることができる。 Switching from here to FIGS. 69-71, the
上記に加えて、又は、上記に代えて、外科用ステープル留めシステムは、ステープルカートリッジがステープル留めシステムのシャフト上に完全又は十分に固定された場合、ステープル留めシステムの閉鎖ドライブがアンビルを組織上でクランプするのを妨げ、及び/又は、発射ドライブがその発射ストロークを行うのを妨げるように構成されている電気的ロックアウトを備え得る。様々な事例において、ステープル留めシステムは、ステープルカートリッジがシャフト上に完全又は十分に固定されたか否かを検出するように構成されているセンサと、加えて、発射ドライブを動作させるように構成されている電気モータと、を備え得る。ステープルカートリッジがシャフトに完全又は十分に取り付けられなかったことを、センサが検出した場合、モータは、電気的に非アクティブ化され得る。様々な事例において、ステープル留めシステムは、センサ及び電気モータと通信しているコントローラ、例えば、マイクロプロセッサなどを備える。少なくとも1つの事例において、コントローラは、第一に、シャフト上に適切に固定されたステープルカートリッジをセンサが検出した場合に電気モータが動作するのを可能にし、第二に、シャフト上に不適切に固定されたステープルカートリッジをセンサが検出した場合に電気モータが動作するのを妨げるように構成されている。 In addition to, or in lieu of, the surgical staple system, if the staple cartridge is fully or sufficiently secured on the shaft of the staple system, the staple system closure drive will tissue the anvil. It may be equipped with an electrical lockout that is configured to prevent clamping and / or prevent the firing drive from making its firing stroke. In various cases, the staple system is configured to operate a firing drive, in addition to a sensor that is configured to detect whether the staple cartridge is fully or fully seated on the shaft. It may be equipped with an electric motor. The motor may be electrically deactivated if the sensor detects that the staple cartridge has not been fully or sufficiently mounted on the shaft. In various cases, the stapled system comprises a controller communicating with a sensor and an electric motor, such as a microprocessor. In at least one case, the controller first allows the electric motor to operate when the sensor detects a staple cartridge properly anchored on the shaft, and secondly improperly on the shaft. It is configured to prevent the electric motor from operating when the sensor detects a fixed staple cartridge.
ここから図72に切り替えて、ツールアセンブリキット4100は、シャフト4110と、複数のステープルカートリッジ、例えば、4120、4120’、4120’’、及び4120’’’などを備える。各ステープルカートリッジ4120、4120’、4120’’、及び4120’’’は、異なる直径を有するステープルの輪状列を適用するように構成されている。例えば、ステープルカートリッジ4120’’’は、ステープルを、大きい直径を有するパターンで適用するように構成されており、一方、ステープルカートリッジ4120は、ステープルを、小さい直径を有するパターンで適用するように構成されている。様々な事例において、異なるステープルカートリッジは、異なる未形成高さを有するステープルを配備し得る。少なくとも1つの事例において、ステープルをより大きいパターンで適用するステープルカートリッジは、より大きい未変形高さを有するステープルを配備し、一方、ステープルをより小さいパターンで適用するステープルカートリッジは、より小さい未変形高さを有するステープルを配備する。いくつかの事例において、ステープルカートリッジは、2つ又はそれ以上の未形成高さを有するステープルを配備し得る。いずれにしても、複数のステープルカートリッジから選択されたステープルカートリッジが、シャフト4110に組み付けられ得る。 Switching from here to FIG. 72, the
図72及び図73を参照して、ツールアセンブリ4100は、ステープルカートリッジがシャフト4110に完全又は十分に取り付けられたか否かを検出するように構成されている検出回路4190を備える。検出回路4190は、シャフト4110内に全体が収容されない。むしろ、ステープルカートリッジは、検出回路4190を完成させるために、シャフト4110に適切に組み付けられなければならない。検出回路4190は、シャフト4110のフレームに画定された経路4192を通って、かつ/又は、シャフト4110の外側ハウジングに沿って伸びる、伝導体4193を備える。主に図73を参照して、各伝導体4193は、ハウジングの遠位端に画定された電気的コンタクト4194に電気的に接続している。ステープルカートリッジ4120は、例えば、コンタクト4195がシャフト4110上でコンタクト4194と係合するように、ステープルカートリッジ4120の本体4122上に配置又は構成された、対応する電気的コントタクト4195を備える。ステープルカートリッジ4120は、カートリッジ本体4122を通って伸び、及び/又は、カートリッジ本体4122に沿った、伝導体4196を更に備える。各伝導体4196は、コンタクト4195と電気的に接続している。特定の事例において、伝導体4196同士が直接接続しており、このような事例において、ステープルカートリッジ4120がシャフト4110に適切に組み付けられると、検出回路4190は閉じられる。 With reference to FIGS. 72 and 73, the
特定の事例において、上記に加えて、ツールアセンブリ4100の検出回路4190は、ステープルカートリッジ4120のデッキ部分4124を通って伸びる。少なくとも1つの事例において、デッキ部分4124は、カートリッジ本体4122に移動可能に取り付けられる。より具体的に、少なくとも1つのこのような事例において、バネ部材4198は、カートリッジ本体4122とデッキ部分4124との間に配置され、組織がデッキ部分4124に対して圧迫された場合、デッキ部分4124がカートリッジ本体4122に対して移動し又は浮動するのを可能にするように構成されている。少なくとも1つの事例において、バネ部材4198は、例えば、1つ又は2つ以上の波形バネを含む。バネ部材4198はまた、カートリッジ本体4122とデッキ部分4124との間に導電経路を形成する。より具体的に、バネ部材4198はそれぞれ、カートリッジ本体4122上に画定された電気的コンタクト4197及び4199とデッキ部分4124との間に配置される。伝導体4196は、カートリッジ本体4122の遠位端上に画定された電気的コンタクト4197に電気的に接続しており、電気的コンタクト4199同士が、デッキ部分4125における伝導体を通って電気的に接続している。上記検討されたように、ステープルカートリッジ4120がシャフト4110に適切に組み付けられると、検出回路4190は閉じられる。 In certain cases, in addition to the above, the
ここから図74~図76に切り替えて、以下で更により詳細に記載されるように、ツールアセンブリ4200は、取換え可能輪状ステープルカートリッジが2回以上発射されるのを妨げるように構成されているロックアウトを備える。使用中に、取換え可能輪状ステープルカートリッジ4220は、ツールアセンブリ4200のシャフト4210に組み付けられる。ついで、ツールアセンブリ4200は、手術部位に配置され、アンビル2230は、閉鎖ドライブのトロカール2450に組み付けられる。ついで、閉鎖ドライブは、アンビル2230が閉位置又はクランプ位置に達するまで、患者の組織をステープルカートリッジ4220に対してクランプするために、アンビル2230をステープルカートリッジ4220に向かって移動させるのに使用される。アンビル2230のこの配置は、図74に図示される。このような時点で、発射ドライブは、ステープルカートリッジ4220に取出し可能に格納されたステープルを配備するのに動作し得る。発射ドライブは、中でも、駆動カラー4240と螺合する回転式駆動シャフト4230と、加えて、ステープル発射ドライバ2560と、を備える。駆動カラー4240及び発射ドライバ2560は、別々のコンポーネントを備える。しかしながら、代替的な実施形態では、駆動カラー4240及び発射ドライバ2560は一体的に形成され得る。発射ドライブは、駆動カラー4240及びステープル発射ドライバ2560を遠位に、未発射位置(図74)と発射位置(図75)との間で押して、ステープルをステープルカートリッジ4220から射出するための発射ストローク中に、第1の方向に回転可能である。駆動カラー4240及びステープルドライバ2560は、ステープルカートリッジ4220内で回転するのを妨げられ、結果として、駆動シャフト4230は、駆動カラー4240及びステープルドライバ2560に対して回転する。 Switching from here to FIGS. 74-76, the
上記に加えて、駆動カラー4240は、そこから近位に伸びる1つ又は2つ以上のロックアウト4290を備える。各ロックアウト4290は、駆動カラー4240に画定されたピン開口4293内に摺動可能に配置されたロックアウトピン4292を備える。各ロックアウト4290は、付勢部材、例えば、ピン4292を近位に付勢するように構成されているバネ4294などを更に備える。図74に図示されたように、発射ドライブがその未発射構成にある場合、ロックアウト4290は、回転式駆動シャフト4230及び/又はステープルカートリッジ4220のフレーム4222とは係合しない。図75に図示されたように、駆動カラー4240及びステープルドライバ2560が駆動シャフト4230により遠位に押されると、ロックアウトピン4292は、駆動シャフト4230から離れるように移動する。発射ストロークが完了し、ステープルがアンビル2230に対して十分に変形された後に、駆動シャフト4230は、駆動カラー4240及びステープルドライバ4260を後退ストローク中に近位に引っ張るために、反対方向に回転される。このような事例において、ロックアウト4290は、駆動シャフト4230に向かって動かされる。特に、後退ストロークは、発射ストロークより長く、結果として、図76に図示されたように、駆動カラー4240は、後退位置へと、その元の未発射位置に対して近位に動かされる。駆動カラー4240のこの後退位置において、ロックアウト4290は、駆動シャフト4230及びステープルカートリッジ4220のフレーム4222と係合するようになる。より具体的に、各ロックアウト4290は、駆動シャフト4230とカートリッジフレーム4222との間に画定されたロックアウト開口内に入っている。ここから図78を参照して、各ロックアウト開口は、駆動シャフト4230における開口壁4295及びフレーム4222における開口壁4296により画定される。ロックアウトピン4292がロックアウト開口に入ると、駆動カラー4240は、駆動シャフト4230により回転され得ず、ステープルカートリッジ4220の発射システムはロックアウトされる。結果として、その特定のステープルカートリッジ4220が再度使用されることはできず、ツールアセンブリ4200が再度使用されるために、新たなステープルカートリッジと置き換えられる必要がある。 In addition to the above, the
読み手は、上記に加えて、ロックアウトピン4292が、図74に図示されたように、発射ドライブがその未発射構成にある場合、ロックアウト開口に部分的に配置されてもよく又は配置されなくてもよいことを理解すべきである。しかしながら、このような事例において、ロックアウトピン4292がロックアウト開口に部分的に配置される限りに、ピン4292は、発射駆動シャフト4230が回転した場合、駆動カラー4240に画定されたピン開口4293内を遠位に動き得る。読み手はまた、駆動カラー4240がその後退位置に移動した場合、発射駆動シャフト4230が第1の方向に再度回転した場合、ピン4292がロックアウト開口から外に遠位に動かされるのを妨げるために、ロックアウトピン4292が駆動シャフト4230に画定されたロックアウト開口内に十分深く固定されることを理解されるべきである。 In addition to the above, the reader may or may not place the
再度図78を参照して、駆動カラー4240がその後退位置にある場合、ロックアウト開口の側壁4295及び4296は互いに対して整列される。しかしながら、駆動シャフト4230が回転した場合、駆動シャフト4230に画定された側壁4295は、カートリッジフレーム4222に画定された側壁4296との整列を解除するように回転するであろう。いくつかの事例において、側壁4295は、発射ドライブ4230が回転する際、直ちに(momentarily)回転して、側壁4296と再度整列し得る。いずれにしても、ここから図77を参照して、側壁4295は、発射システムがその未発射構成にある場合、側壁4296とは整列されない。結果として、ロックアウトピン4292は、発射システムがその未発射位置にある場合、ロックアウト開口内に入ることができず、ステープルカートリッジ4220は、意図せずロックアウトされることができなくなる。 With reference to FIG. 78 again, when the
少なくとも1つの代替的な実施形態では、ここから図80を参照して、1つ又は2つ以上のロックアウト開口4295’’は専ら、ツールアセンブリ4200’’の駆動シャフト4230’’に画定され得る。このような実施形態では、駆動カラー4240は、ロックアウトピン4292がロックアウト開口4295’’内に入ると、駆動シャフト4230’’に対して回転できないであろう。事実上、駆動カラー4240及び駆動シャフト4230’’は共に、同調的にロックされるようになるであろうが、ツールアセンブリ4200’’のフレームに必ずしもロックされる必要はなく、同フレームは、駆動シャフト4230’’が駆動カラー2440に対して回転し、駆動カラー2440を遠位に変位させるのを妨げるであろう。 In at least one alternative embodiment, with reference to FIG. 80, one or more lockout openings 4295'' may be defined exclusively to the drive shaft 4230'' of the tool assembly 4200''. .. In such an embodiment, the
少なくとも1つの代替的な実施形態では、ここから図79を参照して、発射駆動ロックアウトはそれぞれ、各ロックアウトピンがその対応するロックアウト開口に固有にインデックスされるように、異なる構成を有する。例えば、ツールアセンブリ4200’は、側壁4295及び4296により画定された第1のロックアウト開口に入るように構成されている第1のロックアウトピンと、側壁4295’及び4296’により画定された第2のロックアウト開口に入るように構成されている第2のロックアウトピンと、を備える。しかしながら、ツールアセンブリ4200’の第1のロックアウトピンは、第2のロックアウト開口内に入り得ないようなサイズ及び構成であり、それに対応して、第2のロックアウトピンは、第1のロックアウト開口内に入り得ないようなサイズ及び構成である。更に、第1のロックアウトピンも第2のロックアウトピンも、側壁4295と4296’との組み合わせにより形成された開口、又は、側壁4295’と4296との組み合わせにより形成された開口には入り得ない。 In at least one alternative embodiment, with reference to FIG. 79 from here, each launch-driven lockout has a different configuration such that each lockout pin is uniquely indexed to its corresponding lockout opening. .. For example, the tool assembly 4200'has a first lockout pin configured to enter a first lockout opening defined by sidewalls 4295 and 4296 and a second lockout pin defined by sidewalls 4295'and 4296'. It comprises a second lockout pin configured to enter the lockout opening. However, the first lockout pin of the tool assembly 4200'is sized and configured so that it cannot fit into the second lockout opening, and correspondingly the second lockout pin is the first. The size and configuration are such that they cannot fit inside the lockout opening. Further, both the first lockout pin and the second lockout pin can enter an opening formed by a combination of
上記検討されたように、ステープルの輪状列を配備するように構成されているステープル留め器具は、関節ジョイントを備え得る。関節ジョイントは、ステープル留め器具のエンドエフェクタがステープル留め器具のシャフトに対して関節運動するのを可能にするように構成されている。このようなステープル留め器具は、患者の直腸及び/又は結腸内にエンドエフェクタを配置するのにおいて、外科医を支援し得る。様々な実施形態では、図81を参照して、ステープルの輪状列を配備するように構成されているステープル留め器具、例えば、ステープル留め器具9000などは、輪郭形成可能又は調整可能なフレーム9010を備え得る。フレーム9010は、使用中に持続的に変形されるように構成され得る。少なくとも1つのこのような実施形態では、フレーム9010は、例えば、展性金属、例えば、銀、プラチナ、パラジウム、ニッケル、金、及び/又は銅から構成されている。特定の実施形態では、フレーム9010は、例えば、展性プラスチックから構成されている。少なくとも1つの実施形態では、フレームは、例えば、ポリマー鎖と結合した金属イオンを含むポリマー、例えば、イオン性ポリマー-金属複合材(IPMC)から構成されている。所望の様式でシャフトを離脱させる(defect)ために、1つ又は複数の電圧電位が、IPMC材料に印加され得る。特定の事例において、シャフトは、1つの曲率半径に沿って輪郭形成可能であり、一方、他の事例において、シャフトは、2つ以上の曲率半径に沿って輪郭形成可能である。例えば、シャフトが患者の体内にある間に、1つ又は複数の電圧電位は、シャフトを輪郭形成するのに変更され得る。特定の実施形態では、フレームの輪郭形成可能部分は、複数の旋回式リンクを備える。少なくとも1つの実施形態では、フレームの輪郭形成可能部分は、粘弾性材料から構成されている。 As discussed above, staple fasteners configured to deploy a ring of staples may include joint joints. The joint joint is configured to allow the end effector of the staple fastener to move jointly with respect to the shaft of the staple fastener. Such staples may assist the surgeon in placing the end effector in the patient's rectum and / or colon. In various embodiments, with reference to FIG. 81, staple fasteners configured to deploy a ring of staples, such as
上記に加えて、ステープル留め器具は、ステープル留め器具のフレームの輪郭形成可能部分をその輪郭形成構成に解除可能に保持するように構成されているロックを更に備え得る。少なくとも1つの事例において、ステープル留め器具のフレームは、関節式フレームリンクと、フレームリンクを近位に引っ張り、フレームリンク同士をロックすることができる1つ又は2つ以上の長手方向張力ケーブルを備える。特定の事例において、各フレームリンクは、遠位に移動可能なロッドを受容するように構成されている、そこを通って伸びる長手方向開口を備え得る。ロッドは、長手方向開口を通過するように十分可撓性である(輪郭形成可能部分が輪郭形成されたときは、これらの開口は互いに、完全に整列していなくてもよい)が、ステープル留め器具をその輪郭形成済み構成に保持するために十分な剛性を有する。 In addition to the above, the staple fastener may further comprise a lock configured to releaseably hold the contourable portion of the frame of the staple fastener in its contouring configuration. In at least one case, the frame of the staple fastening device comprises an articulated frame link and one or more longitudinal tension cables capable of pulling the frame link proximally and locking the frame links together. In certain cases, each frame link may comprise a longitudinal opening extending through it, which is configured to receive a rod that can be moved distally. The rod is flexible enough to pass through longitudinal openings (when contourable portions are contoured, these openings do not have to be perfectly aligned with each other), but are stapled. It has sufficient rigidity to hold the instrument in its contoured configuration.
本明細書で検討されたように、外科用器具は、互いに組み付けられる複数のモジュールから構成され得る。例えば、少なくとも1つの実施形態では、外科用器具は、ハンドルを備える第1のモジュールと、シャフトアセンブリを備える第2のモジュールと、を備える。シャフトアセンブリは、患者の組織をステープル留めし、及び/又は、切開するように構成されているエンドエフェクタを備える。しかしながら、シャフトアセンブリは、任意の好適なエンドエフェクタを備え得る。様々な事例において、エンドエフェクタは、シャフトアセンブリに取付け可能な第3のモジュールを備える。ここから図82及び図83を参照して、ハンドル、例えば、ハンドル20などは、コントローラと、コントローラと通信しているディスプレイ10000と、を備える。コントローラは、外科用器具の動作に関するデータをディスプレイ10000上に表示するように構成されている。ディスプレイ10000上に表示されるデータは、第1のモジュールの少なくとも1つの動作パラメータ及び/又は第2のモジュールの少なくとも1つの動作パラメータに関する、外科医に対する情報に関する。例えば、コントローラは、ディスプレイ10000上に、ステープル発射ストロークの進行に関するデータを表示し得る。 As discussed herein, surgical instruments can consist of multiple modules that are assembled together. For example, in at least one embodiment, the surgical instrument comprises a first module with a handle and a second module with a shaft assembly. The shaft assembly comprises an end effector configured to staple and / or make an incision in the patient's tissue. However, the shaft assembly may include any suitable end effector. In various cases, the end effector comprises a third module that can be attached to the shaft assembly. From here, with reference to FIGS. 82 and 83, a handle, such as the
上記に加えて、シャフトアセンブリは、第2のディスプレイを備える。例えば、シャフトアセンブリ2000は、ディスプレイ10100を備える。しかしながら、本明細書に開示されるシャフトアセンブリのいずれかは、ディスプレイ、例えば、ディスプレイ10100などを備え得る。第2のモジュールはそれ自体が、外科用器具の動作に関するデータを、ディスプレイ10100上に表示するように構成されているコントローラを備える。上記と同様に、ディスプレイ10100上に表示されるデータは、第1のモジュールの少なくとも1つの動作パラメータ及び/又は第2のモジュールの少なくとも1つの動作パラメータに関する情報に関する。第2のモジュールのコントローラは、第1のモジュールのコントローラと信号通信している。しかしながら、他の実施形態では、第2のモジュールのコントローラは、第1のモジュールのコントローラとは独立して動作し得る。特定の代替的な実施形態では、第2のモジュールは、コントローラを備えない。このような実施形態では、第1のモジュールのコントローラは、第1のディスプレイ10000及び第2のディスプレイ10100と信号通信しており、第1のディスプレイ10000及び第2のディスプレイ10100上に表示されるデータを制御する。 In addition to the above, the shaft assembly comprises a second display. For example, the
上記検討されたように、ツールアセンブリ2000は、アンビルと、ステープルカートリッジと、を備える。ハンドル20は、アンビルをステープルカートリッジに対して移動させるように構成されている作動システムを備える。アンビルは、アンビルとステープルカートリッジとの間の距離又はギャップを制御し、結果として、ステープルがステープルカートリッジから射出された際のステープルの形成高さを制御するために、ステープルカートリッジに対する一定の範囲の位置に配置可能である。例えば、アンビルは、ステープルをより低い形成済み高さに変形させるために、ステープルカートリッジのより近くに配置され、ステープルをより高い形成済み高さに変形させるために、ステープルカートリッジから更に離れて配置される。いずれにしても、ツールアセンブリ2000の第2のディスプレイ10100は、アンビルのステープルカートリッジに対する位置を表示し、及び/又は、ステープルが形成されるであろう若しくは形成された高さを表示するように構成されている。様々な実施形態では、シャフトアセンブリは、エンドエフェクタの機能を制御するように構成されているアクチュエータと、アクチュエータに隣接し、エンドエフェクタの機能に関するデータを表示するディスプレイと、を備え得る。 As discussed above, the
図1を参照して、ツールアセンブリ1500は、シャフトと、シャフトから伸びるエンドエフェクタと、を備える。シャフトは、シャフトフレーム及び長手方向シャフト軸線を備える。エンドエフェクタは、エンドエフェクタフレーム及び長手方向エンドエフェクタ軸線を備える。エンドエフェクタは、遠位ヘッドと、遠位ヘッドがエンドエフェクタフレームに対して長手方向エンドエフェクタ軸線を中心に回転するのを可能にする回転ジョイントと、を更に備える。遠位ヘッドは、第1のジョーと第2のジョーと、を備える。第1のジョーは、内部に取出し可能に格納されたステープルを含むステープルカートリッジ又はこのようなステープルカートリッジを受容するように構成されているチャネルを備え、第2のジョーは、ステープルを変形するように構成されているアンビルを備える。第2のジョーは、第1のジョーに対して、開位置と閉位置との間で移動可能である。しかしながら、第1のジョーが第2のジョーに対して移動可能であり、及び/又は、第1のジョー及び第2のジョーの両方が互いに対して移動可能である、他の実施形態が想起される。 With reference to FIG. 1, the
特定の実施形態では、ツールアセンブリは、関節ジョイントと、加えて、回転ジョイントと、を備え得る。少なくとも1つのこのような実施形態では、回転ジョイントは、関節ジョイントに対して遠位である。このような実施形態では、遠位ヘッドの回転は、エンドエフェクタが関節運動させられた角度に影響を及ぼさない。とはいえ、関節ジョイントが回転ジョイントに対して遠位である、他の実施形態が想起される。このような実施形態は、遠位ヘッドの広いスイープ(sweep)を提供し得る。いずれにしても、長手方向エンドエフェクタ軸線は、長手方向シャフト軸線に対して移動可能である。少なくとも1つの事例において、長手方向エンドエフェクタ軸線は、長手方向シャフト軸線と同一線上にある(collinear)位置と、長手方向シャフト軸線に対して横断する位置との間で移動可能である。 In certain embodiments, the tool assembly may comprise a joint joint and, in addition, a rotary joint. In at least one such embodiment, the rotary joint is distal to the joint joint. In such an embodiment, the rotation of the distal head does not affect the angle at which the end effector is range of motion. However, other embodiments are recalled in which the joint joint is distal to the rotary joint. Such embodiments may provide a wide sweep of the distal head. In any case, the longitudinal end effector axis is movable with respect to the longitudinal shaft axis. In at least one case, the longitudinal end effector axis is movable between a collinear position with the longitudinal shaft axis and a position crossing the longitudinal shaft axis.
上記に加えて、ツールアセンブリ1500の遠位ヘッドは、開始位置と回転済み位置との間で回転可能である。少なくとも1つの事例において、遠位ヘッドは、ゼロ又は上死点位置と第2の位置との間で回転可能である。特定の事例において、遠位ヘッドは、少なくとも360度の範囲のモーションで回転可能である。他の事例において、遠位ヘッドは、360度未満の範囲の回転で回転可能である。いずれにしても、ツールアセンブリ1500及び/又はハンドル20は、遠位ヘッドの回転位置を追跡するように構成されている。様々な事例において、ツールアセンブリ1500及び/又はハンドル20は、エンドエフェクタの遠位ヘッドと動作可能に接続している電気モータと、加えて、遠位ヘッドの回転を直接追跡し、及び/又は、例えば、遠位ヘッドの回転を電気モータのシャフトの回転位置を評価することにより間接的に追跡するように構成されているエンコーダと、を備える。ハンドル20のコントローラは、例えば、エンコーダと信号通信しており、遠位ヘッドの回転位置をディスプレイ10000上に表示するように構成されている。 In addition to the above, the distal head of the
少なくとも1つの実施形態では、ディスプレイ10000上に表示されたデータの配向及び構成は、エンドエフェクタの遠位ヘッドが回転している間は静的である。当然、このような実施形態において、ディスプレイ10000上に表示されるデータは、外科用器具のコントローラにより更新されるであろう。しかしながら、データ表示は、遠位ヘッドが回転すると、再配向及び/又は再構成されない。このような実施形態は、外科医に、静的フィールドにおいて、外科用器具を適切に利用するのに必要な情報を提供し得る。少なくとも1つの代替的な実施形態では、ディスプレイ10000上のデータフィールドは動的である。この文脈において、動的という用語は、ディスプレイ10000上でデータが更新されること以上のことを意味している。むしろ、動的という用語は、遠位ヘッドが回転されると、データが、ディスプレイ10000上に再配向及び/又は再構成されることを意味する。少なくとも1つの事例において、データの配向は、遠位ヘッドの配向を追跡する。例えば、遠位ヘッドが30度回転する場合、ディスプレイ10000上のデータフィールドは、30度回転する。様々な事例において、遠位ヘッドは、360度回転可能であり、データフィールドは、360度回転可能である。 In at least one embodiment, the orientation and composition of the data displayed on the
上記に加えて、データフィールドは、遠位ヘッドの配向に適合する任意の配向に配向され得る。このような実施形態は、外科医に、遠位ヘッドの配向の正確かつ直感的な感覚を提供し得る。特定の実施形態では、コントローラは、データフィールドを、遠位ヘッドの配向に最も密接に適合する、別個の位置のアレイから選択された配向に配向させる。例えば、遠位ヘッドが27度回転し、選択可能な別個のデータフィールド位置が15度離れている場合、コントローラは、データフィールドをデータ配向から30度再配向させ得る。同様に、例えば、遠位ヘッドが17度回転し、選択可能な別個のデータフィールド位置が5度離れている場合、コントローラは、データフィールドをデータ配向から15度再配向させ得る。少なくとも1つの実施形態では、データ配向は、外科用器具自体の機構と整列される。例えば、ハンドル20のデータ配向は、ハンドル20のグリップを通って伸びる軸線と整列される。このような実施形態では、コントローラは、その環境に対するハンドル20の配向を無視し得る。しかしながら、少なくとも1つの代替的な実施形態では、データ配向は、例えば、重力軸線に対して整列される。 In addition to the above, the data field can be oriented in any orientation that matches the orientation of the distal head. Such embodiments may provide the surgeon with an accurate and intuitive sensation of distal head orientation. In certain embodiments, the controller orients the data field to an orientation selected from an array of separate locations that most closely matches the orientation of the distal head. For example, if the distal head is rotated 27 degrees and the separate selectable data field positions are separated by 15 degrees, the controller may reorient the data fields by 30 degrees from the data orientation. Similarly, for example, if the distal head is rotated 17 degrees and the separate selectable data field positions are 5 degrees apart, the controller may reorient the data fields 15 degrees from the data orientation. In at least one embodiment, the data orientation is aligned with the mechanism of the surgical instrument itself. For example, the data orientation of the
上記に加えて、コントローラは、ディスプレイ10000上に表示されたデータフィールド全体を、遠位ヘッドの配向に対して再配向させるように構成されている。他の実施形態では、コントローラは、ディスプレイ10000上で変位させられた(displaced)データフィールドの一部のみを、遠位ヘッドの配向に対して再配向させるように構成されている。このような実施形態では、データフィールドの一部は、データ配向に対して静的に保持され、一方、データフィールドの別の部分は、データ配向に対して回転される。特定の実施形態では、データフィールドの第1の部分は、第1の角度の回転で回転され、データフィールドの第2の部分は、同じ方向に第2の角度の回転で回転される。例えば、第2の部分は、第1の部分より小さく回転され得る。様々な実施形態では、データフィールドの第1の部分は、第1の方向に回転され、データフィールドの第2の部分は、第2又は反対方向に回転される。 In addition to the above, the controller is configured to reorient the entire data field displayed on
上記に加えて、データフィールドは、遠位ヘッドの回転に対して、リアルタイム又は少なくとも実質的にリアルタイムに再配向及び/又は再構成される。このような実施形態は、非常に応答性のデータ表示を提供する。他の実施形態では、データフィールドの再配向及び/又は再構成は、遠位ヘッドの回転を遅らせ得る。このような実施形態は、よりジッタの少ないデータ表示を提供し得る。様々な実施形態では、データフィールドの第1の部分は、第1の速度で再配向及び/又は再構成され、データフィールドの第2の部分は、第2又は異なる速度で再配向及び/又は再構成される。例えば、第2の部分は、より遅い速度で回転され得る。 In addition to the above, the data field is reoriented and / or reconstructed in real time or at least substantially in real time with respect to the rotation of the distal head. Such embodiments provide a highly responsive data display. In other embodiments, reorientation and / or reconstruction of the data field may slow the rotation of the distal head. Such embodiments may provide a data display with less jitter. In various embodiments, the first part of the data field is reoriented and / or reconstructed at the first rate, and the second part of the data field is reoriented and / or realigned at the second or different rate. It is composed. For example, the second part can be rotated at a slower speed.
上記検討されたように、ディスプレイ10000上のデータフィールドは、エンドエフェクタの遠位ヘッドが回転するのと共に回転される。しかしながら、他の実施形態では、データフィールド又はデータフィールドの一部は、遠位ヘッドが回転するのと共に並進移動される。また上記検討されたように、外科用器具のコントローラは、ハンドルディスプレイ10000上のデータフィールドを再配向及び/又は再構成するように構成されている。しかしながら、外科用器具のコントローラは、第2のディスプレイ、例えば、シャフトディスプレイなど上のデータフィールドを再配向及び/又は再構成し得る。 As discussed above, the data field on the
再度図15及び図83を参照して、ツールアセンブリ2000は、ツールアセンブリ2000の関節駆動システムを作動するように構成されているアクチュエータ10200を備える。アクチュエータ10200は、例えば、シャフト2100の長手方向軸線に平行又は少なくとも実質的に平行な長手方向軸線を中心に回転可能である。アクチュエータ10200は、例えば、レオスタットに動作可能に接続しており、同レオスタットは、ハンドル20のコントローラと信号通信している。アクチュエータ10200が第1の方向にその長手方向軸線を中心に回転した場合、レオスタットは、アクチュエータ10200の回転を検出し、コントローラは、電気モータを動作させて、エンドエフェクタ2200を第1の方向に関節運動させる。同様に、アクチュエータ10200が第2又は反対方向にその長手方向軸線を中心に回転した場合、レオスタットは、アクチュエータ10200の回転を検出し、コントローラは、電気モータを動作させて、エンドエフェクタ2200を第2又は反対方向に関節運動させる。様々な事例において、エンドエフェクタ2200は、例えば、長手方向軸線から第1の方向に約30度関節運動させられ、及び/又は、長手方向軸線から第2又は反対方向に約30度関節運動させられ得る。 With reference to FIGS. 15 and 83 again, the
読み手は、上記に加えて、ツールアセンブリ2000が関節駆動システムを動作させるように構成されているオンボードの電気モータを有さないことを、理解すべきである。むしろ、関節駆動システムの電気モータは、ハンドル、例えば、ツールアセンブリ2000に取り付けられたハンドル20などに存在する。結果として、取外し可能なシャフトアセンブリ上のアクチュエータは、ハンドルの動作を制御する。他の実施形態では、関節ドライバシステムの電気モータは、ツールアセンブリ2000に存在し得る。いずれにしても、ディスプレイ10100は、少なくともいくつかの様式で、エンドエフェクタ2200の関節運動を表示するように構成されている。読み手は、ディスプレイ10100がアクチュエータ10200に隣接し、結果として、外科医が関節駆動システムのインプット及びアウトプットを同時に容易に見ることができることを、理解すべきである。 In addition to the above, the reader should understand that the
上記に加えて、輪郭形成可能なシャフトを備える外科用ツールアセンブリは、例えば、患者の直腸又は結腸内にフィットするように有利に形作られ得る。しかしながら、このような輪郭形成可能なシャフトは、相当量の張力及び/又は圧縮負荷を有することができない。それを補償するために、様々な実施形態では、回転式駆動システムのみが、シャフトの輪郭形成可能部分を通って伸びてもよい。このような事例において、シャフトは、回転式駆動システムにより生成される回転反力にのみ抵抗する必要がある。このような実施形態では、駆動システムの回転モーションは、必要に応じて、輪郭形成可能なシャフト部分に対して遠位への直線モーションに変換され得る。このような長手方向モーションは、張力及び/又は圧縮力を生成し得る。しかしながら、このような力は、エンドエフェクタ内の外、すなわち、輪郭形成可能なシャフト部分に対して遠位に分けられ又は釣り合わされ得る。このような実施形態はまた、輪郭形成可能なシャフト部分に対して遠位に配置された関節ジョイントを利用し得る。このような実施形態では、ツールアセンブリは、輪郭形成可能なシャフト部分を横断するプッシュ-プル駆動システムを利用しなくてもよい。 In addition to the above, a surgical tool assembly with a contourable shaft can be advantageously shaped to fit, for example, into the patient's rectum or colon. However, such contourable shafts cannot have a significant amount of tension and / or compressive load. To compensate for this, in various embodiments, only the rotary drive system may extend through the contourable portion of the shaft. In such cases, the shaft only needs to resist the rotational reaction force generated by the rotary drive system. In such an embodiment, the rotational motion of the drive system can, if desired, be transformed into a linear motion distal to the contourable shaft portion. Such longitudinal motion can generate tension and / or compressive force. However, such forces can be split or balanced out of the end effector, i.e., distally to the contourable shaft portion. Such embodiments may also utilize articulated joints located distal to the contourable shaft portion. In such embodiments, the tool assembly may not utilize a push-pull drive system across a contourable shaft portion.
図84及び図85に、輪状ステープル留め器具のアンビル6020が図示される。アンビル6020は、組織圧迫面6022と、組織圧迫面6022に画定されたステープル形成ポケット6024の環状アレイと、を備える。アンビル6020は、フレーム6028と、取付けマウント6026と、取付けマウント6026から伸びるステムと、を更に備える。ステムは、アンビル6020が輪状ステープル留め器具のステープルカートリッジに向かって及び同カートリッジから離れるように動かされ得るように、輪状ステープル留め器具の閉鎖ドライブに着脱可能に取り付けられるように構成されている。圧迫表面6022、取付けマウント6026、及びフレーム6028は、例えば、ステンレス鋼から構成されている。しかしながら、任意の好適な1つ又は複数の材料が使用され得る。 84 and 85
上記に加えて、アンビル6020は、組織支持体6030を備える。組織支持体6030は、組織支持体表面6022内に画定された環状開口内に配置される。組織支持体6030は、あるとしてもそれらの間の相対移動がほとんど存在しないように、アンビル6020内にぴったり固定される。組織支持体6030は、アンビル6020の環状組織圧迫面6022に隣接する環状組織支持体表面6032を備える。組織支持体6030は、内部に画定された内側環状壁6036と、加えて、アンビル6020のアンビルフレーム6028に隣接して配置された底壁6038と、を更に備える。 In addition to the above, the
ここから図86を参照して、輪状ステープル留め器具は、ステープル6070の第1の環状列と、ステープル6080の第2の環状列と、ステープル6070及び6080をステープルカートリッジ6040から発射ドライブの発射ストローク中に射出するように構成されている発射ドライブと、を備える、ステープルカートリッジ6040を備える。図86に図示されたように、ステープル6070及び6080は、それらがステープルカートリッジ6040から射出されると、形成ポケット6024により変形される。様々な事例において、ステープル6070及びステープル6080は、同じ高さに変形されるが、他の事例では、ステープル6070及びステープル6080は、異なる高さに変形される。例えば、ステープル6070は、ステープル6080より低い変形済み高さに変形され得る。他の例において、ステープル6080は、ステープル6070より低い高さに変形される。 From here, with reference to FIG. 86, the annular staple fastener is a first annular row of
上記に加えて、又は、上記に代えて、ステープル6070及びステープル6080は、異なる未形成高さを有し得る。例えば、ステープル6070は、ステープル6080より低い未形成高さを有し得る。他の例において、ステープル6080は、ステープル6070より低い未形成高さを有する。特定の事例において、ステープル6070及びステープル6080は、同じ未形成高さを有する。 In addition to or in place of the above,
ステープル6070及び6080がアンビル6020に対して変形されて、アンビル6020とステープルカートリッジ6040との間に捕捉された組織Tをステープル留めすると、上記に加えて、ステープル留め器具は、組織Tを切開し得る。ステープルをそのステープルキャビティから射出する発射ドライブは、切断部材6050を組織T及びアンビル6020に向かって駆動させる。切断部材6050の遠位縁は、組織Tを切断し、ついで、内側側壁6036を切断することなく、組織支持体6030の内側側壁6036に沿って摺動する。切断部材6050の切断縁は環状であり、組織支持体6030の環状内側壁6036と整列される。図86に図示されたように、切断部材6050が底壁6038を切断するまで、切断部材6050は、アンビル6020内を前進する。 If the
発射ドライブは、ステープル6070及び6080をアンビル6020に対して駆動させ、及び/又は、組織を切断する際に、様々な負荷を経験する。例えば、発射ドライブは、例えば、ステープル6090(図86)などにより予めステープル留めされた組織を切断する際に、増大した負荷を経験する場合がある。しかしながら、切断部材6050による底壁6038の切断により、発射ドライブを通して伝達された力における突然の変化又は衝撃が生じる。力によるこの突然の変化は、外科用ステープラ及び/又は、発射ドライブにおける負荷変化を検出するように構成されている電子センサシステムを使用している臨床医により知覚され得る。組織支持体6030は、切断部材6050が底壁6038に負荷を加えるとスナップし得る材料から構成され得る。少なくとも1つの事例において、組織支持体6030は、例えば、プラスチックから構成されている。いずれにしても、底壁6038の切断が検出されることができ、検出されると、臨床医及び/又は電子センサシステムは、切断プロセスが完了したことを判定し得る。 The launch drive experiences various loads in driving the
発射ドライブは、ステープル6070、6080を変形させ、同時に、組織を切断部材6050により切開する。しかしながら、ステープル形成及び組織切断工程が段階的(staggered)であり得るのが企図される。少なくとも1つの事例において、組織切断工程は、ステープル形成工程が完了するまで始まらない。 The firing drive deforms the
表面6032が組織Tを部分的に支持し得るが、切断部材6050は、切断部材6050が底壁6038に向かって移動される際に、組織Tを組織支持体6030の内側壁6036と取付けマウント6026との間に画定されたキャビティ内に押し得ることを、図86から理解されたい。換言すれば、切断部材6050は、組織Tを最終的に切断する前に、組織Tを壁6036に沿って引き込まれ得る。このような事例において、切断部材6050により行われる切開は正確でなくてもよい。図86に開示される実施形態に対する改善が以下で検討される。 Although the
ここから図87及び図88に切り替えて、アンビル6020の組織支持体6030は、組織支持体6130により置き換えられている。組織支持体6130は、第1又は外側環状壁6131と、第2又は内側環状壁6133と、を備える。内側壁6133は、取付けマウント6026をきっちり受容するように構成されている開口6136を画定する。外側壁6131及び内側壁6133は、横壁6132により繋がっている。横壁6132は、内側壁6133と外側壁6131との間で、組織支持体6130の中心の周りに放射状に伸びる。横壁6132は互いに、等間隔で離れている。しかしながら、横壁6132が互いに等間隔で離れていない、代替的な実施形態が企図される。いずれにしても、横壁6132は、組織支持体6130におけるキャビティ6134の環状アレイを画定する。様々な事例において、各キャビティ6134は、例えば、四方を囲まれ得るが、組織に面する側面は囲まれ得ない。他の事例において、組織に面するキャビティの側面は囲まれ得る。 Switching from here to FIGS. 87 and 88, the
組織支持体6130の外側壁6131及び内側壁6133は、組織が切断部材6050により切断される際に、組織を支持するように構成されている。横壁6132はまた、組織が切断される際に、組織を支持し、加えて、組織が外側壁6131及び内側壁6133に対して摺動するのを防止し又は同摺動に抵抗する。組織は、組織が切断されると、キャビティ6134に入り得ることを理解されたい。しかしながら、組織と側壁との間の相対移動は相当減少し得る。横壁6132の組成及び構成は、望まれる支持量に応じて、組織に対するより多くの支持又は組織に対するより少ない支持を提供するのに選択され得る。例えば、より厚い横壁6132は、より薄い横壁6132より多くの組織支持を提供し得る。同様に、より多くの横壁6132は、より薄い横壁6132より多くの組織支持を提供し得る。 The
切断部材6050がその切断ストロークを通って移動すると、切断部材6050は、組織を切断し、横壁6132を切断する。切断部材6050は、環状であり、外側壁6131に隣接する横壁6132を切断する。しかしながら、切断部材は、壁6132を任意の好適な位置で切断し得る。いずれにしても、横壁6132は、組織が切断される前、同切断中、及び同切断後に組織を支持し、組織が外側壁6131及び/又は内側壁6133に沿って引き込まれるのを妨げ、又は、同引き込みの可能性を少なくとも減少させる。組織支持体6030と同様に、組織支持体6130は、切断ストロークの最後において切断される底壁6138を備える。 As the cutting
図89及び図90に、ステープルカートリッジ6240とアンビル6220と、を備える外科用ステープラが開示されている。ステープルカートリッジ6240は、多くの観点において、ステープルカートリッジ6040に類似する。アンビル6220は、多くの観点において、アンビル6020及びアンビル6120に類似する。アンビル6220は、取付けステム6226と、取付けステム6226周囲に配置された環状組織支持体6230と、を備える。組織支持体6230は、ステム6226をきっちり受容するように構成されている中心開口を備える。組織支持体6230は、アンビル6220の組織圧迫面に隣接して配置された環状外側壁6231と、加えて、外側壁6231から放射状に伸びる横壁6232と、を更に備える。組織支持体6230は、内側アニュアル(annual)壁を備えず、横壁6232の内側端は歪んでいない。組織支持体6230は、上記と同様に、切断部材6050により切開される底壁6238を更に備える。 89 and 90 disclose a surgical stapler comprising a
図91及び図92に、ステープルカートリッジ6240とアンビル6220と、を備える外科用ステープラが図示される。しかしながら、読み手は、アンビル6220の組織支持体6230が組織支持体6330により置き換えられていることを理解すべきである。組織支持体6330は、ステム6226をきっちり受容するように構成されている環状中心開口を備える。組織支持体6330は、上壁6332、底壁6338、及び、上壁6332と底壁6338との間に伸びる側壁6336を更に備える。上壁6332及び底壁6338は、平行又は少なくとも実質的に平行である。しかしながら、壁6332及び6338が平行でない、実施形態が想起される。側壁6336は、平行又は少なくとも実質的に平行である。しかしながら、側壁6336が平行でない、実施形態が想起される。 91 and 92 show a surgical stapler comprising a
壁6332、6336、及び6338は、それらの間に環状キャビティ6334を画定する。キャビティ6334は、全ての側面が囲まれ又は少なくとも実質的に囲まれている。キャビティ6334は、ステム6226周囲で中断されずに伸びる。しかしながら、キャビティ6334が、例えば、側壁及び/又は形状変化により中断される、他の実施形態が想起される。 The
上記と同様に、組織支持体6330は、組織が切断部材6050により切断される際に、組織を支持するように構成されている。組織支持体6330は、組織支持体6330がアンビル6220に対して動かない又は少なくとも実質的に動かないように、アンビル6220内にきっちり受容される。更に、組織支持体6330は、切断部材6050が組織を切断している間に、組織支持体6330の歪みが最少化され又はわずかとなるように、堅い箱形状断面を備える。図91に図示されたように、ギャップが、底壁6338と内側側壁6336との間に存在する。このようなギャップは、組織支持体6330にいくらかの可撓性を提供し得る。しかしながら、このようなギャップが存在しない、他の実施形態が想起される。組織支持体6330は、例えば、プラスチックから構成されている。しかしながら、様々な実施形態では、組織支持体6330は、例えば、可撓性及び/又は弾性材料から構成され得る。 Similar to the above, the
切断部材6050は、組織支持体6330をその切断ストローク中に切断する。図92に図示されたように、切断部材6050は、組織を切断し、ついで、キャビティ6334内に入った後に、上壁6332を切断する。上壁6332は、内部に画定され、切断部材6050の環状切断縁と整列された環状ノッチ6333を備える。ノッチ6333は、上壁6332の断面を小さくし、上壁6332の切開を容易にする。切断部材6050はまた、底壁6338をその切断ストローク中に切断し得る。読み手は、組織支持体6330の上壁6332及び底壁6338の切断により、ステープル留め器具の発射ドライブにおける力のパルスが生じ得ることを理解すべきである。上壁6332及び底壁6338は、発射/切断ストロークの終了時に、臨床医及び/又は外科用器具の電子センサシステムがパルス間の差を識別することができ、上壁6332の切開を不適切に中断し得ないように、異なるパルスを提供するように構造的に構成され得る。 The cutting
再度図91及び図92を参照して、組織支持体6330の上壁6332は、アンビル6220の組織圧迫面6022と整列され、又は、少なくとも実質的に整列される。上記に加えて、又は、上記に代えて、上壁6332は、組織圧迫面6022に対して凹んでいることができ、及び/又は、組織圧迫面6022上に伸びていることができる。組織支持体の上壁6332は、アンビル6220の形成表面6024上に伸びる。上記に加えて、又は、上記に代えて、上壁6332は、形成表面6024に対して凹んでいることができ、及び/又は、形成表面6024と整列されることができる。 With reference to FIGS. 91 and 92 again, the
図93及び図94に、ステープルカートリッジ6240とアンビル6220と、を備える外科用ステープラが図示される。しかしながら、読み手は、アンビル6220の組織支持体6230が組織支持体6430により置き換えられていることを理解すべきである。組織支持体6430は、ステム6226をきっちり受容するように構成されている環状中心開口を備える。組織支持体6430は、上壁6432、底壁6438、及び、上壁6432と底壁6438との間に伸びる側壁6436を更に備える。壁6432、6436、及び6438は、それらの間に環状キャビティ6434を画定する。キャビティ6434は、全ての側面が囲まれ又は少なくとも実質的に囲まれている。キャビティ6434は、ステム6226周囲で中断されずに伸びる。しかしながら、キャビティ6434が、例えば、側壁及び/又は形状変化により中断される、他の実施形態が想起される。 93 and 94 show a surgical stapler comprising a
上記と同様に、組織支持体6430は、組織が切断部材6050により切断される際に、組織を支持するように構成されている。組織支持体6430は、組織支持体6430がアンビル6220に対して動かない又は少なくとも実質的に動かないように、アンビル6220内にきっちり受容される。更に、組織支持体6430は、切断部材6050が組織を切断している間に、組織支持体6430の歪みが最少化され又はわずかとなるように、堅い多角形断面を備える。図93に図示されたように、ギャップが、底壁6438と内側側壁6436との間に存在する。このようなギャップは、組織支持体6430にいくらかの可撓性を提供し得る。しかしながら、このようなギャップが存在しない、他の実施形態が想起される。組織支持体6430は、例えば、プラスチックから構成されている。しかしながら、様々な実施形態では、組織支持体6430は、例えば、可撓性及び/又は弾性材料から構成され得る。 Similar to the above, the
図93及び図94に図示されたように、内側側壁6436は、外側側壁3436より短い。しかしながら、外側側壁6436が内側側壁6436より短い、他の実施形態が想起される。更に、上壁6432は、底壁6438に平行ではない。より具体的に、上壁6432は、底壁6438に対して横方向に伸びる傾斜部分及び/又は上壁6432の他の部分を備える。 As illustrated in FIGS. 93 and 94, the
切断部材6050は、組織支持体6430をその切断ストローク中に切断する。図94に図示されたように、切断部材6050は、組織を切断した後、上壁6432を切断し、続いて、キャビティ6434内に入る。切断部材6050はまた、底壁6438をその切断ストローク中に切断し得る。 The cutting
上記検討されたように、本明細書に開示される組織支持体は、組織が切断部材により切開される際に、組織を支持するように構成されている。多くの場合、切断部材により切開される組織は、例えば、先にステープル留めされている、すなわち、外科手術における先の工程の間にステープル留めされている。様々な事例において、このようなステープルはまた、例えば、それらが金属、例えば、チタン及び/又はステンレス鋼から構成されている場合であっても、切断部材により切開されてもよい。他の事例において、このようなステープルは、切断部材により切開されなくてもよい。むしろ、それらは、組織支持体を構成する材料内に押されてもよい。ステープルが切断部材により切開されるか否かに関わらず、様々な事例において、本明細書に開示される組織支持体は、切断部材により組織支持体に対して捕捉されたステープルが組織支持体におけるより多くの局所塑性変形を生じるのを妨げるのに十分な強度及び/又は剛性を備える。少なくとも1つのこのような事例において、局所塑性変形は、ステープルに対する任意の方向における、ステープルの1未満の特性長(CL)に限られる。少なくとも1つの事例において、組織支持体の材料は、組織支持体に対して捕捉されたステープルが、例えば、2*CL未満の直径を有する組織支持体中の塑性変形ゾーンのみを生じさせ得るように選択され得る。他の事例において、組織支持体の材料は、組織支持体に対して捕捉されたステープルが、例えば、1.5*CL未満の直径を有する組織支持体中の塑性変形ゾーンのみを生じさせ得るように選択され得る。ステープルの特性長は、例えば、その変形済み構成における、ステープルクラウンの幅若しくはバックスパン及び/又はステープル脚の形成済み高さであり得る。更に、本明細書に開示される組織支持体は、ステープルが切断部材により切開される際に、ステープルを支持するのに十分硬い材料から構成され得る。少なくとも1つの事例において、組織支持体を構成する材料の硬度は、組織支持体に対して切開されるステープルを構成する材料の硬度と等しいか又は同硬度より高い。特定の事例において、組織支持体を構成する材料の硬度は、切開されるステープルを構成する材料の硬度より低い。しかしながら、組織支持体の構造設計は、組織支持体が塑性変形の許容可能なゾーンを超えて物理的に伸張するのを妨げるのに十分である。特定の事例において、組織と組織中の形成済みステープルとを切開するのに必要なエネルギーは、組織支持体を切開するのに必要なエネルギーより少ない。様々な事例において、組織支持体を構成する材料は、ステープルによりえぐられるのに抵抗性でもよい。少なくとも1つの事例において、ステープルが組織支持体上で捕まるのを妨げるために、生体適合性滑沢材が、組織支持体上に配置され、及び/又は、同組織支持体内に含浸されてもよい。As discussed above, the tissue supports disclosed herein are configured to support the tissue as it is incised by the cutting member. In many cases, the tissue incised by the cutting member is, for example, stapled first, i.e., stapled during the previous steps in surgery. In various cases, such staples may also be incised by a cutting member, eg, even if they are composed of metals such as titanium and / or stainless steel. In other cases, such staples may not be incised by the cutting member. Rather, they may be pushed into the materials that make up the tissue support. In various cases, whether or not the staples are incised by the cutting member, the tissue support disclosed herein is such that the staples captured by the cutting member against the tissue support are in the tissue support. It has sufficient strength and / or rigidity to prevent more local plastic deformation from occurring. In at least one such case, local plastic deformation is limited to a characteristic length (CL) of less than 1 of the staple in any direction with respect to the staple. In at least one case, the tissue support material allows the staples trapped against the tissue support to result in, for example, only plastic deformation zones in the tissue support having a diameter of less than 2* CL. Can be selected. In other cases, the material of the tissue support allows the staples trapped against the tissue support to result in, for example, only plastic deformation zones in the tissue support having a diameter of less than 1.5* CL. Can be selected for. The characteristic length of the staple can be, for example, the width or backspan of the staple crown and / or the formed height of the staple leg in its modified configuration. In addition, the tissue supports disclosed herein may be composed of a material that is hard enough to support the staples as they are incised by the cutting member. In at least one case, the hardness of the material constituting the tissue support is equal to or higher than the hardness of the material constituting the staples incised with respect to the tissue support. In certain cases, the hardness of the material constituting the tissue support is lower than the hardness of the material constituting the staple to be incised. However, the structural design of the tissue support is sufficient to prevent the tissue support from physically stretching beyond the permissible zone of plastic deformation. In certain cases, the energy required to incise the tissue and the formed staples in the tissue is less than the energy required to incise the tissue support. In various cases, the material constituting the tissue support may be resistant to being scooped out by staples. In at least one case, a biocompatible lubricant may be placed on the tissue support and / or impregnated into the tissue support to prevent the staples from being trapped on the tissue support. ..
様々な事例において、アンビルの組織圧迫面及び組織支持体の組織接触表面は、平坦又は少なくとも実質的に平坦である。このような構成により、アンビルにより組織上に加えられた力を、大きな領域にわたって分散させ得る。アンビルの組織圧迫面及び/又は組織支持体の組織接触表面が平坦でない、他の実施形態が想起される。特定の事例において、アンビルの組織圧迫面及び/又は組織支持体の組織接触表面は、そこから伸び、組織と係合し、把持するように構成されている組織把持部材又はスパイクを備える。このような組織把持部材は、例えば、組織とアンビルとの間の相対移動又はスリップを減少させ得る。少なくとも1つの事例において、アンビルの組織圧迫面及び組織支持体の組織接触表面上の組織把持部材の密度は同じである。他の事例において、組織支持体の組織接触表面上の組織把持部材の密度は、アンビルの圧迫表面上の組織把持部材の密度より高い。このような事例において、組織支持体が、アンビルの圧迫表面に対して放射状に内向きに配置されると、組織把持部材は、組織が放射状に内向きに浮動し又は摺動するのを妨げ得る。 In various cases, the tissue compression surface of the anvil and the tissue contact surface of the tissue support are flat or at least substantially flat. With such a configuration, the force applied on the tissue by the anvil can be dispersed over a large area. Other embodiments are recalled in which the tissue compression surface of the anvil and / or the tissue contact surface of the tissue support is not flat. In certain cases, the tissue compression surface of the anvil and / or the tissue contact surface of the tissue support comprises a tissue gripping member or spike configured to extend from it and engage and grip the tissue. Such tissue gripping members may, for example, reduce relative movement or slip between tissue and anvil. In at least one case, the density of tissue gripping members on the tissue compression surface of the anvil and the tissue contact surface of the tissue support is the same. In other cases, the density of the tissue gripping member on the tissue contact surface of the tissue support is higher than the density of the tissue gripping member on the compression surface of the anvil. In such cases, if the tissue support is placed radially inward with respect to the compressed surface of the anvil, the tissue gripping member may prevent the tissue from floating or sliding radially inward. ..
図95に、アンビル6520が開示されている。アンビル6520は、組織圧迫面6522と、加えて、組織圧迫面6522に画定され、ステープルがそのステープルカートリッジから射出されると、ステープルを所望の構成に変形するように構成されている形成ポケットと、を備える。各形成ポケットは、一対のカップを備え、この場合、各カップ対は、ステープルの脚を変形するように構成されている。例えば、一対の形成カップは、ステープルの第1の脚を変形するように構成されている第1の形成カップ6530aと、ステープルの第2の脚を変形するように構成されている第2の形成カップ6530bと、を備え得る。第1の形成カップ6530a及び第2の形成カップ6530bは、第1の形成カップ6530aと第2の形成カップ6530bとの間に伸びる軸線6531に関して、互いの鏡像である。しかしながら、他の構成が利用され得る。 FIG. 95 discloses the
第1の形成カップ6530aは、第1又は外側端部6532及び第2又は内側端部6534を備える。第1の形成カップ6530aは、外側端部6532と内側端部6534との間に伸びる底面又はバスタブ面6536を更に備える。第1の端部6532は、ステープルの脚を受容し、脚の形成プロセスを開始するように構成されている。第1の端部6532は、ステープル脚を第2の端部6534に向かって歪めるように構成されている湾曲面を備える。底面6536は、ステープル脚をステープルカートリッジに向かって少なくとも部分的に折り返すように構成されている湾曲又は凹面を備える。第2の端部6534は、ステープル脚を形成カップ6530aの外にガイドするように構成されている湾曲面を備える。 The first forming
第2の形成カップ6530bは、第1の形成カップ6530aの構造に類似する構造を備え、ステープルの第2の脚を変形するように構成されている。上記の結果として、第1の形成カップ6530aは、ステープルの第1の脚を第2の脚に向かってガイドし、第2の形成カップ6530bは、ステープルの第2の脚を第1の脚に向かってガイドする。様々な事例において、第1の形成カップ6530a及び第2の形成カップ6530bは、例えば、ステープルをB型構成に変形するのに協働する。しかしながら、形成カップは、ステープルを任意の好適な構成に変形するように構成され得る。 The second forming
主に図96を参照して、各形成カップ6530(6530a及び6530b)は、第1の端部6532と第2の端部6534との間に伸びる第1の横方向側壁6537及び第2の横方向側壁6539を備える。様々な事例において、第1の横方向側壁6537及び第2の横方向側壁6539は、形成カップ6530の中心を通って伸びる長手方向軸線6533に関して、互いの鏡像である。他の事例において、第1の横方向側壁6537及び第2の横方向側壁6539は、互いの鏡像ではない。いずれにしても、側壁6537、6539は、例えば、ステープル脚を形成カップの中心に向かって、すなわち、軸線6533に向かってガイドするように坂になっている又は傾斜している。 Primarily with reference to FIG. 96, each forming cup 6530 (6530a and 6530b) has a first
各形成カップ6530は、その底面6536に画定された溝又はチャネル6538を備える。溝6538は、形成カップ6530の第1の端部6532と第2の端部6534との間に長手方向に伸びる。溝6538は、形成カップ6530の中心長手方向軸線6535に対して平行に伸び、中心長手方向軸線6335に対して横方向にオフセットする。溝6538は、形成カップ6530により変形されたステープルの脚より広い。しかしながら、溝6538がステープルの脚より狭い、他の実施形態が想起される。いずれにしても、溝6538は、形成カップ6530内の所定の経路に沿って、ステープル脚をガイドするように構成されている。 Each forming
様々な事例において、形成カップ6530の溝は、脚が変形されている間に、ステープルの脚を捻じるように構成されている。少なくとも1つの事例において、変形される前のステープルは、平ら又は少なくとも実質的に平らである。少なくとも1つのこのような事例において、ステープルの脚及び基部は、ステープルがステープルカートリッジから射出されると、長手方向軸線6535と整列される同じ面に存在する。第1の端部6532及び底面6536は、ステープル脚が形成カップ6530内に入った場合、脚を溝6538に向かってガイドするように坂になっており、及び/又は、何らかの他の方法で構成されている。ステープル脚が溝6538内に入ると、溝6538は、ステープル脚をステープルの基部を含む面の外へ捻じるであろう。上記の結果として、未形成ステープル構成は平らであるが、形成済みステープル構成は平らではない。しかしながら、変形の前後でステープルが非平坦構成を有する、他の実施形態が想起される。 In various cases, the groove of the forming
形成カップ6530の所定のセットについての形成カップ6530の溝6538は、長手方向軸線6535の同じ側に配置され、ステープルの両脚をステープル基部の同じ側に捻じるように構成されている。しかしながら、第1のステープル脚がステープル基部の一方側に捻じられ、第2のステープル脚がステープル基部の他方側に捻じられる、他の実施形態が想起される。少なくとも1つのこのような実施形態では、第1の溝6538は、第1のステープル脚をステープル基部の第1の側に捻じるように構成されている長手方向軸線6535の第1の側に配置され、第2の溝6538は、第2のステープル脚をステープル基部の第2の側に捻じるように構成されている長手方向軸線6535の第2の側に配置されている。
形成カップ6530の所定のセットについての形成カップ6530の溝6538は、同一線上にあるか、又は少なくとも実質的に同一線上にある。しかしながら、溝6538が長手方向軸線6535の同じ側に配置されるが、互いに同一線上にない、他の実施形態が想起される。少なくとも1つのこのような事例において、溝6538は互いに平行であるが、他のこのような事例において、溝6538は互いに平行ではない。
主に図96を参照して、溝6538は、形成カップ6530の底面6536より深い。しかしながら、形成カップの溝及び底面が同じ深さを有する、他の実施形態が想起される。 Primarily with reference to FIG. 96, the
様々な事例において、形成カップ6530は、アンビル6520がステープルの長手方向列を適用するように構成されている長手方向エンドエフェクタの一部である場合、長手方向列に構成されている。少なくとも1つのこのような事例において、形成カップの溝6538は、エンドエフェクタにより配備された全てのステープルが面の外へ同じ方向に曲げられるように構成される。他の事例において、溝6538は、形成カップ6530の第1の長手方向列において、ステープル脚を第1の方向に曲げ、形成カップ6530の第2の長手方向列において、ステープル脚を第2又は異なる方向に曲げるように構成されている。特定の事例において、溝6538は、ステープル列における第1のステープルの脚を第1の方向に曲げ、ステープル列における第2のステープルを第2又は反対方向に曲げるように構成されている。 In various cases, the forming
様々な事例において、形成カップ6530は、アンビル6520がステープルの環状列を適用するように構成されている環状エンドエフェクタの一部である場合、環状列に構成されている。少なくとも1つのこのような事例において、溝6538は、形成カップ6530の中心長手方向軸線6535に対して、放射状に外向きに配置される。他の事例において、溝6538は、形成カップ6530の中心長手方向軸線6535に対して、放射状に内向きに配置される。特定の事例において、溝6538は、形成カップ6530の第1の環状列において放射状に外向きに配置され、形成カップ6530の第2の環状列において放射状に内向きに配置される。 In various cases, the forming
上記に加えて、アンビルの形成ポケットは、任意の好適な構成を備え得る。少なくとも1つの事例において、形成ポケットは、中心軸線に関して互いの鏡像にある、2つの形成カップを備え得る。各形成カップは、外側端部及び内側端部を有する三角形の構成を備える。一対の形成カップの内側端部は互いに隣接している。形成カップの外側端部は、内側端部より広く、ステープルの脚を受容するように構成されている。各形成カップは、外側端部と内側端部との間に伸びる底面又はバスタブ面と、加えて、底面に画定され、ステープル脚を形成カップ内にガイドするように構成されている長手方向溝と、を更に備える。少なくとも1つの事例において、長手方向溝は、形成カップの底面に集中している。 In addition to the above, the anvil forming pocket may have any suitable configuration. In at least one case, the forming pocket may comprise two forming cups that are mirror images of each other with respect to the central axis. Each forming cup comprises a triangular configuration with an outer end and an inner end. The inner ends of the pair of forming cups are adjacent to each other. The outer end of the forming cup is wider than the inner end and is configured to receive the staple legs. Each forming cup has a bottom or bathtub surface extending between the outer and inner ends, plus a longitudinal groove defined on the bottom and configured to guide the staple legs into the forming cup. , Are further provided. In at least one case, the longitudinal grooves are concentrated on the bottom surface of the forming cup.
図97~図99に、輪状ステープル留めアセンブリのエンドエフェクタ7000が開示される。エンドエフェクタ7000は、デッキ7030とカートリッジ本体7040と、を備える、ステープルカートリッジを備える。デッキ7030は、組織圧迫面7031と、組織圧迫面7031に画定されたステープルキャビティ7032と、を備える。ステープルキャビティ7032は、第1又は内側環状列及び第2又は外側環状列に構成されている。内側列における各ステープルキャビティ7032は、取出し可能に格納された第1のステープル7070aを備え、外側列における各ステープルキャビティ7032は、取出し可能に格納された第2のステープル7070bを備える。 97-99 disclose the
エンドエフェクタ7000は、ステープルをステープルカートリッジの外に押すように構成されているステープルドライバを更に備える。例えば、ステープルカートリッジは、ステープル7070aの第1の列を射出するように構成されているステープルドライバ7060aの第1の環状列と、ステープル7070bの第2の列をカートリッジ本体7040から射出するように構成されているステープルドライバ7060bの第2の環状列と、を備える。ステープルドライバ7060a及び7060bは、デッキ7030に画定されたステープルキャビティ7032内に配置され、及び/又は、ステープルキャビティ7032と整列される。ステープルドライバ7060a及び7060bは、ステープル7070a及び7070bそれぞれを、ステープルキャビティ7032から射出するために、ステープルキャビティ7032内を摺動可能である。 The
エンドエフェクタ7000は、アンビル7020を更に備える。アンビル7020は、組織圧迫面7021と、圧迫面7021に画定されたステープル形成ポケット7022と、を備える。ステープル形成ポケット7022は、第1又は内側環状列及び第2又は外側環状列に配置される。ステープル形成ポケット7022は、ステープル7070a、7070bがステープルキャビティ7032から射出されると、ステープル7070a、7070bがステープル形成ポケット7022と接触するように、ステープルキャビティ7032と整列される。 The
エンドエフェクタ7000は、ステープルドライバ7060a及び7060bをステープルキャビティ7032内に持ち上げて、ステープル7070a及び7070それぞれを、ステープルキャビティ7032から射出するように構成されている発射部材7056を更に備える。発射部材7056は、基部7054及びランプ7055を備える。基部7054は、発射ドライブ7050に画定されたリセス7052内に摺動可能に配置される。ランプ7055は、カートリッジ本体7040に画定されたスロット7041内に摺動可能に配置される。以下でより詳細に記載されるであろうように、ランプ7055は、ステープル7070a、7070bをステープルキャビティ7032から射出するために、スロット7041内で摺動し、ステープルドライバ7060a、7060bと進行的に接触するように構成されている。 The
上記に加えて、発射部材7056は、ステープル7070a、7070bをステープルキャビティ7032から射出するために、発射ストロークを通じて移動可能である。発射ストローク中に、発射部材7056は、スロット7041により画定された湾曲又は弓状経路に沿って移動する。主に図97を参照して、スロット7041は、第1の端部7042及び第2の端部7049と、それらの間の連続経路と、を備える。発射部材7056のランプ7055は、発射ストロークの最初に第1の端部7042に配置され、発射ストロークの最後に第2の端部7049に配置される。スロット7041の第1の端部7042は、ステープルキャビティ7032の内側列と整列され、スロット7041の第2の端部7049は、ステープルキャビティ7032の外側列と整列される。スロット7041は、エンドエフェクタ7000を通って伸びる中心長手方向軸線7090の周囲に伸びる第1の円周方向部分7043を更に備える。スロット7041の第1の円周方向部分7043は、ステープルキャビティ7032の内側列において、ステープルドライバ7060aと整列され、ステープルドライバ7060aの下に伸びる。発射部材のランプ7055は、発射部材7056がスロット7041の第1の円周方向部分7043を通って移動すると、ステープルドライバ7060aと連続的に係合して、ステープル7070aを連続的に発射する。 In addition to the above, the
第1の円周方向部分7043は、長手方向軸線7090を中心に一定又は少なくとも実質的に一定の曲率半径により画定される。しかしながら、第1の円周方向部分7043の曲率半径が一定でない、他の実施形態が想起される。少なくとも1つのこのような事例において、第1の円周方向部分7043は、螺旋を含む。換言すれば、このような事例において、第1の円周方向部分7043は、長手方向軸線7090周囲に伸びるにつれ、長手方向軸線7090から遠ざかる。 The first
スロット7041の第2の円周方向部分7045は、ステープルキャビティ7032の外側列において、ステープルドライバ7060bと整列され、ステープルドライバ7060bの下に伸びる。発射部材のランプ7055は、発射部材7056がスロット7041の第2の円周方向部分7045を通って移動すると、ステープルドライバ7060bと連続的に係合して、ステープル7070bを連続的に発射する。第2の円周方向部分7045は、長手方向軸線7090を中心に一定又は少なくとも実質的に一定の曲率半径により画定される。しかしながら、第2の円周方向部分7045の曲率半径が一定でない、他の実施形態が想起される。少なくとも1つのこのような事例において、第2の円周方向部分7045は、螺旋を含む。換言すれば、このような事例において、第2の円周方向部分7045は、長手方向軸線7090の周囲に伸びるにつれ、長手方向軸線7090から遠ざかる。 The
上記に加えて、スロット7041は、第1の円周方向部分7043と第2の円周方向部分7045との間に、遷移部分7044を備える。発射ストローク中に、ランプ7055は、第1の円周方向部分7043、遷移部分7044、ついで、第2の円周方向部分7045を通って連続的に摺動する。遷移部分7044は、発射部材7056が第1の曲率半径の第1のステープル列と第2の曲率半径の第2のステープル列との間をシフトするのを可能にする。特定の実施形態では、第1の円周方向部分7043と第2の円周方向部分7045との間の遷移部分7044が不要であってもよい。少なくとも1つのこのような事例において、第1の円周方向部分7043は、第1の螺旋構成を備えることができ、第2の円周方向部分7045は、例えば、第1の螺旋構成の端部が第2の螺旋構成の開始と整列されるように整列された第2の螺旋構成を備え得る。 In addition to the above,
発射部材7056は、その発射経路に沿って、発射ドライブ7050により駆動される。発射ドライブ7050は、例えば、長手方向軸線7090を中心に、ハンドクランク及び/又は電気モータにより駆動される。発射ドライブ7050は、内部に画定された駆動リセス7052を備える。発射部材7056の基部7054は、駆動リセス7052に配置される。駆動リセス7052は、基部7054が駆動リセス7052内を移動又は浮動し得るように、発射部材7056の基部7054より大きい。駆動リセス7052は、リセス7052内での基部7054の移動を制限する側壁により画定される。発射ドライブ7050が長手方向軸線7090を中心に回転すると、駆動リセス7052の側壁が基部7054と接触し、駆動部材7056を、スロット7051を通って押す。上記検討されたように、スロット7051は、その曲率半径において、1つ又は2つ以上の変化を有し、発射部材7056がこのような変化を通って動くと、発射部材7056の基部7054は、駆動リセス内を摺動し得る。 The
上記されたように、ステープルの第1又は内側列におけるステープルが連続的に配備され、ついで、ステープルの第2又は外側列におけるステープルが連続的に配備される。このような実施形態は、例えば、外向きにステープル留めする前に、結腸の内側周辺を制御し得る。他の実施形態では、ステープルの外側列におけるステープルが連続的に配備され、ついで、ステープルの内側列におけるステープルが連続的に配備される。このような実施形態は、例えば、内向きにステープル留めする前に、結腸組織における境界を確立し得る。 As mentioned above, the staples in the first or inner row of staples are continuously deployed, followed by the staples in the second or outer row of staples. Such embodiments may control, for example, the medial perimeter of the colon prior to staping outwards. In another embodiment, the staples in the outer row of staples are continuously deployed, followed by the staples in the inner row of staples. Such embodiments may establish boundaries in colon tissue, for example, prior to inward stapling.
様々な事例において、上記に加えて、第1のステープル7070a及び第2のステープル7070bは、同じ未形成高さを有する。少なくとも1つのこのような事例において、第1のステープル7070a及び第2のステープル7070bは、同じ形成済み高さに形成される。他のこのような事例において、第1のステープル7070aは、第1の形成済み高さに形成され、第2のステープル7070bは、第1の形成済み高さとは異なる第2の形成済み高さに形成され得る。少なくとも1つのこのような事例において、ステープルの内側列の第1の形成済み高さは、ステープルの外側列の第2の形成済み高さより低い。このような構成により、例えば、ステープル留めされた組織とステープル留めされていない組織との間のより段階的な遷移が提供され得る。他の事例において、ステープルの内側列の第1の形成済み高さは、ステープルの外側列の第2の形成済み高さより高い。このような構成により、例えば、ステープル留めされた腸の最内側組織がより柔軟であることができる。 In various cases, in addition to the above, the
特定の事例において、上記に加えて、第1のステープル7070aは、第1の未形成高さを有し、第2のステープル7070bは、第1の未形成高さとは異なる第2の未形成高さを有する。少なくとも1つのこのような事例において、第1のステープル7070a及び第2のステープル7070bは、同じ形成済み高さに形成される。他のこのような事例において、第1のステープル7070aは、第1の形成済み高さに形成され、第2のステープル7070bは、第1の形成済み高さとは異なる第2の形成済み高さに形成される。 In certain cases, in addition to the above, the
エンドエフェクタ7000は、ステープルの2つの環状列を有する。しかしながら、エンドエフェクタは、任意の好適な数の環状ステープル列を有し得る。例えば、エンドエフェクタは、ステープルの3つの環状列を有し得る。少なくとも1つのこのような事例において、第1の環状列におけるステープルは、第1の未形成ステープル高さを有することができ、第2の環状列におけるステープルは、第2の未形成ステープル高さを有することができ、第3の環状列における第3のステープルは、第3の未形成ステープル高さを有することができる。更に、少なくとも1つのこのような事例において、第1の環状列におけるステープルは、第1の変形済みステープル高さを有することができ、第2の環状列におけるステープルは、第2の変形済みステープル高さを有することができ、第3の環状列における第3のステープルは、第3の変形済みステープル高さを有することができる。 The
図100~図105に、発射ドライブ7150が示される。発射ドライブ7150は、長手方向軸線を中心に回転可能な回転式駆動シャフト7152を備える。発射ドライブ7150は、第1又は内側ドライバ7154a、第2又は中間ドライバ7154b、及び第3又は外側ドライバ7154cを備える、三段階連続ドライバアセンブリを更に備える。駆動シャフト7152は、そこから伸びる駆動ピン7151を備える。駆動ピン7151は、ドライバ7154a、7154b、及び7154cそれぞれにおける駆動スロットを通って伸びる。例えば、第1のドライバ7154aは、内部に画定された第1の駆動スロット7153aを備え、第2のドライバ7154bは、内部に画定された第2の駆動スロット7153bを備え、第3のドライバ7154cは、内部に画定された第3の駆動スロット7153cを備える。駆動スロット7153a、7153b、及び7153cは、同じ構成を有さない。しかしながら、駆動スロット7153a、7153b、及び7153cは、駆動ピン7151において、互いに整列され又は少なくとも実質的に整列される、重なり構成を有する。例えば、駆動ピン7151は、図100において未発射位置にあり、駆動スロット7153a、7153b、及び7153cは、駆動ピン7151と整列される。 100-105 show the
上記に加えて、図100は、未発射位置にあるドライバ7154a、7154b、及び7154cを図示する。ここから図101を参照して、駆動シャフト7152がその発射ストロークの第1の部分にわたって回転すると、駆動ピン7151は、円周方向経路を通って回転させられる。ここで、駆動ピン7151は、駆動スロット7153aの側壁と係合し、第1のドライバ7154aを遠位に押し、又はカム駆動する(cam)。特に、駆動ピン7151は、ドライバ7154b及び7154cを、発射ストロークの第1の部分の間に遠位に駆動させない。図100から分かるように、駆動スロット7153b及び7153cは、発射ストロークの第1の部分全体を通して、駆動ピン7151の円周方向経路と整合される。第1のドライバ7154aは、第1のドライバ7154aが遠位に動かされた場合、ステープルの第1の環状列を発射するように構成されている。 In addition to the above, FIG. 100 illustrates
ここから図102を参照して、駆動シャフト7152がその発射ストロークの第2の部分にわたって回転すると、駆動ピン7151は、円周方向経路を通って回転させられる。ここで、駆動ピン7151は、駆動スロット7153bの側壁と係合し、第2のドライバ7154bを遠位に押し、又はカム駆動する。特に、駆動ピン7151は、ドライバ7154cを、発射ストロークの第2の部分の間に遠位に駆動させない。上記と同様に、駆動スロット7153a及び7153cは、発射ストロークの第2の部分全体を通して、駆動ピン7151の円周方向経路と整合される。第2のドライバ7154bは、第2のドライバ7154bが遠位に動かされた場合、ステープルの第2の環状列を発射するように構成されている。 From here, with reference to FIG. 102, as the
ここから図103を参照して、駆動シャフト7152がその発射ストロークの第3の部分にわたって回転すると、駆動ピン7151は、円周方向経路を通って回転させられる。ここで、駆動ピン7151は、駆動スロット7153cの側壁と係合し、第3のドライバ7154cを遠位に押し、又はカム駆動する。上記と同様に、駆動スロット7153a及び7153bは、発射ストロークの第3の部分全体を通して、駆動ピン7151の円周方向経路と整合される。第3のドライバ7154cは、第3のドライバ7154cが遠位に動かされると、切断部材を配備するように構成されている。しかしながら、特定の実施形態では、第3のドライバ7154cは、例えば、ステープルの第3の列を配備し得る。 From here, with reference to FIG. 103, as the
上記の結果として、第1のステープル発射段階と、第2のステープル発射段階と、組織切断段階との間は重ならない。それらは、連続するタイミングで行われる。したがって、ステープルを変形させ、組織を切断するのに必要な力は、発射ストローク全体を通して広げられる。更に、発射ドライブ7150は、組織がステープル留めされるまで、組織を切断し得ない。第1のステープル発射段階、第2のステープル発射段階、及び/又は組織切断段階の間がいくらか重なる、様々な代替的な実施形態が想起される。少なくとも1つのこのような実施形態では、駆動スロット7153a、7153b、及び7153cの構成は、第1のドライバ7154a及び第2のドライバ7154bの移動における部分的な重なり、並びに/又は、第2のドライバ7154b及び第3のドライバ7154cの移動における部分的な重なりが存在するように適合され得る。 As a result of the above, the first staple firing stage, the second staple firing stage, and the tissue cutting stage do not overlap. They are done at consecutive timings. Therefore, the force required to deform the staples and cut the tissue is spread throughout the firing stroke. Moreover, the
主に図103及び図104を参照して、ドライバ7154a、ドライバ7154b、及び7154cは、ドライバ7154a、ドライバ7154b、及びドライバ7154cが互いに対して回転するのを妨げる又は少なくとも阻害する協働機構を備える。例えば、第1のドライバ7154aは、第2のドライバ7154bに画定された長手方向スロット7156bに配置された長手方向キー7155aを備える。キー7155a及びスロット7156bは、第1のドライバ7154aが第2のドライバ7154bに対して長手方向に摺動するが、第1のドライバ7154aと第2のドライバ7154bとの間の回転移動を妨げるのを可能にするように構成されている。同様に、第2のドライバ7154bは、第3のドライバ7154cに画定された長手方向スロット7156cに配置された長手方向キー7155bを備える。キー7155b及びスロット7156cは、第2のドライバ7154bが第3のドライバ7154cに対して長手方向に摺動するが、第2のドライバ7154bと第3のドライバ7154cとの間の回転移動を妨げるのを可能にするように構成されている。 Primarily with reference to FIGS. 103 and 104, the
ドライバ7154a、ドライバ7154b、及びドライバ7154cを後退させるために、駆動シャフト7152は、反対方向に回転する。このような事例において、第3のドライバ7154c、第2のドライバ7154b、及び第1のドライバ7154aをその未発射位置(図100)に戻すために、駆動シャフト7152は、駆動スロット7153cの側壁、駆動スロット7153bの側壁、ついで、駆動スロット7153aの側壁と連続的に係合する。 The
図106に、発射ドライブ7250が図示される。発射ドライブ7250は、発射ドライブ7150の動作に類似する様式で動作する。発射ドライブ7250は、長手方向軸線を中心に回転可能な駆動シャフト7252を備える。駆動シャフト7252は、発射ストロークの複数の段階を通して回転されるカム表面又はランプ7256を備える。発射ドライブ7250は、発射ドライブ7250が回転すると、駆動シャフト7252のカム7256により係合される第1のドライバ7254a、第2のドライバ7254b、及び第3のドライバ7254cを更に備える。発射ストロークの第1の段階において、カム7256は、第1のドライバ7254a上に画定されたカム表面7255aと係合し、第1のドライバ7254aを遠位に駆動させる。発射ストロークの第2の段階において、カム7256は、第2のドライバ7254b上に画定されたカム表面7255bと係合し、第2のドライバ7254bを遠位に駆動させ、発射ストロークの第3の段階において、カム7256は、第3のドライバ7254c上に画定されたカム表面7255cと係合し、第3のドライバ7254cを遠位に駆動させる。 FIG. 106 illustrates the
第1のカム表面7255aは、第2のカム表面7255bより短く、結果として、第1のドライバ7254aは、第2のドライバ7254bより短い発射ストロークを有する。同様に、第2のカム表面7255bは、第3のカム表面7255cより短く、結果として、第2のドライバ7254bは、第3のドライバ7254cより短い発射ストロークを有する。このような構成は、例えば、ステープルの異なる列を異なる形成済み高さに形成するのに有用である場合がある。他の実施形態では、ドライバ7254a、ドライバ7254b、及びドライバ7254cは、任意の好適な発射ストロークを有してもよい。少なくとも1つの実施形態では、ドライバ7254a、ドライバ7254b、及びドライバ7254cは、例えば、同じ発射ストロークを有する。このような構成は、例えば、ステープルの異なる列を同じ形成済み高さに形成するのに有用である場合がある。 The
図107は、少なくとも1つの実施形態による、輪状外科用ステープル留め器具と共に使用するためのステープルカートリッジ4410の一部の斜視図である。各種の輪状外科用ステープル留め器具が公知である。例えば、その全体が参照により組み込まれる、2015年8月26日に出願された米国特許出願第14/836,110号、発明の名称「SURGICAL STAPLING CONFIGURATIONS FOR CURVED AND CIRCULAR STAPLING INSTRUMENTS」には、様々な輪状外科用ステープル留め器具構成が開示されている。その開示全体が参照により本明細書に組み込まれる、2014年9月26日に出願された米国特許出願第14/498,070号、発明の名称「CIRCULAR FASTENER CARTRIDGES FOR APPLYING RADIALLY EXPANDING FASTNER LINES」にも、様々な輪状外科用ステープラ構成が開示されている。それらの参考文献で検討されたように、輪状外科用ステープラは、一般的には、アンビルを輪状外科用ステープラに動作可能に連結するように構成されている取付け部分を備えるフレームアセンブリを備える。 FIG. 107 is a partial perspective view of a
一般的には、アンビルは、ステープル形成ポケットの1つ又は複数の環状ラインを支持するアンビルヘッドを備える。アンビルステム又はトロカール部分は、アンビルヘッドに取り付けられ、輪状ステープル留め器具のアンビル取付け部分に着脱可能に連結されるように構成されている。様々な輪状外科用ステープル留め器具は、ターゲット組織がアンビルと外科用ステープルカートリッジのデッキとの間にクランプされてもよいように、アンビルを外科用ステープルカートリッジに向かって及び同カートリッジから離れるように選択的に移動させるための手段を備える。外科用ステープルカートリッジは内部に、アンビルに設けられたステープル形成ポケットの構成に対応する1つ又は2つ以上の環状アレイに構成された複数の外科用ステープルを取出し可能に格納している。ステープルは、ステープルカートリッジに形成され、輪状ステープラ内に動作可能に受容される、選択的に移動可能なプッシャアセンブリの対応する部分に支持される、対応するステープルキャビティ内に取出し可能に格納されている。輪状ステープラは、アンビルとステープルカートリッジとの間にクランプされた組織を切開するように構成されている環状ナイフ又は切断部材を更に備える。 Generally, the anvil comprises an anvil head that supports one or more annular lines of staple forming pockets. The anvil stem or trocar portion is configured to be attached to the anvil head and detachably connected to the anvil mounting portion of the annular staple fastener. Various cricoid surgical staple fasteners are selected to move the anvil toward and away from the surgical staple cartridge so that the target tissue may be clamped between the anvil and the deck of the surgical staple cartridge. Provide means for moving the target. The surgical staple cartridge contains, inside, a plurality of surgical staples configured in one or more annular arrays corresponding to the configuration of the staple forming pockets provided in the anvil. The staples are retractably housed in the corresponding staple cavities formed in the staple cartridges and supported in the corresponding parts of the selectively movable pusher assembly that are operably received within the annular stapler. .. The annular stapler further comprises an annular knife or cutting member configured to incise the tissue clamped between the anvil and the staple cartridge.
再度図107を参照して、ステープルカートリッジ4410は、環状のカートリッジデッキ表面4412を画定するカートリッジ本体4411を備える。カートリッジ本体4411は、間隔の空いた内側ステープルキャビティ4422の内側環状列4420と、間隔の空いた外側ステープルキャビティ4442の外側環状列4440と、を備える。図107から分かるように、内側ステープルキャビティ4422は、外側の間隔の空いたステープルキャビティ4442に対して千鳥式に配置されている。内側外科用ステープル4430は、各内側ステープルキャビティ4422内に支持され、外側外科用ステープル4450は、各外側ステープルキャビティ4442内に支持される。外側環状列4440における外側ステープル4450は、内側環状列4420における内側ステープル4430とは異なる特徴を有してもよい。例えば、図108の実施形態に図示されたように、外側ステープル4450は、未形成「ガルウイング」構成を有する。特に、各外側ステープル4450は、ステープルクラウン4452から伸びる一対の脚4454、4464を備える。各脚4454、4464は、クラウン4452からそれぞれ伸びる垂直部分4456、4466を備える。一実施形態において、垂直部分4456、4466は互いに平行でもよい。しかしながら、図示された構成において、垂直部分4456、4466は互いに平行ではない。例えば、図示された構成におけるクラウン4452と垂直部分4456、4466との間の角度A1は、90度を超える。図108を参照されたい。ステープル構成に関する更なる詳細は、その開示内容の全体が参照によって本明細書に組み込まれる、2014年6月30日に出願された米国特許出願第14/319,008号、発明の名称「FASTENER CARTRIDGE COMPRISING NON-UNFORM FASTENERS」、米国特許出願公開第2015/0297232号に見出され得る。しかしながら、他の垂直部分4456、4466が、クラウン4452に対する他の角度で構成されてもよい。クラウン4452に対して90度を超える角度で配向された垂直脚部分4456、4466を有することの1つの利点は、このような構成がその対応するステープルキャビティ内でのステープルの一時的な保持を支援し得ることである。With reference to FIG. 107 again, the
少なくとも1つの脚4454、4464は、内向きに伸びる端部を備える。図108に示された実施形態では、例えば、各脚4454、4464は、内向きに伸びる脚部を備える。図示された構成において、脚部4458は、垂直脚部4456から内向きに伸び、脚部4468は、垂直脚部4466から内向きに伸びる。図108から分かるように、脚部4458は、脚部4468より短い。換言すれば、ステープルクラウン4452と、脚部4458が垂直脚部4456から内向きに曲がる点との間の距離HAは、ステープルクラウン4452と、脚部4468が垂直脚部4466から内向きに曲がる点との間の距離HCより大きい。このため、少なくとも1つの実施形態では、距離HBは、長さHDより短い。脚部4458が垂直脚部4556に対して曲がっている角度A2は、脚部4468が垂直脚部4466に対して曲がっている角度A3と等しくてもよく、又は、角度A2とA3とは、互いに異なってもよい。ステープル構成に関する更なる詳細は、参照により本明細書に組み込まれる、2014年6月30日に出願された米国特許出願第14/319,008号、発明の名称「FASTENER CARTRIDGE COMPRISING NON-UNIFORM FASTENERS」、米国特許出願公開第2015/0297232号に見出され得る。At least one
少なくとも1つの実施形態では、各内側外科用ステープル4430は、図108に図示された構成を有してもよい。図108から分かるように、内側外科用ステープル4430は、クラウン4432と、そこから伸びる2つの垂直脚4434、4436とを有する。垂直脚4434、4436は、クラウン4432から相対的に垂直に伸びてもよく、又は、それらは、90度を超える場合がある角度A4で伸びてもよい。このような構成は、その対応するステープルキャビティ4422内でのステープル4430の一時的な保持を支援し得る。しかしながら、垂直脚4434、4436は、クラウン4432から異なる角度で伸びてもよい。いくつかの実施形態では、角度A4は互いに等しい。他の実施形態では、角度A4は互いに異なる。図示された実施形態では、内側ステープル4430及び外側ステープル4450はそれぞれ、同じ未形成高さUFHを有する。内側及び外側ステープル4430、4450は、従来の外科用ステープルワイヤから形成される。少なくとも1つの実施形態では、外側ステープル4450を形成するのに使用されるステープルワイヤの直径は、内側ステープル4430を形成するのに使用されるステープルワイヤの直径より大きい。他の実施形態では、内側及び外側ステープルは、同じ直径を有してもよく、他の直径を有するワイヤから形成されてもよい。いくつかの構成において、内側及び外側ステープルは、同じ種類のステープルワイヤから形成されてもよい。このため、このような構成では、内側及び外側ステープルのワイヤ直径は同じであろう。しかしながら、更に別の実施形態では、内側及び外側ステープルは、同じ未形成形状/構成を有してもよく、更に、異なるワイヤ直径を有する2つの異なるステープルワイヤから形成されてもよい。また、少なくとも1つの構成において、各外側ステープル4450のクラウン幅CWOは、各内側ステープル4430のクラウン幅CWIより長い。ステープル構成に関する更なる詳細は、参照により本明細書に組み込まれる、2014年6月30日に出願された米国特許出願第14/319,008号、発明の名称「FASTENER CARTRIDGE COMPRISING NON-UNIFORM FASTENERS」、米国特許出願公開第2015/0297232号に見出され得る。In at least one embodiment, each medial
図107に戻って、ステープルカートリッジ4410は、デッキ表面4412上に伸びる外側リム4414を備える。外科手術中に、臨床医は、アンビルの位置を輪状ステープラのカートリッジに対して調節し得る。少なくとも1つのこのような実施形態では、ステープルカートリッジ4410は、デッキ表面4412から伸びるデッキ機構4416及び4418を更に備える。図107から分かるように、一連の内側デッキ機構4416は、ステープルキャビティ4422の内側列4420と、ナイフ又は切断部材が発射プロセス中に通過するであろう中心配設ナイフ開口4413との間に設けられる。図107、図109、及び図110に示されたように、デッキ機構4416は、内側ステープルキャビティ及び開口4413に対して形成され、位置してもよい。例えば、各内側デッキ機構4416は、ナイフ開口4413の壁と同一の広がりを持つ平らな壁部4415と、内側ステープルキャビティ4422の列に隣接する円錐又は傾斜本体部分4417とを有してもよい。図109及び図110を参照されたい。図107に示された実施形態では、デッキ機構4416は、2つの隣接する内側ステープルキャビティ4422間のギャップに配向され、示されているように、ステープルキャビティ4422対の間で千鳥式に配置されている。このシステムにおけるキャビティ延長機構又はデッキ機構は、平らなデッキカートリッジに共通に生じる圧力を低下させるのに機能し得る。この開示された構成はまた、組織移動及びスリップを軽減するのを支援し得る。組織のスリップは一般的に望ましくないため、外径保持機構は、より大きく、より数が多くてもよい。内径機構は、ブレードが内側内径に近接して通過する際に、組織張力/せん断力を大きくする機能を果たすことができ、これによりシステムによる切断を改善し得る。しかしながら、デッキ機構4416は、異なる形状及び構成を有してもよく、デッキ表面4412上の異なる位置に位置してもよい。 Returning to FIG. 107, the
図107、図109、及び図110からも分かるように、全ての他の外側ステープルキャビティ4442は、その各端部と関連付けられている外側デッキ機構4418を備える。外側デッキ機構4418は、デッキ表面4412上に伸び、ステープル4450がステープルカートリッジ4410から射出されているとき、外側ステープル4450をアンビルに向かってガイドする。このような実施形態では、外側ステープル4450は、ステープルが発射部材によってアンビルに向かって移動するまで、外側デッキ機構4418の上を伸びなくてもよい。主に図107を参照して、少なくとも1つの実施形態では、外側デッキ機構4418は、対応する外側ステープルキャビティ4442の全体の周囲に伸びない。第1の外側デッキ機構4418は、対応する外側キャビティ4442の第1の端部に隣接して配置され、第2の外側デッキ機構4418は、外側キャビティ4442の第2の端部に隣接して配置される。図107から分かるように、外側デッキ機構4418は、1つ置きの外側ステープルキャビティ4442と関連付けられている。このような構成は、全体の圧力を低下させ、組織の伸張及び移動を最小化するのに機能し得る。しかしながら、他の実施形態では、第1及び第2の外側デッキ機構4418が、全ての外側ステープルキャビティ4442と関連付けられてもよい。更に他の実施形態では、外側デッキ機構は、対応する外側キャビティの周縁全体の周りに伸びてもよい。図109から分かるように、内側デッキ機構4416は、外側デッキ機構4418より短い。換言すれば、各内側デッキ機構は、デッキ表面4412上に、各外側デッキ機構4418がデッキ表面4412上に突出する距離より短い距離で突出する。各外側デッキ機構は、デッキ表面4412上に、外側リム4414がデッキ表面4412上に突出するのと同じ距離で突出してもよい。加えて、図109から分かるように、各外側デッキ機構4418は、患者の結腸及び直腸を通過させるステープラヘッドの挿入中に、組織がデッキ機構上に乗り上げる(snagging on)のを妨げるのに役立ち得る、概ね円錐又は先細外側プロファイルを有する。 As can be seen from FIGS. 107, 109, and 110, all other
上記デッキ機構構成は、1つ又は2つ以上の利点を提供し得る。例えば、直立外側リムは、組織がカートリッジデッキにわたって摺動するのを妨げるのに役立ち得る。この直立リムはまた、1つの連続的なリップ形成であるよりもむしろ、高低の繰返しパターンを備え得る。内側直立機構はまた、組織をブレードに隣接して保持し、改善された切断をもたらすのに役立ち得る。内側デッキ機構は、全てのキャビティ間又は交互構成にあることができ、デッキ機構は、1つの連続的な直立リップを備えてもよい。高い力/圧迫ゾーンの数を最小化し、一方で、所望量の組織固定を達成するために、デッキ機構の数を釣り合わせるのが望ましい場合がある。キャビティ集中機構は、ステープル脚が突出する領域における組織流動の最小化の更なる目的を果たしてもよい。このような構成はまた、ステープル脚が射出される際の望ましいステープル形成、及び対応する形成ポケットからなり得る受容アンビルポケットへの移行を容易にする。このような局所ポケット機構は、低い圧迫ゾーンを増やすが、ステープルがカートリッジに存在すると、カートリッジからの脚の支持を容易にする。これにより、この構成は、ステープルがアンビルポケットに接触する前に「ジャンプ」すべき距離を最短化する。組織流動は、カートリッジ中心から放射状に外向きに動くのを増大する傾向がある。図118を参照して、改善された直立外側列延長部は、それらがチューブであるため、結腸を通って挿入されると、組織を段階わけする(stage)傾向を有する。 The deck mechanism configuration may provide one or more advantages. For example, an upright outer rim can help prevent tissue from sliding across the cartridge deck. This upright rim may also have a repeating pattern of highs and lows rather than one continuous lip formation. The medial upright mechanism can also help hold the tissue adjacent to the blade and provide improved cutting. The inner deck mechanism can be between all cavities or in alternating configurations, and the deck mechanism may include one continuous upright lip. It may be desirable to balance the number of deck mechanisms in order to minimize the number of high force / compression zones while achieving the desired amount of tissue fixation. The cavity concentration mechanism may serve the additional purpose of minimizing tissue flow in the area where the staple legs project. Such a configuration also facilitates the desired staple formation when the staple leg is ejected and the transition to a receptive anvil pocket which may consist of a corresponding forming pocket. Such a local pocket mechanism increases the low compression zone, but the presence of staples on the cartridge facilitates leg support from the cartridge. This configuration minimizes the distance the staple should "jump" before touching the anvil pocket. Tissue flow tends to increase the radial outward movement from the center of the cartridge. With reference to FIG. 118, the improved upright lateral column extensions have a tendency to stage the tissue when inserted through the colon because they are tubes.
図109及び図110に、アンビル4480と関連した外科用ステープルカートリッジ4410の使用を図示する。アンビル4480は、ステープル形成インサート又は部分4484及びナイフワッシャ4490を動作可能に支持するアンビルヘッド部分4482を備える。ナイフワッシャ4490は、ステープルヘッドに支持されたナイフ4492に対して正対する関係で支持される。図示された実施形態において、ステープル形成インサート4484は、例えば、鋼、ステンレス鋼などから形成され、内側ステープル形成ポケット4486の内側列と外側ステープル形成ポケット4488の外側列とを含む。各内側ステープル形成ポケット4486は、内側ステープルキャビティ4422の1つに対応し、各外側ステープル形成ポケット4488は、外側ステープルキャビティ4442の1つに対応する。図示された構成において、アンビル4480がカートリッジデッキ表面4412に対してその発射位置に移動すると、内側ステープル形成ポケット4486は、外側ステープル形成ポケット4488より、カートリッジデッキ表面4412に近くなる。換言すれば、第1のステープル形成部分4485とカートリッジデッキ表面4412との間の第1のギャップg1又は第1のステープル形成距離は、第2のステープル形成部分4487とカートリッジデッキ表面4412との間の第2のギャップg2又は第2のステープル形成距離より短い。109 and 110 illustrate the use of
図109及び図110から更に分かるように、内側ステープル4430はそれぞれ、プッシャアセンブリ4500の対応する内側ドライバ部分4502上のその対応する内側ステープルキャビティ4422内に支持され、外側ステープル4450はそれぞれ、対応する外側ドライバ部分4504上のその対応する外側ステープルキャビティ4442内に支持される。プッシャアセンブリ4500のアンビル4480への前進により、図110に示されたように、内側及び外側ステープル4430、4450が、その各対応するステープル形成ポケット4486、4488との形成接触へと駆動されるであろう。加えて、ナイフ4492は、アンビル4480とデッキ表面4412との間にクランプされた組織を通り、かつ、ナイフワッシャ4490の脆い底部4491を通って遠位に前進する。このような構成は、内側ステープル4430の形成済み高さFHIより高い、形成済み高さFHOを有する外側ステープル4450を提供するのに機能する。換言すれば、外側ステープル4450の外側列4440は、より大きい「B」形状に成形され、ステープルの外側列4440の近くでの高い組織圧迫を緩和するためのより大きい捕捉容積及び/又はより高いステープル成形高さをもたらす。より大きいB形状はまた、内側列に向かう血流を改善し得る。様々な事例において、外側ステープル4450の外側列4440は、より大きいステープルクラウン、ステープル脚の幅、及び/又はステープル脚の太さを利用することによって、展開へのより大きい抵抗を含む。As further seen from FIGS. 109 and 110, the
ステープルの各列に使用されるステープル量は変動し得る。一実施形態において、例えば、内側ステープル4430が存在するより多くの外側ステープル4450が存在する。別の実施形態は、外側ステープル4450より多くの内側ステープル4430を利用する。様々な事例において、外側ステープル4450のワイヤ直径は、内側ステープル4430のワイヤ直径より大きい。内側及び外側ステープル4430、4450は、同じ未形成高さUFHを有してもよい。外側ステープル4450の外側列4440におけるクラウン幅CWOは、内側ステープル4430の内側列4420のクラウン幅CWIより広い。外側ステープル4450のガルウイング構成は、その各クラウンからの異なる距離に位置する曲がりを利用する。均一なドライバ又はプッシャ移動を有する平らな(非段階的な)カートリッジデッキ表面4412との段階的なアンビル構成の使用により、異なる形成済み高さを有するステープルが得られる。The amount of staples used in each row of staples can vary. In one embodiment, for example, there are more
図111に、別のステープルカートリッジ実施形態4610を図示する。図111から分かるように、ステープルカートリッジ4610は、間隔の空いた内側ステープルキャビティ4622の内側環状列4620と、間隔の空いた外側ステープルキャビティ4642の外側環状列4640と、を備えるカートリッジデッキ4612を備える。図111から分かるように、内側ステープルキャビティ4622は、間隔の空いた外側ステープルキャビティ4642に対して千鳥式に配置されている。内側外科用ステープル4630は、各内側ステープルキャビティ4622内に支持され、外側外科用ステープル4650は、各外側ステープルキャビティ4642内に支持される。加えて、外側リム4614は、デッキ表面4612上を伸びる。様々な実施形態では、上記に加えて、ステープル4630、4650は、ステープルが発射部材によってアンビルに向かって移動するまで、デッキ表面4612の上に突出しない。このような実施形態は、多くの場合、ステープルが格納されるその各ステープルキャビティの深さに対して小さなステープルを利用してよい。他の実施形態では、ステープルの脚は、ステープルがその未発射位置にあるときにデッキ表面4612の上に突出する。少なくとも1つのこのような実施形態では、ステープルカートリッジ4610は、デッキ表面4612から伸びるデッキ機構4616及び4618を更に備える。 FIG. 111 illustrates another
図111からも分かるように、全ての他の内側ステープルキャビティ4622は、その各端部と関連付けられている内側デッキ機構4616を備える。内側デッキ機構4616は、デッキ表面4612上を伸び、対応する内側ステープル4630がステープルカートリッジ4610から射出されると、対応する内側ステープル4630をアンビルに向かってガイドする。このような実施形態では、内側ステープル4630は、ステープルが発射部材によってアンビルに向かって移動するまで、内側デッキ機構4616上を伸びない場合がある。図示された例において、内側デッキ機構4616は、対応する内側ステープルキャビティ4622の全体の周りに伸びていない。第1の内側デッキ機構4616は、対応する内側キャビティ4622の第1の端部に隣接して配置され、第2の内側デッキ機構4616は、内側キャビティ4622の第2の端部に隣接して配置される。しかしながら、他の実施形態では、内側デッキ機構4416は、全ての内側ステープルキャビティ4622と関連付けられてもよい。更に他の実施形態では、内側デッキ機構は、対応する内側ステープルキャビティの周縁全体の周りに伸びてもよい。全ての他のキャビティと関連付けられている、集中パターンでの異なる高さを有するデッキ機構を利用することにより、より低い圧力を組織ギャップ領域に提供してもよいが、それらは、可能な限り多くかつ長いステープル脚をガイドする要求と釣り合わせられる。換言すれば、このような構成により、ターゲット組織に加えられる圧力の総量を減少させる組織流動量が最少化され得る。 As can be seen from FIG. 111, all other
更に図111を参照して、各外側ステープルキャビティ4642は、その各端部と関連付けられた、外側デッキ機構4618を備える。外側デッキ機構4618は、デッキ表面4612上を伸び、ステープル4650がステープルカートリッジ4610から射出されると、外側ステープル4650をアンビルに向かってガイドする。このような実施形態では、外側ステープル4650は、外側ステープルが発射部材によってアンビルに向かって移動するまで、外側デッキ機構4618上に突出しない場合がある。図111から分かるように、図示された例において、外側デッキ機構4618は、対応する外側ステープルキャビティ4642の全体の周りに伸びていない。第1の外側デッキ機構4618は、対応する外側キャビティ4642の第1の端部に隣接して配置され、第2の外側デッキ機構4618は、外側キャビティ4642の第2の端部に隣接して配置される。図111から分かるように、外側デッキ機構4618は、全ての外側ステープルキャビティ4642と関連付けられている。しかしながら、他の実施形態では、第1及び第2の外側デッキ機構4618が、1つ置きの外側ステープルキャビティ4642と関連付けられてもよい。更に他の実施形態では、外側デッキ機構は、対応する外側キャビティの周縁全体の周りに伸びてもよい。図112及び図113から分かるように、内側デッキ機構4616及び外側デッキ機構4618は、デッキ表面4612上を同じ距離伸びる。換言すれば、それらは同じ高さを有する。加えて、図112及び図113からも分かるように、各内側デッキ機構4416及び各外側デッキ機構4618は、患者の結腸及び直腸を通過させるステープラヘッドの挿入中に、組織がデッキ機構上に乗り上げるのを妨げるのに役立ち得る、概ね円錐又は先細外側プロファイルを有する。 Further referring to FIG. 111, each
図112及び図113に、アンビル4680と関連した外科用ステープルカートリッジ4610の使用を図示する。アンビル4680は、ステープル形成インサート又は部分4684及びナイフワッシャ4690を動作可能に支持するアンビルヘッド部分4682を備える。ナイフワッシャ4690は、ステープルヘッドに支持されたナイフ4692に対して正対する関係で支持される。図示された実施形態において、ステープル形成インサート4684は、例えば、鋼、ステンレス鋼などから形成され、内側ステープル形成ポケット4686の内側列と外側ステープル形成ポケット4688の外側列とを含む。各内側ステープル形成ポケット4686は、内側ステープルキャビティ4622の1つに対応し、各外側ステープル形成ポケット4688は、外側ステープルキャビティ4642の1つに対応する。図示された構成において、内側ステープル形成ポケット4686は、デッキ表面4612から、外側ステープル形成ポケット4688と同じ距離g1で位置する。112 and 113 illustrate the use of
図112及び図113から更に分かるように、内側ステープル4630は、プッシャアセンブリ4700の対応する内側ドライバ部分4702上の対応する内側ステープルキャビティ4622内に支持される。外側ステープル4650は、対応する外側ドライバ部分4704上の対応する外側ステープルキャビティ4642内に支持される。プッシャアセンブリ4700のアンビル4680への前進により、図113に示されたように、内側及び外側ステープル4630、4650が、その各対応するステープル形成ポケット4686、4688との形成接触へと駆動されるであろう。加えて、ナイフ4692は、アンビル4680とデッキ表面4612との間にクランプされた組織を通り、かつ、ナイフワッシャ4690の脆い底部4691を通って遠位に前進する。図112及び図113に図示された例において、各内側ステープル4630は、第1のワイヤ直径D1を有する第1のステープルワイヤから形成され、第1の未形成高さL1を有する。例えば、第1のワイヤ直径D1は、約0.0079’’~0.015’’(約0.020cm~0.038cm)でもよく(増加幅は、通常、0.0089’’(0.023cm)、0.0094’’(0.024cm)、及び0.00145’’(0.00368)である)、第1の未形成高さL1は、約0.198’’~0.250’’(約0.503cm~0.635cm)でもよい。各外側ステープル4650は、第2のワイヤ直径D2を有する第2のステープルワイヤから形成され、第2の未形成高さL2を有する。図112及び図113に示された実施形態では、D1<D2及びL1<L2である。しかしながら、図113から分かるように、内側及び外側ステープル4630、4650は、同じ形成済み高さFHを有して形成される。外側のより太いワイヤステープルは、高い引裂き及び破裂強度を有する傾向があり、これに比べ、より小さい直径のステープルの内側列では、止血に関してより良好な保持が得られる傾向がある。換言すれば、より密な内側のステープル列では、止血に関してより良好な保持が得られ得る一方で、より弱く圧縮されたステープルの外側列は、より良好な治癒及び血流を促進し得る。加えて、より長い脚を有するステープルは、より短い脚を有するステープルと同じ高さで形成された場合であっても、より長い脚のステープルがより強くなる場合があるより多くのB字曲げを確保してもよく、高い負荷条件に保持するのに十分適切に形成されるであろう。ステープルの各列に使用されるステープル量は変動し得る。一実施形態において、例えば、内側列4620は、外側ステープル4650の外側列4640が有するのと同じ数の内側ステープル4630を有する。様々な構成において、ステープル4650のクラウン幅は、内側ステープル4630のクラウン幅より広い。他の実施形態では、ステープル4630、4650は、同一のクラウン幅を有してもよい。他の構成において、ステープル4630、4650は、上記されたガルウイング設計のものでもよい。例えば、ステープルの少なくとも1つの脚が、内向きに曲がった端部を備えてもよく、又は、両方の脚が、互いに向かって内向きに曲がった端部を備えてもよい。このようなステープルは、内側環状列若しくは外側環状列又は内側及び外側環状列の両方で利用されてもよい。As further seen from FIGS. 112 and 113, the
図114に、間隔の空いたステープルキャビティの3つの環状列4820、4840、4860を備えるカートリッジデッキ4812を備える、別の輪状ステープルカートリッジの実施形態4810を図示する。内側又は第1の列4820は、第1の角度でそれぞれ構成されている、第1の複数の内側又は第1のステープルキャビティ4822を収容する。各内側ステープルキャビティ4822は内部に、対応する内側又は第1のステープル4830を動作可能に支持する。内側キャビティ4822は、第1のステープル4830を、接線方向に対して同じ均一な角度で方向付ける。図示された例において、各内側ステープル4830は、第1のステープル径D1を有する第1のステープルワイヤから形成されている。一例において、第1のステープルワイヤ直径D1は、約0.0079’’~0.015’’(約0.020cm~0.038cm)でもよい(増加幅は、通常、0.0089’’(0.023cm)、0.0094’’(0.024)、及び0.00145’’(0.00368)である)。図117を参照して、各内側ステープル4830は、第1のクラウン4832と、2つの第1の脚4834と、を備える。第1のクラウンは、第1のクラウン幅C1を有し、各第1の脚4834は、未形成脚長L1を有する。一例において、第1のクラウン幅C1は、約0.100’’~0.300’’(約0.254cm~0.762cm)でもよく、第1の未形成脚長L1は、約0.198’’~0.250’’(約0.503cm~0.635cm)でもよい。第1の脚4834はそれぞれ、第1のステープルクラウン4832に対して角度A1で構成されてもよい。角度A1は、略90°でもよく、又は、第1のステープル4830をその対応する第1のステープルキャビティ4822に保持するのを支援するために、第1の脚4834が外向きにわずかに広がるように、90°よりわずかに大きくてもよい。FIG. 114 illustrates another annular
図115及び図116に切り替えて、ステープルカートリッジ4810は、アンビル4900と組み合わせて使用されることを意図しており、アンビル4900は、第1のステープル形成ポケット4904の、千鳥式に配置された、又は角度を付けた第1の対4903からなる、2つの内側又は第1の列4902を含む。第1のステープル形成ポケット4904の各第1の対4903は、1つの第1のステープル4830に対応する。一方の第1のステープル形成ポケット4904は、一方の第1のステープル脚4834に対応し、対4903の他方の第1の第1のステープル形成ポケット4904は、他方の第1のステープル脚4834に対応する。このような構成は、1つの第1の脚4834が第1のクラウン4832の一側面に形成され、他の第1の脚4834が第1のクラウン4832の他の側面に形成されるように、第1のステープル4830の第1のステープル脚4834が、その特定の第1のステープル4830の第1のクラウン4832を有する面の外で形成される、形成済みステープル構成を確立するのに機能する。この「三次元」形成済みステープル構成は、図115において、第1のステープル形成ポケット4904のいくつかに関して示される。 Switching to FIGS. 115 and 116, the
図116から特に分かるように、カートリッジデッキ4812は、「段階的な」構成のものである。カートリッジデッキ4812は、内側又は第1のステープルキャビティ4822の内側又は第1の環状列4820に対応する内側又は第1のカートリッジデッキ部分4814を備える。図116から更に分かるように、アンビル4900が閉位置又はクランプ位置に移動されると、第1のステープル形成ポケット4904を収容しているアンビル4900の部分は、デッキ部分4814から、第1のギャップ距離g1離れる。As can be seen particularly from FIG. 116, the
再度図114、図116、及び図117を参照して、中間又は第2の列4840は、第2の角度でそれぞれ構成された第2の複数の中間又は第2のステープルキャビティ4842を収容する。各中間ステープルキャビティ4842は内部に、対応する中間又は第2のステープル4850を動作可能に支持する。中間キャビティ4842は、中間又は第2のステープル4850を、接線方向に対して同じ均一な第2の角度で方向付ける。しかしながら、第2の角度は、第1の角度とは異なる。換言すれば、第1及び第2のステープルが、その各第1及び第2のキャビティに支持されると、各第1のステープル4830の第1のクラウンの軸線は、伸ばされた場合、隣接する第2のステープル4850の第2のクラウンの伸びた軸線と最終的に交差するであろう。図116及び図117から分かるように、各第2又は中間ステープル4850は、第2のステープルクラウン又は基部4852と、2つの第2の脚4854と、を備える。ステープル基部4852は、いくらか長方形の断面形状を有してもよく、材料の平らなシートから形成されてもよい。第2のステープル脚4854は、例えば、円形の断面プロファイルを有してもよい。第2又は中間ステープルは、例えば、その全体が参照により本明細書に組み込まれる、2015年8月26日に出願された米国特許出願第14/836,110号、発明の名称「SURGICAL STAPLING CONFIGURATIONS FOR CURVED AND CIRCULAR STAPLING INSTRUMENTS」に開示された様々なステープル構成を備えてもよい。長方形の断面プロファイルを有するステープル基部から伸びる円形のステープル脚を有することにより、優先屈曲平面を含まないステープル基部及びステープル脚を提供することができる。第2のステープル4850は、ステープル脚4854がステープル基部4852から伸びる屈曲部4856を備える。屈曲部4856は、実質的に正方形の断面プロファイルを備えてもよい。それぞれ屈曲部4856及びステープル基部4852の正方形プロファイル及び長方形プロファイルは、円形のステープル脚4854に対する堅固な接続及び骨格を提供する。円形のステープル脚4854は、正方形、長方形、又は頂点を有する任意の形状若しくは不均一な形状の断面を有するステープル脚が有し得る優先屈曲平面を排除する。第2のステープル脚4854はそれぞれ、第2の直径D2を有する。少なくとも1つの実施形態では、D2>D1である。第2の基部又はクラウン4852は、第2のクラウン幅C2を有する。ある構成において、C2>C1である。第2の脚4854はそれぞれ、第2の基部又はクラウン4852に対して、角度A2で構成されてもよい。角度A2は、略90°でもよく、又は、第2のステープル4850をその対応する第2のステープルキャビティ4842に保持するのを支援するために、第2の脚4854が外向きにわずかに広がるように、90°よりわずかに大きくてもよい。With reference to FIGS. 114, 116, and 117 again, the intermediate or
図115及び図116に切り替えて、アンビル4900は、第2のステープル形成ポケット4914の、千鳥式に配置された、又は角度を付けた第2の対4913からなる、2つの中間又は第2の列4912を更に備える。第2のステープル形成ポケット4914の各第2の対4913は、1つの第2のステープル4850に対応する。一方の第2のステープル形成ポケット4914は、一方の第2のステープル脚4854に対応し、対4913の他方の第2のステープル形成ポケット4914は、他方の第2のステープル脚4854に対応する。このような構成は、第2の脚4854がその特定の第2のステープル4850の第2の基部4852を有する面の外で形成される形成済みステープル構成を確立するのに機能する。この「三次元」形成済みステープル構成は、図115において、第2のステープル形成ポケット4914のいくつかに関して示される。 Switching to FIGS. 115 and 116, the
図116から特に分かるように、カートリッジデッキ4812は、中間又は第2のステープルキャビティ4842の中間又は第2の環状列4840に対応する第2のカートリッジデッキ部分4816を更に備える。図116から更に分かるように、アンビル4900が閉位置又はクランプ位置に移動されると、第2のステープル形成ポケット4914を含むアンビル4900の部分は、デッキ部分4816から、第2のギャップ距離g2離れる。図示された例において、g2>g1である。As will be particularly apparent from FIG. 116, the
再度図114、図116、及び図117を参照して、外側又は第3の列4860は、各外側又は第3のステープルキャビティ4862が2つの隣接する第2のキャビティ4842間の距離で広がるように、第2のステープルキャビティ4842に対するサイズを有する第3の複数の外側又は第3のステープルキャビティ4862を含む。各外側ステープルキャビティ4862は内部に、対応する外側又は第3のステープル4870を動作可能に支持する。外側キャビティ4862は、外側又は第3のステープル4870を、円周方向に接して方向付ける。図116及び図117から分かるように、各第3又は外側ステープル4870は、第3のステープルクラウン又は基部4872と、2つの第3の脚4874と、を備える。ステープル基部4872は、いくらか長方形の断面形状を有してもよく、材料の平らなシートから形成されてもよい。第3のステープル脚4874は、例えば、円形の断面プロファイルを有してもよい。第3又は外側ステープル4870は、例えば、その全体が参照により本明細書に組み込まれる、2015年8月26日に出願された米国特許出願第14/836,110号、発明の名称「SURGICAL STAPLING CONFIGURATIONS FOR CURVED AND CIRCULAR STAPLING INSTRUMENTS」に開示された様々なステープル構成を備えてもよい。長方形の断面プロファイルを有するステープル基部から伸びる円形のステープル脚を有することにより、優先屈曲平面を含まないステープル基部及びステープル脚を提供することができる。第3のステープル4870は、ステープル脚4874がステープル基部4872から伸びる屈曲部4876を備える。屈曲部4876は、実質的に正方形の断面プロファイルを備えてもよい。それぞれ屈曲部4876及びステープル基部4872の正方形プロファイル及び長方形プロファイルは、円形のステープル脚4874に対する堅固な接続及び骨格を提供する。円形のステープル脚4874は、正方形、長方形、又は頂点を有する任意の形状若しくは不均一な形状の断面を有するステープル脚が有し得る優先屈曲平面を排除する。少なくとも1つの実施形態では、D3>D2である。第3の基部又はクラウン4872は、第3のクラウン幅C3を有し、各第3の脚4874は、第3の未形成脚長L3を有する。ある構成において、C3>C2及びL3>L2である。第3の脚4874はそれぞれ、第3の基部又はクラウン4872に対して、角度A3で構成されてもよい。角度A3は、略90°でもよく、又は、第3のステープル4870をその対応する第3のステープルキャビティ4862に保持するのを支援するために、第3の脚4874が外向きにわずかに広がるように、90°よりわずかに大きくてもよい。With reference to FIGS. 114, 116, and 117 again, the outer or third row 4860 is such that each outer or
図115及び図116に切り替えて、アンビル4900は、外側又は第3のステープル形成ポケット4918の外側列4916を更に備える。各第3のステープル形成ポケット4918は、1つの第3のステープル4870に対応する。図116から特に分かるように、カートリッジデッキ4812は、外側又は第3のステープルキャビティ4862の外側又は第3の列4860に対応する第3のカートリッジデッキ部分4818を更に備える。図116から更に分かるように、アンビル4900が閉位置又はクランプ位置に移動されると、第3のステープル形成ポケット4918を含むアンビル4900の部分は、デッキ部分4818から、第3のギャップ距離g3離れる。図示された例において、g3>g2である。図116から更に分かるように、少なくとも1つの実施形態では、組織厚み補償要素4920が、各外側又は第3のステープル4870と組み合わせて利用される。組織厚み補償要素は、止血を促進するために酸化再生セルロース(ORC)を埋め込んだ織布材料を含んでもよい。組織厚み補償要素4920は、その開示内容全体が参照により本明細書に組み込まれる、2014年2月24日に出願された米国特許出願第14/187,389号、発明の名称「IMPLANTABLE LAYER ASSEMBLIES」、米国特許出願公開第2015/0238187号に開示された、様々な組織厚み補償要素構成のいずれかを備えてもよい。図116から分かるように、組織厚み補償要素4920は、「a」で示された厚みを有する。一実施形態において、組織厚み補償要素は、約0.015’’~0.045’’(約0.038cm~0.11cm)の厚みを有する。しかしながら、他の厚さが用いられてもよい。Switching to FIGS. 115 and 116, the
このため、図114~図117に示された少なくとも1つの実施形態では、ステープルカートリッジ4810は、ステープルの3つの列それぞれにおいて、異なる数のステープルを利用してもよい。ある構成において、ステープルの内側列は、最小ワイヤ直径及び最短未形成脚長を有する従来のステープルを含む。各第1のステープルは、最短クラウン幅を有し、各第1のステープルは、接線方向に対して均一な角度で方向付けられる。中間ステープルは、第1のステープル構成とは異なる構成を有する。中間ステープルの各脚は、中程度のワイヤ直径及び未形成脚長を備える。各中間ステープルは、内側ステープルのクラウン幅よりわずかに広いクラウン幅を有し、各中間ステープルは、接線方向に対して均一な角度であるが、内側ステープルの内側列に対して異なる角度で方向付けられる。各外側ステープルは、中間ステープルの構成に類似する構成を有する。各外側ステープルの第3の脚はそれぞれ、内側及び中間ステープルの脚のワイヤ直径と比較して最大ワイヤ直径を備える。各外側ステープルのクラウン幅は、内側及び中間ステープルのクラウン幅よりかなり広い。各外側ステープルは、カートリッジの円周方向に対して接線方向に方向付けられる。ステープルの外側列は、止血を促進するために、ORCを埋め込んだ織布組織厚み補償要素(スペーサ布)を利用する。段階的なアンビル及び段階的なカートリッジデッキにより、異なる形成済み高さが得られ、ここで、最低形成済み高さを有するステープルは、内側列に存在し、最高形成済み高さを有するステープルは、外側列に存在する。ステープルの内側列及び中間列に対応するアンビルポケットは、内側及び中間列における三次元ステープルを形成するために「傾いている」。「バスタブ型」アンビルポケットは、ステープルの外側列に対応する。少なくとも1つの実施形態では、ステープルは、連続的に発射されてもよい。例えば、内側及び中間列におけるステープルがまず発射されてもよく、その後に、外側列におけるステープルが発射されてもよい。環状ナイフは、発射プロセス中にクランプされた組織を切断する。 Therefore, in at least one embodiment shown in FIGS. 114-117, the
本開示の様々な実施形態に記載されたように、輪状ステープル留め器具は、アンビルと、ステープルカートリッジと、を備える。アンビル及びステープルカートリッジの一方又は両方は、それらの間に組織を捕捉するために、開構成と閉構成との間を他方に対して移動可能である。ステープルカートリッジは、ステープルを、ステープルキャビティの輪状列の内側又は少なくとも部分的に内側に収容する。ステープルは、その各ステープルキャビティから捕捉された組織内に輪状列に配備され、アンビルにおける対応する輪状列の形成ポケットに対して形成される。発射ドライブは、ステープルをステープルカートリッジから、発射ドライブの発射ストローク中に射出するように構成されている。 As described in various embodiments of the present disclosure, the ring-shaped staple fastener comprises an anvil and a staple cartridge. One or both of the anvil and staple cartridges can be moved between the open and closed configurations to capture tissue between them. The staple cartridge houses the staples inside or at least partially inside the annular row of staple cavities. Staples are deployed in a ring in the tissue captured from each of its staple cavities and are formed into the corresponding ring forming pockets in the anvil. The firing drive is configured to eject staples from the staple cartridge during the firing stroke of the firing drive.
輪状ステープル留め器具のアンビルは、一般的には、組織圧迫面と、組織圧迫面に画定されたステープル形成ポケットの環状アレイと、を備える。アンビルは、取付けマウントと、取付けマウントから伸びるステムと、を更に備える。ステムは、アンビルが輪状ステープル留め器具のステープルカートリッジに向かって及び同カートリッジから離れるように動かされ得るように、輪状ステープル留め器具の閉鎖ドライブに着脱可能に取り付けられるように構成されている。 Anvils for ring-shaped staple fasteners typically include a tissue compression surface and an annular array of staple-forming pockets defined on the tissue compression surface. The anvil further comprises a mounting mount and a stem extending from the mounting mount. The stem is configured to be detachably attached to the closed drive of the annular staple fastener so that the anvil can be moved towards and away from the staple cartridge of the annular staple fastener.
ステープルカートリッジ及びアンビルは、患者の体内において別々に移動することができ、術野において組み合わせられる。様々な事例において、ステープルカートリッジは、例えば、患者の狭い管状体、例えば、結腸などを通って移動する。ステープルカートリッジは、複数の組織接触機構、例えば、段階的なデッキ及びポケット延長部などを備えてもよい。ステープルカートリッジがターゲット組織に向かって移動する際に、患者に対する意図しない傷害を避けるために、本開示は、中でも、複数の組織接触機構に対する様々な変更を提供する。 Staple cartridges and anvils can be moved separately within the patient's body and combined in the surgical field. In various cases, the staple cartridge travels, for example, through the patient's narrow tubular body, such as the colon. Staple cartridges may include multiple tissue contact mechanisms, such as stepped decks and pocket extensions. To avoid unintended injury to the patient as the staple cartridge moves towards the target tissue, the present disclosure provides various modifications to multiple tissue contact mechanisms, among others.
図118を参照して、部分断面図に、ステープルカートリッジ15500が患者の体内を移動する際に、組織(T)に対して圧力を加える輪状外科用器具のステープルカートリッジ15500を示す。ステープルカートリッジ15500の複数の構造的特徴は、組織を保護するために、特に輪郭形成済み外側フレーム15502を形成するように変更される。ステープルカートリッジ15500は、ステープルキャビティの複数の環状列を備える。少なくとも1つの例において、図118に図示されたように、ステープルキャビティ15510の外側列15504は、ステープルキャビティ15512の内側列15506を少なくとも部分的に囲む。ステープルキャビティ15510及び15512はそれぞれ、ステープル15530及び15531を収容するように構成されている。 With reference to FIG. 118, a partial cross-sectional view shows the
内側及び外側という用語は、中心軸線15533を基準にした関係を描く。例えば、内側組織接触表面15518は、外側組織接触表面15516より中心軸線15533に近い。 The terms inner and outer describe a relationship relative to the
図119に図示されたように、ステープルカートリッジ15500は、段階的なカートリッジデッキ15508を備える。外側列15504は、段階的なカートリッジデッキ15508の外側組織接触表面15516に画定され、一方、内側列15506は、段階的なカートリッジデッキ15508の内側組織接触表面15518に画定される。外側組織接触表面15516は、内側組織接触表面15518から段下げされており、これにより、ステープルカートリッジ15500が組織に対して押し付けられたとき、摩擦を低下させる勾配を形成する。 As illustrated in FIG. 119, the
特定の事例において、外側組織接触表面15516は、内側組織接触表面15518に平行又は少なくとも実質的に平行である。他の事例において、外側組織接触表面15516は、外側組織接触表面15516により画定された第1の面が内側組織接触表面15518により画定された第2の面に対して横方向であるように傾斜される。角度は、第1の面と第2の面との間で画定される。角度は、鋭角であり得る。少なくとも1つの事例において、角度は、例えば、約0°超かつ約30°以下の範囲から選択される任意の角度であり得る。少なくとも1つの事例において、角度は、例えば、約5°超かつ約25°以下の範囲から選択される任意の角度であり得る。少なくとも1つの事例において、角度は、例えば、約10°超かつ約20°以下の範囲から選択される任意の角度であり得る。傾斜した外側組織接触表面15516は、ステープルカートリッジ15500が組織に対して動かされる際の、組織に対する摩擦又は組織の乗り上げを軽減し得る。少なくとも1つの事例において、傾斜した外側組織接触表面15516はまた、内側組織接触表面15518から段下げされる。 In certain cases, the outer
少なくとも1つの事例において、外側組織接触表面15516の内側部分は、平面又は少なくとも実質的に平面であり、一方で、外側組織接触表面15516の外側縁15548は、ステープルカートリッジ15500が組織に対して動かされる際の、組織に対する摩擦又は組織の乗り上げを軽減するように高さ設定され(pitch)、R形成され、及び/又は、傾斜される。ステープルキャビティ15510は、例えば、外側組織接触表面15516の平面内側部分に存在する。内側組織接触表面15518の外側縁15550はまた、ステープルカートリッジ15500が組織に対して動かされる際の、組織に対する摩擦又は組織の乗り上げを軽減するように高さ設定され、傾斜され、及び/又は、R形成され得る。 In at least one case, the inner portion of the outer
外側列15504のステープルキャビティ15510及び内側列15504のステープルキャビティ15512に、同じ又は少なくとも実質的に同じ未形成高さを有するステープルを収容するために、外側列15504のステープルキャビティ15510は、ポケット延長部15514を備える。ポケット延長部15514は、ステープル15530がその各ステープルキャビティ15510から射出される際に、ステープル15530を制御し、ガイドするように構成されている。特定の事例において、ポケット延長部15514は、例えば、内側組織接触表面15518のステープルより高い未形成高さを有するステープルを収容するように構成され得る。 In order to accommodate staples having the same or at least substantially the same unformed height in the
図119に図示されたように、外側列15504におけるステープルキャビティ15510は、内側列15506における2つの隣接するステープルキャビティ15512間のギャップ15520と横方向に整列され又は少なくとも実質的に整列される。ステープルキャビティ15510は、第1の端部15522と第2の端部15524と、を備える。第2の端部15524は、第2の端部15524に配置されたステープル脚15530aが第1の端部15526に配置されたステープル脚15531aと放射状に整列され又は少なくとも実質的に整列されるように、図118に図示されたように、2つの連続的なステープルキャビティ15512の一方の第1の端部15526と重なる。同様に、ステープルキャビティ15510の第1の端部15522は、2つの連続的なステープルキャビティ15512の他の1つの第2の端部15528と重なる。 As illustrated in FIG. 119, the
ポケット延長部15514は、外側組織接触表面15516を超えて伸びるステープル脚15530aの先端15536を隠すために、外側組織接触表面15516から突出する第1のジャケット15532を備える。第1のジャケット15532は、第1のジャケット15532を形成するための、第1の端部15522から突出する端部15538と、内側側壁15540と、端部15538から離れるように伸びる外側側壁15542と、を備える。少なくとも1つの事例において、第1のジャケット15532は、第1の端部15522を備えるステープルキャビティ15510の周縁15535の一部上を伸びる「C」字型壁を画定し又は少なくとも実質的に画定する。 The
組織に対する摩擦を減少させるために、内側側壁15540は、外側側壁15542より高い高さに、外側組織接触表面15516から突出する。換言すれば、外側側壁15542は、内側側壁15540より高さが低い。この構成により、内側側壁15540から、外側側壁15542へ、外側組織接触表面15516へのスムーズな遷移のための勾配が生じる。少なくとも1つの例において、内側側壁15540と内側組織接触表面15518とは、外側組織接触表面15516を基準にして同じ又は少なくとも実質的に同じ高さを備える。代替的に、内側側壁15540と内側組織接触表面15518とは、外側組織接触表面15516を基準にして異なる高さを備える。特定の事例において、内側側壁15540は、外側組織接触表面15516を基準にして、内側組織接触表面15518に対して高さが低い。この構成により、内側組織接触表面15518から、内側側壁15540へ、外側側壁15542へ、外側組織接触表面15516へのスムーズな遷移のための勾配が生じる。 To reduce friction against the tissue, the
内側組織接触表面15518、内側側壁15540、外側側壁15542、及び/又は外側組織接触表面15516は、輪郭形成済み外側フレーム15502の別個の部分を画定する。それにも関わらず、図118に図示されたように、このような部分は、ステープルカートリッジ15500が組織に対して押し付けられる際に、組織がそれらの間に捕捉され得ないように、互いに十分近くに維持される。更に、1つ又は2つ以上の部分は、組織に対する摩擦を減少させるために、傾斜し、輪郭形成され、湾曲し、R形成され、及び/又は傾いた外側表面を備えてもよい。図118に図示されたように、外側側壁15542の上側表面15544及び内側側壁15540の上側表面15546は、輪郭形成済み外側フレーム15502を画定するために、傾斜され、輪郭形成され、湾曲し、R形成され、及び/又は傾いている。 The inner
少なくとも1つの事例において、上側表面15544及び上側表面15546は、外側組織接触表面15516により画定された第1の面及び内側組織接触表面15518により画定された第2の面に対して横方向の傾斜面を画定する。少なくとも1つの事例において、第1の角度は、傾斜面と第1の面との間に画定される。第2の角度はまた、傾斜面と第2の面との間に画定され得る。第1及び第2の角度は、値が同じ又は少なくとも実質的に同じであり得る。代替的に、第1の角度は、第2の角度とは値が異なり得る。少なくとも1つの事例において、第1の角度及び/又は第2の角度は鋭角である。少なくとも1つの事例において、第1の角度は、例えば、約0°超かつ約30°以下の範囲から選択される任意の角度である。少なくとも1つの事例において、第1の角度は、例えば、約5°超かつ約25°以下の範囲から選択される任意の角度である。少なくとも1つの事例において、第1の角度は、例えば、約10°超かつ約20°以下の範囲から選択される任意の角度である。少なくとも1つの事例において、第2の角度は、例えば、約0°超かつ約30°以下の範囲から選択される任意の角度である。少なくとも1つの事例において、第2の角度は、例えば、約5°超かつ約25°以下の範囲から選択される任意の角度である。少なくとも1つの事例において、第2の角度は、例えば、約10°超かつ約20°以下の範囲から選択される任意の角度である。 In at least one case, the upper surface 15544 and the
上記に加えて、ポケット延長部15514は、第1のジャケット15532に多くの観点において類似する第2のジャケット15534を備える。第1のジャケット15532と同様に、第2のジャケット15534は、外側組織接触表面15516を超えて伸びるステープル脚の先端を隠すために、外側組織接触表面15516から突出する。第2のジャケット15534は、第2のジャケット15534を形成するための、第2の端部15524から突出する端部15538と、内側側壁15540と、端部15538から伸びる外側側壁15542と、を備える。 In addition to the above, the
図119には1つのポケット延長部15514が図示されているが、例えば、1つ又は2つ以上の外側ポケット延長部15514が、外側組織接触表面15516から突出してもよいことが理解される。少なくとも1つの事例において、第1のジャケット15532及び第2のジャケット15534は、側壁を介して連結し、例えば、ステープルキャビティを完全に囲むポケット延長部を画定する。 Although one
本明細書で記載された外科用器具システムの多くは、電気モータにより動作されるが、本明細書で説明した外科用器具システムは、任意の好適な方式で動作することができる。様々な事例において、本明細書で説明した外科用器具システムは、例えば、手動操作トリガにより動作することができる。特定の事例において、本明細書で開示されたモータは、ロボット制御システムの1つ又は複数の部分を備えてもよい。更に、本明細書で開示されたエンドエフェクタ及び/又はツールアセンブリのいずれかは、ロボット外科用器具システムと共に利用され得る。図82Aに、ロボット外科用器具システム20’を模式的に示す。一方、米国特許出願第13/118,241号、発明の名称「SURGICAL STAPLING INSTRUMENTS WITH ROTATABLE STAPLE DEPLOYMENT ARRANGEMENTS」、現在の米国特許出願公開第2012/0298719号には、例えば、ロボット外科用器具システムの複数の例が、より詳細に開示されている。 While many of the surgical instrument systems described herein are powered by electric motors, the surgical instrument systems described herein can operate in any suitable manner. In various cases, the surgical instrument system described herein can be operated, for example, by a manually operated trigger. In certain cases, the motors disclosed herein may include one or more parts of a robotic control system. In addition, any of the end effectors and / or tool assemblies disclosed herein can be used with robotic surgical instrument systems. FIG. 82A schematically shows a robotic surgical instrument system 20'. On the other hand, the US patent application No. 13 / 118,241, the title of the invention "SURGICAL STAPLING INSTRUMENTS WITH ROTATABLE STAPLE DEPLOYMENT ARRANGEMENTS", and the current US patent application publication No. 2012/02987719 include, for example, a plurality of robotic surgical instrument systems. An example of is disclosed in more detail.
本明細書で説明した外科用器具システムは、ステープルの配備及び変形と関連させて説明されているが、本明細書で説明した実施形態は、これに限定されない。ステープル以外の締結具、例えばクランプ又はタックなどを配備する、様々な実施形態も想到される。更に、組織を封止するための任意の好適な手段を利用する、様々な実施形態も想到される。例えば、様々な実施形態によるエンドエフェクタは、組織を加熱して封止するように構成された電極を備え得る。また例えば、特定の実施形態によるエンドエフェクタは、組織を封止するために振動エネルギーを加えることができる。 The surgical instrument system described herein has been described in connection with the deployment and modification of staples, but the embodiments described herein are not limited thereto. Various embodiments are also conceivable, such as deploying fasteners other than staples, such as clamps or tacks. In addition, various embodiments are conceived that utilize any suitable means for sealing the tissue. For example, end effectors according to various embodiments may include electrodes configured to heat and seal the tissue. Also, for example, the end effector according to a particular embodiment can apply vibration energy to seal the tissue.
以下の開示内容全体が参照により本明細書に組み込まれる。
1997年3月12日に出願された欧州特許出願第795298号、発明の名称「LINEAR STAPLER WITH IMPROVED FIRING STROKE」、
1997年2月25日に発行された米国特許第5,605,272号、発明の名称「TRIGGER MECHANISM FOR SURGICAL INSTRUMENTS」、
1997年12月16日に発行された米国特許第5,697,543号、発明の名称「LINEAR STAPLER WITH IMPROVED FIRING STROKE」、
2005年11月10日に公開された米国特許出願公開第2005/0246881号、発明の名称「METHOD FOR MAKING A SURGICAL STAPLER」、
2007年9月6日に公開された米国特許出願公開第2007/0208359号、発明の名称「METHOD FOR STAPLING TISSUE」、
1985年7月9日に発行された米国特許第4,527,724号、発明の名称「DISPOSABLE LINEAR SURGICAL STAPLING INSTRUMENT」、
1992年8月11日に発行された米国特許第5,137,198号、発明の名称「FAST CLOSURE DEVICE FOR LINEAR SURGICAL STAPLING INSTRUMENT」、
1995年4月11日に発行された米国特許第5,405,073号、発明の名称「FLEXIBLE SUPPORT SHAFT ASSEMBLY」、
2013年1月29日に発行された米国特許第8,360,297号、発明の名称「SURGICAL CUTTING AND STAPLING INSTRUMENT WITH SELF ADJUSTING ANVIL」、
2015年7月30日に出願された米国特許出願第14/813,242号、発明の名称「SURGICAL INSTRUMENT COMPRISING SYSTEMS FOR ASSURING THE PROPER SEQUENTIAL OPERATION OF THE SURGICAL INSTRUMENT」、
2015年7月30日に出願された米国特許出願第14/813,259号、発明の名称「SURGICAL INSTRUMENT COMPRISING SEPARATE TISSUE SECURING AND TISSUE CUTTING SYSTEM」、
2015年7月30日に出願された米国特許出願第14/813,266号、発明の名称「SURGICAL INSTRUMENT COMPRISING SYSTEMS FOR PERMITTING THE OPTIONAL TRNSECTION OF TISSUE」、
2015年7月30日に出願された米国特許出願第14/813,274号、発明の名称「SURGICAL INSTRUMENT COMPRISING A SYSTEM FOR BYPASSING AN OPERATIONAL STEP OF THE SURGICAL INSTRUMWNT」、
1995年4月4日に発行された米国特許第5,403,312号、発明の名称「ELECTROSURGICAL HEMOSTATIC DEVICE」、
2006年2月21日に発行された米国特許第7,000,818号、発明の名称「SURGICAL STAPLING INSTRUMENT HAVING SEPARATE DISTINCT CLOSING AND FIRING SYSTEMS」、
2008年9月9日に発行された米国特許第7,422,139号、発明の名称「MOTOR-DRIVEN SURGICAL CUTTING AND FASTENING INSTRUMENT WITH TACTILE POSITION FEEDBACK」、
2008年12月16日に発行された米国特許第7,464,849号、発明の名称「ELECTRO-MECHANICAL SURGICAL INSTRUMENT WITH CLOSURE SYSTEM AND ANVIL ALIGNMENT COMPONENTS」、
2010年3月2日に発行された米国特許第7,670,334号、発明の名称「SURGICAL INSTRUMENT HAVING AN ARTICULATING END EFFECTOR」、
2010年7月13日に発行された米国特許第7,753,245号、発明の名称「SURGICAL STAPLING INSTRUMENTS」、
2013年3月12日に発行された米国特許第8,393,514号、発明の名称「SELECTIVELY ORIENTABLE IMPLANTABLE FASTENER CARTRIDGE」、
米国特許出願第11/343,803号、名称「SURGICAL INSTRUMENT HAVING RECORDING CAPABILITIES」、現在は、米国特許第7,845,537号、
2008年2月14日に出願された米国特許出願第12/031,573号、発明の名称「SURGICAL CUTTING AND FASTENING INSTRUMENT HAVING RF ELECTRODES」、
2008年2月15日に出願され、現在は米国特許第7980443号である、米国特許出願第12/031873号、発明の名称「END EFFECTORS FOR A SURGICAL CUTTING AND STAPLING INSTRUMENT」;
米国特許出願第12/235,782号、発明の名称「MOTOR-DRIVEN SURGICAL CUTTING INSTRUMENT」、現在は、米国特許第8,210,411号、
米国特許出願第12/249,117号、発明の名称「POWERED SURGICAL CUTTING AND STAPLING APPARATUS WITH MANUALLY RETRACTABLE FIRING SYSTEM」、現在は、米国特許第8,608,045号、
2009年12月24日に出願された米国特許出願第12/647,100号、名称「MOTOR-DRIVEN SURGICAL CUTTING INSTRUMENT WITH ELECTRIC ACTUATOR DIRECTIONAL CONTROL ASSEMBLY」、現在は、米国特許第8,220,688号;
2012年9月29日に出願され、現在は米国特許第8,733,613号である、米国特許出願第12/893,461号、発明の名称「STAPLE CARTRIDGE」;
2011年2月28日に出願され、現在は米国特許第8561870号である、米国特許出願第13/036647号、発明の名称「SURGICAL STAPLING INSTRUMENT」;
米国特許出願第13/118,241号、発明の名称「SURGICAL STAPLING INSTRUMENTS WITH ROTATABLE STAPLE DEPLOYMENT ARRANGEMENTS」、現在は、米国特許第9,072,535号、
2012年6月15日出願の米国特許出願第13/524,049号、発明の名称「ARTICULATABLE SURGICAL INSTRUMENT COMPRISING A FIRING DRIVE」、現在は、米国特許第9,101,358号、
2013年3月13日に出願された米国特許出願第13/800,025号、発明の名称「STAPLE CARTRIDGE TISSUE THICKNESS SENSOR SYSTEM」、現在は米国特許出願公開第2014/0263551号、
2013年3月13日に出願された米国特許出願第13/800,067号、発明の名称「STAPLE CARTRIDGE TISSUE THICKNESS SENSOR SYSTEM」、現在は米国特許出願公開第2014/0263552号、
2006年1月31日に出願された米国特許出願公開第2007/0175955号、発明の名称「SURGICAL CUTTING AND FASTENING INSTRUMENT WITH CLOSURE TRIGGER LOCKING MECHANISM」、及び、
2010年4月22日に出願された米国特許出願公開第2010/0264194号、発明の名称「SURGICAL STAPLING INSTRUMENT WITH AN ARTICULATABLE END EFFECTOR」、現在は米国特許第8,308,040号。The entire disclosure below is incorporated herein by reference.
European Patent Application No. 795298 filed on March 12, 1997, title of invention "LINEAR STAPLER WITH IMPROVED FIRING STROKE",
U.S. Pat. No. 5,605,272 issued February 25, 1997, title of invention "TRIGGER MEMHANISM FOR SURGICAL INSTRUMENTS",
U.S. Pat. No. 5,697,543 issued on December 16, 1997, title of invention "LINEAR STAPLER WITH IMPROVED FIRING STROKE",
US Patent Application Publication No. 2005/0246881 published on November 10, 2005, title of invention "METHOD FOR MAKING A SURGICAL STAPLER",
U.S. Patent Application Publication No. 2007-0208359, published September 6, 2007, title of invention "METHOD FOR STAPLING TISSUE",
U.S. Pat. No. 4,527,724 issued on July 9, 1985, title of invention "DISPOSABLE LINEAR SURGICAL STAPLING INSTRUMENT",
U.S. Pat. No. 5,137,198 issued on August 11, 1992, title of invention "FAST CLOUSE DEVICE FOR LINEAR SURGICAL STAPLING INSTRUMENT",
U.S. Pat. No. 5,405,073 issued on April 11, 1995, title of invention "FLEXIBLE SUPPORT SHAFT ASSEMBLY",
U.S. Pat. No. 8,360,297 issued on January 29, 2013, title of invention "SURGICAL CUTTING AND STAPLING INSTRUMENT WITH SELECT ADJUSTING ANVIL",
U.S. Patent Application No. 14 / 833,242 filed on July 30, 2015, title of invention "SURGICAL INSTRUMENT COMPRISING SYSTEMS FOR ASSURING THE PROPER EQUENTIAL OPERATION OF THE SUMRON"
US Pat.
U.S. Patent Application No. 14 / 833,266 filed on July 30, 2015, title of invention "SURGICAL INSTRUMENT COMPRISING SYSTEMS FOR PERMITTING THE OPTIONAL TRNSECTION OF TISSUE",
U.S. Patent Application No. 14 / 833,274 filed on July 30, 2015, title of invention "SURGICAL INSTRUMENT COMPRISING A SYSTEM FOR BYPASSING AN OPERATIONAL STEP OF THE SURGICAL INSTRUM"
U.S. Pat. No. 5,403,312 issued on April 4, 1995, title of invention "ELECTROSURGICAL HEMOSTATTIC DEVICE",
U.S. Pat. No. 7,000,818 issued on February 21, 2006, title of invention "SURGICAL STAPLING INSTRUMENT HAVING SPECALTE DISTINCT CLOSEING AND FIRING SYSTEMS",
U.S. Pat. No. 7,422,139 issued on September 9, 2008, title of invention "MOTOR-DRIVEN SURGICAL CUTTING AND FASTENING INSTRUMENT WITH TACTILE POSITION FEEDBACK",
US Pat. No. 7,464,849 issued on December 16, 2008, title of invention "ELECTRO-MEMHANICAL SURGICAL INSTRUMENT WITH CLOSE SYSTEM AND ANVIL ALIGNMENT COMPONENTS",
US Pat. No. 7,670,334 issued on March 2, 2010, the title of the invention "SURGICAL INSTRUMENT HAVING AN ARTICULATING END EFFECTOR",
U.S. Pat. No. 7,753,245 issued on July 13, 2010, title of invention "SURGICAL STAPLING INSTRUMENTS",
U.S. Pat. No. 8,393,514 issued on March 12, 2013, title of invention "SELECTIVELY ORIENTABLE IMPLANTABLE FASTENEER CARTRIDGE",
U.S. Patent Application No. 11 / 343,803, named "SURGICAL INSTRUMENT HAVING RECORDING CAPABILITIES", now U.S. Pat. No. 7,845,537,
U.S. Patent Application No. 12 / 031,573, filed February 14, 2008, title of invention "SURGICAL CUTTING AND FASTENING INSTRUMENT HAVING RF ELECTRODES",
US Patent Application No. 12/031873, filed on February 15, 2008 and now US Pat. No. 7980443, title of the invention "END EFFECTORS FOR A SURGICAL CUTTING AND STAPLING INSTRUMENT";
U.S. Patent Application No. 12 / 235,782, Invention Title "MOTOR-DRIVEN SURGICAL CUTTING INSTRUMENT", Currently U.S. Pat. No. 8,210,411,
U.S. Patent Application No. 12 / 249,117, Invention Title "POWERED SURGICAL CUTTING AND STAPLING APPARATUS WITH MANUALLY RETRACTABLE FIRING SYSTEM", now U.S. Patent No. 8,608,045,
US Pat.
US Pat. No. 12,83,461, filed September 29, 2012 and now US Pat. No. 8,733,613, the title of the invention "STAPLE CARTRIDGE";
US Pat.
U.S. Patent Application No. 13 / 118,241, Invention Title "SURGICAL STAPLING INSTRUMENTS WITH ROTATABLE STAPLE DEPLOYMENT ARRANGEMENTS", now U.S. Pat. No. 9,072,535,
US Patent Application No. 13 / 524,049 filed June 15, 2012, title of invention "ARTICULATABLE SURGICAL INSTRUMENT COMPRISING A FIRING DRIVE", currently US Patent No. 9,101,358,
U.S. Patent Application No. 13 / 800,025 filed on March 13, 2013, title of invention "STAPLE CARTRIDGE TISSUE THICKNESS SENSOR SYSTEM", now U.S. Patent Application Publication No. 2014/0263551,
U.S. Patent Application No. 13 / 800,067 filed on March 13, 2013, title of invention "STAPLE CARTRIDGE TISSUE THICKNESS SENSOR SYSTEM", now U.S. Patent Application Publication No. 2014/0263552,
US Patent Application Publication No. 2007/0175955 filed on January 31, 2006, the title of the invention "SURGICAL CUTTING AND FASTENING INSTRUMENT WITH CLOSE TRIGGER LOCKING MEMHANISM", and
US Patent Application Publication No. 2010/0264194 filed on April 22, 2010, title of invention "SURGICAL STAPLING INSTRUMENT WITH AN ARTICULATABLE END EFFECTOR", currently US Patent No. 8,308,040.
特定の実施形態と共に本明細書で様々なデバイスについて説明したが、それらの実施形態に対して修正及び変更が実施されてもよい。また、材料が特定の構成要素に関して開示されているが、他の材料が使用されてもよい。更に、様々な実施形態に従って、所与の機能を実行するために、単一の構成要素を複数の構成要素に置き換えてもよく、また複数の構成要素を単一の構成要素に置き換えてもよい。以上の説明及び以下の特許請求の範囲は、そのような修正及び変更を全て包含することが意図される。 Although various devices have been described herein with specific embodiments, modifications and modifications may be made to those embodiments. Also, although the material is disclosed for a particular component, other materials may be used. Further, according to various embodiments, a single component may be replaced with a plurality of components, or a plurality of components may be replaced with a single component in order to perform a given function. .. The above description and the following claims are intended to include all such amendments and changes.
本明細書に開示されるデバイスは、1回の使用後に廃棄されるように設計することができ、又は複数回使用されるように設計することができる。しかしながら、いずれの場合も、デバイスは少なくとも1回の使用後に再利用のために再調整され得る。再調整には、デバイスの分解工程、それに続く、デバイスの洗浄工程又は特定の部品の交換工程、及びデバイスのその後の再組立工程を含む(が、これらに限定されない)工程の任意の組み合わせを含むことができる。特に、再調整施設及び/又は手術チームは、デバイスを分解可能であり、デバイスの洗浄工程及び/又は特定の部品の交換工程後に、デバイスを、その後の使用のために再組立し得る。当業者であれば、デバイスの再調整が、分解、洗浄/交換、及び再組立のための様々な技術を利用できることを理解するであろう。かかる技術の使用、及び結果として得られる再調整されたデバイスは、全て本発明の範囲内にある。 The devices disclosed herein can be designed to be discarded after a single use, or can be designed to be used multiple times. However, in either case, the device may be readjusted for reuse after at least one use. Readjustment includes any combination of steps including, but not limited to, a device disassembly step followed by a device cleaning step or a specific part replacement step and a subsequent reassembly step of the device. be able to. In particular, the readjustment facility and / or the surgical team is capable of disassembling the device and reassembling the device for subsequent use after the device cleaning process and / or the replacement process of certain parts. Those skilled in the art will appreciate that readjustment of the device can utilize a variety of techniques for disassembly, cleaning / replacement, and reassembly. The use of such techniques and the resulting readjusted devices are all within the scope of the present invention.
本明細書で開示されたデバイスは、手術前に処理され得る。最初に、新品又は使用済みの器具が入手され、必要に応じて洗浄されてもよい。ついで器具を滅菌することができる。1つの滅菌技術では、器具は、プラスチックバッグ又はTYVEKバッグなど、閉鎖され密封された容器に入れられる。ついで、容器及び器具を、γ線、X線、及び/又は高エネルギー電子などの、容器を透過し得る放射線フィールドに置くことができる。放射線は、器具上及び容器内の細菌を死滅させることができる。この後、滅菌済みの器具を滅菌容器内で保管することができる。密封容器は、医療施設で開けられるまで、器具を滅菌状態に保つことができる。デバイスはまた、β線、γ線、エチレンオキシド、過酸化水素プラズマ、及び/又は水蒸気が挙げられるが、これらに限定されない、当該技術分野で既知の任意の他の技術を用いて滅菌され得る。 The devices disclosed herein can be processed prior to surgery. First, new or used utensils may be obtained and cleaned as needed. The instrument can then be sterilized. In one sterilization technique, the instrument is placed in a closed and sealed container, such as a plastic bag or TYVEK bag. The vessel and instrument can then be placed in a radiation field that can penetrate the vessel, such as gamma rays, X-rays, and / or high energy electrons. Radiation can kill bacteria on instruments and in containers. After this, the sterilized instrument can be stored in a sterilized container. The sealed container can keep the instrument sterile until it is opened in a medical facility. Devices can also be sterilized using any other technique known in the art, including but not limited to β-rays, gamma-rays, ethylene oxide, hydrogen peroxide plasma, and / or water vapor.
代表的な設計を有するものとして本発明について記載してきたが、本発明は、本開示の趣旨及び範囲内で更に修正されてもよい。したがって、本出願は、その一般的原理を使用する本発明のあらゆる変形、使用、又は適合を包含するものとする。 Although the present invention has been described as having a representative design, the present invention may be further modified within the spirit and scope of the present disclosure. Accordingly, this application shall include any modification, use, or adaptation of the invention that uses its general principles.
その全体又は部分において本明細書に援用されたものとする全ての特許、刊行物、又はその他の開示物は、援用される資料が本開示に記載される既存の定義、記述、又はその他の開示内容と矛盾しない範囲においてのみ本明細書に援用されるものとする。それ自体、また必要な範囲で、本明細書に明瞭に記載される開示内容は、参照により本明細書に組み込まれるあらゆる矛盾する記載に優先するものとする。参照により本明細書に組み込まれるものとするが、既存の定義、記述、又は本明細書に記載される他の開示文献と矛盾する任意の文献、又はそれらの部分は、組み込まれる文献と既存の開示内容との間に矛盾が生じない範囲においてのみ組み込まれるものとする。 All patents, publications, or other disclosures that are incorporated herein by reference in whole or in part are existing definitions, statements, or other disclosures in which the incorporated material is described in this disclosure. Incorporated herein only to the extent that it is consistent with the content. As such, and to the extent necessary, the disclosures expressly set forth herein shall supersede any contradictory statements incorporated herein by reference. Any document that is incorporated herein by reference, but is inconsistent with existing definitions, descriptions, or other disclosed documents described herein, or parts thereof, is incorporated and existing. It shall be incorporated only to the extent that there is no contradiction with the disclosed content.
〔実施の態様〕
(1) 外科用ステープル留めシステムであって、
第1のモジュールであって、
前記外科用ステープル留めシステムに関する情報を表示するように構成されている第1のディスプレイと、
第1の取付け部分と、を備える、第1のモジュールと、
第2のモジュールであって、
前記外科用ステープル留めシステムに関する情報を表示するように構成されている第2のディスプレイと、
前記第2のモジュールを前記第1のモジュールに取り付けるように構成されている第2の取付け部分と、を備える、第2のモジュールと、を備える、外科用ステープル留めシステム。
(2) 前記第1のモジュールは、前記第2のモジュールの第1の機能を制御するように構成されている第1のアクチュエータを備え、前記第2のモジュールは、前記第2のモジュールの第2の機能を制御するように構成されている第2のアクチュエータを備える、実施態様1に記載の外科用ステープル留めシステム。
(3) 第3のモジュールを更に備え、前記第3のモジュールは、前記第3のモジュールを前記第2のモジュールの代わりに前記第1のモジュールに取り付けるように構成されている第3の取付け部分を備え、前記第3のモジュールは、前記外科用ステープル留めシステムに関する情報を表示するように構成されている第3のディスプレイを備える、実施態様1に記載の外科用ステープル留めシステム。
(4) 前記第2のモジュールは、ステープルの長手方向の列を形成するように構成されているエンドエフェクタを備え、前記第3のモジュールは、ステープルの環状列を形成するように構成されているエンドエフェクタを備える、実施態様3に記載の外科用ステープル留めシステム。
(5) 前記第1のモジュールは、前記第2のモジュールが前記第1のモジュールに取り付けられている場合、前記第2のモジュールの機能を制御するか、又は前記第3のモジュールが前記第1のモジュールに取り付けられている場合、前記第3のモジュールの機能を制御するように構成されている第1のアクチュエータを備え、前記第2のモジュールは、前記第2のモジュールの第2の機能を制御するように構成されている第2のアクチュエータを備え、前記第3のモジュールは、前記第3のモジュールの第3の機能を制御するように構成されている第3のアクチュエータを備える、実施態様4に記載の外科用ステープル留めシステム。[Implementation mode]
(1) Surgical staple fastening system
The first module,
A first display configured to display information about the surgical staple system;
A first module comprising a first mounting portion,
The second module,
A second display configured to display information about the surgical staple system;
A surgical staple fastening system comprising a second module comprising a second attachment portion configured to attach the second module to the first module.
(2) The first module includes a first actuator configured to control a first function of the second module, and the second module is a second module of the second module. The surgical staple fastening system according to
(3) A third mounting portion further comprising a third module, wherein the third module is configured to mount the third module to the first module in place of the second module. The surgical staple fastening system according to
(4) The second module comprises an end effector configured to form a longitudinal row of staples, and the third module is configured to form an annular row of staples. The surgical staple fastening system according to
(5) The first module controls the function of the second module when the second module is attached to the first module, or the third module controls the function of the first module. When attached to the module, the second module comprises a first actuator configured to control the function of the third module, wherein the second module performs the second function of the second module. An embodiment comprising a second actuator configured to control, wherein the third module comprises a third actuator configured to control a third function of the third module. The surgical staple fastening system according to 4.
(6) 前記第3のアクチュエータは、前記ステープルの環状列内の前記ステープルが形成される高さを調節するように構成されている、実施態様5に記載の外科用ステープル留めシステム。
(7) 前記第3のアクチュエータは、ステープルカートリッジと、アンビルと、を備え、前記第3のアクチュエータは、前記ステープルカートリッジと前記アンビルとの間の距離を調節するように構成されている、実施態様5に記載の外科用ステープル留めシステム。
(8) 前記第2のモジュールは、
長手方向軸線を画定する長手方向シャフトと、
エンドエフェクタと、
前記エンドエフェクタと動作可能に連結された電気モータと、
前記電気モータにより前記長手方向軸線と同一線上の軸線を中心として前記エンドエフェクタが回転できるように構成されている回転ジョイントと、を備える、実施態様5に記載の外科用ステープル留めシステム。
(9) 外科用ステープル留めシステムであって、
ハンドルであって、
前記外科用ステープル留めシステムに関する第1のセットの情報を表示するように構成されている第1のディスプレイと、
第1の取付け部分と、を備える、ハンドルと、
ツールアセンブリであって、
前記外科用器具システムに関する第2のセットの情報を表示するように構成されている第2のディスプレイと、
前記ツールアセンブリを前記ハンドルに取り付けるように構成されている第2の取付け部分と、を備える、ツールアセンブリと、を備える、外科用ステープル留めシステム。
(10) 前記ハンドルは、前記ツールアセンブリの第1の機能を制御するように構成されている第1のアクチュエータを備え、前記ツールアセンブリは、前記ツールアセンブリの第2の機能を制御するように構成されている第2のアクチュエータを備える、実施態様9に記載の外科用ステープル留めシステム。(6) The surgical staple fastening system according to embodiment 5, wherein the third actuator is configured to adjust the height at which the staple is formed within the annular row of staples.
(7) The third actuator includes a staple cartridge and an anvil, and the third actuator is configured to adjust the distance between the staple cartridge and the anvil. The surgical staple fastening system according to 5.
(8) The second module is
A longitudinal shaft that defines the longitudinal axis, and
With the end effector,
An electric motor operably connected to the end effector,
The surgical staple fastening system according to embodiment 5, comprising a rotary joint configured such that the end effector can rotate about an axis on the same axis as the longitudinal axis by the electric motor.
(9) Surgical staple fastening system
It ’s a handle,
A first display configured to display a first set of information about the surgical staple system;
A handle, comprising a first mounting portion,
It's a tool assembly
A second display configured to display a second set of information about the surgical instrument system, and
A surgical staple fastening system comprising a tool assembly comprising a second attachment portion configured to attach the tool assembly to the handle.
(10) The handle comprises a first actuator configured to control a first function of the tool assembly, the tool assembly configured to control a second function of the tool assembly. The surgical staple fastening system according to embodiment 9, comprising a second actuator.
(11) 交換ツールアセンブリを更に備え、前記交換ツールアセンブリは、前記交換ツールアセンブリを前記ツールアセンブリの代わりに前記ハンドルに取り付けるように構成されている第3の取付け部分を備え、前記交換ツールアセンブリは、前記外科用ステープル留めシステムに関する第3のセットの情報を表示するように構成されている第3のディスプレイを備える、実施態様9に記載の外科用ステープル留めシステム。
(12) 前記ツールアセンブリは、ステープルの長手方向の列を形成するように構成されているエンドエフェクタを備え、前記交換ツールアセンブリは、ステープルの環状列を形成するように構成されているエンドエフェクタを備える、実施態様11に記載の外科用ステープル留めシステム。
(13) 前記ハンドルは、前記ツールアセンブリが前記ハンドルに取り付けられている場合、前記ツールアセンブリの機能を制御するか、又は前記交換ツールアセンブリが前記ハンドルに取り付けられている場合、前記交換ツールアセンブリの機能を制御するように構成されている第1のアクチュエータを備え、前記ツールアセンブリは、前記ツールアセンブリの第2の機能を制御するように構成されている第2のアクチュエータを備え、前記交換ツールアセンブリは、前記交換ツールアセンブリの第3の機能を制御するように構成されている第3のアクチュエータを備える、実施態様12に記載の外科用ステープル留めシステム。
(14) 前記第3のアクチュエータは、前記ステープルの環状列内の前記ステープルが形成される高さを調節するように構成されている、実施態様13に記載の外科用ステープル留めシステム。
(15) 前記第3のアクチュエータは、ステープルカートリッジと、アンビルと、を備え、前記第3のアクチュエータは、前記ステープルカートリッジと前記アンビルとの間の距離を調節するように構成されている、実施態様13に記載の外科用ステープル留めシステム。(11) Further comprising a replacement tool assembly, the replacement tool assembly comprises a third mounting portion configured to mount the replacement tool assembly to the handle in place of the tool assembly, the replacement tool assembly comprising. 9. The surgical staple system according to embodiment 9, comprising a third display configured to display a third set of information about the surgical staple system.
(12) The tool assembly comprises end effectors configured to form a longitudinal row of staples, and the replacement tool assembly comprises end effectors configured to form an annular row of staples. The surgical staple fastening system according to embodiment 11.
(13) The handle controls the function of the tool assembly when the tool assembly is attached to the handle, or the replacement tool assembly of the replacement tool assembly when the replacement tool assembly is attached to the handle. The tool assembly comprises a first actuator configured to control a function and the tool assembly comprises a second actuator configured to control a second function of the tool assembly. 12. The surgical staple fastening system according to
(14) The surgical staple fastening system according to embodiment 13, wherein the third actuator is configured to adjust the height at which the staple is formed within the annular row of staples.
(15) The third actuator includes a staple cartridge and an anvil, and the third actuator is configured to adjust the distance between the staple cartridge and the anvil. The surgical staple fastening system according to 13.
(16) 前記ツールアセンブリは、
長手方向軸線を画定する長手方向シャフトと、
エンドエフェクタと、
前記エンドエフェクタと動作可能に連結された電気モータと、
前記電気モータにより前記長手方向軸線と同一線上の軸線を中心として前記エンドエフェクタが回転できるように構成されている回転ジョイントと、を備える、実施態様12に記載の外科用ステープル留めシステム。
(17) 前記第3のセットの情報は、前記第2のセットの情報とは異なる、実施態様11に記載の外科用ステープル留めシステム。
(18) 前記第2のセットの情報は、前記第1のセットの情報とは異なる、実施態様9に記載の外科用ステープル留めシステム。
(19) 外科用ステープル留めシステムキットであって、
第1のモジュールであって、
前記第1のモジュールの動作に関する第1のセットのデータを表示するように構成されている第1の表示システムと、
第1の取付け部分と、を備える、第1のモジュールと、
第2のモジュールであって、
前記第2のモジュールの動作に関する第2のセットのデータを表示するように構成されている第2の表示システムと、
前記第1のモジュールの前記第1の取付け部分に取付け可能な第2の取付け部分と、を備える、第2のモジュールと、
第3のモジュールであって、
前記第3のモジュールの動作に関する第3のセットのデータを表示するように構成されている第3の表示システムと、
前記第1のモジュールの前記第1の取付け部分に取付け可能な第3の取付け部分と、を備える、第3のモジュールと、を備える、外科用ステープル留めシステムキット。
(20) 前記第1の表示システムは、前記第2のモジュールが前記第1のモジュールに取り付けられているとき、前記第2のセットのデータの少なくとも一部を表示するように構成され、前記第1の表示システムは、前記第3のモジュールが前記第1のモジュールに取り付けられているとき、前記第3のセットのデータの少なくとも一部を表示するように構成されている、実施態様19に記載の外科用ステープル留めシステムキット。(16) The tool assembly is
A longitudinal shaft that defines the longitudinal axis, and
With the end effector,
An electric motor operably connected to the end effector,
12. The surgical staple fastening system according to
(17) The surgical staple fastening system according to embodiment 11, wherein the information in the third set is different from the information in the second set.
(18) The surgical staple fastening system according to embodiment 9, wherein the information in the second set is different from the information in the first set.
(19) Surgical staple fastening system kit
The first module,
A first display system configured to display a first set of data relating to the operation of the first module.
A first module comprising a first mounting portion,
The second module,
A second display system configured to display a second set of data regarding the operation of the second module, and a second display system.
A second module comprising a second mounting portion that can be mounted on the first mounting portion of the first module.
The third module,
A third display system configured to display a third set of data regarding the operation of the third module, and a third display system.
A surgical staple fastening system kit comprising a third module comprising a third attachment portion that can be attached to the first attachment portion of the first module.
(20) The first display system is configured to display at least a portion of the data in the second set when the second module is attached to the first module. 19. The display system of embodiment 19, wherein the display system is configured to display at least a portion of the data of the third set when the third module is attached to the first module. Surgical staple fastening system kit.
(21) 前記第2のモジュールは、
ステープルカートリッジと、
前記ステープルカートリッジ内に取出し可能に格納されたステープルと、
前記ステープルを変形するように構成されているアンビルと、を備え、前記第2のセットのデータは、前記ステープルカートリッジと前記アンビルとの間の距離を含む、実施態様20に記載の外科用ステープル留めシステムキット。
(22) 前記第2のモジュールは、
長手方向軸線を画定する長手方向シャフトと、
エンドエフェクタと、
前記エンドエフェクタと動作可能に連結された電気モータと、
前記電気モータにより前記長手方向軸線と同一線上の軸線を中心として前記エンドエフェクタが回転できるように構成されている回転ジョイントと、を備える、実施態様19に記載の外科用ステープル留めシステムキット。(21) The second module is
Staple cartridge and
The staples stored in the staple cartridge so that they can be taken out,
20. The surgical staple fastening according to
(22) The second module is
A longitudinal shaft that defines the longitudinal axis, and
With the end effector,
An electric motor operably connected to the end effector,
19. The surgical staple fastening system kit according to embodiment 19, comprising a rotary joint configured such that the end effector can rotate about an axis on the same axis as the longitudinal axis by the electric motor.
| Application Number | Priority Date | Filing Date | Title |
|---|---|---|---|
| US15/089,321US10271851B2 (en) | 2016-04-01 | 2016-04-01 | Modular surgical stapling system comprising a display |
| US15/089,321 | 2016-04-01 | ||
| PCT/US2017/024250WO2017172582A1 (en) | 2016-04-01 | 2017-03-27 | Modular surgical stapling system comprising a display |
| Publication Number | Publication Date |
|---|---|
| JP2019513064A JP2019513064A (en) | 2019-05-23 |
| JP6995773B2true JP6995773B2 (en) | 2022-01-17 |
| Application Number | Title | Priority Date | Filing Date |
|---|---|---|---|
| JP2018551305AActiveJP6995773B2 (en) | 2016-04-01 | 2017-03-27 | Modular surgical staple fastening system with display |
| Country | Link |
|---|---|
| JP (1) | JP6995773B2 (en) |
| CN (1) | CN109310412B (en) |
| Publication number | Priority date | Publication date | Assignee | Title |
|---|---|---|---|---|
| JP2010518943A (en) | 2007-02-28 | 2010-06-03 | エシコン・エンド−サージェリィ・インコーポレイテッド | Indicator device for displaying surgical staple characteristics corresponding to adjustable staple height |
| WO2015035178A2 (en) | 2013-09-06 | 2015-03-12 | Brigham And Women's Hospital, Inc. | System and method for a tissue resection margin measurement device |
| JP2015523119A (en) | 2012-05-31 | 2015-08-13 | エシコン・エンド−サージェリィ・インコーポレイテッドEthicon Endo−Surgery,Inc. | Surgical instruments with orientation sensing |
| WO2015148112A1 (en) | 2014-03-26 | 2015-10-01 | Ethicon Endo-Surgery, Inc. | Surgical instrument comprising a sensor system |
| JP2016500302A (en) | 2012-12-17 | 2016-01-12 | エシコン・エンド−サージェリィ・インコーポレイテッドEthicon Endo−Surgery,Inc. | Circular stapler with selectable motor drive control and manual control, including control ring |
| WO2016036825A2 (en) | 2014-09-05 | 2016-03-10 | Ethicon Endo-Surgery, Inc. | Local display of tissue parameter stabilization |
| Publication number | Priority date | Publication date | Assignee | Title |
|---|---|---|---|---|
| US7464847B2 (en)* | 2005-06-03 | 2008-12-16 | Tyco Healthcare Group Lp | Surgical stapler with timer and feedback display |
| US10588629B2 (en)* | 2009-11-20 | 2020-03-17 | Covidien Lp | Surgical console and hand-held surgical device |
| JP5085996B2 (en)* | 2006-10-25 | 2012-11-28 | テルモ株式会社 | Manipulator system |
| US7922063B2 (en)* | 2007-10-31 | 2011-04-12 | Tyco Healthcare Group, Lp | Powered surgical instrument |
| US7810692B2 (en)* | 2008-02-14 | 2010-10-12 | Ethicon Endo-Surgery, Inc. | Disposable loading unit with firing indicator |
| US10201365B2 (en)* | 2012-10-22 | 2019-02-12 | Ethicon Llc | Surgeon feedback sensing and display methods |
| US9826976B2 (en)* | 2013-04-16 | 2017-11-28 | Ethicon Llc | Motor driven surgical instruments with lockable dual drive shafts |
| MX383548B (en)* | 2013-04-16 | 2025-03-14 | Ethicon Endo Surgery Inc | MODULAR MOTOR DRIVEN SURGICAL INSTRUMENTS WITH STATUS INDICATION ARRANGEMENTS. |
| US20150272580A1 (en)* | 2014-03-26 | 2015-10-01 | Ethicon Endo-Surgery, Inc. | Verification of number of battery exchanges/procedure count |
| JP6762952B2 (en)* | 2015-02-27 | 2020-09-30 | エシコン エルエルシーEthicon LLC | Surgical instrument system with inspection station |
| Publication number | Priority date | Publication date | Assignee | Title |
|---|---|---|---|---|
| JP2010518943A (en) | 2007-02-28 | 2010-06-03 | エシコン・エンド−サージェリィ・インコーポレイテッド | Indicator device for displaying surgical staple characteristics corresponding to adjustable staple height |
| JP2015523119A (en) | 2012-05-31 | 2015-08-13 | エシコン・エンド−サージェリィ・インコーポレイテッドEthicon Endo−Surgery,Inc. | Surgical instruments with orientation sensing |
| JP2016500302A (en) | 2012-12-17 | 2016-01-12 | エシコン・エンド−サージェリィ・インコーポレイテッドEthicon Endo−Surgery,Inc. | Circular stapler with selectable motor drive control and manual control, including control ring |
| WO2015035178A2 (en) | 2013-09-06 | 2015-03-12 | Brigham And Women's Hospital, Inc. | System and method for a tissue resection margin measurement device |
| WO2015148112A1 (en) | 2014-03-26 | 2015-10-01 | Ethicon Endo-Surgery, Inc. | Surgical instrument comprising a sensor system |
| WO2016036825A2 (en) | 2014-09-05 | 2016-03-10 | Ethicon Endo-Surgery, Inc. | Local display of tissue parameter stabilization |
| Publication number | Publication date |
|---|---|
| CN109310412A (en) | 2019-02-05 |
| JP2019513064A (en) | 2019-05-23 |
| BR112018070059A2 (en) | 2019-02-05 |
| CN109310412B (en) | 2022-05-27 |
| Publication | Publication Date | Title |
|---|---|---|
| JP6882327B2 (en) | Surgical staple system with shiftable transmission | |
| JP6965264B2 (en) | Surgical staple fastening system with jaw closure lockout | |
| CN109310436B (en) | Circular stapling system including incisable tissue supports | |
| JP6957500B2 (en) | Circular staple fastening system including load control | |
| JP7010837B2 (en) | Surgical staple system configured to provide selective cutting of tissue | |
| JP6926110B2 (en) | Surgical staple fastening system with jaw mounting lockout | |
| JP6926111B2 (en) | Surgical staple fastening system with unclamp lockout | |
| JP7387784B2 (en) | end effector | |
| JP7010839B2 (en) | Staple cartridge with non-invasive features | |
| JP6957499B2 (en) | Surgical staple system with used cartridge lockout | |
| JP6995773B2 (en) | Modular surgical staple fastening system with display | |
| JP7003052B2 (en) | Surgical staple system with display including reorientable display field | |
| JP6921853B2 (en) | Circular staple fastening system including rotary launch system | |
| JP6965265B2 (en) | Surgical staple fastening system with tissue compression lockout |
| Date | Code | Title | Description |
|---|---|---|---|
| A621 | Written request for application examination | Free format text:JAPANESE INTERMEDIATE CODE: A621 Effective date:20200327 | |
| A131 | Notification of reasons for refusal | Free format text:JAPANESE INTERMEDIATE CODE: A131 Effective date:20210323 | |
| A977 | Report on retrieval | Free format text:JAPANESE INTERMEDIATE CODE: A971007 Effective date:20210326 | |
| A521 | Request for written amendment filed | Free format text:JAPANESE INTERMEDIATE CODE: A523 Effective date:20210621 | |
| TRDD | Decision of grant or rejection written | ||
| A01 | Written decision to grant a patent or to grant a registration (utility model) | Free format text:JAPANESE INTERMEDIATE CODE: A01 Effective date:20211116 | |
| A61 | First payment of annual fees (during grant procedure) | Free format text:JAPANESE INTERMEDIATE CODE: A61 Effective date:20211215 | |
| R150 | Certificate of patent or registration of utility model | Ref document number:6995773 Country of ref document:JP Free format text:JAPANESE INTERMEDIATE CODE: R150 | |
| R250 | Receipt of annual fees | Free format text:JAPANESE INTERMEDIATE CODE: R250 |