



本発明は、全固体電池、および全固体電池の製造方法に関する。 The present invention relates to an all-solid-state battery and a method for manufacturing an all-solid-state battery.
リチウム二次電池は、各種二次電池の中でもエネルギー密度が高いことで知られている。しかし一般に普及しているリチウム二次電池は、電解質に可燃性の有機電解液を用いているため、リチウム二次電池では、液漏れ、短絡、過充電などに対する安全対策が他の電池よりも厳しく求められている。そこで近年、電解質に酸化物系や硫化物系の固体電解質を用いた全固体電池に関する研究開発が盛んに行われている。固体電解質は、固体中でイオン伝導が可能なイオン伝導体を主体として構成される材料であり、従来のリチウム二次電池のように可燃性の有機電解液に起因する各種問題が原理的に発生しない。 Lithium secondary batteries are known to have the highest energy density among various secondary batteries. However, since lithium secondary batteries, which are widely used, use a flammable organic electrolyte as the electrolyte, safety measures against liquid leakage, short circuit, overcharge, etc. are stricter in lithium secondary batteries than in other batteries. It has been demanded. Therefore, in recent years, research and development on an all-solid-state battery using an oxide-based or sulfide-based solid electrolyte as an electrolyte has been actively carried out. The solid electrolyte is a material composed mainly of an ionic conductor capable of ionic conduction in a solid, and in principle, various problems caused by a flammable organic electrolyte solution like a conventional lithium secondary battery occur. do not.
全固体電池は層状の正極(正極層)と層状の負極(負極層)との間に層状の固体電解質(固体電解質層)が狭持されてなる一体的な焼結体(以下、積層電極体とも言う)に集電体を形成した構造を有している。積層電極体の製造方法としては周知のグリーンシートを用いた方法がある。概略的には、焼結性を有する正極活物質と焼結して結晶化するとイオン伝導体となる非晶質の固体電解質を含むスラリー状の正極層材料、焼結性を有する負極活物質と固体電解質を含むスラリー状の負極層材料、および固体電解質を含むスラリー状の電解質層材料をそれぞれグリーンシートに成形するとともに、電解質層材料のグリーンシートを正極層材料と負極層材料のグリーンシートで挟持した積層体を焼成して焼結体にすることで作製される。 An all-solid-state battery is an integral sintered body (hereinafter referred to as a laminated electrode body) in which a layered solid electrolyte (solid electrolyte layer) is sandwiched between a layered positive electrode (positive electrode layer) and a layered negative electrode (negative electrode layer). It also has a structure in which a current collector is formed. As a method for manufacturing the laminated electrode body, there is a method using a well-known green sheet. Generally, a slurry-like positive electrode layer material containing an amorphous solid electrolyte that becomes an ionic conductor when sintered and crystallized with a positive electrode active material having sinterability, and a negative electrode active material having sinterability. A slurry-like negative electrode layer material containing a solid electrolyte and a slurry-like electrolyte layer material containing a solid electrolyte are each formed into a green sheet, and the green sheet of the electrolyte layer material is sandwiched between the positive electrode layer material and the green sheet of the negative electrode layer material. It is produced by firing the laminated body to form a sintered body.
なお各層のグリーンシートを作製する方法としては、周知のドクターブレード法がある。ドクターブレード法では、焼成前の無機酸化物などのセラミックス粉体にバインダー(ポリビニルアルコール(PVA)、ポリビニルブチラール (PVB)、ポリフッ化ビニリデン(PVDF)、アクリル、エチルメチルセルロースなど)および溶剤(無水アルコールなど)を混合して得たスラリーを塗布工程あるいは印刷工程により薄板状に成形してグリーンシートを作製する。そしてスラリーに含ませるセラミック粉体として正極活物質、固体電解質、および負極活物質のそれぞれの粉体を用いる。 As a method for producing a green sheet for each layer, there is a well-known doctor blade method. In the doctor blade method, a binder (polyvinyl alcohol (PVA), polyvinyl butyral (PVB), polyvinylidene fluoride (PVDF), acrylic, ethyl methyl cellulose, etc.) and a solvent (anhydrous alcohol, etc.) are added to ceramic powder such as inorganic oxide before firing. ) Is mixed and molded into a thin plate by a coating step or a printing step to prepare a green sheet. Then, as the ceramic powder to be contained in the slurry, each powder of the positive electrode active material, the solid electrolyte, and the negative electrode active material is used.
全固体電池に用いられる固体電解質としては、以下の非特許文献1にも記載されているように、一般式LiaXbYcPdOeで表されるNASICON型酸化物などがあり、当該NASICON型酸化物系の固体電解質としては、以下の特許文献1に記載されている、Li1.5Al0.5Ge1.5(PO4)3(以下、LAGPとも言う)がよく知られている。The solid electrolyte used for the all-solid-state battery, as also described in Non-Patent Document 1 below, include the general formulaLi aX bY c NASICON type oxide represented byP dO e, As the NASICON type oxide-based solid electrolyte, Li1.5 Al0.5 Ge1.5 (PO4 )3 (hereinafter, also referred to as LAGP) described in Patent Document 1 below is well known. Has been done.
正極活物質や負極活物質(以下、総称して電極活物質とも言う)としては従来のリチウム二次電池に使用されていた材料を使用することができる。例えば、以下の非特許文献1には、リチウム二次電池用の正極活物質としてよく知られているリン酸バナジウムリチウム(Li3V2(PO4)3、以下LVPとも言う)の製造方法について記載されている。負極活物質としては酸化チタン(TiO2)などがよく知られている。また全固体電池では可燃性の電解液を用いないことから、より高い電位差が得られる電極活物質についても研究されている。なお、以下の特許文献2には全固体電池の基本的な製造方法について記載されている。また、非特許文献2には全固体電池の概要について記載されている。As the positive electrode active material and the negative electrode active material (hereinafter, also collectively referred to as electrode active materials), materials used in conventional lithium secondary batteries can be used.For example, Non-Patent Document 1 below describes a method for producing lithium vanadium phosphate (Li 3 V2 (PO4 )3 , hereinafter also referred to as LVP), which is well known as a positive electrode active material for lithium secondary batteries. Have been described.Titanium oxide (TiO 2 ) and the like are well known as the negative electrode active material. In addition, since the all-solid-state battery does not use a flammable electrolyte, an electrode active material capable of obtaining a higher potential difference is also being studied. The following Patent Document 2 describes a basic manufacturing method of an all-solid-state battery. Further, Non-Patent Document 2 describes an outline of an all-solid-state battery.
従来の全固体電池は、収縮率の異なる材料からなるグリーンシートを積層した積層体を焼成することで作製される。そのため、電極積層体を焼成する際に割れや反りが発生する可能性がある。肉眼で目視できるほどの巨視的な割れや反りが発生しなくても、収縮率が異なる材料同士を圧着させた状態で焼成すれば、その異種材料が接触する界面にひび(クラック)や剥がれが発生する可能性がある。積層電極体における層間の界面にクラックや剥がれが発生すれば、層間でのイオン伝導が阻害され全固体電池の特性が劣化する。そのため、従来の全固体電池の製造方法では、焼成前の各層のグリーンシートにフィラー含ませることで、各層を確実に焼結させつつ、層間での収縮率を制御している。しかしフィラーはイオン伝導や充放電に関わる電気化学反応に寄与しない物質であり、フィラーを含む電極層材料を焼結させると、却ってイオン伝導性が劣化したり容量が低下したりして、目的とする電池性能が得られなくなる可能性がある。したがって、グリーンシート中のフィラーの量を調整する手法に代え、積層電極体の層間にクラックや剥がれが発生し難い構造を備えた全固体電池や、その構造を備えた全固体電池を得るための製造方法が必要となる。 A conventional all-solid-state battery is manufactured by firing a laminate in which green sheets made of materials having different shrinkage rates are laminated. Therefore, cracks and warpage may occur when the electrode laminate is fired. Even if macroscopic cracks and warpage that can be seen with the naked eye do not occur, if materials with different shrinkage rates are fired in a state of pressure bonding, cracks and peeling will occur at the interface where the different materials come into contact. It can occur. If cracks or peeling occur at the interface between layers in the laminated electrode body, ionic conduction between layers is hindered and the characteristics of the all-solid-state battery deteriorate. Therefore, in the conventional method for manufacturing an all-solid-state battery, the green sheet of each layer before firing contains a filler to ensure that each layer is sintered and the shrinkage rate between layers is controlled. However, the filler is a substance that does not contribute to the electrochemical reaction related to ionic conduction and charge / discharge, and when the electrode layer material containing the filler is sintered, the ionic conductivity deteriorates or the capacity decreases, which is the purpose. There is a possibility that the battery performance will not be obtained. Therefore, instead of the method of adjusting the amount of filler in the green sheet, it is possible to obtain an all-solid-state battery having a structure in which cracks and peeling are unlikely to occur between the layers of the laminated electrode body, and an all-solid-state battery having that structure. A manufacturing method is required.
さらに、上述したように、全固体電池では可燃性の電解液を用いないことから、より高い電圧が得られる電極活物質を使うことも検討されている。しかし、それらの電極活物質を備えた全固体電池を実際に電子機器に適用する場合、電池の機器側の要求に応じて様々な電圧の電池を提供することが難しくなる。すなわち、一般的な電池では、機器側が要求する電圧が高い場合には、複数の電池を直列接続することで対応することができる。しかし、電池自体の電圧が高い場合には、機器側に電圧を制御する回路が必要となり、機器のコストダウンや小型化が難しくなる。 Further, as described above, since the all-solid-state battery does not use a flammable electrolytic solution, it is also considered to use an electrode active material that can obtain a higher voltage. However, when an all-solid-state battery provided with these electrode active materials is actually applied to an electronic device, it becomes difficult to provide a battery having various voltages according to the demand of the battery device side. That is, in a general battery, when the voltage required by the device side is high, it can be dealt with by connecting a plurality of batteries in series. However, when the voltage of the battery itself is high, a circuit for controlling the voltage is required on the device side, which makes it difficult to reduce the cost and size of the device.
そこで本発明は、割れや反り、あるいは層間におけるクラックや剥がれがなく、焼結性に優れた積層電極体を備えるとともに、電極活物質によって決定される本来の動作電圧よりも低い電圧で動作させることができる全固体電池、およびその全固体電池の製造方法を提供することを目的としている。 Therefore, the present invention provides a laminated electrode body having excellent sinterability without cracking or warping, or cracking or peeling between layers, and operates at a voltage lower than the original operating voltage determined by the electrode active material. It is an object of the present invention to provide an all-solid-state battery capable of producing an all-solid-state battery, and a method for manufacturing the all-solid-state battery.
  上記目的を達成するための本発明は、一体的な焼結体で層状の正極層と負極層との間に層状の固体電解質層が狭持されてなる積層電極体を備えた全固体電池であって、
前記積層電極体は、前記正極層および前記負極層と、前記固体電解質層との界面領域の密度が他の領域よりも相対的に低く、
前記固体電解質層は、厚さ方向について、前記界面領域に接する表層側の密度に対して中央側の密度が高く、
前記中央側の密度は、理論密度の90%以上である、
  ことを特徴とする全固体電池としている。The present invention for achieving the above object is an all-solid-state battery provided with a laminated electrode body in which a layered solid electrolyte layer is sandwiched between a layered positive electrode layer and a negative electrode layer in an integral sintered body. There,
In the laminated electrode body, the density of the interface region between the positive electrode layer and the negative electrode layer and the solid electrolyte layer is relatively lower than that of the other regions.
The solid electrolyte layer has a higher density on the central side than the density on the surface layer side in contact with the interface region in the thickness direction.
The density on the central side is 90% or more of the theoretical density.
 It is an all-solid-state battery characterized by this.
前記固体電解質層は、前記表層側の密度が、理論密度の70%以上90%未満である全固体電池とすればより好ましい。The solid body electrolyte layer, the density of the surface layer side, more preferably if the all-solid-state cell is 70% or more and less than 90% of the theoretical density.
上記全固体電池の製造方法も本発明の範囲であって、当該製造方法は、
  正極活物質の粉体と固体電解質の粉体とバインダーとを含むスラリー状の正極層材料をシート状の正極層シートに成形する正極層シート作製ステップと、
  負極活物質の粉体と固体電解質の粉体とバインダーとを含むスラリー状の負極極層材料をシート状の負極層シートに成形する負極層シート作製ステップと、
  前記固体電解質の粉体とバインダーとを含むスラリー状の電解質層材料をシート状の電解質層シートに成形する電解質層シート作製ステップと、
  前記正極層シート、前記電解質層シート、および前記負極層シートをこの順に積層してなる積層体を厚さ方向に圧着するとともに、圧着後の前記積層体を焼成することで前記積層電極体を作製する焼成ステップと、
  を含み、
  前記電解質層シート作製ステップでは、前記積層電極体中の前記固体電解質層における厚さ方向について、前記正極層および負極層と接する表層側の密度を中央側の密度よりも低くするための密度調整ステップを実行し、
  前記密度調整ステップでは、前記電解質層シートの前記表層側のバインダーの量を前記中央側のバインダーの量よりも多くする、
  ことを特徴とする全固体電池の製造方法としている。The manufacturing method of the above-mentioned all- solid-state battery is also within the scope of the present invention, and the manufacturing method is
 A step of forming a positive electrode layer sheet in which a slurry-like positive electrode layer material containing a powder of a positive electrode active material, a powder of a solid electrolyte, and a binder is formed into a sheet-like positive electrode layer sheet, and a step of producing a positive electrode layer sheet.
 A step of forming a negative electrode layer sheet in which a slurry-like negative electrode electrode layer material containing a powder of a negative electrode active material, a powder of a solid electrolyte, and a binder is formed into a sheet-like negative electrode layer sheet, and a step of preparing the negative electrode layer sheet.
 A step of forming an electrolyte layer sheet in which a slurry-like electrolyte layer material containing the solid electrolyte powder and a binder is formed into a sheet-like electrolyte layer sheet, and a step of preparing the electrolyte layer sheet.
 The laminated electrode body is produced by crimping a laminate obtained by laminating the positive electrode layer sheet, the electrolyte layer sheet, and the negative electrode layer sheet in this order in the thickness direction, and firing the laminated body after the crimping. Baking step and
 Including
 In the electrolyte layer sheet preparation step, the density adjustment step for making the density on the surface layer side in contact with the positive electrode layer and the negative electrode layer lower than the density on the central side in the thickness direction of the solid electrolyte layer in the laminated electrode body. And
 In the density adjustment step, the amount of the binder on the surface layer side of the electrolyte layer sheet is made larger than the amount of the binder on the central side.
 This is a method for manufacturing an all-solid-state battery.
  上記全固体電池の製造方法は、
  正極活物質の粉体と固体電解質の粉体とバインダーとを含むスラリー状の正極層材料をシート状の正極層シートに成形する正極層シート作製ステップと、
  負極活物質の粉体と固体電解質の粉体とバインダーとを含むスラリー状の負極極層材料をシート状の負極層シートに成形する負極層シート作製ステップと、
  前記固体電解質の粉体とバインダーとを含むスラリー状の電解質層材料をシート状の電解質層シートに成形する電解質層シート作製ステップと、
  前記正極層シート、前記電解質層シート、および前記負極層シートをこの順に積層してなる積層体を厚さ方向に圧着するとともに、圧着後の前記積層体を焼成することで前記積層電極体を作製する焼成ステップと、
  を含み、
前記電解質層シート作製ステップでは、前記積層電極体中の前記固体電解質層における厚さ方向について、前記正極層および負極層と接する表層側の密度を中央側の密度よりも低くするための密度調整ステップを実行し、
  前記密度調整ステップでは、前記電解質層シートの前記表層側の固体電解質の粉体の粒径を前記中央側の固体電解質の粒径よりも大きくする、
  ことを特徴とする全固体電池の製造方法とすることもできる。The method for manufacturing the above-mentioned all-solid-state battery is as follows.
 A step of forming a positive electrode layer sheet in which a slurry-like positive electrode layer material containing a powder of a positive electrode active material, a powder of a solid electrolyte, and a binder is formed into a sheet-like positive electrode layer sheet, and a step of producing a positive electrode layer sheet.
 A step of forming a negative electrode layer sheet in which a slurry-like negative electrode electrode layer material containing a powder of a negative electrode active material, a powder of a solid electrolyte, and a binder is formed into a sheet-like negative electrode layer sheet, and a step of preparing the negative electrode layer sheet.
 An electrolyte layer sheet preparation step of molding a slurry-like electrolyte layer material containing the solid electrolyte powder and a binder into a sheet-like electrolyte layer sheet.
 The laminated electrode body is produced by crimping a laminate obtained by laminating the positive electrode layer sheet, the electrolyte layer sheet, and the negative electrode layer sheet in this order in the thickness direction, and firing the laminated body after the crimping. Baking step and
 Including
In the electrolyte layer sheet preparation step, the density adjustment step for making the density on the surface layer side in contact with the positive electrode layer and the negative electrode layer lower than the density on the central side in the thickness direction of the solid electrolyte layer in the laminated electrode body. And
 In the density adjustment step, the particle size of the solid electrolyte powder on the surface layer side of the electrolyte layer sheet is made larger than the particle size of the solid electrolyte on the central side.
 It can also be a method for manufacturing an all-solid-state battery characterized by this.
  そして、前記電解質層シート作製ステップでは、ドクターブレード法によって前記電解質層材料を一回塗工することで得た1層分の塗工シートを複数層分積層して前記電解質層シートを作製し、
  前記密度調整ステップでは、前記電解質層シートを構成する複数層の前記塗工シートのそれぞれの前記電解質層材料の密度を調整することで、前記固体電解質層における前記正極層および負極層との界面側の密度を厚さ方向の中央側の密度よりも低くする、
  ことを特徴とする全固体電池の製造方法とすることもできる。Then, in the step of producing the electrolyte layer sheet, the electrolyte layer sheet is produced by laminating a plurality of layers of the coating sheet for one layer obtained by applying the electrolyte layer material once by the doctor blade method.
 In the density adjustment step, the density of the electrolyte layer material of each of the plurality of layers of the coating sheet constituting the electrolyte layer sheet is adjusted to adjust the density of the electrolyte layer material on the interface side between the positive electrode layer and the negative electrode layer in the solid electrolyte layer. Is lower than the density on the central side in the thickness direction,
 It can also be a method for manufacturing an all-solid-state battery characterized by this.
本発明に係る全固体電池は、積層電極体の割れや反り、あるいは正極層と固体電解質層、および負極層と固体電解質層の界面における割れや剥がれがなく、焼結性の高い積層電極体を備えている。それによって積層電極体における層間でのイオン伝導度が高く、特性に優れたものとなる。また、電極活物質によって決定される本来の動作電圧よりも低い電圧で動作させることができる。それによって、全固体電池を使用する機器側に電圧を制御する回路が不要となり、さまざまな機器の電源として使用することができる。 The all-solid-state battery according to the present invention is a laminated electrode body having high sinterability without cracking or warping of the laminated electrode body or cracking or peeling at the interface between the positive electrode layer and the solid electrolyte layer and the negative electrode layer and the solid electrolyte layer. I have. As a result, the ionic conductivity between layers in the laminated electrode body is high, and the characteristics are excellent. In addition, it can be operated at a voltage lower than the original operating voltage determined by the electrode active material. This eliminates the need for a voltage control circuit on the device side that uses the all-solid-state battery, and can be used as a power source for various devices.
本発明に係る全固体電池の製造方法によれば、積層電極体の割れや反り、あるいは正極層と固体電解質層、および負極層と固体電解質層の界面における割れや剥がれがなく、焼結性の高い積層電極体を作製することができる。また、本来の動作電圧よりも低い電圧で動作する全固体電池を作製することができる。なお、その他の効果については以下の記載で明らかにする。 According to the method for manufacturing an all-solid-state battery according to the present invention, there is no cracking or warping of the laminated electrode body, or cracking or peeling at the interface between the positive electrode layer and the solid electrolyte layer, and the negative electrode layer and the solid electrolyte layer, and the sintered property is sinterable. A high laminated electrode body can be produced. In addition, an all-solid-state battery that operates at a voltage lower than the original operating voltage can be manufactured. Other effects will be clarified in the following description.
===本発明の実施例===
  本発明の実施例に係る全固体電池は、積層電極体を構成する正極層、固体電解質層、および負極層の熱収縮率が異なることに起因する割れや反り、あるいは積層電極体における各層間でのクラックや剥がれが発生し難い構造を有している。図1に、本発明の実施例に係る全固体電池1の概略構造を示した。なお、図1では積層電極体10における正極層11、固体電解質層13、および負極層12の各層の積層方向を含む面で切断したときの断面(以下、積層断面とも言う)を拡大して示した。=== Examples of the present invention ===
 The all-solid-state battery according to the embodiment of the present invention is cracked or warped due to different heat shrinkage rates of the positive electrode layer, the solid electrolyte layer, and the negative electrode layer constituting the laminated electrode body, or between each layer of the laminated electrode body. It has a structure in which cracks and peeling are unlikely to occur. FIG. 1 shows a schematic structure of the all-solid-state battery 1 according to the embodiment of the present invention. Note that FIG. 1 shows an enlarged cross section (hereinafter, also referred to as a laminated cross section) of the
  図示したように、全固体電池1は、積層電極体10における各層(11〜13)の積層方向を上下方向とすると、積層電極体10の最上層と最下層に金属箔などからなる電極集電体20を形成した構造を有している。そして本実施例の全固体電池1では、積層電極体10における正極層11と固体電解質層13との界面、および固体電解質層13と負極層12との界面が互いに入り組んだ状態になっており、固体電解質層13と電極層(11、12)とが、積層電極体10の積層方向にわたって混在する領域が存在する。したがって、本実施例の全固体電池1では、固体電解質層13と電極層(11、12)との界面に巨視的な凹凸構造を確認することができる。すなわち、積層断面をSEMなどを用いて高倍率で観察することで確認できる、セラミック粉体の粒子サイズ程度の微視的な凹凸構造とは明確に異なっている。  As shown in the figure, in the all-solid-state battery 1, when the stacking direction of each layer (11 to 13) in the
  そして、この入り組んだ領域(以下、界面領域30a、30bとも言う)では、積層電極体10の各層間(11−13、12−13)が平坦な界面で接触する従来の全固体電池における積層電極体に対し、接触面積を大きくすることができ、その結果、各層間での接着強度が増大する。それによって、積層電極体10自体の割れや反りはもちろん、積層電極体10の各層間(11−13、12−13)の界面でのクラックや剥がれが発生し難くなっている。以下では、図1に示した積層電極体10を備えた全固体電池1の作製手順や、当該全固体電池1の特性などについて説明する。  Then, in this intricate region (hereinafter, also referred to as
====全固体電池の作製方法===
  本発明の実施例に係る全固体電池の製造方法として、グリーンシート法を用いるとともに、固体電解質にLAGP、正極活物質にLVP、負極活物質に酸化チタンを用いた全固体電池の製造方法を挙げる。なお、全固体電池の要部である積層電極体を構成する正極層、固体電解質層、および負極層の各層にはLAGPを含ませる必要があることから、以下では、まず各層のグリーンシートに含ませるLAGPの作製手順の一例と、各層のグリーンシートの作製手順の一例を示し、その上で全固体電池の製造手順を示す。==== How to make an all-solid-state battery ===
 As a method for producing an all-solid-state battery according to an embodiment of the present invention, a green sheet method is used, and a method for producing an all-solid-state battery using LAGP as a solid electrolyte, LVP as a positive electrode active material, and titanium oxide as a negative electrode active material is mentioned. .. Since it is necessary to include LAGP in each of the positive electrode layer, the solid electrolyte layer, and the negative electrode layer constituting the laminated electrode body which is a main part of the all-solid-state battery, the following first includes them in the green sheet of each layer. An example of a procedure for producing a LAGP and an example of a procedure for producing a green sheet for each layer are shown, and then an all-solid-state battery manufacturing procedure is shown.
<LAGPの作製手順>
  図2にLAGPの作製手順を示した。まずLAGPの原料となるLi2CO3、Al2O3、GeO2、NH4H2PO4の粉末を所定の組成比になるように秤量して磁性乳鉢やボールミルで混合し(s1)、その混合物をアルミナルツボなどに入れて300℃〜400℃の温度で3h〜5hの時間を掛けて仮焼成する(s2)。仮焼成によって得られた仮焼き粉体を1200℃〜1400℃の温度で1h〜2h熱処理することで、仮焼き粉体を溶解させる(s3)。そしてその溶解した試料を急冷してガラス化することで、非晶質のLAGPからなる粉体を得る(s4)。つぎにその非晶質のLAGP粉体を200μm以下の粒子径となるように粗解砕し(s5)、その粗解砕された固体電解質の粉体をボールミルなどの粉砕装置を用いて粉砕することで、LAGPの粉体を目的の粒径(メジアン径)xとなるように調整する。ここでは、電解質層材料に含ませる非晶質のLAGP粉体(以下、電解質粉体とも言う)については2μm≦x≦5μmとなるように調整し、正極層材料と負極層材料(以下、総称して電極層材料とも言う)に含ませる電解質粉体については、粉体状の電極活物質の粒子間に電解質粉体を介在させて電極層のイオン伝導性を確保する必要があることから、固体電解質層よりも細かい0.2μm≦x≦1.0μmに調整した。<Procedure for manufacturing LAGP>
 FIG. 2 shows the procedure for producing LAGP.First, the powders of Li 2 CO3 , Al2 O3 , GeO2 , and NH4 H2 PO4 , which are the raw materials of LAGP, are weighed so as to have a predetermined composition ratio and mixed in a magnetic mortar or a ball mill (s1). The mixture is placed in an alumina crucible or the like and calcined at a temperature of 300 ° C. to 400 ° C. for 3 hours to 5 hours (s2). The calcined powder obtained by calcining is heat-treated at a temperature of 1200 ° C. to 1400 ° C. for 1 h to 2 hours to dissolve the calcined powder (s3). Then, the dissolved sample is rapidly cooled and vitrified to obtain a powder made of amorphous LAGP (s4). Next, the amorphous LAGP powder is roughly crushed so as to have a particle size of 200 μm or less (s5), and the coarsely crushed solid electrolyte powder is crushed using a crushing device such as a ball mill. This adjusts the LAGP powder so that it has the desired particle size (median diameter) x. Here, the amorphous LAGP powder (hereinafter, also referred to as electrolyte powder) to be contained in the electrolyte layer material is adjusted so as to be 2 μm ≦ x ≦ 5 μm, and the positive electrode layer material and the negative electrode layer material (hereinafter, generically referred to). As for the electrolyte powder contained in the electrode layer material), it is necessary to interpose the electrolyte powder between the particles of the powdery electrode active material to ensure the ionic conductivity of the electrode layer. The size was adjusted to 0.2 μm ≦ x ≦ 1.0 μm, which is finer than that of the solid electrolyte layer.
<グリーンシートの作製手順>
  次に正極層のグリーンシート(以下、正極層シートとも言う)、負極層のグリーンシート(以下、負極層シートとも言う)、および固体電解質層のグリーンシート(以下、電解質層シートとも言う)の作製手順について説明する。各層のグリーンシートは、スラリー状の材料に含ませるセラミック粉体の種類が異なること以外は同様の手順で作製することができる。図3に各層のグリーンシートのうち、電解質層シートの作製手順を示した。<Procedure for making green sheet>
 Next, preparation of a green sheet for the positive electrode layer (hereinafter, also referred to as a positive electrode layer sheet), a green sheet for the negative electrode layer (hereinafter, also referred to as a negative electrode layer sheet), and a green sheet for a solid electrolyte layer (hereinafter, also referred to as an electrolyte layer sheet). The procedure will be described. The green sheet of each layer can be produced by the same procedure except that the type of ceramic powder contained in the slurry-like material is different. FIG. 3 shows the procedure for producing the electrolyte layer sheet among the green sheets of each layer.
まず、バインダー(PVDFなど)を上述した電解質粉体に対し20wt%〜30wt%添加するとともに、溶媒としてエタノールなどの無水アルコールを電解質粉体に対し30wt%〜50wt%添加し、ペースト状の電解質層材料の原料を混合する(s11)。電解質層材料の原料を均一に混合してペースト状の電解質層材料を得るために、当該原料をボールミルで20h混合する(s12)。 First, a binder (PVDF or the like) is added in an amount of 20 wt% to 30 wt% to the above-mentioned electrolyte powder, and an anhydrous alcohol such as ethanol is added as a solvent in an amount of 30 wt% to 50 wt% to the electrolyte powder to form a paste-like electrolyte layer. The raw materials of the material are mixed (s11). In order to uniformly mix the raw materials of the electrolyte layer material to obtain a paste-like electrolyte layer material, the raw materials are mixed in a ball mill for 20 hours (s12).
ペースト状の電解質層材料を真空中にて脱泡した後(s13)、その電解質層材料をドクターブレード法にてPETフィルム上に塗工し、シート状に成形された1層分の電解質層材料(以下、塗工シートとも言う)を得る(s14)。また電解質層シートを目的の厚さに調整するために、一回の塗工で得られた1枚の塗工シートを所定の層数分積層する(s15→s14)。なお、本実施例では、バインダーの量が異なる二種類の電解質層材料を作製しておき、シート状の電解質層シートの厚さ方向において、表層側の塗工シート(例えば、表層側の1層分の塗工シート)と中央側の塗工シートとでは、塗工工程において用いた電解質層材料中のバインダーの割合が異なっている。それによって、焼成後の積層電極体における固体電解質層は、表層側と中央側の密度に差が生じる。そして、塗工工程を繰り返し、電解質層材料が目的の厚さのシートに成形されたならば、そのシートをプレス圧着し(s15→s16)、その圧着後のシートを所定の平面サイズに裁断して電解質層シートを完成させる(s17)。 After defoaming the paste-like electrolyte layer material in vacuum (s13), the electrolyte layer material is coated on a PET film by the doctor blade method, and one layer of the electrolyte layer material is formed into a sheet. (Hereinafter, also referred to as a coating sheet) is obtained (s14). Further, in order to adjust the electrolyte layer sheet to a desired thickness, one coating sheet obtained by one coating is laminated by a predetermined number of layers (s15 → s14). In this embodiment, two types of electrolyte layer materials having different amounts of binder are prepared, and the coating sheet on the surface layer side (for example, one layer on the surface layer side) is prepared in the thickness direction of the sheet-shaped electrolyte layer sheet. The proportion of the binder in the electrolyte layer material used in the coating process is different between the coating sheet) and the coating sheet on the center side. As a result, the density of the solid electrolyte layer in the laminated electrode body after firing has a difference between the surface layer side and the center side. Then, the coating process is repeated, and when the electrolyte layer material is formed into a sheet having a desired thickness, the sheet is press-crimped (s15 → s16), and the crimped sheet is cut into a predetermined plane size. To complete the electrolyte layer sheet (s17).
なお、正極層シートおよび負極層シートについては、電解質粉体と同程度の粒径を有する粉体状の電極活物質と電解質粉体を50:50の質量比で混合したセラミック粉体を用いるとともに、バインダーの量を一定とした以外は上述した電解質層シートと同様の手順で作製することができる。また、セラミック粉体として電極材料に含ませる電極活物質については、セラミック材料を扱うメーカーがサンプルあるいは製品として提供しているものを使用することができる。とくに、負極活物質として用いる酸化チタンについては製品として提供されている。LVPについては、上記非特許文献1に記載の方法で作製することもできる。 For the positive electrode layer sheet and the negative electrode layer sheet, a ceramic powder obtained by mixing a powdery electrode active material having a particle size similar to that of the electrolyte powder and the electrolyte powder in a mass ratio of 50:50 is used. , It can be produced by the same procedure as the above-mentioned electrolyte layer sheet except that the amount of the binder is constant. Further, as the electrode active material to be contained in the electrode material as the ceramic powder, a material provided as a sample or a product by a manufacturer handling the ceramic material can be used. In particular, titanium oxide used as a negative electrode active material is provided as a product. LVP can also be produced by the method described in Non-Patent Document 1 above.
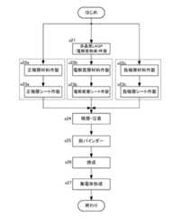
<全固体電池の作製手順>
  以下に、本発明の実施例に係る全固体電池の作製手順全般について説明する。図4に全固体電池の作製手順を示した。まず、図2に示した手順などによって電解質粉体を作製するとともに(s21)、図3に示した手順に基づいて正極層、固体電解質層、および負極層の各層の材料とグリーンシートを作製する(s22a〜s22c、s23a〜s23c)、次に、正極層シート、電解質層シート、および負極層シートをこの順に積層してなる積層体を所定の条件(例えば、圧力100kg/cm2、温度60℃、時間30min)にて圧着する(s24)。そして圧着後の積層体を熱処理してバインダーを除去する脱バインダー工程を行う(s25)。ここでは、大気雰囲気中で400℃、10hの条件で熱処理した。脱バインダー工程を得た積層体を、酸素を含まない窒素雰囲気で、600℃、2hの条件で焼成する(s26)。それによって、焼結体である積層電極体が得られる。そして、図1に示したように、積層電極体10の積層方向を上下方向として、当該積層電極体10の最上層と最下層の表面にスパッタリングや蒸着によって金などの金属からなる薄膜を形成して集電体20を形成し、全固体電池1を完成させる(s27)。<Procedure for manufacturing all-solid-state batteries>
 The overall procedure for manufacturing the all-solid-state battery according to the embodiment of the present invention will be described below. FIG. 4 shows a procedure for manufacturing an all-solid-state battery. First, the electrolyte powder is prepared by the procedure shown in FIG. 2 (s21), and the materials and green sheets of the positive electrode layer, the solid electrolyte layer, and the negative electrode layer are prepared based on the procedure shown in FIG. (S22a to s22c, s23a to s23c) Next, a laminate obtained by laminating a positive electrode layer sheet, an electrolyte layer sheet, and a negative electrode layer sheet in this order is provided under predetermined conditions (for example, pressure 100 kg / cm2 , temperature 60 ° C.). , Time 30 min) for crimping (s24). Then, a debinder step is performed to remove the binder by heat-treating the laminated body after crimping (s25). Here, the heat treatment was performed in the atmosphere at 400 ° C. for 10 hours. The laminate obtained by the debindering step is calcined in a nitrogen atmosphere containing no oxygen at 600 ° C. for 2 hours (s26). As a result, a laminated electrode body which is a sintered body is obtained. Then, as shown in FIG. 1, a thin film made of a metal such as gold is formed on the surfaces of the uppermost layer and the lowermost layer of the
===特性評価===
<サンプル>
  本発明の実施例に係る全固体電池の特性を評価するために、焼成後の積層電極体を構成する固体電解質層において、厚さ方向の密度の分布がそれぞれに異なる全固体電池をサンプルとして作製した。ここでは、固体電解質層の密度を厚さ方向の表層側と中央側とで変えた。固体電解質層の厚さ方向の密度については、上述したように、塗工シートを複数層積層して電解質層シートを作製する際、電極層との界面となる表層側の塗工シートと中央側の塗工シートのそれぞれにおける電解質層材料のバインダーの割合を変えることで調整した。すなわち、密度を低くする場合には電極層材料中のバインダーの割合を多くし、密度を高める場合はバインダーの割合を少なくした。なお、電極層の密度については、焼結後の積層電極体の状態で、理論密度の90%となるように調整した。=== Characteristic evaluation ===
 <Sample>
 In order to evaluate the characteristics of the all-solid-state battery according to the embodiment of the present invention, an all-solid-state battery having a different density distribution in the thickness direction was prepared as a sample in the solid electrolyte layer constituting the laminated electrode body after firing. bottom. Here, the density of the solid electrolyte layer was changed between the surface layer side and the center side in the thickness direction. Regarding the density of the solid electrolyte layer in the thickness direction, as described above, when a plurality of coating sheets are laminated to prepare an electrolyte layer sheet, the coating sheet on the surface layer side and the center side, which are interfaces with the electrode layer, are formed. It was adjusted by changing the ratio of the binder of the electrolyte layer material in each of the coating sheets of. That is, when the density was lowered, the proportion of the binder in the electrode layer material was increased, and when the density was increased, the proportion of the binder was decreased. The density of the electrode layer was adjusted to 90% of the theoretical density in the state of the laminated electrode body after sintering.
そして、各サンプルについて、固体電解質層と電極層との界面領域における空隙率と、積層電極体における各層間でのイオン伝導性の指標となるインピーダンスとを調べた。インピーダンスについては、周知の交流インピーダンス測定法によって調べた。すなわち、交流インピーダンスを測定することによって得られた複素インピーダンスプロットから固体電解質層と電極層との間の界面抵抗に相当するインピーダンスを算出した。 Then, for each sample, the porosity in the interface region between the solid electrolyte layer and the electrode layer and the impedance which is an index of the ionic conductivity between each layer in the laminated electrode body were investigated. Impedance was investigated by a well-known AC impedance measurement method. That is, the impedance corresponding to the interfacial resistance between the solid electrolyte layer and the electrode layer was calculated from the complex impedance plot obtained by measuring the AC impedance.
空隙率については、走査型電子顕微鏡(SEM:Scanning Electron Microscope)の撮影画像から算出した。具体的には、焼結後の積層電極体を積層方向を含む面で切断し、その切断面を研磨した。そして、その切断面をSEMで撮影し、撮影画像における電極層と固体電解質層とが入り組んでいる界面領域の面積と当該界面領域にける空隙の面積の割合から空隙率(%)を求めた。なお、各サンプルの特性を評価するのに当たり、各サンプルについて20個の個体を作製し、各サンプルの空隙率とインピーダンスを20個の個体の平均値とした。 The void ratio was calculated from an image taken by a scanning electron microscope (SEM). Specifically, the laminated electrode body after sintering was cut at a surface including the lamination direction, and the cut surface was polished. Then, the cut surface was photographed by SEM, and the porosity (%) was obtained from the ratio of the area of the interface region in which the electrode layer and the solid electrolyte layer are intricate in the photographed image to the area of the void in the interface region. In evaluating the characteristics of each sample, 20 individuals were prepared for each sample, and the porosity and impedance of each sample were taken as the average value of the 20 individuals.
以下の表1に、各サンプルにおける境界領域の空隙率とインピーダンスの測定結果を示した。 Table 1 below shows the measurement results of the porosity and impedance of the boundary region in each sample.
固体電解質層の密度を電極層の密度以下としたサンプル2〜5のうち、固体電解質層の密度を理論密度の80%以上90%以下としたサンプル2〜4では、インピーダンスがサンプル1に対して1/10以下となり、優れたイオン伝導性を示した。とくに、固体電解質層と電極層の密度を同程度にしたサンプル2は、インピーダンスが80Ωと極めて低かった。なお固体電解質層の密度が理論密度の75%のサンプル5では空隙率は51%であり、インピーダンス特性が大きく劣化した。これは、電解質層シートの表層側は、バインダーなどのセラミック粉体以外の成分が多く、バインダーなどの成分が存在していた空間が焼成後も残存したためと思われる。すなわち、各層間にイオン伝導を阻害する空隙が多くなり、固体電解質層と電極層との間に十分なイオン伝導経路が形成されなかったためと思われる。 Of the samples 2 to 5 in which the density of the solid electrolyte layer was set to be equal to or lower than the density of the electrode layer, in samples 2 to 4 in which the density of the solid electrolyte layer was set to 80% or more and 90% or less of the theoretical density, the impedance was higher than that of sample 1. It was 1/10 or less, showing excellent ionic conductivity. In particular, the sample 2 having the same density of the solid electrolyte layer and the electrode layer had an extremely low impedance of 80Ω. In Sample 5, where the density of the solid electrolyte layer was 75% of the theoretical density, the porosity was 51%, and the impedance characteristics were significantly deteriorated. It is considered that this is because the surface layer side of the electrolyte layer sheet contains many components other than the ceramic powder such as the binder, and the space in which the components such as the binder existed remains even after firing. That is, it is considered that the number of voids that hinder ionic conduction increased between the layers, and a sufficient ionic conduction path was not formed between the solid electrolyte layer and the electrode layer.
なお、優れたインピーダンス特性を示したサンプル2〜4のうち、サンプル2は、固体電解質層の密度が電極層の密度と同等であり、固体電解質層と電極層との界面領域は、図1に示した入り組んだ構造になり難い。そのため、固体電解質層と電極層との熱収縮率の差異により界面領域でのクラックや剥がれ、あるいは積層電極体自体に割れや反りが発生する可能性が高い。そして、固体電解質層の密度が電極層の密度以下で理論密度の80%以上としたサンプル2〜5では、固体電解質層と電極層との境界領域が入り組んだ構造となっており、積層電極体の割れや反りはもちろん、境界領域でのクラックや剥がれも発生し難い。そして、インピーダンスがサンプル1に対して1/10程度まで低下させることができた。 Of the samples 2 to 4 showing excellent impedance characteristics, in sample 2, the density of the solid electrolyte layer is equivalent to the density of the electrode layer, and the interface region between the solid electrolyte layer and the electrode layer is shown in FIG. It is difficult to have the complicated structure shown. Therefore, there is a high possibility that cracks or peeling in the interface region or cracks or warpage occur in the laminated electrode body itself due to the difference in heat shrinkage between the solid electrolyte layer and the electrode layer. Samples 2 to 5 in which the density of the solid electrolyte layer is equal to or less than the density of the electrode layer and 80% or more of the theoretical density have a structure in which the boundary region between the solid electrolyte layer and the electrode layer is intricate, and the laminated electrode body. Not only cracks and warpage, but also cracks and peeling in the boundary area are unlikely to occur. Then, the impedance could be reduced to about 1/10 of that of the sample 1.
なお、サンプル2〜5は、固体電解質層の密度が一定であることから、密度を低くしすぎると積層電極体の強度が低下する可能性があり、理論密度の90%以上の密度は確保したほうが好ましい。そこで、サンプル6〜12では、固体電解質層の中央側の密度を理論密度の90%としつつ、表層側の密度を変えている。 In Samples 2 to 5, since the density of the solid electrolyte layer is constant, if the density is too low, the strength of the laminated electrode body may decrease, and a density of 90% or more of the theoretical density is secured. Is preferable. Therefore, in Samples 6 to 12, the density on the surface layer side is changed while the density on the central side of the solid electrolyte layer is set to 90% of the theoretical density.
サンプル6〜13において、サンプル6は、固体電解質層の密度が中央側よりも表層側の方が大きくなっており、このサンプル6では、サンプル1と同様に、クラックや剥がれに起因して空隙率が大きくなり、インピーダンスも2000Ωと大きくなった。なお、サンプル1とサンプル6より、電極層より固体電解質層の密度が大きいと、固体電解質層と電極層との界面は、入り組んだ構造になり難くなることも分かった。 In Samples 6 to 13, the density of the solid electrolyte layer in Sample 6 is higher on the surface layer side than on the center side, and in this Sample 6, the porosity is caused by cracks and peeling as in Sample 1. Has increased, and the impedance has also increased to 2000Ω. It was also found that when the density of the solid electrolyte layer is higher than that of the electrode layer in Samples 1 and 6, the interface between the solid electrolyte layer and the electrode layer is less likely to have a complicated structure.
  サンプル12は、固体電解質層の表層側の密度が60%と低く、サンプル5と同様に、主にバインダーなどのセラミック粉体以外の成分が焼失することで生じた空間によって空隙率が55%と高くなり、インピーダンスは2300Ωであった。表層側の密度を65%としたサンプル11では、サンプル12ほどインピーダンス特性が劣化しなかったものの、空隙率が41%であり、インピーダンスは700Ωであった。  In
  そして、表層側の密度を70%以上90%未満とした、サンプル4〜10では、インピーダンスを300Ω以下とすることができた。したがって、サンプル2、およびサンプル7〜10の結果から、固体電解質層の中央側の密度を理論密度の90%以上としつつ、表層側の密度を70%以上90%未満とすることがより好ましい。それによって、積層電極体における固体電解質層と電極層との層間が入り組んだ構造になり易く、固体電解質層と電極層とが接触する界面での接合強度が増大して積層電極体の割れや反り、さらには、その界面におけるクラックや剥がれが生じにくくなる。そして、積層電極体の強度も十分に確保することができる。さらに、表層側の密度を制御するだけでインピーダンスを制御することができるようになる。すなわち、実際には動作電圧が高い電極活物質を用いた全固体電池であっても、低い電圧で動作させることができる。それによって、全固体電池を用いる機器側に降圧回路などの電圧制御手段が不要となる。  Then, in the
===その他の実施例===
  上記実施例に係る全固体電池では、積層電極体における固体電解質層と電極層とが互いに入り組んだ構造を有し、この互いに入り組んだ界面領域の密度が他の領域よりも低くなっている。そして、この界面領域の密度を他の領域よりも低くするために、固体電解質層の厚さ方向について、電極層と接する表層側の密度を、固体電解質層の中央側や電極層よりも大きくしていた。=== Other Examples ===
 The all-solid-state battery according to the above embodiment has a structure in which the solid electrolyte layer and the electrode layer in the laminated electrode body are intricate with each other, and the density of the interfacial regions intricate with each other is lower than that of other regions. Then, in order to make the density of this interface region lower than that of other regions, the density of the surface layer in contact with the electrode layer is made larger than that of the central side of the solid electrolyte layer and the electrode layer in the thickness direction of the solid electrolyte layer. Was there.
上記実施例では、の表層側の密度を中央側よりも相対的に小さくするために、グリーンシートである電解質層シートを作製する際、表層側の塗工シートと中央側の塗工シートとで電解質層材料中のバインダーの割合を変えていたが、塗工シートに用いる電解質層材料に含ませる粉体状の固体電解質の粒径を、中央側よりも表層側の方を大きくすることでも表層側の密度を中央側より小さくすることができる。 In the above embodiment, in order to make the density on the surface layer side relatively smaller than that on the center side, when the electrolyte layer sheet, which is a green sheet, is produced, the coating sheet on the surface layer side and the coating sheet on the center side are used. Although the ratio of the binder in the electrolyte layer material was changed, the surface layer can also be made larger on the surface layer side than on the center side by increasing the particle size of the powdery solid electrolyte contained in the electrolyte layer material used for the coating sheet. The density on the side can be made smaller than that on the center side.
当然のことながら、本発明に係る全固体電池に用いられる固体電解質、正極活物質、負極活物質は、上記実施例に使用したものに限らない。固体電解質としては、リチウムイオン伝導性を有する材料であればよく、各種NASICON型酸化物や硫化物系無機固体電解質などが挙げられる。電極活物質としては、非水電解液を用いた従来のリチウム二次電池に用いられる材料と同様のものを用いることができる。例えば、正極活物質であれば、例えば、コバルト酸リチウム(LiCoO2)、ニッケル酸リチウム(LiNiO2)などの層状酸化物や、オリビン構造を持つリン酸鉄リチウム(LiFePO4)、スピネル構造を持つマンガン酸リチウム(LiMn2O4、Li2MnO3、LiMO2)などが挙げられる。負極活物質もリチウムイオン電池用として分類される物質であれば特に限定はされない。例えば、炭素材料(天然黒鉛、人造黒鉛、黒鉛炭素繊維など)、チタン酸リチウム(Li4Ti5O12)などの金属酸化物が挙げられる。また正極活物質および負極活物質の表面に、ジルコニア(ZrO2)、アルミナ(Al2O3)、チタン酸リチウム(Li4Ti5O12)、ニオブ酸リチウム(LiNbO3)、炭素(C)などがコーティングされていてもよい。もちろん、全固体電池を作製する際に用いるバインダーや溶剤なども上述したものに限らない。As a matter of course, the solid electrolyte, the positive electrode active material, and the negative electrode active material used in the all-solid-state battery according to the present invention are not limited to those used in the above examples. The solid electrolyte may be any material having lithium ion conductivity, and examples thereof include various NASICON type oxides and sulfide-based inorganic solid electrolytes. As the electrode active material, the same material as that used for a conventional lithium secondary battery using a non-aqueous electrolytic solution can be used. For example, a positive electrode active material hasa layered oxide such as lithium cobalt oxide (LiCoO 2 ) and lithium nickel oxide (LiNiO2 ), lithium iron phosphate (LiFePO4 ) having an olivine structure, and a spinel structure. Examples thereof include lithium manganate (LiMn2 O4 , Li2 MnO3 , LiMO2 ) and the like. The negative electrode active material is also not particularly limited as long as it is a substance classified for lithium ion batteries. Examples thereof include metal oxides such as carbon materials (natural graphite, artificial graphite, graphite carbon fiber, etc.) and lithium titanate (Li4 Ti5 O12). Further, on the surfaces of the positive electrode active material and the negative electrode active material, zirconia (ZrO2 ), alumina (Al2 O3 ), lithium titanate (Li4 Ti5 O12 ), lithium niobate (LiNbO3 ), carbon (C) Etc. may be coated. Of course, the binder and solvent used when manufacturing the all-solid-state battery are not limited to those described above.
1 全固体電池、10 積層電極体、11 正極層、12 負極層、13 固体電解質層、20 集電体、30a,30b 界面領域 1 All-solid-state battery, 10 laminated electrode body, 11 positive electrode layer, 12 negative electrode layer, 13 solid electrolyte layer, 20 current collector, 30a, 30b interface region
| Application Number | Priority Date | Filing Date | Title | 
|---|---|---|---|
| JP2017062096AJP6955881B2 (en) | 2017-03-28 | 2017-03-28 | All-solid-state battery and manufacturing method of all-solid-state battery | 
| Application Number | Priority Date | Filing Date | Title | 
|---|---|---|---|
| JP2017062096AJP6955881B2 (en) | 2017-03-28 | 2017-03-28 | All-solid-state battery and manufacturing method of all-solid-state battery | 
| Publication Number | Publication Date | 
|---|---|
| JP2018166020A JP2018166020A (en) | 2018-10-25 | 
| JP6955881B2true JP6955881B2 (en) | 2021-10-27 | 
| Application Number | Title | Priority Date | Filing Date | 
|---|---|---|---|
| JP2017062096AActiveJP6955881B2 (en) | 2017-03-28 | 2017-03-28 | All-solid-state battery and manufacturing method of all-solid-state battery | 
| Country | Link | 
|---|---|
| JP (1) | JP6955881B2 (en) | 
| Publication number | Priority date | Publication date | Assignee | Title | 
|---|---|---|---|---|
| CN113016092B (en)* | 2018-11-16 | 2025-02-25 | 株式会社村田制作所 | Solid-state batteries | 
| WO2020184476A1 (en)* | 2019-03-08 | 2020-09-17 | Tdk株式会社 | All solid state secondary battery | 
| JP7648534B2 (en)* | 2019-11-12 | 2025-03-18 | Tdk株式会社 | Solid electrolyte layer and all-solid-state battery using the same | 
| CN113394375B (en)* | 2021-06-15 | 2023-02-17 | 宁德新能源科技有限公司 | Electrochemical device and electronic device | 
| EP4362141A4 (en)* | 2021-06-21 | 2024-10-09 | Panasonic Intellectual Property Management Co., Ltd. | BATTERY MANUFACTURING PROCESS AND BATTERY | 
| KR102599065B1 (en)* | 2021-07-27 | 2023-11-07 | 한국과학기술연구원 | A lithium secondary battery comprising an anode having double layers | 
| GB2611334B (en)* | 2021-09-30 | 2024-12-25 | Dyson Technology Ltd | Solid-state electrochemical cell | 
| CN114899498B (en)* | 2022-04-15 | 2025-07-18 | 中汽创智科技有限公司 | All-solid-state battery and preparation method thereof | 
| Publication number | Priority date | Publication date | Assignee | Title | 
|---|---|---|---|---|
| JP2008078119A (en)* | 2006-08-25 | 2008-04-03 | Ngk Insulators Ltd | Totally solid storage element | 
| JP2008243735A (en)* | 2007-03-28 | 2008-10-09 | Arisawa Mfg Co Ltd | SOLID ELECTROLYTE, METHOD FOR FORMING THE SAME, LITHIUM ION SECONDARY BATTERY, AND METHOD FOR MANUFACTURING THE SAME | 
| JP5299860B2 (en)* | 2007-11-12 | 2013-09-25 | 国立大学法人九州大学 | All solid battery | 
| JP5144846B2 (en)* | 2008-02-15 | 2013-02-13 | 株式会社オハラ | Method for producing green sheet laminate | 
| JP4728385B2 (en)* | 2008-12-10 | 2011-07-20 | ナミックス株式会社 | Lithium ion secondary battery and manufacturing method thereof | 
| JP2011192606A (en)* | 2010-03-16 | 2011-09-29 | Toyota Motor Corp | Method of manufacturing electrolyte/electrode laminate, electrolyte and electrode laminate, and all-solid battery | 
| US9484568B2 (en)* | 2010-10-20 | 2016-11-01 | Sintokogio, Ltd. | Method of manufacturing layered structure constituting all-solid-state battery, apparatus for manufacturing the same, and all-solid-state battery provided with layered structure | 
| JP5413355B2 (en)* | 2010-11-08 | 2014-02-12 | トヨタ自動車株式会社 | All solid battery | 
| CN102299383B (en)* | 2011-07-20 | 2012-12-19 | 宁波大学 | Mist pyrolysis preparation method of all-solid-state film lithium battery | 
| JP2013051171A (en)* | 2011-08-31 | 2013-03-14 | Toyota Motor Corp | Electrode body for all solid-state battery and all solid-state battery | 
| JP6110700B2 (en)* | 2012-03-29 | 2017-04-05 | 株式会社半導体エネルギー研究所 | Method for producing lithium ion secondary battery | 
| JP5447578B2 (en)* | 2012-04-27 | 2014-03-19 | 株式会社豊田自動織機 | Solid electrolyte and secondary battery | 
| WO2013175993A1 (en)* | 2012-05-24 | 2013-11-28 | 株式会社 村田製作所 | All-solid-state cell | 
| JP2015195183A (en)* | 2014-03-28 | 2015-11-05 | 富士フイルム株式会社 | All-solid secondary battery, method for producing battery electrode sheet, and method for producing all-solid secondary battery | 
| Publication number | Publication date | 
|---|---|
| JP2018166020A (en) | 2018-10-25 | 
| Publication | Publication Date | Title | 
|---|---|---|
| JP6955881B2 (en) | All-solid-state battery and manufacturing method of all-solid-state battery | |
| US9368828B2 (en) | All-solid battery and manufacturing method therefor | |
| JP5910737B2 (en) | All solid battery | |
| JP4940080B2 (en) | Lithium ion conductive solid electrolyte and method for producing the same | |
| WO2013137224A1 (en) | All solid state cell and method for producing same | |
| WO2013008676A1 (en) | All-solid-state battery and manufacturing method thereof | |
| EP2086039A1 (en) | Lithium ion secondary battery and manufacture thereof | |
| WO2017026285A1 (en) | Solid electrolyte sheet, method for manufacturing same, and sodium ion all-solid-state secondary cell | |
| JP5811191B2 (en) | All-solid battery and method for manufacturing the same | |
| JP6262129B2 (en) | All-solid battery and method for manufacturing the same | |
| JP2012099225A (en) | All-solid lithium ion secondary battery and method of manufacturing the same | |
| CN109792081B (en) | Lithium-ion conductive solid electrolyte and all-solid lithium-ion secondary battery | |
| JP6757573B2 (en) | Manufacturing method of all-solid-state battery and all-solid-state battery | |
| JP6955862B2 (en) | Manufacturing method of all-solid-state battery and all-solid-state battery | |
| JP6801778B2 (en) | All solid state battery | |
| CN110870123A (en) | Solid electrolyte sheet, method for producing same, and all-solid-state secondary battery | |
| WO2013100002A1 (en) | All-solid-state battery, and manufacturing method therefor | |
| JP5306663B2 (en) | Laminate for lithium ion secondary battery and method for producing the same | |
| JP2019057495A (en) | Solid electrolyte sheet, method for producing same and all-solid-state secondary battery | |
| JP2022100362A (en) | Electrode-attached solid electrolyte sheet | |
| JP7068845B2 (en) | Manufacturing method of all-solid-state battery | |
| JP6003982B2 (en) | All solid battery | |
| JP7070833B2 (en) | Solid electrolyte sheet and its manufacturing method, and all-solid-state secondary battery | |
| JP5207448B2 (en) | Lithium ion secondary battery | |
| JPWO2013035526A1 (en) | Laminated molded body for all solid state battery, all solid state battery and method for producing the same | 
| Date | Code | Title | Description | 
|---|---|---|---|
| A621 | Written request for application examination | Free format text:JAPANESE INTERMEDIATE CODE: A621 Effective date:20200220 | |
| A977 | Report on retrieval | Free format text:JAPANESE INTERMEDIATE CODE: A971007 Effective date:20201118 | |
| A131 | Notification of reasons for refusal | Free format text:JAPANESE INTERMEDIATE CODE: A131 Effective date:20201201 | |
| A521 | Request for written amendment filed | Free format text:JAPANESE INTERMEDIATE CODE: A523 Effective date:20210122 | |
| A131 | Notification of reasons for refusal | Free format text:JAPANESE INTERMEDIATE CODE: A131 Effective date:20210629 | |
| A521 | Request for written amendment filed | Free format text:JAPANESE INTERMEDIATE CODE: A523 Effective date:20210820 | |
| TRDD | Decision of grant or rejection written | ||
| A01 | Written decision to grant a patent or to grant a registration (utility model) | Free format text:JAPANESE INTERMEDIATE CODE: A01 Effective date:20210907 | |
| A61 | First payment of annual fees (during grant procedure) | Free format text:JAPANESE INTERMEDIATE CODE: A61 Effective date:20211004 | |
| R150 | Certificate of patent or registration of utility model | Ref document number:6955881 Country of ref document:JP Free format text:JAPANESE INTERMEDIATE CODE: R150 | |
| R250 | Receipt of annual fees | Free format text:JAPANESE INTERMEDIATE CODE: R250 | |
| R250 | Receipt of annual fees | Free format text:JAPANESE INTERMEDIATE CODE: R250 |