













































本発明は、外科用器具に関し、また様々な状況において、組織をステープル留め及び切断するために設計された、外科用ステープル留め及び切断器具並びにそれらと共に使用するためのステープルカートリッジに関する。 The present invention relates to surgical instruments and, in various situations, staples and cutting instruments designed for stapled and cutting tissue and staple cartridges for use with them.
  本明細書に記載する実施形態の様々な特徴は、それらの利点と共に、以下の添付図面と併せて以下の説明によって理解することができる。
複数の図面を通して、対応する参照符号は対応する部分を示す。本明細書に記載される例示は、本発明の様々な実施形態を1つの形態で例示するものであり、かかる例示は、いかなる方法によっても本発明の範囲を限定するものとして解釈されるべきではない。 Throughout the drawings, the corresponding reference numerals indicate the corresponding parts. The illustrations described herein illustrate various embodiments of the invention in one form, and such illustrations should be construed as limiting the scope of the invention in any way. No.
  本願の出願人は、本願と同日に出願された以下の特許出願を所有しており、これらはそれぞれの全体内容が参照により本明細書に組み込まれる:
  −米国特許出願第15/089,325号、発明の名称「METHOD  FOR  OPERATING  A  SURGICAL  STAPLING  SYSTEM」、
  −米国特許出願第15/089,321号、発明の名称「MODULAR  SURGICAL  STAPLING  SYSTEM  COMPRISING  A  DISPLAY」、
  −米国特許出願第15/089,326号、発明の名称「SURGICAL  STAPLING  SYSTEM  COMPRISING  A  DISPLAY  INCLUDING  A  RE−ORIENTABLE  DISPLAY  FIELD」、
  −米国特許出願第15/089,263号、発明の名称「SURGICAL  INSTRUMENT  HANDLE  ASSEMBLY  WITH  RECONFIGURABLE  GRIP  PORTION」、
  −米国特許出願第15/089,277号、発明の名称「SURGICAL  CUTTING  AND  STAPLING  END  EFFECTOR  WITH  ANVIL  CONCENTRIC  DRIVE  MEMBER」、
  −米国特許出願第15/089,283号、発明の名称「CLOSURE  SYSTEM  ARRANGEMENTS  FOR  SURGICAL  CUTTING  AND  STAPLING  DEVICES  WITH  SEPARATE  AND  DISTINCT  FIRING  SHAFTS」、
  −米国特許出願第15/089,296号、発明の名称「INTERCHANGEABLE  SURGICAL  TOOL  ASSEMBLY  WITH  A  SURGICAL  END  EFFECTOR  THAT  IS  SELECTIVELY  ROTATABLE  ABOUT  A  SHAFT  AXIS」、
  −米国特許出願第15/089,258号、発明の名称「SURGICAL  STAPLING  SYSTEM  COMPRISING  A  SHIFTABLE  TRANSMISSION」、
  −米国特許出願第15/089,278号、発明の名称「SURGICAL  STAPLING  SYSTEM  CONFIGURED  TO  PROVIDE  SELECTIVE  CUTTING  OF  TISSUE」、
  −米国特許出願第15/089,284号、発明の名称「SURGICAL  STAPLING  SYSTEM  COMPRISING  A  CONTOURABLE  SHAFT」、
  −米国特許出願第15/089,295号、発明の名称「SURGICAL  STAPLING  SYSTEM  COMPRISING  A  TISSUE  COMPRESSION  LOCKOUT」、
  −米国特許出願第15/089,300号、発明の名称「SURGICAL  STAPLING  SYSTEM  COMPRISING  AN  UNCLAMPING  LOCKOUT」、
  −米国特許出願第15/089,196号、発明の名称「SURGICAL  STAPLING  SYSTEM  COMPRISING  A  JAW  CLOSURE  LOCKOUT」、
  −米国特許出願第15/089,203号、発明の名称「SURGICAL  STAPLING  SYSTEM  COMPRISING  A  JAW  ATTACHMENT  LOCKOUT」、
  −米国特許出願第15/089,210号、発明の名称「SURGICAL  STAPLING  SYSTEM  COMPRISING  A  SPENT  CARTRIDGE  LOCKOUT」、
  −米国特許出願第15/089,324号、発明の名称「SURGICAL  INSTRUMENT  COMPRISING  A  SHIFTING  MECHANISM」、
  −米国特許出願第15/089,335号、発明の名称「SURGICAL  STAPLING  INSTRUMENT  COMPRISING  MULTIPLE  LOCKOUTS」、
  −米国特許出願第15/089,339号、発明の名称「SURGICAL  STAPLING」、
  −米国特許出願第15/089,253号、発明の名称「SURGICAL  STAPLING  SYSTEM  CONFIGURED  TO  APPLY  ANNULAR  ROWS  OF  STAPLES  HAVING  DIFFERENT  HEIGHTS」、
  −米国特許出願第15/089,304号、発明の名称「SURGICAL  STAPLING  SYSTEM  COMPRISING  A  GROOVED  FORMING  POCKET」、
  −米国特許出願第15/089,331号、発明の名称「ANVIL  MODIFICATION  MEMBERS  FOR  SURGICAL  STAPLERS」、
  −米国特許出願第15/089,336号、発明の名称「STAPLE  CARTRIDGES  WITH  ATRAUMATIC  FEATURES」、
  −米国特許出願第15/089,312号、発明の名称「CIRCULAR  STAPLING  SYSTEM  COMPRISING  AN  INCISABLE  TISSUE  SUPPORT」、
  −米国特許出願第15/089,309号、発明の名称「CIRCULAR  STAPLING  SYSTEM  COMPRISING  ROTARY  FIRING  SYSTEM」、及び
  −米国特許出願第15/089,349号、発明の名称「CIRCULAR  STAPLING  SYSTEM  COMPRISING  LOAD  CONTROL」。The applicant of the present application owns the following patent applications filed on the same date as the present application, the entire contents of which are incorporated herein by reference:
 -US Patent Application No. 15 / 089,325, Title of Invention "METHOD FOR OPERATING A SURGICAL STAPLING SYSTEM",
 -US Patent Application No. 15 / 089,321, Title of Invention "MODULAR SURGICAL STAPLING SYSTEM COMPRISING A DISPLAY",
 -US Patent Application No. 15 / 089,326, Title of Invention "SURGICAL STAPLING SYSTEM COMPRISING A DISPLAY INCLUDING A RE-ORIENTABLE DISPLAY FIELD",
 -US Patent Application No. 15 / 089,263, Title of Invention "SURGICAL INSTRUMENT HANDLE ASSEMBLY WITH RECONFIGURABLE GRIP PORTION",
 -US Patent Application No. 15 / 089,277, title of invention "SURGICAL CUTTING AND STAPLING END EFFECTOR WITH ANVIL CONCENTRIC DRIVE MEMBER",
 -US Patent Application No. 15 / 089,283, title of invention "CLOSE SYSTEM ARRANGEMENTS FOR SURGICAL CUTTING AND STAPLING DEVICES WITH SEPARATE AND DISTINCT FIRING SHAFTS",
 -US Patent Application No. 15 / 089,296, title of invention "INTERCHANGE SURGICAL TOOL ASSEMBLY WITH A SURGICAL END EFFECTOR THAT IS SELECTIVELY ROTATABLE ABOUT A SHAF"
 -US Patent Application No. 15 / 089,258, Invention Title "SURGICAL STAPLING SYSTEM COMPRISING A SHIFTABLE TRANSMISSION",
 -US Patent Application No. 15 / 089,278, Title of Invention "SURGICAL STAPLING SYSTEM CONFIGURED TO PROVIDE SELECTIVE CUTTING OF TISSUE",
 -US Patent Application No. 15 / 089,284, Title of Invention "SURGICAL STAPLING SYSTEM COMPRISING A CONTOURABLE SHAFT",
 -US Patent Application No. 15 / 089,295, title of invention "SURGICAL STAPLING SYSTEM COMPRISING A TISSUE COMPRESSION LOCKOUT",
 -US Patent Application No. 15 / 089,300, Invention title "SURGICAL STAPLING SYSTEM COMPRISING AN UNCLAMPING LOCKOUT",
 -US Patent Application No. 15 / 089,196, Title of Invention "SURGICAL STAPLING SYSTEM COMPRISING A JAW CLOSE LOCKOUT",
 -US Patent Application No. 15 / 089,203, Title of Invention "SURGICAL STAPLING SYSTEM COMPRISING A JAW ATTACHMENT LOCKOUT",
 -US Patent Application No. 15 / 089,210, Invention Title "SURGICAL STAPLING SYSTEM COMPRISING A SPENT CARTRIDGE LOCKOUT",
 -US Patent Application No. 15 / 089,324, Title of Invention "SURGICAL INSTRUMENT COMPRISING A SHIFTING MECHANISM",
 -US Patent Application No. 15 / 089,335, title of invention "SURGICAL STAPLING INSTRUMENT COMPRISING MULTIPLE LOCKOUTS",
 -US Patent Application No. 15 / 089,339, Invention Title "SURGICAL STAPLING",
 -US Patent Application No. 15 / 089,253, Title of Invention "SURGICAL STAPLING SYSTEM CONFIGURED TO APPLY ANNULAR ROWS OF STAPLES HAVIGHTS",
 -US Patent Application No. 15 / 089,304, Title of Invention "SURGICAL STAPLING SYSTEM COMPRISING A GROOVED FORMING POCKET",
 -US Patent Application No. 15 / 089,331, Title of Invention "ANVIL MODEFICANTION MEMBERS FOR SURGICAL STAPLERS",
 -US Patent Application No. 15 / 089,336, Invention Title "STAPLE CARTRIDGES WITH ATRAUMATIC FEATURES",
 -US Patent Application No. 15 / 089,312, Title of Invention "CIRCULAR STAPLING SYSTEM COMPRISING AN INCISABLE TISSUE SUPPORT",
 -US Patent Application No. 15 / 089,309, title of invention "CIRCULAR STAPLING SYSTEM COMPRISING ROTARY FIRING SYSTEM", and-US Patent Application No. 15 / 089,349, title of invention "CIRCULAR STAPLING SYSTEM".
  本出願の出願人はまた、2015年12月31日に出願され、以下に特定される米国特許出願を所有しており、これらはそれぞれの内容全体が参照により本明細書に組み込まれる:
  −米国特許出願第14/984,488号、発明の名称「MECHANISMS  FOR  COMPENSATING  FOR  BATTERY  PACK  FAILURE  IN  POWERED  SURGICAL  INSTRUMENTS」、
  −米国特許出願第14/984,525号、発明の名称「MECHANISMS  FOR  COMPENSATING  FOR  DRIVETRAIN  FAILURE  IN  POWERED  SURGICAL  INSTRUMENTS」、及び
  −米国仮特許出願第14/984,552号、発明の名称「SURGICAL  INSTRUMENTS  WITH  SEPARABLE  MOTORS  AND  MOTOR  CONTROL  CIRCUITS」。The applicant for this application also has a US patent application, filed December 31, 2015 and specified below, the entire contents of which are incorporated herein by reference:
 -US Patent Application No. 14 / 984,488, Invention Title "MECHANIMSS FOR COMPENSATING FOR BATTERY PACK FAIRURE IN POWERED SURGICAL INSTRUMENTS",
 -US Patent Application No. 14 / 984,525, title of invention "MECHANIMSS FOR COMPENSATING FOR DRIVETRAIN FAIRURE IN POWERED SURGICAL INSTRUMENTS", and-US Provisional Patent Application No. 14 / 984,552, title of invention "SURGICAL" MOTORS AND MOTOR CONTROL CIRCUITS ".
  本出願の出願人はまた、2016年2月9日に出願され、以下に特定される米国特許出願を所有しており、これらはそれぞれの内容全体が参照により本明細書に組み込まれる:
  −米国仮特許出願第15/019,220号、発明の名称「SURGICAL  INSTRUMENT  WITH  ARTICULATING  AND  AXIALLY  TRANSLATABLE  END  EFFECTOR」、
  −米国特許出願第15/019,228号、発明の名称「SURGICAL  INSTRUMENTS  WITH  MULTIPLE  LINK  ARTICULATION  ARRANGEMENTS」、
  −米国特許出願第15/019,196号、発明の名称「SURGICAL  INSTRUMENT  ARTICULATION  MECHANISM  WITH  SLOTTED  SECONDARY  CONSTRAINT」、
  −米国特許出願第15/019,206号、発明の名称「SURGICAL  INSTRUMENTS  WITH  AN  END  EFFECTOR  THAT  IS  HIGHLY  ARTICULATABLE  RELATIVE  TO  AN  ELONGATE  SHAFT  ASSEMBLY」、
  −米国特許出願第15/019,215号、発明の名称「SURGICAL  INSTRUMENTS  WITH  NON−SYMMETRICAL  ARTICULATION  ARRANGEMENTS」、
  −米国特許出願第15/019,227号、発明の名称「ARTICULATABLE  SURGICAL  INSTRUMENTS  WITH  SINGLE  ARTICULATION  LINK  ARRANGEMENTS」、
  −米国特許出願第15/019,235号、発明の名称「SURGICAL  INSTRUMENTS  WITH  TENSIONING  ARRANGEMENTS  FOR  CABLE  DRIVEN  ARTICULATION  SYSTEMS」、
  −米国特許出願第15/019,230号、発明の名称「ARTICULATABLE  SURGICAL  INSTRUMENTS  WITH  OFF−AXIS  FIRING  BEAM  ARRANGEMENTS」、及び
  −米国特許出願第15/019,245号、発明の名称「SURGICAL  INSTRUMENTS  WITH  CLOSURE  STROKE  REDUCTION  ARRANGEMENTS」。The applicant of this application is also in possession of US patent applications specified below, filed on February 9, 2016, the entire contents of which are incorporated herein by reference:
 -US Provisional Patent Application No. 15 / 019,220, Title of Invention "SURGICAL INSTRUMENT WITH ARTICULATING AND AXIALLY TRANSLATABLE END EFFECTOR",
 -US Patent Application No. 15 / 019,228, Title of Invention "SURGICAL INSTRUMENTS WITH MULTIPLE LINK ARTICULATION ARRANGEMENTS",
 -US Patent Application No. 15 / 019,196, Title of Invention "SURGICAL INSTRUMENT ARTICULATION MECHANISM WITH SLOTTED SECONDARY CONSTRAINT",
 -US Patent Application No. 15 / 019,206, title of invention "SURGICAL INSTRUMENTS WITH AN END EFFECTOR THAT IS HIGHLY ARTICULATABLE RELATIVE TO AN ELONGATE SHAFT ASSEMBLY",
 -US Patent Application No. 15 / 019,215, Title of Invention "SURGICAL INSTRUMENTS WITH NON-SYMMETRICAL ARTICULATION ARRANGEMENTS",
 -US Patent Application No. 15 / 019,227, Title of Invention "ARTICULATABLE SURGICAL INSTRUMENTS WITH SINGLE ARTICULATION LINK ARRANGEMENTS",
 -US Patent Application No. 15 / 019,235, title of invention "SURGICAL INSTRUMENTS WITH TENSIONING ARRANGEMENTS FOR CABLE DRIVEN ARTICULATION SYSTEMS",
 -US Patent Application No. 15 / 019,230, title of invention "ARTICULATABLE SURGICAL INSTRUMENTS WITH OFF-AXIS FIRING BEAM ARRANGEMENTS", and-US Patent Application No. 15 / 019,245, title of invention "SURGICAL INSTRUMENTS" REDUCTION ARRANGEMENTS ".
  本出願の出願人はまた、2016年2月12日に出願され、以下に特定される米国特許出願を所有しており、これらはそれぞれの内容全体が参照により本明細書に組み込まれる:
  −米国特許出願第15/043,254号、発明の名称「INTERACTIVE  FEEDBACK  SYSTEM  FOR  POWERED  SURGICAL  INSTRUMENTS」、
  −米国特許出願第15/043,259号、発明の名称「INTERACTIVE  FEEDBACK  SYSTEM  FOR  POWERED  SURGICAL  INSTRUMENTS」、
  −米国特許出願第15/043,275号、発明の名称「MECHANISMS  FOR  COMPENSATING  FOR  DRIVETRAIN  FAILURE  IN  POWERED  SURGICAL  INSTRUMENTS」、及び
  −米国特許出願第15/043,289号、発明の名称「INTERACTIVE  FEEDBACK  SYSTEM  FOR  POWERED  SURGICAL  INSTRUMENTS」。The applicant for this application is also filed on February 12, 2016 and owns US patent applications specified below, the entire contents of which are incorporated herein by reference:
 -US Patent Application No. 15 / 043,254, Invention Title "INTERACTIVE FEEDBACK SYSTEM FOR POWERED SURGICAL INSTRUMENTS",
 -US Patent Application No. 15 / 043,259, Invention Title "INTERACTIVE FEEDBACK SYSTEM FOR POWERED SURGICAL INSTRUMENTS",
 -US Patent Application No. 15 / 043,275, title of invention "MECHANIMSS FOR COMPENSATING FOR DRIVETRAIN FAIRURE IN POWERED SURGICAL INSTRUMENTS", and-US Patent Application No. 15 / 043,289, title of invention "INTERACTERIV". SURGICAL INSTRUMENTS ".
  本願の出願人は、2015年6月18日に出願された以下の特許出願を所有しており、これらはそれぞれの全体内容が参照により本明細書に組み込まれる:
  −米国特許出願第14/742,925号、発明の名称「SURGICAL  END  EFFECTORS  WITH  POSITIVE  JAW  OPENING  ARRANGEMENTS」、
  −米国特許出願第14/742,941号、発明の名称「SURGICAL  END  EFFECTORS  WITH  DUAL  CAM  ACTUATED  JAW  CLOSING  FEATURES」、
  −米国特許出願第14/742,914号、発明の名称「MOVABLE  FIRING  BEAM  SUPPORT  ARRANGEMENTS  FOR  ARTICULATABLE  SURGICAL  INSTRUMENTS」、
  −米国特許出願第14/742,900号、発明の名称「ARTICULATABLE  SURGICAL  INSTRUMENTS  WITH  COMPOSITE  FIRING  BEAM  STRUCTURES  WITH  CENTER  FIRING  SUPPORT  MEMBER  FOR  ARTICULATION  SUPPORT」、
  −米国特許出願第14/742,885号、名称「DUAL  ARTICULATION  DRIVE  SYSTEM  ARRANGEMENTS  FOR  ARTICULATABLE  SURGICAL  INSTRUMENTS」、及び
  −米国特許出願第14/742,876号、名称「PUSH/PULL  ARTICULATION  DRIVE  SYSTEMS  FOR  ARTICULATABLE  SURGICAL  INSTRUMENTS」。The applicant of the present application owns the following patent applications filed on June 18, 2015, the entire contents of which are incorporated herein by reference:
 -US Patent Application No. 14 / 742,925, Invention title "SURGICAL END EFFECTORS WITH POSITIVE JAW OPENING ARRANGEMENTS",
 -US Patent Application No. 14 / 742,941, Title of Invention "SURGICAL END EFFECTORS WITH DUAL CAM ACTUATED JAW CLOSEING FEATURES",
 -US Patent Application No. 14 / 742,914, Invention Title "MOVABLE FIRING BEAM SUPPORT ARRANGEMENTS FOR ARTICULATABLE SURGICAL INSTRUMENTS",
 -US Patent Application No. 14 / 742,900, title of invention "ARTICULATABLE SURGICAL INSTRUMENTS WITH COMPOSITE FIRING BEAM STRUCTURES WITH CENTER FIRING SUPPORT MEMBER FORT PORT"
 -US Patent Application No. 14 / 742,885, name "DUAL ARTICULATION DRIVE SYSTEM ARRANGEMENTS FOR ARTICULATABLE SURGICAL INSTRUMENTS", and-US Patent Application No. 14 / 742,876, name "PUSH / PULSTER ".
  本願の出願人は、2015年3月6日に出願された以下の特許出願を所有しており、これらはそれぞれの全体内容が参照により本明細書に組み込まれる:
  −米国特許出願第14/640,746号、発明の名称「POWERED  SURGICAL  INSTRUMENT」、
  −米国特許出願第14/640,795号、発明の名称「MULTIPLE  LEVEL  THRESHOLDS  TO  MODIFY  OPERATION  OF  POWERED  SURGICAL  INSTRUMENTS」、
  −米国特許出願第14/640,832号、発明の名称「ADAPTIVE  TISSUE  COMPRESSION  TECHNIQUES  TO  ADJUST  CLOSURE  RATES  FOR  MULTIPLE  TISSUE  TYPES」、代理人整理番号第END7557USNP/140482号、
  −米国特許出願第14/640,935号、発明の名称「OVERLAID  MULTI  SENSOR  RADIO  FREQUENCY(RF)ELECTRODE  SYSTEM  TO  MEASURE  TISSUE  COMPRESSION」、
  −米国特許出願第14/640,831号、発明の名称「MONITORING  SPEED  CONTROL  AND  PRECISION  INCREMENTING  OF  MOTOR  FOR  POWERED  SURGICAL  INSTRUMENTS」、
  −米国特許出願第14/640,859号、発明の名称「TIME  DEPENDENT  EVALUATION  OF  SENSOR  DATA  TO  DETERMINE  STABILITY,CREEP,AND  VISCOELASTIC  ELEMENTS  OF  MEASURES」、
  −米国特許出願第14/640,817号、発明の名称「INTERACTIVE  FEEDBACK  SYSTEM  FOR  POWERED  SURGICAL  INSTRUMENTS」、
  −米国特許出願第14/640,844号、発明の名称「CONTROL  TECHNIQUES  AND  SUB−PROCESSOR  CONTAINED  WITHIN  MODULAR  SHAFT  WITH  SELECT  CONTROL  PROCESSING  FROM  HANDLE」、
  −米国特許出願第14/640,837号、発明の名称「SMART  SENSORS  WITH  LOCAL  SIGNAL  PROCESSING」、
  −米国特許出願第14/640,765号、発明の名称「SYSTEM  FOR  DETECTING  THE  MIS−INSERTION  OF  A  STAPLE  CARTRIDGE  INTO  A  SURGICAL  STAPLER」、
  −米国特許出願第14/640,799号、発明の名称「SIGNAL  AND  POWER  COMMUNICATION  SYSTEM  POSITIONED  ON  A  ROTATABLE  SHAFT」、及び
  −米国特許出願第14/640,780号、発明の名称「SURGICAL  INSTRUMENT  COMPRISING  A  LOCKABLE  BATTERY  HOUSING」。The applicant of the present application owns the following patent applications filed on March 6, 2015, the entire contents of which are incorporated herein by reference:
 -US Patent Application No. 14 / 640,746, Invention Title "POWERED SURGICAL INSTRUMENT",
 -US Patent Application No. 14 / 640,795, Title of Invention "MULTIPLE LEVEL THRESHOLDS TO MODEIFY OPERATION OF POWERED SURGICAL INSTRUMENTS",
 -US Patent Application No. 14 / 640,832, Invention Title "ADAPTIVE TISSUE COMPRESSION TECHNIQUES TO ADJUST CLOSURE RATES FOR MULTIPLE TISSUE TYPES", Agent Reference No. END7557USNP / 140
 -US Patent Application No. 14 / 640,935, title of invention "OVERLAID MULTI SENSOR RADIO FREQUENCY (RF) ELECTRODE SYSTEM TO MEASURE TISSUE COMPRESSION",
 -US Patent Application No. 14 / 640,831, Title of Invention "MONITORING SPEED CONTROLL AND PRECISION INCREMENTING OF MOTOR FOR FOR POWERED SURGICAL INSTRUMENTS",
 -US Patent Application No. 14 / 640,859, Title of Invention "TIME DEPENDENT EVALUATION OF SENSOR DATA TO DETERMINE STABILITY, CREEP, AND VISCOELASTIC ELEMENTS OF MEASURES",.
 -US Patent Application No. 14 / 640,817, Title of Invention "INTERACTIVE FEEDBACK SYSTEM FOR POWERED SURGICAL INSTRUMENTS",
 -US Patent Application No. 14 / 640,844, title of invention "CONTROLL TECHNIQUES AND SUB-PROCESSOR CONTROL WITHIN MODELAR SHAFT WITH SELECT CONTROLL PROCESSING FROM HANDLE",
 -US Patent Application No. 14 / 640,837, Invention Title "SMART SENSORS WITH LOCAL SIGNAL PROCESSING",
 -US Patent Application No. 14 / 640,765, Title of Invention "SYSTEM FOR DETECTING THE MIS-INSTRETION OF A STAPLE CARTRIDGE INTO A SURGICAL STAPLER",
 -US Patent Application No. 14 / 640,799, title of invention "SIGNAL AND POWER COMMUNICATION SYSTEM POSITIONED ON A ROTATABLE SHAFT", and-US Patent Application No. 14 / 640,780, title of invention "SURGICAL INSTRUME" BATTERY HOUSING ".
  本願の出願人は、2015年2月27日に出願された以下の特許出願を所有しており、これらはそれぞれの全体内容が参照により本明細書に組み込まれる:
  −米国特許出願第14/633,576号、発明の名称「SURGICAL  INSTRUMENT  SYSTEM  COMPRISING  AN  INSPECTION  STATION」、
  −米国特許出願第14/633,546号、発明の名称「SURGICAL  APPARATUS  CONFIGURED  TO  ASSESS  WHETHER  A  PERFORMANCE  PARAMETER  OF  THE  SURGICAL  APPARATUS  IS  WITHIN  AN  ACCEPTABLE  PERFORMANCE  BAND」、
  −米国特許出願第14/633,576号、発明の名称「SURGICAL  CHARGING  SYSTEM  THAT  CHARGES  AND/OR  CONDITIONS  ONE  OR  MORE  BATTERIES」、
  −米国特許出願第14/633,566号、発明の名称「CHARGING  SYSTEM  THAT  ENABLES  EMERGENCY  RESOLUTIONS  FOR  CHARGING  A  BATTERY」、
  −米国特許出願第14/633,555号、発明の名称「SYSTEM  FOR  MONITORING  WHETHER  A  SURGICAL  INSTRUMENT  NEEDS  TO  BE  SERVICED」、
  −米国特許出願第14/633,542号、発明の名称「REINFORCED  BATTERY  FOR  A  SURGICAL  INSTRUMENT」、
  −米国特許出願第14/633,548号、発明の名称「POWER  ADAPTER  FOR  A  SURGICAL  INSTRUMENT」、
  −米国特許出願第14/633,526号、発明の名称「ADAPTABLE  SURGICAL  INSTRUMENT  HANDLE」、
  −米国特許出願第14/633,541号、発明の名称「MODULAR  STAPLING  ASSEMBLY」、及び
  −米国特許出願第14/633,562号、発明の名称「SURGICAL  APPARATUS  CONFIGURED  TO  TRACK  AN  END−OF−LIFE  PARAMETER」。The applicant of the present application owns the following patent applications filed on February 27, 2015, the entire contents of which are incorporated herein by reference:
 -US Patent Application No. 14 / 633,576, Title of Invention "SURGICAL INSTRUMENT SYSTEM COMPRISING AN INSTECTION STATION",
 -US Patent Application No. 14 / 633,546, title of invention "SURGICAL APPARATUS CONFIGURED TO ASSESS WHERETER A PERFORMANCE PARAMETER OF THE SURGICAL APPARATUS IS WITHIN ANCE"
 -US Patent Application No. 14 / 633,576, title of invention "SURGICAL CHARGING SYSTEM THAT CHARGES AND / OR CONDITIONS ONE OR MORE BATTERIES",
 -US Patent Application No. 14 / 633,566, Title of Invention "CHARGING SYSTEM THAT ENABLES EMERGENCY RESOLUTIONS FOR CHARGING A BATTERY",
 -US Patent Application No. 14 / 633,555, Title of Invention "SYSTEM FOR MONITORING WHERTHER A SURGICAL INSTRUMENT NEEDS TO BE SERVICED",
 -US Patent Application No. 14 / 633,542, Title of Invention "REINFORCED BATTERY FOR A SURGICAL INSTRUMENT",
 -US Patent Application No. 14 / 633,548, Title of Invention "POWER ADAPTER FOR A SURGICAL INSTRUMENT",
 -US Patent Application No. 14 / 633,526, Invention Title "ADAPTABLE SURGICAL INSTRUMENT HANDLE",
 -US Patent Application No. 14 / 633,541, Invention Name "MODULAR STAPLING ASSEMBLY", and-US Patent Application No. 14 / 633,562, Invention Name "SURGICAL APPARATUS CONFIGURED TO TRACK AN END-OF-LIFE PARAMETER"".
  本願の出願人は、2014年12月18日に出願された以下の特許出願を所有しており、これらはそれぞれの全体内容が参照により本明細書に組み込まれる:
  −米国特許出願第14/574,478号、発明の名称「SURGICAL  INSTRUMENT  SYSTEMS  COMPRISING  AN  ARTICULATABLE  END  EFFECTOR  AND  MEANS  FOR  ADJUSTING  THE  FIRING  STROKE  OF  A  FIRING」、
  −米国特許出願第14/574,483号、発明の名称「SURGICAL  INSTRUMENT  ASSEMBLY  COMPRISING  LOCKABLE  SYSTEMS」、
  −米国特許出願第14/575,139号、発明の名称「DRIVE  ARRANGEMENTS  FOR  ARTICULATABLE  SURGICAL  INSTRUMENTS」、
  −米国特許出願第14/575,148号、発明の名称「LOCKING  ARRANGEMENTS  FOR  DETACHABLE  SHAFT  ASSEMBLIES  WITH  ARTICULATABLE  SURGICAL  END  EFFECTORS」、
  −米国特許出願第14/575,130号、発明の名称「SURGICAL  INSTRUMENT  WITH  AN  ANVIL  THAT  IS  SELECTIVELY  MOVABLE  ABOUT  A  DISCRETE  NON−MOVABLE  AXIS  RELATIVE  TO  A  STAPLE  CARTRIDGE」、
  −米国特許出願第14/575,143号、発明の名称「SURGICAL  INSTRUMENTS  WITH  IMPROVED  CLOSURE  ARRANGEMENTS」、
  −米国特許出願第14/575,117号、発明の名称「SURGICAL  INSTRUMENTS  WITH  ARTICULATABLE  END  EFFECTORS  AND  MOVABLE  FIRING  BEAM  SUPPORT  ARRANGEMENTS」、
  −米国特許出願第14/575,154号、発明の名称「SURGICAL  INSTRUMENTS  WITH  ARTICULATABLE  END  EFFECTORS  AND  IMPROVED  FIRING  BEAM  SUPPORT  ARRANGEMENTS」、
  −米国特許出願第14/574,493号、発明の名称「SURGICAL  INSTRUMENT  ASSEMBLY  COMPRISING  A  FLEXIBLE  ARTICULATION  SYSTEM」、及び
  −米国特許出願第14/574,500号、発明の名称「SURGICAL  INSTRUMENT  ASSEMBLY  COMPRISING  A  LOCKABLE  ARTICULATION  SYSTEM」。The applicant of the present application owns the following patent applications filed on December 18, 2014, the entire contents of which are incorporated herein by reference:
 -US Patent Application No. 14 / 574,478, title of invention "SURGICAL INSTRUMENT SYSTEMS COMPRISING AN ARTICULATABLE END EFFECTOR AND MEANS FOR ADJUSTING THE FIRING STROKE OF"
 -US Patent Application No. 14 / 574,483, Invention Title "SURGICAL INSTRUMENT ASSEMBLY COMPRISING LOCKABLE SYSTEMS",
 -US Patent Application No. 14 / 575,139, Title of Invention "DRIVE ARRANGEMENTS FOR ARTICULATABLE SURGICAL INSTRUMENTS",
 -US Patent Application No. 14 / 575,148, Title of Invention "LOCKING ARRANGEMENTS FOR DETACHABLE SHAFT ASSEMBLES WITH ARTICULATABLE SURGICAL END EFFECTORS",
 -US Patent Application No. 14 / 575,130, title of invention "SURGICAL INSTRUMENT WITH AN ANVIL THAT IS SELECTIVELY MOVABLE ABOUT A DISCRETE NON-MOVABLE AXIS RELATEV TO ASTAPLE"
 -US Patent Application No. 14 / 575,143, Invention Title "SURGICAL INSTRUMENTS WITH IMPROVEED CLOSE ARRANGEMENTS",
 -US Patent Application No. 14 / 575,117, title of invention "SURGICAL INSTRUMENTS WITH ARTICULATABLE END EFFECTORS AND MOVABLE FIRING BEAM SUPPORT ARRANGEMENTS",
 -US Patent Application No. 14 / 575,154, Title of Invention "SURGICAL INSTRUMENTS WITH ARTICULATABLE END EFFECTORS AND IMPROVEED FIRING BEAM SUPPORT ARRANGEMENTS",
 -US Patent Application No. 14 / 574,493, title of invention "SURGICAL INSTRUMENT ASSEMBLY COMPRISING A FLEXIBLE ARTICULATION SYSTEM", and-US Patent Application No. 14 / 574,500, title of invention "SURGICAL SYSTEM ".
  本願の出願人は、2013年3月1日に出願された以下の特許出願を所有しており、これらはそれぞれの全体内容が参照により本明細書に組み込まれる:
  −米国特許出願第13/782,295号、発明の名称「ARTICULATABLE  SURGICAL  INSTRUMENTS  WITH  CONDUCTIVE  PATHWAYS  FOR  SIGNAL  COMMUNICATION」、現在は米国特許出願公開第2014/0246471号、
  −米国特許出願第13/782,323号、発明の名称「ROTARY  POWERED  ARTICULATION  JOINTS  FOR  SURGICAL  INSTRUMENTS」、現在は米国特許出願公開第2014/0246472号、
  −米国特許出願第13/782,338号、発明の名称「THUMBWHEEL  SWITCH  ARRANGEMENTS  FOR  SURGICAL  INSTRUMENTS」、現在は米国特許出願公開第2014/0249557号、
  −米国特許出願第13/782,499号、発明の名称「ELECTROMECHANICAL  SURGICAL  DEVICE  WITH  SIGNAL  RELAY  ARRANGEMENT」、現在は米国特許出願公開第2014/0246474号、
  −米国特許出願第13/782,460号、発明の名称「MULTIPLE  PROCESSOR  MOTOR  CONTROL  FOR  MODULAR  SURGICAL  INSTRUMENTS」、現在は米国特許出願公開第2014/0246478号、
  −米国特許出願第13/782,358号、発明の名称「JOYSTICK  SWITCH  ASSEMBLIES  FOR  SURGICAL  INSTRUMENTS」、現在は米国特許出願公開第2014/0246477号、
  −米国特許出願第13/782,481号、発明の名称「SENSOR  STRAIGHTENED  END  EFFECTOR  DURING  REMOVAL  THROUGH  TROCAR」、現在は米国特許出願公開第2014/0246479号、
  −米国特許出願第13/782,518号、発明の名称「CONTROL  METHODS  FOR  SURGICAL  INSTRUMENTS  WITH  REMOVABLE  IMPLEMENT  PORTIONS」、現在は米国特許出願公開第2014/0246475号、
  −米国特許出願第13/782,375号、発明の名称「ROTARY  POWERED  SURGICAL  INSTRUMENTS  WITH  MULTIPLE  DEGREES  OF  FREEDOM」、現在は米国特許出願公開第2014/0246473号、及び、
  −米国特許出願第13/782,536号、発明の名称「SURGICAL  INSTRUMENT  SOFT  STOP」、現在は米国特許出願公開第2014/0246476号。The applicant of the present application owns the following patent applications filed on March 1, 2013, the entire contents of which are incorporated herein by reference:
 -US Patent Application No. 13 / 782,295, title of invention "ARTICULATABLE SURGICAL INSTRUMENTS WITH CONDUCIVE PATHWAYS FOR SIGNAL COMMUNICATION", now US Patent Application Publication No. 2014/0246471,
 -US Patent Application No. 13 / 782,323, Invention Title "ROTARY POWERED ARTICULATION JOINTS FOR SURGICAL INSTRUMENTS", now US Patent Application Publication No. 2014/0246472,
 -US Patent Application No. 13 / 782,338, Invention Title "THUMBWHEEL SWITCH ARRANGEMENTS FOR SURGICAL INSTRUMENTS", Currently US Patent Application Publication No. 2014/0249557,
 -US Pat.
 -US Patent Application No. 13 / 782,460, Invention Title "MULTIPLE PROCESSOR MOTOR CONTROL FOR MODEDULAR SURGICAL INSTRUMENTS", now US Patent Application Publication No. 2014/0246478,
 -US Patent Application No. 13 / 782,358, Invention Title "JOYSTICK SWITCH ASSEMBLES FOR SURGICAL INSTRUMENTS", Currently US Patent Application Publication No. 2014/0246477,
 -US Pat.
 -US Patent Application No. 13 / 782,518, Invention Title "CONTROL METHODS FOR SURGICAL INSTRUMENTS WITH REMOVABLE IMPLEMEMENT PORTIONS", Currently US Patent Application Publication No. 2014/0246475,
 -US Patent Application No. 13 / 782,375, title of invention "ROTARY POWERED SURGICAL INSTRUMENTS WITH MULTIPLE DEFREEDOM", now US Patent Application Publication No. 2014/0246473, and
 -US Patent Application No. 13 / 782,536, Invention Title "SURGICAL INSTRUMENT SOFT STOP", now US Patent Application Publication No. 2014/0246476.
  本願の出願人はまた、2013年3月14日に出願された以下の特許出願を所有しており、これらはそれぞれの全体内容が参照により本明細書に組み込まれる:
  −米国特許出願第13/803,097号、発明の名称「ARTICULATABLE  SURGICAL  INSTRUMENT  COMPRISING  A  FIRING  DRIVE」、現在は米国特許出願公開第2014/0263542号、
  −米国特許出願第13/803,193号、発明の名称「CONTROL  ARRANGEMENTS  FOR  A  DRIVE  MEMBER  OF  A  SURGICAL  INSTRUMENT」、現在は米国特許出願公開第2014/0263537号、
  −米国特許出願第13/803,053号、発明の名称「INTERCHANGEABLE  SHAFT  ASSEMBLIES  FOR  USE  WITH  A  SURGICAL  INSTRUMENT」、現在は米国特許出願公開第2014/0263564号、
  −米国特許出願第13/803,086号、発明の名称「ARTICULATABLE  SURGICAL  INSTRUMENT  COMPRISING  AN  ARTICULATION  LOCK」、現在は米国特許出願公開第2014/0263541号、
  −米国特許出願第13/803,210号、発明の名称「SENSOR  ARRANGEMENTS  FOR  ABSOLUTE  POSITIONING  SYSTEM  FOR  SURGICAL  INSTRUMENTS」、現在は米国特許出願公開第2014/0263538号、
  −米国特許出願第13/803,148号、発明の名称「MULTI−FUNCTION  MOTOR  FOR  A  SURGICAL  INSTRUMENT」、現在は米国特許出願公開第2014/0263554号、
  −米国特許出願第13/803,066号、発明の名称「DRIVE  SYSTEM  LOCKOUT  ARRANGEMENTS  FOR  MODULAR  SURGICAL  INSTRUMENTS」、現在は米国特許出願公開第2014/0263565号、
  −米国特許出願第13/803,117号、発明の名称「ARTICULATION  CONTROL  SYSTEM  FOR  ARTICULATABLE  SURGICAL  INSTRUMENTS」、現在は米国特許出願公開第2014/0263553号、
  −米国特許出願第13/803,130号、発明の名称「DRIVE  TRAIN  CONTROL  ARRANGEMENTS  FOR  MODULAR  SURGICAL  INSTRUMENTS」、現在は米国特許出願公開第2014/0263543号、及び、
  −米国特許出願第13/803,159号、発明の名称「METHOD  AND  SYSTEM  FOR  OPERATING  A  SURGICAL  INSTRUMENT」、現在は米国特許出願公開第2014/0277017号。The applicant of the present application also owns the following patent applications filed on March 14, 2013, the entire contents of which are incorporated herein by reference:
 -US Patent Application No. 13 / 803,097, Invention Title "ARTICULATABLE SURGICAL INSTRUMENT COMPRISING A FIRING DRIVE", Currently US Patent Application Publication No. 2014/0263542,
 -US Patent Application No. 13 / 803,193, Invention Title "CONTROL ARRANGEMENTS FOR A DRIVE MEMBER OF A SURGICAL INSTRUMENT", now US Patent Application Publication No. 2014/0263537,
 -US Patent Application No. 13 / 803,053, Invention Title "INTERCHANGE SHAFT ASSEMBLES FOR USE WITH A SURGICAL INSTRUMENT", now US Patent Application Publication No. 2014/0263564,
 -US Patent Application No. 13 / 803,086, Invention title "ARTICULATABLE SURGICAL INSTRUMENT COMPRISING AN ARTICULATION LOCK", now US Patent Application Publication No. 2014/0263541,
 -US Patent Application No. 13 / 803,210, Invention Title "SENSOR ARRANGEMENTS FOR ABSOLUTE POSITIONING SYSTEM FOR SURGICAL INSTRUMENTS", now US Patent Application Publication No. 2014/0263538,
 -US Patent Application No. 13 / 803,148, Invention Title "MULTI-FUNCTION MOTOR FOR A SURGICAL INSTRUMENT", Currently US Patent Application Publication No. 2014/0263554,
 -US Patent Application No. 13 / 803,066, Invention Title "DRIVE SYSTEM LOCKOUT ARRANGEMENTS FOR MODEDULAR SURGICAL INSTRUMENTS", now US Patent Application Publication No. 2014/0263565,
 -US Patent Application No. 13 / 803,117, Invention Title "ARTICULATION CONTORL SYSTEM FOR ARTICULATABLE SURGICAL INSTRUMENTS", now US Patent Application Publication No. 2014/0263553,
 -US Patent Application No. 13 / 803,130, Invention Title "DRIVE TRAIN CONTOROL ARRANGEMENTS FOR MODELAR SURGICAL INSTRUMENTS", now US Patent Application Publication No. 2014/0263543, and
 -US Patent Application No. 13 / 803,159, Invention Title "METHOD AND SYSTEM FOR OPERATING A SURGICAL INSTRUMENT", now US Patent Application Publication No. 2014/0277017.
  本願の出願人はまた、2014年3月7日に出願された以下の特許出願を所有しており、その全体内容が参照により本明細書に組み込まれる:
  −米国特許出願第14/200,111号、発明の名称「CONTROL  SYSTEMS  FOR  SURGICAL  INSTRUMENTS」、現在は米国特許出願公開第2014/0263539号。The applicant of the present application also owns the following patent application filed on March 7, 2014, the entire contents of which are incorporated herein by reference:
 -US Patent Application No. 14 / 200,111, Invention Title "CONTROLL SYSTEMS FOR SURGICAL INSTRUMENTS", now US Patent Application Publication No. 2014/0263539.
  本願の出願人はまた、2014年3月26日に出願された以下の特許出願を所有しており、これらはそれぞれの全体内容が参照により本明細書に組み込まれる:
  −米国特許出願第14/226,106号、発明の名称「POWER  MANAGEMENT  CONTROL  SYSTEMS  FOR  SURGICAL  INSTRUMENTS」、現在は米国特許出願公開第2015/0272582号、
  −米国特許出願第14/226,099号、発明の名称「STERILIZATION  VERIFICATION  CIRCUIT」、現在は米国特許出願公開第2015/0272581号、
  −米国特許出願第14/226,094号、発明の名称「VERIFICATION  OF  NUMBER  OF  BATTERY  EXCHANGES/PROCEDURE  COUNT」、現在は米国特許出願公開第2015/0272580号、
  −米国特許出願第14/226,117号、発明の名称「POWER  MANAGEMENT  THROUGH  SLEEP  OPTIONS  OF  SEGMENTED  CIRCUIT  AND  WAKE  UP  CONTROL」、現在は米国特許出願公開第2015/0272574号、
  −米国特許出願第14/226,075号、発明の名称「MODULAR  POWERED  SURGICAL  INSTRUMENT  WITH  DETACHABLE  SHAFT  ASSEMBLIES」、現在は米国特許出願公開第2015/0272579号、
  −米国特許出願第14/226,093号、発明の名称「FEEDBACK  ALGORITHMS  FOR  MANUAL  BAILOUT  SYSTEMS  FOR  SURGICAL  INSTRUMENTS」、現在は米国特許出願公開第2015/0272569号、
  −米国特許出願第14/226,116号、発明の名称「SURGICAL  INSTRUMENT  UTILIZING  SENSOR  ADAPTATION」、現在は米国特許出願公開第2015/0272571号、
  −米国特許出願第14/226,071号、発明の名称「SURGICAL  INSTRUMENT  CONTROL  CIRCUIT  HAVING  A  SAFETY  PROCESSOR」、現在は米国特許出願公開第2015/0272578号、
  −米国特許出願第14/226,097号、発明の名称「SURGICAL  INSTRUMENT  COMPRISING  INTERACTIVE  SYSTEMS」、現在は米国特許出願公開第2015/0272570号、
  −米国特許出願第14/226,126号、発明の名称「INTERFACE  SYSTEMS  FOR  USE  WITH  SURGICAL  INSTRUMENTS」、現在は米国特許出願公開第2015/0272572号、
  −米国特許出願第14/226,133号、発明の名称「MODULAR  SURGICAL  INSTRUMENT  SYSTEM」、現在は米国特許出願公開第2015/0272557号、
  −米国特許出願第14/226,081号、発明の名称「SYSTEMS  AND  METHODS  FOR  CONTROLLING  A  SEGMENTED  CIRCUIT」、現在は米国特許出願公開第2015/0277471号、
  −米国特許出願第14/226,076号、発明の名称「POWER  MANAGEMENT  THROUGH  SEGMENTED  CIRCUIT  AND  VARIABLE  VOLTAGE  PROTECTION」、現在は米国特許出願公開第2015/0280424号、
  −米国特許出願第14/226,111号、発明の名称「SURGICAL  STAPLING  INSTRUMENT  SYSTEM」、現在は米国特許出願公開第2015/0272583号、及び
  −米国特許出願第14/226,125号、発明の名称「SURGICAL  INSTRUMENT  COMPRISING  A  ROTATABLE  SHAFT」、現在は米国特許出願公開第2015/0280384号。The applicant of the present application also owns the following patent applications filed on March 26, 2014, the entire contents of which are incorporated herein by reference:
 -US Patent Application No. 14 / 226,106, Invention Title "POWER MANAGEMENT CONTORL SYSTEMS FOR SURGICAL INSTRUMENTS", Currently US Patent Application Publication No. 2015/0272582,
 -US Patent Application No. 14 / 226,099, Invention Title "STERILIZATION VERIFICATION CIRCUIT", Currently US Patent Application Publication No. 2015/0272581,
 -US Patent Application No. 14 / 226,094, Invention Title "VERIFICATION OF NUMBER OF BATTERY EXCHANGE COUNT", Currently US Patent Application Publication No. 2015/0272580,
 -US Patent Application No. 14 / 226,117, Invention Title "POWER MANAGEMENT THROUGH SLEEP OPTIONS OF SEGMENTED CIRCUIT AND WAKE UP CONTROL", now US Patent Application Publication No. 2015/0272574,
 -US Patent Application No. 14 / 226,075, Invention Title "MODULAR POWERED SURGICAL INSTRUMENT WITH DETACHABLE SHAFT ASSEMBLES", now US Patent Application Publication No. 2015/0272579,
 -US Patent Application No. 14 / 226,093, Invention Title "FEEDBACK ALGORITHMS FOR MANUAL BAILOUT SYSTEMS FOR SURGICAL INSTRUMENTS", now US Patent Application Publication No. 2015/0272569,
 -US Patent Application No. 14 / 226,116, Invention Title "SURGICAL INSTRUMENT UTILIZING SENSOR ADAPATION", Currently US Patent Application Publication No. 2015/0272571,
 -U.S. Patent Application No. 14 / 226,071, the title of the invention "SURGICAL INSTRUMENT CONTROLL CIRCUIT HAVING A SAFETY PROCESSOR", now U.S. Patent Application Publication No. 2015/0272578,
 -US Patent Application No. 14 / 226,097, Invention Title "SURGICAL INSTRUMENT COMPRISING INTERACTIVE SYSTEMS", Currently US Patent Application Publication No. 2015/0272570,
 -US Patent Application No. 14 / 226,126, Invention Title "INTERFACE SYSTEMS FOR USE WITH SURGICAL INSTRUMENTS", Currently US Patent Application Publication No. 2015/0272572,
 -US Patent Application No. 14 / 226,133, Invention Title "MODULAR SURGICAL INSTRUMENT SYSTEM", Currently US Patent Application Publication No. 2015/0272557,
 -US Patent Application No. 14 / 226,081, Invention title "SYSTEMS AND METHODS FOR CONTROLLING A SEGMENTED CIRCUIT", now US Patent Application Publication No. 2015/02777471,
 -US Patent Application No. 14 / 226,076, Invention Title "POWER MANAGEMENT THROUGH SEGMENTED CIRCUIT AND VARIABLE VOLTAGE PROTESTION", now US Patent Application Publication No. 2015/02804424,
 -US Patent Application No. 14 / 226,111, title of invention "SURGICAL STAPLING INSTRUMENT SYSTEM", now US Patent Application Publication No. 2015/02272583, and-US Patent Application No. 14 / 226,125, title of invention "SURGICAL INSTRUMENT COMPRISING A ROTATABLE SHAFT", currently US Patent Application Publication No. 2015/0280384.
  本願の出願人はまた、2014年9月5日に出願された以下の特許出願を所有しており、これらはそれぞれの全体内容が参照により本明細書に組み込まれる:
  −米国特許出願第14/479,103号、発明の名称「CIRCUITRY  AND  SENSORS  FOR  POWERED  MEDICAL  DEVICE」、現在は米国特許出願公開第2016/0066912号、
  −米国特許出願第14/479,119号、発明の名称「ADJUNCT  WITH  INTEGRATED  SENSORS  TO  QUANTIFY  TISSUE  COMPRESSION」、現在は米国特許出願公開第2016/0066914号、
  −米国特許出願第14/478,908号、発明の名称「MONITORING  DEVICE  DEGRADATION  BASED  ON  COMPONENT  EVALUATION」、現在は米国特許出願公開第2016/0066910号、
  −米国特許出願第14/478,895号、発明の名称「MULTIPLE  SENSORS  WITH  ONE  SENSOR  AFFECTING  A  SECOND  SENSOR’S  OUTPUT  OR  INTERPRETATION」、現在は米国特許出願公開第2016/0066909号、
  −米国特許出願第14/479,110号、発明の名称「USE  OF  POLARITY  OF  HALL  MAGNET  DETECTION  TO  DETECT  MISLOADED  CARTRIDGE」、現在は米国特許出願公開第2016/0066915号、
  −米国特許出願第14/479,098号、発明の名称「SMART  CARTRIDGE  WAKE  UP  OPERATION  AND  DATA  RETENTION」、現在は米国特許出願公開第2016/0066911号、
  −米国特許出願第14/479,115号、発明の名称「MULTIPLE  MOTOR  CONTROL  FOR  POWERED  MEDICAL  DEVICE」、現在は米国特許出願公開第2016/0066916号、及び
  −米国特許出願第14/479,108号、発明の名称「LOCAL  DISPLAY  OF  TISSUE  PARAMETER  STABILIZATION」、現在は米国特許出願公開第2016/0066913号。The applicant of the present application also owns the following patent applications filed on September 5, 2014, the entire contents of which are incorporated herein by reference:
 -US Patent Application No. 14 / 479,103, Invention Title "CIRCUITRY AND SENSORS FOR POWERED MEDICAL DEVICE", Currently US Patent Application Publication No. 2016/0066912,
 -US Patent Application No. 14 / 479,119, Invention Title "ADJUNCT WITH INTEGRATED SENSORS TO QUANTIFY TISSUE COMPRESSION", Currently US Patent Application Publication No. 2016/0066914,
 -US Patent Application No. 14 / 478,908, Invention Title "MONITORING DEVICE DEGRADATION BASED ON COMPONENT EVALUATION", Currently US Patent Application Publication No. 2016/0066910,
 -US Patent Application No. 14 / 478,895, Title of Invention "MULTIPLE SENSORS WITH ONE SENSOR AFFECTING A SECOND SENSOR'S OUTPUT OR INTERPRETATION", now US Patent Application Publication No. 2016/0066909,
 -US Patent Application No. 14 / 479,110, Invention Title "USE OF POLARITY OF HALL MAGNET DETECTION TO DETECT MISLOADED CARTRIDGE", now US Patent Application Publication No. 2016/0066915,
 -US Patent Application No. 14 / 479,098, Invention Title "SMART CARTRIDGE WAKE UP OPERATION AND DATA RETENTION", Currently US Patent Application Publication No. 2016/0066911,
 -US Patent Application No. 14 / 479,115, Invention Title "MULTIPLE MOTOR CONTROL FOR POWERED MEDICAL DEVICE", Currently US Patent Application Publication Nos. 2016/0066916, and-US Patent Application No. 14 / 479,108, The title of the invention, "LOCAL DISPLAY OF TISSUE PARAMETER STABILIZATION", is currently US Patent Application Publication No. 2016/0066913.
  本願の出願人はまた、2014年4月9日に出願された以下の特許出願を所有しており、これらはそれぞれの全体内容が参照により本明細書に組み込まれる:
  −米国特許出願第14/248,590号、発明の名称「MOTOR  DRIVEN  SURGICAL  INSTRUMENTS  WITH  LOCKABLE  DUAL  DRIVE  SHAFTS」、現在は米国特許出願公開第2014/0305987号、
  −米国特許出願第14/248,581号、発明の名称「SURGICAL  INSTRUMENT  COMPRISING  A  CLOSING  DRIVE  AND  A  FIRING  DRIVE  OPERATED  FROM  THE  SAME  ROTATABLE  OUTPUT」、現在は米国特許出願公開第2014/0305989号、
  −米国特許出願第14/248,595号、発明の名称「SURGICAL  INSTRUMENT  SHAFT  INCLUDING  SWITCHES  FOR  CONTROLLING  THE  OPERATION  OF  THE  SURGICAL  INSTRUMENT」、現在は米国特許出願公開第2014/0305988号、
  −米国特許出願第14/248,588号、発明の名称「POWERED  LINEAR  SURGICAL  STAPLER」、現在は米国特許出願公開第2014/0309666号、
  −米国特許出願第14/248,591号、発明の名称「TRANSMISSION  ARRANGEMENT  FOR  A  SURGICAL  INSTRUMENT」、現在は米国特許出願公開第2014/0305991号、
  −米国特許出願第14/248,584号、発明の名称「MODULAR  MOTOR  DRIVEN  SURGICAL  INSTRUMENTS  WITH  ALIGNMENT  FEATURES  FOR  ALIGNING  ROTARY  DRIVE  SHAFTS  WITH  SURGICAL  END  EFFECTOR  SHAFTS」、現在は米国特許出願公開第2014/0305994号、
  −米国特許出願第14/248,587号、発明の名称「POWERED  SURGICAL  STAPLER」、現在は米国特許出願公開第2014/0309665号、
  −米国特許出願第14/248,586号、発明の名称「DRIVE  SYSTEM  DECOUPLING  ARRANGEMENT  FOR  A  SURGICAL  INSTRUMENT」、現在は米国特許出願公開第2014/0305990号、及び
  −米国特許出願第14/248,607号、発明の名称「MODULAR  MOTOR  DRIVEN  SURGICAL  INSTRUMENTS  WITH  STATUS  INDICATION  ARRANGEMENTS」、現在は米国特許出願公開第2014/0305992号。The applicant of the present application also owns the following patent applications filed on April 9, 2014, the entire contents of which are incorporated herein by reference:
 -US Patent Application No. 14 / 248,590, Invention Title "MOTOR DRIVEN SURGICAL INSTRUMENTS WITH LOCKABLE DUAL DRIVE SHAFTS", now US Patent Application Publication No. 2014/030987,
 -US Patent Application No. 14 / 248,581, Title of Invention "SURGICAL INSTRUMENT COMPRISING A CLOSEING DRIVE AND A FIRING DRIVE OPERATED FROM THE SAME ROTATABLE OUTPUT", Currently US Patent Application No. 3059
 -US Patent Application No. 14 / 248,595, title of invention "SURGICAL INSTRUMENT SHAFT INCLUDING SWITCHES FOR CONTROLLING THE OPERATION OF THE SURGICAL INSTRUMENT", currently published in U.S. Patent No. 14 / 248,595
 -US Patent Application No. 14 / 248,588, Invention Title "POWERED LINEAR SURGICAL STAPLER", Currently US Patent Application Publication No. 2014/0309666,
 -US Patent Application No. 14 / 248,591, Invention Title "TRANSMISSION ARRANGEMENT FOR A SURGICAL INSTRUMENT", Currently US Patent Application Publication No. 2014/0305911,
 -US Patent Application No. 14 / 248,584, Title of Invention "MODULAR MOTOR DRIVEN SURGICAL INSTRUMENTS WITH ALIGNMENT FEATURES FOR ALIGNING ROTARY DRIVE SHAFTS WITH SURFTS
 -US Patent Application No. 14 / 248,587, Invention Title "POWERED SURGICAL Stapler", Currently US Patent Application Publication No. 2014/0309665,
 -US Patent Application No. 14 / 248,586, Invention Title "DRIVE SYSTEM DECOUPLING ARRANGEMENT FOR A SURGICAL INSTRUMENT", now US Patent Application Publication No. 2014/03059090, and-US Patent Application No. 14 / 248,607. , The title of the invention "MODULAR MOTOR DRIVEN SURGICAL INSTRUMENTS WITH STATUS INDICATION ARRANGEMENTS", currently US Patent Application Publication No. 2014/0305992.
  本願の出願人はまた、2013年4月16日に出願された以下の特許出願を所有しており、これらはそれぞれの全体内容が参照により本明細書に組み込まれる:
  −米国仮特許出願第61/812,365号、発明の名称「SURGICAL  INSTRUMENT  WITH  MULTIPLE  FUNCTIONS  PERFORMED  BY  A  SINGLE  MOTOR」、
  −米国仮特許出願第61/812,376号、発明の名称「LINEAR  CUTTER  WITH  POWER」、
  −米国仮特許出願第61/812,382号、発明の名称「LINEAR  CUTTER  WITH  MOTOR  AND  PISTOL  GRIP」、
  −米国仮特許出願第61/812,385号、発明の名称「SURGICAL  INSTRUMENT  HANDLE  WITH  MULTIPLE  ACTUATION  MOTORS  AND  MOTOR  CONTROL」、及び
  −米国仮特許出願第61/812,372号、発明の名称「SURGICAL  INSTRUMENT  WITH  MULTIPLE  FUNCTIONS  PERFORMED  BY  A  SINGLE  MOTOR」。The applicant of the present application also owns the following patent applications filed on April 16, 2013, the entire contents of which are incorporated herein by reference:
 -US Provisional Patent Application No. 61 / 812,365, Title of Invention "SURGICAL INSTRUMENT WITH MULTIPLE FUNCTIONS PERFFORMED BY A SINGLE MOTOR",
 -US Provisional Patent Application No. 61 / 812,376, Invention Name "LINEAR CUTTER WITH POWER",
 -US Provisional Patent Application No. 61 / 812,382, Invention Name "LINEAR CUTTER WITH MOTOR AND PISTOL GRIP",
 -US provisional patent application No. 61 / 812,385, title of invention "SURGICAL INSTRUMENT HANDLE WITH MULTIPLE ACTION MOTORS AND MOTOR CONTROL", and-US provisional patent application No. 61 / 812,372, title of invention "SURGICAL" MULTIPLE FUNCTIONS PERFORMED BY A SINGLE MOTOR ".
本明細書に記載され、添付の図面に示される実施形態の全体的な構造、機能、製造、及び使用の完全な理解をもたらすように、多くの具体的詳細が示される。周知の動作、構成要素、及び要素は、本明細書に記載される実施形態を不明瞭にしないようにするため詳細には記載されていない。本明細書に記載及び図示される実施形態は非限定例であることが読者には理解され、それ故、本明細書に開示される特定の構造的及び機能的詳細は、典型及び例示であり得ることが理解されるであろう。それらに対する変形及び変更が、特許請求の範囲から逸脱することなく行われ得る。 Many specific details are provided to provide a complete understanding of the overall structure, function, manufacture, and use of embodiments described herein and shown in the accompanying drawings. Well-known behaviors, components, and elements are not described in detail to avoid obscuring the embodiments described herein. It is understood by the reader that the embodiments described and illustrated herein are non-limiting examples, and therefore the particular structural and functional details disclosed herein are exemplary and exemplary. It will be understood to get. Modifications and changes to them can be made without departing from the claims.
用語「備える(comprise)」(「comprises」及び「comprising」など、compriseの任意の語形)、「有する(have)」(「has」及び「having」など、haveの任意の語形)、「含む(include)」(「includes」及び「including」など、includeの任意の語形)、及び「含有する(contain)」(「contains」及び「containing」など、containの任意の語形)は、開放型の連結動詞である。結果として、1つ又は2つ以上の要素を「備える」か、「有する」か、「含む」か、若しくは「含有する」外科用システム、デバイス、又は装置は、それら1つ又は2つ以上の要素を有しているが、それら1つ又は2つ以上の要素のみを有することに限定されない。同様に、1つ又は2つ以上の特徴を「備える」か、「有する」か、「含む」か、若しくは「含有する」、システム、デバイス、又は装置の要素は、それら1つ又は2つ以上の特徴を有しているが、それら1つ又は2つ以上の特徴のみを有することに限定されない。 The terms "comprise" (any form of comprise, such as "comprises" and "comprising"), "have" (any form of have, such as "has" and "having"), "include ( ”(Any word form of include, such as“ includes ”and“ inclusion ”), and“ contain ”(any word form of content, such as“ context ”and“ contouring ”) are open concatenations. It is a verb. As a result, a surgical system, device, or device that "includes", "has", "contains", or "contains" one or more elements is one or more of them. It has elements, but is not limited to having only one or more of them. Similarly, one or more elements of a system, device, or device that "equips", "has", "contains", or "contains" one or more features. However, it is not limited to having only one or more of these characteristics.
「近位」及び「遠位」という用語は、本明細書では、外科用器具のハンドル部分を操作する臨床医を基準として使用される。「近位」という用語は、臨床医に最も近い部分を指し、「遠位」という用語は、臨床医から離れた位置にある部分を指す。便宜上及び明確性のために、「垂直」、「水平」、「上」、及び「下」などの空間的用語が、本明細書において図面に対して使用され得ることが更に理解されるであろう。しかしながら、外科用器具は多くの向き及び位置で使用されるものであり、これらの用語は限定的及び/又は絶対的であることを意図したものではない。 The terms "proximal" and "distal" are used herein with reference to the clinician operating the handle portion of the surgical instrument. The term "proximal" refers to the part closest to the clinician, and the term "distal" refers to the part located away from the clinician. For convenience and clarity, it is further understood that spatial terms such as "vertical", "horizontal", "top", and "bottom" can be used with respect to the drawings herein. Let's go. However, surgical instruments are used in many orientations and positions, and these terms are not intended to be limited and / or absolute.
腹腔鏡下及び低侵襲性の外科手技を行うための、様々な例示的なデバイス及び方法が提供される。しかしながら、本明細書に開示される様々な方法及びデバイスが、例えば開放型の外科手技と関連するものを含む、多くの外科手技及び用途で使用され得ることが、読者には容易に理解されるであろう。本明細書の「発明を実施するための形態」を読み進めることで、読者は、本明細書に開示される様々な器具が、例えば、天然の開口部を通じて、組織に形成された切開又は穿刺穴を通じてなど、任意の方法で体内に挿入され得ることを更に理解するであろう。これらの器具の作用部分すなわちエンドエフェクタ部分は、患者の体内に直接に挿入することもでき、又は、外科用器具のエンドエフェクタ及び細長いシャフトを進めることが可能な作用通路を有するアクセス装置を通じて挿入することもできる。 Various exemplary devices and methods are provided for performing laparoscopic and minimally invasive surgical procedures. However, it is readily understood by the reader that the various methods and devices disclosed herein can be used in many surgical procedures and applications, including those associated with, for example, open surgical procedures. Will. By reading "Forms for Carrying Out the Invention" herein, the reader can read that the various instruments disclosed herein are incised or punctured into tissue, eg, through a natural opening. You will further understand that it can be inserted into the body in any way, such as through a hole. The working part or end effector part of these instruments can also be inserted directly into the patient's body, or through an access device with a passage of action capable of advancing the end effector and elongated shaft of the surgical instrument. You can also do it.
外科用ステープル留めシステムは、シャフトと、シャフトから延在するエンドエフェクタとを備えることができる。エンドエフェクタは、第1のジョーと第2のジョーとを備える。第1のジョーは、ステープルカートリッジを備える。ステープルカートリッジは、第1のジョーに挿入可能であり、かつ第1のジョーから着脱可能であるが、ステープルカートリッジが第1のジョーから着脱可能でないか、又は少なくとも容易に交換可能でない、他の実施形態も想起される。第2のジョーは、ステープルカートリッジから排出されたステープルを変形させるように構成されたアンビルを備える。第2のジョーは、閉鎖軸を中心にして第1のジョーに対して枢動可能であるが、第1のジョーが第2のジョーに対して枢動可能である、他の実施形態も想起される。外科用ステープル留めシステムは、エンドエフェクタをシャフトに対して回転させる、すなわち関節運動させることができるように構成された関節継手を更に備える。エンドエフェクタは、関節継手を通って延在する関節運動軸線を中心にして回転可能である。関節継手を含まない他の実施形態も想起される。 Surgical staple fastening systems can include a shaft and an end effector extending from the shaft. The end effector includes a first jaw and a second jaw. The first jaw comprises a staple cartridge. Other implementations in which the staple cartridge is insertable into and detachable from the first jaw, but the staple cartridge is not removable from the first jaw, or at least not easily replaceable. The form is also recalled. The second jaw comprises an anvil configured to deform the staples ejected from the staple cartridge. The second jaw is pivotable with respect to the first jaw about the closed axis, but recalls other embodiments in which the first jaw is pivotable with respect to the second jaw. Will be done. Surgical staple fastening systems further include articulated joints configured to allow the end effector to rotate, i.e., range of motion with respect to the shaft. The end effector is rotatable about a range of motion that extends through the joint. Other embodiments that do not include joints are also recalled.
ステープルカートリッジは、カートリッジ本体を備える。カートリッジ本体は、近位端部と、遠位端部と、近位端部と遠位端部との間に延在するデッキとを含む。使用中、ステープルカートリッジは、ステープル留めされる組織の第1の側に位置付けられ、アンビルは、組織の第2の側に位置付けられる。アンビルは、ステープルカートリッジに向かって移動させられて、デッキに対して組織を圧縮及びクランプする。続いて、カートリッジ本体内に着脱可能に格納されたステープルを、組織内に配備することができる。カートリッジ本体は、その内部に画定されたステープルキャビティを含み、ステープルは、ステープルキャビティ内に着脱可能に格納される。ステープルキャビティは、6つの長手方向列に配置される。3つの列のステープルキャビティが長手方向スロットの第1の側に位置付けられ、3つの列のステープルキャビティが長手方向スロットの第2の側に位置付けられる。ステープルキャビティ及びステープルの他の配置も可能であり得る。 The staple cartridge includes a cartridge body. The cartridge body includes a proximal end, a distal end, and a deck extending between the proximal and distal ends. In use, the staple cartridge is positioned on the first side of the tissue to be stapled and the anvil is located on the second side of the tissue. The anvil is moved towards the staple cartridge to compress and clamp the tissue against the deck. Subsequently, staples that are detachably stored in the cartridge body can be deployed in the tissue. The cartridge body includes a staple cavity defined therein, and the staples are detachably stored in the staple cavity. The staple cavities are arranged in six longitudinal rows. The three rows of staple cavities are located on the first side of the longitudinal slot and the three rows of staple cavities are located on the second side of the longitudinal slot. Other arrangements of staple cavities and staples are also possible.
ステープルは、カートリッジ本体内のステープルドライバによって支持される。ドライバは、第1の、すなわち未発射位置と、ステープルキャビティからステープルを排出する、第2の、すなわち発射位置との間で移動可能である。ドライバは、カートリッジ本体の底部周辺に延在する保持具によってカートリッジ本体内に保持され、また、カートリッジ本体を把持し、保持具をカートリッジ本体に対して保持するように構成された、弾性部材を含む。ドライバは、スレッドによってその未発射位置とその発射位置との間で移動可能である。スレッドは、近位端部に隣接した近位位置と、遠位端部に隣接した遠位位置との間で移動可能である。スレッドは、ドライバの下を摺動してドライバを持ち上げるように構成された複数の傾斜面を備え、ステープルがその上に支持され、アンビルの方を向いている。 The staples are supported by a staple driver inside the cartridge body. The driver can move between the first, i.e., unlaunched position and the second, i.e., the launched position, which ejects the staples from the staple cavity. The driver includes an elastic member that is held within the cartridge body by a retainer that extends around the bottom of the cartridge body and is configured to grip the cartridge body and hold the holder against the cartridge body. .. The driver can be moved between its unfired position and its fired position by a thread. The thread can move between the proximal position adjacent to the proximal end and the distal position adjacent to the distal end. The thread has multiple ramps configured to slide under the driver and lift the driver, with staples supported on it and facing the anvil.
上記に加えて、スレッドは発射部材によって遠位側に移動される。発射部材は、スレッドに接触し、スレッドを遠位端部に向かって押し出すように構成されている。カートリッジ本体内に画定された長手方向スロットは、発射部材を受容するように構成されている。アンビルはまた、発射部材を受容するように構成されたスロットも含む。発射部材は、第1のジョーに係合する第1のカムと、第2のジョーに係合する第2のカムとを更に備える。発射部材を遠位側に前進させる際、第1のカム及び第2のカムは、ステープルカートリッジのデッキとアンビルとの間の距離、すなわち組織隙間を制御することができる。発射部材はまた、ステープルカートリッジとアンビルとの中間に捕捉された組織を切開するように構成されたナイフも備える。ステープルがナイフよりも前方に排出されるように、ナイフが傾斜面に対して少なくとも部分的に近位側に位置付けられることが望ましい。 In addition to the above, the thread is moved distally by the launching member. The launching member is configured to contact the thread and push the thread towards the distal end. Longitudinal slots defined within the cartridge body are configured to receive launching members. The anvil also includes a slot configured to receive the launching member. The firing member further comprises a first cam that engages the first jaw and a second cam that engages the second jaw. When advancing the launching member distally, the first cam and the second cam can control the distance between the deck of the staple cartridge and the anvil, i.e. the tissue gap. The launcher also comprises a knife configured to incise the captured tissue between the staple cartridge and the anvil. It is desirable that the knife be positioned at least partially proximal to the slope so that the staples are ejected forward of the knife.
  ハンドルアセンブリ
  図1は、種々様々な外科用手技を実施するために使用され得るモータ駆動式外科用システム10を示している。図示の実施形態では、モータ駆動式外科用システム10は、一形態の交換式外科用ツールアセンブリ1000に取り付けられる、選択的に再構成可能なハウジング又はハンドルアセンブリ20を含んでいる。例えば、図1に示すシステム10は、エンドカッターと呼ばれ得る外科用切断及び締結器具を備えた交換式外科用ツールアセンブリ1000を含んでいる。以下で更に詳細に議論するように、交換式外科用ツールアセンブリは、種々のサイズ及びタイプのステープルカートリッジを支持するように適合されたエンドエフェクタを含み、種々のシャフト長さ、サイズ、及びタイプなどを有し得る。そのような構成は、例えば、任意の好適なファスナを利用して組織を締結し得る。例えば、中に着脱可能に格納された複数のファスナを備えるファスナカートリッジが、外科用ツールアセンブリのエンドエフェクタに着脱可能に挿入され、かつ/又は取り付けられ得る。他の外科用ツールアセンブリもハンドルアセンブリ20と交換可能に用いられ得る。例えば、交換式外科用ツールアセンブリ1000は、ハンドルアセンブリ20から取り外され、他の外科手技を実施するように構成された異なる外科用ツールアセンブリと交換され得る。他の構成では、外科用ツールアセンブリは、例えば、他の外科用ツールアセンブリと交換可能でなくてもよく、本質的に、ハンドルアセンブリ20に着脱不能に固着又は結合される専用のシャフトを備える。外科用ツールアセンブリはまた、細長シャフトアセンブリと呼ばれることもある。外科用ツールアセンブリは再利用可能であってもよく、あるいは他の構成では、外科用ツールアセンブリは、1回の使用後に処分されるように設計されてもよい。Handle Assembly FIG. 1 shows a motor driven
本発明を実施するための形態を読み進めるにしたがって、本明細書で開示する様々な形態の交換式外科用ツールアセンブリはまた、ロボット制御式の外科用システムと関連させて効果的に用いられ得ることが理解されよう。したがって、「ハウジング」及び「ハウジングアセンブリ」という用語はまた、本明細書に開示する細長シャフトアセンブリ及びそれらそれぞれの等価物を作動させるのに使用され得る、少なくとも1つの制御モーションを生成及び適用するように構成された、少なくとも1つの駆動システムを収容するか又は別様に動作可能に支持する、ロボットシステムのハウジング又は類似の部分を包含してもよい。「フレーム」という用語は、手持ち式外科用器具の一部分を指してもよい。「フレーム」という用語はまた、ロボット制御式の外科用器具の一部分、及び/又は外科用器具を動作可能に制御するのに使用されてもよいロボットシステムの一部分を表してもよい。例えば、本明細書で開示する外科用ツールアセンブリは、参照によってすべての内容が本明細書に組み込まれる、米国特許出願第13/118,241号、発明の名称「SURGICAL STAPLING INSTRUMENTS WITH ROTATABLE STAPLE DEPLOYMENT ARRANGEMENTS」、現在の米国特許出願公開第2012/0298719号で開示されているような様々なロボットシステム、器具、構成要素、及び方法と共に用いられ得るが、これらに限定されない。 As you read through the embodiments for practicing the present invention, the various forms of interchangeable surgical tool assemblies disclosed herein can also be effectively used in connection with robotic surgical systems. Will be understood. Therefore, the terms "housing" and "housing assembly" are also used to generate and apply at least one control motion that can be used to actuate the elongated shaft assemblies and their respective equivalents disclosed herein. May include a housing or similar portion of a robotic system that accommodates or otherwise operably supports at least one drive system configured in. The term "frame" may refer to a portion of a handheld surgical instrument. The term "frame" may also refer to a portion of a robot-controlled surgical instrument and / or a portion of a robotic system that may be used to operably control the surgical instrument. For example, the surgical tool assembly disclosed herein is incorporated herein by reference in its entirety, US Patent Application No. 13 / 118,241, title of the invention "SURGICAL STAPLING INSTRUMENTS WITH ROTATABLE STAPLE DEPLOYMENT ARRANGEMENTS. It can be used with, but is not limited to, various robot systems, instruments, components, and methods as disclosed in current US Patent Application Publication No. 2012/02987719.
  ここで図1及び図2を参照するが、ハウジングアセンブリ又はハンドルアセンブリ20は、1対のハウジングセグメント40、70から形成され得る一次ハウジング部分30を含み、それらのハウジングセグメントは、プラスチック、高分子材料、金属などから製作され、例えば、接着剤、ねじ、プレス嵌め機構、スナップ嵌め機構、ラッチなどの適切なファスナ構成によって互いに接合され得るものである。更に以下で議論するように、一次ハウジング部分30は、駆動システムに動作可能に取り付けられる交換式外科用ツールアセンブリのうちの対応する部分に様々な制御モーションを生成及び適用するように構成された複数の駆動システムを中で動作可能に支持している。ハンドルアセンブリ20はグリップ部分100を更に備え、このグリップ部分は、一次ハウジング部分30に移動可能に結合されるものであり、臨床医によって様々な位置で一次ハウジング部分30に対して把持及び操作されるように構成されている。グリップ部分100は、プラスチック、高分子材料、金属などから製作され得る1対のグリップセグメント110、120から作製され得るものであり、組立て及びメンテナンスの目的で、例えば、接着剤、ねじ、プレス嵌め機構、スナップ嵌め機構、ラッチなどの適切な締結構成によって互いに接合される。  As shown herein with reference to FIGS. 1 and 2, the housing assembly or handle
  図2で分かるように、グリップ部分100はグリップハウジング130を備え、このグリップハウジングは、以下で更に詳細に議論する駆動モータ及びギヤボックスを動作可能に支持するように構成された中空のキャビティ132を画定している。グリップハウジング130の上側部分134は、一次ハウジング部分30内の開口部80を通じて延び、旋回シャフト180上に枢動的に軸支されるように構成されている。旋回シャフト180は、「PA」として記された旋回軸線を規定する。図3を参照されたい。参考のため、ハンドルアセンブリ20は「HA」として示されるハンドル軸線を規定し、このハンドル軸線は、ハンドルアセンブリ20に動作可能に取り付けられる交換式外科用ツールの細長シャフトアセンブリのシャフト軸線「SA」に対して平行であってもよい。旋回軸線PAはハンドル軸線HAを横断している。図1を参照されたい。そのような構成により、グリップ部分100は、ハンドルアセンブリ20に結合されるタイプの交換式外科用ツールアセンブリに最良である位置へと、旋回軸線PAを中心として一次ハウジング部分30に対して旋回されることが可能となる。グリップハウジング130は、全体として「GA」として示されるグリップ軸線を規定している。図2を参照されたい。ハンドルアセンブリ20に結合される交換式外科用ツールアセンブリが例えばエンドカッターを備えているとき、臨床医は、グリップ軸線GAがハンドル軸線HAに対して垂直か又はほぼ垂直(角度「H1」)となるように(本明細書では「第1のグリップ位置」と呼ぶ)、一次ハウジング部分30に対してグリップ部分100を位置決めすることを望み得る。図5を参照されたい。しかしながら、例えば円形ステープラを含んだ交換式外科用ツールアセンブリを制御するためにハンドルアセンブリ20が使用されている場合、臨床医は、グリップ軸線GAがハンドル軸線HAに対して45度若しくは約45度の角度又は他の適当な鋭角(角度「H2」)をなす位置へと、一次ハウジング部分30に対してグリップ部分100を旋回させることを望み得る。この位置は、本明細書において「第2のグリップ位置」と呼ばれる。図5は、第2のグリップ位置にあるグリップ部分100を想像線で示している。  As can be seen in FIG. 2, the
  ここで図3〜図5を参照するが、ハンドルアセンブリ20はまた、全体として150として示されるグリップロッキングシステムを含んでおり、このグリップロッキングシステムは、一次ハウジング部分30に対してグリップ部分100を所望の配向に選択的にロックするためのものである。一構成では、グリップロッキングシステム150は、尖った歯154の弓状列152を含んでいる。歯154は互いから離間されており、それらの間にロッキング溝156を形成している。各ロッキング溝156は、グリップ部分100に対する特定の角度のロッキング位置に対応する。例えば、少なくとも1つの構成において、歯154及びロッキング溝つまり「ロッキング位置」156は、グリップ部分100が第1のグリップ位置と第2のグリップ位置との間で10度〜15度の間隔でロックされることが可能となるように構成される。この構成は、用いられる器具(シャフト構成)のタイプに合わせて調整される2つの停止位置を用い得る。例えば、エンドカッターのシャフト構成の場合、シャフトに対して約90度であってもよく、円形ステープラの構成の場合、その角度は、外科医に向かって前方に掃引されている間、シャフトに対して約45度であってもよい。グリップロッキングシステム150はロッキングボタン160を更に含んでおり、このロッキングボタンは、ロッキング溝156にロッキング係合するように構成されたロッキング部分を有している。例えば、ロッキングボタン160は、ロッキングボタン160が旋回して対応するロッキング溝156と係合することが可能となるように、一次ハンドル部分30内で旋回ピン131上に旋回式で装着される。ロッキングばね164は、対応するロッキング溝156との係合又はロック位置へとロッキングボタン160を付勢するように働く。ロッキング部分及び歯の構成は、臨床医がロッキングボタン160を押下したときに歯154がロッキング部分を越えてスライドすることを可能にするように働く。このようにして、一次ハウジング部分30に対するグリップ部分100の角度位置を調節するために、臨床医はロッキングボタン160を押下し、次いでグリップ部分100を所望の角度位置へと旋回させる。グリップ部分100が所望の位置へと移動すると、臨床医はロッキングボタン160を解放する。ロッキングばね164は次いで、使用中にロッキング部分が対応するロッキング溝156に進入してグリップ部分100をその位置に保持するように、歯154の列に向かってロッキングボタン160を付勢する。  As shown herein with reference to FIGS. 3-5, the
  駆動システム
  ハンドルアセンブリ20は、第1の回転駆動システム300、第2の回転駆動システム320、及び第3の軸方向駆動システム400を動作可能に支持する。回転駆動システム300、320はそれぞれ、グリップ部分100内で動作可能に支持されるモータ200によって動力供給される。図2で分かるように、例えば、モータ200は、グリップ部分100のキャビティ132内で支持されており、そこから突出する出力駆動シャフト204を有するギヤボックスアセンブリ202を有している。様々な形態において、モータ200は、例えば約25,000RPMの最大回転数を有するブラシ付きDC駆動モータであってもよい。他の構成では、モータとしては、ブラシレスモータ、コードレスモータ、同期モータ、ステッパモータ、又は他の任意の好適な電気モータを挙げることができる。モータ200は電源210によって電力供給されてもよく、この電源は一形態では着脱式パワーパック212を含んでもよい。電源210は、例えば、そのすべての開示内容が参照によって本明細書に組み込まれる、米国特許出願公開第2015/0272575号、発明の名称「SURGICAL  INSTRUMENT  COMPRISING  A  SENSOR  SYSTEM」に更に詳細に開示されている様々な電源構成のうちのいずれかを備えてよい。図示の構成では、例えば、パワーパック212は、遠位側ハウジング部分216に取り付けるために構成された、近位側ハウジング部分214を備えてもよい。近位側ハウジング部分214及び遠位側ハウジング部分216は、複数の電池218を中で動作可能に支持するように構成されている。電池218はそれぞれ、例えば、リチウムイオン(「LI」)又は他の好適な電池を含んでもよい。遠位ハウジング部分216は、ハンドル回路基板アセンブリ220に着脱可能かつ動作可能に取り付けられるように構成されており、このハンドル回路基板アセンブリもまたモータ200に動作可能に結合されている。ハンドル回路基板アセンブリ220はまた、全体として「制御システム又はCPU  224」と呼ばれることもある。多数の電池218が直接に接続されてよく、ハンドルアセンブリ20のための電源として使用されてもよい。それに加えて、電源210は交換式及び/又は再充電式であってもよい。他の実施形態では、外科用器具10は、例えば交流(AC)によって電力供給されてもよい。モータ200は、グリップ部分100に装着されたロッカースイッチ206によって制御されてもよい。Drive system The
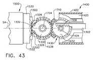
  上記で概説したように、モータ200は、出力駆動シャフト204を含んだギヤボックスアセンブリ202に動作可能に結合されている。出力駆動シャフト204には駆動ベベルギヤ230が取り付けられている。モータ200、ギヤボックスアセンブリ202、出力駆動シャフト204及び駆動べベルギヤ230はまた、本明細書ではまとめて「モータアセンブリ231」と呼ばれることもある。駆動ベベルギヤ230は、システム駆動シャフト232に取り付けられた従動ベベルギヤ234並びに旋回シャフト180上で軸支されている旋回ベベルギヤ238とインターフェースする。従動ベベルギヤ234は、従動ベベルギヤ234が駆動ベベルギヤ230と噛合い係合する係合位置(図5)と、従動ベベルギヤ234が駆動ベベルギヤ230との噛合い係合から外れる係合解除位置(図14)との間でシステム駆動シャフト232上で軸方向に移動可能である。駆動システムばね235が、駆動ベベルギヤ234と、システム駆動シャフト232の近位部分上に形成された近位端部フランジ236との間で軸支されている。図4及び図14を参照されたい。駆動システムばね235は、以下で更に詳細に議論するように、従動ベベルギヤ234を付勢して駆動ベベルギヤ230との噛合い係合から外すように働く。旋回ベベルギヤ238は、一次ハンドル部分30に対して出力駆動シャフト204及び駆動ベベルギヤ230がグリップ部分100と共に旋回的に移動するのを円滑にする。  As outlined above, the
  図示の例では、システム駆動シャフト232は、全体として240として示される回転駆動セレクタシステムとインターフェースする。少なくとも1つの形態では、例えば、回転駆動セレクタシステム240は、第1の回転駆動システム300と第2の回転駆動システム320との間で選択的に移動可能であるシフタギヤ250を含む。図6〜図9で分かるように、例えば、駆動セレクタシステム240は、一次ハンドル部分30内に移動不能に装着されたシフタ装着プレート242を含んでいる。例えば、シフタ装着プレート242は、ハウジングセグメント40、70に形成された装着ラグ(図示せず)の間に摩擦によって保持されてもよく、あるいは別様に、ねじ、接着剤などによって一次ハンドル部分の中に保持されてもよい。依然として図6〜図9を参照するが、システム駆動シャフト232は、シフタ装着プレート242内のホールを通じて延びており、システム駆動シャフト232に回転不能に取り付けられた中央又はシステム駆動ギヤ237を有している。例えば、中央駆動ギヤ237は、キー溝構成233によってシステム駆動シャフト232に取り付けられてもよい。図6〜図9を参照されたい。他の構成では、システム駆動シャフト232は、これに装着された対応する軸受(図示せず)によってシフタ装着プレート242内で回転可能に支持されてもよい。いずれにせよ、システム駆動シャフト232の回転が結果として、中央駆動ギヤ234の回転を生じることになる。  In the illustrated example, the
  図3で分かるように、第1の駆動システム300は、一次ハンドル部分30内に形成された遠位壁32内で回転可能に支持される第1の駆動ソケット302を含んでいる。第1の駆動ソケット302は、溝付きソケットを中に形成された第1の本体部分304を備えてもよい。第1の従動ギヤ306が第1の本体部分304の上に形成されるか、あるいは第1の本体部分304に移動不能に取り付けられている。第1の本体部分304は、遠位壁32内に設けられた対応するホール又は通路内で回転可能に支持されてもよく、あるいは、遠位壁32に装着された対応する軸受(図示せず)内で回転可能に支持されてもよい。同様に、第2の回転駆動システム320は、一次ハンドル部分30の遠位壁32内で同様に回転可能に支持される第2の駆動ソケット322を含んでいる。第2の駆動ソケット322は、溝付きソケットを中に形成された第2の本体部分324を備えてもよい。第2の従動ギヤ326が第2の本体部分324の上に形成されるか、あるいは第2の本体部分324に回転不能に装着されている。第2の本体部分324は、遠位壁32内に設けられた対応するホール又は通路内で回転可能に支持されてもよく、あるいは、遠位壁32に装着された対応する軸受(図示せず)内で回転可能に支持されてもよい。第1の駆動ソケット302及び第2の駆動322は、ハンドル軸線HAの各外側部で互いから離間されている。例えば、図4を参照されたい。  As can be seen in FIG. 3, the
  上記で示したように、図示の例では、回転駆動セレクタシステム240はシフタギヤ250を含んでいる。図6〜図9で分かるように、シフタギヤ250は、シフタ装着プレート242の弓状スロット244内で移動可能に支持されたアイドラシャフト252上に回転可能に装着されている。シフタギヤ250は、アイドラシャフト252上で自在に回転し、かつ依然として中央駆動ギヤ234と噛合い係合状態にあるように装着されている。アイドラシャフト252は、シフタソレノイド260のシャフト262の端部に結合されている。シフタソレノイド260は、一次ハンドルハウジング30にピン留めされるか又は別様に装着されており、シフタソレノイド260が作動されると、シフタギヤ250が移動されて第1の従動ギヤ306又は第2の従動ギヤ326の一方と噛合い係合するようになっている。例えば、一構成では、ソレノイドシャフト262が後退されると(図6及び図7)、シフタギヤ250は中央駆動ギヤ234及び第1の従動ギヤ306と噛合い係合し、そのため、モータ200の作動が結果として、第1の駆動ソケット302の回転を生じるようになる。図6及び図7で分かるように、シフタギヤ250をその第1の作動位置へと付勢するために、シフタばね266が用いられてもよい。したがって、外科用器具10への電力が失われた場合、シフタばね266はシフタギヤ250を第1の位置へと自動的に付勢することになる。シフタギヤ250がその位置にあるとき、その後にモータ200が作動することにより、結果として、第1の回転駆動システム300の第1の駆動ソケット302の回転が生じることになる。シフタソレノイドが作動されると、シフタギヤ250は移動されて、第2の駆動ソケット322上の第2の従動ギヤ326と噛合い係合する。その後に、モータ200の作動により、結果として、第2の回転駆動システム320の第2の駆動ソケット322の作動又は回転が生じることになる。  As shown above, in the illustrated example, the rotary
  ベイルアウトシステム
  以下で更に詳細に議論するように、第1の回転駆動システム300及び第2の回転駆動システム320は、これに結合された交換式外科用ツールアセンブリの様々な構成要素部分に電力供給するために使用され得る。上記で示したように、少なくとも1つの構成において、交換式外科用ツールアセンブリの作動中に、モータへの電力が失われた場合、シフタばね266はシフタギヤ250を第1の位置へと付勢することになる。交換式外科用ツールアセンブリのうちのどの構成要素部分が動作されていたかに応じて、交換式外科用ツールアセンブリを患者から取り除くことが可能となるように第1の駆動システム300への回転駆動モーションの印加を逆転させることが必要となり得る。図示の例のハンドルアセンブリ20は、全体として330として示される、手動で作動可能な「ベイルアウト」システムを用いており、このシステムは、例えば、上記で説明したシナリオで第1の回転駆動システム300に手動で回転駆動モーションを加えるためのものである。Bailout System As discussed in more detail below, the first
  ここで図3、図10及び図11を参照するが、図示のベイルアウトシステム330は、プラネタリギヤアセンブリ334を含んだベイルアウト駆動トレーン332を備えている。少なくとも1つの形態では、プラネタリギヤアセンブリ334は、プラネタリベベルギヤ338を含んだプラネタリギヤ装置(図示せず)を収容するプラネタリギヤハウジング336を含む。プラネタリギヤアセンブリ334は、プラネタリギヤハウジング336内のプラネタリギヤ装置に動作可能に結合されたベイルアウト駆動シャフト340を含んでいる。プラネタリベベルギヤ338の回転はプラネタリギヤ装置を回転させ、それによって最終的にベイルアウト駆動シャフト340が回転される。ベイルアウト駆動ギヤ342は、ベイルアウト駆動ギヤ342がベイルアウト駆動シャフト340上で軸方向に移動し、それでいてベイルアウト駆動シャフトと共に回転し得るように、ベイルアウト駆動シャフト340上で軸支されている。ベイルアウト駆動ギヤ342は、ベイルアウト駆動シャフト340上に形成されたばね止めフランジ344と、ベイルアウト駆動シャフト340の遠位端部上に形成されたシャフト端部止め346との間で移動可能である。ベイルアウトシャフトばね348がベイルアウト駆動シャフト340上においてベイルアウト駆動ギヤ342とばね止めフランジ344との間で軸支されている。ベイルアウトシャフトばね348は、ベイルアウト駆動シャフト340上でベイルアウト駆動ギヤ342を遠位側に付勢している。ベイルアウト駆動ギヤ342は、ベイルアウト駆動シャフト340上でその最遠位位置にあるとき、システム駆動シャフト232に回転不能に装着されたベイルアウト従動ギヤ350と噛合い係合する。図14を参照されたい。  See here in FIGS. 3, 10 and 11, the illustrated
  ここで図12及び図13を参照するが、ベイルアウトシステム330は、ベイルアウト駆動トレーン332に手動でベイルアウト駆動モーションを加えることを容易にするベイルアウトアクチュエータアセンブリ又はベイルアウトハンドルアセンブリ360を含んでいる。これらの図で分かるように、ベイルアウトハンドルアセンブリ360は、ベイルアウトベベルギヤ364とラチェットギヤ366とを含んだベイルアウトベベルギヤアセンブリ362を含んでいる。ベイルアウトハンドルアセンブリ360は、ラチェットギヤ366上に旋回式で装着された旋回ヨーク372によってベイルアウトベベルギヤアセンブリ362に移動可能に結合されたベイルアウトハンドル370を更に含んでいる。ベイルアウトハンドル370は、格納位置「SP」と作動位置「AP」との間で選択的に枢動移動するようにピン374によって旋回ヨーク372に旋回的に結合されている。図12を参照されたい。ベイルアウトハンドル370を作動位置APへと付勢するために、ハンドルばね376が用いられている。少なくとも1つの構成では、格納位置を表す軸線SPと作動位置を表す軸線APとの間の角度は、例えば約30度であってもよい。図13を参照されたい。図13で分かるように、ベイルアウトハンドルアセンブリ360は、旋回ヨーク372のキャビティ又はホール377内に回転可能に装着されるラチェット爪378を更に含んでいる。ラチェット爪378は、作動方向「AD」に回転されるときはラチェットギヤ366との噛合い係合をなし、反対方向に回転されるときは回転して噛合い係合から外れるように構成されている。ラチェットばね384及びボール部材386が旋回ヨーク372のキャビティ379内で移動可能に支持され、ベイルアウトハンドル370が作動(ラチェット)されるときにラチェット爪378のデテント380、382とロッキング係合するように働く。  See here in FIGS. 12 and 13, the
  ここで図3及び図10を参照するが、ベイルアウトシステム330は、開放位置と閉鎖位置との間で操作可能であるベイルアウトアクセスパネル390を更に含んでいる。図示の構成では、ベイルアウトアクセスパネル390は、一次ハウジング部分30のハウジングセグメント70に着脱可能に結合されるように構成されている。したがって、少なくともこの実施形態では、ベイルアウトアクセスパネル390が一次ハウジング部分30から取り除かれているか又は取り外されているとき、「開放」位置にあると言われ、ベイルアウトアクセスパネル390が図示のように一次ハウジング部分30に取り付けられているとき、「閉鎖」位置にあると言われる。しかしながら、アクセスパネルが開放位置にあるときも、一次ハウジング部分に取り付けられた状態を維持するように、アクセスパネルが一次ハウジング部分に移動可能に結合される他の実施形態も企図される。例えば、そのような実施形態において、アクセスパネルは、一次ハウジング部分に旋回式で取り付けられても、あるいは一次ハウジング部分にスライド可能に取り付けられてもよく、また開放位置と閉鎖位置との間で操作可能であってもよい。図示の例では、ベイルアウトアクセスパネル390は、ベイルアウトアクセスパネルを「閉鎖」位置に着脱可能に保持するために、ハウジングセグメント70のうちの対応する部分とスナップ係合するように構成されている。ねじ、ピンなどの他の形態の機械的締結具も使用され得る。  With reference to FIGS. 3 and 10, the
  ベイルアウトアクセスパネル390が一次ハウジング部分30から取り外し可能であるか、あるいは一次ハウジング部分30に移動可能に取り付けられた状態を維持するかにかかわらず、ベイルアウトアクセスパネル390は、それぞれがベイルアウトアクセスパネルの裏側から突出するか又は別様にベイルアウトアクセスパネルに形成されている駆動システムロッキング部材又はヨーク392とベイルアウトロッキング部材又はヨーク396とを含んでいる。駆動システムロッキングヨーク392は駆動シャフトノッチ394を含んでおり、この駆動シャフトノッチは、ベイルアウトアクセスパネル390が一次ハウジング部分30内に導入されている(すなわち、ベイルアウトアクセスパネルが「閉鎖」位置にある)ときに、システム駆動シャフト232の一部分を中に受容するように構成されている。ベイルアウトアクセスパネル390が閉鎖位置に配置又は導入されているとき、駆動システムロッキングヨーク392は、(駆動システムばね235の付勢力に抗して)従動ベベルギヤ234を付勢して駆動ベベルギヤ230と噛合い係合させるように働く。加えて、ベイルアウトロッキングヨーク396はベイルアウト駆動シャフトノッチ397を含んでおり、このベイルアウト駆動シャフトノッチは、ベイルアウトアクセスパネル390が閉鎖位置に導入又は配置されているときにベイルアウト駆動シャフト340の一部分を中に受容するように構成されている。図5及び図10で分かるように、ベイルアウトロッキングヨーク396はまた、(ベイルアウトシャフトばね348の付勢力に抗して)ベイルアウト駆動ギヤ342を付勢してベイルアウト駆動ギヤ350との噛合い係合から外すように働く。したがって、ベイルアウトロッキングヨーク396は、ベイルアウトアクセスパネル390が閉鎖位置に導入されているか又は閉鎖位置にあるときに、ベイルアウト駆動ギヤ342がシステム駆動シャフト232の回転に干渉するのを防止する。加えて、ベイルアウトロッキングヨーク396はハンドルノッチ398を含んでおり、このハンドルノッチは、ベイルアウトハンドル370と係合し、ベイルアウトハンドルを格納位置SPに保持するためのものである。  Whether the
  図4、図5及び図10は、ベイルアウトアクセスパネル390が導入されているか又は閉鎖位置にあるときの駆動システムの構成要素及びベイルアウトシステムの構成要素の構成を示している。これらの図で分かるように、駆動システムロッキング部材392は従動ベベルギヤ234を付勢して駆動ベベルギヤ230と噛合い係合させる。したがって、ベイルアウトアクセスパネル390が導入されているか又は閉鎖位置にあるとき、モータ200の作動は結果として、駆動ベベルギヤ230を、そして最終的にはシステム駆動シャフト232を回転させることになる。また、この位置にあるとき、ベイルアウトロッキングヨーク396は、ベイルアウト駆動ギヤ342を付勢してシステム駆動シャフト232上のベイルアウト従動ギヤ350との噛合い係合から外すように働く。したがって、ベイルアウトアクセスパネル390が導入されているか又は閉鎖位置にあるとき、駆動システムはモータ200によって作動可能であり、ベイルアウトシステム330は連結解除されるか、又はシステム駆動シャフト232に作動モーションを加えることを防止される。ベイルアウトシステム330を起動するために、臨床医はまず、ベイルアウトアクセスパネル390を取り除くか、又は別様にベイルアウトアクセスパネル390を開放位置へと移動させる。この処置により、駆動システムロッキング部材392は従動ベベルギヤ234との係合から外され、それによって駆動システムばね235は従動ベベルギヤ234を付勢して駆動ベベルギヤ230との噛合い係合から外すことが可能となる。加えて、ベイルアウトアクセスパネル390を取り除くこと又はベイルアウトアクセスパネルを開放位置へと移動させることもまた、結果として、ベイルアウトロッキングヨーク396をベイルアウト駆動ギヤ342から係合解除することになり、それによって、ベイルアウトシャフトばね348はベイルアウト駆動ギヤ342を付勢してシステム駆動シャフト232上のベイルアウト従動ギヤ350と噛合い係合させることが可能となる。したがって、ベイルアウト駆動ギヤ342の回転は結果として、ベイルアウト従動ギヤ350及びシステム駆動シャフト232を回転させることになる。ベイルアウトアクセスパネル390を取り除くか、又は別様にベイルアウトアクセスパネル390を開放位置へと移動させることによってもまた、ハンドルばね376は図11及び図14に示す作動位置へとベイルアウトハンドル370を付勢することが可能となる。この位置にあるとき、臨床医は、ベイルアウトハンドル370をラチェット方向RDに手動でラチェットさせることができ、その結果としてラチェットベベルギヤ364が(例えば、図14の時計回りの方向に)回転することになり、その結果として最終的には、ベイルアウト駆動トレーン332を通じて後退回転モーションがシステム駆動シャフト232に加えられることになる。システム駆動シャフト232が複数回、十分に回転されて、ハンドルアセンブリ20に取り付けられた外科用ツールアセンブリの外科用エンドエフェクタ部分の構成要素を後退させるまで、臨床医はベイルアウトハンドル370を複数回、ラチェットさせ得る。ベイルアウトシステム330が十分に手動で作動されると、臨床医は次いで、ベイルアウトアクセスパネル390を交換し(すなわち、ベイルアウトアクセスパネル390を閉鎖位置に復帰させ)、それによって、駆動システムロッキング部材392が従動ベベルギヤ234を付勢して駆動ベベルギヤ230と噛合い係合させ、ベイルアウトロッキングヨーク396がベイルアウト駆動ギヤ342を付勢してベイルアウト従動ギヤ350との噛合い係合から外すことを引き起こし得る。上記で議論したように、電力が失われるか又は遮断された場合、シフタばね266はシフタソレノイド260を第1の作動位置へと付勢することになる。したがって、ベイルアウトシステム330の作動は結果として、逆転又は後退モーションを第1の回転駆動システム300に加えることになる。  4, 5 and 10 show the components of the drive system and the components of the bailout system when the
上記で議論したように、外科用ステープル留め器具は、例えば、ステープル発射デバイスを後退させるように構成された、手動で作動されるベイルアウトシステムを含み得る。多くの事例では、ベイルアウトシステムは、ステープル発射デバイスを完全に後退させるために、複数回、動作及び/又はクランク運動されることを必要とし得る。そのような事例では、ステープル留め器具のユーザは、ベイルアウトをクランク運動させた回数を忘れ、かつ/又は、そうでなくても発射ドライブがどれほど更に後退される必要があるかに関して混乱することがある。ステープル留め器具が、発射ドライブの発射部材の位置を検知し、発射部材が後退される必要のある距離を判断し、その距離を外科用器具のユーザに表示するように構成されたシステムを備える様々な実施形態が企図される。 As discussed above, surgical staple fasteners may include, for example, a manually actuated bailout system configured to retract the staple firing device. In many cases, the bailout system may need to be moved and / or cranked multiple times to fully retract the staple firing device. In such cases, users of staple fasteners may forget the number of times the bailout was cranked and / or be confused as to how much more the launch drive would otherwise need to be retracted. be. A variety of systems are provided in which staple fasteners are configured to detect the position of the launch member of the launch drive, determine the distance at which the launch member needs to be retracted, and display that distance to the user of the surgical instrument. Embodiment is intended.
少なくとも1つの実施形態において、外科用ステープル留め器具は、発射部材の位置を検知するように構成された1つ以上のセンサを備える。少なくとも1つの事例では、センサは、例えばホール効果センサを含み、ステープル留め器具のシャフト及び/又はエンドエフェクタ内に配置され得る。センサは、外科用ステープル留め器具の制御器と信号通信し、外科用ステープル留め器具は、外科用ステープル留め器具上のディスプレイと信号通信する。制御器は、発射部材の実際の位置を(発射部材の完全後退位置を含む)データの又は基準位置と比較し、発射部材の実際の位置と基準位置との間の距離、すなわち残りの距離を計算するように構成されたマイクロプロセッサを含む。 In at least one embodiment, the surgical staple fastening device comprises one or more sensors configured to detect the position of the launching member. In at least one case, the sensor may include, for example, a Hall effect sensor and may be located within the shaft and / or end effector of the staple fastener. The sensor signals the controller of the surgical stapler and the surgical stapler signals the display on the surgical stapler. The controller compares the actual position of the launching member with the data or reference position (including the fully retracted position of the launching member) and determines the distance between the actual position of the launching member and the reference position, that is, the remaining distance. Includes a microprocessor configured to calculate.
上記に加えて、ディスプレイは、例えば電子ディスプレイを含み、制御器は、任意の好適な方式で残りの距離を電子ディスプレイ上に表示するように構成されている。少なくとも1つの事例では、制御器はディスプレイ上にプログレスバーを表示する。そのような事例では、例えば、空のプログレスバーは、発射部材がその発射ストロークの最後にあることを表現し得るものであり、満杯のプログレスバーは、発射部材が完全に後退されていることを表現し得るものである。少なくとも1つの事例では、例えば、0%は、発射部材がその発射ストロークの最後にあることを表現し得るものであり、100%は、発射部材が完全に後退されていることを表現し得るものである。特定の事例では、制御器は、発射部材をその完全後退位置に後退させるために必要とされるベイルアウト機構の作動回数をディスプレイ上に表示するように構成される。 In addition to the above, the display includes, for example, an electronic display, and the controller is configured to display the remaining distance on the electronic display in any suitable manner. In at least one case, the controller displays a progress bar on the display. In such cases, for example, an empty progress bar can represent that the launcher is at the end of its launch stroke, and a full progress bar indicates that the launcher is completely retracted. It can be expressed. In at least one case, for example, 0% can represent that the launching member is at the end of its firing stroke and 100% can represent that the launching member is completely retracted. Is. In certain cases, the controller is configured to display on the display the number of bailout mechanisms required to retract the launcher to its fully retracted position.
上記に加えて、ベイルアウト機構の作動により、外科用ステープル留め器具の電池又は電源が発射ドライブの電気モータから動作可能に切断され得る。少なくとも1つの実施形態において、ベイルアウト機構の作動によってスイッチが反転され、それによって電池が電気モータから電気的に分離される。そのようなシステムは、電気モータが発射部材の手動による後退を阻むことを防止する。 In addition to the above, the activation of the bailout mechanism may operably disconnect the battery or power supply of the surgical stapler from the electric motor of the ejection drive. In at least one embodiment, the actuation of the bailout mechanism reverses the switch, whereby the battery is electrically separated from the electric motor. Such a system prevents the electric motor from preventing the manual retreat of the launching member.
  図示のハンドルアセンブリ20はまた、全体として400として示される第3の軸方向駆動システムを支持している。図3及び図4で分かるように、第3の軸方向駆動システム400は、少なくとも1つの形態において、そこから突出する第3の駆動アクチュエータ部材又はロッド410を有するソレノイド402を含んでいる。第3の駆動アクチュエータ部材410の遠位端部412には、第3の駆動クレードル又はソケット414が形成されており、これは、動作可能に取り付けられた交換式外科用ツールアセンブリの駆動システム構成要素の対応する部分を受容するためのものである。ソレノイド402は、ハンドル回路基板アセンブリ220及び制御システム又はCPU  224に配線されているか、あるいは別様にそれらと通信する。少なくとも1つの構成では、ソレノイド402は「ばね押し」されており、そのため、ソレノイド402が作動されていないとき、そのばね構成要素は第3の駆動アクチュエータ410を再び非作動の開始位置へと付勢する。  The illustrated
  上記で示したように、再構成式ハンドルアセンブリ20は有利にも、種々様々な交換式外科用ツールアセンブリを作動させるために用いられ得る。その目的で、ハンドルアセンブリ20は、交換式外科用ツールアセンブリをハンドルアセンブリに動作可能に結合するための、全体として500として示されるツール装着部分を含んでいる。図示の例では、ツール装着部分500は、2つの内向きのダブテール受容スロット502を含んでおり、このダブテール受容スロットは、交換式外科用ツールアセンブリのツール取り付けモジュール部分のうちの対応する部分と係合するように構成されている。各ダブテール受容スロット502は先細にされてもよく、あるいは換言すれば、いくぶんかV形をなしてもよい。ダブテール受容スロット502は、交換式外科用ツールアセンブリのツール取り付けノズル部分の一部分に形成された、対応する先細の取り付け又はラグ部分を解放可能に受容するように構成されている。各交換式外科用ツールアセンブリはまた、ハンドルアセンブリ20のツール装着部分500に形成された対応する保持ポケット504と解放可能に係合するように構成されたラッチングシステムを装備されてもよい。  As shown above, the
  様々な交換式外科用ツールアセンブリが、第1の回転駆動システム310に動作可能に結合されるか又はそれとインターフェースするように構成された「一次」回転駆動システム、並びに第2の回転駆動システム320に動作可能に結合されるか又はそれとインターフェースするように構成された「二次」回転駆動システムを有し得る。一次及び二次回転駆動システムは、特定のタイプの外科用エンドエフェクタのうちの交換式外科用ツールアセンブリの一部分を含んだ部分に、様々な回転モーションを与えるように構成されてもよい。一次回転駆動システムを第1の回転駆動システムに、また二次駆動システムを第2の回転駆動システム320に動作可能に結合するのを容易にするために、ハンドルアセンブリ20のツール装着部分500はまた、一次回転駆動システムをハンドルアセンブリ20上の第1の回転駆動システム300に、また二次回転駆動システムをハンドルアセンブリ20上の第2の回転駆動システム320に位置合わせして動作可能に結合することを容易にするために、結合プロセスの間に交換式外科用ツールアセンブリの一次及び二次回転駆動システムの一部分を遠位側に付勢するように構成された1対の挿入ランプ506を含んでいる。  Various interchangeable surgical tool assemblies are operably coupled to or interfaced with a first rotary drive system 310 into a "primary" rotary drive system, as well as a second
  交換式外科用ツールアセンブリはまた、交換式外科用ツールアセンブリの外科用エンドエフェクタのうちの対応する部分に軸方向モーションを加えるための「三次」軸方向駆動システムを含んでもよい。三次軸方向駆動システムをハンドルアセンブリ20上の第3の軸方向駆動システム400に動作可能に結合するのを容易にするために、第3の駆動アクチュエータ部材410は、三次軸方向駆動システムのラグ又は他の部分を中に動作可能に受容するように構成されたソケット414を設けられている。  The interchangeable surgical tool assembly may also include a "tertiary" axial drive system for applying axial motion to the corresponding portion of the surgical end effector of the interchangeable surgical tool assembly. To facilitate operably coupling the tertiary axial drive system to the third
  交換式外科用ツールアセンブリ
  図15は、ハンドルアセンブリ20と共に使用され得る交換式外科用ツールアセンブリ1000の使用を示している。この図で分かるように、例えば、交換式外科用ツールアセンブリ1000は、ハンドルアセンブリ20のツール装着部分500に動作可能にかつ着脱可能に取り付けられるように構成されたツール取り付けモジュール1010を含んでいる。図示の構成におけるツール取り付けモジュール1010は、ノズルフレーム1020を含んでいる。図示の構成では、交換式外科用ツールアセンブリ1000は、一次回転駆動システム1100と、二次回転駆動システム1200とを含んでいる。以下で更に詳細に議論するように、一次回転駆動システム1100は、ハンドルアセンブリ20上の第1の回転駆動システム300と動作可能にインターフェースし、これに取り付けられた外科用エンドエフェクタ1500に回転発射モーションを加えるように構成されている。二次回転駆動システム1200は、ハンドルアセンブリ20上の第2の回転駆動システム320と動作可能にインターフェースし、関節運動システム1700に関節運動制御モーションを加えるように構成されている。関節運動システム1700は、ノズルフレーム1020に結合された細長シャフトアセンブリ1400に外科用エンドエフェクタ1500を結合する。交換式外科用ツールアセンブリ1000は、ハンドルアセンブリ20内の第3の軸方向駆動システム400と動作可能にインターフェースするように構成された三次駆動システム1300を更に含んでいる。外科用ツールアセンブリの三次軸方向駆動システム1300は、その近位端部1304上にシャフト取り付けラグ1306を形成された三次作動シャフト1302を備えている。以下で更に詳細に議論するように、交換式外科用ツールアセンブリ1000がハンドルアセンブリ20に結合されるとき、シャフト取り付けラグ1306は、第3の駆動アクチュエータ部材410の遠位端部412上のシャフト取り付けソケット414内に受容される。Replaceable Surgical Tool Assembly FIG. 15 illustrates the use of a replaceable
  依然として図15を参照するが、ハンドルアセンブリ20のツール装着部分500が2つの内向きのダブテール受容スロット502を含んでいることが読者に認められよう。各ダブテール受容スロット502は先細にされてもよく、あるいは換言すれば、いくぶんかV形をなしてもよい。ダブテール受容スロット502は、ノズルフレーム1020上に形成された対応する先細の取り付け部分又はラグ部分1022を解放可能に受容するように構成されている。次に図18を参照するが、少なくとも1つの形態において、ツール取り付けモジュール1010は、全体として1030として示されるラッチングシステムによって、ハンドルアセンブリ20のツール装着部分500に着脱可能にラッチ係合される。図示の実施形態では、ラッチングシステム1030はロックヨーク1032を含んでおり、このロックヨークは、ノズルフレーム1020の対応する旋回ホール(図示せず)内に受容される1対の内向きに延びる旋回ピン1034(図18には一方のみが示されている)を含んでいる。そのような構成は、ロックヨーク1032をノズルフレーム1020に旋回式で又は移動可能に結合するように働く。ロックヨーク1032は、1対の保持ラグ又はフック形成物1036(図18では一方のみ視認され得る)を更に含んでおり、この保持ラグ又はフック形成物は、ハンドルアセンブリ20のツール装着部分500に形成された対応する保持ポケット504内にフック形式で又は別様に保持式で受容されるように構成されている。ロックヨーク1032は、ロックヨーク1032に取り付けられた解放ボタン1038にロック解除モーションを加える(図18、図20及び図21に矢印1041で示す)ことによって、旋回されて保持係合から外され得る。ロックヨークばね1040は、ロックヨーク1032上に形成されたばねラグ1039、及びノズルフレーム1020上に形成されたばね装着ラグ1021上で受容される。ロックヨークばね1040は、ロックヨーク1032をロック位置へと付勢するように働く。  Still referring to FIG. 15, it will be appreciated by the reader that the
  図示の例のラッチングシステム1030は、シャフトカプラ解放アセンブリ1031を更に備えており、このシャフトカプラ解放アセンブリは、一次回転駆動システム1100を第1の回転駆動システム300に、更には二次回転駆動システム1200をハンドルアセンブリ20上の第2の回転駆動システム320に解放可能に係合させるためのものである。ここで図18及び図19を参照するが、一次回転駆動システム1100は、第1の回転駆動システム300の第1の駆動ソケット302内に軸方向に受容されるように構成された一次駆動キー1102を含んでいる。一次駆動キー1102は、ノズルフレーム1020に形成されたバルクヘッド1023によって回転可能に支持される一次移送シャフト1104上でスライド可能に受容される。一次駆動キー1102はまた、ノズルフレーム1020に形成された別のバルクヘッド1024のホール1025を通じて移動可能に延びる。図18を参照されたい。一次移送シャフト1104は、一次駆動キー1102が自在に一次移送シャフト1104上で軸方向に移動するが、一次移送シャフトに対して回転はしないようにスプライン結合されており、そのため、一次駆動キー1102の回転は結果として、一次移送シャフト1104の回転を生じる。図18で更に分かるように、一次駆動キー1102は、カプラ解放タブ1042のキャビティ1044内に受容される取り付けフランジ1106を含んでいる。したがって、一次駆動キー1102とカプラ解放タブ1042は一体として移動する。一次移送ばね1108が一次移送シャフト1104上で軸支され、バルクヘッド1023とカプラ解放タブ1042との間に延びて、一次移送シャフト1104上で近位方向「PD」にカプラ解放タブ1042及び一次駆動キー1102を付勢する。  The
  依然として図18及び図19を参照するが、二次回転駆動システム1200は、第2の回転駆動システム320の第2の駆動ソケット322内に軸方向に受容されるように構成された二次駆動キー1202を含んでいる。二次駆動キー1202は、バルクヘッド1023によって回転可能に支持される二次移送シャフト1204上でスライド可能に受容される。二次駆動キー1202はまた、バルクヘッド1024のホール1026を通じて移動可能に延びる。二次移送シャフト1204は、二次駆動キー1202が自在に二次移送シャフト1204上で軸方向に移動するが、二次移送シャフトに対して回転はしないようにスプライン結合されており、そのため、二次駆動キー1202の回転は結果として、二次移送シャフト1204の回転を生じる。二次駆動キー1202は、カプラ解放タブ1042のキャビティ(図示せず)内に受容される取り付けフランジ(図示せず)を含んでいる。したがって、二次駆動キー1202とカプラ解放タブ1042は一体として移動する。二次移送ばね1208が二次移送シャフト1204上で軸支され、バルクヘッド1023とカプラ解放タブ1042との間に延びて、二次移送シャフト1204上で近位方向PDにカプラ解放タブ1042及び二次駆動キー1202を付勢する。図18で分かるように、カプラ解放タブ1042は、2つの直立するアクチュエータ部分1046を備えて形成されており、これらのアクチュエータ部分は、ロックヨーク1032上に形成された内向きに延びるカプラ解放タブ1048に対応している。  Still referring to FIGS. 18 and 19, the
  ラッチングシステム1030の動作は、図20〜図22を参照することによって理解され得る。図20は、結合プロセスの開始を示しており、ここで、交換式外科用ツールアセンブリ1000はハンドルアセンブリ20に対して導入方向「ID」に移動されている。導入プロセスを開始するために、臨床医は、ノズルフレーム1020上の先細の取り付けラグ1022をハンドルアセンブリ20のツール装着部分500上の対応するダブテールスロット502と位置合わせし、ハンドルアセンブリ20に対して挿入方向IDに交換式外科用ツールアセンブリ1000を移動させる。先細の取り付けラグ1022を対応するダブテールスロット502に挿入し移動させることは、三次作動シャフト1302上のシャフト取り付けラグ1306を第3の駆動アクチュエータ部材410の遠位端部412上のシャフト取り付けソケット414と位置合わせするように働く。同様に、一次駆動キー1102及び二次駆動キー1202はそれぞれ、ハンドルアセンブリ20のツール装着部分500上に形成された対応する挿入ランプ506と接触するように位置合わせされる。  The operation of the
  図21は、一次駆動キー1102とそれに対応する挿入ランプ506との接触を示しており、これにより、二次駆動キー1202は対応する挿入ランプ506と同じ位置にあることが理解される。この図で分かるように、一次駆動キー1102は、挿入ランプ506と接触しており、交換式外科用ツールアセンブリ1000が挿入方向IDに連続して前進することにより、挿入ランプ506は一次移送シャフト1104上で遠位方向DDに一次駆動キー1102を付勢することになる。二次駆動キー1202も同様に、二次移送シャフト1204上で遠位方向DDに移動する。この移動は、矢印1041で表される方向に解放ボタン1038を押すことによって更に達成され得るが、それによってロックヨーク1032はカプラ解放タブ1042と接触し、第1の移送ばね1108及び第2の移送ばね1208の付勢力に抗して遠位方向DDにカプラ解放タブを移動させることになる。臨床医は解放ボタン1038にかかる圧力を維持してもよく、それにより、一次駆動キー1102及び二次駆動キー1202がそれらの対応する挿入ランプ506を払い除けると、一次駆動キー1102及び二次駆動キー1202はそれぞれ移動して、対応する第1の駆動ソケット302及び第2の駆動ソケット322と位置合わせされ得る。先細の取り付けラグ1022がそれぞれのダブテールスロット502に着座されると、一次駆動キー1102は第1の駆動ソケット302と軸方向に位置合わせされ、二次駆動キー1202は第2の駆動ソケット322と軸方向に位置合わせされ、それにより、臨床医が解放ボタン1038を解放したとき、一次駆動キー1102は第1の駆動ソケット302に進入し、二次駆動キー1202は第2の駆動ソケット322に進入する。図22を参照されたい。したがって、第1の駆動ソケット302の回転は結果として、一次駆動キー1102及び一次移送シャフト1104の回転を生じ、第2の駆動ソケット322の回転は結果として、二次駆動キー1202及び二次移送シャフト1204の回転を生じる。加えて、シャフト取り付けラグ1306は、第3の駆動アクチュエータ部材410の遠位端部412上のシャフト取り付けソケット414内に受容される。したがって、第3の駆動アクチュエータ部材410の軸方向移動は結果として、三次作動シャフト1302の軸方向移動を生じる。これもまた図20〜図22で分かるように、交換式外科用ツールアセンブリ1000は、オンボードの「ツール」回路基板1060を更に含んでおり、この「ツール」回路基板は、ハンドル回路基板220上の対応するコネクタ222と噛合うように構成されたコネクタ部分1062を有している。ツール回路基板1060がハンドル回路基板220に結合されているとき、ツール回路基板は識別信号を制御システム又はCPU  224に供給し、それにより、制御システム又はCPU  224が、用いられている交換式外科用ツールアセンブリのタイプに適した制御アクションを選択し得るようにする。  FIG. 21 shows the contact between the
  エンドエフェクタ
  交換式外科用ツールアセンブリ1000は、組織を切断及び締結するように構成された外科用エンドエフェクタ1500を含んでいる。図23及び図24で分かるように、外科用エンドエフェクタ1500は、関節継手1702によって細長シャフトアセンブリ1400に動作可能に結合されている。以下で更に詳細に議論するように、細長シャフトアセンブリ1400は、ツール取り付けモジュール1010に動作可能に結合されており、一次回転駆動システム1100、二次回転駆動システム1200及び三次軸方向駆動システム1300の各部分を含んでいる。ここで図25〜図28を参照するが、外科用エンドエフェクタ1500は細長チャネル1520を有し、この細長チャネルは、外科用ステープルカートリッジ1550を中で動作可能に支持するように構成されている。外科用ステープルカートリッジ1550は、本体部分1552を有する圧縮可能な又は埋込み可能なステープルカートリッジを備えてもよく、この本体部分は、未成形の金属ステープル又は他の形態のファスナのラインが支持される、例えば酸化再生セルロース(「ORC」)又は生体吸収性フォームなどの圧縮可能な止血材料からなる。少なくともいくつかの実施形態では、ステープルが変質すること、及び止血材料が導入及び配置プロセス中に活性化されることを防ぐため、カートリッジ全体が、商標PDS(登録商標)として販売されているポリジオキサノンフィルム、ポリグリセロールセバケート(PGS)フィルムなどの生分解性フィルム、並びに/あるいは、PGA(ポリグリセロール酸)、PCL(ポリカプロラクトン)、PLA若しくはPLLA(ポリ乳酸)、PHA(ポリヒドロキシアルカノエート)、PGCL(ポリグレカプロン25)及び/又は破裂するまで不浸透性となる、例えばPGA、PCL、PLA、PDSの複合体から形成された他の生分解性フィルムでコーティング及び/又は被覆され得る。種々様々な埋込み可能なカートリッジ構成が知られており、また用いられ得る。例えば、様々な埋込み可能な/圧縮可能なカートリッジ構成が、参照によってそれぞれの内容全体が本明細書に組み込まれている特許出願及び特許のうちの多数に更に詳細に開示されている。図示の例では、外科用ステープルカートリッジ1550のカートリッジ本体部分1552は、細長チャネル1520内で着脱可能に支持されるように寸法を定められている。End Effector Replaceable
  細長チャネル1520及び中に導入された外科用ステープルカートリッジ1550は、本明細書において「第1のジョー」1502と呼ばれることもある。外科用エンドエフェクタ1500はまた、第1のジョーに対して移動可能に昇降するように支持されるアンビルアセンブリ1560の形態をなす第2のジョー1504を含んでいる。別の言い方をすれば、第1のジョー1502及び第2のジョー1504は、開放位置と閉鎖位置との間で互いに対して移動可能に昇降するように構成され得る。図示の構成では、アンビルアセンブリ1560は、アンビル本体部分又はアンビルフレーム1562を備えている。アンビルフレーム1562は、そこから横方向に延びる1対のトラニオンピン1572を有する近位アンビル部分1570を含んでいる。トラニオンピン1572は、細長チャネル1520のチャネル装着部分1522の対応する直立壁1524に形成された旋回スロット1526内に移動可能に受容される。図27及び図28を参照されたい。アンビルフレーム1562は、少なくとも1つの形態において、1対の下向きに延びる組織ストッパ1564を含み、この組織ストッパは、標的組織が切断されるとき、ファスナが適切に配置されて、切断された組織を締結するようにするため、標的組織が第1のジョー1502と第2のジョー1504との間で近位側に延び得る距離を制限するように働く。第1のジョー1502及び第2のジョー1504が閉鎖位置にあるとき、組織ストッパ1564は、チャネル装着部分1522の直立壁1524の外側にあり、近位アンビル部分1570は直立壁1524の間に位置する。図28を参照されたい。  The
  アンビル同心駆動部材
  アンビルアセンブリ1560は、エンドエフェクタ1500を通じて発射部材1620を動作可能に駆動するためにアンビル同心駆動部材1600を動作可能に支持する。アンビル同心駆動部材1600は、例えば、アンビルフレーム1562内に中心に配設され、実質的にその長さにわたって延び得る。図示の実施形態におけるアンビル同心駆動部材1600は、遠位軸受ラグ1611と近位軸受ラグ1612とを含んだアンビル駆動シャフト1610を備えている。遠位軸受ラグ1611は、アンビルフレーム1562の軸受ポケット内に支持された遠位軸受ハウジング1580内に回転可能に収容される。近位軸受ラグ1612は、浮動軸受ハウジング1582によってアンビルアセンブリ1560内で回転可能に支持され、浮動軸受ハウジングは、近位アンビル部分1570に形成された軸受ポケット1574内に移動可能に支持される。図27を参照されたい。近位及び遠位軸受ハウジングの構成は、さもなければアンビル駆動シャフト1610を高度な力の条件下で座屈させ得る圧縮力がアンビル駆動シャフト1610に対して発生することを防止するか又は少なくとも最小化するように働き得る。アンビル駆動シャフト1610は、従動発射ギヤ1614と、近位ねじ付き区間又は螺旋区間1616と、遠位ねじ付き区間又は螺旋区間1618とを更に含んでいる。図示の構成では、近位ねじ付き区間1616は第1の長さ「FL」を有し、遠位ねじ付き区間1618は、第1の長さFLよりも長い遠位長さ「DL」を有している。少なくとも1つの構成では、例えば、第1の長さFLは、アクメねじのリードを1つのみ用いて、2.5センチメートル(1インチ)当たり約3本〜5本のねじ山であってもよく、遠位長さDLは、より大きな動力を得るために2〜4のアクメねじリードを用いて、2.5センチメートル(1インチ)当たり約9本〜15本のねじ山であってもよい。しかしながら、近位ねじ付き区間1616及び遠位ねじ付き区間1618は他の長さを有してもよい。図31を参照されたい。図26で分かるように、遠位ねじ付き区間1618のピッチは、近位ねじ付き区間1616のピッチよりも長い。別の言い方をすれば、遠位ねじ付き区間1618のリードは、近位ねじ付き区間1616のリードよりも長い。一構成では、遠位ねじ付き区間1618のリードは、近位ねじ付き区間1616のリードの約2倍の長さであってもよい。図31でも分かるように、デッドスペース1617が近位ねじ付き区間1616と遠位ねじ付き区間1618との間に設けられてもよい。少なくとも1つの例では、アンビル駆動シャフト1610は、押出しされたギヤストックから一体に製作されてもよい。Anvil concentric drive member The
  様々なアンビル構成要素の組立てを容易にするために、アンビルアセンブリ1560は、溶接、スナップ機構などによってアンビルフレーム1562に取り付けられ得るアンビルキャップ1563を含んでいる。加えて、アンビルアセンブリ1560は、細長チャネル1520内で支持された外科用ステープルカートリッジ1550におけるステープル配置に対応する、様々なパターンのステープル成形ポケット又は成形ポケットをその底部表面に含み得る1対のアンビルプレート又はステープル成形プレート1568を含んでいる。ステープル成形プレート1568は、金属又はそれに類似した材料から作製され、アンビルフレーム1562に溶接されるか又は別様に取り付けられ得る。他の構成では、発射部材を中に収容するためのスロットを有する単一のアンビルプレートもまた用いられ得る。そのようなアンビルプレート又はプレートの組合せは、アンビルアセンブリの全体的な剛性を改善するように働き得る。アンビルプレートは例えば、平坦であってもよく、その中に「圧印加工」されたステープル成形ポケット又は成形ポケットを有してもよい。  To facilitate the assembly of various anvil components, the
  図29は、ナイフナット部分1624をその上に形成されるか又は別様に取り付けられた本体部分1622を含んだ発射部材1620の一形態を示している。ナイフナット部分1624は、アンビル駆動シャフト1610上で受容されるように構成されている。近位ねじ付き区間1616及び遠位ねじ付き区間1618と係合するように構成された遠位ねじノジュール1626及び近位ねじノジュール1628がナイフナット部分1624に形成されている。遠位ねじノジュール1626は、デッドスペース1617の長さに対して、近位ねじノジュール1628から離間されており、そのため、ナイフナット部分1624がデッドスペース1617にわたって広がるとき、遠位ねじノジュール1626は遠位ねじ付き区間1618とねじ係合し、近位ねじノジュール1628は近位ねじ付き区間1616とねじ係合する。加えて、アンビル係合タブ1630が反対側のナイフナット1624の外側部分から横方向に突出しており、アンビルフレーム1562に取り付けられた対応するステープル成形プレート1568と係合するように配向されている。発射部材1620はチャネル係合タブ1632を更に含んでおり、このチャネル係合タブは、以下で更に詳細に議論するように、細長チャネル1520の各部分と係合するように本体部分1622の各外側部から突出している。発射部材1620はまた、組織切断表面1634を含んでいる。  FIG. 29 shows a form of launching
  アンビル駆動シャフト1610が第1の回転方向に回転する結果として、発射部材1620は開始位置(図35)から終了位置(図32)へと軸方向に移動する。同様に、アンビル駆動シャフト1610が第2の回転方向に回転する結果として、発射部材1620は終了位置から再び開始位置へと軸方向に後退する。アンビル駆動シャフト1610は最終的に、一次移送シャフト1104と動作可能にインターフェースする近位駆動シャフト1120から回転モーションを獲得する。再び図16〜図18を参照するが、近位駆動ギヤ1110が一次移送シャフト1104に装着されており、近位駆動シャフト1120の近位端部に装着された動力従動ギヤ1122と噛合い係合して支持されている。近位駆動シャフト1120は、動力シャフト支持管1124内で回転可能に支持されており、遠位端部に取り付けられた動力ベベルギヤ1126を有している。図30を参照されたい。上記で示したように、図示の交換式外科用ツールアセンブリ1000は、外科用エンドエフェクタ1500の関節運動を円滑にする関節継手1702を含んでいる。図30に示すような少なくとも1つの実施形態において、関節継手1702は、細長シャフトアセンブリの外部スパイン管1402の遠位端部に装着された関節運動シャフト1704を備えている。具体的に言えば、外部スパイン管1402は、1対の遠位側に突出する旋回タブ1404、1406を含んでおり、これらの旋回タブは、細長シャフトアセンブリ1400によって規定されるシャフト軸線「SA−SA」を横断する関節運動軸線「A−A」を関節運動シャフト1704が規定するように、関節運動シャフト1704の対応する端部に取り付けられている。  As a result of the
  依然として図30を参照するが、動力ベベルギヤ1126は、中央に配設された動力伝達ギヤ1128と噛合い係合しており、この動力伝達ギヤは関節運動シャフト1704上で回転可能に軸支されている。図示の実施形態の一次回転駆動システム1100は遠位動力シャフト1130を更に含んでおり、遠位動力シャフトは、その近位端部にねじ又は他の締結具1133によって取り付けられた遠位従動ギヤ1132を有する。遠位動力シャフト1130はまた、本明細書では回転出力駆動シャフトとも呼ばれ得る。遠位従動ギヤ1132は、中央に配設された動力伝達ギヤ1128と噛合い係合している。次に図31及び図32を参照するが、遠位駆動ギヤ1134が遠位動力シャフト1130の遠位端部に取り付けられている。遠位駆動ギヤ1134は、アンビルアセンブリ1560が図31及び図32に示す閉鎖位置にあるとき、アンビル駆動シャフト1610上の従動発射ギヤ1614と噛合い係合するように構成されている。アンビル駆動シャフト1610は、遠位動力シャフト1130から「分離された別個のものである」と言われる。すなわち、例えば、少なくとも図示の構成では、アンビル駆動シャフト1610は遠位動力シャフト1130と同軸に位置合わせされておらず、遠位動力シャフト1130の一部をなすものではない。加えて、アンビル駆動シャフト1610は、例えば、アンビルアセンブリ1560が開放位置と閉鎖位置との間で移動されるとき、遠位動力シャフト1130に対して移動可能である。図31は、閉鎖位置にあるアンビルアセンブリ1560及び発射前位置にある発射部材1620を示している。この図で分かるように、発射部材1620のナイフナット1624の遠位ねじノジュール1626は、遠位ねじ付き部分1618と係合されており、そのため、アンビル駆動シャフト1610の回転は図32に示す終了位置へと発射部材1620を駆動(発射)することになる。発射部材1620の動作に関する更なる詳細が以下に示されている。  Still referring to FIG. 30, the
  開閉システム
  図示の構成では、アンビルアセンブリ1560は、細長シャフトアセンブリ1400の一部分である閉鎖管1410を遠位側に前進させることによって閉鎖される。図27及び図31〜図35で分かるように、閉鎖管1410は、雌ねじ付き閉鎖ナット1412を含んでおり、この雌ねじ付き閉鎖ナットは、遠位動力シャフト1130上に形成された閉鎖ねじセグメント1136とねじ係合するように構成されている。図33は開放位置にあるアンビルアセンブリ1560を示している。上記で議論したように、近位軸受ラグ1612は、浮動軸受ハウジング1582によってアンビルアセンブリ1560内で回転可能に支持され、浮動軸受ハウジングは、近位アンビル部分1570に形成された軸受ポケット1574内に移動可能に支持される。軸受ばね1584が遠位動力シャフト1130上で軸支されており、アンビルアセンブリ1560の開閉中に軸受ハウジング1582に付勢力を加えるように構成されている。そのような付勢力は、アンビルアセンブリ1560を開放位置へと押しやるように働く。少なくとも1つの構成では、軸受けばね1584は、例えば、17−4、416又は304系のステンレス鋼から製作されたプレート1586のアセンブリを含み、これらのプレートは、更に焼きなましされたステンレス鋼材料によって互いに積層されたものであり、それを通じて遠位動力シャフト1130を受容するためのホール1588を有するものである。図36を参照されたい。Opening and Closing System In the illustrated configuration, the
  上記で示したように、アンビルトラニオンピン1572は、垂直に配向された旋回スロット1526内に受容され、この旋回スロットは、細長チャネル1520に対して、更には中で支持された外科用ステープルカートリッジ1550に対して垂直に移動する能力をアンビルアセンブリ1560に付与するように、細長チャネル1520の直立壁1524に形成されている。アンビルアセンブリ1560が細長チャネル1520に対してそのように移動することは、間にクランプされる組織の種々の厚さに適応するように働き得る。その目的で、図示の例では、外科用エンドエフェクタ1500は、ステープル成形プレート1568と外科用ステープルカートリッジ1550の上側表面との間の組織間隙の大きさを管理するためのアンビルばねアセンブリ1590を更に含んでいる。図27で最もよく分かるように、図示の例におけるアンビルばねアセンブリ1590は、細長チャネル1520の直立壁1524の間に装着される軸受マウント1592を含んでいる。図27及び図33で分かるように、軸受マウント1592は、いくぶんかU字形状の軸受キャビティ1594を有しており、この軸受キャビティは、シャフト軸受1138並びに遠位動力シャフト1130上に形成されるか又は別様にそれに取り付けられた軸受止めフランジ1140を中に動作可能に受容するように構成されている。そのような構成は、細長チャネル1520の近位端部分又はチャネル装着部分1522内で遠位動力シャフト1130を回転可能に支持するように働く。2つのばねタブ1596が軸受マウント1592から延びており、近位アンビル部分1570に下向きの付勢力を加えるように配向されている。図32を参照されたい。そのような付勢力は近位アンビル部分1570を下向きに付勢するように働き、それにより、アンビルトラニオンピン1572は、それらに対応する垂直旋回スロット1526内で下向きに付勢され、アンビルアセンブリ1560が垂直に移動して組織の種々の厚さに適応することを可能にする。アンビルアセンブリ1560が閉鎖されるとき、アンビルアセンブリ1560と外科用ステープルカートリッジ1550との間に捕捉された標的組織は結果として、カートリッジ本体1552の圧縮を生じることになり、また中で支持されているステープル又はファスナは、組織を通じて圧迫されて、アンビルアセンブリ1560の下側のステープル成形プレート1568との成形接触をなすことになる。ステープルカートリッジ1550内のファスナのステープルの配置に応じて、ステープルは、ステープルカートリッジ本体及びクランプされた組織を貫く数本の別個のラインへと成形され得る。例えば、ステープルのラインが合計で6本、存在してもよい(発射部材1620が通過し得る中央エリアの各側部に3本のステープルのライン)。少なくとも1つの構成では、例えば、1本のラインにあるステープルは、隣接するラインにあるステープルから偏位され得るか又は互い違いにされ得る。  As shown above, the
  図33で分かるように、アンビルアセンブリ1560が開放位置にあるとき、遠位動力シャフト1130上の閉鎖ねじセグメント1136は依然として、閉鎖ナット1412とねじ係合した状態にある。開放位置にあるとき、発射部材1620は、アンビル駆動シャフト1610の近位ねじ付き部分1616上の最近位位置又は開始位置に配置されている。図33で分かるように、その近位開始位置にあるとき、発射部材のチャネル係合タブ1632は、細長チャネル1520に形成されたチャネルレッジ1528を払い除けて、発射部材1620がアンビルアセンブリ1560と共に開放位置へと旋回することを可能にすることができる。その位置(「完全開放位置」とも呼ばれ得る)にあるとき、ドライバ発射ギヤ1614は依然として遠位駆動ギヤ1134と接触した状態を維持し得るが、噛合い係合はしていない。したがって、遠位動力シャフト1130の回転が結果として、アンビル駆動シャフト1610の回転を生じることはない。  As can be seen in FIG. 33, when the
  閉鎖プロセスを開始するために、遠位動力シャフト1130は第1の回転方向に回転される。遠位動力シャフト1130のこの初期の回転は、遠位動力シャフト1130上の閉鎖ねじセグメント1136と雌ねじ付き閉鎖ナット1412との間のねじ係合によって、閉鎖管1410を遠位方向DDに移動させる。閉鎖管1410が遠位側に移動するとき、閉鎖管1410の遠位端部に形成された閉鎖タブ1414が近位アンビル部分1570と接触し、その近位アンビル部分とのカム接触へと移行して、アンビルアセンブリ1560を初期の閉鎖位置へと旋回させる。遠位動力シャフト1130の更なる回転は結果として、雌ねじ付き閉鎖ナット1412が閉鎖ねじセグメント1136とのねじ係合を解除される「完全閉鎖」位置に閉鎖管が到達するまで、閉鎖管1410の遠位移動を生じることになる。その位置にあるとき、例えば、雌ねじ付き閉鎖ナット1412は、閉鎖ねじセグメント1136に対して遠位側にあり、遠位動力シャフト1130の第1の回転方向における更なる回転が閉鎖管1410の移動に作用することはない。閉鎖ばね1416は閉鎖管1410を遠位側に付勢して、雌ねじ付き閉鎖ナット1412を閉鎖ねじセグメント1136とのねじ係合から外れた状態に維持するように働く。  To initiate the closure process, the
  アンビルアセンブリ1560が閉鎖位置へと移動されると、アンビル駆動シャフト1610上の従動発射ギヤ1614は、遠位動力シャフト1130上の遠位駆動ギヤ1134と噛合い係合するようになる。遠位動力シャフト1130の第1の回転方向における更なる回転はしたがって、アンビル駆動シャフト1610の回転を結果として生じ、発射部材1620を近位ねじ付き部分1616上で遠位側に移動させることになる。アンビル駆動シャフト1610が第1の回転方向に引き続き回転する結果として、発射部材1620の遠位移動が生じることになる。図34は、遠位ねじノジュール1626と発射駆動シャフトの遠位ねじ付き部分1618とが係合する直前の発射部材1620の位置を示している。図31は、遠位ねじノジュール1626がアンビル駆動シャフト1610の遠位ねじ付き部分1618と最初にねじ係合した後の発射部材1620の位置を示している。その位置にあるとき、発射部材1620上のアンビル係合タブ1630は、アンビルフレーム1562に取り付けられた対応するステープル成形プレート1568と係合し、チャネル係合タブ1632は細長チャネル1520上の対応するレッジ1528と係合しており、アンビルアセンブリ1560と細長チャネル1520との間の所望の間隔が維持されている。  When the
  遠位動力シャフト1130が第1の回転方向に引き続き回転することにより、アンビル駆動シャフト1610もまた回転されることになる。これで遠位ねじノジュール1626がアンビル駆動シャフト1610の遠位ねじ付き部分1618と係合したので、発射部材1620は、発射部材1620がアンビル駆動シャフト1610の近位ねじ付き部分1616とねじ係合されているときに移動する「発射前速度」よりも高速である「発射速度」で移動することになる。この速度差は、近位及び遠位ねじ付き部分1616、1618のねじリードの差に起因している。発射部材1620がエンドエフェクタ1500を通じて遠位側に移動するとき、組織切断表面1634はステープル成形プレート1568の間を進み、アンビルアセンブリ1560と外科用ステープルカートリッジ1550との間にクランプされた組織を切断する。このようにして、組織はまず、アンビルアセンブリ1560が完全閉鎖位置に移動されるときにステープル留めされる。組織はその後、発射部材がエンドエフェクタ1500を通じて遠位側に前進されるときに切断される。このようにして、ステープル成形プロセスは、組織切断プロセスから「分離及び区別」され得る。  As the
  図32は、端部発射位置における又は端部発射位置の近くにおける発射部材1620の位置を示している。発射部材1620が、例えば、不図示のセンサ、エンコーダなどによって決定され得る端部発射位置に到達すると、遠位動力シャフト1130は第2の回転方向又は「後退方向」に回転され得るが、これによってアンビル駆動シャフト1610はまた反対方向に回転させられる。アンビル駆動シャフト1610の第2の回転方向における回転は、発射部材1620を図35に示す位置へと近位側に移動させることになる。図35で分かるように、閉鎖管1410は、閉鎖ナット1412上のラグ1413から遠位側に延びる閉鎖管リセットばね1418を備えている。発射部材1620は、近位側に延びるリセットタブ1636を備えて形成されており、このリセットタブは、発射部材1620が開始位置に復帰するときに閉鎖管リセットばね1418と接触し、閉鎖管リセットばねに近位方向の圧縮力を加えるように構成されている。そのような近位方向の圧縮力は、遠位動力シャフト1130上の閉鎖ねじセグメント1136に対して閉鎖管1410を、より具体的には雌ねじ付き閉鎖ナット1412を押しやるように働き、そのため、閉鎖ナットねじは、遠位動力シャフト1130上の閉鎖ねじセグメント1136と再度、ねじ係合する。遠位動力シャフト1130が第2の回転方向に引き続き回転するとき、閉鎖ねじセグメント1136と閉鎖ナット1412との相互作用によって閉鎖管1410は近位側に移動させられ、そのため、閉鎖タブ1414は近位アンビル部分1570とのカム接触から外れるように移動し、それによって軸受ばね1584がアンビルアセンブリ1560を開放位置へと押しやることが可能となる(図33)。アンビルアセンブリ1560と細長チャネル1520との間に収容された組織はまた、そこから組織が取り外され得る開放位置へとアンビルアセンブリ1560を押しやるように働き得る。  FIG. 32 shows the position of the
  関節運動システム
  上記で示したように、図示の例は関節運動システム1700を含んでおり、この関節運動システムは、シャフト軸線SAを横断する関節運動軸線AAを中心とした外科用エンドエフェクタ1500の関節運動を円滑にするものである。図示の例では、外科用エンドエフェクタ1500はまた、図24で矢印1703によって表されるように、シャフト軸線SAを中心として関節継手1702に対して遠位側に選択的に回転されることが可能である。図示の例では、関節運動システム1700は、ハンドルアセンブリ20内の第2の回転駆動システム320によって作動される。上記で議論したように、交換式外科用ツールアセンブリ1000は、ハンドルアセンブリ上の第2の回転駆動システム320と動作可能にインターフェースするように構成された二次回転駆動システム1220を含んでいる。図示の構成では、二次回転駆動部1220は、関節運動システム1700の一部分を含んでいる。図示の例では、関節運動システム1700は、動力シャフト支持管1124上で回転可能に支持された関節駆動シャフト1706を含んでいる。上記で示したように、近位駆動シャフト1120は、動力シャフト支持管1124を通じて回転可能に延びている。図示の構成では、近位駆動シャフト1120は、シャフト軸線SAと同軸に整列されている。動力シャフト支持管1124は、関節駆動シャフト1706がシャフト軸線SAと同軸に整列されないように構成されている。別の言い方をすれば、関節駆動シャフト1706は、関節駆動シャフト1706が動力シャフト支持管1124上に装着されているときにシャフト軸線SAから偏位する関節駆動シャフト軸線「ADA」を有している。図30を参照されたい。そのような構成は、図38〜図42で分かるように、関節継手1702の付近に、比較的小型で入れ子状態のギヤ構成を形成するのを支援する。図示の構成では、例えば、近位関節従動ギヤ1708が関節駆動シャフト1706の近位端部に装着されている。図19を参照されたい。近位関節従動ギヤ1708は、二次移送シャフト1204の遠位端部に装着された二次駆動ギヤ1206と噛合い係合するように構成されている。二次移送シャフト1204及び二次駆動ギヤ1206の回転は結果として、近位関節従動ギヤ1708の回転並びに関節駆動シャフト1706の回転を生じる。遠位関節駆動ギヤ1710が関節駆動シャフト1706の遠位端部に取り付けられている。遠位関節駆動ギヤ1710は、チャネル装着固定具1530上に形成されたチャネル関節ギヤ1538と噛合い係合して支持されている。Range of Motion System As shown above, the illustrated example includes a range of motion system 1700, which is a joint of a
  より具体的言えば、図30及び図37を参照すると、図示の例では、チャネル装着固定具1530は、下部シャフト取り付けタブ1534と上部シャフト取り付けタブ1536を形成されたディスク状本体部分1532を備えている。関節運動シャフト1704は、外部スパイン管1402の旋回タブ1404、1406に取り付けられる下部及び上部シャフト取り付けタブ1536、1534の対応するホールを通じて延びている。そのような構成は、チャネル装着固定具1530が外部シャフトスパイン管1402に対して関節運動軸線AAを中心として回転することを可能にするように働く。チャネル関節ギヤ1538は、下部シャフト取り付けタブ1534上に形成されており、遠位関節駆動ギヤ1710と噛合い係合した状態に保たれる。ここで図27を参照するが、図示の例では、細長チャネル1520のチャネル装着部分1522は、そこから近位側に突出する装着ハブ1525を有する直立近位壁1523を含んでいる。遠位動力シャフト1130がそれを通じて延び得るように構成されたシャフトホール1527が、装着ハブ1525及び直立近位壁1523を通じて延びている。図示の例では、チャネル装着固定具1530は、摩擦によって装着ハブ1525上に装着されて、関節継手1702へのエンドエフェクタ1500の結合を完了させている。図30を参照されたい。  More specifically, with reference to FIGS. 30 and 37, in the illustrated example, the
  図30、図38及び図39は関節継手1702の動作を最良に示している。関節駆動シャフト1704が第2の回転駆動システム320によって第1の回転方向に回転される結果として、外科用エンドエフェクタ1500がシャフト軸線SAに対して関節運動角度1711(図39)で回転又は関節運動することになる。少なくとも1つの例では、関節運動角度1711は、例えば0°〜90°であり得る。関節駆動シャフト1704が反対の回転方向に回転する結果として、外科用エンドエフェクタ1500は反対の関節運動方向に関節運動することになる。外科用エンドエフェクタ1500が所望の配向へと関節運動されると、第2の回転駆動システム320への(そして最終的には二次回転駆動システム1200への)電力が切断される。二次回転駆動システム1200の構成要素(すなわちギヤ)間並びに関節運動システム1700の構成要素(すなわちギヤ)間の摩擦は、外科用エンドエフェクタ1500を関節運動配向に保持するように働く。代替的な構成では、しかしながら、ギヤ306及び326は定位置にロックされてもよい。例えば、ギヤ252がこれらのギヤと係合すると、ギヤ252をギヤ306と係合させるシフティング機構がロックを解除し得る。このことは、ギヤ252が移動して係合するときにロッキング手段を解除する単純なカム表面によって達成され得る。  30, 38 and 39 best show the operation of the joint 1702. As a result of the
  エンドエフェクタの回転
  図示の交換式外科用ツールアセンブリ1000は、シャフト軸線SAを中心として外科用エンドエフェクタ1500を選択的に回転させるために、一次回転駆動システム1100を用いるように構成されている。加えて、図示の例では、三次軸方向駆動システム1300は、所望の回転配向に外科用エンドエフェクタ1500を選択的にロックするように構成されている。図37及び図42で分かるように、例えば、細長シャフトアセンブリ1400は、ツール装着部分1010から関節継手1702のすぐ近位側へと延びる細長シャフト支持管1420を含んでいる。細長シャフト支持管1420は、それを通じて関節駆動シャフト1706を回転可能に支持するための「軸外」通路1422を含んでいる。細長シャフト支持管1420は遠位端部1424を更に含んでおり、この遠位端部は、ロッキングギヤアセンブリ1430を中に収容するためのギヤキャビティ1426とギヤ軸1428とを中に形成されている。図37を参照されたい。ロッキングギヤアセンブリ1430は、細長シャフト支持管1420のギヤキャビティ1426内に受容された駆動ギヤ1432を含んでいる。加えて、ロッキングギヤアセンブリ1430は、より小さな従動ギヤ1434を取り付けられている。上記で簡潔に議論したが、三次軸方向駆動システム1300は、本明細書においてロッキング制御ロッド1302とも呼ばれる三次作動シャフト1302を含んでいる。ロッキング制御ロッド1302は、その近位端部1304上にシャフト取り付けラグ1306を形成されている。交換式外科用ツールアセンブリ1000がハンドルアセンブリ20に結合されるとき、シャフト取り付けラグ1306は、第3の駆動アクチュエータ部材410の遠位端部412上のシャフト取り付けソケット414内に受容される。したがって、第3の軸方向駆動部400の作動は結果として、ロッキング制御ロッド1302の軸方向移動を生じることになる。図示の構成では、軸方向に移動可能なロッキング制御ロッド1302は、従動ギヤ1434と噛合い係合するように構成されたギヤラック1308を遠位端部に形成されている。ロッキング制御ロッド1302が軸方向移動する結果として、ロッキングギヤアセンブリ1430がギヤ軸1428を中心として第1の回転方向に回転することになり、ロッキング制御ロッド1302が近位方向に軸方向移動する結果として、ロッキングギヤアセンブリ1430が第2の回転方向に回転することになる。Rotation of End Effector The illustrated interchangeable
  図示の例では、三次駆動システム1300は、エンドエフェクタ回転ロッキングシステム1310と動作可能にインターフェースするように構成されている。少なくとも1つの実施形態では、エンドエフェクタ回転ロッキングシステム1310は、そこから突出する中空装着ステム1324を有するディスク状本体1322を含んだ回転ロッキングディスク1320を備える。図30で分かるように、装着ステム1324は装着ハブ1525のシャフトホール1527を通じて延びている。装着ステム1324の遠位端部は環状溝部1326を含んでおり、この環状溝部は、アンビルばねアセンブリ1590の軸受ハウジング1592上に形成された、内向きに延びるファスナフランジ1598を受容するように構成されている。回転ロッキングディスク1320のディスク状本体1322の近位対向表面は、その上に半径方向に配置された複数のロックデテント1328を有している。ロックデテント1328は、少なくとも1つの形態において、関節運動シャフト1704上で軸支されているロックギヤ1330上に形成されたロックラグ1332を備えるロック部材によって、摩擦で係合されるように配置されている。図43及び図44を参照されたい。これらの図で分かるように、ロックギヤ1330は、ロッキングギヤアセンブリ1430の駆動ギヤ1432と噛合い係合して支持されている。三次作動シャフト1302が三次駆動システム1300によって作動される結果として、ロッキングギヤアセンブリ1430が回転することになる。ロッキングギヤアセンブリ1430が作動する結果として、ロックギヤ1330が関節運動シャフト1704を中心として回転することになる。ロックギヤ1330上のロックラグ1332がロックデテント1328と係合しているとき、エンドエフェクタ1500だけでなく回転ロッキングディスク1320も、シャフト軸線SAを中心として回転することを防止される。例えば、ロックラグ1332は、対応するロックデテント1328と摩擦によって係合し、回転ロッキングディスク1320を圧迫して、チャネル装着固定具1530の本体部分1532と更に摩擦係合させるように働く。これら2つの構成要素の間のそのような摩擦係合は、細長チャネル1520だけでなくロッキングディスク1320もシャフト軸線SAを中心として回転するのを防止するように働く。図43は、ロックデテント1328のうちの1つとロッキング係合するロックラグ1332を示し、図44は、非ロック配向にあり、これによりロックディスク1320がシャフト軸線SAを中心として自在に回転するロックラグ1332を示している。  In the illustrated example, the
  交換式外科用ツールアセンブリ1000の図示の実施形態では、シャフト軸線SAを中心としたエンドエフェクタ1500の回転は、ノズルフレーム1020上で回転可能に支持された遠隔回転ダイアル1340によって制御される。遠隔回転ダイアル1340は、ノズルフレーム1020内に装着された加減抵抗装着アセンブリ1350と動作可能にインターフェースする。図23で分かるように、例えば、遠隔回転ダイアル1340は、その周辺に複数のスカラップ1341を含んでおり、ノズルフレーム1020の両側でアクセス可能である。そのような構成は、ユーザが、ハンドルアセンブリ20を把持している手と同じ手の指を遠隔回転ダイアル1340に掛け、遠隔回転ダイアルを回転させることを可能にし得、あるいは遠隔回転ダイアルはユーザのもう一方の手を同様に掛けられてもよい。図18、図20及び図21を参照するが、加減抵抗装着アセンブリ1350は中空装着ハブ1352を含んでおり、この中空装着ハブは、ノズルフレーム1020に形成された対応する装着バルクヘッド1028を受容するための環状溝部1354を有している。少なくとも1つの構成では、装着ハブ1352は環状保持デテント1356を含んでおり、この環状保持デテントは、遠隔回転ダイアル1340を中空装着ハブ1352上で保持すると同時に、中空装着ハブに対して遠隔回転ダイアル1340を回転させることを可能にするように構成されている。加減抵抗装着アセンブリ1350は、半径方向に延びるフランジ部分1358を含んでおり、このフランジ部分はその上で静止接点1360の集合体を支持している。図18を参照されたい。フランジ部分1358は、遠隔回転ダイアル1340の加減抵抗キャビティ1342内に受容される。回転接触アセンブリ1344が加減抵抗キャビティ1342内に装着されており、遠隔回転ダイアル1340が加減抵抗装着アセンブリ1350上で回転されるときに静止接点1360とインターフェースするように構成されている。加減抵抗装着アセンブリは、ツール回路基板1060に配線されるかあるいは別様にツール回路基板と通信する。  In the illustrated embodiment of the interchangeable
  少なくとも1つの構成では、シャフト軸線SAを中心とした外科用エンドエフェクタ1500の回転は、遠隔回転ダイアル1340を回転させることによって開始される。少なくとも1つの構成では、制御システム又はCPU  224は、遠隔回転ダイアル1340が回転されるときに外科用エンドエフェクタ1500を同じ回転方向に回転させるように構成されている。遠隔回転ダイアル1340の初期の回転により、ハンドルアセンブリ20内の制御システム又はCPU  224は、ハンドルアセンブリ20内の第3の軸方向駆動システム400を起動することになる。具体的に言えば、制御システム又はCPU  224はソレノイド402を作動させ、その結果として第3のアクチュエータ部材410の軸方向移動が生じる。第3のアクチュエータ部材410の軸方向移動は、結果として、これに動作可能に結合された三次作動シャフト又はロッキング制御ロッド1302の軸方向移動を生じる。ロッキング制御ロッド1302の軸方向移動は結果として、ロッキングギヤアセンブリ1430の回転を生じる。ロッキングギヤアセンブリ1430の回転は、ロックギヤ1330を非ロック位置(図44)へと回転させることになる。制御システム又はCPU  224は次いで、第1の回転駆動システム300を起動する。ロックラグ1332が回転して、回転ロッキングディスク1320上の対応するロックデテント1328との係合から外れているため、回転ロッキングディスク1320がシャフト軸線SAを中心として回転することが可能となっていることが読者には理解されよう。しかしながら、回転ロッキングディスク1320とチャネル装着部分1522上の装着ハブ1525との間の摩擦により、外科用エンドエフェクタ1500が回転することが一時的に防止され得る。  In at least one configuration, rotation of the
  第1の回転駆動システム300の作動は結果として、回転駆動モーションが第1の駆動ソケット302に加えられることになるが、これは、シフタソレノイド260が作動されておらず、シフタばね166がシフタギヤ250を付勢して第1の駆動ソケット302上の第1の従動ギヤ306と噛合い係合させているからである。図6及び図7を参照されたい。第1の駆動ソケット302の回転は結果として、第1の駆動ソケット302と動作可能に係合する一次移送シャフト1104の回転を生じることになる。一次移送シャフト1104の回転は結果として、一次移送シャフト1104に取り付けられた近位駆動ギヤ1110の回転を生じることになる。近位駆動ギヤ1110は、近位駆動シャフト1120に取り付けられた動力従動ギヤ1122と噛合い係合しているため、近位駆動シャフト1120もまた回転される。図19を参照されたい。  The operation of the first
  ここで図30を参照するが、近位駆動シャフト1120の回転は結果として、遠位動力シャフト1130に取り付けられた遠位従動駆動ギヤ1132の回転を最終的に生じることになる。遠位従動ギヤ1132の回転は結果として、遠位動力シャフト1130の回転を生じることになる。遠位動力シャフト1130と回転ロッキングディスク1320との間の摩擦力と、軸受ハウジング1592と遠位動力シャフト1130及び回転ロッキングディスク1320との間の摩擦力と、閉鎖管1410の閉鎖ナット1412と遠位動力シャフト1130上の閉鎖ねじセグメント1136との間の摩擦力とを合計した大きさ(「第2の摩擦量」)は、細長チャネル1520の装着ハブ部分1525とチャネル装着固定具1530との間の摩擦力と、回転ロッキングディスク1320とチャネル装着固定具1530との間の摩擦力とを合計した大きさ(「第1の摩擦量」)よりも大きく、細長チャネル1520及び閉鎖管1410が、シャフト軸線SAを中心としてチャネル装着固定具1530に対して遠位動力シャフト1130と共に回転することが可能となるようになっている。一構成では、例えば、遠隔回転ダイアル1340の回転位置は、制御システム又はCPU  224によって、遠位動力シャフト1130の、そして最終的には外科用エンドエフェクタ1500の回転位置を決定する。ユーザがシャフト軸線SAを中心とした所望の回転位置に外科用エンドエフェクタ1500を配置し、遠隔回転ダイアル1340の回転を中断すると、制御システム又はCPU  224は、第1の回転駆動システム300並びに第3の軸方向駆動システム400への電力供給を停止する。少なくとも1つの実施形態では、ソレノイド402は「ばね押し」され、そのため、失活されると、そのばね構成要素が第3の駆動アクチュエータ部材410を遠位側に付勢し、その結果としてロッキング制御ロッド1302の近位移動が生じることになる。ロッキング制御ロッド1302のそのような軸方向移動は結果として、ロックギヤ1330の回転を生じ、それによってロックラグ1332を回転ロッキングディスク1320上の対応するロックデテント1328と保持係合させ、それによって外科用エンドエフェクタ1500をその回転配向にロックする。したがって、ハンドルアセンブリ20への、より具体的には第3の駆動システム400への電力供給が失われた場合、ソレノイドばねは、エンドエフェクタ回転ロッキングシステム1310をロック配向に移動させ、それによって細長シャフトアセンブリ1400に対する外科用エンドエフェクタ1500の回転を防止する。上述の議論から理解され得るように、交換式外科用ツールアセンブリ1000がハンドルアセンブリ20に動作可能に結合されているとき、エンドエフェクタロッキングシステム1310をロック解除するために第3の軸方向駆動システム400が用いられ、細長シャフトアセンブリ1400に対して外科用エンドエフェクタ1500を回転させるために第1の回転駆動システム300が用いられる。外科用エンドエフェクタ1500のそのような回転は関節継手1702に対して完全に遠位側であることが読者には理解されよう。したがって、外部スパイン管1402並びに関節継手1702は回転プロセスの間、静止状態を保っている。  As shown here in FIG. 30, the rotation of the
  外科用器具10を操作及び制御する1つの一般的な方法について、これから説明する。図1は、交換式外科用ツールアセンブリ1000がハンドルアセンブリ20に動作可能に取り付けられた後の外科用器具10を示している。上記で示したように、交換式外科用ツールアセンブリ1000のツール取り付けモジュール部分1010をハンドルアセンブリ20のツール取り付け部分500に結合することにより、ツール回路基板1060が、制御システム又はCPU  224を備えたハンドル回路基板220に結合されるか又は別様にそのハンドル回路基板と通信することになる。制御システム又はCPU  224に接続されるか又はそれと通信すると、ツール回路基板1060は、個々の交換式外科用ツールアセンブリに特有の特定のソフトウェアを制御システム又はCPU  224に提供し得る。臨床医はまた、使用されているタイプの交換式外科用ツールアセンブリに最も適したものとなり得る一次ハウジング部分30に対する所望の位置にハンドルアセンブリ20のグリップ部分100を配置し得る。  One common method of manipulating and controlling the
  図3で分かるように、図示のハンドルアセンブリ20は、制御システム又はCPU  224とインターフェースする右及び左の制御ボタンアセンブリ270R、270Lを含んでいる。1つの例示的な構成では、各制御ボタンアセンブリ270R、270Lは、それぞれ制御システム又はCPU  224とインターフェースする第1のボタン272と第2のボタン274と第3のボタン276とを含んでいる。少なくとも1つの実施形態では、右の制御ボタンアセンブリ270R上の制御ボタン272は、左の制御ボタンアセンブリ270L上の制御ボタン272と同じ制御機能を実施し得ることが理解されよう。同様に、右の制御ボタンアセンブリ270R上の制御ボタン274は、左の制御ボタンアセンブリ270L上の制御ボタン274と同じ制御機能を実施し得る。同じように、右の制御ボタンアセンブリ270R上の制御ボタン276は、左の制御ボタンアセンブリ270L上の制御ボタン276と同じ制御機能を実施し得る。そのような構成は、臨床医がハンドルアセンブリ20の両側から外科用器具を制御することを可能にする。少なくとも1つの構成では、制御ボタン272、274、276は、「ホール効果」センサ又はリニアセンサを備え、したがってボタンの作動は、例えば、ユーザの要求の強さ並びに望まれる速度を指示し得る。  As can be seen in FIG. 3, the illustrated
  一構成では、第1の制御ボタン272及び第2の制御ボタン274は、関節運動システム1700の動作を制御するために使用されてもよい。例えば、制御ボタン272は、関節運動軸線AAを中心として右(図1の矢印「R」)に向かう外科用エンドエフェクタ1500の関節運動を開始するために使用されてもよい。第1の制御ボタン272が作動すると、制御システム又はCPU  224は回転駆動セレクタシステム240のシフタソレノイド260を起動して、第2の駆動ソケット322上の第2の従動ギヤ326と噛合い係合するようにシフタギヤ250を移動させる。その後に、制御システム224又はCPUはモータ200を作動させて、関節運動システム1700が外科用エンドエフェクタを右(矢印R)に関節運動させるために必要な回転方向で、第2の回転駆動システム320に回転モーションを加える。一構成では、制御ボタンに加えられる押下の量又は作動力は、モータが回転する速度を指示し得る。それに加えてあるいはそれに代わって、臨床医はまた、ロッカースイッチ206を押下してモータの回転速度を変化させてもよい。外科用エンドエフェクタ1500が所望の位置へ関節運動されると、ユーザは第1の制御ボタン270(及びロッカースイッチ206)の作動を停止する。制御ボタン270が無効化されると、制御システム又はCPU  224はシフタソレノイド260を無効化する。シフタソレノイド260のばね構成要素はシフタギヤ250を移動させて、第1の駆動ソケット302上の第1の従動ギヤ306と噛合い係合させる。したがって、モータ200の更なる作動は結果として、第1の回転駆動部300の作動を生じることになる。第2の制御ボタン274の作動は、同じ様式で動作するが、関節運動システム1700が外科用エンドエフェクタ1500を左(図1の矢印L)に関節運動させるように、モータ200の回転を生じることになる。  In one configuration, the
  上記で議論したように、外科用エンドエフェクタ1500はまた、関節継手1702に対してシャフト軸線を中心として回転されてもよい。外科用エンドエフェクタ1500の回転を開始するために、臨床医は、自身が外科用エンドエフェクタ1500を回転させることを意図する回転方向に、遠隔回転ダイアル1340を回転させる。遠隔回転ダイアル1340の回転により、制御システム又はCPU  224は、第3の軸方向駆動システム400を起動することになる。具体的に言えば、ソレノイド402が作動されて、近位方向に第3の駆動アクチュエータ部材410及びロッキング制御ロッド1302を軸方向に移動させる。ロッキング制御ロッド1302が近位側に移動するとき、ロックラグ1332を回転ロッキングディスク1320の対応するロックデテント1328から係合解除するために、ギヤラック1308は、ロッキングギヤアセンブリ1430がロックギヤ1330を回転させるようにする。図41及び図42を参照されたい。制御システム又はCPUは、ソレノイド402をその作動配向に維持し、次いでモータ200を起動して、所望の回転方向に外科用エンドエフェクタ1500を回転させるのに必要な方向で、回転モーションを第1の回転駆動システム300に加える。第1の回転駆動システム300の作動は結果として、遠位駆動シャフト1130の回転を生じることになり、その結果として、シャフト軸線SAを中心とした外科用エンドエフェクタ1500の回転が生じる。外科用エンドエフェクタ1500が所望の位置へと回転されると、臨床医による遠隔回転ダイアル1340の回転は中断される。その後、制御システム又はCPU  224は、モータ200並びにソレノイド402を非活性化する。ソレノイド402のばね構成要素は次いで、第3の駆動アクチュエータ部材410及びロッキング制御ロッド1302を遠位位置に付勢し、それによって、ロックギヤ1330は、ロックラグ1332が回転ロッキングディスク1320の対応するロックデテント1328に係合されるようにするため、反対方向に回転されることになる。外科用エンドエフェクタ1500はその回転位置にロックされる。  As discussed above, the
  少なくとも1つの構成では、第3のボタン276は、制御システム又はCPU  224と通信して外科用エンドエフェクタ1500をホームステートに復帰させる「ホームステート」ボタンを含んでもよく、このホームステートにおいて、外科用エンドエフェクタは関節運動されず、また再び初期の回転配向に回転される。例えば、第3のボタン276が作動されると、CPUは、ソレノイド402を作動させてロックラグ1332が回転ロッキングディスク1320から係合解除されるようにすることによって、エンドエフェクタ回転ロッキングシステム1310をロック解除し、次いで第1の回転駆動システム300を作動させて外科用エンドエフェクタが再び開始回転位置へと回転するようにし得る。その後、ソレノイド402は作動停止されて、ロックラグ1332は回転ロッキングディスクと再係合されて外科用エンドエフェクタ1500をその回転配向にロックするようになる。制御システム又はCPU  224は次いで、シフタソレノイド260を作動させて、シフタギヤ250を第2の駆動ソケット322上の第2の従動ギヤ326と噛合い係合させ得る。第2の回転駆動システム320が作動可能な状態となると、制御システム又はCPU  224は次いで、モータ200を作動させて、外科用エンドエフェクタ1500を非関節運動位置へと復帰させ得る。  In at least one configuration, the
  外科用エンドエフェクタ1500が所望の構成へと回転及び/又は関節運動されると、関節運動システム1700の作動を中断すること、並びに遠隔回転ダイアル1340の回転を中断することにより、結果として、モータ200は本明細書で議論した方式で第1の回転駆動システム300と動作可能に係合されることになる。臨床医は次いで、アンビルアセンブリ1560と外科用ステープルカートリッジ1550との間に標的組織を配置するために、外科用エンドエフェクタ1500を操作し得る。臨床医は、ロッカースイッチ206を作動させることによって閉鎖及び発射プロセスを開始し得る。ロッカースイッチ206の作動により、制御システム又はCPU  224はモータ200を作動させて、モータが回転制御モーションを第1の回転駆動システム300へと第1の回転方向に加えるようにし得る。第1の回転駆動システム300の回転により、遠位動力シャフト1130は回転し、上記で説明した方式で閉鎖プロセスを開始するようになる。アンビルアセンブリ1560が完全に閉鎖されると、制御システム又はCPU  224はモータ200を停止させ、アンビルが完全に閉鎖されているという指示(音、振動、ディスプレイ画面上の通知など)を臨床医に提供し得る。このことは、ロッカースイッチ206が作動された状態にあるか否かに関わらず生じ得る。次いで、閉鎖プロセスの間にステープル留めされた標的組織を発射部材が切断することを臨床医が望むとき、その臨床医はその場合、ロッカースイッチ206を再作動させてモータを始動させ、上記で説明した方式でエンドエフェクタを通じて発射部材が遠位側に駆動されるようにし得る。ロッカースイッチ206は、モータが回転する速度がロッカースイッチが押下されるか又は別様に作動される距離に比例するように構成されてもよい。他の構成では、制御システム又はCPU  224は、閉鎖シーケンスと発射シーケンスとの間でモータを停止させなくてもよい。発射プロセスの間に発射部材の位置を監視するために、様々な形態のセンサ及び/又はエンコーダが用いられ得る。発射部材が終了位置に到達すると、アンビルアセンブリ1560が上記で説明した方式で開放位置へと付勢される開始位置に発射部材が復帰するまで、モータの回転方向は制御システム又はCPU  224によって逆転される。  When the
  図40A及び図40Bは、本明細書で説明した様々な方式でエンドエフェクタが選択的に関節運動及び回転されることを可能とする一方で、ツール取り付けモジュール部分1010内の回路基板1060からそれに取り付けられたエンドエフェクタに電気信号を供給するための1つの例示的な構成を示している。これらの図で分かるように、導体(導線)1401A、1401Bが細長シャフトアセンブリの外部スパイン管1402の外側に沿って延びている。導体1401A、1401Bは、スパイン管1402に沿ってツール取り付けモジュール1010から延び、チャネル装着固定具1530のホール1531に進入している。関節継手1702を中心としたエンドエフェクタの関節運動に適応するために、ループ1403が導体1401A、1401Bに設けられて、導体に十分な量のたるみが与えられ得る。導体1401Aはチャネル装着固定具1530の中に延びており、近位対向接点1405Aを取り付けられている。同様に、導体1401Bはチャネル装着固定具1530の中に延びており、近位対向接点1405Bを取り付けられている。これらの接点1405A、1405Bはそれぞれ、回転ロッキングディスク1320のディスク状本体1322の遠位表面1323上に装着された導電性トラック1325A、1325Bに対応している。互いに組み付けられると、接点1405Aはトラック1325Aと回転の電気接触をなし、接点1405Bはトラック1325Bと回転の電気接触をなす。そのような構成により、チャネル装着固定具1530と回転ロッキングディスク1320との相対的な回転が可能となると共に、導体1401A、1401Bとトラック1325A、1325Bとの間の電気接触が促進される。エンドエフェクタ導線1327A、1327Bがそれぞれトラック1325A、1325Bに取り付けられており、回転ロッキングディスク1320の中空装着ステム1324を通じて延びている。エンドエフェクタ導線1327A、1327Bは次いで、エンドエフェクタ内のセンサ、ライトなどに取り付けられ得る。そのような構成は、エンドエフェクタの関節運動及び回転を円滑にすると共に、ツール取り付けモジュール1010からエンドエフェクタに電力を供給するように働く。  40A and 40B allow the end effector to be selectively articulated and rotated in various ways as described herein, while mounting on it from the
本明細書で説明した外科用器具システムの多くは、電気モータにより動作されるが、本明細書で説明した外科用器具システムは、任意の好適な方式で動作することができる。様々な事例において、本明細書で説明した外科用器具システムは、例えば、手動操作トリガにより動作することができる。特定の事例では、本明細書で開示されるモータは、ロボット制御システムの一部分を備えてもよい。更に、本明細書で開示するエンドエフェクタ及び/又はツールアセンブリのいずれもがロボット外科用器具システムと共に利用され得る。米国特許出願第13/118,241号、名称「SURGICAL STAPLING INSTRUMENTS WITH ROTATABLE STAPLE DEPLOYMENT ARRANGEMENTS」、現在の米国特許出願公開第2012/0298719号は、例えば、ロボット外科用器具システムのいくつかの例を更に詳細に開示している。 While many of the surgical instrument systems described herein are powered by electric motors, the surgical instrument systems described herein can operate in any suitable manner. In various cases, the surgical instrument system described herein can be operated, for example, by a manually operated trigger. In certain cases, the motors disclosed herein may comprise a portion of a robotic control system. In addition, any of the end effectors and / or tool assemblies disclosed herein can be used with robotic surgical instrument systems. US Patent Application Nos. 13 / 118,241, named "SURGICAL STAPLING INSTRUMENTS WITH ROTATABLE STAPLE DEPLOYMENT ARRANGEMENTS", the current US Patent Application Publication No. 2012/02987719 further describes, for example, some examples of robotic surgical instrument systems. It is disclosed in detail.
本明細書で説明した外科用器具システムは、ステープルの配備及び変形と関連させて説明されているが、本明細書で説明した実施形態は、これに限定されない。ステープル以外の締結具、例えばクランプ又はタックなどを配備する、様々な実施形態も想到される。更に、組織を封止するための任意の好適な手段を利用する、様々な実施形態も想到される。例えば、様々な実施形態によるエンドエフェクタは、組織を加熱して封止するように構成された電極を備え得る。また例えば、特定の実施形態によるエンドエフェクタは、組織を封止するために振動エネルギーを加えることができる。 The surgical instrument system described herein has been described in connection with the deployment and deformation of staples, but the embodiments described herein are not limited thereto. Various embodiments are also conceivable in which fasteners other than staples, such as clamps or tacks, are deployed. In addition, various embodiments have been conceived that utilize any suitable means for sealing the tissue. For example, end effectors according to various embodiments may include electrodes configured to heat and seal the tissue. Also, for example, end effectors according to certain embodiments can apply vibrational energy to seal the tissue.
  以下の開示内容全体が参照により本明細書に組み込まれる。
  1995年4月4日に発行された米国特許第5,403,312号、発明の名称「ELECTROSURGICAL  HEMOSTATIC  DEVICE」、
  2006年2月21日に発行された米国特許第7,000,818号、発明の名称「SURGICAL  STAPLING  INSTRUMENT  HAVING  SEPARATE  DISTINCT  CLOSING  AND  FIRING  SYSTEMS」、
  2008年9月9日に発行された米国特許第7,422,139号、発明の名称「MOTOR−DRIVEN  SURGICAL  CUTTING  AND  FASTENING  INSTRUMENT  WITH  TACTILE  POSITION  FEEDBACK」、
  2008年12月16日に発行された米国特許第7,464,849号、発明の名称「ELECTRO−MECHANICAL  SURGICAL  INSTRUMENT  WITH  CLOSURE  SYSTEM  AND  ANVIL  ALIGNMENT  COMPONENTS」、
  2010年3月2日に発行された米国特許第7,670,334号、発明の名称「SURGICAL  INSTRUMENT  HAVING  AN  ARTICULATING  END  EFFECTOR」、
  2010年7月13日に発行された米国特許第7,753,245号、発明の名称「SURGICAL  STAPLING  INSTRUMENTS」、
  2013年3月12日に発行された米国特許第8,393,514号、発明の名称「SELECTIVELY  ORIENTABLE  IMPLANTABLE  FASTENER  CARTRIDGE」、
  米国特許出願第11/343,803号、名称「SURGICAL  INSTRUMENT  HAVING  RECORDING  CAPABILITIES」、現在は米国特許第7,845,537号、
  2008年2月14日に出願された米国特許出願第12/031,573号、発明の名称「SURGICAL  CUTTING  AND  FASTENING  INSTRUMENT  HAVING  RF  ELECTRODES」、
  2008年2月15日に出願された米国特許出願第12/031,873号、名称「END  EFFECTORS  FOR  A  SURGICAL  CUTTING  AND  STAPLING  INSTRUMENT」、現在は米国特許第7,980,443号、
  米国特許出願第12/235,782号、発明の名称「MOTOR−DRIVEN  SURGICAL  CUTTING  INSTRUMENT」、現在は米国特許第8,210,411号、
  米国特許出願第12/249,117号、発明の名称「POWERED  SURGICAL  CUTTING  AND  STAPLING  APPARATUS  WITH  MANUALLY  RETRACTABLE  FIRING  SYSTEM」、現在は米国特許第8,608,045号、
  2009年12月24日に出願された米国特許出願第12/647,100号、名称「MOTOR−DRIVEN  SURGICAL  CUTTING  INSTRUMENT  WITH  ELECTRIC  ACTUATOR  DIRECTIONAL  CONTROL  ASSEMBLY」、現在は米国特許第8,220,688号、
  2012年9月29日に出願された米国特許出願第12/893,461号、発明の名称「STAPLE  CARTRIDGE」、現在は米国特許第8,733,613号、
  2011年2月28日に出願された米国特許出願第13/036,647号、発明の名称「SURGICAL  STAPLING  INSTRUMENT」、現在は米国特許第8,561,870号、
  米国特許出願第13/118,241号、発明の名称「SURGICAL  STAPLING  INSTRUMENTS  WITH  ROTATABLE  STAPLE  DEPLOYMENT  ARRANGEMENTS」、現在は米国特許第9,072,535号、
  2012年6月15日出願の米国特許出願第13/524,049号、発明の名称「ARTICULATABLE  SURGICAL  INSTRUMENT  COMPRISING  A  FIRING  DRIVE」、現在は米国特許第9,101,358号、
  2013年3月13日に出願された米国特許出願第13/800,025号、発明の名称「STAPLE  CARTRIDGE  TISSUE  THICKNESS  SENSOR  SYSTEM」、現在は米国特許出願公開第2014/0263551号、
  2013年3月13日に出願された米国特許出願第13/800,067号、発明の名称「STAPLE  CARTRIDGE  TISSUE  THICKNESS  SENSOR  SYSTEM」、現在は米国特許出願公開第2014/0263552号、
  2006年1月31日に出願された米国特許出願公開第2007/0175955号、発明の名称「SURGICAL  CUTTING  AND  FASTENING  INSTRUMENT  WITH  CLOSURE  TRIGGER  LOCKING  MECHANISM」、及び、
  2010年4月22日に出願された米国特許出願公開第2010/0264194号、発明の名称「SURGICAL  STAPLING  INSTRUMENT  WITH  AN  ARTICULATABLE  END  EFFECTOR」、現在は米国特許第8,308,040号。The entire disclosure below is incorporated herein by reference.
 U.S. Pat. No. 5,403,312, issued April 4, 1995, title of invention "ELECTROSURGICAL HEMOSTATIC DEVICE",
 U.S. Pat. No. 7,000,818 issued on February 21, 2006, title of invention "SURGICAL STAPLING INSTRUMENT HAVING SEPARATE DISTINCT CLOSING AND FIRING SYSTEMS",
 U.S. Pat. No. 7,422,139 issued on September 9, 2008, title of invention "MOTOR-DRIVEN SURGICAL CUTTING AND FASTENING INSTRUMENT WITH TACTILE POSITION FEEDBACK",
 U.S. Pat. No. 7,464,849 issued on December 16, 2008, the title of the invention "ELECTRO-MEMHANICAL SURGICAL INSTRUMENT WITH CLOSE CROSURE SYSTEM AND ANVIL ALIGNMENT COMPONENTS",
 U.S. Pat. No. 7,670,334 issued on March 2, 2010, title of invention "SURGICAL INSTRUMENT HAVING AN ARTICULATING END EFFECTOR",
 U.S. Pat. No. 7,753,245 issued on July 13, 2010, title of invention "SURGICAL STAPLING INSTRUMENTS",
 U.S. Pat. No. 8,393,514 issued on March 12, 2013, title of invention "SELECTIVELY ORIENTABLE IMPLANTABLE FASTENEER CARTRIDGE",
 U.S. Patent Application No. 11 / 343,803, named "SURGICAL INSTRUMENT HAVING RECORDING CAPABILITIES", now U.S. Pat.
 U.S. Patent Application No. 12 / 031,573, filed February 14, 2008, title of invention "SURGICAL CUTTING AND FASTENING INSTRUMENT HAVING RF ELECTRODES",
 U.S. Pat.
 U.S. Patent Application No. 12 / 235,782, Invention Title "MOTOR-DRIVEN SURGICAL CUTTING INSTRUMENT", Currently U.S. Pat. No. 8,210,411,
 U.S. Pat.
 US Pat.
 U.S. Patent Application No. 12 / 893,461 filed on September 29, 2012, title of invention "STAPLE CARTRIDGE", now U.S. Pat. No. 8,733,613,
 U.S. Patent Application No. 13 / 036,647 filed on February 28, 2011, title of invention "SURGICAL STAPLING INSTRUMENT", now U.S. Pat. No. 8,561,870,
 U.S. Patent Application No. 13 / 118,241, Invention Title "SURGICAL STAPLING INSTRUMENTS WITH ROTATABLE STAPLE DEVLOYMENT ARRANGEMENTS", now U.S. Pat. No. 9,072,535,
 U.S. Patent Application No. 13 / 524,049 filed June 15, 2012, title of invention "ARTICULATABLE SURGICAL INSTRUMENT COMPRISING A FIRING DRIVE", now U.S. Pat. No. 9,101,358,
 U.S. Patent Application No. 13 / 800,025 filed on March 13, 2013, title of invention "STAPLE CARTRIDGE TISSUE THICKNESS SENSOR SYSTEM", now U.S. Patent Application Publication No. 2014/0263551,
 U.S. Patent Application No. 13 / 800,067 filed on March 13, 2013, title of invention "STAPLE CARTRIDGE TISSUE THICKNESS SENSOR SYSTEM", now U.S. Patent Application Publication No. 2014/0263552,
 US Pat.
 U.S. Patent Application Publication No. 2010/0264194 filed on April 22, 2010, the title of the invention "SURGICAL STAPLING INSTRUMENT WITH AN ARTICULATABLE END EFFECTOR", now U.S. Patent No. 8,308,040.
様々なデバイスについて特定の実施形態に関連させて本明細書で説明したが、それらの実施形態に対する修正及び変形が実施されてもよい。また、材料が特定の構成要素に関して開示されているが、他の材料が使用されてもよい。更に、様々な実施形態に従って、所与の機能を実行するために、単一の構成要素を複数の構成要素に置き換えてもよく、また複数の構成要素を単一の構成要素に置き換えてもよい。以上の説明及び以下の特許請求の範囲は、そのような修正及び変更をすべて包含することが意図される。 Although various devices have been described herein in the context of specific embodiments, modifications and modifications to those embodiments may be implemented. Also, although the material is disclosed for a particular component, other materials may be used. Further, according to various embodiments, a single component may be replaced by a plurality of components, or a plurality of components may be replaced by a single component in order to perform a given function. .. The above description and the following claims are intended to include all such amendments and changes.
本明細書に開示されるデバイスは、1回の使用後に廃棄されるように設計することができ、又は複数回使用されるように設計することができる。しかしながら、いずれの場合も、デバイスは少なくとも1回の使用後に再利用のために再調整され得る。再調整には、限定するものではないが、デバイスの分解工程、それに続くデバイスの特定の部品の洗浄又は交換工程、及びその後のデバイスの再組立工程を含む工程の任意の組み合わせが含まれ得る。具体的に言えば、再調整する設備及び/又は外科チームは、デバイスを分解することができ、またデバイスの特定の部品を洗浄及び/又は交換した後、デバイスはその後の使用のために再組立てされ得る。当業者であれば、デバイスの再調整が、分解、洗浄/交換、及び再組立てのための様々な技術を利用できることを理解するであろう。かかる技術の使用、及び結果として得られる再調整されたデバイスは、すべて本発明の範囲内にある。 The devices disclosed herein can be designed to be discarded after a single use, or can be designed to be used multiple times. However, in either case, the device can be readjusted for reuse after at least one use. The readjustment may include, but is not limited to, any combination of steps including, but not limited to, a device disassembly step followed by a cleaning or replacement step of a particular part of the device, followed by a device reassembly step. Specifically, the reconditioning equipment and / or surgical team may disassemble the device, and after cleaning and / or replacing certain parts of the device, the device may be reassembled for subsequent use. Can be done. Those skilled in the art will appreciate that readjustment of the device can utilize a variety of techniques for disassembly, cleaning / replacement, and reassembly. The use of such techniques, and the resulting readjusted devices, are all within the scope of the present invention.
本明細書に記載のデバイスは、手術前に処理され得る。最初に、新品又は中古の器具が入手され、必要に応じて洗浄されてもよい。次いで器具を滅菌することができる。1つの滅菌技術では、器具は、プラスチックバッグ又はTYVEKバッグなど、閉鎖され密封された容器に入れられる。次いで、容器及び器具を、γ線、X線、及び/又は高エネルギー電子などの、容器を透過し得る放射線野に置くことができる。放射線は、器具上及び容器内の細菌を死滅させることができる。この後、滅菌済みの器具を滅菌容器内で保管することができる。密封容器は、医療施設で開けられるまで、器具を滅菌状態に保つことができる。デバイスはまた、限定するものではないが、β線、γ線、エチレンオキシド、過酸化プラズマ、及び/又は水蒸気を含めて、当該技術分野で既知の任意の他の技術を用いて滅菌されてもよい。 The devices described herein can be processed prior to surgery. First, new or used utensils may be obtained and cleaned as needed. The instrument can then be sterilized. In one sterilization technique, the instrument is placed in a closed and sealed container, such as a plastic bag or TYVEK bag. The vessel and instrument can then be placed in a radiation field that can penetrate the vessel, such as gamma rays, X-rays, and / or high energy electrons. Radiation can kill bacteria on instruments and in containers. After this, the sterilized instrument can be stored in a sterilized container. The sealed container can keep the instrument sterile until it is opened in a medical facility. The device may also be sterilized using any other technique known in the art, including, but not limited to, beta rays, gamma rays, ethylene oxide, plasma peroxide, and / or water vapor. ..
代表的な設計を有するものとして本発明について記載してきたが、本発明は、本開示の趣旨及び範囲内で更に修正されてもよい。したがって、本出願は、その一般的原理を使用する本発明のあらゆる変形、使用、又は適合を包含するものとする。 Although the present invention has been described as having a representative design, the present invention may be further modified within the spirit and scope of the present disclosure. Accordingly, this application shall include any modification, use, or adaptation of the invention that uses its general principles.
その全体又は部分において本明細書に援用されたものとするすべての特許、刊行物、又はその他の開示物は、援用される資料が本開示に記載される既存の定義、記述、又はその他の開示内容と矛盾しない範囲においてのみ本明細書に援用されるものとする。それ自体、また必要な範囲で、本明細書に明瞭に記載される開示内容は、参照により本明細書に組み込まれるあらゆる矛盾する記載に優先するものとする。参照により本明細書に組み込まれるものとするが、既存の定義、記述、又は本明細書に記載される他の開示文献と矛盾する任意の文献、又はそれらの部分は、組み込まれる文献と既存の開示内容との間に矛盾が生じない範囲においてのみ組み込まれるものとする。 All patents, publications, or other disclosures that are incorporated herein by reference in whole or in part are existing definitions, statements, or other disclosures in which the incorporated material is described in this disclosure. Incorporated herein only to the extent that it is consistent with the content. As such, and to the extent necessary, the disclosures expressly set forth herein shall supersede any contradictory statements incorporated herein by reference. Any document that is incorporated herein by reference, but is inconsistent with existing definitions, descriptions, or other disclosed documents described herein, or parts thereof, is incorporated and existing. It shall be incorporated only to the extent that there is no contradiction with the disclosed content.
〔実施の態様〕
(1)  外科用器具であって、
  ハウジングアセンブリと、
  前記ハウジングアセンブリ内で動作可能に支持されたモータアセンブリと、
  前記モータアセンブリと選択的に動作可能に係合及び係合解除されるように構成された少なくとも1つの回転駆動システムと、
  ベイルアウトシステムであって、
    前記ハウジングアセンブリによって支持され、前記少なくとも1つの回転駆動システムと選択的に動作可能に係合及び係合解除されるように構成されたベイルアウト駆動トレーンと、
    前記ハウジングアセンブリ内の格納位置と作動位置との間で選択的に移動可能なベイルアウトハンドルアセンブリであって、前記ベイルアウトハンドルアセンブリが前記格納位置にあるとき、前記少なくとも1つの回転駆動システムは前記モータアセンブリと動作可能に係合した状態に保持され、前記ベイルアウトハンドルアセンブリが前記作動位置にあるとき、前記ベイルアウト駆動トレーンは前記少なくとも1つの回転駆動システムと動作可能に係合した状態にある、ベイルアウトハンドルアセンブリと、を備える、ベイルアウトシステムと、を備える、外科用器具。
(2)  前記ハウジングアセンブリは、前記ベイルアウトハンドルアセンブリが前記格納位置において前記ハウジングアセンブリ内に完全に閉じ込められる閉鎖位置と、前記ベイルアウトハンドルアセンブリが作動可能となる開放位置との間で操作可能であるベイルアウトアクセスパネルを更に含む、実施態様1に記載の外科用器具。
(3)  前記ベイルアウトアクセスパネルは前記ハウジングアセンブリに着脱可能に取り付け可能である、実施態様2に記載の外科用器具。
(4)  前記ベイルアウトアクセスパネルが前記閉鎖位置にあるとき、前記ベイルアウトアクセスパネルは、前記少なくとも1つの回転駆動システムを前記モータアセンブリと動作可能に係合した状態に確実に保持し、かつ前記ベイルアウト駆動トレーンが前記モータアセンブリと動作可能に係合するのを防止する、実施態様2に記載の外科用器具。
(5)  前記少なくとも1つの回転駆動システムは、
  前記ハウジングアセンブリによって回転可能に支持されたシステム駆動シャフトと、
  従動ベベルギヤであって、前記従動ベベルギヤが前記モータアセンブリの駆動ベベルギヤとの噛合い係合をなす第1の位置と、前記従動ベベルギヤが前記駆動ベベルギヤとの噛合い係合から外れる第2の位置との間で、前記システム駆動シャフト上で軸方向に移動可能である、従動ベベルギヤと、
  前記従動ベベルギヤを前記第2の位置へと付勢するための駆動システム付勢部材であって、前記ベイルアウトアクセスパネルの一部分は、前記ベイルアウトアクセスパネルが前記閉鎖位置にあるとき、前記従動ベベルギヤを前記第1の位置へと付勢するように構成されている、駆動システム付勢部材と、
  を備える、実施態様2に記載の外科用器具。[Implementation mode]
 (1) Surgical instruments
 With the housing assembly
 With a motor assembly operably supported within the housing assembly,
 With at least one rotational drive system configured to selectively engage and disengage with the motor assembly.
 It ’s a bailout system,
 A bailout drive train supported by the housing assembly and configured to selectively engage and disengage with the at least one rotational drive system.
 A bailout handle assembly that is selectively movable between a retracted position and an actuating position within the housing assembly, wherein the at least one rotational drive system is said when the bailout handle assembly is in said retracted position. The bailout drive train is operably engaged with the at least one rotational drive system when it is held operably engaged with the motor assembly and the bailout handle assembly is in said operating position. A surgical instrument, including a bailout handle assembly, and a bailout system.
 (2) The housing assembly can be operated between a closed position where the bailout handle assembly is completely confined within the housing assembly at the retracted position and an open position where the bailout handle assembly is operational. The surgical instrument according to embodiment 1, further comprising a bailout access panel.
 (3) The surgical instrument according to embodiment 2, wherein the bailout access panel is detachably attached to the housing assembly.
 (4) When the bailout access panel is in the closed position, the bailout access panel reliably holds the at least one rotational drive system operably engaged with the motor assembly and said. The surgical instrument according to embodiment 2, which prevents the bailout drive train from operably engaging with the motor assembly.
 (5) The at least one rotary drive system is
 With a system drive shaft rotatably supported by the housing assembly,
 A first position of the driven bevel gear in which the driven bevel gear engages with the drive bevel gear of the motor assembly, and a second position in which the driven bevel gear disengages from the meshing engagement with the drive bevel gear. With a driven bevel gear that is axially movable on the system drive shaft,
 A drive system urging member for urging the driven bevel gear to the second position, wherein a portion of the bailout access panel is the driven bevel gear when the bailout access panel is in the closed position. To the drive system urging member, which is configured to urge the first position.
 2. The surgical instrument according to embodiment 2.
(6)  前記ベイルアウト駆動トレーンは、
  ベイルアウト駆動シャフトであって、前記ベイルアウトハンドルアセンブリの手動作動によって回転モーションが前記ベイルアウト駆動シャフトに加えられるように、前記ベイルアウトハンドルアセンブリと動作可能にインターフェースする、ベイルアウト駆動シャフトと、
  前記システム駆動シャフト上のベイルアウト従動ギヤと、
  ベイルアウト駆動ギヤであって、前記ベイルアウト駆動ギヤが前記ベイルアウト従動ギヤとの噛合い係合をなさない非作動位置と、前記ベイルアウト駆動ギヤが前記ベイルアウト従動ギヤとの噛合い係合をなす作動位置との間で、前記ベイルアウト駆動シャフト上で軸方向に移動可能である、ベイルアウト駆動ギヤと、
  前記ベイルアウトアクセスパネルが前記開放位置にあるときに前記ベイルアウト駆動ギヤを付勢して前記ベイルアウト従動ギヤと噛合い係合させるように構成されたベイルアウト付勢部材と、を備える、実施態様5に記載の外科用器具。
(7)  前記ベイルアウトアクセスパネルは、前記ベイルアウトアクセスパネルが前記開放位置にあるときに前記ベイルアウト駆動ギヤを付勢して、前記ベイルアウト従動ギヤとの噛合い係合から外すように構成されている、実施態様6に記載の外科用器具。
(8)  前記ベイルアウトアクセスパネルが前記開放位置にあるときに前記ベイルアウトハンドルアセンブリを作動位置へと付勢するためのベイルアウトハンドル付勢部材を更に備える、実施態様2に記載の外科用器具。
(9)  前記ベイルアウトハンドルアセンブリは、これに手動で生成されたラチェットモーションが加えられると回転モーションをベイルアウト駆動シャフトに加えるように構成されている、実施態様8に記載の外科用器具。
(10)  外科用器具であって、
  開放位置と閉鎖位置との間で操作可能であるアクセスパネルを備えるハウジングアセンブリと、
  前記ハウジングアセンブリの一部分で動作可能に支持されるモータアセンブリと、
  前記ハウジングアセンブリによって支持され、前記モータアセンブリと選択的に動作可能に係合及び係合解除されるように構成された少なくとも1つの回転駆動システムと、
  前記アクセスパネルが前記開放位置へと操作されているときに操作されると、前記少なくとも1つの回転駆動システムを前記モータアセンブリから係合解除し、前記少なくとも1つの回転駆動システムに手動で回転モーションを加えるための手段と、を備える外科用器具。(6) The bailout drive train is
 A bailout drive shaft that operably interfaces with the bailout handle assembly so that rotational motion is applied to the bailout drive shaft by manual operation of the bailout handle assembly.
 With the bailout driven gear on the system drive shaft,
 A bail-out drive gear in which the bail-out drive gear does not engage with the bail-out driven gear in a non-operating position and the bail-out drive gear engages with the bail-out driven gear. A bailout drive gear that is axially movable on the bailout drive shaft with and from an operating position.
 An implementation comprising a bailout urging member configured to urge the bailout drive gear to engage and engage with the bailout driven gear when the bailout access panel is in the open position. The surgical instrument according to aspect 5.
 (7) The bail-out access panel is configured to urge the bail-out drive gear when the bail-out access panel is in the open position to disengage it from meshing engagement with the bail-out driven gear. The surgical instrument according to
 (8) The surgical instrument according to embodiment 2, further comprising a bailout handle urging member for urging the bailout handle assembly to an operating position when the bailout access panel is in the open position. ..
 (9) The surgical instrument according to embodiment 8, wherein the bailout handle assembly is configured to add a rotational motion to the bailout drive shaft when a manually generated ratchet motion is applied to it.
 (10) Surgical instrument
 A housing assembly with an access panel that can be operated between open and closed positions,
 A motor assembly that is operably supported by a portion of the housing assembly and
 With at least one rotational drive system supported by the housing assembly and configured to selectively engage and disengage with the motor assembly.
 When operated while the access panel is being operated to the open position, the at least one rotational drive system is disengaged from the motor assembly and a rotational motion is manually applied to the at least one rotational drive system. Surgical instruments, including means for adding.
(11)  外科用器具であって、
  外科用ツールアセンブリに動作可能に取り付けられるように構成されたハンドルアセンブリと、
  前記ハンドルアセンブリによって動作可能に支持されたモータアセンブリと、
  前記ハンドルアセンブリによって動作可能に支持され、前記モータアセンブリと選択的に動作可能に係合及び係合解除されるように構成されている少なくとも1つの回転駆動システムと、
  ベイルアウトシステムであって、
    前記ハンドルアセンブリによって支持され、前記少なくとも1つの回転駆動システムと選択的に動作可能に係合及び係合解除されるように構成されたベイルアウト駆動トレーンと、
    前記ハンドルアセンブリ内の格納位置と作動位置との間で選択的に移動可能なベイルアウトアクチュエータアセンブリであって、前記ベイルアウトアクチュエータアセンブリが前記格納位置にあるとき、前記少なくとも1つの回転駆動システムは前記モータアセンブリと動作可能に係合した状態に保持され、前記ベイルアウトアクチュエータアセンブリが前記作動位置にあるとき、前記ベイルアウト駆動トレーンは前記少なくとも1つの回転駆動システムと動作可能に係合するようになっている、ベイルアウトアクチュエータアセンブリと、を備える、ベイルアウトシステムと、
  を備える、外科用器具。
(12)  前記ハンドルアセンブリは、前記ベイルアウトアクチュエータアセンブリが前記格納位置において前記ハンドルアセンブリ内に完全に閉じ込められる閉鎖位置及び前記ベイルアウトアクチュエータアセンブリが手動で作動可能となる開放位置から操作可能であるベイルアウトアクセスパネルを更に含む、実施態様11に記載の外科用器具。
(13)  前記ベイルアウトアクセスパネルは前記ハンドルアセンブリに着脱可能に取り付け可能である、実施態様12に記載の外科用器具。
(14)  前記ベイルアウトアクセスパネルが前記閉鎖位置にあるとき、前記ベイルアウトアクセスパネルは、前記少なくとも1つの回転駆動システムを前記モータアセンブリと動作可能に係合した状態に確実に保持し、かつ前記ベイルアウト駆動トレーンが前記モータアセンブリと動作可能に係合するのを防止する、実施態様12に記載の外科用器具。
(15)  前記少なくとも1つの回転駆動システムは、
  前記ハンドルアセンブリによって回転可能に支持されたシステム駆動シャフトと、
  従動ベベルギヤであって、前記従動ベベルギヤが前記モータアセンブリの駆動ベベルギヤとの噛合い係合をなす第1の位置と、前記従動ベベルギヤが前記駆動ベベルギヤとの噛合い係合から外れる第2の位置との間で、前記システム駆動シャフト上で軸方向に移動可能である、従動ベベルギヤと、
  前記従動ベベルギヤを前記第2の位置へと付勢するための駆動システム付勢部材であって、前記ベイルアウトアクセスパネルの一部分は、前記ベイルアウトアクセスパネルが前記閉鎖位置にあるとき、前記従動ベベルギヤを前記第1の位置へと付勢するように構成されている、駆動システム付勢部材と、
  を備える、実施態様12に記載の外科用器具。(11) Surgical instrument
 A handle assembly configured to be operably attached to a surgical tool assembly,
 With the motor assembly operably supported by the handle assembly,
 With at least one rotational drive system operably supported by the handle assembly and configured to selectively engage and disengage with the motor assembly.
 It ’s a bailout system,
 A bailout drive train supported by the handle assembly and configured to selectively engage and disengage with the at least one rotational drive system.
 A bailout actuator assembly that is selectively movable between a retracted position and an actuating position within the handle assembly, wherein the at least one rotational drive system is said when the bailout actuator assembly is in said retracted position. The bailout drive train is operably engaged with the at least one rotational drive system when it is held operably engaged with the motor assembly and the bailout actuator assembly is in the actuating position. With a bailout actuator assembly, with a bailout system,
 Surgical instruments equipped with.
 (12) The handle assembly can be operated from a closed position where the bailout actuator assembly is completely confined within the handle assembly at the retracted position and an open position where the bailout actuator assembly can be manually actuated. The surgical instrument according to embodiment 11, further comprising an out-access panel.
 (13) The surgical instrument according to embodiment 12, wherein the bailout access panel is detachably attached to the handle assembly.
 (14) When the bailout access panel is in the closed position, the bailout access panel reliably holds the at least one rotational drive system operably engaged with the motor assembly and said. 12. The surgical instrument according to embodiment 12, which prevents the bailout drive train from engaging operably with the motor assembly.
 (15) The at least one rotary drive system is
 With a system drive shaft rotatably supported by the handle assembly,
 A first position of the driven bevel gear in which the driven bevel gear engages with the drive bevel gear of the motor assembly, and a second position in which the driven bevel gear disengages from the meshing engagement with the drive bevel gear. With a driven bevel gear that is axially movable on the system drive shaft,
 A drive system urging member for urging the driven bevel gear to the second position, wherein a portion of the bailout access panel is the driven bevel gear when the bailout access panel is in the closed position. To the drive system urging member, which is configured to urge the first position.
 12. The surgical instrument according to embodiment 12.
(16)  前記ベイルアウト駆動トレーンは、
  ベイルアウト駆動シャフトであって、前記ベイルアウトアクチュエータアセンブリの手動作動によって回転モーションが前記ベイルアウト駆動シャフトに加えられるように、前記ベイルアウトアクチュエータアセンブリと動作可能にインターフェースする、ベイルアウト駆動シャフトと、
  前記システム駆動シャフト上のベイルアウト従動ギヤと、
  ベイルアウト駆動ギヤであって、前記ベイルアウト駆動ギヤが前記ベイルアウト従動ギヤとの噛合い係合をなさない非作動位置と、前記ベイルアウト駆動ギヤが前記ベイルアウト従動ギヤとの噛合い係合をなす作動位置との間で、前記ベイルアウト駆動シャフト上で軸方向に移動可能である、ベイルアウト駆動ギヤと、
  前記ベイルアウトアクセスパネルが前記開放位置にあるときに前記ベイルアウト駆動ギヤを付勢して前記ベイルアウト従動ギヤと噛合い係合させるように構成されたベイルアウト付勢部材と、を備える、実施態様15に記載の外科用器具。
(17)  前記ベイルアウトアクセスパネルは、前記ベイルアウトアクセスパネルが前記開放位置にあるときに前記ベイルアウト駆動ギヤを付勢して、前記ベイルアウト従動ギヤとの噛合い係合から外すように構成されている、実施態様16に記載の外科用器具。
(18)  前記ベイルアウトアクセスパネルが前記開放位置にあるときに前記ベイルアウトアクチュエータアセンブリを作動位置へと付勢するためのベイルアウトアクチュエータ付勢部材を更に備える、実施態様12に記載の外科用器具。
(19)  前記ベイルアウトアクチュエータアセンブリは、これに手動で生成されたラチェットモーションが加えられると回転モーションをベイルアウト駆動シャフトに加えるように構成されている、実施態様18に記載の外科用器具。
(20)  前記少なくとも1つの回転駆動システムは、
  前記ハンドルアセンブリによって回転可能に支持されたシステム駆動シャフトと、
  従動ベベルギヤであって、前記従動ベベルギヤが前記モータアセンブリの駆動ベベルギヤとの噛合い係合をなす第1の位置と、前記従動ベベルギヤが前記駆動ベベルギヤとの噛合い係合から外れる第2の位置との間で、前記システム駆動シャフト上で軸方向に移動可能である、従動ベベルギヤと、
  前記従動ベベルギヤを前記第2の位置へと付勢するための駆動システム付勢部材であって、前記ベイルアウトアクセスパネルの一部分は、前記ベイルアウトアクセスパネルが前記閉鎖位置にあるとき、前記従動ベベルギヤを前記第1の位置へと付勢するように構成されている、駆動システム付勢部材と、
  前記ハンドルアセンブリに結合された前記外科用ツールアセンブリに第1の回転駆動モーションを加えるように構成された第1の回転駆動システムと、
  前記ハンドルアセンブリに結合された前記外科用ツールアセンブリに第2の回転駆動モーションを加えるように構成された第2の回転駆動システムと、
  前記第1及び第2の回転駆動システムを前記システム駆動シャフトに選択的に動作可能に係合させるために前記システム駆動シャフトと動作可能にインターフェースする回転駆動セレクタシステムと、
  を備える、実施態様12に記載の外科用器具。(16) The bailout drive train is
 A bailout drive shaft that operably interfaces with the bailout actuator assembly so that rotational motion is applied to the bailout drive shaft by manual operation of the bailout actuator assembly.
 With the bailout driven gear on the system drive shaft,
 A bail-out drive gear in which the bail-out drive gear does not engage with the bail-out driven gear in a non-operating position and the bail-out drive gear engages with the bail-out driven gear. A bailout drive gear that is axially movable on the bailout drive shaft with and from an operating position.
 An implementation comprising a bailout urging member configured to urge the bailout drive gear to engage and engage with the bailout driven gear when the bailout access panel is in the open position. The surgical instrument according to aspect 15.
 (17) The bailout access panel is configured to urge the bailout drive gear when the bailout access panel is in the open position to disengage it from meshing engagement with the bailout driven gear. The surgical instrument according to embodiment 16.
 (18) The surgical instrument according to embodiment 12, further comprising a bailout actuator urging member for urging the bailout actuator assembly to an operating position when the bailout access panel is in the open position. ..
 (19) The surgical instrument of embodiment 18, wherein the bailout actuator assembly is configured to add rotational motion to the bailout drive shaft when a manually generated ratchet motion is applied to it.
 (20) The at least one rotary drive system is
 With a system drive shaft rotatably supported by the handle assembly,
 A first position of the driven bevel gear in which the driven bevel gear engages with the drive bevel gear of the motor assembly, and a second position in which the driven bevel gear disengages from the meshing engagement with the drive bevel gear. With a driven bevel gear that is axially movable on the system drive shaft,
 A drive system urging member for urging the driven bevel gear to the second position, wherein a portion of the bailout access panel is the driven bevel gear when the bailout access panel is in the closed position. To the drive system urging member, which is configured to urge the first position.
 A first rotational drive system configured to add a first rotational drive motion to the surgical tool assembly coupled to the handle assembly.
 A second rotational drive system configured to add a second rotational drive motion to the surgical tool assembly coupled to the handle assembly.
 A rotary drive selector system that operably interfaces with the system drive shaft to selectively operably engage the first and second rotary drive systems with the system drive shaft.
 12. The surgical instrument according to embodiment 12.
| Application Number | Priority Date | Filing Date | Title | 
|---|---|---|---|
| US15/089,262US10357246B2 (en) | 2016-04-01 | 2016-04-01 | Rotary powered surgical instrument with manually actuatable bailout system | 
| US15/089,262 | 2016-04-01 | ||
| PCT/US2017/024268WO2017172595A1 (en) | 2016-04-01 | 2017-03-27 | Rotary powered surgical instrument with manually actuatable bailout system | 
| Publication Number | Publication Date | 
|---|---|
| JP2019513042A JP2019513042A (en) | 2019-05-23 | 
| JP6938530B2true JP6938530B2 (en) | 2021-09-22 | 
| Application Number | Title | Priority Date | Filing Date | 
|---|---|---|---|
| JP2018551084AActiveJP6938530B2 (en) | 2016-04-01 | 2017-03-27 | Rotating powered surgical instrument with manually actuated bailout system | 
| Country | Link | 
|---|---|
| JP (1) | JP6938530B2 (en) | 
| CN (1) | CN109310419B (en) | 
| BR (1) | BR112018069899B1 (en) | 
| Publication number | Priority date | Publication date | Assignee | Title | 
|---|---|---|---|---|
| US20200405306A1 (en)* | 2019-06-28 | 2020-12-31 | Ethicon Llc | Surgical instrument including a firing system bailout | 
| EP3865083B1 (en)* | 2019-12-20 | 2025-10-08 | Riverfield Inc. | Medical robot, surgical instrument, and mounting part | 
| Publication number | Priority date | Publication date | Assignee | Title | 
|---|---|---|---|---|
| US9113880B2 (en)* | 2007-10-05 | 2015-08-25 | Covidien Lp | Internal backbone structural chassis for a surgical device | 
| US8608045B2 (en)* | 2008-10-10 | 2013-12-17 | Ethicon Endo-Sugery, Inc. | Powered surgical cutting and stapling apparatus with manually retractable firing system | 
| US8695866B2 (en)* | 2010-10-01 | 2014-04-15 | Ethicon Endo-Surgery, Inc. | Surgical instrument having a power control circuit | 
| US9408606B2 (en)* | 2012-06-28 | 2016-08-09 | Ethicon Endo-Surgery, Llc | Robotically powered surgical device with manually-actuatable reversing system | 
| US9655616B2 (en)* | 2014-01-22 | 2017-05-23 | Covidien Lp | Apparatus for endoscopic procedures | 
| US20150272580A1 (en)* | 2014-03-26 | 2015-10-01 | Ethicon Endo-Surgery, Inc. | Verification of number of battery exchanges/procedure count | 
| Publication number | Publication date | 
|---|---|
| CN109310419A (en) | 2019-02-05 | 
| JP2019513042A (en) | 2019-05-23 | 
| CN109310419B (en) | 2021-07-09 | 
| BR112018069899B1 (en) | 2023-05-09 | 
| BR112018069899A2 (en) | 2019-02-05 | 
| Publication | Publication Date | Title | 
|---|---|---|
| JP6983804B2 (en) | Closing system configuration for surgical cutting and stapled devices with separate launch shafts | |
| JP7086854B2 (en) | Handle assembly of surgical instruments with reconfigurable grips | |
| US11337694B2 (en) | Surgical cutting and stapling end effector with anvil concentric drive member | |
| JP6942720B2 (en) | Replaceable surgical tool assembly with surgical end effectors that can selectively rotate around the shaft axis | |
| JP6882327B2 (en) | Surgical staple system with shiftable transmission | |
| JP6938530B2 (en) | Rotating powered surgical instrument with manually actuated bailout system | |
| JP6965266B2 (en) | Surgical cutting and stapled end effectors with anvil concentric drives | 
| Date | Code | Title | Description | 
|---|---|---|---|
| A621 | Written request for application examination | Free format text:JAPANESE INTERMEDIATE CODE: A621 Effective date:20200327 | |
| A977 | Report on retrieval | Free format text:JAPANESE INTERMEDIATE CODE: A971007 Effective date:20210322 | |
| A131 | Notification of reasons for refusal | Free format text:JAPANESE INTERMEDIATE CODE: A131 Effective date:20210406 | |
| A521 | Request for written amendment filed | Free format text:JAPANESE INTERMEDIATE CODE: A523 Effective date:20210629 | |
| TRDD | Decision of grant or rejection written | ||
| A01 | Written decision to grant a patent or to grant a registration (utility model) | Free format text:JAPANESE INTERMEDIATE CODE: A01 Effective date:20210803 | |
| A61 | First payment of annual fees (during grant procedure) | Free format text:JAPANESE INTERMEDIATE CODE: A61 Effective date:20210901 | |
| R150 | Certificate of patent or registration of utility model | Ref document number:6938530 Country of ref document:JP Free format text:JAPANESE INTERMEDIATE CODE: R150 | |
| R250 | Receipt of annual fees | Free format text:JAPANESE INTERMEDIATE CODE: R250 | |
| R250 | Receipt of annual fees | Free format text:JAPANESE INTERMEDIATE CODE: R250 |