













本開示は、発光装置及びその製造方法に関する。 The present disclosure relates to a light emitting device and a method for manufacturing the same.
LED(発光ダイオード)などの半導体発光素子を用いた発光装置は、バックライト、照明、車載ライトなどの市場において、幅広く用いられている。また、演色性の高い白色光を出力するために、青色LEDと、緑色乃至黄色蛍光体や赤色蛍光体などの複数種類の蛍光体と、を使用する発光装置が提案されている。複数種類の蛍光体は、封止樹脂に混ぜてLEDの表面に塗布する構成が一般的だが、複数種類の蛍光体を混ぜて使用すると、比重や粒径が大きな黄緑色の蛍光体が先に沈むため、黄緑色蛍光体からの光が、赤色蛍光体に吸収され易くなる。赤色蛍光体は、黄緑色蛍光体からの光でも励起されて、赤色光を発光するが、2段階の励起となるため、青色LEDからの青色光から見ると波長変換効率が低くなり、白色光源としての出力の低下につながる。 Light emitting devices using semiconductor light emitting elements such as LEDs (light emitting diodes) are widely used in markets such as backlights, lighting, and in-vehicle lights. Further, in order to output white light having high color rendering properties, a light emitting device using a blue LED and a plurality of types of phosphors such as a green to yellow phosphor and a red phosphor has been proposed. Generally, multiple types of phosphors are mixed with a sealing resin and applied to the surface of the LED, but when multiple types of phosphors are mixed and used, the yellow-green fluorescent material with a large specific gravity and particle size comes first. Since it sinks, the light from the yellow-green phosphor is easily absorbed by the red phosphor. The red phosphor is also excited by the light from the yellow-green phosphor and emits red light, but since it is excited in two stages, the wavelength conversion efficiency is low when viewed from the blue light from the blue LED, and the white light source. It leads to a decrease in output as.
  例えば、特許文献1〜5には、青色LEDと、緑色蛍光体や赤色蛍光体などの複数種類の蛍光体と、を使用する発光装置が提案されている。これらの特許文献には、青色LED側から光が取り出される外側に向かって、赤色蛍光体層、緑色蛍光体層をこの順に配置して、緑色蛍光体からの緑色光が赤色蛍光体に吸収され難い構成の発光装置が提案されている。
  また、例えば、特許文献6には、LEDの下面側に光反射膜を設けることで、上面側及び側面側からの光出力を高めることができる発光装置が提案されている。For example,
 Further, for example,
  しかしながら、特許文献1〜特許文献5に記載されている発光装置において、光の出力と演色性との両方において改善の余地がある。また、特許文献6に記載されている発光装置において、複数種類の蛍光体が混在して配置されていると、発光装置の出力の向上にも限界がある。  However, in the light emitting devices described in
本開示に係る実施形態は、光の出力と演色性とを高めることができる発光装置を提供することを課題とする。 An object of the present embodiment is to provide a light emitting device capable of enhancing light output and color rendering properties.
本開示の実施形態に係る発光装置は、基台と、前記基台に配置される発光素子と、前記発光素子の側面を覆い、前記発光素子が発する光を、前記発光素子の発光ピーク波長よりも長い発光ピーク波長の光に変換する第1蛍光体を含有する第1波長変換部材と、前記発光素子の上面及び前記基台を覆い、前記発光素子が発する光を、前記発光素子の発光ピーク波長よりも長く、前記第1蛍光体の発光ピーク波長よりも短い発光ピーク波長の光に変換する第2蛍光体を含有する第2波長変換部材と、を備え、前記第2波長変換部材の、前記基台を覆う部分は、前記発光素子の上面の高さにおける前記第2蛍光体の濃度である第1濃度が、前記発光素子の下面の高さにおける前記第2蛍光体の濃度である第2濃度よりも小さく、前記第2蛍光体は、前記第1蛍光体の発光ピーク波長の光を反射する、ように構成する。 The light emitting device according to the embodiment of the present disclosure covers the base, the light emitting element arranged on the base, and the side surface of the light emitting element, and emits light emitted by the light emitting element from the emission peak wavelength of the light emitting element. A first wavelength conversion member containing a first phosphor that converts light having a long emission peak wavelength, and a light emitting element that covers the upper surface and the base of the light emitting element and emits light emitted by the light emitting element. A second wavelength conversion member including a second phosphor that converts light having an emission peak wavelength longer than the wavelength and shorter than the emission peak wavelength of the first phosphor, and the second wavelength conversion member. In the portion covering the base, the first concentration, which is the concentration of the second phosphor at the height of the upper surface of the light emitting element, is the concentration of the second phosphor at the height of the lower surface of the light emitting element. The second phosphor is configured to reflect light of the emission peak wavelength of the first phosphor, which is less than two concentrations.
また、別の側面における本開示の実施形態に係る発光装置は、基台と、前記基台に配置される発光素子と、前記発光素子の側面を覆い、前記発光素子が発する光を、前記発光素子の発光ピーク波長よりも長い発光ピーク波長の光に変換する第1蛍光体を含有する第1波長変換部材と、前記発光素子の上面及び前記基台を覆い、前記発光素子が発する光を、前記発光素子の発光ピーク波長よりも長く、前記第1蛍光体の発光ピーク波長よりも短い発光ピーク波長の光に変換する第2蛍光体を含有する第2波長変換部材と、を備え、前記第2波長変換部材を上面から下面に向かって切断した断面において、前記発光素子の高さの2分の1の高さから前記発光素子の上面までの高さにおける前記第2蛍光体の断面が占める面積の割合である第1面積率は、前記基台の上面から前記発光素子の高さの2分の1の高さにおける前記第2蛍光体の断面が占める面積の割合である第2面積率よりも小さい、ように構成する。 Further, the light emitting device according to the embodiment of the present disclosure on another side surface covers the base, the light emitting element arranged on the base, and the side surface of the light emitting element, and emits the light emitted by the light emitting element. A first wavelength conversion member containing a first phosphor that converts light having an emission peak wavelength longer than the emission peak wavelength of the element, and a light emitted by the light emitting element that covers the upper surface of the light emitting element and the base. A second wavelength conversion member including a second phosphor that converts light having an emission peak wavelength longer than the emission peak wavelength of the light emitting element and shorter than the emission peak wavelength of the first phosphor is provided. In the cross section obtained by cutting the two-wavelength conversion member from the upper surface to the lower surface, the cross section of the second phosphor at the height from half the height of the light emitting element to the upper surface of the light emitting element occupies. The first area ratio, which is the ratio of the area, is the ratio of the area occupied by the cross section of the second phosphor at a height of half the height of the light emitting element from the upper surface of the base. Configure to be smaller than.
また、更に別の側面における本開示の実施形態に係る発光装置は、基台と、前記基台に配置される発光素子と、前記発光素子の側面を覆い、前記発光素子が発する光を、前記発光素子の発光ピーク波長よりも長い発光ピーク波長の光に変換する第1蛍光体を含有する第1波長変換部材と、前記発光素子の上面及び前記基台を覆い、前記発光素子が発する光を、前記発光素子の発光ピーク波長よりも長く、前記第1蛍光体の発光ピーク波長よりも短い発光ピーク波長の光に変換する第2蛍光体を含有する第2波長変換部材と、を備え、前記第2波長変換部材は、少なくとも前記基台に配置された部分において、前記第2蛍光体が層状に配置されており、当該層の厚さが、前記発光素子の高さの4分の3以下である、ように構成する。 In yet another aspect, the light emitting device according to the embodiment of the present disclosure covers the base, the light emitting element arranged on the base, and the side surface of the light emitting element, and emits light emitted by the light emitting element. A first wavelength conversion member containing a first phosphor that converts light having an emission peak wavelength longer than the emission peak wavelength of the light emitting element, and covering the upper surface of the light emitting element and the base, and emitting light emitted by the light emitting element. A second wavelength conversion member containing a second phosphor that converts light having an emission peak wavelength that is longer than the emission peak wavelength of the light emitting element and shorter than the emission peak wavelength of the first phosphor. In the second wavelength conversion member, the second phosphor is arranged in layers at least in a portion arranged on the base, and the thickness of the layer is 3/4 or less of the height of the light emitting element. Is configured to be.
  本開示の実施形態に係る発光装置の製造方法は、支持部材上に、少なくとも1つの発光素子を配置する工程と、前記発光素子の側面に、第1蛍光体を含有する第1波長変換部材を配置する工程と、基台上に、前記第1波長変換部材が設けられた前記発光素子を配置す
る工程と、前記第1波長変換部材が設けられた前記発光素子の上面及び側面を被覆し、第2蛍光体を含有する第2波長変換部材を配置する工程と、をこの順で含む、ように構成する。The method for manufacturing a light emitting device according to the embodiment of the present disclosure includes a step of arranging at least one light emitting element on a support member and a first wavelength conversion member containing a first phosphor on the side surface of the light emitting element. The step of arranging, the step of arranging the light emitting element provided with the first wavelength conversion member on the base, and the upper surface and the side surface of the light emitting element provided with the first wavelength conversion member are covered. The step of arranging the second wavelength conversion member containing the second phosphor is included in this order.
本開示の実施形態に係る発光装置及びその製造方法によれば、光の出力と演色性とを向上することができる。 According to the light emitting device and the manufacturing method thereof according to the embodiment of the present disclosure, it is possible to improve the light output and the color rendering property.
  以下、実施形態に係る発光装置及びその製造方法について説明する。
  なお、以下の説明において参照する図面は、実施形態を概略的に示したものであるため、各部材のスケールや間隔、位置関係などが誇張、あるいは、部材の一部の図示が省略されている場合がある。また、例えば平面図とその断面図において、各部材のスケールや間隔が一致しない場合もある。また、以下の説明では、同一の名称及び符号については原則として同一又は同質の部材を示しており、詳細な説明を適宜省略することとする。Hereinafter, the light emitting device and the manufacturing method thereof according to the embodiment will be described.
 Since the drawings referred to in the following description schematically show an embodiment, the scale, spacing, positional relationship, etc. of each member are exaggerated, or a part of the members is not shown. In some cases. Further, for example, in the plan view and the cross-sectional view thereof, the scales and intervals of the members may not match. Further, in the following description, in principle, the same or the same quality members are shown for the same name and reference numeral, and detailed description thereof will be omitted as appropriate.
また、実施形態に係る発光装置及びその製造方法において、「上」、「下」、「左」及び「右」などは、状況に応じて入れ替わるものである。本明細書において、「上」、「下」などは、説明のために参照する図面において構成要素間の相対的な位置を示すものであって、特に断らない限り絶対的な位置を示すことを意図したものではない。 Further, in the light emitting device and the manufacturing method thereof according to the embodiment, "upper", "lower", "left", "right" and the like are interchanged depending on the situation. In the present specification, "top", "bottom", etc. indicate relative positions between components in the drawings referred to for explanation, and indicate absolute positions unless otherwise specified. Not intended.
  また、本明細書において、色名と色度座標との関係、光の波長範囲と単色光の色名との関係等は、特に断らない限り、日本工業規格JISZ8110に従うものとする。具体的には、単色光の波長範囲が、380nm〜455nmは青紫色、455nm〜485nmは青色、485nm〜495nmは青緑色、495nm〜548nmは緑色、548nm
〜573nmは黄緑色、573nm〜584nmは黄色、584nm〜610nmは黄赤色、610nm〜780nmは赤色である。Further, in the present specification, the relationship between the color name and the chromaticity coordinate, the relationship between the wavelength range of light and the color name of monochromatic light, etc. shall be in accordance with the Japanese Industrial Standard JIS Z8110 unless otherwise specified. Specifically, the wavelength range of monochromatic light is bluish purple for 380 nm to 455 nm, blue for 455 nm to 485 nm, bluish green for 485 nm to 495 nm, green for 495 nm to 548 nm, and 548 nm.
 ~ 573 nm is yellowish green, 573 nm to 584 nm is yellow, 584 nm to 610 nm is yellowish red, and 610 nm to 780 nm is red.
[発光装置の構成]
  実施形態に係る発光装置の構成について、図1A〜図1Cを参照して説明する。
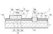
  図1Aは、実施形態に係る発光装置の構成を示す斜視図である。図1Bは、実施形態に係る発光装置の構成を示す平面図である。図1Cは、実施形態に係る発光装置の構成を示す断面図であり、図1BのIC−IC線における断面を示す。
  なお、図1A、図1Bにおいて、ドットによるハッチングは、凹部23aに第2波長変換部材4が存在することを示すものである。
  また、図1Cに示す断面図において、ワイヤ5の一部、保護素子6及び接合部材72は断面よりも手前側に位置するため観察されないが、便宜的に破線で図示している。後記する図4A、図7〜図8Bについても同様である。
  また、図1A〜図1C、及び後記する図6A〜図8Bにおいて、発光素子1のn側電極13及びp側電極14は、簡略化して両極の外部接続部13a,142aに相当する部分のみを図示している。[Configuration of light emitting device]
 The configuration of the light emitting device according to the embodiment will be described with reference to FIGS. 1A to 1C.
 FIG. 1A is a perspective view showing a configuration of a light emitting device according to an embodiment. FIG. 1B is a plan view showing the configuration of the light emitting device according to the embodiment. FIG. 1C is a cross-sectional view showing the configuration of the light emitting device according to the embodiment, and shows a cross section taken along the IC-IC line of FIG. 1B.
 In addition, in FIGS. 1A and 1B, the hatching by dots indicates that the second
 Further, in the cross-sectional view shown in FIG. 1C, a part of the
 Further, in FIGS. 1A to 1C and FIGS. 6A to 8B described later, the n-
  本実施形態に係る発光装置100は、平面視形状が略正方形である発光素子1と、発光素子1を載置するための基台であって平面視形状が略正方形であるパッケージ2と、発光素子1の側面を覆う第1波長変換部材3と、発光素子1の上面並びに第1波長変換部材3の上面及び側面を覆う第2波長変換部材4と、を備えて構成されている。
  発光素子1は、パッケージ2の、上面側に開口を有する凹部23a内に設けられ、凹部23aの底面23bに透光性を有する接合部材71を用いて接合されている。また、発光素子1は、その正負のパッド電極であるn側電極13及びp側電極14が、凹部23aの底面23bに露出する対応する極性のリード電極21,22と、それぞれボンディング用のワイヤ5を用いて電気的に接続されている。
  また、凹部23a内には、保護素子6が設けられ、導電性を有する接合部材72とワイヤ5とで、リード電極21,22と電気的に接続されている。第2波長変換部材4は、凹部23a内に設けられ、発光素子1及び保護素子6を封止している。The
 The
 Further, a
  また、発光素子1が発する光は、一部が第1波長変換部材3に含有されている第1蛍光体で波長変換され、他の一部が第2波長変換部材4に含有されている第2蛍光体で波長変換され、また、残りの部分が波長変換されずに、それぞれの光が混合されて凹部23aの開口から上方向に出射される。
  また、本実施形態の発光装置100において、発光素子1は、1個搭載されているが、2個以上搭載することもできる。Further, the light emitted by the
 Further, in the
  ここで、発光素子1の構成例について、図2を参照して説明する。図2は、本実施形態に係る発光装置における発光素子の構成例を示す断面図である。
  なお、本実施形態において、発光装置100はトップビュー型であるため、基板11の主面が発光装置100の上面側を向いた面である凹部23aの底面23bに対して平行となるように、発光素子1が実装される。Here, a configuration example of the
 Since the
  発光素子1は、LEDなどの半導体発光素子を好適に用いることができる。本実施形態における発光素子1は、平面視で略正方形に形成され、基板11と、半導体積層体12と、n側電極13と、p側電極14と、保護膜15と、光反射膜16と、を備えて構成されている。また、本実施形態における発光素子1は、基板11の一方の主面上に、LED(発光ダイオード)構造を有する半導体積層体12を備え、更に半導体積層体12の一方の面側にn側電極13及びp側電極14を備え、フェイスアップ型の実装に適した構造を有している。  As the
  基板11は、半導体積層体12を支持するものである。また、基板11は、半導体積層体12をエピタキシャル成長させるための成長基板であってもよい。基板11としては、例えば、半導体積層体12に窒化物半導体を用いる場合、サファイア(Al2O3)基板を用いることができる。The
  半導体積層体12は、基板11の一方の主面上に、n型半導体層12n及びp型半導体層12pが積層されてなり、n側電極13及びp側電極14間に電流を通電することにより発光するようになっている。半導体積層体12は、n型半導体層12nとp型半導体層12pとの間に活性層12aを備えることが好ましい。  In the
  半導体積層体12には、p型半導体層12p及び活性層12aが部分的に存在しない領域、すなわちp型半導体層12pの表面から凹んだ段差部12bが形成されている。段差部12bの底面はn型半導体層12nで構成されている。段差部12bの底面にはn側電極13が設けられ、n型半導体層12nと電気的に接続されている。
  また、発光素子1の外縁部にも、p型半導体層12p及び活性層12aが存在しない段差部12cが形成されている。段差部12cは、ウエハを個片化する際の切断領域であるダイシングストリートである。The
 Further, a stepped
  半導体積層体12は、液相成長法、MOCVD法などにより基板上に半導体を積層して形成したものが好適に用いられる。半導体材料としては、混晶度の選択により、紫外光から赤外光までの発光波長を種々選択することができるため、InXAlYGa1-X-YN(0≦X、0≦Y、X+Y<1)で表される窒化ガリウム系の半導体をより好適に用いることができる。As the
  n側電極13は、半導体積層体12の段差部12bの底面において、n型半導体層12nと電気的に接続されるように設けられ、発光素子1に外部からの電流を供給するための負極側の電極である。また、n側電極13は、平面視で発光素子1の角部に外部接続部13aを有している。
  n側電極13は、ワイヤボンディングなどによる外部との接続に適するように、例えば、Cu、Au又はこれらの何れかの金属を主成分とする合金を用いることができる。The n-
 For the n-
  p側電極14は、p型半導体層12pの上面において、p型半導体層12pと電気的に接続されるように設けられ、発光素子1に外部からの電流を供給するための正極側の電極である。また、p側電極14は、透光性電極141とパッド電極142とが積層された構造を有している。  The p-
  下層側の透光性電極141は、p型半導体層12pの上面の略全面を被覆するように設けられている。透光性電極141は、パッド電極142を介して外部から供給される電流をp型半導体層12pの全面に拡散するための電流拡散層として機能するものである。透光性電極141は、導電性金属酸化物を用いて形成することができ、特にITO(SnドープIn2O3)は、可視光(可視領域)において高い透光性を有し、導電率の高い材料であることから好適である。The
  上層側のパッド電極142は、透光性電極141の上面の一部に設けられ、外部の電極と接続するための層である。また、パッド電極142は、ワイヤボンディングなどにより外部と接続するための外部接続部142aと、外部接続部142aから延伸する延伸部142bとから構成されている。延伸部142bは、電流をより効率的に拡散させることができるように配置されている。パッド電極142は、前記したn側電極13と同様に、ワイヤボンディングなどによる外部との接続に適するように、例えば、Cu、Au又はこれ
らの何れかの金属を主成分とする合金を用いることができる。
  なお、本実施形態において、パッド電極142は、外部接続部142a及び延伸部142bが、ともに同じ材料で構成されている。The
 In the present embodiment, the
  保護膜15は、透光性及び絶縁性を有し、基板11の側面及び下面を除き、発光素子1の上面及び側面の略全体を被覆する膜である。また、保護膜15は、n側電極13の上面に開口部15nを有し、p側電極14のパッド電極142の上面に開口部15pを有している。当該開口部15n,15pから露出した領域が、外部接続部13a,142aである。
  保護膜15としては、例えば、SiO2、TiO2、Al2O3などの酸化物、SiNなどの窒化物、MgFなどのフッ化物を好適に用いることができる。The
 As the
  光反射膜16は、発光素子1の光取り出し面と反対側の面である基板11の下面側に設けられている。光反射膜16は、屈折率が互いに異なる2種以上の誘電体を積層した分布ブラッグ反射鏡(DBR)膜を用いることが好ましい。DBR膜に用いる誘電体としては、例えば、SiO2とNb2O5との組み合わせを挙げることができる。
  また、光反射膜16として、DBR膜を用いる場合は、高率で光反射する波長域の中心が、発光素子1の発光ピーク波長となるように、誘電体多層膜の各層の膜厚を定めることが好ましい。これによって、発光素子1が発する光を、発光素子1の上面に設けられている第1波長変換部材3又は発光素子1の側面に設けられている第2波長変換部材4に導入させることができる。The
 When a DBR film is used as the
  ここで、発光素子1が青色光を発し、第1波長変換部材3に含有される第1蛍光体が赤色光を発する場合について説明する。光反射膜16であるDBR膜は、高い光反射率を示す波長域の中心が、発光素子1の発光ピーク波長となるように設計すると、光反射膜16は、第1蛍光体からの赤色光の多くを透過するような特性となる。
  従って、第1蛍光体によって波長変換される光の内で、下方に伝播する光は、光反射膜16を透過して透光性の接合部材71に入射する。Here, a case where the
 Therefore, among the light whose wavelength is converted by the first phosphor, the light propagating downward passes through the
  なお、発光素子1の平面視での外形形状は正方形に限定されず、長方形、三角、六角形などの多角形でもよく、円形や楕円形などであってもよい。また、発光素子1において、n側電極13及びp側電極14の配置領域や形状、層構造など、段差部12bの配置領域や形状などは、本実施形態に限定されるものではなく、適宜に定めることができる。  The outer shape of the
  図1A〜図1Cに戻って、発光装置100の構成について説明を続ける。
  パッケージ(基台)2は、リード電極21,22と、樹脂部23とを有して構成されている。パッケージ2は、外形が、平面視で略正方形であり、発光装置100の厚さ方向に扁平に形成された略四角柱形状を有している。パッケージ2は、発光素子1を搭載する凹部23aの開口を上面に有しており、当該開口から光が出射されるように構成されており、トップビュー型の実装に適している。Returning to FIGS. 1A to 1C, the configuration of the
 The package (base) 2 includes
  リード電極21及びリード電極22は、正負の極性に対応した一対の電極である。リード電極21,22は、樹脂部23に支持されるように設けられ、リード電極21の上面とリード電極22の上面とが互いに離隔して、凹部23aの底面23bに露出するように配置されている。The
  また、パッケージ2の下面は、リード電極21,22が露出しており、外部と接続するための発光装置100の実装面となっている。従って、発光装置100は、底面を実装基板と対向させ、半田などの導電性の接合部材を用いて、リード電極21,22の下面が実装基板の配線パターンと接合されることで実装される。  Further, the lower surface of the
  リード電極21,22は、板状の金属を用いて形成され、その厚みは均一であってもよいし、部分的に厚く又は薄くなってもよい。
  リード電極21,22を構成する材料は特に限定されないが、熱伝導率の比較的大きな材料、比較的大きい機械的強度を有するもの、あるいは打ち抜きプレス加工又はエッチング加工等が容易な材料が好ましい。具体的には、銅、アルミニウム、金、銀、タングステン、鉄、ニッケル等の金属又は鉄−ニッケル合金、燐青銅等の合金等が挙げられる。また、内部リード部21a,22aの凹部23aの底面23bに露出した面には、搭載される発光素子1、第1波長変換部材3及び第2波長変換部材4からの光を効率よく取り出すために、良好な光反射性を有するAgなどの反射メッキが施されていることが好ましい。The
 The material constituting the
    樹脂部23は、リード電極21,22を支持するためのパッケージ2の母体である。樹脂部23は、上面側に開口を有する凹部23aを有し、当該凹部23aの底面23bにリード電極21,22が互いに離隔して露出するように構成されている。また、樹脂部23の下面側は、リード電極21,22が露出し、実装面となっている。The
  凹部23aの底面23bであるリード電極21,22上には1個の発光素子1と1個の保護素子6とが搭載されている。凹部23aの内側面は、上方ほど広がるように傾斜した傾斜面となっており、発光素子1から側方に出射した光を、光取り出し方向である上方に反射させるように構成されている。
  また、平面視で略正方形である凹部23aの1つの角は面取りされた形状に形成され、リード電極21,22の極性を識別するためのカソードマーク23cとなっている。One
 Further, one corner of the
  樹脂部23は、透光性を有する樹脂に光反射性物質の粒子を含有することで光反射性を付与された材料で形成され、凹部23aにおいて、発光素子1からの光を反射して、上方に効率的に出射させるための光反射部材としても機能する。
  また、凹部23a内には透光性の第2波長変換部材4が充填されている。The
 Further, the
  樹脂部23に用いられる樹脂材料としては、発光素子1が発する光の波長に対して良好な透光性を有することが好ましく、熱硬化性樹脂や熱可塑性樹脂を用いることができる。例えば、熱硬化性樹脂では、シリコーン樹脂、シリコーン変性樹脂、シリコーンハイブリッド樹脂、エポキシ樹脂、エポキシ変性樹脂、ユリア樹脂、ジアリルフタレート樹脂、フェノール樹脂、不飽和ポリエステル樹脂又はこれらの樹脂を1種類以上含むハイブリッド樹脂などが挙げられる。  As the resin material used for the
  樹脂部23に含有させる光反射性物質としては、前記した樹脂材料との屈折率差が大きく、良好な透光性を有する材料の粒子を用いることが好ましい。このような光反射性物質としては、屈折率が、例えば1.8以上であることが好ましく、樹脂材料との屈折率差は、例えば0.4以上であることが好ましい。また、光反射性物質の粒子の平均粒径は、高い効率で光散乱効果を得られるように、0.08μm以上10μm以下であることが好ましい。  As the light-reflecting substance contained in the
また、特に断らない限り、光反射性物質や蛍光体などの粒子の粒径の値は、空気透過法又はFisher Sub-Sieve Sizersによる平均粒径とする。 Unless otherwise specified, the value of the particle size of particles such as light-reflecting substances and phosphors shall be the average particle size by the air permeation method or Fisher Sub-Sieve Sizers.
また、光反射性物質として、具体的には、TiO2(酸化チタン)、Al2O3(酸化アルミニウム)などの白色顔料の粒子を用いることができる。なかでも、TiO2は、水分などに対して比較的安定でかつ高屈折率であり、また熱伝導性にも優れるため好ましい。Further, as the light-reflecting substance, specifically,particles of a white pigment such as TiO 2 (titanium oxide) and Al2 O3 (aluminum oxide) can be used. Among them, TiO2 is preferable because it is relatively stable against moisture and has a high refractive index and is also excellent in thermal conductivity.
  また、当該樹脂材料は、十分な光反射性が得られ、かつ、パッケージの形状を形成する際の成形性が損なわれない範囲で、光反射性物質が含有されている。そのためには、樹脂部23に含有される光反射性物質の含有率は、10質量%以上60質量%以下とすることが好ましい。  Further, the resin material contains a light-reflecting substance within a range in which sufficient light reflectivity can be obtained and the moldability when forming the shape of the package is not impaired. For that purpose, the content of the light-reflecting substance contained in the
  第1波長変換部材3は、発光素子1の側面を覆うように設けられ、発光素子1が発する光の一部を異なる波長の光に変換するものである。このために、第1波長変換部材は、発光素子1が発する光を、発光素子1の発光ピーク波長よりも長い発光ピーク波長の光に変換する波長変換物質である第1蛍光体の粒子を含有している。
  第1波長変換部材3は、第1蛍光体の粒子を含有する透光性の樹脂材料を用いて形成することができる。樹脂材料としては、前記したパッケージ2の樹脂部23に用いられるものと同様の材料を用いることができる。The first
 The first
  なお、第1波長変換部材3は、発光素子1の側面の全体を覆うように設けられているが、発光素子1の上面には設けられていない。従って、発光素子1の上面には、第2変換部材4が発光素子1と接するように設けられている。  The first
  第2波長変換部材4は、発光素子1の上面並びに第1波長変換部材3の上面及び側面を覆うように、基台であるパッケージ2の凹部23a内に設けられ、発光素子1が発する光の一部を異なる波長の光に変換するものである。このために、第2波長変換部材4は、発光素子1が発する光を、発光素子1の発光ピーク波長よりも長く、第1蛍光体の発光ピーク波長よりも短い発光ピーク波長の光に変換する波長変換物質である第2蛍光体の粒子を含有している。
  また、本実施形態において、第2波長変換部材4は、発光素子1、第1波長変換部材3、保護素子6、ワイヤ5などを封止する封止部材でもある。The second
 Further, in the present embodiment, the second
  第2波長変換部材4は、凹部23aの底面23b側、すなわち、底面23bの近傍、発光素子1及び第1波長変換部材3の上面の近傍に、第2蛍光体を相対的に高濃度に含有する高濃度領域4aを有している。
  発光素子1の上面の高さにおける第2蛍光体の濃度である第1濃度が、発光素子1の下面の高さ、すなわち高濃度領域4aにおける第2蛍光体の濃度である第2濃度の2分の1以下となるように、第2蛍光体の粒子を配置することが好ましい。特に第1濃度は、第2濃度の5分の2以下であることがより好ましい。言い換えれば、第2波長変換部材4において、第2蛍光体は、底面23b側に偏在しており、第2蛍光体が、実質的に層状に配置されている。これにより第1波長変換部材3からの光が第2波長変換部材4によって遮られる割合を減らし、第1波長変換部材3からの光を側方に出射することができる。The second
 The first concentration, which is the concentration of the second phosphor at the height of the upper surface of the
  また、層状の高濃度領域4aは、上端が、第1波長変換部材3の高さの4分の3以下の高さとなるように設けることが好ましく、3分の2以下の高さとなるように設けることがより好ましい。言い換えれば、第1波長変換部材3の外側面の上層部の4分の1以上の領域に、より好ましくは3分の1以上の領域に、実質的に第2蛍光体を配置しないようにすることが好ましい。  Further, the layered high-
  このように、発光素子1の側面に設けられた第1波長変換部材3の外側面の上層部において、第2蛍光体を含有しない領域乃至は第2蛍光体の濃度が低い領域を設けることによって、第1波長変換部材3に含有される第1蛍光体が発する光を、第2蛍光体によって反射や吸収などされることなく、外部に取り出し易くすることができる。
  また、第2蛍光体を、第2波長変換部材4の母材である樹脂よりも熱伝導性の高い発光素子1やリード電極21,22の近傍に偏在して配置することにより、第2蛍光体が発するストークスロスに伴って発生する熱を効率よく外部に放熱することができる。In this way, by providing a region not containing the second phosphor or a region having a low concentration of the second phosphor in the upper layer portion of the outer surface of the first
 Further, by arranging the second phosphors unevenly in the vicinity of the
  なお、第2蛍光体の濃度が低い領域とは、例えば、発光素子1の下面の高さにおける第2蛍光体の濃度の2分の1以下の濃度の領域とすることができる。また、高濃度領域4aとは、発光素子1の下面の高さにおける第2蛍光体の濃度の2分の1よりも濃度が高い領域とすることができる。  The region where the concentration of the second phosphor is low can be, for example, a region having a concentration of half or less of the concentration of the second phosphor at the height of the lower surface of the
  また、第2蛍光体の配置は、前記した濃度による規定に代えて、第2波長変換部材4の断面における第2蛍光体の粒子の断面の面積率によって規定することもできる。
  具体的には、第2波長変換部材5を上面から下面に向かって切断した断面において、発光素子1の高さの2分の1の高さから発光素子1の上面までの高さにおける第2蛍光体の断面が占める面積の割合である第1面積率が、基台であるパッケージ2の上面から発光素子1の高さの2分の1の高さにおける第2蛍光体の断面が占める面積の割合である第2面積率よりも小さいように定めることができる。Further, the arrangement of the second phosphor may be defined by the area ratio of the cross section of the particles of the second phosphor in the cross section of the second
 Specifically, in a cross section obtained by cutting the second
  ここで、第1面積率及び第2面積率を定める際に参照する第2波長変換部材4の断面の領域は、それぞれに該当する前記した高さ範囲に該当する帯状の全領域とすることができる。すなわち、第1面積率及び第2面積率は、第2波長変換部材4の断面において、それぞれが該当する高さ範囲の全領域における第2蛍光体の断面が占める面積の割合で定められる。参照領域を該当する高さ範囲の全領域とすることで、横方向についての第2蛍光体の局所的な分布むらがあっても、第1波長変換部材3に含有されている第1蛍光体からの光の外部取り出しに対する影響を適切に評価することができる。  Here, the cross-sectional region of the second
  また、第1面積率及び第2面積率を定めるための参照領域は、第2波長変換部材4の断面の、それぞれに対応する高さ範囲の全領域ではなく、部分的な領域としてもよい。このとき、参照する部分領域は、発光素子1の側方から発光素子1の高さ分の長さまで延ばした長方形の領域とすることができる。すなわち、第1面積率及び第2面積率は、それぞれが対応する高さ範囲の当該長方形の領域における第2蛍光体の粒子の断面が占める面積の割合で定められる。第1面積率及び第2面積率を定めるにあたって、発光素子1の側面を第1波長変換部材3が覆っているため、この第1波長変換部材3が占める面積を除いた、残りの部分の第2波長変換部材4の面積を比較することになる。  Further, the reference region for determining the first area ratio and the second area ratio may be a partial region of the cross section of the second
  例えば、発光素子1の高さが200μmである場合は、第2波長変換部材4の発光素子1の側方の近傍領域、より好ましくは、第1波長変換部材3の外側面に接する領域であって、高さが100μm、発光素子1の側面に垂直な方向の長さである幅が200μmの長方形領域が第1面積率及び第2面積率を定めるために参照する領域である。第2面積率を定めるための領域は、パッケージ2の凹部23aの底面から高さ100μmまでの領域であり、第1面積率を定めるための領域は、高さ100μmから発光素子1の上面の高さである高さ200μmまでの領域である。
  第1面積率及び第2面積率を定めるための参照領域を、発光素子1の側方の近傍領域とすることで、第1波長変換部材3に含有されている第1蛍光体からの光の外部取り出しに対する影響を、より適切に評価することができる。For example, when the height of the
 By setting the reference region for determining the first area ratio and the second area ratio as a region near the side of the
  また、第1面積率及び第2面積率を定めるための参照領域は、第1波長変換部材3が設けられた発光素子1の近傍であって、前記した高さ範囲における任意の形状の所定面積の領域とすることもできる。所定面積の領域の形状は、例えば、円形や正方形、その他の多角形などとすることができる。所定面積の領域の大きさは、第2蛍光体の粒径に応じて定めることができる。例えば、所定面積の領域の形状を正方形又は円形とする場合は、正方形の一辺の長さ又は円の直径は、第2蛍光体の平均粒径や粒径の中央値であるD50の4倍以上とすることが好ましい。あるいは、参照領域に第2蛍光体の粒子が10個以上含まれている部分としてもよい。  Further, the reference region for determining the first area ratio and the second area ratio is in the vicinity of the
  第1面積率は、低いほど第1蛍光体からの光を良好に取り出すことができる。また、第1面積率は、第2面積率と比較して小さいほど第1蛍光体からの光を良好に取り出すことができる。
  具体的には、第1面積率は、50%以下であることが好ましい。また、第1面積率は、第2面積率の2分の1以下とすることが好ましい。特に、第1面積率は、40%以下であることがより好ましく、20%以下であることが更に好ましい。また、第1面積率は第2面積率の5分の2以下とすることがより好ましい。The lower the first area ratio, the better the light from the first phosphor can be extracted. Further, the smaller the first area ratio is as compared with the second area ratio, the better the light from the first phosphor can be extracted.
 Specifically, the first area ratio is preferably 50% or less. Further, the first area ratio is preferably half or less of the second area ratio. In particular, the first area ratio is more preferably 40% or less, and further preferably 20% or less. Further, it is more preferable that the first area ratio is two-fifths or less of the second area ratio.
  第2波長変換部材4は、第2蛍光体の粒子を含有する透光性の樹脂材料を用いて形成することができる。樹脂材料としては、発光素子1、第1蛍光体及び第2蛍光体が発する光の波長に対して良好な透光性を有し、封止部材として耐候性、耐光性及び耐熱性の良好な材料が好ましい。このような材料としては、前記したパッケージ2の樹脂部23に用いられるものと同様の材料を用いることができる。また、後記する製造工程において、第2蛍光体の粒子を沈降させることによって凹部23aの底面23b側に高濃度に配置するために、樹脂材料として熱硬化性樹脂を用いることが好ましい。従って、樹脂材料としては、特に、耐熱性、耐光性に優れているシリコーン樹脂、フッ素樹脂が好ましい。  The second
  波長変換物質である第1蛍光体及び第2蛍光体としては、当該分野で公知のものを使用することができ、例えば、以下に示す蛍光体の中から、発光素子1、第1蛍光体及び第2蛍光体のそれぞれの発光ピーク波長と、発光装置100としての発光色とを勘案して適宜に選択することができる。  As the first phosphor and the second phosphor which are wavelength conversion substances, those known in the art can be used. For example, among the phosphors shown below, the
  例えば、発光素子1が青色光を発する場合において、第1波長変換部材3は、青色光を赤色光に変換する第1蛍光体を含有し、第2波長変換部材4は、青色光を緑色乃至黄色光に変換する第2蛍光体を含有するように構成することで、白色光を発する発光装置100を構成することができる。
  また、第1蛍光体及び第2蛍光体として、その一方又は両方に、2種以上の蛍光体材料を用いるようにしてもよい。For example, when the
 Further, as the first phosphor and the second phosphor, two or more kinds of phosphor materials may be used for one or both of them.
  波長変換物質としては、例えば、緑〜黄色に発光するセリウムで賦活されたイットリウム・アルミニウム・ガーネット(YAG)系蛍光体、緑色に発光するセリウムで賦活されたルテチウム・アルミニウム・ガーネット(LAG)系蛍光体、緑〜赤色に発光するユーロピウム及び/又はクロムで賦活された窒素含有アルミノ珪酸カルシウム(CaO−Al2O3−SiO2)系蛍光体、青〜赤色に発光するユーロピウムで賦活されたシリケート((Sr,Ba)2SiO4)系蛍光体、緑色に発光する組成が(Si,Al)6(O,N)8:Euで表されるβサイアロン蛍光体、組成がSrGa2S4:Euで表される硫化物系蛍光体、赤色に発光する組成がCaAlSiN3:Euで表されるCASN系又は(Sr,Ca)AlSiN3:Euで表されるSCASN系蛍光体などの窒化物系蛍光体、赤色に発光する組成が(K2SiF6:Mn)で表されるKSF系蛍光体などのフッ化物蛍光体、赤色に発光する硫化物系蛍光体、赤色に発光する組成が(3.5MgO・0.5MgF2・GeO2:Mn)で表されるゲルマン酸塩系(MGF系)蛍光体、などが挙げられる。
  また、第1蛍光体及び第2蛍光体は、平均粒径が1μm〜40μm程度のものを用いることが好ましく、5μm〜30μm程度のものを用いることがより好ましい。第1蛍光体及び第2蛍光体の平均粒径をこのような範囲とすることで、明るさを維持しつつ、高密度に配置することができる。Examples of the wavelength conversion substance include yttrium aluminum garnet (YAG) -based phosphor activated with cerium that emits green to yellow, and lutetium aluminum garnet (LAG) -based fluorescence activated by cerium that emits green light. Body, europium glowing green to red and / or chromium-activated nitrogen-containing calcium aluminosilicate (CaO-Al2 O3-SiO 2 ) phosphor, silicate activated with europium glowing blue to red (caO-Al 2 O 3-SiO 2) (Sr, Ba)2 SiO4 ) -based phosphor, composition that emits green light is (Si, Al)6 (O, N)8 : β-sialon phosphor represented by Eu, composition is SrGa2 S4 : Eu Nitride-based fluorescence such as a sulfide-based phosphor represented by, a CASN-based phosphor whose composition that emits red light is CaAlSiN3 : Eu, or a SCANS-based phosphor represented by (Sr, Ca) AlSiN3: Eu. The body, a fluoride phosphor such as a KSF-based phosphor whose composition emits red light (K2 SiF6 : Mn), a sulfide-based phosphor whose composition emits red light, and a composition which emits red light (3. 5MgO · 0.5MgF2 · GeO2: Germanic acid salt represented by Mn) (MGF system) phosphor, and the like.
 Further, as the first phosphor and the second phosphor, those having an average particle size of about 1 μm to 40 μm are preferably used, and those having an average particle size of about 5 μm to 30 μm are more preferably used. By setting the average particle size of the first phosphor and the second phosphor in such a range, it is possible to arrange the first phosphor and the second phosphor at a high density while maintaining the brightness.
  また、第2蛍光体は、第1蛍光体の発光ピーク波長の光を良好に反射することが好ましい。ここで、第2蛍光体の第1蛍光体の発光ピーク波長における反射率は、60%以上で
あることが好ましく、70%以上であることがより好ましく、80%以上であることが更に好ましい。
  第2蛍光体として、第1蛍光体が発する光を良好に反射するものを用いることで、第1蛍光体が発する光を効率よく外部に取り出すことができる。
  なお、光取り出しについての詳細な説明は後記する。Further, it is preferable that the second phosphor satisfactorily reflects the light having the emission peak wavelength of the first phosphor. Here, the reflectance of the first phosphor of the second phosphor at the emission peak wavelength is preferably 60% or more, more preferably 70% or more, and further preferably 80% or more.
 By using a second phosphor that satisfactorily reflects the light emitted by the first phosphor, the light emitted by the first phosphor can be efficiently taken out to the outside.
 A detailed explanation of light extraction will be described later.
  ここで、このような第1蛍光体と第2蛍光体との組み合わせについて、図3を参照して説明する。図3は、実施形態に係る発光装置に用いられる蛍光体例の発光スペクトル及び反射スペクトルを示すグラフ図である。
  図3において、SCASN系蛍光体についての発光スペクトルを実線で、反射スペクトルを一点鎖線で示し、LAG系蛍光体についての発光スペクトルを破線で、反射スペクトルを二点鎖線で示している。Here, such a combination of the first phosphor and the second phosphor will be described with reference to FIG. FIG. 3 is a graph showing an emission spectrum and a reflection spectrum of an example of a phosphor used in the light emitting device according to the embodiment.
 In FIG. 3, the emission spectrum of the SCASN-based phosphor is indicated by a solid line, the reflection spectrum is indicated by a single-dot chain line, the emission spectrum of the LAG-based phosphor is indicated by a broken line, and the reflection spectrum is indicated by a two-dot chain line.
  SCASN系蛍光体は、発光ピーク波長が630nm近傍である赤色光を発し、LAG系蛍光体は、発光ピーク波長が540nm近傍である緑色光を発する。
  赤色蛍光体であるSCASN系蛍光体は、その発光波長よりも短波長側の光である発光素子1が発する青色光の他に、LAG系蛍光体が発する光に対しても、比較的大きな吸収を示す。これに対して、緑色蛍光体であるLAG系蛍光体は、SCASN系蛍光体の発する光に波長域の全体において、高い反射率を有している。
  従って、第1蛍光体としてSCASN系蛍光体を用い、第2蛍光体としてLAG系蛍光体を用い、第1蛍光体に対して第2蛍光体からの光の照射量が少なくなるように、第1波長変換部材3及び第2波長変換部材4の高濃度領域4aを配置することで、第1蛍光体からの赤色光と、第2蛍光体からの緑色光とを効率よく外部に取り出すことができる。
  なお、発光装置100からの光取り出しの詳細については後記する。The SCASN-based phosphor emits red light having an emission peak wavelength in the vicinity of 630 nm, and the LAG-based phosphor emits green light having an emission peak wavelength in the vicinity of 540 nm.
 The SCASN-based phosphor, which is a red phosphor, absorbs relatively large amounts of light emitted by the LAG-based phosphor in addition to the blue light emitted by the
 Therefore, a SCASN-based phosphor is used as the first phosphor, a LAG-based phosphor is used as the second phosphor, and the amount of light emitted from the second phosphor is reduced with respect to the first phosphor. By arranging the high-
 The details of light extraction from the
  また、第2波長変換部材4は、光拡散性物質を含有させてもよい。第2波長変換部材4に含有させる光拡散性物質としては、具体的には、TiO2、Al2O3などの白色顔料の粒子を用いることができる。なかでも、TiO2は、水分などに対して比較的安定でかつ高屈折率であり、また熱伝導性にも優れるため好ましい。Further, the second
  また、第2波長変換部材4に含有させる光拡散性物質の粒子の平均粒径は、0.001μm以上10μm以下であることが好ましく、これによって高い効率の光散乱性を得ることができる。特に、第2波長変換部材4における光拡散性物質の粒子の平均粒径は、0.001μm〜0.05μmがより好ましい。これによって、高い光散乱効果、つまり、レイリー散乱効果が得られ、発光装置100としての光取り出し効率をより高くすることができる。また、光取り出し効率が向上する分、蛍光体の使用量を低減することで蛍光体の発熱による温度上昇が抑制できるため、蛍光体の劣化が低減され、発光装置100の信頼性を向上することができる。  Further, the average particle size of the particles of the light diffusing substance contained in the second
  ワイヤ5は、発光素子1のn側電極13の外部接続部13a及びp側電極14の外部接続部142aと、それぞれが対応する極性のリード電極21,22とを電気的に接続するものである。また、ワイヤ5は、保護素子6の一方の電極とリード電極21とを電気的に接続するためにも用いられる。
  ワイヤ5としては、Au,Cu,Al,Ag又はこれらの何れかの金属を主成分とする合金を好適に用いることができる。The
 As the
  保護素子6は、発光素子1を静電放電から保護するために設けることが好ましい。保護素子6としては、ツェナーダイオードを発光素子1と並列に、かつ、逆極性に接続して用いることができる。また、保護素子6として、バリスタ、抵抗、キャパシタなどを用いることもできる。
  保護素子6は、リード電極22上に導電性を有する接合部材72を用いて接合されるととともに、保護素子6の一方の電極と電気的に接続されている。また、保護素子6の他方の電極は、ワイヤ5を用いてリード電極21と接続されている。The
 The
  接合部材71は、発光素子1を凹部23aの底面23bに設けられたリード電極21に接着するための透光性を有する接着材である。
  接合部材71としては、発光素子1が発する光や熱によって変色や劣化が起き難い樹脂材料が好ましく、更に、良好な透光性を有し、第2波長変換部材4に用いられる樹脂材料の屈折率と同等以下が好ましい。接合部材71の屈折率を第2波長変換部材4に用いられる樹脂材料の屈折率と同等以下にすることで、接合部材71に入射した光を、接合部材71と第2波長変換部材4との界面で全反射させずに、効率的に外部に取り出すことができる。このような樹脂材料としては、シロキサン骨格を有するシリコーン系のダイボンド樹脂が好ましい。シリコーン系のダイボンド樹脂としては、シリコーン樹脂、シリコーンハイブリッド樹脂、シリコーン変性樹脂が挙げられる。The joining
 As the joining
  接合部材72は、保護素子6をリード電極22に接合するとともに、保護素子6の一方の電極とリード電極22とを電気的に接続するための、半田などの導電性を有する接着材である。  The joining
(変形例)
  なお、本実施形態にでは、発光素子1を載置する基台として、樹脂パッケージを用いるようにしたが、セラミックパッケージを用いるようにしてもよい。
  また、基台として、凹部23aを有するパッケージ2を用いたが、凹部23aを有さない平板状の基台を用いるようにしてもよい。(Modification example)
 In the present embodiment, the resin package is used as the base on which the
 Further, although the
[発光装置の動作]
  次に、発光装置100の動作について、図1A〜図1C、図4A及び図4Bを参照して説明する。
  図4Aは、実施形態に係る発光装置における光取り出しを説明する図である。図4Bは、実施形態に係る発光装置における光取り出しを説明する図であり、図4Aの領域IVBの拡大図である。
  なお、説明の便宜上、発光素子1は青色光を発し、第1波長変換部材3には波長変換物質として青色光を吸収して赤色光を発する第1蛍光体の粒子が含有され、第2波長変換部材4には波長変換物質として青色光を吸収して緑色光を発する第2蛍光体の粒子が含有されているものとして説明する。また、光反射膜16は、発光素子1が発する青色光を反射し、第1波長変換部材3に含有されている第1蛍光体が発する赤色光を透過する反射特性を有するものとする。[Operation of light emitting device]
 Next, the operation of the
 FIG. 4A is a diagram illustrating light extraction in the light emitting device according to the embodiment. FIG. 4B is a diagram illustrating light extraction in the light emitting device according to the embodiment, and is an enlarged view of the region IVB of FIG. 4A.
 For convenience of explanation, the
  発光装置100は、リード電極21,22を介して外部電源に接続されると、ワイヤ5を介して発光素子1に電流が供給され、発光素子1が青色光を発する。発光素子1が発した青色光の内で、上方に伝播する光線L1は、発光素子1の上面に配置されている第2波長変換部材4の高濃度領域4a中の第2蛍光体によって緑色光に変換されて光線L2として発光装置100の上面から外部に取り出される。
  本実施形態の発光装置100において、第2蛍光体を高濃度に含有する高濃度領域4aは、発光装置100の光取り出し面である上面側に第1蛍光体を含有する第1波長変換部材3が設けられていない。このため、第2蛍光体によって、発光素子1の上面から出射される青色光を、効率よく緑色光に変換して外部に取り出すことができる。When the
 In the
  また、発光素子1内を横方向に伝播する青色の光線L3は、発光素子1の側面に配置されている第1波長変換部材3に含有されている第1蛍光体によって赤色光に変換される。
赤色光の一部は、光線L4のように、第2波長変換部材4の第2蛍光体の含有濃度が低い領域を上方に向かって伝播して外部に取り出される。
  本実施形態の発光装置100において、第1波長変換部材3の外側面の一部に、第2蛍光体の含有濃度が低い領域を設けているため、第1蛍光体によって変換された赤色光を、効率よく外部に取り出すことができる。Further, the blue light ray L3 propagating in the
 A part of the red light propagates upward in a region where the content concentration of the second phosphor of the second
 In the
  また、赤色光の他の一部で下方に伝播する光線L5は、凹部23aの底面23bの高濃度領域4aに含有されている第2蛍光体によって反射される。その反射光である光線L6は、第2波長変換部材4内を上方に伝播して外部に取り出される。
  本実施形態の発光装置100において、第2蛍光体として、第1蛍光体が発する赤色光に対する反射率が高い材料を用いることで、凹部23aの底面23bに配置された高濃度領域4aが、第1蛍光体が発する光に対する反射層として機能する。このため、第1蛍光体が発する赤色光を、効率よく外部へ取り出すことができる。Further, the light ray L5 propagating downward by the other part of the red light is reflected by the second phosphor contained in the
 In the
  また、発光素子1が発する青色光の内で、下方に伝播する光線L11は、発光素子1の下面に設けられている光反射膜16によって反射され、光線L12として示すように上方に伝播する。  Further, among the blue light emitted by the
  発光素子1が発する青色光の内で、横方向に伝播する光線L13は、第1波長変換部材3に含有される第1蛍光体によって赤色光に変換される。赤色光の内で、第2波長変換部材4の第2蛍光体の含有濃度が低い低濃度領域に向かって伝播する光線L14は、光線L15として示すように、第2波長変換部材4中を伝播して、外部に取り出される。  Among the blue light emitted by the
  赤色光の内で、第2波長変換部材4の高濃度領域4aに向かって伝播する光線L16は、高濃度領域4aに含有される第2蛍光体の粒子によって、光線L17,L18,L19で示すように第2蛍光体の粒子によって散乱されながら伝播し、更に第2波長変換部材4の上層部である第2蛍光体の低濃度領域を伝播して外部に取り出される。ここで、第2蛍光体として赤色光に対する反射率が高い材料を用いることで、赤色光を散乱させながらも、赤色光の光量の低減を抑制しつつ伝播させて、外部に取り出すことができる。  The light rays L16 propagating toward the high-
  赤色光の内で、発光素子1内に入射して、下方に向かって伝播する光線L20は、光反射膜16を透過して、透光性の接合部材71に入射する。接合部材71内を下方に伝播する光線L21は、凹部23aの底面23bに設けられているリード電極21の上面で反射され、光線L22として示すように、上方に伝播する。光線L22は、光反射膜16を透過して、光線L23として示すように、発光素子1内を上方に向かって伝播し、発光素子1の上面側から外部に取り出される。  In the red light, the light beam L20 that is incident on the
  また、接合部材71に入射した赤色光の一部は、光線L24として示すように、接合部材71内を横方向に伝播して、凹部23aの底面23b上に設けられている第2波長変換部材4の高濃度領域4aに入射して、光線L25,L26,L27,L28で示すように第2蛍光体の粒子によって散乱されながら伝播し、更に第2波長変換部材4の上層部である第2蛍光体の低濃度領域を伝播して外部に取り出される。
  このように、接合部材71を介するという、赤色光を外部に取り出す経路を増やすことで、発光装置100の出力光における赤色光の光量を増加させることができる。これによって、発光装置100の、特に赤色の色票に対する演色性を向上させることができる。Further, a part of the red light incident on the joining
 In this way, the amount of red light in the output light of the
  なお、発光素子1の側面に設けられた第1波長変換部材3及び発光素子1の上面に設けられた第2波長変換部材4の高濃度領域4aの入射した青色光は、一部が波長変換されずに、第1波長変換部材3及び第2波長変換部材4の高濃度領域4aを透過する。
  第1波長変換部材3及び第2波長変換部材4の高濃度領域4aを透過した青色光の一部
は、青色光のまま発光装置100から外部に取り出される。また、青色光の他の一部は、凹部23a内に配置された各部材の界面で反射されて、凹部23aの底面23bに設けられた高濃度領域4aに含有されている第2蛍光体で緑色光に波長変換されて外部に取り出される。Part of the incident blue light in the high-
 A part of the blue light transmitted through the
  また、第2波長変換部材4の高濃度領域4aが発する緑色光の一部は、第1波長変換部材3に入射されて赤色光に変換されるが、本実施形態の発光装置100において、第1波長変換部材3と第2波長変換部材4の高濃度領域4aとは、互いに接する領域が少なくなるように配置されている。このため、緑色光が赤色光に変換されて、緑色光の成分が減少することを抑制することができる。  Further, a part of the green light emitted from the high-
  以上説明したように、発光素子1が発した青色光は、一部はそのまま外部に取り出され、一部は第1波長変換部材3中の第1蛍光体によって赤色光に変換されて外部に取り出され、一部は第2波長変換部材4の主として高濃度領域4a中の第2蛍光体によって緑色光に変換されて外部に取り出される。そして、これらの光が混合した白色光が、発光装置100から出力される。
  このとき、第1蛍光体が発する光である赤色光を効率よく外部に取り出すことができるため、発光装置100の演色性を向上することができる。また、第2蛍光体が発する光である緑色光を効率よく外部に取り出すことができるため、発光装置100の出力を高めることができる。As described above, a part of the blue light emitted by the
 At this time, since red light, which is the light emitted by the first phosphor, can be efficiently taken out to the outside, the color rendering property of the
[発光装置の製造方法]
  次に、発光装置100の製造方法について、図5〜図8Bを参照して説明する。
  図5は、実施形態に係る発光装置の製造方法の手順を示すフローチャートである。図6Aは、実施形態に係る発光装置の製造方法において、第1波長変換部材配置工程における第1発光素子配置工程を示す断面図である。図6Bは、実施形態に係る発光装置の製造方法において、第1波長変換部材配置工程における第1樹脂配置工程を示す断面図である。図6Cは、実施形態に係る発光装置の製造方法において、第1波長変換部材配置工程における第1樹脂切断工程を示す断面図である。図7は、実施形態に係る発光装置の製造方法における第2発光素子配置工程を示す断面図である。図8Aは、実施形態に係る発光装置の製造方法において、第2波長変換部材配置工程における第2樹脂配置工程を示す断面図である。図8Bは、実施形態に係る発光装置の製造方法において、第2波長変換部材配置工程における第2蛍光体沈降工程を示す断面図である。
  なお、図7〜図8Bは、図1BのIC−IC線に相当する位置における断面を示す。[Manufacturing method of light emitting device]
 Next, a method of manufacturing the
 FIG. 5 is a flowchart showing a procedure of a method for manufacturing a light emitting device according to an embodiment. FIG. 6A is a cross-sectional view showing a first light emitting element arranging step in the first wavelength conversion member arranging step in the method for manufacturing a light emitting device according to the embodiment. FIG. 6B is a cross-sectional view showing a first resin arranging step in the first wavelength conversion member arranging step in the method for manufacturing a light emitting device according to the embodiment. FIG. 6C is a cross-sectional view showing a first resin cutting step in the first wavelength conversion member arranging step in the method for manufacturing the light emitting device according to the embodiment. FIG. 7 is a cross-sectional view showing a second light emitting element arranging step in the method for manufacturing the light emitting device according to the embodiment. FIG. 8A is a cross-sectional view showing a second resin arranging step in the second wavelength conversion member arranging step in the method for manufacturing the light emitting device according to the embodiment. FIG. 8B is a cross-sectional view showing a second phosphor precipitation step in the second wavelength conversion member arranging step in the method for manufacturing the light emitting device according to the embodiment.
 7 to 8B show a cross section at a position corresponding to the IC-IC line of FIG. 1B.
  実施形態に係る発光装置100の製造方法は、パッケージ準備工程S11と、発光素子準備工程S12と、第1波長変換部材配置工程S13と、第2発光素子配置工程S14と、第2波長変換部材配置工程S15と、が含まれている。第1波長変換部材配置工程S13には、第1発光素子配置工程S131と、第1樹脂配置工程S132と、第1樹脂硬化工程S133と、第1樹脂切断工程S134とが含まれている。第2波長変換部材配置工程S15には、第2樹脂配置工程S151と、第2蛍光体沈降工程S152と、第2樹脂硬化工程S153とが含まれている。  The method of manufacturing the
  パッケージ準備工程(基台を準備する工程)S11は、発光装置100における基台であるパッケージ2を準備する工程である。この工程で準備されるパッケージ2は、発光素子1、第1波長変換部材3及び第2波長変換部材4が配置されていない状態のものである。
  パッケージ準備工程S11において、パッケージ2を準備するために、例えば、トランスファー成形法や射出成形法、圧縮成形法、押出成形法などの金型を用いた成形方法で製造するようにしてもよいし、市販のパッケージを入手するようにしてもよい。The package preparation step (step of preparing the base) S11 is a step of preparing the
 In the package preparation step S11, in order to prepare the
  パッケージ2の製造方法の例について説明する。
  まず、板金を打ち抜き加工することでリード電極21,22の外形を有するリードフレームを形成する。次に、リードフレームを樹脂部23の形状の空洞を有する上下の金型で挟み込み、金型の一部に設けられたゲート穴から樹脂材料を注入する。次に、注入した樹脂材料を硬化又は固化させた後に金型から取り出す。以上の工程を行うことで、パッケージ2を製造することができる。また、複数のパッケージ2がリードフレームで連結された状態で製造する場合は、リードフレームを切断することでパッケージ2を個片化する。
  なお、パッケージ2の個片化は、第2波長変換部材配置工程S15の後で行うようにしてもよい。An example of the manufacturing method of the
 First, the sheet metal is punched to form a lead frame having an outer shape of the
 The individualization of the
  発光素子準備工程S12は、個片化された発光素子1を準備する工程である。  The light emitting element preparation step S12 is a step of preparing the individualized
  第1波長変換部材配置工程S13は、発光素子準備工程S12で準備した発光素子1の側面を覆うように、第1波長変換部材3を配置する工程である。前記したように、第1波長変換部材配置工程S13には、第1発光素子配置工程S131と、第1樹脂配置工程S132と、第1樹脂硬化工程S133と、第1樹脂切断工程S134とが含まれている。  The first wavelength conversion member arranging step S13 is a step of arranging the first
  第1発光素子配置工程S131は、発光素子1を支持部材81上に配置する工程である。支持部材81は、平板状の台座であり、第1樹脂配置工程S132〜第1樹脂切断工程S134を行う間に、発光素子1が支持部材81から脱落しない程度に保持可能なように構成されている。
  このために、支持部材81の上面に粘着層を備え、粘着力によって発光素子1を上面側に保持するように構成することができる。また、粘着層として熱硬化性樹脂又は紫外線硬化樹脂を用いることで、第1波長変換部材3を形成した後に、当該粘着層を加熱又は紫外線を照射することで硬化させ、粘着力を喪失させることで、第1波長変換部材3付き発光素子1を、支持部材81から容易に剥離することができる。The first light emitting element arranging step S131 is a step of arranging the
 Therefore, an adhesive layer may be provided on the upper surface of the
  本実施形態では、支持部材81上に、複数の発光素子1を所定の間隔を空けて配置している。ここで、所定の間隔とは、配置しようとする第1波長変換部材3の幅、すなわち発光素子1の側面に垂直な方向の厚さと、第1樹脂切断工程S134において切り代となる幅とを考慮した間隔である。
  なお、本実施形態では、支持部材81上に複数の発光素子1を配置するようにしたが、1個の発光素子1を配置するようにしてもよい。In the present embodiment, a plurality of
 In the present embodiment, a plurality of
  第1樹脂配置工程S132は、第1蛍光体の粒子を含有した樹脂材料である第1樹脂31を、支持部材81上に配置されている発光素子1の側面を覆うように配置する工程である。
  第1樹脂31は、母材である樹脂材料として熱硬化性樹脂を用いることが好ましい。第1樹脂31は、未硬化の熱硬化性樹脂と、第1蛍光体の粒子とを含有するスラリーを、各種の塗布方法によって、支持部材81の上面側に塗布することで配置することができる。ここで、塗布されるスラリーは、溶媒の添加量やシリカなどのフィラーの添加量を加減することで、用いる塗布方法に適した粘度に調整することができる。
  スラリーを塗布する方法としては、スプレー法、シルクスクリーン印刷法、インクジェット法、ポッティング法、スピンコート法などを挙げることができる。これらの中で、発光素子1の上面側にスラリーを塗布せずに、かつ、複数の発光素子1の間にスラリーを充填するには、スピンコート法が簡便である。The first resin arranging step S132 is a step of arranging the
 As the
 Examples of the method for applying the slurry include a spray method, a silk screen printing method, an inkjet method, a potting method, and a spin coating method. Among these, the spin coating method is convenient for filling the slurry between the plurality of
  第1樹脂硬化工程S133は、第1樹脂31を硬化させる工程である。
  第1樹脂31として熱硬化性樹脂を用いる場合は、加熱処理を行うことで第1樹脂31
を硬化させることができる。
  また、第1樹脂31として熱可塑性樹脂を用いることもできる。この場合は、第1樹脂配置工程S132において、第1蛍光体の粒子を含有する第1樹脂31を溶融させて、発光素子1の側面に配置する。その後、第1樹脂硬化工程S133において、放冷又は冷却することで第1樹脂31を固化させる。The first resin curing step S133 is a step of curing the
 When a thermosetting resin is used as the
 Can be cured.
 Further, a thermoplastic resin can also be used as the
  第1樹脂切断工程S134は、発光素子1の間に設定された境界線BDに沿って第1樹脂31を切断する工程である。具体的には、ダイサー82などを用いて、境界線BDに沿って、第1樹脂31に、厚さ方向に貫通する溝を形成することで、第1樹脂31を切断する。このとき、発光素子1の側面から所定の幅が残るように第1樹脂31を切断する。発光素子1の側面に残された第1樹脂31が第1波長変換部材3となる。
  以上の工程によって形成された第1波長変換部材3付き発光素子1は、支持部材81から剥離して用いられる。The first resin cutting step S134 is a step of cutting the
 The
  なお、発光素子準備工程S12及び第1波長変換部材配置工程S13を含む第1波長変換部材3付き発光素子1を形成する工程と、パッケージ準備工程S11とは、何れを先に行ってもよく、並行して行うようにしてもよい。  The step of forming the
  第2発光素子配置工程S14は、第1波長変換部材3付き発光素子1を、基台であるパッケージ2の凹部23a内に実装する工程である。まず、透光性を有する接合部材71を用いて、第1波長変換部材3付き発光素子1を、パッケージ2の凹部23aの底面23bであるリード電極21上に接合する。このとき、光反射膜16が設けられている面を下向きとして、第1波長変換部材3付き発光素子1を凹部23aの底面23bに接合する。
  次に、導電性のワイヤ5を用いて、発光素子1のn側電極13及びp側電極14と、それぞれが対応する極性のリード電極21,22とを電気的に接続する。また、本工程において、保護素子6も、接合部材72及びワイヤ5を用いて、パッケージ2の凹部23a内に実装する。The second light emitting element arrangement step S14 is a step of mounting the
 Next, using the
  第2波長変換部材配置工程S15は、第1波長変換部材3付き発光素子1の上面及び側面を覆うように、第2波長変換部材4を配置する工程である。前記したように、第2波長変換部材配置工程S15には、第2樹脂配置工程S151と、第2蛍光体沈降工程S152と、第2樹脂硬化工程S153とが含まれている。  The second wavelength conversion member arranging step S15 is a step of arranging the second
  第2樹脂配置工程S151は、第2蛍光体の粒子を含有する第2樹脂41を、第1波長変換部材3付き発光素子1の上面及び側面を覆うように配置する工程である。
  第2樹脂41は、母材である樹脂材料として熱硬化性樹脂が用いられる。第2蛍光体の粒子と樹脂材料とを含有し、溶媒と、必要に応じてフィラーとで粘度調整されたスラリーを準備し、例えば、ディスペンサ83を用いて凹部23a内を充填するように供給する。
  なお、第2蛍光体は、未硬化の樹脂材料よりも比重が大きいものが用いられる。The second resin arranging step S151 is a step of arranging the
 As the
 As the second phosphor, a material having a higher specific gravity than that of the uncured resin material is used.
  第2蛍光体沈降工程S152は、パッケージ2の凹部23aに供給された第2樹脂41を未硬化の状態で保持し、第2蛍光体の粒子を凹部23aの底面23b側に沈降させる工程である。第2蛍光体の粒子を凹部23aの底面23b側に沈降させるとは、底面23b上に沈降させるとともに、第1波長変換部材3付き発光素子1が配置されている領域では、第1波長変換部材3付き発光素子1の上面に沈降させることをいうものである。第2蛍光体の粒子が沈降して、第2波長変換部材4内において、相対的に高濃度に第2蛍光体の粒子を含有する高濃度領域4aが形成される。
  前記したように、第2蛍光体は、未硬化の樹脂材料よりも比重が大きいため、重力方向である下方に沈降する。従って、第2樹脂41を未硬化のままで放置することで、第2蛍光体を自然に沈降させることができる。The second phosphor precipitation step S152 is a step of holding the
 As described above, since the second phosphor has a higher specific gravity than the uncured resin material, it settles downward in the direction of gravity. Therefore, by leaving the
  また、遠心分離器を用いて、第2蛍光体の粒子を、凹部23aの底面23b側に強制沈降させるようにしてもよい。このとき、未硬化の第2樹脂41を配置したパッケージ2を、遠心力が底面23bの垂直下向きに作用するように遠心分離器に設置する。
  遠心分離器を用いて第2蛍光体の粒子を強制沈降させることにより、本工程にかかる時間を、自然沈降させる場合よりも短時間で済ませることができる。
  また、強制沈降により、自然沈降させた場合よりも、第2蛍光体の粒子を、底面23b側のより狭い領域に、高濃度に配置することができる。言い換えれば、第1波長変換部材3の上部側面において、第2蛍光体の粒子が配置されないか、低濃度で配置される領域を多くすることができる。その結果として、第1波長変換部材3によって波長変換された光が、外部に取り出される効率をより高めることができる。Alternatively, a centrifuge may be used to forcibly settle the particles of the second phosphor on the
 By forcibly precipitating the particles of the second phosphor using a centrifuge, the time required for this step can be shortened as compared with the case of spontaneous sedimentation.
 In addition, the particles of the second phosphor can be arranged in a narrower region on the
  第2樹脂硬化工程S153は、第2蛍光体の粒子を沈降させた後で、加熱処理を行うことにより、第2樹脂41を硬化させる工程である。これによって、第2波長変換部材4が形成される。
  以上説明した手順により、発光装置100を製造することができる。The second resin curing step S153 is a step of curing the
 The
(変形例)
  なお、前記したように、凹部23aを有さない基台を用いて発光装置を構成するようにしてもよい。この場合は、第2波長変換部材配置工程S15において、平面視で第1波長変換部材3付き発光素子1を囲むように枠体を配置して、枠体内に未硬化の第2樹脂41を配置し、第2蛍光体の粒子を沈降させ、第2樹脂41を硬化させることで第2波長変換部材4を形成した後に、枠体を除去することで形成することができる。
  また、枠体を用いずに、適度な粘度に調製された第2樹脂41をポッティング法で滴下して、第1波長変換部材3付き発光素子1を覆うように配置し、第2蛍光体の粒子を自然沈降させた後に硬化させるようにしてもよい。(Modification example)
 As described above, the light emitting device may be configured by using a base having no
 Further, without using a frame, the
<実施例1>
  実施例及び比較例として、下記の条件で図1A〜図1Cに示した形状の発光装置を作製した。また、作製した各発光装置について、光束、並びに、日本工業規格JIS  Z8726:1990で規定される平均演色評価数Ra及び赤色の色票に対する特殊演色評価数R9を測定した。<Example 1>
 As Examples and Comparative Examples, light emitting devices having the shapes shown in FIGS. 1A to 1C were produced under the following conditions. Further, for each of the produced light emitting devices, the luminous flux, the average color rendering index Ra defined by Japanese Industrial Standard JIS Z8726: 1990, and the special color rendering index R9 for the red color chart were measured.
[作製条件]
(発光素子)
・平面視形状:一辺が650μmの正方形
・厚さ:200μm
・半導体材料:窒化ガリウム系半導体
・基板:サファイア
・発光ピーク波長:448nm
・光反射膜:DBR膜(サファイア基板と接する層をSiO2として、SiO2及びNb2O5を交互に21層積層)
  DBR膜は、発光素子の発光ピーク波長に対して、設計上は入射角が0°のときの反射率が98%であり、第1蛍光体の発光ピーク波長に対しては、設計上は入射角が0°のときに反射率が81%である。[Production conditions]
 (Light emitting element)
・ Plane view shape: Square with a side of 650 μm ・ Thickness: 200 μm
 -Semiconductor material: Gallium nitride based semiconductor-Substrate: Sapphire-Emission peak wavelength: 448 nm
 -Light reflective film: DBR film (the layer in contact with the sapphire substrate is SiO2 , and SiO2 and
 The DBR film has a reflectance of 98% when the incident angle is 0 ° with respect to the emission peak wavelength of the light emitting element by design, and is incident by design with respect to the emission peak wavelength of the first phosphor. The reflectance is 81% when the angle is 0 °.
(パッケージ)
  日亜化学工業株式会社製の型番NFxW757Gのパッケージを用いた。その主要な仕様を以下に示す。
・平面視形状:外形は一辺が3.0mmの正方形
              凹部の開口は一辺が2.6mmの略正方形
・樹脂部:白色樹脂
・リード電極:上面にAgメッキによる反射膜あり
・発光素子の接合部材(ダイボンド樹脂):ジメチル系シリコーン樹脂(package)
 A package of model number NFxW757G manufactured by Nichia Corporation was used. The main specifications are shown below.
 -Plan view shape: The outer shape is a square with a side of 3.0 mm.
 The opening of the recess is approximately square with a side of 2.6 mm.-Resin part: White resin-Lead electrode: There is a reflective film by Ag plating on the upper surface.
(第1波長変換部材)
・母材:シリコーン樹脂(信越化学工業株式会社製の製品名SCR−1011)、屈折率1.53
・第1蛍光体:SCASN系蛍光体(発光ピーク波長:620nm)、平均粒径10μm
・第1蛍光体の含有量:母材100質量部に対して100質量部(1st wavelength conversion member)
 -Base material: Silicone resin (product name SCR-1011 manufactured by Shin-Etsu Chemical Co., Ltd.), refractive index 1.53
 First phosphor: SCASSN-based phosphor (emission peak wavelength: 620 nm),
 -Content of the first phosphor: 100 parts by mass with respect to 100 parts by mass of the base material
(第2波長変換部材)
・母材:フェニル系シリコーン樹脂(東レ・ダウコーニング株式会社製の製品名OE−6630)、屈折率1.53
・第2蛍光体:LAG系蛍光体(発光ピーク波長:517nm)、平均粒径22μm
・第2蛍光体の含有量:母材100質量部に対して60質量部
・光拡散剤:母材100質量部に対して、18.2質量部
・第2波長変換部材を形成時に、第2蛍光体を自然沈降させた。(Second wavelength conversion member)
 -Base material: Phenyl silicone resin (product name OE-6630 manufactured by Toray Dow Corning Co., Ltd.), refractive index 1.53
 -Second phosphor: LAG-based phosphor (emission peak wavelength: 517 nm),
 -Content of the second phosphor: 60 parts by mass with respect to 100 parts by mass of the base material-Light diffusing agent: 18.2 parts by mass with respect to 100 parts by mass of the base material-When the second wavelength conversion member is formed, the second 2 The phosphor was allowed to settle naturally.
(比較例1:実施例1と相違する条件)
・第1蛍光体に相当する蛍光体:SCASN系蛍光体(発光ピーク波長:625nm)
  但し、実施例1と色度及び平均演色評価数Raを合わせるため、実施例1とは発光ピーク波長が若干異なるSCASN系蛍光体を用いた。
・第1蛍光体に相当する蛍光体の含有量:パッケージの凹部に充填する封止部材の母材100質量部に対して3質量部
・第2蛍光体に相当する蛍光体:LAG系蛍光体(発光ピーク波長:517nm)
・第2蛍光体に相当する蛍光体の含有量:パッケージの凹部に充填する封止部材の母材100質量部に対して、72質量部
・比較例1における第1蛍光体及び第2蛍光体は、配置領域を区分せずに、実施例1の第1波長変換部材及び第2波長変換部材に相当する封止部材中に分散させた。(Comparative Example 1: Conditions different from Example 1)
 -Fluorescent material corresponding to the first fluorescent material: SCASN-based fluorescent material (emission peak wavelength: 625 nm)
 However, in order to match the chromaticity and the average color rendering index Ra with Example 1, a SCASN-based phosphor having a slightly different emission peak wavelength from Example 1 was used.
 -Content of phosphor corresponding to the first phosphor: 3 parts by mass with respect to 100 parts by mass of the base material of the sealing member to be filled in the concave portion of the package-Fluorescent corresponding to the second phosphor: LAG-based phosphor (Emission peak wavelength: 517 nm)
 -Content of phosphor corresponding to the second phosphor: 72 parts by mass with respect to 100 parts by mass of the base material of the sealing member to be filled in the concave portion of the package.-The first phosphor and the second phosphor in Comparative Example 1. Was dispersed in the sealing member corresponding to the first wavelength conversion member and the second wavelength conversion member of the first embodiment without dividing the arrangement region.
[評価結果]
  表1〜表3に、実施例1と比較例1について、前記した項目の測定結果を示す。表1は、発光素子の下面に光反射膜としてDBR膜を設けない場合の実施例1及び比較例1のサンプルを示す。表2は、発光素子の下面に光反射膜としてDBR膜を設けた場合の実施例1及び比較例1のサンプルを示す。表3は、発光素子の下面に光反射膜としてDBR膜を設けた場合とDBR膜を設けない場合とにおける実施例1のサンプルを示す。
  なお、表1〜表3において、x値及びy値は、CIE(国際照明委員会)で規定されるXYZ表色系に基づいて算出される色度値である。後記する表4及び表5についても同様である。
  また、各表において、同じ表に示したサンプル同士は、明示的に示した相違点以外は、同じ条件で作製したものであるが、互いに異なる表に示したサンプル同士は、作製条件が若干相違する場合がある。[Evaluation results]
 Tables 1 to 3 show the measurement results of the above items for Example 1 and Comparative Example 1. Table 1 shows samples of Example 1 and Comparative Example 1 in the case where the DBR film is not provided as the light reflecting film on the lower surface of the light emitting element. Table 2 shows samples of Example 1 and Comparative Example 1 in the case where a DBR film is provided as a light reflecting film on the lower surface of the light emitting element. Table 3 shows a sample of Example 1 in the case where the DBR film is provided as the light reflecting film on the lower surface of the light emitting element and the case where the DBR film is not provided.
 In Tables 1 to 3, the x value and the y value are chromaticity values calculated based on the XYZ color system defined by the CIE (Commission Internationale de l'Eclairage). The same applies to Tables 4 and 5 described later.
 Further, in each table, the samples shown in the same table were prepared under the same conditions except for the differences explicitly shown, but the samples shown in different tables have slightly different preparation conditions. May be done.
  表1に示すように、DBR膜なしの場合において、実施例1は比較例1に対して、光束及び平均演色評価数Raが高くなっていることが確認できる。また、赤色の色票に対する特殊演色評価数R9は、比較例1の方が高いことが確認できる。
  比較例1では、第1蛍光体と第2蛍光体とが混ざって配置されているため、第2蛍光体が発する緑色光の内で、第2蛍光体によって赤色光に変換される量が多いと考えられる。これに対して、実施例1では、第1蛍光体と第2蛍光体とが、互いに分離して配置され、第2蛍光体が発する緑色光が、第1蛍光体に吸収され難いように配置されている。これによって、実施例1では、視感度の高い緑色光の光量の減少が抑制されるため、光束が相対的に高くなるとともに、種々の色相の色票に対する演色性の評価値である平均演色評価数Raも高くなるものと考えられる。
  また、表2に示すように、DBR膜ありの場合においても、DBR膜なしの場合と、光束、平均演色評価数Ra及び特殊演色評価数R9は、同じ傾向にあることが確認できる。As shown in Table 1, it can be confirmed that in the case without the DBR film, the luminous flux and the average color rendering index Ra are higher in Example 1 than in Comparative Example 1. Further, it can be confirmed that the special color rendering index R9 for the red color chart is higher in Comparative Example 1.
 In Comparative Example 1, since the first phosphor and the second phosphor are arranged in a mixed manner, a large amount of the green light emitted by the second phosphor is converted into red light by the second phosphor. it is conceivable that. On the other hand, in Example 1, the first phosphor and the second phosphor are arranged separately from each other, and the green light emitted by the second phosphor is arranged so as not to be easily absorbed by the first phosphor. Has been done. As a result, in Example 1, since the decrease in the amount of green light having high luminosity factor is suppressed, the luminous flux becomes relatively high, and the average color rendering index, which is an evaluation value of the color rendering property for the color charts of various hues, is evaluated. It is thought that the number Ra will also increase.
 Further, as shown in Table 2, it can be confirmed that the luminous flux, the average color rendering index Ra, and the special color rendering index R9 have the same tendency as those without the DBR film even when the DBR film is present.
  なお、比較例1では、赤色光の光量が増加するため、特殊演色評価数R9は実施例1よりも高くなる。これに対して、実施例1では、特殊演色評価数R9は低下するが、それ以上に平均演色評価数Raが向上しており、総合的にみて、実施例1の方が高い演色性を得られているということができる。
  従って、実施例1のように、第1蛍光体と第2蛍光体とを分離して配置するとともに、第2蛍光体が発する光が第1蛍光体に吸収され難くいように配置することにより、光束及び演色性が向上することが分かる。In Comparative Example 1, since the amount of red light increases, the special color rendering index R9 is higher than that in Example 1. On the other hand, in Example 1, the special color rendering index R9 is lowered, but the average color rendering index Ra is further improved, and overall, Example 1 obtains higher color rendering properties. It can be said that it has been done.
 Therefore, as in Example 1, the first phosphor and the second phosphor are arranged separately, and the light emitted by the second phosphor is arranged so as not to be easily absorbed by the first phosphor. It can be seen that the luminous flux and color rendering properties are improved.
  また、表3に示すように、実施例1は、光束が向上することが確認できる。また、実施例1は、特殊演色評価数R9が向上することが確認できる。
  従って、DBR膜を設けることで発光素子が発する青色光の上面側からの光取り出し効率が向上するため、発光装置の出力を向上できることが分かる。
  また、DBR膜に赤色光を透過する特性を持たせ、透光性を有する接合部材で発光素子を接合して、赤色光の外部への取り出し経路を増やすことで、赤色光の光量が増加し、赤色の色票に対する演色性を向上できることが分かる。Further, as shown in Table 3, it can be confirmed that the luminous flux is improved in Example 1. Further, in Example 1, it can be confirmed that the special color rendering index R9 is improved.
 Therefore, it can be seen that the output of the light emitting device can be improved because the efficiency of extracting the blue light emitted from the light emitting element from the upper surface side is improved by providing the DBR film.
 Further, the amount of red light is increased by giving the DBR film a property of transmitting red light and joining the light emitting element with a light-transmitting joining member to increase the extraction path of red light to the outside. , It can be seen that the color rendering property for the red color tag can be improved.
<実施例2>
(作製条件)
・実施例2は、実施例1と第1蛍光体及び第2蛍光体の含有量及び粒径が若干異なるが、その他の条件は実施例1と同じである。
・比較例2は、実施例2に対して、第2蛍光体を沈降させずに第2波長変換部材の母材中に分散させたことが異なる。その他の条件は、実施例2と同じである。<Example 2>
 (Production conditions)
 -Example 2 is slightly different from Example 1 in the content and particle size of the first phosphor and the second phosphor, but other conditions are the same as in Example 1.
 -Comparative Example 2 is different from Example 2 in that the second phosphor is dispersed in the base material of the second wavelength conversion member without precipitating. Other conditions are the same as in Example 2.
[評価結果]
  表4及び表5に、実施例2及び比較例2について、前記した項目の測定結果を示す。表4は、発光素子の下面に光反射膜としてDBR膜を設けない場合の実施例2及び比較例2のサンプルを示す。表5は、発光素子の下面に光反射膜としてDBR膜を設けた場合の実施例2及び比較例2のサンプルを示す。[Evaluation results]
 Tables 4 and 5 show the measurement results of the above items for Example 2 and Comparative Example 2. Table 4 shows samples of Example 2 and Comparative Example 2 in the case where the DBR film is not provided as the light reflecting film on the lower surface of the light emitting element. Table 5 shows samples of Example 2 and Comparative Example 2 in the case where a DBR film is provided as a light reflecting film on the lower surface of the light emitting element.
  表4に示すように、DBR膜なしの場合において、実施例2は、比較例2に対して、光束及び平均演色評価数Raは略同じであるが、赤色の色票に対する特殊演色評価数R9が、約1%向上していることが確認できる。
  また、表5に示すように、DBR膜ありの場合においても、実施例2は、比較例2に対して、DBR膜なしのサンプルと同様の傾向にあることが確認できる。
  従って、実施例2の発光装置のように、第2蛍光体を底面側に沈降させることで、赤色の色票に対する演色性が向上することが分かる。As shown in Table 4, in the case without the DBR film, in Example 2, the luminous flux and the average color rendering index Ra are substantially the same as those in Comparative Example 2, but the special color rendering index R9 for the red color chart. However, it can be confirmed that the improvement is about 1%.
 Further, as shown in Table 5, it can be confirmed that even in the case of having the DBR film, Example 2 has the same tendency as that of the sample without the DBR film as compared with Comparative Example 2.
 Therefore, it can be seen that the color rendering property for the red color chart is improved by precipitating the second phosphor on the bottom surface side as in the light emitting device of the second embodiment.
以上、本実施形態に係る発光装置について、発明を実施するための形態をより具体的に説明したが、本発明の趣旨はこれらの記載に限定されるものではなく、特許請求の範囲の記載に基づいて広く解釈されなければならない。また、これらの記載に基づいて種々変更、改変などしたものも本発明の趣旨に含まれることはいうまでもない。 As described above, the light emitting device according to the present embodiment has been described in more detail as a mode for carrying out the invention, but the purpose of the present invention is not limited to these descriptions, and the description of the scope of claims It must be widely interpreted based on it. Needless to say, various changes and modifications based on these descriptions are also included in the gist of the present invention.
本開示の実施形態に係る発光装置は、液晶ディスプレイのバックライト光源、各種照明器具、大型ディスプレイ、広告や行き先案内などの各種表示装置、更には、デジタルビデオカメラ、ファクシミリ、コピー機、スキャナなどにおける画像読取装置、プロジェクタ装置など、種々の光源に利用することができる。 The light emitting device according to the embodiment of the present disclosure includes a backlight source of a liquid crystal display, various lighting fixtures, a large display, various display devices such as advertisements and destination guides, and further, a digital video camera, a facsimile, a copy machine, a scanner, and the like. It can be used for various light sources such as an image reader and a projector device.
  1        発光素子
  11      基板
  12      半導体積層体
  12n    n型半導体層
  12a    活性層
  12p    p型半導体層
  12b    段差部
  13      n側電極
  13a    外部接続部
  13b    延伸部
  14      p側電極
  141    透光性電極
  142    パッド電極
  142a  外部接続部
  142b  延伸部
  15      保護膜
  15n,15p  開口部
  16      光反射膜
  2        パッケージ(基台)
  21,22  リード電極
  23      樹脂部
  23a    凹部
  23b    底面
  23c    カソードマーク
  3        第1波長変換部材
  31      第1樹脂
  4        第2波長変換部材
  41      第2樹脂
  4a      高濃度領域
  5        ワイヤ
  6        保護素子
  71      接合部材
  72      接合部材
  81      支持部材
  82      ダイサー
  83      ディスペンサ
  100    発光装置
  BD      境界線1
 21,22
| Application Number | Priority Date | Filing Date | Title | 
|---|---|---|---|
| JP2020032177AJP6912743B2 (en) | 2016-07-29 | 2020-02-27 | Light emitting device and its manufacturing method | 
| Application Number | Priority Date | Filing Date | Title | 
|---|---|---|---|
| JP2016150081AJP6668996B2 (en) | 2016-07-29 | 2016-07-29 | Light emitting device and method of manufacturing the same | 
| JP2020032177AJP6912743B2 (en) | 2016-07-29 | 2020-02-27 | Light emitting device and its manufacturing method | 
| Application Number | Title | Priority Date | Filing Date | 
|---|---|---|---|
| JP2016150081ADivisionJP6668996B2 (en) | 2016-07-29 | 2016-07-29 | Light emitting device and method of manufacturing the same | 
| Publication Number | Publication Date | 
|---|---|
| JP2020080431A JP2020080431A (en) | 2020-05-28 | 
| JP6912743B2true JP6912743B2 (en) | 2021-08-04 | 
| Application Number | Title | Priority Date | Filing Date | 
|---|---|---|---|
| JP2020032177AActiveJP6912743B2 (en) | 2016-07-29 | 2020-02-27 | Light emitting device and its manufacturing method | 
| Country | Link | 
|---|---|
| JP (1) | JP6912743B2 (en) | 
| Publication number | Priority date | Publication date | Assignee | Title | 
|---|---|---|---|---|
| WO2022004564A1 (en)* | 2020-06-29 | 2022-01-06 | 京セラ株式会社 | Light-emitting device and illumination device | 
| Publication number | Priority date | Publication date | Assignee | Title | 
|---|---|---|---|---|
| JP4292794B2 (en)* | 2002-12-04 | 2009-07-08 | 日亜化学工業株式会社 | Light emitting device, method for manufacturing light emitting device, and method for adjusting chromaticity of light emitting device | 
| JP3813599B2 (en)* | 2003-06-13 | 2006-08-23 | ローム株式会社 | Method for manufacturing white light emitting diode element | 
| JP2006352036A (en)* | 2005-06-20 | 2006-12-28 | Rohm Co Ltd | White semiconductor light-emitting device | 
| JP4473285B2 (en)* | 2006-03-31 | 2010-06-02 | Dowaエレクトロニクス株式会社 | Light emitting device and manufacturing method thereof | 
| JP2007294890A (en)* | 2006-03-31 | 2007-11-08 | Toshiba Lighting & Technology Corp | Light emitting device | 
| JP2009123908A (en)* | 2007-11-14 | 2009-06-04 | Mitsubishi Chemicals Corp | Light emitting device | 
| JP5468349B2 (en)* | 2009-10-22 | 2014-04-09 | シチズンホールディングス株式会社 | Manufacturing method of LED light source device | 
| JP5644352B2 (en)* | 2010-10-15 | 2014-12-24 | 日亜化学工業株式会社 | Light emitting device and manufacturing method thereof | 
| DE102010053362B4 (en)* | 2010-12-03 | 2021-09-30 | OSRAM Opto Semiconductors Gesellschaft mit beschränkter Haftung | Method for producing a radiation-emitting semiconductor chip, radiation-emitting semiconductor chip and radiation-emitting component | 
| JP6244906B2 (en)* | 2013-12-27 | 2017-12-13 | 日亜化学工業株式会社 | Semiconductor light emitting device | 
| JP6201846B2 (en)* | 2014-03-24 | 2017-09-27 | 豊田合成株式会社 | LIGHT EMITTING ELEMENT AND MANUFACTURING METHOD THEREOF | 
| Publication number | Publication date | 
|---|---|
| JP2020080431A (en) | 2020-05-28 | 
| Publication | Publication Date | Title | 
|---|---|---|
| JP6668996B2 (en) | Light emitting device and method of manufacturing the same | |
| US10193036B2 (en) | Light emitting device and method for producing the same | |
| JP4254266B2 (en) | LIGHT EMITTING DEVICE AND LIGHT EMITTING DEVICE MANUFACTURING METHOD | |
| JP6519311B2 (en) | Light emitting device | |
| US20140151734A1 (en) | Light-emitting device and method for manufacturing same | |
| US9420642B2 (en) | Light emitting apparatus and lighting apparatus | |
| JP5082427B2 (en) | Light emitting device | |
| JP6156402B2 (en) | Light emitting device | |
| JP6065408B2 (en) | Light emitting device and manufacturing method thereof | |
| JP6606966B2 (en) | Light emitting device and manufacturing method thereof | |
| JP6874288B2 (en) | Light emitting device and backlight source | |
| JP6524624B2 (en) | Light emitting device | |
| JP6444754B2 (en) | Light emitting device | |
| JP7108171B2 (en) | light emitting device | |
| JP6928244B2 (en) | Light emitting device | |
| JP2006269778A (en) | Optical device | |
| JP6326830B2 (en) | Light emitting device and lighting device including the same | |
| JP6912743B2 (en) | Light emitting device and its manufacturing method | |
| JP2018191015A (en) | Method for manufacturing light emitting device | |
| JP6402809B2 (en) | Light emitting device | |
| JP6923811B2 (en) | Manufacturing method of light emitting device | |
| CN111542931A (en) | Method for producing an optoelectronic component | |
| JP2016139833A (en) | Light emitting device | 
| Date | Code | Title | Description | 
|---|---|---|---|
| A521 | Request for written amendment filed | Free format text:JAPANESE INTERMEDIATE CODE: A523 Effective date:20200323 | |
| A621 | Written request for application examination | Free format text:JAPANESE INTERMEDIATE CODE: A621 Effective date:20200323 | |
| A977 | Report on retrieval | Free format text:JAPANESE INTERMEDIATE CODE: A971007 Effective date:20210316 | |
| A131 | Notification of reasons for refusal | Free format text:JAPANESE INTERMEDIATE CODE: A131 Effective date:20210323 | |
| A521 | Request for written amendment filed | Free format text:JAPANESE INTERMEDIATE CODE: A523 Effective date:20210524 | |
| TRDD | Decision of grant or rejection written | ||
| A01 | Written decision to grant a patent or to grant a registration (utility model) | Free format text:JAPANESE INTERMEDIATE CODE: A01 Effective date:20210608 | |
| A61 | First payment of annual fees (during grant procedure) | Free format text:JAPANESE INTERMEDIATE CODE: A61 Effective date:20210621 | |
| R150 | Certificate of patent or registration of utility model | Ref document number:6912743 Country of ref document:JP Free format text:JAPANESE INTERMEDIATE CODE: R150 | |
| R250 | Receipt of annual fees | Free format text:JAPANESE INTERMEDIATE CODE: R250 | |
| R250 | Receipt of annual fees | Free format text:JAPANESE INTERMEDIATE CODE: R250 |