

本発明は、水系インクジェットインク組成物、インクジェット記録方法およびインクジェット記録装置の制御方法に関する。 The present invention relates to an aqueous inkjet ink composition, an inkjet recording method, and a control method for an inkjet recording apparatus.
インクジェット記録装置のインクジェットヘッドのノズルから微小なインク滴を吐出させて、記録媒体上に画像を記録するインクジェット記録方法が知られており、サイン印刷分野、高速ラベル印刷分野での使用も検討されている。そして、インク低吸収性の記録媒体(例えば、アート紙やコート紙)またはインク非吸収性の記録媒体(例えば、プラスチックフィルム)に対して画像の記録を行う場合、インクとして、地球環境面及び人体への安全性等の観点から、樹脂エマルジョンを含有する水系インクジェットインク組成物(以下、「水系インク」または、「インク」ともいう。)の使用が検討されている。そして、水系レジンインク組成物を用いて記録する場合には、インクの吐出信頼性の確保と、記録媒体表面に付着されたインク塗膜の造膜性(定着性)の両立が課題となっている。 An inkjet recording method for recording an image on a recording medium by ejecting minute ink droplets from a nozzle of an inkjet head of an inkjet recording device is known, and its use in the field of signature printing and high-speed label printing is also being considered. There is. When an image is recorded on a recording medium having low ink absorption (for example, art paper or coated paper) or a recording medium having no ink absorption (for example, plastic film), the ink is used as an ink on the global environment and the human body. From the viewpoint of safety and the like, the use of a water-based inkjet ink composition containing a resin emulsion (hereinafter, also referred to as "water-based ink" or "ink") has been studied. When recording using an aqueous resin ink composition, it is an issue to ensure the reliability of ink ejection and to achieve both the film-forming property (fixability) of the ink coating film adhered to the surface of the recording medium. There is.
ここで、インクジェットヘッドが乾燥により目詰まりすることを防止して、記録時のインクの吐出信頼性を確保するために、水系インクに高沸点溶剤を添加する必要がある。しかし、インクに高沸点溶剤を添加すると、記録媒体に付着したインクの乾燥性が低くなる。特に、非吸収性の記録媒体においては、インクの乾燥性の低下により、十分な画質や耐擦性が得られない場合がある。そこで、インクの記録媒体での乾燥速度を速めて耐擦性を向上させるために、グリセリンなどの高沸点溶剤を含まないインクを用いる技術が知られている(例えば、特許文献1参照)。 Here, it is necessary to add a high boiling point solvent to the water-based ink in order to prevent the inkjet head from being clogged due to drying and to secure the ejection reliability of the ink at the time of recording. However, when a high boiling point solvent is added to the ink, the drying property of the ink adhering to the recording medium becomes low. In particular, in a non-absorbent recording medium, sufficient image quality and abrasion resistance may not be obtained due to a decrease in the drying property of the ink. Therefore, there is known a technique of using an ink that does not contain a high boiling point solvent such as glycerin in order to accelerate the drying speed of the ink in a recording medium and improve the abrasion resistance (see, for example, Patent Document 1).
しかしながら、高沸点溶剤を含まないインクは水の乾燥が早く、乾燥が進んだ場合にインク中の顔料や樹脂微粒子の分散安定性が損なわれ、インク粘度が上昇する。このように、インクの乾燥時にインクの粘度が上昇すると、インクジェットヘッド内で樹脂が溶解して目詰りし、インクの吐出信頼性が低下する。 However, an ink that does not contain a high boiling point solvent dries quickly in water, and when the drying progresses, the dispersion stability of pigments and resin fine particles in the ink is impaired, and the ink viscosity increases. As described above, if the viscosity of the ink increases when the ink is dried, the resin is dissolved and clogged in the inkjet head, and the ejection reliability of the ink is lowered.
そこで、本発明に係る幾つかの態様は、上述の課題の少なくとも一部を解決することで、耐擦性に優れた画像が形成できると供に、吐出信頼性に優れた水系インクジェットインク組成物、インクジェット記録方法およびインクジェット記録装置の制御方法を提供するものである。 Therefore, in some aspects of the present invention, by solving at least a part of the above-mentioned problems, an image having excellent abrasion resistance can be formed, and an aqueous inkjet ink composition having excellent ejection reliability can be formed. , An inkjet recording method and a control method for an inkjet recording apparatus.
本発明は前述の課題の少なくとも一部を解決するためになされたものであり、以下の態様または適用例として実現することができる。 The present invention has been made to solve at least a part of the above-mentioned problems, and can be realized as the following aspects or application examples.
  [適用例1]
  本発明に係る水系インクジェットインク組成物の一態様は、
  分散剤樹脂により分散された顔料と、樹脂微粒子と、水と、有機溶剤と、を含む水系イ
ンクジェットインク組成物であって、
  前記水系インクジェットインク組成物は、標準沸点280℃以上の有機溶剤を5質量%を超える含有量で含まず、
  前記分散剤樹脂と前記樹脂微粒子の樹脂は、互いにSP値の差が2以内であるものを含み、
  前記水系インクジェットインク組成物に含まれる水の20質量%が蒸発した時の、20℃における粘度上昇率が200%以内であることを特徴とする。[Application example 1]
 One aspect of the water-based inkjet ink composition according to the present invention is
 A water-based inkjet ink composition containing a pigment dispersed by a dispersant resin, resin fine particles, water, and an organic solvent.
 The water-based inkjet ink composition does not contain an organic solvent having a standard boiling point of 280 ° C. or higher in a content of more than 5% by mass.
 The dispersant resin and the resin of the resin fine particles include those having an SP value difference of 2 or less from each other.
 When 20% by mass of water contained in the water-based inkjet ink composition evaporates, the viscosity increase rate at 20 ° C. is 200% or less.
上記適用例によれば、分散剤樹脂と樹脂微粒子の樹脂が互いにSP値の差が2以内であるものを含むことにより、分散剤樹脂と定着用の樹脂微粒子の樹脂が互いに溶着しやすくなり、記録媒体上で平滑な造膜性に優れ、耐擦性が優れた画像が形成できる。反面、これらの樹脂がインクジェットヘッド内で溶着して巨大粒子となりやすいが、水系インクジェットインク組成物に含まれる水の20質量%が蒸発した時の、20℃における粘度上昇率が200%以内であることにより、耐目詰まり性に優れるインクとなり、インクジェットヘッド内でインクの乾燥が進んだ場合であってもインクジェットヘッドの吐出信頼性が確保される。したがって、インクの吐出信頼性と耐擦性に優れた画像の両立が可能な水系インクジェットインク組成物を提供することができる。 According to the above application example, by including the dispersant resin and the resin of the resin fine particles having an SP value difference of 2 or less, the dispersant resin and the resin of the resin fine particles for fixing are easily welded to each other. An image having excellent smooth film forming property and excellent abrasion resistance can be formed on a recording medium. On the other hand, these resins are likely to be welded in the inkjet head to form giant particles, but when 20% by mass of water contained in the water-based inkjet ink composition evaporates, the rate of increase in viscosity at 20 ° C. is within 200%. As a result, the ink has excellent clogging resistance, and the ejection reliability of the inkjet head is ensured even when the ink dries in the inkjet head. Therefore, it is possible to provide an aqueous inkjet ink composition capable of achieving both ink ejection reliability and an image having excellent abrasion resistance.
  [適用例2]
  上記適用例において、
  前記水系インクジェットインク組成物に含まれる水の20質量%が蒸発した時における、水系インクジェットインク組成物中に含まれる粒子径20μm以上の粒子数が50個/ml以下であることができる。[Application example 2]
 In the above application example
 When 20% by mass of water contained in the water-based inkjet ink composition evaporates, the number of particles having a particle size of 20 μm or more contained in the water-based inkjet ink composition can be 50 particles / ml or less.
上記適用例によれば、より耐目詰まり性に優れるインクとなり、インクジェットヘッド内でインクの乾燥が進んだ場合であっても吐出信頼性に優れたインクジェット記録方法を提供することができる。 According to the above application example, the ink has more excellent clogging resistance, and it is possible to provide an inkjet recording method having excellent ejection reliability even when the ink is dried in the inkjet head.
  [適用例3]
  上記適用例において、
  前記水系インクジェットインク組成物に含まれる水の40質量%が蒸発した時における、水系インクジェットインク組成物中に含まれる粒子径20μm以上の粒子数が1000個/ml以下であることができる。[Application example 3]
 In the above application example
 When 40% by mass of water contained in the water-based inkjet ink composition evaporates, the number of particles having a particle size of 20 μm or more contained in the water-based inkjet ink composition can be 1000 particles / ml or less.
上記適用例によれば、より耐目詰まり性に優れるインクとなり、インクジェットヘッド内でインクの乾燥がより進んだ場合であっても吐出信頼性に優れたインクジェット記録方法を提供することができる。 According to the above application example, the ink has more excellent clogging resistance, and it is possible to provide an inkjet recording method having excellent ejection reliability even when the ink is dried more in the inkjet head.
  [適用例4]
  前記分散剤樹脂または前記樹脂微粒子の樹脂とのSP値の差が2以内の有機溶剤の含有量が20質量%以下であることができる。[Application example 4]
 The content of the organic solvent having an SP value difference of 2 or less from the dispersant resin or the resin of the resin fine particles can be 20% by mass or less.
上記適用例によれば、より記録媒体上で平滑な造膜性に優れ、耐擦性が優れた画像が形成できる。 According to the above application example, it is possible to form an image having excellent smooth film forming property and excellent abrasion resistance on a recording medium.
  [適用例5]
  上記適用例において、
  前記分散剤樹脂及び前記樹脂微粒子の樹脂とのSP値の差が2以内の有機溶剤の含有量が10質量%以下であることができる。[Application example 5]
 In the above application example
 The content of the organic solvent having a difference in SP value between the dispersant resin and the resin of the resin fine particles of 2 or less can be 10% by mass or less.
上記適用例によれば、より耐擦性に優れた画像が形成できると供に、吐出信頼性に優れたインクジェット記録方法を提供することができる。 According to the above application example, it is possible to provide an inkjet recording method having excellent ejection reliability while being able to form an image having more excellent abrasion resistance.
  [適用例6]
  上記適用例において、
  前記分散剤樹脂と樹脂微粒子の樹脂のSP値の差が0.5以上2以下であることができる。[Application example 6]
 In the above application example
 The difference in SP value between the dispersant resin and the resin of the resin fine particles can be 0.5 or more and 2 or less.
上記適用例によれば、より耐擦性に優れた画像が形成できると供に、吐出信頼性に優れたインクジェット記録方法を提供することができる。 According to the above application example, it is possible to provide an inkjet recording method having excellent ejection reliability while being able to form an image having more excellent abrasion resistance.
  [適用例7]
  本発明に係るインクジェット記録方法の一態様は、
  インクジェットヘッドの圧力室に充填したインク組成物を、ノズルを介して吐出させて記録媒体へ付着させるインク組成物付着工程を備え、
  前記インクジェットヘッドは、前記圧力室から前記ノズルへ向けて前記インク組成物が移動する部分から前記ノズルまでの間に段差を備えるものであり、
  前記インク組成物は、適用例1ないし適用例6のいずれか一例に記載の水系インクジェットインク組成物であることを特徴とする。[Application 7]
 One aspect of the inkjet recording method according to the present invention is
 The ink composition adhering step of ejecting the ink composition filled in the pressure chamber of the inkjet head through a nozzle and adhering it to the recording medium is provided.
 The inkjet head has a step between the portion where the ink composition moves from the pressure chamber toward the nozzle and the nozzle.
 The ink composition is the water-based inkjet ink composition according to any one of Application Examples 1 to 6.
上記適用例によれば、段差ノズルを有するインクジェットヘッドを用いた記録において、インク塗膜の造膜性が優れたものとなり、耐擦性に優れた画像が形成できると供に、耐目詰まり性に優れるインクを用いているため、インクジェットヘッド内でインクの乾燥が進んだ場合であっても吐出信頼性に優れたインクジェット記録方法を提供することができる。 According to the above application example, in recording using an inkjet head having a step nozzle, the film-forming property of the ink coating film is excellent, an image having excellent scratch resistance can be formed, and clogging resistance is achieved. Since the ink having excellent ink quality is used, it is possible to provide an inkjet recording method having excellent ejection reliability even when the ink is dried in the inkjet head.
  [適用例8]
  上記適用例において、
  反応液を記録媒体へ付着させる工程を備えることができる。[Application Example 8]
 In the above application example
 A step of adhering the reaction solution to the recording medium can be provided.
上記適用例によれば、反応液を記録媒体へ付着させる工程を備えることにより、画質が向上する。 According to the above application example, the image quality is improved by providing the step of adhering the reaction solution to the recording medium.
  [適用例9]
  上記適用例において、
  前記インク組成物付着工程において、前記インク組成物を前記記録媒体へ付着させる際に、加熱された記録媒体に前記インク組成物を付着させることができる。[Application example 9]
 In the above application example
 In the ink composition attaching step, when the ink composition is attached to the recording medium, the ink composition can be attached to the heated recording medium.
上記適用例によれば、インク組成物付着工程において、前記インク組成物を前記記録媒体へ付着させる際に、加熱された記録媒体に前記インク組成物を付着させることにより、記録媒体上でのインク組成物の乾燥性が高くなるので、ブリードの発生が抑制され、よりインク塗膜の造膜性が優れたものとなり、画質と耐擦性に優れた画像が形成できる。 According to the above application example, when the ink composition is adhered to the recording medium in the ink composition adhering step, the ink on the recording medium is adhered by adhering the ink composition to the heated recording medium. Since the dryness of the composition becomes high, the occurrence of bleeding is suppressed, the film-forming property of the ink coating film becomes more excellent, and an image having excellent image quality and abrasion resistance can be formed.
  [適用例10]
  上記適用例において、
  前記インクジェットヘッドは、300dpi以上のノズル密度を有することができる。[Application Example 10]
 In the above application example
 The inkjet head can have a nozzle density of 300 dpi or more.
上記適用例によればインクジェットヘッドは、300dpi以上のノズル密度を有する場合においても、耐擦性に優れた画像が形成できると供に、吐出信頼性に優れたインクジェット記録方法を提供することができる。 According to the above application example, even when the inkjet head has a nozzle density of 300 dpi or more, it is possible to provide an inkjet recording method having excellent ejection reliability as well as being able to form an image having excellent abrasion resistance. ..
  [適用例11]
  本発明に係るインクジェット記録装置の制御方法の一態様は、
  適用例7ないし適用例10のいずれか一例に記載のインクジェット記録方法で記録を行う制御を行うインクジェット記録装置において、前記インクジェットヘッドの外部からの作用により前記インク組成物を前記インクジェットヘッドから排出するクリーニング工程を行うことなく記録を1時間以上行うことを特徴とする。[Application Example 11]
 One aspect of the control method of the inkjet recording device according to the present invention is
 Cleaning in which the ink composition is discharged from the inkjet head by an action from the outside of the inkjet head in an inkjet recording apparatus that controls recording by the inkjet recording method according to any one of Application Examples 7 to 10. It is characterized in that recording is performed for 1 hour or more without performing a process.
上記適用例は、適用例7ないし適用例10のいずれか一例のインクジェット記録方法で記録を行う記録装置において、吸引クリーニングや加圧排出等の回復力が強いものの、記録を中断させるクリーニング工程を行うことなく記録を1時間以上行うことができるため、耐擦性に優れた画像が形成できるインクジェット記録を1時間以上行うことができる。 In the above application example, in the recording device that records by the inkjet recording method of any one of Application Example 7 to Application Example 10, although the resilience such as suction cleaning and pressure discharge is strong, the cleaning step of interrupting the recording is performed. Since the recording can be performed for 1 hour or more without any problem, the inkjet recording capable of forming an image having excellent abrasion resistance can be performed for 1 hour or more.
以下に本発明の好適な実施形態について説明する。以下に説明する実施形態は、本発明の一例を説明するものである。また、本発明は、以下の実施形態に限定されるものではなく、本発明の要旨を変更しない範囲において実施される各種の変形例も含む。 Hereinafter, preferred embodiments of the present invention will be described. The embodiments described below describe an example of the present invention. Further, the present invention is not limited to the following embodiments, and includes various modifications implemented without changing the gist of the present invention.
本実施形態に係る水系インクジェットインク組成物は、分散剤樹脂により分散された顔料と、樹脂微粒子と、水と、有機溶剤と、を含む水系インクジェットインク組成物であって、前記水系インクジェットインク組成物は、標準沸点280℃以上の有機溶剤を5質量%を超える含有量で含まず、前記分散剤樹脂と前記樹脂微粒子の樹脂は、互いにSP値の差が2以内であるものを含み、前記水系インクジェットインク組成物に含まれる水の20質量%が蒸発した時の、20℃における粘度上昇率が200%以内であることを特徴とする。 The water-based inkjet ink composition according to the present embodiment is a water-based inkjet ink composition containing a pigment dispersed by a dispersant resin, resin fine particles, water, and an organic solvent, and is the water-based inkjet ink composition. Does not contain an organic solvent having a standard boiling point of 280 ° C. or higher in a content exceeding 5% by mass, and the dispersant resin and the resin of the resin fine particles include those having an SP value difference of 2 or less from each other, and the aqueous system. When 20% by mass of water contained in the inkjet ink composition evaporates, the rate of increase in viscosity at 20 ° C. is 200% or less.
また、本実施形態に係るインクジェット記録方法は、インクジェットヘッドの圧力室に充填したインク組成物を、ノズルを介して吐出させて記録媒体へ付着させるインク組成物付着工程を備え、前記インクジェットヘッドは、前記圧力室から前記ノズルへ向けて前記インク組成物が移動する部分から前記ノズルまでの間に段差を備えるものであり、前記インク組成物は、本実施形態に係る水系インクジェットインク組成物であることを特徴とする。 Further, the inkjet recording method according to the present embodiment includes an ink composition adhering step of ejecting an ink composition filled in a pressure chamber of an inkjet head through a nozzle and adhering it to a recording medium. A step is provided between the portion where the ink composition moves from the pressure chamber to the nozzle and the nozzle, and the ink composition is the water-based inkjet ink composition according to the present embodiment. It is characterized by.
さらに、本実施形態に係るインクジェット記録装置の制御方法は、本実施形態に係るインクジェット記録方法で記録を行う制御を行うインクジェット記録装置において、前記インクジェットヘッドの外部からの作用により前記インク組成物を前記インクジェットヘッドから排出するクリーニング工程を行うことなく記録を1時間以上行うことを特徴とする。 Further, the control method of the inkjet recording device according to the present embodiment is such that in the inkjet recording device that controls recording by the inkjet recording method according to the present embodiment, the ink composition is subjected to the action from the outside of the inkjet head. It is characterized in that recording is performed for 1 hour or more without performing a cleaning step of discharging from the inkjet head.
以下、本実施形態に係る水系インクジェットインク組成物、インクジェット記録方法およびインクジェット記録装置の制御方法について、インクジェット記録装置、水系インクジェットインク組成物(以下、「インク」ともいう。)、反応液、記録媒体およびインクジェット記録方法の順に説明する。 Hereinafter, regarding the water-based inkjet ink composition, the inkjet recording method, and the control method of the inkjet recording device according to the present embodiment, the inkjet recording device, the water-based inkjet ink composition (hereinafter, also referred to as “ink”), the reaction solution, and the recording medium. And the inkjet recording method will be described in this order.
  1.各構成
  1.1.インクジェット記録装置
  本実施形態に係る記録方法が実施されるインクジェット記録装置の一例について、図面を参照しながら説明する。なお、本実施形態に係る記録方法に使用できるインクジェット記録装置は、以下の態様に限定されるものではない。1. 1. Each configuration 1.1. Inkjet Recording Device An example of an inkjet recording device in which the recording method according to the present embodiment is implemented will be described with reference to the drawings. The inkjet recording apparatus that can be used in the recording method according to the present embodiment is not limited to the following aspects.
  本実施形態で用いられるインクジェット記録装置に使用可能なインクジェット記録装置の一例について図面を参照しながら説明する。図1は、インクジェット記録装置を模式的に示す概略断面図である。図1に示すように、インクジェット記録装置1は、インクジェットヘッド2と、IRヒーター3と、プラテンヒーター4と、硬化ヒーター5と、冷却ファン6と、プレヒーター7と、通気ファン8と、を備える。インクジェット記録装置1は、図示しない制御部を備え、制御部によりインクジェット記録装置1全体の動作が制御される。  An example of an inkjet recording device that can be used for the inkjet recording device used in the present embodiment will be described with reference to the drawings. FIG. 1 is a schematic cross-sectional view schematically showing an inkjet recording device. As shown in FIG. 1, the inkjet recording device 1 includes an
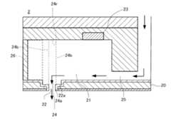
  インクジェットヘッド2は、記録媒体Mに対してインク組成物を吐出して付着させる手段であり、例えば、図2に示したタイプのものを用いることができる。  The
  インクジェットヘッド2は、インク組成物を吐出するノズル22を備える。インクはノズルの先端部分であるノズル口24aから記録媒体Mに向けて吐出される。インクをノズルから吐出させる方式としては、例えば、ノズルとノズルの前方に置いた加速電極との間に強電界を印加し、ノズルから液滴状のインクを連続的に吐出させ、インクの液滴が偏向電極間を飛翔する間に記録情報信号に対応して吐出させる方式(静電吸引方式);小型ポンプでインクに圧力を加え、ノズルを水晶振動子等で機械的に振動させることにより、強制的にインクの液滴を吐出させる方式;インクに圧電素子で圧力と記録情報信号を同時に加え、インクの液滴を吐出・記録させる方式(ピエゾ方式);インクを記録情報信号にしたがって微小電極で加熱発泡させ、インクの液滴を吐出・記録させる方式(サーマルジェット方式)等が挙げられる。  The
  インクジェットヘッド2としては、ライン式インクジェットヘッド、シリアル式インクジェットヘッドのいずれも使用可能である。  As the
ここで、シリアル式インクジェットヘッドを備えたインクジェット記録装置とは、記録用のインクジェットヘッドを記録媒体に対して相対的に移動させつつ該インク組成物を吐出させる走査(パス)を、複数回行うことによって記録を行うものである。シリアル型のインクジェットヘッドの具体例には、記録媒体の幅方向(記録媒体の搬送方向に交差する方向)に移動するキャリッジにインクジェットヘッドが搭載されており、キャリッジの移動に伴ってインクジェットヘッドが移動することにより記録媒体上に液滴を吐出するものが挙げられる。 Here, the inkjet recording apparatus provided with the serial inkjet head performs scanning (pass) for ejecting the ink composition a plurality of times while moving the inkjet head for recording relative to the recording medium. It records by. In a specific example of the serial type inkjet head, the inkjet head is mounted on a carriage that moves in the width direction of the recording medium (the direction that intersects the transport direction of the recording medium), and the inkjet head moves as the carriage moves. By doing so, a droplet may be ejected onto the recording medium.
一方、ライン式インクジェットヘッドを備えたインクジェット記録装置は、記録用のインクジェットヘッドを記録媒体に対して相対的に移動させつつ該インク組成物を吐出させる走査(パス)を1回行うことにより記録を行うものである。ライン型のインクジェットヘッドの具体例には、インクジェットヘッドが記録媒体の幅よりも広く形成され、記録用ヘッドが移動せずに記録媒体上に液滴を吐出するものが挙げられる。 On the other hand, an inkjet recording apparatus provided with a line-type inkjet head records by performing one scan (pass) for ejecting the ink composition while moving the inkjet head for recording relative to the recording medium. It is something to do. Specific examples of the line-type inkjet head include those in which the inkjet head is formed wider than the width of the recording medium and the recording head ejects droplets onto the recording medium without moving.
  本実施形態では、インクジェット記録装置1として、シリアル式インクジェットヘッドを備えたインクジェット記録装置を用い、インクをノズルから吐出させる方式としてピエゾ方式を利用したインクジェットヘッド2を用いている。  In the present embodiment, an inkjet recording device provided with a serial inkjet head is used as the inkjet recording device 1, and an
  図2は、インクジェットヘッド2の構造を模式的に示す概略断面図である。図2において、矢印は、インクジェットヘッド2内におけるインクの移動方向を示している。インクジェットヘッド2は、圧力室21と、圧力室21に圧力を付与して、ノズル22からイン
ク組成物を吐出させる圧電素子23とを備え、圧力室21において、ノズル22に連通する流出口24と対向する位置24r以外の場所に圧電素子23が配置されている。圧電素子23が、ノズル22の直上に設けられている場合には、圧電素子23からのインクの押出力が直接的にノズル口24aに付着したインク膜にも伝わるため、インク膜の付着を解消することができるが、圧電素子23がノズル22の直上に設けられていない場合には、インク膜の付着を解消しにくいため、本実施形態に係るインクジェット記録方法は有用となる。FIG. 2 is a schematic cross-sectional view schematically showing the structure of the
  ここで、圧力室21においてノズル22に連通する流出口24と対向する位置24rとは、ノズル22の直上を意味し、図2において、仮に、ノズル口24aから図の上方に向けて線(図2では破線で示されている。)を延長した場合に、延長線24b及び延長線24bで囲まれた中の領域を意味する。例えば、図2のインクジェットヘッド2であれば、流出口24は、インクが吐出する方向に直交する方向における面積がノズル22と同じ部分の流出口24であり、途中で広くなった部分ではない。したがって、当該対向する位置24r以外の場所に圧電素子23が配置されているとは、この領域と対向する位置24rの少なくとも一部に、圧電素子23の少なくとも一部が位置しないことをいう。  Here, the
  圧力室21は、圧力室21へインクが供給される供給口25と、圧力室21の流出口24とを結ぶインク移動方向よりも延長方向において、インクが滞留する滞留部分26を有している。この滞留部分26は、インクジェットヘッド2を量産する工程上形成される部分であり、滞留部分26のない圧力室21を備えたインクジェットヘッドを量産することは難しい。この滞留部分26では、インク組成物が澱みやすく、インク乾燥物(樹脂溶着物)も溜まりやすい。そして、気泡が集まって空間ができた時に、壁面にインク乾燥物が付着する。これに対して、本実施形態に係るインクジェット記録方法によれば、このような構造を有するインクジェットヘッド2であっても、滞留部分26においてインク乾燥物の堆積を低減でき、インクの吐出信頼性に優れたインクジェット記録方法を提供することができる。  The
  ノズル22は、面方位(110)のシリコン単結晶からなるノズル形成板20に形成される。ノズル形成板20がシリコン結晶からなる場合には、公知のエッチングプロセス(例えば、ウェットエッチングやドライエッチング)によって、精度良い加工が可能であり、これらの組み合わせによってノズル22を形成する場合が多い。そのため、シリコン結晶からなるノズル形成板20を用いると、パンチング等によってノズルを形成する場合よりも、ノズルをノズル密度300dpi以上の高密度に形成することができる。なお、ノズル密度は、より好ましくは360dpi以上である。  The
  一方、エッチングによりノズルを形成すると、圧力室21からノズル口24aの間のインクが通過する流路に段差22aが形成されやすい。この段差22aは、シリコン層をエッチングすることにより形成されるため、段差22aを解消したノズル形成板20を形成することは難しい。この段差22aは、圧力室21の流出口24からノズル口24aまでの間にあればよく、例えば、段差22aは、ノズル口24aから圧力室21に向かう方向の距離が20μm以上100μm以下の範囲内に形成される。つまり、図2では、ノズル形成板20の厚み方向にノズル22の径が異なる箇所が形成されることによって段差22aが形成されているが、段差22aは必ずしもノズル形成板20に形成されるとは限らず、圧力室21の内面に段差ができるように形成されてもよい。  On the other hand, when the nozzle is formed by etching, a
  このような段差22aを有するインクジェットヘッド2では、インクの初期充填やクリーニングの際に段差22aに気泡が付着して残ることがあり、気泡が記録中に段差22aから浮揚して圧力室21の上方に集まり、ここで気液界面が発生してインクが乾燥し、インクジェットヘッド2内、特に段差22aや滞留部分26にインク乾燥物(樹脂溶着物)
が付着する。これに対して、本実施形態に係るインクジェット記録方法によれば、このような段差22aを有している場合においても、インクジェットヘッド2内のインク乾燥物の堆積を低減でき、インクの吐出信頼性に優れたインクジェット記録方法を提供することができる。In the
 Adheres. On the other hand, according to the inkjet recording method according to the present embodiment, even when such a
  本実施形態において、インクジェットヘッド2の圧力室21、並びに圧力室21毎に設けられる吐出駆動部(図示せず)及びノズル22は、それぞれ互いに独立して、1のヘッドに複数個設けられていてもよい。ここで吐出駆動部は、機械的な変形により圧力室21の容積を変化させる圧電素子23などの電気機械変換素子や、熱を発することによりインクに気泡を発生させ吐出させる電子熱変換素子などを用いて形成することができる。  In the present embodiment, the
  図1に戻り、インクジェット記録装置1は、インクジェットヘッド2からのインク組成物の吐出時において、記録媒体Mを加熱するための、IRヒーター3及びプラテンヒーター4を備えている。本実施形態に係る水系インクジェットインク組成物の付着工程において記録媒体Mを加熱する際には、IRヒーター3及びプラテンヒーター4の少なくとも1つを用いればよい。  Returning to FIG. 1, the inkjet recording apparatus 1 includes an
  なお、IRヒーター3を用いると、インクジェットヘッド2側から記録媒体Mを加熱することができる。これにより、インクジェットヘッド2も同時に加熱されやすいが、プラテンヒーター4など記録媒体Mの裏面から加熱される場合と比べて、記録媒体Mの厚みの影響を受けずに昇温することができる。また、記録媒体Mを加熱する際にプラテンヒーター4を用いると、インクジェットヘッド2側と反対側から記録媒体Mを加熱することができる。これにより、インクジェットヘッド2が比較的加熱されにくくなる。ただし、IRヒーター3及びプラテンヒーター4による、記録媒体Mの表面温度は25℃以上60℃以下であることが好ましく、30℃以上50℃以下であることがより好ましく、35℃以上45℃以下であることがより好ましい。これにより、IRヒーター3及びプラテンヒーター4から受ける輻射熱が少ない又はなくなることから、インクジェットヘッド2内のインク組成物の乾燥及び組成変動を抑制でき、インクジェットヘッド2の内壁に樹脂が溶着することが抑制される。  When the
  硬化ヒーター5は、記録媒体Mに記録されたインク組成物を乾燥及び固化させるものである。硬化ヒーター5が、画像が記録された記録媒体Mを加熱することにより、インク組成物中に含まれる水分などがより速やかに蒸発飛散して、インク組成物中に含まれる樹脂微粒子によってインク膜が形成される。このようにして、記録媒体M上においてインク膜が強固に定着(接着)して造膜性が優れたものとなり、優れた高画質な画像を短時間で得ることができる。硬化ヒーター5による乾燥温度は、好ましくは40℃以上120℃以下であり、より好ましくは60℃以上100℃以下であり、さらに好ましくは80℃以上90℃以下である。  The curing
インクジェット記録装置1は、冷却ファン6を有していてもよい。記録媒体Mに記録されたインク組成物を乾燥後、冷却ファン6により記録媒体M上のインク組成物を冷却することにより、記録媒体M上に密着性よくインク塗膜を形成することができる。 The inkjet recording device 1 may have a cooling fan 6. After the ink composition recorded on the recording medium M is dried, the ink composition on the recording medium M is cooled by the cooling fan 6, so that an ink coating film can be formed on the recording medium M with good adhesion.
  また、インクジェット記録装置1は、記録媒体Mに対してインク組成物が吐出される前に、記録媒体Mを予め加熱する(プレ加熱する)プレヒーター7を備えていてもよい。さらに、記録装置1は、記録媒体Mに付着したインク組成物がより効率的に乾燥するように通気ファン8を備えていてもよい。  Further, the inkjet recording device 1 may include a preheater 7 that preheats (preheats) the recording medium M before the ink composition is ejected to the recording medium M. Further, the recording device 1 may include a
  1.2.水系インクジェットインク組成物
  次に、本実施形態に係る水系インクジェットインク組成物について説明する。本実施形
態に係る水系インクジェットインク組成物は、分散剤樹脂により分散された顔料と、樹脂微粒子と、水と、有機溶剤と、を含む水系インクジェットインク組成物であって、前記水系インクジェットインク組成物は、標準沸点280℃以上の有機溶剤を5質量%を超える含有量で含まず、前記分散剤樹脂と前記樹脂微粒子の樹脂は、互いにSP値の差が2以内であるものを含み、前記水系インクジェットインク組成物に含まれる水の20質量%が蒸発した時の、20℃における粘度上昇率が200%以内であることを特徴とする。1.2. Water-based inkjet ink composition Next, the water-based inkjet ink composition according to the present embodiment will be described. The water-based inkjet ink composition according to the present embodiment is a water-based inkjet ink composition containing a pigment dispersed by a dispersant resin, resin fine particles, water, and an organic solvent, and is the water-based inkjet ink composition. Does not contain an organic solvent having a standard boiling point of 280 ° C. or higher in a content exceeding 5% by mass, and the dispersant resin and the resin of the resin fine particles include those having an SP value difference of 2 or less from each other, and the aqueous system. When 20% by mass of water contained in the inkjet ink composition evaporates, the rate of increase in viscosity at 20 ° C. is 200% or less.
本実施形態に係る水系インクジェットインク組成物は、分散剤樹脂と樹脂微粒子の樹脂が互いにSP値の差が2以内であるものを含むことにより、分散剤樹脂と定着用の樹脂微粒子の樹脂が互いに溶着しやすくなり、記録媒体上で平滑な造膜性に優れ、耐擦性が優れた画像が形成できる。反面、これらの樹脂がインクジェットヘッド内で溶着して巨大粒子となりやすいが、水系インクジェットインク組成物に含まれる水の20質量%が蒸発した時の、20℃における粘度上昇率が200%以内であることにより、耐目詰まり性に優れるインクとなり、インクジェットヘッド内でインクの乾燥が進んだ場合であってもインクジェットヘッドの吐出信頼性が確保される。したがって、インクの吐出信頼性と耐擦性に優れた画像の両立が可能な水系インクジェットインク組成物を提供することができ、特に、インク非吸収性または低吸収性の記録媒体に対する印刷に好ましく用いることができる。さらに、段差ノズルを有するインクジェットヘッドを用いた記録においても吐出信頼性に優れたインクジェット記録方法を提供することができる。以下、本実施形態に係る水系インクジェットインク組成物に含まれる成分について説明する。 The water-based inkjet ink composition according to the present embodiment contains a dispersant resin and a resin of resin fine particles having an SP value difference of 2 or less from each other, so that the dispersant resin and the resin of the resin fine particles for fixing are contained in each other. It becomes easy to weld, and it is possible to form an image having excellent smooth film forming property and excellent abrasion resistance on a recording medium. On the other hand, these resins are likely to be welded in the inkjet head to form giant particles, but when 20% by mass of water contained in the water-based inkjet ink composition evaporates, the rate of increase in viscosity at 20 ° C. is within 200%. As a result, the ink has excellent clogging resistance, and the ejection reliability of the inkjet head is ensured even when the ink dries in the inkjet head. Therefore, it is possible to provide an aqueous inkjet ink composition capable of achieving both ink ejection reliability and an image having excellent abrasion resistance, and is particularly preferably used for printing on a recording medium having non-ink absorption or low absorption. be able to. Further, it is possible to provide an inkjet recording method having excellent ejection reliability even in recording using an inkjet head having a step nozzle. Hereinafter, the components contained in the water-based inkjet ink composition according to the present embodiment will be described.
  1.2.1.顔料
  本実施形態に係る水系インクジェットインク組成物は、分散剤樹脂により分散された顔料を含有する。顔料は、光やガス等に対して退色しにくい性質を有していることから好ましく用いられ、顔料を用いてインク非吸収性または低吸収性の記録媒体上に形成された画像は、耐水性、耐ガス性、耐光性等に優れ、保存性が良好となる。1.2.1. Pigment The water-based inkjet ink composition according to the present embodiment contains a pigment dispersed by a dispersant resin. Pigments are preferably used because they have the property of being resistant to fading to light, gas, etc., and images formed on recording media that do not absorb ink or have low absorption using pigments are water resistant. , Excellent gas resistance, light resistance, etc., and good storage stability.
本実施形態において使用可能な顔料としては、特に制限されないが、無機顔料や有機顔料が挙げられる。無機顔料としては、酸化チタンおよび酸化鉄に加え、コンタクト法、ファーネス法、サーマル法等の公知の方法によって製造されたカーボンブラックを使用することができる。一方、有機顔料としては、アゾ顔料(アゾレーキ、不溶性アゾ顔料、縮合アゾ顔料、キレートアゾ顔料等を含む)、多環式顔料(例えば、フタロシアニン顔料、ペリレン顔料、ペリノン顔料、アントラキノン顔料、キノフラロン顔料等)、ニトロ顔料、ニトロソ顔料、アニリンブラック等を使用することができる。 The pigments that can be used in this embodiment are not particularly limited, and examples thereof include inorganic pigments and organic pigments. As the inorganic pigment, in addition to titanium oxide and iron oxide, carbon black produced by a known method such as a contact method, a furnace method, or a thermal method can be used. On the other hand, organic pigments include azo pigments (including azo lakes, insoluble azo pigments, condensed azo pigments, chelate azo pigments, etc.) and polycyclic pigments (for example, phthalocyanine pigments, perylene pigments, perinone pigments, anthraquinone pigments, quinofuralone pigments, etc.). , Nitro pigments, nitroso pigments, aniline black and the like can be used.
  本実施形態で使用可能な顔料の具体例のうち、ブラック顔料としてはカーボンブラックが挙げられ、カーボンブラックとしては、特に限定されないが、例えば、ファーネスブラック、ランプブラック、アセチレンブラック、もしくはチャンネルブラック等(C.I.ピグメントブラック7)、また市販品としてNo.2300、900、MCF88、No.20B、No.33、No.40、No.45、No.52、MA7、MA8、MA77、MA100、No.2200B等(以上商品名、三菱化学株式会社製)、カラーブラックFW1、FW2、FW2V、FW18、FW200、S150、S160、S170、プリテックス35、U、V、140U、スペシャルブラック6、5、4A、4、250等(以上商品名、デグサ社製)、コンダクテックスSC、ラーベン1255、5750、5250、5000、3500、1255、700等(以上商品名、コロンビアカーボン社製)、リガール400R、330R、660R、モグルL、モナーク700、800、880、900、1000、1100、1300、1400、エルフテックス12等(以上商品名、キャボット社製)が挙げられる。  Among the specific examples of the pigments that can be used in the present embodiment, the black pigment includes carbon black, and the carbon black is not particularly limited, but for example, furnace black, lamp black, acetylene black, channel black and the like ( CI Pigment Black 7), and No. 1 as a commercial product. 2300, 900, MCF88, No. 20B, No. 33, No. 40, No. 45, No. 52, MA7, MA8, MA77, MA100, No. 2200B, etc. (trade name, manufactured by Mitsubishi Chemical Corporation), Color Black FW1, FW2, FW2V, FW18, FW200, S150, S160, S170, Pretex 35, U, V, 140U,
  ホワイト顔料としては、特に限定されないが、例えば、C.I.ピグメントホワイト
6、18、21、酸化チタン、酸化亜鉛、硫化亜鉛、酸化アンチモン、酸化マグネシウム、及び酸化ジルコニウムの白色無機顔料が挙げられる。当該白色無機顔料以外に、白色の中空樹脂粒子及び高分子粒子などの白色有機顔料を使用することもできる。The white pigment is not particularly limited, but for example, C.I. I. Pigment white
 Examples include white inorganic pigments of 6, 18, 21, titanium oxide, zinc oxide, zinc sulfide, antimony oxide, magnesium oxide, and zirconium oxide. In addition to the white inorganic pigment, white organic pigments such as white hollow resin particles and polymer particles can also be used.
  イエローインクに使用される顔料としては、特に限定されないが、例えば、C.I.ピグメントイエロー  1、2、3、4、5、6、7、10、11、12、13、14、16、17、24、34、35、37、53、55、65、73、74、75、81、83、93、94、95、97、98、99、108、109、110、113、114、117、120、124、128、129、133、138、139、147、151、153、154、167、172、180が挙げられる。  The pigment used for the yellow ink is not particularly limited, but for example, C.I. I.
  マゼンタインクに使用される顔料としては、特に限定されないが、例えば、C.I.ピグメントレッド  1、2、3、4、5、6、7、8、9、10、11、12、14、15、16、17、18、19、21、22、23、30、31、32、37、38、40、41、42、48(Ca)、48(Mn)、57(Ca)、57:1、88、112、114、122、123、144、146、149、150、166、168、170、171、175、176、177、178、179、184、185、187、202、209、219、224、245、又はC.I.ピグメントヴァイオレット  19、23、32、33、36、38、43、50が挙げられる。  The pigment used in the magenta ink is not particularly limited, but for example, C.I. I.
  シアンインクに使用される顔料としては、特に限定されないが、例えば、C.I.ピグメントブルー  1、2、3、15、15:1、15:2、15:3、15:34、15:4、16、18、22、25、60、65、66、C.I.バットブルー  4、60が挙げられる。  The pigment used for the cyan ink is not particularly limited, but for example, C.I. I.
  また、マゼンタ、シアン、及びイエロー以外のカラーインクに使用される顔料としては、特に限定されないが、例えば、C.I.ピグメント  グリーン  7、10、C.I.ピグメントブラウン  3、5、25、26、C.I.ピグメントオレンジ  1、2、5、7、13、14、15、16、24、34、36、38、40、43、63が挙げられる。  The pigment used for color inks other than magenta, cyan, and yellow is not particularly limited, but for example, C.I. I. Pigment Green 7, 10, C.I. I.
パール顔料としては、特に限定されないが、例えば、二酸化チタン被覆雲母、魚鱗箔、酸塩化ビスマス等の真珠光沢や干渉光沢を有する顔料が挙げられる。 The pearl pigment is not particularly limited, and examples thereof include pigments having pearl luster and interference luster such as titanium dioxide-coated mica, fish scale foil, and acidified bismuth.
メタリック顔料としては、特に限定されないが、例えば、アルミニウム、銀、金、白金、ニッケル、クロム、錫、亜鉛、インジウム、チタン、銅などの単体又は合金からなる粒子が挙げられる。 The metallic pigment is not particularly limited, and examples thereof include particles made of a simple substance or an alloy such as aluminum, silver, gold, platinum, nickel, chromium, tin, zinc, indium, titanium, and copper.
インク組成物に含まれ顔料の含有量は、水系インクジェットインク組成物の全質量(100質量%)に対して、1.5質量%以上10質量%以下であることが好ましく、2質量%以上7質量%以下であることがより好ましい。 The content of the pigment contained in the ink composition is preferably 1.5% by mass or more and 10% by mass or less with respect to the total mass (100% by mass) of the water-based inkjet ink composition, and is 2% by mass or more and 7 by mass. It is more preferably mass% or less.
上記の顔料を水系インクジェットインク組成物に適用するためには、顔料が水中で安定的に分散保持できるようにする必要がある。その方法としては、水溶性樹脂および/または水分散性樹脂等の分散剤樹脂にて分散させる方法(以下、この方法により分散された顔料を「樹脂分散顔料」という。)、水溶性界面活性剤および/または水分散性界面活性剤の界面活性剤にて分散させる方法(以下、この方法により分散された顔料を「界面活性剤分散顔料」という。)、顔料粒子表面に親水性官能基を化学的・物理的に導入し、上記の樹脂あるいは界面活性剤等の分散剤なしで水中に分散および/または溶解可能とする方法(以下、この方法により分散された顔料を「表面処理顔料」という。)等が挙げられる。 In order to apply the above pigment to the water-based inkjet ink composition, it is necessary to enable the pigment to be stably dispersed and held in water. As the method, a method of dispersing with a dispersant resin such as a water-soluble resin and / or a water-dispersible resin (hereinafter, a pigment dispersed by this method is referred to as a "resin-dispersed pigment"), a water-soluble surfactant. And / or a method of dispersing with a surfactant of a water-dispersible surfactant (hereinafter, a pigment dispersed by this method is referred to as a "surfactant-dispersed pigment"), a hydrophilic functional group is chemically added to the surface of the pigment particles. A method of physically and physically introducing the material so that it can be dispersed and / or dissolved in water without a dispersant such as the above-mentioned resin or surfactant (hereinafter, a pigment dispersed by this method is referred to as a "surface treatment pigment". ) Etc. can be mentioned.
本実施形態に係る水系インクジェットインク組成物は、顔料が水溶性樹脂および/または水分散性樹脂等の分散剤樹脂にて分散させた樹脂分散顔料であるが、必要に応じて界面活性剤分散顔料、表面処理顔料と混合した形で用いてもよい。 The water-based inkjet ink composition according to the present embodiment is a resin-dispersed pigment in which the pigment is dispersed in a water-soluble resin and / or a dispersant resin such as a water-dispersible resin. , May be used in the form of being mixed with a surface treatment pigment.
樹脂分散顔料に用いられる分散剤樹脂としては、ポリビニルアルコール類、ポリビニルピロリドン類、ポリアクリル酸、アクリル酸−アクリルニトリル共重合体、酢酸ビニル−アクリル酸エステル共重合体、アクリル酸−アクリル酸エステル共重合体、スチレン−アクリル酸共重合体、スチレン−メタクリル酸共重合体、スチレン−メタクリル酸−アクリル酸エステル共重合体、スチレン−α―メチルスチレン−アクリル酸共重合体、スチレン−α―メチルスチレン−アクリル酸−アクリル酸エステル共重合体、スチレン−マレイン酸共重合体、スチレン−無水マレイン酸共重合体、ビニルナフタレン−アクリル酸共重合体、ビニルナフタレン−マレイン酸共重合体、酢酸ビニル−マレイン酸エステル共重合体、酢酸ビニル−クロトン酸共重合体、酢酸ビニル−アクリル酸共重合体等およびこれらの塩が挙げられる。これらの中で、特に、疎水性官能基を有するモノマーと親水性官能基を有するモノマーとの共重合体、疎水性官能基と親水性官能基とを併せ持つモノマーからなる重合体が好ましい。共重合体の形態としては、ランダム共重合体、ブロック共重合体、交互共重合体、グラフト共重合体のいずれの形態でも用いることができる。 Dispersant resins used in resin dispersion pigments include polyvinyl alcohols, polyvinylpyrrolidones, polyacrylic acid, acrylic acid-acrylic nitrile copolymers, vinyl acetate-acrylic acid ester copolymers, and acrylic acid-acrylic acid esters. Polymer, styrene-acrylic acid copolymer, styrene-methacrylic acid copolymer, styrene-methacrylic acid-acrylic acid ester copolymer, styrene-α-methylstyrene-acrylic acid copolymer, styrene-α-methylstyrene -Acrylic acid-acrylic acid ester copolymer, styrene-maleic acid copolymer, styrene-maleic anhydride copolymer, vinylnaphthalene-acrylic acid copolymer, vinylnaphthalene-maleic acid copolymer, vinyl acetate-malein Examples thereof include acid ester copolymers, vinyl acetate-crotonic acid copolymers, vinyl acetate-acrylic acid copolymers and the like, and salts thereof. Among these, a copolymer of a monomer having a hydrophobic functional group and a monomer having a hydrophilic functional group, and a polymer composed of a monomer having both a hydrophobic functional group and a hydrophilic functional group are particularly preferable. As the form of the copolymer, any form of a random copolymer, a block copolymer, an alternating copolymer, and a graft copolymer can be used.
上記の塩としては、アンモニア、エチルアミン、ジエチルアミン、トリエチルアミン、プロピルアミン、イソプロピルアミン、ジプロピルアミン、ブチルアミン、イソブチルアミン、ジエタノールアミン、トリエタノールアミン、トリ−iso−プロパノールアミン、アミノメチルプロパノール、モルホリン等の塩基性化合物との塩が挙げられる。これら塩基性化合物の添加量は、上記分散剤樹脂の中和当量以上であれば特に制限はない。 Examples of the above salts include bases such as ammonia, ethylamine, diethylamine, triethylamine, propylamine, isopropylamine, dipropylamine, butylamine, isobutylamine, diethanolamine, triethanolamine, tri-iso-propanolamine, aminomethylpropanol and morpholin. Examples include salts with sex compounds. The amount of these basic compounds added is not particularly limited as long as it is equal to or greater than the neutralization equivalent of the dispersant resin.
上記分散剤樹脂の分子量は、重量平均分子量として1,000〜100,000の範囲であることが好ましく、3,000〜10,000の範囲であることがより好ましい。分子量が上記範囲であることにより、色材の水中での安定的な分散が得られ、またインク組成物に適用した際の粘度制御等がしやすい。 The molecular weight of the dispersant resin is preferably in the range of 1,000 to 100,000, more preferably in the range of 3,000 to 10,000 as the weight average molecular weight. When the molecular weight is in the above range, stable dispersion of the coloring material in water can be obtained, and it is easy to control the viscosity when applied to the ink composition.
以上述べた分散剤樹脂として、市販品を用いることもできる。詳しくは、BYK2015(商品名、ビックケミー・ジャパン株式会社製)、ジョンクリル67、ジョンクリル678、ジョンクリル586、ジョンクリル611、ジョンクリル680、ジョンクリル682、ジョンクリル683、ジョンクリル690(以上商品名、BASFジャパン株式会社製)等が挙げられる。 Commercially available products can also be used as the dispersant resin described above. For details, see BYK2015 (trade name, manufactured by Big Chemie Japan Ltd.), John Krill 67, John Krill 678, John Krill 586, John Krill 611, John Krill 680, John Krill 682, John Krill 683, John Krill 690 (the above products). Name, manufactured by BASF Japan Ltd.) and the like.
上記の分散剤樹脂は、後述する樹脂微粒子の樹脂と、互いにSP値の差が2以内であるものを含むものである。 The above-mentioned dispersant resin includes a resin having fine resin particles described later and a resin having an SP value difference of 2 or less from each other.
  本明細書において、「SP値」とは、相溶化パラメーター(Solubility  Parameter)といい、溶解度パラメーターとも言うことができる。以下に示されるハンセン(Hansen)の数式を用いて算出された値を意味する。Hansenの溶解度パラメーターは、ヒルデブランド(Hildebrand)によって導入された溶解度パラメーターを、分散項δd、極性項δp、及び水素結合項δhの3成分に分割し、3次元空間に表したものである。本明細書においては、SP値をδ[(cal/cm3)0.5]で表し、下記数式を用いて算出される値を用いる。
  δ[(cal/cm3)0.5]]=(δd2+δp2+δh2)0.5In the present specification, the "SP value" is referred to as a solubility parameter, and can also be referred to as a solubility parameter. It means a value calculated using Hansen's mathematical formula shown below. The solubility parameter of Hansen is obtained by dividing the solubility parameter introduced by Hildebrand into three components, a dispersion term δd, a polarity term δp, and a hydrogen bond term δh, and expressing them in a three-dimensional space. In the present specification, the SP value isrepresented by δ [(cal / cm 3 )0.5 ], and the value calculated by using the following mathematical formula is used.
 δ [(cal / cm3 )0.5 ]] = (δd2 + δp2 + δh2 )0.5
  上記の分散項δd、極性項δp、及び水素結合項δhは、ハンセンやその研究後継者らによって多く求められており、例えばPolymer  Handbook(fourth
  edition)のVII−698〜711に掲載されている。また、多くの溶媒や樹
脂に関するHansenの溶解度パラメーターが調べられており、例えば、Industrial  Solvents  Handbook(Wesley  L.Archer著)にこれらの溶解度パラメーターが記載されている。The above-mentioned dispersion term δd, polarity term δp, and hydrogen bond term δh are often sought after by Hansen and his successors, for example, Polymer Handbook (fourth).
 It is published in VII-698-711 of edition). In addition, Hansen solubility parameters for many solvents and resins have been investigated, and for example, these solubility parameters are described in Industrial Solvents Handbook (Wessley L. Archer).
本実施形態に係る水系インクジェットインク組成物は、分散剤樹脂と樹脂微粒子の樹脂とのSP値の差が2以内であるものを含むことにより、樹脂同士が互いに溶着しやすくなり、記録媒体表面で平滑な造膜性に優れた塗膜が形成され、耐擦性が優れたものとなる。一方、樹脂同士が互いに溶着しやすくなることにより、インクジェットヘッド内でも樹脂が溶解しやすく、樹脂同士が溶着して巨大粒子となり目詰まりの原因となりやすくなるが、このような場合であって、本実施形態に係る水系インクジェットインク組成物では、耐目詰まり性が優れるインクとなる。なお、分散剤樹脂と樹脂微粒子の樹脂のSP値の差は、上限値は1.5以下であることが好ましく、1.2以下であることがより好ましく、1.0以下であることがさらに好ましい。また、分散剤樹脂と樹脂微粒子の樹脂のSP値の差の下限値は0.5以上であることが好ましく、0.6以上であることがより好ましく、0.8以上であることがさらに好ましい。 The water-based inkjet ink composition according to the present embodiment contains a dispersant resin and a resin of resin fine particles having an SP value difference of 2 or less, so that the resins are easily welded to each other and are easily welded to each other on the surface of the recording medium. A coating film having excellent smooth film-forming properties is formed, and the abrasion resistance becomes excellent. On the other hand, since the resins are easily welded to each other, the resins are easily melted even in the inkjet head, and the resins are welded to each other to form huge particles, which is likely to cause clogging. The water-based inkjet ink composition according to the embodiment is an ink having excellent clogging resistance. The difference in SP value between the dispersant resin and the resin of the resin fine particles is preferably 1.5 or less, more preferably 1.2 or less, and further preferably 1.0 or less. preferable. Further, the lower limit of the difference between the SP values of the dispersant resin and the resin of the resin fine particles is preferably 0.5 or more, more preferably 0.6 or more, and further preferably 0.8 or more. ..
上記の分散剤樹脂の含有量は、水系インクジェットインク組成物の全質量(100質量%)に対して、0.5質量%以上5質量%以下であることが好ましく、1質量%以上4質量%以下であることがより好ましく、2質量%以上3質量%以下であることがさらに好ましい。 The content of the dispersant resin is preferably 0.5% by mass or more and 5% by mass or less, and 1% by mass or more and 4% by mass, based on the total mass (100% by mass) of the water-based inkjet ink composition. It is more preferably 2% by mass or more and 3% by mass or less.
また、界面活性剤分散顔料に用いられる界面活性剤としては、アルカンスルホン酸塩、α−オレフィンスルホン酸塩、アルキルベンゼンスルホン酸塩、アルキルナフタレンスルホン酸塩、アシルメチルタウリン酸塩、ジアルキルスルホ琥珀酸塩、アルキル硫酸エステル塩、硫酸化オレフィン、ポリオキシエチレンアルキルエーテル硫酸エステル塩、アルキルリン酸エステル塩、ポリオキシエチレンアルキルエーテルリン酸エステル塩、モノグリセライトリン酸エステル塩等のアニオン性界面活性剤、アルキルピリジウム塩、アルキルアミノ酸塩、アルキルジメチルベタイン等の両性界面活性剤、ポリオキシエチレンアルキルエーテル、ポリオキシエチレンアルキルフェニルエーテル、ポリオキシエチレンアルキルエステル、ポリオキシエチレンアルキルアミド、グリセリンアルキルエステル、ソルビタンアルキルエステル等のノニオン性界面活性剤が挙げられる。 The surfactants used in the surfactant dispersion pigments include alkane sulfonate, α-olefin sulfonate, alkylbenzene sulfonate, alkylnaphthalene sulfonate, acylmethyltaurate, and dialkylsulfocarbonate. , Alkyl sulphate ester salt, sulfated olefin, polyoxyethylene alkyl ether sulphate ester salt, alkyl phosphate ester salt, polyoxyethylene alkyl ether phosphoric acid ester salt, monoglycerite phosphate ester salt and other anionic surfactants, Amphoteric surfactants such as alkylpyridium salts, alkylamino acid salts, alkyldimethylbetaines, polyoxyethylene alkyl ethers, polyoxyethylene alkyl phenyl ethers, polyoxyethylene alkyl esters, polyoxyethylene alkyl amides, glycerin alkyl esters, sorbitan alkyl Examples thereof include nonionic surfactants such as esters.
上記分散剤樹脂または上記界面活性剤の顔料に対する添加量は、顔料100質量部に対して好ましくは1質量部〜100質量部であり、より好ましくは5質量部〜50質量部である。この範囲であることにより、顔料の水中への分散安定性が確保できる。 The amount of the dispersant resin or the surfactant added to the pigment is preferably 1 part by mass to 100 parts by mass, and more preferably 5 parts by mass to 50 parts by mass with respect to 100 parts by mass of the pigment. Within this range, the dispersion stability of the pigment in water can be ensured.
また、表面処理顔料としては、親水性官能基として、−OM、−COOM、−CO−、−SO3M、−SO2NH3、−RSO3M、−PO3HM、−PO3M3、−SO3NHCOR、−NH3、−NR3(但し、式中のMは、水素原子、アルカリ金属、アンモニウム又は有機アンモニウムを表し、Rは、炭素数1〜12のアルキル基、置換基を有していてもよいフェニル基または置換基を有していてもよいナフチル基を示す。)等が挙げられる。これらの官能基は、顔料粒子表面に直接および/または他の基を介してグラフトされることによって、物理的および/または化学的に導入される。多価の基としては、炭素数が1〜12のアルキレン基、置換基を有していてもよいフェニレン基又は置換基を有していてもよいナフチレン基等を挙げることができる。The surface treatment pigments include -OM, -COOM, -CO-, -SO 3 M, -SO2 NH3 , -RSO3 M, -PO3 HM, and -PO3 M3 as hydrophilic functional groups. , -SO3 NHCOR, -NH3 , -NR3 (where M in the formula represents a hydrogen atom, alkali metal, ammonium or organic ammonium, and R is an alkyl group or substituent having 1 to 12 carbon atoms. (Indicates a phenyl group which may have a phenyl group or a naphthyl group which may have a substituent) and the like. These functional groups are physically and / or chemically introduced by being grafted directly and / or via other groups on the surface of the pigment particles. Examples of the polyvalent group include an alkylene group having 1 to 12 carbon atoms, a phenylene group which may have a substituent, a naphthylene group which may have a substituent, and the like.
  また、前記の表面処理顔料としては、硫黄を含む処理剤によりその顔料粒子表面に−SO3Mおよび/または−RSO3M(Mは対イオンであって、水素イオン、アルカリ金属イオン、アンモニウムイオン、又は有機アンモニウムイオンを示す。)が化学結合するように表面処理されたもの、すなわち、前記顔料が、活性プロトンを持たず、スルホン酸と
の反応性を有せず、顔料が不溶ないしは難溶である溶剤中に、顔料を分散させ、次いでアミド硫酸、又は三酸化硫黄と第三アミンとの錯体によりその粒子表面に−SO3Mおよび/または−RSO3Mが化学結合するように表面処理され、水に分散および/または溶解が可能なものとされたものであることが好ましい。Further, as the surface treatment pigment, -SO 3 M and / or -RSO3 M (M is a counter ion, hydrogen ion, alkali metal ion, ammonium ion) on the surface of the pigment particle by a treatment agent containing sulfur. , Or organic ammonium ions) are surface-treated so as to chemically bond, that is, the pigment does not have an active proton, does not have reactivity with sulfonic acid, and the pigment is insoluble or sparingly soluble. The pigment is dispersed in a solvent that is, and thensurface-treated with amidosulfate or a complex of sulfur trioxide and a tertiary amine so that -SO 3 M and / or -RSO3 M are chemically bonded to the particle surface. It is preferable that the particles are capable of being dispersed and / or dissolved in water.
前記官能基またはその塩を顔料粒子の表面に直接または多価の基を介してグラフトさせる表面処理手段としては、種々の公知の表面処理手段を適用することができる。例えば、市販の酸化カーボンブラックにオゾンや次亜塩素酸ソーダ溶液を作用し、カーボンブラックをさらに酸化処理してその表面をより親水化処理する手段(例えば、特開平7−258578号公報、特開平8−3498号公報、特開平10−120958号公報、特開平10−195331号公報、特開平10−237349号公報)、カーボンブラックを3−アミノ−N−アルキル置換ピリジウムブロマイドで処理する手段(例えば、特開平10−195360号公報、特開平10−330665号公報)、有機顔料が不溶又は難溶である溶剤中に有機顔料を分散させ、スルホン化剤により顔料粒子表面にスルホン基を導入する手段(例えば、特開平8−283596号公報、特開平10−110110号公報、特開平10−110111号公報)、三酸化硫黄と錯体を形成する塩基性溶剤中に有機顔料を分散させ、三酸化硫黄を添加することにより有機顔料の表面を処理し、スルホン基又はスルホンアミノ基を導入する手段(例えば、特開平10−110114号公報)等が挙げられるが、本発明で用いられる表面処理顔料のための作製手段はこれらの手段に限定されるものではない。 Various known surface treatment means can be applied as the surface treatment means for grafting the functional group or a salt thereof onto the surface of the pigment particles directly or via a polyvalent group. For example, a means for treating commercially available carbon black oxide with ozone or a sodium hypochlorite solution to further oxidize the carbon black to make the surface more hydrophilic (for example, JP-A-7-258578, JP-A-P.). 8-3498, 10-120958, 10-195331, 10-237349), means for treating carbon black with 3-amino-N-alkyl-substituted pyridium bromide (Japanese Patent Laid-Open No. 8-3498, JP-A-10-195331, JP-A-10-237349). For example, JP-A-10-195360, JP-A-10-330665), the organic pigment is dispersed in a solvent in which the organic pigment is insoluble or sparingly soluble, and a sulfone group is introduced on the surface of the pigment particles by a sulfonizing agent. Means (for example, JP-A-8-283596, JP-A-10-110110, JP-A-10-110111), organic pigments are dispersed in a basic solvent that forms a complex with sulfur trioxide, and trioxidation is performed. Examples thereof include means for treating the surface of an organic pigment by adding sulfur to introduce a sulfone group or a sulfone amino group (for example, Japanese Patent Application Laid-Open No. 10-110114). The manufacturing means for this is not limited to these means.
1つの顔料粒子にグラフトされる官能基は単一でも複数種であってもよい。グラフトされる官能基の種類及びその程度は、インク中での分散安定性、色濃度、及びインクジェットヘッド前面での乾燥性等を考慮しながら適宜決定されてよい。 The functional groups grafted on one pigment particle may be single or plural. The type and degree of the functional group to be grafted may be appropriately determined in consideration of dispersion stability in the ink, color density, drying property on the front surface of the inkjet head, and the like.
以上述べた樹脂分散顔料、界面活性剤分散顔料、表面処理顔料を水中に分散させる方法としては、樹脂分散顔料については顔料と水と分散剤樹脂、界面活性剤分散顔料については顔料と水と界面活性剤、表面処理顔料については表面処理顔料と水、また各々に必要に応じて水溶性有機溶剤・中和剤等を加えて、ボールミル、サンドミル、アトライター、ロールミル、アジテータミル、ヘンシェルミキサー、コロイドミル、超音波ホモジナイザー、ジェットミル、オングミル等の従来用いられている分散機にて行うことができる。この場合、顔料の粒子径としては、平均粒子径で20nm〜500nmの範囲になるまで、より好ましくは50nm〜200nmの範囲になるまで分散することが、顔料の水中での分散安定性を確保する点で好ましい。 As a method for dispersing the resin dispersion pigment, the surfactant dispersion pigment, and the surface treatment pigment described above in water, the resin dispersion pigment is a pigment and water and a dispersant resin, and the surfactant dispersion pigment is a pigment and water and an interface. For activators and surface treatment pigments, add surface treatment pigments and water, and if necessary, water-soluble organic solvents and neutralizers, etc., to ball mills, sand mills, attritors, roll mills, agitator mills, henshell mixers, colloids. This can be performed with a conventionally used disperser such as a mill, an ultrasonic homogenizer, a jet mill, or an ong mill. In this case, the particle size of the pigment is dispersed until the average particle size is in the range of 20 nm to 500 nm, more preferably in the range of 50 nm to 200 nm, thereby ensuring the dispersion stability of the pigment in water. It is preferable in that respect.
  1.2.2.樹脂微粒子
  本実施形態に係る水系インクジェットインク組成物は、水溶性および/または非水溶性の樹脂微粒子を含有する。樹脂微粒子の樹脂は、インクを固化させ、さらにインク固化物を記録媒体上に強固に定着させる作用を有する。樹脂微粒子は、インク組成物中に分散された状態となっており、本実施形態に係る水系インクジェットインク組成物の液媒体に難溶あるいは不溶である樹脂を、微粒子状にして分散させて(すなわち、エマルジョン状態、あるいはサスペンジョン状態にして)樹脂微粒子として含ませるものである。1.2.2. Resin Fine Particles The water-based inkjet ink composition according to the present embodiment contains water-soluble and / or water-insoluble resin fine particles. The resin of the resin fine particles has the effect of solidifying the ink and firmly fixing the solidified ink on the recording medium. The resin fine particles are in a state of being dispersed in the ink composition, and the resin which is poorly soluble or insoluble in the liquid medium of the water-based inkjet ink composition according to the present embodiment is dispersed in the form of fine particles (that is,). , Emulsion state, or suspension state) to be included as resin fine particles.
また、本実施形態で用いられる樹脂は、上述のように、分散剤樹脂とのSP値の差が2以内であるものを含むものである。 Further, as described above, the resin used in the present embodiment includes a resin in which the difference in SP value from the dispersant resin is 2 or less.
  上記の樹脂微粒子の樹脂としては、ポリアクリル酸エステルもしくはその共重合体、ポリメタクリル酸エステルもしくはその共重合体、ポリアクリロニトリルもしくはその共重合体、ポリシアノアクリレート、ポリアクリルアミド、ポリアクリル酸、ポリメタクリル酸、ポリエチレン、ポリプロピレン、ポリブテン、ポリイソブチレン、ポリスチレンもし
くはそれらの共重合体、石油樹脂、クロマン・インデン樹脂、テルペン樹脂、ポリ酢酸ビニルもしくはその共重合体、ポリビニルアルコール、ポリビニルアセタール、ポリビニルエーテル、ポリ塩化ビニルもしくはその共重合体、ポリ塩化ビニリデン、フッ素樹脂、フッ素ゴム、ポリビニルカルバゾール、ポリビニルピロリドンもしくはその共重合体、ポリビニルピリジン、ポリビニルイミダゾール、ポリブタジエンもしくはその共重合体、ポリクロロプレン、ポリイソプレン、天然樹脂等が挙げられる。この中で、特に分子構造中に疎水性部分と親水性部分とを併せ持つものが好ましい。Examples of the resin of the above resin fine particles include polyacrylic acid ester or a copolymer thereof, polymethacrylic acid ester or a copolymer thereof, polyacrylonitrile or a copolymer thereof, polycyanoacrylate, polyacrylamide, polyacrylic acid, and polymethacryl. Acid, polyethylene, polypropylene, polybutene, polyisobutylene, polystyrene or a copolymer thereof, petroleum resin, chroman-inden resin, terpene resin, polyvinyl acetate or a copolymer thereof, polyvinyl alcohol, polyvinyl acetal, polyvinyl ether, polychloride Vinyl or its copolymer, polyvinylidene chloride, fluororesin, fluororubber, polyvinylcarbazole, polyvinylpyrrolidone or its copolymer, polyvinylpyridine, polyvinylimidazole, polybutadiene or its copolymer, polychloroprene, polyisoprene, natural resin, etc. Can be mentioned. Among these, those having both a hydrophobic portion and a hydrophilic portion in the molecular structure are particularly preferable.
上記の樹脂を微粒子状態で得るには、以下に示す方法で得られ、そのいずれの方法でもよく、必要に応じて複数の方法を組み合わせてもよい。その方法としては、所望の樹脂を構成する単量体中に重合触媒(重合開始剤)と分散剤とを混合して重合(すなわち乳化重合)する方法、親水性部分を持つ樹脂を水溶性有機溶剤に溶解させその溶液を水中に混合した後に水溶性有機溶剤を蒸留等で除去することで得る方法、樹脂を非水溶性有機溶剤に溶解させその溶液を分散剤と共に水溶液中に混合して得る方法等が挙げられる。上記の方法は、用いる樹脂の種類・特性に応じて適宜選択することができる。樹脂を分散する際に用いることのできる分散剤としては、特に制限はないが、アニオン性界面活性剤(例えば、ドデシルベンゼンスルホン酸ナトリウム塩、ラウリルリン酸ナトリウム塩、ポリオキシエチレンアルキルエーテルサルフェートアンモニウム塩等)、ノニオン性界面活性剤(例えば、ポリオキシエチレンアルキルエーテル、ポリオキシエチレンアルキルエステル、ポリオキシエチレンソルビタン脂肪酸エステル、ポリオキシエチレンアルキルフェニルエーテル等)を挙げることができ、これらを単独あるいは二種以上を混合して用いることができる。 In order to obtain the above resin in a fine particle state, it can be obtained by the method shown below, any of the methods may be used, and a plurality of methods may be combined as necessary. The method includes a method of mixing a polymerization catalyst (polymerization initiator) and a dispersant in a monomer constituting a desired resin and polymerizing (that is, emulsion polymerization), and a resin having a hydrophilic portion is a water-soluble organic substance. A method obtained by dissolving the solution in a solvent and mixing the solution in water and then removing the water-soluble organic solvent by distillation or the like, or dissolving the resin in a water-insoluble organic solvent and mixing the solution with a dispersant in the aqueous solution. The method and the like can be mentioned. The above method can be appropriately selected according to the type and characteristics of the resin to be used. The dispersant that can be used when dispersing the resin is not particularly limited, but is an anionic surfactant (for example, sodium dodecylbenzene sulfonic acid salt, sodium lauryl phosphate salt, polyoxyethylene alkyl ether sulfate ammonium salt). Etc.), nonionic surfactants (eg, polyoxyethylene alkyl ethers, polyoxyethylene alkyl esters, polyoxyethylene sorbitan fatty acid esters, polyoxyethylene alkyl phenyl ethers, etc.), and these may be used alone or in combination of two. The above can be mixed and used.
上記のような樹脂として、微粒子状態(エマルジョン形態、サスペンジョン形態)で用いるためには、公知の材料・方法で得られるものを用いることも可能である。例えば、特公昭62−1426号公報、特開平3−56573号公報、特開平3−79678号公報、特開平3−160068号公報、特開平4−18462号公報等に記載のものを用いてもよい。また、市販品を用いることもでき、例えば、マイクロジェルE−1002、マイクロジェルE−5002(以上商品名、日本ペイント株式会社製)、ボンコート4001、ボンコート5454(以上商品名、大日本インキ化学工業株式会社製)、SAE1014(商品名、日本ゼオン株式会社製)、サイビノールSK−200(商品名、サイデン化学株式会社製)、アルフォンUF−5022(商品名、東亜合成株式会社製)、JE−1056(商品名、星光PMC株式会社製)ジョンクリル7100、ジョンクリル390、ジョンクリル711、ジョンクリル511、ジョンクリル7001、ジョンクリル632、ジョンクリル741、ジョンクリル450、ジョンクリル840、ジョンクリル74J、ジョンクリルHRC−1645J、ジョンクリル734、ジョンクリル852、ジョンクリル7600、ジョンクリル775、ジョンクリル537J、ジョンクリル1535、ジョンクリルPDX−7630A、ジョンクリル352J、ジョンクリル352D、ジョンクリルPDX−7145、ジョンクリル538J、ジョンクリル7640、ジョンクリル7641、ジョンクリル631、ジョンクリル790、ジョンクリル780、ジョンクリル7610(以上商品名、BASFジャパン株式会社製)等が挙げられる。 As the resin as described above, in order to use it in a fine particle state (emulsion form, suspension form), it is also possible to use a resin obtained by a known material and method. For example, those described in Japanese Patent Application Laid-Open No. 62-1426, Japanese Patent Application Laid-Open No. 3-56573, Japanese Patent Application Laid-Open No. 3-79678, Japanese Patent Application Laid-Open No. 3-160068, Japanese Patent Application Laid-Open No. 4-18462, etc. may be used. Good. Commercially available products can also be used, for example, Microgel E-1002, Microgel E-5002 (trade name, manufactured by Nippon Paint Co., Ltd.), Boncoat 4001, Boncoat 5454 (trade name, Dainippon Ink and Chemicals). SAE1014 (trade name, manufactured by Nippon Zeon Co., Ltd.), Cybinol SK-200 (trade name, manufactured by Saiden Chemical Co., Ltd.), Alfon UF-5022 (trade name, manufactured by Toa Synthetic Co., Ltd.), JE-1056 (Product name, manufactured by Seikou PMC Corporation) John Krill 7100, John Krill 390, John Krill 711, John Krill 511, John Krill 7001, John Krill 632, John Krill 741, John Krill 450, John Krill 840, John Krill 74J, John Krill HRC-1645J, John Krill 734, John Krill 852, John Krill 7600, John Krill 775, John Krill 537J, John Krill 1535, John Krill PDX-7630A, John Krill 352J, John Krill 352D, John Krill PDX-7145, John Krill 538J, John Krill 7640, John Krill 7641, John Krill 631, John Krill 790, John Krill 780, John Krill 7610 (trade name, manufactured by BASF Japan Co., Ltd.) and the like can be mentioned.
樹脂を微粒子状態で用いるためには、インク組成物の保存安定性・吐出信頼性を確保する観点から、その平均粒子径は5nm以上400nm以下の範囲が好ましく、より好ましくは50nm以上200nm以上の範囲である。樹脂微粒子の平均粒子径が前記範囲にあることにより、造膜性に優れると共に、凝集しても大きな塊ができにくいのでノズルの目詰まりを低減することができる。なお、本明細書における平均粒子径は、特に明示がない限り体積基準のものである。測定方法としては、例えば、動的光散乱理論を測定原理とする粒度分布測定装置により測定することができる。このような粒度分布測定装置としては、例えば、日機装株式会社製の「マイクロトラックUPA」等が挙げられる。 In order to use the resin in the fine particle state, the average particle size is preferably in the range of 5 nm or more and 400 nm or less, more preferably in the range of 50 nm or more and 200 nm or more, from the viewpoint of ensuring the storage stability and ejection reliability of the ink composition. Is. When the average particle size of the resin fine particles is within the above range, the film-forming property is excellent, and even if the resin fine particles are aggregated, large lumps are unlikely to be formed, so that clogging of the nozzle can be reduced. The average particle size in the present specification is based on volume unless otherwise specified. As a measuring method, for example, it can be measured by a particle size distribution measuring device based on the dynamic light scattering theory. Examples of such a particle size distribution measuring device include "Microtrack UPA" manufactured by Nikkiso Co., Ltd.
樹脂のガラス転移温度(Tg)は、例えば、−20℃以上100℃以下であることが好ましく、−10℃以上80℃以下であることがより好ましく、0℃以上76℃以下であることがさらに好ましい。 The glass transition temperature (Tg) of the resin is, for example, preferably −20 ° C. or higher and 100 ° C. or lower, more preferably −10 ° C. or higher and 80 ° C. or lower, and further preferably 0 ° C. or higher and 76 ° C. or lower. preferable.
樹脂の含有量は、インク組成物の全質量に対して、固形分換算で好ましくは0.1質量%以上15質量%以下であり、より好ましくは0.5質量%以上10質量%以下であり、さらに好ましくは2質量%以上7質量%以下であり、3質量%以上5質量%以下であることが特に好ましい。この範囲内であることにより、特に、インク非吸収性または低吸収性の記録媒体上において、インク組成物を十分に固化・定着させることができる。 The content of the resin is preferably 0.1% by mass or more and 15% by mass or less, more preferably 0.5% by mass or more and 10% by mass or less in terms of solid content, based on the total mass of the ink composition. More preferably, it is 2% by mass or more and 7% by mass or less, and particularly preferably 3% by mass or more and 5% by mass or less. Within this range, the ink composition can be sufficiently solidified and fixed, particularly on a non-ink-absorbing or low-absorbing recording medium.
  1.2.3.水
  本実施形態に係る水系インクジェットインク組成物は、水を含有する。水は、水系インクジェットインク組成物の主となる媒体であり、乾燥によって蒸発飛散する成分である。水は、イオン交換水、限外濾過水、逆浸透水、蒸留水等の純水または超純水のようなイオン性不純物を極力除去したものであることが好ましい。また、紫外線照射または過酸化水素添加等により滅菌した水を用いると、水系インクジェットインク組成物を長期保存する場合にカビやバクテリアの発生を抑制できるので好適である。1.2.3. Water The water-based inkjet ink composition according to this embodiment contains water. Water is the main medium of the water-based inkjet ink composition, and is a component that evaporates and scatters due to drying. The water is preferably one in which ionic impurities such as pure water or ultrapure water such as ion-exchanged water, ultra-filtered water, reverse osmosis water, and distilled water are removed as much as possible. Further, it is preferable to use water sterilized by ultraviolet irradiation or addition of hydrogen peroxide because the growth of mold and bacteria can be suppressed when the water-based inkjet ink composition is stored for a long period of time.
本実施形態に係る水系インクジェットインク組成物において、水の含有量は、水系インクジェットインク組成物の全質量に対して、40質量%以上であることが好ましく、50質量%以上であることがより好ましく、60質量%以上であることがさらにより好ましく、70質量%以上であることが特に好ましい。 In the water-based inkjet ink composition according to the present embodiment, the water content is preferably 40% by mass or more, more preferably 50% by mass or more, based on the total mass of the water-based inkjet ink composition. , 60% by mass or more is even more preferable, and 70% by mass or more is particularly preferable.
  1.2.4.有機溶剤
  本実施形態に係る水系インクジェットインク組成物は、有機溶剤を含有し、標準沸点280℃以上の有機溶剤を5質量%を超える含有量で含まないものである。本実施形態に係る水系インクジェットインク組成物が有機溶剤を含有し、標準沸点280℃以上の有機溶剤を5質量%を超える含有量で含まないことにより、記録媒体上に吐出されたインク組成物の乾燥性が良好となり、耐擦性に優れた画像を得ることができる。1.2.4. Organic Solvent The water-based inkjet ink composition according to the present embodiment contains an organic solvent and does not contain an organic solvent having a standard boiling point of 280 ° C. or higher in an amount of more than 5% by mass. The water-based inkjet ink composition according to the present embodiment contains an organic solvent and does not contain an organic solvent having a standard boiling point of 280 ° C. or higher in a content of more than 5% by mass. The drying property becomes good, and an image having excellent abrasion resistance can be obtained.
有機溶剤としては、水溶性有機溶剤であることが好ましい。水溶性有機溶剤を使用することにより、よりインク組成物の乾燥性が良好となり、耐擦性に優れた画像を得ることができる。 The organic solvent is preferably a water-soluble organic solvent. By using a water-soluble organic solvent, the drying property of the ink composition becomes better, and an image having excellent scratch resistance can be obtained.
また、有機溶剤として、上記の分散剤樹脂または樹脂微粒子の樹脂とのSP値の差が2以内の有機溶剤の含有量が20質量%以下であることが好ましい。この場合には、これらの樹脂がインクジェットヘッド内で溶着して巨大粒子となりやすいが、水系インクジェットインク組成物に含まれる水が蒸発した時の粘度上昇率が200%以内に抑えることができ、耐目詰まり性に優れるインクとなる。そのような有機溶剤の含有量は、15質量%以下であることがより好ましく、10質量%以下であることがさらに好ましい。 Further, as the organic solvent, the content of the organic solvent having an SP value difference of 2 or less from the dispersant resin or the resin of the resin fine particles is preferably 20% by mass or less. In this case, these resins are likely to be welded in the inkjet head to form huge particles, but the viscosity increase rate when the water contained in the water-based inkjet ink composition evaporates can be suppressed to 200% or less, and the resistance to resistance. The ink has excellent clogging properties. The content of such an organic solvent is more preferably 15% by mass or less, and further preferably 10% by mass or less.
  水溶性有機溶剤としては、特に限定されないが、例えば、メタノール、エタノール、イソプロピルアルコール等のアルコール類;アセトン、ジアセトンアルコール等のケトンまたはケトアルコール類;テトラヒドロフラン、ジオキサン等のエーテル類;ヘキサンジオール、エチレングリコール、ジエチレングリコール、トリエチレングリコール、ポリエチレングリコール、プロピレングリコール、ジプロピレングリコール、トリプロピレングリコール、ポリプロピレングリコール、プロパンジオール、ブタンジオール、ペンタンジオール等のグリコール類;エチレングリコールモノメチルエーテル、ジエチレングリコールモノメチルエーテル、ジエチレングリコールモノエチルエーテル、ジエチレングリコール
モノブチルエーテル等のグリコールの低級アルキルエーテル類;ジエタノールアミン、トリエタノールアミンなどの水酸基を持つアミン類;2−ピロリドン、N−メチルピロリドン等の含窒素溶剤;グリセリンが挙げられる。水系インク組成物の乾燥性を向上させる点では、これらの中でも、プロピレングリコール、1,2−ヘキサンジオール、1,3−ブタンジオール等を用いることが好ましい。The water-soluble organic solvent is not particularly limited, but for example, alcohols such as methanol, ethanol and isopropyl alcohol; ketones or keto alcohols such as acetone and diacetone alcohol; ethers such as tetrahydrofuran and dioxane; hexanediol and ethylene. Glycos such as glycols, diethylene glycols, triethylene glycols, polyethylene glycols, propylene glycols, dipropylene glycols, tripropylene glycols, polypropylene glycols, propanediols, butanediols, pentanediol; ethylene glycol monomethyl ethers, diethylene glycol monomethyl ethers, diethylene glycol monoethyls. Lower alkyl ethers of glycols such as ethers and diethylene glycol monobutyl ethers; amines having hydroxyl groups such as diethanolamine and triethanolamine; nitrogen-containing solvents such as 2-pyrrolidone and N-methylpyrrolidone; glycerin. Among these, propylene glycol, 1,2-hexanediol, 1,3-butanediol and the like are preferably used from the viewpoint of improving the drying property of the water-based ink composition.
また、本実施形態に係る水系インクジェットインク組成物では、上記の水溶性有機溶剤のうち、耐擦性に優れた記録物を得る点により、含窒素溶剤を含むことが好ましい。含窒素溶剤としては、より詳細には、例えば、N−メチル−2−ピロリドン、N−エチル−2−ピロリドン、N−ビニル−2−ピロリドン、2−ピロリドン、N−ブチル−2−ピロリドン、5−メチル−2−ピロリドン等が挙げられる。含窒素溶剤は、上記の分散剤樹脂、樹脂微粒子等の良好な溶解剤として作用する。含窒素溶剤の含有量は、インク組成物の全質量に対して、5.0質量%以上40質量%以下であることが好ましく、10質量%以上35質量%以下であることがより好ましく、15質量%以上30質量%以下であることが特に好ましい。 Further, the water-based inkjet ink composition according to the present embodiment preferably contains a nitrogen-containing solvent from the above-mentioned water-soluble organic solvents in terms of obtaining a recorded material having excellent abrasion resistance. More specifically, as the nitrogen-containing solvent, for example, N-methyl-2-pyrrolidone, N-ethyl-2-pyrrolidone, N-vinyl-2-pyrrolidone, 2-pyrrolidone, N-butyl-2-pyrrolidone, 5 -Methyl-2-pyrrolidone and the like can be mentioned. The nitrogen-containing solvent acts as a good dissolving agent for the above-mentioned dispersant resin, resin fine particles and the like. The content of the nitrogen-containing solvent is preferably 5.0% by mass or more and 40% by mass or less, more preferably 10% by mass or more and 35% by mass or less, based on the total mass of the ink composition. It is particularly preferable that it is by mass% or more and 30% by mass or less.
水溶性有機溶剤の含有量の合計は、インク組成物の全質量に対して、1.0質量%以上15質量%以下であることが好ましく、5質量%以上10質量%以下であることがより好ましい。 The total content of the water-soluble organic solvent is preferably 1.0% by mass or more and 15% by mass or less, and more preferably 5% by mass or more and 10% by mass or less, based on the total mass of the ink composition. preferable.
沸点が280℃以上の有機溶剤は、インク組成物の水分を吸収して、インクジェットヘッド付近のインク組成物を増粘させる場合があり、これにより、インクジェットヘッドの吐出信頼性を低下させる場合がある。また、沸点が280℃以上の有機溶剤を高濃度で含むと、記録媒体上でのインク組成物の乾燥性が低くなる場合がある。このため、本実施形態に係る水系インクジェットインク組成物は、標準沸点が280℃以上の有機溶剤は、インク組成物中に5質量%を超える含有量で含まないものであり、3質量%を超える含有量で含まないことが好ましく、2質量%を超える含有量で含まないことがより好ましく、1質量%を超える含有量で含まないことがさらに好ましく、0.5質量%を超える含有量で含まないことが特に好ましい。沸点が280℃以上の有機溶剤をインク組成物中に5質量%を超える含有量で含まない場合には、記録媒体上でのインク組成物の乾燥性が高くなるので、ブリードの発生が抑制された優れた画像を形成できる。また、得られた記録物のベタツキが低減され、耐擦性に優れたものとなる。 An organic solvent having a boiling point of 280 ° C. or higher may absorb water in the ink composition and thicken the ink composition in the vicinity of the inkjet head, which may reduce the ejection reliability of the inkjet head. .. Further, if an organic solvent having a boiling point of 280 ° C. or higher is contained in a high concentration, the drying property of the ink composition on the recording medium may be lowered. Therefore, the water-based inkjet ink composition according to the present embodiment does not contain an organic solvent having a standard boiling point of 280 ° C. or higher in the ink composition in an amount of more than 5% by mass and more than 3% by mass. It is preferably not contained in the content, more preferably not contained in the content of more than 2% by mass, further preferably not contained in the content of more than 1% by mass, and contained in the content of more than 0.5% by mass. It is particularly preferable that there is no such thing. When an organic solvent having a boiling point of 280 ° C. or higher is not contained in the ink composition in an amount exceeding 5% by mass, the drying property of the ink composition on the recording medium becomes high, so that the occurrence of bleeding is suppressed. Can form excellent images. In addition, the stickiness of the obtained recorded material is reduced, and the scratch resistance is excellent.
沸点が280℃以上の有機溶剤としては、例えば、グリセリンを挙げることができる。グリセリンは吸湿性が高く、沸点が高いため、ヘッドの目詰まりや、動作不良の原因となる場合がある。また、グリセリンは、防腐性が乏しく、カビや菌類を繁殖させやすいので、インク組成物に含有しないことが好ましい。 Examples of the organic solvent having a boiling point of 280 ° C. or higher include glycerin. Since glycerin has high hygroscopicity and a high boiling point, it may cause clogging of the head and malfunction. In addition, glycerin is preferably not contained in the ink composition because it has poor antiseptic properties and easily propagates molds and fungi.
  1.2.5.界面活性剤
  本実施形態に係る水系インクジェットインク組成物は、界面活性剤を含有することが好ましい。界面活性剤としては、特に限定されないが、例えば、アセチレングリコール系界面活性剤、フッ素系界面活性剤及びシリコーン系界面活性剤が挙げられ、これらの少なくとも1種を含有することが好ましい。1.2.5. Surfactant The water-based inkjet ink composition according to this embodiment preferably contains a surfactant. The surfactant is not particularly limited, and examples thereof include an acetylene glycol-based surfactant, a fluorine-based surfactant, and a silicone-based surfactant, and it is preferable to contain at least one of these.
  アセチレングリコール系界面活性剤としては、特に限定されないが、例えば、2,4,7,9−テトラメチル−5−デシン−4,7−ジオール及び2,4,7,9−テトラメチル−5−デシン−4,7−ジオールのアルキレンオキサイド付加物、並びに2,4−ジメチル−5−デシン−4−オール及び2,4−ジメチル−5−デシン−4−オールのアルキレンオキサイド付加物から選択される1種以上が好ましい。アセチレングリコール系界面活性剤の市販品としては、特に限定されないが、例えば、オルフィン104シリーズやオ
ルフィンE1010等のEシリーズ(商品名、エアープロダクツ社製)、サーフィノール465やサーフィノール61やサーフィノールDF110D(商品名、日信化学工業株式会社製)などが挙げられる。アセチレングリコール系界面活性剤は、1種単独で使用してもよいし、2種以上を併用してもよい。The acetylene glycol-based surfactant is not particularly limited, and is, for example, 2,4,7,9-tetramethyl-5-decine-4,7-diol and 2,4,7,9-tetramethyl-5. Selected from alkylene oxide adducts of decine-4,7-diol and alkylene oxide adducts of 2,4-dimethyl-5-decine-4-ol and 2,4-dimethyl-5-decine-4-ol. One or more is preferable. Commercially available products of acetylene glycol-based surfactants are not particularly limited, but for example, E series such as Orfin 104 series and Orfin E1010 (trade name, manufactured by Air Products & Chemicals), Surfinol 465, Surfinol 61 and Surfinol DF110D. (Product name, manufactured by Nissin Chemical Industry Co., Ltd.) and the like. The acetylene glycol-based surfactant may be used alone or in combination of two or more.
フッ素系界面活性剤としては、特に限定されないが、例えば、パーフルオロアルキルスルホン酸塩、パーフルオロアルキルカルボン酸塩、パーフルオロアルキルリン酸エステル、パーフルオロアルキルエチレンオキサイド付加物、パーフルオロアルキルベタイン、パーフルオロアルキルアミンオキサイド化合物が挙げられる。フッ素系界面活性剤の市販品としては、特に限定されないが、例えば、サーフロンS144、S145(商品名、AGCセイミケミカル株式会社製);FC−170C、FC−430、フロラード−FC4430(商品名、住友スリーエム株式会社製);FSO、FSO−100、FSN、FSN−100、FS−300(商品名、Dupont社製);FT−250、251(商品名、株式会社ネオス製)が挙げられる。フッ素系界面活性剤は、1種単独で使用してもよいし、2種以上を併用してもよい。 The fluorine-based surfactant is not particularly limited, and is, for example, perfluoroalkyl sulfonate, perfluoroalkyl carboxylic acid salt, perfluoroalkyl phosphate, perfluoroalkyl ethylene oxide adduct, perfluoroalkyl betaine, and per. Fluoroalkylamine oxide compounds can be mentioned. Commercially available products of fluorine-based surfactants are not particularly limited, but for example, Surflon S144, S145 (trade name, manufactured by AGC Seimi Chemical Co., Ltd.); FC-170C, FC-430, Florard-FC4430 (trade name, Sumitomo). 3M Ltd.); FSO, FSO-100, FSN, FSN-100, FS-300 (trade name, manufactured by DuPont); FT-250, 251 (trade name, manufactured by Neos Co., Ltd.). The fluorine-based surfactant may be used alone or in combination of two or more.
シリコーン系界面活性剤としては、特に限定されないが、例えば、ポリシロキサン系化合物、ポリエーテル変性オルガノシロキサン等が挙げられる。シリコーン系界面活性剤の市販品としては、特に限定されないが、具体的には、BYK−306、BYK−307、BYK−333、BYK−341、BYK−345、BYK−346、BYK−347、BYK−348、BYK−349(以上商品名、ビックケミー・ジャパン株式会製)、KF−351A、KF−352A、KF−353、KF−354L、KF−355A、KF−615A、KF−945、KF−640、KF−642、KF−643、KF−6020、X−22−4515、KF−6011、KF−6012、KF−6015、KF−6017(以上商品名、信越化学株式会社製)等が挙げられる。 The silicone-based surfactant is not particularly limited, and examples thereof include polysiloxane-based compounds and polyether-modified organosiloxanes. The commercially available silicone-based surfactant is not particularly limited, but specifically, BYK-306, BYK-307, BYK-333, BYK-341, BYK-345, BYK-346, BYK-347, BYK. -348, BYK-349 (trade name, manufactured by Big Chemie Japan Co., Ltd.), KF-351A, KF-352A, KF-353, KF-354L, KF-355A, KF-615A, KF-945, KF-640 , KF-642, KF-643, KF-6020, X-22-4515, KF-6011, KF-6012, KF-6015, KF-6017 (trade name, manufactured by Shin-Etsu Chemical Co., Ltd.) and the like.
これらの中でも、アセチレングリコール系界面活性剤は、ノズルの目詰まり回復性をさらに向上させることができる。一方、フッ素系界面活性剤及びシリコーン系界面活性剤は、記録媒体上でインクの濃淡ムラや滲みを生じないように均一に広げる作用を有している点で好ましい。したがって、本実施形態に係る水系インクジェットインク組成物は、シリコーン系界面活性剤及びフッ素系界面活性剤の少なくとも一方と、アセチレングリコール系界面活性剤と、を含有することがより好ましい。 Among these, the acetylene glycol-based surfactant can further improve the clogging recovery of the nozzle. On the other hand, the fluorine-based surfactant and the silicone-based surfactant are preferable in that they have an action of uniformly spreading the ink on the recording medium so as not to cause uneven shading or bleeding. Therefore, it is more preferable that the water-based inkjet ink composition according to the present embodiment contains at least one of a silicone-based surfactant and a fluorine-based surfactant, and an acetylene glycol-based surfactant.
アセチレングリコール系界面活性剤の含有量の下限は、インク組成物の全質量に対して、0.1質量%以上が好ましく、0.3質量%以上がより好ましく、0.5質量%以上が特に好ましい。一方、含有量の上限は、5質量%以下が好ましく、3質量%以下がより好ましく、2質量%以下が特に好ましい。アセチレングリコール系界面活性剤の含有量が前記範囲にあると、ノズルの目詰まり回復性が向上する効果が得られやすい。 The lower limit of the content of the acetylene glycol-based surfactant is preferably 0.1% by mass or more, more preferably 0.3% by mass or more, and particularly preferably 0.5% by mass or more, based on the total mass of the ink composition. preferable. On the other hand, the upper limit of the content is preferably 5% by mass or less, more preferably 3% by mass or less, and particularly preferably 2% by mass or less. When the content of the acetylene glycol-based surfactant is within the above range, the effect of improving the clogging recovery of the nozzle can be easily obtained.
フッ素系界面活性剤及びシリコーン系界面活性剤の含有量の下限は、0.5質量%以上が好ましく、0.8質量%以上がより好ましい。一方、含有量の上限は、5質量%以下が好ましく、3質量%以下がより好ましい。フッ素系界面活性剤及びシリコーン系界面活性剤の含有量が前記範囲にあると、記録媒体上でインクの濃淡ムラや滲みを生じないように均一に広げる作用を有している点で好ましい。 The lower limit of the contents of the fluorine-based surfactant and the silicone-based surfactant is preferably 0.5% by mass or more, more preferably 0.8% by mass or more. On the other hand, the upper limit of the content is preferably 5% by mass or less, more preferably 3% by mass or less. When the contents of the fluorine-based surfactant and the silicone-based surfactant are within the above range, it is preferable in that it has an action of uniformly spreading the ink on the recording medium so as not to cause uneven shading or bleeding.
  1.2.6.その他の含有成分
  本実施形態に係る水系インクジェットインク組成物は、さらに、pH調整剤、ポリオレフィンワックス、防腐剤・防かび剤、防錆剤、キレート化剤等を含有してもよい。これらの材料を添加すると、インク組成物の有する特性をさらに向上させることができる。1.2.6. Other Ingredients The water-based inkjet ink composition according to the present embodiment may further contain a pH adjuster, a polyolefin wax, a preservative / antifungal agent, a rust preventive, a chelating agent, and the like. The addition of these materials can further improve the properties of the ink composition.
pH調整剤としては、例えば、リン酸二水素カリウム、リン酸水素二ナトリウム、水酸化ナトリウム、水酸化リチウム、水酸化カリウム、アンモニア、ジエタノールアミン、トリエタノールアミン、トリイソプロパノールアミン、炭酸カリウム、炭酸ナトリウム、炭酸水素ナトリウム等が挙げられる。 Examples of the pH adjuster include potassium dihydrogen phosphate, disodium hydrogen phosphate, sodium hydroxide, lithium hydroxide, potassium hydroxide, ammonia, diethanolamine, triethanolamine, triisopropanolamine, potassium carbonate, and sodium carbonate. Examples include sodium hydrogen carbonate and the like.
ポリオレフィンワックスとしては、例えば、エチレン、プロピレン、ブチレン等のオレフィンまたはその誘導体から製造したワックスおよびそのコポリマー、具体的には、ポリエチレン系ワックス、ポリプロピレン系ワックス、ポリブチレン系ワックス等が挙げられる。ポリオレフィンワックスとしては、市販されているものを利用することができ、具体的には、ノプコートPEM17(商品名、サンノプコ株式会社製)、ケミパールW4005(商品名、三井化学株式会社製)、AQUACER515、AQUACER593(以上商品名、ビックケミー・ジャパン株式会社製)等を用いることができる。 Examples of the polyolefin wax include waxes produced from olefins such as ethylene, propylene and butylene or derivatives thereof and copolymers thereof, specifically, polyethylene wax, polypropylene wax, polybutylene wax and the like. As the polyolefin wax, commercially available ones can be used. Specifically, Nopcoat PEM17 (trade name, manufactured by San Nopco Ltd.), Chemipearl W4005 (trade name, manufactured by Mitsui Chemicals, Inc.), AQUACER515, AQUACER593. (The above product name, manufactured by Big Chemie Japan Co., Ltd.) can be used.
ポリオレフィンワックスを添加すると、インク非吸収性または低吸収性の記録媒体上に形成された画像の物理的接触に対する滑り性を向上させることができ、画像の耐擦性を向上できる点から好ましい。ポリオレフィンワックスの含有量は、インク組成物の全質量に対して、好ましくは0.01質量%以上10質量%以下であり、より好ましくは0.05質量%以上1質量%以下である。ポリオレフィンワックスの含有量が、上記範囲にあると、上述の効果が十分に発揮される。 The addition of the polyolefin wax is preferable from the viewpoint that the slipperiness of the image formed on the non-ink-absorbing or low-absorbing recording medium to physical contact can be improved and the scratch resistance of the image can be improved. The content of the polyolefin wax is preferably 0.01% by mass or more and 10% by mass or less, and more preferably 0.05% by mass or more and 1% by mass or less, based on the total mass of the ink composition. When the content of the polyolefin wax is in the above range, the above-mentioned effects are fully exhibited.
防腐剤・防かび剤としては、例えば、安息香酸ナトリウム、ペンタクロロフェノールナトリウム、2−ピリジンチオール−1−オキサイドナトリウム、ソルビン酸ナトリウム、デヒドロ酢酸ナトリウム、1,2−ジベンジソチアゾリン−3−オン等が挙げられる。市販品では、プロキセルXL2、プロキセルGXL(以上商品名、アビシア社製)や、デニサイドCSA、NS−500W(以上商品名、ナガセケムテックス株式会社製)等が挙げられる。 Examples of preservatives and fungicides include sodium benzoate, sodium pentachlorophenol, sodium 2-pyridinethiol-1-oxide, sodium sorbate, sodium dehydroacetate, and 1,2-dibenzisothiazolin-3-one. And so on. Examples of commercially available products include Proxel XL2 and Proxel GXL (trade name, manufactured by Abyssia), Deniside CSA, NS-500W (trade name, manufactured by Nagase ChemteX Corporation) and the like.
防錆剤としては、例えば、ベンゾトリアゾール等が挙げられる。 Examples of the rust preventive include benzotriazole and the like.
キレート化剤としては、例えば、エチレンジアミン四酢酸およびそれらの塩類(エチレンジアミン四酢酸二水素二ナトリウム塩等)等が挙げられる。 Examples of the chelating agent include ethylenediaminetetraacetic acid and salts thereof (such as ethylenediaminetetraacetic acid disodium dihydrogen salt).
  1.2.7.インク組成物の調製方法
  本実施形態に係る水系インクジェットインク組成物は、上述した成分を任意の順序で混合し、必要に応じて濾過等をして不純物を除去することにより得られる。各成分の混合方法としては、メカニカルスターラー、マグネチックスターラー等の撹拌装置を備えた容器に順次材料を添加して撹拌混合する方法が好適に用いられる。濾過方法としては、遠心濾過、フィルター濾過等を必要に応じて行なうことができる。1.2.7. Method for Preparing Ink Composition The water-based inkjet ink composition according to the present embodiment is obtained by mixing the above-mentioned components in an arbitrary order and, if necessary, filtering or the like to remove impurities. As a method of mixing each component, a method of sequentially adding materials to a container equipped with a stirring device such as a mechanical stirrer or a magnetic stirrer and stirring and mixing them is preferably used. As the filtration method, centrifugal filtration, filter filtration and the like can be performed as needed.
  1.2.8.インク組成物の物性
  本実施形態に係る水系インクジェットインク組成物は、画像品質とインクジェット記録用のインクとしての信頼性とのバランスの観点から、20℃における表面張力が20mN/m以上40mN/mであることが好ましく、20mN/m以上35mN/m以下であることがより好ましい。なお、表面張力の測定は、例えば、自動表面張力計CBVP−Z(商品名、協和界面科学株式会社製)を用いて、20℃の環境下で白金プレートをインクで濡らしたときの表面張力を確認することにより測定することができる。1.2.8. Physical Properties of Ink Composition The water-based inkjet ink composition according to this embodiment has a surface tension of 20 mN / m or more and 40 mN / m at 20 ° C. from the viewpoint of a balance between image quality and reliability as an ink for inkjet recording. It is preferably 20 mN / m or more and 35 mN / m or less. The surface tension is measured by, for example, using an automatic tensiometer CBVP-Z (trade name, manufactured by Kyowa Interface Science Co., Ltd.) to measure the surface tension when the platinum plate is wetted with ink in an environment of 20 ° C. It can be measured by checking.
  また、同様の観点から、本実施形態に係る水系インクジェットインク組成物の20℃における粘度は、3mPa・s以上10mPa・s以下であることが好ましく、3mPa・s以上8mPa・s以下であることがより好ましい。なお、粘度の測定は、例えば、粘弾
性試験機(レオメーター)MCR−300(商品名、Pysica社製)を用いて、20℃の環境下での粘度を測定することができる。From the same viewpoint, the viscosity of the water-based inkjet ink composition according to the present embodiment at 20 ° C. is preferably 3 mPa · s or more and 10 mPa · s or less, and preferably 3 mPa · s or more and 8 mPa · s or less. More preferred. The viscosity can be measured by using, for example, a viscoelasticity tester (rheometer) MCR-300 (trade name, manufactured by Pysica) in an environment of 20 ° C.
さらに、本実施形態に係る水系インクジェットインク組成物は、水系インクジェットインク組成物に含まれる水の20質量%が蒸発した時の、20℃における粘度上昇率が200%以内である。本実施形態に係る水系インクジェットインク組成物は、分散剤樹脂と樹脂微粒子がインクジェットヘッド内で溶着して巨大粒子となりやすいが、水系インクジェットインク組成物に含まれる水の20質量%が蒸発した時の、20℃における粘度上昇率が200%以内であることにより、耐目詰まり性に優れるインクとなり、インクジェットヘッド内でインクの乾燥が進んだ場合であってもインクジェットヘッドの吐出信頼性が確保される。したがって、インクの吐出信頼性と耐擦性に優れた画像の両立が可能な水系インクジェットインク組成物を提供することができる。 Further, the water-based inkjet ink composition according to the present embodiment has a viscosity increase rate of 200% or less at 20 ° C. when 20% by mass of water contained in the water-based inkjet ink composition evaporates. In the water-based inkjet ink composition according to the present embodiment, the dispersant resin and the resin fine particles are likely to be welded in the inkjet head to become huge particles, but when 20% by mass of water contained in the water-based inkjet ink composition evaporates. Since the rate of increase in viscosity at 20 ° C. is within 200%, the ink has excellent clogging resistance, and the ejection reliability of the inkjet head is ensured even when the ink dries in the inkjet head. .. Therefore, it is possible to provide an aqueous inkjet ink composition capable of achieving both ink ejection reliability and an image having excellent abrasion resistance.
ここで、水の20質量%が蒸発した時のインクは、例えば、インクを50mlのサンプル瓶に入れ、40℃の恒温槽にて蒸発させることにより調製することができる。インク中の水分量の測定には、例えば、赤外線水分計(商品名「FD−660」、株式会社ケット科学研究所製)を用いることができる。 Here, the ink when 20% by mass of water has evaporated can be prepared, for example, by placing the ink in a 50 ml sample bottle and evaporating it in a constant temperature bath at 40 ° C. For the measurement of the amount of water in the ink, for example, an infrared moisture meter (trade name "FD-660", manufactured by Kett Science Laboratory Co., Ltd.) can be used.
なお、本実施形態に係る水系インクジェットインク組成物は、水の20質量%が蒸発した時のインクの、20℃における粘度上昇率は160%以内であることが好ましく、140%以内であることがより好ましく、120%以内であることがさらに好ましい。本実施形態に係る水系インクジェットインク組成物の粘度上昇率が前記範囲にあることにより、より耐目詰まり性に優れるインクとなり、耐擦性に優れた画像が形成できると供に、吐出信頼性に優れた水系インクジェットインク組成物を提供することができる。 In the water-based inkjet ink composition according to the present embodiment, the viscosity increase rate of the ink at 20 ° C. when 20% by mass of water evaporates is preferably 160% or less, and preferably 140% or less. It is more preferably 120% or less. When the viscosity increase rate of the water-based inkjet ink composition according to the present embodiment is within the above range, the ink has more excellent clogging resistance, and an image having excellent scratch resistance can be formed, and the ejection reliability is improved. An excellent water-based inkjet ink composition can be provided.
また、本実施形態に係る水系インクジェットインク組成物は、水系インクジェットインク組成物に含まれる水の20質量%が蒸発した時における、水系インクジェットインク組成物中に含まれる粒子径20μm以上の粒子数が1000個/ml以下であることが好ましく、500個/ml以下であることがより好ましく、100個/ml以下であることがさらにより好ましく、50個/ml以下であることがさらにより好ましく、30個/ml以下であることが特に好ましい。本実施形態に係る水系インクジェットインク組成物において、微粒子同士が溶着して巨大粒子となった粒子径20μm以上の粒子数が前記範囲にあることにより、より耐目詰まり性に優れるインクとなり、耐擦性に優れた画像が形成できると供に、吐出信頼性に優れた水系インクジェットインク組成物を提供することができる。 Further, in the water-based inkjet ink composition according to the present embodiment, the number of particles having a particle size of 20 μm or more contained in the water-based inkjet ink composition when 20% by mass of water contained in the water-based inkjet ink composition evaporates. It is preferably 1000 pieces / ml or less, more preferably 500 pieces / ml or less, further preferably 100 pieces / ml or less, further preferably 50 pieces / ml or less, and 30 pieces / ml or less. It is particularly preferable that the number is 1 ml or less. In the water-based inkjet ink composition according to the present embodiment, when the number of particles having a particle diameter of 20 μm or more, which is formed by welding fine particles to each other and becomes huge particles, is within the above range, the ink has more excellent clogging resistance and is scratch resistant. It is possible to provide an aqueous inkjet ink composition having excellent ejection reliability while being able to form an image having excellent properties.
さらに、本実施形態に係る水系インクジェットインク組成物は、水系インクジェットインク組成物に含まれる水の40質量%が蒸発した時における、水系インクジェットインク組成物中に含まれる粒子径20μm以上の粒子数が50000個/ml以下であることが好ましく、1000個/ml以下であることがより好ましく、500個/ml以下であることがさらにより好ましく、80個/ml以下であることがさらにより好ましく、60個/ml以下であることが特に好ましい。本実施形態に係る水系インクジェットインク組成物において、インク乾燥時の微粒子同士が溶着して巨大粒子となった粒子径20μm以上の粒子数が前記範囲にあることにより、より耐目詰まり性に優れるインクとなり、耐擦性に優れた画像が形成できると供に、吐出信頼性に優れたイ水系インクジェットインク組成物を提供することができる。 Further, in the water-based inkjet ink composition according to the present embodiment, the number of particles having a particle size of 20 μm or more contained in the water-based inkjet ink composition when 40% by mass of water contained in the water-based inkjet ink composition evaporates. It is preferably 50,000 pieces / ml or less, more preferably 1000 pieces / ml or less, even more preferably 500 pieces / ml or less, and even more preferably 80 pieces / ml or less, 60 pieces / ml. It is particularly preferable that the number is 1 ml or less. In the water-based inkjet ink composition according to the present embodiment, the number of particles having a particle diameter of 20 μm or more, which are formed into huge particles by welding fine particles during ink drying, is within the above range, so that the ink has more excellent clogging resistance. Therefore, an image having excellent abrasion resistance can be formed, and a water-based inkjet ink composition having excellent ejection reliability can be provided.
なお、本実施形態において、インク中の凝集体の数は、例えば、アキュサイザー(商品名「AccuSizer FX Nano dual」、株式会社ビーエスエスジャパン製)を用いて行うことができる。 In the present embodiment, the number of aggregates in the ink can be determined by using, for example, an accusizer (trade name “AccuSizer FX Nano dual”, manufactured by BS Japan Co., Ltd.).
また、本実施形態に係る水系インクジェットインク組成物は、水系インクジェットインク組成物の降伏応力が3.5以下であることが好ましく、2.0以下であることがより好ましく、1.5以下であることがさらに好ましく、1.0以下であることがさらにより好ましく、0.5以下であることが特に好ましい。水系インクジェットインク組成物の降伏応力が前記範囲にあることにより、より吐出信頼性に優れた水系インクジェットインク組成物を提供することができる。 Further, in the water-based inkjet ink composition according to the present embodiment, the yield stress of the water-based inkjet ink composition is preferably 3.5 or less, more preferably 2.0 or less, and 1.5 or less. It is even more preferably 1.0 or less, and particularly preferably 0.5 or less. When the yield stress of the water-based inkjet ink composition is within the above range, it is possible to provide the water-based inkjet ink composition having more excellent ejection reliability.
水系インクジェットインク組成物の降伏応力の測定には、例えば、上記のレオメーターによりインクのせん断速度、せん断応力を求め、CASSON式に基づき降伏応力を算出することができる。 For the measurement of the yield stress of the water-based inkjet ink composition, for example, the shear rate and the shear stress of the ink can be obtained by the above-mentioned leometer, and the yield stress can be calculated based on the CASSON formula.
  1.3.反応液
  次に、後述するインクジェット記録方法で用いることができる反応液について説明する。本実施形態において、インクジェット記録(後述するインク組成物付着工程)の前に、必要に応じて反応液を用いた前処理である反応液付着工程を行ってもよい。反応液付着工程を行うことにより、画質が向上したり、より耐擦性に優れた画像を記録することができる。ここで、反応液とは、インク組成物の成分を凝集させる凝集剤や、含窒素溶剤等の有機溶剤等を含有するものである。1.3. Reaction solution Next, a reaction solution that can be used in the inkjet recording method described later will be described. In the present embodiment, a reaction solution adhesion step, which is a pretreatment using a reaction solution, may be performed before the inkjet recording (ink composition adhesion step described later), if necessary. By performing the reaction liquid adhering step, the image quality can be improved and an image having more excellent scratch resistance can be recorded. Here, the reaction solution contains a coagulant that agglomerates the components of the ink composition, an organic solvent such as a nitrogen-containing solvent, and the like.
なお、本実施形態において、反応液とは、色材の含有量が0.2質量%以下であり、記録媒体に着色するために用いる上述のインク組成物ではなく、インク組成物を付着する前に記録媒体へ付着させて用いる補助液である。 In the present embodiment, the reaction solution has a coloring material content of 0.2% by mass or less, and is not the above-mentioned ink composition used for coloring the recording medium, but before the ink composition is attached. It is an auxiliary liquid that is used by adhering it to a recording medium.
  1.3.1.凝集剤
  本実施形態において、反応液は、インク組成物の成分を凝集させる凝集剤を含有することができる。反応液が凝集剤を含むことにより、後述するインク組成物付着工程において、凝集剤とインク組成物に含まれる樹脂とが速やかに反応する。そうすると、インク組成物中の表面処理顔料や樹脂の分散状態が破壊され、表面処理顔料や樹脂が凝集する。そして、この凝集物が表面処理顔料の記録媒体への浸透を阻害するため、記録画像の画質の向上の点で優れたものとなると考えられる。13.1. Coagulant In the present embodiment, the reaction solution can contain a coagulant that agglomerates the components of the ink composition. When the reaction solution contains a coagulant, the coagulant and the resin contained in the ink composition react rapidly in the ink composition adhering step described later. Then, the dispersed state of the surface-treated pigment or resin in the ink composition is destroyed, and the surface-treated pigment or resin aggregates. Then, since this agglomerate inhibits the penetration of the surface-treated pigment into the recording medium, it is considered to be excellent in terms of improving the image quality of the recorded image.
凝集剤としては、例えば、多価金属塩、カチオンポリマー、有機酸が挙げられる。これらの凝集剤は、1種単独で用いてもよく、2種以上併用してもよい。これらの凝集剤の中でも、インク組成物に含まれる樹脂との反応性に優れるという点から、多価金属塩およびカチオンポリマーよりなる群から選択される少なくとも1種の凝集剤を用いることが好ましい。 Examples of the flocculant include polyvalent metal salts, cationic polymers, and organic acids. These coagulants may be used alone or in combination of two or more. Among these coagulants, it is preferable to use at least one coagulant selected from the group consisting of polyvalent metal salts and cationic polymers from the viewpoint of excellent reactivity with the resin contained in the ink composition.
多価金属塩としては、二価以上の多価金属イオンとこれら多価金属イオンに結合する陰イオンとから構成され、水に可溶な化合物である。多価金属イオンの具体例としては、Ca2+、Cu2+、Ni2+、Mg2+、Zn2+、Ba2+などの二価金属イオン;Al3+、Fe3+、Cr3+などの三価金属イオンが挙げられる。陰イオンとしては、Cl−、I−、Br−、SO42−、ClO3−、NO3−、およびHCOO−、CH3COO−などが挙げられる。これらの多価金属塩の中でも、反応液の安定性や凝集剤としての反応性の観点から、カルシウム塩およびマグネシウム塩が好ましい。The polyvalent metal salt is a compound that is composed of divalent or higher polyvalent metal ions and anions that bind to these polyvalent metal ions and is soluble in water. Specific examples of polyvalent metal ions includedivalent metal ions such as Ca 2+ , Cu2+ , Ni2+ , Mg2+ , Zn2+ , and Ba2+ ; and trivalent metal ions such as Al3+ , Fe3+ , and Cr3+. Be done. Anions include Cl− , I− , Br− , SO42- , ClO3- , NO3- , and HCOO− , CH3 COO− and the like. Among these polyvalent metal salts, calcium salts and magnesium salts are preferable from the viewpoint of stability of the reaction solution and reactivity as a flocculant.
  有機酸としては、例えば、硫酸、塩酸、硝酸、リン酸、ポリアクリル酸、酢酸、グリコール酸、マロン酸、リンゴ酸、マレイン酸、アスコルビン酸、コハク酸、グルタル酸、フマル酸、クエン酸、酒石酸、乳酸、スルホン酸、オルトリン酸、ピロリドンカルボン酸、ピロンカルボン酸、ピロールカルボン酸、フランカルボン酸、ピリジンカルボン酸、クマ
リン酸、チオフェンカルボン酸、ニコチン酸、若しくはこれらの化合物の誘導体、又はこれらの塩等が好適に挙げられる。有機酸は、1種単独で用いてもよく、2種以上を併用してもよい。Examples of organic acids include sulfuric acid, hydrochloric acid, nitrate, phosphoric acid, polyacrylic acid, acetic acid, glycolic acid, malonic acid, malic acid, maleic acid, ascorbic acid, succinic acid, glutaric acid, fumaric acid, citric acid and tartrate acid. , Lactic acid, sulfonic acid, ortholic acid, pyrrolidone carboxylic acid, pyroncarboxylic acid, pyrrolcarboxylic acid, furancarboxylic acid, pyridinecarboxylic acid, coumarin acid, thiophenecarboxylic acid, nicotinic acid, or derivatives of these compounds, or salts thereof. Etc. are preferably mentioned. The organic acid may be used alone or in combination of two or more.
カチオンポリマーとしては、例えば、カチオン性のウレタン樹脂、カチオン性のオレフィン樹脂、カチオン性のアリルアミン樹脂等が挙げられる。 Examples of the cationic polymer include a cationic urethane resin, a cationic olefin resin, and a cationic allylamine resin.
カチオン性のウレタン樹脂としては、公知のものを適宜選択して用いることができる。カチオン性のウレタン樹脂としては、市販品を用いることができ、例えば、ハイドラン CP−7010、CP−7020、CP−7030、CP−7040、CP−7050、CP−7060、CP−7610(以上商品名、大日本インキ化学工業株式会社製)、スーパーフレックス 600、610、620、630、640、650(以上商品名、第一工業製薬株式会社製)、ウレタンエマルジョン WBR−2120C、WBR−2122C(以上商品名、大成ファインケミカル株式会社製)等を用いることができる。 As the cationic urethane resin, known ones can be appropriately selected and used. As the cationic urethane resin, commercially available products can be used, for example, Hydran CP-7010, CP-7020, CP-7030, CP-7040, CP-7050, CP-7060, CP-7610 (trade names). , Dainippon Ink and Chemicals Co., Ltd.), Superflex 600, 610, 620, 630, 640, 650 (trade name, manufactured by Dai-ichi Kogyo Seiyaku Co., Ltd.), Urethane Emulsion WBR-2120C, WBR-2122C (above products) Name, manufactured by Taisei Fine Chemical Co., Ltd.), etc. can be used.
カチオン性のオレフィン樹脂は、エチレン、プロピレン等のオレフィンを構造骨格に有するものであり、公知のものを適宜選択して用いることができる。また、カチオン性のオレフィン樹脂は、水や有機溶剤等を含む溶媒に分散させたエマルジョン状態であってもよい。カチオン性のオレフィン樹脂としては、市販品を用いることができ、例えば、アローベースCB−1200、CD−1200(以上商品名、ユニチカ株式会社製)等が挙げられる。 The cationic olefin resin has an olefin such as ethylene or propylene in its structural skeleton, and known ones can be appropriately selected and used. Further, the cationic olefin resin may be in an emulsion state in which it is dispersed in a solvent containing water, an organic solvent and the like. As the cationic olefin resin, a commercially available product can be used, and examples thereof include arrow base CB-1200 and CD-1200 (trade names, manufactured by Unitika Ltd.) and the like.
  カチオン性のアリルアミン樹脂としては、公知のものを適宜選択して用いることができ、例えば、ポリアリルアミン塩酸塩、ポリアリルアミンアミド硫酸塩、アリルアミン塩酸塩・ジアリルアミン塩酸塩コポリマー、アリルアミン酢酸塩・ジアリルアミン酢酸塩コポリマー、アリルアミン酢酸塩・ジアリルアミン酢酸塩コポリマー、アリルアミン塩酸塩・ジメチルアリルアミン塩酸塩コポリマー、アリルアミン・ジメチルアリルアミンコポリマー、ポリジアリルアミン塩酸塩、ポリメチルジアリルアミン塩酸塩、ポリメチルジアリルアミンアミド硫酸塩、ポリメチルジアリルアミン酢酸塩、ポリジアリルジメチルアンモニウムクロリド、ジアリルアミン酢酸塩・二酸化硫黄コポリマー、ジアリルメチルエチルアンモニウムエチルサルフェイト・二酸化硫黄コポリマー、メチルジアリルアミン塩酸塩・二酸化硫黄コポリマー、ジアリルジメチルアンモニウムクロリド・二酸化硫黄コポリマー、ジアリルジメチルアンモニウムクロリド・アクリルアミドコポリマー等を挙げることができる。このようなカチオン性のアリルアミン樹脂としては、市販品を用いることができ、例えば、PAA−HCL−01、PAA−HCL−03、PAA−HCL−05、PAA−HCL−3L、PAA−HCL−10L、PAA−H−HCL、PAA−SA、PAA−01、PAA−03、PAA−05、PAA−08、PAA−15、PAA−15C、PAA−25、PAA−H−10C、PAA−D11−HCL、PAA−D41−HCL、PAA−D19−HCL、PAS−21CL、PAS−M−1L、PAS−M−1、PAS−22SA、PAS−M−1A、PAS−H−1L、PAS−H−5L、PAS−H−10L、PAS−92、PAS−92A、PAS−J−81L、PAS−J−81(以上商品名、ニットーボーメディカル会社製)、ハイモ  Neo−600、ハイモロック
  Q−101、Q−311、Q−501、ハイマックス  SC−505、SC−505(以上商品名、ハイモ株式会社製)等を用いることができる。As the cationic allylamine resin, known ones can be appropriately selected and used, and for example, polyallylamine hydrochloride, polyallylamine amide sulfate, allylamine hydrochloride / diallylamine hydrochloride copolymer, allylamine acetate / diallylamine acetate. Copolymers, allylamine acetate / diallylamine acetate copolymers, allylamine hydrochloride / dimethylallylamine hydrochloride copolymers, allylamine / dimethylallylamine copolymers, polydialylamine hydrochlorides, polymethyldialylamine hydrochlorides, polymethyldialylamineamide sulfates, polymethyldialylamine acetates , Polydialyldimethylammonium chloride, diallylamine acetate / sulfur dioxide copolymer, diallylmethylethylammonium ethylsulfate / sulfur dioxide copolymer, methyldialylamine hydrochloride / sulfur dioxide copolymer, diallyldimethylammonium chloride / sulfur dioxide copolymer, diallyldimethylammonium chloride / Acrylamide copolymer and the like can be mentioned. Commercially available products can be used as such cationic allylamine resins, for example, PAA-HCL-01, PAA-HCL-03, PAA-HCL-05, PAA-HCL-3L, PAA-HCL-10L. , PAA-H-HCL, PAA-SA, PAA-01, PAA-03, PAA-05, PAA-08, PAA-15, PAA-15C, PAA-25, PAA-H-10C, PAA-D11-HCL , PAA-D41-HCL, PAA-D19-HCL, PAS-21CL, PAS-M-1L, PAS-M-1, PAS-22SA, PAS-M-1A, PAS-H-1L, PAS-H-5L , PAS-H-10L, PAS-92, PAS-92A, PAS-J-81L, PAS-J-81 (trade name, manufactured by Nittobo Medical Co., Ltd.), Hymo Neo-600, Hymorok Q-101, Q-311 , Q-501, Himax SC-505, SC-505 (trade name, manufactured by Hymo Co., Ltd.) and the like can be used.
  その他、カチオン性界面活性剤も使用可能である。カチオン性界面活性剤としては、例えば、第1級、第2級および第3級アミン塩型化合物、アルキルアミン塩、ジアルキルアミン塩、脂肪族アミン塩、ベンザルコニウム塩、第4級アンモニウム塩、第4級アルキルアンモニウム塩、アルキルピリジニウム塩、スルホニウム塩、ホスホニウム塩、オニウム塩、イミダゾリニウム塩等が挙げられる。カチオン性界面活性剤の具体例としては、ラウ
リルアミン、ヤシアミン、ロジンアミン等の塩酸塩、酢酸塩等、ラウリルトリメチルアンモニウムクロライド、セチルトリメチルアンモニウムクロライド、ベンジルトリブチルアンモニウムクロライド、塩化ベンザルコニウム、ジメチルエチルラウリルアンモニウムエチル硫酸塩、ジメチルエチルオクチルアンモニウムエチル硫酸塩、トリメチルラウリルアンモニウム塩酸塩、セチルピリジニウムクロライド、セチルピリジニウムブロマイド、ジヒドロキシエチルラウリルアミン、デシルジメチルベンジルアンモニウムクロライド、ドデシルジメチルベンジルアンモニウムクロライド、テトラデシルジメチルアンモニウムクロライド、ヘキサデシルジメチルアンモニウムクロライド、オクタデシルジメチルアンモニウムクロライド等が挙げられる。In addition, cationic surfactants can also be used. Examples of the cationic surfactant include primary, secondary and tertiary amine salt type compounds, alkylamine salts, dialkylamine salts, aliphatic amine salts, benzalconium salts, and quaternary ammonium salts. Examples thereof include quaternary alkylammonium salt, alkylpyridinium salt, sulfonium salt, phosphonium salt, onium salt and imidazolinium salt. Specific examples of the cationic surfactant include hydrochlorides such as laurylamine, coconut amine and rosinamine, acetates and the like, lauryltrimethylammonium chloride, cetyltrimethylammonium chloride, benzyltributylammonium chloride, benzalconium chloride and dimethylethyllaurylammonium. Ethyl sulfate, dimethylethyloctylammonium ethyl sulfate, trimethyllaurylammonium hydrochloride, cetylpyridinium chloride, cetylpyridinium bromide, dihydroxyethyllaurylamine, decyldimethylbenzylammonium chloride, dodecyldimethylbenzylammonium chloride, tetradecyldimethylammonium chloride, hexa Examples thereof include decyldimethylammonium chloride and octadecyldimethylammonium chloride.
反応液の凝集剤の濃度は、反応液1kg中において、0.03mol/kg以上であってもよい。また、反応液1kg中において、0.1mol/kg以上1.5mol/kg以下であってもよく、0.2mol/kg以上0.9mol/kg以下であってもよい。また、凝集剤の含有量は、例えば、反応液の全質量に対し、0.1質量%以上25質量%以下であってもよく、1質量%以上20質量以下であってもよく、3質量%以上10質量以下であってもよい。 The concentration of the flocculant in the reaction solution may be 0.03 mol / kg or more in 1 kg of the reaction solution. Further, it may be 0.1 mol / kg or more and 1.5 mol / kg or less, or 0.2 mol / kg or more and 0.9 mol / kg or less in 1 kg of the reaction solution. The content of the flocculant may be, for example, 0.1% by mass or more and 25% by mass or less, 1% by mass or more and 20% by mass or less, or 3% by mass, based on the total mass of the reaction solution. It may be% or more and 10 mass or less.
  1.3.2.水
  本実施形態において、反応液は、水を主溶媒とすることが好ましい。この水は、反応液を記録媒体に付着させた後、乾燥により蒸発飛散する成分である。水としては、イオン交換水、限外濾過水、逆浸透水、蒸留水等の純水又は超純水のようなイオン性不純物を極力除去したものであることが好ましい。また、紫外線照射または過酸化水素添加等により滅菌した水を用いると、反応液を長期保存する場合にカビやバクテリアの発生を防止できるので好適である。反応液に含まれる水の含有量は、反応液の全質量に対して、例えば、40質量%以上とすることができ、好ましくは50質量%以上であり、より好ましくは60質量%以上であり、さらに好ましくは70質量%以上である。1.3.2. Water In this embodiment, the reaction solution preferably uses water as the main solvent. This water is a component that evaporates and scatters due to drying after adhering the reaction solution to the recording medium. As the water, it is preferable that ionic impurities such as pure water such as ion-exchanged water, ultra-filtered water, reverse osmosis water, and distilled water or ultrapure water are removed as much as possible. Further, it is preferable to use water sterilized by irradiation with ultraviolet rays or addition of hydrogen peroxide because the growth of mold and bacteria can be prevented when the reaction solution is stored for a long period of time. The content of water contained in the reaction solution can be, for example, 40% by mass or more, preferably 50% by mass or more, and more preferably 60% by mass or more, based on the total mass of the reaction solution. , More preferably 70% by mass or more.
  1.3.3.有機溶剤
  本実施形態において、反応液は、有機溶剤を含有してもよい。有機溶剤を含有することにより、記録媒体に対する反応液の濡れ性を向上させたりすることができる。有機溶剤としては、上述のインク組成物で例示する有機溶剤と同様のものを使用できる。有機溶剤の含有量は、特に限定されるものではないが、反応液の全質量に対して、例えば、10質量%以上80質量%以下とすることができ、好ましくは15質量%以上70質量%以下である。1.3.3. Organic solvent In this embodiment, the reaction solution may contain an organic solvent. By containing an organic solvent, the wettability of the reaction solution with respect to the recording medium can be improved. As the organic solvent, the same organic solvent as those exemplified in the above-mentioned ink composition can be used. The content of the organic solvent is not particularly limited, but can be, for example, 10% by mass or more and 80% by mass or less, preferably 15% by mass or more and 70% by mass, based on the total mass of the reaction solution. It is as follows.
なお、反応液は、有機溶剤として、上述の水系インクジェットインク組成物と同様に、標準沸点が280℃超の水溶性有機溶剤の含有量が5質量%を超えないことが好ましく、3質量%を超えないことがより好ましく、2質量%を超えないことがさらに好ましく、1質量%を超えないことがさらにより好ましく、0.5質量%を超えないことが特に好ましい。前記場合には、反応液の乾燥性が良いため、反応液の乾燥が迅速に行われるほか、得られた記録物のベタツキが低減し、耐擦性に優れる。 As the organic solvent, the reaction solution preferably contains 3% by mass of a water-soluble organic solvent having a standard boiling point of more than 280 ° C., which is preferably 3% by mass, as in the above-mentioned aqueous inkjet ink composition. It is more preferably not exceeded, further preferably not exceeding 2% by mass, further preferably not exceeding 1% by mass, and particularly preferably not exceeding 0.5% by mass. In the above case, since the reaction solution has good drying property, the reaction solution is quickly dried, the stickiness of the obtained recorded material is reduced, and the abrasion resistance is excellent.
  1.3.4.界面活性剤
  本実施形態において、反応液には、界面活性剤を添加してもよい。界面活性剤を添加することにより、反応液の表面張力を低下させ、記録媒体との濡れ性を向上させることができる。界面活性剤の中でも、例えば、アセチレングリコール系界面活性剤、シリコーンン系界面活性剤、フッ素系界面活性剤を好ましく用いることができる。これらの界面活性剤の具体例については、上述の水系インクジェットインク組成物で例示する界面活性剤と同様のものを使用できる。界面活性剤の含有量は、特に限定されるものではないが、反応液の全質量に対して、0.1質量%以上1.5質量%以下とすることができる。1.3.4. Surfactant In this embodiment, a surfactant may be added to the reaction solution. By adding a surfactant, the surface tension of the reaction solution can be reduced and the wettability with the recording medium can be improved. Among the surfactants, for example, acetylene glycol-based surfactants, silicone-based surfactants, and fluorine-based surfactants can be preferably used. As specific examples of these surfactants, the same surfactants as those exemplified in the above-mentioned water-based inkjet ink composition can be used. The content of the surfactant is not particularly limited, but can be 0.1% by mass or more and 1.5% by mass or less with respect to the total mass of the reaction solution.
  1.3.5.その他の成分
  本実施形態において、反応液には、必要に応じて、上記のようなpH調整剤、防腐剤・防かび剤、防錆剤、キレート化剤等を添加してもよい。1.3.5. Other Ingredients In the present embodiment, the above-mentioned pH adjuster, preservative / antifungal agent, rust preventive, chelating agent and the like may be added to the reaction solution, if necessary.
  1.3.6.反応液の調製方法
  本実施形態で用いられる反応液は、上記の各成分を適当な方法で分散・混合することよって製造することができる。上記の各成分を十分に攪拌した後、目詰まりの原因となる粗大粒子および異物を除去するためにろ過を行って、目的の反応液を得ることができる。1.3.6. Method for preparing reaction solution The reaction solution used in this embodiment can be produced by dispersing and mixing each of the above components by an appropriate method. After sufficiently stirring each of the above components, filtration can be performed to remove coarse particles and foreign substances that cause clogging, and a desired reaction solution can be obtained.
  1.3.7.反応液の物性
  本実施形態において、反応液は、インクジェットヘッドで吐出させる場合には、20℃における表面張力が20mN/m以上40mN/mであることが好ましく、23mN/m以上35mN/m以下であることがより好ましく、25mN/m以上33mN/m以下であることがさらに好ましい。表面張力の測定は、例えば、自動表面張力計CBVP−Z(商品名、協和界面科学株式会社製)を用いて、20℃の環境下で白金プレートを反応液で濡らしたときの表面張力を確認することにより測定することができる。1.3.7. Physical Properties of Reaction Solution In the present embodiment, when the reaction solution is discharged by an inkjet head, the surface tension at 20 ° C. is preferably 20 mN / m or more and 40 mN / m, and 23 mN / m or more and 35 mN / m or less. More preferably, it is more preferably 25 mN / m or more and 33 mN / m or less. For the measurement of surface tension, for example, using an automatic tensiometer CBVP-Z (trade name, manufactured by Kyowa Interface Science Co., Ltd.), the surface tension when the platinum plate is wetted with the reaction solution in an environment of 20 ° C. is confirmed. It can be measured by doing so.
また、同様の観点から、本実施形態において、反応液の20℃における粘度は、3mPa・s以上10mPa・s以下であることが好ましく、3mPa・s以上8mPa・s以下であることがより好ましい。なお、粘度の測定は、例えば、レオメーターMCR−300(商品名、Pysica社製)を用いて、20℃の環境下での粘度を測定することができる。 From the same viewpoint, in the present embodiment, the viscosity of the reaction solution at 20 ° C. is preferably 3 mPa · s or more and 10 mPa · s or less, and more preferably 3 mPa · s or more and 8 mPa · s or less. The viscosity can be measured using, for example, a rheometer MCR-300 (trade name, manufactured by Pysica) in an environment of 20 ° C.
  1.4.記録媒体
  上述の水系インクジェットインク組成物は、種々の記録媒体に対するインクジェット記録に用いることができるが、特に、インク非吸収性または低吸収性の記録媒体に対する記録において、耐擦性に優れた画像を得ることができ、好ましく用いることができる。1.4. Recording Media The above-mentioned water-based inkjet ink composition can be used for inkjet recording on various recording media, and particularly when recording on a recording medium that does not absorb ink or has low absorption, an image having excellent abrasion resistance can be obtained. It can be obtained and can be preferably used.
インク吸収性の記録媒体としては、例えば、上質紙や再生紙などの普通紙、インク吸収濃を有するインク受容層を設けたインクジェット専用紙などがあげられる。 Examples of the ink-absorbing recording medium include plain paper such as high-quality paper and recycled paper, and inkjet-dedicated paper provided with an ink receiving layer having an ink-absorbing density.
インク非吸収性の記録媒体として、例えば、インクジェット記録用に表面処理をしていない(すなわち、インク吸収層を形成していない)プラスチックフィルム、紙等の基材上にプラスチックがコーティングされているものやプラスチックフィルムが接着されているもの等が挙げられる。ここでいうプラスチックとしては、ポリ塩化ビニル、ポリエチレンテレフタレート、ポリカーボネート、ポリスチレン、ポリウレタン、ポリエチレン、ポリプロピレン等が挙げられる。インク低吸収性の記録媒体として、アート紙、コート紙、マット紙等の印刷本紙が挙げられる。なお、本明細書中において、インク非吸収性または低吸収性の記録媒体を、単に「プラスチックメディア」ともいう。 As an ink non-absorbent recording medium, for example, a plastic film or paper whose surface is not surface-treated (that is, an ink-absorbing layer is not formed) coated with plastic for inkjet recording. And those to which a plastic film is adhered. Examples of the plastic referred to here include polyvinyl chloride, polyethylene terephthalate, polycarbonate, polystyrene, polyurethane, polyethylene, polypropylene and the like. Examples of the recording medium having low ink absorption include printing paper such as art paper, coated paper, and matte paper. In addition, in this specification, an ink non-absorbing or low-absorbing recording medium is also simply referred to as "plastic media".
ここで、本明細書において「インク非吸収性または低吸収性の記録媒体」とは、「ブリストー(Bristow)法において接触開始から30msec1/2までの水吸収量が10mL/m2以下である記録媒体」を示す。このブリストー法は、短時間での液体吸収量の測定方法として最も普及している方法であり、日本紙パルプ技術協会(JAPAN TAPPI)でも採用されている。試験方法の詳細は「JAPAN TAPPI紙パルプ試験方法2000年版」の規格No.51「紙及び板紙−液体吸収性試験方法−ブリストー法」に述べられている。Here, in the present specification, the "ink non-absorbent or low-absorbent recording medium" means that theamount of water absorbed from the start of contact to 30 msec 1/2 in the "Bristow method" is 10 mL / m2 or less. "Recording medium" is shown. This Bristow method is the most popular method for measuring the amount of liquid absorbed in a short time, and is also adopted by the Japan Pulp and Paper Technology Association (JAPAN TAPPI). For details of the test method, refer to the standard No. of "JAPAN TAPPI Pulp and Paper Test Method 2000 Edition". 51 "Paper and Paperboard-Liquid Absorption Test Method-Bristow Method".
  インク非吸収性の記録媒体としては、例えば、インク吸収層を有していないプラスチッ
クフィルム、紙等の基材上にプラスチックがコーティングされているものやプラスチックフィルムが接着されているもの等が挙げられる。ここでいうプラスチックとしては、ポリ塩化ビニル、ポリエチレンテレフタレート、ポリカーボネート、ポリスチレン、ポリウレタン、ポリエチレン、ポリプロピレン等が挙げられる。Examples of the ink non-absorbent recording medium include a plastic film having no ink absorbing layer, a medium in which plastic is coated on a base material such as paper, and a medium in which a plastic film is adhered. .. Examples of the plastic referred to here include polyvinyl chloride, polyethylene terephthalate, polycarbonate, polystyrene, polyurethane, polyethylene, polypropylene and the like.
インク低吸収性の記録媒体としては、表面にインクを受容するための塗工層が設けられた記録媒体が挙げられ、例えば、基材が紙であるものとしては、アート紙、コート紙、マット紙等の印刷本紙が挙げられ、基材がプラスチックフィルムである場合には、ポリ塩化ビニル、ポリエチレンテレフタレート、ポリカーボネート、ポリスチレン、ポリウレタン、ポリエチレン、ポリプロピレン等の表面に、親水性ポリマーが塗工されたもの、シリカ、チタン等の粒子がバインダーとともに塗工されたものが挙げられる。これらの記録媒体は、透明な記録媒体であってもよい。 Examples of the recording medium having low ink absorption include a recording medium provided with a coating layer for receiving ink on the surface. For example, a recording medium whose base material is paper includes art paper, coated paper, and matte. Printing of paper, etc. When this paper is a plastic film, the surface of polyvinyl chloride, polyethylene terephthalate, polycarbonate, polystyrene, polyurethane, polyethylene, polypropylene, etc. is coated with a hydrophilic polymer. , Silica, titanium and other particles are coated together with a binder. These recording media may be transparent recording media.
また、エンボスメディア等の、表面に凹凸を有するインク非吸収性または低吸収性の記録媒体に対しても用いることができる。 It can also be used for non-ink-absorbing or low-absorbing recording media having irregularities on the surface such as embossed media.
  なお、図1のインクジェット記録装置1がシリアル式の記録装置である場合、記録媒体Mの好ましい幅は、3.2m以下であることが好ましい。この場合には、1回の主走査中に記録媒体Mがインクジェットヘッ2ドと対向している時間、つまり、1走査中に使われないノズル22が記録媒体Mから熱を受ける時間が12秒以下となり、ノズル22内のインク組成物の乾燥および組成変動を抑制でき、ノズル22の内壁に樹脂が溶着することを低減することができる。その結果、耐擦性に優れた画像が形成できると供に、吐出信頼性に優れたインクジェット記録方法となる。なお、記録媒体の好ましい幅の下限値は30cm以上である。  When the inkjet recording device 1 of FIG. 1 is a serial type recording device, the preferred width of the recording medium M is preferably 3.2 m or less. In this case, the time during which the recording medium M faces the
  2.インクジェット記録方法
  本実施形態に係るインクジェット記録方法は、インクジェットヘッドの圧力室に充填したインク組成物を、ノズルを介して吐出させて記録媒体へ付着させるインク組成物付着工程を備え、前記インクジェットヘッドは、前記圧力室から前記ノズルへ向けて前記インク組成物が移動する部分から前記ノズルまでの間に段差を備えるものであり、前記インク組成物は、本実施形態に係る水系インクジェットインク組成物であることを特徴とする。以下、図面を参照しながら説明する。2. Inkjet recording method The inkjet recording method according to the present embodiment includes an ink composition adhering step of ejecting an ink composition filled in a pressure chamber of an inkjet head through a nozzle and adhering it to a recording medium. A step is provided between the portion where the ink composition moves from the pressure chamber to the nozzle and the nozzle, and the ink composition is the water-based inkjet ink composition according to the present embodiment. It is characterized by that. Hereinafter, description will be made with reference to the drawings.
  2.1.反応液付着工程
  本実施形態に係るインクジェット記録方法において、インク組成物付着工程の前に、インク組成物を記録媒体に付着する前に、記録媒体へ上述の反応液を付着させる反応液付着工程を有していてもよい。反応液付着工程を行うことにより、画質が向上したり、より耐擦性に優れた画像を記録することができる。2.1. Reaction liquid adhesion step In the inkjet recording method according to the present embodiment, before the ink composition adhesion step, the reaction liquid adhesion step of adhering the above-mentioned reaction liquid to the recording medium is performed before the ink composition is adhered to the recording medium. You may have. By performing the reaction liquid adhering step, the image quality can be improved and an image having more excellent scratch resistance can be recorded.
  反応液付着工程の前に図1に示すプレヒーター7により、または反応液付着工程の際に、図1に示すIRヒーター3またはプラテンヒーター4により記録媒体Mが加熱されていることが好ましい。加熱された記録媒体M上に反応液を付着させることにより、記録媒体M上に吐出された反応液が記録媒体M上で塗れ広がりやすくなり、均一塗布することができる。このため、後述のインク組成物付着工程で付着されたインクと十分に反応し、優れた画質が得られるようになる。また、反応液は記録媒体M上で均一に塗布されるため、塗布量を減らすことができる。このため、得られた画像の耐擦性低下を防止することができる。  It is preferable that the recording medium M is heated by the preheater 7 shown in FIG. 1 before the reaction liquid adhering step, or by the
  ここで、反応液を記録媒体Mへ付着させる際の記録媒体Mの表面の温度は25℃以上60℃以下であることが好ましく、30℃以上50℃以下であることがより好ましく、35
℃以上45℃以下であることがより好ましい。反応液の温度が前記範囲にある場合には、反応液を記録媒体Mに均一に塗布することができ、画質を向上させることができる。また、インクジェットヘッド2への熱による影響を抑えることができる。Here, the temperature of the surface of the recording medium M when adhering the reaction solution to the recording medium M is preferably 25 ° C. or higher and 60 ° C. or lower, more preferably 30 ° C. or higher and 50 ° C. or lower, and 35.
 It is more preferable that the temperature is ℃ or more and 45 ℃ or less. When the temperature of the reaction solution is within the above range, the reaction solution can be uniformly applied to the recording medium M, and the image quality can be improved. In addition, the influence of heat on the
  反応液付着工程の反応液の付着量は10mg/inch2以下が好ましく、0.1〜10mg/inch2がより好ましく、0.3〜5mg/inch2がさらに好ましく、0.5〜3mg/inch2が特に好ましく、0.7〜2mg/inch2がさらに特に好ましい。また、反応液付着工程の反応液の最大付着量は、0.5〜10mg/inch2が好ましく、0.5〜5mg/inch2がより好ましく、0.7〜3mg/inch2がさらに好ましく、0.7〜2mg/inch2が特に好ましい。付着量や最大付着量が上記の範囲であると、より優れた画質が得やすくなり、付着工程の所要時間を短くすることができる。これにより、反応液に含まれる標準沸点280℃以上の有機溶剤等の記録媒体への付着量が多過となることに起因する記録物への悪影響が防止され、好ましい。Adhesion amount of the reaction liquid in the reaction liquid application step is preferably 10 mg / inch2 or less, more preferably 0.1 to 10 mg / inch2, more preferably 0.3~5mg / inch2, 0.5~3mg / inch2 is particularly preferable, and 0.7 to2 mg /
なお、反応液付着工程の反応液の付着量は、インクジェット記録方法において、反応液付着工程とインク組成物付着工程とが行われる領域における、反応液付着工程の反応液の付着量であり、該領域に少なくとも付着量が該付着量である領域を有するものである。 The amount of the reaction solution adhered in the reaction solution adhering step is the amount of the reaction solution adhering in the reaction solution adhering step in the region where the reaction solution adhering step and the ink composition adhering step are performed in the inkjet recording method. The region has a region in which the adhesion amount is at least the adhesion amount.
また、反応液付着工程の反応液の最大付着量は、インクジェット記録方法において、反応液付着工程とインク組成物付着工程とが行われる領域における、反応液付着工程の反応液の付着量が最大である領域の反応液の付着量である。従って、反応液付着工程とインク組成物付着工程とが行われる領域に付着量が最大付着量よりも少ない他の領域があっても良い。 Further, the maximum amount of the reaction solution adhered in the reaction solution adhering step is the maximum amount of the reaction solution adhered in the reaction solution adhering step in the region where the reaction solution adhering step and the ink composition adhering step are performed in the inkjet recording method. It is the amount of the reaction solution adhered in a certain area. Therefore, there may be another region in which the adhesion amount is smaller than the maximum adhesion amount in the region where the reaction liquid adhesion step and the ink composition adhesion step are performed.
さらに、反応液付着工程とインク組成物付着工程とが行われる領域において、インク組成物の付着量がインク組成物の最大付着量である領域において、反応液の付着量が上記の範囲であることが好ましい。またさらには、反応液付着工程とインク組成物付着工程とが行われる領域において、インク組成物の付着量がインク組成物の最大付着量である領域から該最大付着量の60質量%の付着量である領域までにわたり、反応液の付着量が上記の範囲であることがさらに好ましい。 Further, in the region where the reaction liquid adhesion step and the ink composition adhesion step are performed, the reaction liquid adhesion amount is within the above range in the region where the adhesion amount of the ink composition is the maximum adhesion amount of the ink composition. Is preferable. Furthermore, in the region where the reaction liquid adhesion step and the ink composition adhesion step are performed, the adhesion amount of 60% by mass of the maximum adhesion amount from the region where the adhesion amount of the ink composition is the maximum adhesion amount of the ink composition. It is more preferable that the amount of the reaction solution adhered to the above range is in the above range.
  なお、反応液の付着は、上記のように、インクジェットヘッド2による吐出により行ってもよく、それ以外の方法、例えば、反応液をロールコーター等で塗布する方法や、反応液を噴射する方法等が挙げられる。また、本実施形態に係る水系インクジェットインク組成物付着工程と反応液付着工程は同時に行われてもよい。  As described above, the reaction liquid may be adhered by ejection with the
  2.2.インク組成物付着工程
  インク組成物付着工程は、図2に記載のインクジェットヘッド2の圧力室21に充填したインク組成物を、ノズル22を介して吐出させて記録媒体Mへ付着させる工程である。この工程により、記録媒体Mの表面に、インク組成物からなる画像が形成される。2.2. Ink Composition Adhesion Step The ink composition adhesion step is a step of ejecting the ink composition filled in the
ここで、本実施形態において「画像」とは、ドット群から形成される記録パターンを示し、テキスト印字、ベタ画像も含める。なお、「ベタ画像」とは、記録解像度で規定される最小記録単位領域である画素の全ての画素に対してドットを記録し、通常、記録媒体の記録領域がインクで覆われ記録媒体の地が見えていないような画像であるべき画像パターンを意味する。 Here, in the present embodiment, the “image” indicates a recording pattern formed from a group of dots, and includes text printing and a solid image. The "solid image" means that dots are recorded on all pixels, which is the minimum recording unit area defined by the recording resolution, and the recording area of the recording medium is usually covered with ink and the ground of the recording medium. Means an image pattern that should be an invisible image.
  本実施形態において、インクジェットヘッド2は、図2に記載の圧力室21からノズル22へ向けてインク組成物が移動する部分からノズル22までの間に段差22aを備えるものである。  In the present embodiment, the
記録媒体の単位面積当たりのインク組成物の最大付着量は、好ましくは5〜20mg/inch2であり、より好ましくは7〜15mg/inch2であり、さらに好ましくは8〜13mg/inch2である。記録媒体の単位面積当たりのインク組成物の最大付着量が上記範囲であると、有用な画像の記録が可能となる点や優れた画質が得られる点で好ましい。The maximum adhesion amount of the ink composition per unit area of the recording medium is preferably 5 to 20 mg / inch2 , more preferably 7 to 15 mg / inch2 , and even more preferably 8 to 13 mg / inch2 . .. When the maximum amount of the ink composition adhered per unit area of the recording medium is within the above range, it is preferable in that useful images can be recorded and excellent image quality can be obtained.
インク組成物を記録媒体Mへ付着させる際には、加熱された記録媒体にインク組成物を付着させることが好ましい。加熱された記録媒体にインク組成物を付着させることにより、記録媒体M上でのインク組成物の乾燥性が高くなるので、ブリードの発生が抑制され、よりインク塗膜の造膜性に優れ、耐擦性に優れた画像が形成できる。 When the ink composition is attached to the recording medium M, it is preferable to attach the ink composition to the heated recording medium. By adhering the ink composition to the heated recording medium, the drying property of the ink composition on the recording medium M is improved, so that the occurrence of bleeding is suppressed, and the film forming property of the ink coating film is more excellent. An image with excellent abrasion resistance can be formed.
  インクを付着させる際の記録媒体Mの表面温度は、25℃以上60℃以下であることが好ましく、30℃以上50℃以下であることがより好ましく、35℃以上45℃以下であることがより好ましい。これにより、IRヒーター3及びプラテンヒーター4から受ける輻射熱が少ない又はなくなることから、インクジェットヘッド2内のインク組成物の乾燥及び組成変動を抑制でき、インクジェットヘッド2の内壁に樹脂が溶着することが抑制され、吐出信頼性に優れたインクジェット記録方法となる。  The surface temperature of the recording medium M when the ink is adhered is preferably 25 ° C. or higher and 60 ° C. or lower, more preferably 30 ° C. or higher and 50 ° C. or lower, and more preferably 35 ° C. or higher and 45 ° C. or lower. preferable. As a result, the radiant heat received from the
  なお、インクジェット記録装置1がシリアルプリンターである場合、1回の主走査中に記録媒体Mがインクジェットヘッド2と対向している時間が12秒以下であることが好ましい。この時間の上限は、10秒以下であることがより好ましく、6秒以下であることが特に好ましい。この時間の下限は、1秒以上であることが好ましく、2秒以上であることがより好ましく、3秒以上であることが特に好ましい。1回の主走査中に記録媒体Mがインクジェットヘッド2と対向している時間は、1走査中に使われないノズル22が記録媒体Mから熱を受ける時間に等しい。つまり、この時間が前記範囲にあると、1回の主走査中に使用されないノズル22が記録媒体Mから熱を受ける時間が十分に短いので、ノズル22内のインク組成物の乾燥及び組成変動を抑制でき、ノズル22の内壁に樹脂が溶着することを低減することができる。その結果、連続印字時のインクの着弾ずれを抑制でき、ノズル22の目詰まり回復性もさらに良好となる。  When the inkjet recording device 1 is a serial printer, the time during which the recording medium M faces the
  2.3.乾燥工程
  本実施形態に係るインクジェット記録方法は、上記インク組成物付着工程の後、図1に示す硬化ヒーター5によりインク組成物が付着した記録媒体Mの表面を乾燥させる乾燥工程を有していてもよい。これにより、記録媒体M上のインク組成物に含まれる樹脂が、溶融し、塗膜の造膜性が優れたものとなり、耐擦性に優れた画像を作製することができる。硬化ヒーター5による乾燥温度は、好ましくは40℃以上120℃以下であり、より好ましくは60℃以上100℃以下であり、さらに好ましくは80℃以上90℃以下である。乾燥温度が上記範囲内であることにより、造膜性や耐擦性がより向上する。また、図1に示す冷却ファン6により、記録媒体M上のインク組成物を冷却してもよい。この場合には、さらに記録媒体M上に密着性よくインク膜を形成することができる。2.3. Drying Step The inkjet recording method according to the present embodiment includes a drying step of drying the surface of the recording medium M to which the ink composition is attached by the curing
  2.4.クリーニング工程
  本実施形態に係るインクジェット記録方法は、インクを吐出して記録するための圧力発生手段以外の手段により、つまり、インクジェットヘッドが備える記録のためにインクを吐出するための機構ではない他の機構により、例えば、インクジェットヘッドの外部からの作用によりインク組成物をインクジェットヘッドから排出させるクリーニング工程を備えていてもよい。2.4. Cleaning step The inkjet recording method according to the present embodiment is not a mechanism for ejecting ink for recording provided by the inkjet head, that is, by means other than the pressure generating means for ejecting and recording ink. Depending on the mechanism, for example, a cleaning step of ejecting the ink composition from the inkjet head by an action from the outside of the inkjet head may be provided.
  上述のように、インクジェットヘッド2が備える記録のためにインクを吐出するための
機構としては、圧力室21に備えられてインクに圧力を付与するピエゾ素子等の圧電素子23が挙げられる。これに対し、クリーニング工程では、例えば、インクジェットヘッド2に外部から圧力を付与して、ノズル22から、インク組成物を排出させる工程とする。この工程を備えることで、インクジェットヘッド2の内壁に樹脂が溶着する懸念がある場合においても、これを抑制し、目詰まり性を改善する点で一層優れたものとすることができる。As described above, as a mechanism for ejecting ink for recording included in the
また、本実施形態に係るインクジェット記録方法では、上述のクリーニング工程を行うことなく記録を1時間以上行うように制御することが好ましい。このように制御することで該工程に伴い記録を中断するなどにより記録速度を低減させることが無く好ましい。このような場合であっても、上述したインク組成物を用いることにより、連続印字時のインクの着弾ずれを抑制でき、耐擦性に優れた画像が形成できると供に、吐出信頼性に優れたインクジェット記録方法とすることができる。 Further, in the inkjet recording method according to the present embodiment, it is preferable to control the recording so that the recording is performed for 1 hour or more without performing the above-mentioned cleaning step. By controlling in this way, it is preferable that the recording speed is not reduced due to interruption of recording or the like associated with the process. Even in such a case, by using the above-mentioned ink composition, it is possible to suppress the landing deviation of the ink during continuous printing, and it is possible to form an image having excellent scratch resistance and excellent ejection reliability. It can be an inkjet recording method.
なお、上述の他の機構としては、吸引(負圧)の付与や、ヘッドの上流から正圧を付与すること、など圧力を付与する機構が挙げられる。これらは、インクジェットヘッド自身の機能によるインク排出(フラッシング)ではない。つまり、記録に際して、インクジェットヘッドからインクを吐出させる機能を用いての排出ではない。 Examples of the other mechanism described above include a mechanism for applying pressure, such as applying suction (negative pressure) or applying positive pressure from the upstream of the head. These are not ink ejection (flushing) due to the function of the inkjet head itself. That is, it is not the discharge using the function of ejecting ink from the inkjet head at the time of recording.
また、記録の時間は連続でなくてもよく、インクジェットヘッドに外部から圧力を付与してノズルからインク組成物を排出させることをしなければ、休止はしてもよい。ここで、記録の時間とは、記録や記録の合間の停止時間も含めた記録の時間である。記録の時間は1時間以上が好ましく、1.5時間以上がより好ましく、2時間以上がさらに好ましく、3時間以上が特に好ましい。記録の時間の上限は限るものではないが、好ましくは10時間以下、より好ましくは5時間以下、さらに好ましくは4時間以下である。 Further, the recording time does not have to be continuous, and the ink composition may be paused unless pressure is applied to the inkjet head from the outside to discharge the ink composition from the nozzles. Here, the recording time is the recording time including the recording and the stop time between recordings. The recording time is preferably 1 hour or more, more preferably 1.5 hours or more, further preferably 2 hours or more, and particularly preferably 3 hours or more. The upper limit of the recording time is not limited, but is preferably 10 hours or less, more preferably 5 hours or less, still more preferably 4 hours or less.
また、本実施形態に係るインクジェット記録方法は、1回の記録に際して、記録中に上記のクリーニング工程を行わないとすることが、上記の点で好ましい。また、記録を行う前または記録を行った後の少なくとも何れかに、上述のクリーニング工程を行うとしても、上記の点で好ましい。 Further, in the inkjet recording method according to the present embodiment, it is preferable that the above-mentioned cleaning step is not performed during the recording at the time of one recording in the above-mentioned points. Further, even if the above-mentioned cleaning step is performed at least before recording or after recording, it is preferable in the above-mentioned points.
以上示したように、本実施形態に係るインクジェット記録方法では、インクジェットヘッドの圧力室に充填したインク組成物を、ノズルを介して吐出させて記録媒体へ付着させるインク組成物付着工程を備え、前記インクジェットヘッドは、前記圧力室から前記ノズルへ向けて前記インク組成物が移動する部分から前記ノズルまでの間に段差を備えるものであり、前記インク組成物は、本実施形態に係る水系インクジェットインク組成物であることにより、段差ノズルを有するインクジェットヘッドを用いた記録において、インク塗膜の造膜性が優れたものとなり、耐擦性に優れた画像が形成できると供に、耐目詰まり性に優れるインクを用いているため、インクジェットヘッド内でインクの乾燥が進んだ場合であっても吐出信頼性に優れたインクジェット記録方法を提供することができる。 As described above, the inkjet recording method according to the present embodiment includes an ink composition adhering step of ejecting the ink composition filled in the pressure chamber of the inkjet head through a nozzle and adhering it to the recording medium. The inkjet head is provided with a step between the portion where the ink composition moves from the pressure chamber to the nozzle and the nozzle, and the ink composition is an aqueous inkjet ink composition according to the present embodiment. Since it is an object, in recording using an inkjet head having a step nozzle, the film-forming property of the ink coating film is excellent, and an image having excellent scratch resistance can be formed, and at the same time, clogging resistance is improved. Since an excellent ink is used, it is possible to provide an inkjet recording method having excellent ejection reliability even when the ink has dried in the inkjet head.
なお、本実施形態は、上記のインクジェット記録装置の制御方法としてもよい。制御方法は、インクジェット記録装置が備える制御部により、上述のインクジェット記録方法やクリーニング工程を行うよう制御を行う制御方法である。 In addition, this embodiment may be used as the control method of the above-mentioned inkjet recording apparatus. The control method is a control method in which a control unit included in the inkjet recording device controls the above-mentioned inkjet recording method and cleaning step.
  3.実施例
  以下、本発明の実施形態を実施例及び比較例によってさらに具体的に説明するが、本実施形態はこれらの実施例のみに限定されるものではない。3. 3. Examples Hereinafter, embodiments of the present invention will be described in more detail with reference to Examples and Comparative Examples, but the present embodiments are not limited to these Examples.
  3.1.インク組成物の調製
  表1の配合割合になるように各成分を混合攪拌して、インク1〜9を得た。なお、表1中の数値は全て質量%を示し、純水はインク組成物の全質量が100質量%となるように添加した。3.1. Preparation of Ink Composition Inks 1 to 9 were obtained by mixing and stirring each component so as to have the blending ratio shown in Table 1. All the values in Table 1 indicate mass%, and pure water was added so that the total mass of the ink composition was 100% by mass.
  なお、用いた各材料は以下の通りである。
<顔料>
・PB15:3(大日精化工業株式会社製、商品名「クロモファインブルー」、C.I.ピグメントブルー15:3)
<顔料分散剤樹脂>
・顔料分散剤樹脂A(商品名「ジョンクリル586」、BASF株式会社製、スチレン・アクリル樹脂)
・顔料分散剤樹脂B(商品名「BYK2015」、ビックケミー・ジャパン株式会社製、アクリル樹脂)
<界面活性剤>
・BYK348(商品名、ビックケミー・ジャパン株式会製、シリコーン系界面活性剤)・DF110D(商品名「サーフィノール  DF110D」、日信化学工業株式会社製、アセチレングリコール系界面活性剤)
<樹脂微粒子>
・スチレン・アクリル樹脂(商品名「アルフォンUF−5022」、東亜合成株式会社製、  Tg75℃)
・アクリル系樹脂(商品名「JE−1056」、星光PMC株式会社製、  Tg81℃)The materials used are as follows.
 <Pigment>
・ PB15: 3 (manufactured by Dainichiseika Kogyo Co., Ltd., product name “Chromofine Blue”, CI Pigment Blue 15: 3)
 <Pigment dispersant resin>
 -Pigment dispersant resin A (trade name "John Krill 586", manufactured by BASF Corporation, styrene / acrylic resin)
 -Pigment dispersant resin B (trade name "BYK2015", manufactured by Big Chemie Japan Co., Ltd., acrylic resin)
 <Surfactant>
・ BYK348 (trade name, manufactured by Big Chemie Japan Co., Ltd., silicone-based surfactant) ・ DF110D (trade name “Surfinol DF110D”, manufactured by Nissin Chemical Industry Co., Ltd., acetylene glycol-based surfactant)
 <Resin fine particles>
 -Styrene / acrylic resin (trade name "Alfon UF-5022", manufactured by Toagosei Co., Ltd., Tg 75 ° C)
 -Acrylic resin (trade name "JE-1056", manufactured by Seiko PMC Corporation, Tg81 ° C)
  3.2.反応液の調製
  表2に記載の組成にしたがって、各成分を混合・攪拌した後、10μmのメンブレンフィルターでろ過することにより、反応液を調製した。なお、表2中の数値は全て質量%を示し、純水は反応液の全質量が100質量%となるように添加した。3.2. Preparation of reaction solution A reaction solution was prepared by mixing and stirring each component according to the composition shown in Table 2 and then filtering through a 10 μm membrane filter. All the values in Table 2 show mass%, and pure water was added so that the total mass of the reaction solution was 100% by mass.
なお、表2に示す成分のうちBYK348は、上記のインクに使用したものと同じ成分である。 Of the components shown in Table 2, BYK348 is the same component used for the above ink.
  3.3.評価試験
  まず、各インクについて、水の20質量%が蒸発した時のインク中の粒子径20μm以上の粒子数と、水の40質量%が蒸発した時のインク中の粒子数を測定した。水の20質量%が蒸発した時のインクは、インクを50mlのサンプル瓶に入れ、40℃の恒温槽にて蒸発させることにより調製した。インク中の水分量の測定には、赤外線水分計(商品名「FD−660」、株式会社ケット科学研究所製)を用いた。インク中の凝集体の数は、アキュサイザー(商品名「AccuSizer  FX  Nano  dual」、株式会社ビーエスエスジャパン製)を用い、Loop=5ml、DF2=50の条件にて測定した。3.3. Evaluation test First, for each ink, the number of particles having a particle size of 20 μm or more in the ink when 20% by mass of water was evaporated and the number of particles in the ink when 40% by mass of water was evaporated were measured. The ink when 20% by mass of water was evaporated was prepared by placing the ink in a 50 ml sample bottle and evaporating it in a constant temperature bath at 40 ° C. An infrared moisture meter (trade name "FD-660", manufactured by Kett Scientific Research Institute Co., Ltd.) was used for measuring the amount of water in the ink. The number of aggregates in the ink was measured using an Accuser (trade name "AccuSizer FX Nano dual", manufactured by BS Japan Co., Ltd.) under the conditions of Loop = 5 ml and DF2 = 50.
なお、水を蒸発させる前のインクの初期粘度と水の20質量%が蒸発した時のインクの粘度も測定した。測定には、レオメーター(商品名「MCR−300」、Physica社製を用い、200rpmの条件にて測定した。 The initial viscosity of the ink before evaporating water and the viscosity of the ink when 20% by mass of water was evaporated were also measured. For the measurement, a rheometer (trade name "MCR-300", manufactured by Physica) was used, and the measurement was performed under the condition of 200 rpm.
次に、各インクを用いて記録を行い、得られた記録物について、耐擦性、発色および目詰まり性の評価を行った。 Next, recording was performed using each ink, and the obtained recorded material was evaluated for scratch resistance, color development, and clogging.
  3.3.1.耐擦性の評価
  インクジェットプリンター(商品名「PX−G930」、セイコーエプソン株式会社製)にインク組成物および反応液を充填して、記録媒体(クリアプルーフフィルム、セイコーエプソン株式会社製)に記録した。具体的には、まず、反応液を1440×1440dpiの解像度で、1.0mg/inch2の付着量でインクジェット塗布した。次に、記録媒体を巻き戻して、インクを720×720dpiの解像度、10.0mg/inch2の付着量で反応液層に重ねてインクジェット塗布し、100%のdutyで記録できる塗り潰しパターンを作製しこれを用いた。この際、記録媒体の表面温度は表3に記載の温度となるように制御した。その後、室温(25℃)条件下の実験室にて1時間放置した記録物の記録面を学振型摩擦堅牢度試験機AB−301(商品名、テスター産業株式会社製)を用いて、荷重200g下、綿布にて20回擦ったときの記録面の剥がれ状態や綿布へのインク移り状態を確認することにより、以下の基準で耐擦性を評価した。
(評価基準)
  A:傷または剥離がない。
  B:ストローク面積の1%以下の傷または剥離がある
  C:ストローク面積の1%以上10%未満の傷または剥離がある
  D:ストローク面積の10%以上50%未満の傷または剥離がある
  E:ストローク面積の50%以上の傷または剥離がある3.3.1. Evaluation of Abrasion Resistance An inkjet printer (trade name "PX-G930", manufactured by Seiko Epson Corporation) was filled with an ink composition and a reaction solution, and recorded on a recording medium (clear proof film, manufactured by Seiko Epson Corporation). .. Specifically, first, the reaction solution was inkjet-coated at aresolution of 1440 × 1440 dpi with an adhesion amount of 1.0 mg / inch 2. Next, the recording medium was rewound, and the ink wasinkjet-coated on the reaction solution layer at a resolution of 720 × 720 dpi and an adhesion amount of 10.0 mg / inch 2 to prepare a fill pattern capable of recording with 100% duty. This was used. At this time, the surface temperature of the recording medium was controlled to be the temperature shown in Table 3. Then, the recording surface of the recorded material left in the laboratory under room temperature (25 ° C.) conditions for 1 hour was loaded using a Gakushin type friction fastness tester AB-301 (trade name, manufactured by Tester Sangyo Co., Ltd.). The abrasion resistance was evaluated according to the following criteria by confirming the peeling state of the recording surface and the ink transfer state to the cotton cloth when the recording surface was rubbed 20 times with a cotton cloth under 200 g.
 (Evaluation criteria)
 A: No scratches or peeling.
 B: Scratches or peeling of 1% or less of the stroke area C: Scratches or peeling of 1% or more and less than 10% of the stroke area D: Scratches or peeling of 10% or more and less than 50% of the stroke area E: There are scratches or peeling of 50% or more of the stroke area
  3.3.2.発色の評価
  3.3.1.で得られた記録物の記録部のベタパターンのOD値を測定し、以下の基準で記録物を評価した。なお、測定には、分光光度計/分光放射輝度計  スペクトロリノ(商品名「Spectrolino」、Gretag社製)を用いた。
(評価基準)
  A:記録部のOD値が1.5以上
  B:記録部のOD値が1.2以上1.5未満
  C:記録部のOD値が1.2未満3.3.2. Evaluation of color development 33.1. The OD value of the solid pattern of the recording unit of the recorded material obtained in 1 was measured, and the recorded material was evaluated according to the following criteria. A spectrophotometer / spectroradiance meter Spectrolino (trade name "Spectrolino", manufactured by Gretag) was used for the measurement.
 (Evaluation criteria)
 A: OD value of the recording unit is 1.5 or more B: OD value of the recording unit is 1.2 or more and less than 1.5 C: OD value of the recording unit is less than 1.2
  3.3.3.目詰り性(吐出信頼性)
  インクジェットプリンター(商品名「PX−H8000」、セイコーエプソン株式会社製)にインク組成物を充填して、キャップ開放の状態にて1か月放置した。その後、クリーニングを3回行い、何本のノズルが抜けているかを判定し、以下の基準で評価した。
(評価基準)
  A:ノズル抜けの数が0本
  B:ノズル抜けの数が1〜5本
  C:ノズル抜けの数が6〜20本
  D:ノズル抜けの数が21本以上3.3.3. Clogging property (discharge reliability)
 An inkjet printer (trade name "PX-H8000", manufactured by Seiko Epson Corporation) was filled with an ink composition and left to stand for one month with the cap open. After that, cleaning was performed three times to determine how many nozzles were missing, and the evaluation was made according to the following criteria.
 (Evaluation criteria)
 A: Nozzle omission is 0 B: Nozzle omission is 1 to 5 C: Nozzle omission is 6 to 20 D: Nozzle omission is 21 or more
  3.4.評価結果
  評価試験の結果を表3の下方に示す。3.4. Evaluation Results The results of the evaluation test are shown at the bottom of Table 3.
いずれの実施例においても、評価がB以上となり、耐擦性に優れる画像を形成されたと供に、インクの吐出信頼性に優れた結果となった。実施例1、2の比較により、反応液を用いた方が発色が高くなり、実施例1、3の比較により、記録温度が高い方が耐擦性に優れる結果となった。実施例1、4の比較により、インク中の水分が40%蒸発した時の粗大粒子の数が少ないほど粘度の上昇が抑えられ、発色や目詰まり性の結果が良かった。実施例1、5の比較により、インクが含窒素溶剤を含んだ方が耐擦性に優れる結果となった。実施例1、6の比較により、インク中の水分が20%および40%蒸発した時の粗大粒子の数が少ないほど粘度の上昇が抑えられ、耐擦性の結果が良かった。 In each of the examples, the evaluation was B or higher, the image having excellent scratch resistance was formed, and the ink ejection reliability was excellent. By comparing Examples 1 and 2, the color development was higher when the reaction solution was used, and by comparing Examples 1 and 3, the higher the recording temperature was, the better the abrasion resistance was. According to the comparison of Examples 1 and 4, the smaller the number of coarse particles when the water content in the ink was evaporated by 40%, the more the increase in viscosity was suppressed, and the results of color development and clogging were good. As a result of comparison of Examples 1 and 5, it was found that the ink containing the nitrogen-containing solvent had better abrasion resistance. According to the comparison of Examples 1 and 6, the smaller the number of coarse particles when the water content in the ink was evaporated by 20% and 40%, the more the increase in viscosity was suppressed, and the result of abrasion resistance was good.
これに対して、比較例1では、樹脂とのSP値差が2以内の溶剤を20質量%以上含み、インク中の水が20質量%が蒸発した時の粘度上昇率が200%を超えたため、粗大粒子の数が増え、実施例1と比較して全ての評価が低下し、特に、目詰まり性が悪化した。比較例2では、インクがグリセリンを5質量%を超えて含有していたため、粗大粒子の数が増え、耐擦性や発色が低下したが、グリセリンを含むため、目詰まり性は良好だった。比較例3では、分散剤樹脂と樹脂微粒子の樹脂のSP値の差が2を超え、さらにグリセリンを含んでいたため、粗大粒子を多く含んでいても目詰まり性は良好であったが、耐擦性や発色が低下した。比較例4では、分散剤樹脂と樹脂微粒子の樹脂のSP値の差が2を超え、グリセリンを含んでいなかったため、全ての評価が低下した。比較例5では、分散剤樹脂と樹脂微粒子の樹脂のSP値の差が2を超え、インク中の水が20質量%が蒸発した時の粘度上昇率が200%を超えたため、比較例1と同様に、インク中の水が20質量%が蒸発した時の粘度上昇率が200%を超えたため、粗大粒子の数が増え、実施例1と比較して全ての評価が低下した。 On the other hand, in Comparative Example 1, a solvent having an SP value difference of 2 or less from the resin was contained in an amount of 20% by mass or more, and the viscosity increase rate when 20% by mass of water in the ink evaporated exceeded 200%. , The number of coarse particles increased, all the evaluations decreased as compared with Example 1, and in particular, the clogging property deteriorated. In Comparative Example 2, since the ink contained glycerin in an amount of more than 5% by mass, the number of coarse particles increased and the abrasion resistance and color development decreased, but the clogging property was good because the ink contained glycerin. In Comparative Example 3, the difference in SP value between the dispersant resin and the resin of the resin fine particles exceeded 2, and glycerin was further contained. Therefore, the clogging property was good even if a large amount of coarse particles were contained, but the clogging resistance was good. The rubbing property and color development were reduced. In Comparative Example 4, the difference in SP value between the dispersant resin and the resin of the resin fine particles exceeded 2, and glycerin was not contained, so that all the evaluations were lowered. In Comparative Example 5, the difference in SP value between the dispersant resin and the resin of the resin fine particles exceeded 2, and the rate of increase in viscosity when 20% by mass of water in the ink evaporated exceeded 200%. Similarly, since the rate of increase in viscosity when 20% by mass of water in the ink evaporated exceeded 200%, the number of coarse particles increased, and all the evaluations decreased as compared with Example 1.
以上により、実施例では、耐擦性が高く、吐出信頼性に優れたインクジェット記録方法を提供することができた。 As described above, in the examples, it was possible to provide an inkjet recording method having high abrasion resistance and excellent ejection reliability.
本発明は、前述した実施形態に限定されるものではなく、種々の変形が可能である。例えば、本発明は、実施形態で説明した構成と実質的に同一の構成(例えば、機能、方法及び結果が同一の構成、あるいは目的及び効果が同一の構成)を含む。また、本発明は、実施形態で説明した構成の本質的でない部分を置き換えた構成を含む。また、本発明は、実施形態で説明した構成と同一の作用効果を奏する構成又は同一の目的を達成することができる構成を含む。また、本発明は、実施形態で説明した構成に公知技術を付加した構成を含む。 The present invention is not limited to the above-described embodiment, and various modifications are possible. For example, the present invention includes a configuration that is substantially the same as the configuration described in the embodiment (for example, a configuration that has the same function, method, and result, or a configuration that has the same purpose and effect). The present invention also includes a configuration in which a non-essential part of the configuration described in the embodiment is replaced. In addition, the present invention includes a configuration that exhibits the same effects as the configuration described in the embodiment or a configuration that can achieve the same object. Further, the present invention includes a configuration in which a known technique is added to the configuration described in the embodiment.
1…インクジェット記録装置、2…インクジェットヘッド、3…IRヒーター、4…プラテンヒーター、5…硬化ヒーター、6…冷却ファン、7…プレヒーター、8…通気ファン、20…ノズル形成板、21…圧力室、22…ノズル、22a…段差、23…圧電素子、24…流出口、24a…ノズル口、24b…延長線、24r…対向する位置、25…供給口、26…滞留部分、M…記録媒体1 ... Inkjet recording device, 2 ... Inkjet head, 3 ... IR heater, 4 ... Platen heater, 5 ... Curing heater, 6 ... Cooling fan, 7 ... Preheater, 8 ... Ventilation fan, 20 ... Nozzle forming plate, 21 ... Pressure Room, 22 ... Nozzle, 22a ... Step, 23 ... Piezoelectric element, 24 ... Outlet, 24a ... Nozzle port, 24b ... Extension line, 24r ... Opposing position, 25 ... Supply port, 26 ... Retention part, M ... Recording medium
| Application Number | Priority Date | Filing Date | Title | 
|---|---|---|---|
| JP2017076753AJP6880952B2 (en) | 2017-04-07 | 2017-04-07 | Water-based inkjet ink composition, inkjet recording method, and control method of inkjet recording device | 
| EP18166151.3AEP3385341A1 (en) | 2017-04-07 | 2018-04-06 | Aqueous ink jet ink composition, ink jet recording method, and method for controlling ink jet recording apparatus | 
| US15/946,996US10730302B2 (en) | 2017-04-07 | 2018-04-06 | Aqueous ink jet ink composition, ink jet recording method, and method for controlling ink jet recording apparatus | 
| CN201810305183.6ACN108690399B (en) | 2017-04-07 | 2018-04-08 | Aqueous inkjet ink composition, inkjet recording method, and control method of inkjet recording apparatus | 
| Application Number | Priority Date | Filing Date | Title | 
|---|---|---|---|
| JP2017076753AJP6880952B2 (en) | 2017-04-07 | 2017-04-07 | Water-based inkjet ink composition, inkjet recording method, and control method of inkjet recording device | 
| Publication Number | Publication Date | 
|---|---|
| JP2018177899A JP2018177899A (en) | 2018-11-15 | 
| JP6880952B2true JP6880952B2 (en) | 2021-06-02 | 
| Application Number | Title | Priority Date | Filing Date | 
|---|---|---|---|
| JP2017076753AActiveJP6880952B2 (en) | 2017-04-07 | 2017-04-07 | Water-based inkjet ink composition, inkjet recording method, and control method of inkjet recording device | 
| Country | Link | 
|---|---|
| US (1) | US10730302B2 (en) | 
| EP (1) | EP3385341A1 (en) | 
| JP (1) | JP6880952B2 (en) | 
| CN (1) | CN108690399B (en) | 
| Publication number | Priority date | Publication date | Assignee | Title | 
|---|---|---|---|---|
| US10654288B2 (en)* | 2017-10-17 | 2020-05-19 | Canon Kabushiki Kaisha | Ink jet recording method and ink jet recording apparatus | 
| JP7251175B2 (en)* | 2019-01-31 | 2023-04-04 | セイコーエプソン株式会社 | INKJET RECORDING METHOD, RECORDING HEADSET AND INKJET RECORDING APPARATUS | 
| WO2020195505A1 (en)* | 2019-03-28 | 2020-10-01 | 富士フイルム株式会社 | Image formation method | 
| JP7408982B2 (en)* | 2019-09-30 | 2024-01-09 | セイコーエプソン株式会社 | Inkjet recording device and inkjet recording method | 
| JP7615535B2 (en)* | 2020-03-10 | 2025-01-17 | セイコーエプソン株式会社 | Inkjet recording apparatus and maintenance method | 
| JP7533015B2 (en)* | 2020-08-25 | 2024-08-14 | セイコーエプソン株式会社 | Ink set, recording method | 
| JP7631760B2 (en)* | 2020-11-27 | 2025-02-19 | セイコーエプソン株式会社 | White ink composition and recording method | 
| JP7734200B2 (en)* | 2021-04-22 | 2025-09-04 | 花王株式会社 | Solvent-based inkjet ink | 
| JP7733485B2 (en)* | 2021-06-30 | 2025-09-03 | 株式会社パイロットコーポレーション | Reversible thermochromic aqueous ink composition for inkjet printers, and inkjet printer and ink cartridge using the same | 
| JP2023011181A (en)* | 2021-07-12 | 2023-01-24 | セイコーエプソン株式会社 | Inkjet ink composition and recording method | 
| CN116409074A (en)* | 2022-01-07 | 2023-07-11 | 精工爱普生株式会社 | Treatment method | 
| JP2023146794A (en)* | 2022-03-29 | 2023-10-12 | セイコーエプソン株式会社 | Inkjet ink composition and inkjet recording method | 
| US20240173993A1 (en)* | 2022-11-25 | 2024-05-30 | Canon Kabushiki Kaisha | Ink jet recording method and ink jet recording apparatus | 
| WO2025053168A1 (en)* | 2023-09-08 | 2025-03-13 | キヤノン株式会社 | Staining method, liquid composition for staining, and kit for staining | 
| Publication number | Priority date | Publication date | Assignee | Title | 
|---|---|---|---|---|
| JPS621426A (en) | 1985-06-26 | 1987-01-07 | Fuji Electric Co Ltd | Electroosmotic dehydration apparatus | 
| JP3033093B2 (en) | 1989-07-25 | 2000-04-17 | セイコーエプソン株式会社 | Image recording ink and image recording method | 
| JPH0379678A (en) | 1989-08-22 | 1991-04-04 | Kao Corp | Water-based ink composition for inkjet recording | 
| JP2867491B2 (en) | 1989-11-17 | 1999-03-08 | セイコーエプソン株式会社 | Image recording ink | 
| JPH0418462A (en) | 1990-05-10 | 1992-01-22 | Canon Inc | Ink and method for ink jet recording with the same | 
| JP3778956B2 (en) | 1994-03-28 | 2006-05-24 | 三菱化学株式会社 | Carbon black | 
| JP3405817B2 (en) | 1994-06-20 | 2003-05-12 | オリヱント化学工業株式会社 | Aqueous pigment ink and method for producing the same | 
| JP2993392B2 (en) | 1995-04-14 | 1999-12-20 | 東洋インキ製造株式会社 | Surface-treated pigment and method for producing the same | 
| JP3795983B2 (en) | 1996-08-26 | 2006-07-12 | オリヱント化学工業株式会社 | Aqueous pigment ink composition and method for producing the same | 
| JP3271530B2 (en) | 1996-10-07 | 2002-04-02 | 東洋インキ製造株式会社 | Surface-treated pigment and method for producing the same | 
| JP3271529B2 (en) | 1996-10-07 | 2002-04-02 | 東洋インキ製造株式会社 | Surface-treated pigment and method for producing the same | 
| JPH10110114A (en) | 1996-10-09 | 1998-04-28 | Toyo Ink Mfg Co Ltd | Surface-treated pigment and method for producing the same | 
| JP3787425B2 (en) | 1996-11-13 | 2006-06-21 | キヤノン株式会社 | Aqueous pigment ink, ink jet recording method and ink jet recording apparatus using the same | 
| JP3521665B2 (en) | 1997-01-07 | 2004-04-19 | 三菱化学株式会社 | Process for producing oxidized carbon black, aqueous dispersion and aqueous ink | 
| JPH10237349A (en) | 1996-12-26 | 1998-09-08 | Mitsubishi Chem Corp | Oxidized carbon black, method for producing the same, aqueous dispersion containing the same, and aqueous ink | 
| JPH10330665A (en) | 1997-05-30 | 1998-12-15 | Canon Inc | Aqueous pigment ink, ink jet recording method and ink jet recording apparatus using the same | 
| JPH11228898A (en)* | 1998-02-17 | 1999-08-24 | Fuji Xerox Co Ltd | Ink for ink jet recording and ink jet recording | 
| US6536894B1 (en)* | 2000-06-06 | 2003-03-25 | Hewlett-Packard Company | Print media heating techniques for a vacuum belt hard copy apparatus | 
| JP2002331739A (en)* | 2001-05-09 | 2002-11-19 | Fuji Xerox Co Ltd | Ink jet recording method and ink jet recording device | 
| US6783226B2 (en)* | 2002-09-26 | 2004-08-31 | Xerox Corporation | Curved infrared foil heater for drying images on a recording medium | 
| JP2004189879A (en) | 2002-12-11 | 2004-07-08 | Fuji Xerox Co Ltd | Recording liquid for water-based ink jet and image recording method | 
| EP1639050B1 (en) | 2003-06-30 | 2012-11-28 | Ricoh Company, Ltd. | Inkjet recording ink, recording process and recording apparatus | 
| JP4794830B2 (en) | 2003-06-30 | 2011-10-19 | 株式会社リコー | Ink / recording method and recording apparatus for inkjet recording | 
| JP5247191B2 (en)* | 2008-03-13 | 2013-07-24 | 富士フイルム株式会社 | Ink composition and image recording method | 
| JP5554035B2 (en)* | 2009-09-02 | 2014-07-23 | 富士フイルム株式会社 | Ink set and image forming method | 
| JP5724198B2 (en) | 2010-03-26 | 2015-05-27 | セイコーエプソン株式会社 | Inkjet recording method | 
| WO2011149022A1 (en)* | 2010-05-26 | 2011-12-01 | 東洋インキScホールディングス株式会社 | Water-based jet printing ink composition | 
| JP5736749B2 (en) | 2010-11-29 | 2015-06-17 | 株式会社リコー | Inkjet recording method | 
| JP2012188502A (en)* | 2011-03-09 | 2012-10-04 | Toyo Ink Sc Holdings Co Ltd | Aqueous inkjet ink | 
| JP5599762B2 (en)* | 2011-06-17 | 2014-10-01 | 富士フイルム株式会社 | Ink composition, ink set, and image forming method | 
| JP5861815B2 (en) | 2011-08-10 | 2016-02-16 | セイコーエプソン株式会社 | Ink composition, recording unit and ink jet recording apparatus using the same, and recorded matter | 
| JP5828784B2 (en) | 2012-03-14 | 2015-12-09 | 株式会社Dnpファインケミカル | Ink jet recording method and ink set for ink jet recording | 
| JP5545390B1 (en)* | 2013-04-12 | 2014-07-09 | 東洋インキScホールディングス株式会社 | Water-based ink for inkjet | 
| JP2016060186A (en)* | 2014-09-22 | 2016-04-25 | 富士ゼロックス株式会社 | Ink jet recording apparatus, and ink jet recording method | 
| JP5862913B1 (en)* | 2015-03-20 | 2016-02-16 | 株式会社Dnpファインケミカル | Ink composition and ink jet recording method using the same | 
| JP6645132B2 (en)* | 2015-11-13 | 2020-02-12 | セイコーエプソン株式会社 | Ink composition | 
| US9803093B2 (en)* | 2015-12-09 | 2017-10-31 | Ricoh Company, Ltd. | White ink, ink set, and inkjet recording method | 
| EP3196259A1 (en)* | 2016-01-22 | 2017-07-26 | Canon Kabushiki Kaisha | Ink, ink cartridge, and image recording method | 
| US10947398B2 (en)* | 2016-05-02 | 2021-03-16 | Ricoh Company, Ltd. | White ink, printed matter, method of printing, and device for printing | 
| JP6772620B2 (en)* | 2016-07-27 | 2020-10-21 | セイコーエプソン株式会社 | Ink printing method, inkjet ink composition and ink set | 
| Publication number | Publication date | 
|---|---|
| CN108690399A (en) | 2018-10-23 | 
| JP2018177899A (en) | 2018-11-15 | 
| US10730302B2 (en) | 2020-08-04 | 
| EP3385341A1 (en) | 2018-10-10 | 
| US20180291217A1 (en) | 2018-10-11 | 
| CN108690399B (en) | 2021-07-06 | 
| Publication | Publication Date | Title | 
|---|---|---|
| JP6880952B2 (en) | Water-based inkjet ink composition, inkjet recording method, and control method of inkjet recording device | |
| JP6844302B2 (en) | Inkjet recording method and control method of inkjet recorder | |
| JP6891591B2 (en) | Inkjet recording method | |
| JP6888363B2 (en) | Water-based inkjet ink composition and inkjet recording method | |
| JP6922292B2 (en) | Inkjet recording method | |
| JP6957923B2 (en) | Water-based ink composition, inkjet recording method, inkjet recording device | |
| JP7091739B2 (en) | Recording method, ink set and recording device | |
| JP7017051B2 (en) | Ink set and recording method | |
| EP3461650B1 (en) | Recording method | |
| US10696860B2 (en) | Reaction liquid and recording method | |
| JP6772439B2 (en) | Recording method and ink set | |
| CN108624145B (en) | Aqueous inkjet ink composition, inkjet recording method, and inkjet recording apparatus | |
| JP6962001B2 (en) | Recording method and recording device | |
| JP2018154805A (en) | Water-based inkjet ink composition, inkjet recording method, and inkjet recording apparatus | |
| JP6885144B2 (en) | Inkjet recording device control method | |
| JP2019042997A (en) | Inkjet recording method and inkjet recording device | |
| JP2018051823A (en) | Recording method | 
| Date | Code | Title | Description | 
|---|---|---|---|
| A621 | Written request for application examination | Free format text:JAPANESE INTERMEDIATE CODE: A621 Effective date:20200311 | |
| A977 | Report on retrieval | Free format text:JAPANESE INTERMEDIATE CODE: A971007 Effective date:20200930 | |
| A131 | Notification of reasons for refusal | Free format text:JAPANESE INTERMEDIATE CODE: A131 Effective date:20201110 | |
| A521 | Request for written amendment filed | Free format text:JAPANESE INTERMEDIATE CODE: A523 Effective date:20210107 | |
| TRDD | Decision of grant or rejection written | ||
| A01 | Written decision to grant a patent or to grant a registration (utility model) | Free format text:JAPANESE INTERMEDIATE CODE: A01 Effective date:20210406 | |
| A61 | First payment of annual fees (during grant procedure) | Free format text:JAPANESE INTERMEDIATE CODE: A61 Effective date:20210419 | |
| R150 | Certificate of patent or registration of utility model | Ref document number:6880952 Country of ref document:JP Free format text:JAPANESE INTERMEDIATE CODE: R150 |