

















































































































本発明は、外科用器具に関し、様々な実施形態では、外科用ステープル留め及び切断器具、並びにそれらと共に使用するためのステープルカートリッジに関する。 The present invention relates to surgical instruments and, in various embodiments, to surgical staple fastening and cutting instruments, as well as staple cartridges for use with them.
ステープル留め器具は、一対の協働する細長い顎部材を含むことができ、各顎部材が患者の中に挿入され、ステープル留め及び/又は切開される組織に対して位置付けられるように適合させることができる。様々な実施形態では、顎部材のうちの一方は、横方向に離隔された少なくとも2列のステープルを中に収容したステープルカートリッジを支持することができ、他方の顎部材は、ステープルカートリッジ内のステープル列と位置合わせされたステープル成形ポケットを有するアンビルを支持することができる。概して、ステープル留め器具は、顎部材に対して摺動可能な押し込みバー及びナイフブレードを更に含んで、押し込みバー上のカム面、及び/又は押し込みバーによって押し込まれるウェッジスレッド上のカム面を介して、ステープルカートリッジからステープルを連続的に排出することができる。少なくとも1つの実施形態では、ステープルをアンビルに押し付け、顎部材の間で把持された組織内に変形したステープルの横方向に離隔された列を形成するために、カム面は、カートリッジによって保持され、かつステープルと関連付けられた複数のステープルドライバを作動させるように構成され得る。少なくとも1つの実施形態では、ナイフブレードはカム面に追従し、ステープル列間の線に沿って組織を切断することができる。 Staple fasteners can include a pair of collaborative elongated jaw members, each jaw member being inserted into the patient and adapted to be positioned with respect to the tissue to be stapled and / or incised. it can. In various embodiments, one of the jaw members can support a staple cartridge containing at least two rows of staples laterally separated, and the other jaw member is a staple in the staple cartridge. Anvils with stapled pockets aligned with rows can be supported. Generally, staple fasteners further include a push bar and knife blade that are slidable with respect to the jaw member, via a cam surface on the push bar and / or a cam surface on the wedge thread that is pushed by the push bar. , Staples can be continuously ejected from the staple cartridge. In at least one embodiment, the cam surface is held by a cartridge to press the staples against the anvil and form laterally isolated rows of deformed staples within the grasped tissue between the jaw members. And it may be configured to activate multiple staple drivers associated with the staples. In at least one embodiment, the knife blade can follow the cam surface and cut tissue along the lines between the staple rows.
上述の考察は、当時の本発明の分野における関連技術の様々な態様を説明することのみを意図したものであり、特許請求の範囲を否定するものとみなされるべきではない。 The above discussion is intended only to explain the various aspects of the art in the field of the invention at the time and should not be regarded as denying the claims.
本明細書に記載される実施形態の様々な特徴が、添付の特許請求の範囲で詳細に示される。ただし、機構及び操作方法の両方に関する様々な実施形態は、それらの利点と共に、以下の添付図面と併せて以下の説明により理解することができる。
複数の図面を通して、対応する参照符号は対応する部材を示す。本明細書に記載される例示は、本発明の様々な実施形態を1つの形態で例示するものであり、かかる例示は、いかなる方法によっても本発明の範囲を限定するものとして解釈されるべきではない。 Throughout the drawings, the corresponding reference numerals indicate the corresponding members. The illustrations described herein illustrate various embodiments of the invention in one form, and such illustrations should be construed as limiting the scope of the invention in any way. Absent.
本願の出願人は、本願と同日に出願された以下の米国特許出願を所有しており、これらはそれぞれの全体内容が参照により本明細書に組み込まれる:
−米国特許出願第_______号、発明の名称「SURGICAL STAPLES FOR MINIMIZING STAPLE ROLL」、代理人整理番号第END7687USNP/150127号、
−米国特許出願第_______号、発明の名称「SURGICAL STAPLES COMPRISING HARDNESS VARIATIONS FOR IMPROVED FASTENING OF TISSUE」、代理人整理番号第END7727USNP/150298号、
−米国特許出願第_______号、発明の名称「SURGICAL STAPLE STRIPS FOR PERMITTING VARYING STAPLE PROPERTIES AND ENABLING EASY CARTRIDGE LOADING」、代理人整理番号第END7680USNP/150120号、
−米国特許出願第_______号、発明の名称「SURGICAL STAPLING CONFIGURATIONS FOR CURVED AND CIRCULAR STAPLING INSTRUMENTS」、代理人整理番号第END7682USNP/150122号、
−米国特許出願第_______号、発明の名称「STAPLE CARTRIDGE ASSEMBLY WITHOUT A BOTTOM COVER」、代理人整理番号第END7679USNP/150119号、
−米国特許出願第_______号、発明の名称「STAPLE CARTRIDGE ASSEMBLY COMPRISING STAPLE CAVITIES FOR PROVIDING BETTER STAPLE GUIDANCE」、代理人整理番号第END7681USNP/150121号、
−米国特許出願第_______号、発明の名称「STAPLE CARTRIDGE ASSEMBLY INCLUDING STAPLE GUIDES」、代理人整理番号第END7685USNP/150125号、
−米国特許出願第_______号、発明の名称「STAPLE CARTRIDGE ASSEMBLY COMPRISING STAPLE ALIGNMENT FEATURES ON A FIRING MEMBER、代理人整理番号第END7688USNP/150128号、
−米国特許出願第_______号、発明の名称「STAPLE CARTRIDGE ASSEMBLY COMPRISING VARIOUS TISSUE COMPRESSION GAPS AND STAPLE FORMING GAPS」、代理人整理番号第END7684USNP/150124号、
−米国特許出願第_______号、発明の名称「STAPLES CONFIGURED TO SUPPORT AN IMPLANTABLE ADJUNCT」、代理人整理番号第END7686USNP/150126号、及び
−米国特許出願第_____号、発明の名称「STAPLES COMPRISING A COVER」、代理人整理番号第END7689USNP/150129号。The applicant of the present application owns the following US patent applications filed on the same date as the present application, the entire contents of which are incorporated herein by reference:
-US Patent Application No. ________, Invention Name "SURGICAL STAPLES FOR MINIMIZING STAPLE ROLL", Agent Reference No. END7687USNP / 150127,
-US Patent Application No. ________, Invention Name "SURGICAL STAPLES COMPRISING HARDNESS VARIATIONS FOR IMPROVEED FASTENING OF TISSUE", Agent Reference No. END7727USNP / 150298,
-US Patent Application No. ________, Invention Name "SURGICAL STAPLE STRIPS FOR PERMITTING VARYING STAPLE PROPERTIES AND ENABLING EASY CARTRIGGE LOADING", Agent Reference No. END76
-US Patent Application No. ________, title of invention "SURGICAL STAPLING CONFIGURATIONS FOR CURVED AND CIRCULAR STAPLING INSTRUMENTS", agent reference number END7682USNP / 150122,
-US Patent Application No. ________, Invention Name "STAPLE CARTRIDGE ASSEMBLY WITHOUT A BOTTOM COVER", Agent Reference No. END7679USNP / 150119,
-US Patent Application No. ________, Invention Name "STAPLE CARTRIGGE ASSEMBLY COMPRISING STAPLE CAVITIES FOR PROVIDING BETTER STAPLE GUIDANCE", Agent Reference No. END7681USNP / 150121
-US Patent Application No. ________, Invention Name "STAPLE CARTRIDGE ASSEMBLY INCLUDING STAPLE GUIDES", Agent Reference No. END7685USNP / 150125,
-US Patent Application No. ________, Invention Title "STAPLE CARTRIDGE ASSEMBLY COMPRISING STAPLE ALIGNMENT FEATURES ON A FIRING MEMBER, Agent Reference No. END7688USNP / 150128,
-US Patent Application No. ________, Invention Name "STAPLE CARTRIDGE ASSEMBLY COMPRISING VARIOUS TISSUE COMPRESSION GAPS AND STAPLE FORMING GAPS", Agent Reference No. END7684USNP / 150124,
-US Patent Application No. ________, title of invention "STAPLES CONFIGURED TO SUPPORT AN IMPLANTABLE ADJUNCT", agent reference number END7686USNP / 150126, and-US Patent Application No. ________, title of invention "STAPLES COMPRI" Agent reference number END7689USNP / 150129.
本願出願人は、2013年12月23日に出願され、それぞれの全内容が参照によって本明細書に組み込まれる、以下の特許出願も所有している:
−米国特許出願第14/138,554号、発明の名称「Surgical Instruments With Articulatable Shaft Arrangements」、
−米国特許出願第14/138,465号、発明の名称「SURGICAL STAPLES AND STAPLE CARTRIDGES」、
−米国特許出願第14/138,474号、発明の名称「Articulatable Surgical Instruments With Separate and Distinct Closing and Firing Systems」、
−米国特許出願第14/138,485号、発明の名称「Surgical Cutting and Stapling Instruments With Independent Jaw Control Features」、
−米国特許出願第14/138,475号、発明の名称「SURGICAL STAPLES AND STAPLE CARTRIDGES」、
−米国特許出願第14/138,481号、発明の名称「SURGICAL STAPLES AND METHODS FOR MAKING THE SAME」、
−米国特許出願第14/138,489号、発明の名称「SURGICAL STAPLES,STAPLE CARTRIDGES AND SURGICAL END EFFECTORS」、
−米国意匠出願第29/477,488号、発明の名称「SURGICAL FASTENER」、
−米国特許出願第14/138,505号、発明の名称「FASTENER CARTRIDGE COMPRISING AN EXTENDABLE FIRING MEMBER」、
−米国特許出願第14/138,518号、発明の名称「FASTENER CARTRIDGE COMPRISING A FIRING MEMBER CONFIGURED TO DIRECTLY ENGAGE AND EJECT FASTENERS FROM THE FASTENER CARTRIDGE」、
−米国特許出願第14/138,530号、発明の名称「FASTENER CARTRIDGE COMPRISING A FIRING MEMBER INCLUDING FASTENER TRANSFER SURFACES」、
−米国特許出願第14/138,507号、発明の名称「MODULAR SURGICAL INSTRUMENTS」、
−米国特許出願第14/138,497号、発明の名称「Surgical Cutting and Stapling Instruments With Articulatable End Effectors」、
−米国特許出願第14/138,516号、発明の名称「Surgical Cutting and Stapling Methods」、及び
米国特許出願第__________号、発明の名称「STAPLE CARTRIDGE ASSEMBLY INCLUDING FEATURES FOR CONTROLLING THE ROTATION OF STAPLES WHEN BEING EJECTED THEREFROM」、代理人整理番号第END7683USNP/150123号。The applicant of the present application also owns the following patent application, filed on December 23, 2013, the entire contents of which are incorporated herein by reference:
-US Patent Application No. 14 / 138,554, Title of Invention "Surgical Instruments With Artificial Shaft Arrangements",
-US Patent Application No. 14 / 138,465, Title of Invention "SURGICAL STAPLES AND STAPLE CARTRIDGES",
-US Patent Application No. 14 / 138,474, Title of Invention "Artificial Instruments With Specialate and Distinct Closing and Starting Systems",
-US Patent Application No. 14 / 138,485, Title of Invention "Surgical Cutting and Stapling Instruments With Independent Jaw Control Features",
-US Patent Application No. 14 / 138,475, Invention Title "SURGICAL STAPLES AND STAPLE CARTRIDGES",
-US Patent Application No. 14 / 138,481, Title of Invention "SURGICAL STAPLES AND METHODS FOR MAKING THE SAME",
-US Patent Application No. 14 / 138,489, Title of Invention "SURGICAL STAPLES, STAPLE CARTRIDGES AND SURGICAL END EFFECTORS",
-US Design Application No. 29 / 477,488, Invention Name "SURGICAL FASTENEER",
-US Patent Application No. 14 / 138,505, Title of Invention "FASTENEER CARTRIDGE COMPRISING AN EXTENDABLE FIRING MEMBER",
-US Patent Application No. 14 / 138,518, title of invention "FASTENEER CARTRIGGE COMPRISING A FIRING MEMBER CONFIGURED TO DIRECTLY ENGAGE AND EJECT FASTENEERS FROM THE FASTENE START"
-US Patent Application No. 14 / 138,530, Title of Invention "FASTENER CARTRIDGE COMPRISING A FIRING MEMBER INCLUDING FASTENEER TRANSFER SURFACES",
-US Patent Application No. 14 / 138,507, Invention Title "MODULAR SURGICAL INSTRUMENTS",
-US Patent Application No. 14 / 138,497, Title of Invention "Surgical Cutting and Stapling Instruments With Artificial End Effects",
-U.S. Patent Application No. 14 / 138,516, Invention Name "Surgical Cutting and Stapling Methods", and U.S. Patent Application _______________, Invention Name "STAPLE CARTRIDGE ASSEMBLEY INCLUDING FEATURE" , Agent reference number END7683USNP / 150123.
本明細書に記載され添付の図面に示される実施形態の全体的な構造、機能、製造、及び使用の完全な理解をもたらすために、多くの具体的詳細が示される。周知の動作、構成要素、及び要素は、本明細書に記載される実施形態を不明瞭にしないようにするため詳細に記載されていない。本明細書に記載され図示される実施形態は非限定例であることが読者には理解され、それ故、本明細書に開示される特定の構造的及び機能的詳細は、典型であり例示であり得ることが理解され得る。それらに対する変形及び変更が、特許請求の範囲から逸脱することなく行われ得る。 Many specific details are provided to provide a complete understanding of the overall structure, function, manufacture, and use of embodiments described herein and shown in the accompanying drawings. Well-known behaviors, components, and elements are not described in detail to avoid obscuring the embodiments described herein. It is understood by the reader that the embodiments described and illustrated herein are non-limiting examples, and therefore the particular structural and functional details disclosed herein are exemplary and exemplary. It can be understood that it is possible. Modifications and changes to them can be made without departing from the claims.
用語「備える(comprise)」(「comprises」及び「comprising」など、compriseの任意の語形)、「有する(have)」(「has」及び「having」など、haveの任意の語形)、「含む(include)」(「includes」及び「including」など、includeの任意の語形)、「含有する(contain)」(「contains」及び「containing」など、containの任意の語形)は、開放型の連結動詞である。結果として、1つ若しくは2つ以上の要素を「備える」か、「有する」か、「含む」か、若しくは「含有する」外科用システム、デバイス、又は装置は、それら1つ又は2つ以上の要素を有しているが、それら1つ又は2つ以上の要素のみを有することに限定されない。同様に、1つ若しくは2つ以上の特徴部を「備える」か、「有する」か、「含む」か、若しくは「含有する」、システム、デバイス、又は装置の要素は、それら1つ又は2つ以上の特徴部を有しているが、それら1つ又は2つ以上の特徴部のみを有することに限定されない。 The terms "comprise" (any form of comprise, such as "comprises" and "comprising"), "have" (any form of have, such as "has" and "having"), "include ( ”(Any word form of include such as“ includes ”and“ inclusion ”) and“ contain ”(any word form of content such as“ context ”and“ contouring ”) are open concatenated verbs. Is. As a result, a surgical system, device, or device that "includes", "has", "contains", or "contains" one or more elements is one or more of them. It has elements, but is not limited to having only one or more of them. Similarly, one or two elements of a system, device, or device that "equips", "has", "contains", or "contains" one or more features. It has the above-mentioned feature parts, but is not limited to having only one or two or more of these feature parts.
「近位」及び「遠位」という用語は、本明細書では、外科用器具のハンドル部分を操作する臨床医を基準として使用される。「近位」という用語は臨床医に最も近い部分を指し、「遠位」という用語は臨床医から離れて位置する部分を指す。便宜上及び明確性のために、「垂直」、「水平」、「上」、及び「下」などの空間的用語が、本明細書において図面に対して使用され得ることが更に理解されるであろう。しかしながら、外科用器具は多くの向き及び位置で使用されるものであり、これらの用語は限定的及び/又は絶対的であることを意図したものではない。 The terms "proximal" and "distal" are used herein with reference to the clinician operating the handle portion of the surgical instrument. The term "proximal" refers to the part closest to the clinician, and the term "distal" refers to the part located away from the clinician. For convenience and clarity, it is further understood that spatial terms such as "vertical", "horizontal", "top", and "bottom" can be used with respect to the drawings herein. Let's go. However, surgical instruments are used in many orientations and positions, and these terms are not intended to be limited and / or absolute.
腹腔鏡下及び低侵襲性の外科的処置を行うための、様々な例示的なデバイス及び方法が提供される。しかしながら、本明細書で開示される様々な方法及びデバイスが、例えば開放型の外科的処置と関連するものを含む、多くの外科的処置及び用途で使用され得ることが、読者には容易に理解されるであろう。本明細書の「発明を実施するための形態」を読み進めることで、読者は、本明細書に開示される様々な器具が、例えば、天然の開口部を通じて、組織に形成された切開又は穿刺穴を通じてなど、任意の方法で体内に挿入され得ることを更に認識するであろう。これらの器具の作用部分すなわちエンドエフェクタ部分は、患者の体内に直接に挿入することもでき、又は、外科用器具のエンドエフェクタ及び長尺シャフトを進めることが可能な作用通路を有するトロカールのようなアクセス装置を通じて挿入することもできる。 Various exemplary devices and methods are provided for performing laparoscopic and minimally invasive surgical procedures. However, it is readily apparent to the reader that the various methods and devices disclosed herein can be used in many surgical procedures and applications, including those associated with, for example, open surgical procedures. Will be done. By reading "Forms for Carrying Out the Invention" herein, the reader can read that the various instruments disclosed herein are incised or punctured into tissue, eg, through a natural opening. You will further recognize that it can be inserted into the body in any way, such as through a hole. The working part or end effector part of these instruments can also be inserted directly into the patient's body, or such as a trocar with a passage of action that allows the end effector and long shaft of the surgical instrument to be advanced. It can also be inserted through an access device.
本明細書に開示されるステープル又はファスナーは、外科用ステープル留め器具と一緒に使用するために構成される。以下により詳細に論じられるように、ステープルは、ステープルカートリッジのステープルキャビティ内に取り外し可能に収容される。ステープルカートリッジは、ステープルをステープルキャビティから排出するためにステープルに力を付与する外科用ステープル留め器具からの発射起動を受容するように構成されたスレッドを備える。ステープルがスレッドによってステープルキャビティ外に排出又は駆動されると、ステープルは、ステープルが未発射構成から発射済み構成を形作る変形プロセスを経る。ステープルは、ステープルが外科用ステープル留め器具のアンビルの対応する成形ポケットと接触すると、発射済み構成を形作る。 The staples or fasteners disclosed herein are configured for use with surgical staple fasteners. As discussed in more detail below, the staples are detachably housed within the staple cavities of the staple cartridge. The staple cartridge comprises a thread configured to receive a firing activation from a surgical staple fastening device that exerts a force on the staple to eject the staple from the staple cavity. When the staples are ejected or driven out of the staple cavity by threads, the staples undergo a transformation process in which the staples form a fired configuration from an unfired configuration. Staples form a fired configuration when the staples come into contact with the corresponding molded pockets on the anvil of the surgical staple fastener.
本明細書に開示される様々なステープルは、例えば、材料のシートから切断及び/又は打ち抜きされ得る平らな形状のステープルを含む。材料のシートは、金属製であってもよく、例えば、ステンレス鋼及び/又はチタンを含み得る。少なくとも1つの例において、輪郭をトレース、エッチング、及び/又は切断して材料のシートにし、これを加工及び/又はレーザ切断してステープルを製造された形状に形作る。 The various staples disclosed herein include, for example, flat shaped staples that can be cut and / or punched from a sheet of material. The sheet of material may be made of metal and may include, for example, stainless steel and / or titanium. In at least one example, the contour is traced, etched, and / or cut into a sheet of material that is machined and / or laser cut to shape the staples into the manufactured shape.
ステープルは、ステープル脚部の対と、ステープル脚部がそこから延在するステープル基部又はクラウン部とを含む。各ステープル脚部は、組織を穿刺し外科用ステープル留め器具のアンビルの対応する成形ポケットと接触するように構成されたステープル先端又は穿刺部分を含む。ステープル脚部は、成形された構成を達成して組織を固定するために形状を変えるように構成される。ステープル基部は、第1の平面を画定し、ステープル脚部は、第1の平面から横方向にオフセットされるが第1の平面に対して少なくとも実質的に平行である第2の平面を画定する。第1及び第2の平面が平行ではない実施形態が想起される。 Staples include a pair of staple legs and a staple base or crown from which the staple legs extend. Each staple leg includes a staple tip or puncture portion configured to puncture the tissue and contact the corresponding molded pocket of the anvil of the surgical staple fastener. The staple legs are configured to change shape to achieve a molded configuration and secure the tissue. The staple base defines a first plane and the staple legs define a second plane that is offset laterally from the first plane but is at least substantially parallel to the first plane. .. An embodiment in which the first and second planes are not parallel is recalled.
図1〜4に示される平らな形状のステープル100は、近位ステープル脚部110と、遠位ステープル脚部120と、ステープル基部130とを含む。ステープル100は、垂直遷移部分又はブレンド118、128と、横方向遷移部分又はブレンド116、126とを更に含む。垂直遷移部分118、128は、ステープル基部130から垂直又は上向きに脚部110、120を屈曲するか、又はステープル基部130から延在する。横方向遷移部分116、126は、横方向に外向きに、又はステープル基部130に対して少なくとも実質的に垂直にステープル脚部110、120を延在する。ステープル脚部110、120は、第1の平面を画定し、ステープル基部130は、第2の平面を画定する。垂直遷移部分118、128及び横方向遷移部分116、126は合わせて、ステープル脚部110、120が横方向にオフセットされ、ステープル基部130に対して平行であることを許容する。言い換えれば、第1の平面は、第2の平面からオフセットされ、第2の平面に対して少なくとも実質的に平行である。図1〜4において、第1の平面は、Y軸負方向にオフセットされる。複数のステープル100と共に他のステープルが使用されてもよく、他のステープルは、Y軸正方向にオフセットされた第1の平面を含む。両方の種類のステープルを使用することにより、ステープル列が入れ子になるか又は織り合わされ、隣接する列のステープル脚部は、少なくとも実質的に位置合わせされ、かつ/又は共通の長手方向軸を共有する。様々な例において、ステープル列は入れ子になって、より高密度のステープル列を提供することができる。 The flat-shaped
近位ステープル脚部110及び遠位ステープル脚部120は、ステープル先端112、122と、角部114、124をそれぞれ含む。先端112、122は、組織を穿刺し外科用ステープル留め器具のアンビルの成形ポケットと接触するように構成される。先端112、122は、ステープル100がステープルカートリッジ内の対応するステープルキャビティからステープル100を排出するための駆動力を受けると、アンビルと接触する。次いで、ステープル100の先端112、122及び/又は脚部110、120は、未発射構成から発射済み構成を形成し始める。近位ステープル脚部120は、面取り表面又は縁部119を含む先導係合足部117を更に含む。スレッドの遠位平行移動に際してスレッドがステープル100と接触すると、スレッドの特徴部が、先導係合足部117に係合して、例えば、ステープルの長手方向の転がり又は回転を防止する助けとなることができる。係合足部117は、押圧されてステープル100をステープルカートリッジ内に充填するように構成された押圧点を含んでもよい。 The proximal
ステープル100が平らな形状のステープルであるため、平らな、又は少なくとも実質的な平らな原料から打ち抜きされた後に、ステープル脚部110、120、先端112、122、及び/又はステープル100の他の部分を更に展開又は加工することができる。ステープル100を更に展開することにより、優先屈曲平面、強靭性、及び/又は弾性を生成及び/又は改変する特定の特性が提供され得る。従来のワイヤで形成されたステープルは、外科的固定に有利な所望の特性を含み、ステープル100を実装することができる。例えば、角部114、124及び/又は先端112、122を構築するための方法は、例えば、冷間加工を含む任意の好適なプロセスを含み得る。特定のプロセスは、角部114、124を、丸みを帯びた、角度のある、斜めの、かつ/又は放射線状のプロファイルに加工することによって圧印することを含む。ステープル先端112、122も類似の方法を使用して加工して、組織を穿刺しアンビルの対応する成形ポケットに対して成形するように構成された適切な先端を提供することができる。 Because the
ステープル基部130は、傾斜駆動表面132と、最終駆動表面131と、遠位壁133とを含む。様々な実施形態において、ステープル100は、パンによってステープルカートリッジ内で支持され、最終駆動表面131は、パンの上に載せるように構成される。ステープルカートリッジがパンを有しない様々な他の実施形態において、最終駆動表面はパンの上に載せられず、むしろ、最終駆動表面は、パンを有しないステープルカートリッジの底面上の初期位置を含む。これにより、スレッドがカートリッジを通して平行移動すると、スレッドの底面及びパンを有しないステープルカートリッジの底面が少なくとも実質的に同じ高さにあるようにすることができる。各ステープル基部130の駆動表面132は、外科用ステープル留め器具のスレッドから駆動力Fsを受けるように構成される。スレッドがステープルカートリッジを通して遠位方向に平行移動すると、スレッドは、駆動表面132と接触してステープル100をカートリッジ外に持ち上げ、更に、最終駆動表面131と接触してステープル100をその発射済み構成に成形する。The
遠位壁133は、ステープル基部130の最も遠位の壁として機能し、遠位ステープル脚部120の近位に位置付けられ、それにより、遠位ステープル脚部120の下でステープル基部130の任意の部分を欠く。質量の大部分がステープル100の基部130内にあることによって、スレッドによって印加されるモーメントMSによって引き起こされる回転運動に抵抗するステープル100の能力が増加する。ステープル基部130の慣性モーメントを増加させることにより、回転運動に抵抗する能力が増加する。結果的に、長手方向のステープル回転を引き起こすために、より大きいトルク又はより大きいモーメントが必要とされることになる。The
ステープル基部130は、近位表面139と、中間表面138と、遠位表面137とを含む上面又は加圧表面136を更に含む。近位表面139は、近位脚部110に向かって上向きに角度をなすか又は傾斜している。遠位表面137は、遠位脚部120に向かって上向きに角度をなすか又は傾斜している。中間表面138は、最終駆動表面131に対して少なくとも実質的に平行である。この谷構成は、遷移部分118、128、116、126の近くに捕捉された組織の応力集中を制限し、脚部110、120は、ステープル基部130から延在する。様々な実施形態において、これらの表面137、138、139は、湾曲して凹表面を生成してもよい。従来のステープルにおいて、成形されると、脚部がステープル基部と交わる接続部は、高度に局部化した組織応力を担う位置を生み出す。これは、かかる従来のステープルが、真の「B」構成に形作られるよりも、むしろ座屈されるか、又は粉砕されているか、又は平らである場合に特に当てはまる。 The
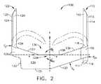
様々な実施形態において、ステープル100の動態は、ステープルカートリッジから排出されるときに予測可能である。ステープル100がその対応するステープルキャビティから排出されると、スレッドからの駆動力FSがモーメントMsを生成する。ステープルの回転を防止するための1つの予防的方法は、図2に示されるようにステープルの長手方向の転がり又は回転を防止するように構成された、上記のステープル100の慣性モーメントを増加させることを含む。ステープル100が遠位方向に長手方向に転がると、言い換えれば、Y軸の周りで反時計回りに回転すると、ステープル100の外側の長手方向ステープル脚部表面115、125が、ステープルカートリッジのガイド表面又は側壁と接触することになる。この接触は、FC1及びFC2の対応する応力を生み出す。より具体的には、ステープル100は、ステープルキャビティ外に駆動されY軸の周りで回転し、近位ステープル脚部110の壁115は、ステープルカートリッジの近位側壁と接触し、質量中心の下のステープル脚部110に作用する反力FC2を生み出す。遠位ステープル脚部120の壁125は、ステープルカートリッジの遠位側壁と接触し、質量中心の上のステープル脚部120に作用する反力FC1を生み出す。FC1及びFC2の両方の反力は、ステープル100に作用する付加されたモーメントMSに反作用するか又は釣り合わせる反力モーメントMRCに寄与する。本明細書に論じられる反力は、ステープル脚部110、120のそれぞれの表面積に作用する分散負荷であり得る。In various embodiments, the dynamics of the staple 100 are predictable as they are ejected from the staple cartridge. The
ステープル100の慣性モーメントはまた、図4に示されるように、ステープル100の横方向の転がり又は回転を防止するように構成される。ステープル基部130は、脚部110、120の最も近くでステープル基部130の側部の上面136内に画定されたノッチ134を含む。ノッチ134は、ステープルカートリッジから排出されたときに、成形前及び成形時のステープル100の動態の予測性に寄与する。例えば、主に図4を参照して、ノッチ134は、特定のキャビティ側壁に向かうステープル100の回転を誘発するように構成される。ステープル100が横方向に転がるか、又は言い換えれば、付加されたモーメントMSの方向に回転した場合、ステープル100の外側の長手方向ステープル脚部壁111、121が、ステープルカートリッジのガイド表面又は側壁と接触し、対応する反力FC1及びFC2を生み出すことになる。例えば、ステープル100がステープルキャビティ外に駆動され、付加されたモーメントMSの方向に回転すると、ステープル脚部110、120の壁111、121が、ステープルカートリッジの対応する側壁と接触し、質量中心の上のステープル脚部110、120に作用するFC1を生み出す。ステープル基部130の外側の横壁135は、ステープルカートリッジの別の対応する側壁と接触し、質量中心の下のステープル基部130に作用する反力FC2を生み出す。反力FC1及びFC2は、スレッドからステープル100の作用する付加されたモーメントMSに反作用するか又は釣り合わせる反力モーメントMRCを生み出す。本明細書に論じられる反力は、ステープル脚部110、120、及びステープル基部130のそれぞれの表面積に作用する分散負荷であり得る。様々な実施形態において、ステープル100は、ステープル100がステープル100の対応するステープルキャビティから排出される際に、ステープル誘導のためにステープルキャビティのどの壁が接触されるかを制御するために、付加されたモーメントMSの方向で横方向に転がるように促進される。The moment of inertia of the
図5及び6は、ステープル脚部210とステープル基部230とを含む、ワイヤで形成されたステープル200を示す。ステープル脚部210は、ステープル基部230からオフセットされ、ステープル基部230から実質的に90度の角度で屈曲している。ステープル脚部210は、ステープル基部230及びステープル脚部210の屈曲部220によって画定された第2の平面に対して少なくとも実質的に垂直な第1の平面内にある。 5 and 6 show a staple 200 made of wire, including a
図7〜10は、近位ステープル脚部310と、遠位ステープル脚部320と、駆動表面332を有するステープル基部又はクラウン330とを含むステープル300を示す。ステープル脚部310、320は、ステープル基部330から延在し、各ステープル脚部310、320は、横方向に外向きの屈曲部と上向きの屈曲部とを含む。ステープル脚部の横方向に外向きの屈曲部は、ステープル脚部をステープル基部に対して横方向に外向きに屈曲させる。ステープル脚部の上向きの屈曲部は、ステープル脚部をステープル基部に対して上向きに屈曲させる。ステープル300は、第1の硬度を含む第1のゾーン331と、第2の硬度を含む第2のゾーン311、321と、第3の硬度を含む第3のゾーン312、322とを含む。ステープル300が示されるよりも多い又は少ないゾーンを含む実施形態が想起される。ステープル300の異なる部分の特定の特性、例えば、硬度を変えることにより、例えば、アンビル340の成形ポケット341などの対応する成形ポケットに対してステープルを成形するときのより大きい制御及び予測性が提供される。第1のゾーン331の第1の硬度は、第2のゾーン311、321の第2の硬度よりも高い場合がある。多くの例において、ステープル脚部310、320を支持し、例えば、ステープル脚部310、320より高い硬度を含むステープル基部330を有しながら、破壊することなく永久に形状を変えることができる柔軟なステープル脚部310、320を有すること、言い換えれば、高度な可塑性を有するステープル脚部310、320を有することが望ましい。より高い硬度により、例えば、アンビルに対して加圧された際のステープル脚部からの力などの外部及び/又は内部の力の付加に際して変形に抵抗するステープル基部330の能力が増加することになる。 7-10 show a staple 300 including a proximal
本明細書に開示されるステープルの異なる部分の金属加工は、いくつかの利点を含み得る。これらの利点のうちの1つには、成形中のステープル脚部の粉砕又は座屈を防止し、代わりに、ステープル脚部が、対応する成形ポケットとの接触の結果として所望の構成に変形するように促進することができることが含まれ得る。 The metalworking of different parts of the staples disclosed herein may include several advantages. One of these advantages is to prevent shattering or buckling of the staple legs during molding, instead the staple legs deform to the desired configuration as a result of contact with the corresponding molding pockets. It may include that it can be promoted.
ステープル300は、任意の所望の形状に成形され得る。未成形の構成において、ステープル脚部310、320は、第1の平面P1を画定し、ステープル基部330は、第2の平面P2を画定する。ステープル脚部310、320が第2の平面P2に向かって横方向に成形されたステープル300の形状の一例が図9及び10に示される。ステープル300の特定のゾーン及び/又は部分の硬度の変化は、成形ポケット341と接触するときの方向促進の提供を担うことができる。ステープル脚部310、320が、第2の平面P2から横方向に離れる方向で成形される実施形態が想起される。The
図11〜11Cは、ステープル脚部410と、材料の平板から形成されたステープル基部430とを含むステープル400を示す。ステープル基部430は、長方形の断面プロファイル431を含み、ステープル脚部は、円形の断面プロファイル411を含む。長方形の断面プロファイル431を有するステープル基部430から延在する円形のステープル脚部410は、優先屈曲平面を含まないステープル基部及びステープル脚部を提供することができる。ステープル400は、ステープル脚部410がステープル基部430から延在する屈曲部420を含む。屈曲部420は、実質的に正方形の断面プロファイル421を含む。それぞれ屈曲部420及びステープル基部430の正方形プロファイル421及び長方形プロファイル431は、円形のステープル脚部410に対する堅固な接続及び骨格を提供する。円形のステープル脚部410は、正方形、長方形、又は頂上を有する任意の形状若しくは不均一な形状の断面を有するステープル脚部が有し得る優先屈曲平面を排除する。 11-
図12は、近位ステープル脚部510と、遠位ステープル脚部520と、ステープル脚部510、520が延在するステープル基部530とを含む、少なくとも1つの実施形態によるステープル500を示す。近位ステープル脚部510は、ステープル基部530から第1の方向に、横方向に外向きに屈曲している。遠位ステープル脚部520は、ステープル基部から第2の方向に、横方向に外向きに屈曲している。第1の方向は、第2の方向と反対である。ステープル基部530は、第1の平面を画定し、ステープル脚部510、520は、第1の平面と交差する第2の平面を画定する。反対方向に屈曲したステープル脚部510、520を有することの1つの利点は、ステープル基部530の各側部の付加されたスレッドモーメントを反作用することによって横方向の回転を防止する助けとなり得ることである。これはS形状の構成をもたらし、補助成形ポケットを必要とする。 FIG. 12 shows a staple 500 according to at least one embodiment, including a proximal
近位脚部610と、遠位脚部620、駆動表面632を有するステープル基部630とを含むステープル600が図13に示される。遠位脚部620は近位脚部610より長く、それによりアンビルの成形ポケットに対するステープル脚部610、620の先端611、621のオフセット接触タイミングをもたらす。様々な実施形態において、遠位脚部は、アンビルと初めに接触するときに成形プロセスを助けるために予め屈曲した初期構成を含む先端を含み得る。この予め成形された先端621は、アンビルに対する変形を開始するためにステープル先端611よりも少ない加圧力を必要とすることになる。この場合遠位ステープル脚部620である、より長いステープル脚部を、より短いか又は近位のステープル脚部610の前にアンビルと接触させることは、より長い脚部620のステープル先端621が、先端611が変形される前にある程度予め成形された先端を有することを必要とし得る。 A staple 600 including a
図14は、成形されたステープル711、721の配置700を示す。ステープル711は、第1の列710に配置され、ステープル721は、第1の列710に隣接する第2の列720に配置される。ステープル711、712は、上記に論じられる図13に示されるステープル600のものと類似し得る。ステープル711は、横方向に対向する脚部713、715を含む。ステープル721は、横方向に対向する脚部723、725を含む。横方向に対向する脚部713、715は、それぞれ接触点713c、715cでアンビルの成形ポケットと接触するように構成された先端をそれぞれ含む。横方向に対向する脚部723、725はまた、それぞれ接触点723c、725cでアンビルの成形ポケットと接触するように構成された先端をそれぞれ含む。横方向に対向する脚部713、715は、脚部がそこから延在するステープル基部に向かって内向きにそれぞれ成形する。横方向に対向する脚部723、725はまた、脚部がそこから延在するステープル基部に向かって内向きにそれぞれ成形する。 FIG. 14 shows the
ステープル列710、720は、接触点723c、713cが実質的に位置合わせされているように織り込まれている。かかる配置は、ステープルカートリッジ内のより高密度に配置されたステープル列及び/又はアンビル上のより高密度に配置された成形ポケット構成を可能にする。また、足場平面を織り込ませることによって、より高い質の足場及びより大きい面積の組織内の足場適用範囲が提供され得る。織り込まれた足場平面は、ステープル列と成形ポケットとの間で捕捉されたものが適切に固定されることが保証されることを保証し得る。これは、従来のステープル配置では、十分に満たない固定をもたらすステープル列分離を導き得るより小さくかつ/又は容易に可視でない血管をステープル留めするときに助けとなり得る。 The
図15〜17は、ステープル脚部810、820と、駆動表面832を有するステープル基部830とを含むステープル800を示す。ステープル脚部810、820は、例えば、アンビル860の成形ポケット861などのアンビルの成形ポケットと接触するように構成された先端842を含む。ステープル先端842は、穿刺先端又は部分842Tと、カール面842Sと、凹形切欠部842Cとを含む。穿刺先端842Tは、ステープルカートリッジから排出されると組織Tを穿刺し、アンビル860の成形ポケット861と接触すると成形ポケット861内で変形するように構成される。凹形切欠部842Cの予測可能な変形能を利用することによる特定の形状へのステープル先端842の変形が促進される。ステープル先端842のカール面842Sは、穿刺位置812Aから、中間成形位置812B及び非穿刺位置812Cにカール又は変形するように構成される。ステープル先端842が完全に変形すると、穿刺先端842Tは、カール面842Sによって組織Tから隠れるか又は分離される。これは、排出の際に先端842が組織を穿刺した後の組織Tの更なる穿刺を防止する。この配置はまた、初期穿刺の後に曝露された穿刺先端が加える可能性がある更なる損傷及び/又は不必要な刺激を防止する。脚部が成形された後に組織Tの更なる穿刺を防止することにより、ステープル800が組織T内に引き込まれる可能性も低下する。カール面842Sが、組織Tから穿刺先端842Tを隠すように構成されたシールドとして作用する。 15-17
図18は、本明細書に開示されるステープルなどの任意の好適な外科用ステープルに用いることができる異なる種類のステープル先端871、872、873、874、及び875の複数の例を示す。ステープル先端871は、少なくとも実質的に平らな面を有する三角形の形状を含む。ステープル先端872は、変化する輪郭を有する面を含む。ステープル先端873は、ロケット状の形状を含む。ステープル先端874は、こぶ状のプロファイルを含む。こぶ状のプロファイルは、例えば、実質的にぼんやりしている場合がある。ステープル先端875は、尖った鉛筆状のプロファイルを含む。 FIG. 18 shows a plurality of examples of different types of
様々な実施形態において、所望の様式での変形を容易にするために、本明細書に開示されるステープル先端は、ステープル先端が接続されるステープルの材料とは異なる材料を含み得るが、ステープル先端材料は、組織を固定した後にステープル先端の展開を防止するために十分に強固であり得る。 In various embodiments, to facilitate deformation in the desired fashion, the staple tips disclosed herein may include a different material than the staple material to which the staple tips are connected, but the staple tips. The material can be strong enough to prevent the staple tip from deploying after fixing the tissue.
外科用ステープルは、ステープルを成形するように構成された成形ポケットの形状、寸法、構成、及び/又は他の態様を変えることによって所望の構成に形作るように促進され得る。図19は、ステープル900を成形するように構成された成形ポケット911、921を示す。ステープル900は、ステープル脚部901、902と、ステープル先端910、920と、ステープル基部930とを含み、ステープル脚部901、902は、ステープル基部930から延在する。ステープル900は、対応する成形ポケット911、921と接触し、対応する成形ポケット911、921に対して成形するように構成される。成形ポケット911は、対応する先端910を受容し先端910が方向P1に成形することを促進するように構成された成形チャネル表面917を含む。図20に示されるように、成形ポケット911は、接触時に微小な不良位置合わせが生じた場合にステープルの先端910を送るか又は受け止めるように構成された横方向の谷状表面915及び長手方向の谷状表面913を含む。ステープル900、ステープル脚部901、及び/又はステープル先端910は、カートリッジから排出されると成形チャネル表面917に対して退却され得る。谷状表面は、ステープルの長手方向及び横方向の回転を許容する。凹表面として示されているが、谷表面は、例えば、凸型又は平らであってもよい。 Surgical staples can be facilitated to shape into the desired configuration by changing the shape, dimensions, configuration, and / or other aspects of the molding pocket configured to mold the staple. FIG. 19 shows molding pockets 911, 921 configured to mold
成形ポケット921は、ステープル900の対応する先端920を受容し先端920が方向D1に成形することを促進するように構成された成形チャネル表面927を含む。方向D1は、方向P1の反対であり、図19に示されるように、ステープル脚部が互いに向かってかつステープル基部930に対して少なくとも実質的に平行に成形される一例を示す。方向D1、P1が、対応するステープル脚部を反対方向であるが互いに対して外向きに導く他の実施形態が想起される。成形ポケット921は、接触時に微小な不良位置合わせが生じた場合にステープル900の先端920を送るか又は受け止めるように構成された横方向の谷状表面925及び長手方向の谷状表面923を更に含む。ステープル900、ステープル脚部902、及び/又はステープル先端920は、カートリッジから排出されると成形チャネル表面927に対して退却され得る。 The
様々な実施形態において、長手方向の谷状表面は、2つの別個の谷表面を含み得る。2つの別個の谷表面は、対応するステープル先端の意図される接触点に最も近い初期谷表面を含み得る。初期谷表面は、別個の谷表面の他方よりも大きい範囲の不良位置合わせ保護を含み得る。初期谷表面は、例えば、別個の谷表面の他方よりも大きい幅及び/又は高さの不良位置合わせ保護を含み得る。 In various embodiments, the longitudinal valley surface may include two separate valley surfaces. The two separate valley surfaces may include the initial valley surface closest to the intended contact point of the corresponding staple tip. The initial valley surface may include a larger range of defective alignment protection than the other of the separate valley surfaces. The initial valley surface may include, for example, poor alignment protection of greater width and / or height than the other of the separate valley surfaces.
図21は、上記のステープルポケット911、921の別の配置を示す。しかしながら、示される配置におけるステープルポケット911、921は、ステープル先端をステープル基部130に向かって内向きに導くように構成される。脚部901及び先端910は、方向P2に成形されるように構成される。脚部902及び先端920は、方向D2に成形されるように構成される。方向P2、D2は、横断方向である。方向P2、D2が、対応するステープル脚部及び先端をステープル基部から離れて、又は外向きに導く他の実施形態が想起される。 FIG. 21 shows another arrangement of the staple pockets 911, 921. However, the staple pockets 911, 921 in the arrangement shown are configured to guide the staple tip inward towards the
図22は、上記のステープルポケット911、921のなお別の配置を示す。示される配置におけるステープルポケット911、921は、対応するステープル脚部901、902及び先端910、920を反対方向に成形するように構成され、ステープル脚部の一方902はステープル基部930に向かって導かれ、ステープル脚部の一方901はステープル基部930から離れるように導かれる。脚部901及び先端910は、方向P3に成形するように構成される。脚部902及び先端920は、方向D3に成形するように構成される。方向P3、D3は、少なくとも実質的に平行である。方向P3、D3が平行でない他の実施形態が想起される。 FIG. 22 shows yet another arrangement of the staple pockets 911, 921. The staple pockets 911, 921 in the arrangement shown are configured to form the corresponding
図23及び24は、ステープル900を変形するように構成された成形ポケット1011、1021を含む成形ポケットの別の実施形態を示す。成形ポケット1011、1021は、入れ子になったポケットを提供する耳のような形状を含む。この種類の配置は、アンビルのステープル成形表面上の空間を節約して、より少ないスペース内でステープルカートリッジ内により多くのステープルポケット、及び結果としてより多くのステープルを許容することができる。成形ポケット1011は、対応する先端910を受容し先端910が湾曲方向P4に成形することを促進するように構成された成形チャネル表面1017を含む。図24に示されるように、成形ポケット1011は、接触中に微小な不良位置合わせが生じた場合にステープルの先端910を送るか又は受け止めるように構成された第1の谷状の湾曲表面1015Aと第2の谷状の湾曲表面1015Bとを含む。ステープル900、ステープル脚部901、及び/又はステープル先端910は、そのステープルキャビティから排出されると成形チャネル表面917に対して退却され得る。谷状表面は、ステープルのいくらかの長手方向及び横方向の回転を許容する。凹表面として示されているが、谷表面は、例えば、凸型又は平らであってもよい。 23 and 24 show another embodiment of a molded pocket that includes molded
成形ポケット1021は、ステープル900の対応する先端920を受容し先端920が方向D4に成形することを促進するように構成された成形チャネル表面1027を含む。図23は、ステープル脚部901、902が互いに向かって成形され、一方のステープル脚部901がステープル基部930から離れて成形され、一方のステープル脚部902がステープル基部930に向かって成形される一例を示す。方向P4、D4が、対応するステープル脚部901、902を反対方向であるが互いに対して外向きに導く他の実施形態が想起される。成形ポケット1021は、接触前及び/又は接触中に微小な不良位置合わせが生じた場合にステープル900の先端920を送るか又は受け止めるように構成された第1の谷状の湾曲表面1025Aと第2の谷状の湾曲表面1025Bとを含む。
図25は、対応するステープル脚部901、902及び先端910、920をステープル基部930に向かって変形するように構成されたアンビル成形ポケット1111、1121を含む成形ポケットのなお別の実施形態を示す。成形ポケット1111、1121は、台形の形状であり、アンビルの成形表面上でより少ないスペースを使用して他の類似する成形ポケットと入れ子となり得る。成形ポケット1111、1121は、ステープル脚部901、902及び先端910、920を、それぞれ方向P5、D5に成形するように構成される。 FIG. 25 shows yet another embodiment of a molding pocket including anvil molding pockets 1111, 1121 configured to deform the corresponding
図26は、対応するステープル脚部901、902及び先端910、920を、それぞれ方向P6、D6に変形するように構成されたアンビル成形ポケット1211、1221を含む成形ポケットのなお別の実施形態を示す。成形ポケット1111、1121は、三角形の形状であり、互いに入れ子になることができ、外科用ステープル留め器具のアンビル上で更にコンパクトな成形ポケット配置をなすことができる。 FIG. 26 shows yet another embodiment of a molding pocket including anvil molding pockets 1211, 1221 configured to deform the corresponding
次に図27〜27Bを参照すると、ステープル脚部1300が示される。ステープル脚部1300は、実質的に円形のステープル先端を含み、実質的に正方形のステープル脚部及びステープル脚部本体部分1301を有する。ステープル脚部1300は、圧印プロセスを使用して成形された硬化した角部を含み、例えば、角部1303A、1303B、1303C、及び1303Dが優先屈曲平面を作るために丸みを帯びている。言い換えれば、ステープル脚部1300は、アンビルとの接触時の角部の硬化に起因してステープル脚部1300が特定の方向に屈曲することを促進するように構成された断面プロファイルを含む。角部1303A、1303B、1303C、及び1303Dは、角部ごとに硬度が異なり得るか、又は第1の硬度を有する2つの角部と第2の硬度を有する他の2つの角部を含み得る。角部1303A、1303B、1303C、及び1303Dは、同じステープル脚部上で異なる半径方向プロファイルを提供するために圧印され得る。例えば、角部1303Aは、図27Bに示される角部1303Bの半径方向プロファイルの半径RBより大きい半径RAを有する半径方向プロファイルを含む。Next, with reference to FIGS. 27-27B,
本明細書に開示されるステープルの一部は、任意の好適な手段によって製造プロセスの様々な時点で硬化され得る。例えば、硬化プロセスには、例えば、ブロンジング、化学蒸着、物理蒸着、レーザ表面処理、熱酸化、イオン窒化、及び/又は固体拡散が含まれ得る。ステープルの他の部分は、これらのプロセスによって硬化されることを防止され得る。例えば、ステープル先端などのステープルの他の部分は、局部的にアニールされ得る。特定に領域の硬度を増加させることによって、ステープルが発射済み構成を取った後にステープルの分解に必要とされる力を増加させることができる。 Some of the staples disclosed herein can be cured at various points in the manufacturing process by any suitable means. For example, the curing process can include, for example, bronzing, chemical vapor deposition, physical vapor deposition, laser surface treatment, thermal oxidation, ion nitriding, and / or solid diffusion. Other parts of the staples can be prevented from being cured by these processes. Other parts of the staple, such as the staple tip, can be locally annealed. By specifically increasing the hardness of the region, the force required to disassemble the staple after the staple has taken the launched configuration can be increased.
図28〜28Cは、少なくとも1つの実施形態によるステープル1400及びスレッド1460を示す。ステープル1400は、ステープル脚部1410、1420と、ステープル脚部1410、1420が延在するステープル基部1430と、駆動表面1432と、底面1431とを含む。ステープル脚部1410、1420は、ステープル基部1430によって画定された平面に対して平行でありオフセットされる平面内でステープル基部1430から延在する。ステープル1400は、基部ストリップ1450及びコネクタ部分1451を利用して順送型打ち抜きによって作製される。単一のステープル1400のみが示されているものの、複数のステープル1400が基部ストリップ1450に取り付けられている。コネクタ部分1451は、ステープル1400、具体的にはステープル基部1430を基部ストリップ1450に接続する。コネクタ部分1451は、ステープル1400のストリップ1450からの取り外しを許容するように構成された切れ目又はノッチ1453を含む。少なくとも1つの例において、スレッド1460は、解放部分又は打撃部分1461を含む。スレッド1460の解放部分1461は、切れ目1453又はコネクタ部分1451に係合して、ステープル1400を基部ストリップ1450から分離、破断、及び/又は剪断し、ステープルがスレッド1460によってステープルのステープルキャビティから排出されることを許容するように構成される。 28-
基部ストリップ1450が、例えば、対応する位置合わせ特徴部をステープルカートリッジ上に係合する穴などの位置合わせ特徴部を含む実施形態が想起される。かかる位置合わせ特徴部には、例えば、基部ストリップ1450の位置合わせ特徴部と位置合わせされる突出部が含まれ得る。様々な例において、ステープルをカートリッジ内に充填する人物は、ステープルをステープルキャビティに位置合わせし、かつ/又はステープルをステープルキャビティ内に押し込む前に位置合わせ特徴部を位置合わせすることができる。ステープルカートリッジが、ステープルカートリッジ内にストリップアセンブリが充填されると切れ目1453に係合するように構成された係合特徴部を含む特定の実施形態が想起される。係合特徴部は、ステープル1400が発射されるときではなく、ステープル1400がステープルカートリッジに充填されるときにステープル1400がストリップ1450から分離することを可能にする。順送型打ち抜きによるステープルの製造は、ステープルが異なるクラウン寸法、形状、及び/又は構成、並びにステープル脚部寸法、形状、及び/又は構成を有することを許容し得る。順送型打ち抜き技術を使用する別の利点には、ステープルが位置合わせされるステープル列の間隔を変えることができることが含まれ得る。 Embodiments are recalled in which the
図29及び30は、順送型打ち抜きによって作製されたステープル1501のストリップ1500の別の実施形態を示す。ステープル1501のストリップ1500は、基部ストリップ1550と、コネクタ部分1551と、ステープル1501とを含む。各ステープル1501は、第1に、底面1531を含むステープル基部1530と、第2に、ステープル基部1530から延在するステープル脚部1510とを含む。コネクタ部分1551は、ステープル基部1530の底面1531を基部ストリップ1550に取り付ける。ステープル脚部は、脚部1510が、ステープル基部1530によって画定された平面に対してオフセットされ少なくとも実質的に平行な平面に置かれるように、ステープル基部1530から上方に屈曲する。示される実施形態において、ステープル脚部1510は、コネクタ部分1551の方向とは反対の方向に屈曲する。この様式で脚部1510及びコネクタ部分1551を屈曲することにより、より高密度のステープル列配置が許容される。コネクタ部分1551は、前の実施形態で論じたようにステープル1501をステープルカートリッジ内に充填する際、及び/又はステープル1501をステープルカートリッジから発射する際にステープル1501が基部ストリップ1550から解放されることを可能にする切れ目を含み得る。 29 and 30 show another embodiment of
図31は、少なくとも1つの実施形態による、複数のステープル1601、及びステープルカートリッジ1650の断面図を示す。ステープル1601は、ステープルカートリッジ1650の対応するステープルキャビティ1651内に取り外し可能に収容されている。ステープルカートリッジ1650は、デッキ表面1653とステープル脚部支持体1655とを含む。ステープル1601は、第1に、それぞれステープル先端1611を含むステープル脚部1610と、第2に、ステープル脚部1610が延在するステープル基部1630とを含む。各ステープル1601は、充填前構成、充填済み構成、及びステープル1601がステープルカートリッジ1650から排出されアンビルの対応する成形ポケットに対して成形される発射済み構成を含む。ステープル脚部1610は、充填前構成においてステープル基部1630に対して外向きに屈曲している。ステープル脚部1610は、充填済み構成において対応するステープルキャビティ1651の側壁に対して付勢し、ステープル脚部1610先端1611間の第1の距離Xを画定する。充填前構成において、ステープル脚部1610のステープル先端1611間の距離は、Xより大きい。この付勢力は、ステープルカートリッジ1650内でステープル1601を支持する助けとなる。 FIG. 31 shows a cross-sectional view of a plurality of
ステープルカートリッジ2000が図32〜34に示される。ステープルカートリッジアセンブリ2000は、カートリッジ本体2010を備える。カートリッジ本体2010は、外科用ステープル留め器具の顎部に位置付け可能であり、外科用ステープル留め器具の顎部から取り外し可能である。結果的に、ステープルカートリッジ2000は交換可能である。しかしながら、ステープルカートリッジ2000が交換可能ではない他の実施形態が想起される。カートリッジ本体2010は、近位端部2011と、遠位端部2012と、近位端部2011と遠位端部2012との間に延在するデッキ2014を含む。デッキ2014は、組織がデッキ2014に押し付けられるときに患者の組織を支持するように構成される。
カートリッジ本体2010は、本発明で定義される複数のステープルキャビティ2020を更に含む。ステープルキャビティ2020は、近位端部2011と遠位端部2012との間に延在する6つの長手方向列に配置される。しかしながら、ステープルキャビティ2020の任意の好適な配置を利用することができる。例えば、ステープル2130(図40)などのステープルは、各ステープルキャビティ2020内に取り外し可能に収容されている。以下により詳細に論じられるように、ステープルは、発射部材がカートリッジ本体2010の近位端部2011から遠位端部2012に向かって移動すると、発射部材によってステープルキャビティ2020から排出される。 The
上記に加え、ステープルは、発射部材によって未発射位置から発射済み位置に移動する。発射部材は、例えば、アンビル2190(図37)などのアンビルに向かってステープルを持ち上げて、未発射の未変形構成と発射済みの変形構成との間でステープルを変形する。カートリッジ本体2010は、内部に画定された長手方向スロット2013を更に含む。スロット2013は、ステープルがステープルキャビティ2020から排出されるときに、内部にステープル発射部材及び/又は組織切断部材を受容するように構成される。 In addition to the above, the staples are moved from the unlaunched position to the launched position by the launching member. The launching member lifts the staples toward an anvil, such as the anvil 2190 (FIG. 37), to deform the staples between the unlaunched undeformed configuration and the launched deformed configuration. The
様々な実施形態において、上記に加え、ステープルは、ステープルが発射部材によってアンビルに向かって移動するまでデッキ2014の上に突出しない。かかる実施形態は、しばしば、小型のステープルを利用する場合がある。他の実施形態において、ステープルの脚部は、ステープルがその未発射位置にあるときにデッキ2014の上に突出する。少なくとも1つのかかる実施形態において、カートリッジ本体2010は、デッキ2014から延在する突出部2050を更に含む。突出部2050は、ステープルがステープルカートリッジ2000から排出されるときに、ステープルキャビティ2020をデッキ2014の上に延在し、ステープルをアンビルに向かって誘導する。かかる実施形態において、ステープルは、ステープルが発射部材によってアンビルに向かって移動するまで突出部2050の上に突出しない場合がある。 In various embodiments, in addition to the above, the staples do not project onto the
主に図34を参照して、突出部2050は、ステープルキャビティ2020の全体の周りで延在しない。第1の突出部2050は、各キャビティ2020の第1の端部に隣接して位置付けられ、第2の突出部2050は、各キャビティ2020の第2の端部に隣接して位置付けられる。各第1の突出部2050は、ステープルキャビティ2020の第1のステープル脚部ガイド2022の周りで延在し、各第2の突出部2050は、ステープルキャビティ2020の第2のステープル脚部ガイド2023の周りで延在する。各第1の突出部2050は、ステープルの近位脚部を制御及び誘導することができる近位ブラケットを提供し、各第2の突出部2050は、ステープルの遠位脚部を制御及び誘導することができる遠位ブラケットを提供する。各ステープルキャビティ2020の第1の突出部2050は、ステープルキャビティ2020の第1の端部に対して対称ではなく、キャビティ2020の第1の端部の全体の周りで延在しない。同様に、各ステープルキャビティ2020の第2の突出部2050は、ステープルキャビティ2020の第2の端部に対して対称ではなく、キャビティ2020の第2の端部の全体の周りで延在しない。第1の突出部2050及び第2の突出部2050は、互いの鏡像を含み、各ステープルキャビティ2020の中心に対して対象に配置される。しかしながら、突出部の任意の好適な配置を利用することができる。 Primarily with reference to FIG. 34, the
図32〜34に示されるように、カートリッジ本体2010は、デッキ2014から上向きに延在する段2014’及び段2014”を含む。より具体的には、段2014’はデッキ2014から上向きに延在し、段2014”は段2014’から上向きに延在する。結果的に、段2014”はステップ2014’より大きい圧縮圧力を組織に付加し得、同様に、ステップ2014’はデッキ2014より大きい圧縮圧力を組織に付加し得る。ステップ2014’及び2014”は、ねじれ形の長手方向平坦部を含むが、ステップ2014’及び2014”は、任意の好適な構成を含んでもよい。更に、上記に加え、段2014”から延在する突出部2050は、段2014’から延在する突出部2050の上に延在し、同様に、段2014’から延在する突出部2050は、デッキ2014から延在する突出部2050の上に延在する。言い換えれば、デッキ2014、段2014’、及び段2014”から延在する突出部2050は、ねじれ形である。 As shown in FIGS. 32 to 34, the
ステープルカートリッジ2100が図35〜38に示される。ステープルカートリッジアセンブリ2100は、カートリッジ本体2110を備え、多くの点でステープルカートリッジアセンブリ2000及び/又は本明細書に開示される他のステープルカートリッジと類似している。カートリッジ本体2110は、デッキ2114と、複数のステープルキャビティ2120aと、複数のステープルキャビティ2120bとを備える。ステープルキャビティ2120aは、多くの点でステープルキャビティ2120bと類似している。例えば、ステープルキャビティ2120a及び2120bは両方、近位端部及び遠位端部を有する中心スロット2121と、中心スロット2121の近位端部から横方向に延在する近位ステープル脚部ガイド2122と、中心スロット2121の遠位端部から横方向に延在する遠位ステープル脚部ガイド2123とを含む。したがって、ステープルキャビティ2120a及びステープルキャビティ2120bは、異なる方向に配向される。より具体的には、ステープルキャビティ2120aのステープル脚部ガイド2122、2123は、ステープルキャビティ2120bに向かって延在し、同様に、ステープルキャビティ2120bのステープル脚部ガイド2122、2123は、ステープルキャビティ2120aに向かって延在する。しかしながら、任意の好適な配置を利用することができる。 The
ステープル2130aは、各ステープルキャビティ2120a内に位置付けられ、ステープル2130bは、各ステープルキャビティ2120b内に位置付けられる。ステープル2130a及びステープル2130bは、多くの点で類似している。例えば、各ステープル2130aは、基部又はクラウン2131と、基部2131の近位端部から延在する近位脚部2132と、基部2131の遠位端部から延在する遠位脚部2133とを含む。したがって、ステープル2130a、2130bは、それぞれステープルキャビティ2120a、2120b内に嵌合するための様式で適合される。例えば、ステープル2130aがステープルキャビティ2120a内に位置付けられ、ステープル2130bがステープルキャビティ2120b内に位置付けられるとき、ステープル2130aの脚部2132、2133はステープル2130bに向かって延在し、ステープル2130bの脚部2132、2133はステープル2130aに向かって延在する。しかしながら、他の配置も可能である。 The
上記に加え、ステープル2130a、2130bがそれぞれステープルキャビティ2120a、2120b内に収容される場合、ステープル2130a、2130bの近位脚部2132は、ステープル脚部ガイド2122内に位置付けられる。同様に、ステープル2130a、2130bがそれぞれステープルキャビティ2120a、2120bに収容される場合、ステープル2130a、2130bの遠位脚部2133は、ステープル脚部ガイド2123内に位置付けられる。更に、ステープル2130a、2130bがそれぞれステープルキャビティ2120a、2120b内に収容される場合、ステープル2130a、2130bの基部2131は、ステープルキャビティ2120の中心スロット2121内に位置付けられる。主に図35を参照して、ステープル2130a、2130bがそれらの未発射位置にある場合、ステープル脚部2132、2133の先端は、カートリッジ本体2110のデッキ2114の上に延在する。したがって、ステープル脚部2132の先端は、デッキ2114から延在する近位突出部2152によって少なくとも部分的に囲まれ、ステープル脚部2133の先端は、デッキ2114から延在する遠位突出部2153によって少なくとも部分的に囲まれている。近位突出部2152は、近位ステープル脚部ガイド2122の周囲で延在するが、近位突出部2152は、中心スロット2121の近位端部の周囲では延在しない。同様に、遠位突出部2153は、遠位ステープル脚部ガイド2123の周囲で延在するが、中心スロット2121の遠位端部の周囲では延在しない。 In addition to the above, when the
次に図38に移ると、各近位突出部2152は、近位ガイドスロット2122の近位側部の周囲で延在する第1の部分2154と、近位ガイドスロット2122の横側部の周囲で延在する第2の部分2155とを含む。近位突出部2152は、近位ガイドスロット2122の遠位側部の周囲では延在しないが、代替的な実施形態において、近位突出部2152が近位ガイドスロットの遠位側部の周囲で延在し得ることが想起される。同様に、各園位突出部2153は、遠位ガイドスロット2123の遠位側部の周囲で延在する第1の部分と、遠位ガイドスロット2123の横側部の周囲で延在する第2の部分とを含む。遠位突出部2153は、遠位ガイドスロット2123の周りでは延在しないが、代替的な実施形態において、遠位突出部2153が遠位ガイドスロットの近位側部の周囲で延在し得ることが想起される。いずれの場合でも、図38に示される配置は、ステープル2130a、2130bがそれらの未発射位置にあるときにステープル脚部2132、2133を保護し、更に、ステープルが発射される際にステープル2130a、2130bを誘導する。かかる配置はまた、カートリッジ本体2110のデッキ2114に対する組織の流れを適切に制御する。 Next, moving to FIG. 38, each
再び図38を参照して、ステープルキャビティ2120a及びステープル2130aは、ステープル2130aとステープルキャビティ2120aとの間に隙間が提供されるように寸法決め及び構成される。例えば、ステープル2130bの近位脚部2132と近位ガイドスロット2122の近位側壁との間に隙間2156が存在し、同様に、ステープル2130bの近位脚部2132と近位ガイドスロット2122の遠位側壁との間に隙間2158が存在する。更に、近位脚部2132の横側部と近位ガイドスロット2122との間に隙間2157が存在する。遠位脚部2133と遠位ガイドスロット2123との間に類似の隙間が見られる。ステープル2130bの基部2131と中心スロット2121の横側部との間にも横方向の隙間2126、2127が提供され得る。かかる隙間は一過的であり得、ステープルはそれでもなお1つ又は2つ以上の側壁と接触し得る。 With reference to FIG. 38 again, the staple cavities 2120a and
ステープルカートリッジ2200が図43に示される。ステープルカートリッジ2200は、多くの点でステープルカートリッジ2000、2100、及び本明細書に開示される他のステープルカートリッジと類似している。ステープルカートリッジ2200は、内部に画定されたステープルキャビティ2220を含むカートリッジ本体2210を含む。ステープルキャビティ2220のそれぞれは、内部に取り外し可能に収容された、例えば、ステープル2130などのステープルを有する。各ステープルキャビティ2220は、ステープル2130の脚部2132を誘導するように構成された第1のガイドスロット2222と、ステープル2130の脚部2133を誘導するように構成された第2のガイドスロット2223と、中心スロット2221とを含む。ガイドスロット2222及び2223は、中心スロット2221から横方向に延在し、中心スロット2221は、ステープル2130の基部2131を誘導するように構成された中間ガイド2225を含む。第1のガイドスロット2222は、ステープル脚部2132が第1のガイドスロット2222の角部にぴったりと受容されるように寸法決め及び構成される。同様に、第2のガイドスロット2223は、ステープル脚部2133が第2のガイドスロット2223の角部にぴったりと受容されるように寸法決め及び構成される。中間ガイド2225は、ステープルキャビティ2220内でのステープル2130の横向きの移動を制限するように寸法決め及び構成される。更に、中間ガイド2225は、ステープル脚部2132及び2133をそれぞれステープル脚部ガイドスロット2222及び2223内に保つように寸法決め及び構成される。 The
上記のように、中間ガイド2225は、ステープル脚部2132及び2133をそれぞれガイドスロット2222及び2223の側壁に対して保つように寸法決め及び構成される。かかる配置は、図43において力ベクトルLTとして示される、キャビティ2220の横側壁とステープル2130との間の横方向の反力を生み出す。かかる横方向の反力は、ステープル2130がキャビティ2220から排出されるときに、キャビティ2220の側壁とステープル2130との間で摩擦推力を生成する。摩擦推力はそれが付加される表面積の機能であり、そのため、中間ガイド2225が中心スロット2221の全長に沿って延在しないことを理解されたい。したがって、中間ガイド2225は、キャビティ2220内でステープル2130の配向を制御するために十分な長手方向の長さを有する。更に、中間ガイド2225は、ステープル2130の発射ストローク中にステープル2130の配向を制御するために十分な垂直方向の長さを有する。少なくとも1つの例において、ガイド2225は、キャビティ2220の垂直深度全体に沿って延在する。 As described above, the
中間ガイド2225は平らであり、ステープル2130の基部2131の横側部に画定された平らな表面と接合するように構成されるが、任意の好適な配置を利用することができる。特定の代替的な実施形態において、中間ガイド2225は、例えば、ステープル2130の基部2131に付勢力を付加するように構成された弾性付勢部材を含む。少なくとも1つの例において、弾性付勢部材は、例えば、片持ちばり式ばねを含んでもよい。 The
ステープルキャビティ2220は、横方向中間ガイド2225の反対側に位置付けられた横方向ガイドを含まない。事実、横側壁2228とステープル2130との間に隙間2229が存在する。 The
上記に加え、再び図43を参照して、ステープル2130は、中心スロット2221の端部に位置付けられていない。より具体的には、キャビティ2220の中心スロット2221は、近位端部2226と遠位端部2227とを含み、ステープル2130は、近位端部2226又は遠位端部2227のいずれにも延在しない。むしろ、端部2226、2227とステープル2130との間に隙間が存在する。かかる隙間は、端部2226、2227と中間ガイド2225との間で延在する。結果的に、ステープルキャビティ2220の端部2226、2227は、ステープル2130の長手方向の位置を制御しない。代わりに、ステープル脚部ガイド2222、2223が、ステープル2130の長手方向の位置を制御する。事実、ステープル2130の脚部2132及び2133は、それぞれステープル脚部ガイド2222及び2223によって内向きに付勢され得る。かかる配置は、図43において力ベクトルLGとして示される長手方向の反力を生み出す。 In addition to the above, again with reference to FIG. 43, the
上記の結果として、ステープルキャビティ2220は、ステープルキャビティ2220がステープル2130の配向を制御する3つの制御点又は位置を含む。これらの制御点は、間に画定された隙間を有する別個の制御位置を含む。言い換えれば、ガイド2222、2223、及び2225は、ステープル2130の制御を三角形化する。3つ超の制御点を含む代替的な実施例が想起される。いずれの場合においても、ステープル脚部ガイド2222及び2223によって提供される制御点は、第1の制御平面内に画定される。中間ガイド2225によって提供される中間制御点は、第2の制御平面内に画定される。第1の制御平面及び第2の制御平面は平行であるが、第1の制御平面及び第2の制御平面が平行ではない代替的な実施形態が想起される。更に、第1の制御平面は、ステープル2130のステープル脚部2132及び2133と位置合わせされるか又は隣接し、第2の制御平面は、ステープル2130の基部2131と位置合わせされるか又は隣接する。 As a result of the above, the
ステープルカートリッジ2700が図65に示される。ステープルカートリッジ2700は、デッキ2714と、デッキ2714内に画定された複数のステープルキャビティ2220とを含むカートリッジ本体2710を含む。カートリッジ本体2110と同様に、カートリッジ本体2710は、デッキ2714の上に延在する突出部2752及び2753を含む。突出部2752は、ステープルキャビティ2220のステープル脚部ガイド2222を少なくとも部分的に囲み、突出部2753は、ステープルキャビティ2220のステープル脚部ガイド2223を少なくとも部分的に囲む。突出部2152、2153と同様に、突出部2752、2753はそれぞれ、外側部分2754と横部分2755とを含む。外側部分2754は、ステープル脚部ガイド2222及び2223に対して長手方向に位置付けられる一方、横部分2755は、ステープル脚部ガイド2222及び2223に対して横方向に位置付けられる。突出部2152、2153とは異なり、突出部2752、2753はそれぞれ、ステープル脚部ガイド2222及び2223に対して長手方向に位置付けられた内側部分2756を含む。内側部分2756は横部分2755に接続され、横部分2755は外側部分2754に接続される。上記と同様に、突出部2752、2753は、デッキ2714上のステープルキャビティ2220に延在する。 The
ステープルカートリッジ2800が図66に示される。ステープルカートリッジ2800は、デッキ2814と、デッキ2814内に画定された複数のステープルキャビティ2220とを含むカートリッジ本体2810を含む。カートリッジ本体2110と同様に、カートリッジ本体2810は、デッキ2114の上に延在する突出部2152、2153を含む。上記に概説されるように、突出部2152は、ステープルキャビティ2220のステープル脚部ガイド2222を少なくとも部分的に囲み、突出部2753は、ステープルキャビティ2220のステープル脚部ガイド2223を少なくとも部分的に囲む。更に、カートリッジ本体2810は、ステープル脚部ガイド2222及び2223に対して長手方向に位置付けられた内部突出部2856を含む。内部突出部2856は、突出部2152、2153に接続されていない。 The
再び図35を参照して、ステープル2130は、例えば、スレッド2140などの発射部材によって未発射位置と発射済み位置との間で駆動される。スレッド2140は、ステープル2130に直接係合し、例えば、図37に示されるようにアンビル2190などのアンビルに向かってステープル2130を持ち上げるように構成されたウェッジ2145を含む。スレッド2140は、ステープル2130の各長手方向列のためのウェッジ2145を含むが、スレッド2140は、任意の好適な数のウェッジ2145を有し得る。各ウェッジ2145は、スレッド2140がステープルカートリッジ2100の近位端部からステープルカートリッジ2100の遠位端部に向かって進むにつれてステープル2130の下で摺動する角度をなした駆動表面2141を含む。各ステープル2130の基部2131は、駆動表面2141によって直接接触される角度をなした駆動表面2135を含む。言い換えれば、各ステープル2130は、駆動表面2135を有する独自の一体型ドライバを含む。ステープル2130は金属で構成され、結果的に、一体型ドライバも金属で構成される。したがって、本明細書に開示されるステープルは、任意の好適な材料で構成され得る。 With reference to FIG. 35 again, the
上記に加え、各駆動表面2141は、初期又は遠位部分2142と、第2又は中間部分2143と、第3又は頂点部分2144とを含む。初期部分2142は、スレッド2140が遠位に移動されるにつれて第1の角度で延在し、スレッド2140のステープル2130に対する初期接触点を提供する。初期部分2142がステープル2130の下に摺動するにつれて、ステープル2130は、ステープルキャビティ2120内で上向きに持ち上げられる。スレッド2140が遠位に移動し続けると、中間部分2143がステープル2130と接触する。中間部分2143は、第1の角度とは異なる第2の角度で延在する。ステープル2130の迅速な初期上方転置が所望される場合には、第1の角度は第2の角度より急であってもよく、ステープル2130の段階的な初期上方転置を提供することが所望される場合には、第1の角度は第2の角度よりも緩やかであってもよい。いずれの場合においても、ステープル2130は、図37に示されるように、ステープル2130が中間部分2143によって上向きに持ち上げられている間に、アンビル2190と接触するが、ステープル2130が初期部分2142によって上向きに持ち上げられているときにステープル2130がアンビル2190と接触する代替的な実施形態が想起される。いずれの場合においても、ステープル2130の近位脚部2132は、アンビル2190内に画定された近位成形ポケット2192と接触し、遠位脚部2133は、アンビル2190内に画定された遠位成形ポケット2193と接触する。成形ポケット2192及び2193は、脚部2132及び2133を内向きに屈曲させてステープル2130を変形し、ステープル2130内で患者の組織を捕捉するように構成される。駆動表面2141の頂点2144は、ステープル2130の下で摺動して、成形プロセスを仕上げる。頂点2144は、駆動表面2141の尖端、平らな表面、並びに/又は第1の角度及び/若しくは第2の角度とは異なる第3の角度で延在する表面を含み得る。 In addition to the above, each
様々な例において、各駆動表面2141は、駆動表面2141の頂点2144を追従するか又は頂点2144に対して近位に位置付けられた部分を含む。かかる後方部分は、例えば、頂点2144より低くてもよい。更に、かかる後方部分は、例えば、ステープル2130における成形圧力の段階的な減少が提供され得る。 In various examples, each
次に図39を参照して、ステープル2130は、近位脚部2132から下向きに延在する足部2134を更に含む。図41に示されるようにステープル2130がそのステープルキャビティ2120内でその適切な配向にあるとき、足部2134はスレッド2140によって接触されていない。かかる例において、スレッド2140の配置平坦部2146が足部2134の下を通過する。図42に示されるようにステープル2130がそのステープルキャビティ2120内でその適切な配置にないとき、スレッド2140はステープル2130と接触し、ステープル2130を再配向することができる。比較の目的のため、不適切に配向されたステープル2130及び適切に配向されたステープル2130’の両方が図42に示される。スレッド2140は、足部2134と接触し、ステープル2130を適切な配向に回転指せるように構成された角度をなした位置合わせ傾斜面2148を含む。位置合わせ傾斜面2148がステープル2130を適切に配向した後に、位置合わせ平坦部2146は足部2134の下で摺動することができる。図39から理解することができるように、傾斜面2148、位置合わせ平坦部2146、及び足部2134は、ステープル2130の脚部2132及び2133の成形平面と位置合わせされた位置合わせ平面内に配置される。位置合わせ平面は、スレッド2140の成形表面2141及びステープル2130の基部2131を含む持ち上げ平面に隣接する。 The staple 2130 then further includes a
ステープルカートリッジアセンブリ2300が図44〜48に示される。ステープルカートリッジアセンブリ2300は、多くの点でステープルカートリッジ2000、2100、2200、及び本明細書に開示される他のステープルカートリッジと類似している。ステープルカートリッジ2300は、カートリッジ本体2310と、カートリッジ本体2310内に取り外し可能に収容されたステープルを排出するように構成されたスレッド2340とを含む。スレッド2140と同様に、スレッド2340は、ステープル成形傾斜面2145を含む。傾斜面2145は、ステープルの持ち上げ部分又は平面と位置合わせされた、カートリッジ本体2110内に画定された長手方向スロット2115に摺動可能に位置付けられる。とりわけ、以下により詳細に論じられるように、スロット2115は、カートリッジ本体2310の底部2316内に画定された開放端部を有する。 The
上記に加え、ステープルカートリッジアセンブリ2300は、カートリッジ本体2310の底部2316の周囲に延在するカバーを含まない。主に図48を参照して、カートリッジ本体2310は、ステープル留め器具の顎部2180に対して直接位置付けられている。ステープルカートリッジがステープル留め器具の顎部から容易に取り外し可能ではなく、別のステープルカートリッジと容易に交換可能ではない実施形態において、顎部2180が、ステープルがステープルキャビティ2120の底部から落下すること、及び/又はスレッド2340が長手方向スロット2115の底部から落下することを防止することができるため、底部カバーの不在は必ずしも問題ではない。しかしながら、ステープルカートリッジアセンブリ2300は交換可能であり、底部カバーを含まないにもかかわらず、ステープルカートリッジアセンブリ2300は、以下により詳細に論じられる、ステープル及びスレッド2340がカートリッジ本体2310の底部2316から落下しないようにする特徴部を含む。かかる特徴部は、本明細書に開示されるステープルカートリッジのいずれにも適合することができる。 In addition to the above, the
主に図45〜47を参照して、カートリッジ本体2310は、内部にスレッド2340を保つように構成された保持特徴部を含む。例えば、カートリッジ本体2310は、スレッド2340がそれらの近位又は未発射位置にあるときに、スレッド2340を長手方向スロット2115内に保つように構成された近位保持特徴部2317を含む。スレッド2340は、ステープルカートリッジアセンブリ2300が顎部2180内に挿入又は充填されたときに未発射位置にあり、結果的に近位保持特徴部2317は、カートリッジアセンブリ2300が臨床医によって取り扱われるときにスレッド2340をカートリッジ本体2310内に保持する。各保持特徴部2317は、角度をなした表面2318と肩部2319とを含む。各スレッド2340は、角度をなした表面2318を受容するように構成された対応する陥凹部2348と、更に、保持特徴部2317の肩部2319と位置合わせされ、かつ/又は接触することができる対応する肩部2349とを含む。スレッド2340がスロット2115内に挿入されると、図46を参照して、傾斜面2145及び/又はカートリッジ2310の側壁が曲がってスレッド2340が角度をなした表面に対して摺動し、次いで、図45に示されるようにスレッド2340の肩部2349がカートリッジ本体2310の肩部2319と位置合わせされると、スレッド2340の元の位置に弾性的に弾き戻すことを許容することができる。保持特徴部2317はまた、スレッド2340が長手方向スロット2115の外に近位に摺動することを防止するように構成される。 Primarily with reference to FIGS. 45-47, the
上記の結果として、近位保持特徴部2317は、臨床医がステープルカートリッジアセンブリ2300を取り扱っているときにスレッド2340がカートリッジ本体2310から落下することを防止する。ステープルを発射するためにスレッド2340が遠位に進んでいるとき、スレッド2340は近位保持特徴部2317とはもう位置合わせされていない。しかしながら、かかる時点で、ステープルカートリッジアセンブリ2300は既に顎部2180内にあり、スレッド保持特徴部はもう必要とされない。したがって、カートリッジ本体2310は、スレッド2340の位置にかかわらずスレッド2340をカートリッジ本体2310内に保つことができる更なる保持特徴部を含んでもよい。かかる保持特徴部は、例えば、スレッド2340がそれらの遠位又は完全に発射済みの位置にあるときにスレッド2340をカートリッジ本体2310内に保つように構成され得る。 As a result of the above, the
上記に加え、本明細書に開示されるステープルカートリッジのステープルは、ステープルをステープルカートリッジのステープルキャビティ内に保つように構成された1つ又は2つ以上の特徴部を含んでもよい。次に図49及び50を参照して、ステープル2330は、基部2331と、基部2331から延在する1つ又は2つ以上のステープル脚部2332とを含む。ステープル2330は、例えば、カートリッジ本体2310内のステープルキャビティ2320内に取り外し可能に収容される。基部2331は、ステープルキャビティ2320の側壁に係合した、基部2331から延在する隆起2338を含む。隆起2338とステープルキャビティ側壁との間の相互作用は、ステープル2330がカートリッジ本体2310の底部2316の外に落下しないようにする。隆起2338とステープルキャビティ側壁との間の相互作用は、締まりばねを含むが、かかる締まりばねは、スレッド2340がステープル2330をステープルキャビティ2320から排出することを防止しない。隆起2338は、例えば、打ち抜きプロセス中に、基部2331内に形成され得る。打ち抜きプロセスは、基部2331の反対側に窪み2337を作ることによって隆起2338を形成することができる。ステープルキャビティ2320は、隆起2338と位置合わせされた縦溝2328を含む。溝2328は、ステープルキャビティ2320の側壁と隆起2338との間の接触面積を増加させる。更に、溝2328は、ステープルキャビティ2320内でのステープル2330の配向を制御することができる。溝2328を含まない代替的な実施形態が想起される。 In addition to the above, the staples of the staple cartridge disclosed herein may include one or more features configured to keep the staples within the staple cavities of the staple cartridge. The staple 2330 then includes a
上記に加え又は上記の代わりに、本明細書に開示されるステープルカートリッジ内に収容されたステープルは、ステープルのステープルキャビティの側壁と弾性的に係合したステープル脚部を含み得る。次に図51を参照して、ステープル2430は、基部2431と、基部2431から延在するステープル脚部2432及び2433を含み得る。ステープル2430は、多くの点でステープル2130、2330、及び/又は本明細書に開示される他のステープルと類似している。ステープルカートリッジ本体2410は、例えば、内部に画定された複数のステープルキャビティ2120と、各ステープルキャビティ2120内に位置付けられたステープル2430とを含み得る。図51は、キャビティ2120の内部に位置付けられたステープル2430と、カートリッジ本体2430のステープルキャビティ2120の外側に位置付けられたステープル2430とを示す。ステープル2430がステープルキャビティ2120内に位置付けられていないとき、ステープル脚部2432、2433は、平行方向に延在せず、むしろ、ステープル脚部2432、2433は互いから離れて外向きに延在する。ステープル2430がステープルキャビティ2120内に位置付けられているとき、ステープル脚部2432、2433は、ステープルキャビティ2120の側壁によって内向きに曲げられる。言い換えれば、ステープル脚部2432、2433は、ステープルキャビティの側壁に対して弾性的に付勢され、この付勢係合によって、ステープル2430は、カートリッジ本体2410の底部2436の外に落下することを阻止されている。図51に示されるように、ステープル2130がステープルキャビティ2120内に位置付けられているときのステープル脚部2432、2433間の距離はXであり、ステープル2130がステープルキャビティ内に位置付けられていないときのステープル脚部2432、2433の距離はXより大きい。 In addition to or instead of the above, the staples housed in the staple cartridges disclosed herein may include staple legs that are elastically engaged with the side walls of the staple cavities of the staples. Then, with reference to FIG. 51, the staple 2430 may include a
様々な実施形態において、カートリッジ本体は、内部に収容されたステープルがカートリッジ本体の底部の外に落下しないようにする1つ又は2つ以上の肩部を含み得る。肩部は、ステープルの下で少なくとも部分的に延在し得る。 In various embodiments, the cartridge body may include one or more shoulders that prevent the staples housed therein from falling out of the bottom of the cartridge body. The shoulders can extend at least partially under the staples.
特定の実施形態において、ステープルカートリッジアセンブリのカートリッジ本体は、プラスチックで構成されてもよく、例えば、射出成型プロセス中に形成されてもよい。射出成型は、互いに向かって及び互いから離れて移動可能な2つの半体を含み得る。射出成型半体間の接合面はしばしば分割線と呼ばれ、分割線で型の半体間のプラスチックのフラッシング又は滲み出しがしばしば起こり得る。少なくとも1つの実施形態において、射出成型の分割線は、ステープルカートリッジのデッキと、デッキ内に画定されたステープルキャビティとの間の接合面に画定され得る。上記の結果として、プラスチックフラッシングは、ステープルキャビティの周辺で起こり得る。かかるフラッシングは、ステープルをステープルカートリッジ内に取り外し可能に保つことができる。 In certain embodiments, the cartridge body of the staple cartridge assembly may be made of plastic or may be formed, for example, during an injection molding process. Injection molding may include two halves that can move towards and away from each other. The joint surface between the injection molded halves is often referred to as the dividing line, which can often cause plastic flushing or seepage between the mold halves. In at least one embodiment, the injection molding dividing line may be defined at the interface between the deck of the staple cartridge and the staple cavity defined within the deck. As a result of the above, plastic flushing can occur around the staple cavity. Such flushing can keep the staples removable in the staple cartridge.
再び図48を参照して、カートリッジ本体2310は、顎部2180に直接係合するように構成される。顎部2180は、内部に画定された1つ又は2つ以上の保持肩部2315を含む。カートリッジ本体2310は、保持肩部2315と協働してカートリッジ本体2310を顎部2180内で取り外し可能に保持する、対応する保持肩部2187を含む。カートリッジ本体2310及び/又は顎部2180は、カートリッジ本体2310の顎部2180への挿入を促進するように構成された傾斜面表面2314を更に含む。上記の結果として、カートリッジ本体2310は、顎部2180とスナップ嵌め関係を有し得る。スナップ嵌め関係は、ステープルカートリッジアセンブリ2300が交換され得るようにカートリッジ本体2310を顎部2180の外に押し出すことによって克服することができる。 With reference to FIG. 48 again, the
ステープル2530図52〜56に示される。ステープル2530は、多くの点でステープル2130、2330、2340、及び/又は本明細書に開示される他のステープルと類似している。ステープル2530は、基部2531と、基部2531から延在する脚部2532及び2533とを含む。ステープル2530は、基部2531から上向きに延在する突出部2538も含む。突出部2538は、基部2531を含むステープル駆動平面と位置合わせされ、ステープル脚部2532及び2533を含む組織捕捉平面と位置合わせされていない。突出部2538は、ステープル捕捉平面の外側で組織に加圧することができる。
ステープルカートリッジアセンブリ2600が図57〜64に示される。ステープルカートリッジ2600は、内部に画定された複数のステープルキャビティ2220を含むカートリッジ本体2610を含む。ステープルカートリッジ2600は、各ステープルキャビティ2220内に位置付けられたステープル2530と、ステープル2530をステープルキャビティ2220から排出するように構成されたスレッド2640とを更に含む。スレッド2640は、多くの点でスレッド2140と類似している。各スレッド2640は複数の傾斜面2645を含み、各傾斜面2645は、ステープル2530の下で摺動しステープル2530をステープルキャビティ2220内で持ち上げるように構成された駆動表面2641を含む。各駆動表面2641は、駆動表面2641及び/又はステープルキャビティ2220に対してステープル2530を位置合わせするガイドチャネルを画定する横側壁2649によって画定された傾斜表面2643を含む。ガイドチャネルは、ステープル2530の基部2531を側壁2649間に受容し、スレッド2640が遠位に進むにつれてステープル2530を横方向に配向するように構成される。かかる横方向の再配置は、図58及び59を比較すると明らかである。再び図52〜56を参照して、各ステープル2530は、その基部2531上に画定されたガイド特徴部2139を含む。各ステープル2530のガイド特徴部2139は、例えば、ガイドチャネルの横側壁2649と相互作用し、ステープル2530の横方向の位置を調節するように構成された湾曲した端部を含む。様々な他の実施形態において、ガイド特徴部2139は、任意の好適な構成を含んでもよい。 The
上記に加え又は上記の代わりに、主に図60を参照して、スレッド2640は、ステープル2530の下向きに延びる足部2134を受容し、駆動表面2641及び/又はステープルキャビティ2220に対してステープル2530を配向するように構成されたガイドチャネル2646を含む。各ガイドチャネル2646は、傾斜部分2648と横側壁とを含む。ガイドチャネル2646は、ステープル2530の基部2531をチャネル2646の側壁間に受容し、スレッド2640が遠位に進むにつれてステープル2530を横方向に配向するように構成される。主に図61を参照して、各足部2134は、チャネル2646の側壁と相互作用して、ステープル2530をチャネル2646内に誘導するように構成された導入又は斜角表面2137を含む。したがって、足部2134は、ステープル2530のチャネル2646内への進入を促進する任意の好適な形状を含んでもよい。読者は、ステープル2530が駆動表面2641によってステープルキャビティ2220内で上向きに駆動されるにつれて、ステープル2530の足部2134がチャネル2646の外に持ち上がることを理解されたい。駆動表面2641の頂点2644によってステープル2530が成形されるときには、足部2134はもうチャネル2646内に位置付けられていない。 In addition to or instead of the above, mainly referring to FIG. 60, the
主に図58、59、及び64を参照して、チャネル2646はまた、カートリッジ本体2610に対してスレッド2640を位置合わせすることができる。より具体的には、カートリッジ本体2610は、チャネル2646内に下向きに延在する長手方向レール2616を更に含む。レール2616は、チャネル2646内にぴったりと受容されてスレッド2640とカートリッジ本体2610との横向きの移動を制限又は防止する一方、上記に概説されるようにステープル2530を発射するために必要なスレッド2640の長手方向の移動を許容する。各ステープル2530の足部2134は、ステープル2530がそのステープルキャビティ2220内で間違った方向に配向されている場合に、ステープル2530をそのステープルキャビティ2220内で適切に配向するように構成される。
本明細書に開示される配置は、ステープルカートリッジが従来のステープルカートリッジよりもコンパクトであることを可能にする。特に、発射部材とステープルとの間でステープルドライバを利用しない本明細書に開示されるステープルカートリッジ、すなわちドライバレスステープルカートリッジは、ステープルカートリッジがより低い全高を有することを可能にする。同様に、底部カバーを含まないステープルカートリッジも、ステープルカートリッジがより低い全高を有することを可能にする。ドライバレスステープルカートリッジはまた、よりステープルキャビティの利用を可能にする。次に、図67及び68を参照して、カートリッジ本体2910は、ステープルキャビティ2920と、本明細書に定義される長手方向スロット2013とを含む。図67及び68は、カートリッジ本体2910の底部2916及びステープルキャビティ2920の底部開口部を示す。読者は、ステープルキャビティ2920が、ステープルをカートリッジ本体2910外に駆動するためのステープルドライバを受容するように寸法決め及び構成されることを理解されたい。次に、カートリッジ本体2010の底部2016を示す図69及び70を参照して、カートリッジ本体2010のステープルキャビティ2020は、ステープルキャビティ2920よりも小さい。読者が想起するであろう通り、ドライバは、ステープルキャビティ2020内に位置付けられず、結果的に、ステープルキャビティ2020の寸法を減らすことができる。図71は、カートリッジ本体2910の底部2916をカートリッジ本体3010の代替的な実施形態の底部3016と比較する。図71に見られるように、カートリッジ本体3010は、ステープルキャビティ2920の長手方向列よりもはるかに狭いステープルキャビティ3020の長手方向列を含む。様々な例において、かかるより狭いステープルキャビティは、ステープルキャビティの中心線が互いに近くなることを許容する。次に、図72を参照して、ステープルカートリッジ本体3110は、カートリッジ本体内でステープルを持ち上げるためにステープルドライバを使用する実施形態において許容されるよりも互いに近く位置付けられたカートリッジ本体3110のデッキ3114内に画定されたステープルキャビティの長手方向列3120a、3120b、及び3120cを含む。 The arrangement disclosed herein allows the staple cartridge to be more compact than a conventional staple cartridge. In particular, the staple cartridges disclosed herein that do not utilize a staple driver between the launching member and the staples, i.e. the driverless staple cartridges, allow the staple cartridges to have a lower overall height. Similarly, staple cartridges that do not include a bottom cover also allow the staple cartridges to have a lower overall height. Driverless staple cartridges also allow more staple cavities to be used. Next, with reference to FIGS. 67 and 68, the
本明細書に開示されるステープルカートリッジアセンブリの様々な実施形態は、任意の好適な数のステープル及び/又は任意の好適な寸法のステープルを有し得る。特定の例において、ステープルカートリッジアセンブリ2000(図73)内に収容された全てのステープルは、同じか又は少なくとも実質的に同じ寸法を有する。図77を参照して、ステープルカートリッジ2000内の各ステープル2130は、基部2131の底部とステープル脚部2132、2133の先端との間に画定された、未成形又は未発射の全高H1を含む。同様に、各ステープル2130は、基部2131の上部と、ステープル脚部2132、2133の先端との間に画定された組織捕捉領域を含み、この組織捕捉領域は、ステープル2130がその未成形高さにあるときに同じ高さH2を有する。 Various embodiments of the staple cartridge assembly disclosed herein may have any suitable number of staples and / or any suitable size of staples. In a particular example, all staples housed within the staple cartridge assembly 2000 (FIG. 73) have the same or at least substantially the same dimensions. With reference to FIG. 77, each staple 2130 in the
上記とは対照的に、ステープルカートリッジ2000内に収納用されたステープルの第1の群は、第1の未成形高さH1を有し得、ステープルの第2の群は、第1の未成形高さH1とは異なる第2の未成形高さH1を有し得る。また、上記とは対照的に、ステープルカートリッジ2000内に収納用されたステープルの第1の群は、第1の組織捕捉高さH2を有し得、ステープルの第2の群は、第1の組織捕捉高さH2とは異なる第2の組織捕捉高さH2を有し得る。 In contrast to the above, a first group of staples housed in the
ステープルの第1の群は、ステープルキャビティ2120の第1の長手方向列内に位置付けられ得る一方、ステープルの第2の群は、ステープルキャビティ2120の第2の長手方向列内に位置付けられ得る。少なくとも1つの例において、ステープルキャビティ2120の第1の列は、カートリッジ本体2010の段2014”内のナイフスロット2013と隣接してもよい一方、ステープルキャビティ2120の第2の列は、カートリッジ本体2010の2014’内のステープルキャビティ2120の第1の列と隣接してもよい。少なくとも1つのかかる例において、第1の未成形高さH1は、例えば、第2の未成形高さH1より低い。 The first group of staples may be located within the first longitudinal row of
上記に加え、ステープルカートリッジ2000に収容されたステープルの第3の群は、第1の未成形高さH1及び/又は第2の未成形高さH1とは異なる第3の未成形高さH1を有し得る。ステープルの第3の群は、ステープルキャビティ2120の第3の長手方向列内に位置付けられ得る。少なくとも1つの例において、ステープルキャビティ2120の第3の列は、カートリッジ本体2010のデッキ2014内のステープルキャビティ2120の第2の列と隣接してもよい。少なくとも1つのかかる例において、第2の未成形高さH1は、例えば、第3の未成形高さH1より低い。上記に加え又は上記の代わりに、ステープルの第3の群は、第2の組織捕捉高さH2より大きい第3の組織捕捉高さH2を有し得る。 In addition to the above, the third group of staples housed in the
様々な実施形態において、ステープルの第1の群、ステープルの第2の群、及び/又はステープルの第3の群は、同じ成形された全高になるように変形され得る。あるいは、ステープルの第1の群は第1の成形された高さに変形してもよく、ステープルの第2の群は第2の成形された高さに変形してもよく、かつ/又はステープルの第3の群は第3の成形された高さに変形してもよい。かかる例において、ステープルの第1の群は、ステープルの第2の群より大きい圧力を組織に印加することができ、同様に、ステープルの第2の群は、ステープルの第3の群より大きい圧力を組織に印加することができる。 In various embodiments, the first group of staples, the second group of staples, and / or the third group of staples can be modified to have the same molded overall height. Alternatively, the first group of staples may be transformed to the first molded height, the second group of staples may be transformed to the second molded height, and / or the staples. The third group of may be transformed into a third molded height. In such an example, the first group of staples can apply more pressure to the tissue than the second group of staples, and similarly, the second group of staples has a greater pressure than the third group of staples. Can be applied to the tissue.
次に図74〜76を参照して、同じ未成形高さを有するステープルは、異なる成形された高さに変形してもよい。例えば、ステープル2130”によって表されるステープルの第1の長手方向列は、第1の成形された高さに変形してもよく、ステープル2130’によって表されるステープルの第2の長手方向列は、第2の成形された高さに変形してもよく、かつ/又はステープル2130によって表されるステープルの第3の列は、第3の成形された高さに変形してもよい。例えば、第1の成形された高さは第2の成形された高さより短く、第2の成形された高さは第3の成形された高さより低い。かかる例において、ステープルの第1の群は、ステープルの第2の群より大きい圧力を組織に印加することができ、同様に、ステープルの第2の群は、ステープルの第3の群より大きい圧力を印加することができる。 Then, with reference to FIGS. 74-76, staples having the same unmolded height may be deformed to different molded heights. For example, the first longitudinal row of staples represented by staples 2130'may be deformed to the first molded height, and the second longitudinal row of staples represented by
ステープル3230が図78及び79に示される。ステープル3230は、基部又はクラウン3231と、基部3231から延在する第1の脚部3232と、基部3231から延在する第2の脚部3233とを含む。ステープル2130の基部2131と同様に、ステープル3230の基部3231は、駆動表面内に画定された傾斜駆動表面を含む。しかしながら、ステープル2130とは異なり、第1の脚部3232及び第2の脚部3233は、駆動平面に対して横断方向又は非平行であるステープル成形平面を画定する。
ステープル3230は、基部3231から延在するプラットホーム3238を更に含む。プラットホーム3238は、基部3231と一体に形成され、プラットホーム3238が基部3231から横断方向に延在するように折り重なっている。プラットホーム3238は、脚部3232、3233と直接接続されていない。代わりに、プラットホーム3238と脚部3232、3233との間に隙間3237が存在する。様々な他の実施形態において、プラットホーム3238は、第1の脚部3232及び/又は第2の脚部3233と直接接続されている。プラットホーム3238は、駆動平面及びステープル成形平面に対して横断方向である平面、すなわち支持平面内で延在するが、プラットホーム3238は任意の好適な方向に延在してもよい。プラットホーム3238は、平らであるか又は少なくとも実質的に平らであるが、プラットホーム3238は任意の好適な形状を含んでもよい。
特定の実施形態において、ステープル3230のプラットホーム3238は、ステープル3230が組織内に埋め込まれているときにステープル留めされる組織と接触することができる。より幅広いプラットホーム3238は、ステープル3230が組織を引き裂く可能性を減らすことができる。 In certain embodiments, the
様々な実施形態において、ステープルカートリッジアセンブリは、デッキと、デッキ内に画定されたステープルキャビティとを含むカートリッジ本体を備える。ステープルカートリッジアセンブリは、ステープルキャビティ内に取り外し可能に収容されたステープル3230と、更に、デッキの上に位置付けられた埋め込み可能な層とを更に備える。埋め込み可能な層は、例えば組織厚補整装置及び/又はバットレス材料などの任意の好適な付属物を含み得る。組織厚補整装置は、ステープル留めされる組織の厚みの変動を補整することができる。埋め込み可能な層は、織布材料及び/又は不織布材料で構成され得る。 In various embodiments, the staple cartridge assembly comprises a deck and a cartridge body that includes a staple cavity defined within the deck. The staple cartridge assembly further comprises a staple 3230 detachably housed in a staple cavity and an implantable layer located on the deck. The implantable layer may include any suitable appendages such as tissue thickness compensators and / or buttress materials. The tissue thickness compensator can compensate for variations in the thickness of the stapled tissue. The implantable layer may be composed of a woven fabric material and / or a non-woven material.
上記に加え、ステープル3230のプラットホーム3238は、ステープル3230が組織内に埋め込まれるときに層と接してもよい。かかる例において、プラットホーム3238は、層を支持する。上記と同様に、プラットホーム3238も、ステープル3230が組織を引き裂く可能性を減らすことができる。ステープル3230のプラットホーム3238及び層は、組織に付加される力、応力、及び/又は張力をより広い領域に分配する協働システムを形成することができる。 In addition to the above, the
ステープル3230は、打ち抜きプロセスを利用して材料の平らなシートから形成される。打ち抜きプロセスの間、材料はシートから除かれて、ステープル3230の一般的な形状を作製する。第1の脚部3232は第1の方向に屈曲し、第2の脚部3233は第2の方向に屈曲するが、第1の脚部3232及び第2の脚部3233の両方が、単一の作用線を利用する型によって任意の好適な方向に屈曲され得る。プラットホーム3238は、打ち抜きプロセス及び/又は異なる打ち抜きプロセスの間に、第1の脚部3232と同じ方向に屈曲される。特定の例において、プラットホーム3238は、脚部3232及び3233を作製するものと同じ単一の作用線を利用して作製することができる。他の例において、プラットホーム3238は、第1の作用線に対して横断方向であるか又は直交する第2の作用線を利用して作製することができる。
次に図86を参照して、ステープル3630は、基部又はクラウン3631と、基部3631から延在する脚部3632及び3633とを含む。ステープル3230と同様に、ステープル3630は、基部3631から延在する3638を更に含む。読者は、ステープル3230のプラットホーム3238及びステープル3630のプラットホーム3638が、ステープルの慣性モーメント又は剛性を増加させることができることを理解されたい。ステープル3630は、例えば、ステープル3630の剛性を減少させる緩衝又は屈曲スロット3637を基部3631内に含む。更に、又はあるいは、干渉スロットは、プラットホーム3638内に提供されてもよい。いずれの場合においても、1つ超の干渉スロットを利用して、ステープル3630の所望の剛性を提供することができる。更に、かかる干渉スロットは、本明細書に開示されるステープルのいずれにも適合することができる。 The staple 3630 then includes a base or
上記に加え又は上記の代わりに、次に図80及び81を参照して、ステープルアセンブリ3330は、ステープル3230と、ステープル3230に取り付けられた埋め込み可能な付属物3370とを備える。付属物3370は、ステープル3230の第1の脚部3232を受容するように構成された第1の孔3372と第2の脚部3233を受容するように構成された第2の孔3373とを含む第1の端部を含む。結果的に、付属物3370は、ステープル脚部3232、3233につながれ、ステープル3230に対する付属物3370の移動が制約される。 In addition to or instead of the above, the
上記に加え、付属物3370は、ステープル3230のプラットホーム3238上に延在する弾性部分3371を含む。ステープルアセンブリ3330がステープルカートリッジ内に収容されているときに、付属物3370の弾性部分3371とステープル3230のプラットホーム3238との間に隙間3377が存在する。ステープルアセンブリ3330がステープルカートリッジから排出されると、ステープル3230のステープル脚部3232、3233は、ステープル留めされる組織を貫通し、付属物3370の弾性部分3371が組織と接触する。弾性部分3371は、付属物3370が組織と接触すると、プラットホーム3238に向かって下向きに屈曲、偏向、及び/又は転置するように構成される。組織がステープル3230内に捕捉されると、弾性部分3371は組織に付勢力を付加する。弾性部分3371の移動は、プラットホーム3238によって少なくとも部分的に制約される。 In addition to the above,
上記に加え又は上記の代わりに、次に図84を参照して、ステープルアセンブリ3430は、ステープル3630と、ステープル3230に取り付けられた埋め込み可能な付属物3470とを備える。付属物3470は、ステープル3630の第1の脚部3632を受容するように構成された第1の孔3472と第2の脚部3633を受容するように構成された第2の孔3473とを含む第1の端部を含む。結果的に、付属物3470は、ステープル脚部3632、3633につながれ、ステープル3630に対する付属物3470の移動が制約される。 In addition to or in lieu of the above, the
上記に加え、付属物3470は、ステープル3630のプラットホーム3638上に延在する弾性部分3471を含む。ステープルアセンブリ3430がステープルカートリッジ内に収容されているときに、付属物3470の弾性部分3471とステープル3630のプラットホーム3638との間に、たとえあるとしても非常に小さい隙間が存在する。ステープルアセンブリ3430がステープルカートリッジから排出されると、ステープル3630のステープル脚部3632、3633は、ステープル留めされる組織を貫通し、付属物3470の弾性部分3471が組織と接触する。図85を参照して、弾性部分3471は、付属物3470が組織と接触すると、プラットホーム3638に向かって下向きに屈曲、偏向、及び/又は転置するように構成される。組織がステープル3630内に捕捉されると、弾性部分3471は組織に付勢力を付加する。弾性部分3471の移動は、プラットホーム3638によって少なくとも部分的に制約される。 In addition to the above, the
主に図82及び83を参照して、付属物3470の弾性部分3471は、エンクロージャを含む。エンクロージャは密封され、内部に少なくとも1つの材料を含む。様々な例において、材料は、医薬品を含む。エンクロージャが断裂すると、医薬品がエンクロージャから放出される。エンクロージャは、ステープルアセンブリ3430が組織内に埋め込まれたとき、又は一定期間が経過した後に断裂し得る。付属物3470は、任意の好適な生体適合性材料から構成され、生体適合性材料が生体吸収性材料を含む場合、付属物3470は、生体内原位置で吸収され得る。十分な量の付属物3470が吸収された後、医薬品は付属物3470から放出され得る。様々な代替的な実施形態において、付属物は、2つの別個のエンクロージャを含む。少なくとも1つのかかる実施形態において、第1のエンクロージャは第1の医薬品を含有し得、第2のエンクロージャは第2の医薬品を含有し得る。エンクロージャが断裂すると、第1の医薬品は第2の医薬品と混合し得る。 The
上記に加え、弾性部分3471のチャンバ内の材料は、例えば、その弾性などのその機械的特性について選択され得、組織に付勢力を付加するための所望の特性を弾性部分3471に提供することができる。少なくとも1つの例において、弾性部分3471が患者組織の特性と酷似する機械的特性を有することが望ましい場合がある。他の例において、弾性部分3471が、例えば、患者組織の剛性より小さい剛性を有することが望ましい場合がある。かかる実施形態は、組織内の血流の好適な狭窄を提供し得る。いくつかの例において、弾性部分3471が、例えば、基部3631の剛性より小さいが、患者組織の剛性より大きい剛性を有することが望ましい場合がある。かかる実施形態は、組織に張力緩和を提供し得る。 In addition to the above, the material in the chamber of the
付属物3370、3470は、織布材料及び/又は不織布材料で構成され得る。少なくとも1つの例において、付属物3370、3470は、織布材料及び/又は不織布材料で構成されたシェルを含む。付属物3370、3470は、例えば、PGA及び/又はPLAで構成され得る。少なくとも1つの例において、付属物3370、3470は、例えば、PGA及び/又はPLAで構成されたシェルを含む。 The
付属物3370、3470は、単一のステープルに取り付けられるように構成される。言い換えれば、各付属物3370、3470は、1つのステープルのみに取り付けられる。かかる付属物は、プレジットと呼ばれることがある。2つ又は3つ以上のステープルが付属物によって接続される代替的な実施形態が想起される。
次に図88及び89を参照して、例えば、ステープル2130などの本明細書に開示される様々なステープルは、長手方向列で患者の組織内に埋め込まれ得る。ステープル2130の2つの長手方向列が図88及び89に示される。様々な例において、組織は、例えば、長手方向などの様々な方向に伸長する場合がある。組織Tの長手方向の伸長が図89に示される。図89に見られるように、ステープル2130の列は、組織Tと共に伸長し得る。かかる例において、ステープル2130間の隙間は増加し得る。この隙間の増加は、伸長していない隙間の距離X1(図88)を伸長した隙間の距離X2(図89)と比較すれば容易に明らかである。第3の長手方向列中のステープル2130は、隙間が伸長している(X2)か伸長していない(X1)かにかかわらず、隙間と位置合わせされるか又はそれらが同一の広がりを持つように位置付け及び構成され得る。かかる概念は、例えば、円形及び/又は湾曲したステープル列に容易に適合することができる。 Then, with reference to FIGS. 88 and 89, various staples disclosed herein, such as
次に図87を参照して、例えば、円形のカートリッジ本体3510は、ステープルアセンブリ3430を利用することができる。カートリッジ本体3510は、円形の同心列に配置された複数のステープルキャビティ3520を含む。図87に示されるように、各ステープルキャビティは、内部に位置付けられたステープルアセンブリ3430を含むが、任意の好適なステープルを利用することができる。 Next, referring to FIG. 87, for example, the
本明細書に開示されるステープルは、任意の好適な材料で構成され得る。様々な例において、ステープルは、例えば、ステンレス鋼及び/又はチタンで構成される。特定の例において、本明細書に開示されるステープルは、マグネシウムで構成される。YanらによるCOMPARISON OF THE EFFECTS OF Mg−6Zn AND Ti−3Al−2.5V ALLOYS ON TGF−β/TNF−α/VEGF/b−FGF IN THE HEALING OF THE INTESTINAL TRACT IN VIVO,Biomed.Mater.9(2014)025011、2013年3月20日にオンライン公開された、YanらによるCOMPARISON OF THE EFFECTS OF Mg−6Zn AND TITANIUM ON INTESTINAL TRACT IN VIVO,J.Mater.Sci.:Mater.Med.、ErdmannらによるEVALUATION OF THE SOFT TISSUE BIOCOMPATIBILITY OF MgCa0.8 AND SURGICAL STEEL 316L IN VIVO:A COMPARATIVE STUDY IN RABBITS,Biomed.Eng.OnLine 2010 9:63、BrarらによるINVESTIGATION OF THE MECHANICAL AND DEGRADATION PROPERTIES OF Mg−Sr AND Mg−Zn−Sr ALLOYS FOR USE AS POTENTIAL BIODEGRADABLE IMPLANT MATERIALS,J.Mech.Behavior of Biomed.Mat.7(2012)87〜95、LiらによるMg−Zr−Sr ALLOYS AS BIODEGRADABLE IMPLANT MATERIALS,Acta Biomaterialia 8(2012)3177〜3188、2012年8月28日にオンライン公開された、PellicerらによるON THE BIODEGRADABILITY,MECHANICAL BEHAVIOR,AND CYTOCOMPATABILITY OF AMORPHOUS Mg72Zn23Ca5 AND CRYSTALLINE Mg70Zn23Ca5Pd2 ALLOYS AS TEMPORARY IMPLANT MATERIALS,Soc.Biomat.の開示全体が、参照により本明細書に組み込まれる。少なくとも1つの例において、ステープルは、例えば、亜鉛及び/又は銀を含むマグネシウム合金で構成される。マグネシウム及び亜鉛の合金を含むステープルは、組織の治癒性能を増加させる。銀を含むステープルは、抗菌効果を提供する。3つ全ての合金を含むステープルは、相乗的な動態を提供する。The staples disclosed herein can be made of any suitable material. In various examples, the staples are composed of, for example, stainless steel and / or titanium. In certain examples, the staples disclosed herein are composed of magnesium. COMPARISON OF THE EFFECTS OF Mg-6Zn AND Ti-3Al-2.5V ALLOYS ON TGF-β / TNF-α / VEGF / b-FGF IN THE HEALING OF THE INTESTINAL TRACT IN VIV Mater. 9 (2014) 025011, published online on March 20, 2013, by Yan et al., COMPARISON OF THE EFFECTS OF Mg-6Zn AND TITANIUM ON INTERSTINAL TRACT IN VIVO, J. Mol. Mater. Sci. : Mater. Med. , Erdmann et al. EVALUATION OF THE SOFT TISSUE BIOCOMPATIONIBILITY OF MgCa0.8 AND SURGICAL STEEL 316L IN VIVO: A COMPARATIVE STUDY IN RABBITS. Eng. OnLine 2010 9:63, INVESTIGATION OF THE MECHANICAL AND DEGRADATION PROPERTIES OF Mg-Sr AND Mg-Zn-Sr ALLOYS FOR USE AS POTENTAL BIODER Mech. Behavior of Biomed. Mat. 7 (2012) 87-95, Mg-Zr-Sr ALLOYS AS BIODEGRADABLE IMPLANT MATERIALS, Acta Biomateria 8 (2012) 3177-3188, published online on August 28, 2012 by Pellicer et al. , MECHANICAL BEHAVIOR, AND CYTOCOMPATABILITY OF AMORPHOUS Mg72 Zn23 Ca5 AND CRYSTALLINE Mg70 Zn23 Ca5 Pd2 ALLOYS AS TEMPORARY IMPLANT MARI Biomat. The entire disclosure of is incorporated herein by reference. In at least one example, the staples are composed of, for example, a magnesium alloy containing zinc and / or silver. Staples containing alloys of magnesium and zinc increase tissue healing performance. Staples containing silver provide an antibacterial effect. Staples containing all three alloys provide synergistic dynamics.
マグネシウム合金で構成されたものを含む、マグネシウムで構成されたステープルを処理して、ステープルの硬度を改善することができる。様々な例において、窒化マグネシウムコーティングがマグネシウムステープルに塗布され得る。特定の例において窒化マグネシウムコーティングはマグネシウムステープル全体に塗布される一方、他の例においては、窒化マグネシウムコーティングはマグネシウムステープルの一部のみに塗布される。例えば、ステープル脚部は組織を貫通するために十分な硬度を有する必要があるため、ステープル脚部及び/又はステープル脚部の先端のみを窒化マグネシウムでコーティングすることが望ましい場合がある。少なくとも1つのかかる例において、窒化マグネシウムコーティングがステープル脚部に塗布される場合に、マグネシウムステープルの残部にマスクが塗布され得る。窒化マグネシウムコーティングは、マグネシウムステープルを例えば、高温及び/又は高圧で窒素富化環境に導入することによって作製することができる。 Staples made of magnesium, including those made of magnesium alloys, can be treated to improve the hardness of the staples. In various examples, a magnesium nitride coating can be applied to the magnesium staples. In certain examples, the magnesium nitride coating is applied to the entire magnesium staple, while in other examples, the magnesium nitride coating is applied to only part of the magnesium staple. For example, since the staple legs need to have sufficient hardness to penetrate the tissue, it may be desirable to coat only the staple legs and / or the tips of the staple legs with magnesium nitride. In at least one such example, when the magnesium nitride coating is applied to the staple legs, the mask can be applied to the rest of the magnesium staples. Magnesium nitride coatings can be made, for example, by introducing magnesium staples into a nitrogen-enriched environment at high temperature and / or high pressure.
上記に加え又は上記の代わりに、マグネシウムステープルの1つ又は2つ以上の表面は、炭素を含むコーティングを含んでもよい。 In addition to or instead of the above, one or more surfaces of magnesium staples may contain a coating containing carbon.
上記に加え又は上記の代わりに、他の表面硬化技術を利用することができる。例えば、マグネシウムステープルは、レーザ硬化プロセス及び/又はプラズマ放電硬化プロセスを使用して硬化することができる。少なくとも1つの例において、Keronite InternationalによるKERONITEセラミック表面処理をステープルに塗布することができる。 In addition to or in place of the above, other surface hardening techniques can be utilized. For example, magnesium staples can be cured using a laser curing process and / or a plasma discharge curing process. In at least one example, a KERONITE ceramic surface treatment by Keronite International can be applied to the staples.
上記のように、マグネシウムステープルの特定の部分が硬化プロセスを経る一方、マグネシウムステープルの他の部分が硬化プロセスを経ない場合がある。いくつかの例において、マグネシウムステープルの特定の部分は、第1の硬度に硬化され得る一方、マグネシウムステープルの他の部分は、第1の硬度とは異なる第2の硬度に硬化され得る。より低い硬度を有するマグネシウムステープルの部分は、より高い硬度を有するマグネシウムステープルの部分よりも速くマグネシウム、亜鉛、及び/又は銀イオンを回避する。 As mentioned above, certain parts of the magnesium staples may go through the hardening process, while other parts of the magnesium staples may not go through the hardening process. In some examples, certain parts of the magnesium staples may be hardened to a first hardness, while other parts of the magnesium staples may be hardened to a second hardness that is different from the first hardness. A portion of magnesium staples with lower hardness avoids magnesium, zinc, and / or silver ions faster than a portion of magnesium staples with higher hardness.
上記に加え又は上記の代わりに、マグネシウム合金で構成されたものを含むマグネシウムステープルは、銀を含むコーティングで少なくとも部分的に覆われている。少なくとも1つの例において、銀コーティングは、例えば、イオン化した銀を含んでもよい。特定の例において、電気メッキプロセスを利用してマグネシウムステープルに銀コーティングを塗布することができる。様々な例において、マグネシウムステープルの全体が銀コーティングで覆われる。少なくとも1つの例において、マグネシウムステープルの一部(複数可)は電気メッキプロセスの間に覆い隠されて、覆い隠された部分が銀でコーティングされないか又は少なくとも実質的にコーティングされないようにする。 In addition to or instead of the above, magnesium staples, including those made of magnesium alloys, are at least partially covered with a coating containing silver. In at least one example, the silver coating may include, for example, ionized silver. In certain examples, an electroplating process can be utilized to apply a silver coating to the magnesium staples. In various examples, the entire magnesium staple is covered with a silver coating. In at least one example, a portion (s) of magnesium staples are masked during the electroplating process so that the masked portion is not coated with silver, or at least substantially uncoated.
上記に加え又は上記の代わりに、本明細書に開示されるステープルは、抗菌コーティングでコーティングされ得るか又は少なくとも部分的にコーティングされ得る。かかるコーティングは、例えば、トリクロサンを含み得る。少なくとも1つの例において、トリクロサンは、吸収性ポリマーコーティング中に混合される。特定の例において、コーティングは、例えば、ステアリン酸ナトリウムと混ざり合ったLAEを含み得る。COMPOSITION FOR COATING MEDICAL DEVICES CONTAINING LAE AND A POLYCATIONIC AMPHOTERIC POLYMERと題されたGaffarらによる国際公開第2012013577(A1)号の開示全体は、参照により本明細書に組み込まれる。 In addition to or instead of the above, the staples disclosed herein can be coated with an antibacterial coating or at least partially coated. Such coatings may include, for example, triclosan. In at least one example, triclosan is mixed in the absorbent polymer coating. In certain examples, the coating may include, for example, LAE mixed with sodium stearate. The entire disclosure of International Publication No. 2012013577 (A1) by Gaffar et al., entitled COMPOSITION FOR COATING MEDICAL DEVICES CONTAINING LAE AND A POLYCATIONIC AMPHOTERIC POLYMER, is incorporated herein by reference.
次に図90〜92を参照して、ステープル3730は、金属フレームと、金属フレームの全体未満の上のコーティング3739とを含む。金属フレームはステープル2130を含み、例えば、マグネシウム及び/又はマグネシウム合金で構成される。コーティング3739は生体吸収性ポリマーを含むが、コーティング3739は任意の好適な材料を含み得る。コーティング3739は、金属フレーム2130の脚部2132、2133の周囲に延在する。より具体的には、コーティング3739は、脚部2132、2133のそれぞれの周囲で螺旋形になるが、コーティング3739の任意の好適な配置を利用されてもよい。コーティング3739は、脚部2132、2133と金属フレーム2130の基部又はクラウン2131との間の遷移部又は角部も覆う。コーティング3739は、基部2131の一部も覆ってもよい。様々な例において、コーティング3739は、より速い生体吸収の影響を本質的に受けやすい金属フレーム2130の領域、例えば、金属フレーム2130の屈曲部、縁部、及び/又は角部などに戦略的に塗布され得る。いずれの場合においても、金属フレーム2130の一部が、コーティング3739によって覆われる一方で、金属フレーム2130の一部は、むき出しである。 The staple 3730 then includes a metal frame and a
マグネシウム又はマグネシウム合金金属フレーム2130は、生体吸収性である。主に図91を参照して、コーティング3739によって覆われていない金属フレーム2130の一部は、埋め込まれると体に直接曝露され、したがって、体の自然な吸収プロセスにすぐに供される。コーティング3739によって覆われた金属フレーム2130の部分は、埋め込まれたときに、少なくとも最初は体に直接曝露されない。コーティング3739は、それが覆う金属フレーム2130を保護するか又は少なくともいくらか保護し、かかる部分の生体吸収を遅延させる。主に図92を参照して、経時的に、金属フレーム2130の保護されていない部分は生体吸収され、コーティング3739によって保護されている金属フレーム2130の部分が残る。コーティング3739は、少なくともコーティング3739自体が生体吸収されるまで、かつ/又は金属フレーム2130が十分に分解されるまで、コーティング3739が覆う金属フレーム2130の部分を実質的に被包することができる。かかる時点で、コーティング3739が一時は保護した金属フレーム2130の部分はむき出しになり、体によって生体吸収され得る。 The magnesium or magnesium
コーティング3739の生体吸収性ポリマーは、例えば、PGA及び/又はPLAで構成され得るが、コーティング3739は、生体吸収性ポリマー及び非生体吸収性ポリマーを含むがこれらに限定されない任意の好適な材料で構成されてもよい。特定の例において、コーティング3739は、例えば、非架橋ポリマーを含む。かかるポリマーは、コーティング3739の膨張を引き起こし、金属フレーム2130が劣化すると作り出される金属フレーム2130の鋭い縁部を被包し得る。 The bioabsorbable polymer of the
様々な実施形態において、コーティング3739は、グリッド状、網目状、及び/又は格子配置で金属フレーム2130上に配置され得る。かかる実施形態において、金属フレーム2130は、グリッド中の開口部内でむき出しになり得、それにより金属フレーム2130はかかる開口部内で生体吸収され得る。金属フレーム2130が劣化し始めると、格子状のコーティング3739は、ネット又はケージとして機能し得、例えば、少なくともコーティング3739が生体吸収されるまで、金属フレーム2130の断片をまとめ得る。 In various embodiments, the
コーティング3739は、任意の好適な様式で金属フレーム2130に塗布され得る。少なくとも1つの例において、コーティング3739は、金属フレーム2130が生体吸収され得る不規則な開口部が作り出される不規則な様式でコーティング3739が塗布されるように、金属フレーム2130上に噴霧され得る。特定の他の例において、コーティング3739は、金属フレーム2130上にパターン状に塗布され得る。少なくとも1つのかかる例において、該パターンとしては、金属フレーム2130のむき出しになった部分によって囲まれたコーティングの島を有するドットマトリクスパターンが挙げられ得る。 The
特定の代替的な実施形態において、ステープルは、2つ又は3つ以上のコーティングを含み得る。少なくとも1つのかかる例において、例えば、治癒プロセス中の異なる時点で金属フレーム2130の異なる部分をむき出しにするために、第1のコーティングは第1の速度で生体吸収され得、第2のコーティングは第2の速度で生体吸収され得る。かかるステープルは、覆われていない部分をなお有し得るが、ステープルの全ての部分が少なくとも1つ又は2つ以上のコーティングによって覆われ得ることが企図される。 In certain alternative embodiments, the staples may include two or more coatings. In at least one such example, for example, to expose different parts of the
本明細書に開示される材料によって提供される治療効果は、患者の体に曝露されるステープルの表面積の関数である。より大きい表面積を有するステープルは、より小さい表面積を有するステープルよりも速くかかる治療効果を送達し得る。したがって、より小さい表面積を有するステープルは、より長い時間にわたってかかる治療効果を提供し得る。それにもかかわらず、本明細書に開示されるステープルの表面積は、ステープルに孔を導入することによって増加させることができる。例えば、1つ又は2つ以上の孔又は貫通孔は、例えば、ステープル2130の基部又はクラウン2131内に作製され得る。貫通孔は、組織がステープル2130を通って成長し、ステープル2130の体への同化を改善することを可能にする。 The therapeutic effect provided by the materials disclosed herein is a function of the surface area of the staples exposed to the patient's body. Staples with a larger surface area can deliver a therapeutic effect that is faster than staples with a smaller surface area. Therefore, staples with a smaller surface area may provide a therapeutic effect that takes longer. Nevertheless, the surface area of the staples disclosed herein can be increased by introducing holes in the staples. For example, one or more holes or through holes can be made, for example, in the base or
少なくとも1つの実施形態において、上記に加え、コーティング3739はステープル2130の利用可能な表面吸収面積を減らすことになるため、コーティング3739は孔内には位置付けられていない。しかしながら、これらのステープル部分の生体吸収を遅延させることが所望される場合、ステープル2130内の孔にコーティング3739が充填されるか又は少なくとも部分的に充填され得る。上記のように、コーティング3739は、下にある金属フレームの吸収を遅延させるように構成され得るが、任意の好適なコーティングを利用することができる。例えば、金属フレーム上のコーティングは、ステープルの構造内への組織の内殖を促進し得る。少なくとも1つのかかる例において、コーティングは、組織との多孔性及び/又はとげのある相互作用を生み出す小さいマイクロピラーを含む。 In at least one embodiment, in addition to the above, the
様々な実施形態において、上記に加え、縫合糸又は糸が、ステープル内に画定された孔を通って延在することができる。かかる縫合糸は、ステープルを共につなぎ合わせることができる。様々な例において、縫合糸は、ステープルがステープルカートリッジ内に位置付けられている間に、孔に挿通される。他の例において、縫合糸は、ステープルが組織内に埋め込まれた後に、孔に挿通される。少なくとも1つの実施形態において、縫合糸は、ステープルカートリッジのデッキ内に画定された溝に位置付けられ、ステープルはそれぞれ、ステープルが展開されるときに縫合糸を受け止めるように構成された、内部に画定されたスロット又は留め金を含む。いずれの場合でも、例えば、巾着縫合組織採取技術において、縫合糸を引っ張って、ステープル留めした組織を一緒に採取することができる。 In various embodiments, in addition to the above, sutures or threads can extend through holes defined in the staples. Such sutures can join the staples together. In various examples, the suture is inserted into the hole while the staple is positioned within the staple cartridge. In another example, the suture is inserted into the hole after the staple has been implanted in the tissue. In at least one embodiment, the suture is located in a groove defined within the deck of the staple cartridge, and each staple is internally defined, configured to receive the suture as the staple is unfolded. Includes slots or staples. In either case, for example, in the drawstring suture tissue collection technique, the suture can be pulled and the stapled tissue can be collected together.
様々な実施形態において、本明細書に開示されるステープルは、かかりを含み得る。少なくとも1つの例において、かかりが埋め込まれた層を組織と係合させるように、かかりはステープル脚部上に画定される。かかるかかりは、層とステープルとの間の相対的移動を低減することができる。特定の実施形態において、かかりは、ステープルの基部上に画定される。かかるかかりは、埋め込まれたステープルに隣接して位置付けられた組織の層を把持することができる。 In various embodiments, the staples disclosed herein may include such staples. In at least one example, the hook is defined on the staple legs so that the layer in which the hook is embedded engages the tissue. Such a hook can reduce the relative movement between the layers and the staples. In certain embodiments, the hook is defined on the base of the staple. Such a hook can grip a layer of tissue positioned adjacent to the embedded staple.
外科用円形ステープラ5000が図93〜95に示される。外科用円形ステープラ5000は、アンビルを外科用円形ステープラ5000に操作可能に結合するように構成された取り付け部分5021を含むフレームアセンブリ5020を含む。外科用円形ステープラ5000は、外科用円形ステープラ5000によって捕捉された組織を切開するように構成されたナイフ部材5040と、内部に複数のステープル5051を取り外し可能に収容する外科用ステープルカートリッジ5010と、ステープル5051をステープルカートリッジ5010外に排出するように構成された押し込みアセンブリ又はドライバ5030とを更に含む。外科用ステープルカートリッジ5010は、カートリッジデッキ5013と、ステープル5051を取り外し可能に収容するカートリッジデッキ5013に画定された複数のステープルキャビティ5011とを含む。ステープル5051は、本明細書により詳細に論じられるステープルと類似しているが、任意の好適なステープルを使用してもよい。ステープル5051は、ステープル基部によって画定された平面からオフセットされた平面内にステープル脚部を含む。 The surgical
主に図95を参照して、ステープルカートリッジ5010のステープルキャビティ5011は、ステープルキャビティ5011Aの内列と、ステープルキャビティ5011Bの中間列と、ステープルキャビティ5011Cの外列とを含む。ステープル列間隔は、任意の好適な間隔を含み得るが、入れ子になった列は、入れ子になっていない列よりも互いに近接している場合がある。ステープルキャビティ5011Bの中間列は、ステープルキャビティ5011Aの内列に対して半径方向外向きに位置付けられる。ステープルキャビティ5011Cの外列は、ステープルキャビティ5011Bの中間列に対して半径方向外向きに位置付けられる。内列内のステープルキャビティ5011Aは、ステープル脚部がステープル基部に対して半径方向外向きに延在するように、内部に収容されたステープル5051のステープル脚部を配向する配向を含む。ステープルキャビティ5011Bの中間列及びステープルキャビティ5011Cの外列は、ステープル脚部がステープル基部に対して半径方向内向きに延在するように、内部に収容されたステープル5051のステープル脚部を配向する配向を含む。 Primarily with reference to FIG. 95, the
内列内のステープルキャビティ5011Aは、その間に距離Aを有する複数の第1の隙間を画定する。ステープルキャビティ5011Bの中間列は、距離Bを有する複数の第2の隙間を画定する。ステープルキャビティ5011Cの外列は、距離Cを有する複数の第3の隙間を画定する。距離Aは、距離B及びCより小さい。距離Bは距離Aより大きいが、距離Cより小さい。距離Cは、距離A及びBより大きい。キャビティ5011は、第1の隙間が第2の隙間及び/又は第3の隙間の距離より大きい距離を含むように配置される。キャビティ5011は、第3の隙間が、第1の隙間及び/又は第2の隙間の距離より小さい距離を含むように配置される。ステープルキャビティの1つ又は2つ以上の列に関連付けられる隙間がない実施形態が想起される。 The
ステープルキャビティ5011Bの中間列は、第1の隙間における組織結紮の欠如を補うために、キャビティ5011Bがステープルキャビティ5011Aの内列によって画定された第1の隙間と重なるように配置される。ステープルキャビティ5011Cの外列は、第2の隙間における組織結紮の欠如を補うために、キャビティ5011Cがステープルキャビティ5011Bの中間列によって画定された第2の隙間と重なるように配置される。かかる配列によってこれらの締結隙間を重ねることによって、外科用円形ステープラ5000の結紮能力が増加する。この配置はまた、締結した組織が締結に際して屈曲することを許容する。従来の配置は、結紮効率を高めるために、中間列及び/又は外列により多い数のステープルを利用するが、かかる従来の配列は、締結後の組織の柔軟性を制限する場合がある。 The middle row of
図96〜98は、少なくとも1つの実施形態による外科用円形ステープラ5100を示す。外科用円形ステープラ5100は、アンビルを外科用円形ステープラ5100に操作可能に結合するように構成された取り付け部分を含むフレームアセンブリ5120を含む。外科用円形ステープラ5100は、外科用円形ステープラ5100によって捕捉された組織を切開するように構成されたナイフ部材5140と、内部に複数のステープル5151を取り外し可能に収容する外科用ステープルカートリッジ5110と、ステープル5151をステープルカートリッジ5110外に排出するように構成された押し込みアセンブリ又はドライバ5130とを更に含む。押し込みアセンブリ5130は、ステープルドライバ5130Aの内列と、ステープルドライバ5130Bの中間列と、ステープルドライバ5130Cの外列とを含む。外科用ステープルカートリッジ5110は、カートリッジデッキ5113と、内部にステープル5151を取り外し可能に収容するカートリッジデッキ5113内に画定された複数のステープルキャビティ5111とを含む。外科用ステープルカートリッジ5110は、ステープル5151がステープルカートリッジ5110から排出されるときにステープル5151を支持、誘導、及び/又は制御するように構成された複数のデッキ特徴部、又はステープル支持部、又はガイド5115を更に含む。デッキ特徴部又はキャビティ延長部5115は、例えば、アンビル及びステープルカートリッジ5110の中間での組織の把持の補助、並びに/又はステープラ5100によって捕捉された組織への医薬品の収容、放出、及び送達などの多数の目的を有し得る。 Figures 96-98 show the surgical
ステープルカートリッジ5110のステープルキャビティ5111は、多くの点でステープルキャビティ5011と類似している。ステープルキャビティ5111は、ステープルキャビティ5111Aの内列と、ステープルキャビティ5111Bの中間列と、ステープルキャビティ5111Cの外列とを含む。デッキ特徴部5115は、複数の第1のデッキ特徴部5115Aと、複数の第2のデッキ特徴部5115Bと、複数の第3のデッキ特徴部5115Cとを含む。各第1のデッキ特徴部5115Aは、中間部分5116と2つの外側部分5117とを含み、T構造を画定する。中間部分5116は、2つのステープルキャビティ5111Aの間に位置し、隣接するステープル脚部を誘導及び/又は支持するためにデッキ5113から延在する。外側部分5117は、中間部分5116から少なくとも実質的に反対方向に分岐し、ステープル基部の一部を誘導及び/又は支持するためにデッキ5113から延在する。かかる様式で1つ超のキャビティのためのデッキ特徴部を合わせることにより、カートリッジデッキ5113上の空間を節約することができる。 The
各第2のデッキ特徴部5115B及び各第3のデッキ特徴部5115Cは、中間部分5118と2つの外側部分5119とを含み、キャビティを囲む構成を画定する。中間部分5118は、ステープルキャビティ5111Bの中間列及びステープルキャビティ5111Cの外列に取り外し可能に収容されたステープルのステープル基部を誘導及び/又は支持するためにデッキ5113から延在する。2つの外側部分5119は、中間部分5118から分岐して、中間部分5118が誘導及び/又は支持しているステープル基部から延在するステープル脚部を支持する。 Each
図99は、少なくとも1つの実施形態による外科用円形ステープラと一緒に使用するための円形ステープル留め構成5200を示す。円形ステープル留め構成5200は、円形ステープルカートリッジと共に用いることができるステープルの配置である。円形ステープル留め構成5200を用いる円形ステープルカートリッジは、本明細書に論じられるステープルを取り外し可能に収容するための対応するステープルキャビティを含む。円形ステープル留め構成5200は、ステープルの内列5213と、ステープルの中間列5215と、ステープルの外列5217とを含む複数のステープル5210を含む。各ステープル5213は、そのステープル脚部がステープル5217の外列に向かって外向きに向くように配向される。各ステープル5215は、そのステープル脚部がステープル5113の内列に向かって内向きに向くように配向される。各ステープル5217は、そのステープル脚部がステープル5213の内列及びステープル5215の中間列から離れる方向に外向きに向くように配向される。各ステープル列は、血流をよりよく制御し、かつ/又はステープル留めされた組織内の特定の点での組織の挙動を予測するために、それぞれ他のステープル列及び/又は切断部材から特定の距離で位置する。 FIG. 99 shows a
ステープル5217の外列は、ステープル5213、5215の内列及び/又は中間列とは異なる特性を含む。例えば、様々な例において、ステープル5217の外列は、より大きい「B」形状に成形され、ステープル5217の外列の近くでの高い組織圧縮を緩和するためのより大きい捕捉容積及び/又はより高いステープル成形された高さをもたらす。より大きいB形状はまた、内列に向かう血流を改善し得る。様々な例において、ステープル5217の外列は、より大きいステープルクラウン、ステープル脚部の幅、及び/又はステープル脚部の厚みを利用することによって、展開へのより大きい抵抗を含む。 The outer row of
ステープルの各列に使用されるステープルの量は、円形及び/又は直線状外科用ステープルカートリッジによって変動し得る。ステープル5217の外列は第1の量を含み、ステープル5215の第2の量を含み、ステープル5213の内列は第3の量を含む。図99は、第1の量が第2の量と等しいが、第3の量よりも多い場合を示す。様々な実施形態において、第1の量、第2の量、及び第3の量は異なる。様々な実施形態において、第1の量は第2の量より多く、第2の量は第3の量より多い。 The amount of staples used in each row of staples can vary with circular and / or linear surgical staple cartridges. The outer row of
ステープル列間で異なるステープルクラウンの幅は、有効及び/又は効率的なステープル留め配置を提供し得る。例えば、各外列ステープル5217は、各内列ステープル5213及び各中間列ステープル5215のクラウン幅より大きい幅を有するステープルクラウンを含む。各外列ステープル5217のステープルクラウンは、コンパクトな円形ステープル留め構成を維持しながら、より大きいクラウン幅のステープルを有するために、横方向に屈曲している。各外列ステープル5217のクラウンが湾曲しているいくつかの実施形態が想起される。外列ステープル5217のクラウンを屈曲又は湾曲する1つの利点には、例えば、外列ステープル5217を中間列ステープル5215及び内列ステープル5213のより近くで入れ子にすることができることが含まれ得る。各外列ステープル5217は、内列ステープル5213及び/又は中間列ステープル5215の間に画定された複数の隙間をつなぐ。各中間列ステープル5215は、ステープル5213の内列の間に画定された各隙間をつなぐか、重なるか、又は覆う。 Different staple crown widths between staple rows may provide effective and / or efficient staple placement. For example, each
様々な実施形態において、内列ステープル5213によって画定される隙間は、内部ステープルの列の半径方向位置に基づいて変動し得る。例えば、ステープル留めされる腸の直径よりはるかに小さい直径を有する内部ステープルの列は、半径方向の柔軟性及び/又は拡張を提供するために内列ステープルの間にはるかに大きい隙間を含み得る。ステープル留めされる腸より小さいがそれに近い直径を有する内部ステープルの列は、この場合、多大な拡張及び/又は柔軟性が必要でないことがあるため、内列ステープルの間により小さい隙間を有し得る。 In various embodiments, the clearance defined by the
図100は、少なくとも1つの実施形態による外科用円形ステープラと一緒に使用するための円形ステープル留め構成5300を示す。円形ステープル留め構成5300は、円形ステープルカートリッジと共に用いることができるステープルの配置である。円形ステープル留め構成5300を用いる円形ステープルカートリッジは、本明細書に論じられるステープルを取り外し可能に収容するための対応するステープルキャビティを含む。円形ステープル留め構成5300は、内列ステープル5313A、5313Bと、中間列ステープル5315C、5315Dと、外列ステープル5317E、5317Fとを含む複数のステープル5310を含む。各ステープル5313A、5313Bは、そのステープル脚部が外列ステープル5317E、5317Fに向かって外向きに向くように配向される。各ステープル5315C、5315Dは、そのステープル脚部が内列ステープル5313A、5313Bに向かって内向きに向くように配向される。各ステープル5317E、5317Fは、そのステープル脚部が内列ステープル5313A、5313B及び中間列ステープル5315C、5315Dから離れる方向に外向きに向くように配向される。同じ列内の様々なステープルが反対の方向を向く実施形態が想起される。全ての列の全てのステープルが同じ方向を向く実施形態が想起される。例えば、内列ステープルが内向きに向き、中間列ステープルが外向きに向き、外列ステープルが内向きに向く実施形態が想起される。 FIG. 100 shows a circular stapled
ステープル列間及びステープル列内で異なるステープルクラウンの幅はまた、有効及び/又は効率的なステープル留め配置を提供し得る。例えば、内列ステープル5313A、5313Bはそれぞれ異なるクラウン幅を含み、中間列ステープル5315C、5315Dはそれぞれ異なるクラウン幅を含み、外列ステープル5317E、5317Fはそれぞれ異なるクラウン幅を含む。様々な実施形態において、各ステープル5313A、5313B、5315C、5315D、5317E、及び5317Fのクラウン幅は全て異なる。1つの列内の特定のステープルのクラウン幅が別の列内の特定のステープルのクラウン幅と同じである実施形態が想起される。内列ステープルは、SZと標識された伸長ゾーンを画定する。伸長ゾーンSZは、例えば、ステープル5313Aの間に画定された隙間を含み得る。伸長ゾーンSZは、ステープル止めされた組織が屈曲することを可能にする。 Different staple crown widths between and within staple rows can also provide effective and / or efficient staple placement. For example, the
外科用円形ステープラ、円形ステープルカートリッジ、及び/又は円形ステープル留め構成は、例えば、結腸切除術において用いられ得る。図101は、腸の2つの部分が接合されて、消化器系のための新しい経路又は通路5400を提供する結腸切除術の一部の例を示す。腸の一部T1は内壁5410を含み、腸の第2の部分T2は内壁5420を含む。腸の部分T1及びT2は、内部ステープル5401、中間ステープル5403、及び外部ステープル5405によってステープル留めされている。腸の部分T1及びT2は切開されて、消化物質が通過するための新たな経路P−Pを生み出す。切開は、腸の部分T1及びT2の切断部分5411及び5421を生み出す。腸の部分T1及びT2の内壁5410、5420と切断部分5411、5421との間の直径の変化は、いくつかの場合では、経路P−Pを収縮又は狭くし、消化物質が通過することを困難にする。内部ステープル5401をはじめとするステープル部分の柔軟性を有することが所望される場合がある。柔軟性を提供する1つの方法は、ステープルが配置された様々な列内のステープルの間に画定されたステープルの隙間を利用する。柔軟性を提供する別の方法は、より大きいステープルクラウンを有するより大きい寸法のステープルを利用する。様々な例において、ステープルとステープル列との間の隙間は、ステープル止めされた位置の柔軟性を許容し、消化物質がより容易に通過することを可能にする。様々な例において、異なる寸法のステープルは、組織の柔軟性を許容する。Surgical circular staplers, circular staple cartridges, and / or circular staple fastening configurations can be used, for example, in colectomy. FIG. 101 shows some examples of colectomy in which two parts of the intestine are joined to provide a new pathway or
図102〜104は、組織を捕捉、切開、及びステープル留めするように構成された、少なくとも1つの実施形態による湾曲したステープル留め器具5500を示す。湾曲したステープル留め器具5500は、フレームアセンブリ5510と、ステープルカートリッジ5520と、アンビル5530とを含む。第1の起動力を受けると、ステープルカートリッジ5520は、アンビル5530に向かって駆動されて、その間に組織を捕捉する。湾曲したステープル留め器具5500は、ステープルカートリッジ5520とアンビル5530との間に捕捉された組織を切開するように構成された切断部材5541を含むナイフアセンブリ5540を更に含む。ステープルカートリッジ5520は、切断部材5541を受容するように構成された切断スロット5521を含むデッキ5527と、複数のステープルキャビティ5523A及び5523Bと、ステープルキャビティ5523A、5523B内に取り外し可能に収容された複数のステープル5560とを含む。湾曲したステープル留め器具5500は、第2の起動力の付加に際してステープル5560をアンビル5530に向かって駆動するように構成された複数のステープルドライバ5551を含むドライバアセンブリ5550を更に含む。第2の起動力は、組織を切開及びステープル留めするためにドライバアセンブリ5550及びナイフアセンブリ5540を湾曲したステープル留め器具5500に対して垂直に持ち上げることを担う。 FIGS. 102-104 show a
ステープルカートリッジ5520は、デッキ5527から延在する複数のデッキ特徴部5525を更に含む。デッキ特徴部5525がデッキ5527に取り付けられるように構成された別個の部分である実施形態が想起される。デッキ特徴部5525は、ステープル5560をカートリッジ5520内に充填する間、ステープル5560を排出する前にステープル5560を収容若しくは支持する間、かつ/又はステープル5560をカートリッジ5520から排出する間に、ステープル5560を支持、誘導、及び/又は制御するためのステープルキャビティ5523A、5523Bの延長であってもよい。単一のデッキ特徴部5525は、隣接するステープルの2つの異なるステープル脚部を支持する。デッキ特徴部5525は、各ステープル脚部の1つ又は2つ以上の側部、面、及び/又は縁部を支持するように構成された複数の支持壁を含み得る。スロットから最も遠い外部ステープル列上のデッキ特徴部5525が各外列内の1つ置きのステープルキャビティとのみ相関する実施形態が想起される。ステープル特徴部が切開部のより近くに位置付けられると、ステープル特徴部の密度が増加し得る。 The
図105及び106は、組織を捕捉、切開、及びステープル留めするように構成された、少なくとも1つの実施形態による湾曲したステープル留め器具5600を示す。湾曲したステープル留め器具5600は、フレームアセンブリ5610と、ステープルカートリッジ5620と、アンビル5630とを含む。第1の起動力を受けると、ステープルカートリッジ5620は、アンビル5630に向かって駆動されて、その間に組織を捕捉する。湾曲したステープル留め器具5600は、ステープルカートリッジ5620とアンビル5630との間に捕捉された組織を切開するように構成された切断部材を含むナイフアセンブリを更に含む。ステープルカートリッジ5620は、切断部材を受容するように構成された切断スロット5621を含むデッキ5627と、複数のステープルキャビティ5623と、ステープルキャビティ5623内に取り外し可能に収容された複数のステープル5660とを備える。湾曲したステープル留め器具5600は、第2の起動力の付加に際してステープル5660をアンビル5630に向かって駆動するように構成された複数のステープルドライバ5651を含むドライバアセンブリ5650を更に含む。第2の起動力は、組織を切開及びステープル留めするためにドライバアセンブリ5650及びナイフアセンブリを湾曲したステープル留め器具5600に対して垂直に持ち上げることを担う。 FIGS. 105 and 106 show a
ステープルカートリッジ5620は、デッキ5627から延在する複数のデッキ特徴部5625を更に含む。デッキ特徴部5625がデッキ5627に取り付けられるように構成された別個の部分である実施形態が想起される。デッキ特徴部5625は、ステープル5660をカートリッジ5620内に充填する間、ステープル5660を排出する前にステープル5660を収容若しくは支持する間、かつ/又はステープル5660をカートリッジ5620から排出する間に、ステープル5660を支持、誘導、及び/又は制御するためのステープルキャビティ5623の延長であってもよい。デッキ特徴部5625は、各ステープル脚部の1つ又は2つ以上の側部、面、及び/又は縁部を支持するように構成された複数の支持壁を含み得る。デッキ特徴部5625は、ステープルキャビティのステープル脚部壁のうちの少なくとも1つ及びステープル基部壁のうちの少なくとも1つから延在する。 The
ステープルドライバ5651は、ステープル5660の底部プロファイルと少なくとも実質的に同じである平らなプロファイルを含む。類似の又は同じプロファイルを有することは、ステープル5660のステープル基部上のステープルドライバ5651の適切な力分布を許容する。アンビル5630に対して成形されるとき、ドライバ5651とステープル5660との間の類似するプロファイルは、ステープル5660が誤って位置合わせされることを防止する。 The
実施例1−外科用ステープラと一緒に使用するためのステープルカートリッジアセンブリであって、ステープルカートリッジアセンブリが、近位端部と、遠位端部と、デッキ内に画定され近位端部から遠位端部に向かって延在するデッキと、長手方向スロットと、ステープルキャビティであって、ステープルキャビティが長手方向列に配置されているステープルキャビティとを含むカートリッジ本体を備える、ステープルカートリッジアセンブリ。各ステープルキャビティは、デッキ内に画定された上部開口部と、底部開口部と、近位端部と、遠位端部と、近位端部と遠位端部との間に延在するステープルキャビティ側壁とを含む。ステープルカートリッジアセンブリは、ステープルキャビティ内に取り外し可能に収容されたステープルを更に備え、各ステープルは、近位脚部と、遠位脚部と、近位脚部と遠位脚部との間に延在する基部と、基部から延在する保持突出部とを含み、ステープルの保持突出部はステープルキャビティ側壁に係合して、ステープルがステープルキャビティの底部開口部から落下することを防止する。 Example 1-A staple cartridge assembly for use with a surgical stapler, wherein the staple cartridge assembly is defined in the proximal end, the distal end, and in the deck and distal from the proximal end. A staple cartridge assembly comprising a deck extending towards the end, a longitudinal slot, and a staple body that is a staple cavity in which the staple cavities are arranged in a longitudinal row. Each staple cavity extends between a top opening, a bottom opening, a proximal end, a distal end, and a proximal end and a distal end defined within the deck. Includes cavity sidewalls. The staple cartridge assembly further comprises staples that are detachably housed within the staple cavity, with each staple extending between the proximal leg, the distal leg, and the proximal leg and the distal leg. Includes an existing base and a holding protrusion extending from the base, the holding protrusion of the staple engages the side wall of the staple cavity to prevent the staple from falling out of the bottom opening of the staple cavity.
実施例2−ステープルキャビティの上部開口部を通してステープルを排出するために近位端部から遠位端部に向かって移動可能なスレッドを更に備える実施例1に記載のステープルカートリッジアセンブリ。 Example 2-The staple cartridge assembly according to Example 1, further comprising a thread that is movable from the proximal end to the distal end to eject the staple through the upper opening of the staple cavity.
実施例3−カートリッジ本体が、デッキの反対側に画定された底面と、底面内に画定された長手方向チャネルであって、スレッドの少なくとも一部が長手方向チャネル内に摺動可能に位置付けられている、長手方向チャネルと、スレッドが底面を通る長手方向チャネルから落下することを防止するように構成されている保持部分とを更に含む、実施例2に記載のステープルカートリッジアセンブリ。 Example 3-The cartridge body is a bottom surface defined on the opposite side of the deck and a longitudinal channel defined within the bottom surface, with at least a portion of the threads slidably positioned within the longitudinal channel. The staple cartridge assembly according to Example 2, further comprising a longitudinal channel and a holding portion configured to prevent the thread from falling from the longitudinal channel through the bottom surface.
実施例4−スレッドが、発射ストローク中に近位位置と遠位位置との間で移動可能であり、スレッドが近位位置にあるときに保持部分がスレッドに係合し、スレッドが遠位位置にあるときに保持部分がスレッドに係合しない、実施例3に記載のステープルカートリッジアセンブリ。 Example 4-The thread is movable between the proximal and distal positions during the firing stroke, the holding portion engages the thread when the thread is in the proximal position, and the thread is in the distal position. The staple cartridge assembly according to Example 3, wherein the holding portion does not engage the thread when in.
実施例5−ステープルカートリッジアセンブリがカートリッジ本体の底面の周囲で延在するカバーを備えていない、実施例1、2、3、又は4に記載のステープルカートリッジアセンブリ。 Example 5-The staple cartridge assembly according to Example 1, 2, 3, or 4, wherein the staple cartridge assembly does not include a cover extending around the bottom surface of the cartridge body.
実施例6−カートリッジ本体が、外科用ステープラに直接係合するように構成されている少なくとも1つのスナップ嵌め特徴部を含む、実施例1、2、3、4、又は5に記載のステープルカートリッジアセンブリ。 Example 6-The staple cartridge assembly according to Example 1, 2, 3, 4, or 5, wherein the cartridge body comprises at least one snap-fit feature that is configured to engage directly with the surgical stapler. ..
実施例7−スレッドがステープルに直接係合し、ステープルカートリッジアセンブリがスレッドとステープルとの中間に位置付けられたドライバを備えていない、実施例3、4、又は5に記載のステープルカートリッジアセンブリ。 Example 7-The staple cartridge assembly according to Example 3, 4, or 5, wherein the thread engages directly with the staple and the staple cartridge assembly does not include a driver positioned between the thread and the staple.
実施例8−各ステープルが材料のシートから打ち抜きされ、各ステープルの近位脚部、遠位脚部、及び基部は、ステープル平面内で成形され、保持突出部がステープル平面から横方向に延在する、実施例1、2、3、4、5、6、又は7に記載のステープルカートリッジアセンブリ。 Example 8-Each staple is punched out of a sheet of material, the proximal, distal leg, and base of each staple are molded in the staple plane and the retaining protrusions extend laterally from the staple plane. The staple cartridge assembly according to Example 1, 2, 3, 4, 5, 6, or 7.
実施例9−外科用ステープラと一緒に使用するためのステープルカートリッジアセンブリであって、ステープルカートリッジアセンブリが、近位端部と、遠位端部と、底部と、近位方向から遠位方向に延在するデッキ内に画定された長手方向スロットと、底部内に画定された長手方向チャネルと、ステープルキャビティであって、各ステープルキャビティがデッキ内に画定された上部開口部及び底部に画定された底部開口部を含むステープルキャビティとを備える、ステープルカートリッジアセンブリ。ステープルカートリッジアセンブリは、ステープルキャビティ内に取り外し可能に収容されたステープルと、長手方向チャネル内で摺動可能に位置付けられたスレッドであって、ステープルキャビティの上部開口部を通してステープルを排出するために近位端部から遠位端部に向かって移動可能なスレッドと、スレッドが底部を通る長手方向チャネルから落下することを防止するように構成されている保持部分とを更に備える。 Example 9-A staple cartridge assembly for use with a surgical stapler, wherein the staple cartridge assembly extends from the proximal end, the distal end, the bottom, and the proximal to the distal direction. A longitudinal slot defined in the existing deck, a longitudinal channel defined in the bottom, and a staple cavity, each staple cavity having a top opening defined in the deck and a bottom defined in the bottom. Staple cartridge assembly with staple cavities including openings. The staple cartridge assembly is a staple that is detachably housed in the staple cavity and a thread that is slidably positioned within the longitudinal channel and is proximal to eject the staple through the upper opening of the staple cavity. It further comprises a thread that is movable from end to distal end and a staple that is configured to prevent the thread from falling from a longitudinal channel through the bottom.
実施例10−スレッドが、発射ストローク中に近位位置と遠位位置との間で移動可能であり、スレッドが近位位置にあるときに保持部分がスレッドに係合し、スレッドが遠位位置にあるときに保持部分がスレッドに係合しない、実施例9に記載のステープルカートリッジアセンブリ。 Example 10-The thread can move between the proximal and distal positions during the firing stroke, the holding portion engages the thread when the thread is in the proximal position, and the thread is in the distal position. The staple cartridge assembly according to Example 9, wherein the holding portion does not engage the thread when in.
実施例11−ステープルカートリッジアセンブリがカートリッジ本体の底面の周囲で延在するカバーを備えていない、実施例9又は10に記載のステープルカートリッジアセンブリ。 Example 11-The staple cartridge assembly according to Example 9 or 10, wherein the staple cartridge assembly does not include a cover extending around the bottom surface of the cartridge body.
実施例12−スレッドがステープルに直接係合し、ステープルカートリッジアセンブリがスレッドとステープルとの中間に位置付けられたドライバを備えていない、実施例9、10、又は11に記載のステープルカートリッジアセンブリ。 Example 12-The staple cartridge assembly according to Example 9, 10, or 11, wherein the thread engages directly with the staple and the staple cartridge assembly does not include a driver positioned between the thread and the staple.
実施例13−外科用ステープラと一緒に使用するためのステープルカートリッジアセンブリであって、外科用ステープラが、ステープルカートリッジアセンブリを受容するように構成されている顎部を含み、ステープルカートリッジアセンブリが、近位端部と、遠位端部と、デッキと、底部とを含むカートリッジ本体を備え、ステープルカートリッジアセンブリが、底部の周囲で延在するエンクロージャと、近位端部から遠位端部に向かって延在するデッキ内に画定された長手方向スロットと、底部内に画定された長手方向チャネルと、ステープルキャビティとを備えず、各ステープルキャビティが、デッキ内に画定された上部開口部と、底部内に画定された底部開口部とを含む、ステープルカートリッジアセンブリ。ステープルカートリッジアセンブリは、ステープルキャビティ内に取り外し可能に収容されたステープルと、長手方向チャネル内で摺動可能に位置付けられたスレッドであって、発射ストローク中にステープルキャビティの上部開口部を通してステープルを排出するために近位端部から遠位端部に向かって移動可能なスレッドと、スレッドが底部を通る長手方向チャネルから落下することを防止するための手段とを更に備える。 Example 13-A staple cartridge assembly for use with a surgical stapler, wherein the stapler includes a jaw that is configured to receive the staple cartridge assembly, and the staple cartridge assembly is proximal. With a cartridge body that includes an end, a distal end, a deck, and a bottom, a staple cartridge assembly extends from the proximal end to the distal end with an enclosure that extends around the bottom. Without a defined longitudinal slot within the existing deck, a defined longitudinal channel within the bottom, and a staple cavity, each staple cavity has a top opening defined within the deck and within the bottom. Staple cartridge assembly, including a defined bottom opening. The staple cartridge assembly is a staple that is detachably housed in the staple cavity and a thread that is slidably positioned within the longitudinal channel to eject the staple through the upper opening of the staple cavity during the firing stroke. For this purpose, a thread that can move from the proximal end to the distal end and a means for preventing the thread from falling from the longitudinal channel through the bottom are further provided.
実施例14−発射ストローク中にスレッドがステープルに直接係合する、実施例13に記載のステープルカートリッジアセンブリ。 Example 14-The staple cartridge assembly according to Example 13, wherein the thread engages the staple directly during the firing stroke.
実施例15−ステープルが底部開口部を通してステープルキャビティから落下することを防止するための手段を更に備える、実施例13又は14に記載のステープルカートリッジアセンブリ。 Example 15-The staple cartridge assembly according to Example 13 or 14, further comprising means for preventing the staples from falling out of the staple cavity through the bottom opening.
実施例16−外科用ステープラと一緒に使用するためのステープルカートリッジアセンブリであって、外科用ステープラが、ステープルカートリッジアセンブリを受容するように構成されている顎部を含み、ステープルカートリッジアセンブリが、近位端部と、遠位端部と、デッキと、底部とを含むカートリッジ本体を備え、ステープルカートリッジアセンブリは、底部の周囲で延在するエンクロージャとステープルキャビティとを備えず、各ステープルキャビティが、デッキ内に画定された上部開口部と底部内に画定された底部開口部とを含む、ステープルカートリッジアセンブリ。ステープルカートリッジアセンブリは、ステープルキャビティ内に取り外し可能に収容されたステープルを更に備え、カートリッジ本体は、ステープルが底部開口部を通してステープルキャビティから落下することを防止する、カートリッジ本体と一体に形成された棚を含む。 Example 16-A staple cartridge assembly for use with a surgical stapler, wherein the stapler includes a jaw that is configured to receive the staple cartridge assembly, wherein the staple cartridge assembly is proximal. With a cartridge body that includes an end, a distal end, a deck, and a bottom, the staple cartridge assembly does not have an enclosure and staple cavities that extend around the bottom, and each staple cavity is in the deck. A staple cartridge assembly that includes a top opening defined in and a bottom opening defined in the bottom. The staple cartridge assembly further comprises staples that are detachably housed within the staple cavity, and the cartridge body has a shelf formed integrally with the cartridge body that prevents the staples from falling out of the staple cavity through the bottom opening. Including.
実施例17−外科用ステープラと一緒に使用するためのステープルカートリッジアセンブリであって、ステープルカートリッジアセンブリが、近位端部と、遠位端部と、デッキと、デッキ内に画定され近位端部から遠位端部に向かって延在する長手方向スロットと、ステープルキャビティとを含むカートリッジ本体を備える、ステープルカートリッジアセンブリ。ステープルキャビティは、デッキ内に画定された上部開口部と、底部開口部と、近位ガイドと、遠位ガイドと、近位ガイドと遠位ガイドとの間に延在する側壁と、側壁から内向きに延在する中間ガイドとを含む。ステープルカートリッジアセンブリは、近位ガイド内に位置付けられた近位脚部と、遠位ガイド内に位置付けられた遠位脚部と、近位脚部と遠位脚部との間に延在する基部とを含むステープルキャビティ内に取り外し可能に収容されたステープルを更に含み、中間ガイドは、基部を誘導し、近位脚部を近位ガイド内に、かつ遠位脚部を遠位ガイド内に保持するように位置付けられる。 Example 17-A staple cartridge assembly for use with a surgical stapler, wherein the staple cartridge assembly is defined in the proximal end, the distal end, the deck, and the proximal end. A staple cartridge assembly comprising a cartridge body that includes a longitudinal slot extending from to the distal end and a staple cavity. Staple cavities are defined in the deck with a top opening, a bottom opening, a proximal guide, a distal guide, a side wall extending between the proximal guide and the distal guide, and inside from the sidewall. Includes an intermediate guide that extends in the orientation. The staple cartridge assembly is a proximal leg located within the proximal guide, a distal leg located within the distal guide, and a base extending between the proximal leg and the distal leg. The intermediate guide guides the base and holds the proximal leg in the proximal guide and the distal leg in the distal guide. Positioned to do.
実施例18−ステープルキャビティが、近位ガイドの近位にある近位キャビティ端部と、遠位ガイドの遠位にある遠位キャビティ端部とを更に含む、実施例17に記載のステープルカートリッジアセンブリ。 Example 18-The staple cartridge assembly according to Example 17, wherein the staple cavity further comprises a proximal cavity end proximal to the proximal guide and a distal cavity end distal to the distal guide. ..
実施例19−ステープルが、近位キャビティ端部及び遠位キャビティ端部内に位置付けられていない、実施形態18に記載のステープルカートリッジアセンブリ。 Example 19-The staple cartridge assembly according to embodiment 18, wherein the staples are not located within the proximal cavity end and the distal cavity end.
実施例20−ステープル基部と、中間ガイドと、遠位キャビティ端部との間に第1の隙間が存在し、ステープル基部と、中間ガイドと、近位キャビティ端部との間に第2の隙間が存在する、実施例18又は19に記載のステープルカートリッジアセンブリ。 Example 20-There is a first gap between the staple base, the intermediate guide and the distal cavity end and a second gap between the staple base and the intermediate guide and the proximal cavity end. The staple cartridge assembly according to Example 18 or 19, wherein the staple cartridge assembly is present.
実施例21−基部が、中間ガイドと接合した平らなガイド表面を含む、実施例17、18、19、又は20に記載のステープルカートリッジアセンブリ。 21-The staple cartridge assembly according to Example 17, 18, 19, or 20, wherein the base comprises a flat guide surface joined with an intermediate guide.
実施例22−カートリッジ本体が複数のステープルキャビティを更に含み、ステープルカートリッジアセンブリがステープルキャビティ内に位置付けられた複数のステープルを更に含む、実施例17、18、19、20、又は21に記載のステープルカートリッジアセンブリ。 22-The staple cartridge according to Example 17, 18, 19, 20, or 21, wherein the cartridge body further comprises a plurality of staple cavities and the staple cartridge assembly further comprises a plurality of staples located within the staple cavities. assembly.
実施例23−ステープルがステープルキャビティから排出されるときに近位ガイド、遠位ガイド、及び中間ガイドがステープルの制御を三角形化する、実施例17、18、19、20、21、又は22に記載のステープルカートリッジアセンブリ。 23-Imagine Examples 17, 18, 19, 20, 21, or 22 where proximal guides, distal guides, and intermediate guides triangulate control of the staples as they are ejected from the staple cavity. Staple cartridge assembly.
実施例24−近位ガイド及び遠位ガイドがデッキの上に延在する、実施例17、18、19、20、21、22、又は23に記載のステープルカートリッジアセンブリ。 Example 24-The staple cartridge assembly according to Example 17, 18, 19, 20, 21, 22, or 23, wherein the proximal and distal guides extend over the deck.
実施例25−中間ガイドがデッキの上に延在する、実施例17、18、19、20、21、22、23、又は24に記載のステープルカートリッジアセンブリ。 25-The staple cartridge assembly according to Example 17, 18, 19, 20, 21, 22, 23, or 24, wherein the intermediate guide extends over the deck.
実施例26−ステープルの近位脚部及び遠位脚部が脚部平面を画定し、基部が駆動平面内に駆動表面を含み、駆動平面が脚部平面からオフセットされる、実施例17、18、19、20、21、22、23、24、又は25に記載のステープルカートリッジアセンブリ。 Example 26-Proximal and distal legs of the staple define the leg plane, the base includes the drive surface within the drive plane, and the drive plane is offset from the leg plane, Examples 17, 18 , 19, 20, 21, 22, 23, 24, or 25.
実施例27−近位脚部及び遠位脚部が、近位ガイド及び遠位ガイドによって互いに向かって挟まれている、実施例17、18、19、20、21、22、23、24、25、又は26に記載のステープルカートリッジアセンブリ。 Examples 27-Proximal legs and distal legs sandwiched towards each other by proximal and distal guides, Examples 17, 18, 19, 20, 21, 22, 23, 24, 25. , Or the staple cartridge assembly according to 26.
実施例28−中間ガイドが、近位脚部を近位ガイド内に押し込み、遠位脚部を遠位ガイド内に押し込むように構成されている、基部に係合した弾性付勢部材を含む、実施例17、18、19、20、21、22、23、24、25、26、又は27に記載のステープルカートリッジアセンブリ。 Example 28-The intermediate guide comprises an elastic urging member engaged to the base, which is configured to push the proximal leg into the proximal guide and the distal leg into the distal guide. The staple cartridge assembly according to Example 17, 18, 19, 20, 21, 22, 23, 24, 25, 26, or 27.
実施例29−中間ガイドが、近位ガイドよりも遠位ガイドに近く位置付けられている、実施例17、18、19、20、21、22、23、24、25、26、27、又は28に記載のステープルカートリッジアセンブリ。 Example 29-In Examples 17, 18, 19, 20, 21, 22, 23, 24, 25, 26, 27, or 28, where the intermediate guide is positioned closer to the distal guide than the proximal guide. Described staple cartridge assembly.
実施例30−中間ガイドが、遠位ガイドと近位ガイドとの間に等距離で位置付けられている、実施例17、18、19、20、21、22、23、24、25、26、27、又は28に記載のステープルカートリッジアセンブリ。 Examples 30-Intermediate guides are equidistant between the distal and proximal guides, Examples 17, 18, 19, 20, 21, 22, 23, 24, 25, 26, 27. , Or the staple cartridge assembly according to 28.
実施例31−外科用ステープラと一緒に使用するためのステープルカートリッジアセンブリであって、ステープルカートリッジアセンブリが、近位端部と、遠位端部と、デッキと、デッキ内に画定され近位端部から遠位端部に向かって延在する長手方向スロットと、ステープルキャビティとを含むカートリッジ本体を備える、ステープルカートリッジアセンブリ。ステープルキャビティは、デッキ内に画定された上部開口部、底部開口部、近位ガイド、遠位ガイド、及び近位ガイドと遠位ガイドとの間に延在する側壁とを含む。ステープルカートリッジアセンブリは、近位ガイド内に位置付けられた近位脚部と、遠位ガイド内に位置付けられた遠位脚部であって、近位脚部及び遠位脚部が脚部平面を画定し、近位脚部及び遠位脚部が近位ガイド及び遠位ガイドによって互いに向かって挟まれている、遠位脚部と、近位脚部と遠位脚部との間に延在する基部であって、基部が駆動平面内に駆動表面を含み、駆動平面が脚部平面からオフセットされる、基部とを含む、ステープルキャビティ内に取り外し可能に収容されたステープルを更に備える。 Example 31-A staple cartridge assembly for use with a surgical stapler, wherein the staple cartridge assembly is defined in the proximal end, the distal end, the deck, and the proximal end. A staple cartridge assembly comprising a cartridge body that includes a longitudinal slot extending from to the distal end and a staple cavity. The staple cavity includes a top opening, a bottom opening, a proximal guide, a distal guide, and a side wall extending between the proximal and distal guides defined within the deck. The staple cartridge assembly consists of a proximal leg located within the proximal guide and a distal leg located within the distal guide, with the proximal and distal legs defining the leg plane. And extends between the distal leg and the proximal and distal legs, with the proximal and distal legs sandwiched towards each other by the proximal and distal guides. It further comprises a staple that is detachably housed in a staple cavity, including a base, wherein the base comprises a drive surface in the drive plane and the drive plane is offset from the leg plane.
実施例32−脚部平面が駆動平面に対して平行である、実施例31に記載のステープルカートリッジアセンブリ。 Example 32-The staple cartridge assembly according to Example 31, wherein the leg plane is parallel to the drive plane.
実施例33−カートリッジ本体が複数のステープルキャビティを更に含み、ステープルカートリッジアセンブリがステープルキャビティ内に位置付けられた複数のステープルを更に備える、実施例31又は32に記載のステープルカートリッジアセンブリ。 33-The staple cartridge assembly according to Example 31 or 32, wherein the cartridge body further comprises a plurality of staple cavities, and the staple cartridge assembly further comprises a plurality of staples positioned within the staple cavities.
実施例34−外科用ステープラと一緒に使用するためのステープルカートリッジアセンブリであって、ステープルカートリッジアセンブリが、近位端部と、遠位端部と、デッキと、デッキ内に画定され近位端部から遠位端部に向かって延在する長手方向スロットと、ステープルキャビティとを含むカートリッジ本体を備える、ステープルカートリッジアセンブリ。ステープルキャビティは、デッキ内に画定された上部開口部と、底部開口部と、近位ガイドと、遠位ガイドと、近位ガイドと遠位端部ガイドとの間に延在する側壁と、ステープルキャビティ側壁から内向きに延在する中間ガイドとを含む。ステープルカートリッジアセンブリは、近位ガイド内に位置付けられた近位脚部と、遠位ガイド内に位置付けられた遠位脚部と、近位脚部と遠位脚部との間に延在する基部とを含むステープルキャビティ内に取り外し可能に収容されたステープルを更に含み、近位ガイド、遠位ガイド、及び中間ガイドは、ステープルがステープルキャビティから排出されるときにステープルの制御を三角形化する。 Example 34-A staple cartridge assembly for use with a surgical stapler, wherein the staple cartridge assembly is defined in the proximal end, the distal end, the deck, and the proximal end. A staple cartridge assembly comprising a cartridge body that includes a longitudinal slot extending from to the distal end and a staple cavity. Staple cavities are staples with a top opening defined in the deck, a bottom opening, a proximal guide, a distal guide, a side wall extending between the proximal guide and the distal end guide, and staples. Includes an intermediate guide extending inward from the side wall of the cavity. The staple cartridge assembly is a proximal leg located within the proximal guide, a distal leg located within the distal guide, and a base extending between the proximal leg and the distal leg. The proximal guide, the distal guide, and the intermediate guide further include a staple that is detachably housed in the staple cavity, including and triangulates the control of the staple as it is ejected from the staple cavity.
実施例35−カートリッジ本体が複数のステープルキャビティを更に含み、ステープルカートリッジアセンブリがステープルキャビティ内に位置付けられた複数のステープルを更に備える、実施例34に記載のステープルカートリッジアセンブリ。 Example 35-The staple cartridge assembly according to Example 34, wherein the cartridge body further comprises a plurality of staple cavities, and the staple cartridge assembly further comprises a plurality of staples located within the staple cavities.
実施例36−外科用ステープラと一緒に使用するためのステープルカートリッジアセンブリであって、ステープルカートリッジアセンブリが、近位カートリッジ端部と、遠位カートリッジ端部と、デッキと、デッキ内に画定され近位カートリッジ端部から遠位カートリッジ端部に向かって延在する長手方向ナイフスロットと、ステープルキャビティとを含むカートリッジ本体を備える、ステープルカートリッジアセンブリ。ステープルキャビティは、デッキ内に画定された上部開口部と、近位キャビティ端部と、遠位キャビティ端部と、近位ガイドと、遠位ガイドであって、近位ガイド及び遠位ガイドはデッキの上に延在する、近位ガイド及び遠位ガイドと、近位キャビティ端部と遠位キャビティ端部との間で延在するキャビティスロットであって、近位ガイド及び遠位ガイドがキャビティスロットに対して横方向に延在する、キャビティスロットと、を含む。ステープルカートリッジアセンブリは、近位ガイド内に位置付けられた近位脚部と、遠位ガイド内に位置付けられた遠位脚部と、近位脚部と遠位脚部との間に延在する基部であって、基部がキャビティスロット内に位置付けられている、基部とを含む、ステープルキャビティ内に取り外し可能に収容されたステープルを更に備える。 Example 36-A staple cartridge assembly for use with a surgical stapler, wherein the staple cartridge assembly is defined and proximal within the proximal cartridge end, the distal cartridge end, the deck, and the deck. A staple cartridge assembly comprising a cartridge body that includes a longitudinal knife slot extending from the end of the cartridge to the end of the distal cartridge and a staple cavity. The staple cavity is an upper opening defined in the deck, a proximal cavity end, a distal cavity end, a proximal guide, and a distal guide, the proximal guide and the distal guide being the deck. A cavity slot that extends over the proximal and distal guides and between the proximal cavity end and the distal cavity end, with the proximal and distal guides being the cavity slot. Includes cavity slots, which extend laterally with respect to. The staple cartridge assembly is a proximal leg located within the proximal guide, a distal leg located within the distal guide, and a base extending between the proximal leg and the distal leg. It further comprises a staple that is detachably housed in the staple cavity, including the base, the base of which is located in the cavity slot.
実施例37−近位ガイド及び遠位ガイドがナイフスロットに向かって延在する、実施例36に記載のステープルカートリッジアセンブリ。 Example 37-The staple cartridge assembly according to Example 36, wherein the proximal and distal guides extend towards the knife slot.
実施例38−近位ガイド及び遠位ガイドがナイフスロットから離れる方向に延在する、実施例36に記載のステープルカートリッジアセンブリ。 Example 38-The staple cartridge assembly according to Example 36, wherein the proximal and distal guides extend away from the knife slot.
実施例39−近位ガイドが近位ブラケットを含む、実施例36、37、又は38に記載のステープルカートリッジアセンブリ。 Example 39-The staple cartridge assembly according to Example 36, 37, or 38, wherein the proximal guide comprises a proximal bracket.
実施例40−近位ブラケットが近位キャビティ端部の周囲で延在しない、実施例39に記載のステープルカートリッジアセンブリ。 Example 40-The staple cartridge assembly according to Example 39, wherein the proximal bracket does not extend around the end of the proximal cavity.
実施例41−キャビティスロットが長手方向軸によって画定され、近位ブラケットが長手方向軸と位置合わせされていない、実施例39又は40に記載のステープルカートリッジアセンブリ。 Example 41-The staple cartridge assembly according to Example 39 or 40, wherein the cavity slot is defined by a longitudinal axis and the proximal bracket is not aligned with the longitudinal axis.
実施例42−遠位ガイドが遠位ブラケットを含む、実施例36、37、38、39、40、又は41に記載のステープルカートリッジアセンブリ。 42-The staple cartridge assembly according to Example 36, 37, 38, 39, 40, or 41, wherein the distal guide comprises a distal bracket.
実施例43−遠位ブラケットが遠位キャビティ端部の周囲で延在しない、実施例42に記載のステープルカートリッジアセンブリ。 Example 43-The staple cartridge assembly according to Example 42, wherein the distal bracket does not extend around the distal cavity end.
実施例44−キャビティスロットが長手方向軸によって画定され、遠位ブラケットが長手方向軸と位置合わせされていない、実施例42又は43に記載のステープルカートリッジアセンブリ。 Example 44-The staple cartridge assembly according to Example 42 or 43, wherein the cavity slot is defined by a longitudinal axis and the distal bracket is not aligned with the longitudinal axis.
実施例45−近位脚部及び遠位脚部がステープル脚部平面を画定し、基部が、ステープル脚部平面からオフセットされた駆動平面内に駆動表面を含み、近位ガイド及び遠位ガイドがステープル平面と位置合わせされ、近位ガイド及び遠位ガイドが駆動平面と位置合わせされていない、実施例36、37、38、39、40、41、42、43、又は44に記載のステープルカートリッジアセンブリ。 Example 45-Proximal and distal legs define the staple leg plane, the base comprises the drive surface within the drive plane offset from the staple leg plane, and the proximal and distal guides. The staple cartridge assembly according to Example 36, 37, 38, 39, 40, 41, 42, 43, or 44, which is aligned with the staple plane and the proximal and distal guides are not aligned with the drive plane. ..
実施例46−近位脚部及び遠位脚部がステープル脚部平面を画定し、基部が、ステープル脚部平面からオフセットされた駆動平面内に駆動表面を含み、近位ガイド及び遠位ガイドが、ステープル脚部平面と位置合わせされたブラケット平面を画定する、実施例36、37、38、39、40、41、42、43、又は44に記載のステープルカートリッジアセンブリ。 Example 46-Proximal and distal legs define the staple leg plane, the base comprises the drive surface within the drive plane offset from the staple leg plane, and the proximal and distal guides. The staple cartridge assembly according to Example 36, 37, 38, 39, 40, 41, 42, 43, or 44, defining a bracket plane aligned with the staple leg plane.
実施例47−カートリッジ本体が複数のステープルキャビティを更に含み、ステープルカートリッジアセンブリが、ステープルキャビティ内に位置付けられた複数のステープルを更に備える、実施例36、37、38、39、40、41、42、43、44、45、又は46に記載のステープルカートリッジアセンブリ。 Example 47-Examples 36, 37, 38, 39, 40, 41, 42, wherein the cartridge body further comprises a plurality of staple cavities, and the staple cartridge assembly further comprises a plurality of staples located within the staple cavities. 43, 44, 45, or 46. The staple cartridge assembly.
実施例48−デッキの上に延在する近位ガイドの一部が、ステープルキャビティ延長部を含み、デッキの上に延在する遠位ガイドの一部が、ステープルキャビティ延長部を含む、実施例36、37、38、39、40、41、42、43、44、45、46、又は47に記載のステープルカートリッジアセンブリ。 Example 48-A portion of the proximal guide extending over the deck includes a staple cavity extension and a portion of the distal guide extending over the deck includes a staple cavity extension. 36, 37, 38, 39, 40, 41, 42, 43, 44, 45, 46, or 47. The staple cartridge assembly.
実施例49−外科用ステープラと一緒に使用するためのステープルカートリッジアセンブリであって、ステープルカートリッジアセンブリが、近位カートリッジ端部と、遠位カートリッジ端部と、デッキと、ステープルキャビティとを含むカートリッジ本体を備える、ステープルカートリッジアセンブリ。ステープルキャビティは、近位キャビティ端部と、遠位キャビティ端部と、デッキの上下に延在する近位ガイドと、デッキの上下に延在する遠位ガイドと、近位キャビティ端部と遠位キャビティ端部との間に延在する接続スロットとを含み、近位ガイド及び遠位ガイドは、接続スロットに対して横方向に延在する。ステープルカートリッジアセンブリは、近位ガイド内に位置付けられた近位脚部と、遠位ガイド内に位置付けられた遠位脚部と、近位脚部と遠位脚部との間に延在する基部であって、基部がキャビティスロット内に位置付けられている基部とを含む、ステープルキャビティ内に取り外し可能に収容されたステープルを更に備える。 Example 49-A staple cartridge assembly for use with a surgical stapler, wherein the staple cartridge assembly includes a proximal cartridge end, a distal cartridge end, a deck, and a staple cavity. With staple cartridge assembly. The staple cavities are the proximal cavity end, the distal cavity end, the proximal guide extending above and below the deck, the distal guide extending above and below the deck, and the proximal cavity end and distal. Proximal and distal guides extend laterally with respect to the connection slot, including a connection slot that extends to and from the cavity end. The staple cartridge assembly is a proximal leg located within the proximal guide, a distal leg located within the distal guide, and a base extending between the proximal leg and the distal leg. It further comprises a staple that is detachably housed in the staple cavity, including a base whose base is located in the cavity slot.
実施例50−カートリッジ本体が複数のステープルキャビティを更に含み、ステープルカートリッジアセンブリがステープルキャビティ内に位置付けられた複数のステープルを更に備える、実施例49に記載のステープルカートリッジアセンブリ。 Example 50-The staple cartridge assembly according to Example 49, wherein the cartridge body further comprises a plurality of staple cavities, and the staple cartridge assembly further comprises a plurality of staples located within the staple cavities.
実施例51−デッキの上に延在する近位ガイドの一部が、ステープルキャビティ延長部を含み、デッキの上に延在する遠位ガイドの一部が、ステープルキャビティ延長部を含む、実施例49又は50に記載のステープルカートリッジアセンブリ。 Example 51-A portion of the proximal guide extending over the deck includes a staple cavity extension and a portion of the distal guide extending over the deck includes a staple cavity extension. 49 or 50. The staple cartridge assembly.
実施例52−外科用ファスナー器具と一緒に使用するためのファスナーカートリッジアセンブリであって、ファスナーカートリッジアセンブリが、近位カートリッジ端部と、遠位カートリッジ端部と、デッキと、ファスナーポケットとを含むカートリッジ本体を備える、ファスナーカートリッジアセンブリ。ファスナーポケットは、近位ポケット端部と、遠位ポケット端部と、近位ガイドと、遠位ガイドと、近位ポケット延長部であって、近位ポケット延長部がデッキの上に延在する近位ポケット延長部と、遠位ポケット延長部であって、近位ポケットがデッキの上に延在する遠位ポケット延長部と、近位ポケット端部と遠位ポケット端部との間に延在するポケット開口部であって、近位ガイド及び遠位ガイドがポケット開口部に対して横方向に延在するポケット開口部とを含む。ファスナーカートリッジアセンブリは、近位ガイド内に位置付けられた近位脚部と、遠位ガイド内に位置付けられた遠位脚部と、近位脚部と遠位脚部との間に延在する基部であって、ポケット開口部内に位置付けられている基部とを含む、ファスナーポケット内に取り外し可能に収容されたファスナーを更に備える。 Example 52-A fastener cartridge assembly for use with a surgical fastener instrument, wherein the fastener cartridge assembly includes a proximal cartridge end, a distal cartridge end, a deck, and a fastener pocket. Fastener cartridge assembly with body. The fastener pockets are the end of the proximal pocket, the end of the distal pocket, the proximal guide, the distal guide, and the proximal pocket extension, with the proximal pocket extension extending over the deck. Proximal pocket extension and distal pocket extension, extending between the proximal pocket extension and the distal pocket extension, where the proximal pocket extends over the deck, and between the proximal pocket end and the distal pocket end. An existing pocket opening, including a pocket opening in which the proximal guide and the distal guide extend laterally with respect to the pocket opening. The fastener cartridge assembly is a proximal leg located within the proximal guide, a distal leg located within the distal guide, and a base extending between the proximal leg and the distal leg. It further comprises a fastener detachably housed in the fastener pocket, including a base located within the pocket opening.
実施例53−カートリッジ本体が複数のファスナーポケットを更に含み、ファスナーカートリッジアセンブリがファスナーポケット内に位置付けられた複数のファスナーを更に備える、実施例52に記載のファスナーカートリッジアセンブリ。 53-The fastener cartridge assembly according to Example 52, wherein the cartridge body further comprises a plurality of fastener pockets, and the fastener cartridge assembly further comprises a plurality of fasteners positioned within the fastener pockets.
実施例54−外科用器具と一緒に使用するためのステープルカートリッジアセンブリであって、ステープルカートリッジアセンブリが、近位端部と、遠位端部と、デッキと、デッキ内に画定されたステープルキャビティとを含むカートリッジ本体を備える、ステープルカートリッジアセンブリ。ステープルカートリッジアセンブリは、ステープルキャビティ内に取り外し可能に位置付けられたステープルと、ステープルと位置合わせされたチャネルを含む発射部材とを更に備え、チャネルは、第1の横側壁と第2の横側壁とを含み、チャネルは、第1の横側壁と第2の横側壁との間にステープルを受容するように構成されている。 Example 54-A staple cartridge assembly for use with surgical instruments, wherein the staple cartridge assembly includes a proximal end, a distal end, a deck, and a staple cavity defined within the deck. Staple cartridge assembly with cartridge body including. The staple cartridge assembly further comprises a staple located removably within the staple cavity and a launching member containing a channel aligned with the staple, the channel having a first lateral side wall and a second lateral side wall. Including, the channel is configured to receive staples between the first lateral side wall and the second lateral side wall.
実施例55−チャネルが発射部材の傾斜表面上に画定されている、実施例54に記載のステープルカートリッジアセンブリ。 Example 55-The staple cartridge assembly according to Example 54, wherein the channel is defined on an inclined surface of the launching member.
実施例56−チャネルが、発射部材の発射ストローク中にステープルキャビティ内でステープルを持ち上げるように構成されている傾斜面部分と、外科用器具のアンビルに対してステープルを最終成形された高さに成形するように構成されている頂点部分とを含む、実施例54又は55に記載のステープルカートリッジアセンブリ。 Example 56-Channel molding of staples to the final molded height with respect to the sloping surface portion configured to lift the staples within the staple cavity during the firing stroke of the launching member and the anvil of the surgical instrument. The staple cartridge assembly according to Example 54 or 55, comprising a vertex portion configured to.
実施例57−チャネルが、頂点部分に対して近位に位置付けられた後方部分を含み、頂点部分が後方部分の上に位置付けられている、実施例56に記載のステープルカートリッジアセンブリ。 Example 56. The staple cartridge assembly according to Example 56, wherein the channel comprises a posterior portion located proximal to the apex portion and the apex portion is located above the posterior portion.
実施例58−発射部材が複数のウェッジを含むスレッドを含み、チャネルがウェッジのうちの1つの上に画定されている、実施例54、55、56、又は57に記載のステープルカートリッジアセンブリ。 Example 58-The staple cartridge assembly according to Example 54, 55, 56, or 57, wherein the launching member comprises a thread comprising a plurality of wedges and a channel is defined on one of the wedges.
実施例59−発射部材が、ステープルキャビティ内でステープルを初めに持ち上げ、ステープルをチャネル内に誘導するように構成されている傾斜面を更に含む、実施例54、55、56、57、又は58に記載のステープルカートリッジアセンブリ。 Example 59-In Example 54, 55, 56, 57, or 58, wherein the launching member further comprises an inclined surface that is configured to first lift the staple in the staple cavity and guide the staple into the channel. Described staple cartridge assembly.
実施例60−チャネルが、口部分と長手方向部分とを含み、口部分が長手方向部分への導入部を提供し、口部分が長手方向部分よりも幅広い、実施例54、55、56、57、58、又は59に記載のステープルカートリッジアセンブリ。 Example 60-Channels include a mouth portion and a longitudinal portion, the mouth portion provides an introduction to the longitudinal portion, and the mouth portion is wider than the longitudinal portion, Examples 54, 55, 56, 57. , 58, or 59.
実施例61−ステープルとチャネルとの間に位置付けられたステープルドライバなしでステープルがチャネル内に受容される、実施例54、55、56、57、58、59、又は60に記載のステープルカートリッジアセンブリ。 Example 61-The staple cartridge assembly according to Example 54, 55, 56, 57, 58, 59, or 60, wherein the staples are received within the channel without a staple driver located between the staples and the channel.
実施例62−第1の横側壁が第2の横側壁に対して平行である、実施例54、55、56、57、58、59、60、又は61に記載のステープルカートリッジアセンブリ。 62-The staple cartridge assembly according to Example 54, 55, 56, 57, 58, 59, 60, or 61, wherein the first lateral side wall is parallel to the second lateral side wall.
実施例63−第1の横側壁が第2の横側壁に対して平行ではない、実施例54、55、56、57、58、59、60、又は61に記載のステープルカートリッジアセンブリ。 Example 63-1 The staple cartridge assembly according to Example 54, 55, 56, 57, 58, 59, 60, or 61, wherein the first lateral side wall is not parallel to the second lateral side wall.
実施例64−第1の横側壁及び第2の横が、互いに角度をなしてステープル進入導入部を作り出す、実施例54、55、56、57、58、59、60、又は61に記載のステープルカートリッジアセンブリ。 Example 64-The staple according to Example 54, 55, 56, 57, 58, 59, 60, or 61, wherein the first lateral wall and the second lateral are angled with each other to create a staple entry introduction. Cartridge assembly.
実施例65−チャネルが第1のチャネルを含み、発射部材が、ステープルを受容するように構成されている第2のチャネルを更に含む、実施例54、55、56、57、58、59、60、61、62、63、又は64に記載のステープルカートリッジアセンブリ。 Example 65-Channels include a first channel and the launching member further comprises a second channel configured to receive staples, Examples 54, 55, 56, 57, 58, 59, 60. , 61, 62, 63, or 64.
実施例66−各ステープルが、第1のチャネルに進入するように構成されている駆動部分と、第2のチャネルに進入するように構成されている成形部分とを含む、実施例65に記載のステープルカートリッジアセンブリ。 Example 66-described in Example 65, wherein each staple comprises a drive portion configured to enter a first channel and a molded portion configured to enter a second channel. Staple cartridge assembly.
実施例67−第1のチャネルが第2のチャネルに対して角度をなして延在する、実施例65又は66に記載のステープルカートリッジアセンブリ。 Example 67-The staple cartridge assembly according to Example 65 or 66, wherein the first channel extends at an angle to the second channel.
実施例68−第1のチャネル及び第2のチャネルが、第1の領域において互いに対して平行であり、第2の領域において互いに対して非平行である、実施例65、66、又は67に記載のステープルカートリッジアセンブリ。 Example 68-Ibid. 65, 66, or 67, wherein the first and second channels are parallel to each other in the first region and non-parallel to each other in the second region. Staple cartridge assembly.
実施例69−発射部材が遠位端部に向かって進むと第2のチャネルが第1のチャネルの前にステープルを受容するように構成されている、実施例65、66、67、又は68に記載のステープルカートリッジアセンブリ。 Example 69-In Example 65, 66, 67, or 68, where the launching member is configured to receive staples in front of the first channel as the launching member advances towards the distal end. Described staple cartridge assembly.
実施例70−外科用器具と一緒に使用するためのステープルカートリッジアセンブリであって、ステープルカートリッジアセンブリが、デッキ及びデッキ内に画定されたステープルキャビティを含むカートリッジ本体と、ステープルキャビティ内に取り外し可能に位置付けられたステープルと、ステープルに直接係合するように構成されている傾斜面及び傾斜面に対してステープルを配向するように構成されている傾斜面から延在するレールを含む発射部材とを備える、ステープルカートリッジアセンブリ。 Example 70-A staple cartridge assembly for use with surgical instruments, the staple cartridge assembly being detachably positioned within the staple cavity and the cartridge body, including the deck and staple cavities defined within the deck. The staples are provided with an inclined surface configured to engage the staple directly and a launching member including a rail extending from the inclined surface configured to orient the staple with respect to the inclined surface. Staple cartridge assembly.
実施例71−レールが第1のレールを含み、発射部材が、傾斜面に対してステープルを配向するように構成されている傾斜面から延在する第2のレールを更に含む、実施例70に記載のステープルカートリッジアセンブリ。 Example 71-In Example 70, wherein the rail comprises a first rail and the launching member further comprises a second rail extending from an inclined surface configured to orient the staples with respect to the inclined surface. Described staple cartridge assembly.
実施例72−第1のレールが第2のレールに対して平行である、実施例71に記載のステープルカートリッジアセンブリ。 Example 72-The staple cartridge assembly according to Example 71, wherein the first rail is parallel to the second rail.
実施例73−アンビルを含む外科用ステープル留め器具と一緒に使用するためのステープルカートリッジアセンブリであって、アンビルが成形ポケットを含み、ステープルカートリッジアセンブリが、近位端部と、遠位端部と、デッキと、デッキ内に画定されたステープルキャビティとを含むカートリッジ本体を備える、ステープルカートリッジアセンブリ。ステープルカートリッジアセンブリは、ステープルキャビティ内に取り外し可能に位置付けられたステープルであって、各ステープルがステープル駆動部分及びステープル成形部分を含むステープルと、ステープルのステープル駆動部分と位置合わせされた第1のガイドチャネル及びステープルのステープル成形部分と位置合わせされた第2のガイドチャネルを含む発射部材であって、発射部材が遠位端部に向かって移動すると、第1のガイドチャネル及び第2のガイドチャネルが協働してステープルをアンビルのステープル成形ポケットと位置合わせするように構成されている、発射部材とを備える。 Example 73-A staple cartridge assembly for use with surgical staple fasteners, including anvils, wherein the anvil contains a molded pocket and the staple cartridge assembly is located at the proximal and distal ends. A staple cartridge assembly that includes a deck and a cartridge body that includes a staple cavity defined within the deck. The staple cartridge assembly is a staple that is detachably positioned within the staple cavity, with each staple containing a staple drive portion and a staple molded portion, and a first guide channel aligned with the staple drive portion of the staple. And a launching member that includes a second guide channel aligned with the stapled portion of the staple, the first and second guide channels collaborate as the launching member moves towards the distal end. It comprises a launching member that is configured to work and align the staples with the staple molding pockets on the anvil.
実施例74−デッキと、ステープルキャビティの第1の長手方向列と、ステープルキャビティの第2の長手方向列とを含むカートリッジ本体を備えるステープルカートリッジアセンブリ。ステープルカートリッジアセンブリは、複数の第1のステープルであって、各第1のステープルがステープルキャビティの第1の長手方向列内に取り外し可能に収容され、各第1のステープルが、第1の駆動表面を含む第1の基部及び第1の基部から延在し、第1の先端を含む第1のステープル脚部を含む一体構造を含み、第1の駆動表面と第1の先端との間に第1の未成形距離が画定される、複数の第1のステープルと、複数の第2のステープルであって、各第2のステープルがステープルキャビティの第2の長手方向列内に取り外し可能に収容され、各第2のステープルが、第2の駆動表面を含む第2の基部及び第2の基部から延在し、第2の先端を含む第2のステープル脚部を含む一体構造を含み、第2の駆動表面と第2の先端との間に第1の未成形距離とは異なる第2の未成形距離が画定される、複数の第2のステープルと、第1のステープル及び第2のステープルに直接係合するように構成されている発射部材とを更に備える。 Example 74-A staple cartridge assembly comprising a cartridge body comprising a deck, a first longitudinal row of staple cavities, and a second longitudinal row of staple cavities. The staple cartridge assembly is a plurality of first staples, each first staple being detachably housed in a first longitudinal row of staple cavities, each first staple being a first drive surface. Extends from the first base and the first base, including the integral structure including the first staple leg including the first tip, the first between the first driving surface and the first tip. A plurality of first staples and a plurality of second staples in which an unmolded distance of 1 is defined, each of which is detachably housed in a second longitudinal row of staple cavities. Each second staple extends from a second base including a second drive surface and a second base and includes an integral structure including a second staple leg including a second tip, second A plurality of second staples and a first staple and a second staple in which a second unmolded distance different from the first unmolded distance is defined between the driving surface and the second tip of the staple. It further comprises a launching member configured to engage directly.
実施例75−第1のステープル及び第2のステープルが金属のシートから形成されている、実施例74に記載のステープルカートリッジアセンブリ。 Example 75-The staple cartridge assembly according to Example 74, wherein the first staple and the second staple are formed from a sheet of metal.
実施例76−各第1の基部が第1の組織支持表面を含み、第1の組織支持表面と第1の先端との間に第1の組織捕捉距離が画定され、各第2の基部が第2の組織支持表面を含み、第2の組織支持表面と第2の先端との間に第2の組織捕捉距離が画定され、第1の組織捕捉距離が第2の組織捕捉距離とは異なる、実施例74又は75に記載のステープルカートリッジアセンブリ。 Example 76-Each first base comprises a first tissue support surface, a first tissue capture distance is defined between the first tissue support surface and the first tip, and each second base A second tissue capture distance is defined between the second tissue support surface and the second tip, including a second tissue support surface, and the first tissue capture distance is different from the second tissue capture distance. , The staple cartridge assembly according to Example 74 or 75.
実施例77−デッキが、ステープルキャビティの第1の長手方向列に沿った第1のデッキ高さと、第1のデッキ高さとは異なる、ステープルキャビティの第2の長手方向列に沿った第2のデッキ高さとを含む、実施例74、75、又は76に記載のステープルカートリッジアセンブリ。 Example 77-A second deck along a second longitudinal row of staple cavities that differs from the first deck height along the first longitudinal row of staple cavities and the first deck height. The staple cartridge assembly according to Example 74, 75, or 76, including with deck height.
実施例78−カートリッジ本体が、切断部材を受容するように構成されている長手方向スロットを更に含み、ステープルキャビティの第1の長手方向列が長手方向スロットと隣接し、ステープルキャビティの第2の長手方向列がステープルキャビティの第1の長手方向列と隣接し、第2のデッキ高さが第1のデッキ高さより低い、実施例77に記載のステープルカートリッジアセンブリ。 Example 78-The cartridge body further comprises a longitudinal slot configured to receive the cutting member, the first longitudinal row of staple cavities is adjacent to the longitudinal slot, and the second longitudinal of the staple cavity. The staple cartridge assembly according to Example 77, wherein the directional row is adjacent to the first longitudinal row of staple cavities and the second deck height is lower than the first deck height.
実施例79−カートリッジ本体が、切断部材を受容するように構成されている長手方向スロットを更に含み、ステープルキャビティの第1の長手方向列が長手方向スロットと隣接し、ステープルキャビティの第2の長手方向列がステープルキャビティの第1の長手方向列と隣接する、実施例74、75、76、77、又は78に記載のステープルカートリッジアセンブリ。 Example 79-The cartridge body further comprises a longitudinal slot configured to receive the cutting member, the first longitudinal row of staple cavities is adjacent to the longitudinal slot, and the second longitudinal of the staple cavity. The staple cartridge assembly according to Example 74, 75, 76, 77, or 78, wherein the directional row is adjacent to a first longitudinal row of staple cavities.
実施例80−第1の未成形距離が第2の未成形距離より短い、実施例74、75、76、77、78、又は79に記載のステープルカートリッジアセンブリ。 Example 80-The staple cartridge assembly according to Example 74, 75, 76, 77, 78, or 79, wherein the first unmolded distance is shorter than the second unmolded distance.
実施例81−ステープルを変形するように構成されているアンビルを更に備える、実施例74、75、76、77、78、79、又は80に記載のステープルカートリッジアセンブリ。 Example 81-The staple cartridge assembly according to Example 74, 75, 76, 77, 78, 79, or 80, further comprising an anvil configured to deform the staples.
実施例82−アンビルが、第1のステープルを第1の変形した高さに変形し、第2のステープルを第1の変形した高さとは異なる第2の変形した高さに変形するように構成されている、実施例81に記載のステープルカートリッジアセンブリ。 Example 82-Anvil is configured to transform the first staple to a first deformed height and the second staple to a second deformed height that is different from the first deformed height. The staple cartridge assembly according to Example 81.
実施例83−カートリッジ本体が、組織をアンビルとカートリッジ本体のデッキとの間に固定するためにアンビルに向かって移動可能である、実施例81又は82に記載のステープルカートリッジアセンブリ。 Example 83-The staple cartridge assembly according to Example 81 or 82, wherein the cartridge body is movable towards the anvil to secure tissue between the anvil and the deck of the cartridge body.
実施例84−アンビルが、組織をアンビルとカートリッジ本体のデッキとの間に固定するためにカートリッジ本体に向かって移動可能である、実施例81、82、又は83に記載のステープルカートリッジアセンブリ。 Example 84-The staple cartridge assembly according to Example 81, 82, or 83, wherein the anvil is movable towards the cartridge body to secure tissue between the anvil and the deck of the cartridge body.
実施例85−デッキから延在するステープルキャビティ延長部を更に備える、実施例74、75、76、77、78、79、80、81、82、83、又は84に記載のステープルカートリッジアセンブリ。 Example 85-The staple cartridge assembly according to Example 74, 75, 76, 77, 78, 79, 80, 81, 82, 83, or 84, further comprising a staple cavity extension extending from the deck.
実施例86−デッキの上に位置付けられた埋め込み可能な層を更に備える、実施例74、75、76、77、78、79、80、81、82、83、84、又は85に記載のステープルカートリッジアセンブリ。 Example 86-The staple cartridge according to Example 74, 75, 76, 77, 78, 79, 80, 81, 82, 83, 84, or 85, further comprising an implantable layer located on the deck. assembly.
実施例87−デッキと、ステープルキャビティの第1の長手方向列と、ステープルキャビティの第2の長手方向列とを含むカートリッジ本体を備えるステープルカートリッジアセンブリ。ステープルカートリッジアセンブリは、複数の第1のステープルであって、各第1のステープルがステープルキャビティの第1の長手方向列内に取り外し可能に収容され、各第1のステープルが、第1の駆動表面及び第1の組織支持表面を含む第1の基部並びに第1の先端を含む第1の基部から延在する第1のステープル脚部を含む一体構造を含み、第1の支持表面と第1の先端との間に第1の組織捕捉距離が画定される、複数の第1のステープルと、複数の第2のステープルであって、各第2のステープルがステープルキャビティの第2の長手方向列内に取り外し可能に収容され、各第2のステープルが、第2の駆動表面及び第2の組織支持表面を含む第2の基部並びに第2の先端を含む第2の基部から延在する第2のステープル脚部を含む一体構造を含み、第2の組織支持表面と第2の先端との間に第1の組織捕捉距離とは異なる第2の組織捕捉距離が画定される、複数の第2のステープルと、第1のステープル及び第2のステープルに直接係合するように構成されている発射部材とを更に備える。 Example 87-A staple cartridge assembly comprising a cartridge body comprising a deck, a first longitudinal row of staple cavities, and a second longitudinal row of staple cavities. The staple cartridge assembly is a plurality of first staples, each first staple being detachably housed in a first longitudinal row of staple cavities, each first staple being a first drive surface. And an integral structure including a first base including a first tissue support surface and a first staple leg extending from a first base including a first tip, the first support surface and the first. A plurality of first staples and a plurality of second staples in which a first tissue capture distance is defined between the tip and the second staple, each of which is within the second longitudinal row of the staple cavity. Removably housed in, each second staple extends from a second base that includes a second driving surface and a second tissue support surface and a second base that includes a second tip. A plurality of second tissues comprising an integral structure including staple legs, wherein a second tissue capture distance different from the first tissue capture distance is defined between the second tissue support surface and the second tip. It further comprises a staple and a launching member configured to directly engage the first staple and the second staple.
実施例88−デッキが、ステープルキャビティの第1の長手方向列に沿った第1のデッキ高さと、第1のデッキ高さとは異なる、ステープルキャビティの第2の長手方向列に沿った第2のデッキ高さとを含む、実施例87に記載のステープルカートリッジアセンブリ。 Example 88-A second deck along a second longitudinal row of staple cavities that differs from the first deck height along the first longitudinal row of staple cavities and the first deck height. The staple cartridge assembly according to Example 87, including with deck height.
実施例89−カートリッジ本体が、切断部材を受容するように構成されている長手方向スロットを更に含み、ステープルキャビティの第1の長手方向列が長手方向スロットと隣接し、ステープルキャビティの第2の長手方向列がステープルキャビティの第1の長手方向列と隣接し、第2のデッキ高さが第1のデッキ高さより低い、実施例88に記載のステープルカートリッジアセンブリ。 Example 89-The cartridge body further comprises a longitudinal slot configured to receive the cutting member, the first longitudinal row of staple cavities is adjacent to the longitudinal slot, and the second longitudinal of the staple cavity. The staple cartridge assembly according to Example 88, wherein the directional row is adjacent to the first longitudinal row of staple cavities and the second deck height is lower than the first deck height.
実施例90−ステープルを変形するように構成されているアンビルを更に備える、実施例87、88、又は89に記載のステープルカートリッジアセンブリ。 Example 90-The staple cartridge assembly according to Example 87, 88, or 89, further comprising an anvil configured to deform the staples.
実施例91−アンビルが、第1のステープルを第1の変形した高さに変形し、第2のステープルを第1の変形した高さとは異なる第2の変形した高さに変形するように構成されている、実施例90に記載のステープルカートリッジアセンブリ。 Example 91-Anvil is configured to transform the first staple to a first deformed height and the second staple to a second deformed height that is different from the first deformed height. The staple cartridge assembly according to Example 90.
実施例92−カートリッジ本体が、組織をアンビルとカートリッジ本体のデッキとの間に固定するためにアンビルに向かって移動可能である、実施例90又は91に記載のステープルカートリッジアセンブリ。 Example 92-The staple cartridge assembly according to Example 90 or 91, wherein the cartridge body is movable towards the anvil to secure tissue between the anvil and the deck of the cartridge body.
実施例93−ステープルキャビティの第1の長手方向列及びステープルキャビティの第2の長手方向列と、ステープルキャビティの第1の長手方向列内に取り外し可能に収容された複数の第1のステープルであって、各第1のステープルが打ち抜きされた金属で構成され、一体型金属ドライバを含む、複数の第1のステープルと、ステープルキャビティの第2の長手方向列内に取り外し可能に収容された複数の第2のステープルであって、各第2のステープルが打ち抜きされた金属で構成され、一体型金属ドライバを含む、複数の第2のステープルと、第1のステープルを第1の変形した高さに成形し、第2のステープルを第2の変形した高さに成形するための手段であって、第1の変形した高さが第2の変形した高さとは異なる、手段とを含むカートリッジ本体を備えるステープルカートリッジアセンブリ。 Example 93-A first longitudinal row of staple cavities, a second longitudinal row of staple cavities, and a plurality of first staples detachably housed within a first longitudinal row of staple cavities. Each first staple is made of punched metal and includes a plurality of first staples, including an integrated metal driver, and a plurality of detachably housed staples in a second longitudinal row of staple cavities. A plurality of second staples, each of which is composed of punched metal and includes an integrated metal driver, and a first staple to a first modified height. A means for molding and shaping the second staple to a second deformed height, the cartridge body comprising the means, wherein the first deformed height is different from the second deformed height. Staple cartridge assembly with.
実施例94−デッキ及びデッキ内に画定されたステープルキャビティを含むステープルカートリッジ本体と、ステープルキャビティ内に取り外し可能に収容されたステープルであって、各ステープルが基部、基部から延在する脚部、及び基部から横方向に延在するプラットホームを含むステープルと、デッキの上に位置付けられた埋め込み可能な層であって、ステープルが患者の組織内に埋め込まれたときにステープルのプラットホームが層と接するように構成されている、埋め込み可能な層とを備えるステープルカートリッジアセンブリ。 Example 94-A staple cartridge body including a deck and a staple cavity defined in the deck, and staples removably housed in the staple cavity, wherein each staple extends from a base, a base, and a staple. A staple containing a platform extending laterally from the base and an implantable layer located on the deck so that the staple's platform contacts the layer when the staple is implanted within the patient's tissue. A staple cartridge assembly with an implantable layer that is configured.
実施例95−各ステープルが材料のシートから打ち抜きされ、基部が基部平面を画定し、プラットホームが基部平面外に折り重なっている、実施例94に記載のステープルカートリッジアセンブリ。 Example 95-The staple cartridge assembly according to Example 94, wherein each staple is punched out of a sheet of material, the base defines a base plane, and the platform folds out of the base plane.
実施例96−埋め込み可能な層が織布材料を含む、実施例94又は95に記載のステープルカートリッジアセンブリ。 Example 96-The staple cartridge assembly according to Example 94 or 95, wherein the implantable layer comprises a woven fabric material.
実施例97−埋め込み可能な層が不織布材料を含む、実施例94、95、又は96に記載のステープルカートリッジアセンブリ。 Example 97-The staple cartridge assembly according to Example 94, 95, or 96, wherein the implantable layer comprises a non-woven material.
実施例98−基部に隣接した脚部から延在する保持部材を更に備え、ステープルが患者の組織内に埋め込まれたときに保持部材が埋め込み可能な層に係合するように構成されている、実施例94、95、96、又は97に記載のステープルカートリッジアセンブリ。 Example 98-A holding member extending from a leg adjacent to the base is further provided so that the holding member engages an implantable layer when the staple is implanted in the patient's tissue. The staple cartridge assembly according to Example 94, 95, 96, or 97.
実施例99−プラットホームが平らである、実施例94、95、96、97、又は98に記載のステープルカートリッジアセンブリ。 Example 99-The staple cartridge assembly according to Example 94, 95, 96, 97, or 98, wherein the platform is flat.
実施例100−プラットホームが脚部に直接取り付けられていない、実施例94、95、96、97、98、又は99に記載のステープルカートリッジアセンブリ。 Example 100-The staple cartridge assembly according to Example 94, 95, 96, 97, 98, or 99, wherein the platform is not directly attached to the leg.
実施例101−デッキ及びデッキ内に画定されたステープルキャビティを含むステープルカートリッジ本体と、ステープルキャビティ内に取り外し可能に収容されたステープルであって、各ステープルがクラウン、クラウンから延在する第1の脚部及び第2の脚部、並びにクラウンから横方向に延在するプラットホームを含むステープルと、デッキの上に位置付けられた埋め込み可能な層であって、ステープルが患者の組織内に埋め込まれたときにステープルのプラットホームが層を支持するように構成されている、埋め込み可能な層とを備えるステープルカートリッジアセンブリ。 Example 101-A staple cartridge body including a deck and a staple cavity defined in the deck, and staples removably housed in the staple cavity, the first leg of which each staple extends from the crown. Staples containing a part and a second leg, as well as a platform extending laterally from the crown, and an implantable layer located on the deck when the staples are implanted within the patient's tissue. A staple cartridge assembly with an implantable layer in which the staple platform is configured to support the layer.
実施例102−各ステープルが材料のシートから打ち抜きされ、クラウンがクラウン平面を画定し、プラットホームがクラウン平面外に折り重なっている、実施例101に記載のステープルカートリッジアセンブリ。 Example 102-The staple cartridge assembly according to Example 101, wherein each staple is punched out of a sheet of material, the crown defines the crown plane, and the platform folds out of the crown plane.
実施例103−埋め込み可能な層が織布材料を含む、実施例101又は102に記載のステープルカートリッジアセンブリ。 Example 103-The staple cartridge assembly according to Example 101 or 102, wherein the implantable layer comprises a woven fabric material.
実施例104−埋め込み可能な層が不織布材料を含む、実施例101、102、又は103に記載のステープルカートリッジアセンブリ。 Example 104-The staple cartridge assembly according to Example 101, 102, or 103, wherein the implantable layer comprises a non-woven material.
実施例105−クラウンに隣接した脚部から延在する保持部材を更に備え、ステープルが患者の組織内に埋め込まれたときに保持部材が埋め込み可能な層に係合するように構成されている、実施例101、102、103、又は104に記載のステープルカートリッジアセンブリ。 Example 105-A holding member extending from a leg adjacent to the crown is further provided so that the holding member engages an implantable layer when the staple is implanted in the patient's tissue. The staple cartridge assembly according to Example 101, 102, 103, or 104.
実施例106−プラットホームが平らである、実施例101、102、103、104、又は105に記載のステープルカートリッジアセンブリ。 Example 106-The staple cartridge assembly according to Example 101, 102, 103, 104, or 105, wherein the platform is flat.
実施例107−各ステープルが、クラウンに隣接して位置付けられた柔軟な付属物を含む、実施例101、102、103、104、105、又は106に記載のステープルカートリッジアセンブリ。 Example 107-The staple cartridge assembly according to Example 101, 102, 103, 104, 105, or 106, wherein each staple comprises a flexible appendage positioned adjacent to the crown.
実施例108−柔軟な付属物が第1の脚部と第2の脚部との間で延在する、実施例107に記載のステープルカートリッジアセンブリ。 Example 108-The staple cartridge assembly according to Example 107, wherein the flexible appendage extends between the first leg and the second leg.
実施例109−柔軟な付属物が第1の脚部及び第2の脚部に取り付けられている、実施例107又は108に記載のステープルカートリッジアセンブリ。 Example 109-The staple cartridge assembly according to Example 107 or 108, wherein flexible accessories are attached to the first and second legs.
実施例110−柔軟な付属物が第1の孔と第2の孔とを含み、第1の脚部が第1の孔を通って延在し、第2の脚部が第2の孔を通って延在する、実施例107、108、又は109に記載のステープルカートリッジアセンブリ。 Example 110-A flexible appendage comprises a first hole and a second hole, the first leg extends through the first hole, and the second leg extends through the second hole. The staple cartridge assembly according to Example 107, 108, or 109, which extends through.
実施例111−柔軟な付属物が、キャビティと、キャビティ内に位置付けられた少なくとも1つの医薬品とを含む、実施例107、108、109、又は110に記載のステープルカートリッジアセンブリ。 Example 111-The staple cartridge assembly according to Example 107, 108, 109, or 110, wherein the flexible appendage comprises a cavity and at least one medicinal product located within the cavity.
実施例112−柔軟な付属物が圧縮可能なエンクロージャを含む、実施例107、108、109、110、又は111に記載のステープルカートリッジアセンブリ。 Example 112-The staple cartridge assembly according to Example 107, 108, 109, 110, or 111, wherein the flexible appendage comprises a compressible enclosure.
実施例113−デッキ及びデッキ内に画定されたステープルキャビティを含むステープルカートリッジ本体と、ステープルキャビティ内に取り外し可能に収容されたステープルであって、各ステープルがクラウン、クラウンから延在する第1の脚部及び第2の脚部、クラウンから横方向に延在するプラットホーム、並びにクラウンに隣接して位置付けられた柔軟な付属物を含む、ステープルと、を備えるステープルカートリッジアセンブリ。 Example 113-A staple cartridge body that includes a deck and staple cavities defined within the deck, and staples that are detachably housed within the staple cavities, with each staple extending from the crown to the crown. A staple cartridge assembly comprising a staple and a second leg, a platform extending laterally from the crown, and a flexible accessory located adjacent to the crown.
実施例114−柔軟な付属物が第1の脚部と第2の脚部との間で延在する、実施例113に記載のステープルカートリッジアセンブリ。 Example 114-The staple cartridge assembly according to Example 113, wherein the flexible appendage extends between the first leg and the second leg.
実施例115−柔軟な付属物が第1の脚部及び第2の脚部に取り付けられている、実施例113又は114に記載のステープルカートリッジアセンブリ。 Example 115-The staple cartridge assembly according to Example 113 or 114, wherein flexible accessories are attached to the first and second legs.
実施例116−柔軟な付属物が第1の孔と第2の孔とを含み、第1の脚部が第1の孔を通って延在し、第2の脚部が第2の孔を通って延在する、実施例113、114、又は115に記載のステープルカートリッジアセンブリ。 Example 116-A flexible appendage comprises a first hole and a second hole, the first leg extends through the first hole, and the second leg extends through the second hole. The staple cartridge assembly according to Example 113, 114, or 115, which extends through.
実施例117−柔軟な付属物が、キャビティと、キャビティ内に位置付けられた少なくとも1つの医薬品とを含む、実施例113、114、115、又は116に記載のステープルカートリッジアセンブリ。 Example 117-The staple cartridge assembly according to Example 113, 114, 115, or 116, wherein the flexible appendage comprises a cavity and at least one medicinal product located within the cavity.
実施例118−柔軟な付属物が圧縮可能なエンクロージャを含む、実施例113、114、115、116、又は117に記載のステープルカートリッジアセンブリ。 Example 118-The staple cartridge assembly according to Example 113, 114, 115, 116, or 117, wherein the flexible appendage comprises a compressible enclosure.
実施例119−デッキ及びデッキ内に画定された複数のステープルキャビティを含むカートリッジ本体と、ステープルキャビティ内に収容された複数のステープルであって、各ステープルが、亜鉛及びマグネシウムを含む合金で構成されている第1の部分と吸収性ポリマーで構成されている第2の部分とを含み、第2の部分が第1の部分の上に配設され、第2の部分が第1の部分の全体未満を覆う、ステープルとを備えるステープルカートリッジアセンブリ。 Example 119-A cartridge body containing a deck and a plurality of staple cavities defined in the deck, and a plurality of staples housed in the staple cavities, each staple being composed of an alloy containing zinc and magnesium. Includes a first portion and a second portion composed of an absorbent polymer, the second portion is disposed over the first portion, and the second portion is less than the entire first portion. Staple cartridge assembly with staples to cover.
実施例120−第1の部分が基部と基部から延在するステープル脚部とを含み、第2の部分がステープル脚部の周囲に螺旋パターンで延在する、実施例119に記載のステープルカートリッジアセンブリ。 Example 119. The staple cartridge assembly according to Example 119, wherein the first portion comprises a base and a staple leg extending from the base, and a second portion extends in a spiral pattern around the staple leg. ..
実施例121−第2の部分が第1の部分上にドットマトリクスパターンでコーティングされている、実施例119又は120に記載のステープルカートリッジアセンブリ。 The staple cartridge assembly according to Example 119 or 120, wherein the second portion is coated with a dot matrix pattern on the first portion.
実施例122−第1の部分が基部と基部から延在するステープル脚部とを含み、基部とステープル脚部との間に角部が画定され、第2の部分が角部を覆う、実施例119、120、又は121に記載のステープルカートリッジアセンブリ。 Example 122-An embodiment in which a first portion comprises a base and a staple leg extending from the base, a corner is defined between the base and the staple leg, and a second portion covers the corner. 119, 120, or 121. The staple cartridge assembly.
実施例123−吸収性ポリマーが非架橋ポリマーを含む、実施例119、120、121、又は122に記載のステープルカートリッジアセンブリ。 Example 123-The staple cartridge assembly according to Example 119, 120, 121, or 122, wherein the absorbent polymer comprises a non-crosslinked polymer.
実施例124−第2の部分が第1の部分上に網目パターンでコーティングされている、実施例119、120、121、122、又は123に記載のステープルカートリッジアセンブリ。 Example 124-The staple cartridge assembly according to Example 119, 120, 121, 122, or 123, wherein the second portion is coated on the first portion with a mesh pattern.
実施例125−第1の部分が基部と基部から延在するステープル脚部とを含み、ステープル脚部が組織貫通先端を含み、ステープルが先端に配設された窒化マグネシウムを更に含む、実施例119、120、121、122、123、又は124に記載のステープルカートリッジアセンブリ。 Example 125-The first portion comprises a base and a staple leg extending from the base, the staple leg comprises a tissue penetrating tip, and the staple further comprises magnesium nitride disposed at the tip, Example 119. 120, 121, 122, 123, or 124.
実施例126−ステープルが、第2の部分によってコーティングされていない第1の部分の少なくとも一部にイオン化した銀のコーティングを更に含む、実施例119、120、121、122、123、124、又は125に記載のステープルカートリッジアセンブリ。 Example 126-Staples further include an ionized silver coating on at least a portion of the first portion that is not coated by the second portion, Examples 119, 120, 121, 122, 123, 124, or 125. Staple cartridge assembly as described in.
実施例127−第1の部分に少なくとも1つの孔を更に含む、実施例119、120、121、122、123、124、125、又は126に記載のステープルカートリッジアセンブリ。 Example 127-The staple cartridge assembly according to Example 119, 120, 121, 122, 123, 124, 125, or 126, further comprising at least one hole in the first portion.
実施例128−デッキ及びデッキ内に画定された複数のステープルキャビティを含むカートリッジ本体と、ステープルキャビティ内に収容された複数のステープルであって、各ステープルが、マグネシウム合金及び金属フレーム上にコーティングされた吸収性ポリマーで構成されている金属フレームを含み、吸収性ポリマーが金属フレームの全ての部分を覆わない、ステープルとを備えるステープルカートリッジアセンブリ。 Example 128-A cartridge body comprising a deck and a plurality of staple cavities defined within the deck, and a plurality of staples housed within the staple cavities, each staple coated on a magnesium alloy and metal frame. Staple cartridge assembly with staples, including a metal frame composed of absorbent polymer, with the absorbent polymer not covering all parts of the metal frame.
実施例129−デッキ及びデッキ内に画定された複数のステープルキャビティを含むカートリッジ本体と、ステープルキャビティ内に収容された複数のステープルであって、各ステープルがマグネシウム合金で構成されている金属フレームを含み、金属フレームが基部及び基部から延在する脚部を含み、脚部が組織貫通先端及び先端上に窒化マグネシウムコーティングを含む、ステープルとを備えるステープルカートリッジアセンブリ。 Example 129-A cartridge body comprising a deck and a plurality of staple cavities defined in the deck, and a plurality of staples housed in the staple cavities, each of which comprises a metal frame made of a magnesium alloy. Staple cartridge assembly with staples, the metal frame comprising a base and a leg extending from the base, the leg comprising a magnesium nitride coating on a tissue penetrating tip and tip.
実施例130−各ステープルが、金属フレーム上にコーティングされた吸収性ポリマーを更に含み、吸収性ポリマーが金属フレームの全ての部分を覆わない、実施例129に記載のステープルカートリッジアセンブリ。 Example 130-The staple cartridge assembly according to Example 129, wherein each staple further comprises an absorbent polymer coated on a metal frame, wherein the absorbent polymer does not cover all parts of the metal frame.
実施例131−各ステープルが、金属フレームの少なくとも一部に銀を含むコーティングを更に含む、実施例129又は130に記載のステープルカートリッジアセンブリ。 Example 131-The staple cartridge assembly according to Example 129 or 130, wherein each staple further comprises a coating containing silver in at least a portion of the metal frame.
実施例132−デッキ及びデッキ内に画定された複数のステープルキャビティを含むカートリッジ本体と、ステープルキャビティ内に収容された複数のステープルであって、各ステープルがマグネシウム合金で構成されている金属フレームを含み、金属フレームが基部及び基部から延在する脚部を含み、脚部が組織貫通先端及び金属フレームの少なくとも一部に銀を含むコーティングを含む、ステープルとを備えるステープルカートリッジアセンブリ。 Example 132-A cartridge body comprising a deck and a plurality of staple cavities defined within the deck, and a plurality of staples housed within the staple cavities, each of which comprises a metal frame made of a magnesium alloy. Staple cartridge assembly comprising staples, the metal frame comprising a base and a leg extending from the base, the leg comprising a coating containing silver on a tissue penetrating tip and at least a portion of the metal frame.
実施例133−各ステープルが、金属フレーム上にコーティングされた吸収性ポリマーを更に含み、吸収性ポリマーが金属フレームの全ての部分を覆わない、実施例132に記載のステープルカートリッジアセンブリ。 Example 133-The staple cartridge assembly according to Example 132, wherein each staple further comprises an absorbent polymer coated on a metal frame, wherein the absorbent polymer does not cover all parts of the metal frame.
実施例134−先端における窒化マグネシウムコーティングを更に含む、実施例132又は133に記載のステープルカートリッジアセンブリ。 Example 134-The staple cartridge assembly according to Example 132 or 133, further comprising a magnesium nitride coating at the tip.
実施例135−デッキ及びデッキ内に画定された複数のステープルキャビティを含むカートリッジ本体と、ステープルキャビティ内に収容された複数のステープルであって、各ステープルがマグネシウム合金で構成されている金属フレームを含み、金属フレームが基部と基部から延在する脚部とを含み、脚部が組織貫通先端及び金属フレーム内に画定された孔を含む、ステープルとを備えるステープルカートリッジアセンブリ。 Example 135-A cartridge body comprising a deck and a plurality of staple cavities defined within the deck, and a plurality of staples housed within the staple cavities, each of which comprises a metal frame made of a magnesium alloy. A staple cartridge assembly comprising staples, the metal frame comprising a base and a leg extending from the base, the leg comprising a tissue penetrating tip and a hole defined within the metal frame.
実施例136−各ステープルが、金属フレーム上にコーティングされた吸収性ポリマーを更に含み、吸収性ポリマーが金属フレームの全ての部分を覆わない、実施例135に記載のステープルカートリッジアセンブリ。 Example 136-The staple cartridge assembly according to Example 135, wherein each staple further comprises an absorbent polymer coated on a metal frame, wherein the absorbent polymer does not cover all parts of the metal frame.
実施例137−各ステープルが、金属フレーム上にコーティングされた吸収性ポリマーを更に含み、吸収性ポリマーが孔内に位置付けられていない、実施例135に記載のステープルカートリッジアセンブリ。 Example 137-The staple cartridge assembly according to Example 135, wherein each staple further comprises an absorbent polymer coated on a metal frame and the absorbent polymer is not positioned in the pores.
実施例138−各ステープルが、金属フレーム上にコーティングされた吸収性ポリマーを更に含み、吸収性ポリマーが孔内に位置付けられている、実施例135に記載のステープルカートリッジアセンブリ。 Example 138-The staple cartridge assembly according to Example 135, wherein each staple further comprises an absorbent polymer coated on a metal frame, the absorbent polymer being located in the pores.
実施例139−各ステープルが、金属フレーム上にコーティングされた吸収性ポリマーを更に含み、孔内に吸収性ポリマーが充填されている、実施例135に記載のステープルカートリッジアセンブリ。 Example 139-The staple cartridge assembly according to Example 135, wherein each staple further comprises an absorbent polymer coated on a metal frame and the pores are filled with the absorbent polymer.
実施例140−組織をステープル留めするためのステープルカートリッジアセンブリであって、近位端部、遠位端部、及び複数のステープルキャビティを含むカートリッジ本体と、ステープルキャビティ内に位置付けられた複数のステープルであって、各ステープルが、基部、基部から延在する脚部であって、脚部が組織を貫通するように構成されている先端を含む脚部、基部から延在する足部、及びステープルをステープルキャビティから排出するように構成されている発射部材であって、ステープルのステープルキャビティ内で間違った方向に配向された任意のステープルをそのステープルキャビティから排出する前に、発射部材が、その間違った方向に配向された任意のステープルの足部と接触するように構成されている発射部材を含む、ステープルとを備えるステープルカートリッジアセンブリ。 Example 140-A staple cartridge assembly for stapling tissue, with a cartridge body containing proximal ends, distal ends, and multiple staple cavities, and multiple staples located within the staple cavities. Each staple is a base, a foot extending from the base, a foot including a tip in which the leg is configured to penetrate tissue, a foot extending from the base, and a staple. A launching member that is configured to eject from a staple cavity, and the launching member is mistaken before ejecting any staple that is misoriented within the staple cavity of the staple from the staple cavity. A staple cartridge assembly with a staple that includes a launcher that is configured to contact the foot of any staple oriented in the direction.
実施例141−発射部材が、ステープルの基部と接触してステープルをステープルキャビティ外に排出するように構成されている発射傾斜面と、ステープルが間違った方向に配向されている場合にステープルの足部と接触するように構成されている位置合わせ傾斜面とを含む、実施例140に記載のステープルカートリッジアセンブリ。 Example 141-A launch slope configured such that the launch member contacts the base of the staple and ejects the staple out of the staple cavity, and the foot of the staple if the staple is misoriented. The staple cartridge assembly according to Example 140, which includes an aligned inclined surface that is configured to come into contact with.
実施例142−発射部材が、発射傾斜面と位置合わせされた発射チャネルであって、発射チャネルがステープルの基部を受容するように構成されている、発射チャネルと、位置合わせ傾斜面と位置合わせされた位置合わせチャネルであって、位置合わせチャネルが適切に配向されるとステープルの足部を受容するように構成されている、位置合わせチャネルと、を更に含む、実施例140又は141に記載のステープルカートリッジアセンブリ。 Example 142-The launch member is aligned with the launch slope and is configured to receive the base of the staple. The launch channel is aligned with the alignment tilt surface. The staple according to Example 140 or 141, further comprising an alignment channel that is a alignment channel that is configured to receive the foot of the staple when the alignment channel is properly oriented. Cartridge assembly.
実施例143−発射傾斜面がステープルの基部と接触する前に位置合わせ傾斜面がステープルの足部と接触することができるように、位置合わせ傾斜面が発射傾斜面に対して遠位方向に延在する、実施例141又は142に記載のステープルカートリッジアセンブリ。 Example 143-The alignment slope extends distally to the launch slope so that the alignment slope can contact the foot of the staple before the launch slope contacts the base of the staple. The staple cartridge assembly according to Example 141 or 142, which is present.
実施例144−ステープルの足部がステープルの基部に対して近位に位置付けられている、実施例140、141、142、又は143に記載のステープルカートリッジアセンブリ。 Example 144-The staple cartridge assembly according to Example 140, 141, 142, or 143, wherein the foot of the staple is located proximal to the base of the staple.
実施例145−ステープルがステープルキャビティ内に適切に配向されている場合、発射部材がステープルの足部と接触するように構成されていない、実施例140、141、142、143、又は144に記載のステープルカートリッジアセンブリ。 Example 140, 141, 142, 143, or 144, wherein the firing member is not configured to contact the foot of the staple when the staple is properly oriented within the staple cavity. Staple cartridge assembly.
実施例146−組織をステープル留めするためのステープルカートリッジアセンブリであって、近位端部と、遠位端部と、複数のステープルキャビティとを含むカートリッジ本体を備え、各ステープルキャビティが、上部開口部、近位壁、及び遠位壁を含む、ステープルカートリッジアセンブリ。ステープルカートリッジアセンブリは、発射部材と、ステープルキャビティ内に位置付けられた複数のステープルとを更に備え、各ステープルは、基部と、基部から延在する近位脚部と、基部から延在する遠位脚部と、基部内に画定された質量中心とを含み、遠位壁は、遠位反力を質量中心の上のステープルに提供し、近位壁は、質量中心の下のステープルに近位反力を提供し、ステープルは、発射部材によって上部開口部に向かって持ち上げられる。ステープルカートリッジアセンブリは、ステープルをステープルキャビティから排出するように構成されている発射部材を更に備え、そのステープルキャビティ内で間違った方向に配向された任意のステープルをそのステープルキャビティから排出する前に、発射部材がその間違った方向に配向された任意のステープルの足部と接触するように構成されている。 Example 146-A staple cartridge assembly for stapling tissue, comprising a cartridge body comprising a proximal end, a distal end, and a plurality of staple cavities, each staple cavity having an upper opening. Staple cartridge assembly, including proximal wall, and distal wall. The staple cartridge assembly further comprises a firing member and a plurality of staples located within the staple cavity, each staple having a base, a proximal leg extending from the base, and a distal leg extending from the base. Containing a portion and a center of mass defined within the base, the distal wall provides the distal reaction force to the staple above the center of mass, and the proximal wall is proximal to the staple below the center of mass. Providing force, the staples are lifted towards the upper opening by the launcher. The staple cartridge assembly further comprises a firing member that is configured to eject the staples from the staple cavity and launches any staple that is misorientated within the staple cavity before ejecting it from the staple cavity. The member is configured to contact the foot of any staple oriented in the wrong direction.
実施例147−基部が駆動平面を画定し、近位脚部及び遠位脚部が駆動平面内に存在しない、実施例146に記載のステープルカートリッジアセンブリ。 Example 147-The staple cartridge assembly according to Example 146, wherein the base defines the drive plane and the proximal and distal legs are not present in the drive plane.
実施例148−近位脚部及び遠位脚部が、ステープルの質量中心から横方向にオフセットされる、実施例146又は147に記載のステープルカートリッジアセンブリ。 Example 148-The staple cartridge assembly according to Example 146 or 147, wherein the proximal and distal legs are laterally offset from the center of mass of the staples.
実施例149−遠位壁が遠位脚部に遠位反力を加え、近位壁が近位脚部に近位反力を加える、実施例146、147、又は148に記載のステープルカートリッジアセンブリ。 Example 149-Staple cartridge assembly according to Example 146, 147, or 148, wherein the distal wall exerts a distal reaction force on the distal leg and the proximal wall exerts a proximal reaction force on the proximal leg. ..
実施例150−近位脚部が駆動平面の第1の側部に延在し、遠位脚部が駆動平面の第2の側部に延在する、実施例147に記載のステープルカートリッジアセンブリ。 Example 150-The staple cartridge assembly according to Example 147, wherein the proximal leg extends to the first side of the drive plane and the distal leg extends to the second side of the drive plane.
実施例151−基部が、基部内に画定され、かつステープルの質量中心をステープルキャビティの側部に向かって移すように構成されているノッチを含む、実施例146、147、148、149、又は150に記載のステープルカートリッジアセンブリ。 Example 151-The base comprises a notch defined within the base and configured to shift the center of mass of the staple towards the sides of the staple cavity, Example 146, 147, 148, 149, or 150. Staple cartridge assembly as described in.
実施例152−近位端部と、遠位端部と、複数のステープルキャビティとを含むカートリッジ本体を備えるステープルカートリッジアセンブリ。ステープルカートリッジアセンブリは、ステープルキャビティ内に位置付けられた複数のステープルであって、各ステープルが駆動平面を画定する基部及び基部から延在する脚部を含み、脚部が駆動平面の側部に延在する、複数のステープルと、ステープルをステープルキャビティから排出するように構成されている発射部材と、発射部材がステープルをステープルキャビティ外に駆動するときにステープルキャビティ内でのステープルの回転を低減するための手段と、を更に備える。 Example 152-A staple cartridge assembly comprising a cartridge body comprising a proximal end, a distal end, and a plurality of staple cavities. A staple cartridge assembly is a plurality of staples located within a staple cavity, each staple comprising a base defining a drive plane and a leg extending from the base, the foot extending to a side of the drive plane. Multiple staples, a launching member configured to eject the staples out of the staple cavity, and to reduce the rotation of the staples in the staple cavity as the launching member drives the staples out of the staple cavity. Further provided with means.
実施例153−外科用ステープル留め器具と一緒に使用するための外科用ステープルカートリッジであって、外科用ステープルカートリッジが、カートリッジ本体と、複数のステープルキャビティと、複数のステープルキャビティ内に取り外し可能に収容されたステープルとを備え、各ステープルが、第1の平面を画定するステープル基部と、ステープル基部内に位置する質量中心と、ステープル基部から延在する第1のステープル脚部と、ステープル基部から延在する第2のステープル脚部とを含み、第1のステープル脚部及び第2のステープル脚部が、第1の平面に対してオフセットされ少なくとも実質的に平行である第2の平面を画定する、外科用ステープルカートリッジ。 Example 153-A surgical staple cartridge for use with a surgical staple fastening device, wherein the surgical staple cartridge is detachably housed in a cartridge body, a plurality of staple cavities, and a plurality of staple cavities. Each staple has a staple base defining a first plane, a mass center located within the staple base, a first staple leg extending from the staple base, and extending from the staple base. Including the existing second staple leg, the first staple leg and the second staple leg define a second plane that is offset with respect to the first plane and is at least substantially parallel. , Surgical staple cartridge.
実施例154−第1のステープル脚部及び第2のステープル脚部が、ステープル基部に向かって成形されるように構成されている、実施例153に記載の外科用ステープルカートリッジ。 Example 154-The surgical staple cartridge according to Example 153, wherein the first staple leg and the second staple leg are configured to be molded towards the staple base.
実施例155−ステープル基部が、組織圧縮を制限するように構成されている輪郭を含む圧縮表面を含む、実施例153又は154に記載の外科用ステープルカートリッジ。 Example 155. The surgical staple cartridge according to Example 153 or 154, wherein the staple base comprises a compressed surface comprising a contour configured to limit tissue compression.
実施例156−ステープル基部が底面を含み、第1のステープル脚部が底面の上に持ち上げられた係合足部を更に含む、実施例153、154、又は155に記載の外科用ステープルカートリッジ。 Example 156-The surgical staple cartridge according to Example 153, 154, or 155, wherein the staple base comprises a bottom surface and the first staple leg further comprises an engaging foot raised above the bottom surface.
実施例157−ステープル基部が内壁と上面とを含み、内壁及び上面が、ステープル基部をステープル脚部に向かって傾かせるように構成されている切欠部を含む、実施例153、154、155、又は156に記載の外科用ステープルカートリッジ。 Example 157-Example 153, 154, 155, or example, wherein the staple base comprises an inner wall and an upper surface, and the inner wall and the upper surface include a notch configured to tilt the staple base toward the staple leg. 156. The surgical staple cartridge.
実施例158−第1のステープル脚部が第2のステープル脚部より高く延在する、実施例153、154、155、156、又は157に記載の外科用ステープルカートリッジ。 Example 158-The surgical staple cartridge according to Example 153, 154, 155, 156, or 157, wherein the first staple leg extends higher than the second staple leg.
実施例159−ステープル基部が長方形の断面プロファイルを含む、実施例153、154、155、156、157、又は158に記載の外科用ステープルカートリッジ。 Example 159-The surgical staple cartridge according to Example 153, 154, 155, 156, 157, or 158, wherein the staple base comprises a rectangular cross-sectional profile.
実施例160−第1のステープル脚部及び第2のステープル脚部が、実質的に円形の断面プロファイルを含む、実施例153、154、155、156、157、158、又は159に記載の外科用ステープルカートリッジ。 Example 160-Surgical use according to Example 153, 154, 155, 156, 157, 158, or 159, wherein the first staple leg and the second staple leg include a substantially circular cross-sectional profile. Staple cartridge.
実施例161−第1のステープル脚部及び第2のステープル脚部が、圧印された角部を含む、実施例153、154、155、156、157、158、159、又は160に記載の外科用ステープルカートリッジ。 Example 161-Surgical use according to Example 153, 154, 155, 156, 157, 158, 159, or 160, wherein the first staple leg and the second staple leg include imprinted corners. Staple cartridge.
実施例162−第1のステープル脚部が第2のステープル脚部に対して近位にあり、ステープル基部が遠位壁を含み、遠位壁が第2の脚部に対して近位にある、実施例153、154、155、156、157、158、159、160、又は161に記載の外科用ステープルカートリッジ。 Example 162-The first staple leg is proximal to the second staple leg, the staple base includes the distal wall, and the distal wall is proximal to the second leg. , 153, 154, 155, 156, 157, 158, 159, 160, or 161 of the surgical staple cartridge.
実施例163−第1のステープル脚部が第1の高さを含み、第2のステープル脚部が第1の高さとは異なる第2の高さを含む、実施例153、154、155、156、157、158、159、160、161、又は162に記載の外科用ステープルカートリッジ。 Examples 163-First staple legs include a first height and second staple legs include a second height different from the first height, Examples 153, 154, 155, 156. The surgical staple cartridge according to 157, 158, 159, 160, 161 or 162.
実施例164−第1のステープル脚部及び第2のステープル脚部がそれぞれ、アンビルの対応する成形ポケットに対して成形するように構成されているステープル先端を含み、対応する成形ポケットが谷と成形表面とを含み、谷が、ステープル先端を成形表面に向かって送るように構成されている、実施例153、154、155、156、157、158、159、160、161、162、又は163に記載の外科用ステープルカートリッジ。 Example 164-The first staple leg and the second staple leg each include a staple tip that is configured to be molded against the corresponding molding pocket of the anvil, with the corresponding molding pocket forming a valley. 153, 154, 155, 156, 157, 158, 159, 160, 161, 162, or 163, wherein the valley is configured to feed the staple tip towards the molded surface, including the surface. Surgical staple cartridge.
実施例165−第1のステープル脚部及び第2のステープル脚部が、対応する成形ポケットに対して成形するように構成され、対応する成形ポケットが、第1のステープル脚部を第1の方向に成形し、第2のステープル脚部を第2の方向に成形するように構成され、第1の方向が第2の方向に対して反対かつ少なくとも部分的に平行である、実施例153、154、155、156、157、158、159、160、161、162、163、又は164に記載の外科用ステープルカートリッジ。 Example 165-A first staple leg and a second staple leg are configured to form into a corresponding molding pocket, the corresponding molding pocket directing the first staple leg in a first direction. 153, 154, wherein the first staple is formed in the second direction and the first direction is opposite to the second direction and at least partially parallel to the second direction. , 155, 156, 157, 158, 159, 160, 161., 162, 163, or 164. Surgical staple cartridge.
実施例166−第1の方向が、ステープル基部から離れた方向に向き、第2の方向がステープル基部に向かう方向に向く、実施例165に記載の外科用ステープルカートリッジ。 Example 166-The surgical staple cartridge according to Example 165, wherein the first direction points away from the staple base and the second direction points toward the staple base.
実施例167−第1のステープル脚部及び第2のステープル脚部が、対応する成形ポケットに対して成形するように構成され、対応する成形ポケットが、第1のステープル脚部を第1の湾曲方向に成形し、第2のステープル脚部を第2の湾曲方向に成形するように構成されている、実施例153、154、155、156、157、158、159、160、161、162、163、164、165、又は166に記載の外科用ステープルカートリッジ。 Example 167-A first staple leg and a second staple leg are configured to form into a corresponding molded pocket, the corresponding molded pocket having a first curvature of the first staple leg. Examples 153, 154, 155, 156, 157, 158, 159, 160, 161, 162, 163, which are configured to form in the direction and form the second staple leg in the second curved direction. The surgical staple cartridge according to 164, 165, or 166.
実施例168−第1の平面を画定するステープル基部と、ステープル基部から少なくとも実質的に垂直に延在する第1のステープル脚部と、ステープル基部から少なくとも実質的に垂直に延在する第2のステープル脚部とを備え、第1のステープル脚部及び第2のステープル脚部が第2の平面を画定し、第1の平面及び第2の平面が交差している、外科用ステープル。 Example 168-A staple base defining a first plane, a first staple leg extending at least substantially perpendicular to the staple base, and a second staple extending at least substantially vertically from the staple base. A surgical staple that comprises a staple leg, the first staple leg and the second staple leg defining a second plane, and the first and second planes intersecting.
実施例169−外科用ステープルカートリッジであって、実施例152、153、154、155、156、157、158、159、160、161、162、163、164、165、166、167、又は168に記載の複数の外科用ステープルを備え、外科用ステープルが複数の織り込まれた列に配置されている、外科用ステープルカートリッジ。 Example 169-Surgical staple cartridge, according to Examples 152, 153, 154, 155, 156, 157, 158, 159, 160, 161, 162, 163, 164, 165, 166, 167, or 168. Surgical staple cartridges with multiple surgical staples, with surgical staples arranged in multiple woven rows.
実施例170−ステープルがS字形構成を形作るように構成されている、実施例168又は169に記載の外科用ステープル。 Example 170-The surgical staple according to Example 168 or 169, wherein the staples are configured to form an S-shaped configuration.
実施例171−底部平面を画定する底面を含むステープル基部と、ステープル基部内に位置する質量中心と、ステープル基部から延在し、ステープル基部に対してオフセットされ少なくとも実質的に平行であるステープル脚部平面を画定する第1のステープル脚部及び第2のステープル脚部であって、第1のステープル脚部が底部平面の上に持ち上げられた係合足部を含む、第1のステープル脚部及び第2のステープル脚部とを備える外科用ステープル。 Example 171-A staple base including a bottom surface defining a bottom plane, a mass center located within the staple base, and a staple leg that extends from the staple base and is offset and at least substantially parallel to the staple base. A first staple leg and a second staple leg defining a plane, including an engaging foot in which the first staple leg is lifted onto a bottom plane. A surgical staple with a second staple leg.
実施例172−係合足部がステープル基部に対して横方向にオフセットされる、実施例171に記載の外科用ステープル。 Example 172. The surgical staple according to Example 171 in which the engaging foot is offset laterally with respect to the staple base.
実施例173−組織をステープル留めするためのアンビルを含む外科用ステープラと一緒に使用するための外科用ステープルカートリッジであって、アンビルが複数の成形ポケットを含み、外科用ステープルカートリッジが、カートリッジ本体と、複数のステープルキャビティと、ステープルキャビティ内に取り外し可能に収容された複数のステープルとを備え、各ステープルが、基部及び基部から延在するステープル脚部を含み、ステープル脚部が穿刺部分を含むステープル先端を含み、穿刺部分が、組織を穿刺しアンビルの成形ポケットに対して変形するように構成され、穿刺部分が、穿刺先端が組織から分離されるように入れ子構成に変形するように構成されている、外科用ステープルカートリッジ。 Example 173-A surgical staple cartridge for use with a surgical stapler including an anvil for stapling tissue, wherein the anvil contains multiple molding pockets and the surgical staple cartridge is with the cartridge body. , A staple having a plurality of staple cavities and a plurality of staples detachably housed in the staple cavity, each staple including a base and a staple leg extending from the base, and a staple leg including a puncture portion. The puncture portion, including the tip, is configured to pierce the tissue and deform relative to the anvil molded pocket, and the puncture portion is configured to deform into a staple configuration so that the puncture tip is separated from the tissue. There are surgical staple cartridges.
実施例174−入れ子構成が、外科用ステープルが組織内に引き込まれることを防止するように構成されているフック構成を含む、実施例173に記載の外科用ステープルカートリッジ。 Example 174. The surgical staple cartridge according to Example 173, wherein the nested configuration comprises a hook configuration that is configured to prevent the surgical staples from being drawn into the tissue.
実施例175−ステープル先端が、穿刺部分が変形したときに穿刺部分を受容するように構成されている切欠部を更に含む、実施例173又は174に記載の外科用ステープルカートリッジ。 Example 175-The surgical staple cartridge according to Example 173 or 174, wherein the staple tip further comprises a notch configured to receive the puncture site when the puncture site is deformed.
実施例176−切欠部が凹形である、実施例175に記載の外科用ステープルカートリッジ。 Example 176-The surgical staple cartridge according to Example 175, wherein the notch is concave.
実施例177−各ステープルが、基部から延在する別のステープル脚部を含み、別のステープル脚部が、別の切欠部を含む別のステープル先端を含み、切欠部及び別の切欠部が互いに向かい合う、実施例175又は176に記載の外科用ステープルカートリッジ。 Example 177-Each staple comprises another staple leg extending from the base, another staple leg comprises another staple tip including another notch, and the notch and another notch include each other. The surgical staple cartridge according to Example 175 or 176, facing each other.
実施例178−ステープル先端が、アンビルの対応する成形ポケットに対して乗るように構成されているカール面を更に含む、実施例173、174、175、176、又は177に記載の外科用ステープルカートリッジ。 Example 178-The surgical staple cartridge according to Example 173, 174, 175, 176, or 177, further comprising a curled surface in which the staple tip is configured to ride against the corresponding molded pocket of the anvil.
実施例179−各ステープルが別のステープル脚部を含み、ステープル脚部及び別のステープル脚部が第1の平面を画定し、ステープル基部が第2の平面を画定し、第1の平面及び第2の平面が互いから横方向にオフセットされる、実施例173、174、175、176、177、又は178に記載の外科用ステープルカートリッジ。 Example 179-Each staple comprises another staple leg, the staple leg and another staple leg define a first plane, the staple base defines a second plane, the first plane and the first. The surgical staple cartridge according to Example 173, 174, 175, 176, 177, or 178, wherein the planes of the two are laterally offset from each other.
実施例180−アンビルを含む外科用ステープラと一緒に使用するための外科用ステープルであって、アンビルが成形ポケットを含み、外科用ステープルが、ステープル基部とステープル基部から延在するステープル脚部とを含み、ステープル脚部がステープル先端を含み、ステープル先端が、成形ポケットと接触してステープル脚部を変形するように構成されている穿刺先端と、切欠部とを含み、穿刺先端が、ステープル先端が非穿刺構成を取るように、成形ポケットと接触すると切欠部に向かってカールするように構成されている、外科用ステープル。 Example 180-Surgical staples for use with surgical staples, including anvils, where the anvils include molded pockets and the surgical staples have staple bases and staple legs extending from the staple bases. Including, the staple leg includes the staple tip, the staple tip includes a puncture tip configured to come into contact with the molding pocket to deform the staple leg, and a notch, the puncture tip is the staple tip. Surgical staples that are configured to curl towards the notch when in contact with the molded pocket, as if in a non-puncture configuration.
実施例181−非穿刺構成が、外科用ステープルが組織内に引き込まれることを防止するように構成されているフック構成を含む、実施例180に記載の外科用ステープル。 Example 180. The surgical staple according to Example 180, wherein the non-puncture configuration comprises a hook configuration that is configured to prevent the surgical staple from being drawn into the tissue.
実施例182−切欠部が、ステープル先端が変形したときに穿刺先端を受容するように構成されている、実施例180又は181に記載の外科用ステープル。 Example 182. The surgical staple according to Example 180 or 181, wherein the notch is configured to receive the puncture tip when the staple tip is deformed.
実施例183−切欠部が凹形である、実施例180、181、又は182に記載の外科用ステープル。 Example 183-The surgical staple according to Example 180, 181 or 182, wherein the notch is concave.
実施例184−ステープル先端が、アンビルの成形ポケットに対して成形するように構成されている変形可能な表面を更に含む、実施例180、181、182、又は183に記載の外科用ステープル。 Example 184. The surgical staple according to Example 180, 181, 182, or 183, wherein the staple tip further comprises a deformable surface that is configured to form into the molding pocket of the anvil.
実施例185−アンビルを含む外科用ステープラと一緒に使用するための外科用ステープルカートリッジであって、外科用ステープルカートリッジが、カートリッジ本体と、複数のステープルキャビティと、ステープルキャビティ内に取り外し可能に収容された複数の平らな形状のステープルとを備え、各ステープルが、ステープル基部と基部から延在するステープル脚部とを含み、ステープル脚部が、円形プロファイルを含むステープル先端と、穿刺部分とを含む、外科用ステープルカートリッジ。 Example 185-A surgical staple cartridge for use with a surgical stapler, including anvil, wherein the surgical staple cartridge is detachably housed in a cartridge body, multiple staple cavities, and staple cavities. Each staple contains a staple base and a staple leg extending from the base, the staple leg including a staple tip containing a circular profile and a puncture portion. Surgical staple cartridge.
実施例186−円形プロファイルが冷間加工プロセスによって達成されている、実施例185に記載の外科用ステープルカートリッジ。 Example 186-The surgical staple cartridge according to Example 185, wherein the circular profile has been achieved by a cold working process.
実施例187−ステープル先端が圧印された部分を含む、実施例185又は186に記載の外科用ステープルカートリッジ。 Example 187-The surgical staple cartridge according to Example 185 or 186, comprising a portion where the staple tip is imprinted.
実施例188−ステープル先端が、アンビルの成形ポケットに対して成形するように構成されている変形可能な表面を更に含む、実施例185、186、又は187に記載の外科用ステープルカートリッジ。 Example 188-The surgical staple cartridge according to Example 185, 186, or 187, wherein the staple tip further comprises a deformable surface that is configured to form into the molding pocket of the anvil.
実施例189−ステープル先端が第1の硬度を含み、ステープル脚部が第1の硬度とは異なる第2の硬度を含む、実施例185、186、187、又は188に記載の外科用ステープルカートリッジ。 Example 189-The surgical staple cartridge according to Example 185, 186, 187, or 188, wherein the staple tip comprises a first hardness and the staple leg comprises a second hardness that is different from the first hardness.
実施例190−第1の硬度が第2の硬度より高い、実施例189に記載の外科用ステープルカートリッジ。 Example 190-The surgical staple cartridge according to Example 189, wherein the first hardness is higher than the second hardness.
実施例191−外科用ステープル留め器具と一緒に使用するための外科用ステープルカートリッジであって、外科用ステープルカートリッジが、カートリッジ本体と、複数のステープルキャビティと、ステープルキャビティ内に取り外し可能に収容された複数のステープルとを備え、各ステープルが、ステープル基部と、ステープル基部から延在する一対のステープル脚部とを含み、各ステープル脚部がステープル先端を含み、ステープル脚部が、第1の硬度を含む第1のゾーンを含み、ステープル先端が、第1の硬度とは異なる第2の硬度を含む第2のゾーンを含む、外科用ステープルカートリッジ。 Example 191-A surgical staple cartridge for use with a surgical staple fastening device, wherein the surgical staple cartridge is detachably housed in a cartridge body, a plurality of staple cavities, and a staple cavity. With a plurality of staples, each staple contains a staple base and a pair of staple legs extending from the staple base, each staple leg contains a staple tip, and the staple legs have a first hardness. A surgical staple cartridge comprising a first zone comprising, and a staple tip comprising a second zone comprising a second hardness different from the first hardness.
実施例192−第2の硬度が第1の硬度より高い、実施例191に記載の外科用ステープルカートリッジ。 Example 192-The surgical staple cartridge according to Example 191 in which the second hardness is higher than the first hardness.
実施例193−第2の硬度が第1の硬度より低い、実施例191に記載の外科用ステープルカートリッジ。 Example 193-The surgical staple cartridge according to Example 191 in which the second hardness is lower than the first hardness.
実施例194−ステープル基部が、第1の硬度及び第2の硬度とは異なる第3の硬度を含む第3のゾーンを含む、実施例191、192、又は193に記載の外科用ステープルカートリッジ。 Example 194. The surgical staple cartridge according to Example 191, 192, or 193, wherein the staple base comprises a first hardness and a third zone containing a third hardness different from the second hardness.
実施例195−ステープル脚部が、第1の硬度に圧印された角部分を含む、実施例191、192、193、又は194に記載の外科用ステープルカートリッジ。 Example 195-The surgical staple cartridge according to Example 191, 192, 193, or 194, wherein the staple legs include corners imprinted with a first hardness.
実施例196−角部分が、優先屈曲平面を提供する、実施例195に記載の外科用ステープルカートリッジ。 Example 196-The surgical staple cartridge of Example 195, wherein the corners provide a preferred flexion plane.
実施例197−第1のゾーンが第1の延性を含み、第2のゾーンが、第1の延性より低い第2の延性を含む、実施例191、192、193、194、195、又は196に記載の外科用ステープルカートリッジ。 Example 197-In Examples 191, 192, 193, 194, 195, or 196, where the first zone contains a first ductility and the second zone contains a second ductility lower than the first ductility. Described surgical staple cartridge.
実施例198−外科用ステープル留め器具と一緒に使用するための外科用ステープルカートリッジであって、外科用ステープルカートリッジが、カートリッジ本体と、複数のステープルキャビティと、
ステープルキャビティ内に取り外し可能に収容された複数のステープルとを備え、各ステープルが、ステープル基部と、ステープル基部から延在する一対のステープル脚部と、第1の硬度を含む第1のゾーンと、第1の硬度とは異なる第2の硬度を含む第2のゾーンとを含む、外科用ステープルカートリッジ。Example 198-A surgical staple cartridge for use with a surgical staple fastener, wherein the surgical staple cartridge comprises a cartridge body, a plurality of staple cavities, and the like.
A plurality of staples detachably housed in a staple cavity, each staple having a staple base, a pair of staple legs extending from the staple base, a first zone containing a first hardness, and a first zone. A surgical staple cartridge comprising a second zone containing a second hardness that is different from the first hardness.
実施例199−第1のゾーンが第1の方法を使用して硬化され、第2のゾーンが、第1の方法とは異なる第2の方法を使用して硬化される、実施例198に記載の外科用ステープルカートリッジ。 Example 199-described in Example 198, wherein the first zone is cured using the first method and the second zone is cured using a second method different from the first method. Surgical staple cartridge.
実施例200−第1のゾーン及び第2のゾーンのうちの1つのみが硬化方法によって硬化される、実施例198に記載の外科用ステープルカートリッジ。 Example 200-The surgical staple cartridge according to Example 198, wherein only one of the first and second zones is cured by a curing method.
実施例201−各ステープルが、ステープル脚部とステープル基部との中間に屈曲部を更に含み、屈曲部が第1のゾーンを含み、ステープル基部が第2のゾーンを含む、実施例198、199、又は200に記載の外科用ステープルカートリッジ。 Example 201-Each staple further comprises a bend between the staple leg and the staple base, the bend comprises a first zone and the staple base comprises a second zone, Examples 198, 199, Or the surgical staple cartridge according to 200.
実施例202−ステープル基部が第1のゾーンを含み、ステープル脚部が第2のゾーンを含む、実施例198、199、200、又は201に記載の外科用ステープルカートリッジ。 Example 202-The surgical staple cartridge according to Example 198, 199, 200, or 201, wherein the staple base comprises a first zone and the staple legs comprise a second zone.
実施例203−ステープル脚部が成形された構成を取るように促進され、かつステープル基部が塑性変形を回避するように構成されるように、ステープル脚部が硬化されず、ステープル基部が硬化されている、実施例198、199、200、201、又は202に記載の外科用ステープルカートリッジ。 Example 203-The staple legs are not cured and the staple bases are cured so that the staple legs are facilitated to take a molded configuration and the staple bases are configured to avoid plastic deformation. The surgical staple cartridge according to Example 198, 199, 200, 201, or 202.
実施例204−各ステープル脚部が、ステープル基部から延在する遷移部分と遷移部分から延在する垂直脚部とを含み、ステープル基部が第1のゾーンを含み、垂直脚部が第2のゾーンを含む、実施例198、199、200、201、202、又は203に記載の外科用ステープルカートリッジ。 Example 204-Each staple leg includes a transition portion extending from the staple base and a vertical leg extending from the transition portion, the staple base includes a first zone, and the vertical leg includes a second zone. 198, 199, 200, 201, 202, or 203 of Examples 198, 199, 200, 201, 202, or 203.
実施例205−未発射構成の外科用ステープルカートリッジ内に取り外し可能に収容されるように構成されている外科用ステープルであって、外科用ステープルが、不均一な硬度プロファイルを含み、ステープルが、第1の硬度を有する第1のゾーンと第2の硬度を有する第2のゾーンとを含み、ステープルが充填前構成にあるときに第1のゾーンが第1の硬度に硬化され、ステープルが充填前構成にあるときに第2のゾーンが第2の硬度に硬化される、外科用ステープル。 Example 205-Surgical staples in a non-launched configuration A surgical staple that is configured to be detachably housed in a cartridge, wherein the surgical staple contains a non-uniform hardness profile and the staple is the first. Includes a first zone with a hardness of 1 and a second zone with a second hardness, the first zone is cured to the first hardness when the staples are in the pre-fill configuration and the staples are pre-filled. Surgical staples where the second zone is cured to a second hardness when in the configuration.
実施例206−外科用ステープル留め器具と一緒に使用するための外科用ステープルカートリッジであって、外科用ステープルカートリッジが、カートリッジ本体と、複数のステープルキャビティと、ステープルキャビティ内に取り外し可能に収容された複数のステープルを含み、各ステープルがステープル基部であって、ステープル基部が第1の硬度を有する第1のゾーンを画定する、ステープル基部と、ステープル基部から延在する複数の屈曲部であって、屈曲部が第2の硬度を含む第2のゾーンを画定する、屈曲部と、屈曲部から延在するステープル脚部であって、各ステープル脚部が第1の硬度とは異なる第3の硬度を含む第3のゾーンを画定する、ステープル脚部とを含む、外科用ステープルカートリッジ。 Example 206-A surgical staple cartridge for use with a surgical staple fastener, wherein the surgical staple cartridge is detachably housed in a cartridge body, a plurality of staple cavities, and a staple cavity. A staple base and a plurality of bends extending from the staple base, comprising a plurality of staples, each staple being a staple base, the staple base defining a first zone having a first hardness. A third hardness in which the bent portion defines a second zone including the second hardness, a bent portion and a staple leg portion extending from the bent portion, and each staple leg portion has a different hardness from the first hardness. A surgical staple cartridge that includes a staple leg that defines a third zone that includes.
実施例207−第1の硬度が第3の硬度より高い、実施例206に記載の外科用ステープルカートリッジ。 Example 207-The surgical staple cartridge according to Example 206, wherein the first hardness is higher than the third hardness.
実施例208−第1の硬度が第2の硬度及び第3の硬度より高い、実施例206に記載の外科用ステープルカートリッジ。 Example 208-The surgical staple cartridge according to Example 206, wherein the first hardness is higher than the second and third hardnesses.
実施例209−各ステープル脚部が、第3の硬度より低い第4の硬度を含む第4のゾーンを画定するステープル先端を含む、実施例206、207、又は208に記載の外科用ステープルカートリッジ。 Example 209-The surgical staple cartridge according to Example 206, 207, or 208, wherein each staple leg comprises a staple tip defining a fourth zone containing a fourth hardness lower than a third hardness.
実施例210−外科用ステープル留め器具と一緒に使用するための外科用ステープルカートリッジであって、外科用ステープルカートリッジが、スレッドと、カートリッジ本体と、複数のステープルキャビティと、ステープルキャビティ内に取り外し可能に収容されたステープルのストリップとを含み、ステープルのストリップが、複数のステープルと、ストリップと、ステープルをストリップと結合させる複数のコネクタ部分とを含み、コネクタ部分がステープルをストリップから放出するように構成されている、外科用ステープルカートリッジ。 Example 210-A surgical staple cartridge for use with a surgical staple fastener, the surgical staple cartridge being removable into a thread, a cartridge body, a plurality of staple cavities, and a staple cavity. Including a strip of contained staples, the strips of staples include a plurality of staples and a strip and a plurality of connector portions that bond the staples to the strip, the connector portion being configured to eject the staples from the strip. Are, surgical staple cartridges.
実施例211−各コネクタ部分が、ステープルのストリップからの分離を促進するように構成されている切れ目を含む、実施例210に記載の外科用ステープルカートリッジ。 Example 211-The surgical staple cartridge according to Example 210, wherein each connector portion comprises a cut configured to facilitate separation of the staple from the strip.
実施例212−各コネクタ部分が、ステープルのストリップがカートリッジ本体内に充填されたときに、ステープルのストリップからの分離を促進するように構成されている切れ目を含む、実施例210に記載の外科用ステープルカートリッジ。 Example 212-Surgical Example 210, wherein each connector portion comprises a cut configured to facilitate separation of the staple from the staple strip when the staple strip is filled into the cartridge body. Staple cartridge.
実施例213−スレッドが、ステープルカートリッジを通してスレッドが平行移動されるときにコネクタ部分を破断することによって複数のステープルをストリップから分離するように構成されている、実施例210又は211に記載の外科用ステープルカートリッジ。 213-Surgical Example 210 or 211, wherein the thread is configured to separate the plurality of staples from the strip by breaking the connector portion as the thread is translated through the staple cartridge. Staple cartridge.
実施例214−各ステープルが、カートリッジ本体に係合しステープルのストリップを外科用ステープルカートリッジ内に保つように構成されている、一対の外向きに付勢したステープル脚部を含む、実施例210、211、212、又は213に記載の外科用ステープルカートリッジ。 Example 214-Including a pair of outwardly urged staple legs, each staple being configured to engage the cartridge body and keep the staple strips within the surgical staple cartridge, Example 210, 211, 212, or 213. The surgical staple cartridge.
実施例215−カートリッジ本体が底部を含み、ステープルのストリップが、カートリッジ本体の底部に充填されるように構成されている、実施例210、211、212、213、又は214に記載の外科用ステープルカートリッジ。 Example 215-Surgical staple cartridge according to Example 210, 211, 212, 213, or 214, wherein the cartridge body comprises a bottom and strips of staples are configured to fill the bottom of the cartridge body. ..
実施例216−複数のステープルが、第1の列及び第2の列に配置され、ストリップが、第1の列及び第2の列のステープルに結合されている、実施例210、211、212、213、214、又は215に記載の外科用ステープルカートリッジ。 Example 216-A plurality of staples are arranged in the first and second rows, and strips are joined to the staples in the first and second rows, Examples 210, 211, 212, 213, 214, or 215. The surgical staple cartridge.
実施例217−複数のステープルが、第1の構成を有するステープルの第1の群と、第1の構成とは異なる第2の構成を有するステープルの第2の群とを含む、実施例210、211、212、213、214、215、又は216に記載の外科用ステープルカートリッジ。 Example 217-Example 210, wherein the plurality of staples comprises a first group of staples having a first configuration and a second group of staples having a second configuration different from the first configuration. 211, 212, 213, 214, 215, or 216. The surgical staple cartridge.
実施例218−コネクタ部分がピーニングされた部分を含む、実施例210、211、212、213、214、215、216、又は217に記載の外科用ステープルカートリッジ。 218-The surgical staple cartridge according to Example 210, 211, 212, 213, 214, 215, 216, or 217, wherein the connector portion comprises a peened portion.
実施例219−スレッドが、コネクタ部分を破断するように構成されている打撃部分を含む、実施例210、211、212、213、214、215、216、217、又は218に記載の外科用ステープルカートリッジ。 219-Surgical staple cartridge according to Example 210, 211, 212, 213, 214, 215, 216, 217, or 218, wherein the thread comprises a striking portion configured to break the connector portion. ..
実施例220−ステープルが、カートリッジ本体を通してスレッドが平行移動されるときにスレッドに係合するように構成されている面取り表面を含む、実施例210、211、212、213、214、215、216、217、218、又は219に記載の外科用ステープルカートリッジ。 Examples 210, 211, 212, 213, 214, 215, 216, wherein the staples include chamfered surfaces that are configured to engage the threads as they are translated through the cartridge body. 217, 218, or 219. Surgical staple cartridge.
実施例221−ストリップが、カートリッジ本体上の対応する位置合わせ特徴部に係合するように構成されている位置合わせ特徴部を含む、実施例210、211、212、213、214、215、216、217、218、219、又は220に記載の外科用ステープルカートリッジ。 Examples 210, 211, 212, 213, 214, 215, 216, wherein the 221-strip comprises an alignment feature configured to engage a corresponding alignment feature on the cartridge body. 217, 218, 219, or 220. The surgical staple cartridge.
実施例222−外科用ステープル留め器具と一緒に使用するための外科用ステープルカートリッジであって、外科用ステープルカートリッジが、カートリッジ本体と、複数のステープルキャビティと、カートリッジ本体内に取り外し可能に収容されたステープルのストリップであって、ステープルのストリップが複数のステープルを含むステープルのストリップと、ストリップと、ステープルをストリップと結合させる複数のコネクタ部分とを含み、コネクタ部分が、ステープルをストリップから放出するために係合可能であり、ステープル、ストリップ、及びコネクタ部分が金属である、外科用ステープルカートリッジ。 Example 222-A surgical staple cartridge for use with a surgical staple fastening device, wherein the surgical staple cartridge is detachably housed in the cartridge body, a plurality of staple cavities, and the cartridge body. A strip of staples, the staple strip containing a strip of staples containing multiple staples, and a strip and a plurality of connector portions connecting the staples to the strip, for the connector portion to eject the staples from the strip. Surgical staple cartridges that are engageable and have metal staples, strips, and connector parts.
実施例223−複数のステープルが、第1のクラウン幅を含む第1の複数のステープルと、第1のクラウン幅とは異なる第2のクラウン幅を含む第2の複数のステープルとを含む、実施例222に記載の外科用ステープルカートリッジ。 Example 223-A plurality of staples comprising a first plurality of staples including a first crown width and a second plurality of staples containing a second crown width different from the first crown width. The surgical staple cartridge according to Example 222.
実施例224−複数のステープルが、第1の高さを画定するステープル脚部を含むステープルの第1の群と、第1の高さとは異なる第2の高さを画定するステープル脚部を含むステープルの第2の群とを含む、実施例222又は223に記載の外科用ステープルカートリッジ。 Example 224-A plurality of staples include a first group of staples that include staple legs that define a first height and staple legs that define a second height that is different from the first height. The surgical staple cartridge according to Example 222 or 223, comprising a second group of staples.
実施例225−ステープルのストリップが均一な組成を含む、実施例222に記載の外科用ステープルカートリッジ。 Example 225-The surgical staple cartridge according to Example 222, wherein the staple strip comprises a uniform composition.
実施例226−ストリップが、カートリッジ本体上の対応する位置合わせ特徴部に係合するように構成されている位置合わせ特徴部を含む、実施例222、223、224、又は225に記載の外科用ステープルカートリッジ。 226-Surgical staples according to Example 222, 223, 224, or 225, wherein the strip comprises an alignment feature configured to engage a corresponding alignment feature on the cartridge body. cartridge.
実施例227−複数の第2のステープルと、第2のストリップと、第2のステープルを第2のストリップと結合させる複数の第2のコネクタ部分と、を含む第2のステープルのストリップを更に備え、複数のステープルが、第1の列間隔を画定する複数の列に配置され、複数の第2のステープルが、第2の列間隔を画定する複数の第2の列に配置され、第1の列間隔及び第2の列間隔が異なる、実施例222、223、224、225、又は226に記載の外科用ステープルカートリッジ。 Example 227-The strip of the second staple further comprises a plurality of second staples, a second strip, and a plurality of second connector portions that join the second staple to the second strip. , A plurality of staples are arranged in a plurality of columns defining a first column spacing, a plurality of second staples are arranged in a plurality of second columns defining a second column spacing, and a first 22. The surgical staple cartridge according to Example 222, 223, 224, 225, or 226, wherein the row spacing and the second row spacing are different.
実施例228−外科用ステープルカートリッジと一緒に使用するために構成されている外科用ステープルの金属ストリップであって、外科用ステープルの金属ストリップが、複数のステープルと、リボンと、ステープルをリボンと結合させる複数のコネクタ部分とを含む、外科用ステープルの金属ストリップ。 Example 228-A metal strip of surgical staples configured for use with a surgical staple cartridge, wherein the metal strip of surgical staples combines a plurality of staples, a ribbon, and staples with a ribbon. A metal strip of surgical staples, including multiple connector pieces to allow.
実施例229−コネクタ部分が切れ目ノッチを含む、実施例228に記載の外科用ステープルの金属ストリップ。 Example 229-A metal strip of surgical staples according to Example 228, wherein the connector portion comprises a cut notch.
実施例230−円形ステープラと一緒に使用するための外科用ステープルカートリッジであって、外科用ステープルカートリッジが、カートリッジ本体と、カートリッジ本体内に画定された複数のステープルキャビティと、ステープルキャビティ内に取り外し可能に収容された複数のステープルとを備え、複数のステープルが、第1のステープルの量を含むステープルの内列であって、各第1のステープルが、第1のステープルクラウン幅を画定する第1のステープルクラウンを含む、ステープルの内列と、ステープルの内列に対して半径方向外向きに位置付けられたステープルの中間列であって、ステープルの中間列が第2のステープルの量を含み、各第2のステープルが、第2のステープルクラウン幅を画定する第2のステープルクラウンを含む、ステープルの中間列と、ステープルの中間列に対して半径方向外向きに位置付けられたステープルの外列であって、ステープルの外列が第3のステープルの量を含み、各第3のステープルが、第3のステープルクラウン幅を画定する第3のステープルクラウンを含む、ステープルの外列とを含み、第1のステープルクラウン幅、第2のステープルクラウン幅、及び第3のステープルクラウン幅のうちの1つが、第1のステープルクラウン幅、第2のステープルクラウン幅、及び第3のステープルクラウン幅のうちの別のステープルクラウン幅とは異なる、外科用ステープルカートリッジ。 Example 230-A surgical staple cartridge for use with a circular stapler, wherein the surgical staple cartridge is removable within the cartridge body, a plurality of staple cavities defined within the cartridge body, and the staple cavity. A first staple comprising a plurality of staples housed in, wherein the plurality of staples is an inner row of staples containing the amount of the first staple, each first staple defining a width of the first staple crown. The inner row of staples, including the staple crown, and the middle row of staples positioned radially outward with respect to the inner row of staples, each of which contains the amount of second staple. The second staple is the middle row of staples, including the second staple crown defining the width of the second staple crown, and the outer row of staples located radially outward with respect to the middle row of staples. The outer row of staples comprises the amount of the third staple, and each third staple comprises the outer row of staples, including the third staple crown defining the width of the third staple crown, the first. One of the staple crown width, the second staple crown width, and the third staple crown width is different from the first staple crown width, the second staple crown width, and the third staple crown width. Surgical staple cartridge that is different from the staple crown width of.
実施例231−ステープルの内列が、第1のステープル間の複数の第1の隙間を画定し、ステープルの中間列の第2のステープルが第1の隙間と重なる、実施例230に記載の外科用ステープルカートリッジ。 231-Surgery according to Example 230, wherein the inner row of staples defines a plurality of first gaps between the first staples, and the second staple in the middle row of staples overlaps the first gap. Staple cartridge for.
実施例232−ステープルの中間列が、第2のステープル間の複数の第2の隙間を画定し、第2の隙間が第1の隙間より大きく、ステープルの外列の第3のステープルが第2の隙間と重なる、実施例231に記載の外科用ステープルカートリッジ。 Example 232-The middle row of staples defines a plurality of second gaps between the second staples, the second gap is larger than the first gap, and the third staple in the outer row of staples is the second. 231. The surgical staple cartridge according to Example 231, which overlaps with the gap between the two.
実施例233−ステープルの外列の第3のステープルも第1の隙間と重なる、実施例231又は232に記載の外科用ステープルカートリッジ。 233-The surgical staple cartridge according to Example 231 or 232, wherein the third staple in the outer row of staples also overlaps the first gap.
実施例234−ステープルの内列が、第1のステープル間の複数の第1の隙間を画定し、ステープルの中間列が、第2のステープル間の複数の第2の隙間を画定し、第2のステープルが第1の隙間と重なり、第1の隙間及び第2の隙間が少なくとも実質的に等しい、実施例230に記載の外科用ステープルカートリッジ。 Example 234-The inner row of staples defines the plurality of first gaps between the first staples, the intermediate row of staples defines the plurality of second gaps between the second staples, and the second The surgical staple cartridge according to Example 230, wherein the staples of the first gap overlap the first gap, and the first gap and the second gap are at least substantially equal.
実施例235−ステープルの内列が、第1のステープル間の複数の第1の隙間を画定し、ステープルの中間列が、第2のステープル間の複数の第2の隙間を画定し、各第1の隙間が第1の距離を画定し、各第2の隙間が、第1の距離より小さい第2の距離を画定する、実施例230に記載の外科用ステープルカートリッジ。 An inner row of embodiments 235-staples defines a plurality of first gaps between the first staples, an intermediate row of staples defines a plurality of second gaps between the second staples, each first. The surgical staple cartridge according to Example 230, wherein the gap of 1 defines a first distance, and each second gap defines a second distance that is smaller than the first distance.
実施例236−第1のステープルクラウン幅が第2のステープルクラウン幅より小さい、実施例230、231、232、233、234、又は235に記載の外科用ステープルカートリッジ。 Example 236-The surgical staple cartridge according to Example 230, 231, 232, 233, 234, or 235, wherein the first staple crown width is smaller than the second staple crown width.
実施例237−第1のステープルクラウン幅が、第2のステープルクラウン幅と少なくとも実質的に等しい、実施例230、231、232、233、234、又は235に記載の外科用ステープルカートリッジ。 Example 237-The surgical staple cartridge according to Example 230, 231, 232, 233, 234, or 235, wherein the first staple crown width is at least substantially equal to the second staple crown width.
実施例238−第3のステープルクラウン幅が、第1のステープルクラウン幅及び第2のステープルクラウン幅より大きい、実施例230、231、232、233、234、235、236、又は237に記載の外科用ステープルカートリッジ。 Example 238-Surgery according to Example 230, 231, 232, 233, 234, 235, 236, or 237, wherein the third staple crown width is greater than the first staple crown width and the second staple crown width. Staple cartridge for.
実施例239−円形ステープラと一緒に使用するための外科用ステープルカートリッジであって、外科用ステープルカートリッジが、カートリッジ本体と、カートリッジ本体内に画定された複数のステープルキャビティと、ステープルキャビティ内に取り外し可能に収容された複数のステープルとを備え、複数のステープルが、第1のステープルの第1の量を含むステープルの内列であって、各第1のステープルが、第1のステープルクラウン幅を画定する第1のステープルクラウンを含む、ステープルの内列と、ステープルの内列に対して半径方向外向きに位置付けられたステープルの中間列であって、ステープルの中間列が第2のステープルの第2の量を含み、各第2のステープルが、第2のステープルクラウン幅を画定する第2のステープルクラウンを含む、ステープルの中間列と、ステープルの中間列に対して半径方向外向きに位置付けられたステープルの外列であって、ステープルの外列が第3のステープルの第3の量を含み、各第3のステープルが、第3のステープルクラウン幅を画定する第3のステープルクラウンを含む、ステープルの外列とを含み、第1のステープルクラウン幅、第2のステープルクラウン幅、及び第3のステープルクラウン幅のうちの1つが、第1のステープルクラウン幅、第2のステープルクラウン幅、及び第3のステープルクラウン幅のうちの別のステープルクラウン幅とは異なり、第1の量、第2の量、及び第3の量のうちの1つが、第1の量、第2の量、及び第3の量のうちの別の量とは異なる、外科用ステープルカートリッジ。 Example 239-A surgical staple cartridge for use with a circular stapler, wherein the surgical staple cartridge is removable within the cartridge body, a plurality of staple cavities defined within the cartridge body, and the staple cavity. With a plurality of staples housed in, the plurality of staples is an inner row of staples containing a first amount of the first staple, each first staple defining a width of the first staple crown. The inner row of staples, including the first staple crown, and the middle row of staples positioned radially outward with respect to the inner row of staples, with the middle row of staples being the second staple of the second staple. Each second staple was positioned radially outward with respect to the middle row of staples and the middle row of staples, including the second staple crown defining the width of the second staple crown. Staples that are outer rows of staples, wherein the outer row of staples contains a third amount of third staple, and each third staple contains a third staple crown that defines the width of the third staple crown. One of the first staple crown width, the second staple crown width, and the third staple crown width includes the first staple crown width, the second staple crown width, and the third staple crown width. Unlike another staple crown width of the three staple crown widths, one of the first, second, and third quantities is the first, second, and second. A surgical staple cartridge that differs from another of the three quantities.
実施例240−第2の量が第1の量より少ない、実施例239に記載の外科用ステープルカートリッジ。 Example 240-The surgical staple cartridge according to Example 239, wherein the second amount is less than the first amount.
実施例241−第2の量が第3の量より少ない、実施例239又は240に記載の外科用ステープルカートリッジ。 Example 241-2 The surgical staple cartridge according to Example 239 or 240, wherein the second amount is less than the third amount.
実施例242−複数のステープルキャビティが、複数の不均一なキャビティ延長部を含む、実施例239、240、又は241に記載の外科用ステープルカートリッジ。 Example 242 The surgical staple cartridge according to Example 239, 240, or 241 in which the plurality of staple cavities comprises a plurality of non-uniform cavity extensions.
実施例243−ステープルの内列の各第1のステープルが、各第1のステープルクラウンから半径方向外向きに延在する一対のステープル脚部を含む、実施例239、240、241、又は242に記載の外科用ステープルカートリッジ。 Example 243-In Example 239, 240, 241 or 242, each first staple in the inner row of staples comprises a pair of staple legs extending radially outward from each first staple crown. Described surgical staple cartridge.
実施例244−ステープルの中間列の各第2のステープルが、各第2のステープルクラウンから半径方向内向きに延在する一対のステープル脚部を含む、実施例239、240、241、242、又は243に記載の外科用ステープルカートリッジ。 Example 239, 240, 241, 242, or example, wherein each second staple in the middle row of staples includes a pair of staple legs extending radially inward from each second staple crown. 243. The surgical staple cartridge.
実施例245−ステープルの外列の各第3のステープルが、各第3のステープルクラウンから半径方向内向きに延在する一対のステープル脚部を含む、実施例239、240、241、242、243、又は244に記載の外科用ステープルカートリッジ。 Examples 239, 240, 241, 242, 243, each third staple in the outer row of the 245-staples comprises a pair of staple legs extending radially inward from each third staple crown. , Or the surgical staple cartridge according to 244.
実施例246−外科用ステープラと一緒に使用するための外科用ステープルカートリッジであって、外科用ステープルカートリッジが、カートリッジ本体と、カートリッジ本体内に画定された複数のステープルキャビティと、ステープルキャビティ内に取り外し可能に収容された複数のステープルとを備え、複数のステープルが、第1のステープルの第1の量を含むステープルの内列であって、各第1のステープルが、第1のステープルクラウン幅を画定する第1のステープルクラウンを含む、ステープルの内列と、ステープルの内列に対して外向きに位置付けられたステープルの中間列であって、ステープルの中間列が第2のステープルの第2の量を含み、各第2のステープルが、第2のステープルクラウン幅を画定する第2のステープルクラウンを含む、ステープルの中間列と、ステープルの中間列に対して外向きに位置付けられたステープルの外列であって、ステープルの外列が第3のステープルの第3の量を含み、各第3のステープルが、第3のステープルクラウン幅を画定する第3のステープルクラウンを含む、ステープルの外列とを含み、第1のステープルクラウン幅、第2のステープルクラウン幅、及び第3のステープルクラウン幅のうちの1つが、第1のステープルクラウン幅、第2のステープルクラウン幅、及び第3のステープルクラウン幅のうちの別のステープルクラウン幅とは異なる、外科用ステープルカートリッジ。 Example 246-A surgical staple cartridge for use with a surgical stapler, wherein the surgical staple cartridge is removed into the cartridge body, a plurality of staple cavities defined within the cartridge body, and into the staple cavities. With a plurality of staples optionally housed, the plurality of staples is an inner row of staples containing a first amount of the first staple, each first staple having a first staple crown width. An inner row of staples, including a demarcating first staple crown, and an intermediate row of staples positioned outward with respect to the inner row of staples, with the intermediate row of staples being the second staple of the second staple. The middle row of staples, each containing the amount, each second staple contains a second staple crown defining the width of the second staple crown, and the outside of the staples positioned outward with respect to the middle row of staples. Outer row of staples, wherein the outer row of staples contains a third amount of third staple, and each third staple contains a third staple crown that defines the width of the third staple crown. One of the first staple crown width, the second staple crown width, and the third staple crown width includes the first staple crown width, the second staple crown width, and the third staple. Another staple of the crown width A surgical staple cartridge that is different from the crown width.
実施例247−第1の量、第2の量、及び第3の量のうちの1つが、第1の量、第2の量、及び第3の量の別の量とは異なる、実施例246に記載の外科用ステープルカートリッジ。 Example 247-One of the first, second, and third quantities is different from the first, second, and third quantities. 246. The surgical staple cartridge.
実施例248−第1の量及び第2の量が等しい、実施例246に記載の外科用ステープルカートリッジ。 Example 248-The surgical staple cartridge according to Example 246, wherein the first and second amounts are equal.
実施例249−ステープルの内列が、第1のステープル間の複数の第1の隙間を画定し、ステープルの中間列が、第2のステープル間の複数の第2の隙間を画定し、各第1の隙間が第1の距離を画定し、各第2の隙間が、第1の距離より小さい第2の距離を画定する、実施例246、247、又は248に記載の外科用ステープルカートリッジ。 Example 249-An inner row of staples defines a plurality of first gaps between the first staples, an intermediate row of staples defines a plurality of second gaps between the second staples, each first. The surgical staple cartridge according to Example 246, 247, or 248, wherein one gap defines a first distance, and each second gap defines a second distance that is less than the first distance.
以下の開示内容全体を参照により本明細書に援用するものである。すなわち、
1995年4月4日に発行された米国特許第5,403,312号、発明の名称「ELECTROSURGICAL HEMOSTATIC DEVICE」;
2006年2月21日に発行された米国特許第7,000,818号、発明の名称「SURGICAL STAPLING INSTRUMENT HAVING SEPARATE DISTINCT CLOSING AND FIRING SYSTEMS」;
2008年9月9日に発行された米国特許第7,422,139号、発明の名称「MOTOR−DRIVEN SURGICAL CUTTING AND FASTENING INSTRUMENT WITH TACTILE POSITION FEEDBACK」;
2008年12月16日に発行された米国特許第7,464,849号、発明の名称「ELECTRO−MECHANICAL SURGICAL INSTRUMENT WITH CLOSURE SYSTEM AND ANVIL ALIGNMENT COMPONENTS」;
2010年3月2日に発行された米国特許第7,670,334号、発明の名称「SURGICAL INSTRUMENT HAVING AN ARTICULATING END EFFECTOR」;
2010年7月13日に発行された米国特許第7,753,245号、発明の名称「SURGICAL STAPLING INSTRUMENTS」;
2013年3月12日に発行された米国特許第8,393,514号、発明の名称「SELECTIVELY ORIENTABLE IMPLANTABLE FASTENER CARTRIDGE」;
米国特許出願第11/343,803号、名称「SURGICAL INSTRUMENT HAVING RECORDING CAPABILITIES」、現在は、米国特許第7,845,537号;
2008年2月14日に出願された米国特許出願第12/031,573号、発明の名称「SURGICAL CUTTING AND FASTENING INSTRUMENT HAVING RF ELECTRODES」;
2008年2月15日に出願された米国特許出願第12/031,873号、発明の名称「END EFFECTORS FOR A SURGICAL CUTTING AND STAPLING INSTRUMENT」、現在は、米国特許第7,980,443号;
米国特許出願第12/235,782号、発明の名称「MOTOR−DRIVEN SURGICAL CUTTING INSTRUMENT」、現在は、米国特許第8,210,411号;
米国特許出願第12/249,117号、発明の名称「POWERED SURGICAL CUTTING AND STAPLING APPARATUS WITH MANUALLY RETRACTABLE FIRING SYSTEM」、現在は、米国特許第8,608,045号;
2009年12月24日に出願された米国特許出願第12/647,100号、名称「MOTOR−DRIVEN SURGICAL CUTTING INSTRUMENT WITH ELECTRIC ACTUATOR DIRECTIONAL CONTROL ASSEMBLY」、現在は、米国特許第8,220,688号);
2012年9月29日に出願された米国特許出願第12/893,461号、発明の名称「STAPLE CARTRIDGE」、現在は、米国特許第8,733,613号;
2011年2月28日に出願された米国特許出願第13/036,647号、発明の名称「SURGICAL STAPLING INSTRUMENT」、現在は、米国特許第8,561,870号;
米国特許出願第13/118,241号、発明の名称「SURGICAL STAPLING INSTRUMENTS WITH ROTATABLE STAPLE DEPLOYMENT ARRANGEMENTS」、現在は、米国特許第9,072,535号;
2012年6月15日出願の米国特許出願第13/524,049号、発明の名称「ARTICULATABLE SURGICAL INSTRUMENT COMPRISING A FIRING DRIVE」、現在は、米国特許第9,101,358号;
2013年3月13日に出願された米国特許出願第13/800,025号、発明の名称「STAPLE CARTRIDGE TISSUE THICKNESS SENSOR SYSTEM」、現在は米国特許出願公開第2014/0263551号;
2013年3月13日に出願された米国特許出願第13/800,067号、発明の名称「STAPLE CARTRIDGE TISSUE THICKNESS SENSOR SYSTEM」、現在は米国特許出願公開第2014/0263552号;
2006年1月31日に出願された米国特許出願公開第2007/0175955号、発明の名称「SURGICAL CUTTING AND FASTENING INSTRUMENT WITH CLOSURE TRIGGER LOCKING MECHANISM」、及び、
2010年4月22日に出願された米国特許出願公開第2010/0264194号、発明の名称「SURGICAL STAPLING INSTRUMENT WITH AN ARTICULATABLE END EFFECTOR」、現在は米国特許第8,308,040号。The entire contents of the following disclosure are incorporated herein by reference. That is,
U.S. Pat. No. 5,403,312, issued April 4, 1995, title of invention "ELECTROSURGICAL HEMOSTATIC DEVICE";
U.S. Pat. No. 7,000,818 issued on February 21, 2006, title of invention "SURGICAL STAPLING INSTRUMENT HAVING SEPARATE DISTINCT CLOSING AND FIRING SYSTEMS";
U.S. Pat. No. 7,422,139 issued on September 9, 2008, title of invention "MOTOR-DRIVEN SURGICAL CUTTING AND FASTENING INSTRUMENT WITH TACTILE POSITION FEEDBACK";
U.S. Pat. No. 7,464,849 issued on December 16, 2008, the title of the invention "ELECTRO-MEMHANICAL SURGICAL INSTRUMENT WITH CLOSE CROSURE SYSTEM AND ANVIL ALIGNMENT COMPONENTS";
U.S. Pat. No. 7,670,334 issued on March 2, 2010, title of invention "SURGICAL INSTRUMENT HAVING AN ARTICULATING END EFFECTOR";
U.S. Pat. No. 7,753,245 issued on July 13, 2010, title of invention "SURGICAL STAPLING INSTRUMENTS";
U.S. Pat. No. 8,393,514 issued on March 12, 2013, title of invention "SELECTIVELY ORIENTABLE IMPLANTABLE FASTENEER CARTRIDGE";
U.S. Patent Application No. 11 / 343,803, named "SURGICAL INSTRUMENT HAVING RECORDING CAPABILITIES", now U.S. Pat. No. 7,845,537;
U.S. Patent Application No. 12 / 031,573, filed February 14, 2008, title of invention "SURGICAL CUTTING AND FASTENING INSTRUMENT HAVING RF ELECTRODES";
U.S. Patent Application No. 12 / 031,873 filed on February 15, 2008, the title of the invention "END EFFECTORS FOR A SURGICAL CUTTING AND STAPLING INSTRUMENT", now U.S. Pat. No. 7,980,443;
U.S. Patent Application No. 12 / 235,782, Invention Title "MOTOR-DRIVEN SURGICAL CUTTING INSTRUMENT", Currently U.S. Pat. No. 8,210,411;
U.S. Patent Application No. 12 / 249,117, title of invention "POWERED SURGICAL CUTTING AND STAPLING APPARATUS WITH MANUALLY RETRACTABLE FIRING SYSTEM", currently U.S. Pat. No. 8,608,045;
U.S. Patent Application No. 12 / 647,100 filed on December 24, 2009, named "MOTOR-DRIVEN SURGICAL CUTTING INSTRUMENT WITH ELECTRIC ACTUATOR DIRECTIONAL CONTOROL ASSEMBLY", now U.S. Patent No. 8,220, ;
U.S. Patent Application No. 12 / 893,461 filed on September 29, 2012, title of invention "STAPLE CARTRIDGE", now U.S. Pat. No. 8,733,613;
U.S. Patent Application No. 13 / 036,647 filed on February 28, 2011, title of invention "SURGICAL STAPLING INSTRUMENT", now U.S. Pat. No. 8,561,870;
U.S. Patent Application No. 13 / 118,241, Invention Title "SURGICAL STAPLING INSTRUMENTS WITH ROTATABLE STAPLE DEVLOYMENT ARRANGEMENTS", now U.S. Pat. No. 9,072,535;
U.S. Patent Application No. 13 / 524,049 filed June 15, 2012, title of invention "ARTICULATABLE SURGICAL INSTRUMENT COMPRISING A FIRING DRIVE", now U.S. Pat. No. 9,101,358;
U.S. Patent Application No. 13 / 800,025 filed on March 13, 2013, title of invention "STAPLE CARTRIDGE TISSUE THICKNESS SENSOR SYSTEM", now U.S. Patent Application Publication No. 2014/0263551;
U.S. Patent Application No. 13 / 800,067 filed on March 13, 2013, title of invention "STAPLE CARTRIDGE TISSUE THICKNESS SENSOR SYSTEM", now U.S. Patent Application Publication No. 2014/0263552;
U.S. Patent Application Publication No. 2007/017595, filed on January 31, 2006, the title of the invention "SURGICAL CUTTING AND FASTENING INSTRUMENT WITH CLOSE TRIGGER LOCKING MECHANISM", and
U.S. Patent Application Publication No. 2010/0264194 filed on April 22, 2010, the title of the invention "SURGICAL STAPLING INSTRUMENT WITH AN ARTICULATABLE END EFFECTOR", now U.S. Patent No. 8,308,040.
特定の開示された実施形態と関連してデバイスの様々な実施形態について本明細書に記載してきたが、それらの実施形態に対して多くの修正及び変更が実施可能である。また、材料が特定の構成要素に関して開示されているが、他の材料が使用されてもよい。更に、様々な実施形態に従って、所与の機能を実行するために、単一の構成要素を複数の構成要素に置き換えてもよく、また複数の構成要素を単一の構成要素に置き換えてもよい。以上の説明及び以下の特許請求の範囲は、そのような修正及び変更を全て包含することが意図される。 Although various embodiments of the device have been described herein in connection with the particular disclosed embodiments, many modifications and modifications can be made to those embodiments. Also, although the material is disclosed for a particular component, other materials may be used. Further, according to various embodiments, a single component may be replaced by a plurality of components, or a plurality of components may be replaced by a single component in order to perform a given function. .. The above description and the following claims are intended to include all such amendments and changes.
本明細書に開示されるデバイスは、1回の使用後に廃棄されるように設計することができ、又は複数回使用されるように設計することもできる。しかしながら、いずれの場合も、本デバイスは、少なくとも1回の使用後に再使用のために再調整することができる。再調整は、デバイスの分解工程、それに続く特定の部品の洗浄工程又は交換工程、及びその後の再組立工程の任意の組み合わせを含むことができる。特に、本デバイスは分解可能であり、デバイスの任意の数の特定の部品又は部分を、任意の組み合わせで選択的に交換するか又は取り外すことができる。特定の部分を洗浄及び/又は交換した後、デバイスを後の使用のために、再調整施設で又は外科処置の直前に外科チームによって再組立することができる。当業者であれば、デバイスの再調整が、分解、洗浄/交換、及び再組立のための様々な技術を利用できることを理解するであろう。かかる技術の使用、及び結果として得られる再調整されたデバイスは、全て本発明の範囲内にある。 The devices disclosed herein can be designed to be discarded after a single use, or can be designed to be used multiple times. However, in either case, the device can be readjusted for reuse after at least one use. The readjustment can include any combination of a device disassembly step, a subsequent cleaning or replacement step of a particular part, and a subsequent reassembly step. In particular, the device is disassembleable and any number of specific parts or parts of the device can be selectively replaced or removed in any combination. After cleaning and / or replacing certain parts, the device can be reassembled by the surgical team at a readjustment facility or shortly before a surgical procedure for later use. Those skilled in the art will appreciate that readjustment of the device can utilize a variety of techniques for disassembly, cleaning / replacement, and reassembly. The use of such techniques and the resulting readjusted devices are all within the scope of the present invention.
単なる例として、本明細書に記載される態様は、手術前に処理されてもよい。最初に、新品又は使用済みの器具が入手され、必要に応じて洗浄されてもよい。次いで器具を滅菌することができる。1つの滅菌技術では、器具は、プラスチックバッグ又はTYVEKバッグなど、閉鎖され密封された容器に入れられる。次いで、容器及び器具を、γ線、X線、又は高エネルギー電子などの容器を透過し得る放射線野に置くことができる。放射線は、器具上及び容器内の細菌を死滅させることができる。この後、滅菌済みの器具を滅菌容器内で保管することができる。密封容器は、医療施設で開けられるまで、器具を滅菌状態に保つことができる。デバイスはまた、β線若しくはγ線、エチレンオキシド、過酸化水素プラズマ、又は水蒸気が挙げられるが、これらに限定されない、当該技術分野で既知の任意の他の技術を用いて滅菌され得る。 As a mere example, the embodiments described herein may be processed prior to surgery. First, new or used utensils may be obtained and cleaned as needed. The instrument can then be sterilized. In one sterilization technique, the instrument is placed in a closed and sealed container, such as a plastic bag or TYVEK bag. The vessels and instruments can then be placed in a radiation field that can penetrate the vessel, such as gamma rays, X-rays, or high energy electrons. Radiation can kill bacteria on instruments and in containers. After this, the sterilized instrument can be stored in a sterilized container. The sealed container can keep the instrument sterile until it is opened in a medical facility. The device can also be sterilized using any other technique known in the art, including but not limited to beta or gamma rays, ethylene oxide, hydrogen peroxide plasma, or water vapor.
代表的な設計を有するものとして本発明について記載してきたが、本発明は、本開示の趣旨及び範囲内で更に修正されてもよい。したがって、本出願は、その一般的原理を使用する本発明のあらゆる変形、使用、又は適合を包含するものとする。 Although the present invention has been described as having a representative design, the present invention may be further modified within the spirit and scope of the present disclosure. Accordingly, this application shall include any modification, use, or adaptation of the invention that uses its general principles.
全体又は部分的に、参照によって本明細書に組み込まれるとされるいずれの特許、刊行物又はその他の開示物も、援用される内容が既存の定義、記載、又は本開示に記載されているその他の開示物と矛盾しない範囲でのみ本明細書に組み込まれるものとする。それ自体、また必要な範囲で、本明細書に明瞭に記載される開示内容は、参照により本明細書に援用されるあらゆる矛盾する記載に優先するものとする。参照により本明細書に援用されるものとするが、既存の定義、記載、又は本明細書に記載される他の開示文献と矛盾する任意の文献、又はそれらの部分は、援用文献と既存の開示内容との間に矛盾が生じない範囲においてのみ援用されるものとする。 Any patent, publication or other disclosure allegedly incorporated herein by reference, in whole or in part, will be incorporated in an existing definition, description, or other disclosure. It is incorporated herein only to the extent that it is consistent with the disclosure of. As such, and to the extent necessary, the disclosures expressly set forth herein shall supersede any contradictory statements incorporated herein by reference. Any document, or portion thereof, that is incorporated herein by reference but is inconsistent with existing definitions, descriptions, or other disclosed documents described herein is in reference and existing. It shall be incorporated only to the extent that there is no contradiction with the disclosed content.
〔実施の態様〕
(1) 組織をステープル留めするためのアンビルを含む外科用ステープラと一緒に使用するための外科用ステープルカートリッジであって、前記アンビルが複数の成形ポケットを含み、前記外科用ステープルカートリッジが、
カートリッジ本体と、
複数のステープルキャビティと、
前記ステープルキャビティ内に取り外し可能に収容された複数のステープルと、を備え、各前記ステープルが、
基部と、
前記基部から延在するステープル脚部と、を含み、前記ステープル脚部が、穿刺部分を含むステープル先端を含み、前記穿刺部分が、組織を穿刺し、前記アンビルの前記成形ポケットに対して変形するように構成されており、前記穿刺部分は、前記穿刺先端が前記組織から分離されるような入れ子構成に変形するように構成されている、外科用ステープルカートリッジ。
(2) 前記入れ子構成は、前記外科用ステープルが前記組織内に引き込まれることを防止するように構成されている、フック構成を含む、実施態様1に記載の外科用ステープルカートリッジ。
(3) 前記ステープル先端は、前記穿刺部分が変形したときに前記穿刺部分を受容するように構成されている、切欠部を更に含む、実施態様1に記載の外科用ステープルカートリッジ。
(4) 前記切欠部が凹形である、実施態様3に記載の外科用ステープルカートリッジ。
(5) 各前記ステープルが、前記基部から延在する別のステープル脚部を含み、前記別のステープル脚部が、別の切欠部を含む別のステープル先端を含み、前記切欠部及び前記別の切欠部が互いに向かい合っている、実施態様3に記載の外科用ステープルカートリッジ。[Implementation mode]
(1) A surgical staple cartridge for use with a surgical stapler including an anvil for stapling tissue, wherein the anvil contains a plurality of molded pockets and the surgical staple cartridge is:
Cartridge body and
With multiple staple cavities,
A plurality of staples, which are detachably housed in the staple cavity, are provided, and each staple is composed of a staple.
At the base,
Includes a staple leg extending from the base, the staple leg comprises a staple tip including a puncture portion, the puncture portion pierces the tissue and deforms relative to the molded pocket of the anvil. A surgical staple cartridge configured such that the puncture portion is configured to be deformed into a nested configuration such that the puncture tip is separated from the tissue.
(2) The surgical staple cartridge according to embodiment 1, wherein the nested configuration comprises a hook configuration configured to prevent the surgical staple from being drawn into the tissue.
(3) The surgical staple cartridge according to the first embodiment, wherein the staple tip further includes a notch, which is configured to receive the puncture portion when the puncture portion is deformed.
(4) The surgical staple cartridge according to the third embodiment, wherein the notch is concave.
(5) Each staple includes another staple leg extending from the base, the other staple leg includes another staple tip including another notch, the notch and the other staple. The surgical staple cartridge according to embodiment 3, wherein the notches face each other.
(6) 前記ステープル先端が、前記アンビルの対応する成形ポケットに対して乗るように構成されているカール面を更に含む、実施態様1に記載の外科用ステープルカートリッジ。
(7) 各前記ステープルが別のステープル脚部を含み、前記ステープル脚部及び前記別のステープル脚部が第1の平面を画定し、前記ステープル基部が第2の平面を画定し、前記第1の平面及び前記第2の平面が互いから横方向にオフセットされている、実施態様1に記載の外科用ステープルカートリッジ。
(8) アンビルを含む外科用ステープラと一緒に使用するための外科用ステープルであって、前記アンビルが成形ポケットを含み、前記外科用ステープルが、
ステープル基部と、
前記ステープル基部から延在するステープル脚部と、を含み、前記ステープル脚部がステープル先端を含み、前記ステープル先端が、
前記成形ポケットと接触して前記ステープル脚部を変形させるように構成されている、穿刺先端と、
切欠部と、を含み、前記穿刺先端は、前記ステープル先端が非穿刺構成を取るように、前記成形ポケットと接触すると前記切欠部に向かってカールするように構成されている、外科用ステープル。
(9) 前記非穿刺構成は、前記外科用ステープルが前記組織内に引き込まれることを防止するように構成されている、フック構成を含む、実施態様8に記載の外科用ステープル。
(10) 前記切欠部は、前記ステープル先端が変形したときに前記穿刺先端を受容するように構成されている、実施態様8に記載の外科用ステープル。(6) The surgical staple cartridge according to embodiment 1, further comprising a curled surface in which the staple tip is configured to ride on the corresponding molded pocket of the anvil.
(7) Each staple includes another staple leg, the staple leg and the other staple leg define a first plane, the staple base defines a second plane, and the first The surgical staple cartridge according to embodiment 1, wherein the plane and the second plane are laterally offset from each other.
(8) A surgical staple for use with a surgical stapler including an anvil, wherein the anvil includes a molded pocket and the surgical staple is:
Staple base and
The staple leg portion extending from the staple base portion is included, the staple leg portion includes the staple tip portion, and the staple tip portion is included.
A puncture tip that is configured to come into contact with the molded pocket and deform the staple leg.
A surgical staple that includes a notch and the puncture tip is configured to curl towards the notch upon contact with the molding pocket so that the staple tip has a non-puncture configuration.
(9) The surgical staple according to
(10) The surgical staple according to the eighth embodiment, wherein the notch is configured to receive the puncture tip when the staple tip is deformed.
(11) 前記切欠部が凹形である、実施態様10に記載の外科用ステープル。
(12) 前記ステープル先端が、前記アンビルの前記成形ポケットに対して成形するように構成されている、変形可能な表面を更に含む、実施態様8に記載の外科用ステープル。
(13) アンビルを含む外科用ステープラと一緒に使用するための外科用ステープルカートリッジであって、前記外科用ステープルカートリッジが、
カートリッジ本体と、
複数のステープルキャビティと、
前記ステープルキャビティ内に取り外し可能に収容された複数の平らな形状のステープルと、を備え、各前記ステープルが、
ステープル基部と、
前記基部から延在するステープル脚部と、を含み、前記ステープル脚部が、円形プロファイルを含むステープル先端と、穿刺部分とを含む、外科用ステープルカートリッジ。
(14) 前記円形プロファイルが冷間加工プロセスによって達成されている、実施態様13に記載の外科用ステープルカートリッジ。
(15) 前記ステープル先端が圧印された部分を含む、実施態様13に記載の外科用ステープルカートリッジ。(11) The surgical staple according to embodiment 10, wherein the notch is concave.
(12) The surgical staple according to
(13) A surgical staple cartridge for use with a surgical stapler including an anvil, wherein the surgical staple cartridge is
Cartridge body and
With multiple staple cavities,
Each of the staples comprises a plurality of flat shaped staples detachably housed in the staple cavity.
Staple base and
A surgical staple cartridge comprising a staple leg extending from the base, wherein the staple leg comprises a staple tip comprising a circular profile and a puncture portion.
(14) The surgical staple cartridge according to embodiment 13, wherein the circular profile is achieved by a cold working process.
(15) The surgical staple cartridge according to embodiment 13, which includes a portion where the staple tip is imprinted.
(16) 前記ステープル先端が、前記アンビルの成形ポケットに対して成形するように構成されている、変形可能な表面を更に含む、実施態様13に記載の外科用ステープルカートリッジ。
(17) 前記ステープル先端が第1の硬度を含み、前記ステープル脚部が、前記第1の硬度とは異なる第2の硬度を含む、実施態様13に記載の外科用ステープルカートリッジ。
(18) 前記第1の硬度が前記第2の硬度より高い、実施態様17に記載の外科用ステープルカートリッジ。(16) The surgical staple cartridge according to embodiment 13, further comprising a deformable surface, wherein the staple tip is configured to be molded into the molding pocket of the anvil.
(17) The surgical staple cartridge according to the thirteenth embodiment, wherein the staple tip has a first hardness and the staple leg has a second hardness different from the first hardness.
(18) The surgical staple cartridge according to embodiment 17, wherein the first hardness is higher than the second hardness.
| Application Number | Priority Date | Filing Date | Title |
|---|---|---|---|
| US14/836,020US10098642B2 (en) | 2015-08-26 | 2015-08-26 | Surgical staples comprising features for improved fastening of tissue |
| US14/836,020 | 2015-08-26 | ||
| PCT/US2016/046300WO2017034801A2 (en) | 2015-08-26 | 2016-08-10 | Surgical staples comprising features for improved fastening of tissue |
| Publication Number | Publication Date |
|---|---|
| JP2018529413A JP2018529413A (en) | 2018-10-11 |
| JP6840732B2true JP6840732B2 (en) | 2021-03-10 |
| Application Number | Title | Priority Date | Filing Date |
|---|---|---|---|
| JP2018510500AActiveJP6840732B2 (en) | 2015-08-26 | 2016-08-10 | Surgical staples with features for improved tissue fastening |
| Country | Link |
|---|---|
| JP (1) | JP6840732B2 (en) |
| CN (1) | CN108135596B (en) |
| BR (1) | BR112018003700B1 (en) |
| MX (1) | MX2018002386A (en) |
| RU (1) | RU2725594C2 (en) |
| Publication number | Priority date | Publication date | Assignee | Title |
|---|---|---|---|---|
| CN113017732B (en)* | 2021-02-02 | 2022-01-07 | 苏州贝诺医疗器械有限公司 | Suturing nail for endoscopic cutting anastomat |
| CN115944339A (en)* | 2022-11-18 | 2023-04-11 | 江苏风和医疗器材股份有限公司 | Nail abutting seat and surgical instrument |
| Publication number | Priority date | Publication date | Assignee | Title |
|---|---|---|---|---|
| RU2012246C1 (en)* | 1990-07-09 | 1994-05-15 | Соколов Владимир Анатольевич | Agraffe for suturing tissues |
| JP2672713B2 (en)* | 1993-03-02 | 1997-11-05 | ホロビーム インコーポレイティド | Surgical equipment |
| US7407075B2 (en)* | 2005-08-15 | 2008-08-05 | Tyco Healthcare Group Lp | Staple cartridge having multiple staple sizes for a surgical stapling instrument |
| US7500979B2 (en)* | 2005-08-31 | 2009-03-10 | Ethicon Endo-Surgery, Inc. | Surgical stapling device with multiple stacked actuator wedge cams for driving staple drivers |
| US7506791B2 (en)* | 2006-09-29 | 2009-03-24 | Ethicon Endo-Surgery, Inc. | Surgical stapling instrument with mechanical mechanism for limiting maximum tissue compression |
| US10130359B2 (en)* | 2006-09-29 | 2018-11-20 | Ethicon Llc | Method for forming a staple |
| US20080169333A1 (en)* | 2007-01-11 | 2008-07-17 | Shelton Frederick E | Surgical stapler end effector with tapered distal end |
| AU2011218702B2 (en)* | 2007-01-12 | 2013-06-06 | Ethicon Endo-Surgery, Inc | Adjustable compression staple and method for stapling with adjustable compression |
| US20090177201A1 (en)* | 2007-11-14 | 2009-07-09 | Michael Soltz | Staple with Multiple Cross Sectional Shapes |
| JP5632621B2 (en)* | 2010-02-26 | 2014-11-26 | マニー株式会社 | Medical stapler and magazine |
| CA2809613C (en)* | 2012-04-09 | 2019-11-12 | Covidien Lp | Surgical fastener applying apparatus |
| US20150173749A1 (en)* | 2013-12-23 | 2015-06-25 | Ethicon Endo-Surgery, Inc. | Surgical staples and staple cartridges |
| Publication number | Publication date |
|---|---|
| JP2018529413A (en) | 2018-10-11 |
| BR112018003700B1 (en) | 2023-04-25 |
| CN108135596B (en) | 2021-06-15 |
| CN108135596A (en) | 2018-06-08 |
| MX2018002386A (en) | 2018-08-01 |
| RU2018110360A3 (en) | 2020-01-14 |
| RU2725594C2 (en) | 2020-07-02 |
| RU2018110360A (en) | 2019-09-26 |
| BR112018003700A2 (en) | 2018-09-25 |
| Publication | Publication Date | Title |
|---|---|---|
| JP6794432B2 (en) | Surgical staples with hardness changes to improve tissue fastening | |
| JP6828018B2 (en) | Surgical staple strips that allow you to change the characteristics of staples and facilitate filling into cartridges | |
| JP6858754B2 (en) | Staple cartridge assembly with various tissue compression gaps and staple molding gaps | |
| JP6824964B2 (en) | Staples including cover | |
| JP6840732B2 (en) | Surgical staples with features for improved tissue fastening | |
| JP6816116B2 (en) | Staple cartridge assembly with staple guides | |
| JP6790074B2 (en) | Staple cartridge assembly including staple alignment features on launch member | |
| JP6949826B2 (en) | Surgical staples to minimize staple rotation | |
| JP6869959B2 (en) | Staples configured to support implantable accessories | |
| JP6833820B2 (en) | Staple cartridge assembly without bottom cover | |
| JP6862423B2 (en) | Surgical staple configurations for curved and circular stapled instruments | |
| JP6887990B2 (en) | Staple cartridge assembly containing features to control the rotation of the staples as they are ejected from the staple cartridge assembly | |
| JP6887989B2 (en) | Staple cartridge assembly with staple cavities to provide good staple guidance |
| Date | Code | Title | Description |
|---|---|---|---|
| A621 | Written request for application examination | Free format text:JAPANESE INTERMEDIATE CODE: A621 Effective date:20190809 | |
| A977 | Report on retrieval | Free format text:JAPANESE INTERMEDIATE CODE: A971007 Effective date:20200917 | |
| A131 | Notification of reasons for refusal | Free format text:JAPANESE INTERMEDIATE CODE: A131 Effective date:20200929 | |
| A521 | Request for written amendment filed | Free format text:JAPANESE INTERMEDIATE CODE: A523 Effective date:20201214 | |
| TRDD | Decision of grant or rejection written | ||
| A01 | Written decision to grant a patent or to grant a registration (utility model) | Free format text:JAPANESE INTERMEDIATE CODE: A01 Effective date:20210119 | |
| A61 | First payment of annual fees (during grant procedure) | Free format text:JAPANESE INTERMEDIATE CODE: A61 Effective date:20210217 | |
| R150 | Certificate of patent or registration of utility model | Ref document number:6840732 Country of ref document:JP Free format text:JAPANESE INTERMEDIATE CODE: R150 | |
| R250 | Receipt of annual fees | Free format text:JAPANESE INTERMEDIATE CODE: R250 | |
| R250 | Receipt of annual fees | Free format text:JAPANESE INTERMEDIATE CODE: R250 |