
















本発明は、情報処理装置及びプログラムに関する。 The present invention relates to an information processing device and a program.
事業者の財務会計作業を支援する会計管理システムが知られていた(例えば、特許文献1参照)。
[先行技術文献]
[特許文献]
[特許文献1]特開2012−146158号公報An accounting management system that supports financial accounting work of a business operator has been known (for example, refer to Patent Document 1).
[Prior Art Document]
[Patent Document]
[Patent Document 1] JP 2012-146158 A
会計管理システムによって管理されているデータを用いて事業者の支援を可能にする技術を提供することが望ましい。 It is desirable to provide a technology that enables the support of the business operator by using the data managed by the accounting management system.
本発明の第1の態様によれば、情報処理装置が提供される。情報処理装置は、事業者の会計に関する会計データを取得する会計データ取得部を備えてよい。情報処理装置は、会計データに基づいて、事業者の将来のキャッシュフローを示す将来CF情報を生成する将来CF情報生成部を備えてよい。 According to the first aspect of the present invention, an information processing device is provided. The information processing device may include an accounting data acquisition unit that acquires accounting data regarding accounting of the business operator. The information processing device may include a future CF information generation unit that generates future CF information indicating a future cash flow of the business operator based on the accounting data.
上記情報処理装置は、上記会計データに基づいて、上記事業者の過去のキャッシュフローを示す過去CF情報を生成する過去CF情報生成部をさらに備えてよく、上記将来CF情報生成部は、上記過去CF情報に基づいて上記将来CF情報を生成してよい。上記過去CF情報生成部は、上記会計データに含まれる預貯金に関連する勘定科目のデータを用いて、基準日の現預金残高を起点として異動明細を加減算していくことによって、予め定められた期間毎の現預金残高を示す過去CF情報を生成してよく、上記将来CF情報生成部は、上記過去CF情報に基づいて、将来の予め定められた期間毎の現預金残高を示す将来CF情報を生成してよい。 The information processing apparatus may further include a past CF information generation unit that generates past CF information indicating a past cash flow of the business operator based on the accounting data, and the future CF information generation unit may include the past CF information generation unit. The future CF information may be generated based on the CF information. The past CF information generation unit uses the data of the account items related to deposits and savings included in the above-mentioned accounting data, and adds and subtracts the transfer details from the cash balance of the base date as a starting point, thereby determining a predetermined period. The past CF information indicating the cash balance of each cash may be generated, and the future CF information generation unit generates the future CF information indicating the cash balance of each future predetermined period based on the past CF information. May be generated.
上記情報処理装置は、上記事業者の金融機関口座に対する入出金の履歴を含む金融機関データを取得する金融機関データ取得部をさらに備えてよく、上記将来CF情報生成部は、上記過去CF情報と上記金融機関データとの差異を用いて、上記将来CF情報を生成してよい。上記将来CF情報生成部は、上記会計データを分析することによって、売上高の発生パターン、仕入れの発生パターン、及び経費の発生パターンの少なくともいずれかを導出し、導出した発生パターンに基づいて上記将来CF情報を生成してよい。 The information processing apparatus may further include a financial institution data acquisition unit that acquires financial institution data including a history of deposits and withdrawals to and from a financial institution account of the business operator, and the future CF information generation unit may include the past CF information. The future CF information may be generated using the difference from the financial institution data. The future CF information generation unit derives at least one of a sales occurrence pattern, a purchase occurrence pattern, and an expense occurrence pattern by analyzing the accounting data, and based on the derived occurrence pattern, the future CF information may be generated.
上記将来CF情報生成部は、上記会計データに含まれる勘定科目のうち、将来の預貯金残高の増減に関する勘定科目のデータを用いて、上記将来CF情報を生成してよい。上記将来の預貯金残高の増減に関する勘定科目は、売上債権に関する勘定科目及び仕入債務に関する勘定科目の少なくともいずれかを含んでよい。上記将来の預貯金残高の増減に関する勘定科目は、売掛金、買掛金、前払金及び未払金の少なくともいずれかを含んでよい。 The future CF information generation unit may generate the future CF information by using the data of the account items regarding the future increase/decrease of the deposit/savings balance among the account items included in the accounting data. The account item relating to increase/decrease in the future deposit/savings balance may include at least one of an account item relating to trade receivables and an account item relating to trade payables. The account item relating to the increase/decrease in the future deposit/savings balance may include at least one of accounts receivable, accounts payable, prepayment and unpaid.
上記情報処理装置は、上記事業者による取引に関する取引データを取得する取引データ取得部をさらに備えてよく、上記将来CF情報生成部は、上記会計データ及び上記取引データに基づいて上記将来CF情報を生成してよい。上記取引データは、上記事業者による見積りに関する見積データと、上記事業者の受注に関する受注データとを含んでよく、上記情報処理装置は、上記見積データ及び上記受注データに基づいて、上記事業者の見積りに対する受注の確率を示す受注率を算出する受注率算出部をさらに備えてよく、上記将来CF情報生成部は、上記受注率を用いて上記将来CF情報を生成してよい。上記取引データは、上記事業者による請求に関する請求データと、上記事業者による見積に関する見積データとを含んでよく、上記情報処理装置は、上記請求データ及び上記見積データに基づいて、上記事業者の見積りに対する受注の確率を示す受注率を算出する受注率算出部をさらに備えてよく、上記将来CF情報生成部は、上記受注率を用いて上記将来CF情報を生成してよい。上記取引データは、上記事業者による請求に関する請求データを含んでよく、上記情報処理装置は、上記請求データに基づいて、上記事業者の、請求に対する入金の確率を示す請求入金率を算出する請求入金率算出部をさらに備えてよく、上記将来CF情報生成部は、上記請求入金率を用いて上記将来CF情報を生成してよい。 The information processing device may further include a transaction data acquisition unit that acquires transaction data regarding a transaction by the business operator, and the future CF information generation unit may obtain the future CF information based on the accounting data and the transaction data. May be generated. The transaction data may include quotation data regarding an estimate by the business operator and order data regarding an order received by the business operator, and the information processing device, based on the quotation data and the order data, the business operator An ordering rate calculation unit that calculates an ordering rate that indicates the probability of receiving an order with respect to the estimate may be further provided, and the future CF information generation unit may generate the future CF information using the ordering rate. The transaction data may include billing data relating to a bill made by the business operator and estimation data relating to a quotation made by the business operator. An ordering rate calculation unit that calculates an ordering rate that indicates the probability of receiving an order with respect to the estimate may be further provided, and the future CF information generation unit may generate the future CF information using the ordering rate. The transaction data may include billing data regarding a bill made by the business operator, and the information processing device calculates a billing deposit rate indicating a probability of depositing the bill of the business enterprise based on the billing data. A deposit rate calculation unit may be further provided, and the future CF information generation unit may generate the future CF information using the billed deposit rate.
上記情報処理装置は、上記取引データを用いて上記事業者の取引相手を特定し、上記取引相手による他事業者との取引に関する取引関係データを取得する取引関係データ取得部をさらに備えてよく、上記将来CF情報生成部は、上記取引関係データ取得部によって取得された上記取引関係データにさらに基づいて、上記将来CF情報を生成してよい。上記将来CF情報生成部は、上記取引関係データ取得部によって取得された上記取引関係データに基づいて上記取引相手による他事業者への入金状況を特定してよく、上記入金状況を用いて上記将来CF情報を生成してよい。上記将来CF情報生成部は、上記取引関係データ取得部によって取得された上記取引関係データに基づいて上記取引相手の取引相手を特定し、上記取引相手の取引相手の属性情報を用いて上記将来CF情報を生成してよい。 The information processing device may further include a transaction relationship data acquisition unit that identifies a transaction partner of the business operator using the transaction data, and acquires transaction relationship data related to a transaction by the business partner with another business operator, The future CF information generation unit may generate the future CF information based on the transaction relationship data acquired by the transaction relationship data acquisition unit. The future CF information generation unit may identify the payment status of the counterparty to another business operator based on the transaction relationship data acquired by the transaction relationship data acquisition unit, and the future status using the payment status. CF information may be generated. The future CF information generation unit identifies the trading partner of the trading partner based on the trading relationship data acquired by the trading relationship data acquisition unit, and uses the future CF by using the attribute information of the trading partner of the trading partner. Information may be generated.
上記情報処理装置は、上記事業者による融資申込金額を含む融資申込データを取得する申込データ取得部と、上記融資申込データ及び上記将来CF情報に基づいて、上記事業者の融資返済の蓋然性を判定する蓋然性判定部とをさらに備えてよい。 The information processing apparatus determines the probability of loan repayment by the business operator based on the application data acquisition unit that acquires loan application data including the loan application amount by the business operator, and the loan application data and the future CF information. It may further be provided with a probability determining unit.
本発明の第2の態様によれば、情報処理装置が提供される。情報処理装置は、事業者の会計に関する会計データを取得する会計データ取得部を備えてよい。情報処理装置は、事業者に対応する事業者群を特定する事業者群特定部を備えてよい。情報処理装置は、会計データと、事業者群特定部によって特定された事業者群のキャッシュフローの特徴を示す特徴データとに基づいて、事業者の融資返済の蓋然性を示す蓋然性情報を生成する情報生成部を備えてよい。 According to a second aspect of the present invention, an information processing device is provided. The information processing device may include an accounting data acquisition unit that acquires accounting data regarding accounting of the business operator. The information processing device may include a business entity group identification unit that identifies a business entity group corresponding to the business entity. The information processing apparatus generates probability information indicating the probability of loan repayment by the business operator based on the accounting data and the characteristic data indicating the cash flow characteristics of the business operator group identified by the business entity group specification unit. A generator may be included.
上記蓋然性情報は、上記事業者の将来のキャッシュフローを示す将来CF情報であってよい。上記蓋然性情報は、上記事業者の融資返済の蓋然性を示すスコアであってよい。上記特徴データは、上記事業者群に含まれる複数の事業者の会計データを分析することによって生成されてよい。上記特徴データは、上記会計データを分析することによって導出された売上高の発生パターン、仕入れの発生パターン、及び経費の発生パターンに基づいて生成されてよい。上記情報処理装置は、上記事業者による取引に関する取引データを取得する取引データ取得部をさらに備えてよく、上記情報生成部は、上記会計データ及び上記特徴データと、上記取引データとに基づいて、上記蓋然性情報を生成してよい。 The probability information may be future CF information indicating a future cash flow of the business operator. The probability information may be a score indicating the probability of loan repayment by the business operator. The characteristic data may be generated by analyzing accounting data of a plurality of businesses included in the business group. The characteristic data may be generated based on a sales generation pattern, a purchase generation pattern, and an expense generation pattern derived by analyzing the accounting data. The information processing device may further include a transaction data acquisition unit that acquires transaction data related to a transaction by the business operator, the information generation unit, based on the accounting data and the characteristic data, and the transaction data, The probability information may be generated.
本発明の第3の態様によれば、コンピュータを、上記情報処理装置として機能させるためのプログラムが提供される。 According to the third aspect of the present invention, there is provided a program for causing a computer to function as the information processing device.
なお、上記の発明の概要は、本発明の必要な特徴の全てを列挙したものではない。また、これらの特徴群のサブコンビネーションもまた、発明となりうる。 Note that the above summary of the invention does not enumerate all necessary features of the present invention. Further, a sub-combination of these feature groups can also be an invention.
以下、発明の実施の形態を通じて本発明を説明するが、以下の実施形態は特許請求の範囲にかかる発明を限定するものではない。また、実施形態の中で説明されている特徴の組み合わせの全てが発明の解決手段に必須であるとは限らない。 Hereinafter, the present invention will be described through embodiments of the invention, but the following embodiments do not limit the invention according to the claims. Moreover, not all combinations of the features described in the embodiments are essential to the solving means of the invention.
図1は、融資判定装置100の通信環境の一例を概略的に示す。融資判定装置100は情報処理装置の一例である。 FIG. 1 schematically shows an example of a communication environment of the
本実施形態に係る融資判定装置100は、事業者に対する融資の可否を判定する。融資判定装置100は、例えば、事業者の通信端末20から、融資申込金額、融資希望日、及び融資期間等を含む融資申込データを受信して、当該事業者に対する融資の可否を判定する。融資判定装置100が融資の可否を判定する対象となる事業者を対象事業者と記載する場合がある。 The
通信端末20は、通信機能を有していればどのような端末であってもよく、例えば、PC(Personal Computer)、タブレット端末、及びスマートフォン等の携帯電話等である。融資判定装置100は、ネットワーク10を介して通信端末20と通信する。ネットワーク10は、インターネットを含んでよい。ネットワーク10は、電話網を含んでよい。ネットワーク10は、専用網を含んでよい。 The
融資判定装置100は、事業者の融資返済の蓋然性を示す蓋然性情報を生成して、当該蓋然性情報に基づいて事業者に対する融資の可否を判定してよい。蓋然性情報は、例えば、事業者の将来のキャッシュフロー(CFと記載する場合がある。)を示す将来CF情報である。また、蓋然性情報は、例えば、事業者の融資返済の蓋然性を示すスコアである。スコアは、事業者の融資返済の蓋然性の度合いを示すものであればどのようなものであってもよい。 The
融資判定装置100は、例えば、対象事業者の会計に関する会計データを用いて蓋然性情報を生成する。融資判定装置100は、複数の事業者の会計データを管理する会計データ管理装置210から、ネットワーク10を介して対象事業者の会計データを受信してよい。 The
会計データ管理装置210は、いわゆる会計ソフトウエア及びいわゆるクラウド型会計ソフトウエア並びにその関連ソフトウエアを用いて、事業者及び会計事務所等によって入力された会計データを管理してよい。会計データ管理装置210は、会計ソフトウエア、クラウド型会計ソフトウエア及びその関連ソフトウエアを介さずに、事業者及び会計事務所等から提供された会計データを管理してもよい。 The accounting
融資判定装置100は、自らが複数の事業者の会計データを管理してもよい。すなわち、融資判定装置100は、会計データ管理装置210の機能を有してもよい。 The
融資判定装置100は、例えば、対象事業者による取引に関する取引データを用いて蓋然性情報を生成する。融資判定装置100は、複数の事業者の取引データを管理する取引データ管理装置220から、ネットワーク10を介して対象事業者の取引データを受信してよい。 The
取引データ管理装置220は、いわゆる販売管理ソフトウエア及びいわゆるクラウド型販売管理ソフトウエア、並びにその関連ソフトウエアを用いて事業者及び会計事務所等によって入力された取引データを管理してよい。取引データ管理装置220は、会計ソフトウエア及びクラウド型会計ソフトウエア、並びにその関連ソフトウエアを用いて事業者及び会計事務所等によって入力された取引データを管理してもよい。取引データ管理装置220は、販売管理ソフトウエア、クラウド型販売管理ソフトウエア、会計ソフトウエア、クラウド型会計ソフトウエア及びその関連ソフトウエアを介さずに、事業者及び会計事務所等から提供された取引データを管理してもよい。 The transaction
融資判定装置100は、自らが複数の事業者の取引データを管理してもよい。すなわち融資判定装置100は、取引データ管理装置220の機能を有してもよい。 The
融資判定装置100は、例えば、対象事業者の金融機関口座に対する入出金の履歴を含む金融機関データを用いて蓋然性情報を生成する。金融機関口座とは、銀行及び信用金庫等の金融機関において管理される口座であってよい。融資判定装置100は、複数の事業者の金融機関データを管理する金融機関データ管理装置230から、ネットワーク10を介して対象事業者の金融機関データを受信してよい。 The
金融機関データ管理装置230は、複数の金融機関から、複数の事業者の金融機関データを受信して管理してよい。金融機関データ管理装置230は、複数の事業者のそれぞれから、金融機関による証明を受けている金融機関データを受信して管理してもよい。 The financial institution
融資判定装置100は、自らが複数の事業者の金融機関データを管理してもよい。すなわち融資判定装置100は、金融機関データ管理装置230の機能を有してもよい。 The
融資判定装置100は、例えば、第三者機関によって生成された対象事業者の信用情報データを用いて蓋然性情報を生成する。融資判定装置100は、複数の事業者の信用情報データを管理する信用情報管理装置240から、ネットワーク10を介して対象事業者の信用情報データを受信してよい。 The
信用情報管理装置240は、例えば、複数の事業者の信用情報データを生成して提供するサービスを実施する業者によって管理される。当該業者による信用情報データの生成法は任意の方法であってよい。 The credit
融資判定装置100は、自らが複数の事業者の信用情報データを管理してもよい。すなわち融資判定装置100は、信用情報管理装置240の機能を有してもよい。 The
融資判定装置100は、例えば、対象事業者に対応する事業者群のCFの特徴を示す特徴データを用いて蓋然性情報を生成する。融資判定装置100は、複数の事業者群の特徴データを管理する事業者群データ管理装置250から、ネットワーク10を介して対象事業者に対応する事業者群の特徴データを受信してよい。 The
事業者群とは、例えば、業種別の事業者のグループを示す。例えば、対象事業者が建築会社である場合、対象事業者に対応する事業者群は建築業であってよい。事業者群のCFの特徴は、例えば、建築業は3月に売り上げが向上する傾向にある等の業種毎のCFの変動の特徴であってよい。特徴データは、例えば、建築業の3月の売上を20%増にする等の、変動の内容を具体化したデータであってよい。 The group of businesses indicates, for example, a group of businesses by industry. For example, when the target company is a building company, the group of companies corresponding to the target company may be the building industry. The CF characteristic of the business group may be, for example, a characteristic of the CF variation for each type of industry such that sales tend to increase in the construction industry in March. The characteristic data may be, for example, data embodying the contents of a change such as increasing the sales of the construction industry by 20% in March.
なお、事業者群は、業種別の事業者のグループに限らず、他のグループを示してもよい。例えば、事業者群は、系列毎の事業者のグループであってもよい。また、事業者群は、事業者のグループ分けを担う担当者によって決定された事業者のグループであってもよい。 Note that the group of businesses is not limited to a group of businesses by industry, and may indicate other groups. For example, the business group may be a group of businesses for each series. Further, the business group may be a group of businesses determined by a person in charge of grouping the businesses.
事業者群データ管理装置250は、例えば、複数の事業者のそれぞれについて、各種データを分析することによって、特徴データを生成する。事業者群データ管理装置250は、例えば、複数の事業者の会計データを分析して、事業者群毎の特徴データを生成する。事業者群データ管理装置250は、独自に複数の事業者の会計データを収集してもよく、また、会計データ管理装置210から複数の事業者の会計データを受信してもよい。また、事業者群データ管理装置250は、特徴データの生成を担う担当者によって生成された特徴データを管理してもよい。 The business entity group
融資判定装置100は、自らが複数の事業者群の特徴データを管理してもよい。すなわち融資判定装置100は、事業者群データ管理装置250の機能を有してもよい。 The
融資判定装置100は、例えば、対象事業者の取引先による他事業者との取引に関する取引関係データを用いて蓋然性情報を生成する。取引関係データは、例えば、事業者間の回収実績及び支払実績等を含む。融資判定装置100は、複数の事業者間の取引関係データを管理する取引関係管理装置260から、ネットワーク10を介して、対象事業者の取引先の取引関係データを受信してよい。 The
取引関係管理装置260は、複数の事業者間の取引関係を管理する。そして、取引関係管理装置260は、複数の事業者のそれぞれについて、事業者とその取引先との取引に関する取引関係データを管理する。 The business
複数の事業者間の取引関係は、例えば、ある事業者と、その事業者と取引関係にある事業者との対応付けを含む。取引関係管理装置260が管理する取引関係によれば、ある事業者と取引関係にある事業者を特定可能であり、また、さらにその取引関係にある事業者と取引関係にある事業者を特定可能である。このように、取引関係管理装置260が管理する取引関係によれば、ある事業者に対して、連鎖的に取引関係にある事業者を特定することができる。 The business relationship between a plurality of businesses includes, for example, association of a business with a business having a business relationship with the business. According to the transaction relationship managed by the transaction
融資判定装置100は、自らが複数の事業者間の取引関係及び取引関係データを管理してもよい。すなわち融資判定装置100は、取引関係管理装置260の機能を有してもよい。 The
融資判定装置100は、上述した複数種類のデータを用いて蓋然性情報を生成してよい。融資判定装置100は、生成した蓋然性情報を用いて、対象事業者への融資の可否を判定してよい。このように、本実施形態に係る融資判定装置100によれば、複数種類のデータを用いて生成された蓋然性情報を用いて対象事業者への融資の可否が判定されるので、融資をしたものの回収できないような事態の発生確率を低減することができる。また、融資するか否かについて過度に厳しい基準を設ける必要をなくすことができ、本来であれば融資を受けられる事業者がなかなか融資を受けられないような事態の発生確率を低減することができる。 The
口座管理装置300は、複数の事業者の口座を管理する。口座管理装置300は、事業者からの要求に応じて、当該事業者用の口座を開設してよい。口座管理装置300は、例えば、1又は複数の銀行口座内において、複数の事業者の口座残高を管理する。具体例として、口座管理装置300は、N個の銀行口座内において、N事業者又はNより多い数の事業者の口座残高を管理する。口座管理装置300は、口座管理装置300の管理者名義の銀行口座内において、複数の事業者の口座残高を管理してよい。 The
事業者は、口座管理装置300によって管理されている口座に対して銀行口座から入金したり、口座管理装置300によって管理されている口座から銀行口座に出金したりすることができる。また、事業者は、他の事業者との取引における決済口座として、口座管理装置300が管理している口座を指定できる。すなわち、事業者は、口座管理装置300によって管理されている口座を通じて、取引の対価として支払いを受けることができ、また、支払いをすることができる。 The business operator can deposit money from a bank account to an account managed by the
口座管理装置300は、任意の取引プラットフォームと連携可能であってよく、口座管理装置300と任意の取引プラットフォームとの間では、取引内容を一意に特定することができる。口座管理装置300と任意の取引プラットフォームが連携する代わりに、口座管理装置300が取引プラットフォームを兼ねてもよい。 The
口座管理装置300は、例えば、口座を管理している事業者から、他の事業者への支払要求を受け付けた場合に、口座残高が不足していなければ支払処理を実行する。口座管理装置300は、口座残高が不足している場合、事業者への融資可否を判定して、融資可と判定した場合、融資額を口座残高に加算してよい。 For example, when the
口座管理装置300は、融資判定装置100と同様の手法を用いて、事業者の融資返済の蓋然性を示す蓋然性情報を生成し、当該蓋然性情報に基づいて事業者への融資の可否を判定してよい。例えば、口座管理装置300は、事業者から、不足分の金額に相当する融資申込金額を含む融資申込データを受信したときと同様に、当該事業者への融資の可否を判定する。 The
口座管理装置300は、不足分以上の融資金額を口座残高に加算した後、支払処理を実行してよい。また、口座管理装置300は、支払処理実行後、予め定められた返済ルールに従って、融資返済処理を実行してよい。例えば、口座管理装置300は、事業者の口座残高が融資金額よりも多い場合に、融資金額の全額を返済する融資返済処理を実行する。また、例えば、口座管理装置300は、事業者の口座残高が融資金額よりも少ない場合に、融資金額の一部を返済する融資返済処理を実行する。また、口座管理装置300は、支払処理実行後、事業者の口座残高が融資金額よりも少ない場合に、予め定められた金利ルールに従って、金利支払処理を実行してよい。 The
このように、口座管理装置300は複数の事業者の口座を管理し、事業者から他の事業者への支払要求を受け付けたときに、口座残高が不足している場合には、当該事業者への融資の可否を自動的に判定して、融資処理を実行する。これにより、従来よりも少ない手順で、事業者が融資を受けて取引を行うことができる仕組みを提供できる。 In this way, the
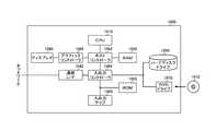
図2は、過去CF情報182及び将来CF情報184の一例を概略的に示す。ここでは、融資判定装置100による過去CF情報182及び将来CF情報184の生成処理の流れの一例を説明する。 FIG. 2 schematically shows an example of
融資判定装置100は、対象事業者の会計データに含まれる預貯金に関連する勘定科目のデータを用いて、対象事業者の過去のキャッシュフローを示す過去CF情報182を生成する。融資判定装置100は、過去CF情報182と対象事業者の金融機関データとを比較して、不整合がある場合には、金融機関データに合わせて過去CF情報を補正してよい。 The
融資判定装置100は、過去CF情報182に基づいて将来CF情報184を生成する。融資判定装置100は、例えば、複数年分の過去CF情報182から1年分の将来CF情報184を生成する。融資判定装置100は、複数年分の過去CF情報182を平均化したり、複数年分の過去CF情報182から予測したりすることによって、将来CF情報184を生成してよい。融資判定装置100は、例えば、過去CF情報182における売上高の発生パターン、仕入れの発生パターン、及び経費の発生パターン等を導出して、これらを用いて将来CF情報184を生成してよい。 The
融資判定装置100は、会計データに含まれる勘定科目のうち、将来の預貯金残高の増減に関する勘定科目のデータをさらに用いて将来CF情報184を生成してよい。融資判定装置100は、例えば、売上債権に関する勘定科目及び仕入債務に関する勘定科目を用いて、将来CF情報184を生成する。 The
融資判定装置100は、対象事業者の取引データを用いて将来CF情報184を補正してよい。融資判定装置100は、例えば、取引データに含まれる見積データ及び受注データを用いて将来CF情報184を補正する。融資判定装置100は、見積データ及び受注データから、対象事業者の、見積りに対する受注の確率を示す受注率を算出し、当該受注率を用いて将来CF情報184を補正してよい。また、融資判定装置100は、例えば、取引データに含まれる請求データ及び見積データを用いて将来CF情報184を補正する。融資判定装置100は、請求データ及び見積データから、対象事業者の、見積りに対する受注の確率を示す受注率を算出し、当該受注率を用いて将来CF情報184を補正してよい。また、融資判定装置100は、請求データに基づいて、対象事業者の、請求に対する入金の確率を示す請求入金率を算出し、当該請求入金率を用いて将来CF情報184を補正してよい。 The
融資判定装置100は、対象事業者の取引相手を特定し、取引相手による他事業者との取引に関する取引関係データを用いて、将来CF情報184を補正してよい。融資判定装置100は、例えば、取引相手による他事業者への入金状況を用いて将来CF情報184を補正する。また、融資判定装置100は、例えば、取引相手の取引相手の属性情報を用いて将来CF情報184を補正する。属性情報とは、事業者の規模及び事業者の信用度等である。 The
融資判定装置100は、対象事業者に対応する事業者群の特徴データを用いて将来CF情報184を補正してよい。融資判定装置100は、例えば、特徴データが示す売上高の発生パターン、仕入れの発生パターン、及び経費の発生パターン等を用いて将来CF情報184を補正する。 The
上述したように、融資判定装置100は、複数種類のデータを用いて将来CF情報184を生成する。なお、複数種類のデータを用いて将来CF情報184を生成するとは、上述したように、複数種類のデータの一部を用いて将来CF情報184を生成し、生成した将来CF情報184を複数種類のデータの他のデータを用いて補正することによって、最終的な将来CF情報184を生成することを含む。 As described above, the
融資判定装置100は、例えば、対象事業者から受信した融資申込データから融資の返済予定を作成し、将来CF情報184によって当該返済予定が実現可能か否かを判定することによって、融資の可否を判定してよい。融資判定装置100は、信用情報データをさらに用いて融資の可否を判定してもよい。また、融資判定装置100は、対象事業者に対する融資の履歴をさらに用いて融資の可否を判定してもよい。 The
図3は、融資申込データのデータ項目22の一例を概略的に示す。図3では、各データ項目22のデータ値の例もともに示す。 FIG. 3 schematically shows an example of the
融資申込データは、対象者を識別するための対象者IDを含んでよい。融資申込データは、対象者の名称を含む対象者情報を含んでよい。融資申込データは、融資申込額を含んでよい。融資申込データは、融資希望日を含んでよい。融資申込データは、融資期間を含んでよい。融資申込データは、これら以外のデータ項目を含んでもよい。 The loan application data may include a target person ID for identifying the target person. The loan application data may include subject information including the name of the subject. The loan application data may include a loan application amount. The loan application data may include a desired loan date. The loan application data may include a loan period. The loan application data may include data items other than these.
図4は、会計データに含まれる仕訳データのデータ項目212の一例を概略的に示す。図4では、各データ項目212のデータ値の例もともに示す。 FIG. 4 schematically shows an example of the
仕訳データは、仕訳データを識別するためのデータIDを含んでよい。仕訳データは、取引日付を含んでよい。仕訳データは、借方/貸方区分を含んでよい。仕訳データは、勘定科目を含んでよい。仕訳データは、金額を含んでよい。仕訳データは、これら以外のデータ項目を含んでもよい。 The journal data may include a data ID for identifying the journal data. The journal data may include the transaction date. The journal data may include a debit/credit classification. The journal data may include account items. The journal data may include the amount of money. The journal data may include data items other than these.
図5は、会計データに含まれる残高データのデータ項目214一例を概略的に示す。図5では、各データ項目214のデータ値の例もともに示す。 FIG. 5 schematically shows an example of the
残高データは、残高データを識別するためのデータIDを含んでよい。残高データは、残高日付を含んでよい。残高データは、借方/貸方区分を含んでよい。残高データは、勘定科目を含んでよい。残高データは、金額を含んでよい。残高データは、これら以外のデータ項目を含んでもよい。 The balance data may include a data ID for identifying the balance data. The balance data may include balance dates. The balance data may include a debit/credit classification. The balance data may include account items. The balance data may include an amount of money. The balance data may include data items other than these.
図6は、取引データに含まれる請求データのデータ項目222の一例を概略的に示す。図6では、各データ項目222のデータ値の例もともに示す。 FIG. 6 schematically shows an example of the
請求データは、請求データを識別するためのデータIDを含んでよい。請求データは、取引日付を含んでよい。請求データは、請求先の名称を含む請求先情報を含んでよい。請求データは、請求内容を含んでよい。請求データは、金額を含んでよい。請求データは、これら以外のデータ項目を含んでもよい。 The billing data may include a data ID for identifying the billing data. Billing data may include a transaction date. The billing data may include billing address information including the name of the billing address. The billing data may include billing content. The billing data may include an amount of money. The billing data may include data items other than these.
図7は、取引データに含まれる見積データのデータ項目224の一例を概略的に示す。図7では、各データ項目224のデータ値の一例もともに示す。 FIG. 7 schematically shows an example of the
見積データは、見積データを識別するためのデータIDを含んでよい。見積データは、見積日付を含んでよい。見積データは、見積先の名称を含む見積先情報を含んでよい。見積データは、見積内容を含んでよい。見積データは、金額を含んでよい。見積データは、これら以外のデータ項目を含んでもよい。 The estimate data may include a data ID for identifying the estimate data. The quotation data may include a quotation date. The quotation data may include quotationee information including the name of the quotationee. The estimated data may include estimated contents. The estimate data may include the amount of money. The estimation data may include data items other than these.
図8は、金融機関データのデータ項目232の一例を概略的に示す。図8は、各データ項目232のデータ値の一例もともに示す。 FIG. 8 schematically shows an example of the
金融機関データは、口座を識別する口座IDを含んでよい。金融機関データは、残高日付を含んでよい。金融機関データは、入金/出金区分を含んでよい。金融機関データは、金額を含んでよい。金融機関データは、これら以外のデータ項目を含んでもよい。 The financial institution data may include an account ID that identifies the account. The financial institution data may include balance dates. The financial institution data may include deposit/withdrawal classification. The financial institution data may include monetary amounts. The financial institution data may include data items other than these.
図9は、信用情報データのデータ項目242の一例を概略的に示す。図9は、各データ項目242のデータ値の例もともに示す。 FIG. 9 schematically shows an example of the
信用情報データは、信用情報データを識別するためのデータIDを含んでよい。信用情報データは、対象者の名称を含む対象者情報を含んでよい。信用情報データは、対象者の信用度を示す評点を含んでよい。信用情報データは、これら以外のデータ項目を含んでもよい。 The credit information data may include a data ID for identifying the credit information data. The credit information data may include subject information including the name of the subject. The credit information data may include a score indicating the creditworthiness of the target person. The credit information data may include data items other than these.
図10は、過去履歴データのデータ項目170の一例を概略的に示す。図10は、各データ項目170のデータ値の例もともに示す。 FIG. 10 schematically shows an example of the
過去履歴データは、対象者を識別するための対象者IDを含んでよい。過去履歴データは、対象者の名称を含む対象者情報を含んでよい。過去履歴データは、融資金額を含んでよい。過去履歴データは、融資日を含んでよい。過去履歴データは、返済履歴を含んでよい。過去履歴データは、これら以外のデータ項目を含んでもよい。 The past history data may include a subject ID for identifying the subject. The past history data may include subject information including the name of the subject. The past history data may include a loan amount. The past history data may include a loan date. The past history data may include a repayment history. The past history data may include data items other than these.
図11は、事業者群の特徴データのデータ項目252の一例を概略的に示す。図11は、各データ項目252のデータ値の例もともに示す。 FIG. 11 schematically shows an example of the
特徴データは、事業者群の業種を識別する業種IDを含んでよい。特徴データは、補正する対象の期間を示す補正期間を含んでよい。特徴データは、補正する対象の項目を示す補正対象を含んでよい。特徴データは、補正の内容を示す補正情報を含んでよい。図11に示すデータ値は、業種IDが00001の事業者群について、3月の売上高を20%増加させる例を示す。特徴データは、これら以外のデータ項目を含んでもよい。 The feature data may include a business type ID that identifies the business type of the business group. The characteristic data may include a correction period indicating a period to be corrected. The characteristic data may include a correction target indicating an item to be corrected. The characteristic data may include correction information indicating the content of correction. The data value shown in FIG. 11 shows an example in which the sales in March are increased by 20% for the group of businesses whose business type ID is 00001. The characteristic data may include data items other than these.
図12は、取引関係データのデータ項目262の一例を概略的に示す。図12は、各データ項目262のデータ値の一例もともに示す。 FIG. 12 schematically shows an example of the
取引関係データは、事業者を識別する事業者IDを含んでよい。取引関係データは、事業者名を含んでよい。取引関係データは、事業者IDによって識別される事業者の取引先の事業者IDである取引先事業者IDを含んでよい。取引関係データは、取引先事業者名を含んでよい。取引関係データは、事業者IDによって識別される事業者による取引先事業者IDによって識別される事業者に対する回収履歴を含んでよい。回収履歴は、例えば、事業者IDによって識別される事業者による、取引先事業者IDによって識別される事業者に対する請求回数と、請求金額の回収数との割合である。取引関係データは、これら以外のデータ項目を含んでもよい。 The transaction-related data may include a business ID that identifies the business. The transaction-related data may include a business name. The transaction-related data may include a supplier business ID that is a business ID of a business partner of the business identified by the business ID. The transaction-related data may include a business partner name. The transaction-related data may include a collection history by the business operator identified by the business operator ID for the business operator identified by the business partner business operator ID. The collection history is, for example, a ratio of the number of times the business operator identified by the business operator ID charges the business operator identified by the business partner business ID and the number of collections of the billed amount. The transaction-related data may include data items other than these.
図13は、融資判定装置100による処理の流れの一例を概略的に示す。ここでは、融資判定装置100が、通信端末20から融資申込データを取得して、当該融資申込データに対する結果を通信端末20に通知するまでの流れの一例を説明する。図13に示す各処理は、融資判定装置100が備える制御部が主体となって実行される。 FIG. 13 schematically shows an example of the flow of processing by the
ステップ(ステップをSと省略して記載する場合がある。)1302では、融資を希望する事業者が通信端末20によって送信した融資申込データを取得する。S1304では、対象事業者の会計データを取得する。S1306では、会計データに基づいて過去CF情報を生成する。 In step (step may be abbreviated as S) 1302, the loan application data transmitted by the
S1308では、各種データを取得する。融資判定装置100は、対象事業者の取引データ、金融機関データ、信用情報データ、及び過去履歴データと、対象事業者に対応する事業者群の特徴データと、対象事業者の取引先の取引関係データとのうちの少なくともいずれかを取得する。S1310では、S1306において生成した過去CF情報と、S1308において取得した各種データとを用いて将来CF情報を生成する。 In S1308, various data are acquired. The
S1312では、S1310において生成した将来CF情報に基づいて、対象事業者に対する融資可否を判定する。融資可と判定した場合、S1314に進み、融資否と判定した場合、S1316に進む。 In S1312, it is determined whether or not the loan to the target business operator is possible based on the future CF information generated in S1310. When it is determined that the loan is possible, the process proceeds to S1314, and when it is determined that the loan is not permitted, the process proceeds to S1316.
S1314では、融資判定装置100が、対象事業者に対して融資手続を開始する。融資判定装置100は、例えば、S1302において取得した融資申込データに対して、融資可であることを通知する内容と、融資に必要となる情報を要求する内容とを含む融資手続データを通信端末20に送信する。融資手続データに含まれる融資に必要となる情報は、通常の融資申込に必要な情報よりも少ない情報であってよい。 In S1314,
S1316では、対象事業者に対して融資否である旨を通知する。融資判定装置100は、例えば、S1302において取得した融資申込データに対して、融資否であること通知する通知データを通信端末20に送信する。 In S1316, the target business operator is notified that the loan is denied. The
図14は、融資判定装置100による処理の流れの他の一例を概略的に示す。ここでは、図13に示す例に対して、融資判定装置100が会計データを用いずに処理を実行する場合の流れを説明する。ここでは、図13に示す処理の流れと異なる点を主に説明する。 FIG. 14 schematically shows another example of the flow of processing by the
S1402では、通信端末20によって送信された融資申込データを取得する。S1404では、対象事業者の取引データを取得する。S1406では、対象事業者の金融機関データを取得する。 In S1402, the loan application data transmitted by the
S1408では、S1406において取得した金融機関データを用いて、過去CF情報を生成する。S1410では、各種データを取得する。融資判定装置100は、対象事業者の信用情報データ及び過去履歴データと、対象事業者に対応する事業者群の特徴データと、対象事業者の取引先の取引関係データとのうちの少なくともいずれかを取得する。S1412では、S1408において生成した過去CF情報と、S1410において取得した各種データとを用いて将来CF情報を生成する。 In S1408, the past CF information is generated using the financial institution data acquired in S1406. In S1410, various data are acquired. The
S1414では、S1412において生成した将来CF情報に基づいて、対象事業者に対する融資可否を判定する。融資可と判定した場合、S1416に進み、融資否と判定した場合、S1418に進む。S1416では、対象事業者に対して融資手続を開始する。S1418では、対象事業者に対して融資否である旨を通知する。 In S1414, it is determined whether or not the loan can be made to the target business operator based on the future CF information generated in S1412. When it is determined that the loan is possible, the process proceeds to S1416, and when it is determined that the loan is not permitted, the process proceeds to S1418. In S1416, the financing procedure is started for the target business operator. In S1418, the target business operator is notified that the loan is denied.
図15は、融資判定装置100の機能構成の一例を概略的に示す。融資判定装置100は、申込データ取得部102、会計データ取得部104、金融機関データ取得部106、取引データ取得部108、受注率算出部110、請求入金率算出部112、取引関係データ取得部114、事業者群特定部116、特徴データ取得部118、過去CF情報生成部120、蓋然性情報生成部130、要求データ送信部142、融資可否判定部144、信用度取得部146、融資処理実行部148、融資後管理部150、返済情報生成部152、及び返済情報送信部154を備える。なお、融資判定装置100がこれらのすべての構成を備えることは必須とは限らない。 FIG. 15 schematically shows an example of the functional configuration of the
申込データ取得部102は、融資申込データを取得する。申込データ取得部102は、通信端末20から融資申込データを受信してよい。申込データ取得部102は、通信端末20から受信して格納していた融資申込データを読み出してもよい。 The application
会計データ取得部104は、対象事業者の会計データを取得する。会計データ取得部104は、例えば、申込データ取得部102が取得した融資申込データによって対象事業者を特定し、当該対象事業者の会計データを会計データ管理装置210に要求して、会計データ管理装置210から会計データを受信する。また、融資判定装置100が複数の事業者の会計データを管理している場合、会計データ取得部104は、管理下の会計データから対象事業者の会計データを読み出してよい。また、会計データ取得部104は、融資申込データを送信した通信端末20から会計データを受信してもよい。 The accounting
金融機関データ取得部106は、対象事業者の金融機関データを取得する。金融機関データ取得部106は、例えば、申込データ取得部102が取得した融資申込データによって対象事業者を特定し、当該対象事業者の金融機関データを金融機関データ管理装置230に要求して、金融機関データ管理装置230から金融機関データを受信する。また、融資判定装置100が複数の事業者の金融機関データを管理している場合、金融機関データ取得部106は、管理下の金融機関データから対象事業者の金融機関データを読み出してよい。また、金融機関データ取得部106は、融資申込データを送信した通信端末20から、金融機関による証明を受けている金融機関データを受信してもよい。 The financial institution
取引データ取得部108は、対象事業者の取引データを取得する。取引データ取得部108は、例えば、申込データ取得部102が取得した融資申込データによって対象事業者を特定し、当該対象事業者の取引データを取引データ管理装置220に要求して、取引データ管理装置220から取引データを受信する。また、融資判定装置100が複数の事業者の取引データを管理している場合、取引データ取得部108は、管理下の取引データから対象事業者の取引データを読み出してよい。また、取引データ取得部108は、融資申込データを送信した通信端末20から、取引データを受信してもよい。取引データ取得部108は、取引データとして、見積データを取得してよい。また、取引データ取得部108は、取引データとして、請求データを取得してよい。また、取引データ取得部108は、取引データとして、受注データを取得してもよい。受注データは、他の事業者等から受注したことを示すデータであってよい。例えば、受注データは、見積データが示す見積りに対して受注したことを示す。受注データは、受注データを識別するためのデータIDを含んでよい。受注データは、受注日付を含んでよい。受注データは、発注元の名称を含む発注元情報を含んでよい。受注データは、受注内容を含んでよい。受注データは、金額を含んでよい。受注データは、これら以外のデータ項目を含んでもよい。 The transaction data acquisition unit 108 acquires transaction data of the target business operator. The transaction data acquisition unit 108, for example, identifies the target business operator based on the loan application data acquired by the application
受注率算出部110は、取引データ取得部108が取得した取引データに基づいて、対象事業者の受注率を算出する。受注率算出部110は、取引データに含まれる見積データ及び受注データを用いて受注率を算出してよい。例えば、受注率算出部110は、見積りの回数を、見積りに対応する受注の回数で除算することによって受注率を算出する。受注率算出部110は、取引データに含まれる見積データ及び請求データを用いて受注率を算出してもよい。例えば、受注率算出部110は、見積りの回数を、見積りに対応する請求の回数で除算することによって受注率を算出する。受注率算出部110は、例えば、見積データに対応する受注データがない場合に、見積データ及び請求データを用いて受注率を算出してよい。 The order acceptance
取引データは、見積りと受注の対応関係を含んでよく、受注率算出部110は、当該対応関係を参照することによって、見積りに対応する受注の回数を特定してよい。取引データが見積りと受注の対応関係を含まない場合、受注率算出部110は、見積データ中の見積日付と受注データ中の受注日付との関係と、見積データ中の見積先、見積内容、及び金額と、受注データ中の発注元、受注内容、及び金額との一致とを確認することによって、見積りに対応する受注を特定してよい。取引データは、見積りと請求の対応関係を含んでよく、受注率算出部110は、当該対応関係を参照することによって、見積りに対応する請求の回数を特定してよい。取引データが見積りと請求の対応関係を含まない場合、受注率算出部110は、見積データ中の見積日付と請求データ中の請求日付との関係と、見積データ中の見積先、見積内容、及び金額と、請求データ中の請求先、請求内容、及び金額との一致とを確認することによって、見積りに対応する請求を特定してよい。 The transaction data may include a correspondence relationship between an estimate and an order, and the order
請求入金率算出部112は、取引データ取得部108が取得した取引データに基づいて、対象事業者の請求入金率を算出する。請求入金率算出部112は、取引データに含まれる請求データを用いて請求入金率を算出してよい。例えば、請求入金率算出部112は、請求の回数を、入金が行われた請求の回数で除算することによって請求入金率を算出する。 The billing deposit
請求データは、入金が行われたか否かの情報を含んでよく、請求入金率算出部112は、当該情報を参照することによって入金が行われた請求の回数を特定してよい。請求データが当該情報を含まない場合、請求入金率算出部112は、例えば、金融機関データ取得部106が取得した金融機関データを参照することによって、請求に対して入金が行われたか否かを特定してよい。 The billing data may include information as to whether or not a deposit has been made, and the billing/payment
取引関係データ取得部114は、対象事業者の取引相手の取引関係データを取得する。取引関係データ取得部114は、取引データ取得部108が取得した取引データを用いて対象事業者の取引相手を特定し、特定した取引相手の取引関係データを取引関係管理装置260に要求して、取引関係管理装置260から取引関係データを受信してよい。また、融資判定装置100が複数の事業者間の取引関係及び取引関係データを管理している場合、取引関係データ取得部114は、管理下の取引関係データから、対象事業者の取引相手の取引関係データを読み出してよい。 The transaction-related
事業者群特定部116は、対象事業者に対応する事業者群を特定する。事業者群特定部116は、例えば、複数の事業者群が登録されているリストを参照して、当該リストに含まれる事業者群のうち、対象事業者に対応する事業者群を選択する。また、事業者群特定部116は、複数の事業者群のそれぞれに対応する事業者が登録されているリストを参照して、対象事業者に対応する事業者群を特定してもよい。 The business
事業者群特定部116は、対象事業者の業種情報及び規模情報等を用いて、対象事業者に対応する事業者群を特定してもよい。事業者群特定部116は、対象事業者の業種情報及び規模情報を、通信端末20から受信してよい。また、事業者群特定部116は、複数の事業者の業種情報及び規模情報を含む事業者情報を予め格納しておき、当該事業者情報から、対象事業者の業種情報及び規模情報を取得してもよい。 The business entity
特徴データ取得部118は、事業者群特定部116によって特定された事業者群の特徴データを取得する。特徴データ取得部118は、例えば、事業者群特定部116によって特定された事業者群の特徴データを事業者群データ管理装置250に要求して、事業者群データ管理装置250から特徴データを受信する。また、融資判定装置100が複数の事業者群の特徴データを管理している場合、特徴データ取得部118は、管理下の特徴データから、事業者群特定部116によって特定された事業者群の特徴データを読み出してよい。 The characteristic data acquisition unit 118 acquires the characteristic data of the business group identified by the business
過去CF情報生成部120は、対象事業者の過去CF情報を生成する。過去CF情報生成部120は、例えば、会計データ取得部104によって取得された会計データに基づいて、過去CF情報を生成する。過去CF情報生成部120は、会計データに含まれる預貯金に関連する勘定科目のデータを用いて、基準日の現預金残高を起点として異動明細を加減算していくことによって、予め定められた期間毎の現預金残高を示す過去CF情報を生成してよい。例えば、過去CF情報生成部120は、年頭の現預金残高を起点として、移動明細を加減算していくことによって、日毎、週毎又は月毎の現預金残高を示す過去CF情報を生成する。なお、ここでいう現預金残高は、現金と預貯金の合計を示すが、現金が0の場合も含んでよい。すなわち、現預金残高は、預貯金残高のみを示してもよい。 The past CF
過去CF情報生成部120は、金融機関データ取得部106によって取得された金融機関データに基づいて過去CF情報を生成してもよい。過去CF情報生成部120は、例えば、会計データ取得部104が会計データを取得できなかった場合に、金融機関データ取得部106が取得した金融機関データを用いて過去CF情報を生成する。過去CF情報生成部120は、例えば、基準日の現預金残高を起点として、金融機関データに含まれる入金及び出勤に基づいて異動明細を加減算していくことによって、予め定められた期間毎の現預金残高を示す過去CF情報を生成する。 The past CF
蓋然性情報生成部130は、対象事業者の融資返済の蓋然性を示す蓋然性情報を生成する。蓋然性情報生成部130は、将来CF情報生成部132、スコア生成部134、及び整合性確認部136を有する。なお、蓋然性情報生成部130がこれらのすべての構成を有することは必須とは限らない。 The probability
将来CF情報生成部132は、対象事業者の将来CF情報を生成する。将来CF情報生成部132は、会計データ、金融機関データ、取引データ、特徴データ、取引関係データ、過去CF情報、受注率、及び請求入金率を用いて将来CF情報を生成してよい。将来CF情報生成部132は、これらのすべてを用いて将来CF情報を生成してもよく、これらの一部を用いて将来CF情報を生成してもよい。 The future CF
将来CF情報生成部132は、例えば、過去CF情報に基づいて将来CF情報を生成する。将来CF情報生成部132は、複数年分の将来CF情報を平均化したり、複数年分の過去CF情報から予測したりすることによって、将来CF情報を生成してよい。将来CF情報生成部132は、例えば、過去CF情報における売上高の発生パターン、仕入れの発生パターン、及び経費の発生パターン等を導出して、これらの少なくとも1つを用いて将来CF情報を生成する。 The future CF
将来CF情報生成部132は、会計データに含まれる勘定科目のうち、将来の預貯金残高の増減に関する勘定科目のデータを用いて将来CF情報を生成してよい。例えば、融資判定装置100は、売上債権に関する勘定科目及び仕入債務に関する勘定科目を用いて、将来CF情報を生成する。 The future CF
具体例として、将来CF情報生成部132は、売掛金のデータを用いて将来CF情報を生成する。将来CF情報生成部132は、例えば、売掛金の回収予定日に現預金が増加するものとして、将来CF情報を生成する。 As a specific example, the future CF
また、将来CF情報生成部132は、買掛金のデータを用いて将来CF情報を生成してよい。将来CF情報生成部132は、例えば、買掛金の支払い予定日に現預金が減少するものとして、将来CF情報を生成する。 Further, the future CF
また、将来CF情報生成部132は、未払金のデータを用いて将来CF情報を生成してよい。将来CF情報生成部132は、例えば、未払金の支払い予定日に現預金が減少するものとして、将来CF情報を生成する。 Further, the future CF
また、将来CF情報生成部132は、前払金のデータを用いて将来CF情報を生成してよい。将来CF情報生成部132は、例えば、前払金のデータによって前払金があることが示されている場合、料金の支払い予定日に現預金が減少しないものとして、将来CF情報を生成する。具体例として、将来CF情報生成部132は、料金よりも前払金の方が多い場合、現預金が減少しないものとして将来CF情報を生成してよい。また、将来CF情報生成部132は、料金よりも前払金の方が少ない場合、現預金から、料金と前払金との差分が減少するものとして、将来CF情報を生成してよい。 Further, the future CF
将来CF情報生成部132は、見積データ及び受注率を用いて将来CF情報を生成してよい。例えば、将来CF情報生成部132は、複数の見積データのうち、受注率に見合う見積データについて、受注して入金されるものとして将来CF情報を生成する。例えば、見積りデータの数が5個であり、受注率が80%である場合、5個の見積データのうち4個について、受注して入金されるものとして将来CF情報を生成する。 The future CF
将来CF情報生成部132は、請求データ及び請求入金率を用いて将来CF情報を生成してよい。例えば、将来CF情報生成部132は、複数の請求データのうち、請求入金率に見合う請求データについて、入金されるものとして将来CF情報を生成する。例えば、請求データの数が20個であり、請求入金率が95%である場合、20個の見積データのうち19個について、入金されるものとして将来CF情報を生成する。 The future CF
将来CF情報生成部132は、見積データ、請求データ、受注率、及び請求入金率を用いて将来CF情報を生成してよい。例えば、将来CF情報生成部132は、複数の見積データのうち、受注率に見合う見積データについて、受注して請求するものとし、請求するものとした見積データのうち、請求入金率に見合う見積データについて、入金されるものとして将来CF情報を生成する。 The future CF
将来CF情報生成部132は、対象事業者の取引相手の取引関係データを用いて、将来CF情報を生成してよい。例えば、将来CF情報生成部132は、取引関係データを用いて、対象事業者の取引相手による他事業者への入金状況を特定し、当該入金状況を用いて将来CF情報を生成する。具体例として、将来CF情報生成部132は、対象事業者の請求データの請求先となっている取引相手の取引関係データを参照し、当該取引相手の他事業者への入金状況を特定し、特定した入金状況に応じて、請求データに対する入金がなされるか否かを判定する。例えば、当該取引相手の他事業者への入金率が予め定められた閾値より低い場合、請求データに対する入金がなされないものとして、将来CF情報を生成する。これにより、対象事業者の取引相手が、対象事業者に対して入金を行わない可能性を考慮して、将来CF情報を生成することができる。なお、将来CF情報生成部132は、取引相手の他事業者への入金率に加えて、入金の対象となる金額をさらに考慮して将来CF情報を生成してもよい。 The future CF
また、例えば、将来CF情報生成部132は、取引関係データを用いて、対象事業者の取引相手の取引相手を特定し、特定した取引相手の属性情報を用いて将来CF情報を生成する。具体例として、将来CF情報生成部132は、対象事業者の請求データの請求先となっている取引相手の取引関係データを参照し、当該取引相手の取引相手を特定し、特定した取引相手の属性情報に応じて、請求データに対する入金がなされるか否かを判定する。例えば、特定した取引相手の事業者規模及び信用度の少なくともいずれかと閾値とを比較し、閾値より低い場合、請求データに対する入金がなされないものとして将来CF情報を生成する。これにより、対象事業者の取引相手が、当該取引相手の取引相手から回収できない可能性を考慮して、将来CF情報を生成することができる。 Further, for example, the future CF
また、例えば、将来CF情報生成部132は、過去CF情報と金融機関データとの差異を用いて、将来CF情報を生成する。例えば、将来CF情報生成部132は、過去CF情報と金融機関データとの差異に基づいて過去CF情報を補正し、補正後の過去CF情報を用いて将来CF情報を生成する。将来CF情報生成部132は、例えば、過去CF情報と金融機関データとの差異について、金融機関データに近づけるように過去CF情報を補正してよい。 Further, for example, the future CF
スコア生成部134は、対象事業者の融資返済の蓋然性を示すスコアを生成する。スコア生成部134は、会計データ、金融機関データ、取引データ、特徴データ、取引関係データ、過去CF情報、受注率、及び請求入金率を用いてスコアを生成してよい。スコア生成部134は、これらのすべてを用いてスコアを生成してもよく、これらの一部を用いてスコアを生成してもよい。スコア生成部134は、任意の手法を用いてスコアを生成してよい。 The
整合性確認部136は、通信端末20から受信した融資申込データに対して、対象事業者への融資の可否を判定するにあたり、収集した各種データの整合性を確認する。例えば、整合性確認部136は、会計データ取得部104が取得した残高データと、金融機関データ取得部106が取得した金融機関データとの整合性を確認する。また、例えば、整合性確認部136は、取引データ取得部108が取得した請求データと、金融機関データ取得部106が取得した金融機関データ中の入金データとの整合性をチェックする。 The
整合性確認部136は、例えば、整合性を確認した結果、データの不整合を検出した場合、当該データを不正データと判定する。整合性確認部136は、整合の度合いに基づいて、各データについて、データの正当性の評点を生成してもよい。 For example, if the
整合性確認部136は、不正データと判定したデータを、要求データ送信部142に通知してよい。要求データ送信部142は、整合性確認部136によって不正データと判定されたデータについて、データの補正及びデータの追加提出依頼の少なくともいずれかを含む要求データを通信端末20に対して送信してよい。整合性確認部136は、要求データに対して、データの補正内容及び追加データを受け付けた場合、これらを用いてデータを補正してよい。 The
整合性確認部136は、データの正当性の評点が予め定められた閾値より低いデータを、要求データ送信部142に通知してよい。要求データ送信部142は、整合性確認部136によって、データの正当性の評点が予め定められた閾値より低いと判定されたデータについて、データの補正及びデータの追加提出依頼の少なくともいずれかを含む要求データを通信端末20に対して送信してよい。整合性確認部136は、要求データに対して、データの補正内容及び追加データを受け付けた場合、これらを用いてデータを補正してよい。 The
上述したように、整合性確認部136によって、対象事業者への融資可否を判定するにあたって収集したデータの整合性が確認されるので、例えば、不正申し込みを検知することができる。また、誤ったデータに基づいて、融資の可否を判定してしまうことを防止することができる。 As described above, since the
融資可否判定部144は、蓋然性情報生成部130によって生成された蓋然性情報を用いて、申込データ取得部102が取得した融資申込データに対する、対象事業者への融資可否を判定する。例えば、融資可否判定部144は、まず、融資申込データ中の融資申込金額、融資希望日、及び融資期間を用いて融資の返済予定を作成する。具体例としては、月毎の返済額を示す返済予定を作成する。 The loan approval/disapproval determination unit 144 uses the probability information generated by the probability
そして、融資可否判定部144は、将来CF情報生成部132によって生成された将来CF情報によって、当該返済予定が実現可能か否かを判定することによって、融資可否を判定する。例えば、融資可否判定部144は、将来CF情報が示す各月の現預金に対して、返済予定の月毎の返済額を減算していった場合に、現預金が不足しないかを判定する。 Then, the loan approval/disapproval determination unit 144 determines the loan approval/disapproval by determining whether or not the repayment schedule is feasible based on the future CF information generated by the future CF
信用度取得部146は、対象事業者の信用度を取得する。信用度取得部146は、例えば、対象事業者の信用情報データ中の評点を対象事業者の信用度として取得する。信用度取得部146は、対象事業者の信用情報データを信用情報管理装置240に要求して、信用情報管理装置240から信用情報データを受信してよい。また、融資判定装置100が複数の事業者の信用情報データを管理している場合、信用度取得部146は、管理下の信用情報データから対象事業者の信用情報データを読み出してよい。また、信用度取得部146は、金融機関による対象事業者の信用格付けを示す信用格付情報を、対象事業者の信用度として取得してもよい。信用度取得部146は、対象事業者の信用格付情報を金融機関に要求して、金融機関から信用格付情報を受信してよい。また、信用度取得部146は、複数の事業者の信用格付情報を金融機関から受信して格納しておき、格納している信用格付情報から対象事業者の信用格付情報を読み出してもよい。 The credit
信用度取得部146は、対象事業者の取引先の信用情報データを用いて、対象事業者の信用度を生成してもよい。例えば、信用度取得部146は、対象事業者の取引先の評点が予め定められた閾値より低い場合、対象事業者の評点を減点する。また、例えば、信用度取得部146は、対象事業者の取引先の評点が予め定められた閾値より高い場合、対象事業者の評点に加点する。また、信用度取得部146は、対象事業者の取引先の評点に応じた点数を対象事業者の評点に加算する。また、信用度取得部146は、対象事業者の取引先の信用格付情報を用いて、対象事業者の信用度を生成してもよい。例えば、信用度取得部146は、対象事業者の取引先の信用格付情報が予め定められた閾値より低い場合、対象事業者の信用度を減点する。また、例えば、信用度取得部146は、対象事業者の取引先の信用格付情報が予め定められた閾値より高い場合、対象事業者の信用度に加点する。また、信用度取得部146は、対象事業者の取引先の信用格付情報に応じた点数を対象事業者の信用度に加算する。 The
信用度取得部146は、対象事業者に対して、連鎖的に取引関係にある事業者の信用情報データを用いて、対象事業者の信用度を生成してもよい。例えば、信用度取得部146は、対象事業者の評点に対して、対象事業者に対して連鎖的に取引関係にある事業者の評点に重み付けをして加算する。重み付けとして、例えば、連鎖関係がより対象事業者から遠い事業者の評点の重みを低くしてよい。また、信用度取得部146は、対象事業者に対して、連鎖的に取引関係にある事業者の信用格付情報を用いて、対象事業者の信用度を生成してもよい。例えば、信用度取得部146は、対象事業者の信用度に対して、対象事業者に対して連鎖的に取引関係にある事業者の信用格付情報に対応する値に重み付けをして加算する。重み付けとして、例えば、連鎖関係がより対象事業者から遠い事業者の評点の重みを低くしてよい。 The
信用度取得部146は、インターネット上に存在する複数のデータを組み合わせることによって、対象事業者の信用度を生成してもよい。信用度取得部146は、例えば、対象事業者が運営するウェブサイトの更新頻度及びサイト訪問者数等の情報を用いて対象事業者の信用度を生成する。また、信用度取得部146は、第三者が運営するウェブサイト上の対象事業者が営む事業に関する評価を示す評価情報を用いて対象事業者の信用度を生成してよい。また、信用度取得部146は、対象事業者の代表者等、対象事業者に関連する者に関する情報を用いて対象事業者の信用度を生成してよい。例えば、信用度取得部146は、対象事業者の代表者のSNS(Social Networking Service)の情報を用いて対象事業者の信用度を生成する。 The
融資可否判定部144は、信用度取得部146によって生成された対象事業者の信用度を用いて、対象事業者に対する融資可否を判定してもよい。例えば、融資可否判定部144は、返済予定に対して、将来CF情報が示す現預金が多い場合であっても、対象事業者の信用度が低い場合には融資否と判定する。例えば、融資可否判定部144は、返済予定と将来CF情報が示す現預金との差額毎に、融資否と判定する信用度を対応付けて登録しておき、信用度取得部146によって生成された信用度が、差額に対応する信用度よりも低い場合には、融資否と判定する。 The loan approval/disapproval determination unit 144 may use the creditworthiness of the target business operator generated by the
また、例えば、融資可否判定部144は、返済予定に対して、将来CF情報が示す現預金が少ない場合であっても、対象事業者の信用度が高い場合には融資可と判定する。例えば、融資可否判定部144は、返済予定と将来CF情報が示す現預金との差額毎に、融資可と判定する信用度を対応付けて登録しておき、信用度取得部146によって生成された信用度が、差額に対応する信用度よりも高い場合には、融資可と判定する。 Further, for example, the loan approval/disapproval determination unit 144 determines that the loan is acceptable when the repayment schedule has a small amount of cash and deposits indicated by the CF information in the future, but the credit credibility of the target business operator is high. For example, the loan approval/disapproval determination unit 144 associates and registers the creditworthiness determined to be loanable for each difference between the repayment schedule and the cash and deposits indicated by the future CF information, and the creditworthiness generated by the
融資処理実行部148は、融資可否判定部144による判定結果に従って、融資処理を実行する。例えば、融資可否判定部144によって融資可と判定された場合、融資処理実行部148は、融資手続を開始する。融資処理実行部148は、対象事業者の通信端末20に対して、融資可である旨を通知する内容と、融資に必要となる情報を要求する内容とを含む融資手続データを通信端末20に送信してよい。また、例えば、融資可否判定部144によって融資可と判定された場合、融資処理実行部148は、対象事業者に対して融資オファーを行う。融資処理実行部148は、対象事業者の通信端末20に対して、融資可である旨を通知する内容と、融資に必要となる情報を要求する内容とを含む融資オファーデータを通信端末20に送信してよい。 The loan
融資処理実行部148は、融資可否判定部144によって融資否と判定された場合、対象事業者に対して融資否である旨を通知してよい。融資処理実行部148は、例えば、対象事業者の通信端末20に対して、融資否であることを通知する通知データを送信する。 When the loan approval/disapproval determination unit 144 determines that the loan is not permitted, the loan
融資後管理部150は、融資が行われた後に、対象事業者を管理する。融資後管理部150は、例えば、融資が行われた後、将来CF情報生成部132に対して、継続的に対象事業者の将来CF情報を生成させる。そして、融資後管理部150は、将来CF情報に基づいて、融資返済に支障が出る可能性があることが検知された場合、融資の回収を担当する担当者等にその旨を通知する。融資後管理部150は、例えば、新たに生成された将来CF情報の各月の現預金が、月毎の返済額より少ない場合に、融資返済に支障が出る可能性があると判定する。 The
融資後管理部150は、融資返済に支障が出る可能性があることが検知された場合に、対象事業者に送信するリマインドの時期を早める等の処理を実行してもよい。融資後管理部150は、貸金業法の趣旨を逸脱しない方法で、各種処理を実行する。 The
返済情報生成部152は、返済情報を生成する。返済情報は、例えば、融資の返済スケジュールである。返済情報生成部152は、将来CF情報を用いて、目的に応じた返済スケジュールを生成してよい。例えば、返済情報生成部152は、利益で返済する場合の返済スケジュール及び資金繰りで返済する場合の返済スケジュール等を生成する。 The repayment
返済情報生成部152は、融資可否判定部144によって融資可と判定された場合に、将来CF情報を用いて、融資の返済スケジュールを生成してよい。例えば、返済情報生成部152は、将来CF情報を参照して、現預金の額が他の月よりも多い月を特定し、当該月の返済額を他の月よりも多くした返済スケジュールを生成する。 The repayment
返済情報送信部154は、返済情報生成部152によって生成された返済情報を、対象事業者の通信端末20に送信してよい。これにより、対象事業者に対して、フレキシブルに返済スケジュールを提案することができる。 The repayment
返済情報生成部152は、融資可否判定部144によって融資否と判定された場合に、将来CF情報を用いて、融資可能な返済スケジュールを生成してよい。例えば、返済情報生成部152は、融資申込データの少なくとも一部を変更した返済スケジュールを生成する。 When the loan approval/disapproval determination unit 144 determines that the loan is not available, the repayment
例えば、返済情報生成部152は、将来CF情報を用いて、融資申込データに含まれる融資希望日を変更することによって融資可と判定できる場合には、融資日を変更した場合の返済スケジュールを生成する。具体例として、融資申込データに含まれる融資希望日が2017年4月であり、そのままでは融資否だが、融資日を2017年7月に変更することによって融資可となる場合、2017年7月を融資日とする返済スケジュールを生成する。 For example, the repayment
また、返済情報生成部152は、将来CF情報を用いて、融資申込データに含まれる融資期間を変更することによって融資可と判定できる場合には、融資期間を変更した返済スケジュールを生成する。具体例として、融資申込データに含まれる融資期間が6月であり、そのままでは融資否だが、融資期間を10月に変更することによって融資可となる場合、融資期間を10月とする返済スケジュールを生成する。 Further, the repayment
返済情報送信部154が返済情報を対象事業者の通信端末20に送信することによって、対象事業者に、融資申込データの条件を変更することによって融資が可能になることを伝えることができる。例えば、対象事業者の事業が農業の場合、融資金額を各月に均等に分配して返済していくことは難しいが、収穫期にまとめて返済することはできる場合がある等、対象事業者の事業によって、返済能力の特性が異なる。本実施形態に係る返済情報生成部152によれば、対象事業者の将来CF情報が示すキャッシュフローに適した返済スケジュールを生成できるので、対象事業者の状況に合わせてフレキシブルに返済スケジュールを提供することができる。 By the repayment
図16は、口座管理装置300の機能構成の一例を概略的に示す。口座管理装置300は、口座管理部302、データ取得部304、将来CF情報生成部306、支払要求取得部308、支払処理実行部310、融資可否判定部312、融資返済実行部314、金利処理実行部316、及び指示受信部318を備える。なお、口座管理装置300がこれらのすべての構成を備えることは必須とは限らない。 FIG. 16 schematically shows an example of the functional configuration of the
口座管理部302は、複数の事業者の口座残高を管理する。口座管理部302は、事業者からの要求に応じて、当該事業者用の口座を開設してよい。口座管理部302は、例えば、1又は複数の銀行口座内において、複数の事業者の口座を管理する。具体例として、口座管理部302は、N個の銀行口座内において、N事業者又はNより多い数の事業者の口座残高を管理する。口座管理部302は、例えば、口座管理装置300の管理者名義の銀行口座内において、複数の事業者の口座を管理する。 The
データ取得部304は、各種データを取得する。データ取得部304は、会計データ、金融機関データ、取引データ、特徴データ、取引関係データ、過去CF情報、受注率、及び請求入金率を取得してよい。データ取得部304は、これらの全てを取得してよく、これらの一部を取得してもよい。 The
将来CF情報生成部306は、データ取得部304が取得したデータを用いて、口座を管理している事業者の将来CF情報を生成する。将来CF情報生成部306は、会計データ及び取引データの少なくともいずれかに基づいて、当該事業者の将来CF情報を生成してよい。将来CF情報生成部306は、将来CF情報生成部132と同様の処理を実行することによって将来CF情報を生成してよい。 The future CF
支払要求取得部308は、口座を管理している事業者から、取引先への支払要求を取得する。支払要求は、例えば、支払先の口座番号及び支払額を含む。支払要求取得部308は、例えば、通信端末20によって送信された支払要求を受信する。支払要求を行った事業者を対象事業者と記載する場合がある。 The payment
支払処理実行部310は、支払要求取得部308が取得した支払要求に応じて支払処理を実行する。支払処理実行部310は、支払要求の支払額よりも、対象事業者の口座残高が多い場合、支払処理を実行してよい。支払処理実行部310は、例えば、支払要求の支払先の口座番号に対して支払額を送金する。支払処理実行部310は、支払要求の支払先の口座番号に対して支払額を送金する指示を、口座管理装置300のオペレータ等に提示してもよい。支払処理実行部310は、支払に伴って支払額を口座残高から減算する。支払処理実行部310は、支払要求の支払額よりも、対象事業者の口座残高が少ない場合、対象事業者への融資の可否を融資可否判定部312に判定させる。 The payment process execution unit 310 executes the payment process according to the payment request acquired by the payment
融資可否判定部312は、対象事業者への融資の可否を判定する。融資可否判定部312は、将来CF情報生成部306によって生成された対象事業者の将来CF情報に基づいて、対象事業者への融資の可否を判定してよい。融資可否判定部312は、融資可否判定部144と同様の処理を実行することによって融資可否を判定してよい。 The loan approval/
融資可否判定部312は、支払処理実行部310からの要求に応じて、対象事業者への融資の可否を判定してよい。例えば、融資可否判定部312は、支払要求の支払額と、対象事業者の口座残高との差分以上の融資金額を融資することの可否を判定する。 The loan approval/
融資可否判定部312は、例えば、支払要求の支払額と、対象事業者の口座残高との差額を融資することの可否を判定する。また、融資可否判定部312は、支払要求の支払額と、対象事業者の口座残高との差額に予め定められた金額を加算した額を融資することの可否を判定してもよい。予め定められた金額は、対象事業者の口座残高として最低限必要な金額として、口座管理装置300の管理者及び対象事業者等によって定められてよい。 The loan approval/
口座管理部302は、融資可否判定部312によって融資可と判定された場合、対象事業者の口座残高に融資金額を加算してよい。口座管理部302は、例えば、支払要求の支払額と対象事業者の口座残高との差額を、対象事業者の口座残高に加算する。また、口座管理部302は、例えば、支払要求の支払額と対象事業者の口座残高との差額に予め定められた金額を加算した額を対象事業者の口座残高に加算する。 The
融資可否判定部312は、口座を管理している事業者への融資の可否を定期的に判定してもよい。融資可否判定部312は、例えば、口座を管理している事業者への融資可能枠を定期的に判定する。融資可否判定部312は、融資可能額を口座管理部302に通知してよい。口座管理部302は、口座を管理している事業者に対して、融資可否判定部312によって判定された融資可能枠を提示してよい。これにより、事業者は、現時点において、どの程度の融資を受けることができるかを把握することができる。 The loan approval/
融資返済実行部314は、口座管理部302によって融資金額が口座残高に加算され、支払処理実行部310によって支払処理が実行された後、対象事業者の口座残高を監視する。そして、融資返済実行部314は、予め定められた条件に従って、口座残高からの返済処理を実行する。例えば、融資返済実行部314は、対象事業者の口座残高が融資金額よりも多い場合に、口座残高から融資金額を減算する。減算された融資金額は、融資の返済に充てられる。また、融資返済実行部314は、融資金額を段階的に返済すべく返済処理を実行してよい。例えば、融資返済実行部314は、対象事業者の口座残高が融資金額よりも少ない場合に、口座残高と予め定められた閾値との差分を口座残高から減算する。具体例として、融資金額が1,000であり、口座残高が500であり、予め定められた閾値が300である場合、融資返済実行部314は、口座残高と閾値との差分である200を口座残高から減算する。減算された金額は、融資の返済に充てられる。 The loan
金利処理実行部316は、口座管理部302によって融資金額が口座残高に加算され、支払処理実行部310によって支払処理が実行された後、対象事業者の口座残高を監視する。そして、金利処理実行部316は、対象事業者の口座残高が融資金額よりも少ない場合に、予め定められた金利ルールに従って決定した金利額を口座残高から減算してよい。減算された金利額は、融資金額に対する金利の支払いに充てられる。金利処理実行部316は、対象事業者の口座残高の多寡を問わず、予め定められたタイミングに従って、口座残高から金利額を減算する。例えば、金利額が50であり、対象事業者の口座残高が、300の貸出残があって−300の状態であっても、タイミングがきた場合、316は、50を減算して、口座残高を−350とする。なお、与信枠の範囲に収まっている限り、実際に返済されるのは、口座残高が予め定められた閾値を超えたときであってよい。 The interest rate
指示受信部318は、管理している口座に対する指示を事業者の通信端末20から受信する。指示受信部318は、例えば、管理している口座から、事業者によって指定された銀行口座への出金を行う。 The
図17は、融資判定装置100又は口座管理装置300として機能するコンピュータ1000のハードウエア構成の一例を概略的に示す。本実施形態に係るコンピュータ1000は、ホストコントローラ1092により相互に接続されるCPU1010、RAM1030、及びグラフィックコントローラ1085を有するCPU周辺部と、入出力コントローラ1094によりホストコントローラ1092に接続されるROM1020、通信I/F1040、ハードディスクドライブ1050、DVDドライブ1070及び入出力チップ1080を有する入出力部を備える。 FIG. 17 schematically shows an example of the hardware configuration of a
CPU1010は、ROM1020及びRAM1030に格納されたプログラムに基づいて動作し、各部の制御を行う。グラフィックコントローラ1085は、CPU1010などがRAM1030内に設けたフレーム・バッファ上に生成する画像データを取得し、ディスプレイ1090上に表示させる。これに代えて、グラフィックコントローラ1085は、CPU1010などが生成する画像データを格納するフレーム・バッファを、内部に含んでもよい。 The
通信I/F1040は、有線又は無線によりネットワークを介して他の装置と通信する。また、通信I/F1040は、通信を行うハードウエアとして機能する。ハードディスクドライブ1050は、CPU1010が使用するプログラム及びデータを格納する。DVDドライブ1070は、DVD−ROM1072からプログラム又はデータを読み取り、RAM1030を介してハードディスクドライブ1050に提供する。 The communication I/
ROM1020は、コンピュータ1000が起動時に実行するブート・プログラム及びコンピュータ1000のハードウエアに依存するプログラムなどを格納する。入出力チップ1080は、例えばパラレル・ポート、シリアル・ポート、キーボード・ポート、マウス・ポートなどを介して各種の入出力装置を入出力コントローラ1094へと接続する。 The
RAM1030を介してハードディスクドライブ1050に提供されるプログラムは、DVD−ROM1072、又はICカードなどの記録媒体に格納されて利用者によって提供される。プログラムは、記録媒体から読み出され、RAM1030を介してハードディスクドライブ1050にインストールされ、CPU1010において実行される。 The program provided to the
コンピュータ1000にインストールされ、コンピュータ1000を融資判定装置100又は口座管理装置300として機能させるプログラムは、CPU1010などに働きかけて、コンピュータ1000を、融資判定装置100又は口座管理装置300の各部としてそれぞれ機能させてよい。これらのプログラムに記述された情報処理は、コンピュータ1000に読込まれることにより、ソフトウエアと上述した各種のハードウエア資源とが協働した具体的手段である申込データ取得部102、会計データ取得部104、金融機関データ取得部106、取引データ取得部108、受注率算出部110、請求入金率算出部112、取引関係データ取得部114、事業者群特定部116、特徴データ取得部118、過去CF情報生成部120、蓋然性情報生成部130、要求データ送信部142、融資可否判定部144、信用度取得部146、融資処理実行部148、融資後管理部150、返済情報生成部152、及び返済情報送信部154として機能する。また、これらのプログラムに記述された情報処理は、コンピュータ1000に読込まれることにより、ソフトウエアと上述した各種のハードウエア資源とが協働した具体的手段である口座管理部302、データ取得部304、将来CF情報生成部306、支払要求取得部308、支払処理実行部310、融資可否判定部312、融資返済実行部314、金利処理実行部316、及び指示受信部318として機能する。そして、これらの具体的手段によって、本実施形態におけるコンピュータ1000の使用目的に応じた情報の演算又は加工を実現することにより、使用目的に応じた特有の融資判定装置100又は口座管理装置300が構築される。 A program installed in the
以上、本発明を実施の形態を用いて説明したが、本発明の技術的範囲は上記実施の形態に記載の範囲には限定されない。上記実施の形態に、多様な変更または改良を加えることが可能であることが当業者に明らかである。その様な変更または改良を加えた形態も本発明の技術的範囲に含まれ得ることが、特許請求の範囲の記載から明らかである。 Although the present invention has been described above using the embodiments, the technical scope of the present invention is not limited to the scope described in the above embodiments. It is apparent to those skilled in the art that various changes or improvements can be added to the above-described embodiment. It is apparent from the scope of the claims that the embodiments added with such changes or improvements can be included in the technical scope of the present invention.
特許請求の範囲、明細書、および図面中において示した装置、システム、プログラム、および方法における動作、手順、ステップ、および段階などの各処理の実行順序は、特段「より前に」、「先立って」などと明示しておらず、また、前の処理の出力を後の処理で用いるのでない限り、任意の順序で実現しうることに留意すべきである。特許請求の範囲、明細書、および図面中の動作フローに関して、便宜上「まず、」、「次に、」などを用いて説明したとしても、この順で実施することが必須であることを意味するものではない。 The order of execution of each process such as operations, procedures, steps, and stages in the devices, systems, programs, and methods shown in the claims, the specification, and the drawings is "preceding" or "prior to". It should be noted that the output of the previous process can be realized in any order unless the output of the previous process is used in the subsequent process. Even if the operation flow in the claims, the description, and the drawings is described by using “first”, “next”, and the like for convenience, it means that it is essential to carry out in this order. Not a thing.
10 ネットワーク、20 通信端末、22 データ項目、100 融資判定装置、102 申込データ取得部、104 会計データ取得部、106 金融機関データ取得部、108 取引データ取得部、110 受注率算出部、112 請求入金率算出部、114 取引関係データ取得部、116 事業者群特定部、118 特徴データ取得部、120 過去CF情報生成部、130 蓋然性情報生成部、132 将来CF情報生成部、134 スコア生成部、136 整合性確認部、142 要求データ送信部、144 融資可否判定部、146 信用度取得部、148 融資処理実行部、150 融資後管理部、152 返済情報生成部、154 返済情報送信部、170 データ項目、182 過去CF情報、184 将来CF情報、210 会計データ管理装置、212 データ項目、214 データ項目、220 取引データ管理装置、222 データ項目、224 データ項目、230 金融機関データ管理装置、232 データ項目、240 信用情報管理装置、242 データ項目、250 事業者群データ管理装置、252 データ項目、260 取引関係管理装置、262 データ項目、300 口座管理装置、302 口座管理部、304 データ取得部、306 将来CF情報生成部、308 支払要求取得部、310 支払処理実行部、312 融資可否判定部、314 融資返済実行部、316 金利処理実行部、318 指示受信部、1000 コンピュータ、1010 CPU、1020 ROM、1030 RAM、1040 通信I/F、1050 ハードディスクドライブ、1070 DVDドライブ、1072 DVD−ROM、1080 入出力チップ、1085 グラフィックコントローラ、1090 ディスプレイ、1092 ホストコントローラ、1094 入出力コントローラ10 network, 20 communication terminal, 22 data item, 100 loan determination device, 102 application data acquisition unit, 104 accounting data acquisition unit, 106 financial institution data acquisition unit, 108 transaction data acquisition unit, 110 order rate calculation unit, 112 bill payment Rate calculation unit, 114 transaction-related data acquisition unit, 116 enterprise group identification unit, 118 characteristic data acquisition unit, 120 past CF information generation unit, 130 probability information generation unit, 132 future CF information generation unit, 134 score generation unit, 136 Consistency confirmation unit, 142 request data transmission unit, 144 loan approval/disapproval determination unit, 146 credit rating acquisition unit, 148 loan processing execution unit, 150 post-loan management unit, 152 repayment information generation unit, 154 repayment information transmission unit, 170 data items, 182 past CF information, 184 future CF information, 210 accounting data management device, 212 data item, 214 data item, 220 transaction data management device, 222 data item, 224 data item, 230 financial institution data management device, 232 data item, 240 Credit information management device, 242 data item, 250 enterprise group data management device, 252 data item, 260 transaction relationship management device, 262 data item, 300 account management device, 302 account management unit, 304 data acquisition unit, 306 future CF information Generation unit, 308 payment request acquisition unit, 310 payment processing execution unit, 312 loan approval/disapproval determination unit, 314 loan repayment execution unit, 316 interest rate processing execution unit, 318 instruction receiving unit, 1000 computer, 1010 CPU, 1020 ROM, 1030 RAM, 1040 communication I/F, 1050 hard disk drive, 1070 DVD drive, 1072 DVD-ROM, 1080 input/output chip, 1085 graphic controller, 1090 display, 1092 host controller, 1094 input/output controller
| Application Number | Priority Date | Filing Date | Title |
|---|---|---|---|
| JP2018196173AJP6704973B2 (en) | 2018-10-17 | 2018-10-17 | Information processing device and program |
| Application Number | Priority Date | Filing Date | Title |
|---|---|---|---|
| JP2018196173AJP6704973B2 (en) | 2018-10-17 | 2018-10-17 | Information processing device and program |
| Application Number | Title | Priority Date | Filing Date |
|---|---|---|---|
| JP2017060145ADivisionJP6423031B2 (en) | 2017-03-24 | 2017-03-24 | Information processing apparatus and program |
| Publication Number | Publication Date |
|---|---|
| JP2019008836A JP2019008836A (en) | 2019-01-17 |
| JP6704973B2true JP6704973B2 (en) | 2020-06-03 |
| Application Number | Title | Priority Date | Filing Date |
|---|---|---|---|
| JP2018196173AActiveJP6704973B2 (en) | 2018-10-17 | 2018-10-17 | Information processing device and program |
| Country | Link |
|---|---|
| JP (1) | JP6704973B2 (en) |
| Publication number | Priority date | Publication date | Assignee | Title |
|---|---|---|---|---|
| JP2001338127A (en)* | 2000-05-25 | 2001-12-07 | Shoichiro Kusumi | System for settling up financing plan and analyzing risk |
| JP2005134938A (en)* | 2002-10-15 | 2005-05-26 | Kagoshima Bank Ltd | Corporate credit rating system and corporate credit rating program |
| JP2006079493A (en)* | 2004-09-13 | 2006-03-23 | Idea Works:Kk | System for providing enterprise information about financing |
| JP4233537B2 (en)* | 2005-04-01 | 2009-03-04 | 弥生株式会社 | Accounting processing apparatus and program |
| US20070100749A1 (en)* | 2005-10-28 | 2007-05-03 | Deepa Bachu | Online bill payment management and projected account balances |
| JP3143974U (en)* | 2008-04-15 | 2008-08-14 | 株式会社アカウンタックス | Accounting information system |
| JP2011227791A (en)* | 2010-04-22 | 2011-11-10 | Ishikawa Haruhiko | Cash flow prediction computer program |
| KR20130029775A (en)* | 2010-05-31 | 2013-03-25 | 데이터 포어비전 가부시키가이샤 | Economic activity index presenting system |
| JP2014186619A (en)* | 2013-03-25 | 2014-10-02 | Hitachi Ltd | Cash flow management system and cash flow management method |
| JP5690967B1 (en)* | 2014-07-31 | 2015-03-25 | 慶司 杉本 | Commercial flow chart creation device, commercial flow chart creation method, and commercial flow chart creation program |
| Publication number | Publication date |
|---|---|
| JP2019008836A (en) | 2019-01-17 |
| Publication | Publication Date | Title |
|---|---|---|
| US11580596B2 (en) | Shared expense management | |
| JP5044927B2 (en) | Facilitating small payments between multiple parties | |
| US8423435B1 (en) | Payroll withholding for debt management | |
| US8676701B2 (en) | Credit card usage management system, credit card usage management method, program, and information storage medium | |
| JP6816062B2 (en) | Information processing equipment, information processing methods and programs | |
| WO2022046407A1 (en) | Systems and methods for creating dynamic credit limit and recourse base for supply chain finance | |
| JP6903560B2 (en) | Information processing equipment and programs | |
| JP6423031B2 (en) | Information processing apparatus and program | |
| JP6760874B2 (en) | Information processing equipment and programs | |
| JP6760875B2 (en) | Account management equipment and programs | |
| JP2019175430A (en) | Information processing apparatus, information processing method, and program therefor | |
| JP2019169031A (en) | Information processing apparatus, information processing method, and program therefor | |
| WO2021176762A1 (en) | Fraud detection device, foreigner employment system, program, and method for detecting illicit labor by foreign worker | |
| JP2021047915A (en) | Information processing methods, programs and information processing equipment | |
| CN115456747B (en) | Automatic intelligent account settling method and device for ERP system and storage medium | |
| JP6704973B2 (en) | Information processing device and program | |
| JP6766023B2 (en) | Information processing equipment and programs | |
| JP7016394B2 (en) | Information processing equipment and programs | |
| JP7049417B2 (en) | Account management equipment and programs | |
| JP2022060599A (en) | Information processing method, program, and information processing device | |
| WO2021141083A1 (en) | Pay prepayment management device, pay prepayment management method, and program | |
| JP7162791B1 (en) | Information processing device, information processing method, and program | |
| JP7602003B2 (en) | Information processing method, program, and information processing device | |
| US20250069050A1 (en) | Systems and methods for an electronic transfer directory service for distillation or distribution of files | |
| US20250238775A1 (en) | Electronic money service system and electronic money settlement method |
| Date | Code | Title | Description |
|---|---|---|---|
| A521 | Request for written amendment filed | Free format text:JAPANESE INTERMEDIATE CODE: A523 Effective date:20181108 | |
| A621 | Written request for application examination | Free format text:JAPANESE INTERMEDIATE CODE: A621 Effective date:20181108 | |
| A131 | Notification of reasons for refusal | Free format text:JAPANESE INTERMEDIATE CODE: A131 Effective date:20200121 | |
| A521 | Request for written amendment filed | Free format text:JAPANESE INTERMEDIATE CODE: A523 Effective date:20200319 | |
| TRDD | Decision of grant or rejection written | ||
| A01 | Written decision to grant a patent or to grant a registration (utility model) | Free format text:JAPANESE INTERMEDIATE CODE: A01 Effective date:20200507 | |
| A61 | First payment of annual fees (during grant procedure) | Free format text:JAPANESE INTERMEDIATE CODE: A61 Effective date:20200513 | |
| R150 | Certificate of patent or registration of utility model | Ref document number:6704973 Country of ref document:JP Free format text:JAPANESE INTERMEDIATE CODE: R150 | |
| R250 | Receipt of annual fees | Free format text:JAPANESE INTERMEDIATE CODE: R250 | |
| R250 | Receipt of annual fees | Free format text:JAPANESE INTERMEDIATE CODE: R250 | |
| S111 | Request for change of ownership or part of ownership | Free format text:JAPANESE INTERMEDIATE CODE: R313111 | |
| R350 | Written notification of registration of transfer | Free format text:JAPANESE INTERMEDIATE CODE: R350 | |
| R250 | Receipt of annual fees | Free format text:JAPANESE INTERMEDIATE CODE: R250 |