









本発明は、マイクロ波プラズマ処理装置に関する。 The present invention relates to a microwave plasma processing device.
マイクロ波プラズマ処理装置は、平行平板型のプラズマ処理装置と比較して、高密度で低電子温度の表面波プラズマを均一に形成することが可能である。マイクロ波プラズマ処理装置では、マイクロ波は複数のマイクロ波導入機構を介してチャンバの天井部からチャンバ内に放射される。放射されたマイクロ波によりチャンバ側の天井部の表面に表面波プラズマが生成され、表面波プラズマにより基板にプラズマ処理が施される(例えば、特許文献1、2を参照)。特許文献1,2は、チャンバの天井部にてマイクロ波導入機構毎に誘電体からなるマイクロ波透過窓を設け、マイクロ波透過窓を介してチャンバ内にマイクロ波を放射する。 The microwave plasma processing apparatus is capable of uniformly forming high-density surface wave plasma having a low electron temperature as compared with a parallel plate type plasma processing apparatus. In the microwave plasma processing apparatus, microwaves are radiated from the ceiling of the chamber into the chamber via a plurality of microwave introduction mechanisms. Surface wave plasma is generated on the surface of the chamber-side ceiling portion by the radiated microwaves, and the substrate is subjected to plasma treatment by the surface wave plasma (see, for example, Patent Documents 1 and 2). In Patent Documents 1 and 2, a microwave transmission window made of a dielectric is provided for each microwave introduction mechanism at the ceiling of the chamber, and microwaves are radiated into the chamber through the microwave transmission window.
しかしながら、かかる構成では、周方向にプラズマが十分に広がらず、プラズマが不均一になるという課題が生じる場合がある。 However, in such a configuration, there may be a problem that the plasma does not spread sufficiently in the circumferential direction and the plasma becomes nonuniform.
上記課題に対して、一側面では、本発明は、チャンバ内における電界強度分布の制御性を高めることを目的とする。 With respect to the above-mentioned problem, in one aspect, the present invention aims to enhance controllability of electric field intensity distribution in a chamber.
上記課題を解決するために、一の態様によれば、基板を収容するチャンバと、前記チャンバ内にマイクロ波を放射するマイクロ波放射部材とを有し、表面波プラズマによって基板にプラズマ処理を施すマイクロ波プラズマ処理装置であって、前記マイクロ波放射部材は、金属の本体部と、前記本体部内のマイクロ波が導入される側に形成され、マイクロ波を透過させる誘電体の遅波材と、前記遅波材の下面に形成され、前記遅波材を伝播したマイクロ波を放射する複数のスロットと、前記本体部内のチャンバ表面にリング状に露出して形成され、マイクロ波を前記チャンバ内に透過させる誘電体のマイクロ波透過部材と、前記複数のスロットと前記マイクロ波透過部材との間に設けられ、前記複数のスロットから放射されたマイクロ波を前記マイクロ波透過部材に伝播させる誘電体層と、を有し、前記マイクロ波透過部材の内縁は、前記複数のスロットの外縁よりも外周側に配置される、マイクロ波プラズマ処理装置が提供される。 In order to solve the above problems, according to one aspect, a chamber that accommodates a substrate and a microwave radiating member that radiates microwaves in the chamber are provided, and the substrate is plasma-treated by surface wave plasma. In the microwave plasma processing apparatus, the microwave radiating member is a metal main body portion, and a dielectric slow-wave member that is formed on the side of the main body portion where microwaves are introduced and that transmits microwaves. A plurality of slots that are formed on the lower surface of the wave retarding material and radiate the microwaves that have propagated through the wave retarding material, and are formed in a ring-shaped exposure on the chamber surface in the main body, and the microwaves are introduced into the chamber. A dielectric microwave transmitting member to be transmitted, and a dielectric layer provided between the plurality of slots and the microwave transmitting member for propagating the microwave radiated from the plurality of slots to the microwave transmitting member. And a microwave plasma processing apparatus in which the inner edge of the microwave transmitting member is arranged on the outer peripheral side of the outer edges of the plurality of slots.
一の側面によれば、チャンバ内における電界強度分布の制御性を高めることができる。 According to one aspect, the controllability of the electric field intensity distribution in the chamber can be enhanced.
以下、本発明を実施するための形態について図面を参照して説明する。なお、本明細書及び図面において、実質的に同一の構成については、同一の符号を付することにより重複した説明を省く。 Embodiments for carrying out the present invention will be described below with reference to the drawings. In this specification and the drawings, substantially the same configurations will be denoted by the same reference numerals, and redundant description will be omitted.
  [マイクロ波プラズマ処理装置の全体構成]
  図1は、本発明の一実施形態に係るマイクロ波プラズマ処理装置100の断面図の一例を示す。図2は、図1のマイクロ波プラズマ処理装置100に用いられるマイクロ波プラズマ源2の構成の一例を示すブロック図である。[Whole structure of microwave plasma processing apparatus]
 FIG. 1 shows an example of a cross-sectional view of a microwave
  マイクロ波プラズマ処理装置100は、マイクロ波により表面波プラズマを形成して基板の一例である半導体ウェハW(以下、「ウェハW」と称呼する)に対して所定のプラズマ処理を行う。プラズマ処理の一例としては、成膜処理またはエッチング処理が例示される。  The microwave
  マイクロ波プラズマ処理装置100は、ウェハWを収容するチャンバ1を有する。チャンバ1は、気密に構成されたアルミニウムまたはステンレス鋼等の金属材料からなる略円筒状の容器であり、接地されている。マイクロ波プラズマ源2は、チャンバ1の上部に形成された開口部1aからチャンバ1の内部に臨むように設けられている。マイクロ波プラズマ源2によりチャンバ1内にマイクロ波が導入されると、チャンバ1内にて表面波プラズマが形成される。  The microwave
  チャンバ1内にはウェハWを載置する載置台11が設けられている。載置台11は、チャンバ1の底部中央に絶縁部材12aを介して立設された筒状の支持部材12により支持されている。載置台11および支持部材12を構成する材料としては、表面をアルマイト処理(陽極酸化処理)したアルミニウム等の金属や内部に高周波用の電極を有した絶縁性部材(セラミックス等)が例示される。載置台11には、ウェハWを静電吸着するための静電チャック、温度制御機構、ウェハWの裏面に熱伝達用のガスを供給するガス流路等が設けられてもよい。  A mounting table 11 on which the wafer W is mounted is provided in the chamber 1. The mounting table 11 is supported by a
  載置台11には、整合器13を介して高周波バイアス電源14が電気的に接続されている。高周波バイアス電源14から載置台11に高周波電力が供給されることにより、ウェハW側にプラズマ中のイオンが引き込まれる。なお、高周波バイアス電源14はプラズマ処理の特性によっては設けなくてもよい。  A high frequency
  チャンバ1の底部には排気管15が接続されており、この排気管15には真空ポンプを含む排気装置16が接続されている。排気装置16を作動させるとチャンバ1内が排気され、これにより、チャンバ1内が所定の真空度まで高速に減圧される。チャンバ1の側壁には、ウェハWの搬入出を行うための搬入出口17と、搬入出口17を開閉するゲートバルブ18とが設けられている。  An exhaust pipe 15 is connected to the bottom of the chamber 1, and an
  マイクロ波プラズマ源2は、マイクロ波出力部30とマイクロ波伝送部40とマイクロ波放射部材50とを有する。マイクロ波出力部30は、複数経路に分配してマイクロ波を出力する。  The microwave plasma source 2 has a
  マイクロ波伝送部40は、マイクロ波出力部30から出力されたマイクロ波を伝送する。周縁マイクロ波導入機構43aおよび中心マイクロ波導入機構43bは、アンプ部42から出力されたマイクロ波をマイクロ波放射部材50に導入する機能およびインピーダンスを整合する機能を有する。  The
  周縁マイクロ波導入機構43aおよび中心マイクロ波導入機構43bは、筒状の外側導体52およびその中心に設けられた棒状の内側導体53を同軸状に配置する。外側導体52と内側導体53との間の空間にマイクロ波電力が給電され、マイクロ波放射部材50に向かってマイクロ波が伝播するマイクロ波伝送路44となっている。  The peripheral
  周縁マイクロ波導入機構43aおよび中心マイクロ波導入機構43bには、スラグ61と、その先端部に位置するインピーダンス調整部材140とが設けられている。スラグ61を移動させることにより、チャンバ1内の負荷(プラズマ)のインピーダンスをマイクロ波出力部30におけるマイクロ波電源の特性インピーダンスに整合させる機能を有する。インピーダンス調整部材140は、誘電体で形成され、その比誘電率によりマイクロ波伝送路44のインピーダンスを調整するようになっている。  The peripheral
  マイクロ波放射部材50は、チャンバ1の上部に設けられた支持リング29に気密にシールされた状態で設けられ、マイクロ波伝送部40から伝送されたマイクロ波をチャンバ1内に放射する。マイクロ波放射部材50は、チャンバ1の天井部を構成している。  The
  マイクロ波放射部材50にはシャワー構造の第1ガス導入部21が設けられており、第1ガス導入部21には、ガス供給配管111を介して第1ガス供給源22が接続されている。第1ガス供給源22から供給される第1のガスは、第1ガス導入部21を通ってチャンバ1内にシャワー状に供給される。第1ガス導入部21は、チャンバ1の天井部に形成された複数のガス孔から第1の高さで第1ガスを供給する第1のガスシャワーヘッドの一例である。第1のガスの一例としては、例えばArガス等のプラズマ生成用のガスや、例えばO2ガスやN2ガス等の高エネルギーで分解させたいガスが挙げられる。The
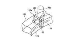
  マイクロ波放射部材50は、本体部120、遅波材121、マイクロ波透過部材122、スロット123及び誘電体層124を有する。本体部120は、金属により形成されている。遅波材121は、誘電体により形成され、本体部120内のマイクロ波が導入される側に形成され、マイクロ波を透過させる。スロット123は、遅波材121の下面に複数形成されたスリットであり、遅波材121を伝播したマイクロ波を放射する。マイクロ波透過部材122は、誘電体により形成され、本体部120内のチャンバ1表面にリング状に露出して形成され、マイクロ波をチャンバ1内に透過させる。誘電体層124は、複数のスロット123とマイクロ波透過部材122との間にて複数のスロット123から放射されたマイクロ波をマイクロ波透過部材122に伝播させる。本実施形態に係るマイクロ波透過部材の内縁は、複数のスロット123の外縁よりも外周側に配置される。  The
  チャンバ1内の載置台11とマイクロ波放射部材50との間の位置には、シャワープレートとして構成される第2ガス導入部23がチャンバ1に水平に設けられている。第2ガス導入部23は、格子状に形成されたガス流路24と、ガス流路24に形成された多数のガス孔25とを有しており、格子状のガス流路24の間は空間部26となっている。ガス流路24には、チャンバ1の外側に延びるガス供給配管27が接続されており、ガス供給配管27には第2ガス供給源28が接続されている。第2ガス供給源28からは、成膜処理やエッチング処理等のプラズマ処理の際に、極力分解させずに供給したい処理ガス、例えばSiH4ガスやC5F8ガス等の第2のガスが供給されるようになっている。第2ガス導入部23は、第1ガスを供給する第1の高さよりも低い第2の高さで複数のガス孔から第2ガスを供給する第2のガスシャワーヘッドの一例である。第1ガス導入部21及び第2ガス導入部23は、ガスシャワーヘッドからチャンバ1内にガスを供給するガス供給機構の一例である。なお、第1ガス供給源22および第2ガス供給源28から供給されるガスとしては、プラズマ処理の内容に応じた種々のガスを用いることができる。A second
  マイクロ波プラズマ処理装置100の各部は、制御装置3により制御される。制御装置3は、マイクロプロセッサ4、ROM(Read Only Memory)5、RAM(Random Access Memory)6等を有している。ROM5やRAM6にはマイクロ波プラズマ処理装置100のプロセスシーケンス及び制御パラメータであるプロセスレシピが記憶されている。マイクロプロセッサ4は、プロセスシーケンス及びプロセスレシピに基づき、マイクロ波プラズマ処理装置100の各部を制御する制御部の一例である。また、制御装置3は、タッチパネル7及びディスプレイ8等を有し、プロセスシーケンス及びプロセスレシピに従って所定の制御を行う際の入力や結果の表示等が可能になっている。  Each unit of the microwave
  かかる構成のマイクロ波プラズマ処理装置100においてプラズマ処理を行う際には、まず、ウェハWが、搬送アーム上に保持された状態で、開口したゲートバルブ18から搬入出口17を通りチャンバ1内に搬入される。ゲートバルブ18はウェハWを搬入後に閉じられる。ウェハWは、搬送アームからプッシャーピンに移され、プッシャーピンが降下することにより載置台11に載置される。チャンバ1内の圧力は、排気装置16により所定の真空度に保持される。第1のガスが第1ガス導入部21からシャワー状にチャンバ1内に導入され、第2のガスが第2ガス導入部23からシャワー状にチャンバ1内に導入される。周縁マイクロ波導入機構43aおよび中心マイクロ波導入機構43bを介してマイクロ波放射部材50から放射されたマイクロ波により、第1及び第2のガスが分解され、チャンバ側の表面に生成される表面波プラズマによってウェハWにプラズマ処理が施される。  When performing the plasma processing in the microwave
  (マイクロ波プラズマ源)
  マイクロ波プラズマ源2は、マイクロ波出力部30と、マイクロ波伝送部40と、マイクロ波放射部材50とを有する。図2に示すように、マイクロ波出力部30は、マイクロ波電源31と、マイクロ波発振器32と、発振されたマイクロ波を増幅するアンプ33と、増幅されたマイクロ波を複数に分配する分配器34とを有している。(Microwave plasma source)
 The microwave plasma source 2 has a
マイクロ波発振器32は、所定周波数(例えば、860MHz)のマイクロ波を例えばPLL(Phase Locked Loop)発振させる。分配器34では、マイクロ波の損失ができるだけ起こらないように、入力側と出力側のインピーダンス整合を取りながらアンプ33で増幅されたマイクロ波を分配する。なお、マイクロ波の周波数としては、860MHzの他に、915MHz等、700MHzから3GHzの範囲の種々の周波数を用いることができる。 The microwave oscillator 32 oscillates a microwave of a predetermined frequency (for example, 860 MHz), for example, PLL (Phase Locked Loop). In the distributor 34, the microwaves amplified by the amplifier 33 are distributed while impedance matching between the input side and the output side is ensured so that microwave loss does not occur as much as possible. As the microwave frequency, other than 860 MHz, various frequencies such as 915 MHz in the range of 700 MHz to 3 GHz can be used.
  図1に示すように、マイクロ波伝送部40は、複数のアンプ部42と、アンプ部42に対応して設けられた周縁マイクロ波導入機構43aおよび中心マイクロ波導入機構43bとを有する。周縁マイクロ波導入機構43aは、マイクロ波放射部材50の周縁部の上に周方向に沿って複数(例えば6つ)設けられており、中心マイクロ波導入機構43bは、マイクロ波放射部材50の中央部の上に一つ設けられている。周縁マイクロ波導入機構43aの数は2以上であればよいが、3以上が好ましく、例えば3〜6であってもよい。  As shown in FIG. 1, the
  図2に示すように、アンプ部42は、分配器34にて分配されたマイクロ波を周縁マイクロ波導入機構43a及び中心マイクロ波導入機構43bに導く。アンプ部42は、位相器46と、可変ゲインアンプ47と、ソリッドステートアンプを構成するメインアンプ48と、アイソレータ49とを有している。  As shown in FIG. 2, the
  位相器46は、マイクロ波の位相を変化させることにより放射特性を変調させることができる。例えば、周縁マイクロ波導入機構43a及び中心マイクロ波導入機構43bのそれぞれに導入されるマイクロ波の位相を調整することにより指向性を制御してプラズマ分布を変化させることができる。また、隣り合うマイクロ波導入機構において90°ずつ位相をずらすようにして円偏波を得ることができる。また、位相器46は、アンプ内の部品間の遅延特性を調整し、チューナ内での空間合成を目的として使用することができる。ただし、このような放射特性の変調やアンプ内の部品間の遅延特性の調整が不要な場合には位相器46は設けなくてもよい。  The phase shifter 46 can modulate the radiation characteristic by changing the phase of the microwave. For example, the directivity can be controlled and the plasma distribution can be changed by adjusting the phases of the microwaves introduced into the peripheral
可変ゲインアンプ47は、メインアンプ48へ入力するマイクロ波の電力レベルを調整し、プラズマ強度を調整する。可変ゲインアンプ47をアンテナモジュール毎に変化させることによって、発生するプラズマに分布を生じさせることができる。 The variable gain amplifier 47 adjusts the power level of the microwave input to the main amplifier 48 and adjusts the plasma intensity. By changing the variable gain amplifier 47 for each antenna module, a distribution can be generated in the generated plasma.
  ソリッドステートアンプを構成するメインアンプ48は、例えば、入力整合回路と、半導体増幅素子と、出力整合回路と、高Q共振回路とを有する。アイソレータ49は、スロットアンテナ部で反射してメインアンプ48に向かう反射マイクロ波を分離するものであり、サーキュレータとダミーロード(同軸終端器)とを有している。サーキュレータは、反射したマイクロ波をダミーロードへ導き、ダミーロードはサーキュレータによって導かれた反射マイクロ波を熱に変換する。周縁マイクロ波導入機構43aおよび中心マイクロ波導入機構43bは、アンプ部42から出力されたマイクロ波をマイクロ波放射部材50に導入する。  The main amplifier 48 forming the solid-state amplifier has, for example, an input matching circuit, a semiconductor amplifying element, an output matching circuit, and a high Q resonance circuit. The isolator 49 separates the reflected microwaves reflected by the slot antenna section toward the main amplifier 48, and has a circulator and a dummy load (coaxial terminator). The circulator guides the reflected microwaves to the dummy load, which converts the reflected microwaves guided by the circulator into heat. The peripheral
  (マイクロ波放射部材)
  次に、マイクロ波放射部材50について、図3及び図4を参照しながら説明する。図3は、マイクロ波放射部材50の主要部を示す断面の一例を示す。図4は、図3のA−A断面を示す。(Microwave radiating member)
 Next, the
  マイクロ波放射部材50は、マイクロ波出力部30から出力され、マイクロ波伝送部40を伝送したマイクロ波をチャンバ1内に放射する。マイクロ波放射部材50は、金属製の本体部120を有する。本体部120は、アルミニウムや銅のような熱伝導率の高い金属から形成されることが好ましい。  The
  本体部120は、周縁マイクロ波導入機構43aが配置される周縁部と、中心マイクロ波導入機構43bが配置される中央部とを有している。周縁部はウェハWの周縁領域に対応し、中央部はウェハの中央領域に対応する。  The
  本体部120周縁部の上部(本体部120内のマイクロ波が導入される側)には、周縁マイクロ波導入機構43aの配置部分を含むリング状の周縁マイクロ波導入機構配置領域に沿ってリング状をなす遅波材121が嵌め込まれている。遅波材121は、マイクロ波を透過させる誘電体から形成されている。遅波材121は、真空よりも大きい比誘電率を有しており、例えば、石英、アルミナ(Al2O3)等のセラミックス、ポリテトラフルオロエチレン等のフッ素系樹脂やポリイミド系樹脂により形成され得る。すなわち、真空中ではマイクロ波の波長が長くなることから、遅波材121は、比誘電率が真空よりも大きい材料で構成されることにより、マイクロ波の波長を短くしてスロット123を含むアンテナを小さくする機能を有する。On the upper part of the peripheral portion of the main body portion 120 (on the side where the microwave is introduced in the main body portion 120), a ring-shaped peripheral microwave introduction mechanism arrangement region including the arrangement portion of the peripheral
  本体部120周縁部の下面(チャンバ1側表面)には、周縁マイクロ波導入機構配置領域に沿って設けられたリング状をなすマイクロ波透過部材122が嵌め込まれている。本体部120の遅波材121とマイクロ波透過部材122との間の部分には複数のスロット123および誘電体層124が形成される。  A ring-shaped
  マイクロ波透過部材122は、マイクロ波を透過する材料である誘電体材料で構成されており、リング状にチャンバ1側に露出し、周方向に均一な表面波プラズマを形成するための誘電体窓としての機能を有する。マイクロ波透過部材122は、遅波材121と同様、例えば、石英、アルミナ(Al2O3)等のセラミックス、ポリテトラフルオロエチレン等のフッ素系樹脂やポリイミド系樹脂により形成され得る。なお、マイクロ波透過部材122は、周方向に沿って複数に分割されていてもよい。The
  スロット123は、図3に示すように、本体部120の遅波材121の下面に接する位置から誘電体層124の上面まで達しており、周縁マイクロ波導入機構43aから伝送されたマイクロ波の放射特性を決定する。本体部120の遅波材121と誘電体層124との間の領域は、スロット123を含むスロットアンテナ部となっている。マイクロ波透過部材122の内縁は、複数のスロット123の外縁よりも外周側に配置される。  As shown in FIG. 3, the
  マイクロ波伝送路44の先端の底板には円柱部材82が設けられている。スロット123は、周縁マイクロ波導入機構43aから円柱部材82を通ってTEM波として伝送されてきたマイクロ波をTE波にモード変換する機能を有する。そして、スロット123から放射されたマイクロ波は、TE波の単一モードで誘電体層124およびマイクロ波透過部材122を経て、チャンバ1内に放射される。  A
  図3のA−A断面を示す図4を参照すると、複数のスロット123は、本体部120の金属部分120aにより分離され、同一径の円弧状に均等に配置されている。スロット123の形状および配置によりマイクロ波の放射特性が決定されるが、このように複数の円弧状をなすスロット123が、全体形状が円周状をなすように設けられることにより、電界を均一に分散させることができる。  Referring to FIG. 4 showing the AA cross section of FIG. 3, the plurality of
  図4では円弧状のスロット123を円周上に一列に12個設けた例が示されているが、スロット123の形状および個数は、これに限らず、マイクロ波透過部材122のサイズおよびマイクロ波の波長に応じて適宜設定される。例えば、図5は変形例として、円弧状のスロット123を円周状に一列に6個設けた例が示されている。  Although FIG. 4 shows an example in which twelve arc-shaped
  スロット123内は真空であってもよいし、テフロン(登録商標)の誘電体で充填されていてもよい。スロット123に誘電体を充填することにより、マイクロ波の実効波長が短くなり、スロットの厚さを薄くできる。  The inside of the
  一つのスロット123の円周方向(長手方向の)の長さは、電界強度を高くして良好な効率を得る観点からスロットλg/2が好ましい。ここで、λgはマイクロ波の実効波長であり、以下の式(1)で示すことができる。  The length of one
λc=2a
と表される。
 λc =2a
 Is expressed as
  円周方向に電界強度の均一性が高くなるように微調整する微調整成分δ(0を含む)を考慮すると、スロット123の円周方向の長さは、(λg/2)−δが好ましい。  Considering the fine adjustment component δ (including 0) that finely adjusts so that the electric field strength becomes higher in the circumferential direction, the circumferential length of the
  なお、スロット123は、遅波材121およびマイクロ波透過部材122の径方向の中央に設けられているが、周縁マイクロ波導入機構43aは、径方向中央よりも内側に設けられている。これは、遅波材121の内周と外周の長さの違いを考慮して、内側と外側とで均等に電界を分散させるためである。  The
  図4のB−B断面を示す図6を参照すると、誘電体層124が、スロット123の下部に一対一に対応して設けられている。図4の例では、12個のスロット123のそれぞれに対して12個の誘電体層124が設けられている。隣接する誘電体層124は金属製の本体部120の金属部分120aにより分離されている。誘電体層124内には、対応するスロット123から放射されるマイクロ波によって単一ループの磁場を形成させることができ、その下のマイクロ波透過部材122において磁場ループのカップリングが生じないようになっている。これにより、複数の表面波モードが出現することを防止することができ、単一の表面波モードを実現することができる。誘電体層124の周方向の長さは、複数の表面波モードの出現を防止する観点からはλg/2以下であることが好ましい。また、誘電体層124の厚さは、1mm〜5mmであることが好ましい。  Referring to FIG. 6 showing a cross section taken along the line BB of FIG. 4, the
  誘電体層124は空気(真空)であってもよく、誘電体セラミックスや樹脂等の誘電体材料であってもよい、誘電体材料としては、例えば、石英、セラミックス、ポリテトラフルオロエチレン等のフッ素系樹脂やポリイミド系樹脂を用いることができる。マイクロ波プラズマ処理装置100が300mmの径のウェハを処理し、マイクロ波の波長が860MHz、遅波材121やマイクロ波透過部材122やスロット123内の誘電体として比誘電率が10程度のアルミナを用いる場合、誘電体層124として空気層(真空層)を好適に用いることができる。  The
  図3に戻り、本体部120の中央部の上部には、中心マイクロ波導入機構43bに対応する中心マイクロ波導入機構配置領域に円板状をなす遅波材131が嵌め込まれ、遅波材131に対応する部分に円板状をなすマイクロ波透過部材132が嵌め込まれている。そして、本体部120の遅波材131とマイクロ波透過部材132との間の部分は、スロット133を有するスロットアンテナ部となっている。スロット133の形状や大きさは、モードジャンプの発生を抑制し、かつ均一な電界強度が得られるように適宜調整される。例えば、スロット133はリング状に形成される。これにより、スロット間の継ぎ目が存在せず、均一な電界を形成することができ、モードジャンプも発生し難くなる。  Returning to FIG. 3, the disc-shaped slow-
  スロット133内にもスロット123と同様、誘電体が充填されていることが好ましい。スロット133に充填される誘電体としては、スロット123に用いたものと同様のものを用いることができる。また、遅波材131およびマイクロ波透過部材132を構成する誘電体についても、上述した遅波材121およびマイクロ波透過部材122と同様のものを用いることができる。  Like the
  本体部120の上面には、周縁マイクロ波導入機構配置領域と中心マイクロ波導入機構配置領域との間に、リング状の溝126が形成されている。これにより、周縁マイクロ波導入機構43aと中心マイクロ波導入機構43bとの間のマイクロ波干渉を抑制することができる。  A ring-shaped
  また、本体部120には、上述した第1ガス導入部21が設けられている。第1ガス導入部21は、周縁マイクロ波導入機構配置領域を有する周縁部と中心マイクロ波導入機構配置領域を有する中央部との間に環状をなし、同心状に形成された外側ガス拡散空間141と内側ガス拡散空間142とを有している。外側ガス拡散空間141の上面には、本体部120の上面から繋がるガス導入孔143が形成されており、外側ガス拡散空間141の下面には、本体部120の下面に至る複数のガス孔144が形成されている。一方、内側ガス拡散空間142の上面には、本体部120の上面から繋がるガス導入孔145が形成されており、内側ガス拡散空間142の下面には、本体部120の下面に至る複数のガス孔146が形成されている。ガス導入孔143および145には、第1ガス供給源22からの第1のガスを供給するためのガス供給配管111が接続されている。  Further, the
  (マイクロ波電力の分配)
  図7は、マイクロ波放射部材50の周縁部におけるスロット123の配置とマイクロ波電力の分配を示す。図7に示すように、周縁マイクロ波導入機構43aは、それぞれ2枚の遅波材121の間に跨るようにして配置されている。すなわち、図4の例では、12枚の遅波材121は、それぞれ6つの周縁マイクロ波導入機構43aに対応する位置から両側に延びるように配置されている。図5の例では、6枚の遅波材121は、それぞれ3つの周縁マイクロ波導入機構43aに対応する位置から両側に延びるように配置されている。(Distribution of microwave power)
 FIG. 7 shows the arrangement of the
  このように、周縁マイクロ波導入機構43aの直下位置には本体部120の金属部分120aが配置されているため、周縁マイクロ波導入機構43aを伝送されてきたマイクロ波電力は、金属部分120aで分離され、その両側の遅波材121に等分配される。これにより、電力が等配分されたマイクロ波が各スロット123から放射される。  As described above, since the
  周縁マイクロ波導入機構43aからTEM波として伝送されてきたマイクロ波は、スロット123にてTE波にモード変換され、誘電体層124を伝送経路として伝送され、マイクロ波透過部材122からチャンバ1内に放射される。  The microwave transmitted as the TEM wave from the peripheral
  (誘電体層)
  誘電体層124(真空)のマイクロ波の実効波長をλとすると、誘電体層124は周方向に(λ/2)×n(n≧1)の長さを有する。誘電体層124に定在波の「はら」または「ふし」が複数存在すると複数のモードが出やすくなったり、周方向の均一性が取り難くなるため、nは1であることが好ましい。また、複数のスロット123を円周状に配置しているので、マイクロ波を円周状に放射することができ、周方向のプラズマの均一性を高めることができる。(Dielectric layer)
 When the effective wavelength of the microwave of the dielectric layer 124 (vacuum) is λ, the
  誘電体層124は、空気層となっている。図3を参照すると、マイクロ波透過部材122の上面は、複数のスロット123の外縁よりも外周側にて誘電体層124に接触している。本実施形態では、マイクロ波透過部材122は、複数のスロット123の外縁よりも外周側に配置される。このため、誘電体層124は、複数のスロット123とマイクロ波透過部材122とをつなぐ伝送経路として複数のスロット123のそれぞれとマイクロ波透過部材122との間に形成されている。  The
  かかる構成により、複数のスロット123から放射されたマイクロ波は、誘電体層124において定在波となってマイクロ波透過部材122に伝わり、マイクロ波透過部材122からチャンバ1内に放射される。  With such a configuration, the microwaves radiated from the plurality of
  このようにして、誘電体層124の空気層がマイクロ波の伝送経路となってマイクロ波をマイクロ波透過部材122まで伝播させることにより、大口径のマイクロ波透過部材122から周方向に均一に、かつ安定したプラズマを生成することができる。  In this way, the air layer of the
  図8(a)は、スロット123の真下にマイクロ波透過部材122を設けた比較例の場合に、チャンバ1内に放射されるマイクロ波のプラズマ中の電界強度の一例を模式的に示す。マイクロ波透過部材122から放射されたマイクロ波によるプラズマ中の電界強度のピークは、マイクロ波透過部材122の内縁の下になる。この結果、リング状のマイクロ波透過部材122の内縁の下方にプラズマ中の電界強度の山の頂点がくる。図8(a)の比較例の場合、チャンバ1の中央部にてプラズマ中の電界強度の山が重なる。このように両側の電界強度が重なる部分があると、電界強度の制御性が悪くなり、安定してプラズマを生成することの妨げになる場合がある。  FIG. 8A schematically shows an example of the electric field intensity in the plasma of the microwave radiated into the chamber 1 in the case of the comparative example in which the
  これに対して、本実施形態に係るマイクロ波透過部材122の内縁は、図8(b)に示すように、複数のスロット123の外縁よりも外周側に配置される。この結果、マイクロ波透過部材122は比較例よりも大口径となり、マイクロ波は、比較例の場合よりも外周側から放射される。これにより、電界強度の山がチャンバ1の中央部にて重ならないか、重なる範囲を小さくすることができる。これにより、チャンバ1の中央部にて電界強度の制御性を良くすることができる。  On the other hand, the inner edge of the
  また、図9(a)に示すように、スロット123の真下にマイクロ波透過部材122を設けた比較例の場合、径が300mmのウェハのエッジ付近にプラズマ中の電界強度P1のピークが発生する。これに対して、スロット123よりも外周側にマイクロ波透過部材122を設けた本実施形態の場合、マイクロ波透過部材122の内径は、300mm以上になり、ウェハの外周側にプラズマ中の電界強度P2のピークが発生する。これにより、ウェハ上の空間にて電界強度を均一かつ平坦化することができ、プラズマをより均一に生成することができる。  Further, as shown in FIG. 9A, in the case of the comparative example in which the
  マイクロ波透過部材122の内径は、設計上、マイクロ波の波長(周波数)に応じた所定の長さ以上が必要になる。例えば、マイクロ波の周波数が500MHz〜3GHzであるとき、マイクロ波透過部材122の内径は、設計上、300mm以上が必要になる。  The inner diameter of the
  更に、図9(b)に示すように、チャンバ1の中心から直径が150mmの周方向において、本実施形態に係るプラズマ中の電界強度P2は、比較例にかかるプラズマ中の電界強度P1よりも均一な分布となる。以上により、本実施形態に係るマイクロ波透過部材122の径をウェハの径よりも大きくすることで、プラズマ中の電界強度のピークをウェハよりも外側に移動させ、チャンバ1内における電界強度分布の制御性を高めることができる。この結果、ウェハWに均一なプラズマ処理を施すことができる。  Further, as shown in FIG. 9B, in the circumferential direction having a diameter of 150 mm from the center of the chamber 1, the electric field strength P2 in the plasma according to the present embodiment is higher than the electric field strength P1 in the plasma according to the comparative example. It has a uniform distribution. As described above, by making the diameter of the
  <プラズマ処理装置の動作>
  次に、以上のように構成されるマイクロ波プラズマ処理装置100における動作について説明する。<Operation of plasma processing apparatus>
 Next, the operation of the microwave
  まず、ウェハWをチャンバ1内に搬入し、載置台11上に載置する。そして、第1ガス供給源22から例えばArガス等のプラズマ生成ガスや高エネルギーで分解させたいガスが第1のガスとして供給される。第1のガスは、マイクロ波放射部材50の第1ガス導入部21からチャンバ1内へ導入する。  First, the wafer W is loaded into the chamber 1 and mounted on the mounting table 11. Then, a plasma generating gas such as Ar gas or a gas to be decomposed with high energy is supplied from the first
  マイクロ波出力部30からマイクロ波伝送部40の複数のアンプ部42および複数のマイクロ波導入機構43a、43bを伝送されたマイクロ波は、マイクロ波放射部材50を介してチャンバ1内に放射される。天井部の表面に放射されたマイクロ波の高い電界エネルギーにより第1のガスがプラズマ化され、表面波プラズマが生成される。  The microwaves transmitted from the
  第2ガス供給源28から極力分解せずに供給したい処理ガスが第2のガスとして供給される。第2のガスは、第2ガス導入部23を介してチャンバ1内に導入される。第2ガス導入部から導入された第2のガスは、第1のガスのプラズマにより励起される。このとき、第2のガス導入位置はマイクロ波放射部材50の表面から離れた、よりエネルギーが低い位置であるため、第2のガスは不要な分解が抑制された状態で励起される。そして、第1のガスおよび第2のガスのプラズマによりウェハWにプラズマ処理、例えば成膜処理やエッチング処理を施す。  The processing gas to be supplied without being decomposed as much as possible is supplied from the second
  このとき、6本の周縁マイクロ波導入機構43aへは、マイクロ波出力部30のマイクロ波発振器32から発振され、アンプ33で増幅された後、分配器34により複数に分配され、アンプ部42を経たマイクロ波電力が給電される。これら周縁マイクロ波導入機構43aに給電されたマイクロ波電力は、マイクロ波伝送路44を伝送され、マイクロ波放射部材50の周縁部に導入される。その際にスラグ61によりインピーダンスが自動整合され、電力反射が実質的にない状態でマイクロ波が導入される。導入されたマイクロ波は、遅波材121を透過し、スロットアンテナ部のスロット123から誘電体層124を通ってマイクロ波透過部材122を介してチャンバ1内に放射される。これにより、マイクロ波透過部材122および本体部120の下表面の対応部分に表面波が形成され、この表面波によりチャンバ1内のマイクロ波放射部材50の直下部分に表面波プラズマが生成される。  At this time, the six peripheral
  このとき、円弧状の12枚の遅波材121が周縁マイクロ波導入機構配置領域に沿って全体がリング状をなすように配置される。12枚の遅波材121は、本体部120の一部をなす金属部分120aで分離されており、周縁マイクロ波導入機構43aは、それぞれ2枚の遅波材121の間に跨るようにして配置されている。すなわち、12枚の遅波材121は、それぞれ6つの周縁マイクロ波導入機構43aに対応する位置から両側に延びるように配置されている。このように、周縁マイクロ波導入機構43aの直下位置には本体部120の金属部分120aが配置されている。このため、周縁マイクロ波導入機構43aを伝送されてきたマイクロ波は、金属部分120aで分離され、通常マイクロ波電界が大きくなる周縁マイクロ波導入機構43a直下部分の電界強度が大きくならずに、その両側の遅波材121に等分配される。  At this time, twelve arc-shaped
  そして、周縁マイクロ波導入機構配置領域に沿って全体形状が円周状をなすように設けられたスロット123からマイクロ波が放射される。スロット123よりも外周側にマイクロ波透過部材122が設けられているので、遅波材121で均一に分配されたマイクロ波電力は、スロット123で均一に放射され、大口径のマイクロ波透過部材122で円周状に広げることができる。このため、マイクロ波透過部材122直下では周縁マイクロ波導入機構配置領域に沿って均一なマイクロ波電界を形成することができ、チャンバ1内に周方向に均一な表面波プラズマを形成し、安定したプラズマを生成することができる。  Then, the microwave is radiated from the
  なお、このようにしてマイクロ波電力を周方向に広げることができるので、周縁マイクロ波導入機構43aを6つから3つに少なくすることができ、装置コストを低減することが可能となる。  Since the microwave power can be spread in the circumferential direction in this way, the peripheral
  また、円周状に配置されたスロット123の個数や形状・配置等を調整することにより、表面波モードの数を少なくすることができ、スロットの個数や形状・配置を最適化することによりモード数を2つ、さらには1つにすることが可能である。このように表面波モードの数を低減することにより、モードジャンプが少ない安定したプラズマ処理を行うことができる。また、このようにスロット123の個数や形状・配置等を調整することにより、一つの周縁マイクロ波導入機構43aから他の周縁マイクロ波導入機構43aへマイクロ波が侵入するマイクロ波の干渉も抑制することができる。  In addition, the number of surface acoustic wave modes can be reduced by adjusting the number, shape, and arrangement of the
  さらに、本体部120の上面には、周縁マイクロ波導入機構配置領域と中心マイクロ波導入機構配置領域との間に、リング状の溝126が形成されている。これにより、周縁マイクロ波導入機構43aと中心マイクロ波導入機構43bとの間のマイクロ波干渉およびモードジャンプを抑制することができる。  Further, on the upper surface of the
  また、マイクロ波放射部材50の中央部には、中心マイクロ波導入機構43bからマイクロ波が導入される。中心マイクロ波導入機構43bから導入されたマイクロ波は、遅波材131を透過し、スロットアンテナ部のスロット133およびマイクロ波透過部材132を介してチャンバ1内に放射され、チャンバ1内の中央部にも表面波プラズマが生成される。このため、チャンバ1内のウェハ配置領域全体に均一なプラズマを形成することができる。  Further, the microwave is introduced from the central
  また、マイクロ波放射部材50に第1ガス導入部21を設け、第1ガス供給源22から第1のガスを、マイクロ波が放射されるチャンバ1の上面領域に供給する。これにより、第1のガスを高いエネルギーで励起させ、ガスを分解させて表面波プラズマを形成することができる。また、第1ガス導入部21より低い位置に第2ガス導入部23を設けて第2のガスを供給することにより、第2のガスはより低いエネルギーによって、不要な分解が抑制された状態でプラズマ化させることができる。これにより、要求されるプラズマ処理に応じて好ましいプラズマ状態を形成することができる。  Further, the
  (変形例1に係るマイクロ波プラズマ処理装置)
  次に、上記に説明したマイクロ波放射部材50を適用した、一実施形態の変形例1に係るマイクロ波プラズマ処理装置100について、図10を参照しながら説明する。図10は、本実施形態の変形例1に係るマイクロ波プラズマ処理装置100の縦断面の一例を示す。変形例1に係るマイクロ波プラズマ処理装置100では、図1に示すマイクロ波プラズマ処理装置100と比較して、第2ガス導入部23の機構のみが異なる。よって、ここでは、変形例1に係る第2ガス導入部23の機構のみについて説明する。(Microwave plasma processing apparatus according to modification 1)
 Next, a microwave
  本変形例では、マイクロ波放射部材50にリング状のシャワー構造を有する第2ガス導入部23が設けられている。第2ガス導入部23は、天井部よりも下方に伸びる複数のノズル23aが均等に配置されている。第2ガス導入部23には、ガス供給配管112を介して第2ガス供給源28が接続されている。  In this modification, the
  第2ガス供給源28からは、成膜処理やエッチング処理等のプラズマ処理の際に、極力分解させずに供給したい処理ガス、例えばSiH4ガスやC5F8ガス等の第2のガスが供給されるようになっている。第2のガスは、ガス供給配管112を介してリング状のシャワー構造からウェハW側に伸びるノズル23aを通り、チャンバ1の天井部より低い位置に供給される。変形例に係る第2ガス導入部23は、第1のガスを供給する第1の高さよりも低い第2の高さで複数のガス孔から第2ガスを供給する第2のガスシャワーヘッドの一例である。From the second
  このように第1ガス導入部21より低い位置に第2のガスを供給することにより、第2のガスはより低いエネルギーによって、不要な分解が抑制された状態でプラズマ化させることができる。これにより、要求されるプラズマ処理に応じて好ましいプラズマ状態を形成することができる。  By supplying the second gas to a position lower than the first
  変形例1においてもマイクロ波透過部材122の内縁が、複数のスロット123の外縁よりも外周側に配置される。これにより、マイクロ波透過部材122は大口径となり、マイクロ波がより外周側から放射される。これにより、電界強度の山がチャンバ1の中央部にて重ならないか、重なる範囲を小さくすることができる。これにより、チャンバ1の中央部にて電界強度の制御性を良くすることができる。また、本実施形態に係るマイクロ波透過部材122の径をウェハの300mmの径よりも大きくすることができる。これにより、チャンバ1内のウェハ配置領域全体に均一なプラズマを形成することができる。この結果、ウェハWにより均一なプラズマ処理を施すことができる。  Also in the modification 1, the inner edge of the
  (変形例2に係るマイクロ波プラズマ処理装置)
  次に、一実施形態の変形例2に係るマイクロ波プラズマ処理装置100について、図11を参照しながら説明する。図11は、本実施形態の変形例2に係るマイクロ波プラズマ処理装置100の縦断面の一例を示す。(Microwave plasma processing apparatus according to modification 2)
 Next, a microwave
  変形例2のマイクロ波プラズマ処理装置100では、中心マイクロ波導入機構43bは設けられておらず、周縁マイクロ波導入機構43aの配置領域を含む環状のマイクロ波放射部材50が設けられている。その内側の中央部分には、絶縁部材151を介してウェハWとほぼ同等の大きさを有する導電性をなすシャワーヘッド150が設けられている。  In the microwave
  シャワーヘッド150は、円板状に形成されたガス拡散空間152と、ガス拡散空間152からチャンバ1内に臨むように形成された多数のガス孔153と、ガス導入孔154とを有している。ガス導入孔154にはガス供給配管158を介してガス供給源157が接続されている。シャワーヘッド150には、整合器155を介してプラズマ生成用の高周波電源156が電気的に接続されている。載置台11は導電性部分を有しており、シャワーヘッド150の対向電極として機能する。ガス供給源157からガス供給配管158およびシャワーヘッド150を介してチャンバ1内にプラズマ処理に必要なガスが供給される。高周波電源156からシャワーヘッド150に高周波電力が供給されることにより、シャワーヘッド150と載置台11の間に高周波電界が形成され、ウェハWの直上の空間に容量結合プラズマが形成される。  The
  かかる構成のマイクロ波プラズマ処理装置100は、中央部分の構成が、ウェハWに対しプラズマエッチングを行う平行平板型のプラズマエッチング装置と同様である。よって、例えばウェハの周縁のプラズマ密度調整をマイクロ波を用いた表面波プラズマで行うプラズマエッチング装置として用いることができる。また、中央部にプラズマを生成する機構を設けないことも可能である。  In the microwave
  変形例2においてもマイクロ波透過部材122の内縁が、複数のスロット123の外縁よりも外周側に配置される。これにより、マイクロ波透過部材122は大口径となり、マイクロ波がより外周側から放射される。これにより、電界強度の山がチャンバ1の中央部にて重ならないか、重なる範囲を小さくすることができる。これにより、チャンバ1の中央部にて電界強度の制御性を良くすることができる。また、本実施形態に係るマイクロ波透過部材122の径をウェハの300mmの径よりも大きくすることができる。これにより、チャンバ1内のウェハ配置領域全体に均一なプラズマを形成することができる。この結果、ウェハWにより均一なプラズマ処理を施すことができる。  Also in the second modification, the inner edge of the
  以上に説明したように、本実施形態及び変形例1,2に係るマイクロ波プラズマ処理装置100によれば、マイクロ波透過部材122の内縁が、複数のスロット123の外縁よりも外周側に配置される。そして、複数のスロット123とマイクロ波透過部材122とをつなぐ誘電体層124が、マイクロ波を伝送させる伝送経路として機能する。これにより、チャンバ1内における電界強度分布の制御性を高めることができ、周方向に均一に、かつ安定したプラズマを生成することができる。  As described above, according to the microwave
以上、マイクロ波プラズマ処理装置を上記実施形態により説明したが、本発明に係るマイクロ波プラズマ処理装置は上記実施形態及び変形例1,2に限定されるものではなく、本発明の範囲内で種々の変形及び改良が可能である。上記実施形態及び変形例1,2に記載された事項は、矛盾しない範囲で組み合わせることができる。 Although the microwave plasma processing apparatus has been described above with the above-described embodiment, the microwave plasma processing apparatus according to the present invention is not limited to the above-described embodiment and Modifications 1 and 2, and various modifications are possible within the scope of the present invention. Can be modified and improved. The matters described in the above-described embodiment and the modified examples 1 and 2 can be combined within a range that does not contradict.
  例えば、上記実施形態及び変形例1,2では、マイクロ波出力部30やマイクロ波伝送部40の構成等は、上記実施形態に限定されるものではなく、例えば、スロットアンテナ部から放射されるマイクロ波の指向性制御を行ったり円偏波にしたりする必要がない場合には、位相器は不要である。  For example, in the above-described embodiment and Modifications 1 and 2, the configurations of the
  さらに、上記実施形態では、マイクロ波プラズマ源2をマイクロ波放射部材50に導入する際に複数のマイクロ波導入機構を用いた例について説明した。しかしながら、本発明は、円周状に複数配置されたスロットからマイクロ波を放射して表面波プラズマを生成する際に単一の表面波モードを得られればよく、マイクロ波導入機構は一つであってもよく、マイクロ波の導入態様も限定されない。また、中央部にプラズマを生成する機構を設けないことも可能である。  Furthermore, in the above-described embodiment, an example in which a plurality of microwave introduction mechanisms are used when introducing the microwave plasma source 2 into the
また、上記実施形態においては、プラズマ処理装置として成膜装置およびエッチング装置を例示したが、これに限らず、酸化処理および窒化処理を含む酸窒化膜形成処理、アッシング処理等の他のプラズマ処理にも用いることができる。 Further, in the above-described embodiment, the film forming apparatus and the etching apparatus are illustrated as the plasma processing apparatus, but the present invention is not limited to this, and the oxynitride film forming processing including the oxidation processing and the nitriding processing, other plasma processing such as ashing processing, etc. Can also be used.
また、基板はウェハWに限定されず、LCD(液晶ディスプレイ)用基板に代表されるFPD(フラットパネルディスプレイ)基板や、セラミックス基板等の他の基板であってもよい。 The substrate is not limited to the wafer W, and may be another substrate such as an FPD (flat panel display) substrate typified by a substrate for LCD (liquid crystal display) or a ceramic substrate.
  1      チャンバ
  2      マイクロ波プラズマ源
  3      制御装置
  11    載置台
  21    第1ガス導入部
  22    第1ガス供給源
  23    第2ガス導入部
  28    第2ガス供給源
  30    マイクロ波出力部
  40    マイクロ波伝送部
  43a  周縁マイクロ波導入機構
  43b  中心マイクロ波導入機構
  44    マイクロ波伝送路
  50    マイクロ波放射部材
  52    外側導体
  53    内側導体
  61    スラグ
  100  マイクロ波プラズマ処理装置
  120  本体部
  121  遅波材
  122  マイクロ波透過部材
  123  スロット
  124  誘電体層
  140  インピーダンス調整部材DESCRIPTION OF SYMBOLS 1 chamber 2 microwave plasma source 3
| Application Number | Priority Date | Filing Date | Title | 
|---|---|---|---|
| JP2016134861AJP6700128B2 (en) | 2016-07-07 | 2016-07-07 | Microwave plasma processing equipment | 
| Application Number | Priority Date | Filing Date | Title | 
|---|---|---|---|
| JP2016134861AJP6700128B2 (en) | 2016-07-07 | 2016-07-07 | Microwave plasma processing equipment | 
| Publication Number | Publication Date | 
|---|---|
| JP2018006257A JP2018006257A (en) | 2018-01-11 | 
| JP6700128B2true JP6700128B2 (en) | 2020-05-27 | 
| Application Number | Title | Priority Date | Filing Date | 
|---|---|---|---|
| JP2016134861AActiveJP6700128B2 (en) | 2016-07-07 | 2016-07-07 | Microwave plasma processing equipment | 
| Country | Link | 
|---|---|
| JP (1) | JP6700128B2 (en) | 
| Publication number | Priority date | Publication date | Assignee | Title | 
|---|---|---|---|---|
| CN110797248A (en)* | 2018-08-01 | 2020-02-14 | 北京北方华创微电子装备有限公司 | Surface wave plasma device and semiconductor processing apparatus | 
| Publication number | Priority date | Publication date | Assignee | Title | 
|---|---|---|---|---|
| JP5309847B2 (en)* | 2008-09-30 | 2013-10-09 | 東京エレクトロン株式会社 | Plasma processing equipment | 
| JP2010170974A (en)* | 2008-12-22 | 2010-08-05 | Tokyo Electron Ltd | Plasma source and plasma treatment device | 
| JP2013077441A (en)* | 2011-09-30 | 2013-04-25 | Tokyo Electron Ltd | Microwave radiation mechanism, surface wave plasma source and surface wave plasma processing device | 
| JP6096547B2 (en)* | 2013-03-21 | 2017-03-15 | 東京エレクトロン株式会社 | Plasma processing apparatus and shower plate | 
| JP6356415B2 (en)* | 2013-12-16 | 2018-07-11 | 東京エレクトロン株式会社 | Microwave plasma source and plasma processing apparatus | 
| JP6509049B2 (en)* | 2015-06-05 | 2019-05-08 | 東京エレクトロン株式会社 | Microwave plasma source and plasma processing apparatus | 
| Publication number | Publication date | 
|---|---|
| JP2018006257A (en) | 2018-01-11 | 
| Publication | Publication Date | Title | 
|---|---|---|
| JP6509049B2 (en) | Microwave plasma source and plasma processing apparatus | |
| KR101746332B1 (en) | Microwave plasma source and plasma processing apparatus | |
| KR101774089B1 (en) | Microwave plasma source and plasma processing apparatus | |
| JP6010406B2 (en) | Microwave radiation mechanism, microwave plasma source, and surface wave plasma processing apparatus | |
| JP6624833B2 (en) | Microwave plasma source and plasma processing apparatus | |
| JP6144902B2 (en) | Microwave radiation antenna, microwave plasma source, and plasma processing apparatus | |
| US20110150719A1 (en) | Microwave introduction mechanism, microwave plasma source and microwave plasma processing apparatus | |
| JP6671230B2 (en) | Plasma processing device and gas introduction mechanism | |
| JP2013157520A (en) | Microwave emission mechanism and surface wave plasma processor | |
| JP2012182076A (en) | Antenna for surface wave plasma generation and surface wave plasma treatment apparatus | |
| JP2018006718A (en) | Microwave plasma processing device | |
| JP2012216525A (en) | Plasma processing apparatus and plasma generation antenna | |
| JP2010170974A (en) | Plasma source and plasma treatment device | |
| WO2013105358A1 (en) | Surface wave plasma treatment device | |
| JP7632975B2 (en) | Plasma processing apparatus and plasma processing method | |
| JP6700127B2 (en) | Microwave plasma processing equipment | |
| JP6700128B2 (en) | Microwave plasma processing equipment | |
| JP7253985B2 (en) | Microwave supply mechanism, plasma processing apparatus and plasma processing method | |
| JP5916467B2 (en) | Microwave radiation antenna, microwave plasma source, and plasma processing apparatus | |
| JP6283438B2 (en) | Microwave radiation antenna, microwave plasma source, and plasma processing apparatus | |
| JP2023107540A (en) | Plasma processing device | 
| Date | Code | Title | Description | 
|---|---|---|---|
| A621 | Written request for application examination | Free format text:JAPANESE INTERMEDIATE CODE: A621 Effective date:20190404 | |
| A977 | Report on retrieval | Free format text:JAPANESE INTERMEDIATE CODE: A971007 Effective date:20200210 | |
| TRDD | Decision of grant or rejection written | ||
| A01 | Written decision to grant a patent or to grant a registration (utility model) | Free format text:JAPANESE INTERMEDIATE CODE: A01 Effective date:20200407 | |
| A61 | First payment of annual fees (during grant procedure) | Free format text:JAPANESE INTERMEDIATE CODE: A61 Effective date:20200430 | |
| R150 | Certificate of patent or registration of utility model | Ref document number:6700128 Country of ref document:JP Free format text:JAPANESE INTERMEDIATE CODE: R150 | |
| R250 | Receipt of annual fees | Free format text:JAPANESE INTERMEDIATE CODE: R250 | |
| R250 | Receipt of annual fees | Free format text:JAPANESE INTERMEDIATE CODE: R250 | |
| R250 | Receipt of annual fees | Free format text:JAPANESE INTERMEDIATE CODE: R250 |