Movatterモバイル変換


[0]ホーム

URL:


JP6597266B2 - Instrument display board - Google Patents

Instrument display board
Download PDF

Info

Publication number
JP6597266B2
JP6597266B2JP2015242465AJP2015242465AJP6597266B2JP 6597266 B2JP6597266 B2JP 6597266B2JP 2015242465 AJP2015242465 AJP 2015242465AJP 2015242465 AJP2015242465 AJP 2015242465AJP 6597266 B2JP6597266 B2JP 6597266B2
Authority
JP
Japan
Prior art keywords
display
substrate
fine uneven
ring
display board
Prior art date
Legal status (The legal status is an assumption and is not a legal conclusion. Google has not performed a legal analysis and makes no representation as to the accuracy of the status listed.)
Active
Application number
JP2015242465A
Other languages
Japanese (ja)
Other versions
JP2017106870A (en
Inventor
雅基 加藤
直亮 早川
Current Assignee (The listed assignees may be inaccurate. Google has not performed a legal analysis and makes no representation or warranty as to the accuracy of the list.)
Nippon Seiki Co Ltd
Original Assignee
Nippon Seiki Co Ltd
Priority date (The priority date is an assumption and is not a legal conclusion. Google has not performed a legal analysis and makes no representation as to the accuracy of the date listed.)
Filing date
Publication date
Application filed by Nippon Seiki Co LtdfiledCriticalNippon Seiki Co Ltd
Priority to JP2015242465ApriorityCriticalpatent/JP6597266B2/en
Publication of JP2017106870ApublicationCriticalpatent/JP2017106870A/en
Application grantedgrantedCritical
Publication of JP6597266B2publicationCriticalpatent/JP6597266B2/en
Activelegal-statusCriticalCurrent
Anticipated expirationlegal-statusCritical

Links

Images

Landscapes

Description

Translated fromJapanese

本発明は、計器用表示板に関する。  The present invention relates to an instrument display board.

従来の計器用表示板として、例えば下記特許文献1に開示されるものがある。
特許文献1に開示された計器用表示板は、図柄としての凹凸部が形成された転写型の転写面に紫外線硬化樹脂を配置し、前記紫外線硬化樹脂の、前記転写面とは反対側に、前記紫外線硬化樹脂と当接するように樹脂シートの第1面を配置し、前記第1面とは反対側の第2面側から紫外線を照射して前記紫外線硬化樹脂を硬化させるとともに、硬化した前記紫外線硬化樹脂とともに前記樹脂シートを前記転写型から剥離させることによって、得られるものである。
かかる製造方法によって得られる計器用表示板は、例えば同心円状の微細凹凸を図柄として形成することで、樹脂によって形成されながらもヘアライン加工が施された金属板のような質感や見栄え(以下、金属調ともいう)を得ることができる。また、かかる計器用表示板は、前記樹脂シートの前記第2面側に車両情報を表す指標部に対応して開口部が設けられた暗色系の遮光層(地色層)を設け、前記第2面側に光源を配置することによって、指標部を透過照明することができる。
As a conventional instrument display board, for example, there is one disclosed in Patent Document 1 below.
The instrument display board disclosed in Patent Document 1 has an ultraviolet curable resin disposed on a transfer-type transfer surface on which an uneven portion as a pattern is formed, and on the opposite side of the ultraviolet curable resin to the transfer surface, The first surface of the resin sheet is disposed so as to come into contact with the ultraviolet curable resin, and the ultraviolet curable resin is cured by irradiating ultraviolet rays from the second surface side opposite to the first surface, and the cured It is obtained by peeling the resin sheet together with the ultraviolet curable resin from the transfer mold.
The display panel for an instrument obtained by such a manufacturing method has a texture and appearance similar to a metal plate that is formed of resin but has been subjected to hairline processing by forming, for example, concentric fine irregularities as a design (hereinafter referred to as metal Can also be obtained). In addition, the instrument display board is provided with a dark-colored light-shielding layer (ground color layer) provided with an opening corresponding to an indicator portion representing vehicle information on the second surface side of the resin sheet, By arranging the light source on the two sides, the indicator portion can be transmitted and illuminated.

特開2014−30994号公報JP 2014-30994 A

しかしながら、特許文献1に開示される計器用表示板は、微細凹凸が単調であると平坦な見栄えとなり、意匠の立体感の演出については、改善の余地がある。例えば、計器用表示板に背景部分と色の異なるリング状意匠を形成する場合、計器用表示板に形成される微細凹凸が単調であると、リング状意匠と背景部分との間で見栄えの変化が色の切り替えのみであり、リング状意匠の立体感の演出が十分でない。  However, the instrument display board disclosed in Patent Document 1 has a flat appearance when the fine unevenness is monotonous, and there is room for improvement in the design of the three-dimensional effect. For example, when forming a ring design with a different color from the background part on the instrument display board, if the fine irregularities formed on the instrument display board are monotonous, the appearance changes between the ring design and the background part. Is only color switching, and the ring design has a three-dimensional effect.

本発明は上記実情に鑑みてなされたものであり、より立体感を高めて表示可能な計器用表示板を提供することを目的とする。  This invention is made | formed in view of the said situation, and it aims at providing the display board for instruments which can raise and display a three-dimensional effect more.

本発明の計器用表示板は、前述の課題を解決するために、透光性の基板の表面に所定の第一の模様をなす第一の微細凹凸部が形成され、前記基板の裏面に所定の第一の色調である第一の地色層が形成されてなる第一の領域と、
前記基板の表面に前記第一の模様と異なる第二の模様をなす第二の微細凹凸部が形成され、前記基板の裏面に前記第一の色調と異なる第二の色調である第二の地色層が形成されてなるリング状の第二の領域と、を備えてなることを特徴とする。
In order to solve the above-described problems, the instrument display board of the present invention has a first fine uneven portion having a predetermined first pattern formed on a surface of a light-transmitting substrate, and a predetermined surface on the back surface of the substrate. A first region in which a first ground color layer that is the first color tone is formed;
A second ground having a second color tone different from the first color tone on the back surface of the substrate, wherein a second fine uneven portion having a second pattern different from the first pattern is formed on the surface of the substrate; And a ring-shaped second region on which a color layer is formed.

本発明によれば、より立体感を高めて表示可能な計器用表示板を提供することができる。  ADVANTAGE OF THE INVENTION According to this invention, the display panel for instruments which can raise and display a three-dimensional effect more can be provided.

本発明の実施形態である車両用計器の正面図である。It is a front view of the meter for vehicles which is an embodiment of the present invention.図1中のX−X線断面図である。It is the XX sectional view taken on the line in FIG.(a)図1中のX−X線拡大断面図であり、(b)図1中のY−Y線拡大断面図である。(A) It is the XX line expanded sectional view in FIG. 1, (b) The YY line expanded sectional view in FIG.図1中の部分Zの拡大図である。It is an enlarged view of the part Z in FIG.本発明の変形例を示す断面図である。It is sectional drawing which shows the modification of this invention.

以下、本発明の計器用表示板をいわゆる後付け用の車両用計器に適用した一実施形態について、図面を参照して説明する。なお、以下の説明では、表示板(計器用表示板)112を正面視したときの(ユーザが表示板112を正面から見て車両情報(アナログ表示部110)を確認する場合の)視認側を「表」とし、背面側を「裏」とする。  Hereinafter, an embodiment in which an instrument display board of the present invention is applied to a so-called retrofit vehicle instrument will be described with reference to the drawings. In the following description, the viewing side when the display board (instrument display board) 112 is viewed from the front (when the user confirms the vehicle information (analog display unit 110) when viewing thedisplay board 112 from the front) is shown. “Front” and “Back” on the back side.

本実施形態における表示板112は、コンビネーションメータとは別に後付けされる車両用計器100に組み込まれるものである。そのため、まず、車両用計器100の概略構成を説明した後で、表示板112について詳細に説明する。  Thedisplay board 112 in this embodiment is incorporated in thevehicle instrument 100 attached separately from a combination meter. Therefore, after first explaining the schematic configuration of thevehicle instrument 100, thedisplay board 112 will be described in detail.

図1は車両用計器100を示す正面図であり、図2は車両用計器100を示すX−X線断面図である。車両用計器100は、アナログ表示部110と、ケース体120と、前面カバー130と、見返し部材140と、第一の光源150と、第二の光源160と、導光部材170と、拡散板180と、回路基板190と、から主に構成される。  FIG. 1 is a front view showing avehicle instrument 100, and FIG. 2 is a cross-sectional view taken along line XX showing thevehicle instrument 100. Thevehicle instrument 100 includes ananalog display unit 110, acase body 120, afront cover 130, aturning member 140, afirst light source 150, asecond light source 160, alight guide member 170, and adiffusion plate 180. And thecircuit board 190.

アナログ表示部110は、指針111と表示板112に形成される指標部114との対比判読によって車両情報を表示するものである。アナログ表示部110は、ケース体120内に収納され、指針111及び表示板112が開口部123から露出するように配置されている。車両用計器100は、前記車両情報として、吸気圧(過給圧)を表示するいわゆるターボ計であり、アナログ表示部110は、吸気圧を−100kP〜+200kPaまでの範囲で表示可能となっている。  Theanalog display unit 110 displays vehicle information by comparative reading between thepointer 111 and theindicator unit 114 formed on thedisplay board 112. Theanalog display unit 110 is housed in thecase body 120 and is arranged so that thehands 111 and thedisplay plate 112 are exposed from theopening 123. Thevehicle instrument 100 is a so-called turbo meter that displays intake pressure (supercharging pressure) as the vehicle information, and theanalog display unit 110 can display the intake pressure in a range from −100 kPa to +200 kPa. .

指針111は、透過性の樹脂材料からなる指示部111aと、回転駆動部材であるステッピングモータ113に設けられる回転軸113aに固定される指針基部111bと、指針基部111bの前面を覆う遮光部材であり黒色の合成樹脂材料からなる指針キャップ111cと、を有する。なお、指示部111aの背面側は赤色の箔がホットスタンプされている。指針111は、ステッピングモータ113の回転駆動に伴って表示板112上を回動し、表示板112に形成される指標部114の主目盛部114a,第一の副目盛部114bあるいは第二の副目盛部114cの各目盛を指示部111aによって指示するものである。また、指針111は、ケース体120内に配設される第一の光源150からの第一の照明光L1が透過することで所定の色にて照明される。  Thepointer 111 is a light shielding member that covers aninstruction portion 111a made of a permeable resin material, apointer base portion 111b fixed to arotary shaft 113a provided in astepping motor 113 that is a rotation driving member, and a front surface of thepointer base portion 111b. And apointer cap 111c made of a black synthetic resin material. A red foil is hot stamped on the back side of theinstruction unit 111a. Thepointer 111 rotates on thedisplay plate 112 as thestepping motor 113 is rotated, and themain scale portion 114a, the firstsub scale portion 114b, or the secondsub scale portion 114b of theindicator portion 114 formed on thedisplay plate 112. Each scale of thescale part 114c is instructed by theinstruction part 111a. Thepointer 111 is illuminated with a predetermined color by transmitting the first illumination light L1 from thefirst light source 150 disposed in thecase body 120.

ケース体120は、例えばアルミ等の金属材料からなる略円筒状の後ケース121と、シルバー色の不透過性の合成樹脂材料などからなるリング状の前ケース122と、から主に構成され、車両用計器100を構成する各種部材を収納するものである。ケース体120は、表側にアナログ表示部110を露出させる開口部123を有する。また、ケース体120内には、第一,第二の光源150,160のそれぞれの照明領域を区切る仕切り壁124が設けられている。  Thecase body 120 is mainly composed of, for example, a substantially cylindricalrear case 121 made of a metal material such as aluminum, and a ring-shapedfront case 122 made of a silver-colored impermeable synthetic resin material. Various members constituting themeasuring instrument 100 are accommodated. Thecase body 120 has anopening 123 that exposes theanalog display unit 110 on the front side. Apartition wall 124 is provided in thecase body 120 to divide the illumination areas of the first andsecond light sources 150 and 160.

前面カバー130は、例えば透過性の合成樹脂材料からなる板状の部材であり、後ケース121と前ケース122との間にケース体120の開口部123を覆うように配設される。  Thefront cover 130 is a plate-like member made of, for example, a transparent synthetic resin material, and is disposed between therear case 121 and thefront case 122 so as to cover the opening 123 of thecase body 120.

見返し部材140は、例えば黒色などの不透過性の合成樹脂材料からなるリング状の部材であり、後ケース121と前面カバー130との間にアナログ表示部110を囲むように配設される。  The facingmember 140 is a ring-shaped member made of an impermeable synthetic resin material such as black, and is disposed between therear case 121 and thefront cover 130 so as to surround theanalog display unit 110.

第一の光源150は、例えばLED(Light Emitting Diode)からなり、表示板112の裏側に複数配設されて指針111を照明する第一の照明光L1を発するものである。なお、本実施形態においては第一の照明光L1は赤色の発光色を示す。  Thefirst light source 150 is made of, for example, an LED (Light Emitting Diode), and is arranged on the back side of thedisplay plate 112 to emit the first illumination light L1 that illuminates thepointer 111. In the present embodiment, the first illumination light L1 exhibits a red emission color.

第二の光源160は、例えばLEDからなり、表示板112の裏側に複数配設され表示板112を照明する第二の照明光L2を発するものである。なお、本実施形態においては第二の光源160は、例えば白色の発光色を示し表示板112の指標部114を照明する白色LEDと、例えば青色の発光色を示し表示板112のピーク表示部115を照明する青色LEDと、例えば赤色の発光色を示し表示板112のワーニング表示部116を照明する赤色LEDと、を含む。各色LEDは、ケース体120の仕切り壁124によってそれぞれの照明領域が区切られている。  Thesecond light source 160 is made of, for example, an LED, and a plurality ofsecond light sources 160 are arranged on the back side of thedisplay plate 112 to emit the second illumination light L2 that illuminates thedisplay plate 112. In the present embodiment, thesecond light source 160 is, for example, a white LED that emits white light and illuminates theindicator portion 114 of thedisplay board 112, and apeak display section 115 of thedisplay board 112 that shows blue light emission, for example. For example, and a red LED that emits red light and illuminates thewarning display 116 of thedisplay panel 112. Each color LED has its illumination area partitioned by apartition wall 124 of thecase body 120.

導光部材170は、ポリカーボネイトやアクリル等の透過性の合成樹脂材料からなる透過性部材であり、ケース体120内に指針111と第一の光源150との間に位置するように配設される。導光部材170は、中央部分に指針111の指針基部111b及びステッピングモータ113の回転軸113aが貫通する貫通孔171を有する。導光部材170は、第一の光源150の第一の照明光L1を指針111に導くものであり、第一の照明光L1を入射する入射部172と、第一の照明光L1を指針111に向けて出射する出射部173と、を有する。第一の照明光L1は、入射部172に入射されると出射部173を介して指針111に入射し、指示部111aを透過照明する。なお、入射部172は、第一の光源150からの第一の照明光L1を効率よく入射できるよう、その断面形状が半円の凸状となっている。  Thelight guide member 170 is a transparent member made of a transparent synthetic resin material such as polycarbonate or acrylic, and is disposed in thecase body 120 so as to be positioned between thepointer 111 and thefirst light source 150. . Thelight guide member 170 has a through-hole 171 through which thepointer base 111b of thepointer 111 and the rotatingshaft 113a of the steppingmotor 113 pass in the central portion. Thelight guide member 170 guides the first illumination light L1 of thefirst light source 150 to thepointer 111, theincident portion 172 that receives the first illumination light L1, and the first illumination light L1 as thepointer 111. And an emittingportion 173 that emits toward the. When the first illumination light L1 is incident on theincident portion 172, it enters thepointer 111 via theemission portion 173, and transmits and illuminates theinstruction portion 111a. Theincident portion 172 has a semicircular convex shape in cross section so that the first illumination light L1 from thefirst light source 150 can be efficiently incident.

拡散板180は、表示板112と第二の光源160との間に配設され、表示板112に向けて出射される第二の光源160の第二の照明光L2を表示板112の面方向に拡散させる拡散部材である。第二の照明光L2は、拡散板180を介して表示板112に向けて出射され、表示板112を透過照明する。なお、表示板112は図示しない接着層を介して拡散板180に接着されている。拡散板180は、中央部分に指針111の指針基部111b及びステッピングモータ113の回転軸113aが貫通する貫通孔を有する。  Thediffusion plate 180 is disposed between thedisplay plate 112 and thesecond light source 160, and emits the second illumination light L <b> 2 of thesecond light source 160 emitted toward thedisplay plate 112 in the surface direction of thedisplay plate 112. It is a diffusing member that diffuses into the surface. The second illumination light L <b> 2 is emitted toward thedisplay plate 112 through thediffusion plate 180 and transmits and illuminates thedisplay plate 112. Thedisplay panel 112 is bonded to thediffusion plate 180 via an adhesive layer (not shown). Thediffusing plate 180 has a through-hole through which thepointer base 111b of thepointer 111 and the rotatingshaft 113a of the steppingmotor 113 pass in the central portion.

回路基板190は、例えばガラスエポキシ樹脂からなる絶縁性の板状の基材に各種配線がプリント形成されてなる。回路基板190には、ステッピングモータ113,第一の光源150及び第二の光源160のほか、これらの動作を制御する制御部(図示しない)が実装される。回路基板190は、車両のバッテリー電源と接続され、前記制御部は、例えば車両のキースイッチのオン操作に伴って電源が供給されて動作を開始する。前記制御部は、車両側から取得した車両情報に基づいてステッピングモータ113を回転駆動させ、また、第一、第二の光源150、160を点灯あるいは消灯させる。なお、車両情報の取得方法は公知のあらゆる方法を用いることができる。例えば、車両用計器100は、車両側に取り付けられ車両情報を検出する各種センサ等と接続されて車両情報を取得してもよいし、複数種類の車両情報データを求めるコントロールユニットにより生成され複数種類の車両情報データを含むシリアルデータを受信して車両情報を取得してもよい。さらに、車両側に設けられる車両診断コネクタを介して車両情報を取得してもよい。  Thecircuit board 190 is formed by printing various wirings on an insulating plate-like base material made of, for example, glass epoxy resin. In addition to thestepping motor 113, thefirst light source 150, and thesecond light source 160, a control unit (not shown) that controls these operations is mounted on thecircuit board 190. Thecircuit board 190 is connected to a battery power source of the vehicle, and the control unit starts operation when power is supplied, for example, when a key switch of the vehicle is turned on. The control unit rotates thestepping motor 113 based on the vehicle information acquired from the vehicle side, and turns on or off the first andsecond light sources 150 and 160. Any known method can be used as the vehicle information acquisition method. For example, thevehicle meter 100 may be connected to various sensors that are mounted on the vehicle side to detect vehicle information, and acquire vehicle information, or may be generated by a control unit that obtains multiple types of vehicle information data. The vehicle information may be acquired by receiving serial data including the vehicle information data. Furthermore, you may acquire vehicle information via the vehicle diagnostic connector provided in the vehicle side.

表示板112は、主目盛部114a,第一の副目盛部114b,第二の副目盛部114c及び文字部114dからなる指標部114と、ピーク表示部115と、ワーニング表示部116と、が形成された板状の部材である。表示板112の表示面(表面)は、指針111の回転中心(回転軸113a)を中心とした円状の中央領域(第一の領域の一例)A1と、中央領域A1の外周を囲むリング状領域(第二の領域の一例)A2と、を有する。中央領域A1には、文字部114dの一部,ピーク表示部115及びワーニング表示部116が形成され、リング状領域A2には、主目盛部114a,第一の副目盛部114b,第二の副目盛部114c及び文字部114dの一部が形成されている。表示板112は、中央部分に指針111の指針基部111b及びステッピングモータ113の回転軸113aが貫通する貫通孔を有する。  Thedisplay board 112 is formed with anindicator portion 114 including amain scale portion 114a, a firstsub scale portion 114b, a secondsub scale portion 114c, and acharacter portion 114d, apeak display portion 115, and awarning display portion 116. It is the plate-shaped member made. The display surface (front surface) of thedisplay board 112 has a circular central region (an example of a first region) A1 centering on the rotation center (rotatingshaft 113a) of thepointer 111 and a ring shape surrounding the outer periphery of the central region A1. Region (an example of the second region) A2. A part of thecharacter portion 114d, apeak display portion 115, and awarning display portion 116 are formed in the central region A1, and amain scale portion 114a, a firstsub scale portion 114b, and a second sub scale portion are formed in the ring-shaped region A2. A part of thescale part 114c and thecharacter part 114d is formed. Thedisplay board 112 has a through-hole through which thepointer base 111b of thepointer 111 and therotating shaft 113a of the steppingmotor 113 pass in the central portion.

主目盛部114aは、所定の値を示すように配置された複数の目盛からなる。具体的に、車両用計器100の主目盛部114aは、−100kPa,−80kPa,−60kPa,−40kPa,−20kPa,0kPa,+50kPa,+100kPa,+150kPa及び+200kPaの数値を示す10個の目盛である。主目盛部114aは、最小目盛位置が時計目盛位置の6時の位置となり、また最大目盛位置が時計目盛位置の3時の位置となり、指針111の回転中心を中心とした約270°の円弧を描くようにマイナス(負圧)側は間隔が狭く、プラス(正圧)側は間隔がマイナス側よりも広くなる不均等なレイアウトで表示板112に配置されている。  Themain scale portion 114a is composed of a plurality of scales arranged so as to show a predetermined value. Specifically, themain scale part 114a of thevehicle meter 100 is 10 scales indicating numerical values of −100 kPa, −80 kPa, −60 kPa, −40 kPa, −20 kPa, 0 kPa, +50 kPa, +100 kPa, +150 kPa, and +200 kPa. Themain scale portion 114a has an arc of about 270 ° centered on the center of rotation of thepointer 111, with the minimum scale position at the 6 o'clock position of the clock scale position and the maximum scale position at the 3 o'clock position of the clock scale position. As shown, the negative (negative pressure) side is arranged on thedisplay board 112 in an unequal layout in which the interval is narrower and the positive (positive pressure) side is wider than the negative side.

第一の副目盛部114bは、主目盛部114aの各目盛間の内側に配置された複数の目盛からなり、主目盛部114aの各目盛よりも短く形成されている。具体的に、第一の副目盛部114bの各目盛は、主目盛部114aの各目盛間にマイナス側にあっては1個ずつ、プラス側にあっては4個ずつ、すなわち10kPa毎に配置されている。  The 1stsub scale part 114b consists of several scales arrange | positioned inside each scale of themain scale part 114a, and is formed shorter than each scale of themain scale part 114a. Specifically, each of the scales of the firstsub scale part 114b is arranged between the scales of themain scale part 114a, one on the minus side and four on the plus side, that is, every 10 kPa. Has been.

第二の副目盛部114cは、主目盛部114aの各目盛間の外側に配置された複数の目盛からなり、主目盛部114aの各目盛よりも短く形成されている。具体的に、第二の副目盛部114cの各目盛は、主目盛部114aの各目盛間にマイナス側にあっては7個ずつ、プラス側にあっては19個ずつ、すなわち2.5kPa毎に配置されている。  The 2ndsub scale part 114c consists of several scales arrange | positioned on the outer side between each scale of themain scale part 114a, and is formed shorter than each scale of themain scale part 114a. Specifically, each of the graduations of the secondsub-scaled portion 114c is 7 on the minus side and 19 on the plus side between the graduations of themain scale portion 114a, that is, every 2.5 kPa. Is arranged.

文字部114dは、主目盛部114aが示す数値(の一部)を表した数字や車両用計器100の種別や表示単位を表す文字からなる。具体的に、車両用計器100の文字部114dは、主目盛部114aが示す数値を表した「0.8」,「0.6」,「0.4」,「0.2」,「0」,「0.5」,「1.0」,「1.5」及び「2.0」なる数字と、車両用計器100の種別を示す「TURBO」なる文字と、表示単位を示す「×100kPa」なる数字及び文字と、からなる。  Thecharacter portion 114d is made up of a number representing the numerical value (part) of themain scale portion 114a, a character representing the type and display unit of thevehicle instrument 100. Specifically, thecharacter portion 114d of thevehicle meter 100 is “0.8”, “0.6”, “0.4”, “0.2”, “0” representing the numerical value indicated by the main scale portion 114a. ”,“ 0.5 ”,“ 1.0 ”,“ 1.5 ”and“ 2.0 ”, characters“ TURBO ”indicating the type of thevehicle instrument 100, and“ × ”indicating the display unit. "100 kPa" and numbers and letters.

ピーク表示部115は、車両用計器100が示す車両情報の計測値が前記制御部に記憶される最大値となったことを点灯あるいは点滅によって報知するものである。  Thepeak display unit 115 notifies that the measured value of the vehicle information indicated by thevehicle meter 100 has reached the maximum value stored in the control unit by lighting or blinking.

ワーニング表示部116は、車両用計器100が示す車両情報の計測値が前記制御部に予め記憶される所定の警告値に達したことを点灯あるいは点滅によって報知するものである。  Thewarning display unit 116 notifies that the measured value of the vehicle information indicated by thevehicle meter 100 has reached a predetermined warning value stored in advance in the control unit by lighting or blinking.

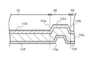
図3は、表示板112を示す拡大断面図であり、図3(a)は図1中のX−X線断面図であり、図3(b)は図1中のY−Y線断面図である。表示板112は、指針111の裏側に位置する。表示板112は、透過性の基板112aの表面(図3における上面)に、主目盛部114a,ピーク表示部115及びワーニング表示部116となる個所に設けられる凸部112bと、ピーク表示部115及びワーニング表示部116を除く中央領域A1となる個所に設けられる第一の微細凹凸部112cと、主目盛部114aの除くリング状領域A2となる個所に設けられる第二の微細凹凸部112dと、リング状領域A2の中央領域A1との境界部分(内側境界部分)となる個所及びリング状領域A2のリング状領域A2より外側の外縁領域A3(図1では図示せず)との境界部分(外側境界部分)となる個所に設けられる平滑部112eと、を備えて構成される。また、表示板112は、基板112aの裏面(図3における下面)に、中央領域A1及び外縁領域A3となる個所に設けられる第一の地色層112fと、リング状領域A2となる個所に設けられる第二の地色層112gと、備えて構成される。  3 is an enlarged cross-sectional view showing thedisplay panel 112, FIG. 3 (a) is a cross-sectional view taken along line XX in FIG. 1, and FIG. 3 (b) is a cross-sectional view taken along line Y-Y in FIG. It is. Thedisplay board 112 is located on the back side of thepointer 111. Thedisplay board 112 includes aconvex portion 112b provided on the surface of thetransmissive substrate 112a (upper surface in FIG. 3), apeak display portion 115 and awarning display portion 116, apeak display portion 115, A first fineuneven portion 112c provided at a location to be the central region A1 excluding thewarning display portion 116; a second fineuneven portion 112d provided at a location to be the ring-shaped region A2 excluding themain scale portion 114a; The portion of the ring-shaped region A2 that becomes the boundary portion (inner boundary portion) with the central region A1 and the boundary portion (outer boundary) of the ring-shaped region A2 with the outer edge region A3 (not shown in FIG. 1) outside the ring-shaped region A2 And a smoothingportion 112e provided at a portion to be a portion). In addition, thedisplay board 112 is provided on the back surface of thesubstrate 112a (the lower surface in FIG. 3) at the firstground color layer 112f provided at the locations to be the central region A1 and the outer edge region A3 and at the locations to be the ring-shaped region A2. And a secondground color layer 112g.

透過性の基板112aは、例えばアクリル、ポリカーボネート樹脂からなる透明または着色された透光性の材料で構成される板状あるいはシート状の部材である。基板112aは、車両用計器100の外形に対応して、例えば図1に示すように、円板状に形成される。  Thetransmissive substrate 112a is a plate-like or sheet-like member made of a transparent or colored translucent material made of, for example, acrylic or polycarbonate resin. Thesubstrate 112a is formed in a disk shape corresponding to the outer shape of thevehicle instrument 100, for example, as shown in FIG.

凸部112b,第一の微細凹凸部112c,第二の微細凹凸部112d及び平滑部112eは、例えば紫外線硬化樹脂層112iで構成され、例えば型成形される。型成形による場合、まず、凸部112b,第一の微細凹凸部112c,第二の微細凹凸部112d及び平滑部112eに対応した形状(凹部,微細凹凸及び平面部)が形成された金型を用意する。次に、前記金型に紫外線硬化樹脂を充填し紫外線硬化樹脂層112iを形成する。次に、紫外線硬化樹脂層112iの前記金型側と反対側の面に基板112aを配置する。次に、基板112a側から紫外線を照射して紫外線硬化樹脂層112iを硬化させる。次に、紫外線硬化樹脂層112i及び基板112aを前記金型から剥離させる。これにより、凸部112b,第一の微細凹凸部112c,第二の微細凹凸部112d及び平滑部112eを得ることができる。なお、凸部112b,第一の微細凹凸部112c,第二の微細凹凸部112d及び平滑部112eは樹脂材料による型成形のほか、インクによる印刷成形や基板112aの表面を切削するなどによって形成してもよい。また、第一,第二の微細凹凸部112c,112dの高さ(微細の程度)は任意であるが、視認者が見て凹凸であることを認識できない程度とすることが望ましい。  Theconvex portion 112b, the first fineuneven portion 112c, the second fineuneven portion 112d, and thesmooth portion 112e are composed of, for example, an ultravioletcurable resin layer 112i, and are molded, for example. In the case of molding, first, a mold in which shapes (recesses, fine irregularities, and flat portions) corresponding to theconvex portions 112b, the firstfine irregularities 112c, the secondfine irregularities 112d, and thesmooth portions 112e are formed. prepare. Next, the mold is filled with an ultraviolet curable resin to form an ultravioletcurable resin layer 112i. Next, thesubstrate 112a is disposed on the surface of the ultravioletcurable resin layer 112i opposite to the mold side. Next, the ultravioletcurable resin layer 112i is cured by irradiating ultraviolet rays from thesubstrate 112a side. Next, the ultravioletcurable resin layer 112i and thesubstrate 112a are peeled from the mold. Thereby, theconvex part 112b, the 1st fineuneven part 112c, the 2nd fineuneven part 112d, and thesmooth part 112e can be obtained. Theconvex portion 112b, the first fineuneven portion 112c, the second fineuneven portion 112d, and thesmooth portion 112e are formed not only by molding with a resin material but also by printing with ink or cutting the surface of thesubstrate 112a. May be. Moreover, although the height (degree of fineness) of the 1st, 2nd fine uneven | corrugated |grooved parts 112c and 112d is arbitrary, it is desirable to set it as the grade which a viewer cannot recognize that it is uneven | corrugated.

凸部112bは、前述のように、基板112aの主目盛部114a,ピーク表示部115及びワーニング表示部116となる個所に第一,第二の微細凹凸部112c,112dよりも表側に突出するように設けられる。凸部112bのうち、主目盛部114aとなる個所に設けられる凸部112bの表面には、印刷やホットスタンプ等によって、透光性の着色層112hが設けられる。着色層112hは、任意の色調が選択される。例えば明度の高い白やシルバーによれば第二の光源160の非点灯時にも凸部112bの視認性を高めることができ、明度の低い黒やガンメタリックとすれば第二の光源160の非点灯時に凸部112bを視認されにくくできる。また、凸部112bの表面は、平滑化処理されてもよい。ここで、平滑化処理とは凸部112bの表面粗さを形成時よりも小さくする(表面を滑らかにする)処理をいう。平滑化処理の具体的手段としては、無色透明層の印刷形成や研磨処理が挙げられる。凸部112bの表面に平滑化処理を施すことによって、凸部112bの表面を光沢度の高い状態にでき、より立体感を強調することができる。また、凸部112bの透明度を上げることができるため透過照明の輝度を向上することができる。  As described above, theprotrusion 112b protrudes more to the front side than the first and second fineuneven portions 112c and 112d at the locations of themain scale portion 114a, thepeak display portion 115, and thewarning display portion 116 of thesubstrate 112a. Is provided. A translucentcolored layer 112h is provided by printing, hot stamping, or the like on the surface of theconvex portion 112b provided in the portion of theconvex portion 112b that becomes themain scale portion 114a. An arbitrary color tone is selected for thecolored layer 112h. For example, white or silver with high brightness can enhance the visibility of theconvex portion 112b even when the secondlight source 160 is not lit, and the secondlight source 160 is not lit with black or gunmetal having low brightness. Sometimes it is difficult to visually recognize the convex 112b. Further, the surface of theconvex portion 112b may be smoothed. Here, the smoothing process refers to a process of making the surface roughness of theconvex portion 112b smaller than that at the time of formation (smoothing the surface). Specific means of the smoothing treatment includes printing formation of a colorless transparent layer and polishing treatment. By performing a smoothing process on the surface of theconvex part 112b, the surface of theconvex part 112b can be made into a state with high glossiness, and a three-dimensional effect can be emphasized more. Moreover, since the transparency of theconvex part 112b can be raised, the brightness | luminance of transmitted illumination can be improved.

第一の微細凹凸部112cは、前述のように、基板112aの表面のピーク表示部115及びワーニング表示部116を除く中央領域A1となる個所に設けられる。図4は図1における表示板112の部分Zの拡大図である。図4に示すように、第一の微細凹凸部112cは、指針111の回転中心を中心とした同心円状の模様(第一の模様の一例)をなす。第一の微細凹凸部112cによる第一の模様は、金属板に形成されるヘアラインを表現している金属調模様である。  As described above, the first fineuneven portion 112c is provided at a location that becomes the central region A1 excluding thepeak display portion 115 and thewarning display portion 116 on the surface of thesubstrate 112a. FIG. 4 is an enlarged view of a portion Z of thedisplay panel 112 in FIG. As shown in FIG. 4, the firstfine irregularities 112 c form a concentric pattern (an example of the first pattern) centered on the rotation center of thepointer 111. The 1st pattern by the 1st fine uneven | corrugated |grooved part 112c is a metal tone pattern expressing the hairline formed in a metal plate.

第二の微細凹凸部112dは、前述のように、基板112aの表面の主目盛部114aの除くリング状領域A2となる個所に設けられる。図4に示すように、第二の微細凹凸部112dは、指針111の回転中心を中心とした放射状(旭光状)の模様(第二の模様の一例)をなす。第二の微細凹凸部112dによる第二の模様は、金属板に形成されるヘアラインを表現している金属調模様である。また、第二の微細凹凸部112dは、第一の微細凹凸部112cがなす第一の模様(本実施形態では同心円状)とは異なる模様をなすように形成される。ここで「異なる模様」には、微細凹凸の方向が異なるほか、太さや間隔が異なる場合も含む。このように、表示板112において模様の異なる第一,第二の微細凹凸部112c,112dを設けた効果については後で述べる。  As described above, the second fine concavo-convex portion 112d is provided at a location that becomes the ring-shaped region A2 excluding themain scale portion 114a on the surface of thesubstrate 112a. As shown in FIG. 4, the second fineuneven portion 112 d forms a radial (Asahi Glow) pattern (an example of the second pattern) centered on the rotation center of thepointer 111. The 2nd pattern by the 2nd fine uneven | corrugated |grooved part 112d is a metallic tone pattern expressing the hairline formed in a metal plate. The second fineuneven portion 112d is formed to have a pattern different from the first pattern (concentric in this embodiment) formed by the first fineuneven portion 112c. Here, the “different pattern” includes not only the direction of the fine unevenness but also the case where the thickness and the interval are different. The effect of providing the first and second fineuneven portions 112c and 112d having different patterns on thedisplay panel 112 will be described later.

平滑部112eは、前述のように、基板112aの表面のリング状領域A2の中央領域A1との境界部分となる個所及びリング状領域A2の外縁領域A3との境界部分となる個所に設けられる。平滑部112eは、紫外線硬化樹脂層112iのうち微細凹凸が設けられていない部分であり、第一,第二の微細凹凸部112c,112dよりも表面粗さが小さく(平滑な)、光沢のある部分である。本実施形態において平滑部112eは平面である。平滑部112eは、少なくとも第一の微細凹凸部112cと第二の微細凹凸部112dとの境界部分に設けられるものであればよく、中央領域A1のリング状領域A2との境界部分となる個所や中央領域A1とリング状領域A2とを跨ぐ境界部分となる個所に設けられてもよい。さらに、本発明の平滑部は、平面のほか、微細凹凸部が設けられていない部分であれば、傾斜面や曲面であってもよい。このように、平滑部112eを設けた効果については後で述べる。  As described above, thesmooth portion 112e is provided at a location that becomes a boundary portion between the ring-shaped region A2 and the central region A1 of the surface of thesubstrate 112a and a boundary portion between the ring-shaped region A2 and the outer edge region A3. Thesmooth portion 112e is a portion of the ultravioletcurable resin layer 112i that is not provided with fine irregularities, and has a smaller surface roughness (smooth) and gloss than the first and secondfine irregularities 112c and 112d. Part. In the present embodiment, the smoothingportion 112e is a plane. Thesmooth portion 112e may be provided at least at the boundary portion between the first fine concavo-convex portion 112c and the second fine concavo-convex portion 112d, and may be a portion serving as a boundary portion between the central region A1 and the ring-shaped region A2. You may provide in the location used as the boundary part straddling center area | region A1 and ring-shaped area | region A2. Further, the smooth portion of the present invention may be a slope or a curved surface as long as it is a portion other than a flat surface and is not provided with a fine uneven portion. Thus, the effect of providing the smoothingpart 112e will be described later.

第一の地色層112fは、任意の第一の色調の遮光性インクを基板112aの裏面に印刷形成してなる。第一の地色層112fの第一の色調は、例えば明度の低い黒やガンメタリックである。第一の地色層112fは、前述のように、基板112aの裏面の中央領域A1及び外縁領域A3となる個所に設けられる。また、第一の地色層112fは、文字部114d,ピーク表示部115及びワーニング表示部116となる個所に対応して第一の開口部112jが形成されている。第一の開口部112jは、表側から見て文字部114d,ピーク表示部115及びワーニング表示部116の意匠をなす形状に設けられており、第二の光源160からの第二の照明光L2が第一の開口部112jから紫外線硬化樹脂層112iを通過して表示板112の表面側から出射されることで、文字部114d,ピーク表示部115及びワーニング表示部116が透過照明される。なお、第一の開口部112jに透光性の着色層や透明層を形成してもよい。中央領域A1のうち文字部114d,ピーク表示部115及びワーニング表示部116以外の部分(背景部分)は、第一の地色層112fの第一の色調が視認される。  The firstground color layer 112f is formed by printing light-shielding ink having an arbitrary first color tone on the back surface of thesubstrate 112a. The first color tone of the firstground color layer 112f is, for example, black or gunmetal having low brightness. As described above, the firstground color layer 112f is provided at the location that becomes the central region A1 and the outer edge region A3 on the back surface of thesubstrate 112a. Further, the firstground color layer 112f has afirst opening 112j corresponding to the portions to be thecharacter portion 114d, thepeak display portion 115, and thewarning display portion 116. Thefirst opening 112j is provided in a shape that forms the design of thecharacter portion 114d, thepeak display portion 115, and thewarning display portion 116 when viewed from the front side, and the second illumination light L2 from the secondlight source 160 is received by thefirst opening portion 112j. By passing through the ultravioletcurable resin layer 112i from thefirst opening 112j and being emitted from the surface side of thedisplay plate 112, thecharacter part 114d, thepeak display part 115, and thewarning display part 116 are transmitted and illuminated. Note that a light-transmitting colored layer or a transparent layer may be formed in thefirst opening 112j. In the central area A1, the first color tone of the firstground color layer 112f is visually recognized in a portion (background portion) other than thecharacter portion 114d, thepeak display portion 115, and thewarning display portion 116.

第二の地色層112gは、第一の地色層112fとは色調の異なる遮光性インクを基板112aの裏面に印刷形成してなる。第二の地色層112gの第二の色調は、第一の地色層112fの第一の色調と明度が異なることが望ましく、例えば明度の高いシルバーである。第二の地色層112gは、前述のように、表示板112の裏面のリング状領域A2となる個所に設けられる。また、第二の地色層112gは、主目盛部114a,第一の副目盛部114b,第二の副目盛部114c及び文字部114dとなる個所に対応して第二の開口部112kが形成されている。第二の開口部112kは、表側から見て主目盛部114a,第一の副目盛部114b,第二の副目盛部114c及び文字部114dの意匠をなす形状に設けられており、第二の光源160からの第二の照明光L2が第二の開口部112kから紫外線硬化樹脂層112iを通過して表示板112の表面側から出射されることで、主目盛部114a,第一の副目盛部114b,第二の副目盛部114c及び文字部114dが透過照明される。なお、第二の開口部112kに透光性の着色層や透明層を形成してもよい。また、第二の開口部112kのうち、主目盛部114a(凸部112b)に対応する第二の開口部112kは、主目盛部114aの各目盛の短手方向において凸部112bの幅よりも幅が広く形成されており(図3(b)参照)、透過照明の際に主目盛部114aの輪郭が光輝して強調されるようになっている。リング状領域A2のうち主目盛部114a,第一の副目盛部114b,第二の副目盛部114c及び文字部114d以外の主な部分は、第二の地色層112gの第二の色調が視認される。  The secondground color layer 112g is formed by printing on the back surface of thesubstrate 112a with a light-shielding ink having a color tone different from that of the firstground color layer 112f. The second color tone of the secondground color layer 112g preferably has a lightness different from that of the first color tone of the firstground color layer 112f, for example, silver having a high lightness. As described above, the secondground color layer 112g is provided at a location that becomes the ring-shaped region A2 on the back surface of thedisplay panel 112. In addition, the secondground color layer 112g is formed with asecond opening 112k corresponding to the location of themain scale portion 114a, the firstsub scale portion 114b, the secondsub scale portion 114c, and thecharacter portion 114d. Has been. Thesecond opening 112k is provided in a shape that forms a design of themain scale portion 114a, the firstsub scale portion 114b, the secondsub scale portion 114c, and thecharacter portion 114d when viewed from the front side. The second illumination light L2 from thelight source 160 passes through the ultravioletcurable resin layer 112i from thesecond opening 112k and is emitted from the surface side of thedisplay panel 112, so that themain scale part 114a and the first sub scale are obtained. Theportion 114b, the secondsub-scale portion 114c, and thecharacter portion 114d are transmitted and illuminated. Note that a translucent colored layer or a transparent layer may be formed in thesecond opening 112k. Further, among thesecond openings 112k, thesecond openings 112k corresponding to themain scale portions 114a (convex portions 112b) are smaller than the width of theconvex portions 112b in the short direction of each scale of themain scale portions 114a. The width is wide (see FIG. 3B), and the outline of themain scale portion 114a is brilliantly emphasized during transmitted illumination. In the ring-shaped region A2, a main portion other than themain scale portion 114a, the firstsub scale portion 114b, the secondsub scale portion 114c, and thecharacter portion 114d has the second color tone of the secondground color layer 112g. Visible.

かかる表示板112の構造によれば、表示板112の表示領域のうち、中央領域A1においては基板112aの表面に第一の微細凹凸部112cが形成され、裏面に第一の地色層112fが形成される。一方で、リング状領域A2においては基板112aの表面に第二の微細凹凸部112dが形成され、裏面に第二の地色層112gが形成される。したがって、中央領域A1とリング状領域A2とは、互いに色調が異なり、かつ、表面に施される微細凹凸の模様が異なる。これにより、色調の変化に加えて、表面に照射される外光の反射の具合(表面の光り方)も異なるため、背景部分となる中央領域A1とリング状意匠をなすリング状領域A2とで、質感の変化を大きくすることができ、リング状意匠の立体感を高めることができる。
また、リング状領域A2のうち、第一の微細凹凸部112cと第二の微細凹凸部112dとの間を含む平滑部112eが設けられた境界部分においては、第一,第二の微細凹凸部112c,112dのいずれとも外光の反射の具合が異なり、平滑部112eでの外光の反射によってリング状領域A2にリングの角を面取り(C面)したような質感を得ることができる。これにより、リング状意匠の立体感をさらに高めることができる。また、平滑部112eによって第一,第二の地色層112f,112gの印刷ズレが認識されにくくなり、歩留まりが向上する。
また、リング状領域A2において、基板112aの表面には主目盛部114aの意匠をなす凸部112bが設けられている。これにより、リング状領域A2の表面に実際に立体的な変化が生じるためリング状意匠の立体感をさらに高めることができる。
According to the structure of thedisplay panel 112, in the central area A1 of the display area of thedisplay panel 112, the first fineuneven portion 112c is formed on the surface of thesubstrate 112a, and the firstground color layer 112f is formed on the back surface. It is formed. On the other hand, in the ring-shaped region A2, the second fineuneven portion 112d is formed on the surface of thesubstrate 112a, and the secondground color layer 112g is formed on the back surface. Therefore, the central region A1 and the ring-shaped region A2 have different color tones and have different fine uneven patterns on the surface. As a result, in addition to the change in color tone, the degree of reflection of external light irradiated on the surface (how the surface shines) is different, so the central region A1 that is the background portion and the ring-shaped region A2 that forms the ring-shaped design. , The texture change can be increased, and the three-dimensional effect of the ring-shaped design can be enhanced.
In the ring-shaped region A2, the first and second fine uneven portions are provided at the boundary portion where thesmooth portion 112e including the first fineuneven portion 112c and the second fineuneven portion 112d is provided. The degree of reflection of external light is different from both 112c and 112d, and it is possible to obtain a texture that the corners of the ring are chamfered (C surface) in the ring-shaped region A2 by the reflection of external light at thesmooth portion 112e. Thereby, the three-dimensional effect of the ring-shaped design can be further enhanced. Further, thesmooth portion 112e makes it difficult to recognize the printing misalignment of the first and second ground color layers 112f and 112g, thereby improving the yield.
Further, in the ring-shaped region A2, aconvex portion 112b forming a design of themain scale portion 114a is provided on the surface of thesubstrate 112a. Thereby, since a three-dimensional change actually occurs on the surface of the ring-shaped region A2, the three-dimensional effect of the ring-shaped design can be further enhanced.

以上のような作用及び効果は表示板112の以下の構成によって得ることができる。
本実施形態における表示板112は、透光性の基板112aの表面に所定の第一の模様をなす第一の微細凹凸部112cが形成され、基板112aの裏面に所定の第一の色調である第一の地色層112fが形成されてなる中央領域A1と、
基板112aの表面に前記第一の模様と異なる第二の模様をなす第二の微細凹凸部112dが形成され、基板112aの裏面に前記第一の色調と異なる第二の色調である第二の地色層112gが形成されてなるリング状のリング状領域A2と、を備えてなる計器用表示板である。
The above operations and effects can be obtained by the following configuration of thedisplay panel 112.
In the present embodiment, thedisplay panel 112 has a first fineuneven portion 112c having a predetermined first pattern formed on the surface of the light-transmittingsubstrate 112a, and has a predetermined first color tone on the back surface of thesubstrate 112a. A central region A1 formed with a firstground color layer 112f;
A second fineuneven portion 112d having a second pattern different from the first pattern is formed on the surface of thesubstrate 112a, and a second color tone different from the first color tone is formed on the back surface of thesubstrate 112a. It is an instrument display board provided with a ring-shaped ring-shaped region A2 formed with aground color layer 112g.

表示板112は、基板112aの表面の第一の微細凹凸部112cと第二の微細凹凸部112dとの間に第一,第二の微細凹凸部112c,112dよりも平滑である平滑部112eが設けられてなる。  Thedisplay panel 112 includes asmooth portion 112e that is smoother than the first and second fineuneven portions 112c and 112d between the first fineuneven portion 112c and the second fineuneven portion 112d on the surface of thesubstrate 112a. It is provided.

表示板112は、リング状領域A2において基板112aの表面に所定の意匠をなす凸部112bが設けられてなる。  Thedisplay board 112 is provided with aprojection 112b having a predetermined design on the surface of thesubstrate 112a in the ring-shaped region A2.

なお、本発明は、上記実施形態のほかに種々の変更(構成要素の削除を含む)が可能であることはもちろんである。図5は本発明の変形例を示す断面図である。変形例において、表示板112は圧空成形などによって立体成形されている。具体的には、リング状領域A2が中央領域A1に対して表側に突出するように形成されている。このように、表示板112は立体成形されるものであってもよい。これによれば、色調と微細凹凸の変化に加えて、表面の立体的な変化によってさらに立体感を高めることができる。また、この場合、平滑部112eを奥行き方向の位置が異なる中央領域A1とリング状領域A2とを繋ぐ境界部分としてもよい。これによれば、微細凹凸の変化と立体的な変化の切り替えがより強調され、リング状意匠の立体感をさらに高めることができる。
また、表示板112の中央に基板112aの表面に第一,第二の微細凹凸部112c,112dと異なる模様をなす第三の微細凹凸部が形成された第三の領域をさらに設けてもよい。このとき、基板112aの表面の第一の微細凹凸部112cと前記第三の微細凹凸部との間に平滑部を設けてもよい、
また、本発明の計器用表示板を複数のアナログ表示部とデジタル表示部とを備えるコンビネーションメータに適用してもよい。このとき、第一の地色層及び第一の微細凹凸部が形成される第一の領域は、指針の回転中心を中心とした中央領域及びリング状の第二の領域の外側の領域であってもよい。
Of course, the present invention can be modified in various ways (including deletion of components) in addition to the above embodiment. FIG. 5 is a cross-sectional view showing a modification of the present invention. In the modification, thedisplay plate 112 is three-dimensionally formed by pressure forming or the like. Specifically, the ring-shaped region A2 is formed so as to protrude to the front side with respect to the central region A1. Thus, thedisplay board 112 may be three-dimensionally molded. According to this, in addition to the change in color tone and fine unevenness, the stereoscopic effect can be further enhanced by the three-dimensional change in the surface. In this case, the smoothingportion 112e may be a boundary portion that connects the center region A1 and the ring-shaped region A2 having different positions in the depth direction. According to this, the change of the fine unevenness | corrugation and the change of a three-dimensional change are emphasized more, and the three-dimensional effect of a ring-shaped design can further be improved.
Further, a third region in which a third fine uneven portion having a pattern different from the first and second fineuneven portions 112c and 112d is formed on the surface of thesubstrate 112a may be further provided in the center of thedisplay panel 112. . At this time, a smooth portion may be provided between the first fineuneven portion 112c on the surface of thesubstrate 112a and the third fine uneven portion.
The instrument display board of the present invention may be applied to a combination meter including a plurality of analog display units and digital display units. At this time, the first region in which the first ground color layer and the first fine uneven portion are formed is a central region centered on the center of rotation of the pointer and a region outside the ring-shaped second region. May be.

本発明は、計器用表示板に好適である。  The present invention is suitable for an instrument display board.

100 車両用計器
111 指針
112 表示板(計器用表示板)
112a 基板
112b 凸部
112c 第一の微細凹凸部
112d 第二の微細凹凸部
112e 平滑部
112f 第一の地色層
112g 第二の地色層
112h 着色層
112i 紫外線硬化樹脂層
112j 第一の開口部
112k 第二の開口部
114 指標部
114a 主目盛部
114b 第一の副目盛部
114c 第二の副目盛部
114d 文字部
115 ピーク表示部
116 ワーニング表示部
120 ケース体
130 前面カバー
140 見返し部材
150 第一の光源
160 第二の光源
170 導光部材
180 拡散板
190 回路基板
A1 中央領域(第一の領域)
A2 リング状領域(第二の領域)
A3 外縁領域
100VehicleInstrument 111 Pointer 112 Display Board (Instrument Display Board)
112aSubstrate 112bConvex part 112c First fineuneven part 112d Second fineuneven part 112eSmooth part 112f Firstground color layer 112g Secondground color layer112h Colored layer 112i UVcurable resin layer 112jFirst opening 112k Second opening 114Index portion 114aMain scale portion 114b Firstsubscale portion 114cSecond subscale portion114d Character portion 115Peak display portion 116Warning display portion 120Case body 130Front cover 140 Look-back member 150First Light source 160 secondlight source 170light guide member 180diffuser plate 190 circuit board A1 central region (first region)
A2 Ring-shaped area (second area)
A3 Outer edge area

Claims (3)

Translated fromJapanese
透光性の基板の表面に所定の第一の模様をなす第一の微細凹凸部が形成され、前記基板の裏面に所定の第一の色調である第一の地色層が形成されてなる第一の領域と、
前記基板の表面に前記第一の模様と異なる第二の模様をなす第二の微細凹凸部が形成され、前記基板の裏面に前記第一の色調と異なる第二の色調である第二の地色層が形成されてなるリング状の第二の領域と、を備えてなることを特徴とする計器用表示板。
A first fine concavo-convex portion having a predetermined first pattern is formed on the surface of the translucent substrate, and a first ground color layer having a predetermined first color tone is formed on the back surface of the substrate. The first area,
A second ground having a second color tone different from the first color tone on the back surface of the substrate, wherein a second fine uneven portion having a second pattern different from the first pattern is formed on the surface of the substrate; An instrument display board, comprising: a ring-shaped second region formed with a color layer.
前記基板の表面の前記第一の微細凹凸部と前記第二の微細凹凸部との間に前記第一,第二の微細凹凸部よりも平滑である平滑部が設けられてなることを特徴とする請求項1に記載の計器用表示板。  A smooth portion that is smoother than the first and second fine uneven portions is provided between the first fine uneven portion and the second fine uneven portion on the surface of the substrate. The instrument display board according to claim 1. 前記第二の領域において前記基板の表面に所定の意匠をなす凸部が設けられてなることを特徴とする請求項1に記載の計器用表示板。
The instrument display board according to claim 1, wherein a convex portion having a predetermined design is provided on the surface of the substrate in the second region.
JP2015242465A2015-12-112015-12-11 Instrument display boardActiveJP6597266B2 (en)

Priority Applications (1)

Application NumberPriority DateFiling DateTitle
JP2015242465AJP6597266B2 (en)2015-12-112015-12-11 Instrument display board

Applications Claiming Priority (1)

Application NumberPriority DateFiling DateTitle
JP2015242465AJP6597266B2 (en)2015-12-112015-12-11 Instrument display board

Publications (2)

Publication NumberPublication Date
JP2017106870A JP2017106870A (en)2017-06-15
JP6597266B2true JP6597266B2 (en)2019-10-30

Family

ID=59060678

Family Applications (1)

Application NumberTitlePriority DateFiling Date
JP2015242465AActiveJP6597266B2 (en)2015-12-112015-12-11 Instrument display board

Country Status (1)

CountryLink
JP (1)JP6597266B2 (en)

Families Citing this family (1)

* Cited by examiner, † Cited by third party
Publication numberPriority datePublication dateAssigneeTitle
JP6829812B2 (en)*2017-02-162021-02-17日本精機株式会社 Instrument

Also Published As

Publication numberPublication date
JP2017106870A (en)2017-06-15

Similar Documents

PublicationPublication DateTitle
JP5373081B2 (en) Instrument device
JP2008175584A (en) Display plate and display device including the display plate
JP4963597B2 (en) Display device
JP4792831B2 (en) Instrument display board and pointer instrument having the same
JP6597266B2 (en) Instrument display board
JP2003344115A (en)Measuring instrument
JP2008116426A (en) Instrument device
JP2017106871A (en)Display board for measuring instruments
JP2012177711A (en)Indicating instrument
JP6143067B2 (en) Indicating instrument
JP2002357460A (en)Measuring instrument
JP2007309836A (en)Display
JP2003065809A (en)Display
JP4826076B2 (en) Display device
JP2002257601A (en)Meter
JP2007271328A (en)Metering device
JP4310952B2 (en) Pointer type display device
JP4379812B2 (en) Indicating instrument
JP4280966B2 (en) Display board
JP4690128B2 (en) Instrument
JP2015222239A (en)Display panel for instrument
JP4828377B2 (en) Instrument device
JP2007085984A (en) Instrument
KR100916655B1 (en) Three-dimensional instrument panel
JP4596121B2 (en) Lighting device

Legal Events

DateCodeTitleDescription
A621Written request for application examination

Free format text:JAPANESE INTERMEDIATE CODE: A621

Effective date:20181012

A977Report on retrieval

Free format text:JAPANESE INTERMEDIATE CODE: A971007

Effective date:20190808

TRDDDecision of grant or rejection written
A01Written decision to grant a patent or to grant a registration (utility model)

Free format text:JAPANESE INTERMEDIATE CODE: A01

Effective date:20190903

A61First payment of annual fees (during grant procedure)

Free format text:JAPANESE INTERMEDIATE CODE: A61

Effective date:20190916

R150Certificate of patent or registration of utility model

Ref document number:6597266

Country of ref document:JP

Free format text:JAPANESE INTERMEDIATE CODE: R150


[8]ページ先頭

©2009-2025 Movatter.jp