





































  (技術分野)
  本開示は概して、組織を外科的に接合するための器具に関し、より詳細には、外科用器具との使用のための多使用ローディングユニットに関する。(Technical field)
 The present disclosure relates generally to instruments for surgically joining tissue, and more particularly to multi-use loading units for use with surgical instruments.
  (関連技術の背景)
  組織を外科的に接合するために使用される様々なタイプの外科用器具が、当該技術分野において知られており、例えば、離断、切除、吻合における組織または器官の閉鎖のために、胸部の処置および腹部の処置における器官の閉塞のために、および組織を電気外科的に融合または密封するために、一般的に使用されている。(Background of related technology)
 Various types of surgical instruments used to surgically join tissue are known in the art, for example, for the closure of tissue or organs in amputation, resection, anastomosis It is commonly used for organ occlusion in procedures and abdominal procedures, and for electrosurgical fusion or sealing of tissue.
そのような外科用器具の1つの例は、外科用ステープリング器具であり、外科用ステープリング器具は、アンビルアセンブリと、外科用ステープルのアレイをサポートするためのカートリッジアセンブリと、カートリッジアセンブリとアンビルアセンブリとを接近させるための接近メカニズムと、カートリッジアセンブリから外科用ステープルを排出するための発射メカニズムとを含み得る。 One example of such a surgical instrument is a surgical stapling instrument that includes an anvil assembly, a cartridge assembly for supporting an array of surgical staples, and a cartridge assembly and an anvil assembly. And a firing mechanism for ejecting the surgical staple from the cartridge assembly.
外科用ステープリング器具の使用に際して、外科医は、アンビル部材とカートリッジ部材とを接近させることが一般的である。次に、外科医は、器具を発射して、ステープルを組織に打ち込む。さらに、外科医は、ステープルの列に隣接した、またはステープルの列間の組織をカットするために、同じ器具か、または別個の器具を使用し得る。 In using a surgical stapling instrument, the surgeon typically brings the anvil member and cartridge member closer together. The surgeon then fires the instrument and drives staples into the tissue. Further, the surgeon may use the same instrument or separate instruments to cut tissue adjacent to or between the staple rows.
本開示は、チャネルと、該チャネルと解放可能に係合して配置された取外し可能なアセンブリとを有する外科用器具に関する。該取外し可能なアセンブリは、カートリッジ本体とサポートプレートとを含む。該カートリッジ本体は、その中に複数の締め具またはステープルを収容するように構成され、そして、その近位端に隣接して配置された係合構造体を含む。該サポートプレートは、該カートリッジ本体を機械的に係合するように構成され、そして、その近位端に隣接して配置された係合構造体を含む。該カートリッジ本体の係合構造体は、該サポートプレートの係合構造体と長手方向に整列するように構成されている。該カートリッジ本体の係合構造体と該サポートプレートの係合構造体とは、該取外し可能なアセンブリが該チャネルと係合させられている場合に、該チャネルの係合構造体を機械的に係合するように構成されている。 The present disclosure relates to a surgical instrument having a channel and a removable assembly disposed in releasable engagement with the channel. The removable assembly includes a cartridge body and a support plate. The cartridge body is configured to receive a plurality of fasteners or staples therein and includes an engagement structure disposed adjacent to a proximal end thereof. The support plate is configured to mechanically engage the cartridge body and includes an engagement structure disposed adjacent its proximal end. The engagement structure of the cartridge body is configured to be longitudinally aligned with the engagement structure of the support plate. The engagement structure of the cartridge body and the engagement structure of the support plate mechanically engage the channel engagement structure when the removable assembly is engaged with the channel. Configured to match.
開示された実施形態において、前記チャネルの係合構造体は、隆起したボスを含み、前記カートリッジ本体の係合構造体は、U型凹部を含み、かつ/または、前記サポートプレートの係合構造体は、U型凹部を含む。開示された実施形態において、前記カートリッジ本体および前記サポートプレートのU型凹部は、近位方向に面する開放部を含む。 In disclosed embodiments, the channel engagement structure includes a raised boss, the cartridge body engagement structure includes a U-shaped recess, and / or the support plate engagement structure. Includes a U-shaped recess. In a disclosed embodiment, the cartridge body and the U-shaped recess of the support plate include an open portion facing proximally.
開示された実施形態において、前記チャネルは、該チャネルの遠位端に隣接して配置された長手方向に延びるスロットを含み、前記サポートプレートは、該チャネルの該長手方向に延びるスロットを解放可能に係合するように構成された外側に延びるフィンガを含む。 In a disclosed embodiment, the channel includes a longitudinally extending slot disposed adjacent to the distal end of the channel, and the support plate releasably releases the longitudinally extending slot of the channel. An outwardly extending finger configured to engage.
  開示された実施形態において、前記サポートプレートは、該サポートプレートの遠位部
分に配置された内側に延びるフィンガを含む。ここで、該内側に延びるフィンガは、前記カートリッジ本体の遠位部分に配置された溝を解放可能に係合するように構成されている。In the disclosed embodiment, the support plate includes inwardly extending fingers disposed at a distal portion of the support plate. Here, the inwardly extending fingers are configured to releasably engage a groove disposed in a distal portion of the cartridge body.
開示された実施形態において、前記サポートプレートは、該サポートプレートの近位端に隣接して配置された近位突起を含む。該近位突起は、作動スレッドが前記カートリッジ本体に対して遠位方向に時期尚早に並進することを防止することを助けるように構成されている。 In the disclosed embodiment, the support plate includes a proximal protrusion disposed adjacent to the proximal end of the support plate. The proximal protrusion is configured to help prevent the actuation sled from premature translation in the distal direction relative to the cartridge body.
特定の実施形態において、前記チャネルは、アンビルアセンブリを含む取外し可能なローディングユニットの一部である。 In certain embodiments, the channel is part of a removable loading unit that includes an anvil assembly.
本開示のさらなる局面において、外科用器具に対するローディングユニットは、アンビルアセンブリと、チャネルと、カートリッジアセンブリとを有する。該チャネルは、該チャネルの近位端に隣接して配置されたボスを有する。該カートリッジアセンブリおよび該アンビルアセンブリは、互いに対して旋回可能である。該カートリッジアセンブリは、サポートプレートとカートリッジ本体とを含む。該サポートプレートは、該チャネルを解放可能に係合するように構成され、該サポートプレートの近位端に隣接して配置された凹部を含む。該カートリッジ本体は、該サポートプレートを解放可能に係合するように構成され、かつ、該カートリッジ本体の中に複数の締め具またはステープルを収容するように構成されている。該カートリッジ本体は、該カートリッジ本体の近位端に隣接して配置された凹部を含む。該カートリッジ本体の凹部は、該サポートプレートの凹部と長手方向に整列するように構成されている。該カートリッジ本体の凹部および該サポートプレートの凹部のうちの少なくとも1つは、該サポートプレートが該チャネルと係合させられている場合に、該チャネルの該ボスを機械的に係合するように構成されている。 In a further aspect of the present disclosure, a loading unit for a surgical instrument has an anvil assembly, a channel, and a cartridge assembly. The channel has a boss disposed adjacent to the proximal end of the channel. The cartridge assembly and the anvil assembly are pivotable relative to each other. The cartridge assembly includes a support plate and a cartridge body. The support plate is configured to releasably engage the channel and includes a recess disposed adjacent to the proximal end of the support plate. The cartridge body is configured to releasably engage the support plate and is configured to receive a plurality of fasteners or staples in the cartridge body. The cartridge body includes a recess disposed adjacent to the proximal end of the cartridge body. The concave portion of the cartridge body is configured to align with the concave portion of the support plate in the longitudinal direction. At least one of the cartridge body recess and the support plate recess is configured to mechanically engage the boss of the channel when the support plate is engaged with the channel. Has been.
開示された実施形態において、前記カートリッジ本体の凹部は、U型凹部を含み、かつ/または、前記サポートプレートの凹部は、U型凹部を含む。そのような実施形態において、前記カートリッジ本体のU型凹部および前記サポートプレートのU型凹部は、近位方向に面する開放部を含む。 In the disclosed embodiment, the recess of the cartridge body includes a U-shaped recess and / or the recess of the support plate includes a U-shaped recess. In such an embodiment, the U-shaped recess of the cartridge body and the U-shaped recess of the support plate include a proximally facing opening.
開示された実施形態において、前記チャネルは、該チャネルの遠位端に隣接して配置された長手方向に延びるスロットを含み、前記サポートプレートは、該チャネルの該長手方向に延びるスロットを解放可能に係合するように構成された外側に延びるフィンガを含む。 In a disclosed embodiment, the channel includes a longitudinally extending slot disposed adjacent to the distal end of the channel, and the support plate releasably releases the longitudinally extending slot of the channel. An outwardly extending finger configured to engage.
開示された実施形態において、前記サポートプレートは、該サポートプレートの遠位部分に配置された内側に延びるフィンガを含む。該内側に延びるフィンガは、前記カートリッジ本体の遠位部分に配置された溝を解放可能に係合するように構成されている。 In the disclosed embodiment, the support plate includes inwardly extending fingers disposed at a distal portion of the support plate. The inwardly extending fingers are configured to releasably engage a groove disposed in a distal portion of the cartridge body.
開示された実施形態において、前記サポートプレートは、該サポートプレートの近位端に隣接して配置された近位突起を含む。該近位突起は、作動スレッドが前記カートリッジ本体に対して遠位方向に時期尚早に並進することを防止することを助けるように構成されている。 In the disclosed embodiment, the support plate includes a proximal protrusion disposed adjacent to the proximal end of the support plate. The proximal protrusion is configured to help prevent the actuation sled from premature translation in the distal direction relative to the cartridge body.
特定の実施形態において、ローディングユニットは、前記カートリッジアセンブリおよびアンビルアセンブリが取り付けられる本体部分を含み、該本体部分は、外科用器具の細長い部材に取り付け可能である。 In certain embodiments, the loading unit includes a body portion to which the cartridge assembly and anvil assembly are attached, the body portion being attachable to an elongated member of a surgical instrument.
  本開示はまた、チャネルを有し、カートリッジアセンブリと、駆動部材と、ロックアウ
トメカニズムとを備えている外科用器具に関する。該ロックアウトメカニズムは、該駆動部材の長手方向の並進を防止するように構成されている。該ロックアウトメカニズムは、ラッチとバネとを備えている。該ラッチは、該チャネルと機械的に協働するように配置され、最初の位置からブロッキング位置へ側方に移動可能である。該バネは、該ラッチを該ブロッキング位置に付勢するように構成され、該ブロッキング位置においては、該ラッチの形状付き表面は、該ラッチが該ブロッキング位置にあるとき、該駆動部材の遠位方向の動きを遮る。The present disclosure also relates to a surgical instrument having a channel and comprising a cartridge assembly, a drive member, and a lockout mechanism. The lockout mechanism is configured to prevent translation of the drive member in the longitudinal direction. The lockout mechanism includes a latch and a spring. The latch is disposed in mechanical cooperation with the channel and is movable laterally from an initial position to a blocking position. The spring is configured to bias the latch to the blocking position, where the shaped surface of the latch is in a distal direction of the drive member when the latch is in the blocking position. Obstruct the movement.
開示された実施形態において、前記ラッチは、前記カートリッジアセンブリに対して旋回可能である。 In the disclosed embodiment, the latch is pivotable relative to the cartridge assembly.
開示された実施形態において、前記ラッチは、前記駆動部材の遠位方向の並進を防止するために該駆動部材の一部分を係合するように構成されたフックを含む。 In disclosed embodiments, the latch includes a hook configured to engage a portion of the drive member to prevent distal translation of the drive member.
開示された実施形態において、前記ラッチは、カミング表面を含み、前記駆動部材が近位方向に並進して該カミング表面と接触するとき、該ラッチは、そのブロッキング位置から遠ざかるように旋回する。 In a disclosed embodiment, the latch includes a camming surface, and the latch pivots away from its blocking position when the drive member is translated proximally into contact with the camming surface.
開示された実施形態において、外科用器具は、少なくともカートリッジアセンブリの一部分に対する長手方向の並進に対して構成されたスレッドを備えている。該スレッドはテール部分を含み、該テール部分は、該スレッドがその最近位位置に隣接しているとき、ラッチの一部分に当接するように構成されている。該スレッドのテール部分は、ラッチがそのブロッキング位置へ動くことを妨げるように構成されている。 In the disclosed embodiment, the surgical instrument comprises a sled configured for longitudinal translation relative to at least a portion of the cartridge assembly. The sled includes a tail portion that is configured to abut a portion of the latch when the sled is adjacent to its proximal position. The tail portion of the sled is configured to prevent the latch from moving to its blocking position.
カートリッジアセンブリは、長手方向のスロットを画定するカートリッジ本体を含み得る。駆動部材は、遠位方向に長手方向のスロットに沿って移動する。ラッチの形状付き表面は、ラッチがブロッキング位置にあるとき、長手方向のスロットと実質的に整列している。 The cartridge assembly may include a cartridge body that defines a longitudinal slot. The drive member moves along the longitudinal slot in the distal direction. The shaped surface of the latch is substantially aligned with the longitudinal slot when the latch is in the blocking position.
  例えば、本発明は以下を提供する。
(項目1)
  外科用器具であって、該外科用器具は、
  チャネルであって、該チャネルの近位端に隣接して配置された係合構造体を含むチャネルと、
  該チャネルと解放可能に係合して配置された取外し可能なアセンブリと
  を備え、該取外し可能なアセンブリは、
    カートリッジ本体であって、該カートリッジ本体の中に複数の締め具を収容するように構成され、該カートリッジ本体の近位端に隣接して配置された係合構造体を含む、カートリッジ本体と、
    サポートプレートであって、該カートリッジ本体を機械的に係合するように構成され、該サポートプレートの近位端に隣接して配置された係合構造体を含む、サポートプレートと
    を備え、
    該カートリッジ本体の係合構造体は、該サポートプレートの係合構造体と長手方向に整列するように構成され、該カートリッジ本体の係合構造体と該サポートプレートの係合構造体とは、該取外し可能なアセンブリが該チャネルと係合させられている場合に、該チャネルの係合構造体を機械的に係合するように構成されている、外科用器具。
(項目2)
  上記チャネルの係合構造体は、隆起したボスを含む、上記項目に記載の外科用器具。
(項目3)
  上記カートリッジ本体の係合構造体は、U型凹部を含む、上記項目のいずれか一項に記載の外科用器具。
(項目4)
  上記サポートプレートの係合構造体は、U型凹部を含む、上記項目のいずれか一項に記載の外科用器具。
(項目5)
  上記カートリッジ本体のU型凹部および上記サポートプレートのU型凹部は、近位方向に面する開放部を含む、上記項目のいずれか一項に記載の外科用器具。
(項目6)
  上記チャネルは、該チャネルの遠位端に隣接して配置された長手方向に延びるスロットを含み、上記サポートプレートは、該チャネルの該長手方向に延びるスロットを解放可能に係合するように構成された外側に延びるフィンガを含む、上記項目のいずれか一項に記載の外科用器具。
(項目7)
  上記サポートプレートは、該サポートプレートの遠位部分に配置された内側に延びるフィンガを含み、該内側に延びるフィンガは、上記カートリッジ本体の遠位部分に配置された溝を解放可能に係合するように構成されている、上記項目のいずれか一項に記載の外科用器具。
(項目8)
  上記サポートプレートは、該サポートプレートの近位端に隣接して配置された近位突起を含み、該近位突起は、作動スレッドが上記カートリッジ本体に対して遠位方向に時期尚早に並進することを防止することを助けるように構成されている、上記項目のいずれか一項に記載の外科用器具。
(項目9)
  上記チャネルは、アンビルアセンブリを含む取外し可能なローディングユニットの一部である、上記項目のいずれか一項に記載の外科用器具。
(項目10)
  ローディングユニットであって、該ローディングユニットは、
  アンビルアセンブリと、
  チャネルであって、該チャネルの近位端に隣接して配置されたボスを含むチャネルと、
  カートリッジアセンブリと
  を備え、該アンビルアセンブリと該カートリッジアセンブリとは、互いに対して旋回可能であり、該カートリッジアセンブリは、
    サポートプレートであって、該チャネルを解放可能に係合するように構成され、該サポートプレートの近位端に隣接して配置された凹部を含む、サポートプレートと、
    カートリッジ本体であって、該サポートプレートを解放可能に係合するように構成され、かつ、該カートリッジ本体の中に複数の締め具を収容するように構成され、該カートリッジ本体の近位端に隣接して配置された凹部を含む、カートリッジ本体と
  を備え、
    該カートリッジ本体の凹部は、該サポートプレートの凹部と長手方向に整列するように構成され、該カートリッジ本体の凹部および該サポートプレートの凹部のうちの少なくとも1つは、該サポートプレートが該チャネルと係合させられている場合に、該チャネルの該ボスを機械的に係合するように構成されている、
  ローディングユニット。
(項目11)
  上記カートリッジ本体の上記凹部は、U型凹部を含む、上記項目のいずれか一項に記載のローディングユニット。
(項目12)
  上記サポートプレートの上記凹部は、U型凹部を含む、上記項目のいずれか一項に記載のローディングユニット。
(項目13)
  上記カートリッジのU型凹部および上記サポートプレートのU型凹部は、近位方向に面する開放部を含む、上記項目のいずれか一項に記載のローディングユニット。
(項目14)
  上記チャネルは、該チャネルの遠位端に隣接して配置された長手方向に延びるスロットを含み、上記サポートプレートは、該チャネルの該長手方向に延びるスロットを解放可能に係合するように構成された外側に延びるフィンガを含む、上記項目のいずれか一項に記載のローディングユニット。
(項目15)
  上記サポートプレートは、該サポートプレートの遠位部分に配置された内側に延びるフィンガを含み、該内側に延びるフィンガは、上記カートリッジ本体の遠位部分に配置された溝を解放可能に係合するように構成されている、上記項目のいずれか一項に記載のローディングユニット。
(項目16)
  上記サポートプレートは、該サポートプレートの近位端に隣接して配置された近位突起を含み、該近位突起は、作動スレッドが上記カートリッジ本体に対して遠位方向に時期尚早に並進することを防止することを助けるように構成されている、上記項目のいずれか一項に記載のローディングユニット。
(項目17)
  上記チャネルおよび上記アンビルアセンブリが取り付けられる本体部分をさらに備え、該本体部分は、外科用器具の細長い部材に取り付け可能である、上記項目のいずれか一項に記載のローディングユニット。
(項目18)
  チャネルを有する外科用器具であって、該外科用器具は、
  カートリッジアセンブリと、
  遠位方向に移動するように構成された駆動部材と、
  該駆動部材の長手方向の並進を防止するように構成されたロックアウトメカニズムと
  を備え、該ロックアウトメカニズムは、
    該チャネルの一部分と機械的に協働するように配置されているラッチであって、該ラッチは、最初の位置からブロッキング位置へ側方に移動可能である、ラッチと、
    該ラッチを該ブロッキング位置の方に付勢するように構成されたバネと
    を備え、該ラッチの形状付き表面は、該ラッチが該ブロッキング位置にあるとき、該駆動部材の遠位方向の動きを遮る、
  外科用器具。
(項目19)
  上記ラッチは、上記カートリッジアセンブリに対して旋回可能である、上記項目のいずれか一項に記載の外科用器具。
(項目20)
  上記ラッチの形状付き表面は、上記駆動部材の遠位方向の並進を防止するために該駆動部材の一部分を係合するように構成された第2の側面を有する、上記項目のいずれか一項に記載の外科用器具。
(項目21)
  上記ラッチの形状付き表面は、第1の側面を含み、上記駆動部材は、該駆動部材の引き込み中に該ラッチの該第1の側面に沿ってスライドし、該ラッチをそのブロッキング位置から遠ざかるように旋回させる、上記項目のいずれか一項に記載の外科用器具。
(項目22)
  上記駆動部材との遠位方向の前進に対して構成されたスレッドをさらに備え、該スレッドは、該駆動部材が最初の位置にあるとき、上記ラッチの形状付き表面に当接するように構成されたテール部分を含み、該スレッドの該テール部分は、該ラッチがそのブロッキング位置へ動くことを妨げるように構成されている、上記項目のいずれか一項に記載の外科
用器具。
(項目23)
  上記カートリッジアセンブリは、スロットを画定するカートリッジ本体を有し、上記ラッチは、該ラッチが上記ブロッキング位置にあるとき、該スロットを通る上記駆動部材の動きを遮る、上記項目のいずれか一項に記載の外科用器具。For example, the present invention provides the following.
 (Item 1)
 A surgical instrument comprising:
 A channel comprising an engagement structure disposed adjacent to the proximal end of the channel;
 A removable assembly disposed in releasable engagement with the channel, the removable assembly comprising:
 A cartridge body comprising an engagement structure configured to receive a plurality of fasteners within the cartridge body and disposed adjacent to a proximal end of the cartridge body;
 A support plate, wherein the support plate is configured to mechanically engage the cartridge body and includes an engagement structure disposed adjacent to a proximal end of the support plate;
 The cartridge body engagement structure is configured to be longitudinally aligned with the support plate engagement structure, the cartridge body engagement structure and the support plate engagement structure comprising: A surgical instrument configured to mechanically engage the engagement structure of the channel when a removable assembly is engaged with the channel.
 (Item 2)
 The surgical instrument of any of the preceding items, wherein the channel engagement structure comprises a raised boss.
 (Item 3)
 The surgical instrument according to any one of the preceding items, wherein the engagement structure of the cartridge body includes a U-shaped recess.
 (Item 4)
 The surgical instrument according to any one of the preceding items, wherein the engagement structure of the support plate includes a U-shaped recess.
 (Item 5)
 The surgical instrument according to any one of the preceding items, wherein the U-shaped recess of the cartridge body and the U-shaped recess of the support plate include an open portion facing proximally.
 (Item 6)
 The channel includes a longitudinally extending slot disposed adjacent to the distal end of the channel, and the support plate is configured to releasably engage the longitudinally extending slot of the channel. Surgical instrument according to any one of the preceding items, comprising a finger extending outwardly.
 (Item 7)
 The support plate includes an inwardly extending finger disposed at a distal portion of the support plate, the inwardly extending finger releasably engaging a groove disposed at the distal portion of the cartridge body. The surgical instrument according to any one of the above items, wherein the surgical instrument is configured as follows.
 (Item 8)
 The support plate includes a proximal protrusion disposed adjacent to a proximal end of the support plate, the proximal protrusion prematurely translating an actuation sled distally relative to the cartridge body. The surgical instrument of any one of the preceding items, wherein the surgical instrument is configured to help prevent
 (Item 9)
 The surgical instrument of any one of the preceding items, wherein the channel is part of a removable loading unit that includes an anvil assembly.
 (Item 10)
 A loading unit, the loading unit comprising:
 Anvil assembly;
 A channel comprising a boss disposed adjacent to a proximal end of the channel;
 A cartridge assembly, wherein the anvil assembly and the cartridge assembly are pivotable relative to each other, the cartridge assembly comprising:
 A support plate comprising a recess configured to releasably engage the channel and disposed adjacent to a proximal end of the support plate;
 A cartridge body, configured to releasably engage the support plate, and configured to receive a plurality of fasteners within the cartridge body, adjacent to the proximal end of the cartridge body A cartridge body including a recess disposed as
 The recess of the cartridge body is configured to be longitudinally aligned with the recess of the support plate, and at least one of the recess of the cartridge body and the recess of the support plate is engaged with the channel. Configured to mechanically engage the boss of the channel when mated;
 Loading unit.
 (Item 11)
 The loading unit according to any one of the above items, wherein the recess of the cartridge body includes a U-shaped recess.
 (Item 12)
 The loading unit according to any one of the preceding items, wherein the recess of the support plate includes a U-shaped recess.
 (Item 13)
 The loading unit according to any one of the preceding items, wherein the U-shaped recess of the cartridge and the U-shaped recess of the support plate include an open portion facing in a proximal direction.
 (Item 14)
 The channel includes a longitudinally extending slot disposed adjacent to the distal end of the channel, and the support plate is configured to releasably engage the longitudinally extending slot of the channel. A loading unit according to any one of the preceding items comprising a finger extending outwardly.
 (Item 15)
 The support plate includes an inwardly extending finger disposed at a distal portion of the support plate, the inwardly extending finger releasably engaging a groove disposed at the distal portion of the cartridge body. The loading unit according to any one of the above items, configured as described above.
 (Item 16)
 The support plate includes a proximal protrusion disposed adjacent to a proximal end of the support plate, the proximal protrusion prematurely translating an actuation sled distally relative to the cartridge body. A loading unit according to any one of the preceding items, wherein the loading unit is configured to help prevent.
 (Item 17)
 The loading unit according to any one of the preceding items, further comprising a body portion to which the channel and the anvil assembly are attached, the body portion being attachable to an elongated member of a surgical instrument.
 (Item 18)
 A surgical instrument having a channel, the surgical instrument comprising:
 A cartridge assembly;
 A drive member configured to move in a distal direction;
 A lockout mechanism configured to prevent longitudinal translation of the drive member, the lockout mechanism comprising:
 A latch disposed in mechanical cooperation with a portion of the channel, the latch being laterally movable from an initial position to a blocking position;
 And a spring configured to bias the latch toward the blocking position, the shaped surface of the latch providing distal movement of the drive member when the latch is in the blocking position. Intercept,
 Surgical instruments.
 (Item 19)
 The surgical instrument of any one of the preceding items, wherein the latch is pivotable relative to the cartridge assembly.
 (Item 20)
 Any one of the preceding items, wherein the shaped surface of the latch has a second side configured to engage a portion of the drive member to prevent distal translation of the drive member. The surgical instrument according to 1.
 (Item 21)
 The shaped surface of the latch includes a first side, and the drive member slides along the first side of the latch during retraction of the drive member to move the latch away from its blocking position. The surgical instrument according to any one of the preceding items, wherein
 (Item 22)
 A sled configured for distal advancement with the drive member, the sled configured to abut the shaped surface of the latch when the drive member is in an initial position; The surgical instrument according to any one of the preceding items, including a tail portion, wherein the tail portion of the sled is configured to prevent the latch from moving to its blocking position.
 (Item 23)
 The cartridge assembly has a cartridge body defining a slot, and the latch blocks movement of the drive member through the slot when the latch is in the blocking position. Surgical instruments.
  (摘要)
  カートリッジアセンブリが開示される。該カートリッジアセンブリは、チャネルと、該チャネルと解放可能に係合する取外し可能なアセンブリとを含む。該取外し可能なアセンブリは、カートリッジ本体とサポートプレートとを含む。カートリッジ本体は、その近位端に隣接して配置された係合構造体を含む。該サポートプレートは、該カートリッジ本体を機械的に係合するように構成され、その近位端に隣接して配置された係合構造体を含む。該カートリッジ本体の係合構造体は、該サポートプレートの係合構造体と長手方向に整列するように構成されている。該カートリッジ本体の係合構造体と該サポートプレートの係合構造体とは、該取外し可能なアセンブリが該チャネルと係合させられている場合に、該チャネルの係合構造体を機械的に係合するように構成されている。(Summary)
 A cartridge assembly is disclosed. The cartridge assembly includes a channel and a removable assembly that releasably engages the channel. The removable assembly includes a cartridge body and a support plate. The cartridge body includes an engagement structure disposed adjacent to its proximal end. The support plate is configured to mechanically engage the cartridge body and includes an engagement structure disposed adjacent to a proximal end thereof. The engagement structure of the cartridge body is configured to be longitudinally aligned with the engagement structure of the support plate. The engagement structure of the cartridge body and the engagement structure of the support plate mechanically engage the channel engagement structure when the removable assembly is engaged with the channel. Configured to match.
  図面を参照して、本開示の外科用器具の様々な実施形態が、本明細書に開示される。
  (詳細な説明)
  本開示の外科用器具、ローディングユニット、およびローディングユニットとの使用のためのツールアセンブリの実施形態が、図面を参照して詳細に記述され、これらの図面において、同様な参照番号は、幾つかの図面の各々において対応する要素を示す。当該技術分野において一般的であるように、用語「近位」は、例えば外科医または内科医のようなユーザまたはオペレータにより近い部分またはコンポーネントを指し、一方、用語「遠位」は、ユーザからより遠く離れた部分またはコンポーネントを指す。(Detailed explanation)
 Embodiments of the presently disclosed surgical instrument, loading unit, and tool assembly for use with the loading unit are described in detail with reference to the drawings, wherein like reference numerals are used to describe Corresponding elements are shown in each of the drawings. As is common in the art, the term “proximal” refers to a portion or component that is closer to a user or operator, such as a surgeon or physician, while the term “distal” is farther from the user. Refers to a remote part or component.
  本開示の外科用ステープリング器具は、図1において参照番号10として示される。さらに、描かれた外科用器具は、ステープルを発射するが、しかし、例えばクリップおよび2部締め具のような任意の他の適切な締め具を発射するように適合され得る。外科用器具10との使用のためのローディングユニットは、添付の図面に示され、参照番号500として示される。ローディングユニット500のツールアセンブリが、添付の図面に示され、参照番号1000として示される。  The surgical stapling instrument of the present disclosure is shown as
  ローディングユニット500は、例えば、外科用器具10がより大きな融通性を有することが可能となるように、外科用器具10の細長い部分、または内視鏡的部分18に取り
付け可能である。本開示のローディングユニット500は、1回よりも多くの回数使用されるように構成される。特に、ローディングユニットは、取外し可能なアセンブリ1600を有し、取外し可能なアセンブリ1600は、カートリッジアセンブリ1200を含む。カートリッジアセンブリ1200は、ツールアセンブリ1000の一部分を形成し、ツールアセンブリ1000は、ローディングユニット500の一部分を形成する。取外し可能なアセンブリは、取外され、そして、(例えば、それから締め具を発射した後)置き換えられるように構成される。外科用ステープリング器具との使用のためのローディングユニットの例は、その全容が本明細書に参考として援用されている、Bolanosらとの共有に係る米国特許第5,752,644号に開示されている。示されているローディングユニット500は、近位の本体部分502を含み、近位の本体部分502は、ハンドルアセンブリ12を有する外科用器具10の内視鏡的部分または細長い部分18に取り付け可能である。しかしながら、ツールアセンブリ1000を含む本開示のローディングユニット500の特徴は、器具の細長い部分の分離可能な部分を含まない外科用器具に組み込まれることができる。The
  ローディングユニット500は、近位の本体部分502と、ツールアセンブリ1000とを含む。近位の本体部分502は、長手方向の軸「A−A」を画定し、外科用器具10の細長い部分18の遠位端に解放可能に取り付け可能である。ツールアセンブリ1000は、アンビルアセンブリ1100とカートリッジアセンブリ1200とを含む一対の顎部材を含む。一方の顎部材は、他方に対して旋回可能であることにより、顎部材間での組織の締め付けを可能にする。例示される実施形態において、カートリッジアセンブリ1200は、アンビルアセンブリ1100に対して旋回可能であり、開いた位置または締め付けられていない位置と閉じた位置または接近した位置との間で可動である。しかしながら、アンビルアセンブリ、またはカートリッジアセンブリとアンビルアセンブリとの両方は、可動であることができる。  
  例えば、図1Dを参照すると、アンビルアセンブリ1100は、アンビルカバー1110とアンビルプレート1112とを含み、アンビルプレート1112は、複数のステープル形成窪み1113を含む。アンビルプレート1112は、アンビルカバー1110の下側に固定され、それらの間でチャネル1114(例えば、図8を参照)を画定する。ツールアセンブリ1000が近づけられた位置にあるとき、ステープル形成窪み1113は、カートリッジアセンブリ1200のステープル受け入れスロットと並置されるように位置決めされる。  For example, referring to FIG. 1D,
  ツールアセンブリは、チャンネルまたはキャリア1300を含み、チャンネルまたはキャリア1300は、カートリッジアセンブリおよびサポートプレート1500を受け入れこれらをサポートする。カートリッジアセンブリは、カートリッジ本体1400を有する。カートリッジ本体およびサポートプレート1500は、以下に論議されるように、スナップ嵌め接続、戻り止、ラッチ、または別のタイプの接続によってチャネルまたはキャリア1300に取り付けられる。カートリッジアセンブリは、締め具またはステープル1414を含む。カートリッジ本体1400は、複数の側方に離されたステープル保持スロット1410を画定し、ステープル保持スロット1410は、組織接触表面1412(図11を参照)における開口部として構成される。各スロット1410は、その中に締め具またはステープル1414を受け入れるように構成される。カートリッジアセンブリ1200はまた、複数のカムウェッジスロットを画定し、これら複数のカムウェッジスロットは、ステープルプッシャ1416を収容し、かつこれら複数のカムウェッジスロットの底部(すなわち、組織接触面1412から離れている底部)は、開口し、作動スレッド1418が、そこを長手方向に通り抜けることを可能にする。  The tool assembly includes a channel or
  カートリッジアセンブリ1200の様々なコンポーネント間の接続、ならびにチャネル
1300に対するカートリッジ本体1400とサポートプレート1500との取外し可能性および置換可能性を含む、カートリッジアセンブリ1200の様々なコンポーネントの詳細が、以下に論議される。一般的に、取外し可能なアセンブリ1600は、カートリッジアセンブリ1200とサポートプレート1500とを含む。取外し可能なアセンブリ1600は、例えば、ステープル1414が、カートリッジ本体1400から発射された後にチャネル1300から取外し可能である。別の取外し可能なアセンブリが、チャネル1300にロードされることができ、それによって、例えば、外科用器具10が、再び作動させられて、さらなる締め具またはステープル1414を発射する。Details of the various components of the
  機械加工され得るチャネル1300(例えば、図13〜図17における1300a)またはシートメタルで作成され得るチャネル1300(例えば、図9における1300b)は、1つのもしくは一対の係合構造体または近位ボス1310(例えば、図6における1300b)と、遠位端に隣接して配置された一対のカットアウト1320と、一対の遠位スロット1330と、中央のスロット1340と、一対の近位ホール1350と、傾斜の付いた表面1360とを含む。近位ホール1350は、アンビルカバー1110上の一対の対応するホール1120と整列して/これを(例えば、ホール1350およびホール1120を貫通するピンまたは突起により)係合して、アンビルアセンブリ1100とカートリッジアセンブリ1200との間の旋回可能な関係を容易にするように構成される。係合構造体1310は、ピン、突起、または同様な構造体であり得ることが想定されている。  A
  カートリッジ本体1400は、中央のスロット1420と、スロット1420の各側に位置決めされたステープル保持スロット1410の列(図11を参照)とを含む。例示された実施形態において、保持スロット1410の3つの列が示されている。より詳細には、カートリッジ本体1400は、作動スレッド1418がカムウェッジスロットを通り、そして、アンビルプレート1112の方にステープルプッシャ1416を押し動かすように構成される。次に、プッシャにサポートされているステープル1414は、それらのそれぞれのステープル保持スロット1410の外に押し動かされる。カートリッジ本体1400はまた、その近位端に隣接する一対の係合構造体または(他の実施形態においては、スロットまたは開口部であり得る)U型凹部1430と、一対の中央ボス1440と、一対の遠位突起1450と、一対の遠位溝1460とを含む。上部取り付け表面1470および下部取り付け表面1480の対は、カートリッジ本体1400の近位端に隣接して配置され、そして、それぞれの上部取り付けスロット1472および下部取り付けスロット1482に隣接して配置される。  The
  図10を特に参照すると、サポートプレート1500は、ベース表面1510と、ベース表面1510を貫通する長手方向のスロット1520と、ベース表面1510の近位端に配置され、これから実質的に垂直に延びる一対の近位フィンガ1530と、ベース表面1510の真中部分から実質的に垂直に延びる一対の中間フィンガ1550と、ベース表面1510の遠位端に隣接して配置された一対の内側に延びるフィンガ1560および外側に延びるボス1570と、ベース表面1510の近位端に隣接して配置された一対の近位突起1580とを含む。各近位フィンガ1530は、係合構造体または近位方向に面するU型凹部1532と、上部取り付けフランジ1534と、下部取り付けフランジ1536とを含む。理解されることができるとおり、サポートプレート1500は、カートリッジ本体1400に対して所定の位置にプッシャ1416を維持することを助ける。さらに、長手方向のスロット1520は、駆動部材の一部分が、サポートプレート1500を通り抜けることを可能にする。駆動部材は、動的締め付け部材1402であり得る。動的締め付け部材または駆動部材1402は、作動スレッド1418をカートリッジ本体1400を通るように駆動する。カートリッジ本体の中央のスロット、チャネルの中央のスロット、およびサポートプレートの長手方向のスロットはすべて、互いに整列して、駆動部材
の通過を可能にする。With particular reference to FIG. 10, the
  使用に際して、カートリッジ本体1400とサポートプレート1500とを接続するために、カートリッジ本体1400およびサポートプレート1500は、カートリッジの最近位端がサポートプレート1500の近位フィンガ1530の間、かつそのベース表面1510と接触する位置に位置決めされるように、組み立てられるか、または合体させられる。サポートプレート1500は次に、上部取り付けフランジ1534および下部取り付けフランジ1536が、上部取り付けスロット1472および下部取り付けスロット1482をそれぞれ係合するように、カートリッジ本体1400に対して(例えば、遠位方向にスライドさせられるなど)長手方向に並進させられる。カートリッジ本体1400とサポートプレート1500との間の長手方向の並進は、近位フィンガ1530の最遠位端が、カートリッジ本体1400のそれぞれの垂直壁1490(図12)に接触するまで続く。この段階で、U型凹部1430は、U型凹部1532(図3を参照)と側方で隣接し、これと整列し、そして、サポートプレート1500に対するカートリッジ本体1400の引き続く近位への動きは防止される。次に、またはカートリッジ本体1400とサポートプレート1500との間の相対的な長手方向の並進に付随して、サポートプレート1500の中間フィンガ1550内のカットアウト1552は、カートリッジの中央ボス1440の周りに位置決めされ、そして、内側に延びるフィンガ1560は、カートリッジの遠位溝1460と係合される。カートリッジアセンブリ1200およびサポートプレート1500は、取外し可能なアセンブリ1600を構成し、取外し可能なアセンブリ1600は、外科用器具10および/またはローディングユニット500のユーザによってチャネル1300から取外し可能であり、かつチャネル1300へ置き換え可能である。  In use, in order to connect the
  取外し可能なアセンブリ1600は、近位ボス1310が、U型凹部1430および1532の近位に位置決めされ、かつ、遠位スロット1330の遠位端が、外側に延びるボス1570の近位端の近位に位置決めされるように、取外し可能なアセンブリ1600とチャネル1300とを近づけることによって、チャネル1300へ挿入可能である。次に、取外し可能なアセンブリ1600は、外側に延びるボス1570が、近位ボス1310がU型凹部1430および1532と接触するまで、遠位スロット1330内で近位方向に並進するように、チャネル1300に対して(例えば、近位方向に)長手方向に並進させられる。次に、または取外し可能なアセンブリ1600とチャネル1300との間の相対的な長手方向の並進に付随して、チャネル1300のカットアウト1320は、カートリッジ本体1400の遠位突起1450と係合される。アンビルアセンブリ1100およびカートリッジアセンブリ1200を互いに対して動かすために、傾斜の付いた表面1360は、動的締め付け部材1402によって係合される。他の実施形態において、同様な表面が、アンビルアセンブリ1100上に提供され得る。傾斜の付いた表面1360はまた、チャネル1300とサポートプレート1500および/またはカートリッジ本体1400との間の整列および/または係合を容易にし得ることが想定されている。  
  一旦組み立てられると、以下に記述されるように、ユーザは、可動ハンドル22を作動させて、ステープル1414をカートリッジ本体1400から組織の中に排出することができる。ベース表面1510から延びる近位突起1580は、器具10の作動の前に、作動スレッド1418をサポートプレート1500に対するその相対的な位置に維持することを助けることが想定されている。すなわち、作動スレッド1418、またはその一部分は、近位突起1580の近位に位置決めされ、そして、近位突起1580は、作動スレッド1418のいかなる時期尚早の遠位方向への前進をも妨げるための物理的なバリアを形成することが想定されている。ユーザが、器具10を作動させて、そして、近位突起1580を越えて遠位方向に作動スレッド1418を前進させることを意図すると、作動スレッド1418を前進させるために使用される力は、作動スレッド1418の下部表面または一部分を近位突起1580を越えて押し動かすために十分である。  Once assembled, the user can actuate the
  ステープル1414がカートリッジ本体1400から排出された後、ユーザが同じ器具10を使用して、さらなるステープル1414(または別のタイプの締め具またはナイフ)を発射することを所望するとき、ユーザは、取外し可能なアセンブリ1600をチャネル1300に対して遠位方向にスライドさせることによって取外し可能なアセンブリ1600を取外すことができる。次に、ユーザは、取外し可能なアセンブリ1600をチャネル1300から取外す。未発射のステープルを有する別の取外し可能なアセンブリが、チャネル1300の中にロードされることができる。別の実施形態において、取外し可能なアセンブリが、チャネル1300から取外された後、カートリッジアセンブリのカートリッジ本体が、サポートプレートから取外し可能であることができる。カートリッジ本体は、サポートプレート1500をカートリッジ本体1400に対して近位方向にスライドさせることによって取外される。所望であれば、別のカートリッジ本体がサポートプレートと結合され得、そして、チャネルの中に挿入され得る。  After the
特定の実施形態において、取外し可能なアセンブリは、例えば細長い部分18のような、外科用ステープリング器具の細長い部分に取外し可能に取り付けられるローディングユニットの一部である。これは、ユーザが、より短いかまたはより長いステープルラインの長さを選ぶことを可能にする。取外し可能なアセンブリは、取外し可能であるローディングユニットを有さず、その代わりに、細長い部分18に永遠的に取り付けられた顎を有する外科用器具と共に使用されることができることも勘案されている。 In certain embodiments, the removable assembly is part of a loading unit that is removably attached to an elongate portion of a surgical stapling instrument, such as elongate portion 18, for example. This allows the user to choose a shorter or longer staple line length. It is also contemplated that the removable assembly does not have a removable loading unit and can instead be used with a surgical instrument having a jaw permanently attached to the elongated portion 18.
  ステープラ10の動作中、その可動ハンドル22の作動は、ステープルを発射する。ハンドルアセンブリ12は、細長い作動シャフトを有し、この細長い作動シャフトは、可動ハンドル22がユーザによって旋回的に動かされるとき、遠位方向に並進させられる。ハンドルアセンブリの作動シャフトは、可動ハンドル22によって係合される歯を含むことができるか、またはハンドルアセンブリ12は、作動シャフトを動かすための一連の歯車を含むことができる。あるいは、ハンドルアセンブリは、作動シャフトを動かすためのモータ付き駆動体を含むことができるか、またはハンドルアセンブリは、別個のモータ付き駆動体に取り付け可能であることができる。  During operation of the
  特定の実施形態において、(その遠位部分が図1および図27〜図31に示されている)駆動ロッド30は、可動ハンドルの連続ストロークにより、遠位方向に前進させられ、それによって、駆動ロッド30は、(動的締め付け部材1402を含む)駆動アセンブリの一部分を押して、カートリッジ本体1400を通して遠位方向に並進させる。(可動ハンドル22の作動が、どのようにして駆動ロッド30の遠位方向の前進を引き起こすかのさらなる詳細は、Millimanらへの米国特許第6,953,139号に説明されており、米国特許第6,953,139号は、本明細書に参考として援用されている。)駆動アセンブリ、および、特に、動的締め付け部材または駆動部材1402の遠位方向の動きは、一方の顎部材の他方に対する接近を引き起こす。すなわち、動的締め付け部材1402の上部部分は、アンビルプレート1112とアンビルカバー1110との間のチャネル1114を通って移動し、動的締め付け部材1402の下部部分は、カートリッジアセンブリ1200のキャリア1300の下を移動し、これは、アンビルアセンブリ1100とカートリッジアセンブリ1200との接近を引き起こして、それらの間で組織を締め付ける。例えば、チャネル1300は、カミング表面を画定する下部表面を有し得、そして、動的締め付け部材1402の下部部分は、このカミング表面を係合して、カートリッジアセンブリ1200をアンビルアセンブリ1100の方に旋回させる。  In certain embodiments, the drive rod 30 (whose distal portion is shown in FIGS. 1 and 27-31) is advanced distally by a continuous stroke of the movable handle, thereby driving
  さらに、動的締め付け部材1402の遠位方向の並進は、作動スレッド1418をカートリッジ本体1400を通って遠位方向に動かし、これによって、作動スレッド1418のカムウェッジ1419は、プッシャ1416を逐次係合して、ステープル保持スロット
1410内において垂直にプッシャ1416を動かし、そして、ステープル1414をアンビルプレート1112のステープル形成窪み1113の中に排出する。保持スロット1410から(そして組織の中へ)のステープル1414の排出に続いて、動的締め付け部材1402のカッティングエッジが、カートリッジ本体1400の中央のスロット1420を通って遠位方向に移動しながら、ステープル留めされた組織を切断する。Further, the distal translation of the
  さらなる実施形態において、エンドエフェクタまたはツールアセンブリ1000のようなエンドエフェクタまたはツールアセンブリが、ツールアセンブリ1000が長手方向の軸「A−A」と整列させられる第1の位置と、ツールアセンブリ1000が長手方向の軸「A−A」に対してある角度で配置される第2の位置との間で関節運動するように構成されることも想定されている。例えば、アンビルアセンブリ110は、ローディングユニット500の近位の本体部分502に旋回可能に取り付けられ得るか、または、器具の細長い部分に旋回可能に取り付けられ得る。ローディングユニットは、1つ以上のケーブルまたはリンケージを含み、これら1つ以上のケーブルまたはリンケージは、近位の本体部分502に配置され、そして、ツールアセンブリ1000に取り付けられる。ケーブルまたはリンケージが変位すると、ツールアセンブリは、器具に対して旋回し、かつ関節運動する。関節運動を提供することに関するさらなる詳細は、共有に係るMillimanらに対する米国特許第6,953,139号に詳細に記載されており、その内容は、その全容が、参考として既に援用されている。さらに、ツールアセンブリは、関節運動しないように構成されることができる。  In a further embodiment, an end effector or tool assembly, such as end effector or
  さらに、器具10は、電源および/またはモータによって動力が供給されることが想定されている。そのような動力が供給された外科用器具に関するさらなる詳細は、米国特許公開第2008/0255607号に含まれており、その全容は、本明細書に参考として援用されている。  Furthermore, the
  さらに、例えば、図11に示されているように、本開示は、段付き組織接触表面1412を有するカートリッジ本体1400を含む。そのような実施形態において、異なるサイズのステープル1414、または全て同じサイズのステープルが、使用され得る。複数のステープルサイズを有するステープルカートリッジに関するさらなる詳細は、Holstenらへの米国特許第7,407,075号に含まれ、その全内容は、本明細書に参考として援用されている。  Further, for example, as shown in FIG. 11, the present disclosure includes a
  上述のように、本開示はまた、記述された外科用器具10、ローディングユニット500、およびツールアセンブリ100を外科処置の実行のために使用する方法、および様々なそれらのコンポーネントを組み立てる方法に関する。  As mentioned above, the present disclosure also relates to a method of using the described
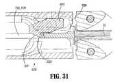
  図18〜図35を参照すると、本開示のロックアウトメカニズム2000、2000aの2つの実施形態が示されている。これらの実施形態の各々に対して、ロックアウトを有する外科用器具は、チャネル、取外し可能なアセンブリ、カートリッジ本体、サポートプレート、および上で論議された係合構造体を有し得る。さらに、本開示は、ロックアウトを有する取外し可能なアセンブリ、またはロックアウトを有するローディングユニットに関する。  Referring to FIGS. 18-35, two embodiments of the
  図18〜図31を参照すると、ロックアウトメカニズム2000の第1の実施形態は、ラッチ2010とバネ2030とを含み、そして、取外し可能なアセンブリ1600のカートリッジ本体1400の再発射を防止するように、およびナイフの最初の遠位方向の並進の後、かつ別の取外し可能なアセンブリ1600がチャネル1300へロードされる前の動的締め付け部材1402の遠位方向の並進も防止するように、構成される。  With reference to FIGS. 18-31, a first embodiment of the
  図22および図24を特に参照すると、ラッチ2010は、上部表面2014および下部表面2016を有する本体2012と、下部表面2016から下方に垂れる下部突起2018と、上部表面2014から上方に延びるバネストップ2019と、第1の側方の面2022上の形状付き表面2020とを含む。本体2012は、第2の側方の面2024も有する。形状付き表面2020は、2つの側面を有する。第1の側面2020aは、ラッチ2010が、動的締め付け部材1402の通過を遮るブロッキング位置にあるとき、中央のスロット1340に対して角度をなす。形状付き表面2020の第2の側面2020bは、ラッチがブロッキング位置にあるとき、中央のスロット1340に対して横に延びる(図30を参照)。  With particular reference to FIGS. 22 and 24, the
  ここで、図19〜図24を参照すると、ラッチ2010は、チャネル1300と機械的に係合させられ、ラッチ2010は、チャネル1300に対して旋回することができる。特に、ラッチ2010の下部突起2018(図24)は、チャネル1300の開口部1380(図22)を貫通し、それによって、ラッチ2010は、チャネル1300に対して旋回可能である。下部突起2018は、ロックピン2050(図22)によってチャネル1300との機械的係合状態が維持される。あるいは、突起は省略されることができ、そして、本体2012およびチャネル1300と係合する別個のピボットピンが使用されることができる。  Referring now to FIGS. 19-24, the
  図21〜図22を見ると、バネ2030は、第1のレグ2032と、第2のレグ2034と、第1のレグ2032と第2のレグ2034とを相互に接続する中間部分2036とを含む。第1のレグ2032は、チャネル1300の一部分と接触している。例えば、チャネル1300は、スロット1301、ノッチ、または、第1のレグ2032の動きを制限するための何らかの他の特徴を有し得る。第2のレグ2034は、ラッチ2010のバネストップ2018と接触するように配置される。中間部分2036は、第1のレグ2032と第2のレグ2034との間に配置される。例えば、バネは、U型構成(図27を参照)、または、例えばL型のような何らかの他の形状を有し得る。  21 to 22, the
  バネ2030は、カートリッジアセンブリ1200の一部分と機械的に協働する。バネは、ラッチ2010をそのブロッキング位置の方に付勢するように構成される。動的締め付け部材1402およびスレッド1418の最初の位置(例えば、ステープルを発射し、組織を切開するためのそれらの遠位方向前進の前)において、スレッド1418のテール部分1417(図25)は、ラッチ2010の形状付き表面2020が、その最初の位置からそのブロッキング位置へ動くことを物理的に妨げ、従って、動的締め付け部材1402およびスレッド1418の遠位方向の並進を可能にする(図26および図27を参照)。動的締め付け部材およびスレッドの並進の後、バネは、ラッチ2010をブロッキング位置へ動かし、このブロッキング位置では、ラッチ2010の形状付き表面2020が、チャネル1300の中央のスロット1340およびサポートプレート1500のベース表面1510を貫通する長手方向のスロット1520を遮り(図30および図31を参照)、それによって、形状付き表面2020は、ステープルを発射して組織をカットした後に、動的締め付け部材1402が引き込まれている場合に、動的締め付け部材1402の遠位方向の並進をブロックする。  
  ラッチ2010は、最初の位置からブロッキング位置へ側方に移動可能である。ラッチは側方に動き、これによって、ラッチの形状付き表面が、スロットを遮り、かつ、カートリッジアセンブリのスロットを遮る位置から離れることが可能となる。  The
  動的締め付け部材の引き込み中、動的締め付け部材は、形状付き表面の第1の側面2020aに沿ってスライドし、ラッチ2010を動的締め付け部材から遠ざけ、そして、ラッチをバネの付勢に抗して旋回させる。動的締め付け部材の引き込まれた位置において、
動的締め付け部材は、形状付き表面2020の近位に配置され、そして、スレッド1418および/またはテール部分1417は、形状付き表面2020に当接していない。ラッチ2010は、ブロッキング位置へ旋回し、それによって、第2の側面2020bは、動的締め付け部材の遠位方向の動きを遮り、かつ/または、妨げる。During retraction of the dynamic clamping member, the dynamic clamping member slides along the first side 2020a of the shaped surface, moves the
 The dynamic clamping member is disposed proximal to the shaped
  動的締め付け部材1402およびスレッド1418の遠位方向への前進中、スレッド1418がラッチ2010を遠位方向に通り過ぎ、その結果、形状付き表面2020がスレッド1418のテール部分にもはや接触しなくなった後、動的締め付け部材1402が、形状付き表面2020に当接し、これによって、ラッチ2010がそのブロッキング位置に動くことを物理的にブロックし、このようにして、動的締め付け部材1402の遠位方向の並進を許す(図28を参照)。  During dynamic advancement of the
  カートリッジアセンブリ1200または取外し可能なアセンブリ1600が、チャネル1300から取外されると、ラッチ2010が、動的締め付け部材1402をブロックし続ける(図31を参照)。新しいカートリッジアセンブリ1200または取外し可能なアセンブリ1600が、チャネル1300へロードされると、新しいスレッド1418のテール部分1417が、ラッチ2010の形状付き表面の第1の側面2020aを係合し、そして、ラッチ2010をそのブロッキング位置から遠ざかるように旋回させる。正しい構成を有するスレッドなしでは、ラッチは、ブロッキング位置にあり続ける。  As
  図32〜図35を参照すると、ロックアウトメカニズム2000aの第2の実施形態が示される。ロックアウトを有する外科用器具は、チャネル、取外し可能なアセンブリ、カートリッジ本体、サポートプレート、および上で論議された係合構造体を有し得る。さらに、本開示は、ロックアウトを有する取外し可能なアセンブリ、またはロックアウトを有するローディングユニットに関する。ロックアウトメカニズム2000aは、ラッチ2010aと、バネとを含む。バネは、簡明さのために示されていないが、しかし、上で論議されたとおりであり得る。上で論議されたロックアウトメカニズム2000の実施形態とは異なり、ロックアウトメカニズム2000aのこの実施形態は、ロックピン2050を含まない。ここで、ラッチ2010aをチャネル1300aと係合した状態に維持するために、ラッチ2010aの下部表面2016aは、そこから垂れるロッキング部材2018aを含む。  With reference to FIGS. 32-35, a second embodiment of a
  例示された実施形態において、ロッキング部材2018aは、一対の弧状の壁によって相互に接続された一対の平行な壁を含む。チャネル1300aの開口部1380aは、ロッキング部材2018aに対して同様ではあるが、しかしわずかにこれよりも大きい形状を含み、また、円形の凹部1381aも含み、この周りで、ロッキング部材2018aは、回転することができる(図34および図35を参照)。  In the illustrated embodiment, the locking
  ラッチ2010aをチャネル1300aと係合させるために、ロッキング部材2018aは、開口部1380aを通して挿入され、そして、ラッチ2010aは次に、チャネル1300aの開口部1380aを抜け落ちないように、所定の量(例えば、約40度〜約130度)回転させられる。上で記述されたように、(簡明さのためにこの実施形態においては示されていない)バネが次に、ラッチ2010aのバネストップ2018aとチャネル1300aの一部分との間に位置決めされ得る。  To engage the
  理解されることができるように、ロックアウトメカニズム2000aの第2の実施形態を含む外科用器具の使用は、上に記述されたとおりの、ロックアウトメカニズム2000の第1の実施形態を含む外科用器具の使用と同様であるか、またはこれと同じである。  As can be appreciated, the use of a surgical instrument that includes the second embodiment of the
  上述は多くの詳細を含むが、これらの詳細は、本開示の範囲に対する制限として解釈さ
れるべきではなく、その様々な実施形態の単なる例示として解釈されるべきである。従って、上述は、制限するものとして解釈されるべきではなく、様々な実施形態の単なる例示として解釈されるべきである。当業者は、本明細書に添付された請求項の範囲および精神内で他の改変を想定する。Although the above includes many details, these details should not be construed as limitations on the scope of the present disclosure, but merely as exemplifications of various embodiments thereof. Therefore, the above description should not be construed as limiting, but merely as exemplifications of various embodiments. Those skilled in the art will envision other modifications within the scope and spirit of the claims appended hereto.
| Application Number | Priority Date | Filing Date | Title | 
|---|---|---|---|
| JP2017046079AJP6434072B2 (en) | 2017-03-10 | 2017-03-10 | Multi-use loading unit | 
| Application Number | Priority Date | Filing Date | Title | 
|---|---|---|---|
| JP2017046079AJP6434072B2 (en) | 2017-03-10 | 2017-03-10 | Multi-use loading unit | 
| Application Number | Title | Priority Date | Filing Date | 
|---|---|---|---|
| JP2012246243ADivisionJP6110635B2 (en) | 2012-11-08 | 2012-11-08 | Multi-use loading unit | 
| Publication Number | Publication Date | 
|---|---|
| JP2017140410A JP2017140410A (en) | 2017-08-17 | 
| JP6434072B2true JP6434072B2 (en) | 2018-12-05 | 
| Application Number | Title | Priority Date | Filing Date | 
|---|---|---|---|
| JP2017046079AActiveJP6434072B2 (en) | 2017-03-10 | 2017-03-10 | Multi-use loading unit | 
| Country | Link | 
|---|---|
| JP (1) | JP6434072B2 (en) | 
| Publication number | Priority date | Publication date | Assignee | Title | 
|---|---|---|---|---|
| WO2022118168A2 (en)* | 2020-12-02 | 2022-06-09 | Cilag Gmbh International | Surgical instrument with cartridge release mechanisms | 
| Publication number | Priority date | Publication date | Assignee | Title | 
|---|---|---|---|---|
| US4892244A (en)* | 1988-11-07 | 1990-01-09 | Ethicon, Inc. | Surgical stapler cartridge lockout device | 
| US7044352B2 (en)* | 2003-05-20 | 2006-05-16 | Ethicon Endo-Surgery, Inc. | Surgical stapling instrument having a single lockout mechanism for prevention of firing | 
| US7140528B2 (en)* | 2003-05-20 | 2006-11-28 | Ethicon Endo-Surgery, Inc. | Surgical stapling instrument having an electroactive polymer actuated single lockout mechanism for prevention of firing | 
| US7942303B2 (en)* | 2008-06-06 | 2011-05-17 | Tyco Healthcare Group Lp | Knife lockout mechanisms for surgical instrument | 
| Publication number | Publication date | 
|---|---|
| JP2017140410A (en) | 2017-08-17 | 
| Publication | Publication Date | Title | 
|---|---|---|
| US11957341B2 (en) | Multi-use loading unit | |
| US11375998B2 (en) | Tissue stop for surgical instrument | |
| CA2795323C (en) | Multi-use loading unit | |
| EP2732772B1 (en) | Multi-use loading unit | |
| US8444038B2 (en) | Tissue stop for surgical instrument | |
| US8292158B2 (en) | Locking mechanism for use with loading units | |
| JP6353673B2 (en) | Microsurgical instruments and loading units for use with microsurgical instruments | |
| US20120199628A1 (en) | Knife bar with geared overdrive | |
| JP6110635B2 (en) | Multi-use loading unit | |
| JP6434072B2 (en) | Multi-use loading unit | |
| AU2015202577B2 (en) | Tissue stop for surgical instrument | |
| AU2016228164B2 (en) | Multi-use loading unit | |
| AU2014250629B2 (en) | Multi-use loading unit | 
| Date | Code | Title | Description | 
|---|---|---|---|
| A131 | Notification of reasons for refusal | Free format text:JAPANESE INTERMEDIATE CODE: A131 Effective date:20180213 | |
| A521 | Request for written amendment filed | Free format text:JAPANESE INTERMEDIATE CODE: A523 Effective date:20180511 | |
| TRDD | Decision of grant or rejection written | ||
| A01 | Written decision to grant a patent or to grant a registration (utility model) | Free format text:JAPANESE INTERMEDIATE CODE: A01 Effective date:20181023 | |
| A61 | First payment of annual fees (during grant procedure) | Free format text:JAPANESE INTERMEDIATE CODE: A61 Effective date:20181107 | |
| R150 | Certificate of patent or registration of utility model | Ref document number:6434072 Country of ref document:JP Free format text:JAPANESE INTERMEDIATE CODE: R150 | |
| R250 | Receipt of annual fees | Free format text:JAPANESE INTERMEDIATE CODE: R250 | |
| R250 | Receipt of annual fees | Free format text:JAPANESE INTERMEDIATE CODE: R250 | |
| R250 | Receipt of annual fees | Free format text:JAPANESE INTERMEDIATE CODE: R250 | |
| R250 | Receipt of annual fees | Free format text:JAPANESE INTERMEDIATE CODE: R250 |