



























本開示は、コイル間の誘導結合を用いた無線電力伝送装置及び無線電力伝送システムに関する。 The present disclosure relates to a wireless power transmission device and a wireless power transmission system using inductive coupling between coils.
プライバシーの保護を目的として、また、冷房に必要なエネルギーの削減を目的として、建物及び乗り物などに調光ガラスを採用する場合が増えてきている。例えば、建物の窓に設けた調光ガラスを、昼は透明に変化させ、夜は不透明に変化させることで、建物の室内のプライバシーを保護することができる。また、例えば、建物の窓又は自動車の窓もしくはサンルーフなどに設けた調光ガラスを用いて遮光することにより室内温度の上昇を低減し、冷房に必要なエネルギーを削減することができる。 For the purpose of protecting privacy and reducing the energy required for cooling, the use of light control glass in buildings and vehicles is increasing. For example, the dimming glass provided on the window of a building is changed to be transparent at daytime and changed to be opaque at night, thereby protecting the privacy in the room of the building. Further, for example, by using a light control glass provided in a building window, a car window, a sunroof, or the like to block light, an increase in indoor temperature can be reduced, and energy required for cooling can be reduced.
調光ガラスの状態を変化させる方法として、エレクトロクロミック方式及びガスクロミック方式が知られている。 As a method of changing the state of the light control glass, an electrochromic method and a gas chromic method are known.
エレクトロクロミック方式の調光ガラスでは、調光材料層を両側からフィルム電極で挟み、フィルム電極に直流又は交流の電圧を印加する。エレクトロクロミック方式の調光ガラスとしては、例えば、高分子分散型液晶(Polymer Dispersed Liquid Cristal)を用いたもの、電解質層と酸化タングステン(WO3)を用いた調光層とを透明電極で挟み込んだ構造のもの、電解質層とマグネシウム・ニッケル合金層とを透明電極で挟み込んだ構造のもの、ガラス基板上に、酸化インジウムスズ(ITO)層、酸化タングステン層、酸化タンタル層、パラジウム層、マグネシウム合金層を積層した構造のもの(非特許文献1)、などがある。In the electrochromic light control glass, a light control material layer is sandwiched between film electrodes from both sides, and a DC or AC voltage is applied to the film electrode. As the electrochromic light control glass, for example, one using a polymer dispersed liquid crystal (Polymer Dispersed Liquid Cristal), an electrolyte layer and a light control layer using tungsten oxide (WO3 ) are sandwiched between transparent electrodes. Structure, electrolyte layer and magnesium / nickel alloy layer sandwiched between transparent electrodes, glass substrate, indium tin oxide (ITO) layer, tungsten oxide layer, tantalum oxide layer, palladium layer, magnesium alloy layer (Non-patent document 1) and the like.
ガスクロミック方式の調光ガラスでは、調光材料膜を例えば酸素又は水素のガスにさらすことにより、調光材料膜の酸化又は還元を行う。ガスクロミック方式の調光ガラスとしては、例えば、白金などの触媒層により被覆した酸化タングステン(WO3)の膜を用いたもの(非特許文献2)、などがある。In the gaschromic light control glass, the light control material film is oxidized or reduced by exposing the light control material film to, for example, oxygen or hydrogen gas. Examples of the gaschromic light control glass include those using a tungsten oxide (WO3 ) film coated with a catalyst layer such as platinum (Non-patent Document 2).
調光ガラスは、窓枠に給電用の配線を設ける必要があるので、その設置に手間がかかる。特に、エレクトロクロミック方式の調光ガラスでは、ガラス上にフィルム電極及びその配線を設ける必要があるので、結露により短絡が生じる可能性がある。これらの課題を解決するために、無線電力伝送を行う調光ガラスが望まれる。 Since the light control glass needs to provide power supply wiring on the window frame, it takes time to install the light control glass. In particular, in the electrochromic light control glass, since it is necessary to provide a film electrode and its wiring on the glass, a short circuit may occur due to condensation. In order to solve these problems, a light control glass that performs wireless power transmission is desired.
無線電力伝送システムは、送電コイル(送電アンテナ)を備えた送電装置と、受電コイル(受電アンテナ)を備えた受電装置とを含み、送電コイルによって生じた磁界を受電コイルが捕捉することにより、電極を直接に接触させることなく電力を伝送することができる。 The wireless power transmission system includes a power transmission device including a power transmission coil (power transmission antenna) and a power reception device including a power reception coil (power reception antenna). The power reception coil captures a magnetic field generated by the power transmission coil, thereby It is possible to transmit electric power without directly touching.
特許文献1は、調光ガラスのためのワイヤレス電力伝送システムを開示している。特許文献1のワイヤレス電力伝送システムは、給電コイルと受電コイルの磁場共振現象に基づき、給電コイルから受電コイルにワイヤレス給電するためのシステムであって、給電コイルと、受電コイルと、給電コイルに交流電力を供給することにより給電コイルから受電コイルに交流電力を給電させる送電制御回路と、受電コイルと磁気結合することにより受電コイルから交流電力を受電するロードコイルと、ロードコイルから交流電力を供給される調光ガラスと、を備え、調光ガラスの透明度は、ロードコイルが受電した交流電力により変化する。受電コイルおよびロードコイルは、調光ガラスを囲む形状にて設置される。
エレクトロクロミック方式の調光ガラスのために無線電力伝送を行う場合、送電コイルによって生じた磁界を受電コイルが捕捉する妨げとなるので、受電コイルに囲まれた領域内に調光ガラスの導電性のフィルム電極を設けることは望ましくない。特許文献1のワイヤレス電力伝送システムは、その受電コイルが調光ガラスを囲んでいるので、ガラス面上にフィルム電極を設けることができず、エレクトロクロミック方式の調光ガラスに適用することができない。従って、調光ガラスの動作方式にかかわらず、調光ガラスの動作の妨げとならない無線電力伝送装置及び無線電力伝送システムが望まれる。 When wireless power transmission is performed for electrochromic light control glass, the power reception coil prevents the power reception coil from capturing the magnetic field generated by the power transmission coil, so that the conductivity of the light control glass is within the region surrounded by the power reception coil. It is not desirable to provide a film electrode. Since the power receiving coil surrounds the light control glass, the wireless power transmission system of
また、特許文献1のワイヤレス電力伝送システムは、給電コイルと受電コイルとの間の遠距離の磁場共振現象に基づいているので、電力を高効率で送ることができない。従って、より効率的に無線電力伝送を行うことができる無線電力伝送装置及び無線電力伝送システムが望まれる。 Moreover, since the wireless power transmission system of
また、特許文献1のワイヤレス電力伝送システムは、その受電コイルが調光ガラスを囲むような大きなサイズ(例えば、1m×2mなど)を有しているので、構造上の自由度が低く、可能な構造が制限される。従って、構造上の自由度が高い無線電力伝送装置及び無線電力伝送システムが望まれる。 In addition, the wireless power transmission system of
また、一般に、調光ガラスにおいて、調光可能なガラス面の面積を最大化することが望ましい。また、一般に、調光ガラスにおいて、ガラスの枠(サッシ)に調光に必要な装置を収容する場合には、枠の寸法を最小化することが望ましい。従って、調光ガラスに適した寸法、形状、及び構造を有する無線電力伝送装置及び無線電力伝送システムが望まれる。 In general, in the light control glass, it is desirable to maximize the area of the glass surface capable of light control. In general, in the light control glass, when a device necessary for light control is accommodated in a glass frame (sash), it is desirable to minimize the size of the frame. Therefore, a wireless power transmission device and a wireless power transmission system having a size, shape, and structure suitable for the light control glass are desired.
また、調光ガラスに限らず、外部からの電気信号により表示状態が変化するパネル(ディスプレイ、電子ペーパー、など)を受電装置として含む無線電力伝送装置及び無線電力伝送システムであって、受電装置の動作の妨げとならず、高効率で無線電力伝送を行うことができ、構造上の自由度が高いものが望まれる。 In addition, the present invention is not limited to the light control glass, and is a wireless power transmission device and a wireless power transmission system including a panel (display, electronic paper, etc.) whose display state is changed by an electrical signal from the outside as a power receiving device, It is desired that the wireless power transmission can be performed with high efficiency without hindering the operation and having a high degree of structural freedom.
本開示では、受電装置の動作の妨げとならず、高効率で無線電力伝送を行うことができ、構造上の自由度が高い無線電力伝送装置及び無線電力伝送システムを提供する。 The present disclosure provides a wireless power transmission device and a wireless power transmission system that do not hinder the operation of the power receiving device, can perform wireless power transmission with high efficiency, and have a high degree of structural freedom.
本開示の1つの態様に係る無線電力伝送装置によれば、
1つの送電装置及び少なくとも1つの受電装置を含む無線電力伝送システムのための受電装置である無線電力伝送装置において、上記送電装置は少なくとも1つの送電コイルを備え、
上記無線電力伝送装置は、
パネルを収容し、予め決められた形状の外周を有する第1の枠と、
上記第1の枠の外周の一部に沿って上記第1の枠の外周に近接して上記第1の枠に設けられた少なくとも1つの受電コイルと、
上記第1の枠に設けられた少なくとも1つの受電回路であって、上記受電コイルに接続され、上記受電コイルが上記送電コイルと電磁的に結合するように近接して設けられたとき上記送電装置から上記受電コイルを介して電力を受ける少なくとも1つの受電回路と、
上記受電回路から供給される電力に基づいて動作する少なくとも1つの負荷装置とを備えたことを特徴とする。According to the wireless power transmission device according to one aspect of the present disclosure,
In a wireless power transmission device that is a power reception device for a wireless power transmission system including one power transmission device and at least one power reception device, the power transmission device includes at least one power transmission coil,
The wireless power transmission device is
A first frame that houses the panel and has an outer periphery of a predetermined shape;
At least one power receiving coil provided on the first frame in proximity to the outer periphery of the first frame along a part of the outer periphery of the first frame;
At least one power receiving circuit provided in the first frame, wherein the power transmitting device is connected to the power receiving coil, and the power receiving coil is provided in close proximity so as to be electromagnetically coupled to the power transmitting coil. At least one power receiving circuit for receiving power from the power receiving coil via the power receiving coil;
And at least one load device that operates based on electric power supplied from the power receiving circuit.
本開示の別の態様に係る無線電力伝送装置によれば、
1つの送電装置及び少なくとも1つの受電装置を含む無線電力伝送システムのための送電装置である無線電力伝送装置において、
上記受電装置は、
パネルを収容し、予め決められた形状の外周を有する第1の枠と、
上記第1の枠の外周の一部に沿って上記第1の枠の外周に近接して上記第1の枠に設けられた少なくとも1つの受電コイルとを備え、
上記無線電力伝送装置は、
上記第1の枠の少なくとも一部を収容する第2の枠と、
上記第2の枠が上記第1の枠を収容するとき上記第1の枠の外周の少なくとも一部に沿って上記第1の枠の外周に近接するように、上記第2の枠に設けられた少なくとも1つの送電コイルと、
上記第2の枠に設けられた少なくとも1つの送電回路であって、上記送電コイルに接続され、上記送電コイルが上記受電コイルと電磁的に結合するように近接して設けられたとき、上記送電コイルを介して上記受電装置に電力を送る少なくとも1つの送電回路とを備えたことを特徴とする。According to a wireless power transmission device according to another aspect of the present disclosure,
In a wireless power transmission device which is a power transmission device for a wireless power transmission system including one power transmission device and at least one power reception device,
The power receiving device is
A first frame that houses the panel and has an outer periphery of a predetermined shape;
Including at least one power receiving coil provided on the first frame in proximity to the outer periphery of the first frame along a part of the outer periphery of the first frame;
The wireless power transmission device is
A second frame that houses at least a portion of the first frame;
When the second frame accommodates the first frame, the second frame is provided on the second frame so as to be close to the outer periphery of the first frame along at least a part of the outer periphery of the first frame. At least one power transmission coil,
At least one power transmission circuit provided in the second frame, connected to the power transmission coil, wherein the power transmission coil is provided in close proximity so as to be electromagnetically coupled to the power reception coil; And at least one power transmission circuit that sends power to the power receiving device via a coil.
本開示の別の態様に係る無線電力伝送システムによれば、1つの送電装置及び少なくとも1つの受電装置を含む無線電力伝送システムであって、上記無線電力伝送装置を上記受電装置及び上記送電装置として含むことを特徴とする。 According to a wireless power transmission system according to another aspect of the present disclosure, a wireless power transmission system including one power transmission device and at least one power reception device, wherein the wireless power transmission device is used as the power reception device and the power transmission device. It is characterized by including.
本開示によれば、受電装置の動作の妨げとならず、高効率で無線電力伝送を行うことができ、構造上の自由度が高い無線電力伝送装置及び無線電力伝送システムを提供することができる。 According to the present disclosure, it is possible to provide a wireless power transmission device and a wireless power transmission system that can perform wireless power transmission with high efficiency and do not hinder the operation of the power receiving device and have a high degree of structural freedom. .
以下、本開示の実施形態について図面を参照しながら説明する。なお、同様の構成要素については同一の符号を付している。なお、本開示は、以下の実施形態に限定されるものではない。 Hereinafter, embodiments of the present disclosure will be described with reference to the drawings. In addition, the same code | symbol is attached | subjected about the same component. Note that the present disclosure is not limited to the following embodiment.
第1の実施形態.First embodiment.
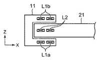
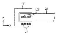
図1は、第1の実施形態に係る無線電力伝送システムの構成を示すブロック図である。図1に示すように、無線電力伝送システムは、一対の無線電力伝送装置、すなわち送電装置10及び受電装置20を含む。受電装置20の筐体は、所定形状のパネル(図1では、矩形形状の調光ガラス23)を収容し、予め決められた形状(図1では矩形形状)の外周を有する。受電装置20の筐体(以下、「内枠21(第1の枠)」という)の少なくとも一部が、送電装置10の筐体(以下、「外枠11(第2の枠)」という)に収容される。例えば、内枠21はガラス窓のサッシであり、外枠11は、サッシを収容する枠である。また、例えば、内枠21は、外枠11に対して移動可能であるように外枠11によって保持される。例えば、外枠11は、内枠21が図1の±X方向に移動可能であるように内枠21を保持するレールを備える(図5参照)。 FIG. 1 is a block diagram illustrating a configuration of a wireless power transmission system according to the first embodiment. As shown in FIG. 1, the wireless power transmission system includes a pair of wireless power transmission devices, that is, a
内枠21の外周の形状は、矩形形状に限らず、三角形、多角形、円などの他の形状であってもよい。内枠21は、実質的に外周を有する形状であればよい。調光ガラス23の形状は、内枠21の外周の形状と同じであってもよく、異なっていてもよい。 The shape of the outer periphery of the
送電装置10は、外枠11と、外枠11に設けられた送電コイルL1及び送電回路12とを備える。受電装置20は、内枠21と、内枠21に設けられた受電コイルL2、受電回路22、及び調光ガラス23とを備える。受電コイルL2は、内枠21の外周の一部に沿って内枠21の外周に近接して内枠21に設けられる。送電コイルL1は、外枠11が内枠21を収容するとき、内枠21の外周の少なくとも一部に沿って内枠21の外周に近接するように、外枠11に設けられる。従って、外枠11が内枠21を収容するとき、受電コイルL2は、送電コイルL1と電磁的に結合するように近接して設けられる。送電回路12は、交流又は直流の電源1に接続される。また、送電回路12は、送電コイルL1に接続され、送電コイルL1が受電コイルL2と電磁的に結合するように近接して設けられたとき、送電コイルL1を介して受電装置20に交流電力(例えば、100〜200kHz、3〜5Wの電力)を送る。受電回路22は、受電コイルL2に接続され、受電コイルL2が送電コイルL1と電磁的に結合するように近接して設けられたとき送電装置10から受電コイルL2を介して交流電力を受ける。 The
受電装置20は、受電回路22から供給される電力に基づいて動作する少なくとも1つの負荷装置を備える。負荷装置は、例えば図1に示すように、エレクトロクロミック方式の調光ガラス23であってもよい。図2は、図1の受電装置20のXZ面内における断面図である。エレクトロクロミック方式の調光ガラス23では、調光材料層33を両側から透明なフィルム電極31a,31bで挟み、フィルム電極31a,31bをさらに両側から板ガラス32a,32bで挟み、フィルム電極31a,31bに直流又は交流の電圧を印加する。エレクトロクロミック方式の調光ガラス23として、例えば、電圧を印加しているときに透明になるもの、電圧を印加しているときに不透明になるもの、正又は負の電圧を印加した瞬間に透明状態と不透明状態との間で遷移するもの、などがあり、受電回路22は、調光ガラス23の仕様に応じて必要な電圧を調光ガラス23に印加する。 The
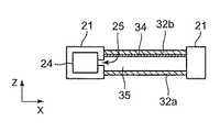
図3は、第1の実施形態の第1の変形例に係る無線電力伝送システムの構成を示すブロック図である。図4は、図3の受電装置20AのXZ面内における断面図である。受電装置の負荷装置は、例えば図3及び図4に示すように、ガスクロミック方式の調光ガラス26であってもよい。図3の無線電力伝送システムは、送電装置10A及び受電装置20Aを含む。送電装置10Aは、図1の送電装置10と同じである。受電装置20Aは、図1のエレクトロクロミック方式の調光ガラス23に代えてガスクロミック方式の調光ガラス26を備え、さらに、ガス発生装置24及びガス注入口25を備える。ガスクロミック方式の調光ガラス26では、板ガラス32a,32bの間に調光材料膜34及び空洞35が設けられる。ガス発生装置24は、酸素及び水素のガスを発生する電気分解セルと、ガスを空洞35に送るポンプとを含む。調光材料膜34を酸素又は水素のガスにさらすことにより、調光材料膜34の酸化又は還元を行う。 FIG. 3 is a block diagram illustrating a configuration of a wireless power transmission system according to a first modification of the first embodiment. FIG. 4 is a cross-sectional view in the XZ plane of the
送電コイルL1及び受電コイルL2は、互いに電磁的に結合するように、さまざまに配置することができる。図5〜図19を参照して、送電コイルL1及び受電コイルL2の配置を説明する。 The power transmission coil L1 and the power reception coil L2 can be variously arranged so as to be electromagnetically coupled to each other. The arrangement of the power transmission coil L1 and the power reception coil L2 will be described with reference to FIGS.
図5は、図1の送電コイルL1及び受電コイルL2の配置を示す斜視図である。図6は、図1の送電コイルL1及び受電コイルL2の配置を示すXZ面内における断面図である。送電コイルL1及び受電コイルL2のそれぞれは、パネルの表面に平行な平面(XY面に平行な平面)上において、例えば、実質的に平面状に巻回される。外枠11は、内枠21がレールに沿って−X方向に移動したときに内枠21を収容する凹部を有し、送電コイルL1及び受電コイルL2は、内枠21が外枠11の凹部に収容されたとき、Z方向に対向するように配置される。送電コイルL1は、受電コイルL2に近接するように外枠11の表面に設けられ、受電コイルL2は、送電コイルL1に近接するように内枠21の表面に設けられる。外枠11及び内枠21は、少なくとも送電コイルL1及び受電コイルL2を設けた部分において誘電体にて構成される。送電コイルL1及び受電コイルL2をこのように配置することにより、電力伝送効率を最大化することができる。 FIG. 5 is a perspective view showing the arrangement of the power transmission coil L1 and the power reception coil L2 of FIG. FIG. 6 is a cross-sectional view in the XZ plane showing the arrangement of the power transmission coil L1 and the power reception coil L2 in FIG. Each of the power transmission coil L1 and the power reception coil L2 is wound substantially flat, for example, on a plane parallel to the surface of the panel (a plane parallel to the XY plane). The
図7は、第1の実施形態の第2の変形例に係る無線電力伝送システムの送電コイルL1及び受電コイルL2の配置を示すXZ面内における断面図である。送電コイルL1は、外枠11の内部に設けられてもよく、受電コイルL2もまた、内枠21の内部に設けられてもよい。送電コイルL1及び受電コイルL2をこのように配置することにより、外枠11及び内枠21により送電コイルL1及び受電コイルL2を保護することができる。 FIG. 7 is a cross-sectional view in the XZ plane showing the arrangement of the power transmission coil L1 and the power reception coil L2 of the wireless power transmission system according to the second modification of the first embodiment. The power transmission coil L1 may be provided inside the
図8は、第1の実施形態の第3の変形例に係る無線電力伝送システムの送電コイルL1及び受電コイルL2の配置を示すXZ面内における断面図である。外枠11が金属にて構成される場合、送電コイルL1は外枠11の外部に設けられ、送電コイルL1と外枠11との間には磁性体層41が設けられる。同様に、内枠21が金属にて構成される場合、受電コイルL2は内枠21の外部に設けられ、受電コイルL2と内枠21との間には磁性体層42が設けられる。磁性体層41,42は、例えばフェライトのシートである。送電コイルL1及び受電コイルL2をこのように配置することにより、外枠11及び内枠21の全体を金属にて構成することができる。 FIG. 8 is a cross-sectional view in the XZ plane showing the arrangement of the power transmission coil L1 and the power reception coil L2 of the wireless power transmission system according to the third modification of the first embodiment. When the
図9は、第1の実施形態の第4の変形例に係る無線電力伝送システムの送電コイルL1a,L1b及び受電コイルL2の配置を示すXZ面内における断面図である。電力伝送効率を向上するために、送電コイル及び受電コイルの少なくとも一方について、その巻線を配置する場所の個数を増やしてもよい。図9によれば、送電コイルは、パネルの表面に対して実質的に垂直な軸に沿った第1の位置において軸の周りに巻回された第1の巻線(送電コイルL1a)と、軸に沿った第2の位置において軸の周りに巻回された第2の巻線(送電コイルL1b)とを含み、受電コイルは、軸に沿った第1及び第2の位置の間の第3の位置において軸の周りに巻回された第3の巻線(受電コイルL2)を含む。例えば、各コイルが平面状に巻回されている場合には、送電コイルL1aは、パネルの表面に平行な第1の平面上において巻回され、送電コイルL1bは、第1の平面に平行な第2の平面上において巻回され、受電コイルL2は、第1及び第2の平面の間の第3の平面上において巻回される。第1、第2、及び第3の巻線に囲まれた各領域は、第1、第2、及び第3の平面に垂直な方向から見たときに互いに重なり合う。送電コイルL1a,L1b及び受電コイルL2として、平面状に巻回されたコイルに代えて、ソレノイドコイルなど、立体構造を有する他のコイルを用いてもよい。送電回路(図示せず)は、送電コイルL1a,L1bに逆相の電流を供給する。送電コイルL1a,L1bにより受電コイルL2を挟むことにより、電力伝送効率を向上することができる。 FIG. 9 is a cross-sectional view in the XZ plane showing the arrangement of the power transmission coils L1a and L1b and the power reception coil L2 of the wireless power transmission system according to the fourth modification of the first embodiment. In order to improve the power transmission efficiency, the number of places where the windings are arranged in at least one of the power transmission coil and the power reception coil may be increased. According to FIG. 9, the power transmission coil has a first winding (power transmission coil L1a) wound around the axis at a first position along an axis substantially perpendicular to the surface of the panel; A second winding (power transmission coil L1b) wound around the axis at a second position along the axis, the power receiving coil having a first winding between the first and second positions along the axis. 3 includes a third winding (power receiving coil L2) wound around the axis at a position of 3. For example, when each coil is wound in a planar shape, the power transmission coil L1a is wound on a first plane parallel to the surface of the panel, and the power transmission coil L1b is parallel to the first plane. Winding is performed on the second plane, and the power receiving coil L2 is wound on a third plane between the first and second planes. The regions surrounded by the first, second, and third windings overlap each other when viewed from a direction perpendicular to the first, second, and third planes. As the power transmission coils L1a and L1b and the power receiving coil L2, other coils having a three-dimensional structure such as a solenoid coil may be used instead of the coil wound in a planar shape. A power transmission circuit (not shown) supplies reverse-phase currents to the power transmission coils L1a and L1b. By sandwiching the power receiving coil L2 between the power transmitting coils L1a and L1b, the power transmission efficiency can be improved.
図10は、第1の実施形態の第5の変形例に係る無線電力伝送システムの送電コイルL1及び受電コイルL2の配置を示すXZ面内における断面図である。図5〜図9では、送電コイル及び受電コイルがZ方向に対向するように配置されていたが、送電コイル及び受電コイルが電磁的に結合するのであれば他の配置であってもよい。図10によれば、図5のような外枠11の凹部を持たない外枠11A及び内枠21Aにおいて、送電コイルL1及び受電コイルL2がX方向に隣接するように設けられる。送電コイルL1及び受電コイルL2をこのように配置することにより、無線電力伝送システムの構造上の自由度が高くなる。 FIG. 10 is a cross-sectional view in the XZ plane showing the arrangement of the power transmission coil L1 and the power reception coil L2 of the wireless power transmission system according to the fifth modification of the first embodiment. 5 to 9, the power transmission coil and the power reception coil are arranged so as to face each other in the Z direction. However, other arrangements may be used as long as the power transmission coil and the power reception coil are electromagnetically coupled. According to FIG. 10, in the
以上説明した無線電力伝送システム(又は後述の無線電力伝送システム)において、送電コイル及び受電コイルの少なくとも一方が、平面状に巻回されたコイルに代えて、ソレノイドコイルなど、立体構造を有する他のコイルとして構成されてもよい。この場合、パネルの表面に対して垂直な軸、平行な軸、又は他の位置関係を有する軸に沿ったある位置において、軸の周りに送電コイルの巻線が巻回され、同じ軸に沿った別の位置において、軸の周りに受電コイルの巻線が巻回される。これにより、送電コイルの磁束が受電コイルを効率よく貫くので、電力伝送効率が向上する効果が見込まれる。 In the wireless power transmission system described above (or the wireless power transmission system described later), at least one of the power transmission coil and the power reception coil is replaced with another coil having a three-dimensional structure such as a solenoid coil instead of a coil wound in a planar shape. It may be configured as a coil. In this case, the winding of the power transmission coil is wound around the axis at a position along an axis perpendicular to the surface of the panel, a parallel axis, or an axis having another positional relationship, along the same axis. In another position, a winding of the receiving coil is wound around the shaft. Thereby, since the magnetic flux of a power transmission coil penetrates a receiving coil efficiently, the effect that electric power transmission efficiency improves is anticipated.
本開示によれば、受電装置の動作の妨げとならず、高効率で無線電力伝送を行うことができ、構造上の自由度が高い無線電力伝送装置及び無線電力伝送システムを提供することができる According to the present disclosure, it is possible to provide a wireless power transmission device and a wireless power transmission system that can perform wireless power transmission with high efficiency and do not hinder the operation of the power receiving device and have a high degree of structural freedom.
図1他の無線電力伝送システムによれば、調光ガラス23を備える受電装置20に送電装置10から無線電力伝送を行うことができる。また、外枠11に送電コイルL1及び送電回路12を備え、内枠21に受電コイルL2、受電回路22、及び調光ガラス23を備えることで、調光可能なガラス面の面積を最大化し、外枠11及び内枠21の寸法を最小化し、すぐれた外観の調光ガラス23を提供することができる。また、内枠21に受電コイルL2、受電回路22、及び調光ガラス23を一体的に備えることで、調光ガラス23を設置するための工数及び手間を削減することができる。 According to another wireless power transmission system in FIG. 1, wireless power transmission can be performed from the
図11は、第1の実施形態の第6の変形例に係る無線電力伝送システムの構成を示すブロック図である。図11の無線電力伝送システムは、送電装置10B及び受電装置20Bを含む。受電装置は、複数の負荷装置を備えてもよい。例えば、受電装置20Bは、板ガラス上の異なる領域に設けられたフィルム電極31−1,31−2を備え、フィルム電極31−1,31−2に独立に電圧を印加することにより、フィルム電極31−1,31−2の領域は独立した2つの調光ガラス(負荷装置)として動作する。なお、フィルム電極31−1,31−2のそれぞれは、図2と同様に調光材料層を両側から挟む2つのフィルム電極を含むが、図示の簡単化のために省略する。2つの調光ガラス(負荷装置)に独立に電力を供給するために、送電装置10Bは、2つの送電コイルL1−1,L1−2を備え、受電装置20Bもまた、2つの受電コイルL2−1,L2−2を備える。受電装置20Bは、フィルム電極31−1,31−2に対応する2つの調光ガラスと、フィルム電極31−1,31−2にそれぞれ電力を供給する2つの受電回路22−1,22−2と、受電回路22−1,22−2にそれぞれ接続された2つの受電コイルL2−1,L2−2とを備える。送電装置10Bは、受電コイルL2−1,L2−2とそれぞれ電磁的に結合された2つの送電コイルL1−1,L1−2と、送電コイルL1−1,L1−2にそれぞれ接続された2つの送電回路12−1,12−2とを備える。これにより、図11の無線電力伝送システムは、調光可能なガラス面の領域を、より細やかに制御することができる。また、図11の無線電力伝送システムは、外枠11及び内枠21の複数の辺に送電コイル及び受電コイルを設けることにより、電力伝送効率を向上させることができる。 FIG. 11 is a block diagram illustrating a configuration of a wireless power transmission system according to a sixth modification of the first embodiment. The wireless power transmission system in FIG. 11 includes a
図12は、第1の実施形態の第7の変形例に係る無線電力伝送システムの構成を示すブロック図である。複数の受電コイルのうちの少なくとも2つの受電コイルが、同じ1つの送電コイルと電磁的に結合してもよい。図12の無線電力伝送システムは、送電装置10C及び受電装置20Cを含む。受電装置20Cは、図11の受電装置20Bと同じである。送電装置10Cは、受電コイルL2−1,L2−2の両方と電磁的に結合する1つの送電コイルL11を備える。図12の無線電力伝送システムによれば、複数の受電コイルに無線電力伝送を行うために送電コイルL11及び送電回路12を共用したことにより、図11の送電装置10Bよりも送電コイル及び送電回路の個数を削減し、送電装置10Cを小型化することができる。 FIG. 12 is a block diagram illustrating a configuration of a wireless power transmission system according to a seventh modification of the first embodiment. At least two power receiving coils of the plurality of power receiving coils may be electromagnetically coupled to the same one power transmitting coil. The wireless power transmission system in FIG. 12 includes a
図13は、第1の実施形態の第8の変形例に係る無線電力伝送システムの送電コイルL21及び受電コイルL22−1,L22−2の配置を示す斜視図である。図14は、図13の送電コイルL21及び受電コイルL22−1,L22−2の配置を示すXZ面内における断面図である。1つの送電装置から複数の受電装置に無線電力伝送を行ってもよい。図13の無線電力伝送システムは、1つの送電装置10D及び2つの受電装置20D−1,20D−2を含む。送電装置10Dは、受電装置20D−1,20D−2の両方を収容する外枠11Dと、外枠11Dに設けられた送電コイルL21とを備える。受電装置20D−1,20D−2は、内枠21D−1,21D−2と、内枠21D−1,21D−2にそれぞれ設けられた受電コイルL22−1,L22−2とを備える。受電コイルL22−1は、受電装置20D−1のパネルの表面に対して実質的に垂直な第1の軸の周りに巻回された巻線を含み、受電コイルL22−2は、受電装置20D−2のパネルの表面に対して実質的に垂直な第2の軸の周りに巻回された巻線を含み、送電コイルL21は、第1及び第2の軸の周りに巻回された巻線を含む。例えば、受電装置20D−1のパネルの表面が受電装置20D−2のパネルの表面に対して実質的に平行であり、各コイルが平面状に巻回されている場合には、受電コイルL22−1は、受電装置20D−1のパネルの表面に平行な平面(XY面に平行な平面)上において巻回され、受電コイルL22−2は、受電装置20D−2のパネルの表面に平行な平面(XY面に平行な平面)上において巻回され、送電コイルL21は、受電装置20D−1,20D−2のパネルの表面に平行な平面上において巻回される。送電コイルL21の巻線及び受電コイルL22−1の巻線に囲まれた各領域は、受電装置20D−1,20D−2のパネルの表面に平行な平面に垂直な方向(Z方向)から見たときに互いに重なり合い、送電コイルL21の巻線及び受電コイルL22−2の巻線に囲まれた各領域は、受電装置20D−1,20D−2のパネルの表面に平行な平面に垂直な方向から見たときに互いに重なり合う。送電コイルL21及び受電コイルL22−1,L22−2として、平面状に巻回されたコイルに代えて、ソレノイドコイルなど、立体構造を有する他のコイルを用いてもよい。図13及び図14の無線電力伝送システムによれば、2つの受電コイルL22−1,L22−2に無線電力伝送を行うために送電コイルL21及び送電回路(図示せず)を共用したことにより、各受電装置20D−1,20D−2のために別個の送電装置を設ける場合よりも送電コイル及び送電回路の個数を削減し、無線電力伝送システムを小型化することができる。 FIG. 13 is a perspective view illustrating an arrangement of the power transmission coil L21 and the power reception coils L22-1 and L22-2 of the wireless power transmission system according to the eighth modification of the first embodiment. 14 is a cross-sectional view in the XZ plane showing the arrangement of the power transmission coil L21 and the power reception coils L22-1 and L22-2 in FIG. Wireless power transmission may be performed from one power transmission device to a plurality of power reception devices. The wireless power transmission system of FIG. 13 includes one
図13及び図14では、受電コイルL22−2の巻線を含む平面は、受電コイルL22−1の巻線を含む平面と同一であるように示しているが、これに限定されず、送電コイルL21と電磁的に結合するのであれば他の配置であってもよい。例えば、図13及び図14では、外枠11Dの2つのレール(すなわち内枠21D−1,21D−2を収容するレール)のZ方向の位置が同じであるが、これらのZ方向の位置は異なっていてもよい。また、図13及び図14では、外枠11Dの一方のレールが送電コイルL21に対して+X方向にあり、他方のレールが送電コイルL21に対して−X方向にあるが、両方が+X方向又は−X方向にあってもよい。この場合、一方のレールが送電コイルL21に対して+Z方向に設けられ、他方のレールが送電コイルL21に対して−Z方向に設けられる。このように無線電力伝送システムを構成しても、2つの受電コイルが同じ1つの送電コイルと電磁的に結合することができる。 In FIG. 13 and FIG. 14, the plane including the winding of the power receiving coil L22-2 is shown to be the same as the plane including the winding of the power receiving coil L22-1; Other arrangements may be used as long as they are electromagnetically coupled to L21. For example, in FIGS. 13 and 14, the two rails of the
図15は、第1の実施形態の第9の変形例に係る無線電力伝送システムの送電コイルL31及び受電コイルL32−1,L32−2の配置を示す斜視図である。図16は、図15の送電コイルL31及び受電コイルL32−1,L32−2の配置を示すXZ面内における断面図である。図15の無線電力伝送システムは、1つの送電装置10E及び2つの受電装置20E−1,20E−2を含む。送電装置10Eは、受電装置20E−1,20E−2の両方を収容する外枠11Eと、外枠11Eに設けられた送電コイルL31とを備える。受電装置20E−1,20E−2は、内枠21E−1,21E−2と、内枠21E−1,21E−2にそれぞれ設けられた受電コイルL32−1,L32−2とを備える。受電コイルL32−1は、受電装置20E−1のパネルの表面に対して実質的に平行な第1の軸の周りに巻回された巻線を含み、受電コイルL32−2は、受電装置20E−2のパネルの表面に対して実質的に平行な第2の軸の周りに巻回された巻線を含み、送電コイルL31は、第1及び第2の軸の周りに巻回された巻線を含む。例えば、受電装置20E−1のパネルの表面が受電装置20E−2のパネルの表面に対して実質的に平行であり、各コイルが平面状に巻回されている場合には、送電コイルL31は、受電装置20E−1,20E−2のパネルの表面に垂直な平面(YZ面に平行な平面)上において巻回され、受電コイルL32−1は、送電コイルL31の巻線を含む平面に平行な平面上において巻回され、受電コイルL32−2は、送電コイルL31の巻線を含む平面に平行な平面上において巻回される。送電コイルL31の巻線及び受電コイルL32−1の巻線に囲まれた各領域は、送電コイルL31の巻線を含む平面に垂直な方向(X方向)から見たときに互いに重なり合い、送電コイルL31の巻線及び受電コイルL32−2の巻線に囲まれた各領域は、送電コイルL31の巻線を含む平面に垂直な方向から見たときに互いに重なり合う。送電コイルL31及び受電コイルL32−1,L32−2として、平面状に巻回されたコイルに代えて、ソレノイドコイルなど、立体構造を有する他のコイルを用いてもよい。図15及び図16の無線電力伝送システムによれば、2つの受電コイルL32−1,L32−2に無線電力伝送を行うために送電コイルL31及び送電回路(図示せず)を共用したことにより、各受電装置20E−1,20E−2のために別個の送電装置を設ける場合よりも送電コイル及び送電回路の個数を削減し、無線電力伝送システムを小型化することができる。 FIG. 15 is a perspective view showing the arrangement of the power transmission coil L31 and the power reception coils L32-1, L32-2 of the wireless power transmission system according to the ninth modification of the first embodiment. FIG. 16 is a cross-sectional view in the XZ plane showing the arrangement of the power transmission coil L31 and the power reception coils L32-1, L32-2 in FIG. The wireless power transmission system of FIG. 15 includes one
図15及び図16では、外枠11Eの2つのレール(すなわち内枠21E−1,21E−2を収容するレール)のZ方向の位置が同じであるが、これらのZ方向の位置は異なっていてもよい。また、図15及び図16では、外枠11Eの一方のレールが送電コイルL31に対して+X方向にあり、他方のレールが送電コイルL31に対して−X方向にあるが、両方が+X方向又は−X方向にあってもよい。このように無線電力伝送システムを構成しても、2つの受電コイルが同じ1つの送電コイルと電磁的に結合することができる。 15 and 16, the two rails of the
図17は、第1の実施形態の第10の変形例に係る無線電力伝送システムの構成を示すブロック図である。図18は、図17の送電コイルL41及び受電コイルL42の配置を示すYZ面内における断面図である。図19は、第1の実施形態の第11の変形例に係る無線電力伝送システムの送電コイルL41及び受電コイルL42の配置を示すYZ面内における断面図である。図17の無線電力伝送システムは、送電装置10F及び受電装置20Fを含む。送電装置10Fは、外枠11Fと、外枠11Fに設けられた送電コイルL41及び送電回路12とを備える。受電装置20Fは、内枠21Fと、内枠21Fに設けられた受電コイルL42及び受電回路22とを備える。外枠11Fは、外枠11F内において移動可能であるように内枠21Fを保持するレールと、レールに沿って設けられた送電コイルL41とを備える。これにより、内枠21Fがレール上のどの位置にあっても、送電装置10Fから受電装置20Fに無線電力伝送を行うことができる。 FIG. 17 is a block diagram illustrating a configuration of a wireless power transmission system according to a tenth modification of the first embodiment. 18 is a cross-sectional view in the YZ plane showing the arrangement of the power transmission coil L41 and the power reception coil L42 in FIG. FIG. 19 is a cross-sectional view in the YZ plane showing the arrangement of the power transmission coil L41 and the power reception coil L42 of the wireless power transmission system according to the eleventh modification of the first embodiment. The wireless power transmission system in FIG. 17 includes a
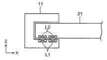
図20は、第2の実施形態に係る無線電力伝送システムの構成を示すブロック図である。図20の無線電力伝送システムは、送電装置10G及び受電装置20Gを含む。受電装置20Gの内枠21Gは、送電装置10Gの外枠11G内に固定されてもよい。 FIG. 20 is a block diagram illustrating a configuration of a wireless power transmission system according to the second embodiment. The wireless power transmission system in FIG. 20 includes a power transmission device 10G and a
図21は、第3の実施形態に係る無線電力伝送システムの構成を示すブロック図である。図22は、図21の送電コイルL1及び受電コイルL2の配置を示すYZ面内における断面図である。受電装置は、調光ガラスに限らず、可変な表示状態を有する他の負荷装置を備えてもよい。図21の無線電力伝送システムは、送電装置10H及び受電装置20Hを含む。送電装置10Hは、外枠11Hと、外枠11Hに設けられた送電コイルL1及び送電回路12とを備える。受電装置20Hは、内枠21Hと、内枠21Hに設けられた受電コイルL2、受電回路22、及び表示装置51を備える。外枠11Hは、内枠21Hの少なくとも一部を収容する。図21の受電装置20Hは、例えば、壁掛け型のデジタルサイネージなどであってもよい。本開示に係る無線電力伝送システムの受電装置は、調光ガラス及び表示装置に限らず、可変な表示状態を有する他の負荷装置を備えることができる。 FIG. 21 is a block diagram illustrating a configuration of a wireless power transmission system according to the third embodiment. 22 is a cross-sectional view in the YZ plane showing the arrangement of the power transmission coil L1 and the power reception coil L2 in FIG. The power receiving device is not limited to the light control glass, and may include another load device having a variable display state. The wireless power transmission system in FIG. 21 includes a
図23は、第4の実施形態に係る無線電力伝送システムの構成を示すブロック図である。図23の無線電力伝送システムは、送電装置10I及び受電装置20Iを含む。送電装置10Iは、外枠11Iと、外枠11Iに設けられた送電コイルL1、送電回路12、及び制御回路61とを備える。受電装置20Iは、内枠21Iと、内枠21Iに設けられた受電コイルL2、受電回路22、制御回路62、及び複数の負荷装置とを備える。図11を参照して説明したように、受電装置は、複数の負荷装置を備えてもよい。例えば、受電装置20Iは、板ガラス上の異なる領域に設けられたフィルム電極31−1〜31−6を備え、フィルム電極31−1〜31−6に独立に電圧を印加することにより、フィルム電極31−1〜31−6の領域は独立した6つの調光ガラス(負荷装置)として動作する。なお、フィルム電極31−1〜31−6のそれぞれは、図2と同様に調光材料層を両側から挟む2つのフィルム電極を含むが、図示の簡単化のために省略する。受電回路22は、フィルム電極31−1〜31−6のすべてに電力を供給する。送電装置10Iの制御回路61は、外部からの信号に基づいて制御信号を発生して送電コイルL1を介して受電装置20Iに送信する。受電装置20Iの制御回路62は、受電コイルL2を介して受信された制御回路61からの制御信号に基づいて、フィルム電極31−1〜31−6に対応する6つの調光ガラスを選択的に動作させる。これにより、図23の無線電力伝送システムは、調光可能なガラス面の領域を、より細やかに制御することができる。 FIG. 23 is a block diagram illustrating a configuration of a wireless power transmission system according to the fourth embodiment. The wireless power transmission system in FIG. 23 includes a power transmission device 10I and a power reception device 20I. The power transmission device 10I includes an outer frame 11I, a power transmission coil L1, a
図24は、第4の実施形態の変形例に係る無線電力伝送システムの構成を示すブロック図である。図24の無線電力伝送システムは、送電装置10J及び受電装置20Jを含む。フィルム電極31−1〜31−6に対応する6つの調光ガラス(負荷装置)に独立に電力を供給するために、送電装置10Jは6つの送電コイルを備え、受電装置20Jもまた6つの受電コイルを備える。受電装置20Jは、内枠21Jと、フィルム電極31−1〜31−6に対応する6つの調光ガラスと、フィルム電極31−1〜31−6にそれぞれ電力を供給する6つの受電回路と、6つの受電回路にそれぞれ接続された6つの受電コイルとを備える。送電装置10Jは、外枠11Jと、6つの受電コイルとそれぞれ電磁的に結合された6つの送電コイルと、6つの送電コイルにそれぞれ接続された6つの送電回路とを備える。送電装置10Jは、外部の制御回路71からの制御信号に基づいて、6つの送電回路から選択的に電力を送ることにより、複数の負荷装置を選択的に動作させる。これにより、図11の無線電力伝送システムは、調光可能なガラス面の領域を、より細やかに制御することができる。 FIG. 24 is a block diagram illustrating a configuration of a wireless power transmission system according to a modification of the fourth embodiment. The wireless power transmission system in FIG. 24 includes a
図23及び図24の無線電力伝送システムによれば、複数の調光ガラスを一括で動作させたり、上下左右のいずれかの領域を選択的に動作させたりすることができる。 According to the wireless power transmission system of FIG. 23 and FIG. 24, a plurality of light control glasses can be collectively operated or any one of the upper, lower, left, and right regions can be selectively operated.
以上説明した本開示の第1〜第4の実施形態に係る無線電力伝送システムによれば、以下の効果がもたらされる。 According to the wireless power transmission system according to the first to fourth embodiments of the present disclosure described above, the following effects are brought about.
本開示の無線電力伝送システムによれば、受電装置がエレクトロクロミック方式の調光ガラスを備えていても、その動作の妨げとなることはない。調光ガラスにおいて無線電力伝送を行うことで、調光ガラスの防水性を向上させることができる。 According to the wireless power transmission system of the present disclosure, even if the power receiving device includes the electrochromic light control glass, the operation is not hindered. By performing wireless power transmission in the light control glass, the waterproof property of the light control glass can be improved.
また、本開示の無線電力伝送システムによれば、送電コイル及び受電コイルが互いに近接していることにより、高い電力伝送効率を実現することができる。 Moreover, according to the wireless power transmission system of the present disclosure, high power transmission efficiency can be realized because the power transmission coil and the power reception coil are close to each other.
また、本開示の無線電力伝送システムによれば、小型の送電コイル及び受電コイルを用いて、構造上の自由度が高い無線電力伝送システムを提供することができる。 In addition, according to the wireless power transmission system of the present disclosure, it is possible to provide a wireless power transmission system having a high degree of structural freedom using a small power transmission coil and power reception coil.
また、本開示の無線電力伝送システムによれば、調光ガラスを備える受電装置を一体的に構成することにより、調光ガラス及びその配線を設置するための工数及び手間を削減することができる。 In addition, according to the wireless power transmission system of the present disclosure, the power receiving device including the light control glass is integrally configured, thereby reducing the man-hours and labor for installing the light control glass and its wiring.
また、本開示の無線電力伝送システムによれば、外枠及び内枠に送電コイル、送電回路、受電コイル、及び受電回路などを設けることにより、調光ガラスのガラス面の面積をすべて調光可能にすることができ、また、外部部品の大型化を回避し、すぐれたデザインの調光ガラスを提供することができる。 In addition, according to the wireless power transmission system of the present disclosure, the entire area of the glass surface of the light control glass can be dimmed by providing a power transmission coil, a power transmission circuit, a power reception coil, a power reception circuit, and the like on the outer frame and the inner frame. In addition, it is possible to provide a light control glass having an excellent design by avoiding an increase in the size of external parts.
また、本開示の無線電力伝送システムによれば、複数の調光ガラスを一括で動作させたり、上下左右のいずれかの領域を選択的に動作させたりすることができる。 In addition, according to the wireless power transmission system of the present disclosure, it is possible to operate a plurality of light control glasses at once or selectively operate any one of the upper, lower, left, and right regions.
第5の実施形態.
図25は、第5の実施形態に係る無線電力伝送システムの構成を示すブロック図である。例えば図1のエレクトロクロミック方式の調光ガラス23が、正又は負の電圧(直流電圧)を印加した瞬間に透明状態と不透明状態との間で遷移するように構成されている場合、送電装置10は、ユーザ入力に応じて制御信号を発生して受電装置20に送信し、受電回路22は、制御信号に応じて正又は負の電圧を発生する必要がある。第5の実施形態に係る無線電力伝送システムでは、受電回路22がこの動作を実現するように構成されたことを特徴とする。Fifth embodiment.
FIG. 25 is a block diagram illustrating a configuration of a wireless power transmission system according to the fifth embodiment. For example, when the electrochromic
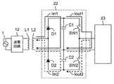
図25の無線電力伝送システムは、送電コイルL1及び送電回路12を備えた図1と同様の送電装置と、受電コイルL2、受電回路22、及び調光ガラス23を備えた図1と同様の受電装置とを備える。図示の簡単化のために、図25では、図1の外枠11及び内枠21などは省略する。送電回路12は、電源1から電力供給を受けて送電コイルL1に交流電力を出力する。受電回路22は、送電装置から受電コイルL2を介して交流電力が入力され、正又は負の電圧を選択的に出力する。受電回路22は、6個の素子、すなわち、ダイオードD1,D2、キャパシタC1,C2、及びスイッチSW1,SW2を備える。受電回路22は、例えば図27を参照して後述する電圧検出回路83及び制御回路84をさらに備えるが、図示の簡単化のために図25では省略する。ダイオードD1及びキャパシタC1は互いに直列接続され、入力された交流電力の正のサイクル(図25の電流Iin1)から正の電圧をキャパシタC1の両端において発生する第1の整流回路を構成する。ダイオードD2及びキャパシタC2は互いに直列接続され、入力された交流電力の負のサイクル(図25の電流Iin2)から負の電圧をキャパシタC2の両端において発生する第2の整流回路を構成する。キャパシタC1,C2の容量は、同じであっても、異なっていてもよい。キャパシタC1,C2は直列接続され、キャパシタC1には、キャパシタC1,C2の中点電位に対して正の電圧が充電され、キャパシタC2には、中点電位に対して負の電圧が充電される。スイッチSW1,SW2は、第1の整流回路の正の電圧及び第2の整流回路の負の電圧のいずれかを選択して受電回路22から出力する。スイッチSW1がオンするとき、電流Iout1が流れ、スイッチSW2がオンするとき、電流Iout2が流れる。スイッチSW1,SW2は、リレー、FET、IGBTなどの任意のスイッチを使用可能である。 The wireless power transmission system of FIG. 25 has the same power transmission apparatus as that of FIG. 1 including the power transmission coil L1 and the
図26は、比較例に係る無線電力伝送システムの構成を示すブロック図である。図26の無線電力伝送システムは、図25の無線電力伝送システムの受電回路22に代えて、受電回路22Aを備える。受電回路22Aは、9個の素子、すなわち、ダイオードD11〜D14、キャパシタC11、及びスイッチSW11〜SW14を備える。ダイオードD11〜D14は、一般的なブリッジ回路の全波整流回路を構成する。スイッチSW11〜SW14は、一般的なインバータ回路を構成する。入力された交流電力の正のサイクルのとき、電流Iin11が流れ、入力された交流電力の負のサイクルのとき、電流Iin12が流れる。また、スイッチSW11,SW14がオンするとき、電流Iout11が流れ、スイッチSW12,SW13がオンするとき、電流Iout12が流れる。 FIG. 26 is a block diagram illustrating a configuration of a wireless power transmission system according to a comparative example. The wireless power transmission system of FIG. 26 includes a
受電回路内の素子数が多いほど、電力変換効率が低下し、また、受電回路のサイズが大きくなる。図26の受電回路22Aは、9個の素子を備え、また、電流経路上の素子数は、電流Iin11又は電流Iin12について2個であり、電流Iout11又は電流Iout12について2個であり、合計4個である(キャパシタC11を除く)。一方、図25の受電回路22は、6個の素子を備え、また、電流経路上の素子数は、電流Iin1又は電流Iin2について1個であり、電流Iout1又は電流Iout2について1個であり、合計2個である(キャパシタC1,C2を除く)。このように、図25の受電回路22は、図26の受電回路22Aに比べて、回路内の素子数と、電流経路上の素子数との両方を削減している。従って、図25の受電回路22は、図26の受電回路22Aに比べて、電力変換効率を向上し、また、受電回路のサイズを削減することができる。 As the number of elements in the power receiving circuit increases, the power conversion efficiency decreases and the size of the power receiving circuit increases. The
次に、図27及び図28を参照して、図25のスイッチSW1,SW2を制御する方法について説明する。 Next, a method for controlling the switches SW1 and SW2 in FIG. 25 will be described with reference to FIGS.
図27は、第5の実施形態の第1の実施例に係る無線電力伝送システムの構成を示すブロック図である。送電回路12は、スイッチング電源回路81及び制御回路82を備える。スイッチング電源回路81は、電源1から電力供給を受けて送電コイルL1に交流電力を出力する。送電回路12の制御回路82は、ユーザ又は他の装置から入力される調光信号(調光ガラス23を透明にするか不透明するかを指示する信号)に応じて、送電回路12から出力される交流電力の電圧値を決定する。スイッチング電源回路81は、送電回路12の制御回路82の制御下で、内部のスイッチ(図示せず)のオン時間とオフ時間の比率を変化させることにより、又は、入力電圧を変化させることにより、送電回路12から出力される交流電力の電圧値を変化させる。受電回路22は、図25の素子に加えて、電圧検出回路83及び制御回路84を備える。電圧検出回路83は、入力された交流電力の電圧値を検出する。受電回路22の制御回路84は、電圧検出回路83の検出結果に基づき、第1の整流回路の正の電圧及び第2の整流回路の負の電圧のいずれかを選択するようにスイッチSW1,SW2を制御する。電圧検出回路83は、図27に示す電圧V1〜V5のいずれの電圧値を検出してもよい(図27では、電圧V2を用いる)。受電回路22の制御回路84は、例えば、基準電圧を10Vとして、電圧V2が12V以上あればスイッチSW1をオンして正の電圧を選択し、8V以下であればスイッチSW2をオンして負の電圧を選択する。電圧V2の電圧値の範囲は、調光ガラス23に過電圧が印加されないように決定される。また、受電回路22の制御回路84は、例えば、送電装置から受電コイルL2を介して交流電力が入力され始めてから一定時間における電圧検出回路83の検出結果に基づき、第1の整流回路の正の電圧及び第2の整流回路の負の電圧のいずれかを選択するようにスイッチSW1,SW2を制御する。 FIG. 27 is a block diagram illustrating a configuration of a wireless power transmission system according to a first example of the fifth embodiment. The
スイッチング電源回路81は、ユーザ又は他の装置から入力される調光信号に応じて、送電回路12から出力される交流電力の電圧値に限らず、交流電力の他の特性値(電流、電力、周波数などのパラメータ)を変化させてもよい。例えば、スイッチング電源回路81が内部のスイッチ(図示せず)のスイッチング周波数を変化させると、受電コイルL2の電圧V1が変化する。この場合、送電回路12の制御回路82は、調光信号に応じて、送電回路12から出力される交流電力の特性値を決定する。また、この場合、受電回路22は、電圧検出回路83に代えて、入力された交流電力における電流、電力、周波数などの特性値(パラメータ)を検出する検出回路を備える。 The switching
図28は、第5の実施形態の第2の実施例に係る無線電力伝送システムの構成を示すブロック図である。送電装置は、電源1から送電回路12への電力供給をオン/オフするスイッチSW3を備える。受電回路22Bは、図25の受電回路22の素子に加えて、制御回路84A及びメモリ85を備える。メモリ85は、スイッチSW1,SW2により直前に選択された電圧の極性を記憶する。制御回路84Aは、送電装置のスイッチSW3がオンされる毎にメモリ85に記憶された極性を読み出し、読み出された極性とは異なる極性の電圧を選択するようにスイッチSW1,SW2を制御し、メモリ85に記憶する極性を更新する。スイッチSW1,SW2のいずれかをオンして調光ガラス23の状態が変化すると、調光ガラス23に電圧を印加し続けることは不要であり、スイッチSW3をオフして電力供給を停止することができる。また、メモリ85は、マイクロプロセッサとして構成された制御回路84Aに一体化されていてもよい。 FIG. 28 is a block diagram illustrating a configuration of a wireless power transmission system according to a second example of the fifth embodiment. The power transmission device includes a switch SW3 that turns on / off power supply from the
調光ガラス23は、例えば、酸化タングステン薄膜又はマグネシウム・イットリウム化合物を含む。また、受電装置は、調光ガラス23に代えて、受電回路22,22Bから出力された電圧が印加され、印加された電圧の極性に応じて変化する表示状態を有する他の負荷装置を備えてもよい。このような負荷装置は、表示状態が変化すると、電圧を印加し続けることなく表示状態を維持する。このような負荷装置は、例えば、電気泳動方式の電子ペーパー、液晶、有機EL素子を含む。 The
第5の実施形態に係る無線電力伝送システムは、受電回路において少ない素子数で交流電力から正又は負の直流電圧を発生することができ、また、送電装置から受電装置に伝送される交流電力自体を用いて、他の信号伝送経路を用いることなく負荷装置の表示状態を制御することができる。第5の実施形態に係る無線電力伝送システムは、受電回路の素子数を削減したことにより、高い電力変換効率と、小型の受電回路とを実現することができる。 The wireless power transmission system according to the fifth embodiment can generate a positive or negative DC voltage from AC power with a small number of elements in the power receiving circuit, and the AC power itself transmitted from the power transmitting device to the power receiving device. The display state of the load device can be controlled without using another signal transmission path. The wireless power transmission system according to the fifth embodiment can achieve high power conversion efficiency and a small power receiving circuit by reducing the number of elements of the power receiving circuit.
第5の実施形態に係る無線電力伝送システムは、特許文献1〜3の発明とは以下の点で異なる。 The wireless power transmission system according to the fifth embodiment differs from the inventions of
特許文献1のワイヤレス電力伝送システムは、無線電力伝送を行う調光ガラスであるが、液晶型の調光ガラスに交流電圧を印加するものであり、正又は負の直流電圧を選択的に出力することはない。従って、特許文献1のワイヤレス電力伝送システムは、エレクトロクロミック方式の調光ガラスには適用可能ではない。 The wireless power transmission system of
特許文献2の単相インバータは、図25の受電回路22よりもスイッチの素子数が多く、また、特許文献2は、送電回路から受電回路のスイッチを制御することを開示していない。 The single-phase inverter of
特許文献3の正負電圧出力スイッチングレギュレータはスイッチを含まず、従って、特許文献3は、送電回路から受電回路のスイッチを制御することを開示していない。 The positive / negative voltage output switching regulator of Patent Document 3 does not include a switch. Therefore, Patent Document 3 does not disclose controlling the switch of the power receiving circuit from the power transmitting circuit.
第5の実施形態に係る無線電力伝送システムは、建物(ビル、家)のガラス窓、乗り物(航空機、車)の窓又はサンルーフなどを含む、調光ガラスシステムに適用可能である。第5の実施形態に係る無線電力伝送システムは、電子ペーパー型看板にも適用可能である。 The wireless power transmission system according to the fifth embodiment can be applied to a light control glass system including a glass window of a building (building, house), a window of a vehicle (aircraft, car), or a sunroof. The wireless power transmission system according to the fifth embodiment can also be applied to an electronic paper signboard.
まとめ.
以上説明したように、本開示の態様に係る無線電力伝送装置及び無線電力伝送システムは、以下の構成を備えたことを特徴とする。Summary.
As described above, the wireless power transmission device and the wireless power transmission system according to aspects of the present disclosure are characterized by including the following configuration.
本開示の第1の態様に係る無線電力伝送装置によれば、
1つの送電装置及び少なくとも1つの受電装置を含む無線電力伝送システムのための受電装置である無線電力伝送装置において、上記送電装置は少なくとも1つの送電コイルを備え、
上記無線電力伝送装置は、
パネルを収容し、予め決められた形状の外周を有する第1の枠と、
上記第1の枠の外周の一部に沿って上記第1の枠の外周に近接して上記第1の枠に設けられた少なくとも1つの受電コイルと、
上記第1の枠に設けられた少なくとも1つの受電回路であって、上記受電コイルに接続され、上記受電コイルが上記送電コイルと電磁的に結合するように近接して設けられたとき上記送電装置から上記受電コイルを介して電力を受ける少なくとも1つの受電回路と、
上記受電回路から供給される電力に基づいて動作する少なくとも1つの負荷装置とを備えたことを特徴とする。According to the wireless power transmission device according to the first aspect of the present disclosure,
In a wireless power transmission device that is a power reception device for a wireless power transmission system including one power transmission device and at least one power reception device, the power transmission device includes at least one power transmission coil,
The wireless power transmission device is
A first frame that houses the panel and has an outer periphery of a predetermined shape;
At least one power receiving coil provided on the first frame in proximity to the outer periphery of the first frame along a part of the outer periphery of the first frame;
At least one power receiving circuit provided in the first frame, wherein the power transmitting device is connected to the power receiving coil, and the power receiving coil is provided in close proximity so as to be electromagnetically coupled to the power transmitting coil. At least one power receiving circuit for receiving power from the power receiving coil via the power receiving coil;
And at least one load device that operates based on electric power supplied from the power receiving circuit.
本開示の第2の態様に係る無線電力伝送装置によれば、第1の態様に係る無線電力伝送装置において、上記第1の枠に収容されるパネルは、可変な表示状態を有する負荷装置を含むことを特徴とする。 According to the wireless power transmission device according to the second aspect of the present disclosure, in the wireless power transmission device according to the first aspect, the panel housed in the first frame includes a load device having a variable display state. It is characterized by including.
本開示の第3の態様に係る無線電力伝送装置によれば、第2の態様に係る無線電力伝送装置において、上記負荷装置は、エレクトロクロミック方式の調光ガラスであることを特徴とする。 According to the wireless power transmission device according to the third aspect of the present disclosure, in the wireless power transmission device according to the second aspect, the load device is electrochromic light control glass.
本開示の第4の態様に係る無線電力伝送装置によれば、第2の態様に係る無線電力伝送装置において、上記負荷装置は、ガスクロミック方式の調光ガラスであることを特徴とする。 According to the wireless power transmission device according to the fourth aspect of the present disclosure, in the wireless power transmission device according to the second aspect, the load device is gas chromic dimming glass.
本開示の第5の態様に係る無線電力伝送装置によれば、第2の態様に係る無線電力伝送装置において、上記負荷装置は、表示装置であることを特徴とする。 According to the wireless power transmission device according to the fifth aspect of the present disclosure, in the wireless power transmission device according to the second aspect, the load device is a display device.
本開示の第6の態様に係る無線電力伝送装置によれば、
1つの送電装置及び少なくとも1つの受電装置を含む無線電力伝送システムのための送電装置である無線電力伝送装置において、
上記受電装置は、
パネルを収容し、予め決められた形状の外周を有する第1の枠と、
上記第1の枠の外周の一部に沿って上記第1の枠の外周に近接して上記第1の枠に設けられた少なくとも1つの受電コイルとを備え、
上記無線電力伝送装置は、
上記第1の枠の少なくとも一部を収容する第2の枠と、
上記第2の枠が上記第1の枠を収容するとき上記第1の枠の外周の少なくとも一部に沿って上記第1の枠の外周に近接するように、上記第2の枠に設けられた少なくとも1つの送電コイルと、
上記第2の枠に設けられた少なくとも1つの送電回路であって、上記送電コイルに接続され、上記送電コイルが上記受電コイルと電磁的に結合するように近接して設けられたとき、上記送電コイルを介して上記受電装置に電力を送る少なくとも1つの送電回路とを備えたことを特徴とする。According to the wireless power transmission device according to the sixth aspect of the present disclosure,
In a wireless power transmission device which is a power transmission device for a wireless power transmission system including one power transmission device and at least one power reception device,
The power receiving device is
A first frame that houses the panel and has an outer periphery of a predetermined shape;
Including at least one power receiving coil provided on the first frame in proximity to the outer periphery of the first frame along a part of the outer periphery of the first frame;
The wireless power transmission device is
A second frame that houses at least a portion of the first frame;
When the second frame accommodates the first frame, the second frame is provided on the second frame so as to be close to the outer periphery of the first frame along at least a part of the outer periphery of the first frame. At least one power transmission coil,
At least one power transmission circuit provided in the second frame, connected to the power transmission coil, wherein the power transmission coil is provided in close proximity so as to be electromagnetically coupled to the power reception coil; And at least one power transmission circuit that sends power to the power receiving device via a coil.
本開示の第7の態様に係る無線電力伝送システムによれば、1つの送電装置及び少なくとも1つの受電装置を含む無線電力伝送システムであって、第1〜第5のいずれか1つの態様に係る無線電力伝送装置を上記受電装置として含み、第6の態様に係る無線電力伝送装置を上記送電装置として含むことを特徴とする。 According to the wireless power transmission system according to the seventh aspect of the present disclosure, the wireless power transmission system includes one power transmission device and at least one power reception device, and according to any one of the first to fifth aspects. A wireless power transmission device is included as the power receiving device, and the wireless power transmission device according to the sixth aspect is included as the power transmission device.
本開示の第8の態様に係る無線電力伝送システムによれば、第7の態様に係る無線電力伝送システムにおいて、
上記受電コイルは上記第1の枠の外部に設けられ、
上記受電コイルと上記第1の枠との間には第1の磁性体層が設けられ、
上記送電コイルは上記第2の枠の外部に設けられ、
上記送電コイルと上記第2の枠との間には第2の磁性体層が設けられることを特徴とする。According to the wireless power transmission system according to the eighth aspect of the present disclosure, in the wireless power transmission system according to the seventh aspect,
The power receiving coil is provided outside the first frame,
A first magnetic layer is provided between the power receiving coil and the first frame,
The power transmission coil is provided outside the second frame,
A second magnetic layer is provided between the power transmission coil and the second frame.
本開示の第9の態様に係る無線電力伝送システムによれば、第7の態様に係る無線電力伝送システムにおいて、
上記送電コイルは、上記パネルの表面に対して実質的に垂直な軸に沿った第1の位置において上記軸の周りに巻回された第1の巻線と、上記軸に沿った第2の位置において上記軸の周りに巻回された第2の巻線とを含み、
上記受電コイルは、上記軸に沿った上記第1及び第2の位置の間の第3の位置において上記軸の周りに巻回された第3の巻線を含み、
上記送電回路は、上記第1及び第2の巻線に逆相の電流を供給することを特徴とする。According to the wireless power transmission system according to the ninth aspect of the present disclosure, in the wireless power transmission system according to the seventh aspect,
The power transmission coil includes a first winding wound around the axis at a first position along an axis substantially perpendicular to the surface of the panel, and a second winding along the axis. A second winding wound around the axis in position,
The power receiving coil includes a third winding wound around the axis at a third position between the first and second positions along the axis;
The power transmission circuit supplies currents of opposite phases to the first and second windings.
本開示の第10の態様に係る無線電力伝送システムによれば、第7〜第9のいずれか1つの態様に係る無線電力伝送システムにおいて、
上記無線電力伝送システムは、1つの送電装置及び第1及び第2の受電装置を含み、
上記第1の受電装置のパネルの表面は、上記第2の受電装置のパネルの表面に対して実質的に平行であり、
上記第1の受電装置の受電コイルは、上記第1の受電装置のパネルの表面に対して実質的に垂直な第1の軸の周りに巻回された巻線を含み、
上記第2の受電装置の受電コイルは、上記第2の受電装置のパネルの表面に対して実質的に垂直な第2の軸の周りに巻回された巻線を含み、
上記送電コイルは、上記第1及び第2の軸の周りに巻回された巻線を含むことを特徴とする。According to the wireless power transmission system according to the tenth aspect of the present disclosure, in the wireless power transmission system according to any one of the seventh to ninth aspects,
The wireless power transmission system includes one power transmission device and first and second power reception devices,
The surface of the panel of the first power receiving device is substantially parallel to the surface of the panel of the second power receiving device;
The power receiving coil of the first power receiving device includes a winding wound around a first axis substantially perpendicular to the surface of the panel of the first power receiving device,
The power receiving coil of the second power receiving device includes a winding wound around a second axis substantially perpendicular to the surface of the panel of the second power receiving device,
The power transmission coil includes a winding wound around the first and second axes.
本開示の第11の態様に係る無線電力伝送システムによれば、第7又は第8の態様に係る無線電力伝送システムにおいて、
上記無線電力伝送システムは、1つの送電装置及び第1及び第2の受電装置を含み、
上記第1の受電装置の受電コイルは、上記第1の受電装置のパネルの表面に対して実質的に平行な第1の軸の周りに巻回された巻線を含み、
上記第2の受電装置の受電コイルは、上記第2の受電装置のパネルの表面に対して実質的に平行な第2の軸の周りに巻回された巻線を含み、
上記送電コイルは、上記第1及び第2の軸の周りに巻回された巻線を含むことを特徴とする。According to the wireless power transmission system according to the eleventh aspect of the present disclosure, in the wireless power transmission system according to the seventh or eighth aspect,
The wireless power transmission system includes one power transmission device and first and second power reception devices,
The power receiving coil of the first power receiving device includes a winding wound around a first axis substantially parallel to the surface of the panel of the first power receiving device,
The power receiving coil of the second power receiving device includes a winding wound around a second axis substantially parallel to the surface of the panel of the second power receiving device,
The power transmission coil includes a winding wound around the first and second axes.
本開示の第12の態様に係る無線電力伝送システムによれば、第7〜第11のいずれか1つの態様に係る無線電力伝送システムにおいて、
上記受電装置は、
複数の負荷装置と、
上記複数の負荷装置にそれぞれ電力を供給する複数の受電回路と、
上記複数の受電回路にそれぞれ接続された複数の受電コイルとを備えることを特徴とする。According to the wireless power transmission system according to the twelfth aspect of the present disclosure, in the wireless power transmission system according to any one of the seventh to eleventh aspects,
The power receiving device is
A plurality of load devices;
A plurality of power receiving circuits that respectively supply power to the plurality of load devices;
And a plurality of power receiving coils respectively connected to the plurality of power receiving circuits.
本開示の第13の態様に係る無線電力伝送システムによれば、第12の態様に係る無線電力伝送システムにおいて、上記複数の受電コイルのうちの少なくとも2つの受電コイルは、同じ1つの送電コイルと電磁的に結合することを特徴とする。 According to the wireless power transmission system according to the thirteenth aspect of the present disclosure, in the wireless power transmission system according to the twelfth aspect, at least two power receiving coils of the plurality of power receiving coils are the same one power transmitting coil. It is characterized by electromagnetic coupling.
本開示の第14の態様に係る無線電力伝送システムによれば、第12の態様に係る無線電力伝送システムにおいて、
上記送電装置は、
上記複数の受電コイルとそれぞれ電磁的に結合する複数の送電コイルと、
上記複数の送電コイルにそれぞれ接続された複数の送電回路とを備え、
上記複数の送電回路から選択的に電力を送ることにより、上記複数の負荷装置を選択的に動作させることを特徴とする。According to the wireless power transmission system according to the fourteenth aspect of the present disclosure, in the wireless power transmission system according to the twelfth aspect,
The power transmission device is
A plurality of power transmission coils that are electromagnetically coupled to the plurality of power reception coils, respectively;
A plurality of power transmission circuits respectively connected to the plurality of power transmission coils,
The plurality of load devices are selectively operated by selectively sending power from the plurality of power transmission circuits.
本開示の第15の態様に係る無線電力伝送システムによれば、第7〜第11のいずれか1つの態様に係る無線電力伝送システムにおいて、
上記受電装置は、
複数の負荷装置と、
上記複数の負荷装置を選択的に動作させる制御装置とを備えたことを特徴とする。According to the wireless power transmission system according to the fifteenth aspect of the present disclosure, in the wireless power transmission system according to any one of the seventh to eleventh aspects,
The power receiving device is
A plurality of load devices;
And a control device that selectively operates the plurality of load devices.
本開示の第16の態様に係る無線電力伝送システムによれば、第7〜第15のいずれか1つの態様に係る無線電力伝送システムにおいて、上記第1の枠は、上記第2の枠に対して移動可能であるように上記第2の枠によって保持されることを特徴とする。 According to the wireless power transmission system according to the sixteenth aspect of the present disclosure, in the wireless power transmission system according to any one of the seventh to fifteenth aspects, the first frame is compared to the second frame. And is held by the second frame so as to be movable.
本開示の第17の態様に係る無線電力伝送システムによれば、第16の態様に係る無線電力伝送システムにおいて、
上記第2の枠は、
上記第2の枠内において移動可能であるように上記第1の枠を保持するレールと、
上記レールに沿って設けられた送電コイルとを備えたことを特徴とする。According to the wireless power transmission system according to the seventeenth aspect of the present disclosure, in the wireless power transmission system according to the sixteenth aspect,
The second frame is
A rail that holds the first frame so as to be movable within the second frame;
And a power transmission coil provided along the rail.
本開示の第18の態様に係る無線電力伝送システムによれば、第7〜第15のいずれか1つの態様に係る無線電力伝送システムにおいて、上記第1の枠は、上記第2の枠に固定されることを特徴とする。 According to the wireless power transmission system according to the eighteenth aspect of the present disclosure, in the wireless power transmission system according to any one of the seventh to fifteenth aspects, the first frame is fixed to the second frame. It is characterized by being.
また、本開示の別の態様に係る無線電力伝送システムは、以下の構成を備えたことを特徴とする。 A wireless power transmission system according to another aspect of the present disclosure includes the following configuration.
第19の態様に係る無線電力伝送システムによれば、
送電装置及び受電装置を含む無線電力伝送システムにおいて、
上記送電装置は、
送電コイルと、
電源から電力供給を受けて上記送電コイルに交流電力を出力する送電回路とを備え、
上記受電装置は、
上記送電コイルに電磁的に結合された受電コイルと、
上記送電装置から上記受電コイルを介して交流電力が入力され、正又は負の電圧を選択的に出力する受電回路と、
上記受電回路から出力された電圧が印加され、上記印加された電圧の極性に応じて変化する表示状態を有する負荷装置とを備え、
上記受電回路は、
直列接続された第1のダイオード及び第1のキャパシタを含み、上記入力された交流電力の正のサイクルから正の電圧を上記第1のキャパシタの両端において発生する第1の整流回路と、
直列接続された第2のダイオード及び第2のキャパシタを含み、上記入力された交流電力の負のサイクルから負の電圧を上記第2のキャパシタの両端において発生する第2の整流回路と、
上記第1の整流回路の正の電圧及び上記第2の整流回路の負の電圧のいずれかを選択して上記受電回路から出力するスイッチ回路とを備えることを特徴とする。According to the wireless power transmission system of the nineteenth aspect,
In a wireless power transmission system including a power transmission device and a power reception device,
The power transmission device is
A power transmission coil;
A power transmission circuit that receives power supply from a power source and outputs AC power to the power transmission coil,
The power receiving device is
A power receiving coil electromagnetically coupled to the power transmitting coil;
AC power is input from the power transmission device via the power reception coil, and a power reception circuit that selectively outputs a positive or negative voltage;
A load device having a display state to which the voltage output from the power receiving circuit is applied and which changes according to the polarity of the applied voltage;
The power receiving circuit is
A first rectifier circuit including a first diode and a first capacitor connected in series, and generating a positive voltage across the first capacitor from a positive cycle of the input AC power;
A second rectifier circuit including a second diode and a second capacitor connected in series, and generating a negative voltage across the second capacitor from a negative cycle of the input AC power;
And a switch circuit that selects and outputs either the positive voltage of the first rectifier circuit or the negative voltage of the second rectifier circuit from the power receiving circuit.
第20の態様に係る無線電力伝送システムによれば、第19の態様に係る無線電力伝送システムにおいて、
上記送電回路から出力される交流電力は可変な特性値を有し、
上記送電装置は、
上記送電回路から出力される交流電力の特性値を決定する第1の制御回路を備え、
上記受電装置は、
上記入力された交流電力の特性値を検出する検出回路と、
上記検出された特性値に基づき、上記第1の整流回路の正の電圧及び上記第2の整流回路の負の電圧のいずれかを選択するように上記スイッチ回路を制御する第2の制御回路とを備えたことを特徴とする。According to the wireless power transmission system according to the twentieth aspect, in the wireless power transmission system according to the nineteenth aspect,
The AC power output from the power transmission circuit has a variable characteristic value,
The power transmission device is
A first control circuit for determining a characteristic value of AC power output from the power transmission circuit;
The power receiving device is
A detection circuit for detecting the characteristic value of the input AC power;
A second control circuit for controlling the switch circuit so as to select either a positive voltage of the first rectifier circuit or a negative voltage of the second rectifier circuit based on the detected characteristic value; It is provided with.
第21の態様に係る無線電力伝送システムによれば、第19の態様に係る無線電力伝送システムにおいて、
上記受電装置は、
上記スイッチ回路により直前に選択された電圧の極性を記憶するメモリと、
上記メモリに記憶された極性を読み出し、上記読み出された極性とは異なる極性の電圧を選択するように上記スイッチ回路を制御し、上記メモリに記憶する極性を更新する制御装置とを備えたことを特徴とする。According to the wireless power transmission system according to the twenty-first aspect, in the wireless power transmission system according to the nineteenth aspect,
The power receiving device is
A memory for storing the polarity of the voltage selected immediately before by the switch circuit;
A controller that reads the polarity stored in the memory, controls the switch circuit to select a voltage having a polarity different from the read polarity, and updates the polarity stored in the memory; It is characterized by.
第22の態様に係る無線電力伝送システムによれば、第19〜第21の態様に係る無線電力伝送システムにおいて、上記負荷装置は、エレクトロクロミック方式の調光ガラスであることを特徴とする。 According to the wireless power transmission system according to the twenty-second aspect, in the wireless power transmission systems according to the nineteenth to twenty-first aspects, the load device is electrochromic light control glass.
第23の態様に係る無線電力伝送システムによれば、第22の態様に係る無線電力伝送システムにおいて、上記調光ガラスは、酸化タングステン薄膜を含むことを特徴とする。 According to the wireless power transmission system of the twenty-third aspect, in the wireless power transmission system of the twenty-second aspect, the light control glass includes a tungsten oxide thin film.
第24の態様に係る無線電力伝送システムによれば、第22の態様に係る無線電力伝送システムにおいて、上記調光ガラスは、マグネシウム・イットリウム化合物を含むことを特徴とする。 According to the wireless power transmission system of the twenty-fourth aspect, in the wireless power transmission system of the twenty-second aspect, the light control glass contains a magnesium-yttrium compound.
第25の態様に係る無線電力伝送システムによれば、第19〜第21の態様に係る無線電力伝送システムにおいて、上記負荷装置は、電気泳動方式の電子ペーパーであることを特徴とする。 According to the wireless power transmission system of the twenty-fifth aspect, in the wireless power transmission systems of the nineteenth to twenty-first aspects, the load device is electrophoretic electronic paper.
本開示によれば、受電装置の動作の妨げとならず、高効率で無線電力伝送を行うことができ、構造上の自由度が高い無線電力伝送装置及び無線電力伝送システムを提供することができる。 According to the present disclosure, it is possible to provide a wireless power transmission device and a wireless power transmission system that can perform wireless power transmission with high efficiency and do not hinder the operation of the power receiving device and have a high degree of structural freedom. .
1…電源、
10,10A〜10J…送電装置、
11,11A,11D,11E,11F〜11J…外枠、
12,12−1,12−2…送電回路、
20,20A〜20J…受電装置、
21,21A,21D−1,21D−2,21E−1,21E−2,21F〜21J…内枠、
22,22−1,22−2,22A,22B…受電回路、
23,26…調光ガラス、
24…ガス発生装置、
25…ガス注入口、
31a,31b,31−1〜31−6…フィルム電極、
32a,32b…板ガラス、
33…調光材料層、
34…調光材料膜、
35…空洞、
41,42…磁性体層、
51…表示装置、
61,62,71…制御回路、
81…スイッチング電源回路、
82,84,84A…制御回路、
83…電圧検出回路、
85…メモリ、
L1,L1a,L1b,L1−1,L1−2,L11,L21,L31,L41…送電コイル、
L2,L2−1,L2−2,L22−1,L22−2,L32−1,L32−2,L42…受電コイル、
C1,C2,C11…キャパシタ、
D1,D2,D11〜D14…ダイオード、
SW1,SW2,SW11〜SW14…スイッチ。1 ... Power supply
10, 10A-10J ... power transmission device,
11, 11A, 11D, 11E, 11F to 11J ...outer frame,
12, 12-1, 12-2 ... power transmission circuit,
20, 20A-20J ... power receiving device,
21, 21A, 21D-1, 21D-2, 21E-1, 21E-2, 21F-21J ...inner frame,
22, 22-1, 22-2, 22A, 22B ... power receiving circuit,
23, 26 ... light control glass,
24 ... Gas generator,
25 ... Gas inlet,
31a, 31b, 31-1 to 31-6 ... film electrodes,
32a, 32b ... plate glass,
33 ... light control material layer,
34. Light control material film,
35 ... hollow,
41, 42 ... magnetic layer,
51. Display device,
61, 62, 71 ... control circuit,
81 ... switching power supply circuit,
82, 84, 84A ... control circuit,
83 ... voltage detection circuit,
85 ... Memory,
L1, L1a, L1b, L1-1, L1-2, L11, L21, L31, L41 ... power transmission coil,
L2, L2-1, L2-2, L22-1, L22-2, L32-1, L32-2, L42.
C1, C2, C11 ... capacitors,
D1, D2, D11 to D14 ... diodes,
SW1, SW2, SW11 to SW14 ... switches.
| Application Number | Priority Date | Filing Date | Title |
|---|---|---|---|
| JP2013078473AJP6167431B2 (en) | 2013-04-04 | 2013-04-04 | Wireless power transmission system |
| Application Number | Priority Date | Filing Date | Title |
|---|---|---|---|
| JP2013078473AJP6167431B2 (en) | 2013-04-04 | 2013-04-04 | Wireless power transmission system |
| Application Number | Title | Priority Date | Filing Date |
|---|---|---|---|
| JP2017113606ADivisionJP6403129B2 (en) | 2017-06-08 | 2017-06-08 | Wireless power transmission system |
| Publication Number | Publication Date |
|---|---|
| JP2014204550A JP2014204550A (en) | 2014-10-27 |
| JP6167431B2true JP6167431B2 (en) | 2017-07-26 |
| Application Number | Title | Priority Date | Filing Date |
|---|---|---|---|
| JP2013078473AActiveJP6167431B2 (en) | 2013-04-04 | 2013-04-04 | Wireless power transmission system |
| Country | Link |
|---|---|
| JP (1) | JP6167431B2 (en) |
| Publication number | Priority date | Publication date | Assignee | Title |
|---|---|---|---|---|
| US20130271813A1 (en) | 2012-04-17 | 2013-10-17 | View, Inc. | Controller for optically-switchable windows |
| US11732527B2 (en) | 2009-12-22 | 2023-08-22 | View, Inc. | Wirelessly powered and powering electrochromic windows |
| US11630366B2 (en) | 2009-12-22 | 2023-04-18 | View, Inc. | Window antennas for emitting radio frequency signals |
| US8213074B1 (en) | 2011-03-16 | 2012-07-03 | Soladigm, Inc. | Onboard controller for multistate windows |
| US10303035B2 (en) | 2009-12-22 | 2019-05-28 | View, Inc. | Self-contained EC IGU |
| US11342791B2 (en) | 2009-12-22 | 2022-05-24 | View, Inc. | Wirelessly powered and powering electrochromic windows |
| EP3995885A1 (en) | 2009-12-22 | 2022-05-11 | View, Inc. | Wireless powered electrochromic windows |
| WO2015134789A1 (en) | 2014-03-05 | 2015-09-11 | View, Inc. | Monitoring sites containing switchable optical devices and controllers |
| US11300848B2 (en) | 2015-10-06 | 2022-04-12 | View, Inc. | Controllers for optically-switchable devices |
| US11114742B2 (en) | 2014-11-25 | 2021-09-07 | View, Inc. | Window antennas |
| US12235560B2 (en) | 2014-11-25 | 2025-02-25 | View, Inc. | Faster switching electrochromic devices |
| CN112615135B (en) | 2014-11-25 | 2024-12-10 | 唯景公司 | Method and device for personalizing the settings of a building area |
| JP6374311B2 (en)* | 2014-12-09 | 2018-08-15 | デクセリアルズ株式会社 | ANTENNA DEVICE AND ELECTRONIC DEVICE |
| JP6012782B2 (en)* | 2015-01-28 | 2016-10-25 | 株式会社八森電子デバイス | Hydrogen water generator |
| JP6575156B2 (en)* | 2015-06-10 | 2019-09-18 | 凸版印刷株式会社 | Lighting device |
| AU2017260101B2 (en)* | 2016-05-06 | 2021-07-22 | View, Inc. | Window antennas |
| JP2021004907A (en)* | 2017-09-13 | 2021-01-14 | パナソニックIpマネジメント株式会社 | Control device of light distribution device, light distribution system and light distribution control method |
| JP6998247B2 (en)* | 2018-03-19 | 2022-02-04 | 株式会社カネカ | Electrochromic devices and products equipped with them |
| EP3966963A2 (en) | 2019-05-09 | 2022-03-16 | View, Inc. | Antenna systems for controlled coverage in buildings |
| US11631493B2 (en) | 2020-05-27 | 2023-04-18 | View Operating Corporation | Systems and methods for managing building wellness |
| US12176596B2 (en) | 2019-05-31 | 2024-12-24 | View, Inc. | Building antenna |
| JP7456824B2 (en)* | 2020-03-24 | 2024-03-27 | 株式会社国際電気通信基礎技術研究所 | Link mechanism and link unit |
| TW202206925A (en) | 2020-03-26 | 2022-02-16 | 美商視野公司 | Access and messaging in a multi client network |
| JP7589895B2 (en) | 2020-07-21 | 2024-11-26 | 日東電工株式会社 | Polymer-dispersed liquid crystal device, method and program for driving polymer-dispersed liquid crystal panel |
| Publication number | Priority date | Publication date | Assignee | Title |
|---|---|---|---|---|
| JPH02120489A (en)* | 1988-10-28 | 1990-05-08 | Omron Tateisi Electron Co | Electric power transmitter for window frame |
| JPH11103531A (en)* | 1997-09-29 | 1999-04-13 | Nec Mori Energy Kk | Noncontact charger |
| JP2007252090A (en)* | 2006-03-16 | 2007-09-27 | Toppan Printing Co Ltd | Power supply mechanism and detection apparatus using the same |
| US7968823B2 (en)* | 2006-06-07 | 2011-06-28 | Engineered Glass Products, Llc | Wireless inductive coupling assembly for a heated glass panel |
| JP4789090B2 (en)* | 2006-07-12 | 2011-10-05 | 独立行政法人産業技術総合研究所 | Reflective light control thin film material using magnesium-niobium alloy thin film |
| US20120200150A1 (en)* | 2011-02-08 | 2012-08-09 | Tdk Corporation | Wireless power transmission system |
| JP2013070477A (en)* | 2011-09-21 | 2013-04-18 | Panasonic Corp | Non-contact power supply system |
| Publication number | Publication date |
|---|---|
| JP2014204550A (en) | 2014-10-27 |
| Publication | Publication Date | Title |
|---|---|---|
| JP6167431B2 (en) | Wireless power transmission system | |
| JP6403129B2 (en) | Wireless power transmission system | |
| JP6724076B2 (en) | system | |
| US8847432B2 (en) | Method and device for transporting, distributing and managing electrical energy by remote longitudinal coupling in near field between electric dipoles | |
| US9847665B2 (en) | Receiver electrodes of a capacitive wireless powering system | |
| CN103179883B (en) | Electric curtain opening and closing device and curtain opening and closing method using same | |
| KR102598950B1 (en) | Wireless power transfer systme for vehicle door glass | |
| CN104575989A (en) | Transformer, power supply device, and display device including the same | |
| KR20120028223A (en) | Power receiving device and wireless power feed system | |
| JP2011526700A5 (en) | ||
| JP6599272B2 (en) | Static reactive power compensator and operation method thereof | |
| JP6667163B2 (en) | Power transmission device, vehicle equipped with power transmission device, and wireless power transmission system | |
| CN101900794B (en) | Superconducting magnet device | |
| US20220149660A1 (en) | Wireless power supply unit and power reception module | |
| WO2016020795A2 (en) | Electronic device equipped with capacitive device | |
| CN1819397A (en) | Non-contacting transmitter with freely rotary electric energy pick-up mechanism | |
| CN204446550U (en) | A kind of solar energy eyes massage device | |
| CN203690950U (en) | Intelligent window | |
| CN115498786A (en) | A magnetic energy wireless rechargeable battery | |
| CN1147981C (en) | Mouse with power generator | |
| JP2019131997A (en) | Sliding door with dimming function | |
| US20210407361A1 (en) | Display device and method for controlling same | |
| JP6950206B2 (en) | Dimmer | |
| KR101441912B1 (en) | Energy generation and induction energy-saving devices using magnetic field and the electromagnetic field of lines | |
| WO2025163663A1 (en) | A system for controlling one or more active glazing and a method thereof |
| Date | Code | Title | Description |
|---|---|---|---|
| A711 | Notification of change in applicant | Free format text:JAPANESE INTERMEDIATE CODE: A711 Effective date:20150312 | |
| RD03 | Notification of appointment of power of attorney | Free format text:JAPANESE INTERMEDIATE CODE: A7423 Effective date:20150319 | |
| A621 | Written request for application examination | Free format text:JAPANESE INTERMEDIATE CODE: A621 Effective date:20160322 | |
| A131 | Notification of reasons for refusal | Free format text:JAPANESE INTERMEDIATE CODE: A131 Effective date:20161122 | |
| A977 | Report on retrieval | Free format text:JAPANESE INTERMEDIATE CODE: A971007 Effective date:20161124 | |
| A521 | Request for written amendment filed | Free format text:JAPANESE INTERMEDIATE CODE: A523 Effective date:20170118 | |
| A131 | Notification of reasons for refusal | Free format text:JAPANESE INTERMEDIATE CODE: A131 Effective date:20170314 | |
| A521 | Request for written amendment filed | Free format text:JAPANESE INTERMEDIATE CODE: A523 Effective date:20170509 | |
| TRDD | Decision of grant or rejection written | ||
| A01 | Written decision to grant a patent or to grant a registration (utility model) | Free format text:JAPANESE INTERMEDIATE CODE: A01 Effective date:20170523 | |
| A61 | First payment of annual fees (during grant procedure) | Free format text:JAPANESE INTERMEDIATE CODE: A61 Effective date:20170608 | |
| R151 | Written notification of patent or utility model registration | Ref document number:6167431 Country of ref document:JP Free format text:JAPANESE INTERMEDIATE CODE: R151 |