

















本発明は、電気機器のケースにケーブルを保持する構造の技術分野に属する。 The present invention belongs to the technical field of a structure for holding a cable in a case of an electric device.
  従来より例えばバーコードリーダやセンサなどの電気機器においては、そのケースに形成された挿入口に通信ケーブルや電源ケーブルなどの端部が挿入されて、グロメットやケーブルブッシュを介して取り付けられている(例えば特許文献1、2等を参照)。この場合、挿入口は例えばケースの割り面に形成される一方、ケーブルのシースの外周には接着材などによって一体的にブッシュが設けられ、このブッシュがケースの割り面に挟み込まれるようにして保持されている。  Conventionally, for example, in an electrical device such as a barcode reader or a sensor, an end portion such as a communication cable or a power cable is inserted into an insertion port formed in the case and attached via a grommet or a cable bush ( For example, see
また、そうしてケース内に挿入されたケーブルの端部においてはシースおよびシールドが切断され、内部の複数の心線がコネクタによって電気回路の基板に接続されている。このようにシースの切断された部分では、切断されたシールドの端部や心線を熱収縮チューブなどによって被覆し、電気回路の基板と接触しないようにしている。心線は一般にゴムや樹脂で被覆されているが、この被覆が破れた場合も考慮して二重の絶縁構造としているのである。 Further, the sheath and the shield are cut at the end of the cable thus inserted into the case, and a plurality of inner core wires are connected to the substrate of the electric circuit by the connector. Thus, at the cut portion of the sheath, the end portion of the cut shield and the core wire are covered with a heat shrinkable tube or the like so as not to come into contact with the substrate of the electric circuit. Although the core wire is generally covered with rubber or resin, a double insulating structure is formed in consideration of the case where the covering is broken.
しかしながら、前記のようにケーブルのシースに一体的に設けたブッシュなどをケースの割り面に挟持する構造では、誤ってケーブルに強い引張り力が加わったときの耐久力(引張り強度)が主にブッシュに依存することになり、これが破損したりケースから脱落したりすることによって、十分な強度が得られない場合があった。 However, in the structure in which the bush provided integrally with the sheath of the cable is sandwiched between the split surfaces of the case as described above, the durability (tensile strength) when a strong tensile force is applied to the cable by mistake is mainly the bush. In some cases, sufficient strength cannot be obtained due to breakage or dropping from the case.
これに対し、ブッシュの大型化によって強度を高めようとすると、かなり大きなブッシュが必要になってしまい、これがケースの外に張り出して機器の設置性を害するおそれがあった。また、ケース内にケーブルを保持するための別の部材を追加することも考えられるが、こうするとその部材の分、ケースが大型化してしまい、コストも増大することになる。 On the other hand, if an attempt is made to increase the strength by increasing the size of the bush, a considerably large bush is required, which may overhang the case and impair the equipment installation. Further, it is conceivable to add another member for holding the cable in the case. However, this increases the size of the case by the amount of the member and increases the cost.
また、前記のようにケースの内部では、ケーブルのシースの切断箇所から所定の範囲を熱収縮チューブなどによって被覆するようにしており、このように手間のかかる作業が必要なこともコストの増大する要因になっている。 In addition, as described above, a predetermined range from the cut portion of the cable sheath is covered with a heat shrinkable tube or the like inside the case, and the necessity of such labor-intensive work increases the cost. It is a factor.
かかる諸点に鑑みて本発明の目的は、電気機器の大型化やコストの増大を抑制しながら、そのケースにケーブルを保持する強度を高めることにある。 In view of these points, an object of the present invention is to increase the strength of holding a cable in a case while suppressing an increase in size and cost of an electric device.
前記の目的を達成するために本発明は、電気機器のケースにケーブルを保持するための構造に係り、そのケーブルが、複数の心線をシールドおよびシースで被覆したものである場合に、前記ケースの内部に部品を固定するための固定部材には、前記ケーブルを屈曲した状態で嵌め込んで保持する保持部を設ける。また、前記ケーブルのシースに取り付けられたブッシュがケースの割り面に挟持されていて、このブッシュ内においてもケーブルが屈曲した状態で保持されている。そして、前記ケーブルが前記保持部に嵌め込まれる方向に見て、当該保持部における屈曲の向きと、前記ブッシュ内における屈曲の向きとが反対向きになっている。In order to achieve the above object, the present invention relates to a structure for holding a cable in a case of an electric device, and in the case where the cable is formed bycovering a plurality of core wires with a shield and a sheath. ofthe fixing member for fixing the parts inside,Ru provided a holding part for holdingby fitting in a bent state ofthecable. A bush attached to the sheath of the cable is held between the split surfaces of the case, and the cable is held in a bent state in the bush. When viewed in the direction in which the cable is fitted into the holding portion, the bending direction in the holding portion is opposite to the bending direction in the bush .
かかる構造により、電気機器のケースに挿入されたケーブルの端部が、そのケースの内部において固定部材の保持部により保持されるので、従来一般的なブッシュに比べて高い引張り強度を得ることが可能になる。また、固定部材は新たに設けるのではなく、ケースの内部に部品を固定するためのものであるから、コストの増大やケースの大型化を招く心配はない。 With this structure, the end portion of the cable inserted into the case of the electrical device is held by the holding portion of the fixing member inside the case, so it is possible to obtain a higher tensile strength than a conventional general bush. become. In addition, the fixing member is not newly provided, but is used to fix the components inside the case, so there is no concern of increasing the cost or enlarging the case.
また、前記固定部材の保持部にケーブルを嵌め込んで、屈曲した状態で保持することによって、誤って強い引張り力が加わったときにもケーブルと保持部との間に滑りが生じ難くなって、高い引張り強度が得られる。なお、前記保持部には、ケーブルの抜け止めのための突起部を設けてもよい。突起部はケーブルの外周に例えば当接するように、或いは外周に食い込むように設ければよい。Moreover, the fitted cable to the holding portion of the fixing member, by theTurkey be held in the bent state, hardly slip between the cable and the holding portion even when a strong pulling force is applied by mistake occurs Thus, high tensile strength can be obtained.The holding portion may be provided with a protrusion for preventing the cable from coming off. The protrusion may be provided so as to abut the outer periphery of the cable, for example, or to bite into the outer periphery.
加えて、前記ケーブルのシースに取り付けたブッシュをケースの割り面に挟持させることにより、ケーブルが前記固定部材の保持部だけでなく、前記ブッシュによっても保持されることになる。しかも、このブッシュ内においてケーブルが屈曲した状態で保持されており、その屈曲の向きが前記保持部における屈曲の向きとは反対向き(ケーブルが保持部に嵌め込まれる方向に見て反対向き)になっているので、引張り強度をさらに高めることができる。In addition, by holding the bush attached to the sheath of the cable between the split surfaces of the case, the cable is held not only by the holding portion of the fixing member but also by the bush. In addition, the cable is held in the bush in a bent state, and the bending direction is opposite to the bending direction in the holding portion (opposite direction when viewed in the direction in which the cable is fitted into the holding portion). Therefore, the tensile strength can be further increased.
前記固定部材によって固定される部品としては、例えば電気回路の基板が挙げられる。電気回路の基板は通常、或る程度以上の面積を有しているので、その固定部材も或る程度以上の面積を有することが望ましい。そこで、この固定部材に保持部を設けるのであれば、保持部の位置をケース内において比較的、自由に設定することができる。Examples of the component fixed by the fixing member include an electric circuit board. Since the substrate of the electric circuit usually has a certain area or more, it is desirable that the fixing member also has a certain area or more. Therefore, if the holding member is provided on the fixing member, the position of the holding portion can be set relatively freely in the case.
好ましいのは、前記固定部材を基板の長手方向に延びるような形状とすることであり、この場合に固定部材はケーブルと基板との電気的絶縁に利用することができる。すなわち、ケース内でケーブルのシースが切断されている箇所の付近では、シースとともに切断されたシールドの端部が拡がっていて、基板上のプリント配線などに接触し短絡させる可能性がある。It is preferable that the fixing member has a shape extending in the longitudinal direction of the substrate. In this case, the fixing member can be used for electrical insulation between the cable and the substrate. That is, in the vicinity of the portion where the sheath of the cable is cut in the case, the end portion of the shield cut together with the sheath is expanded, and there is a possibility that the printed wiring on the board is contacted and short-circuited.
また、シールドを有しないケーブルであっても、シースを切断する際に誤って心線の被覆が傷ついてしまい、導体が剥き出しになっていると、前記と同様に短絡を生じる可能性がある。そこで、前記シースの切断箇所を含む所定範囲を基板から電気的に絶縁するように固定部材を設ければ、この固定部材によって短絡を防止することができる。よって、従来までのようにケーブルを熱収縮チューブなどによって被覆する作業は不要になる。Even if the cable does not have a shield, if the sheath of the core wire is accidentally damaged when the sheath is cut and the conductor is exposed, a short circuit may occur as described above. Therefore, if a fixing member is provided so as to electrically insulate a predetermined range including the cut portion of the sheath from the substrate, the fixing member can prevent a short circuit. Therefore, the operation | work which coat | covers a cable with a heat contraction tube etc. conventionally becomes unnecessary.
本発明に係る電気機器においては、そのケース内において部品を固定するための部材にケーブルの保持部を設けて、ケースに挿入されたケーブルの端部を保持するようにしているので、コストの増大やケースの大型化を招くことなく、従来一般的な構造に比べて高い引張り強度を得ることができる。 In the electrical device according to the present invention, the cable holding portion is provided in the member for fixing the components in the case so as to hold the end portion of the cable inserted into the case, so that the cost is increased. In addition, a high tensile strength can be obtained as compared with a conventional general structure without causing an increase in the size of the case.
以下、本発明の実施の形態について図面を参照しながら説明する。本実施の形態に係るバーコードリーダ1(電気機器)は、バーコード情報を読み取るためのシステムに組み込まれるものである。なお、以下に説明する実施の形態はあくまで例示に過ぎず、本発明の構成や用途などについても限定することを意図しない。 Hereinafter, embodiments of the present invention will be described with reference to the drawings. The barcode reader 1 (electric device) according to the present embodiment is incorporated into a system for reading barcode information. Note that the embodiments described below are merely examples, and are not intended to limit the configuration and use of the present invention.
  図1、2に示すようにバーコードリーダ1のケース2は、一例として樹脂の成型品であるロワケース20とアッパケース21とを組み付けてなる。各図に表れているように、ケース2は前後および上下には短く、左右に長い略直方体状とされていて、図1に表れているように、ケース2の前面の下半部には、図外の一次元バーコード(読取対象)と対向するように窓部材22が配設されている。  As shown in FIGS. 1 and 2, the
  この窓部材22は透明な帯状の樹脂板で、波長の短い光をカットする光学的なフィルタとして機能する。窓部材22の長手方向の中央、約1/3くらいの範囲は、バーコードからの反射光Lr(図3、5など参照)が通過する受光窓22aとされ、その左右両側はそれぞれ、バーコードへの投射光Lfが通過する投光窓22bとされている。また、ケース2の上面には押しボタンスイッチ24や表示灯25が配設されている。  The
  図2にはバーコードリーダ1の上下を反対向きにして示すが、前記窓部材22は、遮光部材を兼ねた両面テープ23によって、ケース2の前面に貼り付けられている。この両面テープ23の遮光機能については後述する。なお、バーコードリーダ1の内部の構造を説明する都合上、以下では図2のように上下を反対向きにして表すことが多いので、この図2における左側を単に左側と呼び、同じく右側を単に右側と呼ぶ。  In FIG. 2, the
  図2に表れているように、ケース2の右側後方の角部における上寄りの部分は斜めに切り欠かれていて、ここに形成された傾斜面2aを貫通するようにケーブル6が取り付けられている。このケーブル6は、例えばRS232CやUSBなどの通信規格に準拠し、システムのホスト機器との間で双方向に通信可能であるとともに、電力供給も可能なものである。  As shown in FIG. 2, the upper portion of the right rear corner of the
  図3および図4には、受光レンズ41の光軸Xを含む横断面および縦断面でそれぞれバーコードリーダ1を切断し、その内部構造を示している。これらの図に表れているようにケース2の下半部(図3、4においては上側に位置している)には、投光系3と、受光レンズ41など受光系4の要部とが配設され、一方、ケース2の上半部には図4にのみ示すが、ラインセンサ40(撮像素子)を含む受光系4の残部や信号処理系5の電気回路のメイン基板50などが配設されている。  3 and 4 show the internal structure of the
  −投光系−
  図5にも示すように投光系3は、例えばLED30(光源)からの光を投光レンズ31,32によって一次元のバーコード(図示せず)に投射するものであり、このバーコードの位置を想定した仮想の投光平面S(図3を参照)において左右方向に長く、上下に幅の狭い帯状の光Lfを投射するようになっている。投光平面Sは、受光レンズ41から光軸Xの方向に所定距離だけ離れていて、当該光軸Xに略直交する仮想の平面である。-Lighting system-
 As shown in FIG. 5, the
  バーコードは、例えば印刷やダイレクトマーキングなどによって対象物に表示された白黒の縞模様からなる。この縞模様の並ぶバーコードの長手方向を含むように、前記投射光Lfの投射される範囲は左右方向に所定の長さ(例えば100mmくらい)以上とされ、上下方向には10mmくらいの帯状となっている。そして、このように広い範囲に投射光Lfを拡げるために、以下に説明するように投光レンズ31,32は、左右方向に長い異形のものとされている。  The barcode is composed of a black and white striped pattern displayed on the object by, for example, printing or direct marking. The projected range of the projection light Lf is set to a predetermined length (for example, about 100 mm) or more in the left-right direction so as to include the longitudinal direction of the bar code on which the striped pattern is arranged, and a strip shape of about 10 mm in the vertical direction. It has become. In order to spread the projection light Lf over such a wide range, the
  本実施形態では受光系4の左右両側に1つずつ、LED30および投光レンズ31,32が配設されており、LED30は表面実装タイプのもので、投光系の電気回路の基板33(図5には仮想線で示す)に実装されている。この基板33は、受光レンズ41の光軸Xの方向(以下、バーコードリーダ1の前後方向と呼ぶこともある)と略直交するように配置されており、このことで投光系3の寸法が前後方向に小さくなっている。  In the present embodiment, one
  それらのLED30からの光が入射する投光レンズ31,32の入射面31a,32aは、LED30を取り囲むトロイダル面とされている。すなわち、図6には上下方向に見て示すように、投光レンズ31,32の入射面31a,32aは、左右方向についてはLED30を取り囲む円弧状(凹形状)をなすとともに、図7には左右方向に見て示すように入射面31a,32aは、上下方向については凸形状をなす。  The incident surfaces 31 a and 32 a of the
  図7に表れているように投光レンズ31,32の出射面31b,32bは上下方向には直線状に形成されているので、前記入射面31a,32aの凸形状によって投光レンズ31,32は、LED30の発光部30aに焦点を結ぶ集光レンズとして機能する。このため、発光部30aから上下に拡がりつつ、投光レンズ31,32の入射面31a,32aに入射した光は、幅10mmくらいの平行光線となって投光平面Sに投射される。  As shown in FIG. 7, since the emission surfaces 31b and 32b of the
  そして、それらの入射面31a,32aが、図6を参照して前記したように左右方向には円弧状をなし、その円弧の中心がLED30の発光部30aに含まれるように配置されている。このため、上下方向に凸形状をなす入射面31a,32aの前記集光レンズとしての焦点を、LED30の発光部30aに正確に合致させることができ、ここから発せられる光をより効率良く投光平面Sに向かって投射することができる。  Then, as described above with reference to FIG. 6, the incident surfaces 31 a and 32 a have an arc shape in the left-right direction, and are arranged so that the center of the arc is included in the
  具体的に入射面31a,32aは、例えば以下の式(1)によって表される曲線を、LED30の発光部30aを通過する上下方向の軸周りに所定の半径で回転させたものとすればよい。なお、式(1)は、図7に符号「O」として示す光軸Xと入射面31a,32aとの交点を原点とし、この光軸X方向の座標をxとし、上下のZ軸方向の座標をzとして表している。また、i=1〜n(nは整数)であり、αi、c、kはいずれも適宜、設定すればよい。Specifically, the incident surfaces 31a and 32a may be obtained by rotating, for example, a curve represented by the following formula (1) around a vertical axis passing through the
  一方、投光レンズ31,32の出射面31b,32bは、左右方向については自由曲面とされ、図6に表れているように左右方向に適宜、光を分配させて、投光平面Sにおいて望ましい光量分布を実現する。以下、図6を参照して投光レンズ31について説明すると、各投光レンズ31(32)の出射面31b(32b)には、他方の投光レンズ32(31)から遠くなる外側に凸形状の部分が形成される一方、他方の投光レンズ32(31)に近くなる内側には凹形状の部分が形成されている。  On the other hand, the exit surfaces 31b and 32b of the
  具体的に出射面31bは、例えば以下の式(2)によって表される自由曲面とすればよい。なお、式(2)は、投光レンズ31について図6に示すように、出射面31bの内側寄りで最も凹んだ部位を原点「O」とし、ここから外側へ向かって左右のY軸方向の座標をyとするとともに、前記式(1)と同じく光軸X方向の座標をxとして表している。また、i=1〜n(nは整数)であり、αiは適宜、設定すればよい。Specifically, the
  このような出射面31b,32bの形状により、投光レンズ31(32)から投光平面Sに投射される光Lfは、出射面31b(32b)の外側の領域においては集光される一方、出射面31b(32b)の内側の領域では拡散されるようになる。この結果、投光レンズ31,32のそれぞれから投射される光Lfの光量分布は、図8にそれぞれ破線および一点鎖線のグラフで示すように投光平面Sの左右いずれか一側で多くなり、ここから反対側に向かって徐々に少なくなってゆく。  Due to the shape of the exit surfaces 31b and 32b, the light Lf projected from the projection lens 31 (32) onto the projection plane S is collected in the region outside the
  そして、投光平面Sにおいては前記2つの投射光Lfが重なることによって、図8には実線のグラフで示すように、投光平面Sの左右両端側において中間部よりも光量の大きな好ましい分布となる。このような光量分布が好ましい理由は、以下の受光系4の説明において図10を参照して説明する。  In the light projecting plane S, the two projection lights Lf overlap, and as shown by a solid line graph in FIG. Become. The reason why such a light quantity distribution is preferable will be described with reference to FIG. 10 in the description of the
  なお、本実施形態の投光系3においては、前述したように窓部材22をケース2の前面に貼り付ける両面テープ23が、投光レンズ31,32と窓部材22(窓部)との間に設けられた遮光部材として機能する。すなわち、両面テープ23には、受光窓22aおよび投光窓22bに対応する開口部23a,23bが形成されており、投光窓22bに対応する開口部23bは、左右両側から中央寄りに向かって徐々に上下の開口幅が小さくなっている。  In the light projecting
  そして、そのように開口幅の小さくなる開口部23bにおいて投射光Lfの一部が遮られ、投光平面Sにおける光量分布が変化するようになっている。よって、開口部23bの形状を変更することで、光量分布の微妙な調整が可能になり、例えばLED30の個体ばらつきなどによって光量分布にばらつきがあっても、投光レンズ31,32の出射面31b,32bの形状を変更することなく、比較的容易に光量分布のばらつきを補償することができる。  Then, a part of the projection light Lf is blocked at the
  −受光系−
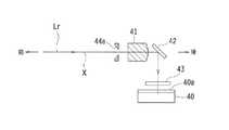
  前記図3〜6の他に図9にも示すように、本実施形態のバーコードリーダ1の受光系4は、例えば、C−MOSやCCD等の固体撮像素子を一次元に配列したラインセンサ40を備えており、バーコードからの反射光Lrを受光レンズ41によって集光して、ラインセンサ40の受光面40aにバーコードの像を結像させる。こうして受光面40aに結像したバーコードの像の明暗に対応して、ラインセンサ40から電気信号が出力される。-Light receiving system-
 As shown in FIG. 9 in addition to FIGS. 3 to 6, the
  このように受光レンズ41を通過する光の分布は一般的に、その光軸X付近で光量が大きくなり、光軸Xから離れるに連れて光量が小さくなるという特性がある(図10に破線のグラフで示す)。そこで、このような受光量の特性を減殺し、ラインセンサ40の受光面40aにおいてフラットな光量分布を実現するために、本実施形態では上述したように、投光平面Sにおける投射光Lfの光量分布を、左右両端側において中間部よりも光量が大きくなるようにしている(図10に実線のグラフで示す)。  As described above, the distribution of light passing through the
  すなわち、図10に実線のグラフで示すような望ましい光量分布と、同じく破線のグラフで示すような受光量の特性とが合わさることで、同図に仮想線のグラフで示すように、ラインセンサ40によって受光される反射光Lrの光量の分布は、バーコードの長手方向全体に均一度の高いフラットなものとなるのである。これにより、バーコード情報の読み取り精度が向上する。  That is, the desired light quantity distribution as shown by the solid line graph in FIG. 10 and the received light amount characteristic as shown by the broken line graph are combined, so that the
  また、本実施形態では、受光レンズ41の後方(光路の下流側)にミラー42が配設されていて、受光レンズ41を通過した光が反射し、その光路が上方(図4、8などの下方)に向かって約90度、屈折するようになっている。このように反射された光を受けるラインセンサ40は表面実装タイプのものとされ、その受光面40aが下方(図4、8などの上方)を向くようにして、メイン基板50に実装されている。  In this embodiment, a
  そして、前記ラインセンサ40とミラー42との間に、IRカットフィルタ43が配設されている。IRカットフィルタ43は主に赤外光をカットする光学的なフィルタであり、前述した窓部材22と共働して、反射光Lrから不要な波長の光(ノイズ)を除去することができる。これによりバーコード情報の読み取り精度が向上する。  An IR cut
  一方、受光レンズ41の手前(光路の上流側)にはバーコードからの反射光Lrを絞る絞り部44aが設けられている。本実施形態では、図3、4に表れているように絞り部44aを、受光レンズ41の保持部材(レンズホルダ44)に形成しているが、このように受光レンズ41の手前に絞り部44aを設けることで、図6に表れているように受光レンズ41への反射光Lrの入射角度を大きくし易いというメリットがある。  On the other hand, in front of the light receiving lens 41 (upstream side of the optical path), there is provided a
  すなわち、図11(a)に示すように、仮に受光レンズ41の後方に絞り部44aを設けた場合は、図11(b)に示すように受光レンズ41の手前に設けた場合と比較して、反射光Lrの入射角度θ1が小さくなり易く、反対に出射角度θ2は大きくなり易い。このため、広角の視野を実現しようとすれば、受光系4を大型化せざるを得ない。また、受光面40aも大きくなってしまい、ラインセンサ40の大型化を招くおそれがある。  That is, as shown in FIG. 11 (a), when the
  これに対し本実施形態のように絞り部44aを受光レンズ41の手前に設けた場合は、図11(b)に示すように反射光Lrの入射角度θ1が大きくなり易いので、広角の視野を実現し易い。一方で受光レンズ41からの光の出射角度θ2は小さくなり易いので、ラインセンサ40までの距離が大きくなっても、その受光面40aはあまり大きくしなくてもよく、ラインセンサ40を小型化し易い。しかも、受光レンズ41からIRカットフィルタ43への光の入射角度が小さくなることによって、カットする光の波長を正確に設定し易いというメリットもある。  On the other hand, when the
  その上さらに本実施形態では、前記の絞り部44aが形成されているレンズホルダ44によって、受光レンズ41を前後方向(光軸Xの方向)に位置調整可能に保持している。すなわち、ロワケース20において窓部材22(受光窓22a)と受光レンズ41との間には、概略矩形状の防塵空間が設けられており、この防塵空間を区画する左右の壁面にレンズホルダ44の左右の側面がそれぞれ摺接している。  In addition, in this embodiment, the
  よって、レンズホルダ44をロワケース20に組み込んだ後に前後に摺動させることで、受光レンズ41の微妙な位置決めが可能になる。こうして位置決めした後にレンズホルダ44を、接着剤などによってロワケース20に固定すればよい。このように受光レンズ41の微妙な位置決めを行うことによって、受光系4の小型化を図るために倍率の高い受光レンズ41を採用した場合に、その焦点深度が浅くなり、高い位置決め精度が要求されることにも対応可能となる。  Therefore, the
  −信号処理系−
  バーコードリーダ1は、前記の如く受光面40aに結像したバーコードの像(縞模様の明暗)に応じて、ラインセンサ40から出力される電気信号を受け、バーコード情報を読み取る信号処理系5を備えている。一例を図12に模式的に示すように信号処理系5は、増幅回路51、AD変換部52、制御部53、メモリ54、および通信インタフェース55を備えており、ラインセンサ40からの出力信号をハードウェア的およびソフトウェア的に信号処理する。-Signal processing system-
 The
  本実施形態では、メイン基板50上に実装されているマイクロプロセッサPによって、前記のAD変換部52および制御部53が構成されており、ラインセンサ40からの出力信号(アナログ信号)は、増幅回路51によって増幅された後にマイクロプロセッサPに入力されて、内蔵のAD変換部52によってデジタル信号に変換される。そして、制御部53においてソフトウェア処理によって2値化やデコード処理が行われる。  In the present embodiment, the
  制御部53は、主にCPU、システムバス、入出力インタフェース等からなり、バーコードリーダ1全体を制御する機能を有する。すなわち、制御部53は、メモリ54に格納されている所定のプログラムを実行することにより、LED30の駆動回路に制御指令を送り、所定のタイミングでLED30を発光させるとともに、これに同期して増幅回路51にラインセンサ40の出力信号を受け入れ、前記のような処理を行う。  The
  また、本実施形態では制御部53は、マイクロプロセッサP内蔵のAD変換部52を複数チャンネル使用し、例えば2つのチャンネルを並行して動作させることにより、デジタル信号への変換速度を向上させている。一例として図13には4チャンネルの場合について示すと、AD変換部52の各チャンネルに送る動作要求(矢印で示す)のタイミングをずらして、各チャンネルを並行動作させることにより、変換速度が4倍になる。  In the present embodiment, the
  なお、制御部53には、例えば押しボタンスイッチ24や表示灯25なども接続されており、動作中に表示灯25を点灯させるといった制御も行うことができる。また、制御部53は通信インタフェース55とケーブル6とを介して、バーコードリーダ1の上位システム、例えば図外のホスト機器などと双方向に通信可能に接続されている。  The
  そして、本実施形態では前記のような信号処理系5を構成するマイクロプロセッサPなどがメイン基板50に搭載されており、投光系3の基板33には前述したようにLED30およびその駆動回路の部品が搭載されている。この投光系3の基板33とメイン基板50とはケース2内において略直交するように配置されて、互いに接続されており、プリント配線同士が渡りハンダ(コネクタでもよい)で接続されている。  In this embodiment, the microprocessor P or the like constituting the
  こうして2枚の基板33,50を互いに交差させて配設することで、1枚の大きな基板を用いるのに比べて、ケース2内に確保すべき搭載スペースを前後または上下いずれかの方向について小さくすることができる。本実施形態では、投光系3の基板33を縦向きに搭載することによって、ケース2の前後方向への小型化が図られている。  By arranging the two
  −ケーブルの保持構造−
  次に、バーコードリーダ1のケース2にケーブル6を取り付ける構造について、図14〜18を参照して詳細に説明する。まず、図14および図15に示すように、アッパケース21を取り外して後方から見ると、ロワケース20の後部において左右の略中央には、後方への膨出部210が設けられている。この膨出部210は上述した受光系4を収容するもので、受光系4のミラー42が配設されている傾斜面部211の左右両側に、それぞれ段部212,213が形成されている。−Cable holding structure−
 Next, a structure for attaching the
  前記膨出部210の下方(図14〜16では上方)には、図16にのみ符号を付して示すが、ロワケース20の底壁部220との間を左右方向に延びる溝部231が形成されている。この溝部231の左端(図14,15では右端)は、底壁部220と段部212との間に形成された窪み部232に繋がっており、同様に溝部231の右端(図14,15では左端)は、底壁部220と段部213との間に形成された窪み部233に繋がっている。  Below the bulging portion 210 (upward in FIGS. 14 to 16), a
  こうして互いに連繋されている溝部231および窪み部232,233によって、投光系3の基板33を収容する収容部230が形成されている。図5、7などを参照して上述したが、図14〜図16に表れているように、投光系3の基板33は、受光レンズ41の光軸Xの方向と略直交するよう縦向きに配置されており、光源であるLED30と、その駆動回路の部品とが実装されている。  The
  この基板33は、図16にのみ符号を付して示すが、前記窪み部232に収まる概略五角形状の第1基板部33aと、同様に窪み部233に収まる第2基板部33bとを有し、これら第1および第2の基板部33a,33bが帯状の中間部33cによって連繋されている。そして、第1基板部33aには投光系3の左側のLED30と、駆動回路の部品とが配設され、第2基板部33bには右側のLED30が配設されている。  Although this
  また、前記第2基板部33bには、ロワケース20の膨出部210の右側(図16では左側)を上方(図16では下方)に向かって延びる延出部33dが形成され、この延出部33dの先端縁の略半分がさらに上方(図16では下方)に延びて、メイン基板50との接続端部33eが形成されている。この接続端部33eはメイン基板50と略直角に交差して組み合わされ、プリント配線が渡りハンダによって電気的に接続されている。  The
  このようにして収容部230に収容された基板33は、ケーブルホルダ7(固定部材)によってロワケース20に固定されている。ケーブルホルダ7は樹脂製で基板33の長手方向(図14〜16の左右方向)に延びるような形状とされ、基板33に後方から重ね合わされている。図示の例ではケーブルホルダ7は、基板33の第2基板部33bから中間部33cを介して第1基板部33aの略半分くらいまでを覆うようになっている。  Thus, the board |
  そして、前記のケーブルホルダ7が、基板33の第1基板部33aおよび第2基板部33bにそれぞれ対応する部位を貫通する2本のネジ71によって、ロワケース20に締結されている。こうしてケーブルホルダ7の長手方向に離れた2カ所で締結することで、ケーブルホルダ7を介して投光系3の基板33に局所的に強い力を加えることなく、この基板33をしっかりと固定することができる。  The
  本実施の形態では、そのように基板33をロワケース20に固定するケーブルホルダ7に、ケーブル6を保持する保持部72が設けられている。すなわち、図1,2などを参照して上述したようにケーブル6は、ケース2の角部の傾斜面2を貫通して当該ケース2内に挿入されており、こうして挿入されたケーブル6が前記ケーブルホルダ7の保持部72に嵌め込まれて、図14に表れているようにS字状に屈曲した状態で保持されている。  In the present embodiment, the
  前述のようにケーブルホルダ7は、基板33の長手方向に延びるような形状であるから、この基板33が収容されているロワケース20の収容部230において、ケーブル6の保持部72の位置を比較的、自由に設定することができる。本実施形態では、以下に述べるようにロワケース20の窪み部233においてケーブル6を把持し、ケース2の角部から溝部231までの間でS字状に屈曲させるようにしている。  As described above, since the
  詳しくは、まず、図15に表れているように、ケース2の角部の傾斜面2aには、ロワケース20とアッパケース21とに跨ってケーブル挿入口2bが開口している。一方、ケーブル6のシース60の外周には、ゴム製のケーブルブッシュ61が接着などによって取り付けられており、このケーブルブッシュ61がケーブル挿入口2bにおいてロワケース20とアッパケース21との間に、即ち、ケース2の割り面に挟み込まれるようになっている。  Specifically, first, as shown in FIG. 15, the
  こうしてケース2内に挿入されたケーブル6の端部は、ケーブルブッシュ61から下向き(図14などで上向き)に屈曲して、ロワケース200の窪み部233を通過し、溝部231に沿って延びた後に今度は上向き(図14などで下向き)に屈曲する。そして、窪み部232を通過した後にケーブル6の端縁部(以下に述べる複数の心線64)は、コネクタ62に接続される。  The end of the
  言い換えるとケーブル6は、ロワケース20の収容部230に沿って延びるように配置されている。そして、収容部230の一部である溝部231を通過する途中でケーブル6のシース60およびシールド63が切断されて、内部の複数の心線64が露出している。これら複数の心線64は互いに絡まって溝部231内を延びた後に窪み部232においてほどけて、それぞれの端部がコネクタ62に接続されている。  In other words, the
  そうしてシース60が切断された部分の近傍では、同じく切断されているシールド63の端部が拡がってしまうことがある。こうして拡がったシールド63の端部が基板33上のプリント配線などに接触すると、短絡を生じるおそれがある。また、シース60を切断する際に誤って心線64の被覆が傷ついて、導体が剥き出しになることもあり、こうして剥き出しになった導体が接触すると、やはり短絡を生じる可能性がある。  Thus, in the vicinity of the portion where the
  この点について本実施形態では、ケーブルホルダ7が基板33の後方に重ねられていて、その中間部33c全体を覆っている。言い換えると、切断されたシールド63の端部が拡がっていたり、誤って被覆が傷つけられた心線64の導体が剥き出しになっているおそれがある範囲において、基板33との間にはケーブルホルダ7が配設されて、電気的に絶縁している。よって、シース60が切断されていても短絡の生じる心配はない。  In this embodiment, the
  一方、前記のようにロワケース20の窪み部233から溝部231に亘って屈曲する部位において、ケーブル6はシース60によって覆われており、その途中でケーブルホルダ7の保持部72に嵌め込まれている。図15、16に表れているように保持部72は、ケーブルホルダ7に一体に設けられて後方に突出する一対の突壁部72a,72bからなり、図14に表れているようにシース60の上からケーブル6を把持している。  On the other hand, the
  前記保持部72の一方の突壁部72aは、窪み部233から溝部231にかけて屈曲するケーブル6の外周側に位置し、他方の突壁部72bは内周側に位置している。そして、突壁部72a,72bに把持されたケーブル6は、ロワケース200の溝部231から窪み部233に亘ってS字状に屈曲した状態に保持されているので、誤って強い引張り力が加わったときにもケーブル6と保持部72との間に滑りが生じ難くなっている。  One protruding
  しかも、この実施形態では前記の突壁部72a,72bにそれぞれ、ケーブル6の抜け止めのための突起部72c,72dが設けられている。図17に模式的に示すように外周側の突壁部72aには、ケーブル6のシース60の外周面に当接するように矩形片状の突起部72cが設けられている。一方、内周側の突壁部72bには、屈曲するケーブル6のシース60に食い込むように、断面が楔状の突起部72dが設けられている。  In addition, in this embodiment, the protruding
  このようにケーブルホルダ7に設けられた保持部72にケーブル6を嵌め込んで、屈曲した状態で保持するとともに、本実施形態では、ケース2の角部の傾斜面2aに取り付けられたケーブルブッシュ61の内部においても、ケーブル6を屈曲した状態で保持している。すなわち、図18に断面で示すようにケーブルブッシュ61は、ケーブル挿入口2bにおいてケース2の割り面に挟み込まれる本体部61aと、この本体部61aからケース2の内側(図18では右側)に向かって突出するボス部61bとを有している。  In this way, the
  前記ケーブルブッシュ61の本体部61aは、その外周部に全周に亘って溝部61cが形成されていて、この溝部61cにケーブル挿入口2bの周縁部が入り込むようになっている。ケーブル挿入口2bの周縁部は上下に分割されて、それぞれロワケース20およびアッパケース21に形成されており、これら周縁部に、即ちケース2の割り面にケーブルブッシュ61の本体部61aが挟み込まれている。  The
  そして、その本体部61aからボス部61bにかけてケーブル6が予め屈曲した状態で保持されている。上述したようにケーブル6は、ケーブルブッシュ61からロワケース200の窪み部233および溝部231に亘ってS字状に屈曲した状態になっているので、仮にケーブルブッシュ61においてケーブル6が真っ直ぐになっていると、このケーブルを屈曲させながらケーブルブッシュ61をケーブル挿入口2bに嵌め込む作業は、かなり難しいものになる。  And the
  この点、本実施形態では、例えばケーブルブッシュ61となるゴムを型に収めて加硫する際に、キャビティ内にケーブル6を所定の屈曲状態で収容しておき、ゴムの加硫成型と同時に接着するようにしている。こうしてケーブルブッシュ61の内部に予め屈曲した状態でケーブル6を保持しておけば、そのケーブルブッシュ61をケーブル挿入口2bに容易に嵌め込むことができる。  In this respect, in this embodiment, for example, when the rubber to be the
  以上、説明したように本実施の形態に係るバーコードリーダ1においては、まず、投光系3においてLED30からの光を、投光レンズ31,32によって左右方向に拡げて、一次元のバーコードに帯状に投射するようにしている。このため、投光系3の基板33上に実装するLED30の数は2つで済み、コストアップや消費電力の増大を抑制できるとともに、投光系3の小型化にも有利になる。しかも、その基板33は縦向きに配置することによって、投光系33をバーコードリーダ1の前後方向に小型化できる。  As described above, in the
  また、投光レンズ31,32の入射面31a,32aはトロイダル面として、その左右方向の円弧形状の中心がLED30の発光部30aに含まれるように配置している。このことで、上下方向には凸形状をなす入射面31a,32aの焦点をLED30の発光部30aに合わせて、このLED30からの光を効率良く利用し、バーコードに向かって投射することができる。  Further, the incident surfaces 31 a and 32 a of the
  一方、投光レンズ31,32の出射面31b,32bは、上下方向には直線状としつつ左右方向には凹凸のある自由曲面によって構成し、前記のように入射面31a,32aに入射した光を左右方向に適宜、分配することができる。そして、投光平面Sにおいて左右両端側で中間部よりも光量の大きな分布として、光軸付近で光量の大きくなる受光系4の特性を減殺し、ラインセンサ40の受光面40aにおいてフラットな光量分布を実現できる。  On the other hand, the exit surfaces 31b and 32b of the
  言い換えると本実施の形態では、投光レンズ31,32の入射面31a,32aの形状によって、LED30からの光を上下方向に効率良く集光しながら、左右方向には出射面31b,32bの自由曲面によって適宜、光量を分配することができる。こうして入射面31a,32aと出射面31b,32bとに機能を振り分けることで、その各面の形状が徒に複雑にならず、設計の容易化も図られる。  In other words, in the present embodiment, the shapes of the incident surfaces 31a and 32a of the
  また、本実施の形態では、受光レンズ41として倍率の高いものを用いることで、ラインセンサ40までの距離を短くするとともに、受光レンズ41を通過した光をミラー42で反射させてラインセンサ40に導くようにして、受光系4についても前後方向に小型化している。しかも、受光レンズ41の手前に絞り部44aを設けているので、広い視野角を確保しながらラインセンサ40を小型化でき、このことも受光系4の小型化に有利になる。  In the present embodiment, the
  さらに、本実施の形態では、前記したようにLED30を実装する投光系3の基板33をメイン基板50とは別に設けるとともに、このメイン基板50上に小型化されたラインセンサ40と、AD変換部52やメモリ54を内蔵したマイクロプロセッサPとを実装することによって、メイン基板50をかなり小型化できる。そして、そのように小型化したメイン基板50を投光系3の基板33と略直交するように配置することで、必要な搭載スペースを前後方向にかなり小さくすることができる。  Further, in the present embodiment, as described above, the
  つまり、本実施の形態のバーコードリーダ1は、投光系3、受光系4および信号処理系5それぞれの構成に工夫を凝らすとともに、それらを構成する部品の配置などにも工夫をして、一次元のバーコードを読み取る広角の視野を実現しながら、この視野内の光量分布を均一化してバーコードの高い読み取り性能を確保しつつ、バーコードリーダ1を特に前後方向について従来よりもかなり小さくすることができる。  That is, the
  この結果として、図1、2を参照して上述したようにバーコードリーダ1のケース2は左右に長い略直方体状となって、その前後方向の寸法と上下方向の寸法とが概ね同じになっている。このことで、バーコードリーダ1をシステムに組み込む際の設置の自由度が高くなる。  As a result, as described above with reference to FIGS. 1 and 2, the
  さらにまた、本実施の形態では、投光系3の基板33を固定するための部材にケーブル6の保持部72を設けて、ケーブルホルダ7としている。この保持部72にはケーブル6を嵌め込んで、S字状に屈曲した状態で保持するとともに、ケーブル6の抜け止めのための突起部72c,72dも設けているので、誤って強い引張り力が加わったときにケーブル6を保持する強度はかなり高い。  Furthermore, in the present embodiment, the
  しかも、本実施の形態ではケーブル6を、従来までと同様にケーブルブッシュ61を介してケース2の割り面に挟持させるようにしており、このケーブルブッシュ61による保持力も併せて、ケーブル6の引張り強度を十分に高くすることができる。ケーブルホルダ7は新たに設けるのではなく、ケース2の内部に基板33を固定するための部材を兼用するので、コストの増大やケース2の大型化を招く心配もない。  Moreover, in the present embodiment, the
  また、本実施の形態ではケーブルホルダ7を利用して、ケーブル6のシース60が切断された箇所を含む所定範囲を基板33から電気的に絶縁することができる。これにより、ケーブル6を熱収縮チューブなどによって被覆する作業が不要になって、コストの低減が図られる。  In the present embodiment, the
  −他の実施形態−
  なお、本発明は、前記実施の形態に限定されるものではない。例えば前記実施の形態においては光源として表面実装タイプのLED30を2つ用いており、それぞれの発する光を投光レンズ31,32によって投射するようにしているが、これに限らず、光源はリードタイプのLEDであってもよいし、光源や投光レンズ31,32は2つに限らず、例えば1つであってもよい。-Other embodiments-
 The present invention is not limited to the above embodiment. For example, in the above-described embodiment, two surface
  また、前記実施の形態においては投光レンズ31,32の入射面31a,32aをトロイダル面としているが、これにも限定されず、入射面31a,32aは、左右方向について一様に凹形状をなし、上下方向については一様に凸形状をなすものであればよい。同様に、投光レンズ31,32の出射面31b,32bについても前記実施の形態の形状には限定されない。  In the embodiment, the incident surfaces 31a and 32a of the
  また、前記実施の形態においては投光窓22bや受光窓22aの形成された窓部材22を、両面テープ23によってケース2に貼り付けており、この両面テープ23を遮光部材として兼用しているが、これにも限定されず、例えば、両面テープ23とは別に遮光部材を配設してもよいし、遮光部材を配設しなくてもよい。  Moreover, in the said embodiment, although the
  また、前記実施の形態の受光系4においては、受光レンズ41からの光の光路を屈折させるミラー42を配設しているが、これに代えてプリズムを用いることもできる。また、受光レンズ41を保持するレンズホルダ44を設けているが、これは設けなくてもよいし、レンズホルダ44に絞り部44aを設ける必要もない。絞り部44aを受光レンズ41の手前ではなく、その後方に設けてもよい。  In the
  また、前記実施の形態の信号処理系5においては、ラインセンサ40から出力されるアナログ信号をマイクロプロセッサPに内蔵のAD変換部52によってデジタル信号に変換しているが、これに限らず、AD変換部52をマイクロプロセッサPとは別の部品によって構成することもできる。  In the
  さらに、前記実施の形態では、投光系3のLED30などを実装する基板33をメイン基板50とは別にして、2つの基板33,50を互いに略直交するように、即ち約90度の角度で交差するように配置しているが、これにも限定されず、2つの基板33,50は、例えば60度、75度など90度以外の角度で交差させてもよいし、交差させずに、前後または上下に並べて配置してもよい。或いは、投光系3の基板33をメイン基板50と一体にしてもよい。  Further, in the above embodiment, apart from the
  さらにまた、前記実施の形態では、投光系3の基板33を固定する部材にケーブル6の保持部72を設けて、ケーブルホルダ7としているが、これにも限定されず、基板33以外の他の部品を固定する部材にケーブル6の保持部72を設けてもよい。また、前記実施の形態のようにケーブルホルダ7を電気的な絶縁に利用する必要もない。  Furthermore, in the above-described embodiment, the
  また、前記実施の形態のようにケーブル6をケーブルホルダ7などに1カ所で保持する必要もなく、ケーブルホルダ7に保持部を2箇所以上、設けてもよい。Further,it is notnecessary to hold the
  さらに保持部72の構造についても前記実施の形態に限定されず、種々の構造が考えられる。例えば、一対の突壁部72a,72bの両方に、ケーブル6のシース60の外周面に当接する突起部72cのような突起部を設けてもよいし、突壁部72a,72bの両方に、シース60に食い込む突起部72dのような突起部を設けてもよい。また、ケーブル6の抜け止めのための突起部は設けなくてもよい。  Further, the structure of the holding
  1          バーコードリーダ(電気機器)
  2          ケース
    20      ロワケース
    21      アッパケース
    22      窓部材(窓部)
    23      両面テープ(遮光部材)
  3          投光系
    30      LED(光源)
    30a    発光部
    31,32    投光レンズ
    31a,32a    入射面
    31b,32b    出射面
    33      投光系の電気回路基板
  4          受光系
    40      ラインセンサ(撮像素子)
    40a    受光面
    41      受光レンズ
    42      ミラー(光学素子)
    44      レンズホルダ(保持部材)
    44a    絞り部
  5          信号処理系
    50      メイン基板(信号処理系の電気回路基板)
    52      AD変換部
  6          ケーブル
    60      シース
    61      ケーブルブッシュ
    62      コネクタ
    63      シールド
    64      心線
  7          ケーブルホルダ(基板の固定部材)
    72      保持部
    72a,72b    突壁部
    72c,72d    突起部
  Lf        投射光
  Lr        反射光
  P          マイクロプロセッサ
  S          投光平面
  X          受光レンズの光軸1 Bar code reader (electric equipment)
 2
 23 Double-sided tape (shading material)
 3
 30a
 40a
 44 Lens holder (holding member)
 52
 72
| Application Number | Priority Date | Filing Date | Title | 
|---|---|---|---|
| JP2014174297AJP6104860B2 (en) | 2014-08-28 | 2014-08-28 | Cable holding structure for electrical equipment | 
| Application Number | Priority Date | Filing Date | Title | 
|---|---|---|---|
| JP2014174297AJP6104860B2 (en) | 2014-08-28 | 2014-08-28 | Cable holding structure for electrical equipment | 
| Publication Number | Publication Date | 
|---|---|
| JP2016051725A JP2016051725A (en) | 2016-04-11 | 
| JP6104860B2true JP6104860B2 (en) | 2017-03-29 | 
| Application Number | Title | Priority Date | Filing Date | 
|---|---|---|---|
| JP2014174297AActiveJP6104860B2 (en) | 2014-08-28 | 2014-08-28 | Cable holding structure for electrical equipment | 
| Country | Link | 
|---|---|
| JP (1) | JP6104860B2 (en) | 
| Publication number | Priority date | Publication date | Assignee | Title | 
|---|---|---|---|---|
| JP6716982B2 (en)* | 2016-03-15 | 2020-07-01 | 株式会社三洋物産 | Amusement machine | 
| JP6716981B2 (en)* | 2016-03-15 | 2020-07-01 | 株式会社三洋物産 | Amusement machine | 
| JP6716983B2 (en)* | 2016-03-15 | 2020-07-01 | 株式会社三洋物産 | Amusement machine | 
| Publication number | Priority date | Publication date | Assignee | Title | 
|---|---|---|---|---|
| JPS5032787Y1 (en)* | 1970-09-18 | 1975-09-25 | ||
| JPS49150698U (en)* | 1973-04-27 | 1974-12-26 | ||
| JPS5434060U (en)* | 1977-08-11 | 1979-03-06 | ||
| JPS582068Y2 (en)* | 1978-04-24 | 1983-01-13 | 株式会社日立製作所 | Power cord attachment device | 
| US4423317A (en)* | 1981-09-24 | 1983-12-27 | Sealectro Corporation | Micro card reader | 
| JPS59115686U (en)* | 1983-01-26 | 1984-08-04 | 三菱電機株式会社 | Air conditioner electrical box | 
| JPS6115788U (en)* | 1984-07-03 | 1986-01-29 | 株式会社東芝 | Unit case mounting structure | 
| JPH0429592Y2 (en)* | 1986-09-18 | 1992-07-17 | ||
| JPH04105587U (en)* | 1991-02-25 | 1992-09-10 | 松下電器産業株式会社 | Electronics | 
| JP3451515B2 (en)* | 1995-04-06 | 2003-09-29 | オムロン株式会社 | Optical sensor device | 
| JP2012142435A (en)* | 2010-12-28 | 2012-07-26 | Nippon Seiki Co Ltd | Housing device for board | 
| Publication number | Publication date | 
|---|---|
| JP2016051725A (en) | 2016-04-11 | 
| Publication | Publication Date | Title | 
|---|---|---|
| CN103037749B (en) | endoscope | |
| CN112423646A (en) | Distal end portion of endoscope | |
| US10168529B2 (en) | Endoscope | |
| JP2009125528A (en) | Endoscope and method of manufacturing endoscope | |
| JP2017074257A (en) | Endoscope | |
| US20150070735A1 (en) | Contact image sensing device | |
| CN109040556A (en) | Imaging device and electronic apparatus | |
| CN202330866U (en) | Endoscope device | |
| JP6104860B2 (en) | Cable holding structure for electrical equipment | |
| KR20150119928A (en) | Image sensor | |
| JPWO2016170823A1 (en) | Light source device | |
| US10591713B2 (en) | Endoscope having an imaging unit | |
| JP5933124B2 (en) | Imaging device | |
| JP5920550B1 (en) | Stationary information code reader | |
| TWI491375B (en) | Micro-photographic device for endoscopy | |
| JP2005202157A (en) | Optical module | |
| JP2007251353A (en) | Line light source unit and image sensor using the same | |
| JP5968963B2 (en) | Optical information reader | |
| JP4586649B2 (en) | Optical module | |
| US9843697B2 (en) | Image reading apparatus | |
| JP3139724U (en) | Improved optical detection package module | |
| JP2015132729A (en) | Information acquisition device and object detection device | |
| JP2018007715A (en) | Endoscope | |
| JP4581728B2 (en) | LIGHTING DEVICE AND LIQUID CRYSTAL DISPLAY DEVICE USING THE SAME | |
| JP4812357B2 (en) | Small diameter camera | 
| Date | Code | Title | Description | 
|---|---|---|---|
| A977 | Report on retrieval | Free format text:JAPANESE INTERMEDIATE CODE: A971007 Effective date:20160713 | |
| A131 | Notification of reasons for refusal | Free format text:JAPANESE INTERMEDIATE CODE: A131 Effective date:20160823 | |
| A521 | Written amendment | Free format text:JAPANESE INTERMEDIATE CODE: A523 Effective date:20161017 | |
| TRDD | Decision of grant or rejection written | ||
| A01 | Written decision to grant a patent or to grant a registration (utility model) | Free format text:JAPANESE INTERMEDIATE CODE: A01 Effective date:20170228 | |
| A61 | First payment of annual fees (during grant procedure) | Free format text:JAPANESE INTERMEDIATE CODE: A61 Effective date:20170301 | |
| R150 | Certificate of patent or registration of utility model | Ref document number:6104860 Country of ref document:JP Free format text:JAPANESE INTERMEDIATE CODE: R150 |