









本発明は、複数層コーティングを用いることで、結果的に軽部及び硬部組織との適合性の改善かもたらされるポリマー材料に基づいた外科用インプラントに関する。 The present invention relates to surgical implants based on polymeric materials that use a multi-layer coating, resulting in improved compatibility with light and hard tissues.
ポリエーテルエーテルケトン(「PEEK」)などのポリマー材料で作られる骨アンカーは、X線、コンピュータを使う断層撮影法(「CT」)又は磁気共鳴イメージング(「MRI」)のような標準撮像技術に十分に適合するので関心が持たれている。特に、CT又はMRIを用いる場合には診断を妨害するようなアーチファクトは発生しない。X線の場合、PEEKアンカーは可視ではない。しかしながら、PEEKはオッセオインテグレーションが不完全であることが知られていて、従ってこの欠点を克服する必要がある。 Bone anchors made of polymer materials such as polyetheretherketone ("PEEK") are suitable for standard imaging techniques such as X-ray, computerized tomography ("CT") or magnetic resonance imaging ("MRI"). Interesting because it fits well. In particular, when CT or MRI is used, artifacts that interfere with diagnosis do not occur. For X-rays, the PEEK anchor is not visible. However, PEEK is known to have incomplete osseointegration and therefore needs to overcome this drawback.
PAEK族内のポリマー類などの、ポリマー類の表面は、骨のような軽部又は硬部組織には適合していないことが多い。これらの材料で作られたインプラントは不完全に融合してかつ最終的に機能不全になり得る。ポリマー組織境界面の移動又は緩みのリスクは、ポリマーを基材としたデバイスにおいて重要な考慮事項となり得る、また、従ってポリマー表面は、オッセオインテグレーションを改善するために修正されることが多い。この修正を達成する1つの方法は、例えば真空プラズマ溶射(「VPS」)を用いてチタン酸化物粉末の厚いコーティングを溶射することである。これはチタン酸化物の生物活性がPAEK又はPEEKなどのポリマー類のそれよりも遥かに高いためである。しかしながら、これらの技術(VPSなど)は、チタン酸化物表面と組織との間の良好なアンカリングを確保し得ない、また高いプロセス温度がポリマーの性状の劣化に寄与し得る。加えて、複雑な幾何形状の上の厚いVPSコーティングの塗布は、溶射のシャドーイング効果及びインプラント表面が有するであろういかなる微細な構造をも活用し得る比較的に大きな厚み(例えば、200μm)に起因して、大変困難なものとなり得る。更に、プラズマ溶射コーティングの所謂「スプラッシュ」構造は、孔が微細でかつ細長くかつ総合多孔率が限られているので、好適な孔構造体を呈することができない。 The surface of polymers, such as those within the PAEK family, is often not compatible with light or hard tissues such as bone. Implants made of these materials can fuse incompletely and eventually fail. The risk of migration or loosening of the polymer tissue interface can be an important consideration in polymer-based devices, and therefore the polymer surface is often modified to improve osseointegration. One way to achieve this modification is to spray a thick coating of titanium oxide powder using, for example, vacuum plasma spraying (“VPS”). This is because the biological activity of titanium oxide is much higher than that of polymers such as PAEK or PEEK. However, these techniques (such as VPS) cannot ensure good anchoring between the titanium oxide surface and the texture, and high process temperatures can contribute to degradation of the polymer properties. In addition, the application of thick VPS coatings over complex geometries can be applied to relatively large thicknesses (eg, 200 μm) that can take advantage of the shadowing effect of thermal spraying and any fine structure that the implant surface may have. This can be very difficult. Furthermore, the so-called “splash” structure of plasma spray coating cannot provide a suitable pore structure because the pores are fine and elongated and the overall porosity is limited.
加えて、物理蒸着(「PVD」)によって作られるチタン層は、濃厚でかつ、例えばおよそ1マイクロメートル以下と薄くなり得る、よって、ある状況において、チタンPVDの薄い層はインプラント用には申し分のないものとは言えない。 In addition, titanium layers made by physical vapor deposition (“PVD”) can be thick and thin, for example, on the order of 1 micrometer or less, so in certain situations, a thin layer of titanium PVD is well suited for implants. I can't say it's not.
本発明の実施形態は、1つ又は2つ以上の挑戦的課題を克服する。 Embodiments of the present invention overcome one or more challenging issues.
一態様では、本発明は、外面及び基材の外面の上に配設された複数の層を有する基材であって、前記基材がポリマー材料を含み、及び前記複数の層が、(i)活性化基材表面層と、(ii)バルブ金属層と、(iii)多孔質バルブ金属酸化物層と、を含み、前記バルブ金属層が前記活性板層と前記多孔質バルブ金属酸化物層との間に配設された、基材、を含む、外科用インプラントを提供する。 In one aspect, the invention provides a substrate having an outer surface and a plurality of layers disposed on the outer surface of the substrate, the substrate comprising a polymeric material, and the plurality of layers comprising: (i An activated substrate surface layer; (ii) a valve metal layer; and (iii) a porous valve metal oxide layer, wherein the valve metal layer is the active plate layer and the porous valve metal oxide layer. A surgical implant including a substrate disposed therebetween.
1つの実施形態では、基材は熱可塑性ポリマー材料を含む。1つの実施形態では、外科用インプラントの基材の、ポリマー材料はポリエチレンである。1つの実施形態では、外科用インプラントの基材は強化ポリアリールエーテルケトン(PAEK)を含む。更なる実施形態では、ポリアリールエーテルケトン(PAEK)はポリエーテルケトン(PEK),ポリエーテルエーテルケトン(PEEK)、ポリエーテルケトンケトン(PEKK),ポリエーテルエーテルケトンケトン(PEEKK)及びポリエーテルケトンエーテルケトンケトン(PEKEKK)からなる群から独立して選択される。 In one embodiment, the substrate comprises a thermoplastic polymer material. In one embodiment, the polymeric material of the surgical implant substrate is polyethylene. In one embodiment, the surgical implant substrate comprises a reinforced polyaryletherketone (PAEK). In further embodiments, the polyaryletherketone (PAEK) is polyetherketone (PEK), polyetheretherketone (PEEK), polyetherketoneketone (PEKK), polyetheretherketoneketone (PEEKK) and polyetherketoneether. It is independently selected from the group consisting of ketone ketone (PEKEKK).
1つの実施形態では、バルブ金属層は、チタン、タングステン、アルミニウム、ハフニウム、ニオビウム、タンタル、及びジルコニウムからなる群から独立して選択される金属から形成される。別の実施形態では、多孔質バルブ金属酸化物層は非晶質リン酸カルシウム組成物を含む。 In one embodiment, the valve metal layer is formed from a metal independently selected from the group consisting of titanium, tungsten, aluminum, hafnium, niobium, tantalum, and zirconium. In another embodiment, the porous valve metal oxide layer comprises an amorphous calcium phosphate composition.
いくつかの実施形態では、複数の層はバッファ層を更に含み、このバッファ層は活性化基材表面層とバルブ金属層との間に配設される。 In some embodiments, the plurality of layers further includes a buffer layer, the buffer layer being disposed between the activated substrate surface layer and the valve metal layer.
1つの実施形態では、バッファ層は第1の材料と第2の材料の複数の交互層を含む。 In one embodiment, the buffer layer includes a plurality of alternating layers of a first material and a second material.
いくつかの実施形態では、バッファ層は第1の材料と第2の材料の複数の交互層を含む。更なる実施形態では、第1の材料は金属材料を含み、第2の材料は金属材料の窒化物又は炭化物を含む。1つの実施形態では、第1の材料はTi及び/又はCrを含み、第2の材料はTiN及び/又はCrN及び/又はTiC及び/又はCrCを含む。 In some embodiments, the buffer layer includes a plurality of alternating layers of a first material and a second material. In a further embodiment, the first material comprises a metal material and the second material comprises a nitride or carbide of the metal material. In one embodiment, the first material comprises Ti and / or Cr and the second material comprises TiN and / or CrN and / or TiC and / or CrC.
バッファ層の1つの実施形態では、第1の材料及び第2の材料の複数の交互層のそれぞれの交互層は10nm〜100nmの範囲の厚みを有する。いくつかの実施形態では、バッファ層は100nm〜1000nmの範囲の厚みを有する。 In one embodiment of the buffer layer, each alternating layer of the plurality of alternating layers of the first material and the second material has a thickness in the range of 10 nm to 100 nm. In some embodiments, the buffer layer has a thickness in the range of 100 nm to 1000 nm.
いくつかの実施形態では、バッファ層は結晶質又は非晶質材料を含む。更なる実施形態では、結晶質又は非晶質材料は、TiO2、Ta2O5、Nb2O5、ZrO2、SiO2、RuO2、又はMoO2、MoO3、VO、VO2、V2O3、V2O5、CrO、Cr2O3、CrO3及びそれらの組み合わせからなる群から独立して選択される。In some embodiments, the buffer layer comprises a crystalline or amorphous material. In further embodiments, the crystalline or amorphous material is TiO2 , Ta2 O5 , Nb2 O5 , ZrO2 , SiO2 , RuO2 , or MoO2 , MoO3 , VO, VO2 , V It is independently selected from the group consisting of2 O3 , V2 O5 , CrO, Cr2 O3 , CrO3 and combinations thereof.
いくつかの実施形態、バッファ層は第1の材料、第2の材料及び第3の材料の複数の交互層を含む。更なる実施形態では、第1の材料は第1の金属材料酸化物を含み、第2の材料は第2の金属材料の窒化物又は炭化物を含み、第2の金属材料は第1の金属材料と同一又はそれと異なるものにできる、及び第3の材料は第3の金属材料を含み、このような第3の金属材料は第1の金属材料及び/又は第2の金属材料と同一又はそれとは異なるものにできる。具体的な実施形態では、第1の材料はTa2O5、第2の材料はAlN及び第3の材料はAuであり、結果的にバッファ層はTa2O5/AlN/Auの複数の交互層を含む。In some embodiments, the buffer layer includes a plurality of alternating layers of a first material, a second material, and a third material. In a further embodiment, the first material includes a first metal material oxide, the second material includes a nitride or carbide of the second metal material, and the second metal material is the first metal material. And the third material includes a third metal material, and such third metal material is the same as or different from the first metal material and / or the second metal material. Can be different. In a specific embodiment, the first material is Ta2 O5 , the second material is AlN and the third material is Au, so that the buffer layer is a plurality of Ta2 O5 / AlN / Au. Includes alternating layers.
  本発明による外科用インプラントのいくつかの実施形態では、多孔質バルブ金属酸化物層は銀塩層でコーティングを施される。本発明による外科用インプラントの1つの実施形態では、基材は、Zr、ZrO2、ZnO、Ba、BaSO4、Ta、Ta2O5、Au、Nb、Nb2O5、Bi、及びBi2O3からなる群から独立して選択される放射線不透過性材料を含む。In some embodiments of the surgical implant according to the present invention, the porous valve metal oxide layer is coated with a silver salt layer. In one embodiment of a surgical implant according to the invention, thesubstrate, Zr, ZrO 2, ZnO, Ba,
本発明による外科用インプラントのいくつかの実施形態では、複数の層は活性化基材表面層とバルブ金属層との間に配設されたポリシラン層を更に含む。 In some embodiments of the surgical implant according to the present invention, the plurality of layers further comprises a polysilane layer disposed between the activated substrate surface layer and the valve metal layer.
本発明による外科用インプラントの他の実施形態では、複数の層は導電性の非酸化性金属から形成される導電層を更に含む。1つの実施形態では、導電性の非酸化性金属はAu、Pt、Pd及びそれらの組み合わせからなる群から独立して選択される。別の実施形態では、導電性層は100nm〜1000nmの範囲の厚みを有する。 In another embodiment of the surgical implant according to the present invention, the plurality of layers further comprises a conductive layer formed from a conductive non-oxidizing metal. In one embodiment, the conductive non-oxidizing metal is independently selected from the group consisting of Au, Pt, Pd, and combinations thereof. In another embodiment, the conductive layer has a thickness in the range of 100 nm to 1000 nm.
いくつかの例示的な実施形態では、本発明による外科用インプラントは、スクリュー、ピン、ロッド、プレート、釘、骨アンカー、ケーブルタイ、角錐又はスパイク又はキール付きプレート、解剖学的3Dプレート、複合骨置換構造体、及び足場からなる群から独立して選択された形状を有する。 In some exemplary embodiments, a surgical implant according to the present invention comprises a screw, pin, rod, plate, nail, bone anchor, cable tie, pyramid or spiked or keeled plate, anatomical 3D plate, compound bone It has a shape independently selected from the group consisting of a replacement structure and a scaffold.
1つの実施形態では、多孔質バルブ金属酸化物層は約0.1μm〜約10μmの範囲のサイズ、及び約10,000孔/mm2〜約500,000孔/mm2の範囲の孔密度を備えた孔を有する。In one embodiment, the porous valve metal oxide layer has a size in the range of about 0.1 μm to about 10 μm, and a pore density in the range of about 10,000 holes / mm2 to about 500,000 holes / mm2. With holes provided.
別の態様では、本発明はポリアリールエーテルケトン(PAEK)外科用インプラントなどの、ポリマー外科用インプラントのために外側コーティング層を提供し、外側コーティング層は複数の層を含む。いくつかの例示的実施形態では、外側コーティング層は約0.1μm〜約10μmの範囲のサイズを備えた孔を有する。他の実施形態では、外側コーティング層は約10,000孔/mm2〜約500,000孔/mm2の範囲の孔密度を備えた孔を有する。いくつかの実施形態では、外側コーティング層はTi、O、Ca、及びPの元素又はイオンを更に含む。In another aspect, the present invention provides an outer coating layer for a polymer surgical implant, such as a polyaryletherketone (PAEK) surgical implant, the outer coating layer comprising a plurality of layers. In some exemplary embodiments, the outer coating layer has pores with a size in the range of about 0.1 μm to about 10 μm. In other embodiments, the outer coating layer has holes with a hole density in the range of about 10,000 holes / mm2 to about 500,000 holes / mm2 . In some embodiments, the outer coating layer further comprises Ti, O, Ca, and P elements or ions.
  なお別の態様では、本発明は本明細書に記載した例示的な実施形態のいずれかに従って、ポリアリールエーテルケトン(PAEK)外科用インプラントなどの、ポリマー外科用インプラントを作製する方法を提供する。1つの例示的な実施形態では、本方法は(A)(i)プラズマ活性化、(ii)電子ビーム照射、(iii)紫外光、及び(iv)低エネルギーAr+イオンビーム照射から構成される1つ又は2つ以上プロセスにより基材の外面を処理することによって、活性化基材表面層を作製することと、(B)活性化基材表面層の上に複数の層を塗布することであって、少なくとも1つの層が約1nm〜約20μmの厚みで塗布されたバルブ金属層を含む、複数の層を塗布することと、(C)バルブ金属層の表面を陽極酸化プロセスにより変換することにより約2μm〜約10μmの厚みを有する多孔質バルブ金属酸化物層を形成することと、を含む。1つの実施形態では、陽極酸化プロセスは多孔質バルブ金属酸化物の層へのCa及びPイオンを含有するアルカリ性浴内で行われるスパーク陽極酸化プロセスに対応し、多孔質バルブ金属酸化物層は非晶質リン酸カルシウムを含有する。別の実施形態では、陽極酸化プロセスは酸性媒質内で行われるカラー陽極酸化プロセスに対応する。このようなカラー陽極酸化プロセスであれば、色付きの表面を生成可能であろう。  In yet another aspect, the present invention provides a method of making a polymeric surgical implant, such as a polyaryletherketone (PAEK) surgical implant, according to any of the exemplary embodiments described herein. In one exemplary embodiment, the method comprises (A) (i) plasma activation, (ii) electron beam irradiation, (iii) ultraviolet light, and (iv) low energy Ar +
いくつかの実施形態では、ポリマー材料、特にポリアリールエーテルケトン(PAEK)材料の外科用インプラントを作製する本方法は、バルブ金属層の塗布前に活性化基材表面層の上にバッファ層を塗布する工程を更に含む。更なる実施形態では、バッファ層を塗布する工程は、第1の材料層及び第2の材料層の複数の交互層を塗布することを含む。1つの実施形態では、複数の層は活性化基材表面層を実質的に被覆するように塗布される。 In some embodiments, the method of making a surgical implant of a polymer material, particularly a polyaryletherketone (PAEK) material, applies a buffer layer over the activated substrate surface layer prior to application of the valve metal layer. The method further includes the step of: In a further embodiment, applying the buffer layer includes applying a plurality of alternating layers of the first material layer and the second material layer. In one embodiment, the plurality of layers are applied to substantially cover the activated substrate surface layer.
ポリマー外科用インプラントを作製する方法の1つの例示的な実施形態では、ポリマーは、PAEK、ポリエーテルケトン(PEK)、ポリエーテルエーテルケトン(PEEK)、ポリエーテルケトンケトン(PEKK)、ポリエーテルエーテルケトンケトン(PEEKK)及びポリエーテルケトンエーテルケトンケトン(PEKEKK)からなる群から独立して選択されるPAEKポリマーである。 In one exemplary embodiment of a method for making a polymer surgical implant, the polymer is PAEK, polyetherketone (PEK), polyetheretherketone (PEEK), polyetherketoneketone (PEKK), polyetheretherketone. A PAEK polymer independently selected from the group consisting of ketones (PEEKK) and polyetherketone etherketone ketones (PEKEKK).
ポリアリールエーテルケトン(PAEK)外科用インプラントなどの、ポリマー外科用インプラントを作製する方法のいくつかの実施形態では、バルブ金属層が、カソードアーク蒸着、マグネトロンスパッタリング物理蒸着、パルスレーザ蒸着、電子ビーム物理蒸着、パイパワーインパルスマグネトロンスパッタリング、フィルタ処理真空アーク蒸着、金属プラズマ浸漬イオン注入及び蒸着、金属蒸気真空アーク注入及びプラズマ支援化学蒸着からなる群から独立して選択されるプロセスにより塗布される。ポリアリールエーテルケトン(PAEK)外科用インプラントなどの、ポリマー外科用インプラントを作製する方法の他の実施形態では、バルブ金属層がTi化合物を含有する溶液中のディップコーティング又はスピンコーティングにより塗布される。 In some embodiments of methods for making polymer surgical implants, such as polyaryletherketone (PAEK) surgical implants, the valve metal layer may be cathodic arc deposition, magnetron sputtering physical vapor deposition, pulsed laser vapor deposition, electron beam physics. It is applied by a process independently selected from the group consisting of deposition, pi-power impulse magnetron sputtering, filtered vacuum arc deposition, metal plasma immersion ion implantation and deposition, metal vapor vacuum arc implantation and plasma assisted chemical vapor deposition. In other embodiments of methods for making polymer surgical implants, such as polyaryl ether ketone (PAEK) surgical implants, the valve metal layer is applied by dip coating or spin coating in a solution containing a Ti compound.
前述の「課題を解決するための手段」とともに、本発明の外科用インプラントの実施形態の以下の詳述は、例示的な実施形態の添付図面と共に読まれるとよりよく理解されるであろう。ただし、本発明は、図示された精密な配置及び手段に限定されるものでないことは理解されるべきである。 The following detailed description of the surgical implant embodiments of the present invention, together with the foregoing “Means for Solving the Problems”, will be better understood when read in conjunction with the accompanying drawings of exemplary embodiments. However, it should be understood that the invention is not limited to the precise arrangements and instrumentalities shown.
  図面は以下の通りである。
本開示の様々な実施形態に関して詳細に言及を行い、それらの実施例が添付図1〜6に示される。可能な限り、同一又は同様の部品に対しては図面全体を通じて同一の参照符号を用いるようにする。 Reference will now be made in detail to various embodiments of the present disclosure, examples of which are illustrated in the accompanying FIGS. Wherever possible, the same reference numbers will be used throughout the drawings to refer to the same or like parts.
1つの態様では、本発明は外面及び基材の外面上に配設された複数の層を有する基材を含む外科用インプラントを提供する。この基材は、ポリマー材料を含み、複数の層は(i)活性化基材表面層、(ii)バルブ金属層、及び(iii)多孔質バルブ金属酸化物層を含み、バルブ金属層は活性化基材層と多孔質バルブ金属酸化物層との間に配設される。 In one aspect, the present invention provides a surgical implant including a substrate having an outer surface and a plurality of layers disposed on the outer surface of the substrate. The substrate comprises a polymeric material, the plurality of layers comprising (i) an activated substrate surface layer, (ii) a valve metal layer, and (iii) a porous valve metal oxide layer, wherein the valve metal layer is active It arrange | positions between the formation base material layer and the porous valve metal oxide layer.
典型的には、本発明に従った外科用インプラント用の例示的な基材は、ポリマー材料を含む。このポリマー材料は熱可塑性ポリマー材料、例えば、ポリエチレンであってもよい。別の例では、ポリマー材料はポリアリールエーテルケトン(PAEK)材料であってもよい。1つの実施形態では、ポリアリールエーテルケトン(PAEK)は、ポリエーテルケトン(PEK)、ポリエーテルエーテルケトン(PEEK)、ポリエーテルケトンケトン(PEKK)、ポリエーテルエーテルケトンケトン(PEEKK)、ポリエーテルケトンエーテルケトンケトン(PEKEKK)及びそれらの組み合わせを含む。1つの実施形態では、ポリアリールエーテルケトン(PAEK)はポリエーテルエーテルケトン(PEEK)である。別の実施形態では、ポリアリールエーテルケトン(PAEK)はポリエーテルケトンケトン(PEKK)である。 Typically, an exemplary substrate for a surgical implant according to the present invention comprises a polymeric material. The polymeric material may be a thermoplastic polymeric material, such as polyethylene. In another example, the polymeric material may be a polyaryl ether ketone (PAEK) material. In one embodiment, the polyaryletherketone (PAEK) is a polyetherketone (PEK), polyetheretherketone (PEEK), polyetherketoneketone (PEKK), polyetheretherketoneketone (PEEKK), polyetherketone Including ether ketone ketone (PEKEKK) and combinations thereof. In one embodiment, the polyaryl ether ketone (PAEK) is a polyether ether ketone (PEEK). In another embodiment, the polyaryl ether ketone (PAEK) is a polyether ketone ketone (PEKK).
いくつかの実施形態では、基材は強化ポリアリールエーテルケトン(PAEK)を含む。1つの実施形態では、強化材は短いガラス繊維、長いガラス繊維、炭素繊維又はそれらの組み合わせを含む。 In some embodiments, the substrate comprises reinforced polyaryletherketone (PAEK). In one embodiment, the reinforcement comprises short glass fibers, long glass fibers, carbon fibers, or combinations thereof.
  いくつかの実施形態では、基材はZr、ZrO2、ZnO、Ba、BaSO4、Ta、Ta2O5、Au、Nb、Nb2O5、Bi、及びBi2O3からなる群から独立して選択される放射線不透過性材料を含む。1つの実施形態では、放射線不透過性材料はBaSO4である。本発明における使用に好適な例示的な放射線不透過性材料は、米国特許出願公開第2007/0191708号に見出すことができ、その開示は参照によりその全体が本明細書に組み込まれている。In some embodiments independence, the substrateZr, ZrO 2, ZnO, Ba ,
1つの実施形態では、基材はポリアリールエーテルケトン(「PAEK」)材料又はポリエチレンなどの、熱可塑性材料を含み、それぞれは約1mm〜約5cmの範囲の厚みを有する。別の実施形態では、ポリアリールエーテルケトン(「PAEK」)材料又はポリエチレンなどの熱可塑性材料を含む基材は、約1mm〜約5cmの範囲の厚みを有する。別の実施形態では、PAEK材料又はポリエチレンなどの熱可塑性材料は、約0.1cm〜1cm、約0.2cm〜約1cm、約0.3cm〜約1cm、約0.4cm〜約1cm、約0.5cm〜約1cm、約0.6cm〜約1cm、約0.7cm〜約1cm、約0.8cm〜約1cm、約0.9cm〜約1cm、約0.1cm〜約2m、約0.2cm〜約2cm、約0.3cm〜約2cm、約0.4cm〜約2cm、約0.5cm〜約2cm、約0.6cm〜約2cm、約0.7m〜約2cm、約0.8cm〜約2cm、約0.9cm〜約2cm、約0.1cm〜約3cm、約0.2cm〜約3cm、約0.3cm〜約3cm、約0.4cm〜約3cm、約0.5cm〜約3cm、約0.6cm〜約3cm、約0.7cm〜約3cm、約0.8cm〜約3cm、約0.9cm〜約3cm、約0.1cm〜約4cm、約0.2cm〜約4cm、約0.3cm〜約4cm、約0.4cm〜約4cm、約0.5cm〜約4cm、約0.6cm〜約4cm、約0.7cm〜約4cm、約0.8cm〜約4cm、約0.9cm〜約4cm、約0.1cm〜約5cm、約0.2cm〜約5cm、約0.3cm〜約5cm、約0.4cm〜約5cm、約0.5cm〜約5cm、約0.6cm〜約5cm、約0.7cm〜約5cm、約0.8cm〜約5cm、及び約0.9cm〜約5cmの範囲の厚みを有する。 In one embodiment, the substrate comprises a thermoplastic material, such as a polyaryletherketone (“PAEK”) material or polyethylene, each having a thickness in the range of about 1 mm to about 5 cm. In another embodiment, a substrate comprising a polyaryletherketone (“PAEK”) material or a thermoplastic material such as polyethylene has a thickness in the range of about 1 mm to about 5 cm. In another embodiment, the thermoplastic material, such as PAEK material or polyethylene, is about 0.1 cm to 1 cm, about 0.2 cm to about 1 cm, about 0.3 cm to about 1 cm, about 0.4 cm to about 1 cm, about 0. .5 cm to about 1 cm, about 0.6 cm to about 1 cm, about 0.7 cm to about 1 cm, about 0.8 cm to about 1 cm, about 0.9 cm to about 1 cm, about 0.1 cm to about 2 m, about 0.2 cm To about 2 cm, about 0.3 cm to about 2 cm, about 0.4 cm to about 2 cm, about 0.5 cm to about 2 cm, about 0.6 cm to about 2 cm, about 0.7 m to about 2 cm, about 0.8 cm to about 2 cm, about 0.9 cm to about 2 cm, about 0.1 cm to about 3 cm, about 0.2 cm to about 3 cm, about 0.3 cm to about 3 cm, about 0.4 cm to about 3 cm, about 0.5 cm to about 3 cm, About 0.6 cm to about 3 cm, about 0.7 cm to about 3 cm, about 0 8 cm to about 3 cm, about 0.9 cm to about 3 cm, about 0.1 cm to about 4 cm, about 0.2 cm to about 4 cm, about 0.3 cm to about 4 cm, about 0.4 cm to about 4 cm, about 0.5 cm to About 4 cm, about 0.6 cm to about 4 cm, about 0.7 cm to about 4 cm, about 0.8 cm to about 4 cm, about 0.9 cm to about 4 cm, about 0.1 cm to about 5 cm, about 0.2 cm to about 5 cm About 0.3 cm to about 5 cm, about 0.4 cm to about 5 cm, about 0.5 cm to about 5 cm, about 0.6 cm to about 5 cm, about 0.7 cm to about 5 cm, about 0.8 cm to about 5 cm, and It has a thickness in the range of about 0.9 cm to about 5 cm.
1つの実施形態では、活性化基材表面層は約1原子層と約1μmとの間の表面厚みを有する。1つの実施形態では、活性化基材表面層は約0.1μm〜約1μm、約0.2μm〜約2μm、約0.3μm〜約3μm、約0.4〜約4μm、約0.5〜約5μm、約0.6μm〜約6μm、約0.7μm〜約7μm、約0.8μm〜約8μm、約0.9μm〜約9μm、約0.1μm〜約0.2μm、約0.1μm〜約0.3μm、約0.1μm〜約0.4μm、約0.1〜約0.5μm、約0.1μm〜約0.6μm、約0.1μm〜約0.7μm、約0.1μm〜約0.8μm、約0.1μm〜約0.9μm、約0.2μm〜約0.3μm、約0.2μm〜約0.4μm、約0.2μm〜約0.5μm、約0.2μm〜約0.6μm、約0.2μm〜約0.7μm、約0.2μm〜約0.8μm、約0.2μm〜約0.9μm、約0.3μm〜約0.4μm、約0.3μm〜約0.5μm、約0.3〜約0.6μm、約0.3μm〜約0.7μm、約0.3μm〜約0.8μm、約0.3〜約0.9μm、約0.4μm〜約0.5μm、約0.4μm〜約0.6μm、約0.4μm〜約0.7μm、約0.4μm〜約0.8μm、約0.4μm〜約0.9μm、約0.5μm〜約0.6μm、約0.5μm〜約0.7μm、約0.5μm〜約0.8μm、約0.5μm〜約0.9μm、約0.7μm〜約0.8μm、及び約0.7μm〜約0.9μmからなる群から独立して選択される範囲の表面厚みを有する。 In one embodiment, the activated substrate surface layer has a surface thickness between about 1 atomic layer and about 1 μm. In one embodiment, the activated substrate surface layer is about 0.1 μm to about 1 μm, about 0.2 μm to about 2 μm, about 0.3 μm to about 3 μm, about 0.4 to about 4 μm, about 0.5 to About 5 μm, about 0.6 μm to about 6 μm, about 0.7 μm to about 7 μm, about 0.8 μm to about 8 μm, about 0.9 μm to about 9 μm, about 0.1 μm to about 0.2 μm, about 0.1 μm to About 0.3 μm, about 0.1 μm to about 0.4 μm, about 0.1 to about 0.5 μm, about 0.1 μm to about 0.6 μm, about 0.1 μm to about 0.7 μm, about 0.1 μm to About 0.8 μm, about 0.1 μm to about 0.9 μm, about 0.2 μm to about 0.3 μm, about 0.2 μm to about 0.4 μm, about 0.2 μm to about 0.5 μm, about 0.2 μm to About 0.6 μm, about 0.2 μm to about 0.7 μm, about 0.2 μm to about 0.8 μm, about 0.2 μm to about 0.9 μm, about 0.3 μm to about 0.4 μm, about 0.3 μm to about 0.5 μm, about 0.3 to about 0.6 μm, about 0.3 μm to about 0.7 μm, about 0.3 μm to about 0.8 μm, about 0.3 to about 0.9 μm, about 0. 4 μm to about 0.5 μm, about 0.4 μm to about 0.6 μm, about 0.4 μm to about 0.7 μm, about 0.4 μm to about 0.8 μm, about 0.4 μm to about 0.9 μm, about 0. 5 μm to about 0.6 μm, about 0.5 μm to about 0.7 μm, about 0.5 μm to about 0.8 μm, about 0.5 μm to about 0.9 μm, about 0.7 μm to about 0.8 μm, and about 0 Having a surface thickness in a range independently selected from the group consisting of 0.7 μm to about 0.9 μm.
いくつかの実施形態では、バルブ金属層はチタン、タングステン、アルミニウム、ハフニウム、ニオビウム、タンタル及びジルコニウムからなる群から独立して選択される。 In some embodiments, the valve metal layer is independently selected from the group consisting of titanium, tungsten, aluminum, hafnium, niobium, tantalum and zirconium.
いくつかの実施形態では、バルブ金属層は約1nm〜約20μmの厚みを有する。1つの実施形態では、バルブ金属層は、約1000nm〜約20000nm、約2000nm〜約20000nm、約3000nm〜約20000nm、約4000nm〜約20000m、約5000nm〜約20000nm、約6000nm〜約20000nm、約7000nm〜約20000nm、約8000nm〜約20000nm、約9000nm〜約20000nm、約10000nm〜約20000nm、約11000nm〜約20000nm、約12000nm〜約20000nm、約13000nm〜約20000nm、約14000nm〜約20000nm、約15000nm〜約20000nm、約16000nm〜約20000nm、約17000nm〜約20000nm、約18000nm〜約20000nm、約19000nm〜約20000nm、約1000nm〜約2000nm、約1000nm〜約3000nm、約1000nm〜約4000nm、約1000nm〜約5000nm、約1000nm〜約6000nm、約1000nm〜約7000nm、約1000nm〜約8000nm、約1000nm〜約9000nm、約1000nm〜約10000nm、約1000nm〜約11000nm、約1000nm〜約12000nm、約1000nm〜約13000nm、約1000nm〜約14000nm、約1000nm〜約15000nm、約1000nm〜約16000nm、約1000nm〜約17000nm、約1000nm〜約18000nm、及び約1000nm〜約19000nmからなる群から独立して選択される範囲の厚みを有する。 In some embodiments, the valve metal layer has a thickness of about 1 nm to about 20 μm. In one embodiment, the valve metal layer has a thickness of about 1000 nm to about 20000 nm, about 2000 nm to about 20000 nm, about 3000 nm to about 20000 nm, about 4000 nm to about 20000 m, about 5000 nm to about 20000 nm, about 6000 nm to about 20000 nm, about 7000 nm to about 7000 nm. About 20000 nm, about 8000 nm to about 20000 nm, about 9000 nm to about 20000 nm, about 10,000 nm to about 20000 nm, about 11000 nm to about 20000 nm, about 12000 nm to about 20000 nm, about 13000 nm to about 20000 nm, about 14000 nm to about 20000 nm, about 15000 nm to about 20000 nm About 16000 nm to about 20000 nm, about 17000 nm to about 20000 nm, about 18000 nm to about 20000 nm, about 9000 nm to about 20000 nm, about 1000 nm to about 2000 nm, about 1000 nm to about 3000 nm, about 1000 nm to about 4000 nm, about 1000 nm to about 5000 nm, about 1000 nm to about 6000 nm, about 1000 nm to about 7000 nm, about 1000 nm to about 8000 nm, about 1000 nm to About 9000 nm, about 1000 nm to about 10,000 nm, about 1000 nm to about 11000 nm, about 1000 nm to about 12000 nm, about 1000 nm to about 13000 nm, about 1000 nm to about 14000 nm, about 1000 nm to about 15000 nm, about 1000 nm to about 16000 nm, about 1000 nm to about 17000 nm , Independently selected from the group consisting of about 1000 nm to about 18000 nm, and about 1000 nm to about 19000 nm Having a thickness.
いくつかの実施形態では、多孔質バルブ金属酸化物層は約2μm〜約10μmの厚みを有する。1つの実施形態では、多孔質バルブ金属酸化物層は、2000nm〜3000nm、3000nm〜4000nm、4000nm〜5000nm、5000nm〜6000m、6000nm〜7000nm、7000nm〜8000nm、8000nm〜9000nm、9000nm〜10000nmからなる群から独立して選択される範囲にある厚みを有する。 In some embodiments, the porous valve metal oxide layer has a thickness of about 2 μm to about 10 μm. In one embodiment, the porous valve metal oxide layer is from the group consisting of 2000 nm to 3000 nm, 3000 nm to 4000 nm, 4000 nm to 5000 nm, 5000 nm to 6000 m, 6000 nm to 7000 nm, 7000 nm to 8000 nm, 8000 nm to 9000 nm, 9000 nm to 10,000 nm. It has a thickness in the range selected independently.
1つの実施形態では、多孔質バルブ金属酸化物層は約0.1μm〜約10μmの範囲のサイズを備えた孔を有する。別の実施形態では、約0.1μm〜約0.2μm、約0.1μm〜約0.3μm、約0.1μm〜約0.4μm、約0.1μm〜約0.5μm、約0.1μm〜約0.6μm、約0.1μm〜約0.7μm、約0.1μm〜約0.8μm、約0.1μm〜約0.9μm、約0.2μm〜約1.2μm、約0.2μm〜約1.3μm、約0.2μm〜約1.4μm、約0.2μm〜約1.5μm、約0.2μm〜約1.6μm、約0.2μm〜約1.7μm、約0.2μm〜約1.8μm、約0.2μm〜約1.9μm、約0.3μm〜約2.2μm、約0.3μm〜約2.3μm、約0.3μm〜約2.4μm、約0.3μm〜約2.5μm、約0.3μm〜約2.6μm、約0.3μm〜約2.7μm、約0.3μm〜約2.8μm、約0.3μm〜約2.9μm、約0.4μm〜約3.2μm、約0.4μm〜約3.3μm、約0.4μm〜約3.4μm、約0.4μm〜約3.5μm、約0.4μm〜約3.6μm、約0.4μm〜約3.7μm、約0.4μm〜約3.8μm、約0.4μm〜約3.9μm、約0.5μm〜約4.2μm、約0.5μm〜約4.3μm、約0.5μm〜約4.4μm、約0.5μm〜約4.5μm、約0.5μm〜約4.6μm、約0.5μm〜約4.7μm、約0.5μm〜約4.8μm、約0.5μm〜約4.9μm、約0.6μm〜約5.2μm、約0.6μm〜約5.3μm、約0.6μm〜約5.4μm、約0.6μm〜約5.5μm、約0.6μm〜約5.6μm、約0.6μm〜約5.7μm、約0.6μm〜約5.8μm、約0.6μm〜約5.9μm、約0.7μm〜約6.2μm、約0.7μm〜約6.3μm、約0.7μm〜約6.4μm、約0.7μm〜約6.5μm、約0.7μm〜約6.6μm、約0.7μm〜約6.7μm、約0.7μm〜約6.8μm、約0.7μm〜約6.9μm、約0.8μm〜約7.2μm、約0.8μm〜約7.3μm、約0.8μm〜約7.4μm、約0.8μm〜約7.5μm、約0.8μm〜約7.6μm、約0.8μm〜約7.7μm、約0.8μm〜約7.8μm、約0.8μm〜約7.9μm、約0.9μm〜約8.2μm、約0.9μm〜約8.3μm、約0.9μm〜約8.4μm、約0.9μm〜約8.5μm、約0.9μm〜約8.6μm、約0.9μm〜約8.7μm、約0.9μm〜約8.8μm、約0.9μm〜約8.9μm、約1μm〜約9.2μm、約1μm〜約9.3μm、約1μm〜約9.4μm、約1μm〜約9.5μm、約1μm〜約9.6μm、約1μm〜約9.7μm、約1μm〜約9.8μm、約1μm〜約9.9μm、約2μm〜約9.2μm、約2μm〜約9.3m、約2μm〜約9.4μm、約2μm〜約9.5μm、約2μm〜約9.6μm、約2μm〜約9.7μm、約2μm〜約9.8μm、約2μm〜約9.9μm、約3μm〜約9.3μm、約3μm〜約9.3μm、約3μm〜約9.4μm、約3μm〜約9.5μm、約3μm〜約9.6μm、約3μm〜約9.7μm、約3μm〜約9.8μm、約3μm〜約9.9μm、約4μm〜約9.2μm、約4μm〜約9.3μm、約4μm〜約9.4μm、約4μm〜約9.5μm、約4μm〜約9.6μm、約4μm〜約9.7μm、約4μm〜約9.8μm、約4μm〜約9.9μm、約5μm〜約9.2μm、約5μm〜約9.3μm、約5μm〜約9.4μm、約5μm〜約9.5μm、約5μm〜約9.6μm、約5μm〜約9.7μm、約5μm〜約9.8μm、約5μm〜約9.9μm、約6μm〜約9.2μm、約6μm〜約9.3μm、約6μm〜約9.4μm、約6μm〜約9.5μm、約6μm〜約9.6μm、約6μm〜約9.7μm、約6μm〜約9.8μm、約6μm〜約9.9μm、約7μm〜約9.2μm、約7μm〜約9.3μm、約7μm〜約9.4μm、約7μm〜約9.5μm、約7μm〜約9.6μm、約7μm〜約9.7μm、約7μm〜約9.8μm、約7μm〜約9.9μm、約8μm〜約9.2μm、約8μm〜約9.3μm、約8μm〜約9.4μm、約8μm〜約9.5μm、約8μm〜約9.6μm、約8μm〜約9.7μm、約8μm〜約9.8μm、約8μm〜約9.9μm、約9μm〜約9.2μm、約9μm〜約9.3μm、約9μm〜約9.4μm、約9μm〜約9.5μm、約9μm〜約9.6μm、約9μm〜約9.7μm、約9μm〜約9.8μm、及び約9μm〜約9.9μm。 In one embodiment, the porous valve metal oxide layer has pores with a size ranging from about 0.1 μm to about 10 μm. In another embodiment, about 0.1 μm to about 0.2 μm, about 0.1 μm to about 0.3 μm, about 0.1 μm to about 0.4 μm, about 0.1 μm to about 0.5 μm, about 0.1 μm To about 0.6 μm, about 0.1 μm to about 0.7 μm, about 0.1 μm to about 0.8 μm, about 0.1 μm to about 0.9 μm, about 0.2 μm to about 1.2 μm, about 0.2 μm To about 1.3 μm, about 0.2 μm to about 1.4 μm, about 0.2 μm to about 1.5 μm, about 0.2 μm to about 1.6 μm, about 0.2 μm to about 1.7 μm, about 0.2 μm To about 1.8 μm, about 0.2 μm to about 1.9 μm, about 0.3 μm to about 2.2 μm, about 0.3 μm to about 2.3 μm, about 0.3 μm to about 2.4 μm, about 0.3 μm To about 2.5 μm, about 0.3 μm to about 2.6 μm, about 0.3 μm to about 2.7 μm, about 0.3 μm to about 2.8 μm, about 0.3 μm to about 2.9 μm, about 0.4 m to about 3.2 μm, about 0.4 μm to about 3.3 μm, about 0.4 μm to about 3.4 μm, about 0.4 μm to about 3.5 μm, about 0.4 μm to about 3.6 μm, about 0.3 μm. 4 μm to about 3.7 μm, about 0.4 μm to about 3.8 μm, about 0.4 μm to about 3.9 μm, about 0.5 μm to about 4.2 μm, about 0.5 μm to about 4.3 μm, about 0.3 μm. 5 μm to about 4.4 μm, about 0.5 μm to about 4.5 μm, about 0.5 μm to about 4.6 μm, about 0.5 μm to about 4.7 μm, about 0.5 μm to about 4.8 μm, about 0. 5 μm to about 4.9 μm, about 0.6 μm to about 5.2 μm, about 0.6 μm to about 5.3 μm, about 0.6 μm to about 5.4 μm, about 0.6 μm to about 5.5 μm, about 0.3 μm. 6 μm to about 5.6 μm, about 0.6 μm to about 5.7 μm, about 0.6 μm to about 5.8 μm, about 0.6 μm to about 5.9 μm, about 0.7 μm to about 6.2 μm, about 0.2 μm. 7 m to about 6.3 μm, about 0.7 μm to about 6.4 μm, about 0.7 μm to about 6.5 μm, about 0.7 μm to about 6.6 μm, about 0.7 μm to about 6.7 μm, about 0.00. 7 μm to about 6.8 μm, about 0.7 μm to about 6.9 μm, about 0.8 μm to about 7.2 μm, about 0.8 μm to about 7.3 μm, about 0.8 μm to about 7.4 μm, about 0.0. 8 μm to about 7.5 μm, about 0.8 μm to about 7.6 μm, about 0.8 μm to about 7.7 μm, about 0.8 μm to about 7.8 μm, about 0.8 μm to about 7.9 μm, about 0.8. 9 μm to about 8.2 μm, about 0.9 μm to about 8.3 μm, about 0.9 μm to about 8.4 μm, about 0.9 μm to about 8.5 μm, about 0.9 μm to about 8.6 μm, about 0.0. 9 μm to about 8.7 μm, about 0.9 μm to about 8.8 μm, about 0.9 μm to about 8.9 μm, about 1 μm to about 9.2 μm, about 1 μm to about 9.3 μm, about 1 μm to about 9. μm, about 1 μm to about 9.5 μm, about 1 μm to about 9.6 μm, about 1 μm to about 9.7 μm, about 1 μm to about 9.8 μm, about 1 μm to about 9.9 μm, about 2 μm to about 9.2 μm, About 2 μm to about 9.3 m, about 2 μm to about 9.4 μm, about 2 μm to about 9.5 μm, about 2 μm to about 9.6 μm, about 2 μm to about 9.7 μm, about 2 μm to about 9.8 μm, about 2 μm To about 9.9 μm, about 3 μm to about 9.3 μm, about 3 μm to about 9.3 μm, about 3 μm to about 9.4 μm, about 3 μm to about 9.5 μm, about 3 μm to about 9.6 μm, about 3 μm to about 9.7 μm, about 3 μm to about 9.8 μm, about 3 μm to about 9.9 μm, about 4 μm to about 9.2 μm, about 4 μm to about 9.3 μm, about 4 μm to about 9.4 μm, about 4 μm to about 9. 5 μm, about 4 μm to about 9.6 μm, about 4 μm to about 9.7 μm, about 4 μm to about 9.8 μm, about 4 μm to about 9.9 μm, about 5 m to about 9.2 μm, about 5 μm to about 9.3 μm, about 5 μm to about 9.4 μm, about 5 μm to about 9.5 μm, about 5 μm to about 9.6 μm, about 5 μm to about 9.7 μm, about 5 μm to About 9.8 μm, about 5 μm to about 9.9 μm, about 6 μm to about 9.2 μm, about 6 μm to about 9.3 μm, about 6 μm to about 9.4 μm, about 6 μm to about 9.5 μm, about 6 μm to about 9 .6 μm, about 6 μm to about 9.7 μm, about 6 μm to about 9.8 μm, about 6 μm to about 9.9 μm, about 7 μm to about 9.2 μm, about 7 μm to about 9.3 μm, about 7 μm to about 9.4 μm About 7 μm to about 9.5 μm, about 7 μm to about 9.6 μm, about 7 μm to about 9.7 μm, about 7 μm to about 9.8 μm, about 7 μm to about 9.9 μm, about 8 μm to about 9.2 μm, about 8 μm to about 9.3 μm, about 8 μm to about 9.4 μm, about 8 μm to about 9.5 μm, about 8 μm to about 9.6 μm, about 8 μm to about 9 7 μm, about 8 μm to about 9.8 μm, about 8 μm to about 9.9 μm, about 9 μm to about 9.2 μm, about 9 μm to about 9.3 μm, about 9 μm to about 9.4 μm, about 9 μm to about 9.5 μm, About 9 μm to about 9.6 μm, about 9 μm to about 9.7 μm, about 9 μm to about 9.8 μm, and about 9 μm to about 9.9 μm.
別の実施形態では、多孔性バルブ金属酸化物層は約10,000孔/mm2〜約500,000孔/mm2の範囲の孔密度を有する。別の実施形態では、多孔質バルブ金属酸化物層は、約10,000孔/mm2〜約50,000孔/mm2、約10,000孔/mm2〜約100,000孔/mm2、約10,000孔/mm2〜約150,000孔/mm2、約10,000孔/mm2〜約250,000孔/mm2、約10,000孔/mm2〜約300,000孔/mm2、約10,000孔/mm2〜約350,000孔/mm2、約10,000孔/mm2〜約400,000孔/mm2、約10,000孔/mm2〜約450,000孔/mm2、約50,000孔/mm2〜約100,000孔/mm2、約50,000孔/mm2〜約150,000孔/mm2、約50,000孔/mm2〜約250,000孔/mm2、約50,000孔/mm2〜約300,000孔/mm2、約50,000孔/mm2〜約350,000孔/mm2、約50,000孔/mm2〜約400,000孔/mm2、約50,000孔/mm2〜約500,000孔/mm2、約150,000孔/mm2〜約150,000孔/mm2、約150,000孔/mm2〜約250,000孔/mm2、約150,000孔/mm2〜約300,000孔/mm2、約150,000孔/mm2〜約350,000孔/mm2、約150,000孔/mm2〜約400,000孔/mm2、約150,000孔/mm2〜約450,000孔/mm2、約150,000孔/mm2〜約450,000孔/mm2、約200,000孔/mm2〜約250,000孔/mm2、200,000孔/mm2〜約300,000孔/mm2、約200,000孔/mm2〜約350,000孔/mm2、約200,000孔/mm2〜約400,000孔/mm2、約200,000孔/mm2〜約450,000孔/mm2、約200,000孔/mm2〜約450,000孔/mm2、約250,000孔/mm2〜約300,000孔/mm2、約250,000孔/mm2〜約350,000孔/mm2、約250,000孔/mm2〜約400,000孔/mm2、約250,000孔/mm2〜約450,000孔/mm2、約250,000孔/mm2〜約450,000孔/mm2、約300,000孔/mm2〜約350,000孔/mm2、約300,000孔/mm2〜約400,000孔/mm2、約300,000孔/mm2〜約450,000孔/mm2、約300,000孔/mm2〜約450,000孔/mm2、約350,000孔/mm2〜約400,000孔/mm2、約350,000孔/mm2〜約450,000孔/mm2、約350,000孔/mm2〜約450,000孔/mm2、約400,000孔/mm2〜約450,000孔/mm2、及び約450,000孔/mm2〜約500,000孔/mm2からなる群から独立して選択される範囲にある孔密度を有する。In another embodiment, the porous valve metal oxide layer has a pore density in the range of about 10,000 holes / mm2 to about 500,000 holes / mm2 . In another embodiment, the porous valve metal oxide layer is about 10,000 holes / mm2 to about 50,000 holes / mm2 , about 10,000 holes / mm2 to about 100,000 holes / mm2. About 10,000 holes / mm2 to about 150,000 holes / mm2 , about 10,000 holes / mm2 to about 250,000 holes / mm2 , about 10,000 holes / mm2 to about 300,000 Hole / mm2 , about 10,000 holes / mm2 to about 350,000 holes / mm2 , about 10,000 holes / mm2 to about 400,000 holes / mm2 , about 10,000 holes / mm2 to About 450,000 holes / mm2 , about 50,000 holes / mm2 to about 100,000 holes / mm2 , about 50,000 holes / mm2 to about 150,000 holes / mm2 , about 50,000 holes / mm2 ~ about 250,000 holes / mm2 About 50,000 pores / mm2 ~ about 300,000 holes / mm2, about 50,000 pores / mm2 ~ about 350,000 holes / mm2, about 50,000 pores / mm2 ~ about 400,000 holes / Mm2 , about 50,000 holes / mm2 to about 500,000 holes / mm2 , about 150,000 holes / mm2 to about 150,000 holes / mm2 , about 150,000 holes / mm2 to about 250,000 holes / mm2 , about 150,000 holes / mm2 to about 300,000 holes / mm2 , about 150,000 holes / mm2 to about 350,000 holes / mm2 , about 150,000 holes / mm2 to about 400,000 holes / mm2 , about 150,000 holes / mm2 to about 450,000 holes / mm2 , about 150,000 holes / mm2 to about 450,000 holes / mm2 , about 200 , 000 holes / mm2 About 250,000 holes/ mm 2, 200,000 pores / mm2 ~ about 300,000 holes / mm2, about 200,000 holes / mm2 ~ about 350,000 holes / mm2, about 200,000 holes / mm2 to about 400,000 holes / mm2 , about 200,000 holes / mm2 to about 450,000 holes / mm2 , about 200,000 holes / mm2 to about 450,000 holes / mm2 , about 250 , 000 holes / mm2 to about 300,000 holes / mm2 , about 250,000 holes / mm2 to about 350,000 holes / mm2 , about 250,000 holes / mm2 to about 400,000 holes / mm2 , about 250,000 holes / mm2 to about 450,000 holes / mm2 , about 250,000 holes / mm2 to about 450,000 holes / mm2 , about 300,000 holes / mm2 to about 350, 000 holes / m2, about 300,000 holes / mm2 ~ about 400,000 holes / mm2, about 300,000 holes / mm2 ~ about 450,000 holes / mm2, about 300,000 holes / mm2 ~ about 450, 000 holes / mm2 , about 350,000 holes / mm2 to about 400,000 holes / mm2 , about 350,000 holes / mm2 to about 450,000 holes / mm2 , about 350,000 holes / mm2 From the group consisting of about 450,000 holes / mm2 , about 400,000 holes / mm2 to about 450,000 holes / mm2 , and about 450,000 holes / mm2 to about 500,000 holes / mm2. Having a pore density in an independently selected range.
いくつかの実施形態では、複数の層はバッファ層を更に含む。1つの実施形態では、バッファ層は活性化基材表面層とバルブ金属層との間に配設される。 In some embodiments, the plurality of layers further includes a buffer layer. In one embodiment, the buffer layer is disposed between the activated substrate surface layer and the valve metal layer.
いくつかの実施形態では、バッファ層は100nm〜1000nmの範囲の厚みを有する。更なる実施形態では、バッファ層は100nm〜200nm、100nm〜300nm、100nm〜400nm、100nm〜500nm、100nm〜600nm、100nm〜700nm、100nm〜800nm、100nm〜900nm、200nm〜300nm、200nm〜400nm、200nm〜500nm、200nm〜600nm、200nm〜700nm、200nm〜800nm、200nm〜900nm、200nm〜100nm、300nm〜400nm、300nm〜500nm、300nm〜600nm、300nm〜700nm、300nm〜800nm、300nm〜900nm、300nm〜100nm、400nm〜500nm、400nm〜600nm、400nm〜700nm、400nm〜800nm、400nm〜900nm、400nm〜100nm、500nm〜600nm、500nm〜700nm、500nm〜800nm、500nm〜900nm、500nm〜100nm、600nm〜700nm、600nm〜800nm、600nm〜900nm、600nm〜100nm、700nm〜800nm、700nm〜900nm、700nm〜100nm、800nm〜900nm、800nm〜100nm、及び900nm〜1000nmからなる群から独立して選択される範囲の厚みを有する。 In some embodiments, the buffer layer has a thickness in the range of 100 nm to 1000 nm. In further embodiments, the buffer layer is 100 nm to 200 nm, 100 nm to 300 nm, 100 nm to 400 nm, 100 nm to 500 nm, 100 nm to 600 nm, 100 nm to 700 nm, 100 nm to 800 nm, 100 nm to 900 nm, 200 nm to 300 nm, 200 nm to 400 nm, 200 nm. ~ 500nm, 200nm ~ 600nm, 200nm ~ 700nm, 200nm ~ 800nm, 200nm ~ 900nm, 200nm ~ 100nm, 300nm ~ 400nm, 300nm ~ 500nm, 300nm ~ 600nm, 300nm ~ 700nm, 300nm ~ 800nm, 300nm ~ 900nm, 300nm ~ 100nm 400 nm to 500 nm, 400 nm to 600 nm, 400 nm to 700 nm, 400 nm 800 nm, 400 nm to 900 nm, 400 nm to 100 nm, 500 nm to 600 nm, 500 nm to 700 nm, 500 nm to 800 nm, 500 nm to 900 nm, 500 nm to 100 nm, 600 nm to 700 nm, 600 nm to 800 nm, 600 nm to 900 nm, 600 nm to 100 nm, 700 nm to 800 nm, It has a thickness in a range independently selected from the group consisting of 700 nm to 900 nm, 700 nm to 100 nm, 800 nm to 900 nm, 800 nm to 100 nm, and 900 nm to 1000 nm.
1つの実施形態では、バッファ層は第1の材料及び第2の材料の複数の交互層を含む。1つの実施形態では、第1の材料は金属材料を含み、第2の材料は金属材料の窒化物又は炭化物を含む。具体的な実施形態では、第1の材料はTi及び/又はCrを含む。別の実施形態では、第2の材料はTiN及び/又はCrN及び/又はTiC及び/又はCrCを含む。 In one embodiment, the buffer layer includes a plurality of alternating layers of a first material and a second material. In one embodiment, the first material includes a metallic material and the second material includes a nitride or carbide of the metallic material. In a specific embodiment, the first material includes Ti and / or Cr. In another embodiment, the second material comprises TiN and / or CrN and / or TiC and / or CrC.
1つの実施形態では、第1の材料の複数の交互層の各交互層は10nm〜100nmの範囲の厚みを有する。別の実施形態では、第1の材料の複数の交互層の各交互層は、10nm〜20nm、10nm〜30nm、10nm〜40nm、10nm〜50nm、10nm〜60nm、10nm〜70nm、10nm〜80nm、10nm〜90nm、20nm〜30nm、20nm〜40nm、20nm〜50nm、20nm〜60nm、20nm〜70nm、20nm〜80nm、20nm〜90nm、20nm〜100nm、30nm〜40nm、30nm〜50nm、30nm〜60nm、30nm〜70nm、30nm〜80nm、30nm〜90nm、30nm〜100nm、40nm〜50nm、40m〜60nm、40nm〜70nm、40nm〜80nm、40nm〜90nm、40nm〜100nm、50nm〜60nm、50nm〜70nm、50nm〜80nm、50nm〜90nm、50nm〜100nm、60nm〜70nm、60nm〜80nm、60nm〜90nm、60nm〜100nm、70nm〜80nm、70nm〜90nm、70nm〜100nm、80nm〜90nm、80nm〜100nm、及び90nm〜100nmからなる群から独立して選択される範囲の厚みを有する。 In one embodiment, each alternating layer of the plurality of alternating layers of the first material has a thickness in the range of 10 nm to 100 nm. In another embodiment, each alternating layer of the plurality of alternating layers of the first material is 10 nm to 20 nm, 10 nm to 30 nm, 10 nm to 40 nm, 10 nm to 50 nm, 10 nm to 60 nm, 10 nm to 70 nm, 10 nm to 80 nm, 10 nm -90 nm, 20 nm-30 nm, 20 nm-40 nm, 20 nm-50 nm, 20 nm-60 nm, 20 nm-70 nm, 20 nm-80 nm, 20 nm-90 nm, 20 nm-100 nm, 30 nm-40 nm, 30 nm-50 nm, 30 nm-60 nm, 30 nm-70 nm 30 nm to 80 nm, 30 nm to 90 nm, 30 nm to 100 nm, 40 nm to 50 nm, 40 m to 60 nm, 40 nm to 70 nm, 40 nm to 80 nm, 40 nm to 90 nm, 40 nm to 100 nm, 50 nm to 60 nm, 50 n -70 nm, 50 nm-80 nm, 50 nm-90 nm, 50 nm-100 nm, 60 nm-70 nm, 60 nm-80 nm, 60 nm-90 nm, 60 nm-100 nm, 70 nm-80 nm, 70 nm-90 nm, 70 nm-100 nm, 80 nm-90 nm, 80 nm-100 nm , And a thickness in a range independently selected from the group consisting of 90 nm to 100 nm.
1つの実施形態では、第2の材料の複数の交互層の各交互層は10nm〜100nmの範囲の厚みを有する。別の実施形態では、第2の材料の複数の交互層の各交互層は、10nm〜20nm、10nm〜30nm、10nm〜40nm、10nm〜50nm、10nm〜60nm、10nm〜70nm、10nm〜80nm、10nm〜90nm、20nm〜30nm、20nm〜40nm、20nm〜50nm、20nm〜60nm、20nm〜70nm、20nm〜80nm、20nm〜90nm、20nm〜100nm、30nm〜40nm、30nm〜50nm、30nm〜60nm、30nm〜70nm、30nm〜80nm、30nm〜90nm、30nm〜100nm、40nm〜50nm、40nm〜60nm、40nm〜70nm、40nm〜80nm、40nm〜90nm、40nm〜100nm、50nm〜60nm、50nm〜70nm、50nm〜80nm、50nm〜90nm、50nm〜100nm、60nm〜70nm、60nm〜80nm、60nm〜90nm、60nm〜100nm、70nm〜80nm、70nm〜90nm、70nm〜100nm、80nm〜90nm、80nm〜100nm、及び90nm〜100nmからなる群から選択される範囲の厚みを有する。 In one embodiment, each alternating layer of the plurality of alternating layers of the second material has a thickness in the range of 10 nm to 100 nm. In another embodiment, each alternating layer of the plurality of alternating layers of the second material is 10 nm to 20 nm, 10 nm to 30 nm, 10 nm to 40 nm, 10 nm to 50 nm, 10 nm to 60 nm, 10 nm to 70 nm, 10 nm to 80 nm, 10 nm -90 nm, 20 nm-30 nm, 20 nm-40 nm, 20 nm-50 nm, 20 nm-60 nm, 20 nm-70 nm, 20 nm-80 nm, 20 nm-90 nm, 20 nm-100 nm, 30 nm-40 nm, 30 nm-50 nm, 30 nm-60 nm, 30 nm-70 nm 30 nm to 80 nm, 30 nm to 90 nm, 30 nm to 100 nm, 40 nm to 50 nm, 40 nm to 60 nm, 40 nm to 70 nm, 40 nm to 80 nm, 40 nm to 90 nm, 40 nm to 100 nm, 50 nm to 60 nm, 50 m-70 nm, 50 nm-80 nm, 50 nm-90 nm, 50 nm-100 nm, 60 nm-70 nm, 60 nm-80 nm, 60 nm-90 nm, 60 nm-100 nm, 70 nm-80 nm, 70 nm-90 nm, 70 nm-100 nm, 80 nm-90 nm, 80 nm- It has a thickness in the range selected from the group consisting of 100 nm and 90 nm to 100 nm.
1つの実施形態では、第1の材料及び第2の材料の複数の交互層の各交互層は、10nm〜100nmの範囲の厚みを有する。別の実施形態では、第1の材料及び第2の材料の複数の交互層の各交互層は、10nm〜20nm、10nm〜30nm、10nm〜40nm、10nm〜50nm、10nm〜60nm、10nm〜70nm、10nm〜80nm、10nm〜90nm、20nm〜30nm、20nm〜40nm、20nm〜50nm、20nm〜60nm、20nm〜70nm、20nm〜80nm、20nm〜90nm、20nm〜100nm、30nm〜40nm、30nm〜50nm、30nm〜60nm、30nm〜70nm、30nm〜80nm、30nm〜90nm、30nm〜100nm、40nm〜50nm、40nm〜60nm、40nm〜70nm、40nm〜80nm、40nm〜90nm、40nm〜100nm、50nm〜60nm、50nm〜70nm、50nm〜80nm、50nm〜90nm、50nm〜100nm、60nm〜70nm、60nm〜80nm、60nm〜90nm、60nm〜100nm、70nm〜80nm、70nm〜90nm、70nm〜100nm、80nm〜90nm、80nm〜100nm、及び90nm〜100nmからなる群から独立して選択される範囲の厚みを有する。 In one embodiment, each alternating layer of the plurality of alternating layers of the first material and the second material has a thickness in the range of 10 nm to 100 nm. In another embodiment, each alternating layer of the plurality of alternating layers of the first material and the second material is 10 nm to 20 nm, 10 nm to 30 nm, 10 nm to 40 nm, 10 nm to 50 nm, 10 nm to 60 nm, 10 nm to 70 nm, 10 nm-80 nm, 10 nm-90 nm, 20 nm-30 nm, 20 nm-40 nm, 20 nm-50 nm, 20 nm-60 nm, 20 nm-70 nm, 20 nm-80 nm, 20 nm-90 nm, 20 nm-100 nm, 30 nm-40 nm, 30 nm-50 nm, 30 nm- 60 nm, 30 nm to 70 nm, 30 nm to 80 nm, 30 nm to 90 nm, 30 nm to 100 nm, 40 nm to 50 nm, 40 nm to 60 nm, 40 nm to 70 nm, 40 nm to 80 nm, 40 nm to 90 nm, 40 nm to 100 nm, 50 nm to 0 nm, 50 nm to 70 nm, 50 nm to 80 nm, 50 nm to 90 nm, 50 nm to 100 nm, 60 nm to 70 nm, 60 nm to 80 nm, 60 nm to 90 nm, 60 nm to 100 nm, 70 nm to 80 nm, 70 nm to 90 nm, 70 nm to 100 nm, 80 nm to 90 nm, It has a thickness in a range independently selected from the group consisting of 80 nm to 100 nm and 90 nm to 100 nm.
別の実施形態では、バッファ層は結晶質又は非晶質材料を含む。このような実施形態では、結晶質又は非晶質材料は、TiO2、Ta2O5、Nb2O5、ZrO2、SiO2、RuO2、又はMoO2、MoO3、VO、VO2、V2O3、V2O5、CrO、Cr2O3、CrO3及びそれらの組み合わせからなる群から独立して選択される。In another embodiment, the buffer layer comprises a crystalline or amorphous material. In such embodiments, the crystalline or amorphous material is TiO2 , Ta2 O5 , Nb2 O5 , ZrO2 , SiO2 , RuO2 , or MoO2 , MoO3 , VO, VO2 , It is independently selected from the group consisting of V2 O3 , V2 O5 , CrO, Cr2 O3 , CrO3 and combinations thereof.
なお別の実施形態では、バッファ層は第1の材料、第2の材料及び第3の材料の複数の交互層を含む。1つの実施形態では、バッファ層は3つの交互層の1から10グループまでを含む。更なる実施形態では、第1の材料は第1の金属材料の酸化物を含み、第2の材料は第2の金属材料の窒化物を含み、第2の金属材料は第1の金属材料と同一又はそれとは異なるものにすることができる、及び第3の材料は第3の金属材料を含み、このような第3の金属材料は、第1の金属材料及び/又は第2の金属材料と同一又はそれとは異なるものにすることができる。具体的な実施形態では、第1の材料はTa2O5であり、第2の材料はAlNであり及び第3の材料はAuであり、結果的にはバッファ層はTa2O5/AlN/Auの複数の交互層を含むことになる。In yet another embodiment, the buffer layer includes a plurality of alternating layers of a first material, a second material, and a third material. In one embodiment, the buffer layer includes from 1 to 10 groups of three alternating layers. In a further embodiment, the first material includes an oxide of the first metal material, the second material includes a nitride of the second metal material, and the second metal material includes the first metal material and And the third material comprises a third metal material, such third metal material comprising: a first metal material and / or a second metal material; It can be the same or different. In a specific embodiment, the first material is Ta2 O5 , the second material is AlN and the third material is Au, so that the buffer layer is Ta2 O5 / AlN. A plurality of alternating layers of / Au will be included.
いくつかの実施形態では、本発明によれば、基材の上に配設された複数の層は活性化基材表面層とバルブ金属層との間に配設された接着層を更に含む。1つのこのような実施形態では、接着層はメタクリル酸オキシプロピルトリメトキシシラン(methyacryloxypropyl trimethoxylsilane)から誘導されるポリシラン層である。 In some embodiments, according to the present invention, the plurality of layers disposed on the substrate further includes an adhesive layer disposed between the activated substrate surface layer and the valve metal layer. In one such embodiment, the adhesion layer is a polysilane layer derived from methyacryloxypropyl trimethoxylsilane.
本発明による外科用インプラントの他の実施形態では、複数の層は導電性の非酸化性金属から形成される導電性層を更に含む。1つの実施形態では、導電性の非酸化性金属はAu、Pt、Pd及びそれらの組み合わせからなる群から独立して選択される。1つの実施形態では、導電性層はバッファ層とバルブ金属層との間に位置づけされる。別の実施形態では、導電性層は、100nm〜1000nm、100nm〜500nm、及び200nm〜300nmの範囲の厚みを有する。 In another embodiment of the surgical implant according to the present invention, the plurality of layers further comprises a conductive layer formed from a conductive non-oxidizable metal. In one embodiment, the conductive non-oxidizing metal is independently selected from the group consisting of Au, Pt, Pd, and combinations thereof. In one embodiment, the conductive layer is positioned between the buffer layer and the valve metal layer. In another embodiment, the conductive layer has a thickness in the range of 100 nm to 1000 nm, 100 nm to 500 nm, and 200 nm to 300 nm.
いくつかの実施形態では、外科用インプラントは多孔質バルブ金属酸化物層の上に位置する銀塩のコーティングを含む。1つのこのような実施形態では、銀塩はAgNO3である。In some embodiments, the surgical implant includes a silver salt coating overlying the porous valve metal oxide layer. In one such embodiment, the silver salt is AgNO3 .
本発明による外科用インプラントのいくつかの例示的な実施形態では、外科用インプラントは外面及び基材の外面の上に配設された複数の層を有する基材を含み、基材はポリアリールエーテルケトン(PAEK)材料又はポリエチレンなどの熱可塑性材料を含む。1つの実施形態では、複数の層は基材の外面全体を実質的に被覆する。実施形態の目的のために、「実質的に被覆する」とは、基材の外面の少なくとも95%が複数の層によって被覆されることを意味する。 In some exemplary embodiments of a surgical implant according to the present invention, the surgical implant includes a substrate having an outer surface and a plurality of layers disposed on the outer surface of the substrate, the substrate being a polyarylether Includes thermoplastic materials such as ketone (PAEK) materials or polyethylene. In one embodiment, the plurality of layers substantially covers the entire outer surface of the substrate. For the purposes of the embodiments, “substantially cover” means that at least 95% of the outer surface of the substrate is covered by multiple layers.
埋め込み可能な医療用装置は、欠損した生物学的構造体を置換する、損傷した生物学的構造体を支持する、又は既存の生物学的構造体を向上させることを含む、多様な医療用途/臨床用途に製造される。人体/人体組織に接触するインプラント及び/又はインプラントの表面はそれらの構成が異なる。インプラントのいくつかは、所望のインプラント機能性に応じてチタン、シリコーン若しくはアパタイトなどの生物医学材料から作製されてよい。場合によって、インプラントは、例えば、人工ペースメーカー及び蝸牛のインプラントなどのエレクトロニクスを内蔵し、かつ/又は埋め込み可能なピル又は薬剤溶出ステントの形態で皮下薬剤送達装置など、生物活性である。 Implantable medical devices can be used in a variety of medical applications / including replacing a missing biological structure, supporting a damaged biological structure, or improving an existing biological structure. Manufactured for clinical use. The implants that contact the human body / human tissue and / or the surface of the implants differ in their configuration. Some of the implants may be made from biomedical materials such as titanium, silicone or apatite depending on the desired implant functionality. In some cases, the implant is bioactive, such as a subcutaneous drug delivery device that incorporates electronics such as, for example, artificial pacemakers and cochlear implants, and / or in the form of an implantable pill or drug eluting stent.
外科用インプラントは、とりわけ、整形外科、神経外科、心臓病学、及び心臓胸部の手術の分野において、医療/臨床用途のために存在する。外科用インプラントの非制限実施例としては、例えば、人工心臓弁及び管状血管プロテーゼなどの心臓血管インプラント;例えば、水頭症シャント及びコンポーントなどの神経外科用インプラント;頭蓋内動脈瘤クリップ;例えば、部分的及び完全股関節プロテーゼ及び完全膝関節プロテーゼなどの骨及び関節置換;例えば、金属骨スクリュー、金属骨プレート、髄質ピン、金属骨格ピン及びワイヤー、及び完全椎間脊椎円板プロテーゼなどの骨接合術及び脊髄装置、口腔及び顎顔面外科インプラント;並びにユニバーサル脊椎方式、ハリントン方式、及び従来方式などの脊髄及び骨盤方式が挙げられる。 Surgical implants exist for medical / clinical applications, particularly in the fields of orthopedics, neurosurgery, cardiology, and cardiothoracic surgery. Non-limiting examples of surgical implants include, for example, cardiovascular implants such as prosthetic heart valves and tubular vascular prostheses; neurosurgical implants such as hydrocephalus shunts and components; intracranial aneurysm clips; And bone and joint replacements such as full hip prostheses and full knee prostheses; for example, osteosynthesis and spinal cord such as metal bone screws, metal bone plates, medullary pins, metal skeletal pins and wires, and full intervertebral disc prostheses Devices, oral and maxillofacial surgical implants; and spinal and pelvic methods such as universal spinal, Harrington, and conventional methods.
結果的に、外科用インプラントは、構成、構造的複雑性及び医療/臨床用途がさまざまに異なる広範囲の製品を含む。そういうわけで、本発明の例示的な実施形態に従った使用のためのインプラントは、使用状況に応じてサイズ、形状、及び他の物理的及び化学的特性が異なるものにできる。 As a result, surgical implants include a wide range of products that vary in composition, structural complexity, and medical / clinical applications. As such, implants for use according to exemplary embodiments of the present invention can vary in size, shape, and other physical and chemical properties depending on the context of use.
結果的に、1つの実施形態では、本発明による外科用インプラントは、スクリュー、ピン、ロッド、プレート、釘、骨アンカー、ケーブルタイ、角錐又はスパイク又はキール付きのプレート、解剖学的3Dプレート、複合骨置換構造体、及び骨格からなる群から独立して選択された形状を有する。 Consequently, in one embodiment, a surgical implant according to the present invention comprises a screw, pin, rod, plate, nail, bone anchor, cable tie, pyramid or spiked or keeled plate, anatomical 3D plate, composite The bone replacement structure has a shape independently selected from the group consisting of a skeleton.
当業者は、所望の結果、例えば、臓器修復、臓器置換、若しくは臓器増強を得るために、好適なインプラントの特性、例えば、規模、形状、化学組成物、その他を選択できることを認識するであろう。 One skilled in the art will recognize that suitable implant properties, such as scale, shape, chemical composition, etc., can be selected to obtain the desired result, eg, organ repair, organ replacement, or organ augmentation. .
別の態様では、本発明はポリアリールエーテルケトン(PAEK)又はポリエチレンなどの熱可塑性材料の、複数の層を含む外科用インプラントのためにコーティングを提供する。別の例示的な実施形態では、コーティングは約0.1μm〜約10μmの範囲のサイズを備えた孔を有する外側コーティング層を有する。別の実施形態では、外側コーティング層は、約0.1μm〜約1μm、約0.2μm〜約2μm、約0.3μm〜約3μm、約0.4〜約4μm、約0.5〜約5μm、約0.6μm〜約6μm、約0.7μm〜約7μm、約0.8μm〜約8μm、約0.9μm〜約9μm、約0.1μm〜約0.2μm、約0.1μm〜約0.3μm、約0.1μm〜約0.4μm、約0.1〜約0.5μm、約0.1μm〜約0.6μm、約0.1μm〜約0.7μm、約0.1μm〜約0.8μm、約0.1μm〜約0.9μm、約0.2μm〜約0.3μm、約0.2μm〜約0.4μm、約0.2μm〜約0.5μm、約0.2μm〜約0.6μm、約0.2μm〜約0.7μm、約0.2μm〜約0.8μm、約0.2μm〜約0.9μm、約0.2μm〜約10μm、約0.3μm〜約0.4μm、約0.3μm〜約0.5μm、約0.3〜約0.6μm、約0.3μm〜約0.7μm、約0.3μm〜約0.8μm、約0.3〜約0.9μm、約0.3μm〜約10μm、約0.4μm〜約0.5μm、約0.4μm〜約0.6μm、約0.4μm〜約0.7μm、約0.4μm〜約0.8μm、約0.4μm〜約0.9μm、約0.4μm〜約10μm、約0.5μm〜約0.6μm、約0.5μm〜約0.7μm、約0.5μm〜約0.8μm、約0.5μm〜約0.9μm、約0.5μm〜約10μm、約0.7μm〜約0.8μm、約0.7μm〜約0.9μm、及び約0.7μm〜約10μmの範囲からなる群から独立して選択されるサイズを備えた孔を有する。 In another aspect, the present invention provides a coating for a surgical implant comprising multiple layers of thermoplastic material such as polyaryletherketone (PAEK) or polyethylene. In another exemplary embodiment, the coating has an outer coating layer having pores with a size ranging from about 0.1 μm to about 10 μm. In another embodiment, the outer coating layer has a thickness of about 0.1 μm to about 1 μm, about 0.2 μm to about 2 μm, about 0.3 μm to about 3 μm, about 0.4 to about 4 μm, about 0.5 to about 5 μm. About 0.6 μm to about 6 μm, about 0.7 μm to about 7 μm, about 0.8 μm to about 8 μm, about 0.9 μm to about 9 μm, about 0.1 μm to about 0.2 μm, about 0.1 μm to about 0 .3 μm, about 0.1 μm to about 0.4 μm, about 0.1 to about 0.5 μm, about 0.1 μm to about 0.6 μm, about 0.1 μm to about 0.7 μm, about 0.1 μm to about 0 0.8 μm, about 0.1 μm to about 0.9 μm, about 0.2 μm to about 0.3 μm, about 0.2 μm to about 0.4 μm, about 0.2 μm to about 0.5 μm, about 0.2 μm to about 0 .6 μm, about 0.2 μm to about 0.7 μm, about 0.2 μm to about 0.8 μm, about 0.2 μm to about 0.9 μm, about 0.2 μm to about 10 μm, about 0.3 μm to about 0.4 μm, about 0.3 μm to about 0.5 μm, about 0.3 to about 0.6 μm, about 0.3 μm to about 0.7 μm, about 0.3 μm to about 0.8 μm, about 0. 3 to about 0.9 μm, about 0.3 μm to about 10 μm, about 0.4 μm to about 0.5 μm, about 0.4 μm to about 0.6 μm, about 0.4 μm to about 0.7 μm, about 0.4 μm to About 0.8 μm, about 0.4 μm to about 0.9 μm, about 0.4 μm to about 10 μm, about 0.5 μm to about 0.6 μm, about 0.5 μm to about 0.7 μm, about 0.5 μm to about 0 0.8 μm, about 0.5 μm to about 0.9 μm, about 0.5 μm to about 10 μm, about 0.7 μm to about 0.8 μm, about 0.7 μm to about 0.9 μm, and about 0.7 μm to about 10 μm. Having pores with a size independently selected from the group consisting of ranges.
他の実施形態では、外側コーティング層は約10,000孔/mm2〜約500,000孔/mm2の範囲の孔密度を備えた孔を有する。別の実施形態では、外側コーティング層は、約10,000孔/mm2〜約50,000孔/mm2、約10,000孔/mm2〜約100,000孔/mm2、約10,000孔/mm2〜約150,000孔/mm2、約10,000孔/mm2〜約250,000孔/mm2、約10,000孔/mm2〜約300,000孔/mm2、約10,000孔/mm2〜約350,000孔/mm2、約10,000孔/mm2〜約400,000孔/mm2、約10,000孔/mm2〜約450,000孔/mm2、約50,000孔/mm2〜約100,000孔/mm2、約50,000孔/mm2〜約150,000孔/mm2、約50,000孔/mm2〜約250,000孔/mm2、約50,000孔/mm2〜約300,000孔/mm2、約50,000孔/mm2〜約350,000孔/mm2、約50,000孔/mm2〜約400,000孔/mm2、約50,000孔/mm2〜約500,000孔/mm2、約150,000孔/mm2〜約150,000孔/mm2、約150,000孔/mm2〜約250,000孔/mm2、約150,000孔/mm2〜約300,000孔/mm2、約150,000孔/mm2〜約350,000孔/mm2、約150,000孔/mm2〜約400,000孔/mm2、約150,000孔/mm2〜約450,000孔/mm2、約150,000孔/mm2〜約450,000孔/mm2、約200,000孔/mm2〜約250,000孔/mm2、約200,000孔/mm2〜約300,000孔/mm2、約200,000孔/mm2〜約350,000孔/mm2、約200,000孔/mm2〜約400,000孔/mm2、約200,000孔/mm2〜約450,000孔/mm2、約200,000孔/mm2〜約450,000孔/mm2、約250,000孔/mm2〜約300,000孔/mm2、約250,000孔/mm2〜約350,000孔/mm2、約250,000孔/mm2〜約400,000孔/mm2、約250,000孔/mm2〜約450,000孔/mm2、約250,000孔/mm2〜約450,000孔/mm2、約300,000孔/mm2〜約350,000孔/mm2、約300,000孔/mm2〜約400,000孔/mm2、約300,000孔/mm2〜約450,000孔/mm2、約300,000孔/mm2〜約450,000孔/mm2、約350,000孔/mm2〜約400,000孔/mm2、約350,000孔/mm2〜約450,000孔/mm2、約350,000孔/mm2〜約450,000孔/mm2、約400,000孔/mm2〜約450,000孔/mm2、及び約450,000孔/mm2〜約500,000孔/mm2からなる群から独立して選択される孔密度を備えた孔を有する。In other embodiments, the outer coating layer has holes with a hole density in the range of about 10,000 holes / mm2 to about 500,000 holes / mm2 . In another embodiment, the outer coating layer has from about 10,000 holes / mm2 to about 50,000 holes / mm2 , from about 10,000 holes / mm2 to about 100,000 holes / mm2 , about 10, 000 holes / mm2 to about 150,000 holes / mm2 , about 10,000 holes / mm2 to about 250,000 holes / mm2 , about 10,000 holes / mm2 to about 300,000 holes / mm2 About 10,000 holes / mm2 to about 350,000 holes / mm2 , about 10,000 holes / mm2 to about 400,000 holes / mm2 , about 10,000 holes / mm2 to about 450,000 Hole / mm2 , about 50,000 holes / mm2 to about 100,000 holes / mm2 , about 50,000 holes / mm2 to about 150,000 holes / mm2 , about 50,000 holes / mm2 to about 250,000 holes / mm2, about 5 , 000 holes / mm2 ~ about 300,000 pores / mm2, about 50,000 pores / mm2 ~ about 350,000 pores / mm2, about 50,000 pores / mm2 ~ about 400,000 pores / mm2 , about 50,000 holes / mm2 to about 500,000 holes / mm2 , about 150,000 holes / mm2 to about 150,000 holes / mm2 , about 150,000 holes / mm2 to about 250, 000 holes / mm2 , about 150,000 holes / mm2 to about 300,000 holes / mm2 , about 150,000 holes / mm2 to about 350,000 holes / mm2 , about 150,000 holes / mm2 To about 400,000 holes / mm2 , about 150,000 holes / mm2 to about 450,000 holes / mm2 , about 150,000 holes / mm2 to about 450,000 holes / mm2 , about 200,000 hole / mm2 ~ about 2 0,000 pores / mm2, about 200,000 holes / mm2 ~ about 300,000 holes / mm2, about 200,000 holes / mm2 ~ about 350,000 holes / mm2, about 200,000 holes / mm2 to about 400,000 holes / mm2 , about 200,000 holes / mm2 to about 450,000 holes / mm2 , about 200,000 holes / mm2 to about 450,000 holes / mm2 , about 250 , 000 holes / mm2 to about 300,000 holes / mm2 , about 250,000 holes / mm2 to about 350,000 holes / mm2 , about 250,000 holes / mm2 to about 400,000 holes / mm2 , about 250,000 holes / mm2 to about 450,000 holes / mm2 , about 250,000 holes / mm2 to about 450,000 holes / mm2 , about 300,000 holes / mm2 to about 350, 000 holes / mm2 About 300,000 holes / mm2 to about 400,000 holes / mm2 , about 300,000 holes / mm2 to about 450,000 holes / mm2 , about 300,000 holes / mm2 to about 450,000 Hole / mm2 , about 350,000 holes / mm2 to about 400,000 holes / mm2 , about 350,000 holes / mm2 to about 450,000 holes / mm2 , about 350,000 holes / mm2 to Independent of the group consisting of about 450,000 holes / mm2 , about 400,000 holes / mm2 to about 450,000 holes / mm2 , and about 450,000 holes / mm2 to about 500,000 holes / mm2 Having holes with a selected hole density.
いくつかの実施形態では、外側コーティング層はTi、O、Ca、及びPの元素又はイオンを更に含む。 In some embodiments, the outer coating layer further comprises Ti, O, Ca, and P elements or ions.
別の態様では、本発明はポリアリールエーテルケトン(PAEK)又はポリエチレンなどの熱可塑性材料の、上述の外科用インプラントの様々な実施形態を作製する方法を提供する。 In another aspect, the present invention provides a method of making various embodiments of the above-described surgical implants of thermoplastic materials such as polyaryletherketone (PAEK) or polyethylene.
1つの例示的な実施形態では、本方法は(A)(i)プラズマ活性化、(ii)電子ビーム照射、(iii)紫外光、及び(iv)低エネルギーAr+イオンビーム照射を含む1つ又は2つ以上のプロセスにより基材の外面を処理することによって活性化基材表面層を生成する工程と、(B)活性化基材表面層の上に複数の層を塗布する工程であって、少なくとも1つの層が約1nm〜約20μmの厚みで塗布されたバルブ金属層を含む、塗布する工程と、(C)陽極酸化プロセスによりバルブ金属層の表面を変換することにより約2μm〜約10μmの厚みを有する多孔質バルブ金属酸化物層を形成する工程と、を含む。 In one exemplary embodiment, the method comprises one or more of (A) (i) plasma activation, (ii) electron beam irradiation, (iii) ultraviolet light, and (iv) low energy Ar + ion beam irradiation. Forming an activated substrate surface layer by treating the outer surface of the substrate by two or more processes, and (B) applying a plurality of layers on the activated substrate surface layer, Applying, wherein at least one layer includes a valve metal layer applied in a thickness of about 1 nm to about 20 μm; and (C) converting the surface of the valve metal layer by an anodization process to about 2 μm to about 10 μm. Forming a porous valve metal oxide layer having a thickness.
ポリアリールエーテルケトン(PAEK)又はポリエチレンなどの熱可塑性材料の外科用インプラントを作製する方法のいくつかの実施形態では、バルブ金属層が、カソードアーク蒸着、マグネトロンスパッタリング物理蒸着、パルスレーザ蒸着、電子ビーム物理蒸着、ハイパワーインパルスマグネトロンスパッタリング、フィルタ処理真空アーク蒸着、金属プラズマ浸漬イオン注入及び蒸着、金属蒸気真空アーク注入及びプラズマ支援化学蒸着からなる群から独立して選択されるプロセスにより塗布される。ポリアリールエーテルケトン(PAEK)又はポリエチレンなどの熱可塑性材料の外科用インプラントを作製する方法の他の実施形態では、バルブ金属層がTi化合物を含有する溶液内でディップ(浸漬)コーティング又はスピンコーティングにより塗布される。 In some embodiments of the method of making a surgical implant of a thermoplastic material such as polyaryletherketone (PAEK) or polyethylene, the valve metal layer is formed by cathodic arc deposition, magnetron sputtering physical vapor deposition, pulsed laser deposition, electron beam It is applied by a process independently selected from the group consisting of physical vapor deposition, high power impulse magnetron sputtering, filtered vacuum arc vapor deposition, metal plasma immersion ion implantation and vapor deposition, metal vapor vacuum arc implantation and plasma assisted chemical vapor deposition. In another embodiment of the method of making a surgical implant of thermoplastic material such as polyaryletherketone (PAEK) or polyethylene, the valve metal layer is dip coated or spin coated in a solution containing a Ti compound. Applied.
1つの実施形態では、陽極酸化プロセスは多孔質バルブ金属酸化物の1つの層へCa及びPイオンを含有するアルカリ浴内で行われるスパーク陽極酸化プロセスに対応し、多孔質バルブ金属酸化物層は非晶質リン酸カルシウムを含有する。別の実施形態では、陽極酸化プロセスは酸性媒質内で行われるカラー陽極酸化プロセスに対応する。このようなカラー陽極酸化プロセスであれば、色付き表面を生み出すことができるであろう。 In one embodiment, the anodization process corresponds to a spark anodization process performed in an alkaline bath containing Ca and P ions into one layer of porous valve metal oxide, wherein the porous valve metal oxide layer is Contains amorphous calcium phosphate. In another embodiment, the anodization process corresponds to a color anodization process performed in an acidic medium. Such a color anodization process could produce a colored surface.
1つの実施形態では、複数の層が活性化基材表面層を実質的に被覆するように塗布される。 In one embodiment, multiple layers are applied to substantially cover the activated substrate surface layer.
いくつかの実施形態では、ポリアリールエーテルケトン(PAEK)又はポリエチレンなどの熱可塑性材料の外科用インプラントを作製する方法は、バルブ金属層の塗布前に活性化基材表面層の上にバッファ層を塗布する工程を更に含む。更なる実施形態では、バッファ層を塗布する工程は、第1の材料層及び第2の材料層の複数の交互層を塗布することを含む。 In some embodiments, a method of making a surgical implant of a thermoplastic material such as polyaryletherketone (PAEK) or polyethylene includes a buffer layer over an activated substrate surface layer prior to application of the valve metal layer. It further includes the step of applying. In a further embodiment, applying the buffer layer includes applying a plurality of alternating layers of the first material layer and the second material layer.
いくつかの実施形態では、ポリアリールエーテルケトン(PAEK)又はポリエチレンなどの熱可塑性材料の外科用インプラントを作製する方法は、活性化基材表面層とバッファ層との間の接着層を塗布する工程を更に含む。 In some embodiments, a method of making a surgical implant of a thermoplastic material such as polyaryletherketone (PAEK) or polyethylene includes applying an adhesive layer between an activated substrate surface layer and a buffer layer. Is further included.
いくつかの他の実施形態では、ポリアリールエーテルケトン(PAEK)外科用インプラントを作製する方法は、導電性の非酸化性金属を塗布することにより陽極酸化プロセスに先行してバルブ金属層の下に導電性層を形成する工程を更に含む。 In some other embodiments, a method of making a polyaryletherketone (PAEK) surgical implant is provided under a valve metal layer prior to an anodizing process by applying a conductive non-oxidizing metal. The method further includes forming a conductive layer.
ポリアリールエーテルケトン(PAEK)又はポリエチレンなどの熱可塑性材料の外科用インプラントを作製する方法の別の実施形態では、本方法は多孔質バルブ金属酸化物層の上へ銀塩のコーティングを塗布することの追加の工程を更に含む。AgNO3は、本方法において用いるための例示的な銀塩である。In another embodiment of a method of making a surgical implant of a thermoplastic material such as polyaryletherketone (PAEK) or polyethylene, the method comprises applying a silver salt coating over the porous valve metal oxide layer. The method further includes the following additional steps. AgNO3 is an exemplary silver salt for use in the present method.
ポリアリールエーテルケトン(PAEK)又はポリエチレンなどの熱可塑性材料の外科用インプラントを作製する方法の1つの例示的な実施形態では、PAEKはポリエーテルケトン(PEK)、ポリエーテルエーテルケトン(PEEK)、ポリエーテルケトンケトン(PEKK)、ポリエーテルエーテルケトンケトン(PEEKK)及びポリエーテルケトンエーテルケトンケトン(PEKEKK)からなる群から独立して選択される。 In one exemplary embodiment of a method of making a surgical implant of thermoplastic material such as polyaryletherketone (PAEK) or polyethylene, PAEK is polyetherketone (PEK), polyetheretherketone (PEEK), poly It is independently selected from the group consisting of ether ketone ketone (PEKK), polyether ether ketone ketone (PEEKK) and polyether ketone ether ketone ketone (PEKEKK).
添付の図面の図1〜図6に図示された上述した様々な実施形態の実施例に関して説明を行う。可能な限り、同一の参照符号は同一の又は類似の部品を言及するために図面全体を通じて用いられる。 Examples of the various embodiments described above and illustrated in FIGS. 1-6 of the accompanying drawings will be described. Wherever possible, the same reference numbers will be used throughout the drawings to refer to the same or like parts.
  図1を参照して、本発明による外科用インプラントの例示的な実施形態を通した概略の断面の実例を示している。図示された例示的な外科用インプラントは基材1を含み、その基材は基材外面14、及び基材外面14の上に配設された複数の層を有する。1つの実施形態では、複数の層は活性化基材表面層2を含み、その活性化基材表面層2は基材外面14の少なくとも一部分の上に配設されている。1つの実施形態では、複数の層は活性化基材表面層2の少なくとも一部分の上に配設されたバルブ金属層3を含む。別の実施形態では、複数の層は多孔質バルブ金属酸化物層4を含み、バルブ金属層3は活性化基材表面層2と多孔質バルブ金属酸化物層4との間に配設されている。  Referring to FIG. 1, there is shown a schematic cross-sectional illustration through an exemplary embodiment of a surgical implant according to the present invention. The illustrated exemplary surgical implant includes a
  図2は、本発明による外科用インプラントの別の例示的な実施形態を通した概略断面を示す。図示された実施形態では、外科用インプラントは基材1を含み、その基材は外面及び基材外側面の上に配設された複数の層を有する。1つの実施形態では、複数の層はシリコン及び/又はカーボン含有層5を含む。別の実施形態では、シリコン及び/又は含有層5が活性化基材表面層2とバルブ金属層3との間に配設されている。更なる実施形態では、複数の層はバルブ金属層3の上に配設された多孔質バルブ金属酸化物層4を含む。  FIG. 2 shows a schematic cross section through another exemplary embodiment of a surgical implant according to the invention. In the illustrated embodiment, the surgical implant includes a
  図3A及び3Bは、それぞれ本発明による外科用インプラントの別の例示的な実施形態を通した略断面を示す。図示された実施形態では、外科用インプラントは基材1を含み、その基材は外面及び基材の外面の上に配設された複数の層を有し、複数の層はバッファ層6を含む。1つの実施形態では、バッファ層は活性化基材表面層2の表面の少なくとも一部分の上に配設されている。別の実施形態では、バッファ層6は活性化基材表面層2とバルブ金属層3との間に配設されている。  3A and 3B each show a schematic cross-section through another exemplary embodiment of a surgical implant according to the present invention. In the illustrated embodiment, the surgical implant includes a
  図3Cは、図3Bに示されたバッファ層6の例示的な実施形態のより詳細な実例である。図示される通り、バッファ層6の例示的な実施形態は第1の材料7及び第2の材料8の複数の交互層を含む。1つの実施形態では、第1の材料7及び第2の材料8は同一にも又は異なるものにもできる。1つの実施形態では、第1の材料7は金属材料を含む。別の実施形態では、第2の材料8は金属材料の窒化物を含む。1つの実施形態では、第1の材料7は金属材料を含み及び第2の材料8は金属材料の窒化物を含む。1つの実施形態では、第1の材料7はTiを含む。1つの実施形態では、第1の材料7はCrを含む。なお別の実施形態では、第1の材料7はTi及びCrを含む。別の実施形態では、第2の材料はTiNを含む。別の実施形態では、第2の材料はCrNを含む。別の実施形態では、第2の材料はTiCを含む。別の実施形態では、第2の材料はCrCを含む。なお別の実施形態では、第2の材料はTiN、CrN、TiC及びCrCの1つ又は組み合わせを含む。  FIG. 3C is a more detailed illustration of the exemplary embodiment of the
  いくつかの実施形態では、バッファ層6は第1の金属材料の酸化物を含む第1の材料、第1の金属材料と同一又はそれとは異なるものである、第2の金属材料の窒化物を含む第2の材料、及び、例えば、Ta2O5/AlN/Auの第3の金属材料の複数の交互層を含む。In some embodiments, the
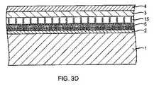
  図3Dは、本発明による外科用インプラントの別の例示的な実施形態を通しての概略断面を示す。図示された実施形態では、外科用インプラントは基材1を含み、その基材は外面及び基材の外面の上に配設された複数の層を有し、複数の層は導電性層15を含む。1つの実施形態では、導電性層15はバッファ層6とバルブ金属層3との間に配設される。別の実施形態では、導電性層は導電性の非酸化性金属を含む。1つの具体的な実施形態では、導電性層はAu、Pt、及びPdからなる群から独立して選択される導電性の非酸化性金属を含む。いくつかの実施形態では、導電性層は1000nm以下である厚みを有する。別の実施形態では、導電性層は100nm以下である厚みを有する。  FIG. 3D shows a schematic cross-section through another exemplary embodiment of a surgical implant according to the present invention. In the illustrated embodiment, the surgical implant includes a
  図4はオッセオインテグレーション表面処理を施したPEEKのようなポリマーで作られた例示的な骨アンカーを示す。図示された骨アンカーは、表面処理されたアンカー本体10、アンカー挿入ヘッド9、縫合糸用開口12及びスクリューリセス11を有する。  FIG. 4 shows an exemplary bone anchor made of a polymer such as PEEK with an osseointegration surface treatment. The illustrated bone anchor has a surface-treated
図5は外面20及び内面21が活性化された人間の脊柱から椎間板の摘出後に使用するための概略の外科用インプラントを示す。 FIG. 5 shows a schematic surgical implant for use after removal of the intervertebral disc from the human spine with the outer surface 20 and inner surface 21 activated.
  図6は本明細書に記載した実施形態に従った頭蓋冠の再建ための外科用インプラント30を示す。  FIG. 6 shows a
  図6は本明細書に記載した実施形態に従った頭蓋冠の再建のための人間の頭蓋骨35に相対的な外科用インプラント30を示す。  FIG. 6 shows a
本明細書の広義の発明概念から逸脱しないで上に示されかつ記載された例示的な実施形態に対して変更を行うことができることが当業者により認識されるであろう。従って、本発明は図示されかつ記載された例示的な実施形態に限定されないが、請求項により定義されるように本発明の精神及び範囲内の修正を網羅するように意図されることが理解される。例えば、例示的な実施形態の具体的な特徴は請求項に係る発明の一部であってもよいしそうでなくてもよい、また開示された実施形態の特徴は組み合わされてもよい。本明細書に特段の明記がない限り、用語「a」、「an」及び「the」は1つの要素に限定されるものでなく、「少なくとも1つの」を意味するものとして読まれるべきである。 It will be appreciated by those skilled in the art that modifications can be made to the exemplary embodiments shown and described above without departing from the broad inventive concepts herein. Accordingly, it is to be understood that the invention is not limited to the illustrated and described exemplary embodiments, but is intended to cover modifications within the spirit and scope of the invention as defined by the claims. The For example, specific features of the exemplary embodiments may or may not be part of the claimed invention, and features of the disclosed embodiments may be combined. Unless otherwise specified herein, the terms “a”, “an”, and “the” are not limited to one element, but should be read as meaning “at least one”. .
本発明の図面及び記載の少なくともいくつかは本発明の明確な理解のために適切である要素に焦点を合わせるように簡略化されてきたことは理解されるべきであるが、一方明確にするために、当業者が認める他の要素を取り除くことはまた本発明の一部分を構成してもよい。しかしながら、このような要素が当該技術分野において周知であるため、及びそれらが本発明のよりよい理解を必ずしも容易にするわけでないため、このような要素の記載は本明細書に提供されない。 It should be understood that at least some of the drawings and descriptions of the present invention have been simplified to focus on elements that are appropriate for a clear understanding of the present invention, whereas for clarity. In addition, removal of other elements recognized by those skilled in the art may also form part of the invention. However, a description of such elements is not provided herein because such elements are well known in the art and because they do not necessarily facilitate a better understanding of the present invention.
更に、本明細書に明記されている工程の特定の順序に依拠しないことの範囲内において、工程の特定の順序は請求項に対する制限と解釈されるべきでない。本発明の方法を対象とした請求項は、書かれた順序における工程の実行に限定されるべきでない、また当業者は工程が変わり得るものであってかつ本発明の精神及び範囲内に依然留まり得ることを容易に認識できる。 Further, within the scope of not relying on the specific order of steps specified herein, the specific order of steps should not be construed as a limitation on the claims. The claims directed to the method of the present invention should not be limited to the execution of the steps in the order written, and those skilled in the art can vary the steps and still remain within the spirit and scope of the present invention. You can easily recognize that you get.
〔実施の態様〕
(1)  外科用インプラントであって、
  基材であって、外面及び該基材の外面の上に配設される複数の層を有し、該基材はポリマー材料を含み、かつ
  該複数の層は、
  (i)活性化基材表面層と、
  (ii)バルブ金属層と、
  (iii)多孔質バルブ金属酸化物層と、
  を含み、
  前記バルブ金属層が前記活性化基材層と前記多孔質バルブ金属酸化物層との間に配設されている、基材を含む、外科用インプラント。
(2)  前記基材の前記ポリマー材料が、サーモポリマー材料(thermopolymeric material)である、実施態様1に記載の外科用インプラント。
(3)  前記ポリマー材料が、ポリアリールエーテルケトン(PAEK)材料である、実施態様1に記載の外科用インプラント。
(4)  前記バルブ金属層が、チタン、タングステン、アルミニウム、ハフニウム、ニオビウム、タンタル及びジルコニウムからなる群から独立して選択される金属から形成される、実施態様1〜3のいずれかに記載の外科用インプラント。
(5)  前記多孔質バルブ金属酸化物層が、非晶質リン酸カルシウム組成物を含む、実施態様1〜4のいずれかに記載の外科用インプラント。Embodiment
 (1) a surgical implant,
 A substrate having an outer surface and a plurality of layers disposed on the outer surface of the substrate, the substrate comprising a polymeric material, and the plurality of layers comprising:
 (I) an activated substrate surface layer;
 (Ii) a valve metal layer;
 (Iii) a porous valve metal oxide layer;
 Including
 A surgical implant comprising a substrate, wherein the valve metal layer is disposed between the activated substrate layer and the porous valve metal oxide layer.
 (2) The surgical implant according to
 (3) The surgical implant of
 (4) The surgery according to any of embodiments 1-3, wherein the valve metal layer is formed from a metal independently selected from the group consisting of titanium, tungsten, aluminum, hafnium, niobium, tantalum and zirconium. Implant.
 (5) The surgical implant according to any of embodiments 1-4, wherein the porous valve metal oxide layer comprises an amorphous calcium phosphate composition.
(6)  前記複数の層が、バッファ層を更に含み、前記バッファ層が、前記活性化基材表面層と前記バルブ金属層との間に配設される、実施態様1〜5のいずれかに記載の外科用インプラント。
(7)  前記バッファ層が、第1の材料及び第2の材料の複数の交互層を含む、実施態様6に記載の外科用インプラント。
(8)  前記第1の材料が、金属材料を含み、前記第2の材料が、前記金属材料の窒化物及び/又は炭化物を含む、実施態様7に記載の外科用インプラント。
(9)  前記第1の材料が、Ti及びCrを含み、前記第2の材料が、TiN、CrN、TiC、CrC及びそれらの混合物からなる群から独立して選択される組み合わせを含む、実施態様7又は8のいずれかに記載の外科用インプラント。
(10)  各交互層が、10nm〜100nmの範囲の厚みを有する、実施態様7〜9のいずれかに記載の外科用インプラント。(6) In any one of
 The surgical implant of
 (8) The surgical implant according to embodiment 7, wherein the first material comprises a metallic material and the second material comprises a nitride and / or carbide of the metallic material.
 (9) The embodiment in which the first material includes Ti and Cr, and the second material includes a combination independently selected from the group consisting of TiN, CrN, TiC, CrC, and mixtures thereof. The surgical implant according to any of 7 or 8.
 (10) The surgical implant according to any of embodiments 7-9, wherein each alternating layer has a thickness in the range of 10-100 nm.
(11)  前記バッファ層が、結晶質又は非晶質材料を含む、実施態様6に記載の外科用インプラント。
(12)  前記結晶質又は非晶質材料が、TiO2、Ta2O5、Nb2O5、ZrO2、SiO2、RuO2、又はMoO2、MoO3、VO、VO2、V2O3、V2O5、CrO2O3、CrO3、及びそれらの組み合わせからなる群から独立して選択される、実施態様11に記載の外科用インプラント。
(13)  前記バッファ層が、第1の材料、第2の材料及び第3の材料の複数の交互層を含む、実施態様6に記載の外科用インプラント。
(14)  前記第1の材料が、Ta2O5であり、前記第2の材料がAlNでありかつ前記第3の材料がAuである、実施態様13に記載の外科用インプラント。
(15)  前記バッファ層が、100nm〜1000nmの範囲の厚みを有する、実施態様6〜14のいずれかに記載の外科用インプラント。(11) The surgical implant of
 (12) The crystalline or amorphous material is TiO2 , Ta2 O5 , Nb2 O5 , ZrO2 , SiO2 , RuO2 , or MoO2 , MoO3 , VO, VO2 , V2 O. The surgical implant according to
 The surgical implant of
 (14) The surgical implant according to embodiment 13, wherein the first material is Ta2 O5 , the second material is AlN, and the third material is Au.
 (15) The surgical implant according to any of embodiments 6-14, wherein the buffer layer has a thickness in the range of 100 nm to 1000 nm.
(16)  前記基材が、強化ポリアリールエーテルケトン(PAEK)を含む、実施態様1〜15のいずれかに記載の外科用インプラント。
(17)  前記ポリアリールエーテルケトン(PAEK)は、ポリエーテルケトン(PEK)、ポリエーテルエーテルケトン(PEEK),ポリエーテルケトンケトン(PEKK),ポリエーテルエーテルケトンケトン(PEEKK)及びポリエーテルケトンエーテルケトンケトン(PEKEKK)からなる群から独立して選択される、実施態様3〜16のいずれかに記載の外科用インプラント。
(18)  前記複数の層が、前記基材の外面を実質的に被覆する、実施態様1〜17のいずれかに記載の外科用インプラント。
(19)  前記多孔質バルブ金属酸化物層が銀塩層で被覆される、実施態様1〜18のいずれかに記載の外科用インプラント。
(20)  前記基材が、Zr、ZrO2、ZnO、Ba、BaSO4、Ta、Ta2O5、Au、Nb、Nb2O5、Bi、Bi2O3、及びそれらの組み合わせからなる群から独立して選択される放射線不透過性材料を含む、実施態様1〜19のいずれかに記載の外科用インプラント。(16) The surgical implant according to any of embodiments 1-15, wherein the substrate comprises reinforced polyaryletherketone (PAEK).
 (17) The polyaryl ether ketone (PAEK) includes polyether ketone (PEK), polyether ether ketone (PEEK), polyether ketone ketone (PEKK), polyether ether ketone ketone (PEEKK), and polyether ketone ether ketone. The surgical implant according to any of embodiments 3-16, independently selected from the group consisting of ketones (PEKEKK).
 (18) The surgical implant according to any of embodiments 1-17, wherein the plurality of layers substantially cover an outer surface of the substrate.
 (19) The surgical implant according to any of embodiments 1-18, wherein the porous valve metal oxide layer is coated with a silver salt layer.
 (20) The group in which the base material is made of Zr, ZrO2 , ZnO, Ba, BaSO4 , Ta, Ta2 O5 , Au, Nb, Nb2 O5 , Bi, Bi2 O3 , and combinations thereof. The surgical implant according to any of embodiments 1-19, comprising a radiopaque material selected independently from.
(21)  前記複数の層が、前記活性化基材表面層と前記バルブ金属層との間に配設されたポリシラン層を更に含む、実施態様1〜20のいずれかに記載の外科用インプラント。
(22)  前記複数の層が、導電性の非酸化性金属から形成される導電性層を更に含む、実施態様1〜21のいずれかに記載の外科用インプラント。
(23)  前記導電性の非酸化性金属が、Au、Pt、Pd、及びそれらの組み合わせからなる群から独立して選択される、実施態様22に記載の外科用インプラント。
(24)  前記導電性層が、100nm〜1000nmの範囲の厚みを有する、実施態様22及び23のいずれかに記載の外科用インプラント。
(25)  スクリュー、ピン、ロッド、プレート、釘、骨アンカー、ケーブルタイ、角錐又はスパイク又はキール付きプレート、解剖学的3Dプレート、複合骨置換構造体、及び足場からなる群から独立して選択される形状を有する、実施態様1〜24のいずれかに記載の外科用インプラント。(21) The surgical implant according to any of embodiments 1-20, wherein the plurality of layers further comprises a polysilane layer disposed between the activated substrate surface layer and the valve metal layer.
 (22) The surgical implant according to any of embodiments 1-21, wherein the plurality of layers further comprises a conductive layer formed from a conductive non-oxidizing metal.
 23. The surgical implant of embodiment 22, wherein the conductive non-oxidizing metal is independently selected from the group consisting of Au, Pt, Pd, and combinations thereof.
 (24) The surgical implant according to any of embodiments 22 and 23, wherein the conductive layer has a thickness in the range of 100 nm to 1000 nm.
 (25) independently selected from the group consisting of screws, pins, rods, plates, nails, bone anchors, cable ties, pyramids or spiked or keeled plates, anatomical 3D plates, composite bone replacement structures, and scaffolds 25. The surgical implant according to any of embodiments 1-24, having a shape of
(26)  前記多孔質バルブ金属酸化物層が、約0.1μm〜約10μmの範囲のサイズ、及び約10,000孔/mm2〜約500,000孔/mm2の範囲の孔密度を備えた孔を有する、実施態様1〜25のいずれかに記載の外科用インプラント。
(27)  複数の層を含むポリマー外科用インプラント用コーティングであって、外側コーティング層が約0.1μm〜約10μmの範囲のサイズ及び約10,000孔/mm2〜約500,000孔/mm2の範囲の孔密度を備えた孔を有し、該外側コーティング層がTi、O、Ca、及びPの元素又はイオンを更に含む、コーティング。
(28)  前記ポリマー外科用インプラントが、ポリアリールエーテルケトン(PAEK)外科用インプラントである、実施態様27に記載のコーティング。
(29)  実施態様1〜28のいずれかに記載のポリマー外科用インプラントを作製する方法であって、
  A)1つ又は2つ以上のプロセスにより前記基材の外面を処理することにより、活性化基材表面層を作製する工程であって、前記1つ又は2つ以上のプロセスが、
    (i)プラズマ活性化、
    (ii)電子ビーム照射、
    (iii)紫外光、及び
    (iv)低エネルギーAr+イオンビーム照射、
  を含む、工程と、
  B)前記活性化基材表面層の上に複数の層を塗布する工程であって、少なくとも1つの層は約1nm〜約20μmの厚みで塗布されたバルブ金属層を含む、工程と、
  C)前記バルブ金属層の表面を陽極酸化プロセスにより変換することにより約2μm〜約10μmの厚みを有する多孔質バルブ金属酸化物層を形成する工程と、
  を含む方法。
(30)  前記陽極酸化プロセスが、多孔質バルブ金属酸化物の層へのCa及びPイオンを含有するアルカリ浴内で行われるスパーク陽極酸化プロセスであり、前記多孔質バルブ金属酸化物層は非晶質リン酸カルシウムを含有する、実施態様29に記載の方法。(26) the porous valve metal oxide layer having a size in the range of about 0.1 μm to about 10 μm and a pore density in the range of about 10,000 pores / mm2 to about 500,000 pores / mm2. The surgical implant according to any of embodiments 1-25, comprising:
 (27) A polymeric surgical implant coating comprising a plurality of layers, wherein the outer coating layer has a size ranging from about 0.1 μm to about 10 μm and from about 10,000 holes / mm2 to about 500,000 holes / mm.A coating having pores with a pore density in the range of2 , wherein the outer coating layer further comprises Ti, O, Ca, and P elements or ions.
 28. The coating of embodiment 27, wherein the polymer surgical implant is a polyaryletherketone (PAEK) surgical implant.
 (29) A method of making a polymer surgical implant according to any of embodiments 1-28, comprising:
 A) Creating an activated substrate surface layer by treating the outer surface of the substrate by one or more processes, wherein the one or more processes comprise:
 (I) plasma activation,
 (Ii) electron beam irradiation,
 (Iii) ultraviolet light, and (iv) low energy Ar + ion beam irradiation,
 Including a process,
 B) applying a plurality of layers on the activated substrate surface layer, wherein at least one layer comprises a valve metal layer applied in a thickness of about 1 nm to about 20 μm;
 C) forming a porous valve metal oxide layer having a thickness of about 2 μm to about 10 μm by converting the surface of the valve metal layer by an anodic oxidation process;
 Including methods.
 (30) The anodic oxidation process is a spark anodic oxidation process performed in an alkaline bath containing Ca and P ions to the porous valve metal oxide layer, and the porous valve metal oxide layer is amorphous. 30. The method according to embodiment 29, comprising quality calcium phosphate.
(31)  前記陽極酸化プロセスが、酸性媒質内で行われるカラー陽極酸化プロセスである、実施態様29及び30のいずれかに記載の方法。
(32)  前記バルブ金属層の塗布に先行して前記活性化基材表面層の上にバッファ層を塗布する工程を、更に含む、実施態様29〜31のいずれかに記載の方法。
(33)  前記バッファ層を塗布することが、第1の材料層及び第2の材料層の複数の交互層を塗布することを含む、実施態様32に記載の方法。
(34)  前記複数の層が、前記活性化基材表面層を実質的に被覆するように塗布される、実施態様29〜33のいずれかに記載の方法。
(35)  前記活性化基材表面層と前記バッファ層との間に接着層を塗布することを更に含む、実施態様29〜34のいずれかに記載の方法。31. A method according to any of
 (32) A method according to any of embodiments 29-31, further comprising the step of applying a buffer layer on the activated substrate surface layer prior to application of the valve metal layer.
 33. The method of embodiment 32, wherein applying the buffer layer comprises applying a plurality of alternating layers of a first material layer and a second material layer.
 (34) A method according to any of embodiments 29-33, wherein the plurality of layers are applied to substantially cover the activated substrate surface layer.
 (35) A method according to any of embodiments 29-34, further comprising applying an adhesive layer between the activated substrate surface layer and the buffer layer.
(36)  前記陽極酸化プロセスに先行して前記バルブ金属層の下に導電性層を形成するために導電性の非酸化性金属を塗布することを更に含む、実施態様29〜35のいずれかに記載の方法。
(37)  前記ポリマー外科用インプラントが、ポリアリールエーテルケトン(PAEK)外科用インプラントであり、前記PAEKが、PAEK、ポリエーテルケトン(PEK)、ポリエーテルエーテルケトン(PEEK)、ポリエーテルケトンケトン(PEKK)、ポリエーテルエーテルケトンケトン(PEEKK)及びポリエーテルケトンエーテルケトンケトン(PEKEKK)からなる群から独立して選択される、実施態様29〜36のいずれかに記載の方法。
(38)  前記多孔質バルブ金属酸化物層の上に銀塩のコーティングを塗布する追加工程を更に含む、実施態様29〜37のいずれかに記載の方法。
(39)  前記バルブ金属層が、カソードアーク蒸着、マグネトロンスパッタリング物理蒸着、パルスレーザ蒸着、電子ビーム物理蒸着、ハイパワーインパルスマグネトロンスパッタリング、フィルタ処理真空アーク蒸着、金属プラズマ浸漬イオン注入及び蒸着、金属蒸気真空アーク注入(metal vapor vacuum arc implantation)及びプラズマ支援化学蒸着からなる群から独立して選択されるプロセスにより塗布される、実施態様29〜38のいずれかに記載の方法。
(40)  前記バルブ金属層が、Ti化合物を含有する溶液内でディップコーティング又はスピンコーティングにより塗布される、実施態様29〜38のいずれかに記載の方法。36. The embodiment of any of embodiments 29-35, further comprising applying a conductive non-oxidizing metal to form a conductive layer under the valve metal layer prior to the anodizing process. The method described.
 (37) The polymer surgical implant is a polyaryletherketone (PAEK) surgical implant, and the PAEK is PAEK, polyetherketone (PEK), polyetheretherketone (PEEK), polyetherketoneketone (PEKK). ), Polyetheretherketoneketone (PEEKK) and polyetherketoneetherketoneketone (PEKEKK). 37. The method according to any of embodiments 29-36.
 38. A method according to any of embodiments 29-37, further comprising the additional step of applying a silver salt coating on the porous valve metal oxide layer.
 (39) The valve metal layer is cathode arc vapor deposition, magnetron sputtering physical vapor deposition, pulsed laser vapor deposition, electron beam physical vapor deposition, high power impulse magnetron sputtering, filtered vacuum arc vapor deposition, metal plasma immersion ion implantation and vapor deposition, metal vapor vacuum. 39. The method according to any of embodiments 29-38, wherein the method is applied by a process independently selected from the group consisting of metal vapor vacuum arc implantation and plasma assisted chemical vapor deposition.
 (40) A method according to any of embodiments 29-38, wherein the valve metal layer is applied by dip coating or spin coating in a solution containing a Ti compound.
| Application Number | Priority Date | Filing Date | Title | 
|---|---|---|---|
| US201161492985P | 2011-06-03 | 2011-06-03 | |
| US61/492,985 | 2011-06-03 | ||
| PCT/US2012/040437WO2012167063A1 (en) | 2011-06-03 | 2012-06-01 | Surgical implant | 
| Publication Number | Publication Date | 
|---|---|
| JP2014523279A JP2014523279A (en) | 2014-09-11 | 
| JP2014523279A5 JP2014523279A5 (en) | 2015-07-02 | 
| JP6054378B2true JP6054378B2 (en) | 2016-12-27 | 
| Application Number | Title | Priority Date | Filing Date | 
|---|---|---|---|
| JP2014513740AExpired - Fee RelatedJP6054378B2 (en) | 2011-06-03 | 2012-06-01 | Surgical implant | 
| Country | Link | 
|---|---|
| US (2) | US9283303B2 (en) | 
| EP (1) | EP2714110B1 (en) | 
| JP (1) | JP6054378B2 (en) | 
| KR (1) | KR101951635B1 (en) | 
| CN (1) | CN103561787B (en) | 
| BR (1) | BR112013030971B1 (en) | 
| CA (1) | CA2838017C (en) | 
| TW (1) | TWI546090B (en) | 
| WO (1) | WO2012167063A1 (en) | 
| Publication number | Priority date | Publication date | Assignee | Title | 
|---|---|---|---|---|
| CN111074226A (en)* | 2020-02-10 | 2020-04-28 | 兰州理工大学 | Carbon-based composite film and preparation method thereof | 
| Publication number | Priority date | Publication date | Assignee | Title | 
|---|---|---|---|---|
| WO2015095745A1 (en) | 2010-10-20 | 2015-06-25 | 206 Ortho, Inc. | Method and apparatus for treating bone fractures, and/or for fortifying and/or augmenting bone, including the provision and use of composite implants, and novel composite structures which may be used for medical and non-medical applications | 
| US11484627B2 (en) | 2010-10-20 | 2022-11-01 | 206 Ortho, Inc. | Method and apparatus for treating bone fractures, and/or for fortifying and/or augmenting bone, including the provision and use of composite implants, and novel composite structures which may be used for medical and non-medical applications | 
| US10525169B2 (en) | 2010-10-20 | 2020-01-07 | 206 Ortho, Inc. | Method and apparatus for treating bone fractures, and/or for fortifying and/or augmenting bone, including the provision and use of composite implants, and novel composite structures which may be used for medical and non-medical applications | 
| EP2629780A4 (en) | 2010-10-20 | 2014-10-01 | 206 Ortho Inc | Implantable polymer for bone and vascular lesions | 
| US11207109B2 (en) | 2010-10-20 | 2021-12-28 | 206 Ortho, Inc. | Method and apparatus for treating bone fractures, and/or for fortifying and/or augmenting bone, including the provision and use of composite implants, and novel composite structures which may be used for medical and non-medical applications | 
| WO2019217748A1 (en)* | 2018-05-09 | 2019-11-14 | 206 Ortho, Inc. | Method and apparatus for treating bone fractures, and/or for fortifying and/or augmenting bone, including the provision and use of composite implants, and novel composite structures which may be used for medical and non-medical applications | 
| US11058796B2 (en) | 2010-10-20 | 2021-07-13 | 206 Ortho, Inc. | Method and apparatus for treating bone fractures, and/or for fortifying and/or augmenting bone, including the provision and use of composite implants, and novel composite structures which may be used for medical and non-medical applications | 
| US11291483B2 (en) | 2010-10-20 | 2022-04-05 | 206 Ortho, Inc. | Method and apparatus for treating bone fractures, and/or for fortifying and/or augmenting bone, including the provision and use of composite implants | 
| JP6054378B2 (en) | 2011-06-03 | 2016-12-27 | シンセス・ゲーエムベーハーSynthes GmbH | Surgical implant | 
| EP2819620A4 (en) | 2012-02-29 | 2015-11-04 | 206 Ortho Inc | METHOD AND DEVICE FOR TREATING BONE BREAKS USING COMPOUND IMPLANTS | 
| CN103225067A (en)* | 2013-05-20 | 2013-07-31 | 中国科学院上海硅酸盐研究所 | Method for modifying polyetheretherketone surface by implanting calcium ions | 
| CN103242551B (en)* | 2013-05-20 | 2015-02-25 | 中国科学院上海硅酸盐研究所 | Method for injecting titanium ions to modify surface of polyether-ether-ketone | 
| JP2016525379A (en) | 2013-05-23 | 2016-08-25 | 206 オーソ,インコーポレーテッド | Methods and apparatus for treating fractures and / or for reinforcing and / or augmenting bone, including the provision and use of composite implants | 
| US10000843B2 (en)* | 2013-09-13 | 2018-06-19 | DePuy Synthes Products, Inc. | Coating process for non-conductive substrates and devices made from the coating process | 
| CN103526259B (en)* | 2013-10-08 | 2016-08-17 | 广州市健齿生物科技有限公司 | A kind of titanium alloy operating theater instruments process of surface treatment | 
| CN103614699B (en)* | 2013-12-16 | 2015-11-18 | 中国科学院上海硅酸盐研究所 | Inject the method for tantalum ion to surface of polyether-ether-ketone and the polyetheretherketonematerials materials of modification | 
| CN103816569B (en)* | 2014-02-28 | 2016-05-11 | 丹阳纳瑞康纳米科技有限公司 | The method of the implant medical material of a kind of gas phase Ag nano particle processing | 
| JP2015229792A (en)* | 2014-06-05 | 2015-12-21 | オリンパス株式会社 | Implant and production method thereof | 
| WO2016109481A2 (en) | 2014-12-30 | 2016-07-07 | DePuy Synthes Products, Inc. | Coatings for surgical instruments | 
| KR102383501B1 (en)* | 2015-01-08 | 2022-04-07 | 삼성전자주식회사 | Multi-layer thin film, method of manufacturing the same, and electronic product including the same | 
| CN105963775B (en)* | 2016-06-21 | 2018-12-14 | 太仓碧奇新材料研发有限公司 | Samarium manganese cobalt alloy/polyurethane timbering material preparation method | 
| CN105920664B (en)* | 2016-06-21 | 2019-04-02 | 太仓碧奇新材料研发有限公司 | Praseodymium iron-nickel alloy/polystyrene holder material preparation method | 
| CN106075569B (en)* | 2016-06-21 | 2018-12-14 | 太仓碧奇新材料研发有限公司 | Terbium manganese-nickel/polyether-ether-ketone timbering material preparation method | 
| CN105999402B (en)* | 2016-06-21 | 2018-12-14 | 太仓碧奇新材料研发有限公司 | Gadolinium molybdenum cobalt alloy/polyamide timbering material preparation method | 
| CN105920665B (en)* | 2016-06-21 | 2018-12-14 | 太仓碧奇新材料研发有限公司 | Europium tin-cobalt alloy/polytetrafluoroethylene (PTFE) timbering material preparation method | 
| CN106390191B (en)* | 2016-06-21 | 2019-06-04 | 太仓碧奇新材料研发有限公司 | Preparation method of holmium tungsten cobalt alloy/polysiloxane stent material | 
| CN105920666B (en)* | 2016-06-21 | 2019-04-02 | 太仓碧奇新材料研发有限公司 | Lanthanum tungsten nickel/polycarbonate support material preparation method | 
| CN106039399B (en)* | 2016-06-21 | 2018-12-14 | 太仓碧奇新材料研发有限公司 | Dysprosium Mo-Ni alloy/polymethyl methacrylate timbering material preparation method | 
| CN107773782A (en)* | 2016-08-24 | 2018-03-09 | 上海双申医疗器械股份有限公司 | It is a kind of to put forward high purity titanium and the method for titanium alloy surface cytocompatibility and biocidal property | 
| EP3292877A1 (en)* | 2016-09-09 | 2018-03-14 | Universität Basel | Implant or osteosynthesis and method for producing the same | 
| WO2020067500A1 (en)* | 2018-09-28 | 2020-04-02 | 株式会社三菱ケミカルホールディングス | Antimicrobial material, layered body, antimicrobial layered body, medical member, antimicrobial material production method, antimicrobial layered body production method, and antimicrobial method | 
| CN109338252B (en)* | 2018-11-30 | 2020-11-06 | 昆明理工大学 | Zirconium-based porous amorphous alloy and preparation method thereof | 
| CN109852943B (en)* | 2019-03-15 | 2020-06-09 | 成都理工大学 | Preparation method and product of CrN coating on the surface of zirconium alloy for nuclear use | 
| CN110393821B (en)* | 2019-08-01 | 2020-10-02 | 西北有色金属研究院 | Artificial implant co-modified by porous zinc oxide and tantalum oxide coating and preparation method thereof | 
| CN110499493B (en)* | 2019-08-30 | 2021-08-31 | 西安工程大学 | A method for preparing Ta2O5@Ag biphasic micro-nano structures that can inhibit bactericidal activity | 
| Publication number | Priority date | Publication date | Assignee | Title | 
|---|---|---|---|---|
| GB2189815B (en) | 1986-03-24 | 1990-10-10 | Permelec Electrode Ltd | Titanium composite materials coated with calcium phosphate compound and process for production thereof | 
| JP2956318B2 (en) | 1991-10-07 | 1999-10-04 | 三菱マテリアル株式会社 | Implant made of Ti or Ti alloy coated with calcium phosphate-based ceramic layer and method for producing the same | 
| JPH05202207A (en) | 1992-01-28 | 1993-08-10 | Yokohama Rubber Co Ltd:The | Method of surface-treating molded object of polyetheretherketone resin | 
| JPH0817894B2 (en)* | 1992-01-29 | 1996-02-28 | 株式会社栗田機械製作所 | Filter press filtration method | 
| US5242880A (en) | 1992-05-27 | 1993-09-07 | Eastman Kodak Company | Photoactive catalyst of barium phosphate or calcium phosphate supported on anatase titanium dioxide | 
| US6509098B1 (en)* | 1995-11-17 | 2003-01-21 | Massachusetts Institute Of Technology | Poly(ethylene oxide) coated surfaces | 
| US6129928A (en)* | 1997-09-05 | 2000-10-10 | Icet, Inc. | Biomimetic calcium phosphate implant coatings and methods for making the same | 
| SE513556C2 (en)* | 1997-11-11 | 2000-10-02 | Nobel Biocare Ab | Implant element with thin surface applied by hot isostatic pressing | 
| DE19830530A1 (en) | 1998-07-08 | 2000-01-13 | Merck Patent Gmbh | Production of titanium surfaces coated with calcium phosphate, especially for making medical prostheses or implants | 
| US6322588B1 (en) | 1999-08-17 | 2001-11-27 | St. Jude Medical, Inc. | Medical devices with metal/polymer composites | 
| JP2001259017A (en) | 2000-03-19 | 2001-09-25 | Fumio Watari | Calcium phosphate-titanium-based composite material for biomaterial and method of manufacturing the same | 
| US7048541B2 (en)* | 2000-04-04 | 2006-05-23 | Nobel Biocare Ab | Implant having attachment and hole-insert parts, and method for producing such an implant | 
| ATE278427T1 (en)* | 2001-04-02 | 2004-10-15 | Stratec Medical Ag | BIOACTIVE SURFACE LAYER, ESPECIALLY FOR MEDICAL IMPLANTS AND PROStheses | 
| AU2002309523A1 (en)* | 2001-04-02 | 2002-10-15 | Radiovascular, Inc. | A brachytherapy device and method of use | 
| EP1293219A1 (en) | 2001-09-17 | 2003-03-19 | Matthias Prof. Dr. Epple | Biomedical product with a substrate comprising a nickel-titanium alloy and a coating layer comprising calcium phosphate | 
| US20040210289A1 (en) | 2002-03-04 | 2004-10-21 | Xingwu Wang | Novel nanomagnetic particles | 
| KR20040015854A (en) | 2002-08-14 | 2004-02-21 | 박영준 | Improvement of calcium phosphate formation in simulated body fluid by polarizing barium titanate thin film on titanium substrate | 
| US6974532B2 (en) | 2003-05-01 | 2005-12-13 | New York University | Method for producing adherent coatings of calcium phosphate phases on titanium and titanium alloy substrates by electrochemical deposition | 
| US6807048B1 (en)* | 2003-05-30 | 2004-10-19 | Medtronic, Inc. | Electrolytic capacitor for use in an implantable medical device | 
| US6801424B1 (en)* | 2003-05-30 | 2004-10-05 | Medtronic, Inc. | Electrolytic capacitor for use in an implantable medical device | 
| US7309232B2 (en)* | 2003-10-10 | 2007-12-18 | Dentigenix Inc. | Methods for treating dental conditions using tissue scaffolds | 
| US7687102B2 (en)* | 2003-10-23 | 2010-03-30 | Medtronic, Inc. | Methods and apparatus for producing carbon cathodes | 
| US20050089711A1 (en)* | 2003-10-23 | 2005-04-28 | Joachim Hossick-Schott | Methods of producing carbon layers on titanium metal | 
| US20050100578A1 (en)* | 2003-11-06 | 2005-05-12 | Schmid Steven R. | Bone and tissue scaffolding and method for producing same | 
| JP2007512874A (en) | 2003-11-18 | 2007-05-24 | スパイナル・エレメンツ・インコーポレーテッド | Osteoconductive integrated spinal cage and method of making same | 
| DE10361942A1 (en) | 2003-12-24 | 2005-07-21 | Restate Patent Ag | Radioopaque marker for medical implants | 
| US20060091020A1 (en)* | 2004-10-29 | 2006-05-04 | Medtronic, Inc. | Processes and systems for formation of high voltage, anodic oxide on a valve metal anode | 
| AU2005276980B2 (en)* | 2004-08-25 | 2011-04-21 | Microvention, Inc. | Thermal detachment system for implantable devices | 
| GB0422666D0 (en) | 2004-10-12 | 2004-11-10 | Benoist Girard Sas | Prosthetic acetabular cups | 
| RU2291918C1 (en) | 2005-05-31 | 2007-01-20 | Институт физики прочности и материаловедения Сибирского отделения Российской академии наук (ИФПМ СО РАН) | Calcium phosphate coating for titanium and its alloys, method for forming such coating | 
| US8518123B2 (en)* | 2005-09-09 | 2013-08-27 | Board Of Trustees Of The University Of Arkansas | System and method for tissue generation and bone regeneration | 
| US7491246B2 (en)* | 2006-03-31 | 2009-02-17 | Medtronic, Inc. | Capacitor electrodes produced with atomic layer deposition for use in implantable medical devices | 
| ITBO20070436A1 (en)* | 2007-06-22 | 2008-12-23 | Azionaria Materiale Ospeda Lie | METHOD FOR PRODUCING SURFACES FOR METALLIC MANUALS | 
| RU2348744C1 (en) | 2007-07-11 | 2009-03-10 | Институт химии Дальневосточного отделения Российской академии наук (статус государственного учреждения) (Институт химии ДВО РАН) | Method of calcium-phosphate coating of titanium and titanium alloy implants | 
| ATE538816T1 (en)* | 2007-08-20 | 2012-01-15 | Smith & Nephew | METHOD FOR PRODUCING A BIOACTIVE IMPLANT | 
| WO2009029507A1 (en)* | 2007-08-24 | 2009-03-05 | Nanovis, Inc. | A method for producing nanostructures on a surface of a medical implant | 
| SE531779C2 (en) | 2007-11-26 | 2009-08-04 | Promimic Ab | Preparation of nano-sized calcium phosphate particles as powder or coating via bifunctional precursors | 
| JP5207480B2 (en) | 2008-05-30 | 2013-06-12 | 株式会社ナントー精密 | Implant body, manufacturing method thereof and dental implant | 
| CN102049064B (en) | 2009-11-06 | 2016-08-03 | 中国科学院上海硅酸盐研究所 | A kind of silicon doping porous nanometer titanium oxide and preparation method thereof | 
| WO2011150103A2 (en)* | 2010-05-25 | 2011-12-01 | 3M Innovative Properties Company | Antimicrobial–coated medical articles | 
| CN101880890A (en) | 2010-07-08 | 2010-11-10 | 电子科技大学 | Electrochemical Method for Preparation of Hydroxyapatite/Zirconium Oxide Gradient Coating on Medical Titanium Surface | 
| CN101879332A (en)* | 2010-07-13 | 2010-11-10 | 北京大学 | Polyether ether ketone composite material containing fluoroapatite and titanium dioxide and preparation method thereof | 
| CN102008751B (en) | 2010-11-24 | 2014-01-08 | 北京道淼浩博科技发展有限公司 | A kind of biodegradable scaffold composite material and preparation method thereof | 
| JP6054378B2 (en)* | 2011-06-03 | 2016-12-27 | シンセス・ゲーエムベーハーSynthes GmbH | Surgical implant | 
| Publication number | Priority date | Publication date | Assignee | Title | 
|---|---|---|---|---|
| CN111074226A (en)* | 2020-02-10 | 2020-04-28 | 兰州理工大学 | Carbon-based composite film and preparation method thereof | 
| CN111074226B (en)* | 2020-02-10 | 2021-02-02 | 兰州理工大学 | A kind of carbon-based composite film and preparation method thereof | 
| Publication number | Publication date | 
|---|---|
| CN103561787B (en) | 2016-08-17 | 
| CN103561787A (en) | 2014-02-05 | 
| BR112013030971B1 (en) | 2019-10-22 | 
| TWI546090B (en) | 2016-08-21 | 
| US9702037B2 (en) | 2017-07-11 | 
| KR101951635B1 (en) | 2019-02-25 | 
| CA2838017A1 (en) | 2012-12-06 | 
| WO2012167063A1 (en) | 2012-12-06 | 
| TW201311301A (en) | 2013-03-16 | 
| JP2014523279A (en) | 2014-09-11 | 
| US20120310368A1 (en) | 2012-12-06 | 
| BR112013030971A2 (en) | 2016-11-29 | 
| KR20140033197A (en) | 2014-03-17 | 
| US9283303B2 (en) | 2016-03-15 | 
| US20160194746A1 (en) | 2016-07-07 | 
| EP2714110B1 (en) | 2018-03-21 | 
| CA2838017C (en) | 2019-08-27 | 
| EP2714110A1 (en) | 2014-04-09 | 
| Publication | Publication Date | Title | 
|---|---|---|
| JP6054378B2 (en) | Surgical implant | |
| CN105939691B (en) | Spinal implant for interbody applications | |
| Cristea et al. | Tantalum based materials for implants and prostheses applications | |
| WO2007108450A1 (en) | Biodegradable magnesium material for medical use | |
| US20110171600A1 (en) | Bio-Implant Having a Screw Body with Nanoporous Spiral Groove and the Method of Making the Same | |
| KR101701264B1 (en) | Metal for transplantation, manufacturing method for metal, implant and stent using the same | |
| Furko et al. | Development and characterization of silver and zinc doped bioceramic layer on metallic implant materials for orthopedic application | |
| Zhang et al. | Fabrication of graded TiN coatings on nitinol occluders and effects on in vivo nickel release | |
| US20040236338A1 (en) | Implant | |
| CN102958470B (en) | Self-separating layer for easy implant removal | |
| CN201379820Y (en) | Biological activity coating implantation high-intensity titanium alloy wire for breastbone closure | |
| Yuvaraj et al. | A comprehensive analysis of bioimplant manufacturing advancements: a state-of-the-art review | |
| WO2018046655A1 (en) | Implant or osteosynthesis device and method for the production thereof | |
| KR102331708B1 (en) | PEEK substrate with HA coating layer of porous nanocomposite structure | |
| KR101509322B1 (en) | Membrane for dental implants and method for manufacturing thereof | |
| EP3052054B1 (en) | Spinal implant for interbody use | |
| Iwasaki et al. | Bone-Bonding Ability of Anodized Titanium Plate Loaded With Hydroxyapatite Particles | |
| Tsui | Calcium phosphate coatings on coronary stents by electrochemical deposition | |
| Ştirbu et al. | Electrochemical deposition of hydroxyapatite (HA) on titanium alloys for the implant surface bio-functionalization | |
| HK1228241A1 (en) | Spinal implant for interbody use | |
| RO128190B1 (en) | Method for making a mesh made of titanium covered with hydroxyapatite | |
| HK1228241B (en) | Spinal implant for interbody use | 
| Date | Code | Title | Description | 
|---|---|---|---|
| A521 | Request for written amendment filed | Free format text:JAPANESE INTERMEDIATE CODE: A523 Effective date:20150512 | |
| A621 | Written request for application examination | Free format text:JAPANESE INTERMEDIATE CODE: A621 Effective date:20150512 | |
| A131 | Notification of reasons for refusal | Free format text:JAPANESE INTERMEDIATE CODE: A131 Effective date:20160315 | |
| A521 | Request for written amendment filed | Free format text:JAPANESE INTERMEDIATE CODE: A523 Effective date:20160614 | |
| TRDD | Decision of grant or rejection written | ||
| A01 | Written decision to grant a patent or to grant a registration (utility model) | Free format text:JAPANESE INTERMEDIATE CODE: A01 Effective date:20161115 | |
| A61 | First payment of annual fees (during grant procedure) | Free format text:JAPANESE INTERMEDIATE CODE: A61 Effective date:20161130 | |
| R150 | Certificate of patent or registration of utility model | Ref document number:6054378 Country of ref document:JP Free format text:JAPANESE INTERMEDIATE CODE: R150 | |
| R250 | Receipt of annual fees | Free format text:JAPANESE INTERMEDIATE CODE: R250 | |
| R250 | Receipt of annual fees | Free format text:JAPANESE INTERMEDIATE CODE: R250 | |
| R250 | Receipt of annual fees | Free format text:JAPANESE INTERMEDIATE CODE: R250 | |
| LAPS | Cancellation because of no payment of annual fees |