



本発明は、干渉電力補正方法、チャネル選択方法及び無線通信システムに関する。 The present invention relates to an interference power correction method, a channel selection method, and a radio communication system.
同一チャネルを再利用する無線LANでは、同一チャネル干渉(CCI:Co-Channel Interference)によりスループットが低下してしまう。CCIを低減するチャネル再利用の実現を目的として、干渉測定型チャネル棲み分けに基づく動的チャネル配置(以下、IACS−DCA:Interference-Aware Channel Segregation Based Dynamic Channel Assignmentという)の無線LANへの適用が検討されてきた(例えば、非特許文献1参照)。IACS−DCAは各アクセスポイント(AP)が独立に利用チャネルを決定するアルゴリズムである。これは、周辺セルの端末(STA)からの干渉である全チャネルの受信CCI電力を測定して、周辺端末に与えるCCIを最小化するようなチャネル再利用パターンを形成する。 In a wireless LAN that reuses the same channel, throughput decreases due to co-channel interference (CCI). For the purpose of realizing channel reuse to reduce CCI, application of dynamic channel allocation based on interference measurement type channel segregation (hereinafter referred to as IACS-DCA: Interference-Aware Channel Segregation Based Dynamic Channel Assignment) to wireless LANs It has been studied (for example, see Non-Patent Document 1). IACS-DCA is an algorithm in which each access point (AP) determines a use channel independently. This measures the received CCI power of all channels, which is interference from a terminal (STA) in a neighboring cell, and forms a channel reuse pattern that minimizes the CCI given to the neighboring terminal.
図4は、従来技術によるアクセスポイントの動作を示す説明図である。図4に示すように、アクセスポイント50がチャネル優先度を表すテーブルを保持し、周辺の端末60からの干渉電力を一定周期で観測(瞬時CCI電力測定)して、各チャネルの平均CCI電力(過去のCCI電力の平均)を計算してチャネル優先度テーブル(CCIテーブル)に格納する。送信時には平均CCI電力最小のチャネル(チャネル優先度テーブルの1位のチャネル)を使用する。アクセスポイントが周辺の端末から受ける干渉電力測定値を用いてチャネル選択を行うことで、周辺セルのトラヒックに適応したチャネル再利用パターンが自律的に形成される。 FIG. 4 is an explanatory diagram showing the operation of an access point according to the prior art. As shown in FIG. 4, the
無線LANでは、アクセスポイントは配下の端末に向けて周期的にビーコンを送信している。無線LANのアクセスポイントにおいて、周辺のアクセスポイントが報知するビーコン受信電力の測定は容易であるため、これまで周辺のアクセスポイントが報知するビーコン受信電力を利用したIACS−DCAが検討されてきた(例えば、非特許文献2参照)。 In a wireless LAN, an access point periodically transmits a beacon toward a subordinate terminal. Since it is easy to measure the beacon reception power broadcasted by neighboring access points in wireless LAN access points, IACS-DCA using beacon received power broadcasted by neighboring access points has been studied (for example, Non-Patent Document 2).
しかしながら、ビーコン受信電力を利用したこれまでのIACS−DCAでは、トラヒックと無関係に報知されるビーコン受信電力測定値を利用した干渉電力測定を行っていたため、周辺のアクセスポイントのトラヒックに適応したチャネル再利用パターンの形成はできないという問題がある。説明を簡単にするため、全てのアクセスポイントの送信電力が同一であり、他のアクセスポイントとの間の距離が大きいほど受信電力が小さくなると仮定する。このような場合、通信中のトラヒック量とは無関係に、近くのアクセスポイントが送信したビーコンの受信電力は大きくなり、それよりも遠くにあるアクセスポイントが送信したビーコンの受信電力は小さくなる。 However, in the past IACS-DCA using beacon received power, interference power measurement was performed using a beacon received power measurement value that was broadcast regardless of traffic, so channel re-adaptation adapted to traffic of neighboring access points. There is a problem that a usage pattern cannot be formed. In order to simplify the explanation, it is assumed that the transmission power of all access points is the same, and that the reception power decreases as the distance from other access points increases. In such a case, regardless of the traffic volume during communication, the reception power of a beacon transmitted by a nearby access point increases, and the reception power of a beacon transmitted by an access point farther than that decreases.
そのため、近くのアクセスポイントが端末と全く通信を行っておらず、このアクセスポイントからの実際の平均CCI電力が無視できるほど小さい場合であっても、ビーコン受信電力測定値は大きくなる。逆に、それよりも遠くのアクセスポイントが多くの端末と高い頻度で通信を行っており、このアクセスポイントからの実際の平均CCI電力が大きい場合であっても、ビーコン受信電力測定値は小さくなる。その結果、平均CCI電力が大きいチャネルを選択してしまう問題が生じてしまう。 Therefore, even if the nearby access point is not communicating with the terminal at all and the actual average CCI power from this access point is so small that it can be ignored, the measured beacon power is large. Conversely, even if the access point farther than that is communicating with many terminals at a high frequency and the actual average CCI power from this access point is large, the measured beacon power is small. . As a result, there arises a problem that a channel having a large average CCI power is selected.
本来のIACS−DCAでは、アクセスポイントは周辺セルのトラヒック量に応じたチャネル配置を行わなければならないが、トラヒックと無関係に報知されるビーコン受信電力測定値を利用した干渉電力測定を行う場合、周辺セルのトラヒックと無関係にチャネルを配置してしまうという問題がある。 In the original IACS-DCA, the access point must perform channel arrangement according to the traffic volume of neighboring cells, but when performing interference power measurement using a beacon reception power measurement value that is broadcast regardless of traffic, There is a problem that the channel is arranged regardless of the cell traffic.
本発明は、このような事情に鑑みてなされたもので、ビーコン受信電力測定値を利用したIACS−DCAにおいて、周辺のアクセスポイントのトラヒックに応じた干渉電力補正を行うとともに、補正を行った干渉電力に応じてチャネル選択を行うことにより、干渉量の小さいチャネルを選択することができる干渉電力補正方法、チャネル選択方法及び無線通信システムを提供することを目的とする。 The present invention has been made in view of such circumstances, and in IACS-DCA using a beacon received power measurement value, interference power correction is performed according to traffic of surrounding access points, and interference is corrected. It is an object of the present invention to provide an interference power correction method, a channel selection method, and a radio communication system that can select a channel with a small amount of interference by performing channel selection according to power.
本発明は、干渉電力測定に基づくチャネル棲み分けを用いる無線通信システムにおけるアクセスポイントが行う干渉電力補正方法であって、周辺アクセスポイントが送信した通信トラヒックの情報を含むビーコンを受信するビーコン受信ステップと、受信した前記ビーコンの受信電力を測定する測定ステップと、測定したビーコンの受信電力と通信トラヒックの情報に基づいて、瞬時補正干渉電力を計算する瞬時補正干渉電力計算ステップと、前記瞬時補正干渉電力を使用して、平均干渉電力を計算する平均干渉電力計算ステップとを有することを特徴とする。 The present invention is an interference power correction method performed by an access point in a wireless communication system using channel segregation based on interference power measurement, wherein a beacon receiving step for receiving a beacon including information on communication traffic transmitted by a peripheral access point; A measuring step for measuring the received power of the received beacon, an instantaneous corrected interference power calculating step for calculating an instantaneous corrected interference power based on the measured received power of the beacon and communication traffic, and the instantaneous corrected interference power And an average interference power calculation step of calculating an average interference power.
本発明は、前記アクセスポイントが自己の通信トラヒックを測定し、測定した通信トラヒックをビーコンにより周囲のアクセスポイントに報知する報知ステップをさらに有することを特徴とする。 The present invention is further characterized by further comprising a notifying step in which the access point measures its own communication traffic and informs the surrounding access points of the measured communication traffic by a beacon.
本発明は、前記通信トラヒックとしてチャネル使用率を用いることを特徴とする。 The present invention is characterized in that a channel usage rate is used as the communication traffic.
本発明は、請求項1から3のいずれか1項に記載の干渉電力補正方法を用いた無線通信システムにおけるアクセスポイントが行うチャネル選択方法であって、前記アクセスポイントは各チャネルの平均干渉電力を記憶する干渉テーブルを備え、前記平均干渉電力計算ステップにより計算する度に前記平均干渉電力によって前記干渉テーブルを更新する更新ステップと、前記更新ステップにより更新した前記干渉テーブルを参照してチャネル選択を行うチャネル選択ステップとを有することを特徴とする。 The present invention is a channel selection method performed by an access point in a wireless communication system using the interference power correction method according to any one of
本発明は、干渉電力測定に基づくチャネル棲み分けを用いたアクセスポイントを備える無線通信システムであって、周辺アクセスポイントが送信した通信トラヒックの情報を含むビーコンを受信するビーコン受信手段と、受信した前記ビーコンの受信電力を測定する測定手段と、測定したビーコンの受信電力と通信トラヒックの情報に基づいて、瞬時補正干渉電力を計算する瞬時補正干渉電力計算手段と、前記瞬時補正干渉電力を使用して、平均干渉電力を計算する平均干渉電力計算手段とを備えることを特徴とする。 The present invention is a wireless communication system including an access point using channel segregation based on interference power measurement, wherein a beacon receiving means for receiving a beacon including information on communication traffic transmitted by a peripheral access point, and the received beacon Using the measuring means for measuring the received power of the beacon, the instantaneous corrected interference power calculating means for calculating the instantaneous corrected interference power based on the measured received power of the beacon and the communication traffic, and using the instantaneous corrected interference power And an average interference power calculating means for calculating the average interference power.
本発明は、前記アクセスポイントが自己の通信トラヒックを測定し、測定した通信トラヒックをビーコンにより周囲のアクセスポイントに報知する報知手段をさらに備えることを特徴とする。 The present invention is characterized in that the access point further comprises notification means for measuring its own communication traffic and informing the surrounding access points of the measured communication traffic by a beacon.
本発明は、前記通信トラヒックとしてチャネル使用率を用いることを特徴とする。 The present invention is characterized in that a channel usage rate is used as the communication traffic.
本発明は、各チャネルの平均干渉電力を記憶する干渉テーブルと、前記平均干渉電力計算手段により計算する度に前記平均干渉電力によって前記干渉テーブルを更新する更新手段と、前記更新手段により更新した前記干渉テーブルを参照してチャネル選択を行うチャネル選択手段とをさらに備えることを特徴とする。 The present invention provides an interference table for storing average interference power of each channel, an update means for updating the interference table with the average interference power every time the average interference power calculation means calculates, and the update means updated by the update means. Channel selection means for selecting a channel with reference to the interference table is further provided.
本発明によれば、周辺のアクセスポイントのトラヒックに応じた干渉電力補正を行うとともに、補正を行った干渉電力に応じてチャネル選択を行うようにしたため、干渉量の最も小さいチャネルを選択することができるという効果が得られる。 According to the present invention, the interference power is corrected according to the traffic of the neighboring access points, and the channel is selected according to the corrected interference power, so that the channel with the smallest interference amount can be selected. The effect that it can be obtained.
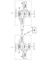
以下、図面を参照して、本発明の一実施形態による無線通信システムを説明する。図1は同実施形態の構成を示すブロック図である。この図において、符号1は、第1のアクセスポイントである(以下、アクセスポイント1という)。符号11は、無線信号の送受信を行う送受信部である。符号12は、アクセスポイント1の処理動作を統括して制御する制御部である。符号13は、送受信部11において受信した信号の電力を測定する受信電力測定部である。符号14は、チャネル識別名と平均干渉電力値とを関係付けた干渉テーブルを記憶する干渉テーブル記憶部である。符号15は、公衆ネットワーク等に接続する通信部である。 Hereinafter, a wireless communication system according to an embodiment of the present invention will be described with reference to the drawings. FIG. 1 is a block diagram showing the configuration of the embodiment. In this figure,
符号2は、第2のアクセスポイントである(以下、アクセスポイント2という)。符号21は、無線信号の送受信を行う送受信部である。符号22は、アクセスポイント2の処理動作を統括して制御する制御部である。符号23は、送受信部21において受信した信号の電力を測定する受信電力測定部である。符号24は、チャネル識別名と平均干渉電力値とを関係付けた干渉テーブルを記憶する干渉テーブル記憶部である。符号25は、公衆ネットワーク等に接続する通信部である。
符号3は、アクセスポイント1またはアクセスポイント2との間で無線通信を確立して、公衆ネットワーク等に接続して通信を行う端末である。図1においては、2台のアクセスポイントを図示したが、3台以上であってもよい。また、図1においては、1台の端末を図示したが、複数であってもよい。
次に、図2を参照して、図1に示す干渉テーブル記憶部14、24のそれぞれに記憶される干渉テーブルのテーブル構造を説明する。図2は、図1に示す干渉テーブル記憶部14、24のそれぞれに記憶される干渉テーブルのテーブル構造を示す説明図である。干渉テーブルは、チャネル識別名(CH#0〜CH#3)と、そのチャネルの平均干渉電力値とを関係付けて記憶するテーブルである。干渉テーブルは、所定のタイミングで更新され、更新された時点で、平均干渉電力値をキーとして、平均干渉電力値が小さい順に並ぶように並べ換えられる。したがって、干渉テーブルの最上位のチャネルが選択され、選択されたチャネルを使用して無線通信が行われることになる。 Next, the table structure of the interference table stored in each of the interference
次に、図3を参照して、図1に示すアクセスポイント1の処理動作を説明する。図3は、図1に示すアクセスポイント1の処理動作を示すフローチャートである。ここでは、アクセスポイント1の処理動作を説明するが、アクセスポイント2の処理動作についても同様である。 Next, the processing operation of the
始めに、制御部12は、干渉テーブル記憶部14に記憶されている干渉テーブルを参照し、優先度第1順位(平均干渉電力最小)のチャネルを選択する(ステップS1)。続いて、制御部12は自己のチャネル使用率を算出する(ステップS2)。そして、制御部12は、選択したチャネル(平均干渉電力最小のチャネル)を使用して、算出したチャネル使用率の情報を記載したビーコンを送受信部11を介して送信する(ステップS3)。 First, the
このビーコン送信は、アクセスポイント2においても行われる。すなわち、制御部22は、干渉テーブル記憶部24に記憶されている干渉テーブルを参照し、優先度第1順位(平均干渉電力最小)のチャネルを選択する。続いて、制御部22は自己のチャネル使用率を算出し、選択したチャネル(平均干渉電力最小のチャネル)を使用して、算出したチャネル使用率の情報を記載したビーコンを送受信部21を介して送信する。 This beacon transmission is also performed at the
次に、制御部12は、周辺アクセスポイント(ここでは、アクセスポイント2)が送信したビーコンを送受信部11を介して受信し、周辺アクセスポイントのチャネル使用率の計算値を得る(ステップS4)。このとき、受信電力測定部13は、ビーコン受信電力を利用して全てのチャネルの瞬時干渉電力を測定して測定結果を制御部12に対して出力する(ステップS5)。 Next, the
次に、制御部12は、周辺アクセスポイントのチャネル使用率計算値に基づいて、瞬時干渉電力を補正し、瞬時補正干渉電力を計算する(ステップS6)。そして、制御部12は、算出した瞬時補正干渉電力を用いて、各チャネルの平均干渉電力を計算する(ステップS7)。続いて、制御部12は算出した平均干渉電力を用いて、干渉テーブルを更新する(ステップS8)。制御部12は、図3に示す処理動作を所定の周期で繰り返し行う。 Next, the
次に、図3に示す処理動作を具体例を挙げて説明する。まず、制御部12は、干渉テーブルを参照し、第1順位のチャネル
次に、制御部12は、上下リンクの通信に使用された時間を測定し、チャネル使用率を算出する(ステップS2)。測定時間T(sec)あたりに、上りリンクおよび下りリンク通信に使われた時間をそれぞれTmUp(t)(sec)およびTmDown(t)(sec)とすると、識別番号がmのアクセスポイントのチャネル使用率ηmは(1)式で与えられる。ただし、TmBeacon(sec)はT(sec)あたりのビーコンの送信時間である。
識別番号がmのアクセスポイントのチャネル使用率:
Channel usage rate of access point with identification number m:
次に、制御部12は、干渉テーブルの第1順位チャネル
次に、制御部12は、送受信部11を介して周辺のアクセスポイント(ここでは、アクセスポイント2)が送信したビーコンを受信し、周辺の識別番号がuのチャネル使用率ηuを得る(ステップS4)。Next, the
次に、受信電力測定部13は、送受信部11を介して受信したビーコン受信電力の測定を行い(ステップS5)、測定値を制御部12に対して出力する。識別番号がmであるアクセスポイントが周辺の識別番号がuであるアクセスポイントから受けるビーコン受信電力の測定値(watt)はPm,u(t)となる。Next, the reception
次に、制御部12は、瞬時補正干渉電力を計算する(ステップS6)。本実施形態では、周辺のアクセスポイントのチャネル使用率に比例して瞬時干渉電力を下記のように補正する。識別番号がmであるアクセスポイントが周辺の識別番号がuであるアクセスポイントから受ける瞬時干渉電力の補正式(watt)は、
次に、制御部12は、平均干渉電力を計算する(ステップS7)。平均干渉電力(watt)の計算は(2)式により行う。
次に、制御部12は、チャネル毎に計算した平均干渉電力を干渉テーブル記憶部14に記憶されている干渉テーブルに書き込むことにより干渉テーブルを更新する(ステップS8)。アクセスポイント1が端末3との通信を行う際のチャネル配置は、干渉テーブル記憶部14に記憶された干渉テーブルを参照して行われることになる。 Next, the
本来のIACS−DCAでは、アクセスポイントは周辺セルのトラヒック量に応じたチャネル配置を行う必要があるため、本実施形態では、各アクセスポイントが自己の通信トラヒック情報を周辺のアクセスポイントに対して報知するようにして、周辺アクセスポイントからのビーコン受信電力測定値と周辺アクセスポイントの通信トラヒック情報に基づいて平均CCI電力の推定値を算出し、この推定値を用いてチャネル選択を行うことで、周辺セルのトラヒックに適応したチャネル再利用パターンを自律的に形成することができるようになる。 In the original IACS-DCA, an access point needs to perform channel arrangement according to the traffic volume of neighboring cells. In this embodiment, each access point broadcasts its own communication traffic information to neighboring access points. By calculating the average CCI power estimate based on the beacon received power measurement value from the neighboring access point and the communication traffic information of the neighboring access point, and performing channel selection using this estimated value, It becomes possible to autonomously form a channel reuse pattern adapted to cell traffic.
これを実現するために、本実施形態では、まずアクセスポイントは干渉テーブルを参照し、優先度第1位のチャネルを選択し、トラヒック量を測定し、トラヒック情報をビーコンに記載して、選択した優先度第1位のチャネルを用いて周辺のアクセスポイントに報知する。ビーコンを受信したアクセスポイントは、ビーコンに記載されている周辺アクセスポイントのトラヒック情報を得るとともにビーコン受信電力を測定する。そして、ビーコンを受信したアクセスポイントは周辺アクセスポイントのトラヒック情報を利用して受信干渉電力を補正する。次に、1次フィルタを用いて各チャネルの平均干渉電力を計算し、干渉テーブルを更新する。アクセスポイントは上記の動作を周期的に繰り返し行う。この構成によれば、周辺アクセスポイントのトラヒックを考慮した干渉電力に基づくIACS−DCAを提供できる。 In order to realize this, in this embodiment, the access point first refers to the interference table, selects the channel with the highest priority, measures the traffic volume, and describes the traffic information in the beacon and selects it. Broadcast to neighboring access points using the first priority channel. The access point that has received the beacon obtains traffic information of neighboring access points described in the beacon and measures the beacon reception power. Then, the access point that has received the beacon corrects the received interference power using the traffic information of the neighboring access points. Next, the average interference power of each channel is calculated using the primary filter, and the interference table is updated. The access point repeats the above operation periodically. According to this configuration, it is possible to provide IACS-DCA based on interference power in consideration of traffic of neighboring access points.
従来から、周辺セルの端末が送信する信号の同一チャネル干渉量(CCI値)を測定し、平均CCI値が最も小さいチャネルを選択する動的チャネル配置法(IACS−DCA)が提案されている(非特許文献1)。また、周辺アクセスポイントが報知するビーコンの受信電力を測定し、その受信電力値が最も小さいチャネルを選択するIACS−DCAも検討されている(非特許文献2)。 Conventionally, a dynamic channel allocation method (IACS-DCA) has been proposed in which a co-channel interference amount (CCI value) of a signal transmitted by a terminal in a neighboring cell is measured and a channel having the smallest average CCI value is selected (IACS-DCA). Non-patent document 1). In addition, IACS-DCA that measures the reception power of a beacon notified by a peripheral access point and selects a channel having the smallest reception power value has been studied (Non-Patent Document 2).
しかし、非特許文献1に係る技術では、すべてのチャネルを一定期間観測しないと、平均CCI値の測定結果の精度が低くなるため、全てのチャネルを観測できるようにチャネル数と等しい数の無線インターフェースを備える必要がある。非特許文献2に係る技術では、周辺アクセスポイントのトラヒック量を考慮していないため、干渉量の大きいチャネルを選択するおそれがある。 However, in the technique according to
本発明は、周辺アクセスポイントが送信するビーコンに記載した当該アクセスポイントのトラヒック量を受信したアクセスポイントが、当該トラヒック量と当該ビーコンの受信電力値に基づき干渉量を推定し、推定した干渉量が最も小さいチャネルを選択するようにした。 In the present invention, the access point that has received the traffic amount of the access point described in the beacon transmitted by the peripheral access point estimates the interference amount based on the traffic amount and the received power value of the beacon, and the estimated interference amount is The smallest channel was selected.
これにより、無線アクセスポイントと端末とが通信する無線ネットワークにおける干渉測定型チャネル棲み分けに基づく動的チャネル配置を行う無線アクセスポイントでは、チャネル毎に無線インターフェースを備えずに、すべてのチャネルのトラヒック量を正確に把握し、推定する干渉量の確度を高め、干渉量の最も小さいチャネルを選択することができる。 As a result, in a wireless access point that performs dynamic channel allocation based on interference measurement type channel segregation in a wireless network in which a wireless access point and a terminal communicate, the traffic amount of all channels is not provided for each channel. Can be accurately grasped, the accuracy of the estimated interference amount can be improved, and the channel with the smallest interference amount can be selected.
前述した実施形態におけるアクセスポイントをコンピュータで実現するようにしてもよい。その場合、この機能を実現するためのプログラムをコンピュータ読み取り可能な記録媒体に記録して、この記録媒体に記録されたプログラムをコンピュータシステムに読み込ませ、実行することによって実現してもよい。なお、ここでいう「コンピュータシステム」とは、OSや周辺機器等のハードウェアを含むものとする。また、「コンピュータ読み取り可能な記録媒体」とは、フレキシブルディスク、光磁気ディスク、ROM、CD−ROM等の可搬媒体、コンピュータシステムに内蔵されるハードディスク等の記憶装置のことをいう。さらに「コンピュータ読み取り可能な記録媒体」とは、インターネット等のネットワークや電話回線等の通信回線を介してプログラムを送信する場合の通信線のように、短時間の間、動的にプログラムを保持するもの、その場合のサーバやクライアントとなるコンピュータシステム内部の揮発性メモリのように、一定時間プログラムを保持しているものも含んでもよい。また上記プログラムは、前述した機能の一部を実現するためのものであっても良く、さらに前述した機能をコンピュータシステムにすでに記録されているプログラムとの組み合わせで実現できるものであってもよく、PLD(Programmable Logic Device)やFPGA(Field Programmable Gate Array)等のハードウェアを用いて実現されるものであってもよい。 You may make it implement | achieve the access point in embodiment mentioned above with a computer. In that case, a program for realizing this function may be recorded on a computer-readable recording medium, and the program recorded on this recording medium may be read into a computer system and executed. Here, the “computer system” includes an OS and hardware such as peripheral devices. The “computer-readable recording medium” refers to a storage device such as a flexible medium, a magneto-optical disk, a portable medium such as a ROM and a CD-ROM, and a hard disk incorporated in a computer system. Furthermore, the “computer-readable recording medium” dynamically holds a program for a short time like a communication line when transmitting a program via a network such as the Internet or a communication line such as a telephone line. In this case, a volatile memory inside a computer system serving as a server or a client in that case may be included and a program held for a certain period of time. Further, the program may be for realizing a part of the functions described above, and may be a program capable of realizing the functions described above in combination with a program already recorded in the computer system. It may be realized using hardware such as PLD (Programmable Logic Device) or FPGA (Field Programmable Gate Array).
以上、図面を参照して本発明の実施の形態を説明してきたが、上記実施の形態は本発明の例示に過ぎず、本発明が上記実施の形態に限定されるものではないことは明らかである。したがって、本発明の技術思想及び範囲を逸脱しない範囲で構成要素の追加、省略、置換、その他の変更を行ってもよい。 As mentioned above, although embodiment of this invention has been described with reference to drawings, the said embodiment is only the illustration of this invention, and it is clear that this invention is not limited to the said embodiment. is there. Therefore, additions, omissions, substitutions, and other modifications of the components may be made without departing from the technical idea and scope of the present invention.
ビーコン受信電力測定値を利用したIACS−DCAにおいて、周辺のアクセスポイントのトラヒックに応じた干渉電力補正を行うとともに、補正を行った干渉電力に応じてチャネル選択を行うことにより、干渉量の小さいチャネルを選択することが不可欠な用途に適用できる。 In IACS-DCA using the measured beacon received power, interference power correction is performed according to the traffic of neighboring access points, and channel selection is performed according to the corrected interference power, thereby reducing the amount of interference. It can be applied to applications in which selecting is indispensable.
1、2・・・アクセスポイント、3・・・端末、11、21・・・送受信部、12、22・・・制御部、13、23・・・受信電力測定部、14、24・・・干渉テーブル記憶部、15、25・・・通信部 1, 2 ... access point, 3 ... terminal, 11, 21 ... transmission / reception unit, 12, 22 ... control unit, 13, 23 ... received power measurement unit, 14, 24 ... Interference table storage unit, 15, 25... Communication unit
| Application Number | Priority Date | Filing Date | Title |
|---|---|---|---|
| JP2014022574AJP6029071B2 (en) | 2014-02-07 | 2014-02-07 | Interference power correction method, channel selection method, and radio communication system |
| Application Number | Priority Date | Filing Date | Title |
|---|---|---|---|
| JP2014022574AJP6029071B2 (en) | 2014-02-07 | 2014-02-07 | Interference power correction method, channel selection method, and radio communication system |
| Publication Number | Publication Date |
|---|---|
| JP2015149674A JP2015149674A (en) | 2015-08-20 |
| JP6029071B2true JP6029071B2 (en) | 2016-11-24 |
| Application Number | Title | Priority Date | Filing Date |
|---|---|---|---|
| JP2014022574AExpired - Fee RelatedJP6029071B2 (en) | 2014-02-07 | 2014-02-07 | Interference power correction method, channel selection method, and radio communication system |
| Country | Link |
|---|---|
| JP (1) | JP6029071B2 (en) |
| Publication number | Priority date | Publication date | Assignee | Title |
|---|---|---|---|---|
| US11558154B2 (en) | 2020-08-19 | 2023-01-17 | Nec Corporation | Estimation apparatus, estimation method, and non-transitory computer-readable recording medium |
| US12250169B2 (en) | 2019-12-13 | 2025-03-11 | Nec Corporation | Radio frame estimation apparatus, system, method, program, and recording medium |
| Publication number | Priority date | Publication date | Assignee | Title |
|---|---|---|---|---|
| JP3845347B2 (en)* | 2002-08-28 | 2006-11-15 | Necインフロンティア株式会社 | High speed roaming method |
| US20060280204A1 (en)* | 2003-08-20 | 2006-12-14 | Kengo Nagata | Packet communication method and packet communication device |
| BR112012025376B1 (en)* | 2010-04-29 | 2021-08-10 | Interdigital Ce Patent Holdings | METHOD AND APPARATUS FOR WIRELESS NETWORKS TO SELECT AND OR SHARING CHANNELS |
| Publication number | Priority date | Publication date | Assignee | Title |
|---|---|---|---|---|
| US12250169B2 (en) | 2019-12-13 | 2025-03-11 | Nec Corporation | Radio frame estimation apparatus, system, method, program, and recording medium |
| US11558154B2 (en) | 2020-08-19 | 2023-01-17 | Nec Corporation | Estimation apparatus, estimation method, and non-transitory computer-readable recording medium |
| Publication number | Publication date |
|---|---|
| JP2015149674A (en) | 2015-08-20 |
| Publication | Publication Date | Title |
|---|---|---|
| CN109392144B (en) | Communication method and communication device | |
| JP6454014B2 (en) | Secret node detection | |
| EP3509241A1 (en) | Reference signal configuration method and apparatus | |
| US9301184B2 (en) | Procedure for formulating a signal to interference plus noise ratio | |
| KR101853749B1 (en) | Method for scheduling and / or muting radio resources in a wireless communication system | |
| US20130322388A1 (en) | Device-to-device communication and terminal relay method | |
| US20140247789A1 (en) | Method for triggering terminal to send sounding reference signal, terminal, and base station | |
| EP2680647A2 (en) | Power control in LTE-advanced heterogeneous networks | |
| EP3937529B1 (en) | Method for measuring channel state information, and network-side device | |
| EP3926876A1 (en) | Communication method and device | |
| CN103391576A (en) | Reporting method and device for reference signal receiving power | |
| EP3138317A1 (en) | A user equipment, a network node and methods therein for enabling device-to-device (d2d) communication in a radio communications network | |
| EP3051864A1 (en) | Wireless base station, user terminal, and communication control method | |
| CN105379341A (en) | Method and apparatus for transmitting pattern information | |
| US9137692B2 (en) | Load estimation in a user equipment | |
| CN107409397A (en) | Interference Coordination System and Method in Wireless Communication System | |
| JP6435399B2 (en) | Selection between cellular and link-to-device (D2D) communication links using reference signals | |
| EP3016428A1 (en) | Wireless communication device and method | |
| US20160198355A1 (en) | Signal Measurement Method, User Equipment and Base Station | |
| JP2020017780A (en) | Wireless communication system and reference signal transmission method | |
| CN112533230A (en) | Measurement configuration method, terminal and base station | |
| EP3232706A1 (en) | Measurement method and device | |
| KR20160136401A (en) | Resource allocation between multiple comp-cells | |
| JP6029071B2 (en) | Interference power correction method, channel selection method, and radio communication system | |
| JP2016092805A (en) | Base station and cooperative base station selection method therefor |
| Date | Code | Title | Description |
|---|---|---|---|
| A621 | Written request for application examination | Free format text:JAPANESE INTERMEDIATE CODE: A621 Effective date:20151216 | |
| A521 | Request for written amendment filed | Free format text:JAPANESE INTERMEDIATE CODE: A821 Effective date:20151216 | |
| A977 | Report on retrieval | Free format text:JAPANESE INTERMEDIATE CODE: A971007 Effective date:20160831 | |
| TRDD | Decision of grant or rejection written | ||
| A01 | Written decision to grant a patent or to grant a registration (utility model) | Free format text:JAPANESE INTERMEDIATE CODE: A01 Effective date:20161004 | |
| A61 | First payment of annual fees (during grant procedure) | Free format text:JAPANESE INTERMEDIATE CODE: A61 Effective date:20161007 | |
| R150 | Certificate of patent or registration of utility model | Ref document number:6029071 Country of ref document:JP Free format text:JAPANESE INTERMEDIATE CODE: R150 | |
| R250 | Receipt of annual fees | Free format text:JAPANESE INTERMEDIATE CODE: R250 | |
| R250 | Receipt of annual fees | Free format text:JAPANESE INTERMEDIATE CODE: R250 | |
| R250 | Receipt of annual fees | Free format text:JAPANESE INTERMEDIATE CODE: R250 | |
| R250 | Receipt of annual fees | Free format text:JAPANESE INTERMEDIATE CODE: R250 | |
| LAPS | Cancellation because of no payment of annual fees |