


































本開示は、例えば医療用や非破壊検査用のX線撮影に好適な放射線撮像装置、放射線撮像表示システムおよびそのような放射線撮像装置に用いられるトランジスタに関する。 The present disclosure relates to a radiation imaging apparatus, a radiation imaging display system, and a transistor used in such a radiation imaging apparatus suitable for X-ray imaging for medical use and nondestructive inspection, for example.
近年、画像を電気信号として取得する手法(光電変換による撮像手法)として、CCD(Charge Coupled Device Image Sensor)イメージセンサやCMOS(Complementary Metal Oxide Semiconductor)イメージセンサを用いた手法が主流となっている。これらのイメージセンサでの撮像エリアは、結晶基板(シリコンウェハ)のサイズに制限されることとなる。ところが、特にX線を使用して撮像を行う医療分野等では、撮像エリアの大面積化が要求されており、また動画性能に対する需要も高まりつつある。 2. Description of the Related Art In recent years, a technique using a CCD (Charge Coupled Device Image Sensor) image sensor or a CMOS (Complementary Metal Oxide Semiconductor) image sensor has become mainstream as a technique for acquiring an image as an electrical signal (an imaging technique using photoelectric conversion). The imaging area in these image sensors is limited to the size of the crystal substrate (silicon wafer). However, particularly in the medical field where imaging is performed using X-rays, an increase in area of the imaging area is required, and demand for moving image performance is increasing.
例えば、人体の胸部X線撮影装置など、大面積化を要する撮像装置として、放射線写真フィルムを介さずに、放射線に基づく画像を電気信号として得る放射線撮像装置が開発されている。このような放射線撮像装置は、フォトダイオード等の光電変換素子および薄膜トランジスタ(TFT)を含む回路基板上に波長変換層(蛍光体)を設けたものであり、入射した放射線を可視光に変換後、光電変換素子において受光するようになっている。TFTを含む回路により、受光量に基づく電気信号の読み出しがなされる。 For example, a radiographic imaging apparatus that obtains an image based on radiation as an electrical signal without using a radiographic film has been developed as an imaging apparatus that requires a large area, such as a human chest X-ray imaging apparatus. Such a radiation imaging apparatus is provided with a wavelength conversion layer (phosphor) on a circuit board including a photoelectric conversion element such as a photodiode and a thin film transistor (TFT), and after converting incident radiation into visible light, The photoelectric conversion element receives light. An electric signal based on the amount of received light is read out by a circuit including a TFT.
ここで、トランジスタとしては、基板上に、ゲート、ソースおよびドレインなどの電極層と、チャネルを形成する半導体層と、ゲート絶縁膜や層間絶縁膜などが積層された、いわゆるトップゲート構造またはボトムゲート構造のものが用いられる。ところが、このような構造のトランジスタにおいて、例えばゲート絶縁膜に酸化シリコン膜が用いられる場合、酸化シリコン膜中にX線が入射すると、膜中に正孔が生じ、それによって閾値電圧(Vth)が負側にシフトしてしまうことが知られている(例えば、特許文献1参照)。 Here, the transistor is a so-called top gate structure or bottom gate in which an electrode layer such as a gate, a source, and a drain, a semiconductor layer that forms a channel, a gate insulating film, an interlayer insulating film, and the like are stacked over a substrate. A structure is used. However, in a transistor having such a structure, for example, when a silicon oxide film is used as a gate insulating film, when X-rays enter the silicon oxide film, holes are generated in the film, and the threshold voltage (Vth) is thereby reduced. It is known to shift to the negative side (see, for example, Patent Document 1).
一方、半導体層を間にして2つのゲート電極を設けたデュアルゲート構造を採用することにより、上記のような閾値電圧のシフトを軽減するトランジスタが提案されている(特許文献2参照)。 On the other hand, there has been proposed a transistor that reduces the threshold voltage shift as described above by adopting a dual gate structure in which two gate electrodes are provided with a semiconductor layer in between (see Patent Document 2).
ところが、上記デュアルゲート構造のトランジスタにおいても、放射線照射によって酸化シリコン膜中に生じた正孔の影響を受け、閾値電圧のシフトが少なからず生じる。このような放射線に起因する特性劣化を抑制して、より高信頼性のトランジスタの実現が望まれている。 However, even in the dual gate transistor, the threshold voltage shifts to some extent due to the influence of holes generated in the silicon oxide film due to radiation irradiation. It is desired to realize a transistor with higher reliability by suppressing such characteristic deterioration due to radiation.
本開示はかかる問題点に鑑みてなされたもので、その目的は、放射線に起因する特性劣化を抑制して信頼性を向上させることが可能なトランジスタおよび放射線撮像装置ならびに放射線撮像表示システムを提供することにある。 The present disclosure has been made in view of such problems, and an object of the present disclosure is to provide a transistor, a radiation imaging apparatus, and a radiation imaging display system capable of suppressing deterioration in characteristics due to radiation and improving reliability. There is.
  本開示の第1のトランジスタは、半導体層と、半導体層の一方の面側に設けられた第1のゲート絶縁膜、第1のゲート電極および第1の層間絶縁膜と、半導体層の他方の面側に設けられた第2の絶縁膜と、半導体層に電気的に接続されると共に第1の層間絶縁膜上に設けられたソース電極およびドレイン電極と、第1の層間絶縁膜上に、ソース電極およびドレイン電極とは電気的に分離されて、かつ少なくとも一部が第1のゲート電極の端部に対向して、設けられると共に、負電位に保持されたシールド電極層とを備えたものである。第1のゲート絶縁膜、第1の層間絶縁膜および第2の絶縁膜のうちの少なくとも1つがシリコン酸化膜を含み、シールド電極層は、負電位に保持されることにより、シリコン酸化膜への放射線の入射に起因して該シリコン酸化膜にチャージされる正電荷を引き寄せ、トランジスタの閾値電圧のシフトを抑制する機能を有する。
  本開示の第2のトランジスタは、基板上に順に設けられた、第1のゲート電極、第1のゲート絶縁膜、半導体層、第2の絶縁膜および第1の層間絶縁膜と、半導体層に電気的に接続されると共に第1の層間絶縁膜上に設けられたソース電極およびドレイン電極と、第1の層間絶縁膜上に、ソース電極および前記ドレイン電極とは電気的に分離されて、かつ少なくとも一部が第1のゲート電極の端部に対向して、設けられると共に、負電位に保持されたシールド電極層とを備えたものである。第1のゲート絶縁膜、第1の層間絶縁膜および第2の絶縁膜のうちの少なくとも1つがシリコン酸化膜を含み、シールド電極層は、負電位に保持されることにより、シリコン酸化膜への放射線の入射に起因して該シリコン酸化膜にチャージされる正電荷を引き寄せ、トランジスタの閾値電圧のシフトを抑制する機能を有する。The first transistor of the present disclosure includes a semiconductor layer, a first gate insulating film, a first gate electrode and a first interlayer insulating film provided on one surface side of the semiconductor layer, and the other of the semiconductor layers. A second insulating film provided on the surface side, a source electrode and a drain electrode which are electrically connected to the semiconductor layer and provided on the first interlayer insulating film, and on the first interlayer insulating film, A source electrode and a drain electrode that are electrically separated and provided with a shield electrode layer that is provided at least partially facing the end of the first gate electrode and held at a negative potential It is. At least one of the first gate insulating film, the first interlayer insulating film, and the second insulating film includes a silicon oxide film, and the shield electrode layer isheld at a negative potential, whereby the silicon oxide film It has a function ofattracting positive charges charged in the silicon oxide film due to incidence of radiation and suppressinga shift inthreshold voltage of the transistor .
 A second transistor of the present disclosure includes a first gate electrode, a first gate insulating film, a semiconductor layer, a second insulating film, a first interlayer insulating film, and a semiconductor layer, which are sequentially provided over a substrate. A source electrode and a drain electrode which are electrically connected and provided on the first interlayer insulating film; and the source electrode and the drain electrode are electrically separated on the first interlayer insulating film; and At least a part is provided to face the end of the first gate electrode and includes a shield electrode layer held at a negative potential. At least one of the first gate insulating film, the first interlayer insulating film, and the second insulating film includes a silicon oxide film, and the shield electrode layer isheld at a negative potential, whereby the silicon oxide film It has a function ofattracting positive charges charged in the silicon oxide film due to incidence of radiation and suppressinga shift inthreshold voltage of the transistor .
  本開示の第1の放射線撮像装置は、上記本開示の第1のトランジスタと光電変換素子とを含む画素部を備えたものである。
本開示の第2の放射線撮像装置は、上記本開示の第2のトランジスタと光電変換素子とを含む画素部を備えたものである。Afirst radiation imaging apparatus of the present disclosure includes a pixel unit includingthe first transistor ofthe present disclosure and a photoelectric conversion element.
A second radiation imaging apparatus according to the present disclosure includes a pixel unit including the second transistor according to the present disclosure and a photoelectric conversion element.
  本開示の第1のトランジスタおよび放射線撮像装置では、第1のゲート絶縁膜と、第1の層間絶縁膜と、第2の絶縁膜とのうちの少なくとも1つに含まれたシリコン酸化膜において、放射線が照射されることによって正孔(ホール)による正電荷がチャージされる。第1のゲート電極の端部に対向してシールド電極層が設けられていることにより、特に半導体層のチャネル端部付近において上記正電荷の影響が軽減され、閾値電圧のシフトが抑制される。
本開示の第2のトランジスタおよび放射線撮像装置では、第1のゲート絶縁膜と、第1の層間絶縁膜と、第2の絶縁膜とのうちの少なくとも1つに含まれたシリコン酸化膜において、放射線が照射されることによって正孔(ホール)による正電荷がチャージされる。第1のゲート電極の端部に対向してシールド電極層が設けられていることにより、特に半導体層のチャネル端部付近において上記正電荷の影響が軽減され、閾値電圧のシフトが抑制される。Inthe first transistor and the radiation imaging apparatus ofthe present disclosure, inthe silicon oxide film included in at least one of the first gate insulating film, the first interlayer insulating film, and the second insulating film, A positive charge due to holes is charged by irradiation with radiation. Since the shield electrode layer is provided opposite to the end portion of the first gate electrode, the influence of the positive charge is reduced particularly in the vicinity of the channel end portion of the semiconductor layer, and the shift of the threshold voltage is suppressed.
In the second transistor and the radiation imaging apparatus of the present disclosure, in the silicon oxide film included in at least one of the first gate insulating film, the first interlayer insulating film, and the second insulating film, A positive charge due to holes is charged by irradiation with radiation. By providing the shield electrode layer opposite to the end portion of the first gate electrode, the influence of the positive charge is reduced particularly in the vicinity of the channel end portion of the semiconductor layer, and the shift of the threshold voltage is suppressed.
  本開示の第1の放射線撮像表示システムは、放射線に基づく画像を取得する撮像装置(上記本開示の第1の放射線撮像装置)と、この撮像装置により取得された画像を表示する表示装置とを備えたものである。
本開示の第2の放射線撮像表示システムは、放射線に基づく画像を取得する撮像装置(上記本開示の第2の放射線撮像装置)と、この撮像装置により取得された画像を表示する表示装置とを備えたものである。Afirst radiation imaging display system of the present disclosure includes an imaging device (first radiation imaging device ofthe present disclosure) that acquires an image based on radiation, and a display device that displays an image acquired by the imaging device. It is provided.
A second radiation imaging display system of the present disclosure includes an imaging device that acquires an image based on radiation (the second radiation imaging device of the present disclosure) and a display device that displays an image acquired by the imaging device. It is provided.
  本開示の第1のトランジスタおよび放射線撮像装置によれば、半導体層の一方の面側に設けられた第1のゲート絶縁膜および第1の層間絶縁膜と、他方の面側に設けられた第2の絶縁膜のうちの少なくとも1つがシリコン酸化膜を含む。シールド電極層が、その少なくとも一部が第1のゲート電極の端部に対向するように設けられていることにより、放射線の照射に起因する閾値電圧のシフトを抑制することができる。よって、放射線に起因する特性劣化を抑制して信頼性を向上させることが可能となる。
本開示の第2のトランジスタおよび放射線撮像装置によれば、第1のゲート絶縁膜、第1の層間絶縁膜および第2の絶縁膜のうちの少なくとも1つがシリコン酸化膜を含む。シールド電極層が、その少なくとも一部が第1のゲート電極の端部に対向するように設けられていることにより、放射線の照射に起因する閾値電圧のシフトを抑制することができる。よって、放射線に起因する特性劣化を抑制して信頼性を向上させることが可能となる。According tothe first transistor and the radiation imaging apparatus ofthe present disclosure,the first gate insulating film and the first interlayer insulating film provided on one surface side of the semiconductor layer, and the first gate insulating film provided on the other surface side. At least one of the two insulating films includes a silicon oxide film. By providing the shield electrode layer so that at least a part of the shield electrode layer faces the end portion of the first gate electrode, a shift of the threshold voltage due to radiation irradiation can be suppressed. Therefore, it is possible to improve the reliability by suppressing the characteristic deterioration caused by the radiation.
According to the second transistor and the radiation imaging apparatus of the present disclosure, at least one of the first gate insulating film, the first interlayer insulating film, and the second insulating film includes a silicon oxide film. By providing the shield electrode layer so that at least a part of the shield electrode layer faces the end portion of the first gate electrode, a shift of the threshold voltage due to radiation irradiation can be suppressed. Therefore, it is possible to improve the reliability by suppressing the characteristic deterioration caused by the radiation.
  以下、本開示における実施の形態について図面を参照して説明する。尚、説明は以下の順序で行う。
1.第1の実施の形態(間接変換型の放射線撮像装置において、一対のソース・ドレイン電極の両方の一部をシールド電極層として利用したトランジスタを設けた例)
2.変形例1(ドレイン電極の一部をシールド電極層として利用した例)
3.第2の実施の形態(一対のソース・ドレイン電極とは別にシールド電極層を設けた例)
4.変形例2(シールド電極層を負電位に保持した例)
5.変形例3(ダブルゲート構造を有するトランジスタの例)
6.変形例4(ダブルゲート構造を有するトランジスタの他の例)
7.変形例5(ダブルゲート構造を有するトランジスタの他の例)
8.変形例6(トップゲート構造を有するトランジスタの例)
9.変形例7(ボトムゲート構造を有するトランジスタの例)
10.変形例8(パッシブ駆動方式の画素回路の例)
11.変形例9(直接変換型の放射線撮像装置の例)
12.適用例(放射線撮像表示システムの例)
Hereinafter, embodiments of the present disclosure will be described with reference to the drawings. The description will be given in the following order.
 1. First Embodiment (Example in which indirect conversion type radiation imaging apparatus is provided with a transistor using a part of both of a pair of source / drain electrodes as a shield electrode layer)
 2. Modification 1 (example in which part of the drain electrode is used as a shield electrode layer)
 3. Second embodiment (an example in which a shield electrode layer is provided separately from a pair of source / drain electrodes)
 4). Modification 2 (example in which the shield electrode layer is held at a negative potential)
 5. Modification 3 (example of a transistor having a double gate structure)
 6). Modification 4 (Another example of a transistor having a double gate structure)
 7). Modification 5 (Another example of a transistor having a double gate structure)
 8). Modification 6 (example of transistor having a top gate structure)
 9. Modification 7 (example of transistor having bottom gate structure)
 10. Modification 8 (example of passive drive pixel circuit)
 11 Modification 9 (Example of direct conversion type radiation imaging apparatus)
 12 Application example (example of radiation imaging display system)
<第1の実施の形態>
[放射線撮像装置の全体構成]
  図1は、本開示の一実施の形態に係る放射線撮像装置(放射線撮像装置1)の全体構成を表すものである。放射線撮像装置1は、いわゆる間接変換型FPD(Flat Panel Detector)であり、α線、β線、γ線、X線に代表される放射線を波長変換後に受光し、放射線に基づく画像情報を電気信号として読み取るものである。この放射線撮像装置1は、医療用をはじめ、手荷物検査等のその他の非破壊検査用のX線撮像装置として好適に用いられるものである。<First Embodiment>
 [Overall configuration of radiation imaging apparatus]
 FIG. 1 illustrates an overall configuration of a radiation imaging apparatus (radiation imaging apparatus 1) according to an embodiment of the present disclosure. The
  放射線撮像装置1は、基板11上に画素部12を有し、この画素部12の周辺領域には、例えば行走査部13、水平選択部14、列走査部15およびシステム制御部16からなる周辺回路(駆動回路)が設けられている。  The
  画素部12は、放射線撮像装置1における撮像エリアとなるものである。この画素部12は、例えば行列状に2次元配置された単位画素P(以下、単に「画素」と記述する場合もある)を含み、この単位画素Pには、画素駆動線17として例えば2本の配線(具体的には行選択線およびリセット制御線)が画素行ごとに接続されている。単位画素Pは、入射光の光量(受光量)に応じた電荷量の電荷(光電荷)を発生して内部に蓄積する光電変換素子(後述のフォトダイオード111A)を含んでいる。  The
  画素部12には、また、画素行ごとに画素駆動線17がその行方向に沿って配線され、画素列ごとに垂直信号線18がその列方向に沿って配線されている。画素駆動線17は、画素からの信号読み出しのための駆動信号を伝送するものである。図1では、画素駆動線17について1本の配線として示しているが、1本に限られるものではない。画素駆動線17の一端は、行走査部13の各行に対応した出力端に接続されている。この画素部12の構成については後述する。  In the
  この画素部12上には、図2に示したように、シンチレータ層114(波長変換層)が設けられており、シンチレータ層114は、保護膜115により覆われている。  As shown in FIG. 2, a scintillator layer 114 (wavelength conversion layer) is provided on the
  シンチレータ層114は、放射線を後述のフォトダイオード111Aの感度域に波長変換するものである。このシンチレータ層114は、例えばX線を可視光に変換する蛍光体が用いられる。このような蛍光体としては、例えば、ヨウ化セシウム(CsI)にタリウム(Tl)を添加したもの、酸化硫黄カドミウム(Gd2O2S)にテルビウム(Tb)を添加したもの、BaFX(XはCl,Br,I等)等が挙げられる。シンチレータ層114の厚みは100μm〜600μmであることが望ましく、例えば600μmである。このようなシンチレータ層114は、平坦化膜113上に例えば真空蒸着法を用いて成膜することができる。The scintillator layer 114 converts the wavelength of radiation into the sensitivity range of a
保護膜115は、例えばパリレンCよりなる有機膜である。シンチレータ層114に用いられる上記のような蛍光体材料、特にCsIは水分によって劣化し易いため、シンチレータ層114上には、水分バリア層としての保護膜115が設けられていることが望ましい。 The protective film 115 is an organic film made of parylene C, for example. Since the phosphor material used for the scintillator layer 114, particularly CsI, is easily deteriorated by moisture, it is desirable to provide a protective film 115 as a moisture barrier layer on the scintillator layer 114.
  行走査部13は、シフトレジスタやアドレスデコーダ等によって構成され、画素部12の各画素Pを、例えば行単位で駆動する画素駆動部である。行走査部13によって選択走査された画素行の各画素Pから出力される信号は、垂直信号線18の各々を通して水平選択部14に供給される。水平選択部14は、垂直信号線18ごとに設けられたアンプや水平選択スイッチ等によって構成されている。  The
  列走査部15は、シフトレジスタやアドレスデコーダ等によって構成され、水平選択部14の各水平選択スイッチを走査しつつ順番に駆動するものである。この列走査部15による選択走査により、垂直信号線18の各々を通して伝送される各画素の信号が順番に水平信号線19に出力され、当該水平信号線19を通して基板11の外部へ伝送される。  The
  行走査部13、水平選択部14、列走査部15および水平信号線19からなる回路部分は、基板11上に直に形成されていてもよいし、あるいは外部制御ICに配設されたものであってもよい。また、それらの回路部分は、ケーブル等により接続された他の基板に形成されていてもよい。  The circuit portion including the
  システム制御部16は、基板11の外部から与えられるクロックや、動作モードを指令するデータなどを受け取り、また、放射線撮像装置1の内部情報などのデータを出力するものである。システム制御部16はさらに、各種のタイミング信号を生成するタイミングジェネレータを有し、当該タイミングジェネレータで生成された各種のタイミング信号を基に行走査部13、水平選択部14および列走査部15などの周辺回路の駆動制御を行う。  The system control unit 16 receives a clock given from the outside of the
[画素部12の詳細構成]
  画素部12では、基板11上に、後述のフォトダイオード111Aおよびトランジスタ111Bを含む画素回路12aが形成されている。尚、この画素回路12a上には、例えば有機絶縁膜よりなる平坦化膜(図示せず)が設けられている。また、この平坦化膜上に、更に図示しない保護膜が設けられていてもよい。以下、画素部12の要部の詳細構成について説明する。[Detailed Configuration of Pixel Unit 12]
 In the
(画素回路)
  図3は、光電変換層112における画素回路12aの一例を表したものである。画素回路12aは、フォトダイオード111A(光電変換素子)と、トランジスタTr1,Tr2,Tr3(後述のトランジスタ111Bに相当)と、前述の垂直信号線18と、画素駆動線17としての行選択線171およびリセット制御線172とを含むものである。(Pixel circuit)
 FIG. 3 illustrates an example of the pixel circuit 12 a in the photoelectric conversion layer 112. The pixel circuit 12a includes a
  フォトダイオード111Aは、例えばPIN(Positive Intrinsic Negative Diode) フォトダイオードであり、例えばその感度域は可視域となっている(受光波長帯域が可視域である)。このフォトダイオード111Aは、その一端(端子133)に基準電位Vxrefが印加されることで、入射光の光量(受光量)に応じた電荷量の信号電荷を発生するものである。フォトダイオード111Aの他端は蓄積ノードNに接続されている。蓄積ノードNには容量成分136が存在し、フォトダイオード111Aで発生した信号電荷は蓄積ノードNに蓄積される。尚、フォトダイオード111Aを蓄積ノードNとグランド(GND)との間に接続した構成としてもよい。このフォトダイオードの断面構造については後述する。  The
  トランジスタTr1,Tr2,Tr3はいずれも、例えばN型またはP型の電界効果トランジスタ(FET:Field effect transistor)であり、チャネルを形成する半導体層(後述の半導体層126)が例えば低温多結晶シリコン(LTPS:Low-temperature Poly Silicon)により構成されている。但し、これに限らず、微結晶シリコン、多結晶シリコン等のシリコン系半導体、あるいは酸化インジウムガリウム亜鉛(InGaZnO)または酸化亜鉛(ZnO)等の酸化物半導体により構成されていてもよい。  Each of the transistors Tr1, Tr2, and Tr3 is, for example, an N-type or P-type field effect transistor (FET), and a semiconductor layer that forms a channel (a
  トランジスタTr1は、リセットトランジスタであり、参照電位Vrefが与えられる端
子137と蓄積ノードNとの間に接続されている。このトランジスタTr1は、リセット信号Vrstに応答してオンすることによって蓄積ノードNの電位を参照電位Vrefにリセットするものである。トランジスタTr2は、読出トランジスタであり、ゲートが蓄積ノードNに、端子134(ドレイン)が電源VDDにそれぞれ接続されている。このトランジスタTr2は、フォトダイオード111Aで発生した信号電荷をゲートで受け、この信号電荷に応じた信号電圧を出力する。トランジスタTr3は、行選択トランジスタであり、トランジスタTr2のソースと垂直信号線18との間に接続されており、行走査信号Vreadに応答してオンすることにより、トランジスタTr2から出力される信号を垂直信号線18に出力する。このトランジスタTr3については、トランジスタTr2のドレインと電源VDDとの間に接続する構成を採ることも可能である。以下、これらのトランジスタ(総称してトランジスタ111Bとする)の断面構造について説明する。The transistor Tr1 is a reset transistor and is connected between the terminal 137 to which the reference potential Vref is applied and the storage node N. The transistor Tr1 is turned on in response to the reset signal Vrst to reset the potential of the storage node N to the reference potential Vref. The transistor Tr2 is a read transistor, and has a gate connected to the storage node N and a terminal 134 (drain) connected to the power supply VDD. The transistor Tr2 receives the signal charge generated by the
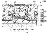
[トランジスタ111Bの詳細構成]
  図4は、トランジスタ111Bの断面構成例である。トランジスタ111Bは、半導体層126を挟むようにして2つのゲート電極を有する、いわゆるデュアルゲート構造を有している。具体的には、トランジスタ111Bは、基板11上の選択的な領域に、ゲート電極120Aを有し、このゲート電極120Aを覆うように第2ゲート絶縁膜129が設けられている。第2ゲート絶縁膜129上には、半導体層126が設けられており、この半導体層126は、チャネル層126aと、その両端のそれぞれに設けられたLDD(Lightly Doped Drain)層126bおよびN+層126cとを含んでいる。この半導体層126を覆うように、第1ゲート絶縁膜130が形成されている。第1ゲート絶縁膜130上の選択的な領域(ゲート電極120Aに対向する領域)には、ゲート電極120Bが配設されている。[Detailed Configuration of Transistor 111B]
 FIG. 4 is a cross-sectional configuration example of the transistor 111B. The transistor 111B has a so-called dual gate structure including two gate electrodes with the
  ゲート電極120B上には、第1層間絶縁膜131が形成されており、この第1層間絶縁膜131と第1ゲート絶縁膜130との一部に、コンタクトホールH1が設けられている。第1層間絶縁膜131上には、そのようなコンタクトホールH1を埋め込むようにして、一対のソース・ドレイン電極128A,128Bが配設されており、半導体層126と電気的に接続されている。ソース・ドレイン電極128A,128B上には、第2層間絶縁膜132が設けられている。  A first
  尚、本実施の形態のゲート電極120Bが、本開示の「第1のゲート電極」の一具体例に相当し、ゲート電極120Aが、「第2のゲート電極」の一具体例に相当する。また、第1ゲート絶縁膜130が「第1のゲート絶縁膜」、第2ゲート絶縁膜129が「第2の絶縁膜」、第1層間絶縁膜131が「第1の層間絶縁膜」、第2層間絶縁膜132が「第2の層間絶縁膜」の一具体例にそれぞれ相当する。  The
  ゲート電極120Aおよびゲート電極120Bはそれぞれ、例えばチタン(Ti),アルミニウム(Al),モリブデン(Mo),タングステン(W),クロム(Cr)等のいずれかよりなる単層膜またはそれらの積層膜よりなる。これらのゲート電極120Aおよびゲート電極120Bは、上述のように第2ゲート絶縁膜129、半導体層126および第1ゲート絶縁膜130を挟み込むようにして、互いに対向して設けられている。換言すると、ゲート電極120Bは、ゲート電極120Aとほぼ同等の領域に、チャネル層126aを挟み込むようにして設けられている。このようなゲート電極120Bは、例えばゲート電極120Aと同一のフォトマスクを用いてパターニングされるが、理想的にはゲート電極120Aの直上に設けられることが望ましい。これらのゲート電極120Aおよびゲート電極120Bの厚みはそれぞれ、例えば30nm〜150nmであり、例えばゲート電極120Aが65nm、ゲート電極120Bが90nmである。  Each of the
  第2ゲート絶縁膜129および第1ゲート絶縁膜130は、例えばシリコン酸化膜を含んで構成されている。シリコン酸化膜としては、例えば酸化シリコン(SiO2)または
酸窒化シリコン(SiON)等の酸素を含むシリコン化合物膜が挙げられる。第2ゲート絶縁膜129および第1ゲート絶縁膜130は、具体的には、そのようなシリコン酸化膜と、窒化シリコン(SiNX)膜とを積層してなる積層膜である。ここでは、第1ゲート
絶縁膜129は、基板11側から順に窒化シリコン膜129Aおよび酸化シリコン膜129Bを積層したものであり、第1ゲート絶縁膜130は、基板11側から順に、酸化シリコン膜130A、窒化シリコン膜130Bおよび酸化シリコン膜130Cを積層したものである。このように、半導体層126の近傍には、半導体層126を挟み込むようにして、酸化シリコン膜129B,130Aが設けられることが望ましい。これは、半導体層126が界面準位の影響を受け、閾値電圧シフトが生じないようにするためである。The second
  半導体層126は、例えば多結晶シリコン、低温多結晶シリコン、微結晶シリコンまたは非結晶シリコンにより構成され、望ましくは低温多結晶シリコンにより構成されている。あるいは、酸化インジウムガリウム亜鉛(IGZO)等の酸化物半導体により構成されていてもよい。この半導体層126では、チャネル層126aの両端側(ソース側およびドレイン側)に、ソース・ドレイン電極128A,128Bとの接続領域となるN+層1
26cが設けられており、チャネル層126aとN+層126cとの間には、リーク電流
を低減する目的でLDD層126bが形成されている。The
 26c is provided, and an
(ソース・ドレイン電極,シールド電極層)
  ソース・ドレイン電極128A,128Bは、例えばソースまたはドレインとして入れ替わり可能に機能するものであり、一方がソース、他方がドレインとして機能するようになっている。これらのソース・ドレイン電極128A,128Bはそれぞれ、Ti、Al、Mo、W、Cr等からなる単層膜またはこれらの積層膜からなり、信号読み出しのための配線に接続されている。本実施の形態では、これらのソース・ドレイン電極128A,128Bが、上記のようにソースまたはドレインとして入れ替わり可能に機能するため、チャネル層126aの両端側のどちらにもLDD層126bが設けられた構成となっている。(Source / drain electrode, shield electrode layer)
 The source /
  本実施の形態では、これらのソース・ドレイン電極128A,128Bがいずれも、ゲート電極120Bの端部e2に対向する領域まで延在して設けられている。換言すると、ソース・ドレイン電極128A,128Bはそれぞれ、ゲート電極120Bの端部e2にオーバーラップして(部分的に重なって)設けられている。これらの端部e2に対向する部分が、シールド電極層128a1,128b1に相当する(シールド電極層128a1,128b1を兼ねている)。上述のように、ゲート電極120Bは、ゲート電極120Aに対向して設けられるが、半導体層126ではゲート電極120Aに対応する領域にチャネル層126aが形成されるため、ソース・ドレイン電極128A,128Bは、チャネル端e1に対向して設けられることとなる。尚、上述のようにチャネル層126aの両端側にはそれぞれLDD層126bが設けられるが、シールド電極層128a1,128b1は、ここでは、LDD層126bにも重なって設けられている。  In the present embodiment, both of these source /
  尚、本明細書においてゲート電極120Bは、側面にテーパ部分を有するが、これは、エッチングプロセスによって必然的に形成されるものである。ゲート電極120Bが、このようなテーパ部分を有する場合、ゲート電極120Bの端部e2は、図4の右下欄に拡大して示したように、テーパ部分tの最下端を示すものとする。  Note that in this specification, the
  シールド電極層128a1,128b1は、シリコン酸化膜に溜まった正電荷の半導体層126(特にチャネル層126a)への影響を抑制する電気的なシールドとして機能するものである。その少なくとも一部が、ゲート電極120Bの端部e2に対向して設けられている。望ましくは、シールド電極層128a1とシールド電極層128b1との間隔dが、ゲート電極120Bのゲート長Lよりも小さくなるように、シールド電極層128a1,128b1が設けられているとよい。より望ましくは、シールド電極層128a1,128b1がゲート電極120Bのテーパ部分の全てを覆うように設けられているとよい。ここで、前述のようにゲート電極120Bはゲート電極120Aと同位置に設けられることが理想的ではあるが、実際には位置ずれ(合わせずれ)が生じることがある。シールド電極層128a1,128b1がテーパ部分を覆っていれば、そのような合わせずれが生じた場合にも、正孔のチャネル層126aへの影響を少なくすることができる。尚、上記間隔dの下限については特に限定されないが、シールド電極層128a1,128b1同士があまり近づき過ぎると、ショート不良等の不具合が生じるため、その点を考慮して端部e3の位置を設定するとよい。本実施の形態では、これらのシールド電極層128a1,128b1は、上述のようにソース・ドレイン電極128A,128Bの一部として、第1層間絶縁膜131上に設けられている。  The shield electrode layers 128a1 and 128b1 function as electrical shields that suppress the influence of positive charges accumulated in the silicon oxide film on the semiconductor layer 126 (particularly the
  第1層間絶縁膜131および第2層間絶縁膜132は、上記第2ゲート絶縁膜129および第1ゲート絶縁膜130と同様、例えば酸化シリコン膜、酸窒化シリコン膜および窒化シリコン膜のうちの単層膜またはこれらの積層膜により構成されている。ここでは、第1層間絶縁膜131は、基板11側から順に酸化シリコン膜131aおよび窒化シリコン膜131bを積層したものであり、第2層間絶縁膜132は、酸化シリコン膜となっている。尚、トランジスタ111Bの一部の層は、後述のフォトダイオード111Aと共通しており、同一の薄膜プロセスを経て形成される。このため、フォトダイオード111Aにおける第2層間絶縁膜132は、その加工時のエッチング選択比の観点から、第2層間絶縁膜132としては、窒化シリコン膜よりも酸化シリコン膜を用いることが望ましい。  The first
(トランジスタ111Bの作製方法)
  上記のようなトランジスタ111Bは、例えば次のようにして作製することができる。図5〜8は、トランジスタ111Bの作製方法を工程順に説明するための断面図である。(Method for Manufacturing Transistor 111B)
 The transistor 111B as described above can be manufactured, for example, as follows. 5 to 8 are cross-sectional views for describing a method for manufacturing the transistor 111B in the order of steps.
  まず、図5(A)に示したように、基板11上にゲート電極120Aを形成する。具体的には、例えばMo等の高融点金属を基板11上に例えばスパッタ法により成膜した後、例えばフォトリソグラフィ法を用いて島状(アイランド状)にパターニングする。  First, as illustrated in FIG. 5A, the gate electrode 120 </ b> A is formed over the
  この後、図5(B)に示したように、第2ゲート絶縁膜129を形成する。具体的には、基板11上のゲート電極120Aを覆うように、窒化シリコン膜129Aおよび酸化シリコン膜129Bをこの順に、例えばCVD法により所定の膜厚で連続成膜する。続いて、形成した第2ゲート絶縁膜129上に、半導体層126となるアモルファスシリコン層(α−Si層)1260を、例えばCVD法により成膜する。  Thereafter, as shown in FIG. 5B, a second
  次いで、図5(C)に示したように、形成したα−Si層1260を多結晶化することにより、半導体層126を形成する。具体的には、まずα−Si層1260を例えば400℃〜450℃の温度下において、水素含有量が1%以下となるように脱水素処理(アニール)を行う。続いて、例えばエキシマレーザ(ELA)により例えば波長308nmのレーザ光を照射することにより、α−Si層1260を多結晶化する。この後、例えばボロンをドープして閾値電圧を調整することにより、半導体層126を形成する。  Next, as illustrated in FIG. 5C, the formed α-
  続いて、図6(A)に示したように、多結晶化した半導体層126の所定の領域に、イオン注入により、LDD層126bおよびN+層126cをそれぞれ形成する。Subsequently, as shown in FIG. 6A, an
  次いで、図6(B)に示したように、第1ゲート絶縁膜130を形成する。具体的には、半導体層126を覆うように、酸化シリコン膜130A、窒化シリコン膜130Bおよび酸化シリコン膜130Cをこの順に、例えばCVD法により所定の膜厚で連続成膜する。尚、これらの酸化シリコン膜130A,130Cと、上述の第2ゲート絶縁膜129における酸化シリコン膜129Bとの合計の膜厚が、65nm以下となるように、各層の膜厚を設定する。尚、この第3ゲート絶縁膜130を形成後、図示はしないが、上記ゲート電極120Aと、後の工程で形成するゲート電極120Bとを電気的に接続するためのコンタクトホールを形成しておく。  Next, as shown in FIG. 6B, a first
  続いて、図6(C)に示したように、第1ゲート絶縁膜130上にゲート電極120Bを形成する。具体的には、例えばMo等の高融点金属を、第1ゲート絶縁膜130上に例えばスパッタ法により成膜した後、例えばフォトリソグラフィ法を用いて島状にパターニングする。この際、ゲート電極120Aの形成時と同一のフォトマスクを使用し、理想的にはゲート電極120Aの直上にゲート電極120Bが形成されるように位置合わせを行うことが望ましい。  Subsequently, as illustrated in FIG. 6C, the gate electrode 120 </ b> B is formed over the first
  次いで、図7(A)に示したように、酸化シリコン膜131aおよび窒化シリコン膜131bをこの順に、例えばCVD法により連続成膜することにより、第1層間絶縁膜131を形成する。  Next, as shown in FIG. 7A, the first
  続いて、図7(B)に示したように、形成した第1層間絶縁膜131および第1ゲート絶縁膜130を半導体層126の表面まで貫通するコンタクトホールH1を、例えばドライエッチングにより形成する。  Subsequently, as shown in FIG. 7B, a contact hole H1 that penetrates the formed first
  この後、図8に示したように、コンタクトホールH1を埋め込むように、ソース・ドレイン電極128A,128Bを例えばスパッタ法により成膜し、所定の形状にパターニングする。この際、ソース・ドレイン電極128A,128Bを、それぞれの一部がゲート電極120Bとオーバーラップするように、ソース・ドレイン電極128A,128B間に開口(分離溝)を形成する。これにより、シールド電極層128a1,128b1を兼ねたソース・ドレイン電極128A,128Bを形成する。最後に、これらのソース・ドレイン電極128A,128Bおよび第1層間絶縁膜131上に、第2層間絶縁膜132として、例えば酸化シリコン膜をCVD法により成膜することにより、図4に示したトランジスタ111Bを完成する。  Thereafter, as shown in FIG. 8, the source /
(フォトダイオード111Aの構成)
  図9は、フォトダイオード111Aの断面構成例である。このフォトダイオード111Aは、上記トランジスタ111Bと共に基板11上に設けられ、その積層構造の一部がトランジスタ111Bと共通し、同一の薄膜プロセスによって形成されるものである。以下、フォトダイオード111Aの詳細構成について説明する。(Configuration of
 FIG. 9 is a cross-sectional configuration example of the
  フォトダイオード111Aは、基板11上の選択的な領域に、ゲート絶縁膜121aを介してp型半導体層122を有している。基板11上(詳細にはゲート絶縁膜121a上)には、そのp型半導体層122に対向してコンタクトホールH2を有する第1層間絶縁膜121bが設けられている。第1層間絶縁膜121bのコンタクトホールH2内のp型半導体層122上には、i型半導体層123が設けられており、このi型半導体層123上にn型半導体層124が形成されている。n型半導体層124には、コンタクトホールH3を有する第2層間絶縁膜121cが設けられており、そのコンタクトホールH3を介してn型半導体層124と上部電極125とが電気的に接続されている。  The
  尚、ここでは、基板11側(下部側)にp型半導体層122、上部側にn型半導体層16をそれぞれ設けた例を挙げたが、これと逆の構造、即ち下部側(基板側)をn型、上部側をp型とした構造であってもよい。また、上記ゲート絶縁膜121a,第1層間絶縁膜121bおよび第2層間絶縁膜121cは、それらの一部または全部において、トランジスタ111Bにおける第2ゲート絶縁膜129、第1ゲート絶縁膜130および第1層間絶縁膜131の各層と同一の層構造を有する。このフォトダイオード111Aはトランジスタ111Bと同一の薄膜プロセスにより形成可能である。  Here, an example in which the p-
  p型半導体層122は、例えば多結晶シリコン(ポリシリコン)等に、例えばボロン(B)がドープされてなるp+領域であり、厚みは例えば40nm〜50nmである。このp型半導体層122は、例えば信号電荷を読み出すための下部電極を兼ねており、前述の蓄積ノードN(図3)に接続されている(あるいは、p型半導体層122が蓄積ノードNとなって、電荷を蓄積させるようになっている)。  The p-
  i型半導体層123は、p型とn型の中間の導電性を示す半導体層、例えばノンドープの真性半導体層であり、例えば非結晶シリコン(アモルファスシリコン)により構成されている。i型半導体層123の厚みは、例えば400nm〜1000nmであるが、厚みが大きい程、光感度を高めることができる。n型半導体層124は、例えば非結晶シリコン(アモルファスシリコン)により構成され、n+領域を形成するものである。このn型半導体層124の厚みは例えば、10nm〜50nmである。  The i-
  上部電極125は、光電変換のための基準電位を供給するための電極であり、例えばITO(Indium Tin Oxide)等の透明導電膜により構成されている。この上部電極125には、この上部電極125に電圧を供給するための電源配線127が接続されている。電源配線127は上部電極125よりも低抵抗の材料、例えばTi、Al、Mo、W、Cr等によって構成されている。  The
[作用・効果]
  本実施の形態の作用、効果について、図1〜図4および図10〜図14を参照して説明する。放射線撮像装置1では、図示しない放射線(例えばX線)照射源から照射され、被写体(検出体)を透過した放射線が入射すると、この入射した放射線が波長変換後に光電変換されることにより、被写体の画像が電気信号として得られる。詳細には、放射線撮像装置1に入射した放射線は、まず、画素部12上に設けられたシンチレータ層114において、フォトダイオード111Aの感度域(ここでは可視域)の波長に変換される(シンチレータ層114において可視光を発光する)。このようにしてシンチレータ層114から発せられた可視光は、画素部12へ入射する。[Action / Effect]
 The operation and effect of the present embodiment will be described with reference to FIGS. 1 to 4 and FIGS. 10 to 14. In the
  画素部12では、フォトダイオード111Aに、図示しない電源配線から上部電極125を介して所定の電位が印加されると、上部電極125の側から入射した光が、その受光量に応じた電荷量の信号電荷に変換される(光電変換がなされる)。この光電変換によって発生した信号電荷は、p型半導体層122の側から光電流として取り出される。  In the
  詳細には、フォトダイオード111Aにおける光電変換によって発生した電荷は、蓄積層(p型半導体層122,蓄積ノードN)により収集され、この蓄積層から電流として読み出され、トランジスタTr2(読出トランジスタ)のゲートに与えられる。トランジスタTr2はこの読み出された信号電荷に応じた信号電圧を出力する。トランジスタTr2から出力される信号は、行走査信号Vreadに応答してトランジスタTr3がオンすると、垂直信号線18に出力される(読み出される)。垂直信号線18に出力された信号は、垂直信号線18を通じて画素列ごとに、水平選択部14へ出力される。  Specifically, charges generated by photoelectric conversion in the
  本実施の形態では、上記のようにして、入射した放射線(X線)の波長変換および光電変換により電気信号(画像情報)が取得されるが、この一方で、シンチレータ層114において波長変換されずに、シンチレータ層114をそのまま透過してしまう放射線が存在する。このような放射線が画素部12へ入射すると、特にトランジスタ111Bにおいて次のような不具合が生じる。即ち、トランジスタ111Bは、第2ゲート絶縁膜129、第1ゲート絶縁膜130、第1層間絶縁膜131および第2層間絶縁膜132に、酸化シリコン膜を有するが、このような酸素を含む膜に放射線が入射すると、いわゆる光電効果、コンプトン散乱あるいは電子対生成等により膜中の電子が励起される。その結果、正孔が界面や欠陥にトラップされて残存する(チャージされる)。  In the present embodiment, as described above, an electrical signal (image information) is acquired by wavelength conversion and photoelectric conversion of incident radiation (X-rays), but on the other hand, wavelength conversion is not performed in the scintillator layer 114. In addition, there is radiation that passes through the scintillator layer 114 as it is. When such radiation is incident on the
(比較例)
  ここで、本実施の形態の比較例に係るトランジスタ(トランジスタ100)の断面構造を図10に示す。トランジスタ100は、デュアルゲート構造を有するトランジスタであり、基板101上に、ゲート電極102Aと、第2ゲート絶縁膜103と、チャネル層104a,LDD層104bおよびN+層104cを含む半導体層104と、第2ゲー
ト絶縁膜105と、ゲート電極102Bと、第1層間絶縁膜107とをこの順に有するものである。第1層間絶縁膜107および第1ゲート絶縁膜105には、コンタクトホールが設けられ、このコンタクトホールを通じてソース・ドレイン電極106が半導体層104に接続されている。ソース・ドレイン電極106および第1層間絶縁膜107上には第2層間絶縁膜108が形成されている。このような構成において、第2ゲート絶縁膜103は、基板101側から順に窒化シリコン膜103Aおよび酸化シリコン膜103Bを積層したものである。第1層間絶縁膜105は、基板11側から順に、酸化シリコン膜105A、窒化シリコン膜105Bおよび酸化シリコン膜105Cを積層したものである。第2層間絶縁膜107は、基板11側から順に、酸化シリコン膜107Aおよび窒化シリコン膜107Bを積層したものである。(Comparative example)
 Here, FIG. 10 illustrates a cross-sectional structure of a transistor (transistor 100) according to a comparative example of this embodiment. The
  比較例のトランジスタ100では、酸化シリコン膜103B,105A,105C,107A,および酸化シリコン膜よりなる第2層間絶縁膜108には、上述したような理由から、正電荷がチャージされる。これらのうち、例えば第2層間絶縁膜108にチャージされた正電荷は、図10に模式的に示したように、半導体層104(特にチャネル端部e1)へ悪影響(破線矢印で模式的に示す)を及ぼす。ここで、トランジスタ100では、デュアルゲート構造を有しているため、ゲート電極102Bの直上にチャージされた正電荷については、このゲート電極102Bによってシールドされ、半導体層104へ影響が軽減される。しかしながら、ゲート電極102Bの端部e2よりも外側の領域(ゲート電極102Bとソース・ドレイン電極106との間の間隙部分)では、そのようなシールド効果を十分に得ることができない。また、ゲート電極102Bは、ゲート電極102Aの直上に設けられることが理想的ではあるが、実際にはそのような位置合わせを高精度に行うことは困難である。このため、ゲート電極102Bの位置にはばらつき(位置ずれ)が生じ易く、このような位置ずれが生じると、特にチャネル端部e1に対するシールド効果が十分に得られないことがある。  In the
  これらの理由から、チャネル層126a(特にチャネル端部e1)では、正電荷の影響を受け易く、これによって閾値電圧が負側へシフトしてしまう。また、特に半導体層104に低温多結晶シリコンを用いた場合、半導体層104をシリコン酸化膜によって挟み込むことが望ましいため、例えば非晶質シリコンを用いる場合に比べて、上記のような閾値電圧のシフトが発生し易い。そして、閾値電圧がシフトすると、例えばオフ電流およびオン電流の変化、具体的にはオフ電流が増して電流リークが生じたり、オン電流が減少して読み出し不能になる等の不具合を生じる。即ち、トランジスタの信頼性を維持することが困難となる。  For these reasons, the
  これに対し、本実施の形態では、第1層間絶縁膜131上にシールド電極層128a1,128b1を有し、これらのシールド電極層128a1,128b1の一部が、ゲート電極120Bの端部e2に対向して(ゲート電極120Bとオーバーラップして)設けられている。これにより、図11に模式的に示したように、まずゲート電極120Bによるシールド効果により、例えば第2層間絶縁膜132(酸化シリコン膜)にチャージされた正電荷によるチャネル層126aへの影響が抑制される。そして、本実施の形態では、シールド電極層128a1,128b1のシールド効果によって、正電荷によるチャネル端部e1への影響が抑制される。  On the other hand, in this embodiment, the shield electrode layers 128a1 and 128b1 are provided on the first
  ここで、図12に、半導体層126として低温多結晶シリコンを用いたトランジスタ111Bへ放射線を照射した場合の、ゲート電圧(Vg)に対するドレイン電流(Ids)の関係(電流電圧特性:Vds(ソース−ドレイン間電圧)=6.1V、W(W長)=20.5μm、L(L長)=6μm)について示す。また、図13には、X線照射量と、基準電圧(ドレイン電流Ids=1.0e−11Aを基準にした電圧Vg)のシフト量(ΔVshift)の関係、図14には、X線照射量とS値(スレッショルド値)との関係についても示す。尚、これらの特性は、X線管電圧を90kVとし、X線照射量を0Gy,70Gy,110Gy,200Gyとした各場合について測定した。また、Ids=5.0e−7Aを基準にした電圧Vg(閾値電圧Vth)ではなく、Ids=1.0e−11Aを基準にした電圧Vgのシフト量を測定したのは、そのシフト量をよりわかり易く示すためである。この結果から、X線を照射した場合、閾値電圧のシフトは、その照射量が0Gy,70Gy,110Gy,200Gyと増えるに従って徐々に増大する傾向にはあるものの、良好な特性が得られることがわかった。  Here, FIG. 12 shows the relationship between the drain voltage (Ids) and the gate voltage (Vg) when the transistor 111B using low-temperature polycrystalline silicon as the
  以上説明したように本実施の形態では、トランジスタ111Bの第2ゲート絶縁膜129、第1ゲート絶縁膜130、第1層間絶縁膜131および第2層間絶縁膜132のうちのシリコン酸化膜において、放射線の照射により正孔が生じ、これにより正電荷がチャージされる。ゲート電極120Bの端部e2に一部が対向してシールド電極層128a1,128b1が設けられていることにより、特に半導体層のチャネル端部e1付近において、例えば第2層間絶縁膜132にチャージされた正電荷の影響を軽減し、閾値電圧のシフトを抑制することができる。よって、放射線に起因する特性劣化を抑制して信頼性を向上させることが可能となる。  As described above, in this embodiment, in the silicon oxide film of the second
  また、本実施の形態では、ソース・ドレイン電極層128A,128Bが、上記のようなシールド電極層128a1,128b1を兼ねていることにより、ソース・ドレイン電極層128A,128Bをパターニング形成する工程において、シールド電極層128a1,128b1を容易に形成可能である。  In the present embodiment, the source /
<変形例1>
  上記第1の実施の形態では、ソース・ドレイン電極層128A,128Bの両方の一部を利用して、チャネルの両側に2つのシールド電極層128a1,128b1を設けた構造を示したが、図15(A)に示したように、チャネルの片側にのみシールド電極層を設けてもよい。図15(A)は、上記第1の実施の形態の変形例(変形例1)に係るトランジスタ(トランジスタ111C)の断面構造を表したものである。トランジスタ111Cは、上記第1の実施の形態のトランジスタ111Bと同様、2つのゲート電極120A,120B間に半導体層126を有するデュアルゲート構造のトランジスタである。また、第2ゲート絶縁膜129、第1ゲート絶縁膜130、第1層間絶縁膜131および第2層間絶縁膜132に、酸化シリコン膜を含んでいる。尚、上記第1の実施の形態と同様の構成要素については、同一の符号を付し適宜その説明を省略する。<
 In the first embodiment, the structure in which two shield electrode layers 128a1 and 128b1 are provided on both sides of the channel using a part of both of the source /
  但し、本変形例では、ドレインとしてのみ機能するドレイン電極128Cと、ソースとしてのみ機能するソース電極128Dとが、第1層間絶縁膜131上に半導体層126に電気的に接続されて配設されている。また、半導体層126は、チャネル層126a、LDD層126bおよびN+層126cを有するが、これらのうちLDD層126bはドレ
イン電極128C側のみに形成されている。これは、トランジスタ111Cにおいて、例えばソースおよびドレインの機能を入れ替える必要のない場合、供給される電圧が比較的大きくなるドレイン電極128C側にのみ、LDD層126bが設けられていればよいからである。ソース電極128Dは、グランド電位に保持されることが多いため、LDD層126bが形成されていなくともよい。However, in this modification, a
  このような構成において、ドレイン電極128Cの一部がシールド電極層128c1を兼ねており、このシールド電極層128c1の一部が、ゲート電極120Bの端部e2に対向して設けられている。このシールド電極層128c1のシールド効果により、例えば第2層間絶縁膜132に上述した理由により正電荷がチャージされたとしても、半導体層126のドレイン側のチャネル層126(特にチャネル端部e1)への正電荷による影響が軽減される。ソース側については、ドレイン側程大きな電流が生じないため、LDD層が不要であり、またシールド電極層がなかったとしても、ドレイン側ほど閾値電圧に対して大きな影響を与えにくい。従って、チャネルの片側、特にドレイン側にのみシールド電極層128c1を設けた構成としてもよく、このような場合、特性に影響を与え易い部分に効率的にシールド電極層128c1を設けることができる。  In such a configuration, part of the
尚、上記変形例1では、シールド電極層128c1を、ドレイン側にのみ設けた構成を例示したが、逆にソース側にのみ設けるようにしてもよい。この場合には、ドレイン側に設ける場合に比べ、効果は少なくなるものの、シールド電極層を全く設けない場合(上記比較例の構造)よりはチャネル端部e1への正電荷の影響を軽減することができ、閾値電圧のシフトを抑制することができる。 In the first modification, the configuration in which the shield electrode layer 128c1 is provided only on the drain side is illustrated, but conversely, it may be provided only on the source side. In this case, although the effect is reduced as compared with the case where it is provided on the drain side, the influence of the positive charge on the channel end e1 is reduced as compared with the case where no shield electrode layer is provided (the structure of the comparative example). And the shift of the threshold voltage can be suppressed.
  また、上記変形例1では、チャネル層126aのドレイン側にのみLDD層126bを設けたが、ソース側にもLDD層を設けてもよく、このような構造に対して、ドレイン側またはソース側の一方のみにシールド電極層を設けるようにしてもよい。  In the first modification, the
  更に、図15(B)に示したように、ドレイン電極128Cを、ゲート電極120Bの両端を覆う位置まで延在形成し、その一部がシールド電極層128c2を兼ねた構成であってもよい。  Further, as shown in FIG. 15B, the
<第2の実施の形態>
[構成]
  図16は、本開示の第2の実施の形態に係るトランジスタ(トランジスタ111D)のの断面構造を表したものである。尚、上記第1の実施の形態と同様の構成要素については、同一の符号を付し適宜その説明を省略する。また、本実施の形態のトランジスタ111Dは、上記第1の実施の形態において説明した放射線撮像装置の画素部12において、フォトダイオード111Aと共に画素回路12aに配設されるものである。<Second Embodiment>
 [Constitution]
 FIG. 16 illustrates a cross-sectional structure of a transistor (transistor 111D) according to the second embodiment of the present disclosure. Note that the same components as those in the first embodiment are denoted by the same reference numerals, and description thereof will be omitted as appropriate. Further, the transistor 111D of this embodiment is arranged in the pixel circuit 12a together with the
  トランジスタ111Dは、上記第1の実施の形態のトランジスタ111Bと同様、2つのゲート電極120A,ゲート電極120B間に半導体層126を有するデュアルゲート構造のトランジスタである。また、第2ゲート絶縁膜129、第1ゲート絶縁膜130、第1層間絶縁膜131および第2層間絶縁膜に、酸化シリコン膜を含んでいる。更に、第1層間絶縁膜131上には、半導体層126に電気的に接続された一対のソース・ドレイン電極128Eが設けられている。  The transistor 111D is a dual-gate transistor having a
  但し、本実施の形態では、シールド電極層128Fが、ソース・ドレイン電極128Eと電気的に分離されて、第1層間絶縁膜131上に設けられている。ソース・ドレイン電極128Eは、上記第1の実施の形態のソース・ドレイン電極128A,128Bと同様、ソースまたはドレインとして入れ替わり可能に機能するものであり、ソース・ドレイン電極128A,128Bと同様の材料により構成されている。  However, in the present embodiment, the
  シールド電極層128Fは、上記第1の実施の形態のシールド電極層128a1,128b1と同様、シリコン酸化膜に溜まった正電荷の半導体層126への影響を抑制する電気的なシールドとして機能するものである。また、その少なくとも一部が、ゲート電極120Bの端部e2に対向して設けられている。具体的には、シールド電極層128Fは、ゲート電極120Bに対向して、かつ一部が、ゲート電極120Bの端部e2に重なって設けられている。尚、シールド電極層128Fの端部e4の位置は特に限定されないが、望ましくは、上記実施の形態と同様、ゲート電極120Bのテーパ部分の全てを覆うように設けられているとよい。  The
  このシールド電極層128Fの構成材料としては、例えば、上記第1の実施の形態のソース・ドレイン電極128A,128Bの構成材料として挙げたものを用いることができる。また、シールド電極層128Fおよびソース・ドレイン電極128Eは、互いに同一材料によって構成されていてもよいし、互いに異なる材料により構成されていてもよい。シールド電極層128Fとして、ソース・ドレイン電極128Eと同一の材料を用いる場合には、これらのシールド電極層128Fおよび一対のソース・ドレイン電極128Eを同一工程において一括して形成することができる。  As the constituent material of the
  このようなシールド電極層128Fは、例えばゲート電極120A(または/およびゲート電極120B)と例えば図示しない配線層により電気的に接続され、それらと同電位に保持されていてもよい。あるいは、ゲート電極120Aおよびゲート電極120Bと電気的に分離し、個別に設定された任意の電位に保持されるようになっていてもよい。更には、シールド電極層128Fは、グランド電位に保持されていてもよいし、フローティング構造を形成するようにしてもよい。  Such a
[作用・効果]
  本実施の形態では、トランジスタ111Dを備えた上述のような放射線撮像装置において、放射線(X線)に基づく電気信号(画像情報)が取得される一方、トランジスタ111Dへ直接入射する放射線が存在する。トランジスタ111Dは、第2ゲート絶縁膜129、第1ゲート絶縁膜130、第1層間絶縁膜131および第2層間絶縁膜132に、酸化シリコン膜を有するが、このような酸素を含む膜に放射線が入射すると、上述した理由により、膜中に正電荷がチャージされ、これに起因して閾値電圧(Vth)が負側にシフトしてしまう。[Action / Effect]
 In the present embodiment, in the radiation imaging apparatus including the transistor 111D as described above, an electrical signal (image information) based on radiation (X-rays) is acquired, and there is radiation directly incident on the transistor 111D. The transistor 111D includes a silicon oxide film in the second
  そこで、本実施の形態では、第1層間絶縁膜131上にシールド電極層128Fを設け、このシールド電極層128Fの一部が、ゲート電極120Bの端部e2に対向して(重なって)設けられている。これにより、図17に模式的に示したように、まずゲート電極120Bによるシールド効果により、例えば第2層間絶縁膜132(酸化シリコン膜)にチャージされた正電荷によるチャネル層126aへの影響が抑制される。加えて、本実施の形態では、シールド電極層128Fのシールド効果により、図10に示した比較例に比べ、正電荷によるチャネル層126a(特にチャネル端部e1)への影響が抑制される。  Therefore, in this embodiment, the
  ここで、図18に、半導体層126として低温多結晶シリコンを用いたトランジスタ111Bへ放射線を照射した場合の、ゲート電圧(Vg)に対するドレイン電流(Ids)の関係(電流電圧特性)について示す。また、図19には、X線照射量と、基準電圧(Ids=1.0e−11Aを基準にした電圧Vg)のシフト量(ΔVshift)の関係、図20には、X線照射量とS値(スレッショルド値)との関係についても示す。尚、これらの特性は、X線管電圧を90kVとし、X線照射量を0Gy,70Gy,110Gy,200Gyとした各場合について測定した。また、図19および図20には、上記第1の実施の形態のトランジスタ111Bの測定結果を実線、本実施の形態のトランジスタ111Dについての測定結果を破線で示す。この結果から、X線を照射した場合、閾値電圧のシフトは、その照射量が0Gy,70Gy,110Gy,200Gyと増えるに従って徐々に増大する傾向にはあるものの、良好な特性が得られることがわかった。  Here, FIG. 18 shows the relationship (current-voltage characteristics) of the drain current (Ids) with respect to the gate voltage (Vg) when the transistor 111B using low-temperature polycrystalline silicon as the
  以上説明したように本実施の形態では、トランジスタ111Dの第2ゲート絶縁膜129、第1ゲート絶縁膜130、第1層間絶縁膜131および第2層間絶縁膜132のうちのシリコン酸化膜において、放射線の照射により正孔が生じ、これにより正電荷がチャージされる。ゲート電極120Bの端部e2に一部が対向してシールド電極層128Fが設けられていることにより、特に半導体層126のチャネル端部e1付近において、例えば第2層間絶縁膜132にチャージされた正電荷の影響を軽減し、閾値電圧のシフトを抑制することができる。よって、上記第1の実施の形態と同等の効果を得ることができる。  As described above, in this embodiment, in the silicon oxide film of the second
<変形例2>
  上記第2の実施の形態では、シールド電極層128Fをソース・ドレイン電極128Eと電気的に分離して設け、このシールド電極層128Fをゲート電位あるいはグランド電位に保持する構成について述べたが、シールド電極層128Fを負電位に保持するようにしてもよい。ここで、図21に模式的に示したように、第2ゲート絶縁膜129、第1ゲート絶縁膜130、第1層間絶縁膜131および第2層間絶縁膜132における各酸化シリコン膜には、放射線の入射によって正電荷がチャージされる。本変形例のようにシールド電極層128Fが負電位に保持されていることで、各膜にチャージされた正電荷がシールド電極層128F側へ引き寄せられ、チャネル層126aへの影響が軽減される。よって、上記第2の実施の形態と同等の効果を得ることができる。<
 In the second embodiment, the
  尚、上記第2の実施の形態および変形例2では、シールド電極層128Fが第1層間絶縁膜131と第2層間絶縁膜との間に設けられた場合を例に挙げたが、シールド電極層128Fの設置箇所はこれに限定されない。例えば、第1層間絶縁膜131の酸化シリコン膜131aと窒化シリコン膜131bとの間に挿設してもよい。  In the second embodiment and the second modification, the
以下、上記第1,第2の実施の形態のトランジスタの変形例(変形例3〜5)について説明する。尚、上記第1,第2の実施の形態と同一の構成要素については同一の符号を付し、適宜説明を省略する。 Hereinafter, modified examples (modified examples 3 to 5) of the transistors of the first and second embodiments will be described. In addition, the same code | symbol is attached | subjected about the component same as the said 1st, 2nd embodiment, and description is abbreviate | omitted suitably.
<変形例3>
  図22は、変形例3に係るトランジスタ111Eの断面構造を表したものである。トランジスタ111Eは、上記第1の実施の形態のトランジスタ111Bと同様、上述の放射線撮像装置の画素部12において、フォトダイオード111Aと共に画素回路12aに配設されるものである。また、2つゲート電極間に半導体層126を有するデュアルゲート構造を有するトランジスタである。加えて、第2ゲート絶縁膜129、第1ゲート絶縁膜130、第1層間絶縁膜131および第2層間絶縁膜132に、酸化シリコン膜を含んでいる。更に、第1層間絶縁膜131上には、半導体層126に電気的に接続された一対のソース・ドレイン電極128A,128Bが設けられている。<
 FIG. 22 illustrates a cross-sectional structure of a transistor 111E according to
  但し、本変形例では、上記のようなデュアルゲート構造を有する積層構造が、1つのトランジスタ111E内に並列して2組設けられている。具体的には、トランジスタ111Eは、基板11上の選択的な領域に、2つのゲート電極(ゲート電極120A1,120A2)を有し、これらのゲート電極120A1,120A2を覆うように第2ゲート絶縁膜129が設けられている。第2ゲート絶縁膜129上には、半導体層126が設けられており、この半導体層126は、ゲート電極120A1,120A2毎に、チャネル層126a,LDD層126bおよびN+層126cとを含んでいる。この半導体層126を覆うように、第1ゲート絶縁膜130が形成されている。第1ゲート絶縁膜130上の選択的な領域(ゲート電極120A1,120A2のそれぞれに対向する領域)には、ゲート電極120B1,120B2が配設されている。これらのゲート電極120B1,120B2上には、第1層間絶縁膜131が形成されており、この第1層間絶縁膜131と第1ゲート絶縁膜130との一部に、コンタクトホールH1が設けられている。第1層間絶縁膜131上には、上記実施の形態のトランジスタ111Bと同様、コンタクトホールH1を埋め込むようにして、一対のソース・ドレイン電極128A,128Bが配設されており、半導体層126と電気的に接続されている。ソース・ドレイン電極128A,128B上には、第2層間絶縁膜132が設けられている。尚、本変形例のように、1つのトランジスタ内にゲート電極を並設させることにより、オフリーク(Vg=0Vでの漏れ電流)を低減させることができる。However, in this modification, two sets of stacked structures having the dual gate structure as described above are provided in parallel in one transistor 111E. Specifically, the transistor 111E has two gate electrodes (gate electrodes 120A1 and 120A2) in a selective region on the
  尚、本変形例では、ゲート電極120B1,120B2が、本開示における「第1のゲート電極」の一具体例に相当し、ゲート電極120A1,120A2が、本開示における「第2のゲート電極」の一具体例に相当する。In the present modified example, the gate electrode 120B1,120B2 is equivalent to a specific example of the "first gate electrode" in the present disclosure, the gate electrode 120A1,120
  本変形例では、このような2つのデュアルゲート構造を有するトランジスタ111Eにおいて、上記トランジスタ111Bと同様、ソース・ドレイン電極128A,128Bの一部がシールド電極層128a1,128b1を兼ねている。ここでは、例えば、シールド電極層128a1の少なくとも一部がゲート電極120B1の端部e2に対向して設けられ、シールド電極層128b1の少なくとも一部がゲート電極120B2の端部e2に対向して設けられている。シールド電極層128a1,128b1の端部e3の位置は、上述したように特に限定されないが、望ましくはゲート電極120B1,120B2のテーパ部分を覆って設けられているとよい。  In the present modification, in the transistor 111E having such a dual gate structure, a part of the source /
上記のように、デュアルゲート構造を並設させてなるトランジスタ111Eにおいても、シールド電極層128a1,128b1のシールド効果により、上記第1の実施の形態と同等の効果を得ることができる。 As described above, also in the transistor 111E in which the dual gate structure is arranged in parallel, the same effect as the first embodiment can be obtained by the shielding effect of the shield electrode layers 128a1 and 128b1.
  尚、上記変形例3では、ソース・ドレイン電極128A,128Bの両方にシールド電極層128a1,128b1を設けるようにしたが、上記変形例1で説明したように、ソース電極,ドレイン電極のうちのどちらか一方にのみ、シールド電極層を設けてもよい。また、シールド電極層128a1,128b1が、ゲート電極120B1,120B2の各片側の端部e2のみに対向して設けられた場合を図示したが、次のような構成としてもよい。例えば、図23に示したように、シールド電極層128a1,128b1が、各両側の端部e2に対向するように、更に延在して設けられていてもよい。  In the third modification, the shield electrode layers 128a1 and 128b1 are provided on both the source /
<変形例4>
  図24は、変形例4に係るトランジスタ111Fの断面構造を表したものである。トランジスタ111Fは、上記第1の実施の形態のトランジスタ111Bと同様、上述の放射線撮像装置の画素部12において、フォトダイオード111Aと共に画素回路12aに配設されるものである。また、2つのゲート電極間に半導体層126を有するデュアルゲート構造を有するトランジスタである。加えて、第2ゲート絶縁膜129、第1ゲート絶縁膜130、第1層間絶縁膜131および第2層間絶縁膜132に、酸化シリコン膜を含んでいる。更に、第1層間絶縁膜131上には、半導体層126に電気的に接続された一対のソース・ドレイン電極128A,128Bが設けられている。<
 FIG. 24 illustrates a cross-sectional structure of a transistor 111F according to
  本変形例においても、上記変形例3と同様、2つのデュアルゲート構造を有し、また、ソース・ドレイン電極128A,128Bの一部がシールド電極層128a1,128b1を兼ねている。  Also in the present modification, as in the third modification, two dual gate structures are provided, and part of the source /
  但し、本変形例では、第1層間絶縁膜131上に、更にシールド電極層128Gが設けられている。シールド電極層128Gは、例えば、第1層間絶縁膜131上のソース・ドレイン電極128A,128B間の領域に、ソース・ドレイン電極128A,128Bと電気的に分離されて設けられている。  However, in the present modification, a shield electrode layer 128G is further provided on the first
  シールド電極層128Gは、シールド電極層128a1,128b1と同様、シリコン酸化膜に溜まった正電荷の半導体層126への影響を抑制する電気的なシールドとして機能するものである。また、その少なくとも一部が、ゲート電極120B1,120B2の端部e2に対向して設けられている。尚、シールド電極層128Gの端部e5の位置は、上述したように特に限定されないが、望ましくは、ゲート電極120B1,120B2のテーパ部分の全てを覆うように設けられているとよい。シールド電極層128Gの構成材料としては、例えば、上記第1の実施の形態のソース・ドレイン電極128A,128Bの構成材料として挙げたものを用いることができる。また、シールド電極層128Gおよびソース・ドレイン電極128A,128Bは、互いに同一材料によって構成されていてもよいし、互いに異なる材料により構成されていてもよい。尚、このシールド電極層128Gは、例えばゲート電極120A1,120A2およびゲート電極120B1,120B2のうちの少なくとも1つと例えば図示しない配線層により電気的に接続され、それらと同電位に保持されていてもよい。あるいは、これらのゲート電極120A1,120A2およびゲート電極120B1,120B2と電気的に分離し、個別に設定された任意の電位に保持されるようになっていてもよい。更には、シールド電極層128Gは、グランド電位に保持されていてもよいし、フローティング構造を形成するようにしてもよい。  The shield electrode layer 128G functions as an electrical shield that suppresses the influence of the positive charges accumulated in the silicon oxide film on the
  上記のように、デュアルゲート構造を並設させてなるトランジスタ111Fにおいても、シールド電極層128a1,128b1のシールド効果により、上記第1の実施の形態と同等の効果を得ることができる。また、このトランジスタ111Fでは、ソース・ドレイン電極層128A,128B間に更にシールド電極層128Gを設けることにより、上記変形例3よりもシールド効果を高め、チャネル層126への正孔の影響をより軽減することができる。  As described above, also in the transistor 111F in which the dual gate structure is arranged in parallel, the same effect as the first embodiment can be obtained by the shielding effect of the shield electrode layers 128a1 and 128b1. In addition, in this transistor 111F, by further providing a shield electrode layer 128G between the source /
<変形例5>
  図25は、変形例5に係るトランジスタ111Gの断面構造を表したものである。トランジスタ111Gは、上記第1の実施の形態のトランジスタ111Bと同様、上述の放射線撮像装置の画素部12において、フォトダイオード111Aと共に画素回路12aに配設されるものである。また、2つゲート電極間に半導体層126を有するデュアルゲート構造を有するトランジスタである。加えて、第2ゲート絶縁膜129、第1ゲート絶縁膜130、第1層間絶縁膜131および第2層間絶縁膜132に、酸化シリコン膜を含んでいる。更に、第1層間絶縁膜131上には、半導体層126に電気的に接続された一対のソース・ドレイン電極128Eが設けられている。<
 FIG. 25 illustrates a cross-sectional structure of a transistor 111G according to
  本変形例においても、上記変形例3,4と同様、2つのデュアルゲート構造を有していうる。  Also in the present modification, as in
  本変形例では、このような構造において、上記第2の実施の形態と同様、第1層間絶縁膜131上に、ソース・ドレイン電極128Eと電気的に分離されたシールド電極層128Fが設けられている。但し、ここでは、ゲート電極120B1,120B2のそれぞれに対向してシールド電極層128Fが配設されている。これら2つのシールド電極層128Fの端部e4の位置は、上述したように特に限定されないが、望ましくは、ゲート電極120B1,120B2のテーパ部分の全てを覆うように設けられているとよい。尚、これら2つのシールド電極層128Fは、例えばゲート電極120A1,120A2およびゲート電極120B1,120B2のうちの少なくとも1つと例えば図示しない配線層により電気的に接続され、それらと同電位に保持されていてもよい。あるいは、これらのゲート電極120A1,120A2およびゲート電極120B1,120B2と電気的に分離し、個別に設定された任意の電位や、グランド電位に保持されていてもよいし、フローティング構造を形成するようにしてもよい。  In this modification, in such a structure, a
上記のように、デュアルゲート構造を並設させてなるトランジスタ111Gにおいても、2つのシールド電極層128Fのシールド効果により、上記第2の実施の形態と同等の効果を得ることができる。 As described above, also in the transistor 111G in which the dual gate structure is provided in parallel, the same effect as in the second embodiment can be obtained by the shielding effect of the two shield electrode layers 128F.
尚、上記変形例3〜5では、並設された2つのゲート電極120B1,120B2に対し、シールド電極層が左右対称に設けられている構成を例示したが、必ずしも左右対称である必要はない。即ち、例えば、トランジスタの片側半分では(ゲート電極120B1,120B2のうちの一方に対しては)、ソース・ドレイン電極の一部を用いてシールド電極層を形成し、もう一方に対しては、ソース・ドレイン電極と電気的に分離されたシールド電極層を別途形成してもよい。また、左側と右側とにおいて、シールド電極層の幅(形成面積)が異なっていてもよい。更に、基板上に並設されるゲート電極の数(第1ゲート絶縁膜上に並設されるゲート電極の数)は、上述した1つや2つに限られず、3つ以上であってもよい。 In the third to fifth modifications, the configuration in which the shield electrode layers are provided symmetrically with respect to the two gate electrodes 120B1 and 120B2 provided side by side is illustrated, but it is not necessarily required to be symmetrical. That is, for example, in one half of a transistor (for one of the gate electrodes 120B1 and 120B2), a shield electrode layer is formed using part of the source / drain electrode, and for the other half, the source A shield electrode layer that is electrically separated from the drain electrode may be formed separately. Further, the width (formation area) of the shield electrode layer may be different between the left side and the right side. Furthermore, the number of gate electrodes arranged in parallel on the substrate (the number of gate electrodes arranged in parallel on the first gate insulating film) is not limited to one or two as described above, and may be three or more. .
<変形例6>
  図26は、変形例6に係るトランジスタ(トランジスタ111J)の断面構造を表したものである。トランジスタ111Jは、上記第1の実施の形態のトランジスタ111Bと同様、上述の放射線撮像装置の画素部12において、フォトダイオード111Aと共に画素回路12aに配設されるものである。また、第2ゲート絶縁膜129、第1ゲート絶縁膜130、第1層間絶縁膜131および第2層間絶縁膜132に、酸化シリコン膜を含んでいる。更に、第1層間絶縁膜131上には、半導体層126に電気的に接続された一対のソース・ドレイン電極128A,128Bが設けられている。<
 FIG. 26 illustrates a cross-sectional structure of a transistor (transistor 111J) according to
  但し、本変形例のトランジスタ111Jは、いわゆるトップゲート構造を有するものである。上記実施の形態のトランジスタ111Bにおいて、2つのゲート電極のうちのゲート電極120Bのみを備えた構造を有している。このような1つのゲート電極120Bを有するトランジスタ111Jにおいて、上記トランジスタ111Bと同様、ソース・ドレイン電極128A,128Bの一部がシールド電極層128a1,128b1を兼ねている。このようなトップゲート構造のトランジスタ111Jにおいても、シールド電極層128a1,128b1によるシールド効果を得ることができる。  However, the transistor 111J of this modification has a so-called top gate structure. The transistor 111B in the above embodiment has a structure including only the
  尚、本変形例では、ゲート電極120Bが、本開示における「第1のゲート電極」の一具体例に相当する。  In the present modification, the
  また、トップゲート構造のトランジスタにおいても、上述した変形例1と同様、図27(A)に示したように、ドレイン電極128cの一部のみをゲート電極120Bの1つの端部e2に対向させ、シールド電極層128c1を兼ねた構造としてもよい。また、図27(B)に示したように、ドレイン電極128cが、更にゲート電極120Bの両端を覆う位置まで延在形成され、その一部がシールド電極層128c2を兼ねた構造であってもよい。あるいは、図示はしないが、ドレイン電極128Cではなく、ソース電極128Dの一部が、シールド電極層を兼ねた構造であってもよい。  In the top gate transistor, as in the first modification described above, only a part of the drain electrode 128c is opposed to one end e2 of the
  更に、上記第2の実施の形態と同様、図28に示したように、第1層間絶縁膜131上に、ソース・ドレイン電極128Eと電気的に分離されたシールド電極層128Fが設けられた構造であってもよい。  Further, as in the second embodiment, as shown in FIG. 28, the
<変形例7>
  図29は、変形例7に係るトランジスタ(トランジスタ111K)の断面構造を表したものである。トランジスタ111Kは、上記第1の実施の形態のトランジスタ111Bと同様、上述の放射線撮像装置の画素部12において、フォトダイオード111Aと共に画素回路12aに配設されるものである。また、第2ゲート絶縁膜129、第1ゲート絶縁膜130、第1層間絶縁膜131および第2層間絶縁膜132に、酸化シリコン膜を含んでいる。更に、第1層間絶縁膜131上には、半導体層126に電気的に接続された一対のソース・ドレイン電極128A,128Bが設けられている。<
 FIG. 29 illustrates a cross-sectional structure of a transistor (transistor 111K) according to
  但し、本変形例のトランジスタ111Kは、いわゆるボトムゲート構造を有するものである。上記実施の形態のトランジスタ111Bにおいて、2つのゲート電極のうちのゲート電極120Aのみを備えた構造を有している。このような1つのゲート電極120Aを有するトランジスタ111Kにおいて、上記トランジスタ111Bと同様、ソース・ドレイン電極128A,128Bの一部がシールド電極層128a1,128b1を兼ねている。このようなボトムゲート構造のトランジスタ111Kにおいても、シールド電極層128a1,128b1によるシールド効果を得ることができる。However, the transistor 111K of this modification has a so-called bottom gate structure. The transistor 111B in the above embodiment has a structure including only the
  尚、本変形例では、ゲート電極120Aが、本開示における「第1のゲート電極」の一具体例に相当する。  In the present modification, the
  また、ボトムゲート構造のトランジスタにおいても、上述した変形例1と同様、図30(A)に示したように、ドレイン電極128cの一部のみをゲート電極120Aの1つの端部e1に対向させ、シールド電極層128c1を兼ねた構造としてもよい。また、図30(B)に示したように、ドレイン電極128cが、更にゲート電極120Aの両端を覆う位置まで延在形成され、その一部がシールド電極層128c2を兼ねた構造であってもよい。  Also in the bottom gate transistor, as in
  更に、上記第2の実施の形態と同様、図31に示したように、第1層間絶縁膜131上に、ソース・ドレイン電極128Eと電気的に分離されたシールド電極層128Fが設けられた構造であってもよい。  Further, as in the second embodiment, as shown in FIG. 31, a
以下、本開示の放射線撮像装置の変形例(変形例8,9)について説明する。尚、上記第1の実施の形態と同一の構成要素については同一の符号を付し、適宜説明を省略する。 Hereinafter, modified examples (modified examples 8 and 9) of the radiation imaging apparatus of the present disclosure will be described. In addition, the same code | symbol is attached | subjected about the component same as the said 1st Embodiment, and description is abbreviate | omitted suitably.
<変形例8>
  上記第1の実施の形態では、各画素Pに設けられる画素回路として、アクティブ駆動方式による画素回路12aについて説明したが、図32に示したようなパッシブ駆動方式による画素回路12bであってもよい。本変形例では、単位画素Pが、フォトダイオード111A、容量成分138およびトランジスタTr(読出し用のトランジスタTr3に相当)を含んで構成されている。トランジスタTrは、蓄積ノードNと垂直信号線18との間に接続されており、行走査信号Vreadに応答してオンすることにより、フォトダイオード111Aにおける受光量に基づいて蓄積ノードNに蓄積された信号電荷を垂直信号線18へ出力する。尚、トランジスタTr(Tr3)が、上記実施の形態等のトランジスタ111B等に相当する。このように、画素の駆動方式は、上記実施の形態で述べたアクティブ駆動方式に限らず、本変形例のようなパッシブ駆動方式であってもよい。<
 In the first embodiment, the pixel circuit 12a based on the active drive method has been described as the pixel circuit provided in each pixel P. However, the
<変形例9>
  上記実施の形態では、放射線撮像装置として、画素部12上にシンチレータ層114を設けた間接変換型FPDを例に挙げたが、本開示の放射線撮像装置は、直接変換型FPDにも適用可能である。即ち、放射線から可視光への波長変換を行うシンチレータ層114(および保護膜115)を有さず、画素部12が、放射線を電気信号へ直接変換する機能を有していてもよい。図33にその一例(ここでは、上記変形例8において説明したパッシブ駆動方式の画素回路12bを用いた画素部の例を挙げる)を示す。本変形例では、画素部12が、光電変換素子111H、容量成分141およびトランジスタTr(読出し用のトランジスタTr3に相当)を含み、光電変換素子111Hにおいて放射線から電気信号への変換がなされるようになっている。光電変換素子111Hは、例えば上部電極139Aと画素電極139Bとの間に、直接変換層140を有し、この直接変換層140は、例えばアモルファスセレン半導体(a−Se),カドミウムテルル半導体(CdTe)により構成されている。尚、トランジスタTr(Tr3)が、上記実施の形態等のトランジスタ111B等に相当する。<Modification 9>
 In the above-described embodiment, the indirect conversion type FPD in which the scintillator layer 114 is provided on the
  このように、本開示のトランジスタは、間接変換型に限らず、直接変換型のFPDにも適用可能である。また特に、直接変換型の場合、画素部12に直接放射線を入射させることとなるので、上記実施の形態よりもトランジスタが放射線に曝され易い。従って、上述のような閾値電圧シフト抑制の効果は、本変形例のような直接変換型の放射線撮像装置において有効である。  As described above, the transistor of the present disclosure is not limited to the indirect conversion type but can be applied to a direct conversion type FPD. In particular, in the case of the direct conversion type, since the radiation is directly incident on the
<適用例>
  上記第1,第2の実施の形態および変形例1〜9において説明したトランジスタおよび放射線撮像装置は、例えば図34に示したような放射線撮像表示システム2に適用可能である。放射線撮像表示システム2は、放射線撮像装置1と、画像処理部25と、表示装置28とを備えている。このような構成により、放射線撮像表示システム2では、放射線撮像装置1が、放射線源26から被写体27に向けて照射された放射線に基づき、被写体27の画像データDoutを取得し、画像処理部25へ出力する。画像処理部25は、入力さ
れた画像データDoutに対して所定の画像処理を施し、その画像処理後の画像データ(表
示データD1)を表示装置28へ出力する。表示装置28は、モニタ画面28aを有しており、そのモニタ画面28aに、画像処理部25から入力された表示データD1に基づく画像を表示する。<Application example>
 The transistor and the radiation imaging apparatus described in the first and second embodiments and
  このように、放射線撮像表示システム2では、放射線撮像装置1において、被写体27の画像を電気信号として取得可能であるため、取得した電気信号を表示装置28へ伝送することで、画像表示を行うことができる。即ち、放射線写真フィルムを用いることなく、被写体27の画像を観察可能となり、また、動画撮影および動画表示にも対応可能となる。  As described above, in the radiation
以上、実施の形態および変形例を挙げて説明したが、本開示内容は上記実施の形態に限定されるものではなく、種々変形可能である。例えば、上記実施の形態等で説明したシンチレータ層114に用いられる波長変換材料は、上述のものに限定されず、他の様々な蛍光体材料を使用することができる。 As described above, the embodiments and the modification examples have been described. However, the present disclosure is not limited to the above-described embodiments, and various modifications can be made. For example, the wavelength conversion material used for the scintillator layer 114 described in the above embodiment and the like is not limited to the above-described materials, and various other phosphor materials can be used.
また、上記実施の形態等では、シールド電極層がソース電極およびドレイン電極と同層に設けられた構成を例示したが、同層である場合に限らず、別の層に設けられていてもよい。 Moreover, in the said embodiment etc., although the shield electrode layer illustrated the structure provided in the same layer as the source electrode and the drain electrode, it may not be provided in the same layer but may be provided in another layer. .
  更に、上記実施の形態等では、第2ゲート絶縁膜129、第1ゲート絶縁膜130、第1層間絶縁膜131および第2層間絶縁膜132の全てにシリコン酸化膜が含まれている場合を例示したが、これらのうちの少なくとも1つの絶縁膜にシリコン酸化膜が設けられていれば、本開示と同等の効果を得ることができる。  Further, in the above-described embodiment and the like, a case where the second
  加えて、上記実施の形態等では、ソース・ドレイン電極上に、酸化シリコンよりなる第2層間絶縁膜132を設けた構成を例に挙げて説明したが、この第2層間絶縁膜132は必ずしも設けられていなくともよく、あるいは窒化シリコンなどの酸素を含まない材料により構成されていてもよい。但し、上記第1の実施の形態で説明したように、フォトダイオード111Aの加工性の観点から、第2層間絶縁膜132として酸化シリコン膜が設けられていることが望ましい。また、シールド電極層設置による効果は、シールド電極層よりも上層に設けられた酸化シリコン膜(例えば、第2層間絶縁膜132)に対して特に有効である。  In addition, in the above embodiments and the like, the configuration in which the second
また、上記実施の形態等では、本開示のゲート電極として、側面にテーパを有するものを例に挙げて説明したが、このゲート電極は必ずしもテーパを有していなくともよい。例えば、図35に示したように、ゲート電極130B3は、その側面が基板面に直交するような形状を有していてもよい。この場合には、側面全体がゲート電極130B3の端部となる。 In the above-described embodiments and the like, the gate electrode of the present disclosure has been described by taking the side surface having a taper as an example, but the gate electrode does not necessarily have a taper. For example, as shown in FIG. 35, the gate electrode 130B3 may have a shape whose side surface is orthogonal to the substrate surface. In this case, the entire side surface becomes the end of the gate electrode 130B3.
  更に、上記実施の形態等では、シリコン酸化膜として酸化シリコン(SiO2)膜を例
示したが、シリコン酸化膜は、酸素を有するシリコン化合物膜であればよく、例えば酸窒化シリコン(SiON)膜であってもよい。Furthermore, in the above-described embodiments and the like, a silicon oxide (SiO2 ) film is exemplified as the silicon oxide film, but the silicon oxide film may be a silicon compound film containing oxygen, for example, a silicon oxynitride (SiON) film. There may be.
加えて、上記実施の形態等では、本開示のトランジスタとして、N型トランジスタ(N−MOS)を例に挙げて説明したが、これに限定されず、P型トランジスタ(P−MOS)にも同様に適用可能である。 In addition, in the above-described embodiment and the like, an N-type transistor (N-MOS) is described as an example of the transistor of the present disclosure, but the present invention is not limited thereto, and the same applies to a P-type transistor (P-MOS). It is applicable to.
  また、上記実施の形態等では、フォトダイオード111Aを、基板側から、p型半導体層、i型半導体層およびn型半導体層の順に積層した構造としたが、基板側から、n型半導体層、i型半導体層およびp型半導体層の順に積層してもよい。  In the above-described embodiment and the like, the
  更に、本開示の放射線撮像装置は、上記実施の形態で説明した各構成要素を全て備えている必要はなく、また逆に他の層を備えていてもよい。例えば、上部電極125上に更に、SiN等からなる保護膜が形成されていてもよい。  Furthermore, the radiation imaging apparatus of the present disclosure need not include all the components described in the above embodiments, and may include other layers. For example, a protective film made of SiN or the like may be further formed on the
  尚、本開示は以下のような構成であってもよい。
(1)
  半導体層と、
  前記半導体層の一方の面側に設けられた第1のゲート絶縁膜および第1の層間絶縁膜と、
  前記第1のゲート絶縁膜と前記第1の層間絶縁膜との間に設けられた第1のゲート電極と、
  前記半導体層の他方の面側に設けられた第2の絶縁膜と、
  前記半導体層に電気的に接続されて設けられたソース電極およびドレイン電極と、
  少なくとも一部が前記第1のゲート電極の端部に対向して設けられたシールド電極層とを備え、
  前記第1のゲート絶縁膜、前記第1の層間絶縁膜および前記第2の絶縁膜のうちの少なくとも1つがシリコン酸化膜を含む
  トランジスタ。
(2)
  前記半導体層を介して前記第1のゲート電極に対向配置された第2のゲート電極を更に備え、
  基板上に、前記第2のゲート電極、前記第2の絶縁膜、前記半導体層、前記第1のゲート絶縁膜、前記第1のゲート電極および前記第1の層間絶縁膜がこの順に設けられた
  上記(1)に記載のトランジスタ。
(3)
  前記シールド電極層は、前記第1の層間絶縁膜上に設けられている
  上記(1)または(2)に記載のトランジスタ。
(4)
  前記ソース電極および前記ドレイン電極のうちの一方または両方は、前記第1の層間絶縁膜上の前記第1のゲート電極の端部に対向する領域まで延在して設けられ、
  前記ソース電極および前記ドレイン電極のうちの前記第1のゲート電極の端部に対向する部分が、前記シールド電極層を兼ねている
  上記(3)に記載のトランジスタ。
(5)
  前記ソース電極および前記ドレイン電極のうちの前記ドレイン電極のみが、前記第1の層間絶縁膜上の前記第1のゲート電極の端部に対向する領域まで延在して設けられ、
  前記ドレイン電極の前記第1のゲート電極の端部に対向する部分が、前記シールド電極層を兼ねている
  上記(3)に記載のトランジスタ。
(6)
  前記ソース電極および前記ドレイン電極上に第2の層間絶縁膜を備え、
  前記第2の層間絶縁膜はシリコン酸化膜を含む
  上記(3)〜(5)のいずれかに記載のトランジスタ。
(7)
  前記ソース電極、前記ドレイン電極および前記シールド電極層は、前記第1の層間絶縁膜上に互いに電気的に分離されて設けられている
  上記(3)〜(5)のいずれかに記載のトランジスタ。
(8)
  前記ソース電極、前記ドレイン電極および前記シールド電極層上に第2の層間絶縁膜を備え、
  前記第2の層間絶縁膜はシリコン酸化膜を含む
  上記(7)に記載のトランジスタ。
(9)
  前記シールド電極層は、負電位に保持されている
  上記(7)または(8)に記載のトランジスタ。
(10)
  一対のソース電極およびドレイン電極に対し、前記第1および第2のゲート電極の組が複数設けられている
  上記(2)〜(9)のいずれかに記載のトランジスタ。
(11)
  基板上に、前記第1のゲート電極、前記第1のゲート絶縁膜、前記半導体層、前記第2の絶縁膜および前記第1の層間絶縁膜をこの順に備えた
  上記(1)〜(10)のいずれかに記載のトランジスタ。
(12)
  基板上に、前記第2の絶縁膜、前記半導体層、前記第1のゲート絶縁膜、前記第1のゲート電極および第1層間絶縁膜をこの順に備えた
  上記(1)〜(11)のいずれかに記載のトランジスタ。
(13)
  前記半導体層は、多結晶シリコンからなる
  上記(1)〜(12)のいずれかに記載のトランジスタ。
(14)
  前記シリコン酸化膜は、酸化シリコン(SiO2)よりなる
  上記(1)〜(13)のいずれかに記載のトランジスタ。
(15)
  トランジスタおよび光電変換素子を含む画素部を備え、
  前記トランジスタは、
  半導体層と、
  前記半導体層の一方の面側に設けられた第1のゲート絶縁膜および第1の層間絶縁膜と、
  前記第1のゲート絶縁膜と前記第1の層間絶縁膜との間に設けられた第1のゲート電極と、
  前記半導体層の他方の面側に設けられた第2の絶縁膜と、
  前記半導体層に電気的に接続されて設けられたソース電極およびドレイン電極と、
  少なくとも一部が前記第1のゲート電極の端部に対向して設けられたシールド電極層とを備え、
  前記第1のゲート絶縁膜、前記第1の層間絶縁膜および前記第2の絶縁膜のうちの少なくとも1つがシリコン酸化膜を含む
  放射線撮像装置。
(16)
  前記画素部上に、放射線の波長を前記光電変換素子の感度域の波長に変換する波長変換層を備えた
  上記(15)に記載の放射線撮像装置。
(17)
  前記光電変換素子が、放射線を吸収して電気信号に変換する機能を有する
  上記(15)に記載の放射線撮像装置。
(18)
  放射線に基づく画像を取得する撮像装置と、前記撮像装置により取得された画像を表示する表示装置とを備え、
  前記撮像装置は、トランジスタおよび光電変換素子を含む画素部を備え、
  前記トランジスタは、
  半導体層と、
  前記半導体層の一方の面側に設けられた第1のゲート絶縁膜および第1の層間絶縁膜と、
  前記第1のゲート絶縁膜と前記第1の層間絶縁膜との間に設けられた第1のゲート電極と、
  前記半導体層の他方の面側に設けられた第2の絶縁膜と、
  前記半導体層に電気的に接続されて設けられたソース電極およびドレイン電極と、
  少なくとも一部が前記第1のゲート電極の端部に対向して設けられたシールド電極層とを備え、
  前記第1のゲート絶縁膜、前記第1の層間絶縁膜および前記第2の絶縁膜のうちの少なくとも1つがシリコン酸化膜を含む
  放射線撮像表示システム。The present disclosure may be configured as follows.
 (1)
 A semiconductor layer;
 A first gate insulating film and a first interlayer insulating film provided on one surface side of the semiconductor layer;
 A first gate electrode provided between the first gate insulating film and the first interlayer insulating film;
 A second insulating film provided on the other surface side of the semiconductor layer;
 A source electrode and a drain electrode provided in electrical connection with the semiconductor layer;
 A shield electrode layer provided at least partially facing the end of the first gate electrode,
 A transistor in which at least one of the first gate insulating film, the first interlayer insulating film, and the second insulating film includes a silicon oxide film.
 (2)
 A second gate electrode disposed opposite to the first gate electrode via the semiconductor layer;
 On the substrate, the second gate electrode, the second insulating film, the semiconductor layer, the first gate insulating film, the first gate electrode, and the first interlayer insulating film are provided in this order. The transistor according to (1) above.
 (3)
 The transistor according to (1) or (2), wherein the shield electrode layer is provided on the first interlayer insulating film.
 (4)
 One or both of the source electrode and the drain electrode are provided to extend to a region facing an end of the first gate electrode on the first interlayer insulating film,
 The transistor according to (3), wherein a portion of the source electrode and the drain electrode facing the end portion of the first gate electrode also serves as the shield electrode layer.
 (5)
 Of the source electrode and the drain electrode, only the drain electrode is provided to extend to a region facing the end of the first gate electrode on the first interlayer insulating film,
 The transistor according to (3), wherein a portion of the drain electrode facing the end portion of the first gate electrode also serves as the shield electrode layer.
 (6)
 A second interlayer insulating film is provided on the source electrode and the drain electrode,
 The transistor according to any one of (3) to (5), wherein the second interlayer insulating film includes a silicon oxide film.
 (7)
 The transistor according to any one of (3) to (5), wherein the source electrode, the drain electrode, and the shield electrode layer are electrically isolated from each other on the first interlayer insulating film.
 (8)
 A second interlayer insulating film is provided on the source electrode, the drain electrode, and the shield electrode layer,
 The transistor according to (7), wherein the second interlayer insulating film includes a silicon oxide film.
 (9)
 The transistor according to (7) or (8), wherein the shield electrode layer is held at a negative potential.
 (10)
 The transistor according to any one of (2) to (9), wherein a plurality of sets of the first and second gate electrodes are provided for a pair of source electrode and drain electrode.
 (11)
 On the substrate, the first gate electrode, the first gate insulating film, the semiconductor layer, the second insulating film, and the first interlayer insulating film are provided in this order (1) to (10) The transistor according to any one of the above.
 (12)
 On the substrate, the second insulating film, the semiconductor layer, the first gate insulating film, the first gate electrode, and the first interlayer insulating film are provided in this order. Transistor.
 (13)
 The transistor according to any one of (1) to (12), wherein the semiconductor layer is made of polycrystalline silicon.
 (14)
 The transistor according to any one of (1) to (13), wherein the silicon oxide film is made of silicon oxide (SiO2 ).
 (15)
 A pixel portion including a transistor and a photoelectric conversion element;
 The transistor is
 A semiconductor layer;
 A first gate insulating film and a first interlayer insulating film provided on one surface side of the semiconductor layer;
 A first gate electrode provided between the first gate insulating film and the first interlayer insulating film;
 A second insulating film provided on the other surface side of the semiconductor layer;
 A source electrode and a drain electrode provided in electrical connection with the semiconductor layer;
 A shield electrode layer provided at least partially facing the end of the first gate electrode,
 A radiation imaging apparatus, wherein at least one of the first gate insulating film, the first interlayer insulating film, and the second insulating film includes a silicon oxide film.
 (16)
 The radiation imaging apparatus according to (15), further including a wavelength conversion layer that converts a wavelength of radiation into a wavelength in a sensitivity range of the photoelectric conversion element on the pixel unit.
 (17)
 The radiation imaging apparatus according to (15), wherein the photoelectric conversion element has a function of absorbing radiation and converting it into an electrical signal.
 (18)
 An imaging device that acquires an image based on radiation; and a display device that displays an image acquired by the imaging device;
 The imaging device includes a pixel portion including a transistor and a photoelectric conversion element,
 The transistor is
 A semiconductor layer;
 A first gate insulating film and a first interlayer insulating film provided on one surface side of the semiconductor layer;
 A first gate electrode provided between the first gate insulating film and the first interlayer insulating film;
 A second insulating film provided on the other surface side of the semiconductor layer;
 A source electrode and a drain electrode provided in electrical connection with the semiconductor layer;
 A shield electrode layer provided at least partially facing the end of the first gate electrode,
 A radiation imaging display system, wherein at least one of the first gate insulating film, the first interlayer insulating film, and the second insulating film includes a silicon oxide film.
  1…放射線撮像装置、2…放射線撮像表示システム、11…基板、12…画素部、12a,12b…画素回路、13…行走査部、14…水平選択部、15…列走査部、16…システム制御部、111A…フォトダイオード、111B〜111D…トランジスタ、114…シンチレータ層、115…保護膜、120A…ゲート電極、129…第2ゲート絶縁膜、126…半導体層、130…第1ゲート絶縁膜、120B…ゲート電極、131…第1層間絶縁膜、132…第2層間絶縁膜、128A,128B,128E…ソース・ドレイン電極、128C…ドレイン電極、128D…ソース電極、128a1,128b1,128c,128F…シールド電極層。  DESCRIPTION OF
| Application Number | Priority Date | Filing Date | Title | 
|---|---|---|---|
| JP2012000956AJP5978625B2 (en) | 2011-06-07 | 2012-01-06 | Radiation imaging apparatus, radiation imaging display system, and transistor | 
| US13/485,485US20120313103A1 (en) | 2011-06-07 | 2012-05-31 | Radioactive-ray imaging apparatus, radioactive-ray imaging display system and transistor | 
| CN201210186903.4ACN102820337B (en) | 2011-06-07 | 2012-06-07 | Radiation-ray camera pick-up device, radioactive ray pick-up show system and transistor | 
| US13/886,994US9129871B2 (en) | 2011-06-07 | 2013-05-03 | Radioactive-ray imaging apparatus, radioactive-ray imaging display system and transistor | 
| Application Number | Priority Date | Filing Date | Title | 
|---|---|---|---|
| JP2011127598 | 2011-06-07 | ||
| JP2011127598 | 2011-06-07 | ||
| JP2012000956AJP5978625B2 (en) | 2011-06-07 | 2012-01-06 | Radiation imaging apparatus, radiation imaging display system, and transistor | 
| Publication Number | Publication Date | 
|---|---|
| JP2013016772A JP2013016772A (en) | 2013-01-24 | 
| JP2013016772A5 JP2013016772A5 (en) | 2015-02-19 | 
| JP5978625B2true JP5978625B2 (en) | 2016-08-24 | 
| Application Number | Title | Priority Date | Filing Date | 
|---|---|---|---|
| JP2012000956AExpired - Fee RelatedJP5978625B2 (en) | 2011-06-07 | 2012-01-06 | Radiation imaging apparatus, radiation imaging display system, and transistor | 
| Country | Link | 
|---|---|
| US (2) | US20120313103A1 (en) | 
| JP (1) | JP5978625B2 (en) | 
| CN (1) | CN102820337B (en) | 
| Publication number | Priority date | Publication date | Assignee | Title | 
|---|---|---|---|---|
| TWI627483B (en)* | 2012-11-28 | 2018-06-21 | 半導體能源研究所股份有限公司 | Display device and television receiver | 
| JP6190192B2 (en)* | 2013-07-16 | 2017-08-30 | ソニーセミコンダクタソリューションズ株式会社 | Radiation imaging apparatus and radiation imaging display system | 
| KR20150011219A (en)* | 2013-07-22 | 2015-01-30 | 삼성디스플레이 주식회사 | Thin film transistor and thin film transistor array panel including the same | 
| JP6166128B2 (en)* | 2013-08-20 | 2017-07-19 | ソニーセミコンダクタソリューションズ株式会社 | Radiation imaging apparatus and radiation imaging display system | 
| JP6352687B2 (en)* | 2013-08-28 | 2018-07-04 | ソニーセミコンダクタソリューションズ株式会社 | Radiation detector and manufacturing method thereof, imaging apparatus, and imaging display system | 
| TWM477048U (en)* | 2013-12-02 | 2014-04-21 | Chunghwa Picture Tubes Ltd | Metal oxide semiconductor thin film transistor | 
| US9640669B2 (en) | 2014-03-13 | 2017-05-02 | Semiconductor Energy Laboratory Co., Ltd. | Semiconductor device, display device including the semiconductor device, display module including the display device, and electronic appliance including the semiconductor device, the display device, and the display module | 
| US9881954B2 (en)* | 2014-06-11 | 2018-01-30 | Semiconductor Energy Laboratory Co., Ltd. | Imaging device | 
| WO2016002627A1 (en)* | 2014-06-30 | 2016-01-07 | シャープ株式会社 | Imaging panel and x-ray imaging device provided therewith | 
| US10381396B2 (en) | 2014-06-30 | 2019-08-13 | Sharp Kabushiki Kaisha | Imaging panel and X-ray imaging device | 
| WO2016002610A1 (en)* | 2014-06-30 | 2016-01-07 | シャープ株式会社 | Imaging panel and x-ray imaging system provided with said imaging panel | 
| WO2016002563A1 (en) | 2014-06-30 | 2016-01-07 | シャープ株式会社 | Imaging panel and x-ray imaging device | 
| WO2016002612A1 (en)* | 2014-06-30 | 2016-01-07 | シャープ株式会社 | Imaging panel and x-ray imaging system provided with said imaging panel | 
| US10304897B2 (en) | 2014-06-30 | 2019-05-28 | Sharp Kabushiki Kaisha | Imaging panel and X-ray imaging device provided therewith | 
| WO2016002625A1 (en)* | 2014-06-30 | 2016-01-07 | シャープ株式会社 | Imaging panel and x-ray imaging device provided therewith | 
| WO2016080360A1 (en)* | 2014-11-21 | 2016-05-26 | シャープ株式会社 | Detection device | 
| TWI578544B (en)* | 2014-12-02 | 2017-04-11 | 鴻海精密工業股份有限公司 | Thin film transistor and display array substrate using the same | 
| CN104538456B (en)* | 2014-12-31 | 2018-07-17 | 深圳市华星光电技术有限公司 | Low-temperature polysilicon film transistor and thin film transistor base plate | 
| KR20160117817A (en)* | 2015-03-31 | 2016-10-11 | 삼성디스플레이 주식회사 | Pixel and display device using the same | 
| WO2016166628A1 (en)* | 2015-04-13 | 2016-10-20 | Semiconductor Energy Laboratory Co., Ltd. | Semiconductor device and manufacturing method of the same | 
| US20180097027A1 (en)* | 2015-04-17 | 2018-04-05 | Sharp Kabushiki Kaisha | Imaging panel and x-ray imaging device including same | 
| JP6704599B2 (en)* | 2015-04-28 | 2020-06-03 | 天馬微電子有限公司 | Semiconductor element, method of manufacturing semiconductor element, photodiode array, and imaging device | 
| JP6811084B2 (en)* | 2015-12-18 | 2021-01-13 | 株式会社半導体エネルギー研究所 | Semiconductor device | 
| CN106229320B (en)* | 2016-09-06 | 2019-04-05 | 武汉华星光电技术有限公司 | The manufacturing method of LTPS array substrate | 
| CN109218638B (en)* | 2017-06-30 | 2021-04-02 | 京东方科技集团股份有限公司 | Pixel readout circuit and driving method, X-ray detector | 
| CN108646283B (en)* | 2018-06-04 | 2022-04-08 | 中山大学 | X-ray detector and manufacturing method thereof | 
| US10690787B2 (en)* | 2018-07-16 | 2020-06-23 | Vieworks Co., Ltd. | Radiation imaging system | 
| CN110265481B (en) | 2018-08-10 | 2023-01-17 | 友达光电股份有限公司 | Transistor device | 
| CN111722445A (en)* | 2019-03-22 | 2020-09-29 | 咸阳彩虹光电科技有限公司 | Array substrate, liquid crystal display panel and display device | 
| CN110164979B (en)* | 2019-05-31 | 2023-07-07 | 京东方科技集团股份有限公司 | Thin film transistor, manufacturing method thereof, array substrate and display panel | 
| US12191389B2 (en)* | 2020-06-15 | 2025-01-07 | Taiwan Semiconductor Manufacturing Company, Ltd. | Layered structure, semiconductor device including the same, and manufacturing method thereof | 
| CN115117099A (en)* | 2021-03-17 | 2022-09-27 | 京东方科技集团股份有限公司 | Detection substrate, method of making the same, and flat panel detector | 
| US11489085B1 (en)* | 2021-07-26 | 2022-11-01 | Hannstouch Solution Incorporated | Light sensing device having offset gate electrode and light sensing panel using the same | 
| Publication number | Priority date | Publication date | Assignee | Title | 
|---|---|---|---|---|
| EP0352101B1 (en)* | 1988-07-19 | 1994-09-14 | Sharp Kabushiki Kaisha | A double-layered type liquid-crystal display device | 
| JPH05251705A (en)* | 1992-03-04 | 1993-09-28 | Fuji Xerox Co Ltd | Thin-film transistor | 
| JPH07302912A (en)* | 1994-04-29 | 1995-11-14 | Semiconductor Energy Lab Co Ltd | Semiconductor device | 
| JPH0837288A (en)* | 1994-07-22 | 1996-02-06 | Fuji Xerox Co Ltd | Image reading device | 
| JPH0926603A (en)* | 1995-05-08 | 1997-01-28 | Semiconductor Energy Lab Co Ltd | Display device | 
| JP3311273B2 (en)* | 1997-08-22 | 2002-08-05 | 株式会社東芝 | Imaging device | 
| US6372558B1 (en)* | 1998-08-18 | 2002-04-16 | Sony Corporation | Electrooptic device, driving substrate for electrooptic device, and method of manufacturing the device and substrate | 
| US6856630B2 (en)* | 2000-02-02 | 2005-02-15 | Semiconductor Energy Laboratory Co., Ltd. | Beam homogenizer, laser irradiation apparatus, semiconductor device, and method of fabricating the semiconductor device | 
| US6875674B2 (en)* | 2000-07-10 | 2005-04-05 | Semiconductor Energy Laboratory Co., Ltd. | Method of manufacturing a semiconductor device with fluorine concentration | 
| SG138468A1 (en)* | 2001-02-28 | 2008-01-28 | Semiconductor Energy Lab | A method of manufacturing a semiconductor device | 
| KR100448448B1 (en)* | 2001-07-12 | 2004-09-13 | 주식회사 디알텍 | Switching element of X-ray panel and the same method | 
| US7474045B2 (en)* | 2002-05-17 | 2009-01-06 | Semiconductor Energy Laboratory Co., Ltd. | Display device having TFT with radiation-absorbing film | 
| JP4323827B2 (en)* | 2003-02-14 | 2009-09-02 | キヤノン株式会社 | Solid-state imaging device and radiation imaging device | 
| JP4266656B2 (en)* | 2003-02-14 | 2009-05-20 | キヤノン株式会社 | Solid-state imaging device and radiation imaging device | 
| JP2004265933A (en)* | 2003-02-14 | 2004-09-24 | Canon Inc | Radiation detector | 
| US7314785B2 (en)* | 2003-10-24 | 2008-01-01 | Semiconductor Energy Laboratory Co., Ltd. | Display device and manufacturing method thereof | 
| US7753751B2 (en)* | 2004-09-29 | 2010-07-13 | Semiconductor Energy Laboratory Co., Ltd. | Method of fabricating the display device | 
| US7736964B2 (en)* | 2004-11-22 | 2010-06-15 | Semiconductor Energy Laboratory Co., Ltd. | Semiconductor device, and method for manufacturing the same | 
| JP4355747B2 (en) | 2007-03-05 | 2009-11-04 | キヤノン株式会社 | Photoelectric conversion device, photoelectric conversion system and driving method thereof | 
| JP2009087960A (en)* | 2007-09-27 | 2009-04-23 | Fujifilm Corp | Sensor panel and image detection apparatus | 
| US20090091254A1 (en)* | 2007-10-08 | 2009-04-09 | Lg.Display Co., Ltd. | Organic electroluminescence device and method for manufacturing the same | 
| US8586979B2 (en)* | 2008-02-01 | 2013-11-19 | Samsung Electronics Co., Ltd. | Oxide semiconductor transistor and method of manufacturing the same | 
| JP2009252835A (en)* | 2008-04-02 | 2009-10-29 | Fujifilm Corp | Electromagnetic wave detecting element | 
| KR101337195B1 (en)* | 2008-10-10 | 2013-12-05 | 엘지디스플레이 주식회사 | Array substrate for liquid crystal display device and manufacturing method thereof, liquid crystal display device having the same | 
| TWI511288B (en)* | 2009-03-27 | 2015-12-01 | Semiconductor Energy Lab | Semiconductor device | 
| Publication number | Publication date | 
|---|---|
| CN102820337A (en) | 2012-12-12 | 
| US9129871B2 (en) | 2015-09-08 | 
| US20130234219A1 (en) | 2013-09-12 | 
| JP2013016772A (en) | 2013-01-24 | 
| CN102820337B (en) | 2017-07-14 | 
| US20120313103A1 (en) | 2012-12-13 | 
| Publication | Publication Date | Title | 
|---|---|---|
| JP5978625B2 (en) | Radiation imaging apparatus, radiation imaging display system, and transistor | |
| US8901562B2 (en) | Radiation imaging device, radiation imaging display system, and transistor | |
| JP6028233B2 (en) | Photoelectric conversion element and photoelectric conversion device | |
| US9401382B2 (en) | Image sensor and manufacturing method thereof | |
| JP5757096B2 (en) | Radiation imaging apparatus and radiation imaging display system | |
| US9859315B2 (en) | Radiation image-pickup device and radiation image-pickup display system | |
| JP6152729B2 (en) | Imaging apparatus and imaging display system | |
| CN103456753B (en) | Camera device and shooting display system | |
| JP5874201B2 (en) | Radiation imaging apparatus and radiation imaging display system | |
| JP2013161810A (en) | Image pickup device, method of manufacturing the same, and image pickup display system | |
| WO2015008630A1 (en) | Radiographic imaging device and radiographic imaging/display system | |
| JP2014192320A (en) | Imaging device and imaging display system | |
| US20220231086A1 (en) | Detection substrate and flat-panel detector | |
| JP2013157347A (en) | Imaging device and method of manufacturing the same, and imaging display system | |
| JP6190192B2 (en) | Radiation imaging apparatus and radiation imaging display system | |
| US9536921B2 (en) | Radiation image-pickup device and radiation image-pickup display system | |
| JP2013156119A (en) | Radiation imaging apparatus, manufacturing method thereof, and radiation imaging display system | 
| Date | Code | Title | Description | 
|---|---|---|---|
| A521 | Request for written amendment filed | Free format text:JAPANESE INTERMEDIATE CODE: A523 Effective date:20141215 | |
| A621 | Written request for application examination | Free format text:JAPANESE INTERMEDIATE CODE: A621 Effective date:20141215 | |
| A977 | Report on retrieval | Free format text:JAPANESE INTERMEDIATE CODE: A971007 Effective date:20150908 | |
| A131 | Notification of reasons for refusal | Free format text:JAPANESE INTERMEDIATE CODE: A131 Effective date:20150916 | |
| A521 | Request for written amendment filed | Free format text:JAPANESE INTERMEDIATE CODE: A523 Effective date:20151016 | |
| A131 | Notification of reasons for refusal | Free format text:JAPANESE INTERMEDIATE CODE: A131 Effective date:20160510 | |
| A521 | Request for written amendment filed | Free format text:JAPANESE INTERMEDIATE CODE: A523 Effective date:20160608 | |
| TRDD | Decision of grant or rejection written | ||
| A01 | Written decision to grant a patent or to grant a registration (utility model) | Free format text:JAPANESE INTERMEDIATE CODE: A01 Effective date:20160628 | |
| A61 | First payment of annual fees (during grant procedure) | Free format text:JAPANESE INTERMEDIATE CODE: A61 Effective date:20160711 | |
| R151 | Written notification of patent or utility model registration | Ref document number:5978625 Country of ref document:JP Free format text:JAPANESE INTERMEDIATE CODE: R151 | |
| S111 | Request for change of ownership or part of ownership | Free format text:JAPANESE INTERMEDIATE CODE: R313111 | |
| R350 | Written notification of registration of transfer | Free format text:JAPANESE INTERMEDIATE CODE: R350 | |
| R250 | Receipt of annual fees | Free format text:JAPANESE INTERMEDIATE CODE: R250 | |
| R250 | Receipt of annual fees | Free format text:JAPANESE INTERMEDIATE CODE: R250 | |
| LAPS | Cancellation because of no payment of annual fees |