





















本発明は、薄膜トランジスタおよびそれを用いた表示装置に関し、特に、銅配線によるゲート電極および/またはソース/ドレイン電極を具備する薄膜トランジスタ、その製造方法および該薄膜トランジスタを用いたアクティブマトリクス型の表示装置に関するものである。 The present invention relates to a thin film transistor and a display device using the same, and more particularly to a thin film transistor having a gate electrode and / or a source / drain electrode made of copper wiring, a method for manufacturing the same, and an active matrix display device using the thin film transistor. It is.
近年、液晶ディスプレイ(LCD)や有機ELディスプレイ(OLED)などの薄型ディスプレイ(表示装置)の市場が拡大を続けている。これらの薄型ディスプレイの駆動回路や画素回路には、薄膜トランジスタ(TFT: thin film transistor)が使用されている。回路を構成するTFTは、その性能がディスプレイの高性能化(大型化、画素の高精細化、フレーム周波数の増大など)を決定するため、重要な役割を担っている。 In recent years, the market for thin displays (display devices) such as liquid crystal displays (LCDs) and organic EL displays (OLEDs) continues to expand. Thin film transistors (TFTs) are used in the driving circuits and pixel circuits of these thin displays. The TFT that constitutes the circuit plays an important role because its performance determines the performance of the display (larger size, higher pixel definition, increased frame frequency, etc.).
従来から、TFTの配線(ゲート電極やソース/ドレイン電極などを含む)として、Al(アルミニウム)配線が広く利用されている。また、Al配線表面でのヒロックの形成抑制や透明導電膜との電気的接続性を確保するために、AlとMo(モリブデン)との積層膜(Mo/Al/Mo)配線がしばしば使用されている。しかしながら、Moが高価な材料であることに加えて、電気化学的性質が大きく異なる金属同士の積層構造によりエッチング工程が複雑になるため、製造コストが高いという問題があった。 Conventionally, Al (aluminum) wiring has been widely used as TFT wiring (including gate electrodes and source / drain electrodes). Also, in order to suppress the formation of hillocks on the surface of Al wiring and to ensure electrical connectivity with transparent conductive films, laminated film of Al and Mo (molybdenum) (Mo / Al / Mo) wiring is often used. Yes. However, in addition to Mo being an expensive material, there is a problem in that the manufacturing process is high because the etching process becomes complicated due to the laminated structure of metals having greatly different electrochemical properties.
一方、ディスプレイの大型化や動画質の向上のために、従来から、より比抵抗の小さい配線が求められていた。例えば、TFTの配線として、従来のAlとMoとの積層膜配線に替えて、Cu(銅)配線を使用することが種々検討されている。Cuの比抵抗はAlの比抵抗よりも小さいため、配線を伝わる電気信号が遅れる伝播遅延現象を低減でき、ディスプレイの大型化や動画質の向上に貢献する。また、Cu配線は、表面にヒロックを形成せず透明導電膜との直接接続が可能であるため、AlとMoとの積層膜配線よりも製造コストを低減できる利点もあるとされている。 On the other hand, wiring with a lower specific resistance has been conventionally demanded for increasing the size of displays and improving the quality of moving images. For example, various studies have been made on the use of Cu (copper) wiring as TFT wiring instead of the conventional multilayer film wiring of Al and Mo. Since the specific resistance of Cu is smaller than the specific resistance of Al, it can reduce the propagation delay phenomenon in which the electrical signal transmitted through the wiring is delayed, contributing to the upsizing of the display and the improvement of the video quality. In addition, since Cu wiring can be directly connected to the transparent conductive film without forming hillocks on the surface, it is said that there is an advantage that the manufacturing cost can be reduced as compared with the laminated film wiring of Al and Mo.
しかしながら、Cu配線をTFTに適用する際には、以下のような問題が存在する。例えば、Cu配線は、ガラス基板や半導体膜(例えばSi(シリコン)膜)や金属酸化物膜などとの密着性が悪い。また、Cuと半導体膜とが直接接する場合、Cu配線形成後の工程における加熱により、Cu配線から半導体膜内部にCuが拡散し、TFT特性を劣化させることがある。これは、ディスプレイの表示品位の低下につながる。 However, the following problems exist when applying Cu wiring to TFT. For example, Cu wiring has poor adhesion to a glass substrate, a semiconductor film (for example, Si (silicon) film), a metal oxide film, or the like. In addition, when Cu and the semiconductor film are in direct contact with each other, Cu is diffused from the Cu wiring into the semiconductor film due to heating in the process after forming the Cu wiring, which may deteriorate the TFT characteristics. This leads to deterioration of display quality of the display.
  上述した密着性の問題やCu拡散の問題を解決するために様々な技術が提案されている。一例として、特許文献1(特開2010-050112号公報)には、液晶表示装置を構成するTFTにおいて、ソース電極およびドレイン電極が、銅を主体とする層と該層を被覆する酸化マンガンを含む酸化物層からなり、半導体層と前記ソース電極あるいは前記ドレイン電極とが、電気的にオーミック接合性を有していることを特徴とする液晶表示装置が開示されている。特許文献1によると、半導体層あるいは画素電極との密着性が高い酸化被膜を形成して、配線材料等の酸化を防止できると共に、アモルファスシリコンなどの半導体層とパッシベーション層に挟持されたソース電極あるいはドレイン電極が安定なオーミック接合性を有するTFT構造からなる液晶表示装置を提供することができるとしている。  Various techniques have been proposed to solve the above-described adhesion problem and Cu diffusion problem. As an example, in Patent Document 1 (Japanese Patent Laid-Open No. 2010-050112), in a TFT constituting a liquid crystal display device, a source electrode and a drain electrode include a layer mainly composed of copper and manganese oxide covering the layer. There is disclosed a liquid crystal display device comprising an oxide layer, wherein the semiconductor layer and the source electrode or the drain electrode have an electrical ohmic junction. According to
  また、特許文献2(特開2010-251583号公報)には、配線構造の製造方法であって、基板を準備する基板準備工程と、基板上に半導体層(アモルファスシリコン層)を形成する半導体層形成工程と、半導体層上にドーパントを含むドーパント含有半導体層(ドーパント含有シリコン層)を形成するドーパント含有半導体層形成工程と、ドーパント含有半導体層の表面を、水分子を含ませた酸化性ガス雰囲気中で加熱することにより、ドーパント含有半導体層の表面に酸化層(シリコン酸化層)を形成する酸化層形成工程と、酸化層上に合金層(Ni、Co、Mn、Zn、Mg、Al、Zr、Ti、Fe、及びAgからなる群から選択される少なくとも1つの金属元素が添加されたCu合金層)を形成する合金層形成工程と、合金層上に配線層(3N以上の無酸素銅からなるCu層)を形成する配線層形成工程とを備える製造方法が開示されている。特許文献2によると、低い製造コストでシリコン層上に配線構造を製造できるとしている。  Patent Document 2 (Japanese Patent Laid-Open No. 2010-251583) discloses a method for manufacturing a wiring structure, in which a substrate preparing step for preparing a substrate and a semiconductor layer for forming a semiconductor layer (amorphous silicon layer) on the substrate are disclosed. Forming step, forming a dopant-containing semiconductor layer containing a dopant on the semiconductor layer (dopant-containing silicon layer), and forming a surface of the dopant-containing semiconductor layer in an oxidizing gas atmosphere containing water molecules An oxide layer forming step for forming an oxide layer (silicon oxide layer) on the surface of the dopant-containing semiconductor layer by heating in the alloy layer, and an alloy layer (Ni, Co, Mn, Zn, Mg, Al, Zr on the oxide layer) An alloy layer forming step of forming a Cu alloy layer to which at least one metal element selected from the group consisting of Ti, Fe, and Ag is added, and a wiring layer (from 3N or more oxygen-free copper) on the alloy layer Cu layer) Production method and a wiring layer forming step of forming to have been disclosed. According to
  また、特許文献3(特開2011-48323号公報)には、透明基板上に、透明基板と直接接触する表示装置用Cu合金膜を有する表示装置であって、前記Cu合金膜は、Zn,Ni,Ti,Al,Mg,Ca,W,NbおよびMnよりなる群から選択される少なくとも1種の元素を合計で2〜20原子%含むCu合金からなる第一層と、純Cu、またはCuを主成分とするCu合金であって前記第一層よりも電気抵抗率の低いCu合金からなる第二層と、を含む積層構造を有し、前記第一層が前記透明基板と接触している表示装置が開示されている。特許文献3によると、透明基板との高い密着性と、Cu合金膜全体としての低い電気抵抗率を両方実現することができるとしている。また、当該積層構造のCu合金膜(配線膜)は、安価なソーダライムガラス基板を用いたときに生じるナトリウムイオンなどの拡散に対する耐性に優れていると共に、積層構造内のエッチング速度に極端な差がないことから、微細パターンの加工を容易に行なうことができるとしている。  Patent Document 3 (Japanese Patent Laid-Open No. 2011-48323) discloses a display device having a Cu alloy film for a display device in direct contact with a transparent substrate on a transparent substrate, wherein the Cu alloy film includes Zn, A first layer made of a Cu alloy containing a total of 2 to 20 atomic% of at least one element selected from the group consisting of Ni, Ti, Al, Mg, Ca, W, Nb and Mn, and pure Cu or Cu And a second layer made of a Cu alloy having a lower electrical resistivity than the first layer, and the first layer is in contact with the transparent substrate. A display device is disclosed. According to
  最近では薄型ディスプレイ(表示装置)に対する高性能化(大型化、画素の高精細化、フレーム周波数の増大による動画性能向上など)の要求がますます高まってきており、TFT特性を劣化させることなく配線抵抗を更に下げることが重要になっている。加えて、表示装置の価格は急速なペースで下落を続けているため、製造コストのさらなる低減の要求が非常に強くなっている。これらの要求に対し、上述した特許文献1〜3に記載された従来技術では、要求されるレベルを満たすことが困難になってきた。  Recently, there is an increasing demand for higher performance (larger size, higher pixel definition, improved video performance by increasing frame frequency, etc.) for thin displays (display devices), and wiring without degrading TFT characteristics. It is important to further reduce the resistance. In addition, since the price of display devices continues to decline at a rapid pace, the demand for further reduction in manufacturing costs has become very strong. In response to these requirements, it has become difficult to satisfy the required level with the conventional techniques described in
したがって本発明の目的は、上記要求を満たすため、基板や半導体膜との密着性および半導体膜との電気的接続性が良好でありかつ従来よりも電気抵抗が小さい配線を具備する薄膜トランジスタを提供することにある。また、該薄膜トランジスタを低コストで製造する製造方法を提供することにある。さらに、該薄膜トランジスタを用いた高性能な表示装置を提供することにある。 Accordingly, an object of the present invention is to provide a thin film transistor including a wiring that has good adhesion to a substrate and a semiconductor film and electrical connection with a semiconductor film and has a lower electric resistance than the conventional one in order to satisfy the above-described requirements. There is. It is another object of the present invention to provide a manufacturing method for manufacturing the thin film transistor at a low cost. It is another object of the present invention to provide a high-performance display device using the thin film transistor.
  (I)本発明の1つの態様は、基板上に、半導体膜とゲート電極とソース電極とドレイン電極とを具備する薄膜トランジスタであって、
前記ゲート電極、前記ソース電極および前記ドレイン電極の内の少なくとも1つの電極は、銅合金からなる第1電極層と純銅(Cu)からなる第2電極層とで構成される2層構造を有し、前記第1電極層の銅合金は、銅に対してリン(P)とその他の元素とが添加された銅合金であり、前記その他の元素は、マンガン(Mn)、マグネシウム(Mg)、カルシウム(Ca)、ニッケル(Ni)、亜鉛(Zn)、シリコン(Si)、アルミニウム(Al)、ベリリウム(Be)、ガリウム(Ga)、インジウム(In)、鉄(Fe)、チタン(Ti)、バナジウム(V)、コバルト(Co)、ジルコニウム(Zr)、およびハフニウム(Hf)の内から選ばれる少なくとも1種の元素であり、前記第1電極層の厚さが10 nm以上50 nm以下であり、前記第2電極層の厚さが300 nm以上600 nm以下であり、前記その他の元素の濃度(単位:at.%)と前記第1電極層の厚さ(単位:nm)との積が50 at.%・nm以上400 at.%・nm以下の範囲である薄膜トランジスタを提供する。(I) One aspect of the present invention is a thin film transistor including a semiconductor film, a gate electrode, a source electrode, and a drain electrode on a substrate,
 At least one of the gate electrode, the source electrode, and the drain electrode has a two-layer structure including a first electrode layer made of a copper alloy and a second electrode layer made of pure copper (Cu). The copper alloy of the first electrode layer is a copper alloy in which phosphorus (P) and other elements are added to copper, and the other elements include manganese (Mn), magnesium (Mg), and calcium. (Ca), nickel (Ni), zinc (Zn), silicon (Si), aluminum (Al), beryllium (Be), gallium (Ga), indium (In), iron (Fe), titanium (Ti), vanadium (V), cobalt (Co), zirconium (Zr), and at least one element selected from hafnium (Hf), and the thickness of the first electrode layer is 10 nm or more and 50 nm or less, The second electrode layer has a thickness of 300 nm to 600 nm; A thin film transistor in which the product of the concentration of other elements (unit: at.%) And the thickness of the first electrode layer (unit: nm) is in the range of 50 at.% · Nm to 400 at.% · Nm. I will provide a.
  (II)本発明の他の態様は、基板上に、半導体膜とゲート電極とソース電極とドレイン電極とを具備する薄膜トランジスタであって、
前記ゲート電極、前記ソース電極および前記ドレイン電極の内の少なくとも1つの電極は、銅合金からなる第1電極層と純銅からなる第2電極層と銅合金からなる第3電極層とで構成される3層構造を有し、前記第1電極層および前記第3電極層の銅合金は、銅に対してリンとその他の元素とが添加された銅合金であり、前記その他の元素は、Mn、Mg、Ca、Ni、Zn、Si、Al、Be、Ga、In、Fe、Ti、V、Co、Zr、およびHfの内から選ばれる少なくとも1種の元素であり、前記第1電極層および前記第3電極層の厚さがそれぞれ10 nm以上100 nm以下であり、前記第2電極層の厚さが300 nm以上600 nm以下であり、前記その他の元素の濃度(単位:at.%)と、前記第1電極層および前記第3電極層の厚さ(単位:nm)との積がそれぞれ50 at.%・nm以上250 at.%・nm以下の範囲である薄膜トランジスタを提供する。(II) Another embodiment of the present invention is a thin film transistor comprising a semiconductor film, a gate electrode, a source electrode, and a drain electrode on a substrate,
 At least one of the gate electrode, the source electrode, and the drain electrode includes a first electrode layer made of a copper alloy, a second electrode layer made of pure copper, and a third electrode layer made of a copper alloy. The copper alloy of the first electrode layer and the third electrode layer is a copper alloy in which phosphorus and other elements are added to copper, and the other elements are Mn, Mg, Ca, Ni, Zn, Si, Al, Be, Ga, In, Fe, Ti, V, Co, Zr, and Hf are at least one element selected from the first electrode layer and the The thickness of the third electrode layer is 10 nm or more and 100 nm or less, the thickness of the second electrode layer is 300 nm or more and 600 nm or less, and the concentration of other elements (unit: at.%) The product of the thickness (unit: nm) of the first electrode layer and the third electrode layer is 50 at.% · Nm to 250 at.% · Nm. A thin film transistor is provided.
なお、本発明において、層や膜の厚さとは、成膜・形成時の名目厚さを意味するものとする。ゲート電極、ソース電極およびドレイン電極は、薄膜トランジスタを構成する配線の一種と定義する。また、第1電極層および第3電極層は、該電極層に隣接する基板または各種膜との間に形成される前記その他の元素を含有する酸化物膜を含むものと定義する(詳細は後述する)。 In the present invention, the thickness of a layer or film means a nominal thickness at the time of film formation / formation. A gate electrode, a source electrode, and a drain electrode are defined as a kind of wiring that forms a thin film transistor. The first electrode layer and the third electrode layer are defined as including an oxide film containing the other elements formed between the substrate adjacent to the electrode layer or various films (details will be described later). To do).
  また、本発明は、上記の本発明に係る薄膜トランジスタにおいて、以下のような改良や変更を加えることができる。
(i)前記銅合金におけるリンの濃度が0.01 at.%以上0.5 at.%以下であり、前記銅合金におけるその他の元素の濃度が2 at.%以上20 at.%以下である。
(ii)前記その他の元素が、マンガンである。
(iii)前記銅合金中の酸素濃度が、0.5 at.%未満である。
(iv)前記半導体膜が、非晶質シリコン、多結晶シリコン、または微結晶シリコンからなる。
(v)前記半導体膜が、酸化物半導体からなる。
(vi)前記半導体膜と前記ソース電極との間および前記半導体膜と前記ドレイン電極との間に、厚さ1〜3 nmの酸化シリコン膜が介在している。
(vii)前記薄膜トランジスタが、ボトムゲート型である。
(viii)前記薄膜トランジスタが、トップゲート型である。
(ix)薄膜トランジスタを用いた表示装置であって、前記薄膜トランジスタが、上記の本発明に係る薄膜トランジスタである表示装置を提供する。
(x)前記表示装置が、液晶表示装置、有機EL表示装置、または電子ペーパー表示装置である。Further, the present invention can add the following improvements and changes to the thin film transistor according to the present invention.
 (I) The concentration of phosphorus in the copper alloy is 0.01 at.% Or more and 0.5 at.% Or less, and the concentration of other elements in the copper alloy is 2 at.% Or more and 20 at.% Or less.
 (Ii) The other element is manganese.
 (Iii) The oxygen concentration in the copper alloy is less than 0.5 at.%.
 (Iv) The semiconductor film is made of amorphous silicon, polycrystalline silicon, or microcrystalline silicon.
 (V) The semiconductor film is made of an oxide semiconductor.
 (Vi) A silicon oxide film having a thickness of 1 to 3 nm is interposed between the semiconductor film and the source electrode and between the semiconductor film and the drain electrode.
 (Vii) The thin film transistor is a bottom gate type.
 (Viii) The thin film transistor is a top gate type.
 (Ix) A display device using a thin film transistor, wherein the thin film transistor is the thin film transistor according to the present invention.
 (X) The display device is a liquid crystal display device, an organic EL display device, or an electronic paper display device.
  (III)本発明の更に他の態様は、半導体膜形成工程とゲート電極形成工程とソース/ドレイン電極形成工程とを含む薄膜トランジスタの製造方法であって、
前記ゲート電極形成工程および前記ソース/ドレイン電極形成工程の内の少なくとも1つの工程は、銅合金からなる第1電極層を形成する第1電極層形成工程と、純銅からなる第2電極層を形成する第2電極層形成工程とから構成され、前記第1電極層の銅合金は、銅に対してリンとその他の元素とが添加された銅合金であり、前記その他の元素は、Mn、Mg、Ca、Ni、Zn、Si、Al、Be、Ga、In、Fe、Ti、V、Co、Zr、およびHfの内から選ばれる少なくとも1種の元素であり、前記第1電極層形成工程は、前記第1電極層の厚さが10 nm以上50 nm以下となり、前記その他の元素の濃度(単位:at.%)と前記第1電極層の厚さ(単位:nm)との積が50 at.%・nm以上400 at.%・nm以下の範囲となるように成膜する工程であり、前記第2電極層形成工程は、前記第2電極層の厚さが300 nm以上600 nm以下となるように成膜する工程である薄膜トランジスタの製造方法を提供する。(III) Still another embodiment of the present invention is a method of manufacturing a thin film transistor including a semiconductor film formation step, a gate electrode formation step, and a source / drain electrode formation step,
 At least one of the gate electrode forming step and the source / drain electrode forming step includes a first electrode layer forming step of forming a first electrode layer made of a copper alloy and a second electrode layer made of pure copper. The copper alloy of the first electrode layer is a copper alloy in which phosphorus and other elements are added to copper, and the other elements are Mn, Mg , Ca, Ni, Zn, Si, Al, Be, Ga, In, Fe, Ti, V, Co, Zr, and Hf, and the first electrode layer forming step includes: The thickness of the first electrode layer is not less than 10 nm and not more than 50 nm, and the product of the concentration of other elements (unit: at.%) And the thickness of the first electrode layer (unit: nm) is 50. The second electrode layer forming step is a step of forming a film so as to be in the range of at.% · nm to 400 at.% · nm. A method of manufacturing a thin film transistor, which is a process of forming a film so that the thickness of the film becomes 300 nm or more and 600 nm or less, is provided.
  (IV)本発明の更に他の態様は、半導体膜形成工程とゲート電極形成工程とソース/ドレイン電極形成工程とを含む薄膜トランジスタの製造方法であって、
前記ゲート電極形成工程および前記ソース/ドレイン電極形成工程の内の少なくとも1つの工程は、銅合金からなる第1電極層を形成する第1電極層形成工程と、純銅からなる第2電極層を形成する第2電極層形成工程と、銅合金からなる第3電極層を形成する第3電極層形成工程とから構成され、前記第1電極層および前記第3電極層の銅合金は、銅に対してリンとその他の元素とが添加された銅合金であり、前記その他の元素は、Mn、Mg、Ca、Ni、Zn、Si、Al、Be、Ga、In、Fe、Ti、V、Co、Zr、およびHfの内から選ばれる少なくとも1種の元素であり、前記第1電極層形成工程は、前記第1電極層の厚さが10 nm以上100 nm以下となり、前記その他の元素の濃度(単位:at.%)と前記第1電極層の厚さ(単位:nm)との積が50 at.%・nm以上250 at.%・nm以下の範囲となるように成膜する工程であり、前記第2電極層形成工程は、前記第2電極層の厚さが300 nm以上600 nm以下となるように成膜する工程であり、前記第3電極層形成工程は、前記第3電極層の厚さが10 nm以上100 nm以下となり、前記その他の元素の濃度(単位:at.%)と前記第3電極層の厚さ(単位:nm)との積が50 at.%・nm以上250 at.%・nm以下の範囲となるように成膜する工程である薄膜トランジスタの製造方法を提供する。(IV) Still another embodiment of the present invention is a method of manufacturing a thin film transistor including a semiconductor film formation step, a gate electrode formation step, and a source / drain electrode formation step,
 At least one of the gate electrode forming step and the source / drain electrode forming step includes a first electrode layer forming step of forming a first electrode layer made of a copper alloy and a second electrode layer made of pure copper. A second electrode layer forming step and a third electrode layer forming step of forming a third electrode layer made of a copper alloy. The copper alloy of the first electrode layer and the third electrode layer is Copper and other elements added, the other elements are Mn, Mg, Ca, Ni, Zn, Si, Al, Be, Ga, In, Fe, Ti, V, Co, And at least one element selected from Zr and Hf. In the first electrode layer forming step, the thickness of the first electrode layer is 10 nm or more and 100 nm or less, and the concentration of the other elements ( (Unit: at.%) And the thickness of the first electrode layer (unit: nm) are 50 at.% · Nm to 250 at.% · Nm The second electrode layer forming step is a step of forming a film so that the thickness of the second electrode layer is not less than 300 nm and not more than 600 nm. In the electrode layer forming step, the thickness of the third electrode layer is 10 nm or more and 100 nm or less, the concentration of other elements (unit: at.%) And the thickness of the third electrode layer (unit: nm). And a method of manufacturing a thin film transistor, which is a process of forming a film so that the product of the above is in the range of 50 at.% · Nm to 250 at.% · Nm.
本発明によれば、基板や半導体膜との密着性および半導体膜との電気的接続性が良好でありかつ従来よりも電気抵抗が小さい配線を具備する薄膜トランジスタを提供することができる。また、該薄膜トランジスタを低コストで製造する製造方法を提供することができる。さらに、該薄膜トランジスタを用いることによって高性能な表示装置を提供することができる。 According to the present invention, it is possible to provide a thin film transistor including a wiring that has good adhesion to a substrate and a semiconductor film and electrical connection with the semiconductor film and has a smaller electric resistance than the conventional one. In addition, a manufacturing method for manufacturing the thin film transistor at a low cost can be provided. Furthermore, a high-performance display device can be provided by using the thin film transistor.
以下、本発明の実施形態について、図面を参照しながら詳細に説明する。なお、同義の部位には同じ符号を付して、重複する説明を省略する。また、本発明は、ここに取り上げる実施形態に限定されるものではなく、要旨を変更しない範囲で適宜組み合わせや改良が可能である。例えば、以下では、ボトムゲート・トップコンタクト型の薄膜トランジスタを代表例として説明するが、他の型(例えば、ボトムゲート・ボトムコンタクト型、トップゲート・ボトムコンタクト型、トップゲート・トップコンタクト型)の薄膜トランジスタであっても、同じ技術思想で実現できる。 Hereinafter, embodiments of the present invention will be described in detail with reference to the drawings. In addition, the same code | symbol is attached | subjected to a synonymous site | part and the overlapping description is abbreviate | omitted. Further, the present invention is not limited to the embodiments taken up here, and can be appropriately combined and improved without departing from the scope of the invention. For example, a bottom gate / top contact type thin film transistor will be described below as a representative example, but other types (for example, a bottom gate / bottom contact type, a top gate / bottom contact type, a top gate / top contact type) thin film transistor are described. However, it can be realized with the same technical idea.
  [本発明の第1の実施形態]
  (薄膜トランジスタ)
  図1は、本発明の第1の実施形態に係る薄膜トランジスタの構造例を示す断面模式図である。図1に示したように、本実施形態のTFTはボトムゲート型であり、その構造の概略は、基板1上に、ゲート電極4、ゲート絶縁膜5、半導体膜9、ソース電極12、ドレイン電極13、および保護膜14が略この順に積層されたものである。本発明は、ゲート電極4、ソース電極12およびドレイン電極13の構成に特徴を有する。他の部分の構成は、従前と同じでよい。[First embodiment of the present invention]
 (Thin film transistor)
 FIG. 1 is a schematic cross-sectional view showing a structural example of a thin film transistor according to the first embodiment of the present invention. As shown in FIG. 1, the TFT of the present embodiment is a bottom gate type, and the structure thereof is outlined on a
  (薄膜トランジスタの製造方法)
  次に、製造工程に沿って、本実施形態の薄膜トランジスタをより詳細に説明する。(Thin Film Transistor Manufacturing Method)
 Next, the thin film transistor of this embodiment will be described in more detail along the manufacturing process.
  (1−1)ゲート電極形成工程
  図2Aは、ゲート電極形成工程の一部(電極部材の形成)を示す断面模式図である。図2Aに示すように、スパッタ法などの手法により、基板1上に銅合金(以下、Cu合金と表記する)からなる第1電極層2を形成する第1電極層形成工程を行い、引き続いて、第1電極層2上に純銅(以下、単純にCuと表記する)からなる第2電極層3を形成する第2電極層形成工程を行って、2層構造の電極部材を形成する。基板1は、絶縁性の基板であれば特に限定されず、例えば、無アルカリガラス基板や耐熱性樹脂フィルムなどを用いることができる。第1電極層2のCu合金は、Cuに対してリン(P)とその他の元素とが添加されたCu合金である。(1-1) Gate Electrode Formation Step FIG. 2A is a schematic cross-sectional view showing a part of the gate electrode formation step (formation of an electrode member). As shown in FIG. 2A, a first electrode layer forming step of forming a
  Cu合金中のPは、Cu合金スパッタリングターゲット材料中の酸素濃度を低減する脱酸剤として作用し、第1電極層2中のCuマトリックスに固溶する酸素の濃度を低減する効果がある。第1電極層2のCu合金中の酸素濃度は、0.5 at.%未満とすることが好ましい。Cu合金中の酸素濃度が0.5 at.%以上になると、Cu合金に添加したその他の元素と化合する頻度が高まり、Cuマトリックス中での当該その他の元素の拡散を阻害する。Pの添加濃度は、0.01〜0.5 at.%が好ましい。Pの添加濃度が0.01 at%未満だと脱酸剤としての作用が不十分となり、0.5 at%超だとCu合金の比抵抗が増大する。  P in the Cu alloy acts as a deoxidizer for reducing the oxygen concentration in the Cu alloy sputtering target material, and has an effect of reducing the concentration of oxygen dissolved in the Cu matrix in the
  第1電極層2のCu合金に添加されるその他の元素としては、マンガン(Mn)、マグネシウム(Mg)、カルシウム(Ca)、ニッケル(Ni)、亜鉛(Zn)、シリコン(Si)、アルミニウム(Al)、ベリリウム(Be)、ガリウム(Ga)、インジウム(In)、鉄(Fe)、チタン(Ti)、バナジウム(V)、コバルト(Co)、ジルコニウム(Zr)、およびハフニウム(Hf)の内から選ばれる少なくとも1種の元素が好ましい。特に、Cuマトリックス中での拡散性に優れるMnが好ましい。当該その他の元素は、後工程での熱処理により基板1に向かって拡散し、基板1と第1電極層2との界面で酸化物を形成して析出する。該酸化物は、基板1と第1電極層2との密着性を高める効果がある。また、酸化物を形成することによりCuマトリックスに固溶する該その他の元素の濃度が低減することから、Cu合金の比抵抗が低下する効果もある。  Other elements added to the Cu alloy of the
  該その他の元素の添加濃度は、2〜20 at.%が好ましい。また、第1電極層2の厚さは、10〜50 nmが好ましい。加えて、該その他の元素の濃度と第1電極層2の厚さとの積が、50〜400 at.%・nmの範囲となることが好ましい。これは、基板1と第1電極層2との界面での酸化物析出量が、該その他の元素の添加濃度と、第1電極層2の厚さ(すなわち拡散距離)とに依存するためである。  The addition concentration of the other elements is preferably 2 to 20 at.%. Further, the thickness of the
  該その他の元素の添加濃度が2 at.%未満であると、該その他の元素の拡散量が過少となり、基板1と第1電極層2との界面に析出する酸化物が連続的な膜を形成できない。一方、該その他の元素の添加濃度が20 at.%超であると、Cuマトリックス中の固溶量(残留量)が過多となり、Cu合金の比抵抗が増大する。  If the additive concentration of the other element is less than 2 at.%, The diffusion amount of the other element becomes too small, and the oxide deposited at the interface between the
  前述したように、第1電極層2のCu合金中のその他の元素は、後工程での熱処理により基板1に向かって拡散し、基板1と第1電極層2との界面で酸化物を形成して析出する。後工程での熱処理条件としては、例えば、250〜300℃で60〜120秒間保持(加熱・冷却時間含めると120〜240秒程度)がある。この環境下でCuマトリックス中を該その他の元素が拡散できる距離は、50 nm以下程度である。第1電極層2の厚さが50 nm超になると、拡散すべき距離が長くなり過ぎて、後工程の熱処理中に適切な拡散・酸化物形成が完了せずCuマトリックス中に該その他の元素が多く残留する。一方、第1電極層2の厚さが10 nm未満であると、薄過ぎて第1電極層2自体が連続性を確保することが困難になり、第1電極層2が剥離する可能性が生じる。  As described above, other elements in the Cu alloy of the
  上述の観点から、Cu合金中のその他の元素の濃度と第1電極層2の厚さとの積が、50〜400 at.%・nmの範囲となることが好ましい。当該積が50 at.%・nm未満であると、第1電極層2と基板1との密着性の確保が困難になる。一方、当該積が400 at.%・nm超になると、該その他の元素がCu合金中に過剰に残留し、比抵抗が増大する(例えば、Alの比抵抗と同等以上(2.6μΩcm以上)となる)。  From the above viewpoint, the product of the concentration of other elements in the Cu alloy and the thickness of the
  Cuからなる第2電極層3の厚さは、300〜600 nmが好適である。従来の配線に用いられていたAlは、厚膜化するとヒロックが発生しやすいため、300 nm以上の厚膜化は一般に困難であった。これに対し、Cuはヒロックが発生しないため、ゲート絶縁膜5で十分被覆することができる600 nm程度まで容易に厚膜化が可能である。Cuからなる第2電極層3を厚膜化することで、比抵抗の低減との相乗効果により、ゲート電極4の配線抵抗をAl配線の場合の1/2以下に低抵抗化できる。これは、表示装置の高性能化(パネルの大型化、画素の高精細化、フレーム周波数の増大)に大きく貢献する。  The thickness of the
  図2Bは、ゲート電極形成工程の他の一部(パターニング)を示す断面模式図である。図2Bに示すように、成膜した2層構造の電極部材をパターニングしてゲート電極4を形成する。パターニングの方法に特段の限定は無く、フォトレジストを用いた従前のドライエッチングやウェットエッチングを利用することができる。本発明では、第1電極層2と第2電極層3とが同じCu系材料からなることから、それらのエッチング性に差異が無く形状制御性が高い利点がある。  FIG. 2B is a schematic cross-sectional view showing another part (patterning) of the gate electrode forming step. As shown in FIG. 2B, the
  (1−2)ゲート絶縁膜形成工程
  図2Cは、ゲート絶縁膜形成工程を示す断面模式図である。ゲート絶縁膜5として、例えば窒化シリコン(SiNx)膜を成膜する。ゲート絶縁膜5の膜厚は、ゲート電極4への被覆が確保できる範囲で調整可能であり、50〜400 nmが好適である。ゲート絶縁膜5の成膜方法に特段の限定は無いが、例えばプラズマCVD法が好ましく用いられる。プラズマCVD法によるSiNx膜の成膜条件は、例えば、250〜300℃で60〜120秒間保持(加熱・冷却時間含めると120〜240秒程度)である。(1-2) Gate Insulating Film Forming Process FIG. 2C is a schematic cross-sectional view showing the gate insulating film forming process. As the
  この工程中に、第1電極層2のCu合金に添加したその他の元素が、基板1に向かって拡散し、基板1と第1電極層2との界面で酸化物膜6を形成する。これにより、基板1と第1電極層2(すなわちゲート電極4)との密着性が向上する。同時に、Cuマトリックスに固溶する該その他の元素の濃度が低減することから、Cu合金の比抵抗が低下する。  During this process, other elements added to the Cu alloy of the
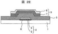
  (1−3)半導体膜形成工程
  図2Dは、半導体膜形成工程の一部(成膜)を示す断面模式図である。図2Dに示すように、ゲート絶縁膜5上に活性半導体膜7とコンタクト膜8とを連続成膜する。成膜方法に特段の限定は無いが、例えばプラズマCVD法が好ましく用いられる。活性半導体膜7としては、水素化アモルファスシリコン膜(a-Si:H)や微結晶シリコン(μc-Si)などのSi系の膜を好適に用いることができる。活性半導体膜7の膜厚は特に限定されないが、例えば30〜200 nmが好ましい。また、コンタクト膜8としては、Pをドープした水素化アモルファスシリコン膜(n+a-Si:H)を好適に用いることができる。コンタクト膜8の膜厚も特に限定されないが、例えば5〜60 nmが好ましい。(1-3) Semiconductor Film Formation Step FIG. 2D is a schematic cross-sectional view showing a part (film formation) of the semiconductor film formation step. As shown in FIG. 2D, an
  図2Eは、半導体膜形成工程の他の一部(パターニング)を示す断面模式図である。図2Eに示すように、活性半導体膜7とコンタクト膜8とをパターニングして半導体膜9を形成する。パターニングの方法に特段の限定は無く、フォトレジストを用いた従前のドライエッチングやウェットエッチングを利用することができる。  FIG. 2E is a schematic cross-sectional view showing another part (patterning) of the semiconductor film forming step. As shown in FIG. 2E, the
  (1−4)極薄酸化膜形成工程
  図2Fは、極薄酸化膜形成工程を示す断面模式図である。半導体膜9の表面に、プラズマ酸化処理やオゾン水酸化処理によって極薄酸化膜15を形成する。図2Fに示すように、極薄酸化膜15は、ゲート絶縁膜5の表面にも同時に形成される。この極薄酸化膜15は、半導体膜9の上部に形成されるソース電極12およびドレイン電極13から半導体膜9へ、ソース/ドレイン電極中のCu原子が拡散することを抑制する拡散バリアとして作用する。極薄酸化膜15の膜厚は、1〜3 nmであることが好ましい。(1-4) Ultrathin Oxide Film Formation Step FIG. 2F is a schematic cross-sectional view showing the ultrathin oxide film formation step. An
  プラズマ酸化処理を行う場合、極薄酸化膜15の膜厚は、主に処理時間とパワー密度とにより制御される。極薄酸化膜15の膜厚を1〜3 nmとする場合、プラズマ酸化条件としては、例えば、酸素圧力100〜500 Pa、処理時間1分間、パワー密度0.2〜1 W/cm2で行うことが好ましい。When performing the plasma oxidation process, the film thickness of the
  オゾン水で酸化処理を行う場合、極薄酸化膜15の膜厚は、溶存オゾン濃度により制御される。極薄酸化膜15の膜厚を1〜3 nmとする場合、溶存オゾン濃度としては、例えば、1〜100 ppmが好ましく、3〜50 ppmがより好ましい。  When the oxidation treatment is performed with ozone water, the thickness of the
  (1−5)ソース/ドレイン電極形成工程
  図2Gは、ソース/ドレイン電極形成工程の一部(電極部材の形成)を示す断面模式図である。ゲート電極形成工程と同様に、スパッタ法などの手法により、極薄酸化膜15上にCu合金からなる第1電極層10を形成する第1電極層形成工程を行い、引き続いて、第1電極層10上にCuからなる第2電極層11を形成する第2電極層形成工程を行って、2層構造の電極部材を形成する。第1電極層10のCu合金は、第1電極層2と同様に、Cuに対してPとその他の元素とが添加されたCu合金である。(1-5) Source / Drain Electrode Formation Step FIG. 2G is a schematic cross-sectional view showing a part of the source / drain electrode formation step (formation of an electrode member). Similarly to the gate electrode forming step, a first electrode layer forming step for forming the
  ここで、第1電極層10のCu合金中のPは、前述したCu合金スパッタリングターゲットの脱酸剤としての作用効果に加えて、もう1つの作用効果を有する。具体的には、第1電極層10のCu合金中にPをドープしておくことで、第1電極層10とコンタクト膜8(n+a-Si:H)との間のP濃度勾配を小さくすることができる。その結果、第1電極層10とコンタクト膜8との間で、Pの拡散を抑制することができ、TFT特性の劣化を防止することができる。第1電極層10のCu合金へのPの添加濃度およびCu合金中の酸素濃度は、それぞれ0.01〜0.5 at.%および0.5 at.%未満とすることが好ましい。理由は、第1電極層2と同様である。Here, P in the Cu alloy of the
また、第1電極層10のCu合金に添加されるその他の元素の種類・添加濃度も、第1電極層2と同様である。さらに、第1電極層10の厚さは10〜50 nmが好ましく、該その他の元素の濃度と第1電極層10の厚さとの積が、50〜400 at.%・nmの範囲となることが好ましい。これらの理由も、第1電極層2と同様である。なお、第1電極層2と第1電極層10とは、それぞれが本発明の規定を満たしている限り、添加元素の種類・濃度や層の厚さが異なっていてもよいし、同じでもよい。The types and addition concentrations of other elements added to the Cu alloy of the
  また、Cuからなる第2電極層11に関しても、第2電極層3と同様の理由により、厚さ300〜600 nmが好適である。  For the
  図2Hは、ソース/ドレイン電極形成工程の他の一部(パターニング)を示す断面模式図である。図2Hに示すように、成膜した2層構造の電極部材をパターニングしてソース電極12およびドレイン電極13を形成する。パターニングの方法に特段の限定は無く、フォトレジストを用いた従前のドライエッチングやウェットエッチングを利用することができる。  FIG. 2H is a schematic cross-sectional view showing another part (patterning) of the source / drain electrode formation step. As shown in FIG. 2H, the deposited electrode member having a two-layer structure is patterned to form a
  (1−6)チャネル形成工程
  図2Iは、チャネル形成工程を示す断面模式図である。図2Iに示すように、ソース/ドレイン電極形成工程で使用したフォトレジストをそのまま利用し、ドライエッチング法によりチャンネル上の極薄酸化膜15とコンタクト膜8とを除去してチャネルを形成する。(1-6) Channel Forming Step FIG. 2I is a schematic cross-sectional view showing the channel forming step. As shown in FIG. 2I, the photoresist used in the source / drain electrode formation step is used as it is, and the
  (1−7)保護膜形成工程
  図2Jは、保護膜形成工程を示す断面模式図である。保護膜14として、例えば窒化シリコン(SiNx)膜を成膜する。保護膜14の膜厚は、200〜500 nmが好適である。保護膜14の成膜方法に特段の限定は無いが、例えばプラズマCVD法が好ましく用いられる。プラズマCVD法による保護膜14の成膜条件は、ゲート絶縁膜5の場合と同様に、例えば250〜300℃で60〜120秒間保持(加熱・冷却時間含めると120〜240秒程度)である。(1-7) Protective Film Forming Step FIG. 2J is a schematic cross-sectional view showing the protective film forming step. As the
  この工程中に、第1電極層10のCu合金に添加したその他の元素が、極薄酸化膜15に向かって拡散し、極薄酸化膜15と共に酸化物膜16を形成する。これにより、コンタクト膜8とソース電極12との密着性、コンタクト膜8とドレイン電極13との密着性が向上する。同時に、Cuマトリックスに固溶する該その他の元素の濃度が低減することから、Cu合金の比抵抗が低下する。  During this process, other elements added to the Cu alloy of the
  (1−8)コンタクトホール形成工程
  次に、フォトリソグラフィを利用して、各電極(ゲート電極4、ソース電極12、ドレイン電極13)と外部装置との間で電気信号のやり取りを行うためのコンタクトホール(図示せず)を形成する。(1-8) Contact Hole Formation Step Next, contacts for exchanging electrical signals between each electrode (
以上の製造工程を経て、本発明の電極構造を有する第1の実施形態のボトムゲート型TFTを作製することができる。なお、上記の各製造工程に、イオン注入、アニール処理、ベーク処理等の工程を適宜加えてもよい。 Through the above manufacturing steps, the bottom gate type TFT of the first embodiment having the electrode structure of the present invention can be manufactured. Note that steps such as ion implantation, annealing treatment, and baking treatment may be appropriately added to each of the above manufacturing steps.
  [本発明の第2の実施形態]
  (薄膜トランジスタ)
  図3は、本発明の第2の実施形態に係る薄膜トランジスタの構造例を示す断面模式図である。図3に示したように、本実施形態のTFTはボトムゲート型であり、その構造の概略は、基板1上に、ゲート電極23、ゲート絶縁膜5、半導体膜9、ソース電極26、ドレイン電極27、および保護膜14が略この順に積層されたものである。本実施形態が第1の実施形態と最も異なる点は、ゲート電極4、ソース電極26およびドレイン電極27が、Cu合金からなる第1電極層とCuからなる第2電極層とCu合金からなる第3電極層とで構成される3層構造を有することである。[Second Embodiment of the Present Invention]
 (Thin film transistor)
 FIG. 3 is a schematic cross-sectional view showing a structural example of a thin film transistor according to the second embodiment of the present invention. As shown in FIG. 3, the TFT of this embodiment is a bottom gate type, and the outline of the structure is as follows: a
  (薄膜トランジスタの製造方法)
  次に、製造工程に沿って、本実施形態の薄膜トランジスタをより詳細に説明する。なお、第1の実施形態と同一内容の工程に関しては、重複する説明を省略する。(Thin Film Transistor Manufacturing Method)
 Next, the thin film transistor of this embodiment will be described in more detail along the manufacturing process. In addition, the overlapping description is abbreviate | omitted regarding the process of the same content as 1st Embodiment.
  (2−1)ゲート電極形成工程
  図4Aは、ゲート電極形成工程の一部(電極部材の形成)を示す断面模式図である。図4Aに示すように、スパッタ法などの手法により、基板1上にCu合金からなる第1電極層21aを形成する第1電極層形成工程を行い、続いて、第1電極層21a上にCuからなる第2電極層22を形成する第2電極層形成工程を行い、更に続いて、第2電極層22上にCu合金からなる第3電極層21bを形成する第3電極層形成工程を行って、3層構造の電極部材を形成する。(2-1) Gate Electrode Formation Step FIG. 4A is a schematic cross-sectional view showing a part of the gate electrode formation step (formation of an electrode member). As shown in FIG. 4A, a first electrode layer forming step of forming a
  第1電極層21aのCu合金および第3電極層21bのCu合金は、第1の実施形態と同様に、それぞれCuに対してPとその他の元素とが添加されたCu合金である。それらCu合金へのPの添加濃度およびCu合金中の酸素濃度は、それぞれ0.01〜0.5 at.%および0.5 at.%未満とすることが好ましい。また、それらCu合金に添加されるその他の元素の種類・添加濃度も、第1の実施形態と同様である。  The Cu alloy of the
  第1電極層21aおよび第3電極層21bの厚さは、それぞれ10〜100 nmが好ましい。厚さの上限が第1の実施形態のそれに比して高い理由は、後述する。一方、Cu合金に添加されるその他の元素の濃度と第1電極層21aの厚さとの積、および該その他の元素の濃度と第3電極層21bの厚さとの積は、第1の実施形態と同様に、それぞれ50〜250 at.%・nmの範囲となることが好ましい。また、Cuからなる第2電極層22に関しても、第1の実施形態と同様に、厚さ300〜600 nmが好適である。  The thicknesses of the
  その後、成膜した3層構造の電極部材をパターニングしてゲート電極23が形成される。  Thereafter, the
  (2−2)ゲート絶縁膜形成工程
  図4Bは、ゲート絶縁膜形成工程を示す断面模式図である。本実施形態では、ゲート絶縁膜5として、酸化シリコン(SiO2)膜または酸窒化シリコン(SiON)膜を成膜する。ゲート電極23が3層構造を有していることから、ゲート絶縁膜5として酸素を含む化合物膜(酸化物膜や酸窒化物膜)を使用できる。言い換えると、ゲート絶縁膜5として酸素を含む化合物膜を使用する場合には、3層構造のゲート電極23を形成することが望ましい。これにより、Cuからなる第2電極層22が酸化されないという効果がある。(2-2) Gate Insulating Film Forming Process FIG. 4B is a schematic cross-sectional view showing the gate insulating film forming process. In the present embodiment, a silicon oxide (SiO2 ) film or a silicon oxynitride (SiON) film is formed as the
  ゲート絶縁膜5の膜厚は、ゲート電極23への被覆が確保できる範囲で調整可能であり、第1の実施形態と同様に、50〜400 nmが好適である。ゲート絶縁膜5の成膜方法に特段の限定は無いが、例えばプラズマCVD法が好ましく用いられる。プラズマCVD法によるSiO2膜やSiON膜の成膜条件は、例えば、300〜350℃で120〜240秒間保持(加熱・冷却時間含めると240〜360秒程度)である。The film thickness of the
  この工程中に、第1電極層21aのCu合金に添加したその他の元素が、基板1に向かって拡散し、基板1と第1電極層21aとの界面で酸化物膜6を形成する。また、第3電極層21bのCu合金に添加したその他の元素が、ゲート絶縁膜5に向かって拡散し、ゲート絶縁膜5と第3電極層21bとの界面で酸化物膜6を形成する。これらにより、基板1とゲート電極23とゲート絶縁膜5との密着性が向上する。同時に、Cuマトリックスに固溶する該その他の元素の濃度が低減することから、Cu合金の比抵抗が低下する。  During this step, other elements added to the Cu alloy of the
  ここで、本実施形態のゲート絶縁膜5の形成は、第1の実施形態のそれに比して成膜条件の温度が高く時間が長い。すなわち、該環境下でCu合金のCuマトリックス中をその他の元素が拡散できる距離が長くなり、100 nm程度以下となる。このことから、第1電極層21aおよび第3電極層21bの厚さは、それぞれ10〜100 nmが好ましい。  Here, the formation of the
「(2−3)半導体膜形成工程」および「(2−4)極薄酸化膜形成工程」は、第1の実施形態と同様に行われる。 “(2-3) Semiconductor film forming step” and “(2-4) Ultrathin oxide film forming step” are performed in the same manner as in the first embodiment.
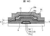
  (2−5)ソース/ドレイン電極形成工程
  図4Cは、ソース/ドレイン電極形成工程の一部(電極部材の形成)を示す断面模式図である。ゲート電極形成工程と同様に、スパッタ法などの手法により、極薄酸化膜15上にCu合金からなる第1電極層24aを形成する第1電極層形成工程を行い、続いて、第1電極層24a上にCuからなる第2電極層25を形成する第2電極層形成工程を行い、更に続いて、第2電極層25上にCu合金からなる第3電極層24bを形成する第3電極層形成工程を行って、3層構造の電極部材を形成する。(2-5) Source / Drain Electrode Formation Step FIG. 4C is a schematic cross-sectional view showing a part of the source / drain electrode formation step (formation of an electrode member). Similar to the gate electrode forming step, a first electrode layer forming step for forming a
  第1電極層24aのCu合金および第3電極層24bのCu合金に関する規定および作用効果は、第1の実施形態の場合と同様である。ただし、第1電極層21aおよび第3電極層21bの厚さは、ゲート電極23の場合と同様に、それぞれ10〜100 nmが好ましい。また、Cuからなる第2電極層25に関しても、第1の実施形態と同様に、厚さ300〜600 nmが好適である。成膜した3層構造の電極部材をパターニングしてソース電極26およびドレイン電極27が形成される。  The rules and effects related to the Cu alloy of the
「(2−6)チャネル形成工程」は、第1の実施形態と同様に行われる。 The “(2-6) channel formation step” is performed in the same manner as in the first embodiment.
  (2−7)保護膜形成工程
  図4Dは、保護膜形成工程を示す断面模式図である。本実施例では、保護膜14としてSiO2膜または SiON膜を成膜する。ソース電極26およびドレイン電極27が3層構造を有していることから、保護膜14として酸素を含む化合物膜(酸化物膜や酸窒化物膜)を使用できる。言い換えると、保護膜14として酸素を含む化合物膜を使用する場合には、3層構造のソース電極26およびドレイン電極27を形成することが望ましい。これにより、Cuからなる第2電極層25が酸化されないという効果がある。(2-7) Protective Film Forming Step FIG. 4D is a schematic cross-sectional view showing the protective film forming step. In this embodiment, a SiO2 film or a SiON film is formed as the
  保護膜14の膜厚は、200〜500 nmが好適である。保護膜14の成膜方法に特段の限定は無いが、例えばプラズマCVD法が好ましく用いられる。プラズマCVD法によるSiO2膜やSiON膜の成膜条件は、例えば、300〜350℃で120〜240秒間保持(加熱・冷却時間含めると240〜360秒程度)である。The thickness of the
  この工程中に、第1電極層24aのCu合金に添加したその他の元素が、極薄酸化膜15に向かって拡散し、極薄酸化膜15と共に酸化物膜16を形成する。また、第3電極層24bのCu合金に添加したその他の元素が、保護膜14に向かって拡散し、保護膜14と第3電極層24bとの界面で酸化物膜16を形成する。これらにより、コンタクト膜8とソース電極26と保護膜14との密着性、およびコンタクト膜8とドレイン電極27と保護膜14との密着性が向上する。同時に、Cuマトリックスに固溶する該その他の元素の濃度が低減することから、Cu合金の比抵抗が低下する。  During this step, other elements added to the Cu alloy of the
「(2−8)コンタクトホール形成工程」は、第1の実施形態と同様に行われる。以上の製造工程を経て、本発明の電極構造を有する第2の実施形態のボトムゲート型TFTを作製することができる。 The “(2-8) contact hole forming step” is performed in the same manner as in the first embodiment. Through the above manufacturing steps, the bottom gate type TFT of the second embodiment having the electrode structure of the present invention can be manufactured.
  [本発明の第3の実施形態]
  (薄膜トランジスタ)
  図5は、本発明の第3の実施形態に係る薄膜トランジスタの構造例を示す断面模式図である。図5に示したように、本実施形態のTFTはボトムゲート型であり、その構造の概略は、基板1上に、ゲート電極23、ゲート絶縁膜5、半導体膜19、ソース電極26、ドレイン電極27、および保護膜14が略この順に積層されたものである。本実施形態が第2の実施形態と最も異なる点は、半導体膜19が酸化物半導体膜(例えば、IGZO膜、(インジウム(In)−ガリウム(Ga)−亜鉛(Zn)−酸素(O)膜)であることと、チャネル上にエッチストッパ膜31が形成されていることである。[Third embodiment of the present invention]
 (Thin film transistor)
 FIG. 5 is a schematic cross-sectional view showing a structural example of a thin film transistor according to the third embodiment of the present invention. As shown in FIG. 5, the TFT of this embodiment is a bottom gate type, and the outline of the structure is as follows: a
  (薄膜トランジスタの製造方法)
  次に、製造工程に沿って、本実施形態の薄膜トランジスタをより詳細に説明する。なお、第1の実施形態または第2の実施形態と同一内容の工程に関しては、重複する説明を省略する。(Thin Film Transistor Manufacturing Method)
 Next, the thin film transistor of this embodiment will be described in more detail along the manufacturing process. In addition, the overlapping description is abbreviate | omitted regarding the process of the same content as 1st Embodiment or 2nd Embodiment.
「(3−1)ゲート電極形成工程」および「(3−2)ゲート絶縁膜形成工程」は、第2の実施形態と同様に行われる。 “(3-1) Gate electrode forming step” and “(3-2) Gate insulating film forming step” are performed in the same manner as in the second embodiment.
  (3−3)半導体膜形成工程
  図6Aは、半導体膜形成工程の一部(成膜)を示す断面模式図である。図6Aに示すように、ゲート絶縁膜5上に酸化物半導体膜19とエッチストッパ膜31とを成膜する。本実施形態では、スパッタ法などの手法(例えば、DCマグネトロンスパッタ法)により、酸化物半導体膜19としてIGZO(InGaZnO4)膜を成膜する。酸化物半導体膜19の膜厚は10〜200 nmが好ましく、30〜100 nmがより好ましい。さらに、プラズマCVD法やスパッタ法などの手法により、エッチストッパ膜31としてSiO2膜を酸化物半導体膜19上に成膜する。エッチストッパ膜31の膜厚は150〜250 nmが好ましい。エッチストッパ膜31は、後工程でソース/ドレイン電極をエッチングする際に、酸化物半導体膜19がダメージを受けないようにするためのものである。(3-3) Semiconductor Film Formation Step FIG. 6A is a schematic cross-sectional view showing a part (film formation) of the semiconductor film formation step. As shown in FIG. 6A, an
  図6Bは、半導体膜形成工程の他の一部(パターニング)を示す断面模式図である。図6Bに示すように、酸化物半導体膜19とエッチストッパ膜31とをパターニングする。パターニングの方法に特段の限定は無く、フォトレジストを用いた従前のドライエッチングやウェットエッチングを利用することができる。  FIG. 6B is a schematic cross-sectional view showing another part (patterning) of the semiconductor film forming step. As shown in FIG. 6B, the
「(3−4)ソース/ドレイン電極形成工程」は、第2の実施形態と同様に行われる。なお、本実施形態の薄膜トランジスタにおいて、「極薄酸化膜形成工程」および「チャネル形成工程」は不要である。 The “(3-4) source / drain electrode formation step” is performed in the same manner as in the second embodiment. In the thin film transistor of this embodiment, the “ultra-thin oxide film forming step” and the “channel forming step” are unnecessary.
  (3−5)保護膜形成工程
  図6Cは、保護膜形成工程を示す断面模式図である。本実施例のIGZO-TFTは、Si-TFTと比較して移動度が高いが、酸化物半導体であるため、酸化物半導体膜19と隣接するゲート絶縁膜5や保護膜14も酸素を含む化合物膜にする必要がある。そこで、本実施例では、保護膜14としてSiO2膜または SiON膜を成膜する。ソース電極26およびドレイン電極27が3層構造を有していることから、保護膜14として酸素を含む化合物膜(酸化物膜や酸窒化物膜)を使用できる。これにより、Cuからなる第2電極層25が酸化されないという効果がある。(3-5) Protective Film Forming Step FIG. 6C is a schematic cross-sectional view showing the protective film forming step. The IGZO-TFT in this example has higher mobility than Si-TFT, but since it is an oxide semiconductor, the
  保護膜14の膜厚は、200〜500 nmが好適である。保護膜14の成膜方法に特段の限定は無く、第2の実施形態と同様に行われる。  The thickness of the
  この工程中に、第1電極層24aのCu合金に添加したその他の元素が、酸化物半導体膜19に向かって拡散し、酸化物半導体膜19と第1電極層24aとの界面で酸化物膜16を形成する。また、第3電極層24bのCu合金に添加したその他の元素が、保護膜14に向かって拡散し、保護膜14と第3電極層24bとの界面で酸化物膜16を形成する。これらにより、酸化物半導体膜19とソース電極26と保護膜14との密着性、および酸化物半導体膜19とドレイン電極27と保護膜14との密着性が向上する。同時に、Cuマトリックスに固溶する該その他の元素の濃度が低減することから、Cu合金の比抵抗が低下する。  During this step, other elements added to the Cu alloy of the
「(3−6)コンタクトホール形成工程」は、第1の実施形態と同様に行われる。以上の製造工程を経て、本発明の電極構造を有する第3の実施形態のボトムゲート型TFTを作製することができる。 The “(3-6) contact hole forming step” is performed in the same manner as in the first embodiment. Through the above manufacturing steps, the bottom gate type TFT of the third embodiment having the electrode structure of the present invention can be manufactured.
  [本発明の第4の実施形態]
  (表示装置)
  図7は、本発明に係る表示装置(アクティブマトリクス型の液晶表示装置)の画素構成の1例を示す平面模式図である。図7に示したように、本発明の液晶表示装置の画素は、TFT基板101上に、走査線102と、走査線102に直交する信号線103とが設けられている。走査線102と信号線103とが交差するポイントには、TFT 104が設けられており、TFT 104の電極の一部が画素電極105へ接続されている。また、画素電極105及び走査線102の一部を用いて、ストレージキャパシタ106が設けられている。走査線102を形成する工程および信号線103を形成する工程においても、上述した本発明に係る薄膜トランジスタの製造工程が適用される。[Fourth embodiment of the present invention]
 (Display device)
 FIG. 7 is a schematic plan view showing an example of the pixel configuration of the display device (active matrix liquid crystal display device) according to the present invention. As shown in FIG. 7, the pixel of the liquid crystal display device of the present invention is provided with a
  図8は、図7に示した本発明に係る液晶表示装置の断面模式図である。図8に示すように、液晶表示装置は、光源111、偏光板112、TFT基板101、TFT104、絶縁膜113、画素電極105、配向膜114、液晶層115、スペーサ116、共通電極117、カラーフィルタ118、ブラックマトリクス119、カラーフィルタ基板120、偏光フィルム121を有している。  FIG. 8 is a schematic cross-sectional view of the liquid crystal display device according to the present invention shown in FIG. As shown in FIG. 8, the liquid crystal display device includes a
  ここで、液晶表示装置の表示制御方法について簡単に説明する。光源111から放たれた光は、偏光板112により特定の偏光成分のみが通過し、液晶層115へ向かう。液晶層115は、画素電極105と共通電極117との間に印加される電圧に応じて、光透過率を調整する。これにより、画素の階調が制御される。  Here, a display control method of the liquid crystal display device will be briefly described. The light emitted from the
  次に、液晶層115の制御方法について、図7〜8を用いて簡単に説明する。走査線102からTFT 104にゲート信号が印加されるとTFT 104はオン状態になり、信号線103に加えられている信号電圧がTFT 104を経由して画素電極105とストレージキャパシタ106とに印加される。これにより、液晶層115に所望の電圧が印加され、液晶分子が動作して光透過率を制御する。このとき、ストレージキャパシタ106は、電圧信号を保持する役割を担う。言い換えると、TFT 104がオフ状態になっても次の信号が印加されるまで、液晶層115に供給されている電圧レベルを一定に調整する。  Next, a method for controlling the
本発明に係る薄膜トランジスタの製造方法によれば、薄膜トランジスタにおいてトランジスタの諸特性を劣化させることなく従来よりも電気抵抗が小さいCu配線を形成できることに加えて、表示装置においても密着性および電気的接続性が良好でありかつ従来よりも電気抵抗が小さいCu配線(例えば、走査線や信号線)を形成することができる。これにより、配線を伝わる電気信号が遅れる伝播遅延現象を低減でき、表示装置の大型化や動画質の向上に貢献することができる。また、本発明に係るCu配線の構成は、従来のAl/Mo積層膜配線のように高価な材料を用いないことから、製造コストを低減することができる。 According to the method for manufacturing a thin film transistor according to the present invention, in addition to being able to form a Cu wiring having a lower electric resistance than the conventional one without degrading various characteristics of the transistor in the thin film transistor, the adhesion and the electrical connectivity are also provided in the display device. It is possible to form a Cu wiring (for example, a scanning line or a signal line) that has a good electrical resistance and a lower electrical resistance than conventional ones. Thereby, the propagation delay phenomenon in which the electrical signal transmitted through the wiring is delayed can be reduced, and the display device can be increased in size and improved in the quality of moving images. In addition, the configuration of the Cu wiring according to the present invention does not use an expensive material like the conventional Al / Mo laminated film wiring, so that the manufacturing cost can be reduced.
なお、本実施形態では、液晶表示装置を例として説明したが、有機EL表示装置や電子ペーパーなどの他の表示装置にも、もちろん適用可能である。 In the present embodiment, the liquid crystal display device has been described as an example. However, the present invention can also be applied to other display devices such as an organic EL display device and electronic paper.
以下、本発明を実施例に基づいてより具体的に説明する。ただし、本発明はここで取り上げた実施例に限定されるものではない。 Hereinafter, the present invention will be described more specifically based on examples. However, the present invention is not limited to the embodiments taken up here.
  [実施例1]
  本実施例においては、2層構造のCu配線(ゲート電極)とゲート絶縁膜とを基板上に形成したTEG(test element group)を作製し、該2層構造のCu配線と基板との密着性および該2層構造のCu配線の比抵抗を調査した。[Example 1]
 In this example, a TEG (test element group) in which a Cu wiring (gate electrode) having a two-layer structure and a gate insulating film are formed on a substrate is produced, and the adhesion between the Cu wiring having the two-layer structure and the substrate is produced. The specific resistance of the Cu wiring of the two-layer structure was investigated.
  (2層構造のCu配線を用いたTEGの作製)
  前述した第1の実施形態の手順に沿って、ガラス基板上に、Cu合金からなる第1電極層とCuからなる第2電極層とを積層した2層構造のゲート電極を形成し、該ゲート電極を被覆するようにゲート絶縁膜(SiNx膜)を成膜して、TEG試料(D-1〜60)を作製した。ゲート絶縁膜(SiNx膜)の成膜条件(熱処理条件)は、300℃で120秒間とした。第1電極層のCu合金中のP濃度は0.2 at.%とし、Cu合金に添加されるその他の元素はMnとした。TEGのその他の仕様(Mn濃度、第1電極層の厚さ、第2電極層の厚さ等)は後述する表1および表2に示す。(Production of TEG using two-layer Cu wiring)
 A gate electrode having a two-layer structure in which a first electrode layer made of a Cu alloy and a second electrode layer made of Cu are stacked is formed on a glass substrate in accordance with the procedure of the first embodiment described above. A gate insulating film (SiNx film) was formed to cover the electrodes, and TEG samples (D-1 to 60) were produced. The film formation condition (heat treatment condition) of the gate insulating film (SiNx film) was set at 300 ° C. for 120 seconds. The P concentration in the Cu alloy of the first electrode layer was 0.2 at.%, And the other elements added to the Cu alloy were Mn. Other specifications of TEG (Mn concentration, thickness of the first electrode layer, thickness of the second electrode layer, etc.) are shown in Tables 1 and 2 described later.
  (密着性の評価)
  上記で作製した各TEG試料のゲート電極に対して、密着性の評価を行った。薄膜スクラッチ試験装置(株式会社レスカ製、型式:CRS02)を用いて探針試験を行い、ゲート電極が基板から剥離していないと判断されるものを「合格」と評価し、剥離していると判断されるものを「不合格」と評価した。結果を表1および表2に併記する。(Evaluation of adhesion)
 The adhesion was evaluated for the gate electrode of each TEG sample produced above. Using a thin film scratch test device (Reska Co., Ltd., model: CRS02) to conduct a probe test, evaluates that the gate electrode is not peeled off the substrate as “pass” and peels off What was judged was evaluated as “fail”. The results are shown in Tables 1 and 2.
  (比抵抗の評価)
  次に、密着性評価で合格と評価されたTEG試料のゲート電極に対して、比抵抗の測定を実施した。比抵抗の測定には、抵抗率測定装置(株式会社共和理研製、型式:K-705RM)を用いた。測定された比抵抗が、Al(バルク)の室温の比抵抗と同等である2.6μΩcmよりも小さかったものを「合格」と評価し、2.6μΩcm以上であったものを「不合格」と評価した。なお、Alの薄膜配線では、一般にバルクよりも比抵抗が高くなり3.0μΩcm以上となるのが通常である。すなわち、比抵抗評価の本基準は、Al配線に対して十分な優位性を確保するものと言える。結果を表1および表2に併記する。(Evaluation of resistivity)
 Next, specific resistance was measured for the gate electrode of the TEG sample that was evaluated as being acceptable in the adhesion evaluation. A resistivity measuring device (manufactured by Kyowa Riken Co., Ltd., model: K-705RM) was used to measure the specific resistance. When the measured resistivity was less than 2.6μΩcm, which is equivalent to the room temperature resistivity of Al (bulk), it was evaluated as “pass”, and when it was greater than 2.6μΩcm, it was evaluated as “fail” . In general, an Al thin film wiring generally has a specific resistance higher than that of a bulk and is 3.0 μΩcm or more. That is, it can be said that this standard of specific resistance evaluation ensures sufficient superiority over Al wiring. The results are shown in Tables 1 and 2.
表1および表2に示したように、第1電極層のCu合金のMn濃度が1 at.%であるTEG試料(D-1〜6、D-31〜36)は、ゲート電極と基板との密着性が不十分で、ゲート電極/基板間の剥離が生じていた。これは、ゲート電極/基板の界面に形成される酸化物膜の形成量が不十分であったためと考えられた。このことから、Cu合金のMn濃度は2 at.%以上が必要と考えられた。 As shown in Table 1 and Table 2, TEG samples (D-1 to 6, D-31 to 36) in which the Mn concentration of the Cu alloy of the first electrode layer is 1 at. The adhesion between the gate electrode and the substrate was insufficient. This was presumably because the amount of oxide film formed at the gate electrode / substrate interface was insufficient. From this, it was considered that the Mn concentration of Cu alloy should be 2 at.% Or more.
一方、Mn濃度が2〜20 at.%であっても、第1電極層の厚さが十分でないと、基板との密着性が不十分で、ゲート電極/基板間の剥離が生じていた。D-20、D-26、D-50およびD-56の結果から、第1電極層の厚さは10 nm以上が必要と考えられた。ただし、D-12、D-18、D-42、D-48およびD-53の結果から、第1電極層の厚さが50 nm超になると、ゲート電極の比抵抗が2.6μΩcm以上になることから、第1電極層の厚さは50 nm以下が必要と考えられた。 On the other hand, even if the Mn concentration was 2 to 20 at.%, If the thickness of the first electrode layer was not sufficient, the adhesion with the substrate was insufficient and peeling between the gate electrode and the substrate occurred. From the results of D-20, D-26, D-50, and D-56, it was considered that the thickness of the first electrode layer should be 10 nm or more. However, from the results of D-12, D-18, D-42, D-48, and D-53, when the thickness of the first electrode layer exceeds 50 nm, the specific resistance of the gate electrode becomes 2.6 μΩcm or more. Therefore, it was considered that the thickness of the first electrode layer should be 50 nm or less.
さらに、D-9〜11、D-15〜17、D-20、D-26、D-39〜41、D-45〜47、D-50〜52およびD-56の結果から、Mn濃度と第1電極層の厚さとの積が50〜400 at.%・nmの場合に、ゲート電極の比抵抗が2.6μΩcm未満となることが確認された。一方、Mn濃度と第1電極層の厚さとの積が50〜400 at.%・nmを外れる場合、密着性評価が不合格となるか、ゲート電極の比抵抗が2.6μΩcm超となった。 Furthermore, from the results of D-9 to 11, D-15 to 17, D-20, D-26, D-39 to 41, D-45 to 47, D-50 to 52 and D-56, the Mn concentration and It was confirmed that the specific resistance of the gate electrode was less than 2.6 μΩcm when the product of the thickness of the first electrode layer was 50 to 400 at.% · Nm. On the other hand, when the product of the Mn concentration and the thickness of the first electrode layer deviated from 50 to 400 at.% · Nm, the adhesion evaluation failed or the specific resistance of the gate electrode exceeded 2.6 μΩcm.
なお、詳細は省略するが、Cu合金に添加されるその他の元素としてMn以外に、Mg、Ca、Ni、Zn、Si、Al、Be、Ga、In、Fe、Ti、V、Co、Zr、およびHfを用いた場合について、それぞれ別途検討したところ、上記と同様な結果が得られることを確認した。 Although details are omitted, in addition to Mn as other elements added to the Cu alloy, Mg, Ca, Ni, Zn, Si, Al, Be, Ga, In, Fe, Ti, V, Co, Zr, When Hf and Hf were used separately, it was confirmed that the same results as above were obtained.
  [実施例2]
  本実施例においては、3層構造のCu配線(ゲート電極)とゲート絶縁膜とを基板上に形成したTEGを作製し、該3層構造のCu配線と基板との密着性および該3層構造のCu配線の比抵抗を調査した。[Example 2]
 In this example, a TEG in which a Cu wiring (gate electrode) having a three-layer structure and a gate insulating film are formed on a substrate is produced, and the adhesion between the Cu wiring having the three-layer structure and the substrate, and the three-layer structure. The specific resistance of Cu wiring was investigated.
  (3層構造のCu配線を用いたTEGの作製)
  前述した第2の実施形態の手順に沿って、ガラス基板上に、Cu合金からなる第1電極層とCuからなる第2電極層とCu合金からなる第3電極層とを積層した3層構造のゲート電極を形成し、該ゲート電極を被覆するようにゲート絶縁膜(SiO2膜)を成膜して、TEG試料(T-1〜70)を作製した。ゲート絶縁膜(SiO2膜)の成膜条件(熱処理条件)は、350℃で120秒間とした。第1電極層および第3電極層のCu合金中のP濃度は0.3 at.%とし、Cu合金に添加されるその他の元素はMnとした。第1電極層と第3電極層とは同じ厚さとした。TEGのその他の仕様(Mn濃度、第1・第3電極層の厚さ、第2電極層の厚さ等)は後述する表3および表4に示す。(Production of TEG using three-layer Cu wiring)
 A three-layer structure in which a first electrode layer made of a Cu alloy, a second electrode layer made of Cu, and a third electrode layer made of a Cu alloy are laminated on a glass substrate in accordance with the procedure of the second embodiment described above. A gate insulating film (SiO2 film) was formed so as to cover the gate electrode, and TEG samples (T-1 to 70) were manufactured. The film formation conditions (heat treatment conditions) for the gate insulating film (SiO2 film) were set at 350 ° C. for 120 seconds. The P concentration in the Cu alloy of the first electrode layer and the third electrode layer was 0.3 at.%, And the other element added to the Cu alloy was Mn. The first electrode layer and the third electrode layer have the same thickness. Other specifications of TEG (Mn concentration, thickness of first and third electrode layers, thickness of second electrode layer, etc.) are shown in Tables 3 and 4 described later.
  (密着性および比抵抗の評価)
  実施例1と同様にして、密着性および比抵抗の評価を行った。結果を表3および表4に併記する。(Evaluation of adhesion and specific resistance)
 In the same manner as in Example 1, adhesion and specific resistance were evaluated. The results are also shown in Tables 3 and 4.
表3および表4に示したように、第1・第3電極層のCu合金のMn濃度が1 at.%であるTEG試料(T-1〜7、T-36〜42)は、ゲート電極と基板との密着性、および/またはゲート電極とゲート絶縁膜との密着性が不十分で、それらの間の剥離が生じていた。これは、ゲート電極/基板の界面や、ゲート電極/ゲート絶縁膜の界面に形成される酸化物膜の形成量が不十分であったためと考えられた。このことから、Cu合金のMn濃度は2 at.%以上が必要と考えられた。 As shown in Tables 3 and 4, TEG samples (T-1-7, T-36-42) in which the Mn concentration of the Cu alloy of the first and third electrode layers is 1 at.% Are gate electrodes The adhesion between the substrate and the substrate and / or the adhesion between the gate electrode and the gate insulating film was insufficient, and peeling between them occurred. This was presumably because the amount of oxide film formed at the gate electrode / substrate interface or the gate electrode / gate insulating film interface was insufficient. From this, it was considered that the Mn concentration of Cu alloy should be 2 at.% Or more.
一方、Mn濃度が2〜20 at.%であっても、第1・第3電極層の厚さが十分でないと、基板および/またはゲート絶縁膜との密着性が不十分で、ゲート電極/基板間やゲート電極/ゲート絶縁膜間の剥離が生じていた。D-20、D-26、D-50およびD-56の結果から、第1電極層の厚さは10 nm以上が必要と考えられた。また、T-14およびT-49の結果から、第1・第3電極層の厚さは100 nmまで許容範囲と考えられた。 On the other hand, even if the Mn concentration is 2 to 20 at.%, If the thickness of the first and third electrode layers is not sufficient, the adhesion with the substrate and / or the gate insulating film is insufficient, and the gate electrode / Separation occurred between the substrates and between the gate electrode / gate insulating film. From the results of D-20, D-26, D-50, and D-56, it was considered that the thickness of the first electrode layer should be 10 nm or more. From the results of T-14 and T-49, it was considered that the thicknesses of the first and third electrode layers were acceptable up to 100 nm.
さらに、T-10〜14、T-17〜19、T-23、T-30、T-45〜49、T-52〜54、T-58〜59およびT-65の結果から、Mn濃度と第1電極層(または第3電極層)の厚さとの積が50〜250 at.%・nmの場合に、ゲート電極の比抵抗が2.6μΩcm以下となることが確認された。一方、Mn濃度と第1電極層(または第3電極層)の厚さとの積が50〜250 at.%・nmを外れる場合、密着性評価が不合格となるか、ゲート電極の比抵抗が2.6μΩcm超となった。 Furthermore, from the results of T-10-14, T-17-19, T-23, T-30, T-45-49, T-52-54, T-58-59 and T-65, It was confirmed that the specific resistance of the gate electrode was 2.6 μΩcm or less when the product of the thickness of the first electrode layer (or the third electrode layer) was 50 to 250 at.% · Nm. On the other hand, if the product of the Mn concentration and the thickness of the first electrode layer (or the third electrode layer) deviates from 50 to 250 at.% · Nm, the adhesion evaluation fails or the specific resistance of the gate electrode is It was over 2.6μΩcm.
  [実施例3]
  本実施例においては、本発明のCu配線の構成を有するTFTを作製し、その特性を調査した。また、比較として、従来のAl配線の構成を有するTFTを作製し、その特性を調査した。[Example 3]
 In this example, a TFT having the configuration of the Cu wiring of the present invention was fabricated and the characteristics thereof were investigated. For comparison, a TFT having a conventional Al wiring configuration was fabricated and its characteristics were investigated.
  (TFTの作製)
  実施例1で検討したD-16のCu配線構成をベースとしたSi-TFT(TFT-1)を作製した。また、実施例2で検討したT-18のCu配線構成をベースとしたSi-TFT(TFT-2)とIGZO-TFT(TFT-3)とを作製した。さらに、従来のAl配線構成を有するSi-TFT(TFT-4)を作製した。それぞれの試料の概略構成を表5に示す。なお、TFTのチャネルサイズは、L(ゲート長)=10μm、W(ゲート幅)=100μmとした。(Production of TFT)
 A Si-TFT (TFT-1) based on the D-16 Cu wiring configuration discussed in Example 1 was fabricated. In addition, Si-TFT (TFT-2) and IGZO-TFT (TFT-3) based on the T-18 Cu wiring configuration studied in Example 2 were fabricated. Furthermore, a Si-TFT (TFT-4) having a conventional Al wiring configuration was fabricated. Table 5 shows the schematic configuration of each sample. The TFT channel size was L (gate length) = 10 μm and W (gate width) = 100 μm.
  (TFT特性の評価)
  次に、上述のようにして上記で作製した各TFTに対して、移動度(μFE)、しきい値電圧(Vth)、S値、オフ電流(Ioff)の測定を実施した。測定には、前述したマニュアルプローバー装置を用いた。ソース/ドレイン電圧(VS、VD)は10 Vとし、移動度およびしきい値電圧は飽和領域より算出した。測定結果を表6に示す。(Evaluation of TFT characteristics)
 Next, the mobility (μFE ), threshold voltage (Vth ), S value, and off current (Ioff ) were measured for each TFT manufactured as described above. For the measurement, the above-described manual prober device was used. The source / drain voltages (VS , VD ) were 10 V, and the mobility and threshold voltage were calculated from the saturation region. Table 6 shows the measurement results.
表6に示したように、本発明に係る2層構造のCu配線を有するTFT-1、および3層構造のCu配線を有するTFT-2は、従来のAl配線を有するTFT-4と同等の特性を示した。また、本発明に係る3層構造のCu配線を有するTFT-3は、IGZOに起因する高い飽和移動度を示したが、他の特性においては従来のTFT-4と同等の特性を示した。本発明に係るTFT-1〜TFT-3は、いずれにおいてもオフ電流の上昇が無かった。これらのことから、本発明に係るTFTは、Cu配線からゲート絶縁膜や半導体膜へのCu原子の拡散が抑制されていること、ソース/ドレイン電極と半導体膜との界面に寄生抵抗として働く酸化膜がないことが強く示唆される。 As shown in Table 6, the TFT-1 having the Cu wiring having the two-layer structure and the TFT-2 having the Cu wiring having the three-layer structure according to the present invention are equivalent to the TFT-4 having the conventional Al wiring. The characteristics are shown. Further, TFT-3 having a three-layer structure Cu wiring according to the present invention showed high saturation mobility due to IGZO, but other characteristics were equivalent to those of conventional TFT-4. In any of TFT-1 to TFT-3 according to the present invention, there was no increase in off current. From these facts, the TFT according to the present invention suppresses the diffusion of Cu atoms from the Cu wiring to the gate insulating film or the semiconductor film, and the oxide that acts as a parasitic resistance at the interface between the source / drain electrode and the semiconductor film. It is strongly suggested that there is no membrane.
以上の結果から、本発明によれば、基板や半導体膜との密着性および半導体膜との電気的接続性が良好でありかつ従来よりも電気抵抗が小さい配線を具備する薄膜トランジスタを得られることが実証された。本発明に係る薄膜トランジスタを用いることによって、表示装置の更なる高性能化に貢献できる。 From the above results, according to the present invention, it is possible to obtain a thin film transistor having a wiring with good adhesion to a substrate and a semiconductor film and electrical connection with the semiconductor film and having a smaller electric resistance than the conventional one. Proven. By using the thin film transistor according to the present invention, it is possible to contribute to higher performance of the display device.
  1…基板、2…第1電極層、3…第2電極層、4…ゲート電極、5…ゲート絶縁膜、
  6…酸化物膜、7…活性半導体膜、8…コンタクト膜、9…半導体膜、
  10…第1電極層、11…第2電極層、12…ソース電極、13…ドレイン電極、
  14…保護膜、15…極薄酸化膜、16…酸化物膜、19…酸化物半導体膜、
  21a…第1電極層、21b…第3電極層、22…第2電極層、23…ゲート電極、
  24a…第1電極層、24b…第3電極層、25…第2電極層、26…ソース電極、
  27…ドレイン電極、31…エッチストッパ膜、
  101…TFT基板、102…走査線、103…信号線、104…TFT、105…画素電極、
  106…ストレージキャパシタ、
  111…光源、112…偏光板、113…絶縁膜、114…配向膜、115…液晶層、
  116…スペーサ、117…共通電極、118…カラーフィルタ、
  119…ブラックマトリクス、120…カラーフィルタ基板、121…偏光フィルム。1 ... substrate, 2 ... first electrode layer, 3 ... second electrode layer, 4 ... gate electrode, 5 ... gate insulating film,
 6 ... oxide film, 7 ... active semiconductor film, 8 ... contact film, 9 ... semiconductor film,
 10 ... 1st electrode layer, 11 ... 2nd electrode layer, 12 ... Source electrode, 13 ... Drain electrode,
 14 ... protective film, 15 ... ultrathin oxide film, 16 ... oxide film, 19 ... oxide semiconductor film,
 21a ... 1st electrode layer, 21b ... 3rd electrode layer, 22 ... 2nd electrode layer, 23 ... Gate electrode,
 24a ... 1st electrode layer, 24b ... 3rd electrode layer, 25 ... 2nd electrode layer, 26 ... Source electrode,
 27 ... Drain electrode, 31 ... Etch stopper film,
 101 ... TFT substrate, 102 ... Scanning line, 103 ... Signal line, 104 ... TFT, 105 ... Pixel electrode,
 106… Storage capacitor,
 111 ... Light source, 112 ... Polarizing plate, 113 ... Insulating film, 114 ... Alignment film, 115 ... Liquid crystal layer,
 116 ... Spacer, 117 ... Common electrode, 118 ... Color filter,
 119 ... Black matrix, 120 ... Color filter substrate, 121 ... Polarizing film.
| Application Number | Priority Date | Filing Date | Title | 
|---|---|---|---|
| JP2012013709AJP5912046B2 (en) | 2012-01-26 | 2012-01-26 | THIN FILM TRANSISTOR, MANUFACTURING METHOD THEREOF, AND DISPLAY DEVICE USING THE THIN FILM TRANSISTOR | 
| KR1020120062970AKR101376445B1 (en) | 2012-01-26 | 2012-06-13 | Thin film transistor and manufacturing method thereof, and display device using the thin film transistor | 
| CN201210223500.2ACN103227206B (en) | 2012-01-26 | 2012-06-29 | Thin-film transistor, its manufacture method and employ the display unit of this thin-film transistor | 
| Application Number | Priority Date | Filing Date | Title | 
|---|---|---|---|
| JP2012013709AJP5912046B2 (en) | 2012-01-26 | 2012-01-26 | THIN FILM TRANSISTOR, MANUFACTURING METHOD THEREOF, AND DISPLAY DEVICE USING THE THIN FILM TRANSISTOR | 
| Publication Number | Publication Date | 
|---|---|
| JP2013153093A JP2013153093A (en) | 2013-08-08 | 
| JP5912046B2true JP5912046B2 (en) | 2016-04-27 | 
| Application Number | Title | Priority Date | Filing Date | 
|---|---|---|---|
| JP2012013709AActiveJP5912046B2 (en) | 2012-01-26 | 2012-01-26 | THIN FILM TRANSISTOR, MANUFACTURING METHOD THEREOF, AND DISPLAY DEVICE USING THE THIN FILM TRANSISTOR | 
| Country | Link | 
|---|---|
| JP (1) | JP5912046B2 (en) | 
| KR (1) | KR101376445B1 (en) | 
| CN (1) | CN103227206B (en) | 
| Publication number | Priority date | Publication date | Assignee | Title | 
|---|---|---|---|---|
| CN103489902B (en)* | 2013-09-30 | 2016-01-06 | 京东方科技集团股份有限公司 | A kind of electrode and preparation method thereof, array base palte and display unit | 
| JP2015119174A (en)* | 2013-11-15 | 2015-06-25 | 株式会社半導体エネルギー研究所 | Semiconductor device and display device | 
| WO2015079360A1 (en)* | 2013-11-29 | 2015-06-04 | Semiconductor Energy Laboratory Co., Ltd. | Semiconductor device, method for manufacturing the same, and display device | 
| US20150155313A1 (en)* | 2013-11-29 | 2015-06-04 | Semiconductor Energy Laboratory Co., Ltd. | Semiconductor device | 
| US9882014B2 (en)* | 2013-11-29 | 2018-01-30 | Semiconductor Energy Laboratory Co., Ltd. | Semiconductor device and method for manufacturing the same | 
| US9991392B2 (en)* | 2013-12-03 | 2018-06-05 | Semiconductor Energy Laboratory Co., Ltd. | Semiconductor device and manufacturing method thereof | 
| US10109707B2 (en)* | 2014-03-31 | 2018-10-23 | Flosfia Inc. | Crystalline multilayer oxide thin films structure in semiconductor device | 
| KR102254524B1 (en)* | 2014-09-22 | 2021-05-21 | 엘지디스플레이 주식회사 | Organic light emitting diode display device | 
| CN104313389A (en)* | 2014-10-29 | 2015-01-28 | 陈唯锋 | Copper alloy for leads | 
| CN104328309A (en)* | 2014-10-29 | 2015-02-04 | 陈唯锋 | Copper alloy for valve | 
| KR102408021B1 (en) | 2014-11-11 | 2022-06-13 | 삼성디스플레이 주식회사 | Metal wire and display device including same | 
| CN104701384A (en)* | 2015-04-09 | 2015-06-10 | 京东方科技集团股份有限公司 | Thin film transistor, preparation method thereof, array substrate and display device | 
| JP7023114B2 (en)* | 2015-11-20 | 2022-02-21 | 株式会社半導体エネルギー研究所 | Semiconductor devices, display devices, display modules, electronic devices | 
| US10170635B2 (en) | 2015-12-09 | 2019-01-01 | Ricoh Company, Ltd. | Semiconductor device, display device, display apparatus, and system | 
| CN106920749A (en)* | 2015-12-28 | 2017-07-04 | 昆山国显光电有限公司 | A kind of thin film transistor (TFT) and preparation method thereof | 
| KR20170080320A (en) | 2015-12-31 | 2017-07-10 | 엘지디스플레이 주식회사 | Thin film transistor, display with the same, and method of fabricating the same | 
| JP6837134B2 (en)* | 2017-04-13 | 2021-03-03 | 株式会社アルバック | Liquid crystal display device, organic EL display device, semiconductor element, wiring film, wiring board | 
| KR102716630B1 (en)* | 2018-11-22 | 2024-10-15 | 삼성디스플레이 주식회사 | Display device and method of manufacturing the same | 
| EP4113628A4 (en)* | 2020-03-19 | 2023-04-26 | BOE Technology Group Co., Ltd. | THIN-FILM TRANSISTOR AND METHOD FOR PREPARING IT, MATRIX SUBSTRATE AND DISPLAY PANEL | 
| CN113658869B (en)* | 2021-08-16 | 2023-07-25 | 成都京东方光电科技有限公司 | Thin film transistor, manufacturing method thereof, and display device | 
| Publication number | Priority date | Publication date | Assignee | Title | 
|---|---|---|---|---|
| JP4330517B2 (en)* | 2004-11-02 | 2009-09-16 | 株式会社神戸製鋼所 | Cu alloy thin film, Cu alloy sputtering target, and flat panel display | 
| CN100412661C (en)* | 2005-06-07 | 2008-08-20 | 株式会社神户制钢所 | display device | 
| KR20080008562A (en)* | 2006-07-20 | 2008-01-24 | 삼성전자주식회사 | Manufacturing Method of Array Substrate, Array Substrate and Display Device Having Same | 
| KR101421243B1 (en)* | 2006-12-21 | 2014-07-21 | 삼성디스플레이 주식회사 | Thin film transistor substrate and method of manufacturing the same | 
| JP5228251B2 (en)* | 2007-05-07 | 2013-07-03 | 三菱マテリアル株式会社 | Sputtering target for forming wiring film and electrode film for flat panel display using TFT transistor having excellent adhesion | 
| JP5315701B2 (en) | 2008-01-18 | 2013-10-16 | 三菱マテリアル株式会社 | Thin film transistor | 
| TWI525773B (en)* | 2008-07-03 | 2016-03-11 | Kobe Steel Ltd | Wiring structure, thin film transistor substrate, manufacturing method thereof, and display device | 
| JP5541651B2 (en)* | 2008-10-24 | 2014-07-09 | 三菱マテリアル株式会社 | Sputtering target for wiring film formation for thin film transistors | 
| KR101375855B1 (en)* | 2008-11-27 | 2014-03-18 | 엘지디스플레이 주식회사 | Method of fabricating oxide thin film transistor | 
| JP4567091B1 (en)* | 2009-01-16 | 2010-10-20 | 株式会社神戸製鋼所 | Cu alloy film for display device and display device | 
| JP5308206B2 (en) | 2009-03-27 | 2013-10-09 | 株式会社ジャパンディスプレイ | Display device manufacturing method | 
| JP2011119467A (en)* | 2009-12-03 | 2011-06-16 | Hitachi Displays Ltd | Display device and method of manufacturing display device | 
| JP2011150152A (en)* | 2010-01-22 | 2011-08-04 | Hitachi Displays Ltd | Method of manufacturing display device, and display device | 
| JP5580619B2 (en)* | 2010-02-19 | 2014-08-27 | 株式会社神戸製鋼所 | Thin film transistor substrate and display device | 
| JP5432771B2 (en)* | 2010-02-26 | 2014-03-05 | 株式会社ジャパンディスプレイ | Display device and manufacturing method of display device | 
| JP2011192679A (en)* | 2010-03-11 | 2011-09-29 | Hitachi Displays Ltd | Display device and method of manufacturing the same | 
| JP5403527B2 (en)* | 2010-07-02 | 2014-01-29 | 合同会社先端配線材料研究所 | Semiconductor device | 
| JP5453663B2 (en)* | 2010-07-02 | 2014-03-26 | 合同会社先端配線材料研究所 | Thin film transistor | 
| JP5638369B2 (en)* | 2010-07-07 | 2014-12-10 | 株式会社Shカッパープロダクツ | Silicon device structure and sputtering target material used for forming the same | 
| Publication number | Publication date | 
|---|---|
| JP2013153093A (en) | 2013-08-08 | 
| CN103227206A (en) | 2013-07-31 | 
| KR101376445B1 (en) | 2014-03-19 | 
| KR20130086910A (en) | 2013-08-05 | 
| CN103227206B (en) | 2016-02-17 | 
| Publication | Publication Date | Title | 
|---|---|---|
| JP5912046B2 (en) | THIN FILM TRANSISTOR, MANUFACTURING METHOD THEREOF, AND DISPLAY DEVICE USING THE THIN FILM TRANSISTOR | |
| US8482189B2 (en) | Display device | |
| US9748396B2 (en) | Thin film transistor and method of manufacturing the same | |
| CN102473732B (en) | Wiring structure and display device with wiring structure | |
| JP6335226B2 (en) | Thin film transistor and manufacturing method thereof | |
| CN102473730B (en) | Wiring structure, manufacturing method thereof, and display device having wiring structure | |
| US10748939B2 (en) | Semiconductor device formed by oxide semiconductor and method for manufacturing same | |
| JP7057795B2 (en) | Thin film transistor, display device with thin film transistor, and method for manufacturing thin film transistor | |
| US10134910B2 (en) | Semiconductor device and production method therefor | |
| JP2011091364A (en) | Wiring structure and method of manufacturing the same, as well as display apparatus with wiring structure | |
| JP2012222171A (en) | Display device and method for manufacturing the same | |
| CN112002763A (en) | TFT substrate, manufacturing method thereof and display panel | |
| TW201123460A (en) | Thin film transistor, method of manufacturing the same, and organic electroluminescent device including thin film transistor | |
| TW201411855A (en) | Semiconductor device and method of manufacturing same | |
| TW201234433A (en) | Wiring structure | |
| US10332968B2 (en) | Semiconductor device and method for manufacturing the same | |
| JP2011181607A (en) | Display device and method for manufacturing the display device | |
| US10164118B2 (en) | Semiconductor device and method for producing same | |
| JP2012109465A (en) | Metal wiring film for display unit | |
| JP2011091365A (en) | Wiring structure and method of manufacturing the same, and display device with wiring structure | |
| JP6357664B2 (en) | Thin film transistor and manufacturing method thereof | |
| JP2016189477A (en) | Thin transistor | |
| WO2018181296A1 (en) | Method for manufacturing channel-etch-type thin film transistor | 
| Date | Code | Title | Description | 
|---|---|---|---|
| A711 | Notification of change in applicant | Free format text:JAPANESE INTERMEDIATE CODE: A712 Effective date:20130628 | |
| RD04 | Notification of resignation of power of attorney | Free format text:JAPANESE INTERMEDIATE CODE: A7424 Effective date:20131016 | |
| A621 | Written request for application examination | Free format text:JAPANESE INTERMEDIATE CODE: A621 Effective date:20140730 | |
| RD02 | Notification of acceptance of power of attorney | Free format text:JAPANESE INTERMEDIATE CODE: A7422 Effective date:20140730 | |
| A521 | Request for written amendment filed | Free format text:JAPANESE INTERMEDIATE CODE: A821 Effective date:20140730 | |
| A977 | Report on retrieval | Free format text:JAPANESE INTERMEDIATE CODE: A971007 Effective date:20150721 | |
| A131 | Notification of reasons for refusal | Free format text:JAPANESE INTERMEDIATE CODE: A131 Effective date:20150728 | |
| A521 | Request for written amendment filed | Free format text:JAPANESE INTERMEDIATE CODE: A523 Effective date:20150928 | |
| TRDD | Decision of grant or rejection written | ||
| A01 | Written decision to grant a patent or to grant a registration (utility model) | Free format text:JAPANESE INTERMEDIATE CODE: A01 Effective date:20160329 | |
| A61 | First payment of annual fees (during grant procedure) | Free format text:JAPANESE INTERMEDIATE CODE: A61 Effective date:20160331 | |
| R150 | Certificate of patent or registration of utility model | Ref document number:5912046 Country of ref document:JP Free format text:JAPANESE INTERMEDIATE CODE: R150 |