







本発明は、有機エレクトロルミネッセンス素子と、有機エレクトロルミネッセンス素子の出光面側に光取出部材とが設けられた照明装置に関する。 The present invention relates to an illuminating device in which an organic electroluminescence element and a light extraction member are provided on the light emission surface side of the organic electroluminescence element.
有機エレクトロルミネッセンス素子( 以下、「有機EL素子」という場合がある)の発光体は、その形状を面状とすることが可能であり、且つその光の色を白色又はそれに近い色とすることが可能であるため、照明装置の光源として用いられている。照明用途に用いる有機EL素子として、白色の有機EL素子が作製されている。かかる白色素子は、積層型又はタンデム型と呼ばれる、補色関係にある発光色を発生する発光層を積層させたものが多い。これらの発光層の積層体は、主に黄/ 青、又は緑/ 青/ 赤の積層体である。The light emitter of the organic electroluminescence element (hereinafter sometimes referred to as “organic EL element”) can have a planar shape, and the light color can be white or a color close thereto. Since it is possible, it is used as a light source of an illuminating device. As an organic EL element used for illumination, a white organic EL element is produced. Many of such white elements are laminated layers or light-emitting layers that generate a luminescent color having a complementary color relationship, which are referred to as a laminated type or a tandem type. These light emitting layer laminates are mainly yellow / blue or green / blue / red laminates.
しかしながら、現在知られている白色の有機EL素子は、上記照明の用途に用いるには効率が低い。そこで、有機EL素子をこれらの用途に用いるためには、光取出効率を向上させる必要がある。有機EL素子の光取出効率を向上させる方法として、光取出基板に種々の構造を設けることが知られている。例えば、出光面に、蛍光性化合物を含むプリズムを設けること(特許文献1) 、微小レンズアレイを設けること(特許文献2) などが提案されている。これらの構造で良好な集光を達成することができ、効率は向上する。However, the currently known white organic EL elements are low in efficiency for use in the above-described illumination applications. Therefore, in order to use the organic EL element for these applications, it is necessary to improve the light extraction efficiency. As a method for improving the light extraction efficiency of the organic EL element, it is known to provide various structures on the light extraction substrate. For example, it has been proposed to provide a prism containing a fluorescent compound on the light exit surface (Patent Document 1), and to provide a microlens array (Patent Document 2). With these structures, good light collection can be achieved and efficiency is improved.
その一方で、照明装置は、オフィスや家屋などの屋内等で使用されるために難燃性が求められることがあり、照明装置に使われる部材に難燃剤を添加する等の工夫がされている(特許文献3)。しかし、難燃剤の配合によって、有機EL素子としての効率を減ずることも考えられ、さらには色味等の問題も生じ得る。On the other hand, the lighting device may be required to be flame retardant because it is used indoors such as in an office or a house, and has been devised such as adding a flame retardant to a member used in the lighting device. (Patent Document 3). However, it is conceivable that the efficiency of the organic EL element is reduced by blending the flame retardant, and further problems such as color may occur.
したがって、本発明の目的は、十分な難燃性を有していると共に、光取出の効率がよく色味等の問題のない有機EL照明装置を提供することにある。 Accordingly, an object of the present invention is to provide an organic EL lighting device that has sufficient flame retardancy, has high light extraction efficiency, and has no problems such as color.
上述した課題を解決するために本発明者が検討した結果、有機EL素子と有機EL素子の出光面側に光取出部材とが設けられた照明装置であって、前記光取出部材層に、粒子径0.4μm以下の難燃剤粒子を含むことを特徴とする照明装置とすることにより、前記課題を解決しうることを見出し、本発明を完成した。
  即ち、本発明によれば、下記のものが提供される。As a result of the study by the present inventor to solve the above-described problem, an organic EL element and a light extraction member provided on the light emission surface side of the organic EL element are provided, and the light extraction member layer includes particles. The present invention has been completed by finding that the above-mentioned problems can be solved by using an illuminating device comprising flame retardant particles having a diameter of 0.4 μm or less.
 That is, according to the present invention, the following is provided.
〔1〕有機エレクトロルミネッセンス素子と、有機エレクトロルミネッセンス素子の出光面側に光取出部材層とが設けられた照明装置であって、
前記光取出部材層に、平均粒子径0.4μm以下の難燃剤粒子を含むことを特徴とする照明装置。
〔2〕前記難燃剤粒子が、リン系難燃剤粒子または無機水酸化物粒子である〔1〕記載の照明装置。
〔3〕前記光取出部材層が、少なくとも2つ以上の層からなり、出光面の最表面側の層に粒子径0.4μm以下の難燃剤粒子を含む〔1〕または〔2〕に記載の照明装置。[1] An illuminating device in which an organic electroluminescence element and a light extraction member layer are provided on the light emission surface side of the organic electroluminescence element,
 The light extraction member layer includes flame retardant particles having an average particle size of 0.4 μm or less.
 [2] The lighting device according to [1], wherein the flame retardant particles are phosphorus-based flame retardant particles or inorganic hydroxide particles.
 [3] The light extraction member layer includes at least two or more layers, and includes a flame retardant particle having a particle diameter of 0.4 μm or less in the outermost surface layer of the light emission surface. Lighting device.
〔4〕前記光取出部材層の、出光面の最表面側の層が、構造層である〔3〕に記載の照明装置。
〔5〕前記光取出部材層の、出光面の最表面側の層および/または有機エレクトロルミネセンス側の層が、拡散層である〔3〕または〔4〕に記載の照明装置。[4] The illumination device according to [3], wherein the outermost surface layer of the light output surface of the light extraction member layer is a structural layer.
 [5] The illumination device according to [3] or [4], wherein the layer on the outermost surface side of the light output surface and / or the layer on the organic electroluminescence side of the light extraction member layer is a diffusion layer.
本発明の有機EL照明装置は、難燃性に優れると共に光取出効率に優れている。 The organic EL lighting device of the present invention is excellent in flame retardancy and light extraction efficiency.
本発明の照明装置は、有機EL素子と、有機EL素子の出光面側に光取出部材層とが設けられ、光取出部材層には粒子径0.4μm以下の難燃剤粒子を含む。以下、実施形態及び例示物等を示して本発明について詳細に説明するが、本発明は以下に説明する実施形態及び例示物等に限定されるものではなく、本発明の要旨及びその均等の範囲を逸脱しない範囲において任意に変更して実施できる。本発明を実施形態に従って説明する。The lighting device of the present invention is provided with an organic EL element and a light extraction member layer on the light output surface side of the organic EL element, and the light extraction member layer includes flame retardant particles having a particle diameter of 0.4 μm or less. Hereinafter, the present invention will be described in detail with reference to embodiments and examples, but the present invention is not limited to the embodiments and examples described below, and the gist of the present invention and its equivalent scope. Any change can be made without departing from the scope of the invention. The present invention will be described according to an embodiment.
〔第一実施形態〕
  図1及び図2はいずれも本発明の第一実施形態に係る有機EL照明装置を説明する図であって、図1は有機EL照明装置を模式的に示す斜視図であり、図2は図1に示す有機EL照明装置を線1a−1bを通り出光面に対して垂直な面で切断した断面を模式的に示す断面図である。[First embodiment]
 1 and 2 are views for explaining the organic EL lighting device according to the first embodiment of the present invention. FIG. 1 is a perspective view schematically showing the organic EL lighting device, and FIG. It is sectional drawing which shows typically the cross section which cut | disconnected the organic electroluminescent illuminating device shown in 1 in the surface perpendicular | vertical with respect to the light emission surface through
  図1に示すように、本発明の第一実施形態に係る有機EL照明装置10は、矩形の平板状の構造を有する装置であり、有機EL素子140を備える。有機EL素子140は、少なくとも第一の電極層141、発光層142及び第二の電極層143を前記の順に備え、その表面144及び145のうち少なくとも一方の表面から発光できるようになっている。本実施形態では、第一の電極層141が透明電極となり、第二の電極層143が反射電極となっているものとする。このため、発光層142からの光は、第一の電極層141を透過するか、又は、第二の電極層143で反射されてから発光層142及び第一の電極層141を透過して、表面144から発光できるようになっている。したがって、以下の説明においては表面144を「発光面」と呼ぶ。  As shown in FIG. 1, the organic
  有機EL素子140の発光面144側には光取出部材層100が設けられている。本実施形態では、光取出部材層100は発光面144に接するように直接に設けられているものとする。  The light
  さらに、本実施形態の有機EL照明装置10は上述した部材以外にも構成要素を備えていてもよい。本実施形態では、有機EL素子140の図中下側の面145に封止基材151が設けられているものとする。なお、図示を省略するが、表面145と封止基材151との間には、充填材や接着剤等の任意の物質が存在していてもよいし、空隙が存在していてもよい。空隙には、発光層142の耐久性を大きく損なう等の不都合がない限りは空気やその他の気体が存在してもよいし、空隙内を真空としてもよい。  Furthermore, the organic
  したがって、有機EL照明装置10は、封止基材151、有機EL素子140及び光取出部材層100をこの順に備え、光取出部材層100における有機EL素子140とは反対側の表面10Uから出光できるようになっている。なお、前記の表面10Uは有機EL照明装置10の最も外側に位置し、この表面10Uから有機EL照明装置10の外部へ光が出光することになるため、表面10Uを「出光面」と呼ぶ。  Therefore, the organic
〔1−1.有機EL素子〕
  例えば有機EL素子140として例示するように、有機EL素子は、通常、2層以上の電極層と、これらの電極層間に設けられ、電極から電圧を印加されることにより発光する発光層と、を備える。[1-1. Organic EL device]
 For example, as exemplified by the organic EL element 140, the organic EL element usually includes two or more electrode layers and a light emitting layer that is provided between these electrode layers and emits light when a voltage is applied from the electrodes. Prepare.
  有機EL素子は、基板上に有機EL素子を構成する電極、発光層等の層を形成し、さらにそれらの層を覆う封止部材を設け、基板と封止部材で発光層等の層を封止した構成とされるのが一般的である。通常、ここでいう基板側から出光する有機EL素子はボトムエミッション型と呼ばれ、封止部材側から出光する有機EL素子はトップエミッション型と呼ばれる。有機EL照明装置10に設けられる有機EL素子140は、これらのいずれであってもよい。ボトムエミッション型の場合、通常は、前記の基板と、さらに必要に応じて任意の層とを含む組み合わせが光取出部材を構成する。他方、トップエミッション型の場合、通常は、封止部材等の出光面側の構造体と、さらに必要に応じて任意の層とを含む組み合わせが光取出部材層を構成する。  In the organic EL element, layers such as an electrode and a light emitting layer constituting the organic EL element are formed on a substrate, and a sealing member for covering those layers is provided, and the layer such as the light emitting layer is sealed with the substrate and the sealing member. It is common to have a stopped configuration. Usually, the organic EL element that emits light from the substrate side here is called a bottom emission type, and the organic EL element that emits light from the sealing member side is called a top emission type. Any of these may be sufficient as the organic EL element 140 provided in the organic
発光層としては、特に限定されず既知のものを適宜選択することができる。発光層中の発光材料は1種類に限らず、2種類以上を任意の比率で組み合わせて用いてもよい。また、発光層は1層に限られず、光源としての用途に適合すべく、一種の層単独又は複数種類の層の組み合わせとすることができる。これにより、白色又はそれに近い色の光を発光するものとしうる。 As a light emitting layer, it does not specifically limit but a known thing can be selected suitably. The light emitting material in the light emitting layer is not limited to one type, and two or more types may be used in combination at any ratio. In addition, the light emitting layer is not limited to one layer, and may be a single layer alone or a combination of a plurality of layers in order to be suitable for use as a light source. Thereby, light of white or a color close thereto can be emitted.
  有機EL素子の電極は、特に限定されず既知のものを適宜選択することができる。第一実施形態にかかる有機EL素子140のように、光取出部材層100側の電極141を透明電極とし、反対側の電極143を反射電極とすることにより、光取出部材100側に向けて発光面144から発光する有機EL素子とすることができる。また、両方の電極141及び143を透明電極とし、さらに光取出部材100と反対側に反射部材または散乱部材(例えば、空気層を介して配置される白色散乱部材等)を有することにより、光取出部材層100側への発光を達成することもできる。  The electrode of the organic EL element is not particularly limited, and a known one can be appropriately selected. As in the organic EL element 140 according to the first embodiment, the
  有機EL素子140はさらに、電極141と電極143との間に、発光層142に加えてホール注入層、ホール輸送層、電子輸送層、及び電子注入層等の他の層(図示せず。)をさらに有していてもよい。また、有機EL素子140はさらに、電極141及び143に通電するための配線、発光層142の封止のための周辺構造等の任意の構成要素を備えていてもよい。  In addition to the light emitting layer 142, the organic EL element 140 further includes other layers (not shown) such as a hole injection layer, a hole transport layer, an electron transport layer, and an electron injection layer between the
  電極及びその間に設ける層を構成する材料としては、特に限定されないが、具体例として下記のものを挙げることができる。
  透明電極の材料としては、ITO(酸化インジウムスズ)等を挙げることができる。  正孔注入層の材料としては、スターバースト系芳香族ジアミン化合物等を挙げることができる。
  正孔輸送層の材料としては、トリフェニルジアミン誘導体等を挙げることができる。  黄色発光層のホスト材料としては、トリフェニルジアミン誘導体等を挙げることができ、黄色発光層のドーパント材料としては、テトラセン誘導体等を挙げることができる。  緑色発光層の材料としては、ピラゾリン誘導体等を挙げることができる。
  青色発光層のホスト材料としては、アントラセン誘導体等を挙げることができ、青色発光層のドーパント材料としては、ペリレン誘導体等を挙げることができる。
  赤色発光層の材料としては、ユーロピウム錯体等を挙げることができる。
  電子輸送層の材料としては、アルミニウムキノリン錯体(Alq)等を挙げることができる。
  反射電極の材料としては、フッ化リチウムおよびアルミニウムをそれぞれ用い、これらを順次真空成膜により積層させたもの等を挙げることができる。Although it does not specifically limit as a material which comprises an electrode and the layer provided among them, The following can be mentioned as a specific example.
 Examples of the material for the transparent electrode include ITO (indium tin oxide). Examples of the material for the hole injection layer include a starburst aromatic diamine compound.
 Examples of the material for the hole transport layer include a triphenyldiamine derivative. Examples of the host material for the yellow light emitting layer include triphenyldiamine derivatives, and examples of the dopant material for the yellow light emitting layer include tetracene derivatives. Examples of the material for the green light emitting layer include pyrazoline derivatives.
 Examples of the host material for the blue light emitting layer include anthracene derivatives, and examples of the dopant material for the blue light emitting layer include perylene derivatives.
 Examples of the material for the red light emitting layer include a europium complex.
 Examples of the material for the electron transport layer include aluminum quinoline complex (Alq).
 Examples of the material for the reflective electrode include lithium fluoride and aluminum, which are sequentially laminated by vacuum film formation.
上記のもの又はその他の発光層を適宜組み合わせて積層型又はタンデム型と呼ばれる、補色関係にある発光色を発生する発光層を得ることができる。補色関係の組み合わせは、黄/青、又は緑/青/赤等とすることができる。 By appropriately combining the above or other light-emitting layers, a light-emitting layer that generates a light emission color having a complementary color relationship, which is referred to as a stacked type or a tandem type, can be obtained. The combination of complementary colors can be yellow / blue, green / blue / red, or the like.
〔1−2.光取出部材層〕
  光取出部材層100は、有機EL素子140の発光面144に設けられた層であり、有機EL素子の光取出効率を向上されるとともに、発光した光の反射・屈折を乱す機能を有する層を含む。発光した光の反射・屈折を乱す層の具体例としては、構造層や拡散層があげられる。出光面10Uは、光取出部材100における有機EL素子140とは反対側の表面である。この出光面10Uは有機EL照明装置10の最表面に露出した面であり、有機EL照明装置10としての出光面、即ち、有機EL照明装置10から装置外部に光が出光する際の出光面である。[1-2. (Light extraction member layer)
 The light
  出光面10Uは、巨視的に見ると、有機EL素子140の発光面144に対して平行な面であり、有機EL照明装置10の主面に対して平行である。しかし、出光面10Uは、微視的に見ると、後述する凹凸構造を有するため、凹部又は凸部上の面は発光面144に対して非平行な角度をなしうる。そこで、以下の説明において、出光面に対して平行又は垂直であるとは、別に断らない限り、凹部又は凸部を無視して巨視的に見た出光面に対して平行又は垂直であることをいう。また、有機EL照明装置10は、別に断らない限り、かかる出光面10Uが水平方向に対して平行で且つ上向きになるよう載置した状態で説明する。
  さらに、構成要素が「平行」又は「垂直」であるとは、本発明の効果を損ねない範囲、例えば±5°の範囲内で誤差を含んでいてもよい。When viewed macroscopically, the
 Further, the fact that the component is “parallel” or “vertical” may include an error within a range that does not impair the effects of the present invention, for example, ± 5 °.
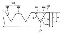
  光取出部材層100は、凹凸構造層(構造層ともいう)111及び基材フィルム層112を含む凹凸構造を有するフィルム基材110と、支持基板131と、凹凸構造を有するフィルム基材110及び支持基板131を接着する粘着層121とを備える。
  凹凸構造層111は、有機EL照明装置10の上面(即ち有機EL照明装置10の出光面側の最外層)に位置する層である。この凹凸構造層111は、複数の凹部113と、凹部113の周囲に位置する平坦部114とを含む凹凸構造を有する。ここで、前記の凹部113は平坦部114に比べて相対的に窪んでいる部分であるため本発明に係る凹部に当たり、平坦部114は凹部113に比べて相対的に突出しているため本発明に係る凸部に当たる。そして、当該凹凸構造により、出光面10Uが規定される。The light
 The
  なお、本明細書においては、図面は模式的な図示であるため、出光面10U上には僅かな個数の凹部113のみを示しているが、実際の有機EL照明装置においては、一枚の有機EL照明装置の出光面上に、これよりも遥かに多い数の凹部を設けることができる。  In the present specification, since the drawings are schematic, only a small number of
  (凹凸構造の説明)
  以下、出光面10Uの凹凸構造について、図面を参照して詳細に説明する。
  図3は、有機EL照明装置10の出光面10Uの一部を、有機EL照明装置10の厚み方向から見た様子を拡大して模式的に示す部分平面図である。また、図4は、凹凸構造層111を、図3の線3aを通り出光面10Uに対して垂直な面で切断した断面を模式的に示す部分断面図である。なお、以下の説明において、特に断らない限り、「厚み方向」とは有機EL照明装置の厚み方向を表す。(Description of uneven structure)
 Hereinafter, the uneven structure of the
 FIG. 3 is a partial plan view schematically showing an enlarged view of a part of the
  図3に示すように、光取出部材層100は、出光面10Uに、斜面11A〜11Dを含む複数の凹部113と、凹部113の周囲に位置する平坦部114とを含む。ここで「斜面」とは、出光面10Uに対して平行でない角度をなす面である。他方、平坦部114上の面は、出光面10Uに対して平行で平坦な面となっている。  As illustrated in FIG. 3, the light
  複数の凹部113のぞれぞれは正四角錐形状の窪みである。したがって、凹部113の斜面11A〜11Dは同一の形状であり、前記正四角錐の底辺11E〜11Hは正方形を構成する。なお、図3において線3aは、一列の凹部113の全ての頂点11Pの上を通る線であり、且つ凹部113の底辺11E及び11Gに対して平行な線である。  Each of the plurality of
  各凹部113は、その底辺11F〜11Hの長さを通常1〜60μmとすることができ、好ましくは2〜50μmである。各凹部113の深さは、通常1〜50μmとすることができ、好ましくは2〜40μmである。  Each
  凹部113は、一定の間隔をおいて、直交する2つの面内方向X及びYに沿って連続して配置されている。そして、前記の面内方向X及びYにおいて、隣り合う凹部113の間の隙間に当たる部分が、平坦部114を構成している。したがって、光取出部材層100は、出光面10Uに対して平行な面内方向X及びYにおいて、凹部113と平坦部114とを交互に有することになっている。ここで、かかる2つの面内方向X及びYのうち、一方の面内方向Xは底辺11E及び11Gに対して平行である。この面内方向Xにおいて、複数の凹部113は一定の間隔11Jをおいて整列している。また、2つの面内方向X及びYのうち、他方の面内方向Yは底辺11F及び11Hに対して平行である。この面内方向Yにおいて複数の凹部113は一定の間隔11Kをおいて整列している。ここで、前記隙間に相当する部分である平坦部114は、その幅寸法を通常0.1〜20μmとすることができる。  The
  図4に示すように、凹部113のそれぞれを構成する斜面11A〜11Dが平坦部114(ひいては、出光面10U)となす角11L及び11Mは、40°以上が好ましく、45°以上がより好ましく、また、70°以下が好ましく、60°以下がより好ましい。また、本実施形態のように凹部113の形状が四角錐である場合、その頂角11Nは、60°〜90°とすることが好ましい。さらに、観察角度による色味の変化を最小限にしつつ光取出効率も高めるという観点からは、斜面11A〜11Dと平坦部114とがなす角11L及び11Mは大きいほうが好ましく、具体的には例えば55°以上とすることが好ましく、60°以上とすることがさらにより好ましい。この場合、かかる角11L及び11Mの上限は、凹凸構造層111の耐久性の維持を考慮し、通常は70°である。
  本実施形態では、図4に示すように、斜面11A〜11Dが平坦部114となす角11L及び11Mは60°に設定されているものとする。これにより、凹部113を構成する正四角錐の頂角、即ち頂点11Pにおいて相対向する斜面がなす角(斜面11B及び11Dがなす角については、図4に示す角11N)も60°となっている。As shown in FIG. 4, the
 In the present embodiment, as shown in FIG. 4, the
  さらに、本実施形態の有機EL照明装置10の出光面10Uでは、隣り合う凹部113の底と凸部の先端との、有機EL照明装置10の厚み方向における距離が、所定の範囲で不揃いになっていてもよい。
  ここで、凹部113の底とは、凹部113それぞれにおいて最も窪んだ部分を指し、有機EL照明装置10の厚み方向における発光面144までの距離が最も短くなる部分を指す。本実施形態では、各凹部113の頂点11Pが凹部113の底に当たる。
  また、凸部の先端とは、凸部それぞれにおいて最も突出した部分を指し、有機EL照明装置10の厚み方向における発光面144までの距離が最も長くなる部分を指す。本実施形態では平坦部114が発光面144に対して平行な平坦面となっているので、平坦部114自体が凸部の先端に当たる。Furthermore, in the
 Here, the bottom of the
 Further, the tip of the convex portion refers to a portion that protrudes most in each convex portion, and refers to a portion that has the longest distance to the
  したがって、本実施形態の有機EL照明装置10においては、出光面10Uにおいて隣り合う凹部113と平坦部114とを対比した場合に、その隣り合う凹部113の底(即ち、凹部113の頂点11P)と凸部の先端(即ち、平坦部114)との、有機EL照明装置10の厚み方向における距離(以下、適宜、「隣り合う凹凸の高低差」という。)Hが所定の範囲で不揃いにすることもできる。この際、前記の所定の範囲とは、標準偏差(標本標準偏差)σが、通常0.05μm以上、好ましくは0.06μm以上、より好ましくは0.08μm以上となる範囲となりえる。  Therefore, in the organic
  隣り合う凹凸の高低差Hを、前記のように所定の範囲で不揃いにすることにより、出光面10Uからの光の取出効率を改善でき、且つ、反射光による虹ムラを抑制できる。また、隣り合う凹凸の高低差Hの標準偏差σが、出光面10Uの全体において所定の範囲に収まるように不揃いにすればよいのであるから、凹部113及び平坦部114それぞれには過度に高い寸法精度が要求されないので、量産が容易であり、製造コストを安価にできる。特に、前記の隣り合う凹凸の高低差Hの標準偏差σの範囲の下限値は、虹ムラの輝度プロファイルを50%以下にし、目視において虹ムラを認識し難くできる点で意義がある。  By making the height difference H of adjacent unevenness uneven within a predetermined range as described above, the light extraction efficiency from the
  また、前記の所定の範囲の上限は、標準偏差σで、通常0.5μm以下、好ましくは0.4μm以下、より好ましくは0.3μm以下である。隣り合う凹凸の高低差Hの不揃いの程度(バラツキ)を過度に大きくすると、その凹凸構造の態様にもよるが、有機EL照明装置10の生産工程においてキズが多数発生し、安定した生産が困難となるおそれがある。  The upper limit of the predetermined range is a standard deviation σ and is usually 0.5 μm or less, preferably 0.4 μm or less, more preferably 0.3 μm or less. If the degree of unevenness (variation) in the height difference H between adjacent unevennesses is excessively large, depending on the aspect of the uneven structure, many scratches occur in the production process of the organic
  本実施形態において、凹部113の頂点11Pの高さ及び平坦部114の高さのうち一方又は両方が不揃いになっていることにより、隣り合う凹凸の高低差Hが不揃いとなっていればよい。ここでは、図2及び図4に示すように、凹部113の頂点11Pの高さは一定に揃っているが、平坦部114の高さが不揃いになっていることにより、隣り合う凹凸の高低差Hが不揃いとなっているものとして説明する。なお、前記のように平坦部114の高さが不揃いになっている場合には平坦部114には段差が存在するが、前記の不揃いの程度が小さいので前記の段差も小さい。そこで、図1及び図3では、平坦部114において前記の段差は図示を省略する。  In the present embodiment, it is only necessary that one or both of the height of the apex 11 </ b> P of the
  このように、隣り合う凹凸の高低差Hを、その標準偏差σが所定の範囲に収まるように不揃いにすることにより、虹ムラを抑制できる理由は定かではないが、本発明者の検討によれば以下の理由によるものと推察される。
  外部から出光面10Uに向けて光が照射された場合、出光面10Uで光が反射したり、有機EL照明装置10の内部に進入した光が内部の層界面で反射したりして、反射光が生じる。前記の反射光は、出光面10Uで反射する時、および、有機EL照明装置10の内部から外部へ出る時などに、出光面10Uにおいて回折及び屈折などを生じることがある。従来は、前記の回折及び屈折などを生じた光が干渉することにより、虹ムラを生じていたと考えられる。これに対し、本実施形態の有機EL照明装置10では、出光面10Uにおいて隣り合う凹凸の高低差Hを不揃いにしたことにより、干渉の強さを弱めることができるようになるので、虹ムラを解消できると考えられる。As described above, it is not clear why the rainbow unevenness can be suppressed by making the height difference H of the adjacent unevenness uneven so that the standard deviation σ falls within a predetermined range. This is probably due to the following reasons.
 When light is irradiated from the outside toward the
  出光面10Uにおいて隣り合う凹凸の高低差Hは、測定箇所を無作為に抽出し、レーザー顕微鏡(VK−9700:キーエンス社製)を用いて高さ(断面プロファイル)を測定し、その断面プロファイルから求めることができる。通常は、出光面10Uに対して平行な所定の測定方向に沿って、長さ100μmにわたって前記の断面プロファイルを測定すればよい。測定された断面プロファイルから、隣り合う一対の凹部及び凸部を凹凸一単位とし、この凹凸一単位における断面プロファイルの最大値(凸部の先端に対応する。)と最小値(凹部の底に対応する)との差を求め、この差を凹凸一単位において隣り合う凹凸の高低差Hとする。また、精度を高める観点から測定は複数箇所で行うことが好ましく、例えば15点で行うことが好ましい。こうして測定された隣り合う凹凸の高低差Hから、標準偏差σを測定すればよい。また、前記の測定方向は、出光面10Uにおける凹凸の配置が予め分かっている場合には前記の高低差Hが最も大きくなる方向に対して平行な方向を設定すればよい。また、凹凸の配置が不明である場合、出光面10Uに対して平行な面内方向のうち、少なくとも1方向において、前記の標準偏差が前記の要件を満たしていればよい。  The height difference H of the unevenness adjacent to the
  隣り合う凹凸の高低差Hは、出光面10Uを様々な面内方向(出光面10Uに対して平行な面内の様々な方向)に沿って測定した中心線平均粗さの最大値(Ra(max))として、通常、1μm〜50μmの範囲内とする。
  また、凹凸構造層111の厚さTに対して相対的に、隣り合う凹凸の高低差Hの好ましい範囲を定めることができる。例えば、凹凸構造層111の材料として、凹凸構造層111の耐久性の維持に有利な硬質の材料を用いた場合、凹凸構造層111の厚さTを薄くしたほうが、凹凸構造を有するフィルム基材110の可撓性が高まり、有機EL照明装置10の製造工程における凹凸構造を有するフィルム基材110の取り扱いが容易となる。具体的には、図4に示す隣り合う凹凸の高低差Hと凹凸構造層111の厚さTとの差T−Hが、0〜30μmとなるようにすることが好ましい。The difference in height H between adjacent irregularities is the maximum value (Ra () of the center line average roughness measured on the
 In addition, it is possible to define a preferable range of the height difference H between the adjacent unevenness relative to the thickness T of the
  凹凸構造層111を出光面10Uに垂直な方向から観察した場合における、平坦部114が占める面積と凹部113が占める面積との合計に対する、平坦部114が占める面積の割合(以下、「平坦部割合」という。)を適宜調節することにより、有機EL照明装置10の光取出効率を向上させることができる。具体的には、平坦部割合を10%〜75%とすることにより、良好な光取出効率を得ることができ、且つ出光面10Uの機械的強度を高めることができる。  When the concavo-
  (凹凸構造を有するフィルム基材の材料の説明)
  光取出部材層100は、複数の層からなるものとしうるが、単一の層からなってもよい。本実施形態では、図1に示すように、光取出部材層100は、凹凸構造層111と基材フィルム層112とを組み合わせた凹凸構造を有するフィルム基材110を含むようになっているものとする。(Description of film base material having uneven structure)
 The light
  凹凸構造層111及び基材フィルム層112は、通常、透明樹脂を含む樹脂組成物により形成することができる。透明樹脂が「透明」であるとは、光学部材に用いるのに適した程度の光線透過率を有する意味である。本実施形態においては、光取出部材層100を構成する各層が、光学部材に用いるのに適した光線透過率を有するものとすればよく、光取出部材層100全体として80%以上の全光線透過率を有するものとすればよい。  The concavo-
  樹脂組成物に含まれる透明樹脂は、特に限定されず、透明な層を形成することができる
各種の樹脂を用いることができる。例えば、熱可塑性樹脂、熱硬化性樹脂、紫外線硬化性
樹脂、電子線硬化性樹脂を挙げることができる。なかでも熱可塑性樹脂は熱による変形が
容易であるため、また紫外線硬化性樹脂は硬化性が高く効率が良いため、凹凸構造層11
1の効率的な形成が可能となり、それぞれ好ましい。The transparent resin contained in the resin composition is not particularly limited, and various resins that can form a transparent layer can be used. Examples thereof include a thermoplastic resin, a thermosetting resin, an ultraviolet curable resin, and an electron beam curable resin. Among them, the thermoplastic resin is easily deformed by heat, and the ultraviolet curable resin is highly curable and efficient, so that the concavo-convex structure layer 11
 1 can be formed efficiently and each is preferable.
熱可塑性樹脂としては、ポリエステル系、ポリアクリレート系、シクロオレフィンポリマー系等の樹脂を挙げることができる。また紫外線硬化性樹脂としては、エポキシ系、アクリル系、ウレタン系、エン/チオール系、イソシアネート系等の樹脂を挙げることができる。これらの樹脂としては、複数個の重合性官能基を有するものを好ましく用いることができる。なお、前記の樹脂は、1種類を単独で用いてもよく、2種類以上を任意の比率で組み合わせて用いてもよい。 Examples of the thermoplastic resin include polyester, polyacrylate, and cycloolefin polymer resins. Examples of the ultraviolet curable resin include epoxy resins, acrylic resins, urethane resins, ene / thiol resins, and isocyanate resins. As these resins, those having a plurality of polymerizable functional groups can be preferably used. In addition, the said resin may be used individually by 1 type, and may be used combining two or more types by arbitrary ratios.
  なかでも、凹凸構造を有するフィルム基材110を構成する凹凸構造層111の材料としては、出光面10Uの凹凸構造を形成しやすく且つ凹凸構造の耐擦傷性を得やすいという観点から、硬化時の硬度が高い材料が好ましい。具体的には、7μmの膜厚の樹脂層を基材上に凹凸構造が無い状態で形成した際に、鉛筆硬度でHB以上になるような材料が好ましく、H以上になる材料がさらに好ましく、2H以上になる材料がより好ましい。一方、基材フィルム層112の材料としては、凹凸構造層111の形成に際しての取り扱い、並びに、凹凸構造を有するフィルム基材110を成形した後の凹凸構造を有するフィルム基材110の取り扱いを容易とするために、ある程度の柔軟性があるものが好ましい。このような材料を組み合わせることにより、取り扱いが容易で且つ耐久性に優れる凹凸構造を有するフィルム基材110を得ることができ、その結果、高性能の有機EL照明装置10を容易に製造することができる。  Among these, as the material of the concavo-
  このような材料の組み合わせは、それぞれの材料を構成する樹脂として、上に例示した透明樹脂を適宜選択することにより得ることができる。具体的には、凹凸構造層111の材料を構成する透明樹脂として、アクリレート等の紫外線硬化性樹脂を用い、一方、基材フィルム層112の材料を構成する透明樹脂として、脂環式オレフィンポリマー製のフィルム(後述するゼオノアフィルム等)や、ポリエステルフィルムを用いることが好ましい。  Such a combination of materials can be obtained by appropriately selecting the transparent resin exemplified above as the resin constituting each material. Specifically, an ultraviolet curable resin such as acrylate is used as the transparent resin constituting the material of the concavo-
  本実施形態のように、光取出部材層100が凹凸構造層111と基材フィルム層112とを含む場合、凹凸構造層111と基材フィルム層112との屈折率はできるだけ近くする態様としてもよい。この場合、凹凸構造層111と基材フィルム層112との屈折率差は、好ましくは0.1以内、さらに好ましくは0.05以内である。  When the light
  凹凸構造層111、基材フィルム層112等の光取出部材層100の構成要素となる層の材料として、光拡散性のある材料を用いてもよい。これにより、光取出部材層100を透過する光を拡散させることができるので、観察角度による色味の変化を更に低減することができる。光取出部材層の1つの層に光拡散性のある材料を用いる場合、凹凸構造層111よりも、光拡散性のある材料を有する層が内側にある方が望ましい。また、後述する難燃剤粒子自体で、光拡散性を有する材料として機能させることも可能である。  As a material of a layer that is a constituent element of the light
光拡散性のある材料としては、例えば、粒子を含んだ材料、2種類以上の樹脂を混ぜ合わせて光を拡散させるアロイ樹脂、等を挙げることができる。なかでも、光拡散性を容易に調節できるという観点から、粒子を含んだ材料が好ましく、特に粒子を含んだ樹脂組成物が特に好ましい。 Examples of the light diffusing material include a material containing particles, and an alloy resin that diffuses light by mixing two or more kinds of resins. Among these, from the viewpoint that the light diffusibility can be easily adjusted, a material including particles is preferable, and a resin composition including particles is particularly preferable.
粒子は、透明であってもよく、不透明であってもよい。粒子の材料としては、例えば、金属及び金属化合物、並びに樹脂等が挙げられる。金属化合物としては、例えば、金属の酸化物及び窒化物を挙げることができる。金属及び金属化合物の具体例を挙げると、銀、アルミのような反射率が高い金属;酸化ケイ素、酸化アルミ、酸化ジルコニウム、窒化珪素、錫添加酸化インジウム、酸化チタン等の金属化合物;などを挙げることができる。一方、樹脂としては、例えば、メタクリル樹脂、ポリウレタン樹脂、シリコーン樹脂等を挙げることができる。なお、粒子の材料は、1種類を単独で用いてもよく、2種類以上を任意の比率で組み合わせて用いてもよい。 The particles may be transparent or opaque. Examples of the material of the particles include metals and metal compounds, and resins. Examples of the metal compound include metal oxides and nitrides. Specific examples of metals and metal compounds include metals having high reflectivity such as silver and aluminum; metal compounds such as silicon oxide, aluminum oxide, zirconium oxide, silicon nitride, tin-added indium oxide, and titanium oxide. be able to. On the other hand, examples of the resin include methacrylic resin, polyurethane resin, and silicone resin. In addition, the particle | grain material may be used individually by 1 type, and may be used combining two or more types by arbitrary ratios.
  粒子の形状は、例えば、球状、円柱状、立方体状、直方体状、角錐状、円錐状、星型状等の形状とすることができる。
  粒子の粒径は、好ましくは0.1μm以上であり、好ましくは10μm以下、より好ましくは5μm以下である。ここで粒径とは、体積基準の粒子量を、粒子径を横軸にして積算した積算分布における50%粒子径のことである。粒径が大きいほど、所望の効果を得るために必要な粒子の含有割合は多くなり、粒径が小さいほど、含有量は少なくてすむ。したがって、粒径が小さいほど、観察角度による色味の変化の低減、及び光取出効率の向上等の所望の効果を、少ない粒子で得ることができる。なお、粒径は、粒子の形状が球状以外である場合には、その同等体積の球の直径を粒径とする。The shape of the particles can be, for example, a spherical shape, a cylindrical shape, a cubic shape, a rectangular parallelepiped shape, a pyramid shape, a conical shape, a star shape, or the like.
 The particle diameter of the particles is preferably 0.1 μm or more, preferably 10 μm or less, more preferably 5 μm or less. Here, the particle diameter is a 50% particle diameter in an integrated distribution obtained by integrating the volume-based particle amount with the particle diameter as the horizontal axis. The larger the particle size, the larger the content ratio of particles necessary for obtaining the desired effect, and the smaller the particle size, the smaller the content. Therefore, as the particle size is smaller, desired effects such as a reduction in change in color depending on the observation angle and an improvement in light extraction efficiency can be obtained with fewer particles. When the particle shape is other than spherical, the diameter of the sphere having the same volume is used as the particle size.
粒子が透明な粒子であり、且つ粒子が透明樹脂中に含まれる場合において、粒子の屈折率と透明樹脂の屈折率との差が、0.05〜0.5であることが好ましく、0.07〜0.5であることがより好ましい。ここで、粒子及び透明樹脂の屈折率は、どちらがより大きくてもよい。粒子と透明樹脂の屈折率が近すぎると拡散効果が得られず色味ムラは抑制され難くなる可能性があり、逆に差が大きすぎると拡散が大きくなり色味ムラは抑制されるが光取出効果が低減する可能性がある。 In the case where the particles are transparent particles and the particles are contained in the transparent resin, the difference between the refractive index of the particles and the refractive index of the transparent resin is preferably 0.05 to 0.5. More preferably, it is 07-0.5. Here, either the particle or the refractive index of the transparent resin may be larger. If the refractive index of the particles and the transparent resin is too close, the diffusion effect cannot be obtained and the color unevenness may be difficult to be suppressed. Conversely, if the difference is too large, the diffusion becomes large and the color unevenness is suppressed, but light Extraction effect may be reduced.
粒子の含有割合は、0.4μmを超える全ての粒子(難燃剤を含む)を含む層の全量中における体積割合で、1%以上が好ましく、5%以上がより好ましく、また、80%以下が好ましく、50%以下がより好ましい。粒子の含有割合をかかる下限以上とすることにより、観察角度による色味の変化の低減等の所望の効果を得ることができる。また、かかる上限以下とすることにより、粒子の凝集を防止し、粒子を安定して分散させることができる。 The content ratio of the particles is a volume ratio in the total amount of the layer including all particles (including the flame retardant) exceeding 0.4 μm, preferably 1% or more, more preferably 5% or more, and 80% or less. Preferably, 50% or less is more preferable. By setting the content ratio of the particles to be equal to or higher than the lower limit, desired effects such as reduction of a change in color depending on the observation angle can be obtained. Moreover, by setting it as this upper limit or less, aggregation of particle | grains can be prevented and particle | grains can be disperse | distributed stably.
さらに、樹脂組成物は、必要に応じて任意の成分を含むことができる。当該任意の成分としては、例えば、フェノール系、アミン系等の劣化防止剤;界面活性剤系、シロキサン系等の帯電防止剤;トリアゾール系、2−ヒドロキシベンゾフェノン系等の耐光剤;などの添加剤を挙げることができる。 Furthermore, the resin composition can contain arbitrary components as needed. Examples of the optional component include additives such as phenol-based and amine-based degradation inhibitors; surfactant-based, siloxane-based antistatic agents; triazole-based, 2-hydroxybenzophenone-based light-resistant agents; Can be mentioned.
  凹凸構造層111の厚さTは、特に限定されないが、1μm〜70μmであることが好ましい。本実施形態では、凹凸構造層111の厚さTとは、凹凸構造が形成されていない基材フィルム層112側の面と、凹凸構造の平坦部114との距離のことである。
  また、基材フィルム層112の厚さは、20μm〜300μmであることが好ましい。The thickness T of the
 Moreover, it is preferable that the thickness of the base film layer 112 is 20 micrometers-300 micrometers.
  (支持基板)
  本実施形態の有機EL照明装置10は、有機EL素子140と凹凸構造を有するフィルム層110との間に、支持基板131を備える。支持基板131を構成する材料の例としては、例えば、ガラス、樹脂などが挙げられる。なお、支持基板131の材料は、1種類を単独で用いてもよく、2種類以上を任意の比率で組み合わせて用いてもよい。ガラスである場合、有機EL照明装置10に、たわみを抑制する剛性を与えることができる。また、ガラス基材は、有機EL素子140を封止する性能に優れて、且つ、製造工程において有機EL素子140を構成する層をその上に順次形成することを容易に行い得る基板を備えることにより、有機EL照明装置10の耐久性を向上させ、且つ製造を容易にすることができる。(Support substrate)
 The organic
  支持基板の屈折率は、特に制限されないが、1.5〜2.1とすることが好ましい。有機EL素子や透明電極層の屈折率は高いため、界面で反射が少なくなるため、屈折率が1.65以上  2.0以下である場合、さらに好ましい。
  支持基板の131の厚さは、特に限定されないが、0.05mm〜1.1mmであることが好ましい。The refractive index of the support substrate is not particularly limited, but is preferably 1.5 to 2.1. Since the organic EL element or the transparent electrode layer has a high refractive index, reflection is reduced at the interface. Therefore, it is more preferable that the refractive index is 1.65 or more and 2.0 or less.
 The thickness of the
(接着層)
  本実施形態の照明装置10は、凹凸構造を有するフィルム層110と支持基板131との間に接着層121を備える。接着層121は、複層体110の基材フィルム層112と支持基板131との間に介在して、これらの2層を接着する層である。
  接着層121の材料である接着剤は、狭義の接着剤(23℃における剪断貯蔵弾性率が1〜500MPaであり、常温で粘着性を示さない、いわゆるホットメルト型の接着剤)のみならず、23℃における剪断貯蔵弾性率が1MPa未満である粘着剤をも包含する。具体的には、支持基板131あるいは基材フィルム層112に近い屈折率を有し、且つ透明であるものを適宜用いうる。より具体的には、アクリル系接着剤あるいは粘着剤が挙げられる。接着層の厚さは、5μm〜100μmであることが好ましい。(Adhesive layer)
 The
 The adhesive that is the material of the
(難燃剤粒子)
  本発明において、凹凸構造層111、基材フィルム層112、接着層121等の光取出部材層100の少なくとも1つの層には、平均粒子径0.4μm以下の難燃剤粒子を含む。難燃剤粒子の効果を鑑みると、有機EL照明装置の出光面の最表面の層(本実施形態では凹凸構造層111)に難燃剤粒子が含まれていることが好ましい。難燃剤は粒子であるものを用い、難燃剤粒子の平均粒子径は、回折・散乱式粒度分析計で測定した50%累積粒子径で、レーザー回折・散乱法により測定することができる。難燃剤粒子の平均粒子径は好ましくは0.4μm以下  さらに好ましくは0.2μm以下である。難燃剤粒子の平均粒子径の下限は特に制限は無いが、0.001μm以上、さらに好ましくは0.01μm以上である。粒子径が、この範囲よりも大きい場合は、光取出部材層のヘイズが高くなり、色味としても黄色になるため好ましくない。粒子径が小さい場合は、増粘効果が高く部材層の形成が困難となり好ましくない。難燃剤粒子は市販のものを使用することもできるが、市販の難燃剤粒子の粒子径がこの範囲を満たさない場合は、微粉砕機等を使用して所望の粒子径にする必要がある。(Flame retardant particles)
 In the present invention, at least one layer of the light
難燃剤粒子としては、ハロゲン化有機化合物、赤リン、縮合型リン酸エステル、反応型リン酸エステル、ポリリン酸アンモン系化合物、リン酸金属塩系化合物に代表される有機リン系化合物、メラミンホスフェイト、メラミンシアヌレイト等に代表されるメラミン系化合物をあげることができる。また水酸化アルミニウム、水酸化マグネシウム等の無機水酸化物系や酸化アルミニウム水和物、ホウ酸塩、酸化アンチモン、等に代表される無機化合物からも選択することができる。これらに代表される難燃性材料は、単独で使用してもよく、複数を混ぜ合わせて使用しても良い。本願の目的において好適なのものは、リン系難燃剤粒子、無機水酸化物系難燃剤粒子である。これらに代表される難燃性材料は、単独で使用してもよく、複数を混ぜ合わせて使用しても良い。また、光取出部材層の2つ以上の層に難燃剤粒子を含有させる場合は、層ごとに添加する難燃剤粒子を変えてもよいし、同じ難燃剤粒子を使用してもよい。 Flame retardant particles include halogenated organic compounds, red phosphorus, condensed phosphate esters, reactive phosphate esters, polyphosphate ammonium compounds, organophosphate compounds typified by metal phosphate compounds, melamine phosphate And melamine compounds represented by melamine cyanurate and the like. It can also be selected from inorganic hydroxides such as aluminum hydroxide and magnesium hydroxide, and inorganic compounds represented by aluminum oxide hydrate, borate, antimony oxide, and the like. The flame-retardant materials represented by these may be used alone or in combination. Preferred for the purposes of the present application are phosphorous flame retardant particles and inorganic hydroxide flame retardant particles. The flame-retardant materials represented by these may be used alone or in combination. Moreover, when making a 2 or more layers of a light extraction member layer contain a flame retardant particle, the flame retardant particle added for every layer may be changed, and the same flame retardant particle may be used.
難燃剤粒子は、光取出部材層を構成する各材料に混合して使用するが、その総量は光取出部材各層全量に対して、難燃剤粒子の量が3重量%以上、好ましくは5重量%以上、さらに好ましくは7重量%以上である。難燃剤粒子の含有量の上限は、70重量%以下、さらに好ましくは50重量%以下である。難燃剤粒子の量がこの範囲にあることにより難燃性を維持し、部材層の形成が容易であるという利点がある。 The flame retardant particles are used by mixing with each material constituting the light extraction member layer. The total amount of the flame retardant particles is 3% by weight or more, preferably 5% by weight, based on the total amount of each layer of the light extraction member. More preferably, it is 7% by weight or more. The upper limit of the content of the flame retardant particles is 70% by weight or less, more preferably 50% by weight or less. When the amount of the flame retardant particles is within this range, there are advantages that the flame retardancy is maintained and the formation of the member layer is easy.
(封止基材)
  本実施形態の発光素子10は、発光面145に封止基材151を備える。封止基材151は、発光面145に直接接するように設けてもよい。また、発光面145と封止基材151との間に、充填材や接着剤等の任意の物質が存在していてもよいし、空隙が存在していてもよい。空隙には、発光層142の耐久性を大きく損なう等の不都合がない限りは空気やその他の気体が存在してもよいし、空隙内を真空としてもよい。(Sealing substrate)
 The
  封止基材151としては、有機EL素子140を封止でき、発光面145から発せられる光を透過させる任意の部材を用いうる。例えば、支持基材131と同様の部材を用いうる。  As the sealing
  (製造方法)
  有機EL照明装置10の製造方法は、特に限定されないが、例えば、支持基板131の一方の面に有機EL素子140を構成する各層を積層し、その後又はその前に、支持基板131の他方の面に凹凸構造層111及び基材フィルム層112を有する凹凸構造を有するフィルム基材110を、接着層121を介して貼付することにより製造することができる。(Production method)
 The manufacturing method of the organic
  凹凸構造層111及び基材フィルム層112を有する凹凸構造を有するフィルム基材110の製造は、例えば、所望の形状を有する金型等の型を用意し、この型を凹凸構造層111を形成する材料の層に転写することにより行うことができる。より具体的な方法としては、
  (方法1)基材フィルム層112を構成する樹脂組成物Aの層及び凹凸構造層111を構成する樹脂組成物Bの層(凹凸構造はまだ形成されていない)を有する未加工の凹凸構造を有するフィルム基材を用意し、かかる未加工の凹凸構造を有するフィルム基材の樹脂組成物B側の面上に、凹凸構造を形成する方法;及び
(方法2)基材フィルム層112の上に、液体状態の樹脂組成物Bを塗布し、塗布された樹脂組成物Bの層に型を当て、その状態で樹脂組成物Bを硬化させ、凹凸構造層111を形成する方法などを挙げることができる。The
 (Method 1) An unprocessed concavo-convex structure having a layer of the resin composition A constituting the base film layer 112 and a layer of the resin composition B constituting the concavo-convex structure layer 111 (the concavo-convex structure is not yet formed) A method of forming a concavo-convex structure on the surface of the resin composition B side of the film base having a raw concavo-convex structure;
 (Method 2) On the base film layer 112, the resin composition B in a liquid state is applied, a mold is applied to the layer of the applied resin composition B, and the resin composition B is cured in that state, thereby forming irregularities. A method for forming the
  方法1において、未加工の凹凸構造を有するフィルム基材は、例えば樹脂組成物A及び樹脂組成物Bを共押出する押出成形により得ることができる。未加工の凹凸構造を有するフィルム基材の樹脂組成物B側の面上に、所望の表面形状を有する型を押し当てることにより、凹凸構造を形成することができる。
  より具体的には、長尺の未加工の凹凸構造を有するフィルム基材を押出成形により連続的に形成し、所望の表面形状を有する転写ロールとニップロールとで未加工の凹凸構造を有するフィルム基材を加圧し、それにより、連続的な製造を効率的に行うことができる。転写ロールとニップロールとによる挟み圧力は、好ましくは数MPa〜数十MPaである。また転写時の温度は、樹脂組成物Bのガラス転移温度をTgとすると、好ましくはTg以上(Tg+100℃)以下である。未加工の凹凸構造を有するフィルム基材と転写ロールとの接触時間はフィルムの送り速度、すなわちロール回転速度によって調整でき、好ましくは5秒以上600秒以下である。In Method 1, a film substrate having an unprocessed uneven structure can be obtained by, for example, extrusion molding in which the resin composition A and the resin composition B are coextruded. A concavo-convex structure can be formed by pressing a mold having a desired surface shape onto the surface of the film base having a raw concavo-convex structure on the resin composition B side.
 More specifically, a film base having a raw concavo-convex structure is formed by continuously forming a film base having a long raw concavo-convex structure by extrusion molding, and a transfer roll having a desired surface shape and a nip roll. The material can be pressurized so that continuous production can be performed efficiently. The pinching pressure between the transfer roll and the nip roll is preferably several MPa to several tens of MPa. The temperature at the time of transfer is preferably Tg or more (Tg + 100 ° C.) or less, where Tg is the glass transition temperature of the resin composition B. The contact time between the film base material having an unprocessed concavo-convex structure and the transfer roll can be adjusted by the feed speed of the film, that is, the roll rotation speed, and is preferably from 5 seconds to 600 seconds.
  方法2において、凹凸構造層111を構成する樹脂組成物Bとしては、紫外線等のエネルギー線により硬化しうる組成物を用いることが好ましい。かかる樹脂組成物Bを、基材フィルム層112上に塗布し、型を当てた状態で、塗布面の裏側(基材フィルムの、樹脂組成物Bを塗布した面とは反対側)に位置する光源から、紫外線等のエネルギー線を照射し、樹脂組成物Bを硬化させ、その後型を剥離することにより、樹脂組成物Bの塗膜を凹凸構造層111とし、凹凸構造を有するフィルム基材110を得ることができる。  In Method 2, as the resin composition B constituting the concavo-
  上記の凹凸構造を有するフィルム基材が、凹凸構造層111のみから構成される場合は
(方法3)凹凸構造層111を構成する樹脂組成物Bの層(凹凸構造はまだ形成されていない)を有する未加工の凹凸構造を有するフィルム基材を用意し、かかる未加工の凹凸構造を有するフィルム基材の樹脂組成物B側の面上に、凹凸構造を形成する方法
(方法4)任意の剥離用フィルム層の上に、液体状態の樹脂組成物Bを塗布し、塗布された樹脂組成物Bの層に型を当て、その状態で樹脂組成物Bを硬化させ、凹凸構造層111し、その後、剥離用フィルムを凹凸構造層から剥離する方法
によって形成することができる。When the film substrate having the concavo-convex structure is composed only of the concavo-convex structure layer 111 (Method 3), the layer of the resin composition B constituting the concavo-convex structure layer 111 (the concavo-convex structure is not yet formed) A method of forming a concavo-convex structure on a surface of the film base having a raw concavo-convex structure having the raw concavo-convex structure and forming the concavo-convex structure on the surface of the resin composition B side of the film concavo-convex structure (Method 4) The liquid resin composition B is applied on the film layer, a mold is applied to the applied resin composition B layer, the resin composition B is cured in this state, and the concavo-
〔2.第二実施形態〕
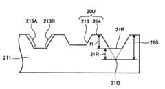
  本発明の有機EL照明装置において、出光面を構成する凹部及び凸部の形状は、第一実施形態において例示した角錐形状に限られず、角錐台形状であってもよい。ここで、角錐台形状とは、角錐の頂部に平坦な部分を設け、平らに面取りした形状をいう。以下、その例を、図面を用いて説明するが、第二実施形態においても凹凸構造層211、基材フィルム層112、接着層121等の光取出部材層200の少なくとも1つの層には、平均粒子径0.4μm以下の難燃剤粒子を含む。[2. Second embodiment]
 In the organic EL lighting device of the present invention, the shape of the concave portion and the convex portion constituting the light exit surface is not limited to the pyramid shape exemplified in the first embodiment, and may be a truncated pyramid shape. Here, the truncated pyramid shape refers to a shape in which a flat portion is provided at the top of the pyramid and the surface is flattened. Hereinafter, the example will be described with reference to the drawings. In the second embodiment as well, at least one layer of the light
  図5及び図6はいずれも本発明の第二実施形態に係る有機EL照明装置を説明する図であって、図5は有機EL照明装置を模式的に示す斜視図であり、図6は図5に示す有機EL照明装置の凹凸構造層を線5a−5bを通り出光面に対して垂直な面で切断した断面を模式的に示す断面図である。
  図5に示す通り、第二実施形態にかかる有機EL照明装置20は、光取出部材層200を構成する凹凸構造を有するフィルム基材210において、凹凸構造層211の表面である出光面20Uに形成された凹部213の形状が異なる他は、第一実施形態と同様の構成を有している。5 and 6 are views for explaining the organic EL lighting device according to the second embodiment of the present invention. FIG. 5 is a perspective view schematically showing the organic EL lighting device, and FIG. 5 is a cross-sectional view schematically showing a cross section of the concavo-convex structure layer of the organic EL lighting device shown in FIG.
 As shown in FIG. 5, the organic
  図6に示すように、凹凸構造層211の表面上に形成された凹部213は、正四角錐の頂部を平らに面取りした形状(角錐台形状)であり、出光面20Uにおいて、一定の間隔をおいて設けられている。隣り合う凹部213の間には隙間が設けられ、この隙間が平坦部214を構成している。さらに、凹部213が角錐台形状を有するため、凹部213は底には、出光面20Uに対して平行な平坦面として底面部21Pが存在する。  As shown in FIG. 6, the
  さらに、本実施形態においても、出光面20Uにおいて隣り合う凹凸の高低差Hは、標準偏差σが所定の範囲に収まるように不揃いになっている。本実施形態では底面部21Pが凹部213の底に当たり、平坦部214が凸部の先端に当たる。したがって、有機EL照明装置20においては、隣り合う凹部213と凸部214とを対比した場合に、その底面部21Pと平坦部214との、有機EL照明装置20の厚み方向における距離(すなわち、隣り合う凹凸の高低差)Hが、標準偏差σが所定の範囲に収まるように不揃いになっている。なお、本実施形態では、図6に示すように、平坦部214の高さは均一に揃っているが底面部21Pの高さが不揃いとなることにより隣り合う凹凸の高低差Hが不揃いとなっている例を示す。ただし、底面部21Pの高さは均一に揃っているが平坦部214の高さが不揃いとなることにより隣り合う凹凸の高低差Hが不揃いとなっていてもよく、底面部21Pの高さ及び平坦部214の高さの両方が不揃いとなることにより隣り合う凹凸の高低差Hが不揃いとなっていてもよい。  Further, also in the present embodiment, the height difference H of the unevenness adjacent to the
  このような、角錐台形状の形状を有する凹部213とその間の隙間である平坦部214を有する出光面20Uを有する場合であっても、第一実施形態と同様に、光取出効率を高め、且つ、虹ムラを抑制することができる。また、仮に塵及び破片が凹部213にたまると光取出効率の低下及び輝点の発生などを生じるおそれがあるが、凹部213の底が平坦な底面部21Pになっていると、凹部213に塵及び破片等が溜まり難くなり、好ましい。さらに、本実施形態によれば、第一実施形態と同様の利点を得ることもできる。  Even in the case of having the
  本実施形態のように、凹部213が角錐台形状となっている場合、底面部21Pと、当該角錐台の頂部が平坦で無く尖った角錐形状となっていた場合の頂部21Qとの高さの差21Rは、通常、当該角錐台の頂部が平坦で無く尖った角錐形状となっていた場合の角錐の高さ21Sの20%以下とすればよい。
  また、凹部213の形状が角錐台形状となっている場合、底面部21Pを除く斜面212A及び213Bの角度を、斜面の角度とする。凹部213の斜面の角度をこのような角度とすることにより、光取出効率を高めることができる。ただし、斜面は、必ずしも全てが同じ角度である必要は無く、上記範囲内で、異なる角度を有する斜面が共存していてもよい。As in the present embodiment, when the
 Moreover, when the shape of the recessed
〔第三実施態様〕
本発明の有機EL照明装置において、出光面側に凹凸構造を特に付与しない拡散層に難燃剤粒子を含む構成であってもよい。図7は本発明の第三実施形態に係る有機EL照明装置を模式的に示す斜視図であり、図8は第三実施態様の別の例を示す断面図である。 図7に示す通り、第三実施形態にかかる有機EL照明装置30は、有機EL照明装置の出光面30Uにおいて、第一実施形態や第二実施形態のように凹凸構造を有さず、光拡散性を有する拡散層311を有する以外は、第一実施形態や第二実施形態と同様の構成を有している。図8に示す別の第三実施形態にかかる有機EL照明装置40は、有機EL照明装置の出光面40Uにおいて、第一実施形態や第二実施形態のように規則的な凹凸構造を有さず、粒子の突出による凹凸構造を持つ光拡散性を有する拡散層411を有する以外は、第一実施形態や第二実施形態と同様の構成を有している(図8の態様においてのみ、拡散粒子40Dが拡散層に散在し、突出する様子を模式的に示す)。
ここで、拡散層を形成する材料としては、拡散性のある材料を使用することができ、例えば、粒子を含んだ材料、2種類以上の樹脂を混ぜ合わせて光を拡散させるアロイ樹脂、等を挙げることができる。なかでも、光拡散性を容易に調節できるという観点から、粒子を含んだ材料が好ましく、特に粒子を含んだ樹脂組成物が特に好ましい。[Third embodiment]
 In the organic EL lighting device of the present invention, a configuration in which flame retardant particles are included in a diffusion layer that does not particularly provide a concavo-convex structure on the light exit surface side may be employed. FIG. 7 is a perspective view schematically showing an organic EL lighting device according to the third embodiment of the present invention, and FIG. 8 is a cross-sectional view showing another example of the third embodiment. As shown in FIG. 7, the organic
 Here, as the material for forming the diffusion layer, a diffusible material can be used. For example, a material containing particles, an alloy resin that mixes two or more kinds of resins, and diffuses light can be used. Can be mentioned. Among these, from the viewpoint that the light diffusibility can be easily adjusted, a material including particles is preferable, and a resin composition including particles is particularly preferable.
粒子は、透明であってもよく、不透明であってもよい。粒子の材料としては、例えば、金属及び金属化合物、並びに樹脂等が挙げられる。金属化合物としては、例えば、金属の酸化物及び窒化物を挙げることができる。金属及び金属化合物の具体例を挙げると、銀、アルミのような反射率が高い金属;酸化ケイ素、酸化アルミ、酸化ジルコニウム、窒化珪素、錫添加酸化インジウム、酸化チタン等の金属化合物;などを挙げることができる。一方、樹脂としては、例えば、メタクリル樹脂、ポリウレタン樹脂、シリコーン樹脂等を挙げることができる。なお、粒子の材料は、1種類を単独で用いてもよく、2種類以上を任意の比率で組み合わせて用いてもよい。 The particles may be transparent or opaque. Examples of the material of the particles include metals and metal compounds, and resins. Examples of the metal compound include metal oxides and nitrides. Specific examples of metals and metal compounds include metals having high reflectivity such as silver and aluminum; metal compounds such as silicon oxide, aluminum oxide, zirconium oxide, silicon nitride, tin-added indium oxide, and titanium oxide. be able to. On the other hand, examples of the resin include methacrylic resin, polyurethane resin, and silicone resin. In addition, the particle | grain material may be used individually by 1 type, and may be used combining two or more types by arbitrary ratios.
  粒子の形状は、例えば、球状、円柱状、立方体状、直方体状、角錐状、円錐状、星型状等の形状とすることができる。
  粒子の粒径は、好ましくは0.4μm以上であり、好ましくは100μm以下、より好ましくは50μm以下である。ここで粒径とは、体積基準の粒子量を、粒子径を横軸にして積算した積算分布における50%粒子径のことである。粒径が大きいほど、所望の効果を得るために必要な粒子の含有割合は多くなり、粒径が小さいほど、含有量は少なくてすむ。したがって、粒径が小さいほど、観察角度による色味の変化の低減、及び光取出効率の向上等の所望の効果を、少ない粒子で得ることができるが、光の波長よりも小さい場合拡散効果が減少する場合がある。粒子が大きい場合には、表面から突出しやすくなるので、それにより取出し効率が上がる場合があるが、あまり大きすぎると基材への塗布が困難になる場合がある。なお、粒径は、粒子の形状が球状以外である場合には、その同等体積の球の直径を粒径とする。The shape of the particles can be, for example, a spherical shape, a cylindrical shape, a cubic shape, a rectangular parallelepiped shape, a pyramid shape, a conical shape, a star shape, or the like.
 The particle diameter of the particles is preferably 0.4 μm or more, preferably 100 μm or less, more preferably 50 μm or less. Here, the particle diameter is a 50% particle diameter in an integrated distribution obtained by integrating the volume-based particle amount with the particle diameter as the horizontal axis. The larger the particle size, the larger the content ratio of particles necessary for obtaining the desired effect, and the smaller the particle size, the smaller the content. Therefore, the smaller the particle size, the smaller the desired effect, such as a reduction in the change in color depending on the viewing angle, and the improvement in light extraction efficiency, but the smaller the particle size, the more effective the diffusion effect. May decrease. If the particles are large, they tend to protrude from the surface, which may increase the extraction efficiency. However, if the particles are too large, application to the substrate may be difficult. When the particle shape is other than spherical, the diameter of the sphere having the same volume is used as the particle size.
粒子が透明な粒子であり、且つ粒子が透明樹脂中に含まれる場合において、粒子の屈折率と透明樹脂の屈折率との差が、0.05〜0.5であることが好ましく、0.07〜0.5であることがより好ましい。ここで、粒子及び透明樹脂の屈折率は、どちらがより大きくてもよい。粒子と透明樹脂の屈折率が近すぎると拡散効果が得られず色味ムラは抑制され難くなる可能性があり、逆に差が大きすぎると拡散が大きくなり色味ムラは抑制されるが光取出効果が低減する可能性がある。 In the case where the particles are transparent particles and the particles are contained in the transparent resin, the difference between the refractive index of the particles and the refractive index of the transparent resin is preferably 0.05 to 0.5. More preferably, it is 07-0.5. Here, either the particle or the refractive index of the transparent resin may be larger. If the refractive index of the particles and the transparent resin is too close, the diffusion effect cannot be obtained and the color unevenness may be difficult to be suppressed. Conversely, if the difference is too large, the diffusion becomes large and the color unevenness is suppressed, but light Extraction effect may be reduced.
粒子の含有割合は、0.4μmを超える全ての粒子(難燃剤粒子を含む)を含む層の全量中における体積割合で、1%以上が好ましく、5%以上がより好ましく、また、80%以下が好ましく、50%以下がより好ましい。粒子の含有割合をかかる下限以上とすることにより、観察角度による色味の変化の低減等の所望の効果を得ることができる。また、かかる上限以下とすることにより、粒子の凝集を防止し、粒子を安定して分散させることができる。 The content ratio of the particles is a volume ratio in the total amount of the layer including all particles (including flame retardant particles) exceeding 0.4 μm, preferably 1% or more, more preferably 5% or more, and 80% or less. Is preferable, and 50% or less is more preferable. By setting the content ratio of the particles to be equal to or higher than the lower limit, desired effects such as reduction of a change in color depending on the observation angle can be obtained. Moreover, by setting it as this upper limit or less, aggregation of particle | grains can be prevented and particle | grains can be disperse | distributed stably.
以下、実施例及び比較例を参照して本発明をより詳細に説明するが、本発明はこれらに限定されない。以下の実施例において、材料の量比を表す「部」「%」は、別に断らない限り重量比を表す。 Hereinafter, the present invention will be described in more detail with reference to Examples and Comparative Examples, but the present invention is not limited thereto. In the following examples, “parts” and “%” representing the quantity ratio of materials represent weight ratios unless otherwise specified.
<難燃性の評価>
  難燃性の評価は、UL94試験(アンダーライターズ・ラボラトリーズ)に基づいて試験片を難燃性について試験、クラス付けした。すなわち、UL94(アンダーライターズ・ラボラトリーズ)耐火クラスを、シートを貼り合わせた試験片を用いて、各々の混合物から得た試験片について求めた。UL94クラスとは以下のものである。
V−0:残炎時間が10秒以下、10回接炎した場合の全残炎時間が50秒以下、燃焼滴下物無し、試験片の燃え尽き無し、接炎終了後の試験片の残燼時間が30秒以下。
V−1:接炎終了後の残炎時間が30秒以下、10回接炎した際の全残炎時間が250秒以下、接炎終了後の試験片の残燼時間が60秒以下、他の基準はV−0と同じ。
V−2:綿指示材が燃焼滴下物によって着火する。他の基準はV−1と同じ。
分類不能(ucl):耐火クラスV−2を満たさない。<Evaluation of flame retardancy>
 For the evaluation of flame retardancy, the test pieces were tested for flame retardancy and classified based on the UL94 test (Underwriters Laboratories). That is, UL94 (Underwriters Laboratories) fire resistance class was calculated | required about the test piece obtained from each mixture using the test piece which bonded the sheet | seat. The UL94 class is as follows.
 V-0: The after flame time is 10 seconds or less, the total after flame time when the flame is contacted 10 times or less is 50 seconds or less, no burning drops, no burnout of the test piece, the residual time of the test piece after completion of the flame contact Is less than 30 seconds.
 V-1: Afterflame time after completion of flame contact is 30 seconds or less, Total afterflame time after
 V-2: The cotton indicator is ignited by the combustion dripping material. Other criteria are the same as V-1.
 Classification not possible (ucl): Fire resistance class V-2 is not satisfied.
〔実施例1〕
<1−1.難燃剤粒子の製造>
(難燃剤粒子1の製造)
水酸化アルミニウム系難燃剤粒子1kg(ナバルテック社  アピラール40CD(平均粒径1.3μm))をビーズミル中(アシザワファインテック社製スターミル  ZRS4)で、1kgの水と一緒に2時間粉砕し、次いで乾燥して、難燃剤粒子1を調製した。レーザー回折・散乱式粒度分析計(マイクロトラックBlueRaytrac、日機装株式会社製)によって平均粒子径(50%累積粒子径)を測定したところ、0.2μmであった。[Example 1]
 <1-1. Production of flame retardant particles>
 (Production of flame retardant particles 1)
 1 kg of aluminum hydroxide-based flame retardant particles (Navaltech Apiral 40CD (average particle size 1.3 μm)) was pulverized in a bead mill (Ashizawa Finetech Starmill ZRS4) with 1 kg of water for 2 hours and then dried. Thus, flame retardant particles 1 were prepared. When an average particle size (50% cumulative particle size) was measured by a laser diffraction / scattering particle size analyzer (Microtrack BlueRaytrac, manufactured by Nikkiso Co., Ltd.), it was 0.2 μm.
(難燃剤粒子2の製造)
5kgの市販のジエチルホスフィン酸アルミニウム1kg(平均粒径は約22μm)を、ビーズミル中(アシザワファインテック社製スターミル  ZRS4)で、1kgの水と一緒に8時間粉砕し、次いで乾燥して難燃剤粒子2を得た。難燃剤粒子1と同様に平均粒子径を測定したところ0.06μmであった。(Production of flame retardant particles 2)
 1 kg of 5 kg of commercially available aluminum diethylphosphinate (average particle size is about 22 μm) is ground in a bead mill (Star Mill ZRS4 manufactured by Ashizawa Finetech Co., Ltd.) with 1 kg of water for 8 hours and then dried to obtain flame retardant particles. 2 was obtained. It was 0.06 micrometer when the average particle diameter was measured similarly to the flame retardant particle | grains 1. FIG.
<1−2.樹脂組成物の製造>
(樹脂組成物1の製造)
2−メタクリロイルオキシエチルイソシアネート3部、トリメチロールプロパントリアクリレート37部、エトキシ化フェニルアクリレート57部、及び光開始剤(イルガキュアー184、チバスペシャリティーケミカルズ社製)3部を混合し、紫外線硬化性の塗布液を調製した。さらに直径2μmの粒子(シリコーン樹脂、トスパール110、モメンティブマテリアル社製)と難燃剤粒子1と難燃剤粒子2とを添加し、撹拌して粒子を分散させ、樹脂組成物1を製造した。シリコーン粒子、難燃剤粒子1、難燃剤粒子2の含有割合は、それぞれ樹脂組成物1の全量中の5、10、10重量%とした。<1-2. Production of resin composition>
 (Production of resin composition 1)
 2 parts of 2-methacryloyloxyethyl isocyanate, 37 parts of trimethylolpropane triacrylate, 57 parts of ethoxylated phenyl acrylate, and 3 parts of photoinitiator (Irgacure 184, manufactured by Ciba Specialty Chemicals Co., Ltd.) are mixed, and UV curable. A coating solution was prepared. Further, particles having a diameter of 2 μm (silicone resin,
(塗工液1の製造)
メチルシクロヘキサンと酢酸エチルを8:2(重量比)で混合した溶媒に、酸変性ポリオレフィン樹脂を主成分とする樹脂(屈折率1.49、コルノバMPO−B130C)を溶解し、難燃剤粒子1を添加し、撹拝して粒子を分散させ、粘着層の材料となる塗工液1を調製した。酸変性ポリオレフィン樹脂の濃度は、塗工液1の全量中15重量%とした。難燃剤粒子1との濃度は、固形分全量(酸変性ポリオレフィン樹脂と粒子との合計)中30重量%とした。(Manufacture of coating liquid 1)
 In a solvent in which methylcyclohexane and ethyl acetate are mixed at 8: 2 (weight ratio), a resin mainly composed of an acid-modified polyolefin resin (refractive index 1.49, Cornova MPO-B130C) is dissolved, and flame retardant particles 1 are obtained. The mixture was added and stirred to disperse the particles, thereby preparing a coating solution 1 as a material for the adhesive layer. The concentration of the acid-modified polyolefin resin was 15% by weight in the total amount of the coating liquid 1. The density | concentration with the flame retardant particle | grains 1 was 30 weight% in solid content whole quantity (total of acid-modified polyolefin resin and particle | grains).
(塗工液2の製造)
メチルシクロヘキサンと酢酸エチルを8:2(重量比)で混合した溶媒に、酸変性ポリオレフィン樹脂を主成分とする樹脂(コルノバMPO−B130C、屈折率1.49、日本シーマ社製)を溶解し、難燃剤粒子1と直径2μmの粒子(シリコーン樹脂、トスパール110、モメンティブマテリアル社製)を添加し、撹拝して粒子を分散させ、第2の光拡散層の材料となる塗工液2を調製した。酸変性ポリオレフィン樹脂の濃度は、塗工液2全量中15重量%とした。シリコーン粒子と難燃剤粒子1との濃度は、それぞれ固形分全量(酸変性ポリオレフィン樹脂と粒子との合計)中5、30重量%とした。(Manufacture of coating liquid 2)
 In a solvent in which methylcyclohexane and ethyl acetate are mixed at 8: 2 (weight ratio), a resin mainly composed of an acid-modified polyolefin resin (Cornova MPO-B130C, refractive index 1.49, manufactured by Nippon Cima) is dissolved. Add flame retardant particles 1 and particles with a diameter of 2 μm (silicone resin,
<1−3.粘着層付基材フィルム1の製造>
塗工液1を基材フィルム(75μm厚みのポリエチレンテレフタレートフィルム)に2回に分けて塗布し、塗布層を乾燥して、厚さ45μmの粘着層(即ち第2の光拡散層)を形成した。粘着層上に、セパレータをラミネートして、(基材フィルム)−(粘着層)−(セパレータ)の層構成を有する、粘着層付き基材フィルム1を得た。<1-3. Production of base film 1 with adhesive layer>
 The coating liquid 1 was applied to the base film (75 μm thick polyethylene terephthalate film) in two portions, and the coating layer was dried to form a 45 μm thick adhesive layer (that is, the second light diffusion layer). . A separator was laminated on the adhesive layer to obtain a base film 1 with an adhesive layer having a layer structure of (base film)-(adhesive layer)-(separator).
<1−4.光学シート1の製造>
粘着層付き基材フィルム1の、基材フィルムが露出する面上に、樹脂組成物1を30μm厚で塗布して塗膜を形成し、かかる塗膜上に所定の形状の金属モールドを押し付けた。  この状態で、セパレータ側から樹脂組成物1の塗膜に、紫外線を1J/cm2の積算光量で照射し、塗膜を硬化させ、凹凸構造層を形成し、(凹凸構造層)一(基材フィルム)一(粘着層)一(セパレータ)の層構成を有する光学シート(光取出部材層)1を得た。金属モールドの表面の形状は、頂角60度、底辺15μmの正四角錐が隙間無く並んだ形状であり、得られた第1の光拡散層の表面には、かかる四角錐の形状が反転した形状のくぼみが設けられた。<1-4. Production of optical sheet 1>
 On the surface of the base film 1 with the adhesive layer, the resin composition 1 was applied in a thickness of 30 μm on the surface where the base film was exposed, and a metal mold having a predetermined shape was pressed onto the coating film. . In this state, the coating film of the resin composition 1 is irradiated from the separator side with ultraviolet light with an integrated light amount of 1 J / cm2 to cure the coating film and form a concavo-convex structure layer. Material film) An optical sheet (light extraction member layer) 1 having a layer structure of one (adhesive layer) and one (separator) was obtained. The shape of the surface of the metal mold is a shape in which regular quadrangular pyramids having an apex angle of 60 degrees and a base of 15 μm are arranged without gaps, and on the surface of the obtained first light diffusion layer, the shape of the quadrangular pyramids is inverted. An indentation was provided.
<1−5.難燃性の評価>
上記光学シート1のセパレーターをはがし、粘着層で重ね、凹凸構造層が両側になるように、2枚の光学シート1を貼付して、300μm厚の試料とし、UL94試験を行った。10回の全残炎時間が合計で192秒であり、30秒を超える残炎は観察されなかった。残燼時間、指示材着火状態もV−2規格を満たしていた。<1-5. Flame retardant evaluation>
 The separator of the optical sheet 1 was peeled off, overlapped with an adhesive layer, and two optical sheets 1 were attached so that the concavo-convex structure layer was on both sides to make a 300 μm thick sample, and a UL94 test was performed. The total flame time of 10 times was 192 seconds in total, and no flame after 30 seconds was observed. Residual time and indicator material ignition state also satisfied the V-2 standard.
<1−6.有機EL素子の形成>
厚さ0.7mmのガラス基板の一方の主面に、透明電極層100nm、ホール輸送層10nm、黄色発光層20nm、青色発光層15nm、電子輸送層15nm、電子注入層1nm、及び反射電極層100nmを、この順に形成した。ホール輸送層から電子輸送層までは全て有機材料により形成した。
黄色発光層及び青色発光層はそれぞれ異なる発光スペクトルを有している。
透明電極層から反射電極層までの各層を形成した材料は、それぞれ下記の通りである:
・透明電極層1錫添加酸化インジウム(ITO)
・ホール輸送層14,4’一ビス[N一(ナフチル)一N一フェニルアミノ]ビフェニル(α一NPD)
・黄色発光層1ルブレン1.5重量%添加α一NPD
・青色発光層1イリジウム錯体10重量%添加4,4’一ジカルバゾリルー1,1’一ビフェニル(CBP)
・電子輸送層1フェナンスロリン誘導体(BCP)
・電子注入層1フッ化リチウム(LiF)
・反射電極層lAI
透明電極層の形成方法は、ITOターゲットとした反応性スパッタリング法にて行い、表面抵抗を10Ω/□以下とした。また、ホール注入層から反射電極層までの形成は、真空蒸着装置内に透明電極層を既に形成したガラス基板を設置し、上記のホール輸送層から反射電極層までの材料を抵抗加熱式により順次蒸着させることにより行なった。系内圧は5xlO−3Paで、蒸発速度は0.1〜0.2nm/sで行った。
さらに、電極層に通電のための配線を取り付け、さらにホール輸送層から反射電極層までを封止部材により封止し、有機EL素子を得た。<1-6. Formation of organic EL element>
 On one main surface of a glass substrate having a thickness of 0.7 mm, a
 The yellow light emitting layer and the blue light emitting layer have different emission spectra.
 The material forming each layer from the transparent electrode layer to the reflective electrode layer is as follows:
 -Transparent electrode layer 1 Tin-added indium oxide (ITO)
・ Hole transport layer 14, 4 ′ one bis [N one (naphthyl) one N one phenylamino] biphenyl (α one NPD)
 -Yellow light emitting layer 1 rubrene 1.5 wt% added α-NPD
 Blue light emitting layer 1 Addition of 10% by weight of iridium complex 4,4′-dicarbazolyl 1,1′-biphenyl (CBP)
 -Electron transport layer 1 Phenanthroline derivative (BCP)
・ Electron injection layer Lithium monofluoride (LiF)
・ Reflective electrode layer lAI
 The transparent electrode layer was formed by a reactive sputtering method using an ITO target, and the surface resistance was 10Ω / □ or less. In addition, the formation from the hole injection layer to the reflective electrode layer is carried out by placing a glass substrate on which a transparent electrode layer has already been formed in a vacuum evaporation apparatus, and successively using the resistance heating method for the materials from the hole transport layer to the reflective electrode layer. This was done by vapor deposition. The system internal pressure was 5 × 10-3 Pa, and the evaporation rate was 0.1 to 0.2 nm / s.
 Furthermore, wiring for energization was attached to the electrode layer, and the hole transport layer to the reflective electrode layer were sealed with a sealing member to obtain an organic EL element.
<1−7.照明装置の製造>
上記(1−4)で得た光学シート1のセパレータを剥離し、これを(1−6)で得た有機EL素子に貼付した。貼付は、露出した粘着層が有機EL素子のガラス基板に粘着するように行った。これにより、照明装置1を得た。得られた照明装置1は、光学シート1の第1の光拡散層から白色の光を出光しうる長方形の出光面を有していた。<1-7. Manufacturing of lighting equipment>
 The separator of the optical sheet 1 obtained in the above (1-4) was peeled off, and this was attached to the organic EL element obtained in (1-6). The pasting was performed such that the exposed adhesive layer adhered to the glass substrate of the organic EL element. Thereby, the illuminating device 1 was obtained. The obtained illuminating device 1 had a rectangular light exit surface capable of emitting white light from the first light diffusion layer of the optical sheet 1.
<1−8.色度、効率の評価>
上記(1−7)で得られた照明装置1について、以下の通り、色度と効率とを測定した。装置出光面の法線方向に色彩輝度計(トプコンテクノハウス社製BM−7A)を設置し、照明装置1に100mA/m2の定電流を印加し、色度(x,y)を測定した。また積分球(例えばSPX−8X スフィアオプティクス製)で全光束を測定し、光学シート1を貼付けないときの値を1としたきの数値を取出し効率とした。結果を表1に示す。<1-8. Evaluation of chromaticity and efficiency>
 About the illuminating device 1 obtained by said (1-7), chromaticity and efficiency were measured as follows. A color luminance meter (BM-7A manufactured by Topcon Techno House Co., Ltd.) was installed in the normal direction of the light exit surface of the device, a constant current of 100 mA / m 2 was applied to the lighting device 1, and chromaticity (x, y) was measured. Further, the total luminous flux was measured with an integrating sphere (for example, manufactured by SPX-8X Sphere Optics), and the value when the value when the optical sheet 1 was not attached was set to 1 was taken as the efficiency. The results are shown in Table 1.
〔実施例2〕
樹脂組成物の製造において、難燃剤粒子1を添加せずに、難燃剤粒子2を樹脂組成物の全量中の20重量%添加する以外は、実施例1と同様にして、光学シート2と照明装置2を製造した。評価結果を表1に示す。[Example 2]
 In the production of the resin composition, the optical sheet 2 and the illumination are illuminated in the same manner as in Example 1 except that 20% by weight of the flame retardant particles 2 is added to the total amount of the resin composition without adding the flame retardant particles 1. Device 2 was manufactured. The evaluation results are shown in Table 1.
〔実施例3〕
樹脂組成物の製造において、難燃剤粒子2を添加せずに、難燃剤粒子1を樹脂組成物の全量中の20重量%添加する以外は、実施例1と同様にして、光学シート3と照明装置3を製造した。評価結果を表1に示す。Example 3
 In the production of the resin composition, the optical sheet 3 and the illumination are the same as in Example 1 except that 20% by weight of the flame retardant particles 1 is added to the total amount of the resin composition without adding the flame retardant particles 2. Device 3 was manufactured. The evaluation results are shown in Table 1.
〔実施例4〕
塗工液の製造において、難燃剤粒子1を添加しなかった以外は実施例2と同様にして、光学シート4と照明装置4を製造した。評価結果を表1に示す。Example 4
 In the production of the coating liquid, the optical sheet 4 and the illumination device 4 were produced in the same manner as in Example 2 except that the flame retardant particles 1 were not added. The evaluation results are shown in Table 1.
〔実施例5〕
粘着層付基材フィルムの製造において塗工液2を使用する以外は、実施例1と同様にして、光学シート5と照明装置5を製造した。評価結果を表1に示す。Example 5
 An optical sheet 5 and a lighting device 5 were manufactured in the same manner as in Example 1 except that the coating liquid 2 was used in the manufacture of the base film with an adhesive layer. The evaluation results are shown in Table 1.
〔実施例6〕
樹脂組成物の製造において直径2μmの粒子を、直径12μmのシリコーン樹脂(トスパール3120、モメンティブマテリアル社製)10%に変え、表面に成形をしないこと以外は、実施例2と同様にして、光学シート6と照明装置6を製造した。評価結果を表1に示す。Example 6
 Optical sheet in the same manner as in Example 2 except that in the production of the resin composition, the particle having a diameter of 2 μm is changed to 10% of a silicone resin having a diameter of 12 μm (Tospearl 3120, manufactured by Momentive Materials) and the surface is not molded. 6 and the lighting device 6 were manufactured. The evaluation results are shown in Table 1.
〔比較例1〕
樹脂組成物の製造において難燃剤粒子2の代わりに粉砕していないジエチルホスフィン酸アルミニウム(平均粒径は約22μm)を使用し、塗工液の製造において難燃剤粒子2の代わりに粉砕していない水酸化アルミニウム系難燃剤粒子(ナバルテック社  アピラール40CD(平均粒径1.3μm))を使用した以外は実施例2と同様にして、光学シート7と照明装置7を製造した。評価結果を表2に示す。[Comparative Example 1]
 Non-pulverized aluminum diethylphosphinate (average particle diameter is about 22 μm) is used in place of the flame retardant particles 2 in the production of the resin composition, and is not crushed in place of the flame retardant particles 2 in the production of the coating liquid. An optical sheet 7 and an illuminating device 7 were produced in the same manner as in Example 2 except that aluminum hydroxide-based flame retardant particles (Navaltech Apiral 40CD (average particle size 1.3 μm)) were used. The evaluation results are shown in Table 2.
〔比較例2〕
樹脂組成物の製造において、難燃剤粒子2の代わりに粉砕していないジエチルホスフィン酸アルミニウム(平均粒径は約22μm)を使用し、塗工液の製造において難燃剤粒子2の代わりに粉砕していない水酸化アルミニウム系難燃剤粒子(ナバルテック社  アピラール40CD(平均粒径1.3μm))を使用した以外は実施例6と同様にして、光学シート8と照明装置8を製造した。評価結果を表2に示す。[Comparative Example 2]
 In the production of the resin composition, diethyl phosphinate that has not been crushed is used instead of the flame retardant particles 2 (average particle size is about 22 μm), and in the production of the coating liquid, it is crushed in place of the flame retardant particles 2. An optical sheet 8 and an illuminating device 8 were produced in the same manner as in Example 6 except that no aluminum hydroxide-based flame retardant particles (Navaltech Corp. Apiral 40CD (average particle size 1.3 μm)) were used. The evaluation results are shown in Table 2.
〔比較例3〕
樹脂組成物および塗工液の製造において、難燃剤を添加しなかった以外は実施例1と同様にして、光学シート8と照明装置8を製造した。評価結果を表2に示す。
[Comparative Example 3]
 In the production of the resin composition and the coating liquid, an optical sheet 8 and a lighting device 8 were produced in the same manner as in Example 1 except that no flame retardant was added. The evaluation results are shown in Table 2.
  上記実施例から、難燃剤粒子の添加をしなかった比較例3は難燃性に問題があることが判る。また、難燃剤粒子の粒子径が範囲外である場合は、光の取り出し効率や色目で問題があることが判る。
From the above examples, it can be seen that Comparative Example 3 in which no flame retardant particles were added had a problem in flame retardancy. Further, when the particle diameter of the flame retardant particles is out of the range, it can be seen that there is a problem in light extraction efficiency and color.
  10  有機EL照明装置
  11A〜11D  斜面
  11E〜11H  凹部の四角錐形状の底辺
  11J、11K  凹部の間隔
  11L、11M  凹部の斜面と平坦部とがなす角
  11N  凹部の四角錐形状の頂角
  11P  凹部の四角錐形状の頂点
  10U  出光面
  100  光取出部材層
  110  凹凸構造を有するフィルム基材
  111  凹凸構造層
  112  基材フィルム層
  113  凹部
  114  平坦部
  121  粘着層
  131  支持基板
  140  有機EL素子
  141  第一の電極層
  142  発光層
  143  第二の電極層
  144  有機EL素子の表面(発光面)
  145  有機EL素子の表面
  151  封止基材
  20  有機EL照明装置
  20U  出光面
  21P  底面部
  200   光取出部材層
  210  凹凸構造を有するフィルム基材
  211  凹凸構造層
  213  凹部
  213A、212B  斜面
  214  平坦部
  30  有機EL照明装置
  30U  出光面
  300 光取出部材層
  310  拡散性を有するフィルム基材
  311  拡散層
  40  有機EL照明装置
  40U  出光面
  400 光取出部材層
  410  拡散性を有するフィルム基材
  411  拡散層
  40D  拡散粒子
  T  凹凸構造層の厚さ
  H  隣り合う凹凸の高低差DESCRIPTION OF
 145 Surface of
 T Thickness of uneven structure layer H Height difference of adjacent unevenness
| Application Number | Priority Date | Filing Date | Title | 
|---|---|---|---|
| JP2012037510AJP5867154B2 (en) | 2012-02-23 | 2012-02-23 | Lighting device | 
| Application Number | Priority Date | Filing Date | Title | 
|---|---|---|---|
| JP2012037510AJP5867154B2 (en) | 2012-02-23 | 2012-02-23 | Lighting device | 
| Publication Number | Publication Date | 
|---|---|
| JP2013175283A JP2013175283A (en) | 2013-09-05 | 
| JP5867154B2true JP5867154B2 (en) | 2016-02-24 | 
| Application Number | Title | Priority Date | Filing Date | 
|---|---|---|---|
| JP2012037510AExpired - Fee RelatedJP5867154B2 (en) | 2012-02-23 | 2012-02-23 | Lighting device | 
| Country | Link | 
|---|---|
| JP (1) | JP5867154B2 (en) | 
| Publication number | Priority date | Publication date | Assignee | Title | 
|---|---|---|---|---|
| JP6352002B2 (en)* | 2014-03-06 | 2018-07-04 | 株式会社カネカ | Light extraction film and organic EL planar light source including the same | 
| JP7019572B2 (en)* | 2016-07-11 | 2022-02-15 | ジャパンコンポジット株式会社 | Radical curable resin composition and its cured product | 
| Publication number | Priority date | Publication date | Assignee | Title | 
|---|---|---|---|---|
| JP2002268569A (en)* | 2001-03-14 | 2002-09-20 | Mitsui Chemicals Inc | Optical filter | 
| JP2004039388A (en)* | 2002-07-02 | 2004-02-05 | Nitto Denko Corp | Optical member and EL display device using the same | 
| JP2004079208A (en)* | 2002-08-09 | 2004-03-11 | Senyo Shoji Kk | Organic el element sealing member and organic el panel using it | 
| JP4495978B2 (en)* | 2003-03-07 | 2010-07-07 | 日東電工株式会社 | ORGANIC ELECTROLUMINESCENT ELEMENT AND SURFACE LIGHT SOURCE AND DISPLAY DEVICE USING THIS ELEMENT | 
| JP2005126626A (en)* | 2003-10-27 | 2005-05-19 | Fuji Xerox Co Ltd | Flame-retardant resin composition and its production process, flame-retardant resin molding | 
| JP2006265502A (en)* | 2005-03-25 | 2006-10-05 | Fuji Xerox Co Ltd | Photopolymerizable composition and flame-retardant resin molding | 
| JP2007197517A (en)* | 2006-01-24 | 2007-08-09 | Three M Innovative Properties Co | Adhesive sealing composition, sealing film and organic el element | 
| KR101576312B1 (en)* | 2007-12-21 | 2015-12-09 | 니폰 제온 가부시키가이샤 | Surface light source device | 
| JP2010212204A (en)* | 2009-03-12 | 2010-09-24 | Toppan Printing Co Ltd | El element, display apparatus, display device, and liquid crystal display device | 
| JP2011082032A (en)* | 2009-10-07 | 2011-04-21 | Toppan Printing Co Ltd | Scattering prevention sheet, el element equipped with the same, and el light-emitting device equipped with the el element as light-emitting source | 
| JP2012003074A (en)* | 2010-06-17 | 2012-01-05 | Mitsubishi Rayon Co Ltd | Optical film and optical device using the same | 
| Publication number | Publication date | 
|---|---|
| JP2013175283A (en) | 2013-09-05 | 
| Publication | Publication Date | Title | 
|---|---|---|
| CN102667542B (en) | Optical sheet and surface light source device | |
| JP6394392B2 (en) | Optical sheet and surface light source device | |
| JP4711027B2 (en) | Surface light source device, lighting apparatus and backlight device | |
| JP5783175B2 (en) | Surface light source device | |
| WO2010143705A1 (en) | Surface light source device, lighting equipment, backlight device | |
| WO2009081750A1 (en) | Surface light source device | |
| JP5834889B2 (en) | Light emitting element | |
| JP2013077410A (en) | Organic electroluminescent light-emitting device and method for manufacturing the same | |
| JP5803506B2 (en) | Light emitting device and lighting apparatus | |
| JP2012142142A (en) | Surface light source device | |
| JP5867154B2 (en) | Lighting device | |
| JP5402273B2 (en) | Surface light source device, lighting apparatus and backlight device | |
| JP5850125B2 (en) | Surface light source device, lighting apparatus and backlight device | |
| JP5862576B2 (en) | Light emitting element | |
| JP6201311B2 (en) | Surface light emitter and manufacturing method thereof | |
| JP2014209439A (en) | Surface light source device | |
| JP5644929B2 (en) | Surface light source device, lighting apparatus and backlight device | |
| JP5673295B2 (en) | Light emitting device and lighting apparatus | 
| Date | Code | Title | Description | 
|---|---|---|---|
| A621 | Written request for application examination | Free format text:JAPANESE INTERMEDIATE CODE: A621 Effective date:20140821 | |
| A131 | Notification of reasons for refusal | Free format text:JAPANESE INTERMEDIATE CODE: A131 Effective date:20150421 | |
| A977 | Report on retrieval | Free format text:JAPANESE INTERMEDIATE CODE: A971007 Effective date:20150422 | |
| RD02 | Notification of acceptance of power of attorney | Free format text:JAPANESE INTERMEDIATE CODE: A7422 Effective date:20150423 | |
| A521 | Request for written amendment filed | Free format text:JAPANESE INTERMEDIATE CODE: A523 Effective date:20150615 | |
| A131 | Notification of reasons for refusal | Free format text:JAPANESE INTERMEDIATE CODE: A131 Effective date:20150908 | |
| TRDD | Decision of grant or rejection written | ||
| A01 | Written decision to grant a patent or to grant a registration (utility model) | Free format text:JAPANESE INTERMEDIATE CODE: A01 Effective date:20151208 | |
| A61 | First payment of annual fees (during grant procedure) | Free format text:JAPANESE INTERMEDIATE CODE: A61 Effective date:20151221 | |
| R150 | Certificate of patent or registration of utility model | Ref document number:5867154 Country of ref document:JP Free format text:JAPANESE INTERMEDIATE CODE: R150 | |
| R250 | Receipt of annual fees | Free format text:JAPANESE INTERMEDIATE CODE: R250 | |
| R250 | Receipt of annual fees | Free format text:JAPANESE INTERMEDIATE CODE: R250 | |
| LAPS | Cancellation because of no payment of annual fees |