
































本発明は、半導体発光素子搭載用基板、及びそれを用いた半導体発光装置に関する。 The present invention relates to a substrate for mounting a semiconductor light emitting element and a semiconductor light emitting device using the same.
一般に発光ダイオード(LED:Light Emitting Diode)、レーザーダイオード(LD:Laser Diode)に代表される半導体発光装置は、銅に代表される金属基材、若しくは金属樹脂複合基材上にLEDチップ又はLDチップを搭載し、LEDチップ又はLDチップ及び基材の一部を例えばモールド樹脂からなる外囲器で包囲した構成となっている。基材の外囲器から露出する部分が一方の外部端子となり、他方の外部端子は一端が外囲器内にあって例えばボンティングワイヤーによりLEDチップ又はLDチップに電気的に接続されている。 Generally, a semiconductor light emitting device represented by a light emitting diode (LED) or a laser diode (LD) is an LED chip or an LD chip on a metal substrate represented by copper or a metal resin composite substrate. The LED chip or the LD chip and a part of the base material are surrounded by an envelope made of, for example, a mold resin. The part exposed from the envelope of the base material becomes one external terminal, and the other external terminal has one end in the envelope and is electrically connected to the LED chip or the LD chip by, for example, a bonding wire.
このような構成の半導体発光装置は、LEDチップ又はLDチップで発生した光を効率よく外部に取り出すために、LEDチップ又はLDチップを搭載する基材の表面に光反射率の高い銀めっき層を形成して、LEDチップ又はLDチップの裏面(基材)側に放出された光を取り出し側に反射する構成にすることが知られ(特許文献1)、また、外囲器にLEDチップ又はLDチップの周囲に基材から離れるに従ってLEDチップ又はLDチップから離れる所謂傾斜面を持つ開口部を形成し、この傾斜面に光反射率の高い銀、銀ビスマス、銀ネオジウムから選ばれた金属層を形成して、LEDチップ又はLDチップから側方に放出された光を開口部の出口方向に反射させると共に、金属層をガス遮断性の高い樹脂層で覆うことにより硫化ガス等の大気中のガスが進入して銀と反応して黒化し反射率を低下することを防止することが知られて(特許文献2)いる。 In order to efficiently extract the light generated by the LED chip or LD chip to the outside, the semiconductor light emitting device having such a configuration is provided with a silver plating layer having a high light reflectance on the surface of the substrate on which the LED chip or LD chip is mounted. It is known that the light emitted to the back surface (base material) side of the LED chip or LD chip is reflected to the extraction side (Patent Document 1), and the LED chip or LD is used as the envelope. An opening having a so-called inclined surface that separates from the LED chip or the LD chip is formed around the chip, and a metal layer selected from silver, silver bismuth, and silver neodymium having high light reflectivity is formed on the inclined surface. Forming and reflecting the light emitted laterally from the LED chip or LD chip in the direction of the exit of the opening, and covering the metal layer with a resin layer having a high gas barrier property, sulfurized gas Gas in the atmosphere enters and reacts with silver is known to prevent the lowering the blackened reflectance are (Patent Document 2).
  特許文献1に記載された半導体発光装置では、外囲器として使用する樹脂が硫化水素等の大気中のガスを透過させ、これらのガスと銀めっき層が反応して硫化等を生じ、黒化するため、銀めっき層の反射率が急激に低下するという問題がある。特許文献2に記載された半導体発光装置は特許文献1の問題を解決する一方法を開示しているが、外囲器樹脂材料の耐熱性のために、範囲が限定される問題があるのは特許文献2の記載の通りである。また、特許文献1の問題を解決する別の方法としては、銀めっき層の表面に硫化防止用の薄い有機保護膜を施すことも提案されている。しかし、ワイヤーボンディング前にワイヤーボンディング性を安定化させるために行うプラズマ洗浄等により保護層の劣化若しくは剥がれが生じ硫化防止効果が失われるという問題がある。  In the semiconductor light-emitting device described in
  本発明の1つの目的は、硫化せずに、高い反射率を確保することができる半導体発光素子搭載用基板を提供することにある。
  本発明の別の目的は、硫化せずに、高い反射率を確保することができる半導体発光装置を提供することにある。
  本発明の別の目的は実施の形態及び実施例の説明から明らかになろう。One object of the present invention is to provide a substrate for mounting a semiconductor light-emitting element capable of ensuring a high reflectance without being sulfided.
 Another object of the present invention is to provide a semiconductor light emitting device capable of ensuring a high reflectance without being sulfided.
 Other objects of the present invention will become clear from the description of the embodiments and examples.
本発明の第1の態様は、上記目的を達成するため、金属部分からなる基材と、前記基材の半導体発光素子が搭載される面側に設けられた厚さ0.02μm以上0.1μm以下のアルミニウム反射層と、を備えた半導体発光素子搭載用基板を提供する。In order to achieve the above object, according to the first aspect of the present invention, a thickness of 0.02 μm or more and0.1 mm provided on a surface side on which a substrate made of a metal portion and a semiconductor light emitting element of the substrate are mounted. Provided is a substrate for mounting a semiconductor light emitting device, comprising an aluminum reflective layer of μm or less.
本発明の第2の態様は、上記目的を達成するため、金属部分からなる基材と、前記基材の半導体発光素子が搭載される面側に設けられた厚さ0.01μm以上5μm以下の銀層若しくは銀合金層と、前記銀層若しくは銀合金層上に設けられた厚さ0.006μm以上2μm以下のアルミニウム反射層と、を備えた半導体発光素子搭載用基板を提供する。 In order to achieve the above object, the second aspect of the present invention has a thickness of 0.01 μm or more and 5 μm or less provided on the substrate side comprising the metal portion and the surface of the substrate on which the semiconductor light emitting element is mounted. Provided is a substrate for mounting a semiconductor light emitting device, comprising: a silver layer or a silver alloy layer; and an aluminum reflective layer having a thickness of 0.006 μm or more and 2 μm or less provided on the silver layer or the silver alloy layer.
本発明の第3の態様は、上記目的を達成するため、上記の半導体発光素子搭載用基板と、前記半導体発光素子搭載用基板上に搭載された半導体発光素子と、前記半導体発光素子搭載用基板の一部を包囲し、前記半導体発光素子の周囲に前記半導体発光素子搭載用基板から離れるに従って前記半導体発光素子から離れる傾斜面、又は垂直面で形成される凹部を有する外囲器部分と、前記外囲器部分の前記凹部に充填され前記半導体発光素子を封止する光透過性樹脂部とを備えた半導体発光装置を提供する。 In order to achieve the above object, according to a third aspect of the present invention, there is provided a semiconductor light emitting element mounting substrate, a semiconductor light emitting element mounted on the semiconductor light emitting element mounting substrate, and the semiconductor light emitting element mounting substrate. An envelope portion having a concave portion formed by an inclined surface or a vertical surface that is separated from the semiconductor light emitting element as it is separated from the semiconductor light emitting element mounting substrate. Provided is a semiconductor light emitting device including a light transmissive resin portion that fills the concave portion of the envelope portion and seals the semiconductor light emitting element.
本発明によれば、基材表面にアルミニウム反射層を形成するため、硫化せず長期間に亘り高くかつ安定した反射特性を有する半導体発光素子搭載用基板及びそれを使用した半導体発光装置を実現できる。これはアルミニウムの反射率が紫外線では銀の3倍以上と高く、紫色、赤色、赤外線に対しては銀に近い反射率を有しており、金属の中では色のバランスが良く、銀に次ぐ高反射率を有しており、かつ銀に比較して対薬品性が優れ硫化が起こりにくい特性を有することに起因している。 According to the present invention, since the aluminum reflective layer is formed on the surface of the base material, it is possible to realize a semiconductor light emitting element mounting substrate having high and stable reflection characteristics over a long period without being sulfided and a semiconductor light emitting device using the same. . The reflectivity of aluminum is 3 times higher than that of silver in ultraviolet rays, and it has a reflectivity close to silver for purple, red, and infrared rays. This is due to the fact that it has a high reflectivity and has superior chemical resistance compared to silver and is less susceptible to sulfidation.
以下、本発明の実施の形態について図面を参照して説明する。なお、各図中、実質的に同一の機能を有する構成要素については、同一の符号を付してその重複した説明を省略する。また、実施例3〜7、11〜13、33〜40、49は参考例である。Hereinafter, embodiments of the present invention will be described with reference to the drawings. In addition, in each figure, about the component which has the substantially same function, the same code | symbol is attached | subjected and the duplicate description is abbreviate | omitted. Examples3 to 7,11 to 13,33 to 40, and 49 are reference examples.
(第1〜第10の実施の形態)
  本発明半導体発光素子搭載用基板及び半導体発光装置の実施形態は、半導体発光素子を搭載する銅又は銅合金又は鉄系合金からなる基材と、基材の半導体発光素子を搭載する面の少なくとも一部に設けられたアルミニウム反射層から半導体発光素子搭載用基板を構成したものである。(First to tenth embodiments)
 Embodiments of a semiconductor light-emitting element mounting substrate and a semiconductor light-emitting device according to the present invention include at least one of a base material made of copper, a copper alloy, or an iron-based alloy on which a semiconductor light-emitting element is mounted and a surface on which the semiconductor light-emitting element is mounted. A substrate for mounting a semiconductor light emitting element is constituted by an aluminum reflective layer provided in the part.
半導体発光素子を搭載する少なくとも金属からなる基材と、基材の半導体発光素子を搭載する面の少なくとも一部に設けられたアルミニウム反射層とから構成した点にある。 The semiconductor light-emitting device includes at least a base material made of metal and an aluminum reflective layer provided on at least a part of a surface of the base material on which the semiconductor light-emitting device is mounted.
基材の金属としては、銅、もしくは銅合金からなる基材が電気抵抗、熱抵抗の点で望ましい。また、基材板の金属として、42アロイ等の鉄ニッケル合金、鉄系フレーム材を用いることができる。 As the metal of the base material, a base material made of copper or a copper alloy is desirable in terms of electric resistance and thermal resistance. Further, as the metal of the base plate, an iron nickel alloy such as 42 alloy or an iron-based frame material can be used.
さらに、基材は、金属部分を含んでいればよい。例えば、基材は、樹脂上に銅を張り合わせた銅張り板を用いることができる。この場合、樹脂は、基材上のアルミニウム反射層を形成する面とは反対側の面に形成される。さらに、アルミニウム反射層が形成される面とは反対側の基材の表面は、有機材、無機材との複合化された構成を含むものを用いることもできる。 Furthermore, the base material should just contain the metal part. For example, the base material can be a copper-clad plate in which copper is laminated on a resin. In this case, the resin is formed on the surface opposite to the surface on which the aluminum reflective layer is formed on the substrate. Furthermore, the surface of the base material on the side opposite to the surface on which the aluminum reflective layer is formed may include a composite structure composed of an organic material and an inorganic material.
[第1の実施の形態]
  図1は本発明の第1の実施の形態を示す半導体発光素子搭載用基板の概略断面図で、2は基材、4は基材2の一方面の半導体発光素子を搭載する個所を含む領域に形成されたアルミニウム反射層で、これらにより半導体発光素子搭載用基板が構成されている。[First Embodiment]
 FIG. 1 is a schematic cross-sectional view of a semiconductor light emitting element mounting substrate according to a first embodiment of the present invention, in which 2 is a base material, and 4 is a region including a portion where a semiconductor light emitting element on one surface of the
  基材2は金属または金属と有機材又は無機材との複合材で構成される。金属の材料として、これに制限されることはないが、最も汎用性の高い基材は銅または銅合金からなる金属リードフレームである。基材2として銅板を使用する場合、その厚さに制限はないが、コストを加味して厚さが選定される。また、量産化を考慮すると銅板のフープ材が好ましいが、短尺のシート材、個別材も使用できる。基材2として複合材を使用する場合、樹脂材上に銅板が張り合わされた銅張板やその積層板が使用できる。樹脂としては硬質の板状のもの、薄い可撓性を有するものが使用できる。代表的なものとして、それぞれガラスエポキシ基板(ガラス布基材樹脂板)やポリイミド樹脂系等が挙げられる。アルミニウム反射層4の製造方法は、減圧圧力調整機能を有する蒸着装置で、バッチ処理若しくは連続処理等により行われる。アルミニウム反射層4の厚さは反射率の観点から0.02μm以上が好ましい。  The
  基材2として銅板を使用する場合、例えば長さ100m、幅50mm、厚さ0.2mmとし、アルミニウム反射層4の厚さを例えば0.05μmとした。製造に際し、まず、基材2として上述の寸法の銅板を用意した。次に、抵抗加熱式のバレル式の真空蒸着装置を用いてアルミニウム反射層4を成膜した。具体的には、基材2を50mm×150mmの短尺材となるよう切断し、切断した基材16枚を半径300mmの傘状の治具上に放射状に並べ、これをバレルに3基セット配置し、アルミニウムの蒸着源としては、抵抗加熱源(出力1kW)を使用し、真空度を2×10−4Paまで排気してアルミニウム反射層4を厚さ0.05μm成膜した。アルミニウムの蒸着源としては、ロードロック方式において電子ビーム方式を使い、カーボン坩堝を用いてもよい。耐久性の良いカーボン坩堝等を適宜最適化することで安定した蒸着を連続して行うことができる。真空蒸着装置は、本実施の形態では、自作機を用いたが、ロードロック方式の蒸着機等、市販の蒸着装置を使用しても問題ない。また、フープ材に蒸着できる連続式蒸着装置でもかまわない。真空蒸着装置は、膜質、生産性等を総合的に考慮し、適宜選択すればよい。更に、アルミニウム反射層4の形成方式は、蒸着方式でなくてもよい。即ち、イオンプレーティング法、スパッタリング法、クラッド法等を用いることができる。When a copper plate is used as the
  アルミニウム反射層4の膜厚測定は、二次イオン質量分析法(SIMS:Secondary Ion Mass Spectrometry)分析により行った。表面からアルミニウム反射層直下の下地層の主たる構成元素が該下地層中における最大強度の1/2の信号強度となるところまでの厚さをアルミニウム反射層の膜厚とした。前述の基材2が銅である場合は、銅の信号強度を用いることになる。  The film thickness of the aluminum
(本実施の形態に係る実施例の評価)
  アルミニウム反射層4について、硫化特性及び反射率を以下のとおり確認した。まず、表1に示すとおり、厚さを変えたアルミニウム反射層を上述の方法で作製し、波長が460nmでの初期反射率を測定した。この波長において硫酸バリウムの反射率を100%とし、反射率が90%以上を特に良好(○で示すこと)とし、90%未満を不良(×で示すこと)とした。アルミニウムが非常に薄い場合、即ち、厚さが0.01μm以下の場合は下地の金属の反射率(ここでは、銅)に影響を受け反射率が低くなった。次に、硫化特性について、各厚さのアルミニウム反射層4を形成したサンプルについて3ppmのH2S(硫化水素)を雰囲気温度40℃で、湿度80%で、96時間噴霧した(JIS  H8502  めっきの耐食性試験方法に準拠した試験を行った)。耐硫化特性は初期反射率と96時間硫化後の反射率の比とした。アルミニウム反射層を設けた場合、初期反射率に対して90%未満まで低下するものはなかった。総合すると、半導体発光素子搭載用基板として、求められる特性として、初期反射率、硫化特性(すなわち、硫化されうる環境下での使用後の反射率)ともに良好であることが確認されたのは、アルミニウム反射層の厚さが0.02μm以上のものであった。(Evaluation of examples according to the present embodiment)
 About the aluminum
なお、比較例1として、基材上に銀層3μmのみを設けた場合、初期反射率93%と良好で○であるが、硫化特性は、耐硫化試験後の反射率は29%と大きく低下し、良くないことを確認している。比較例2として基材上にニッケル層(0.7μm)、パラジウム層(0.05μm)のみを設けた例では、耐硫化特性は良好であるものの、初期反射率が63%と低く、×であることを確認している。 As Comparative Example 1, when only 3 μm of the silver layer is provided on the base material, the initial reflectance is 93% and good and good, but the sulfurization characteristic is greatly reduced to 29% after the sulfidation resistance test. And it is confirmed that it is not good. In Comparative Example 2, an example in which only a nickel layer (0.7 μm) and a palladium layer (0.05 μm) are provided on a base material has good antisulfurization characteristics, but the initial reflectivity is as low as 63%. Confirm that there is.
本実施の形態によれば、基材表面にアルミニウム反射層を形成するため、硫化せず長期間に亘り高くかつ安定した反射特性を有する半導体発光素子搭載用基板及びそれを使用した半導体発光装置を実現できる。これは、アルミニウムの反射率が紫外線では銀の3倍以上と高く、紫色、赤色、赤外線に対しては銀に近い反射率を有しており、金属の中では色のバランスが良く、銀に次ぐ高反射率を有しており、かつ銀に比較して硫化が起こりにくい特性を利用している。 According to the present embodiment, since the aluminum reflective layer is formed on the surface of the base material, a semiconductor light-emitting element mounting substrate having high and stable reflection characteristics over a long period without being sulfided and a semiconductor light-emitting device using the same realizable. This is because the reflectance of aluminum is three times higher than that of silver in ultraviolet rays, and has a reflectance close to silver for purple, red, and infrared rays. It has the next highest reflectivity and utilizes the characteristics that sulfidation does not easily occur compared to silver.
上述の半導体発光素子搭載用基板にワイヤーボンディングを行うためにアルゴンプラズマ洗浄を行い、その後金ワイヤーをボンディングする。この半導体発光素子搭載用基板に対して硫化試験を行ったところ、反射率の低下は見られなかった。この結果から表面洗浄に対する耐性は強く、劣化や剥がれの心配がないことが分かった。 In order to perform wire bonding on the semiconductor light emitting element mounting substrate described above, argon plasma cleaning is performed, and then a gold wire is bonded. When this semiconductor light emitting element mounting substrate was subjected to a sulfidation test, no reduction in reflectance was observed. From this result, it was found that the resistance to surface cleaning was strong and there was no fear of deterioration or peeling.
尚、上記第1の実施の形態から得られる効果は、程度の差はあれど、後述の実施の形態においても得られる。 The effects obtained from the first embodiment can also be obtained in the later-described embodiments, although to a different extent.
[第2の実施の形態]
  図2は本発明の第2の実施の形態を示す半導体発光装置の概略断面図で、図1に示す半導体発光素子搭載用基板を使用した半導体発光装置を示している。図において、2は基材、4は基材2の一方面に形成されたアルミニウム反射層で、これらによって半導体発光素子搭載用基板を構成する。半導体発光装置においてはこれを2組(2Aと4A、2Bと4B)略同一面に近接配置して使用される。6はアルミニウム反射層4A上に搭載された半導体発光素子、7は半導体発光素子6とアルミニウム反射層4Bとを電気的に接続するボンティングワイヤー、8は半導体発光素子6を除いて基材2A、2Bの近接している側を包囲し、半導体発光素子の周囲に基材から離れるに従って半導体発光素子から離れる傾斜面と底面に位置するアルミニウム反射層4A、4Bで形成される凹部を有する樹脂製の外囲器部分、9は外囲器部分8の凹部に充填され半導体発光素子を封止する光透過性樹脂部で、外囲器の一部を構成している。9に蛍光体材料を混ぜることができる。例えば、イットリウム・アルミニウム・ガーネット(YAG:Yttrium Aluminum Garnet)などを混ぜることで、LEDチップを460nmのGaN系LEDを用い、擬似白色LED装置を用いることができる。[Second Embodiment]
 FIG. 2 is a schematic cross-sectional view of a semiconductor light-emitting device showing a second embodiment of the present invention, and shows the semiconductor light-emitting device using the semiconductor light-emitting element mounting substrate shown in FIG. In the figure, 2 is a base material, 4 is an aluminum reflective layer formed on one surface of the
  アルミニウム反射層4は外囲器の内側の略全面か、若しくは、一部を除いた残りの部分に形成されていれば良い。その理由は、発光素子から放射された光が外囲部内で反射されればよいためである。  The aluminum
具体的な方法としては、(1)アルミニウム反射層形成時の成膜装置にて外囲器領域以外を、遮蔽する機能を設ける(2)全面にアルミニウム反射層を成膜後、外囲器部領域をテーピング、若しくはフォトリソプロセス等により、マスキングし、その後アルミニウムをエッチング除去する方法等、様々な方法があり、それらの何れを用いても良い。 As a specific method, (1) a function of shielding the area other than the envelope region is provided by the film forming apparatus for forming the aluminum reflective layer. (2) After forming the aluminum reflective layer on the entire surface, the envelope portion There are various methods, such as a method of masking the region by taping or photolithography process, and then etching away aluminum, and any of them may be used.
  かかる構成の半導体発光装置によれば、外囲器部分8に形成される凹部の底面に位置するアルミニウム反射層4A、4Bの存在によって、半導体発光素子6から放出された光がアルミニウム反射層4A、4Bによって凹部の開口側に反射され、半導体発光装置からの光量を増やす効果を奏する。上述のように、アルミニウムは良好な耐硫化特性を持つことから、高反射率を長時間に亘り維持することが出来る。  According to the semiconductor light emitting device having such a configuration, the light emitted from the semiconductor
[第3の実施の形態]
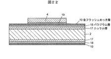
  図3は本発明の第3の実施の形態を示す半導体発光素子搭載用基板の概略断面図で、基材2の両面にニッケル層17、パラジウム層18、金フラッシュめっき層10を順次湿式めっき法にて形成し、基材2の一方面の金フラッシュめっき層10上の一部にアルミニウム反射層4を形成した点を特徴としている。基材2上にニッケル層17、パラジウム層18、金フラッシュめっき層10を順次形成する理由の一つは、基材2と半導体発光装置を実装するプリント配線基板とのはんだ濡れ性の確保、即ちはんだ接続性の向上を図るためである。その場合、ニッケル層17の厚さは0.4〜1.5μm、パラジウム層18の厚さは0.01〜0.2μm、金フラッシュめっき層10の厚さは0.1μm以下とすることができる。これら厚さは本発明者が効果を確認したものであるが、実装する素子によって若干の変更が可能である。アルミニウム反射層4の厚さは光反射特性の観点から0.02μm以上が好ましく、5μm程度でも可能であるが、乾式めっき法を用いた場合、平坦性の観点から2μm以下が好ましい(以下、同じ)。ここで、金フラッシュめっき層は、下地層の全面を覆うものだけではなく、下地層に対して斑状に形成されていることがある。このため、金フラッシュめっきの反射特性は、金層とその他の下地層の混合体となる。[Third Embodiment]
 FIG. 3 is a schematic cross-sectional view of a substrate for mounting a semiconductor light emitting device showing a third embodiment of the present invention. A
  アルミニウム反射層4の製造方法は、減圧機能を有する蒸着装置で、バッチ処理若しくは連続処理等により行われる。ニッケル層及びパラジウム層は、湿式めっき法、真空蒸着等の乾式どちらにおいても、本製品に必要な品質のめっき層を得ることは出来る。湿式めっきの方が、材料の6面全面にコーティングでき、低コストで製作できることが多く、本発明のニッケル層や、パラジウム層には湿式めっきによって形成するのが望ましい。  The manufacturing method of the aluminum
  尚、ニッケル層17、パラジウム層18、金フラッシュめっき層10の湿式めっき法にて成膜した下地層の膜厚は、めっき時の電流値を積算することによって算出を行った。  In addition, the film thickness of the base layer formed by the wet plating method of the
  このニッケル層17は、基材2の銅の酸化による変色防止と、半導体発光素子搭載用基板が硬くなることでの取り扱い特性向上を目的として、厚さが0.5μmから1.0μmの間の値をとることができる。パラジウム層は、素子をはんだ付けにより実装する際、その接続部となる部分にパラジウム層とすることで、良いはんだ濡れ性を得るために設けることができる。パラジウム層としては、0.03μmから0.07μmの厚さとされることが多いが、はんだ条件によって厚さを決定する。  This
  本実施の形態の効果は、アルミニウムを反射層として用いることで、高い反射率を確保できる。更に、0.02μm以上の厚みのアルミニウム反射層4を用いることで、良好な耐久性が得られ、高い反射率を維持できるという効果に加えて、以下の効果を奏する。即ち、上述の数値範囲のニッケル層17は基材2の主たる材料である銅の拡散を防止ができること、上述の数値範囲のパラジウム層18は実装時の鉛(Pb)フリーはんだ材との濡れ性向上を図れること、上述の数値範囲の金フラッシュめっき層10は更にはんだの濡れ性の向上と長期保管を可能にすること等の新たな効果を奏する。即ち、このような構造とすることはんだ付けに適した構造とすることができる。  The effect of this embodiment can ensure a high reflectance by using aluminum as the reflective layer. Furthermore, by using the aluminum
[第4の実施の形態]
  図4は本発明の第4の実施の形態を示す半導体発光装置の概略断面図で、図3に示す半導体発光素子搭載用基板と図2の外囲器部分8及び光透過性樹脂部9を組み合わせた半導体発光装置の実施例である。図2及び図3と同じ部分は同じ符号で示している。[Fourth Embodiment]
 FIG. 4 is a schematic cross-sectional view of a semiconductor light emitting device showing a fourth embodiment of the present invention. The semiconductor light emitting element mounting substrate shown in FIG. 3, the
  基材2A(2A、2B)として銅板を使用する場合、例えば長さ100m、幅50mm、厚さ0.2mmの銅板を準備し、基材2A、2Bの表面にニッケル層17を厚さ1μm、パラジウム層18を厚さ0.1μm、金フラッシュめっき層10の厚さ0.01μmを順次湿式めっき法により作製する。更に、アルミニウム反射層4(4A、4B)を金フラッシュめっき層10面上のはんだ接続に用いる部分を残し、且つ反射膜として使用する部分に部分蒸着し、はんだ接続部にはアルミニウム層がなく、反射に用いる部分にはアルミニウム層がある材料を得る。その後、プレスやエッチングにより、半導体発光素子搭載用のフレーム形状を作製し、2組(2Aと4A、2Bと4B)を略同一面に近接配置する。そして、基材2A、2Bの近接している部分を包囲し、半導体発光素子6の周辺を予めくり貫いてある凹部を持つ樹脂製の外囲器部分8を形成する。次に半導体発光素子6を導電性ペースト材で搭載し、表面電極とリードフレームを金ワイヤーボンディングで接続を行う。最後に、外囲器部分8の凹部内に半導体発光素子6を被覆するように光透過性樹脂(シリコン樹脂等)を充填して外囲器の一部となる光透過性樹脂部9を形成する。  When using a copper plate as the
  以上の説明では、半導体発光素子搭載用基板を作製後、所定形状にプレスやエッチングを用いて成形したが、後めっき法とすることも可能である。即ち、基材2A、2Bを所定形状に成形した後、湿式めっき法によって基材上に各めっき層(10、17、18)、真空蒸着法などの乾式めっき法でアルミニウム反射層4を形成することも可能である。更に、基材2A、2Bについては、銅からなる場合について説明したが樹脂などの上に銅配線を設けたものを用いることができる。また、用途、コスト等から、他の金属基材、例えば鉄系の42アロイ合金等を用いても良い。またプリント配線板やフレキシブル配線板形成工程により、配線を形成した上にアルミニウム反射層4(4A、4B)を形成して用いることが出来る。このように、目的や構造、材料(銅板もしくは可撓性のあるフレキシブル樹脂基材)によって、形状の作製(打ち抜き加工、曲げ加工、張り出し加工等による形状の作製)、めっき、蒸着の順番は変更することができる。  In the above description, the semiconductor light-emitting element mounting substrate is manufactured and then formed into a predetermined shape using a press or etching, but a post-plating method may be used. That is, after forming the
  搭載する半導体発光素子6としては、例えば、GaAs−Si−LED、AlGaAs−LED、GaP−LED、AlGaInP−LED、InGaN−LED等のLEDチップを搭載することができる。また、図4に示した半導体発光素子は上面と下面の電極に縦方向素子であるが、これに限定されることなく、同一面に一対の電極を形成するプレーナー構造のLED(例えば、GaN系)であってもよい。電極が同一面に形成されるプレーナー構造の場合、電極面を表面側(図では、上側)に向けて、カソード、アノード共に、ワイヤーボンディングを実施する場合と、電極面を下(リードフレーム側)に向け直接接続するいわゆるフリップチップ実装方式があるが、いずれの実装方式でも用いることができる。金ワイヤーボンディングの代わりに銅系ワイヤーボンディングやアルミニウムワイヤーボンディングでもよい。  As the semiconductor
  更に、この実施の形態では金フラッシュめっき層10を施したものを使用したが、金に関しては比較的ラフなピッチ(例えば、0.5mmピッチの場合)、即ち、高い精密度を問わないものの場合、金フラッシュめっき層10がなくとも高い歩留まりが与えられるため、除外することが可能である。パラジウム層18に関しては、金属層の厚さを確保し、十分なはんだ濡れ性を得られればパラジウムを省略することも可能である。  Furthermore, in this embodiment, the gold
  かかる構成の半導体発光装置によれば、図2に示した半導体発光装置と同様に、外囲器部分8に形成される凹部の底面に位置するアルミニウム反射層4A、4Bの存在によって、半導体発光素子6から放出された光がアルミニウム反射層4A、4Bによって凹部の開口側に反射され、半導体発光装置からの光量を増やす効果を奏する。また、アルミニウム反射層4A、4Bは良好な光反射特性を持つことから、高反射率を長時間に亘り維持することが出来る。更に、基材2A、2Bとアルミニウム反射層4A、4Bとの間にニッケル層17、パラジウム層18及び金フラッシュめっき層10からなる中間層を介在しているため、実装時の鉛フリーはんだ材との濡れ性向上が図れる。  According to the semiconductor light emitting device having such a configuration, as in the semiconductor light emitting device shown in FIG. 2, the presence of the
[第5の実施の形態]
  図5は本発明の第5の実施の形態を示す半導体発光素子搭載用基板の概略断面図である。この実施の形態は図3に示す半導体発光素子搭載用基板の変形例という位置付けで、図5(a)は基材2の一方面にのみニッケル層17、パラジウム層18及び金フラッシュめっき層10を形成し、金フラッシュめっき層10上の一部にアルミニウム反射層4を形成した例を、図5(b)は基材2の一方面に形成された金フラッシュめっき層10上の一部にアルミニウム反射層4を形成し、一部分を紙面で上方に略90度折り曲げた例を、図5(c)は基材2の全面にニッケル層17、パラジウム層18及び金フラッシュめっき層10を形成し、形成された金フラッシュめっき層10の全面にアルミニウム反射層4を形成し、一部分を紙面で上方に180度折り曲げた例を、図5(d)は基材2の一方面に直接アルミニウム反射層4を形成し、基材2の他方面にニッケル層17、パラジウム層18及び金フラッシュめっき層10を形成した例を夫々示している。[Fifth Embodiment]
 FIG. 5 is a schematic cross-sectional view of a semiconductor light-emitting element mounting substrate showing a fifth embodiment of the present invention. This embodiment is positioned as a modified example of the substrate for mounting a semiconductor light emitting device shown in FIG. 3, and FIG. 5A shows the
  図5(a)に示す半導体発光素子搭載用基板は、銅からなる基材2の片面にニッケル層17をめっき法で厚さ0.4μm、パラジウム層18をめっき法で厚さ0.01μm、金フラッシュめっき層10を厚さ0.1μm、更に金フラッシュめっき層10の一部上にアルミニウム反射層4を蒸着法により形成して、構成することが出来る。尚、この例のように銅の基材上にニッケル、パラジウム、金、アルミニウムを順次積層する場合、アルミニウム反射層以外は湿式めっき法を用いることが出来る。アルミニウム反射層4については、現在は湿式めっき法では容易にはめっきが行えないため真空蒸着法を採用するとよい。他の方法としては、たとえば不活性ガス中でのスパッタリング法を用いることができる。また、コスト、プロセス工程の簡素化等の観点から、これらの方法を複数用いてもよい。  The substrate for mounting a semiconductor light emitting element shown in FIG. 5A has a
  図5(b)に示す半導体発光素子搭載用基板は、基材2にニッケル層17をめっき法で厚さ1.5μm、パラジウム層18をめっき法で厚さ0.2μm、金フラッシュめっき層10を厚さ0.1μm、順次形成した後、一部分にアルミニウム反射層4を形成して構成する。図5(c)に示す半導体発光素子搭載用基板は、基材2にニッケル層17をめっき法で厚さ1.5μm、パラジウム層18をめっき法で厚さ0.2μm、金フラッシュめっき層10を厚さ0.1μm、順次形成した後、全面にアルミニウム反射層4を形成して構成する。これら例は半導体発光素子をアルミニウム反射層4の上面に搭載し、基材2の下面、若しくは側面にワイヤーボンディングを施す使い方を想定している。より具体的には、基材2が折り曲げる場合に適用が可能な構成である。なお本実施例では基材2の裏面にワイヤーボンディングを実施しているが、目的によって裏面がニッケル層17、パラジウム層18、金フラッシュめっき層10等が被覆されていても構わない。  The substrate for mounting a semiconductor light emitting element shown in FIG. 5B has a
  図5(d)に示す半導体発光素子搭載用基板は、図5(a)の例と同様に、ニッケル層17、パラジウム層18及び金フラッシュめっき層10を基材2の片面のみに施されているため、これらの金属の使用量を抑えることができる。片面のみをめっきする場合は、2つの基材を貼り合わせてめっき工程に流し、その後分離することでマスク材を必要とせずに実現できる。アルミニウム反射層4は、上述したように厚みによっては下地による反射率の影響を受けやすくなるため、0.02μm以上とすることが好ましい。全面にアルミニウム反射層4を形成しているが、部分的にアルミニウム反射層4を形成する構造にしても良い。図5(d)に示す半導体発光素子搭載用基板を形成の後、基材の端部(基板接続リード、アウターリードとも呼ぶ)を所定形状に加工して使用できる。例えば、基材の外囲器から露出する部分(アウターリード)の下面をプリント基板の上面に接触するように、曲げ加工して基材と接続する際に、この構成を用いることができる。即ち、基材の中央部分は、アルミニウム反射層として用い、基材の端部の下面はアウターリードとして、ニッケル−パラジウム側の面がプリント基板に接続される。  The substrate for mounting a semiconductor light emitting element shown in FIG. 5D has a
[第6の実施の形態]
  図6は本発明の第6の実施の形態を示す半導体発光素子搭載用基板の概略断面図である。この実施の形態は基材2の両面又は一方面にパラジウム(Pd)、金(Au)、錫(Sn)、ニッケル(Ni)、銅(Cu)−錫(Sn)合金、銅(Cu)−ニッケル(Ni)合金から選ばれた単層の金属層11を形成し、金属層11または基材2上にアルミニウム反射層4を形成した構成になっている。金属層11は、Ag以外の金属からなる第1金属層の一例である。[Sixth Embodiment]
 FIG. 6 is a schematic cross-sectional view of a semiconductor light-emitting element mounting substrate showing a sixth embodiment of the present invention. In this embodiment, palladium (Pd), gold (Au), tin (Sn), nickel (Ni), copper (Cu) -tin (Sn) alloy, copper (Cu)- A single-
  図6(a)は基材2の両面に金属層11を形成し、一方面の金属層11上の一部にアルミニウム反射層4を形成した例を、図6(b)は基材2の一方面に金属層11を形成し、金属層11上の一部にアルミニウム反射層4を形成した例を、図6(c)は基材2の一方の面に金属層11を形成し、基材2の他の方面にアルミニウム反射層4を形成した例を夫々示している。すなわち、図6(a)〜(c)は、金属層11が半導体発光素子搭載用基板の表面の一部に露になっている例である。  6A shows an example in which the
  パラジウムは銅より酸化防止効果があり、はんだに用いられる錫と馴染む利点を有し、錫は半田付けしやすく廉価であるという利点があるが、若干酸化しやすいという欠点がある。銅−錫合金は銅より酸化しにくく、錫と銅と比較して錫と馴染みやすい利点がある。銅−ニッケル合金はニッケルより錫と馴染みやすい利点がある。これらの点を踏まえ、使用条件・製造条件によって、金属層11として最適な材料を選択することができる。  Palladium is more effective in preventing oxidation than copper and has the advantage of being compatible with tin used in soldering. Tin has the advantage of being easy to solder and inexpensive, but has the disadvantage of being easily oxidized. Copper-tin alloys are less susceptible to oxidation than copper and have the advantage of being more familiar with tin than tin and copper. Copper-nickel alloys have the advantage of being more familiar with tin than nickel. Based on these points, an optimum material for the
[第7の実施の形態]
  図7は本発明の第7の実施の形態を示す半導体発光素子搭載用基板の概略断面図である。この実施の形態の特徴はアルミニウム反射層4の上に金めっき層12を1箇所、若しくは複数箇所を形成した点にある。図7(a)はアルミニウム反射層4の上一部分に金めっき層12を形成した例を、図7(b)は部分形成したアルミニウム反射層4の外側の金フラッシュめっき層10上に金めっき層12を形成した例を、図7(c)はアルミニウム反射層4上の全面に金めっき層12を形成した例を、図7(d)アルミニウム反射層4及びアルミニウム反射層4を形成した金フラッシュめっき層10上の全面に金めっき層12を形成した例を夫々示し、図7(e)にこの半導体発光素子搭載用基板を用いた半導体発光装置の実施の形態の一例を示す概略断面図を示している。これら実施例では基材2の全面にニッケル層17、パラジウム層18及び金フラッシュめっき層10を順次形成しているが、これに限定されることなく、上述した各実施例で述べたように、単層の金属層11を形成するもの、基材2に直接アルミニウム反射層4を形成する場合にも適用できる。[Seventh Embodiment]
 FIG. 7 is a schematic cross-sectional view of a semiconductor light-emitting element mounting substrate showing a seventh embodiment of the present invention. This embodiment is characterized in that one or a plurality of gold plating layers 12 are formed on the aluminum
  この実施の形態における金めっき層12は、アルミニウム反射層4上に搭載する半導体発光素子の電気的接続に利用することが出来る。金めっき層が厚くなるほど、短波長側(青色)側の反射率が低下するが、金ワイヤーの接続性が良くなる。用途に応じ、反射率を加味して金めっき層12の構造を決めると良い。なお、ここでは各めっき層(10,12,17,18)は湿式めっき法で形成したが、他の方式で形成しても良い。  The
[第8の実施の形態]
  図8は本発明の第8の実施の形態として半導体発光装置の代表的な使用状態を示す概略図である。本実施の形態に係る半導体発光装置は、第1乃至第7の実施の形態に係る半導体発光素子搭載用基板1を用いて例えばプリント配線基板に実装して使用される。プリント配線基板13に実装するために、半導体発光素子搭載用基板1の外囲器部分8から外部に伸びる部分(アウターリード)を折り曲げて、外囲器部分8の下面と略同一面となる部分1a又は下面より下方に位置する部分1b、1cを形成している。この部分をプリント配線基板13の配線にはんだ14により接着する。図8(a)はアウターリードを90度折り曲げて下方に向け、それを反対方向に90度折り曲げて水平方向に向け、これによってアウターリードの伸びる方向はそのままで水平位置を外囲器部分8の下面と略同一面とした部分1aを形成した例を、図8(b)はアウターリードを外囲器部分8に沿って2回90度折り曲げることのより外囲器部分8の下面に沿って部分1bを形成した例を、図8(c)はアウターリードを図8(b)とは反対方向に外囲器部分8に沿って2回90度折り曲げることのより外囲器部分8の上面に沿って部分1cを形成した例を夫々示しているアウターリードの折り曲げ方はこれに限定されるものでなく、半導体発光装置が使用される用途毎に相応しい形状が採用される。[Eighth Embodiment]
 FIG. 8 is a schematic view showing a typical use state of a semiconductor light emitting device as an eighth embodiment of the present invention. The semiconductor light emitting device according to the present embodiment is used by being mounted on, for example, a printed wiring board using the semiconductor light emitting
[第9の実施の形態]
  本実施の形態において、基材の上に第1の実施の形態と同様にアルミニウム反射層を設ける点では他の実施の形態と変わらない。ただし、アルミニウム反射層の炭素濃度は、1×1020個/cm3以下である。[Ninth Embodiment]
 The present embodiment is the same as the other embodiments in that an aluminum reflective layer is provided on the substrate as in the first embodiment. However, the carbon concentration of the aluminum reflective layer is 1 × 1020 pieces / cm3 or less.
この半導体発光素子搭載用基板とのボンダビリティーを評価するために、金からなるボンティングワイヤーとワイヤーボンディングを行った。ここで、ワイヤーボンディングとは、リードフレーム側の電極パッドと、そのリードフレームに搭載された素子上の電極とを、電気的に接続するために、金などのワイヤーで接続することをいう。 In order to evaluate the bondability with the semiconductor light emitting element mounting substrate, a bonding wire made of gold and wire bonding were performed. Here, the wire bonding means that a lead frame side electrode pad and an electrode on an element mounted on the lead frame are connected with a wire such as gold in order to electrically connect them.
1stボンディングとは、放電によってワイヤーの先端を球状にしたものを、先にボンディングするものである。通常は、位置精度や圧着性を鑑み、素子側の電極を、1stボンディングとすることが多い。本実施の形態においては、銅の基材上に、第1の実施の形態と同様にアルミニウム反射層を設けたものに、放電によってワイヤーの先端を球状にしたものをボンディングした。 The 1st bonding is to first bond a wire whose tip is made spherical by electric discharge. Usually, the electrode on the element side is often 1st bonding in view of positional accuracy and pressure-bonding properties. In this embodiment, an aluminum reflective layer provided on a copper base material in the same manner as in the first embodiment was bonded to a wire whose tip was made spherical by electric discharge.
2ndボンディングとは、上記の素子側の電極と、上記ワイヤーで接続すべきリードフレーム側の電極との所定の位置で、ボンディングすることをいう。本実施例においては、ワイヤーの端を、銅の基材上に、第1の実施の形態と同様にアルミニウム反射層を設けたものに、こすりつける形で圧着した。 The 2nd bonding means bonding at a predetermined position between the electrode on the element side and the electrode on the lead frame side to be connected with the wire. In the present example, the end of the wire was pressure-bonded in such a manner that it was rubbed onto a copper base material provided with an aluminum reflective layer in the same manner as in the first embodiment.
表2にアルミニウム反射層中の炭素濃度と金ワイヤーとの接合強度の関係を示す。実施例11として、銅基材厚さ0.15mm上にニッケル層0.7μm、パラジウム0.05μmを湿式めっき法にて形成したものを、打ち抜きプレス加工して、厚さ0.5mmの3層ガラスエポキシ基板に、耐熱アクリル樹脂接着剤にて固定、発光装置用回路基板を形成した物である。本材料を前述の真空蒸着装置に取り付け、アルミニウム反射層を0.2μm成膜し、SIMS分析を実施した。ここでアルミニウム反射層内の炭素濃度は該アルミニウム反射層内での炭素濃度の最小濃度とした。アルミニウム反射層内の炭素濃度は3×1020個/cm3であった。Table 2 shows the relationship between the carbon concentration in the aluminum reflective layer and the bonding strength between the gold wires. In Example 11, a nickel layer of 0.7 μm and palladium of 0.05 μm formed by a wet plating method on a copper substrate thickness of 0.15 mm was punched and pressed into three layers having a thickness of 0.5 mm. A glass epoxy substrate is fixed with a heat-resistant acrylic resin adhesive, and a circuit board for a light emitting device is formed. This material was attached to the aforementioned vacuum deposition apparatus, an aluminum reflective layer was formed to a thickness of 0.2 μm, and SIMS analysis was performed. Here, the carbon concentration in the aluminum reflecting layer was set to the minimum carbon concentration in the aluminum reflecting layer. The carbon concentration in the aluminum reflective layer was 3 × 1020 pieces / cm3 .
実施例12の基材には、ポリイミド樹脂フィルム厚さ125μm全面に銅基材70μm、ニッケル層0.7μm、パラジウム0.05μmを湿式めっき法にて形成したものを耐熱アクリル樹脂接着剤で貼り合せた板材である。実施例12はアルミニウム反射層形成後、打ち抜きプレス加工で、分離部を打ち向くことで配線材を形成した。実施例12のアルミニウム反射層中の炭素濃度を同様にSIMS分析したところ、アルミニウム反射層内の炭素濃度は1×1020個/cm3であった。For the base material of Example 12, a polyimide resin film having a thickness of 125 μm and a copper base material of 70 μm, a nickel layer of 0.7 μm, and palladium of 0.05 μm formed by wet plating is bonded with a heat-resistant acrylic resin adhesive. Board material. In Example 12, after forming the aluminum reflective layer, the wiring material was formed by punching and pressing the separation part. When the carbon concentration in the aluminum reflective layer of Example 12 was similarly analyzed, the carbon concentration in the aluminum reflective layer was 1 × 1020 pieces / cm3 .
実施例13は、鉄入り銅合金にニッケル層0.7μm、パラジウム0.05μmを湿式めっき法にて形成したものを、打ち抜きプレス加工しただけのものを、真空蒸着装置に、ステンレス製(SUS304)の冶具で固定し、アルミニウム反射層を0.2μm形成した。実施例13のアルミニウム反射層内の炭素濃度は3×1019個/cm3であった。In Example 13, an iron-coated copper alloy formed by forming a nickel layer of 0.7 μm and palladium of 0.05 μm by a wet plating method, punched and pressed into a vacuum deposition apparatus made of stainless steel (SUS304) The aluminum reflective layer was formed to 0.2 μm. The carbon concentration in the aluminum reflective layer of Example 13 was 3 × 1019 atoms / cm3 .
評価基準として、1stボンディング強度は0.39N以上のシェア強度を持つ場合を○、0.39N未満を×とした。2ndボンディング強度は0.049N以上のシェア強度を持つ場合を○、0.049N未満を×とした。 As the evaluation criteria, the first bonding strength was evaluated as “◯” when the shear strength was 0.39 N or more, and “x” when less than 0.39 N. The 2nd bonding strength was evaluated as “◯” when the shear strength was 0.049 N or more, and “x” when less than 0.049 N.
表2からアルミニウム反射層の炭素濃度が3×1020個/cm3以上では接合強度が低下し、1×1020個/cm3以下にすることが良いことがわかる。From Table 2, it can be seen that when the carbon concentration of the aluminum reflective layer is 3 × 1020 pieces / cm3 or more, the bonding strength is reduced, and it is preferable to set it to 1 × 1020 pieces / cm3 or less.
なお、本実施の形態には、なお、エポキシ材を用いたことで炭素濃度が上がりボンディング性は他の実施例より悪かった。また、ボンディング性は実用的な範囲ではあったものの、アクリル接着剤等の有機材料を用いた場合もアルミニウム反射層内の炭素濃度が上昇した。ボンディング性を強く求める場合は、実施例13のように樹脂を用いずに、半導体発光素子搭載用基材を形成後、すなわち、アルミニウム反射層形成後、樹脂を用いればよい。なお、アルミニウム反射層への炭素の混入源として基材の汚れ、スパッタ時のパージガス、真空ポンプ油の逆拡散、スパッタリング法を用いた場合には、スパッタガスの不純物などさまざまな要因が考えられる。 In the present embodiment, the use of an epoxy material increased the carbon concentration, and the bondability was worse than in the other examples. Moreover, although the bondability was within a practical range, the carbon concentration in the aluminum reflective layer also increased when an organic material such as an acrylic adhesive was used. When strongly demanding the bonding property, the resin may be used after forming the substrate for mounting the semiconductor light emitting element, that is, after forming the aluminum reflective layer, without using the resin as in Example 13. Note that various factors such as impurities in the sputtering gas can be considered when the base material is contaminated as a source of carbon contamination into the aluminum reflective layer, the purge gas during sputtering, the reverse diffusion of vacuum pump oil, or the sputtering method.
ボンディングテストにはワイヤーボンダーはWEST BOND INC.のMODEL7700Dを使用し、直径25μmの金ワイヤーを使用、ボンディング条件は超音波強度350mW、超音波印加時間は100msで実施した。株式会社レスカのボンディングテスタPTR−1のシェア試験モードで実施した。SIMS測定はPHI社ADEPT1010を用い、1次イオン源としてセシウムイオンを3keVの加速エネルギーで実施した。 For bonding tests, the wire bonder is WEST BOND INC. Model 7700D was used, a gold wire with a diameter of 25 μm was used, the bonding conditions were an ultrasonic intensity of 350 mW, and the ultrasonic wave application time was 100 ms. The test was conducted in the share test mode of the bonding tester PTR-1 of Resuka Co., Ltd. The SIMS measurement was carried out using ADEPT1010 manufactured by PHI and using cesium ions as the primary ion source at an acceleration energy of 3 keV.
発明者らは、上述の通り、アルミニウム反射層中の炭素濃度が金ワイヤーとアルミニウム反射層との接合強さに多く影響を与えているという知見を得た。これは、上述した全ての実施の形態に当てはまることに注意されたい。 As described above, the inventors have found that the carbon concentration in the aluminum reflecting layer has a great influence on the bonding strength between the gold wire and the aluminum reflecting layer. Note that this applies to all the embodiments described above.
[第10の実施の形態]
  図9は本発明の第10の実施の形態を示す半導体発光装置の概略断面図である。この実施の形態の特徴は半導体発光素子6がアルミニウム反射層4の上にマウントされ、半導体発光素子6とワイヤーボンディング若しくはインナーリードボンディングするための給電用端子の基材2B、2Cにはアルミニウム反射層4がないことである。[Tenth embodiment]
 FIG. 9 is a schematic cross-sectional view of a semiconductor light emitting device showing a tenth embodiment of the present invention. The feature of this embodiment is that the semiconductor
  ワイヤーボンディング先にアルミニウム反射層4があってもよいが、アルミニウム反射層4がない場合、基材2B、2Cの表面状態を最適化することでボンディング条件の範囲が拡張され、組み立て速度や、歩留が良くなることがある。図9は半導体発光素子6の実装部分の基材2Aと基材2B,2Cに設けられためっき層(10、17、18)は同一構成の例で示したが、2A、2B、2Cの基材のめっき層の構成は異なっていても良く、別々に製作されていても構わない。また、図9は基材2A、2B、2C下部が樹脂で覆われている場合を示したが、裏面に基材2A、2B、2Cの裏面が全面または一部分が露出していても構わない。露出させたものは、更に金属製の放熱板などにはんだ付けなどで接続することで、放熱性を向上することが出来、光出力を大きくすることが出来る。また、裏面電極を有する半導体発光素子6を用いる場合は上部電極との接続に使用する給電用端子は1本以上あれば良く、上部電極と接続する給電用端子複数をワイヤーボンディング配線しても構わない。複数用いる場合、大電流駆動時や、発光装置間の配線のレイアウトが容易になる場合があり使い分けている。図9は光発光素子の電極部分と給電用端子との接続をワイヤーボンディング接続の場合を示したが、接続用のパターニングされた配線材によるインナーリードを作製し、超音波や加熱を用いたウエッジボンディングによる接続を実施しても構わない。  The aluminum
  本発明の半導体発光素子搭載用基板及びそれを使用した半導体発光装置を実施の形態として示した代表的な構成例で説明した本発明は、この構成例に限定されるものでなく、本発明の技術思想の範囲内において種々の構成が可能である。給電用端子としてワイヤーボンディング又はインナーリードボンディングされる基材2B、2Cの表面の主たる構成材料が、金、銀、パラジウム、金合金、銀合金、若しくはパラジウム合金から選択された一種又はその組み合わせでもよい。  The present invention described in the representative configuration example showing the semiconductor light emitting element mounting substrate of the present invention and the semiconductor light emitting device using the same as an embodiment is not limited to this configuration example. Various configurations are possible within the scope of the technical idea. The main constituent material of the surfaces of the
(第11〜第21の実施の形態)
  本発明に係る典型的な実施の形態である半導体発光素子搭載用基板、及び半導体発光装置の一つの主要な基本構成は、基材の半導体発光素子を搭載する面の少なくとも一部に銀層若しくは銀合金層を設けること、その銀層若しくは銀合金層の上にアルミニウム反射層を設けることにある。(11th to 21st embodiments)
 One main basic configuration of a semiconductor light-emitting element mounting substrate and a semiconductor light-emitting device according to a typical embodiment of the present invention is that a silver layer or at least a part of a surface on which a semiconductor light-emitting element is mounted is formed. It is to provide a silver alloy layer and to provide an aluminum reflective layer on the silver layer or the silver alloy layer.
この半導体発光素子搭載用基板、及び半導体発光装置のもう一つの基本構成は、基材の半導体発光素子を搭載する面の少なくとも一部に金属層を介して銀層若しくは銀合金層を設けること、その銀層若しくは銀合金層の上に金属層を介してアルミニウム反射層を設けることにある。 Another basic configuration of the semiconductor light-emitting element mounting substrate and the semiconductor light-emitting device is to provide a silver layer or a silver alloy layer via a metal layer on at least a part of the surface on which the semiconductor light-emitting element is mounted, An aluminum reflective layer is provided on the silver layer or silver alloy layer via a metal layer.
このアルミニウム反射層の厚さとしては、0.006μm以上2μm以下が好ましく、アルミニウム反射層の不純物炭素濃度が1×1014個/cm3以上1×1020個/cm3以下であることが望ましい。The thickness of the aluminum reflecting layer is preferably 0.006 μm or more and 2 μm or less, and the impurity carbon concentration of the aluminum reflecting layer is desirably 1 × 1014 atoms / cm3 or more and 1 × 1020 atoms / cm3 or less. .
銀層若しくは銀合金層は、アルミニウム反射層が十分薄い場合でも、光を反射できるよう、0.01μm以上であることが望ましい。 The silver layer or the silver alloy layer is desirably 0.01 μm or more so that light can be reflected even when the aluminum reflective layer is sufficiently thin.
基材と銀層若しくは銀合金層との間に介在する金属層としては、例えばパラジウム、金、錫、ニッケル、銅−錫合金、銅−ニッケル合金、鉄−ニッケル合金から選択された一種類又はその組み合わせが望ましい。銀層若しくは銀合金層とアルミニウム反射層との間に介在する金属層としては、例えば金が好ましく、その厚さとしては、0.1μm以下であることが好適である。 As the metal layer interposed between the base material and the silver layer or silver alloy layer, for example, one kind selected from palladium, gold, tin, nickel, copper-tin alloy, copper-nickel alloy, iron-nickel alloy or That combination is desirable. As the metal layer interposed between the silver layer or the silver alloy layer and the aluminum reflective layer, for example, gold is preferable, and the thickness is preferably 0.1 μm or less.
この基材の材料としては、例えば銅、若しくは銅合金からなる基材が電気抵抗、熱抵抗の観点からみて望ましい。基材の他の材料としては、例えば42アロイ等の鉄−ニッケル合金、鉄系フレーム材などを用いることができる。 As a material of this base material, for example, a base material made of copper or a copper alloy is desirable from the viewpoint of electrical resistance and thermal resistance. As another material of the base material, for example, an iron-nickel alloy such as 42 alloy, an iron-based frame material, or the like can be used.
この基材としては、金属部分を含んでいればよく、例えば樹脂上に銅を張り合わせた銅張り板を用いることができる。この樹脂としては、例えば基材上の銀層、若しくは銀合金層とアルミニウム反射層を形成する面とは反対側の面に形成される。このアルミニウム反射層が形成される面とは反対側の基材の表面は、有機材又は無機材との複合化された構成を含むものを用いることもできる。 As this base material, what is necessary is just to contain the metal part, for example, the copper-clad board which bonded copper on resin can be used. As this resin, for example, it is formed on the surface opposite to the surface on which the silver layer on the substrate or the silver alloy layer and the aluminum reflecting layer are formed. As the surface of the substrate opposite to the surface on which the aluminum reflective layer is formed, a substrate including a composite structure with an organic material or an inorganic material can be used.
[第11の実施の形態]
  図10を参照すると、同図において、全体を示す符号1は、第11の実施の形態である半導体発光素子搭載用基板を概略的に示している。この基板1は、基材2と、その基材2の両面に形成された銀層若しくは銀合金層3と、その銀層若しくは銀合金層3を介して基材2の一方面の半導体発光素子を搭載する個所を含む領域に形成されたアルミニウム反射層4とにより主に構成されている。[Eleventh embodiment]
 Referring to FIG. 10,
  この基材2は、金属、あるいは金属と有機材又は無機材との複合材で構成される。その金属材料としては、制限されることはないが、最も汎用性の高い基材は、銅又は銅合金からなる金属リードフレームである。  This
  この基材2として銅板を使用する場合は、その厚さに制限はないが、コストを加味して厚さが選定される。その量産化を考慮すると、銅板のフープ材が好ましいが、短尺のシート材や個別材も使用できる。  When a copper plate is used as the
  この基材2として複合材を使用する場合は、樹脂材上に銅板が張り合わされた銅張板やその積層板を使用することができる。この樹脂材としては、硬質の板状のもの、又は薄い可撓性を有するものが使用できる。その代表的な一例としては、それぞれガラスエポキシ基板(ガラス布基材樹脂板)やポリイミド樹脂系等が挙げられる。  When using a composite material as this
  このアルミニウム反射層4は、減圧圧力調整機能を有する蒸着装置を用い、バッチ処理、若しくは連続処理等により製造される。このアルミニウム反射層4の厚さとしては、反射率の観点から0.006μm以上であることが好ましい。また、経済的な観点から2μm以下が妥当である。  The aluminum
  以下に、半導体発光素子搭載用の基板1の製造方法について説明する。この製造に際しては、先ず、基材2として銅板を用意した。基材2に銅板を使用する場合は、基材2は、例えば長さ100m×幅50mm×厚さ0.2mmの寸法とし、銀層の厚さは、0.02μmとし、アルミニウム反射層4の厚さは、例えば0.05μmの寸法とした。  Below, the manufacturing method of the board |
  次に、基材2の両面に銀層若しくは銀合金層3を湿式めっき法で製作した。銀めっきにはシアン化銀めっき浴を用いるのが一般的であるが、ノンシアン浴を用いてもよい。めっきの際は、有機光沢材の添加、少量の金属塩(アンチモン、ニッケル、コバルト、錫、セレン等)の添加による光沢度を向上させることがある。また、めっき浴に、銀塩を加えるとともに、シアン化金カリウム等の金めっき原料を加えることで、銀合金めっきを行うことができる。同様に、白金、パラジウム、ロジウム、ニッケル、インジウム等の化合物塩を加えることで、銀合金めっきを行い、銀合金層に用いることがある。  Next, the silver layer or the
  次に、抵抗加熱式/バレル式の真空蒸着装置を用いて、銀層若しくは銀合金層3の片面にアルミニウム反射層4を成膜した。具体的には、基材2を50mm×150mmの短尺材となるように16枚に切断し、切断した基材2を半径300mmの傘状の治具上に放射状に並べ、これをバレルに3基セット配置した。そして、アルミニウムの蒸着源として抵抗加熱源(出力1kW)を使用し、真空度を2×10−4Paまで排気して、アルミニウム反射層4を厚さ0.05μm成膜した。Next, the aluminum
  アルミニウムの蒸着源としては、ロードロック方式において電子ビーム方式を使い、カーボン坩堝を用いてもよい。耐久性の良いカーボン坩堝等を適宜最適化することで安定した蒸着を連続して行うことができる。この第11の実施の形態では、真空蒸着装置に自作機を用いたが、ロードロック方式の蒸着機等の市販の蒸着装置を使用してもよい。また、フープ材に蒸着できる連続式蒸着装置でも構わない。真空蒸着装置は、膜質、生産性等を総合的に考慮し、適宜選択すればよい。更に、アルミニウム反射層4の形成方式は、蒸着方式でなくてもよく、例えばイオンプレーティング法、スパッタリング法、クラッド法等を用いることができる。  As an aluminum evaporation source, an electron beam method may be used in a load lock method, and a carbon crucible may be used. Stable vapor deposition can be continuously performed by appropriately optimizing a durable carbon crucible or the like. In the eleventh embodiment, a self-made machine is used as the vacuum vapor deposition apparatus, but a commercially available vapor deposition apparatus such as a load lock type vapor deposition apparatus may be used. Further, a continuous vapor deposition apparatus capable of vapor deposition on the hoop material may be used. A vacuum deposition apparatus may be selected as appropriate in consideration of film quality, productivity, and the like. Furthermore, the formation method of the aluminum
  このアルミニウム反射層4の膜厚測定は、SIMS分析により行った。アルミニウム反射層表面からアルミニウム反射層直下の下地層の主たる構成元素が、該下地層中における最大強度の1/2の信号強度となるところまでの厚さをアルミニウム反射層の膜厚とした。下地層が銀である場合は、銀の信号強度を用いることになる。  The thickness of the aluminum
(アルミニウム反射層の評価)
  このアルミニウム反射層4についての比較と評価を行った。実施例21〜25、及び比較例21〜24におけるアルミニウム反射層4の厚さに対する初期反射率、及び耐硫化特性を下記の表3にまとめて示す。(Evaluation of aluminum reflective layer)
 The aluminum
  これらの初期反射率及び耐硫化特性を確認するにあたり、先ず、下記の表3に示す実施例21〜25、並びに比較例21及び22のように、厚さを7通りに変えたアルミニウム反射層4を上述の製造方法で作製し、波長が460nmでの初期反射率を測定した。この波長において、硫酸バリウムの反射率を100%とし、初期反射率が70%以上を特に良好とし、下記表3に○印で表した。一方、初期反射率が90%未満を不良とし、下記表3に×印で表した。  In confirming these initial reflectivity and anti-sulfurization characteristics, first, the aluminum
  下記表3から明らかなように、アルミニウム反射層4が非常に薄い場合、即ちアルミニウム反射層4の厚さが0.006μm未満である比較例21及び22のものは、下地層の金属の反射率(ここでは、銀)に影響を受け、初期反射率が良好であった。  As apparent from Table 3 below, when the aluminum
  この耐硫化特性においては、下記表3に示す実施例21〜25の厚さを有するアルミニウム反射層4を形成したサンプルについて、3ppmのH2S(硫化水素)を雰囲気温度40℃、湿度80%の条件下で、96時間噴霧した(JIS H8502 めっきの耐食性試験方法に準拠した試験を行った)。この耐硫化特性は、下記表3において、初期反射率と96時間硫化後の初期反射率の比として表した。In this resistance to sulfuration, 3 ppm of H2 S (hydrogen sulfide) was applied to a sample in which the aluminum
  下記表3から明らかなように、アルミニウム反射層4の厚さが0.006μm以上である実施例21〜25のものは、初期反射率に対して80%以上の高い耐硫化特性が得られた。  As is apparent from Table 3 below, those of Examples 21 to 25 in which the thickness of the aluminum
  下記表3において、アルミニウム反射層4に代えて、基材2上に銀層のみ3μmを設けた比較例23のものは、初期反射率が93%と良好であったが、耐硫化特性については、耐硫化試験後の反射率が29%と大きく低下し、初期反射率と耐硫化特性とが両立しなかった。一方、基材2上にニッケル層(0.7μm)、及びパラジウム層(0.05μm)を設けた比較例24のものでは、耐硫化特性は良好であるものの、初期反射率が63%と低くなり、比較例23と同様に、初期反射率と耐硫化特性とが両立しないことが分かった。  In Table 3 below, in place of the aluminum
  これらの結果から総合すると、半導体発光素子搭載用の基板1として求められる特性として、初期反射率、及び耐硫化特性(即ち、硫化されうる環境下での使用後の反射率)の両方が良好であることが確認されたのは、アルミニウム反射層4の厚さが0.006μm以上のものであった。初期反射率と耐硫化特性との両立を実現することができる。好ましくは、初期反射率が90%以上であり、耐硫化特性が80%以上であるという条件を満たすことが望ましい。  From these results, as a characteristic required for the
  この基板1にワイヤーボンディングを行うためにアルゴンプラズマ洗浄を行い、その後、金ワイヤーをボンディングし、アルミニウム反射層4の膜厚0.006μm以上の基板1に対して硫化試験を行ったところ、反射率の低下はほとんど見られなかった。この結果から表面洗浄に対する耐性は強く、劣化や剥がれの心配がないことが分かった。  In order to perform wire bonding on the
(第11の実施の形態の効果)
  この第11の実施の形態によれば、基材2の表面に銀層若しくは銀合金層3を介してアルミニウム反射層4を形成しているので、硫化せずに長期間に亘り高く、かつ、安定した反射特性を有する半導体発光素子搭載用基板、及びそれを使用した半導体発光装置が実現できる。これは、アルミニウムの反射率が紫外線領域では銀の3倍以上と高く、紫色、赤色、赤外線に対しては銀に近い反射率を有しており、金属の中では色のバランスが良く、銀に次ぐ高反射率を有しており、かつ、銀に比較して硫化が起こりにくい特性を有するからである。(Effect of 11th Embodiment)
 According to the eleventh embodiment, since the aluminum
なお、上記第11の実施の形態から得られる効果は、次の各実施の形態においても得られる。以下に、図11〜図19、及び表4を参照しながら、第12〜第21の実施の形態について具体的に説明する。 The effects obtained from the eleventh embodiment can also be obtained in the following embodiments. The twelfth to twenty-first embodiments will be specifically described below with reference to FIGS. 11 to 19 and Table 4.
[第12の実施の形態]
  図11を参照すると、図11には、第12の実施の形態である半導体発光装置が概略的に示されている。同図において、全体を示す符号5は、図10に示す半導体発光素子搭載用の基板1を使用した半導体発光装置を示している。図示例による半導体発光装置5は、図10に示す基板1を二組一対の金属リードフレームとして用いている。この一対の基板1は、基材2、銀層若しくは銀合金層3、及びアルミニウム反射層4により主に構成されており、略同一面上に近接して配置されている。[Twelfth embodiment]
 Referring to FIG. 11, a semiconductor light emitting device according to the twelfth embodiment is schematically shown in FIG. In the figure,
  これらの基板1のうち、一方の基板1のアルミニウム反射層4上には、図11に示すように、半導体発光素子(LEDチップ)6が搭載されている。他方の基板1のアルミニウム反射層4上には、半導体発光素子6と接続するボンティングワイヤー7が接合して配置されている。  Among these
  この半導体発光装置5には、図11に示すように、一対のアルミニウム反射層4,4及び半導体発光素子6を除いて、一対の基材2,2の側面同士が近接している部分を包囲する樹脂製の外囲器部分8が形成されている。この外囲器部分8は、基材2から離れる方向に末広がり状に形成された傾斜面8bにより開口した凹部8aを有している。この凹部8a内には、半導体発光素子6を封止する光透過性樹脂が充填されており、光透過性樹脂部9が形成されている。この光透過性樹脂部9は、外囲器部分8の一部を構成している。この光透過性樹脂部9に蛍光体材料、例えばYAGなどを混ぜることで、半導体発光素子6を460nmのGaN系LEDからなる擬似白色LED装置として用いることができる。  As shown in FIG. 11, the semiconductor
  なお、外囲器部分8は、基材2から離れる方向に末広がり状に形成された傾斜面8bをもつ凹部8aを有しているが、図示例に限定されるものではなく、例えば傾斜面8bに代えて、基材2に対して起立する垂直面で形成される凹部であってもよい。また、アルミニウム反射層4は、外囲器部分8の内側の略全面か、若しくは一部を除いた残りの部分に形成されていればよい。その理由は、半導体発光素子6から放射された光が外囲器部分8内で反射されればよいためである。  The
  このアルミニウム反射層4を形成する具体的な方法としては、以下の様々な方法があり、それらの何れを用いてもよい。
(1)アルミニウム反射層4の形成時の成膜装置により、外囲器部分8の領域以外を遮蔽する機能を設ける方法。
(2)基材2の全面にアルミニウム反射層4を成膜した後、外囲器部分8の領域をテーピング、若しくはフォトリソプロセス等によりマスキングし、その後、アルミニウムをエッチング除去する方法。Specific methods for forming the aluminum
 (1) A method of providing a function of shielding areas other than the region of the
 (2) A method in which after the aluminum
(第12の実施の形態の効果)
  かかる構成の半導体発光装置5によれば、外囲器部分8の凹部8aの底面に位置するアルミニウム反射層4,4の存在によって、半導体発光素子6から放出された光がアルミニウム反射層4,4の反射作用で凹部8aの開口側に反射され、半導体発光素子6からの光量を増やす効果を奏する。このアルミニウム反射層4は、上述のように、良好な耐硫化特性を持つことから、高反射率を長時間に亘り維持することができる。(Effect of 12th Embodiment)
 According to the semiconductor
[第13の実施の形態]
  図12には、第13の実施の形態である半導体発光素子搭載用基板が概略的に示されている。同図において、上記第11の実施の形態と異なるところは、銀層若しくは銀合金層3上に金フラッシュめっき層10を介してアルミニウム反射層4を形成した基板1にある。図示例にあっては、基板1は、基材2の両側全面に銀層若しくは銀合金層3,3、及び金フラッシュめっき層10,10を順次湿式めっき法により形成し、基材2の一方側の金フラッシュめっき層10上の一部にアルミニウム反射層4を形成している。[Thirteenth embodiment]
 FIG. 12 schematically shows a substrate for mounting a semiconductor light emitting element according to a thirteenth embodiment. In the figure, the difference from the eleventh embodiment is a
  基材2の両面に銀層若しくは銀合金層3,3、及び金フラッシュめっき層10,10を順次形成する理由の一つは、基材2と半導体発光装置を実装するプリント配線基板とのはんだ濡れ性の確保、即ちはんだ接続性の向上を図るためである。実装する素子によって適宜に設定することはできるが、銀層若しくは銀合金層3の厚さを1.0〜5μmの寸法とし、金フラッシュめっき層10の厚さを0.1μm以下の寸法とすることが好適である。アルミニウム反射層4の厚さとしては、耐硫化特性の観点から0.006μm以上2μm以下が好ましい。  One of the reasons for sequentially forming the silver layer or
  このアルミニウム反射層4の製造方法は、減圧機能を有する蒸着装置で、バッチ処理若しくは連続処理等により行われる。銀層若しくは銀合金層3は、湿式めっき法や真空蒸着等の乾式どちらにおいても、半導体発光装置に必要な品質のめっき層を得ることができる。湿式めっきの方が、材料の6面全面にコーティングでき、かつ、低コストで製作できることが多く、銀層若しくは銀合金層3としては湿式めっきによって形成するのが望ましい。  The aluminum
  なお、銀層若しくは銀合金層3、及び金フラッシュめっき層10の湿式めっき法で成膜した下地層の膜厚は、めっき時の電流値を積算することによって算出を行った。  In addition, the film thickness of the foundation layer formed into a film by the wet plating method of the silver layer or the
(第13の実施の形態の効果)
  この第13の実施の形態によれば、アルミニウムを反射層として用いることで良好な耐硫化特性を確保することができる。更に、0.006μm以上の厚みを有するアルミニウム反射層4を用いることで、良好な耐久性が得られ、高い反射率を維持できるという効果に加えて、以下の効果を奏する。(Effect of 13th Embodiment)
 According to the thirteenth embodiment, good sulfidation resistance can be ensured by using aluminum as the reflective layer. Furthermore, by using the aluminum
  即ち、上述の数値範囲の銀層若しくは銀合金層3は、基材2の主たる材料である銅の拡散を防止することができること、上述の数値範囲の金フラッシュめっき層10は、はんだ濡れ性の向上と長期的な保管を可能にすること等の新たな効果を奏する。この第13の実施の形態のような基板構造とすることで、はんだ付けに適した基板1が効果的に得られる。  That is, the silver layer or
[第14の実施の形態]
  図13を参照すると、図13には、図12に示す基板1を使用した第14の実施の形態である半導体発光装置5が概略的に示されている。この半導体発光装置5にあっても、図11に示す第12の実施の形態における外囲器部分8、及び光透過性樹脂部9を有している。[Fourteenth embodiment]
 Referring to FIG. 13, FIG. 13 schematically shows a semiconductor
  半導体発光装置5を製造するにあたり、基材2として銅板を使用する場合は、例えば長さ100m×幅50mm×厚さ0.2mmの長尺の銅板を準備し、基材2の表面に銀層若しくは銀合金層3を厚さ3μmに、金フラッシュめっき層10を厚さ0.01μmに順次湿式めっき法により作製する。更に、金フラッシュめっき層10上のはんだ接続に用いる部分を残して、反射膜として使用する部分にアルミニウム反射層4を部分蒸着する。これにより、金フラッシュめっき層10のはんだ接続部には、アルミニウムがなく、金フラッシュめっき層10の反射に用いる部分にはアルミニウム反射層4が存在する材料を得る。その後、プレスやエッチングにより、基材2を半導体発光素子搭載用のフレーム形状に作製する。  In manufacturing the semiconductor light-emitting
  次に、一対の基板1,1を略同一面上に近接して配置する。一対の基材2,2の近接している部分を包囲し、半導体発光素子6の周辺をくり貫いてある凹部8aを持つ樹脂製の外囲器部分8を形成する。次に、アルミニウム反射層4上に半導体発光素子6を導電性ペースト材で搭載し、半導体発光素子6の表面電極とリードフレーム(基板1)とを金からなるボンティングワイヤー7により接続する。最後に、外囲器部分8の凹部8a内に半導体発光素子6を被覆するように光透過性樹脂(シリコン樹脂等)を充填して外囲器部分8の一部となる光透過性樹脂部9を形成する。  Next, the pair of
  この第14の実施の形態では、基板1を作製した後、所定形状にプレスやエッチングを用いて成形する一例を説明したが、後めっき法とすることも可能である。即ち、基材2を所定形状に成形した後、湿式めっき法によって基材2上に銀層若しくは銀合金層3、及び金フラッシュめっき層10の各層、真空蒸着法などの乾式めっき法でアルミニウム反射層4を形成することも可能である。更に、基材2については、銅からなる場合について説明したが、樹脂などの上に銅配線を設けたものを用いることができる。また、用途、コスト等から、他の金属基材、例えば鉄系の42アロイ合金等を用いてもよい。また、プリント配線板やフレキシブル配線板形成工程により、配線を形成した上にアルミニウム反射層4を形成して用いることができる。このように、目的、構造、材料(銅板もしくは可撓性のあるフレキシブル樹脂基材)によって、形状の作製(打ち抜き加工、曲げ加工、張り出し加工等による形状の作製)、めっき、蒸着の順番は変更することができる。  In the fourteenth embodiment, an example of forming the
  搭載する半導体発光素子6としては、例えばGaAs−Si−LED、AlGaAs−LED、GaP−LED、AlGaInP−LED、InGaN−LED等のLEDチップを搭載することができる。また、図13に示した半導体発光素子6は、上面と下面の電極を形成した縦方向素子を例示したが、これに限定されることなく、同一面に一対の電極を形成するプレーナー構造のLED(例えば、GaN系)であってもよい。電極が同一面に形成されるプレーナー構造の場合は、電極面を表面側(図13では、上側)に向けて、カソード、アノード共に、ワイヤーボンディングを実施する場合と、電極面を下(リードフレーム側)に向け直接接続する所謂フリップチップ実装方式があるが、いずれの実装方式も用いることができる。金ワイヤーボンディングの代わりに、銅系のワイヤーボンディングやアルミニウムからなるワイヤーボンディングであってもよい。  As the semiconductor
  更に、この第14の実施の形態では、金フラッシュめっき層10を施したものを使用したが、金に関しては比較的ラフなピッチ(例えば、0.5mmピッチの場合)、即ち高い精密度を問わない場合は、金フラッシュめっき層10がなくとも高い歩留まりが与えられるため、金フラッシュめっき層10を除外することが可能である。  Further, in the fourteenth embodiment, the one provided with the gold
(第14の実施の形態の効果)
  かかる構成の半導体発光装置5によれば、外囲器部分8に形成される凹部8aの底面に位置する一対のアルミニウム反射層4,4の存在によって、図11に示した半導体発光装置5と同様に、半導体発光素子6から放出された光が一対のアルミニウム反射層4,4によって凹部8aの開口側に反射され、半導体発光装置5からの光量を増やす効果を奏する。また、アルミニウム反射層4は良好な耐硫化特性を持つことから、高反射率を長時間に亘り維持することができる。更に、基材2とアルミニウム反射層4との間に銀層若しくは銀合金層3、及び金フラッシュめっき層10からなる中間層が介在しているため、実装時のPbフリーはんだ材との濡れ性の向上が図れる。(Effect of 14th Embodiment)
 According to the semiconductor
[第15の実施の形態]
  図14には、第15の実施の形態である半導体発光素子搭載用基板が概略的に示されている。この第15の実施の形態は、図12に示す第13の実施の形態である基板1の変形例であり、上記第13の実施の形態に係る基板1と基本的な構成において変わるところはない。[Fifteenth embodiment]
 FIG. 14 schematically shows a semiconductor light emitting element mounting substrate according to the fifteenth embodiment. The fifteenth embodiment is a modification of the
  上記第13の実施の形態と大きく異なるところは、図14(a)に示すように、基材2の一方面に銀層若しくは銀合金層3、及び金フラッシュめっき層10を順次形成し、金フラッシュめっき層10上の一部にアルミニウム反射層4を形成した構成例にあり、図14(b)に示すように、基板1の一側端部分を金フラッシュめっき層10側に略90度折り曲げた構成例にある。  A significant difference from the thirteenth embodiment is that a silver layer or a
  上記第13の実施の形態と大きく異なる他の構成例としては、図14(c)に示すように、基材2の全面に銀層若しくは銀合金層3、及び金フラッシュめっき層10を形成し、その金フラッシュめっき層10の全面にアルミニウム反射層4を形成し、基板1の一側端部分を金フラッシュめっき層10側に180度折り曲げた構成例にあり、図14(d)に示すように、基材2の一方面にアルミニウム反射層4を直接形成し、基材2の他方面に銀層若しくは銀合金層3、及び金フラッシュめっき層10を形成した構成例にある。  As another structural example that is significantly different from the thirteenth embodiment, as shown in FIG. 14C, a silver layer or a
  図14(a)に示す基板1は、銅からなる基材2の片面に銀層若しくは銀合金層3をめっき法で厚さ3μmに、金フラッシュめっき層10を厚さ0.1μmに順次形成した後、金フラッシュめっき層10の一部上面にアルミニウム反射層4を蒸着法により形成している。なお、この構成例のように銅の基材2上に銀若しくは銀合金、金、アルミニウムを順次積層する場合は、アルミニウム反射層4以外は湿式めっき法を用いることができる。アルミニウム反射層4については、現在は湿式めっき法では容易にはめっきが行えないため、真空蒸着法を採用するとよい。他の方法としては、例えば不活性ガス中でのスパッタリング法を用いることができる。また、コスト、プロセス工程の簡素化等の観点から、これらの方法を複数用いてもよい。  In the
  図14(b)に示す基板1は、基材2に銀層若しくは銀合金層3をめっき法で厚さ2μmに、金フラッシュめっき層10を厚さ0.1μmに順次形成した後、金フラッシュめっき層10の一部表面にアルミニウム反射層4を形成して構成する。図14(c)に示す基板1は、基材2に銀層若しくは銀合金層3をめっき法で厚さ1.5μmに、金フラッシュめっき層10を厚さ0.1μmに順次形成した後、金フラッシュめっき層10の全面にアルミニウム反射層4を形成して構成する。  A
  図14(b)及び(c)に示す構成例は、半導体発光素子6をアルミニウム反射層4の上面に搭載し、基材2の下面、若しくは側面にワイヤーボンディングを施す使い方を想定している。より具体的には、基材2を折り曲げる場合に適用が可能な構成である。なお、この第15の実施の形態では、基材2の裏面にワイヤーボンディングを実施しているが、目的によって裏面が銀層若しくは銀合金層3、金フラッシュめっき層10等が被覆されていても構わない。  The configuration example shown in FIGS. 14B and 14C assumes a usage in which the semiconductor
  図14(d)に示す基板1は、銀層若しくは銀合金層3、及び金フラッシュめっき層10を基材2の片面のみに施している。そのため、これらの金属の使用量を抑えることができる。基材2の片面のみをめっきする場合は、2つの基材2,2を貼り合わせてめっき工程に流し、その後に分離することでマスク材を必要とせずに実現できる。アルミニウム反射層4は、上述したように厚みによっては下地層による反射率の影響を受けやすくなるため、0.006μm以上2μm以下とすることが好ましい。基材2の全面にアルミニウム反射層4を直接形成しているが、基材2の表面にアルミニウム反射層4を部分的に直接形成する構造にしてもよい。  A
(第15の実施の形態の効果)
  この第15の実施の形態にあっても、上記第13の実施の形態と同様の効果が得られる。それに加えて、図示例による基板1を形成した後、その端部(基板接続リード、アウターリードとも呼ぶ)を所定形状に加工して使用することができる。その一例としては、例えば基板1の外囲器部分8から露出する部分(アウターリード)の下面をプリント配線基板の上面に接触するように曲げ加工して基板1と接続する際に用いることができる。即ち、基板1の中央部分はアルミニウム反射層4として用い、基板1の端部の下面はアウターリードとして金フラッシュめっき層10側の面がプリント配線基板に接続される。(Effect of 15th Embodiment)
 Even in the fifteenth embodiment, the same effect as in the thirteenth embodiment can be obtained. In addition, after the
[第16の実施の形態]
  図15を参照すると、図15には第16の実施の形態である半導体発光素子搭載用基板が概略的に示されている。同図において、上記各実施の形態と大きく異なるところは、基材2の両面又は一方面に、パラジウム(Pd)、金(Au)、錫(Sn)、ニッケル(Ni)、銅(Cu)−錫(Sn)合金、銅(Cu)−ニッケル(Ni)合金から選ばれた金属層11を形成し、この金属層11、又は基材2上に銀層若しくは銀合金層3を形成し、その銀層若しくは銀合金層3上にアルミニウム反射層4を形成した構成にある。[Sixteenth embodiment]
 Referring to FIG. 15, FIG. 15 schematically shows a semiconductor light emitting element mounting substrate according to the sixteenth embodiment. In the same figure, the difference from the above embodiments is that palladium (Pd), gold (Au), tin (Sn), nickel (Ni), copper (Cu)- A
  この基板1の構成例としては、図15(a)に示すように、基材2の両面に金属層11を形成し、一方面の金属層11の全面に銀層若しくは銀合金層3を形成し、その銀層若しくは銀合金層3の一部表面にアルミニウム反射層4を形成した構成例があり、図15(b)に示すように、基材2の一方面に金属層11を形成し、金属層11の全面に銀層若しくは銀合金層3を形成し、その銀層若しくは銀合金層3の一部表面にアルミニウム反射層4を形成した構成例がある。この基板1の他の構成例としては、図15(c)に示すように、基材2の一方面に金属層11を形成し、基材2の他方面に銀層若しくは銀合金層3を形成し、その銀層若しくは銀合金層3の全面にアルミニウム反射層4を形成した構成例がある。  As a configuration example of the
(第16の実施の形態の効果)
  この第16の実施の形態にあっても、上記第11の実施の形態と同様の効果が得られる。この金属層11の構成成分であるパラジウムは、銅より酸化防止効果があり、はんだに用いられる錫と馴染む利点を有する。一方の錫は、若干酸化しやすいものの、はんだ付けしやすく廉価であるという利点がある。金属層11の構成成分であるニッケルは、銅の拡散を抑える効果や、硬さを増す利点があり、金属層11の構成成分である銅−錫合金は、銅より酸化しにくく、錫と銅と比較して錫と馴染みやすい利点がある。金属層11の構成成分である銅−ニッケル合金は、ニッケルより錫と馴染みやすい利点がある。これらの点を踏まえ、使用条件・製造条件によって、金属層11として最適な材料を選択することができる。(Effect of 16th Embodiment)
 Even in the sixteenth embodiment, the same effect as in the eleventh embodiment can be obtained. Palladium, which is a constituent component of the
[第17の実施の形態]
  図16には、第17の実施の形態である半導体発光素子搭載用基板が概略的に示されている。この第17の実施の形態にあっても、上記第13及び第14の実施の形態に係る基材2、銀層若しくは銀合金層3、アルミニウム反射層4、及び金フラッシュめっき層10と基本的な構成において変わるところはない。図示例においては、この基板1の基本構成は、アルミニウム反射層4、又は金フラッシュめっき層10上に金めっき層12を1箇所、若しくは複数箇所に形成したことにある。[Seventeenth embodiment]
 FIG. 16 schematically shows a substrate for mounting a semiconductor light emitting element according to a seventeenth embodiment. Even in the seventeenth embodiment, the
  この基板1の一例としては、図16(a)に示すように、アルミニウム反射層4上の一部表面に金めっき層12を形成した構成例があり、図16(b)に示すように、金フラッシュめっき層10の一部表面に部分形成したアルミニウム反射層4とは同一面上に金めっき層12を形成した構成例がある。  As an example of this
  この基板1の一例としては更に、図16(c)に示すように、金フラッシュめっき層10の一部表面に部分形成したアルミニウム反射層4上の全面に金めっき層12を形成した構成例があり、図16(d)に示すように、金フラッシュめっき層10、及び金フラッシュめっき層10の一部表面に部分形成したアルミニウム反射層4の全面に金めっき層12を形成した構成例がある。  As an example of the
(第17の実施の形態の効果)
  この第17の実施の形態にあっても、上記第11の実施の形態と同様の効果が得られる。(Effect of 17th Embodiment)
 Even in the seventeenth embodiment, the same effect as in the eleventh embodiment can be obtained.
[第18の実施の形態]
  図17を参照すると、図17には、上記第7の実施の形態である半導体発光素子搭載用基板1のうち、図16(a)に示す基板1を用いた半導体発光装置の一例が概略的に示されている。図17に示す半導体発光装置5にあっても、一対の基板1,1は、略同一面上に近接して配置されている。金めっき層12には、半導体発光素子6と電気的に接続するボンティングワイヤー7が接合して配置されている。残余の構成は、上記各実施の形態と変わるところはない。[Eighteenth embodiment]
 Referring to FIG. 17, FIG. 17 schematically shows an example of a semiconductor light emitting device using the
  上記第17及び第18の実施の形態では、基材2の全面に銀層若しくは銀合金層3、及び金フラッシュめっき層10を順次形成しているが、これに限定されることはない。上述した各実施の形態で述べたように、単層の金属層11を形成するもの、基材2にアルミニウム反射層4を直接形成する場合にも適用することができる。  In the seventeenth and eighteenth embodiments, the silver layer or
(第18の実施の形態の効果)
  この第18の実施の形態にあっても、上記第11の実施の形態と同様の効果が得られる。上記第17及び第18の実施の形態における金めっき層12は、アルミニウム反射層4上に搭載する半導体発光素子6の電気的接続に利用することができる。図16(c)及び図16(d)に示す基板構成では、金めっき層12が厚くなるほど、短波長側(青色)側の反射率が低下するが、金ワイヤーの接続性が良くなる。用途に応じ、反射率を加味して金めっき層12の構造を決めるとよい。なお、ここでは、各めっき層(3、10、12)は湿式めっき法で形成したが、他の方式で形成してもよい。(Effect of 18th Embodiment)
 Even in the eighteenth embodiment, the same effect as in the eleventh embodiment can be obtained. The
[第19の実施の形態]
  図18を参照すると、図18には第19の実施の形態である半導体発光装置の代表的な使用状態が示されている。この半導体発光装置5は、上記第11乃至第18の実施の形態に係る半導体発光素子搭載用基板1を用いた半導体発光装置であり、例えばプリント配線基板13に実装して使用される。プリント配線基板13に実装するために、基板1は、外囲器部分8の側面から外部へ向けて直線状に伸びる部分(アウターリード)20をプリント配線基板13側に折曲形成した第1の折曲部21と、プリント配線基板13に対して水平に折曲形成した第2の折曲部22とを有している。この第2の折曲部22は、外囲器部分8の下面と略同一面となる部分、外囲器部分8の下面より下方、又は外囲器部分8の上面よりも上方に位置する部分を形成している。この第2の折曲部22は、はんだ14によりプリント配線基板13の配線15に接着されている。アウターリード20は、半導体発光素子搭載用基板1の一部である。[Nineteenth embodiment]
 Referring to FIG. 18, FIG. 18 shows a typical usage state of the semiconductor light emitting device according to the nineteenth embodiment. The semiconductor
  このアウターリード20は、各めっき層(3、10、12)を含んでいる。このアウターリード20の一例としては、図18(a)に示すように、アウターリード20の中間部を外囲器部分8の凹部8aの開口側とは反対側に略90度に折り曲げた第1の折曲部21と、外囲器部分8から離れる水平方向に略90度に折り曲げた第2の折曲部22とを有するアウターリードからなり、このアウターリード20の第2の折曲部22を外囲器部分8の凹部8aの底面側の下面と略同一面に折曲形成した構成例がある。  The
  このアウターリード20の他の一例としては、図18(b)に示すように、第2の折曲部22を外囲器部分8の凹部8aの開口側とは反対側の下面に沿って折曲形成した構成例があり、図18(c)に示すように、アウターリード20の中間部を外囲器部分8の凹部8aの開口側とは同一方向に略90度に折り曲げた第1の折曲部21と、外囲器部分8に接近する水平方向に略90度に折り曲げた第2の折曲部22とを有するアウターリードからなり、このアウターリード20の第2の折曲部22を外囲器部分8の凹部8aにおける開口側の上面に沿って折曲形成した構成例がある。図18(c)に示す構成例は、プリント配線基板13に光透過穴を開けてプリント配線基板13側に光を取り出す場合、若しくはプリント配線基板13にガラスや透明樹脂などの光透過性材料を用い、プリント配線基板13側に光を取り出す場合に用いられる。  As another example of the
(第19の実施の形態の効果)
  この第19の実施の形態にあっても、上記第11の実施の形態と同様の効果が得られることに加えて、このアウターリード20の折曲形態としては、図示例に限定されるものでなく、半導体発光装置5が使用される用途毎に相応しい各種の形状を採用することができる。(Effects of the nineteenth embodiment)
 Even in the nineteenth embodiment, in addition to obtaining the same effect as in the eleventh embodiment, the bent form of the
[第20の実施の形態]
  この第20の実施の形態においては、基材2上に銀層若しくは銀合金層3を介してアルミニウム反射層4を設けた点では、図10に示す第11の実施の形態と変わるところはない。この第20の実施の形態に係る基板1の構成は、アルミニウム反射層4の炭素濃度を1×1020個/cm3以下に設定した点で、上記第1の実施の形態とは異なっている。[20th embodiment]
 In the twentieth embodiment, there is no difference from the eleventh embodiment shown in FIG. 10 in that the
  この第20の実施の形態に係る基板1とのボンダビリティーを評価するために、金からなるボンティングワイヤーとワイヤーボンディングを行った。ここで、ワイヤーボンディングとは、リードフレーム側の電極パッドと、そのリードフレームに搭載された素子上の電極とを電気的に接続するために、金などのワイヤーで接続することをいう。通常、半導体素子と本件のようなリードフレーム材料との実装技術において、電気的接続方式としてワイヤーボンディングが一般的であり、近年、一部の素子実装技術にフリップチップのボールバンプ接続なども行われるようになってきたが、金、銀、銅、アルミニウムなどの金属ワイヤーでのボンディングによる接続が行われている。  In order to evaluate bondability with the
  1stボンディングとは、放電によってワイヤーの先端を球状にしたもの(ワイヤーボール)を先にボンディングするものである。通常は、位置精度や圧着性を鑑み、素子側の電極を1stボンディングとすることが多い。この第20の実施の形態においては、ワイヤーボンダーに、WEST BOND INC.のMODEL7700Dを使用し、直径25μmの金ボンティングワイヤーを使用した。ボンディング条件としては、ワイヤボール径を70μm、加重を100g、超音波強度350mW、超音波印加時間100msで実施した。上記第11の実施の形態と同様に、銅の基板上にアルミニウム反射層4を設けたものに、放電によってワイヤーの先端を球状にしたものをボンディングした。  The 1st bonding is to first bond a wire whose tip is made spherical by a discharge (wire ball). Usually, the electrode on the element side is often set to 1st bonding in consideration of positional accuracy and pressure-bonding property. In the twentieth embodiment, WEST BOND INC. Is attached to the wire bonder. Model 7700D was used, and a gold bonding wire having a diameter of 25 μm was used. As bonding conditions, the wire ball diameter was 70 μm, the weight was 100 g, the ultrasonic intensity was 350 mW, and the ultrasonic wave application time was 100 ms. Similar to the eleventh embodiment, the
  2ndボンディングとは、上記の素子側の電極に1stボンディングを実施した後、上記ワイヤーで接続すべきリードフレーム側の電極に、ステッチボンディングすることをいう。ステッチボンディングとは、ワイヤーが繋がった状態において、ボール形成等、ワイヤー形状を加工できないため、そのまま、基材に圧接、引張切断することをいう。1stボンディングと2ndボンディングを連続して実施することで、ワイヤー接続は完成される。この第10の実施の形態においては、上記第11の実施の形態と同様に、ワイヤーの先端を、銅からなる基板1上にアルミニウム反射層4を設けたものにこすりつける形で圧着した。  The 2nd bonding refers to performing stitch bonding to the electrode on the lead frame side to be connected with the wire after performing first bonding on the electrode on the element side. Stitch bonding means that the wire shape cannot be processed, such as ball formation, in a state where the wires are connected, so that the substrate is pressed and tensile cut as it is. Wire connection is completed by performing 1st bonding and 2nd bonding continuously. In the tenth embodiment, as in the eleventh embodiment, the tip of the wire was crimped in such a manner that it was rubbed against a
  下記の表4にアルミニウム反射層4中の炭素濃度と、金からなるボンティングワイヤー7との接合強度の関係を示す。  Table 4 below shows the relationship between the carbon concentration in the aluminum
  下記表4に示す実施例26は、厚さ125μmのポリイミド樹脂フィルムの全面に厚さ70μmの銅からなる基材2、厚さ2μmの銀層若しくは銀合金層3を湿式めっき法により形成したものを耐熱アクリル樹脂接着剤で貼り合せた板材であり、アルミニウム反射層4を形成した後、打ち抜きプレス加工で、分離部を打ち向くことで配線材を形成したものである。この実施例6のアルミニウム反射層4中の炭素濃度をSIMS分析したところ、アルミニウム反射層4内の炭素濃度は1×1020個/cm3であった。In Example 26 shown in Table 4 below, a
  下記表4に示す実施例27は、鉄入り銅合金に厚さ3μmの銀層若しくは銀合金層3を湿式めっき法により形成し、打ち抜きプレス加工しただけのものを、真空蒸着装置にステンレス製(SUS304)の冶具で固定し、厚さ0.2μmのアルミニウム反射層4を形成した。この実施例27のアルミニウム反射層4内の炭素濃度は3×1019個/cm3であった。In Example 27 shown in Table 4 below, a silver layer or
  下記表4に示す実施例28は、厚さ0.15mmの銅基材上に厚さ3μmの銀層若しくは銀合金層3を湿式めっき法にて形成したものを打ち抜きプレス加工して、これを厚さ0.5mmの3層ガラスエポキシ基板上に耐熱アクリル樹脂接着剤により固定し、発光装置用回路基板を形成したものである。この基材を前述の真空蒸着装置に取り付け、アルミニウム反射層4を0.2μm成膜し、SIMS分析を実施した。ここで、アルミニウム反射層4内の炭素濃度は、該アルミニウム反射層4内での炭素濃度の最小濃度とした。その結果、アルミニウム反射層4内の炭素濃度は3×1020個/cm3であった。In Example 28 shown in Table 4 below, a material obtained by forming a silver layer or
  評価基準としては、1stボンディング強度は0.39N以上のシェア強度を持つ場合は良好とし、下記表4に○印で表した。0.39N未満のシェア強度を持つ場合は不良とし、下記表4に×印で表した。2ndボンディング強度は0.049N以上のシェア強度を持つ場合は良好とし、下記表4に○印で表した。0.049N未満のシェア強度を持つ場合は不良とし、下記表4に×印で表した。
  以上の実施例では、1stと2ndボンディング強度の強度を分離して測定するために、シェア試験を実施してきたが、シェア試験でワイヤー接続強度を評価するのは、非常に時間と手間が掛かるため、一般的にはワイヤー接続強度を評価するには、プル試験を用いることが多い。プル試験とは、1stと2nd間のワイヤーにフックを架け、上に引っ張り上げて破断する荷重と、破断位置、形状を評価することで、接続された金線の強度以上は測定できない。我々は、今回、Dege社のボンドテスターシリーズ4000を用い、以下のプル試験を実施した。As the evaluation criteria, the 1st bonding strength is good when it has a shear strength of 0.39 N or more, and is indicated by a circle in Table 4 below. A case having a shear strength of less than 0.39 N was regarded as defective, and is indicated by a cross in Table 4 below. The 2nd bonding strength is good when it has a shear strength of 0.049 N or more, and is indicated by a circle in Table 4 below. When the shear strength was less than 0.049N, it was judged as defective, and is shown by x in Table 4 below.
 In the above embodiment, the shear test has been performed in order to separate and measure the strengths of the 1st and 2nd bonding strengths. However, it takes time and labor to evaluate the wire connection strength in the shear test. In general, a pull test is often used to evaluate the wire connection strength. In the pull test, the strength between the connected gold wires cannot be measured by evaluating the load, the break position, and the shape of the wire between 1st and 2nd. This time, we conducted the following pull test using Dege Bond Tester Series 4000.
  表4から明らかなように、アルミニウム反射層4の炭素濃度が3×1020個/cm3以上である実施例28では、接合強度が低下するので、実施例26及び27のように、アルミニウム反射層4の炭素濃度を1×1020個/cm3以下にすれば、ボンディング接合強度が良好であるということが分かる。As is apparent from Table 4, in Example 28 in which the carbon concentration of the aluminum
  なお、この第20の実施の形態では、エポキシ材やアクリル接着剤等の有機材料を用いたことで、アルミニウム反射層4内の炭素濃度が上昇した。これは、炭素の混入源として基材2の汚れ、パージガス、真空ポンプ油の逆拡散、スパッタリング法を用いた場合には、スパッタガスの不純物などのさまざまな要因が考えられる。  In the twentieth embodiment, the carbon concentration in the aluminum
また、ボンディングテストにおけるワイヤーボンダーは、WEST BOND INC.のMODEL7700Dを使用し、直径25μmの金ボンティングワイヤーを使用した。ボンディング条件としては、超音波強度350mW、超音波印加時間100msで実施した。株式会社レスカ製のボンディングテスタPTR−1のシェア試験モードで実施した。SIMS測定はPHI社製のADEPT1010を用い、1次イオン源としてセシウムイオンを3keVの加速エネルギーで実施した。 In addition, the wire bonder in the bonding test is WEST BOND INC. Model 7700D was used, and a gold bonding wire having a diameter of 25 μm was used. The bonding conditions were an ultrasonic intensity of 350 mW and an ultrasonic wave application time of 100 ms. The test was performed in a share test mode of a bonding tester PTR-1 manufactured by Reska Co., Ltd. The SIMS measurement was carried out using ADEPT 1010 manufactured by PHI and using cesium ions as a primary ion source at an acceleration energy of 3 keV.
(第20の実施の形態の効果)
  この第20の実施の形態によれば、アルミニウム反射層4の炭素濃度を1×1020個/cm3以下に設定することで、上記第11の実施の形態の効果に加えて、ボンディング性に優れた半導体発光素子搭載用基板、及びそれを使用した半導体発光装置が得られる。(Effect of 20th Embodiment)
 According to the twentieth embodiment, by setting the carbon concentration of the
[第21の実施の形態]
  図19を参照すると、図19には、第21の実施の形態である半導体発光素子搭載用基板、及び半導体発光装置が概略的に示されている。同図において、この第21の実施の形態における基本の構成は、半導体発光素子6が独立した基材2Aにマウントされ、通電に利用される基材2B、2C上にマウントされていないことにあり、上記各実施の形態とは大きく異なっている。図示例では、半導体発光素子6とワイヤーボンディング若しくは銅などの金属箔を細線状にプレス等で加工したものを用いる所謂インナーリードと呼ばれる配線材によりボンディング配線するための給電用端子の基材2B、2C上にアルミニウム反射層4を設けていない。[Twenty-first embodiment]
 Referring to FIG. 19, FIG. 19 schematically shows a semiconductor light emitting element mounting substrate and a semiconductor light emitting device according to a twenty-first embodiment. In the figure, the basic configuration in the twenty-first embodiment is that the semiconductor
  ワイヤーボンディングの先端にアルミニウム反射層4があってもよいが、アルミニウム反射層4が存在しない場合は、基材2B、2Cの表面状態を最適化することで、ボンディング条件の範囲が拡張され、組立速度や歩留りがよくなる。  There may be an aluminum
  図19においては、半導体発光素子6の実装部分の基材2Aと、一対の基材2B,2Cの銀層若しくは銀合金層3、金フラッシュめっき層10とを同一の構成例で示したが、基材2A、及び基材2B、2Cの銀層若しくは銀合金層3、金フラッシュめっき層10の構成は異なっていてもよく、別々に製作されていても構わない。この接合は、ワイヤーやインナーリードとの圧接接合となるので、接合面の主たる材料は、金、銀、パラジウム、又はそれらが主たる構成元素となる合金であることが望ましい。  In FIG. 19, the
  図19においては更に、基材2A、2B、2Cの下部が外囲器部分8の樹脂で覆われている構成例を示したが、裏面に基材2A、2B、2Cの裏面が全面、又は一部分が露出していても構わない。露出させたものは、更に金属製の放熱板などにはんだ付けなどで接続することで、放熱性を向上することができるとともに、光出力を大きくすることができる。また、裏面電極を有する半導体発光素子6を用いる場合は、上部電極との接続に使用する給電用端子は1本以上あればよく、上部電極と接続する複数の給電用端子をワイヤーボンディング配線しても構わない。複数の給電用端子を用いる場合は、大電流駆動時や発光装置間の配線のレイアウトが容易になる場合があり、使い分けている。  In FIG. 19, the lower part of the
  図19においては更に、半導体発光素子6の電極部分と基材2B、2Cの給電用端子との接続をワイヤーボンディング接続する場合を例示したが、接続用のパターニングされた配線材によるリードを作成し、超音波や加熱を用いたウエッジボンディングによる接続を実施しても構わない。  In FIG. 19, the connection between the electrode portion of the semiconductor
  本件発明者等は、上述の通り、アルミニウム反射層4中の炭素濃度が金からなるボンティングワイヤー7とアルミニウム反射層4との接合強さに多く影響を与えているという知見を得た。これは、上述した全ての実施の形態に当てはまることに注意されたい。  As described above, the present inventors have found that the carbon concentration in the aluminum
  以上の説明からも明らかなように、本発明の半導体発光素子搭載用基板及びそれを使用した半導体発光装置の代表的な構成例を上記各実施の形態、及び図示例などに基づいて説明したが、本発明は上記各実施の形態、及び図示例などの構成例に限定されるものでなく、本発明の技術思想の範囲内において種々の構成が可能である。給電用端子としてワイヤーボンディング又はインナーリードボンディングされる基材2B、2Cの表面の主たる構成材料が、金、銀、パラジウム、金合金、銀合金、若しくはパラジウム合金から選択された一種又はその組み合わせでもよい。  As is clear from the above description, a typical configuration example of the semiconductor light-emitting element mounting substrate of the present invention and a semiconductor light-emitting device using the same has been described based on the above embodiments and illustrated examples. The present invention is not limited to the configuration examples such as the above-described embodiments and illustrated examples, and various configurations are possible within the scope of the technical idea of the present invention. The main constituent material of the surfaces of the
(第22〜第31の実施の形態)
  本発明半導体発光素子搭載用基板及び半導体発光装置の実施形態は、半導体発光素子を搭載する銅又は銅合金又は鉄系合金からなる基材と、基材の半導体発光素子を搭載する面側の少なくとも一部に設けられたアルミニウム反射層とその下にチタンを含有する金属層を有した半導体発光素子搭載用基板を構成したものである。(Twenty-second to thirty-first embodiments)
 Embodiments of a semiconductor light emitting element mounting substrate and a semiconductor light emitting device according to the present invention include a base material made of copper, a copper alloy, or an iron-based alloy on which a semiconductor light emitting element is mounted, and at least a surface side of the base material on which the semiconductor light emitting element is mounted A semiconductor light-emitting element mounting substrate having an aluminum reflective layer provided in part and a metal layer containing titanium under the aluminum reflective layer is configured.
基材の金属としては、銅、もしくは銅合金からなる基材が電気抵抗、熱抵抗の点で望ましい。また、基材板の金属として、42アロイ等の鉄ニッケル合金、鉄系フレーム材を用いることができる。 As the metal of the base material, a base material made of copper or a copper alloy is desirable in terms of electric resistance and thermal resistance. Further, as the metal of the base plate, an iron nickel alloy such as 42 alloy or an iron-based frame material can be used.
さらに、基材は、金属部分を含んでいればよい。例えば、基材は、樹脂上に銅を張り合わせた銅張り板を用いることができる。この場合、樹脂は、基材上のアルミニウム反射層を形成する面とは反対側の面に形成される。さらに、アルミニウム反射層が形成される面とは反対側の基材の表面は、有機材、無機材との複合化された構成を含むものを用いることもできる。Furthermore, the base material should just contain the metal part. For example, the base material can be a copper-clad plate in which copper is laminated on a resin. In this case, the resin is formed on the surface opposite to the surface on which the aluminum reflective layer is formed on the substrate. Furthermore, the surface of the base material on the side opposite to the surface on which the aluminum reflective layer is formed may include a composite structure composed of an organic material and an inorganic material.
[第22(1)の実施の形態]
  図20(A)は本発明の第22(1)の実施の形態を示す半導体発光素子搭載用基板の概略断面図で、2は基材、11は第1金属層の一例である金属層、4は基材2の一方面の半導体発光素子を搭載する個所を含む領域に形成されたアルミニウム反射層、19はアルミニウム反射層の接合層となるチタン層で、これらにより半導体発光素子搭載用基板が構成されている。チタン層19は、チタンを含有する金属層の一例である。基材2は金属または金属と有機材又は無機材との複合材で構成される。基材2にははんだ実装のために、ニッケル、もしくはニッケル合金の単層、もしくは、パラジウム、金などを更に被覆した複合層の構成は一般的で、本実施例では11金属層(めっき層)である。金属の材料として、これに制限されることはないが、最も汎用性の高い基材は銅または銅合金からなる金属リードフレームである。基材2として銅板を使用する場合、その厚さに制限はないが、コストを加味して厚さが選定される。また、量産化を考慮すると銅板のフープ材が好ましいが、短尺のシート材、個別材も使用できる。基材2として複合材を使用する場合、樹脂材上に銅板が張り合わされた銅張板やその積層板が使用できる。樹脂としては硬質の板状のもの、薄い可撓性を有するものが使用できる。代表的なものとして、それぞれガラスエポキシ基板(ガラス布基材樹脂板)やポリイミド樹脂系等が挙げられる。アルミニウム反射層4、チタン層19の製造方法は、減圧圧力調整機能を有する蒸着装置で、バッチ処理若しくは連続処理等により行われる。アルミニウム反射層4の厚さは反射率の観点から0.02μm以上が好ましく、平坦性の観点から2μm以下が好ましい。[Twenty-second (1) embodiment]
 FIG. 20A is a schematic cross-sectional view of a semiconductor light-emitting element mounting substrate showing a twenty-first (1) embodiment of the present invention, in which 2 is a base material, 11 is a metal layer which is an example of a first metal layer, 4 is an aluminum reflective layer formed in a region including a portion where a semiconductor light emitting element is mounted on one surface of the
  基材2として銅板を使用する場合、例えば長さ100m、幅50mm、厚さ0.2mmとし、アルミニウム反射層4の厚さを例えば0.05μm、チタン層19の厚さを0.1μmとした。製造に際し、まず、基材2として上述の寸法の銅板に金属層11として錫(1μm)のメッキを施した。なお、錫の場合は、1〜5μm程度が好ましい。次に、抵抗加熱式のバレル式の電子ビーム方式真空蒸着装置を用いてチタン層19、アルミニウム反射層4を成膜した。具体的には、基材2を50mm×150mmの短尺材となるよう切断し、切断した基材16枚を半径300mmの傘状の治具上に放射状に並べ、これをバレルに3基セット配置し、アルミニウム、チタンの蒸発源としては、電子ビーム銃(出力6kW)を使用し、真空度を2×10−4Paまで排気してアルミニウム反射層4を厚さ0.05μm成膜した。真空蒸着装置は、本実施の形態では、自作機を用いたが、ロードロック方式の蒸着機等、市販の蒸着装置を使用しても問題ない。また、フープ材に蒸着できる連続式蒸着装置でもかまわない。真空蒸着装置は、膜質、生産性等を総合的に考慮し、適宜選択すればよい。更に、アルミニウム反射層4、チタン層19の形成方式は、電子ビーム蒸着方式でなくてもよい。即ち、抵抗加熱蒸着法、イオンプレーティング法、スパッタリング法、クラッド法等を用いることができる。When a copper plate is used as the
[第22(2)の実施の形態]
  図20(B)に本発明の第22(2)の実施の形態である半導体発光素子搭載用基板の概略断面図を示す。基材2として銅板を使用する場合、例えば長さ100m、幅50mm、厚さ0.2mmとし、アルミニウム反射層4の厚さを例えば0.05μm、チタン層19の厚さを0.1μmとした。製造に際し、まず、基材2として上述の寸法の銅板にニッケル−パラジウムめっき層材(ニッケル0.7μm、パラジウム0.1μm)を用意した。次に、抵抗加熱式のバレル式の電子ビーム方式真空蒸着装置を用いてチタン層19、アルミニウム反射層4を成膜した。具体的には、基材2を50mm×150mmの短尺材となるよう切断し、切断した基材16枚を半径300mmの傘状の治具上に放射状に並べ、これをバレルに3基セット配置し、アルミニウム、チタンの蒸発源としては、電子ビーム銃(出力6kW)を使用し、真空度を2×10−4Paまで排気してアルミニウム反射層4を厚さ0.05μm成膜した。真空蒸着装置は、本実施の形態では、自作機を用いたが、ロードロック方式の蒸着機等、市販の蒸着装置を使用しても問題ない。また、フープ材に蒸着できる連続式蒸着装置でもかまわない。真空蒸着装置は、膜質、生産性等を総合的に考慮し、適宜選択すればよい。更に、アルミニウム反射層4、チタン層19の形成方式は、電子ビーム蒸着方式でなくてもよい。即ち、抵抗加熱蒸着法、イオンプレーティング法、スパッタリング法、クラッド法等を用いることができる。[Twenty-second (2) embodiment]
 FIG. 20B is a schematic cross-sectional view of a substrate for mounting a semiconductor light emitting device according to a twenty-second (2) embodiment of the present invention. When a copper plate is used as the
  アルミニウム反射層4、チタン層19の膜厚測定は、SIMS分析により行った。表面からアルミニウム反射層直下の下地チタン層の最大強度の1/2の信号強度となるところまでの厚さをアルミニウム反射層の膜厚、チタン層の厚さは主たる構成元素が該下地層中における最大強度の1/2の信号強度となるところまでの厚さとした。前述の基材2が銅である場合は、銅の信号強度を用いることになる。  The film thickness measurement of the aluminum
(本実施の形態に係る実施例の評価)
  アルミニウム反射層4について、硫化特性及び反射率を以下のとおり確認した。まず、表5の実施例33〜実施例37に示すとおり、上述したニッケル0.7μm、パラジウム0.1μmの上に、チタン層を0.05μmとなるようにメッキで形成し、厚さを変えたアルミニウム反射層を、上述の方法で作製し、波長が460nmでの初期反射率を測定した。この波長において硫酸バリウムの反射率を100%とし、反射率が90%以上98%以下を特に良好(○で示すこと)とし、90%未満を不良(×で示すこと)とした。アルミニウムが非常に薄い場合、即ち、厚さが0.01μm以下の場合は下地の金属の反射率(ここでは、パラジウム)に影響を受け反射率が低くなった。次に、硫化特性について、上記のサンプルについて3ppmのH2S(硫化水素)を雰囲気温度40℃で、湿度80%で、96時間噴霧した(JIS H8502 めっきの耐食性試験方法に準拠した試験を行った)。耐硫化特性は初期反射率と96時間硫化後の反射率の比とした。アルミニウム反射層を設けた場合、初期反射率に対して90%未満、(反射率として81%未満)まで低下するものはなかった。総合すると、半導体発光素子搭載用基板として、求められる特性として、初期反射率、硫化特性(すなわち、硫化されうる環境下での使用後の反射率)ともに良好であることが確認されたのは、アルミニウム反射層の厚さが0.02μm以上のものであった。(Evaluation of examples according to the present embodiment)
 About the aluminum
なお、比較例31として、基材上に銀層3μmのみを設けた場合、初期反射率93%と良好で○であるが、硫化特性は、耐硫化試験後の反射率は29%と大きく低下し、良くないことを確認している。比較例32として基材上にニッケル層(0.7μm)パラジウム層(0.05μm)のみを設けた例では耐硫化特性は良好であるものの、初期反射率が63%と低く、×であることを確認している。 As Comparative Example 31, when only the silver layer of 3 μm is provided on the base material, the initial reflectance is 93% and good and good, but the sulfurization characteristic is greatly reduced to 29% after the sulfidation resistance test. And it is confirmed that it is not good. In Comparative Example 32, in which only a nickel layer (0.7 μm) and a palladium layer (0.05 μm) are provided on a base material, the anti-sulfurization property is good, but the initial reflectance is as low as 63% and x. Have confirmed.
  なお、比較例33および34は、ニッケル層17、パラジウム層18、チタン層19は、実施例33と同様に設け、その上のアルミニウム反射層が薄い場合で、十分な初期反射特性を有していない。  In Comparative Examples 33 and 34, the
本実施の形態によれば、基材表面にアルミニウム反射層とチタン層を形成するため、硫化せず長期間に亘り高くかつ安定した反射特性を有する半導体発光素子搭載用基板及びそれを使用した半導体発光装置を実現できる。これは、アルミニウムの反射率が紫外線では銀の3倍以上と高く、紫色、赤色、赤外線に対しては銀に近い反射率を有しており、金属の中では色のバランスが良く、銀に次ぐ高反射率を有しており、かつ銀に比較して硫化が起こりにくい特性を利用している。 According to the present embodiment, since the aluminum reflective layer and the titanium layer are formed on the surface of the base material, the substrate for mounting a semiconductor light emitting element having high and stable reflective characteristics over a long period without being sulfided and a semiconductor using the same A light emitting device can be realized. This is because the reflectance of aluminum is three times higher than that of silver in ultraviolet rays, and has a reflectance close to silver for purple, red, and infrared rays. It has the next highest reflectivity and utilizes the characteristics that sulfidation does not easily occur compared to silver.
上述の半導体発光素子搭載用基板にワイヤーボンディングを行うためにアルゴンプラズマ洗浄を行い、その後金ワイヤーをボンディングする。この半導体発光素子搭載用基板に対して硫化試験を行ったところ、反射率の低下は見られなかった。この結果から表面洗浄に対する耐性は強く、劣化や剥がれの心配がないことが分かった。前述の製作方法で形成した半導体発光素子搭載用基板について、金ワイヤーとのボンディング特性を確認した。ワイヤーボンダーはK&S社4522型を用い、直径25μmの金ワイヤー(田中貴金属製,typeC)を用いてボンディング特性のプル強度をDege社のボンドテスターシリーズ4000を用い試験評価した。 In order to perform wire bonding on the semiconductor light emitting element mounting substrate described above, argon plasma cleaning is performed, and then a gold wire is bonded. When this semiconductor light emitting element mounting substrate was subjected to a sulfidation test, no reduction in reflectance was observed. From this result, it was found that the resistance to surface cleaning was strong and there was no fear of deterioration or peeling. The bonding characteristics with the gold wire were confirmed for the semiconductor light emitting element mounting substrate formed by the above manufacturing method. For the wire bonder, K & S 4522 type was used, and the pull strength of bonding characteristics was tested and evaluated using a bond tester series 4000 manufactured by Dege, using a gold wire (made by Tanaka Kikinzoku, type C) having a diameter of 25 μm.
基材はプレス加工無しの銅合金(C−194:厚さ0.15mm)、ニッケル(厚さ0.7μm)−パラジム(厚さ0.05μm)をめっきしたもので、Alアルミニウム層単独(厚さ0.1μm)、及びチタン層(厚さ0.1μm)+アルミニウム層(厚さ0.1μm)の2種を成膜した。表6に膜構造と金ワイヤープル試験(サンプル数10個)の結果を示す。 The base material is a copper alloy without press working (C-194: thickness 0.15 mm), nickel (thickness 0.7 μm) -paradium (thickness 0.05 μm) plated, Al aluminum layer alone (thickness) And a titanium layer (thickness 0.1 μm) + aluminum layer (thickness 0.1 μm). Table 6 shows the results of the film structure and gold wire pull test (10 samples).
  表6に示すように、基材、ニッケル、パラジウムめっき、チタン層、アルミニウム反射層の順となるように設けることで、プル強度は大幅に向上し、ばらつきも小さくできることが分かった。チタン層なしでも、実用上問題がないレベルの接合特性であるが、チタン層を介した半導体発光素子搭載用基板はプル強度が増して、接合特性がさらに良好になることが分かった。この実施例では、ニッケルーパラジウムめっきは、主な目的として、
LED素子形成後の電流導入端子のはんだ付け実装時の歩留まり、はんだ条件を広げるためで、さらに金をフラッシュめっき(厚さ換算で0.05μm相当以下)を挿入しても良い。As shown in Table 6, it was found that by providing the base, nickel, palladium plating, titanium layer, and aluminum reflective layer in this order, the pull strength was greatly improved and the variation could be reduced. Even without the titanium layer, the bonding characteristics are at a level where there is no practical problem. However, it was found that the semiconductor light-emitting element mounting substrate through the titanium layer has an increased pull strength and further improved the bonding characteristics. In this example, nickel-palladium plating is the primary purpose:
 In order to widen the yield and soldering conditions of the current introduction terminals after the LED elements are formed by soldering, gold may be further flash-plated (equivalent to 0.05 μm or less in terms of thickness).
  なお、基材、第1の金属層の一例である金属層11、チタン層、アルミニウム反射層の順に形成しても、同様の効果が得られることを確認した。  In addition, even if it formed in order of the base material, the
尚、上記第22(1)(2)の実施の形態から得られる効果は、程度の差はあれど、後述の実施の形態においても得られる。 It should be noted that the effects obtained from the twenty-second (1) and (2) embodiments can also be obtained in the later-described embodiments, although to a different extent.
[第23の実施の形態]
  図21は本発明の第23の実施の形態を示す半導体発光装置の概略断面図で、図20に示す半導体発光素子搭載用基板を使用した半導体発光装置を示している。図において、2は基材、23は基材のめっき層、4は基材2の一方面に形成されたアルミニウム反射層、19はチタン層で、これらによって半導体発光素子搭載用基板を構成する。半導体発光装置においてはこれを2組(2A、2B)略同一面に近接配置して使用される。6はアルミニウム反射層4A上に搭載された半導体発光素子、7は半導体発光素子6とアルミニウム反射層4Bとを電気的に接続するボンティングワイヤーである。8は半導体発光素子6を除いて基材2A、2Bの近接している側を包囲し、半導体発光素子の周囲に基材から離れるに従って半導体発光素子から離れる傾斜面8bと底面に位置するアルミニウム反射層4A、8で形成される凹部を有する樹脂製の外囲器部分、9は外囲器部分8の凹部に充填され半導体発光素子を封止する光透過性樹脂部で、外囲器の一部を構成している。9に蛍光体材料を混ぜることができる。例えば、YAGなどを混ぜることで、LEDチップを460nmのGaN系LEDを用い、擬似白色LED装置を用いることができる。[Twenty-third embodiment]
 FIG. 21 is a schematic cross-sectional view of a semiconductor light-emitting device showing a twenty-third embodiment of the present invention, and shows the semiconductor light-emitting device using the semiconductor light-emitting element mounting substrate shown in FIG. In the figure, 2 is a base material, 23 is a plating layer of the base material, 4 is an aluminum reflecting layer formed on one surface of the
  アルミニウム反射層4A、4B、チタン層19A、19Bは外囲器の内側の略全面か、若しくは、一部を除いた残りの部分に形成されていれば良い。その理由は、発光素子から放射された光が外囲部内で反射されればよいためである。  The aluminum
具体的な方法としては、(1)アルミニウム反射層形成時の成膜装置にて外囲器領域以外を、遮蔽する機能を設ける(2)全面にアルミニウム反射層を成膜後、外囲器部領域をテーピング、若しくはフォトリソプロセス等により、マスキングし、その後アルミニウムをエッチング除去する方法等、様々な方法があり、それらの何れを用いても良い。 As a specific method, (1) a function of shielding the area other than the envelope region is provided by the film forming apparatus for forming the aluminum reflective layer. (2) After forming the aluminum reflective layer on the entire surface, the envelope portion There are various methods, such as a method of masking the region by taping or photolithography process, and then etching away aluminum, and any of them may be used.
  かかる構成の半導体発光装置によれば、外囲器部分8に形成される凹部の底面に位置するアルミニウム反射層4Aの存在によって、半導体発光素子6から放出された光がアルミニウム反射層4Aによって凹部の開口側に反射され、半導体発光装置からの光量を増やす効果を奏する。上述のように、アルミニウムは良好な耐硫化特性を持つことから、高反射率を長時間に亘り維持することが出来る。  According to the semiconductor light emitting device having such a configuration, light emitted from the semiconductor
[第24の実施の形態]
  図22は本発明の第24の実施の形態を示す半導体発光素子搭載用基板の概略断面図で、基材2の両面にニッケル層17、パラジウム層18、金フラッシュめっき層10を順次湿式めっき法にて形成し、基材2の一方面の金フラッシュめっき層10上の一部にチタン層19、アルミニウム反射層4を形成した点を特徴としている。基材2上にニッケル層17、パラジウム層18、金フラッシュめっき層10を順次形成する理由の一つは、基材2と半導体発光装置を実装するプリント配線基板とのはんだ濡れ性の確保、即ちはんだ接続性の向上を図るためである。その場合、ニッケル層17の厚さは0.4〜1.5μm、パラジウム層18の厚さは0.01〜0.2μm、金フラッシュめっき層10の厚さは0.1μm以下とすることができる。これら厚さは本発明者が効果を確認したものであるが、実装する素子によって若干の変更がある。アルミニウム反射層4の厚さは光反射特性の観点から0.02μm以上が好ましく、平坦性の観点から2μm以下が好ましい。[Twenty-fourth embodiment]
 FIG. 22 is a schematic cross-sectional view of a substrate for mounting a semiconductor light emitting device, showing a twenty-fourth embodiment of the present invention. A
  アルミニウム反射層4、チタン層19の製造方法は、減圧機能を有する蒸着装置で、バッチ処理若しくは連続処理等により行われる。ニッケル層及びパラジウム層18は、湿式めっき法、真空蒸着等の乾式どちらにおいても、本製品に必要な品質のめっき層を得ることは出来る。湿式めっきの方が、材料の全面(6面)にコーティングでき、低コストで製作できることが多く、本発明のニッケル層や、パラジウム層18には湿式めっきによって形成するのが望ましい。  The manufacturing method of the aluminum
  尚、ニッケル層17、パラジウム層18、金フラッシュめっき層10の湿式めっき法にて成膜した下地層の膜厚は、めっき時の電流値を積算することによって算出を行った。  In addition, the film thickness of the base layer formed by the wet plating method of the
  このニッケル層は、基材の銅の酸化による変色防止と、半導体発光素子搭載用基板が硬くなることでの取り扱い特性向上を目的として、厚さが0.4μmから1.5μmの間の値をとることができる。パラジウム層18は、素子をはんだ付けにより実装する際、その接続部となる部分にパラジウム層18とすることで、良いはんだ濡れ性を得るために設けることができる。パラジウム層18としては、0.01μmから0.2μmの厚さとされることが多いが、はんだ条件によって厚さを決定する。  This nickel layer has a thickness between 0.4 μm and 1.5 μm for the purpose of preventing discoloration due to oxidation of copper as a base material and improving the handling characteristics due to the fact that the substrate for mounting a semiconductor light emitting element becomes hard. Can take. When the element is mounted by soldering, the
  本実施の形態の効果は、アルミニウムを反射層として用いることで、高い反射率を確保できる。更に、0.02μm以上の厚みのアルミニウム反射層4を用いることで、良好な耐久性が得られ、高い反射率を維持できるという効果に加えて、以下の効果を奏する。即ち、上述の数値範囲のニッケル層17は基材2の主たる材料である銅の拡散を防止ができること、上述の数値範囲のパラジウム層18は実装時の鉛フリーはんだ材との濡れ性向上を図れること、上述の数値範囲の金フラッシュめっき層10は更にはんだの濡れ性の向上と長期保管を可能にすること等の新たな効果を奏する。即ち、このような構造とすることではんだ付けに適した構造とすることができる。  The effect of this embodiment can ensure a high reflectance by using aluminum as the reflective layer. Furthermore, by using the aluminum
[第25の実施の形態]
  図23は本発明の第25の実施の形態を示す半導体発光装置の概略断面図で、図22に示す半導体発光素子搭載用基板と図21の外囲器部分8及び光透過性樹脂部9を組み合わせた半導体発光装置の実施例である。図21及び図22と同じ部分は同じ符号で示している。[Twenty-fifth embodiment]
 FIG. 23 is a schematic cross-sectional view of a semiconductor light-emitting device showing a twenty-fifth embodiment of the present invention. The semiconductor light-emitting element mounting substrate shown in FIG. 22, the
  基材2として銅板を使用する場合、例えば長さ100m、幅50mm、厚さ0.2mmの銅板を準備し、基材2の表面にニッケル層17を厚さ1μm、パラジウム層18を厚さ0.1μm、金フラッシュめっき層10の厚さ0.01μmを順次湿式めっき法により作製する。更に、チタン層19A、19B及びアルミニウム反射層4A、4Bを金フラッシュめっき層10面上のはんだ接続に用いる部分を残し、且つ反射膜として使用する部分に部分蒸着し、はんだ接続部にはアルミニウムがなく、反射に用いる部分にはアルミニウム層がある材料を得る。その後、プレスやエッチングにより、半導体発光素子搭載用のフレーム形状を作製し、2組(2Aと4A、2Bと4B)を略同一面に近接配置する。そして、基材2A、2Bの近接している部分を包囲し、半導体発光素子6の周辺を予めくり貫いてある凹部を持つ樹脂製の外囲器部分8を形成する。次に半導体発光素子6を導電性ペースト材で搭載し、表面電極とリードフレームを金ワイヤーボンディングで接続を行う。最後に、外囲器部分8の凹部内に半導体発光素子6を被覆するように光透過性樹脂(シリコン樹脂等)を充填して外囲器の一部となる光透過性樹脂部9を形成する。  When using a copper plate as the
  以上の説明では、半導体発光素子搭載用基板を作製後、所定形状にプレスやエッチングを用いて成形したが、後めっき法とすることも可能である。即ち、基材2を所定形状に成形した後、湿式めっき法によって基材上に各めっき層(10、17、18)、真空蒸着法などの乾式めっき法でアルミニウム反射層4、チタン層19を形成することも可能である。更に,基材2については、銅からなる場合について説明したが樹脂などの上に銅配線を設けたものを用いることができる。また、用途、コスト等から、他の金属基材、例えば鉄系の42アロイ合金等を用いても良い。またプリント配線板やフレキシブル配線板形成工程により、配線を形成した上にアルミニウム反射層4、チタン層19を形成して用いることが出来る。このように、目的や構造、材料(銅板もしくは可撓性のあるフレキシブル樹脂基材)によって、形状の作製(打ち抜き加工、曲げ加工、張り出し加工等による形状の作製)、めっき、蒸着の順番は変更することができる。  In the above description, the semiconductor light-emitting element mounting substrate is manufactured and then formed into a predetermined shape using a press or etching, but a post-plating method may be used. That is, after the
  搭載する半導体発光素子6としては、例えば、GaAs−Si−LED、AlGaAs−LED、GaP−LED、AlGaInP−LED、InGaN−LED等のLEDチップを搭載することができる。また、図13に示した半導体発光素子6は上面と下面の電極に縦方向素子であるが、これに限定されることなく、同一面に一対の電極を形成するプレーナー構造のLED(例えば、GaN系)であってもよい。電極が同一面に形成されるプレーナー構造の場合、電極面を表面側(図では、上側)に向けて、カソード、アノード共に、ワイヤーボンディングを実施する場合と、電極面を下(リードフレーム側)に向け直接接続するいわゆるフリップチップ実装方式があるが、いずれの実装方式でも用いることができる。金ワイヤーボンディングの代わりに銅系ワイヤーボンディングやアルミニウムワイヤーボンティングでもよい。  As the semiconductor
  更に、この実施の形態では金フラッシュめっき層10を施したものを使用したが、金に関しては比較的ラフなピッチ(例えば、0.5mmピッチの場合)、即ち、高い精密度を問わないものの場合、金フラッシュめっき層10がなくとも高い歩留まりが与えられるため、除外することが可能である。パラジウム層18に関しては、金属層の厚さを確保し、十分なはんだ濡れ性を得られればパラジウムを省略することも可能である。  Furthermore, in this embodiment, the gold
  かかる構成の半導体発光装置によれば、図21に示した半導体発光装置と同様に、外囲器部分8に形成される凹部の底面に位置するアルミニウム反射層4Aの存在によって、半導体発光素子6から放出された光がアルミニウム反射層4Aによって凹部の開口側に反射され、半導体発光装置からの光量を増やす効果を奏する。また、アルミニウム反射層4Aは良好な光反射特性を持つことから、高反射率を長時間に亘り維持することが出来る。  According to the semiconductor light emitting device having such a configuration, as in the semiconductor light emitting device shown in FIG. 21, the presence of the aluminum
[第26の実施の形態]
  図24は本発明の第26の実施の形態を示す半導体発光素子搭載用基板の概略断面図である。この実施の形態は図22に示す半導体発光素子搭載用基板の変形例という位置付けで、図24(a)は基材2の一方面にのみニッケル層17、パラジウム層18及び金フラッシュめっき層10を形成し、金フラッシュめっき層10上の一部にチタン層19、アルミニウム反射層4を形成した例を、図24(b)は基材2の一方面に形成された金フラッシュめっき層10上の一部にチタン層19、アルミニウム反射層4を形成し、一部分を紙面で上方に略90度折り曲げた例を、図24(c)は基材2の全面にニッケル層17、パラジウム層18及び金フラッシュめっき層10を形成し、形成された金フラッシュめっき層10の全面にアルミニウム反射層4、チタン層19を形成し、一部分を紙面で上方に180度折り曲げた例を、図24(d)は基材2の一方面に直接アルミニウム反射層4、チタン層19を形成し、基材2の他方面にニッケル層17、パラジウム層18及び金フラッシュめっき層10を形成した例を夫々示している。[Twenty-sixth embodiment]
 FIG. 24 is a schematic cross-sectional view of a substrate for mounting a semiconductor light emitting element showing a twenty-sixth embodiment of the present invention. This embodiment is positioned as a modified example of the semiconductor light emitting element mounting substrate shown in FIG. 22, and FIG. 24A shows the
  図24(a)に示す半導体発光素子搭載用基板は、銅からなる基材2の片面にニッケル層17をめっき法で厚さ0.4μm、パラジウム層18をめっき法で厚さ0.01μm、金フラッシュめっき層10を厚さ0.1μm、更に金フラッシュめっき層10の一部上にチタン層19、アルミニウム反射層4を蒸着法により形成して、構成することが出来る。尚、この例のように銅の基材上にニッケル、パラジウム、金、アルミニウムを順次積層する場合、アルミニウム反射層以外は湿式めっき法を用いることが出来る。アルミニウム反射層4、チタン層19については、現在は湿式めっき法では容易にはめっきが行えないため真空蒸着法を採用するとよい。他の方法としては、たとえば不活性ガス中でのスパッタリング法を用いることができる。また、コスト、プロセス工程の簡素化等の観点から、これらの方法を複数用いてもよい。  The substrate for mounting a semiconductor light emitting device shown in FIG. 24A has a
  図24(b)に示す半導体発光素子搭載用基板は、基材2にニッケル層17をめっき法で厚さ1.5μm、パラジウム層18をめっき法で厚さ0.2μm、金フラッシュめっき層10を厚さ0.1μm、順次形成した後、一部分にアルミニウム反射層4、チタン層19を形成して構成する。図24(c)に示す半導体発光素子搭載用基板は、基材2にニッケル層17をめっき法で厚さ1.5μm、パラジウム層18をめっき法で厚さ0.2μm、金フラッシュめっき層10を厚さ0.1μm、順次形成した後、全面にチタン層19、アルミニウム反射層4を形成して構成する。これら例は半導体発光素子をチタン層19、アルミニウム反射層4の上面に搭載し、基材2の下面、若しくは側面にワイヤーボンディングを施す使い方を想定している。より具体的には、基材2が折り曲げる場合に適用が可能な構成である。なお本実施例では基材2の裏面にワイヤーボンディングを実施しているが、目的によって裏面がニッケル層17、パラジウム層18、金フラッシュめっき層10等が被覆されていても構わない。  In the substrate for mounting a semiconductor light emitting device shown in FIG. 24B, the
  図24(d)に示す半導体発光素子搭載用基板は、図24(a)の例と同様に、ニッケル層17、パラジウム層18及び金フラッシュめっき層10を基材2の片面のみに施されているため、これらの金属の使用量を抑えることができる。片面のみをめっきする場合は、2つの基材を貼り合わせてめっき工程に流し、その後分離することでマスク材を必要とせずに実現できる。アルミニウム反射層4、チタン層19は、上述したように厚みによっては下地による反射率の影響を受けやすくなるため、0.02μm以上とすることが好ましい。全面にアルミニウム反射層4、チタン層19を形成しているが、部分的にアルミニウム反射層4、チタン層19を形成する構造にしても良い。図24(d)に示す半導体発光素子搭載用基板を形成の後、基材の端部(基板接続リード、アウターリードとも呼ぶ)を所定形状に加工して使用できる。例えば、基材の外囲器から露出する部分(アウターリード)の下面をプリント基板の上面に接触するように、曲げ加工して基材と接続する際に、この構成を用いることができる。即ち、基材の中央部分は、アルミニウム反射層として用い、基材の端部の下面はアウターリードとして、ニッケル−パラジウム側の面がプリント基板に接続される。  The semiconductor light emitting element mounting substrate shown in FIG. 24D has the
[第27の実施の形態]
  図25は本発明の第27の実施の形態を示す半導体発光素子搭載用基板の概略断面図である。この実施の形態は基材2の両面又は一方面にパラジウム(Pd)、金(Au)、錫(Sn)、ニッケル(Ni)、銅(Cu)−錫(Sn)合金、銅(Cu)−ニッケル(Ni)合金から選ばれた単層の金属層11を形成し、金属層11または基材2上にチタン層19、アルミニウム反射層4を形成した構成になっている。(a)は基材2の両面に金属層11を形成し、一方面の金属層11上の一部にチタン層19、アルミニウム反射層4を形成した例を、(b)は基材2の一方面に金属層11を形成し、金属層11上の一部にチタン層19、アルミニウム反射層4を形成した例を、(c)は基材2の一方面に金属層11を形成し、基材2の他方面にチタン層19、アルミニウム反射層4を形成した例を夫々示している。[Twenty Seventh Embodiment]
 FIG. 25 is a schematic sectional view of a substrate for mounting a semiconductor light emitting device, showing a twenty-seventh embodiment of the present invention. In this embodiment, palladium (Pd), gold (Au), tin (Sn), nickel (Ni), copper (Cu) -tin (Sn) alloy, copper (Cu)- A
  パラジウムは銅より酸化防止効果があり、はんだに用いられる錫と馴染む利点を有し、錫ははんだ付けしやすく廉価であるという利点があるが、若干酸化しやすいという欠点がある。銅−錫合金は銅より酸化しにくく、錫と銅と比較して錫と馴染みやすい利点がある。銅−ニッケル合金はニッケルより錫と馴染みやすい利点がある。これらの点を踏まえ、使用条件・製造条件によって、金属層11として最適な材料を選択することができる。  Palladium has an antioxidant effect than copper and has the advantage of being compatible with tin used in solder. Tin has the advantage of being easy to solder and inexpensive, but has the disadvantage of being somewhat easily oxidized. Copper-tin alloys are less susceptible to oxidation than copper and have the advantage of being more familiar with tin than tin and copper. Copper-nickel alloys have the advantage of being more familiar with tin than nickel. Based on these points, an optimum material for the
[第28の実施の形態]
  図26は本発明の第28の実施の形態を示す半導体発光素子搭載用基板の概略断面図である。この実施の形態の特徴はチタン層19、アルミニウム反射層4の上に金めっき層12を1箇所、若しくは複数箇所を形成した点にある。図26(a)はチタン層19、アルミニウム反射層4の上一部分に金めっき層12を形成した例を、図26(b)は部分形成したチタン層19、アルミニウム反射層4の外側の金フラッシュめっき層10上に金めっき層12を形成した例を、図26(c)はチタン層19、アルミニウム反射層4上の全面に金めっき層12を形成した例を、図26(d)はチタン層19、アルミニウム反射層4を形成した金フラッシュめっき層10上の全面に金めっき層12を形成した例を夫々示し、図26(e)にこの半導体発光素子搭載用基板を用いた半導体発光装置の実施の形態の一例を示す概略断面図を示している。これら実施例では基材2の全面にニッケル層17、パラジウム層18及び金フラッシュめっき層10を順次形成しているが、これに限定されることなく、上述した各実施例で述べたように、単層の金属層11を形成するもの、基材2に直接チタン層19、アルミニウム反射層4を形成する場合にも適用できる。[Twenty-eighth embodiment]
 FIG. 26 is a schematic cross-sectional view of a substrate for mounting a semiconductor light emitting element showing a twenty-eighth embodiment of the present invention. This embodiment is characterized in that one or a plurality of gold plating layers 12 are formed on the
  この実施の形態における金めっき層12は、チタン層19、アルミニウム反射層4上に搭載する半導体発光素子の電気的接続に利用することが出来る。金めっき層が厚くなるほど、短波長側(青色)側の反射率が低下するが、金ワイヤーの接続性が良くなる。用途に応じ、反射率を加味して金めっき層12の構造を決めると良い。なお、ここでは各めっき層(10、12、17、18)は湿式めっき法で形成したが、他の方式で形成しても良い。  The
[第29の実施の形態]
  図27は本発明の第29の実施の形態として半導体発光装置の代表的な使用状態を示す概略図である。本実施の形態に係る半導体発光装置は、第22乃至第28の実施に形態に係る半導体発光素子搭載用基板1を用いて例えばプリント配線基板に実装して使用される。プリント配線基板13に実装するために、半導体発光素子搭載用基板1の外囲器部分8から外部に伸びる部分(アウターリード)を折り曲げて、外囲器部分8の下面と略同一面となる部分1a又は下面より下方に位置する部分1b、1cを形成している。この部分をプリント配線基板13の配線にはんだ14により接着する。図27(a)はアウターリードを90度折り曲げて下方に向け、それを反対方向に90度折り曲げて水平方向に向け、これによってアウターリードの伸びる方向はそのままで水平位置を外囲器部分8の下面と略同一面とした部分1aを形成した例を、図27(b)はアウターリードを外囲器部分8に沿って2回90度折り曲げることのより外囲器部分8の下面に沿って部分1bを形成した例を、図27(c)はアウターリードを図27(b)とは反対方向に外囲器部分8に沿って2回90度折り曲げることにより外囲器部分8の上面に沿って部分1cを形成した例を夫々示している。アウターリードの折り曲げ方はこれに限定されるものでなく、半導体発光装置が使用される用途毎に相応しい形状が採用される。[Twenty-ninth embodiment]
 FIG. 27 is a schematic view showing a typical use state of a semiconductor light emitting device as a 29th embodiment of the present invention. The semiconductor light emitting device according to the present embodiment is used by being mounted on, for example, a printed wiring board using the semiconductor light emitting
  なお、第1金属層11を設けた半導体発光素子搭載用基板よりも、はんだ14の接触面側に14ニッケル層、パラジウム層を設けた半導体発光素子搭載用基板の方が、好ましい。  A semiconductor light emitting element mounting substrate in which a 14 nickel layer and a palladium layer are provided on the contact surface side of the
[第30の実施の形態]
  本実施の形態において、基材の上に第22の実施の形態と同様にアルミニウム反射層を設ける点では他の実施の形態と変わらない。ただし、アルミニウム反射層の炭素濃度は、1×1020個/cm3以下である。この半導体発光素子搭載用基板とのボンダビリティーを評価するために、金からなるボンティングワイヤーとワイヤーボンディングを行った。ここで、ワイヤーボンディングとは、リードフレーム側の電極パッドと、そのリードフレームに搭載された素子上の電極とを、電気的に接続するために、金などのワイヤーで接続することをいう。[Thirty Embodiment]
 The present embodiment is the same as the other embodiments in that an aluminum reflective layer is provided on the substrate as in the twenty-second embodiment. However, the carbon concentration of the aluminum reflective layer is 1 × 1020 pieces / cm3 or less. In order to evaluate the bondability with the semiconductor light emitting element mounting substrate, a bonding wire made of gold and wire bonding were performed. Here, the wire bonding means that a lead frame side electrode pad and an electrode on an element mounted on the lead frame are connected with a wire such as gold in order to electrically connect them.
1stボンディングとは、放電によってワイヤーの先端を球状にしたものを、先にボンディングするものである。通常は、位置精度や圧着性を鑑み、素子側の電極を、1stボンディングとすることが多い。本実施の形態においては、銅の基材上に、第1の実施の形態と同様にアルミニウム反射層を設けたものに、放電によってワイヤーの先端を球状にしたものをボンディングした。 The 1st bonding is to first bond a wire whose tip is made spherical by electric discharge. Usually, the electrode on the element side is often 1st bonding in view of positional accuracy and pressure-bonding properties. In this embodiment, an aluminum reflective layer provided on a copper base material in the same manner as in the first embodiment was bonded to a wire whose tip was made spherical by electric discharge.
2ndボンディングとは、上記の素子側の電極と、上記ワイヤーで接続すべきリードフレーム側の電極との所定の位置で、ボンディングすることをいう。本実施例においては、ワイヤーの端を、銅の基材上に、第22の実施の形態と同様にアルミニウム反射層を設けたものに、こすりつける形で圧着した。 The 2nd bonding means bonding at a predetermined position between the electrode on the element side and the electrode on the lead frame side to be connected with the wire. In this example, the end of the wire was pressure-bonded in such a manner that it was rubbed onto a copper base material provided with an aluminum reflective layer as in the twenty-second embodiment.
  表8にアルミニウム反射層中の炭素濃度と金ワイヤーとの接合強度の関係を示す。実施例38として、銅基材厚さ0.15mm上にニッケル層0.7μm、パラジウム0.05μmを湿式めっき法にて形成したものを、打ち抜きプレス加工して、厚さ0.5mmの3層ガラスエポキシ基板に、耐熱アクリル樹脂接着剤にて、固定、発光装置用回路基板を形成した物である。本材料を前述の真空蒸着装置に取り付け、チタン層を0.1μm、アルミニウム反射層を0.2μm成膜し、SIMS分析を実施した。ここでアルミニウム反射層内の炭素濃度は該アルミニウム反射層内での炭素濃度の最小濃度とした。アルミニウム反射層内の炭素濃度は3×1020個/cm3であった。実施例39の基材には、ポリイミド樹脂フィルム厚さ125μm全面に銅基材70μm、ニッケル層0.7um、パラジウム0.05μmを湿式めっき法にて形成したものを耐熱アクリル樹脂接着剤で貼り合せた板材である。実施例39はアルミニウム反射層形成後、打ち抜きプレス加工で、分離部を打ち向くことで配線材を形成した。実施例39のアルミニウム反射層中の炭素濃度を同様にSIMS分析したところ、アルミニウム反射層内の炭素濃度は1×1020個/cm3であった。実施例40は、鉄入り銅合金にニッケル層0.7μm、パラジウム0.05μmを湿式めっき法にて形成したものを、打ち抜きプレス加工しただけのものを、真空蒸着装置に、ステンレス鋼製(SUS304)の冶具で固定し、チタン層19を0.1μm、アルミニウム反射層4を0.2μmを形成した。実施例40のアルミニウム反射層内の炭素濃度は3×1019個/cm3であった。Table 8 shows the relationship between the carbon concentration in the aluminum reflective layer and the bonding strength between the gold wires. As Example 38, a nickel layer of 0.7 μm and palladium of 0.05 μm formed by a wet plating method on a copper substrate thickness of 0.15 mm was punched and pressed to form three layers having a thickness of 0.5 mm. A circuit board for light-emitting devices is formed on a glass epoxy substrate with a heat-resistant acrylic resin adhesive. This material was attached to the above-described vacuum deposition apparatus, a titanium layer was formed with a thickness of 0.1 μm, and an aluminum reflective layer was formed with a thickness of 0.2 μm, and SIMS analysis was performed. Here, the carbon concentration in the aluminum reflecting layer was set to the minimum carbon concentration in the aluminum reflecting layer. The carbon concentration in the aluminum reflective layer was 3 × 1020 pieces / cm3 . For the base material of Example 39, a polyimide resin film having a thickness of 125 μm and a copper base material of 70 μm, a nickel layer of 0.7 μm and palladium of 0.05 μm formed by a wet plating method is bonded together with a heat-resistant acrylic resin adhesive. Board material. In Example 39, after forming the aluminum reflective layer, the wiring material was formed by punching and pressing the separation part. When the carbon concentration in the aluminum reflective layer of Example 39 was similarly analyzed, the carbon concentration in the aluminum reflective layer was 1 × 1020 pieces / cm3 . In Example 40, an iron-plated copper alloy having a nickel layer of 0.7 μm and palladium of 0.05 μm formed by wet plating was simply punched and pressed into a vacuum vapor deposition apparatus made of stainless steel (SUS304). The
実施例38ではチタン層の厚さを0.1μmとしたが、チタン層の厚さは0.01μm以上あれば、同様の効果を得ることができる。但し、チタン層の厚さは、成膜時プロセスの安定性を考慮すると、0.05μm以上あることが望ましい。またチタン層の厚さが0.2μm以上では、平坦性が徐々に低下していくため、チタン層の厚さは0.2μm以下にすることが望ましい。 In Example 38, the thickness of the titanium layer was 0.1 μm, but the same effect can be obtained if the thickness of the titanium layer is 0.01 μm or more. However, the thickness of the titanium layer is preferably 0.05 μm or more in consideration of the stability of the film formation process. Further, when the thickness of the titanium layer is 0.2 μm or more, the flatness gradually decreases. Therefore, the thickness of the titanium layer is preferably 0.2 μm or less.
評価基準として、1stボンディング強度は0.39N以上のシェア強度を持つ場合を○、0.39N未満を×とした。2ndボンディング強度は0.049N以上のシェア強度を持つ場合を○、0.049N未満を×とした。 As the evaluation criteria, the first bonding strength was evaluated as “◯” when the shear strength was 0.39 N or more, and “x” when less than 0.39 N. The 2nd bonding strength was evaluated as “◯” when the shear strength was 0.049 N or more, and “x” when less than 0.049 N.
表8からアルミニウム反射層の炭素濃度が3×1020個/cm3以上では接合強度が低下し、1×1020個/cm3以下にすることが良いことが分かる。なお、本実施の形態には、エポキシ材やアクリル接着剤等の、有機材料を用いたことで、アルミニウム反射層内の炭素濃度が上昇したが、炭素の混入源として基材の汚れ、パージガス、真空ポンプ油の逆拡散、スパッタリング法を用いた場合には、スパッタガスの不純物などさまざまな要因が考えられる。From Table 8, it can be seen that when the carbon concentration of the aluminum reflective layer is 3 × 1020 pieces / cm3 or more, the bonding strength decreases, and it is preferable to set the carbon concentration to 1 × 1020 pieces / cm3 or less. In this embodiment, an organic material such as an epoxy material or an acrylic adhesive increases the carbon concentration in the aluminum reflecting layer. However, the contamination of the substrate, purge gas, When the reverse diffusion of the vacuum pump oil or the sputtering method is used, various factors such as impurities in the sputtering gas can be considered.
ボンディングテストにはワイヤーボンダーはWEST BOND INC.のMODEL7700Dを使用し、直径25μmの金ワイヤーを使用、ボンディング条件は超音波強度350mW、超音波印加時間は100msで実施した。株式会社レスカのボンディングテスタPTR−1のシェア試験モードで実施した。SIMS測定はPHI社ADEPT1010を用い、1次イオン源としてセシウムイオンを3keVの加速エネルギーで実施した。 For bonding tests, the wire bonder is WEST BOND INC. Model 7700D was used, a gold wire with a diameter of 25 μm was used, the bonding conditions were an ultrasonic intensity of 350 mW, and the ultrasonic wave application time was 100 ms. The test was conducted in the share test mode of the bonding tester PTR-1 of Resuka Co., Ltd. The SIMS measurement was carried out using ADEPT1010 manufactured by PHI and using cesium ions as the primary ion source at an acceleration energy of 3 keV.
[第31の実施の形態]
  図28は本発明の第31の実施の形態を示す半導体発光装置の概略断面図である。この実施の形態の特徴は、半導体発光素子6がアルミニウム反射層4の上にマウントされ、半導体発光素子6とワイヤーボンディング若しくはインナーリードボンディング配線するための給電用端子の基材2B、2Cにはアルミニウム反射層4がないことである。[Thirty-first embodiment]
 FIG. 28 is a schematic sectional view of a semiconductor light emitting device showing a thirty-first embodiment of the present invention. The feature of this embodiment is that the semiconductor
  ワイヤーボンディング先にアルミニウム反射層4があってもよいが、アルミニウム反射層4がない場合、基材2B、2Cの表面状態を最適化することでボンディング条件の範囲が拡張され、組み立て速度や、歩留が良くなることがある。図28は半導体発光素子6の実装部分の基材2Aと基材2B、2Cのめっき層(3、10)は同一構成の例で示したが、2A、2B、2Cの基材のめっき層の構成は異なっていても良く、別々に製作されていても構わない。また、図28は基材2A、2B、2C下部が樹脂で覆われている場合を示したが、裏面に基材2A、2B、2Cの裏面が全面または一部分が露出していても構わない。露出させたものは、更に金属製の放熱板などにはんだ付けなどで接続することで、放熱性を向上することが出来、光出力を大きくすることが出来る。また、裏面電極を有する半導体発光素子6を用いる場合は上部電極との接続に使用する給電用端子は1本以上あれば良く、上部電極と接続する給電用端子複数をワイヤーボンディング配線しても構わない。複数用いる場合、大電流駆動時や、発光装置間の配線のレイアウトが容易になる場合があり使い分けている。  The aluminum
図28は光発光素子の電極部分と給電用端子との接続をワイヤーボンディング接続の場合を示したが、接続用のパターニングされた配線材によるインナーリードを作製し、超音波や加熱を用いたウエッジボンディングによる接続を実施しても構わない。 FIG. 28 shows the case of wire bonding connection between the electrode portion of the light emitting element and the power supply terminal. However, an inner lead made of a patterned wiring material for connection is prepared, and a wedge using ultrasonic waves or heating is used. Connection by bonding may be performed.
発明者らは、上述の通り、アルミニウム反射層中の炭素濃度が金ワイヤーとアルミニウム反射層との接合強さに多く影響を与えているという知見を得た。これは、上述した全ての実施の形態に当てはまることに注意されたい。 As described above, the inventors have found that the carbon concentration in the aluminum reflecting layer has a great influence on the bonding strength between the gold wire and the aluminum reflecting layer. Note that this applies to all the embodiments described above.
  本発明半導体発光素子搭載用基板及びそれを使用した半導体発光装置を実施の形態として示した代表的な構成例で説明した、本発明はこの構成例に限定されるものでなく、本発明の技術思想の範囲内において種々の構成が可能である。給電用端子としてワイヤーボンディング又はインナーリードボンディングされる基材2B、2Cの表面の主たる構成材料が、金、銀、パラジウム、金合金、銀合金、若しくはパラジウム合金から選択された一種又はその組み合わせでもよい。また、上記各実施の形態の構成要素を本発明の要旨の範囲内で任意に組み合わせすることは可能である。  The semiconductor light-emitting element mounting substrate of the present invention and the semiconductor light-emitting device using the same are described in the representative configuration example shown as the embodiment. The present invention is not limited to this configuration example, and the technology of the present invention Various configurations are possible within the scope of the idea. The main constituent material of the surfaces of the
(第32〜第38の実施の形態)
  本発明半導体発光素子搭載用基板及び半導体発光装置の実施形態は、半導体発光素子を搭載する銅又は銅合金又は鉄系合金からなる基材と、基材の半導体発光素子を搭載する面側の少なくとも一部に設けられたアルミニウム反射層と、その下に銀層若しくは銀合金層を有した半導体発光素子搭載用基板を構成したものである。(32nd to 38th embodiments)
 Embodiments of a semiconductor light emitting element mounting substrate and a semiconductor light emitting device according to the present invention include a base material made of copper, a copper alloy, or an iron-based alloy on which a semiconductor light emitting element is mounted, and at least a surface side of the base material on which the semiconductor light emitting element is mounted. A semiconductor light-emitting element mounting substrate having an aluminum reflective layer provided in part and a silver layer or a silver alloy layer under the aluminum reflective layer is configured.
[第32の実施の形態]
  図29は、本発明の第32の実施の形態を示す半導体発光素子搭載用基板の概略断面図で、2は基材、4は基材2の一方面の半導体発光素子を搭載する個所を含む領域に形成されたアルミニウム反射層、19はアルミニウム反射層4の接合層となるチタン層で、これらにより半導体発光素子搭載用基板が構成されている。[Thirty-second embodiment]
 FIG. 29 is a schematic cross-sectional view of a substrate for mounting a semiconductor light emitting device showing a thirty-second embodiment of the present invention. In FIG. 29, 2 includes a base material, 4 includes a portion on which a semiconductor light emitting device on one surface of the
  基材2は、金属または金属と有機材又は無機材との複合材で構成される。基材2には、主にはんだ実装のために、銀層若しくは銀合金層3を被覆する。  The
  基材2は、この基材2の金属の材料としてこれに制限されることはないが、最も汎用性の高い基材2は銅または銅合金からなる金属リードフレームである。基材2として銅板を使用する場合、その厚さに制限はないが、コストを加味して厚さが選定される。また、量産化を考慮すると銅板のフープ材が好ましいが、短尺のシート材、個別材も使用できる。基材2として複合材を使用する場合、樹脂材上に銅板が張り合わされた銅張板やその積層板が使用できる。樹脂としては硬質の板状のもの、薄い可撓性を有するものが使用できる。代表的なものとして、それぞれガラスエポキシ基板(ガラス布基材樹脂板)やポリイミド樹脂系等が挙げられる。  Although the
  アルミニウム反射層4、チタン層19の製造方法は、減圧圧力調整機能を有する蒸着装置で、バッチ処理若しくは連続処理等により行われる。アルミニウム反射層4の厚さは反射率の観点から0.02μm以上が好ましい。  The manufacturing method of the aluminum
  基材2として銅合金材C−194を使用する場合、例えば長さ100m、幅50mm、厚さ0.15mmとし、アルミニウム反射層4の厚さを例えば0.05μm、チタン層19の厚さを0.1μmとした。製造に際し、まず、基材2として上述の寸法の銅板に湿式めっき法で銀層若しくは銀合金層(厚さ3μm)3を用意した。次に、抵抗加熱式のバレル式の電子ビーム方式真空蒸着装置を用いてアルミニウム反射層4、チタン層19を成膜した。具体的には、基材2を50mm×150mmの短尺材となるよう切断し、切断した基材16枚を半径300mmの傘状の治具上に放射状に並べ、これをバレルに3基セット配置し、アルミニウム、チタンの蒸発源としては、電子ビーム銃(出力6kW)を使用し、真空度を2×10−4Paまで排気してアルミニウム反射層4を厚さ0.05μm成膜した。真空蒸着装置は、本実施の形態では、自作機を用いたが、ロードロック方式の蒸着機等、市販の蒸着装置を使用しても問題ない。また、フープ材に蒸着できる連続式蒸着装置でもかまわない。真空蒸着装置は、膜質、生産性等を総合的に考慮し、適宜選択すればよい。更に、アルミニウム反射層4、チタン層19の形成方式は、電子ビーム蒸着方式でなくてもよい。即ち、抵抗加熱蒸着法、イオンプレーティング法、スパッタリング法、クラッド法等を用いることができる。When the copper alloy material C-194 is used as the
  アルミニウム反射層4、チタン層19の膜厚測定は、SIMS分析により行った。表面からアルミニウム反射層4直下の下地チタン層19の最大強度の1/2の信号強度となるところまでの厚さをアルミニウム反射層4の膜厚、チタン層19の厚さは主たる構成元素が該下地層中における最大強度の1/2の信号強度となるところまでの厚さとした。前述の銀層若しは銀合金層3である場合は、銀の信号強度比を用いることになる。  The film thickness measurement of the aluminum
(本実施の形態に係る実施例の評価)
  アルミニウム反射層4について、硫化特性及び反射率を以下のとおり確認した。まず、表9に示すとおり、銅基材上に銀めっきを施した材料に、アルミニウム反射層4を上述の方法で作製し、今回、ヤマト科学製オーブンDT−31型を用い、大気中で170℃3時間続けて150℃4時間熱処理を行った。熱処理後、波長が460nmでの初期反射率を測定した。この波長において硫酸バリウムの反射率を100%とし、反射率が90%以上を特に良好(○で示すこと)とし、90%未満を不良(×で示すこと)とした。(Evaluation of examples according to the present embodiment)
 About the aluminum
  次に、硫化特性について、厚さ0.1umのアルミニウム反射層4、チタン層19を形成したサンプルについて3ppmのH2S(硫化水素)を雰囲気温度40℃で、湿度80%で、48時間暴露した(JIS  H8502  めっきの耐食性試験方法に準拠した試験を行った)。耐硫化特性は初期反射率と48時間硫化後の反射率の比とした。その結果、初期反射率は92%であったのに対し、耐硫化試験後の反射率は87%と良好であることが分かった。  Next, regarding the sulfuration characteristics, 3 ppm of H2S (hydrogen sulfide) was exposed at an ambient temperature of 40 ° C. and a humidity of 80% for 48 hours for a sample in which the aluminum
  なお、実施例44として、基材2上の厚さ3μmの銀層若しは銀合金層3上に厚さ0.1μmのアルミニウム反射層4を設けたものは、熱処理を行わない場合、初期反射率91%と良好で○であるが、硫化特性は、耐硫化試験後の反射率比は98%と良好であることを確認している。比較例45として基材2上の厚さ3μmの銀層若しは銀合金層3上に厚さ0.1μmのアルミニウム反射層4を設けたもの(すなわち、実施例44)を上記条件で熱処理を実施した場合、初期反射率が62%と低下して×であり、硫化特性(初期反射率比)が、55%と低下したことを確認している。  In Example 44, a silver layer having a thickness of 3 μm on the
実施例44と比較例45から、熱処理を施した場合には、銅が半導体発光素子搭載用基板の表面へ拡散し、初期反射率および耐硫化特性を悪化させる(耐熱性を悪化させる)が、チタン層を設けた場合は、銅の拡散の障壁となることにより、耐熱性を高く維持できる。 From Example 44 and Comparative Example 45, when heat treatment was performed, copper diffused to the surface of the substrate for mounting a semiconductor light emitting device, and deteriorated the initial reflectance and antisulfuration characteristics (deteriorated heat resistance). When the titanium layer is provided, heat resistance can be maintained high by serving as a copper diffusion barrier.
  本実施の形態によれば、基材2表面にアルミニウム反射層4とチタン層19を形成するため、硫化せず長期間に亘り高くかつ安定した反射特性を有する半導体発光素子搭載用基板及びそれを使用した半導体発光装置を実現できる。これは、アルミニウムの反射率が紫外線では銀の3倍以上と高く、紫色、赤色、赤外線に対しては銀に近い反射率を有しており、金属の中では色のバランスが良く、銀に次ぐ高反射率を有しており、かつ銀に比較して硫化が起こりにくい特性を利用している。  According to the present embodiment, since the aluminum
上述の半導体発光素子搭載用基板にワイヤーボンディングを行うためにアルゴンプラズマ洗浄を行い、その後金ワイヤーをボンディングする。この半導体発光素子搭載用基板に対して硫化試験を行ったところ、反射率の低下は見られなかった。この結果から表面洗浄に対する耐性は強く、劣化や剥がれの心配がないことが分かった。前述の製作方法で形成した半導体発光素子搭載用基板について、金ワイヤーとのボンディング特性を確認した。 In order to perform wire bonding on the semiconductor light emitting element mounting substrate described above, argon plasma cleaning is performed, and then a gold wire is bonded. When this semiconductor light emitting element mounting substrate was subjected to a sulfidation test, no reduction in reflectance was observed. From this result, it was found that the resistance to surface cleaning was strong and there was no fear of deterioration or peeling. The bonding characteristics with the gold wire were confirmed for the semiconductor light emitting element mounting substrate formed by the above manufacturing method.
  ワイヤーボンダーはK&S社4522型で、直径25μmの金ワイヤー(田中貴金属製,typeC)を用いてボンディング特性のプル強度を試験評価した。基材はプレス加工無しの銅合金(C−194:厚さ0.15mm)に銀めっきしたもので、およびチタン層19を0.1μm+アルミニウム反射層4を0.1μmを成膜した。表7に膜構造と金ワイヤープル試験の結果を示す。  The wire bonder was model 4522 of K & S, and the pull strength of the bonding characteristics was tested and evaluated using a gold wire with a diameter of 25 μm (Tanaka Kikinzoku, type C). The base material was a copper alloy without press working (C-194: thickness 0.15 mm) silver-plated, and the
  表7に示すように、チタン層19を銅基材上の銀層若しは銀合金層3とアルミニウム反射層4の中間に入れることで、プル強度は実用上十分な強度を示すことが分かった。  As shown in Table 7, when the
なお、上記第32の実施の形態から得られる効果は、程度の差はあれど、後述の実施の形態においても得られる。 The effects obtained from the thirty-second embodiment can also be obtained in the later-described embodiments, albeit to some extent.
[第33の実施の形態]
  図30は、本発明の第33の実施の形態を示す半導体発光装置の概略断面図で、図29に示す半導体発光素子搭載用基板を使用した半導体発光装置を示している。図において、2は基材、3は基材2の銀層若しは銀合金層、4は基材2の一方の面に形成されたアルミニウム反射層、19はチタン層で、これらによって半導体発光素子搭載用基板1を構成する。[Thirty-third embodiment]
 FIG. 30 is a schematic cross-sectional view of a semiconductor light-emitting device showing a thirty-third embodiment of the present invention, and shows the semiconductor light-emitting device using the semiconductor light-emitting element mounting substrate shown in FIG. In the figure, 2 is a base material, 3 is a silver layer or a silver alloy layer of the
  半導体発光装置5においてはこれを2組(2A、2B)略同一面に近接配置して使用される。6はアルミニウム反射層4上に搭載された半導体発光素子、7は半導体発光素子6とアルミニウム反射層4とを電気的に接続するボンディングワイヤである。8は半導体発光素子6を除いて基材2A、2Bの近接している側を包囲し、半導体発光素子6の周囲に基材2から離れるに従って半導体発光素子6から離れる傾斜面8bと底面に位置するアルミニウム反射層4で形成される凹部8aを有する樹脂製の外囲器部分、9は外囲器部分8の凹部8aに充填され半導体発光素子6を封止する光透過性樹脂部で、外囲器の一部を構成している。外囲器部分8に蛍光体材料を混ぜることができる。例えば、YAGなどを混ぜることで、LEDチップを460nmのGaN系LEDを用い、擬似白色LED装置を用いることができる。  In the semiconductor
  アルミニウム反射層4、チタン層19は、外囲器の内側の略全面か、若しくは、一部を除いた残りの部分に形成されていれば良い。その理由は、半導体発光素子6から放射された光が外囲器部分8内で反射されればよいためである。  The aluminum
具体的な方法としては、(1)アルミニウム層形成時の成膜装置にて外囲器領域以外を、遮蔽する機能を設ける(2)全面にアルミニウム層を成膜後、外囲器部領域をテーピング、若しくはフォトリソプロセス等により、マスキングし、その後アルミニウムをエッチング除去する方法等、様々な方法があり、それらの何れを用いても良い。 As a specific method, (1) a function of shielding other than the envelope region is provided by a film forming apparatus for forming the aluminum layer. (2) After forming the aluminum layer on the entire surface, the envelope portion region is formed. There are various methods such as a method of masking by taping or a photolithography process, and then etching away aluminum, and any of them may be used.
  かかる構成の半導体発光装置5によれば、外囲器部分8に形成される凹部8aの底面に位置するアルミニウム反射層4の存在によって、半導体発光素子6から放出された光がアルミニウム反射層4によって凹部8aの開口側に反射され、半導体発光装置5からの光量を増やす効果を奏する。上述のように、アルミニウムは良好な耐硫化性を持つことから、高反射率を長時間に亘り維持することが出来る。  According to the semiconductor
  以上の説明では、半導体発光素子搭載用基板1を作製後、所定形状にプレスやエッチングを用いて成形したが、後めっき法とすることも可能である。即ち、基材2A、2Bを所定形状に成形した後、湿式めっき法によって基材2A、2B上に銀層若しくは銀合金層3を形成後、真空蒸着法などの乾式めっき法でアルミニウム反射層4、チタン層19を形成することも可能である。銀層若しくは銀合金層3は湿式めっき形成にもちる方法が一般的であるが、真空蒸着法などの乾式めっき法で形成しても良い。更に,基材2A、2Bについては、銅からなる場合について説明したが樹脂などの上に銅配線を設けたものを用いることができる。また、用途、コスト等から、他の金属基材、例えば鉄系の42アロイ合金等を用いても良い。またプリント配線板やフレキシブル配線板形成工程により、配線を形成した上にチタン層19、アルミニウム反射層4を形成して用いることが出来る。このように、目的や構造、材料(銅板もしくは可撓性のあるフレキシブル樹脂基材)によって、形状の作製(打ち抜き加工、曲げ加工、張り出し加工等による形状の作製)、めっき、蒸着の順番は変更することができる。  In the above description, the semiconductor light-emitting
  搭載する半導体発光素子6としては、例えば、GaAs−Si−LED、AlGaAs−LED、GaP−LED、AlGaInP−LED、InGaN−LED等のLEDチップを搭載することができる。また、図30に示した半導体発光素子6は上面と下面の電極に縦方向素子であるが、これに限定されることなく、同一面に一対の電極を形成するプレーナー構造のLED(例えば、GaN系)であってもよい。電極が同一面に形成されるプレーナー構造の場合、電極面を表面側(図では、上側)に向けて、カソード、アノード共に、ワイヤーボンディングを実施する場合と、電極面を下(リードフレーム側)に向け直接接続するいわゆるフリップチップ実装方式があるが、いずれの実装方式でも用いることができる。金ワイヤーボンディングの代わりに銅系ワイヤーボンディングやアルミニウムワイヤボンディングでもよい。  As the semiconductor
  かかる構成の半導体発光装置5によれば、外囲器部分8に形成される凹部8aの底面に位置するアルミニウム反射層4の存在によって、半導体発光素子6から放出された光がアルミニウム反射層4によって凹部8aの開口側に反射され、半導体発光装置5からの光量を増やす効果を奏する。また、アルミニウム反射層4は良好な光反射性を持つことから、高反射率を長時間に亘り維持することが出来る。  According to the semiconductor
[第34の実施の形態]
  図31は、本発明の第34の実施の形態を示す半導体発光素子搭載用基板の概略断面図である。この実施の形態は図29に示す半導体発光素子搭載用基板の変形例という位置付けで、図31(a)は基材2の一方の面にのみ銀層若しは銀合金層3を形成し、銀層若しは銀合金層3上の一部にチタン層19、アルミニウム反射層4を形成した例を、図31(b)は基材2の一方の面に形成された銀層若しは銀合金層3上の一部にチタン層19、アルミニウム反射層4を形成し、一部分を紙面で上方に略90度折り曲げた例を、図31(c)は基材2の銀層若しは銀合金層3の全面にチタン層19、アルミニウム反射層4を形成し、一部分を紙面で上方に180度折り曲げた例を、図31(d)は基材2の一方の面に直接チタン層19、アルミニウム反射層4を形成し、基材2の他方面に一例としてニッケル層17、パラジウム層18及び金フラッシュめっき層10を形成した例を夫々示している。[Thirty-fourth embodiment]
 FIG. 31 is a schematic cross-sectional view of a substrate for mounting a semiconductor light emitting device showing a thirty-fourth embodiment of the present invention. This embodiment is positioned as a modification of the semiconductor light emitting element mounting substrate shown in FIG. 29, and FIG. 31 (a) forms a silver layer or a
  図31(a)に示す半導体発光素子搭載用基板は、銅からなる基材2の片面に銀層若しは銀合金層3をめっき法で3μm形成し、銀層若しは銀合金層3の一部上にチタン層19、アルミニウム反射層4を蒸着法により形成して、構成することができる。なお、この例のように銅の基材2上に銀、チタン、アルミニウムを順次積層する場合、銀層若しは銀合金層3は、乾式でも良いが湿式めっき法を用いることができる。銀層若しは銀合金層3、チタン層19、アルミニウム反射層4については、現在は湿式めっき法では容易にはめっきが行えないため真空蒸着法を採用するとよい。他の方法としては、たとえば不活性ガス中でのスパッタリング法を用いることができる。また、コスト、プロセス工程の簡素化等の観点から、これらの方法を複数用いてもよい。  In the substrate for mounting a semiconductor light emitting device shown in FIG. 31A, a silver layer or a
  図31(b)に示す半導体発光素子搭載用基板は、基材2に銀層若しは銀合金層3をめっき法で厚さ3.0μm形成した後、一部分にチタン層19、アルミニウム反射層4を形成して構成する。図31(c)に示す半導体発光素子搭載用基板は、基材2に銀層若しは銀合金層3をめっき法で厚さ3.0μm形成した後、一部分にチタン層19、アルミニウム反射層4を形成して構成する。これらの例は半導体発光素子をチタン層19、アルミニウム反射層4の上面に搭載し、基材2の下面、若しくは側面にワイヤーボンディングを施す使い方を想定している。より具体的には、基材2が折り曲げる場合に適用が可能な構成である。なお本実施の形態では基材2の裏面にワイヤーボンディングを実施しているが、目的によって裏面が、銀層、若しくはニッケル層17、パラジウム層18、金フラッシュめっき層10等に被覆されていても構わない。  In the substrate for mounting a semiconductor light emitting element shown in FIG. 31B, a silver layer or a
[第35の実施の形態]
  図32は、本発明の第35の実施の形態を示す半導体発光素子搭載用基板の概略断面図である。この実施の形態の特徴は、銀層若しくは銀合金層3、チタン層19、アルミニウム反射層4の上に金めっき層12を1箇所、若しくは複数箇所を形成した点にある。図32(a)は銀層若しくは銀合金層3、チタン層19、アルミニウム反射層4の上一部分に金めっき層12を形成した例を、図32(b)は部分形成したチタン層19、アルミニウム反射層4の外側の銀層若しくは銀合金層3上に金めっき層12を形成した例を、図32(c)はチタン層19、アルミニウム反射層4上の全面に金めっき層12を形成した例を、図32(d)はチタン層19、アルミニウム反射層4を形成した銀層若しは銀合金層3上の全面に金めっき層12を形成した例を夫々示す。[Thirty-fifth embodiment]
 FIG. 32 is a schematic cross-sectional view of a substrate for mounting a semiconductor light emitting device showing a thirty-fifth embodiment of the present invention. This embodiment is characterized in that one or a plurality of gold plating layers 12 are formed on the silver layer or
  この実施の形態における金めっき層12は、チタン層19、アルミニウム反射層4上に搭載する半導体発光素子の電気的接続に利用することが出来る。金めっき層12が厚くなるほど、短波長側(青色)側の反射率が低下するが、金ワイヤーの接続性が良くなる。用途に応じ、反射率を加味して金めっき層12の構造を決めると良い。なお、ここでは金めっき層12は湿式めっき法で形成したが、他の方式で形成しても良い。  The
[第36の実施の形態]
  本発明の第36の実施の形態として半導体発光装置について説明する。本実施の形態の代表的な使用状態は、図27と同様である。本発明半導体発光装置は例えばプリント基板に実装して使用される。プリント基板13に実装するために、第32〜35の実施の形態に代表される半導体発光素子搭載用基板1の外囲器部分8から外部に伸びる部分(アウターリード)を折り曲げて、外囲器部分8の下面と略同一面となる部分1a又は下面より下方に位置する部分2b、2cを形成している。この部分をプリント基板13の配線にはんだ14により接着する。図27(a)はアウターリードを90度折り曲げて下方に向け、それを反対方向に90度折り曲げて水平方向に向け、これによってアウターリードの伸びる方向はそのままで水平位置を外囲器部分8の下面と略同一面とした部分1aを形成した例を、図27(b)はアウターリードを外囲器部分8に沿って2回90度折り曲げることのより外囲器部分8の下面に沿って部分1bを形成した例を、図27(c)はアウターリードを図27(b)とは反対方向に外囲器部分8に沿って2回90度折り曲げることにより外囲器部分8の上面に沿って部分1cを形成した例を夫々示している。アウターリードの折り曲げ方はこれに限定されるものでなく、半導体発光装置が使用される用途毎に相応しい形状が採用される。[Thirty-sixth embodiment]
 A semiconductor light-emitting device will be described as a thirty-sixth embodiment of the present invention. A typical use state of the present embodiment is the same as FIG. The semiconductor light emitting device of the present invention is used by being mounted on a printed circuit board, for example. In order to mount on the printed
[第37の実施の形態]
  本実施の形態において、第32の実施の形態と同様に、基材2の上に銀若しくは銀合金層、チタン層、アルミニウム反射層を設けた構成である。ただし、アルミニウム反射層4の炭素濃度は、1×1020個/cm3以下である。[Thirty-seventh embodiment]
 In the present embodiment, similarly to the thirty-second embodiment, a silver or silver alloy layer, a titanium layer, and an aluminum reflecting layer are provided on the
  この半導体発光素子搭載用基板とのボンダビリティーを評価するために、金からなるボンディングワイヤとワイヤーボンディングを行った。ここで、ワイヤーボンディングとは、リードフレーム側の電極パッドと、そのリードフレームに搭載された素子上の電極とを、電気的に接続するために、金などのワイヤーで接続することをいう。1stボンディングとは、放電によってワイヤーの先端を球状にしたものを、先にボンディングするものである。通常は、位置精度や圧着性を鑑み、素子側の電極を、1stボンディングとすることが多い。本実施の形態においては、銅の基板板上に、第32の実施の形態と同様にアルミニウム反射層4を設けたものに、放電によってワイヤーの先端を球状にしたものをボンディングした。  In order to evaluate the bondability with the semiconductor light emitting element mounting substrate, a bonding wire made of gold and wire bonding were performed. Here, the wire bonding means that a lead frame side electrode pad and an electrode on an element mounted on the lead frame are connected with a wire such as gold in order to electrically connect them. The 1st bonding is to first bond a wire whose tip is made spherical by electric discharge. Usually, the electrode on the element side is often 1st bonding in view of positional accuracy and pressure-bonding properties. In the present embodiment, an aluminum
  2ndボンディングとは、上記の素子側の電極と、上記ワイヤーで接続すべきリードフレーム側の電極との所定の位置で、ボンディングすることをいう。本実施例においては、ワイヤーの端を、銅の基板板上に、第32の実施の形態と同様にアルミニウム反射層4を設けたものに、こすりつける形で圧着した。  The 2nd bonding means bonding at a predetermined position between the electrode on the element side and the electrode on the lead frame side to be connected with the wire. In this example, the end of the wire was pressure-bonded in a form of rubbing on a copper substrate plate provided with the aluminum
  表10にアルミニウム反射層4中の炭素濃度と金ワイヤーとの接合強度の関係を示す。実施例47として、銅基材厚さ0.15mm上に銀層3.0μmを湿式めっき法にて形成したものを、打ち抜きプレス加工して、厚さ0.5mmの3層ガラスエポキシ基板に、耐熱アクリル樹脂接着剤にて、固定、発光装置回路基板を形成した物である。本材料を前述の真空蒸着装置に取り付け、チタン層を0.1μm、アルミニウム反射層を0.2μm、成膜し、SIMS分析を実施した。ここでアルミニウム反射層内の炭素濃度は該アルミニウム反射層内での炭素濃度の最小濃度とした。アルミニウム層内の炭素濃度は3×1020個/cm3であった。Table 10 shows the relationship between the carbon concentration in the aluminum
  実施例48の基材2には、ポリイミド樹脂フィルム厚さ125μm全面に銅基材70μm、銀層3.0μmを湿式めっき法にて形成したものをアクリル樹脂接着剤で貼り合せた板材である。実施例48はアルミニウム反射層4を形成後、打ち抜きプレス加工で、分離部を打ち向くことで配線材を形成した。実施例48のアルミニウム反射層4中の炭素濃度を同様にSIMS分析したところ、アルミニウム反射層4内の炭素濃度は1×1020個/cm3であった。The
  実施例49は、鉄入り銅合金にニッケル層0.7μm、パラジウム0.05μmを湿式めっき法にて形成したものを、打ち抜きプレス加工しただけのものを、真空蒸着装置に、ステンレス製(SUS304)の冶具で固定し、チタン層19を0.1μm、アルミニウム反射層4を0.2μm形成した。実施例49のアルミニウム反射層4内の炭素濃度は3×1019個/cm3であった。In Example 49, an iron-coated copper alloy formed by forming a nickel layer of 0.7 μm and palladium of 0.05 μm by a wet plating method, punched and pressed into a vacuum deposition apparatus, made of stainless steel (SUS304) The
評価基準として、1stボンディング強度は0.39N以上のシェア強度を持つ場合を○、0.39N未満を×とした。2ndボンディング強度は0.049N以上のシェア強度を持つ場合を○、0.049N未満を×とした。 As the evaluation criteria, the first bonding strength was evaluated as “◯” when the shear strength was 0.39 N or more, and “x” when less than 0.39 N. The 2nd bonding strength was evaluated as “◯” when the shear strength was 0.049 N or more, and “x” when less than 0.049 N.
  表10からアルミニウム反射層4の炭素濃度が3×1020個/cm3以上では接合強度が低下し、1×1020個/cm3以下にすることが良いことが分かる。From Table 10, it can be seen that when the carbon concentration of the aluminum
なお、本実施の形態には、エポキシ材やアクリル接着剤等の、有機材料を用いたことで、アルミニウム層内の炭素濃度が上昇したが、炭素の混入源として基材の汚れ、パージガス、真空ポンプ油の逆拡散、スパッタリング法を用いた場合には、スパッタガスの不純物などさまざまな要因が考えられる。 In this embodiment, the carbon concentration in the aluminum layer is increased by using an organic material such as an epoxy material or an acrylic adhesive, but the contamination of the base material, purge gas, vacuum, etc. When pump oil back diffusion or sputtering is used, various factors such as impurities in the sputtering gas can be considered.
ボンディングテストにはワイヤーボンダーはKulicke & Soffa Industries, IncのMODEL4522を使用し、直径25μmの金ワイヤーを使用、ボンディング条件は超音波強度1W、超音波印加時間は25msで実施した。株式会社レスカのボンディングテスタPTR−1のシェア試験モードで実施した。SIMS測定はPHI社ADEPT1010を用い、1次イオン源としてセシウムイオンを3keVの加速エネルギーで実施した。 For the bonding test, MODEL4522 manufactured by Kulicke & Soffa Industries, Inc. was used as the wire bonder, and a gold wire with a diameter of 25 μm was used. The test was conducted in the share test mode of the bonding tester PTR-1 of Resuka Co., Ltd. The SIMS measurement was carried out using ADEPT1010 manufactured by PHI and using cesium ions as the primary ion source at an acceleration energy of 3 keV.
[第38の実施の形態]
  図33は、本発明の第38の実施の形態を示す半導体発光装置の概略断面図である。この実施の形態の特徴は、半導体発光素子6がアルミニウム反射層4の上にマウントされ、半導体発光素子6とワイヤーボンディング若しくはインナーリードボンディング配線するための給電端子部の基材2B、2Cにはアルミニウム反射層4がないことである。[Thirty-eighth embodiment]
 FIG. 33 is a schematic sectional view of a semiconductor light emitting device showing a thirty-eighth embodiment of the present invention. The feature of this embodiment is that the semiconductor
  ワイヤーボンディング先にアルミニウム反射層4があってもよいが、アルミニウム反射層4がない場合、基材2B、2Cの表面状態を最適化することでボンディング条件の範囲が拡張され、組み立て速度や、歩留が良くなることがある。図33は基材2A、2B、2C下部が樹脂で覆われている場合を示したが、裏面に基材2の裏面が全面または一部分が露出していても構わない。露出させたものは、更に金属製の放熱板などに半田付けなどで接続することで、放熱性を向上することが出来、光出力を大きくすることが出来る。また、裏面電極を有する半導体発光素子6を用いる場合は上部電極との接続に使用する給電用端子は1本以上あれば良く、上部電極と接続する給電用端子複数をワイヤーボンディング配線しても構わない。複数用いる場合、大電流駆動時や、発光装置間の配線のレイアウトが容易になる場合があり使い分けている。  The aluminum
図33は、光発光素子の電極部分と給電端子との接続をワイヤーボンディング接続の場合を示したが、接続用のパターニングされた配線材によるインナーリードを作製し、超音波や加熱を用いたウエッジボンディングによる接続を実施しても構わない。 FIG. 33 shows the case of wire bonding connection between the electrode portion of the light-emitting element and the power supply terminal. An inner lead is formed from a patterned wiring material for connection, and a wedge using ultrasonic waves or heating is used. Connection by bonding may be performed.
  発明者らは、上述の通り、銀層若しくは銀合金層3層とアルミニウム反射層4間のチタン層19が本材料の反射率に対する耐熱性、すなわち、熱処理後の反射特性および耐硫化特性が向上し、良好な反射率を硫化雰囲気下でも保持することが出来るという知見を得た。これは、上述した全ての実施の形態に当てはまることに注意されたい。  As described above, the inventors have improved the heat resistance of the
本発明半導体発光素子搭載用基板及びそれを使用した半導体発光装置を実施の形態として示した代表的な構成例で説明した、本発明はこの構成例に限定されるものでなく、本発明の技術思想の範囲内において種々の構成が可能である。 The semiconductor light-emitting element mounting substrate of the present invention and the semiconductor light-emitting device using the same are described in the representative configuration example shown as the embodiment. The present invention is not limited to this configuration example, and the technology of the present invention Various configurations are possible within the scope of the idea.
1…基板、1a〜1c…基板の部分、2、2A、2B、2C…基材、…リード基材、3…銀層若しくは銀合金層、4、4A、4B…アルミニウム反射層、5…半導体発光装置、6…半導体発光素子(LEDチップ)、7…ボンティングワイヤー、8…外囲器部分、8a…凹部、8b…傾斜面、9…光透過性樹脂部、10…金フラッシュめっき層、11…金属層、12…金めっき層、13…プリント配線基板、14…はんだ、15…配線、17…ニッケル層、18…パラジウム層、19、19A、19B…チタン層、20…アウターリード、21…第1の折曲部、22…第2の折曲部DESCRIPTION OF
| Application Number | Priority Date | Filing Date | Title | 
|---|---|---|---|
| JP2011157252AJP5857355B2 (en) | 2010-09-16 | 2011-07-16 | Semiconductor light emitting element mounting substrate and semiconductor light emitting device using the same | 
| CN2011102759268ACN102403437A (en) | 2010-09-16 | 2011-09-07 | Substrate for carrying semiconductor light-emitting element and semiconductor light-emitting device using the substrate | 
| TW100132426ATWI514629B (en) | 2010-09-16 | 2011-09-08 | A semiconductor light-emitting element mounting substrate, and a semiconductor light-emitting device using the same | 
| KR1020110091649AKR20120029330A (en) | 2010-09-16 | 2011-09-09 | The board to load the ic light-emitting element, and the ic light-emitting apparatus to use thereof | 
| Application Number | Priority Date | Filing Date | Title | 
|---|---|---|---|
| JP2010208146 | 2010-09-16 | ||
| JP2010208146 | 2010-09-16 | ||
| JP2010239785 | 2010-10-26 | ||
| JP2010239785 | 2010-10-26 | ||
| JP2011157252AJP5857355B2 (en) | 2010-09-16 | 2011-07-16 | Semiconductor light emitting element mounting substrate and semiconductor light emitting device using the same | 
| Application Number | Title | Priority Date | Filing Date | 
|---|---|---|---|
| JP2015180601ADivisionJP2016029725A (en) | 2010-09-16 | 2015-09-14 | Semiconductor light emitting element mounting substrate and semiconductor light emitting device using the same | 
| Publication Number | Publication Date | 
|---|---|
| JP2012109529A JP2012109529A (en) | 2012-06-07 | 
| JP5857355B2true JP5857355B2 (en) | 2016-02-10 | 
| Application Number | Title | Priority Date | Filing Date | 
|---|---|---|---|
| JP2011157252AExpired - Fee RelatedJP5857355B2 (en) | 2010-09-16 | 2011-07-16 | Semiconductor light emitting element mounting substrate and semiconductor light emitting device using the same | 
| JP2015180601APendingJP2016029725A (en) | 2010-09-16 | 2015-09-14 | Semiconductor light emitting element mounting substrate and semiconductor light emitting device using the same | 
| Application Number | Title | Priority Date | Filing Date | 
|---|---|---|---|
| JP2015180601APendingJP2016029725A (en) | 2010-09-16 | 2015-09-14 | Semiconductor light emitting element mounting substrate and semiconductor light emitting device using the same | 
| Country | Link | 
|---|---|
| JP (2) | JP5857355B2 (en) | 
| TW (1) | TWI514629B (en) | 
| Publication number | Priority date | Publication date | Assignee | Title | 
|---|---|---|---|---|
| CN103531670B (en) | 2012-07-06 | 2016-09-07 | 哈尔滨化兴软控科技有限公司 | Method for manufacturing light-emitting | 
| JP6092266B2 (en)* | 2013-02-06 | 2017-03-08 | シャープ株式会社 | Method for manufacturing light emitting device | 
| JP6191224B2 (en)* | 2013-05-10 | 2017-09-06 | 日亜化学工業株式会社 | WIRING BOARD AND LIGHT EMITTING DEVICE USING THE SAME | 
| JP5859050B2 (en)* | 2014-03-31 | 2016-02-10 | 株式会社ソディック | Light emitting diode module | 
| JP2016111299A (en)* | 2014-12-10 | 2016-06-20 | 株式会社ソディック | Light-emitting diode module | 
| US9711700B2 (en) | 2014-12-26 | 2017-07-18 | Nichia Corporation | Light emitting device and method for producing the same | 
| JP6586036B2 (en)* | 2016-03-15 | 2019-10-02 | 東芝メモリ株式会社 | Manufacturing method of semiconductor device | 
| JP6888296B2 (en)* | 2016-12-26 | 2021-06-16 | 日亜化学工業株式会社 | Manufacturing method of light emitting device | 
| US11552220B2 (en)* | 2018-02-26 | 2023-01-10 | Kyocera Corporation | Electronic component mounting package for mounting a light-emitting element, electronic device, and electronic module | 
| CN113424311B (en)* | 2019-02-15 | 2024-08-30 | 罗姆股份有限公司 | Semiconductor device and method for manufacturing semiconductor device | 
| CN111365641A (en)* | 2020-04-14 | 2020-07-03 | 杭州亿奥光电有限公司 | Micro LED Lamps, Lamp Arrays, Series and Parallel Micro LED Lamp Arrays | 
| CN114765241B (en)* | 2021-01-13 | 2025-07-29 | 京东方科技集团股份有限公司 | Light-emitting substrate and display device | 
| JP7671858B2 (en)* | 2021-10-14 | 2025-05-02 | 株式会社ジャパンディスプレイ | Display device | 
| WO2024203736A1 (en)* | 2023-03-30 | 2024-10-03 | 日本特殊陶業株式会社 | Substrate for mounting semiconductor element | 
| WO2024203737A1 (en)* | 2023-03-30 | 2024-10-03 | 日本特殊陶業株式会社 | Substrate for mounting semiconductor element | 
| Publication number | Priority date | Publication date | Assignee | Title | 
|---|---|---|---|---|
| JPS63261732A (en)* | 1987-04-17 | 1988-10-28 | Hitachi Cable Ltd | Surface mounting board | 
| JP3251600B2 (en)* | 1990-09-27 | 2002-01-28 | 株式会社東芝 | Organic metal growth method | 
| JP2002164387A (en)* | 2000-11-29 | 2002-06-07 | Nitto Denko Corp | Semiconductor device mounting method | 
| JP2004031587A (en)* | 2002-06-25 | 2004-01-29 | Sharp Corp | Semiconductor device and method of manufacturing the same | 
| JP4228303B2 (en)* | 2004-04-12 | 2009-02-25 | 住友電気工業株式会社 | Semiconductor light emitting element mounting member and semiconductor light emitting device using the same | 
| JP2006093486A (en)* | 2004-09-27 | 2006-04-06 | Kyocera Corp | Light emitting element mounting substrate and light emitting device | 
| JP2007266343A (en)* | 2006-03-29 | 2007-10-11 | Toyoda Gosei Co Ltd | Light emitting device | 
| JP2008091818A (en)* | 2006-10-05 | 2008-04-17 | Matsushita Electric Ind Co Ltd | Lead frame for optical semiconductor device, optical semiconductor device using the same, and manufacturing method thereof | 
| KR100877881B1 (en)* | 2007-09-06 | 2009-01-08 | 엘지이노텍 주식회사 | Light emitting diode package and its manufacturing method | 
| US8288785B2 (en)* | 2008-12-03 | 2012-10-16 | Seoul Semiconductor Co., Ltd. | Lead frame having light-reflecting layer, light emitting diode having the lead frame, and backlight unit having the light emitting diode | 
| WO2010071182A1 (en)* | 2008-12-19 | 2010-06-24 | 古河電気工業株式会社 | Optical semiconductor device lead frame and manufacturing method thereof | 
| Publication number | Publication date | 
|---|---|
| TW201214778A (en) | 2012-04-01 | 
| TWI514629B (en) | 2015-12-21 | 
| JP2012109529A (en) | 2012-06-07 | 
| JP2016029725A (en) | 2016-03-03 | 
| Publication | Publication Date | Title | 
|---|---|---|
| JP5857355B2 (en) | Semiconductor light emitting element mounting substrate and semiconductor light emitting device using the same | |
| KR101924407B1 (en) | Lead frame and semiconductor device | |
| JP4897981B2 (en) | Lead frame for optical semiconductor device, manufacturing method thereof, and optical semiconductor device | |
| US7788800B2 (en) | Method for fabricating a leadframe | |
| JP5998621B2 (en) | LED lead frame and semiconductor device using the LED lead frame | |
| JP2008192635A (en) | Optical semiconductor device, lead frame, and manufacturing method of optical semiconductor device | |
| JP5578960B2 (en) | Lead frame for optical semiconductor device and manufacturing method thereof | |
| US7256481B2 (en) | Leadframes for improved moisture reliability and enhanced solderability of semiconductor devices | |
| KR20120029330A (en) | The board to load the ic light-emitting element, and the ic light-emitting apparatus to use thereof | |
| JP2004241766A (en) | apparatus | |
| JP6015231B2 (en) | LED element mounting substrate, method for manufacturing the same, and semiconductor device using the LED element mounting substrate | |
| JP5970922B2 (en) | LED lead frame and optical semiconductor device using the same | |
| JP2017092500A (en) | Lead frame for led, optical semiconductor device, and method of manufacturing lead frame for led | |
| JP5767521B2 (en) | Lead frame for optical semiconductor device and manufacturing method thereof | |
| JP2014049594A (en) | Lead frame for optical semiconductor device and optical semiconductor device using the same | |
| JP2013207036A (en) | Substrate for mounting led element, method of manufacturing the same, and semiconductor device using substrate for mounting led element | |
| JP6094695B2 (en) | Manufacturing method of LED lead frame | |
| EP3285307B1 (en) | Semiconductor light-emitting device and method for manufacturing the same | |
| JP6206568B2 (en) | Semiconductor device | |
| JP7116308B2 (en) | METAL MATERIAL FOR OPTO-SEMICONDUCTOR DEVICE, MANUFACTURING METHOD THEREOF, AND OPTO-SEMICONDUCTOR DEVICE USING THE SAME | |
| JP2012134435A (en) | Light-emitting device for back light | |
| JP2013183067A (en) | Semiconductor light emitting device, manufacturing method of semiconductor light emitting device, lead frame, and manufacturing method of lead frame | |
| JP2012151289A (en) | Optical semiconductor mounting board, manufacturing method of the same and optical semiconductor device | |
| JP2011129658A (en) | Lead frame for optical semiconductor device, method for manufacturing the same, and optical semiconductor device | |
| JP2013183148A (en) | Substrate for mounting semiconductor light-emitting element, method for manufacturing the same, and semiconductor light-emitting device using the same | 
| Date | Code | Title | Description | 
|---|---|---|---|
| A711 | Notification of change in applicant | Free format text:JAPANESE INTERMEDIATE CODE: A712 Effective date:20130920 | |
| A521 | Request for written amendment filed | Free format text:JAPANESE INTERMEDIATE CODE: A821 Effective date:20130920 | |
| A521 | Request for written amendment filed | Free format text:JAPANESE INTERMEDIATE CODE: A523 Effective date:20131025 | |
| A621 | Written request for application examination | Free format text:JAPANESE INTERMEDIATE CODE: A621 Effective date:20140502 | |
| RD03 | Notification of appointment of power of attorney | Free format text:JAPANESE INTERMEDIATE CODE: A7423 Effective date:20140526 | |
| A521 | Request for written amendment filed | Free format text:JAPANESE INTERMEDIATE CODE: A523 Effective date:20140527 | |
| A977 | Report on retrieval | Free format text:JAPANESE INTERMEDIATE CODE: A971007 Effective date:20150225 | |
| A131 | Notification of reasons for refusal | Free format text:JAPANESE INTERMEDIATE CODE: A131 Effective date:20150310 | |
| A521 | Request for written amendment filed | Free format text:JAPANESE INTERMEDIATE CODE: A523 Effective date:20150427 | |
| A02 | Decision of refusal | Free format text:JAPANESE INTERMEDIATE CODE: A02 Effective date:20150616 | |
| A521 | Request for written amendment filed | Free format text:JAPANESE INTERMEDIATE CODE: A523 Effective date:20150914 | |
| A911 | Transfer to examiner for re-examination before appeal (zenchi) | Free format text:JAPANESE INTERMEDIATE CODE: A911 Effective date:20150925 | |
| TRDD | Decision of grant or rejection written | ||
| A01 | Written decision to grant a patent or to grant a registration (utility model) | Free format text:JAPANESE INTERMEDIATE CODE: A01 Effective date:20151117 | |
| A61 | First payment of annual fees (during grant procedure) | Free format text:JAPANESE INTERMEDIATE CODE: A61 Effective date:20151119 | |
| R150 | Certificate of patent or registration of utility model | Ref document number:5857355 Country of ref document:JP Free format text:JAPANESE INTERMEDIATE CODE: R150 | |
| S111 | Request for change of ownership or part of ownership | Free format text:JAPANESE INTERMEDIATE CODE: R313113 | |
| R350 | Written notification of registration of transfer | Free format text:JAPANESE INTERMEDIATE CODE: R350 | |
| R250 | Receipt of annual fees | Free format text:JAPANESE INTERMEDIATE CODE: R250 | |
| R250 | Receipt of annual fees | Free format text:JAPANESE INTERMEDIATE CODE: R250 | |
| R250 | Receipt of annual fees | Free format text:JAPANESE INTERMEDIATE CODE: R250 | |
| R250 | Receipt of annual fees | Free format text:JAPANESE INTERMEDIATE CODE: R250 | |
| R250 | Receipt of annual fees | Free format text:JAPANESE INTERMEDIATE CODE: R250 | |
| LAPS | Cancellation because of no payment of annual fees |