








本発明は、光音響測定装置に関し、特に被検体を保持する可動な保持手段を有する装置に関する。 The present invention relates to a photoacoustic measurement apparatus, and more particularly to an apparatus having movable holding means for holding a subject.
近年、光に比べて生体内での散乱が少ない超音波の特性を利用して生体内の光学特性値分布を高解像度に求める光音響トモグラフィー(photoacoustic tomography)が提案されている。本明細書では以下、光音響トモグラフィーをPATと記述する。PATの原理を用いた測定装置において、まず光源から発生したパルス光が生体に照射されると、生体内で拡散しながら伝播する。生体組織内に含まれる吸収体は、伝播してきたパルス光のエネルギーを吸収して音響波を発生する(この音響波を光音響波とも呼び、典型的には超音波である)。この音響波を検出して信号処理した音響波信号を解析処理することにより、生体内の光学特性分布、特に光エネルギー吸収密度分布を得ることができる。 In recent years, photoacoustic tomography has been proposed in which an optical characteristic value distribution in a living body is obtained with high resolution by utilizing the characteristics of ultrasonic waves that are less scattered in the living body than light. Hereinafter, the photoacoustic tomography is referred to as PAT. In a measuring apparatus using the principle of PAT, first, when pulsed light generated from a light source is irradiated on a living body, it propagates while diffusing in the living body. The absorber contained in the living tissue absorbs the energy of the propagated pulsed light and generates an acoustic wave (this acoustic wave is also called a photoacoustic wave, and is typically an ultrasonic wave). By analyzing the acoustic wave signal obtained by detecting and processing the acoustic wave, it is possible to obtain an optical characteristic distribution in the living body, particularly a light energy absorption density distribution.
  PATにおいて、光吸収により生体内の吸収体から得られる音響波の音圧(P)は次式(1)で表すことができる。
  P=Γ・μa・Φ  …  式(1)
  ここで、Γは弾性特性値であるグリューナイセン(Gruneisen)係数であり、体積膨張
係数(β)と音速(c)の二乗の積を比熱(Cp)で割ったものである。μaは吸収体の
吸収係数、Φは局所的な領域での光量(吸収体に照射された光量)である。In PAT, the sound pressure (P) of an acoustic wave obtained from an absorber in a living body by light absorption can be expressed by the following equation (1).
 P = Γ · μa · Φ Equation (1)
 Here, Γ is a Gruneisen coefficient which is an elastic characteristic value, which is obtained by dividing the product of the square of the volume expansion coefficient (β) and the speed of sound (c) by the specific heat (Cp ). μa is an absorption coefficient of the absorber, and Φ is a light amount in a local region (amount of light irradiated to the absorber).
近年、PATの生体応用として乳房診断が検討されている。本明細書では乳房診断用のPAT装置をphotoacoustic mammography (PAM)と記述する。PAM装置は、腫瘍形成時に腫瘍周囲に形成される新生血管及び新生血管を含む吸収係数の高い領域を画像化することにより乳房中の腫瘍位置を検出する装置である。PAMにて乳房全体を診断するためには、生体表面から4−5cm以上の深部領域まで測定する必要がある。音響波信号強度は光量Φに比例するが、生体細胞により入射した光束は散乱し深部に到達する光量は指数関数的に減少する。そのため、深部観察を可能とするためには生体に許容される照射照度(最大照射許容量MPE:Maximum Permissible Exposure)にて広範囲に照明する事が好ましい。故に、一般的に光源には、出力の大きなフラッシュランプ励起固体レーザーが利用される。 In recent years, breast diagnosis has been studied as a biological application of PAT. In this specification, a PAT apparatus for breast diagnosis is described as photoacoustic mammography (PAM). The PAM device is a device that detects a tumor position in the breast by imaging a new blood vessel formed around the tumor at the time of tumor formation and a region having a high absorption coefficient including the new blood vessel. In order to diagnose the whole breast by PAM, it is necessary to measure from the living body surface to a deep region of 4-5 cm or more. The intensity of the acoustic wave signal is proportional to the amount of light Φ, but the light beam incident by the living cells is scattered and the amount of light reaching the deep portion decreases exponentially. Therefore, in order to enable deep observation, it is preferable to illuminate a wide range with irradiation irradiance (maximum irradiation tolerance MPE: Maximum Permissible Exposure) allowed for the living body. Therefore, a flash lamp pumped solid-state laser having a large output is generally used as the light source.
フラッシュランプ励起固体レーザーは局所的な高エネルギーな出力分布を有し、半導体レーザーやHe−Neレーザー等と比較すると光束中の光量分布が不均一である。局所的な高エネルギー密度を有する光束を用いた場合、その局所領域が照射照度の上限となる。故に、拡散板等の光変調部材を用いて光束の光量分布を均一化することが好ましい(特許文献1)。 The flash lamp excitation solid-state laser has a local high-energy output distribution, and the light amount distribution in the light flux is not uniform as compared with a semiconductor laser, a He—Ne laser, or the like. When a light beam having a local high energy density is used, the local area becomes the upper limit of the illumination intensity. Therefore, it is preferable to make the light quantity distribution of the light beam uniform by using a light modulation member such as a diffusion plate (Patent Document 1).
  乳房形状に応じて観察部位を固定する乳房保持機構を備えるPAMの場合、X線マンモグラフィーと異なり以下のような課題を生じる。X線マンモグラフィーでは、X線が生体内を略直進するために、乳房保持機構の平行平板の位置に対して、生体内のX線の強度分
布が影響されない。In the case of a PAM equipped with a breast holding mechanism that fixes an observation site according to the breast shape, the following problems occur, unlike the X-ray mammography. In the X-ray mammography, since the X-rays travel substantially straight in the living body, the X-ray intensity distribution in the living body is not affected by the position of the parallel plate of the breast holding mechanism.
一方PAMにおいて、光束中の光量分布の均一化を図るために、一般的な光学部品である光拡散板を光束伝搬経路中に設置した場合、射出後の光束は伝搬距離に応じて広がる。そのため、被検体を複数の地点で測定する時に、生体表面から拡散板までの距離が異なる場合、照射領域が異なってくる。その結果、各地点での照明照度が乳房固定位置に応じて変化し、光音響信号が劣化するという課題が生じる。 On the other hand, in the PAM, when a light diffusing plate, which is a general optical component, is installed in the light beam propagation path in order to make the light quantity distribution in the light beam uniform, the emitted light beam spreads according to the propagation distance. Therefore, when the subject is measured at a plurality of points, if the distance from the living body surface to the diffusion plate is different, the irradiation area is different. As a result, the illumination illuminance at each point changes according to the breast fixed position, causing a problem that the photoacoustic signal is deteriorated.
本発明は上記課題に鑑みてなされたものであり、均一かつ効率的に生体表面を照明することが可能な光音響測定装置を提供することを目的とする。 The present invention has been made in view of the above problems, and an object of the present invention is to provide a photoacoustic measurement apparatus that can uniformly and efficiently illuminate the surface of a living body.
  上記目的を達成するために、本発明は以下の構成を採用する。すなわち、光源と、被検
体を保持する、前記被検体を圧迫する方向に移動する保持手段と、前記保持手段と間隔を空けて位置し、前記光源から入射する光を拡散する、前記保持手段との前記間隔が固定された光拡散手段と、前記保持手段および前記光拡散手段ごしに照射された光により前記被検体から発生する音響波を取得する音響波取得手段と、を有する光音響測定装置である。In order to achieve the above object, the present invention adopts the following configuration. That is, a light source,a holding unitthat holds thesubject, and moves in a direction in which the subject is compressed, and the holding unit that is positioned at a distance from the holding unit and diffuses light incident from the light source Photoacoustic measurement comprising: a light diffusing unit having a fixed interval; and an acoustic wave acquiring unit configured to acquire an acoustic wave generated from the subject by light irradiated through the holding unit and the light diffusing unit. Device.
本発明の光音響測定装置によれば、均一かつ効率的に生体表面を照明することが可能になる。 According to the photoacoustic measurement apparatus of the present invention, it is possible to uniformly and efficiently illuminate the surface of a living body.
以下に図面を参照しつつ、本発明の好適な実施の形態を説明する。ただし、以下に記載されている構成部品の寸法、材質、形状及びそれらの相対配置などは、発明が適用される装置の構成や各種条件により適宜変更されるべきものであり、この発明の範囲を以下の記載に限定する趣旨のものではない。 Hereinafter, preferred embodiments of the present invention will be described with reference to the drawings. However, the dimensions, materials, shapes, and relative arrangements of the components described below should be changed as appropriate according to the configuration of the apparatus to which the invention is applied and various conditions. It is not intended to limit the following description.
光音響測定装置には、被検体の測定部位を固定する生体保持機構が具備されている。乳房診断における乳房固定方法には、乳房側面から2枚の平行平板を用いて固定する方法、胸部前面より全体的に押し付けるようにして固定する方法や、乳房周辺部から円弧状に固定する方法など提案されている。特に、平行平板を用いる乳房保持機構は、乳房の大きさに応じて任意に可動という利点がある。また、平行平板を用いる乳房保持機構はX線マンモグラフィーにも採用されており、X線マンモグラフィーとの画像比較が容易というさらなる利点がある。 The photoacoustic measurement apparatus includes a living body holding mechanism that fixes a measurement site of a subject. Breast fixing methods for breast diagnosis include fixing using two parallel plates from the side of the breast, fixing by pressing from the front of the chest as a whole, and fixing from the periphery of the breast in an arc. Proposed. In particular, the breast holding mechanism using parallel plates has the advantage of being arbitrarily movable according to the size of the breast. Further, the breast holding mechanism using a parallel plate is also employed in X-ray mammography, and has an additional advantage that image comparison with X-ray mammography is easy.
  PAMにおいて平行平板を用いて乳房を固定する場合、平行平板に対する光の照射方向と超音波検出器の配置方向は何通りか考えられ、これを図1〜図3を用いて説明する。なお、これらの説明においては、乳房を挟んで保持する不図示の2枚の平行平板が存在して
いるものとする。When a breast is fixed using a parallel plate in PAM, there are several possible light irradiation directions and ultrasonic detector arrangement directions on the parallel plate, which will be described with reference to FIGS. In these explanations, it is assumed that there are two parallel flat plates (not shown) that are held across the breast.
  図1に示すのは、照明光103に対して、被検体101の対向側に超音波検出器104を配置する前方検出型の装置である。照明光は、生体内の拡散により、拡散光エリア102に示すように照射される。図2に示すのは、被検体201に対して、照明光203と同じ側に超音波検出器204を配置する後方検出型の装置である。照明光は拡散光エリア202に示すように照射される。図3に示すのは、被検体301に対して、超音波検出器304の対向側から照明光303b、同じ側から照明光303aが照射される両面照明型の装置である。照明光は拡散光エリア302に示すように照射される。  FIG. 1 shows a front detection type apparatus in which an
被検体を挟んで保持するために用いる平行平板は、超音波検出器側または対向側の平行平板を、それぞれ独自に、またはどちらか一方のみ移動させる等、可動形式は多様に選択可能である。平行平板が可動であることにより、乳房を個体差に応じて適切に圧迫保持できる。 The parallel flat plate used for holding the object in between can be selected from a variety of movable forms, such as moving the parallel flat plate on the ultrasonic detector side or the opposing side independently or only one of them. Since the parallel plate is movable, the breast can be appropriately compressed and held according to individual differences.
PAMに用いる照明において、光拡散機構を用いることにより局所的な照射エネルギー密度の高い領域を除去することが可能である。さらに、照射領域全体を、拡散角度に応じた均一性で照度均一化することが可能である。光拡散機構を透過した光束は拡散角度に応じて照射範囲が広がる。ここで、乳房固定に可動式平行平板を用いた場合、光拡散機構が固定であれば、光拡散機構から平行平板までの距離、すなわち光束伝搬距離が、平板の移動に伴って変化するため照射領域が変化する。 In illumination used for PAM, a region having a high local irradiation energy density can be removed by using a light diffusion mechanism. Furthermore, it is possible to make the illuminance uniform in the entire irradiation region with uniformity according to the diffusion angle. The light beam that has passed through the light diffusing mechanism has a wider irradiation range depending on the diffusion angle. Here, when a movable parallel plate is used to fix the breast, if the light diffusion mechanism is fixed, the distance from the light diffusion mechanism to the parallel plate, that is, the light beam propagation distance changes with the movement of the plate. The area changes.
ところで、生体表面への照射において許容される光量は、単位面積あたりの照射エネルギーまたは照射量で規定される。このため照射領域が変動して照射面積が拡大すると、生体表面への単位面積当たりの光量は減少する。一方、照射面積が縮小すると、生体表面への単位面積当たりの光量は増大し、MPE(Maximum Permissible Exposure)以上の照度になる可能性もある。深部観察が必要なPAMでは、MPE以下の安全な照明光量の範囲内で、かつ深部観察が可能となるように大きな照明照度で、照明照度を一定とすることが好ましい。このためには、照射領域を可動式平行平板の移動によらず一定とする必要がある。 Incidentally, the amount of light allowed for irradiation on the surface of a living body is defined by irradiation energy or irradiation amount per unit area. For this reason, when the irradiation area is changed and the irradiation area is enlarged, the amount of light per unit area on the surface of the living body decreases. On the other hand, when the irradiation area is reduced, the amount of light per unit area on the surface of the living body is increased, and there is a possibility that the illuminance is higher than MPE (Maximum Permissible Exposure). In a PAM that requires deep observation, it is preferable that the illumination illuminance be constant with a large illumination illuminance within a range of safe illumination light quantity below MPE and enabling deep observation. For this purpose, it is necessary to make the irradiation region constant irrespective of the movement of the movable parallel plate.
  本発明において、照射領域を一定にするための方法を以下に説明する。図4において、光源(不図示)から光402が照射される。図4に示す乳房保持機構では、平行平板403自体に光拡散機構404が付与されている。図4(a)および図4(b)には、この乳房保持機構において、平行平板の間隔の異なる2種類の構成を示している。本図に示すように、平行平板403の間隔によらず、光拡散機構を介した光束が形成する照射領域は変わらず、一定の面積となる。あるいは、可動な平行平板を乳房の圧迫保持のために移動しても、その移動の前後で照射領域が変わらないことを示す。  In the present invention, a method for making the irradiation region constant will be described below. In FIG. 4, light 402 is emitted from a light source (not shown). In the breast holding mechanism shown in FIG. 4, a
光拡散機構を実現するには、入射側の表面形状を摺りガラスのように荒くする表面拡散機構を設けることで光束の光量分布の均一化を図る方法がある。しかしながら、摺りガラスを用いた場合、基板に垂直に入射した光束が垂直に射出するような0次光が多く含まれる。このため、さらに光量分布の均一性を上げるためには、基板表面にサーフェス・レリーフホログラムパターンによるミクロンレベルの表面構造をランダムに配置したホログラフィック拡散板を用いると効果的である。表面の凹凸形状はエポキシ製で、UV硬化にてパターン形成することが可能である。拡散角度は非周期な凹凸形状により選択可能であり、可視から近赤外の波長まで波長依存性がなく、高透過率で光束を拡散することができる。 In order to realize the light diffusing mechanism, there is a method of making the light quantity distribution of the luminous flux uniform by providing a surface diffusing mechanism that roughens the surface shape on the incident side like a frosted glass. However, when frosted glass is used, a lot of 0th-order light is included such that a light beam perpendicularly incident on the substrate is emitted vertically. Therefore, in order to further improve the uniformity of the light quantity distribution, it is effective to use a holographic diffusion plate in which micron-level surface structures based on surface relief hologram patterns are randomly arranged on the substrate surface. The uneven shape on the surface is made of epoxy, and can be patterned by UV curing. The diffusion angle can be selected depending on the non-periodic uneven shape, has no wavelength dependence from visible to near-infrared wavelengths, and can diffuse a light beam with high transmittance.
  この他、光拡散機構には平行平板基材中に屈折率の異なる粒子を含有させて平行平板内
部で拡散制御する体積拡散を用いることも可能である。特にアクリルやポリカーボネート等の基板中にチタニア微粒子を含有させて体積拡散させることができる。基板内に均一に微粒子を含有させるだけでなく、入射側から射出側に向けて微粒の含有量を増加させて拡散係数が大きくなるようにして、拡散角度を高めることも可能である。コヒーレンスの高いレーザー光を用いる場合、基板表面での屈折により基板内部の表面近傍に局所的に光束が集光する可能性がある。拡散を徐々に大きくすることにより、このようなに光束が集光する可能性が低下し、光を均一に拡散させることが可能となる。In addition, it is also possible to use volume diffusion in which particles having different refractive indexes are contained in a parallel plate base material and diffusion control is performed inside the parallel plate. In particular, titania fine particles can be contained in a substrate such as acrylic or polycarbonate to be volume diffused. In addition to containing fine particles uniformly in the substrate, it is possible to increase the diffusion angle by increasing the diffusion coefficient by increasing the content of fine particles from the incident side to the emission side. When laser light having high coherence is used, there is a possibility that the light beam is locally condensed near the surface inside the substrate due to refraction at the substrate surface. By gradually increasing the diffusion, the possibility that the light beam collects in this way is reduced, and the light can be uniformly diffused.
このように、平行平板が有する光拡散機構とは、平板表面または内部に光拡散機構が付与されたものを示す。結果として、平板全体に所定の範囲で規定された拡散角度を有することになる。本発明において光拡散機構(光拡散手段)は、半値全幅として拡散角度を示した場合、光拡散機構全体で0.5°以上の拡散角を有するものとする。好ましくは1°以上、より好ましくは5°以上の拡散角であるとよい。このような光拡散機構により、被検体に均一な光を照射する。 As described above, the light diffusing mechanism of the parallel flat plate refers to a structure in which the light diffusing mechanism is provided on the surface or inside of the flat plate. As a result, the entire flat plate has a diffusion angle defined within a predetermined range. In the present invention, the light diffusion mechanism (light diffusion means) has a diffusion angle of 0.5 ° or more in the whole light diffusion mechanism when the diffusion angle is shown as the full width at half maximum. The diffusion angle is preferably 1 ° or more, more preferably 5 ° or more. By such a light diffusion mechanism, the subject is irradiated with uniform light.
  また、図5に示すように、光拡散機構504と平行平板503の間隔を一定に保つ固定手段である治具507を設ける構成とすることもできる。この場合、保持機構の移動に応じて拡散機構を具備する治具も一緒に移動させることができるので、照射領域505を一定にすることが可能である。例えば、図5(a)の状態から、平行平板が乳房を圧迫保持する方向に移動して図5(b)の状態となった場合でも、乳房表面における照射面積は変わらない。この図5の構成では、上述の平行平板に光拡散機構を付与する場合と異なり、光を射出する側に表面拡散機構を付与させている。  Further, as shown in FIG. 5, a configuration may be provided in which a
  ただし、光拡散機構504は、表面拡散機構を用いた部材だけでなく、体積拡散機構を用いた部材でも構わない。また、光が伝播する空間に設置した光拡散機構504の表面に拡散機構を付与する場合は、拡散面を入射側にしても射出側にしても構わない。ただし、光量が強くコヒーレンスの高いレーザー光を用いる場合、平行平板表面での屈折により、平行平板内部の表面近傍に局所的に光束が集光する可能性がある。よって、損傷耐性の低い材料を用いた光拡散部材の場合は、射出側を拡散面とすることが好ましい。  However, the
  図6に、図5の形態に対する比較例の構成を示す。この構成では、光拡散機構604の位置は固定されており、平行平板が被検体を圧迫する方向へ移動するにつれて光拡散機構と平板との距離が広がる。この場合、平行平板の移動に伴って、拡散した光束による照射領域605が図6(a)から図6(b)のように変化(拡大)する。その結果照射領域における照度はMPEを大きく下回り、測定効率が低下する。  FIG. 6 shows a configuration of a comparative example with respect to the embodiment of FIG. In this configuration, the position of the
  <実施例1>
  本実施例では、本発明を適用した前方検出型PAT装置の構成例について説明する。<Example 1>
 In this embodiment, a configuration example of a forward detection type PAT apparatus to which the present invention is applied will be described.
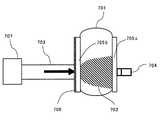
  被検体である生体組織701に対して、図7に示すような、平面状の平行平板705aおよび705b、超音波検出器704、照明光703を照射する光源707からなる前方検出型PAT装置を用意する。すると、照射された光は拡散して拡散光エリア702を照明する。また本装置では、超音波検出器が平板面705a上を走査する。また、対向側の光束も超音波検出器の移動に同期して移動して、常に超音波検出器704の前面(紙面左側)から照明する構成をとる。  As shown in FIG. 7, a front detection type PAT apparatus including a plane parallel
  光源は1064nmに発振波長を有するパルスレーザーであるNd:YAGを用いる。これ以外に500nm〜1400nm程度の可視から近赤外領域の波長帯を利用することが可能である。Nd:YAGレーザーと共に用いるTI:sa(チタンサファイア)やOPO(光パラメトリック発生)等を用いて波長可変する技術や750nm前後の波長帯で
発振するアレクサンドライト結晶を用いたアレクサンドライトレーザーの使用も可能である。平行平板705aおよび705bは、屈折率1.46のポリメチルペンテンを用い、厚さを10mmとする。The light source uses Nd: YAG, which is a pulsed laser having an oscillation wavelength of 1064 nm. In addition, it is possible to use a visible to near-infrared wavelength band of about 500 nm to 1400 nm. It is also possible to use TI: sa (titanium sapphire) and OPO (optical parametric generation) used with Nd: YAG laser to change the wavelength or use Alexandrite laser using Alexandrite crystal that oscillates in the wavelength band around 750 nm. It is. The
  そして本実施例では、超音波検出器704を配置する平板705aと逆側の平板705bの入射側、すなわち被検体とは接触しない平板の外側に、表面拡散機構であるホログラフィック拡散機構をつける。そのために、ホログラフィック拡散機構を具備したシート706を平行平板705bに接着する。あるいは、平板表面に直接加工を行い、ホログラフィック拡散機構を形成しても構わない。つまり、表面拡散機構は、平板の一部であっても良いし、平板と別の部材であっても良い。平行平板は、本発明における保持手段に相当する。ホログラフィック拡散機構を具備したシートは、本発明における光拡散手段に相当する。  In this embodiment, a holographic diffusion mechanism, which is a surface diffusion mechanism, is provided on the incident side of the
  そして、拡散された光は生体組織701に吸収され、生体組織の膨張収縮により超音波(音響波)が発生する。これを超音波検出器704が取得する。超音波検出器は例えば圧電素子などで構成され、取得した超音波を電気信号に変換し、生体組織内部の画像再構成に利用させることができる。超音波検出器は、本発明における音響波取得手段に相当する。  The diffused light is absorbed by the
  このような構成のPAT装置を用いて、乳房の大きさに合わせて平行平板705aと705bの一方または両方を移動することにより乳房を保持し、測定を行えば、光拡散機構から被検体への距離が一定に保たれる。その結果、光の拡散による照射領域の変動を阻止することが可能であり、効果的に照明を実施することが可能となる。  Using the PAT apparatus configured as described above, the breast is held by moving one or both of the
  <実施例2>
  本実施例では、本発明を適用した後方検出型PAT装置の構成例について説明する。<Example 2>
 In this embodiment, a configuration example of a backward detection type PAT apparatus to which the present invention is applied will be described.
  生体組織801に対して、図8に示すような、平行平板805、超音波検出器804、光源(不図示)の照明光803からなる後方検出型PAT装置を用意する。光源は実施例1と同様のものを利用可能である。光源から照射された光は拡散して拡散光エリア802を照明する。  For the
  超音波検出器の前面には、音響整合をとった、検出器面より大きなサイズの膜を固定化する。この膜は超音波の透過性が高いほど好ましく、かつ光透過性も必要である。本実施例では200μm厚のポリカーボネート膜を用いた。超音波検出器とポリカーボネート膜を一体化したユニットを、ひまし油等の超音波を透過しやすい音響マッチング層となる溶液を介して乳房を保持した平板に接触させて平行に移動する。光拡散機構として、上記ポリカーボネート膜にホログラフィック拡散機構である表面拡散機構806を具備する。ポリカーボネート膜と超音波検出器804の接着部分以外に上記表面拡散機構を施し、この領域より光束を入射する。  A film having a size larger than that of the detector surface, which is acoustically matched, is fixed on the front surface of the ultrasonic detector. This film is more preferable as it has higher ultrasonic transmission and also requires light transmission. In this example, a polycarbonate film having a thickness of 200 μm was used. A unit in which the ultrasonic detector and the polycarbonate film are integrated is moved in parallel by bringing the unit into contact with the flat plate holding the breast through a solution serving as an acoustic matching layer that easily transmits ultrasonic waves such as castor oil. As the light diffusion mechanism, the polycarbonate film is provided with a
  このような構成のPAT装置を用いて測定を行えば、乳房を保持するために乳房の大きさに合わせて平行平板805を移動した場合であっても、光拡散機構から被検体への距離が一定に保たれる。その結果、光の拡散による照射領域の変動を阻止することが可能であり、効果的に照明を実施することが可能となる。  When the measurement is performed using the PAT apparatus having such a configuration, the distance from the light diffusion mechanism to the subject can be reduced even when the
なお、ここでは後方検出型PAT装置について説明したが、本実施例の手法を実施例1の手法と組み合わせて、超音波検出器と対向する側にも光源からの光を照射することにより両側照明型PAT装置を実現できる。 Although the rear detection type PAT apparatus has been described here, the method of the present embodiment is combined with the method of the first embodiment, and both sides are illuminated by irradiating light from the light source on the side facing the ultrasonic detector. A type PAT apparatus can be realized.
また、本実施例の構成に対して、超音波検出器の対向側の平板をなくして1枚の板で構成することも可能である。その場合、乳房を押しつけ固定して保持し、測定を行う方法となる。この構成においても拡散による照射領域の変動を阻止することが可能であり効果的に照明を実施することが可能となる。また、円弧状の部材で押しつけ固定する場合にも適用可能である。 Further, in contrast to the configuration of the present embodiment, it is possible to eliminate the flat plate on the opposite side of the ultrasonic detector and to form a single plate. In that case, the measurement is performed by pressing and fixing the breast and holding it. Even in this configuration, it is possible to prevent the irradiation region from being fluctuated due to diffusion, and illumination can be performed effectively. Moreover, it is applicable also when pressing and fixing with an arc-shaped member.
  <実施例3>
  本実施例では、前述の実施例で用いた表面拡散に代えて、体積拡散により光拡散機構を実現する構成例を示す。<Example 3>
 In this embodiment, a configuration example for realizing a light diffusion mechanism by volume diffusion instead of the surface diffusion used in the above-described embodiment will be shown.
  図9に、本実施例におけるPAT装置の構成を示す。ここでは、前述の実施例に示したような超音波検出器前面に表面拡散を付与するポリカーボネート膜は必要ない。乳房等の生体組織901が被検体であり、平行平板905で挟んで保持される。そして、光源(不図示)から光学系により導かれた照明光903aおよび903bが被検体に照射され、拡散光エリア902に拡散する。超音波検出器904は、被検体から発生した音響波を検出する。  FIG. 9 shows the configuration of the PAT apparatus in this embodiment. Here, a polycarbonate film for imparting surface diffusion to the front surface of the ultrasonic detector as shown in the above-described embodiments is not necessary. A
  本実施例においては、平行平板905の材料であるポリメチルペンテン樹脂内部の屈折率を調整するために、チタニア微粒子を含有させた。チタニアの含有は、平板内に一様に含有させた場合と、光束の入射側から射出側に向けて徐々に拡散効果が高まるようにチタニア微粒子の含有率を上げた、2種類を用意した。  In this example, titania fine particles were included in order to adjust the refractive index inside the polymethylpentene resin, which is the material of the
  上述した2種類の平板のいずれを用いた場合でも、このような構成のPAT装置を用いて、乳房の大きさに合わせて平行平板905を移動することにより乳房を保持し、測定を行えば、光拡散機構から被検体への距離が一定に保たれる。その結果、光の拡散による照射領域の変動を阻止することが可能であり、効果的に照明を実施することが可能となる。2種類の平板のうち、チタニアの含有量が入射側から徐々に高まるような構成であれば、屈折により表面近傍に局所的に光束が集まることを防ぐことができる点で好ましい。  When using any of the two types of flat plates described above, if the PAT apparatus having such a configuration is used to move the parallel
本実施例の別の態様として、乳房保持機構と連動して移動する拡散機構を具備する構成例を取っても良い。この場合、乳房保持機構である平行平板は乳房の大きさに依存して平板間隔が変化する。移動可能な平行平板と拡散機構を具備する部材を連結し、平板と拡散部材間距離を保持する。実施例1と同様に、音響波信号測定時は超音波検出器と同期して対向側の光束も面内操作するため、常に光束が拡散部材を介して照射するように、縦横サイズが十分大きな拡散部材とする。 As another aspect of the present embodiment, a configuration example including a diffusion mechanism that moves in conjunction with the breast holding mechanism may be taken. In this case, the parallel plate that is the breast holding mechanism changes the plate interval depending on the size of the breast. A movable parallel plate and a member having a diffusion mechanism are connected to maintain a distance between the flat plate and the diffusion member. As in the first embodiment, when measuring the acoustic wave signal, the opposite side light beam is also operated in the plane in synchronization with the ultrasonic detector, so that the vertical and horizontal sizes are sufficiently large so that the light beam is always irradiated through the diffusing member. A diffusion member is used.
このような構成とすることにより、拡散による照射領域の変動を阻止することが可能であり、効果的に照明を実施することが可能となる。 By adopting such a configuration, it is possible to prevent the irradiation region from being fluctuated due to diffusion, and illumination can be effectively performed.
703:照明光,704:超音波検出器,705aおよび705b:平行平板,706:光拡散機構,707:光源 703: Illumination light, 704: Ultrasonic detector, 705a and 705b: Parallel plate, 706: Light diffusion mechanism, 707: Light source
| Application Number | Priority Date | Filing Date | Title | 
|---|---|---|---|
| JP2014046176AJP5813157B2 (en) | 2014-03-10 | 2014-03-10 | Photoacoustic measuring device | 
| Application Number | Priority Date | Filing Date | Title | 
|---|---|---|---|
| JP2014046176AJP5813157B2 (en) | 2014-03-10 | 2014-03-10 | Photoacoustic measuring device | 
| Application Number | Title | Priority Date | Filing Date | 
|---|---|---|---|
| JP2010132860ADivisionJP5587046B2 (en) | 2010-06-10 | 2010-06-10 | Photoacoustic measuring device | 
| Publication Number | Publication Date | 
|---|---|
| JP2014100605A JP2014100605A (en) | 2014-06-05 | 
| JP5813157B2true JP5813157B2 (en) | 2015-11-17 | 
| Application Number | Title | Priority Date | Filing Date | 
|---|---|---|---|
| JP2014046176AExpired - Fee RelatedJP5813157B2 (en) | 2014-03-10 | 2014-03-10 | Photoacoustic measuring device | 
| Country | Link | 
|---|---|
| JP (1) | JP5813157B2 (en) | 
| Publication number | Priority date | Publication date | Assignee | Title | 
|---|---|---|---|---|
| JP4003356B2 (en)* | 1999-09-29 | 2007-11-07 | 三菱電機株式会社 | Light irradiation apparatus and transfer processing apparatus using the same | 
| JP2003270585A (en)* | 2002-03-18 | 2003-09-25 | Ricoh Co Ltd | Laser illumination optical system and exposure apparatus, laser processing apparatus, and projection apparatus using the same | 
| JP2004351023A (en)* | 2003-05-30 | 2004-12-16 | Olympus Corp | Photoacoustic probe | 
| JP5546111B2 (en)* | 2007-06-29 | 2014-07-09 | キヤノン株式会社 | Ultrasonic probe and inspection apparatus provided with the ultrasonic probe | 
| JP5189912B2 (en)* | 2008-07-11 | 2013-04-24 | キヤノン株式会社 | Photoacoustic measuring device | 
| JP4829934B2 (en)* | 2008-07-11 | 2011-12-07 | キヤノン株式会社 | Inspection device | 
| JP2010125260A (en)* | 2008-12-01 | 2010-06-10 | Canon Inc | Biological testing apparatus | 
| Publication number | Publication date | 
|---|---|
| JP2014100605A (en) | 2014-06-05 | 
| Publication | Publication Date | Title | 
|---|---|---|
| JP5587046B2 (en) | Photoacoustic measuring device | |
| JP5675142B2 (en) | Subject information acquisition apparatus, subject information acquisition method, and program for executing subject information acquisition method | |
| JP6239028B2 (en) | Biological information acquisition device | |
| JP5709368B2 (en) | Biological information acquisition device | |
| US9433355B2 (en) | Photoacoustic imaging apparatus and photoacoustic imaging method | |
| WO2011135820A1 (en) | Photoacoustic measuring apparatus | |
| CN104780832B (en) | Subject information acquisition device and control method of subject information acquisition device | |
| JP2011097990A (en) | Bioinformation acquisition apparatus | |
| US20130085371A1 (en) | Acoustic wave acquiring apparatus | |
| WO2013168531A1 (en) | Photoacoustic measurement device and probe for photoacoustic measurement device | |
| US20130237800A1 (en) | Object information acquiring apparatus | |
| US9326688B2 (en) | Object information acquiring apparatus | |
| US20140064030A1 (en) | Object information acquiring apparatus | |
| JP2014083196A (en) | Subject information acquisition apparatus and photoacoustic probe | |
| JP5950538B2 (en) | Subject information acquisition device | |
| JP5813157B2 (en) | Photoacoustic measuring device | |
| CN207532375U (en) | The imaging system of human microvascular three-dimensional ultra microstructure based on effluent dark field imaging technique | |
| JP6016881B2 (en) | Photoacoustic imaging apparatus, photoacoustic imaging method, and program for executing photoacoustic imaging method | |
| CN105246396B (en) | Subject information acquisition device and control method of subject information acquisition device | |
| JP6272427B2 (en) | Photoacoustic imaging apparatus, photoacoustic imaging method, and program for executing photoacoustic imaging method | |
| JP2014174140A (en) | Optical probe holder and detector | 
| Date | Code | Title | Description | 
|---|---|---|---|
| A521 | Request for written amendment filed | Free format text:JAPANESE INTERMEDIATE CODE: A523 Effective date:20140310 | |
| A621 | Written request for application examination | Free format text:JAPANESE INTERMEDIATE CODE: A621 Effective date:20140310 | |
| A977 | Report on retrieval | Free format text:JAPANESE INTERMEDIATE CODE: A971007 Effective date:20141225 | |
| A131 | Notification of reasons for refusal | Free format text:JAPANESE INTERMEDIATE CODE: A131 Effective date:20150203 | |
| A521 | Request for written amendment filed | Free format text:JAPANESE INTERMEDIATE CODE: A523 Effective date:20150403 | |
| TRDD | Decision of grant or rejection written | ||
| A01 | Written decision to grant a patent or to grant a registration (utility model) | Free format text:JAPANESE INTERMEDIATE CODE: A01 Effective date:20150818 | |
| A61 | First payment of annual fees (during grant procedure) | Free format text:JAPANESE INTERMEDIATE CODE: A61 Effective date:20150915 | |
| R151 | Written notification of patent or utility model registration | Ref document number:5813157 Country of ref document:JP Free format text:JAPANESE INTERMEDIATE CODE: R151 | |
| LAPS | Cancellation because of no payment of annual fees |