





















本発明は、車輌等に搭載される電気接続箱に関し、詳しくは、接続箱本体と当該接続箱本体に取り付けられるECUなどの取付体とを備えた電気接続箱に関する。 The present invention relates to an electrical junction box mounted on a vehicle or the like, and more particularly, to an electrical junction box including a junction box body and an attachment body such as an ECU attached to the junction box body.
自動車などに搭載される電気接続箱(ジャンクションブロックとも言う。)として、例えば、ヒューズやリレー等の複数の電気部品をハウジング内に収容した接続箱本体と、前記複数の電子部品を制御する制御回路を有した取付体としての電子制御ユニット(以下、ECUという)と、を備えたものが知られている(例えば、特許文献1参照)。 As an electrical junction box (also referred to as a junction block) mounted on an automobile or the like, for example, a junction box body in which a plurality of electrical components such as fuses and relays are housed in a housing, and a control circuit for controlling the plurality of electronic components There is known an electronic control unit (hereinafter referred to as an ECU) as a mounting body having a structure (for example, see Patent Document 1).
前述した特許文献1などに示された電気接続箱では、接続箱本体に前記ECUを取り付けるための凹みを設け、当該接続箱本体の凹みの底面とECUの外表面との双方に互いに嵌合するコネクタを設けて、前記した電気部品と制御回路とを互いに接続するようになっている。また、前述した特許文献1などに示された電気接続箱では、ECUの互いに逆側に位置する外縁にロック部を設け、接続箱本体に前記ロック部が係合するロック受け部を設けている。前述した特許文献1などに示された電気接続箱は、ロック部とロック受け部とを互いに係合させて、接続箱本体にECUを取り付けるようにしている。 In the electrical junction box described in the above-mentioned
前述した従来の電気接続箱では、ECUの互いに逆側に位置する外縁にロック部を設けているために、双方の外縁に設けられたロック部のロック受け部への係合を解除しないと、接続箱本体からECUを取り外すことができなかった。即ち、前述した従来の電気接続箱では、接続箱本体からECUを取り外し難かった。 In the above-described conventional electrical junction box, since the lock portion is provided on the outer edges located on the opposite sides of the ECU, if the engagement of the lock portions provided on both outer edges is not released, The ECU could not be removed from the junction box body. That is, in the above-described conventional electric junction box, it is difficult to remove the ECU from the junction box body.
したがって、本発明の目的は、取付体を容易に接続箱本体から取り外すことのできる電気接続箱を提供することにある。 Accordingly, an object of the present invention is to provide an electrical junction box in which the attachment body can be easily detached from the junction box body.
上記目的を達成するために、請求項1に記載された本発明の電気接続箱は、接続箱本体と、この接続箱本体に取り付けられる取付体と、前記取付体に設けられたロック部と、前記接続箱本体に設けられたロック受け部とを有し、かつ前記ロック部と前記ロック受け部とのうち少なくとも一方が一旦弾性変形することで、前記ロック部と前記ロック受け部とが互いに係合する取付部とを備えた電気接続箱において、前記取付部の前記ロック部を前記取付体の互いに逆側に位置する二つの外縁それぞれに設け、そして、前記取付体の一方の外縁に設けられた前記取付部の前記ロック部と前記ロック受け部とが、前記一方の外縁の延在方向と交差する面から突出して互いに係止する突起を備え、これら突起のうち少なくとも一方には、前記取付体の他方の外縁に向かうにしたがって徐々に突出量が減少するテーパ面が設けられていることを特徴とする。In order to achieve the above object, the electrical junction box of the present invention described in
請求項1に記載された本発明は、取付体の一方の外縁に設けられた取付部のロック部とロック受け部の突起のうち少なくとも一方には、取付体の他方の外縁に向かうにしたがって徐々に突出量が減少するテーパ面が設けられているので、他方の外縁に設けられたロック部とロック受け部の係合を解除して、取付体の他方の外縁を接続箱本体から遠ざけると、前記テーパ面上に突起が乗り上がるように取付体が一方の外縁を中心として回転する。このため、他方の外縁に設けられたロック部とロック受け部の係合を解除して、取付体の他方の外縁を接続箱本体から遠ざけるのにしたがって、一方の外縁に設けられたロック部とロック受け部との係合が徐々に解除されることとなる。よって、他方の外縁に設けられたロック部とロック受け部の係合を解除して、取付体の他方の外縁を接続箱本体から遠ざけることにより、一方の外縁に設けられた取付部のロック部とロック受け部との係合を解除でき、取付体を容易に接続箱本体から取り外すことができる。 According to the first aspect of the present invention, at least one of the locking portion of the mounting portion and the protrusion of the lock receiving portion provided on one outer edge of the mounting body gradually increases toward the other outer edge of the mounting body. Is provided with a tapered surface that reduces the amount of protrusion, so when the engagement between the lock portion provided on the other outer edge and the lock receiving portion is released and the other outer edge of the mounting body is moved away from the junction box body, The attachment body rotates around one outer edge so that the protrusions ride on the tapered surface. For this reason, the lock portion provided on the one outer edge is released as the lock portion provided on the other outer edge is disengaged from the lock receiving portion, and the other outer edge of the attachment body is moved away from the connection box main body. The engagement with the lock receiving portion is gradually released. Therefore, by releasing the engagement between the lock part provided on the other outer edge and the lock receiving part and moving the other outer edge of the attachment body away from the junction box body, the lock part of the attachment part provided on one outer edge And the lock receiving portion can be released, and the attachment body can be easily detached from the junction box body.
以下、本発明の一実施の形態に係る電気接続箱を、図1ないし図22に基づいて説明する。本実施形態に係る電気接続箱1は、自動車の車体を構成するパネルなどに固定され、この自動車に搭載される多種多様な電子機器同士を予め定められたパターンにしたがって電気的に接続するものである。 Hereinafter, an electrical junction box according to an embodiment of the present invention will be described with reference to FIGS. The
上記電気接続箱1は、図1及び図2に示すように、接続箱本体2と、この接続箱本体2に取り付けられる取付体としての電子制御ユニット(以下、ECUと称す。なお、ECUとは、Engine Control Unitの略である。)3と、取付部4と、取付部としての第2取付部5と、複数の案内部6と、複数の第2案内部7とを備えている。 As shown in FIGS. 1 and 2, the
上記接続箱本体2は、絶縁性の合成樹脂で構成されたハウジング8と、このハウジング8内に収容されかつヒューズやリレーなどの電気部品が実装された図示しない印刷配線板と、コネクタ9(図2に示す)とを備えている。 The
ハウジング8は、互いに間隔をあけて平行でかつ略正方形の一対の取付壁10と、これら一対の取付壁10同士を連結しかつ当該取付壁10よりも幅の狭い長方形状の四つの側壁11とを備えて、扁平な箱状に形成されている。また、一対の取付壁10のうち図1及び図2中手前側の取付壁10には、ECU3を収容するための凹み12が設けられている。図示例では、凹み12は、取付壁10の略全体に設けられている。凹み12の底壁13は、取付壁10と平行に設けられている。コネクタ9は、図2に示すように、筒状のハウジング部14と、複数の図示しない端子とを備えている。ハウジング部14は、底壁13の表面に対して直交する方向に沿って、当該底壁13から立設している。端子は、導電性の金属で構成されて、棒状に形成されている。端子は、一端部が印刷配線板に取り付けられ、他端部がハウジング部14内に位置付けられている。端子の長手方向は、底壁13の表面に対して直交している。 The
ECU3は、図1及び図2に示すように、絶縁性の合成樹脂で構成されたハウジング16と、このハウジング16に収容され且つ各種の電子部品が実装された図示しない印刷配線板と、コネクタ17(図2に示す)と、ハーネス用コネクタ18とを備えている。 As shown in FIGS. 1 and 2, the ECU 3 includes a housing 16 made of an insulating synthetic resin, a printed wiring board (not shown) that is housed in the housing 16 and mounted with various electronic components, and a
ハウジング16は、前記凹み12内に収容可能な扁平な箱状に形成されている。ハウジング16は、後述する取付部4,5により凹み12内に収容された格好でECU3が接続箱本体2に取り付けられると、凹み12の底壁13に重なる重なり壁19(図2に示す)と、図8に示すように前記凹み12が設けられた取付壁10と平行な平行壁20と、これらの重なり壁19と平行壁20とに連なる四つの側壁21とを備えている。なお、重なり壁19と平行壁20とは、互いに間隔をあけて平行でかつ平面形状が等しく形成されている。 The housing 16 is formed in a flat box shape that can be accommodated in the
コネクタ17は、図2に示すように、筒状のハウジング部22と、複数の図示しない端子とを備えている。ハウジング部22は、前記重なり壁19を貫通した孔24内に設けられ、当該重なり壁19の表面に対して直交する方向に沿っている。端子は、導電性の金属で構成されて、ハウジング16内の印刷配線板に取り付けられた基板接続部と、この基板接続部に連なりかつ前記端子を挟む挟持部とを一体に備えている。挟持部は、ハウジング部22内に収容されている。 As shown in FIG. 2, the
コネクタ17は、ハウジング部22がハウジング部14内に侵入しかつ、端子の挟持部がコネクタ9の端子を挟み込んで、当該コネクタ9と嵌合する。コネクタ9,17は、ハウジング部14,22の内面が互いに平行な状態で、互いに近づけられて、互いに嵌合する。このため、ハウジング部14の内面がハウジング部22の外面と略面一となる位置を、コネクタ9,17同士が嵌合可能となる位置といい、これらコネクタ9,17同士の嵌合方向という。即ち、コネクタ9,17は、ハウジング部14の内面及びハウジング部22の外面に沿って、互いに近づいて、互いに嵌合する。 In the
ハーネス用コネクタ18は、前記側壁21を貫通した孔内に設けられた筒状のハウジング部23と、当該ハウジング部23内に設けられかつ印刷配線板に接続された図示しない端子とを備えている。ハーネス用コネクタ18は、前記自動車に配索されるワイヤハーネスのコネクタが嵌合する。 The
取付部4は、本実施形態では、一つのみ設けられている。取付部4は、図2に示すように、受け部25と、ロック部としてのロックアーム26とを備えている。 In the present embodiment, only one mounting
受け部25は、筒状部27と、ロック受け部としての本体側ロックアーム28とを備えている。筒状部27は、接続箱本体2の図2中上側に位置する(即ち、凹み12の縁寄りの)側壁11上に一体に設けられている。筒状部27は、側壁11の中央に設けられかつ当該側壁11の外面から凸となる状態で設けられている。また、筒状部27は、凹み12の開口部12a側が開口した筒状に形成されている。本体側ロックアーム28は、筒状部27内に収容されている。本体側ロックアーム28は、その長手方向が筒状部27の長手方向即ち取付壁10の表面に対して直交するアーム本体29と、当該アーム本体29の長手方向の中央に設けられたロック突起30とを一体に備えている。アーム本体29は、凹み12の開口部12a寄り即ち底壁13から離れた側の一端部が側壁11の外面に連なりかつ底壁13寄りの他端部が自由端の片持ち梁状に形成されている。アーム本体29即ち本体側ロックアーム28は、前記他端部が側壁11に対して接離するように弾性変形自在となっている。ロック突起30は、アーム本体29から接続箱本体2の外側に向かって凸に形成されている。なお、ロック突起30の底壁13から離れた側の面30aは、前記底壁13から離れるのにしたがって徐々にアーム本体29に近づく方向に前記底壁13の表面及び当該底壁13の表面に対して直交する方向との双方に対して傾斜している。ロック突起30の底壁13寄り面30bは、前記底壁13の表面と平行となっている。 The receiving
ロックアーム26は、ECU3の図2中上側に位置する側壁21の中央に設けられている。即ち、ロック部としてのロックアーム26は、ECU3の図2中上方に位置する外縁3a(特許請求の範囲に記載された他方の外縁に相当)に設けられている。ロックアーム26は、互いに平行な一対の平行梁31と、当該平行梁31同士を連結した連結梁32とを一体に備えている。平行梁31は、側壁21の長手方向に沿って互いに間隔をあけて設けられ、かつ側壁21の接続箱本体2から離れた側の端から側壁21に対して直交する方向に沿って外方向に立設した立設部33と、この立設部33の先端から側壁21と平行に接続箱本体2に向かって延在した延在部34とを備えている。連結梁32は、棒状に形成されかつ延在部34の立設部から離れた側の端同士即ち平行梁31の接続箱本体2寄りの端同士を連結している。連結梁32の接続箱本体2寄りの面32aは、接続箱本体2に近づくのにしたがって即ち筒状部27の奥に向かうにしたがって徐々に側壁21から離れるように、前記側壁21の表面と側壁21の表面に対して直交する方向との双方に対して傾斜している。連結梁32の接続箱本体2から離れた側の面32bは、側壁21の表面に対して直交する方向と平行である。平行梁31即ちロックアーム26は、連結梁32が側壁21に対して接離するように弾性変形自在となっている。 The
前述した取付部4は、ロックアーム26が筒状部27内に侵入しかつロックアーム26,28が弾性変形していない中立状態で、連結梁32がロック突起30上に重なる。この状態で、連結梁32がロック突起30上を乗り越えようとすると、面30a,32aが前述したように傾斜しているので、本体側ロックアーム28のアーム本体29が他端部が側壁11に近づくように一旦弾性変形し、ロックアーム26の平行梁31が連結梁32が側壁21から離れるように一旦弾性変形する。そして、前述した取付部4は、連結梁32がロック突起30を乗り越えると、アーム本体29及び平行梁31が弾性復元力により中立状態に復帰して、前述した面30b,32b同士が密に重なる。こうして、取付部4は、ロックアーム26と本体側ロックアーム28とが互いに係合することとなる。 In the mounting
第2取付部5は、本実施形態では、二つ設けられている。第2取付部5は、図2に示すように、ロック受け部35と、ロック部36とを備えている。 In the present embodiment, two
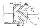
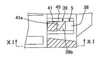
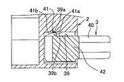
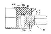
ロック受け部35は、図4に示すように、前述した凹み12に連なるガイド凹部37に設けられている。ガイド凹部37は、凹み12の幅方向の両端から取付部4の受け部25から離れる方向に延在しており、勿論、取付壁10から凹に形成されている。ロック受け部35は、ガイド凹部37の接続箱本体2の幅方向の中央寄りの内面37aに一体に設けられたアーム38と、当該アーム38の中央部に設けられた突起39とを備えている。 As shown in FIG. 4, the
アーム38は、その長手方向が底壁13の表面に対して直交しているとともに、底壁13から離れた側の一端部がガイド凹部37の内面37aに連なりかつ底壁13寄りの他端部が自由端の片持ち梁状に形成されている。アーム38は、他端部がガイド凹部37の内面37aに没する方向に弾性変形自在となっている。突起39は、アーム38の中央部から接続箱本体2の外側に向かって凸に設けられている。突起39は、凹み12の底壁13に相対する面39aが当該底壁13と平行に形成されている。また、突起39には、前述した他方の外縁3aに向かうにしたがって、アーム38からの突出量が徐々に減少するテーパ面45が設けられている。さらに、突起39の凹み12の底壁13から離れた側の面39bが前記底壁13から離れるのにしたがって前述したアーム38からの突出量が徐々に減少するテーパ状に形成されている。 The
ロック部36は、図3に示すように、ECU3の図2中下方に位置する側壁21の両端部から当該ECU3の外方向に突出した突出壁40と、前記突出壁40に設けられた突起41とを備えている。突出壁40は、前記重なり壁19及び平行壁20の表面に対して直交する方向に直線状に延在している。即ち、ロック部36は、ECU3の図2中下方に位置する前記外縁3aと逆側の外縁3b(特許請求の範囲に記載された一方の外縁に相当)に設けられている。突起41は、突出壁40の表面からECU3の幅方向の内側に向かって凸に設けられている。突起41は、接続箱本体2から離れた側の面41aが突出壁40の表面に対して直交しているとともに、接続箱本体2寄りの面41bが当該接続箱本体2から離れるのにしたがって突出壁40からの突出量が徐々に増加するテーパ状に形成されている。 As shown in FIG. 3, the
前述した第2取付部5は、突出壁40が前記ガイド凹部37の内面37aと間隔をあけて重なり、ロック受け部35のアーム38が弾性変形していない中立状態で、ロック受け部35の突起39とロック部36の突起41とが互いに接触して、面39b,41bが互いに重なる。この状態で、突起39,41が互いに乗り越えようとすると、これらの面39b,41bが前述したようにテーパ状に形成されているので、ロック受け部35のアーム38がガイド凹部37の内面37aに没するように一旦弾性変形する。そして、前述した第2取付部5は、突起39,41が互いに乗り越えると、アーム38が弾性復元力により中立状態に復帰して、前述した突起39,41の前述した面39a,41a同士が密に接触する。こうして、第2取付部5は、突起39,41同士が互いに係止して、ロック部36とロック受け部35とが互いに係合することとなる。 In the second mounting
また、本実施形態の電気接続箱1では、取付部4のロックアーム26が筒状部27内に侵入しかつロックアーム26,28が弾性変形していない中立状態で連結梁32がロック突起30上に重なり、かつ、第2取付部5の突出壁40がガイド凹部37の内面37aに間隔をあけて重なりロック受け部35のアーム38が弾性変形していない中立状態でロック受け部35の突起39とロック部36の突起41とが互いに接触すると、底壁13と重なり壁19とが互いに間隔をあけて平行となり、コネクタ9,17が互いに嵌合可能となる位置に位置付けられる。こうして、本実施形態の電気接続箱1は、取付部4のロックアーム26が筒状部27内に侵入しかつロックアーム26,28が弾性変形していない中立状態で連結梁32がロック突起30上に重なり、かつ、第2取付部5の突出壁40が立設壁37に間隔をあけて重なりロック受け部35のアーム38が弾性変形していない中立状態でロック受け部35の突起39とロック部36の突起41とが互いに接触すると、コネクタ9,17が互いに嵌合可能となる位置に位置付けられるように、前記取付部4,5のロックアーム26,28とロック部36とロック受け部35とが設けられている。 Further, in the
案内部6は、図示例では、四つ設けられている。案内部6は、ECU3のハウジング16の各隅に設けられた案内壁42と、ハウジング8の側壁11の凹み12に望む内面でかつ当該凹み12の各隅に設けられたガイド溝43とを備えている。案内壁42は、それぞれ、重なり壁19及び平行壁20の表面に対して直交する方向に沿って直線状に延在している。案内壁42は、側壁21の前述した取付部4が設けられた側壁21寄りの縁からECU3の幅方向に突出したものと、突出壁40のハウジング16から離れた側の先端からECU3の幅方向に突出したものとが設けられている。ガイド溝43は、側壁11の内面から凹に形成されており、凹み12の底壁13に対して直交する方向に延在している。ガイド溝43は、その内側に案内壁42を位置付ける。ガイド溝43は、その長手方向に案内壁42が移動するように案内する。 In the illustrated example, four
前述した構成の案内部6は、取付部4のロックアーム26が筒状部27内に侵入しかつロックアーム26,28が弾性変形していない中立状態で連結梁32がロック突起30上に重なり、かつ、ロック受け部35のアーム38が弾性変形していない中立状態でロック受け部35の突起39とロック部36の突起41とが互いに接触すると、案内壁42をガイド溝43内に位置付ける。そして、案内部6は、ガイド溝43の長手方向に案内壁42を案内することで、コネクタ9,17同士が嵌合可能となる位置を保ったまま、接続箱本体2の凹み12の底壁13にECU3の重なり壁19が近づくように案内する。 In the
第2案内部7は、図示例では、二つ設けられている。第2案内部7は、テーパ壁44を備えている。テーパ壁44は、ガイド溝43から図2中手前側の取付壁10に向かうにしたがって徐々に取付部4から離れる方向即ち凹み12の開口部12aを徐々に広げる方向に、底壁13の表面と当該表面に対して直交する方向との双方に対して傾斜している。テーパ壁44は、その表面上に案内壁42を位置付ける。 In the illustrated example, two
第2案内部7は、接続箱本体2から離間したECU3を当該接続箱本体2に近づけると、テーパ壁44上に案内壁42を位置付けることで、複数の取付部4,5のうちの第2取付部5のロック部36とロック受け部35とを互いに近接させかつ取付部4のロック部36とロック受け部35とを互いに離れた状態で、接続箱本体2にECU3を位置決めする。そして、第2案内部7は、取付部4のロックアーム26と本体側ロックアーム28とが互いに近づくのにしたがって、テーパ壁44上に案内壁42を案内することで、コネクタ9,17同士が嵌合可能となる位置に向かって、接続箱本体2に対してECU3を案内する。 When the
前述した構成の電気接続箱1は、以下に示すように、接続箱本体2にECU3が取り付けられる。まず、前述した突出壁40から突出した案内壁42をテーパ壁44に重ね、当該テーパ壁44上に重なった案内壁42を中心として、重なり壁19が凹み12の底壁13に近づくように、接続箱本体2に対してECU3を回転する。すると、前述した突出壁40から突出した案内壁42がテーパ壁44上を摺動して、当該テーパ壁44上を摺動した案内壁42がガイド溝43内に侵入する。さらに、取付部4のロックアーム26と本体側ロックアーム28とが互いに近づくように、接続箱本体2に対してECU3を回転していくと、側壁21から突出した案内壁42がガイド溝43内に侵入し、取付部4のロックアーム26が筒状部27内に侵入する。 In the
さらに、接続箱本体2に対してECU3を回転していくと、ロックアーム26と本体側ロックアーム28とが弾性変形していない中立状態で、ロック突起30と連結梁32とが互いに接触し、第2取付部5のアーム38が弾性変形していない中立状態で突起39,41が互いに接触する。すると、コネクタ9,17が互いに嵌合可能となる位置に、接続箱本体2とECU3とが位置付けられる。こうして、取付部4のロックアーム26,28及び第2取付部5のロック部36とロック受け部35は、ECU3を接続箱本体2に取り付ける際に、ロックアーム26,28及びアーム38が弾性変形していない中立状態で、ロックアーム26,28同士およびロック部36とロック受け部35が互いに接触すると、コネクタ9,17同士が嵌合可能となる位置に接続箱本体2とECU3とが位置付けられるように、設けられている。 Further, when the
そして、接続箱本体2にECU3を更に近づけると、案内壁42がガイド溝43内を摺動して、コネクタ9,17同士が嵌合可能な位置を保ったまま、当該ECU3が接続箱本体2に近づく。ロックアーム26,28が一旦弾性変形して、連結梁32がロック突起30を乗り越えた後、取付部4のロックアーム26,28が互いに係合するとともに、アーム38が一旦弾性変形して、突起39,41が互いに乗り越えた後、図5、図6及び図7に示すように、これらが互いに係合する。こうして、接続箱本体2にECU3が取り付けられて、これらに設けられたコネクタ9,17が互いに嵌合して、図8に示すように、接続箱本体2にECU3が取り付けられる。 When the
次に、ECU3を接続箱本体2から以下に示すように取り外す。まず、取付部4のロックアーム26の連結梁32をECU3の外縁3aから遠ざけて、当該取付部4のロックアーム26の本体側ロックアーム28に対する係合を解除して、図9に示すように、ECU3の外縁3aを接続箱本体2から徐々に遠ざける。すると、前述した第2取付部5のロック受け部35の突起39に前述した方向に傾斜したテーパ面45が設けられているので、図10に示すように、当該ロック受け部35の突起39上にロック部36の突起41が乗り上がろうとする。そして、ECU3は、外縁3bを中心として接続箱本体2に対して回転しようとする。すると、ロック受け部35の突起39上にロック部36の突起41が乗り上がると、図11に示すように、突起39の内面37aからの突出量が減少するように、アーム38が内面37aに没しようとする。 Next, the
さらに、図12に示すように、ECU3の外縁3aを接続箱本体2から徐々に遠ざけると、図13に示すように、突起41が突起39上に更に乗り上げて、図12に示すように、アーム38が内面37aに没しようとする。そして、さらに、図15に示すように、ECU3の外縁3aを接続箱本体2から徐々に遠ざけると、図16及び図22に示すように、突起41が突起39上に更に乗り上げて、図17に示すように、アーム38が内面37aに没しようとする。さらに、図18に示すように、ECU3の外縁3aを接続箱本体2から徐々に遠ざけると、図19に示すように、突起41が突起39上に完全に乗り上げて、図20に示すように、アーム38が内面37aに没して、第2取付部5のロック部36とロック受け部35との係合が完全に解除される。すると、図21に示すように、テーパ壁44上に案内壁42が重なる。 Further, as shown in FIG. 12, when the
本実施形態によれば、ECU3の外縁3bに設けられた第2取付部5のロック受け部35の突起39には、ECU3の外縁3aに向かうにしたがって徐々に突出量が減少するテーパ面45が設けられているので、外縁3aに設けられた取付部4のロックアーム26,28同士の係合を解除して、ECU3の外縁3aを接続箱本体2から遠ざけると、テーパ面45上に突起41が乗り上がるようにECU3が外縁3aを中心として回転する。 According to the present embodiment, the
このために、外縁3aに設けられたロックアーム26,28同士の係合を解除して、ECU3の外縁3aを接続箱本体2から遠ざけるのにしたがって、外縁3bに設けられた第2取付部5のロック部36とロック受け部35の係合が徐々に解除されることとなる。よって、外縁3aに設けられたロックアーム26,28同士の係合を解除して、ECU3の外縁3aを接続箱本体2から遠ざけることにより、外縁3bに設けられた第2取付部5のロック部36とロック受け部35との係合を解除できる。よって、ECU3を容易に接続箱本体2から取り外すことができる。 For this purpose, as the
なお、前述した実施形態は、本発明の代表的な形態を示したに過ぎず、本発明は、実施形態に限定されるものではない。即ち、本発明の骨子を逸脱しない範囲で種々変形して実施することができる。例えば、前述した実施形態では、取付部4を一つのみ設け、第2取付部5を二つ設けたが、本発明はこれに限定しなくてもよく、取付部4と第2取付部5とを合わせて二つ以上設ければよい。さらに、ロック部とロック受け部との双方を一旦弾性変形させてもよく、これらのうち一方を一旦弾性変形させて、互いに係合させるようにすればよい。また、突起39にテーパ面45を設けたが、本発明では、互いに係止する突起39,41のうち少なくとも一方にテーパ面45を設ければよい。 In addition, embodiment mentioned above only showed the typical form of this invention, and this invention is not limited to embodiment. That is, various modifications can be made without departing from the scope of the present invention. For example, in the embodiment described above, only one mounting
1 電気接続箱
2 接続箱本体
3 ECU(取付体)
4 取付部
5 第2取付部(取付部)
26 ロックアーム(ロック部)
28 本体側ロックアーム(ロック受け部)
35 ロック受け部
36 ロック部
39 突起
41 突起
45 テーパ面1
4 Mounting
26 Lock arm (lock part)
28 Body side lock arm (lock receiving part)
35
| Application Number | Priority Date | Filing Date | Title |
|---|---|---|---|
| JP2011023811AJP5713712B2 (en) | 2011-02-07 | 2011-02-07 | Electrical junction box |
| Application Number | Priority Date | Filing Date | Title |
|---|---|---|---|
| JP2011023811AJP5713712B2 (en) | 2011-02-07 | 2011-02-07 | Electrical junction box |
| Publication Number | Publication Date |
|---|---|
| JP2012165557A JP2012165557A (en) | 2012-08-30 |
| JP5713712B2true JP5713712B2 (en) | 2015-05-07 |
| Application Number | Title | Priority Date | Filing Date |
|---|---|---|---|
| JP2011023811AExpired - Fee RelatedJP5713712B2 (en) | 2011-02-07 | 2011-02-07 | Electrical junction box |
| Country | Link |
|---|---|
| JP (1) | JP5713712B2 (en) |
| Publication number | Priority date | Publication date | Assignee | Title |
|---|---|---|---|---|
| JP6592878B2 (en)* | 2014-06-10 | 2019-10-23 | 株式会社寺岡精工 | Printer and cutter unit |
| Publication number | Priority date | Publication date | Assignee | Title |
|---|---|---|---|---|
| JP2835675B2 (en)* | 1993-02-17 | 1998-12-14 | 矢崎総業株式会社 | Locking device for electronic unit |
| Publication number | Publication date |
|---|---|
| JP2012165557A (en) | 2012-08-30 |
| Publication | Publication Date | Title |
|---|---|---|
| JP5896531B2 (en) | Terminal | |
| JP5606830B2 (en) | Electrical junction box | |
| JP5101891B2 (en) | Electrical junction box | |
| JP5812428B2 (en) | Electrical junction box | |
| JP2008118772A (en) | Board connector | |
| JP5223591B2 (en) | Electrical junction box | |
| JP2009189193A (en) | Electrical junction box | |
| JP2011234588A (en) | Assembly structure of electric junction box | |
| US20060035492A1 (en) | Electric junction box and connection structure of tuning fork terminal | |
| JP5513952B2 (en) | Holder mounting structure | |
| WO2015037699A1 (en) | Electrical junction box | |
| JP2013005675A (en) | Box | |
| WO2014168068A1 (en) | Assembly structure for electronic component, and electronic component | |
| US11139135B2 (en) | Attachment structure between cover and housing, and fusible link unit | |
| JP6654598B2 (en) | Electrical junction box and wire harness | |
| JP2009171763A (en) | Electrical junction box | |
| JP5713712B2 (en) | Electrical junction box | |
| JP2020095900A (en) | Harness component | |
| JP5513951B2 (en) | Mounting structure for holder with parts | |
| JP5798781B2 (en) | Electrical junction box | |
| US10374370B2 (en) | Electronic unit attaching structure | |
| JP2015084613A (en) | Electric connection box | |
| JP2005216688A (en) | Connector for cable connection | |
| JP2017022183A (en) | Electronic component unit substrate, and electronic component unit | |
| JP5710280B2 (en) | Electrical junction box |
| Date | Code | Title | Description |
|---|---|---|---|
| A621 | Written request for application examination | Free format text:JAPANESE INTERMEDIATE CODE: A621 Effective date:20140116 | |
| A977 | Report on retrieval | Free format text:JAPANESE INTERMEDIATE CODE: A971007 Effective date:20140905 | |
| A131 | Notification of reasons for refusal | Free format text:JAPANESE INTERMEDIATE CODE: A131 Effective date:20150127 | |
| A521 | Written amendment | Free format text:JAPANESE INTERMEDIATE CODE: A523 Effective date:20150213 | |
| TRDD | Decision of grant or rejection written | ||
| A01 | Written decision to grant a patent or to grant a registration (utility model) | Free format text:JAPANESE INTERMEDIATE CODE: A01 Effective date:20150303 | |
| A61 | First payment of annual fees (during grant procedure) | Free format text:JAPANESE INTERMEDIATE CODE: A61 Effective date:20150310 | |
| R150 | Certificate of patent or registration of utility model | Ref document number:5713712 Country of ref document:JP Free format text:JAPANESE INTERMEDIATE CODE: R150 | |
| R250 | Receipt of annual fees | Free format text:JAPANESE INTERMEDIATE CODE: R250 | |
| R250 | Receipt of annual fees | Free format text:JAPANESE INTERMEDIATE CODE: R250 | |
| R250 | Receipt of annual fees | Free format text:JAPANESE INTERMEDIATE CODE: R250 | |
| LAPS | Cancellation because of no payment of annual fees |