
























本発明は、光コネクタに嵌合して光コネクタの端面を保護する光コネクタ保護キャップ、光ファイバケーブル端末に設けられた光コネクタに前記光コネクタ保護キャップが嵌合されたコネクタキャップ付き光ファイバケーブル、光コネクタに嵌合されている光コネクタ保護キャップを光コネクタから抜き去る作業に用いるキャップ抜き具に関する。 The present invention relates to an optical connector protective cap that is fitted to an optical connector to protect the end face of the optical connector, and an optical fiber cable with a connector cap in which the optical connector protective cap is fitted to an optical connector provided in an optical fiber cable terminal. The present invention relates to a cap removal tool used for removing an optical connector protective cap fitted to the optical connector from the optical connector.
光コネクタにあっては、その先端部に脱着可能のキャップを外嵌めして、光コネクタ端面(先端面)を保護することが行われている(例えば特許文献1)。前記キャップは、光コネクタの先端部に外嵌めすることで、光コネクタ端面を覆い、光コネクタ端面に露出する光ファイバの先端面を、傷つきや塵の付着から保護する。この技術は、単心用の光コネクタのみならず、多心用の光コネクタ(例えば特許文献2)にも適用可能である。但し、この技術は、光コネクタ先端部に外嵌めされているキャップの周囲に、該キャップを光コネクタから抜き去る作業のためのスペースが必要であるため、光コネクタを複数高密度に整列させることができない。
また、光コネクタの端面を保護する技術としては、例えば特許文献3のように、光コネクタアダプタのコネクタ挿入孔に挿脱可能な栓部材(特許文献3の「キャップ」)を用いるものもある。この技術では、光コネクタアダプタを貫通する前記コネクタ挿入孔にその軸線方向一端側の開口部を、前記コネクタ挿入孔に挿入した前記栓部材によって塞ぐことで、前記コネクタ挿入孔にその軸線方向他端側から挿入、嵌合された光コネクタの端面(先端面)を、傷つきや塵の付着から保護する。但し、この技術は、光コネクタアダプタを必要とするものであり、光コネクタアダプタに挿入していない光コネクタの端面の保護に適用できない。In an optical connector, a detachable cap is externally fitted to the tip of the optical connector to protect the end face (tip face) of the optical connector (for example, Patent Document 1). The cap is fitted on the tip of the optical connector to cover the end face of the optical connector and protect the tip end face of the optical fiber exposed to the end face of the optical connector from scratches and dust adhesion. This technique can be applied not only to a single-fiber optical connector but also to a multi-fiber optical connector (for example, Patent Document 2). However, this technology requires a space for the work of removing the cap from the optical connector around the cap that is externally fitted to the tip of the optical connector. I can't.
Further, as a technique for protecting the end face of the optical connector, there is a technique using a plug member (“cap” in Patent Document 3) that can be inserted into and removed from the connector insertion hole of the optical connector adapter, as in
本発明は、上述の事情に鑑みて、光コネクタの先端部に外嵌めしたキャップを光コネクタから抜き去る作業を容易に行うことができ、かつ、複数の光コネクタを高密度に整列させることを可能にする光コネクタ保護キャップ、コネクタキャップ付き光ファイバケーブル、キャップ抜き具の提供を目的としている。 In view of the above-described circumstances, the present invention can easily perform the work of removing the cap fitted on the tip of the optical connector from the optical connector, and aligns the plurality of optical connectors with high density. An object of the present invention is to provide an optical connector protective cap, an optical fiber cable with a connector cap, and a cap removal tool.
上記課題を解決するために、本発明では以下の構成を提供する。
第1の発明は、光コネクタに外挿する筒状胴部の軸線方向片端を塞ぐ前端壁部から、引っ張り用突片が、前記筒状胴部とは反対の側へ突出されている光コネクタ保護キャップを提供する。
第2の発明は、前記引っ張り用突片は、前記前端壁部から延出する延出部の先端に突爪を有する第1の発明の光コネクタ保護キャップを提供する。
第3の発明は、前記前端壁部の中央部に、薄肉に形成して光透過率を高めた薄肉部を有し、前記引っ張り用突片は前記薄肉部を避けて前記前端壁部に突設されている第1又は第2の発明の光コネクタ保護キャップを提供する。
第4の発明は、光ファイバケーブル端末の光ファイバに組み立てられた光コネクタに光コネクタ保護キャップが装着され、前記光コネクタ保護キャップは、光コネクタに外挿する筒状胴部の軸線方向片端を塞ぐ前端壁部から、引っ張り用突片が、前記筒状胴部とは反対の側へ突出されているコネクタキャップ付き光ファイバケーブルを提供する。
第5の発明は、前記光コネクタ保護キャップの前記引っ張り用突片に形成された係止部に前記前端壁部側から係合する抜き具本体を具備するキャップ抜き具をさらに有する第4の発明のコネクタキャップ付き光ファイバケーブルを提供する。
第6の発明は、前記光コネクタ保護キャップの引っ張り用突片は、前記前端壁部から延出する延出部の先端に前記係止部として突爪を有し、前記キャップ抜き具の抜き具本体は、前記光コネクタ保護キャップの引っ張り用突片の前記延出部が内挿された突片挿通孔が貫通し、かつ前記突爪に前記前端壁部側から係合可能に形成されている第5の発明のコネクタキャップ付き光ファイバケーブルを提供する。
第7の発明は、前記キャップ抜き具の抜き具本体に前記突片挿通孔が複数配列形成されている第6の発明のコネクタキャップ付き光ファイバケーブルを提供する。
第8の発明は、前記光コネクタ保護キャップの引っ張り用突片は、前記前端壁部の外周から中央部側にずれた位置から突出されており、前記キャップ抜き具の抜き具本体は、前記光コネクタ保護キャップの引っ張り用突片の係止部と前記前端壁部外周部とによって抜け止めされて前記係止部と前記前端壁部の間に配置されている第6又は7の発明のコネクタキャップ付き光ファイバケーブルを提供する。
第9の発明は、前記キャップ抜き具は前記抜き具本体から張り出す取っ手部を有する第5〜8のいずれか1つの発明のコネクタキャップ付き光ファイバケーブルを提供する。
第10の発明は、前記光コネクタを複数整列させて一括保持した一括保持具をさらに有する第4〜9のいずれか1つの発明のコネクタキャップ付き光ファイバケーブルを提供する。
第11の発明は、光ファイバケーブルの両端に、前記一括保持具を用いて前記光コネクタを複数整列させて一括保持した光コネクタ整列ユニットをそれぞれ有する第10の発明のコネクタキャップ付き光ファイバケーブルを提供する。
第12の発明は、光コネクタに外挿する筒状胴部の軸線方向片端が前端壁部によって塞がれた光コネクタ保護キャップの前記前端壁部から引っ張り用突片が突出され、前記引っ張り用突片に形成された係止部に前記前端壁部側から係合して、光コネクタ保護キャップを光コネクタから抜き去るための抜き去り力を前記引っ張り用突片に作用させる抜き具本体を有するキャップ抜き具を提供する。
第13の発明は、前記光コネクタ保護キャップの引っ張り用突片は、前記前端壁部から延出する延出部の先端に前記係止部として突爪を有しており、前記抜き具本体は、前記光コネクタ保護キャップの引っ張り用突片の前記延出部が内挿される突片挿通孔が貫通し、かつ前記突爪に前記前端壁部側から係合可能に形成されている第12の発明のキャップ抜き具を提供する。
第14の発明は、前記抜き具本体に前記突片挿通孔が複数配列形成されている第13の発明のキャップ抜き具を提供する。
第15の発明は、前記光コネクタ保護キャップの引っ張り用突片は、前記前端壁部の外周から中央部側にずれた位置から突出されており、前記抜き具本体は、前記光コネクタ保護キャップの引っ張り用突片の係止部と前記前端壁部外周部とによって抜け止めされて前記係止部と前記前端壁部の間に配置可能に形成されている第13又は14の発明のキャップ抜き具を提供する。
第16の発明は、前記抜き具本体から張り出す取っ手部を有する第13〜15のいずれか1つの発明のキャップ抜き具を提供する。In order to solve the above problems, the present invention provides the following configuration.
1st invention is the optical connector by which the protrusion for a tension | pulling is protruded from the front-end wall part which plugs the axial direction one end of the cylindrical trunk | drum extrapolated to an optical connector to the opposite side to the said cylindrical trunk | drum Provide a protective cap.
The second invention provides the optical connector protective cap according to the first invention, wherein the pulling projecting piece has a projecting claw at a tip of an extending portion extending from the front end wall portion.
According to a third aspect of the present invention, a thin wall portion is formed at a central portion of the front end wall portion to increase light transmittance, and the pulling projecting piece protrudes from the front end wall portion while avoiding the thin wall portion. An optical connector protective cap of the first or second invention is provided.
According to a fourth aspect of the present invention, an optical connector protective cap is attached to an optical connector assembled in an optical fiber of an optical fiber cable terminal, and the optical connector protective cap has one end in the axial direction of a cylindrical body portion to be externally inserted into the optical connector. An optical fiber cable with a connector cap is provided in which a pulling protruding piece protrudes from a front end wall portion to be closed to a side opposite to the cylindrical body portion.
According to a fifth aspect of the present invention, there is provided the cap removing tool further comprising a removing tool main body that engages with the engaging portion formed on the pulling protruding piece of the optical connector protective cap from the front end wall portion side. An optical fiber cable with a connector cap is provided.
According to a sixth aspect of the present invention, the pulling projection piece of the optical connector protective cap has a protruding claw as the locking portion at the tip of the extending portion extending from the front end wall portion, The main body is formed so that a protruding piece insertion hole into which the extending portion of the pulling protruding piece of the optical connector protective cap is inserted penetrates the protruding nail so as to be engageable from the front end wall portion side. An optical fiber cable with a connector cap according to a fifth invention is provided.
7th invention provides the optical fiber cable with a connector cap of 6th invention by which the said protrusion piece insertion hole is arranged in multiple numbers by the extraction tool main body of the said cap removal tool.
According to an eighth aspect of the present invention, the pulling projection piece of the optical connector protective cap protrudes from a position shifted from the outer periphery of the front end wall portion toward the center portion side, The connector cap according to the sixth or seventh aspect of the present invention, wherein the connector cap is secured between the engaging portion and the front end wall portion and is prevented from coming off by the engaging portion of the pulling protrusion of the connector protection cap and the outer peripheral portion of the front end wall portion. Provided optical fiber cable.
9th invention provides the optical fiber cable with a connector cap of any one of the 5th-8th invention in which the said cap removal tool has a handle part protruding from the said removal tool main body.
A tenth aspect of the invention provides an optical fiber cable with a connector cap according to any one of the fourth to ninth aspects, further comprising a collective holder in which a plurality of the optical connectors are aligned and held together.
An eleventh aspect of the invention is the optical fiber cable with a connector cap according to the tenth aspect of the invention, wherein each of the optical fiber cables has optical connector alignment units that collectively hold the optical connectors by aligning a plurality of the optical connectors using the collective holder. provide.
In a twelfth aspect of the present invention, a pulling protrusion protrudes from the front end wall portion of the optical connector protective cap in which one end in the axial direction of the cylindrical body portion to be extrapolated to the optical connector is blocked by the front end wall portion, A puller main body that engages with the engaging portion formed on the projecting piece from the front end wall portion side and applies a pulling force for pulling out the optical connector protection cap from the optical connector to the pulling projecting piece. Provide a cap removal tool.
In a thirteenth aspect of the invention, the pulling protrusion of the optical connector protective cap has a protruding claw as the locking portion at the tip of the extending portion extending from the front end wall portion, A twelfth insertion hole through which the extension of the pulling protrusion of the optical connector protective cap is inserted penetrates and is formed to be engageable with the protrusion from the front end wall side. An invention cap remover is provided.
The fourteenth invention provides the cap removing tool of the thirteenth invention, wherein a plurality of the protruding piece insertion holes are formed in the removing tool body.
In a fifteenth aspect of the present invention, the pulling protrusion of the optical connector protection cap protrudes from a position shifted from the outer periphery of the front end wall portion toward the center portion, and the punching tool body includes the optical connector protection cap. The cap removing tool of the thirteenth or fourteenth aspect of the invention, which is prevented from coming off by the locking portion of the pulling projection piece and the outer peripheral portion of the front end wall portion and can be disposed between the locking portion and the front end wall portion. I will provide a.
A sixteenth aspect of the invention provides the cap removal tool according to any one of the thirteenth to fifteenth aspects of the invention, which has a handle portion that projects from the removal tool body.
本発明によれば、光コネクタに装着した光コネクタ保護キャップを、該光コネクタ保護キャップに突設されている引っ張り用突片に光コネクタに対する抜き去り力(引っ張り力)を作用させることで簡単に光コネクタから抜き去ることができる。前記引っ張り用突片は、光コネクタ保護キャップの、光コネクタに外挿する筒状胴部の軸線方向片端を塞ぐ前端壁部から前記筒状胴部とは反対の側へ突出されており、複数の光コネクタの高密度整列の障害にならず、光コネクタの高密度整列を可能にする。 According to the present invention, the optical connector protective cap attached to the optical connector can be easily obtained by applying a pulling force (tensile force) to the optical connector to the pulling protrusion protruding from the optical connector protective cap. Can be removed from the optical connector. The pulling protruding piece protrudes from the front end wall portion of the optical connector protection cap that covers one end in the axial direction of the cylindrical body portion to be extrapolated to the optical connector to the side opposite to the cylindrical body portion, It is possible to achieve high-density alignment of optical connectors without obstructing high-density alignment of optical connectors.
以下、本発明の1実施形態について、図面を参照して説明する。
図1〜図3は、本発明に係る実施形態のコネクタキャップ付き光ファイバケーブルの1例を示す。
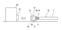
図1〜図3に示すように、ここで例示するコネクタキャップ付き光ファイバケーブル10は、多心の光ファイバケーブル1の端末に露出させた光ファイバ2の先端部に設けられた光コネクタ3を複数集合し整列させた光コネクタ整列ユニット11(図3参照)を有する。そして、このコネクタキャップ付き光ファイバケーブル10は、前記光コネクタ整列ユニット11の各光コネクタ3にその先端部を覆う光コネクタ保護キャップ20(以下、単にキャップとも言う)を装着し、各キャップ20が係合するキャップ抜き具30を設けたキャップ抜き具付きユニット12を組み立てた構成となっている。
なお、コネクタキャップ付き光ファイバケーブル10を、以下、キャップ付きケーブルとも言う。キャップ付きケーブル10は、光ファイバケーブル1に前記キャップ抜き具付きユニット12を組み立てた構成となっている。Hereinafter, an embodiment of the present invention will be described with reference to the drawings.
1 to 3 show an example of an optical fiber cable with a connector cap according to an embodiment of the present invention.
As shown in FIGS. 1 to 3, an
Hereinafter, the
図3に示すように、光コネクタ整列ユニット11は、複数の光コネクタ3を保持可能な一括保持具40を用いて横並びに一列に整列させた構成となっている。
図3、図4(a)、(b)に示すように、一括保持具40は、外観が概ね細長板状の保持具本体41の長手方向の複数箇所に、光コネクタ収容孔42が形成された構成になっている。光コネクタ収容孔42は、保持具本体41をその長手方向及び厚み方向に直交する前後方向に貫通している。光コネクタ収容孔42は、保持具本体41の前後両側の端面(前端面41a及び後端面41b)に開口している。As shown in FIG. 3, the optical
As shown in FIGS. 3, 4 (a) and 4 (b), the
図示例のキャップ付きケーブル10において、前記光コネクタ3は具体的にはMPO形光コネクタ(JIS C5982に制定されるF13形光コネクタ。あるいはIEC 61754−7に制定される光コネクタ。MPO:Multi-fiber Push On)である。
図4(b)に示すように、一括保持具40は、MPO形光コネクタである光コネクタ3のカップリング3a(つまみ)が設けられている前後方向中央部を、光コネクタ収容孔42に収容している。光コネクタ3の、前記カップリング3aからフェルール3bが設けられている前端側及び該前端側とは反対の後端側は、一括保持具40の前後に突出されている。In the illustrated
As shown in FIG. 4B, the
一括保持具40は、光コネクタ収容孔42の前端部内周に突設された前側抜け止め用突壁43aと、光コネクタ収容孔42の後端部内周に突設された後側抜け止め用突壁43bとを有する。前側抜け止め用突壁43a及び後側抜け止め用突壁43bは、一括保持具40の複数の光コネクタ収容孔42にそれぞれ形成されている。
光コネクタ3のカップリング3aは、一括保持具40前後方向において前後の抜け止め用突壁43a、43bの間に配置されている。スリーブ状の前記カップリング3aは、その軸線方向両端部の間に位置する部分の外面側に張り出す当接用突部3gを有する。この当接用突部3gは、カップリング3aの軸線方向に延在形成されている。そして、カップリング3aは、前記当接用突部3gの前端面3g1が前側抜け止め用突壁43aにその後側から当接可能、後端面3g2が後側抜け止め用突壁43bにその前側から当接可能となっている。したがって、光コネクタ3のカップリング3aは、前後の抜け止め用突壁43a、43bによって光コネクタ収容孔42からの抜け出しが規制されている。
一括保持具40は、光コネクタ収容孔42の前後の抜け止め用突壁43a、43bの間に光コネクタ3のカップリング3aを保持することで、光コネクタ3を、その前後方向を保持具本体41の前後方向に揃う向きで保持できる。The
The coupling 3a of the
The
一括保持具40の光コネクタ収容孔42は、保持具本体41の長手方向複数箇所に、それぞれ中心軸線を保持具本体41前後方向に揃えた向きで、並列に形成されている。
光コネクタ整列ユニット11の複数の光コネクタ3は、それぞれ、その前端部が一括保持具40の保持具本体41の前側、後端部が一括保持具40の保持具本体41の後側に突出する向きで一括保持具40に保持されている。The optical connector accommodation holes 42 of the
Each of the plurality of
なお、一括保持具としては、複数の光コネクタ3をその前後方向の向きを揃えて、容易に離脱しないように一括保持できる構成であれば良く、その具体的構成には特には限定は無い。一括保持具としては、例えば、光コネクタ3の前端部から後側の部分をクランプ力を以て把持して保持する構成のもの等も採用可能である。
また、光コネクタとしては、一括保持具によって保持可能な構成のものであれば良く、MPO形光コネクタに限定されず、多心用、単心用の各種構成のものを採用可能である。The collective holder may be configured to hold the plurality of
Further, the optical connector is not limited to the MPO optical connector as long as it has a configuration that can be held by a collective holder, and various configurations for multi-core and single-core can be employed.
図示例のキャップ付きケーブル10の光ファイバケーブル1は、具体的には、光ファイバ2として光ファイバコードを用い、この光ファイバコードを複数本、外被4によって一括被覆したコードケーブルである。光ファイバコードとしては、単心のもの、多心のもののいずれも採用可能である。多心光ファイバコード先端部には、光コネクタ3として、MPO形光コネクタ等の多心用光コネクタが組み立てられる。
多心光ファイバコードとしては、例えば光ファイバテープ心線を補強チューブに内挿した構成のものを挙げることができる。但し多心光ファイバコードとしては、光ファイバテープ心線を用いた構成に限定されず、例えば複数本の単心光ファイバ心線、あるいは光ファイバ素線を補強チューブに内挿した構成のものも採用可能である。The
Examples of the multi-core optical fiber cord include a configuration in which an optical fiber ribbon is inserted into a reinforcing tube. However, the multi-core optical fiber cord is not limited to the configuration using the optical fiber ribbon, and for example, a configuration in which a plurality of single-core optical fibers or an optical fiber strand is inserted into a reinforcing tube may be used. It can be adopted.
前記光ファイバ2としては、光ファイバコードに限定されず、例えば光ファイバ心線、光ファイバ素線といった被覆付き光ファイバ、すなわち保護チューブ等の被覆付き光ファイバを覆う外装保護材が設けられていない被覆付き光ファイバ自体を用いることも可能である。被覆付き光ファイバは、裸光ファイバの周面(側面)を被覆で覆ったものである。裸光ファイバは、例えば石英系光ファイバである。被覆は、例えば紫外線硬化性樹脂やポリアミド樹脂などの樹脂被覆である。 The
キャップ付きケーブル10は、光ファイバケーブル1の端末に露出(延出)された複数本(図示例では8本)の光ファイバ2の先端部にそれぞれ光コネクタ3が設けられ(組み立てられ)たコネクタ付き光ファイバケーブルを用いて組み立てられている。
光ファイバケーブル1端末に露出(延出)された各光ファイバ2の先端部に設けられた光コネクタ3は、ひとつの一括保持具40に一括保持されて整列されている。
一括保持具40の光コネクタ収容孔42には前記光コネクタ3が一つずつ収容される。一括保持具40としては、光ファイバケーブル1端末に露出された光ファイバ2先端の光コネクタ3の数と同じあるいはそれよりも多い数の光コネクタ収容孔42を有するものを用いる。キャップ20は、光コネクタ3の一括保持具40から突出させた先端部に装着されている。The
The
The
次に、キャップ20について説明する。
図5(a)、(b)、図6(a)、(b)に示すように、キャップ20は、光コネクタ3の先端部に外挿する筒状胴部21の軸線方向片端が前端壁部22によって塞がれた有底筒状のキャップ本体23と、前記前端壁部22からキャップ本体23内側の内面側とは反対の側に突出された一対の弾性係合片24とを有する概略構成となっている。筒状胴部21の前端壁部22とは反対の後端側は開放端とされている。キャップ本体23の内側空間は、筒状胴部21軸線方向片側(キャップ先端側)が前端壁部22によって塞がれ、反対の後端側は筒状胴部21軸線に垂直の断面全体が筒状胴部21の後端部内側に開口している。
なお、キャップ本体23について、筒状胴部21の軸線を、キャップ本体23の軸線として説明する。Next, the
As shown in FIGS. 5A, 5 </ b> B, 6 </ b> A, and 6 </ b> B, the
In addition, about the cap
図4(b)に示すように、前記キャップ20は、キャップ本体23を、MPO形光コネクタである光コネクタ3の先端側からそのプラグフレーム3cに外嵌めして光コネクタ3に脱着可能に装着できる。このキャップ20は、光コネクタ3に装着したときに、プラグフレーム3cの先端部及びプラグフレーム3c先端から突出するフェルール3cをキャップ本体23内側に収容する。 As shown in FIG. 4B, the
図示例のキャップ20は、プラスチック製の一体成形品である。
図6(a)、(b)に示すように、キャップ20の筒状胴部21は角筒状に形成されている。この筒状胴部21は、互いに平行に設けられた一対の面板部21a、21b(第1面板部21aと第2面板部21b)を、これら面板部21a、21bに垂直の一対の側板部21c、21d(第1側板部21cと第2側板部21d)を介して連結した、角筒状に構成されている。互いに離隔する一対の面板部21a、21b間の離隔距離は、一対の側板部21c、21d間の離隔距離に比べて小さい。キャップ本体23は、筒状胴部21の一対の面板部21a、21bの間隔方向である縦方向の寸法が、互いに離隔する一対の側板部21c、21dの間隔方向である横方向の寸法に比べて小さい、断面細長の角筒状に形成されている。The
As shown in FIGS. 6A and 6B, the
筒状胴部21のその軸線に垂直の断面内周の形状及び寸法は、光コネクタ3のスリーブ状のプラグフレーム3cのその軸線方向に垂直の断面外周に概ね合致している。
キャップ20は、筒状胴部21内面にその軸線に沿って延在形成されたキー溝21eに、光コネクタ3のプラグフレーム3c外周に突設され光コネクタ前後方向に延在するキー3dを収容して光コネクタ3先端部に外挿できる。前記キー溝21eは、具体的には、第1面板部21aのキャップ本体23内面側に形成されている。The shape and size of the inner circumference of the
The
また、図6(a)、(b)に示すように、キャップ本体23の面板部21a、21bのキャップ本体23内面側には、キャップ本体23を光コネクタ3のプラグフレーム3cに外挿したときにプラグフレーム3cに当接して、面板部21a、21bとプラグフレーム3cとの間に微小なクリアランスを確保するスペーサ用突部21fが突設されている。このスペーサ用突部21fは、キャップ本体23に対する光コネクタ3の挿入及び抜き去りを円滑にするべく、前記クリアランスによって通気路を確保するものである。スペーサ用突部21fは、面板部21a、21bに、キャップ本体23軸線方向に延在する突条状に形成されている。
但し、このスペーサ用突部21fの面板部21a、21bからの突出寸法は、例えば0.05〜0.15mm程度の微小なものとする。キャップ20は、スペーサ用突部21fの面板部21a、21bからの突出寸法が微小であることで、キャップ本体23内側の防塵性を充分に確保できる。6 (a) and 6 (b), when the
However, the projecting dimension of the
なお、キャップとしてはスペーサ用突部21fを有していない構成も採用可能である。
また、キャップとしては、スペーサ用突部21fにかえて、キャップ本体23内面にその軸線方向に延在形成した溝によって、キャップ本体23内面とその内側に挿入された光コネクタとの間の通気路として機能するクリアランスを確保しても良い。In addition, the structure which does not have the
In addition, as a cap, a ventilation path between the inner surface of the
図5(a)、(b)に示すように、一対の弾性係合片24は、前端壁部22の中央部を介して横方向両側に互いに離隔させて突設されている。但し、各弾性係合片24は、前端壁部22の横方向両側の縁部から中央部寄りにずれた位置から突出されている。
弾性係合片24は、前記前端壁部22から延出する延出部24aの先端に突爪24bが突設された構成となっている。突爪24bは、延出部24a先端から、一対の弾性係合片24の互いに対向する相手側とは反対の側に突出されている。As shown in FIGS. 5A and 5B, the pair of
The
図1、図2、図9に示すように、キャップ抜き具30は、キャップ20のキャップ本体23を収容する前記キャップ本体収容孔33と、該キャップ本体収容孔33に連通する係合片挿通孔32(突片挿通孔)とで構成されるキャップ用貫通孔34が形成された抜き具本体31を有する。係合片挿通孔32にはキャップ20の弾性係合片24を挿通できる。
図1、図2に示すように、図示例のキャップ抜き具30の抜き具本体31は細長形状のハウジング部31Hを有する。図10〜図15に示すように、前記キャップ用貫通孔34は、前記ハウジング部31Hの長手方向複数箇所に形成されている。キャップ用貫通孔34は、ハウジング部31Hの長手方向に直交する方向の軸線を以て抜き具本体31に貫設されている。また、ハウジング部31Hの全てのキャップ用貫通孔34は、その軸線を互いに平行に揃えて抜き具本体31に形成されている。図8、図9に示すように、各キャップ用貫通孔34の係合片挿通孔32は、全てのキャップ用貫通孔34のキャップ本体収容孔33が開口するハウジング部31H後端とは反対のハウジング部31H前端に開口している。As shown in FIGS. 1, 2, and 9, the
As shown in FIGS. 1 and 2, the removal tool
図1、図2、図10等に例示したキャップ抜き具30はプラスチック製の一体成形品である。図2、図10に示すように、前記キャップ抜き具30は、前記抜き具本体31と、該抜き具本体31のハウジング部31H後端の幅方向両側に、薄肉部35を介して繋がっている一対のカバープレート361、362とを有する。抜き具本体31のハウジング部31Hの幅方向は、ハウジング部31Hの長手方向に垂直、かつキャップ用貫通孔34の軸線に垂直の方向を指す。
カバープレート361、362は、抜き具本体31のハウジング部31Hに対して、前記薄肉部35をヒンジ部として、ハウジング部31H長手方向に沿う回転軸線を以て回転可能である。The
The
図1に示すように、このキャップ抜き具30は、抜き具本体31後側の一括保持具40を、互いに閉じ合わせた一対のカバープレート361、362の間に挟み込んで保持できる。
キャップ付きケーブル10のキャップ抜き具付きユニット12は、光コネクタ3に装着されたキャップ20のキャップ本体23を抜き具本体31のハウジング部31Hのキャップ本体収容孔33に収容し、前記光コネクタ3を保持した一括保持具40を、一対のカバープレート361、362の間に挟み込んで保持した構成になっている。As shown in FIG. 1, the
The
図13〜図15に示すように、抜き具本体31のハウジング部31Hのキャップ本体収容孔33は、キャップ本体23の軸線に垂直の断面外形に概ね合致する、断面細長の角孔状に形成されている。キャップ用貫通孔34及びキャップ本体収容孔33について、キャップ本体収容孔33の断面長手方向を、以下、断面横方向、キャップ本体収容孔33の断面短手方向を、以下、断面縦方向とも言う。 As shown in FIGS. 13 to 15, the cap main
キャップ用貫通孔34前端部の断面短手方向両側の内面には、キャップ本体収容孔33にその後側開口部から挿入されたキャップ20のキャップ本体23前端の前端壁部22が当接されるキャップ当接突部31a、31bが突設されている。図示例のキャップ抜き具30において、前記キャップ当接突部31a、31bは、キャップ用貫通孔34の断面縦方向両側の前端部内面に、キャップ用貫通孔34の断面横方向に沿って延在形成されている。
また、図示例のキャップ抜き具30の抜き具本体31は、キャップ本体収容孔33の断面横方向両側の前端部内面から張り出されてハウジング部31Hから前側へ突出する係合用突壁31cを有する。
図8〜図15に示すように、前記係合片挿通孔32は、具体的には、キャップ用貫通孔34の断面縦方向両側のキャップ当接突部31a、31bと、キャップ用貫通孔34の断面横方向両側の係合用突壁31cの基端部とによって取り囲まれた内側に確保されている。The front
Further, the removing tool
As shown in FIGS. 8 to 15, specifically, the engagement
キャップ抜き具付きユニット12において、キャップ抜き具30の抜き具本体31のハウジング部31Hのキャップ本体収容孔33に収容されたキャップ本体23から延出する弾性係合片24は、抜き具本体31の係合片挿通孔32に通され、その先端の突爪24bが抜き具本体31の前側に配置される。キャップ抜き具30の抜き具本体31の係合用突壁31cの先端部には、前記突爪24bにキャップ本体23側から係合可能な係合面31dが形成されている。キャップ抜き具付きユニット12において、キャップ20の一対の弾性係合片24の突爪24bは、該一対の弾性係合片24が通されている係合片挿通孔32の両側から突出する一対の前記係合用突壁31cの係合面31dの前側に配置される。キャップ20の弾性係合片24の突爪24bは、抜き具本体31が弾性係合片24先端から抜け出さないように係止する係止部として機能する。したがって、抜き具本体31は、キャップ20の弾性係合片24からの脱落を規制して、一括保持具40に保持された光コネクタ3に装着されているキャップ20に取り付けられる。 In the
抜き具本体31(具体的にはハウジング部31H)のキャップ用貫通孔34の配列ピッチは、一括保持具40の光コネクタ収容孔42の配列ピッチに揃えられている。抜き具本体31は、一括保持具40に保持された複数の光コネクタ3にそれぞれ装着されている全てのキャップ20に取り付けられる。キャップ抜き具付きユニット12において、前記全てのキャップ20は、抜き具本体31に一括保持された状態となっている。 The arrangement pitch of the cap through-
キャップ付きケーブル10のキャップ抜き具付きユニット12の組み立ては、まず、光ファイバケーブル1端末に露出させた光ファイバ2の先端部に設けた光コネクタ3を一括保持具40に複数一括保持して光コネクタ整列ユニット11を組み立てる。次いで、光コネクタ整列ユニット11の各光コネクタ3の先端部にキャップ20を装着し、キャップ付き光コネクタを組み立てる。次に、キャップ抜き具30の抜き具本体31を各キャップ20の弾性係合片24の先端側からキャップ本体23に向かって押圧して、各キャップ20の弾性係合片24を抜き具本体31の係合片挿通孔32に内挿し、キャップ本体23をキャップ本体収容孔33に収容する。これにより、抜き具本体31の係合面31dが各キャップ20の弾性係合片24先端の突爪24bの後側(キャップ本体23側)に係合面31dを配置され、キャップ抜き具付きユニット12が組み立てられる。
なお、キャップ抜き具30は、キャップ本体23に向かって抜き具本体31を押圧する際に、一対のカバープレート361、362の間を充分に開いて、カバープレート361、362のキャップ20への接触を回避する。Assembling of the cap-clamped
When the
図8等に示すように、キャップ20の弾性係合片24の突爪24bには、弾性係合片24の延出部24a先端からキャップ本体23に接近するにしたがって延出部24aからの距離が増大する傾斜面24cが形成されている。この傾斜面24cは、延出部24a先端から、突爪24bの延出部24aからの突出寸法が最大の頂部24dまで延在形成されている。また、突爪24bには、前記頂部24dからキャップ本体23の軸線に垂直、あるいはそれよりも延出部24a先端側に若干傾斜した面(図示例では後者)である係止面24eが形成されている。 As shown in FIG. 8 and the like, the
キャップ抜き具付きユニット12の組み立て作業において、キャップ抜き具30の抜き具本体31を、キャップ20の弾性係合片24の先端側からキャップ本体23に向かって押圧して、弾性係合片24を係合片挿通孔32に内挿するとき、キャップ20の一対の弾性係合片24は、突爪24bの傾斜面24cが抜き具本体31の係合用突壁31cの基端部に押圧されることで弾性変形され互いに接近し、抜き具本体31のキャップ用貫通孔34の両側の係合用突壁31cの間に円滑に入り込む。そして、キャップ20の一対の弾性係合片24は、抜き具本体31のキャップ本体23後端への前進(キャップ本体23への外挿)が進行することで、前記突爪24bを、係合片挿通孔32を介してハウジング部31Hよりも前側へ配置できる。また、キャップ20の一対の弾性係合片24は、抜き具本体31のキャップ本体23後端への前進が進行する結果、該弾性係合片24の弾性により、前記突爪24bを、抜き具本体31のキャップ用貫通孔34の両側の係合用突壁31cの先端部の互いに対面する側を切り欠いた切り欠き部31eに入り込ませることができる。 In the assembling operation of the
図8等に示すように、係合用突壁31cの係合面31dは、係合用突壁31cにおける前記切り欠き部31eと該切り欠き部31eよりも係合用突壁31c基端側の部分との間の境界に位置する段差面である。この係合面31dは、抜き具本体31のキャップ用貫通孔34の軸線(抜き具本体31前後方向)に垂直、あるいは対向する相手側の係合用突壁31cから離隔するにしたがって係合用突壁31c基端部に接近するように傾斜した面(図示例では後者)となっている。
したがって、キャップ20の弾性係合片24の突爪24bを、抜き具本体31の係合用突壁31c先端部の切り欠き部31eに入り込ませると、係合用突壁31cの係合面31dを突爪24bの係止面24eに対面配置できる。その結果、係合用突壁31cが突爪24bにキャップ本体23側から係合可能な位置に配置されることとなる。As shown in FIG. 8 and the like, the engaging
Therefore, when the
なお、係合用突壁31cの係合面としては、係合用突壁31cにおける前記切り欠き部31eと切り欠き部31eを形成していない部位との境界の段差面に限定されず、係合用突壁31c突端の先端面(突端面)であっても良い。 The engaging surface of the engaging protruding
図5(a)、(b)に示すように、図示例のキャップ20のキャップ本体23には、キャップ抜き具30の抜き具本体31のキャップ用貫通孔34に対する挿入向きを特定するための誤挿入防止突部251、252が突設されている。誤挿入防止突部は、前記キャップ本体23の2カ所に設けられている。 As shown in FIGS. 5A and 5B, the cap
キャップ本体23の2カ所の誤挿入防止突部の一方(第1誤挿入防止突部251)は、キャップ本体23の前端壁部22から前側(筒状胴部21とは反対の側)に突出された突片である。この第1誤挿入防止突部251は、前端壁部22の縦方向片側の端部における横方向中央部に突設されている。また、この第1誤挿入防止突部251は、前端壁部22の縦方向両側のうち、光コネクタ3のキー3dが挿入されるキー溝21eが形成されている第1面板部21a(図6(a)、(b)参照)と繋がっている側の端部の横方向中央部に突設されている。 One of the two erroneous insertion prevention protrusions (the first erroneous insertion prevention protrusion 251) of the
図9〜13、図15に示すように、抜き具本体31のキャップ用貫通孔34前端部の断面縦方向両側のキャップ当接突部31a、31bの片方(第1キャップ当接突部31a)は、キャップ用貫通孔34前端部の断面横方向全体にわたって延在している。キャップ用貫通孔34前端部の断面縦方向において第1キャップ当接突部31aとは反対に位置する第2キャップ当接突部31bは、キャップ用貫通孔34の断面横方向中央部を介してその両側に形成されている。キャップ用貫通孔34の断面横方向において、2つの第2キャップ当接突部31bの間には、キャップ20の第1誤挿入防止突部251が挿入されるキー溝31f(以下、前端部キー溝とも言う)が、係合片挿通孔32から窪む凹所状に確保されている。 As shown in FIGS. 9 to 13 and 15, one of the
図5(a)、(b)に示すように、キャップ20のもうひとつの誤挿入防止突部(第2誤挿入防止突部252)は、キャップ本体23の一対の側板部21c、21dの片方(第1側板部21c)の外面側(キャップ本体23内側空間とは反対の側)に突設された突部である。図示例のキャップ20において、第2誤挿入防止突部252は、第1側板部21cのキャップ本体23軸線方向に沿う前後方向全長にわたってその外面側に突設された突条となっている。この第2誤挿入防止突部252の延在方向片端は、キャップ本体23前端の前端壁部22付近に達している。 As shown in FIGS. 5A and 5B, another erroneous insertion prevention protrusion (second erroneous insertion prevention protrusion 252) of the
図13〜図15等に示すように、キャップ抜き具30の抜き具本体31のハウジング部31Hには、キャップ本体収容孔33の断面横方向片側に位置する内面に、キャップ20の前記第2誤挿入防止突部252が挿入されるキー溝31g(以下、本体収容孔キー溝とも言う)が形成されている。
キャップ20は、前記第2誤挿入防止突部252が抜き具本体31の本体収容孔キー溝31gに挿入される向きでのみ、抜き具本体31のキャップ本体収容孔33へのキャップ本体23の円滑な挿入が可能である。As shown in FIGS. 13 to 15, etc., the
The
また、キャップ20は、前記第2誤挿入防止突部252が抜き具本体31の本体収容孔キー溝31gに挿入される向きでキャップ用貫通孔34に挿入したとき、第1誤挿入防止突部251を抜き具本体31の前端部キー溝31fに挿入できる。第1誤挿入防止突部251を抜き具本体31の前端部キー溝31fに挿入したキャップ20は、キャップ本体23を、その前端(前端壁部22)が抜き具本体31のキャップ当接突部31a、31bに当接する位置までキャップ本体収容孔33に挿入できる。
キャップ本体23は、キャップ当接突部31a、31bに抜き具本体31前後方向後側から当接される。係合片挿通孔32は、抜き具本体31においてキャップ当接突部31a、31bのキャップ本体23が当接される面(後側当接面)から前側の部分であるキャップ本体当接部を貫通する貫通孔である。Further, when the
The
キャップ20の弾性係合片24の突爪24bは、第1誤挿入防止突部251の前記前端部キー溝31fへの挿入が開始された後、キャップ本体23が抜き具本体31のキャップ当接突部31a、31bに当接したとき、あるいは当接するまでに、抜き具本体31の係合面31dの前側に配置される。前記突爪24bは、第1誤挿入防止突部251の前端部キー溝31fへの挿入開始前は、抜き具本体31の係合面31dに比べて抜き具本体後側に位置し、前記係合面31dに係合可能な位置に配置されることは無い。
なお、抜き具本体31は、キャップ本体収容孔33に挿入されたキャップ本体23が第1、第2キャップ当接突部31a、31bの両方に同時に当接可能なように、抜き具本体31前後方向におけるキャップ当接突部31a、31bの形成位置を互いに揃えてある。The
It should be noted that the punching tool
前記キャップ20は、抜き具本体31のキャップ本体収容孔33に対して、前記第2誤挿入防止突部252を、キャップ本体収容孔33断面横方向において本体収容孔キー溝31gとは反対の側に配置した向き(以下、逆差し向きとも言う)で無理押しして、キャップ本体23をキャップ本体収容孔33に挿入したとしても、前記第1誤挿入防止突部252が抜き具本体31の第1キャップ当接突部31aに当接することで、それ以上のキャップ用貫通孔34への挿入が規制される。このため、キャップ20は、その弾性係合片24の突爪24bを、抜き具本体31の係合面31dに係合可能な位置に到達させることができない。 The
本発明に係る実施形態のキャップとしては、第1誤挿入防止突部251及び第2誤挿入防止突部252の両方を具備する構成の他、第1誤挿入防止突部251及び第2誤挿入防止突部252の片方のみを具備する構成も採用可能である。
また、キャップとしては、第1誤挿入防止突部251及び第2誤挿入防止突部252の両方とも具備していない構成も採用可能である。The cap according to the embodiment of the present invention includes a configuration including both the first erroneous
Further, as the cap, a configuration in which neither the first erroneous
図5(a)、(b)に示すように、図示例のキャップ20のキャップ本体23には、キャップ20の向きを目視で把握可能とする目印用切欠部23aが、キャップ本体23後端面から窪む凹所状に形成されている。図示例のキャップ20において、前記目印用切欠部23aは、具体的には、キャップ本体23の一対の面板部21a、21bの一方(図示例では第1面板部21a)の後端部の横方向中央部に形成されている。目印用切欠部23aは、第2面板部21bには形成されていない。
目印用切欠部23aは、キャップ20をその前端側の弾性係合片24側から抜き具本体31のキャップ本体収容孔33に挿入する際の、キャップ本体23の第1面板部21a、第1誤挿入挿入突部251の位置をキャップ20後側から確認するための目印として機能する。キャップ20は、キャップ抜き具のキャップ用貫通孔34に挿入する際に、キャップ本体23の一対の面板部21a、21bのうち、前記目印用切欠部23aが形成されている第1面板部21aが、キャップ用貫通孔34断面縦方向において前端部キー溝31fが形成されている側のキャップ本体収容孔33内壁面に接する向きとする。これにより、キャップ20は、第1誤挿入防止突部251をキャップ抜き具の前端部キー溝31fに挿入でき、キャップ本体23のキャップ本体収容孔33への挿入も円滑に行える。As shown in FIGS. 5A and 5B, the
The
図1〜図3に示すように、キャップ付きケーブル10の光コネクタ3は、キャップ20とキャップ抜き具30とに覆われて保護される。このため、キャップ付きケーブル10は、例えば図3に示すように、建物内などにおいて、キャップ抜き具付きユニット12を機器90に設けられた光コネクタアダプタ91に接近させるべく引き込む場合に、光コネクタ3先端部やそのフェルール先端面(接合端面)に位置する光ファイバ端面を傷める心配がなく、その特性(光学的特性等)を安定に維持できる。 As shown in FIGS. 1 to 3, the
図1に示すように、図示例のキャップ抜き具30の抜き具本体31は、その前側から後側へ行くにしたがって幅方向寸法が増大するテーパ形状になっている。
また、キャップ抜き具付きユニット12において、キャップ抜き具30の一対のカバープレート361、362は、互いに閉じ合わせて、抜き具本体31の後側に外観扁平なケース部37(一括保持具40を収納するケース部。図1、図3参照)を構成するが、このケース部の厚さは、抜き具本体31の後端の幅寸法と同等あるいはそれよりも小さい。
このため、キャップ付きケーブル10のキャップ抜き具付きユニット12は、例えば建物内での床下配線、床上配線等を行うにあたって、障害物の回避に有利であり、狭隘なスペース等へのキャップ付きケーブル10の引き込み作業の効率化にも有効に寄与する。As shown in FIG. 1, the removal tool
Further, in the
Therefore, the cap-clamped
図10に示すように、キャップ抜き具30の一対のカバープレート361、362は、一方のカバープレート361に突設されている嵌合ピン36aを、他方のカバープレート362に突設されている嵌合筒部36b内側に挿入して嵌合させることで、互いに閉じ合わせた状態を維持でき、互いに閉じ合わせ状態のカバープレート361、362間が不用意に開放されることを防ぐことができる。
また、嵌合筒部36bに嵌合された嵌合ピン36aは、互いに閉じ合わせ状態のカバープレート361、362間を作業者が手指で押し開く力によって、強制的に嵌合筒部36bから抜き去ることができる。嵌合筒部36bに嵌合された嵌合ピン36aを嵌合筒部36bから抜き去れば、嵌合ピン36aと嵌合筒部36bとの嵌合が解除されて、互いに閉じ合わせ状態のカバープレート361、362間を開放できる。As shown in FIG. 10, the pair of
Further, the
なお、一対のカバープレート361、362の閉じ合わせ状態を維持するための閉じ状態維持手段としては、互いに嵌合する嵌合ピン36a及び嵌合筒部36bに限定されない。この閉じ状態維持手段としては、一対のカバープレート361、362の閉じ合わせ状態を維持でき、かつ、作業者が手動で前記閉じ合わせ状態を解除可能な構成であれば良く、例えば、一方のカバープレートに突設され他方のカバープレートに係脱可能に係合する弾性係合爪等であっても良い。
また、閉じ状態維持手段としては、閉じ合わせ状態の一対のカバープレート361、362を結束して開放を規制するバンドや、締結固定用のねじ等であっても良い。Note that the closed state maintaining means for maintaining the closed state of the pair of
Further, the closed state maintaining means may be a band that binds a pair of
キャップ付きケーブル10は、キャップ抜き具付きユニット12のキャップ抜き具30の閉じ合わせ状態の一対のカバープレート361、362を開放し、キャップ抜き具30を一括保持具40から離隔させるべく一括保持具40に対して引っ張り操作することで、キャップ抜き具30とともにキャップ20を光コネクタ3から簡単に抜き去ることができる。
閉じ合わせ状態から開放したカバープレート361、362は、抜き具本体31を一括保持具40に対して引っ張り操作するための取っ手部として用いることができる。The cable with
The
キャップ抜き具30を一括保持具40から離隔させるべく一括保持具40に対して引っ張り操作すると、キャップ20の一対の弾性係合片24の突爪24bにキャップ本体23側から係合した抜き具本体31(具体的には係合用突壁31cの係合面31d)によって突爪24bを一括保持具40から離隔させる方向に押圧できる。したがって、キャップ抜き具30を一括保持具40から離隔させるべく一括保持具40に対して引っ張り操作することで、光コネクタ整列ユニット11の光コネクタ3からキャップ3を抜き去ることができる。
一括保持具40に保持された複数の光コネクタ3にそれぞれ装着されているキャップ20が取り付けられたキャップ抜き具30を一括保持具40に対して引っ張り操作すれば、複数のキャップ20の光コネクタ3からの抜き去りを一括して行うことができる。このため、キャップ抜き去り作業を効率良く行える。When the
If the
キャップ20の光コネクタ3からの抜き去りを完了すると、一括保持具40に保持された各光コネクタ3の先端部を露出させることができる。
キャップ20及びキャップ抜き具30を取り外した状態の光コネクタ整列ユニット11は、光コネクタアダプタ(例えば図3の光コネクタアダプタ91)に押し込むだけで、一括保持具40に一括保持した複数の光コネクタ3を一括して光コネクタアダプタに嵌合させることができる。When the removal of the
The optical
光コネクタ3の先端部に装着された前記キャップ20の前記光コネクタ3からの抜き去り作業に用いるキャップ抜き具としては、図1、図2等に例示した既述のキャップ抜き具30に限定されない。前記キャップ20の光コネクタ3からの抜き去りに適用可能なキャップ抜き具としては、一対の弾性係合片24の延出部24aを内挿可能な係合片挿通孔が形成され、該係合片挿通孔に延出部24aを内挿した弾性係合片24の突爪24bを係合可能な抜き具本体を有するものを採用できる。このキャップ抜き具としては、例えば図16に示すように、既述のキャップ抜き具30から一対のカバープレート361、362を省略した構成のもの、すなわち既述のキャップ抜き具30の抜き具本体31と同様の構成のもの(キャップ抜き具30A)を挙げることができる。
なお、図16において、キャップ抜き具30Aについて、既述のキャップ抜き具30の抜き具本体31と同様の構成部分には共通の符号を付している。The cap removing tool used for removing the
In addition, in FIG. 16, about the
図17は、光ファイバ2先端に組み立てられた光コネクタ3を、一括保持具40Aを用いて多数、マクリクス状に整列させて一括保持した光コネクタ整列ユニット11Aを有するキャップ抜き具付きユニット12Aの一例を示す。
図17に例示した一括保持具40Aは、48個の光コネクタ3をマトリクス状に整列させて一括保持している。なお、多数(例えば8個以上)の光コネクタ3をマトリクス状に整列させて一括保持する一括保持具40Aとしては、保持可能な光コネクタ3の数(コネクタ保持可能数)が48個のものに限定されず、コネクタ保持可能数が48個以外のものであっても良い。
図17に例示した一括保持具40Aは、光コネクタ3のカップリング3aを保持して、光コネクタ3を、その先端側が、全体として版状に構成された該一括保持具40Aの片面側に突出する向きで支持する。FIG. 17 shows an example of a
The
The
図示例のキャップ抜き具付きユニット12Aは、光コネクタ整列ユニット11Aの光コネクタ3の先端部に装着したキャップ20を光コネクタ3から抜き去るためのキャップ抜き具として、図17、図18に示すように、係合片挿通孔52が複数形成されたプレート状の抜き具本体51を有する構成のものを用いて組み立てられている。
図17、図18に例示したキャップ抜き具50は、係合片挿通孔52が複数形成されたプレート状の抜き具本体51の両側に、作業者が手指で把持可能な取っ手部53を突設した構成になっている。As shown in FIGS. 17 and 18, the unit with
17 and 18, the
前記取っ手部53は、矩形板状の抜き具本体51の両側(図示例では、長方形板状の抜き具本体51の一対の長辺)から抜き具本体51の片面側に立設されている。また、図示例のキャップ抜き具50の取っ手部53は、抜き具本体51から垂直に立設された概ね四角枠状に形成されている。このキャップ抜き具50の構成であれば、例えば後述のように、光コネクタ3をマトリクス状の整列させた構成の光コネクタ整列ユニット11Aに該キャップ抜き具50を複数設ける際に、隣り合うキャップ抜き具50の取っ手部53同士を互いに重ね合わせるようにして当接させることができる。このため、このキャップ抜き具50は、光コネクタ整列ユニット11Aに対する複数のキャップ抜き具50の高密度設置に有利である。 The
取っ手部としては、キャップ抜き去り時に、作業者が手指で把持してキャップ抜き具の一括保持具40Aに対する引っ張り操作に利用できるものであれば良く、上述の四角枠状に限定されず、適宜設計変更可能である。 The handle portion is not limited to the above-described rectangular frame shape and may be designed as long as it can be used by the operator to pull the cap removal tool against the
なお、プレート状の抜き具本体51の両面のうち、取っ手部53が突設されている側の面を、以下、表面、反対側の面を、以下、裏面とも言う。 Of the two surfaces of the plate-shaped extraction tool
図17、図18に例示したキャップ抜き具50の抜き具本体51の係合片挿通孔52は断面矩形(図示例では長方形)に形成されている。
図17、図19に示すように、キャップ抜き具50は、抜き具本体51の係合片挿通孔52に、光コネクタ整列ユニット11Aの光コネクタ3に装着したキャップ20の一対の弾性係合片24を内挿して、抜き具本体51の裏面がキャップ20のキャップ本体23に対面する向きで光コネクタ整列ユニット11Aに取り付けられている。キャップ抜き具50の係合片挿通孔52には、キャップ20の一対の弾性係合片24の延出部24aが内挿されている。キャップ20の一対の弾性係合片24の突爪24bは抜き具本体51の表面側に配置されている。キャップ20の一対の弾性係合片24は、延出部24aの前記突爪24bからキャップ本体23側(基端側)の部分が、長方形状の係合片挿通孔52の長手方向両端部に通されている。The engagement
As shown in FIGS. 17 and 19, the
図19に示すように、一対の弾性係合片24の突爪24bの頂部24d間の離隔距離は、長方形状の係合片挿通孔52の長手方向寸法よりも大きい。また、各突爪24bの弾性係合片24からの突出寸法は、抜き具本体51における係合片挿通孔52を介して両側の各突爪24bが係合される部分(以下、突爪係合部51aとも言う)間の離隔距離と、一対の弾性係合片24の互いに対面する内面側とは反対の外側面間の離隔距離との差よりも大きい。図17、図19に例示したキャップ抜き具付きユニット12Aにおいて、係合片挿通孔52を介して両側の突爪係合部51a間の距離は、図示例では長方形状の係合片挿通孔52の長手方向寸法を指す。
なお、一対の弾性係合片24は、係合片挿通孔52に挿通された部分が、それぞれ抜き具本体51の係合片挿通孔52を介して両側の突爪係合部51aに当接していても良い。As shown in FIG. 19, the separation distance between the
In addition, as for a pair of
一対の弾性係合片24の突爪24bは、抜き具本体51のうち、前記延出部24aを通した係合片挿通孔52を介して両側に位置する部分に係合可能に配置されている。キャップ抜き具50は、前記突爪24bによって、弾性係合片24先端からの抜け出しが規制されている。弾性係合片24の突爪24bは、キャップ抜き具50と係合することで、弾性係合片24先端からのキャップ抜き具50を抜き出しを規制する係止部として機能する。 The protruding
キャップ抜き具50の抜き具本体51の板厚は、キャップ20のキャップ本体23と突爪24bとの間の離隔距離に比べて小さい。キャップ抜き具50の抜き具本体51は、キャップ20のキャップ本体23と突爪24bとの間に、キャップ前後方向(キャップ本体23の軸線方向)に若干の可動範囲を確保して設けられている。
係合片挿通孔52は、キャップ本体23が当接可能なキャップ本体当接部として機能するプレート状の抜き具本体51を表裏に貫通する貫通孔である。The plate | board thickness of the extraction tool
The engagement
図17に例示した光コネクタ整列ユニット11Aは、複数(図示例では8個)の光コネクタ3を一列に整列させたコネクタ列を、横並びに並列に複数列(図示例では6列)設け、光コネクタ3をマトリクス状の整列させた構成になっている。
前記キャップ抜き具50の抜き具本体51には、光コネクタ整列ユニット11Aの互いに隣り合う2つのコネクタ列に対応して、複数個(図示例では8個)の係合片挿通孔52を一列に並べた孔列が並列に2列形成されている。光コネクタ整列ユニット11Aのコネクタ列に対応して形成された各孔列の係合片挿通孔52の形成ピッチは、光コネクタ整列ユニット11Aのコネクタ列を構成する光コネクタ3の配列ピッチに揃えられている。The optical
A plurality of (eight in the illustrated example) engaging piece insertion holes 52 are formed in a row in the unplugging
図17、図18に例示したキャップ抜き具50の抜き具本体51には、計16個の係合片挿通孔52が形成されている。
図17に例示したキャップ抜き具付きユニット12Aは、光コネクタ整列ユニット11Aに、その光コネクタ3先端部に装着したキャップ20を複数取り付けたキャップ抜き具50を複数(図示例では3つ)設けた構成となっている。光コネクタ整列ユニット11Aの光コネクタ3に装着されているキャップ20は、キャップ抜き具付きユニット12Aに複数設けられているキャップ抜き具50のいずれかに係合可能に取り付けられている。
このキャップ抜き具付きユニット12Aは、キャップ抜き具50を一括保持具40Aに対して引っ張り操作して一括保持具40Aからの離隔距離を増大させることで、該キャップ抜き具50に取り付けられている複数のキャップ20の光コネクタ3からの抜き去り作業を一括して行うことができる。A total of 16 engagement piece insertion holes 52 are formed in the
The
The
なお、図17、図18に例示したキャップ抜き具50は、光コネクタ整列ユニット11Aの互いに隣り合う2つのコネクタ列に対応して、係合片挿通孔52の孔列を互いに並列に2列形成した抜き具本体51を有するが、プレート状の抜き具本体に形成する係合片挿通孔52の孔列の数は1列、あるいは3列以上であっても良い。
抜き具本体に係合片挿通孔52の孔列を3以上形成したキャップ抜き具は、係合片挿通孔52の孔列を2つのみ形成したキャップ抜き具に比べて、一度により多くのキャップ20の光コネクタ3からの抜き去りを実現できる。
光コネクタ3をマトリクス状の整列させた光コネクタ整列ユニットを有するキャップ抜き具付きユニットとしては、キャップ抜き具を複数用いた構成に限定されず、キャップ抜き具を一つのみ用いて組み立てた構成も採用可能である。In addition, the
The cap removal tool in which three or more hole rows of the engagement piece insertion holes 52 are formed in the removal tool body has more caps at a time than the cap removal tool in which only two hole rows of the engagement piece insertion holes 52 are formed. The disconnection from the 20
The unit with the cap removal tool having the optical connector alignment unit in which the
図示例のキャップ抜き具50は、金属製の一体成形品である。キャップ抜き具は、例えば一枚の金属板の打ち抜き、折曲加工によって簡単に形成できる。
また、キャップ抜き具としては、例えばプラスチック製の一体成形品等も採用可能である。The
Further, as the cap removal tool, for example, an integrally molded product made of plastic can be employed.
係合片挿通孔52を形成したプレート状の抜き具本体を有するキャップ抜き具は、抜き具本体の構成が単純であり、抜き具本体に形成する係合片挿通孔52の数を変更する設計変更を容易に行える。また、このキャップ抜き具は、係合片挿通孔52の抜き具本体における形成位置、サイズ、形状の調整も容易であるから、光コネクタ整列ユニットの複数の光コネクタ3先端部にそれぞれ装着したキャップ20の弾性係合片24の位置や設計に簡単に対応できる。 The cap removal tool having a plate-shaped extraction tool body in which the engagement piece insertion holes 52 are formed has a simple structure of the extraction tool body, and is designed to change the number of engagement piece insertion holes 52 formed in the extraction tool body. Easy to change. Further, since the cap removal tool can easily adjust the formation position, size, and shape of the engagement
キャップ付きケーブルとしては、光ファイバケーブル1の長手方向片端側のみにキャップ抜き具付きユニットを組み立てた構成の他、例えば図20に示すように、光ファイバケーブル1の長手方向両側にキャップ抜き具付きユニットCを組み立てた構成も採用可能である。図20のキャップ付きケーブルに符号Bを付記する。また、光ファイバケーブル1の長手方向両側のキャップ抜き具付きユニットCの一方に符号C1、他方に符号C2を付記する。
キャップ付きケーブルBは、光ファイバケーブル1の長手方向両側の端末に露出させた光ファイバ2先端部に光コネクタ3を設けたコネクタ付き光ファイバケーブル(両端コネクタ付き光ファイバケーブル)を用い、その長手方向両側にキャップ抜き具付きユニットC1,C2を組み立てた構成となっている。As a cable with a cap, in addition to a configuration in which a unit with a cap removal tool is assembled only on one end side in the longitudinal direction of the
The cable B with a cap uses an optical fiber cable with a connector (optical fiber cable with a connector at both ends) in which an
前記キャップ抜き具付きユニットC1,C2は、光ファイバケーブル1端末から延出する光ファイバ2先端の光コネクタ3を一括保持具Dに複数一括保持してなる光コネクタ整列ユニットに、光コネクタ3先端部に装着したキャップ20を抜き去るためのキャップ抜き具Eをキャップ20に取り付けて設けたものである。
キャップ抜き具付きユニットCは、一括保持具Dとして図4、図17等に例示した一括保持具40、40Aのように、光コネクタ3を複数一括保持して整列させることができる構成のものを採用する。キャップ20は、光コネクタ3の一括保持具Dから突出された先端部に外嵌めして装着される。The cap-clamped units C1 and C2 are optical connector alignment units formed by holding a plurality of
The unit C with a cap removal tool has a configuration capable of holding and aligning a plurality of
キャップ抜き具Eとしては、キャップ20のキャップ本体23に当接可能な抜き具本体(詳細にはそのキャップ本体当接部)を、該抜き具本体を貫通する係合片挿通孔に延出部24aを通した弾性係合片24先端部の突爪24bに係合可能として前記突爪24bとキャップ本体23との間に配置できるものである。
このキャップ抜き具Eとしては、例えば、既述の図1、図2、図16等に例示したキャップ抜き具30、30Aのようにキャップ本体収容孔に係合片挿通孔が連通するキャップ用貫通孔が複数形成された構成のもの、図17に例示したキャップ抜き具50のように突片挿通孔(図17では係合片挿通孔)が複数形成されたプレート状の抜き具本体を有するもの等を採用できる。
また、このキャップ付きケーブルBの両側のキャップ抜き具付きユニットC1、C2は、必ずしも互いに同じ構成のものである必要は無く、互いに異なる構成のものを採用することもできる。As the cap remover E, the remover main body (specifically, the cap main body abutting portion) capable of contacting the cap
As this cap remover E, for example, the cap penetration through which the engagement piece insertion hole communicates with the cap main body accommodation hole as in the
Further, the cap-clamped units C1 and C2 on both sides of the cable B with a cap do not necessarily have the same configuration, and may have different configurations.
なお、キャップ抜き具付きユニット前側からキャップ20の薄肉部22cへの光照射を要しない場合、キャップ抜き具Eとしては、キャップの前端壁部から突出する引っ張り用突片に形成された係止部(図21の例では弾性係合片24の突爪24b)に、前記前端壁部側から係合する抜き具本体を有し、複数のキャップの光コネクタ3からの抜き去りを一括して行えるものであれば良く、その具体的構成に特に限定はない。 In addition, when it is not necessary to irradiate light to the
本発明に係る実施形態のキャップ付きケーブルとしては、キャップ抜き具付きユニットを有するものに限定されない。また、キャップ付きケーブルとしては、キャップ抜き具付きユニットのみならず、光コネクタ整列ユニットをも有していない構成、光コネクタ整列ユニットを有しているがキャップ抜き具付きユニットを有していない構成も採用可能である。但し、キャップ付きケーブルとしては、光ファイバケーブル1の長手方向両側あるいは片側の端末に露出(延出)された複数本の光ファイバ2の先端部に、光コネクタ3にキャップ20を装着したキャップ付き光コネクタを有する構成を採用する。 The cable with a cap according to the embodiment of the present invention is not limited to a cable having a unit with a cap removal tool. In addition, as a cable with a cap, not only a unit with a cap removal tool but also a configuration that does not have an optical connector alignment unit, a configuration that has an optical connector alignment unit but does not have a unit with a cap removal tool Can also be adopted. However, as a cable with a cap, a cap with a
図21に例示するキャップ付きケーブル60は、光ファイバケーブル1の長手方向両側の端末に露出(延出)された複数本の光ファイバ2の先端部に、光コネクタ3にキャップ20を装着したキャップ付き光コネクタ5を有するものである。但し、このキャップ付きケーブル60は、光コネクタ整列ユニット及びキャップ抜き具付きユニットを有していない。 A
図5(a)、図6(a)、(b)、図7(a)、(b)に例示したキャップ20は、キャップ本体23の前端壁部22の中央部(キャップ本体23の軸線に垂直の方向における中央部)に、前端壁部22の他の部分に比べて薄肉に形成された薄肉部22cを有する。 前記キャップ20は、光透過率が高くないプラスチック材料の使用や、プラスチック材料に混入した着色剤等の混入物によって、光透過率が抑えられている。但し、キャップ20の光透過率はキャップ20の形成材料の厚みに依存する。キャップ20の前記薄肉部22c以外の部分は、光透過率が前記薄肉部22cに比べて格段に低く、高い遮光性が確保されている。前記薄肉部22cはキャップ本体23の他の部分に比べて光透過率が高くなっている。
そして、このキャップ20を装着した光コネクタ3は、キャップ20を装着したまま、キャップ20外側から薄肉部22cを介して光コネクタ3のファイバ露出領域3fを含む接合端面3eに光を照射して、接合端面3e(特にファイバ露出領域3f)の傷付きや塵の付着の有無を調べる端面検査を行える。The
Then, the
図6(a)、(b)、図7(a)に示すように、前記キャップ本体23の前端壁部22の中央部には、その内面22a(キャップ本体23内面)側から窪む凹所22bが形成されている。前記薄肉部22cは、前記前端壁部22の中央部が前記凹所22bの形成によって、凹所22bが形成されていない部分に比べて薄肉になった部位を指す。
図5(a)、図7(a)等に示すように、前記薄肉部22cは、キャップ20の一対の弾性係合片24の間に形成されている。As shown in FIGS. 6A, 6B, and 7A, a recess is formed in the central portion of the front
As shown in FIG. 5A, FIG. 7A, and the like, the
図4、図7(b)に示すように、光コネクタ3の接合端面(より具体的には、フェルール3bの前端の接合端面3e)の中央部には、該光コネクタ3を組み立てた光ファイバ2の裸光ファイバの先端面が露出された領域(ファイバ露出領域3f)が存在する。図示例の光コネクタ3のフェルール3bの接合端面3eの中央部のファイバ露出領域3fには、多心光ファイバコードである光ファイバ2の複数本の裸光ファイバ2aの先端面が配列されている。 As shown in FIGS. 4 and 7B, an optical fiber in which the
キャップ20は、光コネクタ3の先端部に外嵌めして装着したとき、前記薄肉部22cが光コネクタ3の接合端面3e(本明細書において、単に、光コネクタ端面とも言う)中央部のファイバ露出領域3fに対面配置される。前記薄肉部22cは、キャップ本体23を外嵌めして装着した光コネクタ3のファイバ露出領域3fに露出する全ての裸光ファイバ2aの先端面に対面配置できるように、キャップ本体23の前端壁部22における形成範囲が確保されている。そして、光ファイバ2先端部に組み立てられた光コネクタ3は、キャップ20を装着したまま、キャップ20の薄肉部22cを介して接合端面3eに光を照射して、接合端面3eを観察できる。したがって、このキャップ20を装着した光コネクタ3は、キャップ20を抜き去ること無く装着したまま、キャップ20外側から薄肉部22cを介して光コネクタ3のファイバ露出領域3fを含む接合端面3eに光を照射して、接合端面3eの傷付きや塵の付着の有無を調べる端面検査を行える。 When the
光ファイバケーブル端末に露出させた光ファイバの先端部に光コネクタを組み立てたコネクタ付き光ファイバケーブルは、光コネクタに、光コネクタ端面の観察を可能にする薄肉部22cを有していない従来構成のキャップを装着した場合、最終製品として光コネクタの端面検査を行う際に、一旦、キャップを取り外し、検査終了後にキャップを嵌め直すことになる。このため、検査終了後に、光コネクタから取り外してあったキャップを光コネクタに再装着する際に、光コネクタ端面の傷や塵の付着が生じても、これを検査によって検出できない。
これに対して前記薄肉部22cを有するキャップ20を装着した光コネクタ3は、キャップ20を抜き去ること無く装着したまま端面検査を行えるため、検査終了後に、光コネクタ3端面の傷付きや、光コネクタ3端面への塵の付着が生じる心配が無い。An optical fiber cable with a connector in which an optical connector is assembled at the tip of an optical fiber exposed at the end of the optical fiber cable has a conventional configuration in which the optical connector does not have a
On the other hand, since the
キャップ20は、その形成材料に帯電防止剤を添加したものを採用できる。
帯電防止剤を添加したプラスチック等の形成材料で形成したキャップ20は、塵が付着しにくい。このため、キャップ20は、キャップ本体23を光コネクタ3先端部に外嵌めして装着したときにキャップ本体23内側に塵を巻き込みにくく、光コネクタ3端面への塵の付着防止に有効に寄与する。The
The
キャップ20は、薄肉部22cの光透過率の向上以外に、機械的強度の確保も必要であり、薄肉部22cの厚みが薄すぎないようにする。プラスチック製のキャップ20は、薄肉部22cの厚さを0.2〜0.5mm程度とすることが適切である。 In addition to improving the light transmittance of the
図4に示すように、キャップ20は、光コネクタ3に装着したとき、前記キャップ本体23の前端壁部22に形成された凹所22bによって、光コネクタ3の接合端面3eのファイバ露出領域3fとキャップ本体23の薄肉部22cとの間にクリアランスを確保できる。
図7(b)に示すように、光コネクタ3の接合端面3eのファイバ露出領域3fは、その全体が、キャップ本体23の前端壁部22の凹所22b底面を形成する薄肉部22cに対面配置される。このため、キャップ20は、光コネクタ3に装着したときに、前記凹所22bによって、ファイバ露出領域3f全体がキャップ本体23の前端壁部22と接触せず、ファイバ露出領域3fが前端壁部22から離隔した状態が保たれる。また、このとき、光コネクタ3のファイバ露出領域3fに露出する全ての裸光ファイバ2aの先端面は、キャップ本体23の前端壁部22(具体的には薄肉部22c)との接触を回避できる。
このように、ファイバ露出領域3f及び該ファイバ露出領域3fに露出する裸光ファイバ2a先端面と、キャップ本体23の前端壁部22との接触を回避できる構成は、ファイバ露出領域3f及び裸光ファイバ2a先端面の傷付き防止の点で有利である。As shown in FIG. 4, when the
As shown in FIG. 7B, the fiber exposed
Thus, the configuration capable of avoiding the contact between the fiber exposed
前記キャップ付きケーブル60は、その長手方向両側の光コネクタ3にキャップ20を装着したまま、長手方向一端側(図21において左側)の光コネクタ3から光ファイバ2に光源81の出力光を入射して、ファイバ対照(ファイバ識別)を行うことができる。 The
図21に示す回線対照方法は、キャップ付きケーブル60の長手方向一端側の光コネクタ3から光ファイバ2に光源81の出力光を入射する。そして、前記光ファイバ2に光源81から入射された入射光が長手方向他端側(図21において右側)の光コネクタ3先端の接合端面に露出する光ファイバ2先端面から出射された出射光を受光部(受光器82)によって受光する。
キャップ付きケーブル60の長手方向一端側からの光ファイバ2への光入射は、光源81の出力光を、光コネクタ3に装着されているキャップ20の薄肉部22cを介して、光コネクタ3の接合端面に先端面が露出されている光ファイバ2に入射させる。光ファイバ2に入射された入射光は、キャップ付きケーブル60の長手方向他端側の光コネクタ3の接合端面に露出されている光ファイバ2先端面から出射される。そして、この出射光は、光コネクタ3に装着されているキャップ20の薄肉部22cを透過して受光部(受光器82)で受光される。In the line contrast method shown in FIG. 21, the output light of the
Light incident on the
図21のキャップ付きケーブル60の、光ファイバ2の光ファイバケーブル1の長手方向両側から延出した部分には、それぞれ識別用表示61(ナンバリング)が設けられている。光ファイバケーブル1の長手方向両側の光ファイバ2のファイバ対照(ファイバ識別)は、識別用表示61の照合に加えて、キャップ付きケーブル60長手方向一端側から光ファイバ2に光を入射し、該入射光がキャップ付きケーブル60長手方向他端側の光ファイバ2端面から出射した光を受光部で受光する方式のファイバ対照を併用できる。これにより、より正確なファイバ対照を実現できる。
光ファイバケーブル1の長手方向両側の光ファイバ2の対照を正確に行えることは、光ファイバケーブル1の長手方向両側にキャップ抜き具付きユニットを組み立てる際に、光コネクタ3を正確に配列させる上で有効に寄与する。Identification portions 61 (numbering) are provided on portions of the
The fact that the
光コネクタ3に装着したキャップ20外側から、キャップ本体23の前端壁部22の薄肉部22cを介して光コネクタ3端面に光を照射して行う端面検査は、図1、図2、図16、図17等に例示したキャップ抜き具付きユニットの光コネクタにも適用可能である。 End face inspection performed by irradiating light to the end face of the
図1、図2、図16等に例示したキャップ抜き具30、30Aは、キャップ20の一対の弾性係合片24の延出部24aが係合片挿通孔32に挿通され、キャップ本体当接部が各弾性係合片24の突爪24bとキャップ本体23との間に配置されているとき、一対の弾性係合片24が互いに離隔した状態を保つことができる。このため、このキャップ抜き具を用いて構成したキャップ抜き具付きユニットは、その前側から、係合片挿通孔32を介して、キャップ本体23の薄肉部22cへの光照射が可能である。
図17に例示したキャップ抜き具50は、キャップ本体当接部として機能する抜き具本体51が、係合片挿通孔52に延出部24aを挿通したキャップ20の一対の弾性係合片24の突爪24bとキャップ本体23との間に配置されているとき、一対の弾性係合片24が互いに離隔した状態を保つことができる。キャップ抜き具50を用いて構成したキャップ抜き具付きユニットは、その前側から、係合片挿通孔52を介して、キャップ本体23の薄肉部22cへの光照射が可能である。
したがって、キャップ抜き具30、30A、50を用いて構成したキャップ抜き具付きユニットを有するキャップ付きケーブルは、光コネクタ3に装着したキャップ20を抜き去ること無く装着したまま、光コネクタ3の端面検査を行える。1, 2, 16, etc., the
The
Therefore, the end face inspection of the
光コネクタ3に装着したキャップ20を抜き去ること無く装着したまま光コネクタ3の端面検査を行うことを可能にするキャップ抜き具としては、キャップ抜き具30、30A、50に限定されない。キャップ抜き具としては、キャップ20のキャップ本体23に当接可能な抜き具本体(詳細にはそのキャップ本体当接部)を、該抜き具本体を貫通する係合片挿通孔に延出部24aを通した弾性係合片24先端部の突爪24bとキャップ本体23との間に配置したときに、キャップ20の前端壁部22の中央部前側を覆わず、キャップ抜き具付きユニット前側から前記薄肉部22cへの光照射可能とする構成のものを採用できる。 The cap remover that enables the end face inspection of the
なお、本発明に係る実施形態のキャップとしては、薄肉部22cを有していない構成のものも採用可能である。
光コネクタの端面検査、光ファイバケーブルの光ファイバ2に導光して行うファイバ対照を必要としない場合は、前記薄肉部22cを有する構成のキャップを使用する必要が無い。In addition, the thing of the structure which does not have the
When the end face inspection of the optical connector and the fiber comparison performed by guiding to the
キャップの弾性係合片としては、図5(a)、(b)、図7(a)等に例示した構成のものに限定されない。弾性係合片としては、例えば図22に示すように、キャップ本体23の前端壁部22から前側(筒状胴部21とは反対の側)へ突出する1本の延出部26aの先端部から、その両側に張り出す一対の弾性片26bを有し、この一対の弾性片26bに、キャップ抜き具の抜き具本体に係合可能な突爪26cがそれぞれ突設されている構成も採用可能である。図20の弾性係合片26の弾性片26bは、前記延出部26aの先端部の側面から張り出す基端部26dと、該基端部26dの先端からキャップ本体23に向かって延出する片持ち状の弾性片本体26eとを有する。前記突爪26cは、前記弾性片本体26eの前記延出部26bとは反対側の面から突出されている。
この弾性係合片26は、図2等に例示したキャップ抜き具30の抜き具本体31、図17,図18に例示したキャップ抜き具50の抜き具本体51のいずれの係合片挿通孔にも挿入可能であり、かつ突爪26cによって抜き具本体の係止が可能である。突爪26cは、抜き具本体を係止する係止部として機能する。The elastic engagement piece of the cap is not limited to the one illustrated in FIGS. 5A, 5B, 7A and the like. As the elastic engagement piece, for example, as shown in FIG. 22, the distal end portion of one extending
The
また、キャップとしては、図23(a)、(b)に示すように、3本の弾性係合片24を有する構成のものも採用可能である。
この場合、プレート状の抜き具本体51を有するキャップ抜き具50の係合片挿通孔としては、各弾性係合片の突爪に対応した断面三角形状のもの(係合片挿通孔54)を形成することが好適である。Moreover, as a cap, as shown to FIG. 23 (a), (b), the thing of the structure which has the three
In this case, as the engagement piece insertion hole of the
なお、図23(a)、(b)に例示したキャップ27は、円筒状の筒状胴部27aの軸線方向片端のみが前端壁部27bによって塞がれた片端有底円筒状のキャップ本体27cを具備する構成のものである。
このキャップ27は、例えばFC形光コネクタ(JIS C 5970に制定されるF01形光コネクタ。FC:Fiber transmission system optical Connector)や、いわゆるST形光コネクタ(JIS C 5978に制定されるF09形光コネクタ)等、の円筒形カップリング(FC形光コネクタは接続ナット、ST形光コネクタは接続スリーブ)を有する光コネクタのカップリング先端部にキャップ本体27cを脱着可能に外嵌めしてフェルール先端を覆うことができるものである。Note that the
The
但し、3本の弾性係合片24がキャップ本体の前端壁部から筒状胴部とは反対の前側へ突出された構成は、図23(a)、(b)に例示した片端有底円筒状のキャップ本体27cを有するキャップ27に限定されず、片端有底角筒状のキャップ本体を有する構成のキャップにも適用可能である。
また、図5(a)、(b)等に例示したキャップ20のように、2本の弾性係合片24がキャップ本体の前端壁部から筒状胴部とは反対の前側へ突出された構成は、片端有底円状のキャップ本体を有する構成のキャップにも適用可能である。
キャップのキャップ本体は、光コネクタの先端部の構成に応じて、脱着可能に外嵌めして装着できる片端有底筒状に適宜設計変更可能である。このことは、本発明に係る実施形態のキャップに共通のことである。However, the configuration in which the three
Further, like the
The cap main body of the cap can be appropriately changed in design to a one-end-bottomed cylindrical shape that can be externally fitted and attached in accordance with the configuration of the tip of the optical connector. This is common to the cap of the embodiment according to the present invention.
また、キャップ抜き具付きユニットとしては、例えば図24に示すように、キャップとして、そのキャップ本体23の前端壁部22から筒状胴部21とは反対の前側に、係合用凹所28bが形成された引っ張り用突片28aを突設した構成のものを採用することも可能である。図24に例示したキャップ28は、引っ張り用突片28aとして、その両側に係合用凹所28bが形成されたものを採用している。そして、図24に例示したキャップ抜き具付きユニットは、キャップ抜き具60として一対の弾性係合片61が突設されたものを採用し、キャップ28の引っ張り用突片28aの両側の係合用凹所28bに、キャップ抜き具60の一対の弾性係合片61先端部の突爪62を入り込ませて係合させた構成となっている。 Moreover, as a unit with a cap removal tool, for example, as shown in FIG. 24, an
なお、引っ張り用突片(弾性係合片を含む)を有するキャップ(以下、突片付きキャップ)は、作業者が直接手指で引っ張り用突片を引っ張って、光コネクタからの抜き去り作業を行うことも可能である。つまり、光コネクタに装着されている突片付きキャップは、キャップ抜き具を使用しなくても、作業者が直接手指で引っ張り用突片を引っ張って、突片付きキャップに、光コネクタに対してその前側への相対変位力(抜き去り力)を与えることで、光コネクタからの抜き去り作業を楽に行える。
突片付きキャップの引っ張り用突片は、キャップ本体の前端壁部から筒状胴部とは反対の側に突出している。このため、突片付きキャップは、例えば、該キャップを光コネクタに装着したキャップ付き光コネクタが複数高密度に配列されている場合や、前記キャップ付き光コネクタの近傍に建物の壁等の障害物が存在する場合であっても、作業者が手指で引っ張り用突片を把持しやすく、光コネクタからの抜き去りを効率良く、楽に行える。In addition, a cap (hereinafter referred to as a cap with a projecting piece) having a pulling projecting piece (including an elastic engagement piece) is pulled out from the optical connector by an operator by directly pulling the pulling projecting piece with fingers. Is also possible. In other words, the cap with a protruding piece attached to the optical connector can be used by the operator pulling the pulling protruding piece with his / her finger directly, without using a cap removal tool. By applying a relative displacement force (extraction force) to the optical connector, the extraction work from the optical connector can be performed easily.
The pulling protrusion of the cap with the protrusion protrudes from the front end wall portion of the cap body to the side opposite to the cylindrical body portion. For this reason, the cap with a protruding piece is, for example, a case where a plurality of optical connectors with caps mounted on the optical connector are arranged in high density, or an obstacle such as a wall of a building near the optical connector with caps. Even if it exists, the operator can easily grasp the pulling protrusion with his / her fingers and can be efficiently and easily removed from the optical connector.
キャップ抜き具としては、図17、図18に例示したキャップ抜き具50のように、抜き具本体51に突片挿通孔52(係合片挿通孔)が複数形成されたものに限定されず、例えば図24に示すように、突片挿通孔52(係合片挿通孔)が一つのみ形成された板状の抜き具本体55aを有する構成のものも採用可能である。図24に例示したキャップ抜き具55は、突片挿通孔52がひとつだけ形成された抜き具本体55aの両側に、該抜き具本体55aの片面側に突出する取っ手部55bを立設した構成のものである。突片挿通孔52の形状は、キャップの弾性係合片(引っ張り用突片)の数、配置等に応じて、弾性係合片先端の突爪を抜き具本体に係合可能とするべく、適宜設計変更可能である。
但し、キャップ抜き具としては、必ずしも抜き具本体に立設された取っ手部を有するものに限定されず、抜き具本体の外周部自体にキャップの抜き去りのための引っ張り力を作用させて、キャップを光コネクタから抜き去り可能とした構成も採用可能である。
また、キャップ抜き具としては、図1、図16等に例示したキャップ抜き具のキャップ用貫通孔を一つだけにした構成も採用可能である。The cap removal tool is not limited to the
However, the cap removal tool is not necessarily limited to the one having a handle portion erected on the removal tool body, and the cap is made by applying a pulling force for removing the cap to the outer periphery of the removal tool body itself. It is also possible to adopt a configuration in which the can be removed from the optical connector.
Moreover, as a cap removal tool, the structure which made only one through-hole for caps of the cap removal tool illustrated in FIG.1, FIG.16 etc. is also employable.
1…光ファイバケーブル、2…光ファイバ、3…光コネクタ、10…コネクタキャップ付き光ファイバケーブル、11、11A…光コネクタ整列ユニット、12,12A…キャップ抜き具付きユニット、20…光コネクタ保護キャップ、22c…薄肉部、24…引っ張り用突片(弾性係合片)、24a…延出部、24b…突爪、26…弾性係合片、26c…係止部(突爪)、27…光コネクタ保護キャップ、27a…筒状胴部、27b…前端壁部、27c…キャップ本体、28…光コネクタ保護キャップ、28a…引っ張り用突片、30…キャップ抜き具、31…抜き具本体、32…突片挿通孔(係合片挿通孔)、40、40A…一括保持具、50…キャップ抜き具、51…抜き具本体、52…突片挿通孔(係合片挿通孔)、53…取っ手部、54…突片挿通孔(係合片挿通孔)、55…キャップ抜き具、55a…抜き具本体、55b…取っ手部。 DESCRIPTION OF
| Application Number | Priority Date | Filing Date | Title |
|---|---|---|---|
| JP2011177561AJP5538328B2 (en) | 2011-08-15 | 2011-08-15 | Optical connector protective cap, optical fiber cable with connector cap, cap removal tool |
| Application Number | Priority Date | Filing Date | Title |
|---|---|---|---|
| JP2011177561AJP5538328B2 (en) | 2011-08-15 | 2011-08-15 | Optical connector protective cap, optical fiber cable with connector cap, cap removal tool |
| Publication Number | Publication Date |
|---|---|
| JP2013041089A JP2013041089A (en) | 2013-02-28 |
| JP5538328B2true JP5538328B2 (en) | 2014-07-02 |
| Application Number | Title | Priority Date | Filing Date |
|---|---|---|---|
| JP2011177561AActiveJP5538328B2 (en) | 2011-08-15 | 2011-08-15 | Optical connector protective cap, optical fiber cable with connector cap, cap removal tool |
| Country | Link |
|---|---|
| JP (1) | JP5538328B2 (en) |
| Publication number | Priority date | Publication date | Assignee | Title |
|---|---|---|---|---|
| US10359577B2 (en) | 2017-06-28 | 2019-07-23 | Corning Research & Development Corporation | Multiports and optical connectors with rotationally discrete locking and keying features |
| US10379298B2 (en) | 2017-06-28 | 2019-08-13 | Corning Research & Development Corporation | Fiber optic connectors and multiport assemblies including retention features |
| USD864207S1 (en) | 2018-06-28 | 2019-10-22 | Corning Research & Development Corporation | Extender port for making optical connections |
| US10641967B1 (en) | 2018-11-16 | 2020-05-05 | Corning Research & Development Corporation | Multiport assemblies including a modular adapter support array |
| US10768382B2 (en) | 2018-11-29 | 2020-09-08 | Corning Research & Development Corporation | Multiport assemblies including access apertures and a release tool |
| US11187859B2 (en) | 2017-06-28 | 2021-11-30 | Corning Research & Development Corporation | Fiber optic connectors and methods of making the same |
| US11294133B2 (en) | 2019-07-31 | 2022-04-05 | Corning Research & Development Corporation | Fiber optic networks using multiports and cable assemblies with cable-to-connector orientation |
| US11300746B2 (en) | 2017-06-28 | 2022-04-12 | Corning Research & Development Corporation | Fiber optic port module inserts, assemblies and methods of making the same |
| US11487073B2 (en) | 2019-09-30 | 2022-11-01 | Corning Research & Development Corporation | Cable input devices having an integrated locking feature and assemblies using the cable input devices |
| US11536921B2 (en) | 2020-02-11 | 2022-12-27 | Corning Research & Development Corporation | Fiber optic terminals having one or more loopback assemblies |
| US11604320B2 (en) | 2020-09-30 | 2023-03-14 | Corning Research & Development Corporation | Connector assemblies for telecommunication enclosures |
| US11650388B2 (en) | 2019-11-14 | 2023-05-16 | Corning Research & Development Corporation | Fiber optic networks having a self-supporting optical terminal and methods of installing the optical terminal |
| US11668890B2 (en) | 2017-06-28 | 2023-06-06 | Corning Research & Development Corporation | Multiports and other devices having optical connection ports with securing features and methods of making the same |
| US11686913B2 (en) | 2020-11-30 | 2023-06-27 | Corning Research & Development Corporation | Fiber optic cable assemblies and connector assemblies having a crimp ring and crimp body and methods of fabricating the same |
| US11880076B2 (en) | 2020-11-30 | 2024-01-23 | Corning Research & Development Corporation | Fiber optic adapter assemblies including a conversion housing and a release housing |
| US11886010B2 (en) | 2019-10-07 | 2024-01-30 | Corning Research & Development Corporation | Fiber optic terminals and fiber optic networks having variable ratio couplers |
| US11927810B2 (en) | 2020-11-30 | 2024-03-12 | Corning Research & Development Corporation | Fiber optic adapter assemblies including a conversion housing and a release member |
| US11947167B2 (en) | 2021-05-26 | 2024-04-02 | Corning Research & Development Corporation | Fiber optic terminals and tools and methods for adjusting a split ratio of a fiber optic terminal |
| US11994722B2 (en) | 2020-11-30 | 2024-05-28 | Corning Research & Development Corporation | Fiber optic adapter assemblies including an adapter housing and a locking housing |
| US12019279B2 (en) | 2019-05-31 | 2024-06-25 | Corning Research & Development Corporation | Multiports and other devices having optical connection ports with sliding actuators and methods of making the same |
| US12044894B2 (en) | 2018-12-28 | 2024-07-23 | Corning Research & Development Corporation | Multiport assemblies including mounting features or dust plugs |
| US12271040B2 (en) | 2017-06-28 | 2025-04-08 | Corning Research & Development Corporation | Fiber optic extender ports, assemblies and methods of making the same |
| US12372727B2 (en) | 2020-10-30 | 2025-07-29 | Corning Research & Development Corporation | Female fiber optic connectors having a rocker latch arm and methods of making the same |
| Publication number | Priority date | Publication date | Assignee | Title |
|---|---|---|---|---|
| FR3004589B1 (en)* | 2013-04-15 | 2017-03-31 | Radiall Sa | ADAPTER FOR A MULTI-CONTACTS CONNECTOR WITH HOUSING AND ASSOCIATED MULTI-CONTACTS CONNECTOR. |
| FR3004588B1 (en) | 2013-04-15 | 2019-05-17 | Radiall | ADAPTER WITH HOLDING CAGE FOR A MULTI-CONTACTS CONNECTOR AND MULTI-CONTACTS CONNECTOR THEREFOR |
| JP6493109B2 (en)* | 2015-09-08 | 2019-04-03 | 日立金属株式会社 | Communication light visualization module |
| Publication number | Priority date | Publication date | Assignee | Title |
|---|---|---|---|---|
| JP3436844B2 (en)* | 1996-05-02 | 2003-08-18 | 株式会社フジクラ | Ferrule protection cap |
| JP2003232959A (en)* | 2002-02-07 | 2003-08-22 | Fujikura Ltd | Removable jig |
| JP5416088B2 (en)* | 2008-03-03 | 2014-02-12 | 古河電気工業株式会社 | Connector unit |
| Publication number | Priority date | Publication date | Assignee | Title |
|---|---|---|---|---|
| US12013578B2 (en) | 2017-06-28 | 2024-06-18 | Corning Research & Development Corporation | Multifiber fiber optic connectors, cable assemblies and methods of making the same |
| US12174432B2 (en) | 2017-06-28 | 2024-12-24 | Corning Research & Development Corporation | Fiber optic connectors and connectorization employing adhesive admitting adapters |
| US10386584B2 (en) | 2017-06-28 | 2019-08-20 | Corning Research & Development Corporation | Optical connectors with locking and keying features for interfacing with multiports |
| US10429594B2 (en) | 2017-06-28 | 2019-10-01 | Corning Research & Development Corporation | Multiport assemblies including retention features |
| US11579377B2 (en) | 2017-06-28 | 2023-02-14 | Corning Research & Development Corporation | Compact fiber optic connectors, cable assemblies and methods of making the same with alignment elements |
| US12429655B2 (en) | 2017-06-28 | 2025-09-30 | Corning Optical Communications LLC | Multiports having connection ports with associated securing features and methods of making the same |
| US10605998B2 (en) | 2017-06-28 | 2020-03-31 | Corning Research & Development Corporation | Fiber optic connectors and connectorization employing adhesive admitting adapters |
| US12379552B2 (en) | 2017-06-28 | 2025-08-05 | Corning Research & Development Corporation | Compact fiber optic connectors, cable assemblies and methods of making the same |
| US12379551B2 (en) | 2017-06-28 | 2025-08-05 | Corning Optical Communications LLC | Multiports having connection ports formed in the shell and associated securing features |
| US10802228B2 (en) | 2017-06-28 | 2020-10-13 | Corning Research & Development Corporation | Fiber optic connectors and multiport assemblies including retention features |
| US10809463B2 (en) | 2017-06-28 | 2020-10-20 | Corning Research & Development Corporation | Multiports and optical connectors with rotationally discrete locking and keying features |
| US11187859B2 (en) | 2017-06-28 | 2021-11-30 | Corning Research & Development Corporation | Fiber optic connectors and methods of making the same |
| US11215768B2 (en) | 2017-06-28 | 2022-01-04 | Corning Research & Development Corporation | Fiber optic connectors and connectorization employing adhesive admitting adapters |
| US11262509B2 (en) | 2017-06-28 | 2022-03-01 | Corning Research & Development Corporation | Compact fiber optic connectors having multiple connector footprints, along with cable assemblies and methods of making the same |
| US11287581B2 (en) | 2017-06-28 | 2022-03-29 | Corning Research & Development Corporation | Compact fiber optic connectors, cable assemblies and methods of making the same |
| US11287582B2 (en) | 2017-06-28 | 2022-03-29 | Corning Research & Development Corporation | Compact fiber optic connectors, cable assemblies and methods of making the same |
| US12353025B2 (en) | 2017-06-28 | 2025-07-08 | Corning Optical Communications LLC | Multiports having a connection port insert and methods of making the same |
| US11300746B2 (en) | 2017-06-28 | 2022-04-12 | Corning Research & Development Corporation | Fiber optic port module inserts, assemblies and methods of making the same |
| US11300735B2 (en) | 2017-06-28 | 2022-04-12 | Corning Research & Development Corporation | Compact fiber optic connectors having multiple connector footprints, along with cable assemblies and methods of making the same |
| US11307364B2 (en) | 2017-06-28 | 2022-04-19 | Corning Research & Development Corporation | Compact fiber optic connectors having multiple connector footprints, along with cable assemblies and methods of making the same |
| US11327247B2 (en) | 2017-06-28 | 2022-05-10 | Corning Optical Communications LLC | Multiports having connection ports formed in the shell and associated securing features |
| US11409055B2 (en) | 2017-06-28 | 2022-08-09 | Corning Optical Communications LLC | Multiports having connection ports with associated securing features and methods of making the same |
| US11415759B2 (en) | 2017-06-28 | 2022-08-16 | Corning Optical Communications LLC | Multiports having a connection port insert and methods of making the same |
| US11460646B2 (en) | 2017-06-28 | 2022-10-04 | Corning Research & Development Corporation | Fiber optic connectors and multiport assemblies including retention features |
| US11487065B2 (en) | 2017-06-28 | 2022-11-01 | Corning Research & Development Corporation | Multiports and devices having a connector port with a rotating securing feature |
| US12353024B2 (en) | 2017-06-28 | 2025-07-08 | Corning Research & Development Corporation | Multiports and optical connectors with rotationally discrete locking and keying features |
| US11493700B2 (en) | 2017-06-28 | 2022-11-08 | Corning Research & Development Corporation | Compact fiber optic connectors, cable assemblies and methods of making the same |
| US11493699B2 (en) | 2017-06-28 | 2022-11-08 | Corning Research & Development Corporation | Multifiber fiber optic connectors, cable assemblies and methods of making the same |
| US11531168B2 (en) | 2017-06-28 | 2022-12-20 | Corning Research & Development Corporation | Fiber optic connectors having a keying structure and methods of making the same |
| US12298568B2 (en) | 2017-06-28 | 2025-05-13 | Corning Research & Development Corporation | Fiber optic connectors and multiport assemblies including retention features |
| US11536913B2 (en) | 2017-06-28 | 2022-12-27 | Corning Research & Development Corporation | Fiber optic connectors and connectorization employing adhesive admitting adapters |
| US11543600B2 (en) | 2017-06-28 | 2023-01-03 | Corning Research & Development Corporation | Compact fiber optic connectors having multiple connector footprints, along with cable assemblies and methods of making the same |
| US10429593B2 (en) | 2017-06-28 | 2019-10-01 | Corning Research & Development Corporation | Fiber optic connectors and connectorization employing adapter extensions and/or flexures |
| US12276846B2 (en) | 2017-06-28 | 2025-04-15 | Corning Research & Development Corporation | Compact fiber optic connectors, cable assemblies and methods of making the same |
| US10379298B2 (en) | 2017-06-28 | 2019-08-13 | Corning Research & Development Corporation | Fiber optic connectors and multiport assemblies including retention features |
| US12271040B2 (en) | 2017-06-28 | 2025-04-08 | Corning Research & Development Corporation | Fiber optic extender ports, assemblies and methods of making the same |
| US11656414B2 (en) | 2017-06-28 | 2023-05-23 | Corning Research & Development Corporation | Multiports and other devices having connection ports with securing features and methods of making the same |
| US11668890B2 (en) | 2017-06-28 | 2023-06-06 | Corning Research & Development Corporation | Multiports and other devices having optical connection ports with securing features and methods of making the same |
| US11624877B2 (en) | 2017-06-28 | 2023-04-11 | Corning Research & Development Corporation | Multiports having connection ports with securing features that actuate flexures and methods of making the same |
| US11703646B2 (en) | 2017-06-28 | 2023-07-18 | Corning Research & Development Corporation | Multiports and optical connectors with rotationally discrete locking and keying features |
| US11789214B2 (en) | 2017-06-28 | 2023-10-17 | Corning Research & Development Corporation | Multiports and other devices having keyed connection ports and securing features and methods of making the same |
| US12092878B2 (en) | 2017-06-28 | 2024-09-17 | Corning Research & Development Corporation | Fiber optic connectors having a keying structure and methods of making the same |
| US10359577B2 (en) | 2017-06-28 | 2019-07-23 | Corning Research & Development Corporation | Multiports and optical connectors with rotationally discrete locking and keying features |
| US11886017B2 (en) | 2017-06-28 | 2024-01-30 | Corning Research & Development Corporation | Multiports and other devices having connection ports with securing features and methods of making the same |
| US11906792B2 (en) | 2017-06-28 | 2024-02-20 | Corning Research & Development Corporation | Compact fiber optic connectors having multiple connector footprints, along with cable assemblies and methods of making the same |
| US11914197B2 (en) | 2017-06-28 | 2024-02-27 | Corning Research & Development Corporation | Compact fiber optic connectors having multiple connector footprints, along with cable assemblies and methods of making the same |
| US11914198B2 (en) | 2017-06-28 | 2024-02-27 | Corning Research & Development Corporation | Compact fiber optic connectors having multiple connector footprints, along with cable assemblies and methods of making the same |
| US11966089B2 (en) | 2017-06-28 | 2024-04-23 | Corning Optical Communications, Llc | Multiports having connection ports formed in the shell and associated securing features |
| US11940656B2 (en) | 2017-06-28 | 2024-03-26 | Corning Research & Development Corporation | Compact fiber optic connectors, cable assemblies and methods of making the same |
| USD864207S1 (en) | 2018-06-28 | 2019-10-22 | Corning Research & Development Corporation | Extender port for making optical connections |
| US10641967B1 (en) | 2018-11-16 | 2020-05-05 | Corning Research & Development Corporation | Multiport assemblies including a modular adapter support array |
| US10768382B2 (en) | 2018-11-29 | 2020-09-08 | Corning Research & Development Corporation | Multiport assemblies including access apertures and a release tool |
| US12044894B2 (en) | 2018-12-28 | 2024-07-23 | Corning Research & Development Corporation | Multiport assemblies including mounting features or dust plugs |
| US12019279B2 (en) | 2019-05-31 | 2024-06-25 | Corning Research & Development Corporation | Multiports and other devices having optical connection ports with sliding actuators and methods of making the same |
| US11294133B2 (en) | 2019-07-31 | 2022-04-05 | Corning Research & Development Corporation | Fiber optic networks using multiports and cable assemblies with cable-to-connector orientation |
| US11487073B2 (en) | 2019-09-30 | 2022-11-01 | Corning Research & Development Corporation | Cable input devices having an integrated locking feature and assemblies using the cable input devices |
| US11886010B2 (en) | 2019-10-07 | 2024-01-30 | Corning Research & Development Corporation | Fiber optic terminals and fiber optic networks having variable ratio couplers |
| US11650388B2 (en) | 2019-11-14 | 2023-05-16 | Corning Research & Development Corporation | Fiber optic networks having a self-supporting optical terminal and methods of installing the optical terminal |
| US11536921B2 (en) | 2020-02-11 | 2022-12-27 | Corning Research & Development Corporation | Fiber optic terminals having one or more loopback assemblies |
| US11604320B2 (en) | 2020-09-30 | 2023-03-14 | Corning Research & Development Corporation | Connector assemblies for telecommunication enclosures |
| US12019285B2 (en) | 2020-09-30 | 2024-06-25 | Corning Research & Development Corporation | Connector assemblies for telecommunication enclosures |
| US12372727B2 (en) | 2020-10-30 | 2025-07-29 | Corning Research & Development Corporation | Female fiber optic connectors having a rocker latch arm and methods of making the same |
| US12345927B2 (en) | 2020-11-30 | 2025-07-01 | Corning Research & Development Corporation | Fiber optic adapter assemblies including a conversion housing and a release housing |
| US11880076B2 (en) | 2020-11-30 | 2024-01-23 | Corning Research & Development Corporation | Fiber optic adapter assemblies including a conversion housing and a release housing |
| US11686913B2 (en) | 2020-11-30 | 2023-06-27 | Corning Research & Development Corporation | Fiber optic cable assemblies and connector assemblies having a crimp ring and crimp body and methods of fabricating the same |
| US11994722B2 (en) | 2020-11-30 | 2024-05-28 | Corning Research & Development Corporation | Fiber optic adapter assemblies including an adapter housing and a locking housing |
| US11927810B2 (en) | 2020-11-30 | 2024-03-12 | Corning Research & Development Corporation | Fiber optic adapter assemblies including a conversion housing and a release member |
| US11947167B2 (en) | 2021-05-26 | 2024-04-02 | Corning Research & Development Corporation | Fiber optic terminals and tools and methods for adjusting a split ratio of a fiber optic terminal |
| Publication number | Publication date |
|---|---|
| JP2013041089A (en) | 2013-02-28 |
| Publication | Publication Date | Title |
|---|---|---|
| JP5538328B2 (en) | Optical connector protective cap, optical fiber cable with connector cap, cap removal tool | |
| US9529160B2 (en) | Optical connector | |
| US12061364B2 (en) | Ferrule push | |
| US9459412B2 (en) | Optical connector receptacle, receptacle housing, optical connector adapter, and adapter housing | |
| JP5735248B2 (en) | Optical connector, optical connector connection method, connector adapter, optical line, optical communication system | |
| CN101669054B (en) | Optical fiber connector and optical cable | |
| US8052334B2 (en) | Field installable ferrule and tool and method for installing optical fibers in the ferrule using the tool | |
| US20130121653A1 (en) | Optical connector and method for assembling same | |
| JP4347115B2 (en) | Optical fiber connection opening member, optical connector, optical fiber connector and optical fiber butt connection confirmation method | |
| JP2012037624A (en) | Optical connector and optical connector assembly tool | |
| US10677996B2 (en) | Optical connector, detaching jig, and cap | |
| JP5325244B2 (en) | Boots, optical connectors and jigs | |
| US9423571B2 (en) | Optical connector protecting cap, optical fiber cable with connector cap, and cap removal tool | |
| WO2020013059A1 (en) | Optical connector, method for manufacturing optical fiber cable provided with optical connector, and optical fiber connection tool | |
| JP4191168B2 (en) | Mechanical connection type optical connector | |
| JP2008262245A (en) | Optical connector assembly tool | |
| WO2018179679A1 (en) | Optical fiber connecting tool and optical connector provided with optical fiber connecting tool | |
| US12210196B2 (en) | Cover for a fiber optic ferrule and ferrule push | |
| JP5888881B2 (en) | Optical connector | |
| JP2007279415A (en) | Optical connector | |
| JP4163077B2 (en) | Optical connector | |
| JP2007192871A (en) | Optical connector | |
| EP4073565A1 (en) | Cover for a fiber optic ferrule and ferrule push |
| Date | Code | Title | Description |
|---|---|---|---|
| A977 | Report on retrieval | Free format text:JAPANESE INTERMEDIATE CODE: A971007 Effective date:20130513 | |
| A131 | Notification of reasons for refusal | Free format text:JAPANESE INTERMEDIATE CODE: A131 Effective date:20130521 | |
| A521 | Request for written amendment filed | Free format text:JAPANESE INTERMEDIATE CODE: A523 Effective date:20130719 | |
| A131 | Notification of reasons for refusal | Free format text:JAPANESE INTERMEDIATE CODE: A131 Effective date:20140107 | |
| A521 | Request for written amendment filed | Free format text:JAPANESE INTERMEDIATE CODE: A523 Effective date:20140307 | |
| TRDD | Decision of grant or rejection written | ||
| A01 | Written decision to grant a patent or to grant a registration (utility model) | Free format text:JAPANESE INTERMEDIATE CODE: A01 Effective date:20140401 | |
| R151 | Written notification of patent or utility model registration | Ref document number:5538328 Country of ref document:JP Free format text:JAPANESE INTERMEDIATE CODE: R151 | |
| A61 | First payment of annual fees (during grant procedure) | Free format text:JAPANESE INTERMEDIATE CODE: A61 Effective date:20140428 | |
| R250 | Receipt of annual fees | Free format text:JAPANESE INTERMEDIATE CODE: R250 | |
| R250 | Receipt of annual fees | Free format text:JAPANESE INTERMEDIATE CODE: R250 | |
| R250 | Receipt of annual fees | Free format text:JAPANESE INTERMEDIATE CODE: R250 | |
| R250 | Receipt of annual fees | Free format text:JAPANESE INTERMEDIATE CODE: R250 | |
| R250 | Receipt of annual fees | Free format text:JAPANESE INTERMEDIATE CODE: R250 | |
| R250 | Receipt of annual fees | Free format text:JAPANESE INTERMEDIATE CODE: R250 | |
| R250 | Receipt of annual fees | Free format text:JAPANESE INTERMEDIATE CODE: R250 | |
| R250 | Receipt of annual fees | Free format text:JAPANESE INTERMEDIATE CODE: R250 | |
| R250 | Receipt of annual fees | Free format text:JAPANESE INTERMEDIATE CODE: R250 |