























本発明は、半導体装置の温度を推定した結果に基づいて動作を制御する半導体装置に関する。 The present invention relates to a semiconductor device that controls operation based on a result of estimating a temperature of a semiconductor device.
従来、この種の技術としては、例えば以下に示す文献に記載されたものが知られている(特許文献1参照)。この文献に記載された技術では、半導体チップ内にポリシリコンのPN接合ダイオードを形成し、このダイオードに一定電流を流したときの順方向電圧降下を半導体チップとは別体に設けた温度検出回路で測定する。この測定値に基づいて半導体チップの温度を推定し、その推定温度に基づいてゲート駆動回路を制御している。 Conventionally, as this type of technology, for example, those described in the following documents are known (see Patent Document 1). In the technique described in this document, a polysilicon PN junction diode is formed in a semiconductor chip, and a forward voltage drop when a constant current is passed through the diode is provided separately from the semiconductor chip. Measure with The temperature of the semiconductor chip is estimated based on the measured value, and the gate drive circuit is controlled based on the estimated temperature.
上記従来技術においては、温度検出回路と半導体チップ上のダイオードとを接続するために、半導体チップ上に一定面積の電極接合部を設ける必要があった。この電極接合部は所定の面積が必要であるため、チップサイズの大型化を招き、チップサイズの縮小化の障害になっていた。 In the above prior art, in order to connect the temperature detection circuit and the diode on the semiconductor chip, it is necessary to provide an electrode junction portion having a certain area on the semiconductor chip. Since this electrode junction requires a predetermined area, the chip size is increased, which is an obstacle to the reduction of the chip size.
そこで、本発明は、上記に鑑みてなされたものであり、その目的とするところは、構成の小型化を図った半導体装置を提供することにある。 Accordingly, the present invention has been made in view of the above, and an object of the present invention is to provide a semiconductor device having a reduced configuration.
  上記目的を達成するために、本発明は、トランジスタが形成された半導体基体上のドリフト領域に形成された第2導電型の半導体領域からなるアノードと、第2導電型の半導体領域内に形成された第1導電型の半導体領域からなるカソードとでダイオードが構成され、カソードはトランジスタのゲート電極に接続され、前記トランジスタの許容最大動作温度を超えたときの前記ダイオードの逆方向電流は、ゲート駆動回路が前記ゲート電極に供給できる上限のゲート上限電流よりも大きくなるように設定されていることを特徴とする。
In order to achieve the above object, the present invention is formed in an anode composed of a second conductivity type semiconductor region formed in a drift region on a semiconductor substrate on which a transistor is formed, and in the second conductivity type semiconductor region. A diode comprising the first conductive type semiconductor region is connected to the gate electrode of thetransistor, and the reverse current of the diode when the maximum allowable operating temperature of the transistor is exceeded is the gate drive. The circuit is set tobe larger than an upper limit gate upper limit current that can be supplied to the gate electrode .
本発明によれば、トランジスタのゲート電極とダイオードのカソードとが接続されることにより、半導体装置内にダイオードと温度検出用回路とを接続する際に要す接合部の面積が不要になる。これにより、半導体装置を小型化することができる。 According to the present invention, since the gate electrode of the transistor and the cathode of the diode are connected, the area of the junction required when connecting the diode and the temperature detecting circuit in the semiconductor device is eliminated. Thereby, a semiconductor device can be reduced in size.
以下、図面を用いて本発明を実施するための実施形態を説明する。 Hereinafter, embodiments for carrying out the present invention will be described with reference to the drawings.
(実施形態1)
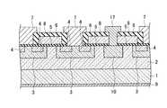
  図1は本発明の実施形態1に係る半導体装置の構成を示す断面図である。図1において、この半導体装置は、炭化珪素基体1上にMOSFET型のトランジスタとPN接合型のダイオードを備えて構成されている。(Embodiment 1)
 FIG. 1 is a cross-sectional view showing a configuration of a semiconductor device according to
  N型高濃度(N+型)の炭化珪素基体1の一方の主面上には、N型低濃度(N-型)のドリフト領域2が形成されている。N-型のドリフト領域2の一方の主面側には、P型のウェル領域3が選択的に形成され、ウェル領域3内にはN型のソース領域4が形成されている。トランジスタのチャネルとなるウェル領域3の主表面に接するように、ゲート絶縁膜5が形成され、このゲート絶縁膜5を介して多結晶シリコン(ポリシリコン)のゲート電極6が形成されている。ウェル領域3およびソース領域4には、電気的に低抵抗でオーミック接続するようにソース電極7が形成されている。ソース電極7とゲート電極6は、層間絶縁膜8で絶縁されている。炭化珪素基体1の裏面には、ドレイン電極9が電気的に低抵抗でオーミック接続されて形成されている。トランジスタは、上記ドリフト領域2、ソース領域4ならびにゲート電極6を備え、所謂縦型のMOSFETとして構成されている。On one main surface of the N-type high concentration (N+ -type)
  ドリフト領域2の一方の主面側には、P型の拡散領域10が選択的に形成されている。P型の拡散領域10は、P型のウェル領域3とは電気的に接続されていない。拡散領域10内には、N型の拡散領域11が形成されている。拡散領域11上には、ゲート電極6が形成され、拡散領域11とゲート電極6とは電気的にオーミック接続されている。これにより、P型の拡散領域10をアノード、N型の拡散領域11をカソードとしたPN接合型のダイオード12を構成している。さらに、P型の拡散領域10をアノード、N-型のドリフト領域2をカソードとするダイオード13を構成している。A P-
  符号101で示す部分がMOSFETの所謂単位セルに相当し、図1に示した範囲外の部分においては、単位セル101が紙面横方向に繰り返されて配置構成されている。  A portion denoted by
  次に、図1に示す構成のトランジスタにおける基本的な動作について説明する。トランジスタは、ソース電極7の電位を基準として、ドレイン電極9に所定の正の電位を印加した状態でゲート電極6の電位を制御することで、トランジスタとして機能する。すなわち、ゲート電極6とソース電極7間の電圧を所定の閾値電圧以上にするとゲート電極6下のウェル領域3のチャネル部に反転層が形成されるためオン状態となり、ドレイン電極9からソース電極7へ電流が流れる。一方、ゲート電極6とソース電極7間の電圧を所定の閾値電圧以下にすると、反転層が消滅しオフ状態となり、電流が遮断される。  Next, basic operation of the transistor having the structure shown in FIG. 1 will be described. The transistor functions as a transistor by controlling the potential of the
  オン状態の場合には、主にソース−ドレイン間電圧Vdsと、ドレイン電流Idにより、次式(1)で表される電力Wがトランジスタ内で消費される。
(数1)
W=Vds×Id  …(1)
この電力Wによりトランジスタが発熱して、炭化珪素基体1の温度が上昇する。In the on state, the power W represented by the following equation (1) is consumed in the transistor mainly by the source-drain voltage Vds and the drain current Id.
 (Equation 1)
 W = Vds × Id (1)
 Due to this electric power W, the transistor generates heat, and the temperature of the
  図2はダイオード12の逆方向電流電圧特性を示している。ダイオードに逆方向電圧を印加した場合には、逆方向電流が流れる。この逆方向電流は、温度が上昇すると指数関数的に増加する。図2においては、25℃、75℃、125℃、150℃の場合の逆方向電流電圧特性を模式的に示している。ここでは、トランジスタの許容最大動作温度を150℃とする。トタンジスタのゲート電極6にはゲート駆動回路(図示せず)から電圧が印加される。ゲート駆動回路は、ゲート電極6にトランジスタをスイッチング制御する電圧、電流を印加制御する。トランジスタはオフ状態からオン状態に移行する際にゲート容量を充電するため、ゲート駆動回路の電流供給能力に所定の上限を設けている。  FIG. 2 shows the reverse current-voltage characteristics of the
  図2に示すように、トランジスタがオン状態のゲート電圧をVG1とすると、このゲート電圧はダイオード12のカソードにも印加され、25℃ではダイオード12の逆方向電流は十分に低い。トランジスタはオン状態が続くと、上記の電力Wによりトランジスタの温度が上昇する。その結果、75℃まで上昇したとしても、まだダイオード12の逆方向電流は十分に低い。さらに温度が上昇して125℃に達すると、ダイオード12の逆方向
電流は、ゲート駆動回路の電流供給能力の上限(ゲート上限電流)に一致する。この場合でも、トランジスタはオン状態である。さらに温度が上昇して許容最大動作温度の150℃に達すると、ゲート電圧VG1におけるダイオード12の逆方向電流は、ゲート駆動回路の電流供給能力の上限を超える。すなわち、トランジスタの許容最大動作温度を超えたときのダイオード12の逆方向電流は、ゲート駆動回路がゲート電極に供給できる上限のゲート上限電流よりも大きくなるように設定する。その結果、ダイオード12の逆方向電流は、図2に示すように150℃におけるゲート駆動回路の電流供給能力の上限値まで低下し、ゲート電圧はVG2まで低下する。このゲート電圧VG2をトランジスタのゲート閾値電圧以下に設定することで、トランジスタをオン状態からオフ状態に移行することができる。これにより、トランジスタでの熱の発生を停止することができる。As shown in FIG. 2, when the gate voltage of the transistor in the on state is VG1, this gate voltage is also applied to the cathode of the
  ダイオード12の逆方向電流の温度依存性は、ダイオード12を構成するP型の拡散領域10ならびにN型の拡散領域11の不純物濃度を制御することで、容易に調整することができる。例えば、600V程度の耐圧のパワーMOSFETでは、ゲート電圧VG1を15V程度、VG2を5V以下程度に設定することで、トランジスタが最大動作温度以上の温度になるのを抑制することが可能となる。  The temperature dependence of the reverse current of the
  なお、ダイオード12で発生したリーク電流は、ダイオード13を介してドレイン電極9へと流れる。ダイオード13における順方向電圧降下は、炭化珪素の場合3V程度以下であり、ダイオード12の逆方向電圧よりも小さいので上記動作には影響を与えない。また、基体の材料がシリコンの場合であっても、ダイオード13の順方向電圧降下は0.6V程度であり同様に上記動作には影響を与えない。  Note that the leak current generated in the
次に、図3−A〜同図−Fを用いて図1に示す構成の半導体装置の製造方法を説明する。 Next, a method for manufacturing the semiconductor device having the configuration shown in FIG. 1 will be described with reference to FIGS.
  まず、図3−Aに示す工程においては、N+型の炭化珪素基体1上にN-型の炭化珪素エピタキシャル層からなるドリフト領域2を形成する。炭化珪素にはいくつかのポリタイプ(結晶多形)が存在するが、ここでは代表的な4Hとして説明する。炭化珪素基体1は数十から数百μm程度の厚みを持つ。ドリフト領域2は、例えば不純物濃度が1014〜
1018cm-3、厚さが数μm〜数十μmとして形成される。First, in the step shown in FIG. 3A, a
 It is formed with a thickness of 1018 cm−3 and a thickness of several μm to several tens of μm.
  次に、図3−Bに示す工程においては、ドリフト領域2上に絶縁膜14を堆積する。絶縁膜14としてはシリコン酸化膜を用いることができ、堆積方法としては熱CVD法やプラズマCVD法を用いることができる。  Next, in the process shown in FIG. 3B, the insulating
  続いて、絶縁膜14上に形成されたレジスト(図示せず)をパターニングする。パターニングの方法としては、一般的なフォトリソグラフィー法を用いることができる。パターニングされたレジストをマスクにして、絶縁膜14を選択的にエッチング除去する。エッチング方法としては、フッ酸を用いたウエットエッチングや、反応性イオンエッチングなどのドライエッチングを用いることができる。  Subsequently, a resist (not shown) formed on the insulating
  引き続いて、レジストを酸素プラズマや硫酸等で除去する。その後、絶縁膜14をマスクにして、P型の不純物15を選択的にイオン注入し、ウェル領域3およびP型の拡散領域10を形成する。P型の不純物15としては、アルミやボロンを用いることができる。この際、基体温度を600℃程度に加熱した状態でイオン注入することで、注入領域に結晶欠陥が生じるのを抑制することができる。この実施形態1では、ウェル領域3とP型の拡散領域10を同じイオン注入で形成する方法について説明したが、別々のイオン注入により形成してもよい。特に、P型の拡散領域10の不純物濃度を調整することで、図2に示したダイオード12の逆方向電流電圧特性を所望の特性に設定することができる。イオン注入後、絶縁膜14を例えばフッ酸を用いたウエッチエッチングによって除去する。  Subsequently, the resist is removed with oxygen plasma or sulfuric acid. Thereafter, the P-
  次に、図3−Cの工程においては、先の同図−Bに示す工程と同様に、絶縁膜14を形成する。この絶縁膜14をマスクとして、N型の不純物16をイオン注入する。これにより、ソース領域4とN型の拡散領域11を形成する。N型の不純物16としては窒素を用いることができる。この際、基体温度を600℃程度に加熱した状態でイオン注入することで、注入領域に結晶欠陥が生じるのを抑制することができる。この実施形態1では、ソース領域4とN型の拡散領域11を同じイオン注入で形成する方法について説明したが、別々のイオン注入により形成してもよい。特に、N型の拡散領域11の不純物濃度を調整することで、図2に示したダイオード12の逆方向電流電圧特性を所望の特性に設定することができる。イオン注入後、絶縁膜14を例えばフッ酸を用いたウエッチエッチングによって除去する。  Next, in the step of FIG. 3C, the insulating
その後、図3−Bおよび同図−Cに示す工程でイオン注入した不純物を熱処理することで活性化させる。熱処理温度としては1700℃程度の温度を用いることができる。熱処理の雰囲気としてはアルゴンや窒素を好適に用いることができる。 Thereafter, the impurity ion-implanted in the process shown in FIGS. 3-B and C is activated by heat treatment. A temperature of about 1700 ° C. can be used as the heat treatment temperature. Argon or nitrogen can be suitably used as the heat treatment atmosphere.
  次に、図3−Dに示す工程においては、ゲート絶縁膜5を例えば1000Å程度堆積する。ゲート絶縁膜5としてはシリコン酸化膜が好適に用いられ、堆積方法としては熱酸化法、熱CVD法、プラズマCVD法、スパッタ法などが用いられる。続いて、レジストをマスクとしたウエットエッチングやドライエッチングを用いて、ゲート絶縁膜5をパターニングして選択的に除去し、N型の拡散領域11上にコンタクトホールを形成する。  Next, in the step shown in FIG. 3D, the
  次に、図3−Eに示す工程においては、ゲート電極6を形成する。ゲート電極6としては、不純物を導入した多結晶シリコンを好適に用いることができ、堆積方法としては一般的な低圧CVD法を用いることができる。この際、拡散領域11の表面の不純物濃度を高濃度にしておくことで、ゲート電極6は拡散領域11とオーミック接続する。全面に堆積形成された多結晶シリコン上にレジストパターンを形成し、このレジスタパターンをマスクとして例えばドライエッチングを用いて多結晶シリコンをパターニングする。これにより、多結晶シリコンを選択的に除去し、トランジスタのゲート電極6ならびにダイオード12のカソード電極としても機能するゲート電極6を形成する。  Next, in the step shown in FIG. 3E, the
  最後に、図3−Fの工程においては、層間絶縁膜8を堆積する。層間絶縁膜8としては、シリコン酸化膜が好適に用いられ、堆積方法としては熱CVD法、プラズマCVD法、スパッタ法などが用いられる。層間絶縁膜8上にレジストパターンを形成し、このレジストパターンをマスクにして層間絶縁膜8を選択的に除去してコンタクトホールを形成する。コンタクトホール内にソース電極7を形成する。ソース電極7としては、チタンとアルミを積層した金属電極を用いることができる。その後、炭化珪素基体1の裏面にドレイン電極9を形成し、図1に示す半導体装置が完成する。  Finally, in the process of FIG. 3F, an
  なお、図1においては、P型の拡散領域10とウェル領域3が同程度の深さに形成されているが、図2で示したダイオード12の逆方向電流電圧特性を所望の特性に設定するために、拡散領域10の接合の深さや不純物濃度をウェル領域3とは独立して設定することができる。  In FIG. 1, the P-
  また、図1においては、N型の拡散領域11とソース領域4が同程度の深さで形成されているが、図2で示したダイオード12の逆方向電流電圧特性を所望の特性に設定するために、拡散領域11の接合の深さや不純物濃度をソース領域4とは独立して調整することができる。  In FIG. 1, the N-
  以上説明したように、この実施形態1においては、炭化珪素基体1の温度上昇に伴い、ダイオード12の機能によりゲート電圧が低下してトランジスタがオフ状態となる。すなわち  トランジスタの許容最大動作温度を超えたときのダイオード12の逆方向電流は、ゲート駆動回路がゲート電極6に供給できる上限のゲート上限電流よりも大きくなるように設定する。これにより、トランジスタの温度が低下するため、所定の許容最大温度を越えないようにトランジスタを制御することができる。  As described above, in the first embodiment, as the temperature of
図1に示す構成を採用することで、従来と比べて半導体チップと温度測定回路を接続する必要がなく、半導体チップ上に半導体チップと温度測定回路を接続する接続用パッドが不要となる。したがって、接続用パッドを形成する部分の面積を削減することができる。これにより、チップ面積が縮小されて半導体装置の構成の小型化を達成することができる。さらに、温度測定回路が不要となり、低コストな半導体装置を提供することができる。 By adopting the configuration shown in FIG. 1, it is not necessary to connect the semiconductor chip and the temperature measurement circuit as compared with the conventional case, and a connection pad for connecting the semiconductor chip and the temperature measurement circuit on the semiconductor chip becomes unnecessary. Therefore, the area of the portion where the connection pad is formed can be reduced. As a result, the chip area can be reduced and the size of the semiconductor device can be reduced. Furthermore, a temperature measurement circuit is not required, and a low-cost semiconductor device can be provided.
(実施形態2)
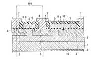
  図4は本発明の実施形態2に係る半導体装置の構成を示す断面図である。(Embodiment 2)
 FIG. 4 is a cross-sectional view showing a configuration of a semiconductor device according to
  この実施形態2において、先の実施形態1と異なる点は、図4に示すようにP型の拡散領域10がウェル領域3を介してソース電極7にオーミック接続されている点である。このような構成にすることによって、ダイオード12で発生した逆方向電流は、ソース電極7に流れる。したがって、ダイオード12の逆方向電流電圧特性に対してダイオード13の順方向電圧降下を考慮する必要がなくなり、先の実施形態1に比べてより安定してチップ温度を制御することができる。また、ダイオード12に印加される電圧はドレインの電位によらずゲート−ソース間電圧とほぼ一致する。したがって、ダイオード12に印加される電圧によりトランジスタのオン/オフ状態を直接制御することができ、より安定して温度を制御することができる。  The second embodiment is different from the first embodiment in that the P-
  図4に示す構成における基本的な動作は、ダイオード12の逆方向電流がソース電極7に流れる点を除いて先の実施形態1と同様であるので、その説明は省略する。  Since the basic operation in the configuration shown in FIG. 4 is the same as that of the first embodiment except that the reverse current of the
  図4に示す半導体装置の製造方法は、先の実施形態1で説明した製造方法のウェル領域3およびP型の拡散領域10のマスクパターンを変更する点以外はほぼ同様であるので、その説明は省略する。  The manufacturing method of the semiconductor device shown in FIG. 4 is substantially the same except that the mask pattern of the
  なお、図4においては、P型の拡散領域10とウェル領域3が同程度の深さに形成されているが、図2で示したダイオード12の逆方向電流電圧特性を所望の特性に設定するために、拡散領域10の接合の深さや不純物濃度をウェル領域3とは独立して設定することができる。  In FIG. 4, the P-
  また、図4においては、N型の拡散領域11とソース領域4が同程度の深さで形成されているが、図2で示したダイオード12の逆方向電流電圧特性を所望の特性に設定するために、拡散領域11の接合の深さや不純物濃度をソース領域4とは独立して調整することができる。  In FIG. 4, the N-
  以上説明したように、この実施形態2においては、先の実施形態1で得られる効果に加えて、ダイオード12の逆方向電流がソースに流れるため、ダイオード12に印加される電圧とゲート−ソース間電圧がほぼ一致する。これにより、トランジスタのオン/オフ状態を直接制御することができ、より安定して温度を制御することができる。  As described above, in the second embodiment, in addition to the effect obtained in the first embodiment, since the reverse current of the
(実施形態3)
  図5は本発明の実施形態3に係る半導体装置の構成を示す断面図である。(Embodiment 3)
 FIG. 5 is a cross-sectional view showing a configuration of a semiconductor device according to
  この実施形態3において、先の実施形態2と異なる点は、図5に示すようにドレイン電極9に接続された基体をN+型の炭化珪素基体1に代えてP+型の炭化珪素基体18で構成し、所謂IGBT(Insulated Gate Bipolar Transistor、絶縁ゲートバイポーラトランジスタ)構造となっている点である。なお、本実施形態3では、IGBTのエミッタ、コレクタに相当する部分をそれぞれソース、ドレインと呼ぶこととする。In this
図5に示す構成における基本的な動作は、先の実施形態2と同様であるので、その説明は省略する。 The basic operation in the configuration shown in FIG. 5 is the same as that in the second embodiment, and a description thereof will be omitted.
  図5に示す半導体装置の製造方法は、先の実施形態1で説明した製造方法のN+型の炭化珪素基体1をP+型の炭化珪素基体18に変更する点と、ウェル領域3および拡散領域10のマスクパターンを変更する点以外はほぼ同様であるので、その説明は省略する。The semiconductor device manufacturing method shown in FIG. 5 is different from the manufacturing method described in the first embodiment in that N+ type
  なお、図5においては、P型の拡散領域10とウェル領域3が同程度の深さに形成されているが、図2で示したダイオード12の逆方向電流電圧特性を所望の特性に設定するために、拡散領域10の接合の深さや不純物濃度をウェル領域3とは独立して設定することができる。  In FIG. 5, the P-
  また、図5においては、N型の拡散領域11とソース領域4が同程度の深さで形成されているが、図2で示したダイオード12の逆方向電流電圧特性を所望の特性に設定するために、拡散領域11の接合の深さや不純物濃度をソース領域4とは独立して調整することができる。  In FIG. 5, the N-
  この実施形態3においては、P+型の炭化珪素基体18を用いて説明したが、N型の炭化珪素基体を用い、このN型の炭化珪素基体にP+型の拡散領域を形成する方法でも同様の構造を得ることができる。In the third embodiment, the P+ type
  以上説明したように、この実施形態3においては、先の実施形態2で得られる効果に加えて、P+型の炭化珪素基体18からN-型のドリフト領域2に注入された正孔により伝導度変調が起きるIGBT構造となるので、ドリフト領域2の抵抗を低減することができる。これにより、低損失な半導体装置を提供することができる。As described above, in the third embodiment, in addition to the effects obtained in the second embodiment, conduction is performed by holes injected from the P+ type
(実施形態4)
  図6は本発明の実施形態4に係る半導体装置の構成を示す断面図である。(Embodiment 4)
 FIG. 6 is a cross-sectional view showing a configuration of a semiconductor device according to
  この実施形態4において、先の実施形態1と異なる点は、図6に示すようにP型の拡散領域10内にN型の拡散領域11を形成せず、ゲート電極6を金属で形成し、このゲート電極6を拡散領域10に直接接合した点である。これにより、ダイオード12は、P型の拡散領域10とゲート電極6がショットキー接合したショットキー型のダイオードで構成される。  In the fourth embodiment, the difference from the first embodiment is that the N-
  ショットキーダイオードの逆方向電流電圧特性を図7に示す。ショットキーダイオードの電流電圧特性において、逆方向電流に対する逆方向電圧の変化率は、一般的に図2に示すPN接合型のダイオードに比べて大きくなる。すなわち、PNダイオードでは逆方向電流が温度上昇によって少し上昇した場合でもダイオード逆方向電圧が急激に変化する。これに対して、ショットキーダイオードでは逆方向電流の上昇に対して逆方向電圧の変化が緩やかである。したがって、トランジスタのオン/オフを制御するダイオード12の特性を図7に示すような特性とすることによって、先の実施形態1に比べてより安定して温度を制御することができる。  FIG. 7 shows the reverse current-voltage characteristics of the Schottky diode. In the current-voltage characteristics of the Schottky diode, the rate of change of the reverse voltage with respect to the reverse current is generally larger than that of the PN junction type diode shown in FIG. That is, in the PN diode, the reverse voltage of the diode changes abruptly even when the reverse current slightly rises due to the temperature rise. On the other hand, in the Schottky diode, the change in the reverse voltage is gradual with respect to the increase in the reverse current. Therefore, by setting the characteristics of the
  ゲート電極6としては、チタンやアルミ、モリブデンなどの単体金属、チタンシリサイドやニッケルシリサイドなどのシリサイド、もしくは下層チタンで上層アルミのような積層構造金属を用いることができる。ダイオード12の逆方向電流電圧特性は、P型の拡散領域10の不純物濃度と拡散領域10に接合している金属の種類によって決まる。したがって、拡散領域10の不純物濃度と拡散領域10に接合している金属を適切に選択することで、図7に示すような所望の逆方向電流電圧特性を得ることができる。  As the
  図6に示す構成における基本的な動作は、ダイオード12の逆方向電流電圧特性が先の実施形態1と異なる点を除き実施形態1と同様であるので、その説明は省略する。  The basic operation in the configuration shown in FIG. 6 is the same as that of the first embodiment except that the reverse current-voltage characteristics of the
  図6に示す半導体装置の製造方法は、先の実施形態1で説明した製造方法に対して、図3−Cに示す工程でマスクパターンを変更してN型の拡散領域11が形成されないようにする点と、ゲート電極6の材料を変更する点以外はほぼ同様であるので、その説明は省略する。  The semiconductor device manufacturing method shown in FIG. 6 is different from the manufacturing method described in the first embodiment so that the N-
  なお、図6においては、P型の拡散領域10とウェル領域3が同程度の深さに形成されているが、図7で示したダイオード12の逆方向電流電圧特性を所望の特性に設定するために、拡散領域10の接合の深さや不純物濃度をウェル領域3とは独立して設定することができる。  In FIG. 6, the P-
  以上説明したように、この実施形態4においては、先の実施形態1で得られる効果に加えて、ダイオード12をショットキーダイオードにすることで逆方向電流の上昇に対して逆方向電圧の変化を緩やかにすることができる。これにより、安定してチップ温度を制御することができる。  As described above, in the fourth embodiment, in addition to the effect obtained in the first embodiment, the
(実施形態5)
  図8は本実施形態5に係る半導体装置の構成を示す断面図である。(Embodiment 5)
 FIG. 8 is a cross-sectional view showing the configuration of the semiconductor device according to the fifth embodiment.
  この実施形態5において、先の実施形態4と異なる点は、トランジスタのチャネルが形成される領域におけるゲート電極6とは材料の種類が異なる異種体で、ショットキー型のダイオード12のカソード17を構成した点である。カソード17は、ゲート電極6に接合して電気的に接続されている。実施形態5においては、ゲート電極6を多結晶シリコン、ダイオード12のカソード17を金属として説明する。  The fifth embodiment is different from the fourth embodiment in that the
  ダイオード12のカソード17は、チタンやアルミ、モリブデンなどの単体金属、チタンシリサイドやニッケルシリサイドなどのシリサイド、もしくは下層チタンで上層アルミのような積層構造金属を用いることができる。一方、トランジスタのチャネル部に反転層を形成する部分のゲート電極6には多結晶シリコンを用いている。したがって、この実施形態5は、実施形態4と比べてチャネル部分への金属原子の拡散によるキャリア移動度の劣化が生じる可能性がなく、低オン抵抗で低損失な半導体装置を提供することができる。  The
  ダイオード12の特性については、先の実施形態4と同様である。  The characteristics of the
  図8では一例としてトタンジスタのチャネルが形成される部分と、ダイオード12が同一断面に形成されている場合について図示しているが、奥行き方向で異なる断面で形成されていても構わない。  In FIG. 8, as an example, a portion where the channel of the transistor is formed and the
次に、図9−A〜同図−Fを用いて図8に示す半導体装置の製造方法を説明する。 Next, a method for manufacturing the semiconductor device shown in FIG. 8 will be described with reference to FIGS.
  まず、図9−Aに示す工程においては、N+型の炭化珪素基体1上にN-型の炭化珪素エピタキシャル層からなるドリフト領域2を形成する。炭化珪素にはいくつかのポリタイプ(結晶多形)が存在するが、ここでは代表的な4Hとして説明する。炭化珪素基体1は数十から数百μm程度の厚みを持つ。ドリフト領域2は、例えば不純物濃度が1014〜
1018cm-3、厚さが数μm〜数十μmとして形成される。First, in the step shown in FIG. 9A, a
 It is formed with a thickness of 1018 cm−3 and a thickness of several μm to several tens of μm.
  次に、図9−Bに示す工程においては、ドリフト領域2上に絶縁膜14を堆積する。絶縁膜14としてはシリコン酸化膜を用いることができ、堆積方法としては熱CVD法やプラズマCVD法を用いることができる。  Next, in the step shown in FIG. 9B, the insulating
  続いて、絶縁膜14上形成されたレジスト(図示せず)をパターニングする。パターニングの方法としては、一般的なフォトリソグラフィー法を用いることができる。パターニングされたレジストをマスクにして、絶縁膜14を選択的にエッチング除去する。エッチング方法としては、フッ酸を用いたウエットエッチングや、反応性イオンエッチングなどのドライエッチングを用いることができる。  Subsequently, a resist (not shown) formed on the insulating
  引き続いて、レジストを酸素プラズマや硫酸等で除去する。絶縁膜14をマスクにして、P型の不純物15を選択的にイオン注入し、ウェル領域3およびP型の拡散領域10を形成する。P型の不純物15としては、アルミやボロンを用いることができる。この際、基体温度を600℃程度に加熱した状態でイオン注入することで、注入領域に結晶欠陥が生じるのを抑制することができる。この実施形態5では、ウェル領域3とP型の拡散領域10を同じイオン注入で形成する方法について説明したが、別々のイオン注入により形成してもよい。特に、P型の拡散領域10の不純物濃度を調整することで、図7に示したダイオード12の逆方向電流電圧特性を所望の特性に設定することができる。イオン注入後、絶縁膜14を例えばフッ酸を用いたウエッチエッチングによって除去する。  Subsequently, the resist is removed with oxygen plasma or sulfuric acid. Using the insulating
  次に、図9−Cの工程においては、先の同図−Bに示す工程と同様に、絶縁膜14を形成する。この絶縁膜14をマスクとして、N型の不純物16をイオン注入し、ソース領域4を形成する。N型の不純物16としては窒素を用いることができる。この際、基体温度を600℃程度に加熱した状態でイオン注入することで、注入領域に結晶欠陥が生じるのを抑制することができる。イオン注入後、絶縁膜14を例えばフッ酸を用いたウエッチエッチングによって除去する。  Next, in the process of FIG. 9C, the insulating
その後、図9−Bおよび同図−Cに示す工程でイオン注入した不純物を熱処理することで活性化させる。熱処理温度としては1700℃程度の温度を用いることができる。熱処理の雰囲気としてはアルゴンや窒素を好適に用いることができる。 Thereafter, the impurities implanted in the step shown in FIGS. 9B and C are activated by heat treatment. A temperature of about 1700 ° C. can be used as the heat treatment temperature. Argon or nitrogen can be suitably used as the heat treatment atmosphere.
  次に、図9−Dに示す工程においては、ゲート絶縁膜5を例えば1000Å程度堆積する。ゲート絶縁膜5としてはシリコン酸化膜が好適に用いられ、堆積方法としては熱酸化法、熱CVD法、プラズマCVD法、スパッタ法などが用いられる。  Next, in the process shown in FIG. 9-D, the
  次に、図9−Eに示す工程においては、ゲート電極6を形成する。ゲート電極6としては、不純物を導入した多結晶シリコンを好適に用いることができ、堆積方法としては一般的な低圧CVD法を用いることができる。全面に堆積形成された多結晶シリコン上にレジストパターンを形成し、このレジスタパターンをマスクとして例えばドライエッチングを用いて多結晶シリコンをパターニングする。これにより、多結晶シリコンを選択的に除去し、トランジスタのゲート電極6を形成する。  Next, in the step shown in FIG. 9E, the
  最後に、図9−Fの工程においては、層間絶縁膜8を堆積する。層間絶縁膜8としては、シリコン酸化膜が好適に用いられ、堆積方法としては熱CVD法、プラズマCVD法、スパッタ法などが用いられる。その後、層間絶縁膜8上に、ダイオード12のカソード17を形成する領域が開口されたレジストパターンを形成する。このレジストパターンをマスクにして層間絶縁膜8、ゲート電極6ならびにゲート絶縁膜5を選択的に除去し、拡散領域10に至るコンタクトホールを形成する。  Finally, in the process of FIG. 9-F, an
  続いて、カソード17を構成する金属をCVD法等により形成した後、その上にレジストパターンを形成する。このレジストパターンをマスクにして金属を選択的に除去してコンタクトホール内にカソード17を形成する。  Subsequently, after forming a metal constituting the
  引き続いて、層間絶縁膜8ならびにカソード17上にレジストパターンを形成し、このレジストパターンをマスクにして層間絶縁膜8を選択的に除去してコンタクトホールを形成する。このコンタクトホール内にソース電極7を形成する。ソース電極7としては、チタンとアルミを積層した金属電極を用いることができる。その後、炭化珪素基体1の裏面にドレイン電極9を形成し、図8に示す半導体装置が完成する。  Subsequently, a resist pattern is formed on the
  なお、図8においては、P型の拡散領域10とウェル領域3が同程度の深さに形成されているが、図7で示したダイオード12の逆方向電流電圧特性を所望の特性に設定するために、拡散領域10の接合の深さや不純物濃度をウェル領域3とは独立して設定することができる。  In FIG. 8, the P-
  以上説明したように、この実施形態5においては、先の実施形態4で得られる効果に加えて、トランジスタのゲート電極6に多結晶シリコンを用いているので、チャネル部分への金属原子の拡散によるキャリア移動度の劣化が生じるおそれがなくなる。これにより、低オン抵抗で低損失な半導体装置を提供することができる。  As described above, in the fifth embodiment, in addition to the effect obtained in the fourth embodiment, since polycrystalline silicon is used for the
(実施形態6)
  図10は本発明の実施形態6に係る半導体装置の構成を示す断面図である。(Embodiment 6)
 FIG. 10 is a cross-sectional view showing a configuration of a semiconductor device according to
  この実施形態6において、先の実施形態4と異なる点は、図10に示すようにP型の拡散領域10がウェル領域3を介してソース電極7にオーミック接続されている点である。このような構成にすることによって、ダイオード12で発生した逆方向電流は、ソース電極7に流れる。したがって、ダイオード12の逆方向電流電圧特性に対して先の実施形態4に示すダイオード13の順方向電圧降下を考慮する必要がなくなり、先の実施形態4に比べてより安定してチップ温度を制御することができる。また、ダイオード12に印加される電圧はドレインの電位によらずゲート−ソース間電圧とほぼ一致する。したがって、ダイオード12に印加される電圧によりトランジスタのオン/オフ状態を直接制御することができ、より安定して温度を制御することができる。  The sixth embodiment is different from the fourth embodiment in that the P-
  図10に示す構成における基本的な動作は、ダイオード12の逆方向電流がソース電極7に流れる点を除いて先の実施形態4と同様であるので、その説明は省略する。  Since the basic operation in the configuration shown in FIG. 10 is the same as that of the fourth embodiment except that the reverse current of the
  図10に示す半導体装置の製造方法は、先の実施形態4で説明した製造方法のウェル領域3およびP型の拡散領域10のマスクパターンを変更する点以外はほぼ同様であるので、その説明は省略する。  The semiconductor device manufacturing method shown in FIG. 10 is substantially the same except that the mask pattern of the
  なお、図10においては、P型の拡散領域10とウェル領域3が同程度の深さに形成されているが、図7で示したダイオード12の逆方向電流電圧特性を所望の特性に設定するために、拡散領域10の接合の深さや不純物濃度をウェル領域3とは独立して設定することができる。  In FIG. 10, the P-
  以上説明したように、この実施形態6においては、先の実施形態4で得られる効果に加えて、ダイオード12の逆方向電流がソースに流れるため、ダイオード12に印加される電圧とゲート−ソース間電圧がほぼ一致する。これにより、トランジスタのオン/オフ状態を直接制御することができ、より安定して温度を制御することができる。  As described above, in the sixth embodiment, in addition to the effect obtained in the fourth embodiment, since the reverse current of the
(実施形態7)
  図11は本発明の実施形態7に係る半導体装置の構成を示す断面図である。(Embodiment 7)
 FIG. 11 is a cross-sectional view showing a configuration of a semiconductor device according to
  この実施形態7において、先の実施形態6と異なる点は、図11に示すようにドレイン電極9に接続された基体をN+型の炭化珪素基体1に代えてP+型の炭化珪素基体18で構成し、所謂IGBT構造となっている点である。なお、本実施形態7では、IGBTのエミッタ、コレクタに相当する部分をそれぞれソース、ドレインと呼ぶこととする。In this
  図11に示す構成における基本的な動作は、先の実施形態6と同様であるので、その説明は省略する。  Since the basic operation in the configuration shown in FIG. 11 is the same as that of the
  図11に示す半導体装置の製造方法は、先の実施形態4で説明した製造方法のN+型の炭化珪素基体1をP+型の炭化珪素基体18に変更する点と、ウェル領域3および拡散領域10のマスクパターンを変更する点以外はほぼ同様であるので、その説明は省略する。The semiconductor device manufacturing method shown in FIG. 11 is different from the manufacturing method described in the fourth embodiment in that N+ type
  なお、図11においては、P型の拡散領域10とウェル領域3が同程度の深さに形成されているが、図7で示したダイオード12の逆方向電流電圧特性を所望の特性に設定するために、拡散領域10の接合の深さや不純物濃度をウェル領域3とは独立して設定することができる。  In FIG. 11, the P-
  この実施形態7においては、P+型の炭化珪素基体18を用いて説明したが、N型の炭化珪素基体を用い、このN型の炭化珪素基体の裏面にP+型の拡散領域を形成する方法でも同様の構造を得ることができる。In the seventh embodiment, the P+ type
  以上説明したように、この実施形態7においては、先の実施形態6で得られる効果に加えて、P+型の炭化珪素基体18からN-型のドリフト領域2に注入された正孔により伝導度変調が起きるIGBT構造となるので、ドリフト領域2の抵抗を低減することができる。これにより、低損失な半導体装置を提供することができる。As described above, in the seventh embodiment, in addition to the effects obtained in the sixth embodiment, conduction is performed by holes injected from the P+ type
(実施形態8)
  図12は本実施形態に係る半導体装置の構成を示す断面図である。(Embodiment 8)
 FIG. 12 is a cross-sectional view showing a configuration of the semiconductor device according to the present embodiment.
  この実施形態8において、先の実施形態4と異なる点は、ゲート電極6を金属に代えて多結晶シリコンで形成した点である。これにより、ダイオード12は、P型の拡散領域10と多結晶シリコンのゲート電極6とがヘテロ接合して構成される。このダイオード12の特性は、先の図7に示す電流電圧特性に近い特性となる。  This
  図12に示す構成における基本的な動作は、ダイオード12の逆方向電流電圧特性が先の実施形態1と異なる点を除き、実施形態1と同様であるため、その説明は省略する。  The basic operation in the configuration shown in FIG. 12 is the same as that of the first embodiment except that the reverse current-voltage characteristics of the
  図12においては、P型の拡散領域10とウェル領域3が同程度の深さに形成されているが、図7で示したダイオード12の逆方向電流電圧特性に近い特性を所望の特性に設定するために、拡散領域10の接合の深さや不純物濃度をウェル領域3とは独立して設定することができる。  In FIG. 12, the P-
  図12に示す半導体装置の製造方法は、先の実施形態1で説明した製造方法に対して、図3−Cに示す工程でマスクパターンを変更してN型の拡散領域11が形成されないようにする点と、ゲート電極6の材料を変更する点以外はほぼ同様であるので、その説明は省略する。  The semiconductor device manufacturing method shown in FIG. 12 is different from the manufacturing method described in the first embodiment so that the N-
  以上説明したように、この実施形態8においては、先の実施形態4で得られる効果に加えて、実施形態4の構成に比べて金属からなるゲート電極6から金属原子が拡散し、隣接するチャネル部分のキャリア移動度の劣化を引き起こす可能性がなくなり、低損失な半導体装置を提供することができる。また、先の実施形態5の構成に比べて、金属からなるカソード17をP型の拡散領域10に接合するためのコンタクトホールを別途形成する必要がない。これにより、製造工程数を削減することが可能となり、より安価な半導体装置を提供することができる。  As described above, in the eighth embodiment, in addition to the effects obtained in the fourth embodiment, metal atoms are diffused from the
  多結晶シリコンからなるゲート電極6の不純物の種類や濃度を調整することで、ダイオード12の順方向電圧降下や逆方向電流電圧特性を容易に調整できることが実験的に確かめられている。したがって、ダイオード12の逆方向電流電圧特性を所望の特性に設定することが可能となる。例えば、P型の拡散領域10と接合する場合には、多結晶シリコンをP型もしくはN型にした場合とでは、多結晶シリコンをP型にした方がダイオード12の順方向電圧降下は小さくなり、逆方向リーク電流は大きくなる。  It has been experimentally confirmed that the forward voltage drop and the reverse current voltage characteristic of the
  チャネル領域上のゲート電極6の不純物濃度と、ダイオード12を形成するヘテロ接合部のゲート電極6の不純物濃度とを変えることで、トランジスタとダイオード12の特性をそれぞれ独立して所望の特性に設定することができる。  By changing the impurity concentration of the
(実施形態9)
  図13は本発明の実施形態9に係る半導体装置の構成を示す断面図である。(Embodiment 9)
 FIG. 13 is a cross-sectional view showing a configuration of a semiconductor device according to
  この実施形態9において、先の実施形態8と異なる点は、図13に示すようにP型の拡散領域10がウェル領域3を介してソース電極7にオーミック接続されている点である。このような構成にすることによって、ダイオード12で発生した逆方向電流は、ソース電極7に流れる。したがって、ダイオード12の逆方向電流電圧特性に対して先の実施形態4に示すダイオード13の順方向電圧降下を考慮する必要がなくなり、先の実施形態8に比べてより安定してチップ温度を制御することができる。また、ダイオード12に印加される電圧はドレインの電位によらずゲート−ソース間電圧とほぼ一致する。したがって、ダイオード12に印加される電圧によりトランジスタのオン/オフ状態を直接制御することができ、より安定して温度を制御することができる。  This
  図13に示す構成における基本的な動作は、ダイオード12の逆方向電流がソース電極7に流れる点を除いて先の実施形態8と同様であるので、その説明は省略する。  The basic operation in the configuration shown in FIG. 13 is the same as that of the
  図13に示す半導体装置の製造方法は、先の実施形態8で説明した製造方法のウェル領域3およびP型の拡散領域10のマスクパターンを変更する点以外はほぼ同様であるので、その説明は省略する。  The manufacturing method of the semiconductor device shown in FIG. 13 is substantially the same except that the mask pattern of the
  なお、図13においては、P型の拡散領域10とウェル領域3が同程度の深さに形成されているが、図7で示したダイオード12の逆方向電流電圧特性を所望の特性に設定するために、拡散領域10の接合の深さや不純物濃度をウェル領域3とは独立して設定することができる。  In FIG. 13, the P-
  以上説明したように、この実施形態9においては、先の実施形態8で得られる効果に加えて、ダイオード12の逆方向電流がソースに流れるため、ダイオード12に印加される電圧とゲート−ソース間電圧がほぼ一致する。これにより、トランジスタのオン/オフ状態を直接制御することができ、より安定して温度を制御することができる。  As described above, in the ninth embodiment, in addition to the effects obtained in the previous eighth embodiment, the reverse current of the
(実施形態10)
  図14は本発明の実施形態10に係る半導体装置の構成を示す断面図である。(Embodiment 10)
 FIG. 14 is a cross-sectional view showing a configuration of a semiconductor device according to
  この実施形態10において、先の実施形態9と異なる点は、図14に示すようにドレイン電極9に接続された基体をN+型の炭化珪素基体1に代えてP+型の炭化珪素基体18で構成し、所謂IGBT構造となっている点である。なお、本実施形態10では、IGBTのエミッタ、コレクタに相当する部分をそれぞれソース、ドレインと呼ぶこととする。In this
図14に示す構成における基本的な動作は、先の実施形態9と同様であるので、その説明は省略する。 Since the basic operation in the configuration shown in FIG. 14 is the same as that of the ninth embodiment, the description thereof is omitted.
  図14に示す半導体装置の製造方法は、先の実施形態8で説明した製造方法のN+型の炭化珪素基体1をP+型の炭化珪素基体18に変更する点と、ウェル領域3および拡散領域10のマスクパターンを変更する点以外はほぼ同様であるので、その説明は省略する。The semiconductor device manufacturing method shown in FIG. 14 differs from the manufacturing method described in the eighth embodiment in that N+ type
  なお、図14においては、P型の拡散領域10とウェル領域3が同程度の深さに形成されているが、図7で示したダイオード12の逆方向電流電圧特性に近い特性を所望の特性に設定するために、拡散領域10の接合の深さや不純物濃度をウェル領域3とは独立して設定することができる。  In FIG. 14, the P-
  この実施形態10においては、P+型の炭化珪素基体18を用いて説明したが、N型の炭化珪素基体を用い、このN型の炭化珪素基体にP+型の拡散領域を形成する方法でも同様の構造を得ることができる。In the tenth embodiment, the P+ type
  以上説明したように、この実施形態10においては、先の実施形態9で得られる効果に加えて、P+型の炭化珪素基体18からN-型のドリフト領域2に注入された正孔により伝導度変調が起きるIGBT構造となるので、ドリフト領域2の抵抗を低減することができる。これにより、低損失な半導体装置を提供することができる。As described above, in the tenth embodiment, in addition to the effects obtained in the previous ninth embodiment, conduction is performed by holes injected from the P+ type
  次に、上記実施形態1〜10で説明したダイオード12の炭化珪素基体の平面方向における配置について説明する。炭化珪素基体が金属基板等にハンダを介して実装されている場合に、炭化珪素基体平面の外周部は中心部に比べて熱が横方向に拡散する。その結果、炭化珪素基体平面の中心部が最も高温になる傾向がある。したがって、ダイオード12を少なくとも炭化珪素基体平面の中心部に配置することにより、炭化珪素基体内の最高温度を検知して温度を低下させる制御を行うことができる。  Next, the arrangement in the plane direction of the silicon carbide substrate of the
  また、ドレイン電流の偏りによって炭化珪素基体平面において温度のばらつきが発生する場合がある。したがって、ダイオード12を炭化珪素基体平面に複数個形成することで、基体のさまざまな箇所の最高温度に対して、温度を低下させる制御を行うことができる。  In addition, variations in temperature may occur in the plane of the silicon carbide substrate due to the bias of the drain current. Therefore, by forming a plurality of
  上記実施形態1〜10の基本構造における断面構造について、単位セル101が複数並列接続された半導体チップの最外周部では、ガードリングなどの終端構造(図示せず)が採用される。このガードリングは、トランジスタのオフ時における周辺での電界集中を緩和して高耐圧を実現する終端構造であるが、パワーデバイス分野で用いられている一般的な終端構造が適用可能である。  Regarding the cross-sectional structure in the basic structure of the first to tenth embodiments, a termination structure (not shown) such as a guard ring is employed in the outermost peripheral portion of the semiconductor chip in which a plurality of
上記実施形態1〜10においては、基体の一方の主面(表面)をソース(エミッタ)、他方の主面(裏面)をドレイン(コレクタ)とする所謂縦型のMOSFET構造もしくはIGBT構造について説明したが、ドレイン(コレクタ)が基体表面に形成される所謂横型のMOSFET構造もしくはIGBT構造であってもかまわない。 In the first to tenth embodiments, a so-called vertical MOSFET structure or IGBT structure in which one main surface (front surface) of the substrate is a source (emitter) and the other main surface (back surface) is a drain (collector) has been described. However, a so-called lateral MOSFET structure or IGBT structure in which the drain (collector) is formed on the surface of the substrate may be used.
上記実施形態1〜10においては、半導体基体を炭化珪素として説明したが、シリコンやガリウムヒ素、窒化ガリウム、ダイヤモンドなどの他の半導体基体を用いても構わない。 In the first to tenth embodiments described above, the semiconductor substrate has been described as silicon carbide. However, other semiconductor substrates such as silicon, gallium arsenide, gallium nitride, and diamond may be used.
  1,18…炭化珪素基体
  2…ドリフト領域
  3…ウェル領域
  4…ソース領域
  5…ゲート絶縁膜
  6…ゲート電極
  7…ソース電極
  8…層間絶縁膜
  9…ドレイン電極
  10,11…拡散領域
  12,13…ダイオード
  14…絶縁膜
  15,16…不純物
  17…カソード
  101…単位セルDESCRIPTION OF
| Application Number | Priority Date | Filing Date | Title | 
|---|---|---|---|
| JP2010066279AJP5533104B2 (en) | 2010-03-23 | 2010-03-23 | Semiconductor device | 
| Application Number | Priority Date | Filing Date | Title | 
|---|---|---|---|
| JP2010066279AJP5533104B2 (en) | 2010-03-23 | 2010-03-23 | Semiconductor device | 
| Publication Number | Publication Date | 
|---|---|
| JP2011199141A JP2011199141A (en) | 2011-10-06 | 
| JP5533104B2true JP5533104B2 (en) | 2014-06-25 | 
| Application Number | Title | Priority Date | Filing Date | 
|---|---|---|---|
| JP2010066279AActiveJP5533104B2 (en) | 2010-03-23 | 2010-03-23 | Semiconductor device | 
| Country | Link | 
|---|---|
| JP (1) | JP5533104B2 (en) | 
| Publication number | Priority date | Publication date | Assignee | Title | 
|---|---|---|---|---|
| US10734483B2 (en) | 2018-09-14 | 2020-08-04 | Kabushiki Kaisha Toshiba | Semiconductor device | 
| US10872974B2 (en) | 2018-09-15 | 2020-12-22 | Kabushiki Kaisha Toshiba | Semiconductor device | 
| Publication number | Priority date | Publication date | Assignee | Title | 
|---|---|---|---|---|
| JP6098041B2 (en)* | 2012-04-02 | 2017-03-22 | 富士電機株式会社 | Semiconductor device | 
| US9123798B2 (en)* | 2012-12-12 | 2015-09-01 | General Electric Company | Insulating gate field effect transistor device and method for providing the same | 
| EP3024018B1 (en)* | 2013-07-19 | 2018-08-08 | Nissan Motor Co., Ltd | Semiconductor device | 
| JP6380666B2 (en) | 2015-04-20 | 2018-08-29 | 富士電機株式会社 | Semiconductor device | 
| CN106688104B (en) | 2015-04-20 | 2020-03-17 | 富士电机株式会社 | Semiconductor device with a plurality of semiconductor chips | 
| JP6884803B2 (en)* | 2017-01-17 | 2021-06-09 | 富士電機株式会社 | Semiconductor devices and methods for manufacturing semiconductor devices | 
| CN109216464A (en)* | 2018-10-30 | 2019-01-15 | 派恩杰半导体(杭州)有限公司 | A kind of carbide MOS devices with heterojunction diode | 
| US11579645B2 (en)* | 2019-06-21 | 2023-02-14 | Wolfspeed, Inc. | Device design for short-circuitry protection circuitry within transistors | 
| EP3872847A1 (en)* | 2020-02-28 | 2021-09-01 | Infineon Technologies AG | Semiconductor device with insulated gate transistor cell and rectifying junction | 
| Publication number | Priority date | Publication date | Assignee | Title | 
|---|---|---|---|---|
| JPS59195840U (en)* | 1983-06-13 | 1984-12-26 | 日産自動車株式会社 | load drive circuit | 
| JP3204227B2 (en)* | 1985-11-29 | 2001-09-04 | 株式会社デンソー | Semiconductor device | 
| JPS6451664A (en)* | 1987-08-24 | 1989-02-27 | Fujitsu Ltd | Semiconductor device | 
| JPS6461956A (en)* | 1987-08-26 | 1989-03-08 | Siliconix Inc | Semiconductor device | 
| JPH0456163A (en)* | 1990-06-21 | 1992-02-24 | Fujitsu Ltd | Semiconductor device and its manufacture | 
| JP2000223705A (en)* | 1999-01-29 | 2000-08-11 | Nissan Motor Co Ltd | Semiconductor device | 
| JP3826828B2 (en)* | 2001-11-27 | 2006-09-27 | 日産自動車株式会社 | Field effect transistor using silicon carbide semiconductor | 
| Publication number | Priority date | Publication date | Assignee | Title | 
|---|---|---|---|---|
| US10734483B2 (en) | 2018-09-14 | 2020-08-04 | Kabushiki Kaisha Toshiba | Semiconductor device | 
| US10872974B2 (en) | 2018-09-15 | 2020-12-22 | Kabushiki Kaisha Toshiba | Semiconductor device | 
| Publication number | Publication date | 
|---|---|
| JP2011199141A (en) | 2011-10-06 | 
| Publication | Publication Date | Title | 
|---|---|---|
| JP5533104B2 (en) | Semiconductor device | |
| JP6627973B2 (en) | Semiconductor device | |
| JP5692227B2 (en) | Power semiconductor device | |
| JP6144674B2 (en) | Semiconductor device and manufacturing method thereof | |
| KR101230680B1 (en) | Semiconductor device and method for manufacturing the same | |
| JP6641488B2 (en) | Semiconductor device | |
| US8492836B2 (en) | Power semiconductor device | |
| JP4153811B2 (en) | High breakdown voltage semiconductor device and manufacturing method thereof | |
| JP5539355B2 (en) | Power semiconductor device and manufacturing method thereof | |
| JP5321377B2 (en) | Power semiconductor device | |
| US20150357405A1 (en) | Semiconductor device | |
| JPWO2011161721A1 (en) | Power semiconductor device | |
| US20150279983A1 (en) | Semiconductor device | |
| JP6802454B2 (en) | Semiconductor devices and their manufacturing methods | |
| WO2013042406A1 (en) | Electric power semiconductor device | |
| JP2021044275A (en) | Semiconductor device | |
| JP6589143B2 (en) | Silicon carbide semiconductor device and manufacturing method thereof | |
| JP5636752B2 (en) | Semiconductor device and manufacturing method thereof | |
| JP2012079945A (en) | Semiconductor device | |
| JP2021044274A (en) | Semiconductor device | |
| JP3921816B2 (en) | Silicon carbide semiconductor device and manufacturing method thereof | |
| CN112005379B (en) | Semiconductor device and method for manufacturing the same | |
| JP2023060183A (en) | semiconductor equipment | |
| JP2020098836A (en) | Semiconductor device | |
| JP2007258360A (en) | Semiconductor device and manufacturing method thereof | 
| Date | Code | Title | Description | 
|---|---|---|---|
| A621 | Written request for application examination | Free format text:JAPANESE INTERMEDIATE CODE: A621 Effective date:20130130 | |
| A977 | Report on retrieval | Free format text:JAPANESE INTERMEDIATE CODE: A971007 Effective date:20131219 | |
| A131 | Notification of reasons for refusal | Free format text:JAPANESE INTERMEDIATE CODE: A131 Effective date:20140107 | |
| A521 | Request for written amendment filed | Free format text:JAPANESE INTERMEDIATE CODE: A523 Effective date:20140228 | |
| TRDD | Decision of grant or rejection written | ||
| A01 | Written decision to grant a patent or to grant a registration (utility model) | Free format text:JAPANESE INTERMEDIATE CODE: A01 Effective date:20140401 | |
| R151 | Written notification of patent or utility model registration | Ref document number:5533104 Country of ref document:JP Free format text:JAPANESE INTERMEDIATE CODE: R151 | |
| A61 | First payment of annual fees (during grant procedure) | Free format text:JAPANESE INTERMEDIATE CODE: A61 Effective date:20140414 |