





























本発明は、一般の利用者がカードや通帳等を使用して、現金を直接入出金する現金自動取引装置に実装され、紙幣を取り扱う紙幣入出金機に関する。 The present invention relates to a banknote depositing / dispensing machine that is mounted on an automatic cash transaction apparatus in which a general user deposits / withdraws cash directly using a card, a passbook, or the like, and handles banknotes.
従来、例えば金融機関等で使用される現金自動取引装置に実装される紙幣入出金機は、利用者が紙幣を投入し、投入した紙幣を繰り出し、また利用者に放出する紙幣を収納する入出金口と、紙幣を判別する紙幣判別部と、この紙幣判別部を通過し紙幣を搬送する紙幣搬送路を備え、さらに、入金した紙幣を一旦収納する一時保管庫と、入金紙幣を収納する入金庫と、出金用の紙幣を繰り出す出金庫と、入出金兼用の紙幣を収納し繰り出すリサイクル庫と、入金庫やリサイクル庫に収納しない入金紙幣や、出金庫から繰り出された紙幣のうち出金しない紙幣を収納するリジェクト庫と、リサイクル庫に対して補充する紙幣を繰り出し、リサイクル庫から回収する紙幣を収納する装填・回収庫などの各ユニットを組み合わせた構成を有しており、これらの各ユニットの構成、配置、および、各ユニットを接続する紙幣搬送路のルートとして様々な構成のものが提案されている。特に、最近では、紙幣搬送路を簡素で、最短のルートにするため、紙幣判別部を含む紙幣搬送路を双方向に搬送する構成が提案されている。 2. Description of the Related Art Conventionally, a banknote depositing / dispensing machine mounted on an automatic teller machine used in, for example, a financial institution, etc., deposits / withdraws that stores banknotes that a user inserts banknotes, pays out the inserted banknotes, and discharges them to users. A banknote discriminating section for discriminating a banknote; a banknote conveyance path for passing the banknote and passing the banknote; and a temporary storage for temporarily storing the deposited banknote; and a safe for storing the deposited banknote And withdrawals of banknotes for withdrawals, recycle boxes for storing and delivering banknotes for both deposits and withdrawals, banknotes for deposits that are not stored in the depository and recycle box, and banknotes fordrawn from the safes It has a configuration that combines units such as a reject storehouse for storing banknotes, a banknote to be replenished to the recycle storehouse, and a loading / collection storehouse for storing banknotes to be recovered from the recycle storehouse, Configuration of each unit of these, placement, and have been proposed in a variety of configurations as the root of a bill transport path for connecting the units. In particular, recently, in order to make the banknote transport path simple and the shortest route, a configuration has been proposed in which the banknote transport path including the banknote discriminating unit is transported bidirectionally.
  例えば、特開平10−188074号公報「紙幣入出金機」(特許文献1)に記載の例では、紙幣鑑別部を双方向に通過する双方向搬送路を有し、入出金口および一時保管庫(一時保留収納庫)、リサイクル庫(万円および千円紙幣収納部)を接続している。
また、特開平8−194861号公報「紙幣入出金装置」(特許文献2)に記載の例では、紙幣鑑別部を双方向に通過する双方向搬送路を有し、入出金口および一時保管庫とリサイクル庫(金種別カセット)が一体になった収納庫を接続している。For example, in the example described in Japanese Patent Application Laid-Open No. 10-188074 “Bill Depositor Withdrawal Machine” (Patent Document 1), it has a two-way conveyance path that passes through the bill discriminating unit in both directions, and a deposit / withdrawal port and a temporary storage box. (Temporary holding storage) and recycle storage (10,000 yen and 1000 yen banknote storage) are connected.
 Moreover, in the example of Unexamined-Japanese-Patent No. 8-194861 "banknote depositing / withdrawing apparatus" (patent document 2), it has a bidirectional | two-way conveyance path which passes a banknote discrimination part bidirectionally, and a deposit / withdrawal port and temporary storage And the recycle box (cassette by money type) are connected together.
  現金自動取引装置の普及に伴い、紙幣入出金機は、従来の機能や性能を確保しながら、より小型、低コスト、使いやすさに対するニーズがますます高まっている。一方、取り扱う紙幣は、国内での外国紙幣の取り扱いの増加や国外での紙幣入出金機のニーズの高まりに伴い、日本円紙幣だけでなく、外国紙幣も取り扱える装置が求められている。
従来の技術において、入金した紙幣を出金にリサイクルする還流タイプの紙幣入出金機のうち、上述のような紙幣判別部を含む紙幣搬送路を双方向に搬送する構成、例えば、上記特開平10−188074号公報(特許文献1)記載の例では、紙幣鑑別部を双方向に通過する双方向搬送路を有し、入出金口および一時保管庫、リサイクル庫(万円および千円紙幣収納部)を接続するようにしているが、この場合の双方向の搬送路は、それぞれ別の駆動源を必要とする3つの双方向搬送路で構成され、入金(入金の確定前動作、入金の確定後動作)、出金動作時、それぞれの搬送路の方向を独立に切り替える必要がある構成となっている。また、紙幣鑑別部では双方向とも紙幣を厳格に判別する必要があるため、双方向いずれの搬送時の際の判別にも処理時間を必要とするとともに判定アルゴリズムも複雑になり、判別結果に対応して切り替えるために紙幣鑑別部の両側に設ける切替えゲートの配置位置も制約を受け、判別処理時間に対応した距離だけ紙幣鑑別部から離れた位置に設けなければならないため搬送路が長くなるという問題がある。With the spread of automatic teller machines, banknote depositing and dispensing machines are increasingly required to be smaller, lower cost, and easier to use while ensuring the conventional functions and performance. On the other hand, with regard to banknotes to be handled, an apparatus capable of handling not only Japanese yen banknotes but also foreign banknotes has been demanded as handling of foreign banknotes has increased in Japan and needs for banknote depositing and dispensing machines have increased.
 In the conventional technology, among the reflux type banknote depositing and dispensing machine that recycles deposited banknotes into withdrawals, a configuration in which the banknote transport path including the banknote discriminating unit as described above is transported bidirectionally, for example, the above-mentioned JP-A-10 In the example described in Japanese Patent No. 188074 (Patent Document 1), a bi-directional conveyance path that passes in both directions through the banknote discriminating section is provided, and a deposit / withdrawal port, a temporary storage box, and a recycling box (ten thousand yen and thousand yen banknote storage section) In this case, the two-way transport path is composed of three two-way transport paths that require different driving sources, and deposit (operation before confirming the deposit, confirming the deposit) After operation), during the dispensing operation, the direction of each conveyance path needs to be switched independently. In addition, since the banknote discriminating section must strictly discriminate the banknotes in both directions, it requires processing time for discrimination during both-way conveyance, and the judgment algorithm becomes complicated, corresponding to the discrimination results. The switching gates provided on both sides of the banknote discriminating section are also limited in position for switching, and the conveyance path becomes long because it must be provided at a position away from the banknote discrimination section by a distance corresponding to the discrimination processing time. There is.
また、上記特開平8−194861号公報(特許文献2)記載の例では、紙幣鑑別部を双方向に通過する双方向搬送路を有し、入出金口および一時保管庫とリサイクル庫(万円および千円紙幣の金種別カセット)が一体になった収納庫を接続しており、この部分についての搬送路構成自体は簡素になっているが、その代わり、一時保管庫は複数のリサイクル庫に個別に設けられている。その結果、複数の一時保管庫が必要になり、また、リサイクル庫のない金種(例えば、日本円用の紙幣入出金機の従来例で見られるような五千円紙幣、あるいは、海外に見られるような5〜6金種の多種の紙幣が流通している場合)の紙幣が入金された場合には、その紙幣を一時保管するための専用の一時保管庫を別に設ける必要がある。 Moreover, in the example of the said Unexamined-Japanese-Patent No. 8-194611 (patent document 2), it has a bidirectional | two-way conveyance path which passes a banknote discrimination part bidirectionally, a deposit / withdrawal port, a temporary storage warehouse, and a recycle warehouse (10,000 yen) Are connected to a single storage unit, and the transport path configuration itself for this part is simplified, but instead, temporary storage units are connected to multiple recycling units. It is provided separately. As a result, multiple temporary storages are required, and denominations that do not have a recycling store (for example, 5,000-yen banknotes as seen in conventional examples of banknote depositing and dispensing machines for Japanese yen, or overseas) When a banknote of 5 to 6 denominations is distributed), it is necessary to provide a dedicated temporary storage for temporarily storing the banknote.
この種の装置は、金融機関の自動機コーナーで終日無人で稼動するのが一般的であり、利用者の現金の入出金の取引に対し、高信頼な稼動を必要とする。例えば、入金取引においては、様々な利用者が、折れや破れのある紙幣や、誤って硬貨や異物を紙幣に混入して、入金口に投入する場合がある。このような紙幣を繰出す際に、大きく傾いたり、破れたりして、搬送状態によっては、紙幣搬送路でジャムが発生する可能性が少なくない。 This type of device is generally operated unattended all day in an automatic machine corner of a financial institution, and requires highly reliable operation for a user's cash deposit / withdrawal transaction. For example, in a deposit transaction, various users may fold or tear bills, or mistakenly mix coins or foreign matter into bills and put them into a deposit slot. When paying out such bills, there is a high possibility that jamming will occur in the bill transport path depending on the transport state because it is greatly tilted or torn.
  さらには、外国紙幣も取り扱える装置では、金種の数が日本円の場合より増えるだけでなく、紙幣のサイズが金種によって長手、短手方向とも大きく異なる場合が多く、入金口に投入した多数枚の紙幣は、整列性が大きく乱れている可能性がある。また、紙幣の折れや破れの度合いも、各国の紙幣の流通事情から見ると、日本円よりも悪条件の紙幣がある。したがって、紙幣搬送路での紙幣ジャムの低減が重要な課題となる。複雑な駆動方式を採用したり、複数の一時保管庫の実装や、分岐/合流点が多いと、紙幣搬送路での紙幣ジャムの可能性が高い。本発明の第一の目的は、紙幣判別部を含む紙幣搬送路を双方向に搬送する構成の紙幣入出金機において、該紙幣搬送路を簡素な短縮された構成にすることが可能な紙幣入出金機を提供することにある。
本発明の第二の目的は、上記第1の目的に加え、さらに該紙幣搬送路に接続される一時保管庫や他の各収納庫も簡素な構成にすることが可能な紙幣入出金機を提供することにある。
本発明の第三の目的は、日本円紙幣だけでなく、様々なサイズの紙幣に対し紙幣ジャムの少ない高信頼の紙幣入出金機を提供することにある。Furthermore, devices that can handle foreign banknotes not only increase the number of denominations in the case of Japanese yen, but the size of banknotes often varies greatly in both the long and short directions depending on the denomination. There is a possibility that the alignment of the banknotes is greatly disturbed. Also, the degree of banknote folds and tears is more ill-conditioned than the Japanese yen in terms of banknote circulation in each country. Therefore, reduction of banknote jam in the banknote transport path is an important issue. If a complicated drive system is adopted, a plurality of temporary storages are mounted, and there are many branching / merging points, the possibility of banknote jam in the banknote transport path is high. The first object of the present invention is a banknote depositing / dispensing machine configured to bidirectionally transport a banknote transport path including a banknote discriminating unit, and to enable the banknote transport path to have a simple and shortened configuration. To provide a gold machine.
 In addition to the first object, a second object of the present invention is a banknote depositing / dispensing machine in which a temporary storage and other storages connected to the banknote transport path can be configured in a simple manner. It is to provide.
 The third object of the present invention is to provide a highly reliable banknote depositing and dispensing machine with little banknote jam for not only Japanese yen banknotes but also various sized banknotes.
本発明は、上記目的を達成するために、上部紙幣機構と、前記上部紙幣機構の下部に設けられた下部紙幣機構とを備え、前記上部紙幣機構は、利用者により紙幣を投入されまたは利用者に紙幣を放出する入出金口と、紙幣を判別する紙幣判別部と、第一の紙幣収納庫と、を備え、前記下部紙幣機構は、入金紙幣及び出金紙幣を保管する第二の紙幣収納庫を備え、前記第一の紙幣収納庫は、前記第二の紙幣収納庫から前記入出金口に搬送された紙幣のうち、前記入出金口に取り忘れられた、取り忘れ紙幣を収納することを特徴とする。 In order to achieve the above object, the present invention includes an upper banknote mechanism and a lower banknote mechanism provided at a lower portion of the upper banknote mechanism, and the upper banknote mechanism is inserted with a banknote by a user or a user. And a banknote discriminating part for discriminating banknotes, and a first banknote storage, wherein the lower banknote mechanism stores the banknotes received and withdrawn. The first banknote storage unit stores banknotes that are forgotten to be removed at the deposit / withdrawal port from among the banknotes conveyed from the second banknote storage unit to the deposit / withdrawal port. It is characterized by doing.
また、好ましくは前記入出金口、前記紙幣判別部、または前記第二の紙幣収納庫に紙幣を搬送する第一の紙幣搬送路と、前記入出金口と前記紙幣判別部との間の前記第一の紙幣搬送路から分岐し、前記第一の紙幣収納庫に接続する第二の紙幣搬送路と、を有することを特徴とする。 Moreover, Preferably between the said banknote discrimination part, the said 1st banknote conveyance path which conveys a banknote to the said banknote discrimination part, the said banknote discrimination | determination part, or the said 2nd banknote storage, and the said deposit / withdrawal slot and the said banknote discrimination | determination part. It has a 2nd banknote conveyance path branched from said 1st banknote conveyance path, and connected to said 1st banknote storage.
また、好ましくは前記入出金口と、前記紙幣判別部と前記第二の紙幣収納庫との間の前記第一の紙幣搬送路と、を接続する第三の紙幣搬送路を有することを特徴とする。 Moreover, it preferably has a third banknote transport path that connects the deposit / withdrawal port and the first banknote transport path between the banknote discriminating unit and the second banknote storage. And
また、好ましくは前記第二の紙幣収納庫から、前記紙幣判別部を通過した後、前記入出金口に搬送された前記取り忘れ紙幣は、前記第三の紙幣搬送路及び前記第一の紙幣搬送路を経由して、前記紙幣判別部に搬送されることを特徴とする。 Preferably, the forgotten banknote transported to the deposit / withdrawal port after passing through the banknote discriminating section from the second banknote storage is the third banknote transport path and the first banknote. It is conveyed to the said banknote discrimination | determination part via a conveyance path.
また、好ましくは前記紙幣判別部に搬送された紙幣は、前記第一の紙幣搬送路及び前記第二の紙幣搬送路を経由して、前記第一の紙幣収納庫に搬送されることを特徴とする。 Preferably, the banknotes transported to the banknote discriminating unit are transported to the first banknote storage via the first banknote transport path and the second banknote transport path. To do.
本発明によれば、紙幣判別部を含む紙幣搬送路を双方向に搬送する構成の紙幣入出金機で、紙幣搬送路を簡素化することが可能な紙幣入出金機を提供できる。また紙幣搬送路の簡素化に加え、一時保管庫や他の各収納部が簡素な構成の紙幣入出金機を提供できる。また、日本円紙幣だけでなく、様々なサイズの紙幣に対し紙幣ジャムの少ない高信頼な、係員や保守員にとって操作性のよい紙幣入出金機を提供できる。 ADVANTAGE OF THE INVENTION According to this invention, the banknote depositing / withdrawing machine which can simplify a banknote conveyance path | route with the banknote depositing / withdrawing machine of the structure which conveys a banknote conveyance path containing a banknote discrimination | determination part bidirectionally can be provided. Moreover, in addition to simplification of a banknote conveyance path, a banknote depositing / withdrawing machine having a simple configuration of temporary storage and other storage units can be provided. In addition, it is possible to provide a highly reliable banknote depositing / dispensing machine that is highly reliable for staff and maintenance personnel with little banknote jam for various sizes of banknotes.
<第一の実施例>
  以下、本発明の一実施例を図面を参照して詳細に説明する。<First embodiment>
 Hereinafter, an embodiment of the present invention will be described in detail with reference to the drawings.
図1は、本発明を適用した現金自動取引装置の外観を示す斜視図である。 FIG. 1 is a perspective view showing an appearance of an automatic teller machine to which the present invention is applied.
  現金自動取引装置101の左部内部には、上部正面板101aに設けられたカードスロット102aと連通し利用者のカードを処理し、取引明細票を印字して放出するカード・明細票処理機構102と、取引の内容を表示および入力する顧客操作部105とを備えている。また、現金自動取引装置101の右部内部には、紙幣を処理する紙幣入出金機1を備えており、上部正面板101aに紙幣スロット20aが設けられている。また、紙幣入出金機1の下部の紙幣収納部は、装置筐体101bとは別の数十mmの厚い鉄板で構成する金庫筐体106で囲まれている。装置筐体101bも堅固な筐体構造であるが、紙幣収納部を内蔵する金庫筐体106はさらに堅固な構造でセキュリティを高める。  Inside the left part of the
  図2は、本装置の制御関係を示す制御ブロック図である。前述のように、現金自動取引装置101に納められたカード・明細票処理機構102、紙幣入出金機1および顧客操作部105は、バス107aを介して本体制御部107と接続されており、本体制御部107の制御の下に必要な動作を行う。本体制御部107は、上記の他に、インタフェース部107b、係員操作部107c、外部記憶装置107dともバス107aで接続されており、必要なデータのやりとりを行うが、本発明の特徴には直接関係がないので詳細な説明は省略する。なお、図2に示した101eは、上記各機構、構成部分に電力を供給する電源部である。  FIG. 2 is a control block diagram showing the control relationship of this apparatus. As described above, the card / detail
  図3は、図1の現金自動取引装置の中で、本発明に関わる紙幣入出金機1の構成を示す側面図である。
紙幣入出金機1は、利用者が紙幣の投入・取り出しを行う入出金口20と、紙幣の判別を行う紙幣判別部30と、入金した紙幣を取引成立までの間一旦収納する一時保管庫40と、入金時取引が成立した紙幣を収納する1ヶの入金庫60と、出金用の紙幣を収納する1ヶの出金庫70と、入出金兼用の2ヶのリサイクル庫80と、リサイクル庫8に補充する紙幣や、リサイクル庫から回収した紙幣を収納する装填・回収庫81と、紙幣判別部30を通り、入出金口20、一時保管庫40、入金庫60、出金庫70、リサイクル庫80、装填・回収庫81に対し、紙幣を搬送する紙幣搬送路50と、図示せぬ制御部とから構成される。FIG. 3 is a side view showing the configuration of the banknote depositing / dispensing
 The banknote depositing / dispensing
  図4に示すように、制御部35は、装置の本体制御部107とバス107aを介して接続され、本体制御部107からの指令および紙幣入出金機1の状態検出に応じて紙幣入出金機1の制御を行い、また、紙幣入出金機1の状態を、必要に応じて本体制御部107に送る。紙幣入出金機1の中では、各ユニット(入出金口20、紙幣判別部30、一時保管庫40、紙幣搬送路50、入金庫60、出金庫70、リサイクル庫80、装填・回収庫81)の駆動モータや電磁ソレノイドやセンサと接続され、取引に応じて、センサで状態を監視しながら、アクチュエータを駆動制御する。  As shown in FIG. 4, the control unit 35 is connected to the main
  本紙幣入出金機1は、図3に示すように、入出金口20、紙幣判別部30、一時保管庫40と、紙幣搬送路50から構成される上部搬送機構1aと、入金庫60、出金庫70、リサイクル庫80、装填・回収庫81および、各収納庫の前面に配する、開閉可能な搬送路90から構成される下部紙幣機構1bから構成される。さらに、下部紙幣機構1bは、約50mm程度の厚い鉄板で構成される金庫筐体106の中に実装されており、上部搬送機構1aと下部紙幣機構1bとの搬送路は、連結搬送路501hで接続されている。  As shown in FIG. 3, the banknote depositing / dispensing
  連結搬送路501hは、下部紙幣機構1bを囲う金庫筐体106の上面鉄板の上部搬送機構1aの搬送路501gと下部紙幣機構1bの搬送路901aの連結する位置に設けられる。上面鉄板にあけられたスリットは、紙幣が通過するための長さと該スリットに搬送されてきた紙幣を挟持して繰り出すよう取り付けられたに搬送ローラの幅の大きさを有する。下部紙幣機構1bを金庫筐体で囲わない構成を取る場合は下部紙幣機構1b上に直接上部搬送機構1aが載置されれば必ずしも必要はない。搬送路の駆動源(モータ)は、上部搬送機構の搬送路と下部紙幣機構の搬送路で別々に設けてもよいが、単一の駆動源を用い、駆動力を搬送路501g−501h−901a間に設けられたギヤで伝達するようにしてもよい。  The
  以上の構成の紙幣入出金機1は、図1に示すように、現金自動取引装置101の右側内部に実装される。装置のタイプによって前面操作型か後面操作型をとることができ、それによって少し構成が異なる。図5(a)に示すように、係員が装置前面から操作するタイプの前面操作型装置では、装置の前扉101cおよび金庫筐体106の前面扉106aを開閉できるように構成し、図示のように、両扉101cおよび106aを開き、さらに、紙幣入出金機1の開閉搬送路90を開くと、それぞれに取っ手のついた収納庫が現れる。係員はこの取っ手により各収納庫を引き出し、紙幣の補充や回収、その他の保守作業などの操作をすることができる。  The banknote depositing / dispensing
  一方、図5(b)に示すように、係員が装置後面から操作するタイプの後面操作型装置では、装置の後扉101dおよび金庫筐体106の後面扉106bを開閉できるように構成し、図示のように、両扉101dおよび106bを開くと、それぞれに取っ手のついた収納庫が現れる。係員はこの取っ手により各収納庫を引き出し、操作することができる。以上のように、下部紙幣機構の前面または後面の扉近傍に開閉搬送路を設ける構成を採用することにより、紙幣の補充・回収操作、異常発生時のジャム紙幣の除去操作などがやり易くなり、操作性が向上する。さらに、扉の開閉を前または後に変える程度で、係員操作を前面操作型にも後面操作型にも適合することができる。
なお、各収納庫にレールを設けておけば収納庫の引き出しをスムーズにすることができる。On the other hand, as shown in FIG. 5 (b), the rear operation type device of the type operated by an attendant from the rear surface of the device is configured so that the rear door 101d of the device and the
 In addition, if the rail is provided in each storage, the drawer of the storage can be made smooth.
  また、紙幣搬送路50は、紙幣判別部30を双方向に通過し、矢印501a〜501h及び901a〜901eに示す搬送路を経由して、入出金口20、一時保管庫40、入金庫60、出金庫70、リサイクル庫80、装填・回収庫81を接続している。各矢印のうち片方向矢印は、紙幣がその矢印方向にのみ搬送する一方向紙幣搬送路で、両方向の矢印は、紙幣が取引動作毎に双方向のいずれかに切り替えて搬送する双方向搬送路である。図6に、図5の紙幣搬送路50(501a〜501h及び901a〜901e)と各ユニット(20,30,40,50,60,70,80,81)の関係を模式的に示す(図を単純化するために図6では50の一部,70および81は省略してある)。これらの紙幣搬送路50は、図示せぬ駆動モータで駆動し、図7〜図13の模式図に示すような各取引動作毎にモータの回転方向を切り替える。さらに、紙幣搬送路50の分岐点には、切替えゲート502,503,504、および5ヶ所の902があって、各取引動作毎にそれぞれ記号a,bのように紙幣搬送方向を切り替える。  Moreover, the
  紙幣搬送路50のうち、下部紙幣機構1bにあって、入金庫60、出金庫70、リサイクル庫80、装填・回収庫81の前部にある5ヶ所の紙幣搬送路901a〜eは、一体となって開閉できるようにされた開閉搬送路90を構成しており、図5(a)に示す前面操作型装置では、係員は、開閉搬送路90を開いて入金庫60、出金庫70、リサイクル庫80、装填・回収庫81の操作を行うことができる。  Of the
  図7〜図13の各取引動作毎の動作を説明する前に、以下、本実施例の上記各ユニット(20、30,40,50,60,70,80,81)の詳細と、動作を図14から図22を用いて詳細に説明する。
入出金口20は、図14に示すように、シャッタ201を有し、シャッタ201を矢印217方向にスライドさせて開閉し、図示201aの状態に移動して開き、図示矢印202の方向に、利用者が出金時の紙幣を取り出したり入金時の紙幣を投入できるようにする。紙幣ホッパー216は、実線と破線で示す間を回転される。Before explaining the operation for each transaction operation in FIGS. 7 to 13, the details and operation of each unit (20, 30, 40, 50, 60, 70, 80, 81) of this embodiment will be described below. This will be described in detail with reference to FIGS.
 As shown in FIG. 14, the deposit /
  入金取引時、図15に示すように、利用者が紙幣を入金するときは、シャッタ201を開き、紙幣ホッパー216に支持された、前板204と、押板203、後板205の間に紙幣210が投入されるようにする。次に、図16のように、この入金された紙幣を繰り出し動作時、シャッタ201を閉じ、紙幣ホッパー216を回転させた後、押板203でフィードローラ206の方向に押し付け、押板203a、前板204aの状態にして、フィードローラ206の回転動作により送り出し、繰り出し方向には回転しないゲートローラ207で2枚送りを防止する。こうして、入出金口2の紙幣210は矢印208方向へ繰り出され、紙幣搬送路50に合流して装置内に取り込まれる。  At the time of deposit transaction, as shown in FIG. 15, when the user deposits a bill, the
  また、装置内から出金される紙幣や、入金時紙幣判別できない等の理由でリジェクトされる紙幣は、図17のように、装置内から矢印501f方向に搬送されてきて、回転するスタックローラ211とバックアップローラ213の間に送り込まれる。ブラシローラ212は、バックアップローラ213と同一軸上にあって弾性部材212aが図示のように放射状に配置してあり、図示せぬ駆動源により、バックアップローラ213とは独立して回転する。スタックローラ211とバックアップローラ213の間に送り込まれた紙幣は、停止したブラシローラ212の弾性部材212aに接触し、弾性部材212aの弾性変形力により、スタックガイド214との間で、摩擦抵抗力を受けながら通過し、スタックローラ211とバックアップローラ213による挟持搬送力がなくなる図示破線215で示す紙幣位置で、一旦停止し、その直後に、ブラシローラ212を回転し、押板203a、後板205aの間の空間に集積する。これにより、紙幣は、収納空間内で、上方向に飛び出すことなく、ブラシローラ212により水平方向に掻き出すだけで、連続して搬送される紙幣同志が干渉することなく、上下の不整列が少なく、利用者が容易に取り出すことが可能になる。図18に示すように、紙幣ホッパー216を回転後、シャッタ201を開き、紙幣ホッパー216に収納された紙幣を利用者に放出する。  Moreover, the banknotes withdrawn from the apparatus or the banknotes rejected for reasons such as being unable to discriminate upon depositing are conveyed from the inside of the apparatus in the direction of the
紙幣判別部30(図3)は、詳細は図示してないが、1対のローラ間を紙幣が搬送されたときのローラの変位を検出して、2枚重なりかどうか検出する2枚検知部と、イメージセンサ等で紙幣の印刷等を検出して紙幣の金種、真偽を判別する鑑別部から構成され、各通過紙幣の判別結果を制御部35に報告する。 Although not shown in detail, the bill discriminating unit 30 (FIG. 3) detects a displacement of a roller when a bill is conveyed between a pair of rollers, and detects whether or not two sheets overlap. And a discrimination unit that detects the denomination and authenticity of the banknote by detecting the printing of the banknote with an image sensor or the like, and reports the determination result of each passing banknote to the control unit 35.
  一時保管庫40は、入金取引時、入金口20から入金され、紙幣判別部30で金種が確定した紙幣を、順次収納し、取引が成立するまで一旦保留し、取引成立後、順次放出する機能を有する。あわせて、詳細は後述するが、本実施例では、出金取引時、紙幣判別部30で金種が確定しないリジェクト紙幣を、収納し、出金動作が終了するまで一旦保留し、動作終了後、出金リジェクト収納動作時、リジェクト紙幣を放出する機能を有する。その構成は、図19に示すように、プラスチック製の誘導テープ403と、誘導テープ403とともに搬送された紙幣を巻き取る回転ドラム401と、誘導テープ403のみを巻き取る巻き取り軸402と、回転ドラム401に紙幣の進入を案内する、誘導テープ403とともに回転する入口ローラ405と、対向するバックアップローラ404から構成される。誘導テープ403の両端を支持する回転ドラム401と巻き取り軸402は、それぞれ別個の駆動源411、412に接続され、巻き取り軸402側には駆動源412との間にトルクリミッター413を介している。  The
  また、誘導テープ403の初期位置を検出するための図示せぬ初期位置センサと、誘導テープ403の終了近くを検出するための図示せぬニア満杯センサを設け、入口ローラ405には、誘導テープ403の初期位置を基準として、現在の誘導テープ403の巻取り量を検出するための図示せぬエンコーダを取り付けておき、これらの信号を用いて制御部35でタイミングなどの制御を行うようにしてもよい。また、入口ローラ405より回転ドラム401側の搬送上に一時保管庫通過センサが取り付けておいてもよい。  Further, an initial position sensor (not shown) for detecting the initial position of the
  収納動作前には、誘導テープ403は、初期位置まで巻き取り軸402側に巻き取られている。収納紙幣を一時保管庫40に収納する場合には、回転ドラム401が誘導テープ403を巻き取る方向に、駆動源411を駆動し、誘導テープ403の走行速度が紙幣の進入速度とほぼ同一になるよう回転させ、切り替えゲート503を図示503a方向に切り替え、出入り口ゲート504を図示504aの方向に切り替え、矢印501c方向に搬送されてきた入金紙幣を、矢印501d、矢印454を経由して、順次回転ドラム401に巻き取る。一方、巻き取り軸402は、駆動源412により、誘導テープ403に張力を架けるように、トルクリミッター413を介して駆動されており、誘導テープ403はたるむことなく回転ドラム401に紙幣とともに巻き取られる。  Before the storing operation, the
  放出動作時には、巻き取られた紙幣は、出入り口ゲート504を図示504bの方向に切り替え、回転ドラム401を逆に回転し、巻き取り軸402を巻き取り方向にトルクリミッターを介して誘導テープ403に張力を架けながら、収納時とは逆の順に、矢印455を経由して、紙幣搬送路50に送出される。放出動作は、後述するように、2種類あって、切替えゲート504を図示504aとすると、矢印501d,501c方向に放出し、図示504bとすると、矢印501e方向に放出しする。  During the discharging operation, the wound banknote is switched to the direction of the entrance /
  再び図3において、入金庫60は、本実施例では、1ヶ実装しており、図20に示すように、入金庫外の図示せぬ駆動源からギヤを介して駆動される回転するスタックローラ601と、スタックローラ601に対向するバックアップローラ602、603と、バックアップローラ603と同一軸上にあって、図示せぬ駆動源により、バックアップローラとは独立して回転し、弾性部材が図示のように放射状に配置したブラシローラ604、および、下スタックガイド605、上スタックガイド606によりスタック機構を構成している。また、紙幣収納空間は、上仕切板611と下仕切板613および押板615で形成される、スタック済み紙幣収納空間617と、上仕切板611と下仕切板613および上スタックガイド606、下スタックガイド605で形成されるスタック中紙幣収納空間616からなる。  Referring again to FIG. 3, in the present embodiment, the single safe 60 is mounted, and as shown in FIG. 20, a rotating stack roller that is driven via a gear from a drive source (not shown) outside the safe. 601,
  入金庫60に収納する紙幣は、紙幣搬送路(矢印901a)から、切り替えゲート903が図示903bの状態に切り替わり、矢印902aの方向に搬送され、回転するスタックローラ601とバックアップローラ602、603間に送り込まれる。スタックローラ601とバックアップローラ603の間に送り込まれた紙幣は、停止したブラシローラ604の弾性部材604aに接触し、弾性部材604aの弾性変形力により、下スタックガイド605との間で、摩擦抵抗力を受けながら通過し、スタックローラ601とバックアップローラ603による挟持搬送力がなくなる位置で、一旦停止し、その直後に、ブラシローラ604を回転させることにより、前記スタック中紙幣収納空間616に連続して搬送される紙幣同志は干渉することなく集積する。  The banknotes stored in the
  次に、図示せぬ駆動源により、駆動ベルト618を駆動し、駆動ベルト618に連結した押し出しプレート608、押し出し補助ガイド609、押し出し支点シャフト610、上スタックガイド606が、矢印621、622の方向に、図示点線608a、609a、610a、606aの位置まで移動するとともに、前記駆動ベルト618に連結した上仕切板611、上仕切板支点シャフト612が、矢印625の方向に、図示点線(611a、612a)〜(611b、612b)〜(611c、612b)の順で移動することにより、前記スタック中紙幣収納空間616に集積された紙幣は、スタック済み紙幣収納空間617の紙幣と一体になり、押板615を、矢印624の方向に、下スタックガイド613を矢印623の方向に押し込まれる。次に、駆動ベルト618を逆の方向に駆動し、押し出しプレート608、押し出し補助ガイド609、押し出し支点シャフト610、上スタックガイド606、上仕切板611、上仕切板支点シャフト612を、初期の位置まで戻し、前記スタック中紙幣収納空間616を空の状態にし、次の集積動作を可能にする。  Next, the
  出金庫70は、本実施例では、1ヶ実装しており、図21に示すように、出金庫外の図示せぬ駆動源からギヤを介して駆動される回転するフィードローラ701、ピックアップローラ711と、フィードローラ701に対向して回転するバックアップローラ702と、フィードローラ701に対向して繰り出し方向には回転しないゲートローラ704により分離機構を構成している。出金用の紙幣は、底板ガイド709、押板706と、分離ガイド705、上面ガイド708で囲まれた収納空間に、係員により整列してセットされ、最前面の紙幣は、押板706に連結された図示せぬばねによりピックアップローラ711に押し付けられている。押板706は収納空間内を可動し、収納紙幣の減少に伴い、繰り出し紙幣がピックアップローラ711に所定の押圧力がかかるように収納紙幣を移動させる。ピックアップローラ711に押し付けられた紙幣は、回転するフィードローラ701とピックアップローラ711の動作により送り出し、繰り出し方向には回転しないゲートローラ703で2枚送りを防止しながら矢印902eの方向に一枚ずつ搬送され、紙幣搬送路の矢印901eの方向に搬送される。  In the present embodiment, one
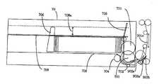
  リサイクル庫80は、本実施例では、2ケ実装しており、図22に構成を示す。リサイクル庫80は、前述の紙幣を連続して収納する入金庫60と紙幣を連続して分離繰り出す出金庫70の機能を併せ持って、収納と分離繰り出しのできる収納庫であり、前述の出金庫70で説明した分離機構と同一の形状のスタック・フィードローラ801、ピックアップローラ811と、回転するバックアップローラ802と、スタック方向に回転し、繰り出し方向には回転しないゲートローラ803、ゲートローラ803と同一軸上にあって弾性部材が放射状に配置したブラシローラ804、および、分離時とスタック時で可動する分離・スタックガイド805によりスタック・分離機構を構成している。底板808、押板806と、底板808より上面で紙幣下面を支持するように懸架された底面平ベルト807と、分離・スタックガイド805で囲まれた収納空間に、紙幣は収納される。さらに、収納部の上部の分離・スタックガイド805の近傍に鋸歯状の外周形状を持つ回転する上部掻き出しローラ812と、収納部の下部のゲートローラ803の近傍に鋸歯状の外周形状を持つ回転する下部掻き出しローラ809を有し、スタック済み紙幣の上下端部を鋸歯状の外周部が支持し、押板806側に掻き出しながら、紙幣の立位状態を維持する。  In this embodiment, two recycle
  分離動作時には、分離・スタックガイド805は、破線805aで示す位置に移動し、押板806と底面ベルト807は、一体となって、収納空間内を可動し、図示せぬばねによりにより、繰り出し紙幣がピックアップローラ811に所定の押圧力がかかるように収納紙幣を移動させる。ピックアップローラ811に押し付けられた紙幣は、回転するスタック・フィードローラ801で送り出し、繰り出し方向には回転しないゲートローラ803で2枚送りを防止しながら矢印902bの方向に一枚ずつ搬送され、紙幣搬送路の切り替えゲート903は図示903bの方向に切り替わり、矢印901bの方向に搬送される。  During the separation operation, the separation /
  スタック動作時には、分離・スタックガイド805は、実線で示す位置に移動し、押板806と底面ベルト807は、一体となって、図示せぬ金庫外の駆動源により、収納空間内を可動し、収納紙幣の増加に伴い、矢印902bの方向に搬送された進入紙幣と収納紙幣が干渉しないよう、収納紙幣を分離・スタックガイド805から遠ざける方向に移動制御される。この時、上部掻き出しローラ812は左周りに、下部掻き出しローラ809は右回りに回転し、スタック済み紙幣の上下端部を鋸歯状の外周部が支持し、押板806側に掻き出しながら、紙幣の立位状態を維持する。  During the stacking operation, the separation /
  装填・回収庫81は、リサイクル庫80と同一の構成で、後述のように、入出金取引には用いないが、リサイクル庫として運用してもよい。  The loading /
  次に、本実施例の紙幣入出金機の動作について図7〜図13、図23〜26の模式図を用いて説明する(詳細な構成および参照符号については図3参照)。
入金取引時は、図7に示す、利用者が入金した紙幣を計数する入金計数動作と、図8に示す、計数した金額に対する利用者の確認入力後、金種毎に個別の収納庫に収納する入金収納動作に別れる。利用者の確認入力の際、取消を選択した場合には、図9に示す取消返却動作を行う。
入金計数動作時(図7参照)、入出金口20に投入された紙幣は、一枚ずつに分離され、矢印501a,501bを通って、紙幣判別部30で、紙幣の金種、真偽を判定される。判別ができた紙幣は、切替えゲート503を503aに切り替え、矢印501cから501dの方向へ搬送され、一時保管庫40に一旦収納される。紙幣判別部30で、判別できなかった紙幣や、傾きや紙幣同志の間隔の異常となった入金リジェクト紙幣は、一時保管庫40には取り込まれず、切り替えゲート503を503bに切り替え、矢印501fを通過し、入出金口20に収納され、利用者に返却される。Next, operation | movement of the banknote depositing / withdrawing machine of a present Example is demonstrated using the schematic diagram of FIGS. 7-13 and FIGS. 23-26 (refer FIG. 3 for a detailed structure and a reference code).
 At the time of deposit transaction, the deposit counting operation for counting the banknotes deposited by the user shown in FIG. 7 and the confirmation input of the user for the counted amount shown in FIG. Divide into deposit storage operation. When canceling is selected at the time of user's confirmation input, the canceling / returning operation shown in FIG. 9 is performed.
 During the deposit counting operation (see FIG. 7), the bills inserted into the deposit /
  入金収納時(図8参照)は、一時保管庫40の回転ドラム401を収納時とは逆に回転し、巻き取られていた紙幣は、収納時とは逆の順に逆の方向に矢印501dに送出され、501c,501bと搬送され、紙幣判別部30を通過し、切り替えゲート502を図示502b方向に切り替え、501g,501h、901aを経由し、入金庫60、リサイクル庫80、リジェクト庫90のいずれかの切替えゲート903を図示903b方向に切り替え指定の収納庫に収納する。この時、紙幣判別部30で再度金種、真偽等を判定し、収納庫を指定してもよいが、入金計数時に一時保管庫40に収納する際の全紙幣の判別結果を記憶する手段を持って、その記憶内容に基づき、収納庫を指定してもよい。後者の方が、収納庫の指定に要する処理時間を短縮でき、紙幣搬送路のうち矢印501g,501h,901aの部分を短縮できる。  At the time of depositing and storing (see FIG. 8), the
  取消返却時(図9参照)は、一時保管庫40の回転ドラム401を収納時とは逆に回転し、切替えゲート504を図示504b方向に切り替え、巻き取られていた紙幣は、収納時とは逆の順に矢印501e、501fに搬送され、入出金口20に収納して、利用者に返却する。
あるいは、切替えゲート504および紙幣搬送路の矢印501e部を設けず、図10および図11に示すようにすることもできる。すなわち、第一段階として、図10に示すように、紙幣搬送路の矢印501c、501b,501g,501h,901a〜e上に一時保管庫40から送出した段階で停止し、第二段階として、図11に示すように、紙幣搬送路を逆転し、矢印901e〜a,501h,501g,501b,501c,501fを経由して入出金口20に収納する。入金紙幣が多数枚の時は、第一、第二段階の動作を繰り返して、入金紙幣を利用者に返却することもできる。これにより、紙幣搬送路は、より簡素な構成とできる。At the time of cancellation and return (see FIG. 9), the
 Alternatively, the switching
  出金取引時(図12参照)は、出金庫70(図12では省略)、リサイクル庫80の各金種毎の金庫から所定の枚数づつ繰り出し、矢印901e、d,c,b,a、501h,501gと経由して、紙幣判別部30で、金種を判別し、切替えゲート503で分岐させて、入出金口20に収納し、利用者に支払われる。紙幣判別部30で判別できない出金リジェクトが発生した場合には、その紙幣は、切替えゲート503を図示503bに切り替え、一時保管庫40に、入金計数時と同様に一旦収納する。不足分の紙幣は出金庫70やリサイクル庫80から追加し繰り出される。  At the time of the withdrawal transaction (see FIG. 12), a predetermined number of coins are drawn out from the safes (not shown in FIG. 12) for each denomination in the
  出金取引時にリジェクトが発生し、一時保管庫40に収納した場合には、図13に示す出金リジェクト収納動作を行う。本実施例では、出金リジェクト紙幣は、一時保管庫40から、図示のように、すべて入金庫60に収納する。あるいは、紙幣判別部30を通過する際に、再度金種、真偽を判別し、判別可能な紙幣で、リサイクル庫80に収納できる金種の紙幣はリサイクル庫80に収納するようにすれば、リジェクト紙幣の枚数を低減でき、資金効率の向上がはかれる。  When a rejection occurs during the withdrawal transaction and the deposit is stored in the
  さらに、図示してないが、利用者が入出金口2の紙幣を取り忘れた場合には、そのまま、入出金口2に残して装置異常として、取引を中止することもできるが、後続の取引を続行するため、本実施例では、取り忘れ紙幣を、入出金口2から分離して、入金取引と同様に、判別して、入金庫60に収納すればよい。  Further, although not shown, if the user forgets to take the banknote at the deposit /
  また、図23〜図26の模式図に示すように、本実施例では、装填・回収庫81を用いて、一時保管庫40を経由して、リサイクル庫80との間で、装填、回収動作を行うことができる。
装填動作は、係員が、リサイクル庫80に金種毎にセットしたい紙幣を、個別にセットするのではなく、装填・回収庫81に一括してセットし、装置内で自動的にリサイクル庫80に収納する動作である。まず、図23に示すように、装填計数動作で、装填・回収庫81から繰り出された紙幣は、901d〜a,501h、501g,501bを経由して紙幣判別部3で金種を判別し、切替えゲート503を切り替え、一旦一時保管庫40に収納する。次に、図24に示すように、装填収納動作で、一時保管庫40から、順次放出し、同じ紙幣搬送路を逆に経由して、金種毎に、指定のリサイクル庫80に収納する。Further, as shown in the schematic diagrams of FIGS. 23 to 26, in this embodiment, the loading / recovering operation is performed between the
 In the loading operation, the staff member does not set the banknotes to be set for each denomination in the
  装填・回収庫81に一括してセットした紙幣の枚数が、一時保管庫40に収納できる枚数より多い場合は、装填計数、装填収納動作を繰り返す。また、装填計数時、金種が判定できなかった装填リジェクト紙幣は、切替えゲート503を図示503b方向に切り替え、501fを経由して入出金口20に収納する。すべての装填紙幣の収納動作が終わった後に、入出金口20に収納された紙幣を、入金取引時の動作と同様の動作で、装填・回収庫81に収納する。あるいは、リジェクト紙幣として入金庫60に収納してもよい。  When the number of banknotes set in the loading /
  回収動作は、リサイクル庫80が満杯になった時等に、係員が、個別にリサイクル庫から紙幣を抜き取るのでなく、自動的にリサイクル庫80から所定枚数装填・回収庫81に収納する動作である。装填動作と逆のルートで移動する動作であり、図25示すように、リサイクル庫80から一旦一時保管庫40に収納し、次に図26に示すように、一時保管庫40から装填・回収庫81に回収する。図25に示す回収計数動作、あるいは図26に示す回収収納動作で、金種が判定できない等のリジェクト紙幣は、図26の回収収納動作で、切替えゲート903を903b方向に切り替え入金庫60に収納する。その詳細説明は省略する。
<第二の実施例>
次に、本発明の第二の実施例を、図27の紙幣入出金機の側面図、図28の現金自動取引装置の外観を示す図、図29の現金自動取引装置の操作方法を示す図、図30の紙幣の流れを示す模式図を用いて説明する。
図27において、2は紙幣入出金機、2aは上部搬送機構、2bは下部紙幣機構、21は入出金口、65はリジェクト庫、651は仕切板、652は上部収納空間、653は下部収納空間、82はリサイクル庫、83は装填・回収庫83、91は開閉搬送路、図28において、111は現金自動取引装置、111aは正面板、111bはテーブル面、112はカード明細票処理機構、112aはカードスロット、113は通帳処理機構、113aは通帳スロット、114は硬貨入出金機構、114aは硬貨スロット、115は顧客操作部、2は紙幣入出金機、21aは紙幣スロット、図29において、111cは前扉、111dは後扉である。なお第一の実施例と同じ機能を有する構成には同一の参照符号を付してある。The collection operation is an operation in which, when the
 <Second Example>
 Next, in the second embodiment of the present invention, a side view of the banknote depositing / dispensing machine of FIG. 27, a diagram showing the appearance of the automatic teller machine of FIG. 28, and a diagram showing a method of operating the automatic teller machine of FIG. It demonstrates using the schematic diagram which shows the flow of the banknote of FIG.
 In FIG. 27, 2 is a bill depositing / dispensing machine, 2a is an upper transport mechanism, 2b is a lower bill mechanism, 21 is a deposit / withdrawal port, 65 is a reject box, 651 is a partition plate, 652 is an upper storage space, and 653 is a lower storage space. , 82 is a recycle box, 83 is a loading /
  第二の実施例は、主として(a)入出金口21を紙幣スロット21aの面がほぼ水平になるように設置した点、(b)下部紙幣機構2bを、水平方向にならべた2ヶのリサイクル庫82と、1ケの装填・回収庫83と、開閉搬送路91で構成している点、(c)入金庫の代わりにリジェクト庫65を設けた点などにおいて上述した第一の実施例と相違している。  In the second embodiment, mainly (a) the deposit /
  以下に、本実施例の特徴を第一の実施例との上記相違点を中心により詳細に説明する(その他の構成、動作は第一の実施例の説明から容易に理解できるものと思われるのでその詳細は説明を省略する)。
(1)本第二の実施例では、入出金口21を紙幣スロット21aがほぼ水平になるように設置しているが、これは、本紙幣入出金機2が、図28に示すようなほぼ水平面をなす利用者操作面111bを有する現金自動取引装置111に実装するためである。入出金口21の構成は、第一の実施例の図14に示す入出金口20と、シャッター部201を構成するシャッター機構の配置角度を変更した機構にするとともに、紙幣ホッパー216を、第一の実施例では回転動作により、水平方向に傾ける機構を実装しているが、本実施例の入出金口21では、紙幣ホッパー216の回転動作機構をなくし、固定したものである。The features of the present embodiment will be described in detail below, focusing on the differences from the first embodiment (other configurations and operations are considered to be easily understood from the description of the first embodiment. Details thereof are omitted).
 (1) In the second embodiment, the deposit /
  (2)第二の実施例は、2a,2bからなる上下分割構造は第一の実施例と同じであるが、下部紙幣機構2bは、水平方向にならべた2ヶのリサイクル庫82と、1ケの装填・回収庫83と、開閉搬送路91から構成され、図28に示す現金自動取引装置111に実装され、第一の実施例と同様に、装置のタイプによって前面操作型か後面操作型かをとることができる。図29(a)に示すように、係員が装置前面から操作するタイプの前面操作型装置では、装置の前扉111cを開き、さらに、紙幣入出金機2の開閉搬送路91を開くと、図示のように、それぞれに取っ手のついた収納庫が現れる。係員はこの取っ手により各収納庫を引き上げて紙幣のセット等の操作をしたり、開閉搬送路91のジャム紙幣の除去等の操作を簡単に行うことができる。  (2) The second embodiment is the same as the first embodiment in the vertically divided structure composed of 2a and 2b, but the lower bill mechanism 2b includes two
  一方、図29(b)に示すように、係員が装置後面から操作するタイプの後面操作型装置では、装置の後扉111dを開き、さらに、紙幣入出金機2の開閉搬送路91を開くと、図示のように、それぞれに取っ手のついた収納庫が現れる。係員はこの取っ手により各収納庫を引き上げて操作したり、開閉搬送路91の操作を簡単に行うことができる。
以上のような構成を採用することにより、紙幣の補充・回収操作、異常発生時のジャム紙幣の除去操作などがやり易くなり、操作性が向上する。
なお、上部搬送機構2aと下部紙幣機構2bは水平面で分割できるので、下部紙幣機構2b全体を独立したさらに堅固な金庫に収納しておけば防犯上さらに有効であることは第一の実施例と同様である。On the other hand, as shown in FIG. 29 (b), in a rear operation type device in which an attendant operates from the rear surface of the device, when the rear door 111d of the device is opened and the opening /
 By adopting the above configuration, it becomes easy to perform banknote replenishment / collection operations, jam banknote removal operations when an abnormality occurs, and the operability is improved.
 Since the
  (3)上記(2)に伴い、2ヶのリサイクル庫82と1ケの装填・回収庫83におけるスタック・分離機構の構成は図22の第一の実施例のリサイクル庫80や装填・回収庫81とは同じであるが、収納空間は、図27のように縦型にしているために、重力作用で安定して押板806上に積層されるので、第一の実施例にける底面平ベルト807,上部掻き出しローラ812,下部掻き出しローラ809は不要な構造となっている。
(4)さらに上記(2)に伴い、開閉搬送路91は、3つの収納庫にあわせた構成を有し、図29(a)(b)に示すような開閉構造を持っている。(3) In accordance with the above (2), the structure of the stack / separation mechanism in the two
 (4) Further, in accordance with the above (2), the open /
  (5)第二の実施例では、第一の実施例の如き入金庫60は持たず、代わりにリジェクト庫65を持っている。
本実施例のリジェクト庫65は、第一の実施例における入金庫60より収納空間が小さいが、仕切板651で区切られた上部収納空間652と下部収納空間653を有する。図30(a)に示すように、切替えゲート505を図示505bの状態に切り替えることで、図30(b)に示すように、一時保管庫40から、入金収納時のリサイクル庫82に収納できない非還流紙幣や取り忘れ紙幣をリジェクト庫65に収納することができる(リサイクル庫82に収納可能な紙幣は切替えゲート505を505aの状態にしてリサイクル庫82に収納する)。同様に、切替えゲート505を図示505bの状態に切り替えることで、図30(b)に示すように、一時保管庫40から出金時のリジェクト紙幣をリジェクト庫65に収納することができる。リジェクト庫65の仕切板651は、図示せぬ駆動源で、上下に移動でき、仕切板の移動制御により、例えば、上部収納空間652に取り忘れ紙幣を収納し、下部収納空間653に、その他のリジェクト紙幣、非還流紙幣を収納することにより、現金の厳格な管理が可能となる。(5) The second embodiment does not have the safe 60 as in the first embodiment, but has a
 The
  次に、以上説明した第一および第二の実施例の構成の特徴とそれによる効果を述べる。
(1)従来例では、双方向搬送の紙幣判別部に対して、入出金口の紙幣繰り出し口と紙幣収納口のいずれも紙幣判別部の一方の側(上流側)に有るために、入金動作と出金動作とで搬送方向は反対になる。紙幣判別部では入金動作時、出金動作時双方向とも紙幣を厳格に判別する必要があり、双方向搬送時共にその判別に相当の処理時間を必要とするとともに判定アルゴリズムも複雑になる。そのため、判別結果に対応して切り替えるために紙幣判別部の両側に設ける切替えゲートの配置位置も制約を受け、判別処理時間に対応した距離だけ紙幣判別部から離れた位置に設けなければならないため搬送路が長くなるという問題があったが、本発明の実施例では、紙幣判別部を通る紙幣搬送路を紙幣を双方向に搬送できるように構成するとともに、取引成立前の厳格に紙幣判別を行う必要のある入金計数動作時(図7)と、出金動作時(図12)と、装填計数時(図23)は、紙幣判別部30を図の右から左に通過する第一の搬送方向に駆動し、取引成立後で、一旦厳格な紙幣判別を行った後の、入金収納時(図8)と、出金リジェクト収納時(図13)と、回収収納時(図26)は、紙幣判別部を図の左から右に通過する第二の搬送方向に駆動するようにしているため、紙幣判別部の厳格な紙幣判別は、第一の方向(第一の搬送方向)のみ行えばよくなり、第二の方向(第二の搬送方向)の紙幣搬送時の際の判別の処理時間は少なくて済み、判定アルゴリズムも簡単になり、結果的に、紙幣判別部の第二の方向(第二の搬送方向)の下流に設ける切替えゲートまでの距離は短く、紙幣判別部の近くに設けることができ、紙幣搬送路の簡素化と短縮化が可能になる。Next, the characteristics of the configurations of the first and second embodiments described above and the effects thereof will be described.
 (1) In the conventional example, since both the banknote feeding port and the banknote storage port of the deposit / withdrawal port are on one side (upstream side) of the banknote discriminating unit with respect to the bi-directionally transported banknote discriminating unit, In the withdrawal operation, the transport direction is reversed. The banknote discriminating unit must strictly discriminate the banknotes both during the depositing operation and during the dispensing operation, and requires a considerable processing time for the discrimination both in the bidirectional transport, and the determination algorithm is complicated. For this reason, the arrangement positions of the switching gates provided on both sides of the banknote discriminating unit in order to switch in accordance with the discrimination result are also restricted, and must be provided at a position away from the banknote discriminating unit by a distance corresponding to the discrimination processing time. In the embodiment of the present invention, the banknote conveying path passing through the banknote discriminating unit is configured to be able to transport the banknotes in both directions, and the banknote discrimination is strictly performed before the transaction is established. The first transport direction that passes through the
そのために、本発明の実施例では、第一の搬送方向を基準とすると、上流側に入出金口の紙幣繰り出し口および紙幣収納庫を、下流側に入出金口の紙幣収納口および一時保管庫を配置している。さらに具体的には、入金口あるいは入出金口の紙幣繰り出し口と前記紙幣判別部の第1の紙幣出入口間の第1の経路と、前記紙幣判別部を通る第2の経路と、前記紙幣判別部の第2の紙幣出入口と一時保管庫間の第3の経路と、前記紙幣判別部の第2の紙幣出入口と前記出金口あるいは入出金口の紙幣収納口間の第4の経路と、前記紙幣判別部の第1の紙幣出入口と前記1つ以上の紙幣収納庫間の第5の経路を具備するとともに、第2,3,5の経路の箇所に対応する搬送路を双方向搬送路にしている。 Therefore, in the embodiment of the present invention, when the first transport direction is used as a reference, the banknote feeding port and banknote storage of the deposit / withdrawal port are provided upstream, and the banknote storage port and temporary storage of the deposit / withdrawal port are provided downstream. Is arranged. More specifically, a first path between the banknote dispensing port of the depositing port or the depositing / dispensing port and the first banknote entrance / exit of the banknote discrimination unit, a second path passing through the banknote discrimination unit, and the banknote discrimination A third path between the second banknote entrance / exit of the unit and the temporary storage, a fourth path between the second banknote entrance / exit of the banknote discrimination unit and the banknote storage port of the deposit / withdrawal port, While providing the 5th path | route between the 1st banknote entrance / exit of the said banknote discrimination | determination part and the said one or more banknote storage, the conveyance path corresponding to the location of the 2nd, 3rd, 5th path | route is a bidirectional | two-way conveyance path I have to.
また、そのための一時保管庫,紙幣収納庫の繰り出し口と収納口の構成として、一時保管庫は紙幣繰り出し口と紙幣収納口が同一で、紙幣収納庫のうち、入出金兼用の紙幣を収納し繰り出すリサイクル庫は紙幣繰り出し口と紙幣収納口が同一で、入金口および出金口あるいは入出金口は紙幣繰り出し口と紙幣収納口が別口の構成にしている。 Moreover, as a configuration of the temporary storage and the payout opening and storage opening of the banknote storage, the temporary storage has the same banknote supply opening and banknote storage opening, and stores banknotes that are used for both deposit and withdrawal in the banknote storage. In the recycle warehouse, the bill feeding port and the bill storage port are the same, and the depositing port and the dispensing port or the depositing / dispensing port have a separate bill feeding port and bill storage port.
また、入出金口を一口にした従来例では、入金計数動作時(すなわち、繰出し口から紙幣を繰出しているとき)、入金リジェクト紙幣を利用者に返却するためには、入出金口の収納口と専用の入金リジェクト用搬送路を別に設ける必要があったが、入出金口を別口にした本実施例によれば、入金リジェクト紙幣の収納口と、出金紙幣の収納口を共通にできる簡素な構成を実現できる。 In addition, in the conventional example with a single deposit / withdrawal port, in order to return the deposit reject banknote to the user during the deposit counting operation (that is, when the banknote is being dispensed from the dispensing port), However, according to the present embodiment in which the deposit / withdrawal port is a separate port, the receipt port for the deposit reject banknote and the storage port for the withdrawal banknote can be made common. A simple configuration can be realized.
また、入出金口を別口にした本実施例によれば、入金取引において以下の点で信頼度の高い装置を実現できる。すなわち、入金取引での折れ、破れや異物混入を含む様々な状態の紙幣、外国紙幣を含む多様な紙幣がある。このような紙幣を入出金口から繰出す際には、収納口を共通にした複雑な構成よりも、本実施例のような繰出し口のみの構成の方が簡素であるゆえ、紙幣ジャムが発生しにくい入出金口とできる。 In addition, according to the present embodiment in which the deposit / withdrawal port is a separate port, a highly reliable apparatus can be realized in the following points in deposit transactions. That is, there are various banknotes including foreign currency banknotes and banknotes in various states including folds, tears and foreign object contamination in deposit transactions. When paying out such bills from the deposit / withdrawal port, the configuration of only the dispensing port as in the present embodiment is simpler than the complicated configuration having a common storage port, so that bill jam occurs. It is possible to make a deposit / withdrawal gate that is difficult to do.
(2)一時保管庫を専用に設け、入金紙幣の一時保管だけでなく、出金リジェクト紙幣の一時保管もすることで、各リサイクル庫に一時保管庫を設けた従来例より簡素なリサイクル庫を実現できる。また、多金種の入金取引に対応できるだけでなく、一時保管庫を誘導テープによる巻取り方式を採用することで、従来例より、サイズの大きく異なる海外紙幣の対応が容易となる。また、出金リジェクト紙幣の一時保管時、折れ、破れ紙幣あるいは、傾いて搬送された状態の可能性が高く、これらについて、ジャムの発生しにくい装置を実現できる。 (2) A dedicated temporary storage is provided, not only for temporary storage of deposited banknotes, but also for temporary storage of withdrawal-rejected banknotes. realizable. In addition to dealing with multi-denomination deposit transactions, adopting a winding method using a guide tape for temporary storage makes it easier to handle foreign banknotes of significantly different sizes than conventional examples. Moreover, at the time of temporary storage of the withdrawal reject banknote, there is a high possibility that the banknote is folded, torn, or in a state of being transported at an angle, and it is possible to realize an apparatus in which a jam does not easily occur.
(3)第一、第二の実施例は、共通的な紙幣入出金機の構造で、様々なタイプの現金自動取引装置に対応できる。当然、収納庫(入金庫、出金庫、リサイクル庫)の構成数、総数の変更可能である。例えば、第一の実施例は、多金種、多サイズ紙幣を扱う場合に適している。また、第二の実施例は、2個のリサイクル個を千円札、万円札に割り当て運用でき、紙幣サイズが共通の日本紙幣用に適している。また、入金のみを扱う入金機、出金のみを扱う出金機、入出金を扱う入出金機のいずれかの選定、各取引の金種数の選定、各金種のリサイクルの有無の選定等に容易に対応可能な、汎用性の高い紙幣入出金機を提供できる。 (3) The first and second embodiments have a common bill depositing / dispensing machine structure and can correspond to various types of automatic cash transaction apparatuses. Of course, it is possible to change the number of components and the total number of storages (inboxes, vaults, recycle bins). For example, the first embodiment is suitable for handling multiple denominations and multi-size banknotes. In the second embodiment, two recycled pieces can be allocated and operated to a thousand yen bill and a ten thousand yen bill, and it is suitable for a Japanese bill having a common bill size. In addition, the selection of either a depositing machine that handles only deposits, a dispensing machine that handles only withdrawals, a depositing / dispensing machine that handles deposits or withdrawals, the number of denominations for each transaction, the selection of whether or not each denomination is recycled, etc. It is possible to provide a highly versatile banknote depositing and dispensing machine that can easily cope with the situation.
  (4)従来例では、紙幣搬送路を複数の収納庫の間を通過するように設けているため、操作性が悪くジャム除去時などの場合に不便であったが、上記各実施例では、開閉搬送路を壁面(扉)近傍に設けることによって、係員は収納庫を操作する際に、扉を開閉するだけで個別の収納庫のみを着脱する操作ができ、またジャム除去時などの場合にも操作性がよくなる。
(5)本実施例によれば、上部搬送機構と下部紙幣機構を分けて設られており、入金計数時など取引が成立するまでの紙幣は上部搬送機構部だけに存在するため、その紙幣にジャムが発生した場合でも下部紙幣機構を囲む金庫を開ける必要がなくなり、安全性が保てる。また、利用者に所有権がある紙幣(上部搬送機構に存在する紙幣)と銀行に所有権がある紙幣(下部紙幣機構に存在する紙幣)を明確に区別することができるという効果がある。
(6)本実施例によれば、双方向搬送路部分と、一方向搬送路部分を合わせて、単一の駆動源で、回転方向のみを切り替えて駆動することができる。すなわち、3つの双方向搬送路は、入金計数動作時、入金収納動作時、出金動作時等、各動作で反双方向が異なっても、動作毎に共通の方向に駆動すればよい。また、2つの一方向搬送路は、必要な一方向の搬送時に駆動されるだけでなく、逆方向の搬送時も、搬送路は逆に駆動されていても、紙幣は通過しないため問題ない。あるいは、一方向の搬送路部分は、クラッチを付けて、逆方向の駆動時に動作しないようにしてもよい。(4) In the conventional example, since the banknote transport path is provided so as to pass between the plurality of storage boxes, the operability is poor and inconvenient in the case of jam removal, etc. By providing an open / close transfer path near the wall (door), the staff can operate the storage to open and close only the individual storage by simply opening and closing the door, or when removing jams. Also improves operability.
 (5) According to the present embodiment, the upper transport mechanism and the lower banknote mechanism are separately provided, and the banknote until the transaction is established, such as at the time of deposit counting, exists only in the upper transport mechanism section. Even if a jam occurs, it is not necessary to open the safe surrounding the lower bill mechanism, and safety can be maintained. Moreover, there is an effect that it is possible to clearly distinguish banknotes owned by the user (banknotes existing in the upper transport mechanism) and banknotes owned by the bank (banknotes present in the lower banknote mechanism).
 (6) According to the present embodiment, the bidirectional conveyance path portion and the unidirectional conveyance path portion can be combined and driven by switching only the rotation direction with a single drive source. That is, the three bidirectional transport paths may be driven in a common direction for each operation even if the anti-bidirectional is different in each operation, such as during a deposit counting operation, during a deposit storage operation, and during a withdrawal operation. Further, the two one-way transport paths are not only driven when transporting in the required one direction, but also when transporting in the reverse direction, even if the transport path is driven reversely, there is no problem because bills do not pass through. Alternatively, the conveyance path portion in one direction may be attached with a clutch so that it does not operate during reverse driving.
  なお、次のような変形例も可能である。
(1)上記各実施例では、入出金口の紙幣ホッパーを共通にしているが、入金口と出金口で別々に分けて設けてもよい。
(2)上記各実施例では、一時保管庫40として回転ドラムを用いた巻き取り型のもの(図17参照)を採用しているが、実施例で説明したリサイクル庫(図22参照)のような積層型のものでもよい。
(3)上記各実施例では開閉搬送路(第一の実施例の90、第二の実施例の91)を全ての収納庫に共通に設けているが、開閉搬送路は、各収納庫毎に個別に設けるようにしてもよい。
(4)搬送路の駆動源は、本実施例では一個で、搬送路501g−501h−901aがギヤでつながるようにしているが、上下別々の駆動源(モータ)を設けてもよい。これにより、ギヤによる連結不良などの障害がなくなる。
(5)上記各実施例においては、各収納庫はその前後に取っ手を設けたり、下部紙幣機構(第一の実施例の1b、第二の実施例の2b)は前後どちら向きにも着脱できるように構成され、共に前面操作型装置と後面操作型装置共通の構成を持たせているが、前面操作型装置または後面操作型装置のいずれか一方に専用化するようにしてもよい。これにより構造が簡素化されコストダウンが可能になる。The following modifications are also possible.
 (1) In each said Example, although the banknote hopper of a deposit / withdrawal port is made common, you may divide and provide in a depositing port and a withdrawal port separately.
 (2) In each of the above-described embodiments, a take-up type using a rotating drum (see FIG. 17) is adopted as the
 (3) In each of the above embodiments, the open / close transport path (90 in the first embodiment, 91 in the second embodiment) is provided in common for all the storages, but the open / close transport path is provided for each storage. May be provided individually.
 (4) In the present embodiment, there is one drive source for the transport path, and the
 (5) In each of the above embodiments, each storage is provided with a handle before and after it, and the lower bill mechanism (1b in the first embodiment, 2b in the second embodiment) can be attached and detached in either the front or back direction. Both are configured to be common to the front operation type device and the rear operation type device, but may be dedicated to either the front operation type device or the rear operation type device. This simplifies the structure and enables cost reduction.
1,2:紙幣入出金機、1a,2a:上部搬送機構、1b,2b:下部紙幣機構、20,21:入出金口、20a,21a:紙幣スロット、30:紙幣判別部、35:制御部、40:一時保管庫、50,51:紙幣搬送路、60:入金庫、70:出金庫、80,82:リサイクル庫、65:リジェクト庫、81,83:装填・回収庫、90,91:開閉搬送路、101,111:現金自動取引装置本体(筐体)、101a,111a:正面板、101b:装置筐体、101c,111c:前扉、101d,111d:後扉、106:金庫筐体、106a:前面扉、401:回転ドラム、402:巻き取り軸、403:誘導テープ、501a〜501h,901a〜901e:紙幣搬送路、502〜504,902:切替えゲート。1, 2: Bill depositing / dispensing machine, 1a, 2a: Upper transport mechanism, 1b, 2b: Lower bill mechanism, 20, 21: Deposit / withdrawal port, 20a, 21a: Bill slot, 30: Bill discriminating unit, 35: Control unit 40: Temporary storage, 50, 51: Banknote transport path, 60: Safe deposit box, 70: Safe deposit box, 80, 82: Recycle box, 65: Reject box, 81, 83: Loading / collecting box, 90, 91: Opening and closing conveyance path, 101, 111: Automatic teller machine main body (housing), 101a, 111a: Front plate, 101b: Device housing, 101c, 111c: Front door, 101d, 111d: Rear door, 106:
| Application Number | Priority Date | Filing Date | Title | 
|---|---|---|---|
| JP2012199013AJP5498549B2 (en) | 2012-09-11 | 2012-09-11 | Banknote deposit and withdrawal machine | 
| Application Number | Priority Date | Filing Date | Title | 
|---|---|---|---|
| JP2012199013AJP5498549B2 (en) | 2012-09-11 | 2012-09-11 | Banknote deposit and withdrawal machine | 
| Application Number | Title | Priority Date | Filing Date | 
|---|---|---|---|
| JP2012024068ADivisionJP5498516B2 (en) | 2012-02-07 | 2012-02-07 | Banknote deposit and withdrawal machine | 
| Publication Number | Publication Date | 
|---|---|
| JP2012252724A JP2012252724A (en) | 2012-12-20 | 
| JP5498549B2true JP5498549B2 (en) | 2014-05-21 | 
| Application Number | Title | Priority Date | Filing Date | 
|---|---|---|---|
| JP2012199013AExpired - LifetimeJP5498549B2 (en) | 2012-09-11 | 2012-09-11 | Banknote deposit and withdrawal machine | 
| Country | Link | 
|---|---|
| JP (1) | JP5498549B2 (en) | 
| Publication number | Priority date | Publication date | Assignee | Title | 
|---|---|---|---|---|
| WO2017094325A1 (en)* | 2015-11-30 | 2017-06-08 | 日立オムロンターミナルソリューションズ株式会社 | Automatic teller machine | 
| Publication number | Priority date | Publication date | Assignee | Title | 
|---|---|---|---|---|
| JP2752087B2 (en)* | 1988-06-30 | 1998-05-18 | 株式会社東芝 | Automatic transaction equipment | 
| JP2674899B2 (en)* | 1991-06-06 | 1997-11-12 | 沖電気工業株式会社 | Banknote automatic payment device and its withdrawal module | 
| Publication number | Publication date | 
|---|---|
| JP2012252724A (en) | 2012-12-20 | 
| Publication | Publication Date | Title | 
|---|---|---|
| JP4135238B2 (en) | Banknote deposit and withdrawal machine | |
| JP3815651B2 (en) | Banknote deposit and withdrawal machine | |
| JP5795990B2 (en) | Paper sheet handling equipment and automatic transaction equipment | |
| KR20010034938A (en) | Temporary custody unit of bills treatment apparatus | |
| JP4325886B2 (en) | Banknote deposit and withdrawal machine | |
| JP5153530B2 (en) | Banknote deposit and withdrawal machine | |
| JPH11110607A (en) | Banknote depositing / dispensing machine | |
| WO2014155645A1 (en) | Paper-handling device and automatic transaction device | |
| JP4366434B2 (en) | Automatic transaction equipment | |
| JP4423344B2 (en) | Automatic transaction equipment | |
| JP2008171451A (en) | Banknote deposit and withdrawal machine | |
| JP4845905B2 (en) | Banknote deposit and withdrawal machine | |
| JP5498516B2 (en) | Banknote deposit and withdrawal machine | |
| JP2002236961A (en) | Banknote depositing / dispensing machine | |
| JP5789562B2 (en) | Paper sheet handling equipment and automatic transaction equipment | |
| JP4051388B2 (en) | Banknote deposit and withdrawal machine | |
| JP4292232B2 (en) | Banknote deposit and withdrawal machine | |
| JP4292180B2 (en) | Automatic transaction equipment | |
| JP5498549B2 (en) | Banknote deposit and withdrawal machine | |
| JP3799320B2 (en) | Banknote cassette and banknote handling device | |
| JP4866405B2 (en) | Banknote deposit and withdrawal machine | |
| JP4310304B2 (en) | Automatic transaction equipment | |
| JP3799321B2 (en) | Banknote cassette and automatic transaction device | |
| JP3902980B2 (en) | Automatic transaction equipment | |
| JP2006190333A (en) | Banknote deposit and withdrawal machine | 
| Date | Code | Title | Description | 
|---|---|---|---|
| A621 | Written request for application examination | Free format text:JAPANESE INTERMEDIATE CODE: A621 Effective date:20120911 | |
| A131 | Notification of reasons for refusal | Free format text:JAPANESE INTERMEDIATE CODE: A131 Effective date:20131119 | |
| A521 | Written amendment | Free format text:JAPANESE INTERMEDIATE CODE: A523 Effective date:20140120 | |
| TRDD | Decision of grant or rejection written | ||
| A01 | Written decision to grant a patent or to grant a registration (utility model) | Free format text:JAPANESE INTERMEDIATE CODE: A01 Effective date:20140212 | |
| A61 | First payment of annual fees (during grant procedure) | Free format text:JAPANESE INTERMEDIATE CODE: A61 Effective date:20140307 | |
| R150 | Certificate of patent or registration of utility model | Ref document number:5498549 Country of ref document:JP Free format text:JAPANESE INTERMEDIATE CODE: R150 | |
| EXPY | Cancellation because of completion of term |