









本発明は、アモルファス酸化物半導体を用いた薄膜電界効果型トランジスタおよびその製造方法に関し、特に、エッチングストッパ層を有し、TTFT特性が良好であり、かつ信頼性も高い薄膜電界効果型トランジスタおよびその製造方法に関する。 The present invention relates to a thin film field effect transistor using an amorphous oxide semiconductor and a method for manufacturing the same, and more particularly, to a thin film field effect transistor having an etching stopper layer, good TTFT characteristics, and high reliability. It relates to a manufacturing method.
  現在、電界効果型トランジスタは、半導体メモリ集積回路、高周波信号増幅素子等として広く用いられている。
  また、液晶表示装置(LCD)、エレクトロルミネッセンス表示装置(EL)、フィールドエミッションディスプレイ(FED)等の平面薄型画像表示装置(Flat  Panel  Display:FPD)のスイッチング素子として、電界効果型トランジスタのうち、薄膜電界効果型トランジスタ(以下、TFTともいう)が用いられている。FPDに用いられるTFTは、ガラス基板上に活性層として非晶質シリコン薄膜または多結晶シリコン薄膜が形成されている。Currently, field effect transistors are widely used as semiconductor memory integrated circuits, high-frequency signal amplifiers, and the like.
 In addition, as a switching element of a flat thin image display device (FPD) such as a liquid crystal display device (LCD), an electroluminescence display device (EL), a field emission display (FED), etc., a thin film among field effect transistors Field effect transistors (hereinafter also referred to as TFTs) are used. In a TFT used for FPD, an amorphous silicon thin film or a polycrystalline silicon thin film is formed as an active layer on a glass substrate.
  上述の非晶質シリコン薄膜または多結晶シリコン薄膜を活性層に用いるTFTは、比較的高温の熱工程を要する。このため、ガラス基板は用いることができるものの、耐熱性が低い樹脂製の基板を用いることは困難である。
  また、FPDについて、より一層の薄型化、軽量化、耐破損性が要求されており、ガラス基板の替わりに軽量で可撓性のある樹脂製の基板を用いることも検討されている。このため、低温での成膜が可能なアモルファス酸化物を用いたTFTの開発が活発に行われている。A TFT using the above-described amorphous silicon thin film or polycrystalline silicon thin film as an active layer requires a relatively high temperature thermal process. For this reason, although a glass substrate can be used, it is difficult to use a resin substrate having low heat resistance.
 Further, the FPD is required to be thinner, lighter, and more resistant to breakage, and the use of a lightweight and flexible resin substrate instead of the glass substrate is also being studied. For this reason, TFTs using an amorphous oxide that can be formed at a low temperature are being actively developed.
  アモルファス酸化物を用いたTFTは、基板、ゲート電極、ゲート絶縁膜、アモルファス酸化物半導体により構成された活性層、ソース電極およびドレイン電極を有するものであり、活性層上にソース電極およびドレイン電極が形成されている。
  アモルファス酸化物を用いたTFTにおいて、ソース電極およびドレイン電極は、導電膜をエッチングすることにより形成される。このため、活性層上に、これを保護するエッチングストッパ層を形成しない場合、ソース電極およびドレイン電極の形成時に活性層もエッチングされてしまうことがあり、TFTの特性不良および特性ムラが生じることがある。極端な場合、活性層が全てエッチングされてしまい、TFT特性を示さないこともある。このようなことから、活性層を保護するためのエッチングストッパ層等を設けたTFTが提案されている(例えば、特許文献1〜3参照)。A TFT using an amorphous oxide has a substrate, a gate electrode, a gate insulating film, an active layer composed of an amorphous oxide semiconductor, a source electrode and a drain electrode, and the source electrode and the drain electrode are formed on the active layer. Is formed.
 In a TFT using an amorphous oxide, a source electrode and a drain electrode are formed by etching a conductive film. For this reason, if an etching stopper layer for protecting the active layer is not formed on the active layer, the active layer may also be etched when the source electrode and the drain electrode are formed, resulting in poor TFT characteristics and uneven characteristics. is there. In an extreme case, the active layer is entirely etched and may not exhibit TFT characteristics. For this reason, a TFT provided with an etching stopper layer or the like for protecting the active layer has been proposed (see, for example,
  特許文献1のボトムゲート型薄膜トランジスタは、基板上に、ゲート電極と、ゲート絶縁膜としての第1の絶縁膜と、チャネル層としての酸化物半導体層(活性層に相当)と、保護層としての第2の絶縁膜と、ソース電極と、ドレイン電極とを有するものである。この薄膜トランジスタにおいて、酸化物半導体層は、In、Zn及びSnの少なくとも一つを含む酸化物を含み、第2の絶縁膜は、酸化物半導体層と接するよう形成されたアモルファス酸化物絶縁体を含み、昇温脱離分析により酸素として観測される脱離ガスを3.8×1019個/cm3以上含有するものである。
  第2の絶縁膜は、エッチングストップ層として機能するものであり、チャネル領域の一部を覆うように、好ましくは、チャネル領域の全体を覆うように設けられている。
  なお、第2の絶縁膜は、アモルファスSiOx、アモルファスシリコンオキシナイトライド、またはアモルファスアルミニウムオキサイドで構成される。A bottom-gate thin film transistor disclosed in
 The second insulating film functions as an etching stop layer, and is preferably provided so as to cover a part of the channel region, preferably the entire channel region.
 Note that the second insulating film is made of amorphous SiOx, amorphous silicon oxynitride, or amorphous aluminum oxide.
  特許文献2には、チャネル保護型の薄膜トランジスタが開示されている。この薄膜トランジスタにおいては、基板上にゲート電極が形成されており、このゲート電極を覆うように第1のゲート絶縁膜が形成され、この第1のゲート絶縁膜上に第2のゲート絶縁膜が形成されている。また、第2のゲート絶縁膜上に、ゲート電極を覆うようにして酸化物半導体膜(活性層に相当)が形成されている。この酸化物半導体膜上に、ゲート電極と重なる領域にチャネル保護膜が形成されている。さらに、酸化物半導体膜上にソース電極およびドレイン電極が形成されている。
  チャネル保護膜は、ソース電極、ドレイン電極を形成する際にチャネル部の半導体層のエッチングを防ぐものである。このチャネル保護膜は、酸化珪素(SiOx)、窒化珪素(SiNx)、酸化窒化珪素(SiOxNy)(x>y)、窒化酸化珪素(SiNxOy)(x>y)などで構成される。
 The channel protective film prevents etching of the semiconductor layer in the channel portion when forming the source electrode and the drain electrode. This channel protective film is made of silicon oxide (SiOx), silicon nitride (SiNx), silicon oxynitride (SiOxNy) (x> y), silicon nitride oxide (SiNxOy) (x> y), or the like.
特許文献3には、基板上に、少なくともゲート電極、ゲート絶縁膜、アモルファス酸化物半導体を含有する活性層、ソース電極及びドレイン電極を有する薄膜電界効果型トランジスタが記載されている。この薄膜電界効果型トランジスタは、ゲート絶縁膜と活性層の界面の平均二乗粗さが2nm未満であり、活性層のキャリア濃度が1×1015/cm3以上であり、かつ活性層の膜厚が0.5nm以上20nm未満である。また、活性層と接してキャリア濃度が1016/cm3以下のアモルファス酸化物半導体層からなる低キャリア濃度層が積層されている。この低キャリア濃度層は、環境(水分、酸素)から活性層を保護する保護膜としても機能するものである。Patent Document 3 describes a thin film field-effect transistor having a gate electrode, a gate insulating film, an active layer containing an amorphous oxide semiconductor, a source electrode, and a drain electrode on a substrate. In this thin film field effect transistor, the mean square roughness of the interface between the gate insulating film and the active layer is less than 2 nm, the carrier concentration of the active layer is 1 × 1015 / cm3 or more, and the film thickness of the active layer Is 0.5 nm or more and less than 20 nm. In addition, a low carrier concentration layer made of an amorphous oxide semiconductor layer having a carrier concentration of 1016 / cm3 or less is stacked in contact with the active layer. This low carrier concentration layer also functions as a protective film that protects the active layer from the environment (water, oxygen).
  上述のように、特許文献1のボトムゲート型薄膜トランジスタには、エッチングストップ層として機能する第2の絶縁膜が設けられている。また、特許文献2の薄膜トランジスタにもチャネル部の半導体層のエッチングを防ぐチャネル保護膜が設けられている。このように特許文献1、2にはエッチングストッパ層となるものが設けられている。  As described above, the bottom gate thin film transistor of
  上述のように、エッチングストッパ層は活性層上に形成されており、しかも、ソース電極およびドレイン電極も活性層上に形成されるものである。このため、ソース電極およびドレイン電極を形成するには、エッチングストッパ層を加工する必要がある。
  しかしながら、特許文献1、2のように、エッチングストッパ層をアモルファスSiOx、SiO2等で形成した場合、ドライエッチングで加工するか、またはウエットエッチングの場合にはバッファードフッ酸を用いて加工する必要があり、エッチングストッパ層の加工は困難である。As described above, the etching stopper layer is formed on the active layer, and the source electrode and the drain electrode are also formed on the active layer. For this reason, in order to form a source electrode and a drain electrode, it is necessary to process an etching stopper layer.
 However, as in
  また、活性層上にエッチングストッパ層としてSiO2膜、SiNx膜を形成した場合、活性層がダメージを受ける。このダメージにより、活性層が低抵抗化し、TFTの閾値がマイナスにシフトしたり、TFTがオフにならずTFT動作を示さないこともある。
  なお、高濃度の酸素雰囲気下で、エッチングストッパ層であるSiO2膜をスパッタ法で成膜する場合、成膜条件によっては、上述の活性層の低抵抗化を防ぐことができる。このように、低抵抗化を回避することができても、下地の活性層のバックチャネルが酸素イオンによりダメージを受ける。活性層が酸素イオンによるダメージを受けると、TFTの信頼性を評価すると閾値シフトが大きいものとなる。Further, when an SiO2 film or SiNx film is formed as an etching stopper layer on the active layer, the active layer is damaged. Due to this damage, the resistance of the active layer is lowered, and the threshold value of the TFT is shifted to minus, or the TFT is not turned off and the TFT operation may not be exhibited.
 Note that when the SiO2 film, which is an etching stopper layer, is formed by sputtering in a high-concentration oxygen atmosphere, the above-described reduction in resistance of the active layer can be prevented depending on the film formation conditions. Thus, even if the resistance reduction can be avoided, the back channel of the underlying active layer is damaged by oxygen ions. When the active layer is damaged by oxygen ions, the threshold shift becomes large when the reliability of the TFT is evaluated.
また、特許文献3においては、活性層と同様の組成の低キャリア濃度層を、保護膜としても機能するものとして形成している。しかしながら、この低キャリア濃度層は、ソース電極およびドレイン電極の形成時のエッチング条件によっては、活性層までエッチングされてしまうこともある。これにより、TFTの特性不良および特性ムラが生じたり、TFTの信頼性が低下することがある。 In Patent Document 3, a low carrier concentration layer having the same composition as the active layer is formed so as to function also as a protective film. However, this low carrier concentration layer may be etched to the active layer depending on the etching conditions at the time of forming the source electrode and the drain electrode. As a result, defective TFT characteristics and uneven characteristics may occur, and the reliability of the TFT may decrease.
本発明の目的は、前記従来技術に基づく問題点を解消し、TFT特性が良好であり、かつ信頼性も高い薄膜電界効果型トランジスタおよびその製造方法を提供することにある。 An object of the present invention is to provide a thin film field-effect transistor that eliminates the problems of the prior art, has good TFT characteristics, and has high reliability, and a method for manufacturing the same.
上記目的を達成するために、本発明の第1の態様は、基板上に、少なくともゲート電極、絶縁膜、活性層、エッチングストッパ層、ソース電極、およびドレイン電極が形成され、前記活性層上に前記エッチングストッパ層が形成され、前記エッチングストッパ層上に前記ソース電極および前記ドレイン電極が形成された薄膜電界効果型トランジスタであって、前記エッチングストッパ層は、Zn濃度が20%未満のIn、GaおよびZnを含むアモルファス酸化物で構成されており、前記活性層は、In、GaおよびZnを含むアモルファス酸化物半導体で構成されるものであり、Zn濃度が前記エッチングストッパ層のZn濃度よりも高いことを特徴とする薄膜電界効果型トランジスタを提供するものである。 In order to achieve the above object, according to a first aspect of the present invention, at least a gate electrode, an insulating film, an active layer, an etching stopper layer, a source electrode, and a drain electrode are formed on a substrate, and the active layer is formed on the active layer. A thin film field effect transistor in which the etching stopper layer is formed, and the source electrode and the drain electrode are formed on the etching stopper layer, wherein the etching stopper layer includes an In, Ga having a Zn concentration of less than 20%. The active layer is made of an amorphous oxide semiconductor containing In, Ga and Zn, and the Zn concentration is higher than the Zn concentration of the etching stopper layer. It is an object of the present invention to provide a thin film field effect transistor.
  ここで、本発明において、活性層におけるZn濃度とは、酸素原子を除いたアモルファス酸化物半導体膜中に含まれるZn原子量濃度のことを示す。このZn濃度の計算方法としては、Zn濃度=[アモルファス酸化物半導体膜中に含まれるZn原子量/(アモルファス酸化物半導体膜中に含まれるIn原子量+アモルファス酸化物半導体膜中に含まれるGa原子量+アモルファス酸化物半導体膜中に含まれるZn原子量)]を用いることができる。活性層におけるIn濃度およびGa濃度についてもZn濃度と同様の定義であり、In濃度およびGa濃度もZn濃度と同様にして求められる。
  なお、本発明において、エッチングストッパ層におけるZn濃度、In濃度およびGa濃度は、上述の活性層のZn濃度、In濃度およびGa濃度の定義と同じであり、上述の活性層のZn濃度、In濃度およびGa濃度の定義、計算方法において、「アモルファス酸化物半導体」を「アモルファス酸化物膜」に読み替えたものである。Here, in the present invention, the Zn concentration in the active layer indicates the concentration of Zn atoms contained in the amorphous oxide semiconductor film excluding oxygen atoms. As a method for calculating the Zn concentration, Zn concentration = [Amount of Zn atom contained in the amorphous oxide semiconductor film / (In atom amount contained in the amorphous oxide semiconductor film + Atom amount contained in the amorphous oxide semiconductor film + The amount of Zn atoms contained in the amorphous oxide semiconductor film) can be used. The In concentration and the Ga concentration in the active layer are also defined in the same manner as the Zn concentration, and the In concentration and the Ga concentration are obtained in the same manner as the Zn concentration.
 In the present invention, the Zn concentration, In concentration, and Ga concentration in the etching stopper layer are the same as the definitions of Zn concentration, In concentration, and Ga concentration in the active layer described above, and the Zn concentration, In concentration in the active layer described above. In addition, in the definition and calculation method of Ga concentration, “amorphous oxide semiconductor” is replaced with “amorphous oxide film”.
  この場合、前記エッチングストッパ層は、In濃度が40%以上であり、Ga濃度が37%以上であることが好ましい。
  また、前記ソース電極および前記ドレイン電極は、モリブデンまたはモリブデン合金により構成されることが好ましく、特に、モリブデンが好ましい。
  また、前記薄膜電界効果型トランジスタは、トップコンタクト型ボトムゲート構造またはトップコンタクト型トップゲート構造のどちらでもよい。
  また、前記活性層と前記エッチングストッパ層とは同一形状であることが好ましい。In this case, the etching stopper layer preferably has an In concentration of 40% or more and a Ga concentration of 37% or more.
 The source electrode and the drain electrode are preferably made of molybdenum or a molybdenum alloy, and molybdenum is particularly preferable.
 The thin film field effect transistor may have either a top contact type bottom gate structure or a top contact type top gate structure.
 The active layer and the etching stopper layer are preferably in the same shape.
本発明の第2の態様は、基板上に、少なくともゲート電極、絶縁膜、活性層、エッチングストッパ層、ソース電極、およびドレイン電極が形成され、前記活性層上に前記エッチングストッパ層が形成され、前記エッチングストッパ層上に前記ソース電極および前記ドレイン電極が形成された薄膜電界効果型トランジスタの製造方法であって、エッチング液として、りん酸、酢酸、および硝酸を含む混酸水溶液を用いて、前記ソース電極および前記ドレイン電極を形成する工程を有し、前記エッチングストッパ層は、Zn濃度が20%未満のIn、GaおよびZnを含むアモルファス酸化物で構成されており、前記活性層は、In、GaおよびZnを含むアモルファス酸化物半導体で構成されるものであり、Zn濃度が前記エッチングストッパ層のZn濃度よりも高いことを特徴とする薄膜電界効果型トランジスタの製造方法を提供するものである。 In the second aspect of the present invention, at least a gate electrode, an insulating film, an active layer, an etching stopper layer, a source electrode, and a drain electrode are formed on a substrate, and the etching stopper layer is formed on the active layer, A method of manufacturing a thin film field effect transistor in which the source electrode and the drain electrode are formed on the etching stopper layer, wherein an aqueous mixed acid solution containing phosphoric acid, acetic acid, and nitric acid is used as an etching solution. A step of forming an electrode and the drain electrode, wherein the etching stopper layer is made of an amorphous oxide containing In, Ga and Zn having a Zn concentration of less than 20%, and the active layer is made of In, Ga And an amorphous oxide semiconductor containing Zn, and the Zn concentration is the etching stopper. Higher than the Zn concentration of the is to provide a method of manufacturing a thin film field effect transistor according to claim.
  この場合、前記エッチングストッパ層は、In濃度が40%以上であり、Ga濃度が37%以上であることが好ましい。
  また、前記混酸水溶液は、りん酸を70〜75質量%、酢酸を5〜10質量%、硝酸を1〜5質量%含有することが好ましい。In this case, the etching stopper layer preferably has an In concentration of 40% or more and a Ga concentration of 37% or more.
 Moreover, it is preferable that the said mixed acid aqueous solution contains 70-75 mass% of phosphoric acid, 5-10 mass% of acetic acid, and 1-5 mass% of nitric acid.
  また、前記ソース電極および前記ドレイン電極を形成する工程の前に、前記基板上に前記ゲート電極を形成する工程と、前記ゲート電極を覆うように前記基板上に前記絶縁膜を形成する工程と、前記絶縁膜上に前記活性層を形成する工程と、前記活性層上に前記エッチングストッパ層を形成する工程を有し、前記ソース電極および前記ドレイン電極を形成する工程において、前記ソース電極および前記ドレイン電極を、前記エッチングストッパ層の一部を覆うように前記基板上に形成することが好ましい。
  また、前記ソース電極および前記ドレイン電極を形成する工程の後に、前記エッチングストッパ層、前記ソース電極および前記ドレイン電極を覆うように前記基板上に保護層を形成する工程を有することが好ましい。A step of forming the gate electrode on the substrate before the step of forming the source electrode and the drain electrode; and a step of forming the insulating film on the substrate so as to cover the gate electrode; In the step of forming the active layer on the insulating film and the step of forming the etching stopper layer on the active layer, and forming the source electrode and the drain electrode, the source electrode and the drain The electrode is preferably formed on the substrate so as to cover a part of the etching stopper layer.
 Preferably, after the step of forming the source electrode and the drain electrode, a step of forming a protective layer on the substrate so as to cover the etching stopper layer, the source electrode, and the drain electrode.
  さらに別の形態としては、前記ソース電極および前記ドレイン電極を形成する工程の前に、前記基板上に前記活性層を形成する工程と、前記活性層上に前記エッチングストッパ層とを形成する工程とを有し、前記ソース電極および前記ドレイン電極を形成する工程において、前記ソース電極および前記ドレイン電極を、前記エッチングストッパ層の一部を覆うように前記基板上に形成し、さらに前記ソース電極および前記ドレイン電極を形成する工程の後に、前記エッチングストッパ層、前記ソース電極および前記ドレイン電極を覆うように前記基板上に前記絶縁膜を形成する工程と、前記絶縁膜上に前記ゲート電極を形成する工程とを有することが好ましい。
  さらに、前記活性層と前記エッチングストッパ層とは同一形状に形成されることが好ましい。また、前記各工程は、200℃以下の温度でなされることが好ましい。As yet another form, before the step of forming the source electrode and the drain electrode, the step of forming the active layer on the substrate, and the step of forming the etching stopper layer on the active layer, In the step of forming the source electrode and the drain electrode, the source electrode and the drain electrode are formed on the substrate so as to cover a part of the etching stopper layer, and the source electrode and the drain electrode are further formed. After the step of forming the drain electrode, a step of forming the insulating film on the substrate so as to cover the etching stopper layer, the source electrode, and the drain electrode, and a step of forming the gate electrode on the insulating film It is preferable to have.
 Furthermore, the active layer and the etching stopper layer are preferably formed in the same shape. Moreover, it is preferable that each said process is made at the temperature of 200 degrees C or less.
  本発明によれば、エッチングストッパ層をZn濃度が20%未満のIn、GaおよびZnを含むアモルファス酸化物で構成することにより、In、GaおよびZnを含むアモルファス酸化物半導体で構成される活性層と組成が近く、活性層がダメージを受けず、低抵抗化もしない。このため、閾値がマイナスにシフトすることもなく良好なTFT動作を示す薄膜電界効果型トランジスタを得ることができる。
  また、エッチングストッパ層を上記組成とすることにより、ソース電極およびドレイン電極を形成するためのりん酸、酢酸、および硝酸を含む混酸水溶液に対して、ソース電極およびドレイン電極とエッチングストッパ層とのエッチングレート比を十分に大きくすることができる。このため、ソース電極およびドレイン電極の形成時に、活性層がエッチングストッパ層で保護されて活性層がダメージを受けることがない。これにより、TFT特性が良好であり、かつ信頼性も高い薄膜電界効果型トランジスタを得ることができる。According to the present invention, the etching stopper layer is made of an amorphous oxide containing In, Ga and Zn having a Zn concentration of less than 20%, thereby forming an active layer made of an amorphous oxide semiconductor containing In, Ga and Zn. The composition is close, the active layer is not damaged, and the resistance is not reduced. For this reason, a thin film field effect transistor exhibiting a good TFT operation can be obtained without the threshold value shifting to minus.
 Further, by setting the etching stopper layer to the above composition, etching of the source and drain electrodes and the etching stopper layer is performed with respect to a mixed acid aqueous solution containing phosphoric acid, acetic acid, and nitric acid for forming the source electrode and the drain electrode. The rate ratio can be made sufficiently large. For this reason, when the source electrode and the drain electrode are formed, the active layer is protected by the etching stopper layer, and the active layer is not damaged. Thereby, a thin film field effect transistor having good TFT characteristics and high reliability can be obtained.
さらには、本発明のエッチングストッパ層は、活性層と組成が近く、活性層と同じエッチング液でエッチングが可能である。このため、エッチングストッパ層にSiO2膜を用いた場合に比して、エッチングストッパ層を容易に加工することができる。しかも、エッチングストッパ層を設けても活性層は、ダメージも受けず低抵抗化もしないため、高濃度の酸素雰囲気下でスパッタすることが不要となり、閾値シフトが小さい信頼性の良いTFTを提供できる。Furthermore, the etching stopper layer of the present invention has a composition close to that of the active layer, and can be etched with the same etchant as the active layer. Therefore, the etching stopper layer can be easily processed as compared with the case where the SiO2 film is used for the etching stopper layer. Moreover, even if an etching stopper layer is provided, the active layer is not damaged and does not have a low resistance. Therefore, it is not necessary to perform sputtering in a high concentration oxygen atmosphere, and a highly reliable TFT with a small threshold shift can be provided. .
  以下に、添付の図面に示す好適実施形態に基づいて、本発明の薄膜電界効果型トランジスタを詳細に説明する。
  図1は、本発明の第1の実施形態に係る薄膜電界効果型トランジスタを示す模式的断面図である。Hereinafter, a thin film field effect transistor of the present invention will be described in detail based on a preferred embodiment shown in the accompanying drawings.
 FIG. 1 is a schematic cross-sectional view showing a thin film field effect transistor according to the first embodiment of the present invention.
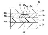
  図1に示す薄膜電界効果型トランジスタ(以下、単に、TFTという)10は、基板12と、ゲート電極14と、ゲート絶縁膜16と、チャネル層として機能する活性層18と、エッチングストッパ層(以下、ES層という)30と、ソース電極20aと、ドレイン電極20bと、保護層22とを有するものである。このTFT10は、ゲート電極14に電圧を印加して、活性層18に流れる電流を制御し、ソース電極20aとドレイン電極20b間の電流をスイッチングする機能を有するアクティブ素子である。図1に示すTFT10は、一般的にトップコンタクト型ボトムゲート構造と呼ばれるものである。  1 includes a
  TFT10においては、基板12の表面12aにゲート電極14が形成されており、このゲート電極14を覆うようにして基板12の表面12aにゲート絶縁膜16が形成されている。このゲート絶縁膜16の表面16aに活性層18が形成されている。この活性層18の表面18aに、ES層30が設けられている。  In the
  活性層18の表面18aおよびES層30の表面30aの一部を覆うようにしてゲート絶縁膜16の表面16aにソース電極20aが形成されている。また、このソース電極20aと対をなすドレイン電極20bが、活性層18の表面18aおよびES層30の表面30aの一部を覆うようにしてゲート絶縁膜16の表面16aに、ソース電極20aと対向して形成されている。すなわち、ソース電極20aおよびドレイン電極20bは、ES層30の表面30aの上方をあけて、活性層18の表面18aおよびES層30の表面30aの一部を覆うようにして形成されている。ソース電極20a、ES層30およびドレイン電極20bを覆うようにして保護層22が形成されている。  A
  基板12は、特に限定されるものではい。基板12には、例えば、YSZ(ジルコニア安定化イットリウム)およびガラス等の無機材料を用いることができる。また、基板12には、ポリエチレンテレフタレート(PET)、ポリブチレンテレフタレート(PBT)、ポリエチレンナフタレート(PEN)等のポリエステル、ポリスチレン、ポリカーボネート、ポリエーテルスルホン、ポリアリレート、アリルジグリコールカーボネート、ポリイミド、ポリシクロオレフィン、ノルボルネン樹脂、ポリ(クロロトリフルオロエチレン)等の合成樹脂等の有機材料も用いることができる。
  基板12に、有機材料を用いた場合、耐熱性、寸法安定性、耐溶剤性、電気絶縁性、加工性、低通気性、および低吸湿性等が優れていることが好ましい。
  また、基板12に、ガラスを用いる場合、ガラスからの溶出イオンを少なくするため、無アルカリガラスを用いることが好ましい。なお、基板12に、ソーダライムガラスを用いる場合には、シリカ等のバリアコートを施したものを使用することが好ましい。The
 When an organic material is used for the
 In addition, when glass is used for the
  基板12には、可撓性基板を用いることもできる。この可撓性基板は、厚さを50μm〜500μmとすることが好ましい。これは、可撓性基板の厚さが50μm未満では、基板自体が十分な平坦性を保持することが難しいためである。また、可撓性基板の厚さが500μmを超えると、基板自体の可撓性が乏しくなり、基板自体を自由に曲げることが困難になるためである。
  可撓性基板としては、透過率の高い有機プラスチックフィルムが好ましい。この有機プラスチックフィルムとしては、例えば、ポリエチレンテレフタレート(PET)、ポリブチレンフタレート(PBT)、ポリエチレンナフタレート(PEN)等のポリエステル、ポリスチレン、ポリカーボネート、ポリエーテルスルホン、ポリアリレート、ポリイミド、ポリシクロオレフィン、ノルボルネン樹脂、またはポリ(クロロトリフルオロエチレン)等のプラスチックフィルムが用いられる。
  基板12にプラスチックフィルム等を用いた場合、電気絶縁性が不十分であれば、絶縁層を形成して用いられる。The
 As the flexible substrate, an organic plastic film having a high transmittance is preferable. Examples of the organic plastic film include polyesters such as polyethylene terephthalate (PET), polybutylene phthalate (PBT), and polyethylene naphthalate (PEN), polystyrene, polycarbonate, polyethersulfone, polyarylate, polyimide, polycycloolefin, and norbornene. A resin or a plastic film such as poly (chlorotrifluoroethylene) is used.
 When a plastic film or the like is used for the
  基板12には、水蒸気および酸素の透過を防止するためにその表面または裏面に透湿防止層(ガスバリア層)を設けることができる。
  透湿防止層(ガスバリア層)の材料としては、窒化珪素、酸化珪素等の無機物が好適に用いられる。透湿防止層(ガスバリア層)は、例えば、高周波スパッタ法等により形成することができる。
  なお、熱可塑性基板を用いる場合には、更に必要に応じて、ハードコート層、アンダーコート層等を設けてもよい。The
 As the material for the moisture permeation preventing layer (gas barrier layer), inorganic materials such as silicon nitride and silicon oxide are preferably used. The moisture permeation preventing layer (gas barrier layer) can be formed by, for example, a high frequency sputtering method.
 In addition, when using a thermoplastic substrate, you may provide a hard-coat layer, an undercoat layer, etc. further as needed.
  ゲート電極14は、例えば、Al、Mo、Cr、Ta、Ti、Au、またはAg等の金属もしくはそれらの合金、Al−Nd、APC等の合金、酸化錫、酸化亜鉛、酸化インジウム、酸化インジウム錫(ITO)、酸化インジウム亜鉛(IZO)等の金属酸化物導電物質、ポリアニリン、ポリチオフェン、ポリピロ−ル等の有機導電性化合物、またはこれらの混合物を用いて形成される。ゲート電極14としては、TFT特性の信頼性という観点から、Mo、Mo合金またはCrを用いることが好ましい。このゲート電極14の厚さは、例えば、10nm〜1000nmである。  The
  ゲート電極14の形成方法は、特に限定されるものではない。ゲート電極14は、例えば、印刷方式、コ−ティング方式等の湿式方式、真空蒸着法、スパッタ法、イオンプレ−ティング法等の物理的方式、CVD、プラズマCVD法等の化学的方式等を用いて形成される。これらの中から、ゲート電極14を構成する材料との適性を考慮して適宜形成方法が選択される。例えば、MoまたはMo合金を用いてゲート電極14を形成する場合、DCスパッタ法が用いられる。また、ゲート電極14に、有機導電性化合物を用いる場合、湿式製膜法が利用される。  The method for forming the
  ゲート絶縁膜16にはSiO2、SiNx、SiON、Al2O3、YsO3、Ta2O5、もしくはHfO2等の絶縁体、またはそれらの化合物を少なくとも二つ以上含む混晶化合物が用いられる。また、ポリイミドのような高分子絶縁体もゲート絶縁膜16に用いることができる。
  ゲート絶縁膜16の厚さは、10nm〜10μmが好ましい。ゲート絶縁膜16は、リーク電流を減らすため、電圧耐性を上げるために、ある程度膜厚を厚くする必要がある。しかしながら、ゲート絶縁膜16の膜厚を厚くすると、TFT10の駆動電圧の上昇を招く。このため、ゲート絶縁膜16の厚さは、無機絶縁体の場合、50nm〜1000nmであることがより好ましく、高分子絶縁体の場合、0.5μm〜5μmであることがより好ましい。
  なお、HfO2のような高誘電率絶縁体をゲート絶縁膜16に用いた場合、膜厚を厚くしても、低電圧でのトランジスタの駆動が可能であるため、ゲート絶縁膜16には、高誘電率絶縁体を用いることが特に好ましい。The
 The thickness of the
 Note that when a high dielectric constant insulator such as HfO2 is used for the
  ソース電極20aおよびドレイン電極20bは、例えば、Al、Mo、Cr、Ta、Ti、Au、またはAg等の金属もしくはこれらの合金、Al−Nd、APC等の合金、酸化錫、酸化亜鉛、酸化インジウム、酸化インジウム錫(ITO)、酸化インジウム亜鉛(IZO)等の金属酸化物導電物質を用いて形成される。
  ソース電極20aおよびドレイン電極20bとしては、TFT特性の信頼性およびES層30とのエッチングレート比という観点から、MoまたはMo合金を用いることが好ましく、特にMoが好ましい。なお、ソース電極20aおよびドレイン電極20bの厚さは、例えば、10nm〜1000nmである。The
 As the
  ソース電極20aおよびドレイン電極20bは、上述の膜を形成し、フォトリソグラフィー法を用いて、この膜にレジストパターンを形成し、この膜をエッチングすることにより形成される。
  なお、ソース電極20aおよびドレイン電極20bの構成する上述の膜の形成方法は特に限定されるものではない。上述の膜は、例えば、印刷方式、コ−ティング方式等の湿式方式、真空蒸着法、スパッタ法、イオンプレ−ティング法等の物理的方式、CVD、プラズマCVD法等の化学的方式等を用いて形成される。The
 Note that there is no particular limitation on the method of forming the above-described film formed by the
  例えば、ソース電極20aおよびドレイン電極20bを、MoまたはMo合金で形成する場合、例えば、DCスパッタ法を用いて、Mo膜またはMo合金膜が形成される。
  そして、フォトリソグラフィー法を用いて、Mo膜またはMo合金膜にレジストパターンを形成し、エッチング液により、Mo膜またはMo合金膜をエッチングしてソース電極20aおよびドレイン電極20bを形成する。
  エッチング液として、りん酸、酢酸、および硝酸を含む混酸水溶液が用いられる。この混酸水溶液は、例えば、りん酸を70〜75質量%、酢酸を5〜10質量%、硝酸を1〜5質量%を含有し、残部が水である。For example, when the
 Then, using a photolithography method, a resist pattern is formed on the Mo film or the Mo alloy film, and the Mo film or the Mo alloy film is etched with an etchant to form the
 As the etching solution, a mixed acid aqueous solution containing phosphoric acid, acetic acid, and nitric acid is used. This mixed acid aqueous solution contains, for example, 70 to 75% by mass of phosphoric acid, 5 to 10% by mass of acetic acid, 1 to 5% by mass of nitric acid, and the balance is water.
  活性層18は、In、GaおよびZnを含むアモルファス酸化物半導体により構成されるものである。活性層18は、Zn濃度がES層30のZn濃度よりも高い。
  活性層18においては、酸素を除いた原子量全体を100%とした場合、Zn濃度(Zn/(Zn+In+Ga))が20〜50%であることが好ましい。The
 In the
  ES層30は、活性層18がソース電極20aおよびドレイン電極20bの形成時にエッチングされないように保護するものである。このES層30は、In、GaおよびZnを含むアモルファス酸化物により構成されるものである。
  ES層30においては、酸素を除いた原子量全体を100%とした場合において、Zn濃度(Zn/(Zn+In+Ga))が20%未満である。このES層30においては、更にIn濃度(In/(Zn+In+Ga))が40%以上であり、Ga濃度(Ga/(Zn+In+Ga))が37%以上であることが好ましい。The
 In the
  ここでいう活性層18およびES層30におけるZn濃度とは、前述の通り、酸素原子を除いたアモルファス酸化物半導体膜またはアモルファス酸化物膜中に含まれるZn原子量濃度のことを示す。
  活性層18およびES層30におけるZn濃度の計算方法としては、Zn濃度=[アモルファス酸化物半導体膜(アモルファス酸化物膜)中に含まれるZn原子量/(アモルファス酸化物半導体膜(アモルファス酸化物膜)中に含まれるIn原子量+アモルファス酸化物半導体膜(アモルファス酸化物膜)中に含まれるGa原子量+アモルファス酸化物半導体膜(アモルファス酸化物膜)中に含まれるZn原子量)]を用いることができる。活性層18およびES層30におけるIn濃度およびGa濃度についてもZn濃度と同様の定義であり、In濃度およびGa濃度もZn濃度と同様にして求められる。
  なお、アモルファス酸化物半導体膜(アモルファス酸化物膜)中のZn原子量、In原子量およびGa原子量は、XRF(蛍光X線分析)によって求めた値が用いられる。Here, the Zn concentration in the
 The Zn concentration in the
 Note that values obtained by XRF (fluorescence X-ray analysis) are used as the Zn atomic weight, In atomic weight, and Ga atomic weight in the amorphous oxide semiconductor film (amorphous oxide film).
  ES層30におけるZn濃度、In濃度およびGa濃度は、ES層30全体でもよく、ES層30がソース電極20aおよびドレイン電極20bと接触する表面30a部分、または上面における濃度であってもよい。
  なお、ES層30のZn濃度に関しては、5%以上20%未満にすることが好ましい。Zn濃度が5%未満の場合、酸化物半導体膜のアモルファス性が悪くなり、結晶化しやすくなるためである。
  また、ES層30のIn濃度に関しては、40%〜58%であることが好ましく、ES層30のGa濃度に関しては、37%〜55%であることが好ましい。The
 Note that the Zn concentration of the
 The In concentration of the
  上述の混酸水溶液をエッチング液として用いて、MoまたはMo合金からなるソース電極20aおよびドレイン電極20bの形成する際には、ES層30もエッチング液と接触する。この場合、ES層30にエッチング液に対して耐性がないと、ES層30もエッチングされてしまう。このため、本発明では、ES層30がエッチングされないようにES層30の混酸水溶液に対するエッチングレートを低下させている。すなわち、ES層30について、ソース電極20aおよびドレイン電極20bを構成するMoとのエッチングレート比(選択比)を十分に高くしている。  When the
  本発明において、ES層30のZn濃度が20%未満であると、図2に示すように、りん酸、酢酸、および硝酸を含む混酸水溶液に対して、モリブデンとのエッチングレート比が10を超える。このため、ソース電極20aおよびドレイン電極20b形成時において、活性層18のエッチングが抑制される。
  ES層30のGa濃度が37%以上であると、図3に示すように、りん酸、酢酸、および硝酸を含む混酸水溶液に対して、モリブデンとのエッチングレート比が10を超える。このため、ソース電極20aおよびドレイン電極20b形成時において、ES層30のエッチングが抑制される。
  また、ES層30のIn濃度が40%以上であっても、図3に示すように、りん酸、酢酸、および硝酸を含む混酸水溶液に対して、モリブデンとのエッチングレート比が10を超える。このため、ソース電極20aおよびドレイン電極20b形成時において、ES層30のエッチングが抑制される。In the present invention, when the Zn concentration of the
 When the Ga concentration of the
 Even when the In concentration of the
  このように、本発明においては、ES層30の組成を、Zn濃度を20%未満として、混酸水溶液に対するソース電極20aおよびドレイン電極20bとのエッチングレート比を十分に高く、例えば、10を超えるものとしている。これにより、ソース電極20aおよびドレイン電極20bを形成する際、ES層30のエッチングを抑制することができ、エッチングストッパ層としての機能を十分に果たすことができる。
  なお、ES層30の組成について、Zn濃度を20%未満とし、さらにIn濃度を40%以上とし、Ga濃度を37%以上とすることにより、混酸水溶液に対するソース電極20aおよびドレイン電極20bとのエッチングレート比をより十分に高くすることができる。これにより、ES層30のエッチングをより確実に抑制することができる。As described above, in the present invention, the composition of the
 Note that the composition of the
  保護層22は、活性層18、ES層30、ソース電極20aおよびドレイン電極20bを大気による劣化を保護する目的、トランジスタ上に作製される電子デバイスと絶縁する目的ために形成されるものである。
  本実施形態の保護層22は、例えば、感光性アクリル樹脂が窒素雰囲気で加熱硬化処理されて形成されたものである。The
 The
  保護層22は、上述の感光性アクリル樹脂以外に、例えば、MgO、SiO、SiO2、Al2O3、GeO、NiO、CaO、BaO、Fe2O3、Y2O3、Ga2O3またはTiO2等の金属酸化物、SiNx、SiNxOy等の金属窒化物、MgF2、LiF、AlF3、またはCaF2等の金属フッ化物、ポリエチレン、ポリプロピレン、ポリメチルメタクリレート、ポリイミド、ポリウレア、ポリテトラフルオロエチレン、ポリクロロトリフルオロエチレン、ポリジクロロジフルオロエチレン、クロロトリフルオロエチレンとジクロロジフルオロエチレンとの共重合体、テトラフルオロエチレンと少なくとも1種のコモノマーとを含むモノマー混合物を共重合させて得られる共重合体、共重合主鎖に環状構造を有する含フッ素共重合体、吸水率1%以上の吸水性物質、吸水率0.1%以下の防湿性物質等を用いることもできる。The
  保護層22の形成方法は、特に限定されるものではない。保護層22は、例えば、真空蒸着法、スパッタ法、反応性スパッタ法、MBE(分子線エピタキシ)法、クラスターイオンビーム法、イオンプレーティング法、プラズマ重合法(高周波励起イオンプレーティング法)、プラズマCVD法、レーザーCVD法、熱CVD法、ガスソースCVD法、コーティング法、印刷法、または転写法を適用できる。  The method for forming the
  次に、本実施形態のTFT10の製造方法について図4(a)〜(c)に基づいて説明する。
  まず、基板12として、例えば、ガラス基板を用意する。
  次に、基板12の表面12aに、例えば、厚さが40nmのモリブデン膜(図示せず)を、DCスパッタ法を用いて成膜する。
  次に、モリブデン膜上にレジスト膜(図示せず)を形成し、フォトリソグラフィー法を用い、レジストパターンを形成する。
  次に、例えば、りん酸を70〜75質量%、酢酸を5〜10質量%、硝酸を1〜5質量%を含有し、残部が水で構成される混酸水溶液を用いて、モリブデン膜をエッチングする。その後、レジスト膜を剥離する。これにより、図4(a)に示すように、モリブデンからなるゲート電極14が基板12の表面12aに形成される。Next, a manufacturing method of the
 First, for example, a glass substrate is prepared as the
 Next, a molybdenum film (not shown) having a thickness of, for example, 40 nm is formed on the
 Next, a resist film (not shown) is formed on the molybdenum film, and a resist pattern is formed using a photolithography method.
 Next, for example, the molybdenum film is etched using a mixed acid aqueous solution containing 70 to 75% by mass of phosphoric acid, 5 to 10% by mass of acetic acid, 1 to 5% by mass of nitric acid, and the balance being water. To do. Thereafter, the resist film is peeled off. As a result, a
  次に、ゲート電極14を覆うようにして、基板12の表面12aの全面に、ゲート絶縁膜16となるSiO2膜(図示せず)を、例えば、200nmの厚さにRFスパッタ法を用いて形成する。
  次に、SiO2膜の表面に、活性層18となる第1のIGZO膜(図示せず)を、例えば、30nmの厚さにDCスパッタ法を用いて成膜する。
  次に、第1のIGZO膜の表面に、ES層30となる第2のIGZO膜(図示せず)を、例えば、20nmの厚さにDCスパッタ法を用いて圧力0.37Paの条件で成膜する。このように、SiO2膜、第1のIGZO膜および第2のIGZO膜を、その順で基板12上に連続して形成する。Next, an SiO2 film (not shown) to be the
 Next, a first IGZO film (not shown) to be the
 Next, a second IGZO film (not shown) to be the
  次に、第2のIGZO膜上にレジスト膜(図示せず)を形成する。そして、フォトリソグラフィー法を用いてレジストパターンを形成する。そして、例えば、5%シュウ酸水を用いて、第2のIGZO膜と第1のIGZO膜とをエッチングする。その後、レジスト膜を剥離する。これにより、活性層18が形成される。
  次に、第2のIGZO膜上にレジスト膜(図示せず)を形成する。そして、フォトリソグラフィー法を用いてレジストパターンを形成する。そして、例えば、5%シュウ酸水を用いて、第2のIGZO膜のみをエッチングする。その後、レジスト膜を剥離する。これにより、ES層30が形成される。Next, a resist film (not shown) is formed on the second IGZO film. Then, a resist pattern is formed using a photolithography method. Then, for example, the second IGZO film and the first IGZO film are etched using 5% oxalic acid water. Thereafter, the resist film is peeled off. Thereby, the
 Next, a resist film (not shown) is formed on the second IGZO film. Then, a resist pattern is formed using a photolithography method. Then, for example, only the second IGZO film is etched using 5% oxalic acid water. Thereafter, the resist film is peeled off. Thereby, the
  再度、SiO2膜/第1のIGZO膜/第2のIGZO膜上にレジスト膜(図示せず)を形成し、フォトリソグラフィー法を用いて、レジストパターンを形成する。そして、例えば、バッファードフッ酸を用いて、SiO2膜をエッチングする。その後、レジスト膜を剥離する。このようにして、図4(b)に示すように、ES層30、活性層18およびゲート絶縁膜16がパターン形成される。Again, a resist film (not shown) is formed on the SiO2 film / first IGZO film / second IGZO film, and a resist pattern is formed by photolithography. Then, for example, the SiO2 film is etched using buffered hydrofluoric acid. Thereafter, the resist film is peeled off. In this way, as shown in FIG. 4B, the
  なお、活性層18を構成する第1のIGZO膜は、In、GaおよびZnを含みZn濃度が20%以上であり、ES層30よりもZn濃度が高い。
  ES層30を構成する第2のIGZO膜は、In、GaおよびZnを含みZn濃度が20%未満であり、好ましくは、In濃度が40%以上であり、Ga濃度が37%以上である。
  また、第1のIGZO膜、第2のIGZO膜をDCスパッタ法で形成する場合、上述の第1のIGZO膜、第2のIGZO膜の各組成となるように予め組成が調整されたターゲットが用いられる。The first IGZO film constituting the
 The second IGZO film constituting the
 In addition, when the first IGZO film and the second IGZO film are formed by the DC sputtering method, targets whose compositions are adjusted in advance so as to have the respective compositions of the first IGZO film and the second IGZO film described above are used. Used.
  次に、ES層30および活性層18を覆うにようにして、ゲート絶縁膜16の表面16aにソース電極20aおよびドレイン電極20bとなる、例えば、モリブデン膜(図示せず)を、DCスパッタ法を用いて、圧力0.37Paの条件で、100nmの厚さに形成する。
  次に、モリブデン膜上にレジスト膜(図示せず)を形成し、ゲート電極14と同様にフォトリソグラフィー法を用いて、レジストパターンを形成する。その後、例えば、りん酸を70〜75質量%、酢酸を5〜10質量%、硝酸を1〜5質量%を含有し、残部が水で構成される混酸水溶液を用いてモリブデン膜をエッチングする。なお、エッチングは、エッチング時の混酸水溶液の液温が35℃以下で行うことが好ましく、更には液温が15℃〜25℃で行うことがより好ましい。エッチング後、レジスト膜を剥離する。これにより、図4(c)に示すように、ES層30の表面30aの一部および活性層18の表面18aの一部を覆うようにして形成されたソース電極20aおよびドレイン電極20bが得られる。Next, for example, a molybdenum film (not shown) to be the
 Next, a resist film (not shown) is formed on the molybdenum film, and a resist pattern is formed using a photolithography method in the same manner as the
  次に、ES層30、ソース電極20aおよびドレイン電極20bを覆うように、例えば、感光性アクリル樹脂を塗布する。そして、フォトリソグラフィー法を用いて、アクリル樹脂膜をパターン形成する。なお、パターン形成の際のアクリル樹脂の硬化条件は、例えば、温度180℃、30分である。
  次に、窒素雰囲気下で、180℃の温度で、ポストアニ−ルを1時間行う。以上のようにして、図1に示すTFT10を形成することができる。Next, for example, a photosensitive acrylic resin is applied so as to cover the
 Next, post-annealing is performed for 1 hour at a temperature of 180 ° C. in a nitrogen atmosphere. As described above, the
  本実施形態のTFT10において、活性層18の表面18aに活性層18がエッチングをされないように保護するES層30を設けても、ES層30と活性層18とは組成が近いため、活性層18はダメージを受けず低抵抗化もしない。このため、TFT10は、閾値がマイナスにシフトすることもなく良好なTFT動作を示す。
  また、エッチング液に対するソース電極20aおよびドレイン電極20bとES層30とのエッチングレート比を10以上と高くし、ES層30のエッチング耐性を高めている。これにより、ソース電極20aおよびドレイン電極20bを形成する際のエッチング時に下地のES層30のエッチングを低減し、下地の活性層18に何のダメージも与えることがない。このため、良好なTFT特性を示し、かつ信頼性も高いTFT10を面内に均一に形成することができる。In the
 Further, the etching rate ratio of the
  さらには、TFT10の製造工程において、ES層30は、活性層18と同じエッチング液でエッチングが可能であり、エッチングストッパ層としてSiO2膜を用いた場合に比して、ES層30を容易に加工することができる。しかも、ES層30を設けても活性層18はダメージを受けず低抵抗化もしないため、高濃度の酸素雰囲気下でスパッタ法を用いてES層を形成することが不要となり、閾値シフトが小さい信頼性の良いTFTを提供できる。Furthermore, in the manufacturing process of the
  また、TFT10の製造工程においては、レジスト膜の形成、レジストパターン形成、各種膜の形成、保護層22の形成は、いずれも温度が200℃以下でなされる。このように、各工程が200℃以下の温度でなされるため、基板12に、耐熱性が低い、例えば、PET、PEN等を用いることができる。これらのPET、PENは可撓性を有するものであるため、可撓性を有するトランジスタを得ることができる。  In the manufacturing process of the
  次に、第2の実施形態について説明する。
  図5は、本発明の第2の実施形態に係る薄膜電界効果型トランジスタを示す模式的断面図である。
  なお、本実施形態においては、図1に示す第1の実施形態のTFT10と同一構成物には同一符号を付して、その詳細な説明は省略する。Next, a second embodiment will be described.
 FIG. 5 is a schematic sectional view showing a thin film field effect transistor according to the second embodiment of the present invention.
 In this embodiment, the same components as those of the
  図5に示すTFT10aは、図1に示すTFT10に比して、ES層32が活性層18と同一形状である点が異なり、それ以外の構成は図1に示すTFT10と同様の構成である。なお、ES層32は、形状が異なる以外、第1の実施形態のES層30と同じであるため、その詳細な説明は省略する。  The
  次に、本実施形態のTFT10aの製造方法について説明する。
  図6(a)〜(c)は、本発明の第2の実施形態に係る薄膜電界効果型トランジスタの製造方法を工程順に示す模式的断面図である。
  なお、TFT10aの製造方法において、図4(a)〜(c)に示す第1の実施形態のTFT10の製造方法と同じ工程については、その詳細な説明は省略する。Next, a manufacturing method of the
 6A to 6C are schematic cross-sectional views showing a method of manufacturing a thin film field effect transistor according to the second embodiment of the present invention in the order of steps.
 In the manufacturing method of the
  本実施形態のTFT10aの製造方法においては、ES層32の形成工程が、第1の実施形態のTFT10の製造方法と異なる以外、第1の実施形態のTFT10の製造方法と同様の工程である。このため、ES層32の形成工程以外の図6(a)、図6(c)の工程について、その詳細な説明は省略する。  In the manufacturing method of the
  本実施形態のTFT10aの製造方法においては、まず、第1の実施形態と同様にして、図6(a)に示すように、基板12の表面12aにゲート電極14を形成する。
  次に、第1の実施形態と同様にして、ゲート絶縁膜16となるSiO2膜、活性層18となる第1のIGZO膜(図示せず)およびES層32となる第2のIGZO膜(図示せず)の順で、基板12上に連続して形成する。In the manufacturing method of the
 Next, in the same manner as in the first embodiment, the SiO2 film that becomes the
  次に、第2のIGZO膜上にレジスト膜(図示せず)を形成する。そして、フォトリソグラフィー法を用いてレジストパターンを形成した後、第2のIGZO膜および第1のIGZO膜をエッチングする。その後、レジスト膜を剥離する。これにより、ES層32および活性層18が形成される。
  再度、第2のIGZO膜上にレジスト膜(図示せず)を形成し、フォトリソグラフィー法を用いてレジストパターンを形成する。そして、SiO2膜をエッチングする。その後、レジスト膜を剥離する。これにより、図6(b)に示すように、ゲート絶縁膜16の表面16aにES層32および活性層18がパターン形成される。この場合、活性層18の表面18aに形成されたES層32は、活性層18と同じ形状に形成される。Next, a resist film (not shown) is formed on the second IGZO film. Then, after forming a resist pattern using a photolithography method, the second IGZO film and the first IGZO film are etched. Thereafter, the resist film is peeled off. Thereby, the
 Again, a resist film (not shown) is formed on the second IGZO film, and a resist pattern is formed using a photolithography method. Then, the SiO2 film is etched. Thereafter, the resist film is peeled off. As a result, the
  なお、ゲート絶縁膜16、ES層32および活性層18のエッチングは、第1の実施形態と同様にして行うことができる。
  また、ES層32を構成する第2のIGZO膜は、第1の実施形態のES層30を構成する第2のIGZO膜と同じ組成である。
  第1のIGZO膜および第2のIGZO膜は、第1の実施形態と同様に、DCスパッタ法で形成する場合、予め組成が調整されたターゲットが用いられる。Note that the
 Further, the second IGZO film constituting the
 When the first IGZO film and the second IGZO film are formed by a DC sputtering method as in the first embodiment, a target whose composition is adjusted in advance is used.
  次に、第1の実施形態と同様にして、ES層32および活性層18を覆うにようにして、ゲート絶縁膜16の表面16aにソース電極20aおよびドレイン電極20bとなるモリブデン膜(図示せず)を形成する。そして、フォトリソグラフィー法を用いて、レジストパターンを形成する。その後、モリブデン膜を第1の実施形態と成分が同じ混酸水溶液を用いてエッチングする。これにより、図6(c)に示すように、ES層32の表面32aの一部を覆うようにして形成されたソース電極20aおよびドレイン電極20bが得られる。  Next, in the same manner as in the first embodiment, a molybdenum film (not shown) that becomes the
  次に、第1の実施形態と同様にして、ES層32、ソース電極20aおよびドレイン電極20bを覆う保護層22を形成する。以上のようにして、図5に示すTFT10aを形成することができる。
  なお、ES層32および活性層18を1度にまとめて形成したが、これに限定されるものではない。ES層32および活性層18を、それぞれフォトリソグラフィー法を用いてレジストパターンを形成してエッチングすることにより形成してもよい。Next, as in the first embodiment, the
 Although the
  本実施形態においては、ES層32を活性層18と同一形状としても、ES層32が活性層18と組成が近く、ES層32も活性層として機能し、TFTとして動作する。
  また、ES層32を活性層18と同一形状とすることにより、同じマスクで形成されたレジストパターンを用いて、ES層32と活性層18とを形成することができる。これにより、レジストパターンを形成するに必要なマスクの数を減らすことができ、コストを低減することができるとともに、製造工程を簡略化することができる。これにより、生産効率も向上させることができる。In this embodiment, even if the
 Further, by making the
  加えて、本実施形態においては、第1の実施形態のTFT10およびその製造方法と同様の効果を得ることができる。このため、本実施形態のTFT10aは、閾値がマイナスにシフトすることもなく、良好なTFT動作を示す。また、良好なTFT特性を示し、かつ信頼性も高いTFT10aを面内に均一に形成することができる。
  さらに、従来に比して、ES層32を容易形成することができ、しかも、加工も容易にすることができる。
  また、TFT10aの製造工程においても、レジスト膜の形成、レジストパターン形成、各種膜の形成、保護層22の形成は、いずれも温度が200℃以下でなされる。このように、各工程が温度200℃以下でなされるため、PET、PEN等の耐熱性が低い基板12を用いることができる。これにより、可撓性を有するトランジスタを得ることができる。In addition, in this embodiment, the same effects as those of the
 Furthermore, the
 Also in the manufacturing process of the
  次に、第3の実施形態について説明する。
  図7は、本発明の第3の実施形態に係る薄膜電界効果型トランジスタを示す模式的断面図である。
  なお、本実施形態においては、図1に示す第1の実施形態のTFT10と同一構成物には同一符号を付して、その詳細な説明は省略する。Next, a third embodiment will be described.
 FIG. 7 is a schematic cross-sectional view showing a thin film field effect transistor according to the third embodiment of the present invention.
 In this embodiment, the same components as those of the
  図7に示すTFT10bは、一般的に、トップコンタクト型トップゲート構造と呼ばれるものである。このTFT10bは、図1に示すTFT10に比して、ゲート電極14の配置位置とES層30および活性層18ならびにソース電極20aおよびドレイン電極20bの配置位置とが上下で逆になっている点が異なり、それ以外の構成は図1に示すTFT10と同様の構成である。  The
  図7に示すTFT10bは、基板12の表面12aに活性層18が形成されている。この活性層18の表面18aにES層30が形成されている。活性層18の表面18aおよびES層30の表面30aの一部を覆うようにして基板12の表面12aにソース電極20aが形成されている。また、このソース電極20aと対をなすドレイン電極20bが、活性層18の表面18aおよびES層30の表面30aの一部を覆うようにして基板12の表面12aに、ソース電極20aと対向して形成されている。ES層30および活性層18ならびにソース電極20aおよびドレイン電極20bを覆うようにして絶縁膜24が基板12上に形成されている。この絶縁膜24の表面24aにゲート電極14が形成されている。このゲート電極14を覆うようにして、絶縁膜24の表面24aに保護層22が形成されている。
  なお、絶縁膜24は、ES層30および活性層18ならびにソース電極20aおよびドレイン電極20bとゲート電極14とを絶縁するためのものである。絶縁膜24は、図1に示すTFT10のゲート絶縁層16と同様の構成であるため、その詳細な説明は省略する。In the
 The insulating
  次に、本実施形態のTFT10bの製造方法について説明する。
  図8(a)〜(d)は、本発明の第3の実施形態に係る薄膜電界効果型トランジスタの製造方法を工程順に示す模式的断面図である。
  なお、TFT10bの製造方法において、図4(a)〜(c)に示す第1の実施形態のTFT10の製造方法と同じ工程については、その詳細な説明は省略する。Next, a manufacturing method of the
 FIGS. 8A to 8D are schematic cross-sectional views showing a method of manufacturing a thin film field effect transistor according to the third embodiment of the present invention in the order of steps.
 In the manufacturing method of the
  本実施形態のTFT10bの製造方法においては、まず、基板12として、例えば、ガラス基板を用意する。
  次に、基板12の表面12aに、活性層18となる第1のIGZO膜(図示せず)を、例えば、30nmの厚さにDCスパッタ法を用いて成膜する。
  次に、第1のIGZO膜の表面に、ES層30となる第2のIGZO膜(図示せず)を、例えば、20nmの厚さにDCスパッタ法を用いて圧力0.37Paの条件で成膜する。このように、第1のIGZO膜および第2のIGZO膜を連続して形成する。In the manufacturing method of the
 Next, a first IGZO film (not shown) to be the
 Next, a second IGZO film (not shown) to be the
  次に、第2のIGZO膜上にレジスト膜(図示せず)を形成する。そして、フォトリソグラフィー法を用いてレジストパターンを形成した後、第2のIGZO膜および第1のIGZO膜を、例えば、5%シュウ酸水を用いてエッチングする。その後、レジスト膜を剥離する。
  再度、第2のIGZO膜上にレジスト膜(図示せず)を形成し、フォトリソグラフィー法を用いて、レジストパターンを形成する。そして、第2のIGZO膜のみを、例えば、5%シュウ酸水を用いてエッチングする。その後、レジスト膜を剥離する。これにより、図8(a)に示すように、基板12の表面12aに、活性層18が形成され、その表面18aにES層30が形成される。Next, a resist film (not shown) is formed on the second IGZO film. Then, after forming a resist pattern using a photolithography method, the second IGZO film and the first IGZO film are etched using, for example, 5% oxalic acid water. Thereafter, the resist film is peeled off.
 Again, a resist film (not shown) is formed on the second IGZO film, and a resist pattern is formed using a photolithography method. Then, only the second IGZO film is etched using, for example, 5% oxalic acid water. Thereafter, the resist film is peeled off. As a result, as shown in FIG. 8A, the
  次に、ES層30および活性層18を覆うにようにして基板12の表面12aにソース電極20aおよびドレイン電極20bとなる、例えば、モリブデン膜(図示せず)を100nmの厚さに、DCスパッタ法を用いて0.37Paの条件で形成する。
  次に、モリブデン膜上にレジスト膜(図示せず)を形成し、フォトリソグラフィー法を用いてレジストパターンを形成する。そして、第1の実施形態と成分が同じ混酸水溶液を用いてモリブデン膜をエッチングする。エッチング後、レジスト膜を剥離する。これにより、図8(b)に示すように、ES層30の表面30aおよび活性層18の表面18aの一部を覆うようにして形成されたソース電極20aおよびドレイン電極20bが得られる。Next, a
 Next, a resist film (not shown) is formed on the molybdenum film, and a resist pattern is formed using a photolithography method. Then, the molybdenum film is etched using a mixed acid aqueous solution having the same component as that of the first embodiment. After the etching, the resist film is peeled off. Thereby, as shown in FIG. 8B, the
  次に、図8(c)に示すように、活性層18、ソース電極20aおよびドレイン電極20bを覆うように、絶縁膜24となる、例えば、厚さが200nmのSiO2膜(図示せず)をRFスパッタ法を用いて形成する。このSiO2膜上にレジスト膜(図示せず)を形成し、フォトリソグラフィー法を用い、レジストパターンを形成する。そして、例えば、バッファードフッ酸を用いてSiO2膜をエッチングして絶縁膜24を形成する。
  次に、絶縁膜24の表面24aに、例えば、厚さが40nmのゲート電極14となるモリブデン膜(図示せず)を、DCスパッタ法を用いて成膜する。
  次に、モリブデン膜上にレジスト膜(図示せず)を形成し、フォトリソグラフィー法を用い、レジストパターンを形成する。
  次に、第1の実施形態と成分が同じ混酸水溶液を用いて、モリブデン膜をエッチングする。その後、レジスト膜を剥離する。これにより、図8(d)に示すように、モリブデンからなるゲート電極14が絶縁膜24の表面24aに形成される。Next, as shown in FIG. 8C, for example, a SiO2 film (not shown) having a thickness of 200 nm, which becomes the insulating
 Next, for example, a molybdenum film (not shown) to be the
 Next, a resist film (not shown) is formed on the molybdenum film, and a resist pattern is formed using a photolithography method.
 Next, the molybdenum film is etched using a mixed acid aqueous solution having the same components as in the first embodiment. Thereafter, the resist film is peeled off. As a result, a
  次に、ゲート電極14を覆うようにして絶縁膜24の表面24aに、例えば、感光性アクリル樹脂を塗布する。そして、フォトリソグラフィー法を用いて、アクリル樹脂膜をパターン形成する。なお、パターン形成の際のアクリル樹脂の硬化条件は、例えば、温度180℃、30分である。
  次に、窒素雰囲気下で、180℃の温度で、ポストアニ−ルを1時間行う。以上のようにして、図7に示すTFT10bを形成することができる。Next, for example, a photosensitive acrylic resin is applied to the
 Next, post-annealing is performed for 1 hour at a temperature of 180 ° C. in a nitrogen atmosphere. As described above, the
  本実施形態においても、第1の実施形態のTFT10およびその製造方法と同様の効果を得ることができる。このため、本実施形態のTFT10bは、閾値がマイナスにシフトすることもなく、良好なTFT動作を示す。また、良好なTFT特性を示し、かつ信頼性も高いTFT10bを面内に均一に形成することができる。
  さらに、従来に比して、ES層32を容易形成することができ、しかも、加工も容易にすることができる。
  また、本実施形態のTFT10bの製造工程においても、レジスト膜の形成、レジストパターン形成、各種膜の形成、保護層22の形成は、いずれも温度が200℃以下でなされる。このように、各工程が温度200℃以下でなされるため、PET、PEN等の耐熱性が低い基板12を用いることができる。これにより、可撓性を有するTFTを得ることができる。Also in this embodiment, the same effects as those of the
 Furthermore, the
 Also in the manufacturing process of the
  次に、第4の実施形態について説明する。
  図9は、本発明の第4の実施形態に係る薄膜電界効果型トランジスタを示す模式的断面図である。
  なお、本実施形態においては、図7に示す第3の実施形態のTFT10bと同一構成物には同一符号を付して、その詳細な説明は省略する。Next, a fourth embodiment will be described.
 FIG. 9 is a schematic cross-sectional view showing a thin film field effect transistor according to the fourth embodiment of the present invention.
 In this embodiment, the same components as those of the
  図9に示すTFT10cは、図7に示すTFT10bに比して、ES層32が、活性層18と同一形状である点が異なり、それ以外の構成は図7に示すTFT10bと同様の構成である。なお、上述のように、ES層32は、第1の実施形態のES層30と同じ組成である。このため、その詳細な説明は省略する。  The
  次に、本実施形態のTFT10cの製造方法について説明する。
  図10(a)〜(d)は、本発明の第4の実施形態に係る薄膜電界効果型トランジスタの製造方法を工程順に示す模式的断面図である。
  なお、TFT10cの製造方法において、図8(a)〜(d)に示す第3の実施形態のTFT10bの製造方法と同じ工程については、その詳細な説明は省略する。Next, a manufacturing method of the
 10A to 10D are schematic cross-sectional views showing a method of manufacturing a thin film field effect transistor according to the fourth embodiment of the present invention in the order of steps.
 In the manufacturing method of the
  本実施形態のTFT10cの製造方法においては、ES層32の形成工程が、第3の実施形態のTFT10bの製造方法と異なる以外、第3の実施形態のTFT10bの製造方法と同様の工程である。このため、ES層32の形成工程以外の図10(b)〜図10(d)の工程について、その詳細な説明は省略する。  In the manufacturing method of the
  本実施形態のTFT10cの製造方法においては、まず、第3の実施形態と同様にして、基板12の表面12aに活性層18となる第1のIGZO膜(図示せず)と、この第1のIGZO膜の表面にES層32となる第2のIGZO膜(図示せず)を連続して形成する。
  次に、第2のIGZO膜上にレジスト膜(図示せず)を形成する。そして、フォトリソグラフィー法を用いてレジストパターンを形成する。そして、第2のIGZO膜および第1のIGZO膜を、例えば、5%シュウ酸水を用いてエッチングする。その後、レジスト膜を剥離する。これにより、図10(a)に示すように、ES層32および活性層18がパターン形成される。この場合、活性層18の表面18aに形成されたES層32は、活性層18と同じ形状に形成される。In the manufacturing method of the
 Next, a resist film (not shown) is formed on the second IGZO film. Then, a resist pattern is formed using a photolithography method. Then, the second IGZO film and the first IGZO film are etched using, for example, 5% oxalic acid water. Thereafter, the resist film is peeled off. As a result, as shown in FIG. 10A, the
  なお、ES層32を構成する第2のIGZO膜は、第1の実施形態のES層30を構成する第2のIGZO膜と同じ組成である。
  第1のIGZO膜および第2のIGZO膜は、第3の実施形態と同様に、DCスパッタ法で形成する場合、予め組成が調整されたターゲットが用いられる。In addition, the 2nd IGZO film | membrane which comprises the
 As in the third embodiment, when the first IGZO film and the second IGZO film are formed by DC sputtering, a target whose composition is adjusted in advance is used.
  次に、第3の実施形態と同様にして、ES層32および活性層18を覆うにようにして、基板12の表面12aにソース電極20aおよびドレイン電極20bとなるモリブデン膜(図示せず)を形成する。そして、フォトリソグラフィー法を用いて、レジストパターンを形成する。その後、モリブデン膜を、第3の実施形態と同じく、第1の実施形態と成分が同じ混酸水溶液を用いてエッチングする。これにより、図10(b)に示すように、ES層32の表面32aの一部を覆うようにして形成されたソース電極20aおよびドレイン電極20bが得られる。  Next, similarly to the third embodiment, a molybdenum film (not shown) to be the
  次に、第3の実施形態と同様にして、図10(c)に示すように、ES層32、ソース電極20aおよびドレイン電極20bを覆う絶縁膜24を形成する。
  次に、第3の実施形態と同様にして、図10(d)に示すように、絶縁膜24の表面24aにモリブデンからなるゲート電極14を形成し、そして、ゲート電極14を覆うようにして絶縁膜24の表面24aに保護層22を形成する。その後、窒素雰囲気下で180℃の温度で、1時間、ポストアニ−ルを行うことにより、TFT10cを形成することができる。
  なお、ES層32および活性層18を1度にまとめて形成したが、これに限定されるものではない。ES層32および活性層18を、それぞれフォトリソグラフィー法を用いてレジストパターンを形成してエッチングすることにより形成してもよい。Next, as in the third embodiment, as shown in FIG. 10C, an insulating
 Next, as in the third embodiment, as shown in FIG. 10D, the
 Although the
  本実施形態においては、ES層32を活性層18と同一形状としても、ES層32が活性層18と組成が近く、ES層32が活性層として機能し、TFTとして動作する。
  また、ES層32を活性層18と同一形状とすることにより、同じマスクで形成されたレジストパターンを用いて、ES層32と活性層18とを形成することができる。これにより、レジストパターンを形成するに必要なマスクの数を減らすことができ、コストを低減することができるとともに、製造工程を簡略化することができる。これにより、生産効率も向上させることができる。In this embodiment, even if the
 Further, by making the
  加えて、本実施形態においては、第3の実施形態と同様に、第1の実施形態のTFT10およびその製造方法と同様の効果を得ることができる。このため、TFT10cは、閾値がマイナスにシフトすることもなく、良好なTFT動作を示す。また、良好なTFT特性を示し、かつ信頼性も高いTFT10cを面内に均一に形成することができる。
  さらに、従来に比して、ES層32を容易形成することができ、しかも、加工も容易にすることができる。
  また、TFT10cの製造工程においても、レジスト膜の形成、レジストパターン形成、各種膜の形成、保護層22の形成は、いずれも温度が200℃以下でなされる。このように、各工程が温度200℃以下でなされるため、PET、PEN等の耐熱性が低い基板12を用いることができる。これにより、可撓性を有するTFTを得ることができる。In addition, in the present embodiment, similar to the third embodiment, the same effects as those of the
 Furthermore, the
 Also in the manufacturing process of the
本発明は、基本的に以上のようなものである。以上、本発明の薄膜電界効果型トランジスタおよびその製造方法について詳細に説明したが、本発明は上記実施形態に限定されず、本発明の主旨を逸脱しない範囲において、種々の改良または変更をしてもよいのはもちろんである。 The present invention is basically as described above. As described above, the thin film field effect transistor and the manufacturing method thereof according to the present invention have been described in detail. However, the present invention is not limited to the above embodiment, and various improvements or modifications can be made without departing from the gist of the present invention. Of course it is also good.
  以下、本発明の薄膜電界効果型トランジスタの実施例について、具体的に説明する。
  本実施例においては、以下の実施例1、実施例2および比較例1〜比較例3に示すTFTを作製し、各実施例1、実施例2および比較例1〜比較例3のTFTについて評価した。なお、実施例1、実施例2および比較例1〜比較例3のTFTは、図1に示す構成のTFT10を用いた。Examples of the thin film field effect transistor of the present invention will be specifically described below.
 In this example, TFTs shown in the following Example 1, Example 2, and Comparative Examples 1 to 3 were prepared, and the TFTs of Examples 1, Example 2, and Comparative Examples 1 to 3 were evaluated. did. In addition, TFT10 of the structure shown in FIG. 1 was used for TFT of Example 1, Example 2, and Comparative Examples 1-3.
  実施例1、実施例2および比較例1〜比較例3の各TFTは、基本的に上述の図4(a)〜(c)に示す製造方法により製造した。
  実施例1、実施例2、比較例1および比較例2の各TFTにおいて、ゲート電極14については、DCスパッタ法により厚さが40nmのモリブデン膜を形成し、このモリブデン膜にフォトリソグラフィー法を用いてレジストパターンを形成し、りん酸を73質量%、酢酸を7質量%、硝酸を3質量%含有し、残部が水である混酸水溶液(液温35℃)を用いてエッチングして形成した。The TFTs of Example 1, Example 2, and Comparative Examples 1 to 3 were basically manufactured by the manufacturing method shown in FIGS. 4 (a) to 4 (c).
 In each of the TFTs of Example 1, Example 2, Comparative Example 1, and Comparative Example 2, for the
  次に、RFスパッタ法を用いて、ゲート絶縁膜16となる厚さが200nmのSiO2膜を形成する。次に、SiO2膜の表面に、DCスパッタ法を用いて、活性層18となる後述する組成の第1のIGZO膜を30nmの厚さに形成する。この第1のIGZO膜の表面に、DCスパッタ法を用いて、ES層30となる後述する各組成の第2のIGZO膜を30nmの厚さに形成する。そして、第2のIGZO膜上にフォトリソグラフィー法を用いてレジストパターンを形成する。そして、5%シュウ酸水を用いて、第2のIGZO膜および第1のIGZO膜をエッチングして形成した。Next, a 200 nm thick SiO2 film to be the
  活性層18としては、Zn濃度(Zn/In+Ga+Zn)が26.9%、Ga濃度(Ga/In+Ga+Zn)が34.6%、In濃度(In/In+Ga+Zn)が38.5%である第1のIGZO膜を用いた。なお、第1のIGZO膜の濃度分析は、前述のようにXRF分析によって行った。  The
  ES層30については、活性層18を形成した後、第2のIGZO膜上にフォトリソグラフィー法を用いてレジストパターンを形成する。そして、5%シュウ酸水を用いて、第2のIGZO膜のみをエッチングして形成した。
  ゲート絶縁膜16については、SiO2膜/第1のIGZO膜/第2のIGZO膜上にフォトリソグラフィー法を用いてレジストパターンを形成し、バッファードフッ酸を用いてSiO2膜をエッチングして形成した。For the
 For the
  ソース電極20aおよびドレイン電極20bについては、DCスパッタ法を用いて、圧力0.37Paの条件で、モリブデン膜を100nmの厚さに形成する。このモリブデン膜にフォトリソグラフィー法を用いてレジストパターンを形成する。そして、エッチング液として、りん酸を73質量%、酢酸を7質量%、硝酸を3質量%含有し、残部が水である混酸水溶液(液温25℃)を用いてモリブデン膜をエッチングして形成した。  For the
  保護層22については、活性層18、ソース電極20aおよびドレイン電極20bを覆うように、感光性アクリル樹脂(PC405G(JSR株式会社製))を塗布して、フォトリソグラフィー法を用いて、アクリル樹脂膜をパターン形成した。パターン形成の際のアクリル樹脂の硬化条件は、温度180℃、30分である。その後、窒素雰囲気下で180℃の温度で、1時間、ポストアニ−ルを行ってTFT10を形成した。  As for the
  実施例1においては、ES層として、Zn濃度(Zn/In+Ga+Zn)が14.6%、Ga濃度(Ga/In+Ga+Zn)が41.6%、In濃度(In/In+Ga+Zn)が43.8%である第2のIGZO膜を用いた。なお、第2のIGZO膜の濃度分析は、前述のようにXRF分析によって行った。
  実施例1において、上述のエッチング液(りん酸73質量%、酢酸7質量%および硝酸3質量%の混酸水溶液(液温25℃))による、ソース電極、ドレイン電極を構成するモリブデンとのエッチングレート比(IGZO:Mo)は1:13.8である。実施例1は、図2に示す符号Aに相当するものである。In Example 1, the ES layer has a Zn concentration (Zn / In + Ga + Zn) of 14.6%, a Ga concentration (Ga / In + Ga + Zn) of 41.6%, and an In concentration (In / In + Ga + Zn) of 43.8%. A second IGZO film was used. Note that the concentration analysis of the second IGZO film was performed by XRF analysis as described above.
 In Example 1, the etching rate with the above-described etching liquid (molybdic acid aqueous solution of 73% by mass of phosphoric acid, 7% by mass of acetic acid and 3% by mass of nitric acid (liquid temperature 25 ° C.)) with molybdenum constituting the source electrode and the drain electrode. The ratio (IGZO: Mo) is 1: 13.8. Example 1 corresponds to the symbol A shown in FIG.
  実施例2においては、ES層として、Zn濃度(Zn/In+Ga+Zn)が19.2%、Ga濃度(Ga/In+Ga+Zn)が38.8%、In濃度(In/In+Ga+Zn)が42.0%である第2のIGZO膜を用いた。
  実施例2において、上述のエッチング液(りん酸73質量%、酢酸7質量%および硝酸3質量%の混酸水溶液(液温25℃))による、ソース電極、ドレイン電極を構成するモリブデンとのエッチングレート比(IGZO:Mo)は1:10.6である。実施例2は、図2に示す符号Bに相当するものである。In Example 2, the ES layer has a Zn concentration (Zn / In + Ga + Zn) of 19.2%, a Ga concentration (Ga / In + Ga + Zn) of 38.8%, and an In concentration (In / In + Ga + Zn) of 42.0%. A second IGZO film was used.
 In Example 2, the etching rate with the above-described etching liquid (molybdic acid aqueous solution (liquid temperature 25 ° C.) of 73% by mass of phosphoric acid, 7% by mass of acetic acid and 3% by mass of nitric acid) with molybdenum constituting the source electrode and the drain electrode. The ratio (IGZO: Mo) is 1: 10.6. Example 2 corresponds to the symbol B shown in FIG.
  比較例1は、ES層として、厚さが20nmのSiO2膜を用いたものである。比較例1ではES層の構成および形成方法が異なる以外は、実施例1と同じである。比較例1は、ES層を以下のようにして形成した。
  比較例1においては、第1のIGZO膜を形成した後、活性層18をパターン形成した。その後、活性層18を覆うようにしてゲート絶縁膜16の表面16aに、RFスパッタ法を用いて、厚さが20nmのSiO2膜を形成した。次に、SiO2膜上にレジストパターンを形成し、バッファードフッ酸を用いてSiO2膜をエッチングしてES層を形成した。In Comparative Example 1, a SiO2 film having a thickness of 20 nm is used as the ES layer. Comparative Example 1 is the same as Example 1 except that the configuration and formation method of the ES layer are different. In Comparative Example 1, the ES layer was formed as follows.
 In Comparative Example 1, after forming the first IGZO film, the
  比較例2においては、ES層として、Zn濃度(Zn/In+Ga+Zn)が34.7%、Ga濃度(Ga/In+Ga+Zn)が30.3%、In濃度(In/In+Ga+Zn)が35.0%である第2のIGZO膜を用いた。
  比較例2において、上述のエッチング液(りん酸73質量%、酢酸7質量%および硝酸3質量%の混酸水溶液(液温25℃))による、ソース電極、ドレイン電極を構成するモリブデンとのエッチングレート比(IGZO:Mo)は1:3.1である。比較例2は、図2に示す符号Cに相当するものである。In Comparative Example 2, the ES layer has a Zn concentration (Zn / In + Ga + Zn) of 34.7%, a Ga concentration (Ga / In + Ga + Zn) of 30.3%, and an In concentration (In / In + Ga + Zn) of 35.0%. A second IGZO film was used.
 In Comparative Example 2, the etching rate with molybdenum constituting the source electrode and the drain electrode by the above-described etching solution (mixed acid aqueous solution of phosphoric acid 73 mass%, acetic acid 7 mass% and nitric acid 3 mass% (liquid temperature 25 ° C.)). The ratio (IGZO: Mo) is 1: 3.1. Comparative example 2 corresponds to the symbol C shown in FIG.
  比較例3においては、ES層として、Zn濃度(Zn/In+Ga+Zn)が25.1%、Ga濃度(Ga/In+Ga+Zn)が36.5%、In濃度(In/In+Ga+Zn)が35%である第2のIGZO膜を用いた。
  比較例3において、上述のエッチング液(りん酸73質量%、酢酸7質量%および硝酸3質量%の混酸水溶液(液温25℃))による、ソース電極、ドレイン電極を構成するモリブデンとのエッチングレート比(IGZO:Mo)は1:9.0である。比較例3は、図2に示す符号Dに相当するものである。In Comparative Example 3, the ES layer has a Zn concentration (Zn / In + Ga + Zn) of 25.1%, a Ga concentration (Ga / In + Ga + Zn) of 36.5%, and an In concentration (In / In + Ga + Zn) of 35%. IGZO film was used.
 In Comparative Example 3, the etching rate with molybdenum constituting the source electrode and the drain electrode by the above-described etching solution (mixed acid aqueous solution of phosphoric acid 73 mass%, acetic acid 7 mass% and nitric acid 3 mass% (liquid temperature 25 ° C.)) The ratio (IGZO: Mo) is 1: 9.0. Comparative Example 3 corresponds to the symbol D shown in FIG.
  実施例1、実施例2および比較例1〜比較例3のトランジスタについて、それぞれ移動度を測定した。その結果、実施例1、2は、移動度が10cm2/Vs以上であり、TFT特性の均一性が良好なTFTであった。
  一方、比較例1は、ES層を形成する際のエッチングにより、下地の活性層もエッチングされてしまい、ソース電極、ドレイン電極とのコンタクトが不充分となり、オン電流が悪化し、信頼性試験でも実施例1、2よりも劣る結果となった。
  また、比較例2はES層が機能せず、ソース電極、ドレイン電極の形成時のエッチングにより活性層が消滅し、TFTを形成することができず、TFT動作はしなかった。比較例3は、ES層機能が不充分であり、TFT動作はしたもののTFT特性の面内均一性が悪かった。For the transistors of Example 1, Example 2, and Comparative Examples 1 to 3, the mobility was measured. As a result, Examples 1 and 2 were TFTs having a mobility of 10 cm2 / Vs or more and good uniformity in TFT characteristics.
 On the other hand, in Comparative Example 1, the underlying active layer is also etched due to the etching at the time of forming the ES layer, the contact with the source electrode and the drain electrode becomes insufficient, the on-current is deteriorated, and the reliability test is performed. The results were inferior to those of Examples 1 and 2.
 In Comparative Example 2, the ES layer did not function, the active layer disappeared by etching during formation of the source electrode and the drain electrode, the TFT could not be formed, and the TFT operation was not performed. In Comparative Example 3, the ES layer function was insufficient, and although the TFT operation was performed, the in-plane uniformity of TFT characteristics was poor.
  本実施例においては、以下の実施例3および比較例4に示すTFTを作製し、各実施例3および比較例4のTFTについて評価した。なお、実施例3および比較例4のTFTは、図5に示す構成のTFT10aを用いた。
  本実施例においては、第1の実施例に比して、ES層と活性層とを同一形状とした以外は、第1の実施例と同様であるため、その詳細な説明は省略する。In this example, TFTs shown in the following Example 3 and Comparative Example 4 were produced, and the TFTs of Examples 3 and Comparative Example 4 were evaluated. As the TFTs of Example 3 and Comparative Example 4, the
 This embodiment is the same as the first embodiment except that the ES layer and the active layer have the same shape compared to the first embodiment, and therefore detailed description thereof is omitted.
実施例3においては、ES層と活性層とを同一形状としたものである。この実施例3は、ES層と活性層とを同一形状とした以外は、第1の実施例の実施例1と同じである。 In Example 3, the ES layer and the active layer have the same shape. Example 3 is the same as Example 1 of the first example except that the ES layer and the active layer have the same shape.
比較例4においては、ES層と活性層とを同一形状としたものである。この比較例4は、ES層と活性層とを同一形状とした以外は、第1の実施例の比較例1と同じである。 In Comparative Example 4, the ES layer and the active layer have the same shape. Comparative Example 4 is the same as Comparative Example 1 of the first example except that the ES layer and the active layer have the same shape.
  実施例3、および比較例4のTFTについて、それぞれ移動度を測定した。その結果、実施例3は、移動度が10cm2/Vs以上であり、TFT特性の均一性が良好なTFTであった。一方、比較例4はTFT動作を示さなかった。
  なお、実施例3は、ES層と活性層を同一のマスクで形成できるため、マスク数を低減でき、コスト低減が可能となる。For the TFTs of Example 3 and Comparative Example 4, the mobility was measured. As a result, Example 3 was a TFT having a mobility of 10 cm2 / Vs or higher and good uniformity in TFT characteristics. On the other hand, Comparative Example 4 did not show TFT operation.
 In Example 3, since the ES layer and the active layer can be formed using the same mask, the number of masks can be reduced and the cost can be reduced.
  10、10a  薄膜電界効果型トランジスタ(TFT)
  12  基板
  14  ゲート電極
  16  ゲート絶縁膜
  18  活性層
  20a  ソース電極
  20bドレイン電極
  22  保護層
  24  絶縁膜
  30、32  エッチングストッパ層(ES層)10, 10a Thin film field effect transistor (TFT)
 DESCRIPTION OF
| Application Number | Priority Date | Filing Date | Title | 
|---|---|---|---|
| JP2010083990AJP5496745B2 (en) | 2010-03-31 | 2010-03-31 | Thin film field effect transistor and method of manufacturing the same | 
| TW100108322ATWI515909B (en) | 2010-03-31 | 2011-03-11 | Thin film field effect transistor and manufacturing method thereof | 
| KR1020110028906AKR101811257B1 (en) | 2010-03-31 | 2011-03-30 | Thin-film field effect transistor and method for manufacturing the same | 
| Application Number | Priority Date | Filing Date | Title | 
|---|---|---|---|
| JP2010083990AJP5496745B2 (en) | 2010-03-31 | 2010-03-31 | Thin film field effect transistor and method of manufacturing the same | 
| Publication Number | Publication Date | 
|---|---|
| JP2011216694A JP2011216694A (en) | 2011-10-27 | 
| JP2011216694A5 JP2011216694A5 (en) | 2012-09-06 | 
| JP5496745B2true JP5496745B2 (en) | 2014-05-21 | 
| Application Number | Title | Priority Date | Filing Date | 
|---|---|---|---|
| JP2010083990AActiveJP5496745B2 (en) | 2010-03-31 | 2010-03-31 | Thin film field effect transistor and method of manufacturing the same | 
| Country | Link | 
|---|---|
| JP (1) | JP5496745B2 (en) | 
| KR (1) | KR101811257B1 (en) | 
| TW (1) | TWI515909B (en) | 
| Publication number | Priority date | Publication date | Assignee | Title | 
|---|---|---|---|---|
| JPH0716292B2 (en)* | 1988-08-12 | 1995-02-22 | 株式会社テック | Wire drive | 
| US9082861B2 (en)* | 2011-11-11 | 2015-07-14 | Semiconductor Energy Laboratory Co., Ltd. | Transistor with oxide semiconductor channel having protective layer | 
| TWI483344B (en)* | 2011-11-28 | 2015-05-01 | Au Optronics Corp | Array substrate and manufacturing method thereof | 
| KR20130117558A (en) | 2012-04-18 | 2013-10-28 | 삼성디스플레이 주식회사 | Thin film transistor, thin film transistor array panel and manufacturing method for a thin film transistor array panel | 
| KR20140043526A (en) | 2012-09-21 | 2014-04-10 | 삼성디스플레이 주식회사 | Thin film transistor array and method of manufacturing the same | 
| TWI620323B (en)* | 2012-11-16 | 2018-04-01 | 半導體能源研究所股份有限公司 | Semiconductor device | 
| TWI661553B (en) | 2012-11-16 | 2019-06-01 | 日商半導體能源研究所股份有限公司 | Semiconductor device | 
| TWI624949B (en) | 2012-11-30 | 2018-05-21 | 半導體能源研究所股份有限公司 | Semiconductor device | 
| KR102169571B1 (en)* | 2014-03-31 | 2020-10-23 | 동우 화인켐 주식회사 | Manufacturing method of an array substrate for liquid crystal display | 
| JP6607013B2 (en) | 2015-12-08 | 2019-11-20 | 株式会社リコー | Field effect transistor, display element, image display device, and system | 
| CN107104138B (en) | 2016-02-19 | 2021-04-27 | 硅显示技术有限公司 | oxide semiconductor transistor | 
| WO2018016456A1 (en) | 2016-07-20 | 2018-01-25 | Ricoh Company, Ltd. | Field-effect transistor, method for producing the same, display element, image display device, and system | 
| JP2018022879A (en) | 2016-07-20 | 2018-02-08 | 株式会社リコー | FIELD EFFECT TRANSISTOR, MANUFACTURING METHOD THEREOF, DISPLAY ELEMENT, IMAGE DISPLAY DEVICE, AND SYSTEM | 
| CN111725238B (en)* | 2019-03-19 | 2023-08-15 | 群创光电股份有限公司 | Operating module with transistor elements | 
| CN112234072B (en)* | 2020-09-30 | 2024-05-14 | 福建华佳彩有限公司 | A flexible TFT array substrate structure and manufacturing method thereof | 
| Publication number | Priority date | Publication date | Assignee | Title | 
|---|---|---|---|---|
| KR100785038B1 (en)* | 2006-04-17 | 2007-12-12 | 삼성전자주식회사 | Amorphous ZnO based Thin Film Transistor | 
| JPWO2009034953A1 (en) | 2007-09-10 | 2010-12-24 | 出光興産株式会社 | Thin film transistor | 
| JP5489446B2 (en) | 2007-11-15 | 2014-05-14 | 富士フイルム株式会社 | Thin film field effect transistor and display device using the same | 
| JP2009130209A (en)* | 2007-11-26 | 2009-06-11 | Fujifilm Corp | Radiation imaging device | 
| JP5250322B2 (en)* | 2008-07-10 | 2013-07-31 | 富士フイルム株式会社 | Metal oxide film, method for manufacturing the same, and semiconductor device | 
| JP5345456B2 (en) | 2008-08-14 | 2013-11-20 | 富士フイルム株式会社 | Thin film field effect transistor | 
| Publication number | Publication date | 
|---|---|
| TW201140850A (en) | 2011-11-16 | 
| KR101811257B1 (en) | 2017-12-21 | 
| KR20110110021A (en) | 2011-10-06 | 
| TWI515909B (en) | 2016-01-01 | 
| JP2011216694A (en) | 2011-10-27 | 
| Publication | Publication Date | Title | 
|---|---|---|
| JP5496745B2 (en) | Thin film field effect transistor and method of manufacturing the same | |
| JP5345456B2 (en) | Thin film field effect transistor | |
| JP5258475B2 (en) | Thin film field effect transistor | |
| JP5467728B2 (en) | Thin film field effect transistor and method of manufacturing the same | |
| US8513661B2 (en) | Thin film transistor having specified transmittance to light | |
| US7943985B2 (en) | Oxide semiconductor thin film transistors and fabrication methods thereof | |
| KR101792258B1 (en) | Thin film transistor and method for manufacturing the same | |
| US20090278120A1 (en) | Thin Film Transistor | |
| JP5339792B2 (en) | Thin film field effect transistor, method of manufacturing the same, and display device using the same | |
| JP5647860B2 (en) | Thin film transistor and manufacturing method thereof | |
| JP5512144B2 (en) | Thin film transistor and manufacturing method thereof | |
| KR20210043553A (en) | Oxide semiconductor thin film transistor and method of manufacturing the same | |
| JP2010123913A (en) | Thin-film transistor and method of manufacturing the same | |
| JP5274165B2 (en) | Thin film field effect transistor and method of manufacturing the same | |
| JP5523896B2 (en) | Thin film transistor and manufacturing method thereof | |
| JP5548500B2 (en) | Method for manufacturing thin film field effect transistor | |
| JP5523897B2 (en) | Thin film transistor and manufacturing method thereof | |
| JP2010045159A (en) | Thin film field effect transistor and process of fabricating the same | |
| JP5489435B2 (en) | Thin film field effect transistor | |
| US12446245B2 (en) | Method for manufacturing oxide semiconductor thin film transistor | |
| KR100974887B1 (en) | Transparent thin film transistor with polymer protective film and method for manufacturing same | |
| TW201436231A (en) | Thin film field effect transistor | |
| US20220140114A1 (en) | Method for manufacturing oxide semiconductor thin film transistor | |
| JP2010045243A (en) | Thin film field effect transistor and process of fabricating the same | |
| JP2010021264A (en) | Thin film field effect transistor | 
| Date | Code | Title | Description | 
|---|---|---|---|
| A521 | Request for written amendment filed | Free format text:JAPANESE INTERMEDIATE CODE: A523 Effective date:20120725 | |
| A621 | Written request for application examination | Free format text:JAPANESE INTERMEDIATE CODE: A621 Effective date:20120725 | |
| A977 | Report on retrieval | Free format text:JAPANESE INTERMEDIATE CODE: A971007 Effective date:20131225 | |
| A131 | Notification of reasons for refusal | Free format text:JAPANESE INTERMEDIATE CODE: A131 Effective date:20140107 | |
| A521 | Request for written amendment filed | Free format text:JAPANESE INTERMEDIATE CODE: A523 Effective date:20140204 | |
| TRDD | Decision of grant or rejection written | ||
| A01 | Written decision to grant a patent or to grant a registration (utility model) | Free format text:JAPANESE INTERMEDIATE CODE: A01 Effective date:20140225 | |
| A61 | First payment of annual fees (during grant procedure) | Free format text:JAPANESE INTERMEDIATE CODE: A61 Effective date:20140305 | |
| R150 | Certificate of patent or registration of utility model | Ref document number:5496745 Country of ref document:JP Free format text:JAPANESE INTERMEDIATE CODE: R150 | |
| R250 | Receipt of annual fees | Free format text:JAPANESE INTERMEDIATE CODE: R250 | |
| R250 | Receipt of annual fees | Free format text:JAPANESE INTERMEDIATE CODE: R250 | |
| R250 | Receipt of annual fees | Free format text:JAPANESE INTERMEDIATE CODE: R250 | |
| R250 | Receipt of annual fees | Free format text:JAPANESE INTERMEDIATE CODE: R250 | |
| R250 | Receipt of annual fees | Free format text:JAPANESE INTERMEDIATE CODE: R250 | |
| R250 | Receipt of annual fees | Free format text:JAPANESE INTERMEDIATE CODE: R250 | |
| S111 | Request for change of ownership or part of ownership | Free format text:JAPANESE INTERMEDIATE CODE: R313113 | |
| R350 | Written notification of registration of transfer | Free format text:JAPANESE INTERMEDIATE CODE: R350 | |
| R250 | Receipt of annual fees | Free format text:JAPANESE INTERMEDIATE CODE: R250 | |
| R250 | Receipt of annual fees | Free format text:JAPANESE INTERMEDIATE CODE: R250 | |
| R250 | Receipt of annual fees | Free format text:JAPANESE INTERMEDIATE CODE: R250 |