












本発明は光受信モジュールに関し、特に、光通信で用いられる光受信モジュールに含まれる高周波回路に関する。 The present invention relates to an optical receiver module, and more particularly to a high-frequency circuit included in an optical receiver module used in optical communication.
光通信に用いられる光受信モジュールは、入射された信号光を光電変換する受光素子、および、その受光素子から出力された電気信号を増幅するアンプ等を備えている。フォトダイオード(PD)が受光素子としては一般的に用いられる。 An optical receiving module used for optical communication includes a light receiving element that photoelectrically converts incident signal light, an amplifier that amplifies an electric signal output from the light receiving element, and the like. A photodiode (PD) is generally used as a light receiving element.
10Gbpsを超える帯域を有する高周波信号を変換する場合、従来の強度変調方式によるオンオフ変調(ON/OFF keying)では、低ノイズであり、かつ、10GHz以上の高周波領域まで発振することなく平坦な周波数特性を持つように光受信モジュールを構成することが重要となる。高周波特性を改善する方式は、たとえば以下の文献に開示されている。 When converting a high-frequency signal having a band exceeding 10 Gbps, on-off modulation (ON / OFF keying) using a conventional intensity modulation method has low noise and flat frequency characteristics without oscillating up to a high-frequency region of 10 GHz or more. It is important to configure the optical receiving module to have Methods for improving the high-frequency characteristics are disclosed in, for example, the following documents.
特許文献1(特許第4139594号公報)に開示された光信号受信モジュールは、以下の構成を有する。すなわち、アンプのグランド電極が受光素子のバイアス電圧入力端子に接続され、チップキャリアが経路に含まれないようにして、受光素子とアンプの初段トランジスタとの間で電流ループが形成される。あるいは、所定容量のコンデンサを介してグランド電極に接続したサブグランド電極がアンプに設けられる。このような構成によって電流ループの電気長が短くなるため、ノイズによる発振を防止できるとともに高周波特性に優れた光受信モジュールを得ることができる。 The optical signal receiving module disclosed in Patent Document 1 (Japanese Patent No. 4139594) has the following configuration. That is, the ground electrode of the amplifier is connected to the bias voltage input terminal of the light receiving element, and the chip carrier is not included in the path so that a current loop is formed between the light receiving element and the first stage transistor of the amplifier. Alternatively, a sub-ground electrode connected to the ground electrode via a capacitor having a predetermined capacity is provided in the amplifier. With this configuration, the electrical length of the current loop is shortened, so that it is possible to obtain an optical receiver module that can prevent oscillation due to noise and has excellent high-frequency characteristics.
特許文献2(特開平10−233741号公報)に開示された光受信モジュールは、以下の構成を有する。すなわち、フォトダイオードのアノード電極側およびカソード電極側にそれぞれ設けられたコイルと、フォトダイオードの容量等とにより共振回路が構成される。前記容量等によって、高周波領域では電流の振幅周波数特性の低下が補償される。これにより、高周波特性の優れた光受信モジュールを得ることが可能になる。 The optical receiver module disclosed in Patent Document 2 (Japanese Patent Laid-Open No. 10-233741) has the following configuration. That is, a resonance circuit is configured by the coils provided on the anode electrode side and the cathode electrode side of the photodiode, the capacitance of the photodiode, and the like. The capacitance or the like compensates for a decrease in current amplitude frequency characteristic in a high frequency region. This makes it possible to obtain an optical receiver module with excellent high frequency characteristics.
特許文献3(特開2002−319698号公報)は、以下の構成を有するフォトダイオードを開示する。第1導電型半導体層上に、第1導電型分離拡散層により複数に分割された第2導電型半導体層が積層され、隣接する第2導電型半導体層の領域に、受光素子部および信号処理回路素子部がそれぞれ設けられる。該受光素子部の一方の電極が該第1導電型半導体層の下面に、該受光素子部の他方の電極が該第2導電型半導体層上に設けられる。このような構造によってフォトダイオードのアノード部の直列抵抗が低下するので、応答速度の速いフォトダイオードを実現できる。 Patent Document 3 (Japanese Patent Laid-Open No. 2002-319698) discloses a photodiode having the following configuration. On the first conductive type semiconductor layer, a second conductive type semiconductor layer divided into a plurality by the first conductive type separation diffusion layer is laminated, and in the region of the adjacent second conductive type semiconductor layer, the light receiving element portion and the signal processing A circuit element portion is provided. One electrode of the light receiving element portion is provided on the lower surface of the first conductive type semiconductor layer, and the other electrode of the light receiving element portion is provided on the second conductive type semiconductor layer. With such a structure, the series resistance of the anode part of the photodiode is reduced, so that a photodiode with a high response speed can be realized.
  特許文献1に開示の構成によれば、PDとアンプとによって形成するループの電気長を短縮することによって発振を防止できる。また、特許文献2および特許文献3に開示された構成によれば、より高い周波数まで利得の周波数特性を平坦化することができるため、光受信モジュールは広帯域の信号を受信できる。  According to the configuration disclosed in
しかしながら、位相変調方式あるいはデジタルコヒーレント方式といったような、受信感度に優れた次世代の変調方式では、上記の特性に加えて、出力の線形性および群遅延特性も要求される。さらに、このような次世代の変調方式では、複数の信号光を同時に受信するバランス受信が行なわれるので、複数の受光部および複数のアンプを有する多チャンネル型の光受信モジュールが必要となる。このように複数の受光部および複数のアンプを有する光受信モジュールの場合には、複数のチャネル間で高周波特性を一致させることが求められる。 However, next-generation modulation schemes with excellent reception sensitivity, such as phase modulation schemes or digital coherent schemes, require output linearity and group delay characteristics in addition to the above characteristics. Further, in such a next-generation modulation system, balanced reception is performed in which a plurality of signal lights are received simultaneously, so that a multi-channel type optical receiver module having a plurality of light receiving units and a plurality of amplifiers is required. Thus, in the case of an optical receiver module having a plurality of light receiving units and a plurality of amplifiers, it is required to match the high frequency characteristics among a plurality of channels.
  従来の光受信モジュールでは、平坦な周波数特性を得ようとした場合、アンプの信号入力電極において発生する反射と、PD素子あるいは配線のもつ寄生容量および寄生インダクタンスとによって、PD素子1の周辺回路とアンプとの間に意図しない共振が発生することが起こりうる。なお、この明細書では、「共振」とは、特定周波数の高周波信号が閉じ込められる現象を意味する。  In the conventional optical receiver module, when a flat frequency characteristic is to be obtained, the peripheral circuit of the
図11は、共振が発生した場合に特定周波数付近において群遅延の遅れが生じることを示した図である。図11は、16GHz付近の周波数において群遅延の遅れが生じることを示している。共振が発生した場合には、光受信モジュールから出力される信号の波形が劣化するという問題が生じる。 FIG. 11 is a diagram showing that a group delay is caused in the vicinity of a specific frequency when resonance occurs. FIG. 11 shows that a delay of group delay occurs at a frequency near 16 GHz. When resonance occurs, there arises a problem that the waveform of the signal output from the optical receiving module deteriorates.
図12は、共振による信号の劣化を説明するための模式的な波形図である。図12(a)はアンプの入力信号の成分を説明するための波形図である。図12(a)に示されるように、入力信号は、共振周波数付近の周波数をもつ高周波成分W1と、他の周波数(共振周波数よりも低い周波数)をもつ高周波成分W2とを含む。共振が発生した場合には、光受信モジュールから出力される電圧信号において、共振周波数付近の周波数をもつ高周波成分と他の周波数をもつ高周波成分との間に群遅延差が発生する。 FIG. 12 is a schematic waveform diagram for explaining signal degradation due to resonance. FIG. 12A is a waveform diagram for explaining components of the input signal of the amplifier. As shown in FIG. 12A, the input signal includes a high frequency component W1 having a frequency near the resonance frequency and a high frequency component W2 having another frequency (a frequency lower than the resonance frequency). When resonance occurs, in the voltage signal output from the optical receiver module, a group delay difference occurs between a high frequency component having a frequency near the resonance frequency and a high frequency component having another frequency.
図12(b)は、群遅延差がない場合の光受信モジュールの出力信号のアイパターンを模式的に示した図である。図12(c)は、群遅延差がある場合の光受信モジュールの出力信号のアイパターンを模式的に示した図である。図12(b)および図12(c)に示されるように、大きな共振が発生した場合、その共振の周波数に近い周波数を有する高周波成分は、他の周波数を有する高周波成分と異なるタイミングで光受信モジュールから出力される。したがって、図12(c)に示されるようにアイパターンの開口が狭まる。 FIG. 12B is a diagram schematically showing an eye pattern of the output signal of the optical receiving module when there is no group delay difference. FIG. 12C is a diagram schematically showing an eye pattern of the output signal of the optical receiving module when there is a group delay difference. As shown in FIGS. 12B and 12C, when a large resonance occurs, a high frequency component having a frequency close to the frequency of the resonance is optically received at a timing different from that of other high frequency components. Output from the module. Accordingly, as shown in FIG. 12C, the opening of the eye pattern is narrowed.
  特許文献1(特許第4139594号公報)の発明は、発振を抑制することに向けられたものである。すなわち特許文献1の発明の目的は、アンプのノイズが電流ループを経由してアンプに再度入力されることにより増幅されることを防止することである。このため、特許文献1の発明は、上記の共振を十分に防ぐことができない可能性がある。  The invention of Patent Document 1 (Japanese Patent No. 4139594) is directed to suppressing oscillation. That is, an object of the invention of
一方、上記の多チャンネルモジュールでは、光ファイバに結合される光学系の要求から、PD素子において、複数の受光部を数百μm以下の間隔で近接して配置する必要がある。その一方で、ワイヤの寄生インダクタンスによる周波数特性の低下を避けるために、ワイヤ長が制限される。このため、多数のアンプおよびチップコンデンサをPD素子の周囲に実装しなければならない。 On the other hand, in the multi-channel module described above, due to the requirement of an optical system coupled to an optical fiber, it is necessary to arrange a plurality of light receiving portions close to each other at intervals of several hundred μm or less in the PD element. On the other hand, the wire length is limited in order to avoid a decrease in frequency characteristics due to the parasitic inductance of the wire. For this reason, a large number of amplifiers and chip capacitors must be mounted around the PD element.
このような理由によって、すべてのチャンネルで同一形状の電極あるいは同一長さの配線を使用することは困難である。図13に示されるように、電極の長さが異なる場合には、チャンネルの間で利得の周波数特性に差が生じるという課題がある。 For this reason, it is difficult to use electrodes having the same shape or wiring having the same length in all channels. As shown in FIG. 13, when the lengths of the electrodes are different, there is a problem that a difference occurs in the frequency characteristics of the gain between the channels.
本発明の目的は、周波数特性に優れた光受信モジュールを提供することである。 An object of the present invention is to provide an optical receiver module having excellent frequency characteristics.
本発明は要約すれば、光受信モジュールであって、バイアス電圧が印加されることにより信号光を電気信号に変換する受光素子と、バイアス電圧の変動を抑制するための電圧安定回路と、受光素子から出力された電気信号を増幅する増幅回路と、受光素子と電圧安定回路との間に接続されて、増幅回路の入力端で生じる反射による共振を減衰させる抵抗器とを備える。 In summary, the present invention is an optical receiver module, a light receiving element that converts signal light into an electrical signal when a bias voltage is applied, a voltage stabilizing circuit for suppressing fluctuations in the bias voltage, and a light receiving element. An amplifying circuit for amplifying the electric signal output from the signal line, and a resistor connected between the light receiving element and the voltage stabilizing circuit for attenuating the resonance caused by reflection occurring at the input end of the amplifying circuit.
この発明によれば、周波数特性に優れた光受信モジュールを実現することができる。 According to the present invention, an optical receiver module having excellent frequency characteristics can be realized.
以下、この発明の実施の形態について図面を参照して詳しく説明する。なお、同一または相当する部分には同一の参照符号を付して、その説明を繰返さない。 Hereinafter, embodiments of the present invention will be described in detail with reference to the drawings. The same or corresponding parts are denoted by the same reference numerals, and description thereof will not be repeated.
  [実施の形態1]
  図1は、本発明の実施の形態1による光受信モジュールの構成を示す斜視図である。図2は、図1に示した光受信モジュールの上面図である。[Embodiment 1]
 FIG. 1 is a perspective view showing a configuration of an optical receiver module according to
  図1および図2を参照して、光受信モジュール100は、4チャンネルの光受信モジュールとして構成され、4つの信号光を受信可能である。ただし、実施の形態1による光受信モジュールは、より多くのチャンネルを有する光受信モジュールとして構成されてもよい。実施の形態1による光受信モジュールは、光通信システムの受信側で用いられるものであり、光ファイバ(図示せず)から入力された光信号を電気信号に変換する機能を有する。  With reference to FIG. 1 and FIG. 2, the
  光受信モジュール100は、PD素子1と、アンプIC(Integrated Circuits)2a,2bと、チップコンデンサ3a〜3dと、薄膜抵抗基板5a〜5dと、ワイヤ31a〜31d,41a〜41d,42a〜42dとを有する。PD素子1およびアンプIC2a,2bは、半導体チップにより構成される。アンプIC2a,2bは、PD素子1からの電気信号を増幅する増幅回路として機能する。チップコンデンサ3a〜3dは、バイアス電圧の変動を抑制する電圧安定回路として機能する。薄膜抵抗基板5a〜5dは、増幅回路(アンプIC2a,2b)の入力端で生じる反射による共振を減衰させる抵抗器として機能する。  The
  アンプIC2a,2bは、PD素子1の両側に配置される。すなわち、アンプIC2aはPD素子1の外周14dと対向し、アンプIC2bはPD素子1の外周14bと対向する。なお、アンプIC2a,2bは、PD素子1を挟んで点対称に配置される。  The
  薄膜抵抗基板5a,5bおよびチップコンデンサ3a,3bは、アンプIC2a,2bとは対向していないPD素子1の外周14aの近傍に配置される。同じく、薄膜抵抗基板5c,5dおよびチップコンデンサ3c,3dは、アンプIC2a,2bとは対向していないPD素子1の外周14cの近傍に配置される。薄膜抵抗基板5a,5bおよびチップコンデンサ3a,3bの組と、薄膜抵抗基板5c,5dおよびチップコンデンサ3c,3dの組とは、PD素子1の主表面に対して点対称に配置される。  The thin
  なお、チップコンデンサ3a,3bは、PD素子1に対して薄膜抵抗基板5a,5bの外側に配置される。チップコンデンサ3c,3dは、PD素子1に対して薄膜抵抗基板5c,5dの外側に配置される。  Note that the
  PD素子1は、4つの受光部(11a〜11d)を有する。受光部11a〜11dは、所定の間隔(たとえば100μm〜数百μm)でPD素子1に一列に形成される。  The
  PD素子1は、さらに、アノード電極12a〜12dと、カソード電極13a〜13dとを有する。カソード電極13a〜13dは、受光部11a〜11dにそれぞれ接続される。カソード電極13a,13bは、対応する受光部からPD素子1の外周14aの近傍まで引き出されたパターンを有する。カソード電極13c,13dは、対応の受光部からPD素子1の外周14cの近傍まで引き出されたパターンを有する。  The
  カソード電極13aは、ワイヤ41aを通じて薄膜抵抗基板5aに接続される。薄膜抵抗基板5aは、ワイヤ31aを通じてチップコンデンサ3aに接続される。同様に、カソード電極13b〜13dは、それぞれワイヤ41b〜41dを通じて薄膜抵抗基板5b〜5dに接続される。薄膜抵抗基板5b〜5dは、それぞれワイヤ31b〜31dを通じてチップコンデンサ3b〜3dに接続される。チップコンデンサ3a〜3dの各々にはバイアス電圧が印加される。  The
  アノード電極12a〜12dは、受光部11a〜11dにそれぞれ接続される。アノード電極12a,12bは、対応の受光部からPD素子1の外周14bまで引き出された直線状のパターンを有する。アノード電極12c,12dは、対応の受光部からPD素子1の外周14cまで引き出された直線状のパターンを有する。  The
  アンプIC2a,2bの各々は、差動型アンプであり、2つの信号入力電極を有する。PD素子1のアノード電極12a,12bは、それぞれワイヤ42a,42bを通じてアンプIC2aの信号入力電極21a,21bに接続される。PD素子1のアノード電極12c,12dは、それぞれワイヤ42c,42dを通じて、増幅器としてのアンプIC2bの信号入力電極21c,21dに接続される。  Each of the
  図3は、本発明の実施の形態1による光受信モジュールの1チャネルに対応する部分の等価回路図である。図3を参照して、PD素子1のカソード電極13aは、ワイヤ41aを介して抵抗素子としての薄膜抵抗基板5aに接続される。薄膜抵抗基板5aは、ワイヤ31aを通じてチップコンデンサ3aに接続される。  FIG. 3 is an equivalent circuit diagram of a portion corresponding to one channel of the optical receiver module according to
  外部より供給されたバイアス電圧(PDバイアス)は、チップコンデンサ3a、ワイヤ31a、薄膜抵抗基板5a、ワイヤ41aを通じてPD素子1のカソード電極13aに印加される。チップコンデンサ3aはバイパスコンデンサとして機能し、バイアス電圧の変動に起因するノイズを抑制する機能を果たす。  A bias voltage (PD bias) supplied from the outside is applied to the
  受光部11aは、入射した信号光を電流信号に変換する。当該電流信号は、PD素子1のアノード電極12aから出力されて、ワイヤ42aを通じてアンプIC2aの信号入力電極21aに入力される。電流信号はアンプIC2aにおいて電圧信号に変換されるとともに増幅される。  The
  PD素子1、アンプIC2a、チップコンデンサ3および薄膜抵抗基板5は、素子キャリア48(図1,2には示さず)に実装される。アンプIC2aのグランド(GND)電極23は、ワイヤ43a(図1,2には示さず)を介して素子キャリア48に接続される。  The
  なお、図1,2には示されていないが、アンプIC2a,2bへの給電およびアンプの制御のための配線、アンプIC2a,2bから電圧信号を出力するための配線などが光受信モジュールに設けられる。  Although not shown in FIGS. 1 and 2, wiring for supplying power to the
  薄膜抵抗基板5aは、アンプIC2aの信号入力電極21aおよびチップコンデンサ3aの両方における反射に起因する共振を減衰させるためのものである。薄膜抵抗基板5aの抵抗値は、当該共振を減衰させるために十分大きく、かつ直列抵抗の増加によるPD素子1の周波数特性の低下が許容される範囲内で適切に設定される。なお、後述するように、薄膜抵抗基板5b,5cの抵抗値は薄膜抵抗基板5a,5dの抵抗値よりも大きく設定される。  The thin
  図1および図2に示されるように、各チャネルに対応する部分の構成は互いに同じである。図3では、受光部11aに関連する部分の回路構成を1つのチャネルに対応する部分として代表的に示したが、受光部11b〜11dの各々に関連する部分の回路構成も図3に示した構成と同じである。従って残りのチャネルに対応する部分の回路構成については以後の詳細な説明は繰返さない。  As shown in FIGS. 1 and 2, the configuration of the portions corresponding to each channel is the same as each other. In FIG. 3, the circuit configuration of the part related to the
  アンプIC2aの信号入力部、PD素子1、ワイヤ31a,41a,42aの電気的特性(たとえばインピーダンス、寄生容量、寄生インダクタンス、電気長など)が、反射の条件を満たす場合に、PD素子1の周辺回路とアンプIC2aとの間で共振が発生する。この場合の反射点はアンプIC2aの信号入力電極21aおよびチップコンデンサ3aと考えられる。本発明の実施の形態1では、チップコンデンサとPD素子のカソード電極との間に抵抗素子を挿入する。これによって共振を減衰させることができる。  When the electrical characteristics (for example, impedance, parasitic capacitance, parasitic inductance, electrical length, etc.) of the signal input unit of the
本発明の実施の形態1では、共振を減衰させることができるので、群遅延特性の変動を抑制できる。この点について、本実施の形態に係る光受信モジュールとその比較例との対比によって説明する。 In the first embodiment of the present invention, the resonance can be attenuated, so that the variation of the group delay characteristic can be suppressed. This point will be described based on a comparison between the optical receiving module according to the present embodiment and a comparative example thereof.
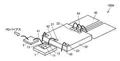
  図4は、実施の形態1に係る光受信モジュールの比較例を示した図である。図5は、図4に示した光受信モジュールの等価回路図である。図4および図5を参照して、光受信モジュール100Aは、PD素子1と、アンプIC52と、チップコンデンサ3とを備える。PD素子1のカソード電極13は、チップコンデンサ3にワイヤ41を通じて接続される。外部よりチップコンデンサ3にバイアス電圧が印加される。これにより、PD素子1のカソード電極13にバイアス電圧が印加される。  FIG. 4 is a diagram showing a comparative example of the optical receiver module according to the first embodiment. FIG. 5 is an equivalent circuit diagram of the optical receiver module shown in FIG. With reference to FIGS. 4 and 5, the
  図1および図4の対比から理解されるように、光受信モジュール100Aが、実施の形態1に係る光受信モジュール100と大きく異なる点は、PD素子1とチップコンデンサ3との間に抵抗器(薄膜抵抗基板)が設けられていない点である。なお、光受信モジュール100Aの場合、PD素子1に1つの受光部しか設けられていないが、図4の構成において、複数の受光部がPD素子1に設けられてもよい。  As understood from the comparison between FIG. 1 and FIG. 4, the
  図5を参照して、PD素子1のアノード電極12は、ワイヤ42を通じてアンプIC52の信号入力電極21に接続される。アンプIC52のGND電極23は、ワイヤ43を通じて素子キャリア48に接続される。アンプIC52の信号出力電極22は、ワイヤ44を通じて、素子キャリア48上にパターニングされた高周波伝送路45に接続される。  Referring to FIG. 5, the
  PD素子1の受光部11に入射した信号光は電流信号に変換される。当該電流信号は、PD素子1のアノード電極12から出力されて、ワイヤ42を通じてアンプIC52の信号入力電極21に入力される。電流信号はアンプIC52において電圧信号に変換されるとともに増幅される。当該電圧信号は、アンプIC52の信号出力電極22から高周波伝送路45を通じてモジュールの外部に出力される。  The signal light incident on the
図6は、実施の形態1に係る光受信モジュールの構成とその比較例の構成とについて、アンプに入力される電流の群遅延と周波数との関係を回路シミュレーションによって求めた結果を示した図である。図6に示されるように、比較例の構成の場合には、特定の周波数(約16GHz)の近傍において群遅延の遅れが生じる。この場合には、光受信モジュールから出力される信号の波形が劣化するという問題が生じる(図12を参照)。 FIG. 6 is a diagram showing a result of circuit simulation for the relationship between the group delay of the current input to the amplifier and the frequency for the configuration of the optical receiver module according to the first embodiment and the configuration of the comparative example. is there. As shown in FIG. 6, in the case of the configuration of the comparative example, a group delay delay occurs in the vicinity of a specific frequency (about 16 GHz). In this case, there arises a problem that the waveform of the signal output from the optical receiving module deteriorates (see FIG. 12).
  一方、本発明の実施の形態1による光受信モジュールの構成では、アンプICの信号入力電極とチップコンデンサとの間に抵抗素子が接続される。これによって、共振を減衰させることが可能になるので、群遅延特性の変動を抑制できる。したがって本発明の実施の形態1によれば群遅延特性を平坦化できる。  On the other hand, in the configuration of the optical receiver module according to
ここで、アンプの入力部が反射点となる共振を抑制するための抵抗器は、一般にアンプの入力部に接続される。しかし、アンプの入力部に抵抗器を接続した場合には、PD素子からアンプICへと流れる信号電流によって、その抵抗器において熱雑音が発生する。この熱雑音がノイズとなり、さらにアンプICによって増幅される。 Here, a resistor for suppressing resonance where the input portion of the amplifier becomes a reflection point is generally connected to the input portion of the amplifier. However, when a resistor is connected to the input section of the amplifier, thermal noise is generated in the resistor due to a signal current flowing from the PD element to the amplifier IC. This thermal noise becomes noise and is further amplified by the amplifier IC.
しかしながら実施の形態1によれば、抵抗素子はアンプICの入力部には接続されていない。したがって実施の形態1によれば、共振を減衰することができるだけでなく、熱雑音に起因するノイズの発生も防ぐことができる。 However, according to the first embodiment, the resistance element is not connected to the input part of the amplifier IC. Therefore, according to the first embodiment, not only can the resonance be attenuated, but also the generation of noise due to thermal noise can be prevented.
  図1および図2を再び参照して、カソード電極13b,13cは受光部11a,11dの内側に位置する受光部11b,11cにそれぞれ接続され、PD素子1の外周14aの近傍およびPD素子1の外周14cの近傍へとそれぞれ引き出される。このためカソード電極13b,13cはカソード電極13a,13dよりも長い形状を有する。電極が長くなることによって寄生インダクタンスが大きくなる。したがって、比較例の構成のようにPD素子1のカソード電極に抵抗器が接続されていない場合、利得の周波数特性にピーキングがより強く発生する。図13にピーキングの例が示されているが、電極が長い場合において、15〜20GHzの周波数の付近において、利得(S21パラメータ)が上昇し、20GHz以上の周波数では利得が急激に下がっている。  Referring to FIGS. 1 and 2 again,
  一方、実施の形態1によれば、PD素子に直列に抵抗器が接続される。抵抗器の抵抗値が大きいほど周波数特性の低下が発生する。実施の形態1では、カソード電極13a〜13dの各々のインダクタンスの違いに応じて、薄膜抵抗基板5a〜5dの抵抗値に適切な差を設ける。これによって、各チャネルでの周波数特性を実質的に一致させることができる。具体的には、2つのカソード電極の寄生インダクタンスが異なる場合に、寄生インダクタンスの大きいほうのカソード電極に接続される抵抗器の抵抗値を、寄生インダクタンスの小さいほうのカソード電極に接続される抵抗器の抵抗値より大きくする。これにより、複数のチャネルを有する光受信モジュールにおいて、各チャネルでの周波数特性を実質的に一致させることができる。  On the other hand, according to the first embodiment, a resistor is connected in series with the PD element. The larger the resistance value of the resistor, the lower the frequency characteristics. In the first embodiment, an appropriate difference is provided in the resistance values of the thin
  より具体的には、2つのカソード電極の長さが異なる場合に、長いほうのカソード電極に接続された薄膜抵抗基板の抵抗値を、短いほうのカソード電極に接続された薄膜抵抗基板の抵抗値より大きくする。したがって、薄膜抵抗基板5b,5cの抵抗値は、薄膜抵抗基板5a,5dの抵抗値よりも大きく設定される。長いほうのカソード電極の寄生インダクタンスは短いほうのカソード電極の寄生インダクタンスよりも大きいので、上記のように抵抗値を異ならせることで各チャネルでの周波数特性を実質的に一致させることができる。  More specifically, when the two cathode electrodes have different lengths, the resistance value of the thin film resistor substrate connected to the longer cathode electrode is changed to the resistance value of the thin film resistor substrate connected to the shorter cathode electrode. Make it bigger. Therefore, the resistance values of the thin
  図7は、本発明の実施の形態1による光受信モジュールの周波数特性の測定結果を示した図である。図7を参照して、グラフの縦軸はSパラメータ(S21)を示し、グラフの横軸は周波数を示す。この測定では、PD素子へ信号光を入射する光ファイバを入力、光受信モジュールの高周波出力端子を出力とした。ネットワークアナライザに、キャリブレーションを行なった光変調器を接続し、入力された光のパワーと、出力された電力との比較により、S21パラメータを測定した。2つの曲線A,Bは、カソード電極の長さが異なる2つのモジュールにそれぞれ対応する周波数特性を示す。図7は、薄膜抵抗の抵抗値に適切な差を設けることによって、各チャネルの周波数特性を一致させることができることを示している。  FIG. 7 is a diagram showing measurement results of frequency characteristics of the optical receiver module according to
以上のように実施の形態1によれば、光受信モジュールにおける共振を抑制することができる。さらに実施の形態1によれば、薄膜抵抗の抵抗値を予め調整することで、複数のチャネルを有する光受信モジュールにおいて、各チャネルの周波数特性をそろえることができる。 As described above, according to the first embodiment, resonance in the optical receiving module can be suppressed. Furthermore, according to the first embodiment, by adjusting the resistance value of the thin film resistor in advance, in the optical receiver module having a plurality of channels, the frequency characteristics of each channel can be aligned.
  さらに実施の形態1では、複数のアンプICがPD素子を中心として対称配置され、複数のチップコンデンサおよび複数の抵抗素子(薄膜抵抗基板5a〜5d)もPD素子を中心として対称配置される。なお、複数のチップコンデンサおよび複数の抵抗素子の配置方向は、複数のアンプICの配置方向と異なる。このような構成によって、各チャネルに対応するモジュールのそれぞれの受光部を近接して配置することができるので、複数の信号光の光路を、結合光学系の有効系内に収めることができる。したがって、1つの光学系を用いて複数の受光部に複数の信号光をそれぞれ結合させることができる。  Further, in the first embodiment, a plurality of amplifier ICs are arranged symmetrically around the PD element, and a plurality of chip capacitors and a plurality of resistance elements (thin
  [実施の形態2]
  図8は、本発明の実施の形態2による光受信モジュールの構成を示す斜視図である。図1および図8を参照して、実施の形態2による光受信モジュール101は、薄膜抵抗基板5a〜5dに代えて、カソード電極13a〜13dにそれぞれ形成された薄膜抵抗パターン部15a〜15dを抵抗素子として有する点において、実施の形態1による光受信モジュール100と異なる。[Embodiment 2]
 FIG. 8 is a perspective view showing a configuration of an optical receiver module according to
  図9は、図8に示した光モジュールの上面図である。図8および図9を参照して、実施の形態2による光受信モジュール101では、薄膜抵抗基板5a〜5dおよびワイヤ31a〜31dが省略される。さらにチップコンデンサ3a〜3dが、それぞれワイヤ41a〜41dを介して、カソード電極13a〜13dに接続される。  FIG. 9 is a top view of the optical module shown in FIG. Referring to FIGS. 8 and 9, in
  薄膜抵抗パターン部15a〜15dは、それぞれカソード電極13a〜13dの途中に設けられる。薄膜抵抗パターン部15aの抵抗値は、カソード電極13aの他の部分の抵抗値よりも大きい。薄膜抵抗パターン部15b〜15dの各々の抵抗値についても、対応するカソード電極の他の部分の抵抗値よりも大きい。たとえばカソード電極のパターンを、ワイヤを接続する部分と受光部と接続される部分とに分割し、これらの部分の間が抵抗率の大きな材質のパターンへと置き換えられる。薄膜抵抗パターン部15b,15cの抵抗値は、薄膜抵抗パターン部15a,15dの抵抗値よりも大きく定められる。  The thin film
  なお、光受信モジュール101の他の部分の構成は、実施の形態1による光受信モジュール100の対応する部分の構成と同様であるので、以後の詳細な説明は繰返さない。  Since the configuration of other parts of
図10は、本発明の実施の形態2による光受信モジュールの1チャネルに対応する部分の等価回路図である。図3および図10を参照して、本発明の実施の形態2による光受信モジュールの回路構成は、本発明の実施の形態1による光受信モジュールの回路構成と同様である。 FIG. 10 is an equivalent circuit diagram of a portion corresponding to one channel of the optical receiver module according to the second embodiment of the present invention. Referring to FIGS. 3 and 10, the circuit configuration of the optical receiver module according to the second embodiment of the present invention is the same as the circuit configuration of the optical receiver module according to the first embodiment of the present invention.
実施の形態1と同じく実施の形態2では、PD素子のカソードとコンデンサとの間に直列に抵抗器が接続される。したがって、アンプICの入力部およびコンデンサの両方での反射による共振を減衰させることができる。 Similar to the first embodiment, in the second embodiment, a resistor is connected in series between the cathode of the PD element and the capacitor. Therefore, it is possible to attenuate the resonance caused by reflection at both the input part of the amplifier IC and the capacitor.
また、実施の形態2によれば、上記薄膜抵抗パターンの抵抗値に、カソード電極のインダクタンスに応じて適切な差を設けることにより、各チャネルに対応するモジュールの周波数特性を一致させることができる。したがって実施の形態1と同様に、各チャネルに対応するモジュールのそれぞれの受光部を近接して配置することができる。したがって、1つの光学系を用いて、複数の信号光を複数の受光部にそれぞれ結合させることができる。 Further, according to the second embodiment, by providing an appropriate difference in the resistance value of the thin film resistor pattern according to the inductance of the cathode electrode, the frequency characteristics of the modules corresponding to the respective channels can be matched. Therefore, as in the first embodiment, the light receiving portions of the modules corresponding to the respective channels can be arranged close to each other. Therefore, it is possible to couple a plurality of signal lights to a plurality of light receiving sections using one optical system.
さらに実施の形態2によれば、実施の形態1と比較して、コンデンサと受光部とを接続する電極の長さが短縮される。したがって実施の形態2によれば、実施の形態1に比較して、受光部からコンデンサまでに存在する寄生インダクタンスを削減できるので、周波数特性をより一層平坦化することができる。 Furthermore, according to the second embodiment, the length of the electrode connecting the capacitor and the light receiving unit is reduced as compared with the first embodiment. Therefore, according to the second embodiment, the parasitic inductance existing from the light receiving unit to the capacitor can be reduced as compared with the first embodiment, so that the frequency characteristics can be further flattened.
なお上記の各実施の形態では複数のチャネルを有する光受信モジュールを示したが、単一のチャネルを有する光受信モジュールにも本発明は適用可能である。 In each of the above embodiments, an optical receiver module having a plurality of channels is shown. However, the present invention can also be applied to an optical receiver module having a single channel.
また、複数の受光部は1次元に配置されるものと限定されず、2次元に配置されてもよい。この場合にも、各受光部のカソードに接続される電極の長さが異なる可能性がある。したがって抵抗素子の抵抗値を適切に調整することで、各チャネルに対応するモジュールの周波数特性を一致させることができる。 In addition, the plurality of light receiving units are not limited to be arranged one-dimensionally, and may be arranged two-dimensionally. Also in this case, the length of the electrode connected to the cathode of each light receiving unit may be different. Therefore, by appropriately adjusting the resistance value of the resistance element, the frequency characteristics of the modules corresponding to the respective channels can be matched.
今回開示された実施の形態はすべての点で例示であって制限的なものでないと考えられるべきである。本発明の範囲は上記した説明ではなくて特許請求の範囲によって示され、特許請求の範囲と均等の意味および範囲内でのすべての変更が含まれることが意図される。 The embodiment disclosed this time must be considered as illustrative in all points and not restrictive. The scope of the present invention is defined by the terms of the claims, rather than the description above, and is intended to include any modifications within the scope and meaning equivalent to the terms of the claims.
  1  PD素子、2a,2b,52  アンプIC、  3,3a〜3d  チップコンデンサ、5,5a〜5d  薄膜抵抗基板、11,11a〜11d  受光部、12,12a〜12d  アノード電極、13,13a〜13d  カソード電極、14a〜14d  外周、15a〜15d  薄膜抵抗パターン部、21,21a〜21d  信号入力電極、22  信号出力電極、23  グランド電極、31a〜31d,41a〜41d,42a〜42d,41〜44  ワイヤ、45  高周波伝送路、48  素子キャリア、100,100A,101  光受信モジュール、A,B  曲線、W1,W2  高周波成分。  DESCRIPTION OF
| Application Number | Priority Date | Filing Date | Title | 
|---|---|---|---|
| JP2011029756AJP5492116B2 (en) | 2011-02-15 | 2011-02-15 | Optical receiver module | 
| Application Number | Priority Date | Filing Date | Title | 
|---|---|---|---|
| JP2011029756AJP5492116B2 (en) | 2011-02-15 | 2011-02-15 | Optical receiver module | 
| Publication Number | Publication Date | 
|---|---|
| JP2012169478A JP2012169478A (en) | 2012-09-06 | 
| JP5492116B2true JP5492116B2 (en) | 2014-05-14 | 
| Application Number | Title | Priority Date | Filing Date | 
|---|---|---|---|
| JP2011029756AExpired - Fee RelatedJP5492116B2 (en) | 2011-02-15 | 2011-02-15 | Optical receiver module | 
| Country | Link | 
|---|---|
| JP (1) | JP5492116B2 (en) | 
| Publication number | Priority date | Publication date | Assignee | Title | 
|---|---|---|---|---|
| JP6104669B2 (en)* | 2013-03-28 | 2017-03-29 | 日本オクラロ株式会社 | Optical receiver module | 
| JP2015002201A (en) | 2013-06-13 | 2015-01-05 | 三菱電機株式会社 | Optical receiver module | 
| JP7003819B2 (en)* | 2018-04-09 | 2022-01-21 | 富士通株式会社 | Optical receiver | 
| CN112425100B (en)* | 2018-07-12 | 2024-04-16 | 三菱电机株式会社 | Optical receiving circuit, optical receiver, optical terminal device, and optical communication system | 
| JP7132671B2 (en)* | 2018-07-31 | 2022-09-07 | 日本ルメンタム株式会社 | Optical receiver subassembly and optical module | 
| WO2020056662A1 (en)* | 2018-09-20 | 2020-03-26 | 华为技术有限公司 | Photoelectron component and manufacturing method therefor | 
| WO2020250345A1 (en)* | 2019-06-12 | 2020-12-17 | 三菱電機株式会社 | Optical receiver module | 
| WO2024009388A1 (en)* | 2022-07-05 | 2024-01-11 | 日本電信電話株式会社 | Light receiver | 
| Publication number | Priority date | Publication date | Assignee | Title | 
|---|---|---|---|---|
| JP2003134051A (en)* | 2001-10-25 | 2003-05-09 | Opnext Japan Inc | Optical receiving module, optical receiver and optical fiber communication equipment | 
| JP4160354B2 (en)* | 2002-09-27 | 2008-10-01 | 株式会社東芝 | Optical receiver | 
| JP2004135218A (en)* | 2002-10-15 | 2004-04-30 | Matsushita Electric Ind Co Ltd | Preamplifier circuit and optical receiver | 
| JP4704206B2 (en)* | 2004-12-21 | 2011-06-15 | パナソニック株式会社 | Optical receiver | 
| Publication number | Publication date | 
|---|---|
| JP2012169478A (en) | 2012-09-06 | 
| Publication | Publication Date | Title | 
|---|---|---|
| JP5492116B2 (en) | Optical receiver module | |
| US8787776B2 (en) | Optical receiver with monolithically integrated photodetector | |
| CN101013918B (en) | optical receiver | |
| JP2003134051A (en) | Optical receiving module, optical receiver and optical fiber communication equipment | |
| US20200145114A1 (en) | Optical receiver circuit | |
| US11329729B2 (en) | Optical receiver circuit, optical receiver, optical terminal device, and optical communication system | |
| JP2019186353A (en) | Optical receiver | |
| JP4763662B2 (en) | Transimpedance amplifier | |
| US8859946B2 (en) | Light detecting device including a peaking circuit | |
| JP2008300726A (en) | Optical receiver | |
| JP5825917B2 (en) | Optical receiver module | |
| JP6024412B2 (en) | Variable gain differential amplifier | |
| JP6878053B2 (en) | Optical receiving module and optical module | |
| JP4124405B2 (en) | Optical module | |
| US20060067713A1 (en) | Process and temperature-compensated transimpedance amplifier | |
| JP5291144B2 (en) | Optical receiver circuit | |
| US7262655B2 (en) | High bandwidth resistor | |
| JP2004119885A (en) | Optical receiver and peak detector | |
| JP4362046B2 (en) | Photocoupler device with improved linearity | |
| WO2008069575A1 (en) | Multi-aperture optical detector and optical signal detecting circuit comprising the same | |
| JP2003032050A (en) | Preamplifier circuit | |
| US20050041985A1 (en) | Transimpedance amplifier | |
| JP2011228588A (en) | Light receiving circuit | |
| JP2005252783A (en) | Optical transmitter | |
| JP2007134385A (en) | Method for manufacturing optical receiver module | 
| Date | Code | Title | Description | 
|---|---|---|---|
| A621 | Written request for application examination | Free format text:JAPANESE INTERMEDIATE CODE: A621 Effective date:20120926 | |
| A977 | Report on retrieval | Free format text:JAPANESE INTERMEDIATE CODE: A971007 Effective date:20131125 | |
| A131 | Notification of reasons for refusal | Free format text:JAPANESE INTERMEDIATE CODE: A131 Effective date:20131203 | |
| A521 | Request for written amendment filed | Free format text:JAPANESE INTERMEDIATE CODE: A523 Effective date:20140122 | |
| TRDD | Decision of grant or rejection written | ||
| A01 | Written decision to grant a patent or to grant a registration (utility model) | Free format text:JAPANESE INTERMEDIATE CODE: A01 Effective date:20140212 | |
| A61 | First payment of annual fees (during grant procedure) | Free format text:JAPANESE INTERMEDIATE CODE: A61 Effective date:20140228 | |
| R150 | Certificate of patent or registration of utility model | Ref document number:5492116 Country of ref document:JP Free format text:JAPANESE INTERMEDIATE CODE: R150 | |
| R250 | Receipt of annual fees | Free format text:JAPANESE INTERMEDIATE CODE: R250 | |
| LAPS | Cancellation because of no payment of annual fees |