









本発明は、裏面側へ向けて突出する略矩形環状の周壁部を周縁に有する透光性の略矩形板状樹脂パネルを射出成形した後、該樹脂パネルの裏面側に上記周壁部に内側から接するように該周壁部に沿って不透光性の枠部を略矩形環状に射出成形して樹脂製窓を得る2色射出成形方法に関するものである。 In the present invention, after injection-molding a translucent substantially rectangular plate-shaped resin panel having a substantially rectangular annular peripheral wall portion protruding toward the back surface at the periphery, the above peripheral wall portion is formed on the back surface side of the resin panel from the inside. The present invention relates to a two-color injection molding method for obtaining a resin-made window by injection-molding a non-translucent frame portion in a substantially rectangular shape along the peripheral wall portion so as to come into contact therewith.
  特許文献1には、透光性の略矩形板状樹脂パネルと、該樹脂パネルの裏面側に該樹脂パネルの周縁に沿うように略矩形環状に形成された不透光性の枠部とを備えた樹脂製窓を成形する2色射出成形方法が開示されている。この成形方法では、枠部に対応する凹所が形成された固定型と、平坦な成形面を有する第1可動型とで第1キャビティを形成し、この第1キャビティ内に不透光性樹脂を射出充填して枠部を成形する。その後、上記樹脂パネルに対応する凹所が形成された第2可動型と上記固定型及び該固定型に保持された枠部とで第2キャビティを形成し、該第2キャビティ内に透光性樹脂を射出充填して樹脂パネルを成形する。この第2キャビティ内への樹脂の射出は、上記樹脂パネルの端面に対応する上記第2可動型の成形面に形成されたゲートから行う。  
  しかし、上記特許文献1では、樹脂パネルの端面にゲート跡が形成されて外部に露出するため、見栄えが悪い。  However, in the above-mentioned
そこで、樹脂パネルを枠部よりも先に射出成形するようにして樹脂パネル成形用の透光性樹脂を射出するためのゲートを枠部に対応する箇所に設けると、枠部によりゲート跡が隠蔽されて見栄えが向上する。しかし、この方法では、樹脂パネルの周縁に裏面側へ向けて突出する周壁部を形成する場合、樹脂パネルの収縮により樹脂パネルの周壁部と当該周壁部の外面に対応する成形型の成形面との間に隙間が生じ、枠部に対応する不透光性樹脂の射出圧により周壁部が隙間側に傾いて樹脂パネル周縁の形状に歪みを生じさせるおそれがある。 Therefore, if the gate for injecting the translucent resin for molding the resin panel is provided at the location corresponding to the frame so that the resin panel is injection molded before the frame, the gate mark is hidden by the frame. The appearance is improved. However, in this method, when forming a peripheral wall portion that protrudes toward the back side on the periphery of the resin panel, the resin panel shrinks and the molding surface of the mold corresponding to the outer surface of the peripheral wall portion There is a possibility that a gap is formed between the two, and the peripheral wall portion is inclined toward the gap due to the injection pressure of the light-impermeable resin corresponding to the frame portion, causing distortion in the shape of the resin panel periphery.
本発明は、かかる点に鑑みてなされたものであり、周縁形状が平滑な樹脂製窓を見栄え良く成形することにある。 This invention is made | formed in view of this point, and there exists in shape | molding the resin-made window with a smooth periphery shape finely.
上記の目的を達成するため、本発明は、樹脂パネルの収縮により樹脂パネルと成形型との間に形成される隙間に突条部を挿入して枠部を成形するようにしたことを特徴とする。 In order to achieve the above object, the present invention is characterized in that a frame portion is formed by inserting a protrusion into a gap formed between a resin panel and a mold by shrinkage of the resin panel. To do.
具体的には、本発明は、裏面側へ向けて突出する略矩形環状の周壁部を周縁に有する透光性の略矩形板状樹脂パネルを射出成形した後、該樹脂パネルの裏面側に上記周壁部に内側から接するように該周壁部に沿って不透光性の枠部を略矩形環状に射出成形して樹脂製窓を得る2色射出成形方法を対象とし、次のような解決手段を講じた。 Specifically, in the present invention, after injection-molding a light-transmitting substantially rectangular plate-shaped resin panel having a substantially rectangular annular peripheral wall portion protruding toward the back surface at the periphery, the above-mentioned surface is formed on the back surface side of the resin panel. A two-color injection molding method for obtaining a resin window by injection molding a non-transparent frame portion in a substantially rectangular ring shape along the peripheral wall portion so as to be in contact with the peripheral wall portion from the inside. Took.
  すなわち、請求項1に記載の発明は、上記樹脂パネルの表面及び端面を成形する成形面を有し、上記樹脂パネルの端面の1辺に対応する成形面の長手方向中心位置に位置決めピンが突没可能に設けられたキャビティ型と、上記樹脂パネルの裏面及び周壁部内面を成形する成形面を有し、該成形面の上記枠部に対応する箇所にゲートが形成された第1コア型とを用意し、上記キャビティ型と第1コア型とを型締めして両者間に第1キャビティを形成するとともに上記位置決めピンを成形面から上記第1キャビティ内に突出させ、この状態で第1キャビティ内に透光性樹脂を上記第1コア型のゲートから射出充填して略矩形板状の樹脂パネルを成形する一次射出成形工程と、上記キャビティ型と第1コア型とを型開きし、上記位置決めピンを上記樹脂パネルにその端面から挿入して樹脂パネルを下方から支持して上記キャビティ型に保持した状態で収縮させ、上記樹脂パネルの端面の位置決めピンによる支持側の辺を除く3辺とキャビティ型の成形面との間に隙間を生じさせる樹脂パネル収縮工程と、上記枠部より内側の樹脂パネル裏面に当接する当接面と、枠部の裏面側を成形する成形面とを有し、上記隙間に対応する突条部が形成された第2コア型を用意し、上記キャビティ型と第2コア型とを型締めして上記当接面を上記キャビティ型に保持された樹脂パネル裏面に当接させるとともに上記突条部を上記隙間に挿入して、樹脂パネルの周壁部内側と上記第2コア型との間に第2キャビティを形成し、この状態で、第2キャビティ内に不透光性樹脂を射出充填して不透光性の枠部を成形する二次射出成形工程とを有する。  That is, the invention described in
請求項2に記載の発明は、請求項1に記載の樹脂製窓の2色射出成形方法において、上記一次射出成形工程では、上記樹脂パネルを圧縮成形することを特徴とする。 According to a second aspect of the present invention, in the two-color injection molding method for a resin window according to the first aspect, the resin panel is compression-molded in the primary injection molding step.
請求項3に記載の発明は、請求項1又は2に記載の樹脂製窓の2色射出成形方法において、上記位置決めピンに対向するキャビティ型の成形面の長手方向中心位置には、補助位置決めピンが突没可能に設けられ、上記一次射出成形工程では、上記透光性樹脂の射出充填を、さらに上記補助位置決めピンを成形面から突出させた状態で行うことを特徴とする。 According to a third aspect of the present invention, there is provided the resin window two-color injection molding method according to the first or second aspect, wherein the auxiliary positioning pin is provided at the center position in the longitudinal direction of the molding surface of the cavity mold facing the positioning pin. Is provided so as to be able to project and retract, and in the primary injection molding step, the translucent resin is injected and filled in a state where the auxiliary positioning pins are further projected from the molding surface.
請求項4に記載の発明は、請求項1〜3のいずれか1項に記載の樹脂製窓の2色射出成形方法において、上記位置決めピンは、上記周壁部に対応する位置にその突出長さが上記周壁部の厚み以上となるように設けられ、上記二次射出成形工程では、上記位置決めピンを上記樹脂パネルから後退させた状態で、上記不透光性樹脂の射出充填時に、上記位置決めピンの後退により上記周壁部に形成された貫通孔に樹脂を行き渡らせることを特徴とする。 According to a fourth aspect of the present invention, in the two-color injection molding method for a resin window according to any one of the first to third aspects, the positioning pin has a protruding length at a position corresponding to the peripheral wall portion. In the secondary injection molding step, the positioning pin is retracted from the resin panel and the positioning pin is injected and filled with the non-translucent resin. The resin is spread over the through holes formed in the peripheral wall portion by retreating.
請求項1に記載の発明によれば、第1コア型のゲートが枠部に対応する箇所に形成され、樹脂パネルのゲート跡が枠部により隠蔽されるので、見栄えが向上する。 According to the first aspect of the present invention, the first core type gate is formed at a position corresponding to the frame portion, and the gate trace of the resin panel is concealed by the frame portion, so that the appearance is improved.
また、第2コア型の突条部が周壁部とキャビティ型の成形面との間の隙間に挿入されるので、第2キャビティ内への樹脂の射出圧力による周壁部の外側への傾きを防止し、樹脂パネル周縁の形状を平滑にすることができる。 Moreover, since the protrusion part of the second core mold is inserted into the gap between the peripheral wall part and the molding surface of the cavity mold, the inclination of the peripheral wall part to the outside due to the injection pressure of the resin into the second cavity is prevented. And the shape of the resin panel periphery can be made smooth.
また、樹脂パネルをその端面の一辺の長手方向中心位置で位置決めピンにより位置決めし、かつ上記端面の一辺を金型に接した状態で収縮させるので、残りの3辺とキャビティ型の成形面との間に所定の幅で隙間が形成される。したがって、あらかじめ第2コア型の突条部の幅を上記隙間の幅と等しく設定することにより、第2キャビティ内への樹脂の射出による周壁部の外側への傾きを確実に防止し、樹脂パネル周縁の形状を確実に平滑にすることができる。 Further, since the resin panel is positioned by the positioning pin at the longitudinal center position of one side of the end face and contracted with one side of the end face in contact with the mold, the remaining three sides and the molding surface of the cavity mold A gap is formed between them with a predetermined width. Therefore, by setting the width of the protrusion of the second core type equal to the width of the gap in advance, it is possible to reliably prevent the outer wall from inclining to the outside due to the injection of the resin into the second cavity. The shape of the peripheral edge can be surely smoothed.
請求項2に記載の発明によれば、樹脂パネルを圧縮成形するので、パネル面における歪みの発生を防止できる。 According to the invention described in claim 2, since the resin panel is compression-molded, the occurrence of distortion on the panel surface can be prevented.
  請求項3に記載の発明によれば、樹脂パネルが位置決めピンと補助位置決めピンとにより上下から支持されるので、キャビティ型と第1コア型とを型開きしてからキャビティ型と第2コア型とを型締めするまでの過程で樹脂パネルがキャビティ型から落下することを防止できる。  According to the invention described in
請求項4に記載の発明によれば、位置決めピンに対応する貫通孔が樹脂によって塞がれてその開口が露出しないので、見栄えが向上する。 According to invention of Claim 4, since the through-hole corresponding to a positioning pin is block | closed with resin and the opening is not exposed, appearance improves.
以下、本発明の実施形態について図面に基づいて説明する。 Hereinafter, embodiments of the present invention will be described with reference to the drawings.
  図1は、車両の天井に形成された窓用開口部に該開口部を閉塞するように取り付けられる樹脂製窓1を示す。この樹脂製窓1を得るには、まず、裏面側へ向けて突出する略矩形環状の周壁部3を周縁に有する透光性の略矩形板状樹脂パネル5を射出成形する。その後、樹脂パネル5の裏面側に上記周壁部3に内側から接するように該周壁部3に沿って不透光性の枠部7を略矩形環状に射出成形する。  FIG. 1 shows a
  図2〜10は、本発明の実施形態に係る樹脂製窓1の2色射出成形方法を示す。この樹脂製窓1の成形には、キャビティ型(固定型)9、第1コア型(可動型)11、及び第2コア型(可動型)13を用いる。具体的な成形方法を説明する前に、これらの型構造について説明する。  2 to 10 show a two-color injection molding method of the
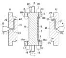
  上記キャビティ型9は、両側面に鉛直方向に延びる同形状の成形面16を有している。また、キャビティ型9は、鉛直方向に延びるキャビティ回転軸15により上下方向から支持されて図示しない駆動装置による駆動で回転する。また、図5及び図7に示すように、キャビティ型9の両側方には、キャビティ型9の縦面に当接してキャビティ回転軸15周りの回動を規制する回転規制ピン14が、図示しない駆動手段による駆動で進退可能に設けられている。  The
  上記キャビティ型9の各成形面16は、上記樹脂パネル5の表面及び端面を成形するものである。また、キャビティ型9の下方の水平方向中央には、流体圧シリンダ18が各成形面16に対応して1基ずつ配設されている。各流体圧シリンダ18の内側(成形面)側には、位置決めピン17が、キャビティ型9の上記樹脂パネル5の端面の1辺(図5及び図7の下側の一辺)に対応する成形面16aの長手方向中心位置で突没可能に配設されている。  Each
  また、キャビティ型9の上方の水平方向中央には、流体圧シリンダ20が各成形面16に対応して1基ずつ配設されている。各流体圧シリンダ20の内側(成形面)側には、補助位置決めピン19が、上記位置決めピン17に対向するキャビティ型9の成形面16bにおける上記周壁部3に対応する長手方向中心位置で突没可能に配設されている。なお、これら位置決めピン17及び補助位置決めピン19の突出長さは上記周壁部3の厚み以上に設定されている。  In addition, one
  上記第1コア型11は、上記樹脂パネル5の裏面及び周壁部3内面を成形する成形面21を有する。第1コア型11の成形面の上記枠部7に対応する箇所には、ゲート23が形成されている。該ゲート23はランナー29の一端に形成され、該ランナー29の他端はスプルー31の一端に連通し、該スプルー31の他端は射出機(図示せず)のノズル33に連通している。  The
  上記第2コア型13は、上記枠部7より内側の樹脂パネル5裏面に当接する当接面26と、枠部7の裏面側を成形する成形面25を有している。該成形面25には、上記樹脂パネル5とキャビティ型9の成形面16との隙間S(後述)に対応する突条部27が突設されている。また、成形面25にはゲート35が形成され、該ゲート35はランナー37の一端に形成され、該ランナー37の他端はスプルー39の一端に連通し、該スプルー39の他端は射出機(図示せず)のノズル41に連通している。  The
  次に、本実施形態に係る2色射出成形方法について説明する。ここでは、図2に示すように、キャビティ型9と第1コア型11とを型締めして第1キャビティ43を形成するとともにキャビティ型9と第2コア型13とを型締めした状態で成形工程を開始するものとする。図2の状態では、第1コア型11側の位置決めピン17及び補助位置決めピン19は、流体圧シリンダ18,20の伸張作動によって共に成形面16から突出して第1キャビティ43内に進出しているが、第2コア型13側の位置決めピン17及び補助位置決めピン19は、成形面16から突出していない。また、キャビティ型9は、回転規制ピン14により両側方から押圧されて回転を規制されている。この状態で、まず、透光性樹脂45を射出機のノズル33から射出することにより、透光性樹脂45をスプルー31及びランナー29を経てゲート23から第1キャビティ43内に射出充填する。なお、上記透光性樹脂45として、PC(ポリカーボネート)、PMMA(アクリル)等を用いることができる。  Next, the two-color injection molding method according to this embodiment will be described. Here, as shown in FIG. 2, the
  次に、図3に示すように、第1コア型11をキャビティ型9に対してさらに接近させる。これにより、図4及び図5に示すように、略矩形環状の周壁部3を外周縁に有する略矩形板状の樹脂パネル5が圧縮成形される。このように樹脂パネル5を圧縮成形することにより、パネル面における歪みの発生を防止できる。  Next, as shown in FIG. 3, the
  そして、図4に示すように、上記第1コア型11を後退させて上記キャビティ型9と第1コア型11とを型開きすると同時に、第2コア型13を後退させて次の工程に備える。この状態では、図5にも示すように、上記樹脂パネル5の端面とキャビティ型9の成形面16とは当接している。そして、上記位置決めピン17及び補助位置決めピン19を上記樹脂パネル5にその端面から挿入して樹脂パネル5を上下から支持してキャビティ型9に保持した状態で収縮させる。樹脂パネル5は、図7における左右方向には、位置決めピン17を基準に収縮し、上下方向には、重力により位置決めピン17が設けられた下方の成形面16aを基準に収縮する。  Then, as shown in FIG. 4, the
  樹脂パネル5が収縮すると、回転規制ピン14を後退させ、その後、図6に示すように、キャビティ型9をキャビティ回転軸15周りに図示しない駆動装置により180度回転させ、回転規制ピン14を進出させてキャビティ型9の回転を規制する。このとき、樹脂パネル5が位置決めピン17と補助位置決めピン19とにより上下から支持されているので、キャビティ型9からの落下が防止される。この状態で、図6及び図7に示すように、樹脂パネル5の収縮により、樹脂パネル5の端面の位置決めピン17による支持側の辺を除く3辺とキャビティ型9の成形面16との間に隙間Sが生じている。  When the
  次に、図8に示すように、第2コア型13側で、位置決めピン17と補助位置決めピン19とを流体圧シリンダ18,20の収縮作動によって後退させる。これにより、位置決めピン17に対応する貫通孔51と補助位置決めピン19に対応する貫通孔53とが上記周壁部3に形成される。その後、第2コア型13を進出させて上記キャビティ型9と第2コア型13とを型締めして第2コア型13の当接面26をキャビティ型9に保持された樹脂パネル5裏面に当接させるとともに突条部27を上記隙間Sに挿入する。これにより、樹脂パネル5の周壁部3内側と第2コア型13との間に第2キャビティ47が形成される。また、この過程で、第1コア型11を進出させてキャビティ型9と第1コア型11とを型締めして第1キャビティ43を形成し、第1コア型11側の位置決めピン17と補助位置決めピン19とを流体圧シリンダ18,20の伸張作動によって第1キャビティ43内に進出させる。そしてこの状態で、図2に基づいて説明した要領で、透光性樹脂45をゲート23から第1キャビティ43内に射出充填する。  Next, as shown in FIG. 8, the
  次に、図9に示すように、不透光性樹脂49を射出機のノズル41から射出することにより、不透光性樹脂49をスプルー39及びランナー37を経てゲート35から第2キャビティ47内に射出充填して上記貫通孔51,53に不透光性樹脂49を行き渡らせる。このとき、第2コア型13の突条部27が隙間Sに挿入されているので、第2キャビティ47内への不透光性樹脂49の射出圧力による周壁部3の外側への傾きが防止され、樹脂パネル5周縁の形状が平滑になる。なお、上記不透光性樹脂49として、PC(ポリカーボネート)、PET(ポリエチレンテレフタレート)、PBT(ポリブチレンテレフタレート)、PC/ABSアロイ(ポリカーボネート/アクリロニトリル・ブタジエン・スチレン)等を用いることができる。また、この過程で、図3に基づいて説明した要領で、第1コア型11側では、透光性樹脂45を第1キャビティ43内に充填して第1コア型11をキャビティ型9に対してさらに接近させる。  Next, as shown in FIG. 9, by injecting the
  そして、第2コア型13側で不透光性樹脂49が完全に固まり、樹脂パネル5の裏面側に周壁部3に沿って不透光性の枠部7が一体に形成された樹脂製窓1が成形される。その後、図10に示すように、上記第2コア型13を後退させて上記キャビティ型9と第2コア型13とを型開きし、樹脂製窓1を取り出す。一方、第1コア型11側では、図4に基づいて説明した要領で、第1コア型11を後退させてキャビティ型9と第1コア型11とを型開きする。  A resin window in which the
  上述した工程を繰り返すことで、キャビティ型9の両側面で樹脂製窓1の成形を連続して行える。  By repeating the above-described steps, the
  したがって、本実施形態によれば、第1コア型11のゲート23が枠部7に対応する箇所に形成され、樹脂パネル5のゲート跡が枠部7により隠蔽されるので、見栄えが向上する。  Therefore, according to the present embodiment, the
  また、樹脂パネル5をその端面の一辺の長手方向中心位置で位置決めピン17により位置決めし、かつ上記端面の一辺を金型に接した状態で収縮させるので、残りの3辺とキャビティ型9の成形面16との間に所定の幅で隙間Sが形成される。したがって、あらかじめ第2コア型13の突条部27の幅を上記隙間Sの幅と等しく設定することにより、第2キャビティ47内への不透光性樹脂49の射出による周壁部3の外側への傾きを確実に防止し、樹脂パネル5周縁の形状を確実に平滑にすることができる。  Further, since the
  また、位置決めピン17及び補助位置決めピン19に対応する貫通孔51,53が不透光性樹脂49によって塞がれてその開口が露出しないので、見栄えが向上する。  Further, since the through
本発明は、例えば、裏面側へ向けて突出する略矩形環状の周壁部を周縁に有する透光性の略矩形板状樹脂パネルを射出成形した後、該樹脂パネルの裏面側に上記周壁部に内側から接するように該周壁部に沿って不透光性の枠部を略矩形環状に射出成形して樹脂製窓を得る2色射出成形方法として有用である。 The present invention, for example, after injection-molding a translucent substantially rectangular plate-shaped resin panel having a substantially rectangular annular peripheral wall portion protruding toward the back surface at the periphery, and then forming the peripheral wall portion on the back surface side of the resin panel It is useful as a two-color injection molding method for obtaining a resin-made window by injection molding a non-translucent frame portion along the peripheral wall portion so as to contact from the inside in a substantially rectangular ring shape.
1      樹脂製窓
3      周壁部
5      樹脂パネル
7      枠部
9      キャビティ型
11      第1コア型
13      第2コア型
16,16a,16b      成形面
17      位置決めピン
19      補助位置決めピン
21      成形面
23      ゲート
25      成形面
26      当接面
27      突条部
43      第1キャビティ
45      透光性樹脂
47      第2キャビティ
49      不透光性樹脂
51      貫通孔
S      隙間1 Resin window
 3 Perimeter wall
 5 Resin panels
 7 Frame
 9 Cavity type
 11 First core type
 13 Second core type
 16, 16a, 16b Molded surface
 17 Positioning pin
 19 Auxiliary positioning pin
 21 Molding surface
 23 Gate
 25 Molding surface
 26
 43 1st cavity
 45 Translucent resin
 47 Second cavity
 49 opaque resin
 51 Through hole
 S clearance
| Application Number | Priority Date | Filing Date | Title | 
|---|---|---|---|
| JP2009199434AJP5422307B2 (en) | 2009-08-31 | 2009-08-31 | Two-color injection molding method for resin windows | 
| Application Number | Priority Date | Filing Date | Title | 
|---|---|---|---|
| JP2009199434AJP5422307B2 (en) | 2009-08-31 | 2009-08-31 | Two-color injection molding method for resin windows | 
| Publication Number | Publication Date | 
|---|---|
| JP2011051109A JP2011051109A (en) | 2011-03-17 | 
| JP5422307B2true JP5422307B2 (en) | 2014-02-19 | 
| Application Number | Title | Priority Date | Filing Date | 
|---|---|---|---|
| JP2009199434AActiveJP5422307B2 (en) | 2009-08-31 | 2009-08-31 | Two-color injection molding method for resin windows | 
| Country | Link | 
|---|---|
| JP (1) | JP5422307B2 (en) | 
| Publication number | Priority date | Publication date | Assignee | Title | 
|---|---|---|---|---|
| JP6183953B2 (en)* | 2013-09-25 | 2017-08-23 | ダイキョーニシカワ株式会社 | Rotating two-color injection molding equipment for resin windows | 
| JP6180260B2 (en)* | 2013-09-27 | 2017-08-16 | ダイキョーニシカワ株式会社 | Rotating two-color injection molding equipment for resin windows | 
| JP2016217153A (en)* | 2015-05-14 | 2016-12-22 | 株式会社川本製作所 | Water supply system | 
| JP6620702B2 (en)* | 2016-08-16 | 2019-12-18 | 株式会社豊田自動織機 | Injection molding equipment | 
| KR102426683B1 (en)* | 2018-09-12 | 2022-08-04 | 장광진 | Injection molding apparatus and method for partition for toilet | 
| JP7294125B2 (en)* | 2019-12-26 | 2023-06-20 | 豊田合成株式会社 | VEHICLE EXTERIOR PRODUCT AND METHOD FOR MANUFACTURING VEHICLE EXTERIOR | 
| Publication number | Priority date | Publication date | Assignee | Title | 
|---|---|---|---|---|
| JPS59155022A (en)* | 1983-02-23 | 1984-09-04 | Hashimoto Forming Co Ltd | Manufacture of synthetic resin molded item | 
| JPH07100331B2 (en)* | 1987-03-03 | 1995-11-01 | 日本板硝子株式会社 | Vehicle window glass manufacturing method | 
| JPH06134805A (en)* | 1992-10-29 | 1994-05-17 | Nissha Printing Co Ltd | Two-color molded article and production thereof | 
| JPH07329111A (en)* | 1994-06-13 | 1995-12-19 | Yamashita Denki Kk | Two-color molding method using different materials resin | 
| JP2003011183A (en)* | 2001-06-28 | 2003-01-15 | Pentel Corp | Mold equipment | 
| JP2003291171A (en)* | 2002-04-04 | 2003-10-14 | Idemitsu Petrochem Co Ltd | Method for integrally molding thermoplastic material and car door panel formed thereby | 
| JP5056274B2 (en)* | 2007-08-29 | 2012-10-24 | 三菱エンジニアリングプラスチックス株式会社 | Resin molded body and molding method thereof | 
| Publication number | Publication date | 
|---|---|
| JP2011051109A (en) | 2011-03-17 | 
| Publication | Publication Date | Title | 
|---|---|---|
| JP5422307B2 (en) | Two-color injection molding method for resin windows | |
| CN101242942B (en) | Method for molding composite molded article and mold device used therefor | |
| JP4733733B2 (en) | Two-color molding tool and two-color molded product | |
| US10710287B2 (en) | Injection molding method and mold mechanism | |
| KR101418665B1 (en) | Method for producing resin molded article by injection molding, and injection molding device | |
| JP6156985B2 (en) | Injection molding method and resin molded product | |
| CN104039522B (en) | The injecting molding die of resin vehicle window panel | |
| US20070196626A1 (en) | Multi-component molded plastic part | |
| JP6180260B2 (en) | Rotating two-color injection molding equipment for resin windows | |
| JP6364301B2 (en) | Method for producing pillar garnish | |
| JP2011251478A (en) | Method for manufacturing housing having seal member | |
| JP6183953B2 (en) | Rotating two-color injection molding equipment for resin windows | |
| JP5244426B2 (en) | Skin material insert molding apparatus and molding method | |
| JP2006035543A (en) | In-mold assembling method for moldings | |
| JP2005178185A (en) | Injection molding mold and method for producing injection-molded article using the mold | |
| JP4289951B2 (en) | Side mall | |
| JP4648109B2 (en) | Method for molding synthetic resin injection molded product and injection mold apparatus | |
| JP2003094484A (en) | Two-color molding method and mold device | |
| JP2007331249A (en) | Injection mold | |
| JP6929000B2 (en) | Resin panel parts and their manufacturing methods | |
| JP6457280B2 (en) | Resin wind panel | |
| JP4658705B2 (en) | Method for molding synthetic resin injection molded product and injection mold apparatus | |
| JPH06720U (en) | Injection mold | |
| JP2004291324A (en) | Mold for multicolor molding and multicolor molding method | |
| JP7151028B2 (en) | Method for manufacturing resin molded member | 
| Date | Code | Title | Description | 
|---|---|---|---|
| A621 | Written request for application examination | Free format text:JAPANESE INTERMEDIATE CODE: A621 Effective date:20120605 | |
| RD02 | Notification of acceptance of power of attorney | Free format text:JAPANESE INTERMEDIATE CODE: A7422 Effective date:20120605 | |
| A977 | Report on retrieval | Free format text:JAPANESE INTERMEDIATE CODE: A971007 Effective date:20131023 | |
| TRDD | Decision of grant or rejection written | ||
| A01 | Written decision to grant a patent or to grant a registration (utility model) | Free format text:JAPANESE INTERMEDIATE CODE: A01 Effective date:20131105 | |
| A61 | First payment of annual fees (during grant procedure) | Free format text:JAPANESE INTERMEDIATE CODE: A61 Effective date:20131125 | |
| R150 | Certificate of patent or registration of utility model | Ref document number:5422307 Country of ref document:JP Free format text:JAPANESE INTERMEDIATE CODE: R150 | |
| R250 | Receipt of annual fees | Free format text:JAPANESE INTERMEDIATE CODE: R250 | |
| R250 | Receipt of annual fees | Free format text:JAPANESE INTERMEDIATE CODE: R250 | |
| R250 | Receipt of annual fees | Free format text:JAPANESE INTERMEDIATE CODE: R250 | |
| R250 | Receipt of annual fees | Free format text:JAPANESE INTERMEDIATE CODE: R250 | |
| R250 | Receipt of annual fees | Free format text:JAPANESE INTERMEDIATE CODE: R250 | |
| R250 | Receipt of annual fees | Free format text:JAPANESE INTERMEDIATE CODE: R250 | |
| R250 | Receipt of annual fees | Free format text:JAPANESE INTERMEDIATE CODE: R250 | |
| R250 | Receipt of annual fees | Free format text:JAPANESE INTERMEDIATE CODE: R250 | |
| R250 | Receipt of annual fees | Free format text:JAPANESE INTERMEDIATE CODE: R250 |