



本発明は、空調システムに関し、更に詳しくは、乾燥剤を用いて除湿を行う空調システムに関する。 The present invention relates to an air conditioning system, and more particularly to an air conditioning system that performs dehumidification using a desiccant.
  乾燥剤、すなわち、吸湿剤を用いて除湿を行う空調システムとして、例えば、特許文献1に開示されたデシカント除湿機を用いたものがある。  As an air conditioning system for performing dehumidification using a desiccant, that is, a hygroscopic agent, for example, there is one using a desiccant dehumidifier disclosed in
かかるデシカント除湿機では、ハウジング内の空間を仕切って、除湿処理用の空気を流す処理側流路と再生用の外気を流す再生側流路とを構成し、両流路に跨って吸湿剤を保持した除湿ロータを回転可能に設ける。 In such a desiccant dehumidifier, a space in the housing is partitioned to form a treatment-side flow channel for flowing dehumidification air and a regeneration-side flow channel for flowing regeneration external air, and a hygroscopic agent is spread over both flow channels. A held dehumidifying rotor is provided to be rotatable.
この除湿ロータをゆっくりと回転させ、除湿ロータが処理側流路に臨む除湿領域では、除湿用の空気が除湿ロータを通過して空気に含まれる水分が吸湿剤に吸着されて除湿処理され、この除湿処理された空気を除湿対象箇所に供給する。また、除湿ロータが再生側流路に臨む再生領域では、加熱された再生用の外気が除湿ロータを通過し、吸湿剤に吸着された水分が再生用の外気に放湿されて脱着され、吸湿剤が再生される。 In the dehumidification region where the dehumidification rotor is rotated slowly and the dehumidification rotor faces the processing-side flow path, the dehumidification air passes through the dehumidification rotor and the moisture contained in the air is adsorbed by the hygroscopic agent and dehumidified The dehumidified air is supplied to the location to be dehumidified. In the regeneration region where the dehumidification rotor faces the regeneration-side flow path, heated regeneration outside air passes through the dehumidification rotor, and moisture adsorbed by the moisture absorbent is dehumidified and desorbed to the regeneration outside air, thereby absorbing moisture. The agent is regenerated.
このように除湿ロータが回転して除湿、再生を連続的に繰り返すことによって、空気を除湿して除湿対象箇所に供給する。 In this way, the dehumidification rotor rotates and dehumidification and regeneration are continuously repeated, so that the air is dehumidified and supplied to the dehumidification target location.
上記のようなデシカント除湿機を用いた空調システムでは、処理側流路及び再生側流路に、それぞれ除湿用の空気及び再生用の外気を流す必要があるために、個別に送風機を設ける必要がある。このため、送風機を設置するスペースが必要になって空調システム全体が大きくなり、また、送風機を設置するには、設備コストがかかると共に、駆動するためのエネルギーコストも高くなるという課題がある。 In the air conditioning system using the desiccant dehumidifier as described above, it is necessary to supply dehumidification air and regeneration outside air to the processing-side flow path and the regeneration-side flow path, respectively. is there. For this reason, the space which installs an air blower is needed, the whole air conditioning system becomes large, and there exists a subject that the energy cost for driving will also become high in order to install an air blower while installing equipment cost.
本発明は、上述のような点に鑑みてなされたものであって、送風機の数を削減して空調システム全体の小型化及び省電力化を図ると共に、コストを低減することを目的とする。 The present invention has been made in view of the above points, and an object of the present invention is to reduce the number of blowers to reduce the size and power consumption of the entire air conditioning system and to reduce the cost.
上記目的を達成するために、本発明では次のように構成している。 In order to achieve the above object, the present invention is configured as follows.
(1)本発明の空調システムは、循環用送風機の作動によって湿度制御対象室の空気が循環する循環流路と、前記循環流路に設けられた冷却器と、前記湿度制御対象室からの処理用空気が流れる処理側流路と、再生用送風機の作動によって再生用の空気が流れる再生側流路と、前記処理側流路および前記再生側流路に跨って回転可能に設けられた除湿ロータと、前記除湿ロータを回転駆動する駆動手段と、を備え、前記除湿ロータは、前記処理側流路に臨む除湿領域では、前記処理用空気の水分を吸湿して除湿処理し、前記再生側流路に臨む再生領域では、吸湿した水分を前記再生用の空気に放湿して再生され、前記処理側流路の入口および出口を、前記湿度制御対象室の空気の圧力差が生じる、前記循環流路に設けられた前記冷却器の上流側および下流側にそれぞれ接続して、前記圧力差によって前記処理用空気を前記処理側流路内に前記入口から導入し、前記除湿領域で除湿処理された処理用空気を前記出口から前記湿度制御対象室へ導出するようにしている。(1) The air conditioning system of the present invention includes acirculation channel through which air in a humidity control target chamber circulates by operation of acirculation fan, a cooler provided in the circulation channel, and a process from the humidity control target chamber A processing-side flow path through which regeneration air flows, a regeneration-side flow path through which regeneration air flows by the operation of the regeneration blower, and a dehumidification rotor rotatably provided across the processing-side flow path and the regeneration-side flow path When, and a driving means for rotatingthe dehumidification rotor, the dehumidification rotor is in the dehumidification region facing the processing side flow path, and dehumidifying processed hygroscopic moisture of the processing air, the reproducing side stream in the reproducing area facing the road, are reproduced by moisture releasing the moisture absorbed in the air for the regeneration, the inlet and outlet of the process side flow passage, the pressure difference between the air in the humidity control target chamber occurs,the circulation Upstream of the cooler provided in the flow path And downstream respectively connected, is introduced from the inlet of the process air into the process side flow path by the pressure differential, the humidity control target dehumidification treated treated air by the dehumidifying region from the outlet It leads to the room.
本発明の空調システムによると、処理側流路の入口および出口を、湿度制御対象室の空気の圧力差が生じる箇所に接続し、入口と出口との圧力差によって処理用空気を、前記処理側流路に流すようにしているので、上述の従来例のように、処理側流路に処理用の空気を流すための送風機を設ける必要がなく、その分、空調システム全体の小型化及び省電力化を図ることができると共に、コストの低減を図ることができる。 According to the air conditioning system of the present invention, the inlet and the outlet of the processing side flow path are connected to a place where the pressure difference of the air in the humidity control target chamber is generated, and the processing air is supplied by the pressure difference between the inlet and the outlet. Since it is made to flow through the flow path, it is not necessary to provide a blower for flowing the processing air to the processing side flow path as in the above-described conventional example, so that the entire air conditioning system is reduced in size and power saving. In addition, the cost can be reduced.
再生側流路を流れる再生用の空気を加熱する加熱手段としては、電気ヒータ、あるいは、温水コイルや蒸気コイルや廃熱を利用する手段などを使用することができる。 As a heating means for heating the air for regeneration flowing through the regeneration side flow path, an electric heater, a hot water coil, a steam coil, a means utilizing waste heat, or the like can be used.
循環用送風機の作動によって、湿度制御対象室の空気が循環流路を循環し、該循環流路に設けた冷却器によって冷却されて湿度制御対象室に戻されるので、湿度制御対象室の温度を下げることができる。また、循環用送風機の作動によって、循環流路に設けた冷却器の上流側と下流側とでは、空気の圧力に差が生じる。 Due to the operation of the circulation fan, the air in the humidity control target room circulates in the circulation flow path, and is cooled by the cooler provided in the circulation flow path and returned to the humidity control target room. Can be lowered. In addition, due to the operation of the circulation fan, a difference occurs in the air pressure between the upstream side and the downstream side of the cooler provided in the circulation flow path.
この実施態様によると、処理側流路の入口および出口を、循環用送風機の作動によって圧力差が生じる循環流路の冷却器の上流側および下流側の各箇所にそれぞれ接続しているので、前記圧力差によって、湿度制御対象室からの処理用空気を処理側流路に流して除湿処理することができる。すなわち、冷却器が設けられた循環流路に湿度制御対象室の空気を循環させるための循環用送風機を設けることによって、除湿処理のための処理側流路に処理用空気を流すことができる。 According to this embodiment, the inlet and the outlet of the processing side channel are connected to the upstream and downstream sides of the cooler of the circulating channel where the pressure difference is generated by the operation of the circulation fan. Due to the pressure difference, the processing air from the humidity control target chamber can be passed through the processing-side flow path to perform dehumidification processing. That is, by providing a circulation fan for circulating the air in the humidity control target chamber in the circulation channel provided with the cooler, the processing air can be caused to flow through the processing side channel for the dehumidification process.
なお、循環流路には、該循環流路を循環する空気を加熱する加熱手段を設けるのが好ましく、この場合には、循環する空気を、冷却器によって冷却する一方、加熱手段で加熱することができるので、湿度制御対象室の温度を調整することができる。 The circulation channel is preferably provided with a heating means for heating the air circulating through the circulation channel. In this case, the circulating air is cooled by a cooler and heated by the heating means. Therefore, the temperature of the humidity control target room can be adjusted.
(3)本発明の空調システムの更に別の実施態様では、前記再生側流路の前記除湿ロータの下流側の前記再生用の空気を、前記湿度制御対象室に導入可能としている。 (3) In still another embodiment of the air conditioning system of the present invention, the regeneration air on the downstream side of the dehumidification rotor of the regeneration side channel can be introduced into the humidity control target chamber.
この実施態様によると、再生側流路において、除湿ロータの水分を吸湿して湿度が高くなっている除湿ロータ下流側の再生用の空気を、湿度制御対象室に導入することによって、湿度制御対象室を加湿することが可能となる。したがって、比較的湿度の低い低湿域では、加湿器によって加湿する必要がなく、加湿のためのエネルギー消費を低減することができる。 According to this embodiment, in the regeneration-side flow path, by introducing the regeneration air on the downstream side of the dehumidification rotor that absorbs the moisture of the dehumidification rotor and is high in humidity into the humidity control object chamber, It becomes possible to humidify the chamber. Therefore, it is not necessary to humidify by a humidifier in a low humidity region where the humidity is relatively low, and energy consumption for humidification can be reduced.
(4)本発明の空調システムの別の実施態様では、再生用の空気を加熱する前記加熱手段、前記除湿ロータを回転駆動する前記駆動手段、および、前記再生用送風機の少なくともいずれか一つを制御して前記処理用空気の湿度を制御する制御手段を備えている。 (4) In another embodiment of the air conditioning system of the present invention, at least one of the heating means for heating the air for regeneration, the driving means for rotationally driving the dehumidification rotor, and the blower for regeneration is provided. Control means for controlling and controlling the humidity of the processing air is provided.
この実施態様によると、加熱手段による再生用の空気の温度、駆動手段による除湿ロータの回転速度、および、再生用送風機による再生用の空気の風量の少なくともいずれか一つを制御手段で制御することによって、再生領域で再生される除湿ロータの除湿能力、つまり、除湿領域で除湿ロータによって除湿処理される処理用空気の湿度を制御することができる。 According to this embodiment, at least one of the temperature of the regeneration air by the heating means, the rotational speed of the dehumidification rotor by the driving means, and the air volume of the regeneration air by the regeneration blower is controlled by the control means. Thus, it is possible to control the dehumidification capacity of the dehumidification rotor that is regenerated in the regeneration region, that is, the humidity of the processing air that is dehumidified by the dehumidification rotor in the dehumidification region.
(5)本発明の空調システムの更に別の実施態様では、前記除湿領域で除湿処理された処理用空気の前記湿度制御対象室への供給量を制御するダンパを備えている。 (5) In still another embodiment of the air conditioning system of the present invention, a damper is provided for controlling the supply amount of the processing air dehumidified in the dehumidifying region to the humidity control target chamber.
この実施態様によると、湿度制御対象室へ供給される除湿処理された処理用空気の供給量を制御することによって、湿度制御対象室の湿度を調整することができる。 According to this embodiment, the humidity of the humidity control target chamber can be adjusted by controlling the supply amount of the dehumidified processing air supplied to the humidity control target chamber.
(6)本発明の空調システムの別の実施態様では、前記再生側流路に、廃熱で昇温された再生用の空気を導入可能としている。 (6) In another embodiment of the air conditioning system of the present invention, regeneration air heated by waste heat can be introduced into the regeneration side flow path.
この実施形態によると、廃熱によって加熱昇温された再生用の空気を利用できるので、再生用の空気を加熱するためのエネルギー消費を低減することができる。 According to this embodiment, since the regeneration air heated and heated by waste heat can be used, energy consumption for heating the regeneration air can be reduced.
本発明によれば、処理側流路の入口および出口を、湿度制御対象室の空気の圧力差が生じる箇所に接続し、入口と出口との圧力差によって処理用空気を、処理側流路に流すようにしているので、従来例のように、処理側流路に処理用空気を流すための送風機を設ける必要がなく、その分、空調システム全体の小型化及び省電力化を図ることができると共に、コストの低減を図ることができる。 According to the present invention, the inlet and outlet of the processing side flow path are connected to a place where the pressure difference between the air in the humidity control target chamber occurs, and the processing air is transferred to the processing side flow path by the pressure difference between the inlet and the outlet. Since it is made to flow, it is not necessary to provide a blower for flowing processing air in the processing side flow path as in the conventional example, and accordingly, the entire air conditioning system can be reduced in size and power can be saved. At the same time, the cost can be reduced.
以下、本発明の実施形態を図面に基づいて詳細に説明する。 Hereinafter, embodiments of the present invention will be described in detail with reference to the drawings.
 (実施形態1)
  図1に本発明の一実施形態に係る空調システムを備える環境試験装置の要部の構成を概略的に示す。(Embodiment 1)
 FIG. 1 schematically shows a configuration of a main part of an environmental test apparatus including an air conditioning system according to an embodiment of the present invention.
  同図に示す環境試験装置は、断熱材1で囲まれた湿度制御対象室6を備えている。この湿度制御対象室6は、仕切壁5によって試験室2と、この試験室2の空気が循環する循環流路4とに仕切られている。試験室2は、一部のみが図示されている。この試験室2には、図示を略するが、電子部品、電子機器、高分子材料などの環境試験の試験対象となる試料が配置される。  The environmental test apparatus shown in the figure includes a humidity
  仕切壁5は、下方に、試験室2側の空気を循環流路4側に吸込む空気吸込口7を有し、また、上方に、空調された空気を循環流路4側から試験室2側へ吹出す空気吹出口8を有している。空気吹出口8には、循環用送風機9の吐出口が試験室2側へ臨んでいる。  The
  試験室2内には、空気吹出口8の近傍に、湿球温度計などからなる湿度センサ10と、熱電対などからなる温度センサ11とが設置されており、両センサ10,11の検出出力は、後述のコントローラ29に与えられる。  In the
  循環流路4には、空気吸込口7(上流)側から空気吹出口(下流)8側へ、3台の冷凍機121〜123の各冷却器(蒸発器)131〜133と、ヒータからなる加熱器14、水を加熱蒸発させて加湿する加湿器15と、上述の循環用送風機9とが配置されている。In the
各冷却器131〜133は、圧縮機等を含む冷凍機本体161〜163と、膨張弁181〜183と共に冷媒回路を構成し、冷媒を循環させて冷凍サイクルを行う。冷凍機本体161〜163は、インバータ191〜193によって電源周波数が可変されて圧縮機の回転数が制御される。なお、冷却器の台数は、要求される仕様に応じて適宜選択される。また、本実施形態では、電磁弁171〜173を有するが、なくてもよい。Each of the coolers 131 to 133 constitutes a refrigerant circuit together with the refrigerator main bodies 161 to 163 including the compressor and the expansion valves 181 to 183 , and performs a refrigeration cycle by circulating the refrigerant. The power supply frequency of the refrigerator main bodies 161 to 163 is varied by the inverters 191 to 193 to control the rotation speed of the compressor. Note that the number of coolers is appropriately selected according to required specifications. Further, in this embodiment, it has a solenoid valve17 1-173 may be omitted.
  この実施形態の空調システム3は、試験室2内の空気の除湿を行うために、乾燥剤、すなわち、吸湿剤を用いて除湿を行う吸着式のデシカント除湿器20を備えている。  The
  このデシカント除湿器20は、試験室2からの処理用の空気が流れる処理側流路21と、再生用送風機22の作動によって導入流路32を介して再生用の空気としての外気が流れる再生側流路23と、処理側流路21及び再生側流路23に跨って回転駆動される除湿ロータを含む除湿モジュール24と、再生側流路23における除湿モジュール24の上流側に設けられ、再生用の空気としての外気を加熱する再生用ヒータ25と、を備えている。  The
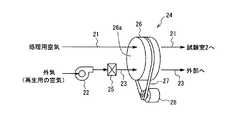
  除湿モジュール24は、図2に模式的に示すように、図示しないハウジング内に回転可能に支持された円盤状の除湿ロータ26と、この除湿ロータ26を、駆動ベルト27を介して一定の回転速度でゆっくりと回転駆動する除湿ロータ駆動手段としてのモータ28とを備えている。前記ハウジングは、試験室2からの処理用の空気が流れる処理側流路21と、再生用送風機22の作動によって再生用の空気としての外気が流れる再生側流路23とに区画されている。  As schematically shown in FIG. 2, the
  除湿ロータ26は、内部にゼオライトやシリカゲル等の吸着剤を担持した、いわゆる、デシカントロータであり、各流路21,23の空気の流れと直交するように回転可能に支持されている。  The dehumidifying
  除湿ロータ26は、円盤状回転面の円周方向領域26aが、その回転に応じて、処理側流路21に臨む除湿領域と、再生側流路23に臨む再生領域となり、除湿領域では、処理用の空気が、除湿領域を通過する際に、空気中の水分が吸湿剤に吸着されて除湿処理され、再生領域では、再生用ヒータ25で加熱された外気が通過する際に、吸湿した水分を外気に放湿して再生される。  In the
  この再生用ヒータ25による加熱温度を制御することによって、除湿ロータ26の除湿能力を制御することができる。すなわち、加熱温度が高くなると、除湿ロータ26の吸湿剤は十分に乾燥されて除湿能力が高くなる。逆に、加熱温度が低くなると、除湿ロータ26の吸湿剤の乾燥が不十分となり、除湿能力が低下する。このように再生用ヒータ25の加熱温度を制御することによって、除湿ロータ26の除湿領域における除湿能力、つまり、除湿領域で除湿処理される空気の湿度を制御することができる。  By controlling the heating temperature by the
  この実施形態の空調システム3では、試験室2内の空気は、循環用送風機9によって循環流路4の下部側の空気吸込口7から吸込まれ、3台の冷却器131〜133、加熱器14及び加湿器15が配置された循環流路4を流れ、温度及び湿度が調整されて循環用送風機9を介して上部側の空気吹出口8から試験室2へ吹出される。In the
  この実施形態では、デシカント除湿器20の送風機の数を削減して空調システム全体の小型化及び省電力化を図ってコストの低減を図るために、次のように構成している。  In this embodiment, in order to reduce the number of blowers of the
  すなわち、この実施形態では、処理側流路21の入口21aおよび出口21bを、湿度制御対象室6の空気の圧力差が生じる箇所、具体的には、循環流路4の3台の冷却器131〜133の上流側および下流側の各箇所にそれぞれ接続している。In other words, in this embodiment, the
  熱交換器である冷却器131〜133は、圧力損失が大きく、循環用送風機9が作動すると、冷却器131〜133の上流側と下流側とでは、空気の圧力差が大きくなる。したがって、循環流路4内において、圧力差が大きな冷却器131〜133の上流側の任意1箇所4aおよび下流側の任意1箇所4bに、処理側流路21の入口21aおよび出口21bをそれぞれ接続することによって、試験室2から空気吸込口7を介して吸込まれた空気の一部が、除湿処理用の空気として入口21aから処理側流路21に導入される。The coolers 131 to 133 , which are heat exchangers, have a large pressure loss. When the
  この場合、試験室2から空気吸込口7を介して循環流路4に吸込まれた空気は、循環流路4を下流側から上流側へと流れる一方、一部が処理側流路21に分流されることになるが、この分流比、すなわち、循環流路4側の空気の流量と処理流路21側の空気の流量との比率は、例えば、循環流路4側の風路抵抗などの設定によって規定することができる。
循環流路4に設置される冷却器の台数が少なく、風路抵抗が不足するような場合には、例えば、パンチングメタル等の風路抵抗体を循環流路4内に設置して調整することができる。In this case, the air sucked into the
 When the number of coolers installed in the
  循環流路4側の空気の流量と処理流路21側の空気の流量との比率は、要求される温度・湿度範囲や除湿モジュール20の能力などに応じて設定すればよく、この比率は特に限定されないが、この実施形態では、例えば、9:1〜7:3の範囲内となるように設定している。  The ratio between the air flow rate on the
  試験室2から空気吸込口7及び入口21aを介して処理側流路21に図中矢印で示すように導入された空気は、除湿モジュール24の除湿ロータ26で除湿処理され、図中矢印で示すように出口21bから循環用送風機9を介して試験室2内に供給される。一方、再生用送風機22によって図中矢印で示すように再生側流路23に取込まれた再生用の空気としての外気は、再生用ヒータ25によって加熱された後、除湿モジュール24の除湿ロータ26を通過し、除湿ロータ26の吸湿剤を加熱し、吸湿剤の水分を放出させて乾燥させ、図中矢印で示すように外部に排気される。  The air introduced from the
  この実施形態の空調システム3は、試験室2の湿度及び温度をそれぞれ検出する上述の湿度センサ10及び温度センサ11の検出出力に基づいて、冷凍機121〜123、加熱器14、加湿器15及び再生用ヒータ25を制御して試験室2の温度及び湿度を、設定部(図示せず)によって設定された温度及び湿度に制御する制御手段としての上述のコントローラ29を備えている。The
  次に、上記構成を有する空調システム3の動作について説明する。  Next, the operation of the
  循環用送風機9の作動によって、試験室2内の空気が空気吸込口7を介して循環流路4及び処理側流路21に吸い込まれる。循環流路4内に吸込まれた空気は、冷却器131〜133及び加熱器14を通過する際に、温度が調整され、加湿器15によって加湿されて循環用送風機9を介して試験室2内に吹出される。一方、処理側流路21内に吸込まれた空気は、除湿モジュール24内の除湿ロータ26の除湿領域を通過して除湿処理され、循環用送風機9を介して試験室2内に吹出される。また、除湿モジュール24内の除湿ロータ26は、再生側流路23に臨む再生領域で、再生用ヒータ25によって加熱された再生用の空気である外気に水分を放出して再生される。By the operation of the
  コントローラ29は、試験室2内の湿度センサ10及び温度センサ11の検出出力に基づいて、冷凍機121〜123、加熱器14、加湿器15及び再生用ヒータ25を制御して試験室2内の温度及び湿度を、設定された温度及び湿度に制御する。The
  このように処理側流路21には、冷却器131〜133の上流側と下流側とに接続された入口21aと出口21bとの差圧によって試験室2内の空気が入口21aを介して処理側流路21へ吸込まれて除湿モジュール24で除湿処理されて試験室2内に戻されるので、従来例のように処理側流路21に送風機を設置する必要がなく、空調システム全体の小型化及び省電力化を図ることができると共に、コストの低減を図ることができる。The thus-treated
  また、冷却は、循環流路4に設置された冷却器131〜133によって行う一方、除湿は、除湿モジュール24によって行うので、空気を露点温度以下まで過剰に冷却して除湿する必要がなく、エネルギー消費を低減することができる。更に、空気を過剰に冷却する必要がないので、冷却温度を、冷却器131〜133に霜が付着しない温度まで高めることができ、これによって、除霜(デフロスト)の必要がなくなり、除霜するために冷凍機121〜123を停止させて環境試験を中断するといった必要がなくなる。また、冷却器131〜133に霜が付着する冷却温度に制御する必要がある場合には、事前に除湿モジュール24で除湿を行うことによって着霜を抑制できるので、除霜するために冷凍機121〜123を停止させるまでの連続運転時間を延ばすことができる。The cooling is, while performing the
 (実施形態2)
  図3は、本発明の他の実施形態の図1に対応する構成図である。(Embodiment 2)
 FIG. 3 is a block diagram corresponding to FIG. 1 of another embodiment of the present invention.
  この実施形態の空調システム31では、再生側流路23の除湿モジュール24の下流側には、循環流路4の下流側に連結された分岐流路30が連結されると共に、この分岐流路30と再生側流路23との連結部分には、分岐流路30への再生用の空気の供給量を制御するダンパ31が設けられている。In the
  除湿モジュール24の下流側の再生用の空気は、上述のように除湿ロータ26の再生領域を通過する際に、吸湿剤から放出される水分を吸湿して湿度が高くなっており、この湿度の高い再生用の空気を、分岐流路30を介して試験室2内へ供給することによって、試験室2を加湿することが可能となる。コントローラ291は、ダンパ31の開度を制御して試験室2へ供給する再生用の空気の流量を制御して湿度を調整する。The regeneration air downstream of the
  このように、除湿モジュール24の下流側の湿度の高い再生用の空気を試験室2内に導入して加湿するので、比較的湿度の低い低湿域では、加湿器15によって加湿する必要がなく、加湿のためのエネルギー消費を低減することができる。なお、分岐流路30は、循環流路4の下流側に連結したけれども、上流側に連結してもよい。  In this way, since the high-humidity regeneration air on the downstream side of the
  また、この実施形態では、再生用送風機22の作動によって再生用の空気として外気を導入する導入流路32には、冷凍機131〜133等が設置されている機械室34の空気を導入する導入流路33が連結されており、連結部分には、機械室34から導入する空気の流量を制御するダンパ35を設けている。コントローラ291は、このダンパ35の開度を制御して機械室34から導入する空気の流量を制御する。Further, in this embodiment, the
  機械室34の空気は、圧縮機等の廃熱によって加熱昇温されており、この廃熱によって昇温された空気を、再生側流路23に再生用の空気として導入することによって、再生用ヒータ25で再生用の空気を加熱するためのエネルギー消費を低減することができる。  The air in the
その他の構成は、上述の実施形態1と同様である。 Other configurations are the same as those in the first embodiment.
 (実施形態3)
  図4は、本発明の更に他の実施形態の図1に対応する構成図である。(Embodiment 3)
 FIG. 4 is a block diagram corresponding to FIG. 1 of still another embodiment of the present invention.
  この実施形態の空調システム32は、処理側流路21の除湿モジュール24の下流側に、ダンパ36を設け、コントローラ292によってこのダンパ36の開度を制御することによって、除湿処理された空気の試験室2への供給量を制御し、試験室2内の湿度を調整するようにしている。
その他の構成は、上述の実施形態1と同様である。 Other configurations are the same as those in the first embodiment.
  (その他の実施形態)
  上述の各実施形態では、環境試験装置に適用して説明したけれども、本発明の空調システムは、環境試験装置に限らず、室内の湿度制御が必要な様々な用途に適用できるものであり、例えば、工場のドライルーム、除霜対策が必要なスーパーマーケットの冷凍・冷蔵ショーケース、あるいは、雑菌の抑制が必要な病院などにも適用できるものである。また、風路抵抗は、冷却器でなく、加熱器や他の機器であってもよく、風路抵抗となるものであれば何でもよい。(Other embodiments)
 In each of the above-described embodiments, description has been made by applying to an environmental test apparatus. However, the air conditioning system of the present invention is not limited to an environmental test apparatus, and can be applied to various uses that require indoor humidity control. It can also be applied to dry rooms in factories, freezer / refrigerated showcases in supermarkets that require defrosting countermeasures, and hospitals that need to control germs. Further, the air path resistance may be a heater or other equipment instead of a cooler, and any air resistance can be used as long as it provides air path resistance.
上述の実施形態では、機械室の廃熱によって加熱された空気を、再生用の空気として利用したけれども、本発明の他の実施形態として、燃料電池の廃熱などを利用してもよい。 In the above embodiment, the air heated by the waste heat of the machine room is used as the air for regeneration. However, as another embodiment of the present invention, the waste heat of the fuel cell or the like may be used.
本発明は、少なくとも湿度を調整する空調システムとして有用である。 The present invention is useful as an air conditioning system that adjusts at least humidity.
  2                    試験室
  3                    空調システム
  4                    循環流路
  6                    湿度制御対象室
  9                    循環用送風機
  10                  湿度センサ
  11                  温度センサ
  131〜133         冷却器
  21                  処理側流路
    21a              入口
    21b              出口
  22                  再生用送風機
  23                  再生側流路
  24                  除湿モジュール
  25                  再生用ヒータ
  26                  除湿ロータ
  28                  モータ
  29                  コントローラ
  31,35,36      ダンパDESCRIPTION OF
| Application Number | Priority Date | Filing Date | Title | 
|---|---|---|---|
| JP2010129313AJP5355501B2 (en) | 2010-06-04 | 2010-06-04 | Air conditioning system | 
| Application Number | Priority Date | Filing Date | Title | 
|---|---|---|---|
| JP2010129313AJP5355501B2 (en) | 2010-06-04 | 2010-06-04 | Air conditioning system | 
| Publication Number | Publication Date | 
|---|---|
| JP2011257016A JP2011257016A (en) | 2011-12-22 | 
| JP5355501B2true JP5355501B2 (en) | 2013-11-27 | 
| Application Number | Title | Priority Date | Filing Date | 
|---|---|---|---|
| JP2010129313AActiveJP5355501B2 (en) | 2010-06-04 | 2010-06-04 | Air conditioning system | 
| Country | Link | 
|---|---|
| JP (1) | JP5355501B2 (en) | 
| Publication number | Priority date | Publication date | Assignee | Title | 
|---|---|---|---|---|
| CN105333537A (en)* | 2015-11-06 | 2016-02-17 | 福建省农业科学院 | Agricultural building air conditioning system and application method thereof | 
| WO2024125907A1 (en)* | 2022-12-15 | 2024-06-20 | Munters Europe Aktiebolag | A desiccant dehumidifier and a method, performed by a control device, for controlling a desiccant dehumidifier | 
| Publication number | Priority date | Publication date | Assignee | Title | 
|---|---|---|---|---|
| JP2020026980A (en)* | 2018-08-09 | 2020-02-20 | ナガノサイエンス株式会社 | Environmental test device | 
| JP2020026979A (en)* | 2018-08-09 | 2020-02-20 | ナガノサイエンス株式会社 | Environmental test device | 
| JP7513953B2 (en) | 2020-08-26 | 2024-07-10 | 株式会社大気社 | Air Conditioning System | 
| WO2023085166A1 (en)* | 2021-11-09 | 2023-05-19 | ダイキン工業株式会社 | Air-conditioning device | 
| Publication number | Priority date | Publication date | Assignee | Title | 
|---|---|---|---|---|
| JPH05157274A (en)* | 1991-12-06 | 1993-06-22 | Taisei Corp | Dehumidifying device | 
| JP2603408B2 (en)* | 1992-09-04 | 1997-04-23 | タバイエスペック株式会社 | Constant temperature and humidity | 
| JP2933265B2 (en)* | 1994-04-22 | 1999-08-09 | タバイエスペック株式会社 | Environmental device with rotation control type dehumidifier | 
| JP3118177B2 (en)* | 1995-12-13 | 2000-12-18 | タバイエスペック株式会社 | Dehumidifier on-off type environmental device | 
| JP3734592B2 (en)* | 1997-05-06 | 2006-01-11 | 三菱電機株式会社 | Ventilation equipment | 
| JP2007024375A (en)* | 2005-07-14 | 2007-02-01 | Mitsubishi Electric Corp | Air conditioner | 
| Publication number | Priority date | Publication date | Assignee | Title | 
|---|---|---|---|---|
| CN105333537A (en)* | 2015-11-06 | 2016-02-17 | 福建省农业科学院 | Agricultural building air conditioning system and application method thereof | 
| CN105333537B (en)* | 2015-11-06 | 2018-05-22 | 福建省农业科学院 | Farm buildings air handling system and its application method | 
| WO2024125907A1 (en)* | 2022-12-15 | 2024-06-20 | Munters Europe Aktiebolag | A desiccant dehumidifier and a method, performed by a control device, for controlling a desiccant dehumidifier | 
| Publication number | Publication date | 
|---|---|
| JP2011257016A (en) | 2011-12-22 | 
| Publication | Publication Date | Title | 
|---|---|---|
| JP4169747B2 (en) | Air conditioner | |
| CN103237589B (en) | Dehydrating unit | |
| US20230022397A1 (en) | Air quality adjustment system | |
| JP5862266B2 (en) | Ventilation system | |
| WO1999022182A1 (en) | Dehumidifying air-conditioning system and method of operating the same | |
| JP5355501B2 (en) | Air conditioning system | |
| JP6612575B2 (en) | Dehumidification method and dehumidifier | |
| JP2014149118A (en) | Ambient-air treatment air-conditioning system | |
| US20220074608A1 (en) | Humidity control unit and humidity control system | |
| JP2003130399A (en) | Air conditioner for constant temperature and humidity chamber | |
| JP2008111631A (en) | Dehumidifying air conditioner | |
| JP2015210005A (en) | Dehumidifying air conditioning method and apparatus | |
| CN105899882A (en) | Air conditioner and control method for air conditioner | |
| JP3837339B2 (en) | Dehumidification cooling unit | |
| JP4783048B2 (en) | Constant temperature and humidity device | |
| JP2017044387A (en) | Dehumidification system | |
| JP2001174074A (en) | Dehumidification device | |
| JP7126611B2 (en) | air conditioner | |
| JP2007315734A (en) | Air conditioning system | |
| JP2005164220A (en) | Air conditioner | |
| JP6754578B2 (en) | Dehumidification system | |
| JP2007071501A (en) | Dehumidifying air conditioner | |
| JP2001162131A (en) | Adsorption type air-conditioner | |
| JP6050107B2 (en) | Dehumidification system | |
| KR20110085396A (en) | Outdoor unit of air conditioner | 
| Date | Code | Title | Description | 
|---|---|---|---|
| A621 | Written request for application examination | Free format text:JAPANESE INTERMEDIATE CODE: A621 Effective date:20120118 | |
| A977 | Report on retrieval | Free format text:JAPANESE INTERMEDIATE CODE: A971007 Effective date:20130225 | |
| A131 | Notification of reasons for refusal | Free format text:JAPANESE INTERMEDIATE CODE: A131 Effective date:20130305 | |
| A521 | Request for written amendment filed | Free format text:JAPANESE INTERMEDIATE CODE: A523 Effective date:20130425 | |
| TRDD | Decision of grant or rejection written | ||
| A01 | Written decision to grant a patent or to grant a registration (utility model) | Free format text:JAPANESE INTERMEDIATE CODE: A01 Effective date:20130806 | |
| A61 | First payment of annual fees (during grant procedure) | Free format text:JAPANESE INTERMEDIATE CODE: A61 Effective date:20130827 | |
| R150 | Certificate of patent or registration of utility model | Ref document number:5355501 Country of ref document:JP Free format text:JAPANESE INTERMEDIATE CODE: R150 Free format text:JAPANESE INTERMEDIATE CODE: R150 | |
| R250 | Receipt of annual fees | Free format text:JAPANESE INTERMEDIATE CODE: R250 | |
| R250 | Receipt of annual fees | Free format text:JAPANESE INTERMEDIATE CODE: R250 | |
| R250 | Receipt of annual fees | Free format text:JAPANESE INTERMEDIATE CODE: R250 | |
| R250 | Receipt of annual fees | Free format text:JAPANESE INTERMEDIATE CODE: R250 | |
| R250 | Receipt of annual fees | Free format text:JAPANESE INTERMEDIATE CODE: R250 | |
| R250 | Receipt of annual fees | Free format text:JAPANESE INTERMEDIATE CODE: R250 | |
| R250 | Receipt of annual fees | Free format text:JAPANESE INTERMEDIATE CODE: R250 | |
| R250 | Receipt of annual fees | Free format text:JAPANESE INTERMEDIATE CODE: R250 | |
| R250 | Receipt of annual fees | Free format text:JAPANESE INTERMEDIATE CODE: R250 | |
| R250 | Receipt of annual fees | Free format text:JAPANESE INTERMEDIATE CODE: R250 |