























本発明は、タッチパネルセンサ、タッチパネルセンサを作製するための積層体(ブランクス)、並びに、タッチパネルセンサの製造方法に関する。 The present invention relates to a touch panel sensor, a laminate (blanks) for producing a touch panel sensor, and a method for manufacturing the touch panel sensor.
今日、入力手段として、タッチパネル装置が広く用いられている。タッチパネル装置は、タッチパネルセンサ、タッチパネルセンサ上への接触位置を検出する制御回路、配線およびFPC(フレキシブルプリント基板)を含んでいる。タッチパネル装置は、多くの場合、液晶ディスプレイやプラズマディスプレイ等の表示装置が組み込まれた種々の装置等(例えば、券売機、ATM装置、携帯電話、ゲーム機)に対する入力手段として、表示装置とともに用いられている。このような装置において、タッチパネルセンサは表示装置の表示面上に配置され、これにより、タッチパネル装置は表示装置に対する極めて直接的な入力を可能にする。タッチパネルセンサのうちの表示装置の表示領域に対面する領域は透明になっており、タッチパネルセンサのこの領域が、接触位置(接近位置)を検出し得るアクティブエリアを構成するようになる。 Today, touch panel devices are widely used as input means. The touch panel device includes a touch panel sensor, a control circuit that detects a contact position on the touch panel sensor, wiring, and an FPC (flexible printed circuit board). In many cases, the touch panel device is used together with the display device as an input means for various devices including a display device such as a liquid crystal display or a plasma display (for example, a ticket vending machine, an ATM device, a mobile phone, a game machine). ing. In such a device, the touch panel sensor is disposed on the display surface of the display device, thereby enabling the touch panel device to perform a very direct input to the display device. The area | region which faces the display area of the display apparatus among touch panel sensors is transparent, This area | region of a touch panel sensor comes to comprise the active area which can detect a contact position (approach position).
タッチパネル装置は、タッチパネルセンサ上への接触位置(接近位置)を検出する原理に基づいて、種々の形式に区別され得る。昨今では、光学的に明るいこと、意匠性があること、構造が容易であること、機能的にも優れていること等の理由から、容量結合方式のタッチパネル装置が注目されている。容量結合方式のタッチパネル装置においては、位置を検知されるべき外部導体(典型的には、指)が誘電体を介してタッチセンサに接触(接近)することにより、新たに奇生容量が発生し、この静電容量の変化を利用して、タッチパネルセンサ上における対象物の位置を検出するようになっている。容量結合方式には表面型と投影型とがあるが、マルチタッチの認識(多点認識)への対応に適していることから、投影型が注目を浴びている(例えば、特許文献1)。 The touch panel device can be classified into various types based on the principle of detecting a contact position (approach position) on the touch panel sensor. In recent years, capacitive touch panel devices have attracted attention because they are optically bright, have good design properties, have a simple structure, and are superior in function. In a capacitively coupled touch panel device, a strange capacitance is newly generated when an external conductor (typically a finger) whose position is to be detected contacts (approaches) the touch sensor via a dielectric. The position of the object on the touch panel sensor is detected using the change in capacitance. The capacitive coupling method includes a surface type and a projection type. The projection type is attracting attention because it is suitable for multi-touch recognition (multi-point recognition) (for example, Patent Document 1).
投影型容量結合方式のタッチパネルセンサは、誘電体と、誘電体の両側に異なるパターンでそれぞれ形成された第1センサ電極および第2センサ電極と、を有している。典型的には、第1センサ電極および第2センサ電極は、それぞれ格子状に配列された導電体を有し、外部導体(典型的には、指)がタッチパネルセンサに接触または接近した際に生じる、電磁的な変化または静電容量の変化に基づき、導電体の位置を検出するようになっている。 A projected capacitively coupled touch panel sensor includes a dielectric and first and second sensor electrodes formed in different patterns on both sides of the dielectric. Typically, each of the first sensor electrode and the second sensor electrode has conductors arranged in a lattice pattern, and is generated when an external conductor (typically a finger) contacts or approaches the touch panel sensor. The position of the conductor is detected based on an electromagnetic change or a change in capacitance.
このような投影型容量結合方式のタッチパネルセンサは、一般的に、第1センサ電極が形成された第1の基材フィルムと、第2センサ電極が形成された第2の基材フィルムと、を接着層により接合することによって、作製されている(例えば、特許文献2)。作製されたタッチパネルセンサにおいて、第1センサ電極および第2センサ電極は、基材フィルムのアクティブエリア外の領域に形成された取出配線(取出用の導電体)を介して、外部の制御回路に接続される。タッチパネル装置が表示装置とともに用いられる場合、第1センサ電極および第2センサ電極は、導電率(電気伝導率)の低い透明導電材料から形成される。その一方で、アクティブエリア外に配置される取出配線は、透明である必要はなく、一般的に、高い導電率を有した金属材料をスクリーン印刷で基材フィルム上に印刷することにより形成される。 Such a projected capacitive coupling type touch panel sensor generally includes a first base film on which a first sensor electrode is formed and a second base film on which a second sensor electrode is formed. It is produced by bonding with an adhesive layer (for example, Patent Document 2). In the manufactured touch panel sensor, the first sensor electrode and the second sensor electrode are connected to an external control circuit via an extraction wiring (extraction conductor) formed outside the active area of the base film. Is done. When the touch panel device is used together with a display device, the first sensor electrode and the second sensor electrode are formed from a transparent conductive material having a low conductivity (electric conductivity). On the other hand, the extraction wiring arranged outside the active area does not need to be transparent, and is generally formed by printing a metal material having high conductivity on the base film by screen printing. .
ところで、昨今においては、タッチパネル装置およびタッチパネルセンサに対して、薄型化および光学特性の向上が要望されている。しかしながら、上述した作製方法で作製されるタッチパネルセンサにおいては、二枚のフィルムが貼り合わされるため、厚みが厚くなるだけでなく、透過光に対して光学的作用を及ぼし得る界面の数を増やしてしまう。この結果、表示装置からの映像光の透過率を低下させてしまうとともに、表示装置が表示する映像の画質を劣化させてしまう。 By the way, in recent years, thinning and improvement of optical characteristics are desired for touch panel devices and touch panel sensors. However, in the touch panel sensor manufactured by the above-described manufacturing method, since two films are bonded together, not only the thickness is increased, but the number of interfaces that can exert an optical action on transmitted light is increased. End up. As a result, the transmittance of the image light from the display device is lowered, and the image quality of the image displayed by the display device is deteriorated.
また、投影型容量結合方式のタッチパネルセンサにおいて接触位置(接近位置)の検出精度を向上させるためには、第1センサ電極部および第2センサ電極部を互いに対して精度良く位置決めすることが必要となる。しかしながら、上述した作製方法で作製されるタッチパネルセンサ、すなわち、センサ電極部を形成された二枚のフィルムを貼り合わせることによって作製されるタッチパネルセンサにおいては、第1基材フィルムおよび第2基材フィルムを互いに対して精度良く位置決めすることは困難である。 Further, in order to improve the detection accuracy of the contact position (approach position) in the projected capacitive coupling type touch panel sensor, it is necessary to accurately position the first sensor electrode portion and the second sensor electrode portion with respect to each other. Become. However, in the touch panel sensor manufactured by the above-described manufacturing method, that is, in the touch panel sensor manufactured by bonding two films on which the sensor electrode portion is formed, the first base film and the second base film Are difficult to position with respect to each other with high accuracy.
これに対して、特許文献1では、一枚の基材フィルムの両面に、フォトリソグラフィー技術を用いてセンサ電極をそれぞれ所望のパターンで形成する方法が開示されている。この方法では、基材フィルムを透過しない遠紫外線が、基材フィルムの両側に形成されたレジスト膜を露光するための光として採用されるとともに、基材フィルムとして遠紫外線を遮光する機能を有したフィルムが用いられている。これにより、二枚のレジスト膜を互いに異なるパターンで同時露光することが可能となり、一枚の基材フィルムの両面に異なるパターンのセンサ電極を形成することが可能となっている。 On the other hand, Patent Document 1 discloses a method in which sensor electrodes are formed in a desired pattern on both surfaces of a single substrate film using a photolithographic technique. In this method, far ultraviolet rays that do not pass through the base film are employed as light for exposing the resist film formed on both sides of the base film, and the base film has a function of shielding the far ultraviolet rays. A film is used. Accordingly, it is possible to simultaneously expose two resist films in different patterns, and it is possible to form sensor electrodes having different patterns on both surfaces of one base film.
ところが、実際に用いられている露光光源は、遠紫外線以外の波長成分の光も発する。確かに、異なるパターンのセンサ電極部を形成するため、特定波長成分の光のみを透過させるフィルタや特殊な光源を用いること等により、遠紫外線光のみを照射することも可能ではある。ただしこの場合、タッチパネルセンサの製造コストが大幅に上昇してしまう。つまり、市販されるタッチパネルセンサの実生産に特許文献1に開示された方法を適用してセンサ電極の作製精度を向上させることは、製造コスト上の問題から現実的でない。 However, an exposure light source that is actually used also emits light having a wavelength component other than deep ultraviolet rays. Certainly, in order to form sensor electrode portions having different patterns, it is possible to irradiate only far ultraviolet light by using a filter or a special light source that transmits only light of a specific wavelength component. However, in this case, the manufacturing cost of the touch panel sensor is significantly increased. In other words, applying the method disclosed in Patent Document 1 to actual production of a commercially available touch panel sensor to improve the production accuracy of the sensor electrode is not practical due to problems in manufacturing cost.
さらに、昨今においては、意匠性を向上させる目的、並びに、表示装置の表示領域を拡大させる目的から、表示領域の周囲を取り囲む額縁領域と呼ばれる領域を小面積化することが求められている。これにともなって、タッチパネルセンサのアクティブエリア以外の非アクティブエリアを小面積化することが要望されている。しかしながら、現在使用されている種々の製造方法(例えば、上述したスクリーン印刷)では、非アクティブエリアに取出配線を十分に高精細に形成することはできない。 Further, in recent years, for the purpose of improving the design and the purpose of expanding the display area of the display device, it is required to reduce the area called a frame area surrounding the display area. Accordingly, there is a demand for reducing the inactive area other than the active area of the touch panel sensor. However, with various manufacturing methods currently used (for example, the above-described screen printing), the extraction wiring cannot be formed in the inactive area with sufficiently high definition.
加えて、薄型フィルム材からなる基材フィルムは、使用中に撓む等して変形する。このような変形に起因して、透明導電体と取出用の導電体とが物理的に離間して、センサ電極と取出配線との間の導通が遮断されてしまうこともある。 In addition, the base film made of a thin film material is deformed by being bent during use. Due to such deformation, the transparent conductor and the extraction conductor may be physically separated from each other, and conduction between the sensor electrode and the extraction wiring may be interrupted.
本発明は、以上のような種々の問題点を効果的に解決し得るタッチパネルセンサ、このタッチパネルセンサを作製するための積層体、並びに、このタッチパネルセンサの製造方法を提供することを目的とする。 An object of this invention is to provide the touch panel sensor which can solve the above various problems effectively, the laminated body for producing this touch panel sensor, and the manufacturing method of this touch panel sensor.
本発明によるタッチパネルセンサは、透明な基材フィルムと、前記基材フィルムの一方の側の面上に設けられた第1透明導電体と、前記基材フィルムの他方の側の面上に設けられた第2透明導電体と、前記第1透明導電体および前記第2透明導電体の少なくとも一方の透明導電体の一部分上に設けられ、前記少なくとも一方の透明導電体をなす材料よりも高い導電率を有する材料からなる取出導電体と、を備え、前記少なくとも一方の透明導電体の前記一部分は線状に形成され、前記取出導電体は当該一部分上を線状に延びていることを特徴とする。 The touch panel sensor according to the present invention is provided on a transparent base film, a first transparent conductor provided on a surface on one side of the base film, and a surface on the other side of the base film. The second transparent conductor and a conductivity higher than that of the material forming at least one of the first transparent conductor and the second transparent conductor and forming the at least one transparent conductor. The at least one transparent conductor is formed in a linear shape, and the extracted conductor extends linearly on the portion. .
本発明によるタッチパネルセンサにおいて、前記取出導電体は、前記透明導電体の前記一部分のパターンと同一のパターンで形成されていてもよい。 In the touch panel sensor according to the present invention, the extraction conductor may be formed in the same pattern as the partial pattern of the transparent conductor.
また、本発明によるタッチパネルセンサにおいて、前記第1透明導電体上に第1の取出導電体が設けられ、前記第2透明導電体上に第2の取出導電体が設けられていてもよい。 In the touch panel sensor according to the present invention, a first extraction conductor may be provided on the first transparent conductor, and a second extraction conductor may be provided on the second transparent conductor.
さらに、本発明によるタッチパネルセンサにおいて、前記取出導電体は遮光性を有してもよい。 Furthermore, in the touch panel sensor according to the present invention, the extraction conductor may have a light shielding property.
さらに、本発明によるタッチパネルセンサにおいて、前記取出導電体は、前記基材フィルムから離間して、前記少なくとも一方の透明導電体上に設けられていてもよい。 Furthermore, the touchscreen sensor by this invention WHEREIN: The said extraction conductor may be spaced apart from the said base film, and may be provided on the said at least one transparent conductor.
さらに、本発明によるタッチパネルセンサにおいて、前記基材フィルムは、タッチ位置を検出され得る領域に対応するアクティブエリアと、前記アクティブエリアに隣接する非アクティブエリアと、を含み、前記取出導電体は、前記非アクティブエリアに配置されていてもよい。このような本発明によるタッチパネル線センサにおいて、前記第1透明導電体は、前記基材フィルムの前記アクティブエリアに配置されたセンサ部と、前記センサ部に連結され前記基材フィルムの前記非アクティブエリアに配置された端子部と、を有し、前記第2透明導電体は、前記基材フィルムの前記アクティブエリアに配置されたセンサ部と、前記センサ部に連結され前記基材フィルムの前記非アクティブエリアに配置された端子部と、を有し、前記取出導電体は、前記少なくとも一方の透明導電体の前記端子部上に配置されていてもよい。 Furthermore, in the touch panel sensor according to the present invention, the base film includes an active area corresponding to a region where a touch position can be detected, and an inactive area adjacent to the active area, and the take-out conductor is the It may be arranged in an inactive area. In such a touch panel line sensor according to the present invention, the first transparent conductor includes a sensor unit disposed in the active area of the base film, and the inactive area of the base film connected to the sensor unit. And the second transparent conductor is connected to the active area of the base film and the inactive of the base film connected to the sensor part. A terminal portion disposed in the area, and the take-out conductor may be disposed on the terminal portion of the at least one transparent conductor.
本発明によるタッチパネルセンサの製造方法は、透明な基材フィルムと、前記基材フィルムの一方の側の面上に設けられた第1透明導電層と、前記基材フィルムの他方の側の面上に設けられた第2透明導電層と、前記第1透明導電層および前記第2透明導電層の少なくとも一方の透明導電層上に設けられ遮光性および導電性を有する遮光導電層と、を有する積層体の一方の側の面上に感光性を有する第1感光層を形成し、前記積層体の他方の側の面上に感光性を有する第2感光層を形成する工程と、前記第1感光層上に第1マスクを配置するとともに前記第2感光層上に第2マスクを配置した状態で、前記第1感光層および前記第2感光層を互いに異なるパターンで同時に露光する工程と、前記第1感光層および前記第2感光層を現像してパターニングする工程と、パターニングされた前記感光層をマスクとして前記遮光導電層をエッチングして、前記遮光導電層をパターニングする工程と、前記パターニングされた感光層および前記パターニングされた遮光導電層をマスクとして、前記第1透明導電層および前記第2透明導電層をエッチングして、前記第1透明導電層および前記第2透明導電層を互いに異なるパターンにパターニングする工程と、前記パターニングされた第1感光層および第2感光層を除去する工程と、前記パターニングされた遮光導電層上にさらなる感光層を形成する工程と、前記さらなる感光層を露光する工程と、前記さらなる感光層を現像してパターニングする工程と、前記パターニングされたさらなる感光層をマスクとして前記パターニングされた遮光導電層をエッチングして、前記パターニングされた遮光導電層の一部分を除去する工程と、前記パターニングされたさらなる感光層を除去する工程と、を備えることを特徴とする。 The method for manufacturing a touch panel sensor according to the present invention includes a transparent base film, a first transparent conductive layer provided on a surface on one side of the base film, and a surface on the other side of the base film. And a light-shielding conductive layer having a light-shielding property and conductivity provided on at least one of the first transparent conductive layer and the second transparent conductive layer. Forming a first photosensitive layer having photosensitivity on one side of the body, and forming a second photosensitive layer having photosensitivity on the other side of the laminate; and Exposing the first photosensitive layer and the second photosensitive layer in different patterns simultaneously with a first mask disposed on the layer and a second mask disposed on the second photosensitive layer; and One photosensitive layer and the second photosensitive layer are developed and processed. A step of etching, the light-shielding conductive layer is etched using the patterned photosensitive layer as a mask, and the light-shielding conductive layer is patterned, and the patterned photosensitive layer and the patterned light-shielding conductive layer are used as a mask. Etching the first transparent conductive layer and the second transparent conductive layer to pattern the first transparent conductive layer and the second transparent conductive layer into different patterns; and the patterned first photosensitive layer. And removing the second photosensitive layer, forming a further photosensitive layer on the patterned light-shielding conductive layer, exposing the further photosensitive layer, and developing and patterning the further photosensitive layer. And the patterned light shielding using the patterned further photosensitive layer as a mask. Etching the conductive layer, characterized in that it comprises a step of removing a portion of the patterned light-shielding conductive layer, and removing the additional photosensitive layer is the patterned, a.
本発明によるタッチパネルセンサの製造方法が、アニール処理を行うことによって、アモルファス状の前記第1透明導電層および前記第2透明導電層の結晶化を進める工程を、さらに備え、前記透明導電層の結晶化を進める工程は、前記透明導電層をパターニングする工程よりも後であって、前記パターニングされた遮光導電層の一部分を除去する工程よりも前に実施されてもよい。このような本発明によるタッチパネルセンサの製造方法において、前記遮光導電層は銀を主成分として含むようにしてもよい。 The method for manufacturing a touch panel sensor according to the present invention further includes a step of advancing crystallization of the amorphous first transparent conductive layer and the second transparent conductive layer by performing an annealing process, and the crystal of the transparent conductive layer The step of proceeding to the formation may be performed after the step of patterning the transparent conductive layer and before the step of removing a part of the patterned light-shielding conductive layer. In such a method for manufacturing a touch panel sensor according to the present invention, the light-shielding conductive layer may contain silver as a main component.
また、本発明によるタッチパネルセンサの製造方法の前記第1感光層および前記第2感光層を露光する工程において、前記第1マスクに設けられたアライメントマークおよび前記第2マスクに設けられたアライメントマークを基準として、前記第1マスクおよび前記第2マスクが互いに対して位置決めされてもよい。 In the step of exposing the first photosensitive layer and the second photosensitive layer of the touch panel sensor manufacturing method according to the present invention, an alignment mark provided on the first mask and an alignment mark provided on the second mask are provided. As a reference, the first mask and the second mask may be positioned relative to each other.
さらに、本発明によるタッチパネルセンサの製造方法の前記遮光導電層をパターニングする工程において、前記遮光導電層にアライメントマークが形成され、前記さらなる感光層を露光する工程において、前記遮光導電層に形成されたアライメントマークを基準として、前記さらなる感光層を露光するためのマスクが位置決めされてもよい。 Further, in the step of patterning the light-shielding conductive layer of the touch panel sensor manufacturing method according to the present invention, an alignment mark is formed on the light-shielding conductive layer, and in the step of exposing the further photosensitive layer, the light-shielding conductive layer is formed on the light-shielding conductive layer. A mask for exposing the further photosensitive layer may be positioned with reference to the alignment mark.
さらに、本発明によるタッチパネルセンサの製造方法において、前記積層体において、前記1導電層上に第1の遮光導電層が積層されているとともに、前記2導電層上に第2の遮光導電層が積層されており、前記遮光導電層をパターニングする工程において、前記第1遮光導電層および前記第2遮光導電層は互いに異なるパターンにパターニングされ、前記さらなる感光層を形成する工程において、前記第1遮光導電層上に第3の感光層が形成されるとともに、前記第2遮光導電層上に第4の感光層が形成され、前記さらなる感光層を露光する工程において、前記第3感光層上に第3マスクを配置するとともに前記第4感光層上に第4マスクを配置した状態で、前記第3感光層および前記第4感光層が同時に露光されるようにしてもよい。 Furthermore, in the method for manufacturing a touch panel sensor according to the present invention, in the laminate, a first light-shielding conductive layer is laminated on the first conductive layer, and a second light-shielding conductive layer is laminated on the two conductive layers. In the step of patterning the light shielding conductive layer, the first light shielding conductive layer and the second light shielding conductive layer are patterned in different patterns, and in the step of forming the further photosensitive layer, the first light shielding conductive layer is formed. A third photosensitive layer is formed on the layer, and a fourth photosensitive layer is formed on the second light-shielding conductive layer. In the step of exposing the further photosensitive layer, a third photosensitive layer is formed on the third photosensitive layer. The third photosensitive layer and the fourth photosensitive layer may be exposed at the same time in a state where a mask is disposed and a fourth mask is disposed on the fourth photosensitive layer.
さらに、本発明によるタッチパネルセンサの製造方法において、前記遮光導電層は、前記少なくとも一方の透明導電層をなす材料よりも高い導電率を有した材料から形成されていてもよい。 Furthermore, in the method for manufacturing a touch panel sensor according to the present invention, the light-shielding conductive layer may be formed of a material having a higher conductivity than a material forming the at least one transparent conductive layer.
本発明による積層体は、タッチパネルセンサを作製するために用いられる積層体であって、透明な基材フィルムと、前記基材フィルムの一方の側の面上に設けられた第1透明導電層と、前記基材フィルムの他方の側の面上に設けられた第2透明導電層と、前記第1透明導電層および前記第2透明導電層の少なくとも一方の透明導電層上に設けられ、遮光性および導電性を有する遮光導電層と、を備えることを特徴とする。 The laminated body by this invention is a laminated body used in order to produce a touchscreen sensor, Comprising: The transparent base film, The 1st transparent conductive layer provided on the surface of the one side of the said base film, A second transparent conductive layer provided on the other side of the base film, and a light shielding property provided on at least one of the first transparent conductive layer and the second transparent conductive layer. And a light-shielding conductive layer having conductivity.
本発明による積層体において、前記遮光導電層は、前記少なくとも一方の透明導電層をなす材料よりも高い導電率を有した材料から形成されていてもよい。 In the laminate according to the present invention, the light-shielding conductive layer may be formed of a material having a higher conductivity than a material forming the at least one transparent conductive layer.
また、本発明による積層体において、前記第1透明導電層上に第1の遮光導電層が設けられ、前記第2透明導電層上に第2の遮光導電層が設けられていてもよい。 In the laminate according to the present invention, a first light-shielding conductive layer may be provided on the first transparent conductive layer, and a second light-shielding conductive layer may be provided on the second transparent conductive layer.
以下、図面を参照して本発明の一実施の形態について説明する。 Hereinafter, an embodiment of the present invention will be described with reference to the drawings.
なお、本明細書に添付する図面においては、図示と理解のしやすさの便宜上、適宜縮尺および縦横の寸法比等を、実物のそれらから変更し誇張してある。 In the drawings attached to the present specification, for the sake of illustration and ease of understanding, the scale, the vertical / horizontal dimension ratio, and the like are appropriately changed and exaggerated from those of the actual ones.
また、本件において、「シート」、「フィルム」、「板」の用語は、呼称の違いのみに基づいて、互いから区別されるものではない。したがって、例えば、「シート」はフィルムや板等とも呼ばれ得るような部材や部分も含む概念である。 Further, in the present case, the terms “sheet”, “film”, and “plate” are not distinguished from each other based only on the difference in names. Therefore, for example, a “sheet” is a concept that includes members and portions that can also be called films, plates, and the like.
図1〜図6は本発明による一実施の形態を説明するための図である。このうち図1はタッチパネル装置を表示装置とともに概略的に示す図であり、図2は図1のタッチパネル装置を表示装置とともに示す断面図であり、図3Aおよび図3Bはタッチパネル装置のタッチパネルセンサを示す上面図および断面図であり、図4はタッチパネルセンサの具体例を説明するための図である。また、図5A〜図5Lは、図3のタッチパネルセンサを製造するための製造方法を説明するための図である。さらに、図6は、図3のタッチパネルセンサの製造方法を説明するためのフローチャートである。 FIGS. 1-6 is a figure for demonstrating one Embodiment by this invention. 1 schematically shows the touch panel device together with the display device, FIG. 2 is a cross-sectional view showing the touch panel device of FIG. 1 together with the display device, and FIGS. 3A and 3B show the touch panel sensor of the touch panel device. FIG. 4 is a top view and a cross-sectional view, and FIG. 4 is a diagram for explaining a specific example of a touch panel sensor. 5A to 5L are diagrams for explaining a manufacturing method for manufacturing the touch panel sensor of FIG. 3. FIG. 6 is a flowchart for explaining a method of manufacturing the touch panel sensor of FIG.
図1〜図3Bに示されたタッチパネル装置20は、投影型の静電容量結合方式として構成され、タッチパネル装置への外部導体(例えば、人間の指)の接触位置を検出可能に構成されている。なお、静電容量結合方式のタッチパネル装置10の検出感度が優れている場合には、外部導体がタッチパネル装置に接近しただけで当該外部導体がタッチパネル装置のどの領域に接近しているかを検出することができる。このような現象にともなって、ここで用いる「接触位置」とは、実際には接触していないが位置を検出され得る接近位置を含む概念とする。 The
図1および図2に示すように、タッチパネル装置20は、表示装置(例えば液晶表示装置)15とともに組み合わせられて用いられ、入出力装置10を構成している。図示された表示装置15は、フラットパネルディスプレイとして構成されている。表示装置15は、表示面16aを有した表示パネル16と、表示パネル16に接続された表示制御部17と、を有している。表示パネル16は、映像を表示することができる表示領域A1と、表示領域A1を取り囲むようにして表示領域A1の外側に配置された非表示領域(額縁領域とも呼ばれる)A2と、を含んでいる。表示制御部17は、表示されるべき映像に関する情報を処理し、映像情報に基づいて表示パネル16を駆動する。表示パネル16は、表示制御部17の制御信号により、所定の映像を表示面16aに表示するようになる。すなわち、表示装置15は、文字や図等の情報を映像として出力する出力装置として役割を担っている。 As shown in FIGS. 1 and 2, the
一方、タッチパネル装置20は、表示装置10の表示面16a上に配置されたタッチパネルセンサ30と、タッチパネルセンサ30に接続された検出制御部25と、を有している。図2に示すように、タッチパネルセンサ30は、表示装置10の表示面16a上に接着層19を介して接着されている。上述したように、タッチパネル装置20は、投影型容量結合方式のタッチパネル装置として構成されており、情報を入力する入力装置としての役割を担っている。 On the other hand, the
また、図2に示すように、タッチパネル装置20は、タッチパネルセンサ30の観察者側、すなわち、表示装置10とは反対の側に、誘電体として機能する透光性を有した保護カバー12をさらに有している。保護カバー12は、タッチパネルセンサ30上に接着層14を介して接着されている。この保護カバー12は、タッチパネル装置20への入力面(タッチ面、接触面)として機能するようになる。つまり、保護カバー12に導体、例えば人間の指5を接触させることにより、タッチパネル装置20に対して外部から情報を入力することができるようになっている。また、保護カバー12は、入出力装置10の最観察者側面をなしており、入出力装置10において、タッチパネル装置20および表示装置15を外部から保護するカバーとしも機能する。 Further, as shown in FIG. 2, the
なお、上述した接着層14,19としては、種々の接着性を有した材料からなる層を用いることができる。また、本明細書において、「接着(層)」は粘着(層)をも含む概念として用いる。 In addition, as the
タッチパネル装置20の検出制御部25は、タッチパネルセンサ30に接続され、保護カバー12を介して入力された情報を処理する。具体的には、検出制御部25は、保護カバー12へ導体(典型的には、人間の指)5が接触している際に、保護カバー12への導体5の接触位置を特定し得るように構成された回路(検出回路)を含んでいる。また、検出制御部25は、表示装置15の表示制御部17と接続され、処理した入力情報を表示制御部17へ送信することもできる。この際、表示制御部17は、入力情報に基づいた映像情報を作成し、入力情報に対応した映像を表示パネル16に表示させることができる。 The detection control unit 25 of the
なお、「容量結合」方式および「投影型」の容量結合方式との用語は、タッチパネルの技術分野で用いられる際の意味と同様の意味を有するものとして、本件においても用いている。なお、「容量結合」方式は、タッチパネルの技術分野において「静電容量」方式や「静電容量結合」方式等とも呼ばれており、本件では、これらの「静電容量」方式や「静電容量結合」方式等と同義の用語として取り扱う。典型的な静電容量結合方式のタッチパネル装置は導電体層を含んでおり、外部の導体(典型的には人間の指)がタッチパネルに接触することにより、外部の導体とタッチパネル装置の導電体層との間でコンデンサ(静電容量)が形成されるようになる。そして、このコンデンサの形成にともなった電気的な状態の変化に基づき、タッチパネル上において外部導体が接触している位置の位置座標が特定されるようになる。また、「投影型」の容量結合方式は、タッチパネルの技術分野において「投影式」の容量結合方式等とも呼ばれており、本件では、この「投影式」の容量結合方式等と同義の用語として取り扱う。「投影型」の容量結合方式とは、典型的には、格子状に配列されたセンサ電極を有し、膜状の電極を有する「表面型」の容量結合方式と対比され得る。 Note that the terms “capacitive coupling” and “projection type” capacitive coupling have the same meaning as that used in the technical field of touch panels, and are used in this case. The “capacitive coupling” method is also referred to as “capacitance” method or “capacitance coupling” method in the technical field of touch panels. It is treated as a term synonymous with the “capacitive coupling” method. A typical capacitively coupled touch panel device includes a conductor layer, and an external conductor (typically a human finger) comes into contact with the touch panel, whereby the external conductor and the conductor layer of the touch panel device are contacted. A capacitor (capacitance) is formed between the two. Based on the change in the electrical state accompanying the formation of the capacitor, the position coordinates of the position where the external conductor is in contact on the touch panel are specified. The “projection type” capacitive coupling method is also referred to as “projection type” capacitive coupling method in the technical field of touch panel, and in this case, the term is synonymous with this “projection type” capacitive coupling method. handle. The “projection type” capacitive coupling method typically includes sensor electrodes arranged in a lattice pattern, and can be contrasted with a “surface type” capacitive coupling method having film-like electrodes.
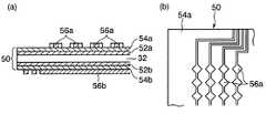
図2および図3によく示されているように、タッチパネルセンサ30は、基材フィルム32と、基材フィルム32の一方の側(観察者側)の面32a上に所定のパターンで設けられた第1透明導電体40と、基材フィルム32の他方の側(表示装置15の側)の面32b上に所定のパターンで設けられた第2透明導電体45と、を有している。また、図3に示すように、タッチパネルセンサ30は、第1透明導電体40の一部分上に設けられた第1取出導電体43と、第2透明導電体45の一部分上に設けられた第1取出導電体48と、をさらに有している。 2 and 3, the
基材フィルム32は、タッチパネルセンサ20において誘電体として機能し、例えば、PETフィルム(ポリエチレンテレフタレートフィルム)から構成され得る。図3に示すように、基材フィルム32は、タッチ位置を検出され得る領域に対応するアクティブエリアAa1と、アクティブエリアAa1に隣接する非アクティブエリアAa2と、を含んでいる。図1に示すように、タッチパネルセンサ30のアクティブエリアAa1は、表示装置15の表示領域A1に対面する領域を占めている。一方、非アクティブエリアAa2は、矩形状のアクティブエリアAa1を四方から周状に取り囲むように、言い換えると、額縁状に形成されている。この非アクティブエリアAa2は、表示装置15の非表示領域A2に対面する領域に形成されている。 The
基材フィルム32のアクティブエリアAa1上には、外部導体5との間で容量結合を形成し得るセンサ電極37aが設けられている。一方、基材フィルム32の非アクティブエリアAa2上には、センサ電極37aに接続された取出配線37bが設けられている。取出配線37bは、その一端においてセンサ電極37aに接続され、また、その他端において、外部導体の表示面12への接触位置を検出するように構成された検出制御部25の検出回路に電気的に接続されている。本実施の形態においては、図3に示すように、基材フィルム32のアクティブエリアAa1上に、第1透明導電体40および第2透明導電体45の一部分のみが配置されており、この第1透明導電体40および第2透明導電体45の一部分によって、センサ電極37aが形成されている。基材フィルム32、第1透明導電体40および第2透明導電体45は、透光性を有しており、観察者は、これらを介して、表示装置15に表示された映像を観察することができる。 On the active area Aa1 of the
なお、本実施の形態において、基材フィルム32は、単一体としてのフィルムによって形成されている。ここで「単一体」とは、二以上に分離不可能なことを意味している。したがって、単一体としてのフィルムとは、接着層を介して接合されてなる複数枚のフィルムの接合体を含まない。その一方で、フィルム本体と、フィルム本体の一方の面上または両方の面上に例えばスパッタリング等により分離不可能(ただし、除去は可能)に成膜された機能膜と、を含む基材フィルムは、ここでいう単一体からなるフィルムに該当する。図4(a)および図4(b)には、機能膜とフィルム本体とからなる基材フィルムの一例が示されている。 In the present embodiment, the
図4(a)に示す例において、基材フィルム32は、樹脂(例えば、PET)からなるフィルム本体33と、フィルム本体33の一方または両方の面上に形成されたインデックスマッチング膜34と、を有している。インデックスマッチング膜34は、交互に配置された複数の高屈折率膜34aおよび低屈折率膜34bを含んでいる。このインデックスマッチング膜34によれば、基材フィルム32のフィルム本体33と透明導電体40,45との屈折率が大きく異なっていたとしても、基材フィルム32上の透明導電体40,45が設けられている領域と、設けられていない領域と、で反射率が大きく変化してしまうことを防止することができる。 In the example shown in FIG. 4A, the
また、図4(b)に示す例において、基材フィルム32は、樹脂(例えば、PET)からなるフィルム本体33と、フィルム本体33の一方または両方の面上に形成された低屈折率膜35と、を有している。この低屈折率膜35によれば、基材フィルム32のフィルム本体33と透明導電体40,45との屈折率が大きく異なっていたとしても、基材フィルム32上の透明導電体40,45が設けられている領域と、設けられていない領域と、で透過率のスペクトル特性が大きく変化してしまうことを防止し、各波長域で均一な透過率を実現することが可能となる。 In the example shown in FIG. 4B, the
次に、第1透明導電体40および第2透明導電体45についてさらに詳述する。 Next, the first
第1透明導電体40および第2透明導電体45は、導電性を有した材料(例えば、ITO(酸化インジウムスズ))から形成され、外部導体5の保護カバー12への接触位置を検出するように構成された検出制御部25の検出回路に電気的に接続されている。第1透明導電体40は、基材フィルム32のアクティブエリアAa1に配置された多数の第1センサ部(第1センサ導電体、センサ電極)41と、各第1センサ部41にそれぞれ連結され基材フィルム32の非アクティブエリアAa2に配置された多数の第1端子部(第1端子導電体)42と、を有している。同様に、第2透明導電体45は、基材フィルム32のアクティブエリアAa1に配置された多数の第2センサ部(第2センサ導電体、センサ電極)46と、各第2センサ部46にそれぞれ連結され基材フィルム32の非アクティブエリアAa2に配置された多数の第2端子部(第2端子導電体)47と、を有している。 The first
第1透明導電体40の第1センサ部41は、基材フィルム32の一方の側(観察者側)の面32a上に所定のパターンで配置されている。また、第2透明導電体45の第2センサ部46は、基材フィルム32の他方の側(表示装置15の側)の面32b上に、第1透明導電体40の第1センサ部41のパターンとは異なる所定のパターンで配置されている。より具体的には、図3に示すように、第1透明導電体40の第1センサ部41は、基材フィルム32のフィルム面に沿った一方向に並べて配列された線状導電体として構成されている。また、第2透明導電体45の第2センサ部46は、前記一方向と交差する基材フィルム32のフィルム面に沿った他方向に並べて配列された線状導電体として構成されている。本実施の形態において、第1センサ部41の配列方向である一方向と、第2センサ部46の配列方向である他方向と、は基材フィルム32のフィルム面上において直交している。 The
図3に示すように、第1センサ部41をなす線状導電体の各々は、その配列方向(前記一方向)と交差する方向に線状に延びている。同様に、第2センサ部46をなす線状導電体の各々は、その配列方向(前記他方向)と交差する方向に線状に延びている。とりわけ図示する例において、第1センサ部41は、その配列方向(前記一方向)と直交する方向(前記他方向)に沿って直線状に延びており、第2センサ部46は、その配列方向(前記他方向)と直交する方向(前記一方向)に沿って直線状に延びている。 As shown in FIG. 3, each of the linear conductors forming the
本実施の形態において、各第1センサ部41は、直線状に延びるライン部41aと、ライン部41aから膨出した膨出部41bと、を有している。図示する例において、ライン部41aは、第1センサ部41の配列方向と交差する方向に沿って直線状に延びている。膨出部41bは、基材フィルム32のフィルム面に沿ってライン部41aから膨らみ出ている部分である。したがって、各第1センサ部41の幅は、膨出部41bが設けられている部分において太くなっている。図3に示すように、本実施の形態において、各第1センサ部41は、膨出部41bにおいて平面視略正方形形状の外輪郭を有するようになっている。 In the present embodiment, each
第2透明導電体45に含まれる第2センサ部46も、第1透明導電体40に含まれる第1センサ部41と同様に構成されている。すなわち、第2透明導電体45に含まれる各第2センサ46は、直線状に延びるライン部46aと、ライン部46aから膨出した膨出部46bと、を有している。図示する例において、ライン部46aは、第2センサ部46の配列方向と交差する方向に沿って直線状に延びている。膨出部46bは、基材フィルム32のフィルム面に沿ってライン部46aから膨らみ出ている部分である。したがって、各第2センサ部46の幅は、膨出部46bが設けられている部分において太くなっている。図3に示すように、本実施の形態において、各第2センサ部46は、膨出部46bにおいて平面視略正方形形状の外輪郭を有するようになっている。 The
なお、図3に示すように、基材フィルム32のフィルム面の法線方向から観察した場合(すなわち、平面視において)、第1透明導電体40に含まれる各第1センサ部41は、第2透明導電体45に含まれる多数の第2センサ部46と交差している。そして、図3に示すように、第1透明導電体40の膨出部41bは、第1センサ部41上において、隣り合う二つの第2センサ部46との交差点の間に配置されている。同様に、基材フィルム32のフィルム面の法線方向から観察した場合、第2透明導電体45に含まれる各第2センサ部46は、第1透明導電体40に含まれる多数の第1センサ部41と交差している。そして、第2透明導電体45の膨出部46bも、第2センサ部46上において、隣り合う二つの第1センサ部41との交差点の間に配置されている。さらに、本実施の形態において、第1透明導電体40に含まれる第1センサ部41の膨出部41bと、第2透明導電体45に含まれる第2センサ部46の膨出部46bとは、基材フィルム32のフィルム面の法線方向から観察した場合に重ならないように配置されている。つまり、基材フィルム32のフィルム面の法線方向から観察した場合、第1透明導電体40に含まれる第1センサ部41と第2透明導電体45に含まれる第2センサ部46とは、各センサ部41,46のライン部41a、46aのみにおいて交わっている。 As shown in FIG. 3, when observed from the normal direction of the film surface of the base film 32 (that is, in plan view), each
上述したように、第1透明導電体40は、このような第1センサ部41に連結された第1端子部42を有している。第1端子部42は、第1センサ部41の各々に対し、接触位置の検出方法に応じて一つまたは二つ設けられている。各第1端子部42は、対応する第1センサ部41の端部からそれぞれ線状に延び出している。同様に、第2透明導電体45は、第2センサ部46に連結された第2端子部47を有している。第2端子部47は、第2センサ部46の各々に対し、接触位置の検出方法に応じて一つまたは二つ設けられている。各第2端子部47は、対応する第2センサ部46の端部からそれぞれ線状に延び出している。図3に示すように、本実施の形態において、第1端子部42は第1センサ部41と同一の材料から一体的に形成され、第2端子部47は第1センサ部46と同一の材料から一体的に形成されている。 As described above, the first
次に、第1取出導電体43および第2取出導電体48について詳述する。上述したように、第1取出導電体43は、第1透明導電体40の一部分上に配置されており、第2取出導電体48は、第1透明導電体45の一部分上に配置されている。より具体的には、第1取出導電体43は、第1透明導電体40の第1端子部42の一部分上に配置されており、第2取出導電体48は、第2透明導電体45の第2端子部47の一部分上に配置されている。すなわち、第1取出導電体43は、基材フィルム32の一方の側の面32aにおいて、非アクティブエリアAa2に配置されており、第2取出導電体48は、基材フィルム32の他方の側の面32bにおいて、非アクティブエリアAa2に配置されている。 Next, the
図3Aに示すように、第1透明導電体40の第1端子部42および第2透明導電体45の第2端子部47は線状に形成されている。そして、第1取出導電体43は、線状に形成された第1端子部42のうちの第1センサ部41への接続箇所近傍の部分以外の部分上を、当該部分と同一のパターンで線状に延びている。同様に、第2取出導電体48は、線状に形成された第2端子部47のうちの第2センサ部46への接続箇所近傍以外の部分上を、当該部分と同一のパターンで線状に延びている。 As shown in FIG. 3A, the first
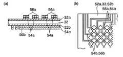
また、図3Bに示すように、第1取出導電体43は、基材フィルム32から離間して、第1透明導電体40上に配置されている。すなわち、第1取出導電体43は基材フィルム32に接触していない。この結果、第1透明導電体40の第1取出導電体43によって覆われている部分は、基材フィルム32と第1取出導電体43との間で側方に露出している。とりわけ、本実施の形態においては、第1取出導電体43の幅が、当該第1取出導電体43によって覆われている第1透明導電体40の第1端子部42の部分の幅と同一または若干狭くなっている。 Further, as shown in FIG. 3B, the
同様に、図示は省略しているが、第2取出導電体48も第1取出導電体43と同様に構成されている。すなわち、第2取出導電体48は、基材フィルム32から離間して第2透明導電体45上に配置されており、基材フィルム32には接触していない。この結果、第2透明導電体45の第2取出導電体48によって覆われている部分は、基材フィルム32と第2取出導電体48との間で側方に露出している。とりわけ、本実施の形態においては、第2取出導電体48の幅が、当該第2取出導電体48によって覆われている第2透明導電体45の第2端子部47の部分の幅と同一または若干狭くなっている。 Similarly, although not shown, the
第1取出導電体43は、第1透明導電体40の第1センサ部41からなるセンサ電極37aを検出制御部25へ接続させるための取出配線37bを、第1透明導電体40の第1端子部42とともに構成している。また、第2取出導電体48は、第2透明導電体45の第2センサ部46からなるセンサ電極37aを検出制御部25へ接続させるための取出配線37bを、第2透明導電体45の第2端子部47とともに構成している。このような第1取出導電体43および第2取出導電体48は非アクティブエリアAa2に配置されていることから、透光性を有した材料から形成される必要はなく、高い導電性を有した材料から形成され得る。本実施の形態においては、第1取出導電体43および第2取出導電体48は、第1透明導電体40および第2透明導電体45をなす材料よりも高い導電率(電気伝導率)を有する材料から形成されている。具体的には、遮光性を有するとともに、ITO等の透明導電体よりも格段に高い導電率を有する、例えばアルミニウム、モリブデン、銀、クロム、銅等の金属材料を用いて、第1取出導電体43および第2取出導電体48を形成することができる。 The
このような構成からなるタッチパネルセンサ30においては、取出導電体43,48および透明導電体40,45の端子部42,47からなる取出配線37bが、図示しない外部接続配線を介し、検出制御部25に接続される。そして、このような構成からなるタッチパネルセンサ30によれば、タッチパネルセンサ30が撓む等して変形した場合であっても、以下に説明するように、取出導電体43,48および透明導電体40,45の端子部42,47が互いに連結された状態に保たれ、センサ電極37aと検出制御部25との間に安定した導通を確保することができる。 In the
高い導電率を有した金属等からなる取出導電体43,48は、透明導電体40,45に対してある程度の密着力を有するが、樹脂やガラス等からなる基材フィルム32に対しては低い密着力しか有さない。したがって、例えば図11のように、高導電率導電体が樹脂やガラス等からなる基材に接触している場合、この接触位置が剥離の起点を形成し、二点鎖線で示すように基材が変形した際に、高導電率導電体が基材から剥離しやすくなる。とりわけ、高導電率導電体が透明導電体を全体から被覆している場合には、高導電率導電体および透明導電体の全体としての剛性が高くなり、基材の変形に追従して変形しにくくなる。この点からも、基材が変形した際に、高導電率導電体が基材から剥離しやすくなる。 The
一方、本実施の形態によれば、取出導電体43,48が基材フィルム32から離間しているので、取出導電体43,48の基材フィルム32からの剥離の基点は形成され得ない。また、取出導電層43,48は、透明導電体40,45上に載置されているだけで、透明導電体40,45を側方から被覆していない。したがって、透明導電体40,45は、基材フィルム32の変形に追従して変形しやすくなっており、透明導電体40,45も基材フィルム32から剥離し辛くなっている。これらにより、本実施の形態のタッチパネルセンサ30によれば、タッチパネルセンサ30が撓む等して変形したとしても、取出導電体43,48および透明導電体40,45の端子部42,47が互いに連結された状態に保たれ、センサ電極36aと検出制御部25との間に安定した導通を確保することができる。 On the other hand, according to the present embodiment, since the
また、図3Bに示すように、以上のような構成からなるタッチパネルセンサ30において、取出導電体43,48は、透明導電体40,45の端子部42,47上に配置されているだけで、透明導電体40,45の端子部42,47の側方まで延びていない。したがって、取出導電体43,48および透明導電体40,45の端子部42,47からなる取出配線37b全体としての線幅を細くすることができる。これにより、同一の導電率の取出配線37bをより短ピッチで配置することが可能となり、取出配線37bの配置スペース、すなわち、非アクティブエリアAa2の面積を小さくすることができる。 Further, as shown in FIG. 3B, in the
次に、以上のような構成からなるタッチパネルセンサ30を図6に示すフローチャートにしたがって製造していく方法について、図5A〜図5Lを参照しながら説明する。なお、図5A〜図5Lの各図において、図(a)は、作製中のタッチパネルセンサ(積層体)を、図3AにおけるV−V線に沿った断面に対応する断面において示している。また、図5A〜図5Lの各図において、図(b)は、作製中のタッチパネルセンサ(積層体)を、一方の側(各図(a)の紙面における上側)から示す上面図である。 Next, a method of manufacturing the
まず、図6および図5Aに示すように、タッチパネルセンサ30を製造するための元材としての積層体(ブランクスとも呼ばれる)50を準備する(工程S1)。この積層体50に成膜やパターニング等の処理(加工)を行っていくことにより、タッチパネルセンサ30が得られるようになる。 First, as shown in FIGS. 6 and 5A, a laminate (also referred to as blanks) 50 as a base material for manufacturing the
図5A(a)に示すように、本実施の形態において準備される積層体50は、透明な基材フィルム32と、基材フィルム32の一方の側の面32a上に積層された第1透明導電層52aと、基材フィルム32の他方の側の面32b上に積層され透光性を有する第2透明導電層52bと、第1透明導電層52a上に積層された第1遮光導電層54aと、第2透明導電層52b上に積層された第2遮光導電層54bと、を有している。 As shown in FIG. 5A (a), the laminate 50 prepared in the present embodiment includes a
上述したように、基材フィルム32として、PETフィルム等の樹脂フィルムを用いることができる。また、図4(a)および図4(b)に示すように、PET等の樹脂製のフィルム本体33と、フィルム本体33の一方の面または両方の面上に形成された機能膜34,35と、を有する基材フィルム32を用いてもよい。 As described above, a resin film such as a PET film can be used as the
第1透明導電層52aおよび第2透明導電層52bは、後述するように、それぞれ、パターニングされて透光性を有した第1透明導電体40および第2透明導電体45を形成するようになる。したがって、第1透明導電層52aおよび第2透明導電層52bは、透光性および導電性を有した材料から形成される。具体例として、第1透明導電層52aおよび第2透明導電層52bは、スパッタリングによって基材フィルム32の表面32a,32bに成膜されたITO膜として構成され得る。 As will be described later, the first transparent
また、第1遮光導電層54aおよび第2遮光導電層54bは、後述するように、それぞれ、パターニングされて高い導電率を有する第1取出導電体43,48を形成するようになる。したがって、第1遮光導電層54aおよび第2遮光導電層54bは、透明導電層52a,52bをなす材料よりも高い導電率を有した材料から好適に形成される。 The first light-shielding
あわせて、第1遮光導電層54aおよび第2遮光導電層54bは、後述する感光層56a,56bの露光に用いられる光に対する遮光性を有する層、つまり、当該露光光を透過させない性質を有する層である。ただし、本実施の形態においては、感光層56a,56bの露光光に対してのみでなくその他の波長域の光に対する遮光性を有した層、より具体的には、自然光に含まれ得る可視光、紫外線、赤外線等に対する遮光性を有した層として形成されている。このような層を遮光導電層54a,54bとして用いれば、より確実に露光光を遮光することを期待することができる。 In addition, the first light-shielding
このような第1遮光導電層54aおよび第2遮光導電層54bをなす材料としては、種々の材料が知られており、コスト面および加工の容易性等を考慮して、アルミニウム、モリブデン、銀、クロム、銅等の金属を用いることができる。金属からなる遮光層54は、スパッタリングによって第1導電層52aの一方の側(基材フィルム32とは反対の側)の面に成膜され得る。 Various materials are known as materials for forming the first light-shielding
なお、枚葉状の積層体50が準備されてもよいし、あるいは、細長いウェブ状の積層体50、例えばロールに巻き取られた積層体50が準備されてもよい。ただし、生産効率を考慮すると、異なる場所で作製されるとともにロールに巻き取られた積層体50が準備され、ロール状の積層体50を巻き戻していくことによってウェブ状の積層体50が供給されていき、以下に説明する各工程が供給されていくウェブ状の積層体50に対して施されていくことが好ましい。あるいは、基材フィルム32を巻き取ったロールから当該基材フィルム32が繰り出されていき、又は、基材フィルム32並びに第1および第2の透明導電層52a,52bからなる中間積層体を巻き取ったロールから当該中間積層体が繰り出されていき、当該基材フィルム32または当該中間積層体から積層体50が作製されていくとともに、作製された積層体50に対して以下に説明する各工程が施されていくことも好ましい。 In addition, the sheet-like
次に、図6および図5Bに示すように、積層体50の一方の側の面50a上に第1感光層56aを形成するとともに、積層体50の他方の側の面50b上に第2感光層56bを形成する(工程S2)。第1感光層56aおよび第2感光層56bは、特定波長域の光、例えば紫外線に対する感光性を有している。具体的には、積層体50の表面上にコーターを用いて感光性材料をコーティングすることによって、感光層56a,56bを形成することができる。 Next, as shown in FIG. 6 and FIG. 5B, the first
その後、図6および図5Cに示すように、第1感光層56aおよび第2感光層56bを同時に露光する(工程S3)。 Thereafter, as shown in FIGS. 6 and 5C, the first
具体的には、まず、図5C(a)に示すように、第1感光層56a上に第1マスク58aを配置するとともに、第2感光層56b上に第2マスク58bを配置する。第1マスク58aは、形成されるべき第1透明導電体40のパターンに対応した所定のパターンを有し、第2マスク58bは、形成されるべき第2透明導電体45のパターンに対応した所定のパターンを有している。また、第1マスク58aのパターンと第2マスク58bのパターンは、互いに異なるパターンとなっている。 Specifically, first, as shown in FIG. 5C (a), the
なお、第1マスク58aおよび第2マスク58bの位置決めは、第1マスク58aおよび第2マスク58bのそれぞれに設けられたアライメントマーク59aを基準にして行われ得る。このような方法によれば、第1マスク58aおよび第2マスク58bを互いに対して、例えばミクロン単位のオーダーで極めて精度良く、且つ、極めて容易に(したがって、短時間で)位置決めすることが可能となる。 The positioning of the
次に、図5C(a)に示すように、この状態で、第1感光層58aおよび第2感光層58bの感光特性に対応した露光光(例えば、紫外線)を、マスク58a,58bを介して感光層56a,56bに照射する。この結果、第1感光層56aおよび第2感光層56bが互いに異なるパターンで同時に露光される。 Next, as shown in FIG. 5C (a), in this state, exposure light (for example, ultraviolet rays) corresponding to the photosensitive characteristics of the first
図示された例においては、第1感光層56aおよび第2感光層56bがポジ型の感光層となっている。したがって、第1感光層56aは、第1透明導電体40を形成するためにエッチングで除去される部分のパターンに対応したパターンで露光光を照射され、第2感光層56bは、第2透明導電体45を形成するためにエッチングで除去される部分のパターンに対応したパターンで露光光を照射される。図5C(a)に示すように、第1感光層56aに照射された露光光は第1感光層56aを透過して積層体(ブランクス)50に照射され、第2感光層56bに照射された露光光は第2感光層56bを透過して積層体50に照射される。 In the illustrated example, the first
ただし、積層体50は露光光を遮光する第1遮光導電層54aおよび第2遮光導電層54bを有している。したがって、第1感光層56aを透過した露光光源からの光は第1遮光導電層54aによって遮光され第2感光層56bに到達することはなく、同様に、第2感光層56bを透過した露光光源からの光は第2遮光導電層54bによって遮光され第1感光層56aに到達することはない。つまり、第1感光層56aを露光するために所定のパターンで照射される露光光が第1遮光導電層54aによって遮光されるため、当該所定のパターンの露光光が第2感光層56bに照射されることはない。同様に、第2感光層56bを露光するために所定のパターンで照射される露光光が第2遮光導電層54bによって遮光されるため、当該所定のパターンの露光光が第1感光層56aに照射されることはない。この結果、この露光工程S3において、第1感光層56aおよび第2感光層56bを、それぞれ所望のパターンで精度良く同時に露光することができる。 However, the
次に、図6および図5Dに示すように、露光された第1感光層56aおよび第2感光層56bを現像する(工程S4)。具体的には、第1感光層56aおよび第2感光層56bに対応した現像液を用意し、この現像液を用いて、第1感光層56aおよび第2感光層56bを現像する。これにより、図5Dに示すように、第1感光層56aおよび第2感光層56bのうちの、第1マスク58aおよび第2マスク58bによって遮光されることなく露光光源からの光を照射された部分が除去され、第1感光層56aおよび第2感光層56bが所定のパターンにパターニングされる。 Next, as shown in FIGS. 6 and 5D, the exposed first
その後、図6および図5Eに示すように、パターニングされた第1感光層56aをマスクとして第1遮光導電層54aをエッチングするとともに、パターニングされた第2感光層56bをマスクとして第2遮光導電層54bをエッチングする(工程S5)。このエッチングにより、第1遮光導電層54aおよび第2遮光導電層54bが、それぞれ、第1感光層56aおよび第2感光層56bのパターンと略同一のパターンにパターニングされる。例えば、遮光導電層54a,54bがアルミニウムやモリブデンからなる場合には、燐酸、硝酸、酢酸、水を5:5:5:1の割合で配合してなる燐硝酢酸(水)をエッチング液として用いることができる。また、遮光導電層54a,54bが銀からなる場合には、燐酸、硝酸、酢酸、水を4:1:4:4の割合で配合してなる燐硝酢酸(水)をエッチング液として用いることができる。さらに、遮光導電層54a,54bがクロムからなる場合には、硝酸セリウムアンモニウム、過塩素酸、水を17:4:70の割合で配合してなるエッチング液を用いることができる。 Thereafter, as shown in FIGS. 6 and 5E, the first light-shielding
次に、図6および図5Fに示すように、パターニングされた第1感光層56aおよび第1遮光導電層54aをマスクとして、第1透明導電層52aをエッチングするとともに、パターニングされた第2感光層56bおよび第2遮光導電層54bをマスクとして、第2透明導電層52bをエッチングする(工程S6)。例えば、塩化第二鉄をエッチング液として用いることにより、ITOからなる第1透明導電層52aが第1感光層56aおよび第1遮光導電層54aのパターンと略同一のパターンにパターニングされるとともに、ITOからなる第2透明導電層52bが第2感光層56bおよび第2遮光導電層54bのパターンと略同一のパターンにパターニングされる。すなわち、第1透明導電層52aおよび第2透明導電層52bが両面同時にエッチングされる。 Next, as shown in FIGS. 6 and 5F, the first transparent
その後、図6および図5Gに示すように、パターニングされて第1遮光導電層54a上に残留している第1感光層56a、および、パターニングされて第2遮光導電層54b上に残留している第2感光層56bを除去する(工程S7)。例えば、2%水酸化カリウム等のアルカリ液を用いることにより、残留している第1感光層56aが除去され、パターニングされた第1遮光導電層54aが露出するとともに、残留している第2感光層56bが除去され、パターニングされた第2遮光導電層54bが露出するようになる。 Thereafter, as shown in FIGS. 6 and 5G, the first
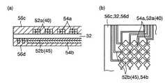
次に、図6および図5Hに示すように、パターニングされた第1遮光導電層54a上にさらなる感光層として第3の感光層56cを形成するとともに、パターニングされた第2遮光導電層54b上にさらなる感光層として第4の感光層56dを形成する(工程S8)。図示する例において、作製中のタッチパネルセンサ30(積層体50)を一方の側から覆うように第3感光層56cが形成され、作製中のタッチパネルセンサ30(積層体50)を他方の側から覆うように第4感光層56dが形成されている。第3感光層56cおよび第4感光層56dは、第1感光層56aおよび第2感光層56bと同様に、特定波長域の光、例えば紫外線に対する感光性を有している。また、第1感光層56aおよび第2感光層56bと同様に、第3感光層56cおよび第4感光層56dは、積層体50の表面上にコーターを用いて感光性材料をコーティングすることによって形成され得る。 Next, as shown in FIGS. 6 and 5H, a third
その後、図6および図5Iに示すように、第3感光層56cおよび第4感光層56dを同時に露光する(工程S9)。 Thereafter, as shown in FIGS. 6 and 5I, the third
この工程では、まず図5I(a)に示すように、第3感光層56c上に第3のマスク58cを配置するとともに、第4感光層56d上に第4のマスク58dを配置する。第3マスク58cは、パターニングされた第1遮光導電層54aのうちの、第1取出導電体43を形成するために除去されるべき部分に対応した所定のパターンを有し、第3マスク58cは、パターニングされた第2遮光導電層54bのうちの、第2取出導電体48を形成するために除去されるべき部分に対応した所定のパターンを有している。図示する例において、第3マスク58cは、アクティブエリアAa1に対応して形成されたパターン、より詳細には、アクティブエリアAa1よりも少し大きめに形成された透光領域を有している。また、図示する例において、第4マスク58dは、第3マスク58cと同一のパターンを有している。 In this step, first, as shown in FIG. 5I (a), the
なお、第3マスク58cの位決めは、例えば、上述した第1遮光導電層54aをパターニングする際に位置決め用のアライメントマークを形成しておき、この第1遮光導電層54aから形成されたアライメントマークを基準として実施され得る。この方法によれば、第1遮光導電層54aおよび第1透明導電層52aのパターンに対して、第3マスク58cを高精度に位置決めすることができる。また、同様の位置決め方法を第4マスク58dの位置決めに採用することができ、これにより、第2遮光導電層54bおよび第2透明導電層52bのパターンに対して、第4マスク58dを高精度に位置決めすることができる。 The positioning of the
次に、図5I(a)に示すように、第3マスク58cおよび第4マスク58dを配置した状態で、第3感光層58cおよび第4感光層58dの感光特性に対応した露光光(例えば、紫外線)を、マスク58c,58dを介して感光層56c,56dに照射する。この結果、第3感光層56cおよび第4感光層56dが同一のパターンで同時に露光される。
図示された例においては、第1感光層56aおよび第2感光層56bがポジ型の感光層となっている。そして、第3マスク58cおよび第4マスク58dは、アクティブエリアAa1に対面する領域を含む透光領域を有している。したがって、第3感光層56cおよび第4感光層56dは、アクティブエリアAa1に対面する領域およびその周囲に露光光を照射される。図5I(a)に示すように、第3感光層56cに照射される露光光源からの光のパターンは、第4感光層56dに照射される露光光のパターンと同一になっている。したがって、第3感光層56cおよび第4感光層56dを予定したパターンで精度良く同時に露光することができる。Next, as shown in FIG. 5I (a), in the state where the
In the illustrated example, the first
次に、図6および図5Jに示すように、露光された第3感光層56cおよび第4感光層56dを現像する(工程S10)。具体的には、第3感光層56cおよび第4感光層56dに対応した現像液を用意し、この現像液を用いて、第3感光層56cおよび第4感光層56dを現像する。これにより、図5Jに示すように、第3感光層56cおよび第4感光層56dのうちの、第3マスク58cおよび第4マスク58dによって遮光されることなく露光光を照射された部分が除去される。すなわち、第3感光層56cおよび第4感光層56dのうちの、アクティブエリアAa1に対面する領域およびその周囲の領域が除去され、第3感光層56cおよび第4感光層56dは非アクティブエリアAa2に対面する領域のみに残留するようになる。 Next, as shown in FIGS. 6 and 5J, the exposed third
その後、図6および図5Kに示すように、パターニングされた第3感光層56cをマスクとしてパターニングされた第1遮光導電層54aをエッチングするとともに、パターニングされた第4感光層56dをマスクとして第パターニングされた第2遮光導電層54bをエッチングする(工程S11)。この工程では、遮光導電層54a,54bに対して浸食性を有するエッチング液であって、透明導電層52a,52bに対して浸食性を有さない、または、透明導電層52a,52bに対して浸食性が弱いエッチング液が、用いられる。遮光導電層54a,54bを除去することによって露出する透明導電層52a,52bのパターンを損なわないようにするためである。すなわち、この工程S11で用いられるエッチング液は、所望の層(遮光導電層54a,54b)を選択的にエッチングし得るように選択される。具体例として、上述した燐硝酢酸(水)や硝酸セリウム系のエッチング液は、所定の金属からなる遮光導電層54a,54bに対してエッチング性を有するものの、ITO等からなる透明導電層52a,52bに対してエッチング性を有さないため、この工程において好適に用いられ得る。 Thereafter, as shown in FIGS. 6 and 5K, the patterned first light-shielding
この工程S11でのエッチングにより、パターニングされた第1遮光導電層54aのうちの、少なくともアクティブエリアAa1に対面する位置に配置された部分が除去される。同様に、パターニングされた第2遮光導電層54bのうちの、少なくともアクティブエリアAa1に対面する位置に配置された部分が除去される。これにより、図5K(b)に示すように、基材フィルム32および透明導電層52a,52bのみがアクティブエリアAa1に残留するようになり、アクティブエリアAa1はその全領域に亘って透光性を有するようになる。 Etching in this step S11 removes at least a portion of the patterned first light-shielding
このようにして、第1遮光導電層54aのうちの第3感光層56cによって覆われていない部分が除去されることにより、第1透明導電層52aが露出する。露出した第1透明導電層52aは、アクティブエリアAa1に対面する領域およびその周囲に位置している。アクティブエリアAa1に対面する領域に位置する第1透明導電層52aは、所定のパターンを有し第1透明導電体40の第1センサ部41を形成し、非アクティブエリアAa2に露出した第1透明導電層52aは、所定のパターンを有し第1透明導電体40の第1センサ部42の一部分を形成するようになる。 In this manner, the portion of the first light-shielding
同様に、第2遮光導電層54bのうちの第4感光層56dによって覆われていない部分が除去されることにより、第2透明導電層52bが露出する。露出した第2透明導電層52bは、アクティブエリアAa1に対面する領域およびその周囲に位置している。アクティブエリアAa1に対面する領域に位置する第2透明導電層52bは、所定のパターンを有し第2透明導電体45の第2センサ部42を形成し、非アクティブエリアAa2に露出した第2透明導電層52bは、所定のパターンを有し第2透明導電体45の第2センサ部47の一部分を形成するようになる。 Similarly, the second transparent
次に、図6および図5Lに示すように、パターニングされて第1遮光導電層54a上に残留している第3感光層56c、および、パターニングされて第2遮光導電層54b上に残留している第4感光層56bを除去する(工程S12)。例えば、上述したアルカリ液を用いることにより、残留している第3感光層56cが除去され、パターニングされた第1遮光導電層54aが露出するとともに、残留している第4感光層56dが除去され、パターニングされた第2遮光導電層54bが露出するようになる。 Next, as shown in FIGS. 6 and 5L, the third
露出した第1遮光導電層54aは、所定のパターンを有し第1取出導電体43を形成するようになる。形成された第1取出導電体43と基材フィルム32との間には、第1透明導電層52aからなる第1透明導電体40の第1端子部42が形成されている。上述したように、また、図3Bに示すように、このようにして形成された第1取出導電体43は基材フィルム32から離間して第1端子部42上に位置するようになる。このため、第1端子部42は、第1取出導電体43と基材フィルム32との間で側方に露出させている。 The exposed first light-shielding
同様に、露出した第2遮光導電層54bは、所定のパターンを有し第2取出導電体48を形成するようになる。形成された第2取出導電体48と基材フィルム32との間には、第2透明導電層52bからなる第2透明導電体45の第2端子部47が形成されている。このようにして形成された第2取出導電体48は基材フィルム32から離間して第2端子部47上に位置するようになる。このため、第2端子部47は、第2取出導電体48と基材フィルム32との間で側方に露出させている。 Similarly, the exposed second light-shielding
以上のようにして上述した構成のタッチパネルセンサ30を得ることができる。 The
なお、上述したように、基材フィルム32、積層体50、あるいは、基材フィルム32並びに第1および第2透明導電層52a,52bからなる中間積層体等の元材がウェブ状であるとともにロールに巻き取られた状態で準備される場合には、ロールからウェブ状の元材を繰り出すとともに、繰り出された元材に対して上述の各工程を施していくようにしてもよい。この場合、多数のタッチパネルセンサ30が基材フィルム32を介して互いに接続された状態で形成されていくようになる。そして、このようにして作製されたウェブ状のタッチパネルセンサ30は、取り扱い(搬送や出荷等)の便宜上、保護用の合紙と重ね合わせてロールに巻き取られるようにしてもよい。ロールに巻き取られたタッチパネルセンサ30は、必要に応じて、当該ロールから繰り出されるとともに枚葉状に断裁され得る。 As described above, the
なお、ウェブ状のタッチパネルセンサ30をロールに巻き取る際には、ウェブ状のタッチパネルセンサ30の両側に合紙を配置して巻き取ってもよいし、あるいは、ウェブ状のタッチパネルセンサ30の片側だけに合紙を配置して巻き取ってもよい。 In addition, when winding the web-shaped
以上に説明した製造方法によれば、第1感光層56aおよび第2感光層56bが同時に露光される。この感光層の両面同時露光プロセスにおいては、図5C(a)に示すように、第1マスク58aおよび第2マスク58bのそれぞれにアライメントマーク59aを設けておくことにより、第1マスク58aおよび第2マスク58bを互いに対して、例えばミクロン単位のオーダーで極めて精度良く、且つ、極めて容易に(したがって、短時間で)位置決めすることが可能となる。この結果、タッチパネルセンサ30において、第1透明導電体40および第2透明導電体45の両方が基材フィルム32上に極めて精度良く効率的に位置決めされるようになる。 According to the manufacturing method described above, the first
その一方で、第1感光層56aおよび第2感光層56bを一つずつ順に露光する場合には、精度良く且つ容易に、第1透明導電体40および第2透明導電体45を作製することができない。第1透明導電体40および第2透明導電体45の両方を精度良く作製しようとすると、第1透明導電体40および第2透明導電体45の一方をアライメントマークとともに基材フィルム32上に形成し、その後、この基材フィルム32上に形成されたアライメントマークに対し、第1透明導電体40および第2透明導電体45の他方の形成に用いられるマスクを位置決めすることになる。すなわち、少なくとも露光工程および現像工程を、第1感光層56aおよび第2感光層56bのそれぞれに対して別個に行う必要が生じる。このため、第1透明導電体40および第2透明導電体45を効率良く短時間で容易に形成することができない。 On the other hand, when the first
また、アライメントマークを用いることなく、例えば基材フィルム32の端部を基準として第1マスク58aおよび第2マスク58bを位置決めしながら第1透明導電体40および第2透明導電体45を露光することも可能である。この方法によれば、第1感光層56aおよび第2感光層56bに対する露光工程および現像工程を同時に行うことができる。しかしながら、第1透明導電体40および第2透明導電体45の位置決め精度は、基材フィルム32の外形精度に依存してしまう。一般的に、この方法によれば、第1透明導電体40および第2透明導電体45の位置決め精度は、最高でも数十ミクロン単位でしか期待することができない。 Further, without using the alignment mark, for example, the first
これらのことから、以上に説明してきた本実施の形態の製造方法によれば、第1透明導電体40および第2透明導電体45を互いに対して容易かつ精度良く位置決めすることができる。具体的には、本実施の形態によれば、タッチパネルセンサ30の上面視において、つまり、タッチパネルセンサ30をその法線方向から観察した場合、第1センサ部41の略正方形形状からなる膨出部41bと、第2センサ部46の略正方形形状からなる膨出部46bと、の互いに平行な外輪郭の隙間G(パターンギャップとも呼ばれる、図3A参照)を、安定して、100μm以下とすることができた。その一方で、従来の二枚のフィルムを貼り合わせる方法では、このパターンギャップGは、200μm以上となってしまう。この結果、本実施の形態によれば、接触(接近)位置を検出し得るアクティブエリアAa1の全領域に対する、タッチパネルセンサ30をその法線方向から観察した場合に第1センサ部41および第2センサ部46の少なくとも一方が配置されている領域の割合を、百分率で、95%以上にすることができた。 From these things, according to the manufacturing method of this Embodiment demonstrated above, the 1st
また、取出配線37bが、導電率の低い透明導電体40,45の端子部42,47だけでなく、導電率の高い取出導電体43,48を含んでいる。したがって、取出配線37bの線幅を細くすることが可能となり、取出配線37bの配置スペース、すなわち、非アクティブエリアAa2の面積を小さくすることができる。 In addition, the
とりわけ、上述した方法によれば特別な位置決め処理等を行うことなく、図3Bに示すように、取出導電体43,48が、透明導電体40,45の端子部42,47上に配置されているだけで、透明導電体40,45の端子部42,47の側方まで延びていないようにすることができる。一方、例えば、従来頻繁に用いられてきたスクリーン印刷で、透明導電体40,45の端子部42,47上に高導電率材料から取出導電体43,48を形成した場合、図11に示すように、透明導電体40,45は端子部42,47の側方から基材フィルム32上まで延び広がってしまう。このような従来の取出配線と比較して本実施の形態の取出配線37bによれば、同一量の高導電率材料を用いて取出導電体を形成すると、取出配線37bの導電率を同一に保ちながら線幅を大幅に狭くすることができる。 In particular, according to the above-described method, the
また、本実施の形態による取出導電体43,48および透明導電体40,45の端子部42,47は、フォトリソグラフィー技術により形成されているため、スクリーン印刷等による従来の方法と比較して、極めて精度良く所望の位置に所望の形状で形成することができる。さらに、本実施の形態によれば、図11に示す従来の取出配線とは異なり、高導電率の取出導電体43,48が透明導電体40,45は端子部42,47の側方まで覆って基材フィルム32上まで延びることはないので、エレクトロマイグレーションの可能性を低減することもできる。これらのことから、取出配線37bの配置ピッチを大幅に短くすることができ、これにより、取出配線37bの配置スペース、すなわち、非アクティブエリアAa2の面積を小さくすることができる。 In addition, since the
ところで、以上に説明してきた本実施の形態の製造方法によれば、透明導電体40,45の端子部42,47が取出導電体43,48によって側方から遮光されないようにするだけでなく、図3Bに示すように、取出導電体43,48の幅が、当該取出導電体43,48によって覆われている透明導電体40,45の端子部42,47の部分の幅よりも狭くなるようにすることもできる。すなわち、基材フィルム32のフィルム面の法線方向から観察した場合に、取出導電体43,48は透明導電体40,45上のみに配置されている、言い換えると、取出導電体43,48は、透明導電体40,45の端子部42,47が配置されている領域内のみに配置されているようにすることができる。このような構成によれば、上述したセンサ電極36aと検出制御部25との間の導通の確保をより安定させることができる。また、エレクトロマイグレーションの可能性をさらに低減することができるため、取出配線37bの配置ピッチをさらに短くして、非アクティブエリアAa2の面積を小さくすることができる。 By the way, according to the manufacturing method of the present embodiment described above, not only the
以下、上述した製造方法で取出配線37bを形成した場合に、取出配線37bの取出導電体43,48の幅が、当該取出導電体43,48によって覆われている透明導電体40,45の端子部42,47の部分の幅よりも狭くなるようになる推定メカニズムについて、主に図7を参照しながら、説明するが、本発明はこの推定メカニズムに限定されるものではない。 Hereinafter, when the
従来の二枚のフィルムを貼り合わせてタッチパネルセンサを作製する方法において、フォトリソグラフィー技術を用いてフィルム上に透明導電体の端子部を形成する場合、透明導電体をなすようになる透明導電層上に感光層が直接配置されるようになる。一方、本実施の形態によれば、透明導電体40,45をなすようになる透明導電層52a,52b上に遮光導電層54a,54bが配置されている。一般的に、透明導電層をエッチングするためのエッチング液(例えば、塩化第二鉄)に対し、感光層(レジスト層)は高い耐浸食性を有している。しかしながら、金属等からなる遮光導電層54a,54bは、ITO等の透明導電層52a,52b用のエッチング液によって、エッチングされ得る。 In the conventional method of manufacturing a touch panel sensor by bonding two films, when a transparent conductor terminal is formed on a film using photolithography technology, the transparent conductive layer that forms a transparent conductor is formed. The photosensitive layer is directly disposed on the substrate. On the other hand, according to the present embodiment, the light-shielding
したがって、図7に示すように、透明導電層52a,52bをエッチングする工程S6において、透明導電層52a,52bが縦方向(基材フィルムの法線方向)にエッチングされる際に、遮光導電層54a,54bは感光層56a,56bによって覆われていない側方から横方向(基材フィルム32のシート面に沿った方向)にエッチングされ得る。その一方で、感光層は、この工程S6で用いられるエッチング液に対して高い耐浸食性を有しているため、横方向へ大きくエッチングされることはない。以上のような理由から、本実施の形態の製造方法で作製されたタッチパネルセンサ30によれば、取出導電体43,48の幅を、当該取出導電体43,48によって覆われている透明導電体40,45の端子部42,47の部分の幅よりも狭くすることが可能となる。 Therefore, as shown in FIG. 7, when the transparent
またさらに、第1感光層52aおよび第2感光層52bを異なるパターンで同時露光する際に、互いの露光光パターンが影響し合うことを回避するために使用された遮光層(被覆導電層)54a,54bから取出導電体43,48が作製されている。このような方法によれば、タッチパネルセンサ30の作製に必要となる材料コスト低減させることが可能となる。さらに、タッチパネルセンサ30の作製効率を極めて効果的に向上させることも可能となり、またこれにともなって、タッチパネルセンサ30の作製コストを削減することが可能となる。すなわち、上述した優れたタッチパネル30(タッチパネル装置20)を高い生産効率および安い製造コストで作製することが可能となる。 Furthermore, when the first
以上のようにして得られたタッチパネルセンサ30を表示装置15に接着層19を介して接合するとともに、保護カバー12をタッチパネルセンサ30に接着層15を介して接合することにより、図1および図2に示された入出力装置10が得られる。次に、この入出力装置10を使用する際の作用について説明する。 The
まず、このような入出力装置10においては、表示装置15の表示パネル16によって映像を表示することによって、観察者は、保護カバー12およびタッチパネルセンサ30を介して映像を観察することができる。 First, in such an input /
また、この入出力装置10において、タッチパネルセンサ30および保護カバー12がタッチパネル装置20の一部分を構成し、外部導体5、典型的には人間の指5が保護カバー12上に接触(接近)したこと検知することができるとともに、保護カバー12上における外部導体5が接触(接近)した位置を検出することができる。 In the input /
具体的には、まず、外部の導体(例えば、人間の指)5が保護カバー12に接触すると、当該外部導体5と、外部導体5による保護カバー12への接触位置の近傍に位置する電極部40,45の各導電体41,46と、が電極として機能し、電界が形成される。この際、センサ電極37aを構成する透明導電体40,45のセンサ部41,46と、外部導体5と、の間に位置する保護カバー12および基材フィルム32等は誘電体として機能する。すなわち、外部導体5が保護カバー12に接触することにより、センサ部41,46と外部導体5とを電極とするコンデンサが形成される。 Specifically, first, when an external conductor (for example, a human finger) 5 comes into contact with the
タッチパネル装置20の検出制御部25の検出回路は、各センサ部41,46に接続され、各センサ部41,46と外部導体5との間の静電容量を検出することができるようになっている。そして、検出制御部25が、各センサ部41,46と外部導体5との間の静電容量の変化を検出することによって、外部導体5がいずれの第1センサ部41に対面しているか、並びに、外部導体5がいずれの第2センサ部46に対面しているかを特定することができる。 The detection circuit of the detection control unit 25 of the
すなわち、検出制御部25の検出回路は、アクティブエリアAa1において前記一方向に並べて配列された第1透明導電体40に含まれる多数の第1センサ部41のうちの外部導体5と対面している第1センサ部(線状導電体)を特定することによって、前記一方向に延びる座標軸上における外部導体5の位置を特定することができる。同様に、検出制御部25の検出回路は、アクティブエリアAa1において前記他方向に並べて配列された第2透明導電体45に含まれる多数の第2センサ部46のうちの外部導体5と対面している第2センサ部(線状導電体)を特定することによって、前記他方向に延びる座標軸上における外部導体5の位置を特定することができる。このようにして、タッチパネル装置20(保護カバー12)への外部導体5の接触位置を二つの方向において検出することにより、外部導体5のタッチパネル装置20の表面への接触位置の位置座標を、タッチパネル装置20の表面上で精度良く特定することができる。なお、投影型容量結合方式のタッチパネルにおいて接触位置を検出する様々な方法(原理)が、種々の文献に開示されており、本明細書では、これ以上の説明を省略する。 That is, the detection circuit of the detection control unit 25 faces the
上述の製造方法にしたがって作製されたタッチパネルセンサ30においては、センサ電極37aおよび取出配線37bが単一体としての基材フィルム32の両側に形成されている。すなわち、接着剤等を介して接合された複数枚のフィルムの接合体等を基材フィルムとして用いていない。この結果、タッチパネルセンサ30全体としての透光率を向上させることができる。また、照明等の環境光(外光)や映像光等を反射し得る界面の数を減じることができるので、環境光の反射を抑制して表示装置15に表示される映像のコントラストを向上させることができる。これらにより、タッチパネルセンサ30を表示装置10の表示面16上に配置した場合に、表示装置10の表示画像を大きく劣化させてしまうことを防止することができる。さらに、タッチパネルセンサ30および入出力装置10の総厚みを減じることができる。 In the
また、図2に示すように、センサ電極37aを構成する第1透明導電体40の第1センサ部41および第2透明導電体45の第2センサ部46は、タッチパネルセンサ30(保護カバー12)の法線方向に沿って異なる位置に配置されている。具体的には、第2透明導電体45の第2センサ部46は、第1透明導電体40の第1センサ部41よりも保護カバー12から基材フィルム32の厚み分だけ離間した位置に配置されている。しかしながら、上述したように、本実施の形態における基材フィルム32は単一体のフィルムとして構成されている。さらに、この基材フィルム32は、上述した特許文献(特開平4−264613号公報)に開示された基材フィルムとは異なり、遠紫外線遮光機能等の特別な機能を要求されてもいない。すなわち、厚みの薄い単一体のフィルムから構成され得る。したがって、外部導体5が保護カバー12へ接触した際に、当該外部導体5と第2透明導電体45の第2センサ部46との間でコンデンサを安定して形成することができるようになる。これにより、外部導体5の保護カバー12への接触位置(タッチ位置)を、第1透明導電体40の第1センサ部41によってだけでなく、第2透明導電体45の第2センサ部46によっても、極めて感度良く正確に検出することが可能となる。 Further, as shown in FIG. 2, the
また、本実施の形態によれば、図3に示すように、第1透明導電体40の第1センサ部41はライン部41aと膨出部41bとを有し、第2透明導電体45の第2センサ部46はライン部46aと膨出部46bとを有している。各センサ部41,46において、膨出部41b,46bにおける幅は、ライン部41a,46aにおける幅と比較して非常に太くなっている。そして、上述したように、第1透明導電体40に含まれる第1センサ部41の膨出部41bと、第2透明導電体45に含まれる第2センサ部46の膨出部46bとは、基材フィルム32のフィルム面の法線方向から観察した場合に重ならないように配置されている。このため、第1透明導電体40の第1センサ部41が、接触位置の検出精度に影響を与え得る程度の広い面積で、外部導体5と第2透明導電体45の第2センサ部46との間に介在することはない。この結果、外部導体5と第2透明導電体45の第2センサ部46との間で、コンデンサが有効に形成されなくなることを防止することができる。 Further, according to the present embodiment, as shown in FIG. 3, the
さらに、上述したように、表示装置15の表示制御部17とタッチパネル装置20の検出制御部25とは接続されている。検出制御部25は、外部導体5が保護カバー12上の所定の位置に接触することによって入力された情報を、表示制御部17へ送信することができる。表示制御部17は、検出制御部25で読み取られた入力情報に基づいて、当該入力情報に対応した映像を表示装置15の表示パネル16に表示することもできる。すなわち、出力手段としての表示機能および入力手段としてのタッチ位置検出機能により、入出力装置10の使用者(操作者)と当該入出力装置10との間で、対話形式での情報の直接的なやりとり(例えば、使用者の表示装置10に対する指示および表示装置10による当該指示の実行)を実現することができる。 Furthermore, as described above, the display control unit 17 of the display device 15 and the detection control unit 25 of the
そして、上述したように、第1透明導電体40および第2透明導電体45が、感光層56a,56bの両面同時露光プロセス(工程S3)を経て、基材フィルム32上にパターニングされている場合、センサ電極37aを構成する第1透明導電体40の各第1センサ部41および第2透明導電体45の各第2センサ部46が互いに対して精度良く位置決めされるようになる。結果として、第1透明導電体40の各第1センサ部41および第2透明導電体45の各第2センサ部46の両方を、表示装置15に対して精度良く位置決めすることが可能となる。この場合、外部導体5の保護カバー12への接触位置を表示装置15を基準として精度良く検出することができる。この結果、表示装置15に表示される映像情報に対応した入力を高分解能で高精度に検出することができ、これにより、入出力装置10の使用者(操作者)と当該入出力装置10との間での対話形式での情報交換が極めて円滑に進められるようになる。 And as mentioned above, when the 1st
以上のような本実施の形態によれば、感光性を有した第1感光層56aおよび第2感光層56bとの間に、遮光性を有した遮光導電層54a,54bが配置されている。したがって、第1感光層56aおよび第2感光層56bを、異なるパターンで、高精度に露光することができ、これにより、第1感光層56aおよび第2感光層56bを、互いに異なる所望のパターンで極めて精度良くパターニングすることができる。また、第1感光層56aの露光および第2感光層56bの露光は、第1マスク58aを第1感光層56a上に配置するとともに第2マスク58bを第2感光層56b上に配置した状態で行われる。この場合、第1マスク58aおよび第2マスク58bを互いに対して容易に精度良く位置決めすることができ、これにより、第1感光層56aのパターンおよび第2感光層56bのパターンを互いに対して極めて精度良く位置決めすることができる。結果として、得られたタッチパネルセンサ30の第1透明導電体40および第2透明導電体45を所望のパターンで高精度に形成することができるとともに、第1透明導電体40および第2透明導電体45を互いに対して高精度に位置決めすることができる。したがって、このタッチパネルセンサ30を用いることにより、外部導体(典型的には、指)5が接近または接触した平面上の位置を精度良く検出することができる。 According to the present embodiment as described above, the light-shielding
また、第1マスク58aおよび第2マスク58bを互いに対して容易に位置決めすることができるとともに、第1感光層56aの露光および第2感光層56bの露光を同時に行うことができる。したがって、タッチパネルセンサ30を極めて効率的に製造することができ、これにより、タッチパネルセンサ30の製造コストを大幅に低下させることができる。 Further, the
さらに、基材フィルム32に特別な機能(例えば、特定波長域の光に対する遮光機能)が要求されないことから、表示装置等に用いられている通常の単一体としてのフィルム材を基材フィルム32として用いることができる。したがって、厚さの厚いフィルムや、接着剤等を介して接合された複数枚のフィルムの積層体等を基材フィルムとして用いる必要がない。これにより、第1透明導電体40と第2透明導電体45との離間間隔が短くなるので、第1透明導電体40だけでなく、第2透明導電体45による接触位置または接近位置の検出感度を向上させることができる。また、タッチパネルセンサ30の透光率を向上させることができ、これにより、タッチパネルセンサ30を表示装置15の表示面16a上に配置した場合に、表示装置15の表示画像を大きく劣化させてしまうことを防止することができる。 Furthermore, since the special function (for example, the light-shielding function with respect to the light of a specific wavelength range) is not requested | required of the
さらに、上述した実施の形態において、透明導電層52a,52b上に配置され透明導電層52a,52bとともにパターニングされた遮光導電層54a,54bが取出配線37bの一部として利用されている。具体的には、透明導電層52a,52bと同一のパターンにパターニングされるとともにその後一部分を除去された遮光導電層54a,54bからなる取出導電体43,48が、パターニングされた透明導電層52a,52bからなる透明導電体40,45とともに、取出配線37bを形成している。 Further, in the above-described embodiment, the light shielding
このような方法で作製された取出配線37bは、取出導電体43,48によって高い導電率(電気伝導率)を確保することができる。また、スクリーン印刷等で作製された従来の取出配線(図11参照)とは異なり、取出導電体43,48は、透明導電層52a,52b上に配置され、透明導電層52a,52bの側方まで延びていない。これにより、取出配線37bの線幅を大幅に小さくすることができる。さらに、上述した実施の形態によれば、スクリーン印刷等の従来の作製方法とは異なりフォトリソグラフィー技術を用いて取出導電体37bが形成されているので、安定して高精度に所望のパターンの取出配線37bを作製することが可能となる。これにより、エレクトロマイグレーションの可能性も大幅に低下させることができる。以上のことから、本実施の形態によれば、細い線幅の取出配線37bを短ピッチで並べて形成することが可能となり、これにより、取出配線37bを配置するために必要となる領域の面積、すなわち、非アクティブエリアAa2の面積を格段に小さくすることができる。 The
また、取出導電体43,48は、低い密着力しか呈し得ない基材フィルム32には接触しておらず、高い密着力を呈し得る透明導電体40,45にしか接合していない。このため、タッチパネルセンサ30が使用中に変形したとしても、取出導電体43,48がタッチパネルセンサ30から剥離する起点が形成されにくくすることができる。また、透明導電体40,45の端子部42,47は、取出導電体43,48によって側方まで覆われておらず、基材フィルム32と取出導電体43,48との間で側方に露出している。すなわち、取出導電体43,48による端子部42,47の変形の拘束は弱く、端子部42,47は、タッチパネルセンサ30の変形時に、基材フィルム32の変形に追従して変形し得るようになる。これらにより、取出導電体43,48が透明導電体40,45または基材フィルム32から剥離すること、並びに、取出導電体43,48とともに端子部42,47が基材フィルム32から剥離することを、効果的に抑制することができる。結果として、タッチパネルセンサ30の検出機能の信頼性を大幅に向上させることができる。 Further, the
さらに、取出導電体43,48の形成に用いられる遮光導電層54a,54bは、両面同時露光工程S3において遮光層として用いられる層である。このような作製方法によれば、上述したように優れた性能を有するタッチパネルセンサ30を、極めて効率的かつ安価に作製することが可能となる。 Further, the light shielding
なお、上述した実施の形態に対して様々な変更を加えることが可能である。以下、変形の一例について説明する。 Note that various modifications can be made to the above-described embodiment. Hereinafter, an example of modification will be described.
例えば、上述した実施の形態において、パターニングされた遮光導電層54a,54bの一部分を除去する工程において、遮光導電層54a,54bのうちのアクティブエリアAa1と、アクティブエリアAa1を取り囲むアクティブエリアAa1近傍の領域と、に位置する部分が除去される例を示したが、これに限られない。アクティブエリアAa1の透明性を確保するために遮光性を有した遮光導電層54a,54bを除去するといった観点からすれば、除去される部分は、アクティブエリアAa1内に位置する部分だけとすることができる。このような例によれば、タッチパネルセンサ30のアクティブエリアAa1における透明性を確保しつつ取出導電体43,48が配置された領域を拡大して、取出配線37bの導電率を高めることができる。ただし、さらなる感光層56c,56dの露光精度および現像精度のバラツキを許容可能にし、タッチパネルセンサ30の信頼性を向上させるといった観点からは、上述した実施の形態の方が優れている。なお、当然に、遮光導電層54a,54bの除去される部分を変更する場合には、上述した第3マスク58cおよび第4マスク58dの透過領域のパターンを変更しなければならない。 For example, in the above-described embodiment, in the step of removing a part of the patterned light-shielding
また、上述した実施の形態において、さらなる感光層56c、56dを現像してパターニングする工程において、アクティブエリアAa1を四方から周状に取り囲む額縁状に感光層56c,56dをパターニングする例を示したが、これに限られない。例えば、透明導電層52a,52b(透明導電体40,45)上に残留すべきパターンに対応したパターンで、さらなる感光層56c、56dを露光(図8A参照)および現像(図8B参照)してもよい。図8Aに示すように、このような変形例においても、遮光性を有した遮光導電性54a,54bが、異なる側から所定のパターンで照射される露光光源からの光を遮光する。これにより、第3感光層56cおよび第4感光層56dを異なるパターンでの高精度に両面同時露光することができる。ただし、さらなる感光層56c,56dの露光精度および現像精度のバラツキを許容可能にし、タッチパネルセンサ30の信頼性を向上させるといった観点からは、上述した実施の形態の方が優れている。なお、図8Aおよび図8Bに示す変形例において、その他の部分の構成については、上述した実施の形態と同様に構成され得る。図8Aおよび図8Bにおいて、上述した実施の形態と同一に構成され得る部分には同一符号を付し、重複する説明を省略する。 Further, in the above-described embodiment, in the step of developing and patterning the further
また、上述した実施の形態において、タッチパネルセンサ30の製造方法の一例を説明したが、この例に限られない。例えば、透明導電層52a,52bをアニール処理して、透明導電層52a,52bの結晶化(微結晶化)を進める工程を、途中に設けるようにしてもよい。 Moreover, in embodiment mentioned above, although an example of the manufacturing method of the
通常、ITO等の透明導電層は、スパッタリング等による成膜時の温度が適宜調節されることによって、結晶化が進められている。すなわち、一般的に、タッチパネルセンサ30を作製するための積層体(ブランクス)に含まれた透明導電層52a,52bは、既に結晶化が進められており、良好な耐薬品性を有している。ただし、その一方で、アモルファス状態で透明導電層を成膜し、成膜後に140°程度の温度でアニール処理を施して、透明導電層を結晶化(微結晶化とも呼ばれる)することも可能である。 Usually, a transparent conductive layer such as ITO is crystallized by appropriately adjusting the temperature during film formation by sputtering or the like. That is, generally, the transparent
この透明導電層52a,52bをアニールする工程は、上述した透明導電層52a,52bをパターニングする工程S6よりも後であってパターニングされた遮光導電層54a,54bの一部分を除去する工程S11よりも前に、例えば、さらなる感光層58c,58dを現像する工程S10と遮光導電層54a,54bの一部分を除去する工程S11との間に、実施されることが好ましい。例えば、遮光導電層54a,54bの耐薬品性が弱く、透明導電層52a,52bをパターニングする工程S6において、既にパターニングされている遮光導電層54a,54bがエッチングされる可能性がある場合に、アニール工程を追加することは有効である。 The step of annealing the transparent
具体的には、透明導電層52a,52bをパターニングする工程S6において、耐薬品性の低いアモルファス状の透明導電層52a,52bを、浸食性の弱いエッチング液、例えばシュウ酸でエッチングする。浸食性の弱いエッチング液を用いることにより、耐薬品性の弱い材料(例えば銀)からなる遮光導電層54a,54bが、透明導電層52a,52bと感光層56a,56bとの間において横方向(すなわち、基材フィルム32のシート面に沿った方向)に浸食されることを防止することができる。これにより、透明導電層52a,52bを極めて高精度にパターニングすることができるようになる。そして、遮光導電層54a,54bの一部分を除去する工程S11の前に、アニール処理によって透明導電層52a,52bの耐薬品性を上げておくことにより、遮光導電層54a,54bの一部分を除去する際に、所望の形状にパターニングされた透明導電層52a,52bのパターンが損なわれてしまうことを効果的に防止することができる。 Specifically, in step S6 of patterning the transparent
さらに、上述した実施の形態において、タッチパネルセンサ30を製造するために用いられる元材としての積層体(ブランクス)50において、第1遮光導電層54aが第1透明導電層52a上に形成され、第2遮光導電層54aが第2透明導電層52b上に形成されている例を示したがこれに限られない。第1透明導電層52aおよび第2透明導電層52bのうちのいずれか一方の透明導電層上のみに、遮光導電層が形成されていてもよい。図9(a)および図9(b)に示す例においては、上述した第1遮光導電層54aが省略されている。すなわち、元材としての積層体(ブランクス)50は、基材フィルム32と、基材フィルム32上に配置された第1および第2透明導電体52a,52bと、第2透明導電体52b上に配置された第2遮光導電層54bと、を含んでいる。図9(a)および図9(b)は、それぞれ、図5C(a)および図5C(b)に対応しており、第1透明導電体56a上に配置された第1感光層56aと、第2遮光導電層54b上に配置された第2感光層56bと、を両面同時露光する工程S3を示している。図9(a)に示すように、所定のパターンで第1感光層56aを露光する露光光は、第2遮光導電層54bで遮光され、第2感光層56bに照射されることはなく、且つ、所定のパターンで第2感光層56bを露光する露光光は、第2遮光導電層54bで遮光され、第1感光層56aに照射されることはない。これにより、上述した実施の形態と同様に、遮光導電層54a,54bを異なるパターンで高精度に両面同時露光することができる。また、上述した実施の形態と同様の透明導電体40,45および第2取出導電体を得ることができる。なお、第1透明導電層52a上に遮光導電層54bが形成されていないことから、図示する例では、第1透明導電体40上に第1取出導電体43が形成されなくなる。 Further, in the above-described embodiment, in the laminated body (blanks) 50 as a base material used for manufacturing the
さらに、上述した実施の形態において、第1透明導電体40の第1センサ部41はライン部41aと膨出部41bとを有し、第2透明導電体45の第2センサ部46はライン部46aと膨出部46bとを有している例を示した。また、上述した実施の形態において、膨出部41b,46bが平面視略正方形形状に形成されている例を示した。しかしながら、これに限られず、一例として、膨出部41b,46bが、平面視において、正方形以外の菱形等の四角形形状、さらには、多角形形状や円形状等であってもよい。また、センサ部41,46が、膨出部41b,46bを有さず、直線状の輪郭を有するようにしてもよい。 Further, in the above-described embodiment, the
さらに、上述した実施の形態において、第1透明導電体40の第1センサ部41と、第2透明導電体45の第2センサ部46とが、同一に構成される例を示したが、これに限られない。例えば、図10に示すように、第2透明導電体45の第2センサ部46の線幅w2が、保護カバー12(観察者側面)からより近い位置に配置された第1透明導電体40の第1センサ部41の線幅w1よりも太くなるようにしてもよい。このような例によれば、外部導体5が保護カバー12へ接触した際に、保護カバー12(観察者側面)から比較的に遠い位置に配置された第2透明導電体45の第2センサ部46と、当該外部導体5と、の間でコンデンサを安定して形成することができるようになる。また、保護カバー12に接触する外部導体5と第1透明導電体40の第1センサ部41との間で形成されるコンデンサの静電容量と比較して、保護カバー12に接触する外部導体5と第2透明導電体45の第2センサ部46との間で形成されるコンデンサの静電容量が低くなってしまうことを防止することができる。これにより、外部導体5の保護カバー12への接触位置(タッチ位置)を、第1透明導電体40の第1センサ部41だけでなく、第2透明導電体45の第2センサ部46によっても、極めて感度良く正確に検出することが可能となる。なお、図10に示す変形例において、その他の部分の構成については、上述した実施の形態と同様に構成され得る。図10において、上述した実施の形態と同一に構成され得る部分には同一符号を付し、重複する説明を省略する。 Further, in the above-described embodiment, the example in which the
なお、以上において上述した実施の形態に対するいくつかの変形例を説明してきたが、当然に、複数の変形例を適宜組み合わせて適用することも可能である。 In addition, although the some modification with respect to embodiment mentioned above was demonstrated above, naturally, it is also possible to apply combining several modifications suitably.
10 入出力装置
15 表示装置
20 タッチパネル装置
30 タッチパネルセンサ
32 基材フィルム
32a 面(一方の側の面)
32b 面(他方の側の面)
33 フィルム本体
34 機能膜(インデックスマッチング膜)
34a 高屈折率膜
34b 低屈折率膜
35 機能膜(低屈折率膜)
37a センサ電極
37b 取出配線
40 第1透明導電体
41 第1センサ部
41a ライン部
41b 膨出部
42 第1端子部
43 第1取出導電体
45 第2透明導電体
46 第2センサ部
46a ライン部
46b 膨出部
47 第2端子部
48 第2取出導電体
50 積層体(ブランクス)
52a 第1透明導電層
52b 第2透明導電層
54a 第1遮光導電層(第1被覆導電層)
54b 第2遮光導電層(第2被覆導電層)
56a 第1感光層
56b 第2感光層
56c 第3感光層(さらなる感光層)
56d 第4感光層(さらなる感光層)
58a 第1マスク(第1フォトマスク)
58b 第2マスク(第2フォトマスク)
58c 第3マスク(第3フォトマスク)
58d 第4マスク(第4フォトマスク)DESCRIPTION OF
32b surface (surface on the other side)
33
34a High
52a First transparent
54b Second light-shielding conductive layer (second covering conductive layer)
56a First
56d Fourth photosensitive layer (further photosensitive layer)
58a First mask (first photomask)
58b Second mask (second photomask)
58c Third mask (third photomask)
58d Fourth mask (fourth photomask)
| Application Number | Priority Date | Filing Date | Title |
|---|---|---|---|
| JP2013040762AJP5344331B2 (en) | 2013-03-01 | 2013-03-01 | Touch panel sensor, laminate for manufacturing touch panel sensor, and method for manufacturing touch panel sensor |
| Application Number | Priority Date | Filing Date | Title |
|---|---|---|---|
| JP2013040762AJP5344331B2 (en) | 2013-03-01 | 2013-03-01 | Touch panel sensor, laminate for manufacturing touch panel sensor, and method for manufacturing touch panel sensor |
| Application Number | Title | Priority Date | Filing Date |
|---|---|---|---|
| JP2011113925ADivisionJP5218599B2 (en) | 2011-05-20 | 2011-05-20 | Touch panel sensor, laminate for manufacturing touch panel sensor, and method for manufacturing touch panel sensor |
| Publication Number | Publication Date |
|---|---|
| JP2013101712A JP2013101712A (en) | 2013-05-23 |
| JP5344331B2true JP5344331B2 (en) | 2013-11-20 |
| Application Number | Title | Priority Date | Filing Date |
|---|---|---|---|
| JP2013040762AExpired - Fee RelatedJP5344331B2 (en) | 2013-03-01 | 2013-03-01 | Touch panel sensor, laminate for manufacturing touch panel sensor, and method for manufacturing touch panel sensor |
| Country | Link |
|---|---|
| JP (1) | JP5344331B2 (en) |
| Publication number | Priority date | Publication date | Assignee | Title |
|---|---|---|---|---|
| JP6799664B2 (en)* | 2017-03-06 | 2020-12-16 | 富士フイルム株式会社 | Touch sensors, touch panels, conductive members for touch panels, and conductive sheets for touch panels |
| US11132093B2 (en) | 2017-03-06 | 2021-09-28 | Fujifilm Corporation | Touch sensor, touch panel, conductive member for touch panel, and conductive sheet for touch panel |
| Publication number | Priority date | Publication date | Assignee | Title |
|---|---|---|---|---|
| JPS59216236A (en)* | 1983-05-24 | 1984-12-06 | Daicel Chem Ind Ltd | Detector for coordinate of two-dimensional position |
| JPS615327A (en)* | 1984-06-19 | 1986-01-11 | Takeshi Kaneko | Information input tablet |
| JPH02116333U (en)* | 1989-02-28 | 1990-09-18 | ||
| JPH04160624A (en)* | 1990-10-25 | 1992-06-03 | Fujitsu Ltd | touch input display device |
| JPH117354A (en)* | 1997-06-17 | 1999-01-12 | Japan Aviation Electron Ind Ltd | Electrostatic coupling type tablet device |
| US7030860B1 (en)* | 1999-10-08 | 2006-04-18 | Synaptics Incorporated | Flexible transparent touch sensing system for electronic devices |
| JP4052880B2 (en)* | 2002-05-29 | 2008-02-27 | 富士通株式会社 | Touch panel device |
| JP5056024B2 (en)* | 2007-01-18 | 2012-10-24 | ソニー株式会社 | Two-dimensional input device for display device, display device, and display method |
| Publication number | Publication date |
|---|---|
| JP2013101712A (en) | 2013-05-23 |
| Publication | Publication Date | Title |
|---|---|---|
| JP5999521B2 (en) | Touch panel sensor, laminate for manufacturing touch panel sensor, and method for manufacturing touch panel sensor | |
| JP5861641B2 (en) | Touch panel sensor film and manufacturing method thereof | |
| JP4826970B2 (en) | Touch panel sensor, laminate for manufacturing touch panel sensor, and method for manufacturing touch panel sensor | |
| JP4775722B2 (en) | Touch panel sensor, laminate for manufacturing touch panel sensor, and method for manufacturing touch panel sensor | |
| JP5263277B2 (en) | Touch panel sensor, laminate for manufacturing touch panel sensor, and method for manufacturing touch panel sensor | |
| JP5413304B2 (en) | Touch panel sensor and laminate for producing touch panel sensor | |
| JP5344331B2 (en) | Touch panel sensor, laminate for manufacturing touch panel sensor, and method for manufacturing touch panel sensor | |
| JP5218691B2 (en) | Touch panel sensor, laminate for manufacturing touch panel sensor, and method for manufacturing touch panel sensor | |
| JP4978746B2 (en) | Touch panel sensor, laminate for manufacturing touch panel sensor, and method for manufacturing touch panel sensor | |
| JP2015176315A (en) | touch panel sensor | |
| JP5344330B2 (en) | Touch panel sensor, laminate for manufacturing touch panel sensor, and method for manufacturing touch panel sensor | |
| JP5495147B2 (en) | Touch panel sensor, laminate for manufacturing touch panel sensor, and method for manufacturing touch panel sensor | |
| JP5510854B2 (en) | Touch panel sensor, laminate for manufacturing touch panel sensor, and method for manufacturing touch panel sensor | |
| JP5218599B2 (en) | Touch panel sensor, laminate for manufacturing touch panel sensor, and method for manufacturing touch panel sensor | |
| JP5819345B2 (en) | Touch panel sensor, laminate for manufacturing touch panel sensor, and method for manufacturing touch panel sensor | |
| JP5413741B2 (en) | Touch panel sensor and laminate for producing touch panel sensor | |
| JP5672586B2 (en) | Touch panel sensor, laminate for manufacturing touch panel sensor, and method for manufacturing touch panel sensor | |
| JP2015176314A (en) | Touch panel sensor and manufacturing method thereof | |
| JP2015176312A (en) | Touch panel sensor and method for manufacturing touch panel sensor | |
| JP2014038661A (en) | Touch panel sensor, and laminate for manufacturing touch panel sensor |
| Date | Code | Title | Description |
|---|---|---|---|
| A521 | Request for written amendment filed | Free format text:JAPANESE INTERMEDIATE CODE: A523 Effective date:20130305 | |
| A621 | Written request for application examination | Free format text:JAPANESE INTERMEDIATE CODE: A621 Effective date:20130305 | |
| A871 | Explanation of circumstances concerning accelerated examination | Free format text:JAPANESE INTERMEDIATE CODE: A871 Effective date:20130315 | |
| A975 | Report on accelerated examination | Free format text:JAPANESE INTERMEDIATE CODE: A971005 Effective date:20130328 | |
| A131 | Notification of reasons for refusal | Free format text:JAPANESE INTERMEDIATE CODE: A131 Effective date:20130416 | |
| A521 | Request for written amendment filed | Free format text:JAPANESE INTERMEDIATE CODE: A523 Effective date:20130614 | |
| TRDD | Decision of grant or rejection written | ||
| A01 | Written decision to grant a patent or to grant a registration (utility model) | Free format text:JAPANESE INTERMEDIATE CODE: A01 Effective date:20130719 | |
| A61 | First payment of annual fees (during grant procedure) | Free format text:JAPANESE INTERMEDIATE CODE: A61 Effective date:20130801 | |
| R150 | Certificate of patent or registration of utility model | Ref document number:5344331 Country of ref document:JP Free format text:JAPANESE INTERMEDIATE CODE: R150 Free format text:JAPANESE INTERMEDIATE CODE: R150 | |
| RD02 | Notification of acceptance of power of attorney | Free format text:JAPANESE INTERMEDIATE CODE: R3D02 | |
| LAPS | Cancellation because of no payment of annual fees |