








  本発明は、一般に、心室ペーシングなどの心臓監視および処置に関連するシステム、デバイス、および方法に関する。本発明のより特定の態様は、患者の右心室内に存在する1つまたは複数の電極にペーシング信号を提供することによる、患者の左心室および右心室のペーシングによって心機能を改善する心臓律動治療機構の使用に関する。
(優先権の主張)
  本出願は、参照により本明細書に組み込まれる、「ニ腔ペーシングデバイスを使用した単腔ペーシングのための方法、デバイス、及びシステム(METHODS,DEVICES  AND  SYSTEMS  FOR  SINGLE−CHAMBER  PACING  USING  A  DUAL−CHAMBER  PACING  DEVICE)」という名称の、2008年10月10日に出願された、Zhu他の米国特許出願番号第12/249,508号の優先権を主張する。The present invention relates generally to systems, devices, and methods related to cardiac monitoring and treatment, such as ventricular pacing. A more specific aspect of the present invention is a cardiac rhythm therapy that improves cardiac function by pacing a patient's left and right ventricles by providing a pacing signal to one or more electrodes present in the patient's right ventricle. Regarding the use of the mechanism.
 (Claiming priority)
 This application is incorporated herein by reference, “METHODS, DEVICES AND SYSTEMS AND SYSTEMS FOR SINGLE-CHAMBER PACING USING A DUAL-CHAMBER PACING”, which is incorporated herein by reference. Claims the priority of Zhu et al. US application Ser. No. 12 / 249,508, filed Oct. 10, 2008, entitled “DEVICE)”.
ペースメーカは、おそらく、心臓律動管理などの長期継続的な電気刺激を提供する最もよく知られているデバイスである。現代のペースメーカは、医療治療を受ける患者内に埋め込まれるように設計されている。心臓刺激器の他の例は、埋め込み型心臓除細動器(implantable cardiac defibrillator)(ICD)ならびにペーシングおよび除細動機能を実施することが可能な埋め込み型デバイスを含む。こうした埋め込み型デバイスは、心律動の障害を処置するために心臓の選択された部分に電気刺激を提供する。埋め込み型ペースメーカは、時刻が決められたペーシングパルスを用いて心臓をペーシングする。ペーシングパルスは、他のペーシングパルスまたは検知された(内因性)電気活動に対して時刻が決められうる。適切に機能する場合、ペースメーカは、心臓が代謝要求について適切な律動で自身をペーシングできないことを補償するために最小心拍数を強制する。一部のペーシングデバイスは、収縮を協調させるために心臓の異なる領域に送出されるペーシングパルスを同期させる。協調された収縮は、心臓が十分な心拍出量を提供するために効率的に圧送することを可能にする。同期した両室ペーシングを通して達成される心臓再同期が、心機能の有意の改善をもたらすことを臨床データが示している。心臓再同期治療は、心不全患者の心機能を改善する。心不全患者は、LV(左心室)機能障害および死亡率の増加に関連する自律神経バランスが低下している。 A pacemaker is probably the best known device that provides long-lasting electrical stimulation, such as cardiac rhythm management. Modern pacemakers are designed to be implanted in patients undergoing medical treatment. Other examples of cardiac stimulators include implantable cardiac defibrillators (ICDs) and implantable devices that can perform pacing and defibrillation functions. Such implantable devices provide electrical stimulation to selected portions of the heart to treat heart rhythm disorders. Implantable pacemakers pace the heart with timed pacing pulses. The pacing pulse can be timed relative to other pacing pulses or sensed (endogenous) electrical activity. When functioning properly, the pacemaker forces a minimum heart rate to compensate for the heart's inability to pace itself with an appropriate rhythm for metabolic demand. Some pacing devices synchronize pacing pulses delivered to different regions of the heart to coordinate contractions. Coordinated contractions allow the heart to pump efficiently to provide sufficient cardiac output. Clinical data show that cardiac resynchronization achieved through synchronized biventricular pacing results in significant improvement in cardiac function. Cardiac resynchronization therapy improves cardiac function in patients with heart failure. Heart failure patients have reduced autonomic balance associated with increased LV (left ventricular) dysfunction and increased mortality.
一般的に処置される状態は、心臓があまりにも速くまたはあまりにも遅く拍動することに関連する。心臓があまりにも遅く拍動する(しばしば、徐脈と呼ばれる状態をもたらす)とき、ペーシングは、内因性心拍数を増加させ、状態を治すために使用されうる。心臓があまりにも速く拍動する(しばしば、頻脈と呼ばれる状態をもたらす)とき、心臓自体の内因性電気刺激は、ある心筋基質改質部(すなわち、梗塞または非伝導領域)の存在下で、改質部が、元の活性化回路に再入し、新しい活性化を最誘発することを可能にする回路を見出しうる。これらのリエントラント回路は、望ましくなく、またさらに致死的である非常に速い心拍数をもたらしうる。この状態を治すために、頻脈性不整脈レートより高いレートの抗頻脈ペーシングが、特別のパルスシーケンスおよびパルス列を使用することによって、心臓律動の制御を回復するために使用されうる。抗頻脈性の高速ペーシングを送出するシステムは、心臓のコントロールを取得すると、正常洞律動が再びコントロールを取得し、内因性心拍数を低減することを期待して、ペーシングレートを徐々に低減する。抗頻脈ペーシングは、一般に、ペーシングバーストが頻脈を加速して心室細動にする可能性があるため、埋め込み型除細動器と組合せて使用される。 A commonly treated condition is associated with the heart beating too fast or too late. When the heart beats too slowly (often resulting in a condition called bradycardia), pacing can be used to increase the intrinsic heart rate and cure the condition. When the heart beats too quickly (often resulting in a condition called tachycardia), the intrinsic electrical stimulation of the heart itself is in the presence of certain myocardial matrix modifiers (ie, infarcted or non-conducting regions) A circuit may be found that allows the reformer to re-enter the original activation circuit and induce a new activation. These reentrant circuits can result in very fast heart rates that are undesirable and even more lethal. To cure this condition, a rate of anti-tachycardia pacing that is higher than the tachyarrhythmia rate can be used to restore control of the heart rhythm by using special pulse sequences and pulse trains. A system that delivers anti-tachyarrhythmia fast pacing, once acquiring heart control, gradually reduces the pacing rate, expecting normal sinus rhythm to regain control and reduce intrinsic heart rate . Anti-tachycardia pacing is generally used in combination with an implantable defibrillator because pacing bursts can accelerate tachycardia and cause ventricular fibrillation.
徐脈についてペーシングするとき、皮下に留置されたペーシング電極は、一般に、心臓の右側腔(右心房または右心室)内に配置される。こうした腔に対するアクセスは、上大静脈、右心房、3尖弁を通して、その後、右心室内へと容易に利用可能である。右心房と右心室の両方についてのペーシングが開発された。こうした二腔ペーシングは、右心室のみのペーシングに比べてよりよい血行動態出力をもたらした。徐脈を処置することに加えて、二腔ペーシングは、腔間の同期を維持した。 When pacing for bradycardia, a pacing electrode placed subcutaneously is generally placed in the right chamber (right atrium or right ventricle) of the heart. Access to these cavities is readily available through the superior vena cava, right atrium, tricuspid valve and then into the right ventricle. Pacing for both the right atrium and the right ventricle has been developed. Such dual chamber pacing resulted in better hemodynamic output compared to right ventricular only pacing. In addition to treating bradycardia, dual chamber pacing maintained synchronization between the chambers.
左心室内への電極留置は、アクセスが右心室留置の場合と同程度に直接的でない場合、通常回避される。さらに、左心室における塞栓リスクは、右心室より高い。電極が留置されるために左心室で生じる可能性がある塞栓は、左心室からの上行大動脈を介して脳に対して直接アクセスを有する。これは、脳卒中のかなりのリスクを呈する。 Electrode placement in the left ventricle is usually avoided if access is not as direct as in right ventricular placement. Furthermore, the risk of embolization in the left ventricle is higher than in the right ventricle. Emboli that can arise in the left ventricle due to the placement of the electrode have direct access to the brain via the ascending aorta from the left ventricle. This presents a considerable risk of stroke.
最近の臨床上の証拠は、右心室からの従来の心室ペーシングが、左心室と右心室の非同期収縮を生成させ、それにより、不十分な機械的収縮および低下した血行動態性能をもたらすことを示唆している。長期的な右心室ペーシングは、心不全の生成および/または悪化のリスクの増加を伴うことが見出された。 Recent clinical evidence suggests that traditional ventricular pacing from the right ventricle produces asynchronous left and right ventricular contractions, thereby resulting in poor mechanical contraction and reduced hemodynamic performance doing. Long-term right ventricular pacing has been found to be associated with an increased risk of generating and / or worsening heart failure.
本発明は、いくつかの例では、上述した難題または他の難題の1つまたは複数を克服するのに役立ちうる。本発明は、種々の実施態様および適用態様で例証され、その多くは、心室ペーシングによって利益を与えられる、いくつかの心臓状態について役立つかまたは特に適するツールおよび方法を含む。本発明の態様は、右心室内のリード線からの右心室および左心室の心室ペーシングによって例証される。複数の実施形態は、適用形態の中でもとりわけ、再同期のために機械的にかつ/または電気的に同期性のある収縮を容易にするため、または、心室ペーシング中に同期を維持するために使用されてもよい。特定の実施態様は、徐脈の処置のためのこうしたペーシングに関連する。 The present invention, in some examples, can help to overcome one or more of the above or other challenges. The present invention is illustrated in various embodiments and applications, many of which include tools and methods that are useful or particularly suitable for a number of cardiac conditions that can benefit from ventricular pacing. Aspects of the present invention are illustrated by right and left ventricular pacing from leads in the right ventricle. Embodiments may be used to facilitate mechanically and / or electrically synchronous contractions for resynchronization, or to maintain synchronization during ventricular pacing, among other applications May be. Particular embodiments relate to such pacing for the treatment of bradycardia.
一実施態様によれば、患者は、伝導シーケンスを誘発させるために、心臓の正常生理的伝導系を直接刺激することによって処置される。伝導シーケンスは、正常心臓内で見出される伝導シーケンスに空間的にも時間的にも追従する。伝導シーケンスが、正常心臓の伝導シーケンスに追従する程度は、一般に、心筋細胞の状態、細胞外基質の目下の組成、梗塞による瘢痕組織の大きさ、数、および分布、心臓血流に対する冠血管閉塞による虚血面積、ならびに心筋基質の状態によって影響を受けうる。 According to one embodiment, the patient is treated by directly stimulating the normal physiological conduction system of the heart to induce a conduction sequence. The conduction sequence follows the conduction sequence found in the normal heart both spatially and temporally. The degree to which the conduction sequence follows that of a normal heart is generally determined by the state of cardiomyocytes, the current composition of the extracellular matrix, the size, number and distribution of scar tissue due to infarction, and coronary occlusion for cardiac blood flow. Can be affected by the area of ischemia due to, as well as the condition of myocardial matrix.
本発明の態様は、XSTIM波形とも呼ばれる、2つの電極に、参照部に対して2つの反対極性の波形(0.01msと5msとの間のパルス幅)を同時にまたはほぼ同時(1〜20ms以内)に印加することに関連する発見に基づいて構築される。ヒス束の根に貫入するだけでなく、複数の束の分枝後にヒスの複数の領域に達することも可能であることが発見された。複数の束についての貫入は、右心室、左心室、および中隔を通して比較的正常な伝導応答を生成する。これは、心室の正常な生理的伝導系の多くの伝導欠陥のバイパスを可能にする点において遠位束の電気的活性化を可能にする。 Aspects of the present invention have two electrodes, also called XSTIM waveforms, that have two opposite polarity waveforms (pulse widths between 0.01 ms and 5 ms) simultaneously or nearly simultaneously (within 1-20 ms) ) Based on discoveries related to applying. It has been discovered that it is possible not only to penetrate the root of the His bundle but also to reach multiple areas of the His after branching of the bundle. Penetration for multiple bundles produces a relatively normal conduction response through the right ventricle, left ventricle, and septum. This allows for electrical activation of the distal bundle in that it allows the bypass of many conduction defects in the normal physiological conduction system of the ventricle.
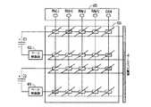
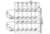
本発明の一実施形態は、単一心室ペーシングのために修正された、それぞれが正および負の成分を有する2つのペーシング信号を使用する、両室ペーシングのための心臓律動治療(cardiac rhythm therapy)(CRT)方法、システム、またはデバイス(両室ペーシングデバイスとしても知られる)を対象とする(デバイスが、心房検知およびペーシングの能力を有する二腔両室デバイスである場合、デバイスのその態様はそのままにされうる)。第1の出力が、ペーシングリード線に接続するために設けられ、第2の出力が、ペーシングリード線に接続するために設けられ、第3の出力が、参照点(reference point)に接続するために設けられる。参照点は、デバイスの導電性缶でありうる、または、デバイスに接続された任意の他のリード線上の電極でありうる。たとえば、参照点は、除細動リード線の遠位または近位除細動コイルであることができ、除細動器デバイスは、XSTIM右心室波形構成を実装するように修正されている。電気回路要素が、第2の電気接続部を第1の出力に、第3の電気接続部を第2の出力に、第1および第4の電気接続部を第3の出力に接続するために設けられる。デバイスが心房を検知しペーシングする能力を有する場合、心房検知およびペーシング出力は、心房リード線に接続されたままでありうる。 One embodiment of the present invention is a cardiac rhythm therapy for biventricular pacing using two pacing signals, each having a positive and negative component, modified for single ventricular pacing. (CRT) directed to a method, system, or device (also known as a biventricular pacing device) (if the device is a dual chamber biventricular device with atrial sensing and pacing capabilities, that aspect of the device remains Can be made). A first output is provided for connecting to the pacing lead, a second output is provided for connecting to the pacing lead, and a third output is connected to the reference point. Is provided. The reference point can be the conductive can of the device or can be an electrode on any other lead connected to the device. For example, the reference point can be the distal or proximal defibrillation coil of the defibrillation lead and the defibrillator device has been modified to implement the XSTIM right ventricular waveform configuration. An electrical circuit element for connecting the second electrical connection to the first output, the third electrical connection to the second output, and the first and fourth electrical connections to the third output; Provided. If the device has the ability to sense and pace the atrium, the atrial sensing and pacing output may remain connected to the atrial lead.
本発明の態様は、それぞれのペーシング信号が正および負の信号成分を有する第1のペーシング信号および第2のペーシング信号を提供する信号発生器を有するペーシングシステムを対象とする。ペーシングリード線は、心臓の単腔から心臓をペーシングし、ペーシングリード線は第1の電極および第2の電極を有する。回路要素は、第1のペーシング信号の正の成分および第2のペーシング信号の負の成分を共通参照部(common reference)に接続することによって、また、第1のペーシング信号の負の成分を第1の電極に、第2のペーシング信号の正の成分を第2の電極に接続することによって、2つのペーシング信号の信号成分の少なくとも一部をペーシングリード線に経路指定する。 Aspects of the invention are directed to a pacing system having a signal generator that provides a first pacing signal and a second pacing signal, each pacing signal having positive and negative signal components. The pacing lead paces the heart from a single chamber of the heart, and the pacing lead has a first electrode and a second electrode. The circuit element connects the positive component of the first pacing signal and the negative component of the second pacing signal to a common reference, and also converts the negative component of the first pacing signal to the first component. At least a portion of the signal components of the two pacing signals are routed to the pacing lead by connecting the positive component of the second pacing signal to the second electrode to one electrode.
本発明の態様は、それぞれのペーシング信号が正および負の信号成分を有する第1のペーシング信号および第2のペーシング信号を使用して両室ペーシングを提供する両室心臓再同期治療(CRT)デバイスに関連して使用されうる。第2および第3の出力は参照点に接続される。第1および第4の出力は、ペーシングリード線のそれぞれの入力に接続される。第1のペーシング信号の正の成分は第1の出力に提供され、第1のペーシング信号の負の成分は第2の出力に提供され、第2のペーシング信号の正の成分は第3の出力に提供され、第2のペーシング信号の負の成分は第4の出力に提供される。 Aspects of the invention provide a biventricular cardiac resynchronization therapy (CRT) device that provides biventricular pacing using a first pacing signal and a second pacing signal, each pacing signal having positive and negative signal components. Can be used in connection with The second and third outputs are connected to the reference point. The first and fourth outputs are connected to respective inputs of the pacing lead. A positive component of the first pacing signal is provided at the first output, a negative component of the first pacing signal is provided at the second output, and a positive component of the second pacing signal is provided at the third output. And the negative component of the second pacing signal is provided to the fourth output.
本発明の例示的な実施形態によれば、心臓再同期治療(CRT)デバイスは改良される。未改良CRTデバイスは、心臓の一方の腔に対して第1のペーシング信号を用い、心臓の別の腔に対して第2のペーシング信号を用いて両室ペーシングを提供する。CRTデバイスは、各ペーシング信号に共通参照成分を基準とさせる回路要素と、単腔をペーシングするために、一方のペーシング信号から負の成分および他のペーシング信号から正の成分を使用して単腔ペーシングを提供するようにCRTデバイスを使用するためのペーシングリード線とを付加することによって改良され、ペーシング信号は、それぞれが共通参照成分を基準とした負のパルスおよび正のパルスを含む。 According to an exemplary embodiment of the present invention, a cardiac resynchronization therapy (CRT) device is improved. An unmodified CRT device provides biventricular pacing using a first pacing signal for one chamber of the heart and a second pacing signal for another chamber of the heart. A CRT device uses a circuit element that references a common reference component for each pacing signal and a single chamber using a negative component from one pacing signal and a positive component from the other pacing signal to pace the single chamber. Improved by adding a pacing lead for using the CRT device to provide pacing, the pacing signal includes a negative pulse and a positive pulse, each referenced to a common reference component.
本発明の態様は、第1の電気接続部に提供される正の成分および第2の電気接続部に提供される負の成分を有する第1のペーシング信号、ならびに、第3の電気接続部に提供される正の成分および第4の電気接続部に提供される負の成分を有する第2のペーシング信号を使用する両室ペーシングのために設計された心臓再同期治療(CRT)デバイスと共に使用するための回路を対象とする。回路は、ペーシングリード線に接続する第1の出力と、ペーシングリード線に接続する第2の出力と、参照点に接続する第3の出力と、第2の電気接続部を第1の出力に接続し、第3の電気接続部を第2の出力に接続し、第1および第4の電気接続部を第3の出力に接続するように構成された電気回路要素とを含む。 Aspects of the present invention provide a first pacing signal having a positive component provided to a first electrical connection and a negative component provided to a second electrical connection, and a third electrical connection. For use with a cardiac resynchronization therapy (CRT) device designed for biventricular pacing using a second pacing signal having a positive component provided and a negative component provided to a fourth electrical connection The circuit for this is intended. The circuit includes a first output connected to the pacing lead, a second output connected to the pacing lead, a third output connected to the reference point, and a second electrical connection to the first output. An electrical circuit element configured to connect, connect a third electrical connection to the second output, and connect the first and fourth electrical connections to the third output.
本発明の別の実施形態は、それぞれが正および負の信号成分を有する2つのペーシング信号を使用する、二腔ペーシングのために設計された心臓律動治療(CRT)装置にペーシングリード線を接続するデバイスに関しており、第1のペーシング信号の正の成分は第1の出力に提供され、第1のペーシング信号の負の成分は第2の出力に提供され、第2のペーシング信号の正の成分は第3の出力に提供され、第2のペーシング信号の負の成分は第4の出力に提供され、二腔ペーシングの場合、第1および第2の出力は、第1のリード線によって使用されるためのものであり、第3および第4の出力は、第2のリード線によって使用されるためのものである。インタフェースは、CRT装置の2つのインタフェースに物理的に嵌合するコネクタハウジングを含む。第1のインタフェースは第1および第2の出力を提供し、第2のインタフェースは第3および第4の出力を提供し、各インタフェースは、ペーシングリード線に物理的に嵌合するために配置される。デバイスは、第2および第3の出力から参照点への、また、第1および第4の出力から単一ペーシングリード線のそれぞれの入力への電気接続部を含み、それにより、単一ペーシングリード線を使用して単腔ペーシングを可能にする。 Another embodiment of the present invention connects the pacing lead to a cardiac rhythm therapy (CRT) device designed for dual chamber pacing that uses two pacing signals, each having a positive and negative signal component. With respect to the device, the positive component of the first pacing signal is provided at the first output, the negative component of the first pacing signal is provided at the second output, and the positive component of the second pacing signal is Provided to the third output, the negative component of the second pacing signal is provided to the fourth output, and in the case of dual chamber pacing, the first and second outputs are used by the first lead And the third and fourth outputs are for use by the second lead. The interface includes a connector housing that physically fits into the two interfaces of the CRT device. The first interface provides first and second outputs, the second interface provides third and fourth outputs, and each interface is arranged to physically fit a pacing lead. The The device includes electrical connections from the second and third outputs to the reference point and from the first and fourth outputs to respective inputs of the single pacing lead, thereby providing a single pacing lead. The line is used to allow single chamber pacing.
本発明の態様は、それぞれのペーシング信号が正および負の各信号成分を有する第1のペーシング信号および第2のペーシング信号を提供する信号発生器を有する心臓律動治療(CRT)デバイスからペーシングシステムを作る方法を対象とする。ペーシングリード線は、心臓のある腔にペーシングを送出するために設けられ、第1の電極および第2の電極を有する。2つのペーシング信号の信号成分は、第1のペーシング信号の正の成分および第2のペーシング信号の負の成分を共通参照部に接続することによって、また、第1のペーシング信号の負の成分を第1の電極に、第2のペーシング信号の正の成分を第2の電極に接続することによって、ペーシングリード線に接続される。 Aspects of the invention provide a pacing system from a cardiac rhythm therapy (CRT) device having a signal generator that provides a first pacing signal and a second pacing signal, each pacing signal having positive and negative signal components. Targeting how to make. A pacing lead is provided for delivering pacing to a chamber of the heart and has a first electrode and a second electrode. The signal components of the two pacing signals are obtained by connecting the positive component of the first pacing signal and the negative component of the second pacing signal to the common reference, and the negative component of the first pacing signal. The first electrode is connected to the pacing lead by connecting the positive component of the second pacing signal to the second electrode.
本発明の実施形態は、ペーシングシステムを製造する方法を対象とする。それぞれのペーシング信号が正および負の各信号成分を有する第1のペーシング信号および第2のペーシング信号を提供する信号発生器が生産される。心臓のある腔にペーシングを送出するための、第1の電極および第2の電極を有するペーシングリード線が生産される。第1のペーシング信号の正の成分および第2のペーシング信号の負の成分を共通参照部に接続することによって、また、第1のペーシング信号の負の成分を第1の電極に、第2のペーシング信号の正の成分を第2の電極に接続することによって、2つのペーシング信号の信号成分をペーシングリード線に経路指定する回路要素が生産される。 Embodiments of the present invention are directed to a method of manufacturing a pacing system. A signal generator is produced that provides a first pacing signal and a second pacing signal, each pacing signal having positive and negative signal components. A pacing lead having a first electrode and a second electrode for delivering pacing to a chamber of the heart is produced. By connecting the positive component of the first pacing signal and the negative component of the second pacing signal to the common reference, and the negative component of the first pacing signal to the first electrode, By connecting the positive component of the pacing signal to the second electrode, a circuit element is produced that routes the signal components of the two pacing signals to the pacing lead.
本発明の態様は、それぞれが正および負の信号成分を有する2つのペーシング信号を使用する、二腔ペーシングのために設計された心臓律動治療(CRT)デバイスにペーシングリード線を接続する信号経路指定マトリクスを対象としており、第1のペーシング信号の正の成分は第1の出力に提供され、第1のペーシング信号の負の成分は第2の出力に提供され、第2のペーシング信号の正の成分は第3の出力に提供され、第2のペーシング信号の負の成分は第4の出力に提供され、二腔ペーシングの場合、第1および第2の出力は、第1のペーシングリード線によって使用されるためのものであり、第3および第4の出力は、第2のペーシングリード線によって使用されるためのものである。信号経路指定マトリクスは、第2および第3の出力から参照点への、また、第1および第4の出力から単一ペーシングリード線のそれぞれの入力への電気接続部を含み、それにより、単一ペーシングリード線を使用して単腔ペーシングを可能にする。 Aspects of the present invention provide signal routing for connecting pacing leads to a cardiac rhythm therapy (CRT) device designed for dual chamber pacing, using two pacing signals each having a positive and negative signal component. Intended for the matrix, the positive component of the first pacing signal is provided at the first output, the negative component of the first pacing signal is provided at the second output, and the positive component of the second pacing signal. The component is provided at the third output, the negative component of the second pacing signal is provided at the fourth output, and in the case of dual chamber pacing, the first and second outputs are provided by the first pacing lead The third and fourth outputs are for use by the second pacing lead. The signal routing matrix includes electrical connections from the second and third outputs to the reference point, and from the first and fourth outputs to the respective inputs of the single pacing lead, so that A single pacing lead is used to allow single chamber pacing.
例1は、心臓の単腔から心臓をペーシングするための第1の電極および第2の電極を含むリード線と共に使用するためのペーシングシステムを含みうる。ペーシングシステムは、それぞれが正および負の信号成分を有する第1および第2のペーシング信号を提供するように構成された信号発生器を備えうる。構成可能な経路指定回路は、第1のペーシング信号の正の成分および第2のペーシング信号の負の成分を共通信号参照部に経路指定し、第1のペーシング信号の負の成分を第1の電極に、第2のペーシング信号の正の成分を第2の電極に経路指定するために構成されることができる。 Example 1 may include a pacing system for use with a lead that includes a first electrode and a second electrode for pacing the heart from a single chamber of the heart. The pacing system may comprise a signal generator configured to provide first and second pacing signals each having a positive and negative signal component. The configurable routing circuit routes the positive component of the first pacing signal and the negative component of the second pacing signal to the common signal reference, and the negative component of the first pacing signal is the first component. The electrode can be configured to route the positive component of the second pacing signal to the second electrode.
例2では、例1の主題は、任意選択で、第1のペーシング信号を提供する第1の容量性コンポーネントおよび第2のペーシング信号を提供する第2の容量性コンポーネントを含みうる。 In Example 2, the subject matter of Example 1 may optionally include a first capacitive component that provides a first pacing signal and a second capacitive component that provides a second pacing signal.
  例3では、例1〜2のいずれか1つの主題は、任意選択で、心臓の単腔から心臓をペーシングするための第1の電極および第2の電極を含むリード線を含みうる。
  例4では、例1〜3のいずれか1つの主題は、任意選択で、信号発生器の第1および第2の出力を電気接続するインタフェースを含むことができ、第1および第2の出力はそれぞれ、リード線に対して、第1および第2のペーシング信号のそれぞれ1つを提供する。In Example 3, the subject matter of any one of Examples 1-2 may optionally include a lead that includes a first electrode and a second electrode for pacing the heart from a single chamber of the heart.
 In Example 4, the subject matter of any one of Examples 1-3 can optionally include an interface that electrically connects the first and second outputs of the signal generator, where the first and second outputs are Each provides a respective one of the first and second pacing signals for the lead.
  例5では、例1〜4のいずれか1つの主題は、任意選択で、ペーシング信号を提供するように構成された第3の出力をさらに含みうる。
  例6では、例1〜5のいずれか1つの主題は、任意選択で、心臓の電気信号を検出するセンス入力を含みうる。In Example 5, the subject matter of any one of Examples 1-4 may optionally further include a third output configured to provide a pacing signal.
 In Example 6, the subject matter of any one of Examples 1-5 may optionally include a sense input that detects a cardiac electrical signal.
  例7では、例1〜6のいずれか1つの主題は、任意選択で、第1および第2のペーシング信号を修正するペーシング制御回路要素を含みうる。
  例8では、例1〜7のいずれか1つの主題は、任意選択で、心房活動を検知するように構成されたリード線を含みうる。In Example 7, the subject matter of any one of Examples 1-6 may optionally include pacing control circuitry that modifies the first and second pacing signals.
 In Example 8, the subject matter of any one of Examples 1-7 can optionally include a lead configured to sense atrial activity.
例9では、主題は、それぞれが正および負の信号成分を有する第1のペーシング信号および第2のペーシング信号を使用して両室ペーシングを提供するように構成されている両室心臓再同期治療(CRT)デバイスであって、第1のペーシング信号の正の成分は第1の出力に提供され、第1のペーシング信号の負の成分は第2の出力に提供され、第2のペーシング信号の正の成分は第3の出力に提供され、第2のペーシング信号の負の成分は第4の出力に提供される、両室心臓再同期治療(CRT)デバイスと共に使用するために、第2および第3の出力を信号参照部に接続すること、および、第1および第4の出力をリード線のそれぞれの入力に接続することを含む方法を含むために、例1〜8の任意の1つの主題を含みうる、または任意選択で、例1〜8の任意の1つの主題と組合されうる。 In Example 9, the subject is a biventricular cardiac resynchronization therapy configured to provide biventricular pacing using a first pacing signal and a second pacing signal, each having a positive and negative signal component. (CRT) device, wherein a positive component of the first pacing signal is provided at the first output, a negative component of the first pacing signal is provided at the second output, and the second pacing signal For use with a biventricular cardiac resynchronization therapy (CRT) device, a positive component is provided at the third output and a negative component of the second pacing signal is provided at the fourth output. Any one of examples 1-8 to include a method comprising connecting a third output to a signal reference and connecting the first and fourth outputs to respective inputs of the lead. May include subject or optional In-option may be combined with any one of the subject Examples 1-8.
例10では、例1〜9のいずれか1つの主題は、任意選択で、心臓の左心室に関連付けてリード線を留置すること、および、第1および第4の出力上で運ばれる(carry)電気信号を心臓の左心室に提供することを含みうる。 In Example 10, the subject matter of any one of Examples 1-9 is optionally placed on the lead in relation to the left ventricle of the heart and carried on the first and fourth outputs. Providing an electrical signal to the left ventricle of the heart may be included.
例11では、例1〜10のいずれか1つの主題は、任意選択で、心臓の左心室に関連付けてリード線を留置すること、第1および第4の出力上で運ばれる電気信号を心臓の左心室に提供すること、提供された電気信号に応答する心臓機能を監視すること、監視された心臓機能の関数として有効性を評価すること、および、評価に応答して、リード線の留置または電気信号の1つまたは複数の特性を調整することを含みうる。 In Example 11, the subject matter of any one of Examples 1-10 optionally includes placing a lead in association with the left ventricle of the heart and transmitting electrical signals carried on the first and fourth outputs of the heart. Providing to the left ventricle, monitoring cardiac function in response to provided electrical signals, evaluating efficacy as a function of monitored cardiac function, and in response to evaluation, lead placement or Adjusting one or more characteristics of the electrical signal may be included.
例12では、例1〜11のいずれか1つの主題は、任意選択で、提供するステップ、監視するステップ、および調整するステップを反復的に繰返すこと、ならびに、複数の評価に応答して、長期継続的なペーシングに使用するために、リード線の留置または電気信号の1つまたは複数の特性を選択することを含みうる。 In Example 12, any one of the subjects of Examples 1-11, optionally, iteratively repeating the providing, monitoring, and adjusting steps, and in response to multiple evaluations, long-term It may include selecting one or more characteristics of the lead placement or electrical signal for use in continuous pacing.
例13では、例1〜12のいずれか1つの主題は、任意選択で、心房活動を検知すること、ならびに、心房活動および房室(AV)遅延を検知することに応答して、第1および第4の出力上で運ばれる電気信号を心臓の左心室に提供することを含みうる。 In Example 13, the subject matter of any one of Examples 1-12 is optionally in response to sensing atrial activity and sensing atrial activity and atrioventricular (AV) delay, Providing an electrical signal carried on the fourth output to the left ventricle of the heart.
  例14では、例1〜13のいずれか1つの主題は、任意選択で、提供された電気信号に対する心臓応答の関数としてAV遅延を修正することを含みうる。
  例15は、両室ペーシングを提供するときに、心臓の一方の腔に対して第1のペーシング信号を用い、心臓の別の腔に対して第2のペーシング信号を用いる心臓再同期治療(CRT)デバイスを含むために、例1〜14のいずれか1つの主題を含むことができ、または任意選択で、それと組合されることができ、CRTデバイスは、第1および第2のペーシング信号のそれぞれに共通参照成分を基準とさせる回路要素と、単腔をペーシングするために、一方のペーシング信号から負の成分および他のペーシング信号から正の成分を使用して単腔ペーシングを提供するようにCRTデバイスを使用するための、リード線に結合されるように構成されたペーシング出力とを備え、ペーシング信号は、それぞれが共通参照成分を基準とした負のパルスおよび正のパルスを含む。In Example 14, the subject matter of any one of Examples 1-13 can optionally include modifying AV delay as a function of cardiac response to the provided electrical signal.
 Example 15 provides cardiac resynchronization therapy (CRT) using a first pacing signal for one chamber of the heart and a second pacing signal for another chamber of the heart when providing biventricular pacing. ) To include a device, can include the subject matter of any one of Examples 1-14, or, optionally, can be combined therewith, the CRT device can include each of the first and second pacing signals A CRT to provide single-chamber pacing using a negative component from one pacing signal and a positive component from the other pacing signal to pace a single lumen A pacing output configured to be coupled to a lead for use with the device, wherein the pacing signal is a negative pulse, each referenced to a common reference component. And a positive pulse.
  例16では、例1〜15のいずれか1つの主題は、任意選択で、第1および第2のペーシング信号の少なくとも一方の特性を修正するペーシング制御回路要素を含みうる。
  例17では、例1〜16のいずれか1つの主題は、任意選択で、心臓の収縮の同期性を示す信号を生成する検知回路を含みうる。In Example 16, the subject matter of any one of Examples 1-15 can optionally include pacing control circuitry that modifies at least one characteristic of the first and second pacing signals.
 In Example 17, the subject matter of any one of Examples 1-16 may optionally include a sensing circuit that generates a signal indicative of synchrony of heart contractions.
  例18では、例1〜17のいずれか1つの主題は、任意選択で、第3のペーシング信号を提供する回路要素を含みうる。
  例19では、例1〜18のいずれか1つの主題は、任意選択で、心臓の心房活動信号を検出するセンス回路要素を含みうる。In Example 18, the subject matter of any one of Examples 1-17 can optionally include a circuit element that provides a third pacing signal.
 In Example 19, the subject matter of any one of Examples 1-18 can optionally include sense circuitry that detects a cardiac atrial activity signal.
例20は、第1の電気接続部に提供される正の成分および第2の電気接続部に提供される負の成分を有する第1のペーシング信号、ならびに、第3の電気接続部に提供される正の成分および第4の電気接続部に提供される負の成分を有する第2のペーシング信号を使用する両室ペーシングのために設計された心臓再同期治療(CRT)デバイスと共に使用するために、回路であって、ペーシングリード線に接続する第1の出力と、ペーシングリード線に接続する第2の出力と、参照点に接続する第3の出力と、第2の電気接続部を第1の出力に、第3の電気接続部を第2の出力に、第1および第4の電気接続部を第3の出力に接続するように構成された電気回路要素とを備える、回路を含むために、例1〜19のいずれか1つの主題を含みうる、または任意選択で、それと組合されうる。 Example 20 is provided for a first pacing signal having a positive component provided to the first electrical connection and a negative component provided to the second electrical connection, and a third electrical connection. For use with a cardiac resynchronization therapy (CRT) device designed for biventricular pacing using a second pacing signal having a positive component and a negative component provided to a fourth electrical connection A first output connected to the pacing lead, a second output connected to the pacing lead, a third output connected to the reference point, and a second electrical connection to the first An electrical circuit element configured to connect the third electrical connection to the second output and the first and fourth electrical connections to the third output at the output of To include any one of the subjects of Examples 1-19 Or optionally, the same may be combined.
例21では、例1〜20のいずれか1つの主題は、任意選択で、第1および第2の出力が、第1、第2、第3、または第4の電気接続部の任意の電気接続部に接続されうるようにプログラム可能である電気回路を含みうる。 In Example 21, the subject matter of any one of Examples 1-20 is optionally that the first and second outputs are any electrical connections of the first, second, third, or fourth electrical connections. An electrical circuit that can be programmed to be connected to the unit can be included.
  例22では、例1〜21のいずれか1つの主題は、任意選択で、独立に参照される信号源を使用して生成される第1および第2のペーシング信号を含みうる。
  例23では、例1〜22のいずれか1つの主題は、任意選択で、それぞれが正および負の各端子を含む第1および第2の容量性供給源を含むことができ、第1の容量性供給源の正および負の端子は、第1および第2の電気接続部にそれぞれ対応し、第2の容量性供給源の正および負の端子は、第3および第4の電気接続部にそれぞれ対応し、第1および第2のペーシング信号はそれぞれ、第1および第2の容量性供給源の他方から独立に参照される第1および第2の容量性供給源の一方によって提供される。In Example 22, the subject matter of any one of Examples 1-21 can optionally include first and second pacing signals that are generated using independently referenced signal sources.
 In Example 23, the subject matter of any one of Examples 1-22 can optionally include first and second capacitive sources that each include positive and negative terminals, respectively, The positive and negative terminals of the capacitive source correspond to the first and second electrical connections, respectively, and the positive and negative terminals of the second capacitive source correspond to the third and fourth electrical connections, respectively. Corresponding respectively, the first and second pacing signals are each provided by one of the first and second capacitive sources referenced independently from the other of the first and second capacitive sources.
  例24は、それぞれが正および負の信号成分を有する第1および第2のペーシング信号をそれぞれ提供する2つのリード線を使用する、二腔ペーシングのために設計された心臓律動治療(CRT)装置に単一リード線を接続するデバイスであって、第1のペーシング信号の正の成分は第1の出力に提供され、第1のペーシング信号の負の成分は第2の出力に提供され、第2のペーシング信号の正の成分は第3の出力に提供され、第2のペーシング信号の負の成分は第4の出力に提供され、二腔ペーシングの場合、第1および第2の出力は、第1のリード線によって使用されるためのものであり、第3および第4の出力は、第2のリード線によって使用されるためのものである、デバイスを含むために、例1〜23のいずれか1つの主題を含むことができ、または任意選択で、それと組合されることができ、デバイスは、CRT装置の2つのインタフェースに物理的に嵌合するように構成されたコネクタであって、第1のインタフェースは第1および第2の出力を提供し、第2のインタフェースは第3および第4の出力を提供し、各インタフェースは、それぞれのリード線に物理的に嵌合するために配置される、コネクタと、第2および第3の出力から信号参照部への、また、第1および第4の出力から単一リード線のそれぞれの入力への電気接続部とを備え、それにより、単一リード線を使用して単腔ペーシングを可能にする
  例25では、例1〜24のいずれか1つの主題は、任意選択で、CRT装置の第3のインタフェースに物理的に嵌合するように構成されたデバイスを含みうる。Example 24 illustrates a cardiac rhythm therapy (CRT) device designed for dual chamber pacing that uses two leads, each providing first and second pacing signals, each having a positive and negative signal component. A device that connects a single lead to a positive component of the first pacing signal is provided to the first output, a negative component of the first pacing signal is provided to the second output, and The positive component of the second pacing signal is provided at the third output, the negative component of the second pacing signal is provided at the fourth output, and in the case of dual chamber pacing, the first and second outputs are: In order to include a device for use by a first lead and the third and fourth outputs are for use by a second lead of Examples 1-23 Including any one subject Or optionally combined with it, the device is a connector configured to physically fit into two interfaces of the CRT device, the first interface being the first And a second output, a second interface providing a third and a fourth output, each interface being arranged for physically mating with a respective lead, Electrical connections from the second and third outputs to the signal reference, and from the first and fourth outputs to the respective inputs of the single lead, thereby using a single lead In Example 25, the subject matter of any one of Examples 1-24 optionally includes a device configured to physically fit into a third interface of the CRT device. U .
例26では、例1〜25のいずれか1つの主題は、任意選択で、電気接続部が、第3のインタフェースのセンス信号と単一リード線との間の接続をさらに含むデバイスを含みうる。 In Example 26, the subject matter of any one of Examples 1-25 can optionally include a device in which the electrical connection further includes a connection between the sense signal of the third interface and a single lead.
  例27では、例1〜26のいずれか1つの主題は、任意選択で、電気接続部が、第5および第6の出力と第2のリード線との間の接続をさらに含むデバイスを含みうる。
  例28は、それぞれが正および負の各信号成分を有する第1のペーシング信号および第2のペーシング信号を提供する信号発生器を有する心臓律動治療(CRT)デバイスからペーシングシステムを作る方法を含むために、例1〜27のいずれか1つの主題を含むことができ、または任意選択で、それと組合されることができ、方法は、心臓の腔にペーシングを送出するためのリード線を使用することであって、リード線は第1の電極および第2の電極を含む、使用すること、および、第1のペーシング信号の正の成分および第2のペーシング信号の負の成分を共通参照部に接続することによって、また、第1のペーシング信号の負の成分を第1の電極に、第2のペーシング信号の正の成分を第2の電極に接続することによって、第1および第2のペーシング信号の信号成分をリード線に接続することを含む。In Example 27, any one of the subjects of Examples 1-26 can optionally include a device in which the electrical connection further includes a connection between the fifth and sixth outputs and the second lead. .
 Example 28 includes a method of making a pacing system from a cardiac rhythm therapy (CRT) device having a signal generator that provides a first pacing signal and a second pacing signal, each having a positive and negative signal component, respectively. Can include the subject matter of any one of Examples 1-27, and optionally can be combined with it, the method using a lead for delivering pacing to the heart cavity Wherein the lead includes a first electrode and a second electrode for use and connects the positive component of the first pacing signal and the negative component of the second pacing signal to the common reference And by connecting the negative component of the first pacing signal to the first electrode and the positive component of the second pacing signal to the second electrode, It includes connecting the signal component of the second pacing signal to the leads.
  例29では、例1〜28のいずれか1つの主題は、任意選択で、信号成分の前記接続を提供する電気インタフェースをCRTデバイスに取付けることを含みうる。
  例30では、例1〜29のいずれか1つの主題は、任意選択で、CRTデバイスのプログラム可能な接続アレイを構成することを含むことができ、構成は、信号成分の前記接続をもたらす。In Example 29, the subject matter of any one of Examples 1-28 can optionally include attaching an electrical interface to the CRT device that provides the connection of signal components.
 In Example 30, the subject matter of any one of Examples 1-29 can optionally include configuring a programmable connection array of CRT devices, where the configuration results in the connection of signal components.
  例31では、例1〜30のいずれか1つの主題は、任意選択で、検知信号成分をリード線に接続することを含みうる。
  例32は、ペーシングシステムを製造する方法を含むために、例1〜31のいずれか1つの主題を含むことができ、または任意選択で、それと組合されることができ、方法は、それぞれが正および負の各信号成分を有する第1のペーシング信号および第2のペーシング信号を提供する信号発生器を生産すること、および、第1のペーシング信号の正の成分および第2のペーシング信号の負の成分を共通参照部に接続することによって、また、第1のペーシング信号の負の成分を第1の電極に、第2のペーシング信号の正の成分を第2の電極に接続することによって、第1および第2のペーシング信号の信号成分を第1および第2の電極を備えるリード線に経路指定する回路要素を生産することを含む。In Example 31, the subject matter of any one of Examples 1-30 can optionally include connecting a sense signal component to a lead.
 Example 32 can include the subject matter of any one of Examples 1-31 to include a method of manufacturing a pacing system, or can optionally be combined with it, each method being correct Producing a signal generator that provides a first pacing signal and a second pacing signal having respective negative and signal components, and a negative component of the first pacing signal and the negative of the second pacing signal By connecting the component to the common reference, and by connecting the negative component of the first pacing signal to the first electrode and the positive component of the second pacing signal to the second electrode, Producing a circuit element for routing the signal components of the first and second pacing signals to a lead comprising the first and second electrodes.
例33は、それぞれが正および負の信号成分を有する2つのペーシング信号をそれぞれ使用する第1および第2のリード線を使用する二腔ペーシングのために設計された心臓律動治療(CRT)デバイスにリード線を接続する信号経路指定マトリクスを含むかまたは使用するために、例1〜32のいずれか1つの手段を含むことができ、または任意選択で、それと組合されることができ、第1のペーシング信号の正の成分は第1の出力に提供され、第1のペーシング信号の負の成分は第2の出力に提供され、第2のペーシング信号の正の成分は第3の出力に提供され、第2のペーシング信号の負の成分は第4の出力に提供され、二腔ペーシングの場合、第1および第2の出力は、第1のペーシングリード線によって使用されるためのものであり、第3および第4の出力は、第2のペーシングリード線によって使用されるためのものであり、信号経路指定マトリクスは、第2および第3の出力から参照点への、また、第1および第4の出力からリード線のそれぞれの入力への電気接続部を備え、それにより、リード線を使用して単腔ペーシングを可能にする。 Example 33 is for a cardiac rhythm therapy (CRT) device designed for dual chamber pacing using first and second leads, each using two pacing signals having positive and negative signal components, respectively. A means for including or using a signal routing matrix connecting the leads can include any one means of Examples 1-32, or can optionally be combined with the first A positive component of the pacing signal is provided at the first output, a negative component of the first pacing signal is provided at the second output, and a positive component of the second pacing signal is provided at the third output. The negative component of the second pacing signal is provided at the fourth output, and in the case of dual chamber pacing, the first and second outputs are for use by the first pacing lead. , The third and fourth outputs are for use by the second pacing lead, the signal routing matrix from the second and third outputs to the reference point, and the first and An electrical connection from the fourth output to the respective input of the lead is provided, thereby allowing single lumen pacing using the lead.
例34では、例1〜33のいずれか1つの主題は、任意選択で、リード線の出力からCRTデバイスの検知入力への電気接続部を備えるマトリクスを含みうる、または、使用しうる。 In Example 34, the subject matter of any one of Examples 1-33 can optionally include or use a matrix with electrical connections from the output of the lead to the sensing input of the CRT device.
  例35では、例1〜34のいずれか1つの主題は、任意選択で、第5および第6の出力から第2のリード線のそれぞれの入力への電気接続部を含みうる、または、使用しうる。
先に示したように、先に論じた態様および例は、本明細書の開示の範囲または教示を限定するものとして扱われるものではない。当業者は、本明細書で特定される種々な発見に部分的に基づいて、先に論じた態様および例を含むがそれらに限定されない多くの方法で、本発明が具現化されうることを認識するであろう。In Example 35, any one of the subjects of Examples 1-34 may optionally include or use an electrical connection from the fifth and sixth outputs to the respective input of the second lead. sell.
 As indicated above, the aspects and examples discussed above are not to be construed as limiting the scope or teaching of the disclosure herein. Those skilled in the art will recognize that the present invention can be embodied in many ways, including but not limited to the aspects and examples discussed above, based in part on the various discoveries identified herein. Will do.
本発明は、以下の図(それぞれが本発明と矛盾しない)に関連して以降で提示される、本発明に従って述べられる、種々の例示的な実施形態の詳細な説明を考慮して、より完全に理解される可能性がある。 The present invention is more complete in view of the detailed description of various exemplary embodiments set forth in accordance with the invention, presented hereinafter with reference to the following figures, each consistent with the invention. May be understood.
本発明は種々の修正形態および代替形態を受けるが、種々の実施形態は、図面に例として示されており、詳細に述べられる。しかし、その意図は、述べる特定の実施形態に本発明を限定することではないことが理解されるべきである。逆に、その意図は、本発明の範囲内に入る全ての修正物、均等物、および代替物を包含することである。 While the invention is susceptible to various modifications and alternative forms, various embodiments have been shown by way of example in the drawings and will be described in detail. It should be understood, however, that the intention is not to limit the invention to the particular embodiments described. On the contrary, the intention is to cover all modifications, equivalents, and alternatives falling within the scope of the invention.
  本発明は種々の異なるタイプのデバイスおよび手法に適用可能であると考えられ、本発明は、3尖弁の中隔尖の根の後ろに配置された電極を有する、右心室内のリード線から、心室の活性化シーケンスの正常伝導、その空間分布と時間分布の両方を維持し、再確立するのに特に適することが見出されている。正確なスポットは、バイパスされる必要があるブロックの場所に依存する。このスポットは、伝導回路を遮断し、異常を生成する線維束の場所に依存しうる。多くの患者において、この場所は、3尖弁の中隔尖ならびに線維性の房室中隔および心室中隔に近い。
本発明は必ずしもこうした用途に限定されるわけではないが、本発明の種々の態様は、この文脈を用いて種々の実施例の説明を通して理解される可能性がある。The present invention is believed to be applicable to a variety of different types of devices and techniques, and the present invention is based on a lead in the right ventricle having an electrode placed behind the root of the septal cusp of a tricuspid valve. It has been found to be particularly suitable for maintaining and reestablishing normal conduction of the ventricular activation sequence, both its spatial and temporal distribution. The exact spot depends on the location of the block that needs to be bypassed. This spot may depend on the location of the fiber bundle that blocks the conduction circuit and produces an abnormality. In many patients, this location is close to the septal cusp of the tricuspid valve and the fibrous atrioventricular and ventricular septum.
 While the present invention is not necessarily limited to such applications, various aspects of the invention may be understood through the description of various embodiments using this context.
方法およびデバイスを含む本発明の種々の態様は、ヒス根および遠位束内への深い貫入を容易にすることが発見されている。この貫入は、左束およびその分枝、右束およびその分枝、ならびに中隔束を含みうる。これは、種々のタイプの脚ブロック(たとえば、右脚ブロック(right bundle branch block)RBBB(近位および遠位)、左脚ブロック(left bundle branch block)LBBB(近位および遠位)、左脚前枝ブロック(left anterior hemiblock)LAHB(近位および遠位)、左脚後枝ブロック(left posterior hemiblock)LPHB(近位および遠位)、心室内伝導欠陥IVCD、左軸偏倚を有するRBBB、および、多くの他の種類の複雑な伝導欠陥)を電気的にバイパスさせるのに特に有用でありうる。本発明の1つのこうした態様は、ヒス束の近くの伝導系内に深く貫入する、XSTIMなどの波形の能力および使用を対象とする。たとえば、XSTIM波形の使用は、他の波形の場合に比べて大きな仮想電極を生成し、身体のキャパシタンスを克服するのに有用でありうる。 Various aspects of the present invention, including methods and devices, have been discovered to facilitate deep penetration into hispanic roots and distal bundles. This penetration may include the left bundle and its branches, the right bundle and its branches, and the septal bundle. This includes various types of leg blocks (e.g., right bundle block RBBB (proximal and distal), left leg block LBBB (proximal and distal), left leg Left anterior hemiblock LAHB (proximal and distal), left foot hemiblock LPHB (proximal and distal), intraventricular conduction defect IVCD, RBBB with left-axis bias, and , Many other types of complex conduction defects) may be particularly useful. One such aspect of the present invention is directed to the ability and use of waveforms such as XSTIM to penetrate deeply into the conduction system near the His bundle. For example, the use of an XSTIM waveform can be useful in creating large virtual electrodes and overcoming body capacitance compared to other waveforms.
ヒス束の近くの伝導系は、それぞれが電気絶縁体によって囲まれた複数の電気導体のグループと考えられうる。そのため、伝導系に導入されるペーシングは、電気導体間のキャパシタンスによってもたらされうる。電気導体は、細胞から細胞へ縦方向に電気インパルスを伝達させることができるが、束内では、横方向に非常に小さな伝導性が存在する。しかし、細胞間に戦略的に配置されたブリッジは、電気刺激が1つの束から他の束に飛び移ることを可能にすると考えられる。このメカニズムは、特定の束が、たとえば梗塞または微小梗塞のために仕事を停止する場合、ある程度の冗長性を提供すると考えられる。束は、プルキンエ線維においてその目的地に向かって進むにつれて、複数の伝導線維のセット内に分枝する。線維のセットは、特別な組織によって心筋の残りから電気的に絶縁されて、電気パルスが特別な伝導系を通過することによって、周囲の分布キャパシタ網(その横切断部において、ヒス束は心筋細胞内にある)の電気的脱分極が防止される。電気導体と絶縁体の組合せは、少なくとも2つの直列キャパシタの中間部を効果的に生成すると考えられる。ヒス束の細胞膜もまた絶縁体であるため、ヒス束細胞の内部の細胞内流体は、依然として別のキャパシタの内部に留置される。 The conduction system near the His bundle can be thought of as a group of electrical conductors each surrounded by an electrical insulator. Thus, pacing introduced into the conduction system can be provided by capacitance between electrical conductors. Electrical conductors can transmit electrical impulses from cell to cell in the longitudinal direction, but within the bundle there is very little conductivity in the lateral direction. However, strategically placed bridges between cells are thought to allow electrical stimulation to jump from one bundle to another. This mechanism is believed to provide some degree of redundancy if a particular bundle stops work due to, for example, an infarct or microinfarct. As the bundle travels toward its destination in Purkinje fibers, it branches into a set of conductive fibers. The set of fibers is electrically isolated from the rest of the myocardium by special tissue, and the electrical pulse passes through a special conduction system, so that the surrounding distributed capacitor network (at its transverse cut, the His bundle is a cardiomyocyte Electrical depolarization) is prevented. It is believed that the combination of electrical conductor and insulator effectively creates an intermediate portion of at least two series capacitors. Since the cell membrane of the His bundle is also an insulator, the intracellular fluid inside the His bundle cell is still placed inside another capacitor.
XSTIM波形は、比較的大きな仮想電極を提供し、その非対称なドッグボーン形状は、波形の極性によって影響を受けることになり、したがって、波形の貫入が、2つの電極に印加される相対的な極性を修正することによって調整されることが可能になる。XSTIM波形は、キャパシタをバイパスすることができる高周波刺激エネルギーも、同様に提供する。そのため、XSTIM波形は、ヒス束に深く貫入することができると考えられる。2つの反対極性パルスが数ミリ秒(0〜20ms)だけ分離されるときでも、波形は、束に貫入し、以前は到達できないと考えられていた遠位束にさえも達するように見える。 The XSTIM waveform provides a relatively large virtual electrode, and its asymmetric dogbone shape will be affected by the polarity of the waveform, and therefore the penetration of the waveform is the relative polarity applied to the two electrodes. It becomes possible to adjust by correcting. The XSTIM waveform also provides high frequency stimulation energy that can bypass the capacitor. Therefore, it is considered that the XSTIM waveform can penetrate deeply into the His bundle. Even when two opposite polarity pulses are separated by a few milliseconds (0-20 ms), the waveform appears to penetrate the bundle and even reach the distal bundle that was previously considered unreachable.
さらに、心筋およびヒス束について単一の捕捉閾値が存在しないことが実験データを通して発見されている。実際に、多くの患者の応答は、ペーシング電圧が増加するにつれて変化する。XSTIM振幅が閾値以下の値から徐々に増加すると、心室を活性化する脱分極シーケンスを誘発する最初の捕捉(従来技術)閾値が見出される。多くの患者において、これは、ヒス束の一部の線維の捕捉を誘発する第2の閾値を伴う。心室伝導欠陥を持つ患者において、心電図(ECG)、QRS幅、断片化(fractionation)のレベル、12誘導ECGのベクトルの連続した変化は、XSTIM振幅がさらに増加すると観測される。ある点で、飽和点に達し、ほとんどまたは全くさらなる改善が見られない。振幅レベルの注意深いポシジョニングおよび選択によって、ペーシング刺激は、伝導系の最も遠いブロックされた線維に達することができ、したがって、収縮の協調を正常に近いレベルまで改善すると考えられる。 Furthermore, it has been discovered through experimental data that there is no single capture threshold for myocardium and His bundles. In fact, many patient responses change as the pacing voltage increases. As the XSTIM amplitude gradually increases from a sub-threshold value, an initial capture (prior art) threshold is found that triggers a depolarization sequence that activates the ventricles. In many patients, this involves a second threshold that triggers the capture of some fibers of the His bundle. In patients with ventricular conduction defects, successive changes in the electrocardiogram (ECG), QRS width, fractionation level, and 12-lead ECG vector are observed as the XSTIM amplitude further increases. At some point, the saturation point is reached and little or no further improvement is seen. With careful positioning and selection of amplitude levels, pacing stimuli can reach the farthest blocked fibers of the conduction system, and thus improve contraction coordination to near normal levels.
正常な伝導応答を達成する能力は、梗塞、心筋細胞の数、変性(degeneration)、ミトコンドリアの利用可能性、血液供給、間質性線維症の存在、マトリクスメタロプロテイナーゼの低下などを含むが、それに限定されない基質の健康度に依存する可能性がある。これらのまた他の発見の言外の意味は、類似の作用が、(たとえば、高周波信号成分により)容量性ネットワークを通過するように設計された種々の波の形状および電極構成を用いて達成されうることである。有効キャパシタンスは、活動電位(0.01〜20ms)を誘発するのに十分である周波数成分を含む高周波成分について低い。一部の波形はあまり効率的でなく、同様の結果を達成するためにより多くのエネルギーを使用するが、本発明は、最も効率的な波形の適用に制限されない。 The ability to achieve a normal conduction response includes infarcts, cardiomyocyte numbers, degeneration, mitochondrial availability, blood supply, presence of interstitial fibrosis, reduced matrix metalloproteinases, etc. Can depend on the health of the substrate without limitation. The extraordinary meaning of these and other discoveries is achieved using a variety of wave shapes and electrode configurations designed to allow similar effects to pass through a capacitive network (eg, by high frequency signal components). It is to go. The effective capacitance is low for high frequency components, including frequency components that are sufficient to induce action potentials (0.01-20 ms). Some waveforms are less efficient and use more energy to achieve similar results, but the present invention is not limited to the most efficient application of waveforms.
本発明の態様は、ヒス束の遠位ブロックが、束の近位刺激を使用してバイパスされうるという発見に関する。たとえば、こうしたブロックは、適切な電気エネルギー(ペーシングパルス)をヒス束の領域に印加することによってバイパスされうる。この領域は、3尖弁輪の近位に位置し、右心室側で3尖弁の中隔尖のすぐ後ろを通過する。この同じ領域は、3尖弁の中隔尖の根によって、右心房から3尖弁の心房側に達せられうる。 Aspects of the invention relate to the discovery that the distal block of the His bundle can be bypassed using proximal stimulation of the bundle. For example, such a block can be bypassed by applying appropriate electrical energy (pacing pulses) to the area of the His bundle. This region is located proximal to the tricuspid annulus and passes just behind the septal cusp of the tricuspid valve on the right ventricular side. This same region can be reached from the right atrium to the atrial side of the tricuspid valve by the root of the tricuspid valve.
本発明の他の態様は、その領域に印加される大振幅(20〜36ボルト)の単極または2極パルスの使用に関する。たとえば、単極パルスは、ヒスの領域に位置する2つの電極間に印加されることができ、伝導系の多くの線維を活性化するのに十分な深さである貫入を可能にする。一般に、必要とされる電圧は、XSTIMペーシング信号の場合に必要とされるエネルギーより平均してずっと高い。さらに、人間研究の結果は、これらの高電圧パルスが患者によって感じ取られ、ある場合には、望ましくない筋肉収縮をもたらしうることを示唆している。 Another aspect of the invention relates to the use of large amplitude (20-36 volts) monopolar or bipolar pulses applied to the region. For example, a monopolar pulse can be applied between two electrodes located in the region of hiss, allowing penetration that is deep enough to activate many fibers of the conduction system. In general, the required voltage is on average much higher than the energy required for XSTIM pacing signals. Furthermore, human studies have suggested that these high voltage pulses can be felt by the patient and in some cases can lead to undesirable muscle contractions.
本発明の態様は、単独での、あるいは、CRT、ICD、またはCRT+ICDと組合せての、既存のデバイス(たとえば、徐脈に使用されるデバイス(ペースメーカ)、頻脈性不整脈に使用されるデバイス(除細動器−ICD)、および心不全に使用されるデバイス(心臓再同期治療を送出する心臓再同期化器−CRT))の、XSTIM波形および電気的バイパス治療を実装しうるデバイスへの修正を対象とする。 Aspects of the invention can be found in existing devices (eg, devices used for bradycardia (pacemakers), devices used for tachyarrhythmias (alone or in combination with CRT, ICD, or CRT + ICD)). Defibrillator-ICD) and devices used for heart failure (cardiac resynchronizer-CRT delivering cardiac resynchronization therapy) to devices that can implement XSTIM waveforms and electrical bypass therapy set to target.
通常、心室の活性化シーケンスは、房室結節の心房側で始まり、右束および左束にグループ分けされる多数の小さな束にヒス束が分枝するヒス束の根まで伝搬する。各束内の線維は、一般に互いから絶縁される。しかし、束に沿って所定の間隔で低い絶縁を示す場所が存在する。これらの束は、周囲の組織から電気的に絶縁され、心筋細胞に電気的活性化を伝達することに責任を持つプルキンエ細胞内で終わる。正常な心臓は、ヒス束から心室全体を通して約60〜70msで電気信号を伝導させる。梗塞または微小梗塞による異常などの伝導異常は、特別なヒス線維を通した電気的活性化インパルスの伝導を妨げうる、または、ブロックしうる。こうしたブロックは、伝導線維を通じて電気的活性化インパルスを受取らないプルキンエ細胞をもたらす。したがって、これらのプルキンエ細胞によって通常刺激される心筋細胞は、正常な方式で刺激されない。代わりに、これらの心筋細胞は、伝導線維から電気的活性化パルスを実際に受取る心筋細胞を通して伝搬する電気信号から刺激される。心筋細胞間の伝導速度は、伝導線維の伝導速度よりかなり遅い。たとえば、伝導線維は、約2m/sの伝導速度を有し、一方、心筋細胞の細胞から細胞への伝導速度は、約0.5m/sである。したがって、これらのブロックは、心室の電気的活性化の空間分布と時間分布を共にかなり歪ませうる。これらの時間的および空間的活性化シーケンス分布は、心臓の血行動態に悪い影響を及ぼしうる機械的非同期性を導入する。こうした機械的非同期性は、遅い活性化領域において進行性不適応代償性プロセス(progressive mal−adaptive compensatory process)のセット、プロセスの中でも膨張(dilatation)、とりわけ線維芽細胞増殖、局所的癌原遺伝子活性化、代償性局所肥大、交感神経/副交感神経バランス増加をもたらしうる。これらのプロセスは、初めに伝導異常がそこに存在しなかった場合に遅延されるかまたは防止された可能性がある心不全をもたらしうる。したがって、本発明の態様によれば、正常伝導シーケンスを維持することおよび再確立することは共に、心不全に向かう病態の進行を遅延させるか、停止させるか、またはさらに逆転させるというかなりの利点を有しうる。 Typically, the ventricular activation sequence begins on the atrial side of the atrioventricular node and propagates to the root of the His bundle where the His bundle branches into a number of small bundles grouped into right and left bundles. The fibers in each bundle are generally insulated from each other. However, there are places that exhibit low insulation at predetermined intervals along the bundle. These bundles are electrically isolated from the surrounding tissue and terminate in Purkinje cells that are responsible for transmitting electrical activation to cardiomyocytes. A normal heart conducts electrical signals from the His bundle through the entire ventricle in about 60-70 ms. Conduction abnormalities, such as those due to infarctions or microinfarcts, can prevent or block the conduction of electrically activated impulses through special His fibers. Such a block results in Purkinje cells that do not receive an electrical activation impulse through the conductive fiber. Thus, cardiomyocytes normally stimulated by these Purkinje cells are not stimulated in the normal manner. Instead, these cardiomyocytes are stimulated from electrical signals that propagate through the cardiomyocytes that actually receive the electrical activation pulse from the conduction fiber. The conduction velocity between cardiomyocytes is much slower than that of conduction fibers. For example, conductive fibers have a conduction velocity of about 2 m / s, while the cardiomyocyte cell-to-cell conduction velocity is about 0.5 m / s. Thus, these blocks can significantly distort both the spatial and temporal distribution of ventricular electrical activation. These temporal and spatial activation sequence distributions introduce mechanical asynchrony that can adversely affect cardiac hemodynamics. Such mechanical asynchrony is a set of progressive mal-adaptive compensatory processes in the slow activation region, dilation among the processes, especially fibroblast proliferation, local proto-oncogene activity. , Compensatory local hypertrophy, and increased sympathetic / parasympathetic balance. These processes can result in heart failure that may be delayed or prevented if conduction abnormalities were not initially present there. Thus, according to aspects of the present invention, maintaining and re-establishing a normal conduction sequence has the considerable advantage of delaying, stopping, or even reversing the progression of the pathology towards heart failure. Yes.
他の形態の再同期治療の場合、活性化シーケンスは、正常な伝導系を使用するのではなく心筋細胞を直接刺激するために、右心室および左心室内の2つの部位から始動される。これは、異様な活性化シーケンスをもたらす。一実施態様では、医師は、左心室の心外膜内に少なくとも1つのリード線を留置する(たとえば、このリード線を、左心室の冠状静脈系内に留置することによって)ように指示される。活性化シーケンスが遅いだけでなく、正常な/健康なシーケンスに対して反転されるため、この留置は、さらなるタイプの非同期性を生じる。こうした処置についてのこれらの問題があるにもかかわらず、このタイプの細胞から細胞への(伝導系の活性化なしの)活性化シーケンスは、CRTの他の適用より良好である。二腔ペーシングを使用するCRTの成功率は、患者の約60〜70%だけに制限され、未処理活性化シーケンスは、両室ペーシングによって生成された新しい人工シーケンスより「悪い(worse)」。 For other forms of resynchronization therapy, the activation sequence is initiated from two sites in the right and left ventricles to stimulate cardiomyocytes directly rather than using the normal conduction system. This results in an odd activation sequence. In one embodiment, the physician is instructed to place at least one lead in the epicardium of the left ventricle (eg, by placing the lead in the coronary venous system of the left ventricle). . This placement creates a further type of asynchrony because the activation sequence is not only slow but also reversed with respect to the normal / healthy sequence. Despite these problems with such treatments, this type of cell-to-cell activation sequence (without activation of the conduction system) is better than other applications of CRT. The success rate of CRT using dual chamber pacing is limited to only about 60-70% of patients, and the raw activation sequence is “worse” than the new artificial sequence generated by biventricular pacing.
したがって、本発明の態様は、心室を再同期させるモダリティを提供するのに有用であり、容易に実装されうる。たとえば、本発明の実施形態は、LV内のリード線を、冠状静脈洞を通してLV心臓静脈か何かの中に留置するステップを必要としない方法に関しており、そのステップは、高複雑度の施設だけにおいて、また、長期の費用がかかる手の込んだ訓練の後に、高度専門医師によって達成されだけである。さらに、本発明の実施形態は、普通なら実行可能な処置オプションを持たないと思われる患者に対してペーシング利益を安全に(たとえば、1つ少ないリード線は失敗するかまたは問題をもたらしうる)提供しうる。 Accordingly, aspects of the present invention are useful for providing a modality that resynchronizes the ventricles and can be easily implemented. For example, embodiments of the present invention relate to a method that does not require placing a lead in the LV through the coronary sinus and into the LV cardiac vein or something, which is only for high-complexity facilities. In addition, it can only be achieved by highly specialized physicians after long-term expensive training. Furthermore, embodiments of the present invention provide pacing benefits safely (eg, one less lead may fail or cause problems) for patients who would otherwise not have viable treatment options Yes.
いくつかの実施態様では、本発明は、再同期(おそらく、左脚ブロック(LBBB)などの伝導異常による)のための機械的および/または電気的に同期性のある収縮を容易にするために使用され、本発明の態様に応答して、左心室は、中隔の心筋および各自由壁(複数可)を急速に収縮させる、かつ/または、それらの収縮を同期させる左心室の能力を回復した。本発明は必ずしもこうした適用に制限されないが、本発明の種々の態様は、本文脈を使用した種々の実施例の説明を通して理解される可能性がある。 In some embodiments, the present invention is intended to facilitate mechanically and / or electrically synchronous contractions for resynchronization (possibly due to conduction abnormalities such as a left leg block (LBBB)). Used and in response to aspects of the present invention, the left ventricle restores the ability of the left ventricle to rapidly contract and / or synchronize the septal myocardium and each free wall (s). did. While the invention is not necessarily limited to such applications, various aspects of the invention may be understood through the description of various embodiments using the context.
本発明に関連して実現される特定の実施形態および種々の発見に矛盾せず、心臓機能は、ペース−マッピングによって、かつ/または、心臓部位にパルスを送出することによって改善されうる。心臓機能は、種々の技法を使用して示されるかまたは測定される。代表的な例は、QRS幅の狭隘化、12誘導ECGにおけるQRS断片化のレベルの減少、12誘導ECGのベクトル角度の正規化または改善、遅いLV活性化タイミングの減少、自由壁および隔壁の機械的同期性の改善、左心室圧の増加レートの改善、右心室圧測定から間接的に評価される血行動態の改善、左心室拡張末期圧の減少、有効圧力の改善、心音の改善、心音のS3成分の消失、加速度計を用いて評価される心臓の加速度プロファイルの改善、収縮の効率(放出された血液の100mlについて費やされるエネルギー量)の改善、インピーダンスまたは他の技法を用いて評価される患者の呼吸プロファイルまたは患者の毎分換気量の改善、副交感神経/交感神経バランスの増加、心拍数変化プロファイルの改善、患者が活動的である時間の割合の改善、インピーダンス技法によって評価される肺浮腫のレベルの改善、および/またはその任意の組合せを測定すること/検出することを含むが、それらに限定されない。特定の実施態様では、ペーシングは、ターゲットペーシング領域においてXSTIM波形を使用して実装されうる。 Consistent with the specific embodiments and various discoveries realized in connection with the present invention, cardiac function can be improved by pace-mapping and / or by delivering pulses to the heart site. Cardiac function is indicated or measured using various techniques. Typical examples are QRS width narrowing, reduced level of QRS fragmentation in 12-lead ECG, normalization or improvement of 12-lead ECG vector angle, reduced slow LV activation timing, free wall and bulkhead machinery Improvement of dynamic synchrony, improvement of left ventricular pressure increase rate, improvement of hemodynamics indirectly evaluated from right ventricular pressure measurement, reduction of left ventricular end-diastolic pressure, improvement of effective pressure, improvement of heart sound, heart sound Loss of S3 component, improved cardiac acceleration profile evaluated using accelerometer, improved efficiency of contraction (amount of energy expended for 100 ml of released blood), evaluated using impedance or other techniques Improving patient respiratory profile or patient minute ventilation, increasing parasympathetic / sympathetic balance, improving heart rate change profile, patient active Improvement of the percentage of time that an improvement of the level of pulmonary edema is assessed by impedance techniques, and / or comprising it / detecting measuring any combination thereof, but is not limited thereto. In certain implementations, pacing can be implemented using XSTIM waveforms in the target pacing region.
種々の検知デバイスは、ペーシング信号および場所の有効性を評価するために使用されうる。適したセンサの例は、dP/dt max(エコー技法または右心室圧測定から直接測定されるかまたは間接的に導出される左心室内圧の最大上昇速度)、心拍出量を評価するために使用されうるセンサ、QRS幅の狭隘化、12誘導ECGのQRS断片化のレベルの減少を定量化するために使用されうる心電計を含むが、それらに限定されない。他の例は、以下のデバイスまたは心臓機能検知を含むが、それらに限定されない。すなわち、ベクトル心電計または体表面マッピング機器は、12誘導ECGのベクトル角度の正規化または改善、遅いLV活性化タイミングの減少、自由壁および隔壁の機械的同期性の改善を評価するために使用されることができ、多くの方法および機器は、左心室圧の上昇速度の改善を直接的にまたは間接的に評価するために存在し、埋め込み型センサまたは外部センサは、右心室圧から間接的に血行動態の改善を評価し、かつ/または、左心室拡張末期圧の減少を評価し、かつ/または、有効圧力の改善を評価するために使用されることができ、マイクロフォンおよび心音定量化機器は、心音の改善、心音のS3成分の消失を評価するために使用されることができ、患者の内部に(すなわち、リード線の先端に)埋め込まれた、または、身体の表面上の加速度計は、心臓の加速度プロファイルの改善を評価するために使用されることができ、心臓内温度は、収縮の効率(放出された血液の100mlについて費やされるエネルギー量)の改善を評価するために使用されることができ、胸郭内インピーダンス測定または心臓内リード線インピーダンス測定は、患者の呼吸プロファイルまたは患者の毎分換気量の改善を評価するために使用されることができ、心拍数変化解析は、副交感神経/交感神経バランスの増加および/または心拍数変化プロファイルの全体的な改善を評価するために使用されることができ、埋め込み型加速度計は、患者が活動的である時間の割合の改善を評価するために使用されることができ、胸郭内またはリード線インピーダンスは、肺浮腫のレベルの改善を評価するために使用されることができ、かつ/または、その任意の組合せが使用されることができる。これらのまた他の態様は、直接測定される、あるいは、収縮期圧の増加または拡張期圧の減少を用い、また、収縮期圧の変化がないことが目標(goal)である、収縮期および拡張期動脈圧のカフベースの推定のような間接的な無侵襲測定を使用して測定されうる。別の間接的な推定方法は、右心室圧から関連する血行動態情報を外挿することを含む。 Various sensing devices can be used to evaluate the effectiveness of the pacing signal and location. Examples of suitable sensors are dP / dt max (maximum rate of increase in left ventricular pressure measured directly from echo technique or right ventricular pressure measurement or derived indirectly), to assess cardiac output Sensors that can be used, including but not limited to, QRS narrowing, electrocardiographs that can be used to quantify the reduction in the level of QRS fragmentation in 12-lead ECGs. Other examples include, but are not limited to, the following devices or cardiac function sensing. That is, a vector electrocardiograph or body surface mapping device is used to evaluate normalization or improvement of the vector angle of 12-lead ECG, reduction of late LV activation timing, improvement of free wall and septum mechanical synchrony Many methods and devices exist to assess directly or indirectly the improvement in the rate of increase in left ventricular pressure, and implantable or external sensors are indirectly derived from right ventricular pressure. A microphone and heart sound quantification device that can be used to evaluate hemodynamic improvement and / or evaluate left ventricular end-diastolic pressure reduction and / or evaluate effective pressure improvement Can be used to improve heart sound, assess the disappearance of the S3 component of heart sound, embedded inside the patient (ie, at the tip of the lead), or An accelerometer on the surface of the body can be used to assess the improvement in the acceleration profile of the heart, where the intracardiac temperature improves the efficiency of contraction (the amount of energy expended for 100 ml of released blood). Intrathoracic impedance measurement or intracardiac lead impedance measurement can be used to evaluate improvement in patient respiratory profile or patient minute ventilation, Heart rate change analysis can be used to assess an increase in parasympathetic / sympathetic balance and / or overall improvement in heart rate change profile, and implantable accelerometers are active in patients Can be used to assess improvement in the percentage of time, intrathoracic or lead impedance is an improvement in the level of lung edema It can be used to evaluate the, and / or may be any combination thereof is used. These other aspects are measured directly, or use an increase in systolic pressure or a decrease in diastolic pressure, and the goal is that there is no change in systolic pressure. It can be measured using indirect non-invasive measurements such as cuff-based estimation of diastolic arterial pressure. Another indirect estimation method involves extrapolating relevant hemodynamic information from right ventricular pressure.
本発明の態様は、ターゲットペーシング領域を位置特定することおよび/またはその領域をペーシングすることを対象とする。一実施態様では、ターゲットペーシング領域は、ヒス束であるかまたはヒス束の近くである。特定の実施態様では、ターゲットペーシング領域を位置特定することは、ブロックされた線維の可能性のある場所を決定することによって補助されうる。これは、2次元x線透視に対して解剖学的知識と外挿を使用して達成されうる。ペーシングカテーテルは、ペーシング信号の送出のための決定された場所の近くに留置されうる。患者について考えられる改善した/正常なQRSおよび活性化ベクトルを検出する12誘導ECGなどのセンサは、最適適用部位を位置特定するために使用される。 Aspects of the invention are directed to locating and / or pacing a target pacing region. In one embodiment, the target pacing region is at or near the His bundle. In certain embodiments, locating the target pacing region may be aided by determining possible locations for blocked fibers. This can be accomplished using anatomical knowledge and extrapolation for two-dimensional fluoroscopy. The pacing catheter can be placed near a determined location for delivery of pacing signals. Sensors such as a 12-lead ECG that detect possible improved / normal QRS and activation vectors for the patient are used to locate the optimal application site.
本発明の一実施形態によれば、その先端に一対の電極を有する、予備成形されたシースあるいは操縦可能または偏向可能シースは、ペース−マッピングのために使用される。最適な適用部位が決定されると、永久的なペーシングカテーテルは、その先端を移動することなく、シースによって識別される部位に導入され、カテーテルは、その後、たとえば隔壁内にねじ込むことによってその場所に固定される。房室遅延(検知された心房事象から最適部位におけるペーシング刺激の放出までの時間)、ペーシング(たとえばXSTIM)振幅、パルス間距離(第1のパルスから第2の反対極性パルスまでの場合、−20ms〜+20ms)、パルスの極性(−から先端または+から先端)、パルス間距離がゼロより大きい場合の極性の順序(−が最初または+が最初)は、一実施形態では、埋め込み式リード線内に存在する電極から得られる間接的に導出された心電図を使用して最適化されうる(部位最適化のために使用されうる他のセンサについては上記を参照)。こうした埋め込み手技(procedure)に関する背景情報については、参照により本明細書に全体が組み込まれる、2007年11月20日に発行された「埋め込み可能なデバイスにおける無線ECG(Wireless ECG in implantable devices)」という名称のMcCabe他に付与された米国特許第7,299,086号明細書を参照することができる。 According to one embodiment of the invention, a preformed sheath or steerable or deflectable sheath having a pair of electrodes at its tip is used for pace-mapping. Once the optimal application site has been determined, the permanent pacing catheter is introduced into the site identified by the sheath without moving its tip, and the catheter is then moved into place, for example by screwing into the septum. Fixed. Atrioventricular delay (time from sensed atrial event to release of pacing stimulus at optimal site), pacing (eg, XSTIM) amplitude, interpulse distance (-20 ms for first pulse to second opposite polarity pulse) ~ + 20 ms), the polarity of the pulse (-to tip or + to tip), and the order of polarity (-is first or + is first) when the interpulse distance is greater than zero, in one embodiment, in the embedded lead Can be optimized using indirectly derived electrocardiograms obtained from existing electrodes (see above for other sensors that can be used for site optimization). For background information on such implant procedures, please refer to “Wireless ECG in Implantable Devices” issued November 20, 2007, which is incorporated herein by reference in its entirety. Reference may be made to US Pat. No. 7,299,086, assigned to the name McCabe et al.
いくつかの実施態様では、最適化は、右心室圧直接測定値を検知する右心室圧センサを埋め込むことによって実施されうる。こうしたセンサは、右心室収縮期圧を検出しうる。この検出は、左心室収縮期圧または好ましくはdP/dt maxまたは左心室拡張末期圧(LVEDP)などの左心室応答を外挿するために使用されうる。血行動態安定性を保証するために、これらの測定は、患者が安静している期間中に実施されうる。心房レートが監視されることができ、低くかつ安定したレート期間が起きていることが発見されると、他のセンサ(すなわち、患者が静止しているか、または、最小限の動きをしていると判定する加速度計)が使用されうる。安定したレート中に行われるこれらの測定は、その後、パルス発生器のパラメータおよび/または留置を調整するために使用される。パラメータ調整は、埋め込みが終了した後にデバイスによって自動的に実施されることができ、たとえば、パラメータ調整は、開始点が以前の点であり、パラメータが上に10〜30%だけ調整される標準的な2分法で達成されうる。異なる影響が全く見られない場合、パラメータは、下に10〜30%調整される。有益な影響が見られる場合、パラメータは、その後、さらに下に10〜30%だけ調整され、ついには、有害な影響が見られ、その時点で、最後の調整が半分にカットされ、パラメータが、上に5〜15%だけ調整され、測定が再び行われる。影響が依然として有害である場合、パラメータは、有益な影響が見られるまで、上に2.5〜7.5%だけ調整される。調整は、その後、自然に最適パラメータに収束することになる。 In some embodiments, optimization may be performed by implanting a right ventricular pressure sensor that senses a right ventricular pressure direct measurement. Such a sensor can detect right ventricular systolic pressure. This detection can be used to extrapolate left ventricular response such as left ventricular systolic pressure or preferably dP / dt max or left ventricular end diastolic pressure (LVEDP). In order to ensure hemodynamic stability, these measurements can be performed while the patient is at rest. When the atrial rate can be monitored and it is discovered that a low and stable rate period is occurring, other sensors (ie, the patient is at rest or has minimal movement) An accelerometer) can be used. These measurements made during a stable rate are then used to adjust the parameters and / or placement of the pulse generator. Parameter adjustment can be performed automatically by the device after the implantation is finished, for example, parameter adjustment is a standard where the starting point is the previous point and the parameter is adjusted by 10-30% up Can be achieved by a simple dichotomy. If no different effects are seen, the parameters are adjusted 10-30% below. If a beneficial effect is seen, the parameter is then adjusted further by 10-30% below, eventually a deleterious effect is seen, at which point the last adjustment is cut in half and the parameter is Adjusted by 5-15% above and the measurement is taken again. If the effect is still harmful, the parameters are adjusted by 2.5-7.5% above until a beneficial effect is seen. The adjustment will then naturally converge to the optimal parameters.
別の実施形態によれば、拡張した心臓を持つ患者では、医師は、心臓の治癒および逆リモデリングを容易にするために、身体の残りの部分ではなく、器官としての心臓の方を優先するように選択してもよい。その目的のために、左心室の前負荷は、最適部位においてXSTIMなどのペーシングを使用して心臓同期性を維持している間に低減されうる。これは、心臓が高いレベルの心拍出量を身体に提供していた機能点を見出すために最適左心室機能を見出すようにパラメータが調整された、本明細書で論じた方法の一部と異なる。しかし、このタイプの最適化は、心臓に及ぼす影響の点で最適以下でありうる。本発明の態様は、種々の異なるAV遅延について心室同期性の維持を可能にする。たとえば、種々のAV遅延において同期性を維持するXSTIM CRTの能力は、AV遅延が左心室の前負荷について最適以下である場合でも、拡張した心臓について有益であるAV遅延の使用を可能にする。したがって、極端に拡張した心臓を持つ患者の場合、AV遅延は、非常に短い遅延に設定されうる。AV遅延は、僧帽弁の閉鎖後に、左心房収縮が起こり始めるまで、AV遅延を低減することによって決定されうる。この事象は、肺毛細管楔入圧を増加させることによって肺機能を損なうことがない、考えられる最も短いAV遅延を示す。同時に、このAV遅延は、心臓が、考えられる最も低い拡張末期圧と前負荷で機能することを可能にする。これらの測定は、現在の技術のドプラ心エコー検査を使用して容易に行われうる。本開示において教示される方法でAV遅延を最適化することは、逆リモデリングの可能性を増すために、心臓が低い前負荷で働くことを可能にしうる。心臓が、改善/逆リモデルを示した後、AV遅延は、先に述べた技法(たとえば、ECG、RV圧、LV dP/dt、ECG測定、LVEDPなど)に従って設定される設定まで増加されうる。 According to another embodiment, in a patient with an expanded heart, the physician prefers the heart as an organ rather than the rest of the body to facilitate heart healing and reverse remodeling You may choose as follows. To that end, left ventricular preload can be reduced while maintaining cardiac synchrony using pacing such as XSTIM at the optimal site. This is part of the method discussed herein, where the parameters were adjusted to find the optimal left ventricular function to find the functional point at which the heart was providing the body with a high level of cardiac output. Different. However, this type of optimization can be suboptimal in terms of effects on the heart. Aspects of the invention allow maintenance of ventricular synchrony for a variety of different AV delays. For example, the ability of XSTIM CRT to maintain synchrony at various AV delays allows the use of AV delays that are beneficial for dilated hearts even when the AV delay is suboptimal for left ventricular preload. Thus, for patients with extremely dilated hearts, the AV delay can be set to a very short delay. AV delay can be determined by reducing AV delay after mitral valve closure until left atrial contraction begins to occur. This event represents the shortest possible AV delay that does not compromise lung function by increasing pulmonary capillary wedge pressure. At the same time, this AV delay allows the heart to function at the lowest possible end diastolic pressure and preload. These measurements can be easily made using current art Doppler echocardiography. Optimizing AV delay with the methods taught in this disclosure may allow the heart to work with low preload to increase the likelihood of reverse remodeling. After the heart exhibits an improvement / inverse remodeling, the AV delay can be increased to a setting that is set according to the techniques described previously (eg, ECG, RV pressure, LV dP / dt, ECG measurement, LVEDP, etc.).
本発明のある実施形態では、AV遅延設定は、推定、患者症状、または上述したドプラ心エコー検査を使用して、埋め込み担当医師によって決定された非常に低いAV遅延で始められる。(医師によってプログラム可能な数週間〜数カ月の範囲の)所定量の時間後に、デバイスは、全体的な血行動態機能を改善するために、埋め込み型デバイスのAV遅延を自動的に切換えるように設定されうる。あるいは、複雑でないデバイスは、初期の短い遅延を用いてプログラムされうる。デバイスは、長いAV遅延ターゲットを用いてもプログラムされ、長いAV遅延ターゲットは、臨床判断を使用して医師によって確立された期間内に、医師によって決定された短い値から長い値までAV遅延をゆっくり増加させることによって得られる。 In certain embodiments of the invention, the AV delay setting is initiated with a very low AV delay determined by the implanting physician using estimates, patient symptoms, or Doppler echocardiography as described above. After a predetermined amount of time (ranging from weeks to months programmable by the physician), the device is set to automatically switch the AV delay of the implantable device to improve the overall hemodynamic function. sell. Alternatively, uncomplicated devices can be programmed with an initial short delay. The device is also programmed with a long AV delay target that slows the AV delay from a short value to a long value determined by the physician within a period established by the physician using clinical judgment. Obtained by increasing.
本発明のこれらのまた他の実施形態と矛盾しないいくつかの方法および特定の態様は、心臓機能の改善が必要とされる心臓部位にパルスを送出するカテーテルタイプデバイスを誘導すること、心臓機能を改善させるために、捕捉閾値を越えてペーシング(電圧)閾値を決定すること、こうした心臓機能改善を達成するために反対極性のパルスを送出すること、ヒス束の近くの部位に反対極性のパルスを送出すること、必ずしもヒス束内に貫入することなく電極ベースのヒスペーシングを行うこと、複数のペーシングプロファイルを生成および/または送出すること(たとえば、反対極性のパルスを送出するペーシングプロファイルおよび別のペーシングプロファイルを含む、異なるペーシングプロファイルを反復することによって)、RV(右心室)ペーシング場所からLVの隔壁および自由壁の同期収縮を生成するためのペーシングプロファイルを送出すること、ならびに、ヒス束の根の近くの部位でペーシングすることによって遠位BBB(脚ブロック)および/または広汎性(diffuse)BBBの1つまたは複数を処置することに関する。 Some methods and specific aspects consistent with these and other embodiments of the present invention include guiding a catheter-type device that delivers a pulse to a cardiac site in need of improved cardiac function, To improve, determine pacing (voltage) thresholds beyond the capture threshold, deliver pulses of opposite polarity to achieve such improved cardiac function, pulses of opposite polarity to sites near the His bundle Delivering, electrode-based hispacing without necessarily penetrating into the His bundle, generating and / or delivering multiple pacing profiles (eg, pacing profile delivering opposite polarity pulses and another pacing RV (by repeating different pacing profiles, including profiles), The distal BBB (leg block) and / or by delivering a pacing profile to generate a synchronized contraction of the LV septum and free wall from the pacing site and at a site near the root of the His bundle Or relates to treating one or more of the diffuse BBB.
本発明の種々の実施形態は、2つまたは3つの電極を使用する刺激カテーテル、システム、および方法を含む。本発明の特定の実施形態では、最も遠位の2つの電極は、カテーテルの先端に位置する。特定の実施態様によれば、遠位の2つの電極は、4mmだけ分離され、電極は、カテーテルの先端で、4フレンチカテーテルの2mm厚リングおよび4mm径の半球として実装される。オプションの第3の電極は、最初の対からある程度の距離のリード線本体上などのいくつかの場所に位置しうる、またはさらに、対の間に位置しうる。参照電極(reference electrode)のための経静脈的位置特定は、2つの反対極性パルスを分離する時間がゼロでない場合に使用されうる。これは、ポケット刺激の可能性を低減するのに有用でありうる。 Various embodiments of the present invention include stimulation catheters, systems, and methods that use two or three electrodes. In certain embodiments of the invention, the two most distal electrodes are located at the tip of the catheter. According to a particular embodiment, the distal two electrodes are separated by 4 mm and the electrodes are implemented at the tip of the catheter as a 2 mm thick ring and a 4 mm diameter hemisphere of a 4 French catheter. An optional third electrode may be located at several locations, such as on the lead body at some distance from the first pair, or even between the pairs. Transvenous localization for a reference electrode can be used when the time to separate two opposite polarity pulses is not zero. This can be useful to reduce the possibility of pocket stimulation.
予期しない結果の特定の例として、ヒス束ペーシングに適さないと以前は考えられた種々の心臓異常(たとえば、遠位左束ブロックまたは広汎性左束ブロックによる大きなQRS群)を示す患者を処置するために、ヒス束ペーシングおよび/または傍ヒス束(para−Hisian)ペーシングが使用されうることが発見されている。埋め込みの複雑さ(たとえば、持続時間および/または侵襲性)は、特定のデバイス、システムおよび留置方法の使用によって有益な影響を受けうることも発見されている。 As a specific example of unexpected results, treat patients with various cardiac abnormalities previously considered unsuitable for His bundle pacing (eg, large QRS complex with distal left bundle block or diffuse left bundle block) Thus, it has been discovered that His bundle pacing and / or para-Hisian pacing can be used. It has also been discovered that the complexity of implantation (eg, duration and / or invasiveness) can be beneficially influenced by the use of specific devices, systems and placement methods.
本発明の例示的な実施形態によれば、特別な刺激プロファイルが、左心室と右心室の同期収縮を捕捉するために使用される。この刺激プロファイルは右心室中のリード線に提供される。このリード線留置および刺激プロファイルは、ペーシング中の検知される心臓機能に応じて選択される。特に、リード線留置および刺激プロファイルは、その留置/プロファイルが捕捉をもたらすかどうかよりも多くの情報(たとえば、QRS幅または遅い活性化部位タイミング)に基づいて決定される。いくつかの例では、これは、普通なら望ましいと考えられないペーシング電圧/プロファイル(たとえば、捕捉閾値以外の基準から導出される電圧、および/またはペーシングリード線が周囲(線維)組織に貫入することのないヒス束ペーシング)をもたらしうる。 According to an exemplary embodiment of the invention, a special stimulation profile is used to capture the left and right ventricular synchronous contractions. This stimulation profile is provided to the lead in the right ventricle. This lead placement and stimulation profile is selected as a function of the sensed cardiac function during pacing. In particular, lead placement and stimulation profiles are determined based on more information (eg, QRS width or slow activation site timing) than whether the placement / profile provides capture. In some examples, this is a pacing voltage / profile that would otherwise not be desirable (eg, a voltage derived from criteria other than the capture threshold, and / or that the pacing lead penetrates the surrounding (fibrous) tissue. Without his bundle pacing).
本発明の種々の実施態様の理解は、既存のペーシング、埋め込み、ならびに関連する手技およびデバイスの説明によって促進されうる。本発明の種々の実施形態とこうした既存のペーシングとの間には相当数の差が存在しているが、本発明は、既存のペーシングの態様を含む実施態様を排除しない。全く逆に、本発明の態様は、既存のペーシング方法およびデバイスと共に実装されるのに特に有用である。したがって、本発明のいくつかの実施形態は、既存の実施態様と組合されると有用であるという柔軟性を提供する。 An understanding of the various embodiments of the present invention can be facilitated by a description of existing pacing, implantation, and associated procedures and devices. While there are a number of differences between the various embodiments of the present invention and such existing pacing, the present invention does not exclude embodiments that include existing pacing aspects. Conversely, aspects of the present invention are particularly useful for implementation with existing pacing methods and devices. Thus, some embodiments of the present invention provide the flexibility of being useful when combined with existing implementations.
本発明の態様は、基礎になる特許文書の新たに発見された発明と共に使用されるように機能するために、いくつかの製造業者によって生産される既存のCRTデバイスアーキテクチャの使用を容易にする。これらの発明は、右心室内に位置するリード線から再同期治療を提供するXSTIM波形(心臓の単一収縮を捕捉するために使用される2つの反対極性のパルス)の使用を含むが、それに限定されない。 Aspects of the present invention facilitate the use of existing CRT device architectures produced by several manufacturers to function for use with newly discovered inventions in the underlying patent documents. These inventions include the use of an XSTIM waveform (two opposite polarity pulses used to capture a single contraction of the heart) that provides resynchronization therapy from a lead located in the right ventricle, It is not limited.
現在の技術の両室CRT(心臓再同期治療)デバイスは、2つの独立した心室チャネル、すなわち、RV用の1つのチャネルおよびLV用の他のチャネルを有する。こうしたCRTデバイスは、プログラム可能な振幅、パルス幅、および相対的時間遅延を有する、2つの反対極性のパルスを提供するように構成されることが多い。本発明の態様は、プログラム可能な振幅、パルス幅、および相対的時間遅延(遅延なしを含む)を有する、2つの反対極性のパルスの出力を容易にする。 Current art biventricular CRT (cardiac resynchronization therapy) devices have two independent ventricular channels: one channel for RV and the other channel for LV. Such CRT devices are often configured to provide two opposite polarity pulses with programmable amplitude, pulse width, and relative time delay. Aspects of the invention facilitate the output of two opposite polarity pulses having programmable amplitude, pulse width, and relative time delay (including no delay).
本発明の一実施形態によれば、柔軟性のあるアナログ/デジタルチップ設計アーキテクチャを有する両室CRTデバイスに対して修正が行われ、異なる出力端子と出力回路要素との間のオンチップ再接続が可能になる。たとえば、XSTIM可能なデバイスは、1つまたは複数のペーシングリード線に対する電気接続を規定するために使用される再プログラミングスイッチ/マルチプレクサを通して生産されうる。 In accordance with one embodiment of the present invention, a modification is made to a dual chamber CRT device having a flexible analog / digital chip design architecture to enable on-chip reconnection between different output terminals and output circuit elements. It becomes possible. For example, an XSTIM capable device can be produced through a reprogramming switch / multiplexer that is used to define electrical connections to one or more pacing leads.
  図1Aは、本発明の例示的な実施形態に矛盾しない、1つのこうした修正型CRTデバイスの図を示す。図1Aは、心室チャネル用のペーシング出力信号を提供する2つのペーシングキャパシタC1およびC2を示す。ペース制御部102および104は、タイミング制御、振幅設定、およびパルス持続時間を含むがそれらに限定されない、ペーシング送出のための種々の機能を提供する。接続グリッド100は、ペーシングキャパシタC1、C2と種々の出力120との間の選択可能な接続を提供する。接続グリッド100の中実ボックスは、キャパシタC1、C2と真上の出力との間の接続を示す。そのため、C1の正の信号成分およびC2の負の成分は、CRTデバイスの缶などの参照部(refernce)に共に接続される。C1の負の信号成分は、右心室(RV)リード線のある部分に接続され、C2の正の信号成分は、右心室リード線の別の部分に接続される。この構成では、右心室リード線は、ペーシング信号を提供するために使用されることになる。同様な構成が、左心室リード線として従来から考えられるものについて実装されうるが、ペーシングは、依然として好ましくは、患者の右心室に適用されることになることが留意されるべきである。  FIG. 1A shows a diagram of one such modified CRT device consistent with an exemplary embodiment of the present invention. FIG. 1A shows two pacing capacitors C1 and C2 that provide pacing output signals for the ventricular channel.
したがって、本発明の態様は、第1の電気接続部(C1−)を第1の出力(RV−)に、第2の電気接続部(C2+)を第2の出力(RV+)に、第3の電気接続部(C1+)および第4の電気接続部(C2−)を第3の出力/参照部(reference)に接続するように構成された両室CRTデバイスを含む。 Therefore, according to the aspect of the present invention, the first electrical connection (C1-) is the first output (RV-), the second electrical connection (C2 +) is the second output (RV +), and the third A dual chamber CRT device configured to connect the electrical connection (C1 +) and the fourth electrical connection (C2-) to a third output / reference.
  図1Aは、接続コントロール回路に応答して構成可能である接続グリッド100を示す。図1Aに示す接続グリッド100は、各端子が5つの異なる出力の間で選択することを可能にする比較的簡単な接続グリッドである。ペーシングコントロールを、キャパシタC1およびC2のいずれかのまたは両方の端子に適用する選択を可能にする接続グリッドを含む、より複雑なまたは簡単な接続グリッドもまた実装されうる。  FIG. 1A shows a
図1Aに示す特定の回路は、本発明に従って実装されうる任意の数の構成可能な回路を示すに過ぎない。たとえば、ペーシング信号用の電力源は、それ自体容量性である必要はなく、種々の電力供給回路および電気要素によって提供されうる。 The particular circuit shown in FIG. 1A represents only any number of configurable circuits that can be implemented in accordance with the present invention. For example, the power source for the pacing signal need not be capacitive per se, but can be provided by various power supply circuits and electrical elements.
図示しないが、心房チャネルは、デバイスの一部として含まれることもできる。しかし、それは、両室CRTデバイスと本明細書で論じる修正型実施態様との間で本質的に同一のままである。 Although not shown, the atrial channel can also be included as part of the device. However, it remains essentially the same between the dual chamber CRT device and the modified embodiment discussed herein.
  図1Bは、本発明の例示的な実施形態に矛盾しない、心臓内に留置された、図1A〜8において修正されるようなCRTデバイスの図を示す。中隔Sによって分割された右心室RVおよび左心室LVを示す心臓Hが、断面で示される。カテーテルは、右心室RV内に設けられ、遠位電極12は中隔に固定され、近位電極14は右心室内にある。図の右手側は、拡大され、電極12、14とペースメーカ1との間に2つの単極パルス波を生成するためにペースメーカ1によって通電されたカテーテル10を示す。限定はしないが、位相、持続時間、振幅、および極性構成を含むパルス波は、本明細書で論じるように修正されうる。  FIG. 1B shows a diagram of a CRT device as modified in FIGS. 1A-8, placed in the heart, consistent with an exemplary embodiment of the present invention. A heart H showing a right ventricle RV and a left ventricle LV divided by a septum S is shown in cross section. The catheter is provided in the right ventricle RV, the
米国特許出願シリアル番号第11/300,242号で論じられるように、本発明の態様は、適用方法ならびに埋め込みを容易にし、カテーテル10の接続および切断を回避する方法に関する。センス回路2は、適切な留置およびパルス波構成をチェックするために使用されうる。特定の実施形態では、その縁部に電極を有する偏向可能シースが使用されうる。偏向可能シースは、(たとえば、センス回路2によって受信される信号に応答して)カテーテルの適切な留置をチェックするために刺激が印加されることを可能にし、また、適切な場所へのカテーテルの固着(たとえば、心臓内へのねじ込み)を可能にする。シースは、使用される場合、その後、取外されることができ、最終的には使い捨てである。 As discussed in US Patent Application Serial No. 11 / 300,242, aspects of the present invention relate to methods of application and methods that facilitate implantation and avoid catheter 10 connection and disconnection. The sense circuit 2 can be used to check for proper placement and pulse wave configuration. In certain embodiments, a deflectable sheath having electrodes at its edges may be used. The deflectable sheath allows a stimulus to be applied to check proper placement of the catheter (eg, in response to a signal received by the sense circuit 2) and also allows the catheter to be placed in the proper location. Allows fixation (eg, screwing into the heart). If used, the sheath can then be removed and is ultimately disposable.
  本明細書で論じるように、センス回路2は、ペーシング発生器によって送出されるペーシング信号による、心臓機能を示す任意の数の異なる検知信号に応じて実装されうる。
  本発明の特定の実施形態によれば、ペースメーカおよび適用方法は、以下の通りに実装される。As discussed herein, the sense circuit 2 may be implemented in response to any number of different sensing signals indicative of cardiac function due to pacing signals delivered by a pacing generator.
 According to a particular embodiment of the present invention, the pacemaker and application method are implemented as follows.
・パルス発生器(単腔式または二腔式)は、プログラム可能な構成を有し、中性参照点(neutral reference point)に対して、互いの間で極性が反転した少なくとも2つの重ね合わされた単極パルス波を含む心室出力を有する。中性参照点は、たとえば、ペースメーカの金属ボックスまたは3極カテーテルとして実装される第3の電極でありうる。 The pulse generator (single or dual chamber) has a programmable configuration and has at least two superimposed polar inversions between each other with respect to a neutral reference point It has a ventricular output that includes a monopolar pulse wave. The neutral reference point may be, for example, a third electrode implemented as a pacemaker metal box or a tripolar catheter.
  ・アクティブ固定(active−fixation)心室カテーテル。
  ・電極を有する遠位先端を有する偏向可能な、かつ/または、予備成形されたシース。
  ・シースを使用して右心室中隔内の(またはそうでなければ、ヒス束の近くの)刺激場所を決定すること。• Active-fixation ventricular catheter.
 A deflectable and / or preformed sheath having a distal tip with electrodes.
 Use a sheath to determine the stimulation location within the right ventricular septum (or otherwise near the His bundle).
・決定された刺激場所は、そこからのペーシングが、損傷した(たとえば、伝導異常)心臓の生理的伝導を再確立する電気的代替回路の原理または電気的バイパスの適用などによって、左心室刺激をより容易にするより大きな心室間同期性を可能にするようなものである。 The determined stimulation location can be used to stimulate left ventricular stimulation, such as by applying an electrical alternative circuit principle or electrical bypass, from which pacing reestablishes physiological conduction in a damaged (eg, conduction abnormal) heart. It is such that it allows greater interventricular synchrony, making it easier.
  図1Bの一般的な態様は、制限はしないが、図のそれぞれに関連して論じられる態様を含む、本明細書に開示される種々の実施形態の1つまたは複数と組合せて実装されうる。
  図2は、本発明に矛盾しない、ペーシング信号を提供するインタフェースおよび回路を示す。ヘッダ/コネクタ200は、CRTデバイス202の出力を単一ペーシングリード線204(やはり、心房チャネルも含まれうる)に接続する回路およびインタフェースである。CRTデバイス202の出力(RV+/−およびLV+/−)とヘッダ200との間の接続線は、コネクタ回路200によって提供される接続機能を示す。そのため、RVおよびLV信号の一方の正の成分は、ペーシングリード線204に接続され、RVおよびLV信号の他方の負の成分は、同様に、ペーシングリード線204に接続される。The general aspects of FIG. 1B may be implemented in combination with one or more of the various embodiments disclosed herein, including but not limited to the aspects discussed in connection with each of the figures.
 FIG. 2 shows an interface and circuit for providing pacing signals consistent with the present invention. Header /
  ペーシングリード線204上に設置される参照電極206は、オプションのコンポーネントである。別のオプションは、(単独で、あるいは、1つまたは複数の参照点/電極と組合せて)参照としてCRTデバイスの缶(can)を使用することである。他の信号成分(たとえば、LV−またはRV+)の一方または両方は、CRTデバイス202の缶などの参照コンポーネントに、かつ/または、ペーシングリード線204の参照電極206に接続される。この特定の実施形態では、CRTは、(RV(+)が缶または電極206に接続されていないため)単極ペーシング信号としてRV信号を、2極ペーシング信号としてLV信号を提供するように構成される。単極ペーシング信号は、ペーシング部位に送出される、デバイスの缶を基準としうる単一信号成分を使用し、一方、2極ペーシング信号は、ペーシング部位に送出される、他の近傍電極を基準とする信号成分を使用する。単極モードでは、デバイス内部ロジックは、信号の(+)側を缶に、負側を、心臓内リード線の(LVリード線の場合)先端またはリングのアクティブ電極に接続する。  A
別の実施形態(図示せず)によれば、RVおよびLVリード線は、その接続部が反転される。RVリード線は、その後、2極パルスのために構成され、LVリード線は、単極パルスのために構成される。 According to another embodiment (not shown), the connections of the RV and LV leads are inverted. The RV lead is then configured for bipolar pulses and the LV lead is configured for monopolar pulses.
  信号波形で示すように、ペーシングリード線204は、2つの反対極性のパルスを送出するように構成されることができ、パルスは、同時に送出されうる、または、パルス間にオフセットを持った状態で送出されうる。このオフセットは、デバイスのプログラム可能な心室間遅延を使用して達成されうる。  As shown by the signal waveform, pacing
  図3は、本発明の実施形態に矛盾しない、ペーシング信号を提供するインタフェースおよび回路を示す。コネクタ/インタフェース302は、CRTデバイス312からの信号成分を経路指定する回路を含む。任意選択で、心房コンポーネント304が実装されうる。たとえば、心房コンポーネント304は、ペーシングリード線306または別個のペーシングリード線上に位置しうる電極308を心房ポートAに接続するために使用されうる。RV+およびLV−は、ペーシング信号の送出用の各リード線に接続するものとして示される。RVおよびLV信号成分の極性は、例示に過ぎず、反転されうる。RV−およびLV+は、電極310などの参照部に接続するものとして示される。任意選択で、参照部は、CRTデバイス312の缶、遠隔の参照点、またはその両方でありうる。図2に関連して論じたように、CRTデバイス312は、単極信号を提供するRVまたはLV信号の一方を持つように構成されうる。こうした実施態様の場合、参照成分(たとえば、LV+)は、未接続のままにされうる。  FIG. 3 illustrates an interface and circuit for providing pacing signals consistent with embodiments of the present invention. Connector /
  図3は、CRTデバイス312の2つ以上のリード線出力と物理的にインタフェースするように構築されるコネクタハウジングをも含みうる。具体的には、CRTデバイス312のRVおよびLV出力は、各リード線とインタフェースするように設計される。しかし、コネクタ/インタフェース302は、CRTデバイスの複数のリード線出力に接続し、CRTデバイス312の複数の出力に対する接続を含みうる単一リード線出力を提供しうる。そのため、CRTデバイス312は、2つまたは3つのペーシングリード線とインタフェースするように設計されるが、ほとんどまたは全く修正なしで、単一ペーシングリード線として使用されうる。同様に、ペーシングリード線は、そのように所望される場合、標準的な接続タイプを使用して実装されうる。  FIG. 3 may also include a connector housing that is constructed to physically interface with two or more lead outputs of the
図示しないが、リングおよび先端の極性は、反転されうる。これは、物理的電極の周りで仮想電極の形状を変更するのに有用でありうる。たとえば、ドッグボーン仮想電極のより大きなヘッドは、ヒス束のブロックされた領域の方に向くように反転されうる。これは、シースによって特定された最適部位と埋め込み型電極の実際の留置との間の小さな差を補正するのに特に有用でありうる。ドッグボーン仮想電極の回転は、2つのパルスの相対的なタイミングおよび極性(負の第1、正の第1、リングの正、先端の正、および/またはパルス間タイミング)によって達成されうる。 Although not shown, the polarity of the ring and tip can be reversed. This can be useful for changing the shape of the virtual electrode around the physical electrode. For example, the larger head of the dogbone virtual electrode can be flipped to face the blocked area of the His bundle. This can be particularly useful in correcting small differences between the optimal site specified by the sheath and the actual placement of the implantable electrode. The rotation of the dogbone virtual electrode can be achieved by the relative timing and polarity of the two pulses (negative first, positive first, ring positive, tip positive, and / or interpulse timing).
  明示的に示さないが、コネクタ/インタフェース302は、図8に関連して述べるようなさらなるペーシング出力を含む、さらなる出力とインタフェースするためにも実装されうる。  Although not explicitly shown, the connector /
  図4は、本発明の例示的な実施形態に矛盾しない、修正型二腔ペースメーカ(DDD)デバイスの図を示す。図4は、慣例的に、心房腔および心室腔のためのペーシング出力信号をそれぞれ提供する2つのペーシングキャパシタC1およびC2を示す。ペース制御部402および404は、タイミング制御、振幅設定、およびパルス持続時間を含むが、それに限定されない、ペーシング送出のための種々の機能を提供する。接続グリッド400は、ペーシングキャパシタC1、C2と種々の出力420との間の選択可能な接続を提供する。接続グリッド400の中実ボックスは、キャパシタC1、C2と真上の出力との間の接続を示す。そのため、C1の正の信号成分およびC2の負の成分は、DDDデバイスの缶などの参照部に共に接続される。C1の負の信号成分は、右心室(RV)リード線のある部分に接続され、C2の正の信号成分は、右心室リード線の別の部分に接続される。こうした構成では、右心室リード線は、ペーシング信号を提供するために使用され、心房リード線は、切断されたままになりうる。同様な構成が、左心室リード線として従来から考えられるものについて実装されうるが、ペーシングは、依然として好ましくは、患者の右心室に適用されることになることが留意されるべきである。
したがって、本発明の態様は、第1の電気接続部(C1−)を第1の出力(RV−)に、第2の電気接続部(C2+)を第2の出力(RV+)に、第3の電気接続部(C1+)および第4の電気接続部(C2−)を第3の出力/参照部に接続するように構成されたDDDデバイスを含む。FIG. 4 shows a diagram of a modified dual chamber pacemaker (DDD) device consistent with an exemplary embodiment of the present invention. FIG. 4 conventionally shows two pacing capacitors C1 and C2 that provide pacing output signals for the atrial and ventricular chambers, respectively. Pace controls 402 and 404 provide various functions for pacing delivery, including but not limited to timing control, amplitude setting, and pulse duration.
 Therefore, according to the aspect of the present invention, the first electrical connection (C1-) is the first output (RV-), the second electrical connection (C2 +) is the second output (RV +), and the third A DDD device configured to connect the first electrical connection (C1 +) and the fourth electrical connection (C2-) to the third output / reference unit.
  図4は、接続制御回路に応答して構成可能である接続グリッド400を示す。図4に示す接続グリッド400は、各端子が5つの異なる出力の間で選択することを可能にする比較的簡単な接続グリッドである。ペーシングコントロールを、キャパシタC1およびC2のいずれかのまたは両方の端子に適用する選択を可能にする接続グリッドを含む、より複雑なまたは簡単な接続グリッドもまた実装されうる。  FIG. 4 shows a
図4に示す特定の回路は、本発明に従って実装されうる任意の数の構成可能な回路を示すに過ぎない。たとえば、ペーシング信号用の電力源は、それ自体容量性である必要はなく、種々の電力供給回路および電気要素によって提供されうる。 The particular circuit shown in FIG. 4 only represents any number of configurable circuits that can be implemented in accordance with the present invention. For example, the power source for the pacing signal need not be capacitive per se, but can be provided by various power supply circuits and electrical elements.
図5は図4に類似する。しかし、参照電極(複数可)は、キャパシタC1の負およびキャパシタC2の正に接続され、一方、C1の正およびC2の負はRVリード線に接続される。 FIG. 5 is similar to FIG. However, the reference electrode (s) are connected to the negative of capacitor C1 and the positive of capacitor C2, while the positive of C1 and the negative of C2 are connected to the RV lead.
  図6は、本発明の例示的な実施形態に矛盾しない、修正型DDDデバイスの図を示す。図6は、心室チャネル用のペーシング出力信号を提供する2つのペーシングキャパシタC1およびC2ならびにセンス増幅器605を示す。簡単にするために、心室チャネルのセンス増幅器は示されない。しかし、仮にセンス増幅器が実装されるとすると、センス増幅器は、RVチャネルに−2極検知のためにRV(−)とRV(+)との間に、また、単極検知のためにRV(−)と缶との間に取付けられうる。ペース制御部602および604は、タイミング制御、振幅設定、およびパルス持続時間を含むがそれらに限定されない、ペーシング送出のための種々の機能を提供する。接続グリッド600は、ペーシングキャパシタC1、C2と種々の出力620との間の選択可能な接続を提供する。接続グリッド600の中実ボックスは、キャパシタC1、C2と真上の出力との間の接続を示す。そのため、C1の負の信号成分およびC2の正の成分は、DDDデバイスの缶などの参照部に共に接続される。C1の正の信号成分は、右心室(RV)リード線のある部分に接続され、C2の負の信号成分は、右心室リード線の別の部分に接続される。この構成では、右心室リード線は、ペーシング信号を提供するために使用されることになる。
したがって、本発明の態様は、第1の電気接続部(C1+)を第1の出力(RV+)に、第2の電気接続部(C2−)を第2の出力(RV−)に、第3の電気接続部(C1−)および第4の電気接続部(C2+)を第3の出力/参照部に接続するように構成されたDDDデバイスを含む。FIG. 6 shows a diagram of a modified DDD device consistent with an exemplary embodiment of the present invention. FIG. 6 shows two pacing capacitors C1 and C2 and a
 Therefore, according to the aspect of the present invention, the first electrical connection (C1 +) is the first output (RV +), the second electrical connection (C2-) is the second output (RV-), and the third A DDD device configured to connect the first electrical connection (C1-) and the fourth electrical connection (C2 +) to the third output / reference section.
  図6は、接続制御回路に応答して構成可能である接続グリッド600を示す。図6に示す接続グリッド600は、各端子が5つの異なる出力の間で選択することを可能にする比較的簡単な接続グリッドである。ペーシングコントロールを、キャパシタC1およびC2のいずれかのまたは両方の端子に適用する選択を可能にする接続グリッドを含む、より複雑なまたは簡単な接続グリッドもまた実装されうる。  FIG. 6 shows a
図6に示す特定の回路は、本発明に従って実装されうる任意の数の構成可能な回路を示すに過ぎない。たとえば、ペーシング信号用の電力源は、それ自体容量性である必要はなく、種々の電力供給回路および電気要素によって提供されうる。 The particular circuit shown in FIG. 6 only represents any number of configurable circuits that can be implemented in accordance with the present invention. For example, the power source for the pacing signal need not be capacitive per se, but can be provided by various power supply circuits and electrical elements.
  図示しないが、心室センスチャネルは、従来のDDDデバイスと図6の実施形態との間で本質的に同一のままである接続を使用して実装されうる。
  図7は、図6に類似する。しかし、信号極性は、キャパシタC1の正およびキャパシタC2の負が参照部(缶)に接続され、一方、C1の負がRV(−)に接続され、C2の正がRV(+)に接続されるように反転される。Although not shown, the ventricular sense channel may be implemented using a connection that remains essentially the same between a conventional DDD device and the embodiment of FIG.
 FIG. 7 is similar to FIG. However, the signal polarity is such that the positive of capacitor C1 and the negative of capacitor C2 are connected to the reference (can), while the negative of C1 is connected to RV (−) and the positive of C2 is connected to RV (+). Is inverted.
  図示しないが、RVセンスチャネルは、DDDデバイスにおける接続と同様の方法で実装されうる。
  図8は、本発明の例示的な実施形態に矛盾しない、両室DDD  CRTデバイスの図を示す。図8は、心室チャネルおよび心房チャネル用のペーシング出力信号を提供する3つのペーシングキャパシタC1、C2、およびC3を示す。ペース制御部802、804、および806は、タイミング制御、振幅設定、およびパルス持続時間を含むがそれらに限定されない、ペーシング送出のための種々の機能を提供する。接続グリッド800は、ペーシングキャパシタC1、C2、C3と種々の出力820との間の選択可能な接続を提供する。接続グリッド800の中実ボックスは、キャパシタC1、C2、C3と真上の出力との間の接続を示す。そのため、C1の負の信号成分およびC3の正の成分は、CRTデバイスの缶などの参照部に共に接続される。C1の正の信号成分は、右心室(RV)リード線のある部分に接続され、C3の負の信号成分は、右心室リード線の別の部分に接続される。この構成では、右心室リード線は、ペーシング信号を提供するために使用されることになる。
したがって、本発明の態様は、第1の電気接続部(C1+)を第1の出力(RV+)に、第2の電気接続部(C3−)を第2の出力(RV−)に、第3の電気接続部(C1−)および第4の電気接続部(C3+)を第3の出力/参照部に接続するように構成された両室CRTデバイスを含む。Although not shown, the RV sense channel can be implemented in a manner similar to the connection in the DDD device.
 FIG. 8 shows a diagram of a dual chamber DDD CRT device consistent with an exemplary embodiment of the present invention. FIG. 8 shows three pacing capacitors C1, C2, and C3 that provide pacing output signals for the ventricular and atrial channels. Pace controls 802, 804, and 806 provide various functions for pacing delivery, including but not limited to timing control, amplitude setting, and pulse duration.
 Therefore, according to the aspect of the present invention, the first electrical connection (C1 +) is the first output (RV +), the second electrical connection (C3-) is the second output (RV-), and the third And a dual chamber CRT device configured to connect the electrical connection (C1-) and the fourth electrical connection (C3 +) to the third output / reference section.
  図8は、接続制御回路に応答して構成可能である接続グリッド800を示す。図8に示す接続グリッド800は、各端子が5つの異なる出力の間で選択することを可能にする比較的簡単な接続グリッドである。ペーシングコントロールを、キャパシタC1およびC2のいずれかのまたは両方の端子に適用する選択を可能にする接続グリッドを含む、より複雑なまたは簡単な接続グリッドもまた実装されうる。  FIG. 8 shows a
図8に示す特定の回路は、本発明に従って実装されうる任意の数の構成可能な回路を示すに過ぎない。たとえば、ペーシング信号用の電力源は、それ自体容量性である必要はなく、種々の電力供給回路および電気要素によって提供されうる。 The particular circuit shown in FIG. 8 only represents any number of configurable circuits that can be implemented in accordance with the present invention. For example, the power source for the pacing signal need not be capacitive per se, but can be provided by various power supply circuits and electrical elements.
図8に示す回路は、XSTIM2重パルス治療を提供するようにRVチャネルを構成するために、心房ペーシングについて先に使用した特別な(容量性)ペーシング源を使用した、このデバイスは、両室CRTとXSTIM CRTを同時に組合せる。これは、基質病変が大き過ぎて(すなわち、LVの領域を活性化するヒス線維を破壊した主要な梗塞があるために)、XSTIMがそこをバイパスすることができない拡張した心臓を有する患者について特に有用でありうる。そのため、第2のLVが、LVにおいて遅く活性化される領域を同期させるために必要とされうる。 The circuit shown in FIG. 8 uses the special (capacitive) pacing source previously used for atrial pacing to configure the RV channel to provide XSTIM dual pulse therapy. And XSTIM CRT at the same time. This is particularly true for patients with dilated hearts where the stromal lesions are too large (ie, because there is a major infarction that destroyed the His fibers that activate the region of LV) and XSTIM cannot bypass it. Can be useful. As such, a second LV may be required to synchronize a region that is activated late in the LV.
心臓適用は、本発明の特定の実施形態を示す。しかし、本発明はまた、電極から離れたところの高い電流密度スポット(複数可)が、神経、筋肉、胃腸系、および皮質を含むがそれに限定されないターゲットを刺激するのに有益である治療などの他の治療に適用可能である。たとえば、1994年4月5日に発行された(また、参照により本明細書に組み込まれる)Wernicke他に付与された米国特許第5,299,569号明細書は、いろいろな障害を処置するために迷走神経をペーシングすることを記載している。ペーシング電極は、たとえば首部内の迷走神経に直接当てられる。迷走神経に電極を直接当てることは、神経に対する機械的損傷(たとえば、圧迫壊死)のリスクを生じる。電極は、首部内の迷走神経(VN)の上ではなくその近くで皮下に留置される(経皮的に結合されるまたは経静脈的に結合される)。参照電極は、神経VNの反対側で皮下に留置される(経皮的に結合されるまたは経静脈的に結合される)。電極および参照電極は、パルス発生器IPGに接続される。上述した信号を用いて、結果得られる電場が迷走神経を捕捉する。信号は、’569号特許により完全に記載される振幅、周波数、および他のパラメータを有するように選択されてもよい。本発明の教示の利益によって、器官または神経をペーシングするために本発明を使用する他の代替の実施例を、当業者が思いつくことになることが理解されるであろう。 Cardiac application represents a specific embodiment of the present invention. However, the present invention also includes treatments where high current density spot (s) away from the electrode are beneficial to stimulate targets including but not limited to nerves, muscles, gastrointestinal system, and cortex. Applicable to other treatments. For example, US Pat. No. 5,299,569 issued to Wernicke et al. Issued on Apr. 5, 1994 (also incorporated herein by reference) is intended to treat a variety of disorders. Describes pacing the vagus nerve. The pacing electrode is applied directly to the vagus nerve in the neck, for example. Directly applying an electrode to the vagus nerve creates a risk of mechanical damage to the nerve (eg, compression necrosis). The electrodes are placed subcutaneously near the vagus nerve (VN) in the neck rather than on it (percutaneously or transvenously connected). The reference electrode is placed subcutaneously on the opposite side of the nerve VN (percutaneously or transvenously connected). The electrode and reference electrode are connected to a pulse generator IPG. Using the signals described above, the resulting electric field captures the vagus nerve. The signal may be selected to have amplitude, frequency, and other parameters fully described by the '569 patent. It will be appreciated that other alternative embodiments of using the present invention for pacing organs or nerves will occur to those skilled in the art, with the benefit of the teachings of the present invention.
本発明に関連して論じられる種々の態様が、種々の組合せおよび方法で実施されうることを当業者は認識するであろう。さらに、本文書の冒頭で示した参考文献を含む、本明細書で開示されまた本明細書に組み込まれる種々の参考文献に関連して論じられる態様は、本発明の態様と組合せて使用されうる。特に、本文書の冒頭で示した参考文献が、いくつかの同様の図および関連する説明を含む程度に、当業者は、文書間で共通でない図についてさえも、参考文献で開示される態様の相互運用性を理解するであろう。これらの文書全体を通した教示は、本発明の実施形態と組合せて使用されうる態様に関連する。したがって、文書は、参照によりその全体が組み込まれる。たとえば、シリアル番号第61/020,511号によって特定される米国仮特許出願は、種々のペーシング電極および関連する回路要素を示す図を有する付属資料を含み、こうした実施形態(複数可)は、本発明の態様と組合せて使用されうる。 Those skilled in the art will recognize that the various aspects discussed in connection with the present invention can be implemented in various combinations and methods. Further, aspects discussed in connection with various references disclosed herein and incorporated herein may be used in combination with aspects of the present invention, including those referenced at the beginning of this document. . In particular, to the extent that the references presented at the beginning of this document include several similar figures and associated descriptions, those skilled in the art will be able to understand the aspects disclosed in the references, even for figures that are not common among documents. You will understand interoperability. The teachings throughout these documents relate to aspects that may be used in combination with embodiments of the present invention. Thus, the document is incorporated in its entirety by reference. For example, a US provisional patent application identified by serial number 61 / 020,511 includes appendices with diagrams showing various pacing electrodes and associated circuit elements, and such embodiment (s) are described in this book. It can be used in combination with aspects of the invention.
  上述した種々の実施形態は、例証としてだけ提供され、本発明を制限すると解釈されるべきでない。先の説明および例証に基づいて、本明細書に示し述べる例示的な実施形態および適用形態に厳密に従うことなく、種々の修正および変更が行われてもよいことを当業者は容易に認識するであろう。こうした修正および変更は、本発明の真の趣旨および範囲から逸脱しない。
付記
[付記1]
両室ペーシングを提供する際に、心臓の一方の腔に対して第1のペーシング信号を用い、前記心臓の別の腔に対して第2のペーシング信号を用いる心臓再同期治療(CRT)デバイスであって、
前記第1のペーシング信号および第2のペーシング信号の各々に共通参照成分を基準とさせる回路要素と、
リード線に結合されるように構成され、CRTデバイスを使用して、一方のペーシング信号からの負の成分および他のペーシング信号からの正の成分を使用して単腔ペーシングを提供し、単腔をペーシングするペーシング出力と
を備え、前記ペーシング信号は、負のパルスおよび正のパルスを含み、負のパルスおよび正のパルスの各々は、前記共通参照成分を基準としている、デバイス。
[付記2]
前記第1ペーシング信号および第2のペーシング信号の少なくとも一方の特性を修正するペーシング制御回路要素をさらに備える、付記1に記載のデバイス。
[付記3]
前記心臓の収縮の同期性を示す信号を生成する検知回路をさらに備える、付記1または2のいずれか1項に記載のデバイス。
[付記4]
第3のペーシング信号を提供する回路要素をさらに備える、付記1乃至3のいずれか1項に記載のデバイス。
[付記5]
前記心臓の心房活動信号を検出するセンス回路要素をさらに備える、付記1乃至4のいずれか1項に記載のデバイス。
[付記6]
第1の電気接続部に提供される正の成分および第2の電気接続部に提供される負の成分を有する第1のペーシング信号、ならびに、第3の電気接続部に提供される正の成分および第4の電気接続部に提供される負の成分を有する第2のペーシング信号を使用する両室ペーシングのために設計された、心臓再同期治療(CRT)デバイスと共に使用するための回路を備え、前記回路は、
ペーシングリード線に接続するように構成された第1の出力と、
前記ペーシングリード線に接続するように構成された第2の出力と、
参照点に接続するように構成された第3の出力と、
前記第2の電気接続部を前記第1の出力に接続し、前記第3の電気接続部を前記第2の出力に接続し、前記第1の電気接続部および第4の電気接続部を前記第3の出力に接続するように構成された電気回路要素と
を含む、付記1乃至5のいずれか1項に記載のデバイス。
[付記7]
前記電気回路要素は、前記第1の出力および第2の出力が、前記第1、第2、第3、または第4の電気接続部のうちのいずれかに接続されるようにプログラム可能である、付記6に記載のデバイス。
[付記8]
前記第1のペーシング信号および第2のペーシング信号の各々は、独立に参照される信号源を使用して生成される、付記6乃至7のいずれか1項に記載のデバイス。
[付記9]
第1の容量性供給源および第2の容量性供給源をさらに備え、該第1及び第2の容量性供給源の各々は、個別の正の端子および負の端子を含み、前記第1の容量性供給源の正の端子および負の端子は、前記第1の電気接続部および第2の電気接続部にそれぞれ対応し、前記第2の容量性供給源の正の端子および負の端子は、前記第3の電気接続部および第4の電気接続部にそれぞれ対応し、前記第1のペーシング信号および第2のペーシング信号の各々は、前記第1の容量性供給源および第2の容量性供給源の他方から独立に参照される前記第1の容量性供給源および第2の容量性供給源の一方によって提供される、付記6乃至8のいずれか1項に記載のデバイス。
[付記10]
第1のペーシング信号および第2のペーシング信号をそれぞれ提供する2つのリード線を使用する二腔ペーシングのために設計された心臓律動治療(CRT)装置に、単一リード線を接続するデバイスであって、前記第1および第2のペーシング信号の各々は正の成分および負の信号成分を有し、前記第1のペーシング信号の正の成分は第1の出力に提供され、前記第1のペーシング信号の負の成分は第2の出力に提供され、前記第2のペーシング信号の正の成分は第3の出力に提供され、前記第2のペーシング信号の負の成分は第4の出力に提供され、二腔ペーシングの場合、前記第1の出力および第2の出力は、第1のリード線によって使用されるためのものであり、前記第3の出力および第4の出力は、第2のリード線によって使用されるためのものであり、前記デバイスは、
前記CRT装置の2つのインタフェースに物理的に嵌合するように構成されたコネクタであって、第1のインタフェースは前記第1の出力および第2の出力を提供し、第2のインタフェースは前記第3の出力および第4の出力を提供し、各インタフェースは、それぞれのリード線に物理的に嵌合するように構成されている、前記コネクタと、
前記第2の出力および第3の出力から信号参照部への、ならびに、前記第1の出力および第4の出力から前記単一リード線のそれぞれの入力への電気接続部と
を備え、それにより、前記単一リード線を使用して単腔ペーシングを可能にする、デバイス。
[付記11]
コネクタハウジングは、前記CRT装置の第3のインタフェースに物理的に嵌合するようにさらに構成される、付記10に記載のデバイス。
[付記12]
前記電気接続部は、第3のインタフェースのセンス信号と前記単一リード線との間の接続部をさらに含む、付記10乃至11のいずれか1項に記載のデバイス。
[付記13]
前記電気接続部は、第5の出力および第6の出力と第2のリード線との間の接続部をさらに含む、付記10乃至12のいずれか1項に記載のデバイス。
[付記14]
2つのペーシング信号をそれぞれ使用するための第1のリード線および第2のリード線を使用する二腔ペーシングのために設計された心臓律動治療(CRT)デバイスにリード線を接続する信号経路指定マトリクスであって、前記2つのペーシング信号はそれぞれが正の信号成分および負の信号成分を有し、第1のペーシング信号の正の成分は第1の出力に提供され、前記第1のペーシング信号の負の成分は第2の出力に提供され、第2のペーシング信号の正の成分は第3の出力に提供され、前記第2のペーシング信号の負の成分は第4の出力に提供され、二腔ペーシングの場合、前記第1の出力および第2の出力は、前記第1のリード線によって使用されるためのものであり、前記第3の出力および第4の出力は、前記第2のリード線によって使用されるためのものであり、前記信号経路指定マトリクスは、
前記第2の出力および第3の出力から信号参照部への、ならびに、前記第1の出力および第4の出力から前記リード線のそれぞれの入力への電気接続部を備え、それにより、前記リード線を使用して単腔ペーシングを可能にする、マトリクス。
[付記15]
前記リード線の出力から前記CRTデバイスの検知入力への電気接続部をさらに備える、付記14に記載のマトリクス。
[付記16]
第5の出力および第6の出力から第2のリード線のそれぞれの入力への電気接続部をさらに備える、付記15に記載のマトリクス。
[付記17]
心臓を、該心臓の単腔からペーシングするための、第1電極および第2電極を含むリード線と共に使用するためのペーシングシステムであって、
第1のペーシング信号および第2のペーシング信号を提供するように構成された信号発生器であって、第1のペーシング信号および第2のペーシング信号の各々は、正の信号成分および負の信号成分を有する、前記信号発生器と、
前記第1のペーシング信号の正の成分および前記第2のペーシング信号の負の成分を共通信号参照部に経路指定し、前記第1のペーシング信号の負の成分を前記第1の電極に、前記第2のペーシング信号の正の成分を前記第2の電極に経路指定するように構成可能な経路指定回路と
を備えるペーシングシステム。
[付記18]
前記第1のペーシング信号を提供する第1の容量性コンポーネントおよび前記第2のペーシング信号を提供する第2の容量性コンポーネントをさらに備える、付記17に記載のペーシングシステム。
[付記19]
前記心臓を、前記心臓の単腔からペーシングするための、前記第1の電極および前記第2の電極を含む前記リード線をさらに備える、付記17乃至18のいずれか1項に記載のペーシングシステム。
[付記20]
前記信号発生器の第1の出力および第2の出力を電気接続するインタフェースをさらに備え、前記第1の出力および第2の出力の各々は、前記リード線に対して、前記第1のペーシング信号および第2のペーシング信号のうちのそれぞれ1つを提供する、付記17乃至19のいずれか1項に記載のペーシングシステム。
[付記21]
前記信号発生器は、ペーシング信号を提供するように構成された第3の出力をさらに含む、付記17乃至20のいずれか1項に記載のペーシングシステム。
[付記22]
前記心臓の電気信号を検出するセンス入力をさらに備える、付記17乃至21のいずれか1項に記載のペーシングシステム。
[付記23]
前記第1のペーシング信号および第2のペーシング信号を修正するペーシング制御回路要素をさらに備える、付記17乃至22のいずれか1項に記載のペーシングシステム。
[付記24]
心房活動を検知するように構成されたリード線をさらに備える、付記17乃至23のいずれか1項に記載のペーシングシステム。The various embodiments described above are provided by way of illustration only and should not be construed to limit the invention. Based on the foregoing description and illustrations, those skilled in the art will readily recognize that various modifications and changes may be made without strictly following the exemplary embodiments and applications shown and described herein. I will. Such modifications and changes do not depart from the true spirit and scope of the present invention.
Appendix
[Appendix 1]
In a cardiac resynchronization therapy (CRT) device that uses a first pacing signal for one chamber of the heart and a second pacing signal for another chamber of the heart in providing biventricular pacing There,
A circuit element that causes each of the first pacing signal and the second pacing signal to be referenced to a common reference component;
A single-chamber pacing configured to be coupled to the lead and using a CRT device using a negative component from one pacing signal and a positive component from the other pacing signal; Pacing output and pacing
And wherein the pacing signal includes a negative pulse and a positive pulse, each of the negative pulse and the positive pulse being referenced to the common reference component.
[Appendix 2]
The device of claim 1, further comprising pacing control circuitry that modifies at least one characteristic of the first pacing signal and the second pacing signal.
[Appendix 3]
The device according to any one of appendices 1 and 2, further comprising a sensing circuit that generates a signal indicative of synchronicity of the heart contraction.
[Appendix 4]
4. The device of any one of appendices 1-3, further comprising a circuit element that provides a third pacing signal.
[Appendix 5]
The device according to any one of appendices 1 to 4, further comprising sense circuitry for detecting the atrial activity signal of the heart.
[Appendix 6]
A first pacing signal having a positive component provided to the first electrical connection and a negative component provided to the second electrical connection, and a positive component provided to the third electrical connection And a circuit for use with a cardiac resynchronization therapy (CRT) device designed for biventricular pacing using a second pacing signal having a negative component provided to a fourth electrical connection The circuit is
A first output configured to connect to a pacing lead;
A second output configured to connect to the pacing lead;
A third output configured to connect to a reference point;
Connecting the second electrical connection to the first output, connecting the third electrical connection to the second output, and connecting the first electrical connection and the fourth electrical connection to the second output; An electrical circuit element configured to connect to the third output;
The device according to any one of appendices 1 to 5, comprising:
[Appendix 7]
The electrical circuit element is programmable such that the first output and the second output are connected to any of the first, second, third, or fourth electrical connections. The device according to appendix 6.
[Appendix 8]
8. The device of any one of clauses 6-7, wherein each of the first pacing signal and the second pacing signal is generated using an independently referenced signal source.
[Appendix 9]
A first capacitive source; and a second capacitive source, each of the first and second capacitive sources including a separate positive terminal and a negative terminal; The positive and negative terminals of the capacitive source correspond to the first and second electrical connections, respectively, and the positive and negative terminals of the second capacitive source are respectively , Respectively corresponding to the third electrical connection and the fourth electrical connection, wherein each of the first pacing signal and the second pacing signal is the first capacitive source and the second capacitive 9. A device according to any one of claims 6 to 8, provided by one of the first capacitive source and the second capacitive source referenced independently from the other of the sources.
[Appendix 10]
A device that connects a single lead to a cardiac rhythm therapy (CRT) device designed for dual chamber pacing using two leads each providing a first pacing signal and a second pacing signal. Each of the first and second pacing signals has a positive component and a negative signal component, and the positive component of the first pacing signal is provided to a first output, the first pacing A negative component of the signal is provided at a second output, a positive component of the second pacing signal is provided at a third output, and a negative component of the second pacing signal is provided at a fourth output. In the case of dual chamber pacing, the first output and the second output are for use by a first lead, and the third output and the fourth output are second Used by lead wire Is of order, said device,
A connector configured to physically fit into two interfaces of the CRT device, wherein a first interface provides the first output and a second output, and a second interface is the first interface. 3 and 4 outputs, wherein each interface is configured to physically mate with a respective lead; and
Electrical connections from the second and third outputs to the signal reference, and from the first and fourth outputs to respective inputs of the single lead;
And thereby enabling single chamber pacing using said single lead.
[Appendix 11]
The device of claim 10, wherein the connector housing is further configured to physically fit into a third interface of the CRT device.
[Appendix 12]
The device according to any one of appendices 10 to 11, wherein the electrical connection further includes a connection between a sense signal of a third interface and the single lead.
[Appendix 13]
The device according to any one of appendices 10 to 12, wherein the electrical connection portion further includes a connection portion between the fifth output and the sixth output and the second lead wire.
[Appendix 14]
A signal routing matrix that connects leads to a cardiac rhythm therapy (CRT) device designed for dual chamber pacing using a first lead and a second lead, respectively, for using two pacing signals The two pacing signals each have a positive signal component and a negative signal component, and the positive component of the first pacing signal is provided to a first output, and the first pacing signal A negative component is provided at the second output, a positive component of the second pacing signal is provided at the third output, a negative component of the second pacing signal is provided at the fourth output, For cavity pacing, the first output and the second output are for use by the first lead, and the third output and the fourth output are the second lead. By line Is intended to be used Te, the signal routing matrix,
Electrical connections from the second output and third output to the signal reference, and from the first output and fourth output to the respective inputs of the lead, thereby providing the lead A matrix that allows single-chamber pacing using lines.
[Appendix 15]
15. The matrix according to
[Appendix 16]
The matrix of claim 15, further comprising electrical connections from the fifth output and the sixth output to respective inputs of the second lead.
[Appendix 17]
A pacing system for use with a lead including a first electrode and a second electrode for pacing a heart from a single chamber of the heart,
A signal generator configured to provide a first pacing signal and a second pacing signal, wherein each of the first pacing signal and the second pacing signal is a positive signal component and a negative signal component. The signal generator;
Routing a positive component of the first pacing signal and a negative component of the second pacing signal to a common signal reference, the negative component of the first pacing signal to the first electrode, and A routing circuit configurable to route a positive component of a second pacing signal to the second electrode;
A pacing system comprising:
[Appendix 18]
The pacing system of claim 17, further comprising a first capacitive component that provides the first pacing signal and a second capacitive component that provides the second pacing signal.
[Appendix 19]
The pacing system according to any one of appendices 17 to 18, further comprising the lead wire including the first electrode and the second electrode for pacing the heart from a single chamber of the heart.
[Appendix 20]
And further comprising an interface for electrically connecting the first output and the second output of the signal generator, wherein each of the first output and the second output is connected to the lead with the first pacing signal. 20. A pacing system according to any one of clauses 17-19, wherein each pacing system provides one each of a second pacing signal.
[Appendix 21]
21. A pacing system according to any one of clauses 17 to 20, wherein the signal generator further includes a third output configured to provide a pacing signal.
[Appendix 22]
The pacing system according to any one of appendices 17 to 21, further comprising a sense input for detecting the electrical signal of the heart.
[Appendix 23]
23. A pacing system according to any one of clauses 17-22, further comprising pacing control circuitry that modifies the first pacing signal and the second pacing signal.
[Appendix 24]
24. A pacing system according to any one of clauses 17-23, further comprising a lead configured to detect atrial activity.
| Application Number | Priority Date | Filing Date | Title | 
|---|---|---|---|
| US12/249,508 | 2008-10-10 | ||
| US12/249,508US8290586B2 (en) | 2004-12-20 | 2008-10-10 | Methods, devices and systems for single-chamber pacing using a dual-chamber pacing device | 
| PCT/US2009/060293WO2010042910A1 (en) | 2004-12-20 | 2009-10-10 | Single-chamber pacing using a dual-chamber pacing device | 
| Publication Number | Publication Date | 
|---|---|
| JP2012505054A JP2012505054A (en) | 2012-03-01 | 
| JP5319776B2true JP5319776B2 (en) | 2013-10-16 | 
| Application Number | Title | Priority Date | Filing Date | 
|---|---|---|---|
| JP2011531237AExpired - Fee RelatedJP5319776B2 (en) | 2008-10-10 | 2009-10-10 | Single-chamber pacing using a dual-chamber pacing device | 
| Country | Link | 
|---|---|
| EP (1) | EP2370158A1 (en) | 
| JP (1) | JP5319776B2 (en) | 
| AU (1) | AU2009303324B2 (en) | 
| Publication number | Priority date | Publication date | Assignee | Title | 
|---|---|---|---|---|
| EP3806951B1 (en) | 2018-06-14 | 2024-07-24 | Medtronic, Inc. | Delivery of cardiac pacing therapy for cardiac remodeling | 
| JP2022553134A (en)* | 2019-10-24 | 2022-12-22 | バイオトロニック エスエー アンド カンパニー カーゲー | Programming device for programming an implantable medical device for stimulating the human or animal heart | 
| Publication number | Priority date | Publication date | Assignee | Title | 
|---|---|---|---|---|
| US7231249B2 (en)* | 2003-07-24 | 2007-06-12 | Mirowski Family Ventures, L.L.C. | Methods, apparatus, and systems for multiple stimulation from a single stimulator | 
| AR047851A1 (en)* | 2004-12-20 | 2006-03-01 | Giniger Alberto German | A NEW MARCAPASOS THAT RESTORES OR PRESERVES THE PHYSIOLOGICAL ELECTRIC DRIVING OF THE HEART AND A METHOD OF APPLICATION | 
| US8014861B2 (en)* | 2004-12-20 | 2011-09-06 | Cardiac Pacemakers, Inc. | Systems, devices and methods relating to endocardial pacing for resynchronization | 
| WO2009006331A1 (en)* | 2007-06-29 | 2009-01-08 | Action Medical, Inc. | Endocardial pacing devices and methods useful for resynchronization and defibrillation | 
| Publication number | Publication date | 
|---|---|
| AU2009303324B2 (en) | 2014-05-22 | 
| AU2009303324A1 (en) | 2010-04-15 | 
| JP2012505054A (en) | 2012-03-01 | 
| EP2370158A1 (en) | 2011-10-05 | 
| Publication | Publication Date | Title | 
|---|---|---|
| US8903489B2 (en) | Methods, devices and systems for single-chamber pacing using a dual-chamber pacing device | |
| US9008768B2 (en) | Methods, devices and systems for cardiac rhythm management using an electrode arrangement | |
| US8050756B2 (en) | Circuit-based devices and methods for pulse control of endocardial pacing in cardiac rhythm management | |
| US9031648B2 (en) | Endocardial pacing devices and methods useful for resynchronization and defibrillation | |
| US8014861B2 (en) | Systems, devices and methods relating to endocardial pacing for resynchronization | |
| US8538521B2 (en) | Systems, devices and methods for monitoring efficiency of pacing | |
| US8880169B2 (en) | Endocardial pacing relating to conduction abnormalities | |
| EP2164560B1 (en) | Systems for cardiac rhythm management using an electrode arrangement | |
| US8825159B2 (en) | Devices and methods for steering electrical stimulation in cardiac rhythm management | |
| EP2164562B1 (en) | Endocardial pacing relating to conduction abnormalities | |
| WO2009006331A1 (en) | Endocardial pacing devices and methods useful for resynchronization and defibrillation | |
| WO2009006325A1 (en) | Devices and methods for steering electrical stimulation in cardiac rhythm management | |
| JP5319776B2 (en) | Single-chamber pacing using a dual-chamber pacing device | |
| WO2009006329A1 (en) | Circuit-based devices and methods for pulse control of endocardial pacing in cardiac rhythm management | 
| Date | Code | Title | Description | 
|---|---|---|---|
| RD04 | Notification of resignation of power of attorney | Free format text:JAPANESE INTERMEDIATE CODE: A7424 Effective date:20120220 | |
| A131 | Notification of reasons for refusal | Free format text:JAPANESE INTERMEDIATE CODE: A131 Effective date:20130115 | |
| A521 | Request for written amendment filed | Free format text:JAPANESE INTERMEDIATE CODE: A523 Effective date:20130410 | |
| TRDD | Decision of grant or rejection written | ||
| A01 | Written decision to grant a patent or to grant a registration (utility model) | Free format text:JAPANESE INTERMEDIATE CODE: A01 Effective date:20130618 | |
| A61 | First payment of annual fees (during grant procedure) | Free format text:JAPANESE INTERMEDIATE CODE: A61 Effective date:20130711 | |
| R150 | Certificate of patent or registration of utility model | Free format text:JAPANESE INTERMEDIATE CODE: R150 | |
| R250 | Receipt of annual fees | Free format text:JAPANESE INTERMEDIATE CODE: R250 | |
| R250 | Receipt of annual fees | Free format text:JAPANESE INTERMEDIATE CODE: R250 | |
| LAPS | Cancellation because of no payment of annual fees |