



















本願は、板状部材を揺動させる装置に関する。 The present application relates to an apparatus for swinging a plate-like member.
特許文献1に開示されている装置では、姿勢を変えることができる板状部材を備えている可動単位の複数個が、行方向と列方向にマトリクス状に配列されている。マトリクス状に配列されている複数個の可動単位を備えているマトリクス型装置を活用するためには、個々の可動単位ごとに他の可動単位から独立して、板状部材の姿勢を切り換えるための駆動装置が必要とされる。特許文献1の装置では、行の数だけ独立して存在する行電極と、列の数だけ独立して存在する列電極を利用し、板状部材の姿勢を切り換える行の行電極を選択して+5Vを印加し、他の行の行電極には0Vを印加する。また、その行において、板状部材を基板に接近させる列の列電極には−5Vを印加し、板状部材を基板から離反させる列の列電極には+5Vを印加する。すると、行電極に+5Vが印加されている行では、列電極に−5Vを印加した列の板状部材が基板に接近し、列電極に+5Vを印加した列の板状部材が基板から離反する。その一方において、行電極に0Vが印加されている行では、列電極に−5Vを印加しても+5Vを印加しても、板状部材は姿勢を変えない。この方式によると、任意の交点を選択して板状部材の姿勢を意図した姿勢に切り換えることができるとともに、その操作に伴って他の交点の板状部材の姿勢まで変化することがない。行電極に+5Vを印加する行を順次に切り換えていくことで、マトリクス型装置の全可動単位に対して、個々の可動単位ごとに他の可動単位から独立して、板状部材の姿勢を切り換えることが可能となる。 In the apparatus disclosed in Patent Document 1, a plurality of movable units including plate-like members whose postures can be changed are arranged in a matrix in the row direction and the column direction. In order to utilize a matrix type apparatus having a plurality of movable units arranged in a matrix, the posture of the plate-like member is switched for each movable unit independently of the other movable units. A drive is required. In the apparatus of Patent Document 1, the row electrodes that exist independently for the number of rows and the column electrodes that exist independently for the number of columns are used to select the row electrode of the row that switches the posture of the plate-like member. + 5V is applied, and 0V is applied to the row electrodes of the other rows. In that row, -5V is applied to the column electrode of the column that brings the plate-shaped member closer to the substrate, and + 5V is applied to the column electrode of the column that moves the plate-shaped member away from the substrate. Then, in the row in which +5 V is applied to the row electrode, the plate-like member in the column to which −5 V is applied to the column electrode approaches the substrate, and the plate-like member in the column to which +5 V is applied to the column electrode is separated from the substrate. . On the other hand, in a row in which 0V is applied to the row electrode, the plate member does not change its posture even when -5V or + 5V is applied to the column electrode. According to this method, an arbitrary intersection point can be selected and the posture of the plate-like member can be switched to the intended posture, and the posture of the plate-like member at another intersection point is not changed by the operation. By sequentially switching the rows to which + 5V is applied to the row electrodes, the posture of the plate-like member is switched independently of the other movable units for each movable unit with respect to all the movable units of the matrix type device. It becomes possible.
特許文献1のマトリクス型装置では、ある行に対する処理が終了すると、その行に対する新たな処理を禁止してから、次の行への処理を開始する必要がある。例えば、1行目、2行目、3行目の順で板状部材の姿勢を切り換えていく場合、1行目の行電極に+5Vを印加して1行目の処理を完了すると、次に1行目の行電極の電圧を0Vに切り換え、その後に2行目の行電極に+5Vを印加して2行目の処理を実行する。2行目の処理を開始するのに先立って1行目の行電極の電圧を0Vに切り換えておかないと、2行目の処理の際に加える列電極の電圧が1行目に影響してしまい、1行目と2行目を独立に制御することができなくなってしまう。従来の技術では、特定の行に対する処理を終了すると、その行に対するあらたな処理を禁止する状態に切り換えなければならず、その処理に時間を要し、次の行に対する処理開始時間が遅れる。また、あらたな処理を禁止する状態に切り換えてから次の行に対する処理を開始する順序を確実に守る必要があり、あらたな処理を禁止する状態に切り換えてから次の行に対する処理を開始するまでの間に時間マージンが必要となる。これもまた、次の行に対する処理開始時間を遅らせる。 In the matrix type device of Patent Document 1, when processing for a certain row is completed, it is necessary to prohibit new processing for that row and then start processing for the next row. For example, when the posture of the plate member is switched in the order of the first row, the second row, and the third row, when + 5V is applied to the row electrode of the first row and the processing of the first row is completed, The voltage of the first row electrode is switched to 0V, and then + 5V is applied to the second row electrode to execute the processing of the second row. If the voltage of the row electrode of the first row is not switched to 0V prior to starting the processing of the second row, the voltage of the column electrode applied during the processing of the second row affects the first row. Therefore, the first and second lines cannot be controlled independently. In the conventional technique, when the processing for a specific row is completed, it is necessary to switch to a state in which the new processing for that row is prohibited. This processing takes time, and the processing start time for the next row is delayed. In addition, it is necessary to ensure that the order of starting the processing for the next row after switching to a state in which the new processing is prohibited, and until the processing for the next row is started after switching to the state in which the new processing is prohibited. A time margin is required between the two. This also delays the processing start time for the next row.
本明細書では、特定の行に対する処理を終了したときに、その行に対するあらたな処理を禁止する状態に切り換えなくても、次の行に対する処理が可能となる技術を開示する。このために、本明細書では、処理を終了した可動単位では、あらたな処理を禁止する状態に切り換えなくても、処理を終了したこと自体によって、あらたな処理が禁止される可動単位を開示する。その性質を備えた可動単位が得られれば、あらたな処理を禁止する状態に切り換える必要がなくなる。その特性を備えた可動単位で1次元のアレイ型装置または2次元のマトリクス型装置を構成すると、あらたな処理を禁止する状態に切り換える必要がないことの利点が顕在化される。本明細書では、単位となる可動単位に有効な技術を開示し、その可動単位の複数個を利用するアレイ型装置とマトリクス型装置に有効な技術を開示する。 The present specification discloses a technique that enables processing for the next line without switching to a state in which new processing for a particular line is prohibited when processing for a specific line is completed. For this reason, this specification discloses a movable unit in which a new process is prohibited by the completion of the process itself without switching to a state in which the new process is prohibited in the movable unit that has completed the process. . If a movable unit having this property is obtained, there is no need to switch to a state in which new processing is prohibited. When a one-dimensional array type device or a two-dimensional matrix type device is configured with a movable unit having such characteristics, the advantage of not having to switch to a state in which new processing is prohibited becomes obvious. In this specification, a technique effective for a movable unit as a unit is disclosed, and a technique effective for an array type device and a matrix type device using a plurality of the movable units is disclosed.
  本明細書で開示する一つの技術は、新たな処理を禁止する状態に切り換える必要がない可動単位に関する。その装置は、駆動回路と複数個の可動単位を備えている。可動単位の各々は、基板と支持部と可動梁と板状部材と第1電極と第2電極を備えている。支持部は、基板に固定されているとともに基板から上方に伸びている。可動梁は、支持部と板状部材を接続しており、板状部材を揺動軸の周りに揺動可能に支持しているともに、板状部材を基板に平行な姿勢に復帰させる復帰トルクを発揮する。板状部材は、揺動軸を挟んで向かい合う第1端部と第2端部を有しているとともに、少なくとも一部が導電体で形成されている。第1電極は、第1端部と対向する位置の基板上に形成されている。第2電極は、第2端部と対向する位置の基板上に形成されている。各可動単位の第1電極が共通に駆動回路に接続されている。各可動単位の第2電極が共通に駆動回路に接続されている。各可動単位の板状部材が個別に駆動回路に接続されている。駆動回路は、複数個の可動単位のうちの一つの可動単位を選択し、選択した可動単位の板状部材に第1電圧を印加し、その他の可動単位の板状部材に第2電圧を印加し、複数個の可動単位の第1電極に共通に第3電圧と第4電圧のうちの一方の電圧を印加するとともに、複数個の可動単位の第2電極に共通に第3電圧と第4電圧のうちの他方の電圧を印加する。第3電圧と第1電圧との電圧差の方が、第4電圧と第1電圧との電圧差より大きい。第1〜第4電圧の制約については後記する。板状部材が基板に平行な姿勢にあるときの第1端部と第1電極の距離と第2端部と第2電極の距離をd0とする。また、板状部材が揺動して第1端部と第1電極の距離が接近したときの近接距離をd1とするとともに第2端部と第2電極の距離が離れたときの離反距離をd2とする。また、板状部材が反対向きに揺動して第2端部と第2電極の距離が接近したときの近接距離をd1とするとともに第1端部と第1電極の距離が離れたときの離反距離をd2とする。このときに、複数個の可動単位の中で、第1電圧ないし第4電圧が以下の(1)ないし(3)の関係を満たしている。
(1)第1端部と第1電極の距離と第2端部と第2電極の距離がd0であり、板状部材に第1電圧を印加し、第1電極と第2電極のうちの一方に第3電圧を印加するとともに、第1電極と第2電極のうちの他方に第4電圧を印加した可動単位では、第3電圧を印加された電極が板状部材に加えるトルクから第4電圧を印加された電極が板状部材に加えるトルクを引いた差分が前記復帰トルク以上である。
(2)板状部材に第2電圧を印加し、第1電極と第2電極のうちの一方に第3電圧を印加するとともに、第1電極と第2電極のうちの他方に第4電圧を印加した可動単位では、第1電極と第2電極が板状部材に加えるトルクの差が前記復帰トルクに満たない。
(3)第1端部と第1電極の距離がd1であり、第2端部と第2電極の距離がd2であり、板状部材に第1電圧を印加し、第1電極に第4電圧を印加するとともに、第2電極に第3電圧を印加した可動単位では、第1電極が板状部材に加えるトルクから第2電極が板状部材に加えるトルクを引いた差分が前記復帰トルク以上である。第2端部と第2電極の距離がd1であり、第1端部と第1電極の距離がd2であり、板状部材に第1電圧を印加し、第2電極に第4電圧を印加するとともに、第1電極に第3電圧を印加した可動単位では、第2電極が板状部材に加えるトルクから第1電極が板状部材に加えるトルクを引いた差分が前記復帰トルク以上である。One technique disclosed in this specification relates to a movable unit that does not need to be switched to a state in which new processing is prohibited. The apparatus includes adrive circuit and a plurality of movable units. Each of the movable units comprisesa substrate and the supporting portion and the movable beam and the plate-like member and the first electrode and the secondelectrodes. The support portion is fixed to the substrate and extends upward from the substrate. Movable beam is connected to the support part and the plate-like member, both are swingably supported plate member about the pivot shaft, the returntorque for returning the plate-like member to a position parallel to the substrate Demonstrate. The plate-like member has a first end and a second end facing each other across the swing shaft, and at least a part thereof is formed of a conductor. The first electrode is formed on the substrate at a position facing the first end. The second electrode is formed on the substrate at a position facing the second end.The first electrode of each movable unit is commonly connected to the drive circuit. The second electrode of each movable unit is commonly connected to the drive circuit. Each movable unit plate-like member is individually connected to the drive circuit. Drive circuitselects one of the movable units of the plurality of movable units,a firstvoltage is applied to the plate-like memberof the selected movable units,a second voltage to the plate-like member of the other movable units And applying oneof the third voltage and the fourth voltage incommon to the first electrodes of theplurality of movable units,and the third voltage and the second voltage incommon to the second electrodesof theplurality of movable units . The other of the four voltages is applied.The voltage difference between the third voltage and the first voltage is larger than the voltage difference between the fourth voltage and the first voltage. The restrictions on the first to fourth voltages will be described later. The distance between the first end and the first electrode and the distance between the second end and the second electrode when the plate-like member is in a posture parallel to the substrate are d0. Also, the proximity distance when the plate-like member swings and the distance between the first end and the first electrode approaches is d1, and the separation distance when the distance between the second end and the second electrode is separated is Let d2. Further, when the plate-like member swings in the opposite direction and the distance between the second end and the second electrode approaches, the proximity distance is d1, and the distance between the first end and the first electrode is increased. Let the separation distance be d2. At this time,among the plurality of movable units, the first voltage to the fourth voltage satisfy the following relationships (1) to (3).
 (1) The distance between the first end and the first electrode and the distance between the second end and the second electrode are d0, the first voltage is applied to the plate member, andthe first electrode and the second electrode are In the movable unit in which the third voltage is applied to one side and the fourth voltage is applied to the other of the first electrode and the second electrode, the fourth voltage is determined based on the torque applied to the plate member by the electrode to which the third voltage is applied. The difference obtained by subtracting the torque applied to the plate-like member by the electrode to which voltage is applied is equal to or greater than the return torque.
 (2) A second voltage is appliedto the plate member, a third voltage is appliedto one of the first electrode and the second electrode, and a fourth voltage is applied to the other of the first electrode and the second electrode. In the applied movable unit, the difference in torque applied to the plate member by the first electrode and the second electrode is less than the returntorque .
 (3)The distance between the first end and the first electrode is d1, the distance between the second end and the second electrode is d2, the first voltage is applied to the plate member, and the fourth is applied to the first electrode. In the movable unit in which the voltage is applied and the third voltage is applied to the second electrode, the difference obtained by subtracting the torque applied to the plate member by the second electrode from the torque applied to the plate member by the first electrode is equal to or greater than the return torque. It is. The distance between the second end and the second electrode is d1, the distance between the first end and the first electrode is d2, the first voltage is applied to the plate member, and the fourth voltage is applied to the second electrode. In addition, in the movable unit in which the third voltage is applied to the first electrode, the difference obtained by subtracting the torque applied by the first electrode to the plate member from the torque applied by the second electrode to the plate member is equal to or greater than the return torque.
板状部材が第1電極に近づくように揺動すると、第1端部と第1電極の距離が近接距離d1まで近づき、第2端部と第2電極の距離が離反距離d2まで離反する。また、板状部材が第2電極に近づくように揺動すると、第2端部と第2電極の距離が近接距離d1まで近づき、第1端部と第1電極の距離が離反距離d2まで離反する。すなわち、板状部材はシーソー構造を有している。 When the plate-like member is swung so as to approach the first electrode, the distance between the first end and the first electrode approaches the proximity distance d1, and the distance between the second end and the second electrode increases to the separation distance d2. When the plate-like member is swung so as to approach the second electrode, the distance between the second end and the second electrode approaches the proximity distance d1, and the distance between the first end and the first electrode increases to the separation distance d2. To do. That is, the plate-like member has a seesaw structure.
(1)の関係について説明する。第1電極と板状部材との間に働く静電引力が板状部材を揺動軸の周りに揺動させるトルクとなり、第2電極と板状部材との間に働く静電引力が板状部材を揺動軸の周りに揺動させるトルクとなる。両者のトルクの方向が逆であることから、両者のトルクの差が板状部材を揺動させる有効なトルクとなる。板状部材の端部と電極との間に働く静電引力の大きさは、端部と電極との電圧差の2乗に比例し、端部と電極との距離の2乗に反比例する。板状部材が揺動していない状態では、第1端部と第1電極との間の距離と第2端部と第2電極との間の距離は共にd0となっている。すなわち、端部と電極との距離が離反してしまったとき(d2になったとき)に比して、大きな静電引力が得られる状態になっている。前記(1)の関係は、大きな静電引力が得られる状態で一方の電極に第3電圧を加えて他方の電極に第4電圧を加えると、板状部材に加えられるトルク差が復帰トルクを上回り、板状部材が可動梁を変形させて揺動することを意味している。すなわち、端部と電極の間の距離がd0であって、離反距離d2である場合よりも大きな静電引力が得られる状態であれば、第3電圧と第4電圧の電圧差が、可動梁の復帰トルクを上回る有効トルクを生み出すほどに大きいことを意味している。The relationship (1) will be described. The electrostatic attractive force acting between the first electrode and the plate-like member becomes the torque that causes the plate-like member to swing around the swing axis, and the electrostatic attractive force acting between the second electrode and the plate-like member is plate-like. This is a torque for swinging the member around the swing shaft. Since the directions of the torques of the two are opposite, the difference between the torques of the two becomes an effective torque for swinging the plate member. The magnitude of the electrostatic attractive force acting between the end of the plate member and the electrode is proportional to the square of the voltage difference between the end and the electrode, and inversely proportional to the square of the distance between the end and the electrode. In a state where the plate-like member is not swinging, the distance between the first end and the first electrode and the distance between the second end and the second electrode are both d0. That is, it is in a state where a large electrostatic attraction can be obtained as compared with the case where the distance between the end portion and the electrode is separated (when d2 is reached). The relationship of (1) is that when a third voltage is applied to one electrode and a fourth voltage is applied to the other electrode in a state where a large electrostatic attraction is obtained, the torque difference applied to the plate-like member generates a returntorque . This means that the plate-like member swings by deforming the movable beam. That is, if the distance between the end portion and the electrode is d0 and a larger electrostatic attraction than in the case of the separation distance d2 is obtained, the voltage difference between the third voltage and the fourth voltage is the movable beam. It means that it is large enough to produce an effectivetorque that exceeds the returntorque .
(2)の関係について説明する。可動単位には、他の可動単位を選択して処理しても処理されず、その可動単位を選択して処理しない限りは処理されない性質が求められる。前記(1)の関係から、処理する可動単位の板状部材に第1電圧を印加すると、その可動単位に対する処理が可能となる。前記(2)の関係にあると、板状部材に第2電圧を印加しておく限り、第1電極と第2電極に印加する電圧と無関係に、第1電極と第2電極が板状部材に加えるトルクの差が可動梁の復帰トルクに満たないことから、板状部材は揺動せず、基板に平行な姿勢を維持する。すなわち、板状部材に第2電圧を印加しておく限り、他の可動単位の処理のために第1電極と第2電極に電圧を加えても、第2電圧が印加されている可動単位では板状部材が揺動しない。他の可動単位を選択して処理しても処理されず、その可動単位を選択して処理しない限りは処理されない性質が得られる。また可動単位には、処理済の可動単位を処理前の状態に復帰させられる性質が求められる。前記(2)の関係にあると、板状部材に第2電圧を印加すれば、第1電極と第2電極の電圧状態によらないで、板状部材を基板に平行な姿勢に復帰させることが可能となる。前記(1)の関係を利用して板状部材を揺動させるに先立って、板状部材を基板に平行な姿勢に復帰させることが可能となることから、端部と電極の間の距離がd0であって離反距離d2である場合よりも大きな静電引力が得られる状態で、板状部材を揺動させる処理が可能となる。The relationship (2) will be described. The movable unit is required not to be processed even if another movable unit is selected and processed, but to be processed unless the movable unit is selected and processed. From the relationship (1), when the first voltage is applied to the plate-like member of the movable unit to be processed, the processing for the movable unit becomes possible. In the relationship (2), as long as the second voltage is applied to the plate-like member, the first electrode and the second electrode are independent of the voltage applied to the first electrode and the second electrode. Since the difference in torque applied to the plate is less than the returntorque of the movable beam, the plate-like member does not swing and maintains a posture parallel to the substrate. That is, as long as the second voltage is applied to the plate-like member, even if a voltage is applied to the first electrode and the second electrode for processing of another movable unit, the movable unit to which the second voltage is applied is not applied. The plate member does not swing. Even if another movable unit is selected and processed, it is not processed, and unless the movable unit is selected and processed, it is not processed. Further, the movable unit is required to have a property of returning the processed movable unit to the state before the processing. When the second voltage is applied to the plate-like member in the relationship (2), the plate-like member is returned to a posture parallel to the substrate without depending on the voltage state of the first electrode and the second electrode. Is possible. Prior to rocking the plate-like member using the relationship (1), it is possible to return the plate-like member to a posture parallel to the substrate. It is possible to perform the process of swinging the plate-like member in a state where an electrostatic attractive force larger than that in the case of d0 and the separation distance d2 is obtained.
(3)の関係について説明する。可動単位には、板状部材を揺動させたら、その板状部材を反対方向に揺動させる電圧を第1電極と第2電極に加えても、その揺動姿勢が反転しないことが好ましい。これが可能となれば、ある可動単位の揺動状態を切り換える処理をしてから他の可動単位の揺動状態を切り換える処理に移行する際に、処理済の可動単位に対して新たな処理を禁止する状態に切り換える必要がなくなるからである。第3電圧が第1電圧と第4電圧よりも大きい場合、前記(1)の関係から、板状部材に第1電圧を印加し、第1電極に第3電圧を印加し、第2電極に第4電圧を印加すると、板状部材は第1電極に接近してその距離がd1となり、板状部材は第2電極から離反してその距離がd2となる。ここで他の可動単位の処理のために第1電極に第3電圧を印加して第2電極に第4電圧を印加する場合、板状部材の揺動方向が反転することはない。それに対して、他の可動単位の処理のために第1電極に第4電圧を印加して第2電極に第3電圧を印加する場合に、板状部材の揺動方向が反転することがあれば、他の可動単位の揺動状態を切り換える前に処理済の可動単位に対して新たな処理を禁止する状態に切り換える必要が生じてしまう。板状部材と第1電極の距離がd1であり、板状部材と第2電極の距離がd2であれば、板状部材に第1電圧を印加し、第1電極に第4電圧を印加し、第2電極に第3電圧を印加しても、距離と電圧差の関係から、第1電極が板状部材に加えるトルクの方が、第2電極が板状部材に加えるトルクと可動梁の復帰トルク以上である関係が維持される。前記(3)の関係にあると、板状部材を揺動させたら、その板状部材を反対方向に揺動させる電圧を第1電極と第2電極に加えても、その揺動姿勢が反転しない性質が得られ、ある可動単位の揺動状態を切り換える処理をしてから他の可動単位の揺動状態を切り換えるまでの間に、処理済の可動単位に対して新たな処理を禁止する状態に切り換える必要がなくなる。The relationship (3) will be described. When the plate-like member is swung in the movable unit, it is preferable that the swinging posture is not reversed even if a voltage for swinging the plate-like member in the opposite direction is applied to the first electrode and the second electrode. If this is possible, a new process is prohibited for a processed movable unit when the process of switching the swing state of a certain movable unit is followed by a process of switching the swing state of another movable unit. This is because it is not necessary to switch to the state to be performed. When the third voltage is larger than the first voltage and the fourth voltage, the first voltage is applied to the plate-like member, the third voltage is applied to the first electrode, and the second electrode is applied from the relationship (1). When the fourth voltage is applied, the plate-like member approaches the first electrode and its distance becomes d1, and the plate-like member separates from the second electrode and its distance becomes d2. Here, when the third voltage is applied to the first electrode and the fourth voltage is applied to the second electrode for processing of other movable units, the swinging direction of the plate-shaped member is not reversed. On the other hand, when the fourth voltage is applied to the first electrode and the third voltage is applied to the second electrode for processing of other movable units, the swinging direction of the plate member may be reversed. For example, it is necessary to switch to a state in which new processing is prohibited for the processed movable unit before switching the swing state of the other movable units. If the distance between theplate member and the first electrode is d1, and the distance between the plate member and the second electrode is d2, the first voltage is applied to the plate member and the fourth voltage is applied to the first electrode. Even if the third voltage is applied to the second electrode, the torque applied by the first electrode to the plate member is greater than the torque appliedby the second electrode to the plate member due to the relationship between the distance and the voltage difference. A relationshipthat is greater than or equal to the return torque is maintained. When the plate-like member is swung in the relationship (3), the swinging posture is reversed even if a voltage for swinging the plate-like member in the opposite direction is applied to the first electrode and the second electrode. In a state in which a new process is prohibited for a processed movable unit after the process of switching the swing state of a certain movable unit until the swing state of another movable unit is switched. There is no need to switch to.
本願の装置では、(1)の関係により、板状部材に第1電圧を印加することによって第1電極と第2電極に印加する電圧によって板状部材を揺動可能な状態とし、(2)の関係により、板状部材に第2電圧を印加することによって第1電極と第2電極に印加する電圧によらないで板状部材を基板に平行な姿勢に戻すかあるいは基板に平行な姿勢に維持することができ、(3)の関係により、板状部材が揺動している可動単位の板状部材に第1電圧を印加し続けた状態で他の可動単位の処理のために第1電極と第2電極に板状部材の揺動方向を反転させる電圧を印加しても、板状部材の揺動方向が反転することがない。処理を終了した可動単位では、あらたな処理を禁止する状態に切り換えなくても、処理を終了したこと自体によって、あらたな処理が禁止される特性を得ることができる。 In the apparatus of the present application, the plate member can be swung by the voltage applied to the first electrode and the second electrode by applying the first voltage to the plate member according to the relationship (1), and (2) Therefore, by applying the second voltage to the plate-like member, the plate-like member is returned to the posture parallel to the substrate without depending on the voltage applied to the first electrode and the second electrode, or to the posture parallel to the substrate. According to the relationship (3), the first voltage is applied to the other movable unit in the state where the first voltage is continuously applied to the plate unit of the movable unit in which the plate member is oscillating. Even if a voltage that reverses the swinging direction of the plate member is applied to the electrode and the second electrode, the swinging direction of the plate member does not reverse. The movable unit that has finished processing can obtain a characteristic in which the new processing is prohibited by switching the processing itself without switching to a state in which the new processing is prohibited.
なお上記装置は、種々のアプリケーションを持つ。例えば、板状部材にミラーを形成することにより、光ビームの反射方向を変化させる光偏向装置を実現することができる。また板状部材と電極間の静電容量を変化させて記憶する記憶装置を実現することができる。また揺動する板状部材によって有接点スイッチを切り換えるリレー装置を実現することもできる。 Note that the apparatus has various applications. For example, it is possible to realize an optical deflecting device that changes the reflection direction of a light beam by forming a mirror on a plate-like member. In addition, it is possible to realize a storage device that changes and stores the capacitance between the plate-like member and the electrode. It is also possible to realize a relay device that switches a contact switch by a swinging plate-like member.
  上記の可動装置は、複数個の可動単位を組み合わせて用いるときに、その特性が有効に活用される。複数個の可動単位を備えている装置は、下記の構成を備えている。可動梁と板状部材と第1電極と第2電極で構成される可動単位の複数個が配置されており、各可動単位の第1電極が共通に駆動回路に接続されており、各可動単位の第2電極が共通に駆動回路に接続されており、各可動単位の板状部材が個別に駆動回路に接続されている。そして第3電圧と第1電圧との電圧差の方が、第4電圧と第1電圧との電圧差よりも大きい関係に調整されている。駆動回路は、板状部材が揺動している可動単位と、板状部材が揺動していない可動単位のうちの一つの可動単位を選択し、選択した可動単位の板状部材に第1電圧を印加し、その他の可動単位の板状部材に第2電圧を印加し、複数個の可動単位の第1電極に共通に第3電圧と第4電圧のうちの一方の電圧を印加するとともに、複数個の可動単位の第2電極に共通に第3電圧と第4電圧のうちの他方の電圧を印加する。すると、複数個の可動単位の中で、次の事象が生じる。
(a)板状部材が揺動していない可動単位のうちの一つであって板状部材に第1電圧が印加された可動単位では、第3電圧が印加された電極に接近する向きに板状部材が揺動し;
(b)板状部材が揺動していない可動単位のうちのその他であって板状部材に第2電圧が印加された可動単位では、板状部材が揺動せず;
(c)板状部材が揺動している可動単位であって板状部材に第1電圧が印加された可動単位では、板状部材が旧来の揺動姿勢を維持する。
  駆動回路が、板状部材に第2電圧を印加した可動単位では、板状部材が基板に平行な姿勢に復帰する。When the movable device described above is used in combination with a plurality of movable units, the characteristics are effectively utilized. An apparatus having a plurality of movable units has the following configuration. A plurality of movable units composed of a movable beam, a plate-like member, a first electrode, and a second electrode are arranged, and the first electrode of each movable unit is connected to a drive circuit in common, and each movable unit The second electrodes are commonly connected to the drive circuit, and the plate-like members of each movable unit are individually connected to the drive circuit. The voltage difference between the third voltage and the first voltage is adjusted to be larger than the voltage difference between the fourth voltage and the first voltage. The drive circuit selects one movable unit from among the movable unit in which the plate-like member is oscillating and the movable unit in which the plate-like member is not oscillated, and the first is added to the plate-like member of the selected movable unit. A voltage is applied, a second voltage is applied to the plate-like member of the other movable unit, and one of the third voltage and the fourth voltage is commonly applied to the first electrodes of the plurality of movable units. The other voltage of the third voltage and the fourth voltage is applied in common to the second electrodes of the plurality of movable units. Then, the following event occurs in the plurality of movable units.
 (A) In a movable unit in which the first voltage is applied to the plate-shaped member that is one of the movable units in which the plate-shaped member is not swinging, the plate-shaped member approaches the electrode to which the third voltage is applied. The plate member swings;
 (B) In other movable units in which the plate-shaped member is not oscillated and in which the second voltage is applied to the plate-shaped member, the plate-shaped member does not oscillate;
 (C) In the movable unit in which the plate-like member is oscillating and the first voltage is applied to the plate-like member, the plate-like member maintains the conventional oscillating posture.
 In the movable unit in which the drive circuit applies the second voltage to the plate-like member, the plate-like member returns to a posture parallel to the substrate.
(a)の事象は、板状部材が揺動していない可動単位のうちから、処理対象の可動単位を選択して板状部材を揺動させる。具体的には、板状部材に第1電圧を印加し、第1電極に第3電圧と第4電圧のうちの一方の電圧を印加するとともに、第2電極に第3電圧と第4電圧のうちの他方の電圧を印加する。これにより、第3電圧が印加された電極に接近する向きに板状部材が揺動する。(b)の事象は、板状部材が揺動していない可動単位であって、処理対象外の可動単位の板状部材を揺動させない。具体的には、処理対象外の可動単位の板状部材には第2電圧が印加される。この場合、第1電極に第3電圧と第4電圧のうちの一方の電圧を印加し、第2電極に他方の電圧を印加しても、板状部材に第2電圧が印加されている処理対象外の可動単位の板状部材は揺動しない。(c)の事象は、板状部材が揺動済みの可動単位では揺動姿勢を保持して記憶する。具体的には、第1電圧が板状部材に印加されることで、揺動姿勢が維持される。例えば、板状部材に第1電圧を印加し、第1電極に第3電圧を印加し、第2電極に第4電圧を印加すると、板状部材は第1電極に接近する向きに揺動する。一旦揺動すると、板状部材に第1電圧を印加し続けている限り、その揺動方向が反転することはない。例えば他の可動単位の板状部材を揺動させるために、第1電極に第4電圧を印加し、第2電極に第3電圧を印加しても、第1電極に接近する向きに揺動した板状部材はその姿勢を維持する。さらに、駆動回路が板状部材に第2電圧を印加した可動単位では、板状部材が基板に平行な姿勢に復帰する。これによって、揺動した板状部材を揺動しない姿勢に復帰させることができる。 In the event (a), the movable unit to be processed is selected from the movable units in which the plate-shaped member is not swung, and the plate-shaped member is swung. Specifically, the first voltage is applied to the plate-like member, one of the third voltage and the fourth voltage is applied to the first electrode, and the third voltage and the fourth voltage are applied to the second electrode. Apply the other voltage. As a result, the plate member swings in a direction approaching the electrode to which the third voltage is applied. The event (b) is a movable unit in which the plate-shaped member is not rocked, and does not rock the plate-shaped member of the movable unit that is not the object of processing. Specifically, the second voltage is applied to the plate-like member of the movable unit that is not the object of processing. In this case, a process in which the second voltage is applied to the plate-like member even when one of the third voltage and the fourth voltage is applied to the first electrode and the other voltage is applied to the second electrode. The plate member of the movable unit that is not the target does not swing. The event (c) is stored while maintaining the swinging posture in the movable unit in which the plate-like member has been swinging. Specifically, the swinging posture is maintained by applying the first voltage to the plate-like member. For example, when a first voltage is applied to the plate member, a third voltage is applied to the first electrode, and a fourth voltage is applied to the second electrode, the plate member swings in a direction approaching the first electrode. . Once oscillated, as long as the first voltage is continuously applied to the plate member, the oscillating direction is not reversed. For example, even if a fourth voltage is applied to the first electrode and a third voltage is applied to the second electrode in order to swing the plate-like member of another movable unit, it swings in a direction approaching the first electrode. The plate-like member thus maintained maintains its posture. Further, in the movable unit in which the drive circuit applies the second voltage to the plate member, the plate member returns to a posture parallel to the substrate. As a result, the swinging plate-like member can be returned to a posture in which it does not swing.
(a)および(b)の事象を用いることによって、新たに選択された1つの可動単位の板状部材のみを揺動させ、まだ選択していない可動単位の板状部材を揺動させない動作を実現することができる。特定の可動単位を選択して板状部材を揺動させることができる。板状部材を揺動させると元に戻す処理をするまでは揺動した姿勢を維持する。本明細書ででは、板状部材を揺動させることを、処理する、書き込む、あるいは記憶させるということがある。(c)の事象によって、他の可動単位の処理のためにすでに揺動している板状部材の揺動方向を反転させるための電圧を加えても、揺動済の板状部材が反転しないことから、他の可動単位を処理するに先立って、処理済みの可動単位に対する新たな処理を禁止する状態に切り換える必要がない。そして、板状部材に第2電圧を印加することにより、揺動済の板状部材を揺動前の姿勢に戻すことができる。以上によって、複数個の可動単位の第1電極に共通に電圧を印加し、複数個の可動単位の第2電極に共通に電圧を印加しながら、可動単位の一つずつに対して処理することが可能となり、他の可動単位を処理するに先立って処理済みの可動単位に対する新たな処理を禁止する状態に切り換える必要もない。複数個の可動単位で任意のパターンを形成することが可能となる。 By using the events of (a) and (b), only the newly selected movable unit plate member is oscillated, and the movable unit plate member not yet selected is not oscillated. Can be realized. A specific movable unit can be selected to swing the plate member. When the plate-like member is swung, the swung posture is maintained until the process of returning the plate member is performed. In the present specification, swinging the plate-like member may be processed, written, or stored. Due to the event of (c), even if a voltage is applied to reverse the swinging direction of the plate-like member already swinging for processing of another movable unit, the already-turned plate-like member is not reversed. Therefore, prior to processing other movable units, there is no need to switch to a state in which new processing for the processed movable units is prohibited. Then, by applying the second voltage to the plate-like member, the rocked plate-like member can be returned to the posture before the rocking. As described above, a voltage is commonly applied to the first electrodes of the plurality of movable units, and processing is performed on each of the movable units while a voltage is commonly applied to the second electrodes of the plurality of movable units. Therefore, it is not necessary to switch to a state in which new processing for a processed movable unit is prohibited prior to processing other movable units. An arbitrary pattern can be formed by a plurality of movable units.
本願の装置では、処理済の板状部材に印加する電圧を第1電圧から第2電圧へ切り換えてからでないと、新たな可動単位の板状部材に第1電圧を印加することができないという制約がない。これにより、複数個の可動単位を処理するのに要する時間を短縮することができ、駆動回路を簡単化することが可能となる。 In the apparatus of the present application, the first voltage cannot be applied to the plate member of a new movable unit unless the voltage applied to the processed plate member is switched from the first voltage to the second voltage. There is no. As a result, the time required to process a plurality of movable units can be shortened, and the drive circuit can be simplified.
  本明細書で開示する技術は、可動単位の複数個が行方向と列方向にマトリクス状に配列されている場合に、特に有用である。この場合は、下記の構成とする。
(1)各々の可動単位が備える揺動軸は列方向に伸びている。
(2)列方向に並んだ可動単位の第1電極が共通に駆動回路に接続されている。
(3)列を異にする可動単位の第1電極が個別に駆動回路に接続されている。
(4)列方向に並んだ可動単位の第2電極が共通に駆動回路に接続されている。
(5)列を異にする可動単位の第2電極が個別に駆動回路に接続されている。
(6)行方向に並んだ可動単位の板状部材が共通に駆動回路に接続されている。
(7)行を異にする可動単位の板状電極が個別に駆動回路に接続されている。
  また、駆動回路は、以下の動作を行う。
(A)処理済の行とこれから処理する一つの行を選択し、選択された行に属する可動単位の板状部材に第1電圧を印加するとともに、それ以外の行に属する可動単位の板状部材に第2電圧を印加する。
(B)これから処理する一つの行のうち、第1電極に板状部材を接近させる列では第1電極に第3電圧を印加するとともに第2電極に第4電圧を印加し、第2電極に板状部材を接近させる列では第1電極に第4電圧を印加するとともに第2電極に第3電圧を印加する。
(C)所定時点で板状部材に印加されている電圧を第1電圧から第2電圧に切り換える。The technique disclosed in this specification is particularly useful when a plurality of movable units are arranged in a matrix in the row direction and the column direction. In this case, the following configuration is adopted.
 (1) The swing shaft provided in each movable unit extends in the column direction.
 (2) The first electrodes of the movable units arranged in the column direction are commonly connected to the drive circuit.
 (3) The first electrodes of the movable units having different columns are individually connected to the drive circuit.
 (4) The second electrodes of the movable units arranged in the column direction are commonly connected to the drive circuit.
 (5) The second electrodes of the movable units having different columns are individually connected to the drive circuit.
 (6) The plate members of movable units arranged in the row direction are connected to the drive circuit in common.
 (7) The plate-like electrodes of the movable units having different rows are individually connected to the drive circuit.
 The drive circuit performs the following operations.
 (A) A processed row and one row to be processed are selected, the first voltage is applied to the plate member of the movable unit belonging to the selected row, and the plate shape of the movable unit belonging to the other rows A second voltage is applied to the member.
 (B) In one row to be processed, the third voltage is applied to the first electrode and the fourth voltage is applied to the second electrode in the column in which the plate-like member is brought close to the first electrode, and the second electrode is applied to the second electrode. In the row in which the plate-like members are approached, the fourth voltage is applied to the first electrode and the third voltage is applied to the second electrode.
 (C) The voltage applied to the plate member at a predetermined time is switched from the first voltage to the second voltage.
上記によると、可動単位を行方向および列方向に配列することで、2次元のマトリクスが形成される。そして、一行ずつ板状部材の姿勢を切り換えることができる(書き込むことができる)。また、処理済みの行に第1電圧を印加し続けることで、書込み状態を記憶することができる。2次元のマトリクスに形成された可動単位で、任意のパターンを形成することができる。処理済の行に印加する電圧を第1電圧から第2電圧に切り換えてからでないと他の行に第1電圧を印加できないという制約がないことから、全部の可動単位に対する処理を完了するまでの時間が短縮化される。 According to the above, a two-dimensional matrix is formed by arranging the movable units in the row direction and the column direction. And the attitude | position of a plate-shaped member can be switched for every line (it can write in). Further, the write state can be stored by continuing to apply the first voltage to the processed rows. An arbitrary pattern can be formed by movable units formed in a two-dimensional matrix. Since there is no restriction that the first voltage cannot be applied to other rows after the voltage applied to the processed row has been switched from the first voltage to the second voltage, the processing for all the movable units is completed. Time is shortened.
上記において、第2電圧と第4電圧を接地電圧とすることができる。この場合、第2電圧を印加するとは、接地することを意味し、電圧を印加しないことを意味する。同様に、第4電圧を印加するとは、接地することを意味し、電圧を印加しないことを意味する。この場合、第1電圧が正電圧であれば第3電圧を負電圧とし、第1電圧が負電圧であれば第3電圧を正電圧とする。 In the above, the second voltage and the fourth voltage can be the ground voltage. In this case, applying the second voltage means grounding and means not applying a voltage. Similarly, applying the fourth voltage means grounding, and means applying no voltage. In this case, if the first voltage is a positive voltage, the third voltage is a negative voltage. If the first voltage is a negative voltage, the third voltage is a positive voltage.
本技術によれば、書込み時間を短縮することができ、駆動回路を簡単化することが可能となる。 According to the present technology, the writing time can be shortened, and the driving circuit can be simplified.
  本発明に係る好ましい実施形態は、例えば、下記に列挙する特徴を備えた実施例によって具現化される。
(特徴1)駆動回路は、記憶していた揺動姿勢を1行ずつ水平状態へリセットした上で、新たな揺動姿勢を書き込む駆動方法(逐次リフレッシュ法)を行なう。
(特徴2)駆動回路は、マトリクス状に配列されている全ての可動単位について、記憶していた揺動姿勢を水平状態へリセットした上で、1行ずつ新たな揺動姿勢を書き込む駆動方法(一斉リフレッシュ法)を行なう。Preferred embodiments according to the present invention are embodied, for example, by examples having the characteristics listed below.
 (Feature 1) The drive circuit performs a drive method (sequential refresh method) for writing a new swing posture after resetting the stored swing posture to the horizontal state line by line.
 (Characteristic 2) The drive circuit resets the stored swing posture to a horizontal state for all movable units arranged in a matrix, and then writes a new swing posture one row at a time ( Simultaneous refresh method).
  図1および図2に、本実施例の光偏向装置10の概略構成を示す。図1は、光偏向装置10の上面図およびブロック図である。光偏向装置10は、マトリクス部20と、駆動回路30を備えている。マトリクス部20はMEMS工程により作成され、駆動回路30はCMOS工程により作成される。このように、マトリクス部20と駆動回路30とを別工程で形成すことで、歩留まりが低下する事態などを防止することができる。よって、光偏向装置10の作成コストを低減することが可能となる。  1 and 2 show a schematic configuration of the
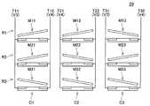
  マトリクス部20を説明する。例として、マトリクス部20に、9個の可動単位M11ないしM33が、3行×3列のマトリクス形状に並んでいる場合を説明する。なお、マトリクス部20に配列される可動単位は、3×3のマトリクス形状に限られず、N×M(N、Mは自然数)のマトリクス形状に拡張可能であることは言うまでもない。  The
第1列C1には、可動単位M11、M21、M31が、同一平面上の列方向(y方向)に3個配列されている。そして、一対の第1電極T11および第2電極T12が、可動単位M11、M21、M31に共通に接続される。第1電極T11および第2電極T12は、y方向(列方向)にレール状に平行に伸びた形状を有する。同様に、第2列C2には可動単位M12、M22、M32が列方向に配列され、一対の第1電極T21および第2電極T22によって共通接続されている。また、第3列C3には可動単位M13、M23、M33が列方向に配列され、一対の第1電極T31および第2電極T32によって共通接続されている。 In the first column C1, three movable units M11, M21, and M31 are arranged in the column direction (y direction) on the same plane. And a pair of 1st electrode T11 and 2nd electrode T12 are connected to movable unit M11, M21, M31 in common. The first electrode T11 and the second electrode T12 have a shape extending in parallel in a rail shape in the y direction (column direction). Similarly, movable units M12, M22, and M32 are arranged in the column direction in the second column C2, and are commonly connected by a pair of first electrode T21 and second electrode T22. In the third column C3, movable units M13, M23, and M33 are arranged in the column direction, and are commonly connected by a pair of first electrode T31 and second electrode T32.
第1行R1には、可動単位M11、M12、M13が、行方向(x方向)に3個配列されている。そして、第3電極T13が、可動単位M11、M12、M13に共通に接続される。同様に、第2行R2には可動単位M21、M22、M23が行方向に配列され、第3電極T23によって共通接続されている。また、第3行R3には可動単位M31、M32、M33が行方向に配列され、第3電極T33によって共通接続されている。 In the first row R1, three movable units M11, M12, and M13 are arranged in the row direction (x direction). The third electrode T13 is commonly connected to the movable units M11, M12, and M13. Similarly, movable units M21, M22, M23 are arranged in the row direction in the second row R2, and are commonly connected by the third electrode T23. In the third row R3, movable units M31, M32, and M33 are arranged in the row direction and commonly connected by a third electrode T33.
  駆動回路30を説明する。駆動回路30は、CPU31、行ドライバ回路32、列ドライバ回路33を備える。CPU31は、行ドライバ回路32および列ドライバ回路33と通信可能に接続されている。行ドライバ回路32には、第3電極T13ないしT33が接続される。第3電極T13ないしT33には、行ドライバ回路32によって、バイアス電圧V1(−8.5(V))またはリセット電圧V2(0(V))が印加される。列ドライバ回路33には、第1列C1の第1電極T11および第2電極T12、第2列C2の第1電極T21および第2電極T22、第3列C3の第1電極T31および第2電極T32が接続される。第1列C1に属する可動単位M11、M21、M31では、後述するように、第1端部24aを第1電極T11に近づくように揺動させる場合には、列ドライバ回路33によって、第1電極T11に近接電圧V3(3(V))が印加され、第2電極T12に離反電圧V4(0(V))が印加される。一方、第2端部24bを第2電極T12に近づくように揺動させる場合には、列ドライバ回路33によって、第2電極T12に近接電圧V3(3(V))が印加され、第1電極T11に離反電圧V4(0(V))が印加される。第2列C2と第3列C3についても同様であり、端部を接近させる側の電極に近接電圧V3(3(V))が印加され、端部が離反する側の電極には離反電圧V4(0(V))が印加される。なお、バイアス電圧V1が第1電圧に該当し、リセット電圧V2が第2電圧に該当し、近接電圧V3が第3電圧に該当し、離反電圧V4が第4電圧に該当する。  The
  可動単位M11ないしM33の構成を説明する。なお、可動単位M11ないしM33は同一の構造である。よって例として、可動単位M11の構成について、図2ないし図4を用いて説明する。図2は上面図である。図3はIII−III線断面図である。図4はIV−IV線断面図である。可動単位M11は、基板21、支持部22aおよび22b、可動梁23aおよび23b、板状部材24、第1電極T11、第2電極T12、第3電極T13を備えている。支持部22aおよび22bは、基板21に固定されているとともに基板21から上方(z方向)に伸びている。1対の可動梁23aおよび23bは、1対の支持部22aおよび22bの上端と板状部材24とを接続している。1対の可動梁23aおよび23bと板状部材24は、基板21から離反した高さに支持されている。1対の可動梁23aおよび23bは剛性が低くされるため、捩れやすい可動梁とされている。  The configuration of the movable units M11 to M33 will be described. The movable units M11 to M33 have the same structure. Therefore, as an example, the configuration of the movable unit M11 will be described with reference to FIGS. FIG. 2 is a top view. FIG. 3 is a sectional view taken along line III-III. FIG. 4 is a sectional view taken along line IV-IV. The movable unit M11 includes a
  図2において、可動梁23aおよび23bに沿って伸びる直線を、揺動軸A1と定義する。揺動軸A1は、y方向(列方向)に伸びた形状とされる。板状部材24は、揺動軸A1を挟んで向かい合う第1端部24aと第2端部24bを有している。また図4に示すように、第1電極T11が、第1端部24aと対向する位置の基板21上に、y方向に伸びるように形成されている。そして板状部材24の第1端部24a側の下面には、第1電極T11と対向して、第3電極T13が形成されている。また、第2電極T12が、第2端部24bと対向する位置の基板21上に、y方向に伸びるように形成されている。そして板状部材24の第2端部24b側の下面には、第2電極T12と対向して、第3電極T13が形成されている。  In FIG. 2, a straight line extending along the
  1対の可動梁23aおよび23bは、板状部材24を揺動軸A1の周りに揺動可能に支持しているともに、板状部材24を基板21に平行な姿勢に復帰させる復帰力を発揮するものである。そして、第1端部24aまたは第2端部24bにz軸方向の力を作用させると、可動部107は揺動軸A1を中心として基板21に対して揺動する。  The pair of
  図4ないし図6を用いて、板状部材24の揺動姿勢を説明する。図4に示すように、板状部材24が基板21に平行な姿勢にあるときの第1端部24aと第1電極T11の距離、および第2端部24bと第2電極T12の距離を、距離d0と定義する。また、図5に示すように、第1端部24aが第1電極T11に近づくように揺動した場合における、第1端部24aと第1電極T11の距離を近接距離d1と定義し、第2端部24bと第2電極T12の距離を離反距離d2と定義する。そして、図5の姿勢を左側揺動姿勢と定義する。また、図6に示すように、第2端部24bが第2電極T12に近づくように揺動した場合における、第2端部24bと第2電極T12の距離を近接距離d1と定義し、第1端部24aと第1電極T11の距離を離反距離d2と定義する。そして、図6の姿勢を右側揺動姿勢と定義する。  The swinging posture of the
  図5、図6に示すように、板状部材24はシーソー構造を有して揺動する。そして、シーソー構造を有することにより、例えば第1端部24aが第1電極T11に固着した場合には、逆側の第2端部24bに静電引力を発生させることで、固着を解消することが可能とされる。  As shown in FIGS. 5 and 6, the
  次に、光偏向装置10の駆動方法について説明する。実施例1では、逐次リフレッシュの駆動方法が行なわれる場合を説明する。逐次リフレッシュは、記憶していた揺動姿勢を1行ずつ水平状態へリセットした上で、新たな揺動姿勢を書き込む駆動方法である。図7に、電圧VT11ないしVT31、電圧VT12ないしVT32、電圧VT13ないしVT33のタイミングチャートを示す。電圧VT11およびVT12は、第1列C1の一対の第1電極T11および第2電極T12に印加される電圧であり、3(V)または0(V)の何れかの値をとる電圧である。また、電圧VT21およびVT22は、第2列C2の一対の第1電極T21および第2電極T22に印加される電圧であり、3(V)または0(V)の何れかの値をとる電圧である。また、電圧VT31およびVT32は、第3列C3の一対の第1電極T31および第2電極T32に印加される電圧であり、3(V)または0(V)の何れかの値をとる電圧である。電圧VT13ないしVT33は、第1行R1から第3行R3の第3電極T13ないしT33に印加される電圧であり、バイアス電圧V1(−8.5(V))またはリセット電圧V2(0(V))の値をとる電圧である。  Next, a method for driving the
  逐次リフレッシュでは、駆動回路30は、第1行R1ないし第3行R3を順番に1つずつ選択する。そして、選択した行に属する可動単位に対して、リセット動作、揺動動作、記憶動作の3つの動作を行なう。リセット動作は、板状部材24を揺動していない平行状態へ戻す動作である。揺動動作は、平行状態の板状部材24を、それぞれ所望の方向へ揺動させる動作である。このとき、選択していない行に属する可動単位の板状部材24は、旧来の揺動姿勢が維持される。記憶動作は、次のリセット動作が行なわれるまで、板状部材24の揺動姿勢を保つ動作である。  In the sequential refresh, the
  図7において、期間P1では第1行R1についてリセット動作および揺動動作が行なわれ、期間P2では第2行R2についてリセット動作および揺動動作が行なわれ、期間P3では第3行R3についてリセット動作および揺動動作が行なわれる。以下、期間P1での第1行R1のリセット動作および揺動動作について、図8ないし図15を用いて詳細に説明する。なお、図11ないし図15は、マトリクス部20における可動単位M11ないしM33の揺動姿勢を示す模式図である。  In FIG. 7, the reset operation and the swing operation are performed for the first row R1 in the period P1, the reset operation and the swing operation are performed for the second row R2 in the period P2, and the reset operation is performed for the third row R3 in the period P3. And swinging operation is performed. Hereinafter, the reset operation and the swing operation of the first row R1 in the period P1 will be described in detail with reference to FIGS. 11 to 15 are schematic views showing the swinging postures of the movable units M11 to M33 in the
  図11に、時刻t1におけるマトリクス部20の揺動姿勢を示す。図11の揺動姿勢は、第1行R1にリフレッシュを開始する前の状態である。図11に示すように、全ての可動単位M11ないしM33について、右側揺動姿勢または左側揺動姿勢が維持されている。  FIG. 11 shows the swinging posture of the
  時刻t2(図7)において行なわれる、リセット動作を説明する。時刻t2において、第3電極T13に印加される電圧VT13が、バイアス電圧V1(−8.5(V))からリセット電圧V2(0(V))に変更される。例として、可動単位M11でのリセット動作を、図8を用いて説明する。このとき、第1端部24aの第3電極T13と第1電極T11との間の静電引力を静電引力F11aと定義し、第2端部24bの第3電極T13と第2電極T12との間の静電引力を静電引力F11bと定義する。すると、図8において板状部材24を左回りに揺動させる合力F11は、下式(1)で求められる。
  F11=F11a−F11b
  =(k×(V2−V3)2/d12)−(k×(V2−V4)2/d22)・・・式(1)
  ここで係数kは、誘電率や電極面積などによって決まる係数である。そして、本願の可動単位M11では、合力F11によるトルクが可動梁23aおよび23bの復帰トルクよりも小さくされるように、リセット電圧V2、近接電圧V3および離反電圧V4、近接距離d1、離反距離d2の関係が定められている。よって、可動梁23aおよび23bの復帰トルクにより、板状部材24が揺動していない状態へ戻り、平行状態で安定とされる。よって、図12に示すように、可動単位M11が水平状態へ戻る。なお、第1行R1に属する可動単位M12およびM13においても同様にして、リセット動作が行なわれる。よって、図12に示すように、可動単位M12およびM13も水平状態へ戻る。A reset operation performed at time t2 (FIG. 7) will be described. At time t2, the voltage VT13 applied to the third electrode T13 is changed from the bias voltage V1 (−8.5 (V)) to the reset voltage V2 (0 (V)). As an example, the reset operation in the movable unit M11 will be described with reference to FIG. At this time, the electrostatic attractive force between the third electrode T13 and the first electrode T11 at the
 F11 = F11a−F11b
 = (K × (V2−V3)2 / d12 ) − (k × (V2−V4)2 / d22 ) (1)
 Here, the coefficient k is a coefficient determined by the dielectric constant, the electrode area, and the like. In the movable unit M11 of the present application, the reset voltage V2, the proximity voltage V3 and the separation voltage V4, the proximity distance d1, and the separation distance d2 are set so that thetorque by the resultant force F11 is smaller than the returntorque of the
  次に、時刻t3および時刻t4(図7)において行なわれる、揺動動作を説明する。例として、可動単位M11を右側揺動姿勢に揺動する動作を、図9を用いて説明する。時刻t3では、図9に示すように、板状部材24は基板21に平行な状態である。そして、第2電極T12に近接電圧V3(+3(V))を印加するとともに、第1電極T11に離反電圧V4(0(V))を印加する。そして、時刻t4において、第3電極T13に印加される電圧が、リセット電圧V2(0(V))からバイアス電圧V1(−8.5(V))に変更される。このとき、第1端部24aの第3電極T13と第1電極T11との間の静電引力を静電引力F12aと定義し、第2端部24bの第3電極T13と第2電極T12との間の静電引力を静電引力F12bと定義する。すると、図9において板状部材24を右回りに揺動させる合力F12は、下式(2)で求められる。
  F12=F12b−F12a
  =(k×(V1−V3)2/d02)−(k×(V1−V4)2/d02)・・・式(2)
  そして、本願の可動単位M11では、合力F12によるトルクが可動梁23aおよび23bの復帰トルク以上となるように、バイアス電圧V1、近接電圧V3および離反電圧V4、距離d0の関係が定められている。よって、第2端部24bが第2電極T12に近づくように、板状部材24が図中右側へ揺動する。よって、図13に示すように、可動単位M11が図中右側へ揺動する。なお、第1行R1に属する可動単位M12およびM13においても同様にして、揺動動作が行なわれる。よって、図13に示すように、可動単位M12が図中右側へ揺動し、可動単位M13が図中左側へ揺動する。Next, the swinging operation performed at time t3 and time t4 (FIG. 7) will be described. As an example, an operation of swinging the movable unit M11 to the right swinging posture will be described with reference to FIG. At time t3, the plate-
 F12 = F12b−F12a
 = (K × (V1−V3)2 / d02 ) − (k × (V1−V4)2 / d02 ) (2)
 In the movable unit M11 of the present application, the relationship between the bias voltage V1, the proximity voltage V3, the separation voltage V4, and the distance d0 is determined so that thetorque by the resultant force F12 is equal toor greater than the returntorque of the
また、第1行R1の可動単位の揺動動作中における、第2行R2、第3行R3の可動単位の動作を説明する。時刻t3(図7)において、第1電極T11に印加される電圧が近接電圧V3から離反電圧V4へ入れ替えられるとともに、第2電極T12に印加される電圧が離反電圧V4から近接電圧V3へ入れ替えられる。これにより、第1列C1に属する可動単位M11、M21、M31に対して、共通に、右側揺動姿勢をとる旨の命令が伝達されることになる。しかし、後述するように、右側揺動姿勢をとる旨の命令はリフレッシュ済みの可動単位M11のみに有効とされる。そして、リフレッシュされていない可動単位M21およびM31では、右側揺動姿勢をとる旨の命令が無視される。 The operation of the movable units in the second row R2 and the third row R3 during the swing operation of the movable unit in the first row R1 will be described. At time t3 (FIG. 7), the voltage applied to the first electrode T11 is switched from the proximity voltage V3 to the separation voltage V4, and the voltage applied to the second electrode T12 is switched from the separation voltage V4 to the proximity voltage V3. . As a result, a command for taking the right-side swing posture is transmitted to the movable units M11, M21, and M31 belonging to the first column C1 in common. However, as will be described later, the command to take the right-side swing posture is valid only for the refreshed movable unit M11. Then, in the movable units M21 and M31 that have not been refreshed, the command for taking the right swinging posture is ignored.
  リフレッシュされていない可動単位において、揺動姿勢の命令が無視される原理について説明する。例として、第2行R2に属する可動単位M21での動作を、図10を用いて説明する。可動単位M21は、時刻t3および時刻t4において図中左側へ揺動した姿勢とされており、第3電極T23によってバイアス電圧V1が板状部材24に印加されている。  The principle of ignoring the swing posture command in a movable unit that has not been refreshed will be described. As an example, the operation in the movable unit M21 belonging to the second row R2 will be described with reference to FIG. The movable unit M21 is configured to swing to the left in the drawing at time t3 and time t4, and the bias voltage V1 is applied to the
  図10において、第1端部24aについてみると、第1端部24aと第1電極T11が近接距離d1まで近づき、かつ、第3電極T23にバイアス電圧V1(−8.5(V))が印加され、第1電極T11に離反電圧V4(0(V))が印加されている。この場合の静電引力を近接時静電引力FAと定義すると、近接時静電引力FAは下式(3)で求められる。
  FA=k×(V1−V4)2/d12・・・式(3)
  一方、図10において、第2端部24bについてみると、第2端部24bと第2電極T12が離反距離d2まで離れ、かつ、第3電極T23にバイアス電圧V1が印加され、第2電極T12に近接電圧V3(3(V))が印加されている。この場合の静電引力を離反時静電引力FBと定義すると、離反時静電引力FBは下式(4)で求められる。
  FB=k×(V1−V3)2/d22・・・式(4)In FIG. 10, regarding the
 FA = k × (V1−V4)2 / d12 Formula (3)
 On the other hand, in FIG. 10, regarding the
 FB = k × (V1−V3)2 / d22 Formula (4)
  そして、近接時静電引力FAが板状部材24に加えるトルクが、離反時静電引力FBが板状部材24に加えるトルクと可動梁23aおよび23bの復帰トルク以上になれば、第3電極T23にバイアス電圧V1を印加している限りは、その揺動姿勢を反転させるような近接電圧V3および離反電圧V4が第1電極T11および第2電極T12に入力されても、当該近接電圧V3および離反電圧V4を無視することができる。ここで、近接時静電引力FAおよび離反時静電引力FBが、可動梁23aおよび23bの復帰トルクよりも十分に大きい場合には、可動梁23aおよび23bの復帰トルクを無視することができる。よって、近接電圧V3および離反電圧V4を無視するための近接距離d1、離反距離d2、バイアス電圧V1、近接電圧V3、離反電圧V4の関係は、下式(5)により求められる。
  FA>FB
  k×(V1−V4)2/d12>k×(V1−V3)2/d22
  d2/d1>(V1−V3)/(V1−V4)・・・式(5)Then, at the time of closest proximity electrostatic attractive force FAis thetorque applied to the plate-
 FA> FB
 k × (V1−V4)2 / d12 > k × (V1−V3)2 / d22
 d2 / d1> (V1-V3) / (V1-V4) (5)
ここで、近接距離d1に対する離反距離d2の比率((離反距離d2)/(近接距離d1))を、距離比率DRと定義する。また、バイアス電圧V1と離反電圧V4との電圧差に対する、バイアス電圧V1と近接電圧V3との電圧差の比率((V1−V3)/(V1−V4))を、電圧比率VRと定義する。式(5)より、近接時静電引力FAと離反時静電引力FBとの大小関係は、距離比率DRと電圧比率VRの大小関係で決定されることが分かる。 Here, a ratio of the separation distance d2 to the proximity distance d1 ((separation distance d2) / (proximity distance d1)) is defined as a distance ratio DR. Further, the ratio of the voltage difference between the bias voltage V1 and the proximity voltage V3 ((V1-V3) / (V1-V4)) to the voltage difference between the bias voltage V1 and the separation voltage V4 is defined as a voltage ratio VR. From equation (5), it can be seen that the magnitude relationship between the electrostatic attraction force FA at the time of proximity and the electrostatic attraction force FB at the time of separation is determined by the magnitude relationship between the distance ratio DR and the voltage ratio VR.
  そして、本願の光偏向装置10では、距離比率DRが電圧比率VRよりも大きくなるように、バイアス電圧V1、近接電圧V3、離反電圧V4、近接距離d1、離反距離d2の関係が定められている。すなわち静電引力において、電圧差よりも端部―電極間距離の方が支配的となるように、距離と電圧との関係が決められている。すると、板状部材24の姿勢が一度決定してしまえば、第3電極T23にバイアス電圧V1を印加している限り、第1電極T11および第2電極T12に姿勢を反転させるような電圧が印加されても、揺動姿勢が変化することがない。すなわち、第3電極T23にバイアス電圧V1を印加した状態を維持することで、板状部材24の姿勢を記憶することができる。  In the
よって、図13の例に示すように、第2行R2の可動単位M21では、旧来の揺動姿勢が維持される。また、第2行R2の可動単位M22およびM23、第3行R3のM31ないしM33においても、同様にして、旧来の揺動姿勢が維持される。 Therefore, as shown in the example of FIG. 13, the conventional swinging posture is maintained in the movable unit M21 in the second row R2. Similarly, the conventional swinging posture is maintained in the movable units M22 and M23 in the second row R2 and M31 to M33 in the third row R3.
時刻t4以降(図7)の期間において行なわれる、記憶動作について説明する。例として、可動単位M11での記憶動作を説明する。可動単位M11の記憶動作は、第3電極T13に印加される電圧がバイアス電圧V1(−8.5(V))に維持されることで行なわれる。これにより、可動単位M11では、第1電極T11および第2電極T12に印加される電圧に係らず、右側揺動姿勢が維持される。なお、記憶動作は、上述した原理により行なわれるため、ここでは詳細な説明を省略する。これにより、期間P1における書き換えが完了する。 A storage operation performed in a period after time t4 (FIG. 7) will be described. As an example, the storage operation in the movable unit M11 will be described. The storage operation of the movable unit M11 is performed by maintaining the voltage applied to the third electrode T13 at the bias voltage V1 (−8.5 (V)). Thereby, in the movable unit M11, the right swinging posture is maintained regardless of the voltage applied to the first electrode T11 and the second electrode T12. Since the storing operation is performed based on the above-described principle, detailed description thereof is omitted here. Thereby, the rewriting in the period P1 is completed.
同様にして、期間P2(図7)において、第2行R2について書き換えが行なわれる。そして、図14の例に示すように、第2行R2に属する可動単位のうち、可動単位M22の揺動姿勢のみが左側揺動姿勢から右側揺動姿勢に変更される。また、期間P3において、第3行R3について書き換えが行なわれる。そして、図15の例に示すように、第3行R3に属する可動単位のうち、可動単位M31の揺動姿勢のみが右側揺動姿勢から左側揺動姿勢に変更される。これにより、可動単位M11ないしM33の各々を、ディスプレイデータに対応した姿勢に制御することで、1フレーム分のディスプレイフレームをセットすることができる。そして、所定の周波数でディスプレイフレームを書き換える動作が行なわれることで、プロジェクタ等の画像形成装置に搭載する光偏向装置が実現される。 Similarly, rewriting is performed for the second row R2 in the period P2 (FIG. 7). Then, as shown in the example of FIG. 14, among the movable units belonging to the second row R2, only the swinging posture of the movable unit M22 is changed from the left swinging posture to the right swinging posture. In the period P3, rewriting is performed on the third row R3. Then, as shown in the example of FIG. 15, among the movable units belonging to the third row R3, only the swinging posture of the movable unit M31 is changed from the right swinging posture to the left swinging posture. Thereby, the display frame for one frame can be set by controlling each of the movable units M11 to M33 to the posture corresponding to the display data. Then, by performing an operation of rewriting the display frame at a predetermined frequency, an optical deflecting device mounted on an image forming apparatus such as a projector is realized.
  実施例1に係る光偏向装置10の効果を説明する。実施例1の光偏向装置10では、電圧差よりも端部―電極間距離の方が支配的となるように、バイアス電圧V1、近接電圧V3、離反電圧V4、近接距離d1、離反距離d2の関係が定められている。これにより、第3電極にバイアス電圧V1を印加した状態を維持することで、板状部材24の姿勢を記憶することができる。よって、複数行の第3電極に同時にバイアス電圧V1を印加した状態を許容することができる。すると、ある行の第3電極に印加する電圧をバイアス電圧V1からリセット電圧V2へ遷移してからでないと、他の行の第3電極にバイアス電圧V1を印加することができない、という事態が発生しない。これにより、複数行の第3電極の間でバイアス電圧V1を印加するタイミングを制御する必要がないため、制御を簡略化できる結果、行ドライバ回路32などの駆動回路の規模を縮小することが可能となる。  The effect of the
  また、マトリクス部20の駆動速度は、第3電極に印加される電圧の昇降時間と、板状部材24の揺動動作の応答時間で決まる。そして実施例1の光偏向装置10では、複数行の第3電極に同時にバイアス電圧V1を印加した状態を許容することができる。すると、ある行の第3電極に印加される電圧をバイアス電圧V1からリセット電圧V2にしてから、他の第3電極に印加される電圧をリセット電圧V2からバイアス電圧V1にするまでの間に、時間マージンが不要となるため、第3電極に印加される電圧の昇降時間を短くすることができる。よって、マトリクス部20の駆動速度を高めることが出来る。  The driving speed of the
  実施例2を説明する。実施例2では、一斉リフレッシュの駆動方法が行なわれる場合を説明する。一斉リフレッシュは、マトリクス部20の全ての可動単位について、記憶していた揺動姿勢を水平状態へリセットした上で、1行ずつ新たな揺動姿勢を書き込む駆動方法である。なお、マトリクス部20や駆動回路30の構造は実施例1と同様であるため、ここでは詳細な説明は省略する。  A second embodiment will be described. In the second embodiment, a case where a simultaneous refresh driving method is performed will be described. The simultaneous refresh is a driving method for writing a new swinging posture for each row after resetting the stored swinging posture to a horizontal state for all the movable units of the
  図16に、電圧VT11ないしVT31、電圧VT12ないしVT32、電圧VT13ないしVT33のタイミングチャートを示す。一斉リフレッシュでは、駆動回路30は、第1行R1ないし第3行R3について一斉リセット動作を行なう。そして、駆動回路30は、第1行R1ないし第3行R3を順番に1つずつ選択し、選択した行に属する可動単位に対して、揺動動作および記憶動作を行なう。図16において、時刻t11ではリフレッシュが行なわれ、期間P11では第1行R1について揺動動作が行なわれ、期間P12では第2行R2について揺動動作が行なわれ、期間P13では第3行R3について揺動動作が行なわれる。なお、図17ないし図20は、マトリクス部20における可動単位M11ないしM33の揺動姿勢を示す模式図である。  FIG. 16 shows a timing chart of the voltages VT11 to VT31, the voltages VT12 to VT32, and the voltages VT13 to VT33. In the simultaneous refresh, the
時刻t11(図16)において行なわれる、一斉リセット動作を説明する。時刻t11において、電圧VT13ないしVT33が、バイアス電圧V1(−8.5(V))からリセット電圧V2(0(V))に変更される。よって、図17に示すように、全ての可動単位M11ないしM33の姿勢が、水平状態にリセットされる。 A simultaneous reset operation performed at time t11 (FIG. 16) will be described. At time t11, the voltages VT13 to VT33 are changed from the bias voltage V1 (−8.5 (V)) to the reset voltage V2 (0 (V)). Therefore, as shown in FIG. 17, the postures of all the movable units M11 to M33 are reset to the horizontal state.
次に、時刻t12および時刻t13において行なわれる、揺動動作を説明する。例として、可動単位M11を左側揺動姿勢に揺動する動作を説明する。時刻t12では、第1電極T11に近接電圧V3(+3(V))が印加されるとともに、第2電極T12に離反電圧V4(0(V))が印加される。そして、時刻t13において、第3電極T13に印加される電圧が、リセット電圧V2(0(V))からバイアス電圧V1(−8.5(V))に変更される。よって、図18に示すように、可動単位M11が図中左側へ揺動する。なお、第1行R1に属する可動単位M12およびM13においても同様にして、可動単位M12が図中左側へ揺動し、可動単位M13が図中右側へ揺動する。これにより、期間P11における第1行R1についての揺動動作が完了する。 Next, the swinging operation performed at time t12 and time t13 will be described. As an example, an operation of swinging the movable unit M11 to the left swinging posture will be described. At time t12, the proximity voltage V3 (+3 (V)) is applied to the first electrode T11, and the separation voltage V4 (0 (V)) is applied to the second electrode T12. At time t13, the voltage applied to the third electrode T13 is changed from the reset voltage V2 (0 (V)) to the bias voltage V1 (−8.5 (V)). Therefore, as shown in FIG. 18, the movable unit M11 swings to the left in the drawing. Similarly, in the movable units M12 and M13 belonging to the first row R1, the movable unit M12 swings to the left in the drawing, and the movable unit M13 swings to the right in the drawing. Thereby, the swinging operation for the first row R1 in the period P11 is completed.
  また、期間P11における、第2行R2の可動単位M21および第3行R3の可動単位M31の動作を説明する。期間P11では、可動単位M21およびM31の板状部材24にはリセット電圧V2が印加されている。また、可動単位M21およびM31の板状部材24は基板21に平行な姿勢とされており、第1端部24aと第1電極T11の距離、および第2端部24bと第2電極T12の距離は、ともに距離d0とされている。時刻t12において、第1電極T11に近接電圧V3(+3(V))が印加されるとともに、第2電極T12に離反電圧V4(0(V))が印加される。よって、第1列C1に属する可動単位M11、M21、M31に対して、共通に、左側揺動姿勢をとる旨の命令が伝達される。しかし、本願の可動単位M11ないしM33では、前述の通り、リセット電圧V2が板状部材24に印加されているときに発生するトルクが、可動梁23aおよび23bの復帰力よりも小さくされるように、リセット電圧V2、近接電圧V3および離反電圧V4、距離d0の関係が定められている。よって、リセット電圧V2を板状部材24に印加しておく限り、第1電極T11と第2電極T12に印加する電圧と無関係に、板状部材24は揺動せず、基板21に平行な姿勢を維持する。すなわち、可動単位M11の処理のために第1電極T11と第2電極T12に電圧を加えても、リセット電圧V2が印加されている可動単位M21およびM31では板状部材24が揺動しない。なお、可動単位M22、M32、M23、M33についても同様にして、板状部材24が揺動しない。よって、図18に示すように、第2行R2の可動単位M21ないしM23、および第3行R3の可動単位M31ないしM33の姿勢が、水平状態に維持される。  The operation of the movable unit M21 in the second row R2 and the movable unit M31 in the third row R3 in the period P11 will be described. In the period P11, the reset voltage V2 is applied to the plate-
同様にして、期間P12(図16)において、第2行R2について揺動動作が行なわれる。そして、図19の例に示すように、第2行R2に属する可動単位が左側揺動姿勢または右側揺動姿勢に設定される。また、期間P13において、第3行R3について揺動動作が行なわれる。そして、図20の例に示すように、第3行R3に属する可動単位が左側揺動姿勢または右側揺動姿勢に設定される。 Similarly, the swinging operation is performed for the second row R2 in the period P12 (FIG. 16). Then, as shown in the example of FIG. 19, the movable unit belonging to the second row R2 is set to the left swinging posture or the right swinging posture. In the period P13, the swinging operation is performed for the third row R3. Then, as shown in the example of FIG. 20, the movable unit belonging to the third row R3 is set to the left swinging posture or the right swinging posture.
  実施例2の効果を説明する。実施例2における一斉リフレッシュの駆動方法においても、複数行の第3電極に同時にバイアス電圧V1を印加した状態を許容することができる。これにより、複数行の第3電極の間でバイアス電圧V1を印加するタイミングを制御する必要がないため、制御を簡略化できる結果、行ドライバ回路32などの駆動回路の規模を縮小することが可能となる。またこれにより、ある行の第3電極に印加される電圧をバイアス電圧V1からリセット電圧V2にしてから、他の第3電極に印加される電圧をリセット電圧V2からバイアス電圧V1にするまでの間に、時間マージンが不要となるため、第3電極に印加される電圧の昇降時間を短くすることができる。  The effect of Example 2 will be described. Also in the simultaneous refresh driving method in the second embodiment, it is possible to allow a state in which the bias voltage V1 is simultaneously applied to the third electrodes in a plurality of rows. As a result, it is not necessary to control the timing of applying the bias voltage V1 between the third electrodes of a plurality of rows, so that the control can be simplified and the scale of the drive circuit such as the
以上、本願の実施例について詳細に説明したが、これらは例示に過ぎず、特許請求の範囲を限定するものではない。特許請求の範囲に記載の技術には、以上に例示した具体例を様々に変形、変更したものが含まれる。 As mentioned above, although the Example of this application was described in detail, these are only illustrations and do not limit a claim. The technology described in the claims includes various modifications and changes of the specific examples illustrated above.
  本願では、光偏向装置を例として説明したが、この形態に限られない。例えば、板状部材24と第1電極T11の間の静電容量や、板状部材24と第2電極T12との間の静電容量を検知することで、記憶状態を呼び出す記憶装置として機能させることが可能である。また、第3電極T13の接続先を、第1電極T11と第2電極T12との間で物理的に切り替えるリレー装置として機能させることも可能である。  In the present application, the optical deflecting device has been described as an example, but the present invention is not limited to this. For example, by detecting the electrostatic capacitance between the plate-
本明細書または図面に説明した技術要素は、単独であるいは各種の組合せによって技術的有用性を発揮するものであり、出願時請求項記載の組合せに限定されるものではない。また、本明細書または図面に例示した技術は複数目的を同時に達成し得るものであり、そのうちの一つの目的を達成すること自体で技術的有用性を持つものである。 The technical elements described in this specification or the drawings exhibit technical usefulness alone or in various combinations, and are not limited to the combinations described in the claims at the time of filing. In addition, the technology exemplified in this specification or the drawings can achieve a plurality of objects at the same time, and has technical usefulness by achieving one of the objects.
10  光偏向装置
20  マトリクス部
24  板状部材
24a  第1端部
24b  第2端部
30  駆動回路
d0  距離
d1  近接距離
d2  離反距離
V1  バイアス電圧
V2  リセット電圧
V3  近接電圧
V4  離反電圧
M11ないしM33  可動単位
T11ないしT31  第1電極
T12ないしT32  第2電極
T13ないしT33  第3電極DESCRIPTION OF
| Application Number | Priority Date | Filing Date | Title | 
|---|---|---|---|
| JP2009291361AJP5310529B2 (en) | 2009-12-22 | 2009-12-22 | Oscillator for plate member | 
| US13/394,699US9075234B2 (en) | 2009-12-22 | 2010-12-14 | Tabular member swinging device | 
| PCT/JP2010/072482WO2011078015A1 (en) | 2009-12-22 | 2010-12-14 | Plate-like member swinging device | 
| Application Number | Priority Date | Filing Date | Title | 
|---|---|---|---|
| JP2009291361AJP5310529B2 (en) | 2009-12-22 | 2009-12-22 | Oscillator for plate member | 
| Publication Number | Publication Date | 
|---|---|
| JP2011131302A JP2011131302A (en) | 2011-07-07 | 
| JP5310529B2true JP5310529B2 (en) | 2013-10-09 | 
| Application Number | Title | Priority Date | Filing Date | 
|---|---|---|---|
| JP2009291361AExpired - Fee RelatedJP5310529B2 (en) | 2009-12-22 | 2009-12-22 | Oscillator for plate member | 
| Country | Link | 
|---|---|
| US (1) | US9075234B2 (en) | 
| JP (1) | JP5310529B2 (en) | 
| WO (1) | WO2011078015A1 (en) | 
| Publication number | Priority date | Publication date | Assignee | Title | 
|---|---|---|---|---|
| TWI646515B (en)* | 2018-01-19 | 2019-01-01 | 友達光電股份有限公司 | Display device | 
| Publication number | Priority date | Publication date | Assignee | Title | 
|---|---|---|---|---|
| US7471444B2 (en)* | 1996-12-19 | 2008-12-30 | Idc, Llc | Interferometric modulation of radiation | 
| WO2003007049A1 (en)* | 1999-10-05 | 2003-01-23 | Iridigm Display Corporation | Photonic mems and structures | 
| US6552840B2 (en)* | 1999-12-03 | 2003-04-22 | Texas Instruments Incorporated | Electrostatic efficiency of micromechanical devices | 
| US6504641B2 (en)* | 2000-12-01 | 2003-01-07 | Agere Systems Inc. | Driver and method of operating a micro-electromechanical system device | 
| JP4003063B2 (en)* | 2002-09-04 | 2007-11-07 | セイコーエプソン株式会社 | Mirror device, optical switch, electronic device, and mirror device driving method | 
| US7142346B2 (en)* | 2003-12-09 | 2006-11-28 | Idc, Llc | System and method for addressing a MEMS display | 
| US7499208B2 (en)* | 2004-08-27 | 2009-03-03 | Udc, Llc | Current mode display driver circuit realization feature | 
| US7889163B2 (en)* | 2004-08-27 | 2011-02-15 | Qualcomm Mems Technologies, Inc. | Drive method for MEMS devices | 
| US7515147B2 (en)* | 2004-08-27 | 2009-04-07 | Idc, Llc | Staggered column drive circuit systems and methods | 
| US7551159B2 (en)* | 2004-08-27 | 2009-06-23 | Idc, Llc | System and method of sensing actuation and release voltages of an interferometric modulator | 
| US7560299B2 (en)* | 2004-08-27 | 2009-07-14 | Idc, Llc | Systems and methods of actuating MEMS display elements | 
| US7602375B2 (en)* | 2004-09-27 | 2009-10-13 | Idc, Llc | Method and system for writing data to MEMS display elements | 
| US7345805B2 (en)* | 2004-09-27 | 2008-03-18 | Idc, Llc | Interferometric modulator array with integrated MEMS electrical switches | 
| US7446927B2 (en)* | 2004-09-27 | 2008-11-04 | Idc, Llc | MEMS switch with set and latch electrodes | 
| US20060066594A1 (en)* | 2004-09-27 | 2006-03-30 | Karen Tyger | Systems and methods for driving a bi-stable display element | 
| US8878825B2 (en)* | 2004-09-27 | 2014-11-04 | Qualcomm Mems Technologies, Inc. | System and method for providing a variable refresh rate of an interferometric modulator display | 
| US7843410B2 (en)* | 2004-09-27 | 2010-11-30 | Qualcomm Mems Technologies, Inc. | Method and device for electrically programmable display | 
| US7453579B2 (en)* | 2004-09-27 | 2008-11-18 | Idc, Llc | Measurement of the dynamic characteristics of interferometric modulators | 
| US7701631B2 (en)* | 2004-09-27 | 2010-04-20 | Qualcomm Mems Technologies, Inc. | Device having patterned spacers for backplates and method of making the same | 
| US8514169B2 (en)* | 2004-09-27 | 2013-08-20 | Qualcomm Mems Technologies, Inc. | Apparatus and system for writing data to electromechanical display elements | 
| US7626581B2 (en)* | 2004-09-27 | 2009-12-01 | Idc, Llc | Device and method for display memory using manipulation of mechanical response | 
| US7327510B2 (en)* | 2004-09-27 | 2008-02-05 | Idc, Llc | Process for modifying offset voltage characteristics of an interferometric modulator | 
| US7545550B2 (en) | 2004-09-27 | 2009-06-09 | Idc, Llc | Systems and methods of actuating MEMS display elements | 
| US7679627B2 (en)* | 2004-09-27 | 2010-03-16 | Qualcomm Mems Technologies, Inc. | Controller and driver features for bi-stable display | 
| US7310179B2 (en)* | 2004-09-27 | 2007-12-18 | Idc, Llc | Method and device for selective adjustment of hysteresis window | 
| US7302157B2 (en)* | 2004-09-27 | 2007-11-27 | Idc, Llc | System and method for multi-level brightness in interferometric modulation | 
| US7675669B2 (en)* | 2004-09-27 | 2010-03-09 | Qualcomm Mems Technologies, Inc. | Method and system for driving interferometric modulators | 
| US7532195B2 (en)* | 2004-09-27 | 2009-05-12 | Idc, Llc | Method and system for reducing power consumption in a display | 
| US7359066B2 (en)* | 2004-09-27 | 2008-04-15 | Idc, Llc | Electro-optical measurement of hysteresis in interferometric modulators | 
| US8310441B2 (en)* | 2004-09-27 | 2012-11-13 | Qualcomm Mems Technologies, Inc. | Method and system for writing data to MEMS display elements | 
| US7289256B2 (en)* | 2004-09-27 | 2007-10-30 | Idc, Llc | Electrical characterization of interferometric modulators | 
| AU2005289445A1 (en)* | 2004-09-27 | 2006-04-06 | Idc, Llc | Method and device for multistate interferometric light modulation | 
| US7551246B2 (en)* | 2004-09-27 | 2009-06-23 | Idc, Llc. | System and method for display device with integrated desiccant | 
| US7724993B2 (en)* | 2004-09-27 | 2010-05-25 | Qualcomm Mems Technologies, Inc. | MEMS switches with deforming membranes | 
| US7573547B2 (en)* | 2004-09-27 | 2009-08-11 | Idc, Llc | System and method for protecting micro-structure of display array using spacers in gap within display device | 
| US7136213B2 (en)* | 2004-09-27 | 2006-11-14 | Idc, Llc | Interferometric modulators having charge persistence | 
| US7920136B2 (en)* | 2005-05-05 | 2011-04-05 | Qualcomm Mems Technologies, Inc. | System and method of driving a MEMS display device | 
| US7948457B2 (en)* | 2005-05-05 | 2011-05-24 | Qualcomm Mems Technologies, Inc. | Systems and methods of actuating MEMS display elements | 
| JP2006346817A (en)* | 2005-06-16 | 2006-12-28 | Fujifilm Holdings Corp | Micro-electromechanical device array apparatus and its driving method | 
| JP2007015067A (en)* | 2005-07-08 | 2007-01-25 | Fujifilm Holdings Corp | Small thin film movable element, small thin film movable element array, and image forming apparatus | 
| JP2007033787A (en)* | 2005-07-26 | 2007-02-08 | Fujifilm Corp | Small thin film movable element, small thin film movable element array, and driving method of small thin film movable element array | 
| JP4810154B2 (en)* | 2005-07-28 | 2011-11-09 | 富士フイルム株式会社 | Driving method of micro electro mechanical element, micro electro mechanical element array, and image forming apparatus | 
| US7355779B2 (en) | 2005-09-02 | 2008-04-08 | Idc, Llc | Method and system for driving MEMS display elements | 
| US20070126673A1 (en)* | 2005-12-07 | 2007-06-07 | Kostadin Djordjev | Method and system for writing data to MEMS display elements | 
| US8391630B2 (en)* | 2005-12-22 | 2013-03-05 | Qualcomm Mems Technologies, Inc. | System and method for power reduction when decompressing video streams for interferometric modulator displays | 
| JP2007199101A (en)* | 2006-01-23 | 2007-08-09 | Fujifilm Corp | Micro-electromechanical element array device and image forming apparatus | 
| US8194056B2 (en)* | 2006-02-09 | 2012-06-05 | Qualcomm Mems Technologies Inc. | Method and system for writing data to MEMS display elements | 
| JP4966562B2 (en)* | 2006-02-28 | 2012-07-04 | 富士フイルム株式会社 | Micro electro mechanical element, micro electro mechanical element array, light modulation element, micro electro mechanical light modulation element, micro electro mechanical light modulation element array, and image forming apparatus using these | 
| JP4792322B2 (en)* | 2006-04-04 | 2011-10-12 | 富士フイルム株式会社 | Microelectromechanical modulator, microelectromechanical modulator array, image forming apparatus, and microelectromechanical modulator design method | 
| US7505195B2 (en)* | 2006-05-04 | 2009-03-17 | Miradia Inc. | Reflective spatial light modulator with high stiffness torsion spring hinge | 
| US7443568B2 (en)* | 2006-05-04 | 2008-10-28 | Miradia Inc. | Method and system for resonant operation of a reflective spatial light modulator | 
| US7863799B1 (en)* | 2007-03-02 | 2011-01-04 | AG Microsystems Inc. | Micro electro mechanical system using comb and parallel plate actuation | 
| US8884940B2 (en)* | 2010-01-06 | 2014-11-11 | Qualcomm Mems Technologies, Inc. | Charge pump for producing display driver output | 
| Publication number | Publication date | 
|---|---|
| US9075234B2 (en) | 2015-07-07 | 
| WO2011078015A1 (en) | 2011-06-30 | 
| JP2011131302A (en) | 2011-07-07 | 
| US20120169702A1 (en) | 2012-07-05 | 
| Publication | Publication Date | Title | 
|---|---|---|
| JP3543303B2 (en) | Single-stage micro-actuator for multi-axis drive using multi-folded spring | |
| CN102067009B (en) | Active structure and micromirror device using the active structure | |
| JP2007065698A (en) | Method for resetting digital micro-mirror | |
| KR20060092907A (en) | Method and apparatus for electrically programmable display | |
| US10807859B2 (en) | MEMS actuator, system having a plurality of MEMS actuators, and method for producing a MEMS actuator | |
| JP5310529B2 (en) | Oscillator for plate member | |
| JPH10197819A (en) | Optical scanner | |
| JP2008233251A (en) | Image display device | |
| JP2006133394A (en) | Optical deflection device array driving method, optical deflection device array, optical deflection device, and image projection display device | |
| JP2007312553A (en) | Microactuator, optical device and display device | |
| CA2422985A1 (en) | Electrostatically operated device | |
| JP4102343B2 (en) | 2-axis actuator with large area stage | |
| JP2001075042A (en) | Optical deflector | |
| EP2396785B1 (en) | High-speed electrostatic actuation of mems-based devices | |
| JP2006346817A (en) | Micro-electromechanical device array apparatus and its driving method | |
| Gehner et al. | Active-matrix-addressed micromirror array for wavefront correction in adaptive optics | |
| JP2007017769A (en) | Micro thin film movable element for optical communication, and micro thin film movable element array | |
| WO2007134087A2 (en) | Energy storage structures using electromechanically active materials for micro electromechanical systems | |
| US7898144B2 (en) | Multi-step microactuator providing multi-step displacement to a controlled object | |
| JPH1195252A (en) | Display device | |
| CN106463092A (en) | Systems, devices, and methods for driving an analog interferometric modulator utilizing dc common with reset | |
| JP4569161B2 (en) | Microactuator array, optical device and optical switch array | |
| CN115793515B (en) | FPGA-based phase synchronization method for MEMS galvanometer driving signals | |
| CN115561895B (en) | A narrow and long piezoelectric MEMS micromirror | |
| CN117198221B (en) | Data storage circuit, silicon-based display panel and display device | 
| Date | Code | Title | Description | 
|---|---|---|---|
| A621 | Written request for application examination | Free format text:JAPANESE INTERMEDIATE CODE: A621 Effective date:20110314 | |
| A131 | Notification of reasons for refusal | Free format text:JAPANESE INTERMEDIATE CODE: A131 Effective date:20121002 | |
| A521 | Written amendment | Free format text:JAPANESE INTERMEDIATE CODE: A523 Effective date:20121115 | |
| TRDD | Decision of grant or rejection written | ||
| A01 | Written decision to grant a patent or to grant a registration (utility model) | Free format text:JAPANESE INTERMEDIATE CODE: A01 Effective date:20130604 | |
| A61 | First payment of annual fees (during grant procedure) | Free format text:JAPANESE INTERMEDIATE CODE: A61 Effective date:20130617 | |
| R151 | Written notification of patent or utility model registration | Ref document number:5310529 Country of ref document:JP Free format text:JAPANESE INTERMEDIATE CODE: R151 | |
| LAPS | Cancellation because of no payment of annual fees |