




































本発明は、透過型回折格子、並びに、それを用いた分光素子及び分光器に関する。 The present invention relates to a transmission type diffraction grating, and a spectroscopic element and a spectroscope using the same.
光を波長ごとに分ける分光器は、分光計をはじめとする測定器の他、光ディスク記録再生装置の読み取り用及び書き込み用のヘッド部分、光通信などに広く用いられている。そして、この分光器には、分光素子として各種の回折格子が使用されている。 Spectrometers that divide light into wavelengths are widely used for reading and writing head portions of optical disk recording and reproducing devices, optical communication, and the like, in addition to measuring instruments such as spectrometers. In this spectroscope, various diffraction gratings are used as spectroscopic elements.
分光用の回折格子は、波長による角度分散が大きい、回折効率(入射光に対する特定次数の回折光の強度比率)が100%に近い、といった特性を有するのが望ましい。また、入射光の偏光方向を特定しない用途では、TE偏光とTM偏光の回折効率の差が小さいこと、すなわち、偏光依存損失(Polarization Dependent Loss (PDL))が小さいことも要求される。 The spectroscopic diffraction grating desirably has characteristics such as large angular dispersion due to wavelength and diffraction efficiency (intensity ratio of diffracted light of a specific order with respect to incident light) close to 100%. Further, in applications where the polarization direction of incident light is not specified, it is also required that the difference in diffraction efficiency between TE polarized light and TM polarized light is small, that is, that polarization dependent loss (PDL) is small.
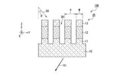
上記の諸条件を満たし、かつ、作製しやすい構造の回折格子として、図36に示すような多層膜構造の回折格子が提案されている(例えば、非特許文献1参照)。図36に示すように、この回折格子110においては、低屈折率の基板10としてガラス基板が用いられており、基板10上には、高屈折率層12と低屈折率層13とからなるリッジ21が設けられている。この回折格子110に、リッジ21側から所定の入射角θでリッジ21の長さ方向に対して垂直に光50を入射させると、1次回折光51が基板10を透過して出射する。そして、この場合、低屈折率層13を設けることにより、反射率が低減され、その結果として、1次回折光51の回折効率が改善されている。 A diffraction grating having a multilayer film structure as shown in FIG. 36 has been proposed as a diffraction grating having a structure that satisfies the above-described conditions and is easy to manufacture (see, for example, Non-Patent Document 1). As shown in FIG. 36, in this diffraction grating 110, a glass substrate is used as the low
図36に示す回折格子110は、一般に、次のようなプロセス(1)〜(4)によって作製される。 The
(1)まず、基板10上に、高屈折率層12の材料と低屈折率層13の材料とを順に成膜する。 (1) First, the material of the high
(2)次に、低屈折率層13の材料の表面に、マスクパターンを形成する。 (2) Next, a mask pattern is formed on the surface of the material of the low
(3)次に、マスクパターン以外の部分をエッチングする。 (3) Next, portions other than the mask pattern are etched.
(4)最後に、マスクパターンを除去する。 (4) Finally, the mask pattern is removed.
しかし、図36の回折格子110を作製する場合、エッチング深さがわずかでも不足すると、図37に示すように、高屈折率層12が溝30の底に残ってしまう。そして、溝30の底に残った高屈折率層12は、回折格子120の特性を著しく悪化させる。従って、図36の回折格子110を作製する場合には、エッチング深さを厳密に制御する必要があった。 However, when the diffraction grating 110 shown in FIG. 36 is manufactured, if the etching depth is slightly insufficient, the high
また、回折効率を向上させPDLを減らすためには、設計パラメータが多いほど有利であるが、図36の回折格子110では、比較的自由に変化させることのできる設計パラメータは、高屈折率層12の厚さ、低屈折率層13の厚さ、リッジ21の幅Wの3種類であり、回折効率を向上させPDLを減らすための設計パラメータの数としては十分と言えない。尚、屈折率は、材料に依存するので、自由な値とすることは難しい。 Further, in order to improve the diffraction efficiency and reduce the PDL, it is more advantageous as the design parameters increase, but in the diffraction grating 110 of FIG. 36, the design parameters that can be changed relatively freely are the high
そこで、かかる問題点を解消するために、屈折率が不連続な第1層、第2層及び第3層からなる3層リッジ構造を有する回折格子が提案されている(例えば、特許文献1参照)。
特許文献1に開示された回折格子においては、リッジの、その長さ方向に垂直な断面の断面形状が矩形(幅が一定)となっているが、このようにリッジ幅を一定値に保つことは技術的に困難な場合が多い。すなわち、特許文献1に開示された回折格子は、作製が非常に困難である。そして、リッジの形状が設計値からずれると、回折効率、PDLなどの特性が劣化してしまうおそれがある。 In the diffraction grating disclosed in
本発明は、従来技術における前記課題を解決するためになされたものであり、容易に作製することができると共に、特性の劣化を抑えることのできる透過型回折格子、並びに、それを用いた分光素子及び分光器を提供することを目的とする。 The present invention has been made to solve the above-described problems in the prior art, and can be easily manufactured and can suppress deterioration of characteristics, and a spectroscopic element using the same And a spectroscope.
前記目的を達成するため、本発明に係る透過型回折格子の構成は、基板と、前記基板上に互いに平行に一定の周期pで設けられた複数のリッジとを備えた透過型回折格子であって、前記リッジは、前記基板側から順に配置された、屈折率が不連続な第1層、第2層及び第3層を含み、前記基板に隣接する前記第1層は、前記基板との屈折率差が0.1以下であり、前記第2層は、前記第1層及び前記第3層よりも屈折率が高く、かつ、以下の(A)〜(C)の条件を満たすことを特徴とする。 In order to achieve the above object, a transmission diffraction grating according to the present invention is a transmission diffraction grating including a substrate and a plurality of ridges provided on the substrate in parallel with each other at a constant period p. The ridge includes a first layer, a second layer, and a third layer, which are disposed in order from the substrate side and have a discontinuous refractive index, and the first layer adjacent to the substrate is connected to the substrate. The refractive index difference is 0.1 or less, the second layer has a higher refractive index than the first layer and the third layer, and satisfies the following conditions (A) to (C): Features.
(A)前記第2層の屈折率n2 は2.0〜2.5である。(A) the refractive index n2 of the second layer is 2.0 to 2.5.
(B)前記第2層の、1つのリッジ当たりの、当該リッジの長さ方向に垂直な断面の断面積Sは、
0.75p2 k1 θ2 /(n2 −1)<S<1.20p2 k1 θ2 /(n2 −1)
の範囲にある。但し、θは回折格子面への入射角で単位はラジアンであり、定数k1 は1.1である。(B) The cross-sectional area S of the cross section perpendicular to the length direction of the ridge per ridge of the second layer is:
0.75 p2 k1 θ2 / (n2 −1) <S <1.20 p2 k1 θ2 / (n2 −1)
It is in the range. However, the unit at an angle of incidence θ is the diffraction grating surface is radian, constant k1 is 1.1.
(C)前記第2層の厚さd2 は、
0.70pk2 θn2 /(n2 −1)<d2 <1.30pk2 θn2 /( n2 −1)
の範囲にある。但し、定数k2 は0.69である。(C) The thickness d2 of the second layer is:
0.70 pk2 θn2 / (n2 −1) <d2 <1.30 pk2 θn2 / (n2 −1)
It is in the range. However, the constant k2 is 0.69.
また、前記本発明の透過型回折格子の構成においては、前記リッジの、当該リッジの長さ方向に垂直な断面が、前記基板に隣接する略矩形の第1部分と、前記第1部分に隣接する先細りテーパ状の第2部分とからなり、前記リッジの、前記基板の表面からの高さをhとしたとき、前記第1部分の、前記基板の表面からの高さh1 が
0.2h<h1 <0.7h
の範囲にあり、前記基板の表面の法線と前記第1部分の前記リッジの側面とのなす角度φ1 、及び、前記基板の表面の法線と前記第2部分の前記リッジの側面とのなす角度φ2 が
0°<φ1 <5°、
φ1 <φ2 <15°
の範囲にある。In the configuration of the transmissive diffraction grating of the present invention, a cross section of the ridge perpendicular to the length direction of the ridge is adjacent to the substantially rectangular first portion adjacent to the substrate and the first portion. It consists of a tapered tapered second portion, of the ridge, when the height from the surface of the substrate was is h, of the first portion, the height h1 from the surface of the substrate 0.2h <H1 <0.7h
An angle φ1 formed between the normal of the surface of the substrate and the side of the ridge of the first portion, and the normal of the surface of the substrate and the side of the ridge of the second portion The angle φ2 formed is 0 ° <φ1 <5 °,
φ1 <φ2 <15 °
Range near theRu.
また、前記本発明の透過型回折格子の構成においては、前記基板の、回折格子面と反対側の面に、互いに平行な複数の第2のリッジが周期的に設けられているのが好ましい。 In the configuration of the transmission diffraction grating of the present invention, it is preferable that a plurality of second ridges parallel to each other are periodically provided on the surface of the substrate opposite to the diffraction grating surface.
また、前記本発明の透過型回折格子の構成においては、前記第1層の屈折率と前記基板の屈折率とが同じであるのが好ましい。 In the configuration of the transmission diffraction grating of the present invention, it is preferable that the refractive index of the first layer and the refractive index of the substrate are the same.
また、前記本発明の透過型回折格子の構成においては、前記第1層の屈折率と前記第3層の屈折率とが同じであるのが好ましい。 In the configuration of the transmission diffraction grating of the present invention, it is preferable that the refractive index of the first layer and the refractive index of the third layer are the same.
また、前記本発明の透過型回折格子の構成においては、前記第1層が二酸化珪素からなり、前記基板が石英ガラスからなるのが好ましい。 In the transmission diffraction grating according to the present invention, it is preferable that the first layer is made of silicon dioxide and the substrate is made of quartz glass.
また、前記本発明の透過型回折格子の構成においては、前記第1層が前記基板の一部からなるのが好ましく、この場合には、前記基板が石英ガラスからなるのが好ましい。 In the configuration of the transmission diffraction grating of the present invention, the first layer is preferably made of a part of the substrate, and in this case, the substrate is preferably made of quartz glass.
また、前記本発明の透過型回折格子の構成においては、前記第2層が、Ta2 O5 、TiO2 及びNb2 O5 からなる群から選ばれる少なくとも一種からなるのが好ましく、Ta2 O5 からなるのが特に好ましい。Further, in the above configuration of the transmission-type diffraction grating of the present invention, the second layer is preferably composed of at least one selected from the group consisting of Ta2 O5, TiO2 and Nb2 O5, Ta2 O Particularly preferably, it consists of5 .
また、前記本発明の透過型回折格子の構成においては、高屈折率層である前記第2層が、低屈折率層を挟んで二分された状態で構成されているのが好ましい。 In the configuration of the transmission diffraction grating of the present invention, it is preferable that the second layer, which is a high refractive index layer, is divided into two parts with a low refractive index layer interposed therebetween.
また、前記本発明の透過型回折格子の構成においては、前記リッジの長さ方向に対して垂直に光を入射させる際の入射角θが、
|θ−θ0 |<10°
の条件を満たすのが好ましい。但し、θ0 は、真空中における入射光の波長域の中心値をλ0 、入射側媒体の屈折率をni として、次式により定義される。In the configuration of the transmission diffraction grating of the present invention, the incident angle θ when light is incident perpendicularly to the length direction of the ridge is
| Θ−θ0 | <10 °
It is preferable to satisfy the following condition. However, θ0 is defined by the following equation where λ0 is the central value of the wavelength range of incident light in vacuum and ni is the refractive index of the incident side medium.
ni ・sinθ0 ・(p/λ0 )=0.5
また、本発明に係る分光素子の構成は、前記本発明の透過型回折格子を複数個用いたことを特徴とする。ni · sin θ0 · (p / λ0 ) = 0.5
The configuration of the spectroscopic element according to the present invention is characterized in that a plurality of the transmissive diffraction gratings according to the present invention are used.
また、本発明に係る分光器の構成は、前記本発明の透過型回折格子又は前記本発明の分光素子を用いたことを特徴とする。 The spectroscope according to the present invention is characterized in that the transmission diffraction grating of the present invention or the spectroscopic element of the present invention is used.
本発明によれば、容易に作製することができると共に、特性の劣化を抑えることのできる透過型回折格子、並びに、それを用いた分光素子及び分光器を提供することができる。 ADVANTAGE OF THE INVENTION According to this invention, while being able to produce easily, the transmission type diffraction grating which can suppress deterioration of a characteristic, and a spectroscopic element and spectroscope using the same can be provided.
以下、実施の形態を用いて本発明をさらに具体的に説明する。 Hereinafter, the present invention will be described more specifically using embodiments.
[第1の実施の形態]
図1は、本発明の第1の実施の形態における透過型回折格子を模式的に示す断面図である。[First Embodiment]
FIG. 1 is a cross-sectional view schematically showing a transmission diffraction grating in the first embodiment of the present invention.
図1に示すように、本実施の形態の透過型回折格子(以下、単に「回折格子」という)100は、基板10と、基板10上に互いに平行に一定の周期pで設けられた複数の矩形のリッジ20とを備えている。ここで、リッジ20は、基板10側から順に配置された、第1低屈折率層(第1層)11、高屈折率層(第2層)12、第2低屈折率層(第3層)13の3層により構成されている。高屈折率層12は、第1低屈折率層11及び第2低屈折率層13に比べて高屈折率である。本明細書において、高屈折率層とは、屈折率が1.6以上の材料からなっている層をいい、低屈折率層とは、屈折率が1.6未満の材料からなっている層をいう。 As shown in FIG. 1, a transmission diffraction grating (hereinafter simply referred to as “diffraction grating”) 100 of the present embodiment includes a
高屈折率層12は、回折格子100の主体をなすものである。もし、リッジ20の全体を低屈折率材料(例えば、二酸化珪素(SiO2 ))とすると、周期pに対する溝30の深さの割合が非常に大きくなるため、エッチングによる加工が困難となる。これに対し、リッジ20の屈折率を高く(例えば、2.0以上に)すれば、リッジ20の高さを減少させることができるので、より製造しやすくなる。The high
しかし、高屈折率材料は、空気界面でのフレネル反射が大きくなるので、回折効率を低下させてしまう。そこで、本実施の形態においては、リッジ20の先端に、低屈折率層として第2低屈折率層13が設けられている。これにより、一般的によく知られている反射防止膜の効果が発生するので、フレネル反射が小さくなる。但し、回折格子内での光の反射及び屈折は平面多層膜の場合よりも複雑になるので、第2低屈折率層13の厚さの設計に通常の反射防止膜の設計手法をそのまま適用することはできず、回折格子全体としての最適化を行なう必要がある。 However, the high refractive index material increases the Fresnel reflection at the air interface, thus reducing the diffraction efficiency. Therefore, in the present embodiment, the second low
第1低屈折率層11は、基板10との屈折率差が0.1以下であるのが好ましく、さらには、基板10と同じ屈折率であるのが好ましい。また、図2に示すように、基板10の一部を第1低屈折率層11としてもよい。この場合には、第1低屈折率層11の材料を基板10上に別途形成する必要はなく、高屈折率層12の材料及び第2低屈折率層13の材料だけを基板10上に形成し、溝30を第1低屈折率層11に相当する深さまで基板10に形成すればよい。 The first low
本実施の形態においては、第1低屈折率層11を設けることにより、エッチング深さの公差を大きくすることができる。エッチング深さが設計値からずれると、第1低屈折率層11の厚さが変わるが、これによる特性の変化は後述するように極めて緩やかである。このように、本実施の形態によれば、エッチング深さの許容範囲を大きくすることができるので、回折格子を容易に作製することができる。また、第1低屈折率層11の厚さを調整することにより、設計の自由度が大きくなるので、より高い特性の回折格子を作製することができる。 In the present embodiment, the etching depth tolerance can be increased by providing the first low
最上層である第2低屈折率層13は、高屈折率層12よりも低屈折率であり、上述したように、高屈折率層12の表面におけるフレネル反射を低減する反射防止膜として機能する。 The second low
本実施の形態の回折格子100において、比較的自由に変化させることのできる設計パラメータは、第1低屈折率層11の厚さ、高屈折率層12の厚さ、第2低屈折率層13の厚さ、リッジ20の幅Wの4種類であり、それらを最適化することにより、回折格子100の特性を高めること、すなわち、回折効率を向上させPDLを減らすことができる。 In the
図1、図2に示すような「膜厚方向(Z軸方向)に厚みのある回折格子」においては、膜厚方向の光の伝播が重要である。膜厚方向に厚みのある回折格子は、1次元フォトニック結晶とみなすことができ、伝播光の波長や伝播方向を表わす波数ベクトルは、フォトニックバンドの形状によって決まる。フォトニックバンドは、ブリルアンゾーン境界線の近傍で急激に曲がる性質があるので、これを利用すると、回折効率の高い波長帯域を広く取ることができる。入射光をブリルアンゾーン境界線上のバンドと結合させるための条件は、
ni ・sinθ0 ・(p/λ0 )=0.5
であり、これが望ましい条件である(例えば、国際公開第WO2004/081625号パンフレット参照)。但し、真空中における入射光の波長(分光素子の場合には、使用する波長域の中央値)をλ0 、入射側媒体の屈折率をni 、回折格子の周期(以下「格子周期」ともいう)をp、入射角をθ0 とする。尚、入射角とは、屈折率ni の媒体における値であり、以下の記述では、ni =1.0とする。In the “diffraction grating having a thickness in the film thickness direction (Z-axis direction)” as shown in FIGS. 1 and 2, light propagation in the film thickness direction is important. A diffraction grating having a thickness in the film thickness direction can be regarded as a one-dimensional photonic crystal, and the wave number vector representing the wavelength and direction of propagation light is determined by the shape of the photonic band. Since the photonic band has a property of bending sharply in the vicinity of the Brillouin zone boundary line, a wide wavelength band with high diffraction efficiency can be obtained by using this. The conditions for combining incident light with the band on the Brillouin zone boundary are:
ni · sin θ0 · (p / λ0 ) = 0.5
This is a desirable condition (see, for example, pamphlet of International Publication No. WO2004 / 081625). However, the wavelength of incident light in vacuum (in the case of a spectroscopic element, the median value of the wavelength range to be used) is λ0 , the refractive index of the incident side medium is ni , and the period of the diffraction grating (hereinafter referred to as “grating period”). P) and the incident angle θ0 . The incident angle is a value in a medium having a refractive index ni , and in the following description, ni = 1.0.
しかし、フォトニックバンドの形状によっては、入射角の最適値θが上記の式から定まるθ0 と多少ずれる場合もあるので、
|θ−θ0 |<10°
の条件を満たすのが望ましい。However, depending on the shape of the photonic band, the optimum value θ of the incident angle may slightly deviate from θ0 determined from the above equation.
| Θ−θ0 | <10 °
It is desirable to satisfy the following conditions.
本実施の形態の回折格子100の基板10の材料は、第1低屈折率層11の材料との屈折率差が0.1以下のものであれば、特に限定されない。具体的には、基板10の材料として、使用する波長域に対して透明性が高く、低屈折率である、光学ガラス、石英ガラス、結晶化ガラスなどを使用するのが好ましく、第1低屈折率層11の材料との屈折率差が0.1以下であれば、他の成分を含んでいてもよい。格子周期の温度による変化を小さくするためには、基板10の材料として、熱膨張率の小さい石英ガラス、結晶化ガラスを使用するのがより好ましい。特に、石英ガラスは、最も一般的な基板材料であり、そのまま第1低屈折率層11として用いることもできるので、最も好ましい。 The material of the
高屈折率層12の材料は、屈折率が1.6以上、好ましくは屈折率が2.0〜2.5程度のものであれば、特に限定されない。具体的には、高屈折率層12の材料として、基板10上に成膜しやすい材料である、Ta2 O5 、TiO2 、Nb2 O5 など、あるいは、これらを組み合わせたものを使用するのが好ましく、屈折率が1.6以上であれば、他の成分を含んでいてもよい。その製法としては、真空蒸着、スパッタリング、CVDなどが挙げられる。The material of the high
第2低屈折率層13の材料は、屈折率が1.6未満のものであれば、特に限定されない。具体的には、広い波長域に対して透明性が高い材料である、SiO2 などが好ましく、屈折率が1.6未満であれば、他の成分を含んでいてもよい。その製法としては、真空蒸着、スパッタリング、CVDなどが挙げられる。The material of the second low
図1の回折格子100は、例えば、次のようなプロセスによって作製することができる。 The
(1)まず、基板10上に、第1低屈折率層11の材料、高屈折率層12の材料及び第2低屈折率層13の材料を、この順番で形成し、最上層である第2低屈折率層13の材料の上にマスクとしての金属膜を成膜する。金属膜の形成には、対向スパッタ、イオンビームスパッタ、真空蒸着、イオンプレーティング等を用いることができる。金属膜の材料としては、Cr、Ni、Al等のように、ドライエッチング用のマスクとして汎用的なものを用いることができる。また、WSi等のように、ドライエッチング用のマスクとして用いられている金属化合物を用いることもできる。 (1) First, the material of the first low
(2)次に、この金属膜の上に樹脂膜をスピンコートによって成膜した後、格子パターンを形成する。格子パターンの形成には、紫外線を用いたフォトリソグラフィー、電子線を用いた電子線リソグラフィー、あるいは金型プレスによるナノインプリント等を用いることができる。樹脂膜の材料としては、各パターン形成手法に応じて適切な感光性樹脂、熱可塑性樹脂、紫外線硬化樹脂等を用いることができる。 (2) Next, after a resin film is formed on the metal film by spin coating, a lattice pattern is formed. For the formation of the lattice pattern, photolithography using ultraviolet rays, electron beam lithography using electron beams, nanoimprint using a mold press, or the like can be used. As a material for the resin film, an appropriate photosensitive resin, thermoplastic resin, ultraviolet curable resin, or the like can be used according to each pattern forming method.
(3)次に、この格子パターン(樹脂パターン)をマスクとして、上記(1)で形成した金属膜をドライエッチングし、金属膜のパターンを形成する。続いて、この金属膜のパターンをマスクとして、上記(1)で形成した第1低屈折率層11の材料/高屈折率層12の材料/第2低屈折率層13の材料を所定の深さまでドライエッチングし、第1低屈折率層11/高屈折率層12/第2低屈折率層13からなるリッジ20を形成する。最後に、残存した金属膜を、ドライエッチングあるいは薬液によるウエットエッチング等によって除去する。ドライエッチングとしては、反応性イオンエッチング、イオンビームエッチング等を用いることができる。また、この場合のエッチングガスとしては、SiO2 に対してはフッ素系ガス、Crに対しては塩素系ガス等というように、各被加工材料に適したガスを用いるとよい。(3) Next, using the lattice pattern (resin pattern) as a mask, the metal film formed in the above (1) is dry-etched to form a metal film pattern. Subsequently, using the pattern of the metal film as a mask, the material of the first low
また、図1の回折格子100は、マスクの形成にリフトオフ法を用いた以下のプロセスによって作製することもできる。 Moreover, the
(1)まず、基板10上に、第1低屈折率層11の材料、高屈折率層12の材料及び第2低屈折率層13の材料を、この順番で形成し、最上層である第2低屈折率層13の材料の上に樹脂膜をスピンコートによって成膜した後、格子パターンを形成する。格子パターンの形成には、紫外線を用いたフォトリソグラフィー、電子線を用いた電子線リソグラフィー、あるいは金型プレスによるナノインプリント等を用いることができる。樹脂膜の材料としては、各パターン形成手法に応じて適切な感光性樹脂、熱可塑性樹脂、紫外線硬化樹脂等を用いることができる。 (1) First, the material of the first low
(2)次に、金属膜を、上記(1)で形成した格子パターン(樹脂パターン)上に成膜した後、有機溶剤等によって格子パターンを剥離する。このとき、樹脂膜上に成膜された金属膜も同時に除去され、最上層である第2低屈折率層13が露呈していた部分にのみ金属膜がパターンとして残る。金属膜の形成には、対向スパッタ、イオンビームスパッタ、真空蒸着等を用いることができる。 (2) Next, after forming a metal film on the lattice pattern (resin pattern) formed in (1) above, the lattice pattern is peeled off with an organic solvent or the like. At this time, the metal film formed on the resin film is also removed at the same time, and the metal film remains as a pattern only in the portion where the second low
(3)次に、この金属膜のパターンをマスクとして、上記(1)で形成した第1低屈折率層11の材料/高屈折率層12の材料/第2低屈折率層13の材料を所定の深さまでドライエッチングし、第1低屈折率層11/高屈折率層12/第2低屈折率層13からなるリッジ20を形成する。最後に、残存した金属膜のパターンを、ドライエッチングあるいは薬液によるウエットエッチング等によって除去する。ドライエッチングとしては、反応性イオンエッチング、イオンビームエッチング等を用いることができる。また、この場合のエッチングガスとしては、SiO2 に対してはフッ素系ガス、Crに対しては塩素系ガス等というように、各被加工材料に適したガスを用いるとよい。(3) Next, using the pattern of the metal film as a mask, the material of the first low
以上では、基板10上に、第1低屈折率層11、高屈折率層12及び第2低屈折率層13を形成する場合について説明したが、上述したように、基板10の一部を第1低屈折率層11として用いてもよい(図2参照)。この場合には、例えば、以下のようにして回折格子100が作製される。すなわち、まず、基板10上に、高屈折率層12の材料及び第2低屈折率層13の材料を、この順番で形成する。次に、第2低屈折率層13の材料の上に形成した金属膜パターンをマスクとして、ドライエッチングにより高屈折率層12/第2低屈折率層13を形成する。次に、基板10を、第1低屈折率層11の厚さに相当する深さまでエッチングする。最後に、金属膜パターンを除去する。 In the above, the case where the first low
以下に、以上説明した透過型回折格子(図1)の設計例を示す。 A design example of the transmission diffraction grating (FIG. 1) described above is shown below.
図1に示すように、回折格子100の周期(格子周期)をp、リッジ20の幅をWとし、第1低屈折率層11、高屈折率層12、第2低屈折率層13の厚さをそれぞれd1 、d2 、d3 とする。また、第1低屈折率層11、高屈折率層12、第2低屈折率層13及び基板10の屈折率をそれぞれn1 、n2 、n3 及びns とする。基板10及びリッジ20の他は空気(屈折率1)とする。As shown in FIG. 1, the period (grating period) of the
図1の回折格子100に入射角θの平面波(TE偏光及びTM偏光)(上記光50)を入射させ、その1次回折光51が基板10内にある状態での回折効率を計算した。TE偏光は、電場の振動方向がX軸方向(リッジ20の長さ方向)であり、TM偏光は、磁場の振動方向がX軸方向である。尚、回折効率の計算には、アメリカ合衆国 RSoft Design Group, Inc. 製のRCWA(Rigorous Coupled Wave Analysis)法による計算ソフト“DiffractMOD”を使用した。 A plane wave (TE polarized light and TM polarized light) (the light 50 described above) having an incident angle θ is incident on the
(設計例1)
まず、設計例1について説明する。(Design example 1)
First, design example 1 will be described.
下記(表1)に、設計例1で得られた結果を示す。設計例1においては、回折格子面への入射角θを45°、回折格子の周期pを1μm、高屈折率層12の屈折率n2 を2.10、第1低屈折率層11の屈折率n1 、第2低屈折率層13の屈折率n3 、基板10の屈折率ns を1.46に固定し、その他のパラメータである、第1低屈折率層11の厚さd1 、高屈折率層12の厚さd2 、第2低屈折率層13の厚さd3 、リッジ20の幅Wを最適化した。最適化は、回折効率の最大値ができるだけ高くなるようにして行った。The results obtained in Design Example 1 are shown below (Table 1). In design example 1, the incident angle θ to the diffraction grating surface is 45 °, the diffraction grating period p is 1 μm, the refractive index n2 of the high
図3に、入射光の波長に対する1次回折光の回折効率を示す。図3に示すように、TE偏光、TM偏光共に回折効率の最大値が99%を超える非常に良好な値が得られている。 FIG. 3 shows the diffraction efficiency of the first-order diffracted light with respect to the wavelength of the incident light. As shown in FIG. 3, a very good value with a maximum diffraction efficiency exceeding 99% is obtained for both TE polarized light and TM polarized light.
また、図4〜図8に、各パラメータを上記(表1)に記した値から単独に動かした場合の、回折効率の変化を示す。各図において、(a)はTE偏光の場合を示し、(b)はTM偏光の場合を示している。これらの図を用いて、波長1.370μmにおける回折効率がTE偏光、TM偏光共に95%以上となる範囲を許容範囲として求めた。以下に、得られた結果を示す。 Moreover, FIGS. 4-8 shows the change of diffraction efficiency when each parameter is moved independently from the values described in the above (Table 1). In each figure, (a) shows the case of TE polarized light, and (b) shows the case of TM polarized light. Using these figures, a range where the diffraction efficiency at a wavelength of 1.370 μm is 95% or more for both TE polarized light and TM polarized light was determined as an allowable range. The results obtained are shown below.
図4:
第1低屈折率層11の厚さd1 を単独に変化させた場合であり、TE偏光の場合の厚さd1 の許容範囲は、0.025μm〜0.340μmである。TM偏光の場合の厚さd1 の許容範囲は、TE偏光の場合よりも広い。Figure 4:
A case of changing the thickness d1 of the first low
図5:
高屈折率層12の厚さd2 を単独に変化させた場合であり、TE偏光の場合の厚さd2 の許容範囲は、0.960μm〜1.065μmである。TM偏光の場合の厚さd2 の許容範囲は、TE偏光の場合よりも広い。Figure 5:
The thickness d2 of the high
図6:
第2低屈折率層13の厚さd3 を単独に変化させた場合であり、TE偏光の場合の厚さd3 の許容範囲は、0.14μm〜0.27μmである。TM偏光の場合の厚さd3 の許容範囲は、TE偏光の場合よりも広い。Figure 6:
A case of changing the thickness d3 of the second low
図7:
リッジ20の幅Wを単独に変化させた場合であり、TE偏光の場合の幅Wの許容範囲は、0.50μm〜0.58μmである。TM偏光の場合の幅Wの許容範囲は、TE偏光の場合よりも広い。Figure 7:
This is a case where the width W of the
図8:
高屈折率層12の屈折率n2 を単独に変化させた場合であり、TM偏光の場合の屈折率n2 の許容範囲は、1.98〜2.21である。TE偏光の場合の屈折率n2 の許容範囲は、TM偏光の場合よりも広い。Figure 8:
The refractive index n2 of the high
図4に示すように、第1低屈折率層11の厚さd1 の許容範囲は非常に広い。このため、従来はエッチング深さを厳密に制御する必要があったが、本実施の形態においては、エッチング深さを厳密に制御する必要はなく、エッチング深さの調整を容易に行なうことができる。As shown in FIG. 4, the allowable range of the thickness d1 of the first low
(設計例2〜5)
次に、設計例2〜5について説明する。(Design examples 2 to 5)
Next, design examples 2 to 5 will be described.
設計例2〜5の、設定値を上記(表1)に、回折効率の結果を図9〜図12にそれぞれ示す。設計例2〜5においては、回折格子面への入射角θを50°、回折格子の周期pを1μm、第1低屈折率層11の屈折率n1 、第2低屈折率層13の屈折率n3 、基板10の屈折率ns を1.46に固定し、その他のパラメータである、第1低屈折率層11の厚さd1 、高屈折率層12の厚さd2 、第2低屈折率層13の厚さd3 、リッジ20の幅Wを最適化した。また、設計例2〜4においては、高屈折率層12の屈折率n2 をそれぞれ2.18、2.14、2.10として、波長域1.500μm〜1.600μmの範囲でPDLが小さくなるように各パラメータを最適化した。また、設計例5においては、高屈折率層12の屈折率n2 を2.10として、回折効率が波長域1.530μm〜1.570μmの範囲で平均的に高くなるように各パラメータを最適化した。The setting values of Design Examples 2 to 5 are shown in the above (Table 1), and the results of diffraction efficiency are shown in FIGS. In Design Examples 2 to 5, the incident angle θ to the diffraction grating surface is 50 °, the diffraction grating period p is 1 μm, the refractive index n1 of the first low
図9〜図11においては、TE偏光とTM偏光の回折効率がほとんど一致しており、PDLが非常に小さくなっている。また、図12においては、回折効率を重視して最適化を行なったため、TE偏光の回折効率が特に良好で、波長域1.51μm〜1.59μmの範囲でTE偏光の回折効率が99%以上となっている。 9 to 11, the diffraction efficiencies of the TE polarized light and the TM polarized light are almost the same, and the PDL is very small. In FIG. 12, since the optimization was performed with emphasis on the diffraction efficiency, the diffraction efficiency of TE-polarized light was particularly good, and the diffraction efficiency of TE-polarized light was 99% or more in the wavelength range of 1.51 μm to 1.59 μm. It has become.
尚、上記設計例1〜5においては、回折格子の周期pを1μmとしているが、回折格子の周期pを他の値にしても、リッジ20の幅W、第1低屈折率層11の厚さd1 、高屈折率層12の厚さd2 、第2低屈折率層13の厚さd3 、真空中における入射光の波長λ0 の値を、比例計算によって変化させれば、同じ回折効率の結果が得られる。In the above design examples 1 to 5, the period p of the diffraction grating is 1 μm, but the width W of the
(設計例6)
次に、リッジの、その長さ方向に垂直な断面の断面形状がテーパ状となっている場合の設計例6について説明する。(Design Example 6)
Next, design example 6 in the case where the cross-sectional shape of the cross section perpendicular to the length direction of the ridge is tapered will be described.
図13に示す回折格子105は、リッジ25の高さがhであり、基板10の表面から高さh1 まではリッジ25の幅が一定値Wであるが、基板10の表面からの高さがh1 よりも高くなると、リッジ25の幅がテーパ状に狭くなり、リッジ25の先端では幅がW1 となっている。設計例6において、回折格子面への入射角θ、回折格子の周期p、各屈折率の条件は設計例2と同一であるが、リッジ25の断面形状は、h1 =h/2、W1 =0.8Wを満たす形状となっている。In the
第1低屈折率層11の厚さd1 、高屈折率層12の厚さd2 、第2低屈折率層13の厚さd3 、リッジ25の幅Wをパラメータとして、波長域1.500μm〜1.600μmの範囲でPDLが小さくなるように最適化した。設計例6の、設定値を上記(表1)に、回折効率の結果を図14にそれぞれ示す。設計例6において、回折効率とPDLは共に設計例2とほぼ同じになっている。The thickness d1 of the first low
尚、本設計例6においては、基板10の表面から高さh1 (=h/2)までの部分(第1部分)のリッジ25の幅を一定値Wとし、基板10の表面からの高さがh1 よりも高くなる部分(第2部分)のリッジ25の先端の幅をW1 (=0.8W)としているが、リッジ25の断面形状を以下のように設定しても(図15参照)、同様の効果を得ることができる。図15において、φ1 は、基板10の表面の法線と第1部分のリッジ25の側面とのなす角度、φ2 は、基板10の表面の法線と第2部分のリッジ25の側面とのなす角度であり、h1 、φ1 、φ2 は、下記式の範囲にある。In the present design example 6, the width of the
0.2h<h1 <0.7h、
0°<φ1 <5°、
φ1 <φ2 <15°
(参考例1)
次に、参考例1について説明する。参考例1は、各パラメータを設計例2と同じにして、設計例6と同じテーパ状の断面形状を与えたものである。0.2h <h1 <0.7h,
0 ° <φ1 <5 °,
φ1 <φ2 <15 °
(Reference Example 1)
Next, Reference Example 1 will be described. In Reference Example 1, each parameter is the same as in Design Example 2, and the same tapered cross-sectional shape as in Design Example 6 is given.
参考例1の、設定値を上記(表1)に、回折効率の結果を図16にそれぞれ示す。図16に示すように、参考例1において、TE偏光の回折効率は設計例2と比べて大幅に低下している。 The set values of Reference Example 1 are shown in the above (Table 1), and the results of diffraction efficiency are shown in FIG. As shown in FIG. 16, in Reference Example 1, the diffraction efficiency of TE-polarized light is significantly lower than that in Design Example 2.
以上のように、設計例2、設計例6及び参考例1から、回折格子のリッジの断面形状がテーパ状となることが予想される場合であっても、テーパ状断面のリッジを前提とした最適化により、矩形断面のリッジと同等の特性を得ることができることが分かる。 As described above, even if it is predicted from the design example 2, the design example 6, and the reference example 1 that the cross-sectional shape of the ridge of the diffraction grating is expected to be tapered, the ridge having the tapered cross-section is assumed. It can be seen that by optimization, characteristics equivalent to a ridge having a rectangular cross section can be obtained.
(比較例1、2)
次に、比較例1、2について説明する。(Comparative Examples 1 and 2)
Next, Comparative Examples 1 and 2 will be described.
比較例1、2は、設計例4、5でそれぞれ第1低屈折率層11の厚さを0として最適化したものであり、図36に示す従来の回折格子を用いた例である。 Comparative examples 1 and 2 were optimized in the design examples 4 and 5 with the thickness of the first low
比較例1、2の、設定値を上記(表1)に、回折効率の結果を図17、図18にそれぞれ示す。比較例1、2においては、第1低屈折率層11を設けなかったために、各パラメータを最適化しても、回折効率及びPDL特性は、設計例4、5に比べて劣っている。 The set values of Comparative Examples 1 and 2 are shown in the above (Table 1), and the diffraction efficiency results are shown in FIGS. 17 and 18, respectively. In Comparative Examples 1 and 2, since the first low
[第2の実施の形態]
上述したプロセスによってリッジ20をエッチング加工する場合、図1に示すように、リッジ20の幅Wを一定値に保つことが望ましいが、技術的に困難な場合がある。すなわち、エッチング処理が容易に行なえる条件を設定すると、リッジ20の幅Wが基板10に近くなるほど大きくなり、リッジ20の、その長さ方向に垂直な断面の断面形状が「台形」もしくは「釣鐘状」となってしまうことが多い。そして、この場合には、リッジ20の形状が設計値からずれるので、回折効率、PDLなどの特性が変化する。[Second Embodiment]
When the
ところで、本発明者らの研究によれば、回折格子の特性に大きな影響を与えるのは、高屈折率層12の厚さd2 、及び、高屈折率層12の断面積Sである。ここで、高屈折率層12の断面積Sとは、1つのリッジ20当たりの、当該リッジ20の長さ方向に垂直な断面の断面積のことである。後述するように、高屈折率層12の断面積Sは、
0.75p2 k1 θ2 /(n2 −1)<S<1.20p2 k1 θ2 /(n2 −1)
の範囲にあるのが好ましい。但し、θは回折格子面への入射角で単位はラジアンであり、定数k1 は1.1である。By the way, according to the study by the present inventors, it is the thickness d2 of the high
0.75 p2 k1 θ2 / (n2 −1) <S <1.20 p2 k1 θ2 / (n2 −1)
It is preferable that it exists in the range. However, the unit at an angle of incidence θ is the diffraction grating surface is radian, constant k1 is 1.1.
また、高屈折率層12の厚さd2 は、
0.70pk2 θn2 /(n2 −1)<d2 <1.30pk2 θn2 /( n2 −1)
の範囲にあるのが好ましい。但し、定数k2 は0.69である。The thickness d2 of the high
0.70 pk2 θn2 / (n2 −1) <d2 <1.30 pk2 θn2 / (n2 −1)
It is preferable that it exists in the range. However, the constant k2 is 0.69.
リッジ20の断面形状(矩形、テーパ状、釣鐘状など)による特性の変化は小さく、高屈折率層12の厚さd2 及び断面積Sが同じであれば、類似の特性となる。従って、形成しやすい断面形状を前提とした設計を行なうことができる。The change in characteristics due to the cross-sectional shape (rectangular, tapered, bell-shaped, etc.) of the
(設計例7)
設計例7は、リッジ22の断面全体がテーパ状となっている場合(図19(a)、(b)参照)の設計例である。(Design Example 7)
The design example 7 is a design example when the entire cross section of the
設計例7においては、回折格子面への入射角θを49.85°、回折格子の周期pを1μm、第1低屈折率層11の屈折率n1 、第2低屈折率層13の屈折率n3 を1.4584、基板10の屈折率ns を1.45、高屈折率層12の屈折率n2 を2.2263に固定し、その他のパラメータである、第1低屈折率層11の厚さd1 、高屈折率層12の厚さd2 、第2低屈折率層13の厚さd3 、リッジ22の平均幅Wを最適化した。各パラメータの最適化は、回折効率が波長域1.500μm〜1.600μmの範囲で平均的に高くなるようにして行なった。In the design example 7, the incident angle θ to the diffraction grating surface is 49.85 °, the diffraction grating period p is 1 μm, the refractive index n1 of the first low
図19に示すように、リッジ22の断面形状は、基板10の表面からリッジ22の先端まで幅が直線的に変化するテーパ状である。基板10の表面でのリッジ22の幅をWB 、先端でのリッジ22の幅をWT として最適化した結果を、下記(表2)に示す。リッジ22の平均幅Wは、WB とWT の平均値となる。尚、下記(表2)における「回折効率の平均値」とは、波長1.500μm、1.510μm、1.520μm、・・・、1.590μm、1.600μmでの1次回折効率(TE偏光、TM偏光の両方)の平均値のことである。As shown in FIG. 19, the cross-sectional shape of the
上記(表2)から、回折効率が最も大きくなるのは、リッジ22の断面形状が矩形状(WB =1.0W、WT =1.0W)の場合(設計例7−3)ではなく、先細りテーパ状(WB =1.3W、WT =0.7W)の場合(設計例7−6)であることが分かる。その場合の特性を、図20に示す。From the above (Table 2), the diffraction efficiency becomes the highest not when the cross-sectional shape of the
(設計例8)
設計例8は、リッジ23の断面形状が樽状(図21(a)参照)もしくは糸巻き状(図21(b)参照)となっている場合の設計例である。(Design Example 8)
The design example 8 is a design example in which the cross-sectional shape of the
設計例8においては、回折格子面への入射角θを49.85°、回折格子の周期pを1μm、第1低屈折率層11の屈折率n1 、第2低屈折率層13の屈折率n3 を1.4584、基板10の屈折率ns を1.45、高屈折率層12の屈折率n2 を2.2263に固定し、その他のパラメータである、第1低屈折率層11の厚さd1 、高屈折率層12の厚さd2 、第2低屈折率層13の厚さd3 、リッジ23の平均幅Wを最適化した。各パラメータの最適化は、回折効率が波長域1.500μm〜1.600μmの範囲で平均的に高くなるようにして行なった。In design example 8, the incident angle θ to the diffraction grating surface is 49.85 °, the diffraction grating period p is 1 μm, the refractive index n1 of the first low
図21に示すように、リッジ23の断面形状は、リッジ23の中央での幅がWM で、基板10の表面でのリッジ23の幅WB とリッジ23の先端の幅WT が同じ値の樽状あるいは糸巻き状である。リッジ23の平均幅Wは、WB とWM の平均値となる。最適化した結果を、下記(表3)に示す。尚、下記(表3)における「回折効率の平均値」とは、波長1.500μm、1.510μm、1.520μm、・・・、1.590μm、1.600μmでの1次回折効率(TE偏光、TM偏光の両方)の平均値のことである。また、下記(表3)中の設計例8−3は、上記(表2)中の設計例7−3と同一である。As shown in FIG. 21, the cross-sectional shape of the
上記(表3)から、回折効率が最も大きくなるのは、リッジ23の断面形状が弱い樽状(WB =0.9W、WM =1.1W)の場合(設計例8−4)であることが分かる。その場合の特性を、図22に示す。From the above (Table 3), the diffraction efficiency becomes the largest in the case of the barrel shape (WB = 0.9 W, WM = 1.1 W) where the cross-sectional shape of the
(設計例9〜18)
設計例9〜18は、リッジ24の断面形状が樽状(図23(a)参照)、糸巻き状(図23(b)参照)、中折れ状(図23(c)参照)、テーパ状(図23(d)参照)もしくは矩形状(図23(e)参照)となっている場合の設計例である。(Design Examples 9-18)
In design examples 9 to 18, the cross-sectional shape of the
図23(d)に示すテーパ状の断面形状について、回折格子面への入射角θを50°、回折格子の周期pを1μm、第1低屈折率層11の屈折率n1 、第2低屈折率層13の屈折率n3 、基板10の屈折率ns を1.45、高屈折率層12の屈折率n2 を2.20に固定し、その他のパラメータである、第1低屈折率層11の厚さd1 、高屈折率層12の厚さd2 、第2低屈折率層13の厚さd3 、高屈折率層12の、第2低屈折率層13との境界部での幅B、第1低屈折率層11との境界部での幅Cを最適化した。最適化した結果を、下記(表4)の設計例11に示す。基板10の表面でのリッジ24の幅E、先端でのリッジ24の幅Aの値は、従属的に決定される。各パラメータの最適化は、波長域1.500μm〜1.600μmの範囲にある11波長(間隔0.01μm)での1次回折効率(TE偏光、TM偏光の両方)を求め、その平均値(以下「平均回折効率」という)ができるだけ大きくなるようにして行なった。23D, the incident angle θ to the diffraction grating surface is 50 °, the diffraction grating period p is 1 μm, the refractive index n1 of the first low
設計例11の設計値を基準とし、第1低屈折率層11の厚さd1 、高屈折率層12の厚さd2 、第2低屈折率層13の厚さd3 を変えることなく、図23に示すパラメータA、B、C、D、E、Fによってリッジ24の断面形状を変化させたものが上記(表4)に示す設計例9、設計例10、設計例12〜設計例18である。リッジ24の形状は変わっても、高屈折率層12の断面積Sは設計例11の場合と同じである。尚、図23(a)、(b)、(c)の場合には、パラメータB、C、D、Fが決まれば、パラメータA、Eの値は一意的に決まる。With respect to the design value of the design example 11, the thickness d1 of the first low
設計例9は、リッジ24の断面形状が矩形状となっている場合の設計例である。 The design example 9 is a design example when the cross-sectional shape of the
設計例10は、リッジ24の断面形状が先細りテーパ状となっている場合の設計例であり、テーパ角は設計例11の場合よりも急である。 The design example 10 is a design example in the case where the cross-sectional shape of the
設計例11は、リッジ24の断面形状が先細りテーパ状となっている場合の最適化による基本設計例である。 The design example 11 is a basic design example by optimization when the cross-sectional shape of the
設計例12は、リッジ24の断面形状が先太りテーパ状となっている場合の設計例であり、テーパ角は設計例11の場合の逆である。 The design example 12 is a design example in which the cross-sectional shape of the
設計例13は、リッジ24の断面形状が先太りテーパ状となっている場合の設計例であり、テーパ角は設計例12の場合よりも急である。 The design example 13 is a design example in which the cross-sectional shape of the
設計例14は、リッジ24の断面形状が中央の膨らんだ樽状となっている場合の設計例である。 The design example 14 is a design example in the case where the cross-sectional shape of the
設計例15は、リッジ24の断面形状が中央の細くなった糸巻き状となっている場合の設計例である。 The design example 15 is a design example in the case where the cross-sectional shape of the
設計例16は、リッジ24の断面形状が、先端部分が先細りテーパ状となっており、基板10側が矩形状となっている場合の設計例である。 The design example 16 is a design example in which the cross-sectional shape of the
設計例17は、リッジ24の断面形状が、先端部分が矩形状となっており、基板10側が先細りテーパ状となっている場合の設計例である。 The design example 17 is a design example in the case where the cross-sectional shape of the
設計例18は、リッジ24の断面形状が、途中でテーパ角が変わる先細りのテーパ状となっている場合の設計例である。 The design example 18 is a design example in the case where the cross-sectional shape of the
上記(表4)には、それぞれの設計例における平均回折効率も記されている。平均回折効率は、設計例18で最高値(0.9851)、基本設計例である設計例11では最高値に近い値(0.9850)となるが、リッジ24の断面形状が他の形状であってもそれほど低下していない。よって、高屈折率層12の断面積Sが一定値であれば、リッジ24の形状の回折効率に及ぼす影響は小さいことが明らかとなった。 In the above (Table 4), the average diffraction efficiency in each design example is also described. The average diffraction efficiency is the highest value (0.9851) in the design example 18, and the value close to the highest value (0.9850) in the design example 11 that is the basic design example, but the cross-sectional shape of the
(比較例3〜16)
設計例11の設計値を基準として、リッジ幅を変えたものが比較例3〜16である。リッジの断面形状は先細りテーパ状であり、テーパ角は設計例11の場合と同じである。設計例11とのリッジ幅の違いは、全幅でΔWである。比較例3〜16の設定値を下記(表5)に示す。(Comparative Examples 3 to 16)
Comparative Examples 3 to 16 are obtained by changing the ridge width on the basis of the design value of Design Example 11. The cross-sectional shape of the ridge is a tapered shape, and the taper angle is the same as in the design example 11. The difference in the ridge width from the design example 11 is ΔW in the entire width. The set values of Comparative Examples 3 to 16 are shown below (Table 5).
上記(表5)には、それぞれの比較例における平均回折効率も記されている。また、図24に、リッジ幅の変化量ΔWと平均回折効率との関係を示す。図24に示すように、リッジ幅が変化すると、高屈折率層12の断面積も変化するので、平均回折効率が急速に低下している。 The above (Table 5) also shows the average diffraction efficiency in each comparative example. FIG. 24 shows the relationship between the ridge width variation ΔW and the average diffraction efficiency. As shown in FIG. 24, when the ridge width changes, the cross-sectional area of the high
(設計例19〜30)
設計例19〜30は、リッジの断面形状を単純な矩形として、最適化を行なった設計例である。入射角θを35°、45°、55°の3通り、高屈折率層の屈折率を2.00、2.10、2.25、2.50の4通りとして、第1低屈折率層の厚さd1 、高屈折率層の厚さd2 、第2低屈折率層の厚さd3 、リッジの幅Wを最適化した結果を、下記(表6)に示す。最適化は、波長域(入射角θにより異なる)の範囲にある11波長(間隔0.01μm)での1次回折効率(TE偏光、TM偏光の両方)を求め、その平均値(以下「平均回折効率」という)ができるだけ大きくなるようにして行なった。(Design Examples 19-30)
Design examples 19 to 30 are design examples in which the ridge has a simple rectangular cross-sectional shape and is optimized. The first low refractive index layer has three incident angles θ of 35 °, 45 °, and 55 °, and the high refractive index layer has four refractive indexes of 2.00, 2.10, 2.25, and 2.50. (Table 6) shows the result of optimizing the thickness d1 , the thickness d2 of the high refractive index layer, the thickness d3 of the second low refractive index layer, and the width W of the ridge. In the optimization, first-order diffraction efficiency (both TE-polarized light and TM-polarized light) at 11 wavelengths (interval of 0.01 μm) in the wavelength range (depending on the incident angle θ) is obtained, and the average value (hereinafter referred to as “average”). ("Diffraction efficiency") was performed as much as possible.
上述した設計例1〜30について本発明者らが解析した結果、重要なパラメータである
入射角θ、
高屈折率層の屈折率n2 、
高屈折率層の断面積S、
高屈折率層の厚さd2
の間には、回折格子の周期pを基準として、概略
S=p2 k1 θ2 /(n2 −1)、
d2 =pk2 θn2 /(n2 −1)
の関係があることが明らかとなった。但し、θの単位はラジアンであり、定数k1 、k2 はそれぞれ
k1 =1.1
k2 =0.69
である。As a result of the analysis by the present inventors on the design examples 1 to 30 described above, the incident angle θ, which is an important parameter,
Refractive index n2 of the high refractive index layer,
Cross-sectional area S of the high refractive index layer,
High refractive index layer thickness d2
Are approximately S = p2 k1 θ2 / (n2 −1) with respect to the period p of the diffraction grating.
d2 = pk2 θn2 / (n2 −1)
It became clear that there is a relationship. However, the unit of θ is radian, and the constants k1 and k2 are k1 = 1.1, respectively.
k2 = 0.69
It is.
図25は、設計例1〜30について、p2 k1 θ2 /(n2 −1)の値をx軸、高屈折率層の断面積Sの値をy軸にプロットしたグラフである。図25から、両者には非常に強い相関関係があることが分かる。尚、図25に併記した2本の直線は、
S=0.75p2 k1 θ2 /(n2 −1)、
S=1.20p2 k1 θ2 /(n2 −1)
の関係を満たしている。すべての点がこの2本の直線で挟まれた範囲にあることから、高屈折率層の断面積Sは、
0.75p2 k1 θ2 /(n2 −1)<S<1.20p2 k1 θ2 /(n2 −1)
の範囲にあるのが好ましい。FIG. 25 is a graph plotting values of p2 k1 θ2 / (n2 −1) on the x-axis and values of the cross-sectional area S of the high refractive index layer on the y-axis for design examples 1 to 30. FIG. 25 shows that there is a very strong correlation between the two. Note that the two straight lines shown in FIG.
S = 0.75p2 k1 θ2 / (n2 −1),
S = 1.20p2 k1 θ2 / (n2 −1)
Meet the relationship. Since all the points are in the range between these two straight lines, the cross-sectional area S of the high refractive index layer is
0.75 p2 k1 θ2 / (n2 −1) <S <1.20 p2 k1 θ2 / (n2 −1)
It is preferable that it exists in the range.
また、図26は、設計例1〜30について、pk2 θn2 /(n2 −1)の値をx軸、高屈折率層の厚さd2 の値をy軸にプロットしたグラフである。図26から、両者には非常に強い相関関係があることが分かる。尚、図26に併記した2本の直線は、
d2=0.70pk2 θn2 /(n2 −1)、
d2=1.30pk2 θn2 /(n2 −1)
の関係を満たしている。すべての点がこの2本の直線で挟まれた範囲にあることから、高屈折率層の厚さd2 は、
0.70pk2 θn2 /(n2 −1)<d2 <1.30pk2 θn2 /(n2 −1)
の範囲にあるのが好ましい。FIG. 26 is a graph plotting values of pk2 θn2 / (n2 −1) on the x axis and values of the thickness d2 of the high refractive index layer on the y axis for design examples 1 to 30. . FIG. 26 shows that there is a very strong correlation between the two. Note that the two straight lines shown in FIG.
d2 = 0.70 pk2 θn2 / (n2 −1),
d2 = 1.30pk2 θn2 / (n2 -1)
Meet the relationship. Since all the points are in the range sandwiched between the two straight lines, the thickness d2 of the high refractive index layer is
0.70 pk2 θn2 / (n2 −1) <d2 <1.30 pk2 θn2 / (n2 −1)
It is preferable that it exists in the range.
[第3の実施の形態]
図27は、本発明の第3の実施の形態における回折格子を示す断面図である。図27に示すように、本実施の形態の回折格子は、高屈折率層の中間に低屈折率層を挟み込んだ、5層リッジ構造を有している。より具体的には、本実施の形態の回折格子は、基板10と、基板10上に互いに平行に一定の周期pで設けられた複数の矩形のリッジ26とを備えている。ここで、リッジ26は、基板10側から順に配置された、第1低屈折率層(第1層)11、第1高屈折率層(第2層)12a、第3低屈折率層(第3層)15、第2高屈折率層(第4層)12b、第2低屈折率層(第5層)13の5層により構成されている。第1高屈折率層12a及び第2高屈折率層12bは、第1低屈折率層11、第3低屈折率層15及び第2低屈折率層13に比べて高屈折率である。[Third Embodiment]
FIG. 27 is a cross-sectional view showing a diffraction grating in the third embodiment of the present invention. As shown in FIG. 27, the diffraction grating of the present embodiment has a five-layer ridge structure in which a low refractive index layer is sandwiched between high refractive index layers. More specifically, the diffraction grating of the present embodiment includes a
本実施の形態によれば、高屈折率層の分割により、第1高屈折率層12a、第3低屈折率層15、第2高屈折率層12bのそれぞれの厚さを設計パラメータとして用いることができるので、設計の自由度が大きくなり、上記第1の実施の形態(図1)の場合よりも特性の向上した回折格子を作製することができる。具体的には、後述する設計例で示すように、高い回折効率の得られる帯域幅を広くすることができる。 According to the present embodiment, the thicknesses of the first high
以下に、以上説明した回折格子(図27)の設計例を示す。 A design example of the diffraction grating (FIG. 27) described above is shown below.
(設計例31)
設計例31は、5層リッジ構造の場合である。図28に示すように、回折格子の周期をp、リッジ26の幅をWとし、第1低屈折率層11、第1高屈折率層12a、第3低屈折率層15、第2高屈折率層12b、第2低屈折率層13の厚さをそれぞれd1 、d21、d4 、d22、d3 とする。また、第1低屈折率層11、第1高屈折率層12a、第3低屈折率層15、第2高屈折率層12b、第2低屈折率層13及び基板10の屈折率をそれぞれn1 、n21、n4 、n22、n3 、ns とする。基板10及びリッジ26の他は空気(屈折率1)とする。(Design Example 31)
The design example 31 is a case of a five-layer ridge structure. As shown in FIG. 28, the period of the diffraction grating is p, the width of the
設計例31においては、回折格子面への入射角θを50°、回折格子の周期pを1μm、第1低屈折率層11、第1高屈折率層12a、第3低屈折率層15、第2高屈折率層12b、第2低屈折率層13及び基板10の屈折率をそれぞれ
n1=1.45
n21=2.10
n4=1.45
n22=2.10
n3=1.45
ns=1.45
に固定し、その他のパラメータである、第1低屈折率層11の厚さd1 、第1高屈折率層12aの厚さd21、第3低屈折率層15の厚さd4 、第2高屈折率層12bの厚さd22、第2低屈折率層13の厚さd3 、リッジ26の幅Wを最適化した。この最適化は、回折効率が波長域1.400μm〜1.600μmの範囲で平均的に高くなるようにして行なった。得られた結果を、以下に示す。In the design example 31, the incident angle θ to the diffraction grating surface is 50 °, the period p of the diffraction grating is 1 μm, the first low
n21 = 2.10
n4 = 1.45
n22 = 2.10
n3 = 1.45
ns = 1.45
The thickness d1 of the first low
d1=0.0022μm
d21=0.4878μm
d4=0.0520μm
d22=0.6603μm
d3=0.3000μm
W=0.5751μm
図29に、入射光の波長に対する1次回折光の回折効率を示す。図29に示すように、TE偏光、TM偏光共に回折効率は波長域内でそれぞれ92%を超える非常に良好な値が得られており、3層リッジ構造の場合(後述する設計例32)に比べて、高い回折効率の得られる帯域幅が広くなっている。d1 = 0.0022 μm
d21 = 0.4878 μm
d4 = 0.0520 μm
d22 = 0.6603 μm
d3 = 0.3000 μm
W = 0.5751 μm
FIG. 29 shows the diffraction efficiency of the first-order diffracted light with respect to the wavelength of the incident light. As shown in FIG. 29, both TE polarized light and TM polarized light have very good diffraction efficiencies exceeding 92% in the wavelength range, compared with the case of a three-layer ridge structure (design example 32 described later). As a result, the bandwidth for obtaining high diffraction efficiency is widened.
(設計例32)
設計例32は、設計例31と比較するために、5層リッジ構造を3層リッジ構造に変えた以外は条件を同じにして同様の最適化を行ったものである。第1低屈折率層、高屈折率層、第2低屈折率層の厚さをそれぞれd1 、d2 、d3 とする。また、第1低屈折率層、高屈折率層、第2低屈折率層及び基板の屈折率をそれぞれn1 、n2 、n3 、ns とする。基板及びリッジの他は空気(屈折率1)とする。(Design Example 32)
For the design example 32, the same optimization was performed under the same conditions except that the five-layer ridge structure was changed to the three-layer ridge structure for comparison with the design example 31. The thicknesses of the first low refractive index layer, the high refractive index layer, and the second low refractive index layer are d1 , d2 , and d3 , respectively. Further, the refractive indexes of the first low refractive index layer, the high refractive index layer, the second low refractive index layer, and the substrate are n1 , n2 , n3 , and ns , respectively. Other than the substrate and the ridge, air (refractive index 1) is used.
設計例32においては、回折格子面への入射角θを50°、回折格子の周期pを1μm、第1低屈折率層、高屈折率層、第2低屈折率層及び基板の屈折率をそれぞれ
n1=1.45
n2=2.10
n3=1.45
ns=1.45
に固定し、その他のパラメータである、第1低屈折率層の厚さd1 、高屈折率層の厚さd2 、第2低屈折率層の厚さd3 、リッジの幅Wを最適化した。この最適化は、回折効率が波長域1.400μm〜1.600μmの範囲で平均的に高くなるようにして行なった。得られた結果を、以下に示す。In the design example 32, the incident angle θ to the diffraction grating surface is 50 °, the diffraction grating period p is 1 μm, the first low refractive index layer, the high refractive index layer, the second low refractive index layer, and the refractive index of the substrate. N1 = 1.45 respectively
n2 = 2.10
n3 = 1.45
ns = 1.45
The first low refractive index layer thickness d1 , the high refractive index layer thickness d2 , the second low refractive index layer thickness d3 , and the ridge width W are optimized. Turned into. This optimization was performed such that the diffraction efficiency was increased on the average in the wavelength range of 1.400 μm to 1.600 μm. The obtained results are shown below.
d1=0.0979μm
d2=1.1478μm
d3=0.2611μm
W=0.5682μm
図30に、入射光の波長に対する1次回折光の回折効率を示す。図30に示すように、波長域の両端でのTE偏光の回折効率が設計例31の場合よりも落ち込んでいることが分かる。d1 = 0.0979 μm
d2 = 1.1478 μm
d3 = 0.2611 μm
W = 0.5682 μm
FIG. 30 shows the diffraction efficiency of the first-order diffracted light with respect to the wavelength of the incident light. As shown in FIG. 30, it can be seen that the diffraction efficiency of TE-polarized light at both ends of the wavelength region is lower than that in the case of the design example 31.
[第4の実施の形態]
図31は、本発明の第4の実施の形態における回折格子を模式的に示す断面図である。[Fourth Embodiment]
FIG. 31 is a cross-sectional view schematically showing a diffraction grating in the fourth embodiment of the present invention.
基板10の裏面でのフレネル反射光は損失となるので、基板10の裏面に何らかの反射防止手段を設けるのが望ましい。 Since Fresnel reflected light on the back surface of the
反射防止手段としては、単層膜もしくは多層膜によるコーテイング(反射防止膜)が一般的に用いられている。ところが、本発明の回折格子においては、出射角が入射角とほぼ等しいため、出射角は35°〜55°といった大きい値となる。そして、上述した反射防止膜においては、角度による反射率の変化が大きいので、広い角度範囲にわたって低反射率とするためには層数を多くする必要があり、これがコストアップの原因となる。 As the antireflection means, a coating (antireflection film) using a single layer film or a multilayer film is generally used. However, in the diffraction grating of the present invention, since the exit angle is substantially equal to the incident angle, the exit angle is a large value such as 35 ° to 55 °. In the above-described antireflection film, since the change in reflectance due to the angle is large, it is necessary to increase the number of layers in order to obtain a low reflectance over a wide angle range, which causes an increase in cost.
角度依存性の小さい反射防止手段として、モスアイ(Moth-eye)構造が知られている。図31は、反射防止手段としてのモスアイ構造を有する回折格子を模式的に示したものである。図31に示すように、基板10の、回折格子面(第1低屈折率層11/高屈折率層12/第2低屈折率層13が形成された面)と反対側の面(裏面)に、互いに平行な複数の微細な第2リッジ27が周期的に設けられている。第2リッジ27は、X軸方向に延び、Y軸方向に周期を有している。第2リッジ27の周期を光の波長よりも十分小さくすれば、回折光は発生せず、第2リッジ部分の平均屈折率は基板と空気の中間となるので、反射を低減する効果が得られる。また、モスアイ構造は、基板の表面に樹脂層あるいはゾルゲルガラス層を形成してからモールドの型押しを行なう、いわゆるナノインプリンティングにより、多層膜を用いた反射防止膜よりも安価に作製することが可能である。 A moth-eye structure is known as an antireflection means having a small angle dependency. FIG. 31 schematically shows a diffraction grating having a moth-eye structure as antireflection means. As shown in FIG. 31, the surface (back surface) of the
従って、本発明の場合、基板の一方の面を回折格子面とし、他方の面を反射防止手段としてのモスアイ構造とするのが好ましい。 Therefore, in the case of the present invention, it is preferable that one surface of the substrate is a diffraction grating surface and the other surface is a moth-eye structure as antireflection means.
(モスアイ構造の設計例)
図32は、本発明の第4の実施の形態における透過型回折格子の、計算で用いる数値を説明するための図である。本設計例においては、第2リッジ27の周期pm を1μm、第2リッジ27の基板10の表面での幅WB を0.4088μm、第2リッジ27の先端での幅WT を0.8WB 、第2リッジ27の高さdm を0.8567μm、基板10と第2リッジ27の屈折率を1.45とした。空気側から入射角θm =45°の平面波(TE偏光及びTM偏光)を入射させた場合の、それぞれの透過率を計算した結果を、図33に示す。(Design example of moth-eye structure)
FIG. 32 is a diagram for explaining the numerical values used in the calculation of the transmission diffraction grating according to the fourth embodiment of the present invention. In this design example, 1 [mu] m period pm of the
図33に示すように、波長域3.0μm〜3.5μmにおいて、TE偏光の透過率は、99.8%以上と非常に良好な値となっている。TM偏光の透過率は、99.0%〜99.2%であって、TE偏光の透過率よりも幾分劣っているので、僅かなPDLが発生している。 As shown in FIG. 33, the transmittance of TE-polarized light is a very good value of 99.8% or more in the wavelength range of 3.0 μm to 3.5 μm. The transmittance of TM-polarized light is 99.0% to 99.2%, which is slightly inferior to the transmittance of TE-polarized light, so that slight PDL is generated.
[第5の実施の形態]
上記第1〜第4の実施の形態においては、回折格子について説明したが、ここでは、この回折格子を多段化して角度分散を大きくした分光素子、及び、それを分光器に応用した例について説明する。[Fifth Embodiment]
In the first to fourth embodiments, the diffraction grating has been described. Here, a description will be given of a spectroscopic element in which the diffraction grating is multi-staged to increase angular dispersion, and an example in which the spectroscope is applied. To do.
図34は、本発明の第5の実施の形態における分光素子を示す断面図であり、この分光素子においては、回折格子を2段にして角度分散が大きくなるようにされている。図34に示すように、本実施の形態の分光素子200においては、ガラスなどの透明体からなるプリズム60の2面に、本発明による第1及び第2の回折格子101、102が互いにほぼ垂直となるように貼り合わされている。入射光50は、第1の回折格子101によって回折されて、回折光51となる。この回折光51は、プリズム60の面60aで全反射されて、反射光52となる。そして、この反射光52は、第2の回折格子102によって回折され、プリズム60の外部に出射されて、出射光53となる。このように、回折による分光が2回起こるので、角度分散もほぼ2倍となる。 FIG. 34 is a cross-sectional view showing a spectroscopic element according to the fifth embodiment of the present invention. In this spectroscopic element, two stages of diffraction gratings are provided so that angular dispersion is increased. As shown in FIG. 34, in the
図35は、本発明の第5の実施の形態における分光器を示す斜視図である。図35に示すように、本実施の形態の分光器300においては、分光素子200がその内部に設けられた筐体62の2面に、光ファイバ70を備えたコリメータ80と対物レンズ81とが設けられている。光ファイバ70を伝播してきた光は、コリメータ80によって平行光束となって、分光素子200に入射される。分光素子200に入射された光は、上述したように、2回の回折によって角度分散がほぼ2倍となった回折光となる。そして、この回折光は、対物レンズ81によって集光されて、分光器300から出射される。さらに、この分光器300は、対物レンズ81の焦点位置にラインセンサ90を配置すれば、波長ごとの光強度を一度に測定することができるので、化学分析用の分光センサなどに用いることもできる。 FIG. 35 is a perspective view showing a spectroscope according to the fifth embodiment of the present invention. As shown in FIG. 35, in the
本発明の透過型回折格子は、分光計などの測定器、光ディスク記録再生装置の読み取り用及び書き込み用のヘッド部分、光通信などに利用することができる。 The transmission type diffraction grating of the present invention can be used for a measuring instrument such as a spectrometer, a head portion for reading and writing of an optical disk recording / reproducing apparatus, optical communication, and the like.
10 基板
11 第1低屈折率層(第1層)
12 高屈折率層(第2層)
12a 第1高屈折率層(第2層)
12b 第2高屈折率層(第4層)
13 第2低屈折率層(第3層又は第5層)
15 第3低屈折率層(第3層)
20、22、23、24、25、26 回折格子を構成するリッジ
27 モスアイ構造を構成する微細な第2リッジ
30 溝
50 入射光
51 1次回折光
100、105 透過型回折格子10
12 High refractive index layer (second layer)
12a First high refractive index layer (second layer)
12b Second high refractive index layer (fourth layer)
13 Second low refractive index layer (third layer or fifth layer)
15 Third low refractive index layer (third layer)
20, 22, 23, 24, 25, 26 Ridge constituting
| Application Number | Priority Date | Filing Date | Title |
|---|---|---|---|
| JP2007181159AJP5280654B2 (en) | 2006-09-21 | 2007-07-10 | Transmission diffraction grating, and spectroscopic element and spectroscope using the same |
| Application Number | Priority Date | Filing Date | Title |
|---|---|---|---|
| JP2006256284 | 2006-09-21 | ||
| JP2006256284 | 2006-09-21 | ||
| JP2007181159AJP5280654B2 (en) | 2006-09-21 | 2007-07-10 | Transmission diffraction grating, and spectroscopic element and spectroscope using the same |
| Publication Number | Publication Date |
|---|---|
| JP2008102488A JP2008102488A (en) | 2008-05-01 |
| JP5280654B2true JP5280654B2 (en) | 2013-09-04 |
| Application Number | Title | Priority Date | Filing Date |
|---|---|---|---|
| JP2007181159AActiveJP5280654B2 (en) | 2006-09-21 | 2007-07-10 | Transmission diffraction grating, and spectroscopic element and spectroscope using the same |
| Country | Link |
|---|---|
| JP (1) | JP5280654B2 (en) |
| Publication number | Priority date | Publication date | Assignee | Title |
|---|---|---|---|---|
| JP5380988B2 (en)* | 2008-09-30 | 2014-01-08 | 凸版印刷株式会社 | Optical element |
| JP5724213B2 (en) | 2010-05-13 | 2015-05-27 | セイコーエプソン株式会社 | Detection device |
| JP2013007830A (en) | 2011-06-23 | 2013-01-10 | Seiko Epson Corp | Transmissive diffraction grating and detecting device |
| JP2017004004A (en)* | 2012-03-26 | 2017-01-05 | 旭硝子株式会社 | Transmission type diffraction element |
| JP6007830B2 (en)* | 2012-03-26 | 2016-10-12 | 旭硝子株式会社 | Transmission diffraction element |
| JP2014092730A (en)* | 2012-11-06 | 2014-05-19 | Canon Inc | Diffraction grating and optical device using the same |
| JP6903470B2 (en)* | 2016-05-12 | 2021-07-14 | Eneos株式会社 | Optical retardation member and projector |
| JP2018146624A (en)* | 2017-03-01 | 2018-09-20 | Agc株式会社 | Transmission type diffraction element and anti-reflection structure |
| US10802185B2 (en) | 2017-08-16 | 2020-10-13 | Lumentum Operations Llc | Multi-level diffractive optical element thin film coating |
| US10712475B2 (en)* | 2017-08-16 | 2020-07-14 | Lumentum Operations Llc | Multi-layer thin film stack for diffractive optical elements |
| JP2019211326A (en)* | 2018-06-05 | 2019-12-12 | 公立大学法人大阪 | Photonic crystal element, spectral system having the same, detection kit and detection system for detection target material, and method for manufacturing photonic crystal element |
| JP7310809B2 (en)* | 2018-06-11 | 2023-07-19 | Agc株式会社 | Diffractive optical element, projection device and measurement device |
| FR3102565B1 (en)* | 2019-10-24 | 2024-01-05 | Hydromecanique & Frottement | Optical device with surface texturing |
| EP4403891A4 (en) | 2021-09-14 | 2025-03-26 | National University Corporation Kagawa University | SPECTROMETRY DEVICE |
| Publication number | Priority date | Publication date | Assignee | Title |
|---|---|---|---|---|
| JP2004145064A (en)* | 2002-10-25 | 2004-05-20 | Dainippon Printing Co Ltd | Method for manufacturing diffractive optical element, diffractive optical element, optical system, and optical pickup device |
| EP2214037B1 (en)* | 2003-02-18 | 2012-11-14 | Sumitomo Electric Industries, Ltd. | Diffraction grating element, and production method of diffraction grating element |
| EP1602947A4 (en)* | 2003-03-13 | 2007-03-28 | Asahi Glass Co Ltd | Diffraction element and optical device |
| JP2005258053A (en)* | 2004-03-11 | 2005-09-22 | Nippon Sheet Glass Co Ltd | Transmission type diffraction grating |
| JP2007101926A (en)* | 2005-10-05 | 2007-04-19 | Nippon Sheet Glass Co Ltd | Transmission grating and spectral element and spectroscope using the same |
| Publication number | Publication date |
|---|---|
| JP2008102488A (en) | 2008-05-01 |
| Publication | Publication Date | Title |
|---|---|---|
| JP5280654B2 (en) | Transmission diffraction grating, and spectroscopic element and spectroscope using the same | |
| US7688512B2 (en) | Transmissive diffraction grating, and spectral separation element and spectroscope using the same | |
| JP4600577B2 (en) | Diffraction grating element | |
| US9360602B2 (en) | Transmission diffraction element | |
| US8165436B2 (en) | Highly efficient optical gratings with reduced thickness requirements and impedance-matching layers | |
| JP5077404B2 (en) | Diffraction element and optical device | |
| JP5050594B2 (en) | Spectrometer | |
| US7046442B2 (en) | Wire grid polarizer | |
| JP2011138169A (en) | Transmission diffraction optical element | |
| CN105026980B (en) | For the device for the phase for controlling optical wavefront | |
| JP4369256B2 (en) | Spectroscopic optical element | |
| JP2005258053A (en) | Transmission type diffraction grating | |
| JP2016218436A (en) | Diffraction optical element, optical system, and optical instrument | |
| CN112415652B (en) | A waveguide grating coupler array | |
| JP2007101926A (en) | Transmission grating and spectral element and spectroscope using the same | |
| JP2007333826A (en) | Reflective diffraction element | |
| WO2009107355A1 (en) | Self-cloning photonic crystal for ultraviolet light | |
| JP3913765B1 (en) | Polarization phase difference plate | |
| JP4749789B2 (en) | Transmission type diffractive optical element | |
| JP4139420B2 (en) | Wavelength filter | |
| JP2018146624A (en) | Transmission type diffraction element and anti-reflection structure | |
| JP2017004004A (en) | Transmission type diffraction element | |
| US9823398B2 (en) | Polarizer and optical element having polarizer | |
| Liu et al. | Influence of parametric uncertainties on narrow width bandpass optical filter of prism pair coupled planar optical waveguide | |
| JP2023538847A (en) | Methods and systems for high bandwidth immersed gratings |
| Date | Code | Title | Description |
|---|---|---|---|
| A621 | Written request for application examination | Free format text:JAPANESE INTERMEDIATE CODE: A621 Effective date:20100701 | |
| A977 | Report on retrieval | Free format text:JAPANESE INTERMEDIATE CODE: A971007 Effective date:20120508 | |
| A131 | Notification of reasons for refusal | Free format text:JAPANESE INTERMEDIATE CODE: A131 Effective date:20121011 | |
| A521 | Request for written amendment filed | Free format text:JAPANESE INTERMEDIATE CODE: A523 Effective date:20121025 | |
| TRDD | Decision of grant or rejection written | ||
| A01 | Written decision to grant a patent or to grant a registration (utility model) | Free format text:JAPANESE INTERMEDIATE CODE: A01 Effective date:20130507 | |
| A61 | First payment of annual fees (during grant procedure) | Free format text:JAPANESE INTERMEDIATE CODE: A61 Effective date:20130523 | |
| R150 | Certificate of patent or registration of utility model | Ref document number:5280654 Country of ref document:JP Free format text:JAPANESE INTERMEDIATE CODE: R150 Free format text:JAPANESE INTERMEDIATE CODE: R150 | |
| R250 | Receipt of annual fees | Free format text:JAPANESE INTERMEDIATE CODE: R250 | |
| R250 | Receipt of annual fees | Free format text:JAPANESE INTERMEDIATE CODE: R250 | |
| R250 | Receipt of annual fees | Free format text:JAPANESE INTERMEDIATE CODE: R250 | |
| R250 | Receipt of annual fees | Free format text:JAPANESE INTERMEDIATE CODE: R250 | |
| R250 | Receipt of annual fees | Free format text:JAPANESE INTERMEDIATE CODE: R250 | |
| R250 | Receipt of annual fees | Free format text:JAPANESE INTERMEDIATE CODE: R250 | |
| R250 | Receipt of annual fees | Free format text:JAPANESE INTERMEDIATE CODE: R250 | |
| R250 | Receipt of annual fees | Free format text:JAPANESE INTERMEDIATE CODE: R250 | |
| R250 | Receipt of annual fees | Free format text:JAPANESE INTERMEDIATE CODE: R250 | |
| R250 | Receipt of annual fees | Free format text:JAPANESE INTERMEDIATE CODE: R250 |