Movatterモバイル変換


[0]ホーム

URL:


JP5273942B2 - Medical equipment - Google Patents

Medical equipment
Download PDF

Info

Publication number
JP5273942B2
JP5273942B2JP2007121849AJP2007121849AJP5273942B2JP 5273942 B2JP5273942 B2JP 5273942B2JP 2007121849 AJP2007121849 AJP 2007121849AJP 2007121849 AJP2007121849 AJP 2007121849AJP 5273942 B2JP5273942 B2JP 5273942B2
Authority
JP
Japan
Prior art keywords
outer ring
inner ring
ring
medical device
peripheral surface
Prior art date
Legal status (The legal status is an assumption and is not a legal conclusion. Google has not performed a legal analysis and makes no representation as to the accuracy of the status listed.)
Expired - Fee Related
Application number
JP2007121849A
Other languages
Japanese (ja)
Other versions
JP2008272326A (en
Inventor
憲昭 金澤
Current Assignee (The listed assignees may be inaccurate. Google has not performed a legal analysis and makes no representation or warranty as to the accuracy of the list.)
Olympus Medical Systems Corp
Original Assignee
Olympus Medical Systems Corp
Priority date (The priority date is an assumption and is not a legal conclusion. Google has not performed a legal analysis and makes no representation as to the accuracy of the date listed.)
Filing date
Publication date
Application filed by Olympus Medical Systems CorpfiledCriticalOlympus Medical Systems Corp
Priority to JP2007121849ApriorityCriticalpatent/JP5273942B2/en
Publication of JP2008272326ApublicationCriticalpatent/JP2008272326A/en
Application grantedgrantedCritical
Publication of JP5273942B2publicationCriticalpatent/JP5273942B2/en
Expired - Fee Relatedlegal-statusCriticalCurrent
Anticipated expirationlegal-statusCritical

Links

Images

Landscapes

Abstract

<P>PROBLEM TO BE SOLVED: To provide a medical device having excellent operability, capable of freely rotatably supporting a medical instrument, fixedly supporting the medical instrument at an arbitrary position, and reducing a load on an operator or an assistant. <P>SOLUTION: The medical device includes: an inner ring 82 having a peripheral surface part for holding the operation part body 22 of an endoscope 21 as the medical instrument, and a notched part 82a arranged at a part of the peripheral surface part; an outer ring 81 having a peripheral surface part for supporting the inner ring 82 and a notched part 81a corresponding to the notched part 82a of the inner ring 82 arranged in a part of the peripheral surface part; and rolling grooves 84 and rollers 91 as holding means for rotatably supporting the outer ring 81 and the inner ring 82 with their axial centers as a center and holding the outer ring 81 and the inner ring 82 between them so as not to be movable in their axial direction. <P>COPYRIGHT: (C)2009,JPO&amp;INPIT

Description

Translated fromJapanese

本発明は、例えば内視鏡などの各種の医療器具を支持する医療装置に関する。  The present invention relates to a medical apparatus that supports various medical instruments such as an endoscope.

医療器具としての内視鏡は、体腔内に挿入する挿入部の基端部に本体部が設けられ、本体部には光源装置等に接続されるユニバーサルコードが接続されている。挿入部には、照明光学系、観察光学系と接続される信号線、湾曲操作ワイヤ、送気・送水あるいは吸引管路等の内蔵物が挿通されている。さらに本体部には、前記照明光学系、信号線及び各種管路の接続部が設けられているとともに、湾曲部を湾曲操作する湾曲操作部、送気・送水及び吸引等の各種操作ボタンが設けられている。  An endoscope as a medical instrument is provided with a main body portion at a proximal end portion of an insertion portion to be inserted into a body cavity, and a universal cord connected to a light source device or the like is connected to the main body portion. Built-in objects such as an illumination optical system, a signal line connected to the observation optical system, a bending operation wire, an air / water supply or a suction pipe are inserted through the insertion portion. In addition, the main body is provided with a connection portion for the illumination optical system, signal lines and various pipes, a bending operation portion for bending the bending portion, and various operation buttons such as air supply / water supply and suction. It has been.

前記湾曲操作部は、前記本体部に内蔵した電動モータの駆動力によって電動アングル機構を駆動して湾曲部を湾曲する電動式のもので本体部が大型化しているもの、また、前記本体部には、送気・送水及び吸引のための複数の管路が接続されて重量が増しているものがある。 The bending operation unit is an electric type that bends the bending portion by driving the electric angle mechanism by the driving force of the electric motor built in the main body portion, and the main body portion is enlarged. In some cases, a plurality of pipes for air supply / water supply and suction are connected to increase the weight.

従って、術者や介助者が内視鏡の本体部を持って湾曲操作部や各種操作ボタンを操作し、体腔内を観察したり、患部の処置をする際に、本体部の大型化、大重量化が術者や介助者の負担になっている。さらに、本体部に送気・送水及び吸引のための複数の管路が接続されていると、先端構成部の向きを変更するために、本体部を挿入部の軸心を中心として回動すると、管路が操作部に絡むなどの操作性の問題もある。 Therefore, when the surgeon or assistant holds the main body part of the endoscope and operates the bending operation part or various operation buttons to observe the inside of the body cavity or to treat the affected part, the main body part becomes large and large. Weight increase is a burden on the surgeon and caregivers. Furthermore, when a plurality of pipelines for air supply / water supply and suction are connected to the main body, the main body is rotated around the axis of the insertion portion in order to change the direction of the tip constituent portion. There is also a problem of operability such as the pipe line tangling to the operation unit.

そこで、手術用ベッドの脇に内視鏡を支持する支持装置を設置し、この支持装置から延出するアームに保持部材を設け、この保持部材に内視鏡の本体部を保持して術者や介助者の負担を軽減させた内視鏡装置が知られている(例えば、特許文献1参照。)。前記保持部材は、凹部形状であり、内視鏡の本体部を側方から着脱できるようになっている。
特開2002−224016号公報
Therefore, a support device for supporting the endoscope is installed on the side of the surgical bed, a holding member is provided on the arm extending from the support device, and the main body of the endoscope is held on the holding member. In addition, an endoscope apparatus that reduces the burden on a caregiver is known (see, for example, Patent Document 1). The holding member has a concave shape so that the main body of the endoscope can be attached and detached from the side.
JP 2002-2224016 A

しかしながら、特許文献1に開示された内視鏡装置は、保持部材が凹部形状であり、内視鏡の操作部を側方から保持部材に挿入した構造である。従って、内視鏡の使用時に挿入部にねじり力が加わった場合、その挿入部のねじり力に本体部が円滑に追従できないとともに、操作部を所定の位置で位置決めしようとしても、挿入部のねじり力によって不用意に本体部が回動してしまう虞がある。さらに、挿入部のねじりによって管路が操作部に絡んだ場合においても、不用意に本体部が回動してしまう虞がある等、操作性が悪い。  However, the endoscope apparatus disclosed inPatent Document 1 has a structure in which the holding member has a concave shape and the operation portion of the endoscope is inserted into the holding member from the side. Therefore, if a torsional force is applied to the insertion part during use of the endoscope, the main body cannot smoothly follow the torsional force of the insertion part, and the torsion of the insertion part can be performed even if the operation part is positioned at a predetermined position. There is a risk that the main body will rotate carelessly due to the force. Furthermore, even when the pipe line is entangled with the operation part due to the twisting of the insertion part, the operability is poor, for example, the main body part may turn carelessly.

本発明は、前記事情に着目してなされたもので、その目的とするところは、例えば内視鏡等の医療器具を回転自在に支持することができ、しかも医療器具を任意の位置で固定的に支持でき、術者や介助者の負担を軽減させるとともに、操作性に優れた医療装置を提供することにある。  The present invention has been made by paying attention to the above circumstances, and the object thereof is to be able to rotatably support a medical instrument such as an endoscope, and to fix the medical instrument at an arbitrary position. It is to provide a medical device that can be supported by the operator, reduces the burden on the operator and the assistant, and is excellent in operability.

前記目的を達成するために、請求項1の発明は、医療器具を保持する周面部を有し、その周面部の一部に切り欠き部を有する内輪と、前記内輪を支持する周面部を有し、その周面部の一部に前記内輪の切り欠き部と対応する切り欠き部を有する外輪と、前記外輪に対して前記内輪をその軸心を中心として回転自在に支持するとともに、前記外輪と前記内輪をその軸方向に移動不能に挟持する挟持手段と、を具備し、前記挟持手段は、前記外輪の内周面に相反する方向に傾斜して設けられた外輪側傾斜面と、前記内輪の外周面に前記外輪側傾斜面に対応する方向に傾斜して設けられた内輪側傾斜面と、前記内輪側傾斜面と前記外輪側傾斜面と間に設けられ、前記外輪側傾斜面に対して転動する複数の転動体とから構成されていることを特徴とする医療装置である。In order to achieve the above object,the invention ofclaim 1 has a peripheral surface portion for holding a medical device, and has an inner ring having a notch in a part of the peripheral surface portion, and a peripheral surface portion for supporting the inner ring. And an outer ring having a cutout portion corresponding to the cutout portion of the inner ring on a part of the peripheral surface portion thereof, and the inner ring is supported withrespect to the outer ring so as to be rotatable about its axis, and the outer ringHolding means for holding the inner ring in an axially immovable manner, and theholding means is provided with an outer ring-side inclined surface inclined in a direction opposite to the inner peripheral surface of the outer ring, and the inner ring An inner ring side inclined surface provided on the outer peripheral surface of the inner ring side inclined surface in a direction corresponding to the outer ring side inclined surface, and between the inner ring side inclined surface and the outer ring side inclined surface. It is characterized inthat it is composed of a plurality of rolling elements that roll Te It is a medical device.

請求項2の発明は、請求項1に記載の医療装置において、前記外輪側傾斜面に前記外輪の周方向に沿って設けられた転動溝を有し、前記転動体は前記転動溝の内部を転動することを特徴とする。The invention according toclaim 2 is the medical device according toclaim 1, wherein the outer ring side inclined surface has a rolling groove provided along a circumferential direction of the outer ring, and the rolling element is formed of the rolling groove. It is characterizedby rolling inside .

請求項3の発明は、請求項1に記載の医療装置において、前記転動体は、前記内輪側傾斜面に設けられ前記外輪側傾斜面を転動することを特徴する。According to a third aspect of the present invention, in the medical device according to the first aspect, the rolling element is provided on the inner ring side inclined surface and rolls on the outer ring side inclined surface .

請求項4の発明は、請求項1に記載の医療装置において、更に前記外輪に対して前記内輪を回転不能に係止する係止手段を備えたことを特徴とする。According to a fourth aspect of the present invention, in the medical device according to the first aspect of the present invention, the medical device further includes alocking unit thatlocks the inner ring against the outer ring in a non-rotatable manner.

請求項5の発明は、請求項1に記載の医療装置において、前記内輪は、前記医療器具を着脱可能に保持する着脱機構部を備えていることを特徴とする。According to a fifth aspect of the present invention, in the medical device according to the first aspect, the inner ring includes an attachment / detachment mechanism that detachably holds the medical instrument .

請求項6の発明は、請求項に記載の医療装置において、前記着脱機構部は、前記内輪及び外輪の切り欠き部に対応する切り欠き部を備えていることを特徴とする。According to a sixth aspect of the present invention, in the medical device according to thefifth aspect , the attachment / detachment mechanism portion includes a cutout portion corresponding to the cutout portion of the inner ring and the outer ring.

請求項7の発明は、請求項1に記載の医療装置において、前記内輪または外輪の切り欠き部は、開閉自在なカバーを有していることを特徴とする。The invention according toclaim 7 is the medical device according toclaim 1, wherein the cutout portion of the inner ring or the outer ring has a cover that can be freely opened and closed .

請求項8の発明は、請求項6に記載の医療装置において、前記着脱機構部の切り欠き部は、開閉自在なカバーを有していることを特徴とする。According to an eighth aspect of the present invention, in the medical device according to the sixth aspect, the cutout portion of the detachable mechanism portion has a cover that can be freely opened and closed .

請求項9の発明は、請求項4に記載の医療装置において、前記係止手段は、複数有し、それらの間隔が前記切り欠き部の幅よりも広いことを特徴とする。According to a ninth aspect of the present invention, in the medical device according to the fourth aspect of the present invention, there are a plurality of the locking means, and the interval between them is wider than the width of the notch .

本発明によれば、例えば内視鏡等の医療器具を保持する内輪が外輪に回転自在に支持されるため、医療器具の一部にねじり力が加わっても内輪が外輪に対して回転するため、医療器具に無理な力が加わることはなく、しかも医療器具を任意の位置で固定的に支持できる。従って、操作性に優れ、術者や介助者の負担を軽減させることができるという効果がある。  According to the present invention, for example, an inner ring that holds a medical instrument such as an endoscope is rotatably supported by the outer ring, and therefore the inner ring rotates relative to the outer ring even if a torsional force is applied to a part of the medical instrument. In addition, an excessive force is not applied to the medical device, and the medical device can be fixedly supported at an arbitrary position. Therefore, the operability is excellent, and there is an effect that the burden on the operator and the assistant can be reduced.

以下、本発明の各実施の形態を図面に基づいて説明する。  Hereinafter, embodiments of the present invention will be described with reference to the drawings.

図1〜図12は第1の実施形態を示す。図1は医療装置10の全体構成を示し、医療装置10を手術用ベッド11の脇に設置した状態の斜視図である。キャスター12を備えた支持台13には光源装置14、ビデオプロセッサ15及びコントロールボックス16等が搭載されている。支持台13には支持機構17を構成する支柱18が垂直方向に立設され、この支柱18の上端部には水平面内で回動自在なアーム19を介して医療器具保持部としての内視鏡保持部20が設けられている。  1 to 12 show a first embodiment. FIG. 1 shows the overall configuration of themedical device 10, and is a perspective view showing a state where themedical device 10 is installed beside thesurgical bed 11. Alight source device 14, avideo processor 15, acontrol box 16, and the like are mounted on asupport base 13 havingcasters 12. Asupport 18 that constitutes asupport mechanism 17 is vertically provided on thesupport 13, and an endoscope serving as a medical instrument holding unit is provided at an upper end of thesupport 18 via anarm 19 that is rotatable in a horizontal plane. Aholding unit 20 is provided.

内視鏡保持部20には医療器具としての内視鏡21が保持されている。内視鏡21は、本体部22と、本体部22に接続された挿入部23及びユニバーサルコード24から構成されている。挿入部23には湾曲部25及び先端構成部26が設けられている。ユニバーサルコード24にはコネクタ27が設けられ、このコネクタ27は光源装置14に接続されている。  Theendoscope holding unit 20 holds anendoscope 21 as a medical instrument. Theendoscope 21 includes amain body portion 22, aninsertion portion 23 connected to themain body portion 22, and auniversal cord 24. Theinsertion portion 23 is provided with abending portion 25 and atip constituting portion 26. Theuniversal cord 24 is provided with aconnector 27, and theconnector 27 is connected to thelight source device 14.

内視鏡21の先端構成部26には体腔内を照明する照明光学系、体腔内を観察する観察光学系を備えている。照明光学系は光源装置14からの照明光をユニバーサルコード24、挿入部23を介して先端構成部26の前面から出射する。観察光学系は、先端構成部26に設けられた固体撮像素子等の撮像ユニットからの映像信号をビデオプロセッサ15が受けて所定の信号処理を施し、このビデオプロセッサ15から出力される映像信号はコントロールパネル28に伝送される。コントロールパネル28には所定の内視鏡画像がその表示部29に表示する他、この表示部29の表示面上にタッチパネル式などの操作部が設けられている。このため、術者は、このコントロールパネル28の操作部から各種の操作指示を入力することができる。  The distalend configuration portion 26 of theendoscope 21 includes an illumination optical system that illuminates the body cavity and an observation optical system that observes the body cavity. The illumination optical system emits illumination light from thelight source device 14 from the front surface of the distalend configuration portion 26 via theuniversal cord 24 and theinsertion portion 23. In the observation optical system, thevideo processor 15 receives a video signal from an imaging unit such as a solid-state imaging device provided in the distalend configuration unit 26, performs predetermined signal processing, and the video signal output from thevideo processor 15 is controlled. The data is transmitted to thepanel 28. In addition to displaying a predetermined endoscopic image on thedisplay unit 29, thecontrol panel 28 is provided with an operation unit such as a touch panel on the display surface of thedisplay unit 29. Therefore, the surgeon can input various operation instructions from the operation unit of thecontrol panel 28.

さらに、コントロールボックス16は、内視鏡21を観察や処置に使用する際の送気や送水を行うための電磁弁ユニット(図示しない)を動作させるためのものである。この電磁弁ユニットは、挿入部23の内部に設けられる送気送水管路や吸引管路等を介して送気送水および吸引動作の制御を行う。コントロールボックス16のシステムコントローラは、光源装置14およびビデオプロセッサ15に電気的に接続されている。  Furthermore, thecontrol box 16 is for operating an electromagnetic valve unit (not shown) for supplying air and water when theendoscope 21 is used for observation and treatment. This electromagnetic valve unit controls air supply / water supply and suction operations via an air supply / water supply conduit, a suction conduit, and the like provided inside theinsertion portion 23. The system controller of thecontrol box 16 is electrically connected to thelight source device 14 and thevideo processor 15.

なお、図1に示す、コントロールボックス16の電磁弁ユニットには、流体制御カセット30が着脱可能に装着されている。この流体制御カセット30は、送気、送水、前方送水に関する弁体を有する流量調整機構を備えている。電磁弁ユニットは、流体制御カセット30の流量調整機構を駆動する。  Afluid control cassette 30 is detachably attached to the electromagnetic valve unit of thecontrol box 16 shown in FIG. Thefluid control cassette 30 includes a flow rate adjusting mechanism having a valve body for air supply, water supply, and forward water supply. The solenoid valve unit drives the flow rate adjusting mechanism of thefluid control cassette 30.

また、コントロールボックス16には、内視鏡21に対して送気、送水及び前方送水を行う3本のチューブ33a,33b,33cの一端が接続され、他端は内視鏡21の本体部22に接続されている。これらチューブ33a,33b,33cは中空の柔軟な樹脂材で形成されている。前記ユニバーサルコード24にはライトガイドファイバーや信号線が内挿されている。  Thecontrol box 16 is connected to one end of threetubes 33 a, 33 b, 33 c that supply air, water, and forward water to theendoscope 21, and the other end is themain body 22 of theendoscope 21. It is connected to the. Thesetubes 33a, 33b, and 33c are formed of a hollow flexible resin material. A light guide fiber and a signal line are inserted into theuniversal cord 24.

支持機構17のアーム19には複数本の支持ロッド34a,34bが立設され、これら支持ロッド34a,34bにはチューブ33a,33b,33c及びユニバーサルコード24の中途部を支持するリテーナ35a,35bが設けられている。  A plurality ofsupport rods 34 a and 34 b are erected on thearm 19 of thesupport mechanism 17, andretainers 35 a and 35 b for supporting thetubes 33 a, 33 b and 33 c and the middle portion of theuniversal cord 24 are provided on thesupport rods 34 a and 34 b. Is provided.

図2は内視鏡21の本体部22及び挿入部23の内部構造を概略的に示す構成図である。本体部22及び挿入部23には送気送水管路36や前方送水管路37が設けられ、これらはチューブ33a,33b,33cが接続されている。すなわち、コントロールボックス16は、流体制御カセット30、チューブ33a,33b,33c、送気送水管路36、前方送水管路37を介して挿入部23の先端構成部26に連通されている。このため、コントロールボックス16の電磁弁ユニットが駆動されて流体制御カセット30から送気送水動作が行なわれると、チューブ33a,33b、送気送水管路36を通して先端構成部26から送気送水を行うことができる。また、電磁弁ユニットが駆動されて前方送水動作が行なわれると、先端構成部26から前方送水管路37を通して前方送水を行うことができる。 FIG. 2 is a configuration diagram schematically showing the internal structure of themain body 22 and theinsertion portion 23 of theendoscope 21. Themain body portion 22 and theinsertion portion 23 are provided with an air /water supply conduit 36 and a frontwater supply conduit 37, to whichtubes 33a, 33b, and 33c are connected. That is, thecontrol box 16 is communicated with the distalend constituting portion 26 of theinsertion portion 23 through thefluid control cassette 30, thetubes 33 a, 33 b, 33 c, the air /water supply conduit 36, and the forwardwater supply conduit 37. For this reason, when the solenoid valve unit of thecontrol box 16 is driven and the air supply / water supply operation is performed from thefluid control cassette 30, the air supply / water supply is performed from thetip component portion 26 through thetubes 33 a and 33 b and the air supply /water supply conduit 36. be able to. Further, when the electromagnetic valve unit is driven to perform the forward water supply operation, the forward water supply can be performed through the forwardwater supply conduit 37 from thetip component portion 26.

さらに、内視鏡21の本体部22には、湾曲操作指示に応じて制御される後述する湾曲駆動機構38が内蔵され、湾曲部25を上下左右に湾曲動作するように構成されている。すなわち、湾曲駆動機構38は、この湾曲駆動機構38からの駆動力を受けて駆動されるアングルワイヤ39と連動している。  Further, thebody portion 22 of theendoscope 21 incorporates a bendingdrive mechanism 38, which will be described later, which is controlled in accordance with a bending operation instruction, and is configured to bend the bendingportion 25 up, down, left and right. That is, the bendingdrive mechanism 38 is interlocked with theangle wire 39 that is driven by receiving the driving force from the bendingdrive mechanism 38.

湾曲駆動機構38は、電動モータ40や、この電動モータ40から生じる動力を伝達及び切り離すために形成される各種の部材等によって構成される湾曲駆動手段である。湾曲駆動機構38は、電動モータ40と、モータ制御部41と、エンコーダ42と、減速ギヤ43とを備えている。電動モータ40は、回転による駆動力を生じさせる。モータ制御部41は、電動モータ40を含む湾曲駆動機構38の統括的な制御を行う。エンコーダ42は、電動モータ40の駆動軸の回転速度や回転量等の動作状態をデータ化する。減速ギヤ43は、電動モータ40の駆動軸の回転動力を減速させる。  The bendingdrive mechanism 38 is a bending drive means constituted by anelectric motor 40 and various members formed for transmitting and separating power generated from theelectric motor 40. The bendingdrive mechanism 38 includes anelectric motor 40, amotor control unit 41, anencoder 42, and areduction gear 43. Theelectric motor 40 generates a driving force by rotation. Themotor control unit 41 performs overall control of the bendingdrive mechanism 38 including theelectric motor 40. Theencoder 42 converts the operation state such as the rotation speed and rotation amount of the drive shaft of theelectric motor 40 into data. Thereduction gear 43 reduces the rotational power of the drive shaft of theelectric motor 40.

また、挿入部23には、鉗子等の処置具を挿通させる鉗子管路44が挿通されている。この鉗子管路44の先端は先端構成部26の鉗子口に連通し、基端は挿入部23の基端部で、本体部22の近傍に形成された後述する鉗子挿入口45に連通している。このため、鉗子挿入口45から挿入される鉗子等の処置具は、鉗子管路44を挿通して先端構成部26から突出可能である。 Further, aforceps conduit 44 through which a treatment tool such as forceps is inserted is inserted into theinsertion portion 23. The distal end of theforceps conduit 44 communicates with a forceps port of the distalend configuration portion 26, and the proximal end communicates with a later-describedforceps insertion port 45 formed in the vicinity of themain body portion 22 at the proximal end portion of theinsertion portion 23. Yes. Therefore, a treatment instrument such as a forceps inserted from theforceps insertion opening 45 can be inserted through theforceps conduit 44 and protrude from the distalend component portion 26.

さらに、内視鏡21には照明光学系を構成するライトガイド46が挿通されている。このライトガイド46は、ユニバーサルコード24、本体部22及び挿入部23の内部を挿通して先端構成部26まで延設されている。このため、光源装置14から供給される照明光束は光伝送用コネクタとしてのライトガイド46を介して先端構成部26から出射される。  Further, alight guide 46 constituting an illumination optical system is inserted into theendoscope 21. Thelight guide 46 extends through theuniversal cord 24, themain body portion 22, and theinsertion portion 23 to the distalend configuration portion 26. For this reason, the illumination light beam supplied from thelight source device 14 is emitted from the distalend component portion 26 via thelight guide 46 as a light transmission connector.

先端構成部26には固体撮像素子からなる撮像ユニット47が設けられている。ビデオプロセッサ15には撮像ユニット47からの映像信号を伝達する信号ケーブル48が接続されている。この信号ケーブル48は撮像ユニット47から延出され、挿入部23、本体部22及びユニバーサルコード24の内部を挿通してビデオプロセッサ15の所定の端子に接続されている。  Animage pickup unit 47 made of a solid-state image pickup device is provided in the distalend configuration portion 26. Asignal cable 48 for transmitting a video signal from theimage pickup unit 47 is connected to thevideo processor 15. Thesignal cable 48 extends from theimaging unit 47 and is inserted into theinsertion portion 23, themain body portion 22, and theuniversal cord 24 and is connected to a predetermined terminal of thevideo processor 15.

図4(a)は内視鏡保持部20の平面図、(b)はA部を拡大した一部断面図を示し、アーム19の先端部には旋回軸50を介して円筒状のブラケット51が旋回可能に設けられている。ブラケット51には片持ち支持アーム52が固定されている。片持ち支持アーム52は、L字形で、その一方の部材52aの中間部にはこの部材52aと直角方向に第1の回転軸53が突設され、他方の部材52bの先端部には直角方向に軸受部54が設けられている。そして、第1の回転軸53はブラケット51に設けられた軸受孔55に回転自在に挿入され、この第1の回転軸53は軸受孔55と直角方向に設けられたブレーキイングを構成する締付ノブ56によって締付固定されている。軸受部54には操作部保持リング57の外部に突設された第2の回転軸58が回転自在に挿入され、軸受部54と直角方向に設けられたブレーキイングを構成する締付ノブ59によって締付固定されている。  4A is a plan view of theendoscope holding portion 20, and FIG. 4B is an enlarged partial cross-sectional view of the portion A. Acylindrical bracket 51 is connected to the distal end portion of thearm 19 via a turningshaft 50. Is provided so that turning is possible. Acantilever support arm 52 is fixed to thebracket 51. Thecantilever support arm 52 is L-shaped, and a firstrotating shaft 53 projects in a direction perpendicular to themember 52a at an intermediate portion of onemember 52a, and a right-angle direction extends from the tip of theother member 52b. A bearingportion 54 is provided. The firstrotary shaft 53 is rotatably inserted into abearing hole 55 provided in thebracket 51, and the firstrotary shaft 53 is a tightening that constitutes a brake provided in a direction perpendicular to thebearing hole 55. Theknob 56 is fastened and fixed. A secondrotating shaft 58 projecting from the operationportion holding ring 57 is rotatably inserted into the bearingportion 54, and is tightened by a tighteningknob 59 that constitutes a brake provided in a direction perpendicular to the bearingportion 54. Tightened and fixed.

第1の回転軸53の軸方向53aと第2の回転軸58の軸方向58aは直交する方向に配置されており、その交点Oに前記操作部保持リング57の中心が位置するように取り付けられている。従って、操作部保持リング57は第1の回転軸53の軸方向53a及び第2の回転軸58の軸方向58aを軸心として回動自在であり、操作部保持リング57の軸方向を可変できるようになっている。さらに、片持ち支持アーム52の一方の部材52aの端部には操作部保持リング57及びこの操作部保持リング57に装着される内視鏡本体部22との重量バランスを図るためのバランスウエイト60が固定されている。  Theaxial direction 53a of the firstrotating shaft 53 and theaxial direction 58a of the secondrotating shaft 58 are arranged in a direction orthogonal to each other, and the operationunit holding ring 57 is attached at the intersection O. ing. Therefore, the operationportion holding ring 57 is rotatable about theaxial direction 53a of thefirst rotation shaft 53 and theaxial direction 58a of thesecond rotation shaft 58, and the axial direction of the operationportion holding ring 57 can be varied. It is like that. Further, at the end of onemember 52a of thecantilever support arm 52, abalance weight 60 for balancing the weight of the operationportion holding ring 57 and the endoscopemain body portion 22 attached to the operationportion holding ring 57 is provided. Is fixed.

図3は操作部保持リング57に保持される内視鏡21の本体部22の分解斜視図である。本体部22は、挿入部23の基端部に設けられる挿入部側本体61と、この挿入部側本体61に対して着脱可能で、挿入部側本体61に動力、流体、光、電力、信号を供給するための供給源側本体部としてのパワーユニット62と、挿入部側本体61に対して着脱可能な流体管路接続ユニット63とから構成されている。そして、挿入部側本体61に対してパワーユニット62及び流体管路接続ユニット63が結合された状態の本体部22が操作部保持リング57に保持されるように構成されている。  FIG. 3 is an exploded perspective view of themain body portion 22 of theendoscope 21 held by the operationportion holding ring 57. Themain body portion 22 is detachable from the insertion portion sidemain body 61 provided at the proximal end portion of theinsertion portion 23 and the insertion portion sidemain body 61, and the insertion portion sidemain body 61 has power, fluid, light, power, and signal. Thepower unit 62 as a supply source side main body unit for supplying water and the fluidline connection unit 63 that can be attached to and detached from the insertion unit sidemain body 61 are configured. Themain body portion 22 in a state where thepower unit 62 and the fluidline connection unit 63 are coupled to the insertion portion sidemain body 61 is held by the operationportion holding ring 57.

挿入部側本体61の先端部における側部には突出部64が設けられ、この突出部64には挿入部側本体61の軸方向に対して傾斜する鉗子挿入口45が設けられている。挿入部側本体61の中間部にはその軸方向に対して直角な取付け面65が設けられ、取付け面65には送気口金66a、送水口金66b、前方送水口金66c及び漏水検知口金66dがその開口を基端側に向けて配置されている。挿入部側本体61の基端部には角筒部67及びこの角筒部67の後端に円筒部68が設けられている。角筒部67の内部には前記湾曲駆動機構38が内蔵され、角筒部67の外側部には湾曲駆動機構38と連動する従動側カップリング69が設けられている。円筒部68の後端面には前記ライトガイド46と接続するライトガイドコネクタ70が設けられている。さらに、円筒部68の外周面には周方向に多数の電極71が配置されている。  A protrudingportion 64 is provided at a side portion at the distal end portion of the insertion portion sidemain body 61, and aforceps insertion port 45 that is inclined with respect to the axial direction of the insertion portion sidemain body 61 is provided in the protrudingportion 64. Anattachment surface 65 perpendicular to the axial direction is provided at the intermediate portion of the insertionportion side body 61. Theattachment surface 65 has anair supply base 66a, awater supply base 66b, a frontwater supply base 66c, and a waterleakage detection base 66d. Is arranged with its opening facing the base end. Asquare tube portion 67 is provided at the base end portion of the insertion portion sidemain body 61, and acylindrical portion 68 is provided at the rear end of thesquare tube portion 67. The bendingdrive mechanism 38 is built in therectangular tube portion 67, and a drivenside coupling 69 that interlocks with the bendingdrive mechanism 38 is provided on the outer side of therectangular tube portion 67. Alight guide connector 70 connected to thelight guide 46 is provided on the rear end surface of thecylindrical portion 68. Further, a large number ofelectrodes 71 are arranged on the outer peripheral surface of thecylindrical portion 68 in the circumferential direction.

パワーユニット62は、略矩形状のケーシング72によって覆われており、ケーシング72の内部には前記湾曲駆動機構38の電動モータ40、エンコーダ42及び減速ギヤ43等が設けられている。ケーシング72には先端側に開口する収納室73が設けられ、この収納室73には挿入部側本体61の角筒部67及び円筒部68が嵌合されるようになっている。さらに、ケーシング72の外側壁における先端側には円筒状の嵌合部74が設けられ、この嵌合部74が前記操作部保持リング57に嵌合されるようになっている。また、ケーシング72の外側壁には凹陥部75が設けられ、この凹陥部75には前記流体管路接続ユニット63が取り付けられている。  Thepower unit 62 is covered with a substantiallyrectangular casing 72, and theelectric motor 40 of the bendingdrive mechanism 38, theencoder 42, thereduction gear 43, and the like are provided inside thecasing 72. Thecasing 72 is provided with astorage chamber 73 that opens to the distal end side, and thestorage chamber 73 is fitted with therectangular tube portion 67 and thecylindrical portion 68 of the insertion portion sidemain body 61. Further, a cylindricalfitting portion 74 is provided on the front end side of the outer wall of thecasing 72, and thefitting portion 74 is fitted to the operationportion holding ring 57. Further, a concave portion 75 is provided on the outer wall of thecasing 72, and the fluidpipe connection unit 63 is attached to the concave portion 75.

流体管路接続ユニット63は、ゴム製のベースブロック76に対して前記チューブ33a,33b,33cが接続されており、ベースブロック76には送気口金66a、送水口金66b及び前方送水口金66cに接続される接続口76aが設けられている。さらに、ベースブロック76の側部には切り欠き部を有する管路保持部76bが設けられ、この管路保持部76bには吸引管路76cや操作部コード76dを嵌合保持できるようになっている。  In the fluidline connecting unit 63, thetubes 33a, 33b, and 33c are connected to arubber base block 76. Thebase block 76 has anair supply base 66a, awater supply base 66b, and a frontwater supply base 66c. Theconnection port 76a connected to is provided. Further, apipe holding part 76b having a notch is provided on the side of thebase block 76, and thesuction pipe 76c and theoperation part cord 76d can be fitted and held in thispipe holding part 76b. Yes.

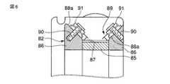
前記操作部保持リング57は、回転機構部77と着脱機構部78とから構成されている。まず、回転機構部77について説明すると、図5〜図8に示すように構成されている。すなわち、外輪81と、この外輪81の内周側にベアリング80を介して回転自在に設けられた内輪82とから構成されている。外輪81は周面部の一部に切り欠き部81aを有したC字形状に形成されている。内輪82も周面部の一部に切り欠き部82aを有したC字形状に形成されている。  The operationunit holding ring 57 includes a rotation mechanism unit 77 and an attachment /detachment mechanism unit 78. First, the rotation mechanism 77 will be described as shown in FIGS. That is, theouter ring 81 and theinner ring 82 that is rotatably provided on the inner peripheral side of theouter ring 81 via thebearing 80 are configured. Theouter ring 81 is formed in a C shape having anotch 81a in a part of the peripheral surface portion. Theinner ring 82 is also formed in a C shape having anotch 82a in a part of the peripheral surface portion.

外輪81は、その内周面部に断面山形状の凸条部83が設けられ、その頂部83aを挟んで上下部に45°の傾斜面83bが設けられている。これら傾斜面83bには断面がコ字状の転動溝84が設けられている。この転動溝84はその周側面がローラ転動面84aに形成され、このローラ転動面84aは傾斜面83bに対して直角である。 Theouter ring 81 is provided with aridge portion 83 having a mountain-shaped cross section on the inner peripheral surface portion, and is provided with a 45 °inclined surface 83b on the upper and lower portions with thetop portion 83a interposed therebetween. Theseinclined surfaces 83b are provided with rollinggrooves 84 having a U-shaped cross section. The circumferential surface of the rollinggroove 84 is formed on aroller rolling surface 84a, and theroller rolling surface 84a is perpendicular to theinclined surface 83b.

内輪82は、係止リング85と、この係止リング85を挟んで上下にサンドイッチ状に設けた一対のローラ支持リング86とから構成され、これら三者は結合ピン85aによって結合されている。係止リング85は外周面が外輪81の頂部83aに対向しており、この外周面には周方向に等間隔にV字状の係合溝87が設けられている。  Theinner ring 82 includes a lockingring 85 and a pair of roller support rings 86 provided in a sandwich shape above and below the lockingring 85, and these three members are coupled by acoupling pin 85a. The outer peripheral surface of the lockingring 85 faces thetop portion 83a of theouter ring 81, and V-shapedengaging grooves 87 are provided on the outer peripheral surface at equal intervals in the circumferential direction.

一対のローラ支持リング86は、外輪81の傾斜面83bに対応するように45°の傾斜面88aが設けられ、外輪81の凸条部83と嵌合するように断面逆山形状の凹状部89が設けられている。これら傾斜面88aには周方向に等間隔に多数本のローラピン90が放射方向に、しかも傾斜面88aに対して直角に突設されている。これらローラピン90にはローラ91が回転自在に嵌合されている。これらローラピン90を含むローラ91は外輪81の転動溝84の内部に収納され、ローラ91はローラ転動面84aに対して転動するようになっている。 The pair of roller support rings 86 are provided with a 45 °inclined surface 88 a so as to correspond to theinclined surface 83 b of theouter ring 81, and aconcave portion 89 having an inverted mountain shape in cross section so as to be fitted to the protrudingstrip portion 83 of theouter ring 81. Is provided. On theseinclined surfaces 88a, a large number of roller pins 90 are projected in the radial direction at equal intervals in the circumferential direction and perpendicularly to theinclined surface 88a. Aroller 91 is rotatably fitted to these roller pins 90. Theroller 91 including these roller pins 90 is accommodated in the rollinggroove 84 of theouter ring 81, and theroller 91 rolls with respect to theroller rolling surface 84a.

すなわち、外輪81に対して内輪82が多数のローラ91を備えたベアリング80によって円滑に回転するようになっている。さらに、内輪82を構成する一対のローラ支持リング86の傾斜面88aに設けられた多数のローラ91を外輪81の断面がコ字状の転動溝84によって上下方向から挟持した構造であり、この挟持部92によって外輪81は内輪82を回転自在に支持している。従って、操作部保持リング57は上下が反転されても外輪81と内輪82とが軸方向に相対的にずれることはない。 That is, theinner ring 82 is smoothly rotated with respect to theouter ring 81 by the bearing 80 having a large number ofrollers 91. Further, a large number ofrollers 91 provided on theinclined surfaces 88a of the pair of roller support rings 86 constituting theinner ring 82 are sandwiched from above and below by rollinggrooves 84 whoseouter ring 81 has a U-shaped cross section. Theouter ring 81 supports theinner ring 82 rotatably by the clamping portion 92. Therefore, theouter ring 81 and theinner ring 82 are not displaced relative to each other in the axial direction even when the operationpart holding ring 57 is turned upside down.

さらに、外輪81には、その切り欠き部81aを挟んで2箇所に、内輪82を所望の位置で回転不能に係止する係止手段としてのロック機構93が設けられている。このロック機構93は同一構造であるためその一方について説明すると、外輪81の幅方向の中間部にはその外周面から内周面に径方向に貫通するねじ孔94が穿設されている。ねじ孔94にはガイド筒体95がねじ込み固定されている。  Furthermore, theouter ring 81 is provided with lockingmechanisms 93 as locking means for locking theinner ring 82 at a desired position in a non-rotatable manner at two positions across thenotch 81a. Since one of thelock mechanisms 93 has the same structure, a screw hole 94 penetrating from the outer peripheral surface to the inner peripheral surface in the radial direction is formed in the intermediate portion in the width direction of theouter ring 81. Aguide cylinder 95 is screwed and fixed to the screw hole 94.

ガイド筒体95の内部には段差部95aが設けられているとともにロックピン96が軸方向に進退自在に挿入されている。このロックピン96の先端部は外輪81の頂部83aを貫通して内輪82の係止リング85に設けられた係合溝87に係脱可能であり、中間部には段差部96aが設けられている。 A steppedportion 95a is provided inside theguide cylinder 95, and alock pin 96 is inserted so as to freely advance and retract in the axial direction. The tip of thelock pin 96 can be engaged with and disengaged from anengagement groove 87 provided in theengagement ring 85 of theinner ring 82 through the top 83a of theouter ring 81, and a steppedpart 96a is provided in the intermediate part. Yes.

ロックピン96には段差部95aと96aとの間に圧縮状態で介在されたコイルスプリング97が巻回され、ロックピン96を前進(ロック)方向に付勢している。ロックピン96の基端部はガイド筒体95から外方に突出しており、この突出部にはロック解除ノブ98が固定されている。 Acoil spring 97 interposed between thestep portions 95a and 96a in a compressed state is wound around thelock pin 96 to urge thelock pin 96 in the forward (locking) direction. A base end portion of thelock pin 96 protrudes outward from theguide cylinder 95, and alock release knob 98 is fixed to the protrusion portion.

すなわち、ロック解除ノブ98に手指を掛け、ロックピン96をコイルスプリング97の付勢力に抗して後退させると、ロックピン96の先端部が係止リング85の係合溝87から脱出し、ロックが解除されて外輪81に対して内輪82が回転自在となる。さらに、ガイド筒体95の端面には180°位相がずれた位置に係合凹部95bが設けられ、ロック解除ノブ98の筒部98aの端面には係合凹部95bに対応して係合凸部98bが設けられている。 That is, when a finger is put on the unlockingknob 98 and thelock pin 96 is retracted against the urging force of thecoil spring 97, the tip of thelock pin 96 comes out of theengagement groove 87 of the lockingring 85 and locks. Is released, and theinner ring 82 can rotate with respect to theouter ring 81. Further, an engagementconcave portion 95b is provided on the end surface of theguide cylinder 95 at a position shifted by 180 °, and an engagement convex portion corresponding to the engagementconcave portion 95b is formed on the end surface of thecylindrical portion 98a of thelock release knob 98. 98b is provided.

そして、ロック解除ノブ98をコイルスプリング97の付勢力に抗して後退させ、ロックピン96の先端部が係止リング85の係合溝87から脱出した状態で、90°回転すると、係合凸部98bがガイド筒体95の端面に当接してロック解除ノブ98がロック解除状態で保持できる。 Then, when thelock release knob 98 is retracted against the urging force of thecoil spring 97 and the tip end portion of thelock pin 96 is released from theengagement groove 87 of the lockingring 85, thelock release knob 98 is rotated by 90 °. Theportion 98b contacts the end surface of theguide cylinder 95, and thelock release knob 98 can be held in the unlocked state.

図9はロック機構93の変形例を示すもので、外輪81のねじ孔94にはガイド筒体100がねじ込み固定されている。ガイド筒体100には段差部100aが設けられているとともに周壁にはカム溝101が設けられている。ガイド筒体100の内部にはロックピン102が軸方向に進退自在に挿入されている。このロックピン102の先端部は外輪81の頂部83aを貫通して内輪82の係止リング85に設けられた係合溝87に係脱可能であり、中間部には段差部102aが設けられている。 FIG. 9 shows a modified example of thelock mechanism 93, and theguide cylinder 100 is screwed and fixed in the screw hole 94 of theouter ring 81. Theguide cylinder 100 is provided with a steppedportion 100a and acam groove 101 is provided on the peripheral wall. Alock pin 102 is inserted into theguide cylinder 100 so as to be able to advance and retract in the axial direction. The distal end portion of thelock pin 102 can be engaged with and disengaged from anengagement groove 87 provided in theengagement ring 85 of theinner ring 82 through thetop portion 83a of theouter ring 81, and a steppedportion 102a is provided in the intermediate portion. Yes.

ロックピン102には段差部100aと102aとの間に圧縮状態で介在されたコイルスプリング97が巻回され、ロックピン102を前進(ロック)方向に付勢している。ロックピン102の基端部はガイド筒体100から外方に突出しており、この突出部には回転筒体103が嵌合され、この回転筒体103の径方向にはカム溝101に係合するカムピン104が貫通して設けられている。さらに、回転筒体103の外側には操作ノブ105aが結合ピン106によって固定されている。 Acoil spring 97 interposed between thestep portions 100a and 102a in a compressed state is wound around thelock pin 102 to urge thelock pin 102 in the forward (locking) direction. The base end portion of thelock pin 102 protrudes outward from theguide cylinder 100, and therotating cylinder 103 is fitted into the protruding portion, and thecam cylinder 101 is engaged in the radial direction of therotating cylinder 103. Acam pin 104 is provided so as to penetrate therethrough. Further, an operation knob 105 a is fixed to the outside of therotating cylinder 103 by acoupling pin 106.

すなわち、操作ノブ105aに手指で摘んで例えば右方向に回転させると、回転筒体103が一体に回転し、カムピン104がカム溝101に沿って旋回するため、ロックピン102をコイルスプリング97の付勢力によって前進してロックピン102の先端部が係止リング85の係合溝87に係合して外輪81に対して内輪82が回転不能にロックされる。逆に、操作ノブ105aに手指で摘んで左方向に回転させると、回転筒体103が一体に回転し、カムピン104がカム溝101に沿って旋回するため、ロックピン102をコイルスプリング97の付勢力に抗して後退させることができ、ロックピン102の先端部が係止リング85の係合溝87から脱出し、ロックが解除されて外輪81に対して内輪82が回転自在となる。 That is, when the operation knob 105a is picked with a finger and rotated, for example, in the right direction, therotating cylinder 103 rotates integrally, and thecam pin 104 turns along thecam groove 101, so that thelock pin 102 is attached to thecoil spring 97. Due to the force, the front end of thelock pin 102 engages with theengagement groove 87 of the lockingring 85 and theinner ring 82 is locked to theouter ring 81 so as not to rotate. On the contrary, when the operation knob 105a is picked with fingers and rotated leftward, therotating cylinder 103 rotates integrally, and thecam pin 104 turns along thecam groove 101, so that thelock pin 102 is attached to thecoil spring 97. The front end of thelock pin 102 is released from theengagement groove 87 of the lockingring 85, the lock is released, and theinner ring 82 can rotate with respect to theouter ring 81.

次に、着脱機構部78について説明すると、図10及び図11に示すように構成されている。すなわち、回転機構部77の内輪82の上面にはこれと同一内径の内側リング112が載置され、内側リング112の外側には外輪81と同一外径の外側リング113が設けられている。内側リング112は周面部の一部に切り欠き部112aを有したC字形状に形成されている。外側リング113も周面部の一部に切り欠き部113aを有したC字形状に形成されている。内側リング112の下面には周方向に離間して複数本の連結ピン114が突設され、これら連結ピン114は内輪82の上面に穿設された連結穴115に挿入されて内側リング112が内輪82に連結されている。 Next, the attachment /detachment mechanism 78 will be described as shown in FIGS. That is, theinner ring 112 having the same inner diameter is placed on the upper surface of theinner ring 82 of the rotation mechanism 77, and theouter ring 113 having the same outer diameter as theouter ring 81 is provided outside theinner ring 112. Theinner ring 112 is formed in a C shape having anotch 112a in a part of the peripheral surface portion. Theouter ring 113 is also formed in a C shape having anotch 113a in a part of the peripheral surface portion. A plurality of connectingpins 114 project from the lower surface of theinner ring 112 in the circumferential direction, and these connectingpins 114 are inserted into connectingholes 115 drilled in the upper surface of theinner ring 82 so that theinner ring 112 is connected to theinner ring 112. 82.

内側リング112の下面にはその周方向に環状溝116が設けられ、この環状溝116の下面開口はスプリング内側リング117によって閉塞されている。スプリング内側リング117には環状溝116の内部に突出する2本の第1のスプリング固定ピン118が突設されている。第1のスプリング固定ピン118と周方向に離間する外側リング113の内壁には2本の第2のスプリング固定ピン119が突設されている。そして、環状溝116の内部には第1のスプリング固定ピン118と第2のスプリング固定ピン119との間にはコイルスプリング120が張設され、内側リング112に対して外側リング113を矢印方向に回動する方向に付勢されている。 Anannular groove 116 is provided in the circumferential direction on the lower surface of theinner ring 112, and the lower surface opening of theannular groove 116 is closed by a springinner ring 117. Two first spring fixing pins 118 projecting into theannular groove 116 are projected from the springinner ring 117. Two secondspring fixing pins 119 protrude from the inner wall of theouter ring 113 that is spaced apart from the firstspring fixing pin 118 in the circumferential direction. Acoil spring 120 is stretched between the firstspring fixing pin 118 and the secondspring fixing pin 119 inside theannular groove 116, and theouter ring 113 is moved in the direction of the arrow with respect to theinner ring 112. It is biased in the direction of rotation.

さらに、内側リング112には周方向に間隔を存した位置に、径方向に貫通する複数のピンガイド穴121が設けられている。これらピンガイド穴121には先端部が内側リング112の内壁から突没自在で、基端部が内側リング112の外壁から突没自在な押えピン122が軸方向に移動自在に挿入されている。 Further, theinner ring 112 is provided with a plurality of pin guide holes 121 penetrating in the radial direction at positions spaced apart in the circumferential direction. In these pin guide holes 121, presser pins 122 are inserted so as to be freely movable in the axial direction with their tip portions protruding and retractable from the inner wall of theinner ring 112 and their proximal ends protruding and retractable from the outer wall of theinner ring 112.

外側リング113の内周面には各押えピン122に対応してカム面123が形成されている。カム面123は外側リング113の周方向に谷部124aと山部124bとが交互に形成され、各押えピン122の基端部が谷部124aに対向しているときには後退して各押えピン122の先端部が外側リング113の内周面から没入し、山部124bに対向してときには押圧されて先端部が外側リング113の内周面から突出してケーシング72の嵌合部74をその外周部方向から押圧するようになっている。  Acam surface 123 is formed on the inner peripheral surface of theouter ring 113 corresponding to eachpresser pin 122. Thecam surface 123 hastrough portions 124 a andcrest portions 124 b formed alternately in the circumferential direction of theouter ring 113, and when the base end portion of eachpresser pin 122 faces thetrough portion 124 a, thecam surface 123 retreats to eachpresser pin 122. The front end of theouter ring 113 immerses from the inner peripheral surface of theouter ring 113 and is pressed when facing thepeak portion 124b, and the front end protrudes from the inner peripheral surface of theouter ring 113, so that thefitting portion 74 of thecasing 72 is moved to the outer peripheral portion. Pressing from the direction.

また、外側リング113の切り欠き部113aと反対側には周方向に長穴125が設けられている。この長穴125には外側リング113の外側から長穴125を貫通して内側リング112に固定された第1突出ピン126が設けられている。この第1突出ピン126の隣側には外側リング113に固定された第2突出ピン127が設けられている。従って、第1突出ピン126と第2突出ピン127とに手指を掛け、コイルスプリング120の付勢力に抗して第1突出ピン126と第2突出ピン127とを接近する方向に移動させると、内側リング112に対して外側リング113が回動することができる。  Further, anelongated hole 125 is provided in the circumferential direction on the opposite side of theouter ring 113 from thenotch 113a. Theelongated hole 125 is provided with a first projectingpin 126 that passes through theelongated hole 125 from the outside of theouter ring 113 and is fixed to theinner ring 112. A second projectingpin 127 fixed to theouter ring 113 is provided on the side adjacent to the first projectingpin 126. Accordingly, when a finger is put on the first projectingpin 126 and the second projectingpin 127 and the first projectingpin 126 and the second projectingpin 127 are moved in the approaching direction against the biasing force of thecoil spring 120, Theouter ring 113 can rotate with respect to theinner ring 112.

そして、前記各押えピン122の基端部からカム面123の山部124bが退避し、各押えピン122の基端部が谷部124aに対向して各押えピン122の先端部が内側リング113の内周面から没入してケーシング72の嵌合部74の外周部から退避してケーシング72を内側リング112から抜き取ることができるようになっている。 Then, thecrest portion 124b of thecam surface 123 is retracted from the base end portion of eachpresser pin 122, the base end portion of eachpresser pin 122 faces thetrough portion 124a, and the front end portion of eachpresser pin 122 is theinner ring 113. Thecasing 72 can be withdrawn from theinner ring 112 by retracting from the inner peripheral surface thereof and retracting from the outer peripheral portion of thefitting portion 74 of thecasing 72.

また、図12に示すように、回転機構部77の切り欠き部81a,82a及び着脱機構部78の切り欠き部112a,113aにはこれらの開口を開閉するカバー128,129が設けられている。カバー128,129は、外輪81及び外側リング113の曲率に沿って円弧状に形成され、一端部にはヒンジ部材130,131によって回動自在に枢支されている。カバー128,129の他端部には係合穴132,133が設けられ、外輪81及び外側リング113の外周壁には係合突起134,135が突設されている。そして、ヒンジ部材130,131を支点としてカバー128,129を回動することにより、係合穴132,133が係合突起134,135に係合して切り欠き部81a,82a及び112a,113aを閉塞できるようになっている。なお、切り欠き部81a,82a及び112a,113aを閉塞するために2つのカバー128,129を設けているが、1つのカバーで両方の切り欠き部を閉塞するようにしてもよい。 Further, as shown in FIG. 12, thenotches 81a and 82a of the rotation mechanism 77 and thenotches 112a and 113a of the attaching /detaching mechanism 78 are provided withcovers 128 and 129 for opening and closing these openings. Thecovers 128 and 129 are formed in an arc shape along the curvatures of theouter ring 81 and theouter ring 113, and are pivotally supported at one end portions byhinge members 130 and 131. Engagement holes 132 and 133 are provided at the other ends of thecovers 128 and 129, andengagement protrusions 134 and 135 are provided at the outer peripheral walls of theouter ring 81 and theouter ring 113. Then, by rotating thecovers 128 and 129 with thehinge members 130 and 131 as fulcrums, the engagement holes 132 and 133 engage with theengagement protrusions 134 and 135 so that thenotches 81a and 82a and 112a and 113a are formed. It can be blocked. The two covers 128 and 129 are provided to close thenotches 81a and 82a and 112a and 113a, but both of the notches may be closed by one cover.

次に、前述のように構成された医療装置10の作用について説明する。 Next, the operation of themedical device 10 configured as described above will be described.

支持機構17のアーム19に設けられた内視鏡保持部20に内視鏡21の本体部22を装着する。本体部22は、挿入部側本体61とパワーユニット62とから構成されているため、パワーユニット62を内視鏡保持部20の着脱機構部78に装着した後、パワーユニット62に対して流体接続管路ユニット63を取り付ける。次に、パワーユニット62に対して挿入部側本体61を接続し、挿入部側本体61の操作部取付け部61aに対して操作部61bを取り付ける。操作部61bには操作部コード76dが接続されており、この操作部コード76dの中途部を流体接続管路ユニット63の管路保持部76bに取り付ける。  Themain body portion 22 of theendoscope 21 is attached to theendoscope holding portion 20 provided on thearm 19 of thesupport mechanism 17. Since themain body portion 22 is composed of the insertion portion sidemain body 61 and thepower unit 62, after thepower unit 62 is attached to the attachment /detachment mechanism portion 78 of theendoscope holding portion 20, the fluid connection conduit unit is connected to thepower unit 62. 63 is attached. Next, the insertion portion sidemain body 61 is connected to thepower unit 62, and theoperation portion 61 b is attached to the operationportion attachment portion 61 a of the insertion portion sidemain body 61. Anoperation unit cord 76 d is connected to theoperation unit 61 b, and a midway part of theoperation unit code 76 d is attached to thepipeline holding unit 76 b of the fluidconnection pipeline unit 63.

次に、吸引管路76cの先端部に設けられた吸引管路接続部76eを挿入部側本体部61の鉗子挿入口45に接続し、この吸引管路76cの中途部を流体接続管路ユニット63の管路保持部76bに取り付ける。  Next, the suction line connecting part 76e provided at the tip of thesuction line 76c is connected to theforceps insertion port 45 of the insertionpart side body 61, and the middle part of thesuction line 76c is connected to the fluid connection line unit. It is attached to 63 pipeline holding portions 76b.

次に、パワーユニット62を内視鏡保持部20の着脱機構部78に装着する作用について説明すると、第1突出ピン126と第2突出ピン127とに手指を掛け、コイルスプリング120の付勢力に抗して第1突出ピン126と第2突出ピン127とを接近する方向に移動させると、内側リング113に対して外側リング113が回動する。 Next, the operation of attaching thepower unit 62 to the attachment /detachment mechanism portion 78 of theendoscope holding portion 20 will be described. The fingers are put on the firstprotruding pin 126 and the secondprotruding pin 127 to resist the urging force of thecoil spring 120. When the first projectingpin 126 and the second projectingpin 127 are moved in the approaching direction, theouter ring 113 rotates with respect to theinner ring 113.

外側リング113の回動に伴って各押えピン122の基端部からカム面123の山部124bが退避し、各押えピン122の基端部が谷部124aに対向して各押えピン122の先端部が内側リング113の内周面から没入する。 As theouter ring 113 rotates, thecrest 124b of thecam surface 123 retracts from the base end of eachpresser pin 122, and the base end of eachpresser pin 122 faces thetrough 124a. The tip portion is immersed from the inner peripheral surface of theinner ring 113.

この状態で、パワーユニット62のケーシング72の嵌合部74を内側リング112に挿入する。このとき、ケーシング72の凹陥部75を内側リング112と外側リング113の切り欠き部112a,113aに位置決めする。嵌合部74を内側リング112に挿入した後、第1突出ピン126と第2突出ピン127とから手指を放すと、コイルスプリング120の付勢力によって外側リング113が回転し、カム面123の山部124bが各押えピン122の基端部を押圧し、各押えピン122の先端部が内側リング113の内周面から突出してケーシング72の嵌合部74をその外周部方向から押圧保持する。 In this state, thefitting portion 74 of thecasing 72 of thepower unit 62 is inserted into theinner ring 112. At this time, the recessed portion 75 of thecasing 72 is positioned at thenotches 112 a and 113 a of theinner ring 112 and theouter ring 113. After inserting thefitting portion 74 into theinner ring 112, when the fingers are released from the first projectingpin 126 and the second projectingpin 127, theouter ring 113 is rotated by the biasing force of thecoil spring 120, and thecam surface 123 has a peak. Theportion 124b presses the base end portion of eachpresser pin 122, and the distal end portion of eachpresser pin 122 protrudes from the inner peripheral surface of theinner ring 113 to press and hold thefitting portion 74 of thecasing 72 from the outer peripheral direction.

次に、ケーシング72の収納室73に操作部本体61の角筒部67及び円筒部68を挿入すると、従動側カップリング69が駆動側カップリング(図示しない)に連結されるとともに、ライトガイドコネクタ70が光源装置14の照明光学系に光学的に接続され、電極71がビデオプロセッサ15と電気的に接続される。 Next, when therectangular tube portion 67 and thecylindrical portion 68 of the operation portionmain body 61 are inserted into thestorage chamber 73 of thecasing 72, the drivenside coupling 69 is connected to the drive side coupling (not shown) and the light guide connector. 70 is optically connected to the illumination optical system of thelight source device 14, and theelectrode 71 is electrically connected to thevideo processor 15.

次に、パワーユニット62のケーシング72に対して、コントロールボックス16にチューブ33a,33b,33cを介して接続された流体管路接続ユニット63を取り付ける。次に、ケーシング72の収納室73に操作部本体61を挿入する。操作部本体61の取付け面65に設けられた送気口金66a、送水口金66b、前方送水口金66c及び漏水検知口金66dは、ケーシング72の凹陥部75に位置決めされる。 Next, the fluidline connection unit 63 connected to thecontrol box 16 via thetubes 33a, 33b, and 33c is attached to thecasing 72 of thepower unit 62. Next, the operation portionmain body 61 is inserted into thestorage chamber 73 of thecasing 72. Theair supply base 66 a, thewater supply base 66 b, the frontwater supply base 66 c, and the waterleakage detection base 66 d provided on the mountingsurface 65 of the operation sectionmain body 61 are positioned in the recessed portion 75 of thecasing 72.

そして、流体管路接続ユニット63の各接続口76aを送気口金66a、送水口金66b、前方送水口金66cに接続する。また、流体管路接続ユニット63のベースブロック76に設けられた切り欠き部を有する管路保持部76bに吸引管路76cと操作部コード76dを嵌合保持する。 Then, eachconnection port 76a of the fluidline connection unit 63 is connected to theair supply base 66a, thewater supply base 66b, and the frontwater supply base 66c. Further, thesuction conduit 76c and theoperation portion cord 76d are fitted and held in aconduit holding portion 76b having a notch provided in thebase block 76 of the fluidconduit connecting unit 63.

なお、送気口金66a、送水口金66b、前方送水口金66cに対する流体管路接続ユニット63の接続及び管路保持部76bに対する吸引管路76c及び操作部コード76dを嵌合保持する作業は、外輪81と内輪82の切り欠き部81a,82a及び内側リング112と外側リング113の切り欠き部112a,113aから手指を挿入して行うことができるため、作業性を向上できる。 The work of connecting the fluidpipe connection unit 63 to theair supply base 66a, thewater supply base 66b, and the frontwater supply base 66c and fitting and holding thesuction pipe 76c and theoperation part cord 76d to thepipe holding part 76b are as follows. Workability can be improved because fingers can be inserted from thenotches 81a and 82a of theouter ring 81 and theinner ring 82 and thenotches 112a and 113a of theinner ring 112 and theouter ring 113.

また、挿入部側本体61に対する流体管路接続ユニット63の接続及び管路保持部76bに対する吸引管路76c、操作部コード76dの接続が完了した後、ヒンジ部材130,131を支点としてカバー128,129を回動して係合穴132,133を係合突起134,135に係合すると、切り欠き部81a,82a及び112a,113aはカバー128,129によって閉塞される。従って、チューブ33a,33b,33cや吸引管路76c、操作部コード76dがケーシング72の凹陥部75から外部に飛び出すことはなく、絡み付くことはない。 Further, after the connection of the fluidpipe connection unit 63 to the insertion portion sidemain body 61 and the connection of thesuction pipe 76c and theoperation part cord 76d to thepipe holding part 76b are completed, thecovers 128, When the engagingholes 132 and 133 are engaged with the engagingprotrusions 134 and 135 by rotating the 129, thenotches 81a and 82a and 112a and 113a are closed by thecovers 128 and 129. Therefore, thetubes 33a, 33b, 33c, thesuction pipe 76c, and theoperation portion cord 76d do not jump out of the recessed portion 75 of thecasing 72 and are not entangled.

このようにして内視鏡保持部20に対して内視鏡21の本体部22を装着すると、本体部22は回転機構部77によって回転自在に保持される。すなわち、外輪81に対して内輪82が多数のローラ91を備えたベアリング80によって回転自在であり、内輪82に対して固定された内側リング113が一体的に回転するため、本体部22は外輪81及び内輪82の軸心を中心として回転自在となり、内視鏡21の使用時に、挿入部23に加わるねじり力に追従して本体部22が回転する。 When themain body portion 22 of theendoscope 21 is attached to theendoscope holding portion 20 in this way, themain body portion 22 is rotatably held by the rotation mechanism portion 77. That is, theinner ring 82 is rotatable with respect to theouter ring 81 by abearing 80 provided with a large number ofrollers 91, and theinner ring 113 fixed to theinner ring 82 rotates integrally. In addition, themain body portion 22 rotates following the torsional force applied to theinsertion portion 23 when theendoscope 21 is used.

また、回転機構部77及び着脱機構部78を支持する片持ち支持アーム52は、操作部保持リング57に装着される内視鏡本体部22との重量バランスを図るためのバランスウエイト60が設けられており、操作部保持リング57は、第1の回転軸53の軸方向53aと第2の回転軸58の軸方向58aの交点Oにその中心が位置するように取り付けられているため、回転機構部77及び着脱機構部78の重量バランスが保たれ、内視鏡21の操作性を向上できる。 Further, thecantilever support arm 52 that supports the rotation mechanism unit 77 and the attachment /detachment mechanism unit 78 is provided with abalance weight 60 for balancing the weight with the endoscopemain body unit 22 attached to the operationunit holding ring 57. The operationportion holding ring 57 is attached so that its center is located at the intersection point O between theaxial direction 53a of the firstrotating shaft 53 and theaxial direction 58a of the secondrotating shaft 58. The weight balance of the part 77 and the attachment /detachment mechanism part 78 is maintained, and the operability of theendoscope 21 can be improved.

図13は第2の実施形態を示し、第1の実施形態の回転機構部77の変形例である。回転機構部140は、外輪141と内輪142とから構成されている。外輪141は、その内周面部に断面山形状の凸条部143が設けられ、その頂部143aを挟んで上下部に45°の傾斜面143bが設けられている。凸条部143には上下方向の傾斜面143bに対して直角方向(外輪141の軸心に対して45°)にボール保持穴144が設けられている。ボール保持穴144は外輪141の周方向に等間隔に複数配置されており、これらボール保持穴144にはボールベアリングを構成する鋼球からなる転動体としてのボール145が転動自在に保持されている。  FIG. 13 shows the second embodiment, which is a modification of the rotation mechanism 77 of the first embodiment. Therotation mechanism unit 140 includes anouter ring 141 and aninner ring 142. Theouter ring 141 is provided with aridge portion 143 having a mountain-shaped cross section on the inner peripheral surface portion thereof, and is provided with a 45 °inclined surface 143b on the upper and lower portions with thetop portion 143a interposed therebetween. Theconvex ridge 143 is provided with aball holding hole 144 in a direction perpendicular to the verticalinclined surface 143b (45 ° with respect to the axis of the outer ring 141). A plurality ofball holding holes 144 are arranged at equal intervals in the circumferential direction of theouter ring 141. In theseball holding holes 144,balls 145 as rolling elements made of steel balls constituting a ball bearing are rotatably held. Yes.

内輪142は、上下一対の部材からなり、外周面が外輪141の頂部143aに対向している。内輪142の外周面には外輪141の傾斜面143bに対応するように45°の傾斜面146が設けられ、外輪141の凸条部143と嵌合するように断面逆山形状の凹溝147が設けられている。これら傾斜面146はボール145の転動面に形成され、ボール145は傾斜面146に対して転動するようになっている。従って、外輪141と内輪142とがボール145を介して回転し、内輪142を円滑に回転させることができる。  Theinner ring 142 is composed of a pair of upper and lower members, and the outer peripheral surface faces thetop portion 143 a of theouter ring 141. A 45 °inclined surface 146 is provided on the outer peripheral surface of theinner ring 142 so as to correspond to theinclined surface 143 b of theouter ring 141, and aconcave groove 147 having an inverted cross-sectional shape is formed so as to be fitted to the protrudingportion 143 of theouter ring 141. Is provided. Theseinclined surfaces 146 are formed on the rolling surface of theball 145, and theball 145 rolls with respect to theinclined surface 146. Therefore, theouter ring 141 and theinner ring 142 rotate via theball 145, and theinner ring 142 can be smoothly rotated.

本実施形態によれば、外輪141の傾斜面143bに設けられた多数のボール145を内輪142の凹溝147によって上下方向から挟持した構造で、外輪141は内輪142を回転自在に支持している。従って、回転機構部140は上下が反転されても外輪141と内輪142とが軸方向に相対的にずれることはない。 According to this embodiment, theouter ring 141 rotatably supports theinner ring 142 with a structure in which a large number ofballs 145 provided on theinclined surface 143b of theouter ring 141 are sandwiched by theconcave grooves 147 of theinner ring 142 from above and below. . Therefore, even if therotating mechanism 140 is turned upside down, theouter ring 141 and theinner ring 142 are not relatively displaced in the axial direction.

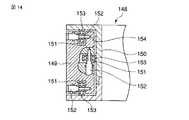
図14は第3の実施形態を示し、第1の実施形態の回転機構部77の変形例である。回転機構部148は、外輪149と内輪150とから構成されている。外輪149の上面、下面及び内面にはベアリング収納凹部151が設けられている。ベアリング収納凹部151は外輪149の周方向に等間隔に複数配置されており、これらベアリング収納凹部151には支軸152が支持され、各支軸152にはローラベアリングを構成する転動体としてのローラ153が回転自在に保持されている。  FIG. 14 shows the third embodiment, which is a modified example of the rotation mechanism 77 of the first embodiment. Therotation mechanism unit 148 includes anouter ring 149 and aninner ring 150. Bearinghousing recesses 151 are provided on the upper surface, the lower surface, and the inner surface of theouter ring 149. A plurality of bearinghousing recesses 151 are arranged at equal intervals in the circumferential direction of theouter ring 149.Support shafts 152 are supported by these bearinghousing recesses 151, and eachsupport shaft 152 is a roller as a rolling element constituting a roller bearing. 153 is rotatably held.

内輪150は、上下一対の部材からなり、外周面には外輪149と嵌合する断面がコ字状の凹溝からなる環状溝154が設けられ、環状溝154の上面、下面及び内面はローラ153の転動面に形成され、ローラ153は転動面に対して転動するようになっている。従って、外輪149と内輪150とがローラ153を介して回転し、内輪150を円滑に回転させることができる。  Theinner ring 150 is composed of a pair of upper and lower members, and an outer circumferential surface is provided with anannular groove 154 having a U-shaped concave groove fitted to theouter ring 149. The upper surface, the lower surface and the inner surface of theannular groove 154 arerollers 153. Theroller 153 is configured to roll with respect to the rolling surface. Therefore, theouter ring 149 and theinner ring 150 are rotated via theroller 153, and theinner ring 150 can be smoothly rotated.

本実施形態によれば、外輪149の上面、下面及び内面に設けられた多数のローラ153を内輪150の環状溝154によって上下方向から挟持した構造で、外輪149は内輪150を回転自在に支持している。従って、回転機構部148は上下が反転されても外輪149と内輪150とが軸方向に相対的にずれることはない。 According to the present embodiment, theouter ring 149 has a structure in which a large number ofrollers 153 provided on the upper surface, the lower surface, and the inner surface of theouter ring 149 are sandwiched by theannular groove 154 of theinner ring 150 from above and below. ing. Therefore, even if therotation mechanism unit 148 is turned upside down, theouter ring 149 and theinner ring 150 are not relatively displaced in the axial direction.

図15は第4の実施形態を示し、第1の実施形態の回転機構部77の変形例である。回転機構部155は、外輪156と内輪157とから構成されている。外輪156の上面、下面及び内面にはボール収納凹部158が設けられている。ボール収納凹部158は外輪156の周方向に等間隔に複数配置されており、これらボール収納凹部158にはボールベアリングを構成する鋼球からなる転動体としてのボール159が転動自在に保持されている。  FIG. 15 shows the fourth embodiment, which is a modification of the rotation mechanism 77 of the first embodiment. Therotation mechanism unit 155 includes anouter ring 156 and aninner ring 157. Aball housing recess 158 is provided on the upper surface, lower surface and inner surface of theouter ring 156. A plurality of ball storage recesses 158 are arranged at equal intervals in the circumferential direction of theouter ring 156, andballs 159 as rolling elements made of steel balls constituting ball bearings are held in the ball storage recesses 158 so as to be able to roll. Yes.

内輪157は、上下一対の部材からなり、外周面には外輪156と嵌合する断面がコ字状の凹溝からなる環状溝160が設けられ、環状溝160の上面、下面及び内面はボール159の転動面に形成され、ボール159は転動面に対して転動するようになっている。従って、外輪156と内輪157とがボール159を介して回転し、内輪157を円滑に回転させることができる。  Theinner ring 157 is composed of a pair of upper and lower members, and an outer circumferential surface is provided with anannular groove 160 having a U-shaped concave groove fitted to theouter ring 156. The upper surface, the lower surface and the inner surface of theannular groove 160 areballs 159. Theball 159 rolls with respect to the rolling surface. Therefore, theouter ring 156 and theinner ring 157 rotate via theball 159, and theinner ring 157 can be smoothly rotated.

本実施形態によれば、外輪156の上面、下面及び内面に設けられた多数のボール159を内輪157の環状溝160によって上下方向から挟持した構造で、外輪156は内輪157を回転自在に支持している。従って、回転機構部155は上下が反転されても外輪156と内輪157とが軸方向に相対的にずれることはない。 According to the present embodiment, theouter ring 156 has a structure in which a large number ofballs 159 provided on the upper surface, the lower surface, and the inner surface of theouter ring 156 are sandwiched by theannular groove 160 of theinner ring 157 from above and below. ing. Therefore, even if therotation mechanism portion 155 is turned upside down, theouter ring 156 and theinner ring 157 do not relatively shift in the axial direction.

図16は第5の実施形態を示し、第1の実施形態の回転機構部77の変形例である。回転機構部161は、外輪162と内輪163とから構成されている。外輪162の上面、下面及び内面には滑沢性に優れた滑り面としてのコーティング層164が設けられている 。内輪163は、上下一対の部材からなり、外周面には外輪162と嵌合する断面がコ字状の凹溝からなる環状溝165が設けられ、環状溝165の上面、下面及び内面には滑沢性に優れた滑り面としてのコーティング層166が設けられている。従って、外輪162と内輪163との間のコーティング層164と166とが滑動し、内輪163を円滑に回転させることができる。  FIG. 16 shows the fifth embodiment, which is a modification of the rotation mechanism 77 of the first embodiment. Therotation mechanism 161 is composed of anouter ring 162 and aninner ring 163. Acoating layer 164 serving as a sliding surface having excellent lubricity is provided on the upper surface, the lower surface, and the inner surface of theouter ring 162. Theinner ring 163 is composed of a pair of upper and lower members, and an outer circumferential surface is provided with anannular groove 165 having a U-shaped concave groove to be fitted to theouter ring 162, and the upper surface, the lower surface and the inner surface of theannular groove 165 are slid. Acoating layer 166 is provided as a sliding surface with excellent flexibility. Therefore, the coating layers 164 and 166 between theouter ring 162 and theinner ring 163 slide, and theinner ring 163 can be smoothly rotated.

本実施形態によれば、外輪162の上面、下面及び内面を内輪163の環状溝165によって上下方向から挟持した構造で、外輪162は内輪163を回転自在に支持している。従って、回転機構部161は上下が反転されても外輪162と内輪163とが軸方向に相対的にずれることはない。なお、外輪162と内輪163との間に滑沢性に優れたブッシュ(図示しない)を介在しても内輪163を円滑に回転させることができる。 According to this embodiment, theouter ring 162 has a structure in which the upper surface, the lower surface, and the inner surface of theouter ring 162 are sandwiched from above and below by theannular groove 165 of theinner ring 163, and theouter ring 162 rotatably supports theinner ring 163. Therefore, even if therotating mechanism 161 is turned upside down, theouter ring 162 and theinner ring 163 are not relatively displaced in the axial direction. Even if a bush (not shown) having excellent lubricity is interposed between theouter ring 162 and theinner ring 163, theinner ring 163 can be smoothly rotated.

図17は第6の実施形態を示し、第1の実施形態の着脱機構部78の変形例である。着脱機構部170は、内側リング171と、この内側リング171の外側に設けられた外側リング172とから構成されている。内側リング171の外周面には周方向に等間隔のロック溝173が設けられている。外側リング172の周壁の一部には周方向に離間して2つのガイド穴174が放射方向に貫通して設けられ、ガイド穴174にはロックピン175が進退自在に挿入されている。ロックピン175は半球の先端部175aと、ロック溝173に係合可能な細径の基端部175bを有し、コイルばね176によって先端部175aが外側リング172の外周壁より突出する方向に付勢されている。さらに、2つのガイド穴174の中間部にはクリックボール177が設けられ、このクリックボール177はコイルばね178によって外側リング172の外周壁より突出する方向に付勢されている。 FIG. 17 shows the sixth embodiment, which is a modification of the attachment /detachment mechanism portion 78 of the first embodiment. The attachment /detachment mechanism 170 includes aninner ring 171 and anouter ring 172 provided outside theinner ring 171. On the outer peripheral surface of theinner ring 171, lockgrooves 173 that are equally spaced in the circumferential direction are provided. Two guide holes 174 are provided in a part of the peripheral wall of theouter ring 172 so as to be spaced apart from each other in the circumferential direction, and alock pin 175 is inserted into theguide hole 174 so as to freely advance and retract. Thelock pin 175 has ahemispherical tip 175 a and anarrow base end 175 b that can be engaged with thelock groove 173, and is attached in a direction in which thetip 175 a protrudes from the outer peripheral wall of theouter ring 172 by acoil spring 176. It is energized. Further, aclick ball 177 is provided at an intermediate portion between the twoguide holes 174, and theclick ball 177 is urged by acoil spring 178 in a direction protruding from the outer peripheral wall of theouter ring 172.

外側リング172の外周壁の外側には2本のロックピン175に対応してスライドリング179が設けられ、このスライドリング179は操作摘み180によって左右方向に回動自在である。スライドリング179の内面にはロックピン175の先端部175aと係脱可能な半球状の係合溝181とクリックボール177と係脱可能な凹溝182が設けられている。また、スライドリング179の外側にはカバー183が設けられ、このカバー183には操作摘み180と嵌合する長穴184が設けられている。 Aslide ring 179 is provided on the outer side of the outer peripheral wall of theouter ring 172 so as to correspond to the twolock pins 175, and theslide ring 179 can be rotated in the left-right direction by anoperation knob 180. An inner surface of theslide ring 179 is provided with ahemispherical engagement groove 181 that can be engaged with and disengaged from thetip 175 a of thelock pin 175 and aconcave groove 182 that can be engaged and disengaged with theclick ball 177. Further, acover 183 is provided outside theslide ring 179, and along hole 184 that fits theoperation knob 180 is provided in thecover 183.

本実施形態によれば、操作摘み180を手指で摘み、矢印a方向へ回動すると、スライドリング179が同方向に移動し、係合溝181に係合しているロックピン175の先端部175aは係合溝181から脱出してスライドリング179の内壁に当接する。従って、ロックピン175はコイルばね176に付勢力に抗して内側リング171方向に移動し、ロックピン175の基端部175bがロック溝173に係合して内側リング171の回転をロックすることができる。従って、内側リング171は回転不能となり、クリックボール177は凹溝182に係合してスライドリング179もロックされる。内側リング171のロックを解除する場合には、操作摘み180を手指で摘み、矢印b方向へ回動すると、スライドリング179が同方向に移動し、ロックピン175の先端部175aは係合溝181の係合し、ロックピン175はコイルばね176に付勢力によってスライドリング179方向に移動し、ロックピン175の基端部175bがロック溝173から脱出して内側リング171が回転自在となる。 According to the present embodiment, when theoperation knob 180 is picked with fingers and rotated in the direction of the arrow a, theslide ring 179 moves in the same direction and thedistal end portion 175a of thelock pin 175 engaged with theengagement groove 181 is obtained. Escapes from the engaginggroove 181 and abuts against the inner wall of theslide ring 179. Accordingly, thelock pin 175 moves in the direction of theinner ring 171 against the biasing force of thecoil spring 176, and thebase end portion 175b of thelock pin 175 engages with thelock groove 173 to lock the rotation of theinner ring 171. Can do. Accordingly, theinner ring 171 cannot rotate, theclick ball 177 engages with theconcave groove 182, and theslide ring 179 is also locked. When releasing the lock of theinner ring 171, when theoperation knob 180 is picked with fingers and rotated in the direction of the arrow b, theslide ring 179 moves in the same direction, and thedistal end portion 175 a of thelock pin 175 has anengagement groove 181. Thus, thelock pin 175 moves in the direction of theslide ring 179 by the biasing force of thecoil spring 176, and thebase end portion 175b of thelock pin 175 comes out of thelock groove 173 so that theinner ring 171 can rotate.

図18は第7の実施形態を示し、第1の実施形態の着脱機構部78の変形例である。着脱機構部185は、内側リング186と、この内側リング186の外側に設けられた外側リング187とから構成されている。内側リング186の外周面には周方向に等間隔のロック溝188が設けられている。外側リング187の内周壁の一部には周方向に凹陥部189が設けられ、この凹陥部189にはロック部材190が設けられている。ロック部材190の両端部にはロック溝188に対して係脱自在なロック爪191が設けられ、内側リング186に対するロック部材190の進退によってロック爪191がロック溝188に係脱するようになっている。 FIG. 18 shows the seventh embodiment, which is a modification of the attachment /detachment mechanism portion 78 of the first embodiment. The attachment /detachment mechanism portion 185 includes aninner ring 186 and anouter ring 187 provided outside theinner ring 186. On the outer peripheral surface of theinner ring 186, lockgrooves 188 that are equally spaced in the circumferential direction are provided. Aconcave portion 189 is provided in a circumferential direction in a part of the inner peripheral wall of theouter ring 187, and alock member 190 is provided in theconcave portion 189.Lock claws 191 that can be freely engaged with and disengaged from thelock groove 188 are provided at both ends of thelock member 190, and thelock claws 191 are engaged and disengaged with thelock groove 188 as thelock member 190 advances and retreats with respect to theinner ring 186. Yes.

ロック部材190の背面には進退軸192が回転自在に連結され、この進退軸192は外側リング187の穿設された貫通穴193を貫通して外部に突出している。進退軸192には段差部192aが設けられ、段差部192aと外側リング187との間にはコイルばね194が介在され、進退軸192を外側リング187の外方へ付勢している。外側リング187の外部には進退軸192をガイドするガイド筒体195が設けられ、この周壁にはカム溝196が設けられている。さらに、進退軸192には軸方向と直角方向にカムピン197が設けられ、このカムピン197はカム溝196に係合している。 An advancing / retractingshaft 192 is rotatably connected to the back surface of thelock member 190, and the advancing / retreatingshaft 192 passes through a throughhole 193 formed in theouter ring 187 and protrudes to the outside. Astep 192 a is provided on the advance /retreat shaft 192, and acoil spring 194 is interposed between thestep 192 a and theouter ring 187 to urge the advance /retreat shaft 192 outward of theouter ring 187. Aguide cylinder 195 for guiding the advance /retreat shaft 192 is provided outside theouter ring 187, and acam groove 196 is provided on the peripheral wall. Further, the advance /retreat shaft 192 is provided with acam pin 197 in a direction perpendicular to the axial direction, and thecam pin 197 is engaged with thecam groove 196.

ガイド筒体195にはロック解除ノブ198が回転自在に嵌合され、このロック解除ノブ198はカムピン197と係合している。従って、ロック解除ノブ198を手指で摘んで回転させると、ロック解除ノブ198とカムピン197がカム溝196に沿って旋回するため、進退軸192を軸方向に進退させることができる。従って、進退軸192と連結されたロック部材190のロック爪191をロック溝188に対して係脱させることができる。 An unlockingknob 198 is rotatably fitted to theguide cylinder 195, and the unlockingknob 198 is engaged with thecam pin 197. Accordingly, when thelock release knob 198 is picked and rotated by the fingers, thelock release knob 198 and thecam pin 197 are rotated along thecam groove 196, so that the advance /retreat shaft 192 can be advanced and retracted in the axial direction. Accordingly, thelock claw 191 of thelock member 190 connected to the advance /retreat shaft 192 can be engaged with and disengaged from thelock groove 188.

図19〜図21は開示例1を示し、図19は(a)は操作部本体61がパワーユニット62に接続された状態の側面図、(b)はケーシング72からブロック205を取外し、矢印M方向から見た図、図20は図19のJ部の断面図、図21(a)はリング部材の取付け構造の断面図、(b)はワッシャの斜視図である。パワーユニット62のケーシング72の内壁には段差からなる取付け部201が設けられ、この取付け部201には凹陥部からなるワッシャ収納部202が設けられている。ワッシャ収納部202にはボルト孔202aが穿設され、このワッシャ収納部202にはワッシャ203が収納されている。ワッシャ203は矩形状のプレート203aにボルト孔202aに対応して2つの孔203bを穿設した形状であり、ワッシャ収納部202のプレート203aの板厚と略同一に形成されている。従って、ケーシング72の奥部にワッシャ収納部202があってもワッシャ203を簡単にセットでき、しかもセットしたワッシャ203が落下しないようにして組み立て作業性を向上させている。 19 to 21 show the first disclosure example, FIG. 19A is a side view of the operation unitmain body 61 connected to thepower unit 62, and FIG. 19B is a side view of theblock 205 removed from thecasing 72. FIG. 20 is a cross-sectional view of a portion J in FIG. 19, FIG. 21 (a) is a cross-sectional view of the ring member mounting structure, and (b) is a perspective view of the washer. A mountingportion 201 made of a step is provided on the inner wall of thecasing 72 of thepower unit 62, and awasher storage portion 202 made of a recessed portion is provided in the mountingportion 201. A bolt hole 202 a is formed in thewasher storage portion 202, and awasher 203 is stored in thewasher storage portion 202. Thewasher 203 has a shape in which two holes 203b are formed in arectangular plate 203a corresponding to the bolt holes 202a, and is formed to have substantially the same thickness as theplate 203a of thewasher storage portion 202. Therefore, thewasher 203 can be easily set even if thewasher storage portion 202 is in the inner part of thecasing 72, and the assembled workability is improved by preventing theset washer 203 from dropping.

ケーシング72の外壁には取付け部201に対応して第1の凹部204が設けられ、固定部材としてのブロック205には第1の凹部204の内周壁と嵌合する突堤206によって第2の凹部207が設けられている。ブロック205の外周部にはリング部材208の開口縁部209と係合する段差部210が設けられている。そして、第1の凹部204と第2の凹部207との間にはゴム等のパッキン211が介在されている。パッキン211にはボルト孔202aの対応する透孔211aが穿設され、ブロック205にはボルト孔202aの対応するねじ孔212が設けられている。 Afirst recess 204 is provided on the outer wall of thecasing 72 corresponding to the mountingportion 201, and asecond recess 207 is formed in theblock 205 as a fixing member by ajetty 206 fitted to the inner peripheral wall of thefirst recess 204. Is provided. A steppedportion 210 that engages with the openingedge portion 209 of thering member 208 is provided on the outer peripheral portion of theblock 205. A packing 211 made of rubber or the like is interposed between thefirst recess 204 and thesecond recess 207. The packing 211 is provided with a throughhole 211a corresponding to the bolt hole 202a, and theblock 205 is provided with ascrew hole 212 corresponding to the bolt hole 202a.

このような構成によれば、ケーシング72のワッシャ収納部202にワッシャ203をセットし、第1の凹部204と第2の凹部207との間にパッキン211を介在するとともに、取付け部201とブロック205との間にリング部材208を介在する。この状態で、ケーシング72の内部から2本のボルト213をワッシャ203の孔203b、ボルト孔202a,透孔211aの順に挿通し、ねじ孔212にねじ込むことにより、取付け部201に対してリング部材208を取り付けることができる。 According to such a configuration, thewasher 203 is set in thewasher storage portion 202 of thecasing 72, the packing 211 is interposed between thefirst recess 204 and thesecond recess 207, and theattachment portion 201 and theblock 205 are interposed. Aring member 208 is interposed therebetween. In this state, twobolts 213 are inserted from the inside of thecasing 72 in the order of the hole 203b of thewasher 203, the bolt hole 202a, and the throughhole 211a, and screwed into thescrew hole 212, whereby thering member 208 is inserted into the mountingportion 201. Can be attached.

図22は開示例2を示し、(a)は平面図、(b)は(a)のK−K線に沿う断面図、(c)は(a)のL−L線に沿う断面図である。取付け部214には円形の凹陥部215が設けられ、この凹陥部215の底部にはねじ孔216が設けられている。凹陥部215には矩形状のパッキン217が収納され、パッキン217の周囲には隙間からなる逃げ部218が形成されている。このように逃げ部218を形成することにより、ボルトによる締付け代を大きくでき、液密構造の信頼性を向上できる。 22A and 22B show a second disclosure example, in which FIG. 22A is a plan view, FIG. 22B is a sectional view taken along the line KK in FIG. 22A, and FIG. 22C is a sectional view taken along the line LL in FIG. is there. The mountingportion 214 is provided with acircular recess 215, and ascrew hole 216 is provided at the bottom of therecess 215. Arectangular packing 217 is accommodated in the recessedportion 215, and anescape portion 218 including a gap is formed around the packing 217. By forming theescape portion 218 in this way, the tightening allowance by the bolt can be increased, and the reliability of the liquid-tight structure can be improved.

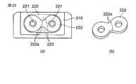
図23は開示例3を示し、(a)は平面図、(b)はパッキンの斜視図である。取付け部219には楕円形の凹陥部220が設けられ、この凹陥部220の底部には2つのねじ孔221が設けられている。凹陥部220には8の字形状のパッキン222が収納され、パッキン222のくびれ部222aの外側には隙間からなる逃げ部223が形成されている。このように逃げ部223を形成することにより、ボルトによる締付け代を大きくでき、液密構造の信頼性を向上できる。 FIG. 23 shows a third disclosure example, where (a) is a plan view and (b) is a perspective view of the packing. The mountingportion 219 is provided with an ellipticalconcave portion 220, and twoscrew holes 221 are provided at the bottom of theconcave portion 220. An 8-shapedpacking 222 is accommodated in the recessedportion 220, and anescape portion 223 formed of a gap is formed outside theconstricted portion 222 a of the packing 222. By forming theescape portion 223 in this way, the tightening allowance by the bolt can be increased, and the reliability of the liquid-tight structure can be improved.

なお、本発明は、前記実施形態そのままに限定されるものではなく、実施段階ではその要旨を逸脱しない範囲で構成要素を変形して具体化できる。また、前記実施形態に開示されている複数の構成要素の適宜な組合せにより種々の発明を形成できる。例えば、実施形態に示される全構成要素から幾つかの構成要素を削除してもよい。さらに、異なる実施形態に亘る構成要素を適宜組み合わせてもよい。  Note that the present invention is not limited to the above-described embodiment as it is, and can be embodied by modifying constituent elements without departing from the scope of the invention in the implementation stage. Moreover, various inventions can be formed by appropriately combining a plurality of constituent elements disclosed in the embodiment. For example, some components may be deleted from all the components shown in the embodiment. Furthermore, you may combine the component covering different embodiment suitably.

本発明の第1の実施形態に係る医療装置を示す概略的な斜視図。1 is a schematic perspective view showing a medical device according to a first embodiment of the present invention.同実施形態に係る医療装置を示す概略的なブロック図。The schematic block diagram which shows the medical device which concerns on the same embodiment.同実施形態に係る内視鏡の操作部本体とパワーユニットの斜視図。The perspective view of the operation part main body and power unit of the endoscope which concerns on the same embodiment.同実施形態に係る医療装置の支持装置を示し、(a)は平面図、(b)は(a)のA部の断面図。The support apparatus of the medical device which concerns on the embodiment is shown, (a) is a top view, (b) is sectional drawing of the A section of (a).同実施形態に係る医療装置を示し、(a)は平面図、(b)は(a)のB−B線に沿う断面図。The medical device which concerns on the embodiment is shown, (a) is a top view, (b) is sectional drawing which follows the BB line of (a).同実施形態に係る医療装置を示し、図5のD部の拡大した断面図。Sectional drawing which expanded the D section of FIG. 5 which shows the medical device which concerns on the same embodiment.同実施形態に係る医療装置を示し、図5のE−E線に沿う断面図。Sectional drawing which shows the medical device which concerns on the same embodiment, and follows the EE line | wire of FIG.同実施形態に係る医療装置を示し、(a)は図5のC−C線に沿う断面図、(b)はロックピンの斜視図。The medical device which concerns on the embodiment is shown, (a) is sectional drawing which follows CC line of FIG. 5, (b) is a perspective view of a lock pin.同実施形態に係る医療装置の変形例を示し、図8の(a)に対応する断面図。Sectional drawing which shows the modification of the medical device which concerns on the embodiment, and respond | corresponds to (a) of FIG.同実施形態に係る医療装置を示し、(a)は着脱機構部の平面図、(b)は(a)のF−F線に沿う断面図、(c)は(a)のG−G線に沿う断面図。The medical device which concerns on the embodiment is shown, (a) is a top view of an attachment / detachment mechanism part, (b) is sectional drawing which follows the FF line of (a), (c) is the GG line of (a). FIG.同実施形態に係る医療装置を示し、(a)は着脱機構部の一部を断面した平面図、(b)は(a)のH−H線に沿う断面図。The medical device which concerns on the embodiment is shown, (a) is a top view which cut down a part of attachment / detachment mechanism part, (b) is sectional drawing which follows the HH line | wire of (a).同実施形態に係る医療装置を示し、切り欠き部及びカバーの斜視図。The medical device which concerns on the same embodiment is shown, and a perspective view of a notch part and a cover.本発明の第2の実施形態に係る医療装置の回転機構部の一部の縦断面図。The longitudinal cross-section of a part of rotation mechanism part of the medical device which concerns on the 2nd Embodiment of this invention.本発明の第3の実施形態に係る医療装置の回転機構部の一部の縦断面図。The longitudinal cross-sectional view of a part of rotation mechanism part of the medical device which concerns on the 3rd Embodiment of this invention.本発明の第4の実施形態に係る医療装置の回転機構部の一部の縦断面図。The longitudinal cross-sectional view of a part of rotation mechanism part of the medical device which concerns on the 4th Embodiment of this invention.本発明の第5の実施形態に係る医療装置の回転機構部の一部の縦断面図。The longitudinal cross-section of a part of rotation mechanism part of the medical device which concerns on the 5th Embodiment of this invention.本発明の第6の実施形態に係る医療装置の回転機構部の一部の横断面図。The cross-sectional view of a part of the rotation mechanism part of the medical device according to the sixth embodiment of the present invention.本発明の第7の実施形態に係る医療装置の回転機構部の一部の横断面図。The cross-sectional view of a part of the rotation mechanism part of the medical device according to the seventh embodiment of the present invention.開示例1を示し、(a)は操作部本体がパワーユニットに接続された状態の側面図、(b)はケーシングからブロックを取外し、矢印M方向から見た図。FIG. 2A is a side view of a state in which an operation unit body is connected to a power unit, and FIG.同開示例を示し、図19のJ部の断面図。Sectional drawing of the J section of FIG.同開示例を示し、(a)はリング部材の取付け構造の断面図、(b)はワッシャの斜視図。The example of the indication is shown, (a) is sectional drawing of the attachment structure of a ring member, (b) is a perspective view of a washer.開示例2を示し、(a)は平面図、(b)は(a)のK−K線に沿う断面図、(c)は(a)のL−L線に沿う断面図。The disclosure example 2 is shown, (a) is a plan view, (b) is a sectional view taken along line KK in (a), and (c) is a sectional view taken along line LL in (a).開示例3を示し、(a)は平面図、(b)はパッキンの斜視図。The example 3 of a display is shown, (a) is a top view, (b) is a perspective view of packing.

符号の説明Explanation of symbols

57…回転機構部、81…外輪、82…内輪、81a、82a…切り欠き部、84…転動溝、91…ローラ(転動体)  57: Rotating mechanism, 81: Outer ring, 82: Inner ring, 81a, 82a ... Notch, 84 ... Rolling groove, 91 ... Roller (rolling element)

Claims (9)

Translated fromJapanese
医療器具を保持する周面部を有し、その周面部の一部に切り欠き部を有する内輪と、
前記内輪を支持する周面部を有し、その周面部の一部に前記内輪の切り欠き部と対応する切り欠き部を有する外輪と、
前記外輪に対して前記内輪をその軸心を中心として回転自在に支持するとともに、前記外輪と前記内輪をその軸方向に移動不能に挟持する挟持手段と、
を具備し、
前記挟持手段は、前記外輪の内周面に相反する方向に傾斜して設けられた外輪側傾斜面と、前記内輪の外周面に前記外輪側傾斜面に対応する方向に傾斜して設けられた内輪側傾斜面と、前記内輪側傾斜面と前記外輪側傾斜面と間に設けられ、前記外輪側傾斜面に対して転動する複数の転動体とから構成されていることを特徴とする医療装置。
An inner ring having a peripheral surface for holding a medical device, and having a notch in a part of the peripheral surface;
An outer ring having a peripheral surface portion for supporting the inner ring, and having a notch portion corresponding to the notch portion of the inner ring in a part of the peripheral surface portion;
Thereby rotatably supporting the inner ring about the axis thereofrelative to the outer ring, and the holding means for immovably sandwich the inner ring and the outer ring in the axial direction,
Comprising
The clamping means is provided to be inclined in a direction corresponding to the inner ring surface of the outer ring, and to be inclined to a direction corresponding to the outer ring side inclined surface on the outer ring surface of the inner ring. A medical devicecomprising an inner ring side inclined surface, and a plurality of rolling elements provided between the inner ring side inclined surface and the outer ring side inclined surface and rolling with respect to the outer ring side inclined surface. apparatus.
前記外輪側傾斜面に前記外輪の周方向に沿って設けられた転動溝を有し、前記転動体は前記転動溝の内部を転動することを特徴とする請求項1に記載の医療装置。The medical device according to claim 1, wherein the outer ring side inclined surface has a rolling groove provided along a circumferential direction of the outer ring, and the rolling element rolls inside the rolling groove. apparatus.前記転動体は、前記内輪側傾斜面に設けられ、前記外輪側傾斜面を転動することを特徴する請求項1に記載の医療装置。The medical device according to claim 1,wherein the rolling element is provided on the inner ring-side inclined surface and rolls on the outer ring-side inclined surface .更に前記外輪に対して前記内輪を回転不能に係止する係止手段を備えたことを特徴とする請求項に記載の医療装置。The medical device according to claim1 ,further comprising locking means for locking the inner ring with the outer ring so as not to rotate .前記内輪は、前記医療器具を着脱可能に保持する着脱機構部を備えていることを特徴とする請求項1に記載の医療装置。The medical device according to claim 1,wherein the inner ring includes an attachment / detachment mechanism that detachably holds the medical instrument. 前記着脱機構部は、前記内輪及び外輪の切り欠き部に対応する切り欠き部を備えていることを特徴とする請求項に記載の医療装置。
The medical device according to claim5 , wherein the attachment / detachment mechanism includes a notch corresponding to the notch of the inner ring and the outer ring.
前記内輪または外輪の切り欠き部は、開閉自在なカバーを有していることを特徴とする請求項1に記載の医療装置。The medical device according to claim 1,wherein the cutout portion of the inner ring or the outer ring has a cover that can be freely opened and closed .前記着脱機構部の切り欠き部は、開閉自在なカバーを有していることを特徴とする請求項に記載の医療装置。The medical device according to claim6 ,wherein the cutout portion of the attaching / detaching mechanism portion has a cover that can be freely opened and closed .前記係止手段は、複数有し、それらの間隔が前記切り欠き部の幅よりも広いことを特徴とする請求項4に記載の医療装置。The medical device according to claim 4, wherein a plurality of the locking means are provided, and an interval between them is wider than a width of the notch.
JP2007121849A2007-05-022007-05-02 Medical equipmentExpired - Fee RelatedJP5273942B2 (en)

Priority Applications (1)

Application NumberPriority DateFiling DateTitle
JP2007121849AJP5273942B2 (en)2007-05-022007-05-02 Medical equipment

Applications Claiming Priority (1)

Application NumberPriority DateFiling DateTitle
JP2007121849AJP5273942B2 (en)2007-05-022007-05-02 Medical equipment

Publications (2)

Publication NumberPublication Date
JP2008272326A JP2008272326A (en)2008-11-13
JP5273942B2true JP5273942B2 (en)2013-08-28

Family

ID=40051058

Family Applications (1)

Application NumberTitlePriority DateFiling Date
JP2007121849AExpired - Fee RelatedJP5273942B2 (en)2007-05-022007-05-02 Medical equipment

Country Status (1)

CountryLink
JP (1)JP5273942B2 (en)

Family Cites Families (7)

* Cited by examiner, † Cited by third party
Publication numberPriority datePublication dateAssigneeTitle
JPH03209196A (en)*1990-01-111991-09-12Toshiba Corp Guide pole for internal pump hanging fixture
JP2002052981A (en)*2000-08-102002-02-19Kasai Kogyo Co LtdRear parcel shelf for vehicle
TWI231194B (en)*2000-11-142005-04-21Akanbou CompanySupportedly suspending device
JP4624572B2 (en)*2001-01-302011-02-02オリンパス株式会社 Endoscope
JP4444744B2 (en)*2004-07-072010-03-31株式会社Inax Clamp device with cover
JP2007068550A (en)*2005-09-022007-03-22Olympus Medical Systems Corp Medical equipment
JP2008272299A (en)*2007-05-012008-11-13Olympus Medical Systems CorpMedical instrument

Also Published As

Publication numberPublication date
JP2008272326A (en)2008-11-13

Similar Documents

PublicationPublication DateTitle
CN201015585Y (en) endoscope
CN111741706B (en)Endoscope with separate probe
US8333692B2 (en)Endoscope and endoscopic system
CN103052349B (en)Insertion device
US10028643B2 (en)Endoscope apparatus
CN111770715A (en)Probe device combined with endoscope in detachable mode
WO2014084135A1 (en)Endoscope device
JP5289929B2 (en) Medical system
US10485403B2 (en)Endoscope apparatus
CN101579226B (en)Medical operation device
JP5918018B2 (en) Endoscope, endoscope apparatus, and endoscope system
WO2015029718A1 (en)Insertion instrument and endoscope
JP6018295B2 (en) Medical instrument guide device
JP3772129B2 (en) Endoscopic imaging device
JP5273942B2 (en) Medical equipment
US9615726B2 (en)Medical instrument
JP2014030659A (en)Endoscope, endoscope apparatus and endoscope system
JP5139216B2 (en) Endoscope
WO2016103876A1 (en)Insertion device
US20240407866A1 (en)Continuum robot
JP2005349090A (en)Treatment tool for endoscope
US20240277215A1 (en)Endoscope and operation section for endoscope
JP2023121974A (en)medical device
JP5829363B2 (en) Introduction device
JPWO2018173346A1 (en) Operation mechanism of endoscope

Legal Events

DateCodeTitleDescription
A621Written request for application examination

Free format text:JAPANESE INTERMEDIATE CODE: A621

Effective date:20100427

A977Report on retrieval

Free format text:JAPANESE INTERMEDIATE CODE: A971007

Effective date:20120323

RD04Notification of resignation of power of attorney

Free format text:JAPANESE INTERMEDIATE CODE: A7424

Effective date:20120529

A131Notification of reasons for refusal

Free format text:JAPANESE INTERMEDIATE CODE: A131

Effective date:20120807

A521Request for written amendment filed

Free format text:JAPANESE INTERMEDIATE CODE: A523

Effective date:20121005

A131Notification of reasons for refusal

Free format text:JAPANESE INTERMEDIATE CODE: A131

Effective date:20121106

A521Request for written amendment filed

Free format text:JAPANESE INTERMEDIATE CODE: A523

Effective date:20121226

TRDDDecision of grant or rejection written
A01Written decision to grant a patent or to grant a registration (utility model)

Free format text:JAPANESE INTERMEDIATE CODE: A01

Effective date:20130423

A61First payment of annual fees (during grant procedure)

Free format text:JAPANESE INTERMEDIATE CODE: A61

Effective date:20130514

R151Written notification of patent or utility model registration

Ref document number:5273942

Country of ref document:JP

Free format text:JAPANESE INTERMEDIATE CODE: R151

S111Request for change of ownership or part of ownership

Free format text:JAPANESE INTERMEDIATE CODE: R313111

R350Written notification of registration of transfer

Free format text:JAPANESE INTERMEDIATE CODE: R350

S531Written request for registration of change of domicile

Free format text:JAPANESE INTERMEDIATE CODE: R313531

R350Written notification of registration of transfer

Free format text:JAPANESE INTERMEDIATE CODE: R350

R250Receipt of annual fees

Free format text:JAPANESE INTERMEDIATE CODE: R250

R250Receipt of annual fees

Free format text:JAPANESE INTERMEDIATE CODE: R250

R250Receipt of annual fees

Free format text:JAPANESE INTERMEDIATE CODE: R250

LAPSCancellation because of no payment of annual fees

[8]ページ先頭

©2009-2025 Movatter.jp