








本発明の実施形態は、コード読取装置およびプログラムに関する。 Embodiments described herein relate generally to a code reader and a program.
従来、スーパーマーケット等では、商品に貼付されたバーコードや二次元コード(例えば、QRコード(登録商標))等のコードシンボルをCCD(Charge Coupled Device)イメージセンサ等のデジタルカメラによって撮像し、その撮像した画像からコードシンボルを検出し、検出したコードシンボルから商品コード等の商品情報を読み取るコード読取装置が用いられている。 2. Description of the Related Art Conventionally, in supermarkets, code symbols such as barcodes and two-dimensional codes (for example, QR codes (registered trademark)) affixed to products are imaged by a digital camera such as a CCD (Charge Coupled Device) image sensor, and the imaging is performed. A code reading device is used that detects a code symbol from the detected image and reads product information such as a product code from the detected code symbol.
ところで従来のコード読取装置では、オペレータが商品をデジタルカメラにかざしてバーコードの撮像を行うが、商品に貼付されたバーコードがデジタルカメラの撮像範囲に入っているか否かを確認することができない。そのため、従来のコード読取装置では、商品をデジタルカメラにかざしたにも関わらず、商品に貼付されたバーコードがデジタルカメラの撮像範囲に入っていなかった場合、再度、商品をデジタルカメラにかざしてバーコードの読み取りを行わなければならない、という課題がある。 By the way, in the conventional code reader, the operator holds the product over the digital camera to capture the barcode, but cannot check whether the barcode attached to the product is within the imaging range of the digital camera. . Therefore, in the conventional code reader, if the barcode attached to the product is not within the imaging range of the digital camera even though the product is held over the digital camera, the product is again held over the digital camera. There is a problem that the barcode needs to be read.
実施形態のコード読取装置は、撮像手段と、取込手段と、検出手段と、読取手段と、表示手段と、を備える。前記取込手段は、前記撮像手段により撮像された撮像エリアの画像を取り込む。前記検出手段は、前記撮像エリアの画像から、商品情報を示すコードシンボルを検出する。前記読取手段は、前記検出手段により検出したコードシンボルから商品情報を読み取る。前記表示手段は、前記商品情報が読み取られている間、前記撮像エリアの画像に、前記検出したコードシンボルを囲う枠をコードシンボル表示として含めた画像を表示する。前記検出手段は、前記撮像エリアの画像から複数のコードシンボルが検出された場合、前記複数のコードシンボルのうち予め設定されたコードシンボルとの一致度が最も高いコードシンボルを、前記撮像エリアの画像から検出したコードシンボルとする。The code reading apparatus according to the embodiment includes an imaging unit, a capturing unit, a detecting unit, a reading unit, and a display unit. The capturing unit captures an image of the imaging area captured by the imaging unit. The detection means detects a code symbol indicating product information from the image of the imaging area. The reading unit reads product information from the code symbol detected by the detection unit. The display means displays an image including aframe surrounding the detected code symbolas a code symbol display in the image of the imaging area while the product information is being read. When a plurality of code symbols are detected from the image of the imaging area, the detecting unit selects a code symbol having the highest degree of coincidence with a preset code symbol from the plurality of code symbols. The code symbol detected from
以下では、チェックアウトシステムを例に本実施形態にかかるコード読取装置およびプログラムを図面を参照して説明する。チェックアウトシステムは、一取引にかかる商品の登録、精算を行うPOS(Point Of Sales)端末などがある。本実施形態は、飲食店やスーパーマーケット等の店舗に導入されたチェックアウトシステムへの適用例である。 Hereinafter, a code reading apparatus and a program according to the present embodiment will be described with reference to the drawings, taking a checkout system as an example. The checkout system includes a POS (Point Of Sales) terminal for registering and paying for a product for one transaction. This embodiment is an application example to a checkout system introduced in a store such as a restaurant or a supermarket.
  図1は、チェックアウトシステムを示す斜視図である。図1に示すように、チェックアウトシステム1は、一取引にかかる商品の登録、精算を行うPOS端末11を備える。POS端末11は、チェックアウト台51上のドロワ21上面に載置されている。ドロワ21は、POS端末11によって開放動作の制御を受ける。POS端末11の上面には、オペレータ(ユーザ)によって押下操作されるキーボード22が配置されている。キーボード22を操作するオペレータから見てキーボード22よりも奥側には、オペレータに向けて情報を表示する表示デバイス23が設けられている。表示デバイス23は、その表示面23aに情報を表示する。表示面23aには、タッチパネル26が積層されている。表示デバイス23よりもさらに奥側には、顧客用表示デバイス24が回転自在に立設されている。顧客用表示デバイス24は、その表示面24aに情報を表示する。なお、図1に示す顧客用表示デバイス24は、表示面24aを図1中手前側に向けているが、表示面24aが図1中奥側に向くように顧客用表示デバイス24を回転させることによって、顧客用表示デバイス24は顧客に向けて情報を表示する。  FIG. 1 is a perspective view showing a checkout system. As shown in FIG. 1, the checkout system 1 includes a
  POS端末11が載置されているチェックアウト台51とL字を形成するようにして、横長テーブル状のカウンタ台151が配置されている。カウンタ台151の上面には、荷受面152が形成されている。荷受面152には、バーコードBCが付された商品Aを収納する買物カゴ153が載置される。買物カゴ153は、顧客によって持ち込まれる第1の買物カゴ153aと、第1の買物カゴ153aからコード読取装置101を挟んだ位置に位置付けられる第2の買物カゴ153bとに分けて考えることができる。  A horizontally long table-shaped counter table 151 is arranged so as to form an L shape with the checkout table 51 on which the
  カウンタ台151の荷受面152には、POS端末11とデータ送受信自在に接続されたコード読取装置101が設置されている。コード読取装置101は、薄型矩形形状のハウジング102を備える。ハウジング102の正面には読取窓103が配置されている。ハウジング102の上部には、表示・操作部104が取り付けられている。表示・操作部104には、タッチパネル105が表面に積層された表示デバイス106が設けられている。表示デバイス106の右隣にはキーボード107が配設されている。キーボード107の右隣には、図示しないカードリーダのカード読取溝108が設けられている。オペレータから見て表示・操作部104の裏面左奥側には、顧客に情報を提供するための顧客用表示デバイス109が設置されている。顧客用表示デバイス109の表示面には、顧客用タッチパネル109aが積層されている。  A
  顧客によって持ち込まれた第1の買物カゴ153aには、一取引にかかる商品Aが収納されている。商品Aには、その商品Aに関する商品コードが符号化されたバーコードBCが貼付されている。商品Aは、オペレータの手によって第2の買物カゴ153bへと移動される。この移動過程で、バーコードBCがコード読取装置101の読取窓103に向けられる。この際、読取窓103の奥側に配置された撮像部164(図2参照)はバーコードBCを撮像する。コード読取装置101では、撮像部164により撮像された画像に含まれるバーコードBCを検出し、検出したバーコードBCから商品Aに関する商品コードを読み取る。バーコードBCから読み取られる商品コードは、商品Aを特定するために商品ごとに割り当てられたコードであり、一例として13桁の数字であるJANコードである。なお、本実施形態ではコードシンボルとしてバーコードBCを例に説明するが、コードシンボルはQRコード(登録商標)等の二次元コードであってもよいことは言うまでもない。  In the
  図2は、POS端末およびコード読取装置のハードウェア構成を示すブロック図である。POS端末11は、情報処理を実行する情報処理部としてのマイクロコンピュータ60を備える。マイクロコンピュータ60は、各種演算処理を実行し各部を制御するCPU(Central  Processing  Unit)61に、ROM(Read  Only  Memory)62とRAM(Random  Access  Memory)63とがバス接続されて構成されている。  FIG. 2 is a block diagram illustrating a hardware configuration of the POS terminal and the code reading device. The
  POS端末11のCPU61には、前述したドロワ21、キーボード22、表示デバイス23、タッチパネル26、顧客用表示デバイス24がいずれも各種の入出力回路(いずれも図示せず)を介して接続されている。これらは、CPU61による制御を受ける。  The
  キーボード22は、「1」、「2」、「3」…等の数字や「×」という乗算の演算子が上面に表示されているテンキー22d、仮締めキー22e、および締めキー22fを含む。  The
  POS端末11のCPU61には、HDD(Hard  Disk  Drive)64が接続されている。HDD64には、プログラムや各種ファイルが記憶されている。HDD64に記憶されているプログラムや各種ファイルは、POS端末11の起動時に、その全部又は一部がRAM63にコピーされてCPU61により順次実行される。HDD64に記憶されているプログラムの一例は、商品販売データ処理用のプログラムPRである。HDD64に記憶されているファイルの一例は、ストアコンピュータSCから配信されて格納されているPLUファイルF1である。PLUファイルF1は、商品ごとにユニークに割り当てられた商品コードごとに、その商品の名称、単価、商品分類などの商品に関する情報を格納するファイルである。  An HDD (Hard Disk Drive) 64 is connected to the
  POS端末11のCPU61には、ストアコンピュータSCとデータ通信を実行するための通信インターフェース25が入出力回路(図示せず)を介して接続されている。ストアコンピュータSCは、店舗のバックヤード等に設置されている。ストアコンピュータSCのHDD(図示せず)には、POS端末11に配信されるPLUファイルF1が格納されている。  A
  さらに、POS端末11のCPU61には、コード読取装置101との間でデータ送受信を可能にする接続インターフェース65が接続されている。POS端末11のCPU61は、接続インターフェース65を介して、コード読取装置101により読み取られた商品コード等の商品情報を受け取り、受け取った商品情報が示す商品を販売登録する。したがって、接続インターフェース65は、コード読取装置101に接続している。また、POS端末11のCPU61には、レシートなどに印字を行うプリンタ66が接続されている。POS端末11は、CPU61の制御の下、一取引の取引内容をレシートに印字する。  Further, the
  コード読取装置101も、マイクロコンピュータ160を備える。マイクロコンピュータ160は、CPU161にROM162とRAM163とがバス接続されて構成されている。ROM162には、CPU161によって実行されるプログラムが記憶されている。CPU161には、撮像部164が各種の入出力回路(いずれも図示せず)を介して接続されている。撮像部164は、CPU161によって動作が制御される。表示・操作部104は接続インターフェース176を介してPOS端末11に接続されている。表示・操作部104はPOS端末11のCPU61によって動作が制御される。  The
  撮像部164は、CCDイメージセンサやCOMSイメージセンサなどであり、CPU161の制御の下で、読取窓103からの画像の撮像を行う。例えば、撮像部164は、所定のフレームレート(例えば、30fps)で画像の撮像を行うものとする。  The
  ここで、本実施形態にかかるコード読取装置101により処理される商品と撮像部164の撮像領域との関係について説明する。図3は、商品の撮像部の撮像エリアとの関係の一例を示す図である。図中鎖線で囲った領域は、撮像部164が1フレームで撮像できる領域である撮像エリア63である。図3に示す商品Aには、バーコードBCが印字されたラベルLが貼付されている。バーコードBCには、商品AをPOS端末11で販売登録するのに必要な情報として、商品コード等の商品情報が組み込まれている。また、バーコードBCの下部には、バーコードBCに組み込まれている商品コード「2101234567890」が数字で表示されている。  Here, the relationship between the product processed by the
  図2に戻り、CPU161には、POS端末11の接続インターフェース65に接続して、POS端末11との間でデータ送受信を可能にする接続インターフェース175が接続されている。CPU161の制御の下、コード読取装置101の撮像部164によって撮像された画像に含まれるバーコードBCから読み取られた商品コードは、接続インターフェース175を介して出力され、接続インターフェース65を介してPOS端末11に入力される。  Returning to FIG. 2, the
  次に、CPU161がプログラムを順次実行することで実現されるコード読取装置101の機能部について、図4を参照して説明する。図4は、コード読取装置が備えるCPUの機能構成を示すブロック図である。図4に示すように、CPU161は、ROM162に記憶されたプログラムを順次実行することにより、撮像画像取込部1611、コード検出部1612、読取部1613、表示部1614、および出力部1615としての機能を備える。  Next, functional units of the
  撮像画像取込部1611は、撮像部164に撮像オン信号を出力して撮像部164に撮像動作を開始させる。撮像画像取込部1611は、撮像部164により撮像された撮像エリア63内の画像を順次取り込む。そして、撮像画像取込部1611は、取り込んだ画像を、撮像部164により撮像された順に、RAM163に格納する。  The captured
  ここで、図5を用いて、撮像画像取込部1611が取り込む画像について説明する。図5は、撮像画像取込部により取り込まれる画像の一例を示す図である。図5に示すように、撮像画像取込部1611は、撮像エリア63に対応する画像DをRAM163に格納する。  Here, an image captured by the captured
  コード検出部1612は、撮像画像取込部1611により取り込まれRAM163に格納された画像Dから、バーコードBCを検出する。具体的には、コード検出部1612は、RAM163に格納された画像Dからパターンマッチング技術によるバーコードBCの検出や、所定のファインダパターンから二次元コードの検出などを行う。なお、コード検出部1612は、画像Dから複数のバーコードBCが検出された場合、検出された複数のバーコードBCのうち、予め設定されたコードシンボルとの一致度が最も高いバーコードBCを、画像Dから検出されたバーコードBCとする。  The
  読取部1613は、コード検出部1612によりバーコードBCが検出された場合に、コード検出部1612が検出したバーコードBCから、商品コード等の商品情報を読み取る。そして、読取部1613は、読み取った商品情報をRAM163に格納する。  When the
  表示部1614は、読取部1613により商品情報の読み取りが行われている間、撮像画像取込部1611により取り込まれRAM163に格納されている画像Dに、コード検出部1612により検出したバーコードBCを示すコードシンボル表示を含めた画像を表示する。  The
  図6は、表示デバイスに表示された画像の一例を示す図である。本実施形態では、表示部1614は、読取部1613により商品情報の読み取りが行われている間、撮像画像取込部1611により取り込まれたRAM163に格納されている画像Dに、コード検出部1612により検出したバーコードBCを囲う枠601を含めた画像D1を表示デバイス106に表示する。具体的には、表示部1614は、読取部1613による商品情報の読み取りが開始されると、撮像画像取込部1611によりRAM163に格納された画像Dを読み出す。そして、表示部1614は、読み出した画像D内におけるバーコードBCの座標を検出する。次いで、表示部1614は、読み出した画像Dに、検出したバーコードBCの座標を囲う枠601を重畳した画像D1を生成し、生成した画像D1を表示デバイス106に表示する。これにより、オペレータは、商品Aに貼付されたラベルLに印字されたバーコードBCから商品情報が読み取られていることを確認することができる。  FIG. 6 is a diagram illustrating an example of an image displayed on the display device. In this embodiment, the
  なお、本実施形態では、表示部1614は、画像Dに、コード検出部1612により検出したバーコードBCを囲う枠601をコードシンボル表示として含めた画像D1を表示デバイス106に表示しているが、画像Dに、バーコードBCを示すコードシンボル表示を含めた画像を表示するものであれば、これに限定するものではない。例えば、表示部1614は、画像Dに、コード検出部1612により検出したバーコードBCが存在する領域を指し示す矢印などのエリア表示をコードシンボル表示として含めた画像を表示デバイス106に表示しても良い。  In the present embodiment, the
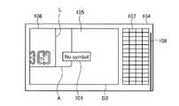
  また、表示部1614は、コード検出部1612によりバーコードBCが検出されなかった場合、バーコードBCが検出されなかったことを示すガイド表示を表示デバイス106に表示する。  Further, the
  図7は、表示デバイスに表示された画像の一例を示す図である。本実施形態では、表示部1614は、コード検出部1612によりバーコードBCが検出されなかった場合、画像Dに、「No  symbol」などバーコードBCが検出されなかったことを示すメッセージ701をガイド表示として含めた画像D2を表示デバイス106に表示する。具体的には、表示部1614は、コード検出部1612によりバーコードBCが検出されなかった場合、撮像画像取込部1611によりRAM163に格納された画像Dを読み出す。そして、表示部1614は、読み出した画像Dに、メッセージ701を重畳した画像D2を生成し、生成した画像D2を表示デバイス106に表示する。これにより、オペレータは、商品Aに貼付されたラベルLに印字されたバーコードBCから商品情報が読み取られていないことを認識することができる。  FIG. 7 is a diagram illustrating an example of an image displayed on the display device. In the present embodiment, the
  さらに、表示部1614は、コード検出部1612により画像Dから複数のバーコードBCが検出された場合、複数のバーコードBCのうち予め設定されたコードシンボルとの一致度が最も高いバーコードBCを示すコードシンボル表示を含めた画像を表示デバイス106に表示する。  Furthermore, when a plurality of barcodes BC are detected from the image D by the
  図8は、表示デバイスに表示された画像の一例を示す図である。本実施形態では、表示部1614は、コード検出部1612により商品A,A´,A´´に添付された複数のバーコードBCが検出された場合、複数のバーコードBCのうち予め設定されたコードシンボルとの一致度が最も高いバーコードBC(商品Aに添付されたバーコードBC)を囲う枠601を含めた画像603を表示デバイス106に表示する。具体的には、表示部1614は、読取部1613による商品情報の読み取りが開始されると、撮像画像取込部1611によりRAM163に格納された画像Dを読み出す。そして、表示部1614は、読み出した画像Dに含まれる複数のバーコードBCのうち、コード検出部1612により予め設定されたコードシンボルとの一致度が最も高いと判断されたバーコードBC(商品Aに添付されたバーコードBC)の画像D内における座標を検出する。次いで、表示部1614は、読み出した画像Dに、検出したバーコードBCの座標を囲う枠801を重畳した画像D3を生成し、生成した画像D3を表示デバイス106に表示する。これにより、オペレータが誤って商品A,A´,A´´を同時に撮像部164の撮像範囲に入れてしまった場合に、商品A,A´,A´´に添付された複数のバーコードBCのうち、いずれの商品に添付されたバーコードBCから商品情報が読み取られたかを認識することができるので、残りの商品の商品情報を読み取る際に、既に商品情報を読み取った商品の商品情報を読み取らせることを防止できる。  FIG. 8 is a diagram illustrating an example of an image displayed on the display device. In the present embodiment, when a plurality of barcodes BC attached to the products A, A ′, and A ″ are detected by the
  出力部1615は、読取部1613により商品情報がRAM163に格納されている場合には、RAM163に格納されている商品情報をPOS端末11に出力する。POS端末11は、コード読取装置101から受け取った商品情報に基づいて、商品Aの販売登録を行う。  When the product information is stored in the
  次に、コード読取装置101による商品情報の出力処理の流れについて説明する。図9は、本実施形態にかかるコード読取装置による商品情報の出力処理の流れを示すフローチャートである。  Next, the flow of product information output processing by the
  POS端末11による商品登録の開始などに応じて処理が開始されると、撮像画像取込部1611は、撮像部164に撮像オン信号を出力して撮像部164による撮像を開始する(ステップS901)。次いで、撮像画像取込部1611は、撮像部164が撮像してRAM163に格納した画像Dを取り込む(ステップS902)。次いで、コード検出部1612は、撮像画像取込部1611により取り込まれた画像Dに含まれるバーコードBCを検出する(ステップS903)。  When processing is started in response to the start of product registration by the
  読取部1613は、コード検出部1612によりバーコードBCが検出されたか否かを判断する(ステップS904)。バーコードBCが検出されなかった場合(ステップS904:No)、ステップS902に戻り、次の画像Dに対する処理を行う。  The
  バーコードBCが検出された場合(ステップS904:Yes)、読取部1613は、検出されたバーコードBCからの商品情報の読み取りを行う(ステップS905)。なお、読取部1613により読み取られた商品情報は、出力部1615によってPOS端末11に出力される。POS端末11では、入力された商品情報をもとにPLUファイルF1を参照することで、一取引にかかる商品の販売登録が行われる。表示部1614は、読取部1613により商品情報の読み取りが行われている間、撮像画像取込部1611により取り込まれた画像Dに、コード検出部1612により検出したバーコードBCを囲う枠601を含めた画像D1(図6参照)を表示デバイス106に表示する(ステップS906)。  When the barcode BC is detected (step S904: Yes), the
  次いで、CPU161は、POS端末11から商品登録の終了通知などによる業務終了の有無を判定する(ステップS907)。業務を継続する場合(ステップS907:No)、CPU161は、ステップS902に戻して次の画像Dに対する処理を継続させる。業務を終了させる場合(ステップS907:Yes)、CPU161は、撮像部164に撮像オフ信号を出力して撮像部164による撮像を終了し(ステップS908)、処理を終了する。  Next, the
  このように本実施形態にかかるコード読取装置101によれば、画像Dを撮像し、撮像された画像Dを取り込み、取り込んだ画像Dから、販売登録する商品の商品情報を示すバーコードBCを検出し、検出したバーコードBCから商品情報を読み取り、商品情報が読み取られている間、取り込んだ画像Dに、検出したバーコードBCを示すコードシンボル表示を含めた画像を表示することにより、バーコードBCが撮像部164の撮像範囲に入っているか否かを確認することができるので、商品Aに貼付されたバーコードBCが撮像部164の撮像範囲に入っていなかった場合、再度、商品Aを撮像部164にかざしてバーコードBCの読み取りを行わせる必要がなくなる。  As described above, according to the
  なお、本実施形態のコード読取装置101で実行されるプログラムは、ROM162等に予め組み込まれて提供されるが、インストール可能な形式又は実行可能な形式のファイルでCD−ROM、フレキシブルディスク(FD)、CD−R、DVD(Digital  Versatile  Disk)等のコンピュータで読み取り可能な記録媒体に記録して提供するように構成してもよい。  The program executed by the
  さらに、本実施形態のコード読取装置101で実行されるプログラムを、インターネット等のネットワークに接続されたコンピュータ上に格納し、ネットワーク経由でダウンロードさせることにより提供するように構成しても良い。また、本実施形態のコード読装置101で実行されるプログラムをインターネット等のネットワーク経由で提供または配布するように構成しても良い。  Furthermore, the program executed by the
  101  コード読取装置
  161  CPU
  162  ROM
  163  RAM
  164  撮像部
  1611  撮像画像取込部
  1612  コード検出部
  1613  読取部
  1614  表示部
 162 ROM
 163 RAM
 164
| Application Number | Priority Date | Filing Date | Title | 
|---|---|---|---|
| JP2010189750AJP5255027B2 (en) | 2010-08-26 | 2010-08-26 | Code reader and program | 
| Application Number | Priority Date | Filing Date | Title | 
|---|---|---|---|
| JP2010189750AJP5255027B2 (en) | 2010-08-26 | 2010-08-26 | Code reader and program | 
| Publication Number | Publication Date | 
|---|---|
| JP2012048479A JP2012048479A (en) | 2012-03-08 | 
| JP5255027B2true JP5255027B2 (en) | 2013-08-07 | 
| Application Number | Title | Priority Date | Filing Date | 
|---|---|---|---|
| JP2010189750AActiveJP5255027B2 (en) | 2010-08-26 | 2010-08-26 | Code reader and program | 
| Country | Link | 
|---|---|
| JP (1) | JP5255027B2 (en) | 
| Publication number | Priority date | Publication date | Assignee | Title | 
|---|---|---|---|---|
| JP6392927B2 (en)* | 2017-04-24 | 2018-09-19 | 東芝テック株式会社 | Information processing apparatus and program | 
| Publication number | Priority date | Publication date | Assignee | Title | 
|---|---|---|---|---|
| JP5140820B2 (en)* | 2008-03-31 | 2013-02-13 | 日本電産サンキョー株式会社 | Symbol information reading apparatus and symbol information reading method | 
| JP5310040B2 (en)* | 2009-02-02 | 2013-10-09 | カシオ計算機株式会社 | Imaging processing apparatus and program | 
| JP4995257B2 (en)* | 2009-12-25 | 2012-08-08 | 東芝テック株式会社 | Data code reading apparatus and method | 
| Publication number | Publication date | 
|---|---|
| JP2012048479A (en) | 2012-03-08 | 
| Publication | Publication Date | Title | 
|---|---|---|
| JP5596630B2 (en) | Product list ticketing device | |
| JP5106602B2 (en) | Code reader and program | |
| JP5166490B2 (en) | Product code reader and program | |
| JP5320360B2 (en) | Product code reader and program | |
| US8805092B2 (en) | Store system, reading apparatus, and sales registration apparatus | |
| JP5166496B2 (en) | Code reader and program | |
| US20120054052A1 (en) | Store system, sales registration apparatus, and control method | |
| JP5502662B2 (en) | Store system and product code reader | |
| JP5462302B2 (en) | Code reading device, sales registration device and program | |
| JP5221599B2 (en) | Product code reader and program | |
| JP5255027B2 (en) | Code reader and program | |
| JP5362058B2 (en) | Code reader and program | |
| JP5341844B2 (en) | Store system, sales registration device and program | |
| JP5183767B2 (en) | Code reader and program | |
| JP2012053713A (en) | Store system, sales registration device and program | |
| JP5496971B2 (en) | Reader, reader system, and program | |
| JP6671412B2 (en) | Checkout system, receipt issuing method, and program | |
| JP2012048486A (en) | Code reader and program | |
| JP5377581B2 (en) | Reading apparatus, merchandise sales information processing apparatus, and control program | |
| JP2012053706A (en) | Commodity code reader and program | |
| JP2014174569A (en) | Information processor and program | |
| JP2013118000A (en) | Commodity code reading device and program | |
| JP2013225337A (en) | Merchandise code reader and program | 
| Date | Code | Title | Description | 
|---|---|---|---|
| A131 | Notification of reasons for refusal | Free format text:JAPANESE INTERMEDIATE CODE: A131 Effective date:20121106 | |
| A521 | Written amendment | Free format text:JAPANESE INTERMEDIATE CODE: A523 Effective date:20121225 | |
| A131 | Notification of reasons for refusal | Free format text:JAPANESE INTERMEDIATE CODE: A131 Effective date:20130122 | |
| A521 | Written amendment | Free format text:JAPANESE INTERMEDIATE CODE: A523 Effective date:20130325 | |
| TRDD | Decision of grant or rejection written | ||
| A01 | Written decision to grant a patent or to grant a registration (utility model) | Free format text:JAPANESE INTERMEDIATE CODE: A01 Effective date:20130409 | |
| A61 | First payment of annual fees (during grant procedure) | Free format text:JAPANESE INTERMEDIATE CODE: A61 Effective date:20130418 | |
| R150 | Certificate of patent or registration of utility model | Ref document number:5255027 Country of ref document:JP Free format text:JAPANESE INTERMEDIATE CODE: R150 Free format text:JAPANESE INTERMEDIATE CODE: R150 | |
| FPAY | Renewal fee payment (event date is renewal date of database) | Free format text:PAYMENT UNTIL: 20160426 Year of fee payment:3 |