





本発明は、複数の外刃を有する電気かみそりに関するものである。 The present invention relates to an electric razor having a plurality of outer blades.
従来、電気かみそりは、体毛が導入可能な外刃及び該外刃を支持する支持体からなる複数の外刃ブロックと、各外刃の内側に配置され内刃駆動手段の駆動に基づいて往復駆動される内刃と、電気かみそりの本体部に設けられ外刃ブロックがそれぞれ着脱可能に装着されるブロック装着部を保持する保持枠部とを備えている(例えば特許文献1参照)。そして、外刃ブロックの外刃内に導入された髭等の体毛がその外刃と電磁アクチュエータにて往復振動する内刃とで挟んで切除されるようになっている。このような電気かみそりにおいて、外刃が複数の種類から構成されているものがあり、外刃の種類としては、粗剃り用のネット外刃や、長い体毛を剃るのに適したスリット外刃や、仕上げ用ネット外刃等が知られている。 Conventionally, an electric razor is driven reciprocally based on a plurality of outer blade blocks comprising an outer blade into which body hair can be introduced and a support for supporting the outer blade, and an inner blade driving means disposed inside each outer blade. And a holding frame portion that holds a block mounting portion that is provided on the main body portion of the electric razor and on which the outer blade block is detachably mounted (see, for example, Patent Document 1). Then, body hair such as wrinkles introduced into the outer blade of the outer blade block is cut between the outer blade and the inner blade that reciprocally vibrates with an electromagnetic actuator. In such an electric razor, there are those in which the outer blade is composed of a plurality of types, and the types of the outer blade include a net outer blade for rough shaving, a slit outer blade suitable for shaving long body hair, A net outer blade for finishing is known.
上記したような電気かみそりでは、各種の役割を有する外刃(外刃ブロック)を有しているため、剃り味が向上されてはいるものの、ユーザーの使用態様に応じた使い勝手を向上させるために更なる改善の余地があった。 In order to improve the usability according to the use mode of the user, the above-described electric razor has an outer blade (outer blade block) having various roles, so that the shaving taste is improved. There was room for further improvement.
本発明は、上記課題を解決するためになされたものであって、その目的は、使い勝手を向上させることができる電気かみそりを提供することにある。 The present invention has been made to solve the above-described problems, and an object of the present invention is to provide an electric razor capable of improving usability.
  上記課題を解決するために、請求項1に記載の発明は、体毛が導入可能な外刃及び該外刃を支持する支持体からなる複数の外刃ブロックと、前記各外刃の内側に配置され、内刃駆動手段の駆動に基づいて往復駆動される内刃と、電気かみそりの本体部に設けられ、前記外刃ブロックがそれぞれ着脱可能に装着される複数のブロック装着部を有する保持枠部とを備えた電気かみそりであって、複数の前記外刃は、2つ以上の異なる種類のものから構成され、前記各外刃ブロックは、前記複数のブロック装着部のいずれにも選択的に装着可能となるように構成されたことを特徴とする。  In order to solve the above-mentioned problem, the invention according to
この発明では、複数の外刃は2つ以上の異なる種類のものから構成され、その外刃を有する各外刃ブロックが、保持枠部に複数設けられたブロック装着部のいずれにも装着可能となるように構成される。これにより、電気かみそりの使用態様に応じてユーザーが外刃ブロックの装着位置をカスタマイズすることが可能となり、電気かみそりの使い勝手を向上させることができる。 In this invention, the plurality of outer blades are composed of two or more different types, and each outer blade block having the outer blade can be mounted on any of the block mounting portions provided in the holding frame portion. It is comprised so that it may become. Thereby, it becomes possible for a user to customize the mounting position of an outer blade block according to the usage mode of an electric razor, and the usability of an electric razor can be improved.
請求項2に記載の発明は、請求項1に記載の電気かみそりにおいて、複数の前記支持体にはそれぞれ、前記各ブロック装着部に設けられた保持枠側係合部と係合可能なブロック側係合部が設けられ、前記ブロック側係合部と前記保持枠側係合部との係合状態において前記外刃ブロックの前記ブロック装着部への装着状態が保持され、前記ブロック側係合部と前記保持枠側係合部との係合が解除された状態において前記外刃ブロックが前記保持枠部から取り外し可能となるように構成されたことを特徴とする。 According to a second aspect of the present invention, in the electric shaver according to the first aspect, each of the plurality of the support bodies has a block side engageable with a holding frame side engaging portion provided in each block mounting portion. An engagement portion is provided, and the attachment state of the outer blade block to the block attachment portion is maintained in the engagement state of the block side engagement portion and the holding frame side engagement portion, and the block side engagement portion The outer cutter block is configured to be removable from the holding frame portion in a state where the engagement between the holding frame side engaging portion and the holding frame side engaging portion is released.
この発明では、外刃ブロック及びブロック装着部にはそれぞれ、外刃ブロックの着脱のためのブロック側係合部及び保持枠側係合部が設けられるため、外刃ブロックを安定して保持しつつも、その着脱を容易にすることが可能となる。 In this invention, the outer blade block and the block mounting portion are each provided with a block side engaging portion and a holding frame side engaging portion for attaching and detaching the outer blade block, so that the outer blade block can be stably held. In addition, it is possible to facilitate the attachment and detachment.
請求項3に記載の発明は、請求項2に記載の電気かみそりにおいて、前記各支持体の前記ブロック側係合部は全て同一形状であり、前記各保持枠側係合部も全て同一形状であることを特徴とする。 According to a third aspect of the present invention, in the electric shaver according to the second aspect, all the block side engaging portions of the respective supporting bodies have the same shape, and each of the holding frame side engaging portions has the same shape. It is characterized by being.
  この発明では、各外刃ブロックをブロック装着部のいずれにも装着可能とするためにより好適な構成となる。
  請求項4に記載の発明は、請求項2又は3に記載の電気かみそりにおいて、前記保持枠部の各ブロック装着部における前記保持枠側係合部の近傍には、窓部が形成され、該窓部から前記ブロック側係合部と前記保持枠側係合部との係合状態を解除することが可能となるように構成されたことを特徴とする。In this invention, it becomes a more suitable structure in order to enable each outer blade block to be mounted on any of the block mounting portions.
 According to a fourth aspect of the present invention, in the electric razor according to the second or third aspect, a window portion is formed in the vicinity of the holding frame side engaging portion in each block mounting portion of the holding frame portion, It is configured such that the engagement state between the block side engagement portion and the holding frame side engagement portion can be released from the window portion.
  この発明では、保持枠部の窓部からブロック側係合部と保持枠側係合部との係合状態を解除することが可能となるため、外刃ブロックの取り外しを容易に行うことができる。
  請求項5に記載の発明は、請求項1〜4のいずれか1項に記載の電気かみそりにおいて、前記各外刃ブロックは、前後方向幅が互いに等しく設定されるとともに、左右方向幅も互いに等しく設定されたことを特徴とする。In this invention, since it becomes possible to cancel | release the engagement state of a block side engaging part and a holding frame side engaging part from the window part of a holding frame part, the removal of an outer blade block can be performed easily. .
 According to a fifth aspect of the present invention, in the electric shaver according to any one of the first to fourth aspects, the outer blade blocks have the same width in the front-rear direction and the width in the left-right direction is also equal to each other. It is characterized by being set.
この発明では、外刃ブロックとブロック装着部との組み合わせに関わらず、外刃ブロックと保持枠部との間や各外刃ブロック間に生じる隙間を小さく抑えることが可能となる。その結果、切断した体毛がその隙間から放出されることを抑制でき、また、保持枠部、ひいては電気かみそりの小型化に貢献できる。 In this invention, regardless of the combination of the outer blade block and the block mounting portion, it is possible to suppress a gap generated between the outer blade block and the holding frame portion or between the outer blade blocks. As a result, it can suppress that the cut | disconnected body hair is discharge | released from the clearance gap, and can contribute to size reduction of a holding frame part and by extension, an electric shaver.
  請求項6に記載の発明は、請求項1〜5のいずれか1項に記載の電気かみそりにおいて、前記保持枠部は、前記電気かみそりの本体部に一体に形成されたことを特徴とする。
  この発明では、保持枠部が電気かみそりの本体部に一体に形成されるため、従来技術のように保持枠部を電気かみそりの本体部とは別の部材として構成する必要がなくなり、その結果、部材点数の増加を抑えることが可能となる。According to a sixth aspect of the present invention, in the electric razor according to any one of the first to fifth aspects, the holding frame portion is formed integrally with a main body portion of the electric razor.
 In this invention, since the holding frame part is integrally formed with the main body part of the electric razor, it is not necessary to configure the holding frame part as a member different from the main body part of the electric razor as in the prior art. An increase in the number of members can be suppressed.
従って、上記記載の発明によれば、電気かみそりの使い勝手を向上させることができることができる。 Therefore, according to the above described invention, the usability of the electric razor can be improved.
  以下、本発明を具体化した一実施形態を図面に従って説明する。
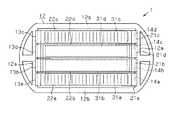
  図1に示すように、本実施形態の電気かみそり1は、ヘッド部11(本体部)の上部に保持枠部12を有し、保持枠部12には4つの外刃ブロック13a,13b,13c,13dが保持されている。尚、電気かみそり1の本体部はヘッド部11と、該ヘッド部11を支持する図示しない胴部とから構成されている。DESCRIPTION OF EXEMPLARY EMBODIMENTS Hereinafter, an embodiment of the invention will be described with reference to the drawings.
 As shown in FIG. 1, the
  保持枠部12は、ヘッド部11のハウジング11aと一体をなしており、その保持枠部12の内側には、外刃ブロック13a〜13dが装着される4つのブロック装着部14a,14b,14c,14dが前後方向に並んで設けられている。保持枠部12は、左右方向に対向する一対の側壁部12aと、前後方向に対向する一対の側壁部12bとを有し、その各側壁部12a,12bがブロック装着部14a〜14dを構成している。  The
  外刃ブロック13a〜13dはそれぞれ、ブロック装着部14a〜14dに着脱可能に保持された樹脂製の支持体21a,21b,21c,21dと、支持体21a〜21dにそれぞれ支持された外刃22a,22b,22c,22dとから構成されている。4つの外刃は、粗剃り用のネット外刃22a,22d(2つ)、仕上げ用のネット外刃22b、及びスリット外刃22cの3種類で構成されている。尚、図1に示す構成では、手前側から粗剃り用のネット外刃22a、仕上げ用のネット外刃22b、スリット外刃22c、粗剃り用のネット外刃22dの順で装着されている。  The
  各粗剃り用のネット外刃22a,22dと仕上げ用のネット外刃22bは、金属薄板に多数の孔(図示略)が形成された網状のものであり、長手方向から見て湾曲形状をなしている。仕上げ用のネット外刃22bは、粗剃り用のネット外刃22a,22dに比べて体毛が導入しやすい構造(例えば、粗剃り用のネット外刃22aよりも板厚が薄い構造)を有しており、短い体毛を剃るのに適している。そして、スリット外刃22cは、複数のスリット状の孔を有し、長い体毛が導入しやすい構造となっている。  Each of the rough shaving net
  各外刃22a〜22dの内側にはそれぞれ、ヘッド部11内に設けられたモータ15の駆動により往復振動される内刃31a,31b,31c,31dが設けられており、その各内刃31a〜31dは、図示しないスプリング等の付勢手段によって外刃22a〜22dの内面にそれぞれ押圧されている。尚、内刃31a〜31dは、外刃ブロック13a〜13dにそれぞれ対応した形状を有している。  
  本実施形態では、内刃31a〜31dは、外刃ブロック13a〜13dにそれぞれ保持されている。つまり、内刃31a〜31dはそれぞれ外刃ブロック13a〜13dと一体となるように構成されている。そして、各内刃31a〜31dは、各外刃ブロック13a〜13dが各ブロック装着部14a〜14dに装着されることで、モータ15と駆動連結され、モータ15の駆動力が各内刃31a〜31dに伝達可能となる。  In the present embodiment, the
  モータ15は、前記胴部に設けられた操作スイッチ(図示略)の操作に基づき駆動され、その駆動力にて各内刃31a〜31dが往復振動される。そして、各外刃22a〜22d内に導入された髭等の体毛がその外刃22a〜22dと往復振動する内刃31a〜31dとで挟んで切除されるようになっている。  The
  上記したような各外刃ブロック13a〜13dは、図2に示すように、その前後方向幅A1〜A4が互いに等しく設定されるとともに、その左右方向幅B(ブロック装着部14a〜14dの一対の側壁部12a間に嵌められている部分の幅)も互いに等しく設定されている。また、各ブロック装着部14a〜14dは、その前後方向幅が互いに等しく設定されるとともに、その左右方向幅も互いに等しく設定されている。  As shown in FIG. 2, the front and rear direction widths A1 to A4 of the
  各外刃ブロック13a〜13dにおいて、その支持体21a〜21dの長手方向両端部の側壁41にはそれぞれ、矩形状の開口41aの下端から上方に延びる係合爪42が形成されている(図3(a)(b)参照)。尚、各外刃ブロック13a〜13dの各係合爪42は全て同一形状であり、そのため、図3及び図4では外刃ブロック13aを例にとって図示している。各係合爪42の上端には、長手方向外側に突出する爪部42aが形成され、その爪部42aの先端には傾斜部42bが形成されている(図4(a)参照)。  In each of the
  一方、各ブロック装着部14a〜14dを構成する一対の側壁部12aにはそれぞれ、係合爪42の爪部42aを上方から挿入可能な係合溝51が形成されている。尚、係合溝51は、各ブロック装着部14a〜14dに2つ形成され、全部で8つ形成されている。各係合溝51は、図4(a)に示すように、係合溝51の爪部42aが挿入される挿入口51aを側壁部12aの上端部に有している。各係合溝51は、挿入口51aから下方に延びるとともに、各係合溝51の上下方向中間部には、爪部42aの上面と上下方向に当接する当接部52が形成されている。尚、各係合溝51の当接部52は、互いに全て同一形状となっている。  On the other hand, an
  各外刃ブロック13a〜13dは、図示しないスプリング等の付勢手段により上方に付勢されており、その付勢力にて各係合爪42の爪部42aは、係合溝51の当接部52に対して弾性的に当接するようになっている。これにより、各外刃ブロック13a〜13dは、上方からの負荷がかかっていない状態では、爪部42aが当接部52に当接する位置で保持され、上方から負荷がかかると下方に移動(フロート)する。つまり、各外刃ブロック13a〜13dは、一対の側壁部12a間においてフロート可能に保持されるようになっている。  The
  係合溝51は、当接部52と上下方向に対向する下端部53を有している。係合溝51の下端部53は、当接部52よりも内側(外刃ブロック13a側)まで延びており、外刃ブロック13a〜13dが下方に押圧された状態において、爪部42aの下面と係合溝51の下端部53とが当接可能となっている。係合溝51の当接部52及び下端部53は、それぞれ上方向及び下方向への係合爪42の抜け止めの役割を果たしている。つまり、各外刃ブロック13a〜13dは、当接部52と下端部53との間隔だけ上下方向の移動が許容されている。  The
  各係合溝51には、側壁部12aを左右方向に貫通する窓部54が、当接部52と上下方向の位置が重なるように形成されている。図4(d)に示すように、窓部54から挿入した治具60で係合爪42の爪部42aを内側に押し込むことで、爪部42aと当接部52との上下方向の係合状態を解除することが可能となっており、これにより各外刃ブロック13a〜13dがブロック装着部14a〜14dから取り外し可能となる。  Each
  外刃ブロック13aを例えばブロック装着部14aに装着する際には、まず図4(b)に示すように、外刃ブロック13aをブロック装着部14aに対し、付勢手段の付勢力に抗して上方から挿入する。すると、係合爪42の爪部42aの傾斜部42bが係合溝51に当接して係合爪42が内側に撓み(図4(c)参照)、そのままの状態で外刃ブロック13aを更に下方に挿入すると、係合爪42が弾性復帰し、爪部42aの上面が当接部52と当接する(図4(a)参照)。こうして外刃ブロック13aのブロック装着部14aへの装着が完了する。  When the
  以上のような電気かみそり1では、各外刃ブロック13a〜13dは、ブロック装着部14a〜14dのいずれにも着脱可能に装着することが可能となっている。それにより、例えば図2に示すような、前後方向の両端がそれぞれ粗剃り用のネット外刃22a,22dとなっている各外刃ブロック13a〜13dの配置を、例えば図5に示すような、スリット外刃22cが前後方向の端に位置する各外刃ブロック13a〜13dの配置に変更することが可能となっている。尚、スリット外刃22cが前後方向の端に位置する構成では、スリット外刃22cが肌に当たりやすくなるため、そのスリット外刃22cを有する外刃ブロック13cにて、もみあげやえりあし等の際剃りをするのに適している。  In the
  また、他にも例えば図5に示す構成から、ブロック装着部14aに装着された外刃ブロック13aを交換用に用意したスリット外刃22eを有する外刃ブロック13eに装着しなおして、図6に示すように、ブロック装着部14a,14dにスリット外刃22c,22eを有する外刃ブロック13c,13eがそれぞれ装着された構成としてもよい。尚、外刃ブロック13eは、外刃ブロック13cと同様の構成であり、スリット外刃22e、支持体21e及び内刃31eを有する。このような外刃ブロックの交換の例は他にも様々あり、電気かみそり1の使用態様に応じてユーザーが外刃ブロックの組み合わせをカスタマイズすることが可能となっている。  In addition, for example, from the configuration shown in FIG. 5, the
  次に、本実施形態の特徴的な作用効果を記載する。
  (1)本実施形態では、複数の外刃は2つ以上の異なる種類のもの(粗剃り用の各ネット外刃21a,21d、仕上げ用のネット外刃22b及びスリット外刃22c)から構成される。そして、外刃22a〜22dを有する各外刃ブロック13a〜13dが、保持枠部12に複数設けられたブロック装着部14a〜14dのいずれにも装着可能となるように構成される。これにより、電気かみそり1の使用態様に応じてユーザーが外刃ブロック13a〜13dの装着位置をカスタマイズすることが可能となり、電気かみそり1の使い勝手を向上させることができる。Next, characteristic effects of the present embodiment will be described.
 (1) In the present embodiment, the plurality of outer blades are composed of two or more different types (the net
  (2)本実施形態では、外刃ブロック13a〜13d及びブロック装着部14a〜14dにはそれぞれ、外刃ブロック13a〜13dの着脱のための係合爪42及び当接部52が設けられるため、外刃ブロック13a〜13dを安定して保持しつつも、その着脱を容易にすることが可能となる。  (2) In the present embodiment, the
  (3)本実施形態では、各支持体21a〜21dの係合爪42は全て同一形状であり、各ブロック装着部14a〜14dの当接部52も全て同一形状であるため、各外刃ブロック13a〜13dをブロック装着部14a〜14dのいずれにも装着可能とするためにより好適な構成となる。  (3) In the present embodiment, the engaging
  (4)本実施形態では、保持枠部12の各ブロック装着部14a〜14dにおける当接部52の近傍には、窓部54が形成され、該窓部54から係合爪42と当接部52との係合状態を解除することが可能となるように構成される。このため、各外刃ブロック13a〜13dの取り外しを容易に行うことができる。  (4) In the present embodiment, a
  (5)本実施形態では、各外刃ブロック13a〜13dは、前後方向幅A1〜A4及び左右方向幅Bが互いに等しく設定される。そのため、外刃ブロック13a〜13dとブロック13a〜13dとの組み合わせに関わらず、外刃ブロック13a〜13dと保持枠部12との間や各外刃ブロック13a〜13d間に生じる隙間を小さく抑えることが可能となる。その結果、切断した体毛がその隙間から放出されることを抑制でき、また、保持枠部12、ひいては電気かみそり1の小型化に貢献できる。  (5) In the present embodiment, the
  (6)本実施形態では、保持枠部12が電気かみそり1の本体部(ヘッド部11)に一体に形成されるため、従来技術のように保持枠部12を電気かみそり1の本体部とは別の部材として構成する必要がなくなり、その結果、部材点数の増加を抑えることが可能となる。  (6) In the present embodiment, since the holding
  尚、本発明の実施形態は、以下のように変更してもよい。
  ・上記実施形態では、外刃ブロック13c側に係合爪42が形成され、ブロック装着部14a側に当接部52(係合溝51)が形成されたが、反対に外刃ブロック13c側に係合溝51を形成し、ブロック装着部14a側に係合爪42を形成してもよい。In addition, you may change embodiment of this invention as follows.
 In the above embodiment, the
  ・上記実施形態では、ブロック装着部14a〜14dに対する外刃ブロック13a〜13dの着脱構造が係合溝51と係合爪42とから構成されたが、特にこれに限定されるものではなく、構成に応じて適宜変更してもよい。  -In above-mentioned embodiment, although the attachment or detachment structure of the
  ・上記実施形態では、内刃31a〜31dが外刃ブロック13a〜13dにそれぞれ保持されて、外刃ブロック13a〜13dとそれぞれ一体となるように構成されたが、特にこれに限定されるものではなく、各内刃31a〜31dがヘッド部11側に保持されるように構成してもよい。  In the above embodiment, the
  ・上記実施形態では、保持枠部12が電気かみそり1の本体部(ヘッド部11)に一体に形成されたが、特にこれに限定されるものではなく、本体部とは別体で構成してもよい。  -In the said embodiment, although the holding
  ・上記実施形態では、外刃22a〜22d及び交換用に用意する外刃22eは、粗剃り用のネット外刃、仕上げ用のネット外刃、及びスリット外刃の3種類で構成されたが、特にこれに限定されるものではなく、それらの種類のうちの2種で構成してもよく、また、その他の種類も加えた4種以上で構成してもよい。  In the above-described embodiment, the
  ・上記実施形態では、電気かみそり1は前後方向に並んだ4つの外刃ブロック13a〜13dを有する所謂4枚刃の構成であったが、特にこれに限定されるものではなく、2枚刃や3枚刃、又は5枚刃以上の構成としてもよい。  In the above embodiment, the
  1…電気かみそり、11…電気かみそりの本体部を構成するヘッド部、12…保持枠部、13a〜13e…外刃ブロック、14a〜14d…ブロック装着部、15…内刃駆動手段としてのモータ、21a〜21d…支持体、22a〜22e…外刃、31a〜31e…内刃、42…ブロック側係合部としての係合爪、52…保持枠側係合部としての当接部、54…窓部。  DESCRIPTION OF
| Application Number | Priority Date | Filing Date | Title | 
|---|---|---|---|
| JP2009220457AJP5204071B2 (en) | 2009-09-25 | 2009-09-25 | Electric razor | 
| PCT/JP2010/065941WO2011037053A1 (en) | 2009-09-25 | 2010-09-15 | Electric shaver | 
| Application Number | Priority Date | Filing Date | Title | 
|---|---|---|---|
| JP2009220457AJP5204071B2 (en) | 2009-09-25 | 2009-09-25 | Electric razor | 
| Publication Number | Publication Date | 
|---|---|
| JP2011067348A JP2011067348A (en) | 2011-04-07 | 
| JP5204071B2true JP5204071B2 (en) | 2013-06-05 | 
| Application Number | Title | Priority Date | Filing Date | 
|---|---|---|---|
| JP2009220457AExpired - Fee RelatedJP5204071B2 (en) | 2009-09-25 | 2009-09-25 | Electric razor | 
| Country | Link | 
|---|---|
| JP (1) | JP5204071B2 (en) | 
| WO (1) | WO2011037053A1 (en) | 
| Publication number | Priority date | Publication date | Assignee | Title | 
|---|---|---|---|---|
| US8691813B2 (en) | 2008-11-28 | 2014-04-08 | Janssen Pharmaceuticals, Inc. | Indole and benzoxazine derivatives as modulators of metabotropic glutamate receptors | 
| US8691849B2 (en) | 2008-09-02 | 2014-04-08 | Janssen Pharmaceuticals, Inc. | 3-azabicyclo[3.1.0]hexyl derivatives as modulators of metabotropic glutamate receptors | 
| US8697689B2 (en) | 2008-10-16 | 2014-04-15 | Janssen Pharmaceuticals, Inc. | Indole and benzomorpholine derivatives as modulators of metabotropic glutamate receptors | 
| US8716480B2 (en) | 2009-05-12 | 2014-05-06 | Janssen Pharmaceuticals, Inc. | 7-aryl-1,2,4-triazolo[4,3-a]pyridine derivatives and their use as positive allosteric modulators of mGluR2 receptors | 
| US8722894B2 (en) | 2007-09-14 | 2014-05-13 | Janssen Pharmaceuticals, Inc. | 1,3-disubstituted-4-phenyl-1H-pyridin-2-ones | 
| US8748621B2 (en) | 2007-09-14 | 2014-06-10 | Janssen Pharmaceuticals, Inc. | 1,3-disubstituted 4-(aryl-X-phenyl)-1H-pyridin-2-ones | 
| US8785486B2 (en) | 2007-11-14 | 2014-07-22 | Janssen Pharmaceuticals, Inc. | Imidazo[1,2-A]pyridine derivatives and their use as positive allosteric modulators of mGluR2 receptors | 
| US8841323B2 (en) | 2006-03-15 | 2014-09-23 | Janssen Pharmaceuticals, Inc. | 1, 4-disubstituted 3-cyano-pyridone derivatives and their use as positive allosteric modulators of MGLUR2-receptors | 
| US8906939B2 (en) | 2007-03-07 | 2014-12-09 | Janssen Pharmaceuticals, Inc. | 3-cyano-4-(4-tetrahydropyran-phenyl)-pyridin-2-one derivatives | 
| US8937060B2 (en) | 2009-05-12 | 2015-01-20 | Janssen Pharmaceuticals, Inc. | 1,2,4-triazolo [4,3-A] pyridine derivatives and their use for the treatment of prevention of neurological and psychiatric disorders | 
| US8946205B2 (en) | 2009-05-12 | 2015-02-03 | Janssen Pharmaceuticals, Inc. | 1,2,4-triazolo[4,3-a]pyridine derivatives and their use as positive allosteric modulators of mGluR2 receptors | 
| US8993591B2 (en) | 2010-11-08 | 2015-03-31 | Janssen Pharmaceuticals, Inc. | 1,2,4-triazolo[4,3-a] pyridine derivatives and their use as positive allosteric modulators of MGLUR2 receptors | 
| US9012448B2 (en) | 2010-11-08 | 2015-04-21 | Janssen Pharmaceuticals, Inc. | 1,2,4-triazolo[4,3-a]pyridine derivatives and their use as positive allosteric modulators of MGLUR2 receptors | 
| US9067891B2 (en) | 2007-03-07 | 2015-06-30 | Janssen Pharmaceuticals, Inc. | 1,4-disubstituted 3-cyano-pyridone derivatives and their use as positive allosteric modulators of mGluR2-receptors | 
| US9114138B2 (en) | 2007-09-14 | 2015-08-25 | Janssen Pharmaceuticals, Inc. | 1′,3′-disubstituted-4-phenyl-3,4,5,6-tetrahydro-2H,1′H-[1,4′] bipyridinyl-2′-ones | 
| US9271967B2 (en) | 2010-11-08 | 2016-03-01 | Janssen Pharmaceuticals, Inc. | 1,2,4-triazolo[4,3-a]pyridine derivatives and their use as positive allosteric modulators of mGluR2 receptors | 
| US9708315B2 (en) | 2013-09-06 | 2017-07-18 | Janssen Pharmaceutica Nv | 1,2,4-triazolo[4,3-a]pyridine compounds and their use as positive allosteric modulators of MGLUR2 receptors | 
| US10106542B2 (en) | 2013-06-04 | 2018-10-23 | Janssen Pharmaceutica Nv | Substituted 6,7-dihydropyrazolo[1,5-a]pyrazines as negative allosteric modulators of mGluR2 receptors | 
| US10537573B2 (en) | 2014-01-21 | 2020-01-21 | Janssen Pharmaceutica Nv | Combinations comprising positive allosteric modulators or orthosteric agonists of metabotropic glutamatergic receptor subtype 2 and their use | 
| US11369606B2 (en) | 2014-01-21 | 2022-06-28 | Janssen Pharmaceutica Nv | Combinations comprising positive allosteric modulators or orthosteric agonists of metabotropic glutamatergic receptor subtype 2 and their use | 
| Publication number | Priority date | Publication date | Assignee | Title | 
|---|---|---|---|---|
| US3834017A (en)* | 1972-09-05 | 1974-09-10 | Sperry Rand Corp | A dry shaver with hair guiding and skin stretching means | 
| JPH08318057A (en)* | 1995-05-26 | 1996-12-03 | Sanyo Electric Co Ltd | Electric razor | 
| JP2005040358A (en)* | 2003-07-22 | 2005-02-17 | Matsushita Electric Works Ltd | Shaver | 
| JP4969947B2 (en)* | 2006-08-11 | 2012-07-04 | 株式会社泉精器製作所 | Reciprocating electric razor | 
| JP4207080B2 (en)* | 2006-12-08 | 2009-01-14 | パナソニック電工株式会社 | Electric razor | 
| JP4595967B2 (en)* | 2007-07-12 | 2010-12-08 | パナソニック電工株式会社 | Reciprocating electric razor blade | 
| JP5102741B2 (en)* | 2008-03-25 | 2012-12-19 | パナソニック株式会社 | Razor | 
| Publication number | Priority date | Publication date | Assignee | Title | 
|---|---|---|---|---|
| US9266834B2 (en) | 2006-03-15 | 2016-02-23 | Janssen Pharmaceuticals, Inc. | 1, 4-disubstituted 3-cyano-pyridone derivatives and their use as positive allosteric modulators of MGLUR2-receptors | 
| US8841323B2 (en) | 2006-03-15 | 2014-09-23 | Janssen Pharmaceuticals, Inc. | 1, 4-disubstituted 3-cyano-pyridone derivatives and their use as positive allosteric modulators of MGLUR2-receptors | 
| US9067891B2 (en) | 2007-03-07 | 2015-06-30 | Janssen Pharmaceuticals, Inc. | 1,4-disubstituted 3-cyano-pyridone derivatives and their use as positive allosteric modulators of mGluR2-receptors | 
| US8906939B2 (en) | 2007-03-07 | 2014-12-09 | Janssen Pharmaceuticals, Inc. | 3-cyano-4-(4-tetrahydropyran-phenyl)-pyridin-2-one derivatives | 
| US8722894B2 (en) | 2007-09-14 | 2014-05-13 | Janssen Pharmaceuticals, Inc. | 1,3-disubstituted-4-phenyl-1H-pyridin-2-ones | 
| US8748621B2 (en) | 2007-09-14 | 2014-06-10 | Janssen Pharmaceuticals, Inc. | 1,3-disubstituted 4-(aryl-X-phenyl)-1H-pyridin-2-ones | 
| US9132122B2 (en) | 2007-09-14 | 2015-09-15 | Janssen Pharmaceuticals, Inc. | 1′,3′-disubstituted-4-phenyl-3,4,5,6-tetrahydro-2H,1′H-[1,4′]bipyridinyl-2′-ones | 
| US9114138B2 (en) | 2007-09-14 | 2015-08-25 | Janssen Pharmaceuticals, Inc. | 1′,3′-disubstituted-4-phenyl-3,4,5,6-tetrahydro-2H,1′H-[1,4′] bipyridinyl-2′-ones | 
| US8785486B2 (en) | 2007-11-14 | 2014-07-22 | Janssen Pharmaceuticals, Inc. | Imidazo[1,2-A]pyridine derivatives and their use as positive allosteric modulators of mGluR2 receptors | 
| US8691849B2 (en) | 2008-09-02 | 2014-04-08 | Janssen Pharmaceuticals, Inc. | 3-azabicyclo[3.1.0]hexyl derivatives as modulators of metabotropic glutamate receptors | 
| US8697689B2 (en) | 2008-10-16 | 2014-04-15 | Janssen Pharmaceuticals, Inc. | Indole and benzomorpholine derivatives as modulators of metabotropic glutamate receptors | 
| US8691813B2 (en) | 2008-11-28 | 2014-04-08 | Janssen Pharmaceuticals, Inc. | Indole and benzoxazine derivatives as modulators of metabotropic glutamate receptors | 
| US9085577B2 (en) | 2009-05-12 | 2015-07-21 | Janssen Pharmaceuticals, Inc. | 7-aryl-1,2,4-triazolo[4,3-A]pyridine derivatives and their use as positive allosteric modulators of mGluR2 receptors | 
| US9737533B2 (en) | 2009-05-12 | 2017-08-22 | Janssen Pharmaceuticals. Inc. | 1,2,4-triazolo [4,3-A] pyridine derivatives and their use for the treatment of prevention of neurological and psychiatric disorders | 
| US10071095B2 (en) | 2009-05-12 | 2018-09-11 | Janssen Pharmaceuticals, Inc. | 1,2,4-triazolo [4,3-A] pyridine derivatives and their use for the treatment of neurological and psychiatric disorders | 
| US8946205B2 (en) | 2009-05-12 | 2015-02-03 | Janssen Pharmaceuticals, Inc. | 1,2,4-triazolo[4,3-a]pyridine derivatives and their use as positive allosteric modulators of mGluR2 receptors | 
| US8937060B2 (en) | 2009-05-12 | 2015-01-20 | Janssen Pharmaceuticals, Inc. | 1,2,4-triazolo [4,3-A] pyridine derivatives and their use for the treatment of prevention of neurological and psychiatric disorders | 
| US9226930B2 (en) | 2009-05-12 | 2016-01-05 | Janssen Pharmaceuticals, Inc. | 1,2,4-triazolo [4,3-a] pyridine derivatives and their use for the treatment of prevention of neurological and psychiatric disorders | 
| US8716480B2 (en) | 2009-05-12 | 2014-05-06 | Janssen Pharmaceuticals, Inc. | 7-aryl-1,2,4-triazolo[4,3-a]pyridine derivatives and their use as positive allosteric modulators of mGluR2 receptors | 
| US9271967B2 (en) | 2010-11-08 | 2016-03-01 | Janssen Pharmaceuticals, Inc. | 1,2,4-triazolo[4,3-a]pyridine derivatives and their use as positive allosteric modulators of mGluR2 receptors | 
| US9012448B2 (en) | 2010-11-08 | 2015-04-21 | Janssen Pharmaceuticals, Inc. | 1,2,4-triazolo[4,3-a]pyridine derivatives and their use as positive allosteric modulators of MGLUR2 receptors | 
| US8993591B2 (en) | 2010-11-08 | 2015-03-31 | Janssen Pharmaceuticals, Inc. | 1,2,4-triazolo[4,3-a] pyridine derivatives and their use as positive allosteric modulators of MGLUR2 receptors | 
| US10106542B2 (en) | 2013-06-04 | 2018-10-23 | Janssen Pharmaceutica Nv | Substituted 6,7-dihydropyrazolo[1,5-a]pyrazines as negative allosteric modulators of mGluR2 receptors | 
| US10584129B2 (en) | 2013-06-04 | 2020-03-10 | Janssen Pharmaceuticals Nv | Substituted 6,7-dihydropyrazolo[1,5-a]pyrazines as negative allosteric modulators of mGluR2 receptors | 
| US9708315B2 (en) | 2013-09-06 | 2017-07-18 | Janssen Pharmaceutica Nv | 1,2,4-triazolo[4,3-a]pyridine compounds and their use as positive allosteric modulators of MGLUR2 receptors | 
| US10537573B2 (en) | 2014-01-21 | 2020-01-21 | Janssen Pharmaceutica Nv | Combinations comprising positive allosteric modulators or orthosteric agonists of metabotropic glutamatergic receptor subtype 2 and their use | 
| US11103506B2 (en) | 2014-01-21 | 2021-08-31 | Janssen Pharmaceutica Nv | Combinations comprising positive allosteric modulators or orthosteric agonists of metabotropic glutamatergic receptor subtype 2 and their use | 
| US11369606B2 (en) | 2014-01-21 | 2022-06-28 | Janssen Pharmaceutica Nv | Combinations comprising positive allosteric modulators or orthosteric agonists of metabotropic glutamatergic receptor subtype 2 and their use | 
| US12048696B2 (en) | 2014-01-21 | 2024-07-30 | Janssen Pharmaceutica Nv | Combinations comprising positive allosteric modulators or orthosteric agonists of metabotropic glutamatergic receptor subtype 2 and their use | 
| Publication number | Publication date | 
|---|---|
| WO2011037053A1 (en) | 2011-03-31 | 
| JP2011067348A (en) | 2011-04-07 | 
| Publication | Publication Date | Title | 
|---|---|---|
| JP5204071B2 (en) | Electric razor | |
| JP4725103B2 (en) | Reciprocating electric razor | |
| CN102791442B (en) | Combined shaving and trimming unit | |
| JP5117573B2 (en) | Razor blade assembly preform | |
| US8046920B2 (en) | Razor | |
| JP4225329B2 (en) | Electric razor | |
| JP4595968B2 (en) | Reciprocating electric razor inner blade | |
| KR100874305B1 (en) | Inner cutter of electric shaver and reciprocating electric shaver | |
| KR101668230B1 (en) | Razor | |
| US7127818B2 (en) | Electric shaver | |
| CN114290381B (en) | Reciprocating electric shaver | |
| KR20200019121A (en) | Shaver cartridges | |
| JP4711330B2 (en) | Electric razor | |
| WO2009119307A1 (en) | Electric shaver | |
| JP4761294B2 (en) | Electric razor | |
| JP6655821B2 (en) | Electric razor, outer blade holding member and rotating body unit | |
| JP4766419B2 (en) | Knife | |
| CN223160976U (en) | External tool holder locking device for reciprocating tool head | |
| JP2011067347A (en) | Electric razor | |
| JP5415213B2 (en) | Knife | |
| JP6619534B1 (en) | Razor head | |
| JP2019001438A (en) | Wiper blade | |
| JP2010131267A (en) | Attachment for hair cutter | |
| JP2016535635A (en) | Laser head with improved guard bar | |
| JP2013095179A (en) | License plate frame | 
| Date | Code | Title | Description | 
|---|---|---|---|
| A621 | Written request for application examination | Free format text:JAPANESE INTERMEDIATE CODE: A621 Effective date:20110824 | |
| A711 | Notification of change in applicant | Free format text:JAPANESE INTERMEDIATE CODE: A712 Effective date:20120111 | |
| TRDD | Decision of grant or rejection written | ||
| A01 | Written decision to grant a patent or to grant a registration (utility model) | Free format text:JAPANESE INTERMEDIATE CODE: A01 Effective date:20130205 | |
| A61 | First payment of annual fees (during grant procedure) | Free format text:JAPANESE INTERMEDIATE CODE: A61 Effective date:20130214 | |
| R150 | Certificate of patent or registration of utility model | Free format text:JAPANESE INTERMEDIATE CODE: R150 | |
| FPAY | Renewal fee payment (event date is renewal date of database) | Free format text:PAYMENT UNTIL: 20160222 Year of fee payment:3 | |
| LAPS | Cancellation because of no payment of annual fees |