






















本発明は、番組記録装置および方法に関し、特に、複数の番組の中から、ユーザの嗜好に合致した番組を適切に記録できるようにする番組記録装置および方法に関する。 The present invention relates to a program recording apparatus and method, and more particularly, to a program recording apparatus and method capable of appropriately recording a program that matches a user's preference from among a plurality of programs.
  従来、記録媒体に番組を自動的に記録したり、その記録を支援する装置が、例えば特許文献1乃至4に開示されている。  Conventionally, for example,
  ところで、現状、複数の番組の中から、ユーザの嗜好に合致した番組をより一段と適切に記録したいという要望が挙げられている。かかる要望に応えるべく、特許文献1乃至4等の従来の装置を改良することが望まれている。  By the way, at present, there is a desire to more appropriately record a program that matches the user's preference from among a plurality of programs. In order to meet such a demand, it is desired to improve conventional devices such as
本発明は、このような状況に鑑みてなされたものであり、複数の番組の中からユーザの嗜好に合致した番組を適切に記録できるようにするものである。 The present invention has been made in view of such a situation, and makes it possible to appropriately record a program that matches a user's preference from among a plurality of programs.
本発明の第1の側面は、番組の記録を行う番組記録装置において、ユーザの嗜好情報を格納する嗜好情報格納手段と、前記ユーザが行った操作に応じて前記嗜好情報を更新する更新手段と、前記更新手段により更新された前記嗜好情報に基づく前記ユーザの好みの程度と、前記ユーザへ事前に送信される番組内容に関する要約情報又はインターネット上のサイト紹介情報とに基づいて、複数の番組のそれぞれの評価を求め、前記複数の番組の中から前記評価が所定値以上の番組を検索し、その検索結果に基づき作成した第1の番組リストを提示装置に提示させることで前記ユーザに報知し、報知した前記第1の番組リストを記憶する番組検索手段と、前記番組検索手段が記憶した前記第1の番組リストに含まれる番組を記録媒体に記録する記録処理手段とを備え、前記番組検索手段は、記憶した前記第1の番組リストに含まれる番組の中に放送日時が来た番組がある場合、当該放送日時が来た番組を前記記録処理手段により前記記録媒体に記録した後に、その番組を前記第1の番組リストから削除する番組記録装置である。 According to a first aspect of the present invention, in a program recording apparatus for recording a program, preference information storage means for storing user preference information, and update means for updating the preference information according to an operation performed by the user, , Based on the degree of preference of the user based on the preference information updated by the updating means, and summary information on program contents transmitted to the user in advance or site introduction information on the Internet, a plurality of programs Each evaluation is obtained, a program having the evaluation equal to or higher than a predetermined value is searched from among the plurality of programs, and a first program list created based on the search result is presented to the presentation device to notify the user. A program search unit for storing the notified first program list, and a program for recording the program included in the first program list stored by the program search unit on a recording medium. Processing means, and when the program included in the stored first program list includes a program that has a broadcast date and time, the program search means uses the recording processing means to select the program that has received the broadcast date and time. A program recording apparatus that deletes the program from the first program list after recording on the recording medium.
前記番組検索手段は、記憶した前記第1の番組リストに含まれる番組について前記ユーザにより閲覧または録画の指示があった場合、さらに、その番組を前記第1の番組リストから削除するようにすることができる。 The program search means further deletes the program from the first program list when the user gives an instruction to view or record the program included in the stored first program list. Can do.
前記番組検索手段は、記憶した前記第1の番組リストに含まれる番組について前記ユーザにより閲覧または録画の指示があった場合、さらに、その番組を前記第1の番組リストから削除すると共に、第2の番組リストに登録し、前記記録処理手段は、前記番組検索手段が前記第2の番組リストに登録した番組を記録媒体に記録するようにすることができる。 The program searching means further deletes the program from the first program list when the user gives an instruction to view or record the program included in the stored first program list, and The recording processing means can record the program registered in the second program list by the program searching means on a recording medium.
ネットワークを介して情報を取得するネットワーク情報取得手段をさらに備えるようにすることができる。 Network information acquisition means for acquiring information via a network can be further provided.
本発明の第1の側面は、番組の記録を行う番組記録装置の番組記録方法において、ユーザの嗜好情報を格納し、前記ユーザが行った操作に応じて前記嗜好情報を更新し、更新された前記嗜好情報に基づく前記ユーザの好みの程度と、前記ユーザへ事前に送信される番組内容に関する要約情報又はインターネット上のサイト紹介情報とに基づいて、複数の番組のそれぞれの評価を求め、前記複数の番組の中から前記評価が所定値以上の番組を検索し、その検索結果に基づき作成した番組リストを提示装置に提示することで前記ユーザに報知し、報知した前記番組リストを記憶する番組検索処理を実行し、前記番組検索処理により記憶された前記番組リストに含まれる番組を記録媒体に記録する記録処理を実行するステップを含み、前記番組検索処理において、記憶された前記番組リストに含まれる番組の中に放送日時が来た番組がある場合、当該放送日時が来た番組を前記記録処理手段により前記記録媒体に記録した後に、その番組を前記番組リストから削除する番組記録方法である。 According to a first aspect of the present invention, in a program recording method of a program recording apparatus for recording a program, user preference information is stored, and the preference information is updated according to an operation performed by the user. Based on the degree of preference of the user based on the preference information and summary information on the program contents transmitted to the user in advance or site introduction information on the Internet, the evaluation of each of a plurality of programs is obtained, Search for a program whose evaluation is equal to or greater than a predetermined value from among the programs, notify the user by presenting a program list created based on the search result to a presentation device, and store the notified program list Executing a recording process for recording a program included in the program list stored by the program search process on a recording medium. If there is a program whose broadcast date / time is included in the programs included in the stored program list, the program is recorded on the recording medium after the program whose broadcast date / time has come is recorded by the recording processing means. A program recording method for deleting from the program list.
本発明の第1の側面においては、ユーザの嗜好情報が格納され、前記ユーザが行った操作に応じて前記嗜好情報が更新され、更新された前記嗜好情報に基づく前記ユーザの好みの程度と、前記ユーザへ事前に送信される番組内容に関する要約情報又はインターネット上のサイト紹介情報とに基づいて、複数の番組のそれぞれの評価を求め、前記複数の番組の中から前記評価が所定値以上の番組が検索され、その検索結果に基づき作成した番組リストを提示装置に提示することで前記ユーザに報知され、報知した前記番組リストが記憶され、前記記憶された前記番組リストに含まれる番組が記録媒体に記録され、前記記憶された前記番組リストに含まれる番組の中に放送日時が来た番組がある場合、当該放送日時が来た番組を前記記録媒体に記録した後に、その番組が前記番組リストから削除される。 In the first aspect of the present invention, user preference information is stored, the preference information is updated according to an operation performed by the user, and the degree of preference of the user based on the updated preference information; Each of a plurality of programs is evaluated based on summary information about the program contents transmitted to the user in advance or site introduction information on the Internet, and the evaluation has a predetermined value or more from among the plurality of programs Is searched, the program list created based on the search result is presented to the presentation device, the user is notified, the notified program list is stored, and the program included in the stored program list is recorded on the recording medium. If there is a program that has a broadcast date and time among the programs included in the stored program list, the program that has received the broadcast date and time is recorded on the recording medium. After, the program is deleted from the program list.
本発明の第2の側面は、番組の記録を行う番組記録装置において、ユーザの嗜好情報を格納する嗜好情報格納手段と、前記ユーザが行った操作に応じて前記嗜好情報を更新する更新手段と、前記更新手段により更新された前記嗜好情報に基づく前記ユーザの好みの程度と、前記ユーザへ事前に送信される番組内容に関する要約情報とに基づいて、複数の番組のそれぞれの評価を求め、前記複数の番組の中から前記評価が所定値以上の番組を検索し、その検索結果に基づき作成した第1の番組リストを提示装置に提示させることで前記ユーザに報知し、報知した前記第1の番組リストを記憶する番組検索手段と、前記番組検索手段が記憶した前記第1の番組リストに含まれる番組の中から記録対象の番組を決定し、その記録対象の番組を記録媒体に記録する記録処理手段と、前記記録処理手段が記録した番組に基づき作成した第2の番組リストを前記提示装置に提示させることで前記ユーザに報知する記録番組リスト報知手段とを備え、前記番組検索手段は、記憶した前記第1の番組リストに含まれる番組の中に放送日時が来た番組がある場合、当該放送日時が来た番組を前記記録処理手段により前記記録媒体に記録した後に、その番組を前記第1の番組リストから削除する番組記録装置である。 According to a second aspect of the present invention, in a program recording apparatus for recording a program, preference information storage means for storing user preference information, and update means for updating the preference information in accordance with an operation performed by the user. Determining the evaluation of each of a plurality of programs based on the degree of preference of the user based on the preference information updated by the updating means and summary information on the program contents transmitted in advance to the user, Searching for a program whose evaluation is equal to or higher than a predetermined value from a plurality of programs, informing the user by presenting a first program list created based on the search result to a presentation device, and informing the user A program search unit for storing a program list; a program to be recorded is determined from the programs included in the first program list stored by the program search unit; Recording processing means for recording on the recording medium, and recorded program list notifying means for notifying the user by causing the presentation device to present a second program list created based on the program recorded by the recording processing means. If there is a program whose broadcast date / time has come among the programs included in the stored first program list, the search means records the program whose broadcast date / time has come on the recording medium by the recording processing means, The program recording apparatus deletes the program from the first program list.
前記番組検索手段は、記憶した前記第1の番組リストに含まれる番組について前記ユーザにより閲覧または録画の指示があった場合、さらに、その番組を前記第1の番組リストから削除するようにすることができる。 The program search means further deletes the program from the first program list when the user gives an instruction to view or record the program included in the stored first program list. Can do.
前記番組検索手段は、記憶した前記第1の番組リストに含まれる番組について前記ユーザにより閲覧または録画の指示があった場合、さらに、その番組を前記第1の番組リストから削除すると共に、前記第3の番組リストに登録し、前記記録処理手段は、前記番組検索手段が前記第3の番組リストに登録した番組を記録媒体に記録するようにすることができる。 The program search means further deletes the program from the first program list when the user gives an instruction to view or record the program included in the stored first program list, and also deletes the program from the first program list. The recording processing means can record the program registered in the third program list by the program search means on a recording medium.
ネットワークを介して情報を取得するネットワーク情報取得手段をさらに備えるようにすることができる。 Network information acquisition means for acquiring information via a network can be further provided.
本発明の第2の側面は、番組の記録を行う番組記録装置の番組記録方法において、ユーザの嗜好情報を格納し、前記ユーザが行った操作に応じて前記嗜好情報を更新し、更新された前記嗜好情報に基づく前記ユーザの好みの程度と、前記ユーザへ事前に送信される番組内容に関する要約情報とに基づいて、複数の番組のそれぞれの評価を求め、前記複数の番組の中から前記評価が所定値以上の番組を検索し、その検索結果に基づき作成した第1の番組リストを提示装置に提示させることで前記ユーザに報知し、報知した前記第1の番組リストを記憶する番組検索処理を実行し、前記番組検索処理により記憶された前記第1の番組リストに含まれる番組の中から記録対象の番組を決定し、その記録対象の番組を記録媒体に記録する記録処理を実行し、記録された番組に基づき作成した第2の番組リストを前記提示装置に提示させることで前記ユーザに報知するステップを含み、前記番組検索処理において、記憶された前記第1の番組リストに含まれる番組の中に放送日時が来た番組がある場合、当該放送日時が来た番組を前記記録処理手段により前記記録媒体に記録した後に、その番組を前記第1の番組リストから削除する番組記録方法である。 According to a second aspect of the present invention, in a program recording method of a program recording apparatus for recording a program, user preference information is stored, and the preference information is updated according to an operation performed by the user. Based on the degree of preference of the user based on the preference information and summary information on the program contents transmitted in advance to the user, each evaluation of a plurality of programs is obtained, and the evaluation is performed from among the plurality of programs. Is searched for a program having a predetermined value or more, and the user is notified by causing the presentation device to present a first program list created based on the search result, and stores the notified first program list. To execute a recording process for determining a program to be recorded from the programs included in the first program list stored by the program search process and recording the program to be recorded on a recording medium. And informing the user by presenting the second program list created based on the recorded program to the presentation device, and included in the stored first program list in the program search process If there is a program whose broadcast date / time is among the programs to be recorded, the program whose program date / time has been recorded is recorded on the recording medium by the recording processing means, and then the program is deleted from the first program list. Is the method.
本発明の第2の側面においては、ユーザの嗜好情報が格納され、前記ユーザが行った操作に応じて前記嗜好情報が更新され、更新された前記嗜好情報に基づく前記ユーザの好みの程度と、前記ユーザへ事前に送信される番組内容に関する要約情報とに基づいて、複数の番組のそれぞれの評価を求め、前記複数の番組の中から前記評価が所定値以上の番組が検索され、その検索結果に基づき作成した第1の番組リストを提示装置に提示させることで前記ユーザに報知し、報知した前記第1の番組リストが記憶され、前記記憶された前記第1の番組リストに含まれる番組の中から記録対象の番組が決定され、その記録対象の番組が記録媒体に記録され、記録された番組に基づき作成した第2の番組リストを前記提示装置に提示させることで前記ユーザに報知され、前記記憶された前記第1の番組リストに含まれる番組の中に放送日時が来た番組がある場合、当該放送日時が来た番組を前記記録処理手段により前記記録媒体に記録した後に、その番組が前記第1の番組リストから削除される。 In the second aspect of the present invention, user preference information is stored, the preference information is updated according to an operation performed by the user, and the degree of preference of the user based on the updated preference information; Based on the summary information about the program contents transmitted in advance to the user, the evaluation of each of a plurality of programs is obtained, and a program whose evaluation is a predetermined value or more is searched from the plurality of programs, and the search result The presenting device is informed by presenting the first program list created on the basis of the presentation device, the notified first program list is stored, and the programs included in the stored first program list are stored. A program to be recorded is determined from among the programs, the program to be recorded is recorded on a recording medium, and a second program list created based on the recorded program is presented to the presenting device, and the user is presented. If there is a program whose broadcast date / time has come among the programs included in the stored first program list, the program whose broadcast date / time has come is recorded on the recording medium by the recording processing means. After that, the program is deleted from the first program list.
本発明の第3の側面は、番組の記録を行う番組記録装置において、ユーザの嗜好情報を格納する嗜好情報格納手段と、前記ユーザが行った操作に応じて前記嗜好情報を更新する更新手段と、前記更新手段により更新された前記嗜好情報に基づく前記ユーザの好みの程度と、前記ユーザへ事前に送信される番組内容に関する要約情報とに基づいて、複数の番組のそれぞれの評価を求め、前記複数の番組の中から前記評価が所定値以上の番組を検索し、その検索結果に基づき作成した第1の番組リストを提示装置に提示することで前記ユーザに報知し、報知した前記第1の番組リストを記憶する番組検索手段と、前記番組検索手段が記憶した前記第1の番組リストに含まれる番組の中から記録対象の番組を決定し、その記録対象の番組を記録媒体に記録する記録処理手段と、前記記録処理手段が記録した番組に基づき作成した第2の番組リストを前記提示装置に提示させることで前記ユーザに報知する記録番組リスト報知手段とを備え、前記番組検索手段は、記憶した前記第1の番組リストに含まれる番組の中に放送日時が来た番組がある場合、当該放送日時が来た番組を前記記録処理手段により前記記録媒体に記録した後に、その番組を前記第1の番組リストから削除する番組記録装置である。According to a third aspect of the present invention, in a program recording apparatus for recording a program, preference information storage means for storing user preference information, and update means for updating the preference information according to an operation performed by the user. Determining the evaluation of each of a plurality of programs based on the degree of preference of the user based on the preference information updated by the updating means and summary information on the program contents transmitted in advance to the user, Searching for a program whose evaluation is equal to or greater than a predetermined value from a plurality of programs, and presenting the first program list created based on the search result to a presentation device, informing the user, and notifying the first A program search means for storing a program list; a program to be recorded is determined from programs included in the first program list stored by the program search means; and the program to be recorded is recorded on a recording medium. Includes a recording processing means for recording, the recording program list notification unit said recording processing means for notifying a second program list created on the basis of the recorded program to the user by causing presented onthe presentation device, the program search If the program included in the stored first program list includes a program with a broadcast date and time, the program has recorded the program with the broadcast date and time recorded on the recording medium by the recording processing unit. A program recording apparatus for deleting a program from the first program list.
前記番組検索手段は、記憶した前記第1の番組リストに含まれる番組について前記ユーザにより閲覧または録画の指示があった場合、さらに、その番組を前記第1の番組リストから削除するようにすることができる。 The program search means further deletes the program from the first program list when the user gives an instruction to view or record the program included in the stored first program list. Can do.
前記番組検索手段は、記憶した前記第1の番組リストに含まれる番組について前記ユーザにより閲覧または録画の指示があった場合、さらに、その番組を前記第1の番組リストから削除すると共に、前記第3の番組リストに登録し、前記記録処理手段は、前記番組検索手段が前記第3の番組リストに登録した番組を記録媒体に記録するようにすることができる。 The program search means further deletes the program from the first program list when the user gives an instruction to view or record the program included in the stored first program list, and also deletes the program from the first program list. The recording processing means can record the program registered in the third program list by the program search means on a recording medium.
ネットワークを介して情報を取得するネットワーク情報取得手段をさらに備えるようにすることができる。 Network information acquisition means for acquiring information via a network can be further provided.
本発明の第3の側面は、番組の記録を行う番組記録装置の番組記録方法において、ユーザの嗜好情報を格納し、前記ユーザが行った操作に応じて前記嗜好情報を更新し、更新された前記嗜好情報に基づく前記ユーザの好みの程度と、前記ユーザへ事前に送信される番組内容に関する要約情報とに基づいて、複数の番組のそれぞれの評価を求め、前記複数の番組の中から前記評価が所定値以上の番組を検索し、その検索結果に基づき作成した第1の番組リストを提示装置に提示させることで前記ユーザに報知し、報知した前記第1の番組リストを記憶する番組検索処理を実行し、前記番組検索処理により記憶された前記第1の番組リストに含まれる番組の中から記録対象の番組を決定し、その記録対象の番組を記録媒体に記録する記録処理を実行し、前記記録処理により記録された番組に基づき作成した第2の番組リストを前記提示装置に提示させることで前記ユーザに報知するステップを含み、前記番組検索処理において、記憶された前記第1の番組リストに含まれる番組の中に放送日時が来た番組がある場合、当該放送日時が来た番組を前記記録処理手段により前記記録媒体に記録した後に、その番組を前記第1の番組リストから削除する番組記録方法である。 According to a third aspect of the present invention, in a program recording method of a program recording apparatus for recording a program, user preference information is stored, and the preference information is updated according to an operation performed by the user. Based on the degree of preference of the user based on the preference information and summary information on the program contents transmitted in advance to the user, each evaluation of a plurality of programs is obtained, and the evaluation is performed from among the plurality of programs. Is searched for a program having a predetermined value or more, and the user is notified by causing the presentation device to present a first program list created based on the search result, and stores the notified first program list. To execute a recording process for determining a program to be recorded from the programs included in the first program list stored by the program search process and recording the program to be recorded on a recording medium. And informing the user by presenting the second program list created based on the program recorded by the recording process to the presentation device, and storing the first program stored in the program search process When there is a program whose broadcast date / time has come among the programs included in the program list, after the program whose broadcast date / time has come is recorded on the recording medium by the recording processing means, the program is recorded from the first program list. This is a program recording method to be deleted.
本発明の第3の側面においては、ユーザの嗜好情報が格納され、前記ユーザが行った操作に応じて前記嗜好情報が更新され、前記更新された前記嗜好情報に基づく前記ユーザの好みの程度と、前記ユーザへ事前に送信される番組内容に関する要約情報とに基づいて、複数の番組のそれぞれの評価を求め、前記複数の番組の中から前記評価が所定値以上の番組を検索し、その検索結果に基づき作成した第1の番組リストを提示装置に提示することで前記ユーザに報知し、報知した前記第1の番組リストが記憶され、前記記憶した前記第1の番組リストに含まれる番組の中から記録対象の番組を決定し、その記録対象の番組が記録媒体に記録され、前記記録した番組に基づき作成した第2の番組リストを前記提示装置に提示させることで前記ユーザに報知され、前記記憶した前記第1の番組リストに含まれる番組の中に放送日時が来た番組がある場合、当該放送日時が来た番組を前記記録媒体に記録した後に、その番組が前記第1の番組リストから削除される。In the third aspect of the present invention, user preference information is stored, the preference information is updated according to an operation performed by the user, and the degree of preference of the user based on the updated preference information; Based on the summary information about the program contents transmitted in advance to the user, the evaluation of each of the plurality of programs is obtained, and the program having the evaluation equal to or higher than a predetermined value is searched from the plurality of programs, and the search By presenting the first program list created based on the result to the presentation device, the user is notified, the notified first program list is stored, and the programs included in the stored first program list are stored. the recorded program is determined from in, the program to be recorded is recorded on the recording medium, the user of the second program list created based on the recorded program by causing presented onthe presentation device If there is a program whose broadcast date and time has been included among the programs included in the stored first program list, the program is recorded on the recording medium after the program whose broadcast date and time has come is recorded on the recording medium. It is deleted from the first program list.
本発明の第4の側面は、番組の記録を行う番組記録装置において、ユーザの嗜好情報を格納する嗜好情報格納手段と、前記ユーザが行った操作に応じて前記嗜好情報を更新する更新手段と、前記更新手段により更新された前記嗜好情報に基づく前記ユーザの好みの程度と、前記ユーザへ事前に送信される番組内容に関する要約情報とに基づいて、複数の番組のそれぞれの評価を求め、前記複数の番組の中から前記評価が所定値以上の番組を検索し、その検索結果に基づき作成した第1の番組リストを提示装置に提示させることで前記ユーザに報知し、報知した前記第1の番組リストを記憶する番組検索手段と、前記番組検索手段が記憶した前記第1の番組リストに含まれる番組を記録媒体に記録する記録処理手段と、前記記録処理手段が記録した番組に基づき作成した第2の番組リストを前記提示装置に提示させることで前記ユーザに報知する記録番組リスト報知手段とを備え、前記番組検索手段は、記憶した前記第1の番組リストに含まれる番組の中に放送日時が来た番組がある場合、当該放送日時が来た番組を前記記録処理手段により前記記録媒体に記録した後に、その番組を前記第1の番組リストから削除する番組記録装置である。 According to a fourth aspect of the present invention, in a program recording apparatus for recording a program, preference information storage means for storing user preference information, and update means for updating the preference information according to an operation performed by the user. Determining the evaluation of each of a plurality of programs based on the degree of preference of the user based on the preference information updated by the updating means and summary information on the program contents transmitted in advance to the user, Searching for a program whose evaluation is equal to or higher than a predetermined value from a plurality of programs, informing the user by presenting a first program list created based on the search result to a presentation device, and informing the user Program search means for storing a program list, recording processing means for recording a program included in the first program list stored by the program search means on a recording medium, and recording by the recording processing means Recorded program list notifying means for notifying the user by causing the presentation device to present a second program list created based on the recorded program, and the program search means is included in the stored first program list If there is a program whose broadcast date / time is among the programs to be recorded, the program whose program date / time has been recorded is recorded on the recording medium by the recording processing means, and then the program is deleted from the first program list. Device.
前記番組検索手段は、記憶した前記第1の番組リストに含まれる番組について前記ユーザにより閲覧または録画の指示があった場合、さらに、その番組を前記第1の番組リストから削除するようにすることができる。 The program search means further deletes the program from the first program list when the user gives an instruction to view or record the program included in the stored first program list. Can do.
前記番組検索手段は、記憶した前記第1の番組リストに含まれる番組について前記ユーザにより閲覧または録画の指示があった場合、さらに、その番組を前記第1の番組リストから削除すると共に、前記第3の番組リストに登録し、前記記録処理手段は、前記番組検索手段が前記第3の番組リストに登録した番組を記録媒体に記録するようにすることができる。 The program search means further deletes the program from the first program list when the user gives an instruction to view or record the program included in the stored first program list, and also deletes the program from the first program list. The recording processing means can record the program registered in the third program list by the program search means on a recording medium.
ネットワークを介して情報を取得するネットワーク情報取得手段をさらに備えるようにすることができる。 Network information acquisition means for acquiring information via a network can be further provided.
本発明の第4の側面は、番組の記録を行う番組記録装置の番組記録方法において、ユーザの嗜好情報を格納し、前記ユーザが行った操作に応じて前記嗜好情報を更新し、更新された前記嗜好情報に基づく前記ユーザの好みの程度と、前記ユーザへ事前に送信される番組内容に関する要約情報とに基づいて、複数の番組のそれぞれの評価を求め、前記複数の番組の中から前記評価が所定値以上の番組を検索し、その検索結果に基づき作成した第1の番組リストを提示装置に提示させることで前記ユーザに報知し、報知した前記第1の番組リストを記憶する番組検索処理を実行し、前記番組検索処理により記憶された前記第1の番組リストに含まれる番組を記録媒体に記録する記録処理を実行し、前記記録処理により記録された番組に基づき作成した第2の番組リストを前記提示装置に提示させることで前記ユーザに報知するステップを含み、前記番組検索処理において、記憶された前記第1の番組リストに含まれる番組の中に放送日時が来た番組がある場合、当該放送日時が来た番組を前記記録処理手段により前記記録媒体に記録した後に、その番組を前記第1の番組リストから削除する番組記録方法である。 According to a fourth aspect of the present invention, in a program recording method of a program recording apparatus for recording a program, user preference information is stored, and the preference information is updated according to an operation performed by the user. Based on the degree of preference of the user based on the preference information and summary information on the program contents transmitted in advance to the user, each evaluation of a plurality of programs is obtained, and the evaluation is performed from among the plurality of programs. Is searched for a program having a predetermined value or more, and the user is notified by causing the presentation device to present a first program list created based on the search result, and stores the notified first program list. And executing a recording process for recording the program included in the first program list stored by the program search process on a recording medium, and creating the program based on the program recorded by the recording process. The second program list is notified to the user by presenting the second program list to the presenting device, and in the program search process, the broadcast date and time are included in the programs included in the stored first program list. If there is a program, the program recording method of deleting the program from the first program list after recording the program with the broadcast date and time on the recording medium by the recording processing means.
本発明の第4の側面においては、ユーザの嗜好情報が格納され、前記ユーザが行った操作に応じて前記嗜好情報が更新され、前記更新された前記嗜好情報に基づく前記ユーザの好みの程度と、前記ユーザへ事前に送信される番組内容に関する要約情報とに基づいて、複数の番組のそれぞれの評価を求め、前記複数の番組の中から前記評価が所定値以上の番組を検索し、その検索結果に基づき作成した第1の番組リストを提示装置に提示させることで前記ユーザに報知し、報知した前記第1の番組リストが記憶され、前記記憶した前記第1の番組リストに含まれる番組が記録媒体に記録され、前記記録した番組に基づき作成した第2の番組リストを前記提示装置に提示させることで前記ユーザに報知され、前記記憶した前記第1の番組リストに含まれる番組の中に放送日時が来た番組がある場合、当該放送日時が来た番組を前記記録媒体に記録した後に、その番組が前記第1の番組リストから削除される。 In the fourth aspect of the present invention, user preference information is stored, the preference information is updated according to an operation performed by the user, and the degree of preference of the user based on the updated preference information; Based on the summary information about the program contents transmitted in advance to the user, the evaluation of each of the plurality of programs is obtained, and the program having the evaluation equal to or higher than a predetermined value is searched from the plurality of programs, and the search is performed. The first device list created based on the result is notified to the user by presenting it to the presentation device, the notified first program list is stored, and the programs included in the stored first program list are stored. The second program list recorded on the recording medium and created based on the recorded program is notified to the user by causing the presentation device to present the program list, and the stored first program list is stored in the stored first program list. If there is a program came broadcast date in Murrell program, a program that the broadcast date and time has come after recording on the recording medium, the program is deleted from the first program list.
以上のごとく、本発明によれば、番組の記録またはその記録の補助ができる。特に、複数の番組の中から、ユーザの嗜好に合致した番組を適切に記録させたり、その記録の補助が適切にできる。 As described above, according to the present invention, it is possible to record a program or assist the recording. In particular, it is possible to appropriately record a program that matches the user's preference from among a plurality of programs, and to appropriately assist the recording.
次に、本発明の実施の形態を図面に基づいて詳細に説明する。 Next, embodiments of the present invention will be described in detail with reference to the drawings.
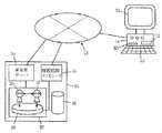
  図1は、情報の検索および配信システムの全体の概略を説明するための図である。図1を参照して、有線系メディアの一例としてのインターネット13に対し、ユーザ宅17のパーソナルコンピュータ(以下単にパソコンという)14とコンテンツ提供業者7と第三者機関8と会員管理センター12と番組関連データ制作者11とコマーシャルメッセージ(以下単にCMという)制作者10と番組制作者9と放送局2とが接続可能に構成されている。  FIG. 1 is a diagram for explaining an outline of the entire information search and distribution system. Referring to FIG. 1, a personal computer (hereinafter simply referred to as a personal computer) 14, a
  コンテンツ提供業者7は、たとえば書籍情報や映画情報あるいは音楽情報,ニュース情報等の提供可能な情報を格納したデータベースを有しており、そのデータベース内の格納情報やその要約(アブストラクト)とを、インターネット13を経由してまたは無線系メディアの一例としての放送局2からの衛星放送によりユーザ宅17のパソコン14に提供する。コンテンツ提供業者7が提供可能なコンテンツの種類としては、その他に、たとえば課金のために暗号化された暗号化コンテンツデータやいわゆるネット家電を制御するための制御用プログラムデータ等が考えられる。  The
  ユーザのパソコン14は、放送局2からたとえば衛星1を介して送信されてくる前述したアブストラクトデータを受信し、後述するユーザのエージェントによりそのアブストラクトを検索して取捨選択し、選択したアブストラクトデータをユーザに表示してユーザの選択指示を待つ。あるいは、ユーザにアブストラクト情報を表示する前に、そのアブストラクト情報の送信元であるコンテンツ提供業者7にまで出向いて実際のコンテンツ情報にアクセスして内容を吟味し、本当にユーザが好むコンテンツであるか否かを確認し、確認後のアブストラクトをユーザに表示するようにしてもよい。  The user's
  ユーザの指示またはユーザのエージェント独自の判断により、コンテンツを入手したい要望が発生すれば、コンテンツ提供業者7は、その選択されたコンテンツ情報を放送局2に送信して所定の日時に放送してもらう。その放送予定日時と放送のチャンネル情報を放送局2から通知を受けたコンテンツ提供業者7は、その放送日時とチャンネル情報をインターネット13を経由してユーザのパソコン14に送信する。  If a request to obtain the content is generated based on the user's instruction or the user's own judgment, the
  コンテンツ提供業者7が提供するコンテンツ内に有料コンテンツが含まれている場合において、その有料コンテンツを販売する際には会員であるユーザのIDの確認が必要となる場合がある。その場合には、コンテンツ提供業者7は、ユーザのID情報を要求し、そのID情報を会員管理センター12に送信し、IDの確認を行なってもらい、確認済のユーザのみに有料コンテンツの販売を行なう。  When paid content is included in the content provided by the
  放送局2は、番組制作者9が制作した番組を入手し、その番組をアンテナ5,衛星1,アンテナ6を経由してユーザ宅17に向けて放送する。その放送される番組のためのCMがCM制作者10により制作され、そのCMデータがインターネット13を経由して放送局2にまで提供され、番組の合間にCMが挿入されて放送される。  The
  放送局2から放送される番組を受信したユーザは、その番組を直接TV(テレビジョン)16により放映したり、パソコン14のCRTにより直接映し出して閲覧する場合もあるが、一旦VTR(ビデオテープレコーダ)15により録画し、後日その録画情報を再生して閲覧する場合がある。TV16は、このVTR15やパソコン14と連係して、ユーザが見たい場面だけを飛ばし飛ばし見るというイントロ再生機能や、複数のカメラ・アングルで撮影・放送された番組の場面切換をスムーズに実行できるようにする機能を有する。その機能実現のために、高速なランダム・アクセスが可能なハード・ディスク装置や半導体メモリなどが内蔵されている。また放送局2側では、映像番組に関するインデックス情報を加えて放送する。ユーザ側では、受信した番組データをVTR15に記録させ、受信したインデックス情報をハード・ディスク装置などに蓄積する。このハード・ディスクは、VTR15から読出した映像データを一時的に蓄えるためにも使う。一般的に、VTRに蓄積した映像データは、検索から読出までに時間がかかる。しかし、VTR15から読出した映像データを一時的にハード・ディスクに蓄えれば、映像を再生している間にVTRの早送りを実行することができ、ユーザから見た必要な映像を取出すまでの待ち時間が短くなる。  A user who has received a program broadcast from the
このようにして、前述したいわゆるイントロ再生がスムーズに実行することができる。その結果、受信した番組内にCMが挿入されている場合には、ユーザにしてみれば、その贅肉に相当するCMのみをカットして番組だけを閲覧したがる傾向にあり、前述したイントロ再生機能によりそのCMカット閲覧が容易に実行可能となる。 In this way, the so-called intro playback described above can be executed smoothly. As a result, when a CM is inserted in the received program, the user tends to view only the program by cutting only the CM corresponding to the extravagance. The CM cut browsing can be easily executed by the function.
  そこで、このようなCMカット閲覧を防止する方法として、番組関連データをCMに重合させて放送局2から放送する方法が考えられる。そのための番組関連データが番組関連データ制作者11により制作されて放送局2に転送される。この番組関連データとしては、番組の意見交換用のホームページのアドレスや、番組に出てくる専門用語の解説等が考えられる。  Therefore, as a method of preventing such CM cut browsing, a method of superimposing program related data on CM and broadcasting from the
  CM制作者10は、番組の合間に挿入されて放送局2から放送される一般的なCMばかりでなく、ユーザ(消費者)を多数の階層に分類してそれぞれの階層のみをターゲットにしたCMも作成する。この階層分けは、たとえば、性別,年齢別,学歴別,職業別,購買動向別等が考えられる。このようなターゲットを絞った多数のCMをCM制作者10が制作してデータベースに蓄積しておく。そして、ユーザのエージェントがそのCM制作者にまで出向いてデータベースを検索し、ユーザが好むと思われるCM情報を検索し、検索されたCM情報をインターネット13を経由してまたは放送局2からの放送により受信する。このようなユーザのエージェントによって検索されたCM情報も、番組関連データ制作者11が制作した番組関連データが重合された状態でユーザに届けられるように構成されている。  The
  図2は、マルチエージェントシステムの構成を示す説明図である。本実施の形態においては、ゼネラルマジック(General Magic )社が開発した通信用言語であるテレスクリプトによる自律ソフトウェアとしてのエージェントを採用している。ユーザエージェント26は、モバイルエージェントで構成されている。モバイルエージェントとは、分散コンピューティング環境における移動性を備えたエージェントのことであり、ネットワークを介してエージェントがサーバーに転送・処理されること(リモート・プログラミング)が特徴となっている。モバイルエージェントが、テレスクリプト・エンジンによって提供される共通動作環境であるプレースに移動して、そのプレース上で他のエージェントと協調して相互に動作して仕事を行ない問題を解決する。  FIG. 2 is an explanatory diagram showing the configuration of the multi-agent system. In the present embodiment, an agent as an autonomous software based on telescript, which is a communication language developed by General Magic, is employed. The
  ユーザのパソコン14内で動作しているユーザエージェントが、自己の判断でまたはユーザの操作指令に応じてコンテンツを検索する場合には、図2(a)で示すように、コンテンツ提供業者7のテレスクリプト・エンジン18のプレース24に移動する。プレース24上に移動したユーザエージェント26は、プレース24に常駐している移動先エージェント27と打合せ(meeting )して、データベース19内のコンテンツを検索して希望するコンテンツを見つけ出してパソコン14にまで持ち帰る(送信する)。  When the user agent operating in the user's
なお、52はCRT,53はキーボード,50はICカード挿入口,51はフロッピー(登録商標)ディスク(FD)挿入口,20はWWWサーバー,3は通信装置である。 Note that 52 is a CRT, 53 is a keyboard, 50 is an IC card insertion slot, 51 is a floppy (registered trademark) disk (FD) insertion slot, 20 is a WWW server, and 3 is a communication device.
  一方、第三者機関8のテレスクリプト・エンジン22のプレース25には、第三者機関常駐エージェント28が常駐している。データベース23内には、複数種類の第三者機関エージェントが機能別に分類されて格納されている。この第三者機関8は、当事者(たとえばユーザとそのユーザの要求に応えてサービスを提供するサービス業者)のみでは解決困難なまたは解決不可能な中立性を要する仕事が発生した場合に、そのような特定の仕事を当事者に代わって代理実行して解決するために設立された機関であり、官庁等の公な機関あるいは半公共的な機関によって構成するのが望ましい。なお、図中22aは、第三者機関8が運用管理するコンピュータである。  On the other hand, a third
  第三者機関8のデータベース23に格納されている各種第三者機関エージェントは、この第三者機関8によって運用管理されるものであり、前述した中立性を要する特定の仕事を中立性を守りながら実行して解決するために開発された専用のエージェントである。そして、ユーザエージェント26には、たとえば、オンラインショッピングするためのショッピングエージェント,ニュースソースからニュース記事を検索して必要なもののみを選び出すニュースフィルタリングエージェント,必要な電子メールのみを選び出す電子メールエージェント,ユーザの嗜好に合致した音楽情報や映画情報を検索するファイアフライ等の情報収集エージェントなど、種々の種類が存在する。そこでそのようなユーザエージェント26の仕事を代理実行する第三者エージェントの方も、ユーザエージェント26の種類に合せて機能別に複数種類用意しておく必要がある。  The various third-party agents stored in the
  コンテンツ提供業者7のプレース24に移動したユーザエージェント26が移動先エージェント27と協調してデータベース19内のコンテンツを検索する際に、データベース19内の有料コンテンツを検索したい場合には、第三者機関常駐エージェント28と連絡をとり、データベース23から適した第三者機関エージェントを探し出してもらい、その第三者機関エージェントにコンテンツ提供業者7のプレース24にまで出向してもらう。  When the
  その状態が図2の(b)に示されている。出向してきた第三者機関エージェント29は、ユーザエージェント26とmeeting して、ユーザの好み等のプロフィール情報をユーザエージェント26から聞き出す。そして、コンテンツの検索に必要な知識を取得した状態で第三者機関エージェント29がデータベース19にアクセスして、ユーザエージェント26に代わってコンテンツの検索を行ないその検索結果をユーザエージェント26に知らせる。  This state is shown in FIG. The second-
  第三者機関エージェント29がコンテンツを検索するためには、ユーザのプライバシーにかかわるような秘密情報(たとえばユーザの年収,学歴,貯蓄額等)をユーザコンテンツ26から教えてもらわなければならない場合は、コンテンツ提供業者7のプレース24上でその秘密情報をユーザエージェント26が第三者機関エージェント29に通知すれば、その秘密情報がコンテンツ提供業者7に漏れてしまうおそれがある。本実施の形態では、ユーザエージェント26は、前述したような秘密情報SI(図14参照)を暗号化して暗号化データとして保有しているために、ユーザエージェント26はコンテンツ提供業者7のプレース24に移動しただけでは、その秘密情報SIがコンテンツ提供業者7に知られてしまうことはない。しかし、コンテンツ提供業者7のプレース24上において、第三者機関エージェント29が解読できるように暗号化秘密情報SIを復号化して平文の形で第三者機関エージェント29に教えた場合には、その平文の秘密情報SIがコンテンツ提供業者7に知られる可能性が生ずる。  In order for the third-
  そこで、このような秘密情報SIを用いなければコンテンツが検索できない場合には、図2(c)に示すように、ユーザエージェント26が第三者機関8のテレスクリプト・エンジン22のプレース25にまで移動し、そこに常駐している第三者機関常駐エージェント28とmeeting して、最適な第三者機関エージェントを検索してもらい、その検索された第三者機関エージェント29とユーザエージェント26とがmeeting して、検索に必要となる秘密情報SIを通知する(図2(d)参照)。  Therefore, when content cannot be searched without using such secret information SI, the
  その後、ユーザエージェント26がコンテンツ提供業者7のプレース24に復帰し、常駐エージェント27とmeeting して有料コンテンツを暗号化した形で第三者機関8のプレース25に転送してもらう。そして転送されてきた有料コンテンツを復号化して第三者機関エージェント29がユーザエージェント26に代わってその有料コンテンツを検索して評価する。その評価結果をプレース24上のユーザエージェント26に通知する。このようにすれば、ユーザエージェント26が知識として保有している秘密情報SIがコンテンツ提供業者7等に漏洩することが防止できる。なお、第三者機関8のプレース25上では、エージェント同士がいくらmeeting しても情報が外部に漏洩することが防止できるように構成されている。  Thereafter, the
  図3は、ユーザのパソコン14の制御動作を示すフローチャートである。このユーザのパソコン14の制御回路は、図12に基づいて後述する。  FIG. 3 is a flowchart showing the control operation of the user's
  図3を参照して、まずステップS(以下単にSという)1により、インターネット上のサイトを紹介する情報を受信したか否かの判断がなされる。この情報は、放送局2から衛星放送により放送されてユーザのパソコン14が受信したり、またはインターネット13経由で受信する。サイト紹介情報を受信していない場合にはS2に進み、記録対象コンテンツの放送日時になったか否かの判断がなされる。記録対象コンテンツとは、ユーザの入力指示によりVTR15等に記録する予定となっている番組等の放送局2から送られてくるコンテンツや、ユーザエージェントが独自の判断で記録予定にしている放送局2から送られてくるコンテンツのことである。記録対象コンテンツの放送日時になっていない場合にはS3に進み、放送番組のアブストラクトを受信したか否かの判断がなされる。前述したように、放送局2は、放送する番組の内容の要約(アブストラクト)を事前にユーザに向けて放送し、ユーザは、そのアブストラクト放送を受信してユーザエージェントに番組を録画記録させるかどうかを判断させる。放送番組のアブストラクトを受信していない場合にはS4に進み、ユーザからエージェントへの指示があったか否かの判断がなされる。  Referring to FIG. 3, first, in step S (hereinafter simply referred to as S) 1, it is determined whether or not information introducing a site on the Internet has been received. This information is broadcast from the
  ユーザからエージェントへの指示がない場合には、S5に進み、コンテンツの再生指示があったか否かの判断がなされる。ない場合にはS6に進み、鍵SK1の送信要求があったか否かの判断がなされる。この鍵SK1は、前述した暗号化されている秘密情報SIを復号化するために用いられる鍵であり、後述するように第三者機関常駐エージェント28が必要に応じてユーザのパソコン14に対し送信要求を出すものである。SK1の要求がない場合にはS7に進み、ユーザエージェントから放送コンテンツの記録指示があったか否かの判断がなされる。ユーザのパソコン14内で動作しているユーザエージェントは、後述するように自己の判断に基づいて放送番組等の放送コンテンツを自動的に記録する指示をパソコン14に出す場合がある。  If there is no instruction from the user to the agent, the process proceeds to S5, where it is determined whether or not a content reproduction instruction has been issued. If not, the process proceeds to S6, and it is determined whether or not a transmission request for the key SK1 has been made. This key SK1 is a key used for decrypting the above-described encrypted secret information SI, and is transmitted by the third
  ユーザエージェントから放送コンテンツの記録指示がない場合にはS8に進み、放送日時とチャンネルを受信したか否かの判断がなされる。ユーザエージェントは、図9に基づいて後述するように、CM作成者10のプレース25に移動してCMを検索し、希望するCMが見つかれば、その希望するCMが放送局2から放送される日時とチャンネルをユーザのパソコン14に送信してくる。そのユーザエージェントからの放送日時とチャンネルが送信されてきたか否かがこのS8により判断される。放送日時とチャンネルを受信していない場合にはS9に進み、その他の処理がなされてS1に戻る。  If there is no broadcast content recording instruction from the user agent, the process proceeds to S8, where it is determined whether the broadcast date and time and the channel have been received. As will be described later with reference to FIG. 9, the user agent moves to the
  放送局2から放送されたサイト紹介情報あるいはインターネット13を経由して送信されてきたサイト紹介情報を受信すれば、S1によりYESの判断がなされてS10に進み、ユーザのパソコン14内で動作しているユーザエージェントにそのサイト紹介情報を知らせる処理がなされる。  If the site introduction information broadcast from the
  S2により、記録対象コンテンツの放送日時になったと判断された場合にはS11に進み、放送されるチャンネル周波数にチューニングし、S12により、放送コンテンツを受信してVTR15に記録する処理がなされる。次にS13に進み、記録したコンテンツがCMを含むか否かの判断がなされる。含まない場合にはS1に戻るが、含む場合にはS14に進み、編集時間があるか否かの判断がなされる。この編集時間とは、ユーザエージェントがCM制作者10のプレース58に移動して検索して見つけ出したCMと放送局2が放送してVTR15等に記録させた番組の合間に挿入されているCMとを差替える編集を行なうのに必要な時間のことである。  If it is determined in S2 that the broadcast date and time of the content to be recorded has come, the process proceeds to S11 to tune to the broadcast channel frequency, and in S12, the broadcast content is received and recorded in the
編集時間がある場合にはS15に進み、対応する番組コンテンツのCM部分を検索したCMに取替える編集を行なった後S1に戻る。編集時間がない場合にはS16に進み、番組放映中にCM放送時間が来た瞬間ユーザエージェントが検索したCMに切換えて放映する制御を行なってS1に戻る。 If there is an editing time, the process proceeds to S15, and after editing for replacing the CM part of the corresponding program content with the searched CM, the process returns to S1. If there is no editing time, the process proceeds to S16, the control is performed to switch to the CM searched by the user agent at the moment when the CM broadcast time comes during the program broadcast, and the process returns to S1.
  放送番組のアブストラクトが放送局2から放送されてそれを受信すればS3によりYESの判断がなされてS17に進み、ユーザエージェントにその受信したアブストラクトを知らせる処理がなされる。  If an abstract of a broadcast program is broadcast from the
  ユーザがキーボード53やマウス等を操作してエージェントへの何らかの指示を行なえば、S18に進み、パソコン14内で活動しているユーザエージェントにその指示を知らせる処理がなされる。  If the user operates the
  ユーザがキーボード53やマウス等を操作してコンテンツの再生指示を行なえばS5によりYESの判断がなされてS19に進み、再生の対象となるコンテンツが暗号化されたコンテンツであるか否かの判断がなされる。暗号化コンテンツの場合にはS20によるコンテンツ再生処理を行なった後、S21によるコンテンツの出力処理がなされてCRT52やTV16により放映される。一方、暗号化コンテンツでない場合にはS20の処理を行なうことなく直接S21に進み、コンテンツ出力処理がなされる。S26のコンテンツ再生処理の詳細は、図17に基づいて後述する。  If the user operates the
  鍵SK1の送信要求があった場合にはS6によりYESの判断がなされてS22に進み、チャレンジデータCHを第三者機関常駐エージェント28へ送信する処理がなされる。このチャレンジデータCHは、パソコン14が生成した乱数等により構成される。第三者機関常駐エージェント28は、このチャレンジデータCHを受取り第三者機関8の秘密鍵SK3でそれを暗号化する処理すなわちESK3 (CH)を算出してレスポンスデータRESとして返信する(SB12,SB23b参照)。  If there is a transmission request for the key SK1, a determination of YES is made in S6, the process proceeds to S22, and a process for transmitting the challenge data CH to the third
  このレスポンスデータRESを受信したパソコン14は、S22aによりYESの判断がなされてS22bに進み、受信したレスポンスデータRESを第三者機関8の公開鍵で復号化する処理すなわちDPK3 (RES)を演算し、その演算結果とS22により送信したチャレンジデータCHとが一致するか否かの判断が行なわれる。正規の第三者機関8の第三者機関常駐エージェント28からSK1の要求があったのであれば、CH=DPK3 (RES)となるはずであるために、その場合にはS22cに進み、鍵SK1を第三者機関8の公開鍵PK3を用いて暗号化する演算すなわちEPK3 (SK1)を算出して第三者機関常駐エージェント28へ送信する処理がなされる。一方、S22bより一致しないと判断された場合にはS22cの送信処理を行なうことなくS1に戻る。  The
ユーザエージェントから放送コンテンツの記録指示があった場合にはS23に進み、その指示のあった記録対象コンテンツの放送日時,チャンネルを記憶する処理がなされる。 If there is a broadcast content recording instruction from the user agent, the process proceeds to S23, and a process for storing the broadcast date and time and channel of the recording target content for which the instruction has been issued is performed.
ユーザエージェントから放送日時とチャンネルが送信されてくればS8によりYESの判断がなされてS24へ進み、その送信されてきた放送日時とチャンネルすなわち記録対象コンテンツの放送日時とチャンネルを記憶する処理がなされる。 If the broadcast date / time and channel are transmitted from the user agent, a determination of YES is made in S8 and the process proceeds to S24, where the transmitted broadcast date / time and channel, that is, the broadcast date / time and channel of the content to be recorded are stored. .
図4〜図6,図10は、ユーザエージェントの動作を示すフローチャートである。SA1により、インターネット上のサイトの紹介情報を受取ったか否かの判断がなされ、受取っていない場合にはSA2に進み、番組のアブストラクト情報を受取ったか否かの判断がなされ、受取っていない場合にはSA3に進み、ユーザからの指示を受取ったか否かの判断がなされ、受取っていない場合にはSA4に進み、ユーザエージェントが移動する時刻が来たか否かの判断がなされ、来ていない場合にはSA5に進み、その他の処理を行なった後SA1に戻る。 4 to 6 and 10 are flowcharts showing the operation of the user agent. In SA1, it is determined whether or not the introduction information of the site on the Internet has been received. If not, the process proceeds to SA2, and it is determined whether or not the abstract information of the program has been received. The process proceeds to SA3, where it is determined whether an instruction from the user has been received. If not, the process proceeds to SA4, where it is determined whether it is time for the user agent to move. Proceed to SA5, perform other processing, and then return to SA1.
  放送局2から放送されたサイト紹介情報を受信した場合やインターネット13経由で送信されてきたサイト紹介情報を受取った場合には、SA6に進み、その情報内にコンテンツのアブストラクトが含まれているか否かの判断がなされる。コンテンツのアブストラクトが含まれている場合にはSA7に進み、そのアブストラクトとサイト紹介情報とでユーザエージェントが評価を行なう。この評価は、このユーザエージェントの持主であるユーザが好むサイトであるか否かあるいはユーザが好むコンテンツであるか否かを判断することである。ユーザエージェントは、たとえば後述する図14に示すようなユーザの嗜好情報等を含むプロフィール情報96を知識として保有しており、このプロフィール情報を活用して評価を行なう。  When the site introduction information broadcast from the
一方、コンテンツのアブストラクトが含まれていない場合にはSA8に進み、サイト紹介情報のみで評価を行なう。次にSA9に進み、評価が所定値以上であるか否かの判断がなされ、所定値以上でない場合にはSA1に戻る。一方所定値以上である場合にはSA10に進み、そのサイトのアドレスを移動先予定として登録した後SA1に戻る。 On the other hand, if the content abstract is not included, the process proceeds to SA8, and the evaluation is performed only with the site introduction information. Next, the process proceeds to SA9, where it is determined whether or not the evaluation is equal to or greater than a predetermined value. If the evaluation is not equal to or greater than the predetermined value, the process returns to SA1. On the other hand, if the value is equal to or greater than the predetermined value, the process proceeds to SA10, where the address of the site is registered as a destination schedule and the process returns to SA1.
  ユーザのパソコン14が放送番組のアブストラクトを受信してS17によりユーザエージェントに知らせた場合には、SA2によりYESの判断がなされてSA11に進み、その番組アブストラクトに基づいて番組の評価を行なう。この評価は、前述したように、ユーザのプロフィール情報96に基づいてユーザがどの程度好むかを判断して行なう。そして、SA12により、その評価が所定値以上であるか否かの判断がなされ、所定値以上でない場合にはSA1に戻るが、所定値以上の場合にはSA13に進み、推薦番組リストに登録する処理がなされる。この推薦番組リストに登録された番組がユーザに推薦番組として表示され、後述するようにユーザの指示を仰ぐ。ユーザがこの推薦番組の放送を受信して閲覧またはVTR15に録画する旨の指示を出せば、その指示された推薦番組が推薦番組リストから消去されることとなる。  When the user's
SA14に進み、推薦番組リストに登録されている番組で放送日時が来るものがあるか否かの判断がなされ、ない場合にはSA1に戻る。この推薦番組リストに登録されているということは、前述したようにユーザに推薦する番組でありながら未だにユーザが閲覧するか破棄するかの指示を出していないものであり、そのようなユーザの指示がまだ出されていない推薦番組の放送日時が来てしまった場合には、SA15により、その推薦番組をユーザエージェントの自己判断で自動的に記録するか否かの判別を行なう。自動記録しないと判断された場合にはSA16により、推薦番組リストからその日時が来た番組を消去した後SA1に戻る。一方、自動記録すると判断された場合にはSA17に進み、その推薦番組リストに登録されている推薦番組を自動記録番組リストの方に移し替えて登録する処理がなされる。 Proceeding to SA14, it is determined whether or not there is a program registered in the recommended program list with a broadcast date and time. If not, the process returns to SA1. The fact that it is registered in this recommended program list means that it is a program recommended to the user as described above, but the user has not yet issued an instruction to view or discard the program. When the broadcast date and time of a recommended program that has not been issued has come, it is determined in SA15 whether or not the recommended program is automatically recorded by the user agent's self-determination. If it is determined not to automatically record, the program returns to SA1 after erasing the program whose date and time has come from the recommended program list in SA16. On the other hand, if it is determined that automatic recording is to be performed, the process proceeds to SA17, where the recommended program registered in the recommended program list is transferred to the automatic recorded program list and registered.
  次にSA18に進み、パソコン14に対しコンテンツの記録指示を出す。その結果、前述したように、S7により、YESの判断がなされてS23により指示のあった記録対象コンテンツの放送日時,チャンネルが記録される。その結果、放送日時が現時点となるために、S2により即座にYESの判断がなされて、その放送日時が来た推薦番組を受信して記録する処理がS17以降で行なわれる。  Next, the process proceeds to SA18, and a content recording instruction is issued to the
次にSA19に進み、指示を出した番組コンテンツにCMがあるか否かの判断がなされる。ない場合にはSA16に進み、推薦番組リストから日時が来たものを消去する処理がなされる。つまり、推薦番組リストに登録されている推薦番組を受信して記録することとなったために、それ以降推薦番組リストに登録しておく必要がなくなるために、その記録することとなった推薦番組を推薦番組リストから消去するのである。 Next, proceeding to SA19, it is determined whether or not there is a CM in the instructed program content. If not, the process proceeds to SA16, and a process of deleting the date and time from the recommended program list is performed. In other words, since the recommended program registered in the recommended program list is received and recorded, it is no longer necessary to register in the recommended program list. It is deleted from the recommended program list.
一方、SA19により、指示を出した番組コンテンツにCMがあると判断された場合にはSA20に進み、番組スポンサーに対応するCMを検索する処理がなされた後SA16に進む。このSA20のスポンサーに対応するCM検索処理は、後述する図10に基づいて説明する。 On the other hand, if it is determined by SA19 that there is a CM in the instructed program content, the process proceeds to SA20, and after processing for searching for a CM corresponding to the program sponsor is performed, the process proceeds to SA16. The CM search process corresponding to the SA20 sponsor will be described with reference to FIG.
  ユーザがユーザエージェントに対し指示を出した場合にはS18によりその指示がユーザエージェントに知らされ、その結果SA3によりYESの判断がなされてSA21に進む。SA21では、そのユーザからの指示が推薦番組リストの閲覧指示であるか否かの判断がなされ、閲覧指示の場合にはSA22に進み、推薦番組リストをCRT52またはTV16により表示する制御がなされる。一方、推薦番組リストの閲覧指示でなかった場合にはSA23に進み、自動記録番組リストの閲覧指示であるか否かの判断がなされる。SA23よりYESの判断がなされた場合にはSA24に進み、自動記録番組リストをCRT52またはTV16により表示させる制御がなされる。  When the user gives an instruction to the user agent, the instruction is notified to the user agent in S18, and as a result, a YES determination is made in SA3 and the process proceeds to SA21. In SA21, it is determined whether or not the instruction from the user is an instruction to browse the recommended program list. If the instruction is a browsing instruction, the process proceeds to SA22, where control of displaying the recommended program list by the
  自動記録番組リストの閲覧指示でなかった場合にはSA25に進み、コンテンツ検索結果の閲覧指示であるか否かの判断がなされる。ユーザエージェントがコンテンツを検索した場合には後述するようにその検索結果をパソコン14に送信するのであり、その検索結果の閲覧指示であった場合にはSA26により、コンテンツ検索結果をCRT52またはTV16により表示させる制御がなされる。  If it is not an instruction to browse the automatically recorded program list, the process proceeds to SA25, where it is determined whether or not the instruction is to browse the content search result. When the user agent searches for content, the search result is transmitted to the
  コンテンツ検索結果の閲覧指示でなかった場合にはSA27に進み、推薦番組の記録指示であるか否かの判断がなされる。SA22により表示された推薦番組を閲覧したユーザがその推薦番組の中から記録して閲覧したいものがあった場合にはその記録希望の推薦番組の記録指示を出す。その結果SA27によりYESの判断がなされてSA29に進み、その指示された推薦番組コンテンツの記録指示をパソコン14に出す処理がなされる。その結果、パソコン14では、S7によりYESの判断が行なわれてS23により、その指示された記録対象コンテンツの放送日時,チャンネルを記録する処理がなされ、その結果、S2により、その記憶した記録対象コンテンツの放送日時になった場合にS11以降のコンテンツの記録処理が実行されることとなる。  If the instruction is not an instruction to browse the content search result, the process proceeds to SA27, where it is determined whether the instruction is to record a recommended program. If a user who has viewed a recommended program displayed in SA22 wants to record and view the recommended program, the recording instruction for the recommended program desired to be recorded is issued. As a result, a determination of YES is made in SA27, and the process proceeds to SA29, in which processing for issuing an instruction to record the designated recommended program content to the
次にSA30に進み、指示を出した番組を推薦番組リストから消去する処理がなされた後SA19に進む。 Next, the process proceeds to SA30, and after the process of deleting the instructed program from the recommended program list is performed, the process proceeds to SA19.
推薦番組記録指示でなかった場合にはSA28に進み、ユーザエージェントがその他の処理を実行してSA1に戻る。 If it is not the recommended program recording instruction, the process proceeds to SA28, the user agent executes other processing, and returns to SA1.
SA3によりNOの判断がなされた場合にはSA4に進み、移動時刻が来たか否かの判断がなされる。この移動時刻とは、ユーザエージェントがネットワークを介してインターネット上のサイトに移動し、コンテンツ等の検索を実行する時刻のことであり、予め設定されている時刻である。未だに移動時刻が来ていない場合にはSA5に進み、その他の処理を実行した後SA1に戻る。一方、移動時刻が来た場合にはSA5aに進み、エージェント移動処理を実行した後SA1に戻る。このエージェント移動処理は、図5,図6に示されている。 If NO is determined in SA3, the process proceeds to SA4, in which it is determined whether or not the travel time has come. This movement time is a time when the user agent moves to a site on the Internet via a network and executes a search for content or the like, and is a preset time. If the moving time has not yet arrived, the process proceeds to SA5, and after performing other processes, the process returns to SA1. On the other hand, if the movement time has come, the process proceeds to SA5a, and after executing the agent movement process, the process returns to SA1. This agent movement process is shown in FIGS.
  次に、図5,図6に基づいて、エージェント移動処理のフローチャートを説明する。SA31により、ユーザエージェントを移動させる処理を行なう。このユーザエージェントの移動先は、前述したSA10により移動先予定として登録されたアドレスにより特定される。このユーザエージェントの移動は、実際には、ユーザのパソコン14内のユーザエージェントと全く同じユーザエージェント(クローン)を複製してそれを移動先に転送する処理である。  Next, a flowchart of the agent movement process will be described with reference to FIGS. In step SA31, a process for moving the user agent is performed. The movement destination of this user agent is specified by the address registered as the movement destination schedule by the
  次にSA32に進み、移動先のプレースに常駐している移動先エージェント27とmeeting (打合せ)して、種々の必要な情報交換を行なう。次にSA33に進み、そのmeeting の結果に基づいて、データベース19内に無料コンテンツがあるか否かの判断を行ない、無料コンテンツがある場合にはSA34に進み、その無料コンテンツを検索する処理を行ない、SA35によりその検索が完了したか否かの判断を行ない、完了するまで無料コンテンツの検索処理を続行する。そして完了した段階でSA36に進む。一方、無料コンテンツがないと判断された場合には直接SA36に進む。  Next, the process proceeds to SA32 to meet with the
  SA36では、データベース19内に有料コンテンツがあるか否かの判断がなされ、ない場合にはSA38に進み、移動先エージェント27とmeeting して、選択したコンテンツのパソコン14への送信指令を出してもらう。次にSA39に進み、検索結果をパソコン14に送信する処理を行ない、SA40に進み、移動が終了したか否かの判断がなされる。SA10により登録された移動先予定をすべて移動した場合には移動終了と判断されてSA40aに進み、自分自身を消去して終了する。一方、SA40により移動終了でないと判断された場合には再びSA31に進み、次の移動予定のアドレスにユーザエージェントが移動して前述と同様の処理を行なう。  In SA36, it is determined whether or not there is paid content in the
  一方、SA36により有料コンテンツがあると判断された場合にはSA37に進み、その有料コンテンツをコンテンツのアブストラクトにより検索する処理を行なう。そしてSA41によりその検索が完了するまでその検索を続行する。検索が完了した段階でSA42に進み、有料コンテンツ内に、所定料金を超える高額有料コンテンツがあるか否かの判断がなされ、ない場合にはSA39に進み、有料コンテンツのアブストラクトによる検索結果をパソコン14へ送信する。高額有料コンテンツがある場合にはSA43に進み、その高額有料コンテンツ内に入手したいものがあるか否かの判断が行なわれる。この判断は、高額有料コンテンツの前述したアブストラクトにより判断する。入手したいものがない場合にはSA39に進むが、入手したいものがある場合にはSA44に進む。  On the other hand, if it is determined in SA36 that there is paid content, the process proceeds to SA37, and processing for searching for the paid content by abstract of the content is performed. The search is continued until the search is completed by SA41. When the search is completed, the process proceeds to SA42, where it is determined whether there is a high-priced content exceeding the predetermined charge in the paid content. If not, the process proceeds to SA39, and the search result based on the abstract of the paid content is displayed on the
  以上の説明のように、高額有料コンテンツでない低額有料コンテンツに対しては、そのコンテンツのアブストラクトのみを検索してその検索結果をパソコン14へ送信し、ユーザの指示を仰ぐ。一方、高額有料コンテンツ内に入手したいものがある場合には、SA44により、その入手希望高額コンテンツの検索に秘密情報(SI)が必要であるか否かの判断がなされる。必要でない場合にはSA45に進み、移動先エージェント27に自己のエージェントの種類を知らせて最寄りの第三者機関エージェントに出向依頼を行なう処理がなされる。移動先エージェント27は、この依頼を受けて、最寄りの第三者機関8の第三者機関常駐エージェント28と交信し、ユーザエージェント26の種類に応じた最適な種類の第三者機関エージェントの出向(派遣)を依頼する。その依頼を受けて、第三者機関エージェントが移動先であるたとえばコンテンツ提供業者7のプレース24に出向してくれば、SA46により、YESの判断がなされてSA64へ進む。  As described above, for a low-priced content that is not a high-priced content, only the abstract of the content is searched and the search result is transmitted to the
  SA64では、出向してきた第三者機関エージェント29とmeeting (打合せ)して入手希望高額コンテンツの検索の代理を行なってもらうよう依頼する(図2(b)参照)。すると、後述するように、第三者機関エージェント29は、必要なプロフィール情報96をユーザエージェント26から聞き出してそれに基づいてデータベース19にアクセスして入手希望高額コンテンツの検索を行ない、ユーザエージェント26の持主であるユーザが好むであろうと予想される高額コンテンツを検索してその評価を行なう。次にSA66により、ユーザエージェント26が第三者機関エージェント29に対し検索結果の評価を知らせてもらう。  In SA64, a meeting is made with the second-
  次にSA67に進み、検索された有料コンテンツを購入するか否かの判断をユーザエージェント26が行なう。購入しない場合にはSA39に進むが、購入する場合にはSA68に進み、移動先エージェント27とmeeting して、オーダ情報OIと支払い指示PIとの暗号化情報EPK3 (OI),EPK3 (PI)を受取る。このオーダ情報OIは、購入を希望する有料コンテンツの種類を特定するコンテンツNOと購入するという意思表示情報等である。また支払い指示PIとは、たとえばクレジットかあるいは電子キャッシュか等の支払い方法とその支払い金額情報である。それらの情報OIとPIとを第三者機関8の公開鍵PK3で暗号化した情報を移動先エージェント27からユーザエージェント26が受取る。  In step SA67, the
  次にSA69に進み、その受取った情報とともに第三者機関8のプレース25へ移動する。次にSA70により、第三者機関常駐エージェント28とmeeting して(図2(c)参照)、ユーザの秘密鍵SKUをユーザの鍵SK1で暗号化した暗号化秘密鍵ESK1 (SKU)と、前述したEPK3 (OI),EPK3 (PI)とを第三者機関常駐エージェント28に知らせるとともに、秘密情報SIの復号鍵SK1をユーザのパソコン14から取り寄せてもらう依頼を行なう。  Next, the process proceeds to SA69 and moves to the
  第三者機関常駐エージェント28は、ユーザのパソコン14からSK1を受取ってその鍵を用いて復号化処理を行ない、SKU,OI,PIを再生し、OI,PIについてハッシュ化してオーダ情報ダイジェストOI′と支払い指示ダイジェストP′を生成し、その両ダイジェストを合せた状態でユーザの秘密鍵SKUで暗号化し、そのESKU (OI′,PI′)を生成する。SA71では、ユーザエージェント26は、そのESKU (OI′,PI′)を受取り移動先であるコンテンツ提供業者7のプレース24に復帰する。次にSA72により、移動先エージェント27とmeeting して、ESKU (OI′,PI′)を通知するとともに、選択したコンテンツのパソコン14への送信指令を出してもらう依頼を行なう。そしてその後SA39へ進む。  The third-
前述したユーザの秘密鍵SKUは、たとえばRSA公開鍵暗号方式に用いられる秘密鍵のことであり、このユーザの秘密鍵が、エレクトリックコマースにおける本人認証用のデジタル署名等に用いられる。なお、SKUの秘密鍵やそれに対応する公開鍵を用いた暗号化や復号化のアルゴリズムは、RSA公開鍵暗号方式のアルゴリズムの代わりに、いわゆる楕円曲線暗号のアルゴリズムを用いてもよい。 The above-described user secret key SKU is a secret key used in, for example, the RSA public key cryptosystem, and this user secret key is used for a digital signature or the like for personal authentication in electric commerce. Note that the algorithm of encryption and decryption using the SKU secret key and the public key corresponding thereto may use a so-called elliptic curve encryption algorithm instead of the algorithm of the RSA public key cryptosystem.
  次に、前述したSA44により、入手希望高額コンテンツの検索に秘密情報SIが必要であると判断された場合にはSA47に進み、ユーザ認証が必要であるか否かの判断がなされる。コンテンツ提供業者の中には、高額コンテンツの検索を希望するユーザエージェントに対し、本人認証を要求する場合がある。すなわち、検索対象となるコンテンツの料金が高額であるために、閲覧希望を出したユーザエージェントとその持主であるユーザが本当に本人自身であるか否かを確かめ、他人によるなりすましを防止したいと希望するコンテンツ提供業者が存在する。そのような場合には、SA47により、ユーザ認証が必要であると判断され、SA48に進み、認証対象メッセージNMを暗号化した暗号化認証対象メッセージEPK3 (NM)をユーザエージェント26が移動先エージェント27から受取る。  Next, when it is determined by SA44 described above that the confidential information SI is necessary for the search for the desired high-priced content, the process proceeds to SA47, where it is determined whether user authentication is necessary. Some content providers require user authentication for user agents who wish to search for expensive content. In other words, because the price of the content to be searched is high, we want to check whether the user agent who has requested to browse and the user who owns it is really himself or not and prevent impersonation by others There is a content provider. In such a case, it is determined by SA47 that user authentication is required, and the process proceeds to SA48 where the
  このPK3は、前述したように、第三者機関8の公開鍵である。そしてSA49に進み、最寄りの第三者機関8へユーザエージェント26が移動し、第三者機関常駐エージェント28とmeeting して最適な第三者機関エージェントを検索してもらうとともに、秘密情報の復号鍵SK1をパソコン14から取り寄せてもらう依頼を行なう。次にSA51に進み、検索された第三者機関エージェントとmeeting し、必要な暗号化秘密情報ESK1 (SI)をその第三者機関エージェント29に通知する。次にSA52に進み、ユーザ認証が必要であったか否かの判断がなされ、必要であった場合にはSA53に進み、第三者機関エージェントからESKU (NM)を受取った後SA54へ進む。  This PK3 is the public key of the
  第三者機関エージェント29は、後述するように、EPK3 (NM)を第三者機関の秘密鍵SK3で復号化して再生されたNMをユーザの秘密鍵SKUで暗号化した情報すなわちESKU (NM)を生成する。ユーザエージェント26は、第三者機関エージェント29とmeeting して、そのESKU (NM)を受取るのである。なおこの認証対象メッセージNMは、たとえば、移動先エージェント27が生成した乱数等である。  As will be described later, the third-
  次にSA54では、たとえばコンテンツ提供業者7のプレース24等の移動先へ復帰する処理がなされ、SA55に進み、移動先エージェント27とmeeting して、暗号化された入手希望高額コンテンツEPK3 (KC)を第三者機関8に転送してもらう依頼を行なう。  Next, in SA54, for example, processing for returning to the destination of the
  第三者機関エージェント29は、EPK3 (KC)を復号化して再生された入手希望高額コンテンツKCを検索して評価を行ない、その検索結果の評価を第三者機関8の秘密鍵であるSK3により暗号化し、その暗号化データであるESK3 (HK)を移動先のプレース24上のユーザエージェント26へ転送する。すると、SA56によりYESの判断がなされてSA57に進み、その受取ったデータを第三者機関の公開鍵PK3で復号化する処理すなわちDPK3 {ESK3 (HK)}を演算して、評価HKを再生する処理を行なう。  The third-
  次にSA58へ進み、再生された評価HKに基づいて有料コンテンツを購入するか否かの判断が行なわれ、購入しない場合にはSA59により処理完了した旨を第三者機関8へ通知した後SA39へ進む。一方、購入する場合にはSA60へ進み、移動先エージェント27とmeeting して、オーダ情報OIと支払い指示PIとの暗号情報EPK3 (OI),EPK3 (PI)を第三者機関8へ転送してもらう依頼を行なう。第三者機関常駐エージェント28は、前述と同様に、ESKU (OI ′,PI′)を生成し、それを移動先のユーザエージェント26へ送信する。その結果、SA61によりYESの判断がなされてSA62へ進み、移動先エージェント27とmeeting して、選択したコンテンツの送信指令を行なってもらうよう依頼する。次にSA63に進み、処理完了した旨を第三者機関8へ通知した後、SA39へ進む。  Next, the process proceeds to SA58, where it is determined whether or not to purchase paid contents based on the reproduced evaluation HK. If not purchased, the process is completed by SA59 to the
前述したESKU (OI′,PI′)が、いわゆるSET(Secure Electronic Transaction )で規定されているオ─ダ情報と支払い指示とに対するユーザの二重署名である。 The above-described ESKU (OI ′, PI ′) is a user's double signature for order information and a payment instruction defined in a so-called SET (Secure Electronic Transaction).
  図7は、第三者機関常駐エージェント28の動作を示すフローチャートである。SB1により、出向依頼(派遣依頼)があったか否かの判断がなされ、ない場合にはSB2に進み、ユーザエージェント26が第三者機関8のプレース25に来たか否かの判断がなされ、来ていない場合にはSB3に進み、ユーザエージェント26から処理完了の旨の通知があったか否かの判断がなされ、ない場合にはSB4へ進み、移動先エージェント27からEPK3 (OI),EPK3 (PI)が送信されてきたか否かの判断がなされ、送信されてきていない場合にはSB1へ戻る。  FIG. 7 is a flowchart showing the operation of the third party
  ユーザエージェント26が第三者機関エージェントの出向依頼を移動先エージェント27に対し行ない移動先エージェント27が出向依頼があった旨と出向依頼をしたユーザエージェント26の種類(たとえばオーソリティ情報)を第三者機関常駐エージェント28に通知すれば、SB5に進み、第三者機関常駐エージェント28は、通知されたエージェントの種類に基づいてデータベース23にアクセスして第三者機関エージェントを検索する処理を行なう。そして、ユーザエージェント26の種類に合致する最適な第三者機関エージェント29を検索してSB6により、その検索された第三者機関エージェント29に出向指令を出す処理がなされて、SB1に戻る。  The
  前述したSA49またはSA69により、ユーザエージェント26が第三者機関8のプレース25に来た場合には、SB2によりYESの判断がなされてSB7に進み、ユーザエージェント26とmeeting する。そして必要な種々の情報交換を行ない、SB8に進み、ユーザエージェント29が来た目的が、第三者機関エージェント29への仕事依頼のためなのか否かの判断が行なわれる。ユーザエージェント26がSA49に基づいて第三者機関8のプレース25に来たのであれば、SB8によりYESの判断がなされてSB9に進み、第三者機関エージェント29を検索する処理がなされる。  If the
  次にSB10に進み、ユーザエージェント26の出所すなわちパソコン14を呼出し、秘密情報SIの暗号化データを復号化するための鍵SK1を要求する処理がなされる。この要求を受けたパソコンは、前述したように、SK1を要求してきた第三者機関8が本当に正規の第三者機関であるか否かの認証を行なうために、乱数を発生させてその乱数をチャレンジデータCHとして返信する。そのチャレンジデータCHを受信した第三者機関常駐エージェントは、SB11によりYESの判断がなされてSB12に進み、ESK3 (CH)をレスポンスデータRESとしてパソコン14へ送信する。  Next, the process proceeds to SB10, where the source of the
  パソコン14側では、前述したように、その送信されてきたレスポンスデータRESを第三者機関の公開鍵PK3で復号化して先ほどのチャレンジデータCHと一致するか否かの判断が行なわれ、一致する場合にのみ鍵SK1を第三者機関の公開鍵PK3で暗号化したEPK3 (SK1)を送信する。それを受信した第三者機関常駐エージェントでは、SB14によりYESの判断がなされ、SB15に進み、その受信データを第三者機関8の秘密鍵で復号化する処理すなわちDSK3 {EPK3 (SK1)}を演算してSK1を再生する。次にSB16に進み、検索された第三者機関エージェント29にそのSK1を通知する処理がなされてSB17へ進む。  On the
  SB17では、ユーザエージェント26が移動先すなわちコンテンツ提供業者7のプレース24へ復帰したか否かの判断が行なわれ、復帰するまで待機する処理が行なわれる。第三者機関8のプレース25に移動してきたユーザエージェント26は、前述したSA50〜SA53の処理を行なった後、移動先へ復帰するのであり(SA54参照)、移動先であるコンテンツ提供業者7のプレース24へユーザエージェント26が復帰した段階でSB18へ進み、ユーザエージェント26のクローンを消去する処理がなされる。これにより、仕事が終了したユーザエージェント26は、第三者機関エージェント28のプレース25上には存在しない状態となる。次にSB19に進み、第三者機関常駐エージェント28は、第三者機関エージェント29とmeeting して、ユーザの秘密鍵であるSKUを聞き出す処理を行なった後、制御がSB1へ戻る。  In SB17, it is determined whether or not the
  ユーザエージェント26が前述したSA69に基づいて第三者機関エージェント8のプレース25に来た場合には、SB8によりNOの判断がなされてSB20以降の処理がなされる。つまり、ユーザエージェント26がSA69に従って第三者機関8に来るということは、有料コンテンツの購入手続を行なうために必要な処理を秘密情報の漏洩を防止しながら行なうためである。そのような場合には、第三者機関常駐エージェント28は、まずSB20により、やってきたユーザエージェント26から、ESK1 (SKU),EPK3 (OI),EPK3 (PI)を受取る。次にSB21により、オーダ情報OIと支払い指示PIを再生する処理、すなわち、DSK3 {EPK3 (OI)},DSK3 {EPK3 (PI)}を演算する。  When the
  次にSB22に進み、OIとPIとをハッシュ化して両者のダイジェストOI′,PI′を算出する処理がなされる。次にSB23へ進み、ユーザエージェント26の出所すなわちパソコン14に対し、SK1を要求する処理が行なわれる。  Next, the process proceeds to SB22 where OI and PI are hashed to calculate the digests OI ′ and PI ′ of both. Next, the process proceeds to SB23, where the origin of the
  ユーザのパソコン14が前述と同様にチャレンジデータCHを送信してくれば、SB23aによりYESの判断がなされてSB23bに進み、受信したチャレンジデータCHを第三者機関8の秘密鍵SK3で暗号化したESK3 (CH)をレスポンスデータRESとしてパソコン14へ送信する処理がなされる。パソコン14では、前述したようにESK3 (CH)に基づいて第三者機関8の認証を行ない、認証結果正しいと判断された場合にはEPK3 (SK1)を送信する。第三者機関常駐エージェント28がそれを受信すれば、SB25へ進み、DSK3 {EPK3 (SK1)}が演算され、SK1が再生される。  If the user's
  次にSB26へ進み、Dsk1 {ESK1 (SKU)}を演算してユーザの秘密鍵SKUを再生する処理が行なわれる。次にSB27へ進み、ESKU (OI′,PI′)を演算してユーザエージェント26に通知する処理が行なわれる。このESKU (OI′,PI′)がオーダ情報と支払い指示に対するユーザの二重署名となる。3次にSB27aに進み、ユーザエージェントが復帰したか否かの判断がなされる。ユーザエージェント26は、前述したように、SA70の処理を行なった後移動先であるコンテンツ提供業者7のプレース24に復帰するのであり(SA71参照)、ユーザエージェント26が復帰した段階でSB27bに進み、ユーザエージェントのクローンを消去する処理がなされた後SB1へ戻る。  Next, the process proceeds to
  図8は、第三者機関エージェント29の動作を示すフローチャートである。SC1により出向指令があったか否かの判断がなされ、ない場合にはSC2に進み、ESK1 (SI)を通知されたか否かの判断がなされ、通知されていない場合にはSC1へ戻る。  FIG. 8 is a flowchart showing the operation of the third
  このSC1,SC2のループの巡回途中で、第三者機関常駐エージェント28から出向指令を任命されれば(SB6参照)、SC1によりYESの判断がなされてSC3へ進み、たとえばコンテンツ提供業者7のプレース24等の移動先に移動する処理が行なわれる。この移動処理は、具体的には、第三者機関エージェント29をデータベース23内に残したままその第三者機関エージェント29のクローンを移動先のプレース24へ転送する処理である。次にSC4に進み、移動先のプレース24上において、ユーザエージェント26とmeeting して、入手希望高額コンテンツを通知してもらうとともに、必要なユーザのプロフィール情報96(図14参照)を教えてもらう処理が行なわれる(SA64参照)。このユーザエージェント26から教えてもらうユーザのプロフィール情報96は、公表可能情報NSI(図13参照)に限定される。これは、秘密情報の漏洩が防止可能な第三者機関8のプレース25上でのユーザプロフィール情報のやり取りではなく、情報提供業者7のプレース24上でのユーザプロフィール情報のやり取りであるために、秘密性が保持できず、そのために秘密性を保持する必要のない公表可能情報NSIに限定されるのである。  If the second
  次にSC5に進み、入手希望高額コンテンツの評価を行なう処理がなされる。この評価は、教えてもらったユーザプロフィール情報96に基づいて、ユーザが好むであろうと推測される度合いを数値化して行なう。次にSC6に進み、入手希望高額コンテンツは違法なコンテンツであるか否かの判断がなされる。違法なコンテンツとは、たとえば、麻薬の密輸ルートに関するコンテンツや拳銃の入手経路に関するコンテンツ等の刑法に違反するようなコンテンツである。また、風俗営業法に違反するようなコンテンツも違法コンテンツに含めてもよい。  Next, the process proceeds to SC5, where processing for evaluating the desired high-priced content is performed. This evaluation is performed by quantifying the degree of guessing that the user would like based on the
  違法なコンテンツでないと判断された場合にはSC10へ進み、第三者機関エージェント29が自分自身を消去して終了する。一方、違法なコンテンツであると判断された場合にはSC7へ進み、違法のため購入できない旨の評価をユーザエージェント26に知らせ、SC8により、違法である旨の通報を警察に行なう。次にSC9へ進み、違法コンテンツを第三者機関8に持ち帰り証拠として保管する処理を行なった後SC10へ進む。  If it is determined that the content is not illegal, the process proceeds to SC10, and the
  SC1,SC2のループの巡回途中で、ユーザエージェント26により、ユーザのプロフィール情報のうちの秘密情報SIを暗号化した情報であるEsk1 (SI)が通知された場合(SA51参照)には、SC2によりYESの判断がなされてSC11に進み、第三者機関常駐エージェント28とmeeting して、復号化するための鍵SK1を教えてもらう処理がなされる。次にSC12へ進み、DSK1 {EsK1 (SI)}を演算して秘密情報SIを再生して記憶する処理がなされる。  If Esk1 (SI), which is information obtained by encrypting the secret information SI in the user's profile information, is notified by the
  次にSC13へ進み、ユーザ認証が必要であるか否かの判断がなされ、必要でない場合にはSC15へ直接進むが、必要な場合にはSC14へ進む。SC14では、ESKU (NM)を演算してユーザエージェント26へ知らせる処理がなされる。このNMは、移動先エージェント27からユーザエージェント26が受取った認証対象メッセージであり、第三者機関の公開鍵で暗号化された暗号化情報として受取る(SA48参照)。そしてこの暗号化認証対象メッセージがユーザエージェント26より第三者機関8のプレース25に持込まれ、第三者機関常駐エージェント28により復号化されて再生された認証対象メッセージNMが第三者機関エージェント29に知らされる。第三者機関エージェント29は、その通知されたNMとSC12により再生されたSIの中に含まれているユーザの秘密鍵SKU(図14参照)に基づいて、ESKU (NM)を演算してユーザに知らせる。このESKU (NM)が、ユーザの本人認証用のデータとなり、ユーザエージェント26はそれを受取り(SA53参照)、移動先のプレース24へ復帰して(SA54参照)、そのプレース24上の移動先エージェント27にESKU (NM)を知らせる。  Next, the process proceeds to SC13, where it is determined whether user authentication is necessary. If not, the process proceeds directly to SC15, but if necessary, the process proceeds to SC14. In SC14, a process of calculating ESKU (NM) and notifying the
  次にSC15へ進み、EPK3 (KC)を受信したか否かの判断がなされ、受信するまで待機する。ESKU (NM)を移動先のプレース24へ持ち帰ったユーザエージェント26は、移動先エージェント27に対し入手希望高額コンテンツKCを暗号化したEPK3 (KC)を転送してもらう依頼を行なう(SA55参照)。これを受けた移動先エージェント27は、EPK3 (KC)を第三者機関8の第三者機関エージェント28へ送信する。その送信されてきたEPK3 (KC)を受信すればSC16へ進み、DPK3 {EPK3 (KC)}を演算してKCを再生する処理が行なわれる。次にSC17へ進み、その入手希望高額コンテンツKCの評価を行なう処理がなされる。  Next, the process proceeds to SC15, where it is determined whether or not EPK3 (KC) has been received and waits until it is received. The
  次にSC18へ進み、入手希望コンテンツは違法なコンテンツであるか否かの判断がなされる。この判断は、前述したSC6と同様に行なわれる。そして違法なコンテンツである場合にはSC7へ進むが、違法なコンテンツでない場合にはSC19へ進み、入手希望高額コンテンツKCの評価HKに対し第三者機関8の秘密鍵SK3で暗号化したデータすなわちESK3 (HK)を演算し、SC20により、その演算結果を移動先のプレース24上にいるユーザエージェント26に送信する処理がなされた後SC10へ進む。  Next, the process proceeds to SC18, where it is determined whether or not the desired content is illegal content. This determination is performed in the same manner as in SC6 described above. If the content is illegal, the process proceeds to SC7. If the content is not illegal, the process proceeds to SC19, and the data HK encrypted with the private key SK3 of the
  図9は、CM制作者10におけるエージェントの動作を説明するための説明図である。CM制作者10のテレスクリプト・エンジン57内のCMプレース58には、常駐エージェント59が存在する。図中、56はCM制作者10が制作した多数のCMを格納しているデータベース、54はWWWサーバー、55は情報処理コンピュータである。  FIG. 9 is an explanatory diagram for explaining the operation of the agent in the
  ユーザのパソコン14内で動作しているユーザエージェントは、必要に応じてインターネット13を経由してCM制作者10のCMプレース58に移動する。そのCMプレース58上において、ユーザエージェント26と常駐エージェント59とがmeeting し、両者協調してユーザが好むと思われるCMを検索する。  The user agent operating in the user's
  図10は、図4のSA20に示したスポンサーに対応するCM検索の具体的な動作を示すユーザエージェントのフローチャートである。SA73により、ユーザエージェントがパソコン14からCMプレース58へ移動する。この移動は、パソコン14内のユーザエージェント26を複製してクローンを作成し、そのクローンをユーザエージェント26としてCMプレース58へ派遣することにより行なわれる。次にSA74へ進み、自分のクローンが既にCMプレース58に駐在しているか否かの判断がなされ、既に駐在している場合にはSA73に戻り、次のCM制作者10のCMプレース58へ移動する。  FIG. 10 is a user agent flowchart showing a specific operation of the CM search corresponding to the sponsor shown in SA20 of FIG. By SA73, the user agent moves from the
  このSA73,SA74により、ユーザエージェント26は、自分のクローンが駐在していないCMプレース58を見つけ出してそこに移動することとなる。自分のクローンが駐在していないCMプレースを見つけ出した場合には、SA75に進み、データベース56にアクセスしてCMを検索する処理が行なわれる。次にSA76へ進み、希望するCMがあったか否かの判断がなされ、ない場合にはSA81へ進むが、あった場合にはSA77に進む。SA77では、希望するCMを電波メディア(無線系メディア)を利用してユーザ宅17にまで送信するかまたはインターネット等の有線系メディアを利用して送信するかの判断が行なわれる。電波メディアを利用しないと判断された場合にはSA78へ進み、希望するCMをインターネット13経由でパソコン14に送信する処理がなされる。  With these SA73 and SA74, the
  一方、電波メディアを利用する場合にはSA79へ進み、常駐エージェント59とmeeting して、希望するCMの放送日時とチャンネルを教えてもらう処理がなされる。次にSA80へ進み、放送日時とチャンネルと記録指示をインターネット13を経由してパソコン14へ送信する処理がなされる。  On the other hand, when using the radio wave media, the process proceeds to SA79 and meets with the
  次にSA81へ進み、ユーザエージェント26がこのCMプレース58に駐在するか否かの判断がなされる。駐在しない場合にはSA86へ進み、移動が終了したか否かの判断がなされ、移動予定となっているCM作成者の中にまだ移動していないところがある場合にはSA73に戻り、次の移動先へ移動する。一方、移動予定となっているすべてのCM作成者10を移動し終わった場合にはSA87へ進み、ユーザエージェント26がユーザのパソコン14へ復帰する処理がなされて制御が終了する。  Next, the process proceeds to SA81, where it is determined whether or not the
  一方、ユーザエージェント26がこのCMプレース58に駐在すると判断した場合にはSA82へ進み、自分のクローンを作りそれを移動先予定となっている他のCM作成者10のCMプレースに移動させる処理がなされる。次にSA83へ進み、CMプレース58に駐在することとなったユーザエージェント26が、常駐エージェント59とmeeting して、新たなCM作成があったか否かの判断がなされる。CM制作者10が新たなCMを制作してデータベース56に記憶させれば新たなCMが制作された旨を常駐エージェント59がCMプレース58に駐在しているユーザエージェント26に知らせるのであり、その知らせがあれば、SA83によりYESの判断がなされてSA88へ進む。  On the other hand, if it is determined that the
  SA88では、CMプレース58に駐在しているユーザエージェント26がその新たなCMを検索して評価する処理がなされる。次にSA89へ進み、評価の結果その新たなCMの入手を希望するか否かの判断がなされ、希望しない場合にはSA83へ進むが、希望する場合にはSA90へ進み、希望するCMのユーザ宅17への送信方法として、電波メディア(無線系メディア)を利用するか否かの判断がなされる。利用しない場合には、SA93により、希望するCMをインターネット13経由でパソコン14へ送信する処理がなされた後SA83へ進む。一方、電波メディアを利用する場合にはSA91へ進み、常駐エージェント59とmeeting して、入手希望のCMの放送日時とチャンネルを教えてもらい、SA92により、その放送日時とチャンネルと記録指示とをインターネット13経由でパソコン14へ送信する処理がなされた後SA83へ進む。  In SA88, the
  SA83により、新たなCM作成がないと判断された場合にはSA84へ進み、駐在を終了させるか否かの判断がなされ、ユーザエージェント26の駐在をまだ続行させる場合にはSA83へ進むが、駐在を終了させる場合にはSA85へ進み、駐在しているユーザエージェント26自身を消去する処理がなされて制御が終了する。  If it is determined by SA83 that there is no new CM creation, the process proceeds to SA84, and it is determined whether or not to end the stay. If the stay of the
  図11(a)はCMプレース58上の常駐エージェント59の動作を示すフローチャートであり、図11(b)は、CM制作者10の情報処理コンピュータ55の制御動作を示すフローチャートである。  FIG. 11A is a flowchart showing the operation of the
  まずCMプレース58に常駐している常駐エージェント59の動作を説明する。  First, the operation of the
  SD1により、新たなCMが制作されたか否かの判断がなされ、制作されていない場合にはSD3に進むが、制作されている場合にはSD2に進む。SD2では、CMプレース58に駐在しているユーザエージェント26とmeeting して、新たなCMが制作された旨を知らせる処理がなされる。次にSD3に進み、CM放送日時とチャンネルの通知依頼があったか否かの判断がなされ、なかった場合にはSD1に戻る。一方、前述したSA79またはSA91に基づいてユーザエージェント26がCM放送日時とチャンネルの通知依頼を行なった場合には、SD3によりYESの判断がなされてSD4に進む。  Based on SD1, it is determined whether or not a new CM has been produced. If it has not been produced, the process proceeds to SD3, but if it has been produced, the process proceeds to SD2. In SD2, a process of notifying that a new CM has been produced is performed by meeting with the
  SD4では、通知依頼のあったCMが既に放送が予定されているものであるか否かの判断がなされる。既に放送が予定されているものの場合には、放送予定日時とチャンネルが既に決まっているために、SD5に進み、その放送予定日時とチャンネルをCMプレース58にいるユーザエージェント26に通知する処理がなされた後SD1に戻る。  In SD4, it is determined whether or not the CM for which a notification request has been made is already scheduled to be broadcast. If the broadcast is already scheduled, the scheduled broadcast date and time and the channel are already determined, so the process proceeds to SD5, and the broadcast scheduled date and time and the channel are notified to the
  一方、放送が予定されていない場合にはSD6に進み、放送局2にCMを送信して放送依頼を行なう処理がなされる。次にSD7に進み、放送日時とチャンネルの返信があったか否かの判断がなされ、返信があるまで待機する。放送依頼を受けた放送局2は、その依頼されたCMをいつ放送するかの予定を立て、決まれば放送日時とチャンネルとをCM制作者10のCMプレース58の常駐エージェント59にその旨を送信する。すると、SD7によりYESの判断がなされてSD8に進み、CM番号毎に分類して返信されてきた放送日時とチャンネルとを記憶する処理がなされる。次にSD9に進み、放送日時とチャンネルをCMプレース58上のユーザエージェント26に通知する処理がなされた後SD1に戻る。  On the other hand, if the broadcast is not scheduled, the process proceeds to SD6, where a process of sending a CM to the
  次に情報処理コンピュータ55の動作を説明する。SE1により、番組関連データを受信したか否かの判断がなされ、受信していない場合にはSE4へ進む。図1で説明したように、番組関連データ制作者11からCM制作者10に番組関連データが送信されて来れば、SE1によりYESの判断がなされてSE2に進み、対応する番組のCMをデータベース56から検索してそのCMと受信したデータである番組関連データとを重合させる処理を行なう。その結果、データベース56内のCMは、番組関連データが重合されたCMデータとなる。また同じCMでも、どの番組に対し放映されるCMかによって番組関連データが異なるため、同じCMでも、対象となる番組毎に異なった番組関連データが重合された複数のCMデータがデータベース56に格納されることとなる。その結果、前述したSD6に従って放送局に送信されるCMは、そのCMに対応する番組の番組関連データが重合されたCMデータとなる。また、ユーザエージェント26が常駐エージェント59に対しCM放送日時とチャンネルの通知依頼を行なう場合には、どの番組に挿入して放映するCMであるかを通知する。常駐エージェント59は、その対象となる番組に対応した番組関連データが重合されたCMデータをデータベース56から検索して放送局2へ送信する。なお、データベース56を2分割して、CMのみが格納されたCM専用データベースと番組関連データ制作者11から送信されてきた番組関連データのみを格納した番組関連データ専用データベースとで構成し、ユーザエージェント26からのCM放送日時とチャンネルの通知依頼を受けたときに、そのCMの挿入放映の対象となる番組に関する番組関連データを常駐エージェント59が検索し、ユーザエージェント26により検索されたCMデータと常駐エージェント59が検索した番組関連データとを重合させて放送局2へ送信するようにしてもよい。次にSE3に進み、重合したCMのうち番組とともに放送するCMを放送局2へ送信する処理がなされる。つまり、番組の合間に挿入されて放送されるCMがこのSE3により放送局に送信され、放送局2から番組の放送とともに番組関連データが重合されたCMが放送される。  Next, the operation of the
  次にSE4に進み、新たに制作されたCMのデータベース56への入力があったか否かの判断がなされ、ない場合にはSE1に戻る。一方、入力があった場合にはSE5に進み、その新たなCMをデータベース56に記録する処理がなされ、次にSE6に進み、その新たなCMが制作された旨を常駐エージェント59に通知する処理がなされた後SE1に戻る。  Next, the process proceeds to SE4, where it is determined whether or not there is an input to the newly produced
  図12は、前述したSE2により番組関連データが重合されたCMを受信してユーザ宅17のパソコン14のCRT52またはTV16によりそのCMを放映した画面図である。この図12では、パソコン14のCRT52によりCMを放映した画面図が示されている。この図12の場合には、コロンボ警部という主人公が登場するサスペンス番組の合間に挿入されるスーツのCMの場合である。そして、パソコン14のユーザが、来年大学を卒業して社会人一年生となる者であり、来年卒業する情報がユーザのプロフィール情報としてユーザエージェント26が知識として保有している。  FIG. 12 is a screen view in which a CM on which program-related data is superimposed by the above-described SE2 is received and the CM is broadcast by the
  ゆえに、ユーザエージェント26は、その来年卒業という知識に基づいて図12に示すようなCMを検索した。そして、番組関連データとして、この番組の意見交換用のホームページのアドレスを表示させたり(図12(a)参照)、このCMの放映の次に放映される番組部分で内容上注目すべき箇所、たとえば「殺人現場でのコロンボ警部の右手に注目下さい」のメッセージ表示を行なったりする(図12(b)参照)。また、図12(c)に示すように、番組に出てくる専門用語の説明、たとえば「サブリミナル効果:人間が意識できない一瞬だけ映像を挿入して潜在意識に訴える」の文字表示等を行なってもよい。このように、SE2による重合とは、図12に示すように、CMの映像と文字情報等の重合である。  Therefore, the
  図13は、図2に示したコンテンツ提供業者7の通信装置3とユーザのパソコン14との制御回路を示すブロック図である。通信装置3は、可変長データ生成部31、乱数取得部32、暗号処理部33、論理回路34、通信制御部35、認証処理部36、およびマスタキー暗号処理部37を備えている。  FIG. 13 is a block diagram showing a control circuit between the
  可変長データ生成部31は、移動先エージェント27による選択コンテンツの送信指令(SA38参照)に基づいてテレスクリプト・エンジン18から伝送されてくるコンテンツの通信容量に応じたサイズの可変長データを生成する。たとえば静止画像の場合は画像1枚毎、動画像の場合は1表示画面毎に可変長データを生成する。この可変長データは任意のビット列からなるデジタルデータである。乱数取得部32は、コンテンツを発振する度に乱数発生装置4から自然乱数を取得する。暗号処理部33は、可変長データおよび自然乱数に基づいて可変長乱数列を生成する。暗号化に際してはSXAL/MBAL(後述する)を使用する。  The variable-length
  論理回路34は、テレスクリプト・エンジン18から伝送されてきたコンテンツの個々のビットと暗号処理部33により生成された可変長乱数列との排他的論理和(イクスクルーシブオア)を判定することで当該コンテンツをストリーム暗号化するものである。このストリーム暗号化された情報を伝送情報とする。通信制御部35は、各ユーザのパソコン14に対して通信設定して前記伝送情報や後述の通知情報を送信するとともに、各ユーザのパソコン14から送られる情報を受信するものである。  The
  認証処理部36は、ユーザのアクセス制御等に際してのユーザ認証を行なうための処理部である。マスタキー暗号処理部37は、認証処理部36および会員管理センター12の管理サーバー69による認証の結果が正統の場合に暗号処理部33において使用された可変長データと自然乱数(複数の場合にはその使用順の情報を含む)を伝送マスタキーとし、これを当該ユーザに固有の鍵に基づいて暗号化するとともに、その暗号化により得られた情報を通知情報として通信制御部35から当該ユーザのパソコン14に対して送信するものである。暗号化にはSXAL/MBAL(後述する)を用いる。  The
  会員管理センター12には、会員となっているユーザのIDやユーザ認証のための種々の会員情報がユーザ毎に分類して格納されているデータベース70が設置されている。管理サーバー69は、このデータベース70にアクセスして格納情報を検索してユーザ認証を行ない、その結果をインターネット13を経由して通信制御部30を介して認証処理部36へ送信する。  The
  ユーザのパソコン14には、制御中枢としてのCPU60,プログラムが格納されているROM61,CPU60のワーキングエリアとしてのRAM62、ならびに電気的に記憶データの消去が可能なEEPROM63が設けられている。さらに、外部との信号の整合性をとるための入出力インターフェイス64が設けられている。なお、クロック発生回路,アドレスデコード回路,パワーオンリセット回路等は図示を省略している。  The user's
  入出力インターフェイス64には、カードリーダライタ66が接続されており、ユーザのICカード65との信号のやり取りがこのカードリーダライタ66,入出力インターフェイス64を介してCPU60との間で行なわれる。入出力インターフェイス64にはフロッピー(登録商標)ディスクリーダライタ67が接続されており、フロッピー(登録商標)ディスクに対する情報の読取および書込が可能となる。  A card reader /
  入出力インターフェイス64にはハードディスクリーダライタ68が接続されており、ハードディスクに対する情報の読取および書込が可能となる。入出力インターフェイス64にはキーボード53が接続されており、ユーザがキーボード53を操作することによりその操作信号が入出力インターフェイス64を介してCPU60へ入力される。入出力インターフェイス64にはCRT52が接続されており、CRT表示用制御信号がCPU60から入出力インターフェイス64を介してこのCRT52へ与えられる。入出力インターフェイス64にはCD−ROMリーダ68aが接続されており、CD−ROM68bの記録情報が読取可能となる。このCD−ROM68bには、前述したユーザエージェント26が記録されている。ユーザエージェント26は、このCD−ROM68bに記録された状態でエージェント製造業者からユーザに販売される。なお、ユーザエージェント26の販売は、CD−ROM68bに記録させた形での販売に代えて、エージェント製造業者がインターネット13を経由してオンラインによりユーザエージェント26を配信して販売してもよい。  A hard disk reader /
  図14は、ユーザが所有するICカード65の制御回路および記憶データを示す図である。ICカード65には、制御中枢としてのCPU91と、制御用のプログラムを記憶しているROM92と、CPU91のワーキングエリアとしてのRAM93と、電気的に記憶データの消去が可能なEEPROM94と、外部との信号の入出力を行なうためのI/Oポート90とが設けられている。ROM92には、ICカード65のためのOS(オペレーティングシステム)が記憶されている。このOSは、事実上の世界標準であるたとえばMULTOS(マルチ・アプリケーションICカードの汎用オペレーティング・システム)等のICカード汎用OSを用いるのが望ましい。  FIG. 14 is a diagram showing a control circuit and stored data of the
  そして、たとえばEEPROM94には、必要に応じて各種のアプリケーションソフト95が記憶される。アプリケーションソフトとしては、たとえば、クレジット,デビット(預金自動引き落し),モンデックス,アクセス制御等の各種ソフトや、電子認証書,エージェント用知識データ,電子カルテ等の各種データが考えられる。これら各種アプリケーションソフトは、必要に応じて他の種類のアプリケーションソフトに書換えられるように構成されている。  For example, the
  エージェント用知識データ96としては、秘密性を要しない公表可能情報NSIと、秘密性を要する秘密情報SIとに分類されて記憶されている。公表可能情報NSIとしては、たとえば、ユーザの職業,趣味,住所,音楽の好み,映画の好み,…ユーザの公開鍵PKU等である。秘密情報SIとしては、たとえば、ユーザの年収,電話番号,異性の好み,学歴,貯蓄額,財産,…ユーザの秘密鍵SKU等が考えられる。この秘密情報SIは、ユーザ固有の秘密鍵であるSK1により暗号化された状態で記憶されている。  The
  ユーザは、自己のユーザエージェント26を利用する場合には、たとえばCD−ROM68bに記録されているユーザエージェントをCD−ROMリーダ68aで読取らせ、さらに自己が所有しているICカード65をパソコン14のICカード挿入口50に挿入して、エージェント用知識データ96を読取らせ、ユーザエージェント96にエージェント用知識データ96を保有させた状態で、ユーザエージェント26を動作させる。このユーザのプロフィール情報96は、転職や引っ越し等があればユーザが職業や住所等を書換えて更新する操作を行なう。また、ユーザエージェント26は、ユーザのために仕事を行ないその結果をユーザに提供するのであり、その提供された結果に対するユーザの反応(満足するかまたは不満に思うか等)を観察し、必要があればユーザエージェント26自身がユーザのプロフィール情報96を更新したり補充したりする。その結果、ユーザエージェント26をユーザが活用すればするほどユーザのプロフィール情報96がユーザに適した内容のものとなり、ユーザエージェント26を活用すればするほどユーザの満足のいく仕事を行なうものとなる。  When the user uses his / her
  さらに、ユーザエージェント26が、仕事の結果を提供したユーザの反応(満足するかまたは不満に思うか等)を観察し、ユーザのプロフィール情報96ばかりでなく、ユーザエージェント26自身のプログラムを改良するといういわゆる機械学習を応用したものである場合には、ユーザエージェント26を、EEPROM63等の情報の書換えが可能な記憶媒体に記憶させておく必要がある。  Furthermore, the
  また、図14に示したユーザのプロフィール情報96は、どのアドレスにどの種類のプロフィール情報が記憶されているかあるいはどのようなデータ構造で記憶させるか等が、世界的規模で統一化されたフォーマットに従っている。  Further, in the
図15は、前述したSXAL/MBALの概要を示す説明図である。 FIG. 15 is an explanatory diagram showing an outline of the above-described SXAL / MBAL.
図示の例では、平文データである20バイトの可変長データを8バイト(64ビット)の暗号鍵Kを用いて暗号化して20バイトの可変長暗号列を求める。図中、P,E,F,G,H,I,Cは各変換過程におけるデータであり、その添字はバイト数を表わしている。また、fmは暗号関数である。 In the illustrated example, 20-byte variable-length data, which is plaintext data, is encrypted using an 8-byte (64-bit) encryption key K to obtain a 20-byte variable-length cipher string. In the figure, P, E, F, G, H, I, and C are data in each conversion process, and the subscript represents the number of bytes. Fm is a cryptographic function.
図15を参照して、まず、可変長データPの左端の8バイトと拡大鍵KOとの排他的論理和(イクスクルーシブオア)を判定し、判定結果を関数fmによりデータ変換する。次に両端の各4バイトを合せてSXALによりデータ変換し、残りはそのままとする。続いてデータの順番を逆にし、暗号関数fmによりデータ変換した後、データの順番を逆にする。これを暗号関数fmによりデータ変換し、変換後のデータの左端の8バイトと拡大鍵KIとの排他的論理和(イクスクルーシブオア)を判定し、暗号化された可変長暗号列Cを求める。 Referring to FIG. 15, first, the exclusive OR of the leftmost 8 bytes of variable length data P and the expanded key KO is determined, and the determination result is converted into data by function fm. Next, the 4 bytes at both ends are combined and converted by SXAL, and the rest is left as it is. Subsequently, the order of the data is reversed, and after the data is converted by the encryption function fm, the order of the data is reversed. The data is converted by the encryption function fm, the exclusive OR of the leftmost 8 bytes of the converted data and the extended key KI is determined, and the encrypted variable length cipher string C is obtained. .
本実施の形態では、前記暗号アルゴリズムが、16バイト以上のデータまたはファイルを1単位として暗号化するためメガバイト級の大容量毎の暗号化が可能な点、前述のように双方向のデータ入換えを複数回実施して暗号化するから解読が著しく困難となる点、および情報伝達形態において1ビット程度のビット化けやデータ改ざんに遭遇した場合にすべての情報の正常復号が不可能となる点に着目して、これを大容量情報の高速伝達を行なう場合のセキュリティ確保に用いるようにしたものである。特に、1ビット程度のビット化けやデータ改ざんに遭遇した場合、DES型の暗号アルゴリズムでは、復号の際にビット化けや改ざん部分の近辺またはその部分以外のみが正常に復号されないため、受信側での異常感知が著しく困難となる。これに対し、SXAL/MBALでは、すべての部分が異常情報に変わるためその感知が極めて容易であり、通信中の場合は再送要求、ファイルの場合は保管中のバックアップファイルを使用するなど、迅速な対応が可能となる。 In this embodiment, since the encryption algorithm encrypts data or files of 16 bytes or more as one unit, it is possible to perform encryption for each large capacity of megabyte class, and bidirectional data exchange as described above. Since the encryption is performed multiple times, the decryption becomes extremely difficult, and the normal decryption of all information becomes impossible when encountering bit corruption or data alteration of about 1 bit in the information transmission form. Focusing on this, this is used to ensure security when high-capacity information is transmitted at high speed. In particular, when garbled or data falsification of about 1 bit is encountered, in the DES type encryption algorithm, only the vicinity of the bit garbled or falsified part or the part other than that part is not normally decrypted at the time of decryption. Anomaly detection becomes extremely difficult. On the other hand, in SXAL / MBAL, since all parts are changed to abnormal information, it is very easy to detect, and a quick request such as using a resend request during communication and a backup file being stored for files. Correspondence becomes possible.
  図16は、図13に示した送信装置3の動作を示すフローチャートである。SF1により、コンテンツの送信指令があったか否かの判断がなされ、ない場合にはSF14に進み、ユーザ認証処理を行なった後SF1へ戻る。このSF1,SF14のループの巡回途中で、前述したようにテレスクリプト・エンジン18からコンテンツの送信指令があった場合には、SF2に進み、その指令されたコンテンツが既に放送予定となっているコンテンツであるか否かの判断がなされる。既に放送予定となっているコンテンツの場合には、放送日時とチャンネルが放送局2からコンテンツ提供業者7へ送信されてきているために、その放送日時とチャンネルをユーザのパソコン14へ送信した後SF1へ戻る。  FIG. 16 is a flowchart showing the operation of the
  一方、送信指令を受けたコンテンツが未だに放送予定となっていない新たなコンテンツである場合にはSF4へ進み、その選択されたコンテンツの送信単位、たとえば1フレームFsに対応する可変長データ(′′111…1′′)を生成する。次にSF5へ進み、乱数発生装置4からたとえば2つの自然乱数(R1,R2)を取得して、暗号処理を行なう。具体的には可変長データを最初の自然乱数R1を鍵(暗号鍵)として前述したSXAL/MBALにより暗号化し、初期乱数列kd0(図15の下段の可変長暗号列Cに相当)を生成する。次に、SF7へ進み、初期乱数列kd0の該当バイトと基準論理値01hとの排他的論理和(イクスクルーシブオア)判定により乱数列KS(=kd1,kd2,…kdi)を生成する。  On the other hand, if the content for which the transmission command has been received is new content that is not yet scheduled to be broadcast, the process proceeds to SF4, and variable length data ("") corresponding to the transmission unit of the selected content, for example, one frame Fs. 111... 1 ″). Next, the process proceeds to SF5, where, for example, two natural random numbers (R1, R2) are obtained from the
ここでkd1はkd0の1バイト目と01hとの排他的論理和(イクスクルーシブオア)の判定結果、kd2はkd0の2バイト目と01hとの排他的論理和判定結果、…である。さらに乱数列KSを次の自然乱数R2を鍵(暗号鍵)としてSXAL/MBALにより暗号化し、新たな乱数列RS(=rd1,rd2,… rdn:可変長暗号列)を生成する(SF8)。ここでrd1はkd1の暗号処理結果、rd2はkd2の暗号処理結果、rdnはデータ量調整されたデータkdiの暗号結果、…である。 Here, kd1 is an exclusive OR determination result of the first byte of kd0 and 01h, kd2 is an exclusive OR determination result of the second byte of kd0 and 01h, and so on. Further, the random number sequence KS is encrypted by SXAL / MBAL using the next natural random number R2 as a key (encryption key), and a new random number sequence RS (= rd1, rd2,... Rdn: variable length encryption sequence) is generated (SF8). Here, rd1 is the encryption processing result of kd1, rd2 is the encryption processing result of kd2, rdn is the encryption result of the data kdi whose data amount is adjusted, and so on.
  次にSF9へ進み、前述のようにして生成された乱数列RSと送信単位Fsとの排他的論理和条件を判定して伝送情報RDnを生成し、SF10へ進み、生成された伝送情報RDnを放送局2へ送信する。放送局2では、伝送情報RDnを受信して、それをいつどのチャンネルで放送するかを決定し、その決定された放送日時とチャンネルをコンテンツ提供業者7へ返信してくる。その返信があればSF11によりYESの判断がなされてSF12へ進み、コンテンツNO.毎に分類して放送日時,チャンネルを記憶する処理がなされる。次にSF13に進み、その放送日時とチャンネルをユーザのパソコン14へ送信する処理がなされた後SF1へ戻る。  Next, the process proceeds to SF9, where the exclusive OR condition between the random number sequence RS generated as described above and the transmission unit Fs is determined to generate transmission information RDn, and the process proceeds to SF10, where the generated transmission information RDn is Transmit to
  図17は、ユーザのパソコン14によるコンテンツ再生処理動作を示すフローチャートであり、図3に示したS20の具体的なフローチャートである。S25により、可変長データと乱数(R1,R2)の記憶があるか否かの判断がなされる。この両データは、ユーザのパソコン14を使用してユーザ認証が行なわれた結果適正である旨の判定がなされたことを条件として後述するようにコンテンツ提供業者7からユーザのパソコン14へ送られてくるものである。この両データの記憶がない場合にはS26へ進み、まずユーザ認証処理(図18に基づいて後述する)を行なった後、S27へ進む。  FIG. 17 is a flowchart showing the content reproduction processing operation by the user's
S27では、可変長データを最初の自然乱数R1によりSXAL/MBALにより暗号化し、初期乱数列kd0を生成する。次に、S28へ進み、初期乱数列kd0の該当バイトと基準論理値01hとの排他的論理和(イクスクルーシブオア)判定により乱数列KS(=kd1,kd2,…kdi)を生成する。次にS29へ進み、乱数列KSを次の自然乱数R2を鍵としてSXAL/MBALにより暗号化し、新たな乱数列RS(=rd1,rd2,…rdn)を生成する。前記初期乱数列kd0、乱数列ks,rsは、それぞれ図16に基づいて説明したものと同一のものである。 In S27, the variable length data is encrypted with SXAL / MBAL using the first natural random number R1 to generate an initial random number sequence kd0. Next, the process proceeds to S28, and a random number sequence KS (= kd1, kd2,... Kdi) is generated by exclusive OR determination of the corresponding byte of the initial random number sequence kd0 and the reference logical value 01h. In step S29, the random number sequence KS is encrypted by SXAL / MBAL using the next natural random number R2 as a key, and a new random number sequence RS (= rd1, rd2,... Rdn) is generated. The initial random number sequence kd0 and the random number sequences ks and rs are the same as those described with reference to FIG.
このようにして生成された乱数列RSと受信した伝送情報RDnとの排他的論理和条件を判定して送信単位Fsを生成し(S30)、コンテンツを再生する(S31)。 A transmission unit Fs is generated by determining an exclusive OR condition between the random number sequence RS thus generated and the received transmission information RDn (S30), and the content is reproduced (S31).
  図18は、ユーザ認証処理を示すフローチャートであり、前述したSF14,S26の具体的な動作を示すフローチャートである。このフローチャートは、ユーザのパソコン14とコンテンツ提供業者7の通信装置3と会員管理センター12の管理サーバー69それぞれのフローチャートである。  FIG. 18 is a flowchart showing the user authentication process, and is a flowchart showing specific operations of SF14 and S26 described above. This flowchart is a flowchart of each of the user's
  ユーザは、まず自己のICカード65をパソコン14のICカード挿入口50へ挿入する。その状態で、ユーザが暗証番号等を入力してカード認証を行ない、そのカード認証の結果適正である旨の判定がなされたことを条件としてS32の処理がなされる。S32では、ICカード65に記憶されている会員IDを読出し、その読出した会員IDと選択されたコンテンツNO.とをコンテンツ提供業者7の通信装置3へ送信する処理がなされる。通信装置3では、SF15により、送信されてきたそれら情報を会員管理センター12の管理サーバー69へ中継して送信する処理が行なわれる。管理サーバー69では、SH1により、データベース70に格納されている会員管理用の情報を参照して送られてきた会員IDを確認し、適正である旨の確認が行なわれたことを条件として乱数を生成してチャレンジコードCCとして送信する処理がなされる。  The user first inserts his
  コンテンツ提供業者7の通信装置3では、SF16により、そのチャレンジコードCCを中継してユーザのパソコン14へ送信する。ユーザのパソコン14では、S33により、ICカード65内に記憶されているユーザのネットキーSKを呼出し、それを鍵を使用してレスポンスコードRCを生成して返信する処理がなされる。この処理は、RC=ESK(CC)を演算し、その演算結果を返信する処理である。  In the
  コンテンツ提供業者7の通信装置3では、そのレスポンスコードRCをSF17により中継して会員管理センター12の管理サーバー69に伝送する処理がなされる。  In the
  管理サーバー69では、SH2により、その送信されてきたレスポンスコードRCに基づいてユーザの本人認証を行なって確認し、適正である旨の確認ができればその旨をコンテンツ提供業者7の通信装置3へ返信する処理がなされる。このSH2の処理は、具体的には、RC=DSK(CC)が成立するか否かに基づいて行なう。なお、ネットキーSKは、会員管理センター12のデータベース70に会員のID毎に分類して格納されており、管理サーバー69が会員IDに相当するSKを検索してそれを用いてユーザ認証を行なう。  The
  ユーザ認証の確認情報を受取ったコンテンツ提供業者7の通信装置3では、SF18により、ユーザが希望するコンテンツに対応する可変長データKHと乱数(R1,R2)をユーザのネットキーSKで暗号化して秘匿した形態でユーザのパソコン14へ転送する処理がなされる。ユーザのパソコン14では、S34により、その転送されてきた情報をネットキーSKにより復号化し、可変長データK1と乱数(R1,R2)とを再生して記憶する処理がなされる。このK1と乱数(R1,R2)とが前述した図17に示したS27以降の処理に利用される。  The
  図19は、たとえば有料コンテンツを購入したユーザが、他のユーザにそのコンテンツを複製して配布するという不正コピーを防止するための制御回路である。この制御回路は、たとえばユーザのパソコン14に内蔵されている。コンテンツ提供業者7が提供する有料コンテンツあるいは放送局2が放送する有料番組をユーザのパソコン14が受信してそのコンテンツをハードディスク81等に記録させる。前述したように、有料コンテンツの場合には、一般的に暗号化されたデータとして転送されてくるために、その転送データをそのまま暗号化された状態でパソコン14がハードディスク81に記録する。このハードディスク81から読出された情報は、図17で説明したように、所定の復号化手段81aにより復号化され、コンテンツが再生される。  FIG. 19 shows a control circuit for preventing unauthorized copying in which, for example, a user who purchases paid content copies and distributes the content to other users. This control circuit is built in the user's
  この復号化された後のコンテンツには、いわゆる電子透かし技術により、制御信号CCS(Copy Control Signal )を透かし情報として埋込んでいる。一般的に、透かし情報は、MEPG2による復号化を行なうことにより読出すことができる。この復号手段81aにより復号化されたコンテンツデータがMPEG2復号化器82に入力され、復号化された情報を電子透かし検出器83に入力することにより、透かし情報である制御信号CCSを検出することができる。そしてその電子透かし検出器83により検出されたCCSがAPS86に入力される。このAPSは、たとえば米 Macrovision Corp. が開発したAnalog Protection Systemであり、複製防止処理を行なうものである。  In this decrypted content, a control signal CCS (Copy Control Signal) is embedded as watermark information by a so-called digital watermark technique. In general, watermark information can be read out by decoding with MPEG2. The content data decoded by the decoding means 81a is input to the
  電子透かし検出器83からグラフィックス・モジュール84に、透かし情報を含むコンテンツデータが与えられ、グラフィックス・モジュール84からコンテンツデータがNTSC(National Tetevison System Committee )符号化器85に与えられ、NTSC信号に変換される。そしてNTSC信号がパソコン14のCRT52,TV16,VTR15等に供給される。  Content data including watermark information is supplied from the
  APS86に与えられるCCSは、たとえば、「コピー禁止」や「1度だけコピー可能」などのコピー制御信号であり、この信号に従ってAPS86が動作してCCSのデータ内容どおりのコピー禁止等の制御を行なう。  The CCS given to the
  図20は、コンテンツ提供業者7と第三者機関8あるいは放送局2と番組関連データ制作者11との間での情報のやり取りを無線系メディアを用いて行なう例を示す説明図である。この図20は、いわゆるワイヤレス・ローカル網WLL(Wireless Local Loop )を利用したものを示している。コンテンツ提供業者7,第三者機関8,放送局2,番組関連データ制作者11には、それぞれ、無線装置71,72,74,75が設けられている。そして、前述したように、第三者機関8とコンテンツ提供業者7との間での、ユーザエージェント26,有料コンテンツ,第三者機関エージェント29等の伝送を、このWLLを利用して行なう。図中76,77,78,79,80はWLL用のアンテナである。  FIG. 20 is an explanatory diagram showing an example in which information is exchanged between the
  また、放送局2と番組関連データ制作者11との間での、番組関連データの伝送等も、WLLを利用して行なう。なお、1は衛星、5は衛星用のアンテナである。  Also, transmission of program related data between the
  第三者機関8とコンテンツ提供業者7との間での情報のやり取りは、多数のユーザエージェントや多数の第三者機関エージェントや多数のコンテンツが比較的大量に集まって送受信されるために、そのような大量のデータをこのWLLを利用して送受信することにより、効率的に送受信できる利点がある。  Information exchange between the third-
  図21は、不正コピー防止のための他の例を示す制御回路図である。この制御回路も、たとえばユーザのパソコン14に内蔵されている。ユーザのパソコン14で受信した暗号化されたコンテンツデータは前述したようにハードディスク81に記録される。この暗号化コンテンツデータ内には、その暗号化コンテンツを復号化するための前述した可変長データK1,乱数R1,R2が前述したユーザのネットキーSKで暗号化された状態で、透かし情報として組込まれている。  FIG. 21 is a control circuit diagram showing another example for preventing unauthorized copying. This control circuit is also built in the user's
  ハードディスク81に記録されているこのような暗号化コンテンツデータがMPEG2復号化器82に入力され、そこで復号化されて透かし情報が検出可能な状態に変換され、そのデータが電子透かし検出器83に入力され、透かし情報であるESK(K1,R1,R2)が検出されてパソコン14のCRT52,TV16に入力される。一方、電子透かし検出器83からの暗号化コンテンツデータがグラフィックス・モジュール84を経由してNTSC符号化器85に入力され、NTSC信号としてCRT52,TV16,VTR15に与えられる。このNTSC信号は、暗号化されたコンテンツデータのNTSC信号であるために、このNTSC信号に基づいてそのままCRT52,TV16等により放映したとしても、暗号化されたデータに従った映像しか放映されず、ユーザが何ら認識できない映像となる。  Such encrypted content data recorded on the
  そこで、たとえばユーザのパソコン14のICカード挿入口50にユーザのICカード65を挿入することにより、そのICカード65に記憶されているユーザのネットキーSKがパソコン14により読取られ、パソコン14に入力されたESK(K1,R1,R2)をユーザのネットキーSKより符号化してK1,R1,R2を再生し、それらデータを用いてNTSC信号を復号化して通常のコンテンツデータに対するNTSC信号に変換し、それに基づいてCRT52により映像を表示するように制御する。  Therefore, for example, by inserting the user's
  TV16にもICカード挿入口を形成し、そこにICカード65を挿入することにより、前述と同様にTV16によりNTSC信号を復号化して通常のコンテンツデータに対するNTSC信号に変換して放映する。  An IC card insertion slot is also formed in the
  このように構成することにより、有料コンテンツを正規に購入したユーザのICカード65を、パソコン14あるいはTV16に挿入しない限り、有料コンテンツを再生して放映することができない。なお、VTR15には、ICカード挿入口が形成されていないため、VTR15に記録されるデータは暗号化されたコンテンツに対するNTSC信号となる。そしてこのVTR15に記録されている暗号化されたコンテンツに対するNTSC信号をCRT52あるいはTV16により再生する際には、ICカード60を挿入して前述したように復号化して再生閲覧する。  With this configuration, the paid content cannot be played and broadcast unless the
  この図21に示す別実施の形態により、TV16でコンテンツを再生する場合には、TV16に図17に示したコンテンツ再生処理の機能が内蔵されることとなる。また、CRT52によりコンテンツを再生する場合には、パソコン14のICカード挿入口50にICカード65を挿入して再生するのであるが、図21に示すように、NTSC符号化器85からCRT52に供給されたNTSC信号に対し復号化を行なうようにし、パソコン14内でNTSC信号が復号化されてその復号化されたNTSC信号がたとえばTV16やVTR15に出力できないように構成されている。  According to another embodiment shown in FIG. 21, when content is played back on the
  また、この図21に示す別実施の形態では、図18に示したユーザ認証処理を行なって適正なユーザである旨の認証が行なわれた後、可変長データK1と乱数(R1,R2)とをユーザのネットキーSKで暗合化したデータを暗号化コンテンツデータに透かし情報として組込んでその情報を放送局2等を経由してユーザのパソコン14に転送するようにする。  Further, in another embodiment shown in FIG. 21, after the user authentication process shown in FIG. 18 is performed to authenticate that the user is an appropriate user, the variable length data K1, random numbers (R1, R2), The data encrypted with the user's net key SK is incorporated into the encrypted content data as watermark information, and the information is transferred to the user's
図22〜図24は、図16〜図18に示した制御動作の他の例を示す図である。 22 to 24 are diagrams illustrating other examples of the control operation illustrated in FIGS. 16 to 18.
  図22は、コンテンツ提供業者7の通信装置3の動作を示すフローチャートであり、図1616と対応している。SF19により、コンテンツの送信指令があったか否かの判断がなされ、ない場合にはSF19aに進み、ユーザ認証処理を行なった後SF19へ戻る。  FIG. 22 is a flowchart showing the operation of the
  テレスクリプト・エンジン81からコンテンツの送信指令があった場合にはSF20へ進み、既に放送予定となっているコンテンツであるか否かの判断がなされ、放送予定となっているコンテンツである場合にはSF21へ進み、放送日時とチャンネルをパソコン14へ送信してSF19へ戻る。一方、未だに放送予定となっていない新しいコンテンツについて送信指令があった場合にはSF22へ進み、ユーザの秘密鍵SKUと同じビット数の乱数RNを生成する処理がなされる。一般的にRSA等の公開鍵暗号方式で用いられる秘密鍵のビット数は、1024ビットであるために、このSF22で生成される乱数RNも1024ビットになる可能性が高い。  If there is a content transmission command from the telescript
  次にSF23へ進み、選択されたコンテンツをユーザの秘密鍵SKUと同じビット数(たとえば1024ビット)ずつに分割して分割コンテンツA(=A1,A2,…An)を生成する処理がなされる。SKUと同じビット数に分割した場合には、コンテンツに端数が生ずるのが一般的である。その場合には、最後の分割コンテンツAnがSKUのビット数よりも少ないビット数のデータとなる。次にSF24へ進み、分割コンテンツAとSF22により生成された乱数RNとの排他的論理和(イクスクルーシブオア)を演算する。図22〜図24ではイクスクルーシブオアとして○の中に+が描かれた記号を用いているが、明細書では(+)の記号を用いる。SF24の具体的演算内容は、分割コンテンツA1,A2,…Anのそれぞれと乱数RNとのイクスクルーシブオアを計算するものである。次にSF25へ進み、SF24による演算結果A(+)RNを放送局2へ送信する処理がなされる。これを受けた放送局2は、A(+)RNを放送する日時とチャンネルを決定し、その決定された放送日時とチャンネルをコンテンツ提供業者7に返信する。その返信があれば、SF26によりYESの判断がなされてSF27へ進み、コンテンツNO.毎に分類して放送日時とチャンネルを記憶する処理がなされ、SF28に進み、その放送日時とチャンネルをパソコン14へ送信する処理がなされた後SF19へ戻る。  Next, the processing proceeds to SF23, where the selected content is divided into the same number of bits (for example, 1024 bits) as the user's private key SKU to generate divided content A (= A1, A2,... An). When divided into the same number of bits as SKU, it is common for fractions to occur in the content. In this case, the last divided content An is data having a bit number smaller than the bit number of SKU. Next, the process proceeds to SF24, and an exclusive OR (exclusive OR) between the divided content A and the random number RN generated by SF22 is calculated. 22 to 24, a symbol in which + is drawn in a circle is used as the exclusive OR, but the symbol (+) is used in the specification. The specific calculation content of SF24 is to calculate the exclusive OR between each of the divided contents A1, A2,... An and the random number RN. Next, the process proceeds to SF25, and a process of transmitting the calculation result A (+) RN by SF24 to the
  なお、SF24の最後のAn(+)RNは、分割コンテンツデータAnが端数の関係上SKUよりも少ないビット数の分割コンテンツである場合には、乱数RNの先頭から分割コンテンツAnのビット数だけのデータを取出し、そのデータとAnのイクスクルーシブオアを演算する。  Note that the last An (+) RN of the
図23は、SF19aおよび後述するS36に示されたユーザ認証処理の具体的動作を示すフローチャートであり、図18と対応している。 FIG. 23 is a flowchart showing a specific operation of the user authentication process shown in SF 19a and S36 described later, and corresponds to FIG.
  まずユーザが自己のICカード65をパソコン14のICカード挿入口50に挿入して前述と同様にカード認証を行ない、適正である旨の認証が行なわれたことを条件としてS38により、挿入されたICカード65に記憶されているユーザのIDが読取られてその会員IDと選択されたコンテンツNO.とがコンテンツ提供業者7の通信装置3へ送信される。通信装置3では、その送信されてきた情報をSF19により中継して会員管理センター12の管理サーバー69に伝送する。管理サーバー69では、SH3により、データベース70にアクセスして送られてきた会員IDを確認して適正であるか否かの判断を行ない、適正である旨の確認をした後乱数を生成してチャレンジコードCCを通信装置3へ送信する。  First, the user inserts his / her
  通信装置3では、その送信されてきたチャレンジコードCCをSF20により中継してユーザのパソコン14へ送信する。ユーザのパソコン14では、S39により、ICカード内のネットキーSKを読出し、そのSKを鍵としてレスポンスコードRCを生成して返信する処理がなされる。つまり、RC=ESK(CC)を演算して返信する。通信装置3では、その返信されてきたRCをSF21により中継して管理サーバー69に送信する処理が行なわれる。管理サーバー69では、SH4により、その送信されてきたレスポンスコードRCに基づいてユーザの本人認証を行ない適正である旨の認証が行なわれたことを確認した場合にその旨を返信する処理がなされる。つまり、SH4では、CC=DSK(RC)が成立するか否かを判断してユーザの本人認証が行なわれる。  In the
  通信装置3では、ユーザの本人認証の確認情報を受取れば、選択されたコンテンツをSF23同様に分割し、分割コンテンツA(=A1,A2,…An)を管理サーバー69へ送信する処理がなされる。管理サーバー69では、SH5により、SKU(+){I1(+)(A1(+)RN)}=A1SKU(+){I2(+)(A2(+)RN)}=A2・・・SKU(+){In(+)(An(+)RN)}=Anを満たすI(=I1,I2,…In)を演算して、ESK(I)を通信装置3へ送信する処理がなされる。  When the
ここで、I1,I2,…Inは、それぞれ、A1,A2,…Anの分割コンテンツのビット数と同じビット数(たとえば1024ビット)のデータである。なお、端数の関係上Anが通常より少ないビット数であった場合には、InもAnに合せた少ないビット数となる。このI1,I2,…Inの算出は、比較的簡単に行なえ得る。たとえば、SKUとA1とRNとの最上位ビットがともに「1」であった場合には、1(+){I1の最上位ビット(+)(1(+)1)}=1となり、I1の最上位ビットは自ずと「0」となる。また、SKUの最上位ビットの次のビットが0で、A1とRNとの最上位ビットの次のビットがともに1であった場合には、0(+){I1の最上位ビットの次のビット(+)(1(+)1)}=1となり、I1の最上位ビットの次のビットは自ずと「1」となる。 Here, I1, I2,... In are data having the same number of bits (eg, 1024 bits) as the number of bits of the divided contents of A1, A2,. In addition, when An has a smaller number of bits than usual due to the fraction, In also has a smaller number of bits according to An. The calculation of I1, I2,... In can be performed relatively easily. For example, if the most significant bits of SKU, A1, and RN are all “1”, 1 (+) {the most significant bit of I1 (+) (1 (+) 1)} = 1, and I1 The most significant bit of is automatically “0”. When the next bit of the most significant bit of SKU is 0 and the next bits of the most significant bit of A1 and RN are both 1, 0 (+) {next to the most significant bit of I1 Bit (+) (1 (+) 1)} = 1, and the bit next to the most significant bit of I1 is naturally “1”.
  通信装置3では、ESK(I)を受けてSF23により中継してユーザのパソコン14へ送信する処理がなされる。ユーザのパソコン14では、S40により、受信した情報を鍵SKにより復号化する処理、すなわち、TSK{ESK(I)}を演算してIを再生して記憶する処理がなされる。なお、この別実施の形態では、会員管理センター12のデータベース70に、会員のIDごとに分類して会員(ユーザ)の秘密鍵SKUが格納されている。この秘密鍵SKUは、秘密性が保持可能な状態でデータベース70に格納されており、会員管理センター12のある限られたオペレータのみが管理サーバー69によりSKUにアクセスできるように構成されている。  The
  図24は、ユーザのパソコン14の動作を示すフローチャートであり、図17に示したフローチャートに対応したものである。まずS35により、I(=I1,I2,…In)を記憶しているか否かの判断がなされる。図23に示したユーザ認証が終了した段階ではIがユーザのパソコン14により記憶されているために(S40参照)、S35によりYESの判断がなされてS37に進むが、まだIが記憶されていない場合にはS36に進み、図23に示したユーザ認証処理が行なわれた後S37へ進む、
S37では、
A=SKU(+){I1(+)(A1(+)RN}
+SKU(+){I2(+)(A2(+)RN}
+SKU(+){I3(+)(A3(+)RN}
:
+SKU(+){IN(+)(AN(+)RN}
を演算して、コンテンツを再生する処理がなされる。FIG. 24 is a flowchart showing the operation of the user's
 In S37,
 A = SKU (+) {I1 (+) (A1 (+) RN}
 + SKU (+) {I2 (+) (A2 (+) RN}
 + SKU (+) {I3 (+) (A3 (+) RN}
 :
 + SKU (+) {IN (+) (AN (+) RN}
 Is processed to reproduce the content.
  この別実施の形態では、S37で示したように、コンテンツAを再生するには、当該ユーザの秘密鍵であるSKUが必要となる。つまりこのユーザの秘密鍵SKUを用いて暗号化コンテンツを復号化する処理がコンテンツAを再生するのに必須の処理となっている。その結果、暗号化コンテンツを正規に購入したユーザ以外のユーザが暗号化コンテンツを復号化してコンテンツAを再生するためには、当該暗号化コンテンツを購入した正規のユーザの秘密鍵SKUを用いて暗号化コンテンツを復号化せざるを得ず、正規のユーザからICカード65を入手しなければコンテンツAを得ることはできない。ゆえに、セキュリティが向上する。  In this other embodiment, as shown in S37, in order to reproduce the content A, the SKU that is the secret key of the user is required. That is, the process of decrypting the encrypted content using the user's private key SKU is an essential process for reproducing the content A. As a result, in order for a user other than the user who normally purchased the encrypted content to decrypt the encrypted content and reproduce the content A, the encrypted content is encrypted using the private key SKU of the authorized user who purchased the encrypted content. The content A cannot be obtained unless the
この図22〜図24の別実施例を別の表現で簡単に説明すれば、以下のようなものとなる。 The other embodiments of FIGS. 22 to 24 will be briefly described with different expressions as follows.
  コンテンツ提供業者7が作成したコンテンツをAとし、コンテンツ提供業者7は、その有料コンテンツAを乱数等からなる鍵RNにより暗号化してERN(A)を演算してそれを放送局2から放送してもらう。またコンテンツ提供業者7は、DSKU [DI {ERN(A)}]=Aを満たす鍵Iを生成し、それを鍵SKで暗号化してインターネット13等を経由してユーザのパソコン14へ送信する。  The content created by the
  ユーザは、放送局2から受信したERN(A)をコンテンツ提供業者7から受信して再生した鍵Iで復号化し、さらにそれを自分の秘密鍵SKUで復号化する。その結果、コンテンツAを得ることができる。  The user decrypts ERN (A) received from the
  なお、このようなRNやIやSKU等の鍵を用いて暗号化,復号化するアルゴリズムを、RSA公開鍵暗号方式やいわゆる楕円曲線暗号のアルゴリズムを用いれば、DI {ERN(A)}=EPKU (A)が成立する。ゆえに、この式を満たすIをコンテンツ提供業者7が算出してそれをユーザのパソコン14に送信すれば事足りることとなり、Iを生成するのにユーザの公開鍵PKUで事足りユーザの秘密鍵SKUを必要としないこととなる。  If an algorithm for encryption and decryption using a key such as RN, I, or SKU is used as an RSA public key cryptosystem or an algorithm of so-called elliptic curve cryptography, DI {ERN (A)} = EPKU (A) is established. Therefore, it is sufficient if the
次に、以上説明した実施の形態の変形例や特徴点等を以下に列挙する。 Next, modifications, feature points, and the like of the embodiment described above are listed below.
  (1)前述した実施の形態では、CM制作者10が制作したCMに対し番組関連データ制作者11が制作した番組関連データを重合させて放送し、番組の合間に挿入されているCMをユーザがカットして番組の部分のみを閲覧する不都合を防止するためのCMカット閲覧防止システムの発明が開示されている。  (1) In the above-described embodiment, the program-related data produced by the program-related
この発明は、ユーザに閲覧を希望させるためのコンテンツの合間にコマーシャルメッセージを挿入して宣伝を行なう宣伝システム(宣伝方法)を発明の属する技術分野とする。 The present invention relates to an advertising system (advertisement method) in which a commercial message is inserted between contents for requesting a user to browse, and the invention belongs to the technical field.
従来から一般的に知られている宣伝システム(宣伝方法)は、テレビ番組等の合間にコマーシャルメッセージ(CM)を挿入して放送局から放送し、ユーザがその放送を受信してTV(テレビジョン)で放映してCMを閲覧することにより、CMのスポンサーの宣伝やスンポンサーの商品の宣伝を行なうものがあった。 A publicly known publicity system (promotional method) has a commercial message (CM) inserted between television programs and broadcasts from a broadcasting station, and the user receives the broadcast and receives a TV (television television). ) And broadcast commercials to promote commercial sponsors and sponsors' products.
一方、近年、ユーザの家庭にはVTR(ビデオテープレコーダ)が普及しており、放送局が放送したCMを含む番組を一旦このVTR等に記録させ、後日それを再生してTVやパソコン等で閲覧するという記録再生閲覧が増えてきた。 On the other hand, VTRs (video tape recorders) have recently become widespread in the homes of users, and programs including CMs broadcast by broadcasting stations are temporarily recorded on these VTRs and played back later on TVs and personal computers. The number of recording / playback browsing has increased.
その結果、番組の合間に挿入されているCMはユーザにしてみれば贅肉に相当する部分であるために、そのCM部分のみをカットして番組部分のみを再生して閲覧するというCMカット閲覧が増えることが予想される。 As a result, since the CM inserted between the programs is a portion corresponding to a luxury for the user, CM cut browsing is performed in which only the CM portion is cut and only the program portion is reproduced and browsed. It is expected to increase.
このようなCMカット閲覧が増えた場合には、民放番組のスポンサーがCMによる利益を見込めなくなり、スンポンサーによって成り立っている民放が崩壊するおそれがある。 When such CM cut browsing increases, the sponsor of the commercial broadcast program cannot expect the profit from the commercial, and there is a possibility that the commercial broadcast made up of the sponsors will collapse.
つまり、従来の宣伝システム(宣伝方法)においては、ユーザに閲覧を希望させるためのコンテンツの合間に挿入されたコマーシャルメッセージのみをユーザがカットしてコンテンツのみを閲覧するために、コマーシャルメッセージの挿入による利益が見込めなくなるという欠点があった。 In other words, in the conventional advertising system (advertisement method), the user cuts only the commercial message inserted between the contents for requesting the user to browse, and only the content is viewed by inserting the commercial message. There was a disadvantage that profits could not be expected.
この宣伝システムの発明は、かかる実情に鑑み考え出されたものであり、その目的は、ユーザによる前述したCMカット閲覧を極力防止することである。 The invention of this advertising system has been conceived in view of such circumstances, and its purpose is to prevent the above-described CM cut browsing by the user as much as possible.
この目的を達成するための手段として、この宣伝システムの発明は、ユーザに閲覧を希望させるためのコンテンツの合間にコマーシャルメッセージを挿入して宣伝を行なう宣伝システムであって、前記コマーシャルメッセージが挿入される対象となる前記コンテンツに関連するコンテンツ関連情報を制作する制作者によって制作されたコンテンツ関連情報を前記コマーシャルメッセージと同時に放映する同時放映手段を含むことを特徴とする。 As a means for achieving this object, the invention of the advertising system is an advertising system for advertising by inserting a commercial message between contents for requesting the user to browse, wherein the commercial message is inserted. And a simultaneous broadcasting unit that broadcasts the content related information produced by the producer who produces the content related information related to the content to be transmitted simultaneously with the commercial message.
このような手段を採用した結果、コマーシャルメッセージと同時にそのコマーシャルメッセージが挿入されたコンテンツに関連するコンテンツ関連情報が放映される。コンテンツに興味のあるユーザはそのコンテンツ関連情報をも閲覧を希望するために、コンテンツ関連情報を閲覧すれば同時にコマーシャルメッセージも閲覧する結果となる。ゆえに、コマーシャルメッセージをカットしてコンテンツのみを閲覧することが極力防止できる。 As a result of adopting such means, the content related information related to the content in which the commercial message is inserted is broadcast at the same time as the commercial message. Since a user who is interested in the content desires to view the content related information, viewing the content related information results in viewing a commercial message at the same time. Therefore, it is possible to prevent as much as possible from browsing the content by cutting the commercial message.
  前記同時放映手段は、前記コマーシャルメッセージが挿入される対象となる前記コンテンツ(番組)に関連するコンテンツ関連情報(番組の意見交換用のホームページや番組の重要なポイントに注意を促すメッセージや番組内に登場する専門用語の解説等)を制作する制作者(番組関連データ制作者11)によって制作されたコンテンツ関連情報を前記コマーシャルメッセージと重合させる重合手段(SE1,SE2)と、該重合手段により前記コンテンツ関連情報が重合されたコマーシャルメッセージを前記コンテンツの合間に放映する放映手段(SE3,SD3〜DS9,放送局2,パソコン14あるいはTV16)とを含んでいる。  The simultaneous broadcasting means includes content-related information related to the content (program) to which the commercial message is inserted (in a message or program that calls attention to an important point of a program homepage or program) Superimposing means (SE1, SE2) for superimposing the content related information produced by the producer (program related data producer 11) producing the commentary of the technical terms that appear on the commercial message, and the content by the superimposing means Broadcasting means (SE3, SD3 to DS9,
  前記重合手段は、たとえばテレビ番組の放映中に地震等が発生した旨の臨時ニュースのメッセージを文字情報として表示させるという従来から周知の文字作成装置等の重合手段を用いればよい。なお、前記重合手段は、前述した本実施の形態では、CM制作者10の所に設けられたものを示したが、その代わりに、放送局2に設けてもよい。その場合には、番組関連データ制作者11が制作した番組関連データをインターネット13を経由して放送局2に送信し、放送局2において放送するコマーシャルメッセージにその番組関連データを重合させて放送する。  As the superimposing means, for example, a superimposing means such as a conventionally known character creating apparatus that displays a message of extraordinary news that an earthquake or the like has occurred during the broadcast of a television program as character information may be used. In the above-described embodiment, the superimposing means is provided at the
また、前述したコマーシャルメッセージカット閲覧を防止する目的を達成する発明として、次のような手段を有するものであってもよい。 Further, as an invention for achieving the object of preventing the above-described commercial message cut browsing, the following means may be provided.
ユーザに閲覧を希望させるためのコンテンツの合間にコマーシャルメッセージを挿入して宣伝を行なう宣伝方法であって、前記コマーシャルメッセージが挿入される対象となる前記コンテンツに関連するコンテンツ関連情報を生成するコンテンツ関連情報生成ステップと、該コンテンツ関連情報生成ステップにより生成された前記コンテンツ関連情報と前記コマーシャルメッセージとを重合させる重合ステップと、該重合ステップにより前記コンテンツ関連情報が重合した前記コマーシャルメッセージを前記コンテンツの合間に放映する放映ステップとを含むことを特徴とする、宣伝方法。 A method of advertising by inserting a commercial message between contents for requesting browsing by a user, and generating content related information related to the content for which the commercial message is inserted An information generation step, a superposition step for superimposing the content related information generated by the content related information generation step and the commercial message, and a commercial message in which the content related information is superposed by the superposition step. A method of advertising, comprising: a broadcasting step for broadcasting to the network.
  前述した番組関連データ制作者11が図12に示すような番組関連データを制作する説明部分により、前記コンテンツ関連情報生成ステップが構成されている。前記SE2により、前記重合ステップが構成される。前記SE3,SD3〜SD9,放送局2,前記S13〜S16により、前記放映ステップが構成される。  The content related information generating step is configured by the explanation part in which the program related
(2)前述した本実施の形態では、ユーザが好むと思われるコマーシャルメッセージを検索してそのユーザに放映閲覧させるという発明が開示されている。この発明は、コマーシャルメッセージによりユーザに対し宣伝を行なう宣伝システム(宣伝方法)を発明の属する技術分野とする。 (2) In the above-described embodiment, an invention is disclosed in which a commercial message that a user seems to like is searched and the user is allowed to browse and view the broadcast. The present invention relates to an advertising system (advertisement method) for advertising to a user by a commercial message.
この種の宣伝システム(宣伝方法)において、従来から一般的に知られてるものに、たとえば、民放の番組に対するスポンサーのためのコマーシャルメッセージをCM制作者が制作し、その制作されたコマーシャルメッセージが放送局に提供されて番組の合間に挿入された状態で放送される。ユーザは、放送番組の中から閲覧を希望する放送を受信してTVやパソコン等により閲覧をし、その閲覧途中で挿入されたコマーシャルメッセージが放映されることにより、ユーザに対しスポンサーの宣伝を行なっていた。 In this kind of advertisement system (advertisement method), for example, a commercial message for a sponsor for a commercial program is produced by a CM producer, and the produced commercial message is broadcast. It is provided to the station and broadcast while being inserted between programs. The user receives a broadcast that he / she wishes to browse from the broadcast program, browses it on a TV or personal computer, etc., and broadcasts a commercial message inserted in the middle of the viewing, thereby promoting the sponsor to the user. It was.
しかし、この種の従来の宣伝システム(宣伝方法)では、CM制作者が一方的にスポンサーのCMを作成してユーザが好むと好まざるとにかかわらず一方的に制作されたCMを放送局から放送していた。その結果、ユーザにしてみれば、全く興味のない商品のCMや自分にほとんど無関係なCMを閲覧する状態となる。たとえば、アルコールを受けつけないユーザに対しビールの宣伝をしたところでユーザにとって全く無駄であるばかりでなくスポンサー側にとっても全く効果のないCMとなってしまう。このように、従来の宣伝システム(宣伝方法)は、ユーザ側およびスポンサー側双方にとって無駄の多い利益の少ないものとなってしまうという欠点があった。 However, in this type of conventional advertising system (advertisement method), a CM producer creates a CM for a sponsor unilaterally, regardless of whether the user likes it or not. I was broadcasting. As a result, for the user, the user is in a state of browsing commercials of products that are completely uninterested and commercials almost unrelated to him. For example, when advertising a beer to a user who does not accept alcohol, the advertisement is not only useless for the user but also has no effect on the sponsor side. As described above, the conventional advertisement system (advertisement method) has a drawback that both the user side and the sponsor side are wasteful and less profitable.
本発明は、かかる実情に鑑み考え出されたものであり、その目的は、宣伝者側およびユーザ側の双方における無駄を極力防止することである。 The present invention has been conceived in view of such circumstances, and an object thereof is to prevent waste on both the advertiser side and the user side as much as possible.
この目的を達成する手段として、この発明は、コマーシャルメッセージによりユーザに対し宣伝を行なう宣伝システムであって、ユーザを複数種類の属性毎に分類し、その分類毎に当該分類に属するユーザのみをターゲットにして制作されたコマーシャルメッセージを格納するコマーシャルメッセージ格納手段と、ユーザのプロフィール情報を知識として保有し、当該ユーザのために働くユーザエージェントに前記コマーシャルメッセージ格納手段に格納されているコマーシャルメッセージを検索させる検索手段と、該検索手段により検索されたコマーシャルメッセージを前記ユーザエージェントの持主であるユーザに提供するコマーシャルメッセージ提供手段とを含むことを特徴とする。 As a means for achieving this object, the present invention is an advertising system that advertises to a user by a commercial message, classifying the user into a plurality of types of attributes, and targeting only users belonging to the classification for each category. Commercial message storage means for storing the produced commercial message, and having user profile information as knowledge, and causing a user agent working for the user to search for the commercial message stored in the commercial message storage means It includes a search means, and a commercial message providing means for providing a commercial message searched by the search means to a user who owns the user agent.
このような手段を採用した結果、複数種類の属性に分類されたユーザ毎に当該分類に属するユーザのみをターゲットにしてコマーシャルメッセージが制作され、ユーザエージェントによりそのような複数のコマーシャルメッセージの中からユーザが好むと思われるコマーシャルメッセージが検索されて選択され、ユーザに提供される。その結果、ユーザに適したきめ細かなコマーシャルメッセージがユーザ毎に提供可能となり、ユーザにとって不必要なコマーシャルメッセージがユーザに提供されてしまうという無駄を極力防止することができる。 As a result of adopting such means, a commercial message is produced for each user classified into a plurality of types of attributes, targeting only the users belonging to the classification, and the user agent selects a user from among such a plurality of commercial messages. Commercial messages that are likely to be preferred are retrieved and selected and provided to the user. As a result, a fine commercial message suitable for the user can be provided for each user, and waste that the commercial message unnecessary for the user is provided to the user can be prevented as much as possible.
  前記データベース56により、ユーザを複数種類の属性毎に分類し、その分類毎に当該分類に属するユーザのみをターゲットにして制作されたコマーシャルメッセージを格納するコマーシャルメッセージ格納手段が構成されている。前記テレスクリプト・エンジン57により、ユーザのプロフィール情報を知識として保有し、当該ユーザのために働くユーザエージェント26に前記コマーシャルメッセージ格納手段に格納されているコマーシャルメッセージを検索させる検索手段が構成されている。前記SA76〜SA80,SA89〜SA93,インターネット13,放送局2,S2,S11〜S16により、前記検索手段により検索されたコマーシャルメッセージを前記ユーザエージェントの持主であるユーザに提供するコマーシャルメッセージ提供手段が構成されている。  The
前記ユーザを複数種類の属性に分類する具体例としては、たとえば、ユーザを、年齢別,性別,学識レベル別,職業別,ユーザの消費動向別,ユーザの各種好みの嗜好別等に分類することが考えられる。番組等のコンテンツの合間に挿入されるコマーシャルメッセージの放映時間としては、たとえば、20秒,40秒,60秒,80秒,100秒等のように、複数種類の放映時間を予め規格化しておき、前記コマーシャルメッセージ格納手段に格納される複数のコマーシャルメッセージも、1つのメッセージまたは複数のメッセージを組合せて放映することにより前記規格化された時間にちょうど収まるような長さに制作しておく。 As a specific example of classifying the user into a plurality of types of attributes, for example, the user is classified according to age, sex, academic level, occupation, user consumption trend, user preference, etc. Can be considered. As the broadcast time of a commercial message inserted between contents such as programs, a plurality of types of broadcast times such as 20 seconds, 40 seconds, 60 seconds, 80 seconds, 100 seconds, etc. are standardized in advance. The plurality of commercial messages stored in the commercial message storage means are also produced so as to fit within the standardized time by broadcasting one message or a plurality of messages in combination.
  一方、放送局2からコマーシャルメッセージを含む番組を放送する場合には、番組放送からコマーシャル放送に切換える直前にコマーシャルメッセージの放映時間を特定するデータを放送する。ユーザ側においては、パソコン14等により、そのコマーシャルメッセージの放映時間を特定する情報を受信してその情報に基づいて特定されるコマーシャルメッセージ放映時間だけユーザエージェントが検索したコマーシャルメッセージに切換えて放映する。  On the other hand, when a program including a commercial message is broadcast from the
  一方、ユーザエージェントが予め選択して予約した番組以外の番組をユーザが見る場合もあり、その場合に対応する方法としては、当日放送される番組のスポンサーすべてについてコマーシャルメッセージを予めユーザエージェントが検索してユーザのパソコン14のハードディスク等に記憶しておくことが考えられる。  On the other hand, there are cases where the user sees programs other than the programs that the user agent has selected and reserved in advance. As a method for dealing with this, the user agent searches for commercial messages for all sponsors of the program broadcast on the day in advance. For example, it may be stored in a hard disk or the like of the user's
コマーシャルメッセージの記憶は、1つのスポンサーに対し複数種類検索して記憶しておき、その複数種類のコマーシャルメッセージを入れ代わり立ち代わり放映してユーザが飽きないようにすることが望ましい。 It is desirable to store a plurality of types of commercial messages by searching for and storing a plurality of types of commercial messages so that the user does not get bored by replacing the types of commercial messages.
一方、ユーザが全く不要とするコマーシャルメッセージたとえばアルコールを全く受けつけないユーザに対しビールやウイスキー等のコマーシャルメッセージは、当然ユーザエージェントが検索しない。その結果、そのようなユーザに対しては、ユーザが見ている番組のスポンサーになっているにもかかわらずそのユーザには当該スンポンサーのコマーシャルメッセージが全く放映されないという不公平な事態が生ずる。そこで、たとえば一定の地域内等において、スポンサー同士コマーシャルメッセージの放映回数が平等となるように調整する調整手段を設置するのが望ましい。 On the other hand, the user agent does not search for commercial messages that the user does not need at all, for example, commercial messages such as beer and whiskey for users who do not accept alcohol at all. As a result, an unfair situation arises in such a case that the commercial message of the sponsor is not broadcast to the user even though the program is sponsored by the user. Therefore, for example, in a certain area, it is desirable to install an adjusting means for adjusting the number of commercial messages between sponsors to be equal.
  図1に示した衛星放送を利用してコマーシャルメッセージを放映する方法として、たとえば、コマーシャルメッセージばかりを次々と放映する衛星放送を1チャンネルまたは多数チャンネルにわたって開設し、ユーザエージェントが前記コマーシャルメッセージ格納手段にアクセスして検索選択したコマーシャルメッセージが衛星放送によって放送される日時とチャンネルを特定できるデータをユーザのパソコンに送信する。ユーザのパソコン14では、送信されてきた日時が来れば送信されたチャンネルにチューニングして放送電波をキャッチしてその放送内容であるコマーシャルメッセージをハードディスク等に記憶させる。  As a method of broadcasting a commercial message using the satellite broadcast shown in FIG. 1, for example, a satellite broadcast that broadcasts only commercial messages one after another is opened over one channel or many channels, and a user agent stores the commercial message in the commercial message storage means. Data that can specify the date and time when the commercial message accessed, searched and selected is broadcast by satellite broadcasting is transmitted to the user's personal computer. When the user's
  ほぼすべてのスポンサーについてコマーシャルメッセージをユーザエージェントが検索してユーザのパソコン14のハードディスク等に記憶した段階では、その後においては、あるスポンサーについて新たなコマーシャルメッセージが制作された場合に限り、その新たなコマーシャルメッセージについてユーザエージェントが検索し必要と判断すればこのコマーシャルメッセージをユーザのパソコン14のハードディスク等に記憶させる。またあるスポンサーについて古くなって消去されたコマーシャルメッセージも、そのコマーシャルメッセージがパソコン14のハードディスクに記憶されておればそのハードディスクから消去する。  At the stage where the user agent searches for a commercial message for almost all sponsors and stores it in the hard disk or the like of the user's
  その場合、前記コマーシャルメッセージ格納手段において、新たに作成されて新たに格納されたコマーシャルメッセージあるいは古くて消去されたコマーシャルメッセージが生ずるごとに、たとえばプッシュ技術を利用してユーザのパソコン14にまでその旨を伝送する。ユーザのパソコン14では、その伝送されてきた情報に基づいてハードディスクの記憶内容を更新する。  In that case, every time a commercial message newly created and newly stored or an old and erased commercial message is generated in the commercial message storage means, for example, the push
  さらに、ユーザエージェント26が検索したコマーシャルメッセージについてより詳細なデータを入手したい場合には、インターフェイス13経由で所定のWWWサーバーへアクセスして入手できるようにするべく、そのコマーシャルメッセージについてのWWWサーバーのアドレスをユーザのパソコン14に伝送するのが望ましい。そのWWWサーバーのアドレスデータの送信は、たとえば衛星データ配信・放送を利用したり、テレビ放送用の地上波を利用したデータ多重放送により配信する。  Further, when it is desired to obtain more detailed data about the commercial message searched by the
(3) 前述した本実施の形態では、図22〜図24に示したように、有料コンテンツ等の情報のセキュリティを確保するシステム(または方法)が開示されている。 (3) In the above-described embodiment, as shown in FIGS. 22 to 24, a system (or method) for ensuring the security of information such as paid content is disclosed.
この発明は、情報提供者側が情報要求者側に提供する情報に対するセキュリティシステム(またはセキュリティを確保する方法)を発明の属する技術分野とする。 The present invention relates to a security system (or a method for ensuring security) for information provided from an information provider side to an information requester side.
この種のセキュリティを確保する技術として、従来から一般的に知られているものに、たとえば、あるユーザによって有料コンテンツが購入されれば、その有料コンテンツを暗号化してたとえば放送局からその暗号化コンテンツを放送してもらう。その暗号化コンテンツを購入したユーザに対しては、その暗号化コンテンツの放送日時とチャンネルとを事前に通知しておき、ユーザがその暗号化コンテンツの放送を受信して暗号化コンテンツをVTR等に記録する。そして、有料コンテンツの提供業者が前記暗号化コンテンツを復号化して再生するための鍵を当該有料コンテンツを購入した正規のユーザに対し配信する。その正規のユーザは、その配信されてきた鍵を用いてVTR等に記録してある暗号化コンテンツを復号化して再生して閲覧する。 As a technology for ensuring this kind of security, for example, if paid content is purchased by a certain user, for example, if the paid content is encrypted, the encrypted content is encrypted from a broadcasting station, for example. To be broadcast. The user who purchased the encrypted content is notified in advance of the broadcast date and channel of the encrypted content, and the user receives the broadcast of the encrypted content and sends the encrypted content to a VTR or the like. Record. Then, a pay content provider distributes a key for decrypting and reproducing the encrypted content to an authorized user who purchased the pay content. The legitimate user decrypts the encrypted content recorded in the VTR or the like using the distributed key, plays it back, and browses it.
このような従来の技術の場合には、暗号化コンテンツが電波メディア(無線系メディア)により広域にわたって放送されるために、有料コンテンツに対する料金を支払った正規のユーザ以外のその他多数のユーザが暗号化された有料コンテンツを受信可能となる。このような正規のユーザ以外のその他多数のユーザが前述した暗号化された有料コンテンツを受信して記録した場合には、後はコンテンツ提供業者から配信される暗号化コンテンツを復号化するための鍵(以下単に復号化鍵という)をなんらかの方法で入手するだけで、暗号化コンテンツを復号化して再生閲覧することが可能となる。その結果、有料コンテンツに対し料金を支払っていない多数のユーザが有料コンテンツを再生閲覧可能となってしまうという不都合が生ずる。 In the case of such a conventional technology, since encrypted content is broadcast over a wide area by radio wave media (wireless media), many other users other than legitimate users who pay for paid content are encrypted. Paid content can be received. When many other users than the regular user receive and record the above-mentioned encrypted paid content, the key for decrypting the encrypted content distributed from the content provider is used thereafter. By simply obtaining (hereinafter simply referred to as a decryption key) by some method, the encrypted content can be decrypted and reproduced and viewed. As a result, there arises a disadvantage that a large number of users who have not paid a fee for pay content can reproduce and view the pay content.
そこで、前記復号化鍵FKを、料金を支払った正規のユーザの公開鍵PKUにより暗号化してEPKU (FK)の形で前記正規のユーザにインターネット等を経由して配信することが考えられる。そのようにすれば、他の多数のユーザがこのEPKU (FK)を傍受したとしても、料金を支払った正規のユーザの秘密鍵SKUをもっていない限り復号化して復号化鍵FKを再生することができず、一応セキュリティは保たれるように思われる。 Therefore, it is conceivable that the decryption key FK is encrypted with the public key PKU of the authorized user who paid the fee, and distributed to the authorized user via the Internet or the like in the form of EPKU (FK). By doing so, even if many other users intercept this EPKU (FK), they can decrypt and regenerate the decryption key FK as long as they do not have the legitimate user's private key SKU that has paid the fee. First, security seems to be maintained.
しかし、あるグループの構成員全員が暗号化コンテンツデータの放送を受信し、その構成員の一人が代表として料金を支払ってEPKU (FK)を受信し、その代表者の秘密鍵で復号化してDSKU {EPKU (FK)}を演算してFKを再生し、そのFKをグループの他の構成員全員に配信した場合には、一人分の料金しか払わないにもかかわらず大勢の人間が暗号化コンテンツデータを閲覧することが可能となる。 However, all the members of a group receive the broadcast of the encrypted content data, and one of the members pays the fee as a representative, receives the EPKU (FK), decrypts it with the secret key of the representative, and performs the DSKU. When {EPKU (FK)} is calculated and the FK is played and distributed to all the other members of the group, a large number of people can encrypt the content even though they only pay one person's fee. Data can be browsed.
この発明は、かかる実情に鑑み考え出されたものであり、その目的は、有料コンテンツ等の情報を利用する権限を有する正規のもの以外のものが不正に情報利用することを極力防止することである。 The present invention has been conceived in view of such circumstances, and its purpose is to prevent unauthorized use of information other than authorized ones having authority to use information such as paid content as much as possible. is there.
このような目的を達成するべく、この発明は、次のような手段を採用している。 In order to achieve such an object, the present invention employs the following means.
  情報提供者側が情報要求者側に提供する情報に対するセキュリティを確保する方法であって、
前記情報提供者側において第1の鍵を用いてあるアルゴリズムに従って前記情報を変換する変換ステップと、
該変換ステップにより変換された変換情報を前記情報要求者側に提供する変換情報提供ステップと、
前記情報提供者側において、第2の鍵を生成する第2の鍵生成ステップと、
該第2の鍵生成ステップにより生成された前記第2の鍵を前記情報要求者側へ提供する第2の鍵提供ステップとを含み、
前記第2の鍵生成ステップは、前記変換情報に対し、前記第2の鍵を用いてのあるアルゴリズムに従った変換処理と前記情報要求者側の秘密鍵を用いてのあるアルゴリズムに従った変換処理とを施すことを条件として前記情報を再生できるように定められた前記第2の鍵を生成することを特徴とする、情報に対するセキュリティを確保する方法。A method for ensuring security for information provided to an information requester by an information provider,
 A conversion step of converting the information according to an algorithm using a first key on the information provider side;
 A conversion information providing step of providing the information requester side with the conversion information converted by the conversion step;
 A second key generation step of generating a second key on the information provider side;
 Providing the second key generated by the second key generation step to the information requester side, and
 In the second key generation step, the conversion information is converted according to an algorithm using the second key and the conversion according to an algorithm using the secret key of the information requester side. A method for ensuring the security of information, comprising generating the second key determined so that the information can be reproduced on condition that the processing is performed.
また、前述した目的を達成する他の手段として、本発明は以下の構成を採用してもよい。 Further, as another means for achieving the above-described object, the present invention may adopt the following configuration.
  情報提供者側が情報要求者側に提供する情報に対するセキュリティシステムであって、前記情報提供者側において第1の鍵を用いてるあるアルゴリズムに従って前記情報を変換する変換手段と、
該変換手段により変換された変換情報を前記情報要求者側に提供する変換情報提供手段と、
前記情報提供者側において、第2の鍵を生成する第2の鍵生成手段と、
該第2の鍵生成手段により生成された前記第2の鍵を前記情報要求者側へ提供する第2の鍵提供手段とを含み、
前記第2の鍵生成手段は、前記変換情報に対し、前記第2の鍵を用いてのあるアルゴリズムに従った変換処理と前記情報要求者側の秘密鍵を用いてのあるアルゴリズムに従った変換処理とを施すことを条件として前記情報を再生できるように定められた前記第2の鍵を生成することを特徴とする、情報に対するセキュリティシステム。A security system for information provided by the information provider side to the information requester side, wherein the information provider side converts the information according to an algorithm using a first key;
 Conversion information providing means for providing conversion information converted by the conversion means to the information requester side;
 A second key generating means for generating a second key on the information provider side;
 And second key providing means for providing the second key generated by the second key generating means to the information requester side,
 The second key generation means converts the conversion information according to a certain algorithm using the second key and a conversion according to an algorithm using the secret key of the information requester side. A security system for information, characterized in that the second key defined so that the information can be reproduced on condition that processing is performed.
本発明がこのような手段を採用した結果、暗号化情報を復号化して再生する際に、情報提供者側が前記情報を提供する相手である正規の情報要求者側の秘密鍵を用いての変換処理が必須となる。その結果、暗号化情報を復号化して再生するには、前記正規の情報要求者側の秘密鍵を入手しなければならない。しかし、秘密鍵というものは秘密性を保持しなければならない性質のものであり、他人にみだりに貸し与えて使用させることがあまり考えられないものである。ゆえに、前記正規の情報要求者以外の他の者が正規の情報要求者から秘密鍵を入手することは一般的にあまり考えられず、正規の情報要求者以外のものが前記暗号化情報を復号化して再生することが極力防止できる。 As a result of adopting such means by the present invention, when the encrypted information is decrypted and reproduced, the information provider side uses the private key of the legitimate information requester side to whom the information is provided. Processing is essential. As a result, in order to decrypt and reproduce the encrypted information, it is necessary to obtain the secret key on the regular information requester side. However, a secret key is a property that must maintain confidentiality, and is unlikely to be lent to someone else for use. Therefore, it is generally not considered that a person other than the legitimate information requester obtains a secret key from the legitimate information requester, and a person other than the legitimate information requester decrypts the encrypted information. Can be prevented as much as possible.
前記第2の鍵生成ステップ(第2の鍵生成手段)は、前記変換情報に対し、前記第2の鍵を用いてのあるアルゴリズムに従った変換処理が実行された後前記情報要求者側の秘密鍵を用いてのあるアルゴリズムに従った変換処理を施すことを条件として前記情報を再生できるように定められた前記第2の鍵を生成するものであることが望ましい。 In the second key generation step (second key generation means), after the conversion process is executed on the conversion information according to an algorithm using the second key, the information requester side It is desirable to generate the second key determined so that the information can be reproduced on condition that a conversion process according to an algorithm using a secret key is performed.
  前記SF22〜SF24により、前記情報提供者(コンテンツ提供業者7)側において第1の鍵(乱数RN)を用いてあるアルゴリズム(イクスクルーシブオア)に従って前記情報を変換する変換ステップ(変換手段)が構成されている。前記SF25〜SF28,放送局2,S7,S23,S8,S24,S2,S11〜S16により、前記変換ステップ(変換手段)より変換された変換情報(A(+)RN)を前記情報要求者(ユーザ)側に提供する変換情報提供ステップ(変換情報提供手段)が構成されている。  A conversion step (conversion means) that converts the information according to an algorithm (exclusive OR) using a first key (random number RN) on the information provider (content provider 7) side by the SF22 to SF24. It is configured. The conversion information (A (+) RN) converted by the conversion step (conversion means) by the SF25 to SF28,
前記SH5により、前記情報提供者側において、第2の鍵を生成する第2の鍵生成ステップ(第2の鍵生成手段)が構成されている。SH5,SF23により、前記第2の鍵生成ステップ(第2の鍵生成手段)により生成された前記第2の鍵を前記情報要求者側へ提供する第2の鍵提供ステップ(第2の鍵提供手段)が構成されている。 The SH5 constitutes a second key generation step (second key generation means) for generating a second key on the information provider side. A second key providing step (second key provision) of providing the second key generated by the second key generation step (second key generation means) to the information requester side by SH5 and SF23. Means).
前記第2の鍵生成ステップ(第2の鍵生成手段)は、前記変換情報(A(+)RN)に対し、前記第2の鍵(I1,I2,…In)を用いてのあるアルゴリズム(イクスクルーシブオア)に従った変換処理と前記情報要求者側の秘密鍵(SKU)を用いてのあるアルゴリズム(イクスクルーシブオア)に従った変換処理とを施すことを条件として前記情報(コンテンツA)を再生できるように定められた前記第2の鍵(I1,I2,…In)を生成する。 The second key generation step (second key generation means) uses the second key (I1, I2,... In) for the conversion information (A (+) RN). The information (content) on condition that the conversion process according to the exclusive OR) and the conversion process according to an algorithm (exclusive OR) using the secret key (SKU) on the information requester side are performed. The second key (I1, I2,... In) determined so that A) can be reproduced is generated.
(4) 前述した本実施の形態では、図21に基づいて説明したように、情報の不正コピーを防止する発明が開示されている。 (4) In the present embodiment described above, as described with reference to FIG. 21, an invention for preventing unauthorized copying of information is disclosed.
この発明は、不正コピーを防止することを目的とし、その目的達成のために、次のような手段を採用した。 The object of the present invention is to prevent unauthorized copying, and in order to achieve the object, the following means are adopted.
  暗号化された暗号情報内に、当該暗号情報を復号化するための鍵情報が埋込まれており、該鍵情報を読出す鍵読出手段(MPEG2,復号化器82,電子透かし検出器83)と、
該鍵読出手段より読出された鍵を用いて前記暗号情報を復号化して情報を再生する復号化手段(ICカード65,TV16,パソコン14)とを含み、
前記復号化手段は、前記再生された情報をユーザが認識できるように出力する出力装置(TV16,CRT52を有するパソコン14)に内蔵されている。Key information for decrypting the encrypted information is embedded in the encrypted encrypted information, and key reading means for reading the key information (MPEG2,
 Decryption means (
 The decryption means is incorporated in an output device (a
  (5)ICカード65に、エージェント用知識データばかりでなくユーザエージェント26のプログラム自体も記憶させてもよい。そのように構成した場合には、エージェント用知識データとユーザエージェントのプログラム自体とがユーザに常に携帯されるICカードに記録されることとなるために、エージェント用知識データが他人に覗き見されるおそれが少なくなるとともに、ユーザエージェントを他人に使用される不都合も極力防止することができる。しかも、ユーザが勤務先のオフィス等に設置されているパソコンを利用して自分自身のユーザエージェントを活用したい場合には、携帯しているICカード65をそのパソコンに挿入することにより可能となり、わざわざ自宅のパソコン14からユーザエージェントのプログラムとエージェント用知識データとを送信してもらう必要がなくなる。ICカード65のEEPROM94により、エージェント用知識データを格納するエージェント用知識データ格納手段が構成されている。またICカード65のEEPROM94により、エージェントプログラムを格納するエージェントプログラム格納手段が構成されている。このエージェントプログラム格納手段に格納されているエージェントプログラムは、前記ICカードの所有者のために働くエージェントである。  (5) The
図15に示したSXAL/MBALの代わりに、RSA公開鍵暗号方式や楕円曲線暗号方式を用いてもよい。 Instead of SXAL / MBAL shown in FIG. 15, an RSA public key cryptosystem or an elliptic curve cryptosystem may be used.
  無線装置71,72,アンテナ76,77により、コンテンツ提供業者と第三者機関との間で情報の交信を無線系メディアを利用して行なうための無線系メディア利用型情報交信手段が構成されている。  The
前記S22,S22a,S22bにより、アクセスしてきたものが、当事者の一方または双方が行なうには不向きな中立性を要する特定の仕事を処理するために設立された第三者機関本人であるか否かを認証するための第三者機関認証手段が構成されている。前記S15により、番組の合間に挿入されて放送されてきたコマーシャルメッセージをユーザエージェントが検索したコマーシャルメッセージに取換えて編集するコマーシャルメッセージ編集手段が構成されている。前記S16により、番組の合間に挿入されて放送されてきたコマーシャルメッセージをユーザエージェントが検索したコマーシャルメッセージに切換えて放映する切換放映手段が構成されている。 Whether or not what has been accessed through S22, S22a, S22b is a third party institution established to handle a specific job that requires neutrality that is unsuitable for one or both parties. Third-party organization authentication means for authenticating The S15 constitutes commercial message editing means for replacing the commercial message inserted and broadcast between programs with the commercial message searched by the user agent and editing it. By the S16, switching broadcast means for switching the commercial message inserted and broadcast between programs to the commercial message searched by the user agent and broadcasting it is configured.
前記SA10により、ユーザエージェントの移動先予定を登録しておく移動先予定登録手段が構成されている。前記SA45により、第三者エージェントに出向依頼を行なうための処理を行なう出向依頼処理手段が構成されている。SA49により、ユーザエージェントが前記第三者機関へ移動するための第三者機関移動手段が構成されている。 The SA10 constitutes a destination plan registration means for registering a destination schedule of the user agent. The SA45 constitutes a seconding request processing means for performing processing for requesting a third party agent to be seconded. SA49 constitutes third-party organization moving means for the user agent to move to the third-party organization.
SA68〜SA72により、ユーザエージェントによる購入手続を行なうための購入手続手段が構成されている。この購入手続手段は、購入手続に対するユーザのデジタル署名を行なうためのデジタル署名手段(SA70,SA71,SA72)を含んでいる。このデジタル署名手段は、購入対象を特定可能なオーダ情報と支払方法を特定可能な支払指示との二重署名を行なう機能を有する。SB20〜SB27,SB4〜SB31により、前記ユーザのデジタル署名を生成するためのデジタル署名生成手段が構成されている。このデジタル署名生成手段は、前記二重署名を生成する機能を有する。 SA68 to SA72 constitute a purchase procedure means for performing a purchase procedure by the user agent. The purchase procedure means includes digital signature means (SA70, SA71, SA72) for performing a digital signature of the user for the purchase procedure. This digital signature means has a function of performing a double signature of order information that can specify a purchase target and a payment instruction that can specify a payment method. SB20 to SB27 and SB4 to SB31 constitute a digital signature generating means for generating the digital signature of the user. The digital signature generation means has a function of generating the double signature.
前記SA73,SA74により、ユーザエージェントのクローンが既に在駐しているところを避け在駐していないところを探し出してユーザエージェントが移動する移動先選択移動手段が構成されている。SA81〜SA83,SA88〜SA92により、ユーザエージェントを駐在させて新たなコマーシャルメッセージが制作された場合に当該コマーシャルメッセージに対する評価を行なうユーザエージェント駐在評価手段が構成されている。 By SA73 and SA74, a destination selection moving means is constructed in which the user agent moves by searching for a place where the user agent clone is not stationed and avoiding where the user agent clone is already stationed. SA81 to SA83 and SA88 to SA92 constitute user agent resident evaluation means for evaluating a commercial message when the user agent is resident and a new commercial message is produced.
ユーザエージェント等が外国のサイト等に移動する場合には、そのサイトでは、どこの国のエージェントが移動してきたのかをチェックする必要が生ずる場合がある。人間の場合には外国に行くときにビザ(入国許可書)が必要になるのと同様に、エージェントの場合には、ビザ(入国許可書)に相当するものをチェックして、そのエージェントの侵入を許可するか否かを判断するのが望ましい。 When a user agent or the like moves to a foreign site or the like, it may be necessary to check in which country the agent has moved. Just as a human needs a visa (entry permit) to go abroad, an agent checks the visa (entry permit) equivalent and the agent's entry It is desirable to determine whether or not to permit this.
そこで、アクセスしてきたエージェントがどこの国のユーザまたは業者のために働くエージェントであるかをチェックするための国籍証明データを当該エージェントに持たせておく。この国籍証明データは、前述した第三者機関等からなる国籍証明書発行機関が外国に行こうとするエージェントに発行する。国籍証明書発行機関には、当該エージェントの公開鍵や必要に応じて秘密鍵が登録されており、国籍証明書発行機関は、これら公開鍵あるいは秘密鍵を利用して当該エージェントの本人確認を行なった上で、当該エージェントに対し国籍証明書を発行する。そして、当該エージェントが外国のサイトにアクセスしてそのサイトに移動しようとした際に、当該サイト側では、当該エージェントの公開鍵や秘密鍵を利用して当該エージェントの本人確認を行なった上で、当該エージェントが保有している国籍証明書を確認してアクセスを許してよいか否かを判断する。 Therefore, nationality certification data for checking in which country the agent who accesses the agent works for the user or the merchant in the country is given to the agent. This nationality certification data is issued to an agent who intends to go abroad by a nationality certificate issuing organization such as the above-mentioned third party organization. The nationality certificate issuing institution is registered with the agent's public key and, if necessary, a private key. The nationality certificate issuing institution uses the public or private key to verify the identity of the agent. And issue a nationality certificate to the agent. And when the agent accesses a foreign site and tries to move to that site, the site uses the public key or secret key of the agent to verify the identity of the agent, Check the nationality certificate held by the agent to determine whether or not to allow access.
一方、国籍証明書の発行の代わりに、当該エージェントが移動しようとする外国に当該エージェントが入国してもよいという入国許可証を当該エージェントに発行してもよい。その場合には、前述と同様に、第三者機関等からなる入国証明書発行機関が、登録されている公開鍵や秘密鍵等を利用して当該エージェントの本人確認を行なった上で、当該エージェントに対し入国証明書を発行する。 On the other hand, instead of issuing the nationality certificate, an entry permit may be issued to the agent that the agent may enter the foreign country to which the agent intends to move. In such a case, as described above, the immigration institution, which consists of a third-party organization, etc., confirms the identity of the agent using the registered public key, private key, etc. Issue an immigration certificate to the agent.
  前述したように、ユーザエージェント26等が知識として記憶している公開鍵や秘密鍵を、そのユーザエージェント26のユーザと同じ公開鍵および秘密鍵にした実施の形態を示したが、その代わりに、ユーザの公開鍵や秘密鍵と異なった公開鍵や秘密鍵をユーザエージェント26等に記憶させておいてもよい。そのようにすれば、ユーザエージェント26はデジタル署名等を行なった場合に、後々、ユーザ自身がデジタル署名を行なったのかまたはユーザエージェントがデジタル署名を行なったのかを判別することが可能となる。このように、ユーザとそのエージェントとの鍵を異ならせる場合には、公開鍵あるいは秘密鍵を登録しておく鍵登録機関に、ユーザの公開鍵あるいは秘密鍵とそのエージェントの公開鍵あるいは秘密鍵とを対応づけて登録しておくのが望ましい。  As described above, an embodiment in which the public key and secret key stored as knowledge by the
前述した実施の形態では、第三者エージェントが、依頼された仕事の実行として当事者の一方または双方に違法性あるか否かを監視するものを示したが違法性の有無の関し専門の第三者エージェントがネットワーク上を巡回してパトロールするようにし、その監視用第三者エージェントが訪れたプレース上において、ユーザエージェントや業者側エージェント等をその監視用第三者エージェントが尋問して違法性の有無の監視を行なうようにしてもよい。 In the above-described embodiment, the third-party agent has been shown to monitor whether or not one or both parties are illegal as the execution of the requested work. The third party agent patrols the network, and the third party monitoring agent interrogates the user agent and the vendor side agent on the place where the third monitoring agent visits. The presence / absence may be monitored.
ユーザエージェント等が過去にどこのサイトを訪れてどのような仕事を誰のために実行したか等の、エージェントの過去の仕事履歴データを当該エージェントに記憶させておいてもよい。そのようにすれば、いわゆる契約ネット(contrac net )を利用したタスクの分配に際し、マネージャー側がその仕事履歴データに基づいてどの規約者(エージェント)がタスクの実行に適しているか否かを突き止めることができ、その適している規約者(エージェント)に対して指名落札(directed-award)を行なうことが可能となる。なお、契約ネットとは、多数の処理モードの交渉を通じて問題を分割し、各モードに副問題(これをタスクと呼ぶ)を割当てるためのモデルのことである。 The agent's past work history data such as which site the user agent or the like visited in the past and what work was performed for whom may be stored in the agent. By doing so, when distributing tasks using a so-called contract net, the manager side can determine which contractor (agent) is suitable for executing the task based on the work history data. And a designated-award can be made to the appropriate contractor (agent). The contract net is a model for dividing a problem through negotiation of a large number of processing modes and assigning a sub-problem (called a task) to each mode.
以下、実施例の内容をまとめて列挙する。 The contents of the examples are listed below.
  コンテンツ提供業者7とユーザ、または、CM制作者10とユーザにより、当事者が構成されている。前記SA44,SA47により、当事者の一方または双方が行なうには不向きな中立性を要する特定の仕事が発生したことを判定する特定仕事判定手段が構成されている。第三者機関エージェント29,第三者機関常駐エージェント28により、前記当事者双方に対し中立性を有する第三者エージェントが構成されている。この第三者エージェントは、第三者機関8によって運用管理するエージェントに限定されるものではなく、たとえば前記当事者のエージェントが仕事をするテレスクリプト・エンジン内のプレースと同じプレース上で仕事をしている他のエージェントによりこの第三者エージェントを構成してもよい。  The
  前記SA45,SA64またはSA49〜SA53またはSA60またはSA69,SA70により、前記特定仕事判定手段の判定結果に従って、前記当事者双方に対し中立性を有する第三者エージェントに前記特定の仕事を依頼する仕事依頼手段が構成されている。この仕事依頼手段により依頼された仕事を前記第三者エージェントが代理して実行する(図7,図8に示したフローチャート)。前記第三者機関8により、前記特定の仕事を処理するために設立された第三者機関が構成されている。そして前記第三者エージェント(第三者機関エージェント29,第三者機関常駐エージェント28)は、その第三者機関により運用管理され、前記特定の仕事を行なうために開発されたエージェントである。  Work request means for requesting the specific work to a third party agent having neutrality for both parties according to the determination result of the specific work determination means by SA45, SA64 or SA49 to SA53 or SA60 or SA69, SA70 Is configured. The work requested by the work request means is executed on behalf of the third-party agent (flow charts shown in FIGS. 7 and 8). The
  前記ユーザエージェント26と移動先エージェント27とにより、前記当事者のそれぞれの側のために働く当事者エージェントが構成されている。前記特定仕事判定手段は、前記当事者エージェント同士が協調して動作しているときに、当該当事者エージェントでは自己の立場の方に有利となる利己的動作(たとえば有料コンテンツの不法持ち帰りや有料コンテンツに対する虚偽の評価)を行なうおそれのある場合に前記特定の仕事が発生した旨の判定を行なう。  The
  前記データベース19により、有料コンテンツを格納しているコンテンツ格納手段が構成されている。コンテンツ提供業者7により、前記コンテンツ格納手段内の格納コンテンツを提供するコンテンツ提供者が構成されている。ユーザ宅17に居住しているユーザにより、前記コンテンツ提供者が提供するコンテンツ内に入手したいコンテンツがあるか否かの検索を希望するユーザが構成されている。そして、前記特定仕事判定手段は、前記当事者エージェントのうちのユーザ側エージェント(ユーザエージェント26)が前記コンテンツ格納手段に格納されている前記有料コンテンツの検索を希望した場合(SA43によるYESの判断がなされた場合)に前記特定の仕事が生じたことを判定する。  The
さらに、前記第三者エージェントは、依頼された仕事の実行を通して前記当事者の一方または双方に違法性があるか否かを監視する監視機能(SC6,SC18)を有する。 Further, the third-party agent has a monitoring function (SC6, SC18) for monitoring whether one or both of the parties are illegal through the execution of the requested job.
前記SA43,SA44,SA67,SA58により、当事者の一方または双方が行なうには不向きな中立性を要する特定の仕事が発生したことを判定する特定仕事判定ステップが構成されている。前記SA45,SB1,SB5,SB6,SA49,SA50,SB7〜SB9により、前記当事者の双方に対し中立性を有する第三者エージェントを調達する第三者エージェント調達ステップが構成されている。前記SA45,SA46,SA64,SA49〜SA53,SA69,SA70,SA60により、前記特定仕事判定ステップにより前記特定の仕事が生じた旨の判定がなされた場合に、前記第三者エージェント調達ステップで調達された第三者エージェントに前記特定の仕事の依頼を行なう仕事依頼ステップが構成されている。そしてその仕事依頼ステップにより依頼された第三者エージェントが依頼された前記特定の仕事を実行する(図7,図8に示したフローチャート)。 The SA43, SA44, SA67, and SA58 constitute a specific job determination step for determining that a specific job that requires neutrality unsuitable for one or both of the parties has occurred. The SA45, SB1, SB5, SB6, SA49, SA50, and SB7 to SB9 constitute a third-party agent procurement step for procuring a third-party agent that is neutral to both parties. Procured in the third-party agent procurement step when it is determined in SA45, SA46, SA64, SA49 to SA53, SA69, SA70, SA60 that the specific job has occurred in the specific job determination step. A job request step for requesting the third party agent for the specific job is configured. Then, the specific job requested by the third party agent requested in the job requesting step is executed (the flowcharts shown in FIGS. 7 and 8).
  前記テレスクリプト・エンジン22とデータベース23とにより、第三者エージェントを提供するためのエージェント提供装置が構成されている。前記データベース23により、複数種類の第三者エージェントを格納しているエージェント格納手段が構成されている。テレスクリプト・エンジン22により、仕事を当事者エージェントに代わって第三者エージェントにより代理実行してもらいたい旨の依頼があった場合に、代理の対象となる前記当事者エージェントに応じた種類の第三者エージェントを前記エージェント格納手段が格納している前記第三者エージェントの中から検索して提供するエージェント検索提供手段が構成されている。  The telescript
  ユーザエージェント26によりユーザ側のために働くエージェントであって、ネットワーク上を移動して動作するモバイルエージェントで構成されたユーザ側エージェントが構成されている。コンテンツ提供業者7により、前記ユーザの要求に応えるサービス業者が構成されている。移動先エージェント27により、前記サービス業者側のために働く業者側エージェントが構成されている。第三者機関8のプレース25を有するコンピュータ22aにより、前記ユーザ側エージェントのワーキングエリアとして機能し、秘密の漏洩が防止できる秘密保持用ワーキングエリアが構成されている。  An agent that works for the user side by the
そして、前記ユーザ側エージェントは、秘密にしたい秘密データ(秘密情報SI)を秘密性が保持できる態様(暗号化した態様)で前記知識として記憶しており、該ユーザ側エージェントが移動して仕事を行なう際に、前記秘密データを使用する必要が生じた場合に(SA44によりYESの判断がなされた場合に)、前記ユーザ側エージェントは、前記秘密保持用ワーキングエリアに移動し(SA49)、該秘密保持用ワーキングエリア内で前記秘密データの秘密性を解除(SA50,SA51)して前記仕事の実行を可能にする。 The user-side agent stores secret data (secret information SI) to be kept secret as the knowledge in a manner that can maintain confidentiality (encrypted manner), and the user-side agent moves to work. When it is necessary to use the secret data when performing (when YES is determined by SA44), the user-side agent moves to the secret holding working area (SA49), and the secret data is stored. The confidentiality of the secret data is canceled in the holding working area (SA50, SA51), and the work can be executed.
前記ユーザ側エージェントは、前記秘密データを暗号化して保有している(図14参照)。そして、ユーザ側エージェントが前記秘密保持用ワーキングエリアに移動した後前記暗号化された秘密データの復号化再生を可能にする(SA50,SA51)。 The user side agent encrypts and holds the secret data (see FIG. 14). Then, after the user-side agent moves to the secret holding working area, the encrypted secret data can be decrypted and reproduced (SA50, SA51).
また、前記ユーザ側エージェントは、前記秘密データの復号に用いられる復号鍵(SK1)を保有しておらず、前記秘密保持用ワーキングエリアに移動した後、該秘密保持用ワーキングエリア内に取り寄せた前記復号鍵を用いた前記秘密データの復号を可能にする(SA50,SA51,SC2,SC11,SC12)。 In addition, the user-side agent does not have a decryption key (SK1) used for decrypting the secret data, and moves to the secret holding working area, and then collects the secret data in the secret holding working area. The secret data can be decrypted using the decryption key (SA50, SA51, SC2, SC11, SC12).
前記秘密データは、前記ユーザの本人認証のための秘密鍵(SKU)を含んでいる(図1414参照)。 The secret data includes a secret key (SKU) for authenticating the user (see FIG. 1414).
  前記CD−ROM68bまたはICカード65により、それぞれに独立の知識を持つエージェント同士が協調的に動作するマルチエージェントシステムに使用され、当事者の一方の側のために働くエージェントプログラムを記録している記録媒体が構成されている。この記録媒体に記録されているプログラムは、コンピュータに、当事者の他方のエージェントと打合せする第1の打合せ手段(SA32,SA45,SA55,SA60,SA62,SA68,SA72)と、前記当事者の双方が行なうには不向きな中立性を要する特定の仕事が生じた場合に、前記当事者双方に対し中立性を有する第三者エージェント(第三者機関常駐エージェント28,第三者機関エージェント29)と打合せする第2の打合せ手段(SA50,SA51,SA64,SA70)と、前記特定の仕事を前記第三者エージェントに代理実行してもらうのに必要な情報(ユーザのプロフィール情報96等)を当該第三者エージェントに通知する必要情報通知手段(SA64,SA70,SA51)として機能させるためのものである。  Recording medium recording agent program used for multi-agent system in which agents having independent knowledge operate cooperatively by CD-ROM 68b or
前述した当事者の一方または双方が行なうには不向きな中立性を要する特定の仕事の他の例としては、当事者エージェント同士が対立するというトラブルが発生した場合の仲裁やどちらのエージェントが正しいかの判定、当事者エージェントの一方または双方が本当に正しい当事者のエージェントであるかを立証するための第三者による証明等が考えられる。つまり、この特定の仕事とは、当事者だけでは解決が困難または不可能な中立性を要する仕事すべてを対象とする。 Other examples of specific tasks that require neutrality unsuitable for one or both of the parties described above include arbitration in the event of a conflict between party agents and the determination of which agent is correct Probing by a third party to prove that one or both of the party agents are really the right party agents is conceivable. In other words, this specific job covers all jobs that require neutrality that are difficult or impossible to solve by the parties alone.
次に、実施例の効果を列挙する。 Next, effects of the examples are listed.
当事者の一方または双方が行なうには不向きな中立性を要する特定の仕事を当事者双方に対し中立性を有する第三者エージェントが代理して実行してくれるために、中立性を保ちながら特定の仕事の実行が可能となる。 A specific job while maintaining neutrality, because a third party agent who is neutral to both parties performs a specific job that requires neutrality that is inappropriate for one or both parties. Can be executed.
前記第三者エージェントが、前記特定の仕事を処理するために設立された第三者機関により運用管理され、前記特定の仕事を行なうために開発されたエージェントであるために、当事者にとってより一層中立性のあるエージェントによりより一層中立性のある代理実行が期待できる。 Because the third-party agent is an agent that is operated and managed by a third-party organization established to process the specific job and developed to perform the specific job, it is more neutral to the parties. It can be expected that the proxy execution is more neutral by the agent with the ability.
当事者エージェントでは自己の立場の方に有利となる利己的動作を行なうおそれのある場合に前記特定の仕事が発生した旨の判定が行なわれ、第三者エージェントによる代理実行が行なわれるために、当事者エージェントによる利己的な動作による不都合を極力防止することができる。 The party agent determines that the specific job has occurred when there is a risk of performing a selfish action that is advantageous to his / her position, and the third party agent performs proxy execution. It is possible to prevent inconvenience due to selfish action by the agent as much as possible.
ユーザ側エージェントがコンテンツ格納手段に格納されている有料コンテンツの検索を希望した場合に、特定の仕事が生じたと判定されて第三者エージェントがその特定の仕事を代理実行してくれるために、ユーザ側エージェントが有料コンテンツを検索してその有料コンテンツに対する料金を支払うことなく有料コンテンツを盗んでしまう不都合が極力防止できる。 When the user-side agent wishes to search for paid content stored in the content storage means, it is determined that a specific job has occurred and the third-party agent performs the specific job on behalf of the user. It is possible to prevent as much as possible the inconvenience that the side agent searches for the paid content and steals the paid content without paying the fee for the paid content.
第三者エージェントが、依頼された仕事の実行を通して前記当事者の一方または双方に違法性があるか否かを監視する監視機能を有するために、当事者の一方または双方に違法性があった場合にはそれが監視可能となる。 If one or both parties are illegal because the third party agent has a monitoring function that monitors whether one or both parties are illegal through the execution of the requested work. Makes it monitorable.
仕事を当事者エージェントに代わって第三者エージェントにより代理実行してもらいたい旨の依頼があった場合に、代理の対象となる前記当事者エージェントに応じた種類の第三者エージェントが検索されて提供されるために、当事者エージェントに代わって仕事を代理実行する第三者エージェントとしてその当事者エージェントに似ている適したエージェントを選任することができる。 When a request is made to have a third party agent perform work on behalf of a party agent, a third party agent of a type corresponding to the party agent to be represented is retrieved and provided. Therefore, a suitable agent similar to the party agent can be appointed as a third party agent acting on behalf of the party agent.
当事者の一方または双方が行なうには不向きな中立性を要する特定の仕事が生じた場合に、当事者の双方に対し中立性を有する第三者エージェントにその特定の仕事を代理実行してもらうことのできるプログラムが記録された記録媒体を提供することができる。 To have a third party agent who is neutral to both parties to perform the specific work on behalf of one or both parties when a specific work that is unsuitable for neutrality occurs. It is possible to provide a recording medium on which a program that can be recorded is recorded.
当事者の一方または双方が行なうには不向きな中立性を要する特定の仕事が生じた場合に、当事者の双方に対し中立性を有する第三者エージェントが調達されてその第三者エージェントに前記特定の仕事を代理実行してもらうことができる。 In the event that specific work that requires neutrality that is unsuitable for one or both of the parties occurs, a neutral agent is procured for both parties and the specified You can have the work performed on behalf of you.
モバイルエージェントで構成されているユーザ側エージェントがネットワーク上を移動して仕事を行なうに際し、ユーザ側エージェントが秘密データを使用する必要が生じた場合には、ユーザ側エージェントが秘密保持用ワーキングエリアに移動してそこで秘密データの秘密性を解除して前記仕事の実行が可能となり、秘密データの漏洩を防止できながらその秘密データを使用しての仕事の実行が可能となる。 When a user-side agent configured with a mobile agent moves on the network and performs work, if the user-side agent needs to use secret data, the user-side agent moves to the confidential work area Accordingly, the confidentiality of the secret data is canceled and the work can be executed, and the work using the secret data can be executed while preventing leakage of the secret data.
ユーザ側エージェントが前記秘密データを暗号化して保有しているために、ユーザ側エージェントがネットワーク上を移動して動作したとしてもその秘密データが他人に漏洩されることを極力防止することができる。 Since the user-side agent holds the secret data encrypted, even if the user-side agent moves and operates on the network, it is possible to prevent the secret data from being leaked to others.
前記秘密データの復号に用いられる復号鍵をユーザ側エージェントが保有していないために、ユーザ側エージェントがネット上を移動して動作した際に前記暗号化された秘密データが他人に知られたとしても、それを復号するための復号鍵までは他人に知られることが防止できるために、前記秘密データの漏洩をより確実に防止することができる。 Since the user-side agent does not have a decryption key used for decrypting the secret data, the encrypted secret data is known to others when the user-side agent moves and operates on the net. However, since it is possible to prevent the decryption key for decrypting it from being known to others, the leakage of the secret data can be more reliably prevented.
ユーザ側エージェントが保有している秘密データは、前記ユーザの本人認証のための秘密鍵を含んでいるために、前記秘密保持用ワーキングエリア内に移動することによりその秘密鍵を用いてのユーザの本人認証を行なうことが可能となり、ユーザ側エージェントにより一層高度なユーザの代理仕事を行なわせることが可能となる。 Since the secret data held by the user-side agent includes a secret key for authenticating the user, the user's agent using the secret key is moved to the secret holding working area. User authentication can be performed, and a more advanced user proxy work can be performed by the user-side agent.
1は衛星
2は放送局
10はCM制作者
11は番組関連データ制作者
7はコンテンツ提供業者
8は第三者機関
14はパソコン
16はTV
15はVTR
13はインターネット
26はユーザエージェント
27は移動先エージェント
28は第三者機関常駐エージェント
29は第三者機関エージェント
19,23,56,70はデータベース
52はCRT
50はICカード挿入口
18,22,57はテレスクリプト・エンジン
24,25,58はプレース
3は通信装置
59は常駐エージェント
69は管理サーバー
68bはCD−ROM
65はICカード
96はプロフィール情報
82はMPEG2復号化器
83は電子透かし検出器
86はAPS1
 15 is VTR
 13,
 50 is an IC
 65,
| Application Number | Priority Date | Filing Date | Title | 
|---|---|---|---|
| JP2009251235AJP5168263B2 (en) | 2009-10-30 | 2009-10-30 | Program recording apparatus and method | 
| Application Number | Priority Date | Filing Date | Title | 
|---|---|---|---|
| JP2009251235AJP5168263B2 (en) | 2009-10-30 | 2009-10-30 | Program recording apparatus and method | 
| Application Number | Title | Priority Date | Filing Date | 
|---|---|---|---|
| JP2006074720ADivisionJP4492568B2 (en) | 2006-03-17 | 2006-03-17 | Program list notification apparatus and method, and program recording apparatus and method | 
| Application Number | Title | Priority Date | Filing Date | 
|---|---|---|---|
| JP2012243427ADivisionJP5316916B2 (en) | 2012-11-05 | 2012-11-05 | Notification method and apparatus, and notification system | 
| Publication Number | Publication Date | 
|---|---|
| JP2010035210A JP2010035210A (en) | 2010-02-12 | 
| JP5168263B2true JP5168263B2 (en) | 2013-03-21 | 
| Application Number | Title | Priority Date | Filing Date | 
|---|---|---|---|
| JP2009251235AExpired - LifetimeJP5168263B2 (en) | 2009-10-30 | 2009-10-30 | Program recording apparatus and method | 
| Country | Link | 
|---|---|
| JP (1) | JP5168263B2 (en) | 
| Publication number | Priority date | Publication date | Assignee | Title | 
|---|---|---|---|---|
| JPS6450688A (en)* | 1987-08-21 | 1989-02-27 | Hashimoto Corp | Method and device for generating individual television program | 
| JPH0479053A (en)* | 1990-07-20 | 1992-03-12 | Victor Co Of Japan Ltd | Program recording timer device | 
| JPH052794A (en)* | 1991-06-27 | 1993-01-08 | Toshiba Corp | Automatic learning recording device | 
| JPH0562283A (en)* | 1991-08-29 | 1993-03-12 | Toshiba Corp | Automatic learning video recording device in magnetic recording and reproducing device | 
| JPH0668544A (en)* | 1992-08-17 | 1994-03-11 | Matsushita Electric Ind Co Ltd | Recording reservation device | 
| JP3502114B2 (en)* | 1992-10-14 | 2004-03-02 | 株式会社日立製作所 | Information service system | 
| NZ259147A (en)* | 1992-12-09 | 1997-05-26 | Discovery Communicat Inc | Network controller for cable television | 
| JP3351058B2 (en)* | 1993-11-09 | 2002-11-25 | 松下電器産業株式会社 | Recording and tuning method for video equipment | 
| JP3572658B2 (en)* | 1994-04-21 | 2004-10-06 | 松下電器産業株式会社 | Program selection support device and program selection support method | 
| US5867226A (en)* | 1995-11-17 | 1999-02-02 | Thomson Consumer Electronics, Inc. | Scheduler employing a predictive agent for use in a television receiver | 
| JP4079462B2 (en)* | 1996-01-10 | 2008-04-23 | ソニー株式会社 | Program selection support device, program selection support method, broadcast reception device, broadcast reception method, broadcast transmission device, broadcast transmission method, broadcast transmission / reception device, and broadcast transmission / reception method | 
| JPH1032797A (en)* | 1996-07-17 | 1998-02-03 | Matsushita Electric Ind Co Ltd | Broadcast signal transmission method and receiving device | 
| JP3797709B2 (en)* | 1996-07-22 | 2006-07-19 | 松下電器産業株式会社 | Viewing device and recording device | 
| WO1998006219A1 (en)* | 1996-08-06 | 1998-02-12 | Starsight Telecast, Incorporated | Electronic program guide with interactive areas | 
| Publication number | Publication date | 
|---|---|
| JP2010035210A (en) | 2010-02-12 | 
| Publication | Publication Date | Title | 
|---|---|---|
| US8301569B2 (en) | Content information providing system, content information providing server, content reproduction apparatus, content information providing method, content reproduction method and computer program | |
| US7570762B2 (en) | Content delivery service providing apparatus and content delivery service terminal unit | |
| TW559705B (en) | Data processing apparatus, data processing system, and data processing method therefor | |
| JP3994466B2 (en) | User terminal and portable playback device | |
| CN1312593C (en) | Dispensing system, semiconductor storing card, receiving device, computer readable recording medium and receiving method | |
| JP4660123B2 (en) | Storage medium processing method, data processing apparatus, and storage medium processing program | |
| KR100753932B1 (en) | contents encryption method, system and method for providing contents through network using the encryption method | |
| EP2048613A1 (en) | Portable digital content device and methods for use therewith | |
| JP4235717B2 (en) | Fraud prevention system, agent providing device, and fraud prevention method | |
| JP2001175606A5 (en) | ||
| JP2006014035A (en) | Storage medium processing method, storage medium processing apparatus, and program | |
| JP5344617B2 (en) | Advertising system | |
| JP4492568B2 (en) | Program list notification apparatus and method, and program recording apparatus and method | |
| JP2009017579A (en) | Video rental system using moving picture distribution technique | |
| JP5316916B2 (en) | Notification method and apparatus, and notification system | |
| JP4411992B2 (en) | Program recording apparatus and method | |
| JP4314336B2 (en) | Content provision system | |
| JP5168263B2 (en) | Program recording apparatus and method | |
| JP5131881B2 (en) | Content provision system | |
| JP4583285B2 (en) | Content provision system | |
| JP3796883B2 (en) | Receiving method and receiving apparatus | |
| JP2003152700A (en) | Information terminal device and content decryption method | |
| JP4520182B2 (en) | Digital content distribution system, rights management server and user terminal | |
| JP2003250136A (en) | Terminal device, television conference data management method, and program | |
| JP4417066B2 (en) | User terminal, server device, and program | 
| Date | Code | Title | Description | 
|---|---|---|---|
| A621 | Written request for application examination | Free format text:JAPANESE INTERMEDIATE CODE: A621 Effective date:20091104 | |
| A131 | Notification of reasons for refusal | Free format text:JAPANESE INTERMEDIATE CODE: A131 Effective date:20120904 | |
| A521 | Request for written amendment filed | Free format text:JAPANESE INTERMEDIATE CODE: A523 Effective date:20121105 | |
| TRDD | Decision of grant or rejection written | ||
| A01 | Written decision to grant a patent or to grant a registration (utility model) | Free format text:JAPANESE INTERMEDIATE CODE: A01 Effective date:20121127 | |
| A61 | First payment of annual fees (during grant procedure) | Free format text:JAPANESE INTERMEDIATE CODE: A61 Effective date:20121210 | |
| FPAY | Renewal fee payment (event date is renewal date of database) | Free format text:PAYMENT UNTIL: 20160111 Year of fee payment:3 | |
| R250 | Receipt of annual fees | Free format text:JAPANESE INTERMEDIATE CODE: R250 | |
| R250 | Receipt of annual fees | Free format text:JAPANESE INTERMEDIATE CODE: R250 | |
| R250 | Receipt of annual fees | Free format text:JAPANESE INTERMEDIATE CODE: R250 | |
| EXPY | Cancellation because of completion of term |