













本発明は、無線ICデバイス、特に、RFID(Radio Frequency Identification)システムに用いられる無線ICチップを有する無線ICデバイス、その検査システム及び該検査システムを用いた無線ICデバイスの製造方法に関する。 The present invention relates to a wireless IC device, in particular, a wireless IC device having a wireless IC chip used in an RFID (Radio Frequency Identification) system, an inspection system thereof, and a method of manufacturing a wireless IC device using the inspection system.
近年、物品の管理システムとして、誘導電磁界を発生するリーダライタと物品や容器などに付された所定の情報を記憶したICチップ(ICタグ、無線ICチップとも称する)とを非接触方式で通信し、情報を伝達するRFIDシステムが開発されている。 In recent years, as an article management system, a reader / writer that generates an induction electromagnetic field and an IC chip (also referred to as an IC tag or a wireless IC chip) that stores predetermined information attached to an article or a container are communicated in a non-contact manner. RFID systems that transmit information have been developed.
  ICチップを搭載した無線ICデバイスとしては、従来、特許文献1に記載されているように、誘電体基板にダイポールアンテナ(一対の主アンテナ素子と整合部とからなる)を設け、ダイポールアンテナの端部にタグICを電気的に接続した無線ICタグが知られている。整合部はタグICと主アンテナ素子との間に配置され、両者をインピーダンス整合させる機能を有している。  As a wireless IC device mounted with an IC chip, as described in
  しかしながら、この無線ICタグでは、ICチップのサイズに対して数倍のサイズを持つ主アンテナ素子が配置されており、以下の問題点を有している。(1)リーダライタとの通信距離がある程度必要な場合には、アンテナの放射特性を大きくする必要があり、主アンテナ素子のサイズがかなり大きくなる。(2)整合部と主アンテナ素子とを単一の基板上に隣接して形成しているため、無線ICタグのサイズが大きくなる。(3)整合部と主アンテナ素子とを単一の基板上に隣接して形成しているため、主アンテナ素子を設けた基板にICチップを実装した状態でないと検査を行うことができず、動作不良が検出された場合には主アンテナ素子を含めた無線ICタグの全体が無駄になる。(4)主アンテナ素子を含めた無線ICタグのサイズが大きいため、検査装置も大型化するとともに、主アンテナ素子のサイズや形状に応じて特性の測定条件(インピーダンス、測定距離)を変更する必要があり、測定時間が長くなってしまう。
そこで、本発明の目的は、小型化を達成でき、特性の検査が容易な無線ICデバイスを提供することにある。 SUMMARY OF THE INVENTION An object of the present invention is to provide a wireless IC device that can achieve miniaturization and can easily inspect characteristics.
本発明の他の目的は、無線ICデバイスの特性を効率よく検査することのできる検査システム及びそれを用いた無線ICデバイスの製造方法を提供することにある。 Another object of the present invention is to provide an inspection system capable of efficiently inspecting characteristics of a wireless IC device and a method of manufacturing a wireless IC device using the inspection system.
  前記目的を達成するため、第1の発明に係る無線ICデバイスは、
  送受信信号を処理する無線ICチップと、
  インダクタンス素子を含み、該インダクタンス素子と結合する外部電極を基板表面に設けた給電回路基板と、
  を備え、
前記外部電極が前記給電回路基板の裏面から両側面にわたって設けられ、
  前記無線ICチップと前記インダクタンス素子とは電気的に導通状態で接続されること、
  を特徴とする。
第2の発明に係る無線ICデバイスは、
送受信信号を処理する無線ICチップと、
インダクタンス素子を含み、該インダクタンス素子と結合する外部電極を基板表面に設けた給電回路基板と、
を備え、
前記給電回路基板に前記インダクタンス素子とキャパシタンス素子とが平面透視で異なる位置に設けられ、
前記インダクタンス素子と前記キャパシタンス素子とが異なる外部電極と電磁界結合しており、
前記無線ICチップと前記インダクタンス素子とは電気的に導通状態で接続されること、
を特徴とする。In order to achieve the above object, a wireless IC device according to a first invention is
 A wireless IC chip for processing transmission and reception signals;
 A power supply circuit board including an inductance element and provided on the substrate surface with an external electrode coupled to the inductance element;
 With
The external electrode is provided from the back surface of the feeder circuit board to both side surfaces,
 The wireless IC chip and the inductance element are electrically connected to each other;
 It is characterized by.
The wireless IC device according to the second invention is
A wireless IC chip for processing transmission and reception signals;
A power supply circuit board including an inductance element and provided on the substrate surface with an external electrode coupled to the inductance element;
With
The inductance element and the capacitance element are provided on the feeder circuit board at different positions in plan perspective,
The inductance element and the capacitance element are electromagnetically coupled to different external electrodes,
The wireless IC chip and the inductance element are electrically connected to each other;
It is characterized by.
第1及び第2の発明に係る無線ICデバイスにおいては、給電回路基板の表面に設けた外部電極がアンテナとして機能する。リーダライタと近距離で通信する場合には大きなアンテナは不要であり、近距離通信用として極めて小型化された無線ICデバイスを得ることができる。小型化されているので、大型の検査装置は必要がなくなる。In the wireless IC device according to the firstand second inventions, the external electrode provided on the surface of the feeder circuit board functions as an antenna. When communicating with a reader / writer at a short distance, a large antenna is not necessary, and a wireless IC device that is extremely miniaturized for short distance communication can be obtained. Since it is miniaturized, a large inspection device is not necessary.
なお、第1及び第2の発明に係る無線ICデバイスは、外部電極を大きなサイズのアンテナに接続すれば、遠距離通信用として使用することができる。また、動作確認の検査は、給電回路基板に無線ICチップを搭載した状態で(無線ICデバイスとして完成された状態で)行うことができる。遠距離通信用のアンテナが必要な場合には、動作確認の検査が終了した無線ICデバイスを大型のアンテナに搭載すればよく、大型のアンテナを含めて無線ICデバイス全体が無駄になることはない。Note that the wireless IC device according to the firstand second inventions can be used for long-distance communication if the external electrode is connected to a large-sized antenna. Further, the operation check inspection can be performed in a state where the wireless IC chip is mounted on the power supply circuit board (in a state where the wireless IC device is completed). When an antenna for long-distance communication is required, the wireless IC device whose operation check has been completed may be mounted on a large antenna, and the entire wireless IC device including the large antenna is not wasted. .
第1及び第2の発明に係る無線ICデバイスにおいて、給電回路基板内には、共振回路及び/又は整合回路を備えていてもよい。また、外部電極の信号放射機能が向上する。外部電極は複数のものが設けられていてもよい。In the wireless IC device according to the firstand second inventions, a resonance circuit and / or a matching circuit may be provided in the power supply circuit board.The signal radiation function of theexternal electrodes can be improved. A plurality of external electrodes may be provided.
第2の発明に係る無線ICデバイスにおいては、給電回路基板にインダクタンス素子とキャパシタンス素子とが平面透視で異なる位置に設けられて異なる外部電極と電磁界結合している。一の外部電極がインダクタンス素子と磁界結合し、他の外部電極がキャパシタンス素子と電界結合し、アンテナとして機能する。外部電極の形状や位置に応じて所望の放射特性や指向性を得ることができる。特に、容量による電界結合は磁界結合よりも信号エネルギーの受渡し効率が高いため、放射特性を向上させることができる。しかも、インダクタンス素子及びキャパシタンス素子において別々に外部電極との結合状態を設定でき、放射特性の設計自由度が向上する。In the wireless IC device according to the second invention, the inductance element and the capacitance elementsare bonded different external electrodes and the electromagnetic field provided at different positions in a perspective plan view on the feeder circuit board. One external electrode is magnetically coupled to the inductance element, and the other external electrode is electrically coupled to the capacitance element to function as an antenna. Desired radiation characteristics and directivity can be obtained according to the shape and position of the external electrode. In particular, since electric field coupling by capacitance has higher signal energy delivery efficiency than magnetic field coupling, radiation characteristics can be improved. In addition, the coupling state with the external electrode can be set separately in the inductance element and the capacitance element, and the degree of freedom in designing the radiation characteristics is improved.
給電回路基板はセラミックや液晶ポリマなど樹脂からなる多層基板で構成されていてもよい。多層基板で構成すれば、インダクタンス素子やキャパシタンス素子を高精度に内蔵可能であり、電極形成の自由度が向上する。 The power supply circuit board may be formed of a multilayer board made of a resin such as ceramic or liquid crystal polymer. If constituted by a multilayer substrate, an inductance element and a capacitance element can be incorporated with high accuracy, and the degree of freedom of electrode formation is improved.
なお、無線ICチップは、本無線ICデバイスが取り付けられる物品に関する各種情報がメモリされている以外に、情報が書き換え可能であってもよく、RFIDシステム以外の情報処理機能を有していてもよい。 The wireless IC chip may be rewritable and may have an information processing function other than the RFID system in addition to storing various types of information related to the article to which the wireless IC device is attached. .
  第3の発明に係る無線ICデバイスの検査システムは、送受信信号を処理する無線ICチップと、インダクタンス素子を有する給電回路を含み、該給電回路と結合する外部電極を基板表面に設けた給電回路基板とからなる無線ICデバイスの検査システムであって、測定装置に接続された測定子を前記無線ICデバイスを搭載する検査治具に設け、無線ICデバイスのインピーダンスに、前記測定子から前記測定装置側を見たときのインピーダンスを整合させるインピーダンス整合回路を前記検査治具に設け、前記測定子を前記外部電極に接触又は近接させて特性を測定すること、を特徴とする。ここで、給電回路とは共振回路及び/又は整合回路を意味する。このことは、以下に示す第4及び第5の発明に係る無線ICデバイスにおいても同様である。
第4の発明に係る無線ICデバイスの検査システムは、送受信信号を処理する無線ICチップと、インダクタンス素子を有する給電回路を含み、該給電回路と結合する外部電極を基板表面に設けた給電回路基板とからなる無線ICデバイスの検査システムであって、無線ICデバイスのインピーダンスに、測定装置に接続された測定子から前記測定装置側を見たときのインピーダンスを整合させるインピーダンス整合回路を備え、前記インピーダンス整合回路は共振周波数の異なる複数のものからなり、前記測定子を前記外部電極に接触又は近接させて特性を測定すること、を特徴とする。
第5の発明に係る無線ICデバイスの検査システムは、送受信信号を処理する無線ICチップと、インダクタンス素子を有する給電回路を含み、該給電回路と結合する外部電極を基板表面に設けた給電回路基板とからなる無線ICデバイスの検査システムであって、無線ICデバイスのインピーダンスに、測定装置に接続された測定子から前記測定装置側を見たときのインピーダンスを整合させるインピーダンス整合回路を備え、前記インピーダンス整合回路は共振周波数を可変であり、前記測定子を前記外部電極に接触又は近接させて特性を測定すること、を特徴とする。A wireless IC device inspection system according to athird aspect of the present invention includes a power supply circuit board including a wireless IC chip for processing transmission / reception signals and a power supply circuit having an inductance element, and an external electrode coupled to the power supply circuit is provided on the substrate surface. A wireless IC device inspection systemcomprising: a measuring element connected to ameasuring device provided in an inspection jig on which the wireless IC device is mounted; and the impedance of the wireless IC device from the measuring element to the measuring apparatus side The inspection jig is provided with an impedance matching circuit for matching the impedance when viewing, and the characteristic is measured by bringing the measuring element into contact with or close to the external electrode. Here, the power feeding circuit means a resonance circuit and / or a matching circuit.The same applies to the wireless IC devices according to the fourth and fifth inventions described below.
According to a fourth aspect of the present invention, there is provided a wireless IC device inspection system including a wireless IC chip for processing a transmission / reception signal and a power supply circuit having an inductance element, wherein an external electrode coupled to the power supply circuit is provided on a substrate surface. A wireless IC device inspection system comprising: an impedance matching circuit that matches the impedance of the wireless IC device when the measuring device side is viewed from a measuring instrument connected to the measuring device; The matching circuit includes a plurality of matching circuits having different resonance frequencies, and the characteristic is measured by bringing the probe into contact with or close to the external electrode.
A wireless IC device inspection system according to a fifth aspect of the present invention includes a power supply circuit board including a wireless IC chip for processing transmission / reception signals and a power supply circuit having an inductance element, and an external electrode coupled to the power supply circuit is provided on the substrate surface. A wireless IC device inspection system comprising: an impedance matching circuit that matches the impedance of the wireless IC device when the measuring device side is viewed from a measuring instrument connected to the measuring device; The matching circuit has a variable resonance frequency, and the characteristic is measured by bringing the probe into contact with or close to the external electrode.
第3、第4及び第5の発明に係る無線ICデバイスの検査システムにおいては、測定子を給電回路基板の表面に設けたアンテナとして機能する外部電極に接触又は近接させることで、無線ICデバイスの特性を効率よく測定することができる。In the wireless IC device inspection system according to thethird, fourth, and fifth inventions, the probe is brought into contact with or close to an external electrode that functions as an antenna provided on the surface of the feeder circuit board. The characteristics can be measured efficiently.
第6の発明は、前記第3、第4及び第5の発明に係る無線ICデバイスの検査システムのいずれかを用いて無線ICデバイスを製造することを特徴とする。Asixth invention is characterized in that a wireless IC device is manufactured usingany one of the wireless IC device inspection systems according tothe third, fourth and fifth inventions.
第1及び第2の発明によれば、給電回路基板の表面に設けた外部電極をインダクタンス素子と結合させてアンテナとして機能させたため、小型の無線ICデバイスを得ることができ、特性の検査も容易になる。According to the firstand second inventions, since the external electrode provided on the surface of the feeder circuit board is combined with the inductance element to function as an antenna, a small wireless IC device can be obtained, and the characteristics can be easily inspected. become.
また、第3、第4及び第5の発明によれば、無線ICチップと給電回路基板とからなる無線ICデバイスに対して、給電回路基板の表面に設けたアンテナとして機能する外部電極に測定子を接触又は近接させるだけで短時間で効率よく特性を測定することができる。特に、インピーダンス整合回路を備えていれば、種々のインピーダンス値の無線ICデバイスに適合させることができ、検査効率が向上し、かつ、検査システムが簡略化される。Further, according to thethird, fourth, and fifth inventions, with respect to a wireless IC device composed of a wireless IC chip and a power feeding circuit board, the probe is connected to the external electrode that functions as an antenna provided on the surface of the power feeding circuit board. It is possible to efficiently measure the characteristics in a short time simply by bringing them into contact or proximity. In particular, if an impedance matching circuit is provided, it can be adapted to wireless IC devices having various impedance values, the inspection efficiency is improved, and the inspection system is simplified.
以下、本発明に係る無線ICデバイス、その検査システム及び該検査システムを用いた無線ICデバイスの製造方法の実施例について添付図面を参照して説明する。なお、各図において、共通する部品、部分は同じ符号を付し、重複する説明は省略する。 Embodiments of a wireless IC device, an inspection system thereof, and a method of manufacturing a wireless IC device using the inspection system according to the present invention will be described below with reference to the accompanying drawings. In each figure, common parts and portions are denoted by the same reference numerals, and redundant description is omitted.
  (無線ICデバイスの第1及び第2実施例、図1〜図3参照)
  図1に本発明に係る無線ICデバイスの第1実施例を示し、図2に本発明に係る無線ICデバイスの第2実施例を示す。この無線ICデバイス1は、所定周波数の送受信信号を処理する無線ICチップ5と、該無線ICチップ5を搭載した給電回路基板10とからなる。(Refer to FIGS. 1 to 3 of the first and second embodiments of the wireless IC device)
 FIG. 1 shows a first embodiment of a wireless IC device according to the present invention, and FIG. 2 shows a second embodiment of the wireless IC device according to the present invention. The
  無線ICチップ5は、クロック回路、ロジック回路、メモリ回路などを含み、必要な情報がメモリされており、図3に示すように、裏面に入出力端子電極6,6及び実装用端子電極7,7が設けられている。入出力端子電極6,6が給電回路基板10の表面に設けた電極12a,12b(図4参照)に金属バンプ8を介して電気的に接続されている。また、実装用端子電極7,7が電極12c,12dに金属バンプ8を介して電気的に接続されている。なお、金属バンプ8の材料としては、Au、半田などを用いることができる。  The
  給電回路基板10は、インダクタンス素子を有する共振回路(図1では省略)を内蔵したもので、裏面には外部電極19a,19bが設けられ、表面には接続用電極12a〜12d(図4参照)が形成されている。外部電極19a,19bは基板10に内蔵された共振回路と電磁界結合し、アンテナとして機能する。図1に示す第1実施例は、外部電極19a,19bを基板10の裏面に設けたものであり、図2に示す第2実施例は、外部電極19a,19bを基板10の裏面から両側面にわたって設けたものである。また、給電回路基板10の表面には、無線ICチップ5と給電回路基板10との接合強度を向上させるために、無線ICチップ5との接続部を覆うように保護膜9が設けられている。  The
  即ち、給電回路基板10には所定の共振周波数を有する共振回路が内蔵されており、無線ICチップ5から発信された所定の周波数を有する送信信号を外部電極19a,19bに伝達し、かつ、外部電極19a,19bで受けた信号から所定の周波数を有する受信信号を選択し、無線ICチップ5に供給する。それゆえ、この無線ICデバイス1は、外部電極19a,19bで受信された信号によって無線ICチップ5が動作され、該無線ICチップ5からの応答信号が外部電極19a,19bから外部に放射される。  That is, the power
  なお、外部電極19a,19bは、給電回路基板10にAl、Cu、Agなどの金属めっきや導電性ペーストなどによる電極膜を設けたものである。  The
  前記無線ICデバイス1にあっては、共振回路を内蔵した給電回路基板10に設けた外部電極19a,19bがアンテナとして機能するため、従来のごときサイズの大きなアンテナは不要であり、小型の無線ICデバイスを得ることができる。なお、この無線ICデバイス1は、近距離通信用として使用される。遠距離通信用として使用するには、外部電極19a,19bを放射特性の大きな放射板(アンテナ)に電気的に接続すればよい。  In the
  また、無線ICデバイス1に対する動作確認の検査は、給電回路基板10に無線ICチップ5を搭載した状態で(無線ICデバイス1として完成された状態で)行われる。遠距離通信用のアンテナが必要な場合には、動作確認の検査が終了した無線ICデバイス1を大型のアンテナに搭載すればよい。大型のアンテナに搭載した後に動作確認の検査をする必要がないので、搭載したアンテナを含めて無線ICデバイス1全体が無駄になることはない。  Also, the operation check inspection for the
  特に、第2実施例に示したように、外部電極19a,19bを給電回路基板10の裏面から両側面にわたって設ければ、外部電極19a,19bの信号放射機能が向上する。  In particular, as shown in the second embodiment, if the
  (共振回路の一例、図4及び図5参照)
  給電回路基板10に内蔵された共振回路の一例を、図4に給電回路基板10の分解斜視図として、図5に等価回路として示す。但し、共振回路としては様々な構成のものを用いることができることは勿論である。(Refer to an example of a resonance circuit, FIG. 4 and FIG. 5)
 An example of a resonance circuit built in the power
  給電回路基板10は、図4に示すように、誘電体からなるセラミックシート11A〜11Hを積層、圧着、焼成したもので、シート11Aには接続用電極12a,12bと電極12c,12dとビアホール導体13a,13bが形成され、シート11Bにはキャパシタ電極18aと導体パターン15a,15bとビアホール導体13c〜13eが形成され、シート11Cにはキャパシタ電極18bとビアホール導体13d〜13fが形成されている。さらに、シート11Dには導体パターン16a,16bとビアホール導体13e,13f,14a,14b,14dが形成され、シート11Eには導体パターン16a,16bとビアホール導体13e,13f,14a,14c,14eが形成され、シート11Fにはキャパシタ電極17と導体パターン16a,16bとビアホール導体13e,13f,14f,14gが形成され、シート11Gには導体パターン16a,16bとビアホール導体13e,13f,14f,14gが形成され、シート11Hには導体パターン16a,16bとビアホール導体13fが形成されている。  As shown in FIG. 4, the
  以上のシート11A〜11Hを積層することにより、ビアホール導体14c,14d,14gにて螺旋状に接続された導体パターン16aにてインダクタンス素子L1が構成され、ビアホール導体14b,14e,14fにて螺旋状に接続された導体パターン16bにてインダクタンス素子L2が構成され、キャパシタ電極18a,18bにてキャパシタンス素子C1が構成され、キャパシタ電極18b,17にてキャパシタンス素子C2が構成される。  By laminating the
  インダクタンス素子L1の一端はビアホール導体14c,13d、導体パターン15a、ビアホール導体13cを介してキャパシタ電極18bに接続され、インダクタンス素子L2の一端はビアホール導体14aを介してキャパシタ電極17に接続される。また、インダクタンス素子L1,L2の他端は、シート11H上で一つにまとめられ、ビアホール導体13e、導体パターン15b、ビアホール導体13aを介して接続用電極12aに接続されている。さらに、キャパシタ電極18aはビアホール導体13bを介して接続用電極12bに電気的に接続されている。  One end of the inductance element L1 is connected to the
  そして、接続用電極12a,12bが金属バンプ8(図1及び図2参照)を介して無線ICチップ5の端子電極6,6(図3参照)と電気的に接続される。電極12c,12dは無線ICチップ5の実装用端子電極7,7に接続される。  Then, the
  また、給電回路基板10の裏面には外部電極19a,19bが導体ペーストの塗布などで設けられ、外部電極19aはインダクタンス素子L(L1,L2)と電磁界により結合し、外部電極19bはビアホール導体13fを介してキャパシタンス素子C1の電極18bと接続されている。以上の共振回路は図5に示すとおりである。  Further,
  なお、この共振回路において、インダクタンス素子L1,L2は2本の導体パターン16a,16bを並列に配置した構造としている。2本の導体パターン16a,16bはそれぞれ線路長が異なっており、異なる共振周波数とすることができ、無線ICデバイス1を広帯域化できる。  In this resonance circuit, the inductance elements L1 and L2 have a structure in which two
  なお、各セラミックシート11A〜11Hは磁性体のセラミック材料からなるシートであってもよく、給電回路基板10は従来から用いられているシート積層法、厚膜印刷法などの多層基板の製作工程により容易に得ることができる。  Each of the
  また、前記シート11A〜11Hを、例えば、ポリイミドや液晶ポリマなどの誘電体からなるフレキシブルなシートとして形成し、該シート上に厚膜形成法などで電極や導体を形成し、それらのシートを積層して熱圧着などで積層体とし、インダクタンス素子L1,L2やキャパシタンス素子C1,C2を内蔵させてもよい。  Further, the
  前記給電回路基板10において、インダクタンス素子L1,L2とキャパシタンス素子C1,C2とは平面透視で異なる位置に設けられ、インダクタンス素子L1,L2は外部電極19aと磁界により結合し、キャパシタンス素子C1は外部電極19bと電界により結合している。  In the
  従って、給電回路基板10上に前記無線ICチップ5を搭載した無線ICデバイス1は、図示しないリーダライタから放射される高周波信号(例えば、UHF周波数帯)を外部電極19a,19bで受信し、外部電極19a,19bと磁界結合及び電界結合している共振回路を共振させ、所定の周波数帯の受信信号のみを無線ICチップ5に供給する。一方、この受信信号から所定のエネルギーを取り出し、このエネルギーを駆動源として無線ICチップ5にメモリされている情報を、共振回路にて所定の周波数に整合させた後、外部電極19a,19bに送信信号を伝え、該外部電極19a,19bからリーダライタに送信、転送する。  Accordingly, the
  給電回路基板10においては、インダクタンス素子L1,L2とキャパシタンス素子C1,C2で構成された共振回路にて共振周波数特性が決定される。外部電極19a,19bから放射される信号の共振周波数は、共振回路の自己共振周波数によって実質的に決まる。なお、無線ICチップ5の入出力インピーダンスの虚数部と給電回路基板10上の接続用電極12a,12bから外部電極19a,19b側をみとたきのインピーダンスの虚数部が共役となるように給電回路基板10内の回路設計を行うことで効率的な信号の送受信が行える。  In the
  ところで、共振回路は無線ICチップ5のインピーダンスと外部電極19a,19bのインピーダンスを整合させるためのマッチング回路を兼ねている。給電回路基板10は、インダクタンス素子やキャパシタンス素子で構成された共振回路とは別に設けられたマッチング回路を備えていてもよい(この意味で、共振回路を整合回路とも称する)。共振回路にマッチング回路の機能をも付加しようとすると、共振回路の設計が複雑になる傾向がある。共振回路とは別にマッチング回路を設ければ、共振回路、マッチング回路をそれぞれ独立して設計できる。  Incidentally, the resonance circuit also serves as a matching circuit for matching the impedance of the
  また、給電回路基板10はマッチング回路のみを備えた構成でも構わない。さらに、インダクタンス素子のみで給電回路基板10内の回路を構成しても構わない。その場合、インダクタンス素子はアンテナである外部電極19a,19bと無線ICチップ5とのインピーダンス整合をとる機能を有している。  Further, the power
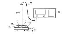
  (検査システムの第1実施例、図6参照)
  図6には無線ICデバイス1の検査システム(第1実施例)を示す。図6に示すように、給電回路基板10に無線ICチップ5が搭載された無線ICデバイス1を測定装置30に同軸ケーブル34を介して接続された測定子(以下、プローブと称する)31によって検査する。プローブ31に設けた電極32a,32bを給電回路基板10の外部電極19a,19bに接触させて無線ICデバイス1の検査を行う。(Refer to FIG. 6 for the first embodiment of the inspection system)
 FIG. 6 shows an inspection system (first embodiment) of the
  即ち、測定装置30のメモリには、無線ICデバイス1の検査項目とそのスペック(使用周波数、コマンド等)が全て内蔵されており、検査項目に従って無線ICデバイス1の検査を行う。  That is, the memory of the measuring
  具体的には、無線ICデバイス1が使用されるRFIDシステムの種類、測定周波数やデータのやり取りに使用するコマンド(デジタルデータで何を意味しているかを示すシステム特有のもの)を設定するとともに、無線ICデバイス1の検査項目を設定する。そして、測定装置30に接続されたプローブ31の電極32a,32bを給電回路基板10の外部電極19a,19bに接触した状態にした後、測定装置30の発信部から無線ICデバイス1に送信する情報の信号(例えば周波数偏位変調された信号)がプローブ31に送信され、無線ICデバイス1が受信する。  Specifically, while setting the type of RFID system in which the
  この後、無線ICデバイス1では、受信した信号を無線ICチップ5で復調及びデータ処理し、測定装置30に送る必要があるデータを送信データ信号にし、該送信データ信号を給電回路基板10内の共振回路を介してプローブ31に送信する。そして、その送信データ信号は、プローブ31で受信され測定装置30に送られる。  Thereafter, in the
  測定装置30では、無線ICデバイス1からのデータ信号を、復調及びデータ処理を行った後、無線ICデバイス1が検査項目の全てを満足しているかを判断する。そして、検査項目を満足している無線ICデバイス1を良品と判断し、検査項目を満足していない無線ICデバイス1を不良品であると判断する。  The
  (検査システムの第2実施例、図7参照)
  図7には無線ICデバイス1の検査システム(第2実施例)を示す。この検査システムは、基本的には前記第1実施例と同様の構成を有し、同様の項目、手順で検査を行う。第1実施例と異なるのは、プローブ31の先端に結合部33を設け、該結合部33の電極33a,33bを給電回路基板10の外部電極19a,19bに近接させて電界結合及び/又は磁界結合で電磁界的に結合させ、無線ICデバイス1の検査を行う。(See the second embodiment of the inspection system, FIG. 7)
 FIG. 7 shows an inspection system (second embodiment) of the
  本第2実施例では、プローブ31の先端結合部33は、平板の形状をしているため給電回路基板10の裏面と近接する。このため、プローブ31の結合部33と無線ICデバイス1とは、主に電界結合が強い状態で電磁界結合する。これにより、測定装置30と無線ICデバイス1とが信号を送受信することができ、非接触による高速検査が可能となる。なお、プローブ31の先端結合部33は、給電回路基板10に密着させてもよい。  In the second embodiment, the
  (検査システムの第3実施例、図8〜図11参照)
  図8には無線ICデバイス1の検査システム(第3実施例)を示す。この検査システムは基本的には前記第2実施例の検査システムに対して以下に詳述するインピーダンス整合回路35を設けたもので、検査項目、検査手順は前記第1実施例で説明したとおりである。(Refer to the third embodiment of the inspection system, FIGS. 8 to 11)
 FIG. 8 shows an inspection system (third embodiment) of the
  本検査システムにおいては、プローブ31にインピーダンス整合回路35を備えている。このインピーダンス整合回路35は、無線ICデバイス1のインピーダンスに、プローブ31から測定装置30側を見たときのインピーダンスを所望のインピーダンスに整合させるためのものである。インピーダンスを無線ICデバイスが使用されるときの値にしておくと、使用される状態での選別が行える。  In this inspection system, the
  インピーダンス整合回路35は、図9にその一例を示すように、並列に接続されたインダクタンス素子L11,L12と、インダクタンス素子L11,L12間を接続するキャパシタンス素子C11とで所定の共振周波数を有する共振回路を構成している。端子T11,T12が前記結合部33に設けた電極33a,33bと接続され、端子T13,T14が同軸ケーブル34と接続されている。プローブ31がインピーダンス整合回路35を備えていることで、測定装置30を無線ICデバイス1のインピーダンスに適切に適合させることができる。  As shown in FIG. 9 as an example, the
  なお、インピーダンス整合回路35は、インダクタンス素子のみで構成されても構わない。その場合、インダクタンス素子内部あるいはインダクタンス素子間で発生する浮遊容量をインピーダンスの整合設計に用いることもできる。  Note that the
  インピーダンス整合回路35は、種々の無線ICデバイス1のインピーダンス値に適合したものが用意されており、プローブ31に対して交換可能であることが好ましい。整合回路35を所定の共振周波数を有するものに交換することで、測定装置30を種々の無線ICデバイスに適合させることができ、様々な用途の無線ICデバイスを効率よく容易に検査することができる。  As the
  また、図10に、共振周波数を可変としたインピーダンス整合回路35Aを示す。この整合回路35Aは、いわゆる可変コンデンサを用いたもので、他の構成は図9に示した整合回路35と同様である。  FIG. 10 shows an
  また、図11に示すインピーダンス整合回路35B,35C,35Dは、それぞれ異なる整合回路を有するもので、並列に接続されるとともにスイッチング回路36,37が挿入されている。なお、スイッチング回路36,37はいずれか一つが挿入されていればよい。各整合回路35B,35C,35Dは、所定の周波数においてインピーダンスがマッチングするようにスイッチング回路36,37にて切り換えて使用される。RFIDシステムの使用周波数帯は各国ごとに異なっているため、使用周波数帯で異なるインピーダンスの設定が必要である。本実施例のように共振周波数のことなるインピーダンス整合回路35B,35C,35Dを複数備えた検査システムにより、使用周波数が変わっても一つの検査システムで検査することができ、効率よく容易に検査することができる。  Further, impedance matching circuits 35B, 35C, and 35D shown in FIG. 11 have different matching circuits, and are connected in parallel and have switching
  (検査システムの第4実施例、図12参照)
  次に、本発明に係る検査システムの第4実施例について図12を参照して説明する。この検査システムは吸着棒55及び検査治具50を用いている。検査冶具50には無線ICデバイス1を固定する凹部51が設けられ、該凹部51の底面には樹脂基板からなる平板52が設けられている。樹脂製の平板52に設けた電極52a,52bは、前記第2、第3実施例における測定子(プローブ)31ないし結合部33として機能するもので、測定装置30に接続されている同軸ケーブル34と電気的に接続している。そして、コンピュータ制御により測定装置30と連動して自動的にエアー吸引で吸着する吸着棒55によって無線ICデバイス1が検査冶具50の凹部51に供給される。(Refer to FIG. 12 for the fourth embodiment of the inspection system)
 Next, a fourth embodiment of the inspection system according to the present invention will be described with reference to FIG. This inspection system uses a
  また、平板52に設けた電極52a,52b及び同軸ケーブル34との間に、インピーダンス整合回路35が設けられている。整合回路35は前記整合回路35A又は整合回路35B,35C,35Dであってもよい。  Further, an
  検査時において、検査冶具50の平板52は無線ICデバイス1とほぼ密着状態になる。これにより、平板52と無線ICデバイス1とは電磁界結合することができる。本第4実施例における検査項目、検査手順も前記各実施例で説明したとおりである。  At the time of inspection, the flat plate 52 of the
  (検査工程1、図13参照)
  無線ICデバイスの製造工程における検査工程1について図13を参照して説明する。この検査工程1では、無線ICデバイス1が複数集合した親基板41の状態で個々の無線ICデバイス1を検査する。(See
 The
  まず、親基板41について説明する。親基板41は、誘電体からなるセラミックシートに例えば図4に示した共振回路を形成する電極が多数形成できるように印刷し、それを積層、圧着、焼成したものに、共振回路を形成する部分の一つ一つに無線ICチップ5をそれぞれ実装したものである。そして、親基板41は、図示していないが無線ICチップ5の実装されている面をエポキシ樹脂で封止することで平坦にしている。また、このように無線ICチップ5を樹脂封止することにより、無線ICチップ5の耐環境性を向上することができる。  First, the
  検査工程1では、前記親基板41の状態で個々の無線ICデバイス1を検査する。測定装置30に接続されたプローブ31は、図示していないが自動的に親基板41の無線ICデバイス1の位置に移動することができる移動装置に取り付けられている。また、該移動装置と測定装置30とは制御コンピュータ(図示していない)に接続されている。  In the
  そして、制御コンピュータから前記移動装置に無線ICデバイス1の検査指示が命令されると、移動装置はプローブ31を親基板41の一番目に測定する無線ICデバイス1の位置に移動する。そして、無線ICデバイス1とプローブ31の先端結合部33が電磁界結合できるように、該結合部33が無線ICデバイス1の表面上に離間して配置、もしくは、接触するようにする。なお、検査方法(コンピュータ制御で行う測定装置30から無線ICデバイス1を検査する方法)は前述したとおりであり、その説明は省略する。  When an instruction to inspect the
  ところで、プローブ31の結合部33は電磁界の放射が非常に弱い。それゆえ、結合部33は、検査時において、該結合部33と接する無線ICデバイス1以外の無線ICデバイス1とはほとんど電磁界結合しない。従って、検査工程において、検査を行っている無線ICデバイス以外の無線ICデバイス1の影響を受けることなく正確に無線ICデバイス1を検査することができる。  By the way, the
  (検査工程2、図14参照)
  次に、無線ICデバイスの製造工程における検査工程2について図14を参照して説明する。この検査工程2は、無線ICデバイス1が複数集合した親基板41からダイサーで切断された直後の状態で個々の無線ICデバイス1を検査する。(See inspection process 2, Fig. 14)
 Next, inspection step 2 in the manufacturing process of the wireless IC device will be described with reference to FIG. In this inspection step 2, each
  検査工程2は、無線ICデバイス1を測定する場合に、図13に示した検査工程1よりも大きな電磁界放射が必要な場合に行われる。即ち、無線ICデバイス1は、プローブ31の先端結合部33から電磁界結合する電磁波のエネルギーを利用して無線ICチップ5を動作させている。このため、無線ICチップ5を動作させる電気エネルギーが大きいときには、それに見合った必要な電磁波のエネルギーをプローブ31の結合部33から放射する必要がある。この場合には、測定装置30からの送信信号の電力を大きくして、結合部33からの電磁界の放射を大きくする。  The inspection process 2 is performed when the
  このような場合に、結合部33が検査する無線ICデバイス1の中央から大幅にずれて、隣接する無線ICデバイス1に近づくと隣接する無線ICデバイス1の影響をうけ正確な検査ができなくなる。これを防ぐために、予め、親基板41をダイサー用粘着シート42に取り付けた後、ダイサーで切断した状態を図14に示している。隣接する無線ICデバイス1どうしがダイサーの切断幅(約0.1〜0.2mm)の間隔で離れているため、結合部33が検査する無線ICデバイス1の中央から大幅にずれた場合でも、隣接する無線ICデバイス1の影響を受けず正確な検査ができる。  In such a case, when the
  さらに、プローブ31の結合部33からの電磁界の放射レベルを強くする必要がある場合には、ダイサー用粘着シート42をエキスパンドすることにより無線ICデバイス1どうしの間隔をさらに広げることで隣接する無線ICデバイス1の影響を受けずに正確な検査を行うことができる。  Further, when it is necessary to increase the radiation level of the electromagnetic field from the
  また、前記検査工程1及び本検査工程2において、良品又は不良品と判定された無線ICデバイス1は、親基板41のどの位置の無線ICデバイス1が良品か不良品であるかを制御コンピュータがメモリしているため、そのデータを基に次の振り分け工程で良品はテーピング工程に送られ、不良品は不良品トレイに排除される。  In addition, in the
  (他の実施例)
  なお、本発明に係る無線ICデバイス、その検査システム及び無線ICデバイスの製造方法は前記実施例に限定するものではなく、その要旨の範囲内で種々に変更することができる。(Other examples)
 The wireless IC device, the inspection system thereof, and the manufacturing method of the wireless IC device according to the present invention are not limited to the above-described embodiments, and can be variously changed within the scope of the gist.
例えば、前記実施例に示した外部電極や給電回路基板の材料はあくまで例示であり、必要な特性を有する材料であれば、任意のものを使用することができる。また、無線ICチップを給電回路基板に実装するのに、金属バンプ以外の処理を用いてもよい。 For example, the materials of the external electrode and the power supply circuit board shown in the above embodiment are merely examples, and any materials can be used as long as they have necessary characteristics. In addition, processing other than metal bumps may be used to mount the wireless IC chip on the power supply circuit board.
さらに、検査システムにおいて、測定子(プローブ)や結合部の構成、形状などの細部は任意である。また、インピーダンス整合回路の設置位置は任意であって、測定装置あるいは同軸ケーブルに設けてもよい。 Further, in the inspection system, details such as the configuration and shape of the probe (probe) and the coupling portion are arbitrary. Further, the installation position of the impedance matching circuit is arbitrary, and may be provided on the measuring device or the coaxial cable.
    1…無線ICデバイス
    5…無線ICチップ
    10…給電回路基板
    19a,19b…外部電極
    30…測定装置
    31…測定子(プローブ)
    35,35A〜35D…インピーダンス整合回路
    41…親基板
    42…粘着シート
    L1,L2…インダクタンス素子
    C1,C2…キャパシタンス素子DESCRIPTION OF
 35, 35A to 35D:
| Application Number | Priority Date | Filing Date | Title | 
|---|---|---|---|
| JP2007185437AJP5167709B2 (en) | 2007-07-17 | 2007-07-17 | Wireless IC device, inspection system thereof, and method of manufacturing wireless IC device using the inspection system | 
| Application Number | Priority Date | Filing Date | Title | 
|---|---|---|---|
| JP2007185437AJP5167709B2 (en) | 2007-07-17 | 2007-07-17 | Wireless IC device, inspection system thereof, and method of manufacturing wireless IC device using the inspection system | 
| Publication Number | Publication Date | 
|---|---|
| JP2009025870A JP2009025870A (en) | 2009-02-05 | 
| JP5167709B2true JP5167709B2 (en) | 2013-03-21 | 
| Application Number | Title | Priority Date | Filing Date | 
|---|---|---|---|
| JP2007185437AExpired - Fee RelatedJP5167709B2 (en) | 2007-07-17 | 2007-07-17 | Wireless IC device, inspection system thereof, and method of manufacturing wireless IC device using the inspection system | 
| Country | Link | 
|---|---|
| JP (1) | JP5167709B2 (en) | 
| Publication number | Priority date | Publication date | Assignee | Title | 
|---|---|---|---|---|
| US9064198B2 (en) | 2006-04-26 | 2015-06-23 | Murata Manufacturing Co., Ltd. | Electromagnetic-coupling-module-attached article | 
| CN102915462B (en) | 2007-07-18 | 2017-03-01 | 株式会社村田制作所 | Wireless IC device | 
| CN103500875B (en) | 2007-12-26 | 2015-12-02 | 株式会社村田制作所 | Antenna assembly and Wireless IC device | 
| EP2284949B1 (en) | 2008-05-21 | 2016-08-03 | Murata Manufacturing Co. Ltd. | Wireless ic device | 
| WO2009142068A1 (en)* | 2008-05-22 | 2009-11-26 | 株式会社村田製作所 | Wireless ic device and method for manufacturing the same | 
| WO2009145007A1 (en) | 2008-05-26 | 2009-12-03 | 株式会社村田製作所 | Wireless ic device system and method for authenticating wireless ic device | 
| WO2010001987A1 (en) | 2008-07-04 | 2010-01-07 | 株式会社村田製作所 | Wireless ic device | 
| EP2320519B1 (en) | 2008-08-19 | 2017-04-12 | Murata Manufacturing Co., Ltd. | Wireless ic device and method for manufacturing same | 
| JP5429182B2 (en) | 2008-10-24 | 2014-02-26 | 株式会社村田製作所 | Wireless IC device | 
| JP4605318B2 (en) | 2008-11-17 | 2011-01-05 | 株式会社村田製作所 | Antenna and wireless IC device | 
| EP2385580B1 (en) | 2009-01-30 | 2014-04-09 | Murata Manufacturing Co., Ltd. | Antenna and wireless ic device | 
| JP5365301B2 (en)* | 2009-03-30 | 2013-12-11 | 株式会社村田製作所 | Wireless communication device measurement system and wireless communication device measurement method | 
| JP5510450B2 (en) | 2009-04-14 | 2014-06-04 | 株式会社村田製作所 | Wireless IC device | 
| EP2568534A3 (en) | 2009-04-21 | 2014-05-14 | Murata Manufacturing Co., Ltd. | Antenna devie and method of setting resonant frequency of antenna device | 
| WO2011001709A1 (en) | 2009-07-03 | 2011-01-06 | 株式会社村田製作所 | Antenna and antenna module | 
| JP5201270B2 (en) | 2009-09-30 | 2013-06-05 | 株式会社村田製作所 | Circuit board and manufacturing method thereof | 
| JP5304580B2 (en) | 2009-10-02 | 2013-10-02 | 株式会社村田製作所 | Wireless IC device | 
| CN102576939B (en) | 2009-10-16 | 2015-11-25 | 株式会社村田制作所 | Antenna and wireless ic device | 
| JP5418600B2 (en) | 2009-10-27 | 2014-02-19 | 株式会社村田製作所 | Transceiver and RFID tag reader | 
| WO2011055702A1 (en) | 2009-11-04 | 2011-05-12 | 株式会社村田製作所 | Wireless ic tag, reader/writer, and information processing system | 
| WO2011055701A1 (en) | 2009-11-04 | 2011-05-12 | 株式会社村田製作所 | Communication terminal and information processing system | 
| JP5327334B2 (en) | 2009-11-04 | 2013-10-30 | 株式会社村田製作所 | Communication terminal and information processing system | 
| WO2011108340A1 (en) | 2010-03-03 | 2011-09-09 | 株式会社村田製作所 | Wireless communication module and wireless communication device | 
| JP5370581B2 (en) | 2010-03-24 | 2013-12-18 | 株式会社村田製作所 | RFID system | 
| WO2011122163A1 (en) | 2010-03-31 | 2011-10-06 | 株式会社村田製作所 | Antenna and wireless communication device | 
| JP5299351B2 (en) | 2010-05-14 | 2013-09-25 | 株式会社村田製作所 | Wireless IC device | 
| JP5170156B2 (en) | 2010-05-14 | 2013-03-27 | 株式会社村田製作所 | Wireless IC device | 
| GB2537773A (en) | 2010-07-28 | 2016-10-26 | Murata Manufacturing Co | Antenna apparatus and communication terminal instrument | 
| JP5423897B2 (en) | 2010-08-10 | 2014-02-19 | 株式会社村田製作所 | Printed wiring board and wireless communication system | 
| JP5630506B2 (en) | 2010-09-30 | 2014-11-26 | 株式会社村田製作所 | Wireless IC device | 
| WO2012050037A1 (en) | 2010-10-12 | 2012-04-19 | 株式会社村田製作所 | Antenna apparatus and communication terminal apparatus | 
| CN102971909B (en) | 2010-10-21 | 2014-10-15 | 株式会社村田制作所 | Communication terminal device | 
| WO2012093541A1 (en) | 2011-01-05 | 2012-07-12 | 株式会社村田製作所 | Wireless communication device | 
| CN103299325B (en) | 2011-01-14 | 2016-03-02 | 株式会社村田制作所 | RFID chip packaging and RFID tags | 
| CN103119786B (en) | 2011-02-28 | 2015-07-22 | 株式会社村田制作所 | Wireless communication device | 
| WO2012137717A1 (en) | 2011-04-05 | 2012-10-11 | 株式会社村田製作所 | Wireless communication device | 
| WO2012157596A1 (en) | 2011-05-16 | 2012-11-22 | 株式会社村田製作所 | Wireless ic device | 
| KR101338173B1 (en) | 2011-07-14 | 2013-12-06 | 가부시키가이샤 무라타 세이사쿠쇼 | Wireless communication device | 
| WO2013035821A1 (en) | 2011-09-09 | 2013-03-14 | 株式会社村田製作所 | Antenna device and wireless device | 
| JP5344108B1 (en) | 2011-12-01 | 2013-11-20 | 株式会社村田製作所 | Wireless IC device and manufacturing method thereof | 
| JP5464307B2 (en) | 2012-02-24 | 2014-04-09 | 株式会社村田製作所 | ANTENNA DEVICE AND WIRELESS COMMUNICATION DEVICE | 
| CN104487985B (en) | 2012-04-13 | 2020-06-26 | 株式会社村田制作所 | RFID tag inspection method and inspection device | 
| CN112420686B (en)* | 2019-12-12 | 2024-04-05 | 友达光电股份有限公司 | Chip device | 
| Publication number | Priority date | Publication date | Assignee | Title | 
|---|---|---|---|---|
| JPS618938A (en)* | 1984-06-25 | 1986-01-16 | Toshiba Corp | Manufacture of semiconductor device | 
| JP4411670B2 (en)* | 1998-09-08 | 2010-02-10 | 凸版印刷株式会社 | Non-contact IC card manufacturing method | 
| JP2005210676A (en)* | 2003-12-25 | 2005-08-04 | Hitachi Ltd | Wireless IC tag, wireless IC tag manufacturing method, and wireless IC tag manufacturing apparatus | 
| JP4437965B2 (en)* | 2005-03-22 | 2010-03-24 | Necトーキン株式会社 | Wireless tag | 
| JP4826195B2 (en)* | 2005-09-30 | 2011-11-30 | 大日本印刷株式会社 | RFID tag | 
| JP2007150868A (en)* | 2005-11-29 | 2007-06-14 | Renesas Technology Corp | Electronic equipment and method of manufacturing the same | 
| Publication number | Publication date | 
|---|---|
| JP2009025870A (en) | 2009-02-05 | 
| Publication | Publication Date | Title | 
|---|---|---|
| JP5167709B2 (en) | Wireless IC device, inspection system thereof, and method of manufacturing wireless IC device using the inspection system | |
| US7630685B2 (en) | Wireless IC device and component for wireless IC device | |
| CN101460964B (en) | Wireless IC device and composite component for wireless IC device | |
| US8081125B2 (en) | Antenna and radio IC device | |
| US8360325B2 (en) | Wireless IC device, electronic apparatus, and method for adjusting resonant frequency of wireless IC device | |
| WO2009110381A1 (en) | Wireless ic device and wireless communication system | |
| KR101062124B1 (en) | Wireless IC devices | |
| US9373072B2 (en) | Antenna, method of manufacturing the antenna, and wireless IC device | |
| JP4983794B2 (en) | Electromagnetic coupling module, wireless IC device inspection system, electromagnetic coupling module using the same, and method of manufacturing wireless IC device | |
| JPWO2008136220A1 (en) | Wireless IC device | |
| JP5266675B2 (en) | Inspection system for electromagnetic coupling module and method for manufacturing electromagnetic coupling module using the inspection system | |
| JP5076851B2 (en) | Wireless IC device | |
| JP4840275B2 (en) | Wireless IC device and electronic apparatus | |
| JP4930236B2 (en) | Wireless IC device | |
| JP5376019B2 (en) | Inspection system for electromagnetic coupling module and method for manufacturing electromagnetic coupling module using the inspection system | |
| JP5376018B2 (en) | Inspection system for electromagnetic coupling module and method for manufacturing electromagnetic coupling module using the inspection system | |
| JP2009025930A (en) | Wireless IC device and manufacturing method thereof | |
| JP2009025931A (en) | Radio ic device and method for manufacturing the same | 
| Date | Code | Title | Description | 
|---|---|---|---|
| A621 | Written request for application examination | Free format text:JAPANESE INTERMEDIATE CODE: A621 Effective date:20100421 | |
| A977 | Report on retrieval | Free format text:JAPANESE INTERMEDIATE CODE: A971007 Effective date:20120531 | |
| A131 | Notification of reasons for refusal | Free format text:JAPANESE INTERMEDIATE CODE: A131 Effective date:20120605 | |
| A521 | Request for written amendment filed | Free format text:JAPANESE INTERMEDIATE CODE: A523 Effective date:20120727 | |
| RD02 | Notification of acceptance of power of attorney | Free format text:JAPANESE INTERMEDIATE CODE: A7422 Effective date:20120727 | |
| TRDD | Decision of grant or rejection written | ||
| A01 | Written decision to grant a patent or to grant a registration (utility model) | Free format text:JAPANESE INTERMEDIATE CODE: A01 Effective date:20121127 | |
| A61 | First payment of annual fees (during grant procedure) | Free format text:JAPANESE INTERMEDIATE CODE: A61 Effective date:20121210 | |
| R150 | Certificate of patent or registration of utility model | Ref document number:5167709 Country of ref document:JP Free format text:JAPANESE INTERMEDIATE CODE: R150 | |
| LAPS | Cancellation because of no payment of annual fees |