


















































































本発明は、正極活物質層と固体電解質層とを含む積層体およびこれを用いた全固体リチウム二次電池に関する。 The present invention relates to a laminate including a positive electrode active material layer and a solid electrolyte layer, and an all solid lithium secondary battery using the same.
電子機器の小型化に伴い、その主電源やバックアップ電源として高エネルギー密度を有する電池が要望されている。中でもリチウムイオン二次電池は、従来の水溶液系の電池に比べ、高電圧であり、かつ高エネルギー密度を有しているために注目を集めている。 With downsizing of electronic devices, a battery having high energy density is demanded as its main power source or backup power source. Among these, lithium ion secondary batteries are attracting attention because they have higher voltage and higher energy density than conventional aqueous batteries.
リチウムイオン二次電池において、LiCoO2、LiMn2O4、LiNiO2などの酸化物が正極活物質として用いられ、カーボンやSiなどの合金、Li4Ti5O12などの酸化物が負極活物質として用いられている。また、電解液には炭酸エステルやエーテル系の有機溶媒にLi塩を溶解したものが用いられている。In lithium ion secondary batteries, oxides such as LiCoO2 , LiMn2 O4 and LiNiO2 are used as positive electrode active materials, alloys such as carbon and Si, and oxides such as Li4 Ti5 O12 are used as negative electrode active materials. It is used as. Moreover, what melt | dissolved Li salt in carbonate ester or an ether type organic solvent is used for electrolyte solution.
  しかしながら、上記のような電解液は液体であるため、漏液の可能性がある。さらには、電解液には、可燃物が使用されているため、誤使用時の電池の安全性を高める必要がある。リチウムイオン二次電池の安全性及び信頼性を高めるために、電解液の代わりに固体電解質を用いた全固体リチウム二次電池の研究が盛んに行われている。
  しかしながら、固体電解質は、液体である電解液と比較して、導電率が低く、出力密度が低いという問題がある。However, since the above electrolyte is a liquid, there is a possibility of leakage. Furthermore, since a combustible material is used for the electrolytic solution, it is necessary to improve the safety of the battery when misused. In order to increase the safety and reliability of lithium ion secondary batteries, research on all-solid lithium secondary batteries using a solid electrolyte instead of an electrolytic solution has been actively conducted.
 However, the solid electrolyte has a problem that the electrical conductivity is low and the output density is low as compared with the electrolytic solution which is a liquid.
  一方で、高エネルギー密度化を達成するために、正極と、固体電解質または電解質を含むセパレータと、負極とを1組以上積層して一体化した積層体を備える積層型電池が提案されている(特許文献1)。この積層体の側面および上下面の少なくともいずれかの端面には、それぞれ、正極および負極に接続された端子電極が設けられている。
  また、導電率を増加させるために、液体の電解液を含むゲル電解質を、正極活物質層と負極活物質層との間に配置することも考えられる。On the other hand, in order to achieve high energy density, a multilayer battery including a laminate in which at least one set of a positive electrode, a solid electrolyte or a separator including an electrolyte, and a negative electrode are stacked and integrated has been proposed ( Patent Document 1). Terminal electrodes connected to the positive electrode and the negative electrode are provided on at least one of the side surfaces and the upper and lower end surfaces of the laminate.
 In order to increase the conductivity, it is also conceivable to place a gel electrolyte containing a liquid electrolyte between the positive electrode active material layer and the negative electrode active material layer.
特許文献1においては、正極、固体電解質および負極の組は、端子電極により、並列または直列に接続されている。端子電極は、メッキ、焼き付け、または蒸着、スパッタリング等により形成される。しかしながら、例えば、液体の電解液を含むゲル電解質を備える積層型電池で、上記のような方法を用いることは困難である。メッキの場合、メッキ液に含まれる水分が電池内へと混入してしまうために、非水電解液を含む系に適用することはできない。焼き付けの場合、電解液の沸騰・蒸発が生じるため、適用することは困難である。蒸着やスパッタリングの場合、これらの方法は、減圧雰囲気下で行う必要がある。この場合にも、電解液の沸騰・蒸発が生じるため、適用することは困難である。 In Patent Document 1, a set of a positive electrode, a solid electrolyte, and a negative electrode is connected in parallel or in series by a terminal electrode. The terminal electrode is formed by plating, baking, vapor deposition, sputtering, or the like. However, for example, it is difficult to use the above method in a stacked battery including a gel electrolyte containing a liquid electrolyte. In the case of plating, since the water contained in the plating solution is mixed into the battery, it cannot be applied to a system containing a non-aqueous electrolyte. In the case of baking, the electrolyte solution boils and evaporates, so that it is difficult to apply. In the case of vapor deposition or sputtering, these methods need to be performed under a reduced pressure atmosphere. Also in this case, it is difficult to apply since the electrolytic solution boils and evaporates.
  Perovskite型のLi0.33La0.56TiO3やNASICON型のLiTi2(PO4)3は、Liイオンを高速で伝導することができるLiイオン伝導体である。近年、このような固体電解質を用いた全固体電池が研究されている。
  無機系固体電解質、正極活物質および負極活物質を用いた固体電池は、正極活物質層と固体電解質層と負極活物質層とを順に積層して積層体を形成し、熱処理により焼結させることにより作製される。この方法では、正極活物質層と固体電解質層との界面、および固体電解質層と負極活物質層との界面を接合することができる。しかし、この方法を用いることは、従来、種々の理由から不利益が大きい。Perovskite-type Li0.33 La0.56 TiO3 and NASICON-type LiTi2 (PO4 )3 are Li ion conductors capable of conducting Li ions at high speed. In recent years, all solid state batteries using such a solid electrolyte have been studied.
 A solid battery using an inorganic solid electrolyte, a positive electrode active material, and a negative electrode active material is formed by sequentially laminating a positive electrode active material layer, a solid electrolyte layer, and a negative electrode active material layer, and is sintered by heat treatment. It is produced by. In this method, the interface between the positive electrode active material layer and the solid electrolyte layer and the interface between the solid electrolyte layer and the negative electrode active material layer can be joined. However, using this method has been disadvantageous for various reasons.
  例えば、非特許文献1には、正極活物質であるLiCoO2と固体電解質であるLiTi2(PO4)3を用いて焼結を行った場合、焼結過程において両者が反応し、充放電反応に寄与しないCoTiO3、Co2TiO4、LiCoPO4などの化合物が生成することが報告されている。
  この場合、活物質と固体電解質との焼結界面に、活物質でも固体電解質でもない物質が生成することにより、その焼結界面が電気化学的に不活性化するという問題が生じる場合がある。For example, in Non-Patent Document 1, when sintering is performed using LiCoO2 which is a positive electrode active material and LiTi2 (PO4 )3 which is a solid electrolyte, both react in the sintering process, and charge / discharge reaction occurs. It has been reported that compounds such as CoTiO3 , Co2 TiO4 , and LiCoPO4 that do not contribute to the formation of Nb are formed.
 In this case, there may be a problem that a sintered interface between the active material and the solid electrolyte is generated at the sintered interface between the active material and the solid electrolyte, so that the sintered interface is electrochemically inactivated.
このような問題を解決するために、例えば、以下のような作製方法が提案されている。まず、LiMn2O4/Li1.3Al0.3Ti1.7(PO4)3/Li4Ti5O12の構成の3層ペレットを構成した後、このペレットを750℃で12時間焼結して、電極を得る。次に、10〜100μmの厚さまで、その電極を研磨することにより、全固体電池とする(非特許文献2参照)。ここで、上記各層は、0.44LiBO2−0.56LiFを焼結助剤として15wt%ずつ含んでいる。In order to solve such problems, for example, the following manufacturing methods have been proposed. First, after forming a three-layer pellet having a structure of LiMn2 O4 / Li1.3 Al0.3 Ti1.7 (PO4 )3 / Li4 Ti5 O12 , the pellet was sintered at 750 ° C. for 12 hours to obtain an electrode. Get. Next, the electrode is polished toa thickness of10 to 100 μm to obtain an all-solid battery (see Non-Patent Document 2). Here, each of the above layers contains 0.44 LiBO2 -0.56 LiF as a sintering aid by 15 wt%.
  しかしながら、非特許文献2の製造方法において、750℃という低温では焼結が十分進行せず、固体電解質と活物質の界面接合が不充分となる。このため、非特許文献2に示されている充放電カーブは10μA/cm2という非常に小さい電流値のものである。つまり、非特許文献2に開示される固体電池の内部抵抗は非常に大きなものであると推測される。
  この場合、固体電池の内部抵抗を低減するために、焼結温度を上げて焼結を促進させることが考えられるが、元素の拡散による不活性相が、例えば、活物質層と固体電解質層との間に生成するため、充放電が困難となるという問題が生じる。However, in the manufacturing method of Non-Patent
 In this case, in order to reduce the internal resistance of the solid state battery, it is conceivable to increase the sintering temperature to promote the sintering. However, the inert phase due to the diffusion of the element is, for example, an active material layer, a solid electrolyte layer, Therefore, there is a problem that charging / discharging becomes difficult.
  また、結着材を含有する正極材料と固体電解質材料と負極材料の成形体を積層し、それらをマイクロ波加熱により焼結して、固体電池を作製することも提案されている(特許文献2参照)。特許文献2において、成形体は、シート成形もしくは基板上に原料ペーストをスクリーン印刷した後に乾燥して基板を除去することにより、作製される。  It has also been proposed to produce a solid battery by laminating a molded body of a positive electrode material, a solid electrolyte material, and a negative electrode material containing a binder, and sintering them by microwave heating (Patent Document 2). reference). In
  特許文献2の作製方法によれば、電極と固体電解質層中の各粒子の反応を抑えつつ充填率を向上させることが可能とされている。しかしながら、特許文献2の実施例で述べられているような活物質/固体電解質の組合せでは、本質的に高温下で、活物質と固体電解質とが反応し、その界面にLiイオン伝導性のない相が発現する。このため、如何にマイクロ波加熱により焼成時間を短くしたとしても、活物質と固体電解質との界面での不活性相の発現を完全に抑制することは困難である。つまり、特許文献2の作製方法では、活物質/固体電解質の焼結界面での抵抗の増加、活物質の変性による容量低下などを抑制することは困難である。  According to the production method of
さらには、正極活物質と正極集電体からなる正極、固体電解質、および負極活物質と負極集電体からなる負極を積層して電池を作製した場合、充放電時の活物質の膨張および収縮により、活物質/電解質界面、および活物質/集電体界面においてデラミネーションが生じたり、その電池にクラックが発生したりするおそれがある。特に、固体電解質として無機酸化物を用いたとき、応力を緩和する層が存在しないため、その傾向が大きくなる。 Furthermore, when a battery is produced by laminating a positive electrode comprising a positive electrode active material and a positive electrode current collector, a solid electrolyte, and a negative electrode comprising a negative electrode active material and a negative electrode current collector, the expansion and contraction of the active material during charge / discharge As a result, delamination may occur at the active material / electrolyte interface and the active material / current collector interface, and cracks may occur in the battery. In particular, when an inorganic oxide is used as the solid electrolyte, since there is no layer that relieves stress, the tendency increases.
ところで、LiTi2(PO4)3を単体で用いた場合は、焼結性が悪く、1200℃で焼結しても、リチウムイオン伝導度は、10-6S/cm程度にしかならない。そこで、LiTi2(PO4)3と、焼結助剤であるLi3PO4やLi3BO3を添加することにより、LiTi2(PO4)3を800〜900℃で焼結することが可能となり、かつリチウムイオン伝導性が向上することが報告されている(非特許文献3参照)。By the way, when LiTi2 (PO4 )3 is used alone, the sinterability is poor, and even when sintered at 1200 ° C., the lithium ion conductivity is only about 10−6 S / cm. Therefore, the LiTi2 (PO4)3, by adding Li3 PO4 and Li3 BO3 is a sintering aid, an LiTi2 (PO4)3 can be sintered at 800 to 900 ° C. It has been reported that lithium ion conductivity is improved (see Non-Patent Document 3).
また一方で、リチウムホスホラスオキシニトリド(LiXPOYNZ、ここで、X=2.8であり、3Z+2Y=7.8である)を固体電解質に用いた薄膜電池も提案されている(特許文献3参照)。On the other hand, a thin film battery using lithium phosphorous oxynitride (LiX POY NZ , where X = 2.8 and 3Z + 2Y = 7.8) as a solid electrolyte has also been proposed. (See Patent Document 3).
スパッタリングなどの手法で、活物質及び固体電解質の薄膜を基板上に形成させて電池を作製する場合、アモルファス状態で薄膜が形成される。一般的に用いられるLiCoO2、LiNiO2、LiMn2O4、Li4Ti5O12などの活物質は、アモルファス状態では充放電できないため、薄膜形成後、400〜700℃程度の熱処理を施して結晶化させる必要がある。When a battery is manufactured by forming a thin film of an active material and a solid electrolyte on a substrate by a technique such as sputtering, the thin film is formed in an amorphous state. Generally used active materials such as LiCoO2 , LiNiO2 , LiMn2 O4 and Li4 Ti5 O12 cannot be charged / discharged in an amorphous state. It is necessary to crystallize.
  しかしながら、特許文献3で用いられるリチウムホスホラスオキシニトリドは、300℃程度で分解してしまうため、正極、固体電解質、負極を連続して積層した後、熱処理を施して活物質を結晶化させるのは不可能である。
  また、耐熱性のあるPerovskite型のLi0.33La0.56TiO3やNASICON型のLiTi2(PO4)3などの固体電解質を用いた場合、一般的な活物質と共に熱処理を施すと、活物質/固体電解質界面で不純物が生成してしまうため、充放電を行うことが困難である。However, since lithium phosphorous oxynitride used in
 In addition, when a solid electrolyte such as heat-resistant Perovskite type Li0.33 La0.56 TiO3 or NASICON type LiTi2 (PO4 )3 is used, when heat treatment is performed together with a general active material, the active material / solid Since impurities are generated at the electrolyte interface, it is difficult to charge and discharge.
以上のように、活物質と固体電解質との界面で、充放電に寄与しない物質が生成する副反応が進行するため、熱処理により活物質層および固体電解質層を緻密化または結晶化させながら、良好な活物質/固体電解質界面を形成することは、従来困難である。 As described above, a side reaction that generates a substance that does not contribute to charge / discharge proceeds at the interface between the active material and the solid electrolyte, so that the active material layer and the solid electrolyte layer are well densified or crystallized by heat treatment. It is conventionally difficult to form a simple active material / solid electrolyte interface.
また、正極活物質として、リチウム金属に対して4.8Vで充放電するLiCoPO4を用いることが提案されている(非特許文献4参照)。In addition, it has been proposed to use LiCoPO4 that charges / discharges lithium metal at 4.8 V as the positive electrode active material (see Non-Patent Document 4).
  しかしながら、4.8Vという高い作動電位のために電解液が分解し、このような活物質を用いる電池は寿命特性が短くなるという問題がある。
  また、従来、LiCoPO4のような高い作動電圧を有する活物質を安定して作動させることは困難であった。
 Conventionally, it has been difficult to stably operate an active material having a high operating voltage such as LiCoPO4 .
そこで、本発明は、固体電解質層、活物質層を熱処理により緻密化または結晶化させつつ、電気化学的に活性な活物質/固体電解質界面を有する積層体、および内部抵抗が低く、大容量の全固体リチウム二次電池を提供することを目的とする。また、焼結による反りおよび脆化を抑制し、活物質層と固体電解質層との界面の接合強度を向上した全固体リチウム二次電池を提供することを目的とする。さらには、デラミレーション、クラックなどを抑制して、信頼性の高い全固体リチウム二次電池を提供することを目的とする。Therefore, the present invention provides a laminate having an electrochemically active active material / solid electrolyte interface while the solid electrolyte layer and the active material layer are densified or crystallized by heat treatment, and a low internal resistance and large capacity. An object is to provide an all-solid lithium secondary battery. Another object of the present invention is to provide an all-solid lithium secondary battery in which warpage and embrittlement due to sintering are suppressed and the bonding strength at the interface between the active material layer and the solid electrolyte layer is improved. Furthermore, by suppressing delamination configuration, cracks and the like, and an object thereof is to provide a highly reliable all-solid lithium secondary battery.
本発明は、活物質層と、前記活物質層に接合された固体電解質層を含む積層体に関する。ここで、活物質層は、リチウムイオンを放出および吸蔵し得る結晶性の第1物質を含み、固体電解質層は、リチウムイオン伝導性を有する結晶性の第2物質を含む。活物質と固体電解質との接合界面において、充放電反応に寄与しない不純物相を含まない。The present invention relates to a laminate including an active material layer and a solid electrolyte layer bonded to the active material layer. Here, the active material layer includes a crystalline first material capable of releasing and occluding lithium ions, and the solid electrolyte layer includes a crystalline second material having lithium ion conductivity.The junction interface between the active material and the solid electrolyte does not include an impurity phase that does not contribute to the charge / discharge reaction.
上記積層体において、第1物質は、リチウムイオンを放出および吸蔵し得る結晶性の第1リン酸化合物を含み、第2物質は、リチウムイオン伝導性を有する結晶性の第2リン酸化合物を含む。In the laminate, the first substance includes a crystalline first phosphate compound capable of releasing and occluding lithium ions, and the second substance includes a crystalline second phosphate compound having lithium ion conductivity.Mu
上記積層体は、少なくとも固体電解質層の充填率が70%を超えることが好ましい。ここで、充填率とは、各層を構成する物質の真密度に対する各層の見かけの密度の割合を、百分率値として表したものである。あるいは、各層の充填率は、その層の多孔度をX%としたとき、(100−X)%と定義することもできる。 It is preferable that at least the solid electrolyte layer has a filling factor of more than 70% in the laminate. Here, the filling rate represents the ratio of the apparent density of each layer to the true density of the substance constituting each layer as a percentage value. Alternatively, the filling rate of each layer can be defined as (100-X)%, where the porosity of the layer is X%.
上記積層体において、活物質層および固体電解質層よりなる群から選択される少なくとも1つの層が、非晶質酸化物を含むことが好ましい。非晶質酸化物が含まれる層において、非晶質酸化物は、各層の0.1〜10重量%を占めることが好ましい。また、非晶質酸化物の軟化点は、700℃以上950℃以下であることが好ましい。 In the laminate, at least one layer selected from the group consisting of an active material layer and a solid electrolyte layer preferably contains an amorphous oxide. In the layer containing the amorphous oxide, the amorphous oxide preferably occupies 0.1 to 10% by weight of each layer. The softening point of the amorphous oxide is preferably 700 ° C. or higher and 950 ° C. or lower.
  上記積層体において、第1リン酸化合物は、以下の一般式:
                            LiMPO4
(Mは、(i)Mn、(ii)Fe、(iii)Co、(iv)Ni、(v)CoおよびNi、または(vi)MnおよびFeである)
で表される。
第2リン酸化合物は、以下の一般式:
                      Li1+XMIIIXTiIV2-X(PO4)3
(MIIIは、Alイオンであり、0≦X≦0.6である)
で表される。In the laminate, the first phosphate compound has the following general formula:
 LiMPO4
 (M is(i) Mn, (ii) Fe, (iii) Co, (iv) Ni, (v) Co and Ni, or (vi) Mn and Fe )
 Init expresses.
 The diphosphate compound has the following general formula:
 Li1 + X MIIIX TiIV2-X (PO4 )3
 (MIII is Al ion-a 0 ≦ X ≦ 0.6)
 Init expresses.
また、本発明は、上記の全固体リチウム二次電池用積層体を備える全固体リチウム二次電池に関する。前記積層体は、正極活物質層としての前記活物質層と、前記正極活物質層に焼結接合された前記固体電解質層とを含む組を少なくとも1つ含む。Moreover, this invention relates toan all-solid-state lithium secondary battery provided with said laminated body for all-solid-state lithium secondary batteries. The laminate,theactive material layer and at least oneincluding a set comprisingsaid positive electrode active material layersinterbondedthe solid electrolyte layeras a positive electrode active materiallayer.
上記全固体リチウム二次電池において、前記組は、固体電解質層を介して正極活物質層と対向する負極活物質層を有し、固体電解質層と負極活物質層とは接合されており、負極活物質層は、リチウムイオンを放出および吸蔵し得る結晶性の第3リン酸化合物またはTiを含む酸化物を含むことが好ましい。 In the all-solid lithium secondary battery, the set includes a negative electrode active material layer facing the positive electrode active material layer with the solid electrolyte layer interposed therebetween, and the solid electrolyte layer and the negative electrode active material layer are bonded to each other. The active material layer preferably contains a crystalline tertiary phosphate compound capable of releasing and occluding lithium ions or an oxide containing Ti.
上記全固体リチウム二次電池において、第3リン酸化合物は、FePO4、Li3Fe2(PO4)3、およびLiFeP2O7よりなる群から選ばれる少なくとも1種であり、少なくとも固体電解質層の充填率が70%を超えることがさらに好ましい。In the all solid lithium secondary battery, the third phosphate compound is at least one selected from the group consisting of FePO4 , Li3 Fe2 (PO4 )3 , and LiFeP2 O7 , and at least a solid electrolyte layer. It is more preferable that the filling rate exceeds 70%.
上記全固体リチウム二次電池において、固体電解質層が負極活物質層を兼ねることが好ましい。In the all-solid lithium secondarybattery, it is preferablethat the solid body electrolyte layer serving as a negative electrode active material layer.
本発明の別の局面において、活物質層および固体電解質層よりなる群から選択される少なくとも一つの層に、Li4P2O7が含まれていることが好ましい。In another aspect of thepresent invention, it is preferable that at least one layer selected from the group consisting of an active material layer and a solid electrolyte layer contains Li4 P2 O7 .
上記全固体リチウム二次電池において、固体電解質層の正極活物質層と接合されていない面は、耐還元性を有する電解質からなる層を介して、金属リチウムまたは集電体と接合されていてもよい。 In the all solid lithium secondary battery, the surface of the solid electrolyte layer that is not joined to the positive electrode active material layer may be joined to metallic lithium or a current collector through a layer made of an electrolyte having reduction resistance. Good.
上記全固体リチウム二次電池において、前記組は、正極集電体および負極集電体により挟まれていることが好ましい。 In the all solid lithium secondary battery, the set is preferably sandwiched between a positive electrode current collector and a negative electrode current collector.
上記全固体リチウム二次電池において、正極活物質層が正極集電体を備え、負極活物質層が負極集電体を備えていることが好ましい。また、本発明の別の局面において、正極および負極の少なくとも一方の活物質層内に、薄膜状の集電体が設けられていることが好ましい。 In the all solid lithium secondary battery, the positive electrode active material layer preferably includes a positive electrode current collector, and the negative electrode active material layer preferably includes a negative electrode current collector. In another aspect of the present invention, it is preferable that a thin-film current collector is provided in at least one of the positive electrode and negative electrode active material layers.
  上記全固体リチウム二次電池において、正極集電体および負極集電体よりなる群から選択される少なくとも1つの集電体の多孔度が、20%以上60%以下であることが好ましい。
また、前記薄膜状の正極集電体および前記薄膜状の負極集電体の少なくとも一方は、活物質層の厚さ方向の中央部に配置されていることが好ましい。In the all solid lithium secondary battery, the porosity of at least one current collector selected from the group consisting of a positive electrode current collector and a negative electrode current collector is preferably 20% or more and 60% or less.
 In addition, it is preferable that at least one of the thin film-shaped positive electrode current collector and the thin film-shaped negative electrode current collector is disposed at a central portion in the thickness direction of the active material layer.
本発明の別の局面において、正極活物質層および負極活物質の少なくとも一方において、集電体の全体にわたって三次元網目状に配置されていることが好ましい。 In another aspect of the present invention, at least one of the positive electrode active material layer and the negative electrode active material is preferably arranged in a three-dimensional network throughout the current collector.
上記全固体リチウム二次電池は、正極活物質層の固体電解質層と接している方の面と反対側の面および負極活物質層の固体電解質と接している方の面と反対側の面の少なくとも一方に、集電体を備えることが好ましい。 The all solid lithium secondary battery has a positive electrode active material layer on a surface opposite to the surface in contact with the solid electrolyte layer and a negative electrode active material layer on the surface opposite to the surface in contact with the solid electrolyte. It is preferable that at least one has a current collector.
上記全固体リチウム二次電池において、前記組が2つ以上であり、正極集電体および負極集電体が、それぞれ、正極外部集電体および負極外部集電体により並列に接続されていることが好ましい。また、正極外部集電体および負極外部集電体は、金属とガラスフリットとの混合物からなることがさらに好ましい。 In the all solid lithium secondary battery, the number of the sets is two or more, and the positive electrode current collector and the negative electrode current collector are connected in parallel by the positive electrode external current collector and the negative electrode external current collector, respectively. Is preferred. The positive electrode external current collector and the negative electrode external current collector are more preferably made of a mixture of a metal and glass frit.
上記全固体リチウム二次電池において、正極集電体および負極集電体が、導電性材料からなることが好ましい。前記導電性材料は、ステンレス鋼、銀、銅、ニッケル、コバルト、パラジウム、金、および白金よりなる群から選択される少なくとも1種を含むことがさらに好ましい。 In the all solid lithium secondary battery, the positive electrode current collector and the negative electrode current collector are preferably made of a conductive material. More preferably, the conductive material includes at least one selected from the group consisting of stainless steel, silver, copper, nickel, cobalt, palladium, gold, and platinum.
前記全固体リチウム二次電池において、上記積層体は、金属ケース内に収容されており、その金属ケースは密閉されていることが好ましい。 In the all solid lithium secondary battery, it is preferable that the laminate is housed in a metal case, and the metal case is sealed.
前記全固体リチウム二次電池は、樹脂により覆われていることが好ましい。また、本発明の別の局面において、全固体リチウム二次電池の表面に、撥水処理が施されていることが好ましい。本発明のさらに別の局面において、全固体リチウム二次電池は、撥水処理が施されたのちに、樹脂により覆われていることが好ましい。 The all solid lithium secondary battery is preferably covered with a resin. In another aspect of the present invention, the surface of the all solid lithium secondary battery is preferably subjected to water repellent treatment. In still another aspect of the present invention, the all solid lithium secondary battery is preferably covered with a resin after being subjected to a water repellent treatment.
本発明のさらに別の局面において、上記全固体リチウム二次電池は、低融点ガラスによって被覆されていることが好ましい。 In still another aspect of the present invention, the all solid lithium secondary battery is preferably covered with low-melting glass.
  また、本発明は、活物質を、バインダーおよび可塑剤を含む溶媒中に分散させて、活物質層形成用スラリー1を得る工程、ここで、前記活物質は、リチウムイオンを放出および吸蔵し得る上記一般式の第1リン酸化合物を含み、
  固体電解質を、バインダーおよび可塑剤を含む溶媒中に分散させて、固体電解質層形成用スラリー2を得る工程、ここで、前記固体電解質は、リチウムイオン伝導性を有する上記一般式の第2リン酸化合物を含み、
  前記スラリー1を用いて、活物質グリーンシートを得る工程、
  前記スラリー2を用いて、固体電解質グリーンシートを得る工程、
  前記活物質グリーンシートおよび固体電解質グリーンシートを積層し、所定の温度で熱処理して、結晶性の前記第1リン酸化合物を含む活物質層と、前記活物質層に焼結接合され、かつ結晶性の前記第2リン酸化合物を含む固体電解質層とからなる積層体を得る工程を包含し、
  前記活物質と前記固体電解質との接合界面において、充放電反応に寄与しない不純物相を含まない、積層体の製造方法に関する。The present invention also includes a step of obtaining an active material layer forming slurry 1 by dispersing an active material in a solvent containing a binder and a plasticizer, wherein the active material can release and occlude lithium ions. Including a primary phosphate compound of the above general formula;
 A step of obtaining a solid electrolyte
 Using the slurry 1 to obtain an active material green sheet;
 Using the
 The active material green sheet and the solid electrolyte green sheet are laminated, heat-treated at a predetermined temperature,and are sintered and bonded to the active material layer containing thecrystalline first phosphoric acid compound and the active material layer. Including a step of obtaining a laminatecomprising a solid electrolyte layer containing the above-mentioned second phosphoric acid compound ,
The present invention relates to a method for manufacturinga laminatethat does not include an impurity phase that does not contribute to a charge / discharge reaction at a bonding interface between the active material and the solid electrolyte .
  上記積層体の製造方法において、スラリー1およびスラリー2よりなる群から選択される少なくとも一方のスラリーに非晶質酸化物を含ませ、熱処理を行うときの所定の温度を、700℃以上1000℃以下とすることが好ましい。前記少なくとも1つのスラリーにおいて、非晶質酸化物と、活物質または固体電解質との合計に占める非晶質酸化物の割合は、0.1重量%〜10重量%であることがさらに好ましい。非晶質酸化物の軟化点は、700℃以上950℃以下であることが好ましい。  In the method for manufacturing a laminate, the amorphous oxide is included in at least one slurry selected from the group consisting of the slurry 1 and the
  また、本発明は、
  基板上に活物質を堆積させて、活物質層を形成する工程、ここで、前記活物質は、リチウムイオンを放出および吸蔵し得る結晶性の上記一般式の第1リン酸化合物を含み、
  前記活物質層の上に、固体電解質を堆積させて、固体電解質層を形成する工程、ここで、前記固体電解質は、リチウムイオン伝導性を有する結晶性の上記一般式の第2リン酸化合物を含み、
および
  前記活物質層および固体電解質層を、所定の温度で熱処理して、結晶性の前記第1リン酸化合物を含む前記活物質層と、前記活物質層に焼結接合され、かつ結晶性の前記第2リン酸化合物を含む前記固体電解質層とからなる積層体を得る工程を包含し、
前記活物質と前記固体電解質との接合界面において、充放電反応に寄与しない不純物相を含まない、積層体の製造方法に関する。ここで、前記活物質および前記固体電解質の前記基板への堆積は、スパッタ法によって行われることが好ましい。The present invention also provides:
 Depositing an active material on a substrate to form an active material layer, wherein the active material includes a crystalline first phosphoric acid compound of the above general formula capable of releasing and occluding lithium ions;
 A step of depositing a solid electrolyte on the active material layer to form a solid electrolyte layer, wherein the solid electrolyte comprises a crystalline second phosphoric acid compound having lithium ion conductivity; Including
 And the active material layer and the solid electrolyte layer are heat-treated at a predetermined temperature,and are sintered and bonded to the active material layer containing thecrystalline first phosphoric acid compound, and the crystalline material. the laminate comprising said solid electrolyte layer including the second phosphoric acid compound includegive Ru step,
The present invention relates to a method for manufacturinga laminatethat does not include an impurity phase that does not contribute to a charge / discharge reaction at a bonding interface between the active material and the solid electrolyte . Here, it is preferable that the active material and the solid electrolyte are deposited on the substrate by a sputtering method.
  また、本発明は、
  (a)正極活物質を、バインダーおよび可塑剤を含む溶媒中に分散させて、正極活物質層形成用スラリー1を得る工程、ここで、前記正極活物質は、リチウムイオンを放出および吸蔵し得る結晶性の上記一般式の第1リン酸化合物を含み、
  (b)固体電解質を、バインダーおよび可塑剤を含む溶媒中に分散させて、固体電解質層形成用スラリー2を得る工程、ここで、前記固体電解質は、リチウムイオン伝導性を有する上記一般式の第2リン酸化合物を含み、
  (c)負極活物質を、バインダーおよび可塑剤を含む溶媒中に分散させて、負極活物質層形成用スラリー3を得る工程、ここで、前記負極活物質は、リチウムイオンを放出および吸蔵し得る第3リン酸化合物またはTiを含む酸化物を含み、
  (d)前記スラリー1を用いて、正極活物質グリーンシートを得る工程、
  (e)前記スラリー2を用いて、固体電解質グリーンシートを得る工程、
  (f)前記スラリー3を用いて、負極活物質グリーンシートを得る工程、
  (g)固体電解質グリーンシート、ならびに前記固体電解質グリーンシートを挟むように配置された正極活物質グリーンシートおよび負極活物質グリーンシートを含む組を少なくとも1つ含む第1グリーンシート群を形成する工程、ならびに
  (h)前記第1グリーンシート群を所定の温度で熱処理して、結晶性の前記第1リン酸化合物を含む正極活物質層、結晶性の前記第2リン酸化合物を含む固体電解質層および負極活物質層が一体化され、かつ前記固体電解質層が前記正極活物質層に焼結接合された組を少なくとも1つ含む積層体を得る工程を包含する全固体リチウム二次電池の製造方法に関する。前記正極活物質と前記固体電解質との接合界面において、充放電反応に寄与しない不純物相を含まない。The present invention also provides:
 (A) A step of obtaining a positive electrode active material layer forming slurry 1 by dispersing a positive electrode active material in a solvent containing a binder and a plasticizer, wherein the positive electrode active material can release and occlude lithium ions. Comprising a crystalline first phosphate compound of the above general formula,
 (B) A step of dispersing the solid electrolyte in a solvent containing a binder and a plasticizer to obtain a solid electrolyte
 (C) A step of dispersing the negative electrode active material in a solvent containing a binder and a plasticizer to obtain thenegative electrode active material
 (D) a step of obtaining a positive electrode active material green sheet using the slurry 1;
 (E) A step of obtaining a solid electrolyte green sheet using the
 (F) Step of obtaining a negative electrode active material green sheet using the
 (G) forming a first green sheet group including at least one solid electrolyte green sheet and a set including a positive electrode active material green sheet and a negative electrode active material green sheet disposed so as to sandwich the solid electrolyte green sheet; And (h) heat-treating the first green sheet group at a predetermined temperature,a positive electrode active material layercontaining thecrystalline first phosphate compound, a solid electrolyte layercontaining the crystalline second phosphate compound, and The present invention relates to a method for producing an all-solid lithium secondary battery including a step of obtaining a laminate including at least one setin which a negative electrode active materiallayer is integratedand the solid electrolyte layer is sintered and bonded to the positive electrode active material layer. .The junction interface between the positive electrode active material and the solid electrolyte does not include an impurity phase that does not contribute to the charge / discharge reaction.
  上記全固体リチウム二次電池の製造方法において、スラリー1、スラリー2およびスラリー3よりなる群から選択される少なくとも一方のスラリーに非晶質酸化物を含ませることが好ましい。前記少なくとも一方のスラリーにおいて、非晶質酸化物と、活物質または固体電解質との合計に占める非晶質酸化物の割合は、0.1重量%〜10重量%であることがさらに好ましい。非晶質酸化物の軟化点は、700℃以上950℃以下であることが好ましい。
  また、この場合、熱処理を行うときの所定の温度を、700℃以上1000℃以下とすることが好ましい。In the method for producing an all solid lithium secondary battery, it is preferable that at least one slurry selected from the group consisting of slurry 1,
 In this case, it is preferable that the predetermined temperature when performing the heat treatment be 700 ° C. or higher and 1000 ° C. or lower.
  本発明の別の局面において、スラリー1、スラリー2およびスラリー3よりなる群から選択される少なくとも1つのスラリーに、Li4P2O7を添加し、熱処理を700℃以上1000℃以下で行うことが好ましい。In another aspect of the present invention, Li4 P2 O7 is added to at least one slurry selected from the group consisting of Slurry 1,
上記全固体リチウム二次電池の製造方法の工程(g)において、前記組を作製するときに、前記正極活物質グリーンシートおよび前記負極活物質グリーンシートよりなる群から選択される少なくとも1つが、集電体と一体化されていることが好ましい。 In the step (g) of the method for producing an all solid lithium secondary battery, when the set is produced, at least one selected from the group consisting of the positive electrode active material green sheet and the negative electrode active material green sheet is collected. It is preferable to be integrated with the electric body.
本発明の別の局面では、上記工程(g)において、前記組を、少なくとも2枚の前記正極活物質グリーンシート、少なくとも2枚の前記負極活物質グリーンシート、および固体電解質グリーンシートを用いて構成する。このとき、少なくとも2枚の正極活物質グリーンシートの間に1枚の正極集電体が設けられ、少なくとも2枚の負極活物質グリーンシートの間に1枚の負極集電体が設けられ、積層体の表面の異なる領域に、正極集電体の一方の端部および負極集電体の一方の端部が露出されることが好ましい。 In another aspect of the present invention, in the step (g), the set is configured using at least two positive electrode active material green sheets, at least two negative electrode active material green sheets, and a solid electrolyte green sheet. To do. At this time, one positive electrode current collector is provided between at least two positive electrode active material green sheets, and one negative electrode current collector is provided between at least two negative electrode active material green sheets. It is preferable that one end of the positive electrode current collector and one end of the negative electrode current collector are exposed in different regions on the surface of the body.
  本発明のさらに別の局面では、上記工程(a)および工程(c)において、正極集電体を構成する材料および負極集電体を構成する材料が、それぞれ、スラリー1およびスラリー3に、さらに混合され、積層体の表面の異なる領域に、正極活物質層の一方の端部および負極活物質層の一方の端部が露出されることが好ましい。  In still another aspect of the present invention, in the steps (a) and (c), the material constituting the positive electrode current collector and the material constituting the negative electrode current collector are further added to the slurry 1 and the
  また、本発明は、
  (A)正極活物質層、負極活物質層、および前記正極活物質層と前記負極活物質層との間に配置された固体電解質層を含む組を備える第1群を得る工程、ならびに
  (B)前記第1群を、所定の温度で熱処理して、前記正極活物質層、前記固体電解質層および前記負極活物質層を一体化させるとともに、前記固体電解質層を、前記正極活物質層に焼結接合させる工程を包含し、
  前記工程(A)は、
  (i)所定の基板上に正極活物質または負極活物質を堆積させて、第1活物質層を形成する工程、ここで、前記正極活物質は、リチウムイオンを放出および吸蔵し得る結晶性の上記一般式の第1リン酸化合物を含み、前記負極活物質は、リチウムイオンを放出および吸蔵し得る第3リン酸化合物またはチタンを含む酸化物を含み、
  (ii)前記第1活物質層の上に、固体電解質を堆積させて、固体電解質層を形成する工程、およびここで、前記固体電解質は、リチウムイオン伝導性を有する上記一般式の第2リン酸化合物を含み、
  (iii)前記固体電解質層の上に、前記第1活物質層とは異なる第2活物質層を積層させて、前記第1活物質層と前記固体電解質層と前記第2活物質層からなる組を含む第1群を得る工程、を包含し、
前記工程(B)において、熱処理後の前記正極活物質層が、結晶性の前記第1リン酸化合物を含み、熱処理後の前記固体電解質層が、結晶性の前記第2リン酸化合物を含む、全固体リチウム二次電池の製造方法に関する。前記正極活物質と前記固体電解質との接合界面において、充放電反応に寄与しない不純物相を含まない。
  前記活物質および前記固体電解質の前記基板への堆積が、スパッタ法または熱蒸着によって行われることが好ましい。The present invention also provides:
 (A) obtaining a first group comprising a positive electrode active material layer, a negative electrode active material layer, and a set including a solid electrolyte layer disposed between the positive electrode active material layer and the negative electrode active material layer; ) The first group is heat-treated at a predetermined temperature to integrate the positive electrode active material layer, the solid electrolyte layer, and the negative electrode active material layer, and thesolid electrolyte layer is sintered to the positive electrode active material layer. comprising the step of Ruis sintered bonding,
 The step (A)
 (I) A step of depositing a positive electrode active material or a negative electrode active material on a predetermined substrate to form a first active material layer, wherein the positive electrode active material has a crystalline property capable of releasing and occluding lithium ions. Including the first phosphoric acid compound of the general formula, wherein the negative electrode active material includes a third phosphoric acid compound capable of releasing and occluding lithium ions or an oxide including titanium,
 (Ii) depositing a solid electrolyte on the first active material layer to form a solid electrolyte layer; andwherein the solid electrolyte is a second phosphorus of the above general formula having lithium ion conductivity An acid compound,
 (Iii) A second active material layer different from the first active material layer is laminated on the solid electrolyte layer, and the first active material layer, the solid electrolyte layer, and the second active material layer are formed. Obtaining a first group comprising a set,
In the step (B), the positive electrode active material layer after the heat treatment contains the crystalline first phosphate compound, and the solid electrolyte layer after the heat treatment contains the crystalline second phosphate compound , The present invention relates to a method for producing an all-solid lithium secondary battery.The junction interface between the positive electrode active material and the solid electrolyte does not include an impurity phase that does not contribute to the charge / discharge reaction.
 It is preferable that the active material and the solid electrolyte are deposited on the substrate by sputtering or thermal evaporation.
また、上記全固体リチウム二次電池の製造方法において、工程(iii)が、工程(B)の前に、前記組を、固体電解質層を介して、少なくとも2つ積層して、積層物を得る工程をさらに含むことが好ましい。 In the method for producing an all-solid lithium secondary battery, step (iii) is performed by stacking at least two of the above-mentioned groups via a solid electrolyte layer before step (B) to obtain a laminate. It is preferable to further include a step.
  また、本発明は、
  (a)正極活物質を、バインダーおよび可塑剤を含む溶媒中に分散させて、正極活物質層形成用スラリー1を得る工程、ここで、前記正極活物質は、リチウムイオンを放出および吸蔵し得る上記一般式の第1リン酸化合物を含み、
  (b)固体電解質を、バインダーおよび可塑剤を含む溶媒中に分散させて、固体電解質層形成用スラリー2を得る工程、ここで、前記固体電解質はリチウムイオン伝導性を有する上記一般式の第2リン酸化合物を含み、前記固体電解質は負極活物質を兼ね、
  (c)前記スラリー1を用いて、正極活物質グリーンシートを得る工程、
  (d)前記スラリー2を用いて、固体電解質グリーンシートを得る工程、
  (e)前記正極活物質グリーンシート、および前記固体電解質グリーンシートを含む組を少なくとも1つ含む第2グリーンシート群を形成する工程、ならびに
  (f)前記第2グリーンシート群を所定の温度で熱処理して、結晶性の前記第1リン酸化合物を含む正極活物質層と結晶性の前記第2リン酸化合物を含む固体電解質層とが一体化され、かつ前記正極活物質層に前記固体電解質層が焼結接合された組を少なくとも1つ含む積層体を得る工程を包含し、
工程(e)において、前記組を、少なくとも2枚の前記正極活物質グリーンシート、少なくとも2枚の前記固体電解質グリーンシートを用いて構成し、前記少なくとも2枚の正極活物質グリーンシートの間に1枚の正極集電体が設けられ、前記少なくとも2枚の固体電解質グリーンシートの間に1枚の負極集電体が設けられ、正極集電体および負極集電体の少なくとも一方が、銀、銅、およびニッケルよりなる群から選択される少なくとも1種を含み、熱処理が、水蒸気と低酸素分圧ガスとを含む雰囲気ガス中で行われる、全固体リチウム二次電池の製造方法に関する。前記正極活物質と前記固体電解質との接合界面において、充放電反応に寄与しない不純物相を含まない。The present invention also provides:
 (A) A step of obtaining a positive electrode active material layer forming slurry 1 by dispersing a positive electrode active material in a solvent containing a binder and a plasticizer, wherein the positive electrode active material can release and occlude lithium ions. Including a primary phosphate compound of the above general formula;
 (B) a step of obtaining a solid electrolyte
 (C) using the slurry 1 to obtain a positive electrode active material green sheet;
 (D) a step of obtaining a solid electrolyte green sheet using the
 (E) forming a second green sheet group including at least one set including the positive electrode active material green sheet and the solid electrolyte green sheet; and (f) heat-treating the second green sheet group at a predetermined temperature. Then, the positive electrode active material layercontaining thecrystalline first phosphoric acid compound and the solid electrolyte layercontaining the crystalline second phosphoric acid compound are integrated, and the solid electrolyte layer is integrated with thepositive electrode active material layer. Including a step of obtaining a laminate including at least one set of whichis sintered and joined ,
 In the step (e), the set is constituted by using at least two positive electrode active material green sheets and at least two solid electrolyte green sheets, and 1 between the at least two positive electrode active material green sheets. Like the cathode current collector is provided, the negative electrode current collector of one between at least two of the solid electrolyte green sheet isprovided, at least one of thepositive electrode current collector and the negative electrode current collector, silver, copper,and at least one that is selected from the group consisting of nickel, a heat treatment is performed in an atmospheric gas containing water vapor and low oxygen partial pressuregas, a method of manufacturing the all-solid lithium secondary battery.The junction interface between the positive electrode active material and the solid electrolyte does not include an impurity phase that does not contribute to the charge / discharge reaction.
上記全固体リチウム二次電池の製造方法において、第2リン酸化合物および第3リン酸化合物が、Li1+XMIIIXTiIV2-X(PO4)3(MIIIは、Alイオンであり、0≦X≦0.6である)を含み、熱処理が、水蒸気と低酸素分圧ガスとを含む雰囲気ガス中で行われ、前記水蒸気は、雰囲気ガスの5〜90体積%を占め、熱処理の最高温度が、700℃以上1000℃以下であることがさらに好ましい。In the method for producing an all-solid lithium secondary battery, the second phosphate compound and the third phosphate compound are Li1 + X MIIIX TiIV2-X (PO4 )3 (MIII isAl ON and 0 ≦ X ≦ 0.6), and the heat treatment is performed in an atmospheric gas containing water vapor and a low oxygen partial pressure gas, and the water vapor accounts for 5 to 90% by volume of the atmospheric gas. More preferably, the maximum temperature of the heat treatment is 700 ° C. or higher and 1000 ° C. or lower.
上記積層体および全固体二次電池の製造方法において、第1リン酸化合物が、上記一般式において、Mが、Fe、またはMnおよびFeであり、熱処理が、水蒸気と低酸素分圧ガスとを含む雰囲気ガス中で行われ、前記水蒸気は、雰囲気ガスの5〜90体積%を占め、熱処理の最高温度が700℃以上1000℃以下であることがさらに好ましい。In the method for manufacturing the laminate and the all-solid-state secondary battery, the first phosphoric acid compound isM in theabove general formula, M is Fe, or Mn and Fe, and the heat treatment is performed with water vapor and low oxygen partial pressure gas. More preferably, the water vapor occupies 5 to 90% by volume of the atmospheric gas, and the maximum temperature of the heat treatment is 700 ° C. or higher and 1000 ° C. or lower.
  上記積層体および全固体二次電池の製造方法において、前記雰囲気ガスに含まれる酸素ガスの平衡分圧PO2(気圧)が、熱処理の一定維持温度をT℃とした場合に、以下の式:
  −0.0310T+33.5≦−log10PO2≦−0.0300T+38.1
を満たすことがさらに好ましい。ここで、熱処理(焼結)において、グリーンチップが所定の昇温速度で加熱されていくが、その途中で、所定の時間の間、グリーンチップが所定の一定温度に維持され、焼結を行う前にバインダー等が除去される。本発明において、その所定の一定温度のことを、一定維持温度という。In the manufacturing method of the laminate and the all-solid-state secondary battery, when the equilibrium partial pressure PO2 (atmospheric pressure) of the oxygen gas contained in the atmospheric gas is T ° C. as the constant maintenance temperature of the heat treatment, the following formula:
 −0.0310T + 33.5 ≦ −log10 PO2 ≦ −0.0300T + 38.1
 It is further preferable to satisfy Here, in the heat treatment (sintering), the green chip is heated at a predetermined rate of temperature rise, and during the predetermined time, the green chip is maintained at a predetermined constant temperature for sintering. Before the binder is removed. In the present invention, the predetermined constant temperature is referred to as a constant maintenance temperature.
上記積層体および全固体リチウム二次電池の製造方法において、低酸素分圧ガスは、酸素を放出可能なガスおよび酸素と反応するガスの混合物を含むことがさらに好ましい。 In the method for manufacturing the laminate and the all-solid lithium secondary battery, it is more preferable that the low oxygen partial pressure gas includes a mixture of a gas capable of releasing oxygen and a gas that reacts with oxygen.
上記全固体リチウム二次電池の製造方法において、正極集電体および負極集電体のうちの少なくとも一方が、銀、銅、およびニッケルよりなる群から選ばれる少なくとも1種からなり、熱処理が、電極の酸化還元平衡酸素分圧より低い酸素分圧を有する雰囲気ガス中で行われ、熱処理の最高温度が700℃以上1000℃以下であることがさらに好ましい。このとき、雰囲気ガスが、炭酸ガスと水素ガスを含み、炭酸ガスと前記水素ガスとの混合比を変化させることにより、雰囲気ガスの酸素分圧が調節されている。In the manufacturing method of the all solid lithium secondary battery, at least one of the positive electrode current collector and the negative electrode current collector is made ofat least one selected from the group consisting of silver, copper, and nickel, and the heat treatment is performed on the electrode. More preferably, the maximum temperature of the heat treatment is 700 ° C. or higher and 1000 ° C. or lower. At this time, the atmospheric gas contains carbon dioxide gas and hydrogen gas, and the oxygen partial pressure of the atmospheric gas is adjusted by changing the mixing ratio of the carbon dioxide gas and the hydrogen gas.
上記全固体リチウム二次電池の製造方法において、正極集電体および負極集電体のうちの少なくとも一方が、銀、銅、およびニッケルよりなる群から選ばれる少なくとも1種を含み、熱処理が、水蒸気と低酸素分圧ガスとを含む雰囲気ガス中で行われ、前記水蒸気は、雰囲気ガスの5〜90体積%を占め、熱処理の最高温度が700℃以上1000℃以下であることが好ましい。In the method for manufacturing the all-solid lithium secondary battery, comprising at least one of the positive electrode current collector and the negative electrode current collector, silver, copper, and at least one selected from the group consisting ofnickel, heat treatment, steam It is preferable that the water vapor occupies 5 to 90% by volume of the atmospheric gas, and the maximum temperature of the heat treatment is 700 ° C. or higher and 1000 ° C. or lower.
本発明によれば、固体電解質層、活物質層を熱処理により緻密化させつつ、電気化学的に活性な活物質/固体電解質界面を形成することが可能となる。また、高い作動電圧を有する活物質の寿命特性を改善することが可能となる。また、前記積層体と負極との組を少なくとも1つ用いることにより、内部抵抗が小さく、高容量の全固体リチウム二次電池を提供することができる。さらには、撥水処理を施すことにより、高温多湿雰囲気下で保存した場合でも、信頼性の高い全固体リチウム二次電池を提供することができる。 According to the present invention, it is possible to form an electrochemically active active material / solid electrolyte interface while densifying the solid electrolyte layer and the active material layer by heat treatment. It is also possible to improve the life characteristics of an active material having a high operating voltage. Moreover, by using at least one set of the laminate and the negative electrode, an all-solid lithium secondary battery having a low internal resistance and a high capacity can be provided. Furthermore, by performing the water repellent treatment, a highly reliable all-solid lithium secondary battery can be provided even when stored in a high temperature and high humidity atmosphere.
  本発明の積層体(以下、第1積層体ともいう)は、活物質層と、活物質層に接合した固体電解質層とを含む。
  活物質層は、リチウムイオンを放出および吸蔵し得る結晶性の第1物質を含み、固体電解質層は、リチウムイオン伝導性を有する結晶性の第2物質を含む。ここで、前記積層体において、X線回折法により、活物質層の構成成分および固体電解質層の構成成分以外の成分が検出されない。
  また、活物質層および固体電解質は、結晶性であることが好ましい。
  なお、積層体を用いて作製された電池において、正極は、活物質層を含む。The laminate of the present invention (hereinafter also referred to as a first laminate) includes an active material layer and a solid electrolyte layer bonded to the active material layer.
 The active material layer includes a crystalline first material capable of releasing and occluding lithium ions, and the solid electrolyte layer includes a crystalline second material having lithium ion conductivity. Here, in the laminate, no component other than the constituent components of the active material layer and the solid electrolyte layer is detected by the X-ray diffraction method.
 The active material layer and the solid electrolyte are preferably crystalline.
 Note that in the battery manufactured using the stacked body, the positive electrode includes an active material layer.
  活物質層に含まれる第1物質としては、例えば、リチウムイオンを放出および吸蔵し得る結晶性の第1リン酸化合物を用いることができる。第1リン酸化合物としては、以下の一般式:
                            LiMPO4
(Mは、Mn、Fe、CoおよびNiよりなる群から選ばれる少なくとも1種である)で表される材料を用いることが好ましい。As the first substance contained in the active material layer, for example, a crystalline first phosphate compound capable of releasing and occluding lithium ions can be used. As the first phosphoric acid compound, the following general formula:
 LiMPO4
 It is preferable to use a material represented by (M is at least one selected from the group consisting of Mn, Fe, Co, and Ni).
  また、固体電解質層に含まれる第2物質としては、リチウムイオン伝導性を有する結晶性の第2リン酸化合物を用いることができる。第2リン酸化合物としては、以下の一般式:
                    Li1+XMIIIXTiIV2-X(PO4)3
(MIIIは、Al、Y、Ga、InおよびLaよりなる群から選ばれる少なくとも1種の金属イオンであり、0≦X≦0.6である)で表される材料を用いることが好ましい。As the second substance contained in the solid electrolyte layer, a crystalline second phosphoric acid compound having lithium ion conductivity can be used. As the second phosphoric acid compound, the following general formula:
 Li1 + X MIIIX TiIV2-X (PO4 )3
 (MIII is, Al, Y, Ga, at least one metal ion selected from the group consisting of In and La, 0 ≦ X ≦ 0.6) is preferably used a material represented by.
上記のような活物質を含む活物質層と、上記のような固体電解質を含む固体電解質層とを用いることにより、積層体を作製するときに熱処理を行った場合でも、第1物質と第2物質との接合界面(つまり、活物質と固体電解質との接合界面)において、活物質でも固体電解質でもなく、充放電反応に寄与しない不純物相の発現を抑制することができる。 By using the active material layer containing the active material as described above and the solid electrolyte layer containing the solid electrolyte as described above, even when the heat treatment is performed when the laminate is manufactured, the first material and the second material are used. At the junction interface with the substance (that is, the junction interface between the active material and the solid electrolyte), neither the active material nor the solid electrolyte, and the occurrence of an impurity phase that does not contribute to the charge / discharge reaction can be suppressed.
全固体電池が充放電可能となるためには、活物質層と固体電解質層との接合界面において、リチウムイオン伝導性が保持され、かつ活物質層と固体電解質層とが広い面積で強固に接合されていることが必要である。本発明による活物質層と固体電解質層の組合せによれば、このような界面の接合が可能となる。 In order for an all solid state battery to be chargeable / dischargeable, lithium ion conductivity is maintained at the bonding interface between the active material layer and the solid electrolyte layer, and the active material layer and the solid electrolyte layer are firmly bonded in a wide area. It is necessary to be. According to the combination of the active material layer and the solid electrolyte layer according to the present invention, such interface bonding is possible.
活物質層および固体電解質層は、いずれもリチウムイオン伝導性を有することが好ましい。また、少なくとも固体電解質層における固体電解質の充填率が70%を超えることが好ましい。同様に、活物質層における活物質の充填率が70%を超えることが好ましい。それらの充填率が70%よりも小さい場合、例えば、本発明の積層体を用いて作製した電池の高率充放電特性が低下してしまうことがある。 Both the active material layer and the solid electrolyte layer preferably have lithium ion conductivity. Moreover, it is preferable that the filling rate of the solid electrolyte in at least the solid electrolyte layer exceeds 70%. Similarly, it is preferable that the filling rate of the active material in the active material layer exceeds 70%. When the filling rate is smaller than 70%, for example, the high rate charge / discharge characteristics of a battery manufactured using the laminate of the present invention may be deteriorated.
活物質層および固体電解質層における電子電導性やイオン伝導性が阻害されるため、活物質層および固体電解質層には、有機バインダーのような有機物が含まれていないことが好ましい。つまり、堆積膜や焼結体であることが好ましい。 Since electronic conductivity and ion conductivity in the active material layer and the solid electrolyte layer are hindered, it is preferable that the active material layer and the solid electrolyte layer do not contain an organic substance such as an organic binder. That is, a deposited film or a sintered body is preferable.
上記第1積層体において、活物質層の厚さx1は、0.1〜10μmであることが好ましい。活物質層の厚さx1が0.1μmよりも小さくなると、充分な容量を有する電池を得ることができなくなる。活物質層の厚さx1が、10μmよりも大きくなると、電池の充放電が困難となる。In the first laminated body, the thickness x1 of the active material layer is preferably 0.1 to10 μm. If the thickness x1 of the active material layer is smaller than 0.1 μm, a battery having a sufficient capacity cannot be obtained. When the thickness x1 of the active material layer is larger than 10 μm, it becomes difficult to charge and discharge the battery.
また、固体電解質層の厚さyは、比較的広い範囲の厚さをとることができる。なかでも、固体電解質層の厚さyは、1μm〜1cm程度であることが好ましく、10〜500μmであることがさらに好ましい。これは、エネルギー密度の観点からは、固体電解質層の厚さは薄い方がよいが、固体電解質層の機械的強度も必要だからである。 Further, the thickness y of the solid electrolyte layer can take a relatively wide range. Especially, it is preferable that the thickness y of a solid electrolyte layer is about 1 micrometer-1 cm, and it is further more preferable that it is 10-500 micrometers. This is because, from the viewpoint of energy density, the thickness of the solid electrolyte layer is preferably thin, but the mechanical strength of the solid electrolyte layer is also necessary.
  本発明の積層体において、活物質層および固体電解質層よりなる群から選択される少なくとも1つの層が、非晶質酸化物を含むことが好ましい。
  一般に異なるセラミックス材料(例えば、上記第1リン酸化合物および第2リン酸化合物)は異なる焼結温度を有する。このため、複数の異種のセラミックス材料を積層して形成された積層体を一度に熱処理して焼結した場合、材料ごとにその焼結が始まる温度や焼結速度等が異なる。このように、各層の焼結が始まる温度や焼結速度等が異なると、焼結の際に反りが生じたり、熱歪みが積層体に残存して脆化したりする場合がある。さらには、活物質層と固体電解質層との界面が剥離する場合がある。そこで、活物質層および固体電解質層のうちで、焼結を促進させたい層に、焼結助剤である非晶質酸化物を添加する。これにより、各層の焼結が始まる温度や焼結速度等を揃えることが可能となる。よって、積層体を焼結した際の積層体の反りや脆化、活物質層と固体電解質層との界面剥離等を低減することが可能となる。なお、非晶質酸化剤の種類(軟化点)により、焼結が開始する温度等を調節することができ、また、その添加量により、焼結速度等を調節することができる。
  さらには、上記積層体を用いて全固体電池を作製した場合、活物質層および固体電解質層の少なくとも1つが非晶質酸化物を含むことにより、その全固体電池のインピーダンスを低下させることもできる。このようなインピーダンスが低下した電池は、ハイレート特性が優れる。In the laminate of the present invention, it is preferable that at least one layer selected from the group consisting of an active material layer and a solid electrolyte layer contains an amorphous oxide.
 In general, different ceramic materials (for example, the first phosphate compound and the second phosphate compound) have different sintering temperatures. For this reason, when the laminated body formed by laminating a plurality of different ceramic materials is heat-treated and sintered at a time, the temperature at which the sintering starts, the sintering speed, and the like differ for each material. Thus, if the temperature at which each layer starts to be sintered, the sintering speed, and the like are different, warping may occur during sintering, or thermal strain may remain in the laminate and become brittle. Furthermore, the interface between the active material layer and the solid electrolyte layer may peel off. Therefore, an amorphous oxide as a sintering aid is added to the layer of which the sintering is to be promoted among the active material layer and the solid electrolyte layer. As a result, the temperature at which the sintering of each layer starts, the sintering speed, and the like can be made uniform. Therefore, it is possible to reduce warpage and embrittlement of the laminate when the laminate is sintered, and interfacial peeling between the active material layer and the solid electrolyte layer. The temperature at which sintering starts can be adjusted by the type (softening point) of the amorphous oxidizer, and the sintering rate can be adjusted by the amount added.
 Furthermore, when an all-solid battery is produced using the above laminate, the impedance of the all-solid battery can be lowered by including an amorphous oxide in at least one of the active material layer and the solid electrolyte layer. . Such a battery with reduced impedance has excellent high-rate characteristics.
  上記非晶質酸化物としては、例えば、SiO2とAl2O3とNa2OとMgOとCaOとを含むもの、72wt%SiO2−1wt%Al2O3−20wt%Na2O−3wt%MgO−4wt%CaO、72wt%SiO2−1wt%Al2O3−14wt%Na2O−3wt%MgO−10wt%CaO、62wt%SiO2−15wt%Al2O3−8wt%CaO−15wt%BaO等が挙げられる。
  なお、非晶質酸化物の軟化温度は、非晶質酸化物に、アルカリ金属やアルカリ土類金属及び希土類の酸化物を添加したり、それらの含有量を変化させたりすることにより、変化させることができる。Examples of the amorphous oxide include those containing SiO2 , Al2 O3 , Na2 O, MgO and CaO, 72 wt% SiO2 −1 wt% Al2 O3 -20 wt% Na2 O-3 wt. % MgO-4 wt% CaO, 72 wt% SiO2 -1 wt% Al2 O3 -14 wt% Na2 O-3 wt% MgO-10 wt% CaO, 62 wt% SiO2 -15 wt% Al2 O3 -8 wt% CaO-15 wt % BaO and the like.
 Note that the softening temperature of the amorphous oxide is changed by adding an alkali metal, an alkaline earth metal, or a rare earth oxide to the amorphous oxide or changing the content thereof. be able to.
また、非晶質酸化物が添加された層において、その非晶質酸化物の量は、その層の0.1重量%以上10重量%以下であることが望ましい。非晶質酸化物の量が、0.1重量%未満では、非晶質酸化物の焼結促進効果が得られない場合がある。非晶質酸化物の量が10重量%を超えると、その層における非晶質酸化物の量が多すぎて、電池の電気化学的特性が低下する場合がある。 In the layer to which the amorphous oxide is added, the amount of the amorphous oxide is preferably 0.1% by weight or more and 10% by weight or less of the layer. If the amount of the amorphous oxide is less than 0.1% by weight, the sintering promotion effect of the amorphous oxide may not be obtained. When the amount of the amorphous oxide exceeds 10% by weight, the amount of the amorphous oxide in the layer is too large, and the electrochemical characteristics of the battery may be deteriorated.
  次に、本発明の全固体リチウム二次電池について説明する。
  本発明の全固体リチウム二次電池は、正極活物質層、負極活物質層、および正極活物質層と負極活物質層との間に配置された固体電解質層を含む組を少なくとも1つ含む積層体(以下、第2積層体ともいう)を備える。本発明の全固体リチウム二次電池において、少なくとも正極活物質層および固体電解質層は接合(一体化)されている。つまり、第2積層体において、上記第1積層体が、正極活物質層および固体電解質層として機能する。Next, the all solid lithium secondary battery of the present invention will be described.
 The all solid lithium secondary battery of the present invention includes a laminate including at least one set including a positive electrode active material layer, a negative electrode active material layer, and a solid electrolyte layer disposed between the positive electrode active material layer and the negative electrode active material layer. A body (hereinafter also referred to as a second laminate). In the all solid lithium secondary battery of the present invention, at least the positive electrode active material layer and the solid electrolyte layer are joined (integrated). That is, in the second stacked body, the first stacked body functions as a positive electrode active material layer and a solid electrolyte layer.
この場合にも、少なくとも固体電解質層の各々の充填率は70%を超えることが好ましい。同様に、正極活物質層の充填率は70%を超えることが好ましい。 Also in this case, it is preferable that at least the filling rate of each solid electrolyte layer exceeds 70%. Similarly, the filling rate of the positive electrode active material layer is preferably more than 70%.
  第1積層体と同様に、正極活物質層は、例えば、上記第1リン酸化合物のような第1物質を含み、固体電解質層は、例えば、上記第2リン酸化合物のような第2物質を含む。負極活物質としては、例えば、板状で用いることができる材料からなるものを使用することができる。このような材料としては、例えば、金属リチウム、Al、Sn、In等が挙げられる。
  負極活物質層の厚さは、500μm以下であることが好ましい。Similarly to the first laminate, the positive electrode active material layer includes a first material such as the first phosphate compound, and the solid electrolyte layer includes a second material such as the second phosphate compound. including. As the negative electrode active material, for example, a material made of a material that can be used in a plate shape can be used. Examples of such a material include metallic lithium, Al, Sn, In, and the like.
 The thickness of the negative electrode active material layer is preferably 500 μm or less.
また、第1リン酸化合物の中でも、上記一般式:LiMPO4(Mは、Mn、Fe、CoおよびNiよりなる群から選ばれる少なくとも1種である)で表される化合物は、一般に作動電位が高い。このため、例えば、正極活物質として、上記一般式で表される第1リン酸化合物を用い、負極活物質として金属リチウムを用いることにより、高い作動電圧を有する電池を得ることが可能となる。Among the first phosphoric acid compounds, compounds represented by the above general formula: LiMPO4 (M is at least one selected from the group consisting of Mn, Fe, Co and Ni) generally have an operating potential. high. For this reason, for example, a battery having a high operating voltage can be obtained by using the first phosphoric acid compound represented by the above general formula as the positive electrode active material and metal lithium as the negative electrode active material.
また、固体電解質として用いられる第2リン酸化合物のなかでも、Li1+XMIIIXTiIV2-X(PO4)3(MIIIは、Al、Y、Ga、InおよびLaよりなる群から選ばれる少なくとも1種の金属イオンであり、0≦X≦0.6である)で表される化合物は、Li/Li+極に対して2.5V程度で還元を受けることが知られている。よって、作動電圧がLi/Li+極に対して2.5V以下の活物質を用いる場合には、このような還元を防止するために、耐還元性を有する電解質からなる層を固体電解質層と負極との間に配置することが好ましい。これにより、可逆性に優れた固体電池を得ることが可能となる。Among the diphosphate compounds used as the solid electrolyte, Li1 + X MIIIX TiIV2-X (PO4 )3 (MIII is a group consisting of Al, Y, Ga, In, and La). It is known that the compound represented by the formula (1) is a metal ion selected from the group consisting of 0 ≦ X ≦ 0.6) is subjected to reduction at about 2.5 V with respect to the Li / Li+ electrode. Yes. Therefore, when an active material having an operating voltage of 2.5 V or less with respect to the Li / Li+ electrode is used, in order to prevent such reduction, a layer made of an electrolyte having reduction resistance is referred to as a solid electrolyte layer. It is preferable to arrange it between the negative electrode. Thereby, a solid battery excellent in reversibility can be obtained.
  耐還元性を有する電解質としては、当該分野で一般的なポリマー電解質を用いることができる。このようなポリマー電解質としては、ポリアクリロニトリル、ポリフッ化ビニリデン、ポリメチルメタクリレート、ポリエーテルなどの高分子ホストに電解液を含浸させて膨潤させたゲル電解質や、ポリエチレンオキシドを基本骨格とするポリエーテルと、シロキサン、アクリル酸系化合物、分岐鎖となる多価アルコールなどとを共重合したポリマーに、LiPF6、LiClO4、LiBF4、LiN(SO2CF3)2などのLi塩を溶解させたドライポリマーなどが挙げられる。
  上記ゲル電解質に用いられる電解液としては、例えば、エチレンカーボネート、プロピレンカーボネート、ジメトキシエタン、ジメチルカーボネート、エチルメチルカーボネート、ジエチルカーボネートなどからなる混合溶媒にLiPF6、LiClO4、LiBF4、LiN(SO2CF3)2などのLi塩を溶解させたものが挙げられる。As the electrolyte having reduction resistance, a polymer electrolyte common in this field can be used. Examples of such polymer electrolytes include gel electrolytes obtained by impregnating and swelling a polymer host such as polyacrylonitrile, polyvinylidene fluoride, polymethyl methacrylate, and polyether, and polyethers having polyethylene oxide as a basic skeleton. , A siloxane, an acrylic acid compound, a polymer obtained by copolymerization with a branched polyhydric alcohol, and the like, in which a Li salt such as LiPF6 , LiClO4 , LiBF4 , LiN (SO2 CF3 )2 is dissolved Examples thereof include polymers.
 Examples of the electrolytic solution used for the gel electrolyte include LiPF6 , LiClO4 , LiBF4 , LiN (SO2) in a mixed solvent composed of ethylene carbonate, propylene carbonate, dimethoxyethane, dimethyl carbonate, ethyl methyl carbonate, diethyl carbonate, and the like. Examples include those in which a Li salt such as CF3 )2 is dissolved.
  上記ゲル電解質からなる層は、例えば、以下のようにして固体電解質層の表面に形成することができる。
  予め、高分子ホスト単独を、アセトニトリル、2−メチルピロリジノン、1,2−ジメトキシエタン、ジメチルフォルムアミドなどの有機溶媒に溶解させる。この溶液を、固体電解質層の表面にキャストやスピンコートなどの方法で塗着し、乾燥させて、薄膜とする。この後、この薄膜に、上記のようなLi塩を含む電解液を添加し、その膜をゲル化させることにより、固体電解質層の表面にゲル電解質からなる層を形成することができる。The layer made of the gel electrolyte can be formed on the surface of the solid electrolyte layer as follows, for example.
 In advance, the polymer host alone is dissolved in an organic solvent such as acetonitrile, 2-methylpyrrolidinone, 1,2-dimethoxyethane, dimethylformamide. This solution is applied to the surface of the solid electrolyte layer by a method such as casting or spin coating, and dried to form a thin film. Thereafter, an electrolytic solution containing the above-described Li salt is added to the thin film, and the film is gelled, whereby a layer made of a gel electrolyte can be formed on the surface of the solid electrolyte layer.
また、ドライポリマーからなる層は、ゲル電解質と同様に形成することもできる。すなわち、上記ポリエーテルを含む共重合体にLi塩を溶解させた状態で、アセトニトリル、2−メチルピロリジノン、1,2−ジメトキシエタン、ジメチルフォルムアミドなどの有機溶媒中に溶解させる。この溶液を固体電解質層の表面に、キャストやスピンコートなどの方法で塗着し乾燥させることにより、固体電解質層表面にドライポリマーからなる層を形成することができる。 Moreover, the layer which consists of dry polymers can also be formed similarly to a gel electrolyte. That is, it is dissolved in an organic solvent such as acetonitrile, 2-methylpyrrolidinone, 1,2-dimethoxyethane, dimethylformamide, etc. in a state where Li salt is dissolved in the copolymer containing the polyether. By applying this solution to the surface of the solid electrolyte layer by a method such as casting or spin coating and drying, a layer made of a dry polymer can be formed on the surface of the solid electrolyte layer.
なお、本発明の電池においては、耐還元性を有する電解質からなる層と負極集電体との間に負極を設けず、耐還元性を有する電解質からなる層の上に直接負極集電体を設けてもよい。この電池を充電したとき、正極活物質に含まれるリチウムイオンが、金属リチウムとして負極集電体上に析出して、この金属リチウムが負極として作用することができるからである。 In the battery of the present invention, a negative electrode current collector is directly provided on a layer made of an electrolyte having reduction resistance without providing a negative electrode between the layer made of the electrolyte having reduction resistance and the negative electrode current collector. It may be provided. This is because when the battery is charged, lithium ions contained in the positive electrode active material are deposited on the negative electrode current collector as metallic lithium, and the metallic lithium can act as the negative electrode.
また、本発明の全固体リチウム二次電池においては、正極活物質層、固体電解質層、および負極活物質層が一体化されていることが好ましい。正極活物質層と固体電解質層と負極活物質層とが一体化されている場合、負極活物質は、リチウムイオンを放出および吸蔵し得る第3リン酸化合物を含むことが好ましい。第3リン酸化合物としては、FePO4、Li3Fe2(PO4)3、およびLiFeP2O7よりなる群から選ばれる少なくとも1種であることが好ましい。In the all solid lithium secondary battery of the present invention, the positive electrode active material layer, the solid electrolyte layer, and the negative electrode active material layer are preferably integrated. When the positive electrode active material layer, the solid electrolyte layer, and the negative electrode active material layer are integrated, the negative electrode active material preferably contains a tertiary phosphate compound that can release and occlude lithium ions. The third phosphoric acid compound is preferably at least one selected from the group consisting of FePO4 , Li3 Fe2 (PO4 )3 , and LiFeP2 O7 .
また、負極活物質層は、活物質として、例えば、Li4Ti5O12を含んでいてもよい。この場合、例えば、Li0.33La0.56TiO3を固体電解質として用いることができる。Moreover, the negative electrode active material layer may contain, for example, Li4 Ti5 O12 as an active material. In this case, for example, Li0.33 La0.56 TiO3 can be used as the solid electrolyte.
また、正極活物質層、固体電解質層、および負極活物質層は、それぞれ、結晶性であることが好ましい。 The positive electrode active material layer, the solid electrolyte layer, and the negative electrode active material layer are each preferably crystalline.
  このような負極活物質を用いることにより、正極活物質と固体電解質との界面だけでなく、さらに負極電解質と固体電解質との界面においても、充放電反応に寄与しない不純物相の発現を抑制することが可能となる。また、それらの界面において、リチウムイオン伝導性が保持され、かつ活物質層と固体電解質層とが広い面積で強固に接合されることが可能となる。つまり、全固体リチウム二次電池の内部抵抗を低下させるとともに、信頼性を向上させることができる。
  この場合、負極活物質層の厚さx3は、0.1〜10μmであることが好ましい。活物質層の厚さx3が0.1μmよりも小さくなると、充分な容量を有する電池を得ることができなくなる。活物質層の厚さx3が、10μmよりも大きくなると、電池の充放電が困難となる。
  なお、正極活物質の厚さx1は、0.1〜10μmであることが好ましく、固体電解質層の厚さyは1μm〜1cm程度が好ましく、10〜500μmが好ましい。これは、上記と同様の理由による。By using such a negative electrode active material, not only at the interface between the positive electrode active material and the solid electrolyte, but also at the interface between the negative electrode electrolyte and the solid electrolyte, the occurrence of an impurity phase that does not contribute to the charge / discharge reaction is suppressed. Is possible. In addition, lithium ion conductivity is maintained at the interface, and the active material layer and the solid electrolyte layer can be firmly bonded in a wide area. That is, the internal resistance of the all-solid lithium secondary battery can be reduced and the reliability can be improved.
 In this case, the thickness x3 of the negative electrode active material layer is preferably 0.1 to 10 μm. If the thickness x3 of the active material layer is smaller than 0.1 μm, a battery having a sufficient capacity cannot be obtained. When the thickness x3 of the active material layer is larger than 10 μm, it becomes difficult to charge and discharge the battery.
 The thickness x1 of the positive electrode active material is preferably 0.1 to 10 μm, and the thickness y of the solid electrolyte layer is preferably about1 μm to1 cm, and preferably 10 to 500 μm. This is for the same reason as described above.
また、上記組を1つ以上含む第2積層体において、各組同士も接合されていることが好ましい。上記組が1つ以上含まれているために、電池容量を大きくすることができるとともに、各組が一体化されているために、全固体リチウム二次電池の内部抵抗を低下させることができる。 In the second laminate including one or more of the above-mentioned sets, it is preferable that each set is also joined. Since one or more sets are included, the battery capacity can be increased, and the internal resistance of the all-solid lithium secondary battery can be reduced because the sets are integrated.
この場合にも、正極活物質層、固体電解質層および負極活物質層の各々の充填率は、70%を超えることが好ましい。 Also in this case, it is preferable that the filling rate of each of the positive electrode active material layer, the solid electrolyte layer, and the negative electrode active material layer exceeds 70%.
また、本発明の全固体リチウム二次電池は、正極集電体および負極集電体を含んでいてもよい。 The all solid lithium secondary battery of the present invention may include a positive electrode current collector and a negative electrode current collector.
  例えば、正極活物質層の固体電解質層と接している面と反対側の面に正極集電体を設け、負極活物質層の固体電解質層と接している面と反対側の面に負極集電体を設けてもよい。この場合、例えば、積層体の作製が終了した後に、正極集電体および負極集電体が設けられる。
  また、上記組を形成した後、正極集電体および負極集電体を形成する場合には、正極集電体および/または負極集電体は、当該分野で公知の導電性材料からなるもの(例えば、所定の金属薄膜等)を用いることができる。For example, a positive electrode current collector is provided on the surface of the positive electrode active material layer opposite to the surface in contact with the solid electrolyte layer, and a negative electrode current collector is provided on the surface of the negative electrode active material layer opposite to the surface in contact with the solid electrolyte layer. A body may be provided. In this case, for example, after the production of the stacked body is completed, the positive electrode current collector and the negative electrode current collector are provided.
 In addition, when the positive electrode current collector and the negative electrode current collector are formed after forming the above set, the positive electrode current collector and / or the negative electrode current collector are made of a conductive material known in the art ( For example, a predetermined metal thin film or the like can be used.
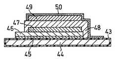
また、本発明の全固体リチウム二次電池において、上記組が2つ以上積層されている場合、全固体リチウム二次電池に含まれる各正極活物質層および各負極活物質層が、それぞれ、正極集電体および負極集電体を、その内部に有していてもよい。このとき、正極集電体は、薄膜状であってもよいし、三次元網目構造を有していてもよい。 Further, in the all solid lithium secondary battery of the present invention, when two or more of the above groups are laminated, each positive electrode active material layer and each negative electrode active material layer included in the all solid lithium secondary battery are respectively positive electrodes. The current collector and the negative electrode current collector may be included therein. At this time, the positive electrode current collector may be in the form of a thin film or may have a three-dimensional network structure.
  上記のように2つ以上の組が積層されている場合、各正極活物質層に設けられた正極集電体および各負極活物質層に設けられた負極集電体は、それぞれ、正極外部集電体および負極外部集電体により、並列に接続することができる。このとき、正極集電体の一端および負極集電体の一端が、2つ以上の組が積層された積層体の互いに異なる面に露出することが好ましい。例えば、2つ以上の組が積層された第2積層体が6面体である場合、正極集電体の一端をその積層体の所定の面に露出させ、その正極集電体の一端が露出する面の反対側の面に、負極集電体の一端が露出されるようにすることができる。
  なお、上記第2積層体の表面において、正極外部集電体および負極外部集電体で覆われている部分以外は、固体電解質層で覆われていることが好ましい。この場合、正極外部集電体、負極外部集電体および固体電解質層が外装として機能する。When two or more sets are laminated as described above, the positive electrode current collector provided in each positive electrode active material layer and the negative electrode current collector provided in each negative electrode active material layer are respectively It can be connected in parallel by the electric current collector and the negative electrode external current collector. At this time, it is preferable that one end of the positive electrode current collector and one end of the negative electrode current collector are exposed on different surfaces of the laminate in which two or more sets are laminated. For example, when the second stacked body in which two or more sets are stacked is a hexahedron, one end of the positive electrode current collector is exposed on a predetermined surface of the stacked body, and one end of the positive electrode current collector is exposed. One end of the negative electrode current collector can be exposed on the surface opposite to the surface.
 In addition, it is preferable that the surface of the said 2nd laminated body is covered with the solid electrolyte layer except the part covered with the positive electrode external electrical power collector and the negative electrode external electrical power collector. In this case, the positive electrode external current collector, the negative electrode external current collector, and the solid electrolyte layer function as an exterior.
上記正極外部集電体および負極外部集電体としては、電子伝導性を有する金属材料と熱融着性を有するガラスフリットとを含む混合物からなるものを用いることができる。金属材料としては、一般的には銅が用いられるが、他の金属を用いることもできる。ガラスフリットとしては、軟化点が400〜700℃程度の低融点のものが用いられる。 As the positive electrode external current collector and the negative electrode external current collector, those made of a mixture containing a metal material having electron conductivity and a glass frit having heat fusion properties can be used. As the metal material, copper is generally used, but other metals can also be used. As the glass frit, a glass frit having a low melting point of about 400 to 700 ° C. is used.
  上記組の作製の途中に正極集電体や負極集電体を設ける場合、正極集電体や負極集電体は、正極活物質層、固体電解質層および負極活物質層と同一の雰囲気下で熱処理することが可能であるとともに、それぞれ、正極活物質および負極活物質と反応しないことが好ましい。
  このような正極集電体および負極集電体の材料として、銀、銅、ニッケル、パラジウム、金および白金からなる群から選択される少なくとも1種であることが好ましい。大気雰囲気中(空気中)で熱処理を行う場合は、これらの中でも、パラジウム、金および白金がさらに好ましい。銀、銅およびニッケルは、活物質との反応性を示す場合があるからである。When a positive electrode current collector or a negative electrode current collector is provided during the production of the above set, the positive electrode current collector or the negative electrode current collector is placed in the same atmosphere as the positive electrode active material layer, the solid electrolyte layer, and the negative electrode active material layer. It is preferable that the heat treatment can be performed, and the positive electrode active material and the negative electrode active material do not react with each other.
 The material of such a positive electrode current collector and a negative electrode current collector is preferably at least one selected from the group consisting of silver, copper, nickel, palladium, gold and platinum. In the case where the heat treatment is performed in the air atmosphere (in air), among these, palladium, gold, and platinum are more preferable. This is because silver, copper, and nickel may show reactivity with the active material.
また、上記組が2つ以上ある場合、同種の活物質層を、集電体を介して、それらの組を積層することにより、全固体リチウム二次電池に、正極集電体および負極集電体を設けることができる。例えば、第1の組、第2の組および第3の組の3つの組がある場合、第1の組の正極活物質層と第2の組の正極活物質層とが正極集電体の両面に担持され、第2の組の負極活物質層と第3の組の負極活物質層とが負極集電体の両面に担持されるように積層する。このようにして、全固体リチウム二次電池に、正極集電体および負極集電体を設けることができる。 In addition, when there are two or more sets, the active material layers of the same type are stacked through a current collector to form a positive electrode current collector and a negative electrode current collector in an all-solid lithium secondary battery. A body can be provided. For example, when there are three sets of the first set, the second set, and the third set, the positive electrode active material layer of the first set and the positive electrode active material layer of the second set of the positive electrode current collector The second set of negative electrode active material layers and the third set of negative electrode active material layers are stacked so as to be supported on both sides of the negative electrode current collector. In this manner, the all-solid-state lithium secondary battery can be provided with the positive electrode current collector and the negative electrode current collector.
また、Li1+XMIIIXTiIV2-X(PO4)3(MIIIはAl、Y、Ga、InおよびLaより選ばれる少なくとも1種の金属イオンであり、0≦X≦0.6)を含む固体電解質層を用いる場合には、この固体電解質が負極活物質を兼ねることができる。この固体電解質は、Li/Li+極に対して、約2.5VでLiを吸蔵および放出し得るからである。Li1 + X MIIIX TiIV2-X (PO4 )3 (MIII is at least one metal ion selected from Al, Y, Ga, In and La, and 0 ≦ X ≦ 0. When the solid electrolyte layer containing 6) is used, this solid electrolyte can also serve as the negative electrode active material. This is because this solid electrolyte can occlude and release Li at about 2.5 V with respect to the Li / Li+ electrode.
  また、全固体リチウム二次電池、特に上記組が複数個積層された全固体リチウム二次電池において、正極集電体および負極集電体の少なくとも一方の集電体の多孔度が20%以上60%以下であることが好ましい。
  活物質は、一般に、充放電時にリチウムが挿入および脱離することにより、その体積が膨張および収縮する。活物質の体積が変化した場合でも、集電体が空孔を有することにより、その空孔が緩衝層のような役割を果たす。このため、集電体と活物質との界面のデラミネーションや全固体電池のクラックなどが生じるのを抑制することができる。Further, in an all-solid lithium secondary battery, particularly an all-solid lithium secondary battery in which a plurality of the above groups are stacked, the porosity of at least one of the positive electrode current collector and the negative electrode current collector is 20% or more and 60 % Or less is preferable.
 In general, the volume of an active material expands and contracts as lithium is inserted and extracted during charge and discharge. Even when the volume of the active material is changed, the current collector has holes, and the holes serve as a buffer layer. For this reason, it can suppress that the delamination of the interface of an electrical power collector and an active material, the crack of an all-solid-state battery, etc. arise.
集電体の多孔度が20%より小さくなると、活物質の体積変化を緩和できなくなるために、電池が破損しやすくなることがある。集電体の多孔度が60%より大きくなると、集電体の集電性が低下するために、電池容量が低下することがある。 If the porosity of the current collector is smaller than 20%, the volume change of the active material cannot be relaxed, and the battery may be easily damaged. If the porosity of the current collector is greater than 60%, the current collecting property of the current collector is reduced, and the battery capacity may be reduced.
さらに、正極集電体は正極活物質と反応せず、負極集電体は、負極活物質と反応しないことが好ましい。また、正極集電体および負極集電体は、正極活物質、固体電解質および負極活物質と、同一の雰囲気中で同時に熱処理できることが望ましい。 Furthermore, it is preferable that the positive electrode current collector does not react with the positive electrode active material, and the negative electrode current collector does not react with the negative electrode active material. Further, it is desirable that the positive electrode current collector and the negative electrode current collector can be simultaneously heat-treated in the same atmosphere as the positive electrode active material, the solid electrolyte, and the negative electrode active material.
  このような正極集電体および負極集電体を構成する材料としては、例えば、白金、金、パラジウム、銀、銅、ニッケル、コバルトおよびステンレス鋼を用いることができる。
  しかしながら、銀、銅、ニッケル、コバルトおよびステンレス鋼は、活物質との反応性が高いため、積層体の焼成工程において、雰囲気制御が必須となる。そのため、白金、金、パラジウムからなる集電体を用いることがより好ましい。
  また、正極集電体は正極活物質層の中央部に、負極集電体は負極活物質層の中央部に層状に挿入されるのが好ましい。As a material constituting such a positive electrode current collector and a negative electrode current collector, for example, platinum, gold, palladium, silver, copper, nickel, cobalt, and stainless steel can be used.
 However, since silver, copper, nickel, cobalt, and stainless steel have high reactivity with the active material, atmosphere control is essential in the firing process of the laminate. Therefore, it is more preferable to use a current collector made of platinum, gold, or palladium.
 Further, it is preferable that the positive electrode current collector is inserted into the central portion of the positive electrode active material layer, and the negative electrode current collector is inserted into the central portion of the negative electrode active material layer.
  上記第1積層体と同様に、本発明の全固体リチウム二次電池においても、正極活物質層、固体電解質層および負極活物質層よりなる群から選択される少なくとも1つの層は、非晶質酸化物を含んでいてもよい。また、非晶質酸化物が含まれる層において、非晶質酸化物の量は、その層の0.1重量%以上10重量%であることが好ましい。これは、上記と同様の理由による。
  上記のように、正極活物質層、固体電解質層および負極活物質層よりなる群から選択される少なくとも1つの層が非晶質酸化物を含むことにより、その全固体電池のインピーダンスを低下させることができるため、ハイレート特性を向上させることができる。Similar to the first laminate, in the all solid lithium secondary battery of the present invention, at least one layer selected from the group consisting of a positive electrode active material layer, a solid electrolyte layer, and a negative electrode active material layer is amorphous. An oxide may be included. In the layer containing the amorphous oxide, the amount of the amorphous oxide is preferably 0.1% by weight or more and 10% by weight of the layer. This is for the same reason as described above.
 As described above, when at least one layer selected from the group consisting of a positive electrode active material layer, a solid electrolyte layer, and a negative electrode active material layer contains an amorphous oxide, the impedance of the all-solid battery is reduced. Therefore, high rate characteristics can be improved.
また、Li4P2O7は、第1リン酸化合物、第2リン酸化合物または第3リン酸化合物と焼結可能である。よって、正極活物質層、固体電解質層、および負極活物質層よりなる群から選択される少なくとも1つの層が、Li4P2O7を含んでもよい。Li4P2O7の融点は、876℃であるが、700℃以上で焼結助剤として作用するため、Li4P2O7が、正極活物質層、負極活物質層および固体電解質層よりなる群から選択される少なくとも1つに含まれることにより、その層の焼結性を向上させることができる。このように、Li4P2O7は、非晶質酸化物と同様の効果を有するため、非晶質酸化物と同様に取り扱うことができる。Li4 P2 O7 can be sintered with the first phosphate compound, the second phosphate compound, or the third phosphate compound. Therefore, at least one layer selected from the group consisting of a positive electrode active material layer, a solid electrolyte layer, and a negative electrode active material layer may contain Li4 P2 O7 . Although the melting point of Li4 P2 O7 is 876 ° C., it acts as a sintering aid at 700 ° C. or higher. Therefore, Li4 P2 O7 is composed of a positive electrode active material layer, a negative electrode active material layer, and a solid electrolyte layer. By being contained in at least one selected from the group consisting of, the sinterability of the layer can be improved. Thus, Li4 P2 O7 has the same effect as an amorphous oxide and can be handled in the same way as an amorphous oxide.
  次に、第1積層体の作製方法について説明する。
  第1積層体は、例えば、以下のようにして作製することができる。
  まず、活物質を、バインダーおよび可塑剤を含む溶媒中に分散させて、活物質層形成用スラリー1を得る。同様にして、固体電解質を、バインダーおよび可塑剤を含む溶媒中に分散させて、固体電解質層形成用スラリー2を得る(工程(1))。ここで、活物質は、例えば、上記第1リン酸化合物を含み、固体電解質は、例えば、上記第2リン酸化合物を含む。Next, the manufacturing method of a 1st laminated body is demonstrated.
 The first stacked body can be produced, for example, as follows.
 First, the active material is dispersed in a solvent containing a binder and a plasticizer to obtain the active material layer forming slurry 1. Similarly, the solid electrolyte is dispersed in a solvent containing a binder and a plasticizer to obtain a solid electrolyte layer forming slurry 2 (step (1)). Here, the active material includes, for example, the first phosphoric acid compound, and the solid electrolyte includes, for example, the second phosphoric acid compound.
ここで、バインダーおよび可塑剤は、溶媒中に分散されていてもよいし、溶解されていてもよい。 Here, the binder and the plasticizer may be dispersed in a solvent or may be dissolved.
  次に、得られたスラリー1を、例えば、離型剤層を備える所定の基体(例えば、シート、フィルム等)上に塗布し、乾燥して、活物質グリーンシートを得る。同様に、スラリー2を、所定の基体上に塗布し、乾燥して、固体電解質グリーンシートを得る(工程(2))。  Next, the obtained slurry 1 is applied, for example, on a predetermined substrate (for example, a sheet, a film, etc.) provided with a release agent layer and dried to obtain an active material green sheet. Similarly, the
  次に、得られた活物質グリーンシートおよび固体電解質グリーンシートを積層し、熱処理(焼結)して、活物質層と固体電解質層とからなる第1積層体を得る(工程(3))。
  活物質グリーンシートおよび固体電解質グリーンシートに含まれるバインダーや可塑剤のような有機物は、焼結時に分解されるため、得られた積層体の活物質層および固体電解質層に、有機物は含まれない。
  また、活物質層および固体電解質層の充填率は、焼結温度の最高値や昇温速度等を調整することにより、調節することができる。ここで、焼結温度の最高値は、700℃〜1000℃の範囲にあることが好ましい。焼結温度の最高値が700℃より小さい場合、焼結が進行しない場合がある。焼結温度の最高値が1000℃より大きい場合、Li含有化合物からLiが揮発してそのLi含有組成物の組成が変化したり、活物質と固体電解質との相互拡散が生じ、充放電ができなくなったりする場合がある。また、昇温速度は、400℃/時以上であることが好ましい。昇温速度が、400℃/時より遅いと、活物質と固体電解質との相互拡散が生じ、充放電ができなくなることがある。Next, the obtained active material green sheet and solid electrolyte green sheet are laminated and heat-treated (sintered) to obtain a first laminate comprising an active material layer and a solid electrolyte layer (step (3)).
 Since organic substances such as binders and plasticizers contained in the active material green sheet and solid electrolyte green sheet are decomposed during sintering, the active material layer and solid electrolyte layer of the obtained laminate do not contain organic substances. .
 Moreover, the filling rate of the active material layer and the solid electrolyte layer can be adjusted by adjusting the maximum value of the sintering temperature, the heating rate, and the like. Here, the maximum value of the sintering temperature is preferably in the range of 700 ° C to 1000 ° C. If the maximum sintering temperature is less than 700 ° C., sintering may not proceed. When the maximum sintering temperature is higher than 1000 ° C., Li is volatilized from the Li-containing compound and the composition of the Li-containing composition is changed, or mutual diffusion between the active material and the solid electrolyte occurs, and charging / discharging can be performed. It may disappear. Moreover, it is preferable that a temperature increase rate is 400 degreeC / hour or more. If the rate of temperature increase is slower than 400 ° C./hour, mutual diffusion between the active material and the solid electrolyte may occur, and charging / discharging may not be possible.
  また、上記工程(1)において、上記スラリー1およびスラリー2よりなる群から選択される少なくとも1つに、上記非晶質酸化物を添加してもよい。
  添加する非晶質酸化物の軟化点は、活物質層および固体電解質層のうちで焼結の最も進行しやすい層の焼結開始温度に合わせることが望ましい。例えば、活物質層がLiCoPO4を含む場合、この正極活物質層が最も焼結しやすいため、非晶質酸化物の軟化点を、活物質層の焼結開始温度に合わせることが好ましい。また、焼結の最高温度に合わせて、非晶質酸化物酸化物の軟化点を適宜調節してもよい。
  本発明においては、非晶質酸化物の軟化点は700℃以上950℃以下であることが望ましい。In the step (1), the amorphous oxide may be added to at least one selected from the group consisting of the slurry 1 and the
 It is desirable that the softening point of the amorphous oxide to be added is matched to the sintering start temperature of the layer in which the sintering is most likely to proceed among the active material layer and the solid electrolyte layer. For example, when the active material layer contains LiCoPO4 , the positive electrode active material layer is most easily sintered. Therefore, the softening point of the amorphous oxide is preferably matched with the sintering start temperature of the active material layer. Further, the softening point of the amorphous oxide oxide may be appropriately adjusted according to the maximum temperature of sintering.
 In the present invention, the softening point of the amorphous oxide is desirably 700 ° C. or higher and 950 ° C. or lower.
  また、第1積層体は、以下のようにしても作製することもできる。
  まず、所定の基板上に活物質を堆積させて、活物質層を形成し、次いで、その活物質層の上に、固体電解質を堆積させて、固体電解質層を形成する(工程(1’))。活物質および固体電解質の堆積は、スパッタ法を用いて行うことができる。The first laminate can also be produced as follows.
 First, an active material is deposited on a predetermined substrate to form an active material layer, and then a solid electrolyte is deposited on the active material layer to form a solid electrolyte layer (step (1 ′)). ). The active material and the solid electrolyte can be deposited by sputtering.
  次に、活物質層と固体電解質層とを所定の温度で熱処理して、結晶化させることにより、第1積層体が得られる(工程(2’))。
  ここで、工程(2’)において、活物質層と固体電解質層とを熱処理して結晶化させるときの温度は、500℃〜900℃であることが好ましい。この温度が500℃より低くなると、結晶化が困難となることがある。900℃より高くなると、活物質と固体電解質との相互拡散が激しくなることがある。Next, the active material layer and the solid electrolyte layer are heat-treated at a predetermined temperature and crystallized to obtain the first laminate (step (2 ′)).
 Here, in the step (2 ′), the temperature at which the active material layer and the solid electrolyte layer are crystallized by heat treatment is preferably 500 ° C. to 900 ° C. When this temperature is lower than 500 ° C., crystallization may be difficult. When the temperature is higher than 900 ° C., mutual diffusion between the active material and the solid electrolyte may become intense.
このようにして得られた積層体においては、活物質層と固体電解質層との間に、リチウムイオンの移動を妨げる第3の層が形成されることがない。 In the laminated body thus obtained, the third layer that prevents the movement of lithium ions is not formed between the active material layer and the solid electrolyte layer.
なお、上記積層体の製造方法において、活物質としては、例えば、上記第1リン酸化合物のような第1物質を用いることができる。固体電解質としては、上記第2リン酸化合物のような第2物質を用いることができる。 In the method for manufacturing the laminate, as the active material, for example, a first material such as the first phosphate compound can be used. As the solid electrolyte, a second substance such as the second phosphoric acid compound can be used.
  次に、本発明の全固体リチウム二次電池の作製方法について説明する。
  第1積層体と負極活物質層を含む組を少なくとも1つ含む第2積層体を備える全固体リチウム二次電池は、上記のようにして得られた第1積層体に、固体電解質層を介して正極活物質層と対向するように、負極活物質層を設けることにより、作製することができる。上記組が複数ある場合には、各組を、例えば、固体電解質層を介して積層することにより、全固体リチウム二次電池を作製することができる。Next, a method for producing the all solid lithium secondary battery of the present invention will be described.
 An all-solid lithium secondary battery including a second stacked body including at least one set including the first stacked body and the negative electrode active material layer is provided on the first stacked body obtained as described above via a solid electrolyte layer. Thus, the negative electrode active material layer can be provided so as to face the positive electrode active material layer. When there are a plurality of sets, an all solid lithium secondary battery can be manufactured by stacking each set via, for example, a solid electrolyte layer.
また、上記のように、固体電解質層と負極活物質層との間に、耐還元性を有する電解質からなる層が設けられている場合には、固体電解質層の上に、負極活物質層が設けられる前に、耐還元性を有する電解質からなる層が設けられる。この層の形成方法は、特に限定されず、種々の方法を用いることができる。 Further, as described above, when a layer made of an electrolyte having reduction resistance is provided between the solid electrolyte layer and the negative electrode active material layer, the negative electrode active material layer is formed on the solid electrolyte layer. Before being provided, a layer made of an electrolyte having reduction resistance is provided. The method for forming this layer is not particularly limited, and various methods can be used.
  次に、第2積層体において、正極活物質層、固体電解質層および負極活物質層が一体化されている全固体リチウム二次電池の作製方法について説明する。このような全固体リチウム二次電池は、例えば、以下のようにして作製される。
  まず、正極活物質を、バインダーおよび可塑剤を含む溶媒中に分散させて、正極活物質層形成用スラリー1を得る。同様にして、固体電解質をバインダーおよび可塑剤を含む溶媒中に分散させて、固体電解質層形成用スラリー2を得、負極活物質をバインダーおよび可塑剤を含む溶媒中に分散させて、負極活物質層形成用スラリー3を得る(工程(a))。ここで、正極活物質は、例えば、上記第1リン酸化合物を含み、固体電解質は、例えば、上記第2リン酸化合物を含み、負極活物質は、例えば、上記第3リン酸化合物またはTiを含む酸化物を含む。Next, a method for manufacturing an all-solid lithium secondary battery in which the positive electrode active material layer, the solid electrolyte layer, and the negative electrode active material layer are integrated in the second laminate will be described. Such an all-solid lithium secondary battery is produced, for example, as follows.
 First, the positive electrode active material is dispersed in a solvent containing a binder and a plasticizer to obtain the positive electrode active material layer forming slurry 1. Similarly, the solid electrolyte is dispersed in a solvent containing a binder and a plasticizer to obtain a
次に、得られたスラリー1を、例えば、離型剤層を備える所定の基体(例えば、シート、フィルム等)上に塗布し、乾燥して、正極活物質グリーンシートを得る。同様にして、負極活物質グリーンシートおよび固体電解質グリーンシートを得る(工程(b))。 Next, the obtained slurry 1 is applied, for example, on a predetermined substrate (for example, a sheet, a film, etc.) provided with a release agent layer, and dried to obtain a positive electrode active material green sheet. Similarly, a negative electrode active material green sheet and a solid electrolyte green sheet are obtained (step (b)).
次に、固体電解質グリーンシート、ならびに固体電解質グリーンシートを挟むように配置された正極活物質グリーンシートおよび負極活物質グリーンシートを含む組を少なくとも1つ備える第1グリーンシート群を形成する(工程(c))。上記組が複数個ある場合には、それらの組は、例えば、固体電解質グリーンシートを介して積層される。 Next, a first green sheet group including at least one set including a solid electrolyte green sheet and a positive electrode active material green sheet and a negative electrode active material green sheet arranged so as to sandwich the solid electrolyte green sheet is formed (step ( c)). When there are a plurality of the above sets, the sets are stacked, for example, via a solid electrolyte green sheet.
次いで、上記第1グリーンシート群を、所定の温度で焼結して、正極活物質層、固体電解質層および負極活物質層を含む組を少なくとも1つ備える第2積層体を得る(工程(d))。なお、上記第1リン酸化合物、第2リン酸化合物、および第3リン酸化合物は、結晶性のものであり、これらを焼結することにより、各層が結晶性となる。 Next, the first green sheet group is sintered at a predetermined temperature to obtain a second laminate including at least one set including a positive electrode active material layer, a solid electrolyte layer, and a negative electrode active material layer (step (d) )). In addition, the said 1st phosphate compound, the 2nd phosphate compound, and the 3rd phosphate compound are crystalline things, and each layer becomes crystalline by sintering these.
なお、活物質グリーンシートおよび固体電解質グリーンシートに含まれるバインダーや可塑剤のような有機物は、焼結時に分解されるため、得られた積層体の活物質層および固体電解質層に、有機物は含まれない。 Since organic materials such as binders and plasticizers contained in the active material green sheet and solid electrolyte green sheet are decomposed during sintering, the active material layer and solid electrolyte layer of the obtained laminate contain organic materials. I can't.
また、活物質層および固体電解質層の充填率は、上記と同様に、焼結温度の最高値や昇温速度等を調整することにより、調節することができる。ここで、焼結温度の最高値は、700℃〜1000℃の範囲にあることが好ましく、昇温速度は、400℃/時以上であることが好ましい。これは、上記と同様の理由による。 Further, the filling rate of the active material layer and the solid electrolyte layer can be adjusted by adjusting the maximum value of the sintering temperature, the heating rate, etc., as described above. Here, the maximum value of the sintering temperature is preferably in the range of 700 ° C. to 1000 ° C., and the heating rate is preferably 400 ° C./hour or more. This is for the same reason as described above.
  また、上記工程(a)において、スラリー1、スラリー2およびスラリー3よりなる群から選択される少なくとも1つのスラリーに、上記非晶質酸化物を添加してもよい。例えば、正極活物質グリーンシート、負極活物質グリーンシートおよび固体電解質グリーンシートがそれぞれ異なる焼結速度を有する場合、焼結速度の遅い2つのグリーンシートを形成するためのスラリーに非晶質酸化物を添加してもよい。また、各グリーンシートの焼結速度の差が小さい場合には、一番遅い焼結速度を有するグリーンシートを形成するためのスラリーに非晶質酸化物を添加してもよい。  In the step (a), the amorphous oxide may be added to at least one slurry selected from the group consisting of the slurry 1, the
なお、正極活物質、固体電解質、および負極活物質が、上記のようなリン酸化合物であり、またそれらの粒径がほとんど同じであるならば、正極活物質グリーンシートおよび負極活物質グリーンシートに比較して、固体電解質グリーンシートは焼結の開始温度が高くなる傾向がある。よって、この場合には、固体電解質層形成用スラリーに非晶質酸化物を添加することが好ましい。 In addition, if the positive electrode active material, the solid electrolyte, and the negative electrode active material are the phosphoric acid compounds as described above and their particle sizes are almost the same, the positive electrode active material green sheet and the negative electrode active material green sheet In comparison, the solid electrolyte green sheet tends to have a higher sintering start temperature. Therefore, in this case, it is preferable to add an amorphous oxide to the slurry for forming the solid electrolyte layer.
非晶質酸化物が添加されたスラリーにおいて、非晶質酸化物の量は、そのスラリーの0.1〜10重量%であることが好ましい。これは、上記と同様の理由による。 In the slurry to which the amorphous oxide is added, the amount of the amorphous oxide is preferably 0.1 to 10% by weight of the slurry. This is for the same reason as described above.
なお、上記工程(d)において、正極活物質グリーンシートと、固体電解質グリーンシートと、負極活物質グリーンシートとを順に積層した状態で、その積層物を熱処理し、正極活物質層と固体電解質層と負極活物質層とからなる積層体を得ることが好ましい。例えば、正極活物質グリーンシートと固体電解質グリーンシートとを積層した積層物を熱処理し、その後に負極活物質グリーンシートを、その固体電解質層の正極活物質層と接している面とは反対側の面に形成し、それをさらに熱処理して接合する。この場合、固体電解質層は充分に焼結されているにも拘わらず、負極活物質グリーンシートは焼結により収縮するため、固体電解質層/負極活物質層の界面は接合されずに剥離してしまうことがあるからである。 In the step (d), in the state where the positive electrode active material green sheet, the solid electrolyte green sheet, and the negative electrode active material green sheet are sequentially laminated, the laminate is heat-treated, and the positive electrode active material layer and the solid electrolyte layer are heat treated. It is preferable to obtain a laminate composed of a negative electrode active material layer. For example, a laminate obtained by laminating a positive electrode active material green sheet and a solid electrolyte green sheet is heat-treated, and then the negative electrode active material green sheet is opposite to the surface of the solid electrolyte layer that is in contact with the positive electrode active material layer. It is formed on the surface, and it is further heat-treated and joined. In this case, although the solid electrolyte layer is sufficiently sintered, the negative electrode active material green sheet shrinks due to sintering, so the interface between the solid electrolyte layer and the negative electrode active material layer peels off without being bonded. It is because it may end up.
正極集電体および負極集電体は、第2積層体を挟み込むように配置されていてもよいし、各正極活物質層および/または各負極活物質層が、それぞれ、集電体を有してもよい。 The positive electrode current collector and the negative electrode current collector may be disposed so as to sandwich the second laminate, and each positive electrode active material layer and / or each negative electrode active material layer each have a current collector. May be.
  正極集電体および負極集電体が第2積層体を挟み込むように配置されている場合、その正極集電体および負極集電体は、第2積層体の積層方向の両端面に、それぞれ、配置される。
  この場合、集電体は、以下のようにして形成することができる。
  例えば、上記のような導電性材料を含むペーストを活物質層上に塗布し、乾燥等することにより、導電性層を形成し、この層を集電体として用いることができる。また、スパッタ法や蒸着法などを用いて、上記のような導電性材料からなる金属層を活物質層上に形成して、それを集電体として用いることもできる。
  このような導電性層や金属層を設けることにより、活物質層からの集電を効率良く行うことができる。When the positive electrode current collector and the negative electrode current collector are arranged so as to sandwich the second stacked body, the positive electrode current collector and the negative electrode current collector are respectively disposed on both end surfaces in the stacking direction of the second stacked body, Be placed.
 In this case, the current collector can be formed as follows.
 For example, a conductive layer can be formed by applying a paste containing a conductive material as described above onto an active material layer and drying the layer, and this layer can be used as a current collector. Alternatively, a metal layer made of the above-describedconductive material can be formed on the active material layer using a sputtering method, an evaporation method, or the like, and used as a current collector.
 By providing such a conductive layer or metal layer, current collection from the active material layer can be performed efficiently.
上記のように、得られた積層体において、正極集電体および負極集電体の多孔度は、それぞれ20〜60%であることが好ましい。集電体の多孔度は、例えば、導電性材料を含むペーストに含まれる導電性材料の量、焼結の最高温度および/または焼結の昇温速度を適宜調節することにより、制御することができる。ここで、焼結の最高温度および焼結の昇温速度は、上記のように700〜1000℃であることが好ましい。焼結の昇温速度は、400℃/時以上であることが好ましい。 As described above, in the obtained laminate, the porosity of the positive electrode current collector and the negative electrode current collector is preferably 20 to 60%, respectively. The porosity of the current collector can be controlled, for example, by appropriately adjusting the amount of the conductive material contained in the paste containing the conductive material, the maximum sintering temperature, and / or the heating rate of the sintering. it can. Here, it is preferable that the maximum temperature of sintering and the heating rate of sintering are 700 to 1000 ° C. as described above. It is preferable that the heating rate of sintering is 400 ° C./hour or more.
  次に、各正極活物質層および/または各負極活物質層が、それぞれ、集電体を有する場合について、説明する。
  例えば、正極活物質層内に薄膜状の集電体を設ける場合、2枚のグリーンシートを用い、この2枚のグリーンシートの間に、例えば、集電体として、金属薄膜を配置するか、または導電性材料からなる層を配置する。焼結後、間に集電体を備える2枚のグリーンシートが、上記組における、1つの正極活物質層となる。このようにして、薄膜状の集電体を含む正極活物質層を得ることができる。なお、上記では、2枚のグリーンシートを用いたが、3枚以上のグリーンシートを用いてもよい。
  負極活物質層に薄膜状の集電体を設ける場合も、上記正極活物質層に薄膜状の集電体を設ける場合の方法と同様にして行うことができる。Next, the case where each positive electrode active material layer and / or each negative electrode active material layer has a current collector will be described.
 For example, when a thin film current collector is provided in the positive electrode active material layer, two green sheets are used, for example, a metal thin film is disposed as a current collector between the two green sheets, Alternatively, a layer made of a conductive material is provided. After the sintering, two green sheets each having a current collector therebetween become one positive electrode active material layer in the above set. In this way, a positive electrode active material layer including a thin film current collector can be obtained. In the above description, two green sheets are used, but three or more green sheets may be used.
 When a thin film current collector is provided in the negative electrode active material layer, the same method as in the case of providing a thin film current collector in the positive electrode active material layer can be performed.
集電体として金属薄膜を用いる場合、その集電体を構成する材料としては、上記のように、金、白金、パラジウム、銀、銅、ニッケル、コバルトおよびステンレス鋼を用いることができる。同様に、集電体として導電性材料からなる層を用いる場合、導電性材料として、前記のような金属材料を用いることができる。 When a metal thin film is used as the current collector, gold, platinum, palladium, silver, copper, nickel, cobalt, and stainless steel can be used as the material constituting the current collector as described above. Similarly, when a layer made of a conductive material is used as the current collector, the above-described metal material can be used as the conductive material.
  正極活物質層および/または負極活物質層の内部全体に、集電体を構成する材料の粒子を分散させて、三次元網目状の集電体を設ける場合、まず、正極活物質層形成用スラリーおよび/または負極活物質層形成用スラリーを作製するときに、正極集電体を構成する材料または負極集電体を構成する材料が、混合される。
  このようなスラリーを用いて、正極活物質グリーンシートおよび負極活物質グリーンシートが作製される。得られた正極活物質グリーンシートおよび負極活物質グリーンシートにおいては、集電体が三次元網目構造を形成している。When the three-dimensional network current collector is provided by dispersing the particles of the material constituting the current collector in the entire inside of the positive electrode active material layer and / or the negative electrode active material layer, first, for forming the positive electrode active material layer When producing the slurry and / or the slurry for forming the negative electrode active material layer, the material constituting the positive electrode current collector or the material constituting the negative electrode current collector is mixed.
 Using such a slurry, a positive electrode active material green sheet and a negative electrode active material green sheet are produced. In the obtained positive electrode active material green sheet and negative electrode active material green sheet, the current collector forms a three-dimensional network structure.
同様に、スラリーに含まれる集電体を構成する材料としては、金、白金、パラジウム、銀、銅、ニッケル、コバルトおよびステンレス鋼を用いることができる。また、スラリーに含まれる集電体を構成する材料粒子の量は、活物質100重量部あたり、50〜300重量部であることが好ましい。 Similarly, gold, platinum, palladium, silver, copper, nickel, cobalt, and stainless steel can be used as the material constituting the current collector contained in the slurry. Moreover, it is preferable that the quantity of the material particle which comprises the electrical power collector contained in a slurry is 50-300 weight part per 100 weight part of active materials.
  上記のようにして得られた、薄膜状の集電体または三次元網目状の集電体を備える正極活物質グリーンシートおよび負極活物質グリーンシート、ならびに固体電解質グリーンシートを用いて、第2積層体を作製する。このとき、第2積層体の異なる表面領域に、正極活物質層の一方の端部および負極活物質層の一方の端部が露出することが好ましい。
  このような第2積層体の表面の異なる領域への露出は、例えば、以下のようにして行うことができる。
  正極活物質グリーンシート、固体電解質グリーンシートおよび負極活物質グリーンシートを積層した段階で、積層物の表面の異なる領域に、正極活物質グリーンシートの一方の端部および負極活物質グリーンシートの一方の端部を露出させる。このような積層物を焼結して、第2積層体の表面の異なる領域に、正極活物質層の一方の端部および負極活物質層の一方の端部を露出させてもよい。Using the positive electrode active material green sheet and the negative electrode active material green sheet provided with the thin film current collector or the three-dimensional network current collector and the solid electrolyte green sheet obtained as described above, the second lamination is performed. Create a body. At this time, it is preferable that one end of the positive electrode active material layer and one end of the negative electrode active material layer are exposed in different surface regions of the second laminate.
 Such exposure to the different area | region of the surface of a 2nd laminated body can be performed as follows, for example.
 At the stage where the positive electrode active material green sheet, the solid electrolyte green sheet and the negative electrode active material green sheet are laminated, one end of the positive electrode active material green sheet and one of the negative electrode active material green sheet are formed in different regions of the surface of the laminate. Expose the edges. Such a laminate may be sintered to expose one end of the positive electrode active material layer and one end of the negative electrode active material layer in different regions on the surface of the second laminate.
また、正極活物質グリーンシート、固体電解質グリーンシートおよび負極活物質グリーンシートを含む積層物を、所定のパターンで積層および/または配置したものを、適切に切断し、焼結する。これにより、第2積層体の表面の異なる領域に、正極活物質層の一方の端部および負極活物質層の一方の端部を露出させることができる。 In addition, a laminate in which a positive electrode active material green sheet, a solid electrolyte green sheet, and a negative electrode active material green sheet are laminated and / or arranged in a predetermined pattern is appropriately cut and sintered. Thereby, one edge part of a positive electrode active material layer and one edge part of a negative electrode active material layer can be exposed to the area | region where the surface of a 2nd laminated body differs.
このように、正極活物質層および/または負極活物質層が2つ以上設けられた場合でも、各活物質層の集電体を、第2積層体の表面の異なる領域に露出させることにより、例えば、各正極活物質層の集電体を並列に接続する外部集電体の形成が容易となる。 Thus, even when two or more positive electrode active material layers and / or negative electrode active material layers are provided, by exposing the current collector of each active material layer to a different region on the surface of the second laminate, For example, it is easy to form an external current collector that connects the current collectors of each positive electrode active material layer in parallel.
正極外部集電体および負極外部集電体は、例えば、電子伝導性を有する金属材料と熱融着性を有するガラスフリットとを含むペーストを、正極集電体の露出領域および負極集電体の露出領域に塗布し、熱処理することにより、形成することができる。 The positive electrode external current collector and the negative electrode external current collector are, for example, a paste containing a metal material having electronic conductivity and a glass frit having heat fusion properties, and an exposed region of the positive electrode current collector and the negative electrode current collector. It can form by apply | coating to an exposed area | region and heat-processing.
また、第2積層体の表面において、正極外部集電体および負極外部集電体で被覆される領域以外は、固体電解質層で覆われていることが好ましい。これは、例えば、上記積層物を焼結して第2積層体を作製する前に、上記積層体の外部集電体で覆われるであろう部分以外の領域を、固体電解質グリーンシートで覆うことにより達成することができる。 Moreover, it is preferable that the surface of the second laminated body is covered with a solid electrolyte layer except for a region covered with the positive electrode external current collector and the negative electrode external current collector. For example, before the second laminate is produced by sintering the laminate, the region other than the portion that would be covered with the external current collector of the laminate is covered with a solid electrolyte green sheet. Can be achieved.
  また、本発明の全固体リチウム二次電池を構成する第2積層体は、以下のようにして、作製することもできる。
  正極活物質層、負極活物質層、および前記正極活物質層と前記負極活物質層との間に配置された固体電解質層を含む組を備える第1群を得る(工程(A))。次に、前記第1群を、所定の温度で熱処理して、前記正極活物質層、前記固体電解質層および前記負極活物質層を一体化させるとともに、結晶化させて、積層体を得る(工程(B))。Moreover, the 2nd laminated body which comprises the all-solid-state lithium secondary battery of this invention can also be produced as follows.
 A first group including a set including a positive electrode active material layer, a negative electrode active material layer, and a solid electrolyte layer disposed between the positive electrode active material layer and the negative electrode active material layer is obtained (step (A)). Next, the first group is heat-treated at a predetermined temperature so that the positive electrode active material layer, the solid electrolyte layer and the negative electrode active material layer are integrated and crystallized to obtain a laminate (step) (B)).
  前記工程(A)において、第1群は、以下のようにして作製することができる。
  まず、所定の基板上に、正極活物質または負極活物質を堆積させて、第1活物質層を形成する。次いで、その第1活物質層の上に、固体電解質を堆積させて、固体電解質層を形成する。次に、この固体電解質層の上に、第1活物質層とは異なる第2活物質層(つまり、第1活物質層が正極活物質層ならば、第2活物質層は負極活物質層)を堆積させる。このようにして、第1活物質層、固体電解質層、第2活物質層からなる組を含む第1群を形成する。このとき、その第1群は、1つの組からなるか、もしくは2つ以上の組を積層してなることが好ましい。なお、2つ以上の組がある場合には、前記組は、例えば、固体電解質層を介して積層されていることが好ましい。
  ここで、活物質および固体電解質の堆積は、スパッタ法を用いて行うことができる。In the step (A), the first group can be produced as follows.
 First, a positive electrode active material or a negative electrode active material is deposited on a predetermined substrate to form a first active material layer. Next, a solid electrolyte is deposited on the first active material layer to form a solid electrolyte layer. Next, on this solid electrolyte layer, a second active material layer different from the first active material layer (that is, if the first active material layer is a positive electrode active material layer, the second active material layer is a negative electrode active material layer). ). In this way, a first group including a set of the first active material layer, the solid electrolyte layer, and the second active material layer is formed. At this time, it is preferable that the first group is formed of one set or two or more sets are stacked. In addition, when there are two or more sets, it is preferable that the sets are stacked, for example, via a solid electrolyte layer.
 Here, the deposition of the active material and the solid electrolyte can be performed using a sputtering method.
上記工程(B)において、固体電解質層と両方の活物質層とを熱処理して結晶化させるときの温度は、500℃〜900℃であることが好ましい。この温度が500℃より低くなると、結晶化が困難となることがある。900℃より高くなると、活物質と固体電解質との相互拡散が激しくなることがある。 In the said process (B), it is preferable that the temperature when heat-processing and crystallizing a solid electrolyte layer and both active material layers is 500 to 900 degreeC. When this temperature is lower than 500 ° C., crystallization may be difficult. When the temperature is higher than 900 ° C., mutual diffusion between the active material and the solid electrolyte may become intense.
また、本発明の全固体リチウム二次電池は、密閉可能な金属ケース内に収容されていてもよい。この場合、金属ケースの密閉は、例えば、その開口部を封口板とガスケットを用いて行うことができる。 The all solid lithium secondary battery of the present invention may be housed in a metal case that can be sealed. In this case, the metal case can be sealed using, for example, a sealing plate and a gasket at the opening.
また、本発明の全固体リチウム二次電池は、樹脂で覆われていてもよい。なお、樹脂モールドを行うことにより、電池の全体を樹脂で覆うことができる。 Moreover, the all-solid-state lithium secondary battery of this invention may be covered with resin. In addition, the whole battery can be covered with resin by performing resin molding.
  さらには、本発明の全固体リチウム二次電池の表面に、撥水処理を施してもよい。この撥水処理は、例えば、シラン類、フッ素樹脂等からなる撥水剤を分散した分散液に、上記積層体を浸漬することにより行うことができる。
  本発明の全固体リチウム二次電池を樹脂で覆う前に、その表面に撥水処理を施してもよい。Furthermore, the surface of the all solid lithium secondary battery of the present invention may be subjected to water repellent treatment. This water-repellent treatment can be performed, for example, by immersing the laminate in a dispersion in which a water-repellent agent made of silanes, fluororesin or the like is dispersed.
 Before covering the all solid lithium secondary battery of the present invention with a resin, the surface thereof may be subjected to water repellent treatment.
また、本発明の全固体リチウム二次電池の表面に、釉薬などのガラス層を形成してもよい。例えば、低融点ガラスを含むスラリーを、塗布し、所定の温度で熱処理を行うことにより、本発明の全固体リチウム二次電池を、ガラス層で密閉化することができる。 Moreover, you may form glass layers, such as a glaze, on the surface of the all-solid-state lithium secondary battery of this invention. For example, the all-solid lithium secondary battery of the present invention can be sealed with a glass layer by applying a slurry containing a low-melting glass and performing a heat treatment at a predetermined temperature.
このように、上記全固体リチウム二次電池が外気と接触することを防止することにより、外気が含む湿気の影響、例えば、集電体金属などと水が反応することにより生じる内部短絡等を防ぐことが可能となる。 Thus, by preventing the all-solid-state lithium secondary battery from coming into contact with the outside air, it is possible to prevent the influence of moisture contained in the outside air, for example, an internal short circuit caused by a reaction between the current collector metal and water. It becomes possible.
上記全固体リチウム二次電池の製造方法において、例えば、空気(酸化雰囲気)中での熱処理(焼結)において、バインダーおよび可塑剤は、酸化分解により、簡単に除去される。しかし、このとき、集電体として用いることができる材料は、パラジウム、金、白金などの高価な貴金属のみである。 In the method for producing an all solid lithium secondary battery, for example, in heat treatment (sintering) in air (oxidizing atmosphere), the binder and the plasticizer are easily removed by oxidative decomposition. However, at this time, materials that can be used as the current collector are only expensive noble metals such as palladium, gold, and platinum.
本発明において、正極に含まれる正極集電体および負極に含まれる負極集電体の少なくとも一方を、銀、銅、ニッケルなどの比較的に安価な金属材料から構成することができる。この場合、固体電解質層を構成する第2リン酸化合物が、Li1+XMIIIXTiIV2-X(PO4)3(MIIIは、Al、Y、Ga、InおよびLaよりなる群から選ばれる少なくとも1種の金属イオンであり、0≦X≦0.6である)で表されるリン酸化合物であり、また、その第2リン酸化合物が負極活物質を兼ねることが好ましい。In the present invention, at least one of the positive electrode current collector contained in the positive electrode and the negative electrode current collector contained in the negative electrode can be composed of a relatively inexpensive metal material such as silver, copper, or nickel. In this case, the second phosphate compound constituting the solid electrolyte layer is Li1 + X MIIIX TiIV2-X (PO4 )3 (MIII is a group consisting of Al, Y, Ga, In, and La). It is preferable that the second phosphoric acid compound also serves as the negative electrode active material. The phosphoric acid compound is preferably at least one metal ion selected from the group consisting of 0 ≦ X ≦ 0.6.
銀、銅、ニッケルなどの酸化され易い金属材料を使用する場合、熱処理(焼結)は、酸素分圧が低い雰囲気で行う必要がある。一方で、上記FePO4、Li3Fe2(PO4)3、LiFeP2O7のような第3リン酸化合物(負極活物質)はFe(III)を含み、このようなFe(III)を安定に焼結させるためには、比較的高い酸素分圧(例えば、10-11気圧(700℃))が必要となる。つまり、集電体材料として、銅、銀、ニッケルなどの金属材料を用いる場合には、Fe(III)を含む負極活物質を用いることができない場合がある。この場合、Fe(III)を含まないリン酸化合物、例えば、固体電解質を負極活物質として用いることにより、銀、銅、ニッケルなどの金属材料からなる集電体を用いることができる。When a metal material that is easily oxidized, such as silver, copper, or nickel, is used, the heat treatment (sintering) needs to be performed in an atmosphere having a low oxygen partial pressure. On the other hand, the third phosphoric acid compound (negative electrode active material) such as FePO4 , Li3 Fe2 (PO4 )3 , and LiFeP2 O7 contains Fe (III). In order to sinter stably, a relatively high oxygen partial pressure (for example, 10−11 atm (700 ° C.)) is required. That is, when a metal material such as copper, silver, or nickel is used as the current collector material, a negative electrode active material containing Fe (III) may not be used. In this case, a current collector made of a metal material such as silver, copper, or nickel can be used by using a phosphoric acid compound not containing Fe (III), for example, a solid electrolyte as the negative electrode active material.
しかしながら、上記低酸素分圧条件では、通常、バインダー及び可塑剤の炭素化(カーボナイゼーション)が進行し、活物質、固体電解質及び集電体材料の焼結・緻密化が阻害される。さらに、生成するカーボン類が導電性を有する場合、構成される電池の自己放電特性が悪化することがある。また、内部短絡が生じることもある。 However, under the low oxygen partial pressure condition, carbonization (carbonization) of the binder and the plasticizer usually proceeds, and sintering and densification of the active material, the solid electrolyte, and the current collector material are hindered. Furthermore, when the carbons to be generated have electrical conductivity, the self-discharge characteristics of the constituted battery may be deteriorated. An internal short circuit may occur.
また、正極活物質層を構成する前記式LiMPO4で表される第一リン酸化合物中に少なくともFeが含まれる場合、空気などの酸化雰囲気での焼成によって、正極活物質層中に、Li3Fe2(PO4)3などのFe(III)化合物が生成するため、充放電容量及び電池の内部抵抗が上昇することがある。このFe(III)の生成を防止するために、Ar、N2などの非酸化性雰囲気で焼成を行うと、先述のようにバインダー及び可塑剤の炭素化(カーボナイゼーション)が進行するため、電池に種々の悪影響を与えることがある。Further, when at least Fe is contained in the first phosphoric acid compound represented by the above formula LiMPO4 constituting the positive electrode active material layer, Li3 in the positive electrode active material layer is obtained by firing in an oxidizing atmosphere such as air. Since Fe (III) compounds such as Fe2 (PO4 )3 are formed, the charge / discharge capacity and the internal resistance of the battery may increase. When firing in a non-oxidizing atmosphere such as Ar or N2 in order to prevent the formation of Fe (III), carbonization (carbonization) of the binder and the plasticizer proceeds as described above. The battery may have various adverse effects.
  集電体が銅、銀、ニッケルなどの金属材料からなる場合、上記のような炭素化を回避するために、水蒸気および低酸素分圧ガスを含む雰囲気ガス中において焼結を行うことが好ましい。このような雰囲気下では、有機物の熱分解が促進されるため、カーボン類の生成を抑制しながら、脱バインダーや脱可塑剤が可能となり、正極活物質、負極活物質および固体電解質を緻密に焼結することができる。このため、電池の充放電特性及び信頼性を向上させることが可能となる。
  また、Feを含む正極活物質においては、Fe(III)の生成を抑制しつつ、カーボン類の生成を抑制しながら、脱バインダーや脱可塑剤が可能となる。When the current collector is made of a metal material such as copper, silver, or nickel, it is preferable to perform sintering in an atmospheric gas containing water vapor and a low oxygen partial pressure gas in order to avoid carbonization as described above. Under such an atmosphere, the thermal decomposition of organic substances is promoted, so that it is possible to remove binders and deplasticizers while suppressing the formation of carbons, and the positive electrode active material, the negative electrode active material and the solid electrolyte are sintered densely. Can conclude. For this reason, it becomes possible to improve the charging / discharging characteristic and reliability of a battery.
 In addition, in the positive electrode active material containing Fe, it is possible to remove the binder and deplasticizer while suppressing the formation of Fe (III) and the formation of carbons.
  このような全固体リチウム二次電池の作製方法の一例を以下に示す。この製造方法において、上記スラリー1を用いて、正極活物質グリーンシートを得、上記スラリー2を用いて、固体電解質グリーンシートを得る。次に、正極活物質グリーンシート、および固体電解質グリーンシートを含む組を少なくとも1つ含む第2グリーンシート群を形成する。次いで、第2グリーンシート群を熱処理して、正極活物質層と固体電解質層とが一体化された組を少なくとも1つ含む積層体を得る。ここで、第2グリーンシート群を作製するときに、前記組を、少なくとも2枚の正極活物質グリーンシート、少なくとも2枚の固体電解質グリーンシートを用いて構成し、少なくとも2枚の正極活物質グリーンシートの間に1枚の正極集電体を設け、少なくとも2枚の固体電解質グリーンシートの間に1枚の負極集電体を設ける。ここで、固体電解質は負極活物質を兼ねており、正極集電体および負極集電体の少なくとも一方が、銀、銅、およびニッケルよりなる群から選択される。また、熱処理は、水蒸気と低酸素分圧ガスとを含む雰囲気ガス中で行われる。  An example of a method for manufacturing such an all-solid lithium secondary battery is shown below. In this manufacturing method, a positive electrode active material green sheet is obtained using the slurry 1, and a solid electrolyte green sheet is obtained using the
  さらに、正極活物質として、少なくともFeを含むLiMPO4(例えば、LiFePO4)を用いる場合、その正極活物質に含まれるFeの酸化数は2価である。このとき、この2価のFeが安定な領域で焼結を行うことが好ましい。そのため、焼結(熱処理)が行われる雰囲気に含まれる平衡酸素分圧PO2は、以下の式(1):
    −0.0310T+33.5≦−log10PO2≦−0.0300T+38.1(1)の範囲内であることが望ましい。酸素分圧が上記式(1)で規定される範囲よりも大きくなると、Feが酸化されたり、集電体が酸化される場合がある。一方、酸素分圧が上記式(1)で規定される範囲よりも小さくなると、カーボン類の生成を抑制することが困難となる場合がある。Furthermore, when LiMPO4 containing at least Fe (for example, LiFePO4 ) is used as the positive electrode active material, the oxidation number of Fe contained in the positive electrode active material is divalent. At this time, it is preferable to perform sintering in a region where the divalent Fe is stable. Therefore, the equilibrium oxygen partial pressure PO2 contained in the atmosphere in which sintering (heat treatment) is performed is expressed by the following equation (1):
 It is desirable to be within the range of −0.0310T + 33.5 ≦ −log10 PO2 ≦ −0.0300T + 38.1 (1). When the oxygen partial pressure is larger than the range defined by the above formula (1), Fe may be oxidized or the current collector may be oxidized. On the other hand, if the oxygen partial pressure is smaller than the range defined by the above formula (1), it may be difficult to suppress the generation of carbons.
また、酸素分圧を上記範囲に安定して調整するために、焼結が行われる雰囲気は、少なくとも、酸素ガスを放出可能なガス、および酸素ガスと反応するガスとからなる混合ガスを含むことが好ましい。このような混合ガスとしては、二酸化炭素ガス、水素ガス及び窒素ガスからなる混合ガス等が挙げられる。ここで、例えば、酸素ガスを放出可能なガスとして二酸化炭素ガスを用い、酸素ガスと反応するガスとして水素ガスを用いることができる。混合ガスが水素ガスを含む場合、水素ガスの体積含有率は、安全のため、水素の爆発限界以下の4%以下にすることが望ましい。 In order to stably adjust the oxygen partial pressure within the above range, the atmosphere in which sintering is performed includes at least a mixed gas composed of a gas capable of releasing oxygen gas and a gas that reacts with oxygen gas. Is preferred. Examples of such a mixed gas include a mixed gas composed of carbon dioxide gas, hydrogen gas, and nitrogen gas. Here, for example, carbon dioxide gas can be used as a gas capable of releasing oxygen gas, and hydrogen gas can be used as a gas that reacts with oxygen gas. When the mixed gas contains hydrogen gas, the volume content of the hydrogen gas is preferably 4% or less, which is below the explosion limit of hydrogen, for safety.
これらの気体から構成されるガスは、平衡反応により、焼結(熱処理)の間、焼結が行われる雰囲気の酸素分圧を安定して一定に維持することが可能となる。 A gas composed of these gases can stably maintain a constant oxygen partial pressure in an atmosphere in which sintering is performed during sintering (heat treatment) by an equilibrium reaction.
なお、第1積層体の作製においても、活物質がFe等を含む場合には、雰囲気ガスにおける酸素分圧を上記のように調節することが好ましい。 Also in the production of the first laminate, when the active material contains Fe or the like, it is preferable to adjust the oxygen partial pressure in the atmospheric gas as described above.
また、例えば、銀、銅、ニッケル、およびコバルトのような金属材料からなる集電体を含む積層体を焼結する場合や活物質がFe等を含む積層体を焼結する場合、雰囲気ガスは、それらの材料の酸化還元平衡酸素分圧より低い酸素分圧を有することが好ましい。このような雰囲気ガスとして、炭酸ガス(CO2)と水素ガス(H2)とを含む混合ガスを用いることもできる。このようなCO2とH2とを含む混合ガスにおいても、その混合ガスに含まれる酸素分圧を低く維持することができる。Also, for example, when sintering a laminate including a current collector made of a metal material such as silver, copper, nickel, and cobalt, or when sintering a laminate including an active material containing Fe or the like, the atmospheric gas is It is preferable to have an oxygen partial pressure lower than the redox equilibrium oxygen partial pressure of these materials. As such an atmospheric gas, a mixed gas containing carbon dioxide (CO2 ) and hydrogen gas (H2 ) can also be used. Even in such a mixed gas containing CO2 and H2 , the oxygen partial pressure contained in the mixed gas can be kept low.
  混合ガスに含まれるCO2とH2との混合比は、集電体を構成する金属材料により、適宜変更される。例えば、混合ガスにおけるCO2とH2との体積比は、10〜8×103:1であることが好ましい。水素ガスに対する炭酸ガスの体積比が10よりも小さくなると、バインダーの分解が困難となることがある。水素ガスに対する炭素ガスの体積比が8×103より大きくなると、集電体が酸化されることがある。
  銅からなる集電体を用いる場合、雰囲気ガスに含まれるCO2とH2との体積比は、例えば、103:1とすることができる。
  コバルトからなる集電体を用いる場合、雰囲気ガスに含まれるCO2とH2との体積比は、例えば、10:1とすることができる。
  ニッケルからなる集電体を用いる場合、雰囲気ガスに含まれるCO2とH2との体積比は、例えば、40:1とすることができる。なお、ニッケルからなる集電体を用いる場合、CO2とH2との体積比は、10〜50:1とすることが好ましい。The mixing ratio of CO2 and H2 contained in the mixed gas is appropriately changed depending on the metal material constituting the current collector. For example, the volume ratio of CO2 and H2 in the mixed gas is preferably 10 to 8 × 103 : 1. If the volume ratio of carbon dioxide gas to hydrogen gas is less than 10, decomposition of the binder may be difficult. When the volume ratio of carbon gas to hydrogen gas is larger than 8 × 103 , the current collector may be oxidized.
 When using a current collector made of copper, the volume ratio of CO2 and H2 contained in the atmospheric gas, for example, 103: can be 1.
 When a current collector made of cobalt is used, the volume ratio of CO2 and H2 contained in the atmospheric gas can be set to 10: 1, for example.
 When the current collector made of nickel is used, the volume ratio of CO2 and H2 contained in the atmospheric gas can be set to 40: 1, for example. In the case of using a current collector made of nickel, the volume ratio of CO2 and H2 is 10 to 50: it is preferably 1.
混合ガスに含まれる水素ガスの体積含有率は、4%以下であることが好ましい。これは、上記と同様の理由による。 The volume content of hydrogen gas contained in the mixed gas is preferably 4% or less. This is for the same reason as described above.
上記のように、例えば、正極活物質層が、式LiMPO4で表される第1リン酸化合物から構成され、かつその第1リン酸化合物に少なくともFeが含まれるときにも、CO2とH2とを含む混合ガスを焼成の雰囲気ガスとして用いることが好ましい。このとき、CO2とH2との体積比は、10〜104:1であることが好ましい。水素ガスに対する炭酸ガスの比が10より少ない場合には、バインダーの分解が困難となることがある。水素ガスに対する炭酸ガスの比が104より大きい場合には、正極活物質が分解してしまうことがある。As described above, for example, when the positive electrode active material layer is composed of the first phosphate compound represented by the formula LiMPO4 and the first phosphate compound contains at least Fe, CO2 and H It is preferable to use a mixed gas containing2 as a firing atmosphere gas. At this time, the volume ratio between CO2 and H2 is preferably 10 to 104 : 1. When the ratio of carbon dioxide gas to hydrogen gas is less than 10, decomposition of the binder may be difficult. When the ratio of carbon dioxide gas to hydrogen gas is larger than 104 , the positive electrode active material may be decomposed.
《実施例1−1》
  上記第1積層体や第2積層体を焼結プロセスを用いて作製する場合、活物質と固体電解質との界面を電気化学的に活性とするためには、焼結時に活物質と固体電解質との焼結界面で、焼結以外の副反応が起こらないことが必要となる。そのため、800℃で加熱した場合の活物質と固体電解質の反応性について調べた。<< Example 1-1 >>
 When the first laminated body and the second laminated body are produced using a sintering process, in order to make the interface between the active material and the solid electrolyte electrochemically active, the active material and the solid electrolyte are It is necessary that no side reaction other than sintering occurs at the sintering interface. Therefore, the reactivity between the active material and the solid electrolyte when heated at 800 ° C. was examined.
  まず、以下に、正極活物質と固体電解質の反応性について説明する。
(焼結体1)
  正極活物質としてLiCoPO4を用い、固体電解質としてLi1.3Al0.3Ti1.7(PO4)3を用いた。正極活物質および固体電解質を、それぞれを、ボールミルにて粉砕して、その粒径を約1μmとした。これらの粉体を重量比1:1でボールミルを用いて混合し、粉体成形により直径18mmのペレットとした。そのペレットを、空気中、800℃で5時間焼結した。焼結後の焼結体をメノウ乳鉢を用いて粉砕した。粉砕後の焼結体を、焼結体1とした。First, the reactivity between the positive electrode active material and the solid electrolyte will be described below.
 (Sintered body 1)
 LiCoPO4 was used as the positive electrode active material, and Li1.3 Al0.3 Ti1.7 (PO4 )3 was used as the solid electrolyte. Each of the positive electrode active material and the solid electrolyte was pulverized by a ball mill to have a particle size of about 1 μm. These powders were mixed at a weight ratio of 1: 1 using a ball mill, and formed into pellets having a diameter of 18 mm by powder molding. The pellets were sintered in air at 800 ° C. for 5 hours. The sintered body after sintering was pulverized using an agate mortar. The sintered body after pulverization was designated as sintered body 1.
(焼結体2)
  正極活物質としてLiNiPO4を用いたこと以外、上記焼結体1の作製方法と同様にして、焼結体2を得た。(Sintered body 2)
 A
(比較焼結体1)
  正極活物質としてLiCoO2を用いたこと以外、上記焼結体1の作製方法と同様にして、比較焼結体1を得た。(Comparative sintered body 1)
 A comparative sintered body 1 was obtained in the same manner as the method for producing the sintered body 1 except that LiCoO2 was used as the positive electrode active material.
(比較焼結体2)
  正極活物質としてLiMn2O4を用いたこと以外、上記焼結体1の作製方法と同様にして、比較焼結体2を得た。(Comparative sintered body 2)
 A comparative
(比較焼結体3)
  固体電解質としてLi0.33La0.56TiO3を用いたこと以外、上記焼結体1の作製方法と同様にして、比較焼結体3を得た。(Comparative sintered body 3)
 A comparative
(比較焼結体4)
  正極活物質としてLiNiPO4を用い、固体電解質としてLi0.33La0.56TiO3を用いたこと以外、上記焼結体1の作製方法と同様にして、比較焼結体4を得た。(Comparative sintered body 4)
 A comparative sintered body 4 was obtained in the same manner as the method for producing the sintered body 1 except that LiNiPO4 was used as the positive electrode active material and Li0.33 La0.56 TiO3 was used as the solid electrolyte.
(比較焼結体5)
  正極活物質としてLiCoO2を用い、固体電解質としてLi0.33La0.56TiO3を用いたこと以外、上記焼結体1の作製方法と同様にして、比較焼結体5を得た。(Comparative sintered body 5)
 A comparative
(比較焼結体6)
  正極活物質としてLiMn2O4を用い、固体電解質としてLi0.33La0.56TiO3を用いたこと以外、上記焼結体1の作製方法と同様にして、比較焼結体6を得た。(Comparative sintered body 6)
 A comparative
(焼結体3)
  正極活物質としてLiCo0.5Ni0.5PO4を用いたこと以外、上記焼結体1の作製方法と同様にして、焼結体3を得た。(Sintered body 3)
 A
焼結体1〜3および比較焼結体1〜6を用い、CuのΚα線を用いるX線回折法により、焼結を行う前と後におけるX線回折パターンを調べた。各焼結体のX線回折パターンを、それぞれ図1〜9に示す。なお、図1〜9において、焼結後のX線回折パターンをAで表し、焼結前のX線回折パターンをBで表している。 Using the sintered bodies 1 to 3 and the comparative sintered bodies 1 to 6, X-ray diffraction patterns before and after sintering were examined by an X-ray diffraction method using Cu α-rays. The X-ray diffraction patterns of the respective sintered bodies are shown in FIGS. 1 to 9, the X-ray diffraction pattern after sintering is represented by A, and the X-ray diffraction pattern before sintering is represented by B.
  図1(焼結体1)、図2(焼結体2)および図9(焼結体3)では、熱処理の前後で、各ピークの位置及びパターンは、よく維持されていた。一方、図3〜8(比較焼結体1〜6)では、熱処理の後に、新規のピークの発現が見られた。
  以上の結果から、焼結体1〜3では、正極活物質と固体電解質との焼結界面においては、固相反応による第三相が発現しないのに対し、比較焼結体1〜6では、正極活物質でも固体電解質でもない第三相が発現することが明らかとなった。In FIG. 1 (sintered body 1), FIG. 2 (sintered body 2), and FIG. 9 (sintered body 3), the position and pattern of each peak were well maintained before and after the heat treatment. On the other hand, in FIGS. 3 to 8 (comparative sintered bodies 1 to 6), a new peak was observed after the heat treatment.
 From the above results, in the sintered bodies 1 to 3, the sintered phase between the positive electrode active material and the solid electrolyte does not exhibit the third phase due to the solid phase reaction, whereas in the comparative sintered bodies 1 to 6, It was revealed that a third phase that is neither a positive electrode active material nor a solid electrolyte was developed.
よって、上記のような第1リン酸化合物(正極活物質)および第2リン酸化合物(固体電解質)を用いることにより、積層体を作製するときに、正極活物質と固体電解質との界面に、正極活物質でも固体電解質でもない第三相を発現させることなく、正極活物質と固体電解質とを焼結させて、接合することが可能である。 Therefore, by using the first phosphoric acid compound (positive electrode active material) and the second phosphoric acid compound (solid electrolyte) as described above, at the interface between the positive electrode active material and the solid electrolyte, The positive electrode active material and the solid electrolyte can be sintered and bonded without developing a third phase that is neither a positive electrode active material nor a solid electrolyte.
  次に、負極活物質と固体電解質の反応性について説明する。
(焼結体4)
  負極活物質として三方晶系のFePO4を用い、固体電解質としてLi1.3Al0.3Ti1.7(PO4)3を用いた。負極活物質および固体電解質を、それぞれ、ボールミルにて粉砕して、その粒径を約1μmとした。これらの粉体を重量比1:1でボールミルを用いて混合し、粉体成形により直径18mmのペレットとした。そのペレットを、空気中、800℃で5時間焼結した。焼結後の焼結体をメノウ乳鉢を用いて粉砕した。粉砕後の焼結体を、焼結体4とした。Next, the reactivity between the negative electrode active material and the solid electrolyte will be described.
 (Sintered body 4)
 Trigonal FePO4 was used as the negative electrode active material, and Li1.3 Al0.3 Ti1.7 (PO4 )3 was used as the solid electrolyte. Each of the negative electrode active material and the solid electrolyte was pulverized with a ball mill to have a particle size of about 1 μm. These powders were mixed at a weight ratio of 1: 1 using a ball mill, and formed into pellets having a diameter of 18 mm by powder molding. The pellets were sintered in air at 800 ° C. for 5 hours. The sintered body after sintering was pulverized using an agate mortar. The sintered body after pulverization was designated as sintered body 4.
(焼結体5)
  負極活物質としてLi3Fe2(PO4)3を用いたこと以外、上記焼結体4の作製方法と同様にして、焼結体5を得た。(Sintered body 5)
 A
(焼結体6)
  負極活物質としてLiFeP2O7を用いたこと以外、上記焼結体4の作製方法と同様にして、焼結体6を得た。(Sintered body 6)
 A
(参考焼結体7)
  負極活物質としてLi4Ti5O12を用いたこと以外、上記焼結体4の作製方法と同様にして、参考焼結体7を得た。(Reference sintered body 7)
 Areference sintered
(比較焼結体8)
  負極活物質としてNb2O5を用いたこと以外、上記焼結体4の作製方法と同様にして、比較焼結体8を得た。(Comparative sintered body 8)
 A comparative
(比較焼結体9)
  固体電解質としてLi0.33La0.56TiO3を用いたこと以外、上記焼結体4の作製方法と同様にして、比較焼結体9を得た。(Comparative sintered body 9)
 A comparative
(比較焼結体10)
  負極活物質として三方晶系のLi3Fe2(PO4)3を用い、固体電解質としてLi0.33La0.56TiO3を用いたこと以外、上記焼結体4の作製方法と同様にして、比較焼結体10を得た。(Comparative sintered body 10)
 Comparative firing was performed in the same manner as the method for producing the sintered body 4 except that trigonal Li3 Fe2 (PO4 )3 was used as the negative electrode active material and Li0.33 La0.56 TiO3 was used as the solid electrolyte. A
(比較焼結体11)
  負極活物質としてLiFeP2O7を用い、固体電解質としてLi0.33La0.56TiO3を用いたこと以外、上記焼結体4の作製法方法と同様にして、比較焼結体11を得た。(Comparative sintered body 11)
 Comparative
(焼結体12)
  負極活物質としてLi4Ti5O12を用い、固体電解質としてLi0.33La0.56TiO3を用いたこと以外、上記焼結体4の作製方法と同様にして、焼結体12を得た。(Sintered body 12)
(比較焼結体13)
  負極活物質としてNb2O5を用い、固体電解質としてLi0.33La0.56TiO3を用いたこと以外、上記焼結体4の作製方法と同様にして、比較焼結体13を得た。(Comparative sintered body 13)
 A
  上記と同様にして、焼結体4〜6および12、参考焼結体7、ならびに比較焼結体8〜11および13について、焼結を行う前と後におけるX線回折パターンを調べた。各焼結体のX線回折パターンを、それぞれ、図10〜19に示す。図10〜19において、焼結後のX線回折パターンをAで表し、焼結前のX線回折パターンをBで表している。In the same manner as described above, the X-ray diffraction patterns before and after sintering of the sintered bodies 4 to 6 and 12, thereference sintered
  図10(焼結体4)、図11(焼結体5)、図12(焼結体6)および図18(焼結体12)では、熱処理前後で各ピークの位置及びパターンはよく維持されていた。一方、図13〜17(参考焼結体7、比較焼結体8〜11)および図19(比較焼結体13)では、熱処理によりピークの強度が激減したり、新規のピークの発現が見られた。つまり、焼結体4〜6および焼結体12においては、負極活物質と固体電解質との焼結界面において、固相反応による第三相が発現しないのに対し、参考焼結体7、比較焼結体8〜11および比較焼結体13においては、活物質でも固体電解質でもない第三相が発現することが明らかとなった。In FIG. 10 (sintered body 4), FIG. 11 (sintered body 5), FIG. 12 (sintered body 6), and FIG. 18 (sintered body 12), the position and pattern of each peak are well maintained before and after heat treatment. It was. On the other hand, in FIGS. 13 to 17 (reference sintered
よって、上記のような第2リン酸化合物(固体電解質)および第3リン酸化合物(負極活物質)、ならびにLi4Ti5O12のようなチタンを含む酸化物(負極活物質)およびLi0.33La0.56TiO3のようなチタンを含む酸化物(固体電解質)を用いることにより、積層体を作製するときに、負極活物質と固体電解質との界面に、負極活物質でも固体電解質でもない第三相を発現させることなく、負極活物質と固体電解質とを焼結させて、接合することが可能である。Therefore, the second phosphoric acid compound (solid electrolyte) and the third phosphoric acid compound (negative electrode active material) as described above, and an oxide (negative electrode active material) containing titanium such as Li4 Ti5 O12 and Li0.33 When an oxide (solid electrolyte) containing titanium such as La0.56 TiO3 is used, athird layer that is neither a negative electrode active material nor a solid electrolyte is formed at the interface between the negative electrode active material and the solid electrolyte when a laminate is produced. It is possible to sinter and bond the negative electrode active material and the solid electrolyte without developing a phase.
従って、焼結体1〜3の結果により、第1リン化合物を含む正極活物質層と第2リン酸化合物を含む固体電解質層を、正極活物質層と固体電解質層との界面に電池の充放電に関与しない不純物相を生じさせることなく、接合できることがわかる。また、焼結体4〜6および12の結果より、第2リン酸化合物を含む固体電解質層と第3リン酸化合物を含む負極活物質層、およびチタンを含む酸化物からなる固体電解質層とチタンを含む酸化物からなる負極活物質層を、負極活物質層と固体電解質層との界面に電池の充放電に関与しない不純物相を生じさせることなく、接合できることがわかる。Therefore, the results of the sintered body 1-3, a solid electrolyte layer containing a positive electrode active material layer containing a first phosphorus compound and the second phosphorylatedcompound, the cells at the interface between the positive electrode active material layer and the solid electrolyte layer It can be seen that bonding can be performed without generating an impurity phase that does not participate in charge / discharge. Moreover, the the results of the sintered body 4-6 and 12, the negative electrode active material layer containing a solid electrolyte layer comprising a second phosphorus acidcompound of the third phosphoric acid compound, and a solid electrolyte layer made of an oxide containing titanium It can be seen that the negative electrode active material layer made of an oxide containing titanium can be joined without causing an impurity phase not involved in charge / discharge of the battery at the interface between the negative electrode active material layer and the solid electrolyte layer.
《実施例1−2》
  以下のような電池および比較電池を作製し、所定の条件下で充放電を行い、放電容量を求めた。<< Example 1-2 >>
 The following batteries and comparative batteries were prepared and charged / discharged under predetermined conditions to determine the discharge capacity.
(電池1)
  まず、Li1.3Al0.3Ti1.7(PO4)3で表される固体電解質粉体と、LiCoPO4で表される正極活物質粉体とを用意した。固体電解質粉体に、バインダーであるポリビニルブチラール樹脂、溶剤である酢酸n−ブチル、および可塑剤であるフタル酸ジブチルを加え、ジルコニアボールと共にボールミルで24時間混合して、固体電解質層形成用スラリーを調製した。
  正極活物質層形成用スラリーについても、固体電解質層形成用スラリーを調製したときと同様にして、調製した。(Battery 1)
 First, a solid electrolyte powder represented by Li1.3 Al0.3 Ti1.7 (PO4 )3 and a positive electrode active material powder represented by LiCoPO4 were prepared. To the solid electrolyte powder, polyvinyl butyral resin as a binder, n-butyl acetate as a solvent, and dibutyl phthalate as a plasticizer are added and mixed with a zirconia ball in a ball mill for 24 hours to obtain a slurry for forming a solid electrolyte layer. Prepared.
 The positive electrode active material layer forming slurry was also prepared in the same manner as when the solid electrolyte layer forming slurry was prepared.
次に、ポリエステル樹脂を主成分とするキャリアフィルム1上に、固体電解質層形成用スラリーを、ドクターブレードを用いて塗布した。その後、塗布したスラリーを乾燥して、図20に示すように、固体電解質グリーンシート2(厚さ:25μm)を得た。なお、キャリアフィルム1の表面には、Siを主成分とする離型剤層が形成されている。 Next, the slurry for solid electrolyte layer formation was apply | coated using the doctor blade on the carrier film 1 which has a polyester resin as a main component. Thereafter, the applied slurry was dried to obtain a solid electrolyte green sheet 2 (thickness: 25 μm) as shown in FIG. Note that a release agent layer containing Si as a main component is formed on the surface of the carrier film 1.
  また、固体電解質グリーンシートを作製するのと同様の方法で、図21に示すように、キャリアフィルム3の上に、正極活物質グリーンシート4(厚さ:4μm)を作製した。  Further, as shown in FIG. 21, a positive electrode active material green sheet 4 (thickness: 4 μm) was produced on the
  次に、支持台5の上に、その両面に接着剤のついたポリエステルフィルム6を貼り付けた。次いで、図22に示すように、ポリエステルフィルム6の上に、固体電解質グリーンシート2のキャリアフィルム1と接していない側の面を載せた。  Next, a
  次いで、キャリアフィルム1の上から80kg/cm2の圧力を加えながら70℃の温度をかけ、図23に示すように、キャリアフィルム1と固体電解質グリーンシート2からキャリアフィルムを剥離した。Next, a temperature of 70 ° C. was applied from above the carrier film 1 while applying a pressure of 80 kg / cm2 , and the carrier film was peeled from the carrier film 1 and the solid electrolyte
  この固体電解質グリーンシート2の上に、上記のようにして作製した、別のキャリアフィルム1’上に形成された固体電解質グリーンシート2’を載せた。次いで、キャリアフィルム1’上から圧力、温度を加えることで、グリーンシート2と2’を接合させつつ、キャリアフィルム1’をグリーンシート2’から剥離させた。
  この操作を20回繰り返し、固体電解質グリーンシート群7(厚さ:500μm)を作製した。On this solid electrolyte
 This operation was repeated 20 times to produce a solid electrolyte green sheet group 7 (thickness: 500 μm).
  次に、作製したグリーンシート群7上に、上記のように作製したキャリアフィルム3上に形成された正極活物質グリーンシート4を載せた。次いで、キャリアフィルム3上から、80kg/cm2の圧力を加えながら70℃の温度をかけ、グリーンシート4からキャリアフィルム3を剥離した。このようにして、図24に示すように、グリーンシート群7と正極活物質グリーンシート4からなる積層物(厚さ:約500μm)を作製した。この積層物を、ポリエステルフィルム6から剥離し、7mm(幅)×7mm(長さ)×約500μm(厚さ)のサイズに切断し、グリーンチップ8を得た。Next, the positive electrode active material green sheet 4 formed on the
  次に、図25に示すように、得られたグリーンチップ8を2つ1組にした。このとき、グリーンチップ8の正極活物質グリーンシート4がある側とは反対側の固体電解質面9同士を重ね合わせ、活物質グリーンシート4が外側にくるようにした。  Next, as shown in FIG. 25, two sets of the obtained
  次に、予めLi雰囲気中で焼成することでLiを充分に吸収させた、2枚のアルミナ製のセラミックス板10を用い、各セラミックス板が、それぞれ活物質グリーンシート4に接するようにして、1組のグリーンチップを挟み込んだ。
  Liは、揮発しやすいため、焼結中に、グリーンチップからLiが揮発する場合がある。上記のように、Liを充分に吸収させたセラミックス板を用いることにより、焼結中に、グリーンチップからのLiの揮発が抑制され、不純物層の生成が抑制される。Next, two
 Since Li is easily volatilized, Li may volatilize from the green chip during sintering. As described above, by using a ceramic plate that has sufficiently absorbed Li, volatilization of Li from the green chip during sintering is suppressed, and generation of an impurity layer is suppressed.
次いで、これらを、空気中において、400℃/hの昇温速度で400℃まで昇温させ、400℃に5時間保持して、バインダーや可塑剤の有機物を充分に熱分解させた。この後、400℃/hの昇温速度で、900℃まで昇温させ、次いで、400℃/hの冷却速度で、速やかに室温まで冷却した。このようにして、グリーンチップの焼結を行った。 Next, these were heated to 400 ° C. at a temperature rising rate of 400 ° C./h in the air and held at 400 ° C. for 5 hours to sufficiently thermally decompose organic substances such as binder and plasticizer. Then, it heated up to 900 degreeC with the temperature increase rate of 400 degreeC / h, and then cooled to room temperature rapidly with the cooling rate of 400 degreeC / h. In this way, the green chip was sintered.
  ここで、焼結後のグリーンチップの充填率は、例えば、以下のようにして、測定することができる。
  まず、固体電解質層に含まれる固体電解質の重量、および活物質層に含まれる活物質の重量を求める。具体的には、例えば、所定の厚さの固体電解質層グリーンシートの単位面積あたりに含まれるTiの量、または所定の厚さの活物質グリーンシートの単位面積あたりに含まれるCoの量を、ICP分析により求める。その得られたTiおよびCoの量を用いて、固体電解質グリーンシート単位面積あたりのLi1.3Al0.3Ti1.7(PO4)3の重量および活物質グリーンシートあたりのLiCoPO4の重量を求めることができる。Here, the filling rate of the green chip after sintering can be measured, for example, as follows.
 First, the weight of the solid electrolyte contained in the solid electrolyte layer and the weight of the active material contained in the active material layer are determined. Specifically, for example, the amount of Ti contained per unit area of the solid electrolyte layer green sheet having a predetermined thickness, or the amount of Co contained per unit area of the active material green sheet having a predetermined thickness, Determined by ICP analysis. Using the obtained amounts of Ti and Co, the weight of Li1.3 Al0.3 Ti1.7 (PO4 )3 per unit area of the solid electrolyte green sheet and the weight of LiCoPO4 per active material green sheet can be obtained. .
次に、焼結後のチップの固体電解質層および活物質層の体積を求める。焼結後のチップは、例えば、図24のように角柱の形状であるため、その底面積と、各層のそれぞれの厚さがわかれば、各層の体積を求めることができる。ここで、各層の厚さは、チップの断面を、走査型電子顕微鏡(SEM)等で、例えば、複数の箇所、例えば、所定の5箇所を測定し、その平均値を各層の厚さとして用いることができる。 Next, the volume of the solid electrolyte layer and the active material layer of the chip after sintering is determined. Since the sintered chip has a prismatic shape as shown in FIG. 24, for example, the volume of each layer can be obtained if the bottom area and the thickness of each layer are known. Here, as for the thickness of each layer, the cross-section of the chip is measured, for example, at a plurality of locations, for example, 5 predetermined locations with a scanning electron microscope (SEM) or the like, and the average value is used as the thickness of each layer. be able to.
以上のようにして求めた活物質層に含まれる活物質の重量および活物質層の体積から、活物質層の見かけの密度((活物質層に含まれる活物質の重量)/(活物質層の焼結後の体積))を求めることができる。また、このことは、固体電解質層においても同様である。 From the weight of the active material contained in the active material layer and the volume of the active material layer obtained as described above, the apparent density of the active material layer ((weight of active material contained in the active material layer) / (active material layer) The volume after sintering))) can be determined. This also applies to the solid electrolyte layer.
  充填率は、上記のように、活物質層の場合、活物質の真密度に対する活物質層の見かけの密度の割合を、百分率値として表した値であるので、活物質の真密度として、活物質のX線密度を用いた場合、充填率は、以下の式:
{[(活物質層に含まれる活物質の重量)/(活物質層の焼結後の体積)]/(活物質のX線密度)}×100
を用いて、求めることができる。
  また、固体電解質層の充填率も、上記と同様にして、求めることができる。As described above, in the case of the active material layer, the filling rate is a value expressed as a percentage value of the ratio of the apparent density of the active material layer to the true density of the active material. When the X-ray density of the substance is used, the filling factor is given by the following formula:
 {[(Weight of active material contained in active material layer) / (Volume after sintering of active material layer)] / (X-ray density of active material)} × 100
 Can be obtained using
 Further, the filling rate of the solid electrolyte layer can be obtained in the same manner as described above.
また、所定量の活物質を含む活物質層または所定量の固体電解質を含む固体電解質層の各々を、積層体を作製するときの焼結条件と同じ条件で焼結して、活物質層または固体電解質層をそれぞれ別個に作製する。得られた各層の充填率を、上記のような式を用いて求め、その値を積層体での各層の充填率としてみなすこともできる。 Also, each of the active material layer containing a predetermined amount of active material or the solid electrolyte layer containing a predetermined amount of solid electrolyte is sintered under the same conditions as the sintering conditions for producing the laminate, and the active material layer or A solid electrolyte layer is prepared separately. The filling rate of each obtained layer can be obtained using the above formula, and the value can be regarded as the filling rate of each layer in the laminate.
なお、本実施例では、固体電解質層と比較して活物質層が十分に薄いため、焼結後のチップ全てがLi1.3Al0.3Ti1.7(PO4)3であると仮定して、その充填率を求めた。その結果、充填率は83%程度であった。ここで、上記チップの充填率は、[{(チップ重量)/(チップ体積)}/(固体電解質のX線密度)]×100により求めた。In this example, since the active material layer is sufficiently thin as compared with the solid electrolyte layer, it is assumed that all the chips after sintering are Li1.3 Al0.3 Ti1.7 (PO4 )3. The rate was determined. As a result, the filling rate was about 83%. Here, the filling rate of the chip was determined by [{(chip weight) / (chip volume)} / (X-ray density of solid electrolyte)] × 100.
なお、SEM像等より、活物質層の充填率は、ほぼ100%であると仮定することができる。 From the SEM image or the like, it can be assumed that the filling rate of the active material layer is almost 100%.
また、正極活物質層に関し、焼結後のグリーンチップの研磨断面をSEM観察したところ、正極活物質層はその厚さが約1μmであること、そしてその正極活物質層はほとんど空孔が見られず緻密に焼結していることが確認された。 In addition, regarding the positive electrode active material layer, the polished cross section of the green chip after sintering was observed by SEM. As a result, the positive electrode active material layer had a thickness of about 1 μm, and the positive electrode active material layer had almost no pores. It was confirmed that it was densely sintered.
なお、グリーンチップを2つ1組にして、焼結を行っているが、この2つのグリーンチップは、焼結によって接合しない。 Although two green chips are paired and sintered, the two green chips are not joined by sintering.
  次に、1組のグリーンチップを2つに分け、図26に示すように、正極活物質層11aと固体電解質層11bとからなる第1積層体11の活物質層11aの表面に金をスパッタリングし、正極集電体となる金薄膜12(厚さ:数nm〜数十nm)を形成した。この後、第1積層体11の各側面13に付着した金を、紙ヤスリを用いて研磨して、除去した。  Next, one set of green chips is divided into two, and as shown in FIG. 26, gold is sputtered on the surface of the
  次に、第1積層体上に、耐還元性を有する電解質からなる層と負極活物質層を、露点−50℃以下のドライエアー中にて、以下のように形成した。
  まず、厚さ150μmの金属リチウム箔14を直径10mmに打ち抜き、厚さ0.5mm、直径20mmに打ち抜いたSUS板15中央部に貼付した。なお、このSUS板は、負極集電体として機能する。Next, a layer made of an electrolyte having reduction resistance and a negative electrode active material layer were formed on the first laminate in dry air having a dew point of −50 ° C. or less as follows.
 First, a 150 μm-thick metal lithium foil 14 was punched to a diameter of 10 mm, and affixed to the center of the
  平均分子量1,000,000のポリエチレンオキシド(以下、PEOともいう)とLiN(SO2CF3)2(以下、LiTFSIともいう)を、PEOの酸素原子とLiTFSIのリチウムが[O]/[Li]=20/1となるように脱水アセトニトリルに溶解させた。なお、この溶液において、Liの濃度が0.1Mになるようにした。
  次いで、この溶液を、金属リチウム上に2000rpmにてスピンコートし、真空乾燥して、金属リチウム箔14上にPEO−LiTFSI層16を形成した。真空乾燥後、PEO−LiTFSI層の厚さをSEMにより確認したところ、約50μmであった。Polyethylene oxide having an average molecular weight of 1,000,000 (hereinafter also referred to as PEO) and LiN (SO2 CF3 )2 (hereinafter also referred to as LiTFSI), oxygen atoms of PEO and lithium of LiTFSI are [O] / [Li ] Was dissolved in dehydrated acetonitrile so as to be 20/1. In this solution, the concentration of Li was set to 0.1M.
 Next, this solution was spin-coated on metallic lithium at 2000 rpm, and vacuum-dried to form a PEO-
  このPEO−LiTFSI層16と、第1積層体11の正極活物質層とは反対側の固体電解質面17を貼り合わせることにより、図27に示すような全固体リチウム二次電池を作製した。得られた電池を、電池1とした。  The PEO-
(電池2)
  LiCoPO4の代わりに、LiMnPO4を用いたこと以外は、電池1を作製するときの方法と同様にして、電池2を作製した。(Battery 2)
 A
(比較電池1)
  LiCoPO4の代わりに、LiCoO2を用いたこと以外は、電池1を作製するときの方法と同様にして、比較電池1を作製した。(Comparative battery 1)
 A comparative battery 1 was produced in the same manner as the battery 1 except that LiCoO2 was used instead of LiCoPO4 .
(比較電池2)
  LiCoPO4の代わりに、LiMn2O4を用いたこと以外は、電池1を作製するときの方法と同様にして、比較電池2を作製した。(Comparison battery 2)
 A
(電池3)
  図28を参照しながら、スパッタ法を用いて作製された全固体リチウム二次電池について説明する。
  表面を窒化ケイ素からなる層21で被覆した、30mm×30mmの単結晶ケイ素基板22上に、RFマグネトロンスパッタ法にて、厚さ0.05μmのチタン薄膜23を形成し、さらに、チタン薄膜23上に、正極集電体である厚さ0.5μmの金薄膜24を形成した。このとき、20mm×12mmの開口部を有するメタルマスクを用いた。なお、上記チタン薄膜23は、窒化ケイ素からなる層21と金薄膜24とを接合する機能を有する。(Battery 3)
 With reference to FIG. 28, an all-solid lithium secondary battery manufactured by sputtering will be described.
 A titanium
  次に、金薄膜24上に、LiCoPO4ターゲットを用いるRFマグネトロンスパッタ法により、厚さ0.5μmのLiCoPO4薄膜25を形成した。このとき、10mm×10mmの開口部を有するメタルマスクを用いた。また、スパッタガスとしては、25%の酸素および75%のアルゴンからなるものを用いた。Next, a LiCoPO4
  次いで、LiCoPO4薄膜25が、開口部の中央に位置するように、15mm×15mmの開口部を有するメタルマスクを配置した。LiTi2(PO4)3ターゲットを用いるRFマグネトロンスパッタ法により、LiCoPO4薄膜25を覆うように、厚さ2μmのLiTi2(PO4)3薄膜26を形成した。ここで、スパッタガスとしては、25%の酸素および75%のアルゴンからなるものを用いた。Next, a metal mask having an opening of 15 mm × 15 mm was disposed so that the LiCoPO4
得られた積層物を、空気中、600℃にて2時間アニールすることにより、それぞれLiCoPO4からなる正極活物質およびLiTi2(PO4)3からなる固体電解質を結晶化させて、第1積層体を形成した。The obtained laminate was annealed in air at 600 ° C. for 2 hours to crystallize a positive electrode active material made of LiCoPO4 and a solid electrolyte made of LiTi2 (PO4 )3 , respectively. Formed body.
  次に、固体電解質層であるLiTi2(PO4)3薄膜26の上に、耐還元性の電解質層および負極である金属リチウム層を形成した。これらの形成は、露点−50℃以下のドライエアー中にて行った。Next, a reduction-resistant electrolyte layer and a metal lithium layer as a negative electrode were formed on the LiTi2 (PO4 )3
具体的には、まず、PEO(平均分子量1,000,000)とLiTFSIを、PEOの酸素原子とLiTFSIのリチウムとが[O]/[Li]=20/1となるように、脱水アセトニトリルに溶解した。この溶液において、Liの濃度は、0.05Mとした。 Specifically, first, PEO (average molecular weight 1,000,000) and LiTFSI are mixed with dehydrated acetonitrile so that the oxygen atom of PEO and the lithium of LiTFSI are [O] / [Li] = 20/1. Dissolved. In this solution, the concentration of Li was 0.05M.
  次に、LiTi2(PO4)3薄膜26上に、上記溶液を2000rpmにてスピンコートし、真空乾燥して、耐還元性の電解質層であるPEO−LiTFSI層27を形成した。真空乾燥後、PEO−LiTFSI層の厚さをSEMにより確認したところ、約5μmであった。Next, the above solution was spin-coated at 2000 rpm on the LiTi2 (PO4 )3
  次いで、PEO−LiTFSI層27上に、抵抗加熱蒸着法により、負極を構成する厚さ0.5μmの金属リチウム薄膜28を形成した。このとき、10mm×10mmの開口部を有するメタルマスクを用いた。  Next, a metal lithium
  その後、正極集電体である金薄膜24と接触せず、かつ金属リチウム薄膜28を完全に覆うように、RFマグネトロンスパッタ法により、負極集電体である、厚さ0.5μmの銅薄膜29を形成し、図28に示されるような全固体リチウム二次電池を得た。このとき、20mm×12mmの開口部を有するメタルマスクを用いた。
  このようにして得られた全固体リチウム二次電池を、電池3とした。ここで、正極層と固体電解質層の各層の充填率は、ほぼ100%である。Thereafter, a copper
 The all solid lithium secondary battery thus obtained was designated as
(電池4)
  LiCoPO4の代わりに、LiMnPO4を用いたこと以外は、電池3を作製するときの方法と同様にして、電池4を作製した。(Battery 4)
 A battery 4 was produced in the same manner as the
(比較電池3)
  LiCoPO4の代わりに、LiCoO2を用いたこと以外は、電池3を作製するときの方法と同様にして、比較電池3を作製した。(Comparative battery 3)
 A
(比較電池4)
  LiCoPO4の代わりに、LiMn2O4を用いたこと以外は、電池3を作製するときの方法と同様にして、比較電池4を作製した。(Comparison battery 4)
 A comparative battery 4 was produced in the same manner as the
作製直後の電池1〜4および比較電池1〜4について、露点−50℃、環境温度60℃の雰囲気中で、10μAの電流値にて充放電を1回行った。そのときの放電容量を初期放電容量として示す。また、上限カット電圧および下限カット電圧についても、表1に示す。 The batteries 1 to 4 and the comparative batteries 1 to 4 immediately after production were charged and discharged once at a current value of 10 μA in an atmosphere with a dew point of −50 ° C. and an environmental temperature of 60 ° C. The discharge capacity at that time is shown as the initial discharge capacity. Table 1 also shows the upper limit cut voltage and the lower limit cut voltage.
  表1に示されるように、比較電池1〜4は、放電することができなかった。これは、熱処理により、正極活物質と固体電解質との界面に活物質でも固体電解質でもない不純物相が生成したため、電気化学的にその界面が不活性になったためと考えられる。
  一方で、電池1〜4では、充放電が可能であった。これは、本発明においては、リチウムイオンを放出および吸蔵し得る結晶性の第1リン酸化合物からなる正極活物質と、リチウムイオン伝導性を有する結晶性の第2リン酸化合物からなる固体電解質との界面に、充放電反応に関与しない不純物相が生成せず、その界面が電気化学的に活性であるためと考えられる。
  以上のように、本発明によれば、正極活物質と固体電解との界面に不純物相が形成されず、その界面が電気化学的に活性であり、充放電が可能であることが示された。As shown in Table 1, Comparative batteries 1 to 4 could not be discharged. This is presumably because an impurity phase that is neither an active material nor a solid electrolyte was generated at the interface between the positive electrode active material and the solid electrolyte by the heat treatment, and the interface was electrochemically inactive.
 On the other hand, in the batteries 1 to 4, charging / discharging was possible. In the present invention, this is because a positive electrode active material composed of a crystalline first phosphate compound capable of releasing and occluding lithium ions, and a solid electrolyte composed of a crystalline second phosphate compound having lithium ion conductivity, This is probably because an impurity phase that does not participate in the charge / discharge reaction is not generated at the interface, and the interface is electrochemically active.
 As described above, according to the present invention, it was shown that no impurity phase was formed at the interface between the positive electrode active material and the solid electrolysis, and that the interface was electrochemically active and charge / discharge was possible. .
次に、電池1〜4について、露点−50℃、環境温度60℃の雰囲気中で、10μAの電流値にて3.5〜5.0Vの範囲で充放電サイクルを繰り返し、放電容量が初期放電容量の60%となるときの充放電サイクルの回数を調べた。得られた結果を表2に示す。 Next, for batteries 1 to 4, a charge / discharge cycle was repeated in the range of 3.5 to 5.0 V at a current value of 10 μA in an atmosphere with a dew point of −50 ° C. and an environmental temperature of 60 ° C., and the discharge capacity was initially discharged. The number of charge / discharge cycles when the capacity reached 60% was examined. The obtained results are shown in Table 2.
  電池1および2については100回程度、電池3および4については180回程度の充放電が可能であった。
  一方、70重量部のLiCoPO4、25重量部のアセチレンブラック、および5重量部のポリテトラフルオロエチレンからなる正極と、金属リチウムからなる負極と、エチレンカーボネート(EC)とジメチルカーボネート(DMC)との混合溶媒(EC:DMC=1:1(体積比))にLiPF4を1Mの濃度で溶解した電解液を用いる従来の液式電池を作製し、そのサイクル寿命を、上記と同様にして測定したところ、10回程度であった。The
 On the other hand, a positive electrode made of 70 parts by weight of LiCoPO4 , 25 parts by weight of acetylene black, and 5 parts by weight of polytetrafluoroethylene, a negative electrode made of metallic lithium, ethylene carbonate (EC) and dimethyl carbonate (DMC) A conventional liquid battery using an electrolytic solution in which LiPF4 was dissolved at a concentration of 1 M in a mixed solvent (EC: DMC = 1: 1 (volume ratio)) was prepared, and its cycle life was measured in the same manner as described above. However, it was about 10 times.
このように、本発明の電池のサイクル寿命と、従来の液式電池のサイクル寿命を比較した場合、本発明の電池のサイクル寿命が、大幅に改良されていることが明らかとなった。 Thus, when the cycle life of the battery of the present invention was compared with the cycle life of the conventional liquid battery, it was revealed that the cycle life of the battery of the present invention was greatly improved.
《実施例1−3》
  次に、積層体の充填率について検討を行った。<< Example 1-3 >>
 Next, the filling rate of the laminate was examined.
(電池5)
  焼結を行うときに、400℃/hの昇温速度で、850℃まで昇温させたこと以外、電池1を作製するときの方法と同様にして、電池1を作製した。(Battery 5)
 A battery 1 was produced in the same manner as the battery 1 except that the temperature was raised to 850 ° C. at a rate of 400 ° C./h during sintering.
(参考電池6)
  焼結を行うときに、400℃/hの昇温速度で、800℃まで昇温させたこと以外、電池1を作製するときの方法と同様にして、参考電池6を作製した。(Reference battery 6)
 A
  これらの電池1、電池5、および参考電池6について、1kHzでのインピーダンスを測定した。  For these battery 1,
  表3に、電池1、電池5および参考電池6に用いられる積層体の充填率、ならびにこれらの電池のインピーダンスを示す。なお、充填率に関しては、上記実施例1−2と同様に、積層体の全てがLi1.3Al0.3Ti1.7(PO4)3であると仮定した場合の充填率を表3に示している。Table 3 shows the filling rate of the laminate used for the battery 1, the
  表3に示されるように、積層体の充填率が70%を下回るとインピーダンスが極端に増加した。これは、正極活物質粉体と固体電解質粉体同士の焼結が進行しないと、リチウムイオンを伝導するための経路が細くなってしまうためであると考えられる。
  また、インピーダンスの大きい電池は高率充放電性能が低下してしまうため、好ましくない。As shown in Table 3, when the filling factor of the laminate was less than 70%, the impedance was extremely increased. This is considered to be because the path for conducting lithium ions becomes thin unless the positive electrode active material powder and the solid electrolyte powder are sintered.
 In addition, a battery having a large impedance is not preferable because high-rate charge / discharge performance is degraded.
以上の結果から、積層体を構成する正極活物質層と固体電解質層、ならびに負極活物質層のそれぞれの層の充填率が70%を超えることが好ましい。 From the above results, it is preferable that the filling rate of each of the positive electrode active material layer, the solid electrolyte layer, and the negative electrode active material layer constituting the laminate exceeds 70%.
《実施例1−4》
  正極活物質層、固体電解質層および負極活物質層が一体化されている電池を作製した。
(電池7)
  まず、Li1.3Al0.3Ti1.7(PO4)3で表される固体電解質粉体と、LiCoPO4で表される正極活物質粉体と、Li3Fe2(PO4)3で表される負極活物質粉体を用意した。
  固体電解質粉体にバインダーであるポリビニルブチラール樹脂、溶剤である酢酸n−ブチル、および可塑剤であるフタル酸ジブチルを加え、ジルコニアボールと共にボールミルで24時間混合して、固体電解質層形成用スラリーを調製した。
  正極活物質層形成用スラリーおよび負極活物質層形成用スラリーについても、固体電解質層形成用スラリーを調製したときと同様にして、調製した。<< Example 1-4 >>
 A battery in which the positive electrode active material layer, the solid electrolyte layer, and the negative electrode active material layer were integrated was produced.
 (Battery 7)
 First, a solid electrolyte powder represented by Li1.3 Al0.3 Ti1.7 (PO4 )3 , a positive electrode active material powder represented by LiCoPO4 , and a negative electrode represented by Li3 Fe2 (PO4 )3 An active material powder was prepared.
 A solid electrolyte layer slurry is prepared by adding polyvinyl butyral resin as a binder, n-butyl acetate as a solvent, and dibutyl phthalate as a plasticizer, and mixing with a zirconia ball in a ball mill for 24 hours. did.
 The positive electrode active material layer forming slurry and the negative electrode active material layer forming slurry were also prepared in the same manner as when the solid electrolyte layer forming slurry was prepared.
  次に、ポリエステル樹脂を主成分とするキャリアフィルム30上に、固体電解質層形成用スラリーを、ドクターブレードを用いて塗布した。その後、塗布したスラリーを乾燥して、図29に示すように、固体電解質グリーンシート31(厚さ:25μm)を得た。なお、キャリアフィルム30の表面には、Siを主成分とする離型剤層が形成されている。  Next, the slurry for solid electrolyte layer formation was apply | coated using the doctor blade on the
  固体電解質グリーンシートを作製するのと同様の方法で、図30に示すように、別のキャリアフィルム30の上に、正極活物質グリーンシート32(厚さ:4μm)を作製した。また、上記と同様にして、図31に示すように、別のキャリアフィルム30上に、負極活物質グリーンシート33(厚さ:7μm)を作製した。  As shown in FIG. 30, a positive electrode active material green sheet 32 (thickness: 4 μm) was produced on another
  次に、支持台34の上に、その両面に接着剤のついたポリエステルフィルム35を貼り付けた。次に、図32に示すように、ポリエステルフィルム35の上に、負極活物質グリーンシート33のキャリアフィルム30と接していない側の面を載せた。  Next, a
  次いで、キャリアフィルム30の上から80kg/cm2の圧力を加えながら70℃の温度をかけ、図33に示すように、負極活物質グリーンシート33からキャリアフィルム30を剥離した。Next, a temperature of 70 ° C. was applied from above the
  次に、負極活物質グリーンシート33の上に、固体電解質グリーンシート31のキャリアフィルムと接していない方の面を載せ、上記と同様の圧力および温度の条件で、固体電解質グリーンシートを負極活物質グリーンシートに接合させつつ、固体電解質グリーンシートからキャリアフィルムを剥離させた。  Next, the surface of the solid electrolyte
  次に、この固体電解質グリーンシート31の上に、上記のようにして作製した、別のキャリアフィルム30’上に形成された固体電解質グリーンシート31’を載せた。次いで、キャリアフィルム30’上から圧力、温度を加えることで、グリーンシート31と31’を接合させつつ、キャリアフィルム30’をグリーンシート31’から剥離させた。
  この操作を20回繰り返し、固体電解質グリーンシート群36(厚さ:約500μm)を作製した。Next, on this solid electrolyte
 This operation was repeated 20 times to produce a solid electrolyte green sheet group 36 (thickness: about 500 μm).
  次に、作製した固体電解質グリーンシート群36上に、上記のように作製したキャリアフィルム30上に形成された正極活物質グリーンシート32を載せた。次いで、キャリアフィルム30上から、80kg/cm2の圧力を加えながら70℃の温度をかけ、正極活物質グリーンシート32からキャリアフィルム30を剥離した。このようにして、図34に示すように、負極活物質グリーンシート33と固体電解質グリーンシート群36と正極活物質グリーンシート32からなる積層物(厚さ:約500μm)を作製した。この積層物を、ポリエステルフィルム35から剥離し、7mm(幅)×7mm(長さ)×約500μm(厚さ)のサイズに切断し、グリーンチップ(第1グリーンシート群)37を得た。Next, the positive electrode active material
  次に、図35に示すように、得られたグリーンチップ37を2つ1組にした。このとき、グリーンチップ37の負極活物質グリーンシート33がある側の面同士を重ね合わせ、正極活物質グリーンシート32がある側の面を外側にくるようにした。  Next, as shown in FIG. 35, the obtained
  次に、予めLi雰囲気中で焼成することでLiを充分に吸収させた、2枚のアルミナ製のセラミックス板38を用い、各セラミックス板が、それぞれ正極活物質グリーンシート32に接するようにして、1組のグリーンチップを挟み込んだ。  Next, using two
次いで、これらを、空気中において、400℃/hの昇温速度で400℃まで昇温させ、400℃に5時間保持して、バインダーや可塑剤の有機物を充分に熱分解させた。この後、400℃/hの昇温速度で、900℃まで昇温させ、次いで、400℃/hの冷却速度で、速やかに室温まで冷却した。このようにして、グリーンチップの焼結を行った。 Next, these were heated to 400 ° C. at a temperature rising rate of 400 ° C./h in the air and held at 400 ° C. for 5 hours to sufficiently thermally decompose organic substances such as binder and plasticizer. Then, it heated up to 900 degreeC with the temperature increase rate of 400 degreeC / h, and then cooled to room temperature rapidly with the cooling rate of 400 degreeC / h. In this way, the green chip was sintered.
ここで、焼結後のグリーンチップの充填率を、上記実施例1−2と同様にして、求めた。その結果、焼結後のグリーンチップの充填率は83%程度であった。 Here, the filling rate of the green chip after sintering was determined in the same manner as in Example 1-2. As a result, the green chip filling rate after sintering was about 83%.
また、正極活物質層および負極活物質層に関し、焼結後のグリーンチップの研磨断面をSEM観察したところ、正極活物質層はその厚さが約1μmであること、負極活物質層はその厚さが約2μmであること、そしてその正極活物質層および負極活物質層はほとんど空孔が見られず緻密に焼結していることが確認された。 Further, regarding the positive electrode active material layer and the negative electrode active material layer, when the polished cross section of the green chip after sintering was observed by SEM, the thickness of the positive electrode active material layer was about 1 μm, and the thickness of the negative electrode active material layer was The positive electrode active material layer and the negative electrode active material layer were confirmed to have almost no voids and were sintered densely.
なお、グリーンチップを2つ1組にして、焼結を行っているが、この2つのグリーンチップは、焼結によって接合しない。 Although two green chips are paired and sintered, the two green chips are not joined by sintering.
  次に、1組のグリーンチップを2つに分け、図36に示すように、正極活物質層39aと固体電解質層39bと負極活物質層39cからなる組が1つ含む第2積層体39を得た。第2積層体の正極活物質層39aの表面に金をスパッタリングし、正極集電体となる金薄膜40(厚さ:数nm〜数十nm)を形成した。また、積層体39の負極活物質層39cの表面にも、上記と同様にして、負極集電体となる金薄膜41(厚さ:数nm〜数十nm)を形成した。この後、角柱状の積層体39の各側面42に付着した金を紙ヤスリを用いて研磨して、除去して、全固体リチウム二次電池を作製した。この得られた電池を電池7とした。  Next, one set of green chips is divided into two, and as shown in FIG. 36, a
(電池8)
  LiCoPO4の代わりにLiMnPO4を正極活物質として用いたこと以外は、電池7の作製方法と同様にして、電池8を作製した。焼結後のグリーンチップの充填率は、グリーンチップが全てLi1.3Al0.3Ti1.7(PO4)3であると仮定した場合、80%であった。(Battery 8)
 A
(電池9)
  Li3Fe2(PO4)3の代わりにFePO4を負極活物質として用いたこと以外は、電池7の作製方法と同様にして、電池9を作製した。焼結後のグリーンチップの充填率は、グリーンチップが全てLi1.3Al0.3Ti1.7(PO4)3であると仮定した場合、85%であった。(Battery 9)
 A
(電池10)
  Li3Fe2(PO4)3の代わりにLiFeP2O7を負極活物質として用いたこと以外は、電池7の作製方法と同様にして、電池10を作製した。焼結後のグリーンチップの充填率は、グリーンチップが全てLi1.3Al0.3Ti1.7(PO4)3であると仮定した場合、75%であった。(Battery 10)
 A
(比較電池5)
  LiCoPO4の代わりにLiCoO2を正極活物質として用い、Li3Fe2(PO4)3の代わりにLi4Ti5O12を用いたこと以外は、電池7の作製方法と同様にして、比較電池5を作製した。焼結後のグリーンチップの充填率は、グリーンチップが全てLi1.3Al0.3Ti1.7(PO4)3であると仮定した場合、71%であった。(Comparison battery 5)
 A comparison was made in the same manner as the
(電池11)
  スパッタ法を用いて、図37に示されるような全固体リチウム二次電池を、以下のようにして作製した。
  表面を窒化ケイ素からなる層43で被覆した、30mm×30mmの単結晶ケイ素基板44上に、RFマグネトロンスパッタ法にて、厚さ0.05μmのチタン薄膜45を形成し、さらに、チタン薄膜45上に、正極集電体である厚さ0.5μmの金薄膜46を形成した。このとき、20mm×12mmの開口部を有するメタルマスクを用いた。なお、上記チタン薄膜45は、窒化ケイ素からなる層43と金薄膜46とを接合する機能を有する。(Battery 11)
 Using the sputtering method, an all solid lithium secondary battery as shown in FIG. 37 was produced as follows.
 A titanium
  次に、金薄膜46上に、LiCoPO4ターゲットを用いるRFマグネトロンスパッタ法により、厚さ0.5μmのLiCoPO4薄膜47を形成した。このとき、10mm×10mmの開口部を有するメタルマスクを用い、25%の酸素および75%のアルゴンからなるスパッタガスを用いた。Next, a LiCoPO4
  次いで、LiCoPO4薄膜47が、開口部の中央に位置するように、15mm×15mmの開口部を有するメタルマスクを配置した。LiTi2(PO4)3ターゲットを用いるRFマグネトロンスパッタ法により、LiCoPO4薄膜47を覆うように、厚さ2μmのLiTi2(PO4)3薄膜48を形成した。なお、上記スパッタリングにおいて、25%の酸素および75%のアルゴンからなるスパッタガスを用いた。Next, a metal mask having an opening of 15 mm × 15 mm was arranged so that the LiCoPO4
  次に、LiTi2(PO4)3薄膜48の上に、Li3Fe2(PO4)3ターゲットを用いるRFマグネトロンスパッタ法により、厚さ1μmのLi3Fe2(PO4)3薄膜49を形成した。このとき、10mm×10mmの開口部を有するメタルマスクを用い、25%の酸素および75%のアルゴンからなるスパッタガスを用いた。Next, a Li3 Fe2 (PO4 )3
得られた積層体(第1群)を、600℃にて2時間アニールすることにより、LiCoPO4からなる正極活物質層、LiTi2(PO4)3からなる固体電解質層、およびLi3Fe2(PO4)3からなる負極活物質層を一体化するとともに、結晶化させた。The obtained laminated body (first group) was annealed at 600 ° C. for 2 hours, whereby a positive electrode active material layer made of LiCoPO4 , a solid electrolyte layer made of LiTi2 (PO4 )3 , and Li3 Fe2. A negative electrode active material layer made of (PO4 )3 was integrated and crystallized.
  この後、正極集電体である金薄膜46と接触せず、かつLi3Fe2(PO4)3薄膜49を完全に覆うように、RFマグネトロンスパッタ法により、負極集電体である、厚さ0.5μmの銅薄膜50を形成し、図37に示されるような全固体リチウム二次電池を得た。このとき、20mm×12mmの開口部を有するメタルマスクを用いた。
  このようにして得られた全固体リチウム二次電池を、電池11とした。なお、正極活物質層、固体電解質層、および負極活物質層の各層の充填率は、ほぼ100%である。Thereafter, the thickness of the negative electrode current collector is determined by RF magnetron sputtering so as not to contact the gold
 The all solid lithium secondary battery thus obtained was designated as
(電池12)
  LiCoPO4の代わりに、LiMnPO4を正極活物質として用いたこと以外は、電池11の作製方法と同様にして、電池12を作製した。(Battery 12)
 A
(電池13)
  Li3Fe2(PO4)3の代わりにFePO4を負極活物質として用いたこと以外は、電池11の作製方法と同様にして、電池13を作製した。(Battery 13)
 A
(電池14)
  Li3Fe2(PO4)3の代わりにLiFeP2O7を負極活物質として用いたこと以外は、電池11の作製方法と同様にして、電池14を作製した。(Battery 14)
 A battery 14 was produced in the same manner as the
(比較電池6)
  LiCoPO4の代わりにLiCoO2を正極活物質として用い、Li3Fe2(PO4)3の代わりにLi4Ti5O12を負極活物質として用いたこと以外は、電池11の作製方法と同様にして、比較電池6を作製した。(Comparison battery 6)
 Similar to the production method of the
(比較電池7)
  全固体リチウム二次電池を作製するときに、スパッタ法により作製した積層体に含まれる正極活物質層、固体電解質層および負極活物質層を、アニールして結晶化させなかった。これ以外、電池11の作製方法と同様にして、比較電池7を作製した。(Comparative battery 7)
 When producing an all-solid lithium secondary battery, the positive electrode active material layer, the solid electrolyte layer, and the negative electrode active material layer contained in the laminate produced by the sputtering method were not annealed and crystallized. Except for this, the
  上記のようにして作製した電池7〜14および比較電池5〜7を用いて、露点−50℃、環境温度25℃の雰囲気中で、10μAの電流値にて充放電を1回行った。そのときの放電容量を初期放電容量として示す。また、上限カット電圧および下限カット電圧についても、表4に示す。  Using the
  表4に示されるように、比較電池5〜7は、放電することができなかった。一方、電池7〜14は、充放電することが可能であった。
  比較電池5〜6においては、熱処理により、正極活物質と固体電解質との界面および/または負極活物質と固体電解質との界面に、活物質でも固体電解質でもない不純物相が形成されたために、それらの界面が電気化学的に不活性になったと考えられる。比較電池7においては、正極活物質、負極活物質および固体電解質を結晶化するためのアニール処理をしなかった。このため、固体電解質において、リチウムイオン伝導性が発現せず、また、正極活物質および負極活物質において、リチウムイオンを充放電するサイトが形成されず、充放電が不可能であったと考えられる。As shown in Table 4, the
 In
以上のように、本発明によれば、正極活物質と固体電解質、負極活物質と固体電解質とが、その界面に不純物相が形成されることなく接合され、その界面が電気化学的に活性であること、また、上記積層体を含む電池が、充放電可能であることが示された。 As described above, according to the present invention, the positive electrode active material and the solid electrolyte, the negative electrode active material and the solid electrolyte are joined to each other without forming an impurity phase, and the interface is electrochemically active. It was shown that the battery including the laminate was chargeable / dischargeable.
  次に、電池7〜14について、露点−50℃、環境温度25℃の雰囲気中で、10μAの電流値にて、上記表4に示されるカット電圧で、充放電サイクルを繰り返し、放電容量が初期放電容量の60%となるときの充放電サイクルの回数を調べた。得られた結果を表5に示す。  Next, with respect to the
  電池7〜10は300回程度、電池11〜14は500回程度の充放電が可能であった。
  以上により、本発明により、サイクル寿命特性に優れる全固体リチウム二次電池を作製できることが明らかとなった。The
 From the above, it has been clarified that the present invention can produce an all-solid lithium secondary battery having excellent cycle life characteristics.
《実施例1−5》
  次に、第2積層体の焼結密度について検討を行った。
(電池15)
  焼結を行うときに、400℃/hの昇温速度で、850℃まで昇温させたこと以外、電池7の作製方法と同様にして、電池15を作製した。<< Example 1-5 >>
 Next, the sintered density of the second laminate was examined.
 (Battery 15)
 A
(参考電池16)
  焼結を行うとき、400℃/hの昇温温度で、800℃まで昇温させたこと以外、電池7の作製方法と同様にして、参考電池16を作製した。(Reference battery 16)
 A
  電池15および参考電池16、ならびに上記電池7を用いて、1kHzでのインピーダンスを測定した。  Using the
  表6に、電池7、電池15および参考電池16に用いられる第2積層体の充填率、ならびにこれらの電池のインピーダンスを示す。なお、充填率に関しては、第2積層体の全てがLi1.3Al0.3Ti1.7(PO4)3であると仮定した場合の充填率を表6に示している。Table 6 shows the filling rate of the second laminate used for the
  表6に示されるように、第2積層体の充填率が70%を下回るとインピーダンスが極端に増加した。これは、正極活物粉末と固体電解質粉末、および/または負極活物質粉末と固体電解質粉末の焼結が進行しないと、リチウムイオンを伝導するための経路が細くなってしまうためであると考えられる。
  また、インピーダンスの大きい電池は、高率充放電性能が低下してしまうため、好ましくない。As shown in Table 6, when the filling rate of the second laminate was less than 70%, the impedance was extremely increased. This is considered to be because the path for conducting lithium ions becomes thin unless the positive electrode active material powder and the solid electrolyte powder and / or the negative electrode active material powder and the solid electrolyte powder are sintered. .
 In addition, a battery having a large impedance is not preferable because high-rate charge / discharge performance is deteriorated.
よって、正極活物質層と固体電解質層と負極活物質層とが一体化された第2積層体の各層において、その充填率は70%を超えることが好ましい。 Therefore, in each layer of the second laminate in which the positive electrode active material layer, the solid electrolyte layer, and the negative electrode active material layer are integrated, it is preferable that the filling rate exceeds 70%.
《実施例1−6》
  次に、湿気が電池に及ぼす影響について検討した。
(電池17)
  積層体の正極活物質層の表面および負極活物質層の表面のそれぞれに、スパッタ法により、銀薄膜からなる集電体を形成したこと以外、電池7の作製方法と同様にして、電池17を作製した。<< Example 1-6 >>
 Next, the effect of moisture on the battery was examined.
 (Battery 17)
 The
(電池18)
  上記電池17を、図38に示すように、ナイロン製ガスケット53が配置された金属ケース51に収納し、金属ケース51の開口部を、ガスケット53を介して金属製封口板52にかしめつけることにより、直径9mm、高さ2.1mmのボタン型の密閉電池を作製した。このようにして得られた電池を、電池18とした。このとき、金属ケース51が正極端子となり、金属製封口板52が負極端子となるように、上記電池17を金属ケース内に収容した。また、金属ケース51と電池17との間には、ニッケル製のスポンジメタル片54を入れて、電池17と、金属ケースおよび金属製封口板とが、密接するようにした。
  なお、図38において、電池17は、銀薄膜55、正極活物質層39a、固体電解質層39b、負極活物質層39c、および銀薄膜56を含む。(Battery 18)
 As shown in FIG. 38, the
 38, the
(電池19)
  上記電池17の正極活物質層側の銀薄膜と負極活物質側の銀薄膜の各々に、直径0.5mmの銅製のリード57をハンダ58により接続し、それぞれ、正極端子および負極端子とした。図39に示すように、銀薄膜、正極活物質層、固体電解質層、負極活物質層、および銀薄膜を含む電池17が封入されるように、エポキシ樹脂59にて樹脂モールドを施した。こうして得られた電池を電池19とした。(Battery 19)
 A lead 57 made of copper having a diameter of 0.5 mm was connected to each of the silver thin film on the positive electrode active material layer side and the silver thin film on the negative electrode active material side of the
(電池20)
  銅製のリードを正極端子および負極端子として備える電池17を、フッ素樹脂からなる撥水剤をn−ヘプタンに分散させた分散液中に浸漬し、電池17の表面に撥水処理を施したこと以外、上記電池19の作製方法と同様にして、電池20を作製した。(Battery 20)
 A
  上記のようにして得られた電池17〜20について、以下のようにして、保存前と保存後の放電容量を測定した。
  電池17〜20を用い、露点−50℃、環境温度25℃の雰囲気中で、10μAの電流値にて、1.0〜2.6Vの範囲で充放電を行い、初期放電容量を求めた。こののち、これらの電池を2.6Vまで充電した後、温度が60℃であり、相対湿度が90%の雰囲気中で、30日間保存した。次いで、これらの電池を、露点−50℃、環境温度25℃の雰囲気中で、10μAの電流値にて放電させた。これらの電池の初期放電容量と30日保存したのちの放電容量を表7に示す。With respect to the
 Using
  電池17〜20の初期放電容量は、いずれの電池においても20μAh程度でほぼ同等であった。高湿度状態で30日保存した後は、電池17は放電が不可能であり、電池19は容量低下が見られた。電池18および電池20では、保存後の放電容量は、初期放電容量と同程度であった。  The initial discharge capacities of the
  電池17においては、保存中に多湿雰囲気に曝されると、電池表面(つまり積層体表面)に、水の液膜が生成する。この水の液膜の生成により、集電体であるAgのイオン化及びAgイオンのマイグレーションが生じて短絡が起こり、30日の保存後には放電不可能であったと考えられる。
  電池19においては、上記のように、電池17ほどではないが、容量低下が見られた。樹脂モールド単独では密閉性が悪いため、湿った空気が樹脂内に入り込む。これにより、集電体であるAgのイオン化及びAgイオンのマイグレーションが生じて微小短絡が起こり、容量低下したものと考えられる。When the
 In the battery 19, as described above, although not as much as the
  一方で、電池18および電池20では、多湿状態で30日間保存したあとでも、放電容量が保持されていた。このことから、電池18では、密閉性が良好な収容容器を用いることにより、湿潤空気を遮断できること、また電池20では、電池(積層体)の表面に撥水剤を付与することにより、電池表面での液膜生成が抑制されることが確認された。  On the other hand, in the battery 18 and the
以上のように、密閉性の高い収容容器に電池(積層体)を収容したり、電池(積層体)の表面を撥水処理したりすることにより、電池の取り扱いが向上し、外気の湿度の影響を低減することができる。 As described above, by storing the battery (laminate) in a highly sealed container or by performing water-repellent treatment on the surface of the battery (laminate), the handling of the battery is improved and the humidity of the outside air is reduced. The influence can be reduced.
《実施例1−7》
  本実施例では、正極活物質層、固体電解質層および負極活物質層を含む組を2つ以上含む第2積層体を備える全固体リチウム二次電池を作製した。
(電池21)
  まず、Li1.3Al0.3Ti1.7(PO4)3で表される固体電解質粉体と、LiCo0.5Ni0.5PO4で表される正極活物質粉体と、Li3Fe2(PO4)3で表される負極活物質粉体を用意した。
  固体電解質粉体にバインダーであるポリビニルブチラール樹脂、溶剤である酢酸n−ブチル、および可塑剤であるフタル酸ジブチルを加え、ジルコニアボールと共にボールミルで24時間混合して、固体電解質層形成用スラリーを調製した。
  正極活物質層形成用スラリーおよび負極活物質層形成用スラリーについても、固体電解質層形成用スラリーを調製したときと同様にして、調製した。<< Example 1-7 >>
 In this example, an all-solid lithium secondary battery including a second laminate including two or more pairs including a positive electrode active material layer, a solid electrolyte layer, and a negative electrode active material layer was produced.
 (Battery 21)
 First, a solid electrolyte powder represented by Li1.3 Al0.3 Ti1.7 (PO4 )3 , a positive electrode active material powder represented by LiCo0.5 Ni0.5 PO4 , and Li3 Fe2 (PO4 )3 The negative electrode active material powder represented was prepared.
 A solid electrolyte layer slurry is prepared by adding polyvinyl butyral resin as a binder, n-butyl acetate as a solvent, and dibutyl phthalate as a plasticizer, and mixing with a zirconia ball in a ball mill for 24 hours. did.
 The positive electrode active material layer forming slurry and the negative electrode active material layer forming slurry were also prepared in the same manner as when the solid electrolyte layer forming slurry was prepared.
  次に、ポリエステル樹脂を主成分とするキャリアフィルム60上に、固体電解質層形成用スラリーを、ドクターブレードを用いて塗布した。その後、塗布したスラリーを乾燥して、図40に示すように、固体電解質グリーンシート61(厚さ:10μm)を得た。なお、キャリアフィルム60の表面には、Siを主成分とする離型剤層が形成されている。  Next, the slurry for solid electrolyte layer formation was apply | coated using the doctor blade on the
  別のキャリアフィルム60の上に、正極活物質層形成用スラリーを、スクリーン印刷により、図41に示すような、5つの正極活物質グリーンシート62が直線状に並んだ列63が、ジグザグに配置されたパターンで、塗布し、乾燥して、所定のパターンで配置された複数の正極グリーンシートを得た。ここで、正極活物質グリーンシートの厚さは3μmとした。正極活物質グリーンシートの幅X1は1.5mmとし、正極活物質グリーンシートの長さX2は6.8mmとした。各列における正極活物質グリーンシートの間隔Y1は0.4mmとし、各列同士の間隔Y2は0.3mmとした。On another
  次に、市販のポリビニルブチラール樹脂をバインダーとする金ペーストを作製し、この金ペーストを、キャリアフィルム60上に、スクリーン印刷で、図42に示されるように、正極活物質グリーンシートを作製したときと同様のパターンで、塗布し、乾燥して、正極集電体グリーンシート64(厚さ:1μm)を作製した。  Next, when a gold paste using a commercially available polyvinyl butyral resin as a binder is produced, and this gold paste is screen-printed on the
  キャリアフィルム60上に、負極活物質層形成用スラリーを、スクリーン印刷により、図43に示されるような、5つの負極活物質グリーンシート65が直線状に並んだ列が、正極活物質グリーンシートの場合とは、ジグザグの出っ張りの方向が逆になっているパターンで、塗布した。ここで、負極活物質グリーンシートの厚さは5μmとした。また、負極活物質グリーンシートの幅X1、負極活物質グリーンシートの長さX2、各列おける負極活物質グリーンシートの間隔Y1、および各列同士の間隔Y2は、正極活物質グリーンシートの場合と同じにした。A negative electrode active material layer forming slurry is formed on the
  次に、上記金ペーストを、キャリアフィルム60上に、スクリーン印刷で、図44に示されるように、負極活物質グリーンシートを作製したときと同様のパターンで塗布し、乾燥して、負極集電体グリーンシート66(厚さ:1μm)を作製した。  Next, the gold paste is applied onto the
  次に、支持台67の上に、その両面に接着剤のついたポリエステルフィルム68を貼り付けた。次に、図45に示すように、ポリエステルフィルム68の上に、固体電解質グリーンシート61のキャリアフィルム60と接していない側の面を載せた。  Next, a
  次いで、キャリアフィルム60の上から80kg/cm2の圧力を加えながら70℃の温度をかけ、図46に示すように、固体電解質グリーンシート61からキャリアフィルム60を剥離した。Next, a temperature of 70 ° C. was applied from above the
  次に、固体電解質グリーンシート61の上に、上記のようにして作製した、別のキャリアフィルム60’上に形成された固体電解質グリーンシート61’を載せた。次いで、キャリアフィルム60’上から圧力、温度を加えることで、グリーンシート61と61’を接合させつつ、キャリアフィルム60’をグリーンシート61’から剥離させた。
  この操作を20回繰り返し、図47に示されるような、固体電解質グリーンシート群69(厚さ:約200μm)を作製した。Next, on the solid electrolyte
 This operation was repeated 20 times to produce a solid electrolyte green sheet group 69 (thickness: about 200 μm) as shown in FIG.
  次に、図48に示されるように、キャリアシート60上に形成された固体電解質グリーンシート61上に、上記のように作製したキャリアフィルム60上に形成された複数の負極活物質グリーンシート65を、それらの負極活物質グリーンシート65が固体電解質グリーンシート61に接するように載せた。次いで、複数の負極活物質グリーンシートを担持したキャリアフィルム60上から、80kg/cm2の圧力を加えながら70℃の温度をかけ、負極活物質グリーンシート65からキャリアフィルム60を剥離した。Next, as shown in FIG. 48, on the solid electrolyte
  次に、それらの負極活物質グリーンシートの上に、キャリアシート60上に担持された複数の負極集電体グリーンシート66を、負極活物質グリーンシート65と重なるように積層した。複数の負極集電体グリーンシート66を担持したキャリアフィルム60上から、80kg/cm2の圧力を加えながら70℃の温度をかけ、負極集電体グリーンシート66からキャリアフィルム60を剥離した。さらに、負極集電体グリーンシート66上に、負極活物質グリーンシート65を、上記と同様にして積層して、図49に示されるような積層物を得た。ここで、固体電解質グリーンシート61と、その上に担持された複数の、2つの負極活物質グリーンシートおよびその2つのグリーンシートに挟まれた負極集電体グリーンシートからなるものとを含む積層物を、負極積層物70とした。Next, a plurality of negative electrode current collector
  次に、図50に示されるように、キャリアシート60上に形成された固体電解質グリーンシート61上に、上記のように作製したキャリアフィルム60上に形成された複数の正極活物質グリーンシート62を、それらの正極活物質グリーンシート62が固体電解質グリーンシート61に接するように載せた。次いで、複数の正極活物質グリーンシートを担持したキャリアフィルム60上から、80kg/cm2の圧力を加えながら70℃の温度をかけ、正極活物質グリーンシート62からキャリアフィルム60を剥離した。Next, as shown in FIG. 50, on the solid electrolyte
  次に、正極活物質グリーンシート62の上に、キャリアシート60上に担持された複数の正極集電体グリーンシート64を、正極活物質グリーンシートと重なるように積層した。正極集電体グリーンシート64群を担持したキャリアフィルム60上から、80kg/cm2の圧力を加えながら70℃の温度をかけ、正極集電体グリーンシート64からキャリアフィルム60を剥離した。さらに、正極集電体グリーンシート64上に、正極活物質グリーンシート62を、上記と同様にして積層して、図51に示されるような積層物を得た。ここで、固体電解質グリーンシート61と、その上に担持された複数の、2つの正極活物質グリーンシートおよびその2つのグリーンシートに挟まれた正極集電体グリーンシートからなるものとを含む積層物を、正極積層物71とした。Next, a plurality of positive electrode current collector
  次に、図52に示すように、支持台67上に設置されている固体電解質グリーンシート群69上に、負極積層物70を載せた。キャリアフィルム60上から、80kg/cm2の圧力を加えながら70℃の温度をかけ、負極積層物70からキャリアフィルム60を剥離した。このようにして、固体電解質グリーンシート群69の上に、負極活物質グリーンシートが接するように、負極積層物70を積層した。Next, as shown in FIG. 52, the
  同様にして、負極積層物70の固体電解質グリーンシートに正極積層物71の正極活物質グリーンシートが接するように、負極積層物70上に正極積層物71を載せた。キャリアフィルム60上から、80kg/cm2の圧力を加えながら70℃の温度をかけ、正極積層物71からからキャリアフィルム60を剥離した。このようにして、負極積層物70上に正極積層物71を積層した。負極積層物と正極積層物が積層されたとき、負極活物質グリーンシートが直線状に並んだ列と正極活物質グリーンシートが直線状に並んだ列とは、そのジグザグのパターンが反対になるようにした。Similarly, the
  上記のような操作を繰り返して、図53に示されるような、固体電解質グリーンシート群、5層の負極積層物、4層の正極積層物からなる積層物72を得た。なお、積層物72の積層方向において、固体電解質グリーンシート群側と反対側の端部には、負極積層物が配置されている。  The above operation was repeated to obtain a laminate 72 composed of a solid electrolyte green sheet group, a five-layer negative electrode laminate, and a four-layer positive electrode laminate as shown in FIG. In the stacking direction of the
  最後に、積層物72の固体電解質グリーンシート群側と反対側の負極積層物の上に、固体電解質グリーンシートを20層積層して、積層シートを得た。この後、この積層シートを、ポリエステルフィルム68を備える支持台67から剥離した。  Finally, 20 layers of the solid electrolyte green sheets were laminated on the negative electrode laminate on the opposite side of the solid electrolyte green sheet group side of the laminate 72 to obtain a laminate sheet. Thereafter, the laminated sheet was peeled from the
  得られた積層シートを、切断し、グリーンチップ73を得た。得られたグリーンチップを、図54〜56で示す。ここで、図54は、グリーンチップ73の上面図である。図55は、線X−Xで切り取ったときの縦断面図である。図56は、線Y−Yで切り取ったときの縦断面図である。
  図56に示されるように、得られたグリーンチップ73においては、正極活物質グリーンシート74、固体電解質グリーンシート75および負極活物質グリーンシート76を含む組が、複数積層されている。このようなグリーンチップを焼結することにより、正極活物質層、固体電解質層および負極活物質層が一体化された組を少なくとも1つ含む積層体を得ることができる。なお、一体化された組の数は、正極積層物、固体電解質グリーンシート、および負極積層物の積層数を変化させることにより、調節することができる。The obtained laminated sheet was cut to obtain a
 As shown in FIG. 56, in the obtained
  また、本実施例で得られたグリーンチップは、六面体の形状をしており、図55に示されるように、その六面体の1つの面に、負極活物質グリーンシート76および負極集電体グリーンシート78の一方の端部が露出している。この面の反対側の面には、正極活物質グリーンシート74および正極集電体グリーンシート77の一方の面が露出している。つまり、上記で説明したような作製方法を用いることにより、正極集電体と負極集電体とが、積層体の表面の異なる領域に露出させることができる。また、上記以外の方法を用いて、正極集電体と負極集電体とを、積層体の表面の異なる領域に露出させてもよい。
  なお、本実施例においては、これら2つ以外の面は、固体電解質層で覆われている。Further, the green chip obtained in this example has a hexahedron shape, and as shown in FIG. 55, a negative electrode active material
 In the present embodiment, the surfaces other than these two are covered with a solid electrolyte layer.
次に、得られたグリーンチップを、空気中において、400℃/hの昇温速度で400℃まで昇温させ、400℃に5時間保持して、バインダーや可塑剤の有機物を充分に熱分解させた。この後、400℃/hの昇温速度で、900℃まで昇温させ、次いで、400℃/hの冷却速度で、速やかに室温まで冷却した。このようにして、グリーンチップの焼結を行い、焼結体(第2積層体)を得た。得られた焼結体の寸法は、幅約3.2mm、奥行き約1.6mm、高さ約0.45mmであった。 Next, the obtained green chip is heated to 400 ° C. at a temperature increase rate of 400 ° C./h in the air and held at 400 ° C. for 5 hours to sufficiently thermally decompose the organic substances such as the binder and the plasticizer. I let you. Then, it heated up to 900 degreeC with the temperature increase rate of 400 degreeC / h, and then cooled to room temperature rapidly with the cooling rate of 400 degreeC / h. In this way, the green chip was sintered to obtain a sintered body (second laminate). The dimensions of the obtained sintered body were about 3.2 mm in width, about 1.6 mm in depth, and about 0.45 mm in height.
ここで、焼結体の充填率を、焼結体の全てが、Li1.3Al0.3Ti1.7(PO4)3であると仮定し、上記実施例1−2と同様にして求めた。その結果、焼結体の充填率は83%程度であった。Here, the filling rate of the sintered body was determined in the same manner as in Example 1-2, assuming that all of the sintered body was Li1.3 Al0.3 Ti1.7 (PO4 )3 . As a result, the filling factor of the sintered body was about 83%.
また、焼結体の研磨断面をSEM観察したところ、正極集電体および負極集電体の厚さは、それぞれ、0.3μm程度であった。また、正極集電体の片面に担持されている正極活物質層の厚さは約1μmであり、負極集電体の片面に担持されている負極活物質層の厚さは約2μmであった。また、その焼結体には、ほとんど空孔が見られず緻密に焼結していることが確認された。 Further, when the polished cross section of the sintered body was observed by SEM, the thicknesses of the positive electrode current collector and the negative electrode current collector were each about 0.3 μm. The thickness of the positive electrode active material layer supported on one side of the positive electrode current collector was about 1 μm, and the thickness of the negative electrode active material layer supported on one side of the negative electrode current collector was about 2 μm. . Further, it was confirmed that the sintered body was densely sintered with almost no pores.
  得られた焼結体79の正極集電体露出面80および負極集電体露出面81の各々に、銅およびガラスフリットを含む外部集電体ペーストを塗布した。この後、外部集電体ペーストを塗布された焼結体を、窒素雰囲気下、600℃で1時間、熱処理して、図57に示されるような、正極外部集電体82および負極外部集電体83を形成した。このようにして、全固体リチウム二次電池を作製した。得られた電池を、電池21とした。  An external current collector paste containing copper and glass frit was applied to each of the positive electrode current collector exposed
(電池22)
  LiCo0.5Ni0.5PO4の代わりに、LiMnPO4を用いたこと以外、電池21を作製するときの方法と同様にして、電池22を作製した。(Battery 22)
 A
(電池23)
  Li3Fe2(PO4)3の代わりに、FePO4を用いたこと以外、電池21を作製するときの方法と同様にして、電池23を作製した。(Battery 23)
 A
(電池24)
  Li3Fe2(PO4)3の代わりに、LiFeP2O7を用いたこと以外、電池21を作製するときの方法と同様にして、電池24を作製した。(Battery 24)
 A
(比較電池8)
  LiCo0.5Ni0.5PO4の代わりにLiCoO2を用い、Li3Fe2(PO4)3の代わりに、Li4Ti5O12を用いたこと以外、電池21を作製するときの方法と同様にして、比較電池8を作製した。(Comparative battery 8)
 Except that LiCoO2 was used instead of LiCo0.5 Ni0.5 PO4 and Li4 Ti5 O12 was used instead of Li3 Fe2 (PO4 )3 , the same method as that for producing the
(電池25)
  Li3Fe2(PO4)3の代わりに、Li1.3Al0.3Ti1.7(PO4)3を用いたこと以外、電池21を作製するときの方法と同様にして、電池25を作製した。(Battery 25)
 A
(電池26)
  Li1.3Al0.3Ti0.7(PO4)3で表される固体電解質粉末、LiCo0.5Ni0.5PO4で表される正極活物質粉体、Li3Fe2(PO4)3で表される負極活物質粉体を用意した。
  固体電解質粉末に、バインダーであるポリビニルブチラール樹脂、溶剤である酢酸n−ブチル、および可塑剤であるフタル酸ジブチルを添加し、ジルコニアボールと共にボールミルで24時間混合して、固体電解質層形成用スラリーを作製した。(Battery 26)
 Solid electrolyte powder represented by Li1.3 Al0.3 Ti0.7 (PO4 )3 , positive electrode active material powder represented by LiCo0.5 Ni0.5 PO4 , negative electrode active represented by Li3 Fe2 (PO4 )3 Material powder was prepared.
 To the solid electrolyte powder, a polyvinyl butyral resin as a binder, n-butyl acetate as a solvent, and dibutyl phthalate as a plasticizer are added and mixed with a zirconia ball in a ball mill for 24 hours to obtain a slurry for forming a solid electrolyte layer. Produced.
  正極活物質粉体に、ポリビニルブチラール樹脂、酢酸n−ブチル、およびフタル酸ジブチル、さらに、パラジウム粉末を添加し、ジルコニアボールと共にボールミルで24時間混合して、正極活物質層形成用スラリーを作製した。なお、パラジウム粉末は、形成された正極活物質層内において、三次元網目状の集電体として機能する。
  負極活物質層形成用スラリーは、上記負極活物質を用い、正極活物質層形成用スラリーの場合と同様にして作製した。Polyvinyl butyral resin, n-butyl acetate, dibutyl phthalate, and palladium powder were added to the positive electrode active material powder, and mixed with a zirconia ball in a ball mill for 24 hours to prepare a slurry for forming a positive electrode active material layer. . Note that the palladium powder functions as a three-dimensional network current collector in the formed positive electrode active material layer.
 The negative electrode active material layer forming slurry was prepared in the same manner as in the case of the positive electrode active material layer forming slurry using the above negative electrode active material.
  固体電解質層形成用スラリーを用い、電池21の場合と同様に、キャリアフィルム上に固体電解質グリーンシート(厚さ:10μm)を形成した。  Using the solid electrolyte layer forming slurry, a solid electrolyte green sheet (thickness: 10 μm) was formed on the carrier film in the same manner as in the case of the
  正極活物質層形成用スラリーを用いて、電池21の場合と同様に、図58に示されるようなパターンで、キャリアフィルム60上の固体電解質グリーンシート61上に、内部に集電体を含む、複数の正極活物質グリーンシート84を形成し、固体電解質グリーンシートと正極活物質グリーンシートを含む正極シート85を作製した。各正極活物質グリーンシートの厚さは4μmであった。  Using the positive electrode active material layer forming slurry, a current collector is included on the solid electrolyte
  負極活物質層形成用スラリーを用いて、電池21の場合と同様に、図59に示されるようなパターンで、キャリアフィルム60上の固体電解質グリーンシート61上に、内部に集電体を含む、複数の負極活物質グリーンシート86を形成し、固体電解質グリーンシートと負極活物質グリーンシートを含む負極シート87を作製した。各負極活物質グリーンシートの厚さは7μmであった。
  なお、正極活物質グリーンシートの幅X1、正極活物質グリーンシートの長さX2、各列における正極活物質グリーンシートの間隔Y1、および各列同士の間隔Y2は、上記電池21の場合と同様にした。このことは、負極活物質グリーンシートの場合も同様である。Using the slurry for forming the negative electrode active material layer, as in the case of the
 The width X1 of the positive electrode active material green sheet, the length X2 of the positive electrode active material green sheet, the interval Y1 between the positive electrode active material green sheets in each column, and the interval Y2 between each column are as follows. Same as the case. The same applies to the negative electrode active material green sheet.
  次に、その両面に接着剤のついたポリエステルフィルムを備える支持台の上に、電池21の場合と同様にして、固体電解質グリーンシートを20層重ねて、固体電解質グリーンシート群(厚さ:約200μm)を形成した。  Next, 20 layers of solid electrolyte green sheets are stacked on a support base including a polyester film with an adhesive on both sides in the same manner as in the case of the
  次いで、図60に示されるように、電池21の場合と同様にして、固体電解質グリーンシート群69の上に、シート87を載せた。キャリアフィルム60の上から、80kg/cm2の圧力を加えながら70℃の温度をかけ、固体電解質グリーンシート61からキャリアフィルム60を剥離した。このようにして、固体電解質グリーンシート群上に、負極シート87を積層した。同様にして、負極シート87の固体電解質グリーンシート上に、正極シート85の正極活物質グリーンシートが接するように、正極シート85を積層した。こののち、上記と同様にして、固体電解質グリーンシートから、キャリアフィルムを剥離した。Next, as shown in FIG. 60, a
  これらの操作を繰り返して、図61に示されるように、5層の負極シート87と、4層の正極シート85を含む積層物88を形成した。積層物88の固体電解質グリーンシート群とは反対側の負極シート87上に、固体電解質グリーンシートを20層積層して、積層シートを作製した。  By repeating these operations, as shown in FIG. 61, a laminate 88 including five layers of
  得られた積層シートを、切断し、グリーンチップを得た。得られたグリーンチップを、図62〜64で示す。ここで、図62は、グリーンチップ89の上面図である。図63は、図62のグリーンチップ89を線X−Xで切り取ったときの縦断面図である。図64は、図62のグリーンチップ89を線Y−Yで切り取ったときの縦断面図である。
  グリーンチップ89は、集電体が活物質グリーンシート内に三次元網目状の配置されていること以外、上記電池21で作製したグリーンチップ73(図54〜56)とほとんど同じである。つまり、グリーンチップ89においては、正極活物質グリーンシート90、固体電解質グリーンシート91および負極活物質グリーンシー92を含む組が複数積層されている。また、グリーンチップの表面の異なる領域に、それぞれ、正極活物質グリーンシートの一方の端部および負極活物質グリーンシートの一方の端部が露出している。The obtained laminated sheet was cut to obtain a green chip. The obtained green chip is shown in FIGS. Here, FIG. 62 is a top view of the
 The
次に、得られたリーンチップを、空気中において、400℃/hの昇温速度で400℃まで昇温させ、400℃に5時間保持して、バインダーや可塑剤の有機物を充分に熱分解させた。この後、400℃/hの昇温速度で、900℃まで昇温させ、次いで、400℃/hの冷却速度で、速やかに室温まで冷却した。このようにして、グリーンチップの焼結を行った。得られた焼結体の寸法は、幅約3.2mm、奥行き約1.6mm、高さ約0.45mmであった。 Next, the obtained lean chip is heated up to 400 ° C. at a temperature increase rate of 400 ° C./h in the air and kept at 400 ° C. for 5 hours to sufficiently thermally decompose the organic substances such as the binder and the plasticizer. I let you. Then, it heated up to 900 degreeC with the temperature increase rate of 400 degreeC / h, and then cooled to room temperature rapidly with the cooling rate of 400 degreeC / h. In this way, the green chip was sintered. The dimensions of the obtained sintered body were about 3.2 mm in width, about 1.6 mm in depth, and about 0.45 mm in height.
ここで、焼結体の充填率を、焼結体の全てが、Li1.3Al0.3Ti1.7(PO4)3であると仮定し、上記実施例1−2と同様にして求めた。その結果、焼結体の充填率は83%程度であった。Here, the filling rate of the sintered body was determined in the same manner as in Example 1-2, assuming that all of the sintered body was Li1.3 Al0.3 Ti1.7 (PO4 )3 . As a result, the filling factor of the sintered body was about 83%.
また、焼結体の研磨断面をSEM観察したところ、正極活物質層の厚さは約2μmであり、負極活物質層の厚さは約4μmであった。また、その焼結体には、ほとんど空孔が見られず緻密に焼結していることが確認された。 Further, when the polished cross section of the sintered body was observed by SEM, the thickness of the positive electrode active material layer was about 2 μm, and the thickness of the negative electrode active material layer was about 4 μm. Further, it was confirmed that the sintered body was densely sintered with almost no pores.
  得られた焼結体93の正極集電体露出面94および負極集電体露出面95の各々に、銅およびガラスフリットを含む外部集電体ペーストを塗布した。この後、外部集電体ペーストを塗布された焼結体を、窒素雰囲気下、600℃で1時間、熱処理して、図65に示されるような、正極外部集電体96および負極外部集電体97を形成した。このようにして、全固体リチウム二次電池を作製した。得られた電池を、電池26とした。  An external current collector paste containing copper and glass frit was applied to each of the positive electrode current collector exposed
  得られた電池21〜26および比較電池8を用い、露点−50℃、環境温度25℃の雰囲気中で、10μAの電流値にて充放電を1回行った。そのときの放電容量を初期放電容量として、表8に示す。また、上限カット電圧および下限カット電圧についても、表8に示す。  Using the obtained
  電池21〜26は放電が可能であった。しかし、比較電池8では充放電ともに不可能であった。以上の結果から、本発明により、充放電が可能な全固体リチウム二次電池を作製することが可能であることがわかる。また、正極活物質層、固体電解質層、および負極活物質層の数を増やすことにより、電池容量を大きくすることが可能である。このため、積層数を増やすことにより、電池容量を大きくすることが可能である。  The
  次に、表面処理が施された電池について、評価した。
(電池27)
  電池21の正極外部集電体82および負極外部集電体83を除く部分に、フッ素樹脂からなる撥水剤のn−ヘプタン分散液を塗布して、撥水処理を施した。このようにして得られた電池を電池27とした。Next, the surface-treated battery was evaluated.
 (Battery 27)
 A water-repellent treatment was performed by applying an n-heptane dispersion of a water repellent made of a fluororesin to portions of the
(電池28)
  電池21の正極外部集電体82および負極外部集電体83を除く部分に、72wt%SiO2−1wt%Al2O3−20wt%Na2O−3wt%MgO−4wt%CaO(軟化点750℃)を含むスラリーを塗布した。塗布したスラリーを乾燥した後、700℃で熱処理した。これにより、図66に示されるように、電池21の正極外部集電体82および負極外部集電体83を除く部分を、ガラス層98でコートした。このようにして得られた電池を、電池28とした。(Battery 28)
 72 wt% SiO2 −1 wt% Al2 O3 -20 wt% Na2 O-3 wt% MgO-4 wt% CaO (softening point 750) is provided on the
(電池29)
  (0.3Na2O−0.7CaO)0.5Al2O3・4.5SiO2で表される軟化点750℃の透明釉スラリーを、電池21の正極外部集電体および負極外部集電体を除く部分に塗布した。塗布したスラリーを乾燥した後、700℃で熱処理した。これにより、電池21の正極外部集電体および負極外部集電体を除く部分を釉薬でコートした。このようにして得られた電池を、電池29とした。(Battery 29)
 A transparent soot slurry having a softening point of 750 ° C. represented by (0.3Na2 O-0.7CaO) 0.5Al2 O3 .4.5SiO2 was used as a positive electrode external current collector and a negative electrode external current collector of the
  電池21および電池27〜29を、雰囲気温度60℃、相対湿度90%の高温高湿槽内において、2.2Vの定電圧で、30日間保存した。この後、それらの電池をその槽から取り出し、10μAの定電流で放電させ、放電容量を求めた。得られた結果を、表9に示す。  
  高温多湿状態で保存した後、電池21は、ほとんど放電が不可能であった。一方、電池27〜29においては、比較的良好な放電容量が得られた。
  電池21では、電池の最外装にある固体電解質が充分に焼結されておらずに、多孔質である場合がある。このように、最外装の固体電解質層が多孔質であると、電池が多湿雰囲気に保持された場合、水分が電池内部に侵入して、金からなる正極集電体がイオン化される、イオン化された金は、固体電解質層中を移動し、負極活物質層で還元され、そこに金が析出する。このように金が析出すると、正極活物質層と負極活物質層との間で短絡が生じる。このため、電池21では、ほとんど放電が不可能であったと考えられる。After being stored in a hot and humid state, the
 In the
  表面に撥水処理を施された電池27、低融点ガラスを焼き付けられた電池28、および釉薬を焼き付けられた電池29においては、外部から電池内部への水分の侵入が防止される。このため、内部短絡が生じず、良好な放電容量が得られたと考えられる。  In the
以上のように、本実施例により、高温多湿雰囲気下で保存された場合でも、信頼性の高い全固体リチウム二次電池を提供することが可能であることがわかる。 As described above, according to this example, it can be seen that a highly reliable all solid lithium secondary battery can be provided even when stored in a high temperature and high humidity atmosphere.
《実施例1−8》
(電池30)
  まず、Li1.3Al0.3Ti1.7(PO4)3で表される固体電解質粉体と、LiFePO4で表される正極活物質粉体を用意した。
  固体電解質粉体にバインダーであるポリビニルブチラール樹脂、溶剤である酢酸n−ブチル、および可塑剤であるフタル酸ジブチルを加え、ジルコニアボールと共にボールミルで24時間混合して、固体電解質層形成用スラリーを調製した。
  正極活物質層形成用スラリーについても、固体電解質層形成用スラリーを調製したときと同様にして、調製した。<< Example 1-8 >>
 (Battery 30)
 First, a solid electrolyte powder represented by Li1.3 Al0.3 Ti1.7 (PO4 )3 and a positive electrode active material powder represented by LiFePO4 were prepared.
 A solid electrolyte layer slurry is prepared by adding polyvinyl butyral resin as a binder, n-butyl acetate as a solvent, and dibutyl phthalate as a plasticizer, and mixing with a zirconia ball in a ball mill for 24 hours. did.
 The positive electrode active material layer forming slurry was also prepared in the same manner as when the solid electrolyte layer forming slurry was prepared.
  次に、ポリエステル樹脂を主成分とするキャリアフィルム99上に、固体電解質層形成用スラリーを、ドクターブレードを用いて塗布した。その後、塗布したスラリーを乾燥して、図67に示すように、固体電解質グリーンシート100(厚さ:10μm)を得た。なお、キャリアフィルム99の表面には、Siを主成分とする離型剤層が形成されている。  Next, a solid electrolyte layer forming slurry was applied onto a
  別のキャリアフィルム99の上に、正極活物質層形成用スラリーを、スクリーン印刷により、図68に示すような、5つの正極活物質グリーンシート101が直線状に並んだ列102が、ジグザグに配置されたパターンで、塗布し、乾燥して、所定のパターンで配置された複数の正極活物質グリーンシート101を得た。ここで、正極活物質グリーンシートの厚さは3μmとした。正極活物質グリーンシートの幅X1は1.5mmとし、正極活物質グリーンシートの長さX2は6.8mmとした。各列における正極活物質グリーンシートの間隔Y1は0.4mmとし、各列同士の間隔Y2は0.3mmとした。On another
  次に、市販のポリビニルブチラール樹脂をバインダーとする銅ペーストを作製し、この銅ペーストを、キャリアフィルム99上に、スクリーン印刷で、図69に示されるように、正極活物質グリーンシートを作製したときと同様のパターンで、塗布し、乾燥して、複数の正極集電体グリーンシート103(厚さ:1μm)を作製した。  Next, when a copper paste using a commercially available polyvinyl butyral resin as a binder is prepared, and this copper paste is screen-printed on the
  次に、上記銅ペーストを、キャリアフィルム99上に、スクリーン印刷で、図70に示されるように、正極活物質グリーンシートの場合とは、ジグザグの出っ張りの方向が逆になっているパターンで、塗布し、乾燥して、複数の負極集電体グリーンシート104(厚さ:1μm)を作製した。このとき、負極集電体グリーンシートの幅X1、負極集電体グリーンシートの長さX2、各列おける負極集電体グリーンシートの間隔Y1、および各列同士の間隔Y2は、正極活物質グリーンシートの場合と同じにした。Next, the copper paste is screen-printed on the
  次に、支持台105の上に、その両面に接着剤の付いたポリエステルフィルム106を貼り付けた。次に、図71に示すように、ポリエステルフィルム106の上に、固体電解質グリーンシート100のキャリアフィルム99と接していない側の面を載せた。  Next, a
  次いで、キャリアフィルム99の上から80kg/cm2の圧力を加えながら70℃の温度をかけ、図72に示すように、固体電解質グリーンシート100からキャリアフィルム99を剥離した。Next, a temperature of 70 ° C. was applied from above the
  次に、固体電解質グリーンシート100の上に、上記のようにして作製した、別のキャリアフィルム99’上に形成された固体電解質グリーンシート100’を載せた。次いで、キャリアフィルム99’上から圧力、温度を加えることで、グリーンシート100と100’を接合させつつ、キャリアフィルム99’をグリーンシート100’から剥離させた。
  この操作を20回繰り返し、図73に示されるような、固体電解質グリーンシート群107(厚さ:約200μm)を作製した。Next, the solid electrolyte
 This operation was repeated 20 times to produce a solid electrolyte green sheet group 107 (thickness: about 200 μm) as shown in FIG.
  次に、図74に示されるように、キャリアシート99上に形成された固体電解質グリーンシート100上に、上記のように作製したキャリアフィルム99上に形成された複数の負極集電体グリーンシート104を、それらの負極集電体グリーンシート104が固体電解質グリーンシート100に接するように載せた。次いで、複数の負極集電体グリーンシートを担持したキャリアフィルム99上から、80kg/cm2の圧力を加えながら70℃の温度をかけ、負極集電体グリーンシート104からキャリアフィルム99を剥離した。このようにして、図75に示されるように、固体電解質グリーンシート100と、その上に担持された負極集電体グリーンシート104とを含む負極兼固体電解質シート108を得た。Next, as shown in FIG. 74, on the solid electrolyte
  次に、図76に示されるように、キャリアシート99上に形成された固体電解質グリーンシート100上に、上記のように作製したキャリアフィルム99上に形成された複数の正極活物質グリーンシート101を、それらの正極活物質グリーンシートが固体電解質グリーンシートに接するように載せた。次いで、複数の正極活物質グリーンシートを担持したキャリアフィルム99上から、80kg/cm2の圧力を加えながら70℃の温度をかけ、正極活物質グリーンシート101からキャリアフィルム99を剥離した。Next, as shown in FIG. 76, on the solid electrolyte
  次に、正極活物質グリーンシート101の上に、キャリアシート99上に担持された複数の正極集電体グリーンシート103を、正極活物質グリーンシート101と重なるように積層した。正極集電体グリーンシート103群を担持したキャリアフィルム99上から、80kg/cm2の圧力を加えながら70℃の温度をかけ、正極集電体グリーンシート103からキャリアフィルム99を剥離した。さらに、正極集電体グリーンシート103上に、正極活物質グリーンシート101を、上記と同様にして積層して、図77に示されるような積層物を得た。ここで、固体電解質グリーンシート100と、その上に担持された複数の、2つの正極活物質グリーンシートおよびその2つのグリーンシートに挟まれた正極集電体グリーンシートからなるものとを含む積層物を、正極積層物109とした。Next, a plurality of positive electrode current collector
  次に、図78に示すように、支持台105上に設置されている固体電解質グリーンシート群107上に、負極兼固体電解質シート108を載せた。キャリアフィルム99上から、80kg/cm2の圧力を加えながら70℃の温度をかけ、負極兼固体電解質シート108からキャリアフィルム99を剥離した。このようにして、固体電解質グリーンシート群107に負極集電体グリーンシート104が接するように、固体電解質グリーンシート群上に負極兼固体電解質シート108を積層した。Next, as shown in FIG. 78, the negative electrode /
  同様にして、負極兼固体電解質シート108の固体電解質グリーンシートに正極積層物109の正極活物質グリーンシートが接するように、負極兼固体電解質シート108上に正極積層物109を載せた。キャリアフィルム99上から、80kg/cm2の圧力を加えながら70℃の温度をかけ、正極積層物109からからキャリアフィルム99を剥離した。このようにして、負極兼固体電解質シート108上に正極積層物109を積層した。負極兼固体電解質シートと正極積層物が積層されたとき、負極集電体グリーンシートが直線状に並んだ列と正極活物質グリーンシートが直線状に並んだ列とは、そのジグザグのパターンが反対になるようにした。Similarly, the
  上記のような操作を繰り返して、図79に示されるような、固体電解質グリーンシート積層物、5層の負極兼固体電解質シート、4層の正極積層物からなる積層物110を得た。なお、積層物110の積層方向において、固体電解質グリーンシート群側と反対側の端部には、負極兼固体電解質シート108が配置されている。  The above operation was repeated to obtain a laminate 110 composed of a solid electrolyte green sheet laminate, a five-layer negative electrode / solid electrolyte sheet, and a four-layer cathode laminate as shown in FIG. Note that, in the stacking direction of the laminate 110, the negative electrode /
  最後に、積層物110の固体電解質グリーンシート群側と反対側の負極兼固体電解質層の上に、固体電解質グリーンシートを20層積層して、積層シートを得た。この後、この積層シートを、ポリエステルフィルム106を備える支持台105から剥離した。  Finally, 20 layers of solid electrolyte green sheets were laminated on the negative electrode / solid electrolyte layer opposite to the solid electrolyte green sheet group side of the laminate 110 to obtain a laminate sheet. Thereafter, the laminated sheet was peeled from the
  得られた積層シートを、切断し、グリーンチップ111を得た。得られたグリーンチップを、図80〜82で示す。ここで、図80は、グリーンチップ111の上面図である。図81は、線X−Xで切り取ったときの縦断面図である。図82は、線Y−Yで切り取ったときの縦断面図である。  The obtained laminated sheet was cut to obtain a
  図82に示されるように、得られたグリーンチップ111においては、正極活物質グリーンシート101および正極集電体グリーンシート103を含む正極活物質積層物と、負極集電体グリーンシート104を含む負極兼固体電解質シートが、複数積層されている。このようなグリーンチップを焼結することにより、正極活物質層、負極兼固体電解質層が一体化された組を少なくとも1つ含む積層体を得ることができる。なお、一体化された組の数は、正極積層物、負極兼固体電解質層の積層数を変化させることにより、調節することができる。  As shown in FIG. 82, in the obtained
  また、本実施例で得られたグリーンチップは、六面体の形状をしており、図81に示されるように、その六面体の1つの面に、負極集電体グリーンシート104の一方の端部が露出している。この面の反対側の面には、正極活物質グリーンシート101および正極集電体グリーンシート103の一方の面が露出している。つまり、上記で説明したような作製方法を用いることにより、正極集電体と負極集電体とが、積層体の表面の異なる領域に露出させることができる。また、上記以外の方法を用いて、正極集電体と負極集電体とを、積層体の表面の異なる領域に露出させてもよい。
  なお、本実施例においては、これら2つ以外の面は、固体電解質層で覆われている。Further, the green chip obtained in this example has a hexahedron shape, and as shown in FIG. 81, one end of the negative electrode current collector
 In the present embodiment, the surfaces other than these two are covered with a solid electrolyte layer.
第1雰囲気ガスと水蒸気からなる雰囲気ガス中で、グリーンチップを焼結炉内で熱処理した。第1雰囲気ガスとして、CO2/H2/N2=4.99/0.01/95の組成の低酸素分圧ガスを用いた。雰囲気ガスに含まれる水蒸気の体積を5%とした。炉内への雰囲気ガスの流量は、温度700℃、1気圧において、12L/分となるようにした。雰囲気ガスの炉への供給は、炉の温度が200℃になった時点で開始した。The green chip was heat-treated in a sintering furnace in an atmosphere gas composed of a first atmosphere gas and water vapor. A low oxygen partial pressure gas having a composition of CO2 / H2 / N2 = 4.99 / 0.01 / 95 was used as the first atmosphere gas. The volume of water vapor contained in the atmospheric gas was 5%. The flow rate of the atmospheric gas into the furnace was 12 L / min at a temperature of 700 ° C. and 1 atm. Supply of atmospheric gas to the furnace was started when the temperature of the furnace reached 200 ° C.
グリーンチップを、昇温速度100℃/hで700℃まで加熱し、700℃に5時間保持した。その後、400℃/hの昇温速度で900℃まで昇温させ、次いで、400℃/hの冷却速度で、速やかに室温まで冷却した。ガスの供給は炉内温度が200℃になった時点で停止した。このようにして、グリーンチップの焼結を行い、焼結体を得た。得られた焼結体の寸法は、幅約3.2mm、奥行き約1.6mm、高さ約0.45mmであった。 The green chip was heated to 700 ° C. at a temperature rising rate of 100 ° C./h and held at 700 ° C. for 5 hours. Then, it heated up to 900 degreeC with the temperature increase rate of 400 degreeC / h, and then cooled to room temperature rapidly with the cooling rate of 400 degreeC / h. The gas supply was stopped when the furnace temperature reached 200 ° C. In this way, the green chip was sintered to obtain a sintered body. The dimensions of the obtained sintered body were about 3.2 mm in width, about 1.6 mm in depth, and about 0.45 mm in height.
また、焼結体の研磨断面をSEM観察したところ、正極集電体および負極集電体の厚さは、それぞれ、0.3μm程度であった。また、正極集電体の片面に担持されている正極活物質層の厚さは約1μmであった。また、その焼結体には、ほとんど空孔が見られず緻密に焼結していることが確認された。 Further, when the polished cross section of the sintered body was observed by SEM, the thicknesses of the positive electrode current collector and the negative electrode current collector were each about 0.3 μm. Moreover, the thickness of the positive electrode active material layer carried on one surface of the positive electrode current collector was about 1 μm. Further, it was confirmed that the sintered body was densely sintered with almost no pores.
  得られた焼結体112の正極集電体露出面113および負極集電体露出面114の各々に、銅およびガラスフリットを含む外部集電体ペーストを塗布した。この後、外部集電体ペーストを塗布された焼結体を、窒素雰囲気下、600℃で1時間、熱処理して、図83に示されるような、正極外部集電体115および負極外部集電体116を形成した。このようにして、全固体リチウム二次電池を作製した。得られた電池を、電池30とした。  An external current collector paste containing copper and glass frit was applied to each of the positive electrode current collector exposed surface 113 and the negative electrode current collector exposed
  なお、上記のような、CO2/H2/N2=4.99/0.01/95の組成を有する低酸素分圧ガスにおいては、以下の式(2)および式(3):
              CO2  →  CO  +  1/2O2 (2)
              H2  +  1/2O2  →  H2O  (3)
のような平衡反応が生じる。式(2)の反応により、酸素が生成されるとともに、式(3)の反応により、酸素が消費されるために、雰囲気ガス内には、酸素が存在するとともに、その分圧がほぼ一定値に維持されることとなる。In the low oxygen partial pressure gas having the composition of CO2 / H2 / N2 = 4.99 / 0.01 / 95 as described above, the following formulas (2) and (3):
 CO2 → CO + 1 / 2O2 (2)
 H2 + 1 / 2O2 → H2 O (3)
 The following equilibrium reaction occurs. Oxygen is generated by the reaction of the formula (2), and oxygen is consumed by the reaction of the formula (3). Therefore, oxygen exists in the atmospheric gas and its partial pressure is a substantially constant value. Will be maintained.
(電池31〜34)
  混合ガスに含まれる水蒸気の量を、20体積%、30体積%、50体積%または90体積%としたこと以外、電池30の作製方法と同様にして、それぞれ、電池31〜34を作製した。(Batteries 31-34)
(参考電池35)
  低酸素分圧ガスとしてCO2/H2/N2=4.99/0.01/95の組成のガスを用い、水蒸気を添加しなかったこと以外は、電池30と同様にして、参考電池35を作製した。(Reference battery 35)
 The reference battery was the same as the
(参考電池36)
  CO2/H2/N2=4.99/0.01/95の組成の低酸素分圧ガスの代わりに空気を用い、雰囲気ガスに含まれる水蒸気の量を30体積%としたこと以外は、電池30と同様にして、参考電池36を作製した。(Reference battery 36)
 Except that air was used instead of the low oxygen partial pressure gas having a composition of CO2 / H2 / N2 = 4.99 / 0.01 / 95, and the amount of water vapor contained in the atmospheric gas was 30% by volume. A
(参考電池37)
  CO2/H2/N2=4.99/0.01/95の組成の低酸素分圧ガスの代わりに純度4Nの高純度アルゴンガスを用い、雰囲気ガスに含まれる水蒸気の量を30体積%としたこと以外は、電池30と同様にして、参考電池37を作製した。(Reference battery 37)
 Instead of a low oxygen partial pressure gas having a composition of CO2 / H2 / N2 = 4.99 / 0.01 / 95, high purity argon gas with a purity of 4N is used, and the amount of water vapor contained in the atmospheric gas is 30 volumes. A
(参考電池38)
  CO2/H2/N2=4.99/0.01/95の組成の低酸素分圧ガスの代わりに純度4Nの高純度CO2ガスを用い、雰囲気ガスに含まれる水蒸気の量を30体積%としたこと以外は、電池30と同様にして。参考電池38を作製した。(Reference battery 38)
 Instead of a low oxygen partial pressure gas having a composition of CO2 / H2 / N2 = 4.99 / 0.01 / 95, high purity CO2 gas with a purity of 4N is used, and the amount of water vapor contained in the atmospheric gas is 30 Except for the volume%, the same as the
(参考電池39)
  CO2/H2/N2=4.99/0.01/95の組成の低酸素分圧ガスの代わりに純度4Nの高純度H2ガスを用い、雰囲気ガスに含まれる水蒸気の量を30体積%としたこと以外は、電池30と同様にして、参考電池39を作製した。(Reference battery 39)
 Instead of a low oxygen partial pressure gas having a composition of CO2 / H2 / N2 = 4.99 / 0.01 / 95, high purity H2 gas with a purity of 4N is used, and the amount of water vapor contained in the atmospheric gas is 30 A
(電池40)
  正極活物質にLiCoPO4を用いたこと以外、電池32の作製方法と同様にして、電池40を作製した。(Battery 40)
 A
  電池30〜34および電池40、ならびに参考電池35〜39について、焼結体の充填率を焼結体の全てがLi1.3Al0.3Ti1.7(PO4)3であると仮定し、上記実施例1−2と同様にして求めた。得られた結果を表10に示す。また、表10には、第1雰囲気の種類、水蒸気の添加量、および−log10PO2値を同時に示す。For the
  電池30〜34においては、いずれの水蒸気量においても、充填率は80%程度と比較的良好であった。電池40においても、充填率は85%と比較的良好な値を示した。
  一方、参考電池35および参考電池39では、充填率は60%を下回り、ほとんど焼結が進行していないことが分かった。また、これらの参考電池において、焼結体が黒色を呈していた。よって、これらの参考電池においては、バインダー及び可塑剤が熱分解によりカーボン化したため、グリーンチップの焼結が阻害されたと考えられる。
  参考電池39において、H2/H2O=7/3の雰囲気ガス中における、700℃での平衡酸素分圧は10-22気圧程度と極微量であるために、生成したカーボンが残留したものと考えられる。
  また、これらの参考電池35および39は、脆く、外部集電体塗布時のハンドリング中に崩壊した。In each of the
 On the other hand, in the
 In the
 Further, these
  電池30〜34および電池40においては、焼結体はほぼ白色を呈していた。表10に示されるような雰囲気ガス中における、700℃での平衡酸素分圧はほぼ10-16気圧程度と見積もられた。この場合、バインダーや可塑剤が、水蒸気により低分子量化されて速やかに系外に排出されると同時に、微量の酸素により、副生成物であるカーボンが除去されて、焼結が進行したものと考えられる。
  また、参考電池36〜38における充填率は、電池30〜34および電池40と比べると、若干劣るものの、焼結体はほぼ白色を呈していた。In the
 Moreover, although the filling rate in the
  次に、電池30〜34および電池40ならびに参考電池36〜38を用い、露点−50℃、環境温度25℃の雰囲気中で、上限カット電圧2.0Vとし、下限カット電圧0Vとして、10μAの電流値にて、充放電を1回行った。また、電池40においては、上限カット電圧を5.0Vとし、下限カット電圧を0Vとしたこと以外、上記と同様にして充放電を行った。そのときの放電容量を初期放電容量として、表11に示す。  Next, using the
  電池30〜34においては、6μAhを超える初期放電容量が得られた。また、電池40については、2.8μAhの初期放電容量が得られた。一方、参考電池36〜38は、ほとんど充放電が不可能であった。特に、参考電池36においては、空気雰囲気中で焼成したため、LiFePO4がLi3Fe2(PO4)3などのFe(III)化合物へと変化するとともに、集電体材料であるCuが酸化されて集電体として機能しなくなり、充放電が不可能であったと考えられる。In the
  一方、参考電池37〜38を作製するときの雰囲気ガスにおいては、700℃における平衡酸素分圧は、それぞれ、10-7気圧程度と見積もられる。このため、LiFePO4がLi3Fe2(PO4)3などのFe(III)化合物へと変化し、ほとんど放電ができなかったものと考えられる。On the other hand, in the atmospheric gas for producing the
  ここで、上記式(1)から算出される、700℃における平衡酸素分圧は10-17.1気圧から10-11.8気圧である。平衡酸素分圧が前記範囲に入る電池30〜34においては、集電体の酸化および活物質であるFe(II)のFe(III)への酸化が抑制されつつ、バインダーおよび可塑剤が熱分解する際に生成するカーボンが酸素により除去されることがわかる。このため、酸素分圧を適切に調節することにより、良好な充放電容量を有する全固体リチウム二次電池を作製することができると考えられる。Here, it is calculated from the equation (1), the equilibrium oxygen partial pressure at 700 ° C. is 10-11.8
また、このとき、低酸素分圧ガス雰囲気に含まれる酸素分圧が一定に維持されるように、低酸素分圧ガスは、CO2などの酸素を放出可能なガスと、H2のように酸素と反応するガスとの混合物を含むことが好ましい。At this time, the low oxygen partial pressure gas is composed of a gas capable of releasing oxygen, such as CO2 , and H2 so that the oxygen partial pressure contained in the low oxygen partial pressure gas atmosphere is maintained constant. It is preferable to include a mixture of a gas that reacts with oxygen.
《実施例2−1》
  次に、以下のような電池および比較電池を作製し、所定の条件で充放電を行い、その放電容量を求めた。
(電池2−1)
  固体電解質層形成用スラリーに、軟化点が750℃の72wt%SiO2−1wt%Al2O3−20wt%Na2O−3wt%MgO−4wt%CaOで表される非晶質酸化物粉体を、固体電解質粉末と非晶質酸化物粉末との重量比が97:3になるように混合した。また、グリーンチップの焼結の最高温度を900℃から700℃に変更した。これら以外、電池7の作製方法と同様にして、電池2−1を作製した。
  なお、正極活物質が最も焼結しやすく、固体電解質層が最も焼結しにくいが、正極活物質と負極活物質とで焼結のしやすさは、それほど大きく変わらない。このため、本実施例においては、固体電解質層にのみ、非晶質酸化物を添加している。<< Example 2-1 >>
 Next, the following batteries and comparative batteries were prepared, charged and discharged under predetermined conditions, and their discharge capacities were determined.
 (Battery 2-1)
 Amorphous oxide powder represented by 72 wt% SiO2 −1 wt% Al2 O3 -20 wt% Na2 O-3 wt% MgO-4 wt% CaO having a softening point of 750 ° C. in the slurry for forming the solid electrolyte layer Were mixed so that the weight ratio of the solid electrolyte powder to the amorphous oxide powder was 97: 3. In addition, the maximum temperature of green chip sintering was changed from 900 ° C to 700 ° C. A battery 2-1 was produced in the same manner as the
 Although the positive electrode active material is most easily sintered and the solid electrolyte layer is most difficult to sinter, the easiness of sintering between the positive electrode active material and the negative electrode active material is not significantly changed. For this reason, in this embodiment, an amorphous oxide is added only to the solid electrolyte layer.
なお、上記実施例1−2と同様に、固体電解質層と比較して正極活物質層および負極活物質層が十分に薄いため、焼結後のチップ全てがLi1.3Al0.3Ti1.7(PO4)3であると仮定して、焼結後のグリーンチップの充填率を求めた。その結果、充填率は73%程度であった。ここで、上記チップの充填率は、[{(チップ重量)/(チップ体積)}/(固体電解質のX線密度)]×100により求めた。In addition, since the positive electrode active material layer and the negative electrode active material layer are sufficiently thin as compared with the solid electrolyte layer as in Example 1-2, all of the sintered chips are Li1.3 Al0.3 Ti1.7 (PO4 ) Assuming that3 , the filling rate of the green chip after sintering was determined. As a result, the filling rate was about 73%. Here, the filling rate of the chip was determined by [{(chip weight) / (chip volume)} / (X-ray density of solid electrolyte)] × 100.
また、正極活物質層および負極活物質層に関し、焼結後のグリーンチップの研磨断面をSEM観察したところ、正極活物質層および負極活物質層はその厚さが約1μmであること、およびその正極活物質層および負極活物質層はほとんど空孔が見られず緻密に焼結していることが確認された。 Further, regarding the positive electrode active material layer and the negative electrode active material layer, the polished cross-section of the green chip after sintering was observed with an SEM. The positive electrode active material layer and the negative electrode active material layer had a thickness of about 1 μm, and It was confirmed that the positive electrode active material layer and the negative electrode active material layer had almost no voids and were sintered densely.
(電池2−2)
  焼結を行うときに、400℃/hの昇温速度で700℃まで昇温させる代わりに、400℃/hの昇温温度で800℃まで昇温させたこと以外、電池2−1の作製方法と同様にして、全固体電池を作製した。得られた電池を電池2−2とした。なお、焼結後のグリーンチップの充填率は、グリーンチップが全てLi1.3Al0.3Ti1.7(PO4)3であると仮定した場合、93%であった。(Battery 2-2)
 When performing the sintering, instead of increasing the temperature to 700 ° C. at a temperature increase rate of 400 ° C./h, the battery 2-1 was prepared except that the temperature was increased to 800 ° C. at a temperature increase temperature of 400 ° C./h. An all-solid battery was produced in the same manner as the method. The obtained battery was designated as battery 2-2. The filling rate of the green chips after sintering was 93% when all the green chips were assumed to be Li1.3 Al0.3 Ti1.7 (PO4 )3 .
(電池2−3)
  焼結を行うときに、400℃/hの昇温温度で700℃まで昇温させる代わりに、400℃/hの昇温温度で900℃まで昇温させたこと以外、電池2−1の作製方法と同様にして、全固体電池を作製した。得られた電池を電池2−3とした。なお、焼結後のグリーンチップの充填率は、グリーンチップが全てLi1.3Al0.3Ti1.7(PO4)3であると仮定した場合、95%であった。(Battery 2-3)
 When performing sintering, instead of increasing the temperature to 700 ° C. at a temperature increase temperature of 400 ° C./h, the battery 2-1 was manufactured except that the temperature was increased to 900 ° C. at a temperature increase temperature of 400 ° C./h. An all-solid battery was produced in the same manner as the method. The obtained battery was designated as battery 2-3. The filling rate of the green chips after sintering was 95% when all the green chips were assumed to be Li1.3 Al0.3 Ti1.7 (PO4 )3 .
(電池2−4)
  焼結を行うときに、400℃/hの昇温温度で700℃まで昇温させる代わりに、400℃/hの昇温温度で1000℃まで昇温させたこと以外、電池2−1の作製方法と同様にして、全固体電池を作製した。得られた電池を電池2−4とした。なお、焼結後のグリーンチップの充填率は、グリーンチップが全てLi1.3Al0.3Ti1.7(PO4)3であると仮定した場合、95%であった。(Battery 2-4)
 When performing sintering, instead of increasing the temperature to 700 ° C. at a temperature increase temperature of 400 ° C./h, the battery 2-1 was manufactured except that the temperature was increased to 1000 ° C. at a temperature increase temperature of 400 ° C./h. An all-solid battery was produced in the same manner as the method. The obtained battery was designated as battery 2-4. The filling rate of the green chips after sintering was 95% when all the green chips were assumed to be Li1.3 Al0.3 Ti1.7 (PO4 )3 .
(電池2−5)
  固体電解質層形成用スラリーを調製するときに、Li4P2O7を非晶質酸化物として添加した。また、焼結を行うときに、400℃/hの昇温温度で700℃まで昇温させる代わりに、400℃/hの昇温温度で800℃まで昇温させた。これら以外、電池2−1の作製方法と同様にして、電池2−5を作製した。焼結後のグリーンチップの充填率は、グリーンチップが全てLi1.3Al0.3Ti1.7(PO4)3であると仮定した場合、93%であった。(Battery 2-5)
 When preparing the slurry for forming the solid electrolyte layer, Li4 P2 O7 was added as an amorphous oxide. Moreover, when performing sintering, it heated up to 800 degreeC with the temperature rising temperature of 400 degreeC / h instead of making it heat up to 700 degreeC with the temperature rising temperature of 400 degreeC / h. A battery 2-5 was produced in the same manner as the battery 2-1, except for these. The filling rate of the green chips after sintering was 93% when all the green chips were assumed to be Li1.3 Al0.3 Ti1.7 (PO4 )3 .
(比較電池2−1)
  焼結を行うときに、400℃/hの昇温温度で700℃まで昇温させる代わりに、400℃/hの昇温温度で600℃まで昇温させたこと以外、電池2−1の作製方法と同様にして、比較電池2−1を作製した。焼結後のグリーンチップの充填率は、グリーンチップが全てLi1.3Al0.3Ti1.7(PO4)3であると仮定した場合、57%であった。(Comparative battery 2-1)
 The battery 2-1 was manufactured except that the temperature was raised to 700 ° C. at 400 ° C./h instead of raising the temperature to 700 ° C. at 400 ° C./h when the sintering was performed. Comparative battery 2-1 was produced in the same manner as the method. The filling factor of the green chips after sintering was 57% when all the green chips were assumed to be Li1.3 Al0.3 Ti1.7 (PO4 )3 .
(比較電池2−2)
  焼結を行うときに、400℃/hの昇温温度で700℃まで昇温させる代わりに、400℃/hの昇温温度で1100℃まで昇温させたこと以外、電池2−1の作製方法と同様にして、比較電池2−2を作製した。焼結後のグリーンチップの充填率は、グリーンチップが全てLi1.3Al0.3Ti1.7(PO4)3であると仮定した場合、93%であった。(Comparative battery 2-2)
 Production of battery 2-1 was performed except that the temperature was raised to 1100 ° C. at 400 ° C./h instead of raising the temperature to 700 ° C. at 400 ° C./h when the sintering was performed. Comparative battery 2-2 was fabricated in the same manner as the method. The filling rate of the green chips after sintering was 93% when all the green chips were assumed to be Li1.3 Al0.3 Ti1.7 (PO4 )3 .
(比較電池2−3)
  固体電解質層形成用スラリーを調製するときに非晶質酸化物を加えなかった。また、焼結を行うときに、400℃/hの昇温温度で700℃まで昇温させる代わりに、400℃/hの昇温温度で800℃まで昇温させた。これら以外、電池2−1の作製方法と同様にして、比較電池2−3を作製した。焼結後のグリーンチップの充填率は、グリーンチップが全てLi1.3Al0.3Ti1.7(PO4)3であると仮定した場合、55%であった。(Comparative battery 2-3)
 No amorphous oxide was added when preparing the slurry for forming the solid electrolyte layer. Moreover, when performing sintering, it heated up to 800 degreeC with the temperature rising temperature of 400 degreeC / h instead of making it heat up to 700 degreeC with the temperature rising temperature of 400 degreeC / h. A comparative battery 2-3 was fabricated in the same manner as the battery 2-1, except for these. The filling rate of the green chips after sintering was 55% when all the green chips were assumed to be Li1.3 Al0.3 Ti1.7 (PO4 )3 .
(電池2−6)
  焼結を行うときに、400℃/hの昇温温度で800℃まで昇温させる代わりに、400℃/hの昇温温度で900℃まで昇温させた。これ以外、比較電池2−3の作製方法と同様にして、電池2−6を作製した。焼結後のグリーンチップの充填率は、グリーンチップが全てLi1.3Al0.3Ti1.7(PO4)3であると仮定した場合、83%であった。(Battery 2-6)
 When performing the sintering, instead of increasing the temperature to 800 ° C. at a temperature increase temperature of 400 ° C./h, the temperature was increased to 900 ° C. at a temperature increase temperature of 400 ° C./h. A battery 2-6 was made in the same manner as the comparative battery 2-3, except for this. The filling rate of the green chips after sintering was 83% when all the green chips were assumed to be Li1.3 Al0.3 Ti1.7 (PO4 )3 .
(電池2−7)
  焼結を行うときに、400℃/hの昇温温度で800℃まで昇温させる代わりに、400℃/hの昇温温度で1000℃まで昇温させた。これ以外、比較電池2−3の作製方法と同様にして、電池2−7を作製した。焼結後のグリーンチップの充填率は、グリーンチップが全てLi1.3Al0.3Ti1.7(PO4)3であると仮定した場合、87%であった。(Battery 2-7)
 When performing the sintering, instead of increasing the temperature to 800 ° C. at a temperature increase temperature of 400 ° C./h, the temperature was increased to 1000 ° C. at a temperature increase temperature of 400 ° C./h. A battery 2-7 was produced in the same manner as the comparative battery 2-3, except for this. The filling rate of the green chips after sintering was 87% when all the green chips were assumed to be Li1.3 Al0.3 Ti1.7 (PO4 )3 .
上記のようにして作製した電池2−1〜2−7および比較電池2−1〜2−3を用いて、露点−50℃、温度25℃の雰囲気中、2.3Vから1.0Vの範囲で、10μAの電流値にて充放電を1回行った。そのときの放電容量を、表12に示す。また、充放電後の電池について、1kHzでのインピーダンスを測定した。得られた結果を表12に示す。 Using batteries 2-1 to 2-7 and comparative batteries 2-1 to 2-3 produced as described above, a range of 2.3 V to 1.0 V in an atmosphere having a dew point of −50 ° C. and a temperature of 25 ° C. Then, charging / discharging was performed once at a current value of 10 μA. Table 12 shows the discharge capacity at that time. Moreover, the impedance at 1 kHz was measured about the battery after charging / discharging. The results obtained are shown in Table 12.
  放電容量は、比較電池2−1〜2−3において0であった。また、比較電池2−1〜2−3においては、インピーダンスが非常に大きかった。これは、固体電解質の焼結が進行せず、リチウムイオン伝導性が非常に小さくなったためと考えられる。特に比較電池2−2の充放電後のインピーダンスは測定レンジ外(107Ω以上)であった。これは、固体電解質が高温に耐えられず、変性したため、リチウムイオン伝導性が消失したと考えられる。
  一方、本発明による電池2−1〜2−5はいずれも比較的良好な放電容量と低いインピーダンスが得られた。The discharge capacity was 0 in comparative batteries 2-1 to 2-3. Moreover, in the comparative batteries 2-1 to 2-3, the impedance was very large. This is presumably because the sintering of the solid electrolyte did not proceed and the lithium ion conductivity became very small. In particular, the impedance after charging / discharging of the comparative battery 2-2 was outside the measurement range (107 Ω or more). This is considered that the lithium ion conductivity was lost because the solid electrolyte could not withstand high temperature and was modified.
 On the other hand, the batteries 2-1 to 2-5 according to the present invention all obtained a relatively good discharge capacity and low impedance.
  また、電池2−1〜2−4と比較電池2−1〜2−2との比較から、焼結温度は700℃以上1000℃以下の場合に充放電が可能であったことから、この温度範囲が望ましいことが明らかである。
  また、電池2−1〜2−4と、比較電池2−3および電池2−6〜2−7との比較において、焼結助剤を添加したものの方がインピーダンスが低くなっており、電池として優れていることが明らかである。
《実施例2−2》Further, from the comparison between the batteries 2-1 to 2-4 and the comparative batteries 2-1 to 2-2, since the sintering temperature was 700 ° C. or higher and 1000 ° C. or lower, charging / discharging was possible. Clearly the range is desirable.
 In addition, in comparison between the batteries 2-1 to 2-4, the comparative battery 2-3, and the batteries 2-6 to 2-7, the addition of the sintering aid has a lower impedance, It is clear that it is excellent.
 << Example 2-2 >>
  次に、焼結助剤の添加量について検討を行った。
(電池2−8)
  固体電解質層形成用スラリーを調製するときに、固体電解質であるLi1.3Al0.3Ti1.7(PO4)3と、非晶質酸化物である72wt%SiO2−1wt%Al2O3−20wt%Na2O−3wt%MgO−4wt%CaOとを、99.9:0.1の重量比で混合した。このこと以外は、電池2−2(焼結温度:800℃)の作製方法と同様にして、電池2−8を作製した。なお、焼結後のグリーンチップの充填率は、グリーンチップが全てLi1.3Al0.3Ti1.7(PO4)3であると仮定した場合、72%であった。Next, the amount of sintering aid added was examined.
 (Battery 2-8)
 When preparing a slurry for forming a solid electrolyte layer, Li1.3 Al0.3 Ti1.7 (PO4 )3 as a solid electrolyte and 72 wt% SiO2 −1 wt% Al2 O3 -20 wt% as an amorphous oxide Na2 O-3 wt% MgO-4 wt% CaO was mixed at a weight ratio of 99.9: 0.1. A battery 2-8 was produced in the same manner as the battery 2-2 (sintering temperature: 800 ° C.), except for this. The filling rate of the green chips after sintering was 72% when all the green chips were assumed to be Li1.3 Al0.3 Ti1.7 (PO4 )3 .
(電池2−9)
  固体電解質層形成用スラリーを調製するときに、固体電解質であるLi1.3Al0.3Ti1.7(PO4)3と、非晶質酸化物である72wt%SiO2−1wt%Al2O3−20wt%Na2O−3wt%MgO−4wt%CaOとを、99:1の重量比で混合した。このこと以外は、電池2−2(焼結温度:800℃)の作製方法と同様にして、電池2−9を作製した。焼結後のグリーンチップの充填率は、グリーンチップが全てLi1.3Al0.3Ti1.7(PO4)3であると仮定した場合、89%であった。(Battery 2-9)
 When preparing a slurry for forming a solid electrolyte layer, Li1.3 Al0.3 Ti1.7 (PO4 )3 as a solid electrolyte and 72 wt% SiO2 −1 wt% Al2 O3 -20 wt% as an amorphous oxide Na2 O-3 wt% MgO-4 wt% CaO was mixed at a weight ratio of 99: 1. A battery 2-9 was produced in the same manner as the battery 2-2 (sintering temperature: 800 ° C.), except for this. The filling factor of the green chips after sintering was 89% when all the green chips were assumed to be Li1.3 Al0.3 Ti1.7 (PO4 )3 .
(電池2−10)
  固体電解質層形成用スラリーを調製するときに、固体電解質であるLi1.3Al0.3Ti1.7(PO4)3と、非晶質酸化物である72wt%SiO2−1wt%Al2O3−20wt%Na2O−3wt%MgO−4wt%CaOとを、95:5の重量比で混合した。このこと以外は、電池2−2(焼結温度:800℃)の作製方法と同様にして、電池2−10を作製した。焼結後のグリーンチップの充填率は、グリーンチップが全てLi1.3Al0.3Ti1.7(PO4)3であると仮定した場合、94%であった。(Battery 2-10)
 When preparing a slurry for forming a solid electrolyte layer, Li1.3 Al0.3 Ti1.7 (PO4 )3 as a solid electrolyte and 72 wt% SiO2 −1 wt% Al2 O3 -20 wt% as an amorphous oxide Na2 O-3 wt% MgO-4 wt% CaO was mixed at a weight ratio of 95: 5. A battery 2-10 was produced in the same manner as the battery 2-2 (sintering temperature: 800 ° C.), except for this. The filling rate of the green chips after sintering was 94% when all the green chips were assumed to be Li1.3 Al0.3 Ti1.7 (PO4 )3 .
(電池2−11)
  固体電解質層形成用スラリーを調製するときに、固体電解質であるLi1.3Al0.3Ti1.7(PO4)3と、非晶質酸化物である72wt%SiO2−1wt%Al2O3−20wt%Na2O−3wt%MgO−4wt%CaOとを、90:10の重量比で混合したこと以外、電池2−2(焼結温度:800℃)の作製方法と同様にして、電池2−11を作製した。焼結後のグリーンチップの充填率は、グリーンチップが全てLi1.3Al0.3Ti1.7(PO4)3であると仮定した場合、94%であった。(Battery 2-11)
 When preparing a slurry for forming a solid electrolyte layer, Li1.3 Al0.3 Ti1.7 (PO4 )3 as a solid electrolyte and 72 wt% SiO2 −1 wt% Al2 O3 -20 wt% as an amorphous oxide A battery 2-11 was prepared in the same manner as the production method of the battery 2-2 (sintering temperature: 800 ° C.) except that Na2 O-3 wt% MgO-4 wt% CaO was mixed at a weight ratio of 90:10. Was made. The filling rate of the green chips after sintering was 94% when all the green chips were assumed to be Li1.3 Al0.3 Ti1.7 (PO4 )3 .
(比較電池2−4)
  固体電解質層形成用スラリーを調製するときに、固体電解質であるLi1.3Al0.3Ti1.7(PO4)3と、非晶質酸化物である72wt%SiO2−1wt%Al2O3−20wt%Na2O−3wt%MgO−4wt%CaOとを、99.95:0.05の重量比で混合した。このこと以外、電池2−2(焼結温度:800℃)の作製方法と同様にして、比較電池2−4を作製した。焼結後のグリーンチップの充填率は、グリーンチップが全てLi1.3Al0.3Ti1.7(PO4)3であると仮定した場合、57%であった。(Comparative battery 2-4)
 When preparing a slurry for forming a solid electrolyte layer, Li1.3 Al0.3 Ti1.7 (PO4 )3 as a solid electrolyte and 72 wt% SiO2 −1 wt% Al2 O3 -20 wt% as an amorphous oxide Na2 O-3 wt% MgO-4 wt% CaO was mixed at a weight ratio of 99.95: 0.05. Except for this, a comparative battery 2-4 was produced in the same manner as the production method of the battery 2-2 (sintering temperature: 800 ° C.). The filling factor of the green chips after sintering was 57% when all the green chips were assumed to be Li1.3 Al0.3 Ti1.7 (PO4 )3 .
(電池2−12)
  固体電解質層形成用スラリーを調製するときに、固体電解質であるLi1.3Al0.3Ti1.7(PO4)3と、非晶質酸化物である72wt%SiO2−1wt%Al2O3−20wt%Na2O−3wt%MgO−4wt%CaOとを、85:15の重量比で混合した。このこと以外、電池2−2(焼結温度:800℃)の作製方法と同様にして、電池2−12を作製した。なお、焼結後のグリーンチップの充填率は、グリーンチップが全てLi1.3Al0.3Ti1.7(PO4)3であると仮定した場合、93%であった。(Battery 2-12)
 When preparing a slurry for forming a solid electrolyte layer, Li1.3 Al0.3 Ti1.7 (PO4 )3 as a solid electrolyte and 72 wt% SiO2 −1 wt% Al2 O3 -20 wt% as an amorphous oxide Na2 O-3 wt% MgO-4 wt% CaO was mixed at a weight ratio of 85:15. A battery 2-12 was produced in the same manner as the battery 2-2 (sintering temperature: 800 ° C.), except for this. The filling rate of the green chips after sintering was 93% when all the green chips were assumed to be Li1.3 Al0.3 Ti1.7 (PO4 )3 .
上記のようにして作製した電池2−8〜2−12および比較電池2−4を用い、上記実施例2−1と同様にして、放電容量および1kHzでのインピーダンスを測定した。得られた結果を表13に示す。また、参考のため、電池2−2および比較電池2−3についての結果も同時に示す。 Using the batteries 2-8 to 2-12 and the comparative battery 2-4 produced as described above, the discharge capacity and the impedance at 1 kHz were measured in the same manner as in Example 2-1. The obtained results are shown in Table 13. For reference, the results for battery 2-2 and comparative battery 2-3 are also shown.
比較電池2−4は、放電容量が0であった。比較電池2−4は、焼結助剤の添加量が少なすぎるため、焼結が進行せず、インピーダンスが大きくなったと考えられる。また、電池2−12では、逆に添加量が多すぎるため、固体電解質層中のイオン伝導性が低下し、インピーダンスが大きくなったものと考えられる。 The comparative battery 2-4 had a discharge capacity of 0. In Comparative Battery 2-4, since the amount of the sintering aid added was too small, it was considered that the sintering did not proceed and the impedance was increased. On the other hand, in the battery 2-12, since the addition amount is too large, it is considered that the ionic conductivity in the solid electrolyte layer is lowered and the impedance is increased.
以上の結果から、添加する焼結助剤は、添加される層の0.1〜10重量%を占めることが好ましい。 From the above results, the sintering aid to be added preferably occupies 0.1 to 10% by weight of the layer to be added.
《実施例2−3》
  次に、固体電解質層に添加する焼結助剤の種類及び焼結助剤の軟化点について検討を行った。
(電池2−13)
  72wt%SiO2−1wt%Al2O3−20wt%Na2O−3wt%MgO−4wt%CaOの代わりに、80wt%SiO2−14wt%B2O3−2wt%Al2O3−3.6wt%Na2O−0.4wt%K2Oで表される非晶質酸化物を用いた。このこと以外、電池2−2の作製方法と同様にして、電池2−10を作製した。焼結後のグリーンチップの充填率は、グリーンチップが全てLi1.3Al0.3Ti1.7(PO4)3であると仮定した場合、91%であった。<< Example 2-3 >>
 Next, the kind of sintering aid added to the solid electrolyte layer and the softening point of the sintering aid were examined.
 (Battery 2-13)
72wt% SiO 2 -1wt% Al 2 O 3 -
(比較電池2−5)
  72wt%SiO2−1wt%Al2O3−20wt%Na2O−3wt%MgO−4wt%CaOの代わりに、Al2O3粉を用いた。このこと以外、電池2−2の作製方法と同様にして、比較電池2−5を作製した。焼結後のグリーンチップの充填率は、グリーンチップが全てLi1.3Al0.3Ti1.7(PO4)3であると仮定した場合、55%であった。(Comparative battery 2-5)
 Instead of 72 wt% SiO2 −1 wt% Al2 O3 -20 wt% Na2 O-3 wt% MgO-4 wt% CaO, Al2 O3 powder was used. A comparative battery 2-5 was produced in the same manner as the battery 2-2, except for this. The filling rate of the green chips after sintering was 55% when all the green chips were assumed to be Li1.3 Al0.3 Ti1.7 (PO4 )3 .
(比較電池2−6)
  72wt%SiO2−1wt%Al2O3−20wt%Na2O−3wt%MgO−4wt%CaOの代わりに、軟化点が600℃の72wt%SiO2−1wt%Al2O3−14wt%Na2O−3wt%MgO−10wt%CaO粉を用いた。このこと以外、電池2−2の作製方法と同様にして、比較電池2−6を作製した。焼結後のグリーンチップの充填率は、グリーンチップが全てLi1.3Al0.3Ti1.7(PO4)3であると仮定した場合、97%であった。(Comparative battery 2-6)
 72 wt% SiO2 −1 wt% Al2 O3 −20 wt% Na2 O −3 wt% MgO −4 wt% CaO instead of 72 wt% SiO2 −1 wt% Al2 O3 −14 wt% Na with a softening point of 600 ° C.2 O-3 wt% MgO-10 wt% CaO powder was used. A comparative battery 2-6 was produced in the same manner as the battery 2-2, except for this. The filling factor of the green chips after sintering was 97% when all the green chips were assumed to be Li1.3 Al0.3 Ti1.7 (PO4 )3 .
(比較電池2−7)
  72wt%SiO2−1wt%Al2O3−20wt%Na2O−3wt%MgO−4wt%CaOの代わりに、軟化点が1020℃の62wt%SiO2−15wt%Al2O3−8wt%CaO−15wt%BaO粉を用いた。このこと以外、電池2−2の作製方法と同様にして、比較電池2−7を作製した。焼結後のグリーンチップの充填率は、グリーンチップが全てLi1.3Al0.3Ti1.7(PO4)3であると仮定した場合、58%であった。(Comparative battery 2-7)
 Instead of72wt% SiO 2 -1wt% Al 2 O 3 -20wt% Na 2 O-3wt% MgO-4wt% CaO,
上記のようにして作製した電池2−13および比較電池2−5〜2−7を用いて、実施例2−1と同様にして、放電容量および1kHzでのインピーダンスを測定した。得られた結果を表14に示す。また、参考のため、電池2−2についての結果も同時に示す。 Using the battery 2-13 and comparative batteries 2-5 to 2-7 produced as described above, the discharge capacity and the impedance at 1 kHz were measured in the same manner as in Example 2-1. The obtained results are shown in Table 14. For reference, the results for the battery 2-2 are also shown.
  電池2−13の放電容量およびインピーダンスは、電池2−2の放電容量およびインピーダンスと同程度であった。
  一方、一般的に焼結助剤として用いられるAl2O3を用いた比較電池2−5においては、放電容量が0であった。これは、焼結時に積層体の焼結が進行しなかったためと考えられる。つまり、Al2O3を用いた系では、Al2O3が固体電解質であるLi1.3Al0.3Ti1.7(PO4)3と反応し、固体固体電解質層に不純物相が生成するために、焼結性が低下したと考えられる。The discharge capacity and impedance of the battery 2-13 were almost the same as the discharge capacity and impedance of the battery 2-2.
 On the other hand, in Comparative Battery 2-5 using Al2 O3 which is generally used as a sintering aid, the discharge capacity was 0. This is presumably because sintering of the laminate did not proceed during sintering. In other words, in the system using Al2 O3 , since Al2 O3 reacts with Li1.3 Al0.3 Ti1.7 (PO4 )3 which is a solid electrolyte and an impurity phase is generated in the solid solid electrolyte layer, It is thought that the causality decreased.
また、軟化点が600℃の非晶質酸化物を添加した比較電池2−6においても放電容量が0であったが、これは焼結反応が進行するほかに、活物質と固体電解質の拡散が進行したため、充放電が不可能になったものと考えられる。 Further, the comparative battery 2-6 to which an amorphous oxide having a softening point of 600 ° C. was added also had a discharge capacity of 0, but this was not only due to the progress of the sintering reaction but also the diffusion of the active material and the solid electrolyte. It is considered that charging / discharging became impossible due to the progress of.
軟化点が1020℃の非晶質酸化物を添加した比較電池2−7においても放電容量が0であったが、これは添加剤の軟化点が高すぎるため焼結に寄与しなかったためと考えられる。 In Comparative Battery 2-7 to which an amorphous oxide having a softening point of 1020 ° C. was added, the discharge capacity was 0, but this was considered because the softening point of the additive was too high and did not contribute to sintering. It is done.
以上の結果から、正極活物質層、固体電解質層、負極活物質層の少なくとも1つに、軟化点が700℃以上950℃以下の非晶質酸化物を添加することにより、良好な充放電性能を示す全固体電池が作製可能となることが示された。 From the above results, by adding an amorphous oxide having a softening point of 700 ° C. or more and 950 ° C. or less to at least one of the positive electrode active material layer, the solid electrolyte layer, and the negative electrode active material layer, good charge / discharge performance is achieved. It was shown that an all-solid-state battery showing the above can be produced.
《実施例2−4》
  負極活物質層を設けず、また、焼結温度の最高値を800℃としたこと以外、比較電池2−3、比較電池2−4、電池2−8、電池2−9、電池2−2、電池2−10、電池2−11、または電池2−12の作製方法と同様にして、正極活物質層と固体電解質層とからなる積層体を得た。得られた積層体を、それぞれ、比較積層体2−3、比較積層体2−4、積層体2−8、積層体2−9、積層体2−2、積層体2−10、積層体2−11、および積層体2−12とした。これらの積層体の反り量について、調べた。ここで、反り量とは、正極活物質層を上にして、積層体を所定の平板に置いたときに、積層体の端面の正極活物質層側の上辺から、その平板までの垂直距離をいう。なお、これらの積層体の焼結前のグリーンチップの厚さは、約500μmであり、そのサイズは7mm×7mmである。
  また、表15には、固体電解質層形成用グリーンシートに添加されている非晶質酸化物の量と焼結温度の最高値を同時に示す。<< Example 2-4 >>
 A comparative battery 2-3, a comparative battery 2-4, a battery 2-8, a battery 2-9, and a battery 2-2 are provided except that the negative electrode active material layer is not provided and the maximum sintering temperature is 800 ° C. The laminated body which consists of a positive electrode active material layer and a solid electrolyte layer was obtained like the manufacturing method of the battery 2-10, the battery 2-11, or the battery 2-12. The obtained laminates were respectively referred to as comparative laminate 2-3, comparative laminate 2-4, laminate 2-8, laminate 2-9, laminate 2-2, laminate 2-10, and
 Table 15 shows simultaneously the amount of amorphous oxide added to the solid electrolyte layer forming green sheet and the maximum sintering temperature.
表15により、非晶質酸化物の添加量が大きくなるほど、積層体の反りが小さくなることがわかる。よって、反りを抑制するためには、非晶質酸化物の添加量は、0.1重量%以上であることが好ましい。 From Table 15, it can be seen that the greater the amount of amorphous oxide added, the smaller the warp of the laminate. Therefore, in order to suppress warpage, the amount of amorphous oxide added is preferably 0.1% by weight or more.
《実施例3−1》
(電池3−1)
  正極集電体グリーンシートおよび負極集電体グリーンシートを作製するときに、金ペーストの代わりに、パラジウムペーストを用いた。パラジウムの量は、このペーストの25重量%とした。正極集電体グリーンシートおよび負極集電体グリーンシートの厚さは、それぞれ10μmとした。また、グリーンチップを焼結するときの最高温度を900℃から950℃に変更した。これら以外は、電池21の作製方法と同様にして、電池3−1を作製した。<< Example 3-1 >>
 (Battery 3-1)
 When producing the positive electrode current collector green sheet and the negative electrode current collector green sheet, a palladium paste was used instead of the gold paste. The amount of palladium was 25% by weight of this paste. The thickness of the positive electrode current collector green sheet and the negative electrode current collector green sheet was 10 μm, respectively. Further, the maximum temperature when the green chip was sintered was changed from 900 ° C. to 950 ° C. A battery 3-1 was produced in the same manner as the production method of the
  なお、グリーンチップを焼結して得られる焼結体の寸法は幅約3.2mm、奥行き約1.6mm、高さ約0.45mmであった。上記実施例1−2と同様に、その焼結体全てがLi1.3Al0.3Ti1.7(PO4)3であると仮定して、焼結体の充填率を求めた。その結果、充填率は、85%程度であった。
  また、焼結体の研磨断面をSEM観察したところ、正極活物質層および負極活物質層の厚さは、それぞれ約1μmおよび約2μmであった。正極活物質層内に配置された正極集電体層および負極活物質層内に負極集電体の厚さは、それぞれ4μm程度であった。The sintered body obtained by sintering the green chip had a width of about 3.2 mm, a depth of about 1.6 mm, and a height of about 0.45 mm. As in Example 1-2, assuming that all the sintered bodies were Li1.3 Al0.3 Ti1.7 (PO4 )3 , the filling rate of the sintered bodies was determined. As a result, the filling rate was about 85%.
 Further, when the polished cross section of the sintered body was observed by SEM, the thicknesses of the positive electrode active material layer and the negative electrode active material layer were about 1 μm and about 2 μm, respectively. The thickness of the negative electrode current collector in each of the positive electrode current collector layer and the negative electrode active material layer disposed in the positive electrode active material layer was about 4 μm.
  正極集電体層および負極集電体層の多孔度は、例えば、以下のようにして求めることができる。
  正極集電体グリーンシートまたは負極集電体グリーンシートにおいて、単位面積あたりのパラジウムの重量を求める。焼結すると集電体グリーンシートは収縮する。収縮した後の単位面積あたりのパラジウム重量を、前記グリーンシートの単位面積あたりのパラジウム重量を用いて計算する。次いで、焼結後の集電体層の見かけの厚さをSEMにより測定する。こうして、集電体層の体積とそれに含まれるパラジウムの量を求めることができる。これらの値を用いて、集電体層の多孔度を求めることができる。以下の実施例では、このようにして多孔度を求めた。
  その結果、正極集電体層および負極集電体層の多孔度は、それぞれ50%であった。The porosity of the positive electrode current collector layer and the negative electrode current collector layer can be determined, for example, as follows.
 In the positive electrode current collector green sheet or the negative electrode current collector green sheet, the weight of palladium per unit area is obtained. When sintered, the current collector green sheet shrinks. The palladium weight per unit area after shrinkage is calculated using the palladium weight per unit area of the green sheet. Next, the apparent thickness of the current collector layer after sintering is measured by SEM. Thus, the volume of the current collector layer and the amount of palladium contained therein can be determined. Using these values, the porosity of the current collector layer can be determined. In the following examples, the porosity was thus determined.
 As a result, the porosity of the positive electrode current collector layer and the negative electrode current collector layer was 50%, respectively.
(電池3−2)
  パラジウムペーストにおけるパラジウムの量を65重量%にしたこと以外は、電池3−1の作製方法と同様にして、電池3−2を作製した。焼成後の正極集電体層および負極集電体層の多孔度は、それぞれ20%であった。(Battery 3-2)
 A battery 3-2 was produced in the same manner as the battery 3-1, except that the amount of palladium in the palladium paste was 65% by weight. The porosity of the positive electrode current collector layer and the negative electrode current collector layer after firing was 20%, respectively.
(電池3−3)
  パラジウムペーストにおけるパラジウムの量を20重量%にしたこと以外は、電池3−1の作製方法と同様にして、電池3−3を作製した。焼成後の正極集電体層および負極集電体層の多孔度は、それぞれ60%であった。(Battery 3-3)
 A battery 3-3 was produced in the same manner as the battery 3-1, except that the amount of palladium in the palladium paste was 20% by weight. The porosity of the positive electrode current collector layer and the negative electrode current collector layer after firing was 60%.
(電池3−4)
  パラジウムペーストにおけるパラジウムの量を70重量%にしたこと以外は、電池3−1の作製方法と同様にして、比較電池3−1を作製した。焼成後の正極集電体層および負極集電体層の多孔度は、それぞれ15%であった。(Battery 3-4)
 A comparative battery 3-1 was produced in the same manner as the battery 3-1, except that the amount of palladium in the palladium paste was 70% by weight. The porosity of the positive electrode current collector layer and the negative electrode current collector layer after firing was 15%, respectively.
(電池3−5)
  パラジウムペーストにおけるパラジウムの量を10重量%にしたこと以外は、電池3−1の作製方法と同様にして、比較電池3−2を作製した。焼成後の正極集電体層および負極集電体層の多孔度は、それぞれ70%であった。(Battery 3-5)
 A comparative battery 3-2 was produced in the same manner as the battery 3-1, except that the amount of palladium in the palladium paste was 10% by weight. The porosity of the positive electrode current collector layer and the negative electrode current collector layer after firing was 70%.
  電池3−1〜3−5について、各10セルずつ、露点−50℃、温度25℃の雰囲気中で、10μAの電流値で、定電流充放電を1回行った。このとき、上限カット電圧は2.2Vとし、下限カット電圧は1.0Vとした。
  各電池について、破損することなく充放電できたセルの初期放電容量、および構造欠陥が発生したセルの数を表16に示す。For batteries 3-1 to 3-5, 10 cells each were subjected to constant current charging and discharging once at a current value of 10 μA in an atmosphere with a dew point of −50 ° C. and a temperature of 25 ° C. At this time, the upper limit cut voltage was 2.2 V, and the lower limit cut voltage was 1.0 V.
 For each battery, Table 16 shows the initial discharge capacity of the cells that could be charged and discharged without being damaged, and the number of cells in which structural defects occurred.
電池3−1〜3−3については充放電が可能であった。一方、電池3−4および3−5についても充放電が可能であった。電池3−5の初期放電容量は、他の電池と比較して減少していた。なお、電池容量は、積層数を増やすことにより、大きくすることが可能である。 The batteries 3-1 to 3-3 could be charged / discharged. On the other hand, the batteries 3-4 and 3-5 could be charged / discharged. The initial discharge capacity of the battery 3-5 was reduced as compared with other batteries. Note that the battery capacity can be increased by increasing the number of stacked layers.
電池3−4については、4つのセルにおいて、クラックや、デラミネーションが観察された。それらが観察されたセルについては、充分な放電容量を得ることができなかった。 Regarding the battery 3-4, cracks and delamination were observed in the four cells. For cells in which they were observed, a sufficient discharge capacity could not be obtained.
  電池3−1〜3−3は、集電体の多孔度が20〜60%であり、活物質の充放電に伴う体積変動を緩和する役目を果たしていると考えられる。それに比べ、集電体の多孔度が15%である電池3−4においては、リチウムイオンの吸蔵および放出による活物質の体積変動を緩和できなくなるために、破損する電池が増加したと考えられる。
  また、集電体の多孔度が70%である電池3−5においては、電池の破損は発生しなかったが、その容量が、60〜70%程度に落ち込んだ。このような容量の低下は、集電体の集電性が低下しているためであると考えられる。したがって、正極集電体層および負極集電体層の多孔度は20〜60%であることが好ましい。Batteries 3-1 to 3-3 have a current collector porosity of 20 to 60%, and are considered to play a role in mitigating volume fluctuations associated with charge and discharge of the active material. In contrast, in the battery 3-4 in which the porosity of the current collector is 15%, the volume change of the active material due to insertion and extraction of lithium ions cannot be reduced, and it is considered that the number of batteries that are damaged increased.
 Moreover, in the battery 3-5 in which the porosity of the current collector was 70%, the battery was not damaged, but the capacity dropped to about 60 to 70%. Such a decrease in capacity is considered to be due to a decrease in the current collecting property of the current collector. Therefore, the porosity of the positive electrode current collector layer and the negative electrode current collector layer is preferably 20 to 60%.
以上のように、集電体層の多孔度を20〜60%とすることにより、充放電時に起こる活物質の膨張収縮が原因で発生するデラミネーションや積層型全固体電池のクラックを抑制し、信頼性の高い積層型全固体リチウム二次電池を作製できることがわかる。 As described above, by setting the porosity of the current collector layer to 20 to 60%, it is possible to suppress delamination caused by expansion and contraction of the active material that occurs during charging and discharging, and cracks in the stacked all-solid battery, It can be seen that a highly reliable stacked all-solid lithium secondary battery can be manufactured.
《実施例3−2》
  本実施例では、他の活物質材料を用いた場合でも、集電体の多孔度が、放電容量および構造欠陥に影響を及ぼすことについて検討した。
(電池3−6)
  LiCoPO4の代わりに、LiMnPO4を正極活物質として用いたこと以外、電池3−1の作製方法と同様にして、電池3−6を作製した。<< Example 3-2 >>
 In this example, it was examined that the porosity of the current collector affects the discharge capacity and structural defects even when other active material is used.
 (Battery 3-6)
 Instead of LiCoPO4, except for the use of LiMnPO4 as a positive electrode active material was obtained in the same manner as the battery 3-1, the battery was fabricated 3-6.
(電池3−7)
  LiCoPO4の代わりに、LiFePO4を正極活物質として用いた。また、酸素分圧が所定の値に制御された、CO2とH2とを含む雰囲気ガス中で、グリーンチップを焼成した。なお、600℃に5時間維持して、グリーンチップに含まれるバインダーを分解させた。この雰囲気ガスにおいて、CO2とH2との混合比を103:1とした。
  これら以外は、電池3−1の作製方法と同様にして、電池3−7を作製した。(Battery 3-7)
 LiFePO4 was used as the positive electrode active material instead of LiCoPO4 . Further, the green chip was fired in an atmospheric gas containing CO2 and H2 with the oxygen partial pressure controlled to a predetermined value. The binder contained in the green chip was decomposed by maintaining at 600 ° C. for 5 hours. In this atmosphere gas, the mixing ratio of CO2 and H2 was 103 : 1.
 A battery 3-7 was produced in the same manner as the battery 3-1, except for the above.
(電池3−8)
  LiCoPO4の代わりに、LiMn0.7Fe0.3PO4を正極活物質として用いた。また、酸素分圧が所定の値に制御された、CO2とH2とを含む雰囲気ガス中で、グリーンチップを焼成した。なお、600℃に5時間維持して、グリーンチップに含まれるバインダーを分解させた。この雰囲気ガスにおいて、CO2とH2との混合比を103:1とした。
  これら以外は、電池3−1の作製方法と同様にして、電池3−8を作製した。(Battery 3-8)
 Instead of LiCoPO4 , LiMn0.7 Fe0.3 PO4 was used as the positive electrode active material. Further, the green chip was fired in an atmospheric gas containing CO2 and H2 with the oxygen partial pressure controlled to a predetermined value. The binder contained in the green chip was decomposed by maintaining at 600 ° C. for 5 hours. In this atmosphere gas, the mixing ratio of CO2 and H2 was 103 : 1.
 A battery 3-8 was produced in the same manner as the battery 3-1, except for the above.
(電池3−9)
  Li3Fe2(PO4)3の代わりにFePO4を負極活物質として用いたこと以外は、電池3−1の作製方法と同様にして、電池3−9を作製した。(Battery 3-9)
 A battery 3-9 was produced in the same manner as the battery 3-1, except that FePO4 was used as the negative electrode active material instead of Li3 Fe2 (PO4 )3 .
(電池3−10)
  Li3Fe2(PO4)3の代わりにLiFeP2O7を負極活物質として用いたこと以外は、電池3−1の作製方法と同様にして、電池3−10を作製した。(Battery 3-10)
 A battery 3-10 was produced in the same manner as the battery 3-1, except that LiFeP2 O7 was used as the negative electrode active material instead of Li3 Fe2 (PO4 )3 .
(電池3−11)
  Li3Fe2(PO4)3の代わりにLi1.3Al0.3Ti1.7(PO4)3を用いたこと以外は、電池3−1の作製方法と同様にして、電池3−11を作製した。(Battery 3-11)
 A battery 3-11 was produced in the same manner as the battery 3-1, except that Li1.3 Al0.3 Ti1.7 (PO4 )3 was used instead of Li3 Fe2 (PO4 )3 .
(電池3−12)
  パラジウムペーストにおけるパラジウムの量を75重量%にしたこと以外は、電池3−6の作製方法と同様にして、電池3−12を作製した。焼成後の正極集電体層および負極集電体層の多孔度は、それぞれ10%であった。(Battery 3-12)
 A battery 3-12 was produced in the same manner as the battery 3-6, except that the amount of palladium in the palladium paste was 75% by weight. The porosity of the positive electrode current collector layer and the negative electrode current collector layer after firing was 10%, respectively.
(電池3−13)
  パラジウムペーストにおけるパラジウムの量を75重量%にしたこと以外は、電池3−7の作製方法と同様にして、電池3−13を作製した。焼成後の正極集電体層および負極集電体層の多孔度は、それぞれ10%であった。(Battery 3-13)
 A battery 3-13 was produced in the same manner as the battery 3-7, except that the amount of palladium in the palladium paste was 75% by weight. The porosity of the positive electrode current collector layer and the negative electrode current collector layer after firing was 10%, respectively.
(電池3−14)
  パラジウムペーストにおけるパラジウムの量を75重量%にしたこと以外は、電池3−8の作製方法と同様にして、電池3−14を作製した。焼成後の正極集電体層および負極集電体層の多孔度は、それぞれ10%であった。(Battery 3-14)
 A battery 3-14 was produced in the same manner as the battery 3-8, except that the amount of palladium in the palladium paste was 75% by weight. The porosity of the positive electrode current collector layer and the negative electrode current collector layer after firing was 10%, respectively.
(電池3−15)
  パラジウムペーストにおけるパラジウムの量を75重量%にしたこと以外は、電池3−9の作製方法と同様にして、電池3−15を作製した。焼成後の正極集電体層および負極集電体層の多孔度は、それぞれ10%であった。(Battery 3-15)
 A battery 3-15 was produced in the same manner as the battery 3-9, except that the amount of palladium in the palladium paste was 75% by weight. The porosity of the positive electrode current collector layer and the negative electrode current collector layer after firing was 10%, respectively.
(電池3−16)
  パラジウムペーストにおけるパラジウムの量を75重量%にしたこと以外は、電池3−10の作製方法と同様にして、電池3−16を作製した。焼成後の正極集電体層および負極集電体層の多孔度は、それぞれ10%であった。(Battery 3-16)
 A battery 3-16 was produced in the same manner as the battery 3-10, except that the amount of palladium in the palladium paste was 75% by weight. The porosity of the positive electrode current collector layer and the negative electrode current collector layer after firing was 10%, respectively.
(電池3−17)
  パラジウムペーストにおけるパラジウムの量を75重量%にしたこと以外は、電池3−11の作製方法と同様にして、電池3−17を作製した。焼成後の正極集電体層および負極集電体層の多孔度は、それぞれ10%であった。(Battery 3-17)
 A battery 3-17 was produced in the same manner as the battery 3-11 except that the amount of palladium in the palladium paste was 75% by weight. The porosity of the positive electrode current collector layer and the negative electrode current collector layer after firing was 10%, respectively.
電池3−6〜3−17について、各10セルずつ、露点−50℃、温度25℃の雰囲気中で、10μAの電流値で、定電流充放電を1回行った。このときの各電池の上限カット電圧および下限カット電圧を表17に示す。各電池について、破損することなく充放電できたセルの初期放電容量を表17に示す。また、構造欠陥が発生したセルの数を表18に示す。 For batteries 3-6 to 3-17, 10 cells each were charged and discharged at a constant current once at a current value of 10 μA in an atmosphere with a dew point of −50 ° C. and a temperature of 25 ° C. Table 17 shows the upper limit cut voltage and lower limit cut voltage of each battery at this time. Table 17 shows the initial discharge capacities of the cells that were able to be charged and discharged without being damaged for each battery. Table 18 shows the number of cells in which structural defects occurred.
電池3−6〜3−11については充放電が可能であった。電池3−12〜3−17についても充放電が可能であり、その初期放電容量は、電池3−6〜3−11のそれとほぼ一致していた。 The batteries 3-6 to 3-11 could be charged / discharged. The batteries 3-12 to 3-17 can also be charged / discharged, and the initial discharge capacities thereof substantially coincided with those of the batteries 3-6 to 3-11.
しかしながら、電池3−12〜3−17において、クラックや、デラミネーションが観察されたセルがあった。それらが観察されたセルについては。充分な放電容量を得ることができなかった。 However, in batteries 3-12 to 3-17, there were cells in which cracks and delamination were observed. For the cells where they were observed. A sufficient discharge capacity could not be obtained.
一方で、電池3−6〜3−11については、電池3−12〜3−17と比較して、構造欠陥が発生したセルの数は少なかった。これは、集電体層の多孔度を20〜60%とすることにより、集電体層が緩衝層としての役割を果たし、活物質の充放電に伴う体積変化をその集電体層が十分に吸収することができたためと考えられる。 On the other hand, about the batteries 3-6 to 3-11, compared with the batteries 3-12 to 3-17, there were few cells in which the structural defect generate | occur | produced. This is because the current collector layer plays a role as a buffer layer by setting the porosity of the current collector layer to 20 to 60%, and the current collector layer has sufficient volume change due to charging / discharging of the active material. It is thought that it was able to absorb it.
《実施例3−3》
  本実施例では、卑金属材料から構成される集電体を用いた。
(電池3−18)
  正極活物質としてはLiCoPO4を用い、固体電解質としては、Li1.3Al0.3Ti1.7(PO4)3を用いた。なお、この固体電解質層は、負極活物質を兼ねる。
  正極集電体層および負極集電体層に含まれる金属材料としては銅を用いた。なお、集電体材料のペーストにおける銅の量は、そのペーストの30重量%とした。
  グリーンチップは、酸素分圧が所定の小さいな値に制御された、CO2とH2とを含む雰囲気ガス中において焼結した。なお、雰囲気ガスにおいて、CO2とH2との体積比は、103:1とした。
  また、グリーンチップの焼結において、バインダーの分解温度は600℃とした。
  これら以外は、電池3−1の作製方法と同様にして、電池3−18を作製した。焼成後の正極集電体層および負極集電体層の多孔度は、それぞれ50%であった。<< Example 3-3 >>
 In this example, a current collector made of a base metal material was used.
 (Battery 3-18)
 LiCoPO4 was used as the positive electrode active material, and Li1.3 Al0.3 Ti1.7 (PO4 )3 was used as the solid electrolyte. The solid electrolyte layer also serves as a negative electrode active material.
 Copper was used as the metal material contained in the positive electrode current collector layer and the negative electrode current collector layer. The amount of copper in the current collector material paste was 30% by weight of the paste.
 The green chip was sintered in an atmospheric gas containing CO2 and H2 in which the oxygen partial pressure was controlled to a predetermined small value. In the atmospheric gas, the volume ratio of CO2 and H2 was 103 : 1.
 In the sintering of the green chip, the decomposition temperature of the binder was 600 ° C.
 A battery 3-18 was produced in the same manner as the battery 3-1, except for the above. The porosity of the positive electrode current collector layer and the negative electrode current collector layer after firing was 50%, respectively.
(電池3−19)
  正極集電体層および負極集電体層に含まれる金属材料にコバルトを用いた。グリーンチップを焼成するときの雰囲気ガスにおけるCO2とH2との体積比を10:1に変更した。また、グリーンチップに含まれるバインダーを、600℃で72時間加熱することにより分解した。これら以外は、電池3−18の作製方法と同様にして、電池3−19を作製した。焼成後の正極集電体層および負極集電体層の多孔度は、それぞれ50%であった。(Battery 3-19)
 Cobalt was used for the metal material contained in the positive electrode current collector layer and the negative electrode current collector layer. The volume ratio of CO2 and H2 in the atmospheric gas when firing the green chip was changed to 10: 1. Further, the binder contained in the green chip was decomposed by heating at 600 ° C. for 72 hours. A battery 3-19 was produced in the same manner as the battery 3-18, except for the above. The porosity of the positive electrode current collector layer and the negative electrode current collector layer after firing was 50%, respectively.
(電池3−20)
  正極集電体層および負極集電体層に含まれる金属材料にニッケルを用いた。グリーンチップを焼成するときの雰囲気ガスにおけるCO2とH2との体積比を40:1に変更した。また、グリーンチップに含まれるバインダーを、600℃で48時間加熱することにより分解した。これら以外は、電池3−18の作製方法と同様にして、電池3−20を作製した。焼成後の正極集電体層および負極集電体層の多孔度は、それぞれ50%であった。(Battery 3-20)
 Nickel was used for the metal material contained in the positive electrode current collector layer and the negative electrode current collector layer. The volume ratio of CO2 and H2 in the atmospheric gas when firing the green chip was changed to 40: 1. Further, the binder contained in the green chip was decomposed by heating at 600 ° C. for 48 hours. A battery 3-20 was produced in the same manner as the battery 3-18, except for the above. The porosity of the positive electrode current collector layer and the negative electrode current collector layer after firing was 50%, respectively.
(電池3−21)
  正極集電体層および負極集電体層に含まれる金属材料にステンレス鋼を用いた。グリーンチップの焼成の最高温度を1000℃に変更した。これら以外は、電池3−18の作製方法と同様にして、電池3−21を作製した。焼成後の正極集電体層および負極集電体層の多孔度は、それぞれ50%であった。(Battery 3-21)
 Stainless steel was used for the metal material contained in the positive electrode current collector layer and the negative electrode current collector layer. The maximum temperature of green chip firing was changed to 1000 ° C. A battery 3-21 was produced in the same manner as the battery 3-18, except for the above. The porosity of the positive electrode current collector layer and the negative electrode current collector layer after firing was 50%, respectively.
(比較電池3−1)
  正極集電体層および負極集電体層に含まれる金属材料にチタンを用いた。グリーンチップの焼成の最高温度を900℃に変更した。これら以外は、電池3−18の作製方法と同様にして、比較電池3−1を作製した。焼成後の正極集電体層および負極集電体層の多孔度は、それぞれ50%であった。(Comparative battery 3-1)
 Titanium was used as the metal material contained in the positive electrode current collector layer and the negative electrode current collector layer. The maximum temperature of green chip firing was changed to 900 ° C. A comparative battery 3-1 was produced in the same manner as the battery 3-18, except for these. The porosity of the positive electrode current collector layer and the negative electrode current collector layer after firing was 50%, respectively.
電池3−18〜3−21および比較電池3−1について、各10セルずつ、電池3−11と同様の条件(上限カット電圧2.5V、下限カット電圧1.0V)で、定電流充放電を行った。各電池において、欠陥を起こすことなく充放電できたセルの初期放電容量、および構造欠陥が発生したセルの数を表19に示す。 For batteries 3-18 to 3-21 and comparative battery 3-1, 10 cells each were charged and discharged at a constant current under the same conditions as battery 3-11 (upper cut voltage 2.5 V, lower cut voltage 1.0 V). Went. Table 19 shows the initial discharge capacity of the cells that could be charged and discharged without causing defects and the number of cells in which structural defects occurred in each battery.
電池3−18〜3−21の結果より、卑金属を集電体材料として用いた場合でも、焼成時の雰囲気ガスの酸素分圧を制御しながら、グリーンチップの焼成を行えば、集電体材料が酸化されることを防止することができる。このため、卑金属を集電体材料として用いた固体電池は、充放電が可能となる。 From the results of the batteries 3-18 to 3-21, even when a base metal is used as the current collector material, the current collector material can be obtained by firing the green chip while controlling the oxygen partial pressure of the atmospheric gas during firing. Can be prevented from being oxidized. For this reason, the solid battery using a base metal as a current collector material can be charged and discharged.
比較電池3−1においては、クラックおよび/またはデラミレーションが発生したセルはなかった。しかし、比較電池3−1は、充放電自体ができなかった。これは、集電体層を構成するチタン自体が酸化されて、その集電体層が集電性を維持できなくなったためであると考えられる。なお、グリーンチップの焼成を、チタンが酸化しない雰囲気で行うことが考えられるが、このような雰囲気を用いた場合、バインダーの分解は不可能となる。 In Comparative Battery 3-1, there was no cell in which cracks and / or delamination occurred. However, the comparative battery 3-1 could not be charged / discharged. This is considered to be because titanium itself constituting the current collector layer was oxidized, and the current collector layer could not maintain current collecting properties. Note that it is conceivable that the green chip is fired in an atmosphere in which titanium is not oxidized. However, when such an atmosphere is used, the binder cannot be decomposed.
以上のように、雰囲気ガスの酸素分圧を調節することにより、ある程度酸化に強い金属材料を、集電体材料として用いることが可能であることがわかる。 As described above, it is understood that a metal material that is resistant to oxidation to some extent can be used as the current collector material by adjusting the oxygen partial pressure of the atmospheric gas.
《実施例3−5》
  本実施例では、正極集電体層および負極集電体層の多孔度をそれぞれ10%とした。
(電池3−22)
  正極集電体層および負極集電体層を形成するための銅ペーストにおいて、銅の量をそのペーストの70重量%とした。このこと以外は、電池3−18の作製方法と同様にして、電池3−22を作製した。正極集電体層および負極集電体層の多孔度は、それぞれ10%であった。<< Example 3-5 >>
 In this example, the porosity of the positive electrode current collector layer and the negative electrode current collector layer was 10%.
 (Battery 3-22)
 In the copper paste for forming the positive electrode current collector layer and the negative electrode current collector layer, the amount of copper was 70% by weight of the paste. A battery 3-22 was produced in the same manner as the battery 3-18, except for this. The porosity of each of the positive electrode current collector layer and the negative electrode current collector layer was 10%.
(電池3−23)
  正極集電体層および負極集電体層を形成するためのコバルトペーストにおいて、コバルトの量をそのペーストの70重量%とした。このこと以外は、電池3−19の作製方法と同様にして、電池3−23を作製した。正極集電体層および負極集電体層の多孔度は、それぞれ10%であった。(Battery 3-23)
 In the cobalt paste for forming the positive electrode current collector layer and the negative electrode current collector layer, the amount of cobalt was 70% by weight of the paste. A battery 3-23 was produced in the same manner as the battery 3-19, except for this. The porosity of each of the positive electrode current collector layer and the negative electrode current collector layer was 10%.
(電池3−24)
  正極集電体層および負極集電体層を形成するためのニッケルペーストにおいて、ニッケルの量をそのペーストの70重量%とした。このこと以外は、電池3−20の作製方法と同様にして、電池3−24を作製した。正極集電体層および負極集電体層の多孔度は、それぞれ10%であった。(Battery 3-24)
 In the nickel paste for forming the positive electrode current collector layer and the negative electrode current collector layer, the amount of nickel was 70% by weight of the paste. A battery 3-24 was produced in the same manner as the battery 3-20, except for this. The porosity of each of the positive electrode current collector layer and the negative electrode current collector layer was 10%.
(電池3−25)
  正極集電体層および負極集電体層を形成するためのステンレス鋼ペーストにおいて、ステンレス鋼の量をそのペーストの70重量%とした。このこと以外は、電池3−21の作製方法と同様にして、電池3−25を作製した。正極集電体層および負極集電体層の多孔度は、それぞれ10%であった。(Battery 3-25)
 In the stainless steel paste for forming the positive electrode current collector layer and the negative electrode current collector layer, the amount of stainless steel was 70% by weight of the paste. A battery 3-25 was produced in the same manner as the battery 3-21, except for this. The porosity of each of the positive electrode current collector layer and the negative electrode current collector layer was 10%.
電池3−22〜3−25について、各10セルずつ、電池3−18と同様の条件(上限カット電圧2.5V、下限カット電圧1.0V)にて、定電流充放電を行った。各電池において、欠陥を起こすことなく充放電できたセルの初期放電容量、および構造欠陥が発生したセルの数を表20に示す。 For batteries 3-22 to 3-25, each cell was charged and discharged at a constant current under the same conditions (upper limit cut voltage 2.5 V, lower limit cut voltage 1.0 V) as battery 3-18. Table 20 shows the initial discharge capacity of the cells that could be charged and discharged without causing defects and the number of cells in which structural defects occurred in each battery.
電池3−22〜2−25の初期放電容量は、電池3−18〜3−21の初期放電容量と同程度であった。電池3−22〜3−25においては、正極集電体層および負極集電体層の多孔度が10%であるため、集電体層は、充放電時に起こる活物質の体積変化を緩衝することが困難となる。このため、電池3−22〜3−25においては、構造欠陥が発生したセルの数が増加したものと考えられる。 The initial discharge capacities of the batteries 3-22 to 2-25 were almost the same as the initial discharge capacities of the batteries 3-18 to 3-21. In batteries 3-22 to 3-25, since the porosity of the positive electrode current collector layer and the negative electrode current collector layer is 10%, the current collector layer buffers the volume change of the active material that occurs during charging and discharging. It becomes difficult. For this reason, in the batteries 3-22 to 3-25, it is considered that the number of cells in which the structural defect has occurred increased.
以上のように、貴金属の他、酸化にある程度強い卑金属からなる集電体層を用いることができる。また、その多孔度を20〜60%とすることにより、充放電時の活物質の体積変化により発生するデラミネーションおよび/またはクラックを抑制することができる。よって、信頼性の高い全固体リチウム二次電池を提供できる。 As described above, a current collector layer made of a base metal that is resistant to oxidation to some extent in addition to a noble metal can be used. Moreover, the delamination and / or crack which generate | occur | produce by the volume change of the active material at the time of charging / discharging can be suppressed by making the porosity into 20 to 60%. Therefore, a highly reliable all-solid lithium secondary battery can be provided.
本発明の積層体は、固体電解質層および活物質層を熱処理により緻密化または結晶化させつつ、電気化学的に活性な活物質/固体電解質界面を有し、内部抵抗が低い。このような、積層体を用いるより、例えば、大容量でハイレート特性に優れた全固体リチウム二次電池を提供することが可能となる。 The laminate of the present invention has an electrochemically active active material / solid electrolyte interface and a low internal resistance while the solid electrolyte layer and the active material layer are densified or crystallized by heat treatment. Rather than using such a laminate, for example, it is possible to provide an all-solid lithium secondary battery having a large capacity and excellent high-rate characteristics.
  1、3  キャリアフィルム
  2  固体電解質グリーンシート
  4  正極活物質グリーンシート
  5  支持台
  6  ポリエステルフィルム
  7  固体電解質グリーンシート群
  8  グリーンチップ
  9  固体電解質面
  10  セラミックス板
  11  第1積層体
  11a  正極活物質層
  11b  固体電解質層
  12  金薄膜
  13  積層体の側面
  14  金属リチウム箔
  15  SUS板
  16、27  PEO−LiTFSI層
  17  固体電解質面
  21  窒化ケイ素からなる層
  22  単結晶ケイ素板
  23  チタン薄膜
  24  金薄膜
  25  LiCoPO4薄膜
  26  LiTi2(PO4)3薄膜
  28  金属リチウム薄膜
  29  銅薄膜DESCRIPTION OF
  30  キャリアフィルム
  31  固体電解質グリーンシート
  32  正極活物質グリーンシート
  33  負極活物質グリーンシート
  34  支持台
  35  ポリエステルフィルム
  36  固体電解質グリーンシート群
  37  グリーンチップ
  38  セラミックス板
  39  第2積層体
  39a  正極活物質層
  39b  固体電解質層
  39c  負極活物質層
  40、41  金薄膜
  42  積層体の各側面
  43  窒化ケイ素からなる層
  44  単結晶ケイ素基板
  45  チタン薄膜層
  46  金薄膜
  47  LiCoPO4薄膜
  48  LiTi2(PO4)3薄膜
  49  Li3Fe2(PO4)3薄膜
  50  銅薄膜
  51  金属製ケース
  52  金属製封口板
  53  ナイロン製ガスケット
  54  ニッケル製のスポンジメタル片
  55、56  銀薄膜
  57  銅製リード
  58  ハンダ
  59  エポキシ樹脂DESCRIPTION OF
  60  キャリアフィルム
  61、75  固体電解質グリーンシート
  62、74  正極活物質グリーンシート
  63  正極活物質グリーンシートが直線状に並んだ列
  64、77  正極集電体グリーンシート
  65、76  負極活物質グリーンシート
  66、78  負極集電体グリーンシート
  67  支持台
  68  ポリエステルフィルム
  69  固体電解質グリーンシート群
  70  負極積層物
  71  正極積層物
  72  積層物
  73  グリーンチップ
  79  焼結体
  80、94  正極集電体露出面
  81、95  負極集電体露出面
  82、96  正極外部集電体
  83、97  負極外部集電体
  84、90  三次元網目状の集電体を含む正極活物質グリーンシート
  85  正極シート
  86、92  三次元網目状の集電体を含む負極活物質グリーンシート
  87  負極シート
  88  積層物
  89  グリーンチップ
  90  固体電解質グリーンシート
  93  焼結体
  98  ガラス層60
  99  キャリアフィルム
  100  固体電解質グリーンシート
  101  正極活物質グリーンシート
  102  列
  103  正極集電体グリーンシート
  104  負極集電体グリーンシート
  105  支持台
  106  ポリエステルフィルム
  107  固体電解質グリーンシート群
  108  負極兼固体電解質シート
  109  正極積層物
  110  積層物
  111  グリーンチップ
  112  焼結体
  113  正極集電体露出面
  114  負極集電体露出面
  115  正極外部集電体
  116  負極外部集電体
99
| Application Number | Priority Date | Filing Date | Title | 
|---|---|---|---|
| JP2005357888AJP5165843B2 (en) | 2004-12-13 | 2005-12-12 | Laminated body including active material layer and solid electrolyte layer, and all-solid lithium secondary battery using the same | 
| Application Number | Priority Date | Filing Date | Title | 
|---|---|---|---|
| JP2004360083 | 2004-12-13 | ||
| JP2004360083 | 2004-12-13 | ||
| JP2004366094 | 2004-12-17 | ||
| JP2004366094 | 2004-12-17 | ||
| JP2005002658 | 2005-01-07 | ||
| JP2005002658 | 2005-01-07 | ||
| JP2005144435 | 2005-05-17 | ||
| JP2005144435 | 2005-05-17 | ||
| JP2005155248 | 2005-05-27 | ||
| JP2005155248 | 2005-05-27 | ||
| JP2005357888AJP5165843B2 (en) | 2004-12-13 | 2005-12-12 | Laminated body including active material layer and solid electrolyte layer, and all-solid lithium secondary battery using the same | 
| Publication Number | Publication Date | 
|---|---|
| JP2007005279A JP2007005279A (en) | 2007-01-11 | 
| JP5165843B2true JP5165843B2 (en) | 2013-03-21 | 
| Application Number | Title | Priority Date | Filing Date | 
|---|---|---|---|
| JP2005357888AExpired - Fee RelatedJP5165843B2 (en) | 2004-12-13 | 2005-12-12 | Laminated body including active material layer and solid electrolyte layer, and all-solid lithium secondary battery using the same | 
| Country | Link | 
|---|---|
| JP (1) | JP5165843B2 (en) | 
| Publication number | Priority date | Publication date | Assignee | Title | 
|---|---|---|---|---|
| DE112018001770T5 (en) | 2017-03-30 | 2019-12-19 | Tdk Corporation | SOLID STATE LITHIUM SECONDARY BATTERY ION | 
| JPWO2020195310A1 (en)* | 2019-03-26 | 2020-10-01 | ||
| US11069898B2 (en) | 2017-03-28 | 2021-07-20 | Tdk Corporation | All-solid-state secondary battery | 
| Publication number | Priority date | Publication date | Assignee | Title | 
|---|---|---|---|---|
| JP5188677B2 (en)* | 2005-12-21 | 2013-04-24 | 三星エスディアイ株式会社 | Lithium secondary battery and method for producing lithium secondary battery | 
| US9444120B2 (en) | 2005-12-21 | 2016-09-13 | Samsung Sdi Co., Ltd. | Rechargeable lithium battery and method for manufacturing the same | 
| KR101367653B1 (en) | 2006-05-23 | 2014-03-06 | 나믹스 가부시끼가이샤 | All-solid-state secondary battery | 
| EP2093824A4 (en)* | 2006-11-14 | 2014-08-06 | Ngk Insulators Ltd | SOLID ELECTROLYTE STRUCTURE FOR A FULLY ELECTRONIC ACCUMULATOR, FULLY ELECTRONIC ACCUMULATOR, AND METHODS OF PRODUCING THE SAME | 
| JP4301286B2 (en) | 2006-12-21 | 2009-07-22 | トヨタ自動車株式会社 | Power storage device | 
| JP5717318B2 (en)* | 2007-02-13 | 2015-05-13 | ナミックス株式会社 | All solid state secondary battery | 
| JP5122847B2 (en)* | 2007-03-27 | 2013-01-16 | 日本碍子株式会社 | All-solid secondary battery and manufacturing method thereof | 
| JP4797105B2 (en)* | 2007-05-11 | 2011-10-19 | ナミックス株式会社 | Lithium ion secondary battery and manufacturing method thereof | 
| JP5253785B2 (en)* | 2007-10-23 | 2013-07-31 | パナソニック株式会社 | Dry polymer electrolyte and all solid polymer battery | 
| CN102623686B (en)* | 2007-06-22 | 2014-10-08 | 松下电器产业株式会社 | All solid-state polymer battery | 
| JP5317435B2 (en)* | 2007-06-22 | 2013-10-16 | パナソニック株式会社 | Negative electrode active material for all solid polymer battery and all solid polymer battery | 
| JP5164256B2 (en)* | 2007-11-12 | 2013-03-21 | 国立大学法人九州大学 | All solid state secondary battery | 
| JP5299860B2 (en)* | 2007-11-12 | 2013-09-25 | 国立大学法人九州大学 | All solid battery | 
| JP5304168B2 (en)* | 2007-11-12 | 2013-10-02 | 国立大学法人九州大学 | All solid battery | 
| JP4745323B2 (en)* | 2007-11-26 | 2011-08-10 | ナミックス株式会社 | Lithium ion secondary battery and manufacturing method thereof | 
| JP5144845B2 (en)* | 2008-01-31 | 2013-02-13 | 株式会社オハラ | Solid battery | 
| JP5312966B2 (en) | 2008-01-31 | 2013-10-09 | 株式会社オハラ | Method for producing lithium ion secondary battery | 
| JP5288816B2 (en)* | 2008-01-31 | 2013-09-11 | 株式会社オハラ | Solid battery | 
| JP2009181876A (en)* | 2008-01-31 | 2009-08-13 | Ohara Inc | Method of manufacturing laminate for lithium ion secondary battery | 
| EP2086046A1 (en) | 2008-01-31 | 2009-08-05 | Ohara Inc. | Manufacture of lithium ion secondary battery | 
| JP5289080B2 (en)* | 2008-01-31 | 2013-09-11 | 株式会社オハラ | Method for producing lithium ion secondary battery | 
| JP5192841B2 (en)* | 2008-02-15 | 2013-05-08 | 株式会社オハラ | Solid electrolyte manufacturing method and lithium battery manufacturing method | 
| JP2009218125A (en)* | 2008-03-11 | 2009-09-24 | Sumitomo Electric Ind Ltd | Lithium battery | 
| WO2009120812A2 (en)* | 2008-03-25 | 2009-10-01 | A123 Systems, Inc. | High energy high power electrodes and batteries | 
| JP2010034006A (en)* | 2008-07-31 | 2010-02-12 | Idemitsu Kosan Co Ltd | Solid lithium battery | 
| JP2010272494A (en) | 2008-08-18 | 2010-12-02 | Sumitomo Electric Ind Ltd | Non-aqueous electrolyte secondary battery and manufacturing method thereof | 
| CN102160232B (en)* | 2008-10-03 | 2014-07-02 | 丰田自动车株式会社 | Process for producing whole solid type lithium battery | 
| JP4728385B2 (en) | 2008-12-10 | 2011-07-20 | ナミックス株式会社 | Lithium ion secondary battery and manufacturing method thereof | 
| EP2353203B9 (en) | 2009-02-04 | 2014-04-16 | Kabushiki Kaisha Toyota Chuo Kenkyusho | Garnet-type lithium ion-conducting oxide and all-solid-state lithium ion secondary battery containing the same | 
| JP5484928B2 (en) | 2010-01-19 | 2014-05-07 | 株式会社オハラ | All solid battery | 
| JP5423495B2 (en)* | 2010-03-15 | 2014-02-19 | 株式会社Gsユアサ | Nonaqueous electrolyte secondary battery | 
| US20110236736A1 (en)* | 2010-03-26 | 2011-09-29 | Semiconductor Energy Laboratory Co., Ltd. | Energy storage device and manufacturing method thereof | 
| KR101930561B1 (en)* | 2010-06-07 | 2018-12-18 | 사푸라스트 리써치 엘엘씨 | Rechargeable high-density electrochemical device | 
| JP2012009255A (en)* | 2010-06-24 | 2012-01-12 | Toyota Motor Corp | Sulfide based solid electrolyte battery | 
| WO2012001808A1 (en) | 2010-07-01 | 2012-01-05 | トヨタ自動車株式会社 | Method for producing ceramic laminate, and ceramic laminate produced by the production method | 
| KR20130066661A (en)* | 2010-07-12 | 2013-06-20 | 가부시키가이샤 무라타 세이사쿠쇼 | All-solid-state battery | 
| DE112011103262T5 (en) | 2010-09-28 | 2013-07-18 | Toyota Jidosha Kabushiki Kaisha | Battery sintered body, manufacturing method of battery sintered body and solid state lithium battery | 
| EP2626909B1 (en) | 2010-10-07 | 2016-09-14 | Guala Technology Co., Ltd. | Secondary cell | 
| JP5556797B2 (en) | 2010-12-17 | 2014-07-23 | トヨタ自動車株式会社 | Secondary battery | 
| JP5752412B2 (en) | 2010-12-27 | 2015-07-22 | 株式会社アルバック | Thin-film lithium secondary battery manufacturing method and thin-film lithium secondary battery | 
| JP5778926B2 (en) | 2010-12-27 | 2015-09-16 | 株式会社アルバック | Manufacturing method of all solid lithium secondary battery and inspection method of all solid lithium secondary battery | 
| JP5826078B2 (en) | 2011-03-15 | 2015-12-02 | 株式会社オハラ | All solid state secondary battery | 
| CN103718371A (en)* | 2011-05-23 | 2014-04-09 | 国立大学法人名古屋工业大学 | Production method for material employed in energy device and/or electrical storage device, and material employed in energy device and/or electrical storage device | 
| JP5854045B2 (en) | 2011-06-20 | 2016-02-09 | 株式会社豊田中央研究所 | All-solid-state lithium secondary battery and manufacturing method thereof | 
| JPWO2013035519A1 (en)* | 2011-09-09 | 2015-03-23 | 株式会社村田製作所 | All-solid battery and method for manufacturing the same | 
| JP6265580B2 (en) | 2011-10-06 | 2018-01-24 | 株式会社村田製作所 | Battery and manufacturing method thereof | 
| CN104025274B (en) | 2011-10-30 | 2016-10-05 | 日本麦可罗尼克斯股份有限公司 | Use experimental rig and the test method of the quanta battery of semiconductor probe | 
| JP5811191B2 (en)* | 2011-12-28 | 2015-11-11 | 株式会社村田製作所 | All-solid battery and method for manufacturing the same | 
| JP2015099632A (en)* | 2012-03-07 | 2015-05-28 | 株式会社村田製作所 | All-solid battery | 
| US9070950B2 (en) | 2012-03-26 | 2015-06-30 | Semiconductor Energy Laboratory Co., Ltd. | Power storage element, manufacturing method thereof, and power storage device | 
| JP5960810B2 (en) | 2012-05-31 | 2016-08-02 | 株式会社日本マイクロニクス | Semiconductor probe, test apparatus and test method for quantum battery test | 
| CN104541401B (en) | 2012-08-28 | 2018-12-07 | 应用材料公司 | The manufacture of solid state battery group | 
| WO2014170998A1 (en)* | 2013-04-19 | 2014-10-23 | 株式会社 日立製作所 | All-solid-state lithium-ion secondary battery | 
| JP6028694B2 (en) | 2013-08-23 | 2016-11-16 | 株式会社豊田中央研究所 | Method for producing garnet-type ion conductive oxide and method for producing composite | 
| JP6446768B2 (en)* | 2013-09-06 | 2019-01-09 | 株式会社村田製作所 | Stacked lithium ion solid state battery | 
| JP6248498B2 (en)* | 2013-09-19 | 2017-12-20 | 株式会社村田製作所 | All-solid battery and method for manufacturing the same | 
| JP6264807B2 (en)* | 2013-09-25 | 2018-01-24 | 株式会社村田製作所 | All-solid battery and method for manufacturing the same | 
| JP6386224B2 (en)* | 2013-12-06 | 2018-09-05 | 株式会社オハラ | All solid battery | 
| JP2016028408A (en) | 2014-03-24 | 2016-02-25 | パナソニックIpマネジメント株式会社 | Power storage element and method of manufacturing the same | 
| JP6622974B2 (en)* | 2015-03-09 | 2019-12-18 | Fdk株式会社 | Manufacturing method of all solid state battery | 
| JP6608188B2 (en)* | 2015-06-23 | 2019-11-20 | 日立造船株式会社 | All-solid secondary battery and manufacturing method thereof | 
| CN107636874B (en)* | 2015-09-10 | 2020-12-25 | 日本瑞翁株式会社 | Binder composition for all-solid-state battery | 
| JP6734581B2 (en)* | 2016-04-15 | 2020-08-05 | 国立研究開発法人産業技術総合研究所 | All-solid-state lithium secondary battery and manufacturing method thereof | 
| KR101876025B1 (en)* | 2016-05-26 | 2018-07-06 | 현대자동차주식회사 | Method of manufacturing composite positive electrode for all-solid battery | 
| EP3252024B1 (en) | 2016-05-27 | 2019-12-18 | Toyota Jidosha Kabushiki Kaisha | Oxide electrolyte sintered body and method for producing the same | 
| JP6796784B2 (en)* | 2016-10-12 | 2020-12-09 | パナソニックIpマネジメント株式会社 | Solid electrolyte and secondary battery using it | 
| US20180226633A1 (en) | 2017-02-07 | 2018-08-09 | Samsung Electronics Co., Ltd. | Anode for all solid-state secondary battery, all solid-state secondary battery including the anode, and method of manufacturing the anode | 
| WO2018163514A1 (en)* | 2017-03-10 | 2018-09-13 | 株式会社村田製作所 | All-solid state battery and manufacturing method therefor, and electronic device and electronic card | 
| JP2019002047A (en)* | 2017-06-15 | 2019-01-10 | 昭和電工株式会社 | Sputtering target | 
| US11515534B2 (en) | 2017-06-27 | 2022-11-29 | Nippon Electric Glass Co., Ltd. | Positive electrode active material for sodium-ion secondary battery | 
| JP2019046721A (en) | 2017-09-05 | 2019-03-22 | トヨタ自動車株式会社 | Slurry, method for manufacturing solid electrolyte layer, and method for manufacturing all-solid battery | 
| JP6962094B2 (en) | 2017-09-21 | 2021-11-05 | トヨタ自動車株式会社 | Method for producing garnet-type ionic conductive oxide and oxide electrolyte sintered body | 
| JP6988473B2 (en) | 2017-12-28 | 2022-01-05 | トヨタ自動車株式会社 | Battery separators, lithium batteries, and methods for manufacturing these. | 
| WO2019167856A1 (en)* | 2018-03-02 | 2019-09-06 | 株式会社村田製作所 | All-solid battery | 
| JP6512332B2 (en)* | 2018-03-27 | 2019-05-15 | Tdk株式会社 | Lithium ion secondary battery | 
| FR3080957B1 (en) | 2018-05-07 | 2020-07-10 | I-Ten | MESOPOROUS ELECTRODES FOR THIN FILM ELECTROCHEMICAL DEVICES | 
| JP2018170297A (en)* | 2018-08-09 | 2018-11-01 | 株式会社オハラ | All-solid-state battery | 
| CN112567562B (en) | 2018-08-10 | 2023-12-05 | 株式会社村田制作所 | Solid-state battery | 
| EP3852181A4 (en)* | 2018-09-14 | 2022-06-22 | Murata Manufacturing Co., Ltd. | Solid-state battery and solid-state battery group | 
| WO2020054549A1 (en) | 2018-09-14 | 2020-03-19 | 株式会社村田製作所 | Solid-state battery and solid-state battery group | 
| CN112930614B (en) | 2018-10-29 | 2024-09-13 | 株式会社村田制作所 | Solid-state battery | 
| DE112019006390T5 (en) | 2018-12-25 | 2021-11-11 | Tdk Corporation | SOLID STATE BATTERY | 
| WO2020184476A1 (en) | 2019-03-08 | 2020-09-17 | Tdk株式会社 | All solid state secondary battery | 
| US12183890B2 (en) | 2019-03-15 | 2024-12-31 | Tdk Corporation | All-solid-state secondary battery | 
| JP7172778B2 (en)* | 2019-03-19 | 2022-11-16 | Tdk株式会社 | Method for manufacturing stacked all-solid-state battery | 
| CN113614968B (en) | 2019-03-29 | 2024-12-24 | 株式会社村田制作所 | Solid-state batteries | 
| WO2020217749A1 (en)* | 2019-04-25 | 2020-10-29 | 日本碍子株式会社 | Lithium secondary battery | 
| EP4044297A4 (en) | 2019-10-11 | 2024-08-21 | Murata Manufacturing Co., Ltd. | Solid-state battery | 
| JP7288216B2 (en) | 2019-12-18 | 2023-06-07 | ダイキン工業株式会社 | Slurry for solid secondary battery, method for forming layer for solid secondary battery, and solid secondary battery | 
| JP7509195B2 (en) | 2020-03-17 | 2024-07-02 | 株式会社村田製作所 | Solid-state battery | 
| EP3890077A1 (en)* | 2020-03-30 | 2021-10-06 | I-Ten | Lithium-ion battery and manufacturing method thereof | 
| US12107260B2 (en) | 2020-06-29 | 2024-10-01 | Taiyo Yuden Co., Ltd. | All solid battery and detecting method of end point voltage of the same | 
| JP7481649B2 (en) | 2020-09-09 | 2024-05-13 | ダイキン工業株式会社 | Binder for solid secondary battery, slurry for solid secondary battery, method for forming layer for solid secondary battery, and solid secondary battery | 
| JP7524875B2 (en)* | 2021-09-28 | 2024-07-30 | トヨタ自動車株式会社 | Solid-state battery and method for manufacturing the same | 
| WO2023054455A1 (en)* | 2021-09-29 | 2023-04-06 | 富士フイルム株式会社 | Sheet for electrode, all-solid secondary battery, and methods for producing sheet for electrode, electrode sheet, and all-solid secondary battery | 
| JPWO2023167100A1 (en) | 2022-03-04 | 2023-09-07 | ||
| CN114927765B (en)* | 2022-05-18 | 2024-07-05 | 鄂尔多斯市紫荆创新研究院 | All-solid-state battery and preparation method thereof | 
| CN115207269B (en)* | 2022-08-26 | 2025-08-12 | 深圳市合壹新能技术有限公司 | Composite electrode plate, manufacturing method thereof, solid-state battery and power utilization device | 
| WO2025033513A1 (en)* | 2023-08-08 | 2025-02-13 | 株式会社村田製作所 | Secondary battery | 
| CN119419342B (en)* | 2025-01-09 | 2025-03-18 | 赣州诺威科技有限公司 | A modified PEO-based composite solid electrolyte and preparation method thereof, and solid-state battery | 
| Publication number | Priority date | Publication date | Assignee | Title | 
|---|---|---|---|---|
| JP2001093535A (en)* | 1999-09-28 | 2001-04-06 | Kyocera Corp | Solid electrolyte battery | 
| JP2001155763A (en)* | 1999-11-26 | 2001-06-08 | Kyocera Corp | Solid electrolyte battery | 
| JP2001243983A (en)* | 2000-02-28 | 2001-09-07 | Kyocera Corp | Solid electrolyte battery | 
| JP2002042862A (en)* | 2000-07-26 | 2002-02-08 | Kyocera Corp | Lithium battery | 
| JP2003346895A (en)* | 2002-05-30 | 2003-12-05 | Fujitsu Ltd | Method for forming solid electrolyte and lithium battery | 
| JP5211447B2 (en)* | 2005-08-18 | 2013-06-12 | パナソニック株式会社 | All-solid lithium secondary battery and manufacturing method thereof | 
| JP5132613B2 (en)* | 2009-03-16 | 2013-01-30 | 京セラ株式会社 | Lithium battery | 
| Publication number | Priority date | Publication date | Assignee | Title | 
|---|---|---|---|---|
| US11069898B2 (en) | 2017-03-28 | 2021-07-20 | Tdk Corporation | All-solid-state secondary battery | 
| DE112018000279B4 (en) | 2017-03-28 | 2023-02-02 | Tdk Corporation | solid-state secondary battery | 
| DE112018001770T5 (en) | 2017-03-30 | 2019-12-19 | Tdk Corporation | SOLID STATE LITHIUM SECONDARY BATTERY ION | 
| US11342579B2 (en) | 2017-03-30 | 2022-05-24 | Tdk Corporation | All-solid-state lithium ion secondary battery having moisture-proof layer containing polymer compound and metal compound particles | 
| JPWO2020195310A1 (en)* | 2019-03-26 | 2020-10-01 | ||
| WO2020195310A1 (en)* | 2019-03-26 | 2020-10-01 | 株式会社村田製作所 | Solid-state battery | 
| JP7259938B2 (en) | 2019-03-26 | 2023-04-18 | 株式会社村田製作所 | solid state battery | 
| Publication number | Publication date | 
|---|---|
| JP2007005279A (en) | 2007-01-11 | 
| Publication | Publication Date | Title | 
|---|---|---|
| JP5165843B2 (en) | Laminated body including active material layer and solid electrolyte layer, and all-solid lithium secondary battery using the same | |
| KR100883044B1 (en) | Manufacturing method of laminate including active material layer and solid electrolyte layer and manufacturing method of all-solid lithium secondary battery using the laminate | |
| CN100495801C (en) | Laminate comprising active material layer and solid electrolyte layer, and all-solid-state lithium secondary battery using same | |
| JP7287904B2 (en) | Method for suppressing propagation of metal in solid electrolyte | |
| JP7276316B2 (en) | All-solid battery | |
| JP4980734B2 (en) | Solid battery manufacturing method | |
| KR102207038B1 (en) | Solid-state battery, separator, electrode, and method of manufacturing the same | |
| JP4797105B2 (en) | Lithium ion secondary battery and manufacturing method thereof | |
| JP5144845B2 (en) | Solid battery | |
| TWI646713B (en) | Solid state battery fabrication | |
| JP5644858B2 (en) | Stacked solid battery | |
| JP5312969B2 (en) | Method for producing lithium ion secondary battery | |
| JP5312966B2 (en) | Method for producing lithium ion secondary battery | |
| JP5519356B2 (en) | Lithium ion secondary battery and manufacturing method thereof | |
| JP5153065B2 (en) | Lithium ion secondary battery and solid electrolyte | |
| US20220149369A1 (en) | Energy device with lithium | |
| WO2012020699A1 (en) | Layered solid-state battery | |
| US20110003212A1 (en) | Lithium ion secondary battery and process for producing the secondary battery | |
| KR102770487B1 (en) | Composite cathode and lithium air battery comprising the same | |
| WO2014170998A1 (en) | All-solid-state lithium-ion secondary battery | |
| JP2004127743A (en) | Thin-film battery | |
| KR20180005990A (en) | Unit cell, and preparation method thereof | |
| WO2014050569A1 (en) | Positive electrode for lithium ion secondary batteries and lithium ion secondary battery using same | |
| CN114730914A (en) | Component for electric storage device and electric storage device | |
| CN113169374A (en) | all-solid-state battery | 
| Date | Code | Title | Description | 
|---|---|---|---|
| RD04 | Notification of resignation of power of attorney | Free format text:JAPANESE INTERMEDIATE CODE: A7424 Effective date:20061227 | |
| A621 | Written request for application examination | Free format text:JAPANESE INTERMEDIATE CODE: A621 Effective date:20080806 | |
| A131 | Notification of reasons for refusal | Free format text:JAPANESE INTERMEDIATE CODE: A131 Effective date:20111227 | |
| A521 | Request for written amendment filed | Free format text:JAPANESE INTERMEDIATE CODE: A523 Effective date:20120227 | |
| TRDD | Decision of grant or rejection written | ||
| A01 | Written decision to grant a patent or to grant a registration (utility model) | Free format text:JAPANESE INTERMEDIATE CODE: A01 Effective date:20121129 | |
| A61 | First payment of annual fees (during grant procedure) | Free format text:JAPANESE INTERMEDIATE CODE: A61 Effective date:20121220 | |
| FPAY | Renewal fee payment (event date is renewal date of database) | Free format text:PAYMENT UNTIL: 20151228 Year of fee payment:3 | |
| R150 | Certificate of patent or registration of utility model | Free format text:JAPANESE INTERMEDIATE CODE: R150 | |
| LAPS | Cancellation because of no payment of annual fees |