










本発明は、ブレーキディスクの締結に使用するボルトの疲労信頼性を高めて、長期間の使用に耐え得ることを可能とする、鉄道車両用ブレーキディスクの締結構造、及びこの締結構造によりブレーキディスクを締結した鉄道車両用輪軸に関するものである。 The present invention improves the fatigue reliability of bolts used for fastening brake discs and can withstand long-term use, and a brake disc fastening structure for a railway vehicle, and the brake disc using the fastening structure. The present invention relates to a railcar wheel shaft that has been fastened.
鉄道車両や自動車及び自動二輪車等の陸上輸送機械の制動装置として、ブロックブレーキ、ドラムブレーキ、ディスクブレーキなどが使用されているが、近年は、車両の高速化や大型化に伴い、ディスクブレーキが多用されるようになってきている。 Block brakes, drum brakes, disc brakes, etc. are used as braking devices for land transport machines such as railway vehicles, automobiles, and motorcycles. Recently, disc brakes have been used more frequently due to higher speeds and larger vehicles. It has come to be.
ディスクブレーキとは、回転するブレーキディスクにブレーキライニングを押し付けることによって発生する両者の摩擦により制動力を得る装置である。通常、ボルトにより車軸または車輪に取り付けたドーナツ形の円盤状ディスクの摺動面に、ブレーキライニングを押し付けることにより制動力を得、車軸または車輪の回転を制動して車両の速度を制御する。この摺動面を有する円盤状ディスクをブレーキディスクと称する。 A disc brake is a device that obtains a braking force by friction between the two generated by pressing a brake lining against a rotating brake disc. Usually, a braking force is obtained by pressing a brake lining against a sliding surface of a donut-shaped disk-like disk attached to an axle or a wheel by a bolt, and the speed of the vehicle is controlled by braking the rotation of the axle or the wheel. A disk-shaped disk having this sliding surface is called a brake disk.
このブレーキディスクの中で、鉄道車両用ブレーキディスクには、側ディスクと軸マウントディスクがある。このうち側ディスクとは、車輪の側面に締結されるブレーキディスクであり、軸マウントディスクとは、車軸にディスク体を介して締結されるブレーキディスクである。 Among these brake discs, railcar brake discs include a side disc and a shaft mount disc. Among these, the side disc is a brake disc fastened to the side surface of the wheel, and the shaft mount disc is a brake disc fastened to the axle via a disc body.
以下、本明細書において、ブレーキディスクと言うときは、側ディスクと軸マウントディスクの両者を指し、かつ、摺動面がブレーキディスクの片側のみに存在するものを指すものとする。 Hereinafter, in this specification, the term “brake disk” refers to both a side disk and a shaft mount disk, and refers to a sliding surface that exists only on one side of the brake disk.
  図7は従来型の鉄道車両用側ディスクの形状を示し、(a)はブレーキディスクの1/4を示す半径方向−周方向平面図、(b)は半径方向−軸方向断面図である。同図(a)(b)に示すように、一般にブレーキディスク1は、片側に摺動面2aを備える摺動部2と、車輪に締結するためのボルト挿通孔3aを備える締結部3とから構成されている。なお、図示していないが、ブレーキディスク1の摺動部2において、摺動面2aの反対側の車輪と接触する面には放熱のためのフィンが設けられることが多い。  FIG. 7 shows the shape of a conventional rail car side disk, wherein (a) is a radial-circumferential plan view showing a quarter of the brake disk, and (b) is a radial-axial sectional view. As shown to the figure (a) (b), generally the
  図8は従来型の鉄道車両用ブレーキディスクが車輪に取り付けられた状態を模式的に示す半径方向−軸方向断面図である。同図に示すように、ブレーキディスク1は、車輪4の両側面に締結部材であるボルト5a、ナット5b及び座金5cによって締結され、車輪4と一体的に回転するように取付けられている。  FIG. 8 is a radial-axial cross-sectional view schematically showing a state in which a conventional brake disk for a railway vehicle is attached to a wheel. As shown in the figure, the
  そして、ブレーキディスク1の摺動面2aと対向する位置には、摺動面2aに対して接離移動可能なブレーキライニング6がそれぞれ取り付けられ、制動時には、ブレーキライニング6がブレーキディスク1側に接近移動して車輪4の両側面から強く狭圧し、この摩擦力によって車輪4を介して車軸の回転を制動して車両を停止させる。  A
  ところで、新幹線等の高速鉄道車両では、ブレーキディスクの回転速度や慣性力が非常に大きいので、制動中のブレーキディスクの温度上昇は著しく大きくなる。そのため、ブレーキディスクの熱変形に伴う、以下の問題が生じる。
1)締結用ボルトに著大な曲げ応力が発生する。
2)ブレーキディスクのボルト挿通孔周縁部に割れ・変形・陥没が発生する。By the way, in a high-speed railway vehicle such as the Shinkansen, the rotational speed and inertial force of the brake disk are very large, so that the temperature increase of the brake disk during braking is significantly increased. For this reason, the following problems occur due to thermal deformation of the brake disc.
 1) A large bending stress is generated in the fastening bolt.
 2) Cracks, deformations, and depressions occur at the periphery of the brake disc bolt insertion hole.
このような問題の解決を狙った技術として、以下に示すブレーキディスクの締結構造が開示されている。 As a technique aimed at solving such a problem, a brake disk fastening structure shown below is disclosed.
  例えば特許文献1では、片側に摺動面を設けた、特にアルミ基複合材料製のブレーキディスクを使用する場合に、制動時の熱膨張によるボルト挿通孔周縁部の割れ・変形を抑制することを目的とした締結構造が開示されている。  For example, in
  具体的には、図9に示すように、ブレーキディスク1の摺動部2と締結部3を分割して両者の連結部分を歯車状のかみ合い形状とし、前記連結部分の車輪から見て軸方向外側に波形板ばね7と呼ばれる環状体を挿入した締結構造である。  Specifically, as shown in FIG. 9, the
  この締結構造により、摩擦熱によるブレーキディスク1の半径方向への膨張をボルト5aが拘束しないことと、締結部のみに強度の高い材料を使用できることが期待され、上記目標の達成を狙っている。  With this fastening structure, it is expected that the
  また、特許文献2では、片側に摺動面を設けた、特にアルミ複合材料製のブレーキディスクを使用する場合に、ボルト、ナット、座金等の締結部品に対してブレーキディスクの材料が軟らかいときは、ブレーキディスク締結面に締結部品が食い込み、き裂が発生することの防止を目的とした締結構造が開示されている。  In
  具体的には、図10に示すように、ボルト5aの頭部及びナット5bとブレーキディスク1の締結面、および車輪4とブレーキディスク1の締結面との間に、複数のボルト挿通孔を有するリング状のスペーサー8を挿入した締結構造である。  Specifically, as shown in FIG. 10, a plurality of bolt insertion holes are provided between the head of the
このような締結構造を採用することで、ボルト等の締結部品を用いてブレーキディスクを締結した場合に、ブレーキディスクの締結面に発生する面圧の低減を狙っている。 By adopting such a fastening structure, it is aimed to reduce the surface pressure generated on the fastening surface of the brake disk when the brake disk is fastened using fastening parts such as bolts.
  また、特許文献3では、特に軽金属製のブレーキディスクの両側に摺動面を設け、車軸とはめ合わされたハブと締結されるブレーキディスクを使用する場合に、制動時にブレーキディスクの摺動面に発生した熱をハブに伝わり難くして、ハブの車軸に対する把握力の低下を抑制することを目的とした締結構造が開示されている。  Further, in
  具体的には、図11に示すように、ブレーキディスク1の締結面とハブ11、及びブレーキディスク1の締結面とハブ11と反対側の面に設けた緊締リング9と呼ばれる環状体との間に、絶縁座金、絶縁板、絶縁リングと呼ばれる薄板部材10を挿入した締結構造である。  Specifically, as shown in FIG. 11, between the fastening surface of the
このような締結構造を採用することにより、制動時にブレーキディスクの摺動面に発生した熱がハブに伝わり難くなって、ハブの車軸に対する把握力の低下を抑制するという目的の達成を狙っている。 By adopting such a fastening structure, heat generated on the sliding surface of the brake disk during braking becomes difficult to be transmitted to the hub, and the aim is to achieve the purpose of suppressing a decrease in grasping force with respect to the axle of the hub. .
ところで、近年、車両の高速化にともなって制動負荷が増大し、ブレーキディスクと車輪との締結に用いられるボルトに高応力が発生するようになっている。ボルトの発生応力が高くなることは、ボルトの疲労損傷の可能性が高くなることに結びつくので、ボルトを含むディスク締結部の疲労信頼性を向上させることが課題となっている。 By the way, in recent years, the braking load increases as the speed of the vehicle increases, and a high stress is generated in the bolt used for fastening the brake disc and the wheel. An increase in the generated stress of the bolt leads to an increase in the possibility of fatigue damage of the bolt. Therefore, it is a problem to improve the fatigue reliability of the disk fastening portion including the bolt.
ブレーキディスク締結部の疲労信頼性を向上させるには、ボルト及びブレーキディスク自体の疲労強度を向上させるか、締結部の構造を改良してボルト及びブレーキディスクに発生する応力を低減させるという二つの手法が考えられる。 In order to improve the fatigue reliability of the brake disc fastening part, two methods of improving the fatigue strength of the bolt and the brake disc itself or improving the structure of the fastening part to reduce the stress generated in the bolt and the brake disc. Can be considered.
  前記特許文献1で開示された技術は両者の手法を、また前記特許文献2、3で開示された技術は後者の手法を採用している。  The technique disclosed in
  しかしながら、前記特許文献1で開示された締結構造は、ブレーキディスクの摺動部と締結部が分割されているので、その連結部の形状が複雑になる。また、ブレーキディスクがアルミ基複合材であるので、ボルト締結時の面圧を軽減するために、ボルト頭部又はナットと前記連結部との間に挿入する波形板ばねに板ばね機能を備えるための加工を施さねばならず、製作の手間とコストが大きくなる。さらに、使用途中で波形板ばねにへたりが生じると、ボルトの軸力が低下し、ボルトに過大な応力変動が生じて損傷を引き起こすおそれがある。  However, in the fastening structure disclosed in
  また、前記特許文献2及び3で開示された締結構造のように、ボルトとブレーキディスク締結面に環状体を挿入することは、接触部の面圧低減、熱伝導抑制には効果があるものの、ボルトの発生応力低減という意味では、以下の理由で効果が期待できないと考えられる。  Moreover, like the fastening structure disclosed in
すなわち、ブレーキディスク摺動面の摩擦発熱の不均一、ブレーキディスクと車輪又はハブとの接触面の摩擦係数の不均一によって、 ブレーキディスクの熱膨張時にブレーキディスクの軸芯と車輪又はハブの軸芯との間にずれが生じる。この場合、車輪又はハブに対しブレーキディスクの半径方向変位が大きくなる側のボルトに過大な応力が生じるおそれがある。 That is, due to non-uniform frictional heat generation on the brake disk sliding surface and non-uniform friction coefficient on the contact surface between the brake disk and the wheel or hub, the brake disk axis and the wheel or hub axis are Deviation occurs between In this case, an excessive stress may be generated on the bolt on the side where the radial displacement of the brake disk is increased with respect to the wheel or the hub.
本発明が解決しようとする問題点は、最近の車両の高速化にともなう制動負荷の増大に対応するためには、ブレーキディスク締結部の疲労信頼性、特にボルトの疲労信頼性を向上する必要があるという点である。 The problem to be solved by the present invention is to improve the fatigue reliability of the brake disk fastening portion, particularly the fatigue reliability of the bolt, in order to cope with the increase in braking load accompanying the recent increase in vehicle speed. It is a point.
発明者らは、鉄道車両用ブレーキディスクと車輪との締結構造に関して、制動の繰返しを想定した数値解析を行い、研究を重ねた結果、以下の知見を得た。 The inventors conducted numerical analysis on the fastening structure between the brake disc for a railway vehicle and the wheel and assumed repeated braking, and obtained the following knowledge as a result of repeated research.
(1)制動時の摩擦熱によってブレーキディスクが半径方向外周側に膨張すると、ボルトの幹部が車輪又はディスク体のボルト挿通孔内面と接触して曲げが生じるので、ボルトに作用する応力変動が大きくなる。(1) When the brake disc expands radially outward due to frictional heat during braking, the bolt stem comes into contact with the inner surface of the wheel or the bolt insertion hole of the disc body, causing bending, so that the fluctuation in stress acting on the bolt is large. Become.
(2)ボルトに作用する応力変動は、前記半径方向変位が大きいほど大きくなる。
(3)制動の繰返しによって、ブレーキディスクの軸芯と、車輪又はディスク体には芯ずれが生じる。(2) The stress fluctuation acting on the bolt increases as the radial displacement increases.
 (3) Due to repeated braking, misalignment occurs between the axis of the brake disc and the wheel or disc body.
(4)(3)の現象は、ブレーキディスク摺動面の摩擦発熱の不均一、ブレーキディスクと車輪又はハブとの接触面の摩擦係数の不均一のために、車輪又はハブに対しブレーキディスクの半径方向変位が円周方向位置によって一定でないことに起因すると推定される。このため、前記半径方向変位が大きい円周方向位置のボルトには過大な応力が生じるおそれがある。(4) The phenomenon of (3) is caused by non-uniform frictional heat generation on the sliding surface of the brake disk and non-uniform friction coefficient on the contact surface between the brake disk and the wheel or hub. It is estimated that the radial displacement is not constant depending on the circumferential position. For this reason, an excessive stress may be generated in the bolt at the circumferential position where the radial displacement is large.
(5)ボルト、ナット、座金等の締結部品とブレーキディスク締結部の間に挿入する環状体の内周面を、車輪又はディスク体のボス部とはめ合い構造とした場合、制動を繰返しても環状体と車輪又はディスク体との芯ずれが生じない。また、制動時にボルトがブレーキディスクの熱膨張によって半径方向に変位することがない。従って、ボルトに作用する応力変動を大幅に低減することが可能になる。(5) Even if braking is repeated when the inner peripheral surface of the annular body inserted between the fastening parts such as bolts, nuts and washers and the brake disc fastening portion is fitted to the boss portion of the wheel or disc body, There is no misalignment between the annular body and the wheel or disk body. Further, the bolt is not displaced in the radial direction due to the thermal expansion of the brake disc during braking. Therefore, it is possible to greatly reduce the stress fluctuation acting on the bolt.
  本発明の鉄道車両用ブレーキディスクの締結構造は、以上の知見に基づいてなされたものであり、
  ブレーキディスク締結部の疲労信頼性、特にボルトの疲労信頼性を向上するために、
  車輪の両側面、又は車軸にはめ合い締結されたディスク体の両側面に、ボルトとナットを用いてブレーキディスクを締結する締結構造であって、
  前記ブレーキディスクの締結部に設けられたボルト挿通孔、および、前記車輪又は前記ディスク体の前記ブレーキディスクとの締結部に設けられたボルト挿通孔と同じ位置にボルト挿通孔を有し、内周面を前記車輪又は前記ディスク体のボス部とのはめ合い構造とした環状体を、前記ブレーキディスク締結部の外側に配置し、ボルトとナットで締結したことを最も主要な特徴としている。The fastening structure of the railway vehicle brake disc of the present invention is made based on the above knowledge,
 In order to improve the fatigue reliability of the brake disc fastening part, especially the bolt fatigue reliability,
 A fastening structure for fastening a brake disc using bolts and nuts to both sides of a wheel or both sides of a disc body fitted and fastened to an axle,
 The bolt insertion hole provided in the fastening part of thebrake disc, and the bolt insertion hole provided at the same positionas the bolt insertion hole provided in the fastening part of the wheel or the disc body with the brake disc, The main feature is that an annular body whose surface is fitted to the wheel or the boss portion of the disc body is arranged outside the brake disc fastening portion and fastened with a bolt and a nut.
以上の本発明の鉄道車両用ブレーキディスクの締結構造を用い、ブレーキディスクを車輪の両側面又は車軸にはめ合い締結されたディスク体の両側面に締結した本発明の鉄道車両用輪軸は、長期間使用した場合もブレーキディスク締結部の疲労損傷による不具合を防止できる。 The railcar wheel axle of the present invention in which the brake disc fastening structure for a railcar vehicle of the present invention is used and the brake disc is fastened to both sides of the wheel or both sides of the disc body fastened to the axle is long-term. Even when used, it is possible to prevent problems due to fatigue damage of the brake disc fastening portion.
本発明では、ブレーキディスクと車輪又は車軸との締結に際し、ブレーキディスクの締結部、特にボルトの疲労信頼性を向上させることができるので、新幹線等の車両の高速化にともなって制動負荷が増大しても、ブレーキディスク締結部の疲労損傷による不具合を防止することができる。 In the present invention, when the brake disc and the wheel or the axle are fastened, the fatigue reliability of the fastening portion of the brake disc, particularly the bolt, can be improved, so that the braking load increases as the speed of the vehicle such as the Shinkansen increases. However, it is possible to prevent problems due to fatigue damage of the brake disk fastening portion.
本発明では、ブレーキディスク締結部の、特にボルトの疲労信頼性を向上するという目的を、内周面を車輪又は車軸にはめ合い締結されたディスク体のボス部とのはめ合い構造とした環状体を、前記ブレーキディスク締結部の外側に配置することで実現した。 In the present invention, for the purpose of improving the fatigue reliability of the brake disc fastening portion, in particular, the bolt, an annular body having a fitting structure with the boss portion of the disc body fastened by fitting the inner peripheral surface to a wheel or an axle. Has been realized by arranging it outside the brake disc fastening portion.
  以下、本発明について、図1〜図6を用いて詳細に説明する。
  発明者らは、研究の初期段階において、制動時、ボルトに発生する応力を明らかにするため、図1に示す従来形状のブレーキディスク1を、ボルト5aによって車輪4に締結した構造体のモデルを用いて、有限要素法(FEM)による数値解析を行った。Hereinafter, the present invention will be described in detail with reference to FIGS.
 In order to clarify the stress generated in the bolt during braking in the initial stage of research, the inventors developed a model of a structure in which the
  数値解析の結果、図2に模式的に示すように、制動時における温度上昇時には、ブレーキディスク1が凸状に変形して半径方向外周側に膨張するために、ボルト5aに曲げ応力が発生することが分かった。その曲げ応力は、ボルト5aのくびれ部5aaからねじ部5abにかけ、ブレーキディスク1の外周側に面した部位が高応力となるような分布となることも分かった。  As a result of the numerical analysis, as schematically shown in FIG. 2, when the temperature rises during braking, the
ボルトに発生する前記曲げ応力は、熱変形するブレーキディスクを無理やり押さえ付けるために生じるものである。従って、ボルトに発生する前記曲げ応力を低減するには、ブレーキディスクの熱変形を小さくするか、ブレーキディスクの変形に対する剛性を低減するか、ブレーキディスクが変形してもボルトに負荷が作用しない構造とすることが有効と考えられる。 The bending stress generated in the bolt is generated forcibly pressing the brake disk that is thermally deformed. Therefore, in order to reduce the bending stress generated in the bolt, the thermal deformation of the brake disc is reduced, the rigidity against the deformation of the brake disc is reduced, or a load is not applied to the bolt even if the brake disc is deformed. Is considered effective.
前二者については、ブレーキディスクの摺動部の板厚を厚くすること、締結部の板厚を薄くすることで実現できることが分かっている。発明者らは、最後者の対策であるブレーキディスクが変形してもボルトに負荷が作用しない構造とすることに着目した。 It has been found that the former two can be realized by increasing the thickness of the sliding portion of the brake disk and decreasing the thickness of the fastening portion. The inventors have paid attention to a structure in which a load does not act on the bolt even if the brake disk, which is the last measure, is deformed.
  発明者らは、ボルト、ナット、座金等の締結部品とブレーキディスクの締結部との間に、前記締結部のボルト挿通孔と同じ位置にボルト挿通孔を有する環状体を挿入し、この環状体の内周面を車輪又はディスク体のボス部外周とのはめ合い構造とすることを考えた。そして、図3に示すブレーキディスク1−車輪4−ボルト5a−環状体12による締結体のモデルを用いて有限要素法による数値解析を行った。  The inventors insert an annular body having a bolt insertion hole at the same position as the bolt insertion hole of the fastening portion between a fastening part such as a bolt, a nut, and a washer, and a fastening portion of the brake disk, and this annular body. It was considered that the inner peripheral surface of the disc is fitted to the outer periphery of the boss portion of the wheel or disk body. And the numerical analysis by the finite element method was performed using the model of the fastening body by the brake disc 1-wheel 4-
  これは、図4に示す締結構造に基づき、その対称性を考慮して軸方向に1/2の領域で、周期性を考慮して円周方向に15°分の領域をモデル化したものである。図3中の環状体12の内周面の径と車輪4のボス部の外周面の直径は、はめ合いを模擬するため、同一寸法としている。  This is a model based on the fastening structure shown in FIG. 4, in which the symmetry is taken into account in the region of 1/2 in the axial direction and the region in the circumferential direction of 15 ° in consideration of the periodicity. is there. The diameter of the inner peripheral surface of the
  このモデルを用いて、まずボルト5aに軸力としてボルト1本当たり150kNを与えて締結状態を再現した後、ブレーキディスク1の摺動面2aに275km/hから停止するまでの制動に相当する熱量を与え、その後放冷させた。  Using this model, first, 150 kN per bolt is applied as an axial force to the
  この時のボルト5aのねじ部5abと幹部5acの間に設けたくびれ部5aaにおける応力範囲と、前記幹部5acにおける曲げモーメント分布と引張荷重に基づき、前記ねじ部5abに外挿して求めた応力範囲と、ボルト5aのねじ部5ab中心位置のブレーキディスク1の半径方向変位量を下記表1に示す。下記表1には、図1に示した従来形状のモデルによる解析結果も比較して示している。  The stress range obtained by extrapolating to the threaded portion 5ab based on the stress range in the constricted portion 5aa provided between the threaded portion 5ab and the trunk portion 5ac of the
  表1に示した応力範囲は、全てブレーキディスク1の外周側に向いた部位の軸方向応力の制動中の変化量である。ブレーキディスク1の外周側としたのは、制動によりボルト5aに発生する曲げ応力が、外周側が高応力となるように発生するためである。  The stress range shown in Table 1 is the amount of change during braking of the axial stress at the part facing the outer peripheral side of the
  表1 より、環状体12を挿入した本発明の締結構造では、ボルト5aのくびれ部5aaにおける応力範囲が大幅に低減されていることが分かる。これは、本発明の締結構造の場合は、制動時にボルト5aがブレーキディスク1の半径方向に変位することがないためである。さらに、実際に疲労損傷が生じるおそれがあるねじ部5abに外挿して求めた応力範囲についても同様に低減されていることが分かる。  From Table 1, it can be seen that in the fastening structure of the present invention in which the
上記の数値解析は、ブレーキディスクの摺動面上の摩擦発熱がブレーキディスクの円周方向に均一で、ブレーキディスクと車輪またはハブとの接触面の摩擦係数も均一であり、制動時にブレーキディスクが半径方向外周側に膨張・収縮する場合にブレーキディスクの半径方向変位は円周方向の各位置で全く同じ、すなわちブレーキディスク、車輪、ボルト締結位置のピッチ円直径、それぞれの軸芯が一致したままであることを前提としたものである。 In the above numerical analysis, the frictional heat generation on the sliding surface of the brake disc is uniform in the circumferential direction of the brake disc, and the friction coefficient of the contact surface between the brake disc and the wheel or hub is also uniform. When expanding and contracting radially outward, the brake disk's radial displacement is exactly the same at each position in the circumferential direction, that is, the brake disk, wheel, pitch circle diameter of the bolt fastening position, and the respective axes remain the same. It is assumed that.
しかしながら、実際に制動試験を繰り返し行った場合、徐々にブレーキディスク、車輪の軸芯にずれが生じること、ボルトの挿入位置も初期状態から若干変化することが分かった。 However, when the braking test was actually repeated, it was found that the brake disc and the wheel shaft were gradually displaced, and the bolt insertion position changed slightly from the initial state.
この現象は、ブレーキディスクの摺動面の摩擦発熱の不均一、ブレーキディスクと車輪又はハブとの接触面の摩擦係数の不均一のために、車輪又はハブに対するブレーキディスクの半径方向変位が、円周方向位置によって一定でないことに起因すると推定される。このため、図11の従来形状の場合、前記半径方向変位が大きい円周方向位置のボルトには、さらに過大な応力が生じるおそれがある。 This phenomenon is caused by non-uniform frictional heat generation on the sliding surface of the brake disc and non-uniform friction coefficient on the contact surface between the brake disc and the wheel or hub. It is estimated that it is caused by the fact that it is not constant depending on the circumferential position. For this reason, in the case of the conventional shape of FIG. 11, excessive stress may be generated in the bolt at the circumferential position where the radial displacement is large.
さらに、ブレーキディスクは1枚の車輪の両側に2枚配置されているが、この2枚が必ずしも全く同じ変形挙動を示すとは限らない。両側のブレーキディスクの半径方向変位が異なる場合も、ボルトに過大な応力変動が生じるおそれがある。 Furthermore, although two brake discs are disposed on both sides of one wheel, the two discs do not necessarily exhibit the same deformation behavior. Even when the radial displacements of the brake discs on both sides are different, excessive stress fluctuations may occur in the bolt.
このような挙動を示すのは、図11に示した従来の締結構造に限らず、締結部品とブレーキディスクの締結面に環状体が挿入されていても、環状体が車輪に対し軸芯がずれる動きに対して拘束しない構造であれば生じる可能性がある。 This behavior is not limited to the conventional fastening structure shown in FIG. 11, and even if an annular body is inserted between the fastening parts and the fastening surface of the brake disc, the annular body is misaligned with respect to the wheel. Any structure that is not constrained by movement can occur.
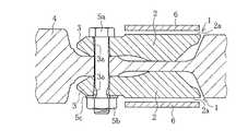
  従って、環状体は車輪に対し、常に軸芯がずれないように拘束される必要があるため、図4に示した本発明の締結構造では、環状体12の内周面12bを、車輪4又はディスク体のボス部4aの外周とはめ合う構造とした。  Therefore, the annular body needs to be constrained with respect to the wheel so that the axis does not always deviate. Therefore, in the fastening structure of the present invention shown in FIG. The disc body has a structure that fits with the outer periphery of the
このはめ合い部は、前記表1に示した従来形状のボルトの半径方向変位より十分小さければ良いことから、軸受等のはめ合いに常用される、日本工業規格のJIS B0401に規定された中間ばめ、またはすきまばめとすれば良い。例えば中間ばめの場合は、環状体の内周面をH7、車輪のボス部の外周面をh7にする。また、すきまばめの場合は、環状体の内周面をH7、車輪のボス部の外周面をg7にする。 Since this fitting portion only needs to be sufficiently smaller than the radial displacement of the conventional bolt shown in Table 1, the intermediate portion defined in Japanese Industrial Standard JIS B0401 is commonly used for fitting of bearings and the like. Or a clearance fit. For example, in the case of an intermediate fit, the inner peripheral surface of the annular body is H7, and the outer peripheral surface of the boss portion of the wheel is h7. In the case of clearance fit, the inner peripheral surface of the annular body is H7, and the outer peripheral surface of the boss part of the wheel is g7.
  本発明の鉄道用ブレーキディスクの締結構造は、以上の解析結果に基づいてなされたものであり、
  車輪の両側面、又は車軸にはめ合い締結されたディスク体の両側面に、ボルトとナットを用いてブレーキディスクを締結する締結構造であって、
  前記ブレーキディスクの締結部に設けられたボルト挿通孔、および、前記車輪又は前記ディスク体の前記ブレーキディスクとの締結部に設けられたボルト挿通孔と同じ位置にボルト挿通孔を有し、内周面を前記車輪又は前記ディスク体のボス部とのはめ合い構造とした環状体を、前記ブレーキディスク締結部の外側に配置し、ボルトとナットで締結したことを特徴とするものである。The fastening structure of the railway brake disk of the present invention is made based on the above analysis results,
 A fastening structure for fastening a brake disc using bolts and nuts to both sides of a wheel or both sides of a disc body fitted and fastened to an axle,
 The bolt insertion hole provided in the fastening part of thebrake disc, and the bolt insertion hole provided at the same positionas the bolt insertion hole provided in the fastening part of the wheel or the disc body with the brake disc, An annular body having a surface fitted to the wheel or the boss portion of the disc body is arranged outside the brake disc fastening portion and fastened with a bolt and a nut.
また、以上の本発明の鉄道車両用ブレーキディスクの締結構造を用い、ブレーキディスクを車輪の両側面又は車軸にはめ合い締結されたディスク体の両側面に締結したものが本発明の鉄道車両用輪軸である。 In addition, the above-described brake disc brake disk fastening structure of the present invention is used, and the brake disc is fastened to both sides of the wheel or both sides of the disc body fastened to the axle. It is.
  以下に、本発明の効果を確認するために行った解析結果について説明する。
  下記表2に、解析したモデル形状の明細を示す。Below, the analysis result performed in order to confirm the effect of this invention is demonstrated.
 Table 2 below shows the details of the analyzed model shape.
発明例には3種類の形状があり、その中の発明例1と比較例は前記表1に結果を示したものと同じである。また、発明例2,3は、発明例1に比べて環状体の板厚trを薄肉化し、その代わりにブレーキディスクの締結部の板厚tbを厚くした形状である。 The invention examples have three types of shapes, and the invention examples 1 and comparative examples are the same as those shown in Table 1 above. Inventive Examples 2 and 3 have a shape in which the plate thickness tr of the annular body is made thinner than that of the Invention Example 1, and the plate thickness tb of the fastening portion of the brake disk is increased instead.
それぞれブレーキディスクは、外径が725mmで、締結部のボルト挿通孔のピッチ円直径は385mmと、全てのモデルで同一にしている。また、車輪、ボルトも全て同じ形状のモデルを使用している。 Each brake disc has an outer diameter of 725 mm, and the pitch circle diameter of the bolt insertion hole of the fastening portion is 385 mm, which is the same for all models. The wheels and bolts all use the same shape model.
  図5(a)〜(d)に発明例1〜3と比較例のブレーキディスク1と環状体12の形状を示す。これらのモデルも、前記したように周期性を考慮して円周方向に15°分の領域をモデル化している。また、環状体12の内周面12bの径と車輪4のボス部4aの外周面の直径ははめ合いを模擬するため、同一寸法としている。  5A to 5D show shapes of the
解析に使用するディスク、ボルト、車輪それぞれの物性・強度特性には、従来品として使われている鉄鋼材料の測定値を用いた。そして、まず、ボルトに1本当たり150kNに相当する軸力を与え、その後摺動面上に初速275km/hから制動をかけた時の運動エネルギーに相当する熱量を与えて得た温度分布とその変化を基に熱応力を解析した。 The measured values of steel materials used as conventional products were used for the physical properties and strength characteristics of the disks, bolts, and wheels used in the analysis. First, an axial force equivalent to 150 kN per bolt is given to the bolt, and then the temperature distribution obtained by giving a heat quantity equivalent to the kinetic energy when braking is applied on the sliding surface from the initial speed of 275 km / h, and its temperature distribution The thermal stress was analyzed based on the change.
前記表2中には解析で得られたボルトのくびれ部の応力範囲も比較して示している。この応力範囲は、くびれ部においてブレーキディスクの外周側に向いた部位の軸方向応力の制動中の変化量である。ブレーキディスクの外周側としたのは、制動時にでボルトに発生する曲げ応力は、外周側が高応力となるように発生するためである。 Table 2 also shows a comparison of the stress range of the constricted part of the bolt obtained by analysis. This stress range is the amount of change during braking of the axial stress at the portion of the constriction that faces the outer peripheral side of the brake disk. The reason why the outer peripheral side of the brake disk is set is that the bending stress generated in the bolt during braking is generated so that the outer peripheral side becomes high stress.
表2より、発明例1〜3の何れも比較例に比べてボルト発生応力が50%以上低減されることが分かる。発明例1〜3を比較すると、環状体の板厚が薄いほどボルトの応力範囲が大きくなる傾向が見られたが、環状体の板厚が4mmであっても、比較例に対してはボルトの応力範囲が大幅に低減されていることが分かる。 From Table 2, it can be seen that in any of Invention Examples 1 to 3, the bolt generation stress is reduced by 50% or more compared to the comparative example. When the inventive examples 1 to 3 were compared, the stress range of the bolt tended to increase as the plate thickness of the annular body was reduced. However, even if the plate thickness of the annular body was 4 mm, the bolt was compared with the comparative example. It can be seen that the stress range is significantly reduced.
但し、表2には示していないが、環状体自体に発生する応力は当然ながら環状体の板厚が薄いほど高応力となる傾向があるため、板厚に応じて環状体に用いる材料の強度を選定する必要がある。 However, although not shown in Table 2, since the stress generated in the annular body itself tends to increase as the plate thickness of the annular body decreases, the strength of the material used for the annular body depends on the plate thickness. Must be selected.
また、発明例で用いた環状体のモデルにはボルト挿通孔のみが設けられているが、必要に応じて車輪とブレーキディスクのフィン側との隙間に冷却風を通すため、または車輪油圧ばめ用の油圧ホースを挿入するための孔または切欠を設けてもよい。 In addition, the annular model used in the invention example is provided with only bolt insertion holes, but it is necessary to allow cooling air to pass through the gap between the wheel and the fin side of the brake disc or to fit the wheel hydraulic fit. A hole or notch for inserting a hydraulic hose may be provided.
  次に、前記環状体12の内周面12bを車輪4またはディスク体のボス部4aの外周とのはめ合い構造とすることの有効性を確認するため、図6に示すモデルを用いて有限要素法による数値解析を行った。  Next, in order to confirm the effectiveness of fitting the inner
  図6に示したモデルは、先に図3に示した15°分のモデルを180°に拡張したものである。環状体12のモデルには、その内周面12bの直径を変えた2種類があり、車輪4のボス部4aとの隙間は、それぞれ0.0mm、0.1mm、0.5mmとなっている。  The model shown in FIG. 6 is obtained by extending the 15 ° model shown in FIG. 3 to 180 °. There are two types of models of the
  数値解析では、ボルト5aに150kNの軸力を与え、ブレーキディスク1が、図6に白抜き矢印で示すように、対称面に平行方向に0.7mm移動するような強制変位を与えた。  In the numerical analysis, an axial force of 150 kN was applied to the
  この解析条件は、長期間の使用でかなりの回数の制動が負荷されることで、ブレーキディスク1と車輪4に芯ずれが生じる現象を想定して、芯ずれが起こった状態のボルト5aの発生応力を評価することを意図して設定したものである。  This analysis condition is based on the assumption that the
下記表3に、評価ボルト(図6で斜線を施した紙面右側のボルト)の外周側くびれ部の応力の増加量を示す。 Table 3 below shows the amount of increase in stress at the outer peripheral side constricted portion of the evaluation bolt (the bolt on the right side of the paper, which is hatched in FIG. 6).
表3より、環状体の内周面と車輪のボス部との隙間が0.0mmではボルトの応力は全く変化しないが、前記隙間が0.1mm、0.5mmと大きくなるにつれてボルトの応力増加量が大きくなっていることが分かる。 From Table 3, the bolt stress does not change at all when the gap between the inner peripheral surface of the annular body and the wheel boss is 0.0 mm, but the bolt stress increases as the gap increases to 0.1 mm and 0.5 mm. It can be seen that the amount is increasing.
以上より、環状体の内周面と車輪のボス部の隙間量はできるだけ小さくする方が好ましいことが分かる。しかしながら、組み立て性をも勘案すると、環状体の内周面と車輪のボス部の隙間量は、前記したJIS B0401に規定された中間ばめ又はすきまばめのはめ合い構造とするのが現実的といえる。 From the above, it can be seen that the gap between the inner peripheral surface of the annular body and the boss portion of the wheel is preferably as small as possible. However, considering the ease of assembly, the gap between the inner circumferential surface of the annular body and the boss of the wheel is realistic to have an intermediate fit or a clearance fit as defined in JIS B0401. It can be said.
ちなみに、先にはめ合い構造の一例として挙げた、環状体の内周面をH7、車輪のボス部の外周面をh7にする中間ばめのすきま量は0.00〜0.10mm、また環状体の内周面をH7、車輪のボス部の外周面をg7にするすきまばめのすきま量は0.01〜0.12mmである。 By the way, the clearance amount of the intermediate fit, which was mentioned earlier as an example of the fitting structure, with the inner peripheral surface of the annular body being H7 and the outer peripheral surface of the wheel boss being h7 is 0.00 to 0.10 mm, The clearance amount of the clearance fit, in which the inner peripheral surface of the body is H7 and the outer peripheral surface of the boss part of the wheel is g7 is 0.01 to 0.12 mm.
以上より、ボルト、ナット、座金等の締結部品とブレーキディスク締結部の間に、ブレーキディスクの締結部に設けられたボルト挿通孔と同じ位置にボルト挿通孔を有する環状体を挿入し、この環状体の内周面を車輪またはディスク体のボス部外周とのはめ合い構造とすることが、ボルト発生応力の低減,ボルトを含むディスク締結部の疲労信頼性向上に有効であると結論付けられる。 As described above, an annular body having a bolt insertion hole is inserted at the same position as the bolt insertion hole provided in the fastening part of the brake disc between the fastening parts such as bolts, nuts and washers and the brake disc fastening part. It can be concluded that it is effective to reduce the bolt-generated stress and improve the fatigue reliability of the disk fastening part including the bolt by making the inner peripheral surface of the body fit with the wheel or the outer periphery of the boss part of the disk body.
本発明は上記の例に限らず、各請求項に記載された技術的思想の範囲内で、適宜実施の形態を変更しても良いことは言うまでもない。 The present invention is not limited to the above example, and it goes without saying that the embodiment may be appropriately changed within the scope of the technical idea described in each claim.
例えば上記の例ではブレーキディスクの材料を鉄鋼材料として解析したが、アルミ複合材料といった他の材料でも本発明は有効と考えられる。また、上記の例ではブレーキディスクがボルトで締結される部材を車輪と呼んだが、これを車軸にはめ合わされたディスク体とし、軸マウントディスクとして使用しても同様な効果が得られる。 For example, in the above example, the brake disc material was analyzed as a steel material, but the present invention is considered to be effective for other materials such as an aluminum composite material. In the above example, the member on which the brake disc is fastened with a bolt is called a wheel. However, the same effect can be obtained by using this as a disc body fitted to the axle and used as a shaft mount disc.
以上の本発明は、鉄道車両用のブレーキディスクに限らず、自動車や自動二輪車等のブレーキディスクであっても適用できる。 The present invention described above is not limited to a brake disk for a railway vehicle, but can be applied to a brake disk for an automobile, a motorcycle, or the like.
  1    ブレーキディスク
  2    摺動部
  2a    摺動面
  3    締結部
  3a    ボルト挿通孔
  4    車輪
  4a    ボス部
  5a    ボルト
  5b    ナット
  5c    座金
  6    ブレーキライニング
  12    環状体
  12a    ボルト挿通孔
  12b    内周面DESCRIPTION OF
| Application Number | Priority Date | Filing Date | Title | 
|---|---|---|---|
| JP2009103344AJP5126903B2 (en) | 2009-04-21 | 2009-04-21 | Fastening structure of railcar brake disc and railcar wheel axle | 
| Application Number | Priority Date | Filing Date | Title | 
|---|---|---|---|
| JP2009103344AJP5126903B2 (en) | 2009-04-21 | 2009-04-21 | Fastening structure of railcar brake disc and railcar wheel axle | 
| Publication Number | Publication Date | 
|---|---|
| JP2010255665A JP2010255665A (en) | 2010-11-11 | 
| JP5126903B2true JP5126903B2 (en) | 2013-01-23 | 
| Application Number | Title | Priority Date | Filing Date | 
|---|---|---|---|
| JP2009103344AExpired - Fee RelatedJP5126903B2 (en) | 2009-04-21 | 2009-04-21 | Fastening structure of railcar brake disc and railcar wheel axle | 
| Country | Link | 
|---|---|
| JP (1) | JP5126903B2 (en) | 
| Publication number | Priority date | Publication date | Assignee | Title | 
|---|---|---|---|---|
| CN114738404B (en)* | 2022-04-27 | 2024-06-28 | 中国铁道科学研究院集团有限公司 | Wheel mounted brake disc | 
| CN115614324B (en)* | 2022-11-22 | 2023-05-05 | 中国航发四川燃气涡轮研究院 | Compressor rotor multistage wheel disc connection structure based on variable cross-section bolted connection | 
| Publication number | Priority date | Publication date | Assignee | Title | 
|---|---|---|---|---|
| DE1158095B (en)* | 1960-07-30 | 1963-11-28 | Bochumer Ver Fuer Gussstahlfab | Brake disc which is attached to the hub of a wheel, in particular a rail wheel | 
| DE19708901A1 (en)* | 1997-03-05 | 1998-09-17 | Knorr Bremse Systeme | Wave brake disc for disc brake systems of rail vehicles | 
| JPH10318304A (en)* | 1997-05-15 | 1998-12-04 | Kurimoto Ltd | Brake disc excellent in heat resistant stress | 
| JP2008303986A (en)* | 2007-06-07 | 2008-12-18 | Sumitomo Metal Ind Ltd | Brake disc for railway vehicle and its fastening structure | 
| Publication number | Publication date | 
|---|---|
| JP2010255665A (en) | 2010-11-11 | 
| Publication | Publication Date | Title | 
|---|---|---|
| WO2014038621A1 (en) | Brake disc for railway vehicle | |
| CN103883649B (en) | Shaft-mounted brake disc for railway vehicle | |
| JP2011185429A (en) | Rail car brake lining | |
| JP4701512B2 (en) | Brake disc for railway vehicles | |
| JP4305296B2 (en) | Brake discs for railway vehicles | |
| KR102150231B1 (en) | Brake disk of involute spur mounting structure | |
| JP5126903B2 (en) | Fastening structure of railcar brake disc and railcar wheel axle | |
| JP4677982B2 (en) | Brake disc for railway vehicle and its fastening structure | |
| JP4748390B2 (en) | Rotating body fastening structure and railway vehicle axle using the same | |
| JPWO2020071347A1 (en) | Brake disc mounting structure for railway vehicles and brake disc units using this | |
| JP4478067B2 (en) | Wheels with brake discs for railway vehicles | |
| US9500243B2 (en) | Brake device | |
| JP2008309319A (en) | Railway vehicle brake linings and disc brakes | |
| JP4453595B2 (en) | Brake disc for railway vehicles | |
| JP5775756B2 (en) | Brake disc and braking device | |
| KR20120002148U (en) | Lightweight brake disc structure | |
| JP5333568B2 (en) | Fastening structure for brake discs for railway vehicles | |
| JP7269063B2 (en) | brake disc | |
| JP3818212B2 (en) | Fastening structure of railcar brake disc and railcar wheel and wheel axle | |
| JP2008303986A (en) | Brake disc for railway vehicle and its fastening structure | |
| JP4600194B2 (en) | Fastening structure of railcar brake disc and railcar wheel | |
| JP4360321B2 (en) | Brake disc for railway vehicle and its fastening structure | |
| JP2004316829A (en) | Brake disk for rolling stock and wheel for rolling stock with brake disk | |
| JP4325013B2 (en) | Fasteners for brake discs for railway vehicles | |
| JP2009216113A (en) | Brake disk for rail vehicle | 
| Date | Code | Title | Description | 
|---|---|---|---|
| A621 | Written request for application examination | Free format text:JAPANESE INTERMEDIATE CODE: A621 Effective date:20110526 | |
| A977 | Report on retrieval | Free format text:JAPANESE INTERMEDIATE CODE: A971007 Effective date:20120210 | |
| A131 | Notification of reasons for refusal | Free format text:JAPANESE INTERMEDIATE CODE: A131 Effective date:20120221 | |
| A521 | Request for written amendment filed | Free format text:JAPANESE INTERMEDIATE CODE: A523 Effective date:20120423 | |
| TRDD | Decision of grant or rejection written | ||
| A01 | Written decision to grant a patent or to grant a registration (utility model) | Free format text:JAPANESE INTERMEDIATE CODE: A01 Effective date:20120925 | |
| A01 | Written decision to grant a patent or to grant a registration (utility model) | Free format text:JAPANESE INTERMEDIATE CODE: A01 | |
| A521 | Request for written amendment filed | Free format text:JAPANESE INTERMEDIATE CODE: A523 Effective date:20121011 | |
| A711 | Notification of change in applicant | Free format text:JAPANESE INTERMEDIATE CODE: A712 Effective date:20121011 | |
| A61 | First payment of annual fees (during grant procedure) | Free format text:JAPANESE INTERMEDIATE CODE: A61 Effective date:20121025 | |
| R150 | Certificate of patent or registration of utility model | Free format text:JAPANESE INTERMEDIATE CODE: R150 Ref document number:5126903 Country of ref document:JP Free format text:JAPANESE INTERMEDIATE CODE: R150 | |
| FPAY | Renewal fee payment (event date is renewal date of database) | Free format text:PAYMENT UNTIL: 20151109 Year of fee payment:3 | |
| S533 | Written request for registration of change of name | Free format text:JAPANESE INTERMEDIATE CODE: R313533 | |
| R350 | Written notification of registration of transfer | Free format text:JAPANESE INTERMEDIATE CODE: R350 | |
| LAPS | Cancellation because of no payment of annual fees |