










本発明はノイズキャンセルヘッドホンやイヤホン、イヤースピーカ等のように耳のごく近傍にスピーカを設置する受聴機器に使用するのに適したノイズ制御システムに関する。 The present invention relates to a noise control system suitable for use in a listening device in which a speaker is installed very close to the ear, such as a noise canceling headphone, an earphone, and an ear speaker.
近年、ポータブルオーディオの人気に伴い様々なノイズキャンセルヘッドホン(イヤホン)が普及している。ノイズキャンセルヘッドホンは、受聴点近傍に騒音源情報検知センサーあるいは制御状態評価センサーを設置し、前者であればセンサーから受聴点までの伝達特性を模したフィルタを通し、また後者であればハウリングの発生しないような帰還フィルタを構成し、音場に逆相の信号を付加することにより受聴点の騒音レベルを減衰させるものである。 In recent years, various noise-canceling headphones (earphones) have become widespread with the popularity of portable audio. Noise canceling headphones have a noise source information detection sensor or control state evaluation sensor installed near the listening point. In the former case, a filter simulating the transfer characteristics from the sensor to the listening point is passed. In the latter case, howling occurs. A feedback filter is configured to prevent the noise level at the listening point from being attenuated by adding a signal having a reverse phase to the sound field.
現在市販されているノイズキャンセルヘッドホンの大半は、アナログ方式のノイズキャンセルヘッドホンである。これは、ヘッドホンに組み込んだマイクロホンで周囲の音(再生音に対しては騒音であるから、以下、「騒音」という)を捉え、捉えた騒音の位相を反転してプレーヤからの再生信号に加算する方式である。外部からヘッドホン内部に侵入する騒音は、位相が反転された信号で打ち消され、プレーヤからの再生信号のみが使用者の耳に入るという仕組みである。 Most of the noise cancellation headphones currently on the market are analog type noise cancellation headphones. This is a microphone built into the headphones that captures the surrounding sound (because it is noise relative to the playback sound, henceforth referred to as “noise”), and reverses the phase of the captured noise and adds it to the playback signal from the player It is a method to do. The noise that enters the headphones from the outside is canceled by the signal whose phase is inverted, and only the reproduction signal from the player enters the user's ear.
最近では、ディジタル方式のノイズキャンセルヘッドホンも提案されているが、一般に、ノイズキャンセルヘッドホンは、センサーとスピーカの受聴点が近接した構成になっており、トランスデューサに伴う遅延時間が音波の到達時間差を上回ることが多く、A/D変換及びD/A変換に大きな遅延時間を要することから、ディジタル信号処理はほとんど用いられていないのが現状である。 Recently, digital noise cancellation headphones have also been proposed, but in general, noise cancellation headphones have a configuration in which the sensor and the listening point of the speaker are close to each other, and the delay time associated with the transducer exceeds the difference in arrival time of sound waves. In many cases, a large delay time is required for A / D conversion and D / A conversion, so that digital signal processing is hardly used at present.
アナログ方式ノイズキャンセルヘッドホンの先行技術として、例えば、特許文献1や特許文献2記載の発明などがある。また、ディジタル方式ノイズキャンセルヘッドホンの先行技術として、例えば、特許文献3記載の発明がある。
しかるに、前記のような従来技術においては、次のような問題点が存在し、その解決が要望されていた。 However, the conventional techniques as described above have the following problems, and a solution has been demanded.
(1) 騒音下での立体再生
既存のいわゆる立体再生を目的としたバイノーラルシステムにおいては、ある程度以上の騒音下においてはマスキング効果により音像が定位しないという問題点があった。現在広く普及しているノイズキャンセルヘッドホン・イヤホンにおいては音源への補正フィルタは低次のアナログフィルタで構成されており、減衰する帯域を強調するに留まり、詳細な位相情報の要求されるバイノーラルシステムにおいては難点があった。(1) Stereo reproduction under noise The existing binaural system for so-called stereo reproduction has a problem that the sound image is not localized due to the masking effect under a certain level of noise. In noise-canceling headphones and earphones that are currently widely used, the correction filter for the sound source is composed of a low-order analog filter, which only emphasizes the attenuation band, and in a binaural system where detailed phase information is required. There were difficulties.
(2) 快適性に着目した適応化
既存のノイズキャンセルヘッドホン・イヤホンあるいはそれに関する研究報告等のほとんどは、その制御対象となっているノイズの減衰量に着目したものである。しかしながら、現実問題としては低騒音化において過剰にノイズキャンセルを行うことは圧迫感など不快感を伴うことは良く知られており、またしばしばノイズキャンセル回路自体もマイクアンプなどに寄生するノイズが発生することから、環境騒音レベルに関わらずノイズキャンセル量を極限にとることは快適性の向上と必ずしも繋がらない。(2) Adaptation focusing on comfort Most existing noise-canceling headphones and earphones, or research reports related to them, focus on the attenuation of the noise that is the subject of control. However, as a real problem, it is well known that excessive noise cancellation with low noise is accompanied by discomfort such as pressure, and the noise cancellation circuit itself often generates parasitic noise in the microphone amplifier. Therefore, taking the noise cancellation amount to the limit regardless of the environmental noise level does not necessarily lead to an improvement in comfort.
すなわち、従来のヘッドホンやイヤホンによるアクティブノイズキャンセルシステムにおいては、騒音抑圧量に比例して、しばしば圧迫感や逆相感が感じられる。また、制御フィルタ部のフィルタ次数の制約などにより特に高域など抑圧対象帯域外のノイズレベルが上がってしまう現象も多くのノイズキャンセルヘッドホンで見られる。特に、従来の固定フィルタによるアクティブノイズキャンセルシステムでは、特に低レベル騒音状況下での圧迫感やノイズレベルの上昇などの問題がみられた。 That is, in a conventional active noise cancellation system using headphones or earphones, a feeling of pressure or a reverse phase is often felt in proportion to the amount of noise suppression. Moreover, a phenomenon that the noise level outside the suppression target band such as a high frequency rises due to the restriction of the filter order of the control filter unit is also seen in many noise cancellation headphones. In particular, the conventional active noise canceling system using a fixed filter has problems such as a feeling of pressure and an increase in noise level particularly under low-level noise conditions.
(3) パラメータ制限による非周期音に対する適応処理
広く普及しているノイズキャンセルヘッドホン・イヤホンにおいては、それが採用しているフルアナログシステムの構成上、特性の更新は困難であった。また、学術分野やダクト等他の構成のANC(アクティブ・ノイズキャンセル)で広く研究が進められているようなLMS(Least Mean Square)アルゴリズム等ディジタルフィルタを用いたノイズキャンセルシステムは、ヘッドホンのように極端にリファレンスマイクとスピーカ,エラーマイクの近接した構成では、A/D変換及びD/A変換に伴う遅延からハイサンプリングが要求され、サンプリング周波数の大幅な上昇は計算量を膨大にしてしまい非周期性の騒音制御には実用に即さないことが多かった。(3) Adaptive processing for non-periodic sound due to parameter restrictions It is difficult to update the characteristics of widely used noise-canceling headphones and earphones due to the configuration of the full analog system adopted by them. In addition, noise cancellation systems using digital filters such as the LMS (Least Mean Square) algorithm that are widely studied in ANC (active noise cancellation) of other configurations such as academic fields and ducts are like headphones. In a configuration in which the reference microphone, speaker, and error microphone are extremely close to each other, high sampling is required due to the delay associated with A / D conversion and D / A conversion, and a large increase in sampling frequency makes the calculation amount enormous, resulting in non-periodicity. In many cases, it was not suitable for practical noise control.
(4) 個人差への適応
イヤホン型のノイズキャンセルシステムにおいては、本来フィードフォワード、フィードバックの両手法において最適の結果を得るには、受聴者各個人の装着状態に特有のリファレンスマイクからスピーカへの伝達関数、スピーカからエラーマイクへの伝達関数に応じた処理をしなければならない。しかし、従来技術では、予めシステム側が用意した伝達関数とそれに対応した処理のみが行われており、受聴者個人にごとに適応した処理を行うことはできなかった。(4) Adaptation to individual differences In an earphone type noise cancellation system, in order to obtain optimal results in both feedforward and feedback methods, it is necessary to switch from a reference microphone specific to the individual wearer's wearing state to the speaker. Processing according to the transfer function and the transfer function from the speaker to the error microphone must be performed. However, in the prior art, only a transfer function prepared in advance by the system side and processing corresponding to the transfer function are performed, and processing adapted to each individual listener cannot be performed.
(5) デバイス差への適応
既存のノイズキャンセルヘッドホン・イヤホンシステムでは、1デバイスに1処理系の構成であったため、様々な特性をもつノイズキャンセル用のデバイスをそれぞれ用意する必要があり、例えば一機種のポータブルオーディオプレーヤに様々なノイズキャンセル用デバイスを接続し使用することが不可能であった。(5) Adaptation to device differences The existing noise-canceling headphone / earphone system has one processing system per device, so it is necessary to prepare devices for noise cancellation with various characteristics. It was impossible to connect various noise canceling devices to portable audio players of various models.
本発明は、上記のような従来技術の問題点を解決するために提案されたものであり、その目的は、ノイズキャンセル機能を保ちながら係数を変換できるという特徴を持たせることにより、更新項に対象ノイズの減衰量のみではなく低ノイズ下での不快感を評価関数に組み込み、快適性を評価基準としたノイズ制御システムを実現するものである。 The present invention has been proposed in order to solve the above-described problems of the prior art, and the object of the present invention is to provide an update term by giving a characteristic that coefficients can be converted while maintaining a noise canceling function. In addition to the attenuation amount of the target noise, discomfort under low noise is incorporated into the evaluation function to realize a noise control system based on comfort as an evaluation criterion.
本発明の他の目的は、評価関数に対し適応処理段の更新項を数段と限定し、ディジタル制御可能なアナログ素子でノイズキャンセル系を構成することにより、高速な応答性を有しながら極めて現実的な計算量でパラメータを更新できるアナログ・ディジタルの長所を生かした実用性のあるシステムを提案することにある。 Another object of the present invention is to limit the update term of the adaptive processing stage to several stages with respect to the evaluation function, and to construct a noise cancellation system with digitally controllable analog elements, so that it has extremely high responsiveness. The purpose is to propose a practical system that takes advantage of analog and digital features that can update parameters with realistic computational complexity.
特に、本発明は、耳の近傍で使用されるイヤホン、ヘッドホン、イヤースピーカなどについて、前記のような目的を達成することを、その一態様としている。その理由は、次の通りである。 In particular, according to one aspect of the present invention, the above-described object is achieved for an earphone, a headphone, an ear speaker, and the like used in the vicinity of the ear. The reason is as follows.
すなわち、様々な騒音場に対して音場制御を行い人間にとって快適な音環境を作り出すアクティブノイズコントロールは、DSPに代表されるディジタル信号処理の発展を受けて急速に実用化を進めている技術の一つであると言える。空調等ダクトでのノイズキャンセル、ノイズキャンセルヘッドホンを筆頭に車内騒音制御や工場や高速道路など規模の大小を問わず研究が進められている。しかしながら、イヤホン・ヘッドホン・イヤースピーカにおけるノイズ制御は特殊な状況で以下の様な特徴が挙げられる。 In other words, active noise control, which creates a sound environment comfortable for humans by controlling the sound field for various noise fields, is a technology that has been rapidly put into practical use in response to the development of digital signal processing represented by DSP. It can be said that it is one. Research on noise cancellation in ducts such as air conditioning, noise cancellation headphones, etc. is underway regardless of the size, such as in-car noise control, factories and highways. However, noise control in earphones, headphones, and ear speakers has the following characteristics in a special situation.
(1) 構成するシステム規模から一般的にはリファレンスマイク−外耳道間及びリファレンスマイク−スピーカ間の距離が極端に短く、A/D変換やD/A変換に伴う遅延からディジタル信号処理による制御フィルタの構成は不利であることが多い。
(2) 制御対象点が鼓膜近傍であるので制御量によっては圧迫感を感じたり、制御により新しく発生するノイズに敏感であるなどの特徴がある。広く試みられているエラーマイクで観察されるノイズ量の実効値だけでの評価と、実際に人間が感じる快適性とは直結しないことがある。(1) In general, the distance between the reference microphone and the external auditory canal and between the reference microphone and the speaker is extremely short due to the scale of the system to be configured, and the control filter based on digital signal processing from the delays associated with A / D conversion and D / A conversion. The configuration is often disadvantageous.
(2) Since the control target point is in the vicinity of the eardrum, there are features such as a feeling of pressure depending on the amount of control and sensitivity to newly generated noise due to control. The evaluation based only on the effective value of the amount of noise observed with an error microphone that has been widely attempted may not be directly linked to the comfort actually felt by humans.
本発明では、これら(1) (2) に対応して、
(a) ディジタル信号は制御にのみ使い、信号はあくまでアナログ経路のみとして、イヤホンなどでのノイズキャンセルに特化したディジタル・アナログの利点を生かすディジタルコントロール・アナログノイスキャンセルシステム。
(b) ノイズパワーの制御量にのみ評価基準を置くのでなく、主観評価を含めた聴者の快適性に着目した評価関数に基づく適応化。
を提案するものである。In the present invention, corresponding to these (1) and (2),
(a) A digital control / analog noise canceling system that uses digital signals only for control and uses only analog paths for signals, taking advantage of digital / analog specializing in noise cancellation with earphones.
(b) Adaptation based on an evaluation function that focuses on the comfort of the listener, including subjective evaluation, rather than placing an evaluation criterion only on the control amount of the noise power.
This is a proposal.
上記の目的を達成するために、本発明のノイズ制御システムは、電子ボリュームや電子アッテネータなどの可変素子を用いて、フィードフォワード処理部やフィードバック処理部などのノイズキャンセル処理部を構成するフィルタ(周波数応答制御部)とゲインアンプ(ゲイン制御部)を外部から所定の特性に制御することで、デバイス特性差、周囲騒音レベル等の諸条件に適したノイズキャンセルシステムを構築することを特徴とする。 In order to achieve the above object, the noise control system of the present invention uses a variable element such as an electronic volume or an electronic attenuator to configure a filter (frequency) that constitutes a noise cancellation processing unit such as a feedforward processing unit or a feedback processing unit. It is characterized in that a noise canceling system suitable for various conditions such as device characteristic difference and ambient noise level is constructed by controlling the response control unit) and the gain amplifier (gain control unit) to predetermined characteristics from the outside.
また、本発明は、リファレンスマイクから取得した情報と、エラーマイクから取得した情報に従って、ノイズキャンセル処理部の特性を制御することを特徴とする。すなわち、リファレンスマイクやエラーマイクで観察された信号をもとにノイズキャンセル制御部において周囲状況に応じた特性パラメータを決定し、これをノイズキャンセル処理部に与えるものである。 Further, the present invention is characterized in that the characteristics of the noise cancellation processing unit are controlled according to information acquired from a reference microphone and information acquired from an error microphone. That is, the noise cancellation control unit determines a characteristic parameter according to the ambient condition based on a signal observed by the reference microphone or the error microphone, and gives this to the noise cancellation processing unit.
特に、本発明では、ノイズキャンセル処理部に、ディジタル信号で制御可能なアナログ素子を採用することにより、アナログ素子の応答特性を保ちながら、制御パラメータの決定には高い安定性と精密性を持つディジタル制御を導入したことを特徴とする。この場合、ノイズキャンセル後の音楽信号の出力手段として、イヤホン、ヘッドホンまたはイヤースピーカのように耳との距離が短いものを使用することにより、アナログ素子の素速い応答性を効果的に利用する。 In particular, in the present invention, by using an analog element that can be controlled by a digital signal in the noise cancellation processing unit, a digital parameter having high stability and precision in determining a control parameter while maintaining the response characteristic of the analog element. It is characterized by introducing control. In this case, as a means for outputting a music signal after noise cancellation, a device having a short distance from the ear, such as an earphone, a headphone, or an ear speaker, is used, thereby effectively utilizing the quick response of the analog element.
例えば、ノイズキャンセル処理部の構成機器として電子アッテネータを採用し騒音制御信号のゲインや帯域制限フィルタを構築する。 For example, an electronic attenuator is employed as a component device of the noise cancellation processing unit, and a noise control signal gain and a band limiting filter are constructed.
更に、本発明では、1つのノイズキャンセルシステムに対して特性の異なる複数のヘッドホンやイヤホンを選択可能に接続した場合に、各ヘッドホンやイヤホンに即したパラメータを外部よりノイズキャンセル処理部に設定することで、回路構成はそのままで、各デバイスの特性に適合したノイズキャンセルを行うことを特徴とする。 Furthermore, in the present invention, when a plurality of headphones or earphones having different characteristics are connected to be selected for one noise cancellation system, a parameter corresponding to each headphone or earphone is set in the noise cancellation processing unit from the outside. Thus, the noise cancellation suitable for the characteristics of each device is performed without changing the circuit configuration.
本発明ではリファレンスマイクの情報を元に周囲の騒音レベルに適応した騒音制御が可能となり、高レベル騒音時には騒音抑圧量を上昇させ、低レベル騒音時には騒音抑圧畳も下げることにより圧迫感や不要ノイズを押さえることができる。また、特にイヤホンによるアクティブノイズキャンセルシステムにおいては、エラーマイクの情報も考慮することにより個人差や装着状態の違いに応じたアダプティブなノイズキャンセルシステムを構築することができる。 In the present invention, it is possible to perform noise control adapted to the ambient noise level based on the information of the reference microphone, increasing the noise suppression amount at high level noise, and lowering the noise suppression tatami at low level noise, and feeling of pressure and unnecessary noise Can be suppressed. In particular, in an active noise canceling system using earphones, an adaptive noise canceling system corresponding to individual differences and wearing states can be constructed by taking into account error microphone information.
本発明によれば、フィードフォワード処理部やフィードバック処理部にディジタル信号で制御可能であるアナログ素子を採用することにより、アナログ素子の応答特性を保ちながら信号制御部の特性決定には高い安定性と精密性をもつディジタル制御を導入したシステムが実現できる。 According to the present invention, by adopting an analog element that can be controlled with a digital signal in the feedforward processing unit and the feedback processing unit, the stability of the characteristics of the signal control unit can be determined while maintaining the response characteristics of the analog element. A system incorporating digital control with precision can be realized.
また、それぞれのノイズキャンセルイヤホンに則したパラメータを外部より制御フィルタに設定することにより、これまでデバイス毎専用にチューニングされた回路で構成していたノイズキャンセルヘッドホンシステムにおいて同一のシステムでありながら様々なデバイスを扱うことが可能となる。 In addition, by setting parameters according to each noise canceling earphone to the control filter from the outside, various noise canceling headphone systems that have been configured with circuits tuned exclusively for each device up to now are various. It becomes possible to handle the device.
1…リファレンスマイク
2…マイクアンプ
3…フィードフォワード処理部
3a…周波数応答制御部
3b…利得制御部
4…制御部
4a…外部ノイズ検出部
4b…パラメータ取得部
4c…データ出力部
5…A/D変換器
6…制御テーブル
7…加算器
8…音源
9…D/A変換器
10…出力手段
11…エラーマイク
12…マイクアンプ
13…フィードバック処理部
13a…周波数応答部
13b…ゲイン制御部
14…A/D変換器
15…音質補正フィルタ
16…同定フィルタ
17…逆フィルタ生成器
18…D/A変換器
19…加算器
21…パラメータ選択スイッチDESCRIPTION OF
(1)用語の説明
本実施形態において使用されている用語について説明する。
(a) リファレンスマイク(騒音源情報取得センサー)
イヤホンの外側に設置するマイクで、原則的にはイヤホン出力音は含まれないので、耳に到来する騒音そのものを拾っていると考える。フィードフォワード処理部における騒音源の情報を取得するセンサとして機能するものである。(1) Explanation of terms Terms used in the present embodiment will be described.
(a) Reference microphone (noise source information acquisition sensor)
Since the microphone installed outside the earphone does not include the earphone output sound in principle, it is considered that the noise coming into the ear itself is picked up. It functions as a sensor for acquiring noise source information in the feedforward processing unit.
(b) エラーマイク(制御状態評価センサー)
イヤホンの内側(耳側)に設置するマイクで、「耳栓効果」も含めた実際に聞こえている音として処理する。イヤホンからの音楽情報も含むので、エラーマイクの収録音をもとにノイズキャンセル処理を行うと、結果として音楽信号もキャンセルしてしまう。フィードバック処理部における制御状態評価センサとして機能するものである。(b) Error microphone (control state evaluation sensor)
A microphone installed inside the earphone (ear side) is processed as a sound that is actually heard including the “earplug effect”. Since the music information from the earphone is included, if the noise canceling process is performed based on the sound recorded by the error microphone, the music signal is also canceled as a result. It functions as a control state evaluation sensor in the feedback processing unit.
(c) 周波数応答制御部とゲイン制御部
いずれもノイズキャンセル処理部3,13の構成部材であり、ディジタル制御可能なアナログ素子である。ゲイン制御部は、電子ボリューム、電子アッテネータなどから構成される。周波数応答制御部は、位相の配慮をするが、基本はコンデンサC及び抵抗Rで構成される1次ないし2次程度のフィルタである。この抵抗Rの値をラダー抵抗やスイッチを用いて切り替えることにより、フィルタとしてのカットオフや減衰量を可変とする。この周波数応答制御部は、外部ノイズの制御周波数帯域内のみの成分を通過させ(制御周波数帯域外の周波数成分を遮断する)、外部ノイズに含まれない周波数帯域を不通過とするものである。(c) The frequency response control unit and the gain control unit are both constituent members of the noise cancellation processing units 3 and 13 and are analog elements that can be digitally controlled. The gain control unit includes an electronic volume, an electronic attenuator, and the like. The frequency response control unit considers the phase, but is basically a first-order or second-order filter composed of a capacitor C and a resistor R. By changing the value of the resistor R using a ladder resistor or a switch, the cutoff or attenuation amount as a filter is made variable. This frequency response control unit passes components only in the control frequency band of external noise (cuts off frequency components outside the control frequency band) and rejects frequency bands not included in the external noise.
(d) フィードフォワード処理部
本発明のノイズキャンセル処理部の一例であって、リファレンスマイクより入力された騒音参照信号を、イヤホン出力部までの伝達関数を予想・近似したフィルタを通し逆相で出力することにより、騒音を抑圧する。実際にはリファレンスマイクでの検知から出力よりも先に音波は出力部に到達してしまうので、処理としては低域を抑圧するに留まる。(d) Feedforward processing unit An example of the noise cancellation processing unit of the present invention, which outputs a noise reference signal input from a reference microphone in a reverse phase through a filter that predicts and approximates a transfer function to an earphone output unit. By doing so, noise is suppressed. Actually, since the sound wave reaches the output unit before the output from the detection by the reference microphone, the processing is limited to suppressing the low frequency range.
(e) フィードバック処理部
本発明のノイズキャンセル処理部の他の例であって、エラーマイクより入力された信号を逆相にして出力することにより騒音を抑圧する。この際、電気音響変換系による遅延が発生し、ハウリングが起こってしまうことから、一般にはそれら遅延が問題にならない程度に低域に限定して出力する。(e) Feedback processing unit Another example of the noise cancellation processing unit of the present invention, which suppresses noise by outputting a signal input from an error microphone in reverse phase. At this time, a delay due to the electroacoustic conversion system occurs and howling occurs. Therefore, in general, the output is limited to a low frequency so that the delay does not cause a problem.
(f) アナログ/ディジタル(A/D)変換、ディジタル/アナログ(D/A)変換
前記のように、フィードフォワード、フィードバックいずれの処理においても、遅延は制御可能域を狭めてしまう。処理系の遅延特性はノイズキャンセル性能に深く関わっており、A/D変換やD/A変換に伴う遅延から処理系はアナログ回路で構成されているのが現状である。(f) Analog / digital (A / D) conversion, digital / analog (D / A) conversion As described above, in both feedforward and feedback processing, the delay narrows the controllable range. The delay characteristic of the processing system is deeply related to the noise cancellation performance, and the current state is that the processing system is configured by an analog circuit due to the delay accompanying A / D conversion and D / A conversion.
(g) 音楽信号
音源から出力される種々な信号の総称で、音声、音楽、効果音などを含む。原音ともいう。録音されて、再生されたものに限らない。(g) Music signal A generic term for various signals output from a sound source, including voice, music, sound effects, etc. Also called the original sound. It is not limited to those recorded and played back.
(h) 出力手段
本発明に使用する出力手段としては、イヤホン、ヘッドホンまたはイヤースピーカのように、出力手段と耳との距離が短いものを対象とする。この場合、イヤースピーカは、リスニングチェア(両耳のすぐ後ろにスピーカがついた椅子や車の座席)など、耳のごく近傍で聞かせるスピーカをいう。(h) Output means The output means used in the present invention is for an output means having a short distance between the output means and the ear, such as an earphone, a headphone, or an ear speaker. In this case, the ear speaker refers to a speaker that can be heard very close to the ear, such as a listening chair (a chair or a car seat with speakers right behind both ears).
(2)主観評価による制御パラメータの決定
本発明における主観評価を考慮した制御パラメータの決定に当たっては、想定する騒音モデル信号に対し各騒音レベル時の最も快適性を感じる制御パラメータを主観評価により決定する。主観評価には以下のような要素が含まれる。
(a) ノイズ制御による抑圧効果の主観的な評価量。
(b) 制御に要する回路上の寄生ノイズや制御時に想定している伝達関数との誤差、フィードバックループにおいてゲインの上がってしまう帯域など制御によって新たに発生してしまうノイズ。
(c) 制御により感じる圧迫感や逆相感。(2) Determination of control parameter by subjective evaluation In determining the control parameter in consideration of subjective evaluation in the present invention, the control parameter that feels most comfortable at each noise level for the assumed noise model signal is determined by subjective evaluation. . The subjective evaluation includes the following elements.
(a) A subjective evaluation amount of the suppression effect by noise control.
(b) New noise generated by the control, such as parasitic noise on the circuit required for control, an error from the transfer function assumed at the time of control, and a band where the gain increases in the feedback loop.
(c) A feeling of pressure or reverse phase felt by control.
これら要素も含め対象となる各システムにおいて所望の騒音レベル下で最も快適性を感じる制御パラメータを決定する。(a) (b) は物理量として測定可能であるが、(c) に関しては物理量と心理量の明確な関係性が完全には明らかにされていない。また,(a) と(b) は、片方を減らせば片方が増えるトレードオフの関係であることが多いが、非常に複雑な系であることから、人間の快適性を評価基準としてとらえると、(c) と同様に最適バランスを算出するのは困難である。その様な背景から本発明では主観評価を導入する。 A control parameter that feels most comfortable under a desired noise level in each target system including these elements is determined. Although (a) and (b) can be measured as physical quantities, the clear relationship between physical quantities and psychological quantities has not been fully clarified for (c). In addition, (a) and (b) are often in a trade-off relationship where one of the two increases as one is reduced. However, since it is a very complex system, if human comfort is taken as an evaluation criterion, As in (c), it is difficult to calculate the optimal balance. From such a background, the present invention introduces subjective evaluation.
これらの主観評価を元に以下の様な制御を行う。
(1) 得られた各パラメータを元に制御テーブルを作成し、ノイズレベルに合わせ適切な値を設定する。
(2) 得られた各パラメータを元に近似直線、近似曲線を算出し、ノイズレベルに応じた値を逐次算出し設定する。
(3) 得られた各パラメータあるいは(個人差を考慮し幅を持たせた)近しい値を制御テーブルとして作成し、それらの中から利用者が選択し利用する。The following control is performed based on these subjective evaluations.
(1) Create a control table based on the obtained parameters and set appropriate values according to the noise level.
(2) Approximate lines and approximate curves are calculated based on the obtained parameters, and values corresponding to the noise level are calculated and set sequentially.
(3) Each parameter obtained or a close value (with a range in consideration of individual differences) is created as a control table, and the user selects and uses it.
主観評価プロットの一例と近似曲線例を図10のプロット図に示す。このプロット図におけるフィードバック処理部の制御ゲイン(黒丸印)とフィードフォワード処理部の制御ゲイン(黒四角印)は、各環境ノイズレベルごとに制御ゲインレベルを増減し、聴取者が最も適当と判断した値を、その環境ノイズレベルの制御ゲインレベルと決定したものである。そして、各環境レベルごとに決定された制御ゲインレベルに基づいて、制御パラメータを決定する近似曲線を算出する。 An example of a subjective evaluation plot and an example of an approximate curve are shown in the plot diagram of FIG. The control gain (black circle) of the feedback processing unit and the control gain (black square mark) of the feedforward processing unit in this plot diagram increase or decrease the control gain level for each environmental noise level, and the listener determines that it is most appropriate. The value is determined as the control gain level of the environmental noise level. Then, an approximate curve for determining the control parameter is calculated based on the control gain level determined for each environmental level.
また、このような主観評価を採用した制御システム例のフローチャートを図11に示す。この図11の制御システムでは、まず、前段階として、聴取者に装着されているノイズキャンセルイヤホンを認識した後(ステップ1)、制御テーブルより制御可能な帯域幅、伝達特性の読み出し・設定を行い(ステップ2)を行う。 FIG. 11 shows a flowchart of a control system example employing such subjective evaluation. In the control system of FIG. 11, first, as a previous stage, after recognizing the noise canceling earphone worn by the listener (step 1), the controllable bandwidth and transfer characteristics are read and set from the control table. (Step 2) is performed.
次いで、そのノイズキャンセルイヤホンを装着した聴取者をノイズ環境において、制御対象であるノイズ信号の周波数分布をフィードフォワード処理部のリファレンスマイクやフィードバック処理部のエラーマイクにより観察し(ステップ3)、前記制御テーブルにより制御可能な周波数帯域内でエネルギーに偏りがあるか(ある特定の周波数帯域のノイズ成分のみが多く含まれているか)否かを検出する(ステップ4)。 Next, the listener wearing the noise canceling earphone is observed in a noise environment, using a reference microphone of a feedforward processing unit or an error microphone of a feedback processing unit, to observe the frequency distribution of a noise signal to be controlled (step 3), and the control It is detected whether there is a bias in energy within the frequency band that can be controlled by the table (only a large amount of noise components in a specific frequency band are included) (step 4).
エネルギーに偏りがある場合には、フィードバック処理部やフィードフォワード処理部における制御フィルタの周波数特性をノイズ信号の特性に近似するように更新し(ステップ5)、エネルギーに偏りがない場合には、各処理部の制御フィルタは制御可能な範囲全域に設定する(ステップ6)。その後、ノイズ信号の制御帯域のエネルギー量(環境ノイズレベル)に合わせて、図10の主観評価プロット図などを利用して作製した心理評価値のテーブルを参照して、各処理部の制御フィルタのゲインを更新する(ステップ7)。 When there is a bias in energy, the frequency characteristics of the control filter in the feedback processing unit and the feedforward processing unit are updated so as to approximate the characteristics of the noise signal (step 5). The control filter of the processing unit is set over the entire controllable range (step 6). Then, according to the energy amount (environmental noise level) of the control band of the noise signal, referring to the psychological evaluation value table created using the subjective evaluation plot diagram of FIG. The gain is updated (step 7).
以下、ノイズキャンセルイヤホンの使用を継続するに伴い、常時、制御対象(ノイズ信号)の周波数分布の観察を続け、前記ステップ3からステップ7を繰り返すことにより、ノイズ信号の周波数分布の偏りと、制御帯域のエネルギー量に合わせた主観評価に基づく制御フィルタのゲインの更新とが行われ、主観評価を加味したノイズキャンセル処理が実行される。 Hereinafter, as the use of the noise canceling earphone is continued, the frequency distribution of the control target (noise signal) is continuously observed, and the steps 3 to 7 are repeated, whereby the frequency signal bias of the noise signal and the control are controlled. The gain of the control filter is updated based on the subjective evaluation in accordance with the energy amount of the band, and the noise canceling process is performed in consideration of the subjective evaluation.
この場合、リファレンスマイク1を使用したフィードフォワード処理と、エラーマイク11を使用したフィードバック処理とを併用した場合には、前記図11におけるステップ7の後に、下記のようなステップ8,9が実行される。 In this case, when the feedforward process using the
すなわち、一般に、耳栓のような働きかけのない消音装置をパッシブ・ノイズキャンセルと呼び、スピーカなどを使用し積極的に制御を行うシステムをアクティブ・ノイズキャンセルシステムと呼ぶが、ヘッドホンやイヤホンなどによるパッシブ・ノイズコントロールによりリファレンスマイクとエラーマイクでの音場に大きな差がある場合、エラーマイク11によりノイズ特性を観察しパラメータ設定を更新する手法が、より実用性が高い可能性がある。あるいはエラーマイク11のみでのノイズキャンセル時にはエラーマイク信号を元にパラメータ設定を更新する必要がある。 In other words, a silencer that does not work like an earplug is generally called passive noise cancellation, and a system that uses a speaker or the like to perform active control is called an active noise cancellation system, but it is passive using headphones or earphones. If there is a large difference in the sound field between the reference microphone and the error microphone due to noise control, the method of observing the noise characteristics with the error microphone 11 and updating the parameter setting may be more practical. Alternatively, it is necessary to update the parameter setting based on the error microphone signal when canceling noise using only the error microphone 11.
また、リファレンスマイク1及びエラーマイク11の併用により個人差(この場合の個人差は、各個人の外耳道での伝達関数の違いのみでなく、その時のイヤホンのかけ方など一般化してパラメータ設定される情報との実際のずれを広義に含む)を補正する手法においては、騒音信号や音楽信号を用いてリファレンスマイク1からエラーマイク11、出力手段10からエラーマイク11の伝達関数を同定フィルタ16により同定し(ステップ8)、フィードフォワード処理部3においてその制御フィルタの周波数特性及びゲイン特性を前者から更新((微)調整)し(ステップ9)、フィードバック処理部13においてその制御フィルタの周波数特性及びゲイン特性を後者から更新することが可能になる。 In addition, by using the
(3)第1実施形態…参考例
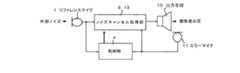
前記のような主観評価を考慮した本発明のノイズキャンセルシステムの第1実施形態を、図5に従って説明する。この第1実施形態は、フィードフォワード処理部に設けられたリファレンスマイクのみを使用して、ノイズキャンセルを行うものである。この第1実施形態は、本発明の参考例であって、請求項に記載された発明ではない。(3) First EmbodimentReference Example A first embodiment of the noise cancellation system of the present invention considering the above subjective evaluation will be described withreference to FIG. In the first embodiment, noise cancellation is performed using only a reference microphone provided in the feedforward processing unit.The first embodiment is a reference example of the present invention, and is not an invention described in claims.
図1において、符号1はリファレンスマイクであって、外部ノイズをアナログ信号として入力する。このリファレンスマイクの出力は、マイクアンプ2を介して、フィードフォワード処理部3とノイズキャンセル制御部4とに出力される。 In FIG. 1,
フィードフォワード処理部3は、周波数応答制御部3aとゲイン制御部3bとを備えている。本実施形態において、これら周波数応答制御部3aとゲイン制御部3bとは、ディジタル制御可能なアナログ素子から構成されており、ノイズキャンセル制御部4からのディジタルデータに基づいて、外部ノイズの所定の周波数帯域をカットオフしたり、減衰したりする。 The feedforward processing unit 3 includes a frequency
マイクアンプ2からの外部ノイズは、A/D変換器5によってディジタルデータ化された後、ノイズキャンセル制御部4に入力される。このノイズキャンセル制御部4は、入力された外部ノイズの大きさとどの周波数帯域のエネルギーが大きいかを観察する外部ノイズ検出部4aと、この外部ノイズ検出部4aの検出結果に基づいて制御テーブル6から所定のパラメータを取得するパラメータ取得部4bと、このパラメータ取得部4bが取得したパラメータに基づいて、前記周波数応答制御部3aとゲイン制御部3bに制御データを出力するデータ出力部4cとを備えている。 External noise from the
前記フィードフォワード処理部3の出力側には加算器7が設けられており、この加算器7において、フィードフォワード処理部3から出力されたノイズキャンセル信号と、音源8からの音楽信号とが加算される。この場合、本実施の形態においては、音楽信号としてディジタル信号を使用しているため、音源8からの音楽信号は、D/A変換器9によりアナログデータに変換された後、加算器7において同じくアナログデータであるノイズキャンセル信号に加算されてスピーカ、ヘッドホンあるいはイヤホンなどの出力手段10から出力される。 An
なお、本実施形態において、パラメータ取得部4bによって制御テーブル6からパラメータを取得する代わりに、パラメータ演算部を設けておき、検出部4aで検出した外部ノイズのレベルやエネルギー分布に対応して、その都度パラメータを演算することも可能である。また、制御テーブル6に基づく近似曲線の使用、あるいは制御テーブル6に基づき騒音環境状況から最適パラメータを推定するなどの手法があげられる。 In this embodiment, instead of acquiring parameters from the control table 6 by the
このような構成を有する第1実施形態において、リファレンスマイク1で収音された外部ノイズは、フィードフォワード処理部3とノイズキャンセル制御部4に入力される。ノイズキャンセル制御部4では、その外部ノイズ検出部4aにおいて入力されたノイズレベル及びそれらの周波数軸上のエネルギー分布を観察し、パラメータ取得部4bにおいて、入力された外部ノイズに適したパラメータを算出あるいはあらかじめ算出したパラメータを制御テーブル6より取得し、これをデータ出力部4cからフィードフォワード処理部3に出力する。 In the first embodiment having such a configuration, the external noise collected by the
フィードフォワード処理部3においては、前記ノイズキャンセル制御部4から取得したパラメータに従い、周波数応答制御部3a及びゲイン制御部3bを制御し、リファレンスマイク1からマイクアンプ2を介して入力された外部ノイズを、出力手段10までの伝達関数を予想・近似したフィルタを通し逆相で出力することにより、ノイズキャンセル処理を施す。 In the feedforward processing unit 3, the frequency
この場合、本発明においては、周波数応答制御部3a及びゲイン制御部3bを構成する機器は、アナログ信号として入力された外部ノイズをアナログデータのまま処理するアナログ素子であるが、その制御量はノイズキャンセル制御部4からのディジタル信号によって決定されるものである。従って、本実施形態によれば、周波数応答制御部3a及びゲイン制御部3bにおける外部ノイズのキャンセル処理自体には、A/D変換やD/A変換を要しないため、ノイズキャンセル処理の遅延が最小限で済む利点がある。 In this case, in the present invention, the devices constituting the frequency
(4)第2実施形態
本発明の第2実施形態を図6に従って説明する。この第2実施形態は、リファレンスマイクとエラーマイクを併用したものである。なお、前記第1実施形態と同様な構成については、説明を省略する。(4) Second Embodiment A second embodiment of the present invention will be described with reference to FIG. In the second embodiment, a reference microphone and an error microphone are used in combination. The description of the same configuration as that of the first embodiment is omitted.
図6において、11はエラーマイクであって、このエラーマイク11は、聴取者が実際に聞き取っている音(ノイズキャンセルされた音)を採取するものであって、ヘッドホン、イヤホンなどの出力手段10の近傍に設けられている。 In FIG. 6, reference numeral 11 denotes an error microphone. The error microphone 11 collects a sound that the listener is actually listening to (a noise-cancelled sound), and is an output means 10 such as headphones or earphones. It is provided in the vicinity.
このエラーマイク11からのエラーマイク信号は、マイクアンプ12によって増幅された後、フィードバック処理部13と前記ノイズキャンセル制御部4に入力される。この場合、エラーマイク信号は、フィードバック処理部13に対してはエラーマイク11が入力したアナログ信号として入力され、前記ノイズキャンセル制御部4に対してはA/D変換器14を介してディジタルデータとして入力される。 The error microphone signal from the error microphone 11 is amplified by the microphone amplifier 12 and then input to the feedback processing unit 13 and the noise cancellation control unit 4. In this case, the error microphone signal is input as an analog signal input by the error microphone 11 to the feedback processing unit 13, and as digital data via the A /
前記フィードバック処理部13は、前記フィードフォワード処理部3と同様に、周波数応答制御部13aとゲイン制御部13bとを備えており、これらの制御部13a,13bはノイズキャンセル制御部4からのディジタルデータにより制御されるアナログ素子である点も、前記フィードフォワード処理部3と同様である。 Similar to the feedforward processing unit 3, the feedback processing unit 13 includes a frequency
この第2実施形態では、ノイズキャンセル制御部4は、前記第1実施形態の機能に加えて、エラーマイク信号に基づいて、フィードバック処理部13の各制御部13a,13bを制御するためのディジタル信号を生成する。すなわち、ノイズキャンセル制御部4は、外部ノイズ検出部4aの検出結果に基づいて制御テーブル6から所定のパラメータを取得するパラメータ取得部4bと、このパラメータ取得部4bが取得したパラメータに基づいて、前記周波数応答制御部3aとゲイン制御部3bに制御データを出力するデータ出力部4cとを備え、このデータ出力部4cからの信号により、フィードバック処理部13の周波数応答制御部13aとゲイン制御部13bを制御する。 In the second embodiment, the noise cancellation control unit 4 is a digital signal for controlling the
ところで、第2実施形態のようなフィードバック型のノイズ制御システムにおいては、音源8とそのD/A変換器9との間に補正フィルタ15を配置する。すなわち、エラーマイク11で収録したエラーマイク信号中には、キャンセルされたノイズの残留分と音源8からの音楽信号とが存在しているため、フィードバック処理部13において、このエラーマイク信号を元に逆位相のノイズキャンセル信号を生成すると、音源からの音楽信号もキャンセルすることになる。 By the way, in the feedback type noise control system as in the second embodiment, the
そこで、この補正フィルタ15は、ノイズキャンセル制御部4からフィードバック処理部13における音楽信号のキャンセル分に相当するデータを取得し、それに応じて、音源8からの音楽信号に対してフィルタ処理を施すことにより、フィードバック処理部13から音楽信号に相当するノイズキャンセル信号が加えられた場合でも本来の音楽信号が損なわれないように、音源8からの音楽信号を補正する。 Therefore, the
このように第2実施形態で採用されているフィードバック型のノイズ制御システムにおいては、パラメータの更新の都度に補正フィルタ15を更新する必要がある。そのため、第2実施形態では、ノイズキャンセル制御部4に同定フィルタ16と逆フィルタ生成器17を設け、出力音源8からの音楽信号(一例として、補正フィルタ15の後段から取得する)とエラーマイク11からのエラーマイク信号を比較して、ノイズキャンセルシステムの音源に対するレスポンスを同定フィルタ16(例えば、LMSなどの適応フィルタ)を用いて同定し、この同定した情報に基づき、逆フィルタ生成器17においてその逆フィルタも近似する。このようにして得られた近似逆フィルタを用いて補正フィルタ15を更新することにより、聴覚上ではもとの音源信号に聞こえるよう前処理することが可能になる。 As described above, in the feedback type noise control system employed in the second embodiment, it is necessary to update the
以上のように、第2施形態においては、エラーマイク11からノイズキャンセル制御部4に入力される信号はイヤホンの人体側、すなわち実際に耳に聞こえている音として処理されるため、ノイズを消そうとしているという機構としてはいわば「消しそんじ」が観察される。一方、音源8からの音楽信号に着目すると、エラーマイク11を通じて「(ノイズキャンセル処理によって変質してしまった)実際に耳に聞こえている音楽」を観察することができる。また、ノイズキャンセル制御部4には、再生音の音楽信号情報も補正フィルタ15の出力側から入力されているので、エラーマイク11の音を観察すれば音楽がどのように変質してしまったかも判明する。 As described above, in the second embodiment, the signal input from the error microphone 11 to the noise cancellation control unit 4 is processed as a sound that is actually audible to the human body side of the earphone, that is, the ear, so noise is eliminated. As a mechanism to do so, so-called “Sonji-Sonji” is observed. On the other hand, focusing on the music signal from the
そして、ノイズキャンセル制御部4の振舞いとしては、原音(音楽信号)とエラーマイク信号から信号の変化量(スピーカから耳の中への系のインパルス応答)をLMS等の同定フィルタ16で求め、この同定フィルタ16からの出力に基づいて、逆フィルタ生成器17において、その逆フィルタ(前述の系を通った時に伝達関数が”1”、すなわち、ちょうど前述の系をキャンセルするようなフィルタ)のインパルス応答情報を生成し、これにより補正フィルタ15を更新する。その結果、第2実施形態によれば、音質補正フィルタ15がノイズ制御パラメータが変わったのに追従して変更可能となる利点がある。 Then, as the behavior of the noise cancellation control unit 4, the change amount of the signal (impulse response of the system from the speaker to the ear) is obtained from the original sound (music signal) and the error microphone signal by the
なお、第2実施形態において、ディジタル制御アナログ部のパラメータが限られた値である場合には、ノイズキャンセル部へのパラメータを元に制御テーブル6を参照して補正フィルタ15を更新することも可能である。 In the second embodiment, when the parameter of the digital control analog unit is a limited value, the
更に、この第2実施形態では、エラーマイク11で検出したエラーマイク信号中の外部ノイズ成分を前記ノイズキャンセル制御部4の外部ノイズ検出部4aに入力することにより、フィードバック処理部13における制御フィルタのパラメータを制御する。この場合、前記のようにエラーマイク11よりマイクアンプ12で増幅された後、A/D変換器14によりディジタル信号化された情報は“耳に直接聞こえている制御すべきノイズの情報+耳に届いている音楽信号”である。 Furthermore, in the second embodiment, the external noise component in the error microphone signal detected by the error microphone 11 is input to the external
しかし、外部ノイズ情報の検出には音楽信号成分のみを取り出すことが求められる。そこで、この第2実施形態では、ディジタル音源8からの音楽信号に、音質補正フィルタの項において算出した出力手段10からエラーマイク11への伝達関数を同定したフィルタ18を畳み込み、加算器19においてA/D変換器14によってディジタル信号に変換されたエラーマイク信号から減算する。その結果、エラーマイク信号中の外部ノイズ成分のみが外部ノイズ検出部4aに入力されることになり、リファレンスマイク1からの外部ノイズと同様にして、フィードバック処理部13を構成する周波数応答制御部13aおよびゲイン制御部13bのパラメータを決定することができる。 However, to detect external noise information, it is required to extract only the music signal component. Therefore, in this second embodiment, the
(5)第3実施形態…参考例
図7は、本発明の第3実施形態を示すものであって、前記第1実施形態のリファレンスマイクによって取得した外部ノイズに基づいてパラメータを決定する代わりに、デバイスの特性や個人の耳の特性、さらにはノイズの発生環境に応じて、予め用意して置いた複数のパラメータの中から、ユーザが希望するパラメータを選択するものである。この第3実施形態は、本発明の参考例であって、請求項に記載された発明ではない。(5) Third Embodiment... Reference Example FIG. 7 shows a third embodiment of the present invention, and instead of determining parameters based on external noise acquired by the reference microphone of the first embodiment. The parameter desired by the user is selected from a plurality of parameters prepared in advance according to the characteristics of the device, the characteristics of the individual ear, and the noise generation environment.This third embodiment is a reference example of the present invention and is not an invention described in claims.
すなわち、第3実施形態においては、ノイズキャンセル制御部4に、外部ノイズ検出部4aに代えて、パラメータ選択スイッチ21が設けられ、このパラメータ選択スイッチ21によって、パラメータ取得部4bが制御テーブル6から取得するパラメータを選択することができるように構成されている。 That is, in the third embodiment, the noise cancellation control unit 4 is provided with a
そのため、第3実施形態においては、使用するヘッドホンやイヤホンなどのデバイスのタイプや特性に応じてスイッチ21を操作したり、ユーザ個人の耳の特性、趣向、あるいは騒音状況(ノイズの特性)に合わせてスイッチ21を操作することにより、所望のパラメータを選択して、フィードフォワード処理部3の周波数応答制御部3aとゲイン制御部3bを制御し、適切なノイズキャンセル処理を行うことができる。 Therefore, in the third embodiment, the
(6)第4実施形態
図8は、本発明の第4実施形態を示すものであって、この第4実施形態は、前記第3実施形態に示したパラメータ選択スイッチ21によるフィードフォワード処理と、第2実施形態に示したフィードバック処理とを組み合わせたものである。(6) Fourth Embodiment FIG. 8 shows a fourth embodiment of the present invention. This fourth embodiment includes a feedforward process by the
このような構成の第4実施形態においても、前記第2実施形態と同様に、エラーマイク11からの信号をフィードバックさせると共に、デバイスや周囲の騒音状況に合わせたパラメータの決定が可能となる。 Also in the fourth embodiment having such a configuration, similarly to the second embodiment, a signal from the error microphone 11 is fed back, and parameters can be determined in accordance with the device and surrounding noise conditions.
(7)第5実施形態…参考例
図9は、本発明の第5実施形態を示すものであって、この第5実施形態は、リファレンスマイク1を使用することなく、エラーマイク11のみによって外部ノイズの検出を行うと共に、補正フィルタ15による音質の補正を行うようにしたものである。この第5実施形態は、本発明の参考例であって、請求項に記載された発明ではない。(7) Fifth Embodiment: Reference Example FIG. 9 shows a fifth embodiment of the present invention. This fifth embodiment is not used by the
なお、図9では、第1実施形態と同様に、エラーマイク11によって検出した外部ノイズに基づいてパラメータを決定しているが、前記第3実施形態や第4実施形態のように、パラメータ選択スイッチ21によってパラメータを決定することも可能である。 In FIG. 9, the parameters are determined based on the external noise detected by the error microphone 11 as in the first embodiment. However, as in the third embodiment and the fourth embodiment, the parameter selection switch It is also possible to determine parameters according to 21.
このような構成の第5実施形態においても、前記各実施形態と同様に、エラーマイク11からの信号をフィードバックさせることにより、周囲の騒音状況に合わせたパラメータの決定が可能である。 Also in the fifth embodiment having such a configuration, as in the above-described embodiments, it is possible to determine a parameter in accordance with the surrounding noise situation by feeding back the signal from the error microphone 11.
(8)各実施形態による効果
前記のような構成並びに作用を有する各実施形態の効果は次の通りである。(8) Effect by each embodiment The effect of each embodiment which has the above-mentioned composition and operation is as follows.
前記の実施形態においては、遅れのない応答性が要求されるノイズキャンセル部には(ディジタル制御)アナログ信号処理のみを用い、遅延は問題にならないが正確な補正フィルタを要する音源再生部はディジタル信号処理系のみを施している。結果として、音源再生部においてアナログフィルタでは原理上構成不可能である非因果性の要素を含むフィルタを組み込むことが可能となり、ヘッドホンでの立体再生システムと併用することにより、ノイズキャンセルを行いながらバイノーラルシステムを構築することを可能としている。 In the above embodiment, only the (digital control) analog signal processing is used for the noise canceling unit that requires responsiveness without delay, and the sound source reproducing unit that does not cause a delay but requires an accurate correction filter is a digital signal. Only treatment system is given. As a result, it is possible to incorporate a filter that includes non-causal elements that cannot be constructed in principle with an analog filter in the sound source reproduction unit, and binaural while performing noise cancellation by using it together with a stereo reproduction system using headphones. It is possible to build a system.
更には、補正フィルタ部をディジタルで構成し適応フィルタと組み合わせることによりバーチャルシステムを維持するには複雑な処理を必要とするノイズキャンセル部の係数更新にかかる再生音用の補正フィルタの更新を実現している。 In addition, the correction filter unit is constructed digitally and combined with an adaptive filter to update the correction filter for the reproduced sound related to the coefficient update of the noise cancellation unit that requires complex processing to maintain a virtual system. ing.
前記の実施形態は、広く採用されているアナログ構成のノイズキャンセルヘッドホンシステムにディジタル制御を導入し、システムの特性・利得を外部から可変とすることにより、同一のシステムにおいてデバイス状況や騒音状況に適したノイズキャンセル信号を生成できることを特徴とする。特に、ディジタル制御可能なアナログ素子を採用することによりアナログの応答性を有したままディジタル制御可能なシステムが実現できる。 The above-described embodiment is suitable for device situations and noise situations in the same system by introducing digital control into a widely adopted analog configuration noise cancellation headphone system and making the system characteristics and gain variable from the outside. It is possible to generate a noise cancellation signal. In particular, by adopting digitally controllable analog elements, it is possible to realize a digitally controllable system with analog responsiveness.
前記の実施形態において、ゲイン制御は1ブロック1パラメータ、周波数応答制御もアナログ素子で構成され一般に1ないし2程度の数パラメータになることから、最適化は数タップのLMSや摂動法等適応処理を用いて行うことが可能である。広く研究が進められているフルディジタルの適応信号処理をもちいたノイズキャンセルと比較して遙かに少ない計算量でありながらディジタルにない応答特性を持ち実用に供されるシステムが構築できる。 In the above embodiment, the gain control is made up of one block and one parameter, and the frequency response control is made up of analog elements, and generally has a few parameters. Can be used. Compared with noise cancellation using fully digital adaptive signal processing, which is being studied extensively, it is possible to construct a practical system that has a response characteristic not found in digital, but with a much smaller calculation amount.
| Application Number | Priority Date | Filing Date | Title |
|---|---|---|---|
| JP2009534169AJP5114611B2 (en) | 2007-09-28 | 2008-09-22 | Noise control system |
| Application Number | Priority Date | Filing Date | Title |
|---|---|---|---|
| JP2007255932 | 2007-09-28 | ||
| JP2007255932 | 2007-09-28 | ||
| JP2009534169AJP5114611B2 (en) | 2007-09-28 | 2008-09-22 | Noise control system |
| PCT/JP2008/002618WO2009041012A1 (en) | 2007-09-28 | 2008-09-22 | Noise control system |
| Publication Number | Publication Date |
|---|---|
| JPWO2009041012A1 JPWO2009041012A1 (en) | 2011-01-13 |
| JP5114611B2true JP5114611B2 (en) | 2013-01-09 |
| Application Number | Title | Priority Date | Filing Date |
|---|---|---|---|
| JP2009534169AExpired - Fee RelatedJP5114611B2 (en) | 2007-09-28 | 2008-09-22 | Noise control system |
| Country | Link |
|---|---|
| JP (1) | JP5114611B2 (en) |
| TW (1) | TW200926138A (en) |
| WO (1) | WO2009041012A1 (en) |
| Publication number | Priority date | Publication date | Assignee | Title |
|---|---|---|---|---|
| TWI840100B (en)* | 2022-02-08 | 2024-04-21 | 大陸商深圳市韶音科技有限公司 | Active noise reduction audio device, method, and storage medium |
| JP7609963B1 (en) | 2023-12-22 | 2025-01-07 | エルジー ディスプレイ カンパニー リミテッド | Noise Cancelling System |
| Publication number | Priority date | Publication date | Assignee | Title |
|---|---|---|---|---|
| EP2182510B2 (en) | 2008-10-31 | 2016-09-28 | Austriamicrosystems AG | Active noise control arrangement, active noise control headphone and calibration method |
| JP5651923B2 (en) | 2009-04-07 | 2015-01-14 | ソニー株式会社 | Signal processing apparatus and signal processing method |
| US8184822B2 (en) | 2009-04-28 | 2012-05-22 | Bose Corporation | ANR signal processing topology |
| US8315405B2 (en) | 2009-04-28 | 2012-11-20 | Bose Corporation | Coordinated ANR reference sound compression |
| US8073150B2 (en) | 2009-04-28 | 2011-12-06 | Bose Corporation | Dynamically configurable ANR signal processing topology |
| US8090114B2 (en) | 2009-04-28 | 2012-01-03 | Bose Corporation | Convertible filter |
| EP2425424B1 (en) | 2009-04-28 | 2013-04-17 | Bose Corporation | Sound-dependent anr signal processing adjustment |
| US8532310B2 (en) | 2010-03-30 | 2013-09-10 | Bose Corporation | Frequency-dependent ANR reference sound compression |
| US8073151B2 (en) | 2009-04-28 | 2011-12-06 | Bose Corporation | Dynamically configurable ANR filter block topology |
| US8611553B2 (en) | 2010-03-30 | 2013-12-17 | Bose Corporation | ANR instability detection |
| US8472637B2 (en) | 2010-03-30 | 2013-06-25 | Bose Corporation | Variable ANR transform compression |
| US8165313B2 (en) | 2009-04-28 | 2012-04-24 | Bose Corporation | ANR settings triple-buffering |
| JP4686622B2 (en) | 2009-06-30 | 2011-05-25 | 株式会社東芝 | Acoustic correction device and acoustic correction method |
| GB2521553B (en)* | 2009-08-15 | 2015-09-23 | Archiveades Georgiou | A method for and a system of partially cancelling sound |
| JP5629372B2 (en)* | 2010-06-17 | 2014-11-19 | ドルビー ラボラトリーズ ライセンシング コーポレイション | Method and apparatus for reducing the effects of environmental noise on a listener |
| EP2647002B1 (en) | 2010-12-03 | 2024-01-31 | Cirrus Logic, Inc. | Oversight control of an adaptive noise canceler in a personal audio device |
| US8908877B2 (en) | 2010-12-03 | 2014-12-09 | Cirrus Logic, Inc. | Ear-coupling detection and adjustment of adaptive response in noise-canceling in personal audio devices |
| US9318094B2 (en) | 2011-06-03 | 2016-04-19 | Cirrus Logic, Inc. | Adaptive noise canceling architecture for a personal audio device |
| US8958571B2 (en) | 2011-06-03 | 2015-02-17 | Cirrus Logic, Inc. | MIC covering detection in personal audio devices |
| US9824677B2 (en)* | 2011-06-03 | 2017-11-21 | Cirrus Logic, Inc. | Bandlimiting anti-noise in personal audio devices having adaptive noise cancellation (ANC) |
| US8848936B2 (en)* | 2011-06-03 | 2014-09-30 | Cirrus Logic, Inc. | Speaker damage prevention in adaptive noise-canceling personal audio devices |
| EP2551845B1 (en)* | 2011-07-26 | 2020-04-01 | Harman Becker Automotive Systems GmbH | Noise reducing sound reproduction |
| US9491537B2 (en) | 2011-07-26 | 2016-11-08 | Harman Becker Automotive Systems Gmbh | Noise reducing sound reproduction system |
| EP2584558B1 (en)* | 2011-10-21 | 2022-06-15 | Harman Becker Automotive Systems GmbH | Active noise reduction |
| US9318090B2 (en) | 2012-05-10 | 2016-04-19 | Cirrus Logic, Inc. | Downlink tone detection and adaptation of a secondary path response model in an adaptive noise canceling system |
| US9123321B2 (en) | 2012-05-10 | 2015-09-01 | Cirrus Logic, Inc. | Sequenced adaptation of anti-noise generator response and secondary path response in an adaptive noise canceling system |
| US9319781B2 (en)* | 2012-05-10 | 2016-04-19 | Cirrus Logic, Inc. | Frequency and direction-dependent ambient sound handling in personal audio devices having adaptive noise cancellation (ANC) |
| EP2667379B1 (en) | 2012-05-21 | 2018-07-25 | Harman Becker Automotive Systems GmbH | Active noise reduction |
| US9082388B2 (en)* | 2012-05-25 | 2015-07-14 | Bose Corporation | In-ear active noise reduction earphone |
| US9532139B1 (en) | 2012-09-14 | 2016-12-27 | Cirrus Logic, Inc. | Dual-microphone frequency amplitude response self-calibration |
| US8798283B2 (en)* | 2012-11-02 | 2014-08-05 | Bose Corporation | Providing ambient naturalness in ANR headphones |
| JP6155633B2 (en)* | 2012-12-25 | 2017-07-05 | ヤマハ株式会社 | Multitrack recording device |
| US9414150B2 (en) | 2013-03-14 | 2016-08-09 | Cirrus Logic, Inc. | Low-latency multi-driver adaptive noise canceling (ANC) system for a personal audio device |
| US9502020B1 (en) | 2013-03-15 | 2016-11-22 | Cirrus Logic, Inc. | Robust adaptive noise canceling (ANC) in a personal audio device |
| US10206032B2 (en) | 2013-04-10 | 2019-02-12 | Cirrus Logic, Inc. | Systems and methods for multi-mode adaptive noise cancellation for audio headsets |
| US9462376B2 (en) | 2013-04-16 | 2016-10-04 | Cirrus Logic, Inc. | Systems and methods for hybrid adaptive noise cancellation |
| US9460701B2 (en) | 2013-04-17 | 2016-10-04 | Cirrus Logic, Inc. | Systems and methods for adaptive noise cancellation by biasing anti-noise level |
| US9478210B2 (en) | 2013-04-17 | 2016-10-25 | Cirrus Logic, Inc. | Systems and methods for hybrid adaptive noise cancellation |
| US9578432B1 (en) | 2013-04-24 | 2017-02-21 | Cirrus Logic, Inc. | Metric and tool to evaluate secondary path design in adaptive noise cancellation systems |
| US9264808B2 (en)* | 2013-06-14 | 2016-02-16 | Cirrus Logic, Inc. | Systems and methods for detection and cancellation of narrow-band noise |
| US9666176B2 (en)* | 2013-09-13 | 2017-05-30 | Cirrus Logic, Inc. | Systems and methods for adaptive noise cancellation by adaptively shaping internal white noise to train a secondary path |
| US9620101B1 (en) | 2013-10-08 | 2017-04-11 | Cirrus Logic, Inc. | Systems and methods for maintaining playback fidelity in an audio system with adaptive noise cancellation |
| US10382864B2 (en) | 2013-12-10 | 2019-08-13 | Cirrus Logic, Inc. | Systems and methods for providing adaptive playback equalization in an audio device |
| US9704472B2 (en) | 2013-12-10 | 2017-07-11 | Cirrus Logic, Inc. | Systems and methods for sharing secondary path information between audio channels in an adaptive noise cancellation system |
| US10219071B2 (en) | 2013-12-10 | 2019-02-26 | Cirrus Logic, Inc. | Systems and methods for bandlimiting anti-noise in personal audio devices having adaptive noise cancellation |
| US9479860B2 (en) | 2014-03-07 | 2016-10-25 | Cirrus Logic, Inc. | Systems and methods for enhancing performance of audio transducer based on detection of transducer status |
| US10181315B2 (en) | 2014-06-13 | 2019-01-15 | Cirrus Logic, Inc. | Systems and methods for selectively enabling and disabling adaptation of an adaptive noise cancellation system |
| JP5924386B2 (en)* | 2014-09-03 | 2016-05-25 | ソニー株式会社 | Noise canceling system |
| US9478212B1 (en) | 2014-09-03 | 2016-10-25 | Cirrus Logic, Inc. | Systems and methods for use of adaptive secondary path estimate to control equalization in an audio device |
| US9552805B2 (en) | 2014-12-19 | 2017-01-24 | Cirrus Logic, Inc. | Systems and methods for performance and stability control for feedback adaptive noise cancellation |
| KR101699067B1 (en)* | 2015-05-29 | 2017-02-01 | 민훈 | Noise Cancelling Method and Earphone havinng Noise Cancelling Function |
| KR102688257B1 (en) | 2015-08-20 | 2024-07-26 | 시러스 로직 인터내셔널 세미컨덕터 리미티드 | Method with feedback response provided in part by a feedback adaptive noise cancellation (ANC) controller and a fixed response filter |
| US9578415B1 (en) | 2015-08-21 | 2017-02-21 | Cirrus Logic, Inc. | Hybrid adaptive noise cancellation system with filtered error microphone signal |
| US9949017B2 (en)* | 2015-11-24 | 2018-04-17 | Bose Corporation | Controlling ambient sound volume |
| US10013966B2 (en) | 2016-03-15 | 2018-07-03 | Cirrus Logic, Inc. | Systems and methods for adaptive active noise cancellation for multiple-driver personal audio device |
| US10595114B2 (en) | 2017-07-31 | 2020-03-17 | Bose Corporation | Adaptive headphone system |
| KR102724334B1 (en)* | 2020-04-03 | 2024-11-01 | 가부시기가이샤 오디오테크니카 | Noise canceling headphones |
| CN116612774A (en)* | 2022-02-08 | 2023-08-18 | 深圳市韶音科技有限公司 | Active noise reduction audio equipment |
| Publication number | Priority date | Publication date | Assignee | Title |
|---|---|---|---|---|
| JPH03274898A (en)* | 1990-03-23 | 1991-12-05 | Nagano Japan Radio Co | Noise canceling method and device |
| JPH04359297A (en)* | 1991-06-06 | 1992-12-11 | Matsushita Electric Ind Co Ltd | Silencing device |
| JPH0922293A (en)* | 1995-07-05 | 1997-01-21 | Alpine Electron Inc | Audio device |
| JPH10214118A (en)* | 1997-01-30 | 1998-08-11 | Honda Motor Co Ltd | Active vibration suppression device |
| JP2005257720A (en)* | 2004-03-09 | 2005-09-22 | Matsushita Electric Ind Co Ltd | Active noise control device |
| WO2005112849A2 (en)* | 2004-05-10 | 2005-12-01 | Trustees Of Dartmouth College | Tuned feedforward lms filter with feedback control |
| JP2007180922A (en)* | 2005-12-28 | 2007-07-12 | Audio Technica Corp | Noise canceling headphones |
| JP2007243739A (en)* | 2006-03-10 | 2007-09-20 | Sharp Corp | Noise canceling headphones and noise canceling control switching method |
| Publication number | Priority date | Publication date | Assignee | Title |
|---|---|---|---|---|
| JPH03274898A (en)* | 1990-03-23 | 1991-12-05 | Nagano Japan Radio Co | Noise canceling method and device |
| JPH04359297A (en)* | 1991-06-06 | 1992-12-11 | Matsushita Electric Ind Co Ltd | Silencing device |
| JPH0922293A (en)* | 1995-07-05 | 1997-01-21 | Alpine Electron Inc | Audio device |
| JPH10214118A (en)* | 1997-01-30 | 1998-08-11 | Honda Motor Co Ltd | Active vibration suppression device |
| JP2005257720A (en)* | 2004-03-09 | 2005-09-22 | Matsushita Electric Ind Co Ltd | Active noise control device |
| WO2005112849A2 (en)* | 2004-05-10 | 2005-12-01 | Trustees Of Dartmouth College | Tuned feedforward lms filter with feedback control |
| JP2007180922A (en)* | 2005-12-28 | 2007-07-12 | Audio Technica Corp | Noise canceling headphones |
| JP2007243739A (en)* | 2006-03-10 | 2007-09-20 | Sharp Corp | Noise canceling headphones and noise canceling control switching method |
| Publication number | Priority date | Publication date | Assignee | Title |
|---|---|---|---|---|
| TWI840100B (en)* | 2022-02-08 | 2024-04-21 | 大陸商深圳市韶音科技有限公司 | Active noise reduction audio device, method, and storage medium |
| US12322371B2 (en) | 2022-02-08 | 2025-06-03 | Shenzhen Shokz Co., Ltd. | Active noise control audio devices, methods, and storage media |
| JP7609963B1 (en) | 2023-12-22 | 2025-01-07 | エルジー ディスプレイ カンパニー リミテッド | Noise Cancelling System |
| JP2025099626A (en)* | 2023-12-22 | 2025-07-03 | エルジー ディスプレイ カンパニー リミテッド | Noise Cancelling System |
| Publication number | Publication date |
|---|---|
| JPWO2009041012A1 (en) | 2011-01-13 |
| TW200926138A (en) | 2009-06-16 |
| WO2009041012A1 (en) | 2009-04-02 |
| Publication | Publication Date | Title |
|---|---|---|
| JP5114611B2 (en) | Noise control system | |
| CN111133505B (en) | Parallel Active Noise Reduction (ANR) and traversing listening signal flow paths in acoustic devices | |
| EP3189672B1 (en) | Controlling ambient sound volume | |
| CN113728378B (en) | Wind noise suppression and method for active noise cancellation systems | |
| JP4506873B2 (en) | Signal processing apparatus and signal processing method | |
| US8081769B2 (en) | Apparatus for rectifying resonance in the outer-ear canals and method of rectifying | |
| US8315400B2 (en) | Method and device for acoustic management control of multiple microphones | |
| CN113450754A (en) | Active noise cancellation system and method | |
| JP5063528B2 (en) | Noise cancellation system | |
| CN116601701A (en) | Dual mode ANC environmental detector | |
| WO2009136953A1 (en) | Method and device for acoustic management control of multiple microphones | |
| EP3451327A1 (en) | Noise cancellation system, noise cancellation headphone and noise cancellation method | |
| CN114787911B (en) | Noise cancellation system and signal processing method for ear-worn playback device | |
| US8693717B2 (en) | Method for compensating for an interference sound in a hearing apparatus, hearing apparatus, and method for adjusting a hearing apparatus | |
| CN111629313B (en) | Hearing device comprising loop gain limiter | |
| KR20140006394A (en) | Noise reduction processing device of earphone and headphone. | |
| CN115396774A (en) | Active noise reduction method and active noise reduction earphone | |
| US20230169948A1 (en) | Signal processing device, signal processing program, and signal processing method | |
| JP2022029451A (en) | Robust adaptive noise canceling system and method | |
| JP2014168200A (en) | Hearing aid and muffled sound suppression device | |
| EP4445619A2 (en) | Audio device having aware mode auto-leveler | |
| Brammer et al. | Understanding speech when wearing communication headsets and hearing protectors with subband processing | |
| JP5470729B2 (en) | Signal processing apparatus and signal processing method | |
| CN113709644A (en) | Method for operating a hearing device and hearing device | |
| US20240223970A1 (en) | Wearable hearing assist device with sound pressure level shifting |
| Date | Code | Title | Description |
|---|---|---|---|
| A621 | Written request for application examination | Free format text:JAPANESE INTERMEDIATE CODE: A621 Effective date:20110921 | |
| A871 | Explanation of circumstances concerning accelerated examination | Free format text:JAPANESE INTERMEDIATE CODE: A871 Effective date:20110921 | |
| A975 | Report on accelerated examination | Free format text:JAPANESE INTERMEDIATE CODE: A971005 Effective date:20111025 | |
| A131 | Notification of reasons for refusal | Free format text:JAPANESE INTERMEDIATE CODE: A131 Effective date:20111122 | |
| A521 | Request for written amendment filed | Free format text:JAPANESE INTERMEDIATE CODE: A523 Effective date:20120123 | |
| A131 | Notification of reasons for refusal | Free format text:JAPANESE INTERMEDIATE CODE: A131 Effective date:20120228 | |
| A521 | Request for written amendment filed | Free format text:JAPANESE INTERMEDIATE CODE: A523 Effective date:20120427 | |
| TRDD | Decision of grant or rejection written | ||
| A01 | Written decision to grant a patent or to grant a registration (utility model) | Free format text:JAPANESE INTERMEDIATE CODE: A01 Effective date:20120529 | |
| A711 | Notification of change in applicant | Free format text:JAPANESE INTERMEDIATE CODE: A711 Effective date:20120620 | |
| A61 | First payment of annual fees (during grant procedure) | Free format text:JAPANESE INTERMEDIATE CODE: A61 Effective date:20120620 | |
| R150 | Certificate of patent or registration of utility model | Free format text:JAPANESE INTERMEDIATE CODE: R150 Ref document number:5114611 Country of ref document:JP Free format text:JAPANESE INTERMEDIATE CODE: R150 | |
| FPAY | Renewal fee payment (event date is renewal date of database) | Free format text:PAYMENT UNTIL: 20151026 Year of fee payment:3 | |
| S111 | Request for change of ownership or part of ownership | Free format text:JAPANESE INTERMEDIATE CODE: R313113 | |
| R350 | Written notification of registration of transfer | Free format text:JAPANESE INTERMEDIATE CODE: R350 | |
| R250 | Receipt of annual fees | Free format text:JAPANESE INTERMEDIATE CODE: R250 | |
| S201 | Request for registration of exclusive licence | Free format text:JAPANESE INTERMEDIATE CODE: R314201 | |
| R360 | Written notification for declining of transfer of rights | Free format text:JAPANESE INTERMEDIATE CODE: R360 | |
| R360 | Written notification for declining of transfer of rights | Free format text:JAPANESE INTERMEDIATE CODE: R360 | |
| R371 | Transfer withdrawn | Free format text:JAPANESE INTERMEDIATE CODE: R371 | |
| S201 | Request for registration of exclusive licence | Free format text:JAPANESE INTERMEDIATE CODE: R314201 | |
| R350 | Written notification of registration of transfer | Free format text:JAPANESE INTERMEDIATE CODE: R350 | |
| R250 | Receipt of annual fees | Free format text:JAPANESE INTERMEDIATE CODE: R250 | |
| R250 | Receipt of annual fees | Free format text:JAPANESE INTERMEDIATE CODE: R250 | |
| R250 | Receipt of annual fees | Free format text:JAPANESE INTERMEDIATE CODE: R250 | |
| R250 | Receipt of annual fees | Free format text:JAPANESE INTERMEDIATE CODE: R250 | |
| R250 | Receipt of annual fees | Free format text:JAPANESE INTERMEDIATE CODE: R250 | |
| R250 | Receipt of annual fees | Free format text:JAPANESE INTERMEDIATE CODE: R250 | |
| LAPS | Cancellation because of no payment of annual fees |