













この発明は、磁気センサおよびその製法に関し、特に1枚の基板に3個以上の巨大磁気抵抗素子を配置し、三軸方向の磁界の強さを検知することができる小型の磁気センサを得るようにしたものである。 The present invention relates to a magnetic sensor and a method for manufacturing the same, and more particularly, to obtain a small magnetic sensor in which three or more giant magnetoresistive elements are arranged on one substrate and can detect the strength of a magnetic field in three axial directions. It is a thing.
本出願人は、既に特開2004−6752号公報により、1枚の基板上に3個以上の巨大磁気抵抗素子を配置してなり、三軸方向の磁界の強さを測定することができる磁気センサを提案している。 The present applicant has already disclosed three or more giant magnetoresistive elements on a single substrate according to Japanese Patent Application Laid-Open No. 2004-6752, and can measure the strength of a magnetic field in three axial directions. A sensor is proposed.
  この先行発明では、シリコン基板に溝を形成し、この溝の斜面にZ軸検知用の巨大磁気抵抗素子を配置し、基板平坦面にX軸検知用の巨大磁気抵抗素子とY軸検知用の巨大磁気抵抗素子を配置したもので、小型化が可能なものである。
  また、これに引き続いて、基板上に酸化ケイ素からなる山部を形成し、この山部の斜面にZ軸検知用の巨大磁気抵抗素子を配置し、基板の平坦面にX軸検知用の巨大磁気抵抗素子とY軸検知用の巨大磁気抵抗素子を配置した三軸磁気センサを提案している。
 Following this, a peak made of silicon oxide is formed on the substrate, a giant magnetoresistive element for Z-axis detection is arranged on the slope of the peak, and a giant for X-axis detection is placed on the flat surface of the substrate. A three-axis magnetic sensor is proposed in which a magnetoresistive element and a giant magnetoresistive element for Y-axis detection are arranged.
本出願は、これら先行発明の延長線上にあるもので、その課題とするところは、同様に、1枚の基板に3個以上の巨大磁気抵抗素子を配置し、三軸方向の磁界の強さを検知することができる小型の磁気センサを得ることにある。 The present application is an extension of these prior inventions, and the problem is that, similarly, three or more giant magnetoresistive elements are arranged on one substrate, and the strength of the magnetic field in the three-axis direction is set. It is to obtain a small magnetic sensor capable of detecting the above.
  かかる課題を解決するため、
  請求項1にかかる発明は、配線層を有し回路が形成された基板と、前記配線層を覆う酸化膜からなる厚膜に形成された複数の溝と、前記溝の斜面に形成された感磁部を有する複数の巨大磁気抵抗効果素子と、前記厚膜上に設けられた感磁部を有する複数の巨大磁気抵抗効果素子とを備え、前記配線層の最上層には下層の配線層と接続するビア部が形成されており、前記ビア部と前記巨大磁気抵抗効果素子は配線部で接続され、前記複数の巨大磁気抵抗効果素子は前記配線層によりブリッジ結線されていることを特徴とする磁気センサである。To solve this problem,
 According to the first aspect of the present invention,there is provided a substrate having awiring layer and a circuit formed thereon, a plurality of grooves formed in a thick film made of an oxide film covering the wiring layer, and a feeling formed on a slope of the groove. A plurality of giant magnetoresistive elements having a magnetic part, and a plurality of giant magnetoresistive elements having a magnetosensitive part provided on the thick film, wherein the uppermost layer of the wiring layer includes a lower wiring layer and A via portion to be connected is formed, the via portion and the giant magnetoresistive effect element are connected by a wiring portion, and the plurality of giant magnetoresistive effect elements are bridge-connected by the wiring layer. It is a magnetic sensor.
  請求項2にかかる発明は、上記溝の斜面の中央部に上記感磁部が形成されていることを特徴とする請求項1記載の磁気センサである。
  請求項3にかかる発明は、基板にビア部が形成されており、このビア部と基板に設けられた巨大磁気抵抗素子のバイアス磁石部とが配線で接続されており、この配線がバイアス磁石部を構成するマグネット膜からなり、ビア部においては、このマグネット膜上に感磁部を構成する巨大磁気抵抗素子膜がさらに積層されていることを特徴とする請求項1記載の磁気センサである。The invention according to claim 2 is the magnetic sensor according to
 According to a third aspect of the present invention, a via portion is formed in a substrate, the via portion is connected to a bias magnet portion of a giant magnetoresistive element provided on the substrate, and the wiring is connected to the bias magnet portion. 2. The magnetic sensor according to
  請求項4にかかる発明は、上記巨大磁気抵抗素子の感磁部のピンニング方向が、感磁部の長手方向に対して30〜60度となっていることを特徴とする請求項2記載の磁気センサである。
  請求項5にかかる発明は、上記感磁部は、溝方向に長手方向を持つ帯状部材からなることを特徴とする請求項1記載の磁気センサである。The invention according to claim 4 is characterized in that the pinning direction of the magnetic sensitive part of the giant magnetoresistive element is 30 to 60 degrees with respect to the longitudinal direction of the magnetic sensitive part. It is a sensor.
 The invention according to
  請求項6にかかる発明は、基板の最上層の配線層上に、この配線層を覆うとともに平坦面を形成する平坦化層を形成し、この上にパッシベーション膜を成膜したのち、
  この上に厚膜を形成し、さらにこの厚膜上にレジスト膜を形成し、
  このレジスト膜のうち、一部を除去し、残ったレジスト膜に加熱処理を施して、レジスト膜の側面を傾斜面となし、
  ついで、レジスト膜と厚膜とを、そのエッチング選択比がほぼ1:1となるエッチング条件でエッチングし、溝を厚膜に形成し、
  次ぎに、厚膜の平坦面と上記溝の斜面ならびに頂部または底部に巨大磁気抵抗素子のバイアス磁石部を形成し、この上に巨大磁気抵抗素子膜を成膜したのち、基板をマグネットアレー上に置いて熱処理を施し、
  ついで、巨大磁気抵抗素子膜の一部をエッチングにより除去して、厚膜の平坦面および溝の斜面に巨大磁気抵抗素子素子の感磁部を形成し、この上に保護膜を成膜することを特徴とする磁気センサの製法である。In the invention according to
 A thick film is formed on this, and a resist film is further formed on this thick film.
 Part of this resist film is removed, the remaining resist film is subjected to heat treatment, and the side surface of the resist film is formed as an inclined surface.
 Next, the resist film and the thick film are etched under an etching condition in which the etching selectivity is approximately 1: 1, and a groove is formed in the thick film.
 Next, a giant magnetoresistive element bias magnet is formed on the flat surface of the thick film, the slope and top or bottom of the groove, and after the giant magnetoresistive element film is formed thereon, the substrate is placed on the magnet array. Put and heat-treat,
 Next, a part of the giant magnetoresistive element film is removed by etching to form a magnetosensitive part of the giant magnetoresistive element element on the flat surface of the thick film and the slope of the groove, and a protective film is formed thereon. This is a method for manufacturing a magnetic sensor.
  請求項7にかかる発明は、基板の最上層の配線層上に、この配線層を覆うとともに平坦面を形成する平坦化層を形成し、この平坦化層の一部を除去して、ビア部およびパッド部を露出させ、この上に上層と下層からなるパッシベーション膜を成膜したのち、ビア部およびパッド部に相当する部分の上層を除去し、
  この上に厚膜を形成し、さらにこの厚膜上にレジスト膜を形成し、
  このレジスト膜のうち、一部を除去し、残ったレジスト膜に加熱処理を施して、レジスト膜の側面を傾斜面となし、
  ついで、レジスト膜と厚膜とを、そのエッチング選択比がほぼ1:1となるエッチング条件でエッチングし、厚膜に溝を形成すると同時にビア部およびパッド部に薄くなった厚膜を残し、
  ついで、ビア部の中央部分に残った厚膜とパッシベーション膜の下層を除去して、ビア部の導体部を露出させ、
  次ぎに、厚膜の平坦面と上記溝の斜面ならびに頂部または底部に巨大磁気抵抗素子のバイアス磁石部を形成するとともにこの巨大磁気抵抗素子のバイアス磁石部とビア部の導体部とを接続する配線を形成し、この上に巨大磁気抵抗素子膜を成膜したのち、基板をマグネットアレー上に置いて熱処理を施し、
  ついで、巨大磁気抵抗素子膜の一部をエッチングにより除去して、厚膜の平坦面および溝の斜面に巨大磁気抵抗素子の感磁部を形成するとともにビア部にも巨大磁気抵抗素子膜を残し、この上にパッド部を残して保護膜を成膜したのち、パッド部を覆う厚膜とパッシベーション膜の下層を除去してパッド部の導体部を露出することを特徴とする磁気センサの製法である。
請求項8にかかる発明は、配線層を有し回路が形成された基板を備えた磁気センサの製造方法であって、
  前記配線層の最上層にビア部が形成され、前記ビア部を含む前記配線層上に酸化膜からなる厚膜を形成する工程と、
  前記厚膜にレジストを塗布し、前記レジストの一部をエッチング処理してレジストパターンを形成する工程と、
  前記レジストパターンに加熱処理を施し溶融させる工程と、
  溶融させた前記レジストパターンと前記厚膜とを選択エッチングし前記厚膜の一部に複数の溝を形成するとともに、前記ビア部の上方の厚膜を前記選択エッチングによりエッチングする工程と、
  エッチングされて薄くなった厚膜に開口部を設け前記ビア部を露出し、前記ビア部と接続する配線部を酸化膜上に形成する工程と、
  前記溝の斜面を含む酸化膜上に前記配線部と接続し前記磁気センサの感磁部となる複数の素子を形成する工程とからなる磁気センサの製法。
  請求項9にかかる発明は、前記複数の素子は前記配線層によりブリッジ結線されていることを特徴とする請求項8に磁気センサの製法。
  請求項10にかかる発明は、前記配線層と前記厚膜との間に酸化ケイ素膜からなる平坦化膜を形成する工程を含むことを特徴とする請求項8または9に記載の磁気センサの製法である。
  請求項11にかかる発明は、前記レジストパターンに加熱処理を施し溶融させる工程は、前記レジストパターンを斜面を有する山状とすることを特徴とする請求項8から10に記載の磁気センサの製法である。
  請求項12にかかる発明は、前記複数の素子を形成する工程の後、少なくとも前記複数の素子を覆う保護膜を形成することを特徴とする請求項8から11に記載の磁気センサの製法である。
  請求項13にかかる発明は、前記配線層の最上層には、ビア部とともにパッド部が形成され、
  前記保護膜を形成する工程の後に前記パッド部を露出させるために前記保護膜の一部を除去する工程を含むことを特徴とする請求項12に記載の磁気センサの製法である。According to a seventh aspect of the present invention, a planarizing layer that covers the wiring layer and forms a flat surface is formed on the uppermost wiring layer of the substrate, and a part of the planarizing layer is removed to form a via portion. And after exposing the pad portion and forming a passivation film composed of an upper layer and a lower layer thereon, the upper layer corresponding to the via portion and the pad portion is removed,
 A thick film is formed on this, and a resist film is further formed on this thick film.
 Part of this resist film is removed, the remaining resist film is subjected to heat treatment, and the side surface of the resist film is formed as an inclined surface.
 Next, the resist film and the thick film are etched under an etching condition in which the etching selection ratio is approximately 1: 1, and a groove is formed in the thick film, and at the same time, the thin film is left in the via portion and the pad portion,
 Next, the thick film remaining in the central part of the via part and the lower layer of the passivation film are removed to expose the conductor part of the via part,
 Next, the bias magnet part of the giant magnetoresistive element is formed on the flat surface of the thick film, the slope of the groove, and the top or bottom, and the wiring connecting the bias magnet part of the giant magnetoresistive element and the conductor part of the via part After forming a giant magnetoresistive element film on this, the substrate is placed on a magnet array and subjected to heat treatment,
 Next, a part of the giant magnetoresistive element film is removed by etching to form the magnetoresistive part of the giant magnetoresistive element on the flat surface of the thick film and the slope of the groove and leave the giant magnetoresistive element film also in the via part. In this method of manufacturing a magnetic sensor, a protective film is formed leaving a pad portion thereon, and then a thick film covering the pad portion and a lower layer of the passivation film are removed to expose a conductor portion of the pad portion. is there.
The invention according to
Forming a via part on the uppermost layer of the wiring layer, and forming a thick film made of an oxide film on the wiring layer including the via part;
Applying a resist to the thick film and etching a part of the resist to form a resist pattern;
A step of subjecting the resist pattern to heat treatment and melting;
Selectively etching the melted resist pattern and the thick film to form a plurality of grooves in a part of the thick film, and etching the thick film above the via portion by the selective etching;
Providing an opening in the thick film that has been etched to expose the via portion, and forming a wiring portion connected to the via portion on the oxide film;
A method of manufacturing a magnetic sensor comprising: forming a plurality of elements that are connected to the wiring portion on the oxide film including the slope of the groove and serve as a magnetic sensitive portion of the magnetic sensor.
The invention according to claim 9 is the method of manufacturing a magnetic sensor according to
The invention according to claim 10 includes the step of forming a planarizing film made of a silicon oxide film between the wiring layer and the thick film. It is.
According to an eleventh aspect of the present invention, in the method of manufacturing a magnetic sensor according to any one of the eighth to tenth aspects, the step of applying heat treatment to the resist pattern to melt the resist pattern forms the resist pattern in a mountain shape having an inclined surface. is there.
The invention according to claim 12 is the method of manufacturing a magnetic sensor according to
In the invention according to claim 13, a pad portion is formed together with a via portion in the uppermost layer of the wiring layer,
13. The method of manufacturing a magnetic sensor according to claim 12, further comprising a step of removing a part of the protective film to expose the pad portion after the step of forming the protective film.
  請求項1に記載の発明によれば、1枚の基板にX軸、Y軸、Z軸方向の磁界の強さを検知できる巨大磁気抵抗素子を搭載でき、小型の三軸磁気センサを得ることができる。
  請求項2に記載の発明によれば、溝の斜面の平坦性の良好な部分に巨大磁気抵抗素子の感磁部を形成することができ、性能のよい磁気センサが得られる。According to the first aspect of the present invention, it is possible to mount a giant magnetoresistive element capable of detecting the strength of the magnetic field in the X-axis, Y-axis, and Z-axis directions on a single substrate, and obtain a small three-axis magnetic sensor. Can do.
 According to the second aspect of the present invention, it is possible to form the magnetosensitive portion of the giant magnetoresistive element in the portion where the flatness of the slope of the groove is good, and to obtain a magnetic sensor with good performance.
  請求項3に記載の発明によれば、ビア部の開口縁部でのマグネット膜からなる配線の上に巨大磁気抵抗素子膜が積層され、段差部分の隅部での配線の切れが生じる恐れが少なくなる。
  請求項4に記載の発明によれば、得られる巨大磁気抵抗素子の耐強磁界性が良好となる。According to the third aspect of the present invention, the giant magnetoresistive element film is laminated on the wiring made of the magnet film at the opening edge of the via portion, and there is a possibility that the wiring breaks at the corner of the step portion. Less.
 According to the invention described in claim 4, the magnetic field resistance of the obtained giant magnetoresistive element is improved.
  請求項5に記載の発明によれば、溝の形成と、この溝の斜面への巨大磁気抵抗素子の形成が一連のプロセスとして行え、本発明の磁気センサを製造することができる。
  請求項6に記載の発明によれば、溝の形成と、この溝の斜面への巨大磁気抵抗素子の形成と、ビア部およびパッド部の形成が一連のプロセスとして行えることになる。According to the fifth aspect of the present invention, the formation of the groove and the formation of the giant magnetoresistive element on the slope of the groove can be performed as a series of processes, and the magnetic sensor of the present invention can be manufactured.
 According to the sixth aspect of the present invention, the formation of the groove, the formation of the giant magnetoresistive element on the slope of the groove, and the formation of the via part and the pad part can be performed as a series of processes.
  図1は、本発明の磁気センサの一例を模式的に示すもので、基板上の巨大磁気抵抗素子の配置を示すものである。
  図1において、符号1は基板を示す。この基板1は、シリコンなどの半導体基板に磁気センサの駆動回路、信号処理回路などの半導体集積回路、配線層などが予め形成されており、この上に平坦化膜、パッシベーション膜、酸化ケイ素膜などからなる厚膜が順次積層されたものであり、これらの各膜は図示を省略してある。FIG. 1 schematically shows an example of a magnetic sensor of the present invention, and shows the arrangement of giant magnetoresistive elements on a substrate.
 In FIG. 1,
  この基板の厚膜上には、X軸センサ2とY軸センサ3とZ軸センサ4とが設けられている。X軸センサ2は、図1に示した座標軸において、X方向に、Y軸センサ3は、同じくY方向に感知軸を有するもので、Z軸センサ4は、Z方向の磁場の強さを感知しうるものである。
  X軸センサ2は、4個の巨大磁気抵抗素子2a、2b、2c、2dから構成され、Y軸センサ3は、4個の巨大磁気抵抗素子3e、3f、3g、3hから構成され、Z軸センサ4は、4個の巨大磁気抵抗素子4i、4j、4k、4lから構成されている。
  X軸センサ2およびY軸センサ3は、基板1の厚膜の平坦面に設けられ、Z軸センサ4は、後述するように、厚膜に形成された溝の斜面に設けられている。An X-axis sensor 2, a Y-
 The X-axis sensor 2 is composed of four giant
 The X-axis sensor 2 and the Y-
  X軸センサ2をなす4個の巨大磁気抵抗素子の内、巨大磁気抵抗素子2a、2bは、基板1のほぼ中央部並んで設けられ、残りの2個の巨大磁気抵抗素子2c、2dは、これらからやや離れた基板1の端部に互い並んで、巨大磁気抵抗素子2a、2bと対峙するように設けられている。  Of the four giant magnetoresistive elements constituting the X-axis sensor 2, the giant
  Y軸センサ3をなす4個の巨大磁気抵抗素子の内、巨大磁気抵抗素子3e、3fは、基板1の一方の端部側に互いに並んで配され、残りの2個の巨大磁気抵抗素子3g、3hは、基板1の他方の端部側に互いに並んで、巨大磁気抵抗素子3e、3fと対峙するように配置されている。  Among the four giant magnetoresistive elements constituting the Y-
  Z軸センサ4をなす4個の巨大磁気抵抗素子の内、2個の巨大磁気抵抗素子4k、4lは、巨大磁気抵抗素子3e、3fに近い位置に互いに並んで配され、残りの2個の巨大磁気抵抗素子4i、4jは、巨大磁気抵抗素子2a、2bからやや離れた位置に互いに並んで配置されている。  Of the four giant magnetoresistive elements forming the Z-axis sensor 4, the two giant
  また、これら各X軸センサ2、Y軸センサ3およびZ軸センサ4をなす巨大磁気抵抗素子の配置に関して、ある規則性がある。
  図1において、破線で示す線イ、ロ、ハは、基板1をその長手方向に四等分する仮想線であり、線ニは、基板1をその短手方向に二等分する仮想線である。また、線イと線ニとの交点をAとし、線ロと線ニとの交点をBとする。Further, there is a certain regularity with respect to the arrangement of the giant magnetoresistive elements forming the X-axis sensor 2, the Y-
 In FIG. 1, lines a, b, and c indicated by broken lines are virtual lines that divide the
  このとき、X軸センサ2をなす巨大磁気抵抗素子2a、2bと巨大磁気抵抗素子2c、2dとは点Aに対して点対称になっている。また、Y軸センサ3をなす巨大磁気抵抗素子3e、3fと巨大磁気抵抗素子3g、3hとは点Aに対して点対称になっている。さらに、Z軸センサ4をなす4i、4jと巨大磁気抵抗素子4k、4lとは点Bに対して点対称になっている。  At this time, the giant
  これらの巨大磁気抵抗素子は、基本的には従来の巨大磁気抵抗素子と同様のもので、この例では図2に示すように、4個の感磁部5、5・・と、これらの感磁部5、5・・を電気的に直列に接続する3個のバイアス磁石部6、6・とから構成されている。
  感磁部5は、巨大磁気抵抗素子の本体をなす部分であり、細長い帯状の平面形状を有するもので、後述する溝部の長手方向にその長手方向が平行になるように配置されている。These giant magnetoresistive elements are basically the same as conventional giant magnetoresistive elements. In this example, as shown in FIG. 2, four
 The
  感磁部5は、磁化の向きが所定の向きに固定されたピンド層と、磁化の向きが外部磁界の向きに応じて変化するフリー層を備えたもので、具体的にはフリー層上に導電性のスペーサ層、ピンド層、キャッピング層を順次積層してなる多層金属薄膜積層物から構成されている。  The
例えば、フリー層には、コバルト−ジルコニウム−ニオブのアモルファス磁性層とニッケル−鉄の磁性層とコバルト−鉄の磁性層との三層からなるものが、スペーサ層には、銅からなるものが、ピンド層には、コバルト−鉄の強磁性層と白金−マンガンの反磁性層との二層からなるものが、キャピング層にはタンタルからなるものが用いられる。 For example, the free layer includes a cobalt-zirconium-niobium amorphous magnetic layer, a nickel-iron magnetic layer, and a cobalt-iron magnetic layer, and the spacer layer includes copper. The pinned layer is composed of two layers of a cobalt-iron ferromagnetic layer and a platinum-manganese diamagnetic layer, and the capping layer is composed of tantalum.
  バイアス磁石部6は、4個の感磁部5、5・・を電気的に直列に接続するとともに感磁部5の磁気特性を整えるためのバイアス磁界を感磁部5に印加するためのものである。また、このバイアス磁石部5は、例えば、コバルト−白金−クロム層とクロム層との二層からなる薄膜金属積層物から構成されている。  The
  基板1の平坦面に設けられたX軸センサ2およびY軸センサ3をなす巨大磁気抵抗素子2a、2b、2c、2d、3e、3f、3g、3hについての構造は、図2に示すように、4個の感磁部5、5・・と3個のバイアス磁石部6、6・とから構成され、感磁部5、5・・のうち、両外側の2個の感磁部5、5のバイアス磁石部6が接続されていない端部には、配線層7、7が接続され、この配線層7、7は、図示しないビア部に接続されている。  The structures of the giant
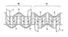
  図3ないし図5は、Z軸センサ4をなす巨大磁気抵抗素子4i、4j、4k、4lの構造を示すもので、これらの図において、Z軸センサ4をなす4個の巨大磁気抵抗素子のうち、巨大磁気抵抗素子4i、4jについて、詳しく描いたもので、他の巨大磁気抵抗素子4k、4lについても同様の構造となっているので、これについては説明を省略する。  3 to 5 show the structures of giant
  図3は、巨大磁気抵抗素子4i、4jの概略平面図であり、図4は、図3において破断線IV−IVで切断した概略断面図であり、図5は、巨大磁気抵抗素子の感磁部5とバイアス磁石部6の配置状態を模式的に示した斜視図である。  3 is a schematic plan view of the giant
  図4において、符号1は基板で示し、符号11は基板1上に堆積された酸化ケイ素などからなる厚膜を示す。
  この厚膜11には、この厚膜11を部分的に削り取って形成された4個のV字状の溝8、8・・・が互いに並んで平行に設けられている。In FIG. 4,
 The
  この溝8は、その深さが3〜8μm、長さが200〜400μmとされる細長い形状の凹部となっており、その斜面の幅が3〜16μmとなっており、斜面と厚膜11表面とのなす角度は30〜80度、好ましくは70度程度となっている。
  なお、図4では、溝8の斜面を平坦面として描いているが、実際には製造プロセス上、外方(基板1の上側)に向けてやや張り出した湾曲面となっている。The
 In FIG. 4, the inclined surface of the
  また、これらの溝8、8・・・の互いに隣接する8つの斜面には、斜面の長手方向に沿い、かつ斜面の中央部分の平坦性が良好な位置に、8個の巨大磁気抵抗素子の感磁部5、5・・が設けられている。
  また、これら8つの斜面の内、第1の斜面に形成された感磁部5の一方の端部から溝の底部を経て隣の第2の斜面に形成された感磁部5の一方の端部にかけてバイアス磁石部6が設けられて、電気的に接続されている。Further, the eight slopes adjacent to each other of these
 Of these eight slopes, one end of the
  さらに、第2の斜面に形成された感磁部5の他方の端部から溝の頂部を跨ぐようにして隣の第3の斜面に形成された感磁部5の一方の端部にかけてバイアス磁石部6が設けられ、以下同様にして4個の感磁部5が3個のバイアス磁石部6で電気的に接続され、1個の巨大磁気抵抗素子4iが構成されている。
  そして、同様にして残りの4個の感磁部5・・・が3個のバイアス磁石部6・・によって直列に接続され、1個の巨大磁気抵抗素子4jが構成されている。Further, the bias magnet extends from the other end of the
 Similarly, the remaining four
  また、厚膜11の平坦部に設けられたX軸センサ2、Y軸センサ3をなす巨大磁気抵抗素子と同様に、これら感磁部5、5・・のうち、両外側の2個の感磁部5、5のバイアス磁石部6が接続されていない端部には、配線層7、7が接続され、この配線層7、7は、図示しないビア部に接続されている。この配線層7は、この例では巨大磁気抵抗素子のバイアス磁石部6を構成するマグネット膜で形成されており、これによりバイアス磁石部6と配線層7を同時に作製することができる。  Similarly to the giant magnetoresistive elements forming the X-axis sensor 2 and the Y-
  また、X軸センサ2をなす巨大磁気抵抗素子およびY軸センサ3をなす巨大磁気抵抗素子においては、図2に示すように、その感知軸は感磁部5の長手方向に直交方向で基板1の表面に平行に向けられており、感磁部5のピニング方向およびバイアス磁石部6のバイアス磁界の着磁方向は、感磁部5の長手方向に対して30〜60度、好ましくは45度で、基板1の表面に平行となっている。  Further, in the giant magnetoresistive element forming the X-axis sensor 2 and the giant magnetoresistive element forming the Y-
  また、Z軸センサ4をなす巨大磁気抵抗素子においては、巨大磁気抵抗素子4i、4jでは、図5に示すように、その感知軸は、感磁部5の長手方向に対して直交方向で溝8の斜面に平行でかつ斜面の上向きに向けられており、感磁部5のピニング方向およびバイアス磁石部6のバイアス磁界の着磁方向は、感磁部5の長手方向に対して30〜60度、好ましくは45度で、溝8の斜面に平行で斜面の上向きとなっている。  Further, in the giant magnetoresistive elements forming the Z-axis sensor 4, in the giant
  また、巨大磁気抵抗素子4k、4lでは、図6に示すように、その感知軸は、感磁部5の長手方向に対して直交方向で溝8の斜面に平行でかつ斜面の下向きに向けられており、感磁部5のピニング方向およびバイアス磁石部6のバイアス磁界の着磁方向は、感磁部5の長手方向に対して30〜60度、好ましくは45度で、溝8の斜面に平行で斜面の下向きとなっている。  Further, in the giant
このような感知軸方向を得るためには、マグネットアレイを基板上方から接近させた状態で基板を260〜290℃で、3〜5時間加熱する加熱処理を行えばよく、これは従来のピニング処理と同様である。 In order to obtain such a sense axis direction, the substrate may be heated at 260 to 290 ° C. for 3 to 5 hours with the magnet array approached from above, which is a conventional pinning process. It is the same.
  通常の巨大磁気抵抗素子では、感知軸方向とピニング方向とは、ともに感磁部5の長手方向に対して直交方向で、基板表面に平行とされているが、上述のように、感知軸方向とピニング方向とを異ならせることで、巨大磁気抵抗素子の耐強磁界性が向上することになる。  In a normal giant magnetoresistive element, the sensing axis direction and the pinning direction are both orthogonal to the longitudinal direction of the
  図7は、上述のX軸センサ2をなす4個の巨大磁気抵抗素子2a、2b、2c、2d、Y軸センサ3をなす4個の巨大磁気抵抗素子3e、3f、3g、3hおよびZ軸センサ4をなす4個の巨大磁気抵抗素子4i、4j、4k、4lの結線方法を示すもので、各軸センサの4個の巨大磁気抵抗素子の出力をブリッジ結線したものが示されている。  FIG. 7 shows four giant
  このようなブリッジ結線を行うことで、図1の座標軸のX軸、Y軸、Z軸の正方向に磁界を印加した時に、それぞれのX軸センサ2、Y軸センサ3およびZ軸センサ4からの出力が増加し、逆方向に磁界を印加したときには各センサ2、3、4からの出力が低下する特性が得られることになる。  By performing such bridge connection, when a magnetic field is applied in the positive direction of the X-axis, Y-axis, and Z-axis of the coordinate axes in FIG. 1, the respective X-axis sensor 2, Y-
  また、図1ないし図6では、図示していないが、X軸センサ2、Y軸センサ3およびZ軸センサ4を構成するすべての巨大磁気抵抗素子を含む基板1全面には、窒化ケイ素などのパッシベーション膜、ポリイミドなどの保護膜が被覆されており、外界から保護されている。  Although not shown in FIGS. 1 to 6, the entire surface of the
  図8は、基板1に設けられたビア部の構造の例を示すもので、図8において符号21aは、ビア部を構成するアルミニウムなどからなる導体部を示し、この導体部21aは、下層の配線部に電気的に接続されている。
  この導体部21aの表面の周辺部は、上述の平坦化膜22、第1のパッシベーション膜23、厚膜11で覆われている。厚膜11の端縁部は、図示のように傾斜面となっている。FIG. 8 shows an example of the structure of the via portion provided in the
 The peripheral portion of the surface of the
  さらに、導体部21aの表面の中央部分は、配線膜25で被覆されており、この配線膜25は、上述の巨大磁気抵抗素子の配線層7に接続されている。この配線膜25も配線層7と同様にバイアス磁石部6をなすマグネット膜から構成されており、バイアス磁石部6と同時に作製することができる。  Furthermore, the central portion of the surface of the
  この配線膜25は、図示のように、厚膜11の端縁部において、階段状の段差が形成されている。この段差部分の隅部では、プロセス上、配線膜25の厚さが薄くなって断線の恐れがある。このため、この段差部分および中央部分を覆うように、保護導体膜26が積層されている。  As shown in the figure, the
  この保護導体膜26としては、この例では、巨大磁気抵抗素子の感磁部5をなす巨大磁気抵抗素子膜が用いられており、これによれば感磁部5の作製と同時に配線膜25上に保護導体膜26を積層できる。これによって、配線膜25の断線の恐れを回避できることになる。
  さらに、このようなビア部には、窒化ケイ素などのパッシベーション膜27、ポリイミドなどの保護膜28が被覆され、外界から保護されている。As this
 Furthermore, such a via portion is covered with a
  このような磁気センサにあっては、1枚の基板1に、X軸センサ2、Y軸センサ3およびZ軸センサ4が配置されているので、小型の三軸磁気センサとして機能する。また、溝8の斜面の平坦性の良好な部分に巨大磁気抵抗素子の感磁部を形成することができ、性能のよい磁気センサが得られる。  In such a magnetic sensor, since the X-axis sensor 2, the Y-
  また、ビア部では、その開口縁部でのバイアス磁石膜からなる配線膜25の上に巨大磁気抵抗素子膜からなる保護導体膜26が積層され、段差部分の隅部での配線膜25の断線が生じる恐れが少なくなる。
  さらに、感磁部5のピニング方向を、感磁部5の長手方向に対して30〜60度としたことで、得られる巨大磁気抵抗素子の耐強磁界性が良好となる。Further, in the via portion, a
 Furthermore, by setting the pinning direction of the magnetic
  つぎに、このような磁気センサの製法について説明する。
  以下の説明においては、溝8、8・・の斜面に形成されたZ軸センサ4を構成する巨大磁気抵抗素子、ビア部、パッド部の作製についで、主に説明する。
  まず、基板1を用意する。この基板1には、上述のように、シリコンなどの半導体基板に磁気センサの駆動回路、信号処理回路などの半導体集積回路、配線層などが予め形成されたものである。Next, a method for manufacturing such a magnetic sensor will be described.
 In the following description, the production of the giant magnetoresistive element, via portion, and pad portion constituting the Z-axis sensor 4 formed on the slopes of the
 First, the
  図9(a)に示すように、この基板1の最上層の配線層の一部をなすビア部Aのアルミニウムなどからなる導体部21aとパッド部Bのアルミニウムなどからなる導体部21bが設けられている。  As shown in FIG. 9A, a
  この基板1上に、まず平坦化膜31を成膜する。この平坦化膜31には、例えば、プラズマCVD法による厚さ300nmの酸化ケイ素膜、厚さ600nmのSOG膜、厚さ50nmのトリエトキシシランを原料として製膜した酸化ケイ素膜を順次積層したものなどが用いられる。  A
  次ぎに、図9(b)に示すように、ビア部A、パッド部Bの導体部21a、21b上の平坦化膜31をエッチングして取り除き、それらの導体部21a、21bを開口させる。さらに、図9(c)に示すように、基板1全面に第1のパッシベーション膜32(23)を成膜する。この第1のパッシベーション膜32(23)としては、例えば、厚さ250nmのプラズマCVD法による酸化ケイ素膜33と、厚さ600nmのプラズマCVD法による窒化ケイ素膜34との積層膜などが用いられる。  Next, as shown in FIG. 9B, the
  ついで、図9(d)に示すように、ビア部A、パッド部Bの導体部21a、21bの上方に堆積している窒化ケイ素膜34をエッチングして除去する。この際、酸化ケイ素膜33は残し、窒化ケイ素膜34の除去の範囲は、平坦化膜31の開口幅よりも小さくされる。このようにすることにより、ビア部Aおよびパッド部Bの開口部分において、平坦化膜31の端面が露出して、水分が配線層や半導体集積回路などに侵入することが防止される。  Next, as shown in FIG. 9D, the
  ついで、図10(a)に示すように、この上に厚さ5μm程度のプラズマCVD法による酸化ケイ素からなる厚膜35を形成する。この厚膜35は、後述するように、上記溝8、8・・が形成されるもので、図4、図8において符号11で示したものである。  Next, as shown in FIG. 10A, a
  次ぎに、図10(b)に示すように、この厚膜35上に厚さ3μm程度のレジスト膜36を全面に形成する。このレジスト膜36の一部をエッチング処理して、除去して、レジストパターンを形成する。このレジストパターンは、溝形成部Cの各溝に相当する部分、ビア部Aおよびパッド部Bのみが開口するようにする。  Next, as shown in FIG. 10B, a resist
  つぎに、図10(c)にあるように、残っているレジスト膜36に温度150℃、時間10分程度の加熱処理を施し、レジスト膜36を溶融させる。この加熱処理によりレジストが溶融し、溶融液の表面張力に起因して、図示のように、レジスト36膜の上面が盛り上がり、同時に端面が傾斜面となる。特に、溝形成部Cに対応する部分のレジスト膜36では、断面形状が山状となって、その高さが約5μm程度に盛り上がる。  Next, as shown in FIG. 10C, the remaining resist
  こののち、レジストと酸化ケイ素とのエッチング選択比がほぼ1対1となるような条件でレジスト膜36と厚膜35に対してドライエッチングを行う。
  このドライエッチング条件は、例えば以下の通りである。
  エッチングガスには、CF4/CHF3/N2/O2の混合ガスを、以下の割合、60/180/10/100sccmで用いた。
  処理圧力:400mトール(53.2Pa)、RFパワー:750W、電極温度:15℃、チャンバー温度:15℃After that, dry etching is performed on the resist
 The dry etching conditions are, for example, as follows.
 As an etching gas, a mixed gas of CF4 / CHF3 / N2 / O2 was used at the following ratio, 60/180/10/100 sccm.
 Processing pressure: 400 mTorr (53.2 Pa), RF power: 750 W, electrode temperature: 15 ° C., chamber temperature: 15 ° C.
  このドライエッチングの際に、図11(a)にあるように、ビア部Aおよびパッド部Bでは、その開口の広さがパッシベーション膜32の開口の広さよりも大きくならないようにする。
  この後、厚膜35上に残っているレジスト膜36を除去する。At the time of this dry etching, as shown in FIG. 11A, the opening area of the via part A and the pad part B is made not to be larger than the opening area of the
 Thereafter, the resist
  これにより、図11(a)に示すように、厚膜35の溝形成部Cには、溝8、8・・が形成される。さらに、図11(b)に示すように、ビア部Aの導体部21aを覆っている厚膜35および酸化ケイ素膜33を取り除き、導体部21aを露出する。  As a result, as shown in FIG. 11A,
  ついで、基板1全面に、巨大磁気抵抗素子のバイアス磁石部6となるマグネット膜をスパッタにより成膜し、レジストワーク、エッチングにより不要部分を除去し、図11(c)に示すように、溝8、8・・の斜面上にバイアス磁石部6を形成し、これと同時にビア部Aの導体部21a上に配線膜25を形成し、この配線膜25と巨大磁気抵抗素子のバイアス磁石部6とを繋ぐ配線層7を形成する。  Next, a magnet film to be the
  このマグネット膜には、先に述べたとおりの、例えばCo−Cr−Ptなどの多層金属薄膜が用いられる。
  この際に、厚膜35の平坦面にも、X軸センサ2、Y軸センサ3を構成する各巨大磁気抵抗素子のバイアス磁石部6とこれの配線層7も形成する。As this magnet film, a multilayer metal thin film such as Co—Cr—Pt as described above is used.
 At this time, the
  このバイアス磁石部6の形成のためのレジストワークの際に、溝8の斜面でのマグネット膜のエッチングを適切に行うため、パターン形成後のレジスト膜に加熱処理を施して、レジスト膜の端面を傾斜面とすることが好ましい。  At the time of resist work for forming the
  ついで、この上に巨大磁気抵抗素子の感磁部5となる巨大磁気抵抗素子膜をスパッタにより全面に成膜する。この巨大磁気抵抗素子膜としては、先に述べた通りの多層金属薄膜が用いられる。
  さらに、この状態の基板1をマグネットアレー上にセットして、温度260〜290℃、時間3〜5時間の熱処理を行って、巨大磁気抵抗素子膜に対して、ピニング処理を行う。このピニング処理については後述する。Next, a giant magnetoresistive element film to be the
 Further, the
こののち、巨大磁気抵抗素子膜に対してレジストワーク、エッチングを行い、不要部分を除去して、図12(a)に示すように、溝8、8・・の斜面上に感磁部5、5・・を形成し、巨大磁気抵抗素子を作製する。これにより、Z軸センサ4が完成する。 Thereafter, resist work and etching are performed on the giant magnetoresistive element film, unnecessary portions are removed, and as shown in FIG. 5 ··· to form a giant magnetoresistive element. Thereby, the Z-axis sensor 4 is completed.
  同時にビア部Aの導体部21a上に先に形成されたマグネット膜からなる配線膜25上にも巨大磁気抵抗素子膜を残し、保護導体膜26とする。これにより図8に示すビア部Aの構造が得られる。
  さらにこれと同時に厚膜35の平坦面にも、感磁部5を形成し、巨大磁気抵抗素子を作製する。これによりX軸センサ2と、Y軸センサ3が完成する。At the same time, the giant magnetoresistive element film is also left on the
 At the same time, the
  ついで、図12(b)に示すように、プラズマCVD法による厚さ1μm程度の窒化ケイ素膜からなるパッシベーション膜27を成膜し、さらにこの上にポリイミドからなる保護膜28を設ける。さらに、この保護膜28、パッシベーション膜27のうち、パッド部Bに存在する部分を除去し、開口する。  Next, as shown in FIG. 12B, a
  ついで、図12(c)に示すように、保護膜28をマスクとして、エッチングを行い、パッド部Bの導体部21bを覆っているパッシベーション膜32と厚膜35を除去し、パッド部Bの導体部21bを露出させて、目的とする磁気センサとする。  Next, as shown in FIG. 12C, etching is performed using the
  図13および図14は、上述のピニング処理を具体的に示すもので、基板1に対してマグネットアレーの各磁石の配置状態を示すものである。
  マグネットアレーは、基板1の巨大磁気抵抗素子が形成される面(表面)の上方に配置される。FIG. 13 and FIG. 14 specifically show the pinning process described above, and show the arrangement state of each magnet of the magnet array with respect to the
 The magnet array is disposed above the surface (surface) on which the giant magnetoresistive element of the
  図13(a)は、基板1の表面での巨大磁気抵抗素子と、マグネットアレーの各磁石の極性の位置関係を示し、図に示した極性は基板表面に面する側のものである。
  図13(b)は、図13(a)における破線Qで示した断面での磁性の位置関係を示すものである。FIG. 13A shows the positional relationship between the polarities of the giant magnetoresistive element on the surface of the
 FIG. 13B shows the positional relationship of magnetism in the cross section indicated by the broken line Q in FIG.
  図13(c)は、図13(a)における破線Rで示した断面での磁性の位置関係を示したものである。
  図14は、図13(b)の拡大図であって、1個の巨大磁気抵抗素子に作用する磁力線の方向を示したものである。FIG. 13 (c) shows the positional relationship of magnetism in the cross section indicated by the broken line R in FIG. 13 (a).
 FIG. 14 is an enlarged view of FIG. 13B, showing the direction of magnetic lines of force acting on one giant magnetoresistive element.
  このような磁気センサの製法によれば、1枚の基板にX軸センサ2、Y軸センサ3およびZ軸センサ4を作り込むことができ、しかもビア部、パッド部もこれと同時に作製することができ、一連の連続したプロセスで小型の三軸磁気センサを一挙に製造することが可能になる。  According to such a magnetic sensor manufacturing method, the X-axis sensor 2, the Y-
1・・基板、5・・感磁部、6・・バイアス磁石部、7・・配線層、A・・ビア部、8・・溝、21a・・導体部、21b・・導体部、31・・平坦化膜、32・・第1のパッシベーション膜、35・・厚膜、36・・レジスト膜
1 ..
| Application Number | Priority Date | Filing Date | Title | 
|---|---|---|---|
| JP2005077010AJP4984408B2 (en) | 2005-03-17 | 2005-03-17 | Magnetic sensor and manufacturing method thereof | 
| AT06729152TATE512370T1 (en) | 2005-03-17 | 2006-03-15 | MAGNETIC SENSOR AND PRODUCTION METHOD THEREOF | 
| EP06729152AEP1860450B1 (en) | 2005-03-17 | 2006-03-15 | Magnetic sensor and manufacturing method thereof | 
| TW095108810ATWI313078B (en) | 2005-03-17 | 2006-03-15 | Magnetic sensor and manufacturing method therefor | 
| CN200680008164.2ACN101142494B (en) | 2005-03-17 | 2006-03-15 | Magnetic sensor and manufacturing method thereof | 
| US10/584,666US8178361B2 (en) | 2005-03-17 | 2006-03-15 | Magnetic sensor and manufacturing method therefor | 
| PCT/JP2006/305131WO2006098367A1 (en) | 2005-03-17 | 2006-03-15 | Magnetic sensor and manufacturing method thereof | 
| CN200680008060.1ACN101203769B (en) | 2005-03-17 | 2006-03-17 | Three-axis magnetic sensor and manufacturing method thereof | 
| TW095109283ATWI307977B (en) | 2005-03-17 | 2006-03-17 | Three-axis magnetic sensor and manufacturing method therefor | 
| TW097125334ATWI360243B (en) | 2005-03-17 | 2006-03-17 | Three-axis magnetic sensor and manufacturing metho | 
| EP06729388AEP1860451B1 (en) | 2005-03-17 | 2006-03-17 | 3-axis magnetic sensor and manufacturing method thereof | 
| TW097125332ATWI361503B (en) | 2005-03-17 | 2006-03-17 | Three-axis magnetic sensor and manufacturing method therefor | 
| KR1020077020878AKR100950615B1 (en) | 2005-03-17 | 2006-03-17 | 3-axis magnetic sensor and manufacturing method thereof | 
| BRPI0608019-7ABRPI0608019A2 (en) | 2005-03-17 | 2006-03-17 | magnetic sensor and method for manufacturing a magnetic sensor | 
| RU2007134110/28ARU2007134110A (en) | 2005-03-17 | 2006-03-17 | THREE-AXIS MAGNETIC SENSOR AND METHOD FOR ITS MANUFACTURE | 
| CA002601130ACA2601130A1 (en) | 2005-03-17 | 2006-03-17 | Three-axis magnetic sensor and method for manufacturing the same | 
| PCT/JP2006/305399WO2006098431A1 (en) | 2005-03-17 | 2006-03-17 | 3-axis magnetic sensor and manufacturing method thereof | 
| US11/908,549US20090027048A1 (en) | 2005-03-17 | 2006-03-17 | Three-Axis Magnetic Sensor and Method for Manufacturing the Same | 
| US13/459,644US9054028B2 (en) | 2005-03-17 | 2012-04-30 | Magnetic sensor and manufacturing method therefor | 
| US13/517,526US20120268113A1 (en) | 2005-03-17 | 2012-06-13 | Three-axis magnetic sensor and method for manufacturing the same | 
| Application Number | Priority Date | Filing Date | Title | 
|---|---|---|---|
| JP2005077010AJP4984408B2 (en) | 2005-03-17 | 2005-03-17 | Magnetic sensor and manufacturing method thereof | 
| Publication Number | Publication Date | 
|---|---|
| JP2006261400A JP2006261400A (en) | 2006-09-28 | 
| JP4984408B2true JP4984408B2 (en) | 2012-07-25 | 
| Application Number | Title | Priority Date | Filing Date | 
|---|---|---|---|
| JP2005077010AExpired - Fee RelatedJP4984408B2 (en) | 2005-03-17 | 2005-03-17 | Magnetic sensor and manufacturing method thereof | 
| Country | Link | 
|---|---|
| JP (1) | JP4984408B2 (en) | 
| CN (2) | CN101142494B (en) | 
| Publication number | Priority date | Publication date | Assignee | Title | 
|---|---|---|---|---|
| JP4961736B2 (en)* | 2005-12-05 | 2012-06-27 | ヤマハ株式会社 | Manufacturing method of magnetic sensor | 
| JP4790448B2 (en)* | 2006-03-03 | 2011-10-12 | 株式会社リコー | Magnetoresistive element and method for forming the same | 
| JP4946591B2 (en)* | 2007-04-19 | 2012-06-06 | ヤマハ株式会社 | Magnetic sensor | 
| JP2008270471A (en)* | 2007-04-19 | 2008-11-06 | Yamaha Corp | Magnetic sensor and manufacturing method thereof | 
| JP2008309567A (en)* | 2007-06-13 | 2008-12-25 | Yamaha Corp | Magnetic sensor and manufacturing method of the same | 
| JP5292726B2 (en) | 2007-06-13 | 2013-09-18 | ヤマハ株式会社 | Magnetic sensor and manufacturing method thereof | 
| JP2008309633A (en)* | 2007-06-14 | 2008-12-25 | Yamaha Corp | Magnetic sensor | 
| JP2008309634A (en)* | 2007-06-14 | 2008-12-25 | Yamaha Corp | Magnetic sensor | 
| US8390283B2 (en) | 2009-09-25 | 2013-03-05 | Everspin Technologies, Inc. | Three axis magnetic field sensor | 
| ITTO20090973A1 (en)* | 2009-12-10 | 2011-06-11 | St Microelectronics Srl | TRIASSIAL INTEGRATED MAGNETOMETER OF SEMICONDUCTOR MATERIAL MADE IN MEMS TECHNOLOGY | 
| FR2955942B1 (en)* | 2010-01-29 | 2013-01-04 | Centre Nat Rech Scient | INTEGRATED MAGNETOMETER AND METHOD FOR MANUFACTURING THE SAME | 
| US8518734B2 (en) | 2010-03-31 | 2013-08-27 | Everspin Technologies, Inc. | Process integration of a single chip three axis magnetic field sensor | 
| IT1403421B1 (en)* | 2010-12-23 | 2013-10-17 | St Microelectronics Srl | INTEGRATED MAGNETORESISTIVE SENSOR, IN PARTICULAR TRIASSIAL MAGNETORESISTIVE SENSOR AND ITS MANUFACTURING PROCEDURE | 
| US8207757B1 (en)* | 2011-02-07 | 2012-06-26 | GlobalFoundries, Inc. | Nonvolatile CMOS-compatible logic circuits and related operating methods | 
| US9024632B2 (en)* | 2011-05-30 | 2015-05-05 | Denso Corporation | Magnetic sensor with a plurality of heater portions to fix the direction of magnetization of a pinned magnetic layer | 
| CN102385043B (en)* | 2011-08-30 | 2013-08-21 | 江苏多维科技有限公司 | Magnetic tunnel junction (MTJ) triaxial magnetic field sensor and packaging method thereof | 
| US9028472B2 (en) | 2011-12-23 | 2015-05-12 | Vessix Vascular, Inc. | Methods and apparatuses for remodeling tissue of or adjacent to a body passage | 
| TWI431301B (en) | 2012-03-05 | 2014-03-21 | Ind Tech Res Inst | Magnetic field sensing method and magnetic field sensing apparatus using tunneling magneto-resistor device | 
| CN103376425A (en)* | 2012-04-23 | 2013-10-30 | 美新半导体(无锡)有限公司 | Triaxial magnetic sensor | 
| JP5664706B2 (en)* | 2012-07-05 | 2015-02-04 | 株式会社デンソー | Magnetic sensor | 
| WO2014059110A1 (en) | 2012-10-12 | 2014-04-17 | Memsic, Inc. | Monolithic three-axis magnetic field sensor | 
| CN103885005B (en)* | 2012-12-21 | 2018-11-02 | 上海矽睿科技有限公司 | Magnetic sensing device and its magnetic induction method | 
| CN103885004A (en)* | 2012-12-21 | 2014-06-25 | 磁感科技香港有限公司 | A kind of magnetic sensing device and its magnetic induction method, preparation process | 
| CN103116144B (en)* | 2013-01-22 | 2015-01-14 | 中国人民解放军国防科学技术大学 | Z-direction magnetic field sensor with magnetic orbit structure | 
| CN103116143B (en)* | 2013-01-22 | 2015-01-14 | 中国人民解放军国防科学技术大学 | Integrated high-accuracy triaxial magnetic sensor | 
| CN104122513A (en)* | 2013-04-24 | 2014-10-29 | 上海矽睿科技有限公司 | High-density magnetic sensor device and magnetic induction method and preparation process thereof | 
| CN104183696A (en)* | 2013-05-20 | 2014-12-03 | 上海矽睿科技有限公司 | Preparation process for magnetic sensing device | 
| CN104375098B (en)* | 2013-08-15 | 2018-11-02 | 上海矽睿科技有限公司 | The preparation process of magnetic sensing device and the device | 
| CN104422907B (en)* | 2013-08-29 | 2017-09-29 | 上海矽睿科技有限公司 | A kind of magnetic sensing device and preparation method thereof | 
| CN104422908A (en)* | 2013-09-06 | 2015-03-18 | 上海矽睿科技有限公司 | Preparation process of magnetic sensation device | 
| CN104459575B (en)* | 2013-09-12 | 2018-01-05 | 上海矽睿科技有限公司 | A kind of preparation technology of magnetic sensing device and the magnetic sensing device | 
| CN104515957B (en)* | 2013-09-27 | 2017-05-31 | 上海矽睿科技有限公司 | magnetic sensing device and preparation method thereof | 
| CN103528575B (en)* | 2013-10-18 | 2017-07-11 | 上海华虹宏力半导体制造有限公司 | Three-dimensional AMRMEMS three axle magnetometers structure and magnetometer | 
| CN105658163B (en)* | 2013-10-25 | 2020-08-18 | 波士顿科学国际有限公司 | Embedded thermocouple in denervation flexible circuit | 
| CN104793154A (en)* | 2014-01-21 | 2015-07-22 | 上海矽睿科技有限公司 | Magnetic sensor and preparation technology thereof | 
| CN104793153B (en)* | 2014-01-21 | 2018-02-02 | 上海矽睿科技有限公司 | The preparation method of magnetic sensing device | 
| CN103995239B (en)* | 2014-05-09 | 2016-10-05 | 北京航空航天大学 | A kind of magnetic field gradient parameter measurement new method | 
| JP6036938B1 (en)* | 2015-08-05 | 2016-11-30 | 愛知製鋼株式会社 | Magnetic detector | 
| WO2017094888A1 (en)* | 2015-12-03 | 2017-06-08 | アルプス電気株式会社 | Magnetic detection device | 
| CN107290695A (en)* | 2016-04-01 | 2017-10-24 | 德昌电机(深圳)有限公司 | A kind of Magnetic Sensor | 
| JP7064662B2 (en)* | 2017-04-25 | 2022-05-11 | コニカミノルタ株式会社 | Magnetic sensor | 
| JP6828676B2 (en)* | 2017-12-27 | 2021-02-10 | Tdk株式会社 | Magnetic sensor | 
| JP6538226B1 (en)* | 2018-03-23 | 2019-07-03 | Tdk株式会社 | Magnetic sensor | 
| JP6886222B2 (en)* | 2019-03-19 | 2021-06-16 | Tdk株式会社 | Magnetic sensor | 
| JP6954326B2 (en)* | 2019-06-05 | 2021-10-27 | Tdk株式会社 | Position detector | 
| CN110927637A (en)* | 2019-11-30 | 2020-03-27 | 北京航空航天大学青岛研究院 | Three-axis MTJ magnetic field sensor and preparation method thereof | 
| JP7107330B2 (en)* | 2020-03-27 | 2022-07-27 | Tdk株式会社 | Magnetic sensor and manufacturing method thereof | 
| JP7298630B2 (en)* | 2021-01-25 | 2023-06-27 | Tdk株式会社 | magnetic sensor | 
| CN114220913A (en)* | 2021-12-01 | 2022-03-22 | 上海矽睿科技股份有限公司 | A three-axis magnetic sensor and its preparation process | 
| JP7709418B2 (en)* | 2022-12-14 | 2025-07-16 | Tdk株式会社 | Magnetic Sensor | 
| CN118003493A (en)* | 2024-03-27 | 2024-05-10 | 广东思谷智能技术有限公司 | Diamond wire breakage detection method based on magnetic sensing | 
| Publication number | Priority date | Publication date | Assignee | Title | 
|---|---|---|---|---|
| JP2579995B2 (en)* | 1988-03-31 | 1997-02-12 | 株式会社東芝 | Magnetic sensor | 
| JPH11305055A (en)* | 1998-04-22 | 1999-11-05 | Sharp Corp | Method of manufacturing optical waveguide and method of manufacturing master master plate for manufacturing optical waveguide | 
| JP4085859B2 (en)* | 2002-03-27 | 2008-05-14 | ヤマハ株式会社 | Magnetic sensor and manufacturing method thereof | 
| JP4050631B2 (en)* | 2003-02-21 | 2008-02-20 | 株式会社ルネサステクノロジ | Manufacturing method of electronic device | 
| JP2004356338A (en)* | 2003-05-28 | 2004-12-16 | Res Inst Electric Magnetic Alloys | Thin film magnetic sensor and method of manufacturing the same | 
| JP4013853B2 (en)* | 2003-07-18 | 2007-11-28 | ヤマハ株式会社 | Magnetic sensor | 
| Publication number | Publication date | 
|---|---|
| CN101203769B (en) | 2012-12-26 | 
| JP2006261400A (en) | 2006-09-28 | 
| CN101142494A (en) | 2008-03-12 | 
| CN101203769A (en) | 2008-06-18 | 
| CN101142494B (en) | 2013-07-10 | 
| Publication | Publication Date | Title | 
|---|---|---|
| JP4984408B2 (en) | Magnetic sensor and manufacturing method thereof | |
| US7687284B2 (en) | Magnetic sensor and manufacturing method therefor | |
| EP1860450B1 (en) | Magnetic sensor and manufacturing method thereof | |
| KR20070051708A (en) | Semiconductor device and manufacturing method thereof | |
| JP5066525B2 (en) | Magnetic detection device and manufacturing method thereof | |
| JP5447412B2 (en) | Manufacturing method of magnetic sensor | |
| JP4760073B2 (en) | Magnetic sensor and manufacturing method thereof | |
| JP4961736B2 (en) | Manufacturing method of magnetic sensor | |
| JP4984412B2 (en) | Magnetic sensor and method of manufacturing magnetic sensor | |
| JP4734987B2 (en) | Manufacturing method of magnetic sensor | |
| JP2006278439A (en) | Manufacturing method of magnetic sensor | |
| TWI412776B (en) | Magnetic sensor and fabricating method thereof | |
| JP4984424B2 (en) | Magnetic sensor and manufacturing method thereof | |
| JP5223001B2 (en) | Magnetic sensor | |
| JP4972871B2 (en) | Magnetic sensor and manufacturing method thereof | |
| JP2003124445A (en) | Magnetic memory and method of manufacturing the same | |
| JP2006194733A (en) | Magnetometric sensor and its manufacturing method | |
| JP5028769B2 (en) | Manufacturing method of magnetic sensor | |
| JP7611009B2 (en) | Magnetic sensor and manufacturing method thereof | |
| US12069956B2 (en) | Thin film anisotropic magnetoresistor device and formation | |
| JP5045273B2 (en) | Manufacturing method of magnetic sensor | |
| CN119414311A (en) | TMR magnetic sensor and method for manufacturing the same | |
| JP6261707B1 (en) | Sensor device device | |
| JP4946591B2 (en) | Magnetic sensor | |
| JP2016152311A (en) | Magnetoresistance effect element and method for manufacturing the same | 
| Date | Code | Title | Description | 
|---|---|---|---|
| A621 | Written request for application examination | Free format text:JAPANESE INTERMEDIATE CODE: A621 Effective date:20080221 | |
| A131 | Notification of reasons for refusal | Free format text:JAPANESE INTERMEDIATE CODE: A131 Effective date:20110524 | |
| A521 | Request for written amendment filed | Free format text:JAPANESE INTERMEDIATE CODE: A523 Effective date:20110725 | |
| TRDD | Decision of grant or rejection written | ||
| A01 | Written decision to grant a patent or to grant a registration (utility model) | Free format text:JAPANESE INTERMEDIATE CODE: A01 Effective date:20120403 | |
| A01 | Written decision to grant a patent or to grant a registration (utility model) | Free format text:JAPANESE INTERMEDIATE CODE: A01 | |
| A61 | First payment of annual fees (during grant procedure) | Free format text:JAPANESE INTERMEDIATE CODE: A61 Effective date:20120416 | |
| R150 | Certificate of patent or registration of utility model | Ref document number:4984408 Country of ref document:JP Free format text:JAPANESE INTERMEDIATE CODE: R150 Free format text:JAPANESE INTERMEDIATE CODE: R150 | |
| FPAY | Renewal fee payment (event date is renewal date of database) | Free format text:PAYMENT UNTIL: 20150511 Year of fee payment:3 | |
| LAPS | Cancellation because of no payment of annual fees |