









本発明は、電子メールを送受信する端末装置、及びプログラムに関する。 The present invention relates to a terminal device that transmits and receives electronic mail, and a program.
テキスト本文中にURL(Uniform Resource Locatorのこと。例えば、「http://www.***.***」等)や電子メールアドレス(例えば、「***@***.***」等)等といったリンク先のアドレス情報を示すリンク文字列が含まれる場合がある。この場合、テキスト本文中にアドレス情報を示すリンク文字列が表示されているにも関わらず、ユーザが当該アドレス情報の示すリンク先へのインターネットを介したアクセスを行いたいときに、当該アドレス情報を示す文字列を入力しなければならないとすると、ユーザに対して非効率な作業を要求することになる。 URL (Uniform Resource Locator. For example, “http: //www.***.***” etc.) and e-mail address (for example, “***@***.*** In some cases, a link character string indicating the address information of the link destination is included. In this case, when the user wants to access the link destination indicated by the address information via the Internet even though the link character string indicating the address information is displayed in the text body, the address information is If the character string to be indicated has to be input, the user is requested to perform inefficient work.
  そこで、例えば、以下に示す特許文献1では、再生信号処理装置が、テキスト本文中からURLを抽出して文字色を変える等の識別表示を行った後、当該識別表示されたURLに対するユーザのクリック操作を介して、Webブラウザを起動し、該当するURLにリンクするという技術が開示されている。  Thus, for example, in
 また、同様に、以下に示す特許文献1では  再生信号処理装置が、テキスト本文中から電子メールアドレスを抽出して文字色を変える等の識別表示を行った後、当該識別表示された電子メールアドレスのユーザによるクリック操作を介して、電子メールアプリケーションソフトを起動し、当該識別表示された電子メールアドレスを宛先とした新規メール作成画面を立ち上げるという技術が開示されている。 Similarly, in
 尚、以上のリンク文字列を抽出して識別表示等する技術は、電子メール機能並びにインターネット接続機能を搭載した端末装置(携帯電話等)が電子メールのテキスト本文表示を行う際によく利用されている。
ところで、近年、迷惑メール(又はスパムメール)と呼ばれるユーザが必要としない一方的に送信される電子メールが増加傾向にある。このため、電子メール機能並びにインターネット接続機能を搭載した端末装置が、前述したリンク文字列を抽出して識別表示等する技術を利用した場合、ユーザは迷惑メールを開いてテキスト本文中に含まれる識別表示されたURLを誤ってクリックしてしまい、ユーザが不良サイト等にインターネットを介してアクセスするという問題が起こり得る。また、ユーザが迷惑メールのテキスト本文中に含まれる識別表示された電子メールアドレスを誤ってクリックしてしまい、ユーザの意思とは異なってインターネットを介して電子メールを送信するという問題も起こり得る。 By the way, in recent years, there is an increasing tendency for unilaterally transmitted electronic mail that is not required by users called spam mail (or spam mail). For this reason, when a terminal device equipped with an e-mail function and an Internet connection function uses the above-described technology for extracting and displaying a link character string, the user opens a junk e-mail and identifies the text contained in the text body. There is a possibility that the displayed URL is clicked by mistake and the user accesses a defective site or the like via the Internet. In addition, there is a possibility that the user mistakenly clicks the identified and displayed e-mail address included in the text body of the junk e-mail and transmits the e-mail via the Internet unlike the user's intention.
詳述すると、電子メールを受信する際、迷惑メールであるか否かを判別して、迷惑メールでなければ通常の受信トレイ(メールフォルダ)に振り分け、迷惑メールであれば迷惑フォルダに振り分ける機能が存在するが、迷惑メールであるか否かの判別が誤って行われる場合がある。そこで、ユーザは、通常、各フォルダに振り分けられた電子メールを目視確認して迷惑メールを削除する等の操作を行うものと想定されるが、この操作の際に、迷惑メールのテキスト本文中に含まれる識別表示されたURLや電子メールアドレスを誤ってクリックする恐れがあり、前述した問題が顕在化するものと思われる。 In detail, when receiving an e-mail, it is determined whether it is a junk e-mail, and if it is not junk e-mail, it is distributed to a normal inbox (mail folder), and if it is junk mail, a function to distribute it to a junk folder Although it exists, it may be erroneously determined whether or not it is a spam mail. Therefore, it is assumed that the user usually performs an operation such as visually confirming the e-mail distributed to each folder and deleting the junk e-mail, but during this operation, the junk e-mail is included in the text body of the junk e-mail. There is a risk of erroneously clicking on an identified and displayed URL or e-mail address, and the above-described problems are likely to be realized.
また、迷惑メールにおいて添付ファイルが添付される場合も想定される。当該添付ファイルは、ユーザにとって必要のない情報であり、また、最悪の場合、前述した端末装置をコンピュータウイルスで汚染させる目的で送られてきたファイルである恐れもある。しかしながら、前述したリンク文字列を抽出して識別表示等する技術は、迷惑メールであるか否かに関わりなく、電子メールのテキストに含まれるURLや電子メールを抽出して識別表示するものであり、迷惑メールに添付された添付ファイルの展開について制限をかけるという記載もない。そこで、ユーザが誤って迷惑メールに添付された添付ファイルを誤って展開すると、前記端末装置に深刻な被害を与えるという問題が起こり得る。 It is also assumed that an attachment file is attached to the spam mail. The attached file is information unnecessary for the user, and in the worst case, the attached file may be a file sent for the purpose of contaminating the above-described terminal device with a computer virus. However, the above-described technology for extracting and displaying the link character string, for example, extracts and displays the URL or email included in the text of the email regardless of whether it is spam or not. There is no description that restricts the expansion of attached files attached to spam mails. Therefore, if the user accidentally expands the attached file attached to the junk mail, the problem may occur that the terminal device is seriously damaged.
  前記課題を解決するため、請求項1に記載の発明は、インターネットに接続可能であり当該インターネットを介して電子メールを送受信する端末装置において、受信した前記電子メールを表示する際に、受信した前記電子メールに含まれるリンク文字列からのリンクを有効にするか又は無効にするかを判別する判別手段と、前記リンク文字列からのリンクを有効にすると判別された場合に、受信した前記電子メールに含まれるリンク文字列を抽出する抽出手段と、前記抽出手段により抽出されたリンク文字列をリンク対象として識別表示する識別表示手段と、前記識別表示手段により識別表示されたリンク文字列からリンク先への前記インターネットを介したアクセスを有効とし、前記識別表示手段により識別表示されない文字列からの前記インターネットを介したアクセスを無効とする制御手段と、前記電子メールを表示する際に、ユーザ設定により前記リンク文字列からのリンクを有効にするか又は前記リンク文字列からのリンクを無効にするかを切り替えるユーザ設定手段と、を有し、前記判別手段は、受信した前記電子メールが予め指定した送信元の電子メールアドレスから受信した電子メールである場合に、受信した当該電子メールに含まれる前記リンク文字列からのリンクを有効にすると判別し、前記電子メールを格納するフォルダ毎に、当該フォルダに格納される前記電子メールに含まれる前記リンク文字列からのリンクを有効にするか又は無効にするかを判別し、前記ユーザ設定手段は、前記判別手段により前記電子メールに含まれる前記リンク文字列からのリンクを無効にすると判別する電子メールを格納するフォルダ内の前記電子メールについて、前記ユーザ設定手段によって、前記リンク文字列からのリンクを有効にするように切り替えた前記電子メールの表示を終了する際には、前記リンク文字列からのリンクを無効にするように変更することを特徴とする。In order to solve the above-described problem, the invention according to
  また、請求項2に記載の発明は、請求項1に記載の端末装置において、前記リンク文字列はURLであること、を特徴とする。  The invention according to claim 2 is the terminal device according to
  また、請求項3に記載の発明は、請求項1に記載の端末装置において、前記リンク文字列は電子メールアドレスであること、を特徴とする。  The invention according to claim 3 is the terminal device according to
また、請求項4に記載の発明は、請求項1に記載の端末装置において、前記判別手段は、受信した前記電子メール毎に、前記リンク文字列からのリンクを有効にするか又は無効にするかを判別することを特徴とする。 According to a fourth aspect of the present invention, in the terminal device according to the first aspect, the determination means validates or invalidates a link from the link character string for each received e-mail. It is characterized by distinguishing.
  また、請求項5に記載の発明は、請求項1に記載の端末装置において、前記リンク文字列からのリンクを無効にすると判別された前記電子メールに対する応答を無効にする応答制御手段を更に有することを特徴とする。Further, the invention according to
  また、請求項6に記載の発明は、請求項1に記載の端末装置において、前記リンク文字列からのリンクが無効の場合に前記リンク文字列からのリンクを有効に変更し、前記リンク文字列からのリンクが有効の場合に前記リンク文字列からのリンクを無効に変更する変更手段を更に有することを特徴とする。The invention according to claim6 is the terminal device according to
また、請求項7に記載の発明は、インターネットに接続可能であり当該インターネットを介して電子メールを送受信する端末装置において、受信した前記電子メールを表示する際に、受信した前記電子メールに添付された添付ファイルの展開を有効にするか又は無効にするかを判別する判別手段と、前記添付ファイルの展開を有効にすると判別された場合に、当該添付ファイルの展開を有効に設定し、前記添付ファイルの展開を無効にすると判別された場合に、当該添付ファイルの展開を無効に設定する制御手段と、前記電子メールを表示する際に、前記添付ファイルの展開を有効にするか又は無効にするかをユーザ設定により切り替えるユーザ設定手段と、を有し、前記判別手段は、受信した前記電子メールが予め指定した送信元の電子メールアドレスから受信した前記電子メールである場合に、受信した当該電子メールに添付された前記添付ファイルの展開を有効にすると判別し、前記電子メールを格納するフォルダ毎に、当該フォルダに格納される前記電子メールに添付された前記添付ファイルの展開を有効にするか又は無効にするかを判別し、前記ユーザ設定手段は、前記判別手段により前記電子メールに添付された前記添付ファイルの展開を無効にすると判別する電子メールを格納するフォルダ内の前記電子メールについて、前記ユーザ設定手段によって、前記添付ファイルの展開を有効にするように切り替えた前記電子メールの表示を終了する際には、前記添付ファイルの展開を無効にするように変更することを特徴とする。The invention described in claim7 is attached to the received e-mail when the received e-mail is displayed in a terminal device that is connectable to the Internet and transmits / receives e-mail via the Internet. A determination means for determining whether to enable or disable the expansion of the attached file, and when it is determined that the expansion of the attachment file is to be enabled, the expansion of the attached file is set to be effective, and the attachment When it is determined that the expansion of the file is invalidated, the control means for setting the expansion of the attached file to be invalid, andthe expansion of the attached file is validated or invalidated when the e-mail is displayed. or a hasa user setting means for switching the user set, wherein the determining means, the sender of the email that the email received previously designated If it is the e-mail received from Email addresssaid, determines that the Enable deployment of the attachment file attached to the received thee-mail, to each folder to store the e-mail, to be stored in the folder It is determined whether expansion of the attached file attached to the e-mail is valid or invalid, and the user setting unit invalidates expansion of the attached file attached to the e-mail by the determining unit. Then, for the e-mail in the folder storing the e-mail to be determined, when the display of the e-mail switched to enable the expansion of the attached file by the user setting unit is terminated, the attached file It is characterizedby changing so as to invalidate the expansion of .
また、請求項8に記載の発明は、請求項7に記載の端末装置において、前記判別手段は、受信した前記電子メール毎に、前記添付ファイルの展開を有効にするか又は無効にするかを判別することを特徴とする。The invention according to claim8 is the terminal device according to claim7 , wherein the determination unit determines whether to enable or disable the expansion of the attached file for each received e-mail. It is characterized by discriminating.
また、請求項9に記載の発明は、請求項7に記載の端末装置において、前記添付ファイルの展開が無効に設定された場合に、当該添付ファイルの展開を有効とする設定に変更し、前記添付ファイルの展開が有効に設定された場合に、当該添付ファイルの展開を無効とする設定に変更する変更手段を更に有することを特徴とする。Further, the invention according to claim9, in the terminal apparatus according to claim7, when the deployment of the attachment has been disabled, to change the setting to enable deployment of the attachment, the When the expansion of the attached file is set to be valid, there is further provided a changing means for changing the setting to disable the expansion of the attached file.
  また、請求項10に記載の発明は、インターネットに接続可能であり当該インターネットを介して電子メールを送受信する端末装置のプログラムにおいて、コンピュータに、受信した前記電子メールを表示する際に、受信した前記電子メールに含まれるリンク文字列からのリンクを有効にするか又は無効にするかを判別する判別機能と、前記リンク文字列からのリンクを有効にすると判別された場合に、受信した前記電子メールに含まれるリンク文字列を抽出する抽出機能と、前記抽出機能により抽出されたリンク文字列をリンク対象として識別表示する識別表示機能と、前記識別表示機能により識別表示されたリンク文字列からリンク先への前記インターネットを介したアクセスを有効とし、前記識別表示機能により識別表示されない文字列からの前記インターネットを介したアクセスを無効とする制御機能と、前記電子メールを表示する際に、ユーザ設定により前記リンク文字列からのリンクを有効にするか又は前記リンク文字列からのリンクを無効にするかを切り替えるユーザ設定機能と、を実現させるためのプログラムであって、前記判別機能は、受信した前記電子メールが予め指定した送信元の電子メールアドレスから受信した前記電子メールである場合に、受信した当該電子メールに含まれる前記リンク文字列からのリンクを有効にすると判別し、前記電子メールを格納するフォルダ毎に、当該フォルダに格納される前記電子メールに含まれる前記リンク文字列からのリンクを有効にするか又は無効にするかを判別し、前記ユーザ設定機能は、前記判別機能により前記電子メールに含まれる前記リンク文字列からのリンクを無効にすると判別する電子メールを格納するフォルダ内の前記電子メールについて、前記ユーザ設定機能によって、前記リンク文字列からのリンクを有効にするように切り替えた前記電子メールの表示を終了する際には、前記リンク文字列からのリンクを無効にするように変更することを特徴とする。The invention according to
  また、請求項11に記載の発明は、インターネットに接続可能であり当該インターネットを介して電子メールを送受信する端末装置において、コンピュータに、受信した前記電子メールを表示する際に、受信した前記電子メールに添付された添付ファイルの展開を有効にするか又は無効にするかを判別する判別機能と、前記添付ファイルの展開を有効にすると判別された場合に、当該添付ファイルの展開を有効に設定し、前記添付ファイルの展開を無効にすると判別された場合に、当該添付ファイルの展開を無効に設定する制御機能と、前記電子メールを表示する際に、前記添付ファイルの展開を有効にするか又は無効にするかをユーザ設定により切り替えるユーザ設定機能と、を実現させるためのプログラムであって、前記判別機能は、受信した前記電子メールが予め指定した送信元の電子メールアドレスから受信した前記電子メールである場合に、受信した当該電子メールに添付された前記添付ファイルの展開を有効にすると判別し、前記電子メールを格納するフォルダ毎に、当該フォルダに格納される前記電子メールに添付された前記添付ファイルの展開を有効にするか又は無効にするかを判別し、前記ユーザ設定機能は、前記判別機能により前記電子メールに添付された前記添付ファイルの展開を無効にすると判別する電子メールを格納するフォルダ内の前記電子メールについて、前記ユーザ設定機能によって、前記添付ファイルの展開を有効にするように切り替えた前記電子メールの表示を終了する際には、前記添付ファイルの展開を無効にするように変更することを特徴とする。
According to theeleventh aspect of the present invention, in the terminal device that is connectable to the Internet and transmits / receives an electronic mail via the Internet, the received electronic mail is displayed when the received electronic mail is displayed on a computer. A function for determining whether to enable or disable the expansion of the attached file attached to the file, and when it is determined that the expansion of the attached file is to be enabled, the expansion of the attached file is set to be enabled. A control function that disables the expansion of the attached file when it is determined that the expansion of the attached file is invalidated, and when thee-mail is displayed, a program for realizinga user setting function of switching by either the user setting is disabled, the determination function, receiving When the electronic mail is the electronic mail received from the source e-mail address previously specified,it determines that the Enable deployment of the attachment file attached to the received thee-mail, the e-mail For each folder to be stored, it is determined whether expansion of the attached file attached to the e-mail stored in the folder is to be enabled or disabled, and the user setting function is the electronic function by the determining function. The electronic mail in the folder storing the electronic mail that is determined to disable the expansion of the attached file attached to the mail is switched to enable the expansion of the attached file by the user setting function. when you are finished viewing of e-mail, especiallyto change to disable the deployment of the attached file To.
本発明によれば、受信した電子メールに含まれるリンク文字列を適切に取り扱うことができる。 According to the present invention, it is possible to appropriately handle a link character string included in a received electronic mail.
(1)第1実施形態について以下に説明する。
(1−1)装置構成例(1) The first embodiment will be described below.
 (1-1) Device configuration example
  図1は、電子メール機能並びにインターネット接続機能を有した端末装置100が携帯電話装置である場合の構成例を示すブロック図である。  FIG. 1 is a block diagram illustrating a configuration example when a
  電子メールとは、端末装置100同士がインストールされた電子メールアプリケーションソフトを用いて電子化されたメッセージを電子メールサーバ(不図示)を介してやりとりする電子メール・システムにおいて、当該電子化されたメッセージのことをいう。また、電子メール機能には、ユーザとの対話を行うユーザインタフェース機能、メールサーバとの間の電子メールの送受信を行う通信処理機能、電子メールにファイルを添付するファイル添付機能等が含まれる。また、図1に示す端末装置100としては、前述したとおり携帯電話装置の場合を示しているが、ノート型パーソナルコンピュータ、PDA(Personal Digital Assistant)、カーナビゲーション装置等といったその他の電子メールを送受信可能な端末装置100としてもよい。  The electronic mail is an electronic message in an electronic mail system that exchanges an electronic message using an electronic mail application software installed between the
インターネット接続機能とは、主に、Webブラウザソフトを起動して、インターネット上で提供されるハイパーテキスト記述言語(HTML(Hyper Text Markup Language)等)で表現された各種Webサイトを閲覧する機能のことを指す。尚、ハイパーテキストとは、ドキュメント内に別のドキュメントのリンク先を埋め込むことで、インターネット上に散在するドキュメント同士を相互に参照(ハイパーリンク)するシステムのことである。 The Internet connection function is a function that starts web browser software and browses various websites expressed in a hypertext description language (HTML (Hyper Text Markup Language) etc.) provided on the Internet. Point to. The hypertext is a system that mutually references (hyperlinks) documents scattered on the Internet by embedding a link destination of another document in the document.
  通信部10は、端末装置100の電話機能の実行にあたり、アンテナ12を介して受信する無線信号を受信ベースバンド信号に復調して出力する。尚、受信ベースバンド信号は、電話部50を介してスピーカ52から音声として出力される。また、通信部10は、マイク54から入力された音声データを電話部50を介して取り込み、送信ベースバンド信号に符号化した上でアンテナ12を介して送出する。以上により、端末装置100間での無線通信網を介した会話が行われる。  When performing the telephone function of the
  さらに、通信部10は、前述した電子メール機能のうちの通信処理機能の実行にあたり、電子メール等のパケット通信網を介したデータ送受信をも行う。具体的には、通信部10は、記憶部60に格納された電子メールアプリケーションソフトを起動して電子メールサーバに対して電子メールを送信する場合、SMTP(Simple Mail Transfer Protocol)と呼ばれるプロトコルを主に使用し、電子メールサーバに届いた電子メールを端末装置100に取り込む場合には、POP3(Post Office Protocol3)と呼ばれるプロトコルを主に使用する。以上により、端末装置100間でのパケット通信網を介した電子メール等のやりとりが行われる。  Further, the
  電話部50は、マイク54から出力されるアナログの音声信号に対してノイズ除去処理や増幅処理を施した上でデジタル信号に変換し、中央制御部(CPU)70に出力する。また、電話部50は、中央制御部70から出力されるデジタルの音声信号をアナログ信号に変換し、ノイズ除去処理や増幅処理を施した上でスピーカ52に出力する。  The
  表示部40は、例えばLCD(Liquid Crystal Display)等のディスプレイを含んだ筐体として構成され、前述したユーザインタフェース機能の実行にあたり、操作部20での操作結果や通信部10を介して受信された電子メール等が表示される。  The
操作部20は、ダイヤル入力や文字入力、各種コマンド入力を行うキーを含んだ筐体として構成される。 The operation unit 20 is configured as a housing including keys for dial input, character input, and various command inputs.
  電源部30は、端末装置100の電力供給源である。  The
  記憶部60は、中央制御部70が実行するプログラムや各種データを記憶するメモリである。例えば、記憶部60には、電子メール機能のための電子メールアプリケーションソフトや付随した電子電話帳データ、インターネット接続機能のためのWebブラウザソフトや検索エンジン用ソフト等が格納される。  The
  また、記憶部60は、図2に示すようにメールリンクフラグ並びにフォルダリンクフラグを設定したテーブル情報62を記憶している。尚、図2に示す例において、受信トレイとは電子メールが通常格納されるメールフォルダのことであり、○○フォルダとは受信トレイとは別にユーザ設定されたメールフォルダのことであり、迷惑フォルダとは電子メールアプリケーションソフトの機能により迷惑メールであると判別された電子メールを格納するメールフォルダのことである。本実施形態では、受信トレイ以外の各メールフォルダへの電子メールの振り分けは電子メールアプリケーションソフトの自動振り分け機能によって行われる場合とするが、ユーザによる手動操作によって電子メールを各メールフォルダに振り分けるようにしてもよい。  The
メールリンクフラグは、電子メールのテキストに含まれるリンク先のアドレス情報を示すリンク文字列による当該リンク先へのインターネットを介したアクセスを有効にするか又は無効にするかを設定するためのフラグである。尚、リンク文字列とは、URL(Uniform Resource Locatorのこと。例えば、「http://www.***.***」等)や、電子メールアドレス(例えば、「***@***.***」等)のことを指す。また、本実施形態では、メールリンクフラグが0の場合にリンク有効に設定し、メールリンクフラグが1の場合にリンク無効に設定する場合とする。 The mail link flag is a flag for setting whether to enable or disable the access to the link destination via the link character string indicating the address information of the link destination included in the text of the email. is there. The link character string is a URL (Uniform Resource Locator. For example, “http: //www.***.***” etc.) or an e-mail address (eg “*** @ ** *. *** ”etc.). In this embodiment, the link is set to be valid when the mail link flag is 0, and the link is set to be invalid when the mail link flag is 1.
  尚、リンク有効とは、HTMLの場合におけるアンカー要素(A要素)並びに特定の語句を強調する要素を用いたハイパーリンク機能等を用いて、例えば、斜体文字、下線付き文字、他のテキストの色と異なる色で表示する等といった当該リンク文字列の識別表示を行い、識別表示された当該リンク文字列が表示画面中のカーソルによるクリック等で選択されるとリンク先にジャンプ(アクセス)可能なアクティブ状態になっていることを指す。また、リンク無効とは、当該リンク文字列を当該リンク文字列以外の電子メールのテキストと同じ通常の表示を行い、当該表示されたリンク文字列をカーソルでクリック等しても単なる文字列の表示にすぎないのでジャンプ(アクセス)不可能な非アクティブ状態になっていることを指す。例えば、図2に示す例では、○○フォルダにおいて、メール1並びにメール3がリンク有効に設定され、メール2がリンク無効に設定される場合である。  Note that the link valid means that, for example, it is possible to use an anchor element (A element) in HTML and a hyperlink function using an element that emphasizes a specific phrase, for example, italic characters, underlined characters, and other text colors. The link character string can be identified and displayed, such as by displaying it in a different color, and the link character string that is identified and displayed can be jumped (accessed) to the link destination when selected by clicking the cursor on the display screen. It means being in a state. The link invalid means that the link character string is displayed in the same normal manner as the text of the email other than the link character string, and even if the displayed link character string is clicked with the cursor, the character string is simply displayed. This means that it is in an inactive state that cannot be jumped (accessed). For example, in the example illustrated in FIG. 2, the
以上のようにメールリンクフラグを設定することによって、電子メール毎に、テキスト本文中のURLや電子メールアドレスをリンク有効にするか又はリンク無効にするかを任意に設定することが可能となる。これにより、例えば、迷惑メールを確認する際に、迷惑メールのテキスト本文中のURLや電子メールアドレスを誤ってクリックしてしまい、当該URL先や当該電子メールアドレス先にアクセスすることを、電子メール毎に未然に防止できる。 By setting the mail link flag as described above, it is possible to arbitrarily set whether the URL or the e-mail address in the text body is valid or invalid for each e-mail. Thus, for example, when confirming a junk mail, an e-mail message indicating that a URL or an e-mail address in the text body of the junk mail is mistakenly clicked to access the URL or the e-mail address. It can be prevented in advance.
  フォルダリンクフラグは、電子メールを格納するメールフォルダ毎に、当該メールフォルダに格納される電子メールのテキストに含まれるリンク文字列によるリンク先へのインターネットを介したアクセスを有効にするか又は無効にするかを設定するためのフラグである。本実施形態では、フォルダリンクフラグが0の場合にリンク有効とし、フォルダリンクフラグが1の場合にリンク無効とする。例えば、図2に示す例では、受信トレイ並びに○○フォルダに格納される電子メールはリンク有効に設定され、迷惑フォルダに格納される電子メールはリンク無効に設定される場合である。尚、フォルダリンクフラグが1(リンク無効)のメールフォルダに格納される電子メールは、電子メールを開いて表示部40に表示する際に、フォルダリンクフラグを0、即ち、リンク有効に変更可能とする。  The folder link flag enables or disables access to the link destination by the link character string included in the text of the e-mail stored in the e-mail folder for each e-mail folder storing the e-mail. It is a flag to set whether to do. In this embodiment, the link is valid when the folder link flag is 0, and the link is invalid when the folder link flag is 1. For example, in the example shown in FIG. 2, e-mails stored in the inbox and the OO folder are set to link valid, and e-mails stored in the junk folder are set to link invalid. Note that an e-mail stored in a mail folder with a folder link flag of 1 (link is invalid) can be changed to 0 when the e-mail is opened and displayed on the
以上のようにフォルダリンクフラグを設定することによって、メールフォルダ毎に、当該メールフォルダに格納された電子メールのテキスト本文中のURLや電子メールアドレスをリンク有効にするか又はリンク無効にするかを一律に設定することが可能となる。これにより、一律にリンク有効とするメールフォルダ(例えば、受信トレイ)と、一律にリンク無効とするメールフォルダ(例えば、迷惑フォルダ)と、を予めデフォルト設定しておくことで、迷惑メール等の確認作業を容易且つ確実に行うことができる。また、当該デフォルト設定を任意に変更することもできる。 By setting the folder link flag as described above, whether the URL or the email address in the text body of the e-mail stored in the e-mail folder is valid or invalid for each mail folder. It becomes possible to set uniformly. As a result, by checking the default settings for the mail folder (for example, inbox) for which links are uniformly enabled and for the mail folder (for example, spam folders) for which links are uniformly disabled, confirmation of spam mails, etc. Work can be performed easily and reliably. Further, the default setting can be arbitrarily changed.
  中央制御部70は、記憶部60に格納されたプログラムを実行することで、端末装置100を統括制御する。かかるプログラムの実行により、端末装置100の様々な機能が実現される。  The
(1−2)装置動作例
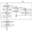
 図3、図4、図5は、第1実施形態の場合の端末装置100の動作を説明するためのフローチャートである。尚、以下に示す動作の主体は、特に示さない場合、中央制御部70とする。(1-2) Device Operation Example FIGS. 3, 4, and 5 are flowcharts for explaining the operation of the
  端末装置100の記憶部60には、図2に示したようにメールリンクフラグ並びにフォルダリンクフラグが予め設定されるものとする(S300)。尚、メールリンクフラグは、電子メール表示中においても設定/変更できる。  It is assumed that the mail link flag and the folder link flag are set in advance in the
  端末装置100の表示部40に待ち受け画面が表示された状態で(S301)、電子メールを受信したとき(S302:YES)、電子メールを受信した旨の表示に切り替わるとともに、受信した電子メールがメールフォルダに順次格納され(S303)、待ち受け画面の表示に再び戻る。尚、待ち受け画面が表示された状態とは、電子メールを受信しない場合であって(S302:NO)、電子メールアプリケーションソフトの起動操作もされず(S304:NO)、更にその他の操作もされない状態のことを指す(S305:NO、S306)。  When the standby screen is displayed on the
  電子メールアプリケーションソフトを起動して(S304:YES)、受信フォルダ等のメールフォルダに格納された電子メールが開かれる場合(S307:YES)、中央制御部70は、記憶部60に格納された当該電子メールに対応するメールリンクフラグが0(リンク有効)であるか若しくは1(リンク無効)であるかを判別する(S312)。即ち、メールリンクフラグが0に設定される場合、中央制御部70は、受信した電子メールのテキストに含まれるリンク文字列によるリンク先へのインターネットを介したアクセスが有効であると判別する。一方、メールリンクフラグが1に設定される場合、中央制御部70は、当該リンク先へのインターネットを介したアクセスが無効であると判別する。尚、フォルダリンクフラグが1に設定されたメールフォルダに格納された電子メールを開く場合、中央制御部70は、メールリンクフラグが1であることを判別するまでもなく、リンク文字列によるリンク先へのインターネットを介したアクセスを常に無効として取り扱う。  When the e-mail application software is started (S304: YES) and an e-mail stored in a mail folder such as a reception folder is opened (S307: YES), the
  具体的には、メールリンクフラグが0に設定された場合(S312:YES)、中央制御部70は、電子メールのテキストに含まれるリンク文字列を抽出する処理を行う(S313)。この結果、リンク文字列が抽出された場合(S314:YES)、中央制御部70は、当該リンク文字列をリンク対象として識別表示を表示部40において行うとともに、リンク先へのインターネットを介したアクセスが可能な状態に設定する(S315、S316)。一方、メールリンクフラグが1に設定された場合(S312:NO)、中央制御部70は、リンク文字列をリンク対象外として当該リンク文字列以外のテキストと同じリンク対象外としての通常表示を表示部40において行うとともに、リンク先へのインターネットを介したアクセスが不可能な状態に設定する(S316)。  Specifically, when the mail link flag is set to 0 (S312: YES), the
尚、電子メールアプリケーションソフトの起動操作が行われた後(S304:YES)、メールフォルダに格納された電子メールを開く操作以外にも(S307:NO)、電子メールアプリケーションソフトを終了するまでの間(S308YES、S309)、その他の電子メール操作が行われる場合もある(S310:YES)。 It should be noted that after the e-mail application software activation operation is performed (S304: YES), the e-mail application software is terminated in addition to the operation of opening the e-mail stored in the mail folder (S307: NO). (S308 YES, S309), other electronic mail operations may be performed (S310: YES).
  電子メールが表示部40に表示された状態で、電子メールのテキスト本文中の座標位置を指し示すポインティング操作が行われ、電子メールのテキスト本文中に含まれるリンク文字列がクリックされた場合(S400:YES、S401:YES)、中央制御部70は、所定のリンク処理を行う(S402)。尚、所定のリンク処理とは、例えば、リンク文字列がURLの場合、Webブラウザを起動して、URLが示すWebサイトへのアクセスを行うための処理のことを指す。あるいは、リンク文字列が電子メールアドレスの場合、新規メール作成画面が開き、さらに、当該電子メールアドレスが当該新規メール作成画面の宛先箇所に自動的に挿入された状態にするための処理のことを指す。  When a pointing operation indicating the coordinate position in the text body of the e-mail is performed with the e-mail displayed on the
  また、電子メールが表示部40に表示された状態で、中央制御部70は、リンク有効(識別表示)に設定された電子メールのテキスト本文中に含まれるリンク文字列をリンク無効(通常の表示)に変更し、あるいは、リンク無効(通常の表示)に設定された電子メールのテキスト本文中に含まれるリンク文字列をリンク有効(識別表示)に変更するリンク有効/無効切り替え操作を行うこともできる。具体的には、リンク有効/無効切り替え操作を行う場合(S403:YES)、中央制御部70は、記憶部60に0に設定されたメールリンクフラグを1に変更し(S404:YES、S405)、あるいは、記憶部60に1に設定されたメールリンクフラグを0に変更する(S404:NO、S406)。尚、識別表示についてもメールリンクフラグの設定変更に付随して切り替えることは言うまでもない。これにより、例えば、迷惑メールと判別されてリンク無効に設定された状態であっても、ユーザの目視確認により正当な電子メールと判断される場合には、リンク有効の設定に任意に変更できる。  Further, in a state where the e-mail is displayed on the
  また、電子メールが表示部40に表示された状態で、中央制御部70は、表示部40に表示された電子メールに対する返信並びに転送等といった応答操作を禁止することもできる。具体的には、中央制御部70は、表示部40に表示された電子メールに対する返信/転送を行う場合には(S504:YES)、返信/転送処理を行う(S505)。一方、表示部40に表示された電子メールに対する返信/転送を行わない場合(S504:NO)、その他の電子メール表示操作に移行する(S506、S507)。これにより、リンク無効とされた迷惑メール中のURLや電子メールアドレスに対する応答操作を禁止することで、二次的な被害を予防できる。また、リンク無効に設定された迷惑メールをユーザが確認する操作を行っている最中で、当該電子メールに対する応答を無効とすることで、リンク無効に設定された迷惑メールを安全に確認することができる。  Further, in a state where the electronic mail is displayed on the
  ユーザが電子メールのテキストを読み終わり、当該ユーザにより電子メールの表示が閉じられる場合(S500:YES、S501)、中央制御部70は、当該電子メールを格納するメールフォルダのフォルダリンクフラグが1に設定されていたとき(S502:YES)、当該電子メールのメールリンクフラグを1に設定し直す処理を行う(S503)。即ち、フォルダリンクフラグが1に設定されたメールフォルダに格納されている電子メールの表示が閉じられる際、中央制御部70は、当該電子メールを常にリンク無効に設定し直すための処理を行う。これにより、当該電子メールを格納するメールフォルダのフォルダリンクフラグが1に設定されていれば、リンク有効/無効切り替え操作によってリンク無効からリンク有効に変更された場合に、電子メールの表示を閉じる際にリンク有効からリンク無効に戻しておくことで、当該電子メールを再び表示する際に安全となる。  When the user has finished reading the text of the email and the display of the email is closed by the user (S500: YES, S501), the
以上のように、第1実施形態においては、電子メールのテキスト本文中に含まれるリンク文字列に対して誤った操作が行われてしまい、ユーザの意図しないリンク処理が実行されることを未然に防止できる。 As described above, in the first embodiment, an erroneous operation is performed on the link character string included in the text body of the e-mail, and a link process unintended by the user is executed. Can be prevented.
また、リンク文字列がURLの場合、誤ってWebブラウザを起動して意図しない当該URL先のWebサイドにアクセスすることを未然に防止できる。 In addition, when the link character string is a URL, it is possible to prevent an unintended access to the Web side of the URL destination by accidentally starting the Web browser.
また、リンク文字列が電子メールアドレスの場合、誤って当該電子メールアドレス先を宛先とする新規メール作成画面を起動することを未然に防止できる。 Further, when the link character string is an e-mail address, it is possible to prevent the new mail creation screen having the e-mail address destination from being erroneously activated.
また、電子メールの各メールフォルダへの自動振り分け機能を使用していた場合であっても、電子メール毎に、リンク文字列からのリンクが有効であるか又は無効であるかを容易且つ確実に判別できる。 In addition, even when the automatic distribution function of each e-mail to each mail folder is used, it is easy and sure whether the link from the link character string is valid or invalid for each e-mail. Can be determined.
また、電子メールを格納するメールフォルダ毎に、リンク有効であるか又はリンク無効であるかを判別することにより、例えば、受信トレイ内の全ての電子メールのテキスト本文中に含まれるリンク文字列を一律にリンク有効として取り扱うことができ、迷惑フォルダ内の電子メールのテキスト本文中に含まれるリンク文字列を一律にリンク無効として取り扱うことができる。この結果、迷惑メールの確認作業等を安全に行うことができる。 In addition, by determining whether the link is valid or invalid for each mail folder storing the e-mail, for example, link character strings included in the text body of all e-mails in the inbox It is possible to treat the link uniformly as valid, and it is possible to treat the link character string included in the text body of the e-mail in the junk folder as invalid link. As a result, it is possible to safely perform spam mail confirmation work and the like.
また、リンク無効と判別された電子メールの返信並びに転送等といった応答を無効にすることにより、安全でない可能性のある電子メールに対する応答を未然に防止できる。 Further, by invalidating a response such as a reply or transfer of an email determined to be invalid, a response to an email that may be unsafe can be prevented in advance.
また、リンク無効と判別された場合であっても、電子メールの内容を確認してリンク有効として取り扱ってもよい場合には、リンク有効の設定に任意に変更できる。 Even when it is determined that the link is invalid, if the content of the e-mail can be confirmed and handled as the link valid, it can be arbitrarily changed to the link valid setting.
  また、記憶部60に格納された電子電話帳データを用いて予め指定しておいた送信元からの電子メールに含まれるリンク文字列によるリンク先へのインターネットを介したアクセスを常に有効(即ち、メールリンクフラグを0に設定)と取り扱うことによって、安全な電子メールに含まれるリンク文字列によるリンク先へのインターネットを介したアクセスを、手間をかけずに行うことができる。尚、この場合、電子電話帳データの中でリンク有効にする送信元アドレスの指定を操作部20を介したユーザ設定に基づき変更可能とすることにより、リンク有効又はリンク無効を任意に切り替えるようにしてもよい。また、リンク無効と判別される状態で電子メールの表示が閉じられた場合は、自動振り分け機能が用いる迷惑メールの振り分けリストに当該電子メールの送信先のメールアドレスを登録するようにしてもよい。  In addition, access via the Internet to the link destination by the link character string included in the e-mail from the transmission source specified in advance using the electronic phone book data stored in the
(2)第2実施形態について以下に説明する。
(2−1)装置構成例
  第2実施形態の場合の端末装置100の構成は、図1に示した第1実施形態の構成と同様であるが、記憶部60には図6に示すようにメールリンクフラグ並びにフォルダリンクフラグの他にメール添付展開フラグ並びにフォルダ添付展開フラグを設定したテーブル情報64が記憶される。(2) A second embodiment will be described below.
 (2-1) Device Configuration Example The configuration of the
  メール添付展開フラグは、受信した電子メールに添付された添付ファイル(テキストファイル、音声ファイル、画像ファイル等)の展開を有効にするか又は無効にするかを設定するためのフラグである。本実施形態では、メール添付展開フラグが0の場合に添付ファイルの展開を有効に設定し、メール添付展開フラグが1の場合に添付ファイルの展開を無効に設定する。例えば、図6に示す例では、○○フォルダに格納される電子メールのうち、メール1並びにメール3は添付ファイルの展開が有効に設定され、メール2は添付ファイルの展開が無効に設定される。  The mail attachment expansion flag is a flag for setting whether to enable or disable the expansion of an attached file (text file, audio file, image file, etc.) attached to the received electronic mail. In the present embodiment, when the mail attachment expansion flag is 0, the expansion of the attached file is set to be valid, and when the mail attachment expansion flag is 1, the expansion of the attachment file is set to be invalid. For example, in the example shown in FIG. 6, among the emails stored in the XX folder, the expansion of the attached file is set to be valid for the
以上のようにメール添付展開フラグを設定することによって、電子メール毎に、添付ファイルの展開可否を任意に切り替えることが可能となる。これにより、例えば、迷惑メールに添付された危険な添付ファイル(例えば、コンピュータウイルスの汚染の原因となるファイル)を誤って展開することを未然に防止できる。 By setting the mail attachment expansion flag as described above, it is possible to arbitrarily switch whether or not to expand the attached file for each electronic mail. As a result, for example, it is possible to prevent a dangerous attachment file (for example, a file that causes computer virus contamination) attached to a junk mail from being unintentionally expanded.
フォルダ添付展開フラグは、受信した電子メールを格納するメールフォルダ毎に、添付ファイルの展開を有効にするか又は無効にするかを設定するためのフラグである。本実施形態では、フォルダ添付展開フラグが0の場合に添付ファイルの展開を有効に設定し、フォルダ添付展開フラグが1の場合に添付ファイルの展開を無効に設定する。例えば、図6に示す例では、受信トレイに格納された電子メールにおいて添付ファイルの展開が有効に設定され、迷惑フォルダに格納された電子メールにおいて添付ファイルの展開が無効に設定される。 The folder attachment expansion flag is a flag for setting whether to enable or disable the expansion of the attached file for each mail folder storing the received electronic mail. In this embodiment, when the folder attachment expansion flag is 0, the expansion of the attached file is set to be valid, and when the folder attachment expansion flag is 1, the expansion of the attachment file is set to be invalid. For example, in the example shown in FIG. 6, the expansion of the attached file is set to be valid for the e-mail stored in the inbox, and the expansion of the attached file is set to be invalid for the e-mail stored in the junk folder.
以上のようにフォルダ添付展開フラグを設定することによって、メールフォルダ毎に、添付ファイルの展開可否を任意に切り替えることが可能となる。これにより、一律に添付ファイルの展開を有効とするメールフォルダ(例えば、受信トレイ)と、一律に添付ファイルの展開を無効とするメールフォルダ(例えば、迷惑フォルダ)と、を予めデフォルト設定しておくことで、迷惑メール等の確認作業を容易且つ確実に行うことができる。また、当該デフォルト設定を任意に変更することもできる。 By setting the folder attachment expansion flag as described above, it is possible to arbitrarily switch whether or not to expand the attached file for each mail folder. As a result, a mail folder (for example, an inbox) that uniformly enables the expansion of the attached file and a mail folder (for example, a nuisance folder) that uniformly disables the expansion of the attached file are set as defaults in advance. As a result, it is possible to easily and reliably perform confirmation work such as spam mail. Further, the default setting can be arbitrarily changed.
  (2−2)装置動作例
  図7、図8、図9は、第2実施形態の場合の端末装置100の動作を説明するためのフローチャートである。尚、以下に示す動作の主体は、特に示さない場合、中央制御部70とする。(2-2) Device Operation Example FIGS. 7, 8, and 9 are flowcharts for explaining the operation of the
  端末装置100の記憶部60には、図6に示したようにメールリンクフラグ、フォルダリンクフラグ、メール添付展開フラグ並びにフォルダ添付展開フラグが予め設定されるものとする(S700)。尚、メールリンクフラグ並びにメール添付展開フラグは、電子メールの表示の際に設定/変更できる。  It is assumed that a mail link flag, a folder link flag, a mail attachment expansion flag, and a folder attachment expansion flag are set in advance in the
図7中に示すS701の一連の処理は、図3に示したS301〜S315までの処理と同一であるので、説明を省略する。 A series of processes in S701 shown in FIG. 7 is the same as the processes in S301 to S315 shown in FIG.
  受信した電子メールのテキスト本文中に含まれるリンク文字列の識別処理がなされた後(S701)、中央制御部70は、受信した電子メールに添付ファイルが添付されているか否かを判別する(S702)。添付ファイルが添付されていると判別した場合(S702:YES)、端末装置100の表示部40に添付ファイル名が表示される(S703)。  After the link character string included in the text body of the received electronic mail is identified (S701), the
  つぎに、中央制御部70は、記憶部60に記憶された受信した電子メールに対応するメール添付展開フラグが0であるか又は1であるかを判別する(S704)。メール添付展開フラグが0であると判別した場合(S704:YES)、即ち、添付ファイルの展開が有効である場合、中央制御部70は、端末装置100の表示部40に添付ファイルアイコンを表示するとともに、当該添付ファイルアイコンの選択により当該添付ファイルの展開を可能な状態とする(S705、S706)。  Next, the
  一方、メール添付展開フラグが1であると判別した場合(S704:NO)、即ち、添付ファイルの展開を無効にする場合、中央制御部70は、端末装置100の表示部40に添付ファイルアイコンの表示を行わずに、添付ファイルの存在と名称を確認する目的で添付ファイル名のみを文字列として表示して、当該添付ファイルの展開を不可能な状態とする(S706)。即ち、添付ファイルアイコンの表示がなされていないので、添付ファイルを展開する術がない状態にする。尚、フォルダ添付展開フラグが1に設定されたメールフォルダに格納された電子メールの場合、中央制御部70は、メール添付展開フラグが1であることを判別するまでもなく、当該電子メールに添付された添付ファイルの展開を常に無効とする。  On the other hand, when it is determined that the mail attachment expansion flag is 1 (S704: NO), that is, when the expansion of the attached file is invalidated, the
図8中に示すS800の一連の処理は、図4に示したS400〜S402までの処理と同一であるので説明を省略する。 A series of processes in S800 shown in FIG. 8 is the same as the processes in S400 to S402 shown in FIG.
表示部40に電子メールのテキストと併せて添付ファイルアイコンが表示された状態で、当該添付ファイルアイコンがクリックされると(S801:YES)、添付ファイルの展開処理が行われる(S802)。尚、添付ファイルアイコンのクリック以外にも、その他のポインティング操作が行われる場合がある(S803、S804)。 If the attached file icon is clicked in the state where the attached file icon is displayed together with the text of the e-mail on the display unit 40 (S801: YES), the attached file is expanded (S802). In addition to the click of the attached file icon, other pointing operations may be performed (S803, S804).
図8中に示すS805の一連の処理は、図4に示したS403〜S406までの処理と同一であるので説明を省略する。 A series of processes in S805 shown in FIG. 8 is the same as the processes in S403 to S406 shown in FIG.
  また、表示部40に電子メールのテキストと併せて添付ファイルアイコンが表示された状態で、中央制御部70は、添付ファイルの展開が有効に設定された電子メールの添付ファイルの展開を無効とする設定に変更する、あるいは、添付ファイルの展開が無効に設定された電子メールの添付ファイルの展開を有効に変更する添付ファイル展開有効/無効切り替え操作を行うこともできる。具体的には、添付ファイル展開有効/無効切り替え操作を行う場合(S806:YES)、中央制御部70は、記憶部60に0に設定された添付ファイル展開フラグを1に変更し(S807:YES、S808)、あるいは、記憶部60に1に設定された添付ファイル展開フラグを0に変更する(S807:NO、S809)。これにより、例えば、添付ファイルの展開が無効の状態であっても正当な電子メールと判断される場合には、添付ファイルの展開を有効に変更できる。  Further, in a state where the attachment file icon is displayed together with the text of the e-mail on the
図9中に示すS900の一連の処理は、図5に示したS500〜S507までの処理と同一であるので説明を省略する。 A series of processing of S900 shown in FIG. 9 is the same as the processing from S500 to S507 shown in FIG.
  ユーザが電子メールを読み終えて、当該ユーザにより電子メールの表示が閉じられる場合、中央制御部70は、当該電子メールを格納するメールフォルダのフォルダ添付展開フラグが1に設定されていたとき(S901:YES)、当該電子メールのメール添付展開フラグを1に設定する処理を行う(S902)。即ち、フォルダ添付展開フラグが1に設定されたメールフォルダに格納されている電子メールの表示が閉じられる際、中央制御部70は、当該電子メールの添付ファイルの展開を無効に設定し直すための処理を行う。これにより、当該電子メールを格納するメールフォルダのフォルダ添付展開フラグが1に設定されていれば、添付ファイル展開有効/無効切り替え操作によって添付ファイルの展開が無効から有効に変更された場合に、電子メールの表示を閉じる際に添付ファイルの展開が有効から無効に戻しておくことで、当該電子メールを再び表示する際に安全となる。  When the user has finished reading the e-mail and the display of the e-mail is closed by the user, the
  図10(a)は、メールリングフラグが0(リンク有効)、メール添付ファイル展開フラグが0(添付ファイルの展開が有効)且つ電子メールの返信並びに転送を有効にする設定がなされた場合における端末装置100の画面表示の一例である。電子メールのテキスト本文中のインデックス欄にはリンク文字列としてURLが含まれており、当該URLは斜字、下線付文字として識別表示されて、即ち、リンク有効に設定されている。また、画面表示の上欄には添付ファイルアイコンが表示されており、当該添付ファイルアイコンをクリックすることで添付ファイルの展開が可能な状態である。また、画面表示の下欄には返信が有効である旨の表示がなされ、さらに、サブメニューを開くと転送が有効である旨の表示がなされる。  FIG. 10A shows a terminal when the mail ring flag is 0 (link is valid), the mail attachment file expansion flag is 0 (development of the attached file is valid), and the e-mail reply and transfer are set to be valid. 3 is an example of a screen display of the
  図10(b)は、メールリングフラグが1(リンク無効)、メール添付ファイル展開フラグが1(添付ファイルの展開が無効)且つ電子メールの返信並びに転送を無効にする設定がなされた場合における端末装置100の画面表示の一例である。電子メールのテキスト本文中のインデックス欄にはリンク文字列としてURLが含まれているが、当該URLは斜字ではなく、また下線が付されず、その他のテキスト本文表示と同じリンク対象外としての通常の表示がなされており、即ち、リンク無効に設定されている。また、画面表示の上欄には添付ファイルアイコンが非表示となっており、添付ファイルを展開する術がない状態としている。また、画面表示の下欄には返信の表示がなく、当該電子メールの返信が無効となり、さらに、サブメニューを開いても転送に係る表示がなく、当該電子メールの転送が無効となっている。  FIG. 10B shows a terminal when the mail ring flag is 1 (link invalid), the mail attachment file expansion flag is 1 (decompression of the attachment file is invalid), and the e-mail reply and transfer are disabled. 3 is an example of a screen display of the
以上のように、第2実施形態においては、電子メールに添付された危険な添付ファイルを誤って展開しないように未然に防止できる。 As described above, in the second embodiment, it is possible to prevent a dangerous attached file attached to an electronic mail from being unintentionally expanded.
また、電子メールの各メールフォルダへの自動振り分け機能を使用していたとしても、電子メール毎に、添付ファイルの展開が有効であるか又は無効であるかを判別できる。 Further, even if the automatic distribution function of the e-mail to each mail folder is used, it is possible to determine whether the expansion of the attached file is valid or invalid for each e-mail.
また、メールフォルダ毎に、当該メールフォルダ内の電子メールに添付される添付ファイルの展開を有効にするか又は無効にするか判別する仕組みにより、例えば、受信トレイ内の全ての電子メールに添付された添付ファイルの展開を一律に有効として取り扱うことができ、迷惑フォルダ内の全ての電子メールに添付された添付ファイルの展開を一律に無効として取り扱うことができる。この結果、迷惑メールの確認作業等が安全に行うことができる。 In addition, for each mail folder, for example, it is attached to all emails in the inbox by a mechanism for determining whether to enable or disable the expansion of the attached file attached to the email in the email folder. The expansion of the attached file can be treated as being uniformly valid, and the development of the attached file attached to all e-mails in the junk folder can be treated as being uniformly invalid. As a result, it is possible to safely confirm spam mails.
また、添付ファイルの展開が無効と判別された場合であっても、電子メールの内容を確認して添付ファイルの展開を有効と取り扱ってもよいときには、添付ファイルの展開を任意に有効に変更することができる。 Even if it is determined that the expansion of the attached file is invalid, the expansion of the attached file is arbitrarily changed to valid when the content of the e-mail can be confirmed and the expansion of the attached file can be treated as valid. be able to.
  また、記憶部60に格納された電子電話帳データ等で予め指定しておいた送信元からの電子メールに添付される添付ファイルの展開を常に有効(即ち、メール添付展開フラグを0に設定)として取り扱うことで、安全な添付ファイルの展開を手間をかけずに行うことができる。尚、この場合、電子電話帳データの中で添付ファイルの展開を有効に設定する送信元アドレスの指定を操作部20を介したユーザ設定に基づき変更可能とすることにより、添付ファイルの展開を有効にするか又は無効にするかを任意に切り替えることができる。  Further, the expansion of the attached file attached to the e-mail from the transmission source designated in advance by the electronic telephone directory data stored in the
10  通信部
12  アンテナ
20  操作部
30  電源部
40  表示部
50  電話部
52  スピーカ
54  マイク
60  記憶部
62、64  テーブル情報
70  中央制御部
100  端末装置DESCRIPTION OF
| Application Number | Priority Date | Filing Date | Title | 
|---|---|---|---|
| JP2007131080AJP4974076B2 (en) | 2007-05-16 | 2007-05-16 | Terminal device and program | 
| Application Number | Priority Date | Filing Date | Title | 
|---|---|---|---|
| JP2007131080AJP4974076B2 (en) | 2007-05-16 | 2007-05-16 | Terminal device and program | 
| Publication Number | Publication Date | 
|---|---|
| JP2008287447A JP2008287447A (en) | 2008-11-27 | 
| JP2008287447A5 JP2008287447A5 (en) | 2010-01-28 | 
| JP4974076B2true JP4974076B2 (en) | 2012-07-11 | 
| Application Number | Title | Priority Date | Filing Date | 
|---|---|---|---|
| JP2007131080AExpired - Fee RelatedJP4974076B2 (en) | 2007-05-16 | 2007-05-16 | Terminal device and program | 
| Country | Link | 
|---|---|
| JP (1) | JP4974076B2 (en) | 
| Publication number | Priority date | Publication date | Assignee | Title | 
|---|---|---|---|---|
| JP5691351B2 (en) | 2010-09-29 | 2015-04-01 | 富士通株式会社 | Access restriction program, access restriction device, and access restriction method | 
| Publication number | Priority date | Publication date | Assignee | Title | 
|---|---|---|---|---|
| JPH11297040A (en)* | 1998-04-07 | 1999-10-29 | Sony Corp | Reproduced signal processing apparatus | 
| US20040128355A1 (en)* | 2002-12-25 | 2004-07-01 | Kuo-Jen Chao | Community-based message classification and self-amending system for a messaging system | 
| JP3931908B2 (en)* | 2005-03-18 | 2007-06-20 | 株式会社日立製作所 | E-mail system, mail server and mail terminal | 
| US7908329B2 (en)* | 2005-08-16 | 2011-03-15 | Microsoft Corporation | Enhanced e-mail folder security | 
| Publication number | Publication date | 
|---|---|
| JP2008287447A (en) | 2008-11-27 | 
| Publication | Publication Date | Title | 
|---|---|---|
| CA2807956C (en) | Interface for mobile device and computing device | |
| EP2779606B1 (en) | Method and apparatus for managing conversation messages | |
| WO2010041505A1 (en) | Email reception device, email display method, and email reception program | |
| KR101253161B1 (en) | Method for transmiting of message in mobile terminal and mobile terminal thereof | |
| JP4973912B2 (en) | Mobile terminal, access restriction method | |
| JP4816191B2 (en) | Mobile phone, e-mail information display method, and e-mail information display program | |
| WO2010092998A1 (en) | Communication terminal, telephone directory registration method, and method of managing communication terminals | |
| JP4974076B2 (en) | Terminal device and program | |
| JP2009124194A (en) | E-mail system | |
| CN105850163B (en) | Information sending method and device and information receiving method and device | |
| JP5263004B2 (en) | Information processing device | |
| JP2005092305A (en) | Cellphone and program therefor | |
| JP2004040304A (en) | Electronic mail address control method and program, electronic mail terminal | |
| JP4272089B2 (en) | Information terminal device, its e-mail management method and e-mail management program | |
| KR20070079774A (en) | Message method using pop-up menu in mobile communication terminal and personal computer | |
| JP6289882B2 (en) | Portable terminal device, download suppression method, and program | |
| JP5709480B2 (en) | Terminal apparatus and mail mistransmission prevention method | |
| US7664498B2 (en) | Apparatus, method, and program for read out information registration, and portable terminal device | |
| JP2007281997A (en) | Mobile terminal, and communication history display method and program | |
| KR101564577B1 (en) | Terminal and smart card and processing method for received message | |
| JP4452580B2 (en) | Mail communication processing method, mobile communication terminal device, and mail communication processing program | |
| JP2005070852A (en) | E-mail transmission / reception device | |
| JP5794763B2 (en) | Communication equipment | |
| JP2002073479A (en) | System of e-mail transmission and receipt | |
| KR101862863B1 (en) | Communication for requesting electronic mail data corresponding to receiving message and control method thereof | 
| Date | Code | Title | Description | 
|---|---|---|---|
| A521 | Written amendment | Free format text:JAPANESE INTERMEDIATE CODE: A523 Effective date:20091208 | |
| A621 | Written request for application examination | Free format text:JAPANESE INTERMEDIATE CODE: A621 Effective date:20091208 | |
| RD01 | Notification of change of attorney | Free format text:JAPANESE INTERMEDIATE CODE: A7421 Effective date:20100312 | |
| A711 | Notification of change in applicant | Free format text:JAPANESE INTERMEDIATE CODE: A712 Effective date:20100804 | |
| A977 | Report on retrieval | Free format text:JAPANESE INTERMEDIATE CODE: A971007 Effective date:20110707 | |
| A131 | Notification of reasons for refusal | Free format text:JAPANESE INTERMEDIATE CODE: A131 Effective date:20110712 | |
| A521 | Written amendment | Free format text:JAPANESE INTERMEDIATE CODE: A523 Effective date:20110912 | |
| A02 | Decision of refusal | Free format text:JAPANESE INTERMEDIATE CODE: A02 Effective date:20111108 | |
| A521 | Written amendment | Free format text:JAPANESE INTERMEDIATE CODE: A523 Effective date:20120203 | |
| A911 | Transfer to examiner for re-examination before appeal (zenchi) | Free format text:JAPANESE INTERMEDIATE CODE: A911 Effective date:20120210 | |
| TRDD | Decision of grant or rejection written | ||
| A01 | Written decision to grant a patent or to grant a registration (utility model) | Free format text:JAPANESE INTERMEDIATE CODE: A01 Effective date:20120313 | |
| A01 | Written decision to grant a patent or to grant a registration (utility model) | Free format text:JAPANESE INTERMEDIATE CODE: A01 | |
| A61 | First payment of annual fees (during grant procedure) | Free format text:JAPANESE INTERMEDIATE CODE: A61 Effective date:20120402 | |
| R150 | Certificate of patent or registration of utility model | Free format text:JAPANESE INTERMEDIATE CODE: R150 | |
| FPAY | Renewal fee payment (event date is renewal date of database) | Free format text:PAYMENT UNTIL: 20150420 Year of fee payment:3 | |
| FPAY | Renewal fee payment (event date is renewal date of database) | Free format text:PAYMENT UNTIL: 20150420 Year of fee payment:3 | |
| S111 | Request for change of ownership or part of ownership | Free format text:JAPANESE INTERMEDIATE CODE: R313113 | |
| FPAY | Renewal fee payment (event date is renewal date of database) | Free format text:PAYMENT UNTIL: 20150420 Year of fee payment:3 | |
| R350 | Written notification of registration of transfer | Free format text:JAPANESE INTERMEDIATE CODE: R350 | |
| S111 | Request for change of ownership or part of ownership | Free format text:JAPANESE INTERMEDIATE CODE: R313113 | |
| R350 | Written notification of registration of transfer | Free format text:JAPANESE INTERMEDIATE CODE: R350 | |
| LAPS | Cancellation because of no payment of annual fees |