



本発明は、感光性組成物、当該感光性組成物を用いるカラーフィルター、均一なセルギャップを維持し得る液晶パネル用基板、及び、当該カラーフィルター又は液晶パネル用基板を用いた液晶パネルに関する。 The present invention relates to a photosensitive composition, a color filter using the photosensitive composition, a liquid crystal panel substrate capable of maintaining a uniform cell gap, and a liquid crystal panel using the color filter or liquid crystal panel substrate.
液晶パネルは、表示側基板と液晶駆動側基板(背面側基板)とを対向させ、両者の間に液晶化合物を封入して薄い液晶層を形成し、液晶駆動側基板により液晶層内の液晶配列を電気的に制御して透過光又は反射光の量を選択的に変化させることによって表示を行う。 In a liquid crystal panel, a display side substrate and a liquid crystal driving side substrate (back side substrate) are opposed to each other, and a liquid crystal compound is sealed between them to form a thin liquid crystal layer. The liquid crystal driving side substrate forms a liquid crystal array in the liquid crystal layer. Display is performed by electrically changing the amount of transmitted light or reflected light selectively.
液晶パネルには、スタティック駆動方式、単純マトリックス方式、アクティブマトリックス方式等、種々の駆動方式があるが、近年、パーソナルコンピューターや携帯情報端末等のフラットディスプレーとして、アクティブマトリックス方式又は単純マトリックス方式の液晶パネルを用いたカラー液晶表示装置が急速に普及してきている。 There are various driving methods such as static driving method, simple matrix method, active matrix method, etc., but in recent years, liquid crystal panels of active matrix method or simple matrix method are used as flat displays for personal computers and personal digital assistants. A color liquid crystal display device using the above has been rapidly spread.
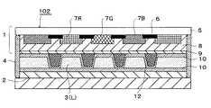
  図1は、アクティブマトリックス方式の液晶パネルの一構成例である。液晶パネル101は、表示側基板であるカラーフィルター1と液晶駆動側基板であるTFTアレイ基板2とを対向させて1〜10μm程度の間隙部3を設け、当該間隙部3内に液晶Lを充填し、その周囲をシール材4で密封した構造をとっている。カラーフィルター1は、透明基板5上に、画素間の境界部を遮光するために所定のパターンに形成されたブラックマトリックス層6と、各画素を形成するために複数の色(通常、赤(R)、緑(G)、青(B)の3原色)を所定順序に配列した着色層7又は最近ではホログラムを利用した着色層と、保護膜8と、透明電極膜9とが、透明基板に近い側からこの順に積層された構造をとっている。一方、TFTアレイ基板2は、透明基板上にTFT素子を配列し、透明電極膜を設けた構造をとっている(図示せず)。また、カラーフィルター1及びこれと対向するTFTアレイ基板2の内面側には配向膜10が設けられる。さらに間隙部3には、カラーフィルター1と電極基板2の間のセルギャップを一定且つ均一に維持するために、スペーサーとしてガラス、アルミナ又はプラスチック等からなる一定サイズの球状又は棒状粒子11が分散されている。そして、各色に着色された画素それぞれ又はカラーフィルターの背後にある液晶層の光透過率を制御することによってカラー画像が得られる。  FIG. 1 is a configuration example of an active matrix type liquid crystal panel. The
  カラーフィルターに形成される保護膜8は、カラーフィルターに着色層が設けられる場合には着色層の保護とカラーフィルターの平坦化の両方の役割を果たしている。カラー液晶表示装置では、カラーフィルターの透明基板表面のうねりに起因するギャップムラ、R、G及びBの各画素間でのギャップムラ、或いは各画素内でのギャップムラ等の存在により透明電極膜9の平坦性が損なわれると、色ムラ或いはコントラストムラを生じ、その結果、画像品質の低下を来たすと言う問題がある。したがって、保護膜には高い平坦性が求められる。  The
  スペーサーとして図1に示したような微粒子11を分散させる場合には、当該微粒子11は、ブラックマトリックス層6の背後であるか画素の背後であるかに関係なく、ランダムに分散する。微粒子11が表示領域の背後すなわち着色層の背後に位置した場合、微粒子11の部分をバックライトの光が透過し、また、微粒子11周辺の液晶の配向が乱れ、表示画像の品位を著しく低下させる。そこで図2に示すように、微粒子11を分散させるかわりに、カラーフィルターの内面側であってブラックマトリックス層6が形成されている位置と重り合う領域(非表示領域)に、セルギャップに対応する高さを有する柱状スペーサー12を形成することが行われるようになってきた。  When the
  前記の着色層7、保護膜8及び柱状スペーサー12は、樹脂を用いて形成することができる。着色層7は、各色の画素ごとに所定のパターンに形成する必要がある。保護膜8は、シール部の密着性や密閉性を考慮すると、透明基板上の着色層が形成された領域のみ被覆できるものであることが好ましい。また、柱状スペーサー12は、ブラックマトリックス層6の形成領域内すなわち非表示領域に正確に設ける必要がある。このため、硬化させたい領域を選択的に露光した後にアルカリ現像することができる感光性組成物を用いて着色層7、保護膜8及び柱状スペーサー12を形成することが提案されている。  The colored layer 7, the
柱状スペーサー形成用の感光性組成物としては、例えば特許文献1に記載の感光性組成物が知られている。この感光性組成物は、樹脂、モノマー、光重合開始剤、溶剤を主成分とし、前記モノマーとして下記式(2)で表されるモノマーを用いることによって柱状スペーサー形成時の現像性の向上を図り、下記式(3)で表されるモノマーを用いることによって柱状スペーサーとガラス基板との密着性の向上を図っている。 As a photosensitive composition for forming columnar spacers, for example, a photosensitive composition described in Patent Document 1 is known. This photosensitive composition has a resin, a monomer, a photopolymerization initiator, and a solvent as main components, and uses the monomer represented by the following formula (2) as the monomer to improve the developability when forming a columnar spacer. By using a monomer represented by the following formula (3), the adhesion between the columnar spacer and the glass substrate is improved.
ところで、今日、液晶表示装置では高画質化、高精細化が進んでおり、それに伴って画素の微細化、及びカラーフィルター(着色層)に含有させる顔料の高濃度化が進んでいる。 By the way, in liquid crystal display devices, high image quality and high definition are progressing, and along with this, pixel miniaturization and high concentration of pigment contained in a color filter (colored layer) are progressing.
高画質及び高精細な液晶表示装置を得るためには、液晶パネル内での柱状スペーサー及び着色層それぞれの位置ずれ、ならびにセルギャップのムラをできるだけ抑えつつ、個々の画素を微細化することが必要である。そのためには、柱状スペーサー形成時のパターニング精度及び着色層形成時のパターニング精度を共に高め、さらに、柱状スペーサーについてはその強度を高めることが望まれる。 In order to obtain a high-quality and high-definition liquid crystal display device, it is necessary to miniaturize individual pixels while minimizing misalignment of the column spacers and colored layers in the liquid crystal panel and cell gaps as much as possible. It is. For this purpose, it is desired to increase both the patterning accuracy when forming the columnar spacer and the patterning accuracy when forming the colored layer, and further to increase the strength of the columnar spacer.
柱状スペーサーの強度の向上は、その材料として使用する感光性組成物中のモノマー(オリゴマーを含む。)の量を増やして架橋密度を上げることによって図ることができる。しかしながら、モノマーの使用量の増加に伴って、感光性組成物によって形成した塗膜を例えばフォトリソグラフィーによって選択的に露光した後でのアルカリ現像性が一般に低下する。 The strength of the columnar spacer can be improved by increasing the amount of monomers (including oligomers) in the photosensitive composition used as the material to increase the crosslinking density. However, as the amount of the monomer used increases, the alkali developability after the coating film formed from the photosensitive composition is selectively exposed, for example, by photolithography generally decreases.
また、着色層に含有させる顔料の高濃度化は、分散剤の使用量を増やすことによって図ることができるが、分散剤として良く使用されるアミン系分散剤では、その使用量の増加に伴って、感光性組成物(顔料を分散させたもの)によって形成した塗膜のアルカリ現像性が一般に低下する。 The concentration of the pigment to be contained in the colored layer can be increased by increasing the amount of the dispersant used. However, in the case of amine-based dispersants that are often used as dispersants, the amount of pigment used increases. In general, the alkali developability of the coating film formed by the photosensitive composition (in which the pigment is dispersed) is lowered.
アルカリ現像性の低下はパターニング精度の低下をまねき、柱状スペーサーや着色層の位置度精度及び形状精度それぞれの低下の一因となる。結果として、高画質、高精細な液晶表示装置を製造する際の歩留の低下をもたらす。 The decrease in alkali developability leads to a decrease in patterning accuracy and contributes to a decrease in the positional accuracy and the shape accuracy of the columnar spacer and the colored layer. As a result, the yield in manufacturing a liquid crystal display device with high image quality and high definition is reduced.
本発明は、かかる事情を考慮して成し遂げられたものであり、その第一の目的は、着色剤を含有させた場合でもアルカリ現像性に優れた塗膜を形成することができ、且つ硬化後の強度を高め易い感光性組成物を用いて形成した柱状スペーサーを備えた、カラーフィルターを提供することにある。 The present invention has been accomplished in view of such circumstances, and its first object is to form a coating film excellent in alkali developability even when a colorant is contained, and after curing. Another object of the present invention is to provide a color filter provided with columnar spacers formed using a photosensitive composition that can easily increase the strength of the film.
また、本発明の第二の目的は、強度及びパターニング精度を高め易いスペーサーを備えた液晶パネル用基板を提供することにある。 A second object of the present invention is to provide a liquid crystal panel substrate provided with a spacer that can easily increase the strength and patterning accuracy.
そして、本発明の第三の目的は、高画質化及び高精細化を図り易い液晶パネルを提供することにある。 A third object of the present invention is to provide a liquid crystal panel that can easily achieve high image quality and high definition.
本発明において提供されるカラーフィルターは、透明基板と、当該透明基板上に設けられた着色層と、当該透明基板の非表示領域に設けられた柱状スペーサーを備え、さらに当該着色層を被覆する保護膜を備えていてもよく、前記の柱状スペーサーが、少なくとも、アクリル酸、メタクリル酸、メチルアクリレート、メチルメタクリレート、2−ヒドロキシエチルアクリレート、2−ヒドロキシエチルメタクリレート、ベンジルアクリレート、ベンジルメタクリレート、スチレン、ポリスチレンマクロモノマー、及びポリメチルメタクリレートマクロモノマーから選択された2種以上のモノマーが連結した分子構造を有する共重合体であると共に、カルボキシル基及び/又はヒドロキシル基を有し、該カルボキシル基の一部及び/又は該ヒドロキシル基の少なくとも一部にメタクリロイルオキシエチルイソシアネートを付加することによってエチレン性不飽和結合が導入された重合反応性を有するアクリル系バインダー樹脂と、下記式(1)で表される酸性基含有モノマー(a)と、顔料と、光重合開始剤と、溶剤とを含有する感光性組成物を硬化させて形成したものであり、高さが2〜10μmである。The color filter provided in the present invention includes a transparent substrate, a colored layer provided on the transparent substrate, and a columnar spacer provided in a non-display area of the transparent substrate, and further protects the colored layer. The columnar spacer may be provided with at leastacrylic acid, methacrylic acid, methyl acrylate, methyl methacrylate, 2-hydroxyethyl acrylate, 2-hydroxyethyl methacrylate, benzyl acrylate, benzyl methacrylate, styrene, polystyrene macro A copolymer having a molecular structure in which two or more monomers selected from a monomer and a polymethyl methacrylate macromonomer are linked, and having a carboxyl group and / or a hydroxyl group, a part of the carboxyl group and / or Or the hydride An acrylic binder resin having a polymerizablereactive ethylenically unsaturated bond is introduced by adding at least part methacryloyloxyethyl isocyanate hexyl group, an acidic group-containing monomer represented by the following formula (1) ( It is formed by curing a photosensitive composition containing a), a pigment, a photopolymerization initiator, and a solvent, and has a height of 2 to 10 μm.
  (式中のmは1、nは1〜2の整数を表す。)
  上記の酸性基含有モノマー(a)は、式(1)から明らかなように、エチレン性不飽和結合を3つ有する3官能モノマーであり、酸性基としてカルボキシル基が導入されている。(Whereinm represents 1 and n represents an integerof 1 to 2 )
 As apparent from the formula (1), the acidic group-containing monomer (a) is a trifunctional monomer having three ethylenically unsaturated bonds, and a carboxyl group is introduced as an acidic group.
3官能モノマーを感光性組成物に含有させることにより、当該感光性組成物の露光感度を向上させることができると共に、選択的に露光した後の現像性も向上させることができる。また、3官能モノマーに酸性基を導入することによって、選択的に露光した後のアルカリ現像性を向上させることができる。さらに、上記の式(1)で表される酸性基含有モノマー(a)は、疎水部と親水部とが明確に分かれていることから、顔料の分散性にも優れている。By containing the trifunctional monomer in the photosensitive composition, the exposure sensitivity of the photosensitive composition can be improved, and the developability after selective exposure can also be improved. Moreover, the alkali developability after selectively exposing can be improved by introduce | transducing an acidic group into a trifunctional monomer. Furthermore, the acidic group-containing monomer (a) represented by the above formula (1) is excellent inpigment dispersibility since the hydrophobic part and the hydrophilic part are clearly separated.
したがって、上記の式(1)で表される酸性基含有モノマー(a)を用いることによって、顔料を含有させない場合は勿論、顔料を含有させた場合でもアルカリ現像性に優れた塗膜を形成することが可能な感光性組成物を得ることができる。また、硬化時の架橋密度を高めるために酸性基含有モノマー(a)の含有量を増やした場合でも、アルカリ現像性に優れた塗膜を形成することが可能な感光性組成物を得ることができる。Therefore, by using an acid group-containing monomer (a) represented by the above formula (1), if not containedpigment of course, to form a coating film having excellent alkaline developability even when obtained by incorporating apigment The photosensitive composition which can be obtained can be obtained. In addition, it is possible to obtain a photosensitive composition capable of forming a coating film excellent in alkali developability even when the content of the acidic group-containing monomer (a) is increased in order to increase the crosslinking density at the time of curing. it can.
本発明の感光性組成物では、塗膜を形成して当該塗膜に選択的な露光処理及びアルカリ現像処理を順次施したときに、下面(下地層側の面)の面積S1と上面の面積S2との間にS2≦S1なる関係が成立する凸状パターン(いわゆる順テーパー形状の凸状パターン)を形成することができる。 In the photosensitive composition of the present invention, when a coating film is formed and the coating film is subjected to selective exposure processing and alkali development processing in sequence, the lower surface (surface on the underlayer side) area S1 and the upper surface area. A convex pattern (a so-called forward tapered convex pattern) that satisfies the relationship of S2 ≦ S1 can be formed with S2.
本発明の感光性組成物は、液晶パネルのセルギャップを維持するための柱状スペーサーを形成するための材料として好適であり、所望の高さの柱状スペーサーを高いパターニング精度の下に容易に形成することができる。 The photosensitive composition of the present invention is suitable as a material for forming a columnar spacer for maintaining the cell gap of a liquid crystal panel, and can easily form a columnar spacer having a desired height with high patterning accuracy. be able to.
また、上記の感光性組成物は、顔料を含有させた場合でもアルカリ現像性に優れた塗膜を形成することができるものであるので、この感光性組成物によってカラーフィルターのスペーサーを形成することにより、高強度のスペーサーを高いパターニング精度の下に容易に形成することができる。In addition, since the above photosensitive composition can form a coating film excellent in alkali developability even when apigment is contained, a spacer of a color filter is formed by this photosensitive composition. Thus, a high-strength spacer can be easily formed with high patterning accuracy.
また、上記の感光性組成物によってスペーサー、特に柱状スペーサーを形成する場合には、順テーパー形状で高強度のものを高いパターニング精度の下に容易に形成することができる。 Moreover, when forming a spacer, especially a columnar spacer, with the above-described photosensitive composition, a forward tapered shape and a high strength can be easily formed with high patterning accuracy.
本発明に係る液晶パネル用基板は、基板上の非表示領域に複数のスペーサーを設けてなり、当該スペーサーが、少なくとも、アクリル酸、メタクリル酸、メチルアクリレート、メチルメタクリレート、2−ヒドロキシエチルアクリレート、2−ヒドロキシエチルメタクリレート、ベンジルアクリレート、ベンジルメタクリレート、スチレン、ポリスチレンマクロモノマー、及びポリメチルメタクリレートマクロモノマーから選択された2種以上のモノマーが連結した分子構造を有する共重合体であると共に、カルボキシル基及び/又はヒドロキシル基を有し、該カルボキシル基の一部及び/又は該ヒドロキシル基の少なくとも一部にメタクリロイルオキシエチルイソシアネートを付加することによってエチレン性不飽和結合が導入された重合反応性を有するアクリル系バインダー樹脂と、上記式(1)で表される酸性基含有モノマー(a)と、顔料と、光重合開始剤と、溶剤とを含有する感光性組成物を硬化させて形成したものであり、高さが2〜10μmである。上述の感光性組成物によってスペーサー、特に柱状スペーサーを形成することにより、高強度のスペーサーを高いパターニング精度の下に容易に形成することができるので、液晶パネルでのセルギャップムラを抑えることが容易になる。The liquid crystal panel substrate according to the present invention is provided with a plurality of spacers in a non-display area on the substrate, and the spacers are at leastacrylic acid, methacrylic acid, methyl acrylate, methyl methacrylate, 2-hydroxyethyl acrylate, 2 A copolymer having a molecular structure in which two or more monomers selected from hydroxyethyl methacrylate, benzyl acrylate, benzyl methacrylate, styrene, polystyrene macromonomer, and polymethylmethacrylate macromonomer are linked, and a carboxyl group and / or or a hydroxyl group, a part and / or the polymerizableethylenically unsaturated bond is introduced by adding methacryloyloxyethyl isocyanate to at least a portion of the hydroxyl groups of the carboxyl group Formed by curing a photosensitive composition containing a responsive acrylic binder resin, the acidic group-containing monomer (a) represented by the above formula (1), a pigment, a photopolymerization initiator, and a solvent. The height is 2 to 10 μm. By forming a spacer, particularly a columnar spacer, with the above-described photosensitive composition, a high-strength spacer can be easily formed with high patterning accuracy, so that cell gap unevenness in a liquid crystal panel can be easily suppressed. become.
本発明に係る第1の液晶パネルは、表示側基板と液晶駆動側基板とを対向させ、両者の間に液晶を封入してなる液晶パネルであり、表示側基板が上述のカラーフィルターであるものである。 A first liquid crystal panel according to the present invention is a liquid crystal panel in which a display side substrate and a liquid crystal driving side substrate are opposed to each other, and liquid crystal is sealed between the two, and the display side substrate is the color filter described above. It is.
また、本発明に係る第2の液晶パネルは、表示側基板と液晶駆動側基板とを対向させ、両者の間に液晶を封入してなる液晶パネルであり、液晶駆動側基板が上述の液晶パネル用基板であるものである。 A second liquid crystal panel according to the present invention is a liquid crystal panel in which a display side substrate and a liquid crystal drive side substrate are opposed to each other, and liquid crystal is sealed between the two, and the liquid crystal drive side substrate is the liquid crystal panel described above. It is a substrate for use.
これら第1及び第2の液晶パネルでは、少なくとも、上述の感光性組成物によって形成された柱状スペーサーのパターニング精度を容易に高めることができる。そのため、高画質化及び高精細化を容易に図ることができる。 In these first and second liquid crystal panels, at least the patterning accuracy of the columnar spacer formed of the above-described photosensitive composition can be easily increased. Therefore, high image quality and high definition can be easily achieved.
以上説明したように、本発明により提供される感光性組成物は前記式(1)で表される酸性基含有モノマー(a)を含んでいるので、顔料を含有させた場合でもアルカリ現像性に優れた塗膜を形成することができ、且つ硬化後の強度を高め易いものである。この感光性組成物は、例えば液晶パネルにおける着色層、保護層、又はスペーサーの材料として好適であり、特に、液晶パネルの高画質化、高精細化を図るうえで有用である。 As described above, since the photosensitive composition provided by the present invention contains the acidic group-containing monomer (a) represented by the formula (1), it can be made alkaline developable even when a pigment is contained. An excellent coating film can be formed, and the strength after curing can be easily increased. This photosensitive composition is suitable, for example, as a material for a colored layer, a protective layer, or a spacer in a liquid crystal panel, and is particularly useful for achieving high image quality and high definition of the liquid crystal panel.
また、本発明により提供されるカラーフィルターは、当該カラーフィルターを構成している着色層、保護層、又はスペーサーが上記の感光性組成物を用いて形成されているので、着色層、保護層、又はスペーサーのパターニング精度を高め易い。そのため、このカラーフィルターを用いれば、高画質、高精細な液晶パネルを得ることが容易になる。 Moreover, since the color layer, protective layer, or spacer that constitutes the color filter is formed using the above photosensitive composition, the color filter provided by the present invention has a color layer, a protective layer, Or it is easy to improve the patterning accuracy of the spacer. Therefore, if this color filter is used, it becomes easy to obtain a high-quality and high-definition liquid crystal panel.
本発明により提供される液晶パネル用基板は、上記の感光性組成物を用いて形成されたスペーサーを備えたものであり、このスペーサーは、その強度及びパターニング精度を高め易いものである。そのため、この液晶用パネルを用いれば、高画質、高精細な液晶パネルを得ることが容易になる。 The substrate for a liquid crystal panel provided by the present invention is provided with a spacer formed using the above-mentioned photosensitive composition, and this spacer can easily increase its strength and patterning accuracy. Therefore, if this liquid crystal panel is used, it becomes easy to obtain a high-quality and high-definition liquid crystal panel.
そして、本発明により提供される液晶パネルは、表示側基板として上記のカラーフィルターを備えているか、液晶駆動側基板(背面側基板)として上記の液晶パネル用基板を備えたものであるので、上述の理由から、高画質、高精細な液晶パネルを得ることが容易なものである。 The liquid crystal panel provided by the present invention includes the color filter as a display side substrate or the liquid crystal panel substrate as a liquid crystal driving side substrate (back side substrate). For this reason, it is easy to obtain a high-quality and high-definition liquid crystal panel.
以下において本発明を詳しく説明する。なお、本発明において(メタ)アクリルとはアクリル基又はメタクリル基のいずれかであることを意味し、(メタ)アクリレートとはアクリレート又はメタクリレートのいずれかであることを意味し、(メタ)アクリロイルとはアクリロイル基又はメタクリロイル基のいずれかであることを意味する。 The present invention is described in detail below. In the present invention, (meth) acryl means either an acryl group or a methacryl group, (meth) acrylate means either an acrylate or methacrylate, and (meth) acryloyl Means either an acryloyl group or a methacryloyl group.
まず、本発明に係る感光性組成物について説明すると、この感光性組成物は、少なくとも、バインダー樹脂と下記式(1)で表される酸性基含有モノマー(a)とを含有している。 First, the photosensitive composition according to the present invention will be described. This photosensitive composition contains at least a binder resin and an acidic group-containing monomer (a) represented by the following formula (1).
  (式中のm、nは、それぞれ別個に、1以上の整数を表す。)
  上記式(1)で表される酸性基含有モノマー(a)は、エチレン性不飽和結合を3つ有する3官能モノマーであり、酸性基としてカルボキシル基が導入されている。酸性基含有モノマー(a)は、分子内に3個のアクリロイル基と1個の水酸基を有するモノマーと分子内に1個の酸無水物基を有する化合物等とを反応させることにより合成される。具体的には、ペンタエリスリトールトリアクリレートと、無水コハク酸、無水1−ドデセニルコハク酸、無水マレイン酸、無水グルタル酸、無水イタコン酸、無水フタル酸、ヘキサヒドロ無水フタル酸、メチルヘキサヒドロ無水フタル酸、テトラメチレン無水マレイン酸、テトラヒドロ無水フタル酸、メチルテトラヒドロ無水フタル酸、エンドメチレンテトラヒドロ無水フタル酸、メチルエンドメチレンテトラヒドロ無水フタル酸、無水テトラクロロフタル酸、無水テトラブロモフタル酸、無水クロレンディク酸、無水トリメリット酸等の酸無水物を、N,N−ジメチルベンジルアミン、トリエチルアミン、トリブチルアミン、トリエチレンジアミン、ベンジルトリメチルアンモニウムクロライド、ベンジルトリエチルアンモニウムブロマイド、テトラメチルアンモニウムブロマイド、セチルトリメチルアンモニウムブロマイド、酸化亜鉛等の触媒の存在下、60〜110℃で1〜20時間反応させることにより得る事ができる。(In the formula, m and n each independently represent an integer of 1 or more.)
 The acidic group-containing monomer (a) represented by the above formula (1) is a trifunctional monomer having three ethylenically unsaturated bonds, and a carboxyl group is introduced as an acidic group. The acidic group-containing monomer (a) is synthesized by reacting a monomer having three acryloyl groups and one hydroxyl group in the molecule with a compound having one acid anhydride group in the molecule. Specifically, pentaerythritol triacrylate, succinic anhydride, 1-dodecenyl succinic anhydride, maleic anhydride, glutaric anhydride, itaconic anhydride, phthalic anhydride, hexahydrophthalic anhydride, methylhexahydrophthalic anhydride, tetra Methylene maleic anhydride, tetrahydrophthalic anhydride, methyltetrahydrophthalic anhydride, endomethylenetetrahydrophthalic anhydride, methylendomethylenetetrahydrophthalic anhydride, tetrachlorophthalic anhydride, tetrabromophthalic anhydride, chlorendic anhydride, trimellitic anhydride Acid anhydrides such as acids are mixed with N, N-dimethylbenzylamine, triethylamine, tributylamine, triethylenediamine, benzyltrimethylammonium chloride, benzyltriethylammonium bromide. , Tetramethyl ammonium bromide, cetyl trimethyl ammonium bromide in the presence of a catalyst such as zinc oxide, can be obtained by reacting 1 to 20 hours at 60 to 110 ° C..
この酸性基含有モノマー(a)は、1種のみを用いてもよいし、2種以上を併用することもできる。いずれの場合でも、感光性組成物によって形成された塗膜のアルカリ現像性の向上や、硬化時の架橋密度を向上させるために上記式(1)で表される酸性基含有モノマー(a)の含有量を高めたときのアルカリ現像性の向上を図るうえからは、上記式(1)中のRがCH2=CHCO−、Xが−CO((CH2)2)COOH、mが1、及びnが2である酸性基含有モノマー(a)を用いることが特に好ましい。As for this acidic group containing monomer (a), only 1 type may be used and 2 or more types can also be used together. In any case, the acidic group-containing monomer (a) represented by the above formula (1) is used to improve the alkali developability of the coating film formed by the photosensitive composition and to improve the crosslinking density at the time of curing. In order to improve alkali developability when the content is increased, R in the above formula (1) is CH2 ═CHCO—, X is —CO ((CH2 )2 ) COOH, m is 1, It is particularly preferable to use an acidic group-containing monomer (a) in which n is 2.
本発明で用いられる感光性組成物は、上記の式(1)で表される酸性基含有モノマー(a)と、種々のバインダー樹脂と組み合わせて調製することができる。このとき、当該感光性組成物に顔料を分散させない状態下では、バインダー樹脂と酸性基含有モノマーとの合計量に対する酸性基含有モノマーの重量百分率を概ね90%にまで増大させたとしても、0.01〜2.00重量%の水酸化カリウム、水酸化ナトリウム、炭酸水素カリウム、炭酸水素ナトリウム水溶液等のアルカリ現像液による現像性が良好な塗膜を容易に形成することができる。 The photosensitive composition used in the present invention can be prepared by combining the acidic group-containing monomer (a) represented by the above formula (1) with various binder resins. At this time, even when the weight percentage of the acidic group-containing monomer with respect to the total amount of the binder resin and the acidic group-containing monomer is increased to approximately 90% under the state where the pigment is not dispersed in the photosensitive composition, the amount is still 0. A coating film having good developability with an alkali developer such as 01 to 2.00% by weight of potassium hydroxide, sodium hydroxide, potassium hydrogen carbonate, and sodium hydrogen carbonate aqueous solution can be easily formed.
また、上記の感光性組成物に顔料を分散させた状態下では、たとえ当該顔料として有機顔料を用いた場合でも、バインダー樹脂と酸性基含有モノマーとの合計量に対するバインダー樹脂の重量百分率が概ね20%以上であれば、バインダー樹脂に対する顔料の重量百分率を概ね60%にまで増大させても、上記のアルカリ現像液による現像性が良好な塗膜を容易に形成することができる。 Further, under the state where the pigment is dispersed in the photosensitive composition, even when an organic pigment is used as the pigment, the weight percentage of the binder resin with respect to the total amount of the binder resin and the acidic group-containing monomer is approximately 20%. If it is% or more, even if the weight percentage of the pigment with respect to the binder resin is increased to approximately 60%, a coating film having good developability with the alkali developer can be easily formed.
ここで、アルカリ現像液による現像性が良好であるとは、現像開始から塗膜の未露光部の溶け始め時間が20秒以内で、溶け終わり時間が溶け始めから15秒以内であり、さらにパターンを維持できる現像時間が溶け終わりから20秒間以上あることを意味する。 Here, good developability with an alkaline developer means that the start time of dissolution of the unexposed portion of the coating film is within 20 seconds from the start of development, the end time of dissolution is within 15 seconds from the start of dissolution, and the pattern It means that the development time that can maintain the temperature is 20 seconds or longer from the end of melting.
本発明に係る感光性組成物は、上述したバインダー樹脂及び酸性基含有モノマー(a)の他に、必要に応じて、着色剤、分散剤、光重合開始剤、溶剤、或いは、その他の添加剤を配合することができる。以下、酸性基含有モノマー(a)以外の成分について詳述する。 In addition to the binder resin and acidic group-containing monomer (a) described above, the photosensitive composition according to the present invention includes a colorant, a dispersant, a photopolymerization initiator, a solvent, or other additives as necessary. Can be blended. Hereinafter, components other than the acidic group-containing monomer (a) will be described in detail.
  A.バインダー樹脂
  バインダー樹脂としては、それ自体は重合反応性のない樹脂、及び、それ自体が重合反応性を有する樹脂のいずれを用いてもよく、また、2種以上のバインダー樹脂を組み合わせて用いてもよい。A. Binder resin As the binder resin, any of a resin having no polymerization reactivity per se and a resin having a polymerization reactivity per se may be used, or two or more binder resins may be used in combination. Good.
重合反応性のない樹脂をバインダー樹脂として用いる場合には、上記式(1)で表される酸性基含有モノマー(a)、及び、任意成分であるその他の重合性モノマーが光照射によって自発的に重合するか、或いは、光照射によって活性化した光重合開始剤等の他の成分の作用によって重合して、硬化する。 When a resin having no polymerization reactivity is used as a binder resin, the acidic group-containing monomer (a) represented by the above formula (1) and other polymerizable monomers as optional components are spontaneously irradiated by light irradiation. It polymerizes or polymerizes by the action of other components such as a photopolymerization initiator activated by light irradiation and hardens.
そのような非重合性バインダーとしては、例えば、アクリル酸、メタクリル酸、メチルアクリレート、メチルメタクリレート、2−ヒドロキシエチルアクリレート、2−ヒドロキシエチルメタクリレート、ベンジルアクリレート、ベンジルメタクリレート、スチレン、ポリスチレンマクロモノマー、及びポリメチルメタクリレートマクロモノマーから選択された2種以上のモノマーからなる共重合体を用いることができる。 Such non-polymerizable binders include, for example, acrylic acid, methacrylic acid, methyl acrylate, methyl methacrylate, 2-hydroxyethyl acrylate, 2-hydroxyethyl methacrylate, benzyl acrylate, benzyl methacrylate, styrene, polystyrene macromonomer, and poly A copolymer composed of two or more monomers selected from methyl methacrylate macromonomers can be used.
これらの非重合性バインダーのうち、特に、メタクリル酸/ベンジルメタクリレート共重合体、メタクリル酸/ベンジルメタクリレート/スチレン共重合体、ベンジルメタクリレート/スチレン共重合体、ベンジルメタクリレートマクロモノマー/スチレン共重合体、ベンジルメタクリレート/スチレンマクロモノマー共重合体等が好ましい。 Among these non-polymerizable binders, in particular, methacrylic acid / benzyl methacrylate copolymer, methacrylic acid / benzyl methacrylate / styrene copolymer, benzyl methacrylate / styrene copolymer, benzyl methacrylate macromonomer / styrene copolymer, benzyl A methacrylate / styrene macromonomer copolymer is preferred.
一方、それ自体が重合性を有するバインダー樹脂としては、非重合性バインダー樹脂の分子に、エチレン性不飽和結合等の重合性の官能基を導入してなる、オリゴマー又はオリゴマーよりも大分子量のポリマーを用いることができる。具体例としては、カルボキシル基等の酸性官能基を備えた構成単位と、重合性を持たない構成単位とが連結した分子構造を有する共重合体のカルボキシル基の一部にグリシジルメタクリレートを付加させた共重合体を挙げることができる。 On the other hand, as a binder resin having polymerizability per se, an oligomer or a polymer having a higher molecular weight than that of an oligomer is formed by introducing a polymerizable functional group such as an ethylenically unsaturated bond into a molecule of a non-polymerizable binder resin. Can be used. As a specific example, glycidyl methacrylate was added to a part of a carboxyl group of a copolymer having a molecular structure in which a structural unit having an acidic functional group such as a carboxyl group and a structural unit having no polymerizability were linked. Mention may be made of copolymers.
重合性バインダー樹脂の分子は、バインダー樹脂同士で重合すると共に、上記式(1)で表される酸性基含有モノマー、及び、所望成分であるその他の重合性モノマーとも重合して硬化する。 The molecules of the polymerizable binder resin are polymerized between the binder resins, and are also polymerized and cured with the acidic group-containing monomer represented by the above formula (1) and the other polymerizable monomer that is a desired component.
また、従来において例えばインキ、塗料、接着剤等の各種分野で用いられているUV硬化性樹脂組成物に配合されているプレポリマーも、重合性バインダー樹脂として使用できる。従来から知られているプレポリマーとしては、ラジカル重合型プレポリマー、カチオン重合型プレポリマー、チオール・エン付加型プレポリマー等があるが、いずれを用いてもよい。 Moreover, the prepolymer currently mix | blended with UV curable resin composition conventionally used in various fields, such as an ink, a coating material, an adhesive agent etc., can also be used as polymeric binder resin. Conventionally known prepolymers include radical polymerization type prepolymers, cationic polymerization type prepolymers, thiol / ene addition type prepolymers, and any of these may be used.
これらの中で、ラジカル重合型プレポリマーは、市場において最も容易に入手でき、例えば、エステルアクリレート類、エーテルアクリレート類、ウレタンアクリレート類、エポキシアクリレート類、アミノ樹脂アクリレート類、アクリル樹脂アクリレート類、不飽和ポリエステル類等のラジカル重合型プレポリマーを例示できる。 Among these, radically polymerizable prepolymers are most easily available on the market, such as ester acrylates, ether acrylates, urethane acrylates, epoxy acrylates, amino resin acrylates, acrylic resin acrylates, unsaturated Examples include radical polymerization prepolymers such as polyesters.
バインダー樹脂は、感光性組成物の固形分全量に対して、通常、1〜50重量%程度の割合で配合することができる。ここで、配合割合を特定するための感光性組成物の固形分とは、溶剤を除く全ての成分を含み、液状の重合性モノマーも固形分に含まれる。 Binder resin can be normally mix | blended in the ratio of about 1 to 50 weight% with respect to the solid content whole quantity of the photosensitive composition. Here, the solid content of the photosensitive composition for specifying the blending ratio includes all components except the solvent, and a liquid polymerizable monomer is also included in the solid content.
  B.着色剤
  カラーフィルターの基板上に、本発明に係る感光性組成物を用いて着色層のような着色パターンを形成する場合には、感光性組成物中に着色剤を配合する。形成しようとする着色層の色、例えば赤色(R)、緑色(G)、青色(B)等に合わせて、有機着色剤及び無機着色剤の中から任意のものを選んで使用することができる。B. Colorant When forming a colored pattern such as a colored layer on the substrate of the color filter using the photosensitive composition according to the present invention, a colorant is blended in the photosensitive composition. Any colorant selected from organic colorants and inorganic colorants can be used according to the color of the color layer to be formed, for example, red (R), green (G), blue (B), etc. .
有機着色剤としては、例えば、染料、有機顔料、天然色素等を用いることができる。また、無機着色剤としては、例えば、無機顔料、体質顔料等を用いることができる。これらの中で有機顔料は、発色性が高く、耐熱性も高いので、好ましく用いられる。 As the organic colorant, for example, dyes, organic pigments, natural pigments, and the like can be used. Moreover, as an inorganic coloring agent, an inorganic pigment, an extender pigment, etc. can be used, for example. Among these, organic pigments are preferably used because they have high color developability and high heat resistance.
  有機顔料の具体例としては、カラーインデックス(C.I.;The  Society  of  Dyers  and  Colourists  社発行)においてピグメント(Pigment)に分類されている化合物、すなわち、下記のようなカラーインデックス(C.I.)番号が付されているものを挙げることができる。C.I.ピグメントイエロー1、C.I.ピグメントイエロー3、C.I.ピグメントイエロー12、C.I.ピグメントイエロー13、C.I.ピグメントイエロー138、C.I.ピグメントイエロー150、C.I.ピグメントイエロー180、C.I.ピグメントイエロー185等のイエロー系ピグメント;C.I.ピグメントレッド1、C.I.ピグメントレッド2、C.I.ピグメントレッド3、C.I.ピグメントレッド254、C.I.ピグメントレッド177等のレッド系ピグメント;及び、C.I.ピグメントブルー15、C.I.ピグメントブルー15:3、C.I.ピグメントブルー15:4、C.I.ピグメントブルー15:6等のブルー系ピグメント;C.I.ピグメントバイオレット23:19;C.I.ピグメントグリーン36。  Specific examples of the organic pigment include compounds classified as pigments in the color index (CI; issued by The Society of Dyers and Colorists), that is, the following color index (C.I. ) Can be listed. C. I. Pigment yellow 1, C.I. I. Pigment yellow 3, C.I. I. Pigment yellow 12, C.I. I. Pigment yellow 13, C.I. I. Pigment yellow 138, C.I. I. Pigment yellow 150, C.I. I. Pigment yellow 180, C.I. I. Yellow pigments such as C.I. Pigment Yellow 185; I. Pigment red 1, C.I. I.
また、無機顔料或いは体質顔料の具体例としては、酸化チタン、硫酸バリウム、炭酸カルシウム、亜鉛華、硫酸鉛、黄色鉛、亜鉛黄、べんがら(赤色酸化鉄(III))、カドミウム赤、群青、紺青、酸化クロム緑、コバルト緑、アンバー、チタンブラック、合成鉄黒、カーボンブラック等を挙げることができる。 Specific examples of the inorganic pigment or extender pigment include titanium oxide, barium sulfate, calcium carbonate, zinc white, lead sulfate, yellow lead, zinc yellow, red rose (red iron oxide (III)), cadmium red, ultramarine blue, and bitumen. Chrome oxide green, cobalt green, amber, titanium black, synthetic iron black, carbon black and the like.
着色剤は、単独で又は2種以上を混合して使用することができる。着色剤は、本発明に係る感光性組成物中に概ね60重量%以下の範囲内で、好ましくは概ね50重量%以下の範囲内で、適宜配合することができる。着色剤の配合割合が前記範囲を上回ると、感光性組成物によって形成した塗膜のアルカリ現像性が低くなりすぎて、高いパターニング精度の下に所望の着色層を形成することが困難になることがある。 A coloring agent can be used individually or in mixture of 2 or more types. The colorant can be appropriately blended in the photosensitive composition according to the present invention within a range of approximately 60% by weight or less, and preferably within a range of approximately 50% by weight or less. When the blending ratio of the colorant exceeds the above range, the alkali developability of the coating film formed from the photosensitive composition becomes too low, and it becomes difficult to form a desired colored layer with high patterning accuracy. There is.
  C.分散剤
  本発明に係る感光性組成物に着色剤を配合する場合には、着色剤を均一且つ安定して分散させるために、当該感光性組成物中に分散剤を配合してもよい。分散剤としては、例えば、カチオン系、アニオン系、ノニオン系、両性、シリコーン系、フッ素系等の界面活性剤を使用できる。界面活性剤の中でも、次に例示するような高分子界面活性剤(高分子分散剤)が好ましい。C. Dispersant When a colorant is blended in the photosensitive composition according to the present invention, a dispersant may be blended in the photosensitive composition in order to disperse the colorant uniformly and stably. Examples of the dispersant that can be used include cationic, anionic, nonionic, amphoteric, silicone, and fluorine surfactants. Among the surfactants, polymer surfactants (polymer dispersants) as exemplified below are preferable.
すなわち、ポリオキシエチレンラウリルエーテル、ポリオキシエチレンステアリルエーテル、ポリオキシエチレンオレイルエーテル等のポリオキシエチレンアルキルエーテル類;ポリオキシエチレンオクチルフェニルエーテル、ポリオキシエチレンノニルフェニルエーテル等のポリオキシエチレンアルキルフェニルエーテル類;ポリエチレングリコールジラウレート、ポリエチレングリコールジステアレート等のポリエチレングリコールジエステル類;ソルビタン脂肪酸エステル類;脂肪酸変性ポリエステル類;3級アミン変性ポリウレタン類等の高分子界面活性剤が好ましく用いられる。 That is, polyoxyethylene alkyl ethers such as polyoxyethylene lauryl ether, polyoxyethylene stearyl ether, and polyoxyethylene oleyl ether; polyoxyethylene alkyl phenyl ethers such as polyoxyethylene octyl phenyl ether and polyoxyethylene nonyl phenyl ether Polymer surfactants such as polyethylene glycol diesters such as polyethylene glycol dilaurate and polyethylene glycol distearate; sorbitan fatty acid esters; fatty acid-modified polyesters; tertiary amine-modified polyurethanes are preferably used.
  D.光重合開始剤
  本発明に係る感光性組成物には、通常、紫外線、電離放射線、可視光、或いは、その他の各波長、特に365μm以下のエネルギー線で活性化し得る光重合開始剤が配合される。使用する光重合開始剤の種類は、バインダー樹脂や酸性基含有モノマー(a)の反応形式の違い(例えばラジカル重合やカチオン重合等)、或いは、各材料の種類を考慮して適宜選択される。D. Photopolymerization initiator The photosensitive composition according to the present invention is usually mixed with a photopolymerization initiator that can be activated by ultraviolet rays, ionizing radiation, visible light, or other wavelengths, particularly energy rays of 365 μm or less. . The type of the photopolymerization initiator to be used is appropriately selected in consideration of the difference in the reaction format of the binder resin and the acidic group-containing monomer (a) (for example, radical polymerization or cationic polymerization), or the type of each material.
例えば、1−ヒドロキシシクロヘキシル−フェニルケトン、2,2−ジメトキシ−1,2−ジフェニルエタン−1−オン、2−メチル−1−〔4−(メチルチオ)フェニル〕−2−モンフォリノプロパン−1−オン、2−ベンジル−2−ジメチルアミノ−1−(4−モルフォリノフェニル)−ブタン−1−オン、2−ヒドロキシ−2−メチル−1−フェニル−プロパン−1−オン、1−〔4−(2−ヒドロキシエトキシ)フェニル〕−2−ヒドロキシ−2−メチル−1−プロパン−1−オン、2,4,6−トリメチルベンゾイルジフェニル−フォスフィンオキサイド、ビスアシルフォスフィンオキサイド、ベンゾインエチルエーテル、ベンゾインイソブチルエーテル、ベンゾインイソプロピルエーテル、2−イソプロピルチオキサントン、2,4−ジエチルチオキサントン、2−(3−ジメチルアミノ−2−ヒドロキシプロポキシ)−3,4−ジメチル−9H−チオキサントン−9−オンメソクロライド、ベンゾフェノン、o−ベンゾイル安息香酸メチル、4−ベンゾイル−4’−メチル−ジフェニルサルファイド、3,3’,4,4’−テトラ(t−ブチルパーオキシカルボニル)、p−ジメチルアミノ安息香酸エチルエステル、p−ジメチルアミノ安息香酸イソアミルエステル、1,3,5−トリアクロイルヘキサヒドロ−s−トリアジン、2−〔2−(5−メチルフラン−2−イル)エテニル〕−4,6−ビス(トリクロロメチル)−s−トリアジン、2−〔2−(フラン−2−イル)エテニル〕−4,6−ビス(トリクロロメチル)−s−トリアジン、メチルベンゾイルホルメート、2,4,6−トリメチルベンゾイルジフェニルフォスフィンオキサイド等の光重合開始剤を用いることができる。 For example, 1-hydroxycyclohexyl-phenyl ketone, 2,2-dimethoxy-1,2-diphenylethane-1-one, 2-methyl-1- [4- (methylthio) phenyl] -2-monfolinopropane-1 -One, 2-benzyl-2-dimethylamino-1- (4-morpholinophenyl) -butan-1-one, 2-hydroxy-2-methyl-1-phenyl-propan-1-one, 1- [4 -(2-hydroxyethoxy) phenyl] -2-hydroxy-2-methyl-1-propan-1-one, 2,4,6-trimethylbenzoyldiphenyl-phosphine oxide, bisacylphosphine oxide, benzoin ethyl ether, Benzoin isobutyl ether, benzoin isopropyl ether, 2-isopropylthioxanthone, 2 4-diethylthioxanthone, 2- (3-dimethylamino-2-hydroxypropoxy) -3,4-dimethyl-9H-thioxanthone-9-one mesochloride, benzophenone, methyl o-benzoylbenzoate, 4-benzoyl-4 ' -Methyl-diphenyl sulfide, 3,3 ', 4,4'-tetra (t-butylperoxycarbonyl), p-dimethylaminobenzoic acid ethyl ester, p-dimethylaminobenzoic acid isoamyl ester, 1,3,5- Tricloylhexahydro-s-triazine, 2- [2- (5-methylfuran-2-yl) ethenyl] -4,6-bis (trichloromethyl) -s-triazine, 2- [2- (furan- 2-yl) ethenyl] -4,6-bis (trichloromethyl) -s-triazine, methylbenzoylphospho Formate, can be used a photopolymerization initiator such as 2,4,6-trimethylbenzoyl diphenylphosphine oxide.
  E.溶剤
  本発明に係る感光性組成物には、塗料化及び塗布適性を考慮して、通常、バインダー樹脂及び前記式(1)で表される酸性基含有モノマー(a)の溶解性が良好で、且つスピンコーティング性が良好となるように沸点が比較的高い溶剤が含有される。E. Solvent In the photosensitive composition according to the present invention, the solubility of the binder resin and the acidic group-containing monomer (a) represented by the formula (1) is usually good in consideration of coating and applicability. In addition, a solvent having a relatively high boiling point is contained so that the spin coating property is good.
使用可能な溶剤としては、例えばメチルアルコール、エチルアルコール、N−プロピルアルコール、i−プロピルアルコール等のアルコール系溶剤;メトキシアルコール、エトキシアルコール等のセロソルブ系溶剤;メトキシエトキシエタノール、エトキシエトキシエタノール等のカルビトール系溶剤;酢酸エチル、酢酸ブチル、メトキシプロピオン酸メチル、エトキシプロピオン酸エチル、乳酸エチル等のエステル系溶剤;アセトン、メチルイソブチルケトン、シクロヘキサノン等のケトン系溶剤;メトキシエチルアセテート、エトキシエチルアセテート、エチルセロソルブアセテート等のセロソルブアセテート系溶剤;メトキシエトキシエチルアセテート、エトキシエトキシエチルアセテート等のカルビトールアセテート系溶剤;ジエチルエーテル、エチレングリコールジメチルエーテル、ジエチレングリコールジメチルエーテル、テトラヒドロフラン等のエーテル系溶剤;N,N−ジメチルホルムアミド、N,N−ジメチルアセトアミド、N−メチルピロリドン等の非プロトン性アミド溶剤;γ−ブチロラクトン等のラクトン系溶剤;ベンゼン、トルエン、キシレン、ナフタレン等の不飽和炭化水素系溶剤;N−ヘプタン、N−ヘキサン、N−オクタン等の飽和炭化水素系溶剤等の有機溶剤を例示することができる。 Examples of usable solvents include alcohol solvents such as methyl alcohol, ethyl alcohol, N-propyl alcohol, and i-propyl alcohol; cellosolv solvents such as methoxy alcohol and ethoxy alcohol; carbs such as methoxyethoxyethanol and ethoxyethoxyethanol. Toll solvents; ester solvents such as ethyl acetate, butyl acetate, methyl methoxypropionate, ethyl ethoxypropionate, and ethyl lactate; ketone solvents such as acetone, methyl isobutyl ketone, cyclohexanone; methoxyethyl acetate, ethoxyethyl acetate, ethyl Cellosolve acetate solvents such as cellosolve acetate; Carbitol acetate solvents such as methoxyethoxyethyl acetate and ethoxyethoxyethyl acetate; Ether solvents such as ether, ethylene glycol dimethyl ether, diethylene glycol dimethyl ether and tetrahydrofuran; aprotic amide solvents such as N, N-dimethylformamide, N, N-dimethylacetamide and N-methylpyrrolidone; lactone solvents such as γ-butyrolactone Organic solvents such as unsaturated hydrocarbon solvents such as benzene, toluene, xylene and naphthalene; saturated hydrocarbon solvents such as N-heptane, N-hexane and N-octane;
これらの溶剤の中では、メトキシエチルアセテート、エトキシエチルアセテート、エチルセロソルブアセテート等のセロソルブアセテート系溶剤;メトキシエトキシエチルアセテート、エトキシエトキシエチルアセテート等のカルビトールアセテート系溶剤;エチレングリコールジメチルエーテル、ジエチレングリコールジメチルエーテル、プロピレングリコールジエチルエーテル等のエーテル系溶剤;メトキシプロピオン酸メチル、エトキシプロピオン酸エチル、乳酸エチル等のエステル系溶剤が特に好適に用いられる。 Among these solvents, cellosolve acetate solvents such as methoxyethyl acetate, ethoxyethyl acetate, and ethyl cellosolve acetate; carbitol acetate solvents such as methoxyethoxyethyl acetate and ethoxyethoxyethyl acetate; ethylene glycol dimethyl ether, diethylene glycol dimethyl ether, propylene Ether solvents such as glycol diethyl ether; ester solvents such as methyl methoxypropionate, ethyl ethoxypropionate and ethyl lactate are particularly preferably used.
  特に好ましくは、MBA(酢酸−3−メトキシブチル、CH3CH(OCH3)CH2CH2OCOCH3) 、PGMEA(プロピレングリコールモノメチルエーテルアセテート、CH3OCH2CH(CH3)OCOCH3)、DMDG(ジエチレングリコールジメチルエーテル、H3COC2H4OCH3)又はこれらを混合したものを使用することができる。Particularly preferably, MBA (acetate-3-methoxybutyl, CH 3 CH (OCH 3) CH 2
  F.その他の成分
  本発明に係る感光性組成物には、必要に応じて、その他の添加剤を1種又は2種以上配合することができる。そのような添加剤としては、次のようなものを例示できる。F.
a)増感剤:例えば、4−ジエチルアミノアセトフェノン、4−ジメチルアミノプロピオフェノン、エチル−4−ジメチルアミノベンゾエート、2−エチルヘキシル−1,4−ジメチルアミノベンゾエート、スチリル系化合物、クマリン系化合物等。 a) Sensitizer: For example, 4-diethylaminoacetophenone, 4-dimethylaminopropiophenone, ethyl-4-dimethylaminobenzoate, 2-ethylhexyl-1,4-dimethylaminobenzoate, styryl compound, coumarin compound and the like.
b)硬化促進剤(連鎖移動剤):例えば、2−メルカプトベンゾイミダゾール、2−メルカプトベンゾチアゾール、2−メルカプトベンゾオキサゾール、2,5−ジメルカプト−1,3,4−チアジアゾール等。 b) Curing accelerator (chain transfer agent): For example, 2-mercaptobenzimidazole, 2-mercaptobenzothiazole, 2-mercaptobenzoxazole, 2,5-dimercapto-1,3,4-thiadiazole and the like.
c)高分子化合物からなる光架橋剤又は光増感剤:高分子光架橋・増感剤は、光架橋剤或いは光増感剤として機能し得る官能基を主鎖及び/又は側鎖中に有する高分子化合物であり、その例としては、4−アジドベンズアルデヒドとポリビニルアルコールとの縮合物、4−アジドベンズアルデヒドとフェノールノボラック樹脂との縮合物、4−(メタ)アクリロイルフェニルシンナモイルエステルの(共)重合体、1,4−ポリブタジエン、1,2−ポリブタジエン等を挙げることができる。 c) Photocrosslinking agent or photosensitizer comprising a polymer compound: The polymer photocrosslinking / sensitizing agent has a functional group capable of functioning as a photocrosslinking agent or photosensitizer in the main chain and / or side chain. Examples of the polymer compound include a condensate of 4-azidobenzaldehyde and polyvinyl alcohol, a condensate of 4-azidobenzaldehyde and a phenol novolac resin, and a (co-copolymer of 4- (meth) acryloylphenyl cinnamoyl ester. ) Polymer, 1,4-polybutadiene, 1,2-polybutadiene and the like.
d)分散助剤:例えば、銅フタロシアニン誘導体等の青色顔料誘導体や黄色顔料誘導体等。 d) Dispersing aid: For example, blue pigment derivatives such as copper phthalocyanine derivatives, yellow pigment derivatives and the like.
e)充填剤:例えば、ガラス、アルミナ等。 e) Filler: For example, glass, alumina and the like.
f)密着促進剤:例えば、ビニルトリメトキシシラン、ビニルトリエトキシシラン、ビニルトリス(2−メトキシエトキシ)シラン、N−(2−アミノエチル)−3−アミノプロピルメチルジメトキシシラン等。 f) Adhesion promoter: for example, vinyltrimethoxysilane, vinyltriethoxysilane, vinyltris (2-methoxyethoxy) silane, N- (2-aminoethyl) -3-aminopropylmethyldimethoxysilane, and the like.
g)酸化防止剤:例えば、2,2−チオビス(4−メチル−6−t−ブチルフェノール)、2,6−ジ−t−ブチルフェノール等。 g) Antioxidant: For example, 2,2-thiobis (4-methyl-6-t-butylphenol), 2,6-di-t-butylphenol and the like.
h)紫外線吸収剤:例えば、2−(3−t−ブチル−5−メチル−2−ヒドロキシフェニル)−5−クロロベンゾトリアゾール、アルコキシベンゾフェノン等。 h) Ultraviolet absorber: For example, 2- (3-t-butyl-5-methyl-2-hydroxyphenyl) -5-chlorobenzotriazole, alkoxybenzophenone and the like.
i)凝集防止剤:例えば、ポリアクリル酸ナトリウム、或いは各種の界面活性剤等。 i) Anti-aggregation agent: for example, sodium polyacrylate or various surfactants.
j)多官能モノマー:前記式(1)で表される酸性基含有モノマー(a)以外に、必要に応じて、エチレン性不飽和結合を2つ以上有する2官能以上の多官能モノマーを含有させることができる。モノマー中のエチレン性不飽和結合の数が大きくなるほど形成した塗膜のアルカリ現像性が低下し、その結果、現像時間が長くなるためパターン形状も悪化し易くなる反面、架橋密度が上がり塗膜の強度は向上するので、モノマー中のエチレン性不飽和結合の数は、目的とするパターン形状と塗膜の物性を鑑み、適宜調整する必要がある。 j) Multifunctional monomer: In addition to the acidic group-containing monomer (a) represented by the formula (1), a bifunctional or higher functional monomer having two or more ethylenically unsaturated bonds is contained as necessary. be able to. As the number of ethylenically unsaturated bonds in the monomer increases, the alkali developability of the formed coating film decreases, and as a result, the development time becomes longer and the pattern shape tends to deteriorate. Since the strength is improved, the number of ethylenically unsaturated bonds in the monomer needs to be appropriately adjusted in view of the target pattern shape and the physical properties of the coating film.
このような多官能モノマーのうち、2官能乃至3官能の多官能モノマーとしては、光照射を受けてそれ自体が重合反応を誘起するか、或いは、光照射を受けて活性化した光重合開始剤等の他の成分の作用により重合反応を誘起する官能基を、一分子中に2個又は3個有し、2官能乃至3官能の多官能モノマー同士で重合するか、且つ/又は、その他のモノマーやバインダーと重合するものを用いることができる。 Among such polyfunctional monomers, the bifunctional to trifunctional polyfunctional monomer is a photopolymerization initiator that is itself activated by light irradiation or activated by light irradiation. 2 or 3 functional groups that induce a polymerization reaction by the action of other components, etc. in one molecule, and are polymerized with bifunctional to trifunctional polyfunctional monomers, and / or other Those that polymerize with monomers and binders can be used.
2官能の多官能モノマーとしては、例えば、エチレングリコール、プロピレングリコール、ヘキサンジオール等のアルキレングリコールのジアクリレート又はジメタクリレート類;ポリエチレングリコール、ポリプロピレングリコール等のポリアルキレングリコールのジアクリレート又はジメタクリレート類を例示することができる。 Examples of the bifunctional polyfunctional monomer include diacrylates or dimethacrylates of alkylene glycols such as ethylene glycol, propylene glycol, and hexanediol; and diacrylates or dimethacrylates of polyalkylene glycols such as polyethylene glycol and polypropylene glycol. can do.
3官能の多官能モノマーとしては、例えば、具体的には、トリメチロールプロパントリアクリレート、トリメチロールプロパントリメタクリレート、ペンタエリスリトールトリアクリレート、ペンタエリスリトールトリメタクリレート等の3価以上の多価アルコールのトリアクリレート又はトリメタクリレート類を例示することができる。 As the trifunctional polyfunctional monomer, for example, a triacrylate of a trihydric or higher polyhydric alcohol such as trimethylolpropane triacrylate, trimethylolpropane trimethacrylate, pentaerythritol triacrylate, pentaerythritol trimethacrylate, etc. Trimethacrylates can be exemplified.
2官能乃至3官能の多官能モノマーの配合割合は、光硬化性樹脂組成物の固形分全量に対して、概ね0〜40重量%の範囲内とすることが好ましい。 The blending ratio of the bifunctional to trifunctional polyfunctional monomer is preferably in the range of approximately 0 to 40% by weight with respect to the total solid content of the photocurable resin composition.
4官能以上の多官能モノマーを配合することにより、塗膜の強度や下地層に対する密着性を向上させることが可能である。このような4官能以上の多官能モノマーとしては、光照射を受けてそれ自体が重合反応を誘起するか、或いは、光照射を受けて活性化した光重合開始剤等の他の成分の作用により重合反応を誘起する官能基を一分子中に4個以上有し、4官能以上の多官能モノマー同士で重合するか、他のモノマー又はバインダー樹脂と重合するものを用いることができる。 By blending a tetrafunctional or higher polyfunctional monomer, it is possible to improve the strength of the coating film and the adhesion to the underlying layer. As such a polyfunctional monomer having 4 or more functional groups, it induces a polymerization reaction upon receiving light irradiation, or by the action of other components such as a photopolymerization initiator activated by receiving light irradiation. It is possible to use one having four or more functional groups inducing a polymerization reaction in one molecule and polymerizing with four or more polyfunctional monomers, or polymerizing with another monomer or binder resin.
より具体的には、ペンタエリスリトールテトラアクリレート、ペンタエリスリトールテトラメタクリレート、ジペンタエリスリトールペンタアクリレート、ジペンタエリスリトールヘキサアクリレート、ジペンタエリスリトールヘキサメタクリレート等を例示することができる。 More specifically, pentaerythritol tetraacrylate, pentaerythritol tetramethacrylate, dipentaerythritol pentaacrylate, dipentaerythritol hexaacrylate, dipentaerythritol hexamethacrylate and the like can be exemplified.
4官能以上の多官能モノマーは、光硬化性樹脂組成物の固形分全量に対して、概ね0〜20重量%の範囲内で配合することが好ましい。 The polyfunctional monomer having 4 or more functional groups is preferably blended within a range of approximately 0 to 20% by weight with respect to the total solid content of the photocurable resin composition.
k)その他の化合物:耐熱性、密着性、耐薬品性(特に耐アルカリ性)の向上を図る目的で、必要に応じて、エポキシ基を分子内に2個以上有する化合物(エポキシ樹脂)を配合することができる。エポキシ基を分子内に2個以上有する化合物としては、例えば、ビスフェノールA型エポキシ樹脂、ビスフェノールF型エポキシ樹脂、フェノールノボラック型エポキシ樹脂、クレゾールノボラック型エポキシ樹脂等を例示できる。さらに、環式脂肪族エポキシ樹脂や脂肪族ポリグリシジルエーテルを例示することもできる。 k) Other compounds: For the purpose of improving heat resistance, adhesion, and chemical resistance (especially alkali resistance), a compound having two or more epoxy groups in the molecule (epoxy resin) is blended as necessary. be able to. Examples of the compound having two or more epoxy groups in the molecule include bisphenol A type epoxy resin, bisphenol F type epoxy resin, phenol novolac type epoxy resin, cresol novolak type epoxy resin and the like. Furthermore, cycloaliphatic epoxy resin and aliphatic polyglycidyl ether can also be illustrated.
これらの中では、ビスフェノールA型エポキシ樹脂、ビスフェノールF型エポキシ樹脂、フェノールノボラック型エポキシ樹脂、クレゾールノボラック型エポキシ樹脂が好ましい。これらエポキシ基を分子内に2個以上有する化合物の多くは高分子量体であるが、ビスフェノールAやビスフェノールFのグリシジルエーテルは低分子量体であり、そのような低分子量体は特に好ましい。また、グリシジル(メタ)アクリレート、オキセタン(メタ)アクリレート、脂環式エポキシ(メタ)アクリレート等を樹脂骨格中に含むアクリル共重合体等も有効である。 Among these, bisphenol A type epoxy resin, bisphenol F type epoxy resin, phenol novolac type epoxy resin, and cresol novolac type epoxy resin are preferable. Most of these compounds having two or more epoxy groups in the molecule are high molecular weight substances, but glycidyl ethers of bisphenol A and bisphenol F are low molecular weight substances, and such low molecular weight substances are particularly preferable. An acrylic copolymer containing glycidyl (meth) acrylate, oxetane (meth) acrylate, alicyclic epoxy (meth) acrylate, etc. in the resin skeleton is also effective.
このようなエポキシ樹脂は、感光性組成物中に固形分比で0〜60重量%、好ましくは5〜40重量%含有される。エポキシ樹脂の含有量が5重量%未満では、充分な耐アルカリ性を付与できない場合がある。一方、エポキシ樹脂の含有量が60重量%を超えると、エポキシ樹脂量が多くなりすぎ、感光性組成物の保存安定性、現像適性が低下することがある。また、エポキシ樹脂は、硬化性樹脂組成物の乾燥塗膜のタックを除去するためにも有効であり、添加量3重量%程度で充分な効果が発現する。エポキシ樹脂は、露光・アルカリ現像後においても反応することなく塗膜中に残存している酸性基と、加熱処理によって反応し、塗膜に優れた耐アルカリ性を付与することになる。 Such an epoxy resin is contained in the photosensitive composition in a solid content ratio of 0 to 60% by weight, preferably 5 to 40% by weight. If the content of the epoxy resin is less than 5% by weight, sufficient alkali resistance may not be imparted. On the other hand, when the content of the epoxy resin exceeds 60% by weight, the amount of the epoxy resin is excessively increased, and the storage stability and the developability of the photosensitive composition may be deteriorated. The epoxy resin is also effective for removing the tack of the dried coating film of the curable resin composition, and a sufficient effect is exhibited when the addition amount is about 3% by weight. The epoxy resin reacts with the acidic group remaining in the coating film without reacting even after exposure and alkali development, and imparts excellent alkali resistance to the coating film.
前述した必須成分を含有し、上述した任意成分を必要に応じて含有することができる本発明に係る感光性組成物は、各成分を任意の順序で混合するか、或いは、それらの成分を任意の順序で上記の溶剤に投入し、ペイントシェーカー、ビーズミル、サンドグラインドミル、ボールミル、アトライターミル、2本ロールミル、3本ロールミル等の一般的な方法で溶解、分散させることによって製造することができる。 The photosensitive composition according to the present invention contains the above-described essential components and can contain the above-described optional components as necessary. The photosensitive composition according to the present invention can be prepared by mixing the components in an arbitrary order. In the above order, and then dissolved and dispersed by a general method such as paint shaker, bead mill, sand grind mill, ball mill, attritor mill, two roll mill, three roll mill, etc. .
この感光性組成物を何らかの支持体に塗布して塗膜を形成し、当該塗膜に紫外線、電離放射線等の活性化エネルギー線を選択的に照射すると、活性化エネルギー線が照射された領域と照射されなかった領域との間で、アルカリ現像液に対する溶解性に相違が生じる。すなわち、活性化エネルギー線が照射された領域では内部に架橋結合が形成されるので、アルカリ現像液に対する溶解性が相対的に低くなり、活性化エネルギー線が照射されなかった領域では内部に架橋結合が形成されないので、アルカリ現像液に対する溶解性が相対的に高くなる。 When this photosensitive composition is applied to any support to form a coating film, and the coating film is selectively irradiated with activation energy rays such as ultraviolet rays and ionizing radiation, the region irradiated with the activation energy rays There is a difference in solubility in an alkaline developer between areas that were not irradiated. That is, since a cross-linking bond is formed inside the region irradiated with the activation energy ray, the solubility in an alkali developer is relatively low, and the cross-linking bond is formed inside the region not irradiated with the activation energy ray. Is not formed, the solubility in an alkali developer is relatively high.
このとき、本発明に係る感光性組成物では、前記式(1)で表される酸性基含有モノマー(a)によって露光感度が向上していることから、例えば酸性基含有モノマー(a)に代えて従来の5官能モノマーを用いた場合と比べて、アルカリ現像液への溶解性の点で露光領域と非露光領域とが画然と区分される。また、上記の酸性基含有モノマー(a)の含有量を増大させた場合や、有機顔料等の着色剤の含有量を増大させた場合でも、非露光領域のアルカリ現像性が良好に保たれる。 At this time, in the photosensitive composition which concerns on this invention, since exposure sensitivity is improving with the acidic group containing monomer (a) represented by the said Formula (1), it replaces with an acidic group containing monomer (a), for example. Compared with the case of using a conventional pentafunctional monomer, the exposed area and the non-exposed area are clearly distinguished in terms of solubility in an alkaline developer. In addition, even when the content of the acidic group-containing monomer (a) is increased, or when the content of a colorant such as an organic pigment is increased, the alkali developability in the non-exposed area is kept good. .
このため、露光後にアルカリ現像処理を行うことにより、実質的に非露光領域のみを溶解させて除去することができる。その結果として、上記の塗膜を高いパターニング精度の下に容易にパターニングすることができる。 For this reason, it is possible to dissolve and remove substantially only the non-exposed areas by performing an alkali development treatment after exposure. As a result, the coating film can be easily patterned with high patterning accuracy.
このような技術的効果を奏する本発明に係る感光性組成物は、カラーフィルターの着色層、当該着色層を被覆する保護層、及び、液晶パネルでのセルギャップを維持するための凸状スペーサー(柱状スペーサー)を形成するのに特に適しており、その他にも、TFTアレイ基板の平坦化膜、或いは、半導体デバイス用層間絶縁膜等の広範な分野で、ネガ型永久膜の形成材料として好適に用いることができる。 The photosensitive composition according to the present invention having such a technical effect includes a colored layer of a color filter, a protective layer covering the colored layer, and a convex spacer for maintaining a cell gap in a liquid crystal panel ( It is particularly suitable for forming columnar spacers). In addition, it is suitable as a material for forming a negative permanent film in a wide range of fields such as a planarizing film of a TFT array substrate or an interlayer insulating film for semiconductor devices. Can be used.
例えば、液晶パネルで使用される柱状スペーサは、通常、下面(下地層側の面)の面積S1と上面の面積S2との間にS2≦S1なる関係が成立している形状を有していることが望まれるわけであるが、本発明に係る感光性組成物を用いれば、このようないわゆるテーパー形状の凸状パターンも容易に形成することができる。 For example, a columnar spacer used in a liquid crystal panel usually has a shape in which a relationship of S2 ≦ S1 is established between the area S1 of the lower surface (surface on the base layer side) and the area S2 of the upper surface. However, if the photosensitive composition according to the present invention is used, such a so-called tapered convex pattern can be easily formed.
また、高画質、高精細な液晶パネルを得るうえからは個々の画素を微細化する必要があり、そのためにはカラーフィルターにおける個々の着色層の微細化を図ると共に、各着色層での着色剤(多くの場合、有機顔料)の高濃度化を図ることが望まれるわけであるが、本発明に係る感光性組成物を用いれば、このような着色層も高いパターニング精度の下に形成することができる。 In addition, in order to obtain a high-quality and high-definition liquid crystal panel, it is necessary to make individual pixels finer. For that purpose, the individual colored layers in the color filter are made finer, and the colorant in each colored layer is used. Although it is desirable to increase the concentration of (organic pigments in many cases), if the photosensitive composition according to the present invention is used, such a colored layer should be formed with high patterning accuracy. Can do.
さらに、いわゆる端面残り、すなわち、スピンコート法によって形成された塗膜にアルカリ現像処理を施したときに、塗膜縁部の相対的な膜厚が不可避的に厚くなることに起因して当該縁部に未現像(未溶解)の領域が残る現象も、容易に抑制することができる。 Furthermore, the so-called end face residue, i.e., when the coating film formed by the spin coating method is subjected to alkali development, the relative film thickness of the coating film edge inevitably becomes thick. The phenomenon that an undeveloped (undissolved) region remains in the portion can be easily suppressed.
  次に、本発明に係るカラーフィルターについて説明する。図3は、本発明に係るカラーフィルターの一例(カラーフィルター103)を示す平面図であり、図4は、同じカラーフィルター103のA−A線における縦断面図である。  Next, the color filter according to the present invention will be described. FIG. 3 is a plan view showing an example (color filter 103) of the color filter according to the present invention, and FIG. 4 is a longitudinal sectional view of the
  このカラーフィルター103は、透明基板5に所定のパターンで形成されたブラックマトリックス6と、当該ブラックマトリックス6間に所定のパターンで形成した着色層7(7R,7G,7B)と、当該着色層7を覆うように形成された保護膜8を備えている。保護膜8上に必要に応じて液晶駆動用の透明電極9が形成される場合もある。カラーフィルター103の最内面、この場合には透明電極上に、配向膜10が形成される。  The
  柱状スペーサー12は凸状スペーサーの一形状であり、ブラックマトリックス層6が形成された領域(非表示領域)に合わせて、透明電極9上の所定の複数箇所(図3では5箇所)に形成されている。柱状スペーサー12は、透明電極9上若しくは着色層7上若しくは保護膜8上に形成される。カラーフィルター103においては、保護膜8上に透明電極9を介して柱状スペーサーが海島状に形成されているが、保護膜8と柱状スペーサー12を一体的に形成し、その上を覆うように透明電極9の層を形成してもよい。また、カラーフィルターがブラックマトリックス層を備えていない場合には、着色層7を形成していない領域に柱状スペーサー12を形成することができる。  The
  カラーフィルター103の透明基板5としては、石英ガラス、パイレックス(登録商標)ガラス、合成石英板等の可撓性のない透明なリジッド材、或いは、透明樹脂フィルム、光学用樹脂板、薄膜状乃至シート状のガラス等の可撓性を有する透明なフレキシブル材を用いることができる。この中で特にコーニング社製1737ガラスは、熱膨張率の小さい素材であり寸法安定性及び高温加熱処理における作業性に優れ、また、ガラス中にアルカリ成分を含まない無アルカリガラスであるため、アクティブマトリックス方式によるカラー液晶表示装置用のカラーフィルターに適している。  As the
  ブラックマトリックス層6は、表示画像のコントラストを向上させるために、着色層7R,7G,7Bの間及び着色層形成領域の外側を取り囲むように設けられる。ブラックマトリックス層6を形成する方法としては、感光性レジストを用いてパターニングする方法と、遮光性粒子を含有する光硬化性樹脂組成物を用いてパターニングする方法がある。  The
  感光性レジストを用いてパターニングする方法においては、先ず、透明基板5上に遮光層として、クロム等の金属薄膜をスパッタリング法又は真空蒸着法等の気相成長法により形成するか、又は、ポリイミド樹脂、アクリル樹脂、エポキシ樹脂等の樹脂にカーボンブラック等の遮光性粒子を含有する樹脂組成物からなる樹脂層をスピンコーター、ロールコーター、スプレー、印刷等の塗布法により形成する。このような金属薄膜又は遮光性樹脂からなる遮光層の上に、公知のポジ型又はネガ型の感光性レジストを塗布して感光性レジスト層を形成し、ブラックマトリックス形成用のフォトマスクを介しての感光性レジスト層の露光、及び露光後の感光性レジストの現像を順次行って、レジストパターンを形成する。そして、レジストパターンによって覆われることなく露出している部分の遮光層をエッチングし、残存する感光性レジスト(レジストパターン)を除去することによって、ブラックマトリックス層6を形成することができる。  In the patterning method using a photosensitive resist, first, a metal thin film such as chromium is formed on the
  また、遮光性粒子を含有する光硬化性樹脂組成物をパターニングする方法では、先ず、透明基板5上に、カーボンブラックや金属酸化物等の遮光性粒子を含有させた光硬化性樹脂組成物を塗布して遮光層を形成し、必要に応じて乾燥させて感光性塗膜を形成した後に、前記遮光層をブラックマトリックス形成用のフォトマスクを介して露光し、その後に現像し、必要に応じて加熱処理を施すことによって、ブラックマトリックス層6を形成することができる。遮光性粒子と混合する光硬化性樹脂組成物としては、本発明に係る感光性組成物を用いてもよい。  In the method of patterning a photocurable resin composition containing light-shielding particles, first, a photocurable resin composition containing light-shielding particles such as carbon black and metal oxide on a
  ブラックマトリックス層6の厚さは、金属薄膜の場合は100〜200nm程度とすることができ、遮光性樹脂層の場合は0.5〜2.5μm程度とすることができる。  The thickness of the
着色層7は、赤色パターン、緑色パターン及び青色パターンがモザイク型、ストライプ型、トライアングル型、4画素配置型等の所望の形態で配列されてなり、表示領域を形成する。着色層7は、顔料分散法、染色法、印刷法、電着法等の公知の方法により形成することができるが、その中でも、顔料等の着色剤を含有した光硬化性樹脂組成物を用いる顔料分散法により形成するのが好ましい。 The colored layer 7 includes a red pattern, a green pattern, and a blue pattern arranged in a desired form such as a mosaic type, a stripe type, a triangle type, and a four-pixel arrangement type, thereby forming a display region. The colored layer 7 can be formed by a known method such as a pigment dispersion method, a dyeing method, a printing method, or an electrodeposition method. Among them, a photocurable resin composition containing a colorant such as a pigment is used. It is preferably formed by a pigment dispersion method.
  顔料分散法による場合には、先ず、光硬化性樹脂組成物に顔料等の着色剤を分散させて、赤色用、緑色用、及び、青色用の光硬化性着色樹脂組成物を夫々調製する。次に、透明基板5上に、ブラックマトリックス層6を覆うようにして、ある色の光硬化性樹脂組成物、例えば光硬化性赤色樹脂組成物をスピンコート等の公知の方法で塗布して光硬化性赤色樹脂層を形成し、赤色パターン形成用フォトマスクを介して露光を行い、アルカリ現像後、クリーンオーブン等で加熱硬化することにより赤色着色層7Rを形成する。その後、緑色用、及び、青色用の光硬化性着色樹脂組成物を順次用いて同様にして各色の光硬化性樹脂層をパターニングして、緑色着色層7G及び青色着色層7Bを形成する。  In the case of the pigment dispersion method, first, colorants such as pigments are dispersed in the photocurable resin composition to prepare red, green, and blue photocurable colored resin compositions, respectively. Next, a photocurable resin composition of a certain color, for example, a photocurable red resin composition, is applied onto the
着色剤としては、上述したような着色剤を適切に選んで使用することができる。また、着色剤と混合する光硬化性樹脂組成物としては、本発明に係る感光性組成物を用いるのが好ましい。 As the colorant, the colorant as described above can be appropriately selected and used. Moreover, it is preferable to use the photosensitive composition which concerns on this invention as a photocurable resin composition mixed with a coloring agent.
  着色層7の厚さは、通常0.5〜2.5μm程度とすることができる。また、赤色着色層7Rが最も薄く、緑色着色層7G、青色着色層7Bの順に厚くなるというように各色の着色層の厚さを変えて、液晶パネルを得たときにその下の液晶層の厚さが各色ごとに最適な厚さとなるように設定してもよい。  The thickness of the colored layer 7 can usually be about 0.5 to 2.5 μm. Further, when the thickness of the colored layer of each color is changed so that the red
  保護膜8は、着色層7の表面を平坦化すると共に、着色層7に含有されている成分が液晶層に溶出するのを防止するために設けられる。保護膜8は、ネガ型の光硬化性透明樹脂組成物又は熱硬化性透明樹脂組成物を、スピンコーター、ロールコーター、スプレー、印刷等の方法により、ブラックマトリックス層6及び着色層7を覆うようにして塗布し、光又は熱によって硬化させることによって形成できる。保護膜8を形成するための光硬化性透明樹脂組成物としては、本発明に係る感光性組成物を用いるのが好ましい。  The
  保護膜8の厚さは、材料として使用する樹脂組成物の光透過率や、着色層7の表面状態等を考慮して設定され、例えば、0.1〜2.0μm程度とすることができる。スピンコーターを使用する場合、回転数は例えば500〜1500回転/分の範囲内で設定することができる。  The thickness of the
  保護膜8上の透明電極膜9は、酸化インジウムスズ(ITO)、酸化亜鉛(ZnO)、酸化スズ(SnO)等、及びそれらの合金等を用いて、スパッタリング法、真空蒸着法、CVD法等の一般的な方法により形成され、必要に応じてフォトレジストを用いたエッチング又はジグの使用により所定のパターンとしたものである。この透明電極の厚みは20〜500nm程度、好ましくは100〜300nm程度とすることできる。  The
  柱状スペーサー12は、カラーフィルター103をTFTアレイ基板等の液晶駆動側基板と貼り合わせたときにセルギャップを維持するために、基板上の非表示領域に複数設けられる。柱状スペーサー12の形状及び寸法は、基板上の非表示領域に選択的に設けることができ、且つ所定のセルギャップを基板全体に亘って維持することが可能であれば、特に限定されない。柱状スペーサー12は、2〜10μm程度の範囲で一定の高さを持つものであり、突出高さ(パターンの厚み)は液晶層に要求される厚み等から適宜設定することができる。また、柱状スペーサー12の太さは5〜20μm程度の範囲で適宜設定することができる。さらに、柱状スペーサー12の形成密度(密集度)は、液晶層の厚みムラ、開口率、柱状スペーサー12の形状、材質等を考慮して適宜設定することができるが、例えば、赤色、緑色及び青色の各画素の1組に1個ずつ設けられて、必要充分なスペーサー機能を発現する。このような柱状スペーサー12の形状は柱状であればよく、例えば、円柱状、角柱状、截頭錐体形状等であってもよい。このような柱状スペーサー12は、例えば次のようにして形成することができる。  A plurality of
先ず、光硬化性樹脂組成物の塗工液をスピンコーター、ロールコーター、スプレー、印刷等の方法により透明基板上に直接、又は、透明電極等の他の層を介して塗布し、乾燥して、光硬化性樹脂層を形成する。スピンコーターの回転数は、保護膜を形成する場合と同様に、例えば500〜1500回転/分の範囲内で設定することができる。 First, the coating solution of the photocurable resin composition is applied directly on the transparent substrate by a method such as spin coater, roll coater, spray, printing, or through another layer such as a transparent electrode and dried. A photocurable resin layer is formed. The rotational speed of the spin coater can be set, for example, within a range of 500 to 1500 revolutions / minute, as in the case of forming the protective film.
  次に、この樹脂層を柱状スペーサー形成用フォトマスクを介して露光し、アルカリ液のような現像液により現像して所定の凸状パターンを形成し、この凸状パターンを必要に応じてクリーンオーブン等で加熱処理(ポストベーク)する。これにより、柱状スペーサー12が形成される。  Next, this resin layer is exposed through a columnar spacer forming photomask and developed with a developer such as an alkaline solution to form a predetermined convex pattern. Heat treatment (post-bake) with etc. Thereby, the
  カラーフィルター103の最内面に形成される配向膜10は、着色層7を備える表示部、及び、ブラックマトリックス層6や柱状スペーサー12を備える非表示部を覆うようにして設けられる。配向膜10は、ポリイミド樹脂等の樹脂を含有する塗工液をスピンコート等の公知の方法で塗布し、乾燥し、必要に応じて熱や光により硬化させた後、ラビング処理や光配向処理を施すことによって形成できる。  The
本発明に係るカラーフィルターでは、着色層、保護層及びスペーサーのうちの少なくとも1つが、前述した本発明で用いられる感光性組成物を用いて形成される。 In the color filter according to the present invention, at least one of the colored layer, the protective layer, and the spacer is formed using the above-described photosensitive composition used in the present invention.
  上記の感光性組成物によって着色層7を形成する場合には、当該着色層7における顔料の濃度を高めた場合でも、或いは微細化を図った場合でも、高いパターニング精度を容易に得ることができる。また、上記の感光性組成物によってスペーサー、特に柱状スペーサー12を形成した場合には、微細化を図った場合でも高強度のものを高いパターニング精度の下に容易に形成することができる。  In the case where the colored layer 7 is formed from the photosensitive composition, high patterning accuracy can be easily obtained even when the pigment concentration in the colored layer 7 is increased or the size is reduced. . Further, when the spacer, particularly the
したがって、高画質、高精細な液晶表示装置を得るうえからは、前述した本発明に係る感光性組成物を用いて着色層及びスペーサーの少なくとも一方を形成することが好ましく、特に、前記の感光性組成物を用いて着色層及びスペーサーの両方を形成することが好ましい。 Therefore, in order to obtain a high-quality and high-definition liquid crystal display device, it is preferable to form at least one of a colored layer and a spacer using the above-described photosensitive composition according to the present invention. It is preferable to form both the colored layer and the spacer using the composition.
次に、本発明の液晶パネル用基板について説明すると、この液晶パネル用基板は、基板上の非表示領域に複数のスペーサーを設けてなり、当該スペーサーが前述した本発明に係る感光性組成物を硬化させて形成されたものである。 Next, the liquid crystal panel substrate of the present invention will be described. This liquid crystal panel substrate is provided with a plurality of spacers in a non-display area on the substrate, and the spacers are the photosensitive composition according to the present invention described above. It is formed by curing.
周知のように、表示装置に使用される液晶パネルは、表示側基板と液晶駆動側基板(背面側基板)とを対向させ、これらの基板間にスペーサーによって規定されるギャップ(セルギャップ)を形成してここに液晶を封入したものである。 As is well known, in a liquid crystal panel used in a display device, a display side substrate and a liquid crystal driving side substrate (back side substrate) are opposed to each other, and a gap (cell gap) defined by a spacer is formed between these substrates. The liquid crystal is sealed here.
  例えば、上述のカラーフィルター103(表示側基板)と、多数の画素電極及び薄膜トランジスタ(TFT)を備えたTFTアレイ基板(液晶駆動側基板:背面側基板)とを対向させ、これらの基板間に柱状スペーサー12によって規定されるギャップ(セルギャップ)を形成してここに液晶を封入することにより、アクティブマトリックス方式のカラー液晶表示装置が得られる。  For example, the above-described color filter 103 (display side substrate) is opposed to a TFT array substrate (liquid crystal driving side substrate: back side substrate) provided with a large number of pixel electrodes and thin film transistors (TFTs), and a columnar shape is formed between these substrates. By forming a gap (cell gap) defined by the
  ここで、セルギャップを規定するための柱状スペーサー12は、カラーフィルター103に必ず設けなければならないというものではなく、液晶駆動側基板(背面側基板)に設けることもできる。どちらの基板に柱状スペーサーを設けても、所望のセルギャップを確保することが可能である。いずれにしても、柱状スペーサーは非表示領域に設けられる。  Here, the
本発明に係る液晶パネル用基板は、液晶パネルを構成する2枚の基板のうちでスペーサー(柱状スペーサー)が設けられている方の基板を指す。したがって、前述したカラーフィルターは、本発明に係る液晶パネル用基板の一形態である。 The substrate for a liquid crystal panel according to the present invention refers to a substrate provided with a spacer (columnar spacer) among two substrates constituting the liquid crystal panel. Therefore, the color filter described above is an embodiment of the liquid crystal panel substrate according to the present invention.
本発明の液晶パネル用基板では、前述した本発明に係る感光性組成物によってスペーサーが形成されているので、当該スペーサーを微細化した場合でもパターニング精度を高め易いと共に、その強度を高め易い。したがって、この液晶パネル用基板は、高画質、高精細な液晶パネルを得るうえで好適である。 In the liquid crystal panel substrate of the present invention, the spacer is formed by the above-described photosensitive composition according to the present invention. Therefore, even when the spacer is miniaturized, the patterning accuracy can be easily improved and the strength can be easily increased. Therefore, this liquid crystal panel substrate is suitable for obtaining a high-definition and high-definition liquid crystal panel.
次に、本発明の液晶パネルについて説明すると、この液晶パネルでは、表示側基板が上述した本発明に係るカラーフィルターによって構成されているか、又は、液晶駆動側基板(背面側基板)が上述した本発明の液晶パネル用基板によって構成されている。 Next, the liquid crystal panel of the present invention will be described. In this liquid crystal panel, the display side substrate is constituted by the color filter according to the present invention described above, or the liquid crystal drive side substrate (back side substrate) is the above described book. It is comprised by the board | substrate for liquid crystal panels of invention.
液晶パネルの組立て方法は特に限定されるものではないが、大型の液晶パネルを得ようとする場合には、一方の基板上に液晶を滴下した後、対向する基板を所定のセルギャップを空けた状態で貼合わせるODF(One Drop Fill)法によって組み立てることが好ましい。 The method of assembling the liquid crystal panel is not particularly limited. However, when a large liquid crystal panel is to be obtained, after a liquid crystal is dropped on one substrate, a predetermined cell gap is formed in the opposite substrate. It is preferable to assemble by the ODF (One Drop Fill) method of bonding in a state.
本発明に係る液晶パネルでは、表示側基板及び液晶駆動側基板(背面側基板)のいずれかに、前述した本発明に係る感光性組成物を用いてスペーサー(柱状スペーサー)が形成されているので、当該スペーサーの微細化を図った場合でも高強度のものを高いパターニング精度の下に容易に形成することができる。したがって、液晶パネルの高画質化及び高精細化を図り易い。 In the liquid crystal panel according to the present invention, spacers (columnar spacers) are formed on either the display side substrate or the liquid crystal drive side substrate (back side substrate) using the above-described photosensitive composition according to the present invention. Even when the spacer is miniaturized, a high-strength one can be easily formed with high patterning accuracy. Therefore, it is easy to improve the image quality and definition of the liquid crystal panel.
なお、液晶パネルを作製するにあたって、前述した本発明に係る感光性組成物を用いて表示側基板及び背面側基板のいずれかにスペーサー(柱状スペーサー)を形成すれば、当該液晶パネルが白黒表示用の液晶パネルであっても、また、背面側基板がカラーフィルターを兼ねているものであっても、あるいは横電界型のものであっても、その高画質化及び高精細化を図ることが容易になる。 In preparing a liquid crystal panel, if a spacer (columnar spacer) is formed on either the display side substrate or the back side substrate using the photosensitive composition according to the present invention described above, the liquid crystal panel can be used for monochrome display. Even if it is a liquid crystal panel, and the back side substrate also serves as a color filter, or it is a lateral electric field type, it is easy to achieve high image quality and high definition. become.
尚、本発明は、上述した発明目的及び各実施形態だけでなく、以下に示す発明の目的及び実施形態を含むものである。 The present invention includes not only the above-described objects and embodiments, but also the following objects and embodiments.
本発明の第一の目的は、顔料を含有させた場合でもアルカリ現像性に優れた塗膜を形成することができ、且つ硬化後の強度を高め易い感光性組成物を提供することにある。 A first object of the present invention is to provide a photosensitive composition that can form a coating film excellent in alkali developability even when a pigment is contained, and can easily increase the strength after curing.
また、本発明の第二の目的は、パターニング精度を高め易いカラーフィルターを提供することにある。 A second object of the present invention is to provide a color filter that can easily improve patterning accuracy.
本発明の第三の目的は、強度及びパターニング精度を高め易いスペーサーを備えた液晶パネル用基板を提供することにある。 A third object of the present invention is to provide a liquid crystal panel substrate provided with a spacer that can easily increase the strength and patterning accuracy.
そして、本発明の第四の目的は、高画質化及び高精細化を図り易い液晶パネルを提供することにある。 A fourth object of the present invention is to provide a liquid crystal panel that can easily achieve high image quality and high definition.
本発明において提供される感光性組成物は、少なくとも、バインダー樹脂と下記式(1)で表される酸性基含有モノマー(a)とを含有している。 The photosensitive composition provided in the present invention contains at least a binder resin and an acidic group-containing monomer (a) represented by the following formula (1).
(式中のm、nは、それぞれ別個に、1以上の整数を表す。) (In the formula, m and n each independently represent an integer of 1 or more.)
また、他の態様の感光性組成物は、エチレン性不飽和結合を2つ以上有するモノマー若しくはオリゴマーをさらに含有する。 Moreover, the photosensitive composition of another aspect further contains the monomer or oligomer which has 2 or more of ethylenically unsaturated bonds.
そして、さらに他の態様の感光性組成物は、少なくとも1種類の着色材(b)を、該着色材(b)に対する酸性基含有モノマー(a)の重量比((b)/(a))が、0.3<(b)/(a)<0.6となる範囲で含有する。 In yet another embodiment of the photosensitive composition, the weight ratio ((b) / (a)) of the acidic group-containing monomer (a) to the colorant (b) is at least one colorant (b). However, 0.3 <(b) / (a) <0.6 is contained.
これら各態様の感光性組成物は、カラーフィルターの着色層、当該着色層を被覆する保護膜、及び、液晶パネルのセルギャップを維持するための柱状スペーサー等を形成するための材料として好適であり、所望の膜厚の着色層、保護膜及び所望の高さの柱状スペーサー等を高いパターニング精度の下に容易に形成することができる。 The photosensitive composition of each of these embodiments is suitable as a material for forming a colored layer of a color filter, a protective film covering the colored layer, a columnar spacer for maintaining a cell gap of a liquid crystal panel, and the like. A colored layer having a desired film thickness, a protective film, a columnar spacer having a desired height, and the like can be easily formed with high patterning accuracy.
本発明に係るカラーフィルターは、透明基板と、当該透明基板上に設けられた着色層とを備え、さらに当該着色層を被覆する保護膜及び/又は前記基板の非表示領域に設けられたスペーサーを備えていてもよく、着色層、保護膜及びスペーサーのうちの少なくとも1つは、上述したいずれかの態様の感光性組成物を硬化させて形成したものである。 The color filter according to the present invention includes a transparent substrate and a colored layer provided on the transparent substrate, and further includes a protective film covering the colored layer and / or a spacer provided in a non-display area of the substrate. It may be provided, and at least one of the colored layer, the protective film, and the spacer is formed by curing the photosensitive composition of any of the above-described aspects.
上記各態様の感光性組成物は、顔料を含有させない場合は勿論、顔料を含有させた場合でもアルカリ現像性に優れた塗膜を形成することができるものであるので、この感光性組成物によってカラーフィルターの着色層、保護膜、又はスペーサを形成することにより、これらを高いパターニング精度の下に形成することができる。 The photosensitive composition of each aspect described above can form a coating film excellent in alkali developability even when a pigment is contained, as well as when a pigment is not contained. By forming the colored layer, protective film, or spacer of the color filter, these can be formed with high patterning accuracy.
上記の感光性組成物によって着色層を形成する場合には、当該着色層における顔料の濃度を高めた場合でも、高いパターニング精度を容易に得ることができる。また、上記の感光性組成物によってスペーサー、特に柱状スペーサーを形成する場合には、順テーパー形状で高強度のものを高いパターニング精度の下に容易に形成することができる。 When the colored layer is formed from the photosensitive composition, high patterning accuracy can be easily obtained even when the pigment concentration in the colored layer is increased. Moreover, when forming a spacer, especially a columnar spacer, with the above-described photosensitive composition, a forward tapered shape and a high strength can be easily formed with high patterning accuracy.
  (実施例1)
  下記材料を室温で攪拌、混合し、感光性組成物を得た。
・緑色顔料(ゼネカ社製のモノストラルグリーン6Y−CL):4.4重量部
・黄色顔料(BASF社製のパリオトールイエローD1819):2重量部
・分散剤(味の素製のアジスパーPB821):3重量部
・酸性基含有モノマー(a)(東亜合成株式会社製のTO756)*1:4重量部
・バインダー樹脂*2:4.6重量部
・光重合開始剤1(チバ・スペシャリティー社製のイルガキュア907):2.8重量部
・光重合開始剤2(黒金化成社製の2,2−ビス(o−クロロフェニル)−4,5,4’,5’−テトラフェニル−1,2’−ビイミド):1.2重量部
・溶剤(プロピレングリコールモノメチルエーテルアセテート):78重量部Example 1
 The following materials were stirred and mixed at room temperature to obtain a photosensitive composition.
 Green pigment (Monestral Green 6Y-CL, manufactured by Zeneca): 4.4 parts by weight Yellow pigment (Paritor Yellow D1819, manufactured by BASF): 2 parts by weight Dispersant (Ajinomoto Azisper PB821): 3 parts by weight / acid group-containing monomer (a) (TO756 manufactured by Toa Gosei Co., Ltd.)* 1 : 4 parts by weight / binder resin* 2 : 4.6 parts by weight / photopolymerization initiator 1 (manufactured by Ciba Specialty) Irgacure 907): 2.8 parts by weight Photopolymerization initiator 2 (2,2-bis (o-chlorophenyl) -4,5,4 ′, 5′-tetraphenyl-1, manufactured by Kurokin Kasei Co., Ltd.) '-Biimide): 1.2 parts by weight. Solvent (propylene glycol monomethyl ether acetate): 78 parts by weight.
*1:上記の酸性基含有モノマー(a)は、下記式(4)によって表されるものであり、このモノマーは、前記式(1)で表される酸性基含有モノマー(a)の1つである。 * 1: The acidic group-containing monomer (a) is represented by the following formula (4), and this monomer is one of the acidic group-containing monomers (a) represented by the formula (1). It is.
*2:上記のバインダー樹脂は、重合槽中にベンジルメタクリレートを15.6重量部、スチレンを37.0重量部、アクリル酸を30.5重量部、2−ヒドロキシメチルメタクリレートを16.9重量部、ジエチレングリコールジメチルエーテル(DMDG)を220重量部仕込み、これらを攪拌し溶解させた後に2,2’−アゾビス(2−メチルブチロニトリル)を0.8重量部添加し、均一に溶解させてから窒素気流下85℃で2時間攪拌し、さらに100℃で1時間反応させることによって得た溶液に、2−メタクリロイルオキシエチルイソシアネートを16.9重量部、トリエチルアミンを0.5重量部、及びハイドロキノンを0.1重量部添加し、その後100℃で5時間攪拌して得たものである(固形分35%)。 * 2: The above binder resin is 15.6 parts by weight of benzyl methacrylate, 37.0 parts by weight of styrene, 30.5 parts by weight of acrylic acid, and 16.9 parts by weight of 2-hydroxymethyl methacrylate in the polymerization tank. Then, 220 parts by weight of diethylene glycol dimethyl ether (DMDG) was added, and these were stirred and dissolved, then 0.8 part by weight of 2,2′-azobis (2-methylbutyronitrile) was added and dissolved uniformly, and then nitrogen was added. The solution obtained by stirring at 85 ° C. for 2 hours under an air stream and further reacting at 100 ° C. for 1 hour was added to 16.9 parts by weight of 2-methacryloyloxyethyl isocyanate, 0.5 part by weight of triethylamine, and 0 part of hydroquinone. .1 part by weight was added and then stirred at 100 ° C. for 5 hours (solid content 35%).
  (比較例1)
  酸性基含有モノマー(a)に代えて、酸性基が導入されていない5官能モノマー(日本化薬社製のSR399E)を4重量部用い、且つ光重合開始剤1の配合量を1.4重量部に、光重合開始剤2の配合量を0.6重量部に、溶剤の配合量を80重量部にそれぞれ変更した以外は実施例1と同様にして、感光性組成物を得た。(Comparative Example 1)
 Instead of the acidic group-containing monomer (a), 4 parts by weight of a pentafunctional monomer into which no acidic group is introduced (SR399E manufactured by Nippon Kayaku Co., Ltd.) is used, and the blending amount of the photopolymerization initiator 1 is 1.4%. A photosensitive composition was obtained in the same manner as in Example 1, except that the amount of
  <現像性の評価>
  10cm×10cmのガラス基板上に、スピンコーター(MIKASA社製、形式1H−DX2)により、実施例1又は比較例1で得た感光性組成物を1.5μmの厚さに塗布した。この塗膜をホットプレート上で100℃、3分間プリベークした。所定の形状、大きさ、及び間隔を有する露光パターンを形成できるように設計されたフォトマスクを塗膜上に配置し、プロキシミティアライナにより紫外線を100mJ/cm2照射して露光処理を行い、その後、0.05wt%KOH水溶液(液温23℃)を用いてスプレー現像(現像時間60s及び100s)を行い、凸部パターンを形成した。<Development evaluation>
 The photosensitive composition obtained in Example 1 or Comparative Example 1 was applied to a thickness of 1.5 μm on a 10 cm × 10 cm glass substrate by a spin coater (manufactured by MIKASA, model 1H-DX2). This coating film was prebaked on a hot plate at 100 ° C. for 3 minutes. A photomask designed to form an exposure pattern having a predetermined shape, size, and interval is placed on the coating film, exposed to ultraviolet rays of 100 mJ / cm2 by a proximity aligner, and then exposed. Then, spray development (development time 60 s and 100 s) was performed using 0.05 wt% KOH aqueous solution (liquid temperature 23 ° C.) to form a convex pattern.
  このときの現像性(溶け始め時間、溶け終わり時間、パターン維持時間)、現像後の残渣の有無、端面残りの有無、及び、形成された凸部パターンの形状を、実施例1の感光性組成物と比較例1の感光性組成物とで比較した。結果を表1に示す。
  なお、残渣の有無、及び端面残りの有無の評価基準は次の通りである。The photosensitivity composition of Example 1 is the developability (melting start time, melting end time, pattern maintenance time) at this time, presence / absence of residues after development, presence / absence of the end face remaining, and the shape of the formed convex pattern. And the photosensitive composition of Comparative Example 1 were compared. The results are shown in Table 1.
 In addition, the evaluation criteria of the presence or absence of a residue and the presence or absence of an end face are as follows.
  <残渣の有無>
  ○:残さが全く無い。<Presence of residue>
 ○: There is no residue.
△:投光機を用いた場合には残渣が確認できる。 Δ: Residue can be confirmed when a projector is used.
×:投光機を用いずとも残渣が確認できる。 X: Residue can be confirmed without using a projector.
  <端面残りの有無>
  ○:端面残りが全く無い。<Existence of end face>
 ○: No end face remaining.
△:基板角部のみに端面残りが有る。 (Triangle | delta): There exists an end surface remainder only in a board | substrate corner.
×:基板辺部に端面残りが有る。 X: The end face remains on the side of the substrate.
また、凸部パターンの形状観察においては、凸部パターンの下面(下地層(ガラス基板)側の面)の面積S1と上面の面積S2との間にS2<S1なる関係が成立する場合には、順テーパー形状であることを意味し、その逆に、S2>S1なる関係が成立する場合には、逆テーパー形状であることを意味する。 In the shape observation of the convex pattern, when the relationship S2 <S1 is established between the area S1 of the lower surface (surface on the base layer (glass substrate) side) and the area S2 of the upper surface of the convex pattern. Means a forward tapered shape, and conversely, if the relationship S2> S1 is established, it means an inversely tapered shape.
表1に示したように、実施例1の感光性組成物は、着色剤(緑色顔料及び黄色顔料)の含有量が合計で6.4重量%と高く、且つモノマー含有量が4重量%と高いにも拘わらず、比較例1の感光性組成物に比べて良好なアルカリ現像性を有しており、残渣の発生や端面残りも実質的にないものである。また、順テーパー状に容易にパターニングすることができるものでもある。 As shown in Table 1, in the photosensitive composition of Example 1, the total content of the colorants (green pigment and yellow pigment) was as high as 6.4% by weight, and the monomer content was 4% by weight. Despite being high, it has good alkali developability as compared with the photosensitive composition of Comparative Example 1, and is substantially free of residue and end face residue. Further, it can be easily patterned into a forward tapered shape.
したがって、実施例1の感光性組成物は、柱状スペーサーやカラーフィルターの着色層等を高いパターニング精度の下に微細に形成するための材料として好適であると共に、強度の高い微細パターンを高いパターニング精度の下に形成するための材料としても好適である。 Therefore, the photosensitive composition of Example 1 is suitable as a material for finely forming columnar spacers, colored layers of color filters, and the like with high patterning accuracy, and has a high patterning accuracy with a high strength fine pattern. It is also suitable as a material for forming underneath.
  1…カラーフィルター
  103…カラーフィルター
  2…液晶駆動側基板
  3…間隙部
  4…シール材
  5…透明基板
  6…ブラックマトリックス層
  7(7R、7G、7B)…着色層
  8…保護膜
  9…透明電極膜
  10…配向膜
  11…粒子状スペーサー
  12…柱状スペーサーDESCRIPTION OF SYMBOLS 1 ...
| Application Number | Priority Date | Filing Date | Title | 
|---|---|---|---|
| JP2008244248AJP4968220B2 (en) | 2008-09-24 | 2008-09-24 | Color filter, liquid crystal panel substrate, and liquid crystal panel | 
| Application Number | Priority Date | Filing Date | Title | 
|---|---|---|---|
| JP2008244248AJP4968220B2 (en) | 2008-09-24 | 2008-09-24 | Color filter, liquid crystal panel substrate, and liquid crystal panel | 
| Application Number | Title | Priority Date | Filing Date | 
|---|---|---|---|
| JP2003080991ADivisionJP4485135B2 (en) | 2003-03-24 | 2003-03-24 | Color filter and liquid crystal panel | 
| Publication Number | Publication Date | 
|---|---|
| JP2009064023A JP2009064023A (en) | 2009-03-26 | 
| JP4968220B2true JP4968220B2 (en) | 2012-07-04 | 
| Application Number | Title | Priority Date | Filing Date | 
|---|---|---|---|
| JP2008244248AExpired - LifetimeJP4968220B2 (en) | 2008-09-24 | 2008-09-24 | Color filter, liquid crystal panel substrate, and liquid crystal panel | 
| Country | Link | 
|---|---|
| JP (1) | JP4968220B2 (en) | 
| Publication number | Priority date | Publication date | Assignee | Title | 
|---|---|---|---|---|
| JP2012014930A (en)* | 2010-06-30 | 2012-01-19 | Sanyo Chem Ind Ltd | Photosensitive resin composition | 
| JP2012013905A (en)* | 2010-06-30 | 2012-01-19 | Sanyo Chem Ind Ltd | Photosensitive resin composition | 
| US8846592B2 (en)* | 2010-10-14 | 2014-09-30 | Conopco, Inc. | Stable liquid cleansing compositions comprising critical window of hydrogenated triglyceride oils | 
| JP2013011646A (en)* | 2011-06-28 | 2013-01-17 | Toppan Printing Co Ltd | Color filter and manufacturing method of color filter | 
| JP6331276B2 (en)* | 2013-06-28 | 2018-05-30 | セイコーエプソン株式会社 | Electro-optical device, method of manufacturing electro-optical device, and electronic apparatus | 
| Publication number | Priority date | Publication date | Assignee | Title | 
|---|---|---|---|---|
| JP2751392B2 (en)* | 1989-05-12 | 1998-05-18 | セイコーエプソン株式会社 | Liquid crystal display | 
| JP3829412B2 (en)* | 1997-05-28 | 2006-10-04 | Jsr株式会社 | Radiation sensitive composition for color filter | 
| JP2002341531A (en)* | 2001-05-15 | 2002-11-27 | Dainippon Printing Co Ltd | Photocurable resin composition, color filter and liquid crystal panel | 
| JP4485135B2 (en)* | 2003-03-24 | 2010-06-16 | 大日本印刷株式会社 | Color filter and liquid crystal panel | 
| Publication number | Publication date | 
|---|---|
| JP2009064023A (en) | 2009-03-26 | 
| Publication | Publication Date | Title | 
|---|---|---|
| US7537810B2 (en) | Curable resin composition, photosensitive pattern-forming curable resin composition, color filter, substrate for liquid crystalline panel, and liquid crystalline panel | |
| US10690825B2 (en) | Color filter for low temperature applications | |
| JP4911256B1 (en) | Dye dispersion, photosensitive resin composition for color filter, color filter, liquid crystal display device, and organic light emitting display device | |
| KR100897224B1 (en) | Oxime ester compound, photopolymerizable composition and color filter utilizing the same | |
| US20030118922A1 (en) | Curable resin for photo-patterning, process for producing the same, curable resin composition, color filter, liquid crystal panel substrate, and liquid crystal panel | |
| JP2013213982A (en) | Color filter photosensitive resin composition and manufacturing method thereof, color filter, liquid crystal display device, and organic light emitting display device | |
| JP2003344636A (en) | Photocurable resin composition and color filter for forming protective film of color filter, pixel for RGB, black matrix or spacer | |
| JP4968220B2 (en) | Color filter, liquid crystal panel substrate, and liquid crystal panel | |
| JP4014946B2 (en) | Photosensitive pattern-forming curable resin, method for producing the same, curable resin composition, color filter, liquid crystal panel substrate, and liquid crystal panel | |
| JP4485135B2 (en) | Color filter and liquid crystal panel | |
| JP2010085768A (en) | Green curable resin composition, color filter, and display device | |
| JP4171332B2 (en) | Curable resin composition, liquid crystal panel substrate, and liquid crystal panel | |
| JP2004287230A (en) | Curable resin composition for colored pattern, color filter, and liquid crystal panel | |
| JP2011033796A (en) | Red pigment dispersion liquid for color filter, red photosensitive resin composition for color filter, color filter and display device | |
| JP4251442B2 (en) | Curable resin composition for forming photosensitive pattern, substrate for liquid crystal panel, and liquid crystal panel | |
| JP2009204839A (en) | Color filter for liquid crystal display and liquid crystal display | |
| JP5058620B2 (en) | Color filter | |
| JP2008250023A (en) | Pigment dispersion for color filter, curable resin composition for color filter, color filter, and display device | |
| JP2008089640A (en) | Blue pigment dispersion for color filter, blue resin composition for color filter, color filter, and display device | |
| JP2010085767A (en) | Green curable resin composition for color filter, color filter, and display device | |
| JP2004361448A (en) | Color filter for mva-lcd and mva-lcd using the same | |
| KR20120064192A (en) | Pigment coated with copolymer, dispersed composition of the pigment, colored resin composition, color filter and display device including the same | |
| JP2005148357A (en) | Photosensitive composition with suppressed gelation, substrate for liquid crystal panel, and liquid crystal panel | |
| KR100783337B1 (en) | Oxime ester compound, photopolymerizable composition and color filter using the same | |
| JP2010085769A (en) | Red curable resin composition, color filter, and display device | 
| Date | Code | Title | Description | 
|---|---|---|---|
| A131 | Notification of reasons for refusal | Free format text:JAPANESE INTERMEDIATE CODE: A131 Effective date:20110809 | |
| A521 | Request for written amendment filed | Free format text:JAPANESE INTERMEDIATE CODE: A523 Effective date:20111003 | |
| A131 | Notification of reasons for refusal | Free format text:JAPANESE INTERMEDIATE CODE: A131 Effective date:20111220 | |
| A521 | Request for written amendment filed | Free format text:JAPANESE INTERMEDIATE CODE: A523 Effective date:20120217 | |
| TRDD | Decision of grant or rejection written | ||
| A01 | Written decision to grant a patent or to grant a registration (utility model) | Free format text:JAPANESE INTERMEDIATE CODE: A01 Effective date:20120306 | |
| A01 | Written decision to grant a patent or to grant a registration (utility model) | Free format text:JAPANESE INTERMEDIATE CODE: A01 | |
| A61 | First payment of annual fees (during grant procedure) | Free format text:JAPANESE INTERMEDIATE CODE: A61 Effective date:20120319 | |
| FPAY | Renewal fee payment (event date is renewal date of database) | Free format text:PAYMENT UNTIL: 20150413 Year of fee payment:3 | |
| R150 | Certificate of patent or registration of utility model | Free format text:JAPANESE INTERMEDIATE CODE: R150 |