
































この発明は、義歯の製造技術に関するものであり、義歯の製造過程に必要な蝋義歯を製造する分野は勿論のこと、その輸送、保管、組み立て、調整および装着、固定に必要となる設備、器具類を提供、販売する分野から、それら資材や機械装置、部品類に必要となる素材、例えば、木材、石材、各種繊維類、プラスチック、セラミックス、各種金属材料等を提供する分野、それらに組み込まれる電子部品やそれらを集積した制御関連機器の分野、各種計測器の分野、当該設備、器具を動かす動力機械の分野、そのエネルギーとなる電力やエネルギー源である電気、オイルの分野といった一般的に産業機械と総称されている分野、更には、それら設備、器具類を試験、研究したり、それらの展示、販売、輸出入に係わる分野、将又、それらの使用の結果やそれを造るための設備、器具類の運転に伴って発生するゴミ屑の回収、運搬等に係わる分野、それらゴミ屑を効率的に再利用するリサイクル分野などの外、現時点で想定できない新たな分野までと、関連しない技術分野はない程である。 TECHNICAL FIELD The present invention relates to a denture manufacturing technique, and not only the field of manufacturing wax dentures necessary for the denture manufacturing process, but also facilities and instruments necessary for its transportation, storage, assembly, adjustment, mounting and fixing. From the field that provides and sells materials, machinery, equipment, and materials required for parts, such as fields that provide wood, stone, various fibers, plastics, ceramics, various metal materials, etc. General industries such as the field of electronic components and control-related equipment that integrates them, the field of various measuring instruments, the field of the equipment, the power machine that moves the equipment, the field of electric power and energy as the energy, and the field of oil Fields collectively referred to as machinery, as well as testing and research of those facilities and equipment, fields related to their display, sales, import and export, generals, and their use As a result, it is not possible to envisage at the present time other than the fields related to the collection and transportation of garbage debris generated by the operation of the equipment and equipment to make it, and the recycling field where these garbage debris is efficiently reused. There are no new technical fields or unrelated technical fields.
  (着目点)
    我が国は現在、世界に類を見ないほど急速に高齢化が進み、多くの高齢者の健康維持と生活の質の向上とが求められるようになっており、特に義歯による口腔機能の回復は、栄養の健全な経口摂取を促し、心身の健康維持に欠くことのできない要素として歯科医療の中でも、最も社会的ニーズの高いものの一つに挙げることができよう。
    このように需要が高まる状況にあって、人工歯を用いた総義歯製造の現状は、各患者の性別や容貌に調和する前歯の審美性と十分な咀嚼機能性とを兼ね備えたものとしなければならず、その製造工程が複雑なものとなってしまい、完成するまでに多大な労力を要するものであった。(Points of interest)
 Japan is now aging faster than any other country in the world, and many elderly people are required to maintain their health and improve their quality of life. One of the most important social needs in dentistry can be cited as an indispensable element for promoting healthy oral intake of nutrition and maintaining mental and physical health.
 In this situation where demand is increasing, the current state of complete denture manufacturing using artificial teeth must have both the aesthetics of the front teeth and sufficient masticatory functionality in harmony with the gender and appearance of each patient. However, the manufacturing process becomes complicated, and a great deal of labor is required until completion.
例えば、一般的な総義歯の製造方法は、先ず始めに、治療対象となる上下無歯顎患者から機能印象によって得られた上下顎模型に基づき上下顎基礎床を作成し、該上下顎基礎床夫々に標準的寸法の咬合堤材を結合して上下顎咬合床を造り上げた後、患者口腔内の上下顎堤部に装着し、咬み合わせの高さ、歯列弓の大きさ、前歯部の位置などを調整し、上下顎の位置関係を記録した上下咬合床(堤)の中、上顎咬合床を咬合器咬合平面板上に載置し、上顎咬合堤の正中縁端を切歯指導標の先端に合わせ、上顎模型の正中線を咬合平面板の正中線と一致させると共に、同上顎咬合堤の大臼歯がわ左右奥端の夫々を、標準的上顎歯列弓形に合致するよう位置決めした上、上顎模型を石膏にて咬合器上弓に固定する。 For example, a general method for manufacturing a complete denture is to first create an upper and lower jaw base floor based on an upper and lower jaw model obtained from a functional impression from an upper and lower edentulous patient to be treated. After connecting the occlusal embankment materials of standard dimensions to build up the upper and lower jaw occlusal floors, they are mounted on the upper and lower jaw ridges in the patient's oral cavity, and the occlusal height, the size of the dental arch, the front teeth Place the maxillary occlusal floor on the articulator occlusal plane plate in the upper and lower occlusal floor (bank) where the position of the upper and lower jaws is recorded and adjust the position, etc. The midline of the maxillary model coincides with the midline of the occlusal plane plate, and the molar teeth of the maxillary occlusal ridge are positioned to match the standard maxillary dental arch shape. The upper jaw model is fixed to the upper arch of the articulator with plaster.
さらに、咬合平面板を取り外して上下顎咬合床を合わせ、下顎模型を咬合器下弓適正位置に固定した後に、再度、下顎模型を咬合器下弓から取り外し、咬合平面板を適正位置に取り付け、患者の性別や容貌、咀嚼、嚥下運動機能および審美性(発音機能の回復)などを総合的に考慮して人工歯を選択し、一歯分ずつまたは複数歯分ずつ地道に咬合堤の必要範囲だけ除去しながら、基準(咬合平面、咬合高径)を失わないよう、任意の咬合様式に則した歯槽頂間線の法則に従って力学的な考慮をはらい、人工歯列弓形状が舌、頬など筋、軟組織の運動を疎外しない中立帯といわれる位置で適切な巾径、長径となるよう設定するなど、様々な要素を含めて一本々々の人工歯の配置や歯軸角度、向きなどを悉く観察し、修整を加えながら排列して行くという複雑な工程を経なければならない。 Furthermore, after removing the occlusal plane plate, aligning the upper and lower jaw occlusal floors, fixing the lower jaw model to the appropriate position of the articulator lower arch, again removing the lower jaw model from the lower level of the articulator, attaching the occlusal plane plate to the appropriate position, Artificial teeth are selected by comprehensively considering the patient's gender and appearance, mastication, swallowing function and aesthetics (recovery of pronunciation function), and the necessary range of occlusal ridges to the ground by one tooth or multiple teeth In order not to lose the reference (occlusion plane, occlusal high diameter) while removing only the mechanical consideration according to the law of the alveolar line in accordance with any occlusal style, the artificial dental arch shape is tongue, cheek, etc. The placement of each artificial tooth, tooth axis angle, orientation, etc., including various elements, such as setting a suitable width and long diameter at a position called a neutral band that does not alienate the movement of muscles and soft tissues Observe and line up with corrections It must go through a complex process called.
このように、咬合器に対する三次元的配置、各歯軸の傾斜、捻転、更には審美的な要素にも配慮しながら28本の人工歯について一つずつワックスを軟化して排列してゆく作業は非常に煩雑であり、多くの時間と労力とを要するばかりでなく、高度な技術と高い熟練とが求められ、したがって個々の歯科技工士によって百人百様の排列ができ上がり、果たして所望の咬合様式どおりに各人工歯が適切に排列されているかどうかを客観的に検証することは難しく、義歯品質の安定や効率的な製造が非常に困難であった。 In this way, three-dimensional arrangement with respect to the articulator, inclination of each tooth axis, torsion, and the work of softening and arranging the wax one by one for 28 artificial teeth while taking into consideration aesthetic factors Is very cumbersome and requires not only a lot of time and effort, but also requires high skill and high skill, so that individual dental technicians can arrange hundreds of people and thus the desired occlusal mode Therefore, it was difficult to objectively verify whether each artificial tooth was properly arranged, and it was very difficult to stabilize the denture quality and to produce it efficiently.
  (従来の技術)
    その打開策となるようなものとして、咬合器の下弓および上弓に下顎および上顎の石膏模型を取付け、各種の規準線が画かれた透明板の位置を各石膏模型の咬合面に規制する支持手段を下弓および上弓に夫々設け、予め人工歯を蝋床に配列固定した人工歯配列体の蝋床を軟化させ、その湾曲が透明板上の規準線に適合するように調節して人工歯を透明板に固定し、その蝋床と上顎石膏模型との隙間に溶融ワックスを注入し、蝋床の形を整えて上顎蝋床義歯を得る一方、予め人工歯を蝋床に配列固定した人工歯配列体を用い、下顎石膏模型上に上顎石膏模型の上顎蝋床義歯と適正に咬合する下顎蝋床義歯を作り、これら蝋床義歯の蝋床を樹脂床に置換して義歯を得るようにし、人工歯が整然と適切な位置に植立され、咬合状態の良い義歯を、高度の熟練を要せずして能率的に製作可能とするようにした技術(例えば、特許文献1参照)提案されている。(Conventional technology)
 As a measure to overcome this, the lower and upper arches of the articulator are fitted with gypsum models of the lower jaw and the upper jaw, and the position of the transparent plate on which various reference lines are drawn is restricted to the occlusal surface of each gypsum model. Support means are provided on the lower arch and the upper arch, respectively, and the wax bed of the artificial tooth array in which the artificial teeth are arranged and fixed in advance on the wax bed is softened and adjusted so that its curvature matches the reference line on the transparent plate. The artificial tooth is fixed to a transparent plate, and molten wax is injected into the gap between the wax bed and the maxillary plaster model, and the wax bed is shaped to obtain an upper wax base denture, while the artificial teeth are fixed to the wax bed in advance. Using the prepared artificial tooth array, make a lower denture base denture that properly meshes with the upper base plaster model of the upper plaster model on the lower plaster model, and replace the wax base of the base plaster with a resin floor to obtain a denture So that the artificial teeth are neatly planted in appropriate positions and the dentures with good occlusion are Skilled The requiring not the set as the efficiently be manufactured by techniques (e.g., see Patent Document 1) is proposed.
また、上下臼歯人工歯種が解剖学的位置関係を保ちながら、上顎臼歯人工歯および下顎臼歯人工歯から突出部を有し、その突出部に支持部を形成し、上顎臼歯人工歯および下顎臼歯人工歯を歯科補綴学的位置関係に配置されたものとなし、義歯製作過程において、人工歯排列の簡略化を図って作業時間の大幅な短縮ができると共に、直接口腔内において咬合高径、即ち顎間距離を調整、決定しながら義歯を簡便に作製できるようにしたもの(例えば、特許文献2参照)や、咬合器の所定部位に人工歯排列器が取り付けられ、その人工歯排列器が人工歯用のシフト器具を備えていて、そのシフト器具は、傾斜角度と上下レベルとの中の少なくとも一方が調整可能になっているものとし、熟練者でなくとも、患者の歯の形と大小に応じ、一般的な排列理論に沿った排列を効率よく行えるようにしたもの(例えば、特許文献3参照)、更には、咬合床における床用蝋に可動軟化蝋によって形成した人工歯を植設し、蝋義歯を製作した後、該人工歯を硬質の人工歯と置換して患者の口腔内における人工歯の排列調整を容易にし、以て歯科医、歯科技工士の作業時間を短縮することができるようにしたもの(例えば、特許文献4参照)などが散見される。 In addition, while maintaining the anatomical positional relationship between the upper and lower molar artificial teeth, the upper molar artificial teeth and the lower molar artificial teeth have a protruding portion, and a supporting portion is formed on the protruding portion, and the upper molar artificial teeth and lower molars The artificial teeth are arranged in a dental prosthetic positional relationship, and in the denture manufacturing process, the artificial tooth arrangement can be simplified and the working time can be greatly shortened. A dental prosthesis can be easily prepared while adjusting and determining the intermaxillary distance (for example, see Patent Document 2), or an artificial tooth arrangement device is attached to a predetermined part of the articulator. A tooth shifting device is provided, and the shifting device can be adjusted at least one of an inclination angle and an upper and lower level. According to the general An arrangement in which arrangement according to the row theory can be performed efficiently (for example, see Patent Document 3), and artificial teeth formed by movable softening wax are implanted in the floor wax on the occlusal floor to produce a wax denture. After that, the artificial tooth is replaced with a hard artificial tooth so that the arrangement of the artificial teeth in the oral cavity of the patient can be facilitated, and the working time of the dentist and dental technician can be shortened. (See, for example, Patent Document 4).
    しかし、前者(特許文献1)は、咬合器の下顎模型弓および上顎模型枠の夫々に透明板用の支持手段を設ける必要があり、また、三番目に示したもの(特許文献3)は、咬合器の基本的構成要素に、人工歯用のシフト器具を有する人工歯排列器を追加したものであり、双方とも一般に広く利用されている咬合器に対し、特殊な部品を追加せずには効率的な義歯製作の実施ができないという欠点を有し、経済的な義歯の製造に結び付けるには、従来型の咬合器に改造や追加部品を取り付けたり、特殊部品が付属しているものを新たに購入したりする必要があったし、前記二番目に示したもの(特許文献2)は、上下の人工歯が着脱自在である接合部を有し、且つ接合時には歯科補綴学的位置関係に配置されるように規制した上下接合人工歯を準備する必要があり、一般に供給されている人工歯をそのまま使用できないという不都合な点があり、こうした特殊構造の人工歯を大量に生産、供給できるような市場の態勢が整わなければ経済的な実施ができないことになり、さらに、最後の技術(特許文献4)は、義歯製造の過程で、可動軟化蝋製の上下歯28歯の人工歯を既製の人工歯に合わせ、大きさや形態毎に複数種類ずつ合計128歯製造しなければならず、それら全ての製作には多大な工数を要することが懸念され、しかも可動軟化蝋製の人工歯を大量に生産して蓄えて置く必要があるなど、人工歯の位置調整作業の工数を削減できる一方で、可動軟化蝋製の人工歯を製造する作業工数が増加してしまい、義歯製作の総合的な作業効率を高めることが難しいという欠点を残すものであった。
  (問題意識)
    上述したとおり、従前までに提案のある各種義歯製作装置や義歯製作方法などの義歯製造技術は、咬合器に人工歯の排列の基準となり得る精密部品類を追加するなどして改良を加え、人工歯の排列作業を効率化しようとするものや、予め人工歯同士を排列状態に連結しておき、排列作業の作業性を高めようとするもの、または、排列した可動軟化蝋製の人工歯を、最終的に市販の硬質な人工歯に置換して義歯を製造する技術などを含む様々なものが開発されているが、何れも既存の一般的な咬合器や、市販の人工歯などをそのまま使用して実施することが不可能であり、経済的負担を増大してしまい、義歯製作の労働負担を軽減する効果も然程大きくないという欠点を有するものであり、既存の一般的な歯科医療機器類や歯科医療材などだけを用い、経済的且つ効率的に義歯を製造できる技術は、未だ存在していないという現状にある。(Awareness of problems)
 As mentioned above, denture manufacturing technologies such as various prosthetic devices and prosthetic manufacturing methods that have been proposed in the past have been improved by adding precision parts that can serve as a standard for artificial tooth arrangement to the articulator. To improve the efficiency of tooth arrangement work, or to connect artificial teeth in an arranged state in advance to improve the workability of arrangement work, or to arrange artificial teeth made of movable softened wax A variety of products have been developed, including a technology to manufacture dentures by finally replacing them with commercially available hard artificial teeth, but all of them use existing general articulators and commercially available artificial teeth as they are. It has the disadvantages that it cannot be used and implemented, increases the economic burden, and does not have a significant effect on reducing the labor burden of denture production. Only equipment and dental materials Using a technique that can be produced economically and efficiently dentures is the current situation that not yet exist.
  (発明の目的)
    そこで、この発明は、高度な熟練および経験を要さず、義歯の製造効率を大幅に改善すると共に、作業負担を大きく軽減し、審美性および咀嚼運動性の高い標準的な歯列弓形を、誰でも安定した品質で迅速に製作できる義歯製造技術の開発はできないものかとの判断から、逸速くその開発、研究に着手し、長期に渡る試行錯誤と幾多の試作、実験とを繰り返してきた結果、今回、遂に新規な蝋義歯の製造方法を実現化することに成功したものであり、以下では、図面に示すこの発明を代表する実施例と共に、その構成を詳述することとする。(Object of invention)
 Therefore, the present invention does not require a high level of skill and experience, greatly improves the manufacturing efficiency of dentures, greatly reduces the work burden, and provides a standard dental arch shape with high aesthetics and chewing motility, Judging whether it is possible to develop a denture manufacturing technology that anyone can manufacture quickly with stable quality, the results of the rapid start of its development and research, repeated trial and error over many years, and many trials and experiments This time, the present invention has finally succeeded inrealizing a newmethod for producing awax denture , and the configuration thereof will be described in detail below together with an embodiment representative of the present invention shown in the drawings.
  (発明の構成)
    図面に示すこの発明を代表する実施例からも明確に理解されるように、この発明の蝋義歯の製造方法は、基本的に次のような構成から成り立っている。
    即ち、機能印象によって得た上下顎模型に基づき上下顎基礎床を製作し、該上下顎基礎床夫々に標準的寸法の咬合堤材を結合して上下顎咬合床を形成してから患者の上下顎堤部に試着し、該上下顎咬合床の形状、寸法に修正を加えて顎位を採寸した後、該採寸値に基づき咬合器適正位置に取り付けた咬合平面板上適正位置に、該上顎咬合床を装着した上顎模型を載置して咬合器上弓に固定し、咬合平面板を取り外して上下顎咬合床を合わせ、下顎模型を咬合器下弓適正位置に固定した上、上下顎咬合床から夫々咬合堤を除去して一旦咬合器下弓の下顎模型を咬合平面板に交換し、同咬合平面板上に標準的上顎歯列弓形に設定され、底面を咬合平面に一致させた弾性素材製の馬蹄形であって、該底面とは反対がわとなる上面から底面に至る肉厚中に人工歯列位置決め用の型溝を、咬合器の咬合平面および顆頭に対し、任意の咬合様式に則した標準的歯列弓形、連接状に排列するよう刻設した上、左右後方端外面壁か、または、左右上顎臼歯人工歯群用の型溝範囲から左右後方端外面壁に至る範囲かの何れか一方に、上顎臼歯群歯槽頂線の位置を表示した左右の歯槽頂線表示部、および、左右のパウンドラインに一致する左右の下顎人工歯舌面表示部を夫々表示してなるものとした人工歯列用標準陰型を、その正中線が切歯指導釘、切歯指導標の尖端に一致し、且つ上顎大臼歯がわ左右端が歯槽頂間線法則に合致するよう位置決め載置し、該人工歯列用標準陰型の型溝中に歯並びに従って上顎人工歯を連接状に排列、嵌合し終えてから、軟化した適量の咬合堤材を上顎基礎床に装着すると略同時に、咬合器の上弓を切歯指導釘が切歯指導板に接するよう閉じ合わせ、咬合堤材を上顎基礎床と上顎人工歯群との間に挟み込むよう一体化して上顎蝋義歯を得た後、咬合器を開き、咬合平面板および人工歯列用標準陰型を取り外した下弓に当該下顎基礎床を装着した下顎模型を固定してから、上下顎咬合歯列弓形に倣う弾性素材製の馬蹄形であって、咬合器の顆頭に対して標準的歯列弓形に設定した上下顎何れか一方の基準人工歯列嵌合、位置決め用の基準歯列嵌着溝を、その上・底面何れか一方から上下肉厚中に達するよう連接状に排列、刻設すると共に、該上・底面何れか他方から任意の咬合様式に則して当該基準人工歯列に標準的に咬合可能な歯列弓形に設定した上下顎何れか他方の準拠人工歯列位置決め用の咬合歯列決定用型溝を連接状に排列、刻設してなる咬合嵌合位決定用陰型の基準歯列嵌着溝を上顎蝋義歯の人工歯列に嵌着し、同咬合嵌合位決定用陰型の咬合歯列決定用型溝の中に歯並びに従って下顎人工歯を連接状に排列、嵌合し終えてから、軟化した適量の咬合堤材を下顎基礎床に装着すると略同時に、咬合器の上下弓を切歯指導釘が切歯指導板に接するよう閉じ合わせ、当該咬合堤材を下顎基礎床と下顎人工歯群との間に挟み込むよう一体化させて下顎蝋義歯を得るようにした構成を要旨とする蝋義歯の製造方法である。(Structure of the invention)
 As clearly understood from the embodiments representing the present invention shown in the drawings, the wax denture manufacturing method of the present invention basically comprises the following configuration.
 That is, the upper and lower jaw base floors are manufactured based on the upper and lower jaw models obtained from the functional impressions, and the upper and lower jaw occlusal floors are joined to the upper and lower jaw base floors to form the upper and lower jaw occlusal floors. After fitting on the mandibular ridge and measuring the jaw position by modifying the shape and dimensions of the upper and lower jaw occlusal floor, the upper jaw was placed at the appropriate position on the occlusal plane plate attached to the appropriate position of the articulator based on the measured value. Place the upper jaw model with the occlusal floor and fix it to the upper arch of the articulator, remove the occlusal plane plate, align the upper and lower jaw occlusal floor, fix the lower jaw model at the appropriate position of the lower lower arch, and then occlude the upper and lower jaws Each occlusal levee was removed from the floor, and the lower jaw model of the articulator lower arch was replaced with an occlusal plane plate, and a standard maxillary dental arch shape was set on the occlusal plane plate, and the bottom surface was made to coincide with the occlusal plane It is a horseshoe shape made of material and has a thickness from the top surface to the bottom surface opposite to the bottom surface The dentitions for positioning the artificial dentition are engraved so that they can be arranged in a standard arch shape and articulated according to an arbitrary occlusion style with respect to the occlusal plane and condyles of the articulator, and the outer surfaces of the left and right rear ends Left and right alveolar crest line display section that displays the position of the maxillary molar group alveolar crest line on either the wall or the range from the mold groove area for the left and right maxillary molar artificial teeth to the outer wall on the left and right rear ends , And the left and right mandibular artificial tooth lingual surface display parts that correspond to the left and right pound lines, respectively The maxillary artificial teeth are positioned and placed so that the left and right ends of the maxillary molars match the alveolar line law, and the maxillary artificial teeth are connected according to the tooth arrangement in the standard negative mold groove for the artificial dentition After fitting and fitting, attach an appropriate amount of softened occlusal levee material to the upper floor of the upper jaw At about the same time, the upper arch of the articulator is closed so that the incisor guidance nail contacts the incisor guidance plate, and the occlusal levee is integrated between the upper base of the upper jaw and the upper artificial tooth group to obtain an upper jaw denture. After opening the articulator, fix the lower jaw model with the lower mandibular floor to the lower arch from which the occlusal plane plate and the standard dental prosthesis were removed,and then elastic material that imitates the upper andlower jaw occlusal dental arch It is made of horseshoe and has a standard dental arch fitting on either the upper or lower jaw set to a standard dental arch shape with respect to the condyle of the articulator. It is arranged and engraved in a connected manner so as to reach the upper and lower wall thickness from either one of the bottom surfaces, and it can be standardly occluded from the upper or bottom surface according to any occlusion style as standard Occlusal dentition determination mold for positioning the compliant prosthetic dentition of either the upper or lower jaw set in a dental arch An occlusal engagement position determination negative reference dentition insertiongroove formed by arranging and engraved grooves in an articulated manner is fitted to the maxillary wax artificial tooth, and the occlusal engagement position determination negative type After the mandibular prosthetic teeth have been articulated in the occlusal dentition determining groove, the upper and lower arches of the articulator are mounted almost simultaneously with the appropriate amount of the softened occlusal embankment on the lower mandibular floor. The incisor guidance nail is closed so that it touches the incisor guidance plate, and the occlusal levee material is integrated so as to be sandwiched between the mandibular foundation floor and the mandibular artificial tooth group to obtain a mandibular wax denture This is a method for producing a wax denture.
以上のとおり、この発明の蝋義歯の製造方法によれば、従前までは、患者の上下顎堤部への装着による測定値に基づき、咬合器上下弓の適正位置に上下顎基礎床が装着された上下顎模型を夫々固定し、患者への試着によって調整済みの咬合平面を失わないよう、人工歯1本分または複数本分に相当する範囲の咬合堤材を除去しながら、各人工歯の三次元的配置、各歯軸の傾斜、捻転、更には審美的な要素にも配慮し、必要に応じて咬合器下弓に咬合平面板を取り付け、上顎人工歯群の排列状態を確認し、上下顎前歯人工歯群および上下顎左右臼歯人工歯群の合計28本の上下顎人工歯について1本ずつ排列してゆくという地道な作業が不可欠であり、これら従前までの作業に依れば、非常に煩雑で多くの時間と労力とを要するばかりでなく、高度な技術と高い熟練とが求められ、歯科技工士の感覚や熟練度、および製造に費やした時間などによってその品質が大きく変化してしまい、でき栄えに大きな差を生じてしまう虞を孕んでいたが、この発明が包含する標準的上顎歯列弓形に設定された弾性素材製の人工歯列用標準陰型を、その正中線が切歯指導標の尖端に一致し、且つ上顎大臼歯がわ左右端が歯槽頂間線法則に合致するよう、咬合平面板上に位置決め載置し、該人工歯列用標準陰型の型溝中に歯並びに従って上顎人工歯を連接状に排列、嵌合し終えてから、軟化した適量の咬合堤材を上顎基礎床に装着すると略同時に、咬合器の上弓を切歯指導釘が切歯指導板に接するよう閉じ合わせ、咬合堤材を上顎基礎床と上顎人工歯群との間に挟み込むよう一体化して上顎蝋義歯を得るようにしたものとし、その作業効率を大幅に向上させ、しかも製作担当者の熟練度や感覚に左右されず、誰でも簡単に理想的な上顎人工歯排列を実現化することができるという大きな効果を奏するものとなる。 As described above, according to the wax denture manufacturing method of the present invention, the upper and lower jaw foundation floors have been mounted at the appropriate positions of the articulator upper and lower arches based on the measurement values obtained by mounting the patient on the upper and lower jaw ridges. The upper and lower jaw models are fixed, and the occlusal ridge material in the range corresponding to one or more artificial teeth is removed so as not to lose the adjusted occlusal plane by fitting to the patient. Considering the three-dimensional arrangement, inclination of each tooth axis, torsion, and aesthetic factors, if necessary, attach an occlusal plane plate to the lower arch of the articulator and check the arrangement of the maxillary artificial teeth group, The steady work of arranging the upper and lower jaw artificial teeth group and the upper and lower jaw left and right molar artificial teeth group in total 28 upper and lower jaw artificial teeth one by one is indispensable. Not only is it very cumbersome and takes a lot of time and effort, High degree of skill and high skill are required, and the quality may change greatly depending on the sense and skill of the dental technician, and the time spent on manufacturing, etc. However, the standard negative for artificial dentition made of an elastic material set in the standard maxillary arch shape encompassed by the present invention has a midline coincident with the apex of the incisor guidance mark, and the maxillary molar is Position and place on the occlusal flat plate so that the right and left ends conform to the alveolar crest line law, and arrange and fit the maxillary artificial teeth in a standard negative mold groove for artificial teeth according to the arrangement of teeth. At the same time when the softened appropriate amount of occlusal levee is attached to the maxillary foundation floor, the upper arch of the articulator is closed so that the incisor guidance nail touches the incisor guidance plate, and the occlusal levee is fixed to the upper basement floor To obtain a maxillary wax denture Great effect that greatly improves the work efficiency and can easily realize an ideal maxillary prosthetic arrangement without depending on the skill level and feeling of the person in charge of production. Will be played.
また、従前までであれば、下顎咬合堤の必要となる一部範囲毎を切除して咬合平面を維持しながら、上顎人工歯群との配置バランスや噛み合わせ、咀嚼、嚥下運動機能などを考慮し、且つ審美性を確保するよう、下顎人工歯の1本ずつを排列して行く作業は、上顎人工歯群の排列作業と同様、負担の大きなものであったが、この発明が包含する咬合嵌合位決定用陰型を使用するようにし、咬合平面板および人工歯列用標準陰型を取り外して下弓に当該下顎基礎床を装着した下顎模型を固定し、標準的歯列弓形に設定された弾性素材製咬合嵌合位決定用陰型の基準歯列嵌着溝を上顎蝋義歯の人工歯列に嵌着し、同咬合嵌合位決定用陰型の咬合歯列決定用型溝の中に歯並びに従って下顎人工歯を連接状に排列、嵌合し終えてから、軟化した適量の咬合堤材を下顎基礎床に装着すると略同時に、咬合器の上下弓を切歯指導釘が切歯指導板に接するよう閉じ合わせ、当該咬合堤材を下顎基礎床と下顎人工歯群との間に挟み込むよう一体化して下顎蝋義歯を得るようにしたものであり、上顎蝋義歯に対して理想的な咬合嵌合位を呈する下顎蝋義歯を迅速且つ簡単に製造でき、上下蝋義歯の双方ともが、何度でも同一の人工歯排列で簡便且つ迅速に再現することができるようになり、従前までの技術では全く不可能とされてきた総義歯の安定的な量産を確実に達成可能とすることができるという大きな特徴を得ることができる。 In addition, until now, considering the placement balance and meshing with the maxillary artificial teeth group, mastication, swallowing movement function, etc., while maintaining the occlusal plane by excising part of the required range of the lower jaw occlusal levee However, the work of arranging each of the mandibular artificial teeth one by one so as to ensure aesthetics was a heavy burden as with the arrangement of the maxillary artificial teeth, but the occlusion included in the present invention Use the negative model for determining the mating position, remove the occlusal plane plate and the standard dental mold for artificial dentition, fix the lower jaw model with the lower mandibular base floor to the lower arch, and set it to the standard dental arch shape The occlusal fitting position determination mold groove for determining the occlusal fitting position is inserted into the artificial dental dentition of the maxillary wax denture with the negative reference tooth insertion groove for determining the occlusal fitting position made of elastic material. After arranging and fitting the mandibular artificial teeth in a connected manner according to the tooth arrangement in the tooth, an appropriate amount of softened At the same time that the joint bank is mounted on the mandibular basement floor, the upper and lower arches of the articulator are closed so that the incisor guidance nail contacts the incisor guidance board, and the bite bank is placed between the mandibular basement floor and the mandibular artificial teeth group. A mandibular wax denture is obtained by being integrated with the upper jaw denture, and a mandibular wax denture having an ideal occlusal fitting position with respect to the maxillary wax denture can be manufactured quickly and easily. However, it becomes possible to reproduce easily and quickly with the same artificial tooth arrangement as many times as possible, and it is possible to reliably achieve stable mass production of complete dentures, which has never been possible with conventional techniques. The big feature that it can be obtained.
加えて、人工歯列用標準陰型を充分に軟質な弾性素材製のものとし、その柔軟性を利用して自在に伸縮変形しながら、顎堤の大きさに合わせて咬合平面板上の適正位置に位置決めすることができ、しかも型溝にサイズの異なる上顎人工歯群を簡単に嵌着でき、また、咬合嵌合位決定用陰型を適度に硬質な弾性素材製のものとしたものでは、排列を終了し上顎咬合堤に固定した上顎人工歯群に基準歯列嵌着溝を嵌着すると共に、咬合歯列決定用型溝に下顎人工歯群を嵌着し、互いの咬合嵌合位を充分な強度で正確に維持可能とする上、排列作業中における咬合器の上下反転にも、その嵌着状態を確実に維持し、より精密な咬合嵌合位を再現することができるという効果を発揮できる。 In addition, the standard negative mold for artificial dentition is made of a sufficiently soft elastic material, and the flexibility on the occlusal plane plate according to the size of the jaw ridge while freely expanding and contracting. It can be positioned at the same position, and the maxillary artificial teeth group of different sizes can be easily fitted in the mold groove, and the negative mold for determining the occlusal fitting position is made of a moderately hard elastic material. The standard dentition groove is inserted into the maxillary artificial tooth group that has been arranged and fixed to the maxillary occlusal ridge, and the mandibular artificial tooth group is inserted into the occlusal dentition determining groove, and the occlusal fitting is performed. In addition to being able to accurately maintain the position with sufficient strength, it is possible to reliably maintain the fitting state even when the articulator is turned upside down during the arrangement work, and to reproduce the more precise occlusal fitting position. The effect can be demonstrated.
そして、この発明に包含される人工歯列用標準陰型によれば、前述のとおり、この発明の蝋義歯の製造方法における上顎蝋義歯の製造工程を大幅に効率化することができると共に、歯科医療用材料にて簡単且つ低廉に製造可能であって、しかも従来型の咬合器と、それに付属する咬合平面板や切歯指導釘、切歯指導板、切歯指導標との組み合わせによって、誰にでも簡単且つ経済的に、患者個々人毎の性別や容貌に理想的で審美性、咀嚼機能性にも秀れた標準的な上顎人工歯排列を有する上顎蝋義歯を、正確に何度でも効率的に製造することが可能となるという利点が得られる。 And, according to the standard negative mold for artificial dentition included in the present invention, as described above, the manufacturing process of the maxillary wax denture in the wax denture manufacturing method of the present invention can be greatly improved, and the dental It can be manufactured easily and inexpensively with medical materials, and anyone can use a conventional articulator in combination with an occlusal plane plate, incisor guidance nail, incisor guidance plate, and incisor guidance mark attached to it. Efficiently and efficiently, maxillary wax dentures with a standard maxillary prosthesis arrangement that is ideal for the gender and appearance of each individual patient, with excellent aesthetics and chewing functionality The advantage that it can be manufactured automatically is obtained.
    また、該人工歯列用標準陰型は、馬蹄形をなす本体を無色透明または有色透明な弾性素材製のものとしてあり、上下顎模型や咬合平面板に表示した上顎臼歯群歯槽頂線やパウンドラインなどを透視可能なものとなり、不透明素材製の場合に比較し、より高精度且つ簡単に位置決めできるものとなる。
    そしてまた、左右頬側外壁面の左右第2臼歯後縁相当個所に夫々第2大臼歯奥縁表示部を設けるか、または、唇側ないし左右頬側外壁面の上顎前歯人工歯群から左右上顎臼歯人工歯群夫々の第2臼歯後縁に至る範囲に渡り、第2大臼歯奥縁表示帯を表示するかの何れか一方に設定されてなるものとしてあり、上顎咬合床の大きさに適するサイズの人工歯列用標準陰型を正確で迅速に選択することができるようになり、作業効率を一段と高めるものとなる。In addition, the standard negative mold for artificial dentition has a horseshoe-shaped body made of a colorless transparent or colored transparent elastic material, and the maxillary molar alveolar crest line and the pound line displayed on the upper and lower jaw models and the occlusal plane plate Can be seen through, and can be positioned more accurately and easily than in the case of an opaque material.
 In addition, a second molar back edge display portion is provided at a position corresponding to the rear edge of the left and right second molars on the left and right buccal side outer wall surfaces, or left and right upper jaws from the upper anterior artificial teeth group on the lip side or left and right buccal side outer wall surfaces. It is set to display either the second molar back edge display band over the range up to the second molar rear edge of each molar artificial tooth group, and is suitable for the size of the upper occlusal floor It becomes possible to select a standard negative mold for artificial dentition of a size accurately and quickly, thereby further improving work efficiency.
人工歯列用標準陰型の左右後方端外面壁か、または、左右上顎臼歯人工歯群用の型溝範囲から左右後方端外面壁に至る範囲かの何れか一方に、上顎臼歯群歯槽頂線の位置を表示した左右の歯槽頂線表示部、および、左右のパウンドラインに一致する左右の下顎人工歯舌面表示部を夫々表示してなるものであり、咬合平面板上に載置する場合に、上下顎模型や咬合平面板に表示した上顎臼歯群歯槽頂線やパウンドラインに、歯槽頂線表示部ならびに下顎人工歯舌面表示部を一致させるだけで該人工歯列用標準陰型の左右後方端を、より高精度に位置決めできるものとなるという特徴を発揮する。 The maxillary molar alveolar crest line on either the standard negative left / right posterior end outer wall of the artificial dentition or the range from the mold groove area for the left / right maxillary molar artificial tooth group to the left / right posterior end outer wall When displaying the left and right alveolar crest line display part displaying the position of the left and right, and the left and right mandibular prosthetic surface display part corresponding to the left and right pound lines, respectively, when placed on the occlusal plane plate In addition, by simply aligning the alveolar crest line display part and the mandibular prosthetic surface display part with the maxillary molar group alveolar crest line and the pound line displayed on the upper and lower jaw models and the occlusal plane plate, The feature is that the left and right rear ends can be positioned with higher accuracy.
また、この人工歯列用標準陰型は、その底面を咬合器咬合平面板上の所定個所に装着した場合に、同人工歯列用標準陰型の切歯指導標尖端に対応する上顎中切歯近心隅角間の唇側となる個所に、上面から底面に貫通し、且つ型溝に達する深さの正中線位置決め溝を刻設してなるものとし、該人工歯列用標準陰型の咬合器咬合平面板上への位置決めを、より高精度に行うことが可能となり、特に上顎咬合床に対する上顎左右中切歯を始めとする上顎人工歯列を、標準的排列に正確に位置決めすることができ、排列ミスの無い上顎蝋義歯を短時間で安定的に生産可能にするという効果が得られる。 In addition, this standard dental mold for artificial dentition, when the bottom surface is mounted at a predetermined location on the articulator occlusal flat plate, maxillary central incision corresponding to the incisor guidance tip of the standard dental mold for artificial dentition A midline positioning groove having a depth that penetrates from the top surface to the bottom surface and reaches the mold groove is engraved at a location on the lip side between the mesial corners of the tooth. Positioning on the articulator occlusal plane plate can be performed with higher accuracy, and in particular, maxillary artificial dentitions such as maxillary left and right central incisors with respect to the maxillary occlusal floor can be accurately positioned in the standard arrangement. Thus, the effect of making it possible to stably produce maxillary wax dentures without misplacement in a short time is obtained.
更に、この人工歯列用標準陰型は、その最も奥の左右大臼歯の後部相当個所の夫々に、咬合器咬合平面板上に位置決めおよび仮固定を可能とする仮止め機構を組み込むようしてあり、咬合器咬合平面板上への位置決めを、より正確且つ簡便に行えるものとし、特に、咬合器の適所に固定した上顎模型に装着された上顎咬合床に対する人工歯列用標準陰型の左右奥がわの上顎臼歯人工歯群の排列を、咬合力学的および咀嚼運動的に、より的確で、頬や舌、咬合筋、顎骨など周辺の筋、軟、骨組織にも違和感の無い、正常な配置にすることができる利点がある。 Furthermore, this standard negative mold for artificial dentition incorporates a temporary fixing mechanism that enables positioning and temporary fixation on the articulator occlusal flat plate at each of the rear part corresponding to the rear part of the left and right molars. Yes, the positioning on the occlusal flat plate of the articulator can be performed more accurately and easily. In particular, the left and right sides of the standard negative for artificial dentition with respect to the maxillary occlusal floor mounted on the maxillary model fixed in place at the articulator The arrangement of the artificial molars of the upper molars of Okugawa is more accurate in terms of occlusal dynamics and chewing movements, normal to the cheeks, tongue, occlusal muscles, jaw muscles and other surrounding muscles, soft, and bone tissue, normal There is an advantage that can be arranged in a simple manner.
型溝が、各人工歯の唇面または頬面から舌面の最大豊隆部に嵌合可能な深さに形成されてなる人工歯列用標準陰型を使用したものでは、各人工歯を該型溝中に、より正確に嵌着し、個々の人工歯の取り付け位置、向き、歯軸角度などを一段と正確に維持、仮固定することができると共に、不用意な脱抜や脱落を確実に防止して作業効率を格段に高めることができる。 In the case of using a standard negative mold for artificial dentition in which the mold groove is formed to a depth that can be fitted from the lip surface or cheek surface of each artificial tooth to the maximum ridge of the tongue surface, each artificial tooth is Fits in the mold groove more accurately, and can maintain and temporarily fix the mounting position, orientation, tooth axis angle, etc. of each artificial tooth more accurately, and ensure inadvertent removal and dropping It can prevent and work efficiency can be improved significantly.
当該人工歯列用標準陰型の型溝を、各人工歯の切端や咬合面の必要個所が咬合平面に一致する配置となるよう、底面適所に貫通窓が開口されてなるものでは、患者からの咬合採取および測定によって得られた咬合平面上に上顎人工歯群をより正確に排列可能とし、最も理想的な標準的上顎歯列弓形態を再現できるという秀れた特徴を得ることができるものとなる。 In the case where the penetration hole is opened at the appropriate position on the bottom so that the cut edge of each artificial tooth and the necessary part of the occlusal surface coincide with the occlusal plane, It is possible to obtain an excellent feature that the maxillary artificial teeth can be arranged more accurately on the occlusal plane obtained by occlusal sampling and measurement, and the most ideal standard maxillary arch form can be reproduced It becomes.
人工歯列用標準陰型を、左右の犬歯型溝部と第一小臼歯型溝部との間夫々に、頬・唇側および舌側双方の外面壁から型溝内壁付近に至る平面形ノッチ状の脆弱部を刻設し、歯列弓の曲率を変更容易になるよう形成したものでは、一形式の人工歯列用標準陰型であっても、患者個々人毎に異なる顎形状および寸法に自在に変形対応可能となり、様々な咬合様式に則した標準的上顎歯列弓形態を容易に再現できる上、審美性ならびに咬合力学的にも秀れた上顎蝋義歯を、より効率的に生産可能とすることができる。 The standard negative mold for artificial dentition has a flat notch shape between the left and right canine-shaped grooves and the first premolar-shaped groove, from the outer wall on both the cheek / lip side and lingual side to the vicinity of the inner wall of the groove. In the case where the weak part is engraved and the curvature of the dental arch is made easy to change, even if it is a standard negative type for artificial dentition, it can be freely adjusted to different jaw shapes and dimensions for each patient It can be deformed, can easily reproduce the standard maxillary dental arch form according to various occlusal styles, and can more efficiently produce maxillary wax dentures with excellent aesthetics and occlusal dynamics be able to.
そして、この発明に包含される咬合嵌合位決定用陰型によれば、この発明の蝋義歯の製造方法における下顎蝋義歯の製造工程を大幅に効率化することができると共に、歯科医療用材料にて簡単且つ低廉に製造可能であって、先に製造した上顎蝋義歯の上顎人工歯列に、任意の咬合様式に則した標準的上顎歯列弓形態で咬合可能な下顎人工歯列を、熟練度に拘わらず誰でも高精度且つ簡単に再現することができ、しかも何度でも正確に同じ下顎蝋義歯を効率的に製造可能になるという秀れた効果を発揮するものとなる。 According to the negative mold for determining the occlusal fitting position included in the present invention, the manufacturing process of the lower jaw denture in the wax denture manufacturing method of the present invention can be greatly improved, and the dental medical material A mandibular prosthesis that can be easily and inexpensively manufactured, and can be occluded in the form of a standard maxillary arch conforming to an arbitrary occlusion mode, to the maxillary prosthesis of the maxillary wax denture previously manufactured, Regardless of the level of skill, anyone can reproduce it with high accuracy and ease, and the excellent effect that the same mandibular wax denture can be efficiently manufactured many times accurately will be exhibited.
当該咬合嵌合位決定用陰型の基準歯列嵌着溝および咬合歯列決定用型溝を、各人工歯の唇面または頬面から舌面の最大豊隆部に嵌合可能な深さに形成したものでは、基準歯列となる上顎人工歯列に対して基準歯列嵌着溝を確りと精密に嵌着することができ、上下顎人工歯の互いの咬合嵌合位を、任意の咬合様式に則した標準的上下顎歯列弓形態に高精度で決定可能となり、しかも咬合歯列決定用型溝中に各下顎人工歯を確実に嵌着し、不用意な姿勢変化や脱抜、脱落などを未然に防止し、製造工程中に咬合器を上下反転や開閉操作した場合にも、それら嵌合姿勢を正確に維持可能であって、一段と精度に秀れた蝋義歯の製造を実現可能とするものとなる。 The occlusal fitting position-determining negative reference dentition insertion groove and the occlusal dentition determination groove are set to a depth that allows fitting from the labial or cheek surface of each artificial tooth to the maximum ridge of the tongue surface. In the formed one, the reference dentition groove can be securely and precisely fitted to the maxillary prosthesis as the reference dentition, and the occlusal fitting positions of the upper and lower jaw artificial teeth can be arbitrarily set. It is possible to determine the standard upper and lower maxillary arch form in accordance with the occlusal style with high accuracy, and each mandibular artificial tooth is securely fitted in the occlusal dentition determining groove to prevent inadvertent posture change or withdrawal. , Prevent falling off, etc., and even when the articulator is turned upside down or opened and closed during the manufacturing process, it is possible to maintain the fitting posture accurately and manufacture wax dentures with even higher accuracy. It becomes feasible.
また、咬合嵌合位決定用陰型の基準歯列嵌着溝および咬合歯列決定用型溝を、その上下顎各人工歯の切端や咬合面の咬合、接合個所で互いに連通する貫通窓が開口したものでは、上顎蝋義歯を製造する段階で設定していた咬合平面を基準として正確に排列された上顎人工歯列の適所に、各貫通窓を通じて直接、咬合接触するよう下顎人工歯群を適切な配置、姿勢に排列することができ、確りと確実に咬合可能な咬合嵌合位を実現化し、上下顎蝋義歯の調整に要する時間と工数とを、さらに大幅に削減するという利点が得られる。 In addition, the negative reference dentition insertion groove and the occlusal dentition determination groove for determining the occlusal fitting position are connected to the cut ends of the upper and lower jaw artificial teeth, the occlusal surface of the occlusal surface, and through-holes that communicate with each other at the joint. In the case of the open mouth, the mandibular prosthetic group was placed so that the occlusal contact was made directly through each penetration window at the appropriate position of the maxillary prosthesis that was accurately arranged with reference to the occlusal plane set at the stage of manufacturing the maxillary wax denture. Realizing an occlusal engagement position that can be arranged in an appropriate arrangement and posture, and can be reliably and reliably occluded, and further reduce the time and man-hours required to adjust the upper and lower jaw wax dentures. It is done.
加えて、咬合嵌合位決定用陰型左右の上顎犬歯型溝部とそれに隣接する上顎第一小臼歯型溝部との間夫々に、頬・唇側および舌側双方の外面壁から型溝内壁付近に至る平面形ノッチ状の脆弱部を刻設して歯列弓の曲率を変更容易になるよう形成し、上顎蝋義歯の製造段階で、患者個々人の上顎堤の形状および寸法に合わせて当該人工歯列用標準陰型を、その左右脆弱部を利用して変形、対応させて作製した上顎蝋義歯の上顎人工歯列の形態に応じ、該咬合嵌合位決定用陰型も、その左右脆弱部を変形させて容易、高精度に嵌着することができ、しかも上顎人工歯列(基準歯列嵌着溝)弓形に合わせて一体に刻設された下顎人工歯列(咬合歯列決定用型溝)弓形も同様に変形し、正確な咬合嵌合位を得ることができ、従前までであれば上下顎人工歯群の適切な咬合嵌合位を得るまで多大な労力と時間とを費やさなければならなかったものが、こうした作業負担を一挙に解消し、上下顎蝋義歯の生産性を格段に向上させるものとすることができる。 In addition, between the left and right maxillary canine grooves on the left and right sides of the negative mold for determining the occlusal fitting position and the upper first premolar groove, adjacent to the inner wall of the mold groove from the outer wall on both the cheek / lip side and lingual side In order to make it easy to change the curvature of the dental arch, the artificial notch is made in accordance with the shape and dimensions of the maxillary ridge of each patient. Depending on the shape of the maxillary artificial denture of the maxillary wax denture, which is produced by deforming and responding to the standard negative mold for the dentition, the negative mold for determining the occlusal fitting position is also weakened Can be easily and accurately fitted by deforming the upper part, and the mandibular prosthetic dentition (for determining the occlusal dentition) that is integrally engraved in accordance with the arch shape Ditch) The arcuate shape is deformed in the same way, and an accurate occlusal fitting position can be obtained. What had to spend a great deal of effort and time to obtain the proper occlusal position of the tooth group would alleviate these workloads and improve the productivity of upper and lower jaw wax dentures at once. It can be.
    上記したとおりの構成からなるこの発明の実施に際し、その最良もしくは望ましい形態について説明を加えることにする。
    蝋義歯の製造方法は、咬合器の咬合平面板上に標準的上顎歯列弓形に設定された弾性素材製の人工歯列用標準陰型を、その正中線が切歯指導釘、切歯指導標の尖端に一致し、且つ上顎大臼歯がわ左右端が歯槽頂間線法則に合致するよう位置決め載置し、該人工歯列用標準陰型の型溝中に歯並びに従って上顎人工歯を連接状に排列、嵌合し終えてから、軟化した適量の咬合堤材を上顎基礎床に装着すると略同時に、咬合器の上弓を切歯指導釘が切歯指導板に接するよう閉じ合わせ、咬合堤材を上顎基礎床と上顎人工歯群との間に挟み込むよう一体化して上顎蝋義歯を得た後、咬合器を開き、咬合平面板および人工歯列用標準陰型を取り外した下弓に当該下顎基礎床を装着した下顎模型を固定し、標準的歯列弓形に設定された弾性素材製咬合嵌合位決定用陰型の基準歯列嵌着溝を、上顎蝋義歯の人工歯列に嵌着し、同咬合嵌合位決定用陰型の咬合歯列決定用型溝の中に歯並びに従って下顎人工歯を連接状に排列、嵌合し終えてから、軟化した適量の咬合堤材を下顎基礎床に装着すると略同時に、咬合器の上下弓を切歯指導釘が切歯指導板に接するよう閉じ合わせ、当該咬合堤材を下顎基礎床と下顎人工歯との間に挟み込むよう一体化させて下顎蝋義歯を得るという工程を経るものであるが、当該人工歯列用標準陰型が下顎人工歯群の排列を決定するものとし、先に下顎蝋義歯を得た後に、該下顎人工歯列に基準歯列嵌着溝を嵌合させて咬合嵌合位決定用陰型を装着し、同咬合嵌合位決定用陰型の咬合歯列決定用型溝の中に歯並びに従って上顎人工歯を連接状に排列、嵌合し終えてから、当該咬合堤を上顎基礎床と上顎人工歯群との間に挟み込むよう咬合器を閉じ合わせて一体化し、上顎蝋義歯を得るという工程を経るよう設定することも可能である。In implementing the present invention having the above-described configuration, the best or desirable mode will be described.
 The wax dentures are manufactured using a standard negative model for artificial dentition made of elastic material on the occlusal flat plate of the articulator, and the midline is the incisor guidance nail and incisor guidance. Position and place it so that it matches the apex of the mark and the left and right ends of the maxillary molars match the alveolar line law, and connect the maxillary artificial teeth according to the tooth arrangement in the standard negative mold groove for the artificial dentition After fitting and fitting, the appropriate amount of the softened occlusal levee is attached to the upper floor of the upper jaw. At the same time, the upper arch of the articulator is closed so that the incisor guidance nail contacts the incisor guidance plate, and occlusion After obtaining the maxillary wax denture by integrating the levee between the maxillary foundation floor and the maxillary artificial tooth group, open the articulator, and remove the occlusal plate and the standard shade for the artificial dentition into the lower arch An occlusal fitting made of an elastic material set to a standard dental arch shape, fixing the mandibular model to which the mandibular foundation floor is attached The decision-type negative reference dentition insertion groove is inserted into the maxillary wax denture artificial dentition, and the mandibular artificial tooth according to the arrangement of teeth in the occlusal dentition determination mold groove for determining the occlusal fitting position After fitting and fitting, the appropriate amount of the softened occlusal levee is mounted on the lower mandibular floor, and at the same time, the upper and lower arches of the articulator are closed so that the incisor guidance nail contacts the incisor guidance plate. The occlusal levee material is integrated so as to be sandwiched between the mandibular foundation floor and the mandibular artificial tooth to obtain a mandibular wax denture. After obtaining the lower jaw denture first, after fitting the reference denture groove into the lower jaw artificial dental row and attaching the negative mold for determining the occlusal fitting position, the same occlusal fitting After disposing and fitting the maxillary artificial teeth in a concatenated manner according to the tooth arrangement in the occlusal dentition determining mold groove for positioning determination, The 該咬 Gotsutsumi integrally combined closed articulator as to sandwich between the maxillary baseplate and maxillary artificial teeth, it is possible to set so that through the process of obtaining maxillary wax denture.
当該上下顎蝋義歯の製造過程中の何れかの段階で、支障無い範囲において必要に応じて適宜上下顎基礎床を着脱し、咬合器を開閉し、または上下反転するなどの操作を、自由に行うことが可能であり、また、各作業工程の順序を入れ替えても実質的に同等に作業を進めることができる場合には、作業手順を前後させることができ、例えば、咬合平面板上適正位置に上顎咬合床を装着した上顎模型を載置して咬合器上弓に固定する工程では、咬合平面板上適正位置に上顎咬合床を載置した後に上顎模型を装着し、咬合器上弓に固定することが可能であり、工程の前後変更によって作業効率に多少の差を生ずる虞がある場合には、より効率の良い作業手順を選択すべきであり、更に、上下顎の各咬合堤は、夫々の基礎床と人工歯群とを結合、硬化した直後から、上下顎蝋義歯が完成するまでの間の何れかの段階に、歯肉状の外観を得て審美性や咀嚼運動性を確保できるよう成形することができる。 At any stage during the manufacturing process of the upper and lower jaw dentures, you can freely perform operations such as attaching and detaching the upper and lower jaw base floor as needed, opening and closing the articulator, or upside down as needed. If the work procedure can be carried out substantially equivalently even if the order of each work process is changed, the work procedure can be moved back and forth, for example, the proper position on the occlusal plane plate In the process of placing the upper jaw model with the upper jaw occlusal floor and fixing it to the upper arch of the articulator, the upper jaw occlusal floor is placed at the appropriate position on the occlusal plane plate, and then the upper jaw model is attached to the articulator upper arch. If there is a possibility that the work efficiency may be slightly changed by changing the process before and after the process, a more efficient work procedure should be selected. Combines and hardens each foundation floor and artificial teeth From immediately after, in any stage of until the upper and lower jaws wax denture is completed, it can be shaped so that it can ensure the aesthetic and chewing property to give a gum-like appearance.
人工歯列用標準陰型は、上下顎の何れか基準となる一方の顎に対し、該当する顎用の人工歯群を任意の咬合様式に則した標準的歯列弓形に排列するよう正確に位置決め可能とするものであり、より具体的には、咬合器の咬合平面板上の適所に装着し、対象となる、例えば上顎模型に装着した上顎基礎床に対する上顎人工歯群の標準的排列を正確且つ迅速に誘導、決定可能とする機能を果たすものであり、その全体は、複数本の人工歯からなる人工歯群を容易且つ同時に正確に保持可能とし、基礎床がわに各人工歯が結合した後には簡単に離脱可能であって複数回に亘る利用が可能なシリコン樹脂、天然ゴム、合成ゴム、ウレタン樹脂などの各種合成樹脂製の弾性素材からなるのもとし、全体の平面形状が基礎床堤部に対応する馬蹄形であって、その底面を咬合平面に一致し、該底面とは反対がわとなる上面から底面に至る肉厚中に人工歯列位置決め用の型溝を、咬合器の咬合平面および顆頭に対し、任意の咬合様式に則した標準的上顎歯列弓形、連接状に排列するよう刻設してなるものとしなければならず、望ましくは個々の患者の堤部サイズや形状に応じて自在に伸縮、変形できるよう充分に軟質で無色透明、または有色透明な弾性を有する歯科医療用素材製のものとするのがよい。 The standard denture for artificial dentition is accurately arranged to arrange the artificial teeth for the corresponding jaw in a standard dental arch shape according to any occlusal style for one of the upper and lower jaws. More specifically, the standard arrangement of the maxillary artificial teeth group attached to an appropriate position on the occlusal plane plate of the articulator and the target upper basement floor attached to the maxillary model, for example, is set. It functions to enable accurate and quick guidance and determination, and the whole makes it possible to easily and accurately hold a group of artificial teeth composed of a plurality of artificial teeth. It is made of an elastic material made of various synthetic resins such as silicon resin, natural rubber, synthetic rubber, urethane resin that can be easily detached after bonding and can be used multiple times. A horseshoe shape corresponding to the foundation floor The groove for positioning the artificial dentition in the wall thickness from the top surface to the bottom surface opposite to the bottom surface coincides with the occlusal plane, with respect to the occlusal plane and condyles of the articulator. Standard maxillary dental arch shape according to the occlusal style, it should be engraved so that it can be arranged in an articulated manner, and it can be expanded, contracted and deformed freely according to the size and shape of the individual ridge It is preferably made of a dental material having sufficient elasticity and colorless and transparent or colored and transparent elasticity.
加えて、より高精度の人工歯排列を実現可能な人工歯列用標準陰型とするには、その型溝の底面適所に、各人工歯の切端や咬合面の必要個所を咬合平面に一致する配置とし、それら一致個所に貫通窓を開口してなるものとするのが良く、咬合平面板に人工歯をより確実に接触させるため、当該貫通窓は、実際の接触面積より僅かに大きく開口したものとするのが望ましく、また、咬合器の咬合平面板上適正位置に装着し、同咬合器を閉じたときに切歯指導釘の切歯指導標先端と干渉しないよう、咬合器咬合平面板上の所定個所に底面を装着した場合に、切歯指導標尖端に対応する上顎中切歯近心隅角間の唇側となる個所に、上面から底面に貫通し、且つ型溝に達する深さの正中線位置決め溝を刻設してなるものとし、さらに、最も奥の左右大臼歯の後部相当個所の夫々に、咬合器咬合平面板上に位置決めおよび仮固定を可能とする仮止め機構が組み込まれてなるものとするのがよい。 In addition, in order to obtain a standard negative mold for artificial dentition that can realize a higher accuracy of artificial tooth arrangement, the cut edge of each artificial tooth and the necessary part of the occlusal surface coincide with the occlusal plane at the appropriate bottom of the mold groove. In order to make the artificial teeth contact the occlusal plane plate more reliably, the through window is opened slightly larger than the actual contact area. In addition, the occlusal occlusal plane should be installed so that it does not interfere with the tip of the incisor guidance nail of the incisor guidance nail when the articulator is mounted at an appropriate position on the occlusal plane plate and closed. Depth that penetrates from the top surface to the bottom surface and reaches the mold groove at the lip side between the maxillary central incisors corresponding to the incisal guidance index tip when the bottom surface is mounted at a predetermined location on the face plate The middle line positioning groove is engraved, and the innermost To each of the rear corresponding points of the teeth, it is preferable assumed that temporary fixing mechanism is incorporated to enable the positioning and temporary fixing the articulator occlusal plane board.
人工歯列用標準陰型の底面は、該人工歯列用標準陰型を咬合器咬合平面板上に安定且つ正確に位置決め装着可能とし、咬合平面板上面と人工歯群用型溝との位置関係を精密に維持可能とする機能を果たし、咬合平面板上面に対する充分な接合面積を確保可能なものとしなければならず、咬合平面板面に密着可能な平滑面状に仕上げられたものとするのが望ましく、また、同人工歯列用標準陰型の上面は、人工歯群を排列しようとするときに基礎床(堤)に干渉しない形状とすべきであり、人工歯群の確実な位置決めと安定保持とを実現可能とするよう、各人工歯の唇面または頬面から舌面の最大豊隆部よりも歯槽面がわ寄りとなる位置に設定したものとすると好都合のものとなる。 The bottom surface of the standard dental mold for artificial dentition enables the positioning of the standard dental mold for artificial dentition on the articulator occlusal plane plate in a stable and accurate manner, and the position of the top surface of the occlusal plane plate and the mold groove for the artificial tooth group It must function to maintain the relationship precisely, and it must be able to secure a sufficient joint area with the upper surface of the occlusal plane plate, and it should be finished to a smooth surface that can adhere to the occlusal plane plate surface. In addition, the upper surface of the standard negative mold for the artificial dental dentition should have a shape that does not interfere with the foundation floor (bank) when attempting to arrange the artificial dental dentition. It is advantageous to set the alveolar surface at a position closer to the ridge surface or cheek surface of each artificial tooth than the maximum bulge portion of the tongue surface so as to realize stable maintenance.
該人工歯列用標準陰型は、その左右後方端外面壁か、または、左右上顎臼歯人工歯群用の型溝範囲から左右後方端外面壁に至る範囲かの何れか一方に、上顎臼歯群歯槽頂線の位置を表示した左右の歯槽頂線表示部、および、左右のパウンドラインに一致する左右の下顎人工歯舌面表示部を夫々表示してなるものとすべきであり、また、同人工歯列用標準陰型の左右頬側外壁面の左右第2臼歯後縁相当個所に夫々第2大臼歯奥縁表示部を設けるか、または、唇側ないし左右頬側外壁面の上顎前歯人工歯群から左右上顎臼歯人工歯群夫々の第2臼歯後縁に至る範囲に渡り、第2大臼歯奥縁表示帯を表示するかの何れか一方に設定されてなるものとするのが望ましく、歯槽頂線表示部、下顎人工歯舌面表示部および第2大臼歯奥縁表示部、第2大臼歯奥縁表示帯は、何れも彫刻、プリント、シール貼着、記入など何れかによって明確に表示したものとするのがよい。 The standard negative mold for the artificial dentition is either the left or right posterior end outer wall, or the upper molar group on either the mold groove range for the left or right maxillary molar artificial tooth group to the left or right posterior end outer wall. The left and right alveolar crest line display sections that indicate the position of the alveolar crest line, and the left and right mandibular prosthetic surface display sections that match the left and right pound lines should be displayed, respectively. Provide the second molar back edge display part at the position corresponding to the rear edge of the left and right second molars on the left and right buccal outer wall of the standard negative type for artificial dentition, or artificial anterior teeth on the lip side or left and right buccal side outer wall Desirably, the second molar back edge display band is displayed over a range from the tooth group to the second molar rear edge of each of the left and right maxillary molar artificial teeth, Alveolar crest line display part, Mandibular artificial tooth surface display part, Second molar back edge display part, Second molar Okuen display zone, both engraving, printing, seal attached, preferably set to those clearly displayed by any such entry.
仮止め機構は、咬合器咬合平面板上の適所に載置した人工歯列用標準陰型の、左右の最も奥の各大臼歯後部相当個所夫々を、同咬合平面板に対して正確に位置決めすると共に、離脱可能に仮固定する機能を果たすものであり、例えば、人工歯列用標準陰型の左右後端付近を咬合平面板に対して挟着仮固定可能とするクリップ金具や、基端に進退機構を有する左右一対の仮止め針からなり、その基端がわを咬合平面板上面に仮固定して各先端を同咬合平面板の前方に向けたものとし、咬合平面板上の適所に載置した人工歯列用標準陰型の左右後端面夫々に、対応する針先端を突き刺して仮固定するものなどの外、後述する実施例に示すように、患者の測定や上下顎模型から得た臼歯群歯槽頂線およびパウンドラインを咬合平面板の適正個所に表示したものとし、さらに、臼歯群歯槽頂線およびパウンドラインに基づき位置決めした人工歯列用標準陰型左右後端の夫々に嵌合可能であって、咬合平面板後端縁に挟着、仮固定可能なネジ留め金具からなるものとすることができる。 The temporary locking mechanism accurately positions the left and right back posterior molars of the standard denture for artificial dentition placed in place on the articulator occlusal plane plate with respect to the occlusal plane plate. For example, clip metal fittings that allow temporary fixation between the left and right rear ends of the standard negative mold for artificial dentition to the occlusal plane plate, and the base end It consists of a pair of left and right temporary holding needles with an advancing and retreating mechanism, and its proximal end is temporarily fixed to the upper surface of the occlusal plane plate and each tip is directed to the front of the occlusal plane plate. From the left and right rear end surfaces of the standard dentition for artificial dentition placed on the left and right rear end surfaces of the corresponding needle tip, etc. The obtained molar group alveolar crest line and the pound line are displayed at the appropriate location on the occlusal plane plate. Furthermore, it can be fitted to the left and right rear ends of the standard negative for artificial dentition positioned based on the molar group alveolar crest line and the pound line, and is clamped and temporarily fixed to the rear edge of the occlusal plate It can consist of possible screw fasteners.
咬合嵌合位決定用陰型は、上下顎何れか一方の基礎床に固定済みの人工歯群を基準に、それに標準的に咬合する上下顎何れか他方の人工歯群の位置を規制、可能とするものであり、より具体的には排列、固定済みの上顎人工歯群に、未固定の下顎人工歯群の標準的咬合関係を再現し、下顎人工歯群を任意の咬合様式に則して一挙に排列して下顎基礎床に固定可能とするようにし、したがって、上顎人工歯列嵌合、位置決め用の基準歯列嵌着溝を、その上面から上下肉厚中に達するよう連接状に排列、刻設すると共に、該上面とは反対の底面から任意の咬合様式に則して当該上顎人工歯列に標準的に咬合可能な下顎歯列弓形に設定した下顎人工歯列位置決め用の咬合歯列決定用型溝を連接状に排列、刻設してなるものとしなければならず、その全体が確りと上下顎人工歯群に嵌着可能な程度に、適度に硬質な弾性素材製のものとし、下顎基礎床に下顎人工歯群が結合した後には、簡単に離脱可能であって複数回に亘る利用が可能なシリコン樹脂、天然ゴム、合成ゴム、ウレタン樹脂などの各種合成樹脂製で、その平面形状が基礎床に対応する馬蹄形に形成されたものとし、上面は上顎基礎床に上顎人工歯群を排列するとき上顎基礎床(堤)に干渉しない形状に設定し、底面もまた下顎基礎床に下顎人工歯群を排列するとき下顎基礎床(堤)に干渉しない形状とすべきであり、しかも基準歯列嵌着溝ならびに咬合歯列決定用型溝は、夫々各人工歯の確実な位置決めと安定保持とを実現可能とするよう、各人工歯の唇面または頬面から舌面の最大豊隆部よりも歯槽面がわ寄りとなる深さに設定したものとするのが望ましく、その全体を無色透明または有色透明の適度に硬質な弾性を有する歯科医療用素材製のものとすることができる。 The negative type for determining the occlusal fitting position is based on the artificial tooth group already fixed to the base floor of either the upper or lower jaw, and the position of the other artificial tooth group of the upper or lower jaw that normally meshes with it can be regulated. More specifically, the standard occlusal relationship of the unfixed mandibular prosthetic group is reproduced in the arranged and fixed maxillary artificial tooth group, and the mandibular artificial tooth group is conformed to any occlusal mode. So that it can be fixed to the base floor of the lower jaw at a stroke, and therefore, the upper standard artificial teeth fitting and positioning reference tooth fitting groove is connected from the upper surface to reach the upper and lower wall thickness. Occlusion for positioning a mandibular prosthesis set in a mandibular dental arch shape that can be standardly occluded with the maxillary prosthesis according to an arbitrary occlusion style from the bottom surface opposite to the top surface The dentition-determining mold grooves must be arranged and engraved in a connected manner. The body should be made of an elastic material that is reasonably hard enough to fit into the artificial jaw group and can be easily detached after the artificial jaw group is joined to the mandibular base floor. It is made of various synthetic resins such as silicone resin, natural rubber, synthetic rubber, urethane resin that can be used for many times, and its planar shape is formed into a horseshoe shape corresponding to the base floor, and the upper surface is the upper jaw on the upper base floor The shape should be set so as not to interfere with the maxillary foundation floor (rest) when arranging the artificial teeth, and the bottom surface should also be configured so as not to interfere with the mandibular foundation (rest) when arranging the artificial teeth on the mandibular basement. In addition, the reference dentition insertion groove and the occlusal dentition determination groove are provided from the lip or cheek surface to the tongue surface of each artificial tooth so that reliable positioning and stable holding of each artificial tooth can be realized. The depth at which the alveolar surface becomes closer than the largest ridges It is desirable to that there was boss, it can be made in their entirety of dental care made material having a reasonably rigid elastic colorless transparent or colored transparent.
基準歯列嵌着溝は、上下顎歯列の何れか一方の人工歯列に対して密着状に嵌合し、基準となる人工歯群に対する咬合歯列決定用型溝の配置関係を正確に位置決め可能とする機能を果たし、貫通窓などの異なる部位を除く全体的溝形状は、人工歯列用標準陰型の型溝形状に一致するよう、咬合嵌合位決定用陰型の上面から上下肉厚中に達する如く連接状に排列、刻設されたものとしなければならず、また、咬合歯列決定用型溝は、該上面とは反対の底面から任意の咬合様式に則して当該上顎人工歯列に標準的に咬合可能な下顎歯列弓形となるよう連接状に排列、刻設したものとしなければならない。 The reference dentition insertion groove fits closely to either one of the upper and lower jaw dentitions, and the placement relationship of the occlusal dentition determination mold groove with respect to the reference artificial tooth group is accurately determined. The overall groove shape excluding different parts such as through-holes that fulfill the function of positioning can be moved up and down from the upper surface of the negative mold for determining the occlusal fitting position so that it matches the groove shape of the standard negative mold for artificial dentition. It should be arranged and engraved in an articulated manner so as to reach the wall thickness, and the occlusal dentition determining groove should be in accordance with any occlusion style from the bottom surface opposite to the top surface. It must be arranged and engraved in an articulated manner so as to form a lower dental arch that can be occluded by a standard upper dental prosthesis.
咬合嵌合位決定用陰型の貫通窓は、基準歯列嵌着溝と咬合歯列決定用型溝とに夫々嵌合装着する上下顎人工歯群の咬合接合個所の夫々に開口し、基準歯列嵌着溝と咬合歯列決定用型溝とを連通状に貫通するものであって、少なくとも左右臼歯の上下顎人工歯咬合面同士の接合個所に開口されたものとするのが理想的であり、上下顎人工歯同士をより確実に接触させるため、同貫通窓は実際の接触面積より僅かに大きく開口したものとするのが望ましい。 The negative penetrating window for determining the occlusal fitting position opens at each of the occlusal joints of the upper and lower jaw artificial teeth to be fitted and fitted in the reference dentition insertion groove and the occlusal dentition determination groove, respectively. Ideally, it should penetrate the dentition insertion groove and the occlusal dentition determination mold groove, and should open at least at the joint between the upper and lower jaw artificial teeth occlusal surfaces of the left and right molars In order to bring the upper and lower jaw artificial teeth into contact with each other more reliably, it is desirable that the through window be opened slightly larger than the actual contact area.
人工歯列用標準陰型および咬合嵌合位決定用陰型は、夫々左右の上顎犬歯型溝部とそれに隣接する上顎第一小臼歯型溝部との間に、頬・唇側および舌側双方の外面壁から型溝内壁付近に至る平面形ノッチ状の脆弱部を刻設し、歯列弓の曲率を変更容易になるよう形成してなるものとすることができる。 The standard negative type for artificial dentition and the negative type for determining the occlusal fitting position are provided on both the buccal / lip side and the lingual side between the left and right maxillary canine grooves and the adjacent upper first premolar groove. A flat notch-shaped fragile portion extending from the outer wall to the vicinity of the inner wall of the mold groove may be formed so that the curvature of the dental arch can be easily changed.
上顎蝋義歯は、上顎咬合床に上顎人工歯群を排列したものであり、上顎咬合床は、基本的に上顎基礎床および上顎咬合堤からなり、上顎基礎床が、咬合圧に耐える強度、口腔内温度で変形しない材料、技工的には模型面に容易且つ正確に適合できるものとするのが望ましく、シェラック板、プラスチック板、レジン樹脂、金属などを用いることができ、上顎咬合堤の素材としてはパラフィンワックスを用いることができ、下顎蝋義歯の下顎咬合床をなす下顎基礎床および下顎咬合堤も同様の素材を選択使用することができ、上下顎人工歯群は、共に市販の硬質レジン歯や陶歯など用い、人工歯列用標準陰型の型溝ならびに咬合関係決定用陰型の基準歯列嵌着溝、咬合歯列決定用型溝の夫々に合致する形状、寸法に設定されたものであり、しかも患者の性別、容貌に適する形態(丸型、角型、標準型または混合型、その他)、サイズ、色調のものを適宜選択しなければならない。 The maxillary wax denture is an arrangement of the maxillary artificial teeth group on the maxillary occlusal floor, and the maxillary occlusal floor basically consists of the maxillary foundation floor and the maxillary occlusal levee. It is desirable that the material does not deform at the internal temperature, and technically it should be able to easily and accurately conform to the model surface, and shellac plate, plastic plate, resin resin, metal, etc. can be used as the material of the upper jaw occlusal levee Paraffin wax can be used, and the same material can be selected and used for the mandibular base floor and mandibular occlusal levee, which form the mandibular base of the mandibular wax denture, and both the upper and lower jaw artificial teeth group are commercially available hard resin teeth. , Porcelain teeth, etc., and the shape and dimensions of the standard negative mold groove for artificial dentition, the negative reference tooth insertion groove for determining occlusal relation, and the mold groove for determining occlusal dentition were set. Stuff Patients Gender, suitable appearance form (round, square, standard or mixed, etc.), must select the size, those color appropriately.
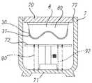
咬合器は、歯科医療で一般に使用されている上弓、下弓、咬合平面板、顆頭、切歯指導釘、切歯指導板および切歯指導標などを備えたものを使用するのが望ましく、アルコン型咬合器、コンダイラー型咬合器、分類表現を変えると平均値咬合器、調節性咬合器、半調節性咬合器、全調節性咬合器など様々な形式のものを利用することが可能である。 It is desirable to use an articulator equipped with an upper arch, lower arch, occlusal plane plate, condyle, incisor guidance nail, incisor guidance plate, and incisor guidance mark generally used in dentistry. , Archon articulator, Condyler articulator, and various types such as average articulator, adjustable articulator, semi-adjustable articulator, fully adjustable articulator can be used by changing the classification expression is there.
    任意の咬合様式とは、歯科医療において理想的、標準的なものとして定義された様々な咬合嵌合位の様式中から、患者の容貌や咀嚼運動などに最も適するものを選択したものであり、広く知られている片側性平衡咬合、両側性平衡咬合、臼歯離開咬合から適宜選択することが可能であり、また、後述する実施例に示すよう、咬合器に対して咬合平面およびボンウィル三角に基づき、上下顎模型を位置決め固定し、正中線が切歯指導釘、切歯指導標の尖端に一致し、且つ上顎大臼歯がわ左右端が、左右臼歯群歯槽頂線上に略一致すると共に、臼歯人工歯群がパウンドラインよって頬側に配置するよう設定したものであるとすることができる。
    以下では、図面に示すこの発明を代表する蝋義歯の製造方法の一例を詳述していくこととするが、それに先立ち、その製造方法に使用する人工歯列用標準陰型および咬合嵌合位決定用陰型の各一実施例を詳しく示しておくこととする。Arbitrary occlusal styles are selected from the various occlusal fitting positions defined as ideal and standard in dentistry, and the most suitable for the patient's appearance and chewing movement, etc. It is possible to select appropriately from well-known unilateral balanced occlusion, bilateral balanced occlusion, and molar disengagement occlusion, and based on the occlusal plane and Bonwill triangle for the articulator as shown in the examples described later. The upper and lower jaw models are positioned and fixed, the midline coincides with the tip of the incisor guidance nail and the incisor guidance mark, and the upper and lower molars substantially coincide with the left and right molar group alveolar crest lines, and the molars. It can be assumed that the artificial tooth group is set to be arranged on the cheek side by a pound line.
 In the following, an example of a method for manufacturing a wax denture representing the present invention shown in the drawings will be described in detail. Prior to that, a standard negative mold for artificial teeth and an occlusal fitting position used in the manufacturing method will be described. Each embodiment of the decision type will be described in detail.
    図1の人工歯列用標準陰型の斜視図、図2の臼歯用の溝部分を断面化した人工歯列用標準陰型の正面図、図3のサイズの異なる人工歯列用標準陰型の側面図、図4の人工歯列用標準陰型を嵌着した上顎蝋義歯の斜視図、図5の一部に改良を加えた人工歯列用標準陰型の斜視図、図9の咬合器咬合平面板の平面図、図10の仮止め機構で固定した人工歯列用標準陰型の平面図、図11の仮止め機構の断面図、図15の上顎模型の斜視図、図16の下顎模型の斜視図、図20の咬合平面板に人工歯列用標準陰型を載置した咬合器の側面図、図23の上顎人工歯群を装着した人工歯列用標準陰型の側面図、および図25の上顎人工歯群を上顎咬合床に結合する人工歯列用標準陰型の側面図に示す事例は、底面10を咬合平面に一致させた弾性素材製の馬蹄形であって、該底面10とは反対がわとなる上面12から底面10に至る肉厚中に人工歯列50(または60)位置決め用の型溝13を、咬合器7の咬合平面72および顆頭77に対し、任意の咬合様式に則した標準的上顎歯列弓形、連接状に排列するよう刻設してなるものとした、この発明の蝋義歯の製造方法に用いる人工歯列用標準陰型の代表的な一実施例を示すものである。    1 is a perspective view of the standard dental mold for artificial dentition, FIG. 2 is a front view of the standard dental mold for artificial dentition in which the groove portion for molars is cross-sectioned, and the standard negative mold for artificial dentition having different sizes in FIG. 4 is a perspective view of the maxillary wax denture in which the standard dental mold for artificial dentition of FIG. 4 is fitted, a perspective view of the standard dental mold for artificial dentition obtained by modifying a part of FIG. 5, and the occlusion of FIG. The plan view of the occlusal plane plate, the plan view of the standard negative mold for artificial dentition fixed by the temporary fixing mechanism of FIG. 10, the sectional view of the temporary fixing mechanism of FIG. 11, the perspective view of the upper jaw model of FIG. A perspective view of the lower jaw model, a side view of an articulator in which the standard dental mold for artificial dentition is placed on the occlusal plane plate in FIG. 20, and a side view of a standard negative mold for artificial dentition in which the upper jaw artificial teeth are mounted in FIG. The side view of the standard negative type for artificial dentition that joins the maxillary artificial tooth group to the maxillary occlusal floor in FIG. 25 is made of an elastic material in which the
    当該人工歯列用標準陰型1は、図1および図20に示すよう、全体が充分に軟質で無色透明または有色透明な弾性を有する馬蹄形に成型された歯科医療用シリコン樹脂成型品であって、その底面10を咬合平面72に一致した平滑面とし、同底面10とは反対がわとなる上面12から底面10に至る肉厚中に上顎人工歯群50位置決め用の型溝13を、咬合器7の咬合平面72および顆頭77点に対し、患者に最も適した咬合様式を選択し、それに則した標準的上顎歯列弓形、連接状に排列するよう刻設されたものとし、歯科医療用シリコン樹脂は、二液常温硬化型、熱硬化型、紫外線硬化型など、様々な性質をもつものの中の何れか一つを選択して使用することが可能である。    As shown in FIGS. 1 and 20, the standard
    また、図2および図4中に示すように、当該人工歯列用標準陰型1の型溝13は、各上顎人工歯5の切端54や咬合面55の必要個所が咬合平面72に一致する配置となるよう、底面10適所に貫通窓11,11,……が、咬合器7咬合平面板72に実際に接する面積より僅かに大きく開口されたものとなっており、同型溝13は、各上顎人工歯5の唇面または頬面から舌面の最大豊隆部に嵌合可能な深さに刻設したものとし、更に、図3、図20、図23および図25中に示すよう、同人工歯列用標準陰型1の唇側、頬側外周壁面には、図1中に示す、型溝13の上顎前歯人工歯群51から左右上顎臼歯人工歯群52,52夫々の第2臼歯後縁に掛けて、換言すれば同図1中の型溝13の上顎人工歯群(上顎人工歯列)50範囲に渡り、第2大臼歯奥縁表示帯18を点状、帯状などの彫刻、プリント、シール貼着、記入など何れかによって明確に表示したものとし、しかも、図3中に示すように、寸法L1のSサイズ、寸法L2のMサイズ、寸法L3のLサイズとして準備しておくようにし、夫々男性用、女性用のものとして合計6個を準備するのが望ましく、更に、片側性平衡咬合、両側性平衡咬合、臼歯離開咬合の夫々に適する上顎人工歯列50弓形の型溝13をもつものを揃えておくことができる。    As shown in FIGS. 2 and 4, the
    人工歯列用標準陰型1は、図1および図5中に示すように、その左右後方端外面壁か、または左右上顎臼歯人工歯群52,52用の型溝13範囲から左右後方端外面壁に至る範囲かの何れか一方に、左右上顎臼歯人工歯群52,52の舌側咬頭頂に一致する左右の上顎臼歯群歯槽頂線90,90(図15の上顎模型80に示す)の位置を表示した左右の歯槽頂線表示部91,91、および、左右のパウンドライン92(図16の下顎模型81に示す)に一致する左右の下顎人工歯舌面表示部93,93を夫々点状、帯状などの彫刻(微細彫刻)、プリント、シール(薄型シール)貼着、記入など何れかによって明確に表示して仮止め機構9の一部を形成するものとしている。    As shown in FIG. 1 and FIG. 5, the standard
    更に、該仮止め機構9は、図9に示すよう、咬合器7咬合平面板72の上面、または上面から後端縁側面に及ぶ範囲に、上下顎蝋義歯3,4製作の対象となる患者から機能印象した上下石膏模型8(80,81)、および採寸値に基づく上顎臼歯群歯槽頂線90ならびにパウンドライン92を表示したものとし、また、図10および図11に示すよう、咬合平面板72の後端縁左右には、上下一対の挟着片95,95と、それらを緊締可能とするボルト・ナット96,96,……とからなる留め金具94を、夫々前後左右に調節移動可能に仮固定し、左右の留め金具94,94の少なくとも上がわ挟着片95,95の前端縁が、人工歯列用標準陰型1左右後端に嵌合、位置決め可能とする凹型状に形成されてなるものとし、当該左右留め金具94,94の上側挟着片95,95は、その前端縁と咬合平面板72上面壁との間に人工歯列用標準陰型1左右後端縁を挟着し、強固に固定可能な形状とすることが可能である。    Further, as shown in FIG. 9, the temporary fixing mechanism 9 is a patient for which the upper and lower
    そして、人工歯列用標準陰型1は、図5中に示すように、咬合器7咬合平面板72上の所定個所に底面10を装着した場合に、切歯指導標75尖端に対応する上顎中切歯近心隅角間の唇側となる個所に、上面12から底面10に貫通し、且つ型溝13に達する深さの正中線位置決め溝16を刻設してなるものとすることができ、また、同人工歯列用標準陰型1型溝13の左右犬歯型溝部14,14と第一小臼歯型溝部15,15との間夫々に、頬・唇側および舌側双方の外面壁から型溝13内壁付近に至る平面形ノッチ状の脆弱部17,17,……を刻設し、歯列弓の曲率を変更容易になるよう形成されたものとしている。    And, as shown in FIG. 5, the standard
    当該人工歯列用標準陰型1は、片側性平衡咬合、両側性平衡咬合、臼歯離開咬合の各咬合様式に設定され、且つ患者の性別やサイズ、形態の異なる上顎人工歯5毎に正確に嵌着可能なものを、夫々取り揃えるよう複数種類、製作して置き、患者の性別や容貌とのバランスや審美性、嚥下、咀嚼運動性など様々な要素を考慮して適宜選択、使用可能なものとすることができる。    The standard
    図6の咬合嵌合位決定用陰型の斜視図、図7の咬合嵌合位決定用陰型に嵌着した上下顎蝋義歯の斜視図、図8の上下顎人工歯が嵌合した咬合嵌合位決定用陰型の断面図、図30の上顎蝋義歯に装着した咬合嵌合位決定用陰型の側面図、および図31の下顎人工歯群を下顎咬合床に位置決めする咬合嵌合位決定用陰型の正面図に示す事例は、上下顎咬合歯列弓形に倣う弾性素材製の馬蹄形であって、咬合器7の顆頭77に対して標準的上顎歯列弓形に設定した上顎人工歯列50嵌合、位置決め用の基準歯列嵌着溝22を、その上面20から上下肉厚中に達するよう連接状に排列、刻設すると共に、該上面20とは反対の底面21から任意の咬合様式に則して当該上顎人工歯列50に標準的に咬合可能な下顎歯列弓形に設定した下顎人工歯列60位置決め用の咬合歯列決定用型溝25を連接状に排列、刻設してなるものとした、この発明の蝋義歯の製造方法に用いる咬合嵌合位決定用陰型の代表的な一実施例である。    6 is a perspective view of the negative mold for determining the occlusal fitting position, FIG. 7 is a perspective view of the upper and lower jaw dentures fitted to the negative mold for determining the occlusal fitting position, and the occlusion in which the upper and lower jaw artificial teeth of FIG. 8 are fitted. FIG. 30 is a cross-sectional view of a fitting position determining shadow, FIG. 30 is a side view of an occlusal fitting position determining shadow attached to an upper wax denture, and FIG. 31 is an occlusal fitting that positions a lower jaw artificial tooth group on a lower jaw occlusal floor. The example shown in the front view of the position determination negative type is a horseshoe shape made of an elastic material following the upper and lower jaw occlusal dental arch shape, and the upper jaw set to a standard upper dental arch shape with respect to the
    当該咬合嵌合位決定用陰型2は、図6ないし図8中に示すように、弾性を有する適度に硬質な歯科医療用シリコン樹脂素材製の馬蹄形であって、その上面20から上下肉厚中に達する範囲に、図7に示すように、上顎蝋義歯3の上顎基礎床31に咬合堤材32を介して位置決め固定済みの上顎人工歯群50に対して密着状に嵌着可能な基準歯列嵌着溝22が、図6に示すよう刻設されたものとする一方、これとは反対がわとなる底面21からは、図8に示すように、該基準歯列嵌着溝22に嵌着した上顎人工歯5に咬合関係となる下顎人工歯6を、患者に最も適した咬合様式を選択し、それに則した標準的上顎歯列弓形、連接状の排列となるよう、位置決め装着可能な咬合歯列決定用型溝25を刻設してなるものであり、その素材となる歯科医療用シリコン樹脂は、二液常温硬化型、熱硬化型、紫外線硬化型など、様々な性質をもつものの中の何れか一つを選択して使用することが可能である。    As shown in FIGS. 6 to 8, the occlusal fitting position-determining
    図8中に示すように、当該基準歯列嵌着溝22および咬合歯列決定用型溝25については、夫々各上下顎人工歯5,6の唇面または頬面から舌面の最大豊隆部に嵌合可能な深さに形成されており、図7に示す上下顎人工歯5,6の切端54,64や、図7および図8に示す咬合面55,65の咬合、接合個所で互いに連通する貫通窓26,26,……(図6および図8中に示す)が、実際の接合面積より僅かに大きく開口したものとしている。
    また、図6中に示すよう、左右の上顎犬歯型溝部23,23とそれに隣接する上顎第一小臼歯型溝部24,24との間夫々に、頬・唇側および舌側双方の外面壁から基準歯列嵌着溝22内壁および咬合歯列決定用型溝25付近に至る平面形ノッチ状の脆弱部27,27,……を刻設し、歯列弓の曲率を変更容易になるよう形成してなるものとしている。As shown in FIG. 8, with respect to the reference
 Further, as shown in FIG. 6, between the left and right maxillary
    当該咬合嵌合位決定用陰型2は、人工歯列用標準陰型1によって位置決めされた上顎人工歯群50、およびその排列を基準とし、それらに相当するサイズ、形態の下顎人工歯群60に、夫々精密に嵌着可能とする基準歯列嵌着溝22および咬合歯列決定用型溝25を有するものとし、男性用、女性用夫々のSサイズ、Mサイズ、Lサイズ(何れも図示せず)の合計6個を準備しておくのが望ましく、さらに片側性平衡咬合、両側性平衡咬合、臼歯離開咬合の夫々に適する上下顎人工歯列50,60弓形に設定した基準歯列嵌着溝22および咬合歯列決定用型溝25を刻設したものとすることができ、患者の性別、容貌とのバランスや審美性、嚥下、咀嚼運動性など様々な要素を考慮して適宜選択、使用可能なものとすることができる。
    以下には、前述の人工歯列用標準陰型1および咬合嵌合位決定用陰型2を用いて行うこの発明の蝋義歯の製造方法の一例を詳述して行くこととする。The occlusal fitting position-determining
 Below, an example of the manufacturing method of the wax denture of this invention performed using the above-mentioned standard
図12の上顎蝋義歯製造のフローチャート、図13の咬合平面を測定する人体頭部の側面図、図14の下顎の咬合平面およびボンウィル三角の斜視図、図15の上顎模型の底面図、図16の下顎模型の平面図、図17の上下顎模型を位置決めする咬合器の側面図、図18の上下顎模型を位置決めする咬合器の正断面図、図19の咬合平面板を位置決めする咬合器の正断面図、図20の人工歯列用標準陰型を装着した咬合器の側面図、図21の咬合器に装着した人工歯列用標準陰型の背面図、図22の咬合器に装着した人工歯列用標準陰型を断面化した背面図、図23の人工歯列用標準陰型に上顎人工歯群を装着した咬合器の側面図、図24の人工歯列用標準陰型に上顎人工歯群を装着した咬合器の正断面図、図25の上顎人工歯群を上顎咬合床に結合する咬合器の側面図、図26の上顎人工歯群を上顎咬合床に結合する咬合器の正断面図、図27の上顎蝋義歯を完成させた咬合器の側面図、図28の上顎蝋義歯を完成させた咬合器の正断面図、図29の下顎蝋義歯製造のフローチャート、図30の咬合嵌合位決定用陰型を装着した咬合器の側面図、図31の咬合嵌合位決定用陰型を装着した咬合器の正断面図、図32の上下顎蝋義歯を完成した咬合器の側面図、および図33の上下顎蝋義歯を完成した咬合器の正断面図に示す事例について説明する。 FIG. 12 is a flowchart of manufacturing the upper jaw denture, FIG. 13 is a side view of a human head for measuring the occlusal plane, FIG. 14 is a lower occlusal plane and a Bonwill triangle perspective view, FIG. 15 is a bottom view of the upper jaw model, FIG. 17 is a plan view of the lower jaw model, a side view of the articulator for positioning the upper and lower jaw model in FIG. 17, a front sectional view of the articulator for positioning the upper and lower jaw model in FIG. 18, and an articulator for positioning the occlusal plane plate in FIG. Front view, side view of an articulator equipped with the standard dental mold for artificial dentition of FIG. 20, rear view of the standard dental mold for artificial dentition attached to the articulator of FIG. 21, and attached to the articulator of FIG. 23 is a rear view in which the standard denture for the artificial dentition is cut, a side view of the articulator having the maxillary artificial tooth group mounted on the standard crypt for artificial dentition, and the upper jaw on the standard crypt for artificial dentition in FIG. Cross section of articulator equipped with artificial teeth, maxillary occlusion with maxillary artificial teeth in Fig. 25 26 is a side view of the articulator coupled to the upper jaw, FIG. 26 is a front sectional view of the articulator coupled to the maxillary occlusal floor, FIG. 27 is a side view of the articulator that completes the upper wax denture, and FIG. FIG. 29 is a front sectional view of an articulator that completes a wax denture, a flowchart of manufacturing a lower jaw denture in FIG. 29, a side view of an articulator equipped with a negative mold for determining an occlusal fitting position in FIG. 30, and an occlusal fitting position in FIG. An example of the cross-sectional view of the articulator equipped with the decision negative, the side view of the articulator that completed the upper and lower jaw wax dentures of FIG. 32, and the front view of the articulator that completed the upper and lower jaw wax dentures of FIG. Will be described.
    この事例は、機能印象によって得た上下顎模型8(80,81)に基づき上下顎基礎床31,41を製作し、該上下顎基礎床31,41夫々に標準的寸法の咬合堤32,42を結合して上下顎咬合床30,40を形成してから、患者の上下顎堤部に試着し、該上下顎咬合床30,40の形状、寸法に修正を加えて顎位を採寸した後、該採寸値に基づき咬合器7適正位置に取り付けた咬合平面板72上適正位置に、該上顎咬合床30を装着した上顎模型80を載置して咬合器7上弓70に固定してから、咬合平面板72を取り外して上下顎咬合床30,40を合わせ、下顎模型81を咬合器7下弓71適正位置に固定した上、上下顎咬合床30,40から夫々咬合堤32,42を除去し、一旦咬合器7下弓71の下顎模型81を咬合平面板72に交換し、同咬合平面板72上に標準的上顎歯列弓形に設定された充分に軟質な弾性素材製の人工歯列用標準陰型1を、その正中線76が切歯指導釘73、切歯指導標74の尖端に一致し、且つ上顎大臼歯がわ左右端が、歯槽頂間線法則に合致するよう位置決め載置し、該人工歯列用標準陰型1の型溝13中に歯並びに従って上顎人工歯5を連接状に排列、嵌合し終えてから、軟化した適量の咬合堤材32を上顎基礎床31に装着すると略同時に、咬合器7の上弓70を切歯指導釘73が切歯指導板74に接するよう閉じ合わせ、咬合堤材32を上顎基礎床31と上顎人工歯群50との間に挟み込むよう一体化して上顎蝋義歯3を得た後、咬合器7を開き、咬合平面板72および人工歯列用標準陰型1を取り外した下弓71に当該下顎基礎床31を装着した下顎模型81を固定し、標準的歯列弓形に設定された適度に硬質な弾性素材製咬合嵌合位決定用陰型2の基準歯列嵌着溝22を上顎蝋義歯3の人工歯列50に嵌着し、同咬合嵌合位決定用陰型2の咬合歯列決定用型溝25の中に歯並びに従って下顎人工歯6を連接状に排列、嵌合し終えてから、軟化した適量の咬合堤材42を下顎基礎床41に装着すると略同時に、咬合器7の上下弓70,71を切歯指導釘73が切歯指導板74に接するよう閉じ合わせ、当該咬合堤材42を下顎基礎床41と下顎人工歯群6との間に挟み込むよう一体化して下顎蝋義歯4を得るようにした、この発明の蝋義歯の製造方法における代表的な一実施例である。    In this example, the upper and lower
    無歯患者上下顎からの機能印象により、図15に示す上顎模型80、および図16に示す下顎模型81を作製(図12中のA)し、上顎模型80の舌側となる底面には、正中線76および左右上顎臼歯群歯槽頂線90,90を記入、表示したものとする一方、下顎模型81の舌側となる上面には、正中線76および左右上顎臼歯群歯槽頂線90,90ならびに左右パウンドライン92,92を記入、表示したものとし、それら上下顎模型80,81に基づき、図17および図18中に示すよう、常温レジン製の上下顎基礎床31,41を作製(図12中のB)すると共に、それら上下顎基礎床31,41にパラフィンワックスによる標準的寸法の上下顎咬合堤32,42を連結して上下顎咬合床30,40を造る(図12中のC)。    The
    製作した上下顎咬合床30,40は、歯科医師が患者の口腔内、上下顎堤部に装着し、その形状および寸法に修正を加え、図13および図14中に示すように、カンペル平面CP(または図示しないフランクフルト平面)に基づく上下顎咬合平面72や正中線76ならびに顆頭点77,77などの各位置を測定、記録する(図12中のD)と共に、上下顎咬合床30,40、上下顎咬合堤32,42の唇側壁面に正中線(下顎切歯点)76を彫刻、表示しておく。
    この測定値に基づき平均値咬合器7下弓71の適正位置に咬合平面板72を取り付け(図12中のE)、また当該上顎模型80には上顎咬合床30を正確に組み合わせた状態に装着(図12中のF)する。The produced upper and lower jaw
 Based on this measured value, the
    該上顎咬合床30を装着した上顎模型80は、同上顎咬合床30上顎咬合堤32に記入、表示しておいた正中線76や咬合平面72、顆頭77,77、ボンウィル三角78(図13および図14に示す)に基づき、咬合器7咬合平面板72上の適正位置に位置決め載置し、咬合器7上弓70に固定(図12中のG)してから、咬合平面板72を咬合器7から取り外した(図12中のH)後、図17および図18中に示すよう、下顎模型81に装着した下顎咬合床40を、その下顎咬合堤42が上顎咬合堤32に対し、互いの正中線76で一致するよう咬合配置し、該下顎模型81を咬合器7下弓71の適正位置に固定したものとする(図12中のJ)。    The
    図19中に示すように、上顎咬合床30の咬合堤材32を除去し(図12中のK)、咬合器7下弓71から下顎模型81を取り外して咬合平面板72を適正位置に固定し(図12中のL)、図20ないし図22中に示すように、前記実施例1に示した人工歯列用標準陰型1を、その底面10が密着するよう位置決め載置(図12中のM)する。
    人工歯列用標準陰型1は、図20に示すように、その第2大臼歯奥縁表示帯18の左右後端が、上顎咬合床30に想定した上顎第2大臼歯の後縁(図20中に垂直波線で示す)に略一致するサイズであって、患者の性別や容貌、咀嚼、嚥下運動性および審美性(発音機能の回復)などを総合的に考慮して図3の3サイズ中から適宜選択して用いるようにし、該人工歯列用標準陰型1の咬合平面板72上への位置決め固定作業は、図9中に示す咬合器7切歯指導標75によって指示された正中線76、および同図9中に示すよう上下顎模型80,81(図15ならびに図16に示す)に基づく上顎臼歯群歯槽頂線90,90およびパウンドライン92,92を咬合平面板72上面に、図19ないし図22中に垂直二点鎖線および垂直波線で示す位置関係で表示したものとし、図10中に示すように、人工歯列用標準陰型1の唇側正中線76が切歯指導標75尖端に一致すると共に、人工歯列用標準陰型1の歯槽頂線表示部91,91、下顎人工歯舌面表示部93,93の夫々が透明素材製の同人工歯列用標準陰型1を透かし見るようにし、咬合平面板72上面の表示(上顎臼歯群歯槽頂線90,90およびパウンドライン92,92)に各々一致するよう、図10、図21および図22中に示す如く載置した上、図11に示すように、左右の留め金具94,94の上がわ配置となる挟着片95,95の前端凹型縁に、図10に示すよう人工歯列用標準陰型1左右後端を嵌合するよう配置して位置決めした後、各ボルト・ナット96,96,……を締め付けて確りと保持可能に固定する(図12のM)。As shown in FIG. 19, the
 As shown in FIG. 20, the left and right rear ends of the second molar back
    また、図5中に示すよう改良された人工歯列用標準陰型1を用いる場合には、正中線位置決め溝16の上顎左右中切歯相互の近心隅角間の中央が、予め設定して置いた咬合器7の切歯指導釘73切歯指導標75の尖端位置に一致するよう位置決めする一方、同人工歯列用標準陰型1の左右後端がわを、前記同様に歯槽頂線表示部91,91、下顎人工歯舌面表示部93,93を目安にし、各脆弱部17,17,……の可撓性を利用して左右後端間の開度を、同図5中の円弧状実線矢印に示すよう調整すると共に、その充分に柔軟な素材を活かして上顎臼歯群歯槽頂線90,90に沿って伸縮変形させるなどして患者の上顎堤部に調和するよう位置決めする(図12のM)。    Further, in the case of using the improved standard
    咬合平面板72上に位置決め載置した人工歯列用標準陰型1の型溝13には、図23に示すように、第2大臼歯奥縁表示帯18の範囲内に収まるサイズであって、患者の性別や容貌、咀嚼、嚥下運動性および審美性(発音機能の回復)などを総合的に考慮、選択した寸法、形態、色の上顎人工歯群50を、図2および図24中に示すように、上顎の歯並びに従ってそれら歯槽面53が上顎がわ、咬合面55(または切端54)が下顎がわ向きの姿勢とするよう連接状に排列、嵌着(図12中のN)して位置決めした後、図25および図26に示すように、加熱、軟化した適量のパラフィンワックス製咬合堤材32を上顎基礎床31に装着すると略同時に、咬合器7の上弓70をその切歯指導釘73が切歯指導板74に接するよう閉じ合わせ(図12中のP)、咬合堤32を上顎基礎床31と上顎人工歯群50との間に挟み込むよう一体、硬化して上顎蝋義歯3を得る(図12中のQ)。    As shown in FIG. 23, the
    こうして上顎蝋義歯3を得た(図29中のR)後、咬合器7を開き、図27および図28に示すようにして人工歯列用標準陰型1を取り外すと共に、下弓71に装着していた咬合平面板72を取り外し(図29中のS)てから、図30および図31中に示すように、咬合器7下弓71の適正位置に下顎模型81を固定(図29中のT)した上、下顎咬合床40から咬合堤材42を除去して顎模型81に正確に装着し(図29中のU)、図1、図2または図5中に示す人工歯列用標準陰型1の型溝13に、図6ないし図8に示す基準歯列嵌着溝22が一致する、前記実施例2に示した咬合嵌合位決定用陰型2(基準歯列嵌着溝22)を、図8、図30および図31に示すように、上顎蝋義歯3上顎人工歯群50に隙間が生じないよう密着状に嵌着(図29中のV)する。
    このとき、図30中の寸法LFに示すよう咬合器7切歯指導釘73を調節して上弓70を僅かに挙上し、後の咬合調整による高径減少を見込んだ余裕寸法分を確保するよう補正しておく。After obtaining the maxillary wax denture 3 (R in FIG. 29), the
 At this time, as shown by the dimension LF in FIG. 30, the
    図30および図31に示すように、上面20の基準歯列嵌着溝22を上顎人工歯群50に嵌着した当該咬合嵌合位決定用陰型2の底面21咬合歯列決定用型溝25中には、歯並びに従って下顎人工歯群60を、図8中に示すよう各歯槽面63が下顎がわ、咬合面65(図7中に示す切端64)が上顎がわ向きの姿勢となるよう連接状に排列、嵌合(図29中のW)した後、図31に示すように、加熱、軟化させた適量のパラフィンワックス製咬合堤材42を下顎基礎床41に装着すると略同時に、咬合器7の上下弓70,71を切歯指導釘73が切歯指導板74に接するよう閉じ合わせ(図29中のX)、該咬合堤42を下顎基礎床41と下顎人工歯群60(6)との間に挟み込むよう一体、硬化させて下顎蝋義歯4を得る(図29中Y)。    As shown in FIGS. 30 and 31, the
    このようにして得られた上下顎蝋義歯3,4の夫々は、図31ないし図33に示すようにして咬合嵌合位決定用陰型2を取り外し、各上下顎咬合堤32,42に歯肉状の自然な外観を得ると共に、唇や頬、舌に違和感の無いよう加工して形を整えることにより、後にロストワックス法(蝋義歯の埋没および重合法)によってアクリル系樹脂などの合成樹脂に置き換えられる上下顎咬合床30,40の完成となる。    Each of the upper and lower
  (実施例1の作用)
    以上のとおりの構成からなるこの発明の蝋義歯の製造方法に用いる人工歯列用標準陰型1は、図1ないし図4中に示すように、全体を充分に軟質な馬蹄形に成型された弾性を有する無色透明または有色透明な歯科医療用シリコン樹脂素材製のものとし、その底面10を咬合平面に一致した平滑面に設定し、咬合器7咬合平面板72上に密着状に載置可能であって、患者毎に異なる上顎歯列弓形に応じ、自在に伸縮、変形させ、歯間離開度を正確且つ容易に調節、位置決め可能であり、しかも、図9および図10に示すよう、左右の歯槽頂線表示部91,91および左右の下顎人工歯舌面表示部93,93を目安に、咬合器7咬合平面板72上面に表示した上顎臼歯群歯槽頂線90ならびにパウンドライン92を透かし見ながら、高精度に位置決めすることが可能となる。(Operation of Example 1)
 As shown in FIGS. 1 to 4, the
    また、図3に示すよう唇側外周面壁に表示してある第2大臼歯奥縁表示帯18は、図20に示すように、上顎基礎床31に組み合わせるサイズの選択基準とすることができ、図2中に示すよう上面12から底面10に至る肉厚中に、標準的上顎歯列弓形に排列される各上顎人工歯5の唇面または頬面から舌面の最大豊隆部に嵌合可能な深さの型溝13を刻設してあり、複数本の上顎人工歯5を正確な姿勢に支持して不用意な転倒や捻転、脱抜、脱落などを確実に防止可能となり、同型溝13適所の底面10がわに、実際の接合面積より僅かに大きく開口した貫通窓11,11,……が、上顎人工歯群50の咬合平面72との位置関係を阻害することなく、より精密に規制可能とするものとなる。
    そして、図10および図11に示した仮止め機構9は、咬合平面板72の後端縁左右に装着した挟着片95,95およびそのボルト・ナット96,96,……からなる留め金具94が、各上がわ挟着片95,95の前端凹型縁に人工歯列用標準陰型1左右後端を嵌合するよう位置決めし、人工歯列用標準陰型1左右後端の歯槽頂線表示部91および下顎人工歯舌面表示部93の位置決めならびに仮固定をより正確且つ強固なものとする。Further, the second molar back
 10 and 11, the temporary fastening mechanism 9 is a
    更に、図5中に示すように、人工歯列用標準陰型1に刻設した正中線位置決め溝16は、咬合器7切歯指導標75尖端を上顎中切歯近心隅角間の唇側となる個所まで障害なく高精度に誘導可能とするものとし、犬歯型溝部14と第一小臼歯型溝部15との間となる唇側および舌側双方の背面壁に、平面形ノッチ状に刻設した脆弱部17,17,……は、図1中に寸法線矢印にて示してある上顎左右臼歯人工歯群52,52相当範囲を、上顎前歯人工歯群51相当範囲に対してより柔軟に変形、移動可能とするよう、図5中の実線円弧矢印に示す如く、歯列弓の曲率を一段と自由に調節可能なものとする。    Furthermore, as shown in FIG. 5, the
  (実施例2の作用)
    以上のとおりの構成からなるこの発明の蝋義歯の製造方法に用いる咬合嵌合位決定用陰型2は、図6ないし図8に示すように、弾性を有する適度に硬質なシリコン樹脂素材製の馬蹄形に形成した上、上面20から上下肉厚中に達する範囲に基準歯列嵌着溝22を刻設し、底面21から咬合歯列決定用型溝25を刻設してなり、上顎蝋義歯3の上顎人工歯群50に該基準歯列嵌着溝22を弾性変形させて密着するよう正確に装着することが可能であり、しかも基準歯列嵌着溝22および咬合歯列決定用型溝25夫々が、各上下顎人工歯5,6の唇面または頬面から舌面の最大豊隆部に嵌合可能な深さに形成されており、上顎蝋義歯3の上顎咬合床30に固定済みの上顎人工歯群50に対し、下顎人工歯群60が適切な咬合嵌合位に配置されるよう適度な硬度をもって精密に位置決め保持すると共に、各下顎人工歯6の歯軸の傾きや捻転および脱抜、脱落などを悉く阻止することが可能である。(Operation of Example 2)
 As shown in FIGS. 6 to 8, the
    また、図7および図8に示すよう、上下顎人工歯群50,60の咬合面55,65における咬合接合個所に相当する個所に、実際の接合面積より僅かに大きく開口した貫通窓26,26,……(図6および図8中に示す)は、当該咬合嵌合位決定用陰型2に嵌着した上下顎人工歯群50,60同士の位置関係を阻害することなく実際の咬合嵌合位に保持可能とし、正確な上下顎人工歯列弓形状を再現可能とするものとなり、また、図6中に示す平面形ノッチ状の脆弱部27,27,……は、この部位に応力を集中させることによって咬合嵌合位決定用陰型2の上下顎前歯人工歯群51,61相当範囲に対し、上下顎左右臼歯人工歯群52,52,62,62相当範囲を自在に変形、調節可能とし、人工歯列用標準陰型1によって既に位置決め固定された上顎蝋義歯3上顎人工歯群50の弓形状に応じて下顎人工歯群60の下顎前歯人工歯群61と上下顎左右臼歯人工歯群62,62との位置関係の調節を容易にする。    Further, as shown in FIGS. 7 and 8, through
  (実施例3の作用)
    以上のとおりの構成からなるこの発明の蝋義歯の製造方法は、図19に示すよう上顎咬合床30の咬合堤材32を除去し(図12中のK)、適正位置に咬合平面板72を固定し(図12中のL)した後、図3中の3サイズの人工歯列用標準陰型1,1,1から、図20中に示すように、上顎咬合床30に想定した上顎第2大臼歯の後縁に、第2大臼歯奥縁表示帯18左右後端が略一致するサイズのものを目安に選択することが可能であり、また、該人工歯列用標準陰型1の咬合平面板72上への位置決め(図12中のM)作業は、上顎咬合床30に予め表示しておいた唇側正中線76を咬合器7切歯指導標75に一致させると共に、図9、図21および図22に示すように、咬合平面板72上面に表示した上顎臼歯群歯槽頂線90,90およびパウンドライン92,92に、図21に示すように、該人工歯列用標準陰型1の透明素材を透視しながら、左右後端側の歯槽頂線表示部91,91、下顎人工歯舌面表示部93,93の夫々を一致させるよう正確且つ迅速に行うことが可能であり、しかも図10および図11に示すように、人工歯列用標準陰型1の平滑面状の底面10を密着状に接合し、左右後端を留め金具94,94の挟着片95,95前端凹型縁に嵌合するよう配置して各ボルト・ナット96,96,……で緊締し、より確実に固定することが可能である。(Operation of Example 3)
 The wax denture manufacturing method according to the present invention having the above-described configuration removes the
    加えて、図5中に示すよう、人工歯列用標準陰型1の上顎前歯人工歯群51相当個所に形成した正中線位置決め溝16は、咬合器7の切歯指導標75による位置合わせ作業を、一段と精密且つ容易なものとし、充分に柔軟な弾性素材に脆弱部17,17,……を形成したことにより、型溝13の形状を維持したまま人工歯列用標準陰型1の弓形を自在に変形、伸縮調節することが可能となる。さらに、図2および図4中に示すよう、各上顎人工歯5の唇面または頬面から舌面の最大豊隆部に嵌合可能な深さに設定した型溝13は、各上顎人工歯5の姿勢を正確に保持(図12中のN)するものとなる。このようにして上顎人工歯群50を嵌着した人工歯列用標準陰型1は、図25および図26に示すよう、上顎基礎床31に咬合堤材32を装着し、上弓71を閉じることで熟練を要さずに全ての上顎人工歯群50を、上顎基礎床31に対して一挙に精密排列、結合する(図12中のP)ことが可能となる。    In addition, as shown in FIG. 5, the
    人工歯列用標準陰型1の利用によって得た上顎蝋義歯3に、図30に示すよう、咬合嵌合位決定用陰型2の基準歯列嵌着溝22を嵌着(図12中のV)すると、その適度に硬質な弾性素材の性質によって確りと連結状となり、しかも図8および図31中に示すように、各上下顎人工歯5,6の唇面または頬面から舌面の最大豊隆部に嵌合可能な深さに形成された基準歯列嵌着溝22および咬合歯列決定用型溝25は、上下顎人工歯群50,60に対し、より精密に密着、嵌合(図12中のW)可能なものとなり、図6および図8中に示す、貫通窓26,26,……が正確な咬合嵌合位を阻害することなく、より忠実に再現可能なものとする。そして、図31に示すよう、下顎基礎床41に咬合堤材42を装着すると略同時に、咬合器7を閉じ合わせる(図29中のX)ことにより、下顎基礎床41に下顎人工歯群60を正確且つ瞬時に排列、結合することが可能となる。さらに、このようにして製造した上下顎蝋義歯3,4は、咬合嵌合位の最終的調整の段階で、図30中の寸法LFに示した、余裕寸法分を利用して最適な咬合高径に調整することが可能である。    The
  (実施例1の効果)
    以上のような構成からなる実施例1の人工歯列用標準陰型1は、前記この発明の効果の項で記載の特徴に加え、二液常温硬化型、熱硬化型、紫外線硬化型など様々な性質をもつシリコン樹脂の中の何れか一つを選択して製造可能であり、工場にて大量生産する場合や、歯科医療の現場で単品製造する場合などの各条件に応じて製造効率や要求される耐久性などを考慮し、最も製造し易い素材を適宜自由に選択して経済的に製造することができ、しかも歯科医療用の素材を選択したことにより、高い安全性を確保することができるという利点が得られるものとなる。(Effect of Example 1)
 In addition to the features described in the section of the effect of the present invention, the standard
    また、人工歯列用標準陰型1の全体を充分に軟質で透明な弾性素材製とし、図2中に示す最大豊隆部に達する深さの型溝13や貫通窓11、図3および図23に示す第2大臼歯奥縁表示帯18、図5中に示す正中線位置決め溝16ならびに脆弱部17、さらに図1や図5中に示す歯槽頂線表示部91、下顎人工歯舌面表示部93などを設け、図9に示すよう、咬合器7咬合平面板72にも上顎臼歯群歯槽頂線90、パウンドライン92を表示すると共に、左右留め金具94,94を組み合わせて仮止め機構9を形成したことにより、患者の上顎形状、サイズに最も適した上顎人工歯群50の排列形態を、誰にでも簡便且つ迅速に高精度な再現性をもって実現化可能にする効果がある。    Further, the entire standard
  (実施例2の効果)
    実施例2の咬合嵌合位決定用陰型2も実施例1の人工歯列用標準陰型1と同様に、様々な種類が存在するシリコン樹脂の何れか最も適するものを適宜自由に選択し、経済的に生産することができ、また、該咬合嵌合位決定用陰型2は、その適度な強度を有する弾性と、図7および図8に示すように、各上下顎各人工歯5,6の最大豊隆部に達する深さに設定した基準歯列嵌着溝22、咬合歯列決定用型溝25とによって上顎蝋義歯3がわへの装着、および、下顎各人工歯群60の嵌着を精密且つ確実に行うことができ、しかも上下顎各人工歯群50,60同士を、各貫通窓26,26,……を通じて直接、接触させた状態に位置決めすると共に、図6中に示すように、各脆弱部27,27,……が患者の印象採取や採寸値などに応じて変形、調節した上顎人工歯列50形状や歯間離開度に柔軟に追従可能であり、その変形に倣って底面21がわの咬合歯列決定用型溝25も自動的且つ適度に追従、伸縮変形し、様々な上下顎人工歯列50,60形態の上下顎蝋義歯3,4に理想的な咬合嵌合位を与えることができ、しかもシリコン樹脂素材の均質な柔軟性によって上下顎各人工歯群50,60相互の排列バランスや歯間離開度をも、自動的に平均化し、従前まで不可欠とされてきた煩雑で熟練を要する調整作業を一切行わずに、秀れた審美性と咬合嵌合位を簡単に得ることができるという実利がある。(Effect of Example 2)
 The
  (実施例3の効果)
    以上のような構成からなる実施例3の蝋義歯の製造方法は、咬合器7を始めとする歯科医療用器具、設備、工具類などの全てを、現行の歯科医療現場で一般に使用されているもので賄うことができ、前記実施例1の人工歯列用標準陰型1、ならびに実施例2の咬合嵌合位決定用陰型2も、咬合印象などに用いられる一般的な歯科医療用材料によって簡単に製造、加工可能なものであり、新たな投資を必要とせずに即座に実施できるという秀れた特徴を有し、経済的にも秀れており、歯科技工の作業効率を大幅にアップすることができる上、患者への医療費負担も軽微なものに抑えることができるという大きな効果を発揮することができる。(Effect of Example 3)
 In the method of manufacturing a wax denture of Example 3 having the above-described configuration, all of dental instruments, equipment, tools and the like including the
  (結  び)
    叙述の如く、この発明の蝋義歯の製造方法は、その新規な構成によって所期の目的を遍く達成可能とするものであり、しかも熟練を要さず誰でも簡単且つ迅速に製造することができ、従前からの蝋義歯の製造に比較して製造工数を大幅に削減して容易に、審美性や咬合運動性に秀れた高品質を得ることができ、患者の通院期間を短縮し、医療費負担を軽減できることから、通院と医療費負担の増加とに悩む患者や、社会の高齢化に伴い増加する患者への対応に苦慮する歯科医師、および煩雑で精度を要する緻密な作業に追われる歯科技工士は勿論のこと、手軽に治療が受けられるような体制作りを目指す医療用機械器具業界や、材料業界および医療費の削減が求められる医療保険業界などからも高く評価され、広範に渡って利用、普及していくものになると予想される。(Conclusion)
 As described above, thewax denture manufacturing method according to the present invention makes it possible to achieve the intended purpose uniformly by the novel configuration, and anyone can easily and quickly manufacture it without requiring skill. Compared with the conventional manufacture of wax dentures, it can greatly reduce the number of manufacturing steps and easily obtain high quality with excellent aesthetics and occlusal motility, shortening the patient's hospitalization period, medical treatment Since the cost burden can be reduced, dentists who are struggling to deal with patients who are going to the hospital and increase the cost of medical care, and who are suffering from an increase in society due to the aging of society, and complicated and precise work are being pursued. Not only dental technicians, but also the medical equipment industry that aims to create a system that allows easy treatment, the materials industry, and the medical insurance industry that is required to reduce medical expenses, are widely recognized and widely applied. Used and popular It is expected to be the thing.
    図面は、この発明の蝋義歯の製造方法の技術的思想を具現化した代表的な幾つかの実施例を示すものである。
        1      人工歯列用標準陰型
          10    同  底面
          11    同  貫通窓
          12    同  上面
          13    同  型溝
          14    同  犬歯型溝部
          15    同  第一小臼歯型溝部
          16    同  正中線位置決め溝
          17    同  脆弱部
          18    同  第2大臼歯奥縁表示帯
        2      咬合嵌合位決定用陰型
          20    同  上面
          21    同  底面
          22    同  基準歯列嵌着溝
          23    同  犬歯型溝部
          24    同  第一小臼歯型溝部
          25    同  咬合歯列決定用型溝
          26    同  貫通窓
          27    同  脆弱部
        3      上顎蝋義歯
          30    同  上顎咬合床
          31    同  上顎基礎床
          32    同  上顎咬合堤(咬合堤材)
        4      下顎蝋義歯
          40    同  下顎咬合床
          41    同  下顎基礎床
          42    同  下顎咬合堤(咬合堤材)
        5      上顎人工歯
          50    同  上顎人工歯群(上顎人工歯列)
          51    同  上顎前歯人工歯群
          52    同  上顎臼歯人工歯群
          53    同  歯槽面
          54    同  切端
          55    同  咬合面
        6      下顎人工歯
          60    同  下顎人工歯群(下顎人工歯列)
          61    同  下顎前歯人工歯群
          62    同  下顎臼歯人工歯群
          63    同  歯槽面
          64    同  切端
          65    同  咬合面
        7      咬合器
          70    同  上弓
          71    同  下弓
          72    同  咬合平面板(咬合平面)
          73    同  切歯指導釘
          74    同  切歯指導板
          75    同  切歯指導標
          76    同  正中線
          77    同  顆頭
          78    同  ボンウィル三角
          LF    同  切歯指導釘調節寸法
          CP    同  カンペル平面
        8      石膏模型
          80    同  上顎模型
          81    同  下顎模型
        9      仮止め機構
          90    同  上顎臼歯群歯槽頂線
          91    同  歯槽頂線表示部
          92    同  パウンドライン
          93    同  下顎人工歯舌面表示部
          94    同  留め金具
          95    同  挟着片
          96    同  ボルト・ナット1 Standard negative mold for artificial dentition
 10 Same bottom
 11 Same penetration window
 12 Top view
 13 Same groove
 14 The canine groove
 15 First premolar groove
 16 Midline positioning groove
 17 Vulnerable parts
 18 2nd molar back
 20 Top view
 21 Same bottom
 22 The same standard dentition insertion groove
 23 The canine groove
 24 1st premolar groove
 25 Ditch for determining occlusal dentition
 26 Same penetration window
 27
 30 Same maxillary occlusal floor
 31 Same maxillary foundation floor
 32 Maxillary occlusal levee (Occlusal levee material)
 4 Lower wax denture
 40 Same mandibular occlusal floor
 41 Same mandibular foundation floor
 42 Mandibular occlusal levee (Occlusal levee material)
 5 Maxillary artificial teeth
 50 Maxillary artificial teeth (maxillary artificial teeth)
 51 Artificial teeth for maxillary anterior teeth
 52 The maxillary molar artificial teeth
 53 Alveolar surface
 54 Same section
 55
 60 Same mandibular prosthetic group (mandibular prosthesis)
 61 Mandibular anterior teeth artificial teeth
 62 Mandibular molar artificial teeth
 63 Alveolar surface
 64 Same cut edge
 65 Same
 70 Same bow
 71 Same lower bow
 72 Same occlusal plane plate (Occlusal plane)
 73 Same incision guidance nail
 74 Incisor guidance board
 75 Incisor guidance mark
 76 Midline
 77 Condyles
 78 Same Bonwill Triangle
 LF Same incisor guidance nail adjustment dimensions
 80 Upper jaw model
 81 Same mandibular model 9 Temporary fastening mechanism
 90 The maxillary molar group alveolar crest line
 91 Alveolar crest line display
 92 Same Pound Line
 93 Same mandibular artificial tooth surface display
 94 Same clasp
 95 Same clip
 96 Bolts and nuts
| Application Number | Priority Date | Filing Date | Title | 
|---|---|---|---|
| JP2007284590AJP4964740B2 (en) | 2007-10-31 | 2007-10-31 | Wax denture manufacturing method | 
| Application Number | Priority Date | Filing Date | Title | 
|---|---|---|---|
| JP2007284590AJP4964740B2 (en) | 2007-10-31 | 2007-10-31 | Wax denture manufacturing method | 
| Publication Number | Publication Date | 
|---|---|
| JP2009106686A JP2009106686A (en) | 2009-05-21 | 
| JP4964740B2true JP4964740B2 (en) | 2012-07-04 | 
| Application Number | Title | Priority Date | Filing Date | 
|---|---|---|---|
| JP2007284590AActiveJP4964740B2 (en) | 2007-10-31 | 2007-10-31 | Wax denture manufacturing method | 
| Country | Link | 
|---|---|
| JP (1) | JP4964740B2 (en) | 
| Publication number | Priority date | Publication date | Assignee | Title | 
|---|---|---|---|---|
| JP2014133021A (en)* | 2013-01-11 | 2014-07-24 | Matsuda Shika Iin | Occlusion reconstruction method | 
| Publication number | Priority date | Publication date | Assignee | Title | 
|---|---|---|---|---|
| JP5812654B2 (en)* | 2011-04-06 | 2015-11-17 | 基夫 室野井 | Dental model controller | 
| EP2742906B8 (en)* | 2012-12-17 | 2016-08-24 | Ivoclar Vivadent AG | Method and system for creating a dental prosthesis | 
| WO2015055793A1 (en)* | 2013-10-17 | 2015-04-23 | Ivoclar Vivadent Ag | Dental transfer template | 
| JP6182321B2 (en)* | 2013-02-01 | 2017-08-16 | 株式会社ジーシーデンタルプロダクツ | Denture wax mold | 
| Publication number | Priority date | Publication date | Assignee | Title | 
|---|---|---|---|---|
| JPH0649043B2 (en)* | 1992-05-26 | 1994-06-29 | 清孝 大里 | Denture manufacturing device and manufacturing method | 
| JPH10225469A (en)* | 1997-02-13 | 1998-08-25 | Seiji Shimamura | Artificial tooth and method for arranging dental plate and artificial tooth formed by using the same | 
| JP3645189B2 (en)* | 2001-03-13 | 2005-05-11 | デンツプライ三金株式会社 | Denture production equipment | 
| JP2003102751A (en)* | 2001-09-27 | 2003-04-08 | Shinji Hiraiwa | Integrally formed artificial molar with cutter in upper jaw (fig. 4), integrally formed artificial molar in lower jaw (fig. 2-2, 4), and convenient aligner for manufacturing full denture | 
| Publication number | Priority date | Publication date | Assignee | Title | 
|---|---|---|---|---|
| JP2014133021A (en)* | 2013-01-11 | 2014-07-24 | Matsuda Shika Iin | Occlusion reconstruction method | 
| Publication number | Publication date | 
|---|---|
| JP2009106686A (en) | 2009-05-21 | 
| Publication | Publication Date | Title | 
|---|---|---|
| RU2510252C2 (en) | Prosthetic dentures, dental arches and methods for making them | |
| TWI627941B (en) | Method of making dental surgical guides | |
| KR101857951B1 (en) | method for manufacturing denture and system thereof | |
| CN108601640B (en) | Muscle position 3D adjusting appliance and muscle position 3D adjusting articulator | |
| US5951290A (en) | Procedure for the preparation of fixed dental prostheses made of resin, inserts for the same and fixed prostheses obtained in this way | |
| JP4964740B2 (en) | Wax denture manufacturing method | |
| CN114917046A (en) | Method for making digital movable complete denture | |
| JP6369858B2 (en) | Occlusal denture | |
| WO2016098781A1 (en) | Muscular position 3d adjustment tool and artificial teeth | |
| EP3927279B1 (en) | Prosthetic tooth, method for manufacturing thereof, and use of the same | |
| EP4117574B1 (en) | Prosthetic tooth for denture base | |
| AU2012201852A1 (en) | Dentures, dental arches and methods of manufacture | |
| US20080038695A1 (en) | Treatment prostheses for edentulous dental patients | |
| EP2759278A2 (en) | Device and method for manufacturing dental prostheses | |
| JP2004008487A (en) | Fitting tool for preparing denture, and method for preparing denture | |
| JP2006042954A (en) | Denture and articulation adjusting method therefor | |
| JP2006326123A (en) | Artificial tooth arrangement method, and denture block and instrument for use in the same | |
| Marchenko et al. | Algorithms of performing of practical skills in prosthetic dentistry | |
| HK1185783A (en) | Dentures, dental arches and methods of manufacture | |
| HK1157174A (en) | Dentures, dental arches and methods of manufacture | |
| KR20160026649A (en) | the Dendtal Implant Sturcture | |
| CA2596568A1 (en) | Treatment prostheses for edentulous dental patients | 
| Date | Code | Title | Description | 
|---|---|---|---|
| A977 | Report on retrieval | Free format text:JAPANESE INTERMEDIATE CODE: A971007 Effective date:20100414 | |
| A131 | Notification of reasons for refusal | Free format text:JAPANESE INTERMEDIATE CODE: A131 Effective date:20100810 | |
| A521 | Written amendment | Free format text:JAPANESE INTERMEDIATE CODE: A523 Effective date:20101012 | |
| A131 | Notification of reasons for refusal | Free format text:JAPANESE INTERMEDIATE CODE: A131 Effective date:20110517 | |
| A521 | Written amendment | Free format text:JAPANESE INTERMEDIATE CODE: A523 Effective date:20110719 | |
| TRDD | Decision of grant or rejection written | ||
| A01 | Written decision to grant a patent or to grant a registration (utility model) | Free format text:JAPANESE INTERMEDIATE CODE: A01 Effective date:20120306 | |
| A01 | Written decision to grant a patent or to grant a registration (utility model) | Free format text:JAPANESE INTERMEDIATE CODE: A01 | |
| A61 | First payment of annual fees (during grant procedure) | Free format text:JAPANESE INTERMEDIATE CODE: A61 Effective date:20120328 | |
| R150 | Certificate of patent or registration of utility model | Free format text:JAPANESE INTERMEDIATE CODE: R150 | |
| FPAY | Renewal fee payment (event date is renewal date of database) | Free format text:PAYMENT UNTIL: 20150406 Year of fee payment:3 | |
| R250 | Receipt of annual fees | Free format text:JAPANESE INTERMEDIATE CODE: R250 | |
| R250 | Receipt of annual fees | Free format text:JAPANESE INTERMEDIATE CODE: R250 | |
| R250 | Receipt of annual fees | Free format text:JAPANESE INTERMEDIATE CODE: R250 | |
| R250 | Receipt of annual fees | Free format text:JAPANESE INTERMEDIATE CODE: R250 | |
| R250 | Receipt of annual fees | Free format text:JAPANESE INTERMEDIATE CODE: R250 |